|
| |
Проектно-конструкторский и технологический институт
промышленного строительства
ОАО ПКТИпромстрой
КАРТЫ ОПЕРАЦИОННОГО КОНТРОЛЯ КАЧЕСТВА ОСНОВНЫХ
СТРОИТЕЛЬНО-МОНТАЖНЫХ РАБОТ

1999
СОДЕРЖАНИЕ
Технологическая карта не заменяет ПНР (см. СНиП 3.01.01-85*)
Качество строительно-монтажных
работ характеризуется степенью их соответствия требованиям проектов и СНиП.
Любое отклонение от этих требований должно быть своевременно обнаружено и
исправлено, чего можно добиться только при организации повседневного
операционного контроля качества. Операционный контроль качества
строительно-монтажных работ осуществляется производителем работ и мастером с
привлечением в необходимых случаях представителей лаборатории управления
качеством треста (объединения).
Основные задачи операционного
контроля качества выполнения строительно-монтажных работ:
- обеспечение требуемого уровня
качества возводимых зданий;
- обеспечение выполнения
строительно-монтажных работ в соответствии с проектом и требованиями
нормативных документов;
- своевременное выявление причин
возникновения дефектов при производстве работ и принятие мер по их устранению;
- повышение личной
ответственности непосредственных исполнителей и линейных инженерно-технических
работников за качество выполненных строительно-монтажных работ.
Все выявленные в ходе
операционного контроля дефекты должны быть устранены до начала последующих
операций (работ).
Операционный контроль должен
вестись в строгом соответствии со стандартом предприятия (СТП) "Положение
об операционном контроле качества". Основными документами операционного
контроля качества являются карты операционного контроля. Они должны постоянно
находиться на строящихся объектах у руководителя стройки и предъявляться по
требованию лиц, контролирующих качество работ. В них указаны обязанности
должностных лиц при осуществлении оперативного контроля. Если работы на объекте
возглавляет один руководитель (прораб, мастер), то он выполняет все контрольные
функции, указанные в картах операционного контроля.
Карты операционного контроля
качества предназначены для линейных инженерно-технических работников и
бригадиров, а также смогут быть использованы
лицами, осуществляющими контроль качества строительства.

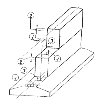
Допуски при монтаже
железобетонных колонн в соответствии с требованиями СНиП
1. Разность отметок верха
смежных колонн или опорных
площадок (кронштейнов, консолей) ± 10мм
2. Разность отметок верха колонн
или опорных площадок в пределах выверяемого участка: при контактной установке
12+2, где - порядковый номер яруса при установке по маякам 10 мм
3. Смещение осей колонн
одноэтажных зданий в верхнем сечении от вертикали при высоте колонн Н:
в метрах до 10 м ± 10 мм
свыше 10 м 0,001 Н, но не более 35 мм
4. Смещение осей колонн
многоэтажных зданий в верхнем сечении относительно разбивочных осей для колонн
высотой:
до 4,5 м ± 10мм
свыше 4,6 м ± 15 им
Таблица 1
|
Лица, осуществляющие
контроль качества
|
Опёрации, подлежащие
контролю
|
Состав контроля
|
Способ контроля
|
Время контроля
|
Лица, привлекаемые к
контролю работы
|
Актируемые работы
|
|
Производитель
работ
|
Подготовительные
работы
|
Правильность
складирования
|
Визуально
|
До начала
монтажа
|
|
|
|
Подготовка
мест установки колонн
|
Отметка дна
стакана фундамента
|
С помощью
нивелира
|
До начала
монтажа
|
Геодезист
|
+
|
|
Установка
колонн
|
Надежность
строповки, вертикальность установки, соосность; отметки опорных площадок;
временное крепление
|
Визуально; с
помощью нивелира; с помощью теодолита
|
В процессе
монтажа
|
Геодезист
|
|
|
Приварка
металлических деталей
|
Качество
сварных швов
|
Визуально
|
В процессе
монтажа
|
В случае
необходимости лаборатория
|
+
|
|
Антикоррозийная
защита металлических деталей
|
Качество
нанесения антикоррозийного слоя
|
Визуально
|
В процессе
монтажа
|
В случае
необходимости лаборатория
|
+
|
|
Замоноличивание
колонн
|
Тщательность
замоноличивания
|
Визуально
|
В процессе
монтажа
|
|
+
|
|
Подготовительные работы
(прием конструкций)
|
Наличие
паспортов, чертежей, геометрические размеры, внешние дефекты, нанесение
разбивочных осей, рисок, размеры площадок опирания, правильность расположения
закладных деталей
|
Визуально; с
помощью стального метра
|
До начала
монтажа
|
|
|
|
Мастер
|
Подготовка
мест установки колонн
|
Очистка стаканов,
размеры стакана фундамента; наличие рисок на фундаменте
|
Визуально, с
помощью стального метра
|
До начала
монтажа
|
|
|
|
Установка
монтажной оснастки
|
Точность
фиксирования оснастки
|
Визуально
|
В процессе
монтажа
|
|
|
|
Приварка металлических
деталей
|
Соответствие
проекту; варка электродов; размеры швов
|
Визуально
|
В процессе
монтажа
|
Лаборатория
|
|
|
Замоноличивание
колонн в фундаментах
|
Марка,
консистенция бетонной смеси, тщательность уплотнения
|
Визуально, с помощью
стандартного конуса
|
В процессе
монтажа
|
Лаборатория
|
|

Допуски при монтаже крупноблочных
ленточных фундаментов в соответствии с требованиями СНиП III-16-73
1. Смещение осей фундаментных
блоков и блоков стен фундаментов относительно разбивочных осей ± 10 мм
2. Отклонение отметок верхних опорных
поверхностей элементов фундаментов - 10 мм
3. Смещение осей или граней
стеновых блоков в нижнем сечении относительно разбивочных осей или
геометрических осей нижеустановленных конструкций ± 5мм
Таблица 2
|
Лица,
осуществляющие контроль качества
|
Операции,
подлежащие контролю
|
Состав
контроля
|
Способ
контроля
|
Время
контроля
|
Лица, привлекаемые к
контролю
|
Актируемые
работы
|
|
Производитель
работ
|
Подготовительные
работы
|
Определение
состояния грунтов
|
Визуально
|
До начала монтажа
|
|
|
|
Правильность расположения котлована относительно разбивочного чертежа, надёжность крепления, отметке дна котлована
|
Визуально, с
помощью нивелира и рулетки
|
До начала
монтажа
|
Геодезист
|
+
|
|
Отметка верха песчаной
или гравийной подушки
|
С помощью
нивелира
|
До начала
монтажа
|
Геодезист
|
+
|
|
Правильность
складирования
|
Визуально
|
До начала
монтажа
|
|
|
|
Разбивка осей
фундаментов
|
Точность определения
положения углов здания. Соответствие проекту расстояний между осями сборных
фундаментов
|
С помощью
теодолита и рулетки
|
До начала
монтажа
|
Геодезист
|
|
|
Установка
фундаментных блоков
|
Правильность и
надежность строповки
|
Визуально
|
В процессе
установки
|
|
|
|
Точность
установки, фундаментных блоков. Плотность опирания и примыкания
|
С помощью
уровня и отвеса
|
В процессе
установки
|
|
|
|
Соответствие
отметок проектным
|
С помощью
нивелира
|
После
установки блоков
|
Геодезист
|
|
|
Подготовительные
работы
|
Достаточность
размеров котлованов
|
С помощью
рулетки
|
До начала
монтажа
|
|
|
|
Мастер
|
Толщина
песчаной или гравийной подушки, качество ее уплотнения
|
Визуально, с
помощью стального метра
|
До начала монтажа
|
|
+
|
|
Очистка
фундаментных блоков от грязи, зимой от снега
|
Визуально
|
До начала монтажа
|
|
|
|
Наличие
паспортов на железобетонные конструкции; соответствие геометрических размеров
блоков проекту; наружные дефекты
|
Визуально, с помощью
стального метра, рулетки
|
До начала монтажа
|
|
|
|
Разбивка осей
фундамента
|
Правильность
натяжения осей, точность пересечения осей на блоки фундаментов
|
С помощью
теодолита
|
До начала
монтажа
|
Геодезист
|
|
|
Установка фундаментных
блоков
|
Соответствие
технологии монтажа, Технологической карте
|
Визуально
|
В процессе
установки
|
|
|

Допуски
при монтаже железобетонных фундаментов под колонны в соответствии с
требованиями СНиП III-16-73
1. Смещение осей
стаканов фундаментов относительно разбивочных осей ± 10мм
2. Отклонение отметок
верхних опорных поверхностей элементов фундаментов - 10мм
3. Отклонение отметок
дна стаканов фундаментов - 20мм
Таблица 3
|
Лица, осуществляющие контроль качества
|
Операции,
подлежащие контролю
|
Состав
контроля
|
Способ
контроля
|
Время
контроля
|
Лица,
привлекаемые к контролю
|
Актируемые работы
|
|
Производитель
работ
|
Подготовительные
работы
|
Подготовка
основания под фундаменты, его состояние, размеры, отметки, защита от
промерзания зимой
|
С помощью
нивелира, стального метра, рулетки
|
До начала
монтажа
|
Геодезист
|
+
|
|
Размеры котлованов,
правильность их расположения и надежность крепления стенок котлована, отметки
дна котлована
|
Визуально, с
помощью нивелира, рулетки, отвеса
|
До начала
монтажа
|
|
+
|
|
Отметка верха
основания и горизонтальность подушки
|
С помощью
нивелира
|
До начала
монтажа
|
Геодезист
|
|
|
Боковая
гидроизоляция фундаментных блоков
|
Качество
изоляции
|
Визуально
|
После монтажа
|
|
|
|
Мастер
|
Подготовительные
работы
|
Толщина
песчаной или гравийной подушки и качество ее уплотнения
|
Визуальноiс
помощью стального метра
|
До начала
монтажа
|
|
|
|
Очистка от
грязи, зимой от снега и наледи
|
Визуально
|
До начала
монтажа
|
|
|
|
Проверка
геометрических размеров блоков, дефекты. Сопоставление паспортных данных
железобетонных конструкций с проектными
|
Визуально, с
помощью стального метра, рулетки
|
До начала
монтажа
|
|
|
|
Установка
контрольных визирок по осям фундаментов
|
Соответствие
проекту перенесенных на дно котлована осей.
Точность положения
верха контрольных визирок
|
С помощью
теодолита, нивелира
|
До начала
монтажа
|
|
|
|
Установка и
выверка блоков
|
Точность
установки, соответствие проектным отметкам и осям
|
С помощью
нивелира, относа
|
Во время
монтажа
|
Геодезист
|
|

Допуски
при монтаже ригелей в соответствии с требованиями СНиП III-16-73
1. Смещение осей
ригелей по нижнему поясу относительно геометрических осей опорных конструкций
± 6 мм
2. Отклонение расстояний
между осями ригелей в уровне верхних поясов ± 20мм
3. Допуски площадок
опирания и допуски зазоров между элементами определяется проектом
Таблица 4
|
Лица,
осуществляющие контроль качества
|
Операции, подлежащие контролю
|
Состав контроля
|
Способ контроля
|
Время контроля
|
Лица, привлекаемые к контролю
|
Актируемые
работы
|
|
Производитель работ
|
Подготовительные работы
|
Правильность складирования конструкций
|
Визуально
|
До начала монтажа
|
|
|
|
Выверка опорных поверхностей на колоннах
|
Соответствие отметок опорных площадок колонн проектным, правильность
нанесения разбивочных осей
|
С помощью теодолита, нивелира, стального метра
|
До начала монтажа
|
Геодезист
|
|
|
Монтаж ригелей
|
Правильность и надежность строповки
|
Визуально
|
В процессе монтажа
|
|
|
|
Совмещение осей ригеля с разбивочными осями на опорных конструкциях,
вертикальность и плотность опирания ригеля
|
Визуально, с помощью отвеса
|
В процессе монтажа
|
|
+
|
|
Сварка закладных деталей в стыках
|
Качество
сварки, акты приемки сварных соединений, размеры швов
|
Визуально, с
помощью стального метра
|
В процессе
монтажа
|
В случае
необходимости лаборатория
|
+
|
|
Замоноличивание
стыков
|
Внешний вид стыков,
прочность бетона в стыке
|
Визуально, с
помощью эталонного молотка
|
После
распалубки стыка
|
Лаборатория
|
+
|
|
Подготовительные
работы
|
Соответствие
геометрических размеров проектным, внешние дефекты, наличие паспортов, правильность
расположения закладных деталей, очистка их
|
Визуально, с
помощью стального метра, рулетки
|
До начала
монтажа
|
|
|
|
Мастер
|
Выверка
опорных поверхностей на колоннах
|
Положение
опорных площадок и закладных деталей
|
Визуально, с
помощью стального метра
|
|
|
|
|
Монтаж ригелей
|
Правильность
нанесения осевых и контрольных рисок на ригелях
|
Визуально, с
помощью стального метра, рулетки
|
В процессе
монтажа
|
|
|
|
Правильность
технологии монтажа
|
Визуально
|
В процессе
монтажа
|
|
|
|
Сварка
закладных деталей в стыках
|
Соответствие
конструкции стыка и марки электродов по проекту
|
Визуально
|
В процессе
монтажа
|
|
|
|
Замоноличивание
стыков
|
Плотность и прочность опалубки
|
Визуально
|
В процессе
монтажа
|
|
|
|
Марка бетона
|
|
До
бетонирования
|
Лаборатория
|
|
|
Качество
уплотнения стыка
|
Визуально
|
В процессе
бетонирования
|
|
|
|
Качество
заполнения стыков
|
Визуально
|
После
распалубки
|
|
|

Допуски
при монтаже железобетонных ферм и балок в соответствии с требованиями СНиП III-16-73
1. Смещение осей ферм
(балок) по нижнему поясу относительно геометрических осей опорных конструкций
± 5мм
2. Отклонение расстояний
между осями ферм (балок) в уровне верхних поясов ± 20 мм
3. Допуски площадок
опирания и допуски зазоров между элементами определяются проектом
Таблица 5
|
Лица, осуществляющие
контроль качества
|
Операции, подлежащие
контролю
|
Состав контроля
|
Способ контроля
|
Время контроля
|
Лица, привлекаемые к
контролю
|
Актируемые работы
|
|
Производитель
работ
|
Подготовительные
работы
|
Правильность
складирования железобетонных конструкции
|
Визуально
|
До начала
монтажа
|
|
|
|
Выверка
опорных поверхностей ранее смонтированных конструкций
|
Соответствие
отметок опорных площадок проектным, правильность нанесения разбивочных осей
|
Визуально, с
помощью нивелира, стального метра
|
До начала
монтажа
|
Геодезист
|
|
|
Монтаж ферм,
балок
|
Правильность и
надежность строповки
|
Визуально
|
В процессе
монтажа
|
|
|
|
Совмещение
осей ферм балок с разбивочными осями, вертикальность конструкций опирания
|
Визуально, с
помощью отвеса
|
В процессе
монтажа
|
|
+
|
|
Надежность
временного крепления
|
Визуально
|
В процессе
монтажа
|
|
|
|
Сварка
закладных деталей в стыках
|
Качество
сварки, акты приемки сварных соединений, размеры швов
|
Визуально, с
помощью стального метра
|
В процесса
монтажа
|
|
|
|
Антикоррозийная
защита
|
Качество
нанесения антикоррозийного слоя
|
Визуально
|
До
замоноличивания
|
В случае
необходимости лаборатория
|
+
|
|
Подготовительные
работы
|
Наличие
паспортов, геометрические размеры, внешние дефекты, железобетонные
конструкции
|
Визуально, с
помощью стального метра
|
До начала
монтаже
|
|
|
|
Мастер
|
Расположение
закладных деталей, очистка их от ржавчины и наплывов бетона
|
Визуально, с
помощью стального метра
|
До начала
монтажа
|
|
|
|
Выверка опорных
поверхностей конструкций
|
Положение
опорных площадок и закладных деталей
|
Визуально
|
До начала
монтажа
|
|
|
|
Монтаж ферм
балок
|
Наличие и
правильность нанесения осевых и контрольных рисок на конструкциях
|
С помощью
стального метра
|
В процессе
монтажа
|
|
|
|
Правильность
технологии монтажа
|
Визуально
|
В процессе
монтажа
|
|
|
|
Сварка
закладных деталей в стыках
|
Тип
электродов, соответствие стыка проекту
|
Визуально
|
В процессе
монтажа
|
|
|
|
Замоноличивание
стыков
|
Плотность и
прочность опалубки
|
Визуально
|
До
бетонирования
|
|
|
|
Марка бетона,
качество уплотнения
|
Визуально
|
В процессе
замоноличивания
|
Лаборатория
|
|
|
Внешний вид
стыка, качество заделки
|
Визуально
|
В процессе
замоноличивания
|
|
+
|
|
Соответствие
отметок установленных конструкций проектным, расстояние между осями
|
Визуально
|
После монтажа
|
Геодезист
|
|

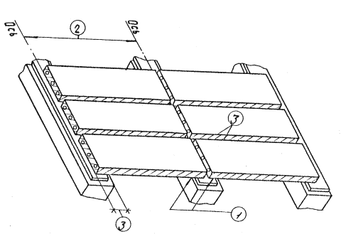
Допуски
при монтаже панелей перекрытия (покрытия) в соответствии с требованиями СНиП III-16-73
1.
Разность отметок лицевых поверхностей двух смежных плит перекрытия (покрытия) в
стыке ±
5 мм
2. Смещение в плане
плит покрытий или перекрытий относительно их проектного положения на опорных
поверхностях и узлах ферм и других несущих конструкций (вдоль опорных сторон
плит), не допускается
3. Допускаемые
отклонения в размерах площадок опирания и зазоров между элементами конструкций
определяются проектом
Таблица 6
|
Лица, осуществляющие
контроль качества
|
Операции, подлежащие
контролю
|
Состав контроля
|
Способ контроля
|
Время контроля
|
Лица, привлекаемые с
контролю
|
Актируемые работы
|
|
|
Производитель
работ
|
Подготовительные
работы
|
Правильность складирования
панелей
|
Визуально
|
До начала
монтажа
|
|
|
|
|
Соответствие
отметок и площадок опирания проектным
|
С помощью
нивелира, рулетки, стального метра
|
До начала
монтажа
|
Геодезист
|
|
|
|
Монтаж панелей
перекрытия
|
Инструментальная
проверка монтажного горизонта каждого этажа
|
С помощью
нивелира
|
В процессе
монтажа
|
Геодезист
|
+
|
|
|
Антикоррозийная
защита анкеров
|
Качество
антикоррозийного покрытия
|
Визуально
|
.закрепление
стыков
|
Лаборатория
|
+
|
|
|
Замоноличивание
стыков
|
Качество
замоноличивания стыков
|
Визуально
|
После
замоноличивания
|
|
+
|
|
|
Подготовительные
работы
|
Наличие
паспортов, геометрические размены, качество поверхности конструкций
|
Визуально, с
помощью рулетки, стального метра
|
До начала
монтажа
|
|
|
|
|
Мастер
|
|
|
Правильность
расположения закладных частей, монтажных петель
|
Визуально, с
помощью рулетки, стального метра
|
До начала
монтажа
|
|
|
|
|
Выполнение
опорного ряда кирпичной кладки тычками
|
Визуально
|
До начала
монтажа
|
|
|
|
|
Устройство
постели из раствора
|
Соответствие марки
раствора проекту, толщина слоя раствора
|
Визуально
|
В процессе
монтажа
|
Лаборатория
|
|
|
|
Монтаж панелей
|
Соответствие
площади опирания, положения панели в плане, плотность примыкания к опорной поверхности,
правильность технологии монтажа
|
Визуально
|
В процессе
монтажа
|
|
|
|
|
Анкеровка
панелей
|
Соответствие
анкеровки требованиям проекта
|
Визуально
|
До
замоноличивания
|
|
+
|
|
|
Замоноличивание
стыков
|
Очистка и увлажнение
стыкуемых поверхностей, соответствие марки раствора или бетона проектным
|
|
В процессе
замоноличивания
|
Лаборатория
|
|
|

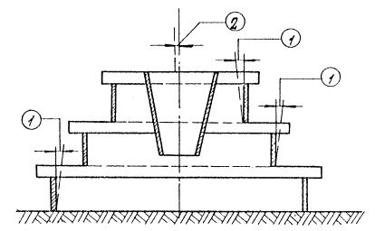
Допуски при установке опалубки стен
в соответствии с требованиями СНиП III-15-76
1. Расстояние от вертикали или
проектного наклона плоскостей опалубки стен и линий их пересечений
при высоте стен до 5м 10 мм
при высоте стен более 5м 15 мм
2. Смещение осей опалубки стен:
от проектного положения 8 мм
3. Внутренние размеры опалубки
стен от проектных размеров 3 мм
4. Местные неровности опалубки
при проверке двухметровой рейкой 3 мм
Таблица 7
|
Лица,
осуществляющие контроль качества
|
Операции,
подлежащие контролю
|
Состав
контроля
|
Способ
контроля
|
Время
контроля
|
Лица,
привлекаемые к контролю
|
Актируемые работы
|
|
Производитель
работ
|
Подготовительные
работы
|
Определение
состояния основания
|
Визуально
|
До установки
опалубки
|
|
+
|
|
Установка
опалубки
|
Соответствие
положения опалубки установочным осям
|
С помощью
теодолита, отвеса, рулетки
|
После
установки опалубки стен (до ее закрепления)
|
Геодезист
|
|
|
Точность
установки закладных деталей, их закрепление
|
С помощью
метра, рулетки
|
После установки
опалубки
|
|
|
|
Мастер
|
Подготовительные
работы
|
Соответствие
проекту и качество опалубочных щитов, правильность хранения
|
Визуально, с
помощью метра
|
До установки
опалубки
|
|
|
|
Установка
опалубки
|
Соблюдение проектных
размеров, вертикальность
|
С помощью
метра, отвеса
|
В ходе
установки опалубки
|
|
|
|
Качество
креплений опалубки
|
Визуально
|
В ходе
установки опалубки
|
|
|
|
Качество
внутренней поверхности опалубки
|
Визуально, с
помощью 2-х метровой рейки
|
В ходе
установки опалубки
|
|
|

Допуски на установку опалубки
колонн и перекрытий согласно требованиям СНиП III-15-76
1. Расстояние между опорами изгибаемых
элементов опалубки и расстояние между связями вертикальных поддерживающих
конструкций от проектных размеров:
на 1 м длины 25
мм
на весь пролет не менее 75 мм
2. Расстояние от вертикали или
проектного наклона плоскостей опалубки и линий их пересечений:
на 1 м высоты 5
мм
на всю высоту колонн
высотой до 5 м 10 мм
-"- более
5м 15 мм
на всю высоту балок 5 мм
3. Смещение осей опалубки от
проектного положения колонн 8 мм
-"-
балок 10 мм
4. Расстояние между внутренними
поверхностями опалубки колонн, балок от проектных размеров - 3 мм
5. Местные неровности опалубки
при проверке 2-х метровой рейкой - 3 мм
Таблица 8
|
Лица, осуществляющие
контроль качества
|
Операции, подлежащие
контроле
|
Состав контроля
|
Способ контроля
|
Время контроля
|
Лица, привлекаемые к
контролю
|
Актируемые работы
|
|
Производитель
работ
|
Подготовительные
работы
|
Определение
состояния основания (для колонн)
|
Визуально
|
До установки
опалубки
|
|
+
|
|
Установка
опалубки
|
Соответствие поддерживающих
лесов и подмостей проекту, их устойчивость и жесткость
|
Визуально, с
помощью стального метра, рулетки, отвеса
|
До установки
опалубки
|
|
|
|
Соответствие
положения опалубки установочным осям
|
С помощью
теодолита, отвеса, рулетки
|
В ходе
установки опалубки
|
Геодезист
|
|
|
Точность
установки закладных деталей
|
С помощью
стального метра, рулетки
|
Посла
установки опалубки
|
|
|
|
Мастер
|
Подготовительные
работы
|
Качество
опалубочных щитов и креплений
|
Визуально, с помощью
стального метра
|
До установки
опалубки
|
|
|
|
Правильность
хранения элементов опалубки
|
Визуально
|
До установки
опалубки
|
|
|
|
Установка
опалубки
|
Соблюдение
проектных размеров и отметок
|
С помощью нивелира,
отвеса, уровня, стального метра, рулетки
|
В ходе
установки опалубки
|
|
|
|
Качество
поверхности опалубки (плотность в сопряжении досок)
|
Визуально, с
помощью 2-х метровой рейки
|
В ходе
установки опалубки
|
|
|
|
Качество крепления
опалубки
|
Визуально
|
В ходе
установки опалубки
|
|
|

Допуски при установке опалубки
фундаменте в соответствии с требованиями СНиП III-15-76
1. Расстояние от вертикали или
проектного положения плоскостей опалубки фундаментов и линий их пересечений на
1м высоты 5мм
2.
Смещение осей опалубки фундаментов от
проектного положения 15мм
фундаментов под стальные
конструкции , (L - длина
пролета или шага конструкции, м)
3. Местные неровности опалубки
(при проверке рейкой длиной 2м) 3 мм
Таблица 9
|
Лица,
осуществляющие контроль качества
|
Операции,
подлежащие контролю
|
Состав
контроля
|
Способ
контроля
|
Время
контроля
|
Лица,
привлекаемые к контролю
|
Актируемые
работы
|
|
Производитель
работ
|
Подготовительные
работы
|
Определение
состояния основания
|
Визуально
|
До установки
опалубки
|
|
+
|
|
Установка
опалубки
|
Соответствие положения
опалубки установочным осям, точность установки закладных деталей и их
закрепление
|
С помощью
теодолита, рулетки, отвеса, стального метра
|
После
установки опалубки
|
Геодезист
|
|
|
Мастер
|
Подготовительные
работы
|
Соответствие проекту
и качество опалубочных щитов, блоков и креплений, правильность хранения
элементов опалубки
|
Визуально, с
помощью стального метра
|
До установки
опалубки
|
|
|
|
Установка
опалубки
|
Соблюдение проектных
размеров и отметок. Горизонтальность и вертикальность элементов опалубки,
качество креплений, качество внутренней поверхности опалубки
|
Визуально, с
помощью нивелира, отвеса, стального метра
|
В ходе
установки опалубки
|
|
|
10. KAPTA ОПЕРАЦИОННОГО
КОНТРОЛЯ АРМИРОВАНИЯ КОНСТРУКЦИЙ
Допуски при армировании
конструкций в соответствии с требованиями СНиП III-15-76
1. Поступающая на строительство
арматурная сталь при приемке должна подвергаться внешнему осмотру. замерам и
контрольным испытаниям в случаях, оговоренных в проекте
2. Замена предусмотренной
проектом арматурной стали согласовывается с проектной организацией
3. Перед монтажом арматуры
производится проверка опалубки, закрепление подкладок, обеспечивающие зазор для
оборудования защитного слоя
4. Смонтированная арматура
закрепляется от смещений и предохраняется от повреждений во время бетонирования
5. Смещение арматурных стержней
при их установке в опалубку не должно превышать 1/5 наибольшего диаметра
стержня и 1/4 диаметра устанавливаемого стержня
6. Запрещается применение
прокладок для образования защитного слоя из обрезков арматуры, деревянных
брусков и щебня
Таблица 10
|
Лица, осуществляющие
контроль качества
|
Операции, подлежащие
контролю
|
Состав контроля
|
Способ контроля
|
Время контроля
|
Лица, привлекаемые к
контролю
|
Актируемые работы
|
|
Производитель
работ
|
Приемка
арматуры
|
Соответствие
арматурных сеток и каркасов проекту (паспорту)
|
Визуально
|
До установки
|
|
|
|
Монтаж
арматуры
|
Установка
сеток, каркасов, закладных деталей в соответствии с проектом
|
С помощью
отвеса, стального метра
|
В процессе
монтажа
|
|
|
|
Обеспечение
защитного слоя
|
С помощью
стального метра
|
При установке
опалубки
|
|
|
|
Закрепление
стыков, каркасов, сеток (сварка, вязка)
|
Визуально
|
После
закрепления
|
Лаборатория
|
|
|
Приемка
арматура
|
Осуществляется
выборочно Проверяется диаметр арматуры, расстояние между рабочими стержнями в
сетках и каркасах
|
С помощью штангенциркуля
и, стального метра
|
До установки
|
|
|
|
Мастер
|
Положение
закладных деталей
|
С помощью
стального метра
|
До установки
|
|
|
|
Качество
выполнения мест скрепления арматуры в каркасе сетки
|
Визуально
|
До установки
|
|
|
|
Складирование
арматуры
|
Правильность
складирования и хранения
|
Визуально
|
До установки
|
|
|
|
Правильность
строповки
|
Визуально, с
помощью стального метра
|
Во время
монтажа арматуры
|
|
|
|
Монтаж
арматуры
|
Соответствие технологии,
принятой в технологической карте или ПНР
|
Визуально
|
Во время
монтажа арматуры
|
|
|
|
Правильность
раскладки сеток, правильность закрепления арматуры в опалубке
|
Визуально, с
помощью стального метра
|
Во время
монтажа арматуры
|
|
|
|
Правильность
установки ходовых досок по плите
|
Визуально
|
Во время
монтажа арматуры
|
|
|

Допуски при бетонировании
перекрытий в соответствии с требованиями СНиП III-15-76
1. Местные отклонения
поверхности бетона от проектной при проверке конструкций рейкой длиной 2 м ± 5
мм
2. В отметках поверхностей и
закладных частей, служащих опорами для металлических или сборных
железобетонных элементов ± 5 мм
3. В расположении анкерных
болтов,
в
плане внутри контура опоры -
5 мм
в плане вне контура опоры -
10 мм
4. Разница отметок по высоте на
стыке двух смежных поверхностей -
3мм
Таблица 11
|
Лица,
осуществляющие контроль качества
|
Операции,
подлежащие контролю
|
Состав
контроля
|
Способ
контроля
|
Время
контроля
|
Лица,
привлекаемые к контролю
|
Актируемые работы
|
|
Производитель
работ
|
Подготовительные
работы
|
Качество
выполнения опалубки
|
Визуально
|
До
бетонирования
|
|
|
|
Состояние арматуры
и закладных частей, акт приемки арматуры
|
Визуально
|
До
бетонирования
|
|
+
|
|
Распалубка
|
Качество
поверхности, соответствие проекту отверстий, геометрических размеров
|
Визуально, с
помощью метра
|
После
распалубки
|
|
|
|
Прочность
бетона, его однородность, наличие трещин
|
Визуально,
ультразвуковой прибор
|
После
распалубки
|
Лаборатория
|
|
|
Подготовительные
работы
|
Качество
основания, снятие верхнего слоя при рабочих швах, насечка, промывание
|
Визуально
|
До бетонирования
|
|
|
|
Мастер
|
Укладка
бетонной смеси
|
Качество
бетонной смеси
|
С помощью
конуса СтройЦНИИЛа, пресса
|
До
бетонирования
|
Лаборатория
|
|
|
Правильность
технологии укладки бетонной смеси
|
Визуально
|
В процессе
укладки
|
|
|
|
Правильность
выполнения рабочих швов
|
Визуально
|
В процессе
укладки
|
|
|
|
Температура
наружного воздуха
|
С помощью
термометра
|
В процессе
укладки
|
|
|
|
Уплотнение
бетонной смеси
|
Шаг
перестановки и глубина
погружения вибраторов
|
Визуально
|
В процессе
уплотнения
|
|
|
|
Достаточность
вибрации и толщина бетонного слоя при уплотнении
|
Визуально
|
В процессе
уплотнения
|
|
|
|
Уход за
бетоном при твердении
|
Соблюдение
влажностного и температурного режимов
|
С помощью термометра
|
В процессе
твердения
|
|
|

Допуски при бетонировании стен в
соответствии с требованиями СНиП III-15-76
1. Плоскости и линии их пересечения
от вертикали или проектного наклона на всю высоту:
стен, поддерживающих
монолитные покрытия и перекрытия ± 15мм
стен, поддерживающих
сборные балочные конструкции ± 10мм
2. Горизонтальные плоскости на
всю плоскость выверяемого участка ± 20мм
3. Местные отклонения
поверхности бетона от проектной при проверке конструкции рейкой длиной 2 м ± 5 мм
4. В отметках поверхностей и
закладных частей - 5 мм
Таблица 12
|
Лица,
осуществляющие контроль качества
|
Операции
подлежащие контролю
|
Состав
контроля
|
Способ
контроля
|
Время
контроля
|
Лица,
привлекаемые к контролю
|
Актируемые работы
|
|
Производитель
работ
|
Подготовительные
работы
|
Качество
опалубки
|
Визуально
|
До
бетонирования
|
|
|
|
Соответствие
проекту отметки основания
|
С помощью
нивелира
|
До
бетонирования
|
Геодезист
|
|
|
Состояние
арматурs и закладных частей, акт приемки арматуры
|
Визуально
|
До
бетонирования
|
|
+
|
|
Распалубка
|
Качество поверхности,
соответствие проекту отверстий, проемов, каналов, геометрических размеров
|
Визуально, с
помощью стального метра
|
После
распалубки
|
|
|
|
Прочность
бетона, его однородность, наличие опор, трещин
|
С помощью
ультразвукового прибора, визуально
|
После
распалубки
|
Лаборатория
|
|
|
Подготовительные
работа
|
Качество
основания, снятие верхнего слоя при рабочих швах, насечка, проминка, наличие
гидроизоляции
|
Визуально
|
До
бетонирования
|
|
|
|
Мастер
|
Укладка бетонной
смеси
|
Качество
бетонной смеси (подвижность, кубиковая прочность)
|
С помощью
конуса СтройЦНИИЛа, пресса (ПСУ-500)
|
До
бетонирования
|
Лаборатория
|
|
|
Правильность
технологии укладки бетонной смеси
|
Визуально
|
В процессе
укладки
|
|
|
|
Правильность
выполнения рабочих швов
|
Визуально
|
В процессе
укладки
|
|
|
|
Температура
наружного воздуха и бетонной смеси (зимой)
|
С помощью
термометра
|
В процессе
укладки
|
|
|
|
Уплотнение
бетонной смеси
|
Шаг перестановки
и глубина погружения вибраторов
|
Визуально, с
помощью стального метра
|
В процессе
уплотнения
|
|
|
|
Достаточность
вибрации и толщина бетонного слоя при укладке
|
Визуально, с помощью стального метра
|
В процессе
уплотнения
|
|
|
|
Уход за
бетонной смесью при твердении
|
Соблюдение
влажностного и температурного режимов
|
С помощью
термометра
|
В процессе
твердения
|
|
>
|

Допуски при бетонировании в соответствии
с требованиями СНиП III-15-76
1. Плоскости и линии их
пересечения от вертикали или от проектного наклона на всю высоту колонн,
поддерживающих монолитные покрытия и перекрытия ± 15 мм
То же, для колонн,
поддерживающих сборные балочные конструкции ±
10 мм
2. Горизонтальные плоскости на
всю плоскость выверяемого участка ±
20 мм
3. Местные отклонения
поверхности бетона от проектной при проверке конструкций рейкой длиной 2м,
кроме опорных поверхностей ±
6 мм
4. В размерах поперечного
сечения элементов + 6 мм - 3 мм
5. В отметках поверхностей и
закладных частей, служащих опорами для металлических или сборных железобетонных
элементов – 5 мм
Таблица 13
|
Лица,
осуществляющие контроль качества
|
Операции
подлежащие контролю
|
Состав
контроля
|
Способ
контроля
|
Время
контроля
|
Лица или подразделения,
привлекаемые к контролю
|
Актируемые работы
|
|
Производитель
работ
|
Подготовительные
работы
|
Качество
выполнения опалубки
|
Визуально
|
До
бетонирования
|
|
|
|
Соответствие проекту
отметки основания
|
С помощью
нивелира
|
До
бетонирования
|
Геодезист
|
|
|
Состояние
арматуры, закладных частей, акт приемки арматуры
|
Визуально
|
До
бетонирования
|
|
|
|
Распалубка
|
Определение качества
поверхности, соответствие проекту геометрических размеров, правильность
расположения закладных деталей, отметки верха колонн
|
Визуально, с
помощью стального метра, нивелира
|
После
распалубки
|
Геодезист
|
|
|
Определение прочности
бетона, его однородность
|
С помощью
ультразвуковых приборов
|
После
распалубки
|
Лаборатория
|
|
|
Подготовительные
работы
|
Определение
качества основания (очистке от грязи, наледи, снега и т.д.)
|
Визуально
|
До
бетонирования
|
|
|
|
Мастер
|
Укладка
бетонной смеси
|
Определение
качества бетонной смеси (подвижность, кубиковая прочность)
|
С помощью
конуса СтройЦНИИЛа, пресса (ПСУ-500)
|
До укладки в
конструкцию
|
Лаборатория
|
|
|
Соответствие
технологии укладки бетонной смеси
|
Визуально
|
В процессе
укладки
|
|
|
|
Уплотнение
бетонной смеси
|
Контроль
температуры наружного воздуха и бетонной смеси (зимой)
|
С помощью
термометра
|
В процессе
укладки
|
|
|
|
Соблюдение шага
перестановки и глубина погружения вибраторов, правильность их установки
|
Визуально, с
помощью стального метра
|
В процессе
уплотнения
|
|
|
|
Определение
достаточности вибрации и толщина бетонного слоя
|
Визуально, с
помощью стального метра
|
В процессе
уплотнения
|
|
|
|
Уход за
бетонной смесью при твердении
|
Соблюдение
влажностного и температурного режимов
|
С помощью
термометра
|
В процессе
твердения
|
Лаборатория
|
|

Допуски при кирпичной кладке
столбов в соответствии с требованиями СНиП III-17-78
1. Отклонения от проектных
размеров:
по толщине 10мм
по отметкам обрезов и
этажей 10мм
по смещению осей
конструкций 10мм
2. Отклонение поверхностей и
углов кладки от вертикали:
на один этаж 10мм
на все здание 30мм
3. Неровности на вертикальной
поверхности кладки, обнаруживаемые при накладывании рейки длиной 2м 5мм
Таблица 14
|
Лица,
осуществляющие контроль качества
|
Операции,
подлежащие контролю
|
Состав
контроля
|
Способ
контроля
|
Время
контроля
|
Лица,
привлекаемые к контролю
|
Актируемые работы
|
|
Производитель
работ
|
Подготовительные
работы
|
Правильность
привязки столбов к разбивочным осям
|
Визуально, с
помощью отвеса
|
До начала
кладки
|
|
|
|
Кирпичная
кладка столбов
|
Определение
правильности технологии кладки и перевязка швов
|
С помощью
отвеса, стального метра, визуально
|
В процессе
кладки
|
|
|
|
Определение соответствия
фактического положения выполняемых кирпичных столбов проекту, соосность
столбов разных этажей
|
Визуально, с
помощью отвеса, стального метра
|
В процессе
кладки
|
|
|
|
Отметка обрезов
кирпичной кладки и этажей, правильность устройства подушки под балки,
опирания балок на подушки и их заделка в
кладку
|
Визуально, с
помощью нивелира, стального метра
|
После
устройства подушки и установки балки
|
Геодезист
|
|
|
Подготовительные
работы
|
Определение
основания под столбы, наличие гидроизоляции
|
Визуально
|
До начала
кладки столбов
|
|
|
|
Мастер
|
Определение
качества кирпича, арматуры, закладных деталей
|
Визуально,
обмером, проверка паспортов и сертификатов
|
До начала
кладки столбов
|
Лаборатория
|
|
|
Кирпичная
кладка столбов
|
Размеры,
заполнение и перевязка швов;
|
С помощью
стального метра
|
После
выполнения каждых 5м кладки
|
|
|
|
Геометрические
размеры сечения столбов
|
С помощью
стального метра
|
В процессе
выполнения кладки
|
|
|
|
Вертикальность
кладки, неровности на поверхности
|
С помощью
отвеса, рейки, стального метра
|
После
окончания кладки столба на высоту этажа
|
|
|
|
Армирование
кладки
|
Правильность расположения
арматуры, расстояние между сетками по высоте столба, диаметр стержней и
расстояния между ними
|
С помощью
стального метра, штангенциркуля
|
По мере
укладки арматуры
|
|
|

Допуски при кирпичной кладке
стен в соответствии с требованиями СНиП III-17-78
1. Отклонение от проектных
размеров;
по толщине 15 мм
по отметкам обрезов и
этажей 10 мм
по ширине простенков 15 мм
по ширине проемов 15 мм
по смещению осей смежных
оконных проемов 20 мм
по смещению осей
конструкций10 мм
2. Отклонения поверхностей и
углов кладки от вертикали:
на один этаж 10 мм
на все здание 30 мм
3. Отклонения рядов кладки от
горизонтали на 10 м длины 15 мм
4. Неровности на вертикальной
поверхности кладки, обнаруживаемые при накладывании 2-х метровой рейки 10 мм
Таблица 15
|
Лица, осуществляющие контроль качества
|
Операции подлежащие контролю
|
Состав контроля
|
Способ контроля
|
Время контроля
|
Лица,
привлекаемые к контролю
|
Актируемые работы
|
|
Производитель работ
|
Кирпичная кладка стен.
|
Качество кирпича, раствора, арматуры, закладных деталей
|
Внешний осмотр, обмер, проверка паспортов и сертификатов
|
До начала кладки стен этажа
|
В случае сомнения - лаборатория
|
|
|
Правильность разбивки осей
|
С помощью стальной рулетки, метра
|
До начала кладки
|
|
|
|
Горизонтальные отметки обрезов кладки под перекрытие
|
С помощью нивелира, рейки .уровня
|
До установки панелей перекрытий
|
Геодезист
|
|
|
Соосность
вентиляционных каналов и герметизация
вентиляционных блоков
|
Визуально, с помощью отвеса
|
После
окончания кладки стен этажа
|
|
+
|
|
|
Армирование
кладки
|
Правильность
расположения арматуры, диаметр стержней и т.д.
|
Визуально, с помощью
стального метра
|
До установки
арматуры
|
|
+
|
|
Установка
сборных железобетонных плит перекрытия
|
Опирание
перекрытий на стоны, заделка, анкеровка
|
Визуально, с
помощью стального метра
|
После
установки перекрытия
|
|
+
|
|
Антикоррозийное
покрытие закладных частей
|
Толщина,
плотность и сцепляемость покрытия
|
Визуально, с
помощью толщинометра, граверного штихтеля
|
До заделки
|
Лаборатория
|
+
|
|
Установка
балконов
|
Заделка,
отметка, уклон балконов
|
С помощью стального
метра, уровня, 2-х метровой рейки
|
После
установки балконов
|
|
+
|
|
Кирпичная
кладка стен
|
Геометрические
размеры кладки
|
С помощью
стальной рулетки, метра
|
После
выполнения каждых 10м3 кладки
|
|
|
|
Вертикальность,
горизонтальность и поверхность кладки
|
С помощью
уровня, рейки, отвеса
|
В процессе и
после окончания кладки стен этажа
|
1
|
|
|
Качество швов
кладки
|
С помощью
стального метра, 2-х метровой рейки
|
После
выполнения каждых 10м3 кладки
|
|
|
|
Разбивка и
отметки низа проемов
|
С помощью
стальной рулетки. нивелира, уровня
|
До начала
кладки простенков
|
|
|
|
Вынос отметки
+ 1м от чистого пола
|
С помощью
нивелира
|
После
окончания кладки этажа
|
|
|
|
Планировка
квартир
|
Визуально
|
После начала
кладки стен
|
|
|
|
Геометрические
размеры помещений
|
С помощью
стальной рулетки
|
После начала
кладки стен
|
|
|
|
Установка
перемычек
|
Положение
перемычек, опирание, размещение, заделка
|
Визуально, с
помощью стального метра
|
После
установки перемычек
|
|
+
|
|
Установка
лестничных площадок
|
Положение
пестичных площадок, опирание, размещение, заделка
|
Визуально, с
помощью стального метра
|
После
установки площадок
|
|
+
|
|
Сварка
закладных частей
|
Длина, высота,
качество сварных швов
|
Визуально,
простукиванием молотком
|
До
антикоррозийного покрытия
|
|
|
|
Устройство звукоизоляции
|
Конструкция, качество
исполнения
|
Визуально
|
Сразу же после окончания
работы
|
|
+
|
|
|
|
|
|
|
|
|
Правила установки оконных и
дверных блоков в соответствии с требованиями СНиП III-19-76
1. Поверхности оконных и дверных
блоков, примыкающих к каменным стенам, антисептированных гидроизоляционными
материалами
2. Зазоры между коробкой и
кладкой наружных стен заделывают термоизоляционными материалами
3. Оконные и дверные
коробки в каменных стенах и перегородках крепятся шурупами или стальными
ершами, забиваемыми в деревянные антисептированные пробки. Каждый вертикальный
брусок коробки крепят не менее чем в 2-х местах, расстояние между ними не
превышает 1 метра
Таблица 16
|
Лица,
осуществляющие контроль качества
|
Операции,
подлежащие контролю
|
Состав
контроля
|
Способ
контроля
|
Время
контроля
|
Лица,
привлекаемые к контролю
|
Актируемые работы
|
|
Производитель
работ
|
Подготовительные
работы
|
Внешний вид, заводская
готовность, соответствие стандартам, ЕНиП и проекту, комплектность поставки
оконных и дверных блоков, наличие актов об антисептировании
|
Визуально
|
При приемке
блоков
|
|
|
|
Наличие
антисептированных пробок для крепления блоков
|
Визуально
|
До установки
блоков
|
|
|
|
Условия
транспортирования и хранения
|
Визуально
|
На
строительной площадке
|
|
|
|
Установка
дверных и оконных блоков
|
Правильность
установки по заданной отметке и по заданной оси
|
С помощью уровня,
отвеса, рулетки
|
После
установки коробок
|
|
|
|
Крепление
коробок
|
Визуально
|
После
установки коробок
|
|
|
|
Плотность
пригонки оконных и дверных переплетов
|
Визуально
|
После
установки коробок
|
|
|
|
Гидроизоляция мест
примыкания блоков к кладке
|
Визуально
|
После
установки
|
|
|
|
Мастер
|
Конопатка
термоизолирующим материалом с заделкой герметиком. Покрытие раствором мест
сопряжений блоков с кладкой
|
Визуально
|
После установки коробки
|
|
|
|
Зазор между
поверхностью пола и дверным полотном
|
С помощью
стального метра
|
После
установки коробки
|
|
|
|
Установка
подоконных досок
|
Наличие слезников в деревянных подоконных досках
|
Визуально
|
До
установки подоконных досок
|
|
|
|
Антисептирование
и изоляция нижней доски поверхности деревянные подоконников
|
Визуально
|
До установки
подоконных досок
|
|
|
|
Уклон
подоконной доски
|
С помощью рейки, уровня, стального метра
|
После
установки подоконных досок
|
|
|
|
Напуск на стену наличника
|
С помощью стального метро
|
После
установки наличников
|
|
|
|
Вертикальность и горизонтальность установки наличника
|
С помощью
уровня, отвеса
|
После
установки наличников
|
|
|
|
Прирезка
наличника
|
Визуально
|
После установки
наличников
|
|
|
|
Установка
дверных и оконных приборов
|
Правильность
установки приборов
|
Визуально
|
После
установки приборов
|
|
|
| |
|