//
|
|
НПО «СТРОЙПОЛИМЕР» Наружная самотечная канализация из гофрированных двухслойных полиэтиленовых труб. Руководство по проектированию и строительству. Первая редакция. Москва 2004
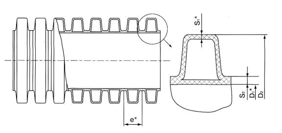
СОДЕРЖАНИЕ Разработчики: О.В. Устюгова, В.А. Устюгов, канд. техн. наук А.Я. Добромыслов, канд. техн. наук Е.И. Зайцева, канд. техн. наук В.Е. Бухин. Настоящее руководство разработано в помощь организациям, проектирующим и строящим трубопроводные системы самотечной канализации и ливнестоков с применением полиэтиленовых гофрированных труб. Руководство содержит материалы, необходимые проектным организациям для определения расчетных секундных расходов сточной жидкости с учетом аккумулирующей емкости отводных трубопроводов, а также удобные номограммы и таблицы, предназначенные для гидравлических расчетов самотечных трубопроводов из полиэтиленовых гофрированных труб производства НПО «Стройполимер». Руководство содержит также основные сведения по строительству и испытаниям подземных сетей самотечной канализации и ливнестоков с применением полиэтиленовых гофрированных труб. Основные рекомендации настоящего руководства базируются на регламентах федеральных нормативных документов: СП 40-102-2000 «Свод правил по проектированию и монтажу трубопроводов систем водоснабжения и канализации из полимерных материалов. Общие требования» и СП 40-107-2003 «Свод правил по проектированию, монтажу и эксплуатации систем внутренней канализации из полипропиленовых труб». В руководстве приведен сортамент полиэтиленовых гофрированных труб и для строительства наружных сетей канализации и ливнестоков производства НПО «Стройполимер». 1. ПредисловиеВ настоящее время Российская Федерация переживает строительный бум: в беспрецедентных количествах возводятся объекты самого разного назначения. Практически все современное строительство включает в числе прочих систем инженерного оборудования также системы канализации и ливнестоков. Требования охраны окружающей среды диктуют необходимость устройства современных, т.е. централизованных, систем канализации, стоимость трубопроводов которых составляет около 60% их суммарной стоимости. В настоящее время в Российской Федерации находится в эксплуатации свыше 350 тыс. км канализационных сетей, из которых сети диаметром до 300 мм составляют 88%. При этом известно, что трубопроводные системы безнапорной канализации являются самыми материалоемкими из всех трубопроводных систем инженерного оборудования. Мировая практика эксплуатации безнапорных канализационных сетей отмечает тревожный симптом: засоры трубопроводов диаметром до 300 мм носят настолько массовый характер, что ликвидация засоров и их последствий перерастает в проблему социальную. В связи с беспрецедентными объемами строительства протяженность канализационных сетей, как и сетей ливнестоков, быстро растет и оттого, насколько надежно будут работать самотечные трубопроводы, зависят и экологическая обстановка на объектах, и комфортность проживания. В соответствии со статистическими данными, в 95% случаев засоры происходят из-за попадания в канализационную сеть крупногабаритных предметов, не являющихся компонентами сточной жидкости. Чтобы они двигались, необходимо обеспечить в трубопроводе достаточные величины его наполнения и скорости течения жидкости. Представляется бесспорным, что оптимальным из имеющихся материалов для самотечных сетей является пластмасса, - легкая, удобная в монтаже, имеющая очень низкий коэффициент шероховатости. А из пластмассовых труб, предназначенных для подземных прокладок, оптимальными являются двухслойные гофрированные трубы, поскольку при весьма малой толщине стенок они имеют достаточную кольцевую жесткость, что позволяет укладывать их на глубине до 5 метров, и обладают всеми достоинствами пластмассовых труб. НПО «Стройполимер» производит двухслойные гофрированные трубы диаметрами 100, 150, 200, 250, 300, 350, 400 и 450 мм из полиэтилена низкого давления и комплектующие, необходимые для качественного строительства канализационных самотечных трубопроводов. Настоящее Руководство является пособием для проектных и строительных организаций, использующих в своей практике двухслойные полиэтиленовые гофрированные трубы производства НПО «Стройполимер». 2. Техническая характеристика полиэтиленовых гофрированных труб производства НПО «Стройполимер»НПО «Стройполимер» выпускает для строительства подземных самотечных сетей канализации полиэтиленовые двухслойные гофрированные трубы диаметрами 100, 150, 200, 250, 300, 350, 400 и 450 мм (табл. 1, рис. 1) по ТУ 2248-025-41989945-03. Внутренний слой труб представляет собой круглоцилиндрическую оболочку, толщина которой в зависимости от диаметра представлена в таблице 1. Трубы и комплектующие трубопроводов допускается применять для транспортировки жидкостей с температурой до 60°С и веществ, неагрессивных к полиэтилену (химическая стойкость труб из ПНД представлена в приложении 1). Основные физико-механические свойства труб представлены в таблице 2. Трубы поставляются отрезками длиной 6 метров и соединяются между собой с помощью двухраструбной муфты (рис. 2) и резиновых уплотнительных колец, которые перед монтажом вставляются во второй от торца трубы паз. Срок службы трубопроводов, смонтированных из гофрированных двухслойных полиэтиленовых труб с применением муфт и резиновых уплотнительных колец, составляет не менее 50 лет. Комплектность поставки труб в сборе: - труба, двухраструбная муфта с одной стороны трубы и два резиновых уплотнительных кольца.
Рис.1. Конструкция и основные размеры гофрированной двухслойной трубы из полиэтилена Таблица 1
Трубы поставляются отрезками длиной 6 метров и соединяются между собой с помощью двухраструбной муфты и резиновых уплотнительных колец, которые перед монтажом вставляются во второй от торца трубы паз (рис. 2). Срок службы трубопроводов, смонтированных из гофрированных двухслойных полиэтиленовых труб с применением муфт и резиновых уплотнительных колец, составляет не менее 50 лет. Комплектность поставки в сборе: труба, двухраструбная муфта с одной стороны и два резиновых уплотнительных кольца. Таблица 2.Основные физико-механические свойства гофрированных труб из полиэтилена
Рис. 2. Узел соединения гофрированных труб муфтой с резиновым уплотнением 1 - муфта соединительная; 2 - уплотнительное кольцо; 3 - труба гофрированная двухслойная; 3. Проектирование подземной самотечной канализации с применением полиэтиленовых гофрированных труб производства НПО «Стройполимер»3.1. Определение расчетного расхода сточных вод 3.1.1.Определение расчетного расхода сточных вод qs, л/с, следует выполнять по формуле:
где Qs - часовой расход сточных вод на расчетном участке, м3/час; Ks - коэффициент, учитывающий аккумулирующую емкость отводных самотечных трубопроводов и являющийся функцией их длины, L, м, и количества N санитарно-технических приборов на расчетном участке. Значения Ks = f(N,L) приведены в таблице 3. q0 - расход от прибора с максимальной вместимостью из их числа, установленного на расчетном участке, л/с. 3.1.2. Часовой расход сточных вод следует определять в соответствии с регламентами СНиП 2.04.03-85 «Канализация. Наружные сети и сооружения». 3.2. Гидравлический расчет самотечных трубопроводов из полиэтиленовых гофрированных труб 3.2.1.Гидравлический расчет самотечных трубопроводов из полиэтиленовых гофрированных труб следует выполнять по регламентам «Свода правил по проектированию и строительству трубопроводов систем водоснабжения и канализации из полимерных материалов» СП 40-102-2000 или по таблицам приложения 1 настоящего руководства, рассчитанным в соответствии с этим сводом правил. 3.2.2. Диаметр самотечного трубопровода определяется по номограмме (рис. 3) в зависимости от скорости течения жидкости, наполнения трубопровода и величины расчетного расхода стоков. При этом скорость течения должно быть не менее 0,7 м/с и не более 8 м/с; наполнение трубопровода в режиме его эксплуатации должно быть не менее 0,3, а при максимальном секундном расходе жидкости - не более 0,8. Номограмма (рис. 3) состоит из четырех шкал: первая (слева направо) содержит пометки со значениями средних скоростей течения жидкости; вторая шкала - немая (не содержащая пометок); третья шкала содержит пометки со значениями наполнения трубопровода (H/D) - слева и со значениями расходов сточной жидкости - справа; четвертая шкала содержит пометки со значениями внутренних (расчетных) диаметров труб (D). Таблица 3Значения КS в зависимости от числа приборов N и длины отводного трубопровода L
Рис.3. Номограмма для определения диаметра самотечного трубопровода из двухслойных гофрированных труб Результат расчетов достигается двумя наложениями линейки. Сначала прямой линией соединяется пометка - значение скорости течения жидкости с пометкой - значением наполнения трубопровода и на немой шкале ставится засечка. Затем эта засечка соединяется прямой линией с пометкой - значением величины расчетного расхода сточной жидкости и эта линия продолжается до пересечения со шкалой D, где и читается ответ. Если полученное значение внутреннего диаметра не совпадает со значением внутреннего диаметра труб по сортаменту НПО «Стройполимер», следует выбрать ближайший диаметр, больший или меньший расчетного, и повторить расчет в обратном порядке, а именно: пометку - значение выбранного диаметра соединить прямой линией с пометкой - значением расчетного расхода сточной жидкости и продлить эту линию до пересечения с немой шкалой, где поставить засечку. Затем, поставив линейку на эту засечку, соединить прямой линией пометки - значения скорости течения жидкости и наполнения трубопровода. При этом может быть получено бесчисленное множество значений V и H/D. Из них следует выбирать такие, чтобы
3.2.3. При выбранных значениях V, H/D и D уклон i трубопровода равен:
где 1 - коэффициент сопротивления трения b - некоторое число подобия режимов течения жидкости; R = w/c - гидравлический радиус, м.
где Кэ = 0,02 мм - коэффициент эквивалентной шероховатости полиэтиленовых труб; а = 0,258 - показатель степени, являющийся функцией Кэ.
При bn > 2 следует принимать bn = 2. Reкв = (500 Др)/Кэ - число Рейнольдса, соответствующее началу квадратичной области гидравлических сопротивлений турбулентного течения жидкости; Reф = (Vn . ДР)/п - фактическое число Рейнольдса, соответствующее скорости течения жидкости при полном наполнении трубопровода; п = 1,49 10-6 м2/с - вязкость хозяйственно-бытовых стоков. 3.2.4. Распределение средних скоростей течения по сечению безнапорных полиэтиленовых трубопроводов, определяемое по формуле:
представлено в таблице 4 и графиком (рис.4). Примечание. Допускается при расчетах использовать данные приложения 2 взамен формул (3.2.2) - (3.2.5). Таблица 4Зависимость (Vн/Vn)в= f(H/D)
3.2.5. Температура хозяйственно-бытовых стоков и ливневых вод равна 16-20°С, поэтому специальные мероприятия по компенсации линейных удлинений самотечного трубопровода не требуются.
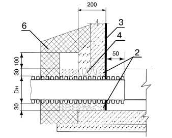
Рис.4. Распределение средних скоростей течения жидкости по сечению безнапорных трубопроводов 3.3. Канализационные сети 3.3.1. При проектировании подземных самотечных сетей канализации из полиэтиленовых гофрированных труб следует руководствоваться общими требованиями СНиП 2.04.03-85 «Канализация. Наружные сети и сооружения» и СП 40-102-2000 «Свод правил по проектированию и строительству трубопроводов систем водоснабжения и канализации из полимерных материалов. Общие требования». 3.3.2. Полиэтиленовые гофрированные трубы производства НПО «Стройполимер» предназначены для подземных прокладок самотечных сетей канализации на глубине до 5 метров. При прокладке труб на большую глубину необходимо обращаться к разработчикам и производителям. Кольцевая жесткость двухслойных гофрированных труб согласно ТУ на трубы, должна быть не менее 4 КПа. 3.3.3.Минимальная глубина заложения полиэтиленовых гофрированных труб должна быть не менее 0,8 м при отсутствии движения транспорта и не менее 1,3 м - при движении грузового транспорта. 3.3.4. Канализационные колодцы на самотечной сети следует предусматривать в соответствии с общими требованиями СНиП 2.04.03-85. 3.3.5. Полиэтиленовые гофрированные трубы соединяются с помощью двухраструбных муфт и резиновых уплотнительных колец (см. раздел 1 настоящего руководства). 3.3.6. Проход гофрированных труб сквозь стенки канализационных колодцев и другие ограждающие конструкции выполняется либо с применением соединительных муфт, уплотняемых одним резиновым кольцом (рис. 5), либо с помощью резинового кольца конструкции НПО «Строй-полимер», одеваемого на наружную поверхность гофрированной трубы. 3.3.7. Детали заделки гофрированных труб в лотковой части канализационных колодцев в зависимости от грунтов представлены на рис. 6.
Рис.5 Проход канализационного трубопровода сквозь стенки колодца и другие строительные конструкции 1 - стенка колодца; 2 - труба; 3 - соединительная муфта; 4 - резиновое кольцо; 5 - заделка цементным раствором; 6 - манжета стенового ввода; 7 - подкладная лента в сухих грунтах
в обводненных грунтах
в просадочных грунтах
Рис. 6. Детали заделки гофрированных труб в лотковой части сборных железобетонных канализационных колодцев: 1 - бетон; 2 - асбестоцементный раствор; 3 - гидроизоляция; 4 - пакля, пропитанная в жидком полиизобутилене; 5 - стальная труба-футляр (для труб Дн ≤ 160 мм); 6 - водоупорный замок. 4. Строительство подземных самотечных сетей4.1. Земляные работы 4.1.1. Земляные работы при строительстве самотечных канализационных сетей, крепление стенок траншей, водоотлив и водопонижение следует выполнять в соответствии с требованиями СНиП 3.02.01-87. 4.1.2. Ширина траншеи по дну равняется наружному диаметру трубы плюс 40 см. Дно траншеи должно быть выровнено по нивелиру и иметь проектный уклон. На дне траншеи не должно быть выступающих твердых включений, на которые опирается труба при ее укладке. При укладке гофрированных труб на искусственное (бетонное и т.п.) основание рекомендуется устройство песчаной подушки толщиной не менее 10 см. 4.1.3. Трубы следует укладывать на сухое, не промерзшее дно траншеи. 4.1.4. Трубы следует соединять друг с другом последовательно на дне траншеи. По мере укладки труб их следует присыпать грунтом с боков траншеи, обеспечивая прямолинейность трубопровода. Применяемый грунт не должен иметь твердых включений. 4.1.5. Засыпку пазух траншеи и их уплотнение следует вести послойно толщиной 5 см в случае глинистого грунта и 10 см - песчаного. 4.1.6. При обратной засыпке гофрированных трубопроводов поверх защитного слоя грунт не должен содержать крупных твердых включений размерами более 30 см. 4.1.7. Трубы и детали трубопроводов, поступающих на объект, проходят входной контроль качества: • наличие сопроводительной документации; • выборочный визуальный осмотр труб и деталей трубопроводов, контроль их размеров; • контроль качества складирования и хранения 4.2 Строительные работы. 4.2.1. Трубы и муфты перед монтажом раскладывают на бровке траншеи. 4.2.2.Монтаж гофрированных труб осуществляется на дне траншеи по следующей технологии: • очистка от грязи и масел гладкого конца смонтированной трубы и внутренней поверхности двухраструбной муфты монтируемой трубы; • смазывание резинового кольца и внутренней поверхности двухраструбной муфты мыльным раствором или глицерином; • надвижение трубы с двухраструбной муфтой на гладкий конец трубы до упора, получаемое соединение приведено на рис. 2; • для облегчения монтажа допускается применение рычага, упираемого в торец монтируемой трубы. После сборки соединения рекомендуется щупом толщиной до 0,5 мм проверить наличие резинового кольца в раструбной щели. 4.2.3. При засыпке пазух и защитного слоя грунта над трубопроводом соединения труб оставляют не засыпанными для возможности осуществления контроля их герметичности в процессе предварительных гидравлических испытаний. 4.2.4. После положительных предварительных испытаний на герметичность выполняется засыпка грунтом стыковых соединений труб, уплотнение грунта в приямках и подбивка вручную грунта под двухраструбными муфтами. Уплотнение грунта пазух и защитного слоя производится послойно с использованием механических трамбовок. 4.2.5.Сборка соединений на резиновых кольцах допускается при температуре наружного воздуха не ниже минус 5°С. 5. Испытания подземных самотечных сетей из полиэтиленовых гофрированных труб5.1. Гидравлические испытания самотечных канализационных сетей выполняют в два этапа после завершения гидроизоляционных работ в колодцах: без колодцев (предварительное) и совместно с колодцами (окончательное). 5.2. Окончательное испытание трубопровода канализации совместно с колодцами производят согласно СНиП 3.05.04. 5.3. Пневматические испытания трубопроводов, выполненных из полимерных материалов, производят при наземной и надземной их прокладке в следующих случаях: • температура окружающего воздуха ниже 0 °С; • применение воды недопустимо по техническим причинам; • вода в необходимом для испытаний количестве отсутствует. Порядок пневматических испытаний трубопроводов из полимерных материалов и требования безопасности при испытаниях устанавливаются проектом. 5.4. Предварительные и окончательные испытания самотечных канализационных сетей допускается производить пневматическим способом. Предварительные испытания проводят до окончательной засыпки траншеи. Испытательное давление сжатого воздуха, равное 0,05 МПа, поддерживают в трубопроводе в течение 15 мин. При этом осматривают стыки и выявляют неплотности по звуку просачивающегося воздуха, по пузырям, образующимся в местах утечки воздуха через стыковые соединения, покрытые мыльной эмульсией. Окончательные испытания пневматическим способом проводят при уровне грунтовых вод над трубой в середине испытуемого трубопровода менее 2,5 м. Окончательным пневматическим испытаниям подвергают участки длиной 20-100 м, при этом перепад между наиболее высокой и низкой точками трубопровода не должен превышать 2,5 м. Пневматические испытания проводят через 48 ч после засыпки трубопровода. Испытательное избыточное давление сжатого воздуха указано в таблице 5. Таблица 5.Испытательное давление сжатого воздуха при пневматическом испытании самотечных канализационных трубопроводов
6. Техническое обслуживание и ремонт самотечных сетей6.1. Техническое обслуживание самотечных сетей канализации и ливнестоков заключается в ликвидации засоров трубопроводов, а также в профилактической их промывке в случае угрозы образования засоров. 6.2. Прочистка полиэтиленовых трубопроводов выполняется исключительно пластмассовыми трубами меньшего диаметра или шлангами из жесткой резины. Категорически запрещается применение для этих целей металлических тросов. Для прочистки трубопроводов большого диаметра допускается применение гидравлического оборудования высокого давления. 6.3. Полиэтиленовые гофрированные трубопроводы, уложенные в землю, выдерживают бесконечное количество циклов замерзания и оттаивания транспортируемой по ним жидкости без разрушения труб. Ледяные пробки, образующиеся при этом в трубах, могут быть ликвидированы исключительно с помощью горячей воды. Применение для этих целей открытого огня категорически запрещается. 6.4. Службы контроля и надзора, осуществляющие эксплуатацию сетей канализации и ливнестоков, систематически освидетельствуют состояние трубопроводов и колодцев. Смотровые колодцы необходимо регулярно очищать от грязи; они должны быть закрыты постоянно в течение всего срока эксплуатации сети. 6.5. При необходимости локального ремонта трубопровода по причине образования сквозных трещин, проколов и других аналогичных повреждений труб поврежденный участок трубы вырезается и заменяется новым отрезком гофрированной трубы, имеющим такую же длину и диаметр. Стыковые соединения нового отрезка с трубопроводом выполняются с помощью термоусаживаемой муфты. 7. Транспортирование и хранение полиэтиленовых гофрированных труб7.1. Трубы транспортируют всеми видами транспорта в соответствии с правилами перевозки грузов, действующих на данном виде транспорта. 7.2. Погрузочно-разгрузочные операции при транспортировании и укладке труб в траншею следует выполнять по технологии, исключающей их механическое повреждение. 7.3. Транспортировку труб рекомендуется осуществлять в заводской упаковке, представляющей собой либо деревянный каркас, либо обвязку полимерной лентой. Однако поднимать связки труб за деревянный каркас или связывающую ленту категорически запрещается. 7.4. Связки труб в каркасах перемещают с помощью вилочного автопогрузчика или подъемного крана с применением стропов достаточной ширины. 7.5. Транспортировка, погрузка и разгрузка труб допускается при температуре наружного воздуха до минус 40 °С. 7.6. Трубы укладывают штабелем на ровное основание. Высота штабеля при долговременном хранении труб не должна превышать 2 м. При долговременном хранении труб до 2-х месяцев высота штабеля должна быть не более 3 м. 7.7. Трубы допускается хранить на открытом воздухе при условии, что они не подвержены воздействию прямых солнечных лучей, а также в помещении на расстоянии не менее 1 м от нагревательных приборов. 7.8. При устройстве штабелей следует обеспечить устойчивость штабеля, т.е. исключить возможность раскатывания труб. 7.9. Гофрированные трубы запрещается сбрасывать с транспортных средств, с бровки траншеи и т.п., а также перемещать волоком. 8. Требования безопасности и охраны окружающей среды8.1. При строительстве канализационных сетей следует соблюдать общие требования СНиП 3.05.04-85. 8.2. К монтажным работам допускаются лица не моложе 18 лет, прошедшие медицинское освидетельствование, специальное обучение, вводный инструктаж по технике безопасности и инструктаж на рабочем месте. 8.3. Трубы из полиэтилена в условиях транспортирования, хранения и монтажа не выделяют в окружающую среду токсичные вещества. При непосредственном контакте материал труб не оказывает влияния на организм человека. Работа с полиэтиленовыми трубами не требует особых мер предосторожности . 8.4. Трубы при поднесении открытого огня загораются без взрыва и горят коптящим пламенем. Трубы относятся к группе сгораемых по ГОСТ 12.1.044, температура воспламенения - около 350 ºС. В качестве средств пожаротушения следует применять воду, пенные и кислотные огнетушители. 9. Литература1. СНиП 2.04.03-85. Канализация. Наружные сети и сооружения. 2. СП 40-102-2000. Проектирование и монтаж трубопроводов систем водоснабжения и канализации из полимерных материалов. Общие требования. 3. СП 40-107-2003. Проектирование, монтаж и эксплуатация систем внутренней канализации из полипропиленовых труб. 4. СНиП 3.05.04-85 Наружные сети и сооружения водоснабжения и канализации. 5. ВСН 20-95. Проектирование и монтаж подземных сетей канализации и водопровода из поливинилхлоридных труб М., Департамент строительства, 1996 г. 6. СНиП III-4-80. Техника безопасности в строительстве. 7. ТУ 2248-224-00203536-01. Трубы дренажные гофрированные из полиэтилена низкого давления. 8. Проектирование пластмассовых трубопроводов. Под редакцией В.С. Ромейко, М., ТОО «Издательство ВНИИМП», 2003. Приложения Приложение 1
| ||||||||||||||||||||||||||||||||||||||||||||||||||||||||||||||||||||||||||||||||||||||||||||||||||||||||||||||||||||||||||||||||||||||||||||||||||||||||||||||||||||||||||||||||||||||||||||||||||||||||||||||||||||||||||||||||||||||||||||||||||||||||||||||||||||||||||||||||||||||||||||||||||||||||||||||||||||||||||||||||||||||||||||||||||||||||||||||||||||||||||||||||||||||||||||||||||||||||||||||||||||||||||||||||||||||||||||||||||||||||||||||||||||||||||||||||||||||||||||||||||||||||||||||||||||||||||||||||||||||||||||||||||||||||||||||||||||||||||||||||||||||||||||||||||||||||||||||||||||||||||||||||||||||||||||||||||||||||||||||||||||||||||||||||||||||||||||||||||||||||||||||||||||||||||||||||||||||||||||||||||||||||||||||||||||||||||||||||||||||||||||||||||||||||||||||||||||||||||||||||||||||||||||||||||||||||||||||||||||||||||||||||||||||||||||||||||||||||||||||||||||||||||||||||||||||||||||||||||||||||||||||||||||||||||||||||||||||||||||||||||||||||||||||||||||||||||||||||||||||
|
Вещество |
Концентрация |
Температура |
Химическая Стойкость |
|
Адипиновая кислота |
Насыщенный водный раствор |
60 |
С |
|
Азотная кислота |
6,3 %-ный водный раствор |
20 |
С |
|
40 |
С |
||
|
60 |
С |
||
|
40 %-ный водный раствор |
20 |
О |
|
|
40 |
- |
||
|
60 |
Н |
||
|
Аммиак |
Газообразный, сухой, 100 %-ный, чистый |
20 |
С |
|
40 |
С |
||
|
60 |
С |
||
|
Водный, насыщенный на холоде |
40 |
С |
|
|
60 |
С |
||
|
Аммония карбонат |
50 %-ный водный |
40 |
С |
|
60 |
С |
||
|
Аммония нитрат |
Водный, насыщенный |
40 |
С |
|
60 |
О |
||
|
Аммония сульфат- |
Насыщенный водный раствор |
20 |
С |
|
40 |
С |
||
|
60 |
С |
||
|
Аммония сульфид |
Водный любой концентрации |
20 |
С |
|
40 |
С |
||
|
60 |
С |
||
|
Аммония фосфат |
Водный любой концентрации |
40 |
С |
|
60 |
С |
||
|
Аммония хлорид |
Насыщенный водный раствор |
40 |
С С |
|
60 |
|||
|
80 |
|||
|
Анилина хлоргидрат |
Тоже |
20 |
С |
|
40 |
С |
||
|
60 |
С |
||
|
Ацетальдегид |
Технически чистый |
20 |
С |
|
40 |
О |
||
|
60 |
О |
||
|
Ацетон |
Тоже |
20 |
С |
|
40 |
С |
||
|
60 |
С |
||
|
Бария соли |
Водные растворы любой концентрации |
60 |
С |
|
Бензин |
Технически чистый |
20 |
С |
|
40 |
С |
||
|
60 |
О |
||
|
Бензойная кислота |
водный раствор любой концентрации |
20 |
С |
|
40 |
С |
||
|
60 |
С |
||
|
Борная кислота |
водный любой концентрации |
40 |
С |
|
60 |
С |
||
|
Бром |
Насыщенный водный раствор |
20 |
Н |
|
40 |
Н |
||
|
60 |
Н |
||
|
Бромисто-водородная кислота |
50 %-ный водный раствор |
20 |
С |
|
40 |
С |
||
|
60 |
С |
||
|
Бутан |
-"- |
20 |
С |
|
60 |
С |
||
|
Бутадиен |
-"- |
20 |
С |
|
40 |
|||
|
60 |
|||
|
Бутанол |
-"- |
20 |
С |
|
40 |
С |
||
|
60 |
С |
||
|
Бутилацетат |
-"- |
20 |
С |
|
40 |
С |
||
|
60 |
О |
||
|
Винилацетат |
-"- |
20 |
С |
|
60 |
|||
|
Винная кислота |
Любая водная |
20 |
С |
|
40 |
С |
||
|
60 |
С |
||
|
Вино любое |
Торговая |
20 |
С |
|
40 |
С |
||
|
60 |
С |
||
|
Вискозно-прядильный раствор |
- |
20 |
С |
|
40 |
С |
||
|
60 |
С |
||
|
Вода дистиллированная, деминерализованная, обессоленная |
|
60 |
С |
|
Вода минеральная |
- |
60 |
С |
|
Вода морская |
- |
60 |
С |
|
Водород |
Технический |
20 |
С |
|
40 |
С |
||
|
60 |
С |
||
|
Водород хлористый |
Технический газообразный 100 %-ный |
20 |
С |
|
40 |
С |
||
|
60 |
С |
||
|
Водорода перекись |
30 %-ный водный раствор |
20 |
С |
|
40 |
С |
||
|
60 |
С |
||
|
90 %-ный водный раствор |
20 |
С |
|
|
40 |
Н |
||
|
Воздух сжатый, содержащий масло |
- |
20 |
С |
|
40 |
С |
||
|
Гексан |
100 %-ный, технический |
20 |
С О |
|
40 |
|||
|
60 |
|||
|
Этиленгликоль |
100%-ный |
20 |
С |
|
60 |
С |
||
|
Гликолевая (уксусная) кислота |
37 %-ный водный раствор |
20 |
С |
|
40 |
С |
||
|
60 |
С |
||
|
Глицерин |
Технический |
40 |
С |
|
60 |
С |
||
|
Глюкоза |
Водный раствор любой концентрации |
20 |
С |
|
40 |
С |
||
|
60 |
С |
||
|
Декалин |
Технический |
20 |
С |
|
60 |
О |
||
|
Дибутилфталат |
-"- |
20 |
С |
|
40 |
О |
||
|
60 |
О |
||
|
Дигликолевая кислота |
30 %-ный водный раствор |
20 |
С |
|
40 |
С |
||
|
60 |
С |
||
|
Диметилформамид |
Технический чистый |
20 |
С |
|
40 |
С |
||
|
60 |
О |
||
|
Диметиламин |
Технический |
20 |
С |
|
Диметилформамид |
-"- |
20 |
С |
|
40 |
С |
||
|
60 |
О |
||
|
Диоксан |
-"- |
20 |
С |
|
40 |
С |
||
|
60 |
С |
||
|
Дихлорбензол |
-"- |
20 |
О |
|
60 |
Н |
||
|
Дихлорэтан |
-"- |
20 |
Н |
|
Диэтиламин |
-"- |
20 |
Н |
|
Диэтиловый эфир |
-"- |
20 |
О |
|
Дубильная кислота |
Любая водная |
20 |
С |
|
40 |
С |
||
|
60 |
С |
||
|
Желатин |
Любой водный |
40 |
С |
|
60 |
С |
||
|
Изопропанол |
Технический |
20 |
С |
|
40 |
С |
||
|
60 |
С |
||
|
Изопропиловый эфир |
-"- |
20 |
О |
|
60 |
Н |
||
|
Иод |
6,5 %-ный раствор в этаноле |
20 |
С |
|
Калия алюмосульфат |
50 %-ный водный |
20 |
С |
|
40 |
С |
||
|
60 |
С |
||
|
Калия бихромат |
Насыщенный водный |
20 |
С |
|
40 |
С |
||
|
60 |
С |
||
|
80 |
С |
||
|
Калия йодид |
Насыщенный |
20 |
С |
|
40 |
С |
||
|
60 |
С |
||
|
Калия карбонат |
Насыщенный водный раствор |
40 |
С |
|
60 |
С |
||
|
Калия нитрат |
50 %-ный водный раствор |
40 |
С |
|
60 |
С |
||
|
Калия перманганат |
Насыщенный водный раствор |
20 |
С |
|
40 |
С |
||
|
60 |
О |
||
|
Калия перхлорат |
Тоже |
20 |
С |
|
40 |
С |
||
|
60 |
С |
||
|
Калия персульфат |
Водные растворы любой концентрации |
20 |
С |
|
40 |
С |
||
|
60 |
С |
||
|
Калия сульфат |
Тоже |
20 |
С |
|
40 |
С |
||
|
60 |
С |
||
|
Калия цианид |
Насыщенный водный |
40 |
С |
|
60 |
С |
||
|
Калия гипохлорид |
Насыщенный водный раствор, содержащий 12,5 % активного хлора |
20 |
С |
|
40 |
С |
||
|
60 |
С |
||
|
Калия хлорид |
Насыщенный водный |
40 |
С |
|
60 |
С |
||
|
Камфора |
- |
20 |
С |
|
60 |
О |
||
|
Кислород |
Любой концентрации |
20 |
С |
|
40 |
С |
||
|
60 |
О |
||
|
Кремниевая кислота |
То же |
60 |
С |
|
крем нефтористоводородная кислота |
32 %-ный водный раствор |
20 |
С |
|
40 |
С |
||
|
60 |
С |
||
|
90 %-ный водный раствор |
20 |
С |
|
|
60 |
С |
||
|
Лимонная кислота |
10%-ная |
20 |
С |
|
40 |
С |
||
|
60 |
С |
||
|
Магния соли |
Любые водные растворы |
40 |
С |
|
60 |
С |
||
|
Мазут |
- |
20 |
О |
|
40 |
Н |
||
|
Малеиновая кислота |
Насыщенный водный раствор |
20 |
С |
|
40 |
С |
||
|
60 |
С |
||
|
Масла и жиры растительные |
|
20 |
С О |
|
40 |
|||
|
60 |
|||
|
Масло веретенное |
|
20 |
О |
|
40 |
О |
||
|
60 |
О |
||
|
Масло камфорное |
- |
20 |
Н |
|
Масло минеральное, не содержащее ароматических веществ |
|
20 |
С |
|
40 |
С |
||
|
60 |
О |
||
|
Масло моторное |
|
20 |
С |
|
60 |
О |
||
|
Меди соли |
Водные растворы любой концентрации |
20 |
С |
|
40 |
С |
||
|
60 |
С |
||
|
Ментол |
110%-ный |
20 |
С |
|
60 |
О |
||
|
Метан |
Технический |
20 |
С |
|
60 |
С |
||
|
Метанол |
Любой |
20 |
С |
|
40 |
С |
||
|
60 |
С |
||
|
Метиламин |
32 %-ный водный раствор |
20 |
С |
|
60 |
С |
||
|
Метилэтилкетон |
Технический |
20 |
С |
|
40 |
О |
||
|
60 |
Н |
||
|
Молоко |
|
20 |
С |
|
40 |
С |
||
|
60 |
С |
||
|
Молочная кислота |
90 %-ная водная |
20 |
С |
|
40 |
С |
||
|
60 |
С |
||
|
Морфолин |
Технический |
20 |
С |
|
40 |
С |
||
|
60 |
С |
||
|
Мочевина |
Водные растворы до 30% |
40 |
С |
|
60 |
С |
||
|
Муравьиная кислота |
Водные растворы до 50% |
20 |
С |
|
40 |
С |
||
|
60 |
С |
||
|
|
Техническая |
20 |
С |
|
40 |
С |
||
|
60 |
С |
||
|
Мыльный раствор |
Любой водный |
60 |
С |
|
Мышьяковая кислота |
80%-ная водная |
40 |
С |
|
60 |
С |
||
|
Натрия ацетат |
Любой водный |
20 |
С |
|
40 |
С |
||
|
60 |
С |
||
|
Натрия бромат |
Тоже |
20 |
С О |
|
40 |
|||
|
60 |
|||
|
Натрия гидрооксид |
До 10 % водный раствор |
40 |
С |
|
60 |
С |
||
|
До 30 % водный раствор |
20 |
С |
|
|
40 |
С |
||
|
60 |
С |
||
|
50 %-ный водный раствор |
20 |
С |
|
|
40 |
С |
||
|
60 |
С |
||
|
Насыщенный раствор |
20 |
С |
|
|
60 |
С |
||
|
Натрия гидросульфит |
До 10 % водный раствор |
20 |
С |
|
40 |
С |
||
|
60 |
С |
||
|
Натрия йодит |
Любой водный раствор |
20 |
С |
|
40 |
|||
|
60 |
|||
|
Натрия карбонат |
Насыщенный водный раствор |
60 |
С |
|
Натрия нитрат |
То же |
40 |
С |
|
60 |
С |
||
|
Натрия бикарбонат |
Насыщенный раствор |
20 |
С |
|
40 |
С |
||
|
60 |
С |
||
|
Натрия сульфат |
Насыщенный водный раствор |
20 |
С |
|
40 |
С |
||
|
60 |
С |
||
|
Натрия сульфит |
То же |
20 |
С |
|
40 |
С |
||
|
60 |
С |
||
|
Натрия нитрит |
Насыщенный водный |
20 |
С |
|
Озон |
100%-ный |
20 |
О |
|
60 |
Н |
||
|
Олеиновая кислота |
Техническая чистая |
20 |
С |
|
40 |
С |
||
|
60 |
О |
||
|
Олеум |
10%-ный, SO3 |
20 |
Н |
|
60 |
Н |
||
|
Отходящие газы, содержащие двуокись углерода |
Любая |
60 |
С |
|
Перхлорэтилен, тетрахлорэтилен |
Технические |
20 |
О |
|
40 |
Н |
||
|
60 |
С |
||
|
Пикриновая кислота |
1%-ный водный раствор |
20 |
О |
|
60 |
С |
||
|
Пропан |
Технический жидкий |
20 |
С |
|
Технический газообразный |
20 |
С |
|
|
60 |
С |
||
|
Пропилена окись |
Техническая |
20 |
С |
|
Ртуть |
Чистая |
20 |
С |
|
40 |
С |
||
|
60 |
С |
||
|
Сахарный сироп |
Любой |
40 |
С |
|
60 |
С |
||
|
Светильный газ |
- |
20 |
С |
|
Свинца ацетат |
Насыщенный раствор |
20 |
С |
|
40 |
С |
||
|
60 |
С |
||
|
Cеребра соли |
Насыщенный водный раствор |
40 |
С |
|
60 |
С |
||
|
Серная кислота |
До 40 % водный раствор |
20 |
С |
|
40 |
С |
||
|
60 |
С |
||
|
До 60 % водный раствор |
20 |
С |
|
|
40 |
С |
||
|
60 |
С |
||
|
До 80 % водный раствор |
20 |
С |
|
|
40 |
С |
||
|
60 |
О |
||
|
90 %-ный водный раствор |
20 |
О |
|
|
60 |
О |
||
|
96 %-ный водный раствор |
20 |
Н |
|
|
60 |
О |
||
|
Сероводород |
Технический газообразный |
20 |
С |
|
40 |
С |
||
|
60 |
С |
||
|
Насыщенный водный раствор |
20 |
С |
|
|
40 |
С |
||
|
60 |
С |
||
|
Сера |
Техническая чистая |
20 |
С |
|
40 |
С |
||
|
60 |
С |
||
|
Сероуглерод |
Технический |
20 |
О |
|
60 |
|||
|
Серы двуокись |
Ангидрид |
20 |
С |
|
40 |
С |
||
|
60 |
С |
||
|
Любой концентрации |
20 |
С |
|
|
40 |
С |
||
|
Серы двуокись |
Любой концентрации |
60 |
С |
|
Техническая жидкая |
20 |
Н |
|
|
Силиконовые масла |
|
20 |
С |
|
40 |
С |
||
|
Синильная кислота |
Техническая |
20 |
С |
|
40 |
С |
||
|
60 |
С |
||
|
Соляная кислота |
5 %-ный водный раствор |
20 |
С |
|
40 |
О |
||
|
60 |
С |
||
|
1 0 %-ная водная |
20 |
С |
|
|
40 |
С |
||
|
60 |
С |
||
|
До 30 % водная |
20 |
С |
|
|
40 |
С |
||
|
60 |
С |
||
|
36 %-ная водная |
20 |
С |
|
|
40 |
С |
||
|
60 |
С |
||
|
Смесь кислот: серная + азотная + вода |
48% + 49% + 3% |
20 |
Н |
|
40 |
|||
|
60 |
|||
|
Смесь кислот: серная + азотная + вода |
10% + 20% + 70% |
20 |
О |
|
40 |
|||
|
Смесь кислот: азотная (15 %-ная) фтористоводородная (5 %-ная) серная (18 %-ная) |
3 части + 1 часть + 2 части |
20 |
О |
|
40 |
|||
|
Смесь кислот: серная + фосфорная + вода |
30% + 60% + 10% |
20 |
С |
|
40 |
О |
||
|
Спиртные налитки |
40 %-ные |
20 |
С |
|
Стеариновая кислота |
Техническая |
20 |
С О |
|
40 |
|||
|
60 |
|||
|
Сурьмы хлорид |
90 %-ный водный |
20 |
С |
|
40 |
С |
||
|
60 |
С |
||
|
Тетрагидрофуран |
Технический |
20 |
О |
|
Тетрахлорэтан |
-"- |
20 |
О |
|
60 |
Н |
||
|
Толуол |
-"- |
20 |
О |
|
60 |
Н |
||
|
Трихлоруксусная кислота |
50 %-ный водный раствор |
20 |
С |
|
40 |
С |
||
|
60 |
С |
||
|
Техническая чистая |
20 |
С |
|
|
40 |
О |
||
|
60 |
Н |
||
|
Трихлорэтилен |
Технический |
20 |
Н |
|
Триэтаноламин |
-"- |
20 |
С |
|
Углерода двуокись |
Техническая сухая |
20 |
С |
|
40 |
С |
||
|
60 |
С |
||
|
Уксусная кислота |
10 %-ный водный раствор |
20 |
С |
|
40 |
С |
||
|
50 %-ный водный раствор |
20 |
С |
|
|
40 |
С |
||
|
60 |
С |
||
|
Техническая чистая |
20 |
С |
|
|
40 |
С |
||
|
60 |
О |
||
|
Уксусной кислоты ангидрид |
Технический |
20 |
С |
|
40 |
О |
||
|
Фенол |
До 10 % водный |
20 |
С |
|
40 |
С |
||
|
60 |
О |
||
|
До 90 % водный |
20 |
С |
|
|
40 |
С |
||
|
60 |
О |
||
|
Формальдегид (формалин) |
40 %-ный водный раствор |
20 |
С |
|
40 |
С |
||
|
60 |
С |
||
|
Фосфора хлорид |
Технический |
20 |
С |
|
Фосфорная кислота |
До 30 % водный раствор |
20 |
С |
|
40 |
С |
||
|
60 |
С |
||
|
До 50 % водный раствор |
20 |
С |
|
|
40 |
С |
||
|
60 |
С |
||
|
85 %-ный водный раствор |
20 |
С |
|
|
40 |
С |
||
|
60 |
О |
||
|
Фосфорный ангидрид (2 кл. оп) |
Технический |
20 |
С |
|
40 |
С |
||
|
Фотографическая эмульсия |
Любая |
20 |
С |
|
40 |
С |
||
|
Фотографический закрепитель |
Торговый |
20 |
С |
|
40 |
С |
||
|
Фруктовые соки |
|
20 |
С |
|
40 |
С |
||
|
60 |
С |
||
|
Фтористоводородная (плавиковая) кислота |
До 40 % водный раствор |
20 |
С |
|
40 |
С |
||
|
60 |
О |
||
|
50 %-ный водный раствор |
20 |
С |
|
|
40 |
С |
||
|
60 |
О |
||
|
70 %-ный водный раствор |
20 |
С |
|
|
60 |
О |
||
|
Хлор газообразный |
100 %-ный |
20 |
Н |
|
60 |
Н |
||
|
Хлор жидкий |
100 %-ный |
20 |
Н |
|
60 |
Н |
||
|
Хлорбензол |
Технический |
20 |
О |
|
60 |
Н |
||
|
Хлорметанол |
-"- |
20 |
Н |
|
Хлорная вода |
Насыщенный раствор |
20 |
О |
|
40 |
О |
||
|
Хлороформ |
1ехническии |
20 |
Н |
|
60 |
Н |
||
|
Хлорсульфоновая кислота |
Техническая |
20 |
Н |
|
60 |
Н |
||
|
Хлоруксусная кислота |
50 %-ная водная |
20 |
С |
|
40 |
С |
||
|
60 |
С |
||
|
Техническая |
20 |
С |
|
|
40 |
С |
||
|
60 |
СО |
||
|
Хромовая кислота |
До 50 % водная |
20 |
О |
|
40 |
Н |
||
|
60 |
- |
||
|
Смесь кислот: хромовая + серная + вода |
5ч + 2ч + 3ч |
20 |
Н |
|
40 |
- |
||
|
60 |
- |
||
|
Царская водка |
Концентрированная |
20 |
Н |
|
40 |
- |
||
|
Циклогексан |
Технический |
20 |
С |
|
40 |
С |
||
|
60 |
С |
||
|
Циклогексанол |
-"- |
20 |
С |
|
40 |
О |
||
|
60 |
О |
||
|
Цинка соли |
Любые водные растворы |
40 |
С |
|
60 |
С |
||
|
Щавелевая кислота |
Разбавленная водная |
20 |
С |
|
40 |
С |
||
|
60 |
О |
||
|
Этилацетат |
Технический |
20 |
С |
|
40 |
С |
||
|
60 |
О |
||
|
Этиленгликоль |
-"- |
20 |
С |
|
40 |
С |
||
|
60 |
С |
||
|
Этилендиамин |
-"- |
20 |
С |
|
40 |
С |
||
|
60 |
С |
||
|
Этиловый спирт(этанол) |
Технический, 96 %-ный |
40 |
С |
|
60 |
С |
||
|
Этиловый эфир акриловой кислоты |
Технический |
20 |
С |
|
Этил хлористый |
-"- |
20 |
О |
|
Яблочная кислота |
1 %-ный водный раствор |
20 |
С |
|
40 |
С |
||
|
60 |
С |
||
|
Янтарная кислота |
Любой концентрации |
20 |
С |
|
40 |
С |
||
|
60 |
С |
КЭ 0,02 мм. Диаметр трубы 100мм.
|
h/d |
i =0,01 |
i =0,011 |
i =0,012 |
i =0,013 |
i =0,014 |
i =0,015 |
i =0,016 |
|||||||
|
q, л/с |
v, м/с |
q, л/с |
v, м/с |
q, л/с |
v, м/с |
q, л/с |
v, м/с |
q, л/с |
v, м/с |
q, л/с |
v, м/с |
q, л/с |
v, м/с |
|
|
0,1 |
0,135 |
0,330 |
0,143 |
0,351 |
0,152 |
0,371 |
0,159 |
0,390 |
0,167 |
0,409 |
0,175 |
0,427 |
0,182 |
0,444 |
|
0,2 |
0,598 |
0,535 |
0,635 |
0,568 |
0,671 |
0,600 |
0,704 |
0,630 |
0,737 |
0,659 |
0,768 |
0,687 |
0,799 |
0,714 |
|
0,3 |
1,380 |
0,696 |
1,463 |
0,738 |
1,544 |
0,779 |
1,619 |
0,817 |
1,693 |
0,854 |
1,765 |
0,890 |
1,833 |
0,925 |
|
0,4 |
2,423 |
0,826 |
2,567 |
0,875 |
2,708 |
0,923 |
2,837 |
0,967 |
2,965 |
1,011 |
3,089 |
1,053 |
3,208 |
1,093 |
|
0,5 |
3,645 |
0,928 |
3,859 |
0,983 |
4,069 |
1,036 |
4,261 |
1,085 |
4,452 |
1,134 |
4,638 |
1,181 |
4,814 |
1,226 |
|
0,6 |
4,943 |
1,005 |
5,231 |
1,063 |
5,514 |
1,121 |
5,773 |
1,173 |
6,031 |
1,226 |
6,280 |
1,276 |
6,518 |
1,325 |
|
0,7 |
6,195 |
1,055 |
6,555 |
1,116 |
6,909 |
1,177 |
7,233 |
1,232 |
7,554 |
1,286 |
7,865 |
1,339 |
8,161 |
1,390 |
|
0,8 |
7,251 |
1,076 |
7,672 |
1,139 |
8,085 |
1,200 |
8,464 |
1,256 |
8,839 |
1,312 |
9,203 |
1,366 |
9,549 |
1,418 |
|
0,9 |
7,891 |
1,060 |
8,349 |
1,121 |
8,799 |
1,182 |
9,212 |
1,237 |
9,621 |
1,292 |
10,017 |
1,345 |
10,394 |
1,396 |
|
1,0 |
7,290 |
0,928 |
7,718 |
0,983 |
8,138 |
1,036 |
8,523 |
1,085 |
8,905 |
1,134 |
9,275 |
1,181 |
9,628 |
1,226 |
|
h/d |
i =0 017 |
i =0,018 |
i =0,02 |
i =0,025 |
i=0,03 |
i =0,035 |
i =0,04 |
|||||||
|
q, л/с |
v, м/с |
q, л/с |
v, м/с |
q, л/с |
v, м/с |
q, л/с |
v, м/с |
q, л/с |
v, м/с |
q, л/с |
v, м/с |
q, л/с |
v, м/с |
|
|
0,1 |
0,189 |
0,461 |
0,195 |
0,478 |
0,208 |
0,510 |
0,238 |
0,583 |
0,266 |
0,650 |
0,291 |
0,711 |
0,314 |
0,768 |
|
0,2 |
0,828 |
0,741 |
0,857 |
0,767 |
0,913 |
0,816 |
1,040 |
0,930 |
1,155 |
1,033 |
1,262 |
1,129 |
1,360 |
1,217 |
|
0,2 |
0,828 |
0,741 |
0,857 |
0,767 |
0,913 |
0,816 |
1,040 |
0,930 |
1,155 |
1,033 |
1,262 |
1,129 |
1,360 |
1,217 |
|
0,4 |
3,323 |
1,133 |
3,436 |
1,171 |
3,651 |
1,245 |
4,147 |
1,413 |
4,594 |
1,566 |
5,008 |
1,707 |
5,389 |
1,837 |
|
0,5 |
4,985 |
1,270 |
5,155 |
1,313 |
5,475 |
1,394 |
6,212 |
1,582 |
6,877 |
1,751 |
7,491 |
1,908 |
8,058 |
2,052 |
|
0,6 |
6,749 |
1,372 |
6,977 |
1,418 |
7,407 |
1,506 |
8,399 |
1,707 |
9,295 |
1,889 |
10,120 |
2,057 |
10,883 |
2,212 |
|
0,7 |
8,450 |
1,439 |
8,734 |
1,487 |
9,272 |
1,579 |
10,510 |
1,790 |
11,626 |
1,980 |
12,656 |
2,155 |
13,607 |
2,317 |
|
0,8 |
9,886 |
1,468 |
10,218 |
1,517 |
10,846 |
1,610 |
12,292 |
1,825 |
13,597 |
2,019 |
14,799 |
2,197 |
15,910 |
2,362 |
|
0,9 |
10,761 |
1,445 |
11,124 |
1,494 |
11,808 |
1,586 |
13,384 |
1,798 |
14,805 |
1,989 |
16,116 |
2,165 |
17,327 |
2,327 |
|
1,0 |
9,971 |
1,270 |
10,309 |
1,313 |
10,949 |
1,394 |
12,424 |
1,582 |
13,754 |
1,751 |
14,982 |
1,908 |
16,117 |
2,052 |
КЭ 0,02 мм. Диаметр трубы 150мм.
|
h/d |
i =0,05 |
i =0,06 |
i =0,07 |
i =0,08 |
i =0,09 |
i =0,01 |
i =0,011 |
|||||||
|
q, л/с |
v, м/с |
q, л/с |
v, м/с |
q, л/с |
v, м/с |
q, л/с |
v, м/с |
q, л/с |
v, м/с |
q, л/с |
v, м/с |
q, л/с |
v, м/с |
|
|
0,1 |
0,265 |
0,293 |
0,299 |
0,330 |
0,330 |
0,364 |
0,359 |
0,396 |
0,386 |
0,426 |
0,412 |
0,455 |
0,436 |
0,482 |
|
0,2 |
1,179 |
0,476 |
1,322 |
0,534 |
1,454 |
0,587 |
1,577 |
0,637 |
1,693 |
0,684 |
1,804 |
0,729 |
1,909 |
0,771 |
|
0,3 |
2,720 |
0,620 |
3,045 |
0,694 |
3,342 |
0,762 |
3,622 |
0,825 |
3,882 |
0,885 |
4,132 |
0,942 |
4,370 |
0,996 |
|
0,4 |
4,776 |
0,735 |
5,340 |
0,822 |
5,855 |
0,901 |
6,339 |
0,976 |
6,790 |
1,045 |
7,223 |
1,112 |
7,634 |
1,175 |
|
0,5 |
7,185 |
0,826 |
8,026 |
0,923 |
8,794 |
1,011 |
9,515 |
1,094 |
10,187 |
1,172 |
10,831 |
1,246 |
11,443 |
1,316 |
|
0,6 |
9,744 |
0,894 |
10,878 |
0,999 |
11,913 |
1,094 |
12,884 |
1,183 |
13,789 |
1,266 |
14,656 |
1,345 |
15,480 |
1,421 |
|
0,7 |
12,213 |
0,939 |
13,630 |
1,048 |
14,922 |
1,148 |
16,134 |
1,241 |
17,265 |
1,328 |
18,347 |
1,411 |
19,375 |
1,490 |
|
0,8 |
J4,296 |
0,959 |
15,951 |
1,070 |
17,462 |
1,171 |
18,878 |
1,266 |
20,199 |
1,354 |
21,463 |
1,439 |
22,665 |
1,520 |
|
0,9 |
15,556 |
0,944 |
17,360 |
1,053 |
19,005 |
1,153 |
20,549 |
1,247 |
21,988 |
1,334 |
23,366 |
1,417 |
24,675 |
1,497 |
|
1,0 |
14,370 |
0,826 |
16,052 |
0,923 |
17,588 |
1,011 |
19,030 |
1,094 |
20,374 |
1,172 |
21,662 |
1,246 |
22,886 |
1,316 |
|
h/d |
i =0,012 |
i =0,013 |
i =0,014 |
i =0,015 |
i =0,016 |
i =0,017 |
i =0,018 |
|||||||
|
q, л/с |
v, м/с |
q, л/с |
v, м/с |
q, л/с |
v, м/с |
q, л/с |
v, м/с |
q, л/с |
v, м/с |
q, л/с |
v, м/с |
q, л/с |
v, м/с |
|
|
0,1 |
0,460 |
0,508 |
0,483 |
0,533 |
0,505 |
0,557 |
0,526 |
0,581 |
0,547 |
0,603 |
0,566 |
-0,625 |
0,586 |
0,647 |
|
0,2 |
2,009 |
0,812 |
2,106 |
0,851 |
2,199 |
0,888 |
2,289 |
0,925 |
2,376 |
0,960 |
2,460 |
0,994 |
2,543 |
1,027 |
|
0,2 |
2,009 |
0,812 |
2,106 |
0,851 |
2,199 |
0,888 |
2,289 |
0,925 |
2,376 |
0,960 |
2,460 |
0,994 |
2,543 |
1,027 |
|
0,4 |
8,023 |
1,235 |
8,399 |
1,293 |
8,760 |
1,348 |
9,109 |
1,402 |
9,448 |
1,454 |
9,773 |
1,504 |
10,094 |
1,554 |
|
0,5 |
12,021 |
1,383 |
12,581 |
1,447 |
13,118 |
1,509 |
13,638 |
1,568 |
14,141 |
1,626 |
14,625 |
1,682 |
15,101 |
1,737 |
|
0,6 |
16,259 |
1,493 |
17,012 |
1,562 |
17,735 |
1,628 |
18,434 |
1,692 |
19,111 |
1,754 |
19,762 |
1,814 |
20,403 |
1,873 |
|
0,7 |
20,347 |
1,565 |
21,286 |
1,637 |
22,188 |
1,707 |
23,060 |
1,774 |
23,905 |
1,839 |
24,716 |
1,901 |
25,516 |
1,963 |
|
0,8 |
23,799 |
1,596 |
24,897 |
1,669 |
25,950 |
1,740 |
26,969 |
1,808 |
27,956 |
1,874 |
28,904 |
1,938 |
29,837 |
2,001 |
|
0,9 |
25,912 |
1,572 |
27,108 |
1,644 |
28,256 |
1,714 |
29,366 |
1,781 |
30,441 |
1,847 |
31,475 |
1,909 |
32,492 |
1,971 |
|
1,0 |
24,043 |
1,383 |
25,162 |
1,447 |
26,236 |
1,509 |
27,275 |
1,568 |
28,282 |
1,626 |
29,250 |
1,682 |
30,203 |
1,737 |
КЭ 0,02 мм. Диаметр трубы 200мм.
|
h/d |
i =0,003 |
i =0,004 |
i =0,005 |
i =0,006 |
i =0,007 |
i =0,008 |
i =0,009 |
||||||||
|
q, л/с |
v, м/с |
q, л/с |
v, м/с |
q, л/с |
v, м/с |
q, л/с |
v, м/с |
q, л/с |
v, м/с |
q, л/с |
v, м/с |
q, л/с |
v, м/с |
||
|
0,1 |
0,418 |
0,265 |
0,504 |
0,320 |
0,580 |
0,368 |
0,650 |
0,413 |
0,715 |
0,454 |
0,775 |
0,492 |
0,832 |
0,528 |
|
|
0,2 |
1,858 |
0,431 |
2,226 |
0,517 |
2,554 |
0,593 |
2,853 |
0,662 |
3,128 |
0,726 |
3,384 |
0,785 |
3,626 |
0,842 |
|
|
0,3 |
4,289 |
0,562 |
5,122 |
0,671 |
5,864 |
0,768 |
6,538 |
0,856 |
7,160 |
0,937 |
7,735 |
1,013 |
8,282 |
1,084 |
|
|
0,4 |
7,533 |
0,666 |
8,979 |
0,794 |
10,264 |
0,908 |
11,432 |
1,011 |
12,506 |
1,106 |
13,501 |
1,194 |
14,446 |
1,278 |
|
|
0,5 |
11,335 |
0,749 |
13,492 |
0,892 |
15,407 |
1,018 |
17,147 |
1,133 |
18,747 |
1,239 |
20,227 |
1,337 |
21,633 |
1,430 |
|
|
0,6 |
15,374 |
0,811 |
18,283 |
0,964 |
20,863 |
1,100 |
23,207 |
1,224 |
25,361 |
1,338 |
27,354 |
1,443 |
29,245 |
1,543 |
|
|
0,7 |
19,273 |
0,852 |
22,906 |
1,012 |
26,127 |
1,155 |
29,053 |
1,284 |
31,741 |
1,403 |
34,229 |
1,513 |
36,588 |
1,617 |
|
|
0,8 |
22,560 |
0,869 |
26,806 |
1,033 |
30,570 |
1,178 |
33,989 |
1,309 |
37,130 |
1,430 |
40,036 |
1,542 |
42,792 |
1,649 |
|
|
0,9 |
24,549 |
0,856 |
29,174 |
1,017 |
33,276 |
1,160 |
37,001 |
1,290 |
40,424 |
1,409 |
43,590 |
1,519 |
46,594 |
1,624 |
|
|
1,0 |
22,671 |
0,749 |
26,985 |
0,892 |
30,814 |
1,018 |
34,294 |
1,133 |
37,494 |
1,239 |
40,455 |
1,337 |
43,265 |
1,430 |
|
|
h/d |
i =0,01 |
i =0,011 |
i =0,012 |
i =0,013 |
i =0,014 |
i =0,015 |
i =0,016 |
||||||||
|
q, л/с |
v, м/с |
q, л/с |
v, м/с |
q, л/с |
v, м/с |
q, л/с |
v, м/с |
q, л/с |
v, м/с |
q, л/с |
v, м/c |
q, л/с |
v, м/с |
||
|
0,1 |
0,887 |
0,563 |
0,938 |
0,595 |
0,987 |
0,627 |
1,035 |
0,657 |
1,080 |
0,685 |
1,124 |
0,713 |
1,167 |
0,741 |
|
|
0,2 |
3,856 |
0,895 |
4,073 |
0,945 |
4,283 |
0,994 |
4,483 |
1,041 |
4,675 |
1,085 |
4,861 |
1,128 |
5,041 |
1,170 |
|
|
0,2 |
3,856 |
0,895 |
4,073 |
0,945 |
4,283 |
0,994 |
4,483 |
1,041 |
4,675 |
1,085 |
4,861 |
1,128 |
5,041 |
1,170 |
|
|
0,4 |
15,336 |
1,356 |
16,180 |
1,431 |
16,992 |
1,503 |
17,767 |
1,571 |
18,510 |
1,637 |
19,230 |
1,701 |
19,926 |
1,762 |
|
|
0,5 |
22,956 |
1,517 |
24,211 |
1,600 |
25,419 |
1,680 |
26,570 |
1,756 |
27,674 |
1,829 |
28,743 |
1,899 |
29,778 |
1,968 |
|
|
0,6 |
31,026 |
1,637 |
32,714 |
1,726 |
34,339 |
1,811 |
35,887 |
1,893 |
37,372 |
1,971 |
38,810 |
2,047 |
40,200 |
2,120 |
|
|
0,7 |
38,809 |
1,715 |
40,914 |
1,808 |
42,941 |
1,898 |
44,872 |
1,983 |
46,724 |
2,065 |
48,516 |
2,144 |
50,250 |
2,221 |
|
|
0,8 |
45,387 |
1,749 |
47,846 |
1,843 |
50,213 |
1,935 |
52,468 |
2,021 |
54,632 |
2,105 |
56,725 |
2,185 |
58,749 |
2,263 |
|
|
0,9 |
49,422 |
1,723 |
52,102 |
1,816 |
54,682 |
1,906 |
57,140 |
1,992 |
59,498 |
2,074 |
61,779 |
2,153 |
63,986 |
2,230 |
|
|
1,0 |
45,912 |
1,517 |
48,421 |
1,600 |
50,837 |
1,680 |
53,140 |
1,756 |
55,349 |
1,829 |
57,487 |
1,899 |
59,555 |
1,968 |
|
КЭ 0,02 мм. Диаметр трубы 250мм.
|
h/d |
i=0 |
003 |
i=0 |
004 |
i=0 |
005 |
i=0 |
006 |
i=0 |
007 |
i=0 |
008 |
i=0 |
009 |
|
q, л/с |
v, м/с |
q, л/с |
v, м/с |
q, л/с |
v, м/с |
q, л/с |
v, м/с |
q, л/с |
v, м/с |
q, л/с |
v, м/с |
q, л/с |
v, м/с |
|
|
0,1 |
0,786 |
0,319 |
0,942 |
0,383 |
1,081 |
0,439 |
1,206 |
0,491 |
1,323 |
0,538 |
1,432 |
0,583 |
1,535 |
0,624 |
|
0,2 |
3,465 |
0,516 |
4,134 |
0,615 |
4,724 |
0,703 |
5,258 |
0,782 |
5,754 |
0,856 |
6,217 |
0,925 |
6,651 |
0,989 |
|
0,3 |
7,969 |
0,669 |
9,478 |
0,795 |
10,810 |
0,907 |
12,014 |
1,008 |
13,128 |
1,102 |
14,169 |
1,189 |
15,145 |
1,271 |
|
0,4 |
13,962 |
0,791 |
16,576 |
0,940 |
18,880 |
1,070 |
20,960 |
1,188 |
22,885 |
1,297 |
24,682 |
1,399 |
26,366 |
1,495 |
|
0,5 |
20,971 |
0,888 |
24,866 |
1,053 |
28,298 |
1,199 |
31,393 |
1,330 |
34,256 |
1,451 |
36,928 |
1,564 |
39,430 |
1,670 |
|
0,6 |
28,409 |
0,960 |
33,658 |
1,138 |
38,278 |
1,294 |
42,445 |
1,435 |
46,298 |
1,565 |
49,892 |
1,687 |
53,259 |
1,800 |
|
0,7 |
35,588 |
1,008 |
42,140 |
1,194 |
47,907 |
1,357 |
53,106 |
1,504 |
57,913 |
1,640 |
62,396 |
1,767 |
66,594 |
1,886 |
|
0,8 |
41,644 |
1,028 |
49,301 |
1,217 |
56,039 |
1,384 |
62,113 |
1,534 |
67,728 |
1,672 |
72,965 |
1,802 |
77,868 |
1,923 |
|
0,9 |
45,326 |
1,013 |
53,668 |
1,199 |
61,010 |
1,363 |
67,629 |
1,511 |
73,749 |
1,648 |
79,456 |
1,775 |
84,801 |
1,895 |
|
1,0 |
41,942 |
0,888 |
49,733 |
1,053 |
56,595 |
1,199 |
62,786 |
1,330 |
68,512 |
1,451 |
73,856 |
1,564 |
78,861 |
1,670 |
|
h/d |
i=0,012 |
i=0,013 |
i=0,014 |
i=0,015 |
i=0,016 |
i=0,017 |
i =0,018 |
|||||||
|
q, л/с |
v, м/с |
q, л/с |
v, м/с |
q, л/с |
v, м/с |
q, л/с |
v, м/с |
q, л/с |
v, м/с |
q, л/с |
v, м/с |
q, л/с |
v, м/с |
|
|
0,1 |
1,632 |
0,664 |
1,725 |
0,702 |
1,814 |
0,738 |
1,899 |
0,772 |
1,981 |
0,806 |
2,061 |
0,838 |
2,137 |
0,869 |
|
0,2 |
7,062 |
1,051 |
7,453 |
1,109 |
7,827 |
1,164 |
^8,186 |
1,218 |
8,532 |
1,269 |
8,865 |
1,319 |
9,188 |
1,367 |
|
0,2 |
7,062 |
1,051 |
7,453 |
1,109 |
7,827 |
1,164 |
8,186 |
1,218 |
8,532 |
1,269 |
8,865 |
1,319 |
9,188 |
1,367 |
|
0,4 |
27,955 |
1,585 |
29,468 |
1,671 |
30,912 |
1,752 |
32,300 |
1,831 |
33,634 |
1,907 |
34,918 |
1,979 |
36,165 |
2,050 |
|
0,5 |
41,793 |
1,770 |
44,040 |
1,865 |
46,185 |
1,956 |
48,246 |
2,043 |
50,226 |
2,127 |
52,133 |
2,208 |
53,982 |
2,286 |
|
0,6 |
56,435 |
1,908 |
59,457 |
2,010 |
62,341 |
2,108 |
65,111 |
2,201 |
67,773 |
2,291 |
70,335 |
2,378 |
72,820 |
2,462 |
|
0,7 |
70,555 |
1,998 |
74,323 |
2,105 |
77,918 |
2,207 |
81,371 |
2,305 |
84,690 |
2,399 |
87,883 |
2,489 |
90,981 |
2,577 |
|
0,8 |
82,495 |
2,037 |
86,896 |
2,146 |
91,095 |
2,249 |
95,127 |
2,349 |
99,002 |
2,445 |
102,731 |
2,537 |
106,349 |
2,626 |
|
0,9 |
89,844 |
2,007 |
94,641 |
2,114 |
99,218 |
2,217 |
103,614 |
2,315 |
107,838 |
2,409 |
111,903 |
2,500 |
115,847 |
2,588 |
|
1,0 |
83,585 |
1,770 |
88,081 |
1,865 |
92,370 |
1,956 |
96,491 |
2,043 |
100,453 |
2,127 |
104,265 |
2,208 |
107,965 |
2,286 |
КЭ 0,02 мм. Диаметр трубы 300мм.
|
h/d |
i =0,025 |
i =0,003 |
i =0,0035 |
i =0,004 |
i =0,0045 |
i =0,005 |
i =0,0055 |
|||||||
|
q, л/с |
v, м/с |
q, л/с |
v, м/с |
q, л/с |
v, м/с |
q, л/с |
v, м/с |
q, л/с |
v, м/с |
q, л/с |
v, м/с |
q, л/с |
v, м/с |
|
|
0,1 |
1,186 |
0,332 |
1,330 |
0,372 |
1,462 |
0,409 |
1,587 |
0,444 |
1,704 |
0,476 |
1,815 |
0,508 |
1,921 |
0,537 |
|
0,2 |
5,219 |
0,534 |
5,834 |
0,597 |
6,397 |
0,654 |
6,927 |
0,709 |
7,425 |
0,760 |
7,897 |
0,808 |
8,346 |
0,854 |
|
0,3 |
11,987 |
0.692 |
13,374 |
0,772 |
14,645 |
0,845 |
15,840 |
0,914 |
16,960 |
0,979 |
18,023 |
1,040 |
19,034 |
1,098 |
|
0,4 |
20,984 |
0,818 |
23,385 |
0,912 |
25,585 |
0,997 |
27,652 |
1,078 |
29,587 |
1,153 |
31,424 |
1,225 |
33,169 |
1,293 |
|
0,5 |
31,501 |
0,917 |
35,079 |
1,022 |
38,354 |
1,117 |
41,432 |
1,207 |
44,311 |
1,290 |
47,044 |
1,370 |
49,639 |
1,446 |
|
0,6 |
42,658 |
0,992 |
47,478 |
1,104 |
51,889 |
1,206 |
56,033 |
1,302 |
59,908 |
1,393 |
63,586 |
1,478 |
67,078 |
1,559 |
|
0,7 |
53,423 |
1,041 |
59,441 |
1,158 |
64,946 |
1,265 |
70,117 |
1,366 |
74,953 |
1,460 |
79,541 |
1,549 |
83,897 |
1,634 |
|
0,8 |
62,509 |
1,061 |
69,541 |
1,181 |
75,973 |
1,290 |
82,015 |
1,392 |
87,664 |
1,488 |
93,024 |
1,579 |
98,112 |
1,666 |
|
0,9 |
68,040 |
1,045 |
75,702 |
1,163 |
82,711 |
1,271 |
89,295 |
1,372 |
95,451 |
1,466 |
101,292 |
1,556 |
106,837 |
1,641 |
|
1,0 |
63,002 |
0,917 |
70,158 |
1,022 |
76,708 |
1,117 |
82,864 |
1,207 |
88,622 |
1,290 |
94,087 |
1,370 |
99,277 |
1,446 |
|
h/d |
i =0,006 |
i =0,0065 |
i =0,007 |
i =0,0075 |
i =0,008 |
i =0,0085 |
i =0,009 |
|||||||
|
q, л/с |
v, м/с |
q, л/с |
v, м/с |
q, л/с |
v, м/с |
q, л/с |
v, м/с |
q, л/с |
v, м/с |
q, л/с |
v, м/с |
q, л/с |
v, м/с |
|
|
0,1 |
2,023 |
0,566 |
2,120 |
0,593 |
2,215 |
0,619 |
2,306 |
0,645 |
2,394 |
0,669 |
2,479 |
0,693 |
2,563 |
0,717 |
|
0,2 |
8,777 |
0,898 |
9,189 |
0,940 |
9,589 |
0,981 |
9,974 |
1,020 |
10,345 |
1,058 |
10,704 |
1,095 |
11,056 |
1,131 |
|
0,2 |
8,777 |
0,898 |
9,189 |
0,940 |
9,589 |
0,981 |
9,974 |
1,020 |
10,345 |
1,058 |
10,704 |
1,095 |
11,056 |
1,131 |
|
0,4 |
34,838 |
1,358 |
36,438 |
1,420 |
37,989 |
1,481 |
39,479 |
1,539 |
40,912 |
1,595 |
42,303 |
1,649 |
43,661 |
1,702 |
|
0,5 |
52,121 |
1,518 |
54,499 |
1,587 |
56,803 |
1,654 |
59,018 |
1,719 |
61,146 |
1,781 |
63,213 |
1,841 |
65,231 |
1,900 |
|
0,6 |
70,417 |
1,637 |
73,616 |
1,711 |
76,715 |
1,783 |
79,693 |
1,852 |
82,556 |
1,919 |
85,334 |
1,984 |
88,046 |
2,047 |
|
0,7 |
88,062 |
1,715 |
92,051 |
1,793 |
95,916 |
1,868 |
99,630 |
1,940 |
103,199 |
2,010 |
106,664 |
2,077 |
110,045 |
2,143 |
|
0,8 |
102,977 |
1,748 |
107,637 |
1,828 |
112,151 |
1,904 |
116,489 |
1,978 |
120,658 |
2,049 |
124,704 |
2,117 |
128,653 |
2,184 |
|
0,9 |
112,140 |
1,723 |
117,219 |
1,801 |
122,140 |
1,876 |
126,867 |
1,949 |
131,412 |
2,019 |
135,822 |
2,086 |
140,127 |
2,153 |
|
1,0 |
104,241 |
1,518 |
108,998 |
1,587 |
113,606 |
1,654 |
118,035 |
1,719 |
122,293 |
1,781 |
126,426 |
1,841 |
130,461 |
1,900 |
КЭ 0,02 мм. Диаметр трубы 350мм.
|
h/d |
i =0,0025 |
i =0,003 |
i =0,0035 |
i =0,004 |
i =0,0045 |
i =0,005 |
i =0,0055 |
|||||||
|
q, л/с |
v, м/с |
q, л/с |
v, м/с |
q, л/с |
v, м/с |
q, л/с |
v, м/с |
q, л/с |
v, м/с |
q, л/с |
v, м/с |
q, л/с |
v, м/с |
|
|
0,1 |
1,872 |
0,378 |
2,093 |
0,423 |
2,298 |
0,464 |
2,490 |
0,503 |
2,671 |
0,539 |
2,842 |
0,574 |
3,005 |
0,607 |
|
0,2 |
8,199 |
0,606 |
9,141 |
0,675 |
10,012 |
0,739 |
10,826 |
0,800 |
11,592 |
0,856 |
12,318 |
0,910 |
13,008 |
0,961 |
|
0,3 |
18,782 |
0,782 |
20,905 |
0,871 |
22,868 |
0,953 |
24,699 |
1,029 |
26,423 |
1,101 |
28,053 |
1,169 |
29,603 |
1,233 |
|
0,4 |
32,825 |
0,924 |
36,498 |
1,027 |
39,891 |
1,123 |
43,054 |
1,212 |
46,030 |
1,295 |
48,844 |
1,375 |
51,518 |
1,450 |
|
0,5 |
49,222 |
1,035 |
54,690 |
1,150 |
59,740 |
1,256 |
64,444 |
1,355 |
68,871 |
1,448 |
73,054 |
1,536 |
77,027 |
1,620 |
|
0,6 |
66,604 |
1,118 |
73,967 |
1,241 |
80,765 |
1,356 |
87,096 |
1,462 |
93,052 |
1,562 |
98,680 |
1,656 |
104,024 |
1,746 |
|
0,7 |
83,374 |
1,172 |
92,564 |
1,302 |
101,046 |
1,421 |
108,944 |
1,532 |
116,373 |
1,636 |
123,392 |
1,735 |
130,057 |
1,829 |
|
0,8 |
97,535 |
1,196 |
108,271 |
1,327 |
118,181 |
1,449 |
127,408 |
1,562 |
136,086 |
1,668 |
144,284 |
1,769 |
152,069 |
1,864 |
|
0,9 |
106,181 |
1,178 |
117,880 |
1,307 |
128,679 |
1,427 |
138,735 |
1,539 |
148,193 |
1,644 |
157,129 |
1,743 |
165,614 |
1,837 |
|
1,0 |
98,444 |
1,035 |
109,380 |
1,150 |
119,480 |
1,256 |
128,888 |
1,355 |
137,741 |
1,448 |
146,108 |
1,536 |
154,055 |
1,620 |
|
h/d |
i =0,006 |
i =0,0065 |
i =0,007 |
i =0,0075 |
i =0,008 |
i =0,0085 |
i =0,009 |
|||||||
|
q, л/с |
v, м/с |
q, л/с |
v, м/с |
q, л/с |
v, м/с |
q, л/с |
v, м/с |
q, л/с |
v, м/с |
q, л/с |
v, м/с |
q, л/с |
v, м/с |
|
|
0,1 |
3,162 |
0,638 |
3,312 |
0,669 |
3,457 |
0,698 |
3,597 |
0,726 |
3,733 |
0,754 |
3,863 |
0,780 |
3,991 |
0,806 |
|
0,2 |
13,669 |
1,010 |
14,303 |
1,056 |
14,913 |
1,101 |
15,502 |
1,145 |
16,075 |
1,187 |
16,624 |
1,228 |
17,160 |
1,267 |
|
0,2 |
I i,669 |
1,010 |
14,303 |
1,056 |
14,913 |
1,101 |
15,502 |
1,145 |
16,075 |
1,187 |
16,624 |
1,228 |
17,160 |
1,267 |
|
0,4 |
54,078 |
1,522 |
56,532 |
1,591 |
58,888 |
1,657 |
61,166 |
1,721 |
63,376 |
1,784 |
65,494 |
1,843 |
67,561 |
1,901 |
|
0,5 |
80,832 |
1,700 |
84,478 |
1,776 |
87,977 |
1,850 |
91,360 |
1,921 |
94,642 |
1,990 |
97,786 |
2,056 |
100,854 |
2,121 |
|
0,6 |
109,141 |
1,832 |
114,042 |
1,914 |
118,748 |
1,993 |
123,294 |
2,069 |
127,706 |
2,143 |
131,931 |
2,214 |
136,055 |
2,283 |
|
0,7 |
136,437 |
1,919 |
142,549 |
2,005 |
148,416 |
2,087 |
154,084 |
2,167 |
159,583 |
2,244 |
164,850 |
2,318 |
169,991 |
2,390 |
|
0,8 |
159,522 |
1,956 |
166,660 |
2,043 |
173,512 |
2,127 |
180,131 |
2,208 |
186,554 |
2,287 |
192,705 |
2,362 |
198,708 |
2,436 |
|
0,9 |
173,737 |
1,927 |
181,518 |
2,013 |
188,986 |
2,096 |
196,202 |
2,176 |
203,203 |
2,254 |
209,908 |
2,328 |
216,453 |
2,401 |
|
1,0 |
161,664 |
1,700 |
168,955 |
1,776 |
175,955 |
1,850 |
182,719 |
1,921 |
189,283 |
1,990 |
195,571 |
2,056 |
201,709 |
2,121 |
КЭ 0,02 мм. Диаметр трубы 400мм.
|
h/d |
i =0,0025 |
i =0,003 |
i =0,0035 |
i =0,004 |
i =0,0045 |
i =0,005 |
i =0,0055 |
|||||||
|
q, л/с |
v, м/с |
q, л/с |
v, м/с |
q, л/с |
v, м/с |
q, л/с |
v, м/с |
q, л/с |
v, м/с |
q, л/с |
v, м/с |
q, л/с |
v, м/с |
|
|
0,1 |
2,757 |
0,421 |
3,078 |
0,470 |
3,375 |
0,516 |
3,652 |
0,558 |
3,915 |
0,598 |
4,162 |
0,636 |
4,397 |
0,672 |
|
0,2 |
12,034 |
0,673 |
13,396 |
0,749 |
14,657 |
0,819 |
15,829 |
0,885 |
16,939 |
0,947 |
17,982 |
1,005 |
18,975 |
1,061 |
|
0,3 |
27,513 |
0,868 |
30,578 |
0,964 |
33,414 |
1,054 |
36,050 |
1,137 |
38,543 |
1,215 |
40,884 |
1,289 |
43,111 |
1,359 |
|
0,4 |
48,022 |
1,023 |
53,320 |
1,136 |
58,218 |
1,240 |
62,767 |
1,337 |
67,069 |
1,429 |
71,107 |
1,515 |
74,945 |
1,596 |
|
0,5 |
71,946 |
1,145 |
79,829 |
1,271 |
87,115 |
1,386 |
93,878 |
1,494 |
100,272 |
1,596 |
106,271 |
1,691 |
111,974 |
1,782 |
|
0,6 |
97,295 |
1,236 |
107,906 |
1,371 |
117,710 |
1,495 |
126,809 |
1,611 |
135,409 |
1,720 |
143,476 |
1,823 |
151,143 |
1,920 |
|
0,7 |
121,747 |
1,296 |
134,987 |
1,437 |
147,216 |
1,567 |
158,566 |
1,688 |
169,291 |
1,802 |
179,351 |
1,909 |
188,910 |
2,011 |
|
0,8 |
142,402 |
1,321 |
157,870 |
1,465 |
172,157 |
1,597 |
185,414 |
1,720 |
197,941 |
1,837 |
209,691 |
1,946 |
220,856 |
2,049 |
|
0,9 |
155,044 |
1,302 |
171,901 |
1,443 |
187,471 |
1,574 |
201,920 |
1,695 |
215,574 |
1,810 |
228,381 |
1,917 |
240,551 |
2,019 |
|
1,0 |
143,892 |
1,145 |
159,659 |
1,271 |
174,230 |
1,386 |
187,757 |
1,494 |
200,544 |
1,596 |
212,543 |
1,691 |
223,947 |
1,782 |
|
h/d |
i =0,006 |
i =0,0065 |
i =0,007 |
i =0,0075 |
i =0,008 |
i =0,0085 |
i =0,009 |
|||||||
|
q, л/с |
v, м/с |
q, л/с |
v, м/с |
q, л/с |
v, м/с |
q, л/с |
v, м/с |
q, л/с |
v, м/с |
q, л/с |
v, м/с |
q, л/с |
v, м/с |
|
|
0,1 |
4,625 |
0,707 |
4,841 |
0,740 |
5,050 |
0,772 |
5,252 |
0,803 |
5,448 |
0,833 |
5,637 |
0,861 |
5,821 |
0,890 |
|
0,2 |
19,934 |
1,114 |
20,844 |
1,165 |
21,721 |
1,214 |
22,571 |
1,262 |
23,395 |
1,308 |
24,187 |
1,352 |
24,962 |
1,395 |
|
0,2 |
19,934 |
1,114 |
20,844 |
1,165 |
21,721 |
1,214 |
22,571 |
1,262 |
23,395 |
1,308 |
24,187 |
1,352 |
24,962 |
1,395 |
|
0,4 |
78,652 |
1,675 |
82,166 |
1,750 |
85,552 |
1,822 |
88,828 |
1,892 |
92,007 |
1,960 |
95,056 |
2,025 |
98,042 |
2,088 |
|
0,5 |
117,479 |
1,870 |
122,696 |
1,953 |
127,723 |
2,033 |
132,587 |
2,110 |
137,305 |
2,185 |
141,830 |
2,257 |
146,260 |
2,328 |
|
0,6 |
158,544 |
2,014 |
165,557 |
2,103 |
172,314 |
2,189 |
178,850 |
2,272 |
185,189 |
2,353 |
191,269 |
2,430 |
197,220 |
2,505 |
|
0,7 |
198,138 |
2,109 |
206,880 |
2,202 |
215,302 |
2,292 |
223,449 |
2,378 |
231,350 |
2,462 |
238,927 |
2,543 |
246,344 |
2,622 |
|
0,8 |
231,632 |
2,149 |
241,843 |
2,244 |
251,678 |
2,335 |
261,192 |
2,423 |
270,419 |
2,509 |
279,266 |
2,591 |
287,927 |
2,672 |
|
0,9 |
252,298 |
2,118 |
263,428 |
2,211 |
274,149 |
2,301 |
284,521 |
2,389 |
294,579 |
2,473 |
304,224 |
2,554 |
313,666 |
2,633 |
|
1,0 |
234,958 |
1,870 |
245,393 |
1,953 |
255,447 |
2,033 |
265,174 |
2,110 |
274,610 |
2,185 |
283,659 |
2,257 |
292,519 |
2,328 |
КЭ 0,02 мм. Диаметр трубы 450мм.
|
h/d |
i =0,0025 |
i =0,003 |
i =0,0035 |
i =0,004 |
i =0,0045 |
i =0,005 |
i =0,0055 |
||||||||||||||||||
|
q, л/с |
v, м/с |
q, л/с |
v, м/с |
q, л/с |
v, м/с |
q, л/с |
v, м/с |
q,л/с |
v, м/с |
q, л/с |
v, м/с |
q, л/с |
v, м/с |
||||||||||||
|
0,1 |
3,820 |
0,461 |
4,260 |
0,514 |
|
0,563 |
5,046 |
0,609 |
5,403 |
0,652 |
5,741 |
0,693 |
6,064 |
0,732 |
|||||||||||
|
0,2 |
16,625 |
0,734 |
18,490 |
0,817 |
20,207 |
0,893 |
21,811 |
0,963 |
23,319 |
1,030 |
24,742 |
1,093 |
26,101 |
1,153 |
|||||||||||
|
0,3 |
37,946 |
0,945 |
42,142 |
1,050 |
46,000 |
1,146 |
49,602 |
1,236 |
52,985 |
1,320 |
56,176 |
1,400 |
59,222 |
1,476 |
|||||||||||
|
0,4 |
66,164 |
1,114 |
73,411 |
1,236 |
80,070 |
1,348 |
86,284 |
1,452 |
92,117 |
1,550 |
97,617 |
1,643 |
102,865 |
1,731 |
|||||||||||
|
0,5 |
99,056 |
1,246 |
109,834 |
1,381 |
119,735 |
1,506 |
128,969 |
1,622 |
137,634 |
1,731 |
145,804 |
1,834 |
153,597 |
1,932 |
|||||||||||
|
0,6 |
133,892 |
1,344 |
148,395 |
1,489 |
161,714 |
1,623 |
174,133 |
1,748 |
185,785 |
1,865 |
196,768 |
1,975 |
207,244 |
2,080 |
|||||||||||
|
0,7 |
167,491 |
1,409 |
185,584 |
1,561 |
202,196 |
1,700 |
217,683 |
1,831 |
232,213 |
1,953 |
245,906 |
2,068 |
258,966 |
2,178 |
|||||||||||
|
0,8 |
195,884 |
1,436 |
217,020 |
1,591 |
236,424 |
1,733 |
254,513 |
1,866 |
271,483 |
1,990 |
287,475 |
2,108 |
302,727 |
2,219 |
|||||||||||
|
0,9 |
213,294 |
1,415 |
236,329 |
1,568 |
257,477 |
1,708 |
277,194 |
1,839 |
295,691 |
1,961 |
313,123 |
2,077 |
329,749 |
2,187 |
|||||||||||
|
1,0 |
198,111 |
1,246 |
219,668 |
1,381 |
239,469 |
1,506 |
257,937 |
1,622 |
275,269 |
1,731 |
291,608 |
1,834 |
307,195 |
1,932 |
|||||||||||
|
h/d |
i =0,006 |
i =0,0065 |
i =0,007 |
i =0,0075 |
i =0,008 |
i =0,0085 |
i =0,009 |
||||||||||||||||||
|
q, л/с |
v, м/с |
q, л/с |
v, м/с |
q, л/с |
v, м/с |
q, л/с |
v, м/с |
q, л/с |
v, м/с |
q, л/с |
v, м/с |
q, л/с |
v, м/с |
||||||||||||
|
0,1 |
6,373 |
0,769 |
6,668 |
0,805 |
6,954 |
0,840 |
7,227 |
0,873 |
7,494 |
0,905 |
7,753 |
0,936 |
8,004 |
0,966 |
|||||||||||
|
0,2 |
27,400 |
1,210 |
28,643 |
1,265 |
29,841 |
1,318 |
30,990 |
1,369 |
32,110 |
1,418 |
33,195 |
1,466 |
34,245 |
1,513 |
|||||||||||
|
0,2 |
27,400 |
1,210 |
28,643 |
1,265 |
29,841 |
1,318 |
30,990 |
1,369 |
32,110 |
1,418 |
33,195 |
1,466 |
34,245 |
1,513 |
|||||||||||
|
0,4 |
107,881 |
1,816 |
112,673 |
1,896 |
117,291 |
1,974 |
121,715 |
2,049 |
126,024 |
2,121 |
130,201 |
2,191 |
134,235 |
2,259 |
|||||||||||
|
0,5 |
161,044 |
2,025 |
168,157 |
2,115 |
175,010 |
2,201 |
181,575 |
2,283 |
187,967 |
2,364 |
194,164 |
2,442 |
200,148 |
2,517 |
|||||||||||
|
0,6 |
217,252 |
2,181 |
226,811 |
2,277 |
236,019 |
2,369 |
244,840 |
2,457 |
253,427 |
2,544 |
261,751 |
2,627 |
269,788 |
2,708 |
|||||||||||
|
0,7 |
271,440 |
2,283 |
283,356 |
2,383 |
294,832 |
2,479 |
305,824 |
2,572 |
316,525 |
2,662 |
326,898 |
2,749 |
336,913 |
2,833 |
|||||||||||
|
0,8 |
317,296 |
2,326 |
331,210 |
2,428 |
344,611 |
2,526 |
357,447 |
2,620 |
369,942 |
2,712 |
382,054 |
2,801 |
393,748 |
2,887 |
|||||||||||
|
0,9 |
345,630 |
2,293 |
360,798 |
2,393 |
375,408 |
2,490 |
389,401 |
2,583 |
403,024 |
2,673 |
416,228 |
2,761 |
428,977 |
2,845 |
|||||||||||
|
1,0 |
322,087 |
2,025 |
336,314 |
2,115 |
350,020 |
2,201 |
363,150 |
2,283 |
375,934 |
2,364 |
388,328 |
2,442 |
400,296 |
2,517 |
|||||||||||
|
|
|
Проект канализации монтаж канализации.
|