//
ТехЛит.ру
- крупнейшая бесплатная электронная интернет библиотека для "технически умных" людей.
WWW.TEHLIT.RU - ТЕХНИЧЕСКАЯ ЛИТЕРАТУРА

:: Алготрейдинг::


АЛГОТРЕЙДИНГ
шаг за шагом
с нуля по урокам!

Торговые роботы на PYTHON, BackTrader,
Pandas, Pine Script для TradingView. Связка с брокерами, телеграм и легкими приложениями.


МЕЖГОСУДАРСТВЕННЫЙ СОВЕТ ПО СТАНДАРТИЗАЦИИ, МЕТРОЛОГИИ И СЕРТИФИКАЦИИ (МГС)

INTERSTATE COUNCIL FOR STANDARDIZATION, METROLOGY AND CERTIFICATION (ISC)

межгосударственный

стандарт

ГОСТ

30878-2003

Материалы текстильные

ПОКРЫТИЯ НАПОЛЬНЫЕ

Метод определения электрического сопротивления

 

 

Москва 2005

 

СОДЕРЖАНИЕ

Предисловие

Цели, основные принципы и основной порядок проведения работ по межгосударственной стандартизации установлены ГОСТ 1.0-92 «Межгосударственная система стандартизации. Основные положения» и ГОСТ 1.2-97 «Межгосударственная система стандартизации. Стандарты межгосударственные, правила и рекомендации по межгосударственной стандартизации. Порядок разработки, принятия, применения, обновления и отмены»

Сведения о стандарте

1. РАЗРАБОТАН Центральным научно-исследовательским институтом шерстяной промышленности и Всесоюзным научно-исследовательским и экспериментальным институтом по переработке химических волокон

2. ВНЕСЕН Госстандартом России

3. ПРИНЯТ Межгосударственным советом по стандартизации, метрологии и сертификации по переписке (протокол № 14 от 30 декабря 2003 г.)

За принятие проголосовали:

Краткое наименование страны по МК (ИСО 3166) 004-97

Код страны по МК (ИСО 3166) 004-97

Сокращенное наименование национального органа по стандартизации

Армения

АМ

Армстандарт

Беларусь

ВY

Госстандарт Республики Беларусь

Казахстан

КZ

Госстандарт Республики Казахстан

Кыргызия

КG

Кыргызстандарт

Молдова

МD

Молдова-Стандарт

Российская Федерация

RU

Госстандарт России

Таджикистан

TJ

Таджикстандарт

Узбекистан

UZ

Агентство «Узстандарт»

4. Приказом Федерального агентства по техническому регулированию и метрологии от 5 июля 2005 г. № 182-ст межгосударственный стандарт ГОСТ 30878-2003 введен в действие в качестве национального стандарта Российской Федерации с 1 октября 2005 г.

Информация о введении в действие (прекращении действия) настоящего стандарта публикуется в указателе «Национальные стандарты».

Информация об изменениях к настоящем стандарту публикуется в указателе «Национальные стандарты», а текст изменений - в информационных указателях «Национальные стандарты». В случае пересмотра или отмены настоящего стандарта соответствующая информация будет опубликована в информационном указателе «Национальные стандарты»

МЕЖГОСУДАРСТВЕННЫЙ СТАНДАРТ

Материалы текстильные

ПОКРЫТИЯ НАПОЛЬНЫЕ

Метод определения электрического сопротивления

Textiles. Floor coverings. Method for determination of electric resistance

Дата введения - 2005-10-01

Настоящий стандарт распространяется на текстильные напольные покрытия и устанавливает метод определения электрического сопротивления.

Сущность метода заключается в определении поверхностного и объемного электрического сопротивления, характеризующего способность к рассеянию электрических зарядов.

1. Нормативные ссылки

В настоящем стандарте используются ссылки на следующие стандарты:

ГОСТ 427-75 Линейки измерительные металлические. Технические условия

ГОСТ 6709-72 Вода дистиллированная. Технические условия

ГОСТ 10681-75 Материалы текстильные. Климатические условия для кондиционирования и испытания проб и методы их определения

ГОСТ 12023-93 Материалы текстильные. Полотна. Метод определения толщины

ГОСТ 17299-78 Спирт этиловый технический. Технические условия

ГОСТ 18276.0-88 Покрытия и изделия ковровые машинного способа производства. Метод отбора проб

ГОСТ 21241-89 Пинцеты медицинские. Общие технические требования и методы испытаний

Примечание. При пользовании настоящим стандартом целесообразно проверить действие ссылочных стандартов по указателю «Национальные стандарты», составленному по состоянию на 1 января текущего года, и по соответствующим информационным указателям, опубликованным в текущем году. Если ссылочный стандарт заменен (изменен), то при пользовании настоящим стандартом следует руководствоваться замененным (измененным) стандартом. Если ссылочный стандарт отменен без замены, то положение, в котором дана ссылка на него, применяется в части, не затрагивающей эту ссылку.

2. Метод отбора проб

2.1 Порядок отбора проб - по ГОСТ 18276.

2.2 Для испытаний отбирают 10 элементарных проб размером сторон 100×200 мм каждая.

3. Аппаратура и материалы

Для проведения испытаний применяют:

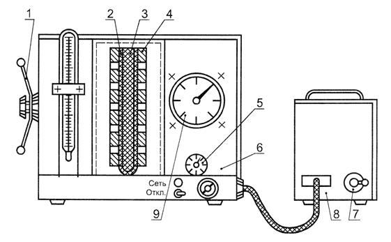
прибор для измерения поверхностного и объемного электрического сопротивления, включающий датчик, тераомметр с пределами измерений от 105 до 1014 Ом со встроенным источником постоянного напряжения 100 В (рисунок 1);

пинцет по ГОСТ 21241;

толщиномер по ГОСТ 12023;

спирт этиловый по ГОСТ 17299;

воду дистиллированную по ГОСТ 6709;

линейку металлическую по ГОСТ 427.

1 - рукоятка; 2 - элементарная проба; 3 - подложка; 4 - подвижная электродная система; 5 - манометр; 6 - датчик; 7 - тумблер; 8 - тераомметр; 9 - переключатель диапазонов

Рисунок 1 - Принципиальная схема прибора для измерения поверхностного и объемного электрического сопротивления напольных покрытий

Допускается использование других средств измерений и химических материалов с аналогичными техническими характеристиками.

4. Подготовка к испытаниям

4.1 Перед испытаниями производят очистку рабочих поверхностей электродов датчика хлопчатобумажной тканью белого цвета, смоченной этиловым спиртом по ГОСТ 17299, а затем дистиллированной водой по ГОСТ 6709, после чего просушивают в комнатных условиях.

4.2 Подготовку тераомметра к работе проводят согласно технической документации на прибор.

4.3 Перед испытанием пробы выдерживают не менее 24 ч в климатических условиях по ГОСТ 10681.

5. Проведение испытаний

5.1 Определение поверхностного электрического сопротивления

5.1.1 Для измерения поверхностного электрического сопротивления RS устанавливают переключатели электрической схемы прибора в положение, показанное на рисунке 2а.

5.1.2 Поверхностное электрическое сопротивление измеряют в указанной последовательности: элементарную пробу лицевой стороной вверх с помощью пинцета обертывают вокруг подложки из токопроводного материала и помещают между электродными системами датчика так, чтобы лицевая сторона элементарной пробы была повернута в сторону рабочей поверхности электродов.

Подвижную электродную систему с помощью рукоятки перемещают до тех пор, пока манометр на корпусе датчика не зарегистрирует давление на элементарную пробу, равное 1,5 кгс/см2.

Включением тумблера на электроды подают постоянное напряжение (100 В). Ручку переключателя диапазонов поворачивают до тех пор, пока стрелка на шкале тераомметра не остановится на определенном делении. Включают секундомер и по прошествии 1 мин регистрируют показания прибора.

5.2 Определение объемного электрического сопротивления

5.2.1 Для измерения объемного электрического сопротивления RV устанавливают переключатель электрической схемы прибора в положение, показанное на рисунке 2б.

а) объемное

6) поверхностное

Рисунок 2 - Схема подключения электродных систем при измерении электрического сопротивления

5.2.2 Объемное электрическое сопротивление измеряют в той же последовательности, что и поверхностное сопротивление, но по другой схеме расположения элементарной пробы. Последнюю помещают с помощью пинцета между электродными системами без токопроводной подложки так, чтобы ее лицевая сторона была обращена в сторону одной электродной системы, а изнаночная - с другой.

6 Обработка результатов испытаний

6.1 Определяют среднеарифметическое значение электрического сопротивления. При этом, если среди результатов есть значения с разными показателями степени, то перед подсчетом их приводят к одной степени. В полученном среднеарифметическом результате значение первого множителя должно быть от 1 до 10, в противном случае его преобразуют, изменяя степени у второго множителя.

Пример: Результат испытания

RS (сред.) = 22 . 1010Ом.

После преобразования:

RS (сред.) = 22 . 1011Ом.

6.2 Удельное поверхностное электрическое сопротивление (ρs) в омах вычисляют по формуле

(ρs) = K RS,

где  K - постоянная величина, определяемая геометрическими параметрами электродных систем (указывается в паспорте на прибор);

RS - среднеарифметическое значение результатов показаний прибора, Ом.

Вычисление проводят с точностью до третьего десятичного знака с последующим округлением до второго десятичного знака.

6.3 Удельное объемное электрическое сопротивление (ρV), Ом.см, вычисляют по формуле

(ρV) = KRV,

где  K - постоянная величина, определяемая геометрией электродных систем;

RV - среднеарифметическое значение результатов показаний прибора при измерении объемного сопротивления;

η - толщина элементарной пробы, см.

Вычисление проводят с точностью до третьего десятичного знака с последующим округлением до второго десятичного знака.

7. Протокол испытаний

Протокол испытаний должен содержать:

- технические данные напольного покрытия;

- размер элементарной пробы;

- время испытаний;

- значения показателей поверхностного и объемного электрического сопротивления;

- дату и место проведения испытаний;

- обозначение настоящего стандарта.

Ключевые слова: материалы текстильные, покрытия напольные, электрическое сопротивление, поверхностное электрическое сопротивление, объемное электрическое сопротивление, рассеивание электрических зарядов.




Яндекс цитирования



   Copyright © 2007-2026,  www.tehlit.ru.

[ ѓосты, стандарты, нормативы, инструкции, правила, строительные нормы ]