//
ТехЛит.ру
- крупнейшая бесплатная электронная интернет библиотека для "технически умных" людей.
WWW.TEHLIT.RU - ТЕХНИЧЕСКАЯ ЛИТЕРАТУРА

:: Алготрейдинг::


АЛГОТРЕЙДИНГ
шаг за шагом
с нуля по урокам!

Торговые роботы на PYTHON, BackTrader,
Pandas, Pine Script для TradingView. Связка с брокерами, телеграм и легкими приложениями.


ОРДЕНА ТРУДОВОГО КРАСНОГО ЗНАМЕНИ НАУЧНО-ИССЛЕДОВАТЕЛЬСКИЙ ИНСТИТУТ ОСНОВАНИЙ И ПОДЗЕМНЫХ СООРУЖЕНИЙ ГОССТРОЯ СССР

 

РЕКОМЕНДАЦИИ
ПО ПРОЕКТИРОВАНИЮ ОСНОВАНИЙ И ФУНДАМЕНТОВ НА ПУЧИНИСТЫХ ГРУНТАХ

 

 

ИЗДАТЕЛЬСТВО ЛИТЕРАТУРЫ ПО СТРОИТЕЛЬСТВУ

MOCКBA-1972

СОДЕРЖАНИЕ

ПРЕДИСЛОВИЕ

1. ОБЩИЕ ПОЛОЖЕНИЯ

2. ОСНОВНЫЕ ПОЛОЖЕНИЯ ПО ПРОЕКТИРОВАНИЮ

3. ИНЖЕНЕРНО-МЕЛИОРАТИВНЫЕ МЕРОПРИЯТИЯ

4. СТРОИТЕЛЬНО-КОНСТРУКТИВНЫЕ МЕРОПРИЯТИЯ ПРОТИВ ДЕФОРМАЦИИ ЗДАНИЙ И СООРУЖЕНИЙ ПРИ ПРОМЕРЗАНИИ И ПУЧЕНИИ ГРУНТОВ

5. ТЕРМОХИМИЧЕСКИЕ МЕРОПРИЯТИЯ

6. ОСОБЕННОСТИ ТРЕБОВАНИЙ К ПРОИЗВОДСТВУ РАБОТ ПО НУЛЕВОМУ ЦИКЛУ

ПРИЛОЖЕНИЕ I Примеры расчета фундаментов зданий и сооружений на устойчивость при промерзании сильнопучинистых грунтов

ПРИЛОЖЕНИЕ II Предложения по конструктивным приспособлениям столбчатых и ленточных фундаментов к условиям строительства на пучинистых грунтах.

 

«Рекомендации по проектированию оснований и фундаментов на пучинистых грунтах» составлены по результатам научных исследований и обобщения передового опыта фундаментостроения на пучинистых грунтах.

В Рекомендациях изложены инженерно-мелиоративные, строительно-конструктивные и термохимические мероприятия по борьбе с вредным влиянием морозного пучения грунтов на фундаменты зданий и сооружений, а также даны основные требования к производству строительных работ по нулевому циклу.

Рекомендации предназначены для инженерно-технических работников проектных и строительных организаций, которые осуществляют проектирование и строительство фундаментов зданий и сооружений на пучинистых грунтах.

ПРЕДИСЛОВИЕ

Действие сил морозного пучения грунтов ежегодно наносит народному хозяйству большой материальный ущерб, заключающийся в снижении сроков службы зданий и сооружений, в ухудшении условий эксплуатации и в больших денежных затратах на ежегодный ремонт поврежденных зданий и сооружений, на исправление деформированных конструкций.

В целях снижения деформаций фундаментов и сил морозного выпучивания Научно-исследовательским институтом оснований и подземных сооружений Госстроя СССР на основании проведенных теоретических и экспериментальных исследований с учетом передового опыта строительства разработаны новые и усовершенствованы уже существующие в настоящее время мероприятия против деформации грунтов при их промерзании и оттаивании.

Обеспечение проектных условий прочности, устойчивости и эксплуатационной пригодности зданий и сооружений на пучинистых грунтах достигается применением в практике строительства инженерно-мелиоративных, строительно-конструктивных и термохимических мероприятий.

Инженерно-мелиоративные мероприятия являются коренными, поскольку они направлены на осушение грунтов в зоне нормативной глубины промерзания и на снижение степени увлажнения слоя грунта на глубине 2-3 м ниже глубины сезонного промерзания.

Строительно-конструктивные мероприятия против сил морозного выпучивания фундаментов направлены на приспособление конструкций фундаментов и частично надфундаментного строения к действующим силам морозного пучения грунтов и к их деформациям при промерзании и оттаивании (например, выбор типа фундаментов, глубины их заложения в грунт, жесткости конструкций, нагрузок на фундаменты, анкеровки их в грунтах ниже глубины промерзания и многие другие конструктивные приспособления).

Часть предлагаемых конструктивных мероприятий приведена в самых общих формулировках без надлежащей конкретизации, как, например, толщина слоя песчано-гравийной или щебеночной подушки под фундаментами при замене пучинистого грунта непучинистым, толщина слоя теплоизолирующих покрытий во время строительства и на период эксплуатации и др.; более детально даются рекомендации по размерам засыпки пазух непучинистым грунтом и по размерам теплоизоляционных подушек в зависимости от глубины промерзания грунтов по опыту строительства.

В помощь проектировщикам и строителям приводятся примеры расчетов конструктивных мероприятий и, кроме того, даны предложения по заанкериванию сборных фундаментов (монолитное соединение стойки с анкерной плитой, соединение на сварке и на болтах, а также замоноличивание сборных железобетонных ленточных фундаментов).

Рекомендуемые для строительства примеры расчетов по конструктивным мероприятиям составлены впервые, а поэтому они не могут претендовать на исчерпывающее и эффективное решение всех затронутых вопросов по борьбе с вредным влиянием морозного пучения грунтов.

Термохимические мероприятия предусматривают, главным образом, снижение сил морозного выпучивания и величин деформации фундаментов при промерзании грунтов. Это достигается применением рекомендуемых теплоизоляционных покрытий поверхности грунта вокруг фундаментов, теплоносителей для обогрева грунтов и химических реагентов, понижающих температуру смерзания грунта и сил сцепления мерзлого грунта с плоскостями фундаментов.

При назначении противопучинных мероприятий рекомендуется руководствоваться в первую очередь значимостью зданий и сооружений, особенностями технологических процессов, гидрогеологическими условиями стройплощадки и климатическими характеристиками данного района. При проектировании предпочтение должно отдаваться таким мероприятиям, которые исключают возможность деформации зданий и сооружений силами морозного выпучивания как в период строительства, так и за весь срок эксплуатации. Рекомендации составлены доктором технических наук М. Ф. Киселевым.

Все предложения и замечания просьба присылать в НИИ оснований и подземных сооружений Госстроя СССР по адресу: Москва, Ж-389, 2-я Институтская ул., дом. 6.

1. ОБЩИЕ ПОЛОЖЕНИЯ

1.1. Настоящие Рекомендации содержат данные по проектированию и строительству фундаментов зданий, промышленных сооружений и различного специального и технологического оборудования на пучинистых грунтах.

1.2. Рекомендации разработаны в соответствии с основными положениями глав СНиП II-Б.1-62 «Основания зданий и сооружений. Нормы проектирования», СНиП II-Б.6-66 «Основания и фундаменты зданий и сооружений на вечномерзлых грунтах. Нормы проектирования», СНиП II-А.10-62 «Строительные конструкции и основания. Основные положения проектирования» и СН 353-66 «Указания по проектированию населенных мест, предприятий, зданий и сооружений в северной строительно-климатической зоне» и могут быть использованы для инженерно-геологических и гидрогеологических изысканий, выполняемых в соответствии с общими требованиями по исследованию грунтов для строительных целей. Материалы инженерно-геологических изысканий должны удовлетворять требованиям п. 1.6 настоящих Рекомендаций.

Примечание. Рекомендации не распространяются на площадки, где сезонное промерзание грунта сливается с вечномерзлым грунтом.

1.3. Пучинистыми (морозоопасными) грунтами называются такие грунты, которые при промерзании обладают свойством увеличиваться в объеме. Изменение объема грунта обнаруживается в поднятии при промерзании и опускании при оттаивании дневной поверхности грунта, в результате чего наносятся повреждения основаниям и фундаментам зданий и сооружений.

К пучинистым грунтам относятся пески мелкие и пылеватые, супеси, суглинки и глины, а также крупнообломочные грунты с содержанием в виде заполнителя частиц размером менее 0,1 мм в количестве более 30% по весу, промерзающие в условиях увлажнения. К непучинистым (неморозоопасным) грунтам относятся скальные, крупнообломочные с содержанием частиц грунта диаметром менее 0,1 мм, менее 30% по весу, Пески гравелистые, крупные и средней крупности.

Таблица 1

Подразделение грунтов по степени морозной пучинистости

Степень пучинистости грунтов при консистенции В

Положение уровня грунтовых вод Z в м для грунтов

песков мелких

песков пылеватых

супесей

суглинков

глин

I. Сильнопучинистые при
0,5<В

-

-

Z≤0,5

Z≤1

Z1,5

II. Среднепучинистые при
0,25<В<0,5

-

Z<0,6

0,5<Z≤1

1<Z≤1,5

1,5<Z≤2

III. Слабопучинистые при
0<В<0,25

Z<0,5

0,6<Z≤1

1<Z≤1,5

1,5<Z≤2

2<Z≤3

IV. Условнонепучинистые при
В<0

Z1

Z>1

Z>1,5

Z>2

Z>3

Примечания: 1. Наименование грунта по степени пучинистости принимается при удовлетворении одного из двух показателей В или Z.

2. Консистенция глинистых грунтов В определяется по влажности грунта в слое сезонного промерзания как средневзвешенное значение. Влажность грунта первого слоя на глубину от 0 до 0,5 м в расчет не принимается.

3. Величина Z, превышающая расчетную глубину промерзания грунта в м, т.е. разность между глубиной залегания уровня грунтовых вод и расчетной глубиной промерзания грунта, определяется по формуле:

где Н0 - расстояние от планировочной отметки до залегания уровня грунтовых вод в м;

H - расчетная глубина промерзания грунта в ж по главе СНиП II-Б.1-62.

1.4. В зависимости от гранулометрического состава, природной влажности, глубины промерзания грунтов и уровня стояния грунтовых вод грунты, склонные к деформациям при промерзании, по степени морозного пучения по табл. 1 подразделяются на: сильнопучинистые, среднепучинистые, слабопучинистые и условнонепучинистые.

1.5. Приведенные в табл. 1 подразделения грунтов по степени пучинистости на основании показателя консистенции следует учитывать также возможные изменения влажности грунта в слое сезонного промерзания как в период строительства, так и за весь период эксплуатации зданий и сооружений.

1.6. Основанием для определения степени пучинистости грунтов должны служить материалы гидрогеологических и грунтовых исследований (состав грунта, его влажность и уровень грунтовых вод, которые могут охарактеризовать участок застройки на глубину не менее удвоенной нормативной глубины промерзания грунта, считая от планировочной отметки).

1.7. Основания и фундаменты зданий и сооружений на пучинистых грунтах, подверженных деформациям при промерзании и оттаивании, должны проектироваться с учетом:

а) степени пучинистости грунтов;

б) рельефа местности, времени и количества выпадающих атмосферных осадков, гидрогеологического режима, условий увлажнения грунтов и глубины сезонного промерзания;

в) экспозиции строительной площадки по отношению освещаемости солнцем;

г) назначения, срока службы, значимости сооружений и условий их эксплуатации;

д) технической и экономической целесообразности конструкций фундаментов, трудоемкости и сроков возведения и экономии строительных материалов;

е) возможности изменения гидрогеологического режима грунтов, условий их увлажнения в период строительства и за весь срок эксплуатации здания или сооружения.

1.8. Объем и виды гидрогеологических и грунтовых исследований предусматриваются в зависимости от инженерно-геологических условий и стадии проектирования общей программой изысканий, составляемой проектно-изыскательской организацией и согласовываемой с заказчиком.

2. ОСНОВНЫЕ ПОЛОЖЕНИЯ ПО ПРОЕКТИРОВАНИЮ

2.1. При выборе грунтов в качестве оснований на строительной площадке следует отдавать предпочтение непучинистым грунтам (скальным, щебенистым, галечниковым, дресвяным, гравийным, пескам гравелистым, пескам крупным и средней крупности, а также глинистым грунтам, залегающим на возвышенных участках местности с обеспечением поверхностного стока и с уровнем стояния грунтовых вод ниже планировочной отметки на 4-5 м).

2.2. При проектировании фундаментов под каменные здания и сооружения на сильно- и среднепучинистых грунтах надлежит принимать столбчатые или свайные фундаменты, заанкеренные по расчету на силу выпучивания и на разрыв в наиболее опасном сечении, или же предусматривать замену пучинистых грунтов непучинистыми на глубину сезонного промерзания. Возможно также устройство подсыпки (подушки) из гравия, песка, горелых пород и других дренирующих материалов под всем зданием или сооружением слоем на расчетную глубину промерзания без удаления пучинистых грунтов или только под фундаментами при надлежащем технико-экономическом обосновании расчетом.

2.3. Основные мероприятия, направленные против деформаций конструктивных элементов зданий и сооружений при промерзании и пучении грунтов, должны быть предусмотрены при проектировании оснований и фундаментов.

В тех случаях, когда проектом мероприятия против пучения не предусмотрены, а гидрогеологические условия грунтов строительной площадки в период выполнения работ по нулевому циклу изменились с ухудшением свойств грунтов оснований, то авторский надзор должен возбудить вопрос перед проектной организацией о назначении мероприятий против пучения (осушение грунтов, уплотнение с втрамбовыванием щебня и др.).

2.4. Прочность, устойчивость и эксплуатационная пригодность зданий и сооружений на пучинистых грунтах должны обеспечиваться инженерно-мелиоративными, строительно-конструктивными и термохимическими мероприятиями.

3. ИНЖЕНЕРНО-МЕЛИОРАТИВНЫЕ МЕРОПРИЯТИЯ

3.1. Инженерно-мелиоративные мероприятия направлены на осушение грунтов в слое сезонного промерзания и снижение влажности грунтов в основании фундаментов в осенне-зимний период до их промерзания.

Примечание. При проектировании и осуществлении мелиоративных работ необходимо учитывать характер растительного покрова и требования к его сохранению.

3.2. При проектировании фундаментов на пучинистых грунтах надлежит предусмотреть надежный отвод подземных, атмосферных и производственных вод с площадки путем своевременной вертикальной планировки застраиваемой территории, устройства ливневой канализационной сети, водоотводных каналов и лотков, дренажа и других гидромелиоративных сооружений сразу же после окончания работ по нулевому циклу, не дожидаясь полного окончания строительных работ.

При составлении проектов и выполнении в натуре работ по вертикальной планировке площадок, сложенных пучинистыми грунтами, следует по возможности не изменять естественных водостоков.

3.3. При планировочных работах следует стремиться к минимальному нарушению природного дерново-почвенного покрова, а на срезках, где позволяют условия, поверхность грунта покрывать почвенным слоем толщиной 10-12 см с последующим посевом многолетних дернообразующих трав.

3.4. Насыпной глинистый грунт при планировке местности в пределах застройки должен быть послойно уплотнен механизмами до объемного веса скелета не менее 1,6 т/м3 и пористости не более 40% (для глинистого грунта без дренирующих прослоек). Поверхность насыпного грунта так же, как и поверхность на срезке, должна покрываться почвенным слоем и задерняться.

3.5. Уклон при твердых покрытиях (отмостки, площадки, подъезды) должен быть не менее 3%, а для задерненной поверхности - не менее 5%.

3.6. Для снижения неравномерного увлажнения пучинистых грунтов вокруг фундаментов при проектировании и строительстве рекомендуется: земляные работы производить с минимальным объемом нарушения грунтов природного сложения при рытье котлованов под фундаменты и траншей подземных инженерных коммуникаций; тщательно послойно уплотнять грунты при обратной засыпке пазух фундаментов и траншей ручными и пневмо- или электротрамбовками; обязательно устраивать водонепроницаемые отмостки шириной не менее 1 м вокруг здания с глиняными гидроизолирующими слоями в основании или покрывать почвенным слоем толщиной 10-12 см и задернять многолетними травами.

3.7. На строительных площадках, сложенных глинистыми грунтами и имеющих уклон местности более 2%, при проектировании следует избегать устройства резервуаров для воды, прудов и других источников увлажнения, а также расположения вводов в здание трубопроводов канализации и водоснабжения с нагорной стороны здания или сооружения.

3.8. Строительные площадки, расположенные на склонах, должны быть ограждены от стекающих со склонов поверхностных вод постоянной нагорной канавкой с уклоном не менее 5% до начала земляных работ по рытью котлованов.

3.9. Нельзя допускать при строительстве скопления воды от повреждения временного водопровода. При обнаружении на поверхности грунта стоячей воды или при увлажнении грунта от повреждения трубопровода необходимо принять срочные меры по ликвидации причин скопления воды или увлажнения грунта вблизи расположения фундаментов.

3.10. При засыпке коммуникационных траншей с нагорной стороны от здания или сооружения необходимо устраивать перемычки из мятой глины или суглинка с тщательным уплотнением для предотвращения попадания (по траншеям) воды к зданиям и сооружениям и увлажнения грунтов вблизи фундаментов.

3.11. Устройство прудов и водоемов, которые могут изменить гидрогеологические условия стройплощадки и повысить водонасыщение пучинистых грунтов застраиваемой территории, не допускается. Необходимо учитывать проектируемое изменение уровня воды в реках, озерах и прудах в соответствии с перспективным генеральным планом.

3.12. Следует избегать расположения зданий и сооружений ближе 20 ж к действующим колонкам для заправки тепловозов, обмывки автомашин, снабжения населения и для других целей, а также не проектировать колонок на пучинистых грунтах ближе 20 м к существующим зданиям и сооружениям. Площадки вокруг колонок должны быть спланированы с обеспечением отвода воды.

4. СТРОИТЕЛЬНО-КОНСТРУКТИВНЫЕ МЕРОПРИЯТИЯ ПРОТИВ ДЕФОРМАЦИИ ЗДАНИЙ И СООРУЖЕНИЙ ПРИ ПРОМЕРЗАНИИ И ПУЧЕНИИ ГРУНТОВ

4.1. Фундаменты зданий и сооружений, возводимые на пучинистых грунтах, могут быть запроектированы из любых строительных материалов, которые обеспечивают эксплуатационную пригодность зданий и сооружений и удовлетворяют требованиям прочности и долголетней сохранности. При этом необходимо считаться с возможными вертикальными знакопеременными напряжениями от морозного пучения грунтов (поднятие грунтов при промерзания и осадка их при оттаивании).

4.2. При размещении зданий и сооружений на строительной площадке необходимо по возможности учитывать степень пучинистости грунтов с тем расчетом, чтобы не могли оказаться под фундаментами одного здания грунты с различной степенью пучинистости. При неизбежности строительства здания на грунтах с различной степенью пучинистости следует предусматривать конструктивные мероприятия против действия сил морозного пучения, например, при ленточных сборных железобетонных фундаментах устраивать по фундаментным подушкам монолитный железобетонный пояс и др.

4.3. При проектировании зданий и сооружений с ленточными фундаментами на сильнопучинистых грунтах в уровне верха фундаментов надлежит предусматривать для 1-2-этажных каменных зданий по периметру наружных и внутренних капитальных стен конструктивные железобетонные пояса шириной не менее 0,8 толщины стены, высотой 0,15 м и над Проемами последнего этажа - армированные пояса.

Примечание. Железобетонные пояса должны иметь марку бетона не менее 150, арматуру с минимальным сечением, 3 диаметром 10 мм; с усиленным стыкованием стержней по длине.

4.4. При проектировании свайных фундаментов с ростверком на сильно- и среднепучинистых грунтах необходимо учитывать действие нормальных сил морозного пучения грунтов на подошву ростверка. Сборные железобетонные подстеновые рандбалки должны быть монолитно связаны между собой и уложены с зазором не менее 15 см между рандбалкой и грунтом.

4.5. Глубина заложения фундаментов каменных гражданских зданий и промышленных сооружений на пучинистых грунтах принимается не менее расчетной глубины промерзания грунтов согласно табл. 6 главы СНиП II-Б.1-62. В тех случаях, когда влажность грунтов не повышается в период строительства и эксплуатации зданий на слабопучинистых грунтах (полутвердой и тугопластичной консистенции), глубина заложения фундаментов должна приниматься при нормативной глубине промерзания:

до 1 м - не менее 0,5 м от планировочной отметки

до 1,5 - не менее 0,75 м от планировочной отметки

от 1,5 до 2,5 м - не менее 1 м от планировочной отметки

от 2,5 до 3,5 м - не менее 1,5 м от планировочной отметки

Для условнонепучинистых грунтов (твердой консистенции) расчетная глубина промерзания может приниматься равной нормативной глубине промерзания с коэффициентом 0,5.

4.6. Глубина заложения фундаментов под внутренние несущие стены и колонны неотапливаемых промышленных зданий на сильно- и среднепучинистых грунтах принимается не менее расчетной глубины промерзания грунтов.

Глубина заложения фундаментов стен и колонн отапливаемых зданий, имеющих неотапливаемые подвалы или подполья на сильнопучинистых и среднепучинистых грунтах, принимается равной нормативной глубине промерзания с коэффициентом 0,5, считая от поверхности пола подвала. При срезках грунта с наружной стороны стен здания нормативная глубина промерзания грунта считается от поверхности грунта после срезки, т.е. от планировочной отметки. При подсыпках грунта вокруг стен с наружной стороны нельзя допускать возведения здания до отсыпки грунта вокруг фундаментов на проектную отметку.

При срезках и отсыпках грунта следует особо обратить внимание на осушение грунтов снаружи здания, так как водонасыщенные грунты при промерзании могут нанести повреждения зданию вследствие бокового давления на стены подвала.

4.7. Как правило, не допускается промораживание грунта ниже подошвы фундамента каменных зданий и сооружений и фундаментов под специальное технологическое оборудование и машины на сильнопучинистых и среднепучинистых грунтах как во время строительства, так и в период эксплуатации.

На условнонепучинистых грунтах может быть допущено промерзание грунтов ниже подошвы фундаментов только при условии, если грунты природного сложения плотные и к моменту промерзания или во время промерзания природная влажность их не превышает влажность на границе раскатывания.

4.8. Запрещается, как правило, укладка фундаментов на промороженный грунт в основании без проведения специальных исследований замерзшего слоя грунта. Допускается укладка фундаментов на мерзлый грунт только в том случае, если объемный вес скелета мерзлого грунта более 1,6 г/см2, а природная влажность менее влажности на границе раскатывания (т.е. на грунт плотный, условнонепучинистый) и уровень грунтовых вод ниже на 2 м и более от глубины промерзания грунтов.

4.9. В целях уменьшения сил пучения и предупреждения деформаций фундаментов вследствие смерзания пучащихся грунтов с боковой поверхностью, фундаментов следует:

а) принимать простейшие формы фундаментов с малой площадью поперечного сечения;

б) отдавать предпочтение столбчатым и свайным фундаментам с фундаментными балками;

в) уменьшать площадь смерзания грунта с поверхностью фундаментов;

г) заанкеривать фундаменты в слое грунта ниже сезонного промерзания.

4.10. Устойчивость фундаментов при действии на них касательных сил морозного выпучивания проверяется расчетом по формуле

(1)

Nн -

нормативная нагрузка от веса сооружения в кг;

gн -

нормативная нагрузка от веса фундамента и веса грунта, лежащего на уступах, в кг;

Qн -

нормативная сила, удерживающая фундамент от выпучивания вследствие трения его о талый грунт, в кг, определяется по п. 4.11 настоящих Рекомендаций. При анкерных фундаментах вместо Qн принимается Рна, определяемая по п. 4.15 настоящих Рекомендаций;

τн -

нормативное сцепление примерзшего грунта к боковой поверхности фундамента в кг/см2, принимается по п. 4.13 настоящих Рекомендаций;

-

площадь боковой поверхности части фундамента, находящейся в пределах сезонномерзлого слоя, в см2 (при определении F принимается расчетная глубина промерзания грунта, но не более 2 м);

km -

произведение коэффициентов однородности и условий работы грунта, km=0,9;

-

коэффициент перегрузки сил пучения, принимаемый равным 1,1;

n1 -

коэффициент перегрузки постоянной нагрузки, принимаемый равным 0,9.

Примечание. При проектировании и строительстве малоэтажных зданий, осуществляемых с конструкциями малочувствительными к неравномерным осадкам (например, с деревянными рубленными или брусчатыми стенами), а также для сельскохозяйственных сооружений типа овоще- и силосохранилищ и т. п., выполняемых из древесных материалов, расчеты на действие сил морозного пучения можно не производить и мероприятия против пучения не применять.

4.11. Нормативная сила, удерживающая фундамент от выпучивания вследствие трения фундамента о талый грунт, определяется по формуле

(2)

 -

нормативное сопротивление грунта основания по боковой поверхности фундамента в кг/см2, принимаемое для свайных фундаментов по главе СНиП II-Б.5-67 «Свайные фундаменты. Нормы проектирования», а для прочих видов фундаментов при отсутствии опытных данных: для глинистых грунтов - 0,2 кг/см2, для песчаных - 0,3 кг/см2;

Fт -

площадь боковой поверхности фундамента в см2, находящаяся ниже слоя, подвергающегося зимнему промерзанию.

4.12. Площадь боковой поверхности ступенчатого фундамента, находящегося в пределах сезонного промерзания, определяется по формуле

(3)

где u1, u2,…un -

периметры ступеней в см;

h1, h2,…hn -

соответствующие высоты ступеней в см.

4.13. Нормативное сцепление примерзшего грунта к боковой поверхности фундамента τн определяется в зависимости от вида грунта, его природной влажности и уровня залегания грунтовых вод по табл. 2 в соответствии со степенью пучинистости грунтов.

Таблица 2

Нормативное сцепление примерзшего грунта к фундаменту

Степень пучинистости грунтов

τн, кг/см2

Сильнопучинистые

1

Среднепучинистые

0,8

Слабопучинистые

0,6

Примечания: 1. Степень пучинистости определяется по п. 1. 4 настоящих Рекомендаций.

2. При условии покрытия плоскостей фундаментов полимерной пленкой (см. п.5.3) настоящих Рекомендаций нормативное сцепление примерзшего грунта к фундаменту, определенное на основании опытных данных, рекомендуется принимать с коэффициентом (n) 0,4 для фундаментов, имеющих форму призмовидную или цилиндрическую, и 0,2 - для трапециевидных фундаментов, но в первом случае произведение τнn не должно быть меньше 0,4 кг/см2, во втором ≥0,3 кг/см2. При отсутствии опытных данных τн принимается равным 0,4 кг/см2 для призмовидных и цилиндрических фундаментов и 0,3 - для трапециевидных.

4.14. Проверка прочности фундамента на разрыв выполняется при условии

(4)

Расчетное усилие, разрывающее заанкеренный фундамент силами морозного выпучивания в наиболее слабом сечении, определяется по формуле

(5)

где τн, Nн, F, n, n1 -

значения те же, что и в формуле (1);

gн1 -

нормативная нагрузка от веса части фундамента, расположенной выше расчетного сечения, в кг.

4.15. Удерживающая сила анкера определяется расчетом по формуле (6) на момент проявления силы выпучивания

(6)

Fa -

площадь анкера в см2 (разность между площадью башмака и площадью поперечного сечения стойки);

H1 -

заглубление анкера в см (расстояние от дневной поверхности до верхней плоскости анкера);

γ0 -

объемный вес грунта в кг/см3.

4.16. При возведении зданий в зимнее время в случае неизбежного промерзания грунтов под фундаментами (для недопущения аварийного состояния зданий и принятия надлежащих мер по ликвидации возможных недопустимых деформаций конструктивных элементов зданий на сильнопучинистых грунтах) рекомендуется проверка фундаментов по условию их устойчивости на действие касательных и нормальных сил морозного выпучивания по формуле

(7)

f -

площадь подошвы фундамента в см2;

-

толщина мерзлого слоя грунта под подошвой фундамента в см;

-

эмпирический коэффициент в кг/см3, определяется как частное от деления удельной нормальной силы выпучивания на толщину мерзлого слоя грунта под подошвой фундамента. Для средне- и сильнопучинистых грунтов R рекомендуется принимать равным 0,06 кг/см3;

gн -

нормативная нагрузка от веса фундамента, включая вес грунта, лежащего на уступах фундамента, в кг;

n1, Nнn, τнF-

то же, что и в формуле (1).

Допустимую величину промерзания грунта под подошвой фундамента можно определить по формуле

(8)

4.17. Фундаменты под стены легких каменных зданий и сооружений на сильнопучинистых грунтах должны быть монолитными с анкерами по расчету на действие касательных сил пучения. Сборные блоки и фундаментные башмаки необходимо замоноличивать согласно настоящим Рекомендациям, по приложению II.

4.18. При строительстве малоэтажных зданий на сильнопучинистых грунтах рекомендуется проектировать крыльца на сплошной железобетонной плите по гравийно-песчаной подушке толщиной 30-50 см (верх плиты должен быть ниже пола в тамбуре на 10 см с зазором между крыльцом и зданием 2-3 см). Для капитальных каменных зданий следует предусматривать устройство крылец на сборных железобетонных консолях с зазором между поверхностью грунта и низом консоли не менее 20 см; при столбчатых или свайных фундаментах следует предусматривать промежуточные опоры, с тем чтобы расположение столбов или свай под наружные стены совпадало с местом установки консолей для крылец.

4.19. Рекомендуется отдавать предпочтение таким конструкциям фундаментов, которые позволяют механизировать процесс производства фундаментных работ и сократить объем земляных работ по рытью котлованов, а также транспортировку, обратную засыпку и трамбовку грунта. На сильнопучинистых и среднепучинистых грунтах этому условию удовлетворяют столбчатые, свайные и анкерные свайные фундаменты, при устройстве которых не требуется производить больших объемов земляных работ.

4.20. При наличии местных дешевых строительных материалов (песок, гравий, щебень, балласт и др.) или непучинистых грунтов вблизи строительной площадки целесообразно устройство под зданиями или сооружениями сплошных подсыпок толщиной на 2/3 нормативной глубины промерзания или засыпок пазух с наружной стороны фундаментов из непучинистых материалов или грунтов (щебень, гравий, галька, пески крупные и средние; а также шлаки, горелые породы и другие горнопромышленные отходы). Засыпка пазух при условии отвода воды из них и без отвода ее выполняется согласно п. 5.10 настоящих Рекомендаций.

Осушение дренирующих засыпок в пазухах и подушек под фундаментами при наличии водопоглощающих грунтов ниже пучинистого слоя должно осуществляться путем сброса воды через дренирующие скважины или воронки (см. приложение I, пример 6). При проектировании фундаментов на подсыпках следует руководствоваться «Указаниями по проектированию и устройству фундаментов и подвалов зданий и сооружений в глинистых грунтах по методу дренирующих прослоек».

4.21. При строительстве зданий и сооружений на пучинистых грунтах из сборных конструкций пазухи необходимо засыпать с тщательным уплотнением грунта немедленно после укладки цокольного перекрытия; в остальных случаях пазухи должны засыпаться с утрамбовкой грунта по мере возведения кладки или монтажа фундаментов.

4.22. Проектирование заглубления фундаментов в пучинистых грунтах на расчетную глубину промерзания грунтов с учетом теплового влияния зданий и сооружений принимается по главе СНиП II-Б.1-62 в тех случаях, когда они не будут перезимовывать без предохранения грунтов от промерзания в период строительства и после его окончания до ввода здания в постоянную эксплуатацию с нормальным отоплением или когда они не будут находиться в длительной консервации.

4.23. При проектировании на пучинистых грунтах фундаментов промышленных зданий, строительство которых длится в течение двух-трех лет (например, теплоэлектростанции), в проектах следует предусматривать мероприятия по предохранению грунтов основании от увлажнения и промерзания.

4.24. При строительстве малоэтажных зданий следует предусматривать декоративные цокольные обшивки с засыпкой пространства между цоколем и заборной стенкой малотеплопроводными и невлагоемкими материалами (опилками, шлаком, гравием, сухим песком и различными отходами горной промышленности).

4.25. Замену пучинистого грунта непучинистым у фундаментов отапливаемых зданий и сооружений рекомендуется производить только с наружной стороны фундаментов. Для неотапливаемых зданий и сооружений замену пучинистого грунта непучинистым рекомендуется производить с обеих сторон фундаментов под наружные стены и также с обеих сторон фундаментов под внутренние несущие стены.

Ширина пазухи для засыпки непучинистым грунтом определяется в зависимости от глубины промерзания грунтов и от гидрогеологических условий грунтов оснований.

При условии отвода воды из засыпок пазух и при глубине промерзания грунтов до 1 м ширина пазухи для засыпки непучинистого грунта (песка, гравия, гальки, щебня) достаточна в 0,2 м. С заглублением фундаментов от 1 до 1,5 м минимально допустимая ширина пазухи для засыпки непучинистого грунта должна быть не менее 0,3 м, и при глубине промерзания грунтов от 1,5 до 2,5 м пазуху желательно засыпать на ширину не менее 0,5 м. Глубина засыпки пазух в данном случае принимается не менее 3/4 глубины заложения фундамента, считая от планировочной отметки.

При невозможности отвода воды из непучинистого грунта засыпку пазух ориентировочно можно рекомендовать на ширину, равную на уровне подошвы фундамента 0,25-0,5 м и на уровне дневной поверхности грунта - не менее расчетной глубины промерзания грунтов с. обязательным перекрытием непучинистого материала засыпки отмосткой с асфальтовым покрытием в соответствии с рис. 4.

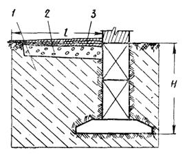
4.26. Устройство шлаковых подушек по периметру зданий с наружной стороны фундаментов надлежит применять для жилых и промышленных отапливаемых зданий и сооружений. Шлаковая подушка укладывается толщиной слоя от 0,2 до 0,4 м и шириной от 1 до 2 м в зависимости от глубины промерзания грунтов и прикрывается отмосткой, как показано на рис. 5.

При глубине промерзания 1 м - толщина 0,2 м и ширина 1 м; при глубине промерзания 1,5 м - толщина 0,3 м и ширина 1,5 м и при глубине промерзания 2 м и более - толщина слоя шлаковой подушки 0,4 м и ширина 2 м.

При отсутствии гранулированного шлака рекомендуется при соответствующем технико-экономическом обосновании применять керамзит с теми же размерами толщины и ширины подушки, что и для шлаковых подушек.

5. ТЕРМОХИМИЧЕСКИЕ МЕРОПРИЯТИЯ

5.1. В целях снижения сил выпучивания на период строительства рекомендуется применять послойно через 10 см засоление грунта засыпки вокруг фундаментов технической поваренной солью из расчета 25-30 кг на 1 м3 суглинистого грунта. После рассыпки соли на слой грунта 10 см высотой и 40-50 см по ширине пазухи производится перемешивание грунта с солью и тщательное трамбование, затем укладка следующего слоя грунта с засолением и трамбованием. Грунт засыпки пазухи засоляется начиная от подошвы фундамента и не доходя 0,5 м до планировочной отметки.

Применение засоления грунта допускается в том случае, если оно не повлияет на снижение прочности материалов фундаментов или других подземных сооружений.

5.2. Для уменьшения величины сил смерзания между грунтом и материалом фундамента на период строительства рекомендуется смазать выровненные боковые поверхности фундамента непрочно-смерзающимися материалами, например битумной мастикой (приготовленной из золы-уноса ТЭЦ - четыре части, битума марки III - три части и солярового масла - одна часть по объему).

Обмазка фундамента должна производиться от его подошвы до планировочной отметки в два слоя: первый - тонкий с тщательной притиркой, второй - толщиной 8-10 мм.

5.3. В целях снижения касательных сил морозного пучения грунтов при устройстве малонагруженных свайных фундаментов под специальное технологическое оборудование на сильнопучинистых грунтах может быть применено покрытие поверхности свай в зоне сезонного промерзания грунтов полимерной пленкой. Экспериментальная проверка в полевых условиях показала эффект снижения касательных сил морозного пучения грунтов от применения полимедных пленок от 2,5 до 8 раз. Состав высокомолекулярных соединений и технология приготовления и нанесения пленок на плоскости железобетонных фундаментов изложены в «Рекомендациях по применению высокомолекулярных соединений в борьбе с морозным выпучиванием фундаментов».

5.4. Столбчатые фундаменты до полной их нагрузки в период строительства надлежит обёртывать бризолом или рубероидом в два слоя на 2/3 от нормативной глубины померзания грунтов, считая от планировочной отметки, при том условии, если нагрузка на фундамент меньше сил морозного выпучивания.

5.5. На время строительства вокруг фундаментов зданий и сооружений следует устраивать временные теплоизоляционные покрытия из опилок, снега, шлака и других материалов в соответствии с указаниями по предохранению грунтов и грунтовых оснований от промерзания.

5.6. Во избежание промораживания грунтов под подошвой фундаментов внутренних стен и колонн в технических подпольях и цокольных этажах недостроенных или построенных, но перезимовывающих без отопления зданий следует организовать в зимние месяцы временное отопление этих помещений, чтобы не допустить повреждения конструктивных элементов зданий (в практике применяются калориферы, электронагреватели, металлические печи и др.).

5.7. При строительстве в зимнее время в отдельных случаях надлежит предусматривать электропрогрев грунтов путем периодического пропускания (в зимние месяцы) электрического тока по специально уложенной под фундаментами 3-мм стальной проволоке; контроль за обогревом грунта под фундаментами должен осуществляться при этом по данным замеров его температуры ртутными термометрами или по данным наблюдений за промерзанием грунта около фундаментов по мерзлотомеру Данилина.

5.8. Промышленные здания или сооружений, для которых по технологическим соображениям нельзя допускать деформации вследствие промерзания грунтов вокруг фундаментов и ниже их подошвы (фундаменты под установки для получения жидкого кислорода, под холодильные машины, под автоматические и другие установки, в холодных неотапливаемых цехах и под специальные установки и оборудование), должны быть надежно ограждены от деформаций морозного пучения грунтов.

В этих целях рекомендуется применять периодически (с ноября по март, а для северных и северо-восточных районов с октября по апрель) обогрев грунта вокруг фундаментов пропусканием горячей воды по трубопроводу от центральной отопительной системы или от сточных отработанных промышленных горячих вод. Для этого можно также использовать водяной пар.

Покрытый битумной эмалью стальной трубопровод сечением не менее 37 мм должен укладываться непосредственно в грунт на глубину 20-60 см ниже планировочной отметки и на 30 см в сторону от фундамента с наружной стороны с уклоном для слива воды. Там, где позволяют условия производства, над трубопроводом по поверхности земли рекомендуется уложить растительный грунт слоем 10-15 см с уклоном в сторону от фундамента. По поверхности растительного слоя в целях теплоизоляции полезно сделать посев дернообразующих многолетних травосмесей.

5.9. Подготовку почвенного слоя, посев дернообразующих трав и посадку кустарниковых растений следует производить, как правило, в весеннее время, без нарушения принятой по проекту планировки площадок.

5.10. В качестве задернителей рекомендуется применять травосмесь, состоящую из семян пырея, полевицы, овсяницы, мятлика, тимофеевки и других дернообразующих травянистых растений. Желательно использовать семена трав местной флоры применительно к природно-климатическим условиям местности. В засушливые летние месяцы задерненные и засаженные декоративными кустарниками участки рекомендуется периодически поливать.

6. ОСОБЕННОСТИ ТРЕБОВАНИЙ К ПРОИЗВОДСТВУ РАБОТ ПО НУЛЕВОМУ ЦИКЛУ

6.1. Применение способа гидромеханизации для проходки котлованов под здания и сооружения на строительных площадках с пучинистыми грунтами, как правило, не допускается.

Рефулирование пучинистых грунтов в период строительства на застраиваемых площадках может быть допущено только в том случае, если намывные грунты будут залегать не ближе 3 м от фундаментов наружных стен.

6.2. При устройстве фундаментов в пучинистых грунтах необходимо стремиться к уменьшению ширины котлованов и немедленному заполнению пазухи тем же грунтом с тщательным уплотнением. При засыпке пазух необходимо обеспечить поверхностный сток воды вокруг здания, не дожидаясь окончательной планировки и укладки почвенного слоя для задернения или асфальтовой отмостки.

6.3. Отрытые котлованы и траншеи не следует оставлять на длительное время до установки в них фундаментов. Появляющиеся в котлованах и траншеях грунтовые или атмосферные воды должны немедленно отводиться или откачиваться.

Водонасыщенный слой грунта от скопления поверхностных вод должен быть заменен непучинистым грунтом или уплотнен с втрамбовыванием в него щебня или гравия на глубину не менее 1/3 слоя разжиженного грунта.

6.4. При разработке в зимнее время котлованов под фундаменты и траншеи для подземных коммуникаций вблизи фундаментов на пучинистых грунтах применение искусственного оттаивания водяным паром не допускается.

6.5. Засыпка пазух должна производиться послойно (по возможности тем же талым грунтом) с тщательным трамбованием. Засыпку пазух котлованов бульдозером без уплотнения пучинистых грунтов не следует допускать.

6.6. Фундаменты, установленные в летнее время и оставленные на зиму ненагруженными, должны быть покрыты теплоизоляционными материалами.

Бетонные плиты толщиной более 0,3 м на сильнопучинистых грунтах должны быть укрыты при глубине промерзания грунтов более 1,5 м минераловатными плитами в один слой или керамзитом с объемным весом 500 кг/м3 с коэффициентом теплопроводности 0,18, толщиной слоя 15-20 см.

6.7. Линии временного водоснабжения допускается прокладывать только по поверхности. В период строительства необходимо обеспечить строгий контроль за состоянием сетей временного водоснабжения. При обнаружении утечки воды из труб временного водоснабжения в грунт необходимо принять экстренные меры по ликвидации увлажнения грунта вблизи фундаментов.

ПРИЛОЖЕНИЕ I
Примеры расчета фундаментов зданий и сооружений на устойчивость при промерзании сильнопучинистых грунтов

Для примеров расчета устойчивости фундаментов приняты следующие грунтовые условия площадки строительства:

1) растительный слой 0,25 м;

2) суглинок желто-коричневый от 0,25 до 4,8 м; объемный вес грунта колеблется от 1,8 до 2,1; природная влажность колеблется от 22 до 27%, влажность на границе текучести 30%; на границе раскатывания 18%; число пластичности 12; уровень грунтовых вод на глубине 2-2,5 м от дневной поверхности. Суглинок мягкопластичной консистенции по природной влажности и условиям увлажнения относится к сильнопучинистому.

В данных грунтовых условиях даются примеры расчета фундаментов на устойчивость при воздействии касательных сил морозного пучения для следующих конструктивных видов железобетонных фундаментов: пример 1 - монолитный железобетонный столбчатый фундамент с анкерной плитой; пример 2 - железобетонный свайный фундамент; пример 3 - сборный железобетонный столбчатый фундамент с односторонней анкеровкой, ленточный и сборный железобетонный фундамент; пример 4 - замена пучинистого грунта в пазухе непучинистым и пример 5 - расчет теплоизоляционной подушки у фундаментов. В остальных примерах характеристика грунтовых условий приводится для каждого в отдельности.

Пример 1. Требуется рассчитать монолитный железобетонный столбчатый фундамент с анкерной плитой на устойчивость при воздействии сил морозного выпучивания (рис. 1).

Исходные данные для расчета следующие: H1=3 м; h=2 м (глубина промерзания грунта); h1=1 м (толщина талого прослойка); Nн=15 т; gн=5 т; γ0=2 т/м3; Fa=0,75 м2; b=1 м; с=0,5 м (ширина стойки); h2=0,5 м (толщина анкерной плиты); u=2 м; τн=1 кг/см2=10 т/м2; km=0,9; n=1,1; n1=0,9; F=4 м2.

Устойчивость фундамента на морозное выпучивание проверяем по формуле (1).

Находим значение удерживающей силы анкера по формуле (6).

Подставляя в формулу (1) нормативные значения различных величин, получим:

0,9·9,0+0,9(15+5)<1,1·10·4; 26,1<44.

Как видим, условие устойчивости фундамента при пучении грунтов не соблюдается, поэтому необходимо применить противопучинные мероприятия.

Пример 2. Требуется рассчитать железобетонный свайный фундамент (свая с квадратным сечением 30X30 см) на устойчивость при воздействии на него сил морозного выпучивания (рис. 2).

Исходные данные для расчета следующие: H1=6 м; h=1,4 м; gн=1,3 т; Qн=11,04 т; u=1,2 м; с=0,3 м; τн=1 кг/см2=10 г/м2; Nн=10 т; km=0,9; n=1,1; n1=0,9.

Проверяем устойчивость свайного фундамента на морозное выпучивание по формуле (1) получим:

0,9·11,04+0,9(10+1,3)>1,1·10·1,68; 20,01>18,48.

Проверка показала, что при воздействии сил морозного выпучивания условие устойчивости фундамента соблюдается.

Рис. 1. Схема для расчета монолитного железобетонного столбчатого фундамента с анкерной плитой

Рис. 2. Схема для расчета железобетонного свайного фундамента

Пример 3. Требуется рассчитать сборный железобетонный столбчатый фундамент с односторонней анкеровкой (в один блок ленточного фундамента) на устойчивость под действием сил морозного выпучивания (рис. 3). Блоки между собой и с опорной плитой замоноличиваются согласно приложению II.

Исходные данные для расчета следующие:

H1=2,4; h=1,7 м; h1=0,7 м; Nн=25 т; gн=13,3 т; γ0=1,9 г/м3; Fa=2,4 м2; а=2 м (длина фундаментной подушки); b=1,8 м (ширина фундаментной подушки); с=0,6 м; u=2,4 м; τн=1 кг/см2=10 т/м2; n=1,1; km=0,9; n1=0,9.

Устойчивость фундамента на морозное выпучивание проверяем по формуле (1).

Значение удерживающей силы анкера Рна находим по формуле (6)

Подставляя значения величин в формулу (1), получим:

0,9·21,9+0,9(25+13,3)>1,1·10·4,08; 54,18>44,88.

Рис. 3. Схема для расчета столбчатого и ленточного фундамента с односторонней анкеровкой

В примере 3 устойчивость сборного фундамента соблюдается.

Следовательно, сборные столбчатые железобетонные фундаменты с односторонней анкеровкой (ленточные) с малой нагрузкой будут устойчивы при морозном пучении грунтов.

Конечно, для зданий с постоянным отоплением в период эксплуатации промерзания грунта с внутренней стороны не будет, поэтому сила морозного выпучивания в примере 3 уменьшится в два раза и здание будет еще более устойчивым.

Таким образом, если здания будут перезимовывать без отопления после строительства, то устойчивость фундамента от сил морозного выпучивания не нарушится.

Рис. 4. Схема засыпки пазух непучинистым грунтом
1 - водонасыщенный суглинок; 2 - непучинистый грунт в пазухе; 3 - асфальтовое покрытие;
H - расчетная глубина промерзания грунта; l - ширина отмостки (l=Н+0,2)

Пример 4. Требуется запроектировать замену пучинистого грунта непучинистым по контуру отапливаемого здания с наружной стороны сборного железобетонного фундамента (рис. 4).

Исходные данные следующие; грунты те же, что и в примере 1; расчетная глубина промерзания грунтов и глубина заложения фундаментов 1,6 м; ширина пазухи, засыпанной гравием со щебнем, равна 1,6 м; ширина асфальтовой отмостки 1,8 м, ширина траншеи внизу, считая от стойки, принимается равной 0,6 м.

Объем непучинистого грунта получается из произведения площади сечения засыпки на величину периметра здания или сооружения.

Рис. 5. Схема для устройства шлаковых или керамзитовых подушек
1 - пучинистый грунт; 2 - теплоизоляционная подушка; 3 - асфальтовая отмостка;
H - расчетная глубина промерзания в м; l - ширина отмостки в м (l=H+0,2)

Пример 5. Требуется запроектировать теплоизоляционную подушку для отапливаемых зданий с целью снижения глубины промерзания грунтов возле фундаментов и уменьшения сил выпучивания (рис. 5).

Исходные данные следующие: грунтовые условия те же что и в примере 1, расчетная глубина промерзания 2 м, толщина шлаковой подушки 0,4 м, ширина 2 м. Потребное количество гранулированного котельного шлака определяется расчетом. В том случае, когда шлаковая подушка перед промерзанием грунтов находится в водонасыщенном состоянии теплоизоляционная эффективность снижается, а поэтому при условии водонасыщенности грунтов вместо шлака рекомендуется применять керамзит с теми же конструктивными размерами, что и для шлаковой подушки.

Пример 6. Проектирование фундаментов каменного здания длиной 60 м, шириной 12 м и высотой стен 2,5 м на пучинистых грунтах, подстилаемых дренирующим грунтом.

Гидрогеологические условия строительной площадки следующие: почвенно-растительный слой от 0 до 0,2 м; суглинок коричневый плотный, влажный (консистенция В=0,56) от 0,2 до 1,8 м; песок желтый, мелкозернистый, плотный от 1,8 до 5 м.

Уровень подземных вод по состоянию на октябрь появился на 3,75 м и установился на глубине 4,2 м ниже дневной поверхности. Нормативная глубина промерзания грунтов равна 2 м. Расчетная температура воздуха в зимний период в здании с полами по грунту около 5°, следовательно, расчетная глубина промерзания грунта будет равна 2·1=2 м.

При данных гидрогеологических условиях, когда уровень грунтовых вод превышает расчетную глубину промерзания более 2 м, по главе СНиП II-Б.1-62 допускается заложение фундаментов менее расчетной глубины промерзания грунтов при условии недопущения промерзания грунтов ниже подошвы фундаментов.

Технологический процесс в здании связан со значительным сливом воды на пол, что неизбежно повлечет к повышению влажности глинистых грунтов в основании фундаментов и к деформации грунтов при промерзании. Исходя из этих соображений глубину заложения фундаментов надлежит принять не менее 2 м, но одно мероприятие по заглублению фундаментов на расчетную глубину промерзания грунтов не может избавить легкое здание от деформаций, вызываемых касательными силами пучения грунтов вследствие смерзания их со стенками фундаментов.

Наиболее рациональным решением при проектировании фундаментов будет заложение ленточных фундаментов на глубину 0,5-0,6 м от планировочной отметки. Но это возможно только в том случае, если будут предусмотрены следующие инженерно-мелиоративные и строительно-конструктивные мероприятия:

1) глубину заложения фундаментов принять на 0,6 м ниже планировочной отметки по песчаной подушке 0,2 м;

2) в траншее ниже песчаной подушки пройти колодцы сечением 0,3×0,3 м через 10 м один от другого на глубину до песчаного слоя и заполнить эти колодцы средне- и крупнозернистым песком для поглощения попадающих поверхностных вод в песчаную подушку ниже подошвы фундаментов;

3) пазухи засыпать песком с толщиной засыпки между стенкой фундамента и грунтом не менее 0,2 м;

4) вокруг здания на ширину 2-3 м с поверхности уложить 10-15 см почвенный слой и посеять многолетние дернообразующие травы.

При невозможности задернения поверхности грунта вокруг здания следует сделать асфальтовую отмостку шириной до 1 м.

Засыпка песчаным грунтом пазух и устройство дренирующих колодцев приняты в целях снижения касательных сил смерзания и выпучивания малонагруженных фундаментов (рис. 6).

Песчаную подушку с дренирующими колодцами необходимо принять по тем соображениям, что во время строительства и эксплуатации здания создаются условия, которые вызывают повышение природной влажности суглинистого грунта.

Инженерно-мелиоративные мероприятия в зависимости от гидрогеологических условий, конструкций здания и их назначения должны приниматься на основе анализа всех обстоятельств. Так, например, нельзя допускать устройство фундаментов с дренажными водопоглощающими колодцами в тех случаях, если водоносные горизонты в песчаных, грунтах являются источником снабжения питьевой водой населения. Следует также учитывать загрязненность воды, которую намечается дренировать в водопоглощающие грунты. Во всех случаях на спуск в дренирующие грунты промышленных вод надлежит получить разрешение от санитарной инспекции.

Рис. 6. Фундамент с дренирующими обсыпками и колодцами

1 - фундамент; 2 - песчаная засыпка пазух; 3 - дренирующий колодец; 4 - суглинистый грунт; 5 - водопоглощающий песчаный грунт

Рис. 7. Схема для расчета фундамента под колонну на действие касательных и нормальных сил выпучивания

В зависимости от вида зданий или сооружений противопучинные мероприятия должны приниматься сообразно с условиями работы несущих конструкций. Например, при гидрогеологических условиях, описанных выше, нет необходимости при проектировании 5-этажных зданий принимать глубину заложения фундаментов на 0,6 м с устройством дренажных водопоглощающих воронок. Здесь касательные силы смерзания будут меньше веса зданий, и поэтому глубину заложения фундаментов следует принимать по главе СНиП II-Б.1-62.

Пример 7. Требуется рассчитать монолитный железобетонный фундамент под колонну на устойчивость при действии нормальных и касательных сил морозного пучения (рис. 7).

Для расчета устойчивости фундамента на действие касательных и нормальных сил морозного пучения приняты следующие грунтовые и гидрогеологические условия:

0,0-1,0 м -

покровный суглинок желто-коричневого цвета, объемный вес 1,96, природная влажность 22, влажность на границе текучести 27, на границе раскатывания 17, число пластичности 10, консистенции 0,5;

1,0-4,0 м -

моренный суглинок красно-бурого цвета, плотный, с коэффициентом пористости 0,48, природная влажность 17, влажность на границе текучести 21, на границе раскатывания 12, консистенция 0,55, уровень грунтовых вод залегает на 2,9 ж ниже дневной поверхности.

По составу, природной влажности и условиям увлажнения данный грунт относится к среднепучинистому.

Исходные данные для расчета следующие: Н=1,6 м; h1=1 м; h2=0,3 м; h=0,3 м; с=0,4 м; с1=2 м; F= 3,2 м; f=4 м; Nн=110 т; gн=11,5 т; R=0,06 кг/см3=60 т/м3; τн=0,8 кг/см2=8 т/м2; n1=0,9; n=1,1.

Устойчивость фундамента на морозное выпучивание проверяем по формуле (7).

Подставляя в формулу значения величин, получим:

0,9(110+11,5)>1,1·8·4+4·0,3·60; 109,4>107,2.

Проверка показала, что условие устойчивости соблюдается при промерзании грунта ниже подошвы фундамента на 30 см.

Пример 8. Требуется рассчитать монолитный железобетонный фундамент под колонну на устойчивость при действии нормальных сил и касательных сил морозного пучения (рис. 8).

Рис. 8. Схема для расчета отдельно стоящего фундамента с уступами на действие касательных и нормальных сил выпучивания на сильнопучинистых грунтах

Для расчета устойчивости фундамента на действие касательных и нормальных сил морозного пучения приняты следующие грунтовые и гидрогеологические условия:

0,0-0,2 м -

пахотный слой, суглинок серого цвета, рыхлый, слабовлажный;

0,2-4,8 м -

глина желто-коричневая, структурная, влажная, плотная. Коэффициент пористости 0,56, природная влажность 31, влажность на границе текучести 37, на границе раскатывания 16, число пластичности 21, консистенция мягкопластичная 0,71, установившийся уровень подземной воды на глубине 2,5 м от дневной поверхности. По составу, влажности и условиям увлажнения грунт относится к сильнопучинистому.

Исходные данные для расчета следующие: Н=1,5 м; h1=0,6 м; h2=0,3; h3=0,3 м; h=0,3 м; с=0,4 м; с1=0,7 м; с2=1 м; F=3 м2; f=l м2; Nн=40 т; gн=3 т; R=0,06 кг/см3=60 т/м3; τн=1 кг/см2=10 т/м2; n1=0,9; n=1,1.

Устойчивость фундамента на морозное выпучивание проверяем по формуле (7).

Подставляя в формулу нормативные значения величин получим:

0,9(40+3)<1,1·10·3+1·0,3·60; 38,7<51.

Проверка показала, что условие устойчивости данной конструкции фундамента на сильнопучинистом грунте не соблюдается при промерзании грунта ниже подошвы фундамента на 30 см.

Допустимую величину промерзания грунта под подошвой фундамента можно определить по формуле (8).

Для данного примера эта величина h=9,5 см. Как видим, в зависимости от конструкций фундамента и грунтовых условий, т.е. степени пучинистости грунта, имеется возможность определять допустимую величину промерзания грунта ниже подошвы фундамента.

ПРИЛОЖЕНИЕ II
Предложения по конструктивным приспособлениям столбчатых и ленточных фундаментов к условиям строительства на пучинистых грунтах.

Сборные железобетонные малонагруженные фундаменты, возводимые на средне- и сильнопучинистых грунтах, часто подвергаются деформациям под действием касательных сил морозного выпучивания. Следовательно, сборные элементы фундаментов должны иметь между собой монолитное соединение и, кроме того, должны быть рассчитаны на работу со знакопеременными усилиями, т.е. на нагрузки от веса зданий и сооружений и на силы морозного выпучивания фундаментов.

На рис. 9,а показано монолитное соединение стойки с анкерной плитой; на рис. 9,б - соединение стойки с анкерной плитой на сварке; на рис. 9,в - соединение на болтах стойки с анкерной плитой.

Рис. 9. Соединение стойки и анкерной плиты
а - анкерный фундамент монолитного изготовления: 1 - арматура стойки; 2 - арматура анкерной плиты;
б - соединение на сварке стойки и анкерной плиты: 1 - бетон марки 100-150; 2 - сварка по контуру; 3 - опорный лист стойки. δ=10 мм, привариваемый к рабочей арматуре каркаса; 4 - опорный лист анкерной плиты, δ=10 мм: 5 - анкеры опорного листа диаметром
d≥14 мм и длиной более 2 м;
в - соединение на болтах стойки и анкерной плиты: 1 - бетон марки 100-150; 2 - опорный лист анкерной плиты; 3 - рамка из уголков, привариваемая к каркасу стойки; 4 - опорный лист стойки; 5 - анкерные болты

Замоноличивание сборного ленточного фундамента рекомендуется производить во время монтажа путем пропуска через отверстие в блоках арматурных стержней с последующим заполнением отверстия раствором (рис. 10).

Арматурные стержни изготовляются с крюками с обеих сторон длиной, равной высоте фундаментного блока. Диаметры стержней определяются расчетом.

Усилие, которое должна воспринять арматура, определяется по формуле (5).

Наименьший внутренний диаметр загиба крюка равен 2,5 диаметра арматуры; прямой, участок крюка равен 3 диаметрам арматуры.

Площадь сечения петли фундаментного блока должна быть равна площади сечения арматурного стержня. Высота петли над поверхностью фундаментной подушки должна быть больше загибаемой части крюка на 5 см.

Бетонные блоки изготовляются с отверстиями диаметром, равным 8 диаметрам арматуры. Наименьший диаметр отверстия должен быть не менее 10 см.

Нижний ряд фундаментных блоков устанавливается на фундаментные подушки таким образом, чтобы петли подушек вошли примерно в середину отверстий блоков. Вслед за монтажом нижнего ряда в отверстия блоков устанавливаются арматурные стержни и зацепляются нижними крюками за петли фундаментных подушек. В вертикальном положении стержни удерживаются благодаря зацеплению верхнего крюка за металлический стержень диаметром 20 мм и длиной 50 см, который подклинивается деревянными клиньями.

Рис. 10. Сборный железобетонный ленточный фундамент

а - ленточный фундамент; б - разрез ленточного фундамента; в - бетонный блок с отверстиями для установки арматуры; г - соединение арматурных стержней между собой и с фундаментной подушкой; д - фундаментная подушка с петлями для подсоединения арматурных стержней:
1 - арматурные стержни длиной, равной высоте бетонного блока; 2 - петля фундаментной подушки

После установки арматуры отверстие заполняется раствором с уплотнением. Для этой цели используется тот же раствор, что и для укладки бетонных блоков. После начала схватывания раствора клинья и стержень убираются.

Последующий ряд блоков устанавливается таким образом, чтобы крюки арматуры нижнего ряда были бы примерно по центру отверстия блоков.

При установке фундаментов с анкерной плитой следует обращать особое внимание на плотность укладки грунта обратной засыпки пазух котлована. Рекомендуется засыпать пазухи только талым грунтом слоями не более 20 см с тщательным трамбованием ручными пневмо- или электротрамбовками.




Яндекс цитирования



   Copyright © 2007-2026,  www.tehlit.ru.

[ ѓосты, стандарты, нормативы, инструкции, правила, строительные нормы ]