//
ТехЛит.ру
- крупнейшая бесплатная электронная интернет библиотека для "технически умных" людей.
WWW.TEHLIT.RU - ТЕХНИЧЕСКАЯ ЛИТЕРАТУРА

:: Алготрейдинг::


АЛГОТРЕЙДИНГ
шаг за шагом
с нуля по урокам!

Торговые роботы на PYTHON, BackTrader,
Pandas, Pine Script для TradingView. Связка с брокерами, телеграм и легкими приложениями.


МИНИСТЕРСТВО МЕЛИОРАЦИИ И ВОДНОГО ХОЗЯЙСТВА СССР

Всесоюзный научно-исследовательский институт

по применению полимерных материалов

в мелиорации и водном хозяйстве

(ВНИИводполимер)

ТЕХНОЛОГИЧЕСКИЕ ТРЕБОВАНИЯ

К РУЛОННЫМ ЗАЩИТНО-ФИЛЬТРУЮЩИМ МАТЕРИАЛАМ, ПРИМЕНЯЕМЫМ ПРИ МЕХАНИЗИРОВАННОМ СТРОИТЕЛЬСТВЕ ДРЕНАЖА

 

Елгава, 1987

Технологические требования к рулонным защитно-фильтрующим материалам, применяемым при механизированном строительстве дренажа

Разработаны

Всесоюзный научно-исследовательским институтом по применению полимерных материалов в мелиорации и водном хозяйстве (ВНИИводполимер):

зав. отделом механизации и технологии строительства                               Д.Х.Бейлин

зав. лабораторией                                                                                              В.Г.Кочанов

мл. науч. сотр.                                                                                                    Е.М.Данилевская

Согласованы                                                                                                     

зам. директора ВНИИводполимера                                                                 Ф.В.Рекнер

зав. лабораторией ЗФМ                                                                                    Э.Х.Эглий

Утверждены                                                                                                      

ген. директор ВНПО "Союзводполимер"                                                        С.П.Бистерис

ОГЛАВЛЕНИЕ

1.Общие положения

2.Технологические требования к рулонным ЗФМ

3.Методика определения разрывной прочности ЗФМ и относительного удлинения при разрывной нагрузке

4.Методика определения относительной поперечной усадки ЗФМ

5.Методика определения разрывной прочности при контактной нагрузке,

6.Методика определения разрывной прочности при изгибе с кручением

7.Методика определения износоустойчивости ЗФМ (стойкости к износу)

8.Методика определения жесткости ЗФМ (метод кольца)

1. ОБЩИЕ ПОЛОЖЕНИЯ

1.1. Рулонные защитно-фильтрующие материалыФМ), применяемые для защиты керамических и пластмассовых дренажных труб от заиления, предотавляют собой холсты из полимерных, синтетических и минеральных волокон.

1.2. Укладка дрен с защитой от заиления рулонными ЗФМ ведется траншейными, узкотраншейными и бестраншейными дреноукладчиками с применением различных дополнительных средств механизации.

1.3. Обертывание дренажных труб рулонными ЭФМ осуществляется как предварительно (гофрированных пластмассовых труб), так и непосредственно на дреноукладчике (пластмассовых и керамических труб).

1.4. При механизированной укладке дренажа различными способами на рулонные ЗФМ действуют силы трения, контактные и растягивающие нагрузки, под действием которых ЗФМ могут повреждаться, что снижает качество защиты дрены от заиления и может - привести к частичному или полному ее заилению.

1.5. Рулонные ЗФМ должны обеспечивать требуемое качество защиты труб от заиления при существующих механизированных способах укладки дренажа, т.е. не повреждаться от действующих технологических нагрузок.

1.6. Способность ЗФМ выдерживать названные в п.1.5 технологические нагрузки определяется технологическими характеристиками этих ЗФМ, особенностями технологий строительства и средств механизации. Для определения технологических характеристик рулонных ЗФМ предназначены известные и специально разработаиные во ВНИИводполимере методики.

1.7. На основании выполненных исследований и анализа литературных данных настоящие технологические требования к рулонным ЗФМ, используемым при механизированном строительстве дренажа в зоне осушения, разработаны отделом механизации и технологии строительства ВНИИводполимера. Технологические требования содержат собственно технологические требования и методики оценки характеристик ЗФМ.

2. ТЕХНОЛОГИЧЕСКИЕ ТРЕБОВАНИЯ К РУЛОННЫМ ЗФМ

2.I.. Разрывная прочность (в т.ч. во влажном состоянии), H, на полоску шириной 5 см, не менее…50.

2.2. Относительное удлинение материала при разрывной нагрузке (для ЗФМ, применяемых для предварительного обертывания гофрированных труб), %, не менее…10.

2.3. Относительная поперечная усадка ЗФМ при нагрузке 40Н на полоску шириной 5 см, % , не более...10.

2.4. Разрывная прочность при контактной нагрузке, МПа, не менее…0,8.

2.5. Разрывная прочность при изгибе с кручением при нагрузке 20H на полоску шириной 5 см, цикл, не менее...3.

2.6. Коэффициент износоустойчивости Ј при контактной нагрузке 1,0 МПа, не более....

2 10-4.

2.7. Жесткость по ГОСТ 8977-74 (испытания проводят по методу кольца при длине образца ЗФМ 160 мм и ширине 20 мм), гс, не более...10.

2.7.1. ЗФМ должны обеспечивать свободное формирование продольного шва цилиндрической оболочки - "чулка" - без раскрытия на расстоянии не менее 300 мм за прижимом.

2.8. ЗФМ должны быть однородными, не допускаются местные проколы, разрывы, переломы и другие дефекты.

2.8.1. Не допускается расслоение ЗФМ.

2.8.2. Неровность по толщине полотна ЗФМ должна быть не более 10%.

2.9. ЗФМ должны поставляться готовыми к употреблению, в рулонах диаметром 50 - 60 см, с шириной ленты, согласованной с потребителем.

2.9.1. Рулон должен быть плотно намотан и сохранять цилиндрическую форму (при подвешивании на оси диаметром 20 мм допускается овальность не более 5-10%).

2.9.2. В рулоне допускается соединение не более 3-х полотен ЗФМ. Края полотен в местах соединения должны быть ровно обрезаны.

2.9.3. Прочность скрепленных мест не должна быть ниже прочности ЗФМ.

ПЕРЕЧЕНЬ
методик
испытаний защитно-фильтрующих материалов

1. Методика определения разрывной прочности и относительного удлинения при разрывной нагрузке по ГОСТ 15902.3-79 (раздел 3).

2. Методика определения относительной поперечной усадки ЗФМ (раздел 4).

3. Методика определения разрывной прочности при контактной нагрузке (раздел 5). ,

4. Методика определения разрывной прочности при изгибе с кручением (раздел 6).

5. Методика определения износоустойчивости ЗФМ (раздел 7).

6. Методика определения жесткости ЗФМ (метод кольца) по ГОСТ 8977-74 (раздел 8).

Результаты испытаний ЗФМ по всем методикам вносят в соответствующие графы таблицы (см. приложение) и по совокупности данных оценивают соответствие испытанного материала предъявляемым требованиям, а также определяют возможные способы его применения.

3. МЕТОДИКА определения разрывной прочнооти ЗФМ и относительного удлинения при разрывной нагрузке

3.1. Отбор образцов

.Образцы материалов отбирают по нормативно-технической документации, утвержденной в установленном порядке по ГОСТ 13587-77. Из каждого отобранного образца материала вырезают три продольные и три поперечные полоски длиной 150 мм и шириной 50 мм.

При испытании проб в мокром соотоянии их предварительно выдерживают в воде в течение 1 ч. при комнатной температуре.

3.2. Аппаратура

Для проведения испытаний применяют разрывную машину PM-30-I

(см. Машина разрывная PM-30-I техническое описание и инструкция по, эксплуатации Гб. 2.773.076.ТО г. Иваново, 1979) или типа РТ-250, обеспечивающую зажимную длину 100 мм при ширине образца 50 мм, линейку измерительную металлическую по ГОСТ 427-75, шаблоны, ножницы.

3.3. Проведение испытаний

Схема проведения испытаний на разврывной машине дана на рис. 3.1. Шкалу нагрузок разрывной машины подбирают так, чтобы средняя разрывная нагрузка испытываемого образца находилась в, пределах от 20 до 80% максимального значения шкалы. Для этого на штангу маятника I устанавливают соответствующий груз. Активный захват 5 устанавливают на расстоянии 100 мм от пассивного захвата 4. Образец ЗФМ сначала пропускают в пассивный захват 4, затем заправляют в нижний активный захват 5. Захват 4 ослабляют и под действием механизма предварительного натяжения (на рис.3.1. не указан) дают образцу немного опуститься и окончательно зажимают сначала верхний, затем нижний захваты.

Во избежание проскальзывания или перекусывания полоски в захватах разрывной машины допускается применять прокладки. При этом концы прокладок должны находиться на уровне плоскостей захватов, ограничивающих зажимную длину пробы.

При движении нижнего активного захвата 5 проба разрывается. Стрелка маятника I автоматически устанавливается на шкале силоизмерителя 2 и фиксирует величину разрывной нагрузки образца (кгс) Также автоматически на шкале удлинения 3 фиксируется относительное удлинение образца при разрыве (%).

Рис.3.1. Схема определения разрывной прочности и относительного удлинения на разрывной машине:

1 - штанга маятника, 2 - шкала силоизмерителя,
3 -
шкала удлинения, 4 - захват пассивный,
5 -
захват активный, 6 - образец ЗФМ

3.4.Оценка результатов:

За результат испытаний принимают среднее арифметическое из трех испытанных образцов, соответственно вырезанных вдоль и поперек холста. Значение разрывной прочности выражают в ньютонах с точностью до первого десятичного знака. ЗФМ считается выдержавший испытания и может быть применен для всех способов обертывания дренажных труб если разрывная прочность (в том числе во влажном состоянии) 50 Н/см, а относителъное удлинение при разрывной нагрузке ≥ 10%.

Если относительное удлинение <<10%, то ЗФМ рекомендуется применять для обертывания дренажных труб непосредственно на дреноукладчике.

Результаты испытаний вносят в графы 4 и 5 таблицы (см. приложение).

4. МЕТОДИКА определения относительной поперечной усадки ЗФМ

4.1.Отбор образцов

Образцы материала отбирают по нормативно-технической документации, утвержденной в установленном порядке по ГОСТ 13587-77,

Из каждого отобранного образца материала вырезают три продольные полоски длиной 300 мм и шириной 50 мм. Пробные полосы не должны иметь перекоса и смятых мест.

4.2. Аппаратура

Для проведения испытаний применяется приспособление (рис. 4.1.), состоящее из следующих основных частей: зажимов 2, груза 3, линейки 4, рейсшины 5, опорного блока 6. Линейка по ГОСТ 427-75, Рейсшина по ТУ 569/205-1-5-73.

4.3. Проведение испытания

Пробная полоска материала 1 закрепляется в зажимах 2 (расстояние L = 200 мм) и подвешивается груз 3, который совместно c нижним зажимом составляет 40 Н. После выдерживания в течение 60 с под нагрузкой измеряют ширину средней части образца ЗФМ.

4.4. Оценка результатов

Относительная поперечная усадка ЗФМ при растяжении в процентах вычисляется по формуле:

где b1 - ширина средней части образца при нагрузке, мм.

Рис. 4.1. Схема определения относительной поперечной усадки ЗФМ:

1 - образец ЗФМ; 2 - зажим; 3 - груз;
4 – линейка; 5 - рейсшина; 6 - опорный блок

ЗФМ считается выдержавшим испытания, еоли ни на одном из трех образцов относительная поперечная усадка не была больше 10%.

Среднеарифметический результат вносят в графу 6 таблицы (см. приложение).

5. МЕТОДИКА определения раЗрЫвной прочности при контактной нагрузке

5.1. Отбор образцов

Образцы материала отбирают по нормативно-технической документации, утвержденной в установленном порядке по ГОСТ 13587-77.

Из отобранного образца материала вырезают три продольные полоски длиной 250 мм и шириной 50 мм.

Пробные полоски из мест сгиба не вырезают, расстояние от кромки материала должно быть не менее 5 см.

Пробные полоски не должны иметь перекоса и смятых мест.

5.2. Аппаратура

Для проведения испытаний применяется устройство (рис. 5.1.), состоящее из следующих основных частей: основание 1, зажимное устройство 2, контактная поверхность в виде диска 3 с приводом 4, подставка с коническим упором 5 опорная пята 6 (пл. 1 см2) и груз 7.

5.3. Проведение испытания

Образец ЗФМ 8 устанавливают в зажимное устройство 2, при этом средняя часть образца укладывается на подвижный металлический диск 3 (контактную поверхность). На ось диска 3 устанавливают подставку с коническим упором 5. На образец ЗФМ 8 под коническим упором 5 устанавливают опорную пяту 6. На подставку соосно с осью конического упора 5 устанавливают груз 7. С помощью привода (ручки) 4 вращают диск 3 с окружной скоростью 8-10 см/с (20 об/мин диска). При этом опорная пята 6 движется (скользит) по испытываемому образу 8 синхронно с перемещением контактной поверхности 3.

Рис. 5.1. Схема устройства для испытания рулонных ЗФМ на разрывную прочность при контактной нагрузке:

1 - основание, 2 - зажимное устройство, 3 -контактная поверхность, 4 - привод , 5 - подставка с коническим упором, 6 - опорная пята, 7 - груз, 8 - образец ЗФМ

Если при контактном давлении 0,8 МПа (нагрузка) при однократном проходе опорной пяты (длина хода 60-80 мм) по поверхности ЗФМ протиров или разрывов на образце не наблюдается, то обрааец считается выдержавшим испытания. Если под действием контактной нагрузки в 0,8 МПа происходит разрыв образца, то для выявления его прочности нагрузку на опорную пяту уменьшают (с заменой образца) до тех пор, пока при однократном проходе опорной пяты по поверхности ЗФМ не происходит его повреждение.

По величине контактной нагрузки, под действием которой при однократном проходе опорной пяты образец начинает повреждаться, определяют разрывную прочность ЗФМ.

5.4. Оценка результатов

ЗФМ считается выдержавшим испытания, если ни на одной иа трех (не менее) испытанных образцов при однократном проходе опорной пяты по поверхности ЗФМ под контактной нагрузкой 0,8 МПа не зафиксировано протира или разрыва.

Результаты испытания вносят в графу 7 таблицы (см. приложение).

6. МЕТОДИКА определения разрывной прочности при изгибе с кручением

6.1. Отбор образцов

Образцы материала отбирают по нормативно-технической документации, утвержденной в установленном порядке по ГОСТ 13587-77

Из отобранного образца материала вырезают три продольные полоски длиной 800 мм и шириной 50 мм.

Из мест сгиба пробные полоски не вырезают, расстояние от кромки материала должно быть не менее 5 см.

Пробные полооки не должны иметь перекоса и смятых мест.

6.2. Аппаратура

Для проведения испытания применяется устройство (рис 6.1. и 6.2.), состоящее из следующих основных частей: основания 1; рамки 2, в которой yстановлена ручка 3 с роликом 4; направляющего лотка 5 оси 6 (пруток диаметром 12 мм); направляющей скобы 7 зажимов 8 и 9 со стержнем 10 (зажим 8 расположен на направляющем лотке 5 и связан с роликом 4 при помощи тяги (нити) 11; подвижного упора 12 и гири 13.

Рис. 6.1. Схема устройства для испытания рулонного ЗФМ на разрывную прочность при изгибе с кручением:

1 - основание, 2 - рамка, 3 - ручка, 4 - ролик, 5 - направляющий лоток, 6 - ооь (пруток), 7 - направляющая скоба, 8 и 9 - зажимы, 10 - стержень, II - тяга (нить), 12 - упор, 13 - гиря, 14 - образец ЗФМ.

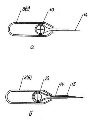
Рис. 6.2. Схема зарядки образцов ЗФМ в зажим:

а - при испытании ЗФМ из текстильных, синтетических и полимерных волокон;

б - при испытании ЗФМ из минеральных волокон:

8 (9) - зажим, 10 - стержень, 14 - образец ЗФМ, 15 - накладка из ЗФМ

6.3. Проведение испытания

Поочередно в зажимы 8 и 9 (рис.6.1. и 6.2.) устанавливают образец ЗФМ 14. Плавно без изломов образец пропускают между рамкой 2 и осью 6, поварачивают его на 90° и пропускают через щель направляющей скобы 7. Затем через зажим 9 образец нагружают гирей 13. Вес гири вместе с зажимом должен быть равен 20 Н. После этого ручку 3 снимают с подвижного упора 12 и со скоростью 45-60 об/мин. вращают против часовой стрелки (прямой ход) до установки зажима 8 в крайнее левое положение. Прямой и обратный ход (один цикл) образца должны быть равны и составлять не менее 25 см.

6.4. Оценка результатов

ЗФМ считается выдержавшим испытания, если ни на одном из трех образцов нет повреждений (разрывов, изломов) после трех циклов нагружения.

Результаты испытаний вносят в графу 8 таблицы (см. приложение).

7. МЕТОДИКА определения износоустойчивости ЗФМ (стойкости к износу)

7.1. Отбор образцов

Образцы материала отбирают по нормативно-технической документации, утвержденной в установленном порядке по ГОСТ 13587-77.

Из отобранного образца материала вырезают три продольные полоски длиной 250 мм и шириной 50 мм.

Пробные полоски из мест сгиба не вырезают, расстояние от кромки материала должно быть не менее 5 см.

Пробные полоски не должны иметь перекоса и смятых мест.

7.2. Аппаратура

Для проведения испытания применяется устройство (рис.7.1.), состоящее из следующих основных частей: основания 1, зажимного устройства 2, контактной поверхности в виде диска 3 с приводом 4, двуплечего рычага 5, на котором установлены гиря с указателем 6, противовеса 7, упора 8 и опорной пяты 9.

В комплект устройства входят две гири 10 массой по 2 кг каждая, гиря 11 массой 1 кг и электричеокое сигнальное устройство, состоящее из батареи 12 и сигнальной лампочки 13.

7.3. Проведенные испытания

Устройство приводят в рабочее положение: уравновешивают двуплечий рычаг 5, для этого к короткому плечу рычага подвешивают две гири массой по 2 кг каждая, гирю с указателей 6 устанавливает над осью подвеса рычага (соответствует нулевой отметке) и перемещинем противовеса 7 обеспечивают равновесие рычага в горизонтальном положении, после чего противовес 7 закрепляют.

Образец ЗФМ 14 устанавливают в зажимное устройство 2. Сверху на образец под упором 8 устанавливают опорную пяту 9 (площадью 1 см2). Нагружают двуплечий рычаг 5 рабочей нагрузкой в 100 H, для этого гирю с указателей 6 перемещают в крайнее правое положение и к длинному плечу рычага подвешивают гирю массой 1 кг. При помощи ручки вращают диск 3 по часовой стрелке со скоростью 20 об/мин до момента загорания сигнальной лампочки 13, которая фиксирует протирание ЗФМ.

7.4. Оценка результатов

Износоустойчивость ЗФМ определяется по формуле:

 

J - коэффициент износоустойчивости;

δ - толщина ЗФМ, см;

Lδ - длина пути ЗФМ по контактной поверхности до протирания ЗФМ, см;

R - расстояние от центра диска (контактной поверхности) до центра приложения нагрузки к ЗФМ, см;

n - число оборотов диска.

Рис. 7.1. Схема устройства для определения износоустойчивости рулонных ЗФМ:

I - основание, 2 - зажимное устройство, 3 -контактная поверхность, 4 - привод, 5 – двуплечий рычаг, 6 - гиря с указателем, 7 – противовесов, 8 - упор, 9 - опорная пята, 10 - гири, 11 - гиря, 12 - батарейка, 13 - сигнальная лампочка, 14 - образец ЗФМ.

Для данного устройства 2R = 60 см, следовательно:

ЗФМ считается выдержавшим испытания, если все испытанные образцы (не менее трех) имеют значение J 2·10-4,

За результат испытания принимается среднее арифметическое значение коэффициента износоустойчивости всех испытанных образцов.

Результат испытания вносят в графу 9 таблицы (см. приложение).

8. МЕТОДИКА определения жесткости зфм (метод кольца)

Жесткость - нагрузка, необходимая для прогиба согнутого в кольцо образца на 1/3 диаметра.

8.1. Отбор образцов

Образцы материала отбирают по нормативно-технической документации, утвержденной в установленном порядке по ГОСТ 13587-77. Из отобранного образца вырезают три поперечные полосы длиной 160 мм и шириной 20 мм.

Пробные полосы не должны иметь перекоса, разрывов, трещин и смятых мест.

8.2. Аппаратура .

Для проведения испытаний применяют прибор типа ПЖУ 12М (ГОСТ 8977-74). Упрощенная схема прибора дана на рис.8.1.

Прибор состоит из следующих основных частей: корпуса 1, шкалы 2, ограничителя 3, технических весов 4, стрелки 5, электродвигателя 6, бункера для шариков 7, нажимной площадки 8, столика со съемной площадкой 9.

Рис. 8.1. Упрощенная схема определения жёсткости (по ГОСТ 8977-74):

1 - корпус, 2 - шкала, 3 - ограничитель, 4 - технические весы, 5 -стрелка весов, 6 - электродвигатель, 7 - бункер, 8 -нажимная площадка, 9 - столик, 10 - образец ЗФМ

8.3 Проведение испытаний

Образец 10 закрепляют на съемной площадке столика 9 так,чтобы он образовал кольцо правильной формы. Концы образца складывают под пластиной съемной площадки встык или внахлест по линии, которая отмечает рабочую длину образца. Диаметр кольца измеряют шаблоном по вертикали от съемной площадки, до верхней точки на внутренней поверхности кольца. Он должен быть равен51 мм. Ограничитель 3 ставят на шкале 2 в положение 17 мм, т.е. на 1/3 диаметра кольца.

Закрепленный образец плавно подводят к нажимной площадке 8 до соприкосновения с ней и доводят стрелку весов 5 до нулевого положения С помощью электродвигателя 6 в бункере 7 двигаются шарики и падают на нажимную площадку 8, нагружая образец до момента соприкосновения стрелки весов 5 с ограничителем 3. После этого, прибор автоматически отключается и подача шариков прекращается. Подсчитывают количество шариков и определяют их общий вес (гс). Полученный результат определяет жесткость образца.

8.4. Оценка результатов

ЗФМ считается выдержавшим испытания, если его жесткость 10 гс.

За результат принимают среднее арифметическое значение испытаний 3-х образцов.

Результат испытаний вносят в графу 10 таблицы (см. приложение).


Приложение

Результаты стендовых технологических испытаний рулонных ЗФМ

Марка (ТУ) и краткая характеристика испытываемого рулонного ЗФМ

Толщина ЗФМ мм

Технологические показатели ЗФМ

Разрывная прочность Н/5 cм

Относительное удлиннение при разрывной прочности,%

Относительная поперечная усадка при нагр.40Н/5 см,%

Разрывная прочность при контактной нагрузке, МПа

Разрывная прочность при изгибе с кручением при нагр.20Н/5см, цикл

Коэффициэнт износоустойчивости

Жесткость, гс

Оценка пригодности ЗФМ к механизированной укладке дренажа

1

2

3

4

5

6

7

8

9

10

Холст стекло-волокнистый ВВ-М

0,8

50

50

10

0

10

0

0.8

0,5

3

1,9

2 ∙ 10-4

1,8 ∙ 10-4

10

8

ЗФМ пригоден для обертывания труб на выходе из спускного лотка дреноук -ладчика

Примечание:

1. Характеристика ВВ-М приведена в качестве примера.

2. В числителе приведена требуемая величина показателя, в знаменателе - фактическая




Яндекс цитирования



   Copyright © 2007-2026,  www.tehlit.ru.

[ ѓосты, стандарты, нормативы, инструкции, правила, строительные нормы ]