//
|
|
МИНИСТЕРСТВО АВТОМОБИЛЬНЫХ ДОРОГ РСФСР Утверждено Министерством автомобильных дорог РСФСР 04.10.79
МЕТОДИЧЕСКИЕ УКАЗАНИЯ ПО ПРОЕКТИРОВАНИЮ КОЛЬЦЕВЫХ ПЕРЕСЕЧЕНИЙ АВТОМОБИЛЬНЫХ ДОРОГ
МОСКВА «ТРАНСПОРТ» 1980 ВВЕДЕНИЕУвеличение выпуска автомобилей приводит к повышению интенсивности движения и увеличению загрузки дорог. Характерно, что темпы роста интенсивности движения значительно опережают темпы роста протяженности сети дорог. В связи с этим ухудшаются условия движения, увеличивается число дорожно-транспортных происшествий, возрастают потери времени, снижается эффективность работы дороги. В таких условиях особую актуальность приобретает проблема совершенствования сети автомобильных дорог. Одними из наиболее опасных участков автомобильных дорог являются их пересечения в одном уровне, на которых сосредоточиваются дорожно-транспортные происшествия, наблюдается снижение скорости движения автомобилей и значительно уменьшается пропускная способность дорог. Анализ статистических данных по аварийности показывает, что на пересечениях в одном уровне сосредоточивается около 18% всех дорожно-транспортных происшествий, регистрируемых на дорогах. Требованиям движения наилучшим образом отвечают пересечения в разных уровнях. Однако их строительство связано с большими затратами, и экономически они эффективны только при высоких интенсивностях движения. В связи с этим в настоящее время начали применяться новые виды планировок пересечений в одном уровне, обеспечивающие снижение аварийности и повышение пропускной способности. Примерами таких пересечений служат различного рода канализированные и кольцевые пересечения. Канализированные пересечения в одном уровне обеспечивают, существенное улучшение условий движения. Этот тип пересечений широко применяется во многих странах мира, так как позволяет значительно снизить аварийность за счет уменьшения числа конфликтных точек и увеличения расстояния между ними. Методы проектирования канализированных пересечений детально рассмотрены в Указаниях по организации и обеспечению безопасности движения на автомобильных дорогах (ВСН 25-76) Минавтодора РСФСР и в Технических указаниях по проектированию пересечений и примыканий автомобильных дорог (ВСН 103-74) Минтрансстроя СССР. Еще большими возможностями обладают кольцевые пересечения в одном уровне, обеспечивающие пропускную способность, по величине близкую к пропускной способности пересечений в разных уровнях. Вместе с тем стоимость их строительства во много раз меньше стоимости пересечений в разных уровнях. Благодаря этим качествам в ряде стран кольцевые пересечения в одном уровне получили весьма широкое распространение, так как позволяют без значительных капиталовложений улучшить условия движения. Кроме того, правильная организация кольцевого движения полностью или частично исключает пересечение транспортных потоков, заменяя его последовательным слиянием и разветвлением в короткой зоне - зоне переплетения. Происходящие при этом дорожно-транспортные происшествия отличаются незначительными последствиями, в связи с чем, этот вид пересечений в одном уровне считается малоопасным. Однако опыт эксплуатации дорог с кольцевыми пересечениями показал, что такие пересечения могут эффективно работать только при соблюдении комплекса требований к их вертикальной планировке, плану и методам организации движения. Несоблюдение этих требований приводит к снижению эффективности кольцевых пересечений, чем частично объясняется ограниченность применения кольцевых пересечений в одном уровне в некоторых странах. В СССР до настоящего времени не было специального нормативного документа по кольцевым пересечениям. В предлагаемых методических указаниях изложены основные требования к кольцевым пересечениям - условия их эффективного применения, методы проектирования основных элементов плана пересечений и вертикальной планировки, методы и средства организации движения. Учитывая, что кольцевые пересечения являются одним из этапов перехода к пересечениям в разных уровнях, в указаниях большое внимание уделяется стадийному повышению пропускной способности кольцевых пересечений и установлены величины интенсивности, при которых необходимо переделать к пересечениям в разных уровнях. Глава 1
| ||||||||||||||||||||||||||||||||||||||||||||||||||||||||||||||||||||||||||||||||||||||||||||||||||||||||||||||||||||||||||||||||||||||||||||||||||||||||||||||||||||||||||||||||||||||||||||||||||||||||||||||||||||||||||||||||||||||||||||||||||||||||||||||||||||||||||||||||||||||||||||||||||||||||||||||||||||||||||||||||||||||||||||||||||||||||||||||||||||||||||||||||||||||||||||||||||||||||||||||||||||||||||||||||||||||||||||||||||||||||||||||||||||||||||||||||||||||||||||||||||||||||||||||||||||||||||||||||||||||||||||||||||||||||||||||||||||||||||||||||||||||||||||||||||||||||||||||||||||||||||||||||||||||||||||||||||||||||||||||||||||||||||||||||||||||||||||||||||||||||||||||||||||||||||||||||||||||||||||||||||||||||||||||||||||||||||||||||||||||||||||||||||||||||||||||||||||||||||||||||||||||||||||||||||||||||||||||||||||||||||||||||||||||||||||||||||||||||||||||||||||||||||||||||||||||||||||||||||||||||||||||||||||||||||||||||||||||||||||||||||||||||||||||||||||||||||||||||||||||
|
№ п/п |
Виды планировок кольцевых пересечений |
Применимость кольцевых пересечений |
|
|
Категория пересекающихся дорог. |
Условия применимости |
||
|
1 |
Кольцевые пересечения с малыми центральными островками, и увеличенным числом, полос движении на въездах |
I×I, I×II, I×III II×II, II×III |
При реконструкции и капитальном ремонте автомобильных дорог При новом строительстве а) в пригородной зоне; б) в пределах малых населенных пунктов; в) в районах с высокой стоимостью сельскохозяйственных угодий и в других стесненных условиях (на основе технико-экономического сравнения с вариантом пересечения в разных уровнях). |
|
III×III |
При NΣ≥5000 авт./сут; на основе технико-экономического сравнения с вариантом кольцевого пересечения со средним диаметром центрального островка |
||
|
2 |
Кольцевые пересечения со средним диаметром центральных островков |
I×III, II×II, II×III, III×III |
При 5000<NΣ≤9000 авт./сут; на, основе технико-экономического сравнения с кольцевыми пересечениями с малыми центральными, островками |
|
3 |
Кольцевые пересечения с большими центральными островками |
II×II, II×III, III×III |
При 5000<NΣ≤9000÷10000 авт./сут и числе пересекающихся дорог n>6 |
|
4 |
Кольцевые пересечения, обеспечивающие лучшие условия движения более загруженному направлению (с эллиптическим центральным островком и другие) |
I×II, I×III, I×IV, II×III, II×IV |
При Nгл≥3Nвт; на основе технико-экономического сравнения с вариантом пересечения в разных уровнях |
Обозначения: NΣ - перспективная суммарная интенсивность движении (на кольцевом пересечении); Nгл - то же, на главном направлении; Nвт - то же, на второстепенном
По номограмме (рис. 1.7) для каждой зоны, характеризуемой определенным соотношением интенсивностей движения на пересекающихся дорогах, рекомендуются одни или несколько типов конкурирующих планировочных решений пересечений:
- простые необорудованные 1 пересечения;
- частично канализированные 2 пересечения с направляющими островками на второстепенной дороге;
канализированные 3 пересечения с направляющими островками на второстепенной и главной дорогах и переходно-скоростными полосами, расположенными по главной дороге;
- кольцевые пересечения 4: а) со средними центральными островками; б) с малыми центральными островками; в) при числе пересекающихся дорог n≥5 и с большими центральными островками;
- пересечения 5: а) кольцевые, обеспечивающие лучшие условия движения более загруженному направлению (с эллиптическим центральным островком и др.); б) в разных уровнях; в) при стадийном строительстве (I этап - кольцевое пересечение и II этап - пересечение в разных уровнях);
Рис. 1.7. Номограмма для выбора типа планировочных решений пересечений
пересечения 6: а) кольцевые с малыми центральными островками; б) в разных уровнях;
пересечения 7: а) стадийное развитие (I этап - кольцевые пересечения с малыми центральными островками, II этап - пересечения в разных уровнях); б) пересечения в разных уровнях;
пересечения 8 в разных уровнях.
1.3.6. В каждом конкретном случае проектируемое кольцевое пересечение будет иметь определенные преимущества и недостатки по сравнению с другими типами пересечений. Окончательный вариант необходимо принимать на основе технико-экономического сравнения вариантов.
2.1.1. На пересечениях в одном уровне наблюдается снижение скоростей движения, происходит перераспределение потоков по направлениям, меняется режим движения транспортных потоков, проезжающих через пересечение. Возрастает поток информации, поступающей к водителю: дорожные знаки, указатели направлений, действия водителя впереди идущего транспортного средства, маневры автомобилей пересекающих потоков и т.д.
По этим причинам на пересечениях в одном уровне в разной степени усложняются условия движения потоков автомобилей, что приводит к увеличению вероятности возникновения аварийных ситуаций, к росту числа дорожно-транспортных происшествий.
2.1.2. Возникновению происшествия способствуют, как правило, не одна, а несколько причин, действующих совместно. Такими причинами могут быть: плохая видимость на пересечении, затрудняющая правильно оценить ситуацию на кольцевой проезжей части, неправильная планировка пересечений и направляющих островков, отсутствие у водителей полной информации о направлениях, движения на пересечении, недостаточная освещенность пересечения, отсутствие разметки на проезжей части, погодные условия (гололед, туман и т.д.), а также недостаточная ширина проезжей части на участках въезда на кольцевое пересечение.
2.1.3. На кольцевых пересечениях благодаря организации кругового движения полностью или частично исключается пересечение, потоков автомобилей, нет встречного движения, относительные скорости движения автомобилей невелики. Маневры слияния и разделения оказываются наименее опасными из всех маневров, встречающихся на пересечениях в одном уровне. Поэтому кольцевые пересечения безопасны по сравнению с другими типами пересечений в одном уровне.
2.1.4. На основе анализа данных статистики можно выделить три основные группы дорожно-транспортных происшествий на кольцевых пересечениях: с двумя, тремя транспортными средствами и наезды на пешеходов.
A. Дорожно-транспортные происшествия с двумя; транспортными средствами:
столкновение на участке слияния транспортных потоков;
боковое столкновение при правом повороте из двух рядов;
наезд на остановившееся или медленно движущееся транспортное средство;
столкновение со встречным автомобилем, движущимся против движения (без объезда островка);
столкновение при обгоне на выезде с кольцевого пересечения;
столкновение со встречным автомобилем при заезде на полосу встречного движения, при выходе с кольцевого пересечения.
Б. Дорожно-транспортные происшествия с одним, транспортным средством:
наезд на бордюр центрального островка при въезде на кольцевое пересечение;
наезд на бордюр направляющего островка при входе на кольцевое пересечение;
то же, на выходе;
наезд на левый тротуар при выезде с кольцевого пересечения.
B. Дорожно-транспортные происшествия при наездах на пешеходов:
наезд на пешехода при выезде с кольцевого пересечения;
то же, на кольцевой проезжей части;
то же, при въезде на кольцевое пересечение;
то же, при правом повороте;
падение пассажира из автомобиля при объезде центрального островка.
|
Виды ДТП на кольцевых пересечениях |
Количество ДТП, % по данным |
||
|
за 1966–1969 гг. |
за 1969–1973 гг. |
за 1974–1976 гг. |
|
|
Опрокидывание |
8 |
- |
15 |
|
Столкновение |
30 |
50 |
39 |
|
Наезд на стоящее транспортное средство |
3 |
9 |
9 |
|
Наезд на препятствие |
22 |
10 |
8 |
|
« « пешехода |
34 |
31 |
24 |
|
Падение пассажира |
3 |
0 |
2 |
|
Наезд на велосипедиста |
- |
- |
3 |
|
Итого |
100 |
100 |
100 |
Рис. 2.1. Распределение дорожно-транспортных происшествий на кольцевом пересечении
Рис. 2.2. Изменение относительной аварийности в зависимости от суммарной интенсивности движения на кольцевом пересечении
2.1.5. Распределение дорожно-транспортных происшествии (ДТП) на кольцевых пересечениях по видам приведено в табл. 2.1. Одной из причин повышенной аварийности, в вечерние часы (рис 2.1,а), является недостаточная освещенность кольцевых пересечений. Характерное увеличение числа происшествий в летние месяцы (рис. 2.1,б) можно объяснить резким ростом интенсивности движения на дорогах в этот период.
Участки въезда на кольцевые пересечения являются самыми сложными и опасными для водителей. На эти участки приходится 50-60% от общего числа дорожно-транспортных происшествий на кольцевых пересечениях.
С ростом интенсивности движения на пересекающихся дорогах абсолютное число происшествий на кольцевых пересечениях несколько увеличивается, но относительная аварийность уменьшается (рис. 2.2).
2.2.1. На кольцевых пересечениях в одном уровне безопасность движения зависит от числа конфликтных точек, расстояния между этими точками и интенсивности движения потоков, проходящих через конфликтные точки.
2.2.2. Количество и тип конфликтных точек (точки разветвления, слияния и пересечения потоков автомобилей) зависят от планировки кольцевого пересечения.
2.2.3. На кольцевом пересечении с большими центральными островками в каждой зоне переплетения образуются одна точка слияния и одна точка разделения потоков автомобилей (рис. 2.3,а).
На кольцевом пересечении с малыми центральными островками в каждой зоне вливания (маневрирования) есть две точки разделения, две точки слияния и одна точка пересечения под острым углом - всего пять конфликтных точек (рис. 2.3,б).
Рис. 2.3. Схема расположения конфликтных точек на кольцевом пересечении с центральными островками:
а - большими; б - малыми; Р - точка разделения потоков; С - точка слияния потоков; П - точка пересечения потоков
Для выявления конфликтных точек на кольцевом пересечении со средними диаметрами центральных островков следует на план кольцевого пересечения нанести оси траектории движения автомобилей в зоне маневрирования и по результатам такого построения принять одну из двух указанных выше схем (см. рис. 2.3).
2.2.4. Опасность конфликтной точки определяется по величине относительной аварийности qi (количеству происшествий на 10 млн. прошедших автомобилей), определяемую по формуле
|
|
(2.1) |
где Mi, Ni - интенсивности движения потоков автомобилей, пересекающихся в данной конфликтной точке, авт./сут.; кi - коэффициент относительной аварийности конфликтной точки, принимаемой по табл. 2.2; кг - коэффициент годовой неравномерности движения;
|
Месяц |
I |
II |
III |
IV |
V |
VI |
|
кг |
0,025 |
0,03 |
0,045 |
0,07 |
0,10 |
0,15 |
|
Месяц |
VII |
VIII |
IX |
X |
XI |
XII |
|
кг |
0,165 |
0,14 |
0,12 |
0,10 |
0,035 |
0,02 |
При расчетах для существующих дорог коэффициент кг принимается по месяцу, в котором проводился учет интенсивности движения. Для вновь проектируемых дорог и заданной среднегодовой среднесуточной, интенсивности движения величина кг - постоянная и равна 0,0834.
2.2.6. Опасность всего варианта планировки пересечения оценивается по формуле
|
|
(2.2) |
где G - возможное количество дорожно-транспортных происшествий на пересечении за один год; п - количество конфликтных точек.
|
Схема маневра |
Характеристика маневра |
Радиус внутренней кромки кольца, м |
||||||||
|
15 |
20 |
25 |
30 |
40 |
50 |
60 |
80 |
100 |
||
|
Коэффициент kl |
||||||||||
|
|
Слияние потоков: |
|
|
|
|
|
|
|
|
|
|
на многополосном кольце при R>15 м |
0,0040 |
0,0030 |
0,0022 |
0,0018 |
0,0013 |
0,0010 |
0,0008 |
0,0005 |
0,0003 |
|
|
на однополосном кольце при радиусе съезда менее 15 м |
0,0040 |
0,0030 |
0,0022 |
0,0015 |
0,0010 |
0,0007 |
0,0005 |
0,0003 |
0,0004 |
|
|
то же, более 15 м |
0,0040 |
0,0025 |
0,0013 |
0,0010 |
0,0007 |
0,0005 |
0,0004 |
0,0003 |
0,0003 |
|
|
|
Разделение потоков: |
|
|
|
|
|
|
|
|
|
|
на многополосном кольце при R>15 м |
0,0028 |
0,0020 |
0,0014 |
0,0012 |
0,0009 |
0,0007 |
0,0005 |
0,00035 |
0,0002 |
|
|
на однополосном кольце при радиусе съезда менее 15 м |
0,0028 |
0,0020 |
0,0014 |
0,0010 |
0,0007 |
0,0006 |
0,0005 |
0,0004 |
0,0003 |
|
|
то же, более 15 м |
0,0016 |
0,0012 |
0,0010 |
0,0007 |
0,0005 |
0,0004 |
0,0003 |
0,0002 |
0,0002 |
|
|
|
Переплетение потоков на многополосном кольце |
- |
- |
- |
0,0016 |
0,0013 |
0,0010 |
0,0008 |
0,0007 |
0,0006 |
2.2.6. Степень опасности существующего кольцевого пересечения или каждого варианта, его планировки оценивается по величине коэффициента Kа относительной аварийности, характеризующим количество происшествий на 10 млн. автомобилей, прошедших через пересечение:
|
|
(2.3) |
где G - количество происшествий на пересечении за один год; М, N - интенсивности движения потоков автомобилей на пересекающихся дорогах, авт./сут; кг - коэффициент годовой неравномерности движения.
По величине Kа можно судить о степени опасности пересечения:
|
Kа , |
≤3 |
3,1–8,0 |
8,1–12 |
>12 |
|
Опасность пересечения |
Неопасное |
Мало опасное |
опасное |
Очень опасное |
При проектировании новых дорог или реконструкции существующих для каждого варианта пересечения определяют величину Kа. Чем она меньше, тем удачнее схема пересечения. На вновь проектируемых кольцевых пересечениях должно быть Kа≤8, в противном случае нужно разрабатывать другие, более безопасные схемы пересечения.
2.3.1. Большая часть дорожно-транспортных происшествий приходится на участки въезда кольцевых пересечений. Необходимо дать своевременную информацию водителям о подходе к кольцевому пересечению и порядке проезда через него.
2.3.2. Для улучшения условий движения следует совершенствовать планировку въездов, увеличить число полос на въезде на кольцевое пересечение (см. приложение 2).
2.3.3. Для упорядочения движения важным элементом организации движения, особенно на, кольцевых пересечениях с малыми островками, является разметка на въездах и на кольцевой проезжей части.
2.3.4. Въезжающие автомобили часто наезжают на центральный островок и на направляющие островки. Поэтому для уменьшения тяжести столкновений центральный и направляющие островки необходимо выделять низким бордюром и декоративным озеленением (газоном) в летний период.
Все островки должны четко выделяться на фоне проезжей части пересечения.
2.3.5. Для обеспечения безопасности движения в зимний период необходимо тщательно убирать снег в пределах кольцевого пересечения.
Рис. 2.4. Схема организации пешеходного движения на кольцевом пересечении:
1 - автобусная остановка; 2 - пешеходный переход; 3 - металлическое ограждение; 4 - пешеходная дорожка
В районах с продолжительными снежными зимами центральный и направляющие островки кольцевых пересечений целесообразно выделять съемными направляющими устройствами, которые можно убирать в зимний период. Съемные направляющие устройства могут быть из железобетона, дерева, металла или пластмасс; они крепятся к покрытию при помощи штырей, закладных элементов, клеящих составов и.т. д.
2.3.6. Для достижения максимального поперечного сцепления на кольцевых пересечениях необходимо устраивать дорожное, покрытие с шероховатостью поверхности не менее 0,9 мм.
2.3.7. Зарубежный опыт показывает, что установка знаков «приоритет на кольце» уменьшает число происшествий на кольцевых пересечениях примерно на 40%.
2.3.8. В местах с интенсивным пешеходным движением необходимо устройство пешеходных переходов (рис. 2.4) и легких ограждений по периметру пересечения, чтобы исключить появление пешеходов в зонах слияния транспортных потоков на кольцевых пересечениях.
2.3.9. Для улучшения видимости элементов пересечения в ночное время следует устраивать освещение на кольцевых пересечениях.
3.1.1. Интенсивность движения - основной показатель, определяющий все характеристики движения потока автомобилей. Установление величин и закономерностей изменения интенсивности движения служат основой для проектирования геометрических элементов кольцевого пересечения и мероприятий по организации движения.
3.1.2. Распределение потока автомобилей по направлениям на кольцевых пересечениях является важной характеристикой, влияющей на пропускную способность пересечения.
3.1.3. Колебания интенсивностей движения на пересекающихся дорогах в течение суток, месяца и года приводят к изменениям интенсивности движения на кольцевых пересечениях.
С наибольшей загрузкой кольцевые пересечения работают в часы пик.
3.1.4. Состав движения оказывает существенное влияние на пропускную способность кольцевых пересечений. Состав движения на пересекающихся дорогах определяется по данным непосредственного учета движения. При определении состава движения следует выделять следующие группы автомобилей: легковые, грузовые малой (до 2 т), средней (2-8 т) и большой (более 8 т) грузоподъемности; автобусы и автопоезда.
3.1.5. При оценке пропускной способности кольцевых пересечений, разработке мероприятий по организации движения необходимы данные об интенсивности и составе движения, о распределении потоков по направлениям на пересечении.
При отсутствии таких данных следует проводить непосредственный учет движения на всех подходах кольцевого пересечения согласно «Инструкции по учету движения транспортных, средств на автомобильных дорогах» ВСН 45-68 (Минавтодор РСФСР).
3.1.6. Приведение различных видов транспортных средств к легковым автомобилям производится с помощью коэффициентов приведения (см. ниже табл. 3.2).
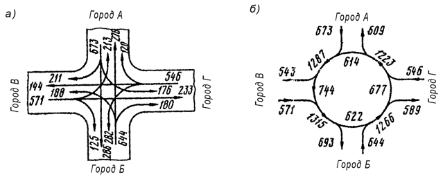
Рис. 3.1. Картограмма интенсивности (авт./ч) движения на кольцевом пересечении:
а - распределение движения по направлениям; б - то же по кольцу
3.1.7. На основе данных учета движения составляется картограмма интенсивностей движения на кольцевом пересечении (рис 3.1), которая служит исходным материалом для проектирования геометрических: элементов кольцевого пересечения и мероприятий по организации движения, оценки пропускной способности и определения коэффициентов загрузки кольцевого пересечения.
Картограмма интенсивностей движения на кольцевом пересечении составляется на расчетный год.
Продолжительность расчетного периода зависит от целей использования данных по интенсивности движения: при организации движения - до 2 лет; при капитальном ремонте - до 5 лет; для разработки проекта реконструкции до пересечения - до 12 лет; при проектировании новой дороги - 20 лет и более.
3.1.8. Перспективную интенсивность движения необходимо прогнозировать на основании анализа материалов экономических изысканий и данных учета интенсивности движения. Закон роста интенсивности движения должен быть обоснован в результате анализа данных учета интенсивности за последние 10-15 лет и с учетом народнохозяйственного значения района проложения пересекающихся дорог.
Могут быть использованы следующие закономерности изменения интенсивности движения во времени:
а) линейный закон роста интенсивности движения;
б) по закону сложных процентов;
в) по геометрической прогрессии с убывающими темпами прироста.
3.1.9. Для разработки мероприятий по организации движения, оценки степени загрузки пересечения движением, инженерных мероприятий по повышению безопасности движения и пропускной способности расчетную часовую интенсивность движения на подходах к кольцевому пересечению определяют по формулам:
а) при наличии данных учета часовой интенсивности движения в различные периоды года
|
|
(3.1) |
б) по величине среднегодовой суточной интенсивности движения
|
|
(3.2) |
где Nчас - расчетная часовая
интенсивность движения, авт./ч;
- максимальная
часовая интенсивность движения, авт./ч; Nсут - среднегодовая суточная
интенсивность движения, авт./сут.
3.2.1. Скорость движения - один из важнейших показателей, характеризующих безопасность движения, пропускную способность и эффективность работы кольцевого пересечения.
3.2.2. Расчетная скорость на кольцевом пересечении - это максимальная безопасная скорость движения одиночных (легковых) автомобилей, обеспечиваемая геометрическими элементами пересечения.
Оптимальные скорости движения на кольцевой проезжей части зависят от диаметра центрального островка:
|
Диаметр центрального островка, м |
10-15 |
40 |
80 |
125 |
|
Скорость на пересечении, км/ч |
16 |
24 |
28 |
31 |
3.2.3. Наличие светофорного регулирования на кольцевых пересечениях с прорезанным центральным островком для транзитного движения резко снижает скорости движения автомобилей (рис. 3.2).
Рис. 3.2. Комулятивные кривые скоростей транзитного движения на кольцевом пересечении с прорезанным центральным островком:
а - без светофорного регулирования; б - при наличии светофорного регулирования; 1 - скорости автомобилей, движущихся после остановки перед светофором; 2 - то же, без остановки перед светофором. Сплошными кривыми дано для грузовых автомобилей, пунктирными - для легковых. Стрелками показаны средние (50% обеспеченности) скорости
3.2.4. Устройство виража на кольцевой проезжей части повышает удобство движения и позволяет проезжать пересечение с более высокой скоростью (рис. 3.3).
Рис. 3.3. Комулятивные кривые скоростей движения автомобилей на кольцевой проезжей части:
1 - без виража; 2 - с виражом. Сплошными кривыми дано для грузовых автомобилей, пунктирными - для легковых. Стрелками показаны средние (50% обеспеченности) скорости
Рис. 3.4. Изменение скорости движения на кольцевом пересечении неравнозначных дорог при проезде в прямом направлении:
I - по главной дороге; II - то же, по второстепенной
Рис. 3.5. Изменение скорости движения на кольцевом пересечении неравнозначных дорог с виражом на кольцевой проезжей части при левоповоротном проезде:
I - с направления приоритетного; II - то же, неприоритетного
3.2.5. Характер изменения скоростей движения в зоне влияния кольцевых пересечений зависит от планировки пересечения, схемы организации движения на пересечении, интенсивности движения. Графики изменения скоростей движения полученные при экспериментальных проездах автомобиля-лаборатории по кольцевым пересечениям с различной планировкой, показаны на рис. 3.4-3.5.
Графики изменения скоростей движения в зоне влияния кольцевых пересечений могут быть использованы при определении эффективности различных схем организации движения и имитационном моделировании движения потоков автомобилей на кольцевых пересечениях.
3.3.1. На кольцевых пересечениях в одном уровне с большими центральными островками происходит переплетение автомобилей, входящих на пересечение, следующих по кольцу и выезжающих с пересечения. Поскольку выход автомобиля из потока менее затруднен, чем включение в поток, рассматривая каждый из въездов на кольцевое пересечение, можно выделить взаимодействие двух потоков - следующего по кольцу и включающегося в него.
Маневры, наблюдаемые на кольцевых пересечениях с малыми и средними островками, можно отнести к пересечениям под острым углом при средних и низких скоростях движения. Пересечение или переплетение может быть осуществлено только при наличии интервала достаточной продолжительности между автомобилями в пересекаемом потоке.
3.3.2. В зависимости от принятого способа организации движения на кольцевом пересечении один из потоков имеет приоритет (по действующим в СССР правилам дорожного движения, приоритетом пользуется входящий поток).
3.3.3. Величина интервала в приоритетном потоке, который принимается водителем автомобиля неприоритетного потока, зависит от многих, факторов.
геометрических элементов кольцевого пересечения;
типа автомобилей в неприоритетном потоке;
интенсивности и состава движения приоритетного потока;
психофизиологических качеств и стажа работы водителя, оценивающего интервал;
состояния покрытия и погодных условий;
видимости на пересечении;
скорости движения автомобилей приоритетного потока;
принятого способа организации движения на кольцевом пересечении.
3.3.4. В зависимости от индивидуальных особенностей и квалификации водителя интервал, принятый одним водителем, может быть отвергнут другим. Из сравнения принятых и отвергнутых интервалов можно определить граничный промежуток времени, который будет характеризовать данный тип пересечения и принятый способ организации движения.
3.3.5. Величина граничных интервалов времени зависит от типа автомобилей в неприоритетном потоке. Водители легковых автомобилей принимают интервалы меньшей продолжительности, чем водители грузовых автомобилей (рис. 3.6).
При приоритете движения на кольце величина граничных интервалов времени меньше (см. рис. 3.6,а), чем при приоритете на въезде (см. рис. 3.6,б). Разность граничных интервалов времени 50% обеспеченности составляет от 0,4 до 2,0 с.
3.3.6. Величина граничных интервалов времени уменьшается с ростом интенсивности движения приоритетного потока (рис. 3.7).
3.3.7. Наименьшие значения граничных интервалов времени зафиксированы на кольцевых пересечениях, с диаметром центрального островка, равным 30-10 м, при скорости движения приоритетного потока на кольце 30-34 км/ч и углах слияния 40-45° (рис. 3.8, 3.9).
Рис. 3.6. Кривые вероятности принятия интервалов времени в приоритетном потоке вливающимися в поток автомобилями:
а - при приоритете на въезде; б - то же, на кольце. Сплошными кривыми дано для легковых автомобилей, пунктирными - для грузовых. Стрелками показаны средине (50% обеспеченности) значения интервалов
Рис. 3.7. Изменение величины граничного промежутка времени от интенсивности движения приоритетного потока:
а - при приоритете на кольце для легковых автомобилей; б - то же, для грузовых; в - при приоритете на въезде для легковых автомобилей; г - то же, для грузовых. Цифрами на кривых показана величина Δtгр
Рис. 3.8 Зависимость величины граничных интервалов на кольцевых пересечениях от скорости движения приоритетного потока и угла α слияния потоков:
1 - α=24°; 2 - α=34°; 3 - α=55°; 4 - α=44°
Рис. 3.9. Граничные расстояния (а) и промежутки времени (б) на кольцевых пересечениях при различных диаметрах центрального островка
3.3.8. Величину граничного интервала времени для данного въезда на кольцевое пересечение с учетом интенсивности движения приоритетного потока, типа автомобиля и принятого способа организации движения на пересечении следует определять по рис. 3.7.
3.3.9. Осредненные значения граничных интервалов времени на кольцевых пересечениях рекомендуется принимать по табл. 3.1.
|
Тип автомобиля |
Вероятность принятия интервала, % |
||
|
50 |
85 |
100 |
|
|
Граничный промежуток времени, с. |
|||
|
Легковой |
4,7 |
5,9 |
6,6 |
|
Грузовой |
5,7 |
0,8 |
7,6 |
3.4.1. В зоне влияния кольцевых пересечений происходит изменение режима движения потоков автомобилей, что приводит к существенному перераспределению интервалов во времени.
3.4.2. При оценке максимальной пропускной способности, определении потерь времени автотранспорта и моделировании движения потоков автомобилей на кольцевых пересечениях необходимо устанавливать закономерности распределения интервалов между автомобилями во времени при различной интенсивности движения.
3.4.3. Для описания распределения интервалов во времени в зоне влияния кольцевых пересечений при интенсивности движения N<350 авт/ч следует пользоваться смешанным распределением - трехкомпонентным уравнением смеси:
|
|
(3.3) |
|
при |
(3.4) |
где A, B, С - коэффициенты, учитывающие количество свободных, частично связанных и связанных автомобилей в потоке А+В+С=1; N - часовая интенсивность движения, авт/ч; Δt - интервал времени, с; λ - математическое ожидание числа автомобилей за время Δt; β1, β2, β3 - параметры распределения интервалов между автомобилями в потоке.
На кольцевых пересечениях:
β1=1+lgA ; β2=1,7; β3=2,9.
3.4.4. При интенсивности движения N≥350 авт/ч эффективным для описания распределения интервалов во времени является гамма-распределение, плотность которого выражается зависимостью
|
|
(3.5) |
|
где |
(3.6) |
где t - интервал между автомобилями, с; Г (а) - гамма-функция, определяемая с помощью интеграла Эйлера; a, b - параметры распределения.
3.5.1. Анализ кривых распределения величии минимальных интервалов во времени между автомобилями различных типов на кольцевых пересечениях показал, что модальные значения, минимальных интервалов во времени составляют:
|
Между легковыми автомобилями |
1,9 с |
|
Между грузовыми автомобилями грузоподъемностью: |
|
|
малой |
2,6 с |
|
средней |
3,2 с |
|
большой |
4,4 с |
|
Между автобусами |
5,5 с |
|
Между автопоездами |
6,6 с |
3.5.2. По величине, этих интервалов определены значения коэффициентов приведения различных типов транспортных средств к легковому автомобилю (табл. 3.2).
|
Тип автомобилей |
Коэффициент приведения ψ |
|
Легковые |
1,0 |
|
Грузовые грузоподъемностью: |
|
|
малой |
1,4 |
|
средней |
1,7 |
|
большой |
2,3 |
|
Автобусы |
2,9 |
|
Автопоезда |
3,5 |
4.1.1. По форме центральный островок может быть в виде круга; эллипса, овала и неправильной формы, но при равных возможностях следует устраивать круглые островки, поскольку они лучше обеспечивают равномерную скорость движения на кольцевой проезжей части.
4.1.2. Расчетная скорость движения по кольцевому пересечению должна составлять не менее 30 км/ч.
4.1.3. Размер центрального островка (диаметр D) определяется длиной зоны переплетения и расчетной скоростью на кольцевой проезжей части:
|
|
(4.1) |
где bк - ширина проезжей части кольца, м; L - расстояние между осями двух соседних вливающихся на кольцо дорог по внешней кромке кольцевой проезжей части, м.
Величину L определяют по формуле
|
|
(4.2) |
где r1, r2 - радиусы входа и выхода на кольцо, м; b1, b2 - ширина проезжей части вливающихся дорог, м; Lзп - длина зоны слияния (или переплетения), м; п - количество полос движения на кольце.
Длину зоны переплетения Lзп определяют по табл. 4.1.
|
Категория дороги |
Длина зоны переплетения, м |
|
|
рекомендуемая |
минимальная |
|
|
I |
65 |
50 |
|
II |
60 |
47 |
|
III |
55 |
30 |
|
IV |
45 |
20 |
4.1.4. На кольцевых пересечениях со средним диаметром центрального островка происходит не переплетение, а пересечение автомобилей под острым углом (α≤40°÷50°), движение транспортных потоков носит прерывистый характер.
Диаметр центрального островка зависит от расчетной скорости движения по кольцевому пересечению:
|
Диаметр островков, м |
15 |
30 |
60 |
|
Скорость на пересечении, км/ч |
18–20 |
25 |
30 |
4.1.5. Диаметр центрального островка кольцевых пересечений с малым центральным островком определяется схемой организации движения, принятой на пересечении.
При организации движения с приоритетом движения по кольцу размер островка и планировка пересечения должны вынуждать водителей проезжать пересечение по искривленной траектории. Радиус кривизны траектории при прямом (транзитном) движении должен быть не более 100 м. С учетом этих условий диаметр центрального островка следует принимать: минимальный (в стесненных условиях) - 10 м; рекомендуемый - 15–20 м (табл. 4.2).
|
Схема организации движения на кольцевом пересечении |
Диаметр центрального островка, м |
|
|
минимальный (в стесненных условиях) |
рекомендуемый |
|
|
Приоритет на кольце > > въезде |
10 |
15–20 |
|
Приоритет на въезде, или одна из дорог (главная) |
25 |
130 |
4.1.6. Если на проектируемом кольцевом пересечении предполагается организовать движение с предоставлением преимущественного права проезда по одной из пересекающихся дорог (главная дорога проходит в прямом направлении), диаметр центрального островка должен быть не менее длины расчетного крупногабаритного грузового автомобиля с тем, чтобы такой автомобиль мог находиться в зоне ожидания на кольцевой проезжей части без помех для транзитного движения (рис. 4.1).
Dцо≥la,
где Dцо - диаметр центрального островка, м;
lа - длина, расчетного крупногабаритного грузового автомобиля (обычно равная 24 м), м.
Рекомендуемый диаметр центрального островка в этом случае составит 30 м (см. табл. 4.2).
Рис. 4.1. Схема расположения крупногабаритного грузового автомобиля в зоне ожидания на кольцевой проезжей части (1)
4.2.1. Кольцевая проезжая часть должна иметь, не менее двух полос для движения.
4.2.2. Ширина полосы движения на кольцевой проезжей части зависит от диаметра центрального островка:
|
Диаметр центрального островка, м |
60 |
80 |
≥100 |
|
Ширина одной полосы движения, м |
5,5 |
5,0 |
4,5 |
4.2.3. Ширина кольцевой проезжей части пересечения измеряется в его наиболее узкой части посередине между соседними въездами и выездами.
4.3.1. Для разделения встречных потоков на участке въезда и выезда кольцевых пересечений устраивают направляющие островки.
4.3.2. Форма направляющих островков должна обеспечивать плавность траекторий движения потоков автомобилей (рис. 4.2).
|
Диаметр центрального островка, м |
Радиусы примыканий, м |
|
|
в нормальных условиях |
в стесненных условиях |
|
|
15 |
20 |
15 |
|
30 |
30 |
20 |
|
≥60 |
50 |
35 |
4.3.3. Планировка направляющих островков и радиусы кривых, сопрягающих примыкающие дороги с кольцевой проезжей частью, должны обеспечивать плавное снижение скорости при подходе к кольцу и постепенное увеличение скорости при выезде из кольцевого пересечения автомобильных дорог.
Рекомендуемые радиусы кривых, сопрягающих примыкающие дороги с кольцевой проезжей частью, приведены в табл. 4.3.

Рис. 4.2. Виды направляющих островков кольцевых пересечений автомобильных дорог
4.4.1. На кольцевых пересечениях с малыми и средними центральными островками не происходит непрерывное переплетение двух потоков автомобилей в зоне слияния. Движение автомобилей носит прерывистый характер, один из потоков в зоне слияния имеет приоритет.
Для повышения пропускной способности въезда на кольцевое пересечение следует увеличивать число полос движения на въезде.
4.4.2. Планировка кольцевого пересечения вынуждает водителей снижать скорость на участке подхода к пересечению независимо от направления дальнейшего движения. Характер снижения скорости движения автомобилей на участке подхода зависит от схемы организации движения на пересечении, диаметра центрального островка и радиуса примыкания к кольцевой проезжей части.
Поэтому отпадает необходимость устройства тормозной полосы на подходе к кольцевым пересечениям и разгонной полосы, на выезде для правоповоротных автомобилей, и длина участка уширения будет намного меньше полной длины переходно-скоростной полосы.
4.4.3. Расчетная схема уширения въезда на подходе к кольцевому пересечению без участка торможения принимает следующий вид, показанный на рис. 4.3.
Считая, что ось дороги на подходе к пересечению проходит по прямой, по схеме въезда (см. рис. 4.3) можно определить:
|
|
(4.3) |
|
|
(4.4) |
|
|
(4.5) |
|
|
(4.6) |
где u - ширина проезжей части одного направления движения на подходе к кольцевому пересечению, м; β - угол отклонения внешней кромки проезжей част в начале уширения, град; В - ширина въезда, м; y0 - расстояние от оси дороги до кромки направляющего островка по оси У, м; L - длина участка уширения на подходе, м.
Рис. 4.3. Схема уширения участка въезда на кольцевое пересечение
4.4.4. Параметры, входящие и формулу (4.6), изменяются в следующих пределах:
u - зависит от категории, дороги и для III технической категории равно 3,5 м, а для II равно 3,75 м;
![]()
для кольцевых пересечений с малыми центральными островками расстояние y0=5÷6 м.
Ширина въезда
|
B=nвb1, |
(4.7) |
где nв - число полос на въезде; b1 - ширина полосы движения на въезде, м; Ширину b1 следует принимать не менее 3,75-4,0 м, тогда:
при nв=1 имеем B=4 м
при nв=2 имеем B=8 м
при nв=3 имеем B=12 м
Угол уширения β≤20° обеспечивает достаточную плавность траектории движения автомобилей на подходе к кольцевым пересечениям.
4.4.5. Параметры уширения на въезде на кольцевое пересечение при y0=6 м приведены в табл. 4.4.
|
Категория дороги |
Ширина и проезжей чести на подходе, м |
Число полос движения на въезде |
Ширина В въезда, м |
Угол уширения β, град |
Длина уширения L, м |
|
II |
3,75 |
2 |
8 |
15 |
40 |
|
II |
3,75 |
3 |
12 |
15 |
50 |
|
III |
3,5 |
2 |
8 |
20 |
30 |
|
III |
3,5 |
3 |
12 |
16 |
50 |
При других значениях у0 длину участка уширения следует определять но формуле (4.6).
4.5.1. Планировка участка выезда с кольцевого пересечения зависит главным образом от наличия или отсутствия на смежном въезде специальной полосы для правоповоротных автомобилей.
4.5.2. Если на смежном к выезду примыкании не выделена специальная полоса для правоповоротных автомобилей (рис. 4.4,а), то форма уширения участка выезда должна лишь обеспечивать плавность траекторий автомобилей, выезжающих на правый поворот, что достигается выбором соответствующего радиуса сопряжения R (см. табл. 4.3).
рис. 4.4. Схема уширения на участке выезда кольцевого пересечения:
а - без отдельной полосы для правоповоротных автомобилей; б - при наличии специальной полосы для правоповоротных автомобилей; Lотг - длина участка отгона; Lм - то же, маневрирования
4.5.3. При выделении на ближайшем к выезду примыкании специальной отдельной полосы для правоповоротных автомобилей (рис. 4.4,б) уширение на участке выезда должно обеспечивать плавное включение автомобилей, совершивших правоповоротный маневр, в поток автомобилей, выезжающих с кольцевой проезжей, части.
Рис. 4.5. Характер изменения скорости движения на участке выезда из кольцевого пересечения при Dцо=42 м, R=25 м
Рис. 4.6. Элементы переходно-скоростной (разгонной) полосы:
Lразг - длина участка разгона; Lм и Lотг - см. рис. 4.4
4.5.4. Наблюдения на участках выезда кольцевых пересечений показали, что скорости движения автомобилей при выезде с кольцевой проезжей части (v1) и скорости движения автомобилей при правом повороте из приоритетного съезда (v2) зависят от диаметра центрального островка, интенсивности движения, радиуса сопряжения, но перепад скоростей v1 и v2 не превышает 10 км/ч (рис. 4.5).
Поэтому устраивать переходно-скоростную (разгонную) полосу полной длины (рис. 4.6) на участке выезда кольцевых пересечений не следует, достаточно обеспечить дополнительную полосу на участке Lм маневрирования (см. рис. 4.4,б).
4.5.5. Длину участка маневрирования (Lм) следует принимать по табл. 4.5.
4.5.6. Длину участка отнона ширины следует принимать не менее 60 м.
|
Категория дороги |
Длина участка маневрирования, м |
|
I |
80 |
|
II |
75 |
|
II |
70 |
4.6.1. Для повышения устойчивости и удобства движения автомобилей на кольцевой проезжей части следует устраивать вираж с уклоном в сторону центрального островка. Проезжая часть кольцевого пересечения между концами направляющих островков будет иметь двускатный поперечный профиль.
Линия сопряжения плоскостей с различными поперечными уклонами называется линией сопряжения уклонов (ЛСУ).
4.6.2. Положение линии сопряжения уклонов и алгебраическая разность поперечных уклонов проезжей части на кольце должны обеспечивать плавность въезда автомобиля на кольцевую проезжую часть с виражом и выезда, из нее (при движении с расчетной скоростью).
4.6.3. Обязательное условие устройства виража на кольцевой проезжей части - обеспечение водоотвода на кольцевом пересечении.
Водоотвод на кольцевом пересечении с виражом обеспечивается устройством дождеприемных колодцев, собирающих воду с кольцевой проезжей части, и последующим отводом воды за пределы пересечения (см. ниже рис. 4.9,б).
4.6.4. Проектирование вертикальной планировки кольцевого пересечения проводится в три этапа:
определение на плане пересечения положения линий сопряжения уклонов;
назначение поперечных уклонов проезжей части;
увязка продольных уклонов и вычисление отметок точек.
4.6.5. Положение линии сопряжения уклонов на плане кольцевого пересечения определяется в следующем порядке:
а) при кольцевых пересечениях с большими центральными островками линия сопряжения уклонов проводится как плавная кривая, соединяющая концы направляющих островков и середину ширины зоны переплетения в наиболее узком месте (рис. 4.7);
Рис. 4.7. Схема вертикальной планировки кольцевых пересечений с большим центральным островком:
а - положение линии сопряжения уклонов в зоне переплетения; б - общий вид кольцевого пересечения с виражом на кольцевой проезжей части:
1 - линия сопряжения уклонов; 2 - поперечине профили проезжей части
б) при кольцевых пересечениях со средним диаметром центральных островков строится окружность, вписанная в контур пересечения (в случае неправильной формы кольцевого пересечения это может быть не круг, а плавная кривая, соединяющая контуры пересечения). Линия сопряжения уклонов на кольцевой проезжей части строится как окружность, отсекающая 2/3 длины от границы центрального островка до вписанной окружности (рис. 4.8,а). Затем строится линия сопряжения уклонов на въездах и выездах как плавная кривая, параллельная внешней кромке пересечения и проходящая с точкой касания к линии сопряжения уклонов кольцевой проезжей части (см. рис. 4.8,б). Линии сопряжения уклонов въезда и смежного выезда не должны перекрываться;
в) при кольцевых пересечениях с малыми центральными островками для обеспечения плавности въезда автомобилей на кольцевую проезжую часть с виражом и выезда с нее необходимо на кольцевых пересечениях и пересечениях с малыми центральными островками устройство переходной зоны, смягчающей (алгебраическую) разность поперечных уклонов проезжей части. Линия сопряжения уклонов на кольцевой проезжей части как прямая АВ, соединяющая концы направляющих островков, показана на рис. 4.9,а. Линия сопряжения уклонов, отделяющая полосу с обратным уклоном (для правого поворота), проводится параллельно внешней кромке проезжей части пересечения (кривая MNE на рис. 4.9,а).
Между кривой MNE, прямой АВ и осями пересекающихся дорог образуется переходная зона, которая делится на две части прямой CD, проходящей через середину отрезка KN параллельно прямой АВ. Отрезок KN - ширина переходной зоны в наиболее узкой части (см. рис. 4.9,а).
Рис. 4.8. Схема вертикальной планировки кольцевых пересечений со средним диаметром центрального островка:
а - положение линии сопряжения уклонов на кольцевой проезжей части; б - положение линии сопряжения уклонов на участках въездов и выездов; в - поперечные уклоны проезжей части (показаны стрелками); 1 - линия сопряжения уклонов
В результате такого построения получается:
зона виража на кольцевой проезжей части (iп=iв);
две зоны, переходные для обеспечения плавности перехода автомобиля с внешнего уклона на уклон виража (iп=10÷15%);
зона виража для правого поворота (iп=iв).
4.6.6. Поперечный уклон виража, на кольцевых пересечениях следует принимать:
|
В районах с частыми туманами и длительными периодами гололеда |
не более 40%о |
|
В районах с незначительной продолжительностью снежного покрова и редкими случаями гололеда |
не более 50%о |
4.6.7. По заданным отметкам участков въездов и выездов производится взаимная увязка продольных уклонов и отметок линий сопряжения уклонов на въездах, выездах и кольцевой проезжей части. После предварительной увязки продольных уклонов и отметок линий сопряжения уклонов вычисляются отметки всех характерных точек на плане кольцевого пересечения (на линии сопряжения уклонов отметки точек вычисляются через каждые 5 м) в целях получения подробной вертикальной планировки.
Для ускорения вычислительных работ следует пользоваться ЭЦВМ.
Рис. 4.9. Схема вертикальной планировки кольцевых пересечений с малым диаметром центрального островка:
а - положение линий сопряжения уклонов; б - поперечные уклоны проезжей части (показаны стрелками);
1 - участки отгона виража; 2 - дождеприемные колодцы
4.7.1. Для обеспечения хорошей обзорности кольцевое пересечение наиболее целесообразно располагать на вогнутых участках продольного профиля, на прямых или кривых (в плане) больших радиусов.
4.7.2. Продольные уклоны на пересекающихся дорогах в зоне кольцевого пересечения не должны превышать 40%о.
4.7.3. Для водителей, подъезжающих к кольцевому пересечению, необходимо обеспечить видимость из условия остановки до кольцевой проезжей части.
|
Продольный уклон, %о |
Расчетная скорость, км/ч |
||||||
|
150 |
120 |
100 |
80 |
60 |
50 |
40 |
|
|
Минимальное расстояние видимости поверхности дороги, м |
|||||||
|
+40 |
230 |
160 |
130 |
90 |
65 |
50 |
40 |
|
+20 |
240 |
1б5 |
135 |
95 |
70 |
55 |
45 |
|
0 |
250 |
175 |
140 |
100 |
75 |
60 |
50 |
|
–20 |
260 |
180 |
145 |
105 |
80 |
65 |
55 |
|
–40 |
270 |
190 |
150 |
110 |
85 |
70 |
60 |
Рис. 4.10. Столбчатая конструкция на центральном островке, издалека предупреждающая водителей о подходе к кольцевому пересечению
4.7.4. Расстояние видимости поверхности дороги должно соответствовать расчетной скорости движения на пересекающейся дороге и продольным уклонам на подходах к кольцевому пересечению (табл. 4.6).
4.7.5. На центральном и направляющих островках посадка насаждений и застройка, уменьшающие расстояние видимости, не допускаются.
4.7.6. На центральном островке кольцевых пересечений с большими и средними диаметрами островков рекомендуется устраивать архитектурные сооружения (доминанты), которые улучшают зрительное восприятие кольцевых пересечений водителями (рис. 4.10). Конструкция таких сооружений должна быть легкой, ажурной, с тем, чтобы не ограничивать видимость на кольцевом пересечении.
5.1.1. Одни из главных критериев для сравнения различных типов пересечений - полная пропускная способность.
5.1.2. Пропускная способность кольцевого пересечения является сложным показателем, зависящим от совместного влияния многих факторов, главным образом от величины геометрических элементов пересечения и параметров транспортного потока.
5.1.3. Пропускной способностью кольцевого пересечения называется максимальное число автомобилей, которое может проехать через кольцевое пересечение за единицу времени.
Пропускная способность въезда - это максимальное число автомобилей, которое может въехать на пересечение при заданной интенсивности движения на кольце.
5.1.4. Пропускная способность кольцевого пересечения определяется пропускной способностью въездов на пересечение. На пропускную способность кольцевого пересечения существенное влияние оказывает распределение потоков по направлениям. С увеличением количества автомобилей, проезжающих в прямом направлении и совершающих левый поворот, пропускная способность кольцевого пересечения снижается.
5.1.5. Экспериментальные исследования показали, что для одной и той же планировки кольцевого пересечения более высокая пропускная способность достигается при организации движения с преимущественным правом проезда по кольцу.
5.1.6. Для оценки пропускной способности кольцевых пересечений необходимо наличие данных об интенсивности и составе движения, о распределении потоков по направлениям на кольцевом пересечении в часы пик.
5.1.7. На кольцевых пересечениях в СССР (особенно в пригородной зоне) происходит перераспределение состава движения. Поэтому для решения задач, связанных с оценкой пропускной способности пересечений, необходимо интенсивность движения смешанного потока приводить к однотипному легковому потоку с целью получения соизмеримых величин.
5.2.1. Пропускная способность въезда на кольцевое пересечение (рис. 5.1) определяется главным образом:
шириной въезда (числом полос движения на въезде);
формой въезда;
интенсивностью движения на кольце;
составом движения.
5.2.2. Длина зоны слияния (переплетения) и диаметр центрального островка не оказывают существенного влияния на пропускную способность въезда кольцевых пересечений.
5.2.3. Пропускная способность въезда на кольцевое пересечение с учетом реальных дорожных условий определяется по формуле
|
|
(5.1) |
|
|
(5.2) |
где c - коэффициент, учитывающий состав движения; Ψi - коэффициент приведения i-го типа транспортного, средства к легковому автомобилю (см. табл. 3.2); mi - количество (в долях единицы) транспортных средств различных типов; n - число типов транспортных средств; А,Б - коэффициенты, характеризующие планировку въезда зависящие от числа полос движения на подходе п1 и на въезде. n2 принимаемые по табл. 5.1; C1 - коэффициент, учитывающий влияние диаметра центрального островка на пропускную способность въезда на кольцевое пересечение и определяемый по табл. 5.1.
Рис. 5.1. Зависимость пропускной способности въезда на кольцевое пересечение от интенсивности движения на кольце:
CD - однополосный въезд; MN - двухполосный въезд; KLN - уширенный въезд
(n1=1; n2=2)
|
Число полос движения |
Приведенная интенсивность движения на кольце, легк. авт/ч |
Коэффициенты |
||
|
на подходе |
на въезде |
А |
Б |
|
|
1 |
1 |
0–2240 |
1500 |
0,67 |
|
2 |
2 |
0–2530 |
2630 |
1,04 |
|
1 |
2 |
≤1400 |
1800 |
0,45 |
|
|
|
≤1400 |
2630 |
1,04 |
|
1 |
3 |
≤1600 |
1800 |
0,31 |
|
|
|
≤1600 |
3200 |
1,18 |
|
2 |
3 |
≤1100 |
2900 |
0,91 |
|
|
|
≤1100 |
3200 |
1,18 |
|
Диаметр центрального островка, м |
Коэффициент С1 |
|
15–20 |
0,94 |
|
40–50 |
1,00 |
|
80 |
0,90 |
|
125 |
0,84 |
|
160 |
0,79 |
|
200 |
0,75 |
Примечание. Значения коэффициента С1 определены с учетом величины граничных интервалов времени для кольцевых пересечений с разными диаметрами центральных островков.
Число полос движения на въезде определяется по формуле
|
|
(5.3) |
где B - ширина въезда, м; В1 - ширина полосы движения на въезде, равная 3,75 - 4 м.
5.3.1. Потери времени автомобилей на кольцевых пересечениях значительно меньше по сравнению с другими типами пересечений автомобильных дорог в одном уровне. С увеличением суммарной интенсивности движения пересекающихся потоков потери времени на кольцевых пересечениях возрастают (рис. 5.2).
Рис. 5.2. Суммарные потери времени из-за ожидания, торможения и разгона после остановки перед вливанием в приоритетный поток.
Цифрами на кривых показана интенсивность движения неприоритетного потока (авт/ч)
5.3.2. По формуле (5.1) можно получить величину, максимальной пропускной способности въезда, которая может быть достигнута при наличии постоянной очереди автомобилей, ожидающих возможности въезда на кольцевое пересечение.
5.3.3. При интенсивности движения на въезде, равной пропускной способности (Nв=Рв), потери времени будут настолько велики, что такой режим работы пересечения экономически будете нецелесообразен.
5.3.4. Коэффициент загрузки движения въезда.
|
|
(5.4) |
где Nв - фактическая или перспективная интенсивность движения на въезде, авт./ч;
Рв - пропускная способность въезда в конкретных дорожных условиях, авт./ч.
5.3.6. Исходя из условий эффективной работы автомобильной дороги в целом оптимальный коэффициент загрузки движением на въездах кольцевых пересечений принят равным 0,65. При zопт=0,65 обеспечивается экономически эффективный режим работы кольцевого пересечения как элемента автомобильной дороги.
5.3.7. Коэффициент загрузки движения, соответствующий режиму практической пропускной способности въезда zпр=0,85.
Практическая пропускная способность въезда на кольцевое пересечение в реальных дорожных условиях
|
|
(5.5) |
где Pв - максимальная пропускная способность въезда на кольцевое пересечение в реальных дорожных условиях, авт/ч.
5.4.1. Пропускная способность каждого въезда на пересечение определяется при фиксированной интенсивности движения Nк на кольце, т.е. при неизменных интенсивностях движения на других въездах. Поэтому пропускная способность всего кольцевого пересечения не будет равна сумме пропускных способностей въездов.
Пропускная способность всего кольцевого пересечения определяется при допущениях:
- прирост интенсивности движения на всех въездах одинаковый;
- состав движения и распределение потока по направлениям на всех въездах остаются прежними.
Если хотя бы на одном въезде коэффициент загрузки движением z≥0,65 - это означает, что кольцевое; пересечение достигло (или превысило при z>0,65) экономически эффективную загрузку движением. На наиболее загруженном въезде следует провести мероприятия по повышению, пропускной способности.
Если на всех въездах коэффициент загрузки движением z<0,65, запас пропускной способности каждого въезда определяется по формуле
|
|
(5.6) |
при
|
|
(5.7) |
где х - коэффициент запаса пропускной способности въезда, который показывает, во сколько раз может увеличиться, интенсивность движения на въезде до достижения пропускной способности. Остальные обозначения прежние.
Коэффициент х рассчитывается для каждого въезда при z=0,65.
Из всех х выбирается наименьший хmin, соответствующий наиболее загруженному въезду.
Полная пропускная способность кольцевого пересечения, соответствующая экономически эффективной загрузке движением (z=0,65), составит
|
|
(5.8) |
где Nвi - фактическая интенсивность движения на въезде, авт/ч; i - номер въезда; п - число въездов.
Аналогично можно определить пропускную способность кольцевого пересечения, соответствующую режиму практической пропускной способности въездов (при z=0,85).
5.4.2. Пропускная способность кольцевых пересечений определяется в такой последовательности:
1) на основе данных по интенсивности и составу движения, распределению потоков по направлениям в часы пик составляется сводная таблица интенсивностей движения на кольцевом пересечении (см. приложение 1);
2) составляется картограмма интенсивностей движения на кольцевом пересечении;
3) для каждого въезда определяются коэффициенты А, Б и вычисляется пропускная способность въезда на пересечение;
5) определяется коэффициент загрузки движением каждого въезда;
6) значения коэффициентов загрузки движением сравниваются с коэффициентом оптимальной загрузки движением.
Если z≥0,65, то необходимы мероприятия по повышению пропускной способности въезда.
Если z<0,65, то оценивается пропускная способность всего кольцевого пересечения.
5.5.1. Мероприятия по повышению пропускной способности и улучшению условий движения на кольцевых пересечениях проводятся стадийно, с учетом коэффициентов загрузки движением въездов кольцевых пересечений.
|
Интенсивность движения на въезде в часы пик, авт/ч |
Основная схема планировки въезда (см. рис.5.3) |
Коэффициент загрузки движением па въезде, z |
Характер мероприятий по повышению пропускной способности въезда на кольцевое пересечение |
|
≤350 |
1 |
<0,2 |
Разметка проезжей части на въезде |
|
0,2-0,65 |
То же |
||
|
>0,65 |
Устройство въезда по схеме 2 (см. рис.5.3) |
||
|
350<Nв≤500 |
2 |
<0,2 |
Разметка проезжей части на въезде |
|
0,2-0,65 |
Разметка на въезде; установка знака «Направление движения по полосам» на Г-образной раме под въездом При α≥0,4 |
||
|
>0,65 |
Устройство въезда по схеме 3 |
||
|
500<Nв≤700 |
|
<0,2 |
Разметка проезжей части на въезде |
|
0,2-0,65 |
Разметка на въезде; установка знака «Направление движения по полосам» на Г-образной раме над въездом (см. ниже рис.6.5). При α≥0,3 устройство по схеме 3а |
||
|
>0,65 |
Устройство пересечения на разных уровнях |
||
|
Nв≥700 |
Устройство пересечения в разных уровнях |
||
5.5.2. Основное мероприятие по повышению пропускной способности на кольцевом пересечении - увеличение числа полос движения на въезде на пересечение.
Последовательность совершенствования планировки въезда (рис.5.3) выбирается на основе коэффициентов загрузки движением по табл. 5.3.
6.1.1. На кольцевых; пересечениях автомобильных дорог водители должны быть заблаговременно проинформированы о расположении основных пунктов маршрута, порядке движения через пересечение, расположении пешеходных переходов и других особенностях обстановки.
Эту цель можно достигнуть соответствующей расстановкой дорожных знаков (согласно ГОСТ 10807-78 «Знаки дорожные. Общие технические условия» и ГОСТ 23457-79 «Технические средства организации дорожного движения. Правила применения») и нанесением разметки на проезжую часть автомобильных дорог.
6.1.2. В зависимости от соотношения интенсивностей движения на подходах, распределения движения по направлениям, народнохозяйственного значения пересекающихся дорог и характера перевозок на кольцевых пересечениях могут быть приняты различные варианты организации движения.
6.1.3. На наиболее распространенных четырехсторонних кольцевых пересечениях возможны четыре варианта организации движения:
Вариант 1. Организация движения с предоставлением преимущественного права проезда транспортным средствам, движущимся по кольцевой проезжей части (рис. 6.1).
Вариант 2. Организация движения с предоставлением преимущественного права проезда по одной из пересекающихся дорог. Главная дорога проходит в прямом направлении (рис. 6.2).
Вариант 3. Ни одно из направлений движения не выделено как главное. Водители должны руководствоваться пунктом 111 «Правил дорожного движения» и уступать дорогу транспортным средствам, приближающимся справа.
По этому варианту организации движения приоритетом в движении в зоне слияния кольцевых пересечений пользуется поток, входящий на пересечение (рис. 6.3).
Вариант 4. Организация движения на кольцевом пересечении, когда главная дорога изменяет свое направление. Этот вариант организации движения на кольцевых пересечениях применятся сравнительно редко (рис. 6.4).
6.1.4. При высокой степени загрузки движением въезда для улучшения ориентирования водителей над уширенными въездами кольцевых пересечений следует устанавливать знак «Направление движения по полосам» (рис. 6.5).
6.2.1. Выбор варианта организации движения на кольцевом пересечении определяется главным образом соотношением, интенсивностей движения на пересекающихся дорогах.
Принятый вариант организации дорожного движения должен обеспечить минимальные потери времени автотранспорта, высокую пропускную способность пересечения, безопасные условия движения, удобство движения для наиболее загруженных направлений движения.
Рис. 6.1. Схема расстановки знаков на кольцевых пересечениях при предоставлении преимущественного права проезда транспортным средствам, движущимся по кольцу
Рис. 6.2. Схема расстановки знаков на кольцевых пересечениях при прохождении главной дороги в прямом направлении
Рис. 6.3. Схема расстановки знаков на кольцевых пересечениях без выделения приоритетного направления движения
6.2.2. При приоритете движения по кольцу (вариант 1) величина граничных интервалов меньше, следовательно, пропускная способность зоны слияния выше, чем при приоритете движения на въезде (вариант 3).
Вариант 2 занимает промежуточное положение; при такой схеме организации движения имеются две зоны слияния с приоритетом движения по кольцу и две зоны слияния с приоритетом движения на въезде.
Вариант 2 предпочтителен при пересечении неравнозначных дорог.
6.2.3. Задача по выбору наиболее эффективного варианта организации движения на кольцевом пересечении должна решаться на основе технико-экономического сравнения вариантов.
6.2.4. При сравнении вариантов организации движения на кольцевом пересечении следует учитывать распределение интенсивности движения по направлениям, потери времени автотранспорта из-за снижения скорости в зоне влияния пересечения и из-за ожидания возможности проезда.
6.3.1. Границы применимости вариантов организации движения на кольцевом пересечении с однополосными въездами следует определять по номограмме на рис. 6.6.
6.3.2. Зона I соответствует соотношениям интенсивностей движения на пересекающихся дорогах, при которых организация движения с приоритетом на кольце позволяет получить наименьшие потери автотранспорта из-за снижения скоростей в зоне влияния пересечения и ожидания возможности проезда (см. рис. 6.1).
6.3.3. Зона II соответствует наименьшим потерям автотранспорта при выделении более загруженной дороги в качестве главной (см. рис. 6.2).
6.3.4. Зона III соответствует интенсивности движения на пересекающихся дорогах, при которых экономически, целесообразно устройство пересечения в разных уровнях.
Рис.6.4. Схема расстановки знаков на кольцевых пересечениях в случае, когда главная дорога изменяет свое направление
6.4.1. Исходными данными при выборе планировочных решений и мероприятий по организации движения на кольцевых пересечениях являются интенсивность движения на пересекающихся дорогах и распределение потоков по направлениям.
Рис. 6.5. Разновидности знака «Направления движения по полосам» (5.8.1), устанавливаемого над уширенным до трех полос движения въездом на кольцевое пересечение:
а - на Г-образной раме; б - на П-образной раме
Рис. 6.6. Номограмма для выбора варианта организации движения на кольцевых пересечениях:
I - вариант организации движения с приоритетом в движении по кольцу; II - вариант организации движения, при котором приоритетом пользуются транспортные средства, движущиеся по более загруженной дороге; III - пересечение в разных уровнях
Конечная цель - обеспечение безопасных и экономичных условий движения пересекающихся потоков автомобилей на кольцевых пересечениях.
Должны быть взаимно увязаны средства достижения этой цели - планировка кольцевого пересечения и мероприятия по организации движения на пересечении.
6.4.2. При каждой планировке кольцевого пересечения возможны несколько вариантов организации движения на кольцевом пересечении.
6.4.3. Под схемой движения на пересечении следует понимать такое сочетание планировки и варианта организации движения на кольцевом пересечении, которое обеспечивает наиболее безопасные и экономичные условия движения пересекающихся потоков автомобилей при заданном соотношении интенсивностей движения и распределении потоков по направлениям на кольцевом пересечении (рис. 6.7).
6.4.4. Выбор схемы движения складывается из предварительного выбора планировки каждого въезда на кольцевое пересечение и последующего выбора варианта организации движения на кольцевом пересечении.
6.4.5. Примеры основных схем движения на четырехсторонних кольцевых пересечениях приведены в приложении 2.
Рис. 6.7. Формирование схемы движения на кольцевом пересечении
Рис. 6.8. Схемы расположения светильников, на кольцевых пересечениях:
а - с малыми островками; б - с большими центральными островками
6.5.1. Для повышения безопасности движения в темное время суток на кольцевых пересечениях автомобильных дорог необходимо проектировать освещение.
6.5.2. Освещение на кольцевых пересечениях должно обеспечивать зрительное ориентирование водителей в зоне пересечения, среднюю яркость проезжей части, равномерность распределения яркости.
Средняя яркость проезжей части на кольцевых пересечениях должна быть не менее 1,0 кд/м2.
6.5.3. Кольцевые пересечения с диаметром центрального островка менее 20 м и шириной проезжей части менее 9 м следует освещать, устанавливая одну опору с несколькими светильниками в центре островка (рис. 6.8,а):
При больших размерах островка или ширины проезжей части следует устанавливать светильники по периметру пересечения (см. рис. 6.8,б).
7.1.1. Выбор наилучшего планировочного решения пересечения основывается на технических и экономических показателях. При этом определяющими являются экономические показатели, основывающиеся на учете строительной стоимости, затрат на ремонт и содержание пересечений и транспортно-эксплуатационных расходов по каждому варианту.
На основе технических показателей производится отбор конкурирующих вариантов.
7.1.2. Для оценки вариантов проектных решений пересечений следует использовать методику ВСН-21-75, основывающуюся на показателях сравнительной экономической эффективности. Однако при этом необходим учет ряда специфических особенностей, характерных для пересечений автомобильных дорог.
При сравнении вариантов пересечений автомобильных дорог технико-экономические расчеты рекомендуется вести в следующей последовательности:
1) в зависимости от интенсивности движения на пересекающихся дорогах, распределения потоков по направлениям, топографических и гидрогеологических особенностей местности и других конкретных условий назначают два-три варианта пересечений;
2) для каждого из вариантов подсчитывают объемы работ и стоимость строительства;
3) сравнивают все варианты в пределах участков дорог, границы которых определяются размерами варианта с наибольшими зонами влияния на режим движения проходящих по участку транспортных потоков. При сравнении за эталонный вариант принимают при реконструкции пересечения - существующее пересечение, при новом строительстве - простейшее необорудованное пересечение, для которого характерны невысокая стоимость строительства, но значительные транспортно-эксплуатационные расходы и потери от дорожно-транспортных происшествий;
4) год приведения как единовременных, так и текущих затрат должен быть одним и тем же для всех вариантов, например последний год строительства пересечения. Срок сравнения для всех вариантов целесообразно принять 20 лет, так как расчетная интенсивность движения для автомобильных дорог устанавливается на перспективу до 20 лет;
5) если срок службы одного из вариантов менее расчетного срока сравнения, необходимо рассмотреть варианты стадийного строительства пересечения в соответствии с ростом интенсивности движения. Важнейший критерий, определяющий срок службы пересечения - полная пропускная способность пересечения. При стадийном строительстве в зависимости от сроков перестройки пересечения расчетный период суммирования всех затрат подразделяют на этапы;
6) для начального и конечного года каждого этапа определяют интенсивность движения, потери времени на каждом варианте пересечения, средние скорости транспортных потоков на элементах пересечений, количество, дорожно-транспортных происшествий;
7) для каждого варианта определяют суммарные приведенные затраты. Лучшему варианту пересечения дорог соответствует минимум приведенных затрат;
8) для принятого варианта рассчитывают коэффициент сравнительной экономической эффективности капиталовложений по отношению к эталонному варианту.
7.2.1. Величина суммарных приведенных затрат (в руб.) по каждому варианту пересечения может быть определена по формуле
|
|
(7.1) |
где Kс - первичные,
капиталовложения в строительство или реконструкцию пересечения с разбивкой по
годам; n - число лет строительства; Kрек - капиталовложения в строительство или
реконструкцию, осуществленные в t-м году (при стадийном
варианте); tрек - год реконструкции;
Kкр - затраты на капитальный ремонт пересечения; tкр - год капитального ремонта; Kоз - потери народного хозяйства от изъятия
сельскохозяйственных угодий под пересечение; Kао - капиталовложения
в автомобильный транспорт, соответствующие
началу эксплуатации пересечения; ΔKat - дополнительные ежегодные капиталовложения в автомобильный
транспорт, соответствующие ежегодному увеличению объёма перевозок; At - ежегодные автотранспортные расходы на осуществление перевозок
в пределах пересечения; Dt -
ежегодные затраты на содержание и ремонт пересечения;
- потери народного
хозяйства, связанные с затратами времени пассажиров в пути; Пt - потери народного хозяйства от,
дорожно-транспортных происшествий; Tc - период
суммирования затрат; Ен - нормативный коэффициент
сравнительной эффективности, равный 0,12; Eнп - норматив
для приведения разновременных затрат (обычно Eнп=0,08).
7.2.2. Величины капитальных вложений в строительство или реконструкцию пересечения (Kс, Kрек) и стоимость его капитального ремонта (Kр) определяют на основе сметных расчетов по единичным расценкам или по укрупненным показателям стоимости.
7.2.3. Потери народного хозяйства от постоянного изъятия сельскохозяйственных угодий под пересечения следует определять по формуле
|
|
(7.2) |
|
при |
(7.3) |
где α - комплексный коэффициент, зависящий от роли данного вида сельскохозяйственной продукции в образовании национального дохода, а также от величины материальных затрат при его производстве (значения α колеблются в пределах от 0,60 до 0,97 и в среднем составляют 0,80. Причем меньшие значения - для южных сельскохозяйственных зон, зерновых хозяйств, благоприятном их расположении; большие - для северных зон и неблагоприятном размещении хозяйств, вызывающем значительные затраты на транспорт); (ВП)р - расчетная величина валовой продукции хозяйства, определяемая методом математической статистики на год отчуждения земли (см. приложение 3), руб.; ψпост - коэффициент постоянного отчуждения земли, лет; Ез - коэффициент эффективности, учитывающий особенности сельскохозяйственных земельных угодий; к - коэффициент, учитывающий перспективы интенсификации производства в данном хозяйстве (обычно равный 1–1,5); b - прирост (среднегодовой) сельскохозяйственной продукции на далекую перспективу (данные для получения этих величин принимаются с учетом статистических данных годовых отчетов колхозов и совхозов, а также их перспективных планов), в сотых долях единицы; Fз - площадь сельскохозяйственных земельных угодий, занятая под пересечение, га.
При расчете потерь народного хозяйства от постоянного отчуждения земель под пересечения значения α, к, b, Ез можно принять по табл. 7.1.
7.2.4. Капитальные вложения в автомобильный транспорт, соответствующие началу эксплуатации пересечения, для каждого варианта пересечения зависит от скоростей движения, потерь времени автомобилей при их простоях, протяженности пробега автомобилей на пересечении (при общих для всех вариантов границах) и может быть определена по формулам (7.4)–(7.7).
|
Ценность угодий |
α |
кb |
Ез |
|
Ценные (гидротехнические мелиорации) |
0,6 |
0,06 |
0,05 |
|
Средине (систематически удобряемые) |
0,8 |
0,08 |
0,08 |
|
Малоценные |
0,9 |
0,10 |
0,10 |
Для вариантов пересечений с непрерывным движением (не допускающих остановки на пересечении автомобилей с работающим двигателем)
|
|
(7.4) |
|
при |
(7.5) |
|
|
(7.6) |
где Аj - удельные капитальные вложения на один списочный автомобиль соответствующего типа (табл. 7.2), тыс. руб.; hj - удельный вес отдельных типов автомобилей в общем составе транспортного потока, доли единицы; j - количество типов автомобилей в составе потока; Ni - среднегодовая среднесуточная интенсивность движения по каждому из i направлений движения на пересечении, авт./сут; Nгл, Nвт - среднегодовая среднесуточная интенсивность движения по главной и второстепенной дорогам, авт./сут; vi - скорость автомобилей каждого из i направлений в пределах границ сравнения вариантов, км/ч; li - то же, путь пробега, км; Ta - количество часов работы одного списочного автомобиля в течение года; и - количество рабочих дней в году; Tcj - среднее время нахождения автомобиля в наряде в течение суток (табл. 7.3); αj - коэффициент выпуска автомобилей на линию (см. табл. 7.3).
|
Предприятия |
Удельные капитальные вложения на один среднесписочный автомобиль, тыс. руб. |
|||
|
грузовой |
автобус |
легковой ведомственный |
легковое такси |
|
|
Гаражи |
5,66 |
13,71 |
5,81 |
4,02 |
|
Базы и станции централизованного технического обслуживания |
1,92 |
2,58 |
1,29 |
3,84 |
|
Предприятия по капитальному ремонту автомобилей и агрегатов |
0,07 |
0,28 |
0,02 |
0,02 |
|
Итого по всем видам предприятий |
7,65 |
16,57 |
8,11 |
7,88 |
|
Тип автомобиля |
Среднее время в наряде, ч |
Коэффициент выпуска на, линию |
Работа на линии за год эксплуатации, авт-ч |
|
Грузовой |
8,6 |
0,6 |
1890 |
|
Автобус |
12,5 |
0,72 |
3285 |
|
Такси |
9,6 |
0,65 |
2278 |
Для вариантов пересечений, допускающих остановку автомобилей на пересечении,
|
|
(7.7) |
где n -
количество направлений движения с остановками автомобилей; Nn -
интенсивность движения по каждому из n направлений, авт./сут;
- среднее время
простоя одного автомобиля по каждому из направлений, ч.
7.2.5. Дополнительные ежегодные капитальные вложения в автомобильный транспорт в t-м году могут быть найдены из выражений:
|
|
(7.8) |
|
|
(7.9) |
где Nit, Nnt - интенсивность движения по каждому i-му или n-му направлению движения в год t,
авт./сут;
- среднее время
простоя одного автомобиля на n-м направлении движения в
год t (с учетом изменения интенсивности движения), ч; vit - скорость автомобилей
на каждом из i направлений движения в t-м году (в
пределах границ сравнения вариантов), км/ч.
7.2.6. Автотранспортные расходы (в руб.) на пересечениях рекомендуется определять по формуле
|
|
(7.10) |
|
при |
(7.11) |
где Tп - суммарные потери
времени автотранспорта от простоев на пересечении направлений движения в t-м году (в пределах границ сравнения вариантов), автомобилей
с работающим двигателем, коп/авт-ч;
- среднее значение
себестоимости 1 ч работы автомобиля, коп/авт-ч.
Значение Раj для различных марок автомобилей определяют по данным табл. 7.5.
7.2.7. Потери времени автотранспорта от простоев (в авт-ч/год) на пересечении за 1 год определяются по формуле
|
|
(7.12) |
где tп - потери времени автотранспорта от простоев на пересечении за 1 ч, для кольцевых пересечений tп определяемые по графикам (см. рис. 5.2), авт-ч/ч; kt - коэффициент часовой неравномерности движения для часа пик, для проектируемых пересечений принимаемых равным 0,1, для реконструируемых - по наблюдениям, а при отсутствии данных наблюдений - 0,1; kг - коэффициент годовой неравномерности движения (см. табл. 2.2).
|
Марка автомобиля |
топливо, коп/ч |
Смазочные материалы, коп/ч |
Техническое обслуживание, эксплуатационные ремонты, амортизация, коп/ч |
Итого Pпр, коп/ч |
|
ГАЗ-51А, ГАЗ-52 |
52 |
5,2 |
3,5 |
60,7 |
|
ЗИЛ-150, ЗИЛ-164, ЗИЛ-585, КАЗ-600, KA3-601 |
91,2 |
9,1 |
4,5 |
104,8 |
|
ГАЗ-53 |
61,8 |
6,2 |
3,5 |
71,5 |
|
ЗИЛ-130, ЛАЗ-695 |
106,4 |
10,6 |
3,6 |
120,6 |
|
МАЗ-200, МАЗ-205 |
38,6 |
3,9 |
6,0 |
48,5 |
|
УАЗ-450-Д, УАЗ-451 |
38,1 |
3,8 |
2,0 |
43,9 |
|
ГАЗ-21 «Волга» |
72,0 |
7,2 |
2,5 |
81,7 |
|
Марка автомобиля |
Тип дорожного покрытия на пересечении |
|||
|
Усовершенствованное капитальное |
Усовершенствованное облегченное |
Переходное в удовлетворительном состоянии |
Низшее в хорошем состоянии |
|
|
Себестоимость работы автомобиля, коп/авт-ч |
||||
|
УАЗ-451Д |
251 |
251 |
251 |
233 |
|
ГАЗ-51А, ГАЗ-52 |
315 |
308 |
296 |
281 |
|
ЗИЛ-164 |
393 |
382 |
362 |
349 |
|
ГАЗ-53 |
395 |
390 |
370 |
350 |
|
ЗИЛ-130 |
462 |
451 |
436 |
410 |
|
ЗИЛ-585, КАЗ-600, КАЗ-601 |
429 |
413 |
391 |
381 |
|
МАЗ-200 |
469 |
441 |
427 |
376 |
|
МАЗ-205 |
505 |
474 |
461 |
403 |
|
ЗИЛ-164 с прицепом |
508 |
506 |
493 |
424 |
|
МАЗ-200 |
603 |
601 |
578 |
452 |
|
ЗИЛ-155, ЗИЛ-158, ЛАЗ 695 |
572 |
540 |
519 |
462 |
|
ГАЗ-21 «Волга» |
300 |
300 |
300 |
278 |
Для получения среднего времени простоя одного автомобиля на пересечении можно использовать формулу
|
|
(7.13) |
где N∑ - суммарная интенсивность движения на пересечении, авт/сут.
На пересечениях дорог в разных уровнях ориентировочная величина годовых потерь времени может быть определена по формуле
|
Tп=45(m1M1+m2M2), |
(7.14) |
где m1, m2 - доли право- и левоповоротного движения на пересекающихся дорогах; М1, M2 - интенсивности движения на пересекающихся дорогах, авт/ч.
7.2.8. Дорожно-эксплуатационные расходы Dt включают затраты на средний ремонт, текущий ремонт и содержание пересечения. Сумма приведенных дорожных расходов по сравнению с общей суммой затрат невелика и может быть определена ориентировочно по формуле
|
|
(7.15) |
|
при Dср=FпCср, |
(7.16) |
где Dср - средняя сумма дорожно-эксплуатационных расходов за время расчетного срока, отнесенная к одному году эксплуатации пересечения, руб.; Fп - площадь дорожных покрытий на пересечении, м2; Сср - средняя стоимость дорожно-эксплуатационных расходов (без отчислений, и капитального ремонта) за 1 год приведена в табл. 7.6.
|
Тип дорожных покрытий |
Стоимость 1 м2 среднего и текущего ремонтов и содержания в год, руб. |
|
Цементобетонное |
0,16 |
|
Асфальтобетонное |
0,19 |
|
Чернощебеночное (гравийное) |
0,22 |
|
Щебеночное (гравийное) |
0,25 |
Дорожно-эксплуатационными расходами на земляное полотно и искусственные сооружения при сравнении вариантов можно пренебречь.
7.2.9. Народнохозяйственные потери, связанные с затратами
времени на проезд пассажиров по пересечению за 1 год
рассчитывают по
формуле
|
|
(7.17) |
где P - средняя
вместимость автобуса (табл. 7.7), чел.; γ -
коэффициент использования вместимости; β - коэффициент использования
пробега, обычно равный 1,0; S(пс) -
средняя стоимость одного пассажиро-часа, равная 0,3 руб./ч; i - число направлений движения автобусов;
- интенсивность
движения автобусов по i-му направлению, авт./сут; vit - скорость движения автобусов по данному направлению в пределах
границ сравнения вариантов, км/ч; lt - то же, длина участка, км;
-время простоя одного
автобуса на данном направлении движения по пересечению, ч.
7.2.10. Потери народного хозяйства от дорожно-транспортных происшествий на пересечении в t-м году определяют по формуле
|
Пt=GtPt, |
(7.18) |
где Gt - количество дорожно-транспортных происшествий на пересечении в t-м году; Pt - средние народнохозяйственные потери от одного дорожно-транспортного происшествия на пересечении в t-м году, руб.
|
Автобус |
Количество мест для сидения |
Полная вместимость, чел. |
|
РАФ-ДМ |
10 |
- |
|
КАВЗ-651А |
20 |
25 |
|
ПАЗ-652Б |
23 |
42 |
|
ЛиАЗ-677 |
25 |
80 |
|
ЛАЗ-695Е |
32 |
62 |
|
ЛАЗ-697Е «Турист» |
33 |
- |
Значения Pt для пересечений автомобильных дорог, полученные на основе уточненных расчетных показателей, приведены в табл. 7.8.
|
Характеристика пересечения |
Средние потери от происшествий по годам, руб. |
|||||
|
1975 |
1980 |
1985 |
1990 |
1995 |
2000 |
|
|
Кольцевые пересечения в одном уровне |
3000 |
3460 |
4000 |
4600 |
5100 |
5580 |
|
Пересечения в разных уровнях |
3630 |
4190 |
4840 |
5570 |
6170 |
6750 |
Примечание. Размеры потерь любого другого исходного года определяются путем интерполяции.
7.2.11. Для вариантов пересечений, на которых отсутствуют простои автомобилей с работающим двигателем, при росте интенсивности движения по линейной зависимости или по сложным процентам сумму приведенных автотранспортных расходов можно определить по формуле
|
|
(7.19) |
где A1- транспортные расходы в
первом году эксплуатации, руб.; K0 - коэффициент отдаления затрат,
равный
; m - отношение
интенсивности движения данного года эксплуатации к интенсивности движения
первого года.
Значения K0m для каждого года и их сумма для 10-го и 20-го годов приведены в табл. 7.9 и 7.10.
Аналогично можно определить сумму приведенных затрат, связанных с пребыванием пассажиров в пути:
|
|
(7.20) |
|
Годы эксплуатации |
K0 |
Значения K0m при линейном росте интенсивности движения (Eнп=0,08) |
||||||||||
|
5% |
6% |
7% |
8% |
9% |
10% |
11% |
12% |
13% |
14% |
15% |
||
|
1 |
1,00 |
1,00 |
1,00 |
1,00 |
1,00 |
1,00 |
1,00 |
1,00 |
1,00 |
1,00 |
1,00 |
1,00 |
|
2 |
0,92 |
0,96 |
0,97 |
0,98 |
0,99 |
1,00 |
1,01 |
1,02 |
1,03 |
1,04 |
1,05 |
1,06 |
|
3 |
0,86 |
0,95 |
0,96 |
0,98 |
1,00 |
1,02 |
1,03 |
1,05 |
1,07 |
1,08 |
1,10 |
1,12 |
|
4 |
0,80 |
0,92 |
0,94 |
0,97 |
0,99 |
1,02 |
1,04 |
1,07 |
1,09 |
1,11 |
1,14 |
1,16 |
|
5 |
0,74 |
0,89 |
0,92 |
0,95 |
0,98 |
1,01 |
1,04 |
1,07 |
1,10 |
l,13 |
1,16 |
1,18 |
|
6 |
0,68 |
0,85 |
0,88 |
0,92 |
0,95 |
0,98 |
1,02 |
1,05 |
1,09 |
1,12 |
1,16 |
1,19 |
|
7 |
0,63 |
0,82 |
0,86 |
0,89 |
0,93 |
0,97 |
1,01 |
1,04 |
1,08 |
1,12 |
1,16 |
1,20 |
|
8 |
0,58 |
0,78 |
0,82 |
0,86 |
0,90 |
0,95 |
0,99 |
1,03 |
1,07 |
1,10 |
1,15 |
1,19 |
|
9 |
0,54 |
0,76 |
0,80 |
0,84 |
0,88 |
0,93 |
0,97 |
1,01 |
1,06 |
1,10 |
1,15 |
1,19 |
|
10 |
0,50 |
0,73 |
0,77 |
0,82 |
0,86 |
0,91 |
0,95 |
0,99 |
1,04 |
1,08 |
1,13 |
1,18 |
|
1–10 |
|
8,66 |
8,92 |
9,21 |
9,48 |
9,79 |
10,06 |
10,33 |
10,63 |
10,88 |
11,20 |
11,47 |
|
11 |
0,46 |
0,69 |
0,74 |
0,78 |
0,83 |
0,88 |
0,92 |
0,97 |
1,01 |
1,06 |
1,10 |
1,15 |
|
12 |
0,43 |
0,67 |
0,71 |
0,76 |
0,81 |
0,86 |
0,90 |
0,95 |
1,00 |
1,05 |
1,09 |
1,14 |
|
13 |
0,40 |
0,64 |
0,69 |
0,74 |
0,80 |
0,83 |
0,88 |
0,93 |
0,98 |
1,03 |
1,07 |
1,12 |
|
14 |
0,37 |
6,62 |
0,66 |
0,71 |
0,76 |
0,80 |
0,85 |
0,90 |
0,95 |
1,00 |
1,04 |
1,09 |
|
15 |
0,34 |
0,58 |
0,63 |
0,67 |
0,72 |
0,77 |
0,82 |
0,86 |
0,91 |
0,96 |
1,01 |
1,05 |
|
16 |
0,34 |
6,54 |
0,59 |
0,64 |
0,68 |
0,73 |
0,77 |
0,82 |
0,87 |
0,92 |
0,96 |
1,01 |
|
17 |
0,29 |
0,52 |
0,57 |
0,61 |
0,66 |
0,71 |
0,75 |
0,80 |
0,85 |
0,89 |
0,94 |
0,98 |
|
18 |
0,27 |
0,50 |
0,55 |
0,59 |
0,64 |
0,68 |
0,73 |
0,78 |
0,82 |
0,87 |
0,92 |
0,96 |
|
19 |
0,25 |
0,48 |
0,52 |
0,56 |
0,61 |
0,65 |
0,70 |
0,75 |
0,79 |
0,84 |
0,88 |
0,92 |
|
20 |
0,23 |
0,45 |
0,49 |
0,54 |
0,58 |
0,62 |
0,67 |
0,71 |
0,75 |
0,80 |
0,84 |
0,89 |
|
11–20 |
|
5,69 |
6,15 |
6,60 |
7,09 |
7,53 |
7,99 |
8,47 |
8,93 |
9,42 |
9,85 |
10,31 |
|
1–20 |
|
14,35 |
15,07 |
15,81 |
16,57 |
17,32 |
18,05 |
18,80 |
19,56 |
20,30 |
21,05 |
21,78 |
|
Годы эксплуатации |
K0 |
Значения K0m при росте интенсивности движения по сложным процентам (Eнп=0,08) |
||||||||||
|
3% |
4% |
5% |
6% |
7% |
8% |
9% |
10% |
11% |
12% |
13% |
||
|
1 |
1,00 |
1,00 |
1,00 |
1,00 |
1,00 |
1,00 |
1,00 |
1,00 |
1,00 |
1,00 |
1,00 |
1,00 |
|
2 |
0,92 |
0,95 |
0,96 |
0,97 |
0,98 |
0,98 |
1,00 |
1,00 |
1,01 |
1,02 |
1,03 |
1,04 |
|
3 |
0,86 |
0,91 |
0,93 |
0,99 |
0,96 |
0,98 |
1,00 |
1,02 |
1,04 |
1,06 |
1,07 |
1,10 |
|
4 |
0,80 |
0,87 |
0,89 |
0,93 |
0,95 |
0,98 |
1,00 |
1,03 |
1,06 |
1,10 |
1,12 |
1,15 |
|
5 |
0,74 |
0,83 |
0,86 |
0,91 |
0,93 |
0,97 |
1,00 |
1,04 |
1,08 |
1,12 |
1,17 |
1,21 |
|
6 |
0,68 |
0,79 |
0,83 |
0,87 |
0,91 |
0,95 |
1,00 |
1,05 |
1,10 |
1,14 |
1,20 |
1,25 |
|
7 |
0,63 |
0,75 |
0,79 |
0,84 |
0,90 |
0,94 |
1,00 |
1,06 |
1,12 |
1,18 |
1,25 |
1,31 |
|
8 |
0,58 |
0,71 |
0,76 |
0,82 |
0,87 |
0,93 |
1,00 |
1,07 |
1,13 |
1,22 |
1,28 |
1,36 |
|
9 |
0,54 |
0,69 |
0,74 |
0,80 |
0,85 |
0,93 |
1,00 |
1,08 |
1,15 |
1,24 |
1,33 |
1,44 |
|
10 |
0,50 |
0,65 |
0,71 |
0,77 |
0,83 |
0,92 |
1,00 |
1,08 |
1,18 |
1,28 |
1,40 |
1,50 |
|
1–10 |
|
8,15 |
8,47 |
8,86 |
9,18 |
9,58 |
10,00 |
10,43 |
10,87 |
11,36 |
11,85 |
12,36 |
|
11 |
0,46 |
0,62 |
0,68 |
0,75 |
0,82 |
0,91 |
1,00 |
1,09 |
1,19 |
1,31 |
1,43 |
1,56 |
|
12 |
0,43 |
0,59 |
0,66 |
0,74 |
0,82 |
0,90 |
1,00 |
1,11 |
1,22 |
1,35 |
1,50 |
1,61 |
|
13 |
0,40 |
0,57 |
0,64 |
0,72 |
0,80 |
0,90 |
1,00 |
1,13 |
1,26 |
1,40 |
1,58 |
1,73 |
|
14 |
0,37 |
0,55 |
0,61 |
0,69 |
0,79 |
0,90 |
1,00 |
1,13 |
1,27 |
l,43 |
1,61 |
1,80 |
|
15 |
0,34 |
0,52 |
0,59 |
0,68 |
0,77 |
0,88 |
1,00 |
1,14 |
1,29 |
1,47 |
1,66 |
1,87 |
|
16 |
0,31 |
0,48 |
0,56 |
0,65 |
0,75 |
0,86 |
1,00 |
1,14 |
1,30 |
1,48 |
1,70 |
1,93 |
|
17 |
0,29 |
0,46 |
0,54 |
0,64 |
0,74 |
0,86 |
1,00 |
1,15 |
1,32 |
1,54 |
1,78 |
2,05 |
|
18 |
0,27 |
0,45 |
0,53 |
0,65 |
0,73 |
0,86 |
1,00 |
1,16 |
1,36 |
1,59 |
1,85 |
2,16 |
|
19 |
0,25 |
0,43 |
0,51 |
0,60 |
0,72 |
0,85 |
1,00 |
1,17 |
1,39 |
1,63 |
1,92 |
2,26 |
|
20 |
0,23 |
0,40 |
0,48 |
0,58 |
0,70 |
0,83 |
1,00 |
1,18 |
1,40 |
1,67 |
1,99 |
2,35 |
|
11–20 |
|
5,07 |
5,79 |
6,67 |
7,62 |
8,75 |
10,00 |
11,40 |
13,00 |
14,87 |
17,02 |
9,32 |
|
1–20 |
|
13,22 |
14,26 |
15,53 |
16,80 |
18,83 |
20,00 |
21,83 |
23,87 |
26,23 |
28,87 |
31,68 |
7.3.1. Народнохозяйственная целесообразностью осуществления строительства или реконструкции пересечения автомобильных дорог определяется расчетом сравнительной экономической эффективности капитальных вложений на основе сопоставления и издержек народного хозяйства на выполнение необходимых перевозок в проектируемых условиях (после осуществления строительства или реконструкции) с издержками на тот же объем перевозок, определенными для условий, когда строительство или реконструкция не осуществляются, т.е. с эталонным вариантом.
7.3.2. В качестве количественного измерителя уровня эффективности капитальных вложений рассчитывается коэффициент экономической эффективности:
|
|
(7.21) |
где
- ежегодные текущие
затраты на эталонном варианте, пересечения;
- то же, при
строительстве или реконструкции пересечения;
- приведенные
капиталовложения при строительстве или реконструкции пересечения;
- приведенные
капиталовложения на эталонном, варианте пересечения.
Числитель формулы представляет суммарную приведенную экономию на текущих затратах, которую можно выразить через разность сумм приведенных затрат при существующих: и проектных условиях, тогда коэффициент экономической эффективности может быть представлен в следующем; виде:
|
|
(7.22) |
где P(пр) - сумма приведенных затрат при. проектных условиях; P(эт) - сумма приведенных затрат при эталонных условиях.
7.3.3. При закономерном росте интенсивности движения и текущих затратах в течение расчетного периода эффективность капитальных вложений можно определить по методу «расчетного года», предложенному в ВСН 21-75:
|
|
(7.23) |
где
- текущие затраты в
расчетном году на эталонном варианте пересечения;
- то же, при
строительстве или реконструкции пересечения;
- приведенные к
последнему году строительства капитальные вложения при строительстве или
реконструкции пересечения;
- то же, на эталонном
варианте пересечения.
7.3.4. Капитальные вложения на эталонном варианте пересечения могут включать затраты на капитальный ремонт пересечения. Капитальными, вложениями в дополнительный автомобильный транспорт применительно к пересечениям автомобильных дорог можно пренебречь.
Текущие затраты в формуле (7.23) принимаются для: расчетного года без приведения.
7.3.5. В соответствии с ВСН 21–75 при возрастании интенсивности движения на пересекающихся дорогах по закону сложных процентов расчетный год принимается в зависимости от ежегодного прироста интенсивности движения:
|
P, % |
1 |
2 |
3 |
4 |
5 |
6 |
7 |
8 |
9 |
10 |
11 |
12 |
|
Расчетный год |
4 |
8 |
10 |
11 |
11 |
12 |
13 |
13 |
14 |
14 |
15 |
15 |
При возрастании интенсивности движения по прямолинейному закону расчетным годом является двенадцатый год с момента ввода пересечения в эксплуатацию.
Капитальные вложения в строительство или реконструкцию пересечения считаются эффективными, если коэффициент эффективности Е≥Ен
Нормативный коэффициент экономической, эффективности установлен в размере Eн=0,12.
Пример 1. Требуется оценить пропускную способность кольцевого пересечения, по которому данные по интенсивности и составу движения, распределению потоков по направлениям представлены в табл. 1. Диаметр центрального островка D=50 м. Пересекающиеся дороги четырехполосные. Ширина всех въездов позволяет разместить две полосы движения. Картограмма интенсивностей движения показана на рис.3.1.
|
№ въезда |
Распределение потоков по направлениям |
|||||||||
|
Nфакт, авт/ч |
Nприв, легк.авт/ч |
|||||||||
|
1 |
2 |
3 |
4 |
Всего |
1 |
2 |
3 |
4 |
Всего |
|
|
1 |
- |
210 |
286 |
176 |
672 |
- |
334 |
506 |
303 |
1143 |
|
2 |
212 |
- |
126 |
234 |
572 |
376 |
- |
208 |
416 |
1000 |
|
3 |
276 |
188 |
- |
180 |
644 |
485 |
338 |
- |
261 |
1084 |
|
4 |
.120 |
144 |
282 |
- |
546 |
214 |
251 |
502 |
- |
967 |
Для всех въездов n1=2; n2=2;
По табл. 5.1 находим А=2630; Б=1,04. При Dцо=50 м имеем C1=1,0 (см. табл. 5.2).
По данным о составе движения для всех въездов определяются коэффициенты состава движения kс (табл. 2).
|
№ въезда |
kc |
C1 |
А |
Б |
Nк.прив, легк. авт./ч |
Рв авт./ч |
Nв авт./ч |
z |
|
1 |
1,70 |
1,0 |
2630 |
1,04 |
1091 |
880 |
672 |
0,76 |
|
2 |
1,75 |
1,0 |
2630 |
1,04 |
1311 |
723 |
572 |
0,79 |
|
3 |
1,68 |
1,0 |
2630 |
1,04 |
1095 |
888 |
694 |
0,72 |
|
4 |
1,77 |
1,0 |
2630 |
1,04 |
1099 |
840 |
546 |
0,65 |
Примечание. Значения Nк.прив получены по картограмме интенсивностей движения (см. рис. 3.1) с учетом коэффициентов kс
Пропускная способность въезда рассчитывается по формуле
![]()
Расчет ведется в табличной форме (см. табл. 2).
Для каждого въезда определяется коэффициент загрузки движением (см. табл. 2).
Сравнение коэффициентов загрузки движением на въездах с zопт=0,65 показывает (см. табл. 2), что на въездах 1, 2, 3 загрузка движением превышает экономически эффективный уровень, а на въезде 2 близка к режиму практической пропускной способности.
При уширении въезда 2 до трех полос будем иметь А=3200; Б=1,18; С1=1,0. Отсюда
![]()
![]()
Выводы:
1. Данное кольцевое пересечение работает в режиме, близком к практической пропускной способности, наблюдаются большие потери времени автотранспорта.
Для улучшения условий, движения необходимо уширение на въездах до трех полос движения (см. табл. 5.3).
2. При дальнейшем росте интенсивности движения для коренного улучшения условий движения необходимо устройство пересечения в разных уровнях.
Пример 2. Определить пропускную способность проектируемого кольцевого пересечения. Категория пересекающихся дорог - II ×II. Диаметр центрального островка Dцо=20 м. Перспективная интенсивность движения на въездах: N1=420, N2=360, N3=470, N4=280 авт/ч.
На всех въездах распределение потоков по направлению «право», «прямо» и «лево» соответственно 0,2; 0,6; 0,2.
Коэффициент kc=1,70. Число полос движения на подходе n1=1, на въезде n2=2.
Определим Nк перед каждым въездом:
Nк1=N4(0,6+0,2)+N3·0,2=280·0,8+470·0,2=318 авт/ч;
Nк1прив=540 легк.авт/ч;
Nк2=N1(0,6+0,2)+N4·0,2=420·0,8+280·0,2=392 авт/ч;
Nк2прив=666 легк.авт/ч;
Nк3=N2(0,6+0,2)+N1·0,2=360·0,8+420·0,2=372 авт/ч;
Nк3прив=630 легк.авт/ч;
Nк4=N3(0,6+0,2)+N2·0,2=470·0,8+360·0,2=448 авт/ч;
Nк4прив=760 легк.авт/ч;
Картограмму интенсивностей движения см. на рис. 3.1.
Для всех въездов n1=1; n2=2.
Значения А и Б, принимаем по табл. 5.1 в зависимости от Nк прив.
Для всех въездов Nк1прив<1400 легк.авт/ч имеем А=1800 и Б=0,45. При Dцо=20 м имеем C1=0,94 (см. табл. 5.2). Отсюда по формуле
![]()
Определим Рв и z в табличной форме (табл. 3)
Затем для каждого въезда определяем коэффициент загрузки
движением (табл.
3)
и найдем, что на всех
въездах. z<0,65.
Коэффициент запаса пропускной способности каждого въезда до достижения оптимальной загрузки движением zопт=0,65 получим по формуле
![]()
![]()
x2=1,38;
x3=1,13;
x4=1,60.
Следовательно, xmin=l,13.
|
№ въезда |
kc |
C1 |
А |
Б |
Nк.прив, легк. авт./ч |
Рв авт./ч |
Nв авт./ч |
z |
|
1 |
1,70 |
0,94 |
1800 |
0,45 |
540 |
861 |
420 |
0,49 |
|
2 |
1,70 |
0,94 |
1800 |
0,45 |
666 |
830 |
360 |
0,43 |
|
3 |
1,70 |
0,94 |
1800 |
0,45 |
630 |
838 |
470 |
0,56 |
|
4 |
1,70 |
0,94 |
1800 |
0,45 |
760 |
806 |
280 |
0,35 |
Коэффициент запаса пропускной способности до достижения режима практической пропускной способности въезда при zпр=0,85 составляет xmin=1,40.
Пропускная способность всего кольцевого пересечения, определенная по формуле

составит:
при z=0,65
Ркп=1,13·(420+360+470+280)=1730 авт./ч;
при z=0,85
Ркп=1,40·(420+360+470+280)=2140 авт./ч;
Кольцевое пересечение с уширениями на всех въездах до двух полос и разметка проезжей части
Рис. 1. Приоритет в движении на кольце
Рис. 2. Направление А-В - главное
Рис. 3. Приоритет в движении на кольце; на всех въездах имеются специальные правоповоротные полосы (СПП)
Рис. 4. Направление А-В - главное; на въездах C и D имеются СПП
Кольцевое пересечение с уширениями на въездах А-В до двух полос и на въездах С-D до трех полос и разметка проезжей части
Рис. 5. Приоритет в движении на кольце
Рис. 6. Направление А-В - главное
Рис. 7. Приоритет в движении на кольце; на всех въездах имеются СПП
Рис. 8. Направление А-В - главное; на въездах С и D имеются СПП
Кольцевое пересечение с уширениями на всех въездах до трех полос и разметка проезжей части
Рис. 9. Приоритет в движении на кольце
Рис. 10. Приоритет в движении на кольце; на всех въездах имеются СПП
Кольцевое пересечение четырехполосной дороги с двухполосной и разметка проезжей части
Рис. 11. Направление А-В - главное
Рис. 12. Направление А-В - главное; на въездах С и D имеются СПП
Разветвление дороги и разметка проезжей части
Рис. 13. Приоритет в движении на кольце; на всех въездах имеются СПП
Расстановка дорожных знаков на схемах движения не показана (см. п. 6.1 «Расстановка дорожных знаков и разметка проезжей части»).
Колхоз занимает земли примерно равной достаточно высокой ценности. В перспективе намечается высокая степень интенсификации производства. Валовая продукция (ВП) колхоза, полученная из его отчетов, приведена в табл. 4.
|
Годы |
ВП, руб./га |
|
1965 |
168 |
|
1966 |
246 |
|
1967 |
567 |
|
1968 |
273 |
|
1969 |
315 |
|
1970 |
838 |
|
1971 |
870 |
|
1972 |
301 |
|
1973 |
355 |
Расчетное значение ВП на год отчуждения земли получаем аналитический путем (что точнее графического способа, который здесь не рассматривается). Так как значения ВП характеризуются значительной разбросанностью, то при обработке результатов используем аналитический метод выравнивания рядов.
Применяем уравнение прямой линии
![]()
![]()

где y1 - выровненные значения валовой продукции, руб.; у - начальные значения валовой продукции, руб.; n - количество значений; t - год, за который определяется значение валовой продукции.
В результате расчетов получаем новые, уже усредненные значения валовой продукции (табл. 5).
|
№ п/п |
t |
y |
tу |
t2 |
Уt |
|
1 |
–4 |
168 |
–672 |
16 |
350,3 |
|
2 |
–3 |
246 |
–738 |
9 |
371,7 |
|
1 |
–2 |
567 |
–1134 |
4 |
393,1 |
|
4 |
–1 |
273 |
–273 |
1 |
414,5 |
|
5 |
0 |
315 |
0 |
0 |
435,9 |
|
6 |
1 |
838 |
838 |
1 |
457,3 |
|
7 |
2 |
870 |
1740 |
4 |
478,7 |
|
8 |
3 |
301 |
930 |
9 |
500,1 |
|
9 |
4 |
355 |
1420 |
16 |
521,5 |
|
Итого |
0 |
3923 |
1284 |
60 |
|
Примечание. Вычисления к таблице:

ВП=435,9+21,4t;
y1=435,9+21,4·(–4)=350,3;
y2=435,9+21,4·(–3)=371,7;
y3=435,9+21,4·(–2)=393,1;
y4=435,9+21,4·(–1)=414,5;
y5=435,9+21,4·(0)=435,9;
y6=435,9+21,4·(1)=457,3;
y7=435,9+21,4·(2)=478,7;
y8=435,9+21,4·(3)=521,5;
y9=435,9+21,4·(4)=521,5;
Менее точно, но намного проще и с достаточной для практики точностью эта же задача может быть решена графически, путем построения линейного графика на миллиметровке. Используя данные табл. 5, можно построить графики выровненных значений ВП(t) или же воспользоваться формулой
ВП(t)=435,9+21,4t
для определения расчетного значения ВПрасч на год отчуждения земли. При изъятии земель в 1980 г., учитывая, что оно соответствует 1969 г., получим
ВПрасч=435,9+21,4·11=671,3 руб/га.
Годовая экономическая оценка земли на расчетный год при коэффициенте α=0,8 будет
ЦЗрасч.год=αВПрасч=0,8·671=536,8 руб/га.
Полная экономическая оценка земли, исходя из ее постоянного отчуждения для дорожного строительства, при показателях k=1,5 (учитывая высокую степень интенсификации); b=0,05; Eз=0,05
ЦЗп=ЦЗрасч.годψпост
![]()
![]()
1. Исходные данные1. Район проектирования - Московская область. Интенсивность движения на существующем пересечении Nгл=3200 авт./cyт, Nвт=2000 авт./сут. Картограмма интенсивности движения на вариантах проектируемых пересечений приведена на рис. 14. Ежегодный прирост интенсивности движения 5% по закону сложных процентов. Категория пересекающихся дорог в настоящее время - II×III, на перспективу (через 20 лет) - I×II.
Существующее пересечение - простое в одном уровне, угол пересечения дорог -90°.
Состав движения: легковые автомобили - 30%; автобусы - 10%; ГАЗ-53 - 20%; ЗИЛ-130 - 25%; ЗИЛ-130 с прицепом 4 т - 5%; МАЗ-500 - 10%.
Для улучшения условий движения на пересечении намечено два варианта реконструкции: вариант 1-кольцевое пересечение в одном уровне с уширенными въездами и малым диаметром центрального островка (срок строительства один год); вариант 2 - пересечение в разных уровнях по типу полный клеверный лист (строительство намечено в 2 года). На пересечении проектируются асфальтобетонные покрытия. Срок для сравниваемых вариантов Тс=20 л. В качестве эталонного варианта принят вариант, соответствующий сохранению существующих условий, т.e. простое необорудованное пересечение в одном уровне.
2. Направления маршрутов и средние скорости движения потоков автомобилей на пересечении. Зона влияния пересечения на режим движения транспортных потоков принята на всех подходах - 410 м от центра пересечения дорог. Длина маршрутов и средние скорости движения по вариантам приведены в табл. 6.
3. Определение стоимости строительства и капитального ремонта. Строительную стоимость пересечений определяют в соответствии с объемами работ и укрупненными показателями стоимости конструктивных элементов. Стоимость строительства кольцевого пересечения в одном уровне составляет 100 тыс. руб. (вариант 1), пересечения в разных уровнях - 1500 тыс.руб. (вариант 2).
На пересечениях предусмотрен капитальный ремонт асфальтобетонного покрытия через 18 лет после постройки. Стоимость капитального ремонта на кольцевом пересечении составит 13 тыс. руб., на пересечении в разных уровнях - 80 тыс. руб.
Рис. 14. Картограмма интенсивности движениям (авт/сут):
а - на простом пересечении в одном уровне; б - на кольцевом пересечении в одном уровне; в - на пересечении в разных уровнях
|
Направление движения |
Длина маршрута (числитель), м, и средняя скорость движения (знаменатель); км/ч |
|||||||
|
Вариант 1 |
Вариант 2 |
|||||||
|
На подходе |
На кольце |
На выходе |
На подходе |
На съезде |
На выходе |
|||
|
Lп1; vп1 |
Lп2; vп2 |
Lк; vк |
Lк1; vк1 |
Lк2; vк2 |
||||
|
Право |
200 50 |
180 35 |
20 20 |
180 40 |
200 55 |
- |
580 50 |
- |
|
Прямо |
200 50 |
180 35 |
40 20 |
180 40 |
200 55 |
410 65 |
- |
410 65 |
|
Лево |
200 50 |
180 35 |
60 20 |
180 40 |
200 55 |
410 60 |
520 40 |
410 60 |
4. Определение приведенных капиталовложений. Капиталовложений по варианту 1:
Kc+Kкр(18)Kо(18)=100+13·0,25=103,25≈103 тыс.руб.;
по варианту 2:
∑Kckпр+ Kкр(18)Kо(18)=750·1,08+750·1,0+80·0,25=1580 тыс. руб.
5. Определение потерь народного хозяйства от постоянного изъятия сельскохозяйственных угодий под пересечение. Проектируемое пересечение занимает угодья колхоза (см. приложение 3). При α=0,8; k=1,5; b=0,05; Eз=0,05 имеем:
![]()
![]()
Здесь ВПр=671 руб/га;
![]()
![]()
Отсюда:
по варианту 1: Kоз=26840·0,3=8050=8 тыс. руб.;
по варианту 2: Kоз=26840·16=429440=429 тыс. руб.
6. Определение величины капитальных вложений в автомобильный транспорт. Расчеты показывают, что дополнительные капитальные вложения в автомобильный транспорт, соответствующие ежегодному, увеличению объема перевозок, обычно незначительны по сравнению с остальными затратами. Для условий рассматриваемого примера можно принять

и по варианту 1:

Распределение движения по направлениям на всех подходах к пересечению принято: вправо –25%; прямо –50%; лево –25%; Отсюда


Для рассматриваемой в данном
примере интенсивности движения на кольцевом пересечении среднее время простоя
автомобилей настолько мало, что им можно пренебречь
.

По варианту 2:



7. Определение автотранспортных расходов. В рассматриваемом примере автотранспортные расходы, связанные с простоем автомобилей на пересечении, незначительны по сравнению с остальными затратами (менее 1%) и ими можно пренебречь. В этом случае сумму приведенных автотранспортных расходов можно определить по формуле


![]()
При ежегодном приросте интенсивности движения на 5% по закону сложных процентов и Енп=0,08 имеем

по варианту 1
![]()
по варианту 2
![]()
8. Определение затрат на содержание и ремонт пересечения. Имеем:


по варианту 1

по варианту 2
![]()
9. Определение потерь народного хозяйства, связанных с затратами времени пассажиров в пути. Имеем


по варианту 1
![]()

по варианту 2
![]()

10. Определение потерь народного хозяйства от дорожно-транспортных происшествий на пересечении. Суммарные приведенные потери народного хозяйства от дорожно-транспортных происшествий на пересечении можно определить по формуле

при

![]()
Значения Ki принимаются по табл. 2.2, а величины Mi и Ni по картограмме интенсивности движения (см. рис. 14).
По варианту 1 kг=0,0833.
Расчет величины G1 приведен в табл. 7 при Р1=3460 руб (см. табл. 7.8).
|
ki |
Mi |
Ni |
qi |
Число конфликтных точек |
|
Слияние потоков |
||||
|
0,0040 |
600 |
1480 |
0,142 |
2 |
|
0,0040 |
1120 |
1280 |
0,172 |
2 |
|
0,0040 |
200 |
1160 |
0,027 |
2 |
|
0,0040 |
320 |
920 |
0,035 |
2 |
|
Разделение потоков |
||||
|
0,0028 |
800 |
200 |
0,013 |
2 |
|
0,0028 |
1120 |
1160 |
0,109 |
2 |
|
0,0028 |
1280 |
320 |
0,034 |
2 |
|
0,0028 |
1480 |
920 |
0,114 |
2 |
|
|
|
G1=1,292 шт./год |
||
Имеем П1=1,292·3460=4470 руб.=4,47 тыс. руб.
При р=5%
![]()
![]()
По варианту 2 на пересечении в разных уровнях по типу полного клеверного листа число дорожно-транспортных происшествий при рассматриваемой в данном примере интенсивности движения весьма мало (G1≈0,07). Поэтому потери народного хозяйства от дорожно-транспортных происшествий для варианта 2 можно не учитывать.
11. Определение суммы приведенных затрат. Расчет суммы приведенных затрат по вариантам приведен в табл. 8. Сравнение суммарных приведенных затрат показывает, что более экономичен вариант 1 - кольцевое пересечение в одном уровне.
|
Виды затрат |
Приведенные затраты, тыс. руб. |
|
|
Вариант 1 |
Вариант 2 |
|
|
Капитальные вложения |
103 |
1580 |
|
Потери народного хозяйства от изъятия сельскохозяйственных угодий |
8 |
429 |
|
Капитальные вложения в автомобильный транспорт |
127 |
104 |
|
Автотранспортные расходы |
2389 |
1968 |
|
Затраты на содержание и ремонт пересечения |
5 |
32 |
|
Потери народного хозяйства от пребывания пассажиров в пути |
768 |
633 |
|
Потери народного хозяйства от дорожно-транспортных происшествий |
110 |
|
|
Приведенные единовременные затраты |
238 357 |
2113 3170 |
|
Приведенные текущие затраты |
3272 |
2633 |
|
Суммарные приведенные затраты |
3629 |
5803 |
При составлении примера приняты условные исходные данные.
Методические рекомендации по оценке пропускной способности автомобильных дорог / Минавтодор РСФСР. М., Транспорт, 1975, 76 с.
Методические рекомендации по проектированию автобусных остановок. М., Союздорнии, 1975. 17 с;
Методические рекомендации по оценке условий движения в разные сезоны года. М., Гипродорнии, 1975. 75 с.
Методические рекомендации по определению ценности сельскохозяйственных земельных угодий при проектировании автомобильных дорог в Нечерноземной зоне РСФСР, Издание МАДИ., М., 1976. 19 с.
Указания по организации и обеспечению безопасности движения на автомобильных дорогах. ВСН 25-76 / Минавтодор РСФСР. М., Транспорт 1977. 176 с.
Указания по архитектурно-ландшафтному проектированию автомобильных дорог. ВСН 18-74 / Минавтодор РСФСР. М., Транспорт, 1975. 46 с.
Указания по разметке автомобильных дорог. ВСН 23-75 / Минавтодор РСФСР. М., Транспорт, 1976. 124 с.
Руководство по регулированию дорожного движения в городах. М., Стройиздат, 1974. 97 с.
СНиП II–Д.5–72. Строительные нормы и правила. Часть II, раздел Д. Глава 5. Автомобильные дороги. Нормы проектирования. М., Стройиздат, 1973. 112 с.
Технические указания по проектированию пересечений и примыканий автомобильных дорог. ВСН 103-74. Минтрансстрой СССР. М.,. Транспорт, 1975. 61 с.
Указания по определению экономической эффективности капитальных вложений в строительство и реконструкцию автомобильных дорог. ВСН 21-75 / Минавтодор РСФСР, М., Транспорт, 1976. 63 с.
Временные указания по учету потерь народного хозяйства от дорожно-транспортных происшествий при проектировании и реконструкции автомобильных дорог. ВСН 3-69 / Минавтодор РОФСР. М., Транспорт. 1970 56 с.
СОДЕРЖАНИЕ
|
|
|
|