//
ТехЛит.ру
- крупнейшая бесплатная электронная интернет библиотека для "технически умных" людей.
WWW.TEHLIT.RU - ТЕХНИЧЕСКАЯ ЛИТЕРАТУРА

:: Алготрейдинг::


АЛГОТРЕЙДИНГ
шаг за шагом
с нуля по урокам!

Торговые роботы на PYTHON, BackTrader,
Pandas, Pine Script для TradingView. Связка с брокерами, телеграм и легкими приложениями.


ФЕДЕРАЛЬНОЕ АГЕНТСТВО
ПО ТЕХНИЧЕСКОМУ РЕГУЛИРОВАНИЮ И МЕТРОЛОГИИ

 

НАЦИОНАЛЬНЫЙ СТАНДАРТ РОССИЙСКОЙ ФЕДЕРАЦИИ

ГОСТ Р
52382-
2005

(ЕН 81-72:2003)

Лифты пассажирские

ЛИФТЫ ДЛЯ ПОЖАРНЫХ

ЕН 81-72:2003

Safety rules for the construction and installation of lifts. Particular applications for passenger and goods passenger lifts.
Part 72: Firefighters lifts
(MOD)

Москва

Стандартинформ 2006

Предисловие

Цели и принципы стандартизации в Российской Федерации установлены Федеральным законом от 27 декабря 2002 г. № 184-ФЗ «О техническом регулировании», а правила применения национальных стандартов Российской Федерации - ГОСТ Р 1.0-2004 «Стандартизация в Российской Федерации. Основные положения».

Сведения о стандарте

1 РАЗРАБОТАН И ВНЕСЕН Закрытым акционерным обществом «Акционерная компания «Лифт», Техническим комитетом по стандартизации ТК 209 «Лифты, эскалаторы, пассажирские конвейеры и подъемные платформы для инвалидов»

2 УТВЕРЖДЕН И ВВЕДЕН В ДЕЙСТВИЕ Приказом Федерального агентства по техническому регулированию и метрологии от 31 октября 2005 г. № 269-ст

3 В настоящем стандарте реализованы требования проекта специального технического регламента «О безопасности лифтов»

4 Настоящий стандарт модифицирован по отношению к Европейскому стандарту ЕН 81-72-2003 «Правила безопасности по устройству и установке лифтов. Специальные применения пассажирских и грузопассажирских лифтов. Часть 72. Лифты для пожарных» (EN 81-72:2003 «Safety rules for the construction and installation of lifts. Particular applications for passenger and goods passenger lifts. Part 72: Firefighters lifts») путем введения дополнительных требований к пожарной опасности материалов, применяемых на лифтах, а также к огнестойкости ограждающих лифт строительных конструкций, которые выделены курсивом. Наименование настоящего стандарта изменено относительно наименования указанного международного стандарта для приведения в соответствие с ГОСТ Р 1.5-2004 (подраздел 3.5)

ВВЕДЕН ВПЕРВЫЕ

Информация об изменениях к настоящему стандарту публикуется в ежегодно издаваемом информационном указателе «Национальные стандарты», а текст изменений и поправок- в ежемесячно издаваемых информационных указателях «Национальные стандарты». В случае пересмотра (замены) или отмены настоящего стандарта соответствующее уведомление будет опубликовано в ежемесячно издаваемом информационном указателе «Национальные стандарты». Соответствующая информация, уведомление и тексты размещаются также в информационной системе общего пользования - на официальном сайте национального органа Российской Федерации по стандартизации в сети Интернет

Содержание

1 Область применения

2 Нормативные ссылки

3 Термины и определения

4 Перечень важнейших опасностей

5 Требования безопасности и/или защитные меры

5.1 Требования к окружающей среде/зданию

5.2 Основные требования к лифтам для пожарных

5.3 Защита электрического оборудования от воздействия воды

5.4 Высвобождение пожарных из застрявшей в шахте кабины

5.5 Применяемые материалы

5.6 Двери кабины и шахты

5.7 Привод лифта и связанное с ним оборудование

5.8 Системы управления

5.9 Энергоснабжение лифтов для пожарных

5.10 Переключение энергоснабжения

5.11 Устройства управления в кабине и на этажах

5.12 Система связи лифта для пожарных

5.13 Вандалоопасные зоны

6 Подтверждение выполнения требований безопасности и/или защитных мер

7 Информация для использования лифта для пожарных

Приложение А (справочное) Концепция борьбы с пожаром в высотных зданиях

Приложение В (справочное) Базовое размещение лифта для пожарных (план)

Приложение С (справочное) Схема энергоснабжения лифтов для пожарных

Приложение D (обязательное) Защита лифтового оборудования в шахте от воды

Приложение Е (справочное) Концепция пожарозащищенных помещений в здании

Приложение F (обязательное) Пиктограмма лифта для пожарных

Приложение G (справочное) Примеры концепции высвобождения людей из застрявшей в шахте кабины

Библиография

Введение

Настоящий стандарт устанавливает требования к пассажирским лифтам, позволяющие использовать их во время пожара пожарными подразделениями для выполнения работ по спасению людей, обнаружению и тушению пожара.

При разработке стандарта были приняты следующие допущения:

0.1 пожарозащищенные лифтовые холлы и шахта лифтов защищены от проникновения дыма;

0.2 конструкция здания ограничивает проникновение воды в шахту лифта при тушении пожара;

0.3 лифты для пожарных не используются в качестве путей эвакуации людей при пожаре, какими обычно являются лестницы и т.д.;

0.4 доступ к лифтам для пожарных на каждом этаже осуществляется через пожарозащищенный лифтовой холл;

0.5 при поставке лифтов должны быть согласованы с заказчиком (покупателем) следующие аспекты:

а) назначение лифтов в здании;

б) условия окружающей среды;

в) особенности инженерного оборудования здания;

г) другие аспекты, относящиеся к месту установки лифтов и высвобождения людей из застрявшей в шахте кабины лифта.

Примечание - Для обеспечения соответствующей пожарной безопасности строительных конструкций зданий, пожарозащищенных лифтовых холлов, систем обнаружения и тушения пожара на стадии проекта следует принимать решения на основе требований строительных норм и правил.

ГОСТ Р 52382-2005
(
EH 81-72:2003)

Лифты пассажирские

ЛИФТЫ ДЛЯ ПОЖАРНЫХ

passenger lifts. Firefighters lifts
Дата введения - 2006-07-01

1 Область применения

1.1 Настоящий стандарт распространяется на пассажирские лифты, имеющие дополнительную защиту от факторов пожара, а также оборудованные системами управления, сигнализации и энергоснабжения, позволяющими при пожаре использовать их под непосредственным управлением пожарных.

1.2 Стандарт не распространяется на:

- лифты с двухэтажными кабинами;

- лифты, уже установленные в эксплуатируемых зданиях;

- лифты, модернизированные и установленные в зданиях до введения настоящего стандарта;

- лифты с проходными кабинами, пожарозащищенные лифтовые холлы которых расположены не со стороны пожарозащищенного лифтового холла на этаже входа пожарных.

Однако настоящий стандарт может быть использован в качестве базового при модернизации лифтов в существующих зданиях.

1.3 В настоящем стандарте учтены важнейшие опасности, опасные ситуации и события, имеющие отношение к использованию лифтов для пожарных по назначению и при предусмотренных условиях (см. раздел 4).

1.4 Стандарт распространяется на новые лифты для пожарных, установленные в новых зданиях после введения настоящего стандарта.

1.5. В настоящем стандарте изложены требования, дополняющие требования Правил устройства и безопасной эксплуатации лифтов (ПУБЭЛ) ПБ 10-558-03 [1], которые необходимы для обеспечения работы лифтов для пожарных во время пожара.

1.6 Стандарт не предусматривает использование лифтов с частичным ограждением шахты в качестве лифтов для пожарных.

1.7 Действие стандарта ограничивается моментом проникновения пожара в пожарозащищенный холл лифта для пожарных (см. приложение А, рисунок А.2).

2 Нормативные ссылки

В настоящем стандарте использованы ссылки на следующие стандарты:

ГОСТ Р ИСО/ТС 14798-2003 Лифты, эскалаторы и пассажирские конвейеры. Методология анализа риска

ГОСТ 12.1.044-99 Система стандартов безопасности труда. Пожаровзрывоопасность веществ и материалов. Номенклатура показателей и методы их определения

ГОСТ 5746-2003 (ИСО 4190-1-99) Лифты пассажирские. Основные параметры и размеры

ГОСТ 14254-96 (МЭК 529-89) Степени защиты, обеспечиваемые оболочками (Код IP)

ГОСТ 30244-94 Материалы строительные. Методы испытаний на горючесть

ГОСТ 30247.1-94 (ИСО 834-75) Конструкции строительные. Методы испытаний на огнестойкость. Несущие и ограждающие конструкции

ГОСТ 30247.2-97 Конструкции строительные. Методы испытаний на огнестойкость. Двери и ворота.

ГОСТ 30247.3-2002 Конструкции строительные. Методы испытаний на огнестойкость. Двери шахт лифтов

ГОСТ 30402-96 Материалы строительные. Методы испытаний на воспламеняемость

ГОСТ 30444-97/ГОСТ Р 51032-97 Материалы строительные. Метод испытания на распространение пламени

Примечание - При пользовании настоящим стандартом целесообразно проверить действие ссылочных стандартов в информационной системе общего пользования - на официальном сайте национального органа Российской Федерации по стандартизации в сети Интернет или по ежегодно издаваемому информационному указателю «Национальные стандарты», который опубликован по состоянию на 1 января текущего года, и по соответствующим ежемесячно издаваемым информационным указателям, опубликованным в текущем году. Если ссылочный документ заменен (изменен), то при пользовании настоящим стандартом следует руководствоваться замененным (измененным) документом. Если ссылочный документ отменен без замены, то положение, в котором дана ссылка на него, применяется в части, не затрагивающей эту ссылку.

3 Термины и определения

В настоящем стандарте применены следующие термины с соответствующими определениями:

3.1 система управления: Система, воспринимающая входящий сигнал и вырабатывающая исходящий сигнал, обеспечивающий выполнение оборудованием заданной программы.

3.2 эвакуация: Организованное и контролируемое движение людей в здании из помещений (зон), в которых возможно воздействие на них опасных факторов пожара, в безопасные зоны. Эвакуация может происходить с этажа на этаж и не обязательно наружу здания.

3.3 эвакуационный уровень (уровни): Уровень (уровни), на котором(ых) расположен(ы) выход из здания для эвакуируемых людей. Этот уровень не обязательно совпадает с уровнем входа в здание пожарных подразделений.

3.4 пожарозащищенное помещение: Часть здания, огороженная стенами или перекрытиями, ограничивающими проникновение огня и горючих газов в эту часть здания (помещение).

3.5 лифт для пожарных: Пассажирский лифт, имеющий дополнительную защищенность от факторов пожара, а также оборудованный системами управления и сигнализации, позволяющими использовать его под непосредственным управлением пожарных в условиях пожара.

3.6 противопожарная защита: Меры по предотвращению возникновения и распространения пожара, защиты путей эвакуации и создающие условия для эффективной борьбы с пожаром, в т.ч. регламентацию огнестойкости, пожарной опасности и поведения материалов и структур здания при пожаре.

3.7 переключатель лифта для пожарных: Переключатель, расположенный с внешней стороны шахты на этаже (уровне) входа пожарных в здание, предназначенный для ручного перевода лифта в режим приоритетного использования лифта пожарными.

3.8 этаж входа пожарных в здание: Этаж входа в здание, используемый пожарными для подхода к лифту для пожарных.

3.9 пожарозащищенный лифтовый холл: Пожарозащищенное помещение, обеспечивающее защищенный от факторов пожара проход из служебных (жилых) помещений здания к лифту для пожарных.

3.10 спасение: Вынужденное перемещение людей наружу здания при воздействии на них опасных факторов пожара или при возникновении непосредственной угрозы этого воздействия. Спасение осуществляется самостоятельно или с помощью пожарных и специально обученного персонала.

3.11 режим работы лифта «пожарная опасность» (фаза 1): Установленная последовательность действий системы управления лифтом, предусматривающая принудительное движение кабины лифта на этаж входа пожарных в здание.

3.12 режим работы лифта «перевозка пожарных подразделений» (фаза 2): Установленная последовательность действий системы управления лифтом, предусматривающая его работу под непосредственным контролем и управлением пожарных.

4 Перечень важнейших опасностей

4.1 Этот раздел содержит перечень всех важнейших опасностей, опасных ситуаций и событий, рассматриваемых в настоящем стандарте, основанных на анализе рисков, проведенном по ГОСТ Р ИСО/ТС 14798, идентифицированных как важнейшие для лифтов для пожарных и требующих принятия мер по устранению или уменьшению риска.

4.2. Перечень важнейших опасностей и опасных ситуаций для окружающей среды (здания) приведен в таблице 1, для лифта для пожарных - в таблице 2.

Таблица 1 - Важнейшие опасности и опасные ситуации для окружающей среды (здания)

 

Опасность и опасная ситуация

Пункт введения и настоящего стандарта

Огонь, высокая температура и горячие газы, которые могут распространиться в шахту/помещения для лифтового оборудования

0.1, 0.4, 5.1

Воздействие факторов пожара и препятствия для работы лифтового оборудования

0.1, 0.4, 5.1

Ограничение времени использования лифта пожарными

0.1, 0.3, 0.4, 5.1, 5.7

Задержка пожарных

0.1, 0.3, 0.5, 5.1, 5.7

Проникновение воды в шахту лифта (при тушении пожара)

0.2

Блокирование людей в пожарозащищенном лифтовом холле при поломке (отказе) лифта

0.3, 0.4

Условия окружающей среды, опасные для пожарных/людей, ожидающих эвакуации

0.3, 0.4

Разрушение здания до завершения использования лифта пожарными

0.4

Недостаточное число или неправильное размещение лифтов для пожарных в здании

0.5

Таблица 2 - Важнейшие опасности и опасные ситуации для лифта для пожарных

 

Опасность и опасная ситуация с учетом приведенных в таблице 1

Пункт настоящего стандарта

Общие опасности для лифтов

5.1, 5.2.1, 5.8.3, 5.8.4

Опасность блокирования/застревания

5.2.2, 5.4, 5.6, 5.7, 5.8, 5.9, 5.10, 5.11, 5.12

Задержка действий пожарных

5.2.3, 5.2.4, 5.6, 5.8, 5.10, 5.11, 5.12

Комбинация опасностей

5.8.7, 5.8.8, 5.8.9

Поломка или сбой в работе контроллера (станции управления)

5.3, 5.4, 5.7, 5.8.5, 5.11.1, 5.11.2, 5.12.3

Ошибочные действия и поведение как пожарных, так и эвакуируемых (человеческий фактор)

5.12

Недостатки конструкции, расположения или идентификации ручного управления

5.8.1, 5.8.2, 5.11.3

Неправильная маркировка

5.11.4

Прекращение подачи энергоснабжения

5.10

4.3 Опасности, не рассматриваемые настоящим стандартом (см. введение):

а) недостаточное число и неправильное размещение в здании лифтов для пожарных;

б) блокирование людей в лифтовом холле при отсутствии обслуживания этажа лифтами;

в) пожар в шахте лифта для пожарных, в пожарозащищенном лифтовом холле, в помещениях для размещения лифтового оборудования или в кабине лифта;

г) разрушение здания прежде, чем пожарные прекратят использование лифта для пожарных;

д) отсутствие идентификационных знаков на каждом этаже.

5 Требования безопасности и/или защитные меры

5.1 Требования к окружающей среде/зданию

5.1.1 Лифт для пожарных должен устанавливаться в пожаробезопасной шахте, и перед шахтной дверью на каждом этаже должен быть пожарозащищенный лифтовой холл. Площадь холла должна определяться с учетом расположения в нем шахтных дверей и маневра с носилками при транспортировании пострадавших (приложения В и Е).

При расположении лифта для пожарных в общей шахте с другими лифтами огнестойкость ограждения как общей шахты, так и шахты лифта для пожарных должны быть идентичными. Аналогичные требования к огнестойкости ограждений пожарозащищенных лифтовых холлов, машинных помещений лифтов должны предъявляться при совместном расположении лифтов для пожарных с другими лифтами (приложение В).

При отсутствии в общей шахте стены, отделяющей лифт для пожарных от других лифтов, находящихся в этой шахте, все другие лифты, их электрооборудование должны быть защищены от факторов пожара так же, как и лифты для пожарных и их электрооборудование.

Ограждающие конструкции шахты лифта для пожарных должны иметь предел огнестойкости не менее REI 120 по СНиП 21-01 [3] и ГОСТ 30247.1.

В ограждающих конструкциях шахт допускаются проемы (отверстия) для установки элементов оборудования лифта (аппараты управления, сигнальные устройства и т. п.) и вентиляционных устройств.

Ограждающие конструкции пожарозащищенных лифтовых холлов лифта для пожарных должны иметь предел огнестойкости не менее EI 45 (СНиП 21-01 [3] и ГОСТ 30247.1).

Ограждающие конструкции машинных помещений лифтов для пожарных должны иметь предел огнестойкости не менее REI 120 (СНиП 21-01 [3] и ГОСТ 30247.1).

Шахтные двери, двери лифтовых холлов и двери машинных помещений лифтов для пожарных должны иметь следующие пределы огнестойкости:

- двери шахт - не менее EI 60 (СНиП 21-01 [3] и ГОСТ 30247.3);

- двери лифтовых холлов - не менее EI 30 (СНиП 21-01 [3] и ГОСТ 30247.2);

- двери машинных помещений - не менее EI 60 (СНиП 21-01 [3] и ГОСТ 30247.2).

Двери лифтовых холлов должны иметь дымогазонепроницаемое исполнение, устройства самозакрывания и уплотнения в притворах.

Если лифт для пожарных размещается в отгороженной от других лифтов шахте (при наличии разделительной стенки шахты с пределом огнестойкости, соответствующим пределу огнестойкости ограждения шахты лифта для пожарных), предел огнестойкости ограждения шахт других лифтов, а также дверей шахт этих лифтов должен быть соответственно не ниже EI 45 (СНиП 21-01 [3] и ГОСТ 30247.1) и Е30 (СНиП 21-01 [3] и ГОСТ 30247.3).

Вышеизложенные пределы огнестойкости для ограждающих конструкций шахт, машинных помещений и лифтовых холлов лифтов для пожарных, также как и пределы огнестойкости шахтных дверей, дверей машинных помещений и лифтовых холлов, действительны для жилых зданий высотой до 75 м, зданий других классов функциональной пожарной опасности высотой не более 50 м и зданий с не более чем одним подземным гаражом.

Для зданий большей высоты, а также для особо сложных и уникальных зданий должны быть разработаны технические условия, отражающие специфику их противопожарной защиты, включающие в себя комплекс дополнительных инженерно-технических и организационных мероприятий.

5.1.2 Лифт, а также его составляющие должны:

а) электрические/электронные аппараты управления и сигнальные устройства на этажах - продолжать функционировать при проведении пожарными операции по спасению людей, в условиях окружающей температуры от 0°С до 65°С в течение срока сохранения строительными конструкциями здания устойчивости, т.е. не менее 2 ч;

б) все другие электрические/электронные компоненты лифта для пожарных, расположенные вне пожарозащищенных лифтовых холлов, - сохранять свою работоспособность при температуре окружающей среды от 0°С до 40°С;

в) сохранять работоспособность и предусмотренное функционирование системы управления лифтом в случае задымления шахты и/или машинного помещения в течение срока сохранения строительными конструкциями здания устойчивости, т.е. не менее 2 ч.

5.1.3 Каждый вход на этаж, используемый для борьбы с пожаром, должен иметь пожарозащищенный лифтовой холл.

5.1.4 Если лифт для пожарных оснащен проходной кабиной, все шахтные двери, не предназначенные для использования пожарными, должны быть защищены от воздействия температуры свыше 65°С (приложение В, рисунок В.3).

5.1.5 Источник резервного энергоснабжения лифта для пожарных должен быть размещен в пожарозащищенной зоне.

5.1.6 Электрические кабели основного и резервного энергоснабжения лифтов должны иметь противопожарную защиту и быть отделены друг от друга и от других кабелей энергоснабжения.

5.2 Основные требования к лифтам для пожарных

5.2.1 Лифты для пожарных должны иметь конструкцию, соответствующую требованиям Правил устройства и безопасной эксплуатации лифтов (ПУБЭЛ) ПБ 10-558-03 [1], и кроме того, быть оснащены дополнительной противопожарной защитой, системами управления, сигнализации и связи, обеспечивающими использование лифтов при пожаре под непосредственным контролем и управлением пожарных.

5.2.2 Лифты для пожарных должны обслуживать все этажи здания.

5.2.3 Размеры кабины, грузоподъемность и скорость лифтов для пожарных рекомендуется выбирать из предусмотренных ГОСТ 5746.

Для обеспечения возможности использования носилок и кроватей минимальная грузоподъемность лифта для пожарных (в том числе лифтов с проходной кабиной) должна быть не менее 1000 кг, кабина должна иметь ширину 1100 мм и глубину 2100 мм (см. пункт 0.5 введения). При наличии такого лифта может быть также использован лифт для пожарных грузоподъемностью 630 кг и кабиной шириной 1100 мм и глубиной 1400 мм (пункт 0.5 введения). Ширина дверного проема кабины должна быть не менее 800 мм.

5.2.4 Скорость лифта для пожарных должна обеспечивать прибытие его на самый верхний этаж не более чем за 60 с после закрытия двери лифта на этаже входа пожарных в здание.

5.3 Защита электрического оборудования от воздействия воды

5.3.1 Электрическое оборудование, размещенное в шахте лифта для пожарных и на его кабине на расстоянии менее 1 м от стены шахты, имеющей шахтные двери, должно быть защищено от капель и брызг воды или иметь ограждение степени защиты не менее IPX 3 по ГОСТ 14254 (приложение D).

5.3.2 Любое электрическое оборудование, расположенное на высоте менее 1 м от дна приямка шахты лифта для пожарных, должно быть обеспечено защитой степени IP 67 по ГОСТ 14254.

Розетки и лампы освещения в приямке должны быть расположены по крайней мере на 0,5 м выше наибольшего допустимого уровня воды в шахте при ее затоплении.

5.3.3 Лифтовое оборудование, расположенное в помещениях вне шахты и в приямке шахты, должно быть защищено от возможных нарушений в работе (отказов), вызываемых водой.

5.3.4 В приямке шахты должны быть предприняты меры, предотвращающие накапливание воды выше уровня полностью сжатых буферов кабины.

5.3.5 Должны быть предприняты меры для предотвращения накапливания в приямке воды до уровня установленного в нем оборудования, чтобы исключить опасность отказов в работе лифта для пожарных.

5.4 Высвобождение пожарных из застрявшей в шахте кабины

Высвобождение пожарных из застрявшей в шахте кабины может осуществляться различными способами.

В настоящем стандарте приведены несколько примеров/способов высвобождения пожарных (приложение G и пункт 0.5 введения).

5.4.1 В крыше кабины лифта для пожарных должен быть оборудован люк. Размеры люка в свету должны быть не менее 0,5×0,7 м.

Для лифтов грузоподъемностью 630 кг (см. 5.2.3) допускается выполнять люк размером в свету не менее 0,4×0,5 м.

5.4.2 Устройство люка в крыше кабины должно соответствовать требованиям УБЭЛ ПБ 10-558-03 [1].

Конструктивные элементы потолка кабины и осветительных устройств не должны препятствовать высвобождению из кабины через люк.

При наличии в кабине лифта подвесного потолка конструкция последнего должна обеспечивать изъятие или открывание его без помощи специального инструмента. Внутри кабины места крепления подвесного потолка должны быть ясно обозначены.

5.4.3 Высвобождение снаружи кабины

Для высвобождения могут быть использованы:

а) стационарно установленные в шахте лестницы, размещенные в пределах 0,75 м от уровня порога вышерасположенного дверного проема в шахте;

б) портативные переносные лестницы;

в) веревочные лестницы;

г) системы безопасности с использованием веревок.

Примечание - Все вышеперечисленные средства не входят в область ответственности производителей (поставщиков) лифтов.

Безопасные места крепления средств высвобождения должны быть предусмотрены вблизи каждого этажа.

Эти средства должны обеспечивать безопасный доступ на крышу кабины независимо от расстояния крыши кабины от порога ближайшего доступного дверного проема.

5.4.4 Самостоятельное высвобождение пожарных изнутри кабины

Должен быть обеспечен доступ изнутри кабины для открытия люка на крыше. Для этого, например, в кабине могут быть предусмотрены опорные элементы, обеспечивающие доступ пожарных к люку. Максимальное расстояние по вертикали между такими опорными элементами должно быть не более 0,4 м, а их прочность должна быть эквивалентна восприятию усилий 1200 Н.

В других случаях в кабине могут быть предусмотрены легкосъемные лестницы, расстояние между ступенями которых и стеной кабины должно быть не менее 0,1 м.

Размеры и расположение люка в крыше кабины должны позволить пожарному с помощью лестницы выйти из кабины через люк.

Вблизи замка шахтной двери на каждом этаже со стороны шахты должны быть предусмотрены простые пиктограммы, показывающие, как открыть замок шахтной двери.

5.4.5 Для целей высвобождения могут быть предусмотрены жесткие лестницы, которые закрепляются снаружи кабины. В этом случае должно быть предусмотрено электрическое устройство, блокирующее пуск лифта при отсутствии лестницы.

5.4.6 Место и способ установки лестниц снаружи кабины должны исключить опасность травмирования персонала, осуществляющего техническое обслуживание лифта.

5.4.7 Минимальная высота лестницы должна быть такой, чтобы при расположении кабины лифта а уровне этажа был обеспечен доступ к замку шахтной двери вышерасположенного этажа.

Когда лестница не обеспечивает доступ к замку шахтной двери вышерасположенного этажа, должны использоваться лестницы, стационарно закрепленные к стене шахты.

5.5 Применяемые материалы

Материалы, применяемые в лифтах для пожарных, должны минимизировать риск возникновения пожарной опасности.

5.5.1 Ограждающие конструкции (стены, пол, поток и двери) купе кабины лифтов для пожарных, а также двери шахт лифтов для пожарных должны изготавливаться из негорючих материалов или материалов группы горючести Г1 по ГОСТ 30244.

5.5.2 Пожарно-технические характеристики материалов отделки (облицовки) поверхностей стен и потолков купе кабин лифтов для пожарных должны быть не ниже следующих:

- группа горючести - Г2 по ГОСТ 30244;

- группа воспламеняемости - В2 по ГОСТ 30402;

- группа дымообразующей способности - Д3 по ГОСТ 12.1.044, пункт 4.18;

- группа токсичности при горении - Т2 по ГОСТ 12.1.044, пункт 4.20.

5.5.3 Пожарно-технические характеристики материалов покрытий пола купе кабин лифтов для пожарных должны быть не ниже следующих:

- группа горючести – Г3 по ГОСТ 30244;

- группа распространения пламени - РП2 по ГОСТ 30444;

- группа дымообразующей способности – Д3 по ГОСТ 12.1.044, пункт 4.18;

- группа токсичности при горении - Т2 по ГОСТ 12.1.044, пункт 4.20.

5.5.4 Плафоны устройств стационарного электрического освещения кабины лифта для пожарных должны выполняться из материалов группы воспламеняемости не ниже В2 по ГОСТ 30402.

5.6 Двери кабины и шахты

Двери кабин и шахт лифтов для пожарных должны быть автоматическими горизонтально-раздвижными и кинематически связаны между собой.

Двери должны сохранять работоспособность при избыточном давлении в шахте, создаваемом приточной противодымной вентиляцией.

5.7 Привод лифта и связанное с ним оборудование

5.7.1 Все помещения, предназначенные для размещения привода лифта для пожарных и связанного с ним оборудования, должны иметь ограждения с пределом огнестойкости не ниже, чем предел огнестойкости ограждения шахты лифта.

5.7.2 Любые помещения для лифтового оборудования, находящиеся вне шахты, должны иметь ограждения с пределом огнестойкости не ниже, чем предел огнестойкости пожарозащищенных помещений.

Все соединения лифтового оборудования (кабели, гидропроводы и т. п.), расположенные в различных пожарозащищенных помещениях, должны быть защищены аналогично пожарозащищенным помещениям.

5.8 Системы управления

5.8.1 Лифт для пожарных должен быть оборудован устройством для включения режима работы лифта в условиях пожара.

Такое устройство (переключатель) должно быть установлено в лифтовом холле на этаже входа пожарных в здание.

Переключатель должен быть установлен на расстоянии не более 2,0 м по горизонтали от двери шахты лифта для пожарных и на высоте 1,8-2,1 м от уровня пола.

Переключатель должен иметь пиктографическую маркировку лифта для пожарных согласно приведенной в приложении F.

5.8.2 Включение (выключение) переключателя лифта для пожарных должно производиться при помощи специального ключа. Одним из вариантов такого ключа может быть предусмотренное ПУБЭЛ ПБ 10-558-03 [1] устройство для открывания дверей шахты.

Переключатель должен быть двухпозиционным и четко промаркирован на две позиции: «0» и «1».

При положении ключа в позиции «1» включается режим работы лифта для пожарных.

Режим работы лифта для пожарных осуществляется в две фазы: согласно 5.8.7 и 5.8.8.

Альтернативное автоматическое внешнее управление или сигнал для перевода лифта в режим работы лифта для пожарных может быть применено только для автоматического направления лифта для пожарных на этаж входа пожарных в здание и отключения лифта на этом этаже с открытыми дверями (фаза 1).

5.8.3 При включении режима работы лифта для пожарных все устройства безопасности лифта (электрические и механические) должны оставаться в рабочем состоянии, за исключением устройств контроля дверного проема и реверса дверей в фазах 1 и 2 по 5.8.7, перечисление в), и 5.8.8, перечисление е) соответственно.

5.8.4 Переключатель режима лифта для пожарных не должен влиять на работу системы управления лифта в режимах «ревизия», «управление из машинного помещения» и при остановке лифта в результате отказа (сбоя) лифтового оборудования.

5.8.5 При включенном режиме работы лифта для пожарных отказы в работе аппаратов вызова лифтов на этажах или других элементов системы управления лифта, расположенных вне шахты лифта, не должны нарушать режим работы лифтов для пожарных.

Отказы электрооборудования других лифтов, объединенных с лифтом для пожарных общим групповым управлением, также не должны нарушать режим работы лифтов для пожарных.

5.8.6 Для предотвращения задержек в переводе лифта в режим «пожарная опасность» (фаза 1) должен быть предусмотрен звуковой сигнал в кабине лифта при задержке закрытия дверей более чем на 2 мин. Закрытие дверей должно сопровождаться звуковым сигналом и осуществляться принудительно с уменьшенной мощностью привода. При полном закрытии дверей звуковой сигнал должен выключаться.

Сигнал должен быть настроен на уровень звука 55 дБА и функционировать при уровнях звука в пределах 35-65 дБА. Сигнал по своему звучанию должен отличаться от других предупредительных звуковых сигналов, предусмотренных в лифте. Звуковое устройство должно работать только в режиме «Пожарная опасность» (фаза 1).

5.8.7 Фаза 1. Режим приоритетного вызова лифта для пожарных (режим «Пожарная опасность») Принципиальная программа работы лифта в фазе 1 после получения сигнала о пожаре в здании

заключается в принудительном направлении кабины лифта на назначенный этаж и обеспечении выхода всех пассажиров из кабины.

Эта фаза (режим) управления может включаться вручную или автоматически. Включение этого режима должно обеспечивать следующее:

а) кнопки этажных вызовов и кнопки приказов в кабине лифта не принимают новые команды, а зарегистрированные ранее вызовы и приказы аннулируются;

б) кнопки открывания дверей и включения двусторонней связи в кабине лифта должны оставаться в рабочем состоянии;

в) устройство контроля дверного проема и реверса дверей, на работу которого может оказать влияние дым или высокая температура, должно быть отключено, чтобы не препятствовать закрытию дверей;

г) лифт для пожарных должен работать независимо от других лифтов, объединенных с ним системой группового управления;

д) по прибытии кабины лифта для пожарных на этаж входа пожарных в здание двери кабины и шахты автоматически открываются и остаются в открытом положении. Дальнейшее движение кабины в этом режиме исключается;

е) система двусторонней переговорной связи, описанная в 5.12, должна продолжать функционировать;

ж) звуковой сигнал по 5.8.6 должен включаться на фазе 1, когда лифт находится в режиме «Ревизия». Должна быть включена также двусторонняя громкоговорящая связь. Звуковой сигнал должен отключаться после вывода лифта из режима «Ревизия»;

и) лифт для пожарных, движущийся в направлении от этажа входа пожарных в здание, должен остановиться на ближайшем возможном этаже и, не открывая дверей, следовать на этаж входа пожарных в здание;

к) в режиме фазы 1 освещение шахты и кабины должно автоматически включаться;

л) для некоторых зданий, оборудованных системой автоматической пожарной сигнализации, возможно использование альтернативных назначенных этажей, на которые автоматически направляется лифт при обнаружении пожара на основном назначенном этаже.

5.8.8 Фаза 2. Режим использования лифта пожарными (режим «Перевозка пожарных подразделений»)

После остановки лифта для пожарных с открытыми дверями на этаже входа пожарных в здание управление лифтом может осуществляться пожарными только с поста управления в кабине. При этом должно обеспечиваться следующее:

а) в случаях, когда режим в фазе 1 инициируется автоматическим внешним сигналом, лифт для пожарных может быть приведен в действие только при помощи переключателя лифта для пожарных;

б) только один приказ может быть зарегистрирован на посту управления в кабине;

в) во время движения кабины по зарегистрированному приказу возможна регистрация нового приказа. При этом зарегистрированный ранее приказ должен быть аннулирован, а кабина должна двигаться согласно вновь зарегистрированному приказу;

г) зарегистрированный приказ направляет кабину лифта на этаж назначения, на котором она останавливается, не открывая двери;

д) открывание дверей остановившейся на этаже кабины возможно только путем постоянного нажатия на кнопку открытия дверей. Если до полного открытия дверей нажатие на кнопку открытия дверей прекращается, то двери должны автоматически закрываться.

Полностью открытые двери должны оставаться в таком положении до тех пор, пока на посту управления в кабине не будет зарегистрирован новый приказ;

е) устройство контроля дверного проема и реверса дверей и кнопка открывания дверей должны оставаться в рабочем состоянии, как и в фазе 1 (с учетом 5.8.7, перечисление в);

ж) лифт для пожарных должен вернуться на этаж входа пожарных в здание при переводе переключателя лифта из позиции «1» в позицию «0» (не более чем за 5 с) и снова в позицию «1» для повторения фазы 1. Это положение не распространяется на случай, когда выключатель лифта для пожарных установлен в кабине лифта, как описано в перечислении и);

и) когда дополнительный переключатель лифта для пожарных устанавливается в кабине, он должен быть маркирован пиктограммой «Лифт для пожарных» и четким указанием его позиций «0» и «1». Ключ может быть удален из переключателя только в позиции «0».

Работа такого переключателя осуществляется следующим образом:

1) когда лифт находится в режиме работы лифта для пожарных (после включения переключателя лифта на этаже входа пожарных в здание), движение лифта может быть начато после перевода ключа в кабине лифта в позицию «1»;

2) когда лифт находится на любом другом этаже, а не на этаже входа пожарных в здание, и ключ в кабине переведен в позицию «0», дальнейшее движение кабины становится невозможным, и двери кабины остаются в открытом положении;

к) зарегистрированные приказы должны иметь световую индикацию на посту управления в кабине;

л) местоположение кабины должно быть отображено на световых табло в кабине и на этаже входа пожарных в здание как при основном, так и при резервном энергоснабжении;

м) лифт должен оставаться на этаже назначения до тех пор, пока в кабине не будет зарегистрирован новый приказ;

н) двусторонняя пожарная громкоговорящая связь, как она определена в 5.12, должна оставаться в рабочем состоянии во время реализации режима фазы 2;

п) когда переключатели режима работы лифта для пожарных установлены в позицию «0», после

возвращении лифта на этаж входа пожарных в здание система управления должна вернуться в режим «Нормальная работа».

5.8.9 Когда лифт для пожарных имеет проходную кабину и пожарозащищенные лифтовые холлы размещены на той же стороне, что и на этаже входа пожарных в здание, должны быть выполнены следующие дополнительные требования:

а) посты управления в кабине должны быть установлены вблизи обоих дверных проемов:

- один из этих постов управления должен быть предназначен для использования пассажирами в нормальном режиме работы лифта,

- пост управления лифта со стороны пожарозащищенного лифтового холла (приложение В) должен использоваться только пожарными и иметь маркировку в виде пиктограммы пожарного лифта (приложение F);

б) когда включается режим в фазе 1, кнопки поста управления в кабине лифта, предназначенного для использования пассажирами в нормальном рабочем режиме, должны быть выведены из рабочего режима. Это требование не распространяется на кнопки открытия дверей и включения двусторонней связи;

в) пост управления лифтом для пожарных включается в работу после перехода системы управления в режим фазы 2;

г) шахтные двери, которые не используются пожарными, должны быть закрыты на всех этажах до тех пор, пока лифт не вернется в режим «Нормальная работа»;

д) шахтные двери, выходящие в пожарозащищенные лифтовые холлы, должны быть в рабочем состоянии до тех пор, пока лифт не вернется в режим «Нормальная работа».

5.9 Энергоснабжение лифтов для пожарных

5.9.1 Энергоснабжение лифтов и системы освещения должны включать в себя основное и дополнительное (аварийное, запасное или альтернативное) энергоснабжение. Уровень противопожарной защиты системы энергоснабжения должен быть не ниже предусмотренного для шахты лифта для пожарных (приложение С).

5.9.2 Дополнительное (аварийное) энергоснабжение должно обеспечить движение лифта для пожарных с номинальным грузом и со скоростью, обеспечивающей выполнение требования 5.2.4.

5.9.3 Энергоснабжение лифтов для пожарных должно производиться как для электроприемников 1-й категории согласно ПУЭ [2]. При этом в общественных зданиях высотой более 50 м от уровня подъезда пожарных машин до низа оконных проемов верхнего этажа (не считая технических этажей) энергоснабжение лифтов производится как для особой группы электроприемников 1-й категории.

5.10 Переключение энергоснабжения

При переключении энергоснабжения должны быть выполнены следующие условия:

а) не должен требоваться корректировочный рейс лифта;

б) при восстановлении основного энергоснабжения лифт должен быть доступен для использования по назначению.

Если для установления местоположения лифта требуется привести его в движение, то он должен перемещаться в направлении этажа входа пожарных в здание на расстояние не более двух этажей.

5.11 Устройства управления в кабине и на этажах

5.11.1 Аппаратура управления в кабине и на этажах и связанная  с ними система управления не должны регистрировать ложные сигналы вследствие воздействия высокой температуры, дыма или влаги.

5.11.2 Аппаратура управления в кабине и на этажах, сигнальные устройства в кабине и на этажах, а также выключатель лифта для пожарных должны иметь исполнение не ниже IPX 3 по ГОСТ 14254.

Посты управления на этажных площадках должны иметь степень защиты не менее IPX 3, в случае, если они электрически не отключаются при включении режимов фаз 1 и 2 лифта для пожарных.

5.11.3 Управление лифтом для пожарных в режиме фазы 2 должно осуществляться с поста управления в кабине через все имеющиеся на нем кнопки. Другие средства управления должны быть отключены.

5.11.4 В дополнение к обычной маркировке этажей на посту управления в кабине должна быть предусмотрена маркировка на кнопке или около кнопки, соответствующая уровню входа пожарных в здание. Маркировка должна быть выполнена в виде пиктограммы, приведенной в приложении F.

5.12 Система связи лифта для пожарных

5.12.1 Лифт для пожарных должен иметь громкоговорящую связь или аналогичное устройство для обеспечения двусторонней связи в режимах фаз 1 и 2 между кабиной лифта и:

а) этажом входа пожарных в здание;

б) машинным помещением или, в случае применения лифтов без машинного помещения, с местом
установки панели аварийного управления.

При наличии в машинном помещении микрофона последний должен включаться нажатием кнопки;

в) пунктом диспетчерского контроля.

5.12.2 Связь между кабиной лифта и этажом входа пожарных в здание должна осуществляться при помощи встроенного микрофона, но не по телефону с трубкой.

5.12.3 Провода системы связи должны быть проложены в шахте лифта.

5.13 Вандалоопасные зоны

При установке лифтов для пожарных в вандалоопасных зонах лифтовое оборудование должно быть в вандалозащищенном исполнении.

6 Подтверждение выполнения требований безопасности и/или защитных мер

Выполнение требований безопасности и защитных мер согласно разделам 5 и 7 настоящего стандарта должно проверяться в соответствии с таблицей 3.

Таблица 3 - Подтверждение соответствия

Пункт стандарта

Визуальная проверка1)

Проверка соответствия лифта технической документации2)

Измерения3)

Проверка соответствия технической документации стандарту4)

Функциональное испытание5)

5.2.1 Подтверждение соответствия требованиям ПУБЭЛ ПБ 10-558-03 [1]

5.2.2

x

 

 

 

 

5.2.3

 

 

x

x

 

5.2.4

 

 

x

 

 

5.3.1

x

 

x

 

 

5.3.2

x

 

x

 

 

5.3.3

x

 

 

x

 

5.3.4

x

x

x

 

 

5.3.5

x

x

x

 

 

5.4

x

x

x

x

 

5.6

x

 

 

 

 

5.7

 

x

 

x

 

5.8.1

x

x

x

x

 

5.8.2

x

x

 

x

 

5.8.3

 

x

 

 

 

5.8.4

 

x

 

 

 

5.8.5

 

 

 

x

 

5.8.6

 

x

x

 

 

5.8.7

 

x

 

 

x

5.8.8, перечисления а), б), в), г), д), е)

x

x

x

 

x

5.8.8, перечисление ж)

 

x

x

 

x

5.8.8, перечисление и)

x

x

 

 

x

5.8.8, перечисления к), л), м), н), п)

 

x

 

 

x

5.8.9

x

x

 

 

x

5.10

 

x

 

 

x

5.11.1

 

 

 

x

 

5.11.2

x

 

 

x

 

5.11.3

x

x

 

x

 

5.11.4

x

 

 

 

 

5.12

 

x

 

 

x

7

x

 

 

 

 

1) Результаты визуальной проверки должны подтвердить наличие маркировки, панели управления, руководства по эксплуатации и т.п., а также соответствие маркировки, содержания руководства по эксплуатации требованиям стандарта.

2) Результатом проверки соответствия лифта технической документации является подтверждение того, что лифт изготовлен согласно технической документации.

3) Результаты измерений должны подтвердить, что измеряемые параметры/размеры соответствуют требованиям настоящего стандарта.

4) Результатом проверки соответствия технической документации требованиям настоящего стандарта является подтверждение того, что в технической документации отражены требования настоящего стандарта.

5) Результатом функциональных испытаний является подтверждение того, что лифт, в том числе устройства безопасности, функционирует так, как это предусмотрено в настоящем стандарте.

Примечания

1 Знак «х» означает, что данный вид проверки осуществляется.

2 При использовании в лифте устройств и других элементов конструкции, подлежащих обязательному подтверждению соответствия, должны быть предоставлены предусмотренные документы или проведены испытания.

7 Информация для использования лифта для пожарных

Информация для использования лифта для пожарных должна включать в себя следующее.

7.1 В отсутствие пожара лифт может использоваться в качестве пассажирского лифта.

Для исключения риска задержки для использования лифта пожарными перевозка на нем грузов, которые могут преградить вход пожарных в лифт, запрещается.

Устройство лифта для пожарных должно обеспечивать его использование при пожаре в течение наиболее длительного возможного времени.

7.2 Руководство по эксплуатации лифта для пожарных, передаваемое владельцу здания, должно содержать информацию, приведенную в таблице 4.

Таблица 4 - Информация в руководстве по эксплуатации

Пункт стандарта

Информация

5.1

Требования окружающей среды/здания (в т.ч. температурные условия, особенности здания и т.п.)

5.2

Основные требования к лифту для пожарных (в т.ч. размер кабины, использование по назначению)

5.4

Высвобождение застрявших в кабине лифта пожарных (в т.ч. концепция высвобождения. Примеры см. 7.3 и 7.4)

5.8

Система управления (в т.ч. описание функционирования)

5.9

Энергоснабжение лифтов для пожарных (в т.ч. обязанности владельца по организации технического обслуживания энергоснабжения)

5.10

Резервное энергоснабжение (в т.ч. обязанности владельца по организации технического обслуживания резервного энергоснабжения)

5.12

Система связи для пожарных в лифте (в т.ч. периодические испытания этой системы)

7.3 Процедура высвобождения застрявших в кабине лифта с посторонней (извне) помощью

а) Пожарные открывают шахтную дверь выше застрявшей кабины и один из них спускается на крышу кабины.

б) Затем он открывает аварийный люк в крыше кабины, снимает закрепленную с внешней стороны кабины лестницу и подает ее в кабину.

в) Находящиеся в кабине лифта люди поднимаются по лестнице на крышу кабины.

г) Пожарные и поднявшиеся из кабины выходят из шахты лифта через открытую шахтную дверь, при необходимости используя лестницу.

7.4 Процедура самостоятельного высвобождения из застрявшей кабины

а) Пожарные открывают аварийный люк в крыше кабины.

б) Пожарные выходят на крышу кабины, используя лестницу, стационарно размещенную в кабине, или элементы купе кабины в качестве опорных точек.

в) Пожарные с крыши кабины (при необходимости используя имеющуюся у них лестницу) отпирают замок шахтной двери, открывают дверь и выходят из шахты лифта.

7.5 Вышеприведенные способы высвобождения из застрявшей кабины являются примерами.

Возможны другие способы высвобождения.

Приложение А
(справочное)

Концепция борьбы с пожаром в высотных зданиях

Концепция не включает в себя использование таких средств эвакуации, как аварийные лестницы и т.п.

Концепция представляет собой лишь пример, который иллюстрирует имеющиеся риски и другие возможные критерии.

А.1 Введение

Конструкция зданий, системы обнаружения дыма, системы пожаротушения, гидранты и т.п. являются объектами, регулируемыми строительными нормами. В общем случае термин «высотное здание» включает в себя здания, верхние этажи которых недоступны для пожарных ввиду отсутствия необходимого оборудования (например пожар­ные автолестницы).

Пожары в высотных зданиях не являются чем-то новым. Возможно, первым из зарегистрированных является пожар, произошедший в 1908 г. в 12-этажном здании «Паркер» в Нью-Йорке и распространившийся на все этажи. В 1911 г. пожар на фабрике «Shirt Waister» в 10-этажном здании привел к гибели 148 человек.

В 1916 г., принимая во внимание эти и аналогичные пожары, муниципальные власти Нью-Йорка пересмотрели действовавшие строительные нормы, включив в них такие меры по защите и борьбе с пожаром, как использование пожаробезопасных лестниц, пожарное водоснабжение, лифты, спринклеры. Массовое строительство высотных зданий побудило архитекторов и пожарных к реализации двух основных концепций:

- первая - возведение зданий, конструкция которых обладает пожароустойчивостью, предотвращает распространение дыма и обеспечивает высокую степень безопасности для людей в здании;

- вторая - встраивание в здания средств борьбы с пожаром и устройств для спасения людей.

Лифты для пожарных, число которых и места расположения в зданиях должны определяться строительными противопожарными нормами, являются важным средством борьбы с пожаром, транспортировки пожарных и их оборудования, а также спасения людей.

А.2 Базовые положения

При получении сигнала о пожаре необходимо быстрое прибытие пожарных подразделений. Значительные финансовые ресурсы отводятся для обеспечения быстрых и эффективных действий пожарных для борьбы с пожаром и спасения людей.

Кроме времени на прибытие пожарных в здание, следует учитывать и время для подхода к очагу пожара и местам эвакуации людей.

Пожарные с противопожарным оборудованием должны быстро и безопасно достигнуть очага пожара независимо от расстояния очага пожара от входа в здание.

Любая задержка в действиях пожарных приводит к риску для безопасности и даже жизни пожарных и людей, снижает вероятность сохранения здания и имущества.

При достижении места борьбы с пожаром пожарные должны сохранить достаточно сил для напряженной и длительной борьбы с пожаром.

Эффективность действий пожарных зависит от проектировщика здания в отношении обеспечения необходимых условий и средств борьбы с пожаром.

Таким существенным средством в многоэтажных зданиях являются лифты для пожарных.

Лифты для пожарных должны быть в постоянной готовности для использования пожарными и иметь конструкцию, позволяющую использовать их длительное время при пожаротушении.

Ни с технической, ни с экономической точки зрения невозможно создать лифт с абсолютной надежностью. Однако конструкторы и поставщики должны обеспечить пожарных лифтом, который является надежным средством борьбы с пожаром.

Во время пожара опасность застревания лифта с пассажирами в шахте так высока, что обычные лифты (за исключением специально предназначенных для работы во время пожара) не должны использоваться для спасения людей.

Планы эвакуации людей должны базироваться на использовании пожаробезопасных лестниц.

Обеспечение защиты от пожара шахт лифтов, лестниц, лифтовых холлов, машинных помещений лифтов и помещений для различного лифтового оборудования необходимо при применении и использовании лифтов для пожарных.

А.3 Действия пожарных

(Рисунки А.1, А.2).

Обычной практикой после прибытия пожарных в здание является принятие ими на себя управления лифтом для пожарных.

Используя лифт для пожарных, пожарные подразделения доставляют необходимое оборудование на ниже расположенный от очага пожара этаж. На нижнем этаже организуют пункт управления. Такой принцип предохраняет персонал пожарных подразделений и кабину лифта для пожарных от опасности прямого воздействия факторов пожара до установления реальной пожарной ситуации и начала борьбы с пожаром.

Старший пункта управления является ответственным за разработку плана борьбы с огнем. Борьба с пожаром начинается из помещений, имеющих противопожарную защиту и свободных от дыма.

Во избежание загромождения и задымления лестниц следует присоединять пожарные шланги к источникам водоснабжения непосредственно на этаже пожара. Только если развитие пожара не позволяет выполнить это условие, шланг может быть присоединен к источнику водоснабжения на этаже ниже пожара.

Лифт для пожарных используется для транспортирования пожарных подразделений и оборудования в продолжение борьбы с пожаром.

Пожаротушение с использованием воды приводит к распространению последней по всему зданию, поэтому для сохранения работоспособности лифтов для пожарных следует обеспечить защиту электрооборудования лифтов от воды.

Система противопожарной защиты здания может инициировать автоматическое направление лифта для пожарных на этаж входа пожарных в здание. В этом случае лифт блокируется от дальнейшего движения до тех пор, пока пожарные не возьмут на себя управление лифтом при помощи пожарного выключателя.

А.4 Лифт для пожарных

Лифт для пожарных в отличие от обычных лифтов должен иметь конструкцию, позволяющую использовать его при пожаре как можно дольше.

В обычное время лифт для пожарных используют в качестве пассажирского лифта.

Перевозка на лифте для пожарных в обычное время грузов должна быть запрещена, т. к. в случае пожара это может привести к недопустимой задержке или невозможности использования лифта для борьбы с пожаром.

Надежность обеспечения энергоснабжения является важнейшим условием работы лифта для пожарных.

А.5 Высвобождение из застрявшей кабины лифта

(Приложение G).

При неблагоприятном исходе борьбы с пожаром необходимо учитывать распространение пожара по зданию и его влияние на работоспособность лифта для пожарных.

Тем не менее даже в экстремальных условиях пожарные продолжают использовать лифты. При этом возможна ситуация, когда все меры по защите лифта от пожара станут недостаточными и кабина лифта с людьми будет блокирована между этажами. В этих случаях восстановление работоспособности лифта маловероятно, и должна быть обеспечена возможность эвакуации людей или самостоятельно, или с помощью извне.

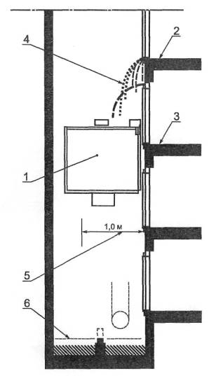
1 - лифт для пожарных; 2- этаж пожара; 3 - этаж развертывания передового пункта управления; 4 - горячие газы; 5 - вода, разлившаяся по полу; 6- огнестойкая дверь лифтового холла; 7 - пожарозащищенный лифтовый холл; 8 - лестница (путь эвакуации)

Примечание - На рисунке приведен один из способов борьбы с пожаром, и могут быть использованы другие способы:

- борьба с пожаром ведется через пожарозащищенный лифтовой холл;

- передовой пункт управления организован в пожарозащищенном лифтовом холле на этаже ниже этажа пожара.

Рисунок А.1 - Случай очага пожара вблизи пожарозащищенного лифтового холла

1 - лифт для пожарных; 2 - этаж пожара; 3 - огнестойкая дверь лифтового холла; 4 - пожарозащищенный лифтовой холл; 5 - лестница (путь эвакуации); б - разрушенная огнестойкая дверь или стена лифтового холла

В рассматриваемом случае огонь проник слишком далеко и лифт для пожарных не может быть использован для борьбы с пожаром и спасения людей.

Примечание - Подобная опасная ситуация находится вне сферы действия настоящего стандарта. Рисунок приведен только в качестве примера.

Рисунок А.2 - Случай проникновения огня в пожарозащищенный лифтовой холл

Приложение В
(справочное)

Базовое размещение лифта для пожарных (план)

Огнестойкость противопожарных стен лифтового холла и шахты лифта, а также противопожарных дверей шахты лифта и лифтового холла рассмотрена в настоящем стандарте.

Приведенные ниже рисунки являются только примерами. Возможны и другие решения.

1 - пожарозащищенный лифтовой холл; 2 - лифт для пожарных

Рисунок В.1 - Схема (план) размещения одиночного лифта для пожарных и пожарозащищенного лифтового холла

 

 

1 - пожарозащищенный лифтовой холл; 2 - лифт для пожарных; 3 - обычные лифты; 4 - промежуточная огнестойкая стена в шахте лифтов

Рисунок В.2 - Схема базового размещения лифта в общей с другими лифтами шахте и с общим пожарозащищенным лифтовым холлом

1 - пожарозащищенный холл лифта для пожарных; 2 - лифт для пожарных; 3 - обычные лифты; 4 - промежуточная огнестойкая стена в шахте лифтов; 5 - основной общий пожарозащищенный лифтовой холл; 6 - путь эвакуации

Рисунок В.3 - Схема базового размещения лифта для пожарных с проходной кабиной в общей с другими лифтами шахте и с пожарозащищенными лифтовыми холлами

Приложение С
(справочное)

Схема энергоснабжения лифтов для пожарных

1 - основной источник энергоснабжения; 2 - резервный источник энергоснабжения; 3 - распределение энергоснабжения; 4 - автоматическое переключение с основного на резервное; 5 - обычные лифты; 6 - лифты для пожарных; 7 - другое важное оборудование здания; 8 - другие обычные лифты, входящие в групповую установку с лифтом для пожарных

Рисунок С.1 - Пример энергоснабжения лифтов для пожарных

Приложение D
(обязательное)

Защита лифтового оборудования в шахте от воды

1 - кабина лифта для пожарных; 2- этаж, на котором происходит тушение пожара; 3 - этаж передового пункта борьбы с пожаром; 4 - потоки воды; 5 - зона, в которой лифтовое оборудование должно быть защищено от воды; 6 - максимально допустимый уровень воды в приямке шахты

Рисунок D.1- Защита электрического оборудования лифта от воды

Приложение Е
(справочное)

Концепция пожарозащищенных помещений в здании

1 - лифтовая шахта, образующая отдельное пожарозащищенное помещение и проходящее через все этажи здания; 2 - лестница (путь эвакуации), образующая отдельное пожарозащищенное помещение и проходящая через все этажи здания; 3 - пожарозащищенные лифтовые холлы, каждый из которых образует отдельное пожарозащищенное помещение на каждом этаже; 4 - полезные площади здания, которые на каждом этаже могут иметь одно или несколько пожарозащищенных помещений

Примечание - Помещения для размещения привода и других механизмов лифта на рисунке не приведены. Они могут находиться в разных местах. Обычно они находятся в пожарозащищенном помещении, образованном шахтой лифта. Полезные площади здания соединяются с лифтом для пожарных через пожарозащищенныи лифтовой холл, образуя отдельное пожарозащищенное помещение.

В шахте лифта могут размещаться помимо лифта для пожарных и обычные лифты.

Рисунок Е.1 - Концепция пожарозащищенных помещений

Приложение F
(обязательное)

Пиктограмма лифта для пожарных

Исполнение пиктограммы:

- основная часть пиктограммы белая;

- фон пиктограммы - красный;

- размер пиктограммы для поста управления в кабине 20×20 мм;

- размер пиктограммы на этажной площадке 100×100 мм;

- размер пиктограммы для поста, предназначенного для управления лифта пожарными в проходной кабине, 20×20 мм

Приложение G
(справочное)

Примеры концепции высвобождения людей из застрявшей в шахте кабины

Процедура высвобождения с использованием помощи извне:

- пожарный открывает шахтную дверь над остановившейся кабиной и опускается на крышу кабины;

- пожарный открывает люк, снимает закрепленную снаружи кабины лифта лестницу (позиция а) и опускает ее в кабину (позиция с);

- люди из кабины по лестнице поднимаются на крышу кабины;

- люди выходят из шахты через открытую дверь, используя при необходимости лестницу (позиция с).

 

1 -люк в крыше кабины; 2- переносная лестница, закрепленная на кабине

Рисунок G.1 - Схема высвобождения людей из застрявшей кабины с использованием передвижной лестницы, закрепленной снаружи кабины

Процедура самостоятельного высвобождения из кабины:

- пожарный в кабине открывает люк в крыше кабины;

- используя в качестве опор элементы конструкции купе кабины, пожарный выходит на крышу кабины;

- используя (при необходимости) переносную лестницу, закрепленную снаружи кабины, пожарный отпирает замок шахтной двери, открывает шахтную дверь и выходит на этажную площадку.

1 - люк; 2 - переносная лестница, закрепленная снаружи кабины лифта; 3 - замок шахтной двери; 4 - точки в купе кабины, используемые в качестве опор

Рисунок G.2 - Схема самостоятельного высвобождения из кабины с использованием переносной лестницы, закрепленной снаружи кабины

Самостоятельное высвобождение из кабины с использованием переносной лестницы, находящейся в купе кабины:

- пожарный открывает дверцу ниши в купе кабины и достает лестницу (позиция а);

- используя лестницу (позиция b), пожарный открывает люк в крыше кабины и выходит на крышу кабины;

- используя (при необходимости) лестницу (позиция с), пожарный отпирает замок шахтной двери, открывает шахтную дверь и выходит на этажную площадку.

1 - люк; 2 - замок шахтной двери; 3 - переносная лестница

Рисунок G.3 - Схема самостоятельного высвобождения из кабины с использованием переносной лестницы, находящейся в купе кабины

Библиография

[1] ПБ 10-558-2003 Правила устройства и безопасной эксплуатации лифтов ПУБЭЛ Госгортехнадзор

[2] ПУЭ Правила устройства электроустановок

[3] СНиП 21-01-97 Пожарная безопасность зданий и сооружений

Ключевые слова: лифты, система пожарной сигнализации, система управления лифта, пожарно-технические характеристики материалов, огнестойкость строительных конструкций




Яндекс цитирования



   Copyright © 2007-2026,  www.tehlit.ru.

[ ѓосты, стандарты, нормативы, инструкции, правила, строительные нормы ]