//
ТехЛит.ру
- крупнейшая бесплатная электронная интернет библиотека для "технически умных" людей.
WWW.TEHLIT.RU - ТЕХНИЧЕСКАЯ ЛИТЕРАТУРА

:: Алготрейдинг::


АЛГОТРЕЙДИНГ
шаг за шагом
с нуля по урокам!

Торговые роботы на PYTHON, BackTrader,
Pandas, Pine Script для TradingView. Связка с брокерами, телеграм и легкими приложениями.


Открытое акционерное общество

Проектно-конструкторский и технологический институт промышленного строительства

ОАО ПКТИпромстрой

 

 

 

 

УТВЕРЖДАЮ

Генеральный директор, к.т.н.

 ___________С.Ю.Едличка

«___»___________2005 г

ТЕХНОЛОГИЧЕСКАЯ КАРТА

НА УКЛАДКУ СТАЛЬНЫХ НАПОРНЫХ

ТРУБОПРОВОДОВ НАРУЖНОЙ СЕТИ

ПРИ ПОМОЩИ ТРУБОУКЛАДЧИКОВ И КРАНОВ

121-05 ТК

Главный инженер

_______   А.В.Колобов

Начальник отдела

 _______Б. И.Бычковский      

 

 

2005

Содержание

В технологической карте приведена технология прокладки стальных напорных трубопроводов наружной сети при помощи трубоукладчиков и кранов. Представлены схемы механизации, освещены вопросы качества работ, безопасности и охраны труда, экологической и пожарной безопасности работ. Приведены указания по организации рабочего места, дана потребность в материально-технических ресурсах, приведены технико-экономические показатели.

Карта предназначена для мастеров и прорабов строительных организаций и может включаться в проект производства работ в качестве технологического документа при производстве работ на строительных объектах.

Настоящая карта разработана сотрудниками ОАО ПКТИпромстрой при участии ООО «Тектоплан»:

Новикова Е.И. - разработка карты, компьютерная обработка и графика;

Савина О. А. - компьютерная обработка и графика;

Черных В.В. - технологическое сопровождение разработкой;

Бычковский Б.И. - разработка карты, техническое руководство, корректура и нормоконтроль;

Колобов А.В. - общее техническое руководство разработкой технологических карт;

к.т.н. Едличка С.Ю. - общее руководство разработкой технологической документацией;

к.т.н. Фельдман В.Д. - методическое руководство.

1 ОБЩИЕ ДАННЫЕ

1.1 Технологическая карта предназначена для использования линейным производственным и инженерно-техническим персоналом строительных организаций при прокладке стальных напорных трубопроводов наружной сети.

1.2 Привязка технологической карты к местным условиям строительства заключается в уточнении объемов работ, средств механизации и потребности в материально-технических ресурсах, а также в уточнении схемы организации процесса соответственно фактическим условиям работ, калькуляции и календарного плана производства работ.

1.3 При привязке технологической карты к объекту строительства необходимо учитывать требования СНиП 3.05.04-85* «Наружные сети и сооружения водоснабжения и канализации», «Организационно-технологического регламента строительства (реконструкции) объектов в стесненных условиях существующей городской застройки», введенного в действие в 2002 г., и «Правил подготовки и производства земляных работ, обустройства и содержания строительных площадок в г. Москве», утвержденных постановлением Правительства Москвы №857-ПП от 7.12.2004 г.

1.4 Производство работ по прокладке и переустройству инженерных сетей и коммуникаций разрешается выполнять при наличии ордера, оформленного уполномоченным органом Правительства Москвы.

2 ОРГАНИЗАЦИЯ И ТЕХНОЛОГИЯ ВЫПОЛНЕНИЯ РАБОТ

2.1 До начала производства работ по укладке стальных напорных трубопроводов необходимо:

- получить следующую документацию:

а) проект производства работ или технологическую карту;

б) план расположения прокладываемой наружной сети и ее удаление от существующих подземных коммуникаций, а также от воздушных сетей, в том числе от контактных сетей городского транспорта;

- установить инвентарные здания и сооружения согласно стройгенплану строительной площадки;

- произвести при необходимости согласно проекту организации дорожного движения установку разделительных тумб и дорожных знаков;

- установить информационные щиты с указанием сроков выполнения работ;

- установить сигнальное освещение;

- ознакомить участников строительства с проектом производства работ (технологической картой) и с требованиями безопасности работ под расписку;

- оградить участок производства работ;

- определить места расположения подземных коммуникаций шурфованием и закрепить их на местности соответствующими знаками или надписями, а при их пересечении произвести их защиту от механических повреждений коробами и подвесить к жестким перемычкам (прогонам);

- разобрать дорожное покрытие при необходимости

- разработать грунт в траншее необходимой ширины с недобором грунта до проектной отметки на 8-10 см (или устроить искусственное основание) в соответствии с требованиями проекта или технологии производства работ и ПОС с выбросом грунта в отвал либо погрузкой в автосамосвалы;

- установить крепления откосов траншеи (при необходимости);

- отрыть приямки в местах стыковки звеньев труб или труб;

- обеспечить водоотлив из траншеи (при необходимости);

- установить вдоль трассы временные реперы, связанные нивелирными ходами с постоянными реперами;

- закрепить оси раскладки звеньев труб на бровке траншеи с установкой вешек;

- установить по нивелиру две визирки на бровке траншеи с учетом заданного проектом уклона лотков трубопровода и закрепить их на расстоянии 35-40 м одна от другой;

- вынести ось трубопровода с установкой в траншее вешек;

- очистить концы труб от загрязнений и выправить деформированные кромки;

- обеспечить рабочих инструментом, приспособлениями и средствами индивидуальной защиты.

2.2 Для прокладки наружного трубопровода применять трубы согласно проекту или стальные электросварные по ГОСТ 10704-91 и ГОСТ 10705-80*, устанавливающие сортамент стальных прямошовных труб по длине в зависимости от диаметра.

По длине согласно ГОСТу 10704-91 трубы в зависимости от диаметра изготовляются:

а) немерной длины:

при диаметре труб до 30 мм - не менее 2 м;

при диаметре труб свыше 30 до 70 мм - не менее 3 м;

при диаметре труб свыше 70 до 152 мм - не менее 4 м;

при диаметре труб свыше 152 мм - не менее 5 м.

По требованию потребителя трубы групп А и В диаметром свыше 152 мм должны изготавливаться длиной не менее 10 м; трубы всех групп диаметром до 70 мм - длиной не менее 4 м.

б) мерной длины;

при диаметре труб до 70 мм - от 5 до 9 м;

при диаметре труб свыше 70 до 219 мм - от 6 до 9 м;

при диаметре труб свыше 219 до 426 мм - от 10 до 12 м.

Ширина земляного полотна допускает укладку трубопровода звеньями. Максимальная длина звена - 40 м.

В качестве представителя для расчетов затрат труда и машинного времени принята труба по ГОСТу 10704-91 длиной 10 м, диаметром 273 мм и звено длиной 40 м.

2.3 Технологической картой предусматривается следующая последовательность работ по укладке стальных напорных трубопроводов наружной сети в траншею:

- укладка и выверка лежней вдоль проектируемой трассы;

- укладка стальных труб на лежни;

- очистка и подготовка кромок труб;

- центрирование и поддерживание труб при прихватке стыка;

- сварка труб в звено с поворотом их при сварке;

- заделка гидроизоляцией заваренных стыков между трубами;

- удаление лежней и установка звена труб на инвентарные подкладки;

- доработка грунта и зачистка дна траншеи и приямков средствами малой механизации либо вручную;

- строповка звена стальных труб (или труб) на бровке траншеи;

- подача звена стальных труб (или трубы) в траншею;

- укладка звена труб (или трубы) в проектное положение;

- стыковка, центрирование и прихватка звена стальных труб (или трубы) электросваркой;

- выверка положения звена стальных труб (или трубы);

- подбивка уложенного звена стальных труб (или трубы) грунтом;

- сварка неповоротного стыка звеньев труб (или отдельных труб);

- антикоррозионная защита стыков трубопровода;

- испытание трубопровода.

2.4 Установка лежней вблизи траншей с неукрепленными откосами устанавливается согласно таблице 1 СНиП 12-03-2001, а при глубине траншеи более 5 м разрешается только за пределами призмы обрушения. Укладка труб на лежни и в траншею осуществляется кранами-трубоукладчиками, технические характеристики которых указаны в таблице 1, автомобильными кранами, технические характеристики которых указаны в таблице 2, или экскаваторами с навесным крановым оборудованием в пределах грузовысотных характеристик.

Для подбора гусеничных кранов и кранов на пневмоходу может быть использован каталог «Стреловые самоходные краны. Часть 2. Пневмоколесные и гусеничные краны», составленный ОАО ПКТИпромстрой.


Таблица 1 - Технические характеристики трубоукладчиков.

Показатели

Марка трубоукладчиков

ТГ-61

ТО-1224В (со складывающейся стрелой)

Т-1530В

ТГ-124

Г-201

Т-3560М

ТГ-502

Д-155с-1

Д-355с-3

Cat-594

Грузоподъемность, т

6,3

4,5-12

6-15

12,5

20

12-35

50

70

92

90,7

Момент устойчивости кН·м

16,0

33,6

412

340

500

735

1100

850

1150

1078

Вылет крюка, м

5,0

1-4,5

1-5

5,6

6,0

1,7-6,5

7,5

6,0

6,0

1,2-7

Наибольшая высота подъема крюка, м

4,85

4,6

5,0

5,2

5,4

5,9

6,2

5,2

5,2

6,4

Глубина опускания крюка при наибольшем вылете, м

3,0

2,0

2,0

2,0

2,0

2,0

2,0

-

-

-

Скорость подъема груза, м/мин

8,3

7;16

7;16

7,8

5,8

8;15

7,8

6;13,8

5,5;12,7

3,*-18,5

Скорость опускания груза, м/мин

8,3

9;20

9;20

7,8

11,9

8;15

7,8

6;13,8

4,5;10,2

8,29

Скорость передвижения, м/мин:

 

 

 

 

 

 

 

 

 

 

- вперед

1,84-6,5

2,36-6,45

2-5,46

3,7-10,27

2,5-6,75

2,09-6,68

0-10,18

0-11,8

0-9,5

0-10,5

-назад

2,3-4,8

2,79-7,61

2,71-4,43

3,56-9,9

1,97-5,5

3,08

0-10,18

0-12,6

0-12,6

0-12,7

Наибольшее удельное давление левой гусеницы, кПа

117

237

171

245

188

245

294

-

-

292

Максимальное тяговое усилие на ведущем колесе, кН

102

112

129

15,5

220

223

540

-

-

647

Марка базового трактора

ДТ-75

Т-100М

Т-100М

Т-130.1.Г-1

Т-130

Д-804М

Т-330

Д-155

Д-355

Д-96

Двигатель:

 

 

 

 

 

 

 

 

 

 

-марка

СНД-14Н

Д-108

Д-108

Д-160

Д-160

8ДВГ-330

6Д155-4

6Д155-4

6Д155-4

Д-96

- мощность, кВт

80

80

80

118,4

132

132

188

182

220

283

Дорожный просвет при погруженных грунтовых зацепах, мм

450

331

420

479

427

440

600

500

630

640

Основные размеры(с вертикально поднятой стрелой и придвинутым контргрузом), мм:

 

 

 

 

 

 

 

 

 

 

-длина

4400

4230

4380

4393

4800

5400

6775

5620

5900

5800

- ширина

3500

4340

4320

4420

4200

4260

5790

4400

4400

4300

- высота

6200

6060

6560

6480

7275

7860

8950

3620

4010

3500

Масса, т

13,4

19,3

24,9

21,6

28

35,7

63,0

44,5

58,4

54,6

Изготовитель

Московский Газстроймаш» Миннефтегазстроя

Чебаркульский ремонтно-механический завод, Очерский машиностроительный завод

Очерский машиностроительный завод

Бакинский завод им. Сардарова

Очерский машиностроительный завод

Стерлитомакский завод строительных машин

Фирма «Камацу»

Фирма «Катерпиллер»

 


2.5 Работа по прокладке трубопровода из стальных труб выполняется звеном монтажников-трубоукладчиков в количестве 5 человек и звеном изолировщиков - 3 человека. Сварочные работы выполняют два электросварщика, не входящие в состав звена монтажников. При прокладке трубопроводов 600 мм и более в состав звена могут быть включены монтажник 6 разряда и монтажник 3 разряда по 1 человеку. Количество машин и механизмов принимается в зависимости от объема работ и диаметра используемых труб.

2.6 Раскладка лежней вдоль траншеи для укладки труб осуществляется двумя монтажниками-трубоукладчиками. Монтажники натягивают рулетку вдоль оси раскладки звеньев и размечают по ней положение лежней, после чего подносят лежни и раскладывают их по разметке так, чтобы середина лежней совпадала с осью раскладки. По концам крайних лежней забивают четыре стальных стержня и натягивают между ними шпагат на уровне верха крайних лежней. Затем, предварительно сдвинув промежуточные лежни, укладывают их по уровню крайних, срезая или подбивая лопатами грунт под ними. Расстояние между лежнями назначается в зависимости от принятых в проекте длин труб.

Таблица 2 - Технические характеристики автомобильных кранов.

Технические характеристики

Марка кранов

КС-2561К КС-2561К-1

СМК-10

СМК-101

КС-3562А

КС-3562Б

КС-3571

КС-3575А

КС-3577

КС-3577-2 КС-3577-2-1

КС-3577-3

КС-3574

КС-4561 (К-161)

КС-4561 А

КС-45612

КС-4571

КС-4572

Длина стрелы min, м

8,0

10,0

8,6

11,0

10,0

8,0

9,5

8,0

8,0

8,0

8,0

10,0

10,0

8,13

9,75

9,7

Грузоподъемность на выносных опорах, т

 

 

 

 

 

 

 

 

 

 

 

 

 

 

 

 

- на наименьшем вылете

6,3

10,0

10,0

10,0

10,0

10,0

10,0

12,5

12,5

14,0

14,0

16,0

16,0

6,5

16,0

16,0

- на наибольшем вылете

1,9

2,0

2,2

1,6

1,6

3,0

2,0

1,9

1,7

4,2

4,7

2,8

2,1

1,8

3,7

3,15

Вылет, м

 

 

 

 

 

 

 

 

 

 

 

 

 

 

 

 

- наименьший

3,3

4,0

4,0

4,0

4,0

4,0

3,0

2,8

2,8

3,2

2,4

3,8

3,8

4,0

3,8

2,3

- наибольший

7,0

9,5

8,5

10,0

10,0

7,1

8,6

13,0

13,0

7,0

7,0

100

10,0

8,0

8,45

8,4

Высота подъема

 

 

 

 

 

 

 

 

 

 

 

 

 

 

 

 

крюка, м

 

 

 

 

 

 

 

 

 

 

 

 

 

 

 

 

- на наименьшем вылете

8,0

10,5

8,8

10,0

10,0

8,0

10,2

9,0

9,0

9,0

8,5

10,0

10,0

8,0

10,4

10,3

- на наибольшем вылете

5,5

6,0

4,65

5,0

5,0

1,5

1,5

1,5

1,5

2,5

2,5

4,7

4,3

4,6

5,6

3,6

Глубина опускания крюка, м

3,0

3,0

3,0

3,0

3,0

3,0

3,0

3,0

3,0

3,0

5,0

3,0

3,0

3,0

3,0

12,0

Размеры в транспортном положении, м

 

 

 

 

 

 

 

 

 

 

 

 

 

 

 

 

-длина

10,6

13,42

12,0

13,15

13,15

9,8

11,41

9,88

9,94

9,85

9,91

14,0

14,0

12,0

11,57

12,0

-ширина

2,5

2,81

2,5

2,49

2,5

2,88

2,5

2,5

2,5

2,5

2,5

2,5

2,5

2,5

2,67

2,97

- высота

3,6

3,88

3,8

3,8

3,8

3,3

3,3

3,4

3,65

3,65

3,42

3,965

3,8

3,8

3,35

3,5

2.7 Монтажники T1 и Т2 no рулетке размечают центр трубы. Машинист устанавливает кран-трубоукладчик на расстоянии около 1 м от трубы так, чтобы стрела находилась над центром ее тяжести, и опускает строп-полотенце. Монтажник-трубоукладчик Т1 уходит на безопасное расстояние, а монтажник Т2 стропует первую трубу, после чего машинист крана приподнимает ее на 20-30 см.

Убедившись в правильности строповки и надежности действия тормозов, он продолжает подъем на высоту до 1 м, после чего по команде стропальщика укладывает трубу на лежни так, чтобы ее стыкуемый конец находился примерно на равном расстоянии от промежуточных лежней.

Монтажники, стоя у обоих концов трубы, удерживают ее от разворота.

Таким же способом укладывают вторую трубу. Расстояние между краями уложенных труб должно быть около 0,5 м.

Схема организации рабочего места при укладке труб на лежни для последующего соединения в звено показана на рисунке 1.

1 - кран-трубоукладчик; 2 - лежни; 3 - бровка траншеи; 4 - ось траншеи; 5 - ось раскладки труб; 6 -сварочный агрегат, 7 - трубы; 8 - ось движения крана-трубоукладчика; 9 - граница опасной зоны; 10 - ограждение траншеи; 11 - лестница для спуска в траншею; 12 - водосборный приямок; 13 - насос для откачки воды

Т1, Т2, Т3, Т4, Э1, Э2 - рабочие места исполнителей

Рисунок 1 - Схема организации рабочего места при укладке труб на лежни

2.8 Монтажники Т3 и Т4 с помощью зубил и молотков очищают кромки трубы от грязи и наледи, стальными щетками или шлифмашинками ИЭ-2011 зачищают кромки труб до металлического блеска на длину не менее 10 мм снаружи и изнутри.

Машинист устанавливает кран-трубоукладчик у середины второй трубы и опускает строп-полотенце. Монтажник Т2 закрепляет строп-полотенце и подает команду машинисту крана приподнять трубу на 0,5 м над лежнями и переместить к месту стыковки. Монтажники Т1 и Т2 укладывают трубу на лежни и центрируют стыки, после чего рихтуют и закрепляют ее, забивая молотком деревянные клинья. Затем они устанавливают на стык наружный центратор и поворотом винтового рычага до отказа закрепляют отцентрированный стык. Электросварщик Э1 универсальным шаблоном проверяет величину зазора между торцами стыкуемых труб (1,5-2,5 мм по всей окружности стыка). В случае несоответствия величины зазора указанным размерам трубоукладчики винтовым рычагом ослабляют центратор, машинист подъемом крюка делает натяжку стропа, а монтажники при помощи ломов изменяют величину зазора, после чего деревянными клиньями фиксируют положение трубы. Монтажники окончательно центрируют стык, затянув рычаг центратора до отказа.

 

Электросварщики прихватывают стык в нескольких местах, располагая швы на равных расстояниях по окружности. По окончании прихватки монтажники Т1 и Т2 снимают центратор со стыка.

Электросварщики сваривают стык трехслойным швом, соблюдая установленный режим сварки и зачищая каждый слой шва перед наложением следующего шва. Порядок наложения шва при сварке труб в звено показан на рисунке 2.

Рисунок 2 - Порядок наложения слоев шва при сварке стыка

Швы накладывают при двух положениях стыкуемого звена. После наложения сварного шва на четверти окружности трубы с каждой стороны монтажники-трубоукладчики поворачивают звено труб и закрепляют его на лежнях у стыка, забивая молотком деревянные клинья.

Машинист устанавливает кран-трубоукладчик у конца сваренного звена труб и опускает строп-полотенце. По команде монтажника машинист приподнимает звено на высоту 0,5 м, и рабочие удаляют два лежня и подводят под конец звена труб инвентарную подкладку, а машинист крана-трубоукладчика опускает на нее конец звена. Монтажник снимает строп-полотенце. Другой конец звена труб устанавливают на инвентарную подкладку таким же способом, после чего звено считается подготовленным к укладке в траншею.

2.9 Зачистка дна траншеи и приямков на всем протяжении трубопровода производится монтажником Т5 вручную с использованием лопат, ходовой визирки и визирок на бровке траншеи с учетом проектного уклона трубопровода. Толщину срезки недобора грунта определяют по ходовой визирке и визиркам на бровке траншеи. Зачистка должна производиться участками, равными длине трубы (либо звена, если принято такое решение по месту). Недобор грунта из приямков и дна траншеи выбрасывается на бровку, противоположную размещению грузоподъемных механизмов.

2.10 После зачистки дна траншеи и приямков монтажники, по двое на каждом конце звена труб (или отдельных труб), размечают с помощью рулетки места строповки звена (или трубы) для грузоподъемных механизмов.

Для перемещения трубы (звена) в проектное положение машинист устанавливает трубоукладчик (либо кран) напротив укладываемой трубы (либо звена) так, чтобы его стрела находилась над серединой трубы либо над отмеченными местами звена, и опускает крюк. Монтажники попарно Т1, Т2 и Т3, Т4 заводят стропы-полотенца под укладываемую трубу (звено) и цепляют их за крюки крана, после чего монтажник (сигнальщик) Т1 подает команду на подъем трубы (звена). Монтажники тем временем при наличии крепления стенок в траншее снимают распорки крепления в месте монтажа трубы (звена).

2.11 Машинист после получения команды приподнимает трубу (звено) сначала на 20-30 см и, убедившись в правильности строповки и надежности действия тормозов, поднимает на высоту 1 м и опусканием стрелы одновременно направляет трубу (звено) в траншею.

Монтажники Т1, Т2 и ТЗ, Т4, находясь на бровке траншеи, с помощью веревочных расчалок удерживают трубу (звено) от разворота. По команде монтажника (сигнальщика) Т1 машинист опускает трубу (звено), приостановив спуск на расстоянии 0,5 м от дна траншеи.

2.12 Монтажники Т1, Т2, Т3 и Т4 спускаются в траншею, принимают трубу (звено), подводят ее к ранее уложенным и сваренным в звено или плеть трубам и укладывают ее на основание. После восстановления крепления стенок траншеи они центрируют стыки на глаз при помощи ломов, после чего фиксируют положение трубы подручными средствами.

Монтажники Т3 и Т4 устанавливают на стык наружный центратор и поворотом винтового рычага до отказа закрепляют отцентрированный стык.

Электросварщик универсальным шаблоном проверяет величину зазора между торцами стыкуемых труб, который должен быть в пределах 1,5-2,5 мм по всей окружности стыка. В случае несоответствия величины зазора указанным размерам монтажники Т3 и Т4 винтовым рычагом ослабляют центратор, машинист движением стрелы изменяет величину зазора, а монтажники Т1, Т2, Т3 и Т4 помогают ему ломами, после чего фиксируется новое положение трубы. Затем монтажники Т3 и Т4 окончательно центрируют стык, затянув рычаг центратора до отказа. Электросварщик переносит провода к стыку и закрепляет вилку провода заземления на трубе. Он прихватывает стык в шести местах, располагая швы длиной 50-60 мм на равном расстоянии друг от друга по окружности стыка, после чего монтажники Т3 и Т4 снимают центратор со стыка. Монтажники T1 и Т2 в это время стальными щетками или шлифмашинками ИЭ-2011 зачищают до металлического блеска концы следующей трубы (звена) на длине не менее 10 мм снаружи и внутри.

2.13 Выверка положения трубы (звена) производится монтажниками T1 и Т2, один из которых (Т2) устанавливает на лоток укладываемой трубы (звена) ходовую визирку, а второй монтажник T1, находясь у передней линии неподвижной визирки обноски, следит за тем, чтобы верх ходовой визирки находился на линии визирования.

При необходимости он подает сигнал машинисту приподнять или опустить трубу (звено), а монтажники Т3 и Т4 срезают или подбивают грунт под трубой (звеном). Затем монтажник T1 при помощи угольника с уровнем отмечает на концах укладываемого звена (трубы) положение оси трубопровода, а монтажники Т3 и Т4 по отвесу устанавливают на размеченные места вешки.

Монтажник T1, ориентируясь на вешку, установленную на ранее уложенную трубу, проверяет правильность укладки трубы (звена) в плане.

При необходимости монтажники Т2, Т3, и Т4 ломами смещают конец трубы (звена) в нужную сторону, после чего производится расстроповка трубы (звена), при этом придерживая трубу (звено) ломами, пока машинист не уведет стрелу.

2.14 После окончательной выверки и увода стрелы с траверсой и стропами из зоны монтажа трубы (звена) монтажники T1, T2, Т3 и Т4 лопатами подбивают трубу песчаным грунтом на высоту 1/4 ее диаметра с послойным уплотнением ручными трамбовками. Толщина уплотняемого слоя грунта не должна превышать 25-30 см.

2.15 После подбивки трубы (звена) производится сварка неповоротного стыка трубы с ранее уложенной трубой (звеном) согласно проекту. Электросварщик сваривает стык в три слоя. Первый слой шва он наплавляет электродами диаметром 3 мм при силе тока 100-150 А; второй и третий слои- электродами диаметром 4 мм при силе тока 140-180 А. Общая толщина сварного шва должна превышать толщину стенок труб на 1-3 мм. Порядок наложения слоев шва при сварке неповоротного стыка представлен на рисунке 2, на котором стрелками показаны направление сварки, начало и конец шва на участках стыка.

При перерывах в сварке между слоями более 10 мин, а также после сварки для снижения скорости охлаждения швов сварные стыки целесообразно укрывать сухими теплозащитными поясами из асбестовых тканей.

После наложения каждого шва электросварщик специальным зубилом и стальной щеткой очищает его от окалины и шлака, а брызги металла срубает зубилом. На поверхности трубы у стыка электросварщик наплавляет шифр присвоенного ему клейма. Клеймо наносят на расстоянии 100-150 мм от стыка в верхней полуокружности трубы. Изолировщики в это время производят обработку концов сваренных труб.

Сварку и прихватку стыковых соединений труб (звеньев) допускается производить при температуре наружного воздуха согласно указаниям таблицы 3.

Таблица 3 - Указания по сварке трубопроводов при температуре окружающего воздуха ниже 0°С

Сталь, из которой изготовлена труба

Толщина стали в мм

до 10

от 10 до 16

свыше 16

Углеродистая с содержанием углерода в %:

 

 

 

до 0,2

До минус 30°С без подогрева; ниже минус30°С с подогревом стыка до 100-150°С

До минус 20°С без подогрева; ниже минус 20°С с подогревом стыка до 100-150°С

более 0,2

До минус 10°С без подогрева; ниже минус 10°С с подогревом до 100-150°С

До 0°С без подогрева; ниже 0°С с подогревом стыка до 100-150°С

Примечания

1 При температуре окружающего воздуха ниже минус 20°С сварка трубопроводов должна выполняться по специальной технологии.

2 При сварке трубопроводов из легированных сталей необходимость подогрева и температура определяются по специальной инструкции

Способы сварки, типы, конструктивные элементы и размеры сварочных соединений стальных трубопроводов должны соответствовать ГОСТ 16037-80*.

При многослойной сварке каждый слой перед наложением шва должен быть очищен от шлака и брызг металла. Участки металла шва с порами, раковинами и трещинами должны быть вырублены до основного металла, а кратеры швов заварены.

При ручной электродуговой сварке отдельные слои шва должны быть наложены так, чтобы замыкающие участки их в соседних слоях не совпадали один с другим.

Трубы из низколегированных сталей марок 10Г2С, 09Г2С, 14ХГС, 17ГС и других аналогичных марок с толщиной стенки до 15 мм можно сваривать при температуре воздуха до минус 30°С электродами с фтористо-кальциевым покрытием без предварительного подогрева.

При ветре свыше 10 м/с, а также при выпадении атмосферных осадков производить сварочные работы без инвентарных укрытий запрещается.

При перерыве в работе более 2 часов концы свариваемого участка водопровода следует закрыть инвентарными заглушками для предотвращения попадания внутрь трубы снега, грязи и т.п.

После окончания сварочных работ наружная изоляция труб в местах сварных соединений должна быть восстановлена в соответствии с проектом.

2.16 Прокладку подземных трубопроводов под дорогами следует осуществлять при постоянном маркшейдерско-геодезическом контроле строительной организации за соблюдением предусмотренного проектом планового и высотного положения футляров и трубопроводов. Отклонения защитных футляров перехода от проектного положения для напорных трубопроводов не должно превышать:

- по горизонтали 1%;

- по вертикали 1,5% от длины футляра.

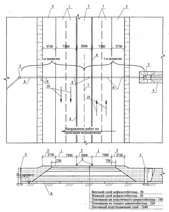
На рисунке 3 приведена возможная схема перехода трубопровода через проезжую часть автодороги.

Траншеи, проходящие через проезжую часть автодорог, должны быть ограждены защитными ограждениями с учетом требований ГОСТ 23407-78. На ограждении необходимо устанавливать предупредительные надписи и знаки (сужение дороги (налево, направо), дорожные работы, ограничение скорости, импульсная стрелка). Места прохода людей через траншею должны быть оборудованы переходными мостиками. В темное время суток территория строительной площадки должна быть освещена в соответствии с требованиями ГОСТ 12.1.046-85.

Схема организации рабочего места при прокладке трубопровода с использованием автомобильного крана показана на рисунке 4 (правая сторона проезжей части дороги) и рисунке 5 (левая сторона проезжей части дороги).

1 - проезжая часть, полосы движения; 2 - разделительная полоса; 3 - обочина; 4 - дорожный барьер; 5 - водопроводные колодцы; 6 - проектируемый переход водопровода; 7 - линия раздела по захваткам; 8 - трубы водопровода; 9 - проложенный участок водопровода; 10 - направление движения автотранспорта

Рисунок 3 - Возможная схема перехода трубопровода через проезжую часть автодороги

1 - проезжая часть, полосы движения; 2 - разделительная полоса; 3 - обочина; 4 - дорожный барьер; 5 - водопроводные колодцы; 6 - проектируемый переход водопровода; 7 - дорожные тумбы; 8 - трубы водопроводные; 9 - проложенный участок водопровода; 10 - направление движения автотранспорта; 11 - лежни; 12 - сварочный агрегат, 13 - ворота; 14 - импульсная стрелка; 15 - сужение дороги (налево, направо); 16 - дорожные работы; 17 - ограничение скорости; 18 -ограждение траншеи и участка работ; 19 - лестница для спуска в траншею.

T1, Т2, Т3, Т4, Т5, Э1, Э2 - рабочие места исполнителей.

-x---------x- - линия ограничения зоны действия крана

Рисунок 4 - Схема организации рабочего места при укладке трубопровода при переходе его через проезжую часть (правая сторона проезжей части автодороги)

1 - проезжая часть, полосы движения; 2 - разделительная полоса; 3 - обочина; 4 - дорожный барьер; 5 - водопроводные колодцы; 6 - проектируемый переход водопровода; 7 - дорожные тумбы; 8 - трубы водопроводные; 9 - проложенный участок водопровода; 10 - направление движения автотранспорта; 11 - лежни; 12 - сварочный агрегат; 13 - ворота; 14 - импульсная стрелка; 15 - сужение дороги (налево, направо); 16 - дорожные работы; 17 - ограничение скорости; 18 - ограждение траншеи и участка работ; 19 - лестница для спуска в траншею.

T1, Т2, Т3, Т4, Т5, Э1, Э2 - рабочие места исполнителей.

Рисунок 5 - Схема организации рабочего места при укладке трубопровода при переходе его через проезжую часть (левая сторона проезжей части автодороги)

2.17 При пересечении проектируемого трубопровода с действующими коммуникациями (электрокабели, кабели связи, водопровод, газопровод, теплосеть и др.), конструктивное решение которых дается в проектной документации, не защищенными от механических повреждений, в процессе разработки грунта производится их защита деревянным коробом (или футляром) с подвеской к переброшенным через траншею трубам (прогонам) скруткам и тяжами с траверсами, сечения которых определяются проектом. Укладка водопроводных труб в зависимости от наличия и количества инженерных сетей и отметок их заложения производится секциями или отдельными трубами, заводя их под коммуникации с той или другой стороны. Примеры пересечения трубопровода при прокладке подземных коммуникаций с кабелем связи и электрокабелями представлен на рисунке 6, а схема защиты сетей водопровода, канализации и газопровода - на рисунке 7.

Рисунок 6 - Примерная схема пересечения трубопровода с кабелями связи и МКС

Рисунок 7 - Схема защиты и подвески сетей водопровода, канализации и газопровода

Вскрытие инженерных сетей разрешается при наличии ордера и наряд-допуска в присутствии представителей эксплуатирующих организаций только после уточнения их расположения на трассе. Работы производить вручную без применения лома или кирки.

2.18 После окончания всех монтажных работ трубопровод испытывается давлением на прочность и герметичность гидравлическим способом.

Испытание напорных трубопроводов всех классов должно осуществляться строительно-монтажной организацией, как правило, в два этапа:

Первый - предварительное испытание на прочность и герметичность, выполняемое после засыпки пазух с подбивкой грунта на половину вертикального диаметра и присыпки труб в соответствии с требованиями СНиП 3.02.01-87 с остальными открытыми для осмотра стыковыми соединениями; это испытание допускается выполнять без участия представителей заказчика и эксплутационной организации с составлением акта;

Второй - приемочное (окончательное) испытание на прочность и герметичность следует выполнять после засыпки трубопровода при участии представителей заказчика и эксплутационной организации с составлением акта о результатах испытания.

Гидравлическое испытание производится в следующем порядке:

- во время заполнения трубопровода водой из него удаляется воздух через воздухоспускные краны;

- в трубопроводе устанавливается пробное давление, равное рабочему и выдерживается в течение времени, потребного для осмотра стыков, но не менее чем 10 минут;

- если во время испытания пробным давлением не будет обнаружено каких-либо дефектов или утечек, оно доводится до испытательного.

Давление при гидравлическом испытании для трубопроводов принимается равным рабочему с коэффициентом 1,25, но не менее 1,6 МПа (16 кгс/см2) - для испытания подающих трубопроводов и 1,0 МПа (10 кгс/см2) - для обратных.

Результаты гидравлического испытания следует считать удовлетворительными, если во время их проведения не произошло падения давления, а в сварных швах труб и корпусах арматуры не обнаружено признаков разрыва и утечка воды не превышает установленных величин.

Тепловые сети, используемые для целей горячего водоснабжения (непосредственный водозабор), после промывки должны быть подвергнуты санитарной обработке в соответствии с правилами, утвержденными Главной Государственной санитарной комиссией России.

2.19 При производстве работ по укладке стальных напорных трубопроводов должны соблюдаться правила производства и приемки работ согласно СНиП 12-01-2004 «Организация строительства», СНиП 3.01.03-84 «Геодезические работы в строительстве» и СНиП 3.05.04-85* «Наружные сети и сооружения водоснабжения и канализации».

3 ТРЕБОВАНИЯ К КАЧЕСТВУ И ПРИЕМКЕ РАБОТ.

3.1 Контроль качества работ по прокладке наружных трубопроводов из стальных напорных труб включает входной контроль рабочей документации и используемых материалов и конструкций, операционный контроль технологических процессов и оценку соответствия выполненных работ с оформлением акта скрытых работ и акта приемки.

3.2 Входной контроль качества включает контроль поступающих материалов, изделий и т.п., а также технической документации.

При входном контроле проектной документации следует проанализировать представленную документацию, включая ПОС, ППР и рабочую документацию, проверив при этом:

- ее комплектность;

- наличие ссылок на материалы и изделия;

- наличие перечня работ и конструкций, показатели качества которых влияют на безопасность объекта и подлежат оценке соответствия в процессе строительства объекта;

- наличие предельных значений контролируемых по указанному перечню параметров, допускаемых уровней несоответствия по каждому из них;

- наличие указаний о методах контроля и измерений, в том числе в виде ссылок на соответствующие нормативные документы.

При входном контроле проверяются соответствие проекту размеров траншеи, состояние откосов, крепление стенок, отметок дна и при надземной прокладке - опорных конструкций.

При входном контроле поступающих труб необходимо проверять наличие сертификатов и паспортов.

Участки труб с вмятинами свыше 3,5% диаметра трубы или имеющие надрывы должны быть удалены. Концы труб с забоинами или задирами фасок глубиной свыше 5 мм подлежат обрезке.

Согласно ГОСТу 10704-91 предельное отклонение по наружному диаметру конуса трубы не должны превышать указанных в таблице 4.

Таблица 4 - Предельные отклонения по наружному диаметру конуса трубы

Наружный диаметр труб, мм

Предельные отклонения по наружному диаметру при точности и изготовления

обычной

повышенной

от 8 до 10 вкл.

± 0,2 мм

-

св. 10 до 30 вкл.

± 0,3 мм

-

св. 30 до 50 вкл.

± 0,4 мм

-

св. 50 до 73 вкл.

± 0,8 %

-

св. 73 до 219 вкл.

± 0,8 %

± 0,7 %

св. 219 до 480 вкл.

±1,0 %

± 0,7 %

св. 480 до 1020 вкл.

± 0,7 %

± 0,65 %

св. 1020 до 1220 вкл.

± 7,3 %

± 7,0 %

св. 1220 до 1420 вкл.

± 8,5 %

± 7,0 %

Результаты входного контроля должны быть задокументированы в «Журнале входного учета и контроля качества получаемых деталей, материалов, конструкций и оборудования».

3.3 Операционный контроль осуществляется в ходе выполнения строительных процессов, производственных операций или непосредственно после их завершения и обеспечивает своевременное выявление дефектов и принятие мер по их устранению и предупреждению. Осуществляется преимущественно измерительным методом или техническим осмотром.

3.4 При контроле качества сварных соединений стальных трубопроводов следует выполнять:

- операционный контроль в процессе сборки и сварки трубопровода в соответствии с требованиями СНиП 12-01-2004;

- проверку сплошности сварных стыков с выявлением внутренних дефектов одним из неразрушающих (физических) методов контроля - радиографическим (рентгено- или гаммаграфическим) по ГОСТ 7512-82* или ультразвуковым по ГОСТ 14782-86.

Применение ультразвукового метода допускается только в сочетании с радиографическим, которым должно быть проверено не менее 10% общего числа стыков, подлежащих контролю.

3.5 При операционном контроле качества сварных соединений стальных трубопроводов следует проверить соответствие стандартам конструктивных элементов и размеров сварных соединений, способа сварки, качества сварочных материалов, подготовки кромок, величины зазоров, числа прихваток, а также исправности сварочного оборудования.

3.6 Внешнему осмотру подлежат все сварные стыки. На трубопроводах сварные стыки, сваренные без подкладного кольца, подвергаются внешнему осмотру и измерению размеров снаружи и изнутри трубы при диаметре труб 1020 мм и более, в остальных случаях – только снаружи. Перед осмотром сварной шов и прилегающие к нему поверхности труб на ширину не менее 20 мм (по обе стороны шва) должны быть очищены от шлака, брызг расплавленного металла, окалины и других загрязнений.

Качество сварного шва по результатам внешнего осмотра считается удовлетворительным, если не обнаружено:

- трещин в шве и прилегающей зоне;

- отступлений от допускаемых размеров и формы шва;

- подрезов, западаний между валиками, наплывов, прожогов, незаваренных кратеров и выходящих на поверхность пор, непроваров или провисаний в корне шва (при осмотре стыка изнутри трубы);

- смещений кромок труб, превышающих допускаемые размеры.

3.7 Проверке качества сварных швов физическими методами контроля подвергаются трубопроводы водоснабжения с расчетным давлением: до 1 МПа (10 кгс/см2) в объеме не менее 2% (но не менее одного стыка на каждого сварщика); 1-2 МПа (10-20 кгс/см2) - в объеме не менее 5% (но не менее двух стыков на каждого сварщика); свыше 2 МПа (20 кгс/см2) - в объеме не менее 10% (но не менее трех стыков на каждого сварщика).

3.8 Сварные стыки для контроля физическими методами отбираются в присутствии представителя заказчика, который записывает в журнале производства работ сведения об отобранных для контроля стыках (местоположение, клеймо сварщика и др.).

3.9 Сварные швы следует браковать, если при проверке физическими методами контроля обнаружены трещины, не заваренные кратеры, прожоги, свищи, а также непровары в корне шва, выполненного на подкладном кольце.

При проверке сварных швов радиографическим методом допустимыми дефектами считаются:

- поры и включения, размеры которых не превышают максимально допустимых по ГОСТ 23055-78* для 7-го класса сварных соединений;

- непровары, вогнутость и превышение проплава в корне шва, выполненного электродуговой сваркой без подкладного кольца, высота (глубина) которых не превышает 10% номинальной толщины стенки, а суммарная длина - 1/3 внутреннего периметра соединения.

3.10 При выявлении физическими методами контроля недопустимых дефектов в сварных швах эти дефекты следует устранить и произвести повторный контроль качества удвоенного числа швов по сравнению с указанным в п. 3.8. В случае выявления недопустимых дефектов при повторном контроле должны быть проконтролированы все стыки, выполненные данным сварщиком.

3.11 Участки сварного шва с недопустимыми дефектами подлежат исправлению путем местной выборки и последующей подварки (как правило, без переварки всего сварного соединения), если суммарная длина выборок после удаления дефектных участков не превышает суммарной длины, указанной в ГОСТ 23055-78* для 7-го класса.

Исправление дефектов в стыках следует производить дуговой сваркой.

Подрезы должны исправляться наплавкой ниточных валиков высотой не более 2-3 мм. Трещины длиной менее 50 мм засверливаются по концам, вырубаются, тщательно зачищаются и завариваются в несколько слоев.

3.12 Результаты проверки качества сварных стыков стальных трубопроводов физическими методами контроля следует оформлять актом (протоколом), а результаты операционного контроля качества фиксируются в общих или специальных журналах работ, журналах геотехнического контроля и других документах, предусмотренных действующей в данной организации системой управления качеством.

3.13 Зазор между трубопроводом и сборной частью бетонных или кирпичных упоров должен быть плотно заполнен бетонной смесью или цементным раствором.

3.14 При устройстве трубопровода из стальных труб подлежат приемке с составлением актов освидетельствования скрытых работ по форме, приведенной в СНиП 12-01-2004, следующие этапы и элементы скрытых работ: подготовка основания под трубопроводы, устройство упоров, величина зазоров и выполнение уплотнений стыковых соединений, устройство колодцев и камер, противокоррозионная защита трубопроводов, герметизация мест прохода.

4 ТРЕБОВАНИЯ БЕЗОПАСНОСТИ И ОХРАНЫ ТРУДА, ПОЖАРНОЙ И ЭКОЛОГИЧЕСКОЙ БЕЗОПАСНОСТИ

4.1 При производстве работ по прокладке стальных напорных трубопроводов, связанных с размещением рабочих в траншее, могут возникнуть следующие опасные и вредные производственные факторы, связанные с характером работы:

- обрушающиеся горные породы (грунты);

- падающие предметы (куски породы);

- движущиеся машины и их рабочие органы, а также передвигаемые ими предметы;

- расположение рабочего места вблизи перепада по высоте 1,3 м и более;

- повышенное напряжение в электрической цепи, замыкание которой может произойти через тело человека;

- химически опасные и вредные производственные факторы.

4.2 Для предупреждения воздействия на работников опасных и вредных производственных факторов безопасность работ при укладке трубопроводов и размещении рабочих мест в траншее должна быть обеспечена соблюдением следующих мероприятий по охране труда:

- соблюдение безопасной крутизны незакрепленных откосов траншей с учетом нагрузки от машин и грунта;

- выбор типов машин и средств малой механизации, применяемых при укладке труб, и мест их установки;

- дополнительные мероприятия по контролю и обеспечению устойчивости откосов в связи с сезонными изменениями;

- определение мест установки и типов ограждений котлованов и траншей, а также лестниц для спуска работников к месту работ.

4.3 К работе по укладке стальных напорных трубопроводов допускаются лица не моложе 18 лет, имеющие профессиональные навыки, прошедшие медицинское освидетельствование и признанные годными, получившие знания по безопасным методам и приемам труда согласно ГОСТ 12.0.004-90 «ССБТ. Организация обучения безопасности труда. Общие положения», сдавшие экзамены квалификационной комиссии в установленном порядке и получившие соответствующее удостоверение.

Внеочередной инструктаж по безопасности труда проводится при переводе рабочих с одного объекта на другой, при изменении условий производства работ, нарушении бригадой правил и инструкций по безопасности труда.

4.4 К сварке стыков стальных трубопроводов допускаются сварщики при наличии документов на право производства сварочных работ в соответствии с Правилами аттестации сварщиков, утвержденными Госгортехнадзором России. Каждый сварщик должен иметь присвоенное ему клеймо. Сварщик обязан выбирать или наплавлять клеймо на расстоянии 30-50 мм от стыка со стороны, доступной для осмотра.

4.5 Перед началом работ необходимо провести инструктаж по безопасным методам труда и безопасности работ.

4.6 Траншеи на улицах, проездах, во дворах населенных пунктов или на территории действующих организаций, а также местах, где происходит движение людей или транспорта во избежание доступа посторонних лиц, должны быть ограждены защитным ограждением с учетом требований ГОСТ 23407-78. На ограждении необходимо устанавливать предупредительные надписи и знаки, а в ночное время - сигнальное освещение.

4.7 Производственные территории, участки работ должны быть обеспечены необходимыми средствами коллективной и индивидуальной защиты, в числе которых оградительный устройства, изолирующие устройства и покрытия, рукавицы, каски строительные, очки защитные и др., первичными средствами пожаротушения, а также средствами связи, сигнализации и другими техническими средствами обеспечения безопасных условий труда в соответствии с требованиями действующих нормативных документов и условиями соглашений.

4.8 Строительно-монтажные работы с применением машин в охранной зоне действующей линии электропередачи следует производить под непосредственным руководством лица, ответственного за безопасность производства работ, при наличии письменного разрешения организации-владельца линии и наряда-допуска, определяющего безопасные условия работ и выдаваемого в соответствии с требованиями п. 4.11 СНиП 12-03-2001 при выполнении следующих мер безопасности.

При установке строительных машин и применении транспортных средств с поднимаемым кузовом в охранной зоне воздушной линии электропередачи необходимо снять напряжение с воздушной линии электропередачи.

При обоснованной невозможности снятия напряжения с воздушной линии электропередачи работу строительных машин в охранной зоне линии электропередачи разрешается производить по наряд допуску при условии выполнения следующих требований:

а) расстояние от подъемной или выдвижной части строительной машины в любом ее положении до находящейся под напряжением воздушной линии электропередачи должно быть не менее указанного в таблице 5.

Таблица 5 - Минимальное расстояние до воздушной линии электропередач (СНиП 12-03-2001)

Напряжение воздушной линии электропередачи, кВ

Расстояние, м

минимальное

минимально измеряемое техническими средствами

До 20

2,0

2,0

Св. 20 до 35

2,0

2,0

« 35  « 110

3,0

4,0

« 110  « 220

4,0

5,0

« 220  « 400

5,0

7,0

« 400  « 750

9,0

10,0

« 750  « 1150

10,0

11,0

б) корпуса машин, за исключением машин на гусеничном ходу, при их установке непосредственно на грунте должны быть заземлены при помощи инвентарного переносного заземления.

4.9 Для движения пешеходов через траншеи установить переходные мостики шириной 1 м с перилами высотой 1,1 м, со сплошной обшивкой внизу на высоту 0,15 м и промежуточной планкой на высоте 0,5 м от настила. Ходить по прогонам, к которым подвешиваются существующие сети, воспрещается.

4.10 Для спуска рабочих в траншеи использовать трапы шириной 0,6 м с ограждениями или лестницы, оборудованные перилами.

4.11 Территория строительных работ в темное время суток должна быть освещена в соответствии с требованиями ГОСТ 12.1.046-85: освещенность рабочих мест должна быть не менее 30 лк, стройплощадки - не менее 10 лк. Ограждения должны быть освещены сигнальными электролампами напряжением не выше 42 В. Проект временного освещения и электроснабжения разрабатывает подрядчик.

4.12 При прокладке водопровода с выходом на проезжую часть улицы обеспечить сохранность сооружений контактной сети, а работы выполнять при наличии проекта организации дорожного движения и наряд допуска.

4.13 Материалы следует размещать в соответствии с требованиями СНиП 12-03-2001 «Безопасность труда в строительстве. Часть 1. Общие требования» и межотраслевых правил по охране труда на выровненных площадках, принимая меры против самопроизвольного смещения, просадки, осыпания и раскатывания складируемых материалов, следующим образом:

- трубы стальные диаметром до 300 мм укладываются в штабель высотой до 3 м на подкладках и с прокладками с концевыми упорами;

- трубы стальные диаметром более 300 мм укладываются в штабель высотой до 3 м в седло без прокладок с концевыми упорами.

4.14 Перед допуском рабочих в траншеи глубиной более 1,3 м должна быть проверена устойчивость откосов или крепления стен.

4.15 При выполнении сварочных работ на открытом воздухе во время осадков места сварки должны быть защищены от влаги и ветра.

4.16 Рабочие и ИТР, занятые на работах по эксплуатации временных электроустановок, должны соблюдать требования СНиП 12-03-2001 и ПОТ Р М-016-2001 и быть обучены безопасным приемам работ и знать приемы освобождения от тока пострадавших лиц и оказания им первой медицинской помощи. Рабочие, занятые на работах с электроинструментом, должны быть аттестованы на II группу электробезопасности.

4.17 Все пусковые устройства размещаются так, чтобы исключить возможность пуска механизмов посторонними лицами.

4.18 Все токоведущие части машин и механизмов с электропитанием должны быть заземлены.

4.19 Гигиенические требования к организации работ и рабочих мест по укладке стальных напорных трубопроводов даны в СанПиН 2.2.3.1384-03, а требования электробезопасности - согласно СНиП 12-03-2001.

4.20 К управлению строительными машинами запрещается допускать рабочих, не имеющих удостоверений на право управления машиной.

4.21 Установка, освидетельствование, прием в эксплуатацию грузоподъемных устройств осуществляется согласно требований ПБ 10-382-00 «Правила устройства и безопасной эксплуатации грузоподъемных кранов» Госгортехнадзора России.

4.22 При работе со сварщиком слесарь - сантехник должен пользоваться защитными очками.

4.23 При работе около токоведущих проводов необходимо их отключение, а при невозможности отключения - ограждение проводов;

4.24 Запрещается монтаж и сварка труб в подвешенном состоянии без подкладки.

4.25 Во время грозы все работы на трассе должны быть прекращены, а работающие удалены от труб в безопасное место.

4.26 Для опускания труб в траншею можно применять только цельные стальные тросы и канаты; срощенные тросы и канаты использовать запрещается.

4.27 При подъеме и укладке труб водопровода рабочая зона должна быть ограждена предупредительными хорошо видимыми в любое время знаками безопасности, выполненными по ГОСТ Р 12.4.026-2001.

4.28 При производстве сварочных работ необходимо, чтобы электросварочный аппарат располагался в стороне от проходов и проездов, корпус его должен быть обязательно заземлен; состояние изоляции сварочного оборудования, рукоятки электрододержателя должно отвечать нормам электробезопасности.

4.29 При строительстве новых, расширении и реконструкции действующих трубопроводных сетей меры по охране окружающей среды следует принимать в соответствии с требованиями СНиП 12-01-2004, СНиП 3.05.03-85 и СанПиН 2.2.3.1384-03.

4.30 Не разрешается без согласования с соответствующей службой: производить земляные работы на расстоянии менее 2 м до стволов деревьев и менее 1 м до кустарника; перемещение грузов на расстоянии менее 0,5 м до крон или стволов деревьев; складирование труб и других материалов на расстоянии менее 2 м до стволов деревьев без устройства вокруг них временных ограждающих (защитных) конструкций.

4.31 Промывку трубопроводов гидравлическим способом следует выполнять с повторным использованием воды. Опорожнение трубопроводов после промывки и дезинфекции следует производить в места, указанные в проекте производства работ и согласованные с соответствующими службами. Сброс воды из траншеи производить в согласованные места.

4.32 Территория строительной площадки после окончания строительно-монтажных работ должна быть очищена от мусора.

4.33 Особое внимание следует обратить на безопасность рабочих при укладке труб в траншею с креплением стенок. Эту работу производят такелажники, а также рабочие, обученные безопасным методам производства работ, знающие грузоподъемность применяемых при этом кранов и приспособлений, массу труб и других поднимаемых деталей.

4.34 При производстве работ по прокладке стальных напорных трубопроводов следует руководствоваться требованиями:

- СНиП 12-03-2001 «Безопасность труда в строительстве. Часть 1. Общие требования»;

- СНиП 12-04-2002 «Безопасность труда в строительстве. Часть 2. Строительное производство»;

- Организационно-технического регламента строительства (реконструкции) объектов в стесненных условиях существующей городской застройки. ОАО ПКТИпромстрой, М., 2002;

- ПБ 10-573-03 «Правила устройства и безопасной эксплуатации трубопроводов пара и горячей воды». Госгортехнадзор России, М., 2003 г.;

- ПБ 10-382-00 «Правила устройства и безопасной эксплуатации грузоподъемных кранов». Госгортехнадзор России, М., 2000 г.;

- ППБ 01-03 «Правила пожарной безопасности в Российской Федерации».

4.35 При производстве работ в г. Москве следует дополнительно руководствоваться «Правилами подготовки и производства земляных работ, обустройства и содержания строительных площадок в г. Москве».

5 ПОТРЕБНОСТЬ В МАТЕРИАЛЬНО-ТЕХНИЧЕСКИХ РЕСУРСАХ

5.1 Потребность в машинах, оборудовании, механизмах и инструментах определяется с учетом выполняемых работ, назначения и технических характеристик в соответствии с таблицей 6.

Таблица 6 - Ведомость потребности машин, механизмов, приспособлений, инструмента и инвентаря

№ п/п

Наименование

Тип, марка, ГОСТ

Техническая характеристика

Назначение

Количество

1

Трубоукладчик
Автокран

По таблице 1
По таблице 2

Укладка труб

2
2

2

Электросварочный трансформатор

ТС-500

Потребляемая мощность 30 кВт

Электросварочные работы

1

3

Понижающий трансформатор

ИВ-4

Р= 1 кВт; U= 36 В

-

2

4

Электросварочный аппарат

САК-2

 

Для сварки труб

2

5

Передвижная электростанция

АСБ-8

Р = 8 кВт

 

2

6

Светильник

-

-

_

3

7

Лестница

-

-

Для спуска рабочих в траншею

3

8

Уровень

-

-

Для измерения уклонов

1

9

Рулетка металлическая

3 ПК-30-АНТ/1 ГОСТ 7502-98

Длина 30 м

Для измерительный работ

2

10

Электросварочный щиток

 

 

Для защиты глаз

2

11

Мостик переходный

-

-

-

2

12

Подкладки деревянные

-

Сечение 110x220x1350

-

По месту

13

Заглушки

-

По диаметру трубопровода

-

4

14

Щетка зачистная

К-8203

Æ = 120 мм; П = 950 об/мин

Зачистка стыков

3

15

Расчалка

-

-

-

2

16

Метр складной

-

-

-

2

17

Ломик

-

-

-

2

18

Машина ручная шлифовальная

ИЭ-2011

Напряжение, В 220 Масса, кг 7

Зачистка стыков

2

19

Шарнирный хомут (центратор)

-

Для труб диаметром Æ = 50-200 мм

-

2

20

Траверса

-

-

Для монтажа звеньев

2

21

Лопата совковая

ГОСТ 19596-87*

-

Для зачистки основания

2

22

Ведро

-

-

-

2

23

Проволочная щетка

-

-

-

2

24

Мягкое полотенце

ПМ-321

Грузоподъемность 8 т

Для перекладки труб

2

25

Зубило

-

-

Для сбивания

1

26

Молоток слесарный

-

-

шлака

1

27

Набор шаблонов и щупов

-

-

 

1

28

Электрододержатель вилочный

-

-

Для закрепления электродов

1

29

Угольники

-

-

-

2

30

Каска строительная

ГОСТ 12.4.087-84

-

Для защиты головы от механических повреждения

5

31

Рукавицы

ГОСТ 12.4.011-89

-

Для защиты рук

3

32

Спецодежда

ГОСТ 12.4.011-89

-

Для индивидуальных средств защиты

3

33

Комплект знаков по технике безопасности

ГОСТ Р 12.4.026-2001

-

Для обеспечения безопасности работ

1

Инвентарь трубоукладчика-испытателя

34

Насос

-

-

-

1

35

Ручной насос

РН-450

-

-

1

36

Вентили

-

-

-

8

37

Манометр

-

Q = 16 атм.

-

2

38

Заглушки

 

-

-

 

39

Лестницы

-

-

-

2

40

Мерный бак

 

Емкостью 1 м3

-

1

6 ТЕХНИКО-ЭКОНОМИЧЕСКИЕ ПОКАЗАТЕЛИ.

6.1 Калькуляция затрат труда и машинного времени и календарный график производства работ составлены на укладку стальных напорных труб Æ 273 мм длиной по 10 м в траншее длиной 80 м.

6.2 Затраты труда и машинного времени на укладку стальных напорных трубопроводов краном-трубоукладчиком и краном подсчитаны по «Единым нормам и расценкам на строительные, монтажные и ремонтно-строительные работы», введенным в действие в 1987 г., и представлены в таблицах 7 и 8.

6.3 Продолжительность работ на укладку стальных напорных трубопроводов определяется календарными планами работ, представленными в таблицах 9 и 10.

Таблица 7 - Калькуляция затрат труда и машинного времени при работе трубоукладчика

Измеритель конечной продукции - 80 м трубопровода

Обоснование (ЕНиР)

Наименование технологических процессов

Ед. изм.

Объем работ

Нормы времени

Затраты труда

рабочих, чел.-ч.

машиниста, чел-ч., (работа машин, маш.-ч.)

рабочих, чел.-ч.

машиниста, чел.-ч., (работа машин, маш.-ч.)

Е25-18 № 1а, б

Перемещение труб на лежни краном-трубоукладчиком

шт.

4+4

0,21

0,21 (0,21)

1,68

1,68 (1.68)

Е9-2-1 Табл. 1 №5

Сборка труб Æ273 мм в звено на бровке траншеи

м

40+40

0,06

-

4,8

-

Е22-2-1 Табл. 2 №1 м

Сварка стыков труб поворотных в звено

стык

3+3

0,6

-

3,6

-

Е25-25 №1 а,б

Перемещение в траншею

звеньев

шт.

1+1

2,7

1,8 (1,8)

5,40

3,6 (3,6)

Е25-18 №1 а, б

труб

шт.

4+4

0,21

0,21 (0,21)

1,68

1,68 (1,68)

Е9-2-1 Табл. 2 №5 в

Укладка в траншею без распор

звена

м

40+40

0,14

-

11,2

-

труб

м

40+40

0,14

-

11,2

-

Е22-2-1 Табл. 2 №6 м

Сварка стыков неповоротных

звеньев

стык

1+1

0,68

-

1,36

-

труб

4+4

5,44

Е9-2-9 Табл. 2 №3 б

Испытание трубопровода

м

80

0,14

-

11,2

-

Е9-2-12 №3 а

Устройство изоляции стыков стальных труб Æ273

стык

8

0,34

-

2,72

-

 

ИТОГО:

при укладке звеньев

42,0

5,28 (5,28)

при укладке труб

32,2

1,68 (1,68)

Таблица 8 - Калькуляция затрат труда и машинного времени при работе краном

Измеритель конечной продукции – 80 м теплопровода

Обоснование (ЕНиР)

Наименование технологических процессов

Ед. изм.

Объем работ

Нормы времени

Затраты труда

рабочих, чел.-ч.

машиниста, чел.-ч., (работа машин, маш.-ч.)

рабочих, чел.-ч.

машиниста, чел.-ч., (работа машин, маш.-ч.)

Е25-19 №1 а,б

Перемещение труб на лежни краном

шт.

4+4

0,76

0,38 (0,38)

6,08

3,04 (3.04)

Е9-2-1 Табл. 1 №5

Сборка труб Æ273 мм в звено на бровке траншеи

м

40+40

0,06

-

4,8

-

Е22-2-1 Табл. 2 №1 м

Сварка стыков труб поворотных в звено

стык

3+3

0,6

-

3,6

-

Е25-25 №1 а,б

Перемещение в траншею

звеньев

шт.

1+1

2,7

1,8 (1,8)

5,40

3,6 (3,6)

Е25-24 №1 а, б

труб

шт.

4+4

0,7

0,35 (0,35)

5,6

2,8 (2,8)

Е9-2-1 Табл. 2 №5 в

Укладка звеньев труб в траншею без распор

м

40+40

0,14

-

11,2

-

Е22-2-1 Табл. 2 №6 м

Сварка стыков неповоротных

звеньев

стык

1+1

0,68

-

1,36

-

труб

4+4

5,44

Е9-2-9 Табл. 2 №3 б

Испытание трубопровода

м

80

0,14

-

11,2

-

Е9-2-12 №3 а

Устройство изоляции стыков стальных труб Æ273

стык

8

0,34

-

2,72

-

 

ИТОГО:

при укладке звеньев

46,36

6,64 (6,64)

при укладке труб

36,16

2,8 (2,8)


Таблица 9 - Календарный план производства работ при работе трубоукладчиком

Измеритель конечной продукции - 80 м трубопровода

№ п/п

Наименование технологических процессов

Ед. изм.

Объем работ

Затраты труда

Состав звена

Продолжительность процесса, час.

Рабочие смены

рабочих, чел.-ч.

машиниста, чел.-ч. (работа машин, маш.-ч)

1

2

3

Рабочие часы

1

2

3

4

5

6

7

8

9

10

11

12

13

14

15

16

17

18

19

20

1

Перемещение труб на лежни трубоукладчиком

шт.

4+4

1,68

1,68 (1,68)

Машинист
6 разр. – 1
Такелажники
3 разр. -1

0,8+0,8

 

 

 

 

 

 

 

 

 

 

 

 

 

 

 

 

 

 

 

 

 

 

 

 

 

2

Сборка труб в звенья на бровке траншеи

м

40+40

4,8

-

Монтажники
5 разр. –1
3 разр. -1

1,2+1,2

 

 

 

 

 

 

 

 

 

 

 

 

 

 

 

 

 

 

 

 

 

 

 

 

 

 

 

 

 

 

 

 

 

 

 

 

 

 

 

 

 

 

 

 

3

Сварка стыков труб в звено

стык

3+3

3,6

-

Электросварщики
5 разр. –1
3 разр. - 1

0,9+0,9

 

 

 

 

 

 

 

 

 

 

 

 

 

 

 

 

 

 

 

 

 

 

 

 

 

 

 

 

 

 

 

 

 

 

 

 

 

 

 

 

 

 

 

 

4

Перемещение в траншею

звена

шт.

1+1

5,4

3,6 (3,6)

Машинист
5 разр. – 2
Такелажники
5 разр. – 1
3 разр. – 1
2 разр. - 1

1,8+1,8

 

 

 

 

 

 

 

 

 

 

 

 

 

 

 

 

 

 

 

 

 

 

 

 

 

 

 

 

 

 

 

 

 

 

 

 

 

 

 

 

 

 

 

 

 

 

 

труб

4+4

1,68

1,68 (1,68)

0,9+0,9

 

 

 

 

 

 

 

 

 

 

 

 

 

 

 

 

 

 

 

 

 

 

 

 

 

 

 

 

 

 

 

 

 

 

 

 

 

 

 

 

 

 

 

 

 

 

 

 

 

 

5

Укладка в траншею

звена

м

40+40

11,2

-

Монтажники
5 разр. – 1
4 разр. – 2
3 разр. - 2

1,1+1,1

 

 

 

 

 

 

 

 

 

 

 

 

 

 

 

 

 

 

 

 

 

 

 

 

 

 

 

 

 

 

 

 

 

 

 

 

 

 

 

 

 

 

 

 

 

 

 

 

 

 

 

 

труб

40+40

11,2

-

1,1+1,1

 

 

 

 

 

 

 

 

 

 

 

 

 

 

 

 

 

 

 

 

 

 

 

 

 

 

 

 

 

 

 

 

 

 

 

 

 

 

 

 

 

 

 

 

 

 

 

 

 

 

 

 

6

Сварка стыков

звеньев

стык

1+1

1,36

-

Электросварщики
5 разр. –1
3 разр. -1

0,3+0,3

 

 

 

 

 

 

 

 

 

 

 

 

 

 

 

 

 

 

 

 

 

 

 

 

 

 

 

 

 

 

 

 

 

 

 

 

 

 

 

 

 

 

 

 

 

 

 

 

 

 

 

труб

4+4

5,44

-

1,4+1,4

 

 

 

 

 

 

 

 

 

 

 

 

 

 

 

 

 

 

 

 

 

 

 

 

 

 

 

 

 

 

 

 

 

 

 

 

 

 

 

 

 

 

 

 

 

 

 

 

7

Испытание трубопровода

м

80

11,2

-

Монтажники
5 разр. – 1
4 разр. – 1
3 разр. - 2

2,8

 

 

 

 

 

 

 

 

 

 

 

 

 

 

 

 

 

 

 

 

 

 

 

 

 

 

 

 

 

 

 

 

 

 

 

 

 

 

 

 

 

 

 

8

Устройство изоляции стыков труб

стык

8

2,72

-

Изолировщики 4 разр. - 1 1 разр. - 2

0,9

 

 

 

 

 

 

 

 

 

 

 

 

 

 

 

 

 

 

 

 

 

 

 

 

 

 

 

 

 

 

 

 

 

 

 

 

 

 

 

 

Таблица 10 - Календарный план производства работ при работе краном

 

Измеритель конечной продукции -.80 м трубопровода

№ п/п

Наименование технологических процессов

Ед. изм.

Объем работ

Затраты труда

Состав звена

Продолжительность процесса, час.

Рабочие смены

рабочих, чел.-ч.

машиниста, чел.-ч. (работа машин, маш.-ч)

1

2

3

Рабочие часы

1

2

3

4

5

6

7

8

9

10

11

12

13

14

15

16

17

18

19

20

1

Перемещение труб на лежни краном

шт.

4+4

6,08

3,04 (3,04)

Машинист
6 разр. –1
Такелажники
3 разр. - 1

1,5+1,5

 

 

 

 

 

 

 

 

 

 

 

 

 

 

 

 

 

 

 

 

 

 

 

 

 

 

 

 

 

 

 

 

 

 

 

 

 

 

 

 

 

 

 

 

 

 

 

 

 

 

 

 

 

 

 

 

 

 

 

 

 

 

2

Сборка труб в звенья на бровке траншеи

м

40+40

4,8

-

Монтажники
5 разр. – 1
3 разр. - 1

1,2+1,2

 

 

 

 

 

 

 

 

 

 

 

 

 

 

 

 

 

 

 

 

 

 

 

 

 

 

 

 

 

 

 

 

 

 

 

 

 

 

 

 

 

 

 

 

 

 

 

 

 

 

 

 

 

 

 

 

 

 

 

 

 

 

3

Сварка стыков труб в звено

стык

3+3

3,6

-

Электросварщики
5 разр. – 1
3 разр. -1

0,9+0,9

 

 

 

 

 

 

 

 

 

 

 

 

 

 

 

 

 

 

 

 

 

 

 

 

 

 

 

 

 

 

 

 

 

 

 

 

 

 

 

 

 

 

 

 

 

 

 

 

 

 

 

 

 

 

 

 

 

 

 

 

 

 

 

 

4

Перемещение в траншею

звена

шт.

1+1

5,4

3,6 (3,6)

Машинист
5 разр. - 2 Такелажники
5 разр. – 1
3 разр. –1
2 разр. - 1

1,8+1,8

 

 

 

 

 

 

 

 

 

 

 

 

 

 

 

 

 

 

 

 

 

 

 

 

 

 

 

 

 

 

 

 

 

 

 

 

 

 

 

 

 

 

 

 

 

 

 

 

 

 

 

 

 

 

 

 

 

 

 

 

 

 

 

 

 

 

труб

4+4

5,6

2,8 (2,8)

1,4+1,4

 

 

 

 

 

 

 

 

 

 

 

 

 

 

 

 

 

 

 

 

 

 

 

 

 

 

 

 

 

 

 

 

 

 

 

 

 

 

 

 

 

 

 

 

 

 

 

 

 

 

 

 

 

 

 

 

 

 

 

 

 

 

 

 

5

Укладка звена труб в траншею

м

40+40

11,2

-

Монтажники
5 разр. – 1
4 разр. – 2
3 разр. - 2

1,1+1,1

 

 

 

 

 

 

 

 

 

 

 

 

 

 

 

 

 

 

 

 

 

 

 

 

 

 

 

 

 

 

 

 

 

 

 

 

 

 

 

 

 

 

 

 

 

 

 

 

 

 

 

 

 

 

 

 

 

 

 

 

 

 

 

 

 

 

6

Сварка стыков

звеньев

стык

1+1

1,36

-

Электросварщики

5 разр. – 1
3 разр. - 1

0,3+0,3

 

 

 

 

 

 

 

 

 

 

 

 

 

 

 

 

 

 

 

 

 

 

 

 

 

 

 

 

 

 

 

 

 

 

 

 

 

 

 

 

 

 

 

 

 

 

 

 

 

 

 

 

 

 

 

 

 

 

 

 

 

 

 

 

труб

4+4

5,44

-

1,4+1,4

 

 

 

 

 

 

 

 

 

 

 

 

 

 

 

 

 

 

 

 

 

 

 

 

 

 

 

 

 

 

 

 

 

 

 

 

 

 

 

 

 

 

 

 

 

 

 

 

 

 

 

 

 

 

 

 

 

 

 

 

 

 

 

 

7

Испытание трубопровода

м

80

11,2

-

Монтажники
5 разр. – 1
4 разр. – 1
3 разр. - 2

2,8

 

 

 

 

 

 

 

 

 

 

 

 

 

 

 

 

 

 

 

 

 

 

 

 

 

 

 

 

 

 

 

 

 

 

 

 

 

 

 

 

 

 

 

 

 

 

 

 

 

 

 

 

 

 

 

 

 

 

 

 

 

 

 

 

8

Устройство изоляции стыков труб

стык

8

2,72

-

Изолировщики
4 разр. – 1
1 разр. - 2

0,9

 

 

 

 

 

 

 

 

 

 

 

 

 

 

 

 

 

 

 

 

 

 

 

 

 

 

 

 

 

 

 

 

 

 

 

 

 

 

 

 

 

 

 

 

 

 

 

 

 

 

 

 

 

 

 

 

 

 

 

 

 

 

 

 

6.4 Технико-экономические показатели составляют:

Наименование показателя

Ед. изм.

При работе

трубоукладчиками

кранами

звенья

трубы

звенья

трубы

Протяженность стального трубопровода

м

80

80

80

80

Затраты труда: - рабочих - машинистов

чел.-ч.

42,0 5,28

32,0 1,68

46,36 6,64

36,16 2,8

Затраты машинного времени

маш.-ч.

5,28

1,68

6,64

2,8

Продолжительность работ

ч

1-5,9

10,5

17,3

11,5


7 ПЕРЕЧЕНЬ ИСПОЛЬЗОВАННОЙ НОРМАТИВНО-ТЕХНИЧЕСКОЙ ЛИТЕРАТУРЫ

1 СНиП 12-03-2001 «Безопасность труда в строительстве. Часть 1. Общие требования».

2 СНиП 12-04-2002 «Безопасность труда в строительстве. Часть 2. Строительное производство».

3 СНиП 2.05.06-85* «Магистральные трубопроводы».

4 СНиП 23-05-95* «Естественное и искусственное освещение».

5 СНиП 12-01-2004 «Организация строительства».

6 СНиП 3.01.03-84 «Геодезические работы в строительстве».

7 СНиП 3.02.01-87 «Земляные сооружения, основания и фундаменты».

8 СНиП 3.04.03-85 «Защита строительных конструкций и сооружений от коррозии».

9 СНиП 3.05.04-85* «Наружные сети и сооружения водоснабжения и канализации».

10 СНиП 2.03.11-85 «Защита строительных конструкций от коррозии».

11 ГОСТ 12.0.004-90 «Организация обучения безопасности труда. Общие положения».

12 ГОСТ 12.1.004-91* «ССБТ. Пожарная безопасность. Общие требования».

13 ГОСТ 12.1.046-85 «ССБТ. Строительство. Нормы освещения строительных площадок».

14 ГОСТ 12.1.051-90 «ССБТ. Электробезопасность. Расстояние безопасности в охранной зоне линий электропередачи напряжением свыше 1000 В».

15 ГОСТ 12.2.003-91 «ССБТ. Оборудование производственное. Общие технические требования безопасности».

16 ГОСТ 12.4.011-89 «ССБТ. Средства защиты работающих. Общие требования и классификация».

17 ГОСТ Р 12.4.026-2001 «ССБТ. Цвета сигнальные, знаки безопасности и разметка сигнальная. Общие технические требования и характеристики. Методы испытаний».

18 ГОСТ 12.4.087-84 «ССБТ. Строительство. Каски строительные. Технические условия».

19 ГОСТ 7512-82* «Контроль неразрушающий. Соединения сварные. Радиографический метод».

20 ГОСТ 10704-91 «Трубы стальные электросварные прямошовные. Сортамент».

21 ГОСТ 14782-86 «Контроль неразрушающий. Соединения сварные. Методы ультразвуковые».

22 ГОСТ 16037-80* «Соединения сварные стальных трубопроводов. Основные типы, конструктивные элементы и размеры».

23 ГОСТ 23055-78* «Контроль неразрушающий. Сварка металлов плавлением. Классификация сварных соединений по результатам радиографического контроля».

24 ГОСТ 23407-78 «Ограждения инвентарные строительных площадок и участков производства работ. Технические условия».

25 Операционно-технологический регламент строительства (реконструкции) объектов в стесненных условиях существующей городской застройки. ОАО ПКТИпромстрой, М., 2002.

26 Пособие по приемке и вводу в эксплуатацию объектов инженерной инфраструктуры коммунального хозяйства в г. Москве. ОАО ПКТИпромстрой., М., 2002.

27 ПОТ Р М-007-98 Правила по охране труда при погрузочно-разгрузочных работах и размещении грузов.

28 ПОТ Р М-016-2001 Межотраслевые правила по охране труда (правила безопасности) при эксплуатации электроустановок.

29 Примерный перечень законодательно-правовых, нормативных, справочно-методических и других документов, необходимых при проектировании, строительстве и эксплуатации инженерных сетей и сооружений. ОАО ПКТИпромстрой., М., 1999 г.

30 ПБ 03-273-99 Правила аттестации сварщиков и специалистов сварочного производства. Госгортехнадзор России, М., 1999.

31 ПБ 10-382-00 «Правила устройства и безопасной эксплуатации грузоподъемных кранов». Госгортехнадзор России, М., 2000.

32 ППБ 01-03 «Правила пожарной безопасности в Российской Федерации». МЧС России, М, 2003

33 Правила подготовки и производства земляных работ, обустройства и содержания строительных площадок в г. Москве. Постановление правительства Москвы № 857-ПП от 07.12.2004 г.

34 ЕНиР. Единые нормы и расценки на строительные, монтажные и ремонтно-строительные работы. Сборник Е9 «Сооружение систем теплоснабжения, водоснабжения, газоснабжения и канализации». Выпуск 2 «Наружные сети и сооружения».

35 ЕНиР Единые нормы и расценки на строительные, монтажные, и ремонтно-строительные работы. Сборник Е22 «Сварочные работы». Выпуск 2 «Трубопроводы».

36 ЕНиР. Единые нормы и расценки на строительные, монтажные и ремонтно-строительные работы. Сборник Е25. «Такелажные работы».

37 Стреловые самоходные краны. Часть 1. Краны автомобильные. Краны на шасси автомобильного типа. ОАО ПКТИпромстрой, М., 1996 г.

38 Стреловые самоходные краны. Часть 2. Пневмоколесные и гусеничные краны. ОАО ПКТИпромстрой, М., 1996 г.

39 СП 12-135-2003 Безопасность труда в строительстве. Отраслевые типовые инструкции по охране труда.

40 СанПиН 2.2.3.1384-03 Гигиенические требования к организации строительного производства и строительных работ.

41 Технологическая карта по прокладке наружного водопровода из стальных труб. ОАО ПКТИпромстрой, М., 2002.

42 Технологическая карта на устройство ввода водопровода в здания и сооружения. ОАО ПКТИпромстрой, М., 2000.

43 Технологическая карта на прокладку стальных трубопроводов через проезжую часть автодорог. ОАО ПКТИпромстрой, М., 2004.




Яндекс цитирования



   Copyright © 2007-2026,  www.tehlit.ru.

[ ѓосты, стандарты, нормативы, инструкции, правила, строительные нормы ]