//
ТехЛит.ру
- крупнейшая бесплатная электронная интернет библиотека для "технически умных" людей.
WWW.TEHLIT.RU - ТЕХНИЧЕСКАЯ ЛИТЕРАТУРА

:: Алготрейдинг::


АЛГОТРЕЙДИНГ
шаг за шагом
с нуля по урокам!

Торговые роботы на PYTHON, BackTrader,
Pandas, Pine Script для TradingView. Связка с брокерами, телеграм и легкими приложениями.


ГОСУДАРСТВЕННЫЙ КОМИТЕТ СССР ПО НАРОДНОМУ ОБРАЗОВАНИЮ

МОСКОВСКИЙ ОРДЕНА ТРУДОВОГО КРАСНОГО ЗНАМЕНИ АВТОМОБИЛЬНО-ДОРОЖНЫЙ ИНСТИТУТ

Кафедра аэропортов и конструкций

 

Утверждаю

Зав. кафедрой аэропортов

и конструкций

_________ Глушков Г.И.

26.04.1989 г.

 

МЕДЕТОДИЧЕСКИЕ УКАЗАНИЯ ПО ОПТИМИЗАЦИИ КОНСТРУКЦИИ И ПРОФИЛЯ КОЛЛЕКТОРА ВОДОСТОЧНОЙ СЕТИ АЭРОДРОМА

 

МОСКВА 1989

СОДЕРЖАНИЕ

ВВЕДЕНИЕ

Настоящие методические указания предназначены для руководства при выполнении студентами специализации 29.10.1 "Аэродромы" практических занятий, курсовых и дипломных проектов на кафедре "Аэропорты и конструкции", а также могут быть использованы при гидравлическом расчете и оптимизации конструкции и профиля коллектора водосточной сети аэродрома с применением ЕС ЭВМ.

Указания базируются на основных нормативных документах по проектированию аэродромов гражданской авиации СССР: главе СНиП 2.05.08-85 "Аэродромы" и "Руководстве по проектированию водоотводных систем на аэродромах".

В указаниях приводятся сведения об основных особенностях укрупненного алгоритма и блок-схемы оптимизации коллектора, исходная информация, описание программы, а также данные о работе с программой и результаты расчета.

Настоящие методические указания позволяют выбрать оптимальные параметры водосточного коллектора (материал труб, диаметры, уклоны, глубины заложения) на соответствующих участках при устройстве лотков в кромках искусственного покрытия.

Программа написана на алгоритмическом языке PL/I для ЕС ЭВМ в система ОС ЕС.

ОПТИМИЗАЦИЯ КОНСТРУКЦИИ И ПРОФИЛЯ КОЛЛЕКТОРА ВОДОСТОЧНОЙ СЕТИ АЭРОДРОМА

1. Исходные данные

Исходными данными для гидравлического расчета и оптимизации коллектора водоотводной сети аэродрома являются (рис.1):

1. Число расчетных сечений (N), назначается проектировщиком по плану расположения водоотводных систем в проекте.

2. Число расчетных точек в каждом сечении (M), назначается проектировщиком.

3. Характеристика дождей по их продолжительности и интенсивности (NK), устанавливается по рис. 16.4 и 16.5 [2].

4. Интенсивность дождя при продолжительности 20 мин (Q20) л/с на 1 га, определяется по рис. 16.2 и 16.3 [2].

5. Коэффициент, характеризующий климат района (С), находится по рис. 16.6 [2].

6. Общая площадь водосбора, тяготеющего к коллектору (F0), га, устанавливается по плану расположения водоотводных систем в проекте.

7. Длина лотка между дождеприемниками (LLOT), м, назначается по таблице 17.1 [2],

8. Расстояние между точками расчетного сечения (S), м, назначается проектировщиком.

9. Минимально возможный уклон труб (UMIN), принимается по нормам проектирования.

10. Код материала труб (MT):

1 - керамические,

2 - асбоцементные,

3 - железобетонные раструбные,

4 - то же на муфтах,

5 - бетонные раструбные.

11. Код влажности грунта (СМ), принимается по данным геологических изысканий: 1 - сухой, 2 - мокрый грунт.

12. Поперечный уклон покрытия (IPOP), принимается по данным проекта искусственных покрытий.

13. Массив значений отметок искусственного покрытия в расчетных сечениях и значения продольного уклона покрытия (IPR), принимается по данным проекта искусственных покрытий.

14. Глубина промерзания грунта (CG) м, находится в климатологическом справочнике.

15. Ширина водосбора (В) м, принимается по данным проекта искусственных покрытий.

16. Ширина лотка (BLOT), принимается по нормам проектирования (в расчете эта величина уточняется).

17. Глубина лотка (Н) см, назначается в проекте водоотводных систем, но не менее 8 см (в процессе расчета эта величина уточняется),

18. Вид покрытия в индексах, принимается по данным проекта искусственных покрытий (POKR): 0 - цементобетон и 1 - асфальтобетон.

Схема гидравлического расчета коллектора приведена на рис.1. Исходные данные принимаются по соответствующим таблицам и рисункам главы СНиП [1], учебника [2] , а также по данным проектов искусственных покрытий и водоотводных систем аэродрома.

2. Результаты расчета

Полученные результаты работы программы выдаются на АЦПУ в виде двух таблиц (приложение 1);

первая содержит заложенные в расчет исходные данные (для контроля);

вторая содержит результаты счета: номер участка, уклон, точка расчетного сечения, глубина заложения коллектора (м), диаметр коллектора (м), расход (м3/с), скорость вода в коллекторе (м/с), стоимость работ по возведению единицы длины коллектора (относительная стоимость).

3. Принципы оптимизации профиля и конструкции коллектора водоотводной сети

В основу алгоритма и программы оптимизации водосточного коллектора "TRUBA" положен метод динамического программирования. При использовании этого метода определения диаметров труб коллектора на участке поиск рассматривается как управляемый процесс, в основу которого положен выбор оптимальной стратегии нахождения такого плана решения, который приводит к оптимизации расположения и конструкции коллектора.

Рис.1 Схема гидравлического расчета водосточного коллектора

При этом поставленная задача рассматривается как динамический процесс поиска решения в последовательности рассмотрения положения коллектора и его параметров на отдельных участках 1, 2,…N-1, N (рис.2). Таким образом, спецификой метода динамического программирования является разбиение трассы всего коллектора на ряд элементарных отрезков (шагов или этапов), а сам процесс решения становится многошаговым и развивается последовательно от этапа к этапу.

В общей постановке задача оптимизации профиля и конструкции водосточного коллектора формулируется следующим образом. При возведении коллектора можно использовать трубы различных диаметров и материалов (асбестоцементные, бетонные, железобетонные и т.д.). Внешние условия на объекте позволяют укладывать трубы на глубине не меньше чем CG (глубина промерзания) и не больше чем максимальная Hmax (вид грунта, условия проложения коллектора и производства работ и т.д.). При гидравлическом расчете коллектора на каждом участке можно подобрать несколько удовлетворяющих расчету диаметров труб "Di", каждому из которых соответствует свой расчетный расход Qi, уклон трубы U, скорость движения воды Vi и т.д.

Требуется на каждом участке из множества удовлетворяющих гидравлическому расчету диаметров труб выбрать такой, чтобы соответствующее этому диаметру конструктивное решение или вариант профиля коллектора было оптимальным.

Процесс оптимизации - это выбор такого варианта проектного решения коллектора, которому соответствует минимальное или максимальное значение одного или нескольких критериев, характеризующих качество этого решения.

Критерий оптимизации - признак, на основании которого производится сравнительная оценка возможных проектных решений и выбор наилучшего. Содержание этого критерия зависит от характера экономических законов и нормативных требований, масштабов реализации проектных решений и содержания поставленных целей.

Выбор правильного критерия - одна из основных проблем при поиске оптимального решения. При выборе критерия, как правило, руководствуются принципами рационального хозяйствования (экономичности). Существо этих принципов состоит в том, чтобы при заданных затратах достичь максимальной реализации цели, или наоборот, добиться цели при минимальных затратах. При достижении этой цели проектное решение будет оптимальным. Выбор критерия - одна из наиболее сложных задач оптимального проектирования.

Рис.2. Геометрическая интерпретация задачи оптимизации коллектора

оптимальный вариант профиля коллектора

Чаще всего используют следующие критерии оптимальности:

критерии, отражающие производительность труда, надежность и долговечность функционирования сооружений, затраты труда, времени, материалов и т.д.;

экономические критерии: общая стоимость объекта или его частей, стоимость транспортных или инженерных коммуникаций, стоимость земельных участков и т.д.;

Критерий оптимальности - эта та величина (объем и масса строительных конструкций и материалов, трудоемкость изготовления, стоимость конструкций и т.п.), которая, будучи выражена через параметры объекта проектирования вариантов проектных решений и неизвестные, навивается целевой функцией или функцией цели.

Эти два понятия различают потому, что при решении оптимизационной задачи целесообразно сначала установить и обосновать критерий оптимальности, а потом уже формулировать выражение этой величины через многие переменные, т.е. определить целевую функцию.

Целевую функцию оптимизации водосточного коллектора аэродрома в общем случае можно представить в виде Wi=W(Xi,Yi) или

(1)

где Wi - затраты пo i-му варианту коллектора, W - способ вычисления затрат; Xi - управляемые переменные; Yi - неуправляемые переменные, U - уклон трубы коллектора, DM - диаметр трубы коллектора, Hн - начальная глубина заложения; Hк - конечная глубина заложения; lтр - длина участка коллектора; a - материал трубы; b - категория грунта; с - условия производства работ.

Управляемые переменные (D, U, Hн, Hк, lтр) могут изменяться по некоторому алгоритму в процессе относительного решения. К числу неуправляемых переменных относится входная информация и нормативно-справочная (а, b, с и т.д.).

Функциональная зависимость (1) дополняется следующими ограничениями:

(2)

где Dнop - диаметры труб (по СНиП); U - уклоны труб; Qпр - предельный расход в сечении коллектора; V - скорость воды в трубе коллектора: Dпр - предельный диаметр для трубы из данного материала; H - глубина заложения коллектора.

Выбор метода оптимизации конструкции и профиля коллектора определяется аддитивностью критерия зависимости (1). Методика оптимизации с использованием критерия (1) и системы ограничений (2) выглядит следующим образом. Производится последовательный гидравлический расчет участков коллектора. При расчете каждого участка проверяется выполнение условий зависимостей (2). Среди удовлетворяющих расчету диаметров на каждом участке выбираются те, которые соответствуют условию функций (1). Рассчитав таким образом все участки, получим оптимальный вариант профиля коллектора и параметры его конструкции.

В такой постановке и используется метод динамического программирования, при котором рассчитывается оптимальный вариант.

В данном методе отыскание минимума функций многих переменных заменяется многократным отыскиванием минимума функции меньшего числа переменных; задача сводится к многошаговой, и оптимизация ведется на каждом шаге, исходя из принципа оптимальности, сформулированного Беллманом. Согласно этому принципу оптимальная стратегия обладает тем свойством, что каковы бы ни были начальное состояние и принятое решение, последующие решения должны составлять оптимальную стратегию относительно состояния, возникающего в результате первоначального решения.

Допустим (рис.2), планируется N - шаговая операция (оптимизация N участков коллектора) в результате которой траектория из  должна попасть в  таким образом, чтобы минимизировался критерий W (т.е. целевая функция проектирования коллектора).

Для этого сделаем ряд гипотез о результатах окончания (N-1)-го этапа.

(3)

Для каждой гипотезы найдем условное оптимальное управление на последнем шаге

(4)

Рассмотрим также ряд гипотез на шаге (N-2)

(5)

Очевидно, что условное оптимальное управление на шаге (N-2) надо выбрать так, чтобы оно совместно с уже выбранным обеспечивало оптимизацию критерия W для этих двух шагов, и т.д. Допустим, что таким управлением для трех шагов является

(6)

Так, поэтажно выстраивая ряд траекторий и отбирая из них оптимальные, подходим к первому шагу, для которого уже не требуется составлять гипотезы, так как его состояние  известно. Поэтому остается лишь рассмотреть "К" условных оптимальных управлений первого шага и выбрать из них единственное оптимальное.

На примере рис.2 участок коллектора разбит на "N" вертикалей. Общее заглубление изменяется от Hmin до Hmax при шаге заглубления S. Каждая вертикаль по уровню делится на несколько этажей, эквивалентных ,S , при этом число и величина шагов зависят от рельефа местности и требуемой точности расчетов. Каждая точка на вертикали (рис.2) соединяется с точками соседней вертикали и с точками начального (1) и последнего сечения (N). В результате образуются связи, совокупность которых дает множество вариантов расположения профиля коллектора. В данном случае каждая из этих ломаных линий выражает допустимую стратегию управления расположением участка коллектора. Эта допустимая стратегия состоит из определенного набора управлений на каждом этапе. Оптимальной же стратегии управления соответствует ломаная с наименьшим значением целевой функции (1).

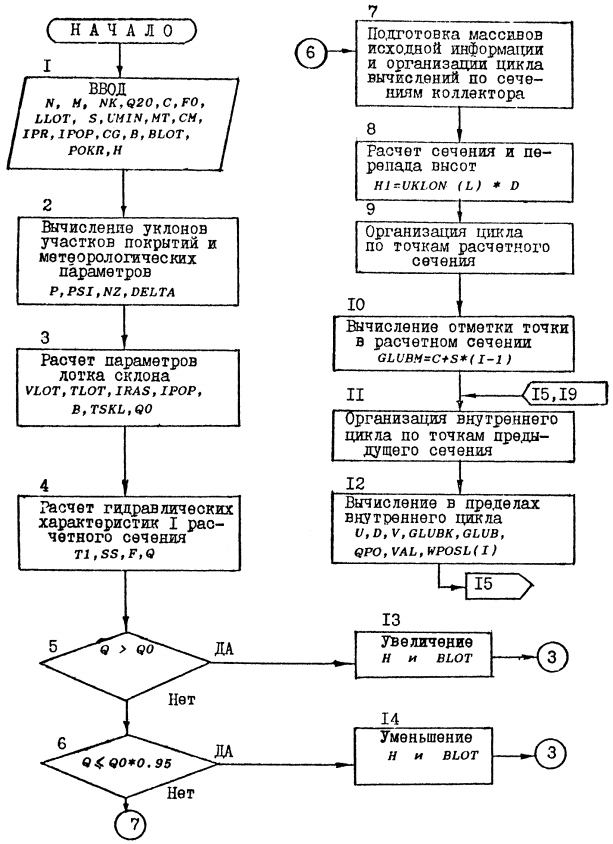
4. Укрупненная блок-схема оптимизации конструкции и профиля коллектора водосточной сети

Укрупненная блок-схема оптимизации конструкции и профиля коллектора водосточной сети представлена на рис.3. Последовательность расчета в укрупненной программе оптимизации предусматривает выполнение следующих операций по нахождению наилучших параметров сечения и профиля коллектора.

Блоки 1-2

Осуществляется ввод исходных данных N, M, NK, Q20, C, F0, LLOT, S, UMIN, MT, CM, IPR, IPOP, CG, B, BLOT, POKR, H, а также определяются уклоны расчетных участков водосбора искусственных покрытий (ВПП, РД, МС) UKLON (1) и вычисляются метеорологические параметры - период повторяемости расчетной интенсивности дождя Р, коэффициенты стока PSI и шероховатости NZ покрытия и параметр DELTA, равный интенсивности одноминутного дождя при принятой повторяемости Р.

Блок 3

На основании предварительно заданных параметров лотка (H и BLOT) рассчитывается скорость потока воды в лотке VLOT; находится время добегания воды по лотку TLOT; осуществляется проверка соотношения уклонов WW=IPROD/IPOP и при WW>0,5 вычисляется расчетный уклон по линии наибольшего ската и расчетная длина склона, рассчитывается продолжительность добегания воды по склону TSKL и определяется пропускная способность лотка Q0.

Блок 4

Рассчитываются гидравлические характеристики первого расчетного сечения:

продолжительность добегания воды до первого расчетного сечения коллектора TI;

величина стока для первого расчетного сечения коллектора ss;

находится площадь водосбора F и оценивается расход воды в первом сечении коллектора Q.

Блоки 5-6, 13-14

Осуществляется проверка условий QQ0 и QQ0*0.95, и в случае их несоблюдения производится корректировка параметров лотка (если Q>Q0 - увеличиваются параметры лотка H и BLOT; в случае Q<Q0*0.95 - уменьшается глубина лотка Н и ширина лотка BLOT).

На этом заканчивается этап гидравлического расчета коллектора в программе оптимизации; результаты гидравлического расчета используются в дальнейших циклах оптимизации коллектора по сечениям, изменяясь в функции управляемых параметров (см. п.4).

Блоки 7-8

Подготовка (инициализация) массивов исходной информации; организация циклов оптимизации по сечениям коллектора; расчет первого сечения и вычисление перепада H1=UKLON(L)*D.

Блок 9

Организация цикла по точкам расчетного сечения, начиная со второго;

проверка I>M.

Блок 10

Вычисление отметки рассматриваемой точки в расчетном сечении GLUBM=C+S*(I-1).

Блок 11

Организация внутреннего цикла по точкам предыдущего сечения.

Блок 12

При зафиксированной точке последующего сечения перебираются точки предыдущего сечения и вычисляются в пределах внутреннего цикла следующие параметры:

уклон трубы U; диаметр трубы D; скорость воды V; заглубление точки предыдущего сечения GLUBK; средняя глубина на расчетном участке GLUB; QPO - расход воды в расчетном сечении; относительная стоимость трубы коллектора на расчетном участке VAL; относительная стоимость коллектора до расчетного сечения WPOSL(I)

Блок 15-16

Проверка и сравнение стоимостей вариантов WPOSL(I)>VAL+WPRED(K) и запоминание более экономичного варианта профиля и конструкции коллектора.

Блок 17

Запись адресов индексов IW в матрице-столбце условной оптимизации по точкам расчетного сечения. Осуществление перехода на следующий участок.

Блок 18

Завершение основного цикла в прямом направлении по всем сечениям коллектора после заполнения всех столбцов условно-оптимальной матрицы индексов IW.

Блок 19-20

Выбор и запоминание минимальной стоимости коллектора в последнем сечении.

Блок 21

Организация цикла оптимизации по сечениям коллектора в обратном направлении фиксируется профиль (отметки глубины укладки труб) коллектора с минимальной стоимостью.

Блок 22

Осуществление вычислений по оптимальному варианту прокладки (оптимальной траектории в вертикальном сечении) коллектора в прямом направлении от первого до последнего сечения с определением следующих параметров:

уклон трубы U; диаметр трубы D; скорость воды V; заглубление точки предыдущего сечения GLUBK; средняя глубина на расчетном участке GLUB глубина текущей точки GLUB(I); время добегания воды TI; QPO - расход вода в расчетном сечении; относительная стоимость коллектора VAL.

Блок 23

Печать результатов расчета: номер участка N , номер точки U, GLUB, D, Q, V, VAL.

 

Рис.3 Укрупненная блок-схема оптимизации водосточного коллектора.

5. Программа оптимизации профиля и конструкции водосточного коллектора "TRUBA"

Данная программа включает две относительно самостоятельные части: программу гидравлического расчета водосточного коллектора и собственно программу оптимизации конструктивного решения коллектора и профиля его проложения.

Блок-схема гидравлического расчета водосточного коллектора представлена на рис.4. Ниже приводится описание программы гидравлического расчета.

Рис.4. Блок-схема гидравлического расчета водосточного коллектора

1. Вычисляются уклоны расчетного участка покрытий (ВПП, РД, МС).

UKLON(I)=(IPR(I)-IPR(I+1))/D.

(7)

2. На основании исходных данных Q20 и F0 устанавливается период повторяемости расчетной интенсивности дождя

P=f(Q20,F0).

3. По данным таблицы 1 устанавливаются коэффициенты стока (PSI) и шероховатости (NZ) покрытия.

Таблица 1

Вид покрытия

Коэффициенты

PSI

NZ

Асфальтобетон

0,95

0,011

Цементобетон

0,85

0,014

4. Определяется параметр Δ, равный максимальной интенсивности одноминутного дождя при принятой повторяемости:

DELTA=20.0**NK*Q20*(1+C*LOG10(P(IA,IR)))*0.006

(8)

Доля вычисления расхода вода на первом участке обнуляются индикаторы зацикливания при выборе параметров лотка (I=0; J=0).

5. На основании предварительно заданных параметров лотка H и BLOT рассчитываются скорость воды в лотке VLOT и время добегания воды по лотку TLOT:

VLOT=(H/2.0)**(2.0/3.0)*SQRT(UKLON(1))/NZ;

(9)

TLOT=LLOT/(60.0*VLOT).

(10)

6. Проверяется соотношение уклонов WW=IPR/IPOP водосборного склона покрытия. Если это соотношение WW>0.5, вычисляется расчетный уклон по линии наибольшего ската и расчетная длина склона

W=UKLON(1)/IPOP;

(11)

IRAS=SQRT(VKLON(1)**2.0+IPOP**2.0);

(12)

B=B*IRAS/IPOP.

(13)

7. Рассчитывается продолжительность добегания воды по склону.

TSKL=(2.41*NZ*B/((DELTA*PSI )**0.72*SQRT(IPOP)))**(1.0(1.72-0.72*NK)).

(14)

8. Определяется пропускная способность лотка

Q0=H*VLOT*BLOT/0.002.

(15)

9. Рассчитывается продолжительность добегания воды до первого расчетного сечения коллектора

T1=TLOT+TSKL.

(16)

10. Определяется величина стока для первого расчетного сечения коллектора

SS1=166.7*DELTA*PSI/T1**NK.

(17)

11. Находится площадь водосбора для первого сечения коллектора

F=(B-BLOT/2)*LLOT/10000.

(18)

12. Оценивается расход воды в первом сечении коллектора

Q=SS1*F.

(19)

13. Проверяется условие Q>Q0. В случае его выполнения глубина лотка увеличивается на 1 см, а ширина - на 50 см и расчет повторяется, начиная с 5 пункта. Если это условие не выполняется, т.е. Q<Q0 , то проверяется, на сколько расчетный расход превышает фактический, т.е.

Q<Q0*0.95.

(20)

Если расход отличается на 5%, то расчет продолжается далее. Если же условие (20) не выполняется, то глубина лотка уменьшается на 0,5 см, а ширина - на 25 см, т.е.

H=H-0.005;

BLOT=BLOT+0.25.

(21)

На этом завершается первый этап общей программы оптимизации водосточного коллектора. Результаты гидравлического расчета используются далее во второй части программы - собственно оптимизации конструктивного решения коллектора.

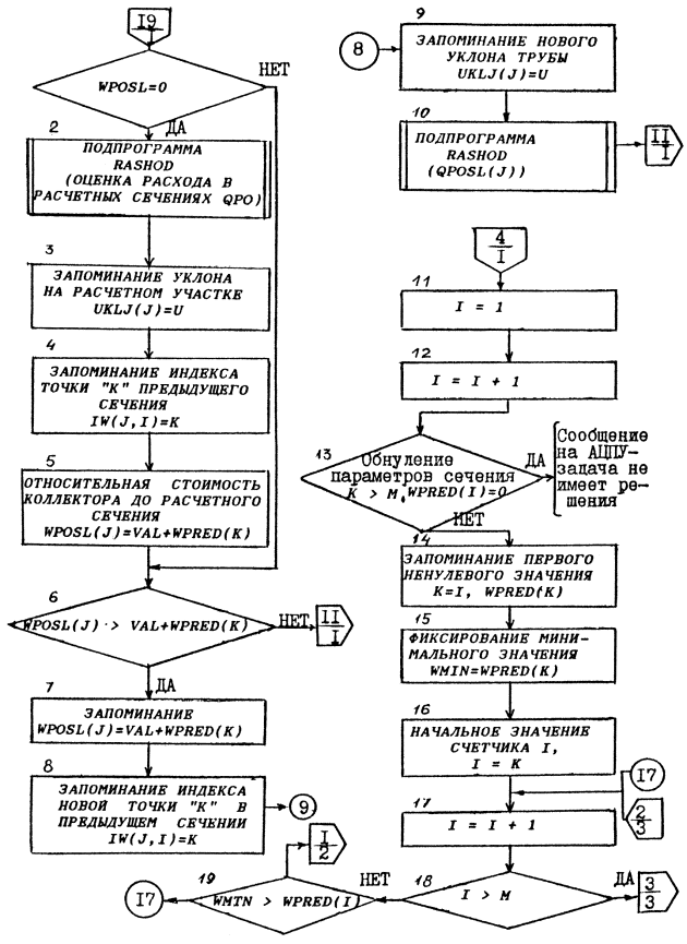
Блок-схема алгоритма оптимизации профиля и конструкции водосточного коллектора (рис.5) включает выполнение следующих этапов расчета.

14. Программа начинает свою работу с инициализации массивов исходной информации, в процессе которой матрицу выбора оптимального пути принимает начальное нулевое значение, т.е. IW=0

Рис.5. Блок-схема алгоритма оптимизации профиля и конструкции водосточного коллектора.

Принимают также нулевые значения следующие массивы и параметры:

массивы стоимостей коллектора, включая текущее и предыдущие расчетные значения, т.е. WPOSL=0, WPRED=0;

расход в текущем сечении QPOSL=0;

время добегания вода до текущего расчетного сечения TPOSL=0.

Наряду с этим расход в предыдущем сечении QPRED, принимает значения расчетного расхода, т.е. QPRED=Q; время добегания воды до предыдущего расчетного сечения принимает значение расчетной продолжительности добегания, т.е. TPRED=T1.

Обозначения сечений указаны на рис.2 и 6.

15. Организуется цикл по расчетным сечениям, начиная с третьего и до последнего (3<I<N), при движении в прямом направлении (рис.6).

16. Вычисляется перепал высот на расчетном участке

H1=UKLON(I)*D.

(22)

17. Организуется внутренний цикл по точкам "J" расчетного сечения (I<J<M).

18. Вычисляется отметка рассматриваемой точки в расчетном сечении

GLUBM=CG+S*(J-1).

(23)

19. Организуется внутренний цикл по точкам "K" предыдущего сечения (IKМ).

20. Проверяется условие: тупиковая ли точка "K"?

I>3

WPRED(K)=0.

(24)

Если условие (24) выполняется, то точка "K" из расчетов исключается как "тупиковая" и выбирается следующая точка предыдущего сечения. В противном случае расчет продолжается для пары точек K и J.

21. Вычисляется уклон трубы на расчетном участке

U=(S*(J-K)+H1)/D.

(25)

22. Проверяется условие минимальности уклона VMIN>U. Если уклон больше минимального, расчет продолжается. Если уклон меньше минимального, то текущая точка "K" из расчета исключается и переходят к следующей точке расчетного сечения.

Рис.6. Схема обозначений сечений (а) при оптимизации в прямом (1) и обратном (2) направлениях и маркировки (б) сечений в процессе расчета:
3 - расчетное сечение; 4 - предыдущее сечение; 5 - первые траектории из точек У; 6 - последующие траектории из точек
J

Для всех участков, кроме первого, одновременно проверяется условие неубывания уклона на рассматриваемом участке по отношению к предыдущему участку, т.е. UKLK(K)>U. Если условие выполняется, то точка "K" из расчета исключается и выбирается следующая точка предыдущего сечения.

23. Вычисляется глубина рассматриваемой точки предыдущего сечения:

GLUBK=CG+S*(K-1).

(26)

24. Вычисляется средняя глубина коллектора на расчетном участке

GLUB=(GLUBM+GLUBK)/2.

(27)

25. Далее программа "TRUBA" вызывает подпрограмму определения диаметра трубы коллектора и скорости воды в нем.

Имя подпрограммы DIAM.

Обращение к подпрограмме CALL DIAM.

Входная информация - расход воды QPRED и уклон трубы U.

Выходная информация - диаметр коллектора DM , скорость воды V.

DM=0.296*((Q/1000)**0.374/U**0.187;

(28)

V=0.064*Q/3.14*DM*2.0.

(29)

26. Далее осуществляется выбор диаметра трубы коллектора из стандартных значений. Подпрограмма DIAM перебирает стандартные значения диаметров до тех пор, пока расчетный диаметр не превысит соответствующий стандартный, и прекращает работу, когда это неравенство перестает выполняться: DM>DMTR(L).

Первое стандартное значение в ряду диаметров труб, выпускаемых промышленностью, превышающее расчетное значение диаметров, принимается за расчетное значение диаметра трубы, т.е.

DM=DMTR(L).

27. Проверяется ограничение по незаиливающей скорости, т.е. V<0.7. Если неравенство выполняется, то на АЦПУ выдается сообщение "Режим заиливания на участке". В этом случае рассматриваемая траектория укладки труб в заданную точку предыдущего сечения выбрасывается из рассмотрения как тупиковая.

Программа переходит далее к рассмотрению следующей траектории, направленной в следующую точку предыдущего сечения.

28. Вычисляется относительная удельная стоимость коллектора на расчетном участке

VAL=A1(MT,CM)*DM**ALFA(MT)+A2(MT,CM)*GLUB-A0(MT,CM).

(30)

29. Выполняется проверка полноты перебора точек предыдущего сечения. Если из зафиксированной точки J расчетного сечения пропущена траектория в первую точку "K" предыдущего сечения (см. рис.6), то затруднен перебop и сравнение стоимостей всех вариантов укладки труб между двумя сечениями. Программа к этому моменту вычислила лишь стоимость VAL, а невычисленная пока стоимость WPOSL(J)=0. В этом случае далее рассчитывается стоимость коллектора, время добегания, расход воды, запоминаются уклон и точка "K" в матрице IW для сечения "J". Для расчета параметров трубы коллектора, уложенной по первой траектории, вызывается подпрограмма RASHOD.

30. Подпрограмма отыскивает расход QPO и время добегания воды TPO в J-м расчетном сечении.

Имя подпрограммы RASHOD.

Обращение к подпрограмме CALL RASHOD.

Входная информация: скорость воды V, время добегания воды TPR, номер сечения I.

Выходная информация - расход воды в I сечении QPO.

TPO=TPR+LLOT/(V*60);

(31)

SS=166.7*DELTA*PSI/TPO**NK;

(32)

F=LLOT*B*I/10000;

(33)

QPO=SS*F.

(34)

31. Запоминается уклон трубы между рассмотренными точками на расчетном участке

UKLJ(J)=U.

(35)

32. Запоминается индекс точки "K" в предыдущем сечении и заносится в матрицу-столбец на место "J"-й точки I-го расчетного сечения

IW(J,I)=K.

(36)

33. Вычисляется относительная стоимость коллектора до расчетного сечения (включая трубу на расчетном участке)

VPOSL(J)=VAL+WPRED(K).

(37)

34. В том случае, если точка "K" не первая, через которую проходит траектория из точки "J" расчетного сечения, происходит сравнение вариантов стоимости.

VPOSL(J)>VAL+WPRED(K).

(38)

Если имеющаяся в памяти ЭВМ ранее вычисленная стоимость больше, чем подсчитанная на данном этапе стоимость коллектора VAL+WPRED(K), то, следовательно, новая траектория более экономична. Для этой траектории рассчитываются далее все необходимые параметры и происходит их запоминание. При этом используются те же ячейки памяти, что и для записанного ранее менее экономичного варианта, т.е. новые данные заносятся взамен старых.

35. Вычисляется и запоминается стоимость коллектора до "J"-й точки расчетного сечения (рис.2).

VPOSL(J)=VAL+WPRED(K).

(39)

36. Запоминается индекс новой точки "K" в предыдущем сечении и заносится в матрицу-столбец на место J-й точки первого расчетного сечения.

IW(J,I)=K.

(40)

37. Запоминается новый уклон трубы коллектора между рассмотренными точками на расчетном участке.

UKLJ(J)=U.

(41)

38. Рассчитывается расход QPOSL(J) с помощью подпрограммы RASHOD.

39. Подобным же образом до завершения цикла анализируются все варианты траекторий, проходящих из фиксированной точки расчетного сечения в точки предыдущего сечения. В процессе такого анализа (перебора вариантов траекторий укладки) устанавливается минимальная стоимость участка коллектора VAL между сечениями "J" и "J-1".

40. Цикл перебора по точкам расчетного сечения считается завершенным, когда просчитаны все точки расчетного сечения и составлена условно-оптимальная матрица-столбец индексов IW.

41. Далее программа осуществляет расчет следующего участка коллектора. Сечение, считавшееся ранее расчетным, теперь становится "предыдущим" (см. рис.6). При этом расход в бывшем расчетном сечении становится "предыдущим" QPRED=QPOSL; аналогично для времени добегания TPRED=TPOSL. Уклон из "J"-го сечения становится "K"-м, т.е. UKLK=VKLJ. То же и стоимость участка коллектора WPRED=WPOSL.

42. По завершении комментария к программе рассмотрения цикла оптимизации по сечениям в прямом направлении (вплоть до последнего сечения) необходимо сделать следующее замечание.

Массив IW (итоговой условно-оптимальной матрицы) заполнен так, что каждая "J"-я точка I-го сечения содержит номер точки "K" предыдущего (I-1) сечения, причем затраты по устройству участка коллектора будут условно оптимальны при условии прохождений именно через эту точку "K". В массиве IW столько столбцов, сколько было расчетных сечений (1<I<M), а в каждом столбце столько элементов, сколько точек заглубления рассматривалось в оптимизированной задаче (1<J<M).

По отработке программой всех точек дерева возможных состояний системы "коллектор" (рис.2) можно установить оптимальную траекторию укладки и относительную стоимость коллектора при прохождении в прямом направлении по оптимальному варианту.

43. Далее организуется цикл, в котором просматриваются все стоимости в последнем расчетном сечении и выбирается первое нулевое значение K=1,WPRED(K). Обозначение тупикового варианта в программе предусматривается через нуль.

44. Запоминается первое нулевое значение условной стоимости коллектора при K=1.

45. В случае, если K>М, т.е. все значения в последнем сечении нулевые, на АЦПУ выдается сообщение, что задача не имеет решения.

46. Затем организуется цикл, в котором перебираются все нулевые решения и находится минимальное значение. Фиксируется точка "K", соответствующая этому значению, т.е. WMIN=WPRED(K)

47. Далее в соответствии с последовательностью, изложенной в п.п.14-46,организуется аналогичный цикл, в котором в обратном направлении по матрице IW отмечаются по сечениям точки оптимальной траектории (заполняется массив IUK).

48. Поскольку в целях экономии памяти ЭВМ при выборе оптимального профиля коллектора не запоминались все вычисляемые параметры конкурирующих вариантов, то после условной оптимизации по сечениям следуют повторные вычисления, но уже по единственному варианту, удовлетворяющему всем требованиям СНиП в постановке задачи и условиям многокритериальной оптимизации. Этот цикл охватывает все сечения от второго до последнего участка, т.е. 2<I<N

49. На этом этапе оптимизации номера точек в каждой смежной паре сечений имеют следующие обозначения: в первом сечении их именуют через L(L=IUK(I)), а во втором сечении через J(J=IUK(I+1)).

50. Вычисляются отметки точек М и K заглубления труб коллектора:

GLUBM=C+S*(J-1);

(42)

GLUBK=C+S*(L-1).

(43)

51. Рассчитывается уклон трубы коллектора на I-м участке

U=(S*(J-L)+UKLON(I))/D.

(44)

52. Определяется средняя глубина коллектора на I-м участке

GLUB=(GLUBM+GLUBK)/2.0.

(45)

53. Вызывается подпрограмма определения диаметра трубы коллектора и скорости воды в нем CALL DIAM(V,Q,DM,V,I1).

54. Вычисляется относительная стоимость трубы коллектора на I-м участке:

а) относительная стоимость единицы длины

VAL=A1(MT,CM)*DM**ALFA(MT)+A2(MT,CM)*GLUB-A0(MT,CM);

(46)

б) относительная стоимость участка коллектора

VAL=VAL*D.

(47)

55. Вызывается подпрограмма определения расхода

CALL RASHOD(V,T1,I,Q) .

56. Результаты расчета по оптимальному варианту траектории прохождения и конструктивного оформления (тип материала, диаметр, уклон) коллектора выводятся на печать.

На этом программа "TRUBA" заканчивает свою работу.

6. Описание информации, используемой в программе

В

-

ширина водосбора с искусственных покрытий,

BLOT

-

ширина лотка,

D

-

расстояние между расчетными сечениями,

F

-

общая площадь водосбора, тяготеющая к коллектору,

F0

-

площадь водосбора, тяготеющая к расчетному сечению,

GLUB

-

средняя глубина залегания коллектора,

H

-

глубина лотка,

IPR

-

продольный уклон искусственного покрытия,

IPOP

-

поперечный уклон искусственного покрытия,

WW

-

соотношение продольного и поперечного уклонов искусственного покрытия,

LLOT

-

длина лотка между дождеприемными устройствами,

М

-

число расчетных точек в каждом сечении,

N

-

число дождеприемных устройств (число расчетных сечений коллектора),

U

-

уклон трубы коллектора.

UKLON

-

уклон поверхности искусственного покрытия,

S

-

расстояние между точками расчетного сечения,

DM

-

диаметр трубы коллектора,

DMTR

-

массив диаметров труб по сортаменту,

MK

-

код материала труб коллектора,

O

-

коэффициент, характеризующий климат района,

NK

-

характеристика дождей по их продолжительности и интенсивности,

Р

-

период повторяемости расчетной интенсивности дождя,

Q20

-

интенсивность двадцатиминутного дождя,

DELTA

-

параметр, равный максимальной интенсивности дождя при принятой повторности,

SS

-

величина стока,

PSI

-

коэффициент стока покрытия,

POKR

-

тип искусственного покрытия в индексах,

NZ

-

шероховатость искусственного покрытия,

NZTR

-

шероховатость трубы коллектора.

CG

-

глубина промерзания грунта,

CM

-

влажность грунта,

TLOT

-

время добегания воды по лотку,

TSKL

-

время добегания воды по склону,

T1

-

время добегания воды до расчетного сечения коллектора,

TPRED

-

время добегания воды до предыдущего по отношению к расчетному сечению

TPOSL

-

время добегания воды до последующего по отношению к расчетному сечению,

VLOT

-

скорость воды в лотке,

V

-

скорость воды в расчетном сечении коллектора,

Q

-

расход воды в расчетном сечении коллектора,

QPRED

-

расход воды в предыдущем по отношению к расчетному сечению,

QPOSL

-

расход воды в последующем по отношению к расчетному сечению.

A0, A1, A2, ALFA

-

экономические параметры для подсчета стоимости коллектора,

WPRED

-

относительная стоимость коллектора до предыдущего сечения,

WPOSL

-

относительная стоимость коллектора до расчетного сечения,

IW

-

матрица выбора оптимальной траектории прохождения коллектора.

7. Подготовка задания на выполнение программы в системе ОС ЕС

Задание должно состоять из последовательности перфокарт

//имя задания _ _ JOB _ _ уч.номер, MSGLEVEL=(2,0)

//_ _ EXEC_ _ PL1LFCLG

//SISIN _ DD _ *

(текст программы на п/к)

//GO. SISPRINT _ DD _ SYSOUT=A

//GО.SISIN _ DD _ *

(исходные данные)

//

Именем задания может быть любой идентификатор, выбранный пользователем, а учетный номер служит для контроля использования машинного времени. Список этих номеров, идентифицирующих заказы на машинное время кафедр и подразделений института, имеется у администратора ВЦ.

Исходные данные подготавливаются на перфокартах следующим образом (толкование идентификаторов приводится выше, здесь описана лишь последовательность ввода исходных данных):

N=……

M=……

;

 

 

NK=……

Q20=……

С=……

СG=……

F0=……

В=……

LLOT=……

BLOT=……

POKR=……

Н=……

D=……

S=……

UMIN=……

 

 

MT=……

CM=……

;

 

 

IPOP=……

;

 

 

 

далее следуют п/к, содержащие список высот рассм. точек ВПП, состоящий из N чисел, набитых через запятые (IPR).

Приведем как образец набивку исходных данных контрольного примера (здесь и выше символ _ означает пробел, а _ _ - несколько пробелов):

1 п/к _ _ N=51 _ _ M=50;

2 п/к _ _ NK=67 _ _ Q20=80 _ _ CG=l _ _ C=1.4 _ _ F0=11.475;

3 п/к _ _ B=22.5 _ _ LLOT=100 _ _ BLOT=5 _ _ POKR=l _ _ Н=0.02;

4 п/к _ _ D=75 _ _ S=0.05 _ _ UMIN=0.0025;

5 п/к _ _ МТ=2.0 _ _ СМ=1;

6 п/к _ _ IРОР=0.01;

7-10 п/к   168.0, 167.5, 167.0,…,160.0,

159.5,

155.0, 154.5,

Приложение

1. Исходные данные

Число высот, рассматриваемых на ВПП,           N=10

Число расчетных точек на каждом колодце      M=10

Климатологические характеристики:

NK=0.750

Q20=100.000

С=1.000

F0=0.500

Расстояние между колодцами        S=6.20

Расстояние между точками колодца        D=150.0000

Минимально возможный уклон трубы   UMIN=0.0030

Код материала труб    MT=2.0000

Характер грунта          CM=1.0000

Поперечный уклон ВПП      IPOP=0.0080

Значения высот ВПП            IPR=

168,0            166,5            165,0            163,5            162,0            160,5            157,5            156,0            154,52

2. Результаты счета

Выбраны точки, начиная со 2-го колодца: 1, 1, 1, 1, 2, 1, 2, 2, 1.

Номер участка

Уклон на участке

Точка колодца

Глубина копания

диаметр трубы

Расход воды

Скорость течения

Стоимость работ

2

0,01

1,00

1,00

0,31

115,01

1,50

961,05

3

0,01

1,00

1,00

0,44

186,75

1,70

1459,33

4

0,01

1,00

1,00

0,44

242,08

1,81

1459,33

5

0,01

1,00

1,10

0,46

287,71

1,79

1583,93

6

0,01

2,00

1,10

0,46

325,20

2,04

1583,93

7

0,01

1,00

1,10

0,50

360,82

2,04

1831,85

8

0,01

2,00

1,20

0,50

390,09

2,04

1880,19

9

0.01

2,00

1,10

0,50

417,98

2,18

1831,85

ЛИТЕРАТУРА

1. Глава СНиП 2.05.08-85 Аэродромы. - М.: Госстрой СССР, 1985. - 59 с.

2. Изыскания и проектирование аэродромов / Г.И. Глушков, В.Ф. Бабков. Л.И.Горецкий, А.С. Смирнов. Под ред. Г.И.Глушкова. - М.: Транспорт, 1981.- 616 с.

3. Тригони В.Е., Длигач Т.М. Методические указания по гидравлическому расчету на ЭВМ коллектора водосточной сети аэродрома / МАДИ. - М. - 1982. - 19 с.




Яндекс цитирования



   Copyright © 2007-2026,  www.tehlit.ru.

[ ѓосты, стандарты, нормативы, инструкции, правила, строительные нормы ]