//
|
|
МИНИСТЕРСТВО
ТРАНСПОРТА РОССИЙСКОЙ ФЕДЕРАЦИИ УТВЕРЖДЕНО приказом Директора Департамента воздушного транспорта от 19.09.94 № ДВ-98 Руководство
по эксплуатации гражданских аэродромов Москва "Воздушный транспорт" 1996 Содержание С введением в действие настоящего Руководства считать утратившим силу "Наставления по аэродромной службе в гражданской авиации СССР" (НАС ГА-86) ВВЕДЕНИЕДанное Руководство предназначено для соответствующих служб, полномочных органов и должностных лиц, несущих ответственность и осуществляющих эксплуатацию гражданских аэродромов. Оно может использоваться в качестве практического пособия, инструктивного, а в отдельных вопросах рекомендуемого материала должностным лицам и службам авиапредприятий и сторонних организаций, осуществляющих работы по эксплуатационному содержанию, ремонту (реконструкции) элементов летного поля в условиях действующего аэродрома. Руководство разработано на основе накопленного практического опыта эксплуатации аэродромов. Однако его положения должны быть увязаны с местными условиями, опытом, рекомендациями и правилами, действующими в данном регионе. В настоящем Руководстве даны основные положения, технологические особенности и рекомендации по эксплуатации элементов и сооружений летных полей аэродромов. В нем приведены ссылки на нормы и правила, регламентирующие требования к аэродромному обеспечению полетов воздушных судов. Руководство рассматривает основы аэродромного обеспечения полетов воздушных судов. В нем нашли отражения вопросы, направленные на экономически целесообразное и эффективное выполнение работ по подготовке аэродромов к полетам, а также вспомогательный материал по организации, методикам выполнения, расчетам и документальному оформлению результатов выполненных работ . В Руководстве сформулированы обязательные для выполнения требования, а также даны рекомендации по контролю состояния и подготовке летных полей аэродромов к полетам. ГЛАВА 1 ОСНОВНЫЕ ПОЛОЖЕНИЯ ПО ЭКСПЛУАТАЦИИ АЭРОДРОМОВ (ВЕРТОДРОМОВ) ГРАЖДАНСКОЙ АВИАЦИИ1.1. ОБЩИЕ ПОЛОЖЕНИЯ ПО СОДЕРЖАНИЮ И РЕМОНТУ АЭРОДРОМОВ (ВЕРТОДРОМОВ)1. 1.1. Содержание и ремонт летных полей аэродромов (вертодромов) представляют собой комплекс мероприятий, направленных на поддержание и восстановление первоначальных эксплуатационных качеств и обеспечение постоянной эксплуатационной готовности. 1.1.2. Содержание летных полей аэродромов (вертодромов) заключается в контроле их технического состояния и обеспечении готовности летного поля для производства полетов. Эксплуатационное содержание включает в себя работы, направленные на обеспечение функционального назначения элементов и сооружений летного поля, а также мероприятия по проверке и оценке их состояния, а именно: систематический контроль (инспектирование); детальный осмотр, контроль, в том числе инструментальный и выполнение работ по содержанию; выполнение ремонтных работ. 1.1.2.1. Систематический контроль включает мероприятия, необходимые для проверки и оценки эксплуатационного состояния покрытий сооружений и других элементов летного поля, как плановые, так и внеплановые, т. е. вызванные аварийными или другими обстоятельствами. 1.1.2.2. Работы рекомендуется выполнять по специально разработанным технологическим документам (планам) с указанием времени и характера выполнения работе отметкой (отчетом) об исполнении. В плане должны указываться: характер подготовки и вид контроля (проверки), отчет о результатах с их оценкой, на основании которой решается вопрос о необходимости проведения дополнительных мероприятий (очистки, маркировки, ремонта и т. п.). 1.1.3. Ремонт заключается в устранении дефектов с целью восстановления, в первую очередь, работоспособности покрытий, сооружений и других элементов летного поля, а затем и полной исправности. Поверхность аэродромных покрытий, особенно ИВПП и площадок для запуска двигателей, должна поддерживаться в таком состоянии, которое исключало бы возможность появления посторонних предметов - продуктов разрушения покрытий. 1.1.4. Под работоспособностью понимается способность покрытия (сооружения) или другого элемента летного поля аэродрома (вертодрома) выполнять заданные функции, сохраняя значения их основных параметров, изложенных в разд. 2.1 Руководства. 1.1.5. Под исправностью понимается такое состояние покрытия (сооружения, элемента летного поля), когда оно соответствует всем требованиям нормативных документов. 1.1.6. Качество элементов летного поля определяется совокупностью свойств: несущей способностью, прочностью, ровностью, фрикционными свойствами, влагостойкостью, атмосферостойкостью, морозостойкостью и др. 1.1.7. Обобщающее свойство качества покрытий, сооружений, элементов летного поля определяется надежностью. 1.1.8. В аэродромных покрытиях различают следующие свойства: долговечность, безотказность, ремонтопригодность, надежность. 1.1.8.1. Долговечность - характеризуется продолжительностью сохранения работоспособности элементов аэродрома с перерывами на ремонт (текущий, капитальный) до наступления предельного состояния. Долговечность аэродромных покрытий или других сооружений аэродрома измеряется сроком службы. Под предельным состоянием понимается такое состояние, при котором эксплуатация должна быть прекращена из-за невозможности аэродромного обеспечения полетов воздушных судов. 1.1.8.2. Под безотказностью понимается свойство непрерывно сохранять работоспособность в течение заданного времени. 1.1.8.3. Ремонтопригодность - приспособляемость покрытия (сооружения) или элемента летного поля к выполнению ремонта или техническому уходу. 1.1.8.4. Под надежностью понимается такое обобщающее свойство аэродромного покрытия (сооружения), элемента летного поля, которое обусловлено их долговечностью, безотказностью, ремонтопригодностью и обеспечивает выполнение заданных функций. 1.1.9. В зависимости от объема и характера, а также возможности выполнения ремонтные работы на аэродроме (вертодроме) подразделяются на текущие и капитальные. Основные положения по видам ремонта, а также методы, материалы и технологии выполнения ремонтных работ приводятся в "Руководстве по ремонту аэродромных сооружений". 1.1.10. К текущему ремонту относятся работы по систематическому и своевременному предохранению элементов летного поля и их сооружений от преждевременного разрушения и износа путем устранения мелких повреждений и неисправностей. Он подразделяете и на плановый, проводимый регулярно по плану на основе актов технических осмотром (см. прил. 15), и непредвиденный. 1.1.11. К капитальному ремонту относятся такие работы, в процессе которых производится исправление или смена разрушенных, деформированных и изношенных конструкций в значительных объемах или замена их на более прочные и экономичные. 1.1.12. Организация и выполнение ремонтных и других работ строительными организациями на летном поле действующего аэродрома должны отвечать требованиям, изложенным в разд. 5.5. настоящего Руководства. 1.1.13. Необходимость и назначение вида ремонта зависит от технического состояния искусственных покрытий (сооружений), элементов аэродрома, оцениваемого критериями предельного состояния, при которых дальнейшая эксплуатация покрытий недопустима. На критерий оценки предельного состояния главное влияние оказывает степень разрушения покрытия, в особенности его поверхностного слоя, поэтому оценка производится путем количественного определения степени разрушения, деформирования, неровностей и износа покрытия на момент обследования (см. прил. 15). 1.1.14. Степень разрушения аэродромных покрытия определяется на основании их обследования, по результатам которых составляются акты и планы дефектов покрытий с выводом о степени соответствия состояния покрытий требованиям НГЭА и оценкой их технического состояния (см. прил. 15). 1.1.15. Для определения технического состояния аэродромных покрытий и прогнозирования сроков их службы рекомендуется использовать различные методы оценки. По результатам обследований рекомендуется строить графики зависимостей значений оценки технического состояния от времени эксплуатации покрытия и посредством экстраполяции определить примерный ресурс, который позволит судить о долговечности покрытия, прогнозировать его дальнейшее состояние и вовремя наметить проведение тех или иных ремонтных мероприятий. 1.1.16. Назначение вида ремонта взаимосвязано со сроками службы покрытий до капитального ремонта. Примерная периодичность капитальных ремонтов покрытий приведена в "Руководстве но ремонту аэродромных сооружений" и может использоваться для планирования ремонтных мероприятий. 1.2. ОБЩИЕ СВЕДЕНИЯ О ГРАЖДАНСКИХ АЭРОДРОМАХ, РЕГИСТРАЦИЯ И ДОПУСК К ЭСПЛУАТАЦИИОбщие сведения о гражданских аэродромах, порядок регистрации и допуска к эксплуатации приведены в "Руководстве по государственной регистрации и допуску к эксплуатации гражданских аэродромов Российской Федерации". 1.3. ОСНОВНЫЕ ЗАДАЧИ АЭРОДРОМНОГО ОБЕСПЕЧЕНИЯ ПОЛЕТОВ1.3.1. Аэродромная служба. Осуществляет эксплуатационное содержание летных полей аэродромов в соответствии с действующими стандартами, нормами, правилами и настоящим Руководством. Осуществляет контроль за соответствием летных полей аэродромов требованиям НГЭА. Проводит мероприятия, направленные на восстановление пригодности летных полей аэродромов к приему и выпуску воздушных судов. Своевременно информирует службу аэронавигационной информации о всех изменениях, происходящих на аэродроме в части готовности лётного поля к полетам и выполняемых работах на его элементах. Осуществляет мероприятия по обеспечению соответствия летных полей сертификационным требованиям на аэродромах, в т.ч. на аэродромах, допущенных к эксплуатации по минимуму I, II, III категорий ИКАО. (Измененная редакция, Изм. № 2). Осуществляет контроль за строительством сооружений и объектов, расположенных на приаэродромной территории и воздушных трассах. Обеспечивает контроль за пригодностью приписных аэродромов, аэродромов для обеспечения авиационных работ и посадочных площадок к эксплуатации воздушных судов. 1.3.2. Руководитель полетов на аэродроме. Осуществляет контроль за выполнением работ налетном поле аэродрома, обеспечивая безопасность полетов воздушных судов. Контролирует готовность ВПП к приему и выпуску воздушных судов. Контролирует освобождение летной полосы от технических средств не позднее чем за 5 мин до расчетного (уточненного) времени посадки, а также перед взлетом воздушных судов. Запрещает выполнение работ на ВПП в случаях отсутствия или потери связи между диспетчером СДП и аэродромной службой. Запрещает выезд на ВПП техническим средствам, оборудование которых не соответствует требованиям настоящего Руководства, а также без сопровождения спецмашиной ответственного лица службы, проводящей работы на территории летного поля. 1.3.3. Служба спецавтотранспорта. Выделяет в распоряжение аэродромной службы аэродромно-уборочные машины и механизмы в исправном состоянии, оборудованные габаритными н проблесковыми огнями, радиостанцией, буксирными устройствами и тросами. ГЛАВА 2 ОБЩИЕ ТРЕБОВАНИЯ ПО ЭКСПЛУАТАЦИИ АЭРОДРОМОВ (ВЕРТОДРОМОВ)2.1. ТЕХНОЛОГИЧЕСКИЕ ТРЕБОВАНИЯ ПО ПОДГОТОВКЕ ЛЕТНЫХ ПОЛЕЙ АЭРОДРОМОВ (ВЕРТОДРОМОВ)2.1.1. Аэродром (вертодром) в целом или отдельные участки летного поля считаются не подготовленными к эксплуатации при следующих условиях: 2.1.1.1. Значение коэффициента сцепления на всей длине ИВПП и НВПП, содержащихся под слоем уплотненного снега, или на любом участке длиной более третьей ее части ниже 0,3 ед. к.с. (Измененная редакция, Изм. № 1). 2.1.1.2. Различие значений коэффициента сцепления на близлежащих участках ИВПП с обеих сторон от оси превышает 0,20 ед. к.с. 2.1.1.3. Толщина слоя атмосферных осадков (снега, слякоти, воды) на рабочей части ИВПП и ГВПП выше допустимых значений. 2.1.1.4. Сопряжения очищенных и неочищенных участков от снега имеют уклоны более 1:10. 2.1.1.5. Микронеровности покрытия не отвечают требованиям НГЭА. 2.1.1.6. Наличие на поверхности посторонних предметов, в том числе продуктов разрушения поверхности, кусков льда и уплотненного снега. 2.1.1.7. Наличие на поверхности участков, загрязненных ГСМ и антиобледенительной жидкостью для обработки ВС. 2.1.1.8. Прочность искусственных покрытий ВПП, РД, перрона, выраженная классификационным числом покрытия (PCN), недостаточна для ВС, допущенных к эксплуатации на указанных покрытиях. 2.1.1.9. Показатели прочности грунтов (уплотненного снежного покрова) на грунтовых аэродромах ниже значений, установленных требованиями РЛЭ, разброс среднеарифметических величин прочностей грунтов на глубинах 10 и 30 см для ГВПП и рабочих площадей посадочных площадок превышает на стартовых участках 10 %, средних - 20 %, путях руления - 15 %; 2.1.1.10. На стартовых участках ГВПП, МС, местах опробования двигателей и путях руления степень уплотнения грунтов, характеризуемая коэффициентом уплотнения по ГОСТ 22733-77 для песчаных и супесчаных грунтов, ниже 0,95, для суглинистых и глинистых - ниже 1,0; на средних участках ГВПП, соответственно, ниже 0,9 и 0,95, а для ЛП ниже 0,8 и 0,85. 2.1.1.11. Наличие размокшего верхнего слоя грунта глубиной более 0,5 см. 2.1.1.12. Микронеровности, определяемые по просвету между трехметровой рейкой н грунтовой (заснеженной) поверхностью летного поля в любых направлениях рабочей части грунтовой летной полосы, превышают 10 см. Мезонеровности превышают следующие предельные величины:
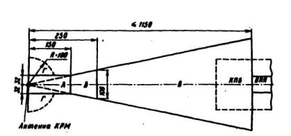
2.1.1.13. Отсутствуют либо не соответствуют требованиям НГЭА и настоящего Руководства дневные маркировочные знаки на искусственных покрытиях ИВПП, РД, МС и перроне, а также переносные знаки, устанавливаемые на грунтовых (заснеженных) аэродромах, не обеспечена их видимость. 2.1.2. Элементы летных полей аэродромов в зимнее время должны отвечать следующим требованиям: 2.1.2.1. Покрытия ВПП, РД, МС и перронов должны быть очищены от снега, льда, воды и посторонних предметов. 2.1.2.2. Грунтовая поверхность спланированной части летной полосы должна быть очищена от снега на ширину не менее 10 м с каждой стороны от границы ИВПП (в первую очередь очистки) и иметь сопряжения из снега с уклоном не более 1:10. 2.1.2.3. Обочины РД, МС и перронов должны быть очищены от снега на ширину не менее 10 м (во вторую очередь очистки) и иметь с неочищенной частью сопряжения с уклоном не более 1:10. 2.1.2.4. ГВПП должна быть очищена от снега на всю длину и на ширину для аэродромов класса А и Б - 100 м, В - 85 м, Г и Д - 75 м, Е - 60 м; между очищенными и неочищенными участками должны быть сопряжения из снега с уклоном не более 1:10. 2.1.3. Водоотводные и дренажные системы на аэродромах (вертодромах) должны быть в исправном состоянии. Не допускаются следующие дефекты элементов водосточно-дренажных систем: застойные скопления воды у водоприемных устройств (тальвежных и водоприемных колодцев, входных оголовков коллекторов); провалы грунта по трассам прохождения подземных коллекторов и у водоприемных сооружений, находящихся в пределах летного поля; выступы или просадки колодцев относительно проектного положения; разрушение крышек, решеток и стен колодцев; засоры подземных трубопроводов; нарушение продольных и поперечных профилей лотков и водоотливных канав, препятствующее нормальному стоку воды. 2.1.4. Газоотбойные устройства должны обеспечивать надежную защиту техники, сооружений, обслуживающего персонала от воздействия газовоздушных струй авиадвигателей. Не допускается эксплуатация этих устройств, если они имеют хотя бы один из следующих дефектов: сквозные трещины в металлических элементах; нарушение целости сварных, болтовых и заклепочных соединений; пробоины в теле сплошных металлических щитов; отсутствие отклоняющих пластин на решетчатых щитах; эрозионные повреждения грунтовых валов, допускающие вынос продуктов разрушения газовоздушными струями. 2.1.5. Швартовочные устройства на МС должны обеспечивать восприятие расчетных усилий от растяжек ВС расчетных типов. Запрещается эксплуатация этих устройств, если они не имеют акта проверки прочности (прил. 17). 2.1.6. Заземляющие устройства должны иметь сопротивление растеканию тока не более 100 Ом. 2.2. ВЗАИМОДЕЙСТВИЕ СЛУЖБ АЭРОПОРТА, ОБЕСПЕЧИВАЮЩИХ ПОЛЕТЫ2.2.1. На основе требований разд. 2.2 настоящего Руководства в каждом авиапредприятии (аэропорту, летном учебном заведении) должна быть составлена "Технология взаимодействия аэродромной службы со службой движения и другими наземными службами, обеспечивающими полеты" с учетом местных условий и особенностей работы. В тех случаях, когда намечается проведение ремонтно-строительных и других видов работ на летном поле без прекращения полетов в условиях действующего аэропорта с привлечением сторонних организаций, заблаговременно в Технологию необходимо внести изменения и дополнения в соответствии с требованиями разд. 5.5 настоящего Руководства. Изменения и дополнения в Технологию вносятся с учетом и других происшедших изменений в аэропорту и до 1 октября каждого года утверждаются приказом по авиапредприятию. На аэродромах совместного базирования Технология утверждается совместно со старшим авиационным начальником. 2.2.2. Руководитель полетов аэродрома (РПА) является главным и единственным должностным лицом, определяющим готовность аэродрома к полетам, разрешающим и запрещающим прием и выпуск воздушных судов. Его решения обязательны для всех служб, обеспечивающих полеты, и могут быть отменены только командиром авиапредприятия с документальной записью, имеющей юридическую силу. 2.2.3. Все службы аэропорта должны выполнять работы на летном поле под руководством и в присутствии ответственных лиц соответствующих служб. Выезд транспортных средств на летные полосы, РД и другие рабочие площади производится только с разрешения РПА или диспетчера СДП (СДП МВЛ) после согласования проведения работ с ответственным лицом аэродромной службы не позднее чем накануне дня их выполнения, сообщая при этом о характере работ, месте и времени их проведения. 2.2.4. Ответственное лицо за выполнение работ на летном ноле по указанию РПА или диспетчера СДП должно принимать меры по немедленному удалению техники и людей с летного поля. Во всех случаях летное поле должно быть освобождено не позднее чем за 5 мин до расчетного (уточненного) времени посадки и взлета ВС. 2.2.5. При выполнении работ на летном поле РПА обязан: 2.2.5.1. До начала работ: получить информацию от аэродромной службы о необходимости проведения работ, проанализировать характер ее выполнения, продолжительность; принять решение о выполнении работ, прекращая полеты, либо в промежутках между взлетами и посадками при наличии временных интервалов, обеспечивающих освобождение летной полосы и других рабочих площадей не позднее чем за 5 мин до расчетного (уточненного) времени и посадки ВС; согласовать с аэродромной и другими службами по принадлежности работ порядок их выполнения, продолжительность, время начала и окончания, количество спецавтотехники (оборудования) и место ее сосредоточения; продублировать порядок ведения радиосвязи, а при ее потере - сигналы немедленного освобождения летной полосы; передать диспетчерам СДП (СДП MBЛ) указание о запрещении или ограничении по приему и выпуску ВС; сообщить время начала и окончания выполняемых работ; в случаях намечаемого закрытия аэродрома дать указание диспетчеру АДП о подготовке и передаче соответствующей информации в соответствующие адреса согласно Табелю сообщений. 2.2.5.2. В процессе выполнения работ: периодически осуществлять контроль за наличием и устойчивостью радиосвязи между диспетчером СДП (СДП МВЛ) и начальником (ответственным лицом за проведение работ)службы, выполняющей работы, и аэродромной службой; в случаях потери радиосвязи или ее неустойчивой работы немедленно запретить производство работ на летной полосе и критических зонах РМС и принять незамедлительно меры по освобождению их от техники, оборудования и людей; дать указание диспетчеру АДП о передаче информации в аэропорты о возобновлении полетов в соответствии с Табелем сообщении, если работы на летной полосе и критических зонах РМС выполняются без отступлений от согласованного графика. 2.2.5.3. После выполнения работ: получить доклад начальника аэродромной службы об окончании работ, данные о замеренном коэффициенте сцепления и толщине слоя осадков, а также освобождении летной полосы, РД и критических зон РМС, лично проконтролировать готовность летного поля к приему и выпуску ВС; дать указание диспетчеру старта и посадки о возобновлении приема и выпуска ВС. 2.2.6. При выполнении работ на летной полосе диспетчер старта обязан: 2.2.6.1. До начала работ: записать на трафарете диспетчера: место, характер, время начала и окончания работ, количество техники и людей после получения информации от РПА о предстоящем выполнении работ; уточнить место, характер, время начала и окончания работ с получением запроса на занятие летной полосы (критических зон РМС) от аэродромной службы, сравнив эти данные с информацией, полученной от РПА; при расхождении этих данных доложить об этом РПА и действовать по его указанию, внеся соответствующие исправления в записи на трафарете диспетчера; разрешить выезд на летную полосу и в критическую зону РМС автомашины руководителя работ и другой техники, оборудованной соответствующим образом, при наличии двусторонней радиосвязи; включить световое табло "ВПП занята"; доложить РПА, ВСДП, ДПР и посадки о начале работ: "ВПП (МК...) закрыта с... ч... мин. до... ч ... мин. очисткой (осмотром, производством работ и т. п.), на ВПП (ЛП) работает ... единиц техники/с указанием местоположения или участка работ/(от РД ... до РД ... и т. п.). Табло "ВПП занята" - включил". 2.2.6.2. В процессе выполнения работы: контролировать радиосвязь с подключением к аэродромной службе (руководителя работ) каждые 15 мин; вести наблюдение за работой техники и людей; при потере радиосвязи с аэродромной службой запрещать выполнение работ путем выключения и включения огней ВПП (при включенной кнопке "1" яркости системы ОВИ) и пуском двух красных ракет в сторону работающей техники; дать указание начальнику аэродромной службы (руководителю работ) о немедленном освобождении летной полосы (критических зон РМС) при возникновении необходимости, а также в любом случае отказа работающей на летном поле техники и получить от него доклад об освобождении упомянутой площади. 2.2.6.3. После выполнения работ: записать данные о состоянии летной полосы, критических зон РМС и РД на трафарет диспетчера по докладу начальника аэродромной службы после окончания работ и замеров параметров состояния летного поля; получить доклад ВСДП, что ВПП свободна, выключить световое табло "ВПП занята" и немедленно доложить РПА о том, что летная полоса (...) свободна, а техника и люди по РД №... соответствующие площади маневрирования освободили; снять с трафарета запись о выполнении работ на летном поле; сообщить диспетчеру посадки и ВСДП о возобновлении приема и выпуска ВС при наличии личного разрешения РПА. 2.2.7. При проведении работ на летном поле ответственное должностное лицо за проведение работ обязано: 2.2.7.1. До начала работ: сообщить РПА о необходимости выполнения работ, месте, характере и предполагаемой их продолжительности; согласовать с РПА порядок их выполнения, время начала и окончания (продолжительность); количество работающей спецавтотехники, оборудования и людей; место их сосредоточения; уточнить порядок радиосвязи и в случае ее потери - сигналы немедленного освобождения соответствующих площадей и критических зон РМС; сосредоточить в установленные РПА время и место спецавтотехнику и работников бригады; проверить инвентарь и наличие оборудования спецавтотехники; поставить задачу рабочим и водителям, указав место, порядок проведения работ, время начала и окончания их выполнения, порядок связи и сигнализации, обратив особое внимание на необходимость немедленного освобождения летной полосы и критических зон РМС после получения команды по каналам связи или установленному сигналу об их освобождении; доложить диспетчеру СДП (СДП МВЛ) о готовности к работе на летной полосе (критических зонах РМС) и по его разрешению приступить к работе. 2.2.7.2. В процессе выполнения работ: следить за ходом их выполнения строго на установленных и согласованных с РПА участках летного поля и обеспечивать меры безопасности; проводить контрольную, проверку радиосвязи с диспетчером СДП каждые 15 мин, а при ее потере или неустойчивости немедленно прекратить выполнение работ и вывести технику и людей за пределы летной полосы и критических зон РМС; немедленно докладывать СДП (СДП МВЛ) и принимать срочные меры по удалению в безопасное место техники в случае ее выхода из строя; обеспечивать вывод техники и людей, работающих на летной полосе и в критических зонах РМС за их пределы, не позднее чем за 5 мин до расчетного (уточненного) времени взлета или посадки ВС либо немедленно по команде РПА или диспетчера СДП (СДП МВЛ). 2.2.7.3. После выполнения работ: убедиться, что при их производстве не было допущено никаких отклонений, препятствующих безопасному выполнению полетов; доложить РПА об окончании работ и выводе техники и людей в безопасное место вне летной полосы и критических зон РМС; произвести оценку параметров состояния ВПП и РД (измерение коэффициента сцепления и толщины слоя осадков) и доложить о параметрах состояния РПА; произвести запись в Журнал учета состояния летного поля в соответствии с прил. 3 настоящего Руководства. 2.2.8. При замере коэффициента сцепления (или оценке других параметров состояния) ВПП взаимодействие служб, обеспечивающих полеты, устанавливается следующее: при метеоусловиях, вызывающих изменение фрикционных свойств покрытия летной полосы (выпадение осадков) РПА обязан дать указание начальнику аэродромной службы (ответственному лицу) на измерение коэффициента сцепления (величины слоя осадков и других измеряемых параметров)и сообщить на СДП об отданном указании и существующем порядке обеспечения безопасности полетов; начальник аэродромной службы (ответственное лицо) осязательно запрашивает у диспетчера СДП разрешение на занятие ИВПП (ВПП) для выполнения измерений коэффициента сцепления (величины слоя осадков и других измеряемых параметров); диспетчер СДП в соответствии с полученными от РПА указаниями передает информацию о намерениях намерить коэффициент сцепления (произвести оценку состояния летной полосы, РД) диспетчеру посадки, включает световое табло "ВПП занята"; после подтверждения диспетчера посадки о приеме необходимой информации разрешает выезд на ВПП для замеров коэффициента сцепления (или других измерений, связанных с оценкой состояния летного поля); начальник аэродромной службы (или ответственное лицо) после проведения процедуры измерений и освобождения ВПП докладывает диспетчеру СДП и РПА об этом и дает информацию о состоянии ВПП, величине коэффициента сцепления (и других измеряемых параметрах состояния); результаты измерений коэффициента сцепления, толщины слоя осадков, осмотра ВПП и ее состояние должны быть оформлены и записаны в Журнале учета состояния летного поля в соответствии с прил. 3 настоящего Руководства не позднее чем через 15 мин после процедуры измерения; РПА в соответствии с полученными результатами измерений и личной оценкой состояния дает указание диспетчеру СДП о возобновлении приема и выпуска ВС либо об их ограничении или запрете. 2.2.9. Порядок пересечения летной полосы спецавтотранспортом, оснащенным специальным оборудованием, отвечающим требованиям разд. 2.4 настоящего Руководства, устанавливается следующий: водитель машины (представитель службы) обязан запросить у диспетчера СДП разрешение на пересечение летной полосы, (Измененная редакция, Изм. № 2). диспетчер СДП дает разрешение на пересечение летной полосы транспортным средством и сообщает об этом диспетчеру ВСДП только в тех случаях, когда имеется временной интервал не менее 5 мин от момента разрешения диспетчера на пересечение до момента приземления заходящего на посадку ВС либо когда ВС при пробеге миновало намеченное место пересечения летной полосы; диспетчеры СДП и ВСДП ведут визуальное наблюдение за двигающимся транспортным средством; после пересечения летной полосы и ее освобождения транспортным средством, покинувшим ЛП (границы критической зоны РМС) водитель (представитель службы) должен доложить диспетчеру СДП об освобождении летной полосы; (Измененная редакция, Изм. № 2). диспетчер СДП, получив сообщение об освобождении летной полосы, обязан при наличии видимости или через диспетчера ВСДП убедиться в том, что летная полоса свободна для приема и выпуска ВС. 2.3. ОРГАНИЗАЦИЯ СВЯЗИ ПРИ ВЫПОЛНЕНИИ РАБОТ НА ЛЕТНОМ ПОЛЕ2.3.1. Радиообмен между аэродромной службой и другими службами аэропорта осуществляется в соответствии с требованиями действующих нормативных документов. 2.3.2. Переговоры по радиосвязи должны быть краткими и содержать только необходимые сведения и соответствовать фразеологии. 2.3.3. Для ведения радиотелефонной связи абонентам и аэродромным машинам присваиваются позывные, приведенные в прил. 4. 2.3.4. Все переговоры РПА с ответственными лицами аэропорта за проведение работ на летном поле фиксируются на магнитной ленте. 2.3.6. Установление радиосвязи начинается с вызова и ответа на вызов. Перед вызовом РПА (диспетчера службы движения) лицо, осуществляющее связь, должно убедиться в том, что оно не будет создавать помех радиообмену диспетчеров с другими абонентами, и только тогда может выйти на связь. 2.3.6. При отказе радиосвязи между диспетчером СДП (СДП МВЛ) и ответственным лицом за проведение работ на летном поле и РД принимаются экстренные меры для эвакуации техники и людей. Сигналом к освобождению летной полосы и РД при потере радиосвязи являются трехкратное включение и выключение огней ВПП и две красные ракеты в сторону работающей техники. 2.3.7. В каждом аэропорту разрабатывается фразеология радиообмена между службой движения и службами, обеспечивающими полеты с учетом местных особенностей (см. прил. 4) 2.3.8. Для обеспечения радиосвязи аэродромная служба снабжается стационарными и переносными радиостанциями. 2.4. ТРЕБОВАНИЯ К АЭРОДРОМНЫМ МАШИНАМ ПРИ РАБОТЕ НА ЛЕТНОМ ПОЛЕ2.4.1. Все аэродромные машины, допущенные для работ на летной полосе, РД, перроне и МС, должны быть оборудованы габаритными и проблесковыми огнями, включаемыми во время работы независимо от времени суток, а также средствами внутриаэропортовой связи. 2.4.2. Проблесковые огни, установленные на аэродромных машинах, должны быть желтого цвета, обладать эффективной силой света не менее 40 и не более 400 кандел (кд) с частотой вспышек (75±15) мин. Перечень аэродромных машин, подлежащих оборудованию проблесковыми огнями, приведен в прил. 5. 2.4.3. На машине ответственного лица за проведение работ на летной полосе и РД дополнительно устанавливают радиоприемник для прослушивания радиообмена на частоте диспетчера посадки. 2.4.4. Каждая машина, работающая на летной полосе и РД, должна быть оборудована буксировочным устройством и тросом, средствами пожаротушения и медицинской аптечкой. 2.4.5. Допуск на летную полосу и РД технически неисправных машин и механизмов, не оборудованных средствами сигнализации и связи и т. п. согласно пп. 2.4.1 - 2.4.4, запрещается. 2.4.6. При работе на летной полосе и РД средства радиосвязи, габаритные и проблесковые огни, установленные на машинах, выключать запрещается. 2.4.7. Въезд на аэродромные покрытия машин и механизмов с загрязненными колесами, а также механизмов на гусеничном ходу запрещается. 2.4.8. Радиофицированные аэродромные машины должны управляться водителями, обученными правилам ведения внутриаэропортовой связи. 2.4.0. При получении соответствующей команды по каналам связи или по установленному сигналу водители, работающие на летном поле и РД, обязаны прекратить работу и незамедлительно вывести технику в установленное место. В случае выхода из строя средств связи на аэродромной машине она немедленно отводится с летного поля и не должна работать до устранения неисправностей. 2.5. БАЗА АЭРОДРОМНОЙ СЛУЖБЫ АЭРОПОРТА2.5.1. Производственные функции аэродромной службы разделяются на два направления, связанные с подготовкой летного поля к полетам и обеспечением указанных работ на базе аэродромной службы аэропорта (БАСА). 2.5.2. Для выполнения своих функциональных обязанностей по содержанию и ремонту летных полей аэродромная служба должна иметь специальную базу аэродромной службы. 2.5.3. Параметры зданий, сооружений и оборудования БАСА должны соответствовать объемам выполняемых работ. 2.5.4 БАСА предназначена: для хранения лакокрасочных материалов и растворителей, подготовки к работе средств механизации для маркировочных работ; подготовки к применению мастик для заливки швов и трещин на искусственных покрытиях; хранения и подготовки к применению химреагентов и песчано-солевой смеси для борьбы с гололедными образованиями на искусственных аэродромных покрытиях, внутриаэропортовых дорогах и привокзальных площадях; хранения и подготовки к применению средств для измерения параметров состояния летного поля; технического обслуживания, ремонта, хранения, подготовки к применению прицепных аэродромных средств механизации и оборудования; размещения на открытых стоянках с твердым покрытием аэродромных самоходных машин эксплуатационного содержания аэродромов; хранения и подготовки к применению строительных материалов для текущего ремонта искусственных покрытий аэродрома; хранения неснижаемого запаса материалов и строительных конструкций, необходимых для устранения повреждений аэродрома; хранения и подготовки к применению технического имущества аэродромной службы (инвентаря, приборов, спецоборудования, спецматериалов, спецодежды и т. п.). 2.5.5. Территория БАСА должна размещаться вблизи летного поля. Размещение территории БАСА должно выполняться с учетом нормативных технологических разрывов от ВПП, РД, МС, перрона, спецплощадок, зданий и других сооружений аэропорта. 2.5.6. На территории БАСА должны размещаться: административно-бытовые здания; ремонтные мастерские; склады (складские помещения) для хранения лакокрасочных материалов, химических реагентов, мастик для заливки швов, семян травосмесей, инвентаря и материалов; навесы для хранения на площадках строительных материалов, песка, щебня, гравия и т. д.; гаражи для хранения техники и оборудования; площадки с искусственными маркированными покрытиями для стоянки аэродромных машин и механизмов; площадки без искусственных покрытий для стоянки гусеничной техники, прицепных механизмов и оборудования; пожарный водоем и первичные средства пожаротушения. 2.5.7. В административно-бытовом здании должны быть предусмотрены оборудованные классы для технической учебы и инструктажа личного состава. 2.5.8. Площадки для хранения сыпучих материалов должны оборудоваться средствами механизации для погрузочно-разгрузочных работ. 2.5.9. Химические антигололедные реагенты должны храниться на складе в штабелях в сухих закрытых неотапливаемых помещениях раздельно в зависимости от типа реагента. Вместимость склада химреагентов должна соответствовать максимальной потребности в зависимости от расхода реагентов за сезон. 2.5.10. Семена травосмесей должны храниться в специальных помещениях с соответствующей температурой и влажностью для данных семян. 2.5.11. Пиломатериалы, переносные маркировочные знаки, снегозащитные щиты и другие деревянные изделия, как правило, хранятся под навесом. 2.5.12. Резинобитумное вяжущее для заливки швов аэродромных покрытий должно храниться в соответствии с требованиями ТУ 21-27-41-75. 2.5.13. На БАСА аэродромная служба должна иметь средства надежной связи со службами авиапредприятия. 2.5.14. На территории БАСА следует выполнять все установленные правила техники безопасности, охраны труда, пожарной безопасности и экологии окружающей среды. 2.6. ТРЕБОВАНИЯ К СОДЕРЖАНИЮ ЗОН КРМ И ГРМ РМС2.6.1. К основным требованиям содержания зон КРМ и ГРМ РМС относятся: ограничение высоты травяного покрова, толщины целинного или уплотненного снега, неровностей микрорельефа и соблюдение уклонов рельефа. 2.6.2. В зонах КРМ категорированных РМС (рис. 2.1-2.3) высота травяного покрова и толщина целинного или уплотненного снега, уклон местности в любом направлении и неровности микрорельефа не должны превышать значений, приведенных в табл. 2.1. 2.6.3. На существующих аэродромах, на которых при установке КРМ требуется проведение больших объемов земляных работ, в зонах А и Б (см. рис. 2.1) уклоны местности сохраняются существующие, а неровности микрорельефа допускаются не более ± 0,2 м. 2.6.4. В зоне РМС I, II, и III категорий местность должна быть свободной от шоссейных и железных дорог, воздушных линий связи и электропитания, от леса, кустарников и любых местных препятствий высотой более 1 м.
Рис. 2.1. Зоны курсового радиомаяка для РМС-1, СП-68 (Измененная редакция, Изм. № 2). Примечание. Все размеры в гл. 2 даны в метрах
Рис. 2.2. Зоны КРМ РМС типа СП-70 (Измененная редакция, Изм. № 2). 2.6.5. В пределах зон А, Б, В, Г движение автотранспорта допускается. 2.6.6. В зонах А ГРМ PMC A (A1) и Б ГРМ I категории РМ (рис. 2.4 и 2.5) местность должна быть ровной и иметь уклоны более допустимых по нормам на строительство летных полей. 2.6.7. Высота травяного покрова и толщина целинного или уплотненного снега и неровности микрорельефа в зонах ГРМ категорированных РМС не должны превышать значений, приведенных в табл. 2.2.
Рис. 2.3. Зоны курсового радиомаяка СП-75, СП-80Н, СП-80М (Измененная редакция, Изм. № 2). Примечания: 1. Зона Г предусматривается для КРМ СП-80М при установке по II и III категориям, а также для КРМ СП-76 и КРМ СП-80 Н с рабочим сектором ±35° при установке по II категории. 2. Размеры зон не зависят от высоты антенны КРМ
Рис. 2.4. Зона глиссадного радиомаяка СП-75, СП-80М Примечание. "Д" определяется в соответствии с ВСН 7-86
Рис. 2.5. Зоны глиссадного радиомаяка СП-70, СП-80М
2.6.8. Продольный и поперечный уклоны местности в зоне ГРМ СП-70, СП-75, СП-80 М не должны превышать значений, приведенных в табл. 2.3. 2.6.9. В зонах А и Б ГРМ, за исключением примыкающих к ВП участков шириной до 40 - 50 м (в зависимости от бокового удаления ГРМ 120 - 180 м), должно быть обеспечено постоянство продольных уклонов. Таблица 2.2
Таблица 2.3
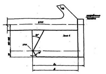
2.6.10. Критические зоны, определенные для каждого КРМ и ГРМ, образуют критическую зону РМС, которая должна иметь дневную и ночную маркировку. В качестве дневной маркировки, определяющей границу критической зоны, служит маркировка мест ожидания ВС, которая наносится в соответствии с п. 3.1.13. настоящего Руководства. 2.6.11. В случае использования для ночной маркировки входа в критическую зону и выхода из нее сдвоенных огней кругового обзора на покрытии РД с левой стороны по движению ВС наносят надписи желтого (оранжевого) цвета (рис. 2.6): "PMC" ("ILS" для международных аэропортов) на траверзе красных огней; " 2.6.12. В местах пересечения критической зоны РМС с внутриаэропортовыми дорогами должны быть установлены дорожный знак "Проезд без остановки запрещен" и щит с надписью "Зона РМС. Проезд без разрешения диспетчера СДП запрещен."
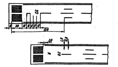
Рис. 2.6. Расположение и размеры маркировочных знаков входа и выхода из критической зоны ГЛАВА 3 МАРКИРОВКА АЭРОДРОМОВ (ВЕРТОДРОМОВ) И ПРЕПЯТСТВИЙДневная маркировка и оборудование маркировочными знаками обязательны для всех аэродромов и вертодромов. Дневную маркировку и светоограждение зданий и сооружений осуществляют владельцы этих зданий и сооружений. Схемы дневной маркировки аэродромов (вертодромов) и оборудование маркировочными знаками утверждаются авиапредприятием с учетом конкретных условий эксплуатации аэродрома. В процессе эксплуатации аэродрома (вертодрома) производится периодическое обновление маркировочных знаков. Все маркировочные знаки ИВПП должны быть белого цвета. При отсутствии контрастности поверхности покрытия с белым цветом допускается обводка знаков черным цветом. Маркировочные знаки искусственных покрытий РД, МС и перрона должны быть контрастирующими по цвету со знаками ИВПП и иметь оранжевый (желтый) цвет. Маркировочные знаки зон обслуживания ВС имеют красный цвет, а пути движения спецавтотранспорта - белый цвет. Цвет маркировочных знаков грунтовых аэродромов (вертодромов) представляет собой сочетание двух цветов: оранжевого с белым, красного с белым или черного с белым. 3.1. ДНЕВНАЯ МАРКИРОВКА АЭРОДРОМОВ С ИСКУССТВЕННЫМИ ПОКРЫТИЯМИ3.1.1. На ИВПП маркировочными знаками обозначают: продольную ось ИВПП, порог, цифровой знак посадочного магнитного путевого угла (ПМПУ), зону приземления, фиксированное расстояние и край. Схемы маркировки ИВПП приведены на рис. 3.1. Расположение маркировочных знаков на ИВПП, их размеры н количество определяются по табл. 3.1. 3.1.2. При постоянно и временно смещенном пороге (рис. 3.2) к новой маркировке добавляется поперечная линия; все маркировочные знаки, предшествующие смещенному порогу, ликвидируются, за исключением маркировки осевой линии ИВПП, полосы которой преобразуются в стрелки-указатели. Таблица 3.1 Расположение маркировочных знаков на ИВПП, их размеры и количество
Примечания: 1. На ИВПП, оборудованных по минимуму II, III категорий ИКАО, осевая линия должна иметь ширину 0.9 м. 2. Маркировка осевой линии ИВПП должна располагаться вдоль продольной оси ИВПП. 3. Значения параметров в скобках используются яри маркировке параллельных ИВПП. 4. Количество знаков зоны приземления дано с учетом знаков фиксированного расстояния для одного курса посадки. 5. Маркировочные знаки ИВПП: осевой линии, зоны приземления, зоны фиксированного расстояния, края ВПП и ПМПУ располагаются от начала маркировки порога. 3.1.3. Цифровые знаки ПМПУ располагают на концевых участках ИВПП у каждого порога и состоят из двухзначных чисел, обозначающих магнитный азимут оси ИВПП. Определение цифрового знака ПМПУ приведено в табл. 3.2. Места расположения знака ПМПУ приведены на рис. 3.1 и 3.3. Таблица 3.2 Определение цифрового знака, обозначающего посадочный магнитно-путевой угол (ПМПУ) рабочего направления ИВПП
3.1.4. Параллельные ИВПП маркируются латинскими буквами "L" (левая) и "R"(правая), которые располагаются между знаками порога и цифровыми знаками ПМПУ согласно рис.3.3. Форма цифр и букв и их размеры приведены на рис. 3.4. 3.1.5. На участках пересечения взлетно-посадочных полос маркировка главной ИВПП сохраняется, а вспомогательной прерывается. 3.1.6. Зону приземления маркируют парами прямоугольных симметричных полос, расположенных параллельно оси ИВПП. 3.1.7. Фиксированное расстояние на ИВПП аэродромов обозначают парой параллельных прямоугольных полос, расположенных симметрично оси ИВПП. Они совмещаются со второй парой параллельных полос зоны приземления.
Рис 3.1. Схема маркировки ИВПП: Примечание. Все размеры в гл. 3 даны в метрах 3.1.8. Маркировку края ИВПП в международных аэропортах на ИВПП, оборудованных для эксплуатации по I, II и III категориям ИКАО, наносят в виде двух сплошных линий шириной 0,9 м, каждую из которых располагают вдоль боковой границы ИВПП на расстоянии 1,0 м от кромки покрытия и 3,0 м от знаков маркировки порога. Маркировка края прерывается в местах примыкания РД к ИВПП, пересечения ВПП и уширения ИВПП. 3.1.9. Маркировку неклассифицированных аэродромов выполняют в соответствия с рис. 3.5.
Рис. 3.2. Схема маркировки смешенного порога
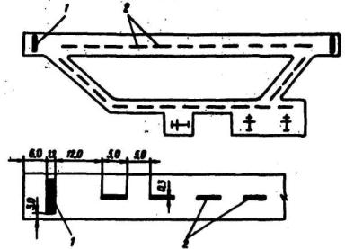
Рис. 3.3. Схема маркировки параллельных ИВПП: 3.1.10. На РД аэродромов наносят маркировочные знаки осевой линии, места ожидания ВС перед выруливанием на ИВПП, на участках сопряжения РД с ИВПП и по границам участков ненесущих покрытий, трудно отличимых от несущих (рис. 3.6).
Рис. 3.4. Размеры и форма цифр и букв на ИВПП
Рис.. 3.5. Схема маркировки ИВПП
неклассифицированных аэродромов:
Рис. 3.6. Схема маркировки РД: 3.1.11. Маркировку осевой линии РД на прямолинейных и криволинейных участках и пересечениях РД выполняют сплошной линией шириной 0,15 м. Осевая линия РД в местах пересечения с маркировкой места ожидания ВС прерывается. 3.1.12. Маркировка осевой линии РД на участке сопряжения с ИВПП производится продолжением параллельно маркировке осевой линии ИВПП на расстоянии не менее 60,0 м от точки их касания. РД, примыкающие к торцам ИВПП, маркируются в соответствии с рис. 3.6. 3.1.13. Маркировка мест ожидания ВС на РД перед выруливанием на ИВПП выполняется четырьмя желтыми (оранжевыми) поперечными линиями: двумя сплошными и двумя пунктирными на расстоянии от оси ИВПП согласно табл. 3.3. Таблица 3.3
3.1.14. Ненесущие покрытия обочин РД отделяются от покрытий РД боковыми маркировочными полосами, состоящими из двух сплошных линий шириной 0,15 м каждая, с интервалом между ними 0,15 м. Внешняя боковая маркировочная полоса наносится таким образом, чтобы ее внешний край совпадал с границей несущего покрытия. 3.1.15. На МС и перронах аэродромов (рис. 3.7-3.10) наносят маркировочные знаки оси руления ВС (линии заруливания, разворота, выруливания), Т-образный знак остановки ВС, номера стоянок, контуры зон обслуживания ВС, пути движения и знаки остановки спецавтотранспорта. Маркировка МС и перронов выполняется с учетом размещения ВС и особенностей технологии их обслуживания. 3.1.16. Оси руления ВС маркируются сплошной линией миримой 0,15 м. 3.1.17. Форма и размеры Т-образного знака остановки ВС (носовой части) приведены на рис. 3.7. Расстояние между поперечной линией Т-образного знака и прямолинейной осью руления ВС должно быть не менее половины размаха крыла расчетного типа ВС плюс безопасное расстояние (от 4 до 7,5 м). Расстояние между Т-образными знаками должно быть не менее размаха крыла плюс безопасное расстояние (от 5 до 7,5 м).
Рис 3.7. Схема маркировки МС: Примечание. Числитель - размеры для аэродромов класса А, Б, В. Знаменатель - размеры для аэродромов класса Г и Д; а = 5-7,5 м
Рис. 3.8. Схема маркировки перрона: 3.1.18. Номер места стоянки наносится на расстоянии 2,0 м впереди Т-образного знака. Размеры и форма цифр приведены на рис. 3.9. 3.1.19. Контур зоны обслуживания ВС наносится сплошной линией шириной 0,15 м в виде восьмиугольника, размеры которого должны соответствовать габаритам эксплуатируемых ВС, а стороны должны наноситься не ближе 2,0 м от крайних габаритных точек ВС При маркировке зоны обслуживания групповых стоянок ВС 3-го и 4-го класса маркировочную линию восьмиугольника наносят на расстоянии 1,5 м от крайних габаритных точек ВС.
Рис. 3.9. Размеры и форма цифр на МС и перроне Габариты ВС и расстояние от ВС, маневрирующего на перроне, МС или площадке специального назначения до здания (сооружения, устройства) или стоящего ВС, приведены в табл. 3.4. 3.1.20. Пути движения спецавтотранспорта для аэродромов всех классов маркируются (см. рис. 3.8) двумя сплошными линиями шириной 0,1 м, обозначающими ширину проезжей части, равной за ВС - 7,0 м, вперед ВС - 3,5 м. Двусторонние пути, помимо этого маркируются раздельной пунктирной линией шагом 1,0 м. 3.1.21. Односторонние пути движения спецавтотранспорта перед стоящими ВС наносят на расстоянии 2,0 м от носовой части и консоли крыла ВС. 3.1.22. В местах разрешенного въезда спецавтотранспорта в промежуток между стоянками ВС, сплошная линия прерывается и заменяется пунктирной.
Рис. 3.10. Схема маркировки перрона Таблица 3.4
Примечания: 1. Знак "звездочка" (*) означает, что данные подлежат уточнению после эксплуатационных испытаний. 2. Заход самолета на стоянку при помощи тягача, а также выход самолета со стоянки на тяге собственных двигателей или при помощи тягача осуществляется по кривой, соответствующей эксплуатационному радиусу поворота самолета (Rэксп). 3. Заход самолета на стоянку на тяге своих двигателей производится по кривой, соответствующей минимальному радиусу поворота самолета (Rmin). 4. Маркировка линии захода самолета на тупиковую стоянку должна производиться по кривой, соответствующей эксплуатационному радиусу поворота самолета (Rэксп). 3.1.23. В промежутках между ВС маркируется знак "Т" белого цвета, обозначающий место остановки специальных машин перед подъездом к ВС для обслуживания. Знак "Т" располагают на расстоянии не ближе 10 м от крайних габаритных точек стоящих рядом ВС. Размеры и форма Т-образного знака места остановки спецмашины приведены на рис.3.8. 3.1.24. Якорные крепления на МС должны иметь маркировку в виде круга красного (оранжевого) цвета диаметром 0,5 м. 3.1.25. Заземляющие устройства на МС должны иметь маркировку в виде круга красного (оранжевого) цвета диаметром 0,3 м с обводкой кольцом белого цвета шириной 0,1 м. 3.1.26. Закрытые для полетов строящиеся и реконструируемые ВПП должны маркироваться запрещающими знаками, состоящими из двух взаимно перпендикулярных элементов размером не менее 6,0´0,9 м краской желтого или белого цвета по оси ИВПП с минимальным интервалом между знаками не более 300 м. 3.2. ОБОРУДОВАНИЕ АЭРОДРОМОВ МАРКИРОВОЧНЫМИ ЗНАКАМИ3.2.1. Оборудование грунтовых аэродромов маркировочными знаками производят в соответствии с табл. 3.5. Таблица 3.5
(Измененная редакция, Изм. № 2). 3.2.2. Схемы оборудования маркировочными знаками ГВПП на аэродромах приведены на рис. 3.11, 3.12. 3.2.3. РД, МС и перрон грунтовых аэродромов оборудуют пограничными знаками и знаками обозначающими номер РД и МС.
Рис. 3.11. Схема оборудования маркировочными
знаками ГВПП на аэродромах класса В, Г, Д: 3.2.4. Знак центра ГВПП (рис. 3.13) имеет форму круга диаметром 1,4 м и окрашен в желтый цвет. Его устанавливают по обеим сторонам ГВПП на расстоянии 10,0 м от боковых границ с наклоном 45° к горизонту. Для лучшей видимости в ночное время знак центра оборудуется электролампами в количестве 12 шт., расположенными по кругу диаметром 0,9 м на равном расстоянии друг от друга. Цвет арматуры ламп желтый.
Рис. 3.12. Схема оборудования маркировочными
знаками ГВПП аэродромов класса Е: Примечание. Взамен маркировочных знаков возможна установка флажков
Рис. 3.13. Знак центра полосы: 3.2.5. Пограничные знаки (рис. 3.14) определяют границы ГВПП, РД, МС и перрона и представляют собой конус высотой 0,8 м, диаметр нижнего основания 1,0 м, верхнего - 0,2 м. Поверхность пограничного знака окрашивается чередующимися поперечными полосами красного и белого цветов или черного и белого цветов шириной 0,2 м. Нижняя полоса окрашивается в темный цвет.
Рис. 3.14. Пограничный знак 3.2.6. Пограничные знаки устанавливают на ГВПП на расстоянии 100 м друг от друга и 1,0 м за боковыми границами; на РД и МС - на расстоянии 20 м друг от друга и 1,0 м за их боковым и границами. 3.2.7. Места выруливания ВС с ГВПП на РД и с РД на перрон обозначают сдвоенными пограничными знаками. Они устанавливаются с каждой стороны РД с интервалом 2,0 м один от другого. 3.2.8. На временных аэродромах класса Е в качестве пограничных знаков могут применяться флажки белого или красного цвета. Флажки устанавливают на расстоянии 50 м друг от друга. Размер флажка 0,5´0,4 м. 3.2.9. Посадочный Т-образный знак обозначает место приземления ВС и включает комплект изб полотнищ: трех - белого и трех - красного цветов. Размеры сигнального полотнища для аэродромов всех классов равны 5´1 м. Т-образный посадочный знак выкладывают из двух сигнальных полотнищ на ЛП в 3,0 м от края ГВПП с левой стороны посадки ВС и на расстоянии от ее начала: 200 м для аэродромов класса В; 150 м - класса Г; 100 м - класса Д; 50 м - класса Е. (Измененная редакция, Изм. № 2). 3.2.10. Для предотвращения заноса сигнальных полотнищ снегом их установку производят на облегченном каркасе, высота которого должна быть на 0,1 - 0,2 м больше расчетной толщины снежного покрова. С целью обеспечения лучшей видимости сигнальных полотнищ каркас устанавливают с наклоном 6 - 8° к направлению посадки ВС. 3.2.11. Знаки зоны приземления (рис. 3.15) представляют собой трехгранные призмы длиной 3,0 м. В сечении знак имеет форму равностороннего треугольника со стороной 0,9 м. Знак изготавливают из деревянного каркаса и обивают мягким материалом. 3.2.12. Поверхность знака зоны приземления, видимую со стороны посадки, окрашивают на летний период в белый цвет, на зимний период - в черный. Противоположную сторону знака окрашивают в красный (оранжевый) цвет. (Измененная редакция, Изм. № 2). 3.2.13. Знаки зоны приземления устанавливают по обеим сторонам ГВПП в 5,0 м от ее боковых границ, в 50,0 м перед посадочным знаком "Т" и в 150 м за ним. 3.2.14. Угловой знак (рис. 3.16) предназначен для обозначения и закрепления границ ГВПП и выполняется из тощего бетона, щебня или гравия толщиной 0,1 - 0,12 м на песчаной подушке. 3.2.15. Угловой знак устанавливают по углам ГВПП, в центре углового знака устанавливают пограничный знак (конус). Поверхность углового знака окрашивается в белый цвет, а на аэродромах с песчаным и супесчаным грунтом - в оранжевый цвет.
Рис. 3.15. Знак зоны приземления
Рис. 3.16. Угловой знак: 3.2.16. Входной знак (рис. 3.17) имеет фирну трехгранной призмы длиной 4,9 м и высотой 1,0 м. В сечении знак имеет форму равнобедренного треугольника с основанием 1,2 м. Входные знаки устанавливают на линии начала ГВПП на расстоянии 5,0 м от ее боковых границ. Лицевую сторону знака окрашивают чередующимися по цвету вертикальными полосами белого и черного цветов. Противоположная сторона входного знака, обозначающая конец ГВПП, окрашивается полосами с чередованием белого и красного (оранжевого) цветов. Крайние полосы должны иметь темный цвет. 3.2.17. Знаки боковых границ (рис. 3.18) выполняют в виде щитов, имеющих размер 1,2´1,2 м, и устанавливают в 1,0 м от внешней боковой границы ГВПП, на расстоянии 100 м друг от друга и от конца ГВПП на аэродромах класса В и Г и 80 м - на аэродромах класса Д. (Измененная редакция, Изм. № 2). Они устанавливаются на стойках так, чтобы высота знака от поверхности расчетного слоя снега до верха грани щита составляла 1,4 м. Поверхность щитов со стороны посадки окрашивают в красный (оранжевый) цвет с полосой по диагонали белого цвета. Противоположная сторона знака окрашивается в красный цвет. 3.2.18. Осевые знаки имеют форму равностороннего треугольника со стороной 3,0 м. Они выполняются из уплотненного щебня (гравия) толщиной 0,1 - 0,12 м, уложенного на песчаное основание. (Измененная редакция, Изм. № 2). Знаки устанавливают заподлицо с поверхностью грунта на расстоянии 200 и 400 м от конца ГВПП и окрашивают в белый цвет. 3.2.19. Осевой знак между ЛП и БПРМ (рис. 3.19) обозначает направление оси ГВПП и выполняется в виде равностороннего треугольника со стороной 3,0 м. Знаки устанавливают на расстоянии 600 и 800 м от конца ГВПП и окрашивают чередующимися полосами красного (оранжевого) и черного цветов. Крайние полосы знака окрашивают в красный (оранжевый) цвет. 3.2.20. В тех случаях, когда БПРМ расположена на расстоянии более 1000 м от торца ГВПП, устанавливают три знака на одинаковом расстоянии друг от друга. При отсутствии БПРМ на ее месте устанавливают дополнительный треугольный знак. Первый знак от начала ГВПП устанавливают под углом к горизонтали 15°, второй - 30° и третий - 45°. Крыша здания БПРМ маркируется чередующимися полосами или шахматными клетками шириной 0,5 м, окрашенными в черный и красный (оранжевый) цвета. 3.2.21. Знаки подхода (рис. 3.20) имеют форму равностороннего треугольника со стороной 3,0 м и устанавливают по линии продолжения оси ГВПП на расстоянии от ее конца 1200, 1400, 1600, 1800 и 2000 ми на высоте 1,0 м от поверхности земли с наклоном по направлению посадки под углом 40°. Поверхность знака окрашивают на летний период в белый, а на зимний - в черный цвет с полосой посередине шириной 0,6 м, окрашенной в красный (оранжевый) цвет.
Рис. 3.17. Входной знак
Рис. 3.18. Знак боковых границ
Рис. 3.19. Осевой знак между ЛП и БПРМ
Рис. 3.20. Знак подхода 3.2.22. Рулежный маркировочный знак (рис. 3.21) указывает направление и номер рулежной дорожки и представляет собой щит размером 1,1´0,6 м, окрашенный с обеих сторон в желтый цвет и окаймленный полосой оранжево-красного цвета шириной 0,03 - 0,1 м. В центре щита с обеих сторон наносят буквы "РД" и цифру оранжево-красным цветом.
Рис. 3.21. Рулежный знак Рулежные знаки устанавливают перпендикулярно боковой границе РД напротив места сопряжения с ГВПП или другой РД. Для улучшения видимости в ночное время рулежный знак оборудуют катафотами, располагаемыми на буквах и цифрах. 3.2.23. Маркировочный знак МС (рис. 3.22) обозначает номер стоянки ВС и представляет собой сдвоенный щит, укрепленный на стойке и устанавливаемый на расстоянии 2,0 м от боковых границ МС. Знак окрашивают в желтый цвет, цифры и окантовку - в черный цвет.
Рис. 3.22. Маркировочный знак для обозначения мест стоянок ВС 3.2.24. Ветроуказатель имеет форму усеченного конуса с размерами, приведенными на рис. 3.23. Окрашивают ветроуказатель чередующимися поперечными полосами белого с оранжево-красным или белого с черным цветом. Ширина чередующихся поперечных полос: темного цвета - 0,4 м, белого цвета - 0,6м, при этом первая и последняя полосы имеют темный цвет. На временных аэродромах в качестве ветроуказателей могут применяться флажки размером 1,0´0,75 м белого цвета для летнего и оранжево-красного цвета для зимнего и переходных периодов года. 3.2.25. Знак для обозначения опасных мест (рис. 3.24) на летном ноле представляет собой трехгранную призму длиной 3,0 м, обшитую легким материалом. Знак окрашивают белыми и красными (оранжевыми) квадратами размером 0,3´0,3 м, расположенными в шахматном порядке. В поперечном сечении призма имеет форму равностороннего треугольника со стороной 0,6 м. 3.2.26. В зимнее время с началом снегоуборочных работ границы аэродромных покрытий и грунтовых ВПП или места расположения светотехнического оборудования обозначают знаками-ориентирами (рис. 3.25). Знаки-ориентиры окрашивают в оранжевый цвет. По окончании снегоуборочных работ (перед открытием полетов) знаки-ориентиры снимают. 3.2.27. Закрытые для полетов ГВПП маркируются запрещающими знаками, выполняемыми в виде двух взаимно перпендикулярных полотнищ размером не менее 6,0´0,9 м желтого или белого цвета по оси ГВПП с минимальным интервалом между знаками не более 300 м. 3.3. ДНЕВНАЯ МАРКИРОВКА И СВЕТООГРАЖДЕНИЕ ПРЕПЯТСТВИЙ3.3.1. Дневная маркировка и светоограждение высотных препятствий предназначены для информации о наличии этих препятствий. 3.3.2. Препятствия подразделяются на препятствия, расположенные на приаэродромной территории, и на местности в пределах воздушных трасс. 3.3.3. Высотой любого препятствия следует считать его высоту относительно абсолютной отметки участка местности, на которой оно находится. Если препятствие стоит на отдельной возвышенности, выделяющейся из общего ровного рельефа, высота препятствия считается от подошвы возвышенности. 3.3.4. Препятствия могут быть постоянными и временными. К постоянным препятствиям относятся стационарные сооружении с постоянным месторасположением, к временным - все временно установленные высотные сооружения (строительные краны и леса, буровые вышки, опоры временных линий электропередач и т. п.). 3.3.5. Дневной маркировке подлежат: все неподвижные постоянные и временные препятствия, расположенные на приаэродромной территории и воздушных трассах, возвышающиеся над установленными поверхностями ограничени препятствий, а также объекты, расположенные в зонах движении и маневрирования ВС, наличие которых может нарушить или ухудшить условия безопасности полетов; расположенные на территории полос воздушных подходов на следующих расстояниях: до 1 км от ЛM все препятствия; от 1 км до 4 км высотой более 10 м; от 4 км до конца ПВП высотой 50 м и более; объекты УВД, радионавигации и посадки независимо от их высоты и места их расположения; объекты высотой 100 м и более независимо от места их расположения.
Рис. 3.23. Конус-ветроуказатель
Рис. 3.24. Знак для обозначения опасных мест
Рис. 3.25. Знак-ориентир: 3.3.6. Маркировку объектов и сооружений должны выполнять предприятия, а также организации, которые их строят или эксплуатируют. 3.3.7. Необходимость и характер маркировки и светоограждения проектируемых зданий и сооружений определяются в каждом конкретном случае соответствующими органами гражданской авиации при согласовании строительства. 3.3.8. Радиотехнические объекты, расположенные на приаэродромной территории, подлежат специальной маркировке и светоограждению по требованию ДВТ и МО РФ. 3.3.9. Препятствия, особо опасные для полетов ВС, независимо от места их расположения, должны иметь средства радиомаркировки, состав и тактико-технические данные которых в каждом отдельном случае должны согласовываться с ДВТ и МО РФ. 3.3.10. Дневной маркировке не подлежат объекты, которые затенены более высокими маркированными объектами. Примечание. Затененным препятствием является любой объект или сооружение, высота которого не превышает высоты, ограниченной двумя плоскостями: горизонтальной, проведенной через вершину маркированного объекта в направлении от ВПП; наклонной, проведенной через вершину маркированного объекта и имеющей нисходящий уклон 10 % в направлении к ВПП. 3.3.11. Дневная маркировка должна отчетливо выделяться на фоне местности, быть видна со всех направлений и иметь два резко отличающихся друг от друга маркировочных цвета: красный (оранжевый) и белый. 3.3.12. Объекты, которые по своему функциональному назначению должны находиться вблизи ЛП и на территории ПВП, предназначенные для обслуживания полетов (объекты УВД, БПРМ, ДПРМ, ГРМ, КРМ и др., исключая КДП): а) проекция которых на любую вертикальную плоскость имеет ширину и высоту менее 1,5 м, должны окрашиваться в один хорошо заметный цвет (оранжевый или красный) в соответствии с рис. 3.26, а; б) имеющие сплошные поверхности, проекция которых на любую вертикальную плоскость составляет или превышает 4,5 м и обоих измерениях, должны маркироваться квадратами со стороной 1,5 - 3,0 м в виде шахматной доски, причем углы должны окрашиваться в более темный цвет (рис. 3.26, б); в) имеющие сплошные поверхности, одна сторона которых в горизонтальном или вертикальном измерении превышает 1,5 м, а другая сторона в горизонтальном или вертикальном измерении составляет менее 4,5 м, должны окрашиваться чередующимися по цвету полосами шириной 1,5 - 3,0 м. Полосы наносят перпендикулярно большему измерению и крайние окрашивают в темный цвет (рис. 3.26, в). 3.3.13. На приаэродромной территории аэропортов и воздушных трассах РФ и МВЛ сооружения высотой до 100 м маркируют от верхней точки на 1/3 высоты горизонтальными чередующимися по цвету полосами шириной 0,5 - 6,0 м (рис. 3.26, г). Число чередующихся по цвету полос должно быть не менее трех, причем крайние полосы окрашивают в темный цвет. На приаэродромной территории международных аэропортов и воздушных трассах международного значения эти объекты маркируются горизонтальными чередующимися по цвету полосами той же ширины сверху до основания (рис. 3.26, д). 3.3.14. Сооружения высотой более 100 м, а также расположенные в аэропортах сооружения каркасно-решетчатого типа ( независимо от их высоты) маркируются от верха до основания чередующимися полосами шириной, принимаемой в соответствии с табл. 3.6, но не более 30 м. Полосы наносят перпендикулярно большему измерению, крайние полосы окрашивают в темный цвет (рис. 3.26, е, ж). Таблица 3.6
Примечание. Полосы должны быть равны по ширине; ширина отдельных полос может отличаться от ширины основных полос до ±20 % 3.3.15. Световое ограждение должно быть предусмотрено на всех препятствиях, указанных в пп. 3.3.2 - 3.3.14, с целью обеспечения безопасности при ночных полетах и полетах при плохой видимости. 3.3.16. Для светового ограждения должны быть использованы заградительные огни. На особо опасных препятствиях устанавливаются высокоинтенсивные огни. 3.3.17. Препятствия должны иметь световое ограждение на самой верхней части (точке) и ниже через каждые 45 м. Расстояния между промежуточными ярусами, как правило, должны быть одинаковыми. На дымовых трубах верхние огни размешаются ниже обреза трубы на 1,5 - 3,0 м. Схемы маркировки и светоограждения приведены на рис. 3.26, з, и. Количество и расположение заградительных огней на каждом ярусе должно быть таким, чтобы с любого направления полета (под любым углом азимута) было видно не менее двух заградительных огней.
Рис.3.26. Схема маркировки высотных препятствий. Примечание. А, Б равны 45 - 90 м; В, Г, Д меньше или равны 45 м 3.3.18. Сооружения, превышающие угловые плоскости ограничения высоты препятствий, дополнительно светоограждаются сдвоенными огнями на уровне пересечения их плоскостями. 3.3.19. В верхних точках препятствия устанавливается по два огня (основной и резервный), работающих одновременно, или по одному при наличии устройства для автоматического включения резервного огня при выходе из строя основного огня. Автомат включения резервного огня должен работать так, чтобы в случае выхода его из строя остались включенными оба заградительных огня. 3.3.20. Если в каком-либо направлении заградительный огонь закрывается другим (ближним) объектом, то на этом объекте должен быть предусмотрен дополнительный заградительный огонь. В этом случае заградительный огонь, закрытый объектом, если он не обозначает препятствия, не устанавливается. 3.3.21. Протяженные препятствия или их группа, расположенные близко один от другого, светоограждаются в самых верхних точках с интервалами не более 45 м по общему контуру. Верхние точки наиболее высоких препятствий внутри огражденного контура и угловые точки протяженного препятствия должны обозначаться двумя заградительными огнями в соответствии с правилами, предусмотренными в п. 3.3.19 (см. рис. 3.26, и). 3.3.22. Для протяженных препятствий в виде горизонтальных сетей (антенн, линий электропередач и др.), подвешенных между мачтами, заградительные огни устанавливаются на мачтах (опорах) независимо от расстояния между ними. 3.3.23. Высокие здания и сооружения, расположенные внутри застроенных районов, светоограждаются сверху вниз до высоты 45 м над средним уровнем высоты застройки. В отдельных случаях, когда расположение ярусов заградительных огней нарушает архитектурное оформление общественных зданий, расположение огней по фасаду может быть изменено по согласованию с соответствующими отделами Департамента воздушного транспорта. 3.3.24. Светораспределение и установка заградительных огней должны обеспечивать наблюдение их со всех направлений н пределах от зенита до 5° ниже горизонта. Максимальная сила света заградительных огней должна быть направлена под углом 4 - 15° над горизонтом. 3.3.25. Заградительные огни должны быть постоянного излучения красного цвета с силой света во всех направлениях не менее 10 кд. 3.3.26. Для светоограждения отдельно стоящих препятствий, расположенных вне зон аэродромов и не имеющих вокруг себя посторонних огней, могут быть применены огни белого цвета, работающие в проблесковом режиме. Сила заградительного огня в проблеске должна быть не менее 10 кд, а частота проблесков - не менее 60 в мин. В случае установки на объекте нескольких проблесковых огней должна быть обеспечена одновременность проблесков. 3.3.27. Световое ограждение должно включаться для работы на период темного времени суток (от захода до восхода солнца), а также на период светлого времени суток при плохой и ухудшенной видимости (туман, дымка, снегопад, дождь и т. п.). 3.3.28. Включение и выключение светового ограждения препятствий в районе аэродрома должны производиться владельцами объектов и диспетчерским пунктом УВД по заданному режиму работы. На случай отказа автоматических устройств для включения заградительных огней необходимо предусмотреть возможность включения заградительных огней вручную. 3.3.29. Средства светового ограждения аэродромных препятствий по условиям электропитания должны относиться к потребителям электроэнергии первой категории. Допускается электропитание заградительных огней по одной кабельной линии с шин питания электроприемников первой категории надежности. 3.3.30. Заградительные огни и светомаяки должны питаться по отдельным фидерам, подключенным к шинам распределительных устройств. Фидеры должны быть обеспечены аварийным (резервным) электроснабжением. Рекомендуется предусматривать включение аварийного электропитания на случай выхода из строя основного источника и понижения напряжения или кратковременного его исчезновения. 3.3.31. Средства светового ограждения должны иметь надежное крепление, подходы для безопасного обслуживания и приспособления, обеспечивающие точную их установку в первоначальное положение после обслуживания. 3.3.32. Участки аэродрома, не пригодные для эксплуатации в ночное время, должны быть обозначены заградительными огнями у начала и конца участков. При этом на непригодных участках РД рулежные огни выключаются. Заградительный огонь должен быть постоянного излучения, красного цвета и иметь силу света не менее 10 кд. 3.3.33. Заградительные огни, устанавливаемые на объектах, находящихся на курсах взлета и посадки ВС (ДПРМ, БПРМ, КРМ и т. п.), должны быть размещены на линии, перпендикулярной оси ВПП, с интервалом между огнями не менее 3,0 м. Огонь должен быть сдвоенной конструкции и силой света не менее 7 кд. 3.4. ДНЕВНАЯ МАРКИРОВКА И ОБОРУДОВАНИЕ МАРКИРОВОЧНЫМИ ЗНАКАМИ ВЕРТОДРОМОВ И ПОСАДОЧНЫХ ПЛОЩАДОК3.4.1. Маркировка искусственных покрытий ИВПП вертодромов включает знаки: места приземления при посадке по-вертолетному, угловые пограничные, цифрового значения посадочного путевою угла (ПМИУ), обозначения зоны конечного этапа захода на посадку (рис. 3.27). Посадочные площадки маркируют в соответствии с рис. 3.28. 3.4.2. Знак ограничения места приземления при посадке по-вертолетному представляет собой пунктирное кольцо и располагается в центре ВПП.
Рис. 3.27. Схема маркировки ИВПП вертодрома
с искусственным покрытием:
Рис. 3.28. Схема маркировки посадочной
площадки с искусственным покрытием: 3.4.3. Угловые пограничные знаки обозначают границу ИВПП и наносятся в форме прямоугольников. Для ВПП (посадочной площадки), имеющей форму квадрата, длину сторон пограничных угловых знаков принимают одинаковой. При округлой форме ВПП (посадочной площадки) наносят только строчные пограничные знаки с разрывами, равными их длине. 3.4.4. Размеры маркировочных знаков зависят от расчетного типа вертолета и принимаются по более высокому классу вертолета, эксплуатируемого на данном вертодроме (посадочной площадке) и приведены в табл. 3.7. 3.4.5. Цифровые знаки ПМПУ располагаются на концевых участках ИВПП по ее оси на расстоянии 6,0 м от торца. Размеры и форма цифр приведены на рис. 3.4 настоящего Руководства. Таблица 3.7
3.4.6. Маркировка зоны конечного захода на посадку и взлета обозначается буквой "Н" белого цвета и располагается по оси ИВПП в начале этой зоны на расстоянии 21 м от торца ИВПП. Размеры маркировочного знака зоны конечного захода на посадку и взлета приведены на рис. 3.29.
Рис. 3.29. Маркировочный знак зоны конечного захода на посадку и взлета 3.4.7. Пути руления вертолетов на РД и МС маркируют пунктирной линией шириной 0,15 м и длиной 1,5 м с разрывами 3,0 м. На покрытиях МС наносят номера стоянок, Т-образный знак, обозначающий место установки вертолета, контуры зон обслуживания, пути движения и знаки остановки спецмашин. Маркировочные знаки имеют оранжевый (желтый) цвет, за исключением зон обслуживания, которые имеют красный цвет, и должны быть контрастирующими на фоне покрытий. Маркировку путей движения спецмашин выполняют линиями белого цвета и наносят так же, как при маркировке перрона и МС для самолетов согласно пп. 3.2.22 - 3.2.24. 3.4.8. Место установки носовой части вертолета обозначают буквой "Т", форма и размеры Т-образного знака приведены на рис. 3.30. Номер места стоянки наносят на расстоянии 2,0 м впереди Т-образного знака. 3.4.9. Маркировку МС производят с учетом размещения вертолетов. Размеры МС определяются габаритными размерами эксплуатирующихся вертолетов (по диаметру несущего винта при вращении). Габаритные размеры вертолетов, расстояние между концами лопастей несущих винтов стоящих вертолетов в зависимости от способа их установки и расстояние между концами лопастей несущих винтов стоящего и рулящего на собственной тяге вертолетов приведены в табл. 3.8. 3.4.10. Контур зоны обслуживания вертолетов наносят сплошной линией шириной 0,15 м в виде восьмиугольника. Размеры этой фигуры наносятся в соответствии с габаритами и диаметром вращающегося винта эксплуатирующегося вертолета. Все стороны фигуры должны быть удалены на 2,0 м от крайних точек вращающегося винта (см. рис. 3.30).
Рис. 3.30. Схема маркировки МС вертодромов: Таблица 3.8
3.4.11. Швартовочные площадки (ШП) маркируют Т-образным знаком и буквой Ш вместо цифры, обозначающей номер МС. Буква Ш должна иметь размеры 1´1 м и ширину линий 0,1 м. 3.4.12. Вертодромы и посадочные площадки оборудуются ветроуказателем (см. п. 3.2.24), который располагается вблизи зоны конечного захода на посадку и взлета. 3.4.13. На вертодромах (посадочных площадках) в зимний период, а также расположенных на пыльных и песчаных грунтах рабочая площадь обозначается дополнительными знаками в виде конусов и щитов-ориентиров. Конуса, размеры и конструкция которых приведены в п. 3.2.5, устанавливают по углам рабочей площади. Допускается обозначение углов рабочей площади ветками елок. 3.4.14. Щиты-ориентиры высотой 1,2 м в количестве четырех штук располагаются по диагонали от угла площадки на расстоянии 10-15 м от угла. Далее три щита-ориентира устанавливают на расстоянии 3,0 м друг от друга, а четвертый щит от третьего на расстоянии 5,0 м (рис. 3.31). 3.4.15. Щиты имеют размеры 0,5´0,3 м и окрашивают в черный (красный) цвет в зимний период и в белый цвет в летний период (в зимний период щиты могут быть заменены ветками елок). Щиты крепят с помощью металлических штырей диаметром 18-20 мм, длиной 0,6-0,8 м, к которым приваривают два цилиндрических кольца с внутренним диаметром 60-70 мм, и в них с помощью клиньев закрепляют щит или еловую ветку.
Рис. 3.31. Схема расположения дополнительных
щитов-ориентиров: 3.5. ТЕХНОЛОГИЯ МАРКИРОВКИ АЭРОДРОМОВ, ВЕРТОДРОМОВ И ПОСАДОЧНЫХ ПЛОЩАДОК3.5.1. Маркировочные знаки на покрытия ИВПП, РД, МС и перрона наносятся с помощью маркировочных машин или вручную по шаблонам. 3.5.2. До начала маркировочных работ должен быть закончен текущий ремонт искусственных покрытий, а поверхность покрытия очищена от пыли, грязи и посторонних предметов. 3.5.3. Поверхность покрытия очищается с помощью щеточных машин с последующей промывкой загрязненных мест водой. 3.5.4. Масляные пятна удаляют с помощью бензина или керосина, после чего очищаемые места промывают горячей водой. 3.5.5. Перед нанесением лакокрасочного материала поверхность покрытия должна быть высушена. 3.5.6. Перед нанесением осуществляют подготовку лакокрасочных материалов: перемешивание, доведение вязкости до требуемой консистенции, фильтрацию, заправку емкостей. 3.5.7. Для маркировки аэродромных покрытий используют эмали, характеристики которых приведены в прил. 14. 3.5.8. Лакокрасочные материалы наносят на покрытия при температуре поверхности не ниже 10°С. 3.5.9. Нанесение лакокрасочных материалов на покрытие вручную производят в два слоя. Второй слой наносят после полного высыхания первого. 3.5.10. Расход лакокрасочных материалов при механизированном способе составляет 0,4 кг/м2, при ручном - 0,5 кг/м2 . ГЛАВА 4 ОСМОТР И ОЦЕНКА ПАРАМЕТРОВ СОСТОЯНИЯ ЭЛЕМЕНТОВ ЛЕТНОГО ПОЛЯ4.1. ОСМОТР ЛЕТНОГО ПОЛЯ АЭРОДРОМА4.1.1. Осмотр и контроль сооружений летного поля должен проводиться ежедневно. Дополнительно следует осуществлять осмотры при подготовке летных полей аэродромов к весенне-летней и осенне-зимней эксплуатации. 4.1.2. При ежедневных осмотрах следует производить проверку состояния поверхности (ровность, дефекты, посторонние предметы) искусственных покрытий, прилегающих к ним грунтовых (заснеженных) участков летного поля, укрепленных грунтовых (снежных) сопряжений, примыкающих к границам искусственных покрытий. 4.1.3. В результате осмотров должны оформляться акты дефектов летного поля в соответствии с прил. 15 настоящего Руководства. Рекомендуется составлять планы дефектов искусственных покрытий, следует проводить оценку технического состояния искусственных покрытий. 4.1.4. Осмотр водоотводных н дренажных систем производится при подготовке к зиме, после окончания снеготаяния и после выпадения обильных осадков. 4.1.5. Дневные маркировочные знаки на искусственных покрытиях и переносные на грунтовых аэродромах (вертодромах) осматриваются ежедневно. 4.1.6. Осмотр искусственных покрытий следует проводить в зависимости от метеорологических факторов, интенсивности и напряженности работы аэропорта, причем число проверок рекомендуется ежедневно не менее: четырех раз для покрытий ИВПП: на рассвете, утром, днем и вечером; одного раза для РД, перронов и МС, которые используются регулярно в процессе эксплуатации. 4.1.7. Грунтовые участки летного поля рекомендуется проверять с той же частотой, участки с дерновым покрытием проверяются через промежутки времени, позволяющие отличать ухудшение их состояния. 4.1.8. При осмотрах и проверке участков летного поля с искусственными покрытиями и грунтовых обращается внимание: на чистоту поверхности, наличие посторонних предметов; повреждения поверхности (дефекты): выбоины, шелушения, сколы кромок швов и трещин, просадки плит, разрушения герметика швов и неровности; видимость маркировочных знаков ВПП; состояние и крепление крышек водоприемных устройств; заполненность герметиками деформационных швов и трещин; келейность и выбоины на грунтовом (заснеженном) летном поле. 4.1.9. Выявленные дефекты должны устраняться немедленно. 4.1.10. Затопленные участки покрытий следует маркировать для последующего восстановления их эксплуатационных качеств. 4.1.11. При осмотрах участков летного поля с дерновым покрытием следует обращать внимание: на состояние травяного покрова; просадки грунтов, неровности, застаивание воды на отдельных участках, наличие эрозии грунтов; состояние переносных маркировочных знаков. 4.1.12. При осмотрах и проверке зон КРМ и ГРМ РМС следует обращать внимание на соответствие их состояния параметрам, установленным требованиями разд. 2.6. 4.1.13. При реконструкции и ремонте элементов летных полей в условиях действующего аэропорта режим осмотра и контроля летного поля должен соответствовать требованиям, изложенным в разд. 5.5 настоящего Руководства. (Измененная редакция, Изм. № 2). 4.2. ИЗМЕРЕНИЕ ПАРАМЕТРОВ, КОНТРОЛЬ И ОЦЕНКА СОСТОЯНИЯ ЭЛЕМЕНТОВ ЛЕТНОГО ПОЛЯ АЭРОДРОМОВ (ВЕРТОДРОМОВ)4.2.1. Параметры состояния летного поля, подлежащие обязательному измерению и учету: а) аэродромы с искусственными покрытиями: на ИВПП и КПТ: (Измененная редакция, Изм. № 2). коэффициент сцепления; наличие, вид и толщина атмосферных осадков; состояние и качество очистки поверхности; состояние и видимость дневных и переносных маркировочных знаков; на спланированной части ЛП: (Измененная редакция, Изм. № 2). размеры очищенной от снега ЛП; величина уклона сопряжения очищенной части ЛП с целинным снегом; плотность грунта и ровность поверхности; (Измененная редакция, Изм. № 2). на РД, МС и перроне: наличие, вид и толщина атмосферных осадков; состояние и видимость маркировочных знаков; б) грунтовые аэродромы (вертодромы): состояние поверхности и качество дернового покрова; глубина промерзания; прочность (плотность) грунта (уплотненного снега); ровность поверхности грунтового (заснеженного) аэродрома (вертодрома); состояние и видимость переносных маркировочных знаков; величина уклона сопряжения рабочей части ГВПП со спланированной частью ЛП. (Измененная редакция, Изм. № 2). 4.2.2. Коэффициент сцепления на покрытии ИВПП должен измеряться с помощью метрологически аттестованных измерительных устройств. Методика измерений и используемые измерительные средства приведены в прил. 6. 4.2.3. На грунтовых аэродромах допускается характеристику условий торможения давать по соответствующей описательной характеристике состояния покрытия, приведенной в табл. 2, 3 прил. 6 настоящего Руководства. 4.2.4. Значения коэффициентов сцепления или характеристик условий торможения ВС (при отсутствии измерительных средств) для каждой третьей части по длине ИВПП должны записываться в Журнал учета состояния летного поля не позднее чем через 15 мин после проведения измерений. (Измененная редакция, Изм. № 1). 4.2.5. При наличии измерительных устройств, обеспечивающих документальную регистрацию результатов измерений коэффициента сцепления, документ с их записью должен храниться в аэродромной службе не менее 24 ч с момента проведения измерений. 4.2.6. На ИВПП, покрытых снегом, слякотью или в период возможного образования гололеда, рекомендуется проводить более частые измерения коэффициента сцепления с целью своевременного обновления информации об изменении тормозных свойств поверхности покрытий. 4.2.7. Толщина слоя атмосферных твердых осадков и слякоти определяется с помощью металлической миллиметровой линейки, а слоя воды - с помощью оптической линейки ОЛ-1 (см. прил. 6). Замеры толщины слоя указанных осадков производятся в тех же местах ИВПП, что и коэффициент сцепления путем троекратных измерений в оцениваемых точках и вычисления среднеарифметических значений измеренных толщин на каждой трети ИВПП. 4.2.8. При осмотре летного поля определяется вид и физические характеристики твердых, жидких и смешанных атмосферных осадков (воды, сухого и мокрого снега, слякоти, льда, инея и т. д.). которые для каждой третьей части ИВПП отражаются в Журнале учета состояния летного поля (см. прил. 3) в числовом кодовом обозначении и, кроме того, заносятся в SNOTAM (см. прил. 11). Вид осадков, их описательная характеристика и кодовое обозначение должны соответствовать данным прил. 6. Кроме того, в Журнале учета состояния летного поля по визуальным наблюдениям фиксируются данные о длине и ширине поверхности покрытий, очищенной от осадков, площади ИВПП, покрытой осадками. (Измененная редакция, Изм. № 1). 4.2.9. Прочность грунта на грунтовых аэродромах должна определяться в каждом случае изменения состояния грунта. Методика измерений прочности грунта ударником У-l или путем пробного руления ВС приведена в прил. 12. 4.2.10. На заснеженных летных полях грунтовых аэродромов, в том числе на ИВПП под слоем уплотненного снега, прочность и плотность уплотненного снежного покрова следует определять после каждого выполнения работ по уплотнению снега и повышения температуры воздуха в соответствии с прил. 13. 4.2.11. Эксплуатация ВС на грунтовых летных полях в зимнее время допускается при установившихся отрицательных температурах воздуха и промерзании верхних слоев грунта на определенную глубину. При глубине промерзания грунта меньше, чем установлено для данного класса ВС, должна определяться его прочность под слоем мерзлого грунта. 4.2.12. Качество подготовки грунтовых элементов летного поля должно контролироваться путем определения плотности грунта, характеризуемой коэффициентом уплотнения по ГОСТ 22733-77: на стартовых и средних участках ГВПП, МС, местах опробования двигателей и РД, а также на участках ЛП. 4.2.13. Контроль ровности поверхности грунтового летного поля состоит в выявлении микро- и мезонеровностей (изменение профиля поверхности в виде волнистости, взбугриваний и впадин на участках длиной до 40 м) превышающих предельно допустимые значения, указанные в подпункте 2.1.1.12. Микронеровности могут быть проверены визуально или путем проезда на автомобиле. Величины микронеровностей проверяются рейкой, просвет под которой не должен превышать величин, установленных в подпункте 2.1.1.12. При микронеровностях более допустимых значений грунтовая поверхность должна ремонтироваться. После ремонта микронеровности не должны превышать 3 см. 4.2.14. Мезонеровности определяются нивелирной съемкой профиля поверхности по характерным направлениям дефектного участка путем последующего определения разности смежных сопрягающихся уклонов Δi (5,10,20) прямых отрезков с шагом съемки 5, 10, 20 м. Уклоны прямых отрезков с шагом съемки, равным 5, 10 и 20 м, вычисляются по формуле
где hn-1 - отметка начальной точки профиля мезорельефа; hn - отметка точки профиля мезорельефа, отстоящая от начальной на шаг съемки; а - шаг съемки. Разность смежных сопрягающих уклонов прямых отрезков определяется по формуле Δi (5,10,20) = in-1(5,10,20) - in(5, 10,20). где in-1(5,10,20) и in(5, 10,20) - уклоны предыдущего и последующего отрезков с их знаками; ia - имеет знак "+", если по ходу съемки профиля наблюдается подъем, и знак " - ", если понижение. 4.2.15. Нормативные требования к ровности, плотности, превышению граней смежных плит и тормозным свойствам поверхности должны соответствовать положениям СНиП 3.06-87 Аэродромы и требованиям разд. 5.5 настоящего Руководства. 4.2.16. Состояние элементов дренажной системы аэродромов проверяют после окончания весеннего снеготаяния, обильных осадков. 4.2.17. Контроль состояния открытых сооружений - канав, лотков, колодцев, оголовков коллекторов проводят визуальным методом. 4.2.18. Состояние подземных трубопроводов (коллекторов, перепусков) проверяют с помощью источников света, луч от которого направляют через обследуемый трубопровод из колодца, смежного с тем, в котором находится наблюдатель. При исправном трубопроводе наблюдатель должен видеть источник света в виде круга. 4.2.19. Проверку технического состояния газоотбойных устройств выполняет АТБ. 4.2.20. Проверка прочности якорных креплений производится специалистами АТБ. Проверку их технического состояния выполняют не реже одного раза в два года. 4.2.21. При оценке технического состояния элементов летных полей аэродромов (вертодромов) следует обращать особое внимание на их прочность (несущую способность), ровность и другие физические характеристики, связанные, в первую очередь, с работоспособностью искусственных покрытий и состоянием грунтовой части летного поля и других сооружений. Оценку рекомендуется производить инструментальными методами. 4.2.22. Для оценки эксплуатационно-технического состояния покрытий необходимо провести их обследование и дефектацию. Материалы обследования, дефектации и оценки технического состояния покрытий аэродромов являются исходной базой для планирования ремонтных работ, а также используются при расчетах прочности и долговечности аэродромных покрытий, включая расчет потребного слоя усиления. 4.2.23. Обследование и дефектация покрытий включает два вида работ: визуальные периодические обследования и их инструментальные испытания. Дефектацию покрытий рекомендуется проводить один раз в год, а после стихийных бедствий (паводков, наводнений и т. и.) - немедленно. При оценке прочностных характеристик покрытий аэродромов методом ACN - РСN (см. прил. 18), периодичность обследования и дефектации принимается согласно табл. 4.1. Таблица 4.1 Периодичность дефектации покрытия
4.2.24. По материалам обследования следует составить акт (см. прил. 15), в котором должны указываться: дата обследования, время строительства, схемы искусственных покрытий аэродрома и конструктивных разрезов покрытий элементов аэродрома; дефектовочный план. 4.2.25. Для оценки технического состояния покрытий следует пользоваться классификатором дефектов (табл. 4.2). Обнаруженные дефекты относятся к одному из приведенных в табл. 4.2. По показателю повреждений и степени дефектности определяют объем дефектов и оценивают степень повреждений. 4.2.26. Состояние ровности поверхности аэродромных покрытий рекомендуется характеризовать индексом R. Ровность поверхности искусственных покрытий следует оценивать при окончании их строительства для приемки в эксплуатацию, после реконструкции и ремонта. Оценку ровности рекомендуется выполнять методом коротко-шагового нивелирования или путем использования специального прицепного устройства для измерения ровности. 4.2.27. Искусственные покрытия аэродромов не должны допускаться к эксплуатации, если индекс ровности R равен или ниже 2,0; он вычисляется по формуле
где С и к - коэффициенты, характеризующие соответственно уровень и форму спектральной плотности неровностей. Таблица 4.2 Классификатор дефектов искусственных покрытий
Состояние ровности поверхности рекомендуется оценивать в соответствии с табл. 4.3. Таблица 4.3
4.2.28. Оценка состояния ровности аэродромных искусственных покрытий может производиться в соответствии с "Методикой оценки ровности искусственных покрытий геодезическим методом". В соответствии с указанной Методикой при измерениях ровности поверхности искусственных покрытий выполняются работы, которые включают в себя следующие этапы: рекогносцировка и разметка покрытия; закладка временных реперов; нивелирование поверхности покрытий. Рекогносцировка выполняется для определения наиболее деформированных участков покрытий, включает в себя также осмотр ЛП, которая используется для закладки временных реперов. Особое значение имеет разметка через 5 м краской точек продольных профилей, по которым измеряется ровность: по оси ИВПП и по следам главных опор ВС. Для закрепления высотных отметок в процессе геометрического нивелирования при перерывах в работе вдоль исследуемого искусственного аэродромного покрытия закладываются временные реперы с интервалом, как правило, 100 м, а в начале и в конце исследуемого профиля - грунтовые реперы. Нивелирование выполняют либо вдоль искусственного покрытия, либо поперек в зависимости от интенсивности движения ВС, и наличия "окон" определенной длительности для работы. 4.2.29. По результатам работ геометрического нивелирования составляется каталог высотных отметок точек занивелированных профилей искусственных аэродромных покрытий, которые используются для обработки и последующей оценки состояния их ровности. Обработка результатов геометрического нивелирования покрытий и оценка их ровности проводится ГПИ и НИИ ГА Аэропроект или другими специализированными проектными организациями. ГЛАВА 5 ОРГАНИЗАЦИЯ И ТЕХНОЛОГИИ СОДЕРЖАНИЯ ЛЕТНЫХ ПОЛЕЙ АЭРОДРОМОВ (ВЕРТОДРОМОВ) В РАЗЛИЧНЫЕ ПЕРИОДЫ ГОДА5.1. СОДЕРЖАНИЕ ЛЕТНОГО ПОЛЯ В ЛЕТНИЙ ПЕРИОД5.1.1. При выполнении работ но содержанию летного поля в летний период необходимо обеспечить эксплуатационные качества аэродромных покрытий: ровность; фрикционные свойства; чистоту поверхности; сохранность проектных геометрических форм и размеров. 5.1.2. Рекомендуется составлять планы эксплуатационного содержания элементов летного поля с расстановкой сил и средств, в первую очередь, по наиболее трудоемким и ответственным работам, требующим наибольшей механизации. 5.1.3. Средства механизации должны использоваться в соответствии с принципами технологий, в основе которых лежит патрулирование уборочных машин с рациональным подбором типов машин и их отряда и оптимальными маршрутами их движения. 5.1.4. К работам эксплуатационного содержания летных полей аэродромов в летний период относят: очистку искусственных покрытий от пыли, грязи, мусора и других посторонних, предметов; удаление разрушенного и отслоившегося герметика и заделку (заливку) швов н трещин новым герметикой; текущий и капитальный ремонт элементов аэродромных покрытий; обновление дневной маркировки покрытий и переносных маркировочных знаков; поддержание ровности и равнопрочности грунтовой части летного поля; задернение разрушенного дернового покрова с устранением колей и выбоин; проведение мероприятий по укреплению грунтов рабочей части летных полей и обеспечению их эрозионной устойчивости; обеспыливание поверхности летного поля; поддерживание травостоя установленной высоты и качества; обеспечение поверхностного стока воды с летного поля и его вооружений и пропускной способности водоотводных и дренажных устройств; удаление резиновых отложений, битумных и масляных пятен и т. п. загрязнений поверхности покрытий. 5.1.5. Характер уборочных работ в значительной мере определяется планировочным решением конкретного аэропорта, параметрами движения ВС и транспорта по аэродрому и климатическими условиями местности. 5.1.6. Для лучшей организации работ по механизированной уборке покрытий летного поля территорию рекомендуется разделить на отдельные участки (зоны), обслуживаемые механизированной колонной. Для этого следует: установить объемы работ и число машин для их выполнения; разработать технологические карты с режимами уборочных работ в соответствии с имеющейся в наличии техникой, учетом местных условий; установить схемы маршрутов движения уборочных средств и графики работ. 5.1.7. Организация работ осуществляется через диспетчера аэродромной службы, который должен обеспечивать: контроль за выпуском машин на летное поле, периодическую проверку их местонахождения; оперативное перераспределение машин в случаях указаний РПА, диспетчера СДП (СДП МВЛ), начальника аэродромной службы с учетом изменения условий их работы. 5.1.8. Чистоту поверхности искусственных аэродромных покрытий поддерживают регулярным подметанием и продувкой щеточно-пневматическими (ветровыми) машинами, уборкой посторонних предметов электромагнитными очистителями, вакуумными машинами (пылесосами). 5.1.9. Для обеспечения технологии патрульной очистки покрытий в "окна" между полетами рекомендуется по формуле 5.4 рассчитывать необходимый минимальный временной интервал для проведения работ. 5.1.10. Основные принципы и критерии подбора отряда уборочных машин следующие: количество гонов должно быть минимальным; ширина захвата всего отряда машин должна быть кратна ширине очищаемых главных элементов летного поля (ИВПП, МРД, РД); учет геометрии и взаимного расположения элементов летного поля и среднего времени маневрирования машин отряда (время маневрирования рекомендуется определять как средневзвешенное значение затраченного времени на все повороты и развороты машин по маршруту движения с учетом снижения и последующего набора скорости до рабочей после выполнения маневрирования). 5.1.11. Мероприятия по предотвращению попадания посторонних предметов в двигатели сводятся к контролю за чистотой и уборкой покрытий. 5.1.12. Периодичность очистки покрытий зависит от местных условий и опыта эксплуатации аэродрома. 5.1.13. Перроны и МС обычно загрязняются в большей степени, чем другие искусственные покрытия. 5.1.14. Для уменьшения разрушений поверхностного слоя цементобетонных покрытий рекомендуется проводить их обработку растворами синтетических веществ. Наиболее широкое применение нашла обработка поверхности аэродромных покрытий смолой нефтеполимерной лакокрасочной (НЛС) марки В, разбавленной сольвентом в соотношении 1:4,7. Для пропитки поверхности покрытий может использоваться также концентрат зеленого масла или пропиточные составы на основе нефтеполимерных смол типа СИС (стирольно-инденовая смола). Расход растворов - 150 г/м2. 5.1.15. Рекомендуется следующий порядок выбора средств для обработки покрытии: определяется объем состава, который необходимо распределить на обрабатываемую площадь покрытий аэродрома по формуле
где q - объем кольматирующего состава, м3; S - площадь обрабатываемых элементов покрытий, м ; q - норма расхода состава, г/м2; γ - плотность состава, т/м3; определяется емкость цистерны разливающих средств по формуле
где Vn - емкость цистерны разливающего средства, м3; в - эксплуатационная ширина захвата обрабатывающей машины (устройства) при выполнении работ для конкретных условий, м; впер - ширина перекрытия смежных проходов обрабатывающих машин (устройств), м; В - ширина обрабатываемого участка, м; Г - количество гонов машин (устройств) для обработки поверхности. Отряд машин для обработки покрытий составами подбирается таким образом, чтобы величина перекрытия была бы минимальной; количество средств в отряде вычисляется по формуле
5.1.16. Следует восстановить первоначальную шероховатость поверхности покрытий на участках, загрязненных смазочными материалами, химическими антигололедными реагентами, маркировочной краской, резиновыми отложениями и др. 5.1.17. Удаление отложений резины рекомендуется производить химическим методом и механическими: путем фрезерования и с помощью струй воды высокого давления. Резиновые отложения удаляются методом фрезерования с помощью специального механического оборудования - фрезы. Подметально-уборочные машины после такой обработки удаляют пыль и остатки резины. Производительность этого метода может достигать 500 м2/ч. При использовании метода удаления резиновых отложений струей воды под большим давлением (до 40 МПа), которое обеспечивается специальным оборудованием, за час обрабатывается площадь 250 - 800 м2 при расходе воды до 1000 л /мин. При химическом методе происходит растворение резины, затем продукты разрушения смывают водой, подметают уборочными машинами или удаляют машинами-пылесосами. 5.1.18. Загрязнения от пролитых ГСМ удаляются путем распыления веществ, растворяющих топливо и масла, с последующим удалением продуктов реакции. Загрязненное место обрабатывают маслопоглощающим веществом, затем очищают и подметают. При очистке покрытий химическими веществами необходимо проводить мероприятия по охране окружающей среды. 5.1.19. Основные технологические операции летней уборки искусственных покрытий - подметание и мойка. Периодичность выполнения таких работ устанавливается в зависимости от степени загрязненности участков и элементов летного поля. 5.1.20. Уборка поверхности искусственных покрытий производится отрядом подметально-уборочных машин, движущихся с уступом на расстоянии 10 - 20 м друг от друга. Перекрытие подметаемых полос должно быть не менее чем 0,5 м. Эффективность работы машин определяется в значительной мере состоянием их рабочих органов, режимами работы и регулировки. Требования к качеству очистки покрытий средствами механизации и методика контроля эффективности действия их рабочих органов приведены в прил. 8. При подметании, выходящие из форсунок струи воды с расходом до 0,03 л/м2, должны равномерно распыляться и перекрываться у поверхности покрытия. Деформация ворса цилиндрических щеток, прижатых к покрытию, должна быть одинаковой по всей длине щетки и составлять 15 - 20 мм. Длина ворса цилиндрической щетки должна быть в пределах 60 - 180 мм. 5.1.21. При подметании рабочую скорость движения подметально-уборочных машин рекомендуется выбирать с учетом загрязненности покрытия: при сильном загрязнении 5 - 6 км/ч, а при обычных условиях 10 - 15 км/ч. 5.1.22. После окончания весенней распутицы искусственные покрытия, находящиеся в исправном состоянии, рекомендуется промывать. Мойка состоит из двух одновременных процессов: отделение пыли и загрязнений от поверхности покрытий и их перемещение в направлении уклонов продольных и поперечных к водоприемному сооружению. Расход воды при мойке должен быть не менее 0,8 - 1,1 л/м2. Мойку следует вести под уклон. 5.1.23. Мойка покрытий производится отрядом поливомоечных машин, причем расстояние машин друг от друга составляет 10 - 20 м. Рекомендуется движение машин вести уступом с перекрытием обрабатываемых полос на 0,7 - 1,0 м. 5.1.24. Качество мойки поверхности покрытий зависит от правильной установки моечных насадков - сопел. Насадки в процессе регулировки поворачиваются в горизонтальной и вертикальной плоскостях с помощью установочных конусов, смонтированных на напорном трубопроводе. Чрезмерно загрязненные покрытия рекомендуется мыть со скоростью 5 - 10 км/ч, а небольшие загрязнения удалять на скорости 10 - 15 км/ч. 5.1.25. Пыль и мусор, смываемые с поверхности покрытий водой, попадающие в водосточно-дренажную систему, необходимо периодически очищать. Очистку рекомендуется производить по мере накопления загрязнений насосными машинами или машинами для прочистки канализационных сетей. 5.1.26. В летнее время на аэродромах должны наноситься дневные маркировочные знаки в соответствии с требованиями гл. 3 настоящего Руководства. Технология маркировки аэродромов (вертодромов) и посадочных площадок приведена в разд. 3.5 настоящего Руководства. Дневные маркировочные знаки необходимо очищать от пыли, грязи, обновлять по мере износа, затирания резиной и выцветания лакокрасочных покрытий. Переносные маркировочные знаки следует ремонтировать по мере разрушения или износа их конструкции с обновлением окраски. Характеристики лакокрасочных материалов для маркировки аэродромных покрытий и переносных маркировочных знаков приведены в прил. 14. 5.1.27. Обновление маркировочных знаков должно проводиться не менее двух раз в год, и как правило, - весной и осенью. Для очистки маркировочных знаков рекомендуется применять моющие (мыльные) растворы. 5.1.28. Восстановление герметичности швов выполняется систематически путем замены вышедшего из строя заполнителя новым материалом. Перед заполнением шва остатки старого герметика должны быть удалены, а швы тщательно расчищены от пыли, грязи, посторонних включений. Производить дозаливку швов без их расчистки и продувки не рекомендуется. 5.1.29. Для герметизации швов аэродромных покрытий используются материалы горячего и холодного применения. Для приготовления их к применению необходимо пользоваться инструкциями, изложенными в соответствующих технических условиях. Основу горячих герметиков составляет, как правило, битум с наполнителями (резиновая крошка, каучук, минеральный порошок и т.д.). Горячие герметики являются однокомпонентными. Перед употреблением их необходимо разогреть в специальных котлах до температуры 100 - 200 °С. Основу холодных герметиков составляют, как правило, отвержденные жидкие синтетические каучуки с наполнителями (мел, каолин, сажа и т. п.). Эти материалы являются двухкомпонентными и применяются в холодном виде с отвердителями. Рабочее состояние в швах они принимают после отверждения в течение нескольких часов в зависимости от температуры окружающей среды. В технических условиях для каждого аэродромного герметика указана дорожно-климатическая зона его применении. Замена горячего герметика на холодный и наоборот возможна только после полного удаления следов заменяемого материала из швов цементобетонного покрытия, поскольку отсутствует сцепление между битумом и синтетическим каучуком. Заполнять швы следует в сухую прохладную погоду. 5.1.30. Глубина заливки швов зависит от деформативности применяемого материала и его адгезионных свойств. Для герметиков горячего применения, как менее деформативных, глубина заливки должна быть в пределах 40-60 мм. Для герметиков холодного применения оптимальным считается соотношение глубины заливки швов к их ширине, равное 0,5-2,0. Глубину заливки следует ограничивать предварительной запрессовкой в шов уплотняющего шнура (вилатерм, гернит, пороизол и т. п.) диаметром в 1,5-2 раза превышающим ширину шва. Для качественной герметизации швов аэродромного покрытия их ширина должна быть 10- 30 мм. Заполнение шва (герметизация) должно производиться, как правило, за один раз с недоливом до верха покрытия на 5-7 мм для материала, не дающего после отверждения усадку, или шов заполняется заподлицо с поверхностью покрытия, если возможна осадка герметизирующего материала в результате остывания или испарения содержащегося в нем растворителя. Аэродромные герметики могут, быть использованы для заполнения сквозных трещин на покрытии, если их ширина 5 мм и больше. В этом случае целесообразно увеличить текучесть герметизирующего материала путем добавления 10-20% органического растворителя (бензин, сольвент, ксилол, толуол). Возможно применение аэродромных герметиков также для ремонта небольших сколов, здесь они должны использоваться в качестве вяжущего совместно с инертными заполнителями (щебень, песок). 5.1.31. Содержание грунтового летного поля в летний период включает: оценку пригодности летного поля к эксплуатации; обеспечение ровности, прочности и плотности грунтов на рабочих элементах летного поля; обеспечение водоотвода с поверхности летного поля и проведение мероприятий по сокращению нелетного периода; обновление и ремонт маркировочных знаков; проведение мероприятий по обеспыливанию; уборку с поверхности летного поля посторонних предметов; проведение мероприятий но укреплению грунтов рабочей части летных полей и повышению их эрозионной устойчивости; проведение агротехнических мероприятий и улучшение состояния дернового покрова летного поля. 5.1.32. Эксплуатационное состояние грунтового летного поля аэродрома характеризуется прочностью грунтов летной полосы, РД и МС, которая зависит от влажности, гранулометрического состава, степени уплотнения грунта и может изменяться в широких пределах. Связные грунты глины и суглинки в сухое время гол» находятся в твердом состоянии и имеют высокую прочность. С увеличением содержания воды и повышением влажности их связность уменьшается, снижается их сопротивление нагрузкам. Такие грунты в пластичном состоянии становятся непригодными для эксплуатации ВС. Несвязные грунты, пески и легкие супеси с увеличением влажности до определенного предела увеличивают сопротивляемость нагрузкам, а далее ее теряют по мере достижения величины полной влагоемкости. С увеличением температуры воздуха происходит интенсивное просыхание грунта, который набирает прочность за короткий период времени. По гранулометрическому составу наилучшими грунтами для летных полей являются супеси и легкие суглинки. Они имеют достаточную прочность при увлажнении и пригодны для быстрого создания и сохранения дернового покрова. 5.1.33. Эксплуатация ВС на грунтовых аэродромах имеет следующие особенности: в период распутицы неизбежны перерывы в полетах; возможность взлета ВС в период переувлажнения грунтов, в распутицу определяется условиями страгивания ВС на тяге собственных двигателей; возможность эксплуатации ВС зависит от тина шасси и размеров колес, давления в пневматиках. 5.1.34. Для эксплуатации ВС с грунтовых летных полос допустимая глубина колей от колес на грунтовой поверхности не должна превышать предельной величины, при которой обеспечивается движение ВС, а поверхность летного поля не подвергается слишком быстрому разрушению и износу. 5.1.35. Степень соответствия характеристик ВС условиям эксплуатации на грунтовых аэродромах определяется проходимостью его по грунту, под которой понимается способность ВС стронуться с места и двигаться на тяге собственных двигателей по переувлажненному грунту с ускорением, достаточным для достижения скорости отрыва в пределах нормируемой техническими требованиями длины летной полосы. На грунтовой поверхности в этом случае должна оставаться колея такой глубины, при которой обеспечивается как безопасность движения ВС, так и сохранность дернового покрова, а выравнивание колейности не потребует чрезмерных затрат и не представляет затруднений. 5.1.36. Проходимость ВС характеризуется следующими определяемыми параметрами: минимальной прочностью грунта эксплуатационной прочностью грунта σэкспл,
равной или большей, чем 5.1.37. С понижением прочности грунта образуются более глубокие колеи от колес ВС, а дерновый покров может разрушаться. В этом случае грунтовая поверхность с трудом поддается выравниванию и ремонту, особенно при последующем просыхании и упрочнении грунта. 5.1.38. Нелетные периоды возникают в течение распутицы из-за сильного переувлажнения верхних слоев грунта и снижения его прочности. Распутицы различают: продолжительные по времени (осенние и весенние) и кратковременные - летние. В южных районах распутица может продолжаться в течение всего зимнего периода с небольшими перерывами, а в районах Крайнего Севера - в течение лета. 5.1.39. Осенняя распутица возникает из-за частых дождей и понижения среднесуточной температуры воздуха, когда грунт переувлажняется и переходит в пластичное или даже текучее состояние. 5.1.40. Весенняя распутица начинается сразу после схода снежного покрова и оттаивания верхнего слоя грунта. Дополнительное увлажнение грунта происходит от весенних дождей. Условия для эксплуатации ВС наступают с момента просыхания верхних слоев грунта для ВС 4-го класса на глубину 15 - 20 см, и 3-го класса на глубину 30 - 35 см. 5.1.41. Летняя распутица может наступить при затяжных дождях, когда количество осадков достигает 40 - 70 мм, в особенности когда дожди совладают с понижением температуры. 5.1.42. Улучшение эксплуатационного состояния грунтовых аэродромов обеспечивается: созданием хорошего дернового покрова, способствующего более быстрому просыханию грунта и предупреждающего выдувание и пыление грунта; уплотнением грунтов до определенной плотности, снижающей просачивание влаги в грунт; осушительными мероприятиями на участках с неблагоприятными гидрогеологическими условиями и рельефом местности, а также защитой территории аэродрома от притока ливневых и талых вод с прилегающих участков; 5.1.43. Оценка пригодности грунтового аэродрома производится путем сопоставления его характеристик и параметров с требованиями РЛЭ для данного типа ВС (см. разд. 2.1 и 4.2 настоящего Руководства). 5.1.44. Период
распутицы считается нелетным, когда прочность грунтов летной полосы становится
ниже 5.1.45. Эксплуатация
ВС на грунтах минимальной прочности 5.1.46. Эксплуатационная глубина колеи Hэкспл является допустимой. Она зависит от размеров колес главных опор ВС и определяется из условий сохранения дернового покрова. В тех случаях, когда Hэкспл больше или равна Hmax, полеты ВС могут производиться на грунтовых аэродромах с дерновым покровом при минимальной прочности грунта. 5.1.47. Колеи, образующиеся при полетах ВС с аэродромов, имеющих прочность грунта выше эксплуатационной σэкспл, могут быть исправлены укаткой катками с пневматическими шинами или металлическими катками без разрушения дернового покрова. Заделка колей глубиной более Hэкспл на грунтах прочностью ниже σэкспл, должна производиться сразу же по окончании полетов. 5.1.48. Содержание и ремонт грунтовых аэродромов без дернового покрова предусматривает планировку, исправление микрорельефа, заделку колей и уплотнение грунта укаткой на отдельных участках н элементах летного поля. Микрорельеф исправляется путем срезки, перемещения и перераспределения минимальных объемов грунта в пределах 10 - 12 см толщины поверхностного слоя для устранения микронеровностей, впадин, возвышенностей и колей. Уплотнение производится после планировки и исправления микрорельефа катками на пневматических шинах либо гладкими металлическими катками. 5.1.49. Грунты рекомендуется уплотнять при их оптимальной влажности, при которой достигается максимальная плотность средствами уплотнения при минимальных затратах. Допустимые отклонения влажности грунта не должны превышать 0,8-1,1 величины его оптимальной влажности. При недостаточной влажности уплотнение грунтов потребует использования более тяжелых катков, а при избыточной влажности - времени на просушку или применения различных катков с постепенным переходом от легких к тяжелым. 5.1.50. Число проходов катков по одному следу рекомендуется ориентировочно принимать по табл. 5.1. Таблица 5.1
1 Катки массой 25-50т применяются на грунтах с влажностью ниже оптимальной. 2 Тип грунта определяется на основе данных лабораторного анализа его гранулометрического состава, а в полевых условиях - приближенным способом по методу Красюка (см. прил. 12, табл. 3). Примечание. Качество уплотнения контролируется путем определения фактической плотности грунта по ГОСТ 5180-84, ГОСТ 22733-77 и сравнения ее с максимальной плотностью данной разновидности грунта, причем требуемая плотность назначается по проекту в долях от максимальной плотности достижением определенного коэффициента уплотнения. 5.1.51. Основным видом повреждений грунтовой летной полосы является колейность, которая должна устраняться планировкой поверхности, заделкой рыхлым грунтом с последующим уплотнением гладкими катками. Колеи глубиной до 6 см рекомендуется устранять прикатыванием металлическими гладкими катками массой 3 - 5 т при влажности грунта, близкой к оптимальной. Колеи и выбоины глубиной до 15 см рекомендуется засыпать местным грунтом, с предварительным рыхлением основания на глубину до 5 см. При глубине колей и выбоин глубиной более 15 см их засыпают обычным рыхлым грунтом, а затем растительным грунтом слоем 10 - 12 см. При глубинах колей и выбоин до 20 см уплотнение грунта производится в один слой, а при глубине более 20 см - в два слоя. Не допускается засыпать выбоины и колеи песком, щебнем, шлаком или другими сыпучими материалами, отличающимися от грунтов летной полосы. 5.1.52. На грунтовых аэродромах без дернового покрова происходит значительное выдувание грунта от работающих двигателей ВС. Наибольшей эрозией обладают несвязные грунты с размерами частиц 0,1 - 0,15 мм. 5.1.53. При выборе наиболее рационального способа обеспыливания для конкретных условий рекомендуется учитывать срок использования грунтового аэродрома, продолжительность обеспыливающего действия, наличие соответствующих механизмов и материалов для производства работ. Снижение пылеобразования достигается: уменьшением степени воздействия на грунт аэродинамических и механических нагрузок путем устройства различного рода искусственных покрытий или созданием дернового покрова; поддержанием структурного и влажностного режима грунта, который обеспечивал бы его связность и отсутствие структурной и механической эрозии; введением различных вяжущих веществ для укрепления грунта и стабилизации. 5.1.54. На стартовых участках летной полосы, наиболее подверженных воздействию воздушных потоков и колес ВС, можно применять наиболее доступный метод - поливку водой с расходом 0,5 - 0,8 л/м2. 5.1.55. Для обеспыливания рекомендуется использовать способ укрепления грунта известью, которую можно вносить в виде пушонки или известкового молока в соотношении 1:4 - 1:5 в количестве 3 - 5% массы грунта обрабатываемого слоя или применять хлористый кальций с расходом 1 кг/м2 на каждые 10 см толщины обрабатываемого слоя. 5.1.56. На грунтовых аэродромах (вертодромах) для борьбы с пылимостью можно применять следующие материалы и вяжущие вещества: гигроскопические соли; отходы целлюлозно-бумажной промышленности; различные минеральные и органические вяжущие. При выборе методов обеспыливания рекомендуется использовать положения "Инструкции по обеспыливанию грунтовых аэродромов и вертолетных площадок". 5.1.57. Наиболее эффективными в борьбе с пылимостью грунтов являются органические вяжущие материалы: битумы, дегти, нефти, битумные эмульсии и маслобитумные вяжущие. Норма розлива органических вяжущих составляет ориентировочно: для сырой нефти и дегтей 3 л/м2, битумных эмульсий 2 - 3 кг/м2, разбавленной битумной пасты 6 - 8 л/м2, разжиженного битума 3 л/м2, маслобитумного вяжущего 3 - 4,5 % массы сухого супесчаного и суглинистого грунта. 5.1.58. Технология производства работ при обработке грунтов для обеспыливания включает в себя следующие операции: разрыхление, выравнивание и планировку участка; приготовление и розлив (внесение) вяжущего на обрабатываемый участок; уплотнение обработанного слоя грунта, если это потребуется. Выравнивание и планировка обрабатываемого участка производятся автогрейдерами, при этом спланированный участок не должен иметь уклоны свыше 20 % и неровности более 6 см глубиной. Розлив органических вяжущих производится, как правило, автогудронаторами, а битумных эмульсий - с помощью навесных дождевальных установок равномерно по всей обрабатываемой площади. Слой пропитки должен быть не менее 25 - 30 мм, а там, где он оказался менее указанной толщины, необходимо обработку осуществлять повторно. 5.1.59. Для обеспыливания песчаных, супесчаных и суглинистых грунтов летных полей аэродромов (вертодромов) и посадочных площадок может найти широкое применение (особенно в районах Крайнего Севера и Дальнего Востока) эффективный способ обеспыливания маслобитумным вяжущим, включающим битум, отработанное масло авиационных и автотракторных двигателей и разжижитель в соотношении 1:1:1. Продолжительность его обеспыливающего действия не менее двух лет. Для этих целей применяется средне густеющие и медленногустеющие битумы или другие, доведенные до вязкости жидких битумов. В качестве отработанных авиационных масел
можно использовать любые отработанные масла или их смеси с удельным весом 0,8 -
0,95 г/см3 и вязкостью Разжижителем может служить керосин, дизельное топливо и другие. 5.1.60. Рабочий состав маслобитумного вяжущего готовится следующим образом: жидкий битум подается насосом в цистерну автогудронатора до 1/3 его объема. После этого в таком же количестве подаются отработанные масла. Смесь перемешивается насосом автогудронатора, затем добавляется разжижитель в таком количестве, чтобы она достигла вязкости 30 - 50 с, причем вяжущее с меньшим значением вязкости применяется в дальнейшем при обработке супесчаных, а с большим - суглинистых грунтов. 5.1.61. Для обеспечения проникания маслобитумного вяжущего в грунт и равномерного его распределения рекомендуется производить измельчение поверхностного слоя, особенно суглинистых грунтов, на глубину не менее 10 см дорожной фрезой за 1 - 2 прохода или дисковыми, зубовыми боронами за 5 - 6 проходов по одному следу. После разлива вяжущего производится перемешивание обработанного грунта за 1 проход дорожной фрезой или за 2 - 3 прохода зубовыми или дисковыми боронами. Далее обработанный слой грунта уплотняется до величины 0,8 - 0,95 от стандартного уплотнения в зависимости от элемента летного поля 6 - 8 проходами пневмокатков, с последующим уплотнением гладкими катками 3 - 4 проходами по одному следу. При обработке несвязных грунтов методом пропитки толщина обрабатываемого слоя должна быть не менее 5 см. 5.1.62. Несущая способность грунтовых аэродромов повышается в среднем на 4 - 5 кгс/см2 при создании н сохранении дернового покрова. 5.1.63. Дернина должна удовлетворять следующим требованиям: иметь густоту травостоя и плотное сплетение корневищ на глубину не менее 12 - 18 см; обладать связностью, упругостью и устойчивостью к истиранию; иметь высоту травостоя не более 30 см, а после скашивания не менее 8 см. Качество дернового покрова определяется количеством побегов дернообразующих трав на единицу площади и предельной глубиной колеи, при которой он разрушается, в соответствии с данными табл. 5.2. Таблица 5.2
5.1.64. Уход за дерновым покровом состоит из следующих работ: прочесывания травостоя и разравнивания мелких неровностей; прикатывания дернового покрова; подкормки трав минеральными удобрениями; искусственного водополива травяной растительности; скашивания трав. 5.1.65. Прочесывание дернового покрова выполняется за два прохода по одному следу легкими зубовыми боронами или механическими граблями. 5.1.66. Прикатывание дернового покрова рекомендуется проводить ранней весной. Оно выполняется 2 - 4 проходами 5-тонных катков на супесчаных грунтах и 10-тонных - на суглинистых при влажности больше оптимальной на 2 - 3 %. Перед наступлением заморозков рекомендуется провести укатку поверхности гладкими катками для придания большей прочности грунтам и устранения колейности, которая при их замерзании сделает невозможной эксплуатацию ВС. 5.1.67. Скашивание травостоя рекомендуется выполнять не менее чем два раза в год. Первое скашивание делается при достижении растениями высоты 30 см, второе - осенью до наступления заморозков. Высота травостоя при скашивании должна быть 8 - 10 см. 5.1.68. В сухое время года, а также в засушливых районах для усиления роста трав рекомендуется искусственный водополив. Рекомендуется норма полива не менее 200 м3/га. 5.1.69. Дерновый покров с изреженным травостоем должен ремонтироваться к зависимости от степени изреженности: сильно изреженный - с травостоем, имеющим менее 15 % ценных трав, средне изреженный - от 15 до 35 % и слабо изреженный - более 35 % ценных трав присутствует. 5.1.70. На участках с сильно и среднеизреженным травостоем рекомендуется проводить следующие работы: внесение удобрений, разрыхление почвы дисковыми культиваторами или почвенными фрезами на глубину 3 - 5 см; разбрасывание семян трав, наиболее приспособленных к природным условиям аэродрома с заделкой их боронами "зиг-заг" в 2 - 3 раза по одному следу и последующее прикатывание 3-тонными катками. На слабо изреженных участках достаточно производить только подкормку растений удобрениями. Отремонтированные участки не рекомендуется эксплуатировать в течение 2 - 3 месяцев до восстановления травостоя. 5.1.71. Задернение колей и выбоин рекомендуется производить засевом семенами трав или путем пересадки заранее заготовленной дернины. Посев производится семенами той же травосмеси, которая произрастает на летном поле аэродрома с поливкой водой из расчет; не менее 20 л/м2. На участках пересадки дернины вносятся удобрения, затем она плотно укладывается и прикатывается 3 - 5-тонными катками. Эксплуатацию участков летного поля с пересаженной дерниной рекомендуется допускать после полного его приживания. Наилучшей дерниной для пересадки считается дернина из низовых трав: освяницы красной, мятлика лугового и т.п. 5.1.72. При гибели травостоя грунт в этих местах рекомендуется разрыхлить, внести минеральные удобрения и засеять травосмесью. Если верхний слой грунта сильно пропитан ГСМ, его следует заменить на глубину 20 - 30 см новым, засеять или покрыть дерном. 5.1.73. Ремонт грунтовых летных полей рекомендуется производить с учетом положений "Руководство по организации и технологии ремонта аэродромов без перерыва летной эксплуатации". 5.1.74. Для сохранения дернового покрова одним из основных мероприятий является равномерная эксплуатация летного поля с переносом старта по мере износа дернового покрова с периодичностью 5 - 15 дней. 5.1.75. Содержание водоотводных и дренажных систем. Водоотводные и дренажные системы (ВДС, рис. 5.1) следует содержать в исправном состоянии.
Рис. 5.1. Общий
вид расположения водоотводных систем на аэродромах: Смотровые, тальвежные и водоприемные колодцы ВДС должны быть постоянно закрыты крышками. Открывать колодцы следует только при осмотре и ремонте ВДС. Земляные работы в зоне расположения элементов ВДС следует проводить только по специальным проектам. Весной дождеприемные и тальвежные колодцы следует освободить от крышек и щитов. После пропуска стоков следует провести внеочередной осмотр всей ВДС, отремонтировать и восстановить поврежденные элементы. Лотки, канавы, колодцы, оголовки коллекторов, перепуски следует очищать от наносов. СОДЕРЖАНИЕ ПЛОЩАДОК СПЕЦИАЛЬНОГО НАЗНАЧЕНИЯ, АЭРОДРОМНОГО ОБОРУДОВАНИЯ И УСТРОЙСТВ 5.1.76. Площадки специального назначения и сопряжения покрытий с грунтом следует содержать в исправном состоянии и своевременно очищать от пыли, грязи, снега и льда. Обработку ВС антиобледенительными средствами следует проводить на площадках с асфальтобетонным покрытием. Сброс неочищенных стоков с этих площадок в общую водоотводную систему запрещается. Места стоянки ВС, предназначенные для гонки двигателей (гоночные площадки), должны быть оборудованы специальными устройствами - якорными креплениями. 5.1.77. Якорные крепления. При безангарном хранении ВС на МС производят их крепление к якорным устройствам для предотвращения перемещения и повреждения ВС при воздействии ветровых нагрузок. В качестве якорных креплений для вертолетов используются швартовочные устройства, предназначенные для фиксации вертолета при гонке двигателей. Расчетные усилия на петли каждого якорного крепления приведены в табл. 5.3. Схемы расположения якорных устройств приведены в РТЭ ВС. Таблица 5.3 Расчетные усилия в растяжках якорных креплений ВС от воздействия ветровой нагрузки, кН/тс
Примечания: 1. В числителе приведены: для самолетов - усилия в каждой растяжке крепления основных опор или крыльев, в знаменателе - передних опор или хвостовой части фюзеляжа; для вертолетов - суммарные усилия, приходящиеся на бортовой и носовой якори соответственно. 2. Тяжелые ВС, если это не оговорено в РТЭ применительно к особым условиям эксплуатации, при воздействии ветровых нагрузок не швартуются. 3. Расчетные нагрузки принятые коэффициентом безопасности 1,5 по отношению к максимальным эксплуатационным. 4. Расчетную скорость ветра принимают в соответствии с п.5.1.78 настоящего Руководства. 5.1.78. Расчетную скорость ветра для каждого аэродрома определяют по данным авиационной метеостанции за период не менее 25 лет или по карте "Районирование территории по скоростному напору ветра". Для аэродромов (вертодромов), расположенных на высоте 200 и более метров над уровнем моря, расчетную скорость ветра определяют только по данным местных станций гидрометеослужбы. 5.1.79. Якорные крепления сооружают по типовым проектам. На МС для самолетов 4-го класса и вертолетов 3-го класса, временных площадках допускается устройство якорных креплений упрощенного типа (горизонтально заглубленные в землю трубы, блоки, бревна, металлоконструкции и т.д.). Пример конструкции якорного крепления упрощенного типа приведен на рис. 5.2. 5.1.80. Заземляющие устройства предназначены для снятия заряда статического электричества с ВС и наземной техники. Заземляющие устройства устанавливают на местах стоянок и обслуживания ВС, на примыканиях РД к ИВПП. На примыканиях РД к ИВПП заземляющие устройства устанавливают стационарно путем закладки металлических элементов с анкерными креплениями в поперечные швы жестких покрытий или в специальные штрабы заподлицо с поверхностью покрытия (рис. 5.3.). Конструкция заземляющего устройства на МС и площадках обслуживания ВС приведена на рис. 5.4.
Рис. 5.2. Конструкция якорного крепления упрощенного
типа:
Рис. 5.3. Заземляющее устройство:
Рис. 5.4. Заземляющее устройство на МС: На МС и площадках обслуживания ВС с грунтовым покрытием вокруг заземляющего устройства заподлицо с поверхностью грунта устраивают отмостку из бетона толщиной 0,10 - 0,15 м и диаметром 0,50 м. 5.1.81. Места расположения заземляющих устройств следует очищать от пыли, грязи, снега, льда. Очистку заземляющего устройства производит аэродромная служба. Работоспособность заземляющих устройств обеспечивает служба ЭСТОП. 5.1.82. Ограждения аэродромов (вертодромов) предназначены для предотвращения проникновения на служебную территорию посторонних лиц, транспортных средств и животных. Тип ограждения следует назначать в зависимости от класса аэропорта в соответствии с Ведомственными нормами технологического проектирования аэропортов. Все виды ограждений следует содержать в исправном состоянии. Проверка состояния ограждений возлагается на ВОХР, а ремонт - на ОЭНС аэропорта. 5.2. СОДЕРЖАНИЕ ЛЕТНОГО ПОЛЯ В ЗИМНИЙ ПЕРИОД5.2.1. Содержание летного поля аэродрома в зимний период представляет собой комплекс мероприятий и работ, направленных на подготовку летного поля к полетам. К ним относят: очистку искусственных покрытий, гоночных площадок, заземляющих устройств, "огней" (светильников) очищаемых зон ЛП, участков курсовых и глиссадных радиомаяков (КРМ, ГРМ, РМС) от снега, слякоти; (Измененная редакция, Изм. № 2). предупреждение и удаление гололедных и снежно-ледяных образований; уплотнение снега до требуемой толщины 6 - 8 см с последующей очисткой поверхности от выпавших осадков, если принят и используется метод очистки на аэродроме; выравнивание и уплотнение снежных отложений, если применяется метод уплотнения; устранение колейности и выбоин на заснеженных летных полях аэродромов; выравнивание снежных отложений и валов за пределами ВПП, обочин РД, МС и перронов с планировкой откосов; проведение снегозадержания на летных полях; вывоз скоплений снега в места выкладок снега; борьба с зимней скользкостью на внутриаэропортовых дорогах, подъездных путях и привокзальных площадях. 5.2.2. Аэродромное обеспечение полетов связано с качеством очистки поверхности покрытий от воды, снега, снежно-ледяных образований и гололеда. Эти факторы практически постоянно изменяют сцепные свойства и другие характеристики поверхности покрытий. 5.2.3. Технологические операции по очистке покрытий и других элементов летного поля от атмосферных осадков рекомендуется выполнять специальными аэродромно-уборочными машинами (см. прил.10). 5.2.4. В зимних условиях необходимо сокращать время очистки покрытий и других элементов летного поля и вести их подготовку без прекращения летной эксплуатации, в "окна" между полетами ВС. Эту проблему рекомендуется решать, применяя технологию скоростной очистки машинами, которые выполняют все технологические операции снегоуборки: сдвигание, подметание и переброс обвалованного снега за пределы ИВПП равномерной массой. 5.2.5. При содержании аэродромов (вертодромов) в зимнее время особенно трудоемким является предотвращение и устранение снежно-ледяных и гололедных образований, которые выполняются химико-механическим, тепловым и комбинированным методами. В условиях необходимости сокращения времени на очистку покрытий в основном рекомендуется применение химико-механического метода. Предотвращение льдообразований проводится антигололедными реагентами при своевременном их прогнозировании. 5.2.6. Производительность удаления гололедных образований химико-механическим методом выше теплового. Существующие средства распределения химреагентов и уборки остатков плавлении и разрушения льда, как известно, имеют рабочие скорости в 5 - 6 раз выше, чем скорость тепловых машин (см. прил. 10) 5.2.7. При разработке усовершенствованной (скоростной) технологии зимнего содержания аэродромов рекомендуется использовать следующие основные принципы: патрулирование уборочных машин с началом выпадения осадков; сокращение непроизводительного времени, затрачиваемого на очистку покрытий; рациональный подбор комплекта машин и выбор оптимальных маршрутов их движения. 5.2.8. При разработке технологии льдоснегоочистки аэродромных покрытий рекомендуется расчетным путем определять (дли конкретных условий с учетом взлетов и посадок ВС) оптимальные варианты уборочных работ и необходимые технологические их параметры: количество гонов в зависимости от ширины захвата и величины перекрытия смежных проходов соседних машин, количество уборочных средств, их скорость и др. 5.2.9. Минимальный временной интервал, при котором будет возможна очистка от снега и гололедных образований, рекомендуется рассчитывать соответственно по формулам
где tпос(взл) - время занятия ИВПП для посадки, взлета, с; tбез - временной интервал безопасности (в РФ он равен 5 мин); tтех и T0 - время очистки покрытий отрядом ведущих машин, с;
tплав - время, необходимое для плавления гололедных образований антигололедным реагентом, с. Величина T0 должна быть меньше величины ( 5.2.10. Время, затрачиваемое на очистку (обработку) покрытий элементов летного поля (ИВПП, МРД и РД), рекомендуется рассчитывать по следующим формулам:
или
где В и L - соответственно ширина и длина очищаемого элемента летного поля, м; γ - число соединительных РД, примыкающих к ИВПП в разных ее точках по длине с учетом количества дополнительных съездов (выездов), для маневрирования уборочных машин; Вn - ширина захвата отряда машин, рассчитывается по формуле Вn = п·в - (п - l) вnep; (5.7) п - количество ведущих машин в отряде, шт.; вnep - ширина перекрытия смежных проходов в конкретных условиях, м; в - эксплуатационная ширина захвата уборочной (обрабатывающей) машины при выполнении работ в конкретных условиях, и; tдоб - время "добегания" последней машины отряда при завершении операции очистки (обработки) первой машиной, с; V - эксплуатационная скорость отряда машин при очистке (обработке) покрытий, м/с; lм - длина машины, м; d - безопасная дистанция между машинами в отряде, м; tм - среднее время маневрирования машин отряда, с; Г - количество гонов; К - коэффициент, учитывающий площадь очистки (обработки) покрытий: изменяется от 0,5 (очищена только рабочая зона) до 1,0 (покрытие полностью очищено). В расчетах T0 по формулам 5.5 и 5.6 ориентировочное количество уборочных машин в отряде п рекомендуется предварительно определить в соответствии с прил. 9. 5.2.11. Время разбрасывания реагента 5.2.12. Современные средства механизации позволяют увеличить скорость уборочных работ для основного количества случаев выпадения снежных осадков (температура от 0 до -7 °С, интенсивность 1-2 см/ч, средняя продолжительность снегопадов в пределах 2-7 ч). 5.2.13. При выборе средств механизации и комплектовании отрядов машин их технические и технологические показатели должны обеспечивать патрульную очистку покрытий. Технология работы отдельной машины в отряде организуется таким образом, чтобы каждая машина подготавливала необходимые оптимальные условия для выполнения следующей за ней операции на той же рабочей скорости, не снижая производительности отряда в целом. Машины но разбрасыванию антигололедных химреагентов должны включаться при необходимости в отряд машин по снегоочистке. Эксплуатационная ширина захвата отряда машин рекомендуется кратной ширине очищаемого элемента летного поля с учетом перекрытия смежных гонов. 5.2.14. Основные принципы и критерии подбора уборочных машин в отряде следующие: (Измененная редакция, Изм. № 2). Количество гонов (Г) должно быть минимальным и кратным натуральному ряду чисел (1,2,3 и т. д.). Оно рассчитывается по формуле
где В - ширина очищаемого элемента летного поля, м; Вп - ширина захвата отряда уборочных машин, м; Ширина захвата отряда машин Вп, определяемая по формуле 5.7, должна быть кратна ширине очищаемых элементов летного поля (ИВПП, МРД, РД) первой очереди очистки с тем, чтобы после выполнения минимального количества гонов не оставалось огрехов на покрытии. 5.2.15. Снег, убираемый с покрытий плужно-щеточно-пиевматическими машинами, собирается в виде валов, которые рекомендуется убирать роторными снегоочистителями с аналогичной скоростью. В этом случае указанные уборочные машины рекомендуется включать в отряд с учетом их параметров: длины, безопасной дистанции и рабочей скорости. Выбор машин, перебрасывающих обвалованный снег за пределы очищаемых элементов летного поля, рекомендуется производить с учетом интенсивности накопления снега от проходов плужнo-щеточно-пневматических машин, которая определяется по формуле П = Вп·V·h·γ, (5.9) где Вп - эксплуатационная ширина захвата отряда уборочных машин, м; V - скорость отряда уборочных машин, м/ч; h - толщина убираемого снега, м; γ - плотность снега, т/м3. Эксплуатационная производительность выбираемого роторного снегоочистителя (Про) должна быть в лучшем случае равной или, по крайней мере, кратной интенсивности накопления обвалованного снега. 5.2.16. Для очистки аэродромных покрытий по определенным выбранным технологическим схемам и конкретным маршрутам требуется учитывать среднее время маневрирования машин отряда tм. Средневзвешенную величину tм рекомендуется определять как сумму времени на все развороты и повороты согласно расчетной схеме установленных маршрутов технологии уборочных работ, деленную на сумму всех поворотов и разворотов. 5.2.17. Затраты времени на один разворот машины отряда рекомендуется определять по формуле
где R - радиус разворота машины, м; V и Vразв - соответственно скорость машины: рабочая и при развороте, м/с. Затраты времени на один поворот машины можно определить по формуле
где Vпов - скорость машины при повороте. 5.2.18. В тех случаях, когда скорость уборочных машин для перебрасывания обвалованного снега меньше скорости комплекта машин для очистки покрытий с плужно-щеточно-пневматическим оборудованием, общее время, затрачиваемое на подготовку покрытий, зависит только от работы последних и может определяться по формуле
где L - длина очищаемого элемента, м; Г - количество гонов плужно-щеточных машин и машин, перебрасывающих обвалованный снег, V -эксплуатационная скорость машины, перебрасывающей обвалованный снег, м/с; В этом случае время закрытия очищаемого элемента летного поля на очистку возрастает на величину: ΔТ0= Т - Т0. где Т0 - время очистки покрытий машинами с плужно-щеточно-пневматическим оборудованием, определяемое по формулам 5.5, 5.6. 5.2.19. Основные принципы подбора отряда разбрасывающих средств заключаются в сокращении времени на обработку элементов аэродрома при минимальном количестве машин без дополнительной их загрузки антигололедным реагентом. Порядок выбора разбрасывающих средств рекомендуется следующий: - определяется объем q антигололедного реагента, м3 который необходимо распределить на обрабатываемую площадь покрытий элементов аэродрома по формуле 5.1, в которой необходимо для ее составляющих принять: S - площадь обрабатываемых элементов покрытий, м2; q - средняя норма расхода реагентов по всем диапазонам температур гололедных образований г/м2; γ - насыпная масса применяемого реагента, т/м3; - определяется емкость кузова Vп разбрасывающей машины по формуле 5.2; - подбирается отряд разбрасывающих машин таким образом, чтобы величина впер была бы минимальной; - после определения Vп вычисляется количество разбрасывающих машин по формуле 5.3. 5.2.20. На каждом авиапредприятии рекомендуется составить план мероприятий по подготовке летного поля и средств аэродромной механизации к работе в осенне-зимний период. По плану должны выполняться следующие работы: ремонт аэродромных льдоснегоуборочных машин и механизмов, подготовка их к работе в зимних условиях; очистка водосточно-дренажных сетей от наносов и засоров, закрытие колодцев крышками; планировочные работы, ликвидация колейности, скашивание травы и уплотнение поверхности летных полос; обновление дневной маркировки аэродромных покрытий, ремонт, изготовление или обновление переносных аэродромных, маркировочных и дорожных знаков, а также трафаретов с запрещающими, предписывающими, информативно-указательными и т. п. надписями; заготовка строительных материалов для ремонта и содержания сооружений летного поля в зимний и весенний периоды, а также песчано-солевой смеси для ликвидации зимней скользкости на внутриаэропортовых дорогах и площадях аэропорта; обозначение специальными знаками-маркерами границ площадей очистки и уплотнения снега, мест выкладок снега, водоприемных, смотровых колодцев и устьевых сооружений коллекторов, установка снегозащитных ограждений; разработка и утверждение руководством авиапредприятия Плана зимнего содержания аэродрома (льдоснегоуборочных работ на летном поле) и доведение его до всех служб. 5.2.21. В Плане зимнего содержания аэродрома рекомендуется отразить и разработать: схему летного поля с расположением и размерами его элементов, содержащихся методом очистки (уплотнения) снега, с указанием очередности и времени выполнения работ; мест выкладок снега на летном поле; альбом технологических карт и схем уборочных работ с расчетами согласно настоящему разделу Руководства; особенности организации взаимодействия между участниками уборочных работ, службами; наличие техники и возможности выделения дополнительного количества льдоснегоуборочных машин и оборудования для выполнения работ, а также посменную обеспеченность их водительским и техническим персоналом; готовность устройств для измерения сцепления, приборов и оборудования для оценки параметров состояния летного поля в зимнее время; порядок сбора и передачи информации о состоянии летного поля. 5.2.22. Потребность аэродромов в антигололедных химических реагентах для борьбы с гололедными и снежно-ледяными образованиями рекомендуется определять в соответствии с "Инструкцией по применению химических реагентов для предупреждения и удаления гололедных образований на аэродромных покрытиях". 5.2.23. Работы по подготовке летного поля рекомендуется разбивать на следующие очереди: первая: очистка ИВПП (очистка одной из ИВПП, если их две), КПТ (при её наличии), ЛП на ширину 10 м от границы ИВПП, рабочие РД, перроны, "огни" на летной полосе, подготовка зон КРМ, ГРМ; (Измененная редакция, Изм. № 2). вторая: подготовка запасной ГВПП, очистка МС, остальных РД, обочин РД на ширину 10 м; третья: очистка ЛП на ширину 25 м от боковых границ ИВПП на всей длине ЛП, обочин перронов и МС с планировкой сопряжений очищенных участков с неочищенными; очистка подъездных путей к объектам радиосвязи, ГСМ, внутриаэропортовых дорог и т. д. (Измененная редакция, Изм. № 2). 5.2.24. Очистку от снега элементов летного поля, относящихся к первой очереди, рекомендуется проводить с начала снегопада методом патрулирования. Работы, относящиеся к последующим очередям, рекомендуется начинать после окончания работ предыдущей очереди. 5.2.25. Удаление гололедных и снежно-ледяных образований с искусственных покрытий ВПП рекомендуется выполнять: химическим методом при температуре воздуха минус 5 °С не более чем за 1,5 ч и ниже минус 5 °С комбинированным способом (химический метод и тепловой) не более чем за 2,5 ч после начала уборочных работ. В случаях вынужденного применения теплового способа борьбы с образовавшимся гололедом работы следует выполнять не более чем за 2 ч, если температура воздуха до минус 5 °С, а при температуре ниже минус 5 °С не более чем за 3 ч. 5.2.26. Удаление гололедных образований с аэродромных покрытий рекомендуется производить в такой последовательности: ИВПП, места примыкания РД к ИВПП, места поворотов РД, прямые участки РД, перрон и МС. 5.2.27. Для предотвращения разрушений огней углубленного типа запрещается применять плужно-щеточные машины с отвалами без резиновых накладок. 5.2.28. Основные средства зимнего содержания летных полей аэродромов и их характеристики приведены в прил. 10. 5.2.29. Работы по удалению снежных отложений с искусственных аэродромных покрытий производятся а соответствии с технологическими картами и схемами маршрутов движения машин согласно утвержденному Плану зимнего содержания аэродрома. 5.2.30. Работа плужно-щеточных снегоочистителей организуется на всю ширину ИВПП таким образом, чтобы они последовательно один за другим (уступами) двигались от оси ИВПП к обочинам с перекрытием предыдущего следа на определенную величину впер. Минимальное расстояние между движущимися машинами принимается равным величине 1/2 скорости их движения. Первый снегоочиститель движется по ИВПП в зависимости от погодно-климатических условий (ветер, интенсивность осадков). Следующая машина идет за первой на расстоянии не ближе 15 - 20 м. Каждая последующая машина должна двигаться, перекрывая очищенную ранее полосу. Ширина впер зависит от типа снегоочистителя. Для машины типа ПМ-130, идущей второй, ширина перекрытия составляет 0,25 м, третьей - 0,35 - 0,4 м и т. д. Таким образом, при снегоочистке ИВПП крайняя машина в отдельных случаях может двигаться только с перекрытием, близким к ширине захвата снегоочистителя. 5.2.31. В начале снегопада снег рекомендуется убирать только щетками. По мере увеличения слоя снега и его объема должны включаться в работу одноотвальные плуги при непрекращающейся работе щеток и воздуходувок. В тех случаях, когда снегоуборочные работы начинаются по окончании снегопада и при значительном слое снега, целесообразно работу плужно-щеточных снегоочистителей разделить на две группы: первая группа машин сдвигает снег плугом, а вторая - подметает щетками. 5.2.32. Работа плугом по сгребанию и перемещению снега может продолжаться до тех пор, пока уборочная машина не начнет испытывать значительного сопротивления движению из-за увеличивающейся толщины и плотности перемещаемого снега. В таких отдельных случаях дальнейшее перемещение очищаемого снега с последующим его обвалованием можно продолжить, применяя более мощные уборочные средства. 5.2.33. Сопряжение очищенных площадей покрытий и неочищенных грунтовых участков летного поля достигается устройством пологих снежных сопряжений с уклоном 1:10 ножом автогрейдера, установленным под углом, либо специальным откосником, прикрепляемым к ножу автогрейдера. При снегопадах в условиях отрицательных температур снег с покрытия не рекомендуется убирать, если ожидается переход его в переохлажденный дождь или изморозь. Рекомендуется в процессе очистки поверхность покрытий обрабатывать "под снег" антигололедным реагентом. 5.2.34. При очистке от снега ВПП рекомендуется учитывать направление ветра и скорость его боковой составляющей в технологии уборочных работ аэродромными уборочными машинами и плужно-щеточными снегоочистителями: до 3 - 5 м/с очистка производится в направлении от оси ВПП к обочинам на всю ее ширину; 5 - 10 м/с уборочные работы выполняются на участках ВПП с двух неравных частей по ее ширине: с большей части (до 2/3 ширины) снег очищается в направлении ветра, а с меньшей части (до 1/3 ее ширины) - против ветра; более 5 - 10 м/с уборочные работы следует проводить только в направлении ветра, а холостые ходы рекомендуется избегать поворотом плужных отвалов в конце каждого рабочего гона. 5.2.35. В отдельных случаях снегоочистка покрытий может эффективно выполняться ветровыми машинами, поскольку производительность их при уборке сухого снега достигает 50 га/ч, а мокрого - до 20 га/ч. Наибольший эффект от их применения можно достигнуть только при очистке покрытий от сухого снега при температуре воздуха ниже 10 °С, а мокрого снега - при температуре, близкой к 0 °С. Уборка снега с помощью ветровых машин до минус 7 °С вообще не рекомендуется, так как при таких условиях может происходить оплавление и примерзание талого снега к покрытию. 5.2.36. В случаях использования ветровых машин при снегоуборочных работах рекомендуется учитывать скорость боковой составляющей и направление ветра в технологии уборочных работ следующим образом: до 3 - 5 м/с работы следует проводить от оси ВПП, сдувая снег к обочинам; более 5 м/с уборочные работы следует вести в направлении ветра, начиная от обочины ВПП к месту укладки снега. 5.2.37. На участках летного поля, где очистка от снега производится с последующей его вывозкой в места выкладок снега, образующиеся валы от плужно-щеточных машин шириной более 2,5 м рекомендуется переформировать ("подбить валы") с помощью автогрейдеров так, чтобы они соответствовали ширине захвата снегопогрузочных машин. 5.2.38. Качество очистки покрытий от снега обеспечивается в том случае, если отвал, сдвигая основную массу снега, оставляет после себя слой высотой 10 - 15 мм, легко сметающийся щеткой. Поэтому необходимо систематически контролировать состояние резиновых ножей отвала. Они должны иметь одинаковую высоту и при опущенном отвале плотно по всей ширине захвата прилегать к поверхности покрытия. Высота ножей должна быть в пределах 25-150 мм, с равномерным износом. Плуг должен легко поворачиваться на поворотной раме вправо и влево и надежно фиксироваться. Просадка ворса щетки, прижатой к аэродромному покрытию, должна быть одинаковой по всей ее длине и находиться в пределах 15-30 мм, а длина ворса щетки - 90-220 мм. Щетка должна работать при минимальном обжатии ворса, обеспечивая при этом полное отделение снега от поверхности покрытия. 5.2.39. Рабочая скорость машины при снегоочистке зависит от общей нагрузки на снегоочиститель, которая возрастает при увеличении интенсивности снегопада. При патрульной очистке в случае снегопада интенсивностью более 3 мм/ч отечественные плужно-щеточные машины работают, как правило, со скоростью 12-18 км/ч, а если интенсивность снегопада менее 3 мм/ч, то рабочая скорость может достигать 30 км/ч и более. 5.2.40. Для предотвращения наката и снежно-ледяных образований в аэропортах с большой интенсивностью движения ВС в зимнее время не всегда можно быстро убрать снег в пределах ограничений по слою снега (обычно этот слой не превышает 5 см). В этих случаях рекомендуется использовать технологию, основанную на комплексном применении снегоуборочной техники и антигололедных реагентов. Процесс снегоочистки с применением антигололедных реагентов предусматривает следующие этапы: 1. Период от начала снегопада до момента внесения антигололедных реагентов в снег; он должен полностью исключить возможность образования растворов при последующей обработке смежной массы реагентом; продолжительность этого периода составляет 15-45 мин. 2. Промежуток времени между обработкой покрытия антигололедными реагентами и уборкой снега; в этот период на покрытиях, обработанных реагентами, происходит накопление выпадающего снега. 3. Уборка снега. Реагенты рекомендуется разбрасывать по поверхности покрытия в зависимости от температуры воздуха, исходя из следующих норм расхода: при температуре до минус 6 °С - 15 г/м2, при температуре минус 0 °С и ниже - 25 г/м2. 5.2.41. В процессе эксплуатации летного поля может возникнуть необходимость уборки уплотненного снега, снежно-ледяных накатов и образующегося при этом льда, который может иметь толщину более 20 мм. Рекомендуется использовать метод уборки, изложенный в пп. 5.2.69 - 5.2.70 настоящего Руководства. 5.2.42. РД, МС и перроны с искусственными покрытиями должны полностью очищаться от снега. Очистку перрона и МС рекомендуется выполнять плужно-щеточными снегоочистителями по мере освобождения покрытий от ВС. Движение машин организуется по кольцевой или челночной схеме в зависимости от конфигурации покрытий МС или перрона, направления и скорости ветра, а также наличия на стоянках ВС. Рекомендуется перебуксировка ВС из неочищенной зоны в очищенную. 5.2.43. При отсутствии на стоянках ВС уборку снега можно вести обычными средствами механизации, а в непосредственной близости от ВС - малогабаритными снегоочистителями. Для очистки от снега рекомендуется использовать кольцевую схему движения машин, согласно которой пути их движения совпадают с путями движения ВС. Она позволяет магистральные пути очищать в первую очередь. 5.2.44. Валы снега, образующиеся на внутренних участках при снегоуборке перронов и МС, рекомендуется сдвигать бульдозерами или сдвоенными машинами ПМ-130 к границам покрытий или перебрасывать роторными снегоочистителями с повторным обвалованием и дальнейшей уборкой. В этих случаях можно применить также метод вывозки снега. 5.2.45. Снег, собранный в валы и кучи, необходимо своевременно удалять. Для удаления обвалованного снега могут использоваться следующие способы: вывоз автотранспортом на места для выкладки снега; перекидка роторными снегоочистителями на свободные территории. Снег загружают в самосвалы снегопогрузчиками или роторными снегоочистителями, оборудованными улиткой. Для повышения объема и грузоподъемности кузова самосвала его рекомендуется оборудовать съемными бортами высотой не менее 600-1200 мм (табл. 5.4). В зависимости от размеров вала, расстояния вывоза и других условий за каждым снегопогрузчиком рекомендуется закреплять определенное количество самосвалов, которое должно обеспечивать его непрерывную работу без простоев (табл. 5.5). Места выкладки снега, вывозимого с территории аэродрома, должны быть согласованы и определены заранее. Таблица 5.4
Таблица 5.5
БОРЬБА С ГОЛОЛЕДНЫМИ И СНЕЖНО-ЛЕДЯНЫМИ ОБРАЗОВАНИЯМИ НА АЭРОДРОМАХ (ВЕРТОДРОМАХ) 5.2.46. Гололед представляет собой тонкий слой плотного льда толщиной преимущественно от 0,5 до 4 мм. Гололед образуется в диапазоне температур от 0 до минус 6 °С при охлаждении и замерзании переохлажденных капель дождя, мороси или тумана. Начало образования гололеда происходит при скоростях ветра до 7 м/с и относительной влажности воздуха 94 - 100 %. Гололедно-изморозные образования и гололедица появляются на покрытии при замерзании воды или слякоти с понижением температуры ниже 0 °С, а также при резком колебании температуры воздуха. Снежно-ледяные образования возникают при формировании слоя уплотненного снега на покрытиях, который преобразуется в снежно-ледяной накат, далее в лед толщиной 20 мм и более. 5.2.47. Продолжительность формирования гололедных явлений может составлять от 1 до 17 ч в зависимости от местных метеорологических условий. Повторяемость возникновения гололедных образований в различных районах РФ неодинакова и может достигать по данным метеорологических станций до 40 и более раз в году. 5.2.48. Борьба с гололедными и снежно-ледовыми образованиями на аэродромных покрытиях химико-механическим способом должна заключаться в предотвращении возникновения гололедных образований путем своевременной обработки поверхности покрытий химическими реагентами до начала или в период их формирования. 5.2.49. Не допускается раствор химреагента оставлять на покрытии. Поэтому поверхность покрытий после льдоуборочных работ должна тщательно очищаться, а при необходимости и подсушиваться. 5.2.50. Для борьбы с гололедными образованиями на всех типах покрытий, кроме цементобетонных, имеющих возраст бетона менее двух лет, применяется химический реагент АНС, на асфальтобетонных - карбамид. 5.2.51. На аэродромных покрытиях, обработанных защитными пропиточными составами на основе нефтеполимерных смол типа CMC (стирольно-инденовая смола) и НЛС (нефтеполимерная лакокрасочная смола), а также на основе гидрофобизирующих кремнийорганических соединений (КОС) и кольматирующих составов нефтеполимерных смол (НПС) допускается применение реагентов независимо от возраста цементобетона. Пропитка покрытий может проводиться согласно "Рекомендациям по защите нефтеполимерными составами аэродромных цементобетонных покрытий от поверхностных разрушений" (М., ГПИ и НИИ ГА Аэропроект, 1985 г.) и Указаниям по повышению долговечности аэродромных цементобетонных покрытий" (М., ГПИ и НИИ ГА Аэропроект. 1983 г.). 5.2.52. Химические антигололедные реагенты представляют собой гранулы диаметром до 3 мм белого цвета, легко растворимые в воде. Объемная масса гранулированного реагента находится в пределах 0,7 - 0,9 г/см3. Основные показатели химических антигололедных реагентов приведены в табл. 5.6. Таблица 5.6
5.2.53. Для предотвращения образования гололеда реагент рекомендуется применять в виде водных 30-50 %-растворов при температурах не ниже минус 6 °С. 5.2.54. Гранулированные реагенты проплавляют весь слой льда, снижают его адгезию с покрытием и производят его отслаивание. Время плавления гранулированными реагентами составляет 10 - 30 мин. 5.2.55. На подъездных и внутриаэродромных дорогах борьба со скользкостью должна проводиться в соответствии с правилами зимнего содержания автомобильных дорог. 5.2.56. Для удаления снежно-ледяных образований рекомендуется использовать бульдозеры, автогрейдеры и т.п, машины, оборудованные отвалами, на которые навешивают специальные ножи. Для этого на обычные ножи заводского изготовления на расстоянии 100 мм приваривают с наружной стороны выступы из круглой стали с выпуском на 20 - 25 мм ниже режущей кромки. В авиапредприятиях, не имеющих в достаточном количестве машин, ножи которых можно переоборудовать, рекомендуется использовать сельскохозяйственные пригруженные бороны. Нормы расхода жидких химических реагентов (л/м2) на разрушение снежно-ледяного слоя в зависимости от температуры воздуха при глубине канавок 20 мм и ширине между ними 50 - 60 мм даны в табл. 5.7. Таблица 5.7
5.2.57. Основными технологическими операциями при использовании антигололедных химических реагентов являются: установление расхода реагента по соответствующим нормам их расхода; распределение реагента по поверхности покрытия (разбрасывание или разлив); уборка остатков разрушенного льда, слякоти и образовавшегося раствора реагента; окончательная подсушка покрытия. 5.2.58. Предотвращение гололедных образований проводят в периоды возможного их интенсивного возникновения: при температуре воздуха в пределах от 0 до минус 6 °С. Рекомендуется использовать методику прогнозирования гололедных образований (см. прил. 7). Сущность метода предотвращения заключается в том, что заблаговременно после получения данных прогноза о возможном образовании гололеда, по поверхности покрытия распределяется реагент в растворе или твердом виде. Образующийся в этих условиях лед имеет рыхлую структуру, слабое сцепление с поверхностью покрытия и легко очищается щетками снегоуборочных машин. 5.2.59. Для предотвращения гололедных образований при минимальном расходе и равномерном распределении реагента по поверхности покрытий применяются: на сухих покрытиях 30 - 50 % растворы реагентов АНС и карбамида при температурах воздуха до минус 2 °С с расходом 0,05 - 0,3 л/м2, а на влажных (мокрых) - гранулированные или порошкообразные реагенты с нормами расхода, принимаемые в соответствии в табл. 5.8. Таблица 5.8
5.2.60. Растворы реагентов разливаются по поверхности покрытия поливомоечными машинами на скорости 10 - 20 км/ч. Ширина обрабатываемой полосы при этом составляет 8- 18 м. За одну заправку емкости цистерны машина может обрабатывать до 1 га покрытий. 5.2.61. Удаление гололедных образований на поверхности аэродромных искусственных покрытий производится гранулированными реагентами в твердом виде. Водные растворы реагентов рекомендуется использовать только при толщине гололедной пленки не более 1 мм. Нормы расхода растворов реагентов для удаления гололедных образований рекомендуется применять те же, что и для его предупреждения. Средние нормы расхода гранулированных реагентов для удаления гололедных образований толщиной 1 мм приведены в табл. 5.9. Таблица 5.9
Примечание. При изменении толщины слоя льда расход реагента корректируется: на каждый его дополнительный миллиметр принимается дополнительно реагента в количестве 50 % от данных, указанных в табл. 5.9 5.2.62. Расход реагента в порошкообразном виде определяется в зависимости от расхода гранулированного реагента путем умножения величины последнего на корректирующий коэффициент "К". В зависимости от толщины гололедной пленки и температуры воздуха коэффициент "К" принимается согласно табл. 5.10. Таблица 5.10
5.2.63. Для обоснования и расчета параметров технологии льдоочистки покрытий и составления технологических карт рекомендуется использовать формулы 5.1. - 5.6. 5.2.64. Для распределения гранулированных антигололедных реагентов используют самоходные разбрасывающие специальные средства (см. прил. 10). 5.2.65. Расход реагента при движении разбрасывающего средства определяется скоростью движения и величиной выходного отверстия механизма разбрасывания путем регулировки высоты высевной щели или установкой номера отверстия по лимбу дозирующего устройства согласно техническому описанию и инструкции по эксплуатации применяемого средства. При обработке покрытий гранулированным реагентом ширина россыпи его по сравнению с порошкообразным реагентом увеличивается в 1,4 - 1,5 раза. 5.2.66. Антигололедные реагенты рекомендуется распределять на ИВПП с учетом ее поперечных уклонов, направления и скорости ветра. На ИВПП с двускатным поперечным профилем движение распределительных машин организуется по кольцевой схеме, начиная от продольной оси покрытия к краю полосы, а на ИВПП с односкатным профилем - по челночной схеме, от более высокой кромки полосы к низкой. При боковой составляющей ветра 5 м/с и более движение машин целесообразно организовать только по челночной схеме, начиная с наветренной стороны ИВПП. Боковая составляющая ветра до 5 м/с не оказывает существенного влияния на равномерность распределения реагента. Движение распределяющих реагент машин рекомендуется производить по ветру. 5.2.67. Для обеспечения равномерности обработки покрытий реагентом движение машин и механизмов, распределяющих реагент, должно быть организовано с перекрытием следа при смежных проходах и гонах. 5.2.68. По истечении времени плавления льда производится окончательная очистка поверхности покрытия щетками уборочных машин типа ПМ-130 и ДЭ-224, а также от скопившегося в пониженных местах раствора реагента ветровыми машинами типа ВМ-66, ВМ-63, ВМ-АИ-25 и т. п. При необходимости покрытие подсушивается. 5.2.69. При невозможности удаления гололедных образований химическими методами может использоваться тепловой метод с помощью тепловых машин. 5.2.70. Для обеспечения движения тепловой машины без пробуксовки первый ее проход рекомендуется производить при расположении реактивного двигателя с насадкой вдоль продольной оси движения. Проходы последующих машин производятся при установке двигателя под углом от 15 до 45° к ее продольной оси. Схему движения тепловых машин рекомендуется выбирать с учетом поперечного профиля искусственного покрытия и направления ветра: при двускатном профиле движения организуется по кольцевой (элипсообразной) схеме, начиная от продольной оси ИВПП, а при односкатном - по челночной схеме, начиная со стороны верхней кромки покрытия. Угол установки авиадвигателя должен быть увязан с направлением и силой ветра: машина должна двигаться в направлении, при котором не происходит попадания отработанных газов в кабину оператора. В тех случаях, когда изменением положения двигателя не представляется возможным полностью исключить задувание отработанных газов в кабину оператора, движение машин следует производить только в одну сторону по ветру с холостым ходом в обратном направлении. 5.2.71. Наиболее эффективно применение тепловых машин при использовании их в работе одновременно не менее трех единиц, движущихся уступами с расстояниями между ними 20-25 м. Предыдущий проход машины должен перекрываться последующим не менее чем на 15-20 см. 5.2.72. Расчетные величины максимально допустимой частоты вращения турбины реактивного двигателя ВК-1, установленного на тепловых машинах, в зависимости от его положения, конструктивных особенностей машины и состояния покрытия приведены в табл. 5.11. Таблица 5.11
Примечание. При использовании на тепловых машинах авиадвигателей других типов режим их работы устанавливается инструкциями по их изготовлению и эксплуатации. 5.2.73. Рабочие скорости тепловых машин устанавливаются в зависимости от толщины льда и температуры воздуха, не допуская полного высушивания поверхности покрытия во избежание ее разрушения. Обычно не следует допускать снижения скорости движения тепловой машины менее 2 км/ч или ее остановки без снижения частоты вращения турбины. Не следует направлять струю горячих газов на светосигнальное оборудование аэродрома, а также допускать передвижения тепловой машины с работающим двигателем в режиме более 2500 об./мин по не очищенному от льда искусственному покрытию. Не рекомендуется использовать тепловые машины на асфальтобетонных аэродромных покрытиях. 5.2.74. При организации технологии льдоочистки покрытий от гололедных образований в процессе подготовки аэродромов к полетам без перерыва летной эксплуатации необходимо учитывать условия и наличие в аэропорту: антигололедных химических реагентов: АНС и карбамид; высокопроизводительных средств разбрасывания химреагентов; высокопроизводительных плужно-щеточно-пневматических машин; необходимых интервалов времени ("окон") для производства работ. 6.2.75. Для наиболее эффективного применения химико-механических методов борьбы с гололедными образованиями рекомендуется использовать следующие комплекты машин: самоходный агрегат АПМ-5 (МХА-7) с шириной захвата при разбрасывании гранулированных реагентов 16-25 м, рабочей скоростью 10-25 км/ч, производительностью 15,3-21,0 га/ч; отряд из двух подобных машин способен без дозаправки реагентом обработать ИВПП размером 3500´60 м за один гон; плужно-щеточно-пневматическую машину типа ДЭ-235 с рабочей шириной захвата 4000 мм, рабочей скоростью 35-40 км/ч, производительностью 12 га/ч при уборке слякоти; разбрасыватель РУМ-8 с трактором T-150K, имеющий ширину захвата при разбрасывании гранулированных реагентов 8-15 м, рабочую скорость 8-24 км/ч, производительность 20-25 га/ч; отряд из двух таких машин способен без дозаправки реагентом обработать ИВПП размером 3500´60 м за два гона; разбрасыватель 1-РМГ-4А с трактором "Беларусь", имеющий ширину рассева реагента 8-14 м, рабочую скорость 15 км/ч, производительность 15-20 га/ч; отряд из пяти таких машин способен обработать ИВПП размером 3500´60 м за один гон. 5.2.76. Для организации технологии льдоочистки аэродромных покрытий ИВПП размером 3500´60 м с использованием высокопроизводительных машин и антигололедного химреагента необходимо пользоваться данными, приведенными в табл. 5.12. ЗИМНЕЕ СОДЕРЖАНИЕ ГРУНТОВЫХ АЭРОДРОМОВ 5.2.77. Эксплуатация ВС на грунтовых аэродромах я зимнее время допускается при установившихся отрицательных температурах воздуха без специального определения прочности грунта под его промерзшим верхним слоем, если толщина последнего составляет: 30-35 см - для ВС 1-го класса; 15-30 см - для ВС 2-го класса; 8-10см - для ВС 3-го класса; 5-6 см - для ВС 4-го класса. 5.2.78. Зимнее содержание грунтовых аэродромов производится метолом очистки или методом уплотнения снега, которые устанавливаются в зависимости от местных условий и климатических особенностей расположения аэродрома, возможностей его подготовки тем или иным способом, а также типов эксплуатирующихся ВС. Метод очистки от снега используется на аэродромах в районах с неустойчивыми отрицательными температурами в течение зимнего периода, а метод уплотнения - на аэродромах в районах с устойчивыми отрицательными температурами. Предпочтение следует отдавать методу очистки, так как аэродром не выходит из строя при зимних оттепелях и неустойчивых отрицательных температурах. 5.2.79. На ГВПII, подготавливаемых методом очистки, снег укатывается в начальный период зимы для создания уплотненною слои толщиной 6-8 см, который служит для выравнивания микронеровностей поверхности. Дальнейшее содержание производится методом очистки. Таблица 5.12
Периодически, не реже одного раза в две недели, рекомендуется измерять толщину уплотненного снега, а в случае, если толщина будет менее 6 см, на этих участках вместо очистки следует уплотнять снег. 5.2.80. Начало работы снегоуборочных машин при боковой составляющей ветра до 10 м/с рекомендуется смещать от оси летной полосы таким образом, чтобы большая часть ее убиралась но ветру, а меньшая - против ветра. Величины смещений в зависимости от скорости боковой составляющей ветра и ширины летной молены приводятся в табл. 5.13. Таблица 5.13
5.2.81. В районах с устойчивыми отрицательными температурами и продолжительным зимним периодом грунтовые летные поля могут подготавливаться и содержаться методом уплотнения снега. Содержание грунтовых аэродромов методом уплотнения снега заключается в постоянном поддержании снегового покрытия в пригодном состоянии на ВПП, МС и перроне. 5.2.82. Работы по уплотнению снега следует начинать сразу после первого снегопада и проводить систематически в течение всего зимнего сезона при каждом снегопаде, а в периоды повышения температуры воздуха от минус 5 °С и выше, независимо от снегопада. Снег на летной полосе рекомендуется сначала гладилками с целью выравнивания небольших неровностей на ее поверхности, а по мере дальнейшего выпадения и отложения снега его следует уплотнять слоями по 2 - 3 см до плотности 0,5 - 0,6 г/см3. 5.2.83. Уплотнение и выглаживание рекомендуется выполнять от оси летной полосы с дальнейшим перемещением последующих проходов к кромке ГВПП по круговой схеме. Каждый последующий проход должен перекрывать предыдущий след не менее чем на 20 - 30 см. 5.2.84. Плотность снега при определенной температуре зависит от количества проходов уплотняющих средств и от толщины уплотняемого слоя. Количество проходов по одному следу рекомендуется принимать: для гладилок - один, а при наличии надувов и застругов - два-три; деревянных и металлических катков - два-три; катков на пневматических шинах и резинобетонных - один-два. Количество проходов гладилок и катков по одному следу уточняется на месте в зависимости от характеристик, применяемых средств уплотнения и физико-механических свойств снега при определенной температуре. Интервалы во времени между проходами уплотняющих средств по одному и тому же следу рекомендуется устанавливать 20 мин при температуре воздуха ниже минус 5 °С и 30 мин, если температура выше минус 5 °С; эти интервалы должны быть тем меньше, чем ниже температура воздуха в период выполнения работ. 5.2.85. При толщине слоя свежевыпавшего снега не более 10 см его рекомендуется уплотнять легкими катками. При большей толщине слоя свежевыпавший снег сначала осаживают гладилками с удельным давлением 0,5 - 1 кгс/см2, а затем уплотняют катками средней массы. При уплотнении целинного снега толщиной более 20 см, а также снега, на поверхности которого образовалась ледяная корка, необходимо выполнять следующие работы при температуре воздуха не ниже минус 5 °С: - разрыхлить и перемешать снег зубовой или дисковой бороной; количество проходов борон по одному следу рекомендуется не менее двух; - далее произвести уплотнение снега двумя-тремя проходами гладилок и катков по одному следу; интервал по времени между перемешиванием бороной и проходами гладилок и катков должен быть минимальным. 5.2.86. Несущая способность снеговых покрытий характеризуется условной прочностью (твердостью) снега, которая зависит от его плотности и температуры
где Q- плотность снега в долях единицы; t - абсолютное значение температуры (без учета знака), °С. Величина прочности тем больше, чем выше плотность и ниже температура снега. Поэтому, при содержании аэродромов методом уплотнения снега основной задачей является достижение равномерной по толщине и площади участка определенной плотности снегового покрова. После уплотнения снега происходит нарастание его прочности. Оно продолжается в течение, примерно, 7 ч до стабилизации процесса нарастания прочности:
5.2.87. После подготовки ГВПП на участках с целинным снегом его плотность и прочность необходимо проверять не только в верхнем, но и в нижнем слое. При недостаточной плотности и прочности необходимы повторные работы по уплотнению снега. Методика определения плотности и прочности снега приведена в прил. 13. 5.2.88. В процессе эксплуатации неровности на летном поле, колейность, выбоины, борозды и снежные надувы должны систематически разравниваться гладилками и укатываться катками. Разравнивание и устранение колей глубиной 3 см производится проходами в продольном направлении летного поля и его элементов, а участки с глубокими колеями более 3 см рекомендуется обрабатывать сначала поперечными, а затем продольными проходами. 5.2.89. При обледенении поверхности снежного покрытия ледяную корку рекомендуется разрушать ребристыми и шиповыми катками, зубовыми или дисковыми боронами. После разрушения ледяной корки поверхность снежного покрытия должна быть выровнена проходами гладилок и доуплотнена, катками немедленно вслед за разрушением ледяной корки. 5.2.90. Подготовка поверхности ГВПП и других элементов летного поля к эксплуатации ВС на лыжном шасси заключается в устранении неровностей, надувов, застругов, бугров и т. п. Снег на рабочей части летной полосы и путях руления должен быть выровнен и уплотнен гладилками. Наличие на поверхности скользкого наста не допускается. 5.2.91. Летная полоса допускается для регулярной эксплуатации при эксплуатационной прочности уплотненного снега и глубине колеи не более 2 см. Разовые полеты ВС могут выполняться при минимально допустимой прочности снега и глубине колеи не более 6 см. 5.2.92. Измерения прочности и относительной плотности снежного покрытия летной полосы необходимо производить на концевых участках по оси ГВПП через 50 м, а на средних участках через 200 м. Методика определения твердости (прочности) и плотности снега приведена в прил. 13. 5.2.93. Контрольные измерения температуры уплотненного снега рекомендуется производить по оси летной полосы через 200 - 300 м путем погружения термометра на половину толщины уплотненного снега. При толщине уплотненного снега менее 8 см температура снега не измеряется, а принимается равной температуре воздуха. 5.2.94. На участках летного поля, примыкающих к рабочим площадям покрытий ВПП, РД, МС и перрона, должны устраиваться снежные сопряжения с уклоном не более 1:10. 5.2.95. Ровность поверхности снеговых покрытий контролируется таким же образом, как и грунтовых летных полей. Неровности не должны превышать значений, приведенных в табл. 5.14 Таблица 5.14
5.2.96. Неровности летного поля рекомендуется устранять при температуре выше минус 5 °С срезанием снега на возвышенных местах и перемещением его в пониженные участки. При температуре воздуха ниже минус 5°С поверхность снежного покрытия выравнивают за счет только срезки снега на возвышенных местах с последующим удалением снежных валиков за пределы летной полосы. 5.2.97. Мелкие неровности (колеи, выбоины, т. п.) рекомендуется устранять немедленно. Колеи глубиной до 10 см рекомендуется заделывать легкими катками, чередуя проходы катков с автогрейдерами или гладилками. Более глубокие неровности сначала следует заполнять привозным снегом, а затем уплотнять. В тех случаях, когда снег плохо поддается уплотнению, обычно при температуре воздуха ниже минус 10 °С, для заделки колей рекомендуется использовать перемешанную ножом автогрейдера смесь снега с талым (карьерным) грунтом, который, необходимо добавлять в количестве 15-20 % объема снега и использовать немедленно после приготовления. 5.3. ОСОБЕННОСТИ СОДЕРЖАНИЯ ЛЕТНЫХ ПОЛЕЙ СНЕЖНО-ЛЕДОВЫХ АЭРОДРОМОВ НА КРАЙНЕМ СЕВЕРЕ5.3.1. Снежно-ледовые аэродромы на Крайнем Севере могут создаваться временными на зимний период и постоянно-восстанавливаемыми по завершении периода положительных температур воздуха. Участки, пригодные по рельефу для аэродромов в арктических районах, могут располагаться на тундровой поверхности, прибрежных песчаных косах, реках и озерах. 5.3.2. Ледовые аэродромы, расположенные на водоемах, имеют покрытие, состоящее из естественного или искусственного льда с возможным защитным слоем из уплотненного снега. Ледовые аэродромы используются в период благоприятной ледовой обстановки. 5.3.3. Основной принцип создания снежного летного поля на тундровом участке состоит в выравнивании неровностей выпадающим снегом, его разравнивании и уплотнении с последующим созданием сплошного покрова из уплотненного снега, имеющего прочность для эксплуатации расчетного типа ВС. ТРЕБОВАНИЯ К ПОКРЫТИЯМ АЭРОДРОМОВ И ЭКСПЛУАТАЦИОННАЯ ОЦЕНКА ПРИГОДНОСТИ АЭРОДРОМОВ 5.3.4. Для каждого типа ВС устанавливается эксплуатационная и минимально допустимая прочность уплотненного снега, которая должна обеспечиваться в процессе производства полетов ВС. 5.3.5. Перед началом эксплуатации аэродрома устанавливаются фактическое состояние, качество, показатели несущей способности снежно-ледовых покрытий: толщина, прочность и плотность. Эти показатели определяются по оси и продольным краям ВПП через каждые 200 м, а также на участках наибольшей глубины колеи от уплотняющих средств. 5.3.6. Для оперативной оценки снежно-ледовых покрытий аэродромов допускается определение толщины и прочности конструктивных слоев с помощью кернов и динамическим зондом пенетрометром конструкции Ленаэропроекта. 5.3.7. Для обеспечения коэффициента сцепления покрытиям аэродрома придается шероховатость путем подсыпки или намораживания снега, а также рифлением. ПОДГОТОВКА АЭРОДРОМОВ К ЭКСПЛУАТАЦИИ 5.3.8. Подготовительные работы по созданию основания включают: снегонакопление, планировку и уплотнение снега, пропитку снега водой, уплотнение водонасыщенного слоя в начальной стадии промерзания. Оценка прочности основания выполняется в процессе уплотнения снега. 5.3.9. Снегонакопление рекомендуется применять как доступное средство исправления рельефа, не нарушающее экологию района. Для этого следует выполнять следующие мероприятия: расстановку снегозадерживающих щитов; создание снегозадерживающих валиков. При наличии мохоторфяного слоя необходимо создание упрочненного основания в верхней его части для обеспечения уплотнения нижнего слоя снега на участке подготавливаемой ВПП. Для этого в начальный период зимы осуществляют полив водой заснеженной поверхности мохоторфа с последующей его прикаткой легкими катками в начальной фазе промерзания. Степень водонасыщения, массу и количество проходов катков необходимо определять опытно-экспериментальным путем. После подготовки основания необходимо проведение испытаний его прочности с целью уточнения конструкции снежного покрытия, поскольку толщина конструкции будет зависеть от прочности основания. При отсутствии мохоторфа пропитка снега водой может быть исключена. устройство снежного покрытия 5.3.10. Устройство снежного покрытия включает в себя следующие технологические операции: снегонакопление; планировку снежной поверхности; предварительное уплотнение снега легкими механизмами; окончательное уплотнение снега тяжелыми катками; выглаживание поверхности покрытия. Все технологические операции рекомендуется последовательно повторять до достижения проектных отметок ВПП. На всех этапах работ обязателен геодезический контроль, а также контроль физико-механических характеристик и толщины снежного покрытия. 5.3.11. Уплотнение снежного покрова производится в две стадии. На первой стадии применяются гладилки с пригрузом и резинобетонные катки. В качестве тяговых средств могут использоваться различные тягачи и тракторы на гусеничном ходу. Уплотнение производится в четыре-пять проходов по одному следу гладилки с последовательным увеличением пригруза. После двух проходов гладилки производится чередование проходов гладилки с резинобетонным катком. На второй стадии уплотнение производится пневмокатками типа ДУ-39Б. В качестве тяговых средств должны применяться тракторы на колесном ходу. Пневмокатки последовательно пригружаются по мере уплотнения снега. В зависимости от температуры и толщины уплотняемого слоя снега может потребоваться от пяти до десяти проходов по одному следу. Для заглаживания колей от пневмокатков рекомендуется использовать легкие гладилки, а перемещение объемов снега с обочин на рабочую часть ВПП выполнять шнекоротором. 5.3.12. Подготовка аэродромов на ледяной поверхности водоемов заключается в выравнивании микронеровностей поверхности и повышении ее шероховатости. При этом необходимо вести систематический контроль за толщиной ледяного покрова и проверку его соответствия требованиям эксплуатации расчетного типа ВС, а также проводить работы по созданию на ВПП уплотненного слоя снега в целях снижения интенсивности таяния льда и повышения коэффициента сцепления. СПОСОБЫ ПРОДЛЕНИЯ ЭСПЛУАТАЦИОННОГО ПЕРИОДА 5.3.13. Продление эксплуатационного периода снежно-ледовой ВПП возможно при соблюдении требований по ее эксплуатации и проведении мероприятий по защите поверхности ВПП от растопления и текущему ремонту появляющихся участков с проталинами. Для предотвращения протаивания не допускается загрязнение поверхности покрытий ГСМ, посторонними предметами и т. п. В весенний период поверхность заглаживается волокушами для создания глянцевого снежного покрова с максимальным альбедо. В местах проталин наносится снег в необходимом количестве и уплотняется с последующей отделкой поверхности. В период эксплуатации в зоне стартового участка оплавленные участки покрытия необходимо засыпать снегом и прикатывать. 5.3.14. В процессе эксплуатации ледовой ВПП необходимо проведение следующих мероприятий: фрезерование ледовой поверхности ВПП с последующим выравниванием и уплотнением; подсыпка слоя снега толщиной 5 - 6 см с выглаживанием для снижения интенсивности таяния в весенний период; систематический контроль за толщиной ледяного покрова. При расположении ВПП на глубоких участках водоема в случае снижения толщины льда под слоем снега его следует удалять за пределы ВПП. 5.3.15. Эксплуатация ледового аэродрома должна быть прекращена, если толщина льда ниже расчетной; при появлении трещин, промоин, возникновении торошения и разнонаправленного дрейфа, вызывающих разрушение ледового поля. ЭКСПЛУАТАЦИОННОЕ СОДЕРЖАНИЕ ВОДООТВОДНЫХ УСТРОЙСТВ 5.3.16. Особенности устройства систем и сооружений водоотвода на Крайнем Севере обусловлены особыми природно-климатическими и мерзлотно-гидрогеологическими условиями этой зоны. Водоотводные устройства предназначены: для сбора и отвода поверхностных воде искусственных покрытий, грунтовых элементов аэродрома и прилегающей к аэродрому территории; перехвата грунтовых вод с помощью дренажа и защиты оснований термоизоляционных насыпей от подтопления; отвода талых и ливневых вод из замкнутых пониженных участков; защиты приаэродромной территории от затопления паводковыми водами; организации противоналедных мероприятий и создания противоналедных устройств; выполнения мероприятий по охране окружающей территории от проявлений и развития мерзлотно-геоморфологических процессов. 5.3.17. Применяются следующие водоотводные устройства: водоотводящие канавы и лотки; нагорные канавы и защитные валики; противопаводковые дамбы и валы; противоналедные заграждения и устройства; водоперепускные сооружения; перехватывающие закромочные дрены и дренирующие прорези. Пример устройства водоотвода аэродрома Северной зоны приведен на рис. 5.5.
Рис. 5.5. Пример решения поверхностного
водоотвода аэродрома: 5.3.18. Эксплуатация устройств водоотвода осуществляется путем: поддержания их в постоянной эксплуатационной готовности и обеспечения функционирования; контроля за процессом поверхностного стока и отвода воды с искусственных покрытий и грунтовых участков летного поля; наблюдения за состоянием прилегающей к аэродрому территории с целью предупреждения мерзлотно-геоморфологических явлений; наблюдения за процессом снегопереноса и снегоотложения в зоне водоотводных сооружений и борьбы со снегоотложениями в нежелательных местах, регулирования таяния снега в весенний период; выполнения плановых и капитальных ремонтов; выполнения природоохранных мероприятий. 5.3.19. В целях устранения повреждений устройств водоотвода проводятся систематические их осмотры. Периодичность осмотров зависит от местных природных условий и от времени года (табл. 5.15). Наиболее часто осмотры рекомендуется проводить весной, с началом снеготаяния, и летом (осенью), в период затяжных дождей. Таблица 5.15 Периодичность технических осмотров сооружений водоотвода
5.3.20. По результатам текущих осмотров рекомендуется осуществлять следующие основные мероприятия. В зимний период: очистку от снега водоотводных канав, лотков, устьевых площадок выпускных сооружений и площадок у оголовков водоперепускных сооружений и вывоз снега за пределы летного поля; регулирование таяния снега. В весенний период: снятие защитных щитков с оголовков водоперепускных труб, определение состояния внутренних полостей труб и принятие мер по освобождению их от снега и льда; организацию нормального процесса отвода талых вод; наблюдение за появлением в канавах и лотках стоковых наледей, предупреждение их развития и устранение наледей; устройство временных водотоком; организацию зашиты от талых вод с прилегающих косогорных территорий и обеспечение отвода воды временным снеголедовым водотоком; обеспечение пропуска воды через водоперепускные сооружения; наблюдение за мерзлотными процессами: термокарстами, началом оврагообразования, кочующими наледями и т. д.; принятие временных мер по заделке термокарствовых провалов, мер по борьбе с наледями и т. д.; выявление и фиксация пониженных мест и блюдец с целью последующего исправления рельефа. В летне-осенний период: наблюдением состоянием откосов насыпей водоотводных устройств с целью их своевременного восстановления; наблюдение за мерзлотными процессами; наблюдение за функционированием устройств водоотвода в периоды затяжных дождей и ливней; организацию и проведение инструментального контроля за функционированием дренажных и защитно-экранирующих устройств; организацию подготовки и выполнения противоналедных мероприятий у водоперепускных сооружений при переходе к зимнему периоду. 5.3.21. Устранение преждевременного разрушения и повреждения устройств водоотвода обеспечивается проведением планово-предупредительных ремонтов. 5.3.22. На всех снежных и снежно-ледовых аэродромах должны примениться маркировочные знаки в соответствии с положениями 3.4 настоящего Руководства. Все маркировочные переносные знаки должны быть установлены с обеспечением их устойчивости от воздействия сильной ветровой нагрузки. 5.4. ПОРЯДОК РАССМОТРЕНИЯ, СОГЛАСОВАНИЯ И КОНТРОЛЯ ЗА СТРОИТЕЛЬСТВОМ ЗДАНИЙ И СООРУЖЕНИЙ НА ПРИАЭРОДРОМНЫХ ТЕРРИТОРИЯХ И ВОЗДУШНЫХ ТРАССАХ5.4.1. Департамент воздушного транспорта в соответствии с Воздушным Кодексом Российской Федерации и Положением об использовании воздушного пространства согласовывает размещение в районах аэродромов и воздушных трасс зданий, сооружений, линий связи, высоковольтных линий электропередач, светотехнических и других объектов (железнодорожных путей, автодорог и т. п.), которые могут угрожать безопасности полетов ВС, создавать помехи для нормальной работы радиотехнических средств аэродрома или радионавигационных устройств воздушных трасс. 5.4.2. Согласованию подлежат проектирование, строительство; расширение, реконструкция и техническое переоснащение: объектов в границах полос воздушных подходов к аэродромам, а также вне границ этих полос в радиусе 10 км от контрольной точки аэродрома (КТА); объектов истинной высотой 50 м и более независимо от места их размещения; линий связи, электропередач (в том числе высоковольтных), а также других объектов радио- и электромагнитных излучений, которые могут создавать помехи для нормальной работы радиотехнических средств независимо от места их расположения; взрывоопасных объектов независимо от места их размещения; факельных устройств для аварийного сжигания сбрасываемых газов высотой 50 м и более (с учетом максимально возможной высоты выброса пламени) независимо от места их размещения; промышленных и иных предприятий и сооружений, деятельность которых может привести к ухудшению видимости в районах аэродромов независимо от места их размещения. 5.4.3. Согласование утрачивает свою силу, если согласующие предприятия, организации н учреждения не приступили к его реализации в течение 5 лет. 5.4.4. Развитие городов и населенных пунктов в пределах определенной приаэродромной территории согласовывается с соблюдением требования безопасности полетов ВС и с учетом зон воздействия авиационного шума. 6.4.5. На землях, прилегающих к территории аэродромов, на расстоянии 15 км запрещается размещение мест концентрированных выбросов пищевых отходов, свалок, звероводческих, животноводческих ферм, скотобоен, способствующих массовому скоплению птиц. 5.4.6. Дня решения вопросов, связанных с согласованием строительства объектов, устанавливается следующий порядок: 5.4.6.1. Авиапредприятия и летные учебные заведения ГА согласовывают строительство сооружений высотой до 100 м (в том числе воздушных линий связи, высоковольтных линий электропередач) в районах аэродромов класса Д, Е, аэродромов для выполнения авиационных работ, вертодромов и на воздушных трассах. 5.4.6.2. Региональные управления воздушного транспорта на основании заключения авиапредприятий согласовывают: строительство сооружений (в том числе воздушных линий связи и высоковольтных линий) в районах аэродромов класса А, Б, В и Г; строительство сооружений высотой 100 м и более в районах аэродромов класса Д, Е, аэродромов для выполнения авиационных работ, вертодромов и на воздушных трассах; проекты развития и планировки городов, населенных пунктов в районах аэродромов класса Г, Д, Е, аэродромов для выполнения авиационных работ и вертодромов. 5.4.7. Подготовка заключений по проектам развития и планировки городов (населенных пунктов) на территории или в районах, где находятся аэродромы класса А, Б и В, проводится ведущими проектными организациями гражданской авиации. 5.4.8. В случае принятия решения о возможности согласования строительства сооружений с отступлением от требований НГЭА, если такие отступления компенсируются введением мер, обеспечивающих эквивалентный уровень безопасности полетов, то они подписываются начальником регионального управления воздушного транспорта, летного учебного заведения ГА или заместителем по организации летной работы. Решение с отказом в согласовании строительства на утверждение в вышестоящие организации не высылается. 5.4.9. Авиапредприятия представляют в РУ ВТ, а РУ ВТ и летные учебные заведения ГА- в Департамент воздушного транспорта следующие материалы: протокол (заключение) постоянно действующей комиссии по согласованию с указанием, в случае отступления от норм, мероприятий, обеспечивающих безопасность полетов; схему расположения согласуемого объекта относительно порога ВПП с указанием координат Х и Y; материалы, представляемые согласующей организацией. 5.4.10. РУ ВТ, авиапредприятия и летные учебные заведения ГА обязаны информировать местные органы о необходимости согласования строительства на приаэродромных территориях и воздушных трассах. 5.4.11. Рассмотрение материалов, представленных организациями, ведомствами производится постоянно действующей комиссией, которая назначается приказом начальника РУ ВТ, летного учебного заведения ГА, руководителя авиапредприятия в составе ответственных специалистов: по эксплуатации и строительству, летной службы, инспекции, ЭРТОС и аэродромной службы. 5.4.12. Решение комиссии утверждается начальником РУ ВТ, руководителями авиапредприятий, начальником летного учебного заведения ГА или их заместителями по организации летной работы. 5.4.13. Заключение ведущих проектных институтов ГА по проектам развития городов в районах аэродромов утверждается РУ ВТ. 5.4.14. Заключение РУ ВТ о строительстве сооружений в районе Московского авиаузла (на территории Московской воздушной зоны) утверждается начальником Отдела сертификации аэропортов Департамента воздушного транспорта. 5.4.15. Рассмотрение материалов согласования строительства производится постоянно действующей комиссией ДВТ в составе: начальника Отдела сертификации аэропортов ДВТ - председатель; специалистов отделов: летной эксплуатации, управления воздушным движением, Росаэронавигации и Отдела сертификации аэропортов. Заключение комиссии ДВТ утверждается заместителем Директора ДВТ. 5.4.16. В разрешении на строительство указываются: месторасположение объекта, его высота, характер маркировки и светоограждения, требования об информации о ходе и окончании строительства (при необходимости). 5.4.17. Согласование сооружений большой протяженности (линий электропередач, радиорелейных линий и др.), пересекающих территорию нескольких предприятий, РУ ВТ, производится только в пределах участков, проходящих по территории соответствующего предприятия, РУ ВТ. В решении указываются название согласованного участка строительства и с кем необходимо произвести дополнительное согласование. 5.4.18. При согласовании строительства объектов вне района аэродрома высотой более 50 м в ответе заинтересованной организации сообщается, что указанное строительство подлежит также согласованию со штабом военного округа и штабом ВВС военного округа, на территории и в зоне ответственности которых планируется размещение этих объектов. 5.4.19. Решение о возможности строительства направляется организации, от которой получены материалы, а также: владельцу аэродрома (аэропорта), в районе которого согласовано строительство; штабу военного округа и штабу ВВС военного округа, на территории и в зоне ответственности которого планируется строительство; РУ ВТ, авиапредприятиям и летным учебным заведениям ГА, интересы которых затрагивает согласование; местным органам власти (при необходимости); органам санитарного надзора при производстве строительства в зонах шумового воздействия аэропорта. 5.4.20. Владелец аэродрома, в районе которого согласовано строительство, при необходимости вносит изменения и дополнения в Инструкцию по производству полетов и другую аэродромную и аэронавигационную документацию. Согласование строительства учитывается в специальном журнале. 5.4.21. В каждом авиапредприятии по утвержденному плену ведется постоянный контроль за состоянием строительства на приаэродромной территории и воздушных трассах. Контролю подлежит строительство всех объектов, наличие которых ухудшает условия обеспечения безопасности полетов. 5.4.22. Результаты контроля и проверок состояния строительства в районе аэродрома фиксируются в Акте, по материалам которого владелец аэродрома принимает меры по устранению выявленных нарушений, при необходимости - через органы прокуратуры. 5.4.23. В случае нарушения требований настоящего Руководства владелец аэродрома принимает меры по приостановлению строительства, его переносу, сносу или понижению высоты сооружения силами и средствами организации, допустившей нарушение. 5.5. ТРЕБОВАНИЯ К ПРОВЕДЕНИЮ РАБОТ ПРИ РЕКОНСТРУКЦИИ И РЕМОНТЕ ЭЛЕМЕНТОВ ЛЕТНЫХ ПОЛЕЙ В УСЛОВИЯХ ДЕЙСТВУЮЩЕГО АЭРОПОРТА5.5.1. Требования являются обязательными для всех служб аэропорта, обеспечивающих полеты, а также для сторонних строительно-монтажных и ремонтных организаций, осуществляющих работы на летном поле действующего аэропорта. 5.5.2. Вопросы аэродромного обеспечения полетов при работе на летном поле сторонних организаций, осуществляющих строительно-монтажные (ремонтные) работы, следует обязательно отражать в документации по организации строительства и производству работ, которая должна соответствовать требованиям разд. 1 Приложения к НГЭА (издание третье)*. *Изменения и дополнения к "Нормам годности и эксплуатации гражданских аэродромов (НГЭА)" и методике оценки соответствия нормам годности и эксплуатации гражданских аэродромов (издание третье). М.: ГПИи НИИ ГА Аэропроект, 1992. 5.5.3. До начала работ на летном поле разрабатывается Проект организации строительства, который согласовывается под расписку со службами аэропорта, проектной организацией и производителями работ. При разработке Проекта организации строительства необходимо учитывать следующее: 5.5.3.1. Производство строительно-монтажных работ должно выполняться с учетом производства полетов на аэродроме; авиапредприятия (Заказчик) и сторонняя организация (Подрядчик) должны определить ответственное лицо за руководство работами на действующем аэродроме. Необходимость и сроки выполнения полетов определяются рабочим проектом на реконструкцию и проектом производства работ на летном поле аэродрома. 5.5.3.2. Данные обследований технического состояния конструкций покрытий водосточно-дренажной сети, коммуникаций, оборудования и инженерных сетей, условий производства демонтажных (разборка, складирование грунта и конструкций при сносе) и строительно-монтажных работ (запыленность, стесненность и т. п.). 5.5.4. Авиапредприятием (Заказчиком) и сторонней организацией (Подрядчиком) совместно с генеральной проектной организацией должны быть: согласованы вид и объемы, технологическая последовательность, сроки выполнения строительно-монтажных работ, а также условия их совмещения с выполнением полетов на реконструируемых участках покрытий и других элементах летного поля в течение выделенного технологического "окна", изменения и отступления от проекта; определен порядок оперативного руководства и взаимодействия служб аэропорта и Подрядчика при производстве работ; определены последовательность разборки старых сносимых конструкций, а также разборки и переноса инженерных сетей, участки складирования строительных и ремонтных материалов; определены организация контроля, обязанности и ответственность Заказчика и Подрядчика при выполнении работ на летном поле. 5.5.5. Проект организации строительства (ПОС) разрабатывается и утверждается проектной организацией. Проект производства работ (ППР) - генподрядной организацией, а на отдельные виды работ - субподрядной организацией но согласованию с генподрядчиком. ПОС и ППР согласовываются с соответствующими службами аэропорта, которые имеют отношение к выполняемым работам и обеспечению безопасности полетов. 5.5.6. Ни одно из мероприятий или действий на летном поле не должно идти в ущерб безопасности полетов. 5.5.7. До начала производства работ на летном поле авиапредприятие (Заказчик) должно оформить и передать строительно-монтажной или ремонтной организации разрешение на их выполнение. 5.5.8. Обеспечение согласованной работы и взаимодействия всех участников производства работ на летном поле достигаются координацией их деятельности генподрядчиком, решения которого, связанные с выполнением утвержденных планов и графиков работ, являются обязательными для всех участников сторонних организаций. 5.5.9. Координацию действий сторонних организаций на летном поле осуществляют должностные лица, назначенные приказом по авиапредприятию. 5.5.10. для оперативного управления организацией работ на действующем аэродроме особенно при значительных и разнообразных по характеру объемах, рекомендуется создавать группу обеспечения взаимодействия сторонних подрядных организаций и представителей служб авиапредприятия, ответственных за аэродромное обеспечение полетов. 5.5.11. Группа обеспечения взаимодействия должна быть оснащена радио- и телефонной связью. 5.5.12. При реконструкции, расширении и капитальном ремонте сооружений летных полей аэродромов (покрытий летных полос, РД, перронов, МС, специальных площадок, дренажных устройств и др.) без прекращения летной эксплуатации должностные лица, осуществляющие контроль за выполнением работ, должны знать специфику проводимых работ на различных элементах летного поля, оценивать их характер, контролировать и действенно реагировать на все допущенные отступления от требований проектной документации, касающиеся организации производства работ и нахождения сторонних организация на летном поле. 5.5.13. При выполнении строительных и ремонтных работ на летном поле не допускается: наличие на летном поле людей, транспортных средств, строительных механизмов, представляющих препятствия для производства полетов; складирование грунта, строительных материалов вне зоны временного складирования; рытье канав, траншей, ям и производство других земляных работ вне участков, определенных проектной документацией; захламленность территории материалами, строительным мусором, ветошью, тарной упаковкой и различными подобными предметами; езда транспорта с загрязненными колесами на рабочих участках искусственных покрытий; размещение сборных плит покрытий, и других конструкций в штабелях в зонах удлинения действующей ИВПП по направлению выполнения взлетов и посадок воздушных судов. 5.5.14. При обнаружении недостатков и отступлений, указанных в п. 5.5.13, должностные лица в установленном порядке обязаны принять незамедлительные меры к прекращению работ и приведению территории элементов лётного поля аэродрома в порядок. 5.5.15. Строительство временных сооружений (жилищно-бытовых, административно-хозяйственных, автомобильных и железнодорожных подъездных путей, складов, производственных сооружений, парков и стоянок автомобилей, машин и механизмов и т. п.) должно осуществляться на аэродроме, если в этом есть крайняя необходимость. 5.5.16. При заготовительных работах (завозе необходимых строительных материалов: песка, камня, щебня, гравия и др.) со стороны должностных лиц (производителя работ, лиц технического надзора Заказчика, представителя аэродромной службы) необходимо вести контроль за складированием завозимых материалов на строго установленные площадки и в склады, а также за обязательным соблюдением движения транспортных средств по установленным маршрутам согласно утвержденной схемы движения. 5.5.17. При контроле производства земляных работ на летном поле должностные лица должны учитывать, что подобные работы выполняются, как правило, вблизи рабочих участков летных полос (концевых полос торможения, спланированных частей летных полос, обочин к др.), РД, МС, перронов. (Измененная редакция, Изм. № 2). После окончания земляных работ вблизи рабочих участков летных полос плотность грунта и ровность поверхности должны быть незамедлительно доведены до соответствия требованиям разд. 2.1. 5.5.18. При выполнении работ по устройству дренажно-водосточной системы применяются строительные механизмы (экскаваторы, автокраны и др.), габариты которых по высоте не должны представлять препятствия при производстве полетов. 5.5.19. Средства механизации, которые могут использоваться строительно-монтажными и ремонтными подрядными организациями при выполнении работ на летном поле по реконструкции, расширению, переоснащению и ремонту сооружений аэродрома в зависимости от видов и объема работ приведены в приложении СНиП 3.06.06-88 "Аэродромы". 5.5.20. Авиапредприятие (Заказчик) совместно с проектной и подрядной строительной организациями должны согласовать на стадии ПОС и ППР следующие вопросы организации предстоящих работ на летном поле сторонними строительно-монтажными и ремонтными организациями в части: выбора местоположения и размеров строительной площадки с учетом условий, обеспечивающих производство полетов воздушных судов, особенно при расположении площадки в районах летных полос, магистральных РД, радиотехнического и светотехнического обеспечения полетов, в зонах стоянок и движения воздушных судов, кабельных линий связи и электроснабжения; предельной высоты временных сооружений и используемых средств механизации, размещаемых в рабочей площади летного поля; условий размещения временных сооружений с перечнем средств механизации и транспорта, которые будут использованы в работе; определения мест складирования конструкций, оборудования, изделий, строительных материалов; условий производства работ с выделением опасных зон; условий и схемы движения средств механизации, автотранспорта с обеспечением безопасных подъездов (или проходов) к строительной площадке или реконструируемым, ремонтируемым сооружениям. 5.6. ОРГАНИЗАЦИЯ СТРОИТЕЛЬНЫХ И РЕМОНТНЫХ РАБОТ НА ТЕРРИТОРИИ ЛЕТНОГО ПОЛЯПроект организации строительства включает: 5.6.1. Календарный план со сроками и очередностью строительства; а также строительный генеральный план, а при необходимости и ситуационный с указанием: расположения реконструируемых или ремонтируемых сооружений; размещения временных производственных строений; постоянных и временных путей для транспортирования строительных материалов, строительных конструкций, оборудования, изделий; существующих инженерных сетей и мест подключения временных инженерных коммуникаций (сетей); складских площадок; средств механизации; существующих и подлежащих сносу покрытий и других элементов летной полосы; схемы движения строительных механизмов и автотранспорта по летному полю аэродрома, контрольно-пропускных пунктов, средств контроля движения по аэродрому, территорий объектов и примыкающих к ним участков сооружений. Проект производства работ включает: 5.6.2. Календарный план с последовательностью и сроками выполнения работ. 5.6.3. Строительный генеральный план с указанием: границ строительной площадки и видов ее ограждений; действующих и временных сетей и коммуникаций; постоянных и временных транспортных путей и проходов на территорию; схем движения средств механизации и автотранспорта полетному полю; мест установки средств механизации с указанием путей их перемещения; размещения постоянных, строящихся и временных сооружений, опасных для выполнения полетов зон летного поля; размещения источников и средств энергообеспечения и освещения строительной площадки; площадок и сооружений для складирования и хранения материалов, строительных конструкций, оборудования, изделий. 5.6.4. График поступления на строительную площадку материалов, строительных конструкций, изделий, оборудования. 5.6.5. График н схемы движения строительных машин и транспорта по территории аэродрома. 5.6.6. Решения по прокладке временных сетей водо- и энергоснабжения, освещения строительной площадки и отдельных ее участков. 5.6.7. Технологические карты (схемы) на выполнение отдельных видов работ и пояснительную записку. 5.6.8. Капитальный ремонт (усиление) покрытий с использованием асфальтобетона должен осуществляться в соответствии с разработанным проектом по организации и выполнению капитального ремонта (усиления), который должен содержать: строительный генеральный план с расположением ремонтируемых (усиляемых) элементов сооружения летного поля и самого сооружения с делением участков работ на захватки; план и профиль ремонтируемого (усиляемого) покрытия; схемы расстановки основных подразделений, средств механизации и оборудования с перечислением их типов, количества и допустимых перемещений в границах летного поля; обозначение мест складирования материалов, конструкций и оборудования, их размеров и границ складирования; комплектную ведомость на строительные материалы, конструкции, детали и оборудование и график их поступления; календарный график и время выполнения работ; схему эвакуации средств механизации, транспорта и людей по окончании работ и в экстренных случаях; пояснительную записку с обоснованием всех положений организации работ и необходимыми расчетами. 5.6.10. При проведении капитального ремонта (усиления) существующих покрытий в условиях производства полетов воздушных судов работы следует выполнять только по специально разработанному подрядной организацией Проекту производства работ, согласованному по всем вопросам безопасности полетом с администрацией аэропорта и всеми заинтересованными службами. Проект должен быть утвержден в установленном порядке до начала работ. 5.6.11. Проект производства работ но капитальному ремонту (усилению) покрытий должен включать в себя следующие основные положения: устройство асфальтобетонного слоя усиления следует выполнять в перерывах между полетами продолжительностью не менее 9 ч для обеспечения строительства за этот период полностью законченного участка покрытия (захватки) проектной ширины; величина сменной захватки назначается исходя из производительности асфальтобетонного завода; производить работы нецелесообразно при размерах захватки по длине ИВПП менее 30 м; план-график выполнения работ, в котором устанавливается время: начала подготовительных работ на участке покрытий, укладки асфальтобетонной смеси, окончания работ по ее уплотнению, вывода всей техники и людей из зоны летной полосы и начала полетов по устроенному участку; схему движения и определенный порядок следования техники по летному полю; меры по контрольно-пропускному режиму с регулированием движения и сопровождением техники и людей полетному полю; место базы (стоянки) дорожно-строительных машин, оборудования и автотранспорта в нерабочее время. По окончании работ представители технического надзора должны принимать в эксплуатацию полностью готовый на захватке участок покрытия для выполнения полетов. СХЕМА ДВИЖЕНИЯ ТРАНСПОРТА ПОЛЕТНОМУ ПОЛЮ 5.6.12. Схема движения дорожно-строительных и ремонтных средств механизации и автотранспорта сторонних организаций по летному полю для каждого аэропорта или летного учебного заведения носит индивидуальный характер. Ее разработка должна основываться на следующих общих принципах: 5.6.12.1. При въезде на территорию аэродрома строительная техника и автотранспорт должны следовать к месту производства работ наикратчайшим путем. 5.6.12.2. При движении строительной техники и автотранспорта по искусственным покрытиям аэродрома пути их следования не должны пересекаться с путями руления воздушных судов. 5.6.12.3. На схеме должны учитываться изменения первоначально принятого маршрута движения на случай перемещения фронта строительных или ремонтных работ на другие участки летного поля. 5.6.12.4. На схеме должны обозначаться места стоянок ремонтно-строительной техники и автотранспорта на весь период работ, а также временные для оперативного использования; они должны располагаться в зонах, не связанных с движением воздушных судов. 5.6.13. Перед началом работ персонал сторонних организаций для работ на летном поле должен пройти специальный инструктаж, изучить схему движения техники, правила нахождения и ведения работ на летном поле и получить соответствующие пропуска на его территорию. Каждое должностное лицо должно быть предупреждено под расписку в специальном журнале об ответственности за нарушение правил Инструкции. 5.6.14. На все виды ремонтно-строительных машин и автотранспорта сторонних организаций, выполняющих работы на летном поле, должны выдаваться пропуска установленной формы. 5.6.15. На месте производства работ сторонних организаций должно постоянно находиться ответственное должностное лицо для наблюдения за обстановкой на аэродроме, оповещения работающих и исполнения указаний РПА и службы движения. 5.6.16. Организация и условия выполнения работ. Для организации и практического обеспечения безопасности ведения работ по реконструкции или ремонту сооружений летного поля рекомендуется составить и утвердить "План организационно-технических мероприятий по обеспечению безопасности полетов на период проведения работ на летном поле". В Плане должны найти отражение следующие основные вопросы организационно-технических мероприятий: (Измененная редакция, Изм. № 2). определение местоположения и размеров участка для размещения базы подрядных организаций, согласовав этот вопрос с заинтересованными службами; установление ограждения территории базы подрядных организаций и поста ВОХР для предотвращения выезда на летное поле; обеспечение базы подрядных организаций телефонной связью; выделение рабочего места для размещения и работы ответственных должностных лиц, организующих и контролирующих ведение работ; выделение инженерно-технических работников, ответственных за обеспечение работы оборудования, средств электроснабжения, связи, сохранности кабельных коммуникаций; утверждение схемы движения дорожно-строительных (ремонтных) средств механизации и автотранспорта подрядных организаций; проведение инструктажа персонала подрядных организаций по правилам нахождения и работе на летном поле действующего аэродрома; определение лиц, ответственных за инструктаж; установление предупредительных и запрещающих знаков; обеспечение закрытия элементов летного поля в соответствии с графиком и календарным планом производства работ; обеспечение своевременной выдачи аэронавигационной информации. ОСОБЕННОСТИ ВЗАИМОДЕЙСТВИЯ СЛУЖБ АЭРОПОРТА ПРИ ВЫПОЛНЕНИИ РАБОТ НА ЛЕТНОМ ПОЛЕ СТОРОННИМИ ОРГАНИЗАЦИЯМИ 5.6.17. Деятельность служб аэропорта, связанных с выполнением работ на летном поле сторонними подрядными строительно-монтажными организациями, должна соответствовать требованиям технологии взаимодействия служб с изменениями и дополнениями в связи с проводимыми работами. Изменения должны затрагивать, главным образом, следующие схемы с соответствующими предупреждениями и ограничениями: схему аэродрома в связи с закрытием (или строительством) летной полосы, РД, МС, перрона и других элементов летного поля с соответствующими предупреждениями и ограничениями, касающимися строительных (ремонтных) работ; схему МС воздушных судов, если изменения связаны с участками перрона и МС; схему руления воздушных судов, если эти изменения касаются закрытия РД в связи с работами, переносом направления движения на другие РД и летные полосы и т. д.; схему связи; схему светотехнического оборудования; 5.6.18. На основе изменений и дополнений, внесенных в "Инструкцию по производству полетов", должны быть внесены соответствующие изменения в "Технологию взаимодействия службы движения с аэродромной и другими службами аэропорта", обеспечивающими полеты. ТРЕБОВАНИЯ К КОНТРОЛЮ ЗА СОСТОЯНИЕМ ЛЕТНОГО ПОЛЯ И ПОДГОТОВКЕ ЕГО К ПОЛЕТАМ В УСЛОВИЯХ ВЫПОЛНЕНИЯ СТРОИТЕЛЬНЫХ И РЕМОНТНЫХ РАБОТ СТРОИТЕЛЬНЫМИ ОРГАНИЗАЦИЯМИ 5.6.19. Эксплуатационное содержание сооружений и элементов летного поля аэродрома в условиях работы на аэродроме подрядных строительных (ремонтных) организаций должно включать: осмотр и систематический контроль за состоянием находящихся в эксплуатации сооружений и элементов летного поля, в том числе грунтовых; регулярный надзор за производством работ по реконструкции (расширению, ремонту) покрытий, элементов летного поля, сооружений и оборудования, в том числе тех участков, которые используются строителями для транспортных, погрузочно-разгрузочных и складских работ; своевременную н оперативную ликвидацию обнаруженных отступлений. 5.6.20. Осмотр и контроль состояния сооружений летного поля должен производиться ежедневно. Дополнительно следует осуществлять осмотры строительных площадок и других участков, граничащих с рабочими элементами летного поля. При выполнении работ в непосредственной близости от эксплуатируемых элементов летного поля следует организовать постоянное наблюдение и сопровождение таких работ. 5.6.21. Закрытые для полетов строящиеся и реконструируемые ВПП должны маркироваться запрещающими знаками в соответствии с п. 3.1.26 настоящего Руководства. Приложение 1ТЕРМИНЫ, ОПРЕДЕЛЕНИЯ И ПРИНЯТЫЕ СОКРАЩЕНИЯАэродром - определенный участок земной или водной поверхности (включая здания, сооружения и оборудование), предназначенный для взлета, посадки, руления, стоянки и обслуживания воздушных судов. Аэродром базовый - аэродром, предназначенный для базирования воздушных судов и имеющий для этой цели необходимые сооружения. Аэродром временный - аэродром, предназначенный для обеспечения полетов воздушных судов в определенный период года и не имеющий стационарных сооружений и оборудования. Аэродром горный - аэродром, расположенный на местности с пересеченным рельефом и относительными превышениями 500 м и более в радиусе 25 км от контрольной точки аэродрома (КТА), а также аэродром, расположенный на высоте 1000 м и более над уровнем моря. Аэродром запасной - указанный в плане полета, выбранный перед полетом или в полете аэродром (в том числе аэродром вылета ), куда может следовать воздушное судно, если посадка на аэродроме назначения невозможна. Аэродромный маркировочный знак - знак, расположенный на поверхности аэродромных сооружений для передачи информации. Аэропорт - предприятие, осуществляющее прием и отправку пассажиров, багажа, грузов и почты, обслуживание воздушных судов, экипажей и имеющее для этих целей аэродром, аэровокзал, другие наземные сооружения, а также необходимое оборудование и персонал. (Измененная редакция, Изм. № 2). Взлетно-посадочная полоса аэродрома (ВПП) - часть летной полосы аэродрома, специально подготовленная и оборудованная для взлета и посадки воздушных судов. ВПП аэродрома главная - взлетно-посадочная полоса аэродрома, расположенная, как правило, в направлении господствующих ветров и имеющая наибольшую длину в стандартных условиях. Взлетно-посадочная полоса необорудованная - взлетно-посадочная полоса, предназначенная для воздушных судов, выполняющих визуальный заход на посадку. Взлетно-посадочная полоса оборудованная - взлетно-посадочная полоса, предназначенная для воздушных судов, выполняющих заход на посадку по приборам. Контрольная точка аэродрома (КТА) - условная точка на аэродроме, определяющая его географическое местоположение. Концевая полоса торможения (КПТ) - специально подготовленный прямоугольный участок в конце располагаемой дистанции разбега, предназначенный для остановки воздушного судна в случае прерванного взлета. (Измененная редакция, Изм. № 2). Летная полоса (ЛП) - часть летного поля аэродрома, включающая взлетно-посадочную полосу и концевые полосы торможения, если они предусмотрены, предназначенная для обеспечения взлета и посадки воздушных судов, уменьшения риска повреждения воздушных судов, выкатившихся за пределы ВПП, и обеспечения безопасности воздушных судов, пролетающих над ней во время взлета и посадки. (Измененная редакция, Изм. № 2). Магистральная рулежная дорожка (МРД) - рулежная дорожка, расположенная, как правило, вдоль ВПП н обеспечивающая руление воздушных судов от одного конца ВПП к другому по кратчайшему расстоянию. Место стоянки (МС) - часть перрона или площадки специального назначения на аэродроме, предназначенная для стоянки воздушного судна в целях его обслуживания. Место ожидания на рулежной дорожке - определенное место на рулежной дорожке аэродрома, предназначенное для остановки воздушных судов и транспортных средств в целях обеспечения их безопасного удаления от взлетно-посадочной полосы. Обочина - участок летного поля аэродрома, прилегающий к искусственному покрытию ВПП, РД, перрона или площадки специального назначения, подготовленный и предназначенный для повышения безопасности эксплуатации воздушных судов. Обочина укрепленная - обочина с искусственным покрытием, предназначенная для предотвращения попадания посторонних предметов в двигатели воздушных судов и струйной эрозии грунтовой поверхности. Перрон - часть летного поля аэродрома, подготовленная и предназначенная для размещения воздушных судов в целях посадки и высадки пассажиров, погрузки и выгрузки багажа, почты и грузов, а также для выполнения других видов обслуживания. Площадка специального назначения - часть летного поля аэродрома, предназначенная для выполнения специальных видов обслуживания воздушных судов. Площадки специального назначения предназначаются: девиационная площадка - для определения и устранения девиации магнитных, гидромагнитных и радиокомпасов, а также отработки антенных устройств воздушных судов; предангарная площадка - для маневрирования воздушных судов при вводе их в ангар или выводе из него; предстартовая площадка аэродрома - площадка, предназначенная для запуска авиадвигателей воздушных судов на установленном удалении от взлетно-посадочной полосы; швартовочная площадка - площадка предназначенная для опробования двигателей. Поверхность искусственного покрытия (состояние): влажная - поверхность изменяет цвет вследствие наличия влаги; мокрая - поверхность пропитана водой, но стоячая вода отсутствует; участки воды - видны участки стоячей воды; залитая водой - видна значительная площадь, покрытая водой. Полоса воздушных подходов (ПВП) - воздушное пространство над участками земной (водной) поверхности в установленных границах, примыкающих к концам летной полосы и расположенных в направлении продолжения ее оси, в котором воздушные суда производят набор высоты после взлета и снижение при заходе на посадку. Посадочная площадка - земельный (водный, ледовый) участок или специально подготовленная искусственная площадка, пригодная для взлета и посадки воздушных судов. Порог ВПП - начало участка ВПП аэродрома, который допускается использовать для посадки воздушных судов. Препятствие - все неподвижные временные или постоянные и подвижные объекты или части их, которые размещены в зоне, предназначенной для движения воздушных судов по поверхности, или которые возвышаются над условной поверхностью, предназначенной для обеспечения безопасности воздушных судов в полете. Препятствие аэродромное - неподвижные временные или постоянные и подвижные объекты или части их, которые размещены в зоне, предназначенной для движения воздушных судов, или которые возвышаются над поверхностью ограничения препятствий. Район аэродрома - воздушное пространство над аэродромом и прилегающей к нему местностью в установленных границах в горизонтальной и вертикальной плоскостях. Рулежная дорожка аэродрома (РД) - часть летного поля аэродрома, специально подготовленная для руления воздушных судов. Свободная зона (СЗ) - находящийся под контролем служб аэропорта прямоугольный участок земной или водной поверхности, примыкающий к концу располагаемой дистанции разбега, выбранный или подготовленный в качестве участка, пригодного для первоначального набора высоты воздушным судном до установленного значения (Измененная редакция, Изм. № 2). Соединительная РД - рулежная дорожка аэродрома, связывающая взлетно-посадочную полосу, магистральную рулежную дорожку, перрон и площадки специального назначения. Средний уклон поверхности ВПП - отношение разности отметок торцов BIIП к ее длине. Смещенный порог ВПП - порог взлетно-посадочной полосы, не совпадающий с ее началом. Слякоть - пропитанный водой снег, который при ударе по нему разбрызгивается в разные стороны, плотностью от 0,5 г/см до 0,8 г/см3. Сухой снег - снег, который в рыхлом состоянии может сдуваться ветром или после сжатия рукой рассыпается; плотность его до 0,35 г/см3. Сырой (мокрый) снег - снег, который после сжатия рукой не рассыпается и образует или имеет тенденцию образовывать снежный ком, плотность его от 0,35 до 0,5 г/см3. Снег уплотненный - снег, который спрессовывается в твердую массу, не поддающуюся дальнейшему уплотнению при отрыве от поверхности не рассыпается или ломается на большие куски; плотность его 0,5 г/см3 и выше. Снежный (пыльный) вихрь - снег (пыль), поднятый потоком от несущего винта вертолета при взлете или посадке, ухудшающий видимость из кабины вертолета. Укрепленный участок ЛП - участок летной полосы с искусственным покрытием, примыкающий к концу ВПП, предназначенный для предотвращения струйной эрозии грунтовой поверхности и повышения безопасности при посадке воздушного судна. Уширение ВПП - часть взлетно-посадочной полосы, предназначенная для обеспечения безопасности при развороте воздушных судов. ПРИНЯТЫЕ СОКРАЩЕНИЯ АИП (AIP) - сборник аэронавигационной информации АМСГ - авиационная метеорологическая станция (гражданская) ACN - классификационное число воздушного судна ВСДП - вспомогательный стартовый диспетчерский пункт (Измененная редакция, Изм. № 2). БАСА - база аэродромной службы аэропорта ГВПП - грунтовая взлетно-посадочная полоса ИВПП - взлетно-посадочная полоса с искусственным покрытием КРМ - курсовой радиомаяк (ИЛС) МК - магнитный курс (взлета и посадки) НГЭА - нормы годности к эксплуатации гражданских аэродромов НОТАМ - уведомление, содержащее данные о введении в действие, состоянии и изменении аэронавигационного оборудования, обслуживания и правил, а также информацию об опасностях, своевременное предупреждение о которых имеет важное значение ПМПУ - посадочный магнитно-путевой угол рабочего направления ВПП PCN - классификационное число покрытия РМС - радиомаячная система (посадки) РПЛ - руководитель полетов на аэродроме САИ - служба аэронавигационной информации СВЧ - сверхвысокие частоты СДП - стартовый диспетчерский пункт SNOW NOTAM - NOTAM специальной серии, уведомляющий о существовании или ликвидации опасных условий, вызванных наличием снега, льда, слякоти или стоячей воды на рабочей площади аэродрома ССТ - служба спецтранспорта СТТ - служебно-техническая территория ЦАИ - центр аэронавигационной информации ЭРТОС - служба эксплуатации радиотехнического оборудования и связи ЭСТОП - служба эксплуатации светотехнического оборудования полетов и электроустановок Приложение 2КОНТРОЛЬНЫЙ ЛИСТ-ОБЯЗАТЕЛЬСТВО НАЧАЛЬНИКА
| ||||||||||||||||||||||||||||||||||||||||||||||||||||||||||||||||||||||||||||||||||||||||||||||||||||||||||||||||||||||||||||||||||||||||||||||||||||||||||||||||||||||||||||||||||||||||||||||||||||||||||||||||||||||||||||||||||||||||||||||||||||||||||||||||||||||||||||||||||||||||||||||||||||||||||||||||||||||||||||||||||||||||||||||||||||||||||||||||||||||||||||||||||||||||||||||||||||||||||||||||||||||||||||||||||||||||||||||||||||||||||||||||||||||||||||||||||||||||||||||||||||||||||||||||||||||||||||||||||||||||||||||||||||||||||||||||||||||||||||||||||||||||||||||||||||||||||||||||||||||||||||||||||||||||||||||||||||||||||||||||||||||||||||||||||||||||||||||||||||||||||||||||||||||||||||||||||||||||||||||||||||||||||||||||||||||||||||||||||||||||||||||||||||||||||||||||||||||||||||||||||||||||||||||||||||||||||||||||||||||||||||||||||||||||||||||||||||||||||||||||||||||||||||||||||||||||||||||||||||||||||||||||||||||||||||||||||||||||||||||||||||||||||||||||||||||||||||||||||||||
|
Дата и время осмотра |
Время, предоставленное для подготовка летного поля |
Характеристика состояния летного поля |
Подпись начальника аэродромной службы или смены |
Заключение руководителя полётов о пригодности летного поля к полетам |
Подпись руководителя полетов с указанием времени |
Пример заполнения для аэродромов с ИВПП |
|||||
|
Зимний период |
|||||
|
20.01.93 16.15 |
14.00-16.00 |
ВПП с МКЗО: очищена на длине 2800, ширине 50; покрытие - влажное; КС 0,55/0,58/0,35/0,32/0,59/0.62/АТТ-2; валы убраны |
Зубарев Е.С. |
Летное поле пригодно к полетам |
Шмагин В.А. |
|
На ЛП снег неуплотненный - 8 см МРД, РД - 1,3,5 влажные |
|||||
|
На остальных РД и МС слякоть - до 10 мм |
|||||
|
В зонах РМС уплотненный снег - до 6 см |
|||||
|
На ГВПП уплотненный снег - до 6 см |
|||||
|
22.01.93 7.00 |
4.00-6.45 |
ВПП с МК30: очищена на длине 1800, ширине 50; покрытие - слякоть /слякоть/ влажно /влажно/влажно/влажно; толщина осадков-3/3/0/0/0/0 мм: КС 0,25/0,l6/0,30/0,35/0,40/0,45/ATT-2; валы убраны |
Каратеев С.Н. |
Летное поле не пригодно к полетам по КС |
Иванов В.Н. |
|
На РД, МС и перронах мокрый снег-до 10 мм |
|||||
|
В зонах РМС уплотненный снег - до 6 см и мокрый снег - до 1 см |
|||||
|
На ГВПП уплотненный снег - до 6 см и мокрый - до 1 см. Работы продолжаются |
|||||
|
25.01.93 18.00 |
14.00-17.45 |
ВПП с МК12: очищена на длине 2500.
ширине 50; покрытие - сухое, местами сухой снег до 3 мм |
Сериков Л. П. |
Летное поле не пригодно к полетам из-за наличия валов |
Ратьков Н. Г. |
|
Валы снега высотой до 70 см справа от оси на 30 м |
|||||
|
На РД, МС и перронах сухой снег - до 10 мм |
|||||
|
В зонах РМС и на ГВПП уплотненный снег - до 6 см и сухой снег до 1 см |
|||||
|
Продолжаются работы по уборке валов |
|||||
|
26.01.93 10.00 |
6.00 - 9.45 |
ВПП с МКЗО: очищена на длине 2500,
ширине 50; покрытие - влажное |
Зубарев Е. С |
Летное поле пригодно к полетам |
Шмагин В. А. |
|
На РД - 1,3,5 и МРД и перроне слякоть - до 3 мм после обработки химреагентом |
|||||
|
На остальных РД гололед |
|||||
|
В зонах РМС и на ГВПП уплотненный снег -до 8 см |
|||||
|
Летний период |
|||||
|
05.06.93 11.00 |
9.00-10.45 |
ВПП с МК12: чистая, сухая |
Сериков Л.П. |
Летное поле к полетам пригодно |
Ратьков Н. Г. |
|
КС 0.60/0.58/0.55/0.55/0.58/0.60/АТТ-2 |
|||||
|
РД, МС и перроны сухие |
|||||
|
Покрытия ВПП, РД - 1,3,5 и МРД очищены от посторонних предметов ВМ-66 и ЭМО |
|||||
|
Сопряжения ВПП с ЛП исправлены |
|||||
|
РД-4 закрыта для руления самолетов, ведутся ремонтные работы |
|||||
|
Пример заполнения для аэродромов с ГВПП |
|||||
|
Зимний период |
|||||
|
06.12.92 12.00 |
9.00-11.45 |
ГВПП: уплотненный снег - 120 мм, прочность 9 кг/см2 , на поверхности свежевыпавший снег - до 10 мм |
Козлов Б. Н. |
Летное поле пригодно для полетов Аи-12 и более легких типов |
Соколов В. С |
|
На РД и МС уплотненный снег - до 80 мм, прочность 7 кг/см2 ЛП подготовлена в соответствии с требованиями |
|||||
|
|
|
Летний период |
|
|
|
|
08.04.92 12.00 |
9.00-11.45 |
ГВПП1: прочность грунта 8 кг/см2 |
Галкин Б. Т. |
ГВПП1 пригодна для полетов Ан-24 и более легких типов; ГВПП2 пригодна для полетов Ан-2 |
Виноградов А.П. |
|
ГВПП2: прочность грунта 5,5 кг/см2 |
|||||
|
РД - 1,2,3 и МС: прочность грунта 6 кг/см2 |
|||||
|
Перрон очищен от посторонних предметов |
|||||
1. "Журнал учета состояния летного поля" представляет пронумерованную, прошнурованную и скрепленную печатью авиапредприятия книгу.
2. Начальник аэродромной службы (сменный инженер, мастер) фиксирует под расписку в журнале:
дату и время осмотра летного поля;
время, предоставленное для подготовки летного поля к полетам;
характеристику состояния и готовность элементов летного поля к производству полетов.
Руководитель полетов (начальник смены службы движения, диспетчер) знакомится под расписку с характеристикой состояния и готовности летного поля к полетам и принимает решение о начале, продолжении или прекращении полетов и делает запись в журнале.
3. Дата осмотра летного поля аэродрома записывается в следующем порядке:
число, месяц, год;
время осмотра в часах и минутах.
4. Характеристики состояния летного поля записываются в журнал после, окончания работы, проверки состояния аэродромных покрытий и определения коэффициента сцепления и прочности грунта (снега).
Состояние летного поля характеризуется:
длиной и шириной расчищенной части ВПП;
коэффициентом сцепления (для аэродромов с ИВПП и ВПП, содержащихся под слоем уплотненного снега);
видом и толщиной слоя осадков;
прочностью грунта на ГВПП, МС и РД грунтовых аэродромов;
прочностью уплотненного снега;
ровностью грунтовой части летного поля;
наличием посторонних предметов на покрытиях и грунтовой части летного поля;
высотой и состоянием травостоя.
Если в прил. 3 в графе "Характеристика состояния летного поля" не указаны некоторые его элементы, то состояние этих элементов должно учитываться по последней записи, где эти элементы указаны.
5. При характеристике состояния ВПП следует указывать рабочий курс, а описание состояния ВПП, в том числе и значения коэффициентов сцепления, начинают с рабочего курса. Средние значения коэффициентов сцепления для каждой 1/3 длины ВПП записывают в строку и отделяют друг от друга косыми черточками.
(Измененная редакция, Изм. № 1).
6. При характеристике состояния и готовности элементов летного поля начальник аэродромной службы (сменный инженер, мастер) обязан указать в журнале работы, которые по истечении времени, данного на подготовку, будут продолжаться.
7. Формулировки характеристик, оценок и заключений должны быть лаконичными и четкими, а подписи должны расшифровываться.
8. При заполнении графы "Характеристика состояния летного поли" должна примениться терминология оценки состояния поверхности покрытии, приведенная в прил. 6.
9. Инструкции о ведении журнала утверждается командиром (начальником аэропорта).
10. Журнал должен находиться на аэродромном диспетчерском пункте аэропорта (АДП). Полностью законченный журнал хранится в течение трех лет.
Позывные абонентов и аэродромных машин
01 - начальник регионального управления ВТ.
02 - первый заместитель начальника регионального управления ВТ.
03 - командир авиапредприятия.
04 - начальник аэропорта.
05 - заместитель начальника аэропорта.
06 - заместитель начальника регионального управления ВТ но режиму.
07 -заместитель командира авиапредприятия но режиму.
08 - дежурный ГБ.
"Сопровождение" - машина сопровождения.
"Движение - 341" - машина РПА.
"Тягач-3(гаражный номер)" - тягач АТБ.
"Аэродромная-20(гаражный номер)" - аэродромная служба.
"Радио - 85" - машина базы ЭРТОС.
"Метео" - машина метеослужбы.
"Охрана № 2" - машина ВОХР.
"Пал-70" - машина радиолаборатории.
"Сектор № 10" - машина военного сектора РЦ.
"Служебный" -автобус для доставки летного состава. -
"Старт1" - СДП на ВПП-1.
"Старт 2" - СДП на ВПП-2.
"Старт 3" - ВСДП на ВПП-1.
"Старт 4" - ВСДП на ВПП-2.
"Руление" - диспетчерский пункт руления.
Примечание. Спецмашинам и аэродромным механизмам эксплуатационного содержания позывные присваиваются по маркам машин и гаражным номерам.
"ДЭ-224 № 136" - аэродромная уборочная машина ДЭ-224.
Примерная фразеология радиопереговоров между абонентами аэродромной службы
|
Позывные |
Текст передачи |
|
|
Кому адресовано |
Кто передает |
|
|
РПА |
Я, "Мастер" |
Нахожусь на малом перроне( количество машин), разрешите занять (пересечь) ВПП для работы но очистке (осмотр, ремонт и т. и). Ориентировочное время работы |
|
"Мастер" |
Я, РПА |
Работать на ВПП разрешаю по плану, связь со "стартом" |
|
"Старт" |
Я, "Мастер" |
Нахожусь на малом перроне (количество машин), разрешите занять (пересечь) ВПП для работы по очистке (осмотр, ремонт и т. и.) |
|
"Мастер" |
Я, "Старт" |
Запрещаю, ждите |
|
|
Я, "Мастер" |
Вас понял, запретили |
|
"Мастер" |
Я, "Старт" |
Занимайте ВПП, работайте по плану, на связь через 15 мин |
|
|
Я, "Мастер" |
Вас понял, занимаю ВПП (количество машин), связь через 15 мни |
|
"Мастер" |
Я, "Старт" |
Освободите ВПП на ГВПП не ближе 25 и от края ВПП |
|
"Старт" |
Я, "Мастер" |
Вас понял, освободить |
|
"Старт" |
Я, "Мастер" |
ВПП свободна, нахожусь на ГВПП |
|
|
Я, "Старт" |
Вас понял, ВПП освободили |
|
"Ротор-162" |
Я, "Мастер" |
Приступите к отбрасыванию валов на ИВПП (РД, перроне и т. д.) |
|
"Мастер" |
Я, "Ротор-162" |
Вас понял, приступаю |
|
"Мастер" |
Я, "ПМ-222" |
Разрешите убыть на ремонт |
|
"ПМ-222" |
Я, "Мастер" |
Разрешаю, выход с ремонта доложите |
Поливомоечные машины типа КО-002 (ПМ-130Б).
Аэродромные уборочные машины типа ДЭ-224, ДЭ-224А. ДЭ-235.
Прицепные пневмощеточные машины типа АРА (Финляндия), Викинг (Швейцария).
Роторные снегоочистители.
Пескоразбрасыватели типа ПР-130, ПР-53А, КО-104.
Подметально-уборочные машины типа КО-309.
Комбинированные (универсальные) с поливомоечным, плужным, щеточным и разбрасывающим оборудованием типа KO-713.
Тепловые машины.
Ветровые машины.
Тракторы типа МТЗ-80 и другие, используемые с разбрасывателями химических реагентов и косилками.
Маркировочные машины типа ДЭ-3, ДЭ-21.
Машина для очистки боковых огней ВПП и РД.
Самоходные заливщики швов типа ДС-67.
Машина для фрезерования покрытий.
Машина ответственного за производство работ на аэродроме (дополнительно оборудуется радиоприемником для прослушивания радиообмена на частоте диспетчера посадки).
Машина, предназначенная для измерения коэффициента сцепления (или машина, транспортирующая аэродромную тормозную тележку АТТ-2).
Автогрейдеры.
Бульдозеры.
Аэродромные подвижные электрогенераторы АПА, используемые при работе с электромагнитным очистителем ЭМО-2.
1. Оценка состояния элементов летного поля производится по значениям величии, получаемых в процессе измерений, параметров оценки.
2. К параметрам оценки состояния покрытий относятся:
фрикционные свойства покрытий;
вид осадков;
толщина слоя осадков;
доля площади покрытая загрязнениями.
3. Фрикционные (тормозные) свойства, покрытий оцениваются величиной коэффициента сцепления.
Вид осадков оценивается кодовыми цифрами от 1 до 9 с соответствующей каждому числу описательной характеристикой осадков.
Толщина слоя осадков оценивается числом, соответствующим толщине слоя в миллиметрах.
Доля площади, покрытая осадками, оценивается в процентах.
4. Коэффициент сцепления в зависимости от применяемых средств определяется непосредственным отсчетом результатов измерений либо приведением результатов измерений к нормативным значениям с помощью корреляционных зависимостей.
4.1. Оценка условий торможения может выполняться с помощью специальных приборов деселерометров, а при их отсутствии путем вычислений по результатам измерений дистанции или времени торможения транспортного средства.
Принцип работы деселерометров основан на фиксации максимального отклонения маятника при торможении транспортного средства.
Применяемый на отечественных аэродромах деселерометр 1155M представляет собой (рис.1) переносной малогабаритный прибор, закрепляемый с помощью присосов 2 на лобовое стекло автомашины так, чтобы ось маятника 1 располагалась горизонтально, а плоскость качания маятника была в плоскости движения автомобиля. С помощью винтов фиксации 3 и 4 деселерометр устанавливается в положение, при котором вертикальная осевая плоскость маятника проходит через контрольную риску 7, нанесенную на прозрачную часть стенки корпуса. Шкала деселерометра отградуирована в единицах ускорения от 0 до 8 м/с2 с шагом в 1 м/с2, поэтому для определения коэффициента сцепления необходимо значения, показанные по шкале, умножить на коэффициент 0,1, т. е. при показаниях 5,5 м/с2 нормативный коэффициент сцепления будет 0,55.
Для оценки условий торможения деселерометр 1155M устанавливается на лобовое стекло автомобиля типа УАЗ-452. При отсутствии автомобиля типа УАЗ допускается использовать автомобиль типа ЗИЛ-130. Базовый автомобиль должен иметь серийные шины с небольшим равномерным износом протекторов и давлением с соответствии с техническим паспортом. Тормозная система автомобиля должна быть отрегулирована на одновременную блокировку всех колес.

Рис. 1. Деселерометр:
1 - ось маятника; 2 - присосы; 3 - винт фиксации стоек; 4 - винт
фиксации корпуса; 5 - ручка возврата; 6 - фиксирующая стрелка; 7 - контрольная
риска
Для измерения коэффициента торможения автомобиль разгоняется до скорости 11,1 м/с (40 км/ч), водитель быстро, но не резко нажимает на педаль ножного тормоза до упора на 1...2 с. Торможение до полной остановки производить не обязательно. Маятник деселерометра вместе с фиксирующей стрелкой отклоняется в направлении движения. Считается величина отрицательного ускорения. После снятия показаний фиксирующая стрелка 6 с помощью головки устанавливается на отметку "0". Прибор готов к новым измерениям. При использовании для измерения автомобиля типа ЗИЛ-130 с пневматической системой торможения величину отрицательного ускорения, показанную деселерометром, следует увеличить на 1 м/с2, т. е. при показаниях деселерометра 3 м/с регистрируемая величина нормативного коэффициента сцепления будет 0,4 ед.к.с, получаемая как
(3+1)0,1 = 0.4 ед.к.с.
При отсутствии в аэропорту деселерометра оценку эффективности торможения можно осуществлять обработкой результатов измерений расстояния или времени торможения до остановки грузового или легкового автомобиля, двигающегося с заданной скоростью при торможении, обеспечивающем полный юз колес.
При измерении дистанции торможения эффективность торможения определяется по формуле
![]()
где V - скорость в момент включения тормозов, м/с;
S - дистанция торможения, м;
g - ускорение силы тяжести, м/с2.
При измерении времени торможения эффективность торможения определяется по формуле
![]()
где τ - время до остановки, с.
Получаемая величина эффективности торможения характеризует фрикционные свойства при движении колес со 100 %-ным скольжением. Для приведения результатов к торможению с проскальзыванием, соответствующим максимальной величине коэффициента торможения, следует полученные величины μs и μτ умножить на 1,2 для значений в диапазоне 0...0.3 ед.к.с. и на 1,3 для значений в диапазоне 0,31... 1,0 ед.к.с.
Пример. При торможении автомобиля ЗИЛ-130 дистанция торможения составила 25 м, время торможения 5 с. Эффективность торможения определяется как
μs = 0,25 ; μτ = 0,50 ; μэ = (μs + μτ)/2 = 0,24;
нормативное значение коэффициента сцепления составит
μ = 1,2 · μэ; μ = 1,2·0,24 = 0,29 ед.к.с.
а при μэ ≥ 0,3; μ = 1,3 · μэ. т. е. если μэ = 0,35, то
μ = 1,3·0,35 = 0.45 ед.к.с.
На каждом оцениваемом участке ВПП выполняется не менее четырех измерений по правой и четырех измерений полевой линиям движения, отстоящим на 5...10 м от продольной оси ВПП. По результатам восьми измерений вычисляется среднеарифметическое значение нормативного коэффициента сцепления для участка, которое в качестве информативного значения записывается в "Журнал учета состояния летного поля".
Численная величина значения нормативного коэффициента сцепления, полученная по методу измерения отрицательного ускорения, в большой степени определяется интенсивностью торможения (нажатия водителем на педаль тормоза) и состоянием настройки тормозной системы.
При неоднородном состоянии покрытия измерения должны выполняться на участках с минимальными фрикционными свойствами.
(Измененная редакция, Изм. № 1).
4.2. Измерение коэффициента сцепления на отечественных аэродромах выполняется с помощью аэродромной тормозной тележки АТТ-2.
АТТ-2 представляет собой комплект, состоящий из измерительной тележки и выносного блока аппаратуры визуальной регистрации.
Измерительная тележка представляет собой (рис.2) одноосный двухколесный прицеп, включающий: раму 5, установленную жестко (без амортизаторов) на измерительное 10 и ведущее 7 колеса; центральную 12 и боковую 16 тяги дышла; карданный вал 8; блокировочную муфту 9; направляющую тягу 14 с измерительным параллелограммом; защитный кожух 2; сцепное устройство 13; рычаг включения блокировочной муфты 4; крышку измерительного отсека 3; крышку смотрового люка 1; страховочный трос 6.
Направляющая тяга установлена в подшипниках скольжения и через измерительный параллелограмм соединяет раму тележки с боковой тягой дышла. Измерительный параллелограмм оборудован параллельно соединенными разгрузочной планкой и измерительным датчиком. Воздействующая на датчик нагрузка изменяет питающее датчик напряжение, которое через гибкий электрический кабель подается в блок регистрации, устанавливаемый в кабине автомобиля-буксировщика.
На лицевой панели блока регистрации имеются следующие элементы: гнездо для подключения гибкого кабеля от измерительного датчика 19 с маркировкой "Ш1 вход", гнездо для подключения кабеля питания 30 с маркировкой "Питание", гнездо для подключения преобразователя 20 к преобразователю 12/27 В с маркировкой "Ш2 выход питания", гнездо 21 для подключения записывающей аппаратуры с маркировкой "Регистрация", переключатель включения питания 26 с маркировкой "Питание", переключатель подсветки шкалы микроамперметра 27 с маркировкой "Подсвет", переключатель режима работы 29 с маркировкой "Измерение - калибр", съемный колпачок 24 предохранителя "ПР-1", контрольная лампа 25 включения питания с красным стеклом, два патрона 23 с лампами подсветки шкалы микроамперметра, микроамперметр 22, арретир микроамперметра 28. Шкала микроамперметра отградуирована в долях единиц коэффициента сцепления от 0 до 1 с интервалом 0,1. На шкале имеется черный сектор с маркировкой "К". На лицевой панели имеется крышка 31, закрепленная четырьмя винтами. Крышкой закрыт потенциометр 32.
Порядок измерения коэффициента сцепления:
прицепить АТТ-2 к автомобилю типа УАЗ-452, при отсутствии УАЗ-452 можно использовать любой автомобиль, оборудованный сцепным устройством, обеспечивающим горизонтальное положение верхней плоскости тележки. Соединить страховочный трос; кабель от датчика подсоединить к гнезду 19; кабель питания подсоединить к гнезду 30; вилку кабеля питания подсоединить, соблюдая полярность, к розетке автомобиля;
включить тумблер "Питание", при этом должна загореться контрольная красная лампа; при необходимости включить подсвет шкалы. Прогреть блок в течение 8... 10 мин (прогрев может выполняться в процессе проезда от места стоянки до места измерения). Если блок находился в неотапливаемом помещении, то время прогрева 10... 15 мин. Подать автомобиль "назад" на 1...2 м, проверить установку стрелки в режиме "Калибровка" в черный сектор шкалы. Если стрелка не встала в пределах черного сектора, направить АТТ-2 на метрологическую проверку. Перевести переключатель режима работы в положение "Измерение", при этом стрелка должна остановиться на отметке со значением (0±0,02); если стрелка отклоняется от отметки (0±0,02), произвести корректировку потенциометром 32. Включить блокировку муфты;
начать движение по искомому участку со скоростью 11,1...12,5 м/с (40...45 км/ч) по линии, отстоящей на 5...10 м от продольной оси ВПП справа. В процессе движения оператор должен следить за показаниями стрелки по шкале микроамперметра.

Рис. 2. Аэродромная тормозная тележка АТТ-2
Показание шкалы в единицах коэффициента сцепления с шагом 50...100 м (5...10 с движения) оператор для памяти заносит в блокнот, при этом обязательно фиксируются минимальные значения коэффициента сцепления;
по окончании ВПП, машина с АТТ-2 разворачивается и начинает движение по ВПП в обратном направлении по линии, расположенной на 5...10 м от оси ВПП справа (слева относительно посадочного курса). В процессе движения также ведется фиксация показаний шкалы прибора;
по окончании движения по ВПП в обратном направлении (окончании измерения) выключить блокировочную муфту, подсветку и питание пульта. Тележка транспортируется к месту стоянки.
По результатам показаний, занесенных в блокнот для каждого конкретного по длине участка ВПП при движении справа и слева от оси, вычисляется среднеарифметическая величина коэффициента сцепления для данного участка. Вычисленная для участка величина коэффициента сцепления с помощью корреляционного графика (рис. 3) или по табл. 1 приводится к значению нормативного коэффициента сцепления, величина которого записывается в "Журнал учета состояния летного поля".
Значения нормативного коэффициента сцепления отражают относительное улучшение или ухудшение эффективности торможения.
(Измененная редакция, Изм. № 1).

Рис. 3. Корреляционный график
Таблица 1
Корреляционная таблица приведения значений коэффициента сцепления, полученных по АТТ-2, к значениям нормативного коэффициента сцепления
|
Коэффициент сцепления по АТТ-2 |
0,1 |
0,15 |
0,2 |
0,25 |
0,3 |
0,35 |
0,4 |
0,45 |
0,5 |
0,55 |
0,6 |
|
Нормативный коэффициент сцепления |
0,26 |
0,29 |
0,32 |
0,34 |
0,37 |
0,39 |
0,42 |
0,45 |
0,49 |
0,54 |
0,57 |
Примечания: 1. Величине нормативного коэффициента сцепления в 0,3 соответствует величина коэффициента сцепления по АТТ-2, равная 0,17.
2. (Измененная редакция, Изм. № 1).
При неоднородном состоянии покрытия измерения должны выполняться на участках с минимальными фрикционными свойствами.
(Измененная редакция, Изм. № 1).
4.3. При отсутствии в аэропорту инструментальных средств оценки фрикционных свойств информация о фрикционных свойствах покрытия дается согласно приведенной в табл. 2.
Таблица 2
Кодовое обозначение характеристики состояния покрытия
|
Код |
Расчетная эффективность торможения |
Коэффициент сцепления |
Эксплуатационное значение |
|
5 |
Хорошая |
0,4 и выше |
Можно предполагать, что воздушное судно произведет посадку без особых трудностей путевого управления |
|
4 |
Средняя - хорошая |
0,39-0,36 |
Тоже |
|
3 |
Средняя |
0,35-0,30 |
Возможно ухудшение путевого управления |
|
2 |
Средняя - плохая |
0,29-0,26 |
Тоже |
|
1 |
Плохая |
0,25-0,18 |
Путевое управление плохое |
|
9 |
Ненадежная |
0,17 и ниже |
Путевое управление не контролируется |
(Измененная редакция, Изм. № 1).
Кодовая оценка составляется на основании субъективного опыта лица, выполняющего оценку.
Для составления кодовой оценки справочно может использоваться табл. 3 соответствия нормативного коэффициента сцепления описательной характеристике состояния покрытия.
Таблица 3
Оценка состояния покрытия по описательной характеристике
|
Описательная характеристика состояния поверхности |
Нормативный коэффициент сцепления |
|
Сухое цементобетонное или асфальтобетонное покрытие |
0,6 и выше |
|
Влажное цементобетонное или асфальтобетонное покрытие |
0,4...0,6 |
|
Мокрый асфальтобетон |
0,3...0,6 |
|
Асфальтобетон, местами лужи |
0,28...0,40 |
|
Уплотненный снег при температуре ниже - 15 °С |
0,3...0,5 |
|
Уплотненный снег при температуре выше -14 °С |
0,2...0,25 |
|
Лед при температуре выше -10 °С |
0,1...0,2 |
|
Лед тающий |
0,05...0,1 |
5. При оценке вида осадков атмосферные осадки представляются в информации числовым кодом от 1 до 9 с соответствующей каждому числу кода описательной характеристикой:
NIL - чисто и сухо;
1 - влажно;
2 - мокро или отдельные участки стоячей воды;
3 - иней или изморозь;
4 - сухой снег;
5 - мокрый снег;
6 - слякоть;
7 - лед;
8 - уплотненный или укатанный снег,
9 - мерзлый снег с неровной поверхностью (борозды, рытвины).
Понятие "влажно" соответствует состоянию, когда поверхность изменяет цвет вследствие наличия влаги.
"Мокро" - поверхность пропитана водой, но стоячая вода отсутствует.
"Участки воды" - видны участки стоячей воды.
"Иней или изморозь" - снеговидные кристаллические льдообразования на поверхности покрытия, образующиеся, как правило, в утренние часы и связанные с охлаждением поверхности.
"Сухой снег" - снег, который будучи в рыхлом состоянии может сдуваться ветром или рассыпаться; плотность - до, но не включая 0,35.
"Мокрый снег" - снег, который не рассыпается и образует или имеет тенденцию образовывать снежный ком; плотность - от 0,35 и до, но не включая 0,5.
"Слякоть" - пропитанный водой снег, который при ударе разбрызгивается в стороны; плотность от 0,5 до 0,8.
"Лед" - вода в замерзшем состоянии, на аэродромных покрытиях проявляется в виде гололеда или гололедицы, как результат замерзания переохлажденного дождя или имевшейся на покрытии воды; плотность - до 0,9.
"Уплотненный или укатанный снег" - снег, спрессованный в твердую массу, который при отрыве от земли не рассыпается или же ломается на куски; плотность - 0,5 и выше. Образуется в результате многократного механического воздействия пешеходов или колес транспортных средств.
"Мерзлый снег" - длительно лежавший на неэксплуатируемом покрытии и пропитанный замерзшей водой снег, имеет шероховатую поверхность; удельный вес около 0,8. На аэродромах может образовываться в результате замерзания неубранного снежно-ледяного наката или льда.
Для повышения объективности оценки вида атмосферных осадков выполняются измерения их плотности. Методика определения плотности приведена в прил. 13.
Осадки в виде сплошного слоя воды, распределенные на поверхности песка, пыли, грунта и т. п., представляются в информации открытым текстом понятиями: "залитая водой", "песок" и т. п.
6. При оценке состояния покрытия необходимо давать сведения о толщине слоя каждого вида осадков в соответствии с принятым кодовым обозначением.
По значениям толщин слоя осадков в конкретных точках вычисляются среднеарифметические величины для каждого участка
Толщина слоя жидких осадков (воды) измеряется переносными устройствами типа ОЛ-1.
Оптическая линейка ОЛ-1 (рис. 4) представляет собой пластину из оргстекла размерами 125´35´10 мм, на рабочей поверхности которой выфрезерованы продольные и поперечные борозды шириной 5 мм и глубиной 5 мм и ромбовидные выступы. С одной стороны пластины установлен опорный винт, головка которого выступает на 11,7 мм над плоскостью рабочей поверхности.
При установке линейки головкой винта на горизонтальную поверхность покрытия плоскость рабочей поверхности устанавливается наклонно таким образом, что выступы линейки располагаются на заданном расстоянии от покрытия последовательно в диапазоне 0...10 мм с шагом 0,25 мм. При наличии на покрытии слоя воды толщиной до 10 мм часть выступов, находящихся на расстоянии от поверхности, равно толщине слоя воды, касается воды и смачивается, что изменяет оптическую прозрачность пластины, которая визуально определяется при осмотре линейки.
По последнему смоченному ромбу определяется толщина слоя воды. Погрешность измерения толщины слоя воды линейкой ОЛ-1 не превышает ±0,25 мм. Оптическая линейка ОЛ-1 метрологически аттестована.
Толщина слоя снега, слякоти на ВПП измеряется с помощью переносной металлической линейки длиной 250 мм по ГОСТ 427-75. Погрешность не более ±1 мм.

Рис. 4. Оптическая линейке ОЛ-1
7. Информация о степени наличия осадков на покрытии по площади относится к дополнительным сведениям, даваемым открытым (не закодированным) текстом. Степень наличия осадков на покрытии характеризуется в процентах отношением площади, покрытой загрязнениями, к общей рабочей площади, при этом используется следующая градация оценки:
10 % при осадках на площади менее 10 % ВПП;
25 % при осадках на площади 11...25 % ВПП;
50 % при осадках на площади 26...50 % ВПП;
100 % при осадках на площади 51...100 % ВПП.
Информация о степени наличия осадков на ВПП в процентах записывается в "Журнал учета состояния летного поля".
Наличие осадков оценивается визуально при осмотре ВПП. В качестве точек отсчета размеров загрязненных участков используются боковые посадочные огни, а на цементобетонных покрытиях - швы температурных деформаций.
1. Назначение и область применения Методика
Настоящая Методика предназначена для использования аэродромными службами аэропортов в качестве пособия при составлении ориентировочного прогноза возможности льдообразования на искусственных покрытиях аэродромов.
При составлении прогноза льдообразования необходимо использовать наряду с расчетными параметрами настоящей Методики данные аэродромного метеорологического центра (АМЦ).
Методика разработана на основе исследований, проведенных ГПИ и НИИ Аэропроект.
2. Основные исследования прогнозирования льдообразований на искусственных покрытиях аэродромов
Исследованиями установлены следующие интервалы значений параметров покрытия и приземного слоя воздуха, при которых происходит льдообразование:
- температура воздуха от 1 до минус 5 °С;
- относительная влажность воздуха от 86 до 98 %;
- дефицит точки росы от 0 до минус 7 °С;
- разность температур воздуха н поверхности покрытия от 2 до 4°С
- разность температур поверхности покрытия и точки росы от 0 до минус 2 °С.
При условиях, характеризуемых значениями одного или нескольких из названных параметров, не входящих в указанные интервалы, как правило, льдообразования на покрытии не происходит.
Взаимосвязь параметров, характеризующих возможность льдообразования, приведена в виде номограммы на рис. 1.Обозначения, приведенные на номограмме:
Тв - температура воздуха в слое толщиной не более 2 см от поверхности покрытия, °С;
φ - влажность воздуха у поверхности покрытия, %;
Тр - дефицит точки росы (разность температур воздуха и точки росы при данной влажности), °С;
Тп -температура поверхности покрытия (средняя величина по толщине слоя на глубину 3 мм), °С.
Номограмма позволяет при известных параметрах системы "Приземный слой - поверхность покрытия" определить путем графических построений вероятность льдообразования, а при использовании прогнозируемых значений параметров позволяет составить предварительный прогноз возможности льдообразования.
Степень надежности прогноза льдообразования, полученного с помощью номограммы, определяется степенью надежности значений используемых параметров.
3. Методика определения наличия и прогнозирования льдообразования
Методика определения наличия или прогнозирования льдообразования с помощью номограммы (рис. 1) основана на нахождении места расположения точек с заданными параметрами относительно площадей номограммы, характеризующих условия с разной степенью вероятности льдообразования. При расположении точек в пределах площадей АВСДЕ на I и III квадрантах параметры соответствуют условиям, при которых в 100 % случаев наблюдается льдообразование.
При расположении точек в пределах площади АВСДЕ только в одном I или III квадрантах параметры соответствуют условиям, при которых в 90 % случаях наблюдается льдообразование.
При расположении точек вне пределов площадей АВСДЕ, но в пределах площадей ВLДК I и III квадрантов параметры соответствуют условиям, при которых льдообразование отсутствует, но при незначительном изменении параметров льдообразование возможно. Попадание точек, характеризующих параметры системы, в площадь ВLДК говорит о необходимости постоянного контроля за параметрами системы.
Номограмма может быть использована для естественных условий льдообразований, т. е. данные номограммы не учитывают изменений условий льдообразования вследствие воздействия химического реагента и высокотемпературных газовоздушных потоков от работающих авиадвигателей.

Рис. 1. Номограмма условий льдообразования
3.1. Последовательность определения наличия льдообразования с помощью номограммы
Необходимые исходные данные: температура и влажность воздуха в приземном слое и температура поверхности покрытия.
Порядок работы:
по шкале Тв через точку, соответствующую температуре воздуха Тв, проводится горизонтальная линия в квадранте II до пересечения с линией, соответствующей влажности в точке 01;
из точки 01 проводится вертикальная линия в I квадранте до пересечения с горизонтальной линией в точке 02, проходящей через точку шкалы Тп, соответствующую температуре поверхности покрытия;
через точку шкалы Твх, соответствующую температуре воздуха, проводится вертикальная линия в квадрант III до пересечения с горизонтальной линией в точке 03 проходящей через точку шкалы Тп, соответствующую температуре поверхности покрытия.
Точка 02 расположена вне площади АВСДЕ в квадранте I, а в квадранте III точка 03 принадлежит площади АВСДЕ. Это означает, что при условиях Тв = -4 °С; Тп = - 5 °С и φ = 90 %, в 90 % случаев наблюдается льдообразование при тех же температурах, но при φ = 95 % пересечение с линией Тп (точка 02) окажется в площади АВСДЕ, что соответствует 100 % случаев льдообразования.
При параметрах системы Тв = -2 °С; Тп = -7 °С и φ = 90 % точки Р2 и Р3 находятся вне площадей АВСДЕ в квадранте I, а в квадранте III точка 03 принадлежит площади АВСДЕ, что означает отсутствие льдообразования, но находятся в пределах площади ВLДК, что говорит о необходимости постоянного контроля параметров системы, так как при повышении температуры покрытия до минус 6°С (точки Р2 и Р3) условия соответствуют 100 % случаев льдообразования.
3.2. Прогнозирование льдообразования
При прогнозировании льдообразования необходимо использовать прогнозируемые значения Тв, Тп и φ.
В настоящее время аэродромы ГА не оборудованы датчиками температуры воздуха и покрытия в приземном слое, поэтому для практического применения номограммы могут быть рекомендованы полученные закономерности между температурой воздуха, измеренной АМЦ, и температурой поверхности покрытия, полученной в процессе исследований в аэропорту Курумоч.
В качестве температуры воздуха в приземном слое может быть использована с погрешностью ±0,5°С температура воздуха, измеренная АМЦ штатными методами. Наибольшую сложность представляет определение температуры поверхности покрытия.
Температура поверхности покрытия определяется изменением термодинамических параметров системы, зависящих, в первую очередь, от кондуктивного, радиационного и конвективного теплообмена поверхности и окружающей среды.
Динамика изменения температуры покрытия зависит от динамики температуры воздуха, в результате испытаний получена зависимость отношения градиентов температур покрытия и воздуха от степени облачности, которая представлена графически на рис. 2.
Использование приведенной на рис. 2 зависимости возможно при определении точки отсчета температур воздуха и покрытия. За такую точку отсчета может выть принята температура воздуха, которая, как правило, в течение суток два раза совпадает с температурой поверхности покрытия.

Рис. 2. Зависимость отношения градиентов температур воздуха и покрытия от степени облачности
Из анализа суточного хода температур воздуха и поверхности ИВПП установлена взаимосвязь, приведенная в табл. 1, между временем суток, когда температура воздуха практически равна температуре поверхности покрытия, и степенью облачности.
На температуру поверхности оказывает влияние скорость ветра. Так, при скорости 5 м/с, температура поверхности на 1 °С ниже температуры при отсутствии ветра.
Таблица 1
Время суток, соответствующее равенству температур воздуха и покрытия
|
Месяц |
|
Степень облачности |
|
|
Ясно < 4 баллов |
4 балла |
Пасмурно > 4 баллов |
|
|
Декабрь, январь
Ноябрь, февраль Март |
6-7 12-13 5-6 14-15 |
8-9 14-15 7-8 15-16 |
9-10 15- 16 8-9 17-18 |
3.3. Последовательность расчетов при определении температуры поверхности ИВПП
Пример. Определить температуру поверхности в конце февраля в 19 ч. Облачность 6 баллов, температура воздуха и 19 ч - Тв19 = -8 °С.
Из графика рис. 2 определяется отношение градиентов (при облачности 6 баллов)
![]()
Из табл. 1 определяется время, когда Тв = Тп, при облачности выше 4 баллов Тв = Тп в феврале в 17 - 18 ч.
По данным АМЦ устанавливается, что Тв в 17 ч была минус 5 °С или Тв17 = Тп17 = -5°С.
Вычисляется степень снижения температуры покрытия за период в 2 ч
![]()
ΔТп = 0,75 °С
Тп19 = Тп17 - ΔТп·(19 - 17) = -5 - 1,5 = -6.5 °С
Таким образом, расчетная температура поверхности в 19 ч составляет минус 6,5 °С.
При наличии ветра скоростью 5 м/с температура поверхности будет минус 7,5 °С.
Вычисленная температура поверхности используется при определении с помощью номограммы возможности льдообразования.
3.4. Учет влияния химического реагента на температуру льдообразования.
При прогнозировании льдообразования следует учитывать возможность снижения температуры льдообразования за счет остаточного действия химического реагента типа Карбамид.
При применении химического реагента льдообразование происходит вследствие замерзания его водного раствора. Температура замерзания водных растворов химреагента в зависимости от концентрации приведена в табл. 2.
Таблица 2
|
Концентрация раствора, % |
5 |
10 |
15 |
20 |
25 |
30 |
35 |
40 |
45 |
50 |
|
|
Температура замерзания растворе |
АНС |
-1,2 |
-2,5 |
-3,9 |
-5,2 |
-6,8 |
-8,5 |
-10,2 |
-13 |
-16 |
-19,5 |
|
|
Карбамид |
-1,2 |
-2,6 |
-4 |
-5,8 |
-7,8 |
-10 |
- |
- |
- |
- |
Концентрация раствора химического реагента, образующегося на покрытии вследствие выпадения снега или переохлажденного дождя, может быть определена для нормы россыпи химреагента в 100 г/м2 по табл.3.
Таблица 3
|
Концентрация, % |
50 |
33,3 |
25 |
20 |
14,2 |
10 |
6,25 |
4,75 |
|
Толщина слоя воды, мм |
0,1 |
0,2 |
0,3 |
0,4 |
0,6 |
0,9 |
1,5 |
2 |
Примечание. При выпадении осадков в виде снега толщина слоя воды может быть принята равной 0,1 от толщины слоя свежевыпавшего снега.
Прогнозируемая толщина слоя воды может быть определена по прогнозируемой интенсивности осадков на АМЦ.
4. Регистрация результатов наблюдения
Регистрация результатов наблюдения с целью прогнозирования возможности льдообразования ведется в специальном журнале, форма которого приведена в табл. 4.
Наблюдения и регистрация результатов осуществляется только в периоды, характерные для данной местности условиями льдообразования, как правило, при температурах воздуха от 1 до -6 °С.
Таблица 4
Журнал прогнозирования льдообразования
|
Дата |
Время суток |
Температура воздуха, Тв,°С |
Влажность воздуха, % |
Скорость ветра, м/с |
Облачность, баллы |
Вид, интенсивность осадков, (по воде) мм/ч |
Время начала льдообразования на покрытии |
Принимаемые меры предупреждения и расходы, т |
Доп. данные |
||||
|
Прогноз по АМЦ |
Прогноз факт по расчету |
Х/Р |
Авиа- ГСМ |
||||||||||
|
Пример заполнения |
|||||||||||||
|
20.02.86 |
8.00 |
-5 |
90 |
3 |
6 |
- |
- |
- |
|
|
|
|
|
|
|
10.00 |
-5 |
90 |
4 |
6 |
- |
- |
- |
|
|
|
|
|
|
|
12.00 |
-4 |
92 |
4 |
7 |
Снег, 0,1 |
Снег |
|
|
|
|
|
|
|
|
14.00 |
-3 |
92 |
5 |
6 |
Снег, 0,1 |
Снег |
|
|
|
|
|
|
|
|
16.00 |
-3 |
92 |
6 |
6 |
- |
- |
|
|
|
|
|
|
|
|
18.00 |
-4 |
90 |
5 |
5 |
- |
- |
|
|
|
|
|
|
|
|
*20.00 |
-5 |
90 |
4 |
5 |
- |
- |
Гол. нет |
Гол. нет |
- |
- |
|
|
|
|
22.00 |
-6 |
89 |
4 |
4 |
- |
- |
|
|
|
|
|
|
|
|
24.00 |
-4 |
92 |
6 |
4 |
- |
- |
|
|
|
|
|
|
|
25.02.86 |
*2.00 |
-2 |
96 |
6 |
4 |
- |
- |
Гол. |
Гол. |
10 (3 РУМ) |
- |
|
|
Примечание: "*" - время прогноза.
1. Качество очистки покрытий от всех видов осадков характеризуется параметрами: коэффициент сцепления, вид и толщина слоя осадков.
Методы и средства оценки поверхности покрытий изложены в прил. 6.
Качество очистки покрытий от атмосферных осадков считается приемлемым, если очистка покрытий выполняется машинами и механизмами с эффективностью уборки не ниже значений, приведенных в табл. 1.
Под эффективностью уборки понимается отклонение количества убранных осадков от их количества до уборки (в процентах). Эффективность уборки применяемых средств механизации должна определяться при номинальных условиях их работы, т. е. при рабочих скоростях движения.
Таблица 1
Требования к эффективности уборки аэродромных уборочных машин
|
п/п |
Тип уборочной машины, рабочего органа |
Состояние поверхности, вид загрязнения |
Минимальная эффективность уборки, % |
|
1 |
Плужный снегоочиститель |
Снег, свежевыпавший с объемным весом до 0,2 г/см3, не примерзший с силой сцепления не более 0,03 кг/м2, толщина слоя до 5 см |
85 |
|
2 |
Щеточный рабочий орган |
Снег по п.1, толщиной до 15 мм |
100 |
|
3 |
Газоструйный рабочий орган - воздуходувка |
Снег по п.1, толщиной слоя, распределенного по ширине захвата щетки, до1 мм |
100 |
|
4 |
Роторный снегоочиститель |
Валы снега на искусственном покрытии |
Толщина оставляемого неубранного слоя не более 10 мм |
|
5 |
Вакуумная уборочная машина при скорости движения 16 км/ч |
Свободнолежащие скрепки с плотностью распределения 50 скрепок/м2, расположенные: |
|
|
на открытой поверхности; |
100 |
||
|
в швах между плитами покрытия Мощность всасывания должна обеспечивать уборку предметов массой до 100 г |
90 |
||
|
6 |
Магнитный рабочий орган при скорости движения 16 км/ч |
Свободнолежащие предметы из магнитного материала (контровочная проволока, болты, гайки, механический ворс и т. п.) |
100 |
Определение количества машин и механизмов для очистки покрытий летного поля от снега
Количество этих типов машин определяют по формуле
(1)
где S - площадь очистки элементов летного поля 1-й очереди, м2;
КQK - поправочный коэффициент на толщину и плотность снега (0,86-1,14);
Vэ - рабочая (эксплуатационная) скорость отряда машин, м/ч;
b - ширина очистки одной машиной, м;
bп - ширина перекрытия смежных проходов, м;
Ки = 0,8 - коэффициент использования машины во времени;
КТГ = 0,85 - коэффициент технической готовности;
Т - заданный срок на выполнение снегоочистительных работ, ч.
Рабочую (эксплуатационную) скорость (км/ч) плужно-щеточных и щеточно-пневматических машин определяют по формулам:
Плужно-щеточные машины типа КО-002 (ПМ-130)
(2)
где а1 = -19.25 - 19,62·hсн - 24,2·hсн·Qсн.
Плужно-щеточно-пневматические машины типа ДЭ-224 А
(3)
где а1 = -21,5 - 35,87·hсн - 147,3·hсн·Qсн.
Плужно-щеточно-пневматические машины типа ДЭ-235
(4)
Плужно-щеточно-пневматические машины типа ПСБ (Финляндия)
(5)
где ![]()

Плужно-щеточно-пневматические машины типа Джет Брум (Швейцария)
(6)
где ![]()

Щеточно-пневматические машины прицепные типа HP-3A (Финляндия) и СБ-90 (Швейцария)
(7)
где ![]()

По формулам (2-7) определяется эксплуатационная скорость головных
плужно-щеточных машин при
- начальной толщине
снега, равной 0,05 м, и
- начальной плотности снега, равной
0,1 т/м3.
При определении
эксплуатационной скорости замыкающей плужно-щеточной машины в отряде расчет
осуществляется при
- конечной толщине
слоя снега, равной

где В - ширина ИВПП, м;
b - ширина очистки головной машиной, м;
bп - ширина перекрытия смежного прохода, м;
- плотность снега в конце очистки, т/м3.
Эксплуатационная (рабочая) скорость отряда плужно-щеточных машин определяется как осредненная скорость между головной и замыкающей машинами в отряде и равна
![]()
где VГ - скорость головной машины отряда, м/ч;
VЗ - скорость замыкающей машины отряда, м/ч.
2. Определение количестве роторных снегоочистителей и снегопогрузчиков.
Количество роторных снегоочистителей и снегопогрузчиков определяют по формуле
(8)
где hCH - начальная толщина снега, м;
QCH - плотность снега, т/м3;
Пт - техническая производительность, т/ч;
Ки = 0,6 - коэффициент использования во времени;
КТГ = 0,85 - коэффициент технической готовности;
S - площадь очистки, м2;
Т - заданный срок на выполнение снегоочистительных работ, ч.
3. Определение количества автогрейдеров.
Количество автогрейдеров определяют из условия их использования для очистки от снега обочин ИВПП и РД, а также зон КРМ и ГРМ но формуле
(9)
где LИВПП - длина ИВПП, м;
В0 = 10 - ширина очистки обочин ИВПП, м;
SГрм - площадь очистки от снега зон ГРМ, м2
SКРМ - площадь очистки от снега зон КРМ, м2;
b - ширина захвата плуга автогрейдера, м;
V - рабочая скорость автогрейдера, м/ч;
Т - заданный срок выполнения работы, ч;
КQK - поправочный коэффициент на толщину и плотность снега.
Рабочая скорость автогрейдера определяется по формуле
(10)
Ки = 0,95 - коэффициент использования во времени;
КТГ = 0,85 - коэффициент технической готовности.
4. Определение количества ветровых машин для очистки покрытий от снега, слякоти и посторонних предметов.
(11)
где SИВПП, SРД - площадь очищаемых ИВПП и РД, м2;
КQK - поправочный коэффициент на толщину и плотность снега (0,86...1,05), на толщину и плотность слякоти (1,14);
V - рабочая скорость ветровой машины, м/ч;
b - ширина очистки, м;
Т - заданный срок выполнения работы, ч;
Ки = 0,95 - коэффициент использования во времени;
КТГ = 0,85 - коэффициент технической готовности.
5. Определение количества гладилок для уплотнения снега на грунтовых элементах летного поля и электромагнитных очистителей для подбора предметов из черного металла (ворса, гаек, болтов и др.).
Количество гладилок для уплотнения снега (электромагнитных очистителей) определяется по формуле
(12)
где S - площадь уплотнения (очистки от металлических предметов), м ;
b - ширина захвата, и;
VT - рабочая скорость тягового средства, м/ч;
Ки = 0,95 - коэффициент использования во времени;
КТГ = 0,85 - коэффициент технической готовности;
Г - заданный срок на выполнение работы, ч.
6. Определение количества машин и механизмов для удаления и предупреждения гололедных образований.
6.1. Тепловой способ. Необходимое количество машин типа ТМ-59М для удаления гололеда определяют из условия, что эту работу производят на основной ИВПП с момента формирования его образования и она должна быть закончена в течение времени Т (заданного срока на выполнение работы)
(13)
где SИВПП - площадь очищаемой ИВПП, м2;
V - рабочая скорость тепловой машины, м/ч;
b - ширина очистки при удалении гололеда, м;
Ки = 0,95 - коэффициент использования во времени;
КТГ = 0,85 - коэффициент технической готовности.
6.2. Химический способ. Потребное количество распределителей химического антигололедного реагента определяется по формуле
(14)
где SИВПП - площадь очищаемой ИВПП, м2;
ПЭ - эксплуатационная производительность, м2/ч;
tподг - время подготовительных работ (погрузка реагента на складе в кузов распределителей с учетом маневрирования), ч;
tДВ1 - время движения загруженного распределителя от склада БАСА до ИВПП. ч;
tДВ2 - время движения порожнего распределителя от места работы до склада, ч;
tпл - время плавления гололеда, ч.
Эксплуатационную производительность распределителей антигололедного реагента определяют по формуле
(15)
где Qкуз - вместимость кузова распределителя, м3;
γ - объемная масса антигололедного реагента, т/м3;
qх - норма расхода антигололедного реагента, г/м2;
Тц - продолжительность одного цикла работы распределителя, ч.
Величина Тц = tподг + tДВ1 + tраб + tДВ2,
где
![]()
Пти - техническая производительность измельчителя реагента (если требуется измельчение), т/ч;
tМАН = 0,02 - время маневрирования распределителя на складе, ч;
Ки = 0,95 - коэффициент использования во времени.
![]()
где L - среднее расстояние от склада до места работы на ИВПП, м;
V1 - транспортная скорость распределителя с грузом, м/ч.
Величина
,
где b - ширина посыпки реагентом, м;
V - рабочая скорость распределителя при россыпи реагента, м/ч.
Величина ![]()
где V2 - средняя скорость порожнего распределителя, м/ч.
6.3. Определение количества средств механизации при содержании элементов летного поля в летний период. Содержание элементом летного поля в летний период (очистка от пыли, грязи и посторонних предметов) осуществляется, как правило, теми же средствами механизации, что и для очистки покрытий аэродромов от снега: плужно-щеточными, щеточно-пневматическими и ветровыми машинами, количество которых определено в соответствии с формулами (1) и (11).
Работы, связанные с оценкой состояния, маркировкой и текущим ремонтом аэродромных покрытий, а также высевкой семян и кошением травы на грунтовых элементах летного поля выполняют эпизодически, по мере необходимости. Поэтому количество средств механизации для проведения указанных работ определяют исходя из необходимости их выполнения.
Для оперативного определения количества средств механизации рекомендуется использовать номограммы, приведенные на рис. 1 - 6.
Примечание. Вычисленные по формулам дробные значения количества средств механизации для содержания аэродрома округляют до целых чисел в большую сторону.
|
Наименование машины и механизма |
Модель, тип, марка |
Назначение и область применения |
Краткая техническая характеристика |
Предприятие-изготовитель |
Примечание |
|
Аэродромная уборочная машина на базе одноосного тягача МоАЗ-6442 мощностью двигателя 158 кВт |
ДЭ-235 |
Очистка аэродромов от снега, слякоти, пыли, мусора, а также льдообразований на покрытиях |
Ширина очистки 4 м; рабочая скорость не более 30 км/ч: транспортная скорость до 40 км/ч |
Минский опытно-экспериментальный завод А/О "Амкодор" |
Выпускается взамен машины ДЭ-224А |
|
Аэродромная уборочная машина на базе одноосного тягача МоАЗ-546П мощностью двигателя 254 кВт |
ДЭ-224А |
Очистка ВПП и рулежных дорожек аэродромов от пыли, грязи, мусора и свежевыпавшего снега |
Ширина очистки 4 м; рабочая скорость не более 25 км/ч; транспортная скорость до 40 км/ч |
Минский опытно-экспериментальный завод А/О "Амкодор" |
|
|
Снегоочиститель шнекороторный производительностью до 1200 т/ч на шасси автомобиля УРАЛ-375Д |
ДЭ-211 |
Очистка ВПП, РД, подъездных путей к аэродромам от снега с отбрасыванием в сторону |
Ширина очистки 2.81 м; высота (максимальная) убираемого снега 1,5 м; дальность отбрасывания до 37 м; рабочая скорость не более 5 км/ч; транспортная скорость до 45 км/ч |
Минский завод "Ударник" |
|
|
Снегоочиститель шнекороторный производительностью до 1250 т/ч на шасси автомобиля УРАЛ-4320 |
ДЭ-226 |
Очистка ВПП, РД, подъездных путей к аэродромам от снега с отбрасыванием в сторону |
Ширина очистки 231 м; высота (максимальная) убираемого снега 1,6 м; дальность отбрасывания до 30 м; рабочая скорость до 52 км/ч |
Минский завод "Ударник"; А/О "Амкодор": Алма-Атинский завод "Ротор" |
|
|
Снегоочиститель шнекороторный производительностью до 1000т/ч на шасси автомобиля ЗИЛ-131Н |
ДЭ-210Б |
Очистка от снега ВПП, РД. МС и подъездных путей к аэродромам, а также отбрасывание снежных валов и погрузки снега в транспортные средства |
Ширина очистки 2,56 м; высота (максимальная) убираемого снега 1,5 м; дальность отбрасывания до 24 м; рабочая скорость до 6 км/ч; транспортная скорость до 40 км/ч |
Северодвинский завод дорожных машин; МГО "Коммаш" |
|
|
Фрезерно-роторный снегоочиститель производительностью до 1200 т/ч на базе трактора К-701 мощностью 220 кВт |
ДЭ-227 |
Очистка ВПП, РД, МС и подъездных путей к аэродромам от снега с отбрасыванием в сторону |
Ширина очистки 3 м; высота (максимальная) убираемого снега 1,8 м; дальность отбрасывания до 25 м; рабочая скорость до 5 км/ч; транспортная скорость до 12 км/ч |
Северодвинский завод дорожных машин НПО "Ленстройработ" |
|
|
Фрезерно-роторный снегоочиститель производительностью 600 т/ч на специальном шасси мощностью 45 кВт |
ДЭ-242 |
Очистка РД, МС, перрона и приангарных площадей от снега |
Дальность отбрасывания до 30 и; ширина очищаемой полосы 13 м: максимальная высота разрабатываемого слоя снега 1,0 м |
Предприятие "Нордмекс" г. Северодвинск |
Опытный образец |
|
Фрезерно-роторный снегоочиститель производительностью 800 т/ч на специальном шасси мощностью 82 кВт |
R-400 |
Очистка покрытий аэродромов и дорог от снега |
Дальность отбрасывания до 35 м; ширина очищаемой полосы 1.8 м: максимальная высота разрабатываемого слоя снега 1.0 м: радиус поворота 7 м; скорость движения 6….30 км/ч |
Фирма "Рольба" (Швейцария) |
|
|
Фрезерно-роторный снегоочиститель производительностью до 2500 т/ч на специальном шасси мощностью 245 кВт |
R-1000 |
Очистка покрытий аэродромов от снега |
Дальность отбрасывания до 38 м: ширина очищаемой полосы 2.5 м; максимальная высота разрабатываемого слоя снега 1.25 м; радиус поворота 8.5 м; рабочая скорость 0.3...30 км/ч: транспортная скорость до 50 км/ч |
Фирма "Рольба" (Швейцария) |
|
|
Фрезерно-роторный снегоочиститель производительностью до 5000 т/ч на специальном шасси мощностью 447 кВт |
R-3000 |
Очистка покрытий аэродромов от снега |
Дальность отбрасывания до 45 м: ширина очищаемой полосы 3.0 м; максимальная высота разрабатываемого слоя снега 1,9 м; радиус поворота 9,0 м; рабочая скорость 0.4...30 км/ч; транспортная скорость до 55 км/ч |
Тоже |
|
|
Аэродромная уборочная машина на шасси автомобиля мощностью 206 кВт |
Джет Брум |
Очистка покрытий аэродромов от снега, слякоти и посторонних предметов |
Ширина очистки 4 м; рабочая скорость до 50 км/ч; транспортная скорость до 80 км/ч; радиус поворота 12 м |
Фирма "Бошунг" (Швейцария) |
|
|
Щеточно-пневматическая машина прицепная |
СБ-90 "Викинг" |
Очистка покрытий аэродромов от снега |
Ширина очистки до 4 м; рабочая скорость до 35 км/ч; транспортная скорость до 60 км/ч |
Фирма "Рольба" (Швейцария) |
|
|
Щеточно-пневматическая машина прицепная |
НР-3А |
Тоже |
Ширина очистки до 4 м; рабочая скорость до 35 км/ч; транспортная скорость до 50 км/ч |
Фирма "Ара" (Финляндия) |
|
|
Навесное оборудование на тракторное шасси |
|
Очистка боковых огней ИВПП от снега |
Ширина очистки 2,8 м; диаметр щетки 600 мм; количество щеток - 2 шт. |
Фирма "Шмидт" (Германия) |
|
|
Машина поливомоечная на шасси автомобиля ЗИЛ-431418 |
КО-002 |
Поливка, мойка и очистка от снега покрытий аэродромов |
Ширина обрабатываемой полосы: при мойке 8,5 м, при поливке до 18 м, при снегоочистке 2,3 м; рабочая скорость до 18 км/ч; транспортная скорость до 50 км/ч: вместимость цистерны 6\5 м3 |
Мценский завод коммунального машиностроения МГО "Коммаш" |
Выпускается взамен поливомоечной машины ПМ-130Б |
|
Машина комбинированная (универсальная) с поливомоечным, плужным и щеточным оборудованием на шасси автомобиля ЗИЛ-431412 и ЗИЛ-431812 |
КО-713-01 |
Круглогодичное использование по содержанию асфальтобетонных и цементобетонных покрытий аэродромов |
Ширина обрабатываемой полосы: при мойке 8.5 м, при поливке 20 м, при снегоочистке 2,5 м; рабочая скорость до 18 км/ч; вместимость цистерны 6350 л |
Тоже |
|
|
Машина комбинированная (универсальная) с разбрасывающим, плужным и щеточным оборудованием на базе автомобиля ЗИЛ-431412 или ЗИЛ-431812 |
КО-713-02 |
Содержание в зимнее время асфальтобетонных и цементобетонных покрытий аэродромов |
Ширина обрабатываемой полосы: при посыпке 4-9 м, при снегоочистке 2.5 м: рабочая скорость до 18 км/ч; масса песка в кузове 6345 кг |
Мценский завод коммунального машиностроения МГО "Коммаш" |
|
|
Машина ветровая уборочная с авиадвигателем АИ-25 на шасси автомобиля КАМАЗ-55102 |
ВМ-АИ-25 |
Очистка элементов летного поля от свежевыпавшего снега, слякоти, пыли и посторонних предметов |
Ширина обрабатываемой полосы: при очистке от свежевыпавшего снега до 16 м, при удалении слякоти до 7,5 м; вместимость топливной цистерны 3800 л; расход авиатоплива 480 кг/ч; рабочая скорость до 40 км/ч; транспортная скорость 50 км/ч |
Завод № 409 ГА г. Днепропетровск |
|
|
Снегопогрузчик универсальный производительностью 135 т/ч на базе трактора МТЗ-82 с мощностью двигателя 55,15 кВт |
КО-205А |
Погрузка в транспортные средства снега, предварительно собранного в валы и кучи, а также погрузка пескосоляной смеси пескоразбрасывателем |
Ширина захвата 2,85 м; высота погрузки 3.0 м; рабочая скорость движения 1.262 км/ч; транспортная скорость 15 км/ч |
Фалештский завод тротуароуборочных машин МГО "Коммаш" |
|
|
Снегопогрузчик лаповый производительностью 140 т/ч на специальном вмеси с мощностью двигателя 48,6 кВт |
КО-206А |
Погрузка в транспортные средства снега, скола уплотненного снега и льда, предварительно собранного в валы |
Ширина очистки 2,6 м; высота погрузки 33 м; рабочая скорость до 2 км/ч; транспортная скорость до 30 км/ч |
Свердловское ПО "Пневмостроймашина" |
|
|
Снегопогрузчик фрезерный производительностью 180 т/ч на базе трактора МТЗ-82 с мощностью двигателя 55.15 кВт |
КО-207 |
Погрузка снега в транспортное средство. При необходимости снегопогрузчик может обеспечивать перекидку снега или укладку его в валы |
Ширина очистки 2,5 м; высота погрузки 3,0 м; рабочая скорость до 2 км/ч; транспортная скорость до 15 км/ч |
Северодвинский завод дорожных машин МГО "Коммаш" |
|
|
Машина тепловая с авиадвигателем BK-I на базе трактора Т-150 с мощностью двигателя 121,4 кВт |
ТМ-59М |
Удаление льдообразований с поверхности асфальтобетонных и цементобетонных покрытий |
Ширина очистки 2,5 м; рабочая скорость до 5 км/ч; транспортная скорость до 25 км/ч |
Минский опытно-экспериментальный завод А/О "Амкодор" |
|
|
Машина для внесения в почву минеральных удобрений, агрегатируемая с трактором мощностью 55.8 кВт |
1-РМГ-4 |
Распределение по поверхности покрытий всех видов и форм минеральных удобрений, химических антигололедных реагентов |
Ширина захвата до 14 м; диапазон доз внесения 30- 1100 г/м2; грузоподъемность 4000 кг, рабочая скорость до 15 км/ч; транспортная скорость до 25 км/ч |
Петропавловский завод тяжелого машиностроения |
|
|
Машина для внесения минеральных удобрений на базе автомобиля УРАЛ-5557-041 |
МХА-7 |
Транспортирование и нанесение на поверхность покрытия минеральных удобрений. Может использоваться для транспортировки и выгрузки других грузов |
Ширина захвата до 22 м; диапазон доз внесения 10- 1000 г/м2; грузоподъемность до 7000 кг, рабочая скорость до 30 км/ч; транспортная скорость до 70 км/ч |
Заводоуковский машиностроительный завод |
|
|
Разбрасыватель универсальный на базе автомобиля ГАЗ-53-27 (на сжатом газе) |
KO-108 |
Распределение по поверхности покрытия технологических антигололедных материалов. В летнее время на машину устанавливается самосвальное оборудование, используемое для перевозки сыпучих грузов |
Ширина посыпаемой полосы 4-9.5 м; плотность посыпки: инертными материалами 0,2 кг/м2 , химическими реагентами 0.02 кг/м2; вместимость кузова 23 м3, рабочая скорость до 25 км/ч; масса перевозимого груза 3 600 кг |
Арзамасский завод коммунального машиностроения МГО "Коммаш" |
|
|
Разбрасыватель универсальный на базе автомобиля ГАЗ-53А |
КО-104А |
Распределение по поверхности покрытия пескосоляной смеси и антигололедных реагентов |
Ширина посыпаемой полосы до 9,5 м; плотность посыпки: пескосоляной смесью 100 - 400 г/м2; антигололедными реагентами 10 - 20 г/м2; вместимость кузова 2,2 м3; рабочая скорость до 50 км/ч |
Тоже |
|
|
Разбрасыватель универсальный на базе автомобиля ЗИЛ-130АН |
КО-105 |
Распределение по поверхности покрытия технологических антигололедных реагентов, сгребание и подметание свежевыпавшего снега |
Ширина обрабатываемой полосы: при посыпке до 9 м, при очистке от снега до 2,5 м; средняя плотность посыпки: инертными материалами 400 г/м2; антигололедными реагентами 10 г/м2; вместимость кузова 2,7 м, рабочая скорость: при посыпке до 25 км/ч, при подметании снега до 15 км/ч; транспортная скорость, до 40 км/ч |
Мценский завод коммунального машиностроения |
|
|
Агрегат для растаривания и измельчения слежавшихся минеральных удобрение, агрегатируемый с трактором тягового класса 1,4 |
АИР-20 |
Растаривание и измельчение слежавшихся минеральных удобрений с последующим отделением их от мешкотары и загрузкой подготовленной массы в прицепы-разбрасыватели |
Производительность: при измельчении - 19 т/ч, при растаривании и измельчении 17,6 т/ч, при растаривании 34.2 т/ч; транспортная скорость до 16 км/ч |
Завод "Ишимсельмаш" |
|
|
Машина подметально-уборочная на базе автомобиля ГАЗ-53-14-01; ГАЗ-33072 |
КО-309 |
Механизированная летняя уборка асфальта- и цементобетонных покрытий |
Ширина зоны уборки 2.8 м; рабочая скорость 3.1 - 16,5 км/ч; транспортная скорость до 50 км/ч; вместимость бункера 5,5 м3 |
Киевский завод коммунального машиностроения |
|
|
Тележка аэродромная тормозная, агрегатируемая автомобилем типа УАЗ с прибором визуальной регистрации |
АТТ-2 |
Определение коэффициента сцепления колес самолета с поверхностью покрытия |
Оценка коэффициента сцепления по визуальному прибору, рабочая скорость 45 км/т. погрешность измерения не более ±0,02 ед. Кси ; габаритные размеры 2450х1560х920 мм; масса 280 кг |
Завод № 31 ГА (г. Щелково Московской области) |
|
|
Машина для комплексной оценки состояния покрытий аэродромов на базе автомобиля типа ВАЗ-2109 с приборами документальной регистрации |
КИПП |
Измерение коэффициента сцепления колес самолета с поверхностью покрытия, толщины слоя жидких осадкой, скорости начала аквапланирования, неровностей |
Оценка состояния покрытия -визуальная и документальная; скорость измерения 40, 65, 95, 130, 160 км/ч; шаг намерения коэффициента сцепления 250 мм; погрешность намерения ±0,01 ед. Кси. |
А/О "Питер-Волга" |
Экспериментальный образец |
|
Машина для измерения коэффициента сцепления на автомобиле мощностью 107 кВт с приборами документальной регистрации |
СААБ 900 |
Измерение коэффициента сцепления колес самолета с поверхностью покрытия |
Скорость измерения до 110км/ч; погрешность измерения ±0.01 ед. Кси.; габаритные размеры 4740х690х420 мм; масса 1720 кг |
Фирма "СЛАБ" (Швеция) |
|
|
Маркировочная машина на шасси автомобиля ГАЗ-53-12-01 |
ДЭ-21 |
Нанесение линий и знаков дневной маркировки лакокрасочными и термопластическими материалами в зависимости от вида установленного на машине технологического оборудования |
Ширина наносимых линий: термопластиком 0,1…0,2 м; краской 0,1…1,0 м; объем загружаемого материала: термопластика 800 кг, краски 1000 кг, рабочая скорость 1,5…6 км/ч; транспортная скорость до 60 км/ч |
Калининградский завод "Стройдормаш" А/О "Амкодор" |
|
|
Машина для маркировки дорог, самоходная на спецшасси с мощностью двигателя 35 - 40 кВт |
Н 331 |
Нанесение линий маркировки на покрытия аэродромов |
Ширима наносимых линий 100…1200 мм; объем загружаемого материала (краски) 700 л; рабочая скорость до 10 км/ч; транспортная скорость до 30 км/ч |
Фирма "Гофман" (Германия) |
|
|
Автогрейдер среднего класса мощностью 100 кВт с гидромеханической трансмиссией |
ДЗ-143 |
Выполнение земляных работ при постройке земляного полотна грунтовых дорог, планировка площадей, а также ремонт и содержание грунтовых поверхностей, очистка от снега |
Скорость движения до 43 км/г, грейдерный отвал: длина 3740 мм. высота 620 мм, угол резания 30..70° |
Брянский завод дорожных машин ПО "Автогрейд" |
|
|
Автогрейдер среднего масса мощностью 100 кВт с механической трансмиссией |
ДЗ-14З-1 |
Тоже |
Тоже |
Тоже |
|
|
Автогрейдер среднего класса мощностью 99 кВт с гидромеханической трансмиссией и жесткой рамой |
ДЗ-122А |
Землеройно-профилировочные работы, строительство, ремонт и содержание аэродромов |
Скорость движения до 43 км/ч, грейдерный отвал: полноповоротный, длина 3744 мм, высота 632 мм, угол резания 30..70°; угол срезаемого откоса 0..90°; управление гидравлическое |
Орловский завод дорожных машин ПО "Автогрейд" |
|
|
Автогрейдер среднего класса мощностью 99 кВт с шарнирно сочлененной рамой |
ДЗ-122Б |
Постройка земляного полотна грунтовых дорог, вождение насыпей, планировка площадей, ремонт и содержание дорог и обочин, очистка от снега |
Технические данные те же. Угол складывания полурам 30° |
Орловский завод дорожных машин ПО " Автогрейд " |
|
|
Автогрейдер класса 250 мощностью 202,5 кВт с механической трансмиссией |
Д3-96Б (ДЗ-985-1) |
Землеройно-профилировочные работы на грунтах I - IV категорий в аэродромном строительстве, очистка покрытий от снега |
Скорость движения 3,5...47 км/ч; грейдерный отвал: длина 4270 мм, высота 740 мм; угол срезаемого откоса 0...90*; управление ручное, гидравлическое |
Челябинский завод дорожных машин им. Колюшенко, концерн "Стройдормаш" |
|
|
Автогрейдер тяжелого класса мощностью 184 кВт с гидромеханической трансмиссией и шарнирно сочлененной рамой |
ДЗ-140А |
Выполнение работ в тяжелых условиях при строительстве и капитальном ремонте грунтовых и гравийных дорог, очистка от снега |
Скорость движения до 40 км/ч; грейдерный отвал: полноповоротный, длина 4800 мм, высота 800 мм; угол срезаемого откоса 0...90*; управление гидравлическое; угол складывания полурам ±20° |
Тоже |
|
|
Автогрейдер легкого класса малогабаритный на базе колесного трактора МТЗ-80 мощностью 55 кВт с системой автоматики |
ДЗ-176 |
Выполнение профилировочных работ при строительстве и ремонте дорог, дли патрульной очистки площадей от снега |
Скорость движения до 35 км/ч грейдерный отвал: полноповоротный, длина 3040 мм, высота 500 мм, угол резания 40° |
Брянский завод дорожных машин ПО "Автогрейд" |
|
|
Грейдер полуприцепной на базе трактора Т-150К |
ГП-1 |
Землеройно-профилировочные работы, строительство, ремонт и содержание дорог и аэродромов |
Грейдерный отвал: полноповоротный, длина 3744 мм, высота 632 мм, угол резания 30-70°; тележка: тип - пневмоколесная, количество осей 2 |
Орловский завод дорожных машин ПО "Автогрейд" |
|
|
Бульдозер с неповоротным отвалом с гидроприводом на гусеничном тракторе ДТ-75МР-С2 мощностью 66 кВт |
ДЗ-42 |
Выполнение землеройно-планировочных работ в строительстве и сельском хозяйстве на грунтах I - II категорий
|
Скорость движения 11…18 км/ч; отвал: длина 2560 мм, высота 804 мм, угол резания 55°, подъем 600 мм, опускание 300 мм |
Берлинский завод дорожных машин ПО "Юждормаш" |
|
|
Бульдозер с неповоротным отвалом с гидроприводом на гусеничном тракторе ДТ-75 НР-С2 мощностью 66 кВт |
ДЗ-42Г |
Тоже |
Скорость движения 11…18 км/ч; отвал: длина 2560 мм, высота 800 мм, угол резания 55°, подъем 600 мм, опускание 410 мм |
Мингечаурское ПО "Аздормаш" |
|
|
Бульдозер с неповоротным отвалом с гидроприводом на гусеничном тракторе Т- 90П мощностью 66 кВт
|
ДЗ-130 |
Тоже |
Скорость движения 11…17 км/ч; отвал: длина 2520 мм, высота 1000 мм, угол резания 55°, подъем 760 мм, опускание 300 мм |
Калкаманский завод дорожных и сельскохозяйственных машин |
|
|
Бульдозер с неповоротным отвалом с гидроприводом на гусеничном тракторе ДТ-75МВ-РС2 или ДТ-75Н-РС2 мощностью 86 или 70 кВт |
ГП-20 |
Разработка и перемещение грунтов I и II категорий; засыпка траншей, котлованов, возведение насыпей, перемещение сыпучих строительных материалов, расчистка от снега |
Скорость движения 3...26 км/ч; отвал: длина 2560 мм, высота 804 мм, угол резания 86°, подъем 600 мм, опускание 300 мм |
Тюменский завод строительных машин ПО "Сибстроймаш" |
|
|
Бульдозер с неповоротным отвалом на гусеничном тракторе Т-170-01 мощностью 128 кВт |
ГП-10 |
Разработка и засыпка котлованов и траншей, возведение насыпей, расчистка дорог от снега, планировка площадок и других вспомогательных работ |
Скорость движения I0…20 км/ч; отвал: длина 3240 мм, высота 1300 мм, угол резания 56°; подъем 935 мм, опускание 400 мм |
Тюменский завод строительных машин ПО "Сибстроймаш" |
|
|
Трактор "Беларусь" мощностью (55.1 ±3.7) кВт |
МТЗ 80/82 |
Может быть использован для привода стационарных машин, выполнения транспортных, дорожно-строительных, погрузочно-разгрузочных и других работ |
Тяговое усилие от 3…14 кН; диапазон скоростей движения от 1,89…33,4 км/ч |
ПО "Минский тракторный завод" |
|
|
Каток пневмоколесный полуприцепной к тягачу МоАЗ-6442 производительностью 1170 м3/ч |
ДУ-16Д |
Послойное уплотнение грунтов, гравийно-щебеночных и стабилизированных материалов, сооружение насыпей, дамб, плотни, аэродромных площадок, оснований автомобильных дорог и других сооружений |
Ширина уплотняемой полосы 2,6 м; количество колес 6; давление в шинах 0,42…0,8 МПа,. скорость движения 15...25 км/ч, масса 7950…30000 кг |
Коростенскнй завод дорожных машин "Октябрьская кузница" |
|
|
Каток самоходный пневмоколесный мощностью 55,1 кВт |
ДУ-65 |
Уплотнение покрытий и верхних слоев оснований на асфальтобетонных смесей различных типов, уплотнение оснований на грунтов и других дорожно-строительных материалов, обработанных вяжущими, на строительстве автомобильных дорог, аэродромов и улиц |
Ширина уплотняемой полосы 1,75 м; количество пневмоколес 4+4; скорость движения 8...15 км/ч; масса 10000...12000 кг |
Рыбинский завод "Раскат" А/0"Амкодор" |
|
|
Каток прицепной пневмоколесный, агрегатируемый трактором класса |
ДУ-39Б |
Уплотнение грунта, гравийно-щебеночных н стабилизированных материалов при сооружении насыпей, дамб, аэродромов, оснований автомобильных дорог и других объектов |
Ширина уплотняемой полосы 2,6 м; количество колес - 5 шт.; рабочая скорость до 6 км/ч, транспортная - до 30 км/ч; масса 5940…25000 кг |
Коростенский завод дорожных машин "Октябрьская кузница" |
|
|
Индекс очередности |
Адреса |
||||||
|
Дата и время заполнения |
Индекс составителя |
Серийный номер SNOW NOTAM |
НОТАМ S |
||||
|
Аэродром |
А |
|
|
|
|
|
|
|
Дата/время наблюдения (время завершения изменения) |
В |
|
В |
|
В |
|
|
|
Обозначение ВПП |
С |
|
С |
|
С |
|
|
|
Длина расчищенной части ВПП (если меньше объявленной длины ВПП), м |
D |
|
D |
|
D |
|
|
|
Ширина расчищенной части ВПП (если менее объявленной
ширины ВПП), м; |
Е |
|
Е |
|
Е |
|
|
|
Осадки на всей длине ВПП (на каждой трети ВПП, начиная от порога, имеющего наименьший номер обозначения): |
F |
|
F |
|
F |
|
|
|
NIL - чисто и сухо; |
|
|
|
|
|
|
|
|
1 - влажно; |
|
|
|
|
|
|
|
|
2 - мокро(местами); |
|
|
|
|
|
|
|
|
3 - иней или изморозь (толщина слоя обычно менее 1 мм); |
|
|
|
|
|
|
|
|
4 - сухой снег; |
|
|
|
|
|
|
|
|
5 - мокрый снег; |
|
|
|
|
|
|
|
|
6 - слякоть; |
|
|
|
|
|
|
|
|
7 -лед; |
|
|
|
|
|
|
|
|
8 - уплотненный или укатанный снег; |
|
|
|
|
|
|
|
|
9 - мерзлый снег с неровной поверхностью |
|
|
|
|
|
|
|
|
Средина глубина осадков на каждой 1/3 длины ВПП, мм |
G |
|
G |
|
G |
|
|
|
Эффективность торможения на каждой1/3 длины ВПП и измерительное оборудование |
Н |
|
Н |
|
Н |
|
|
|
Измеренное или расчетное значение коэффициента сцепления либо предполагаемая эффективность торможения: |
|
|
|
|
|
|
|
|
0,40 и выше - хорошее (5) 0,39 - 0,36 - среднее/хорошее (4) 0,35 - 0,30 - среднее (3) 0,29 - 0,26 - среднее/плохое (2) 0,25 и ниже - плохое (1) 0 - ненадежный - ненадежное (9) |
|
|
|
|
|
|
|
|
Примечание. Для указания измеренного коэффициента пользуются двумя цифрами, за которыми следует сокращение, относящееся к используемому измерительному оборудованию, а для указанна расчетной эффективности торможения - одной цифрой. |
|
|
|
|
|
|
|
|
Большие сугробы (если имеются, то указать высоту, см, расстояние от края ВПП, м, и по мере необходимости - "L" (слева), "R" - (справа) или "LR" (слева - справа) |
J |
|
J |
|
J |
|
|
|
Огни ВПП/(если они плохо различимы, то указать "да" и по мере необходимости- " L "(слева), " R" - (справа) или "LR" (слева - справа)/ |
К |
|
К |
|
К |
|
|
|
Будет осуществляться дальнейшая расчистка (если планируется, то указать длину, м, ширину, м, ВПП. Если будет расчищаться вся ВПП, указать "Вся ВПП") |
L |
|
L |
|
L |
|
|
|
Дальнейшую расчистку предполагается закончить к… |
М |
|
М |
|
М |
|
|
|
РД (при отсутствии соответствующей РД указать "нет") |
N |
|
N |
|
N |
|
|
|
Сугробы на РД (если их высота более 60 см, указать "да" и расстояние, м, между ними) |
Р |
|
Р |
|
Р |
|
|
|
Перрон (если не используется, указать "нет") |
R |
|
R |
|
R |
|
|
|
Следующие планируемые наблюдения/измерения проводятся…(указать число, месяц, время) |
S |
|
S |
|
S |
|
|
|
Замечания открытым текстом (включая информацию о загрязнении ВПП и другую важную в оперативном отношении информацию, например борьба с обледенением) |
Т |
|
|
|
|
|
|
Информация по заполнению смежного NO ТА М.
Общие положения.
При передаче сообщения, касающегося двух или трех ВПП, передавать информацию, начиная с графы 3(ВПП-1), затем информацию граф 5(ВПП-2) и 7(ВПП-3) (если необходимо).
Для передачи информации должны использоваться метрические единицы. Максимальный срок действия SNOW NOTAM - 24 ч. Значительными изменениями, касающимися состояния ВПП, считаются следующие:
изменение значения коэффициента сцепления примерно на 0,05;
изменение количества осадков, превышающее следующие пределы, мм: 20 - для сухого снега, 10 - для мокрого снега, 3 - для слякоти;
- изменение, касающееся используемой длины или ширины ВПП, составляющее 10 % и более;
любое изменение, касающееся вида или области распространения осадков;
- если на одной или обеих сторонах ВПП имеются большие сугробы, любое изменение, касающееся их высоты или расстояния до них от осевой линии ВПП;
любое изменение видимости огней ВПП;
А - аэродром (четырехбуквенное обозначение местоположения);
В - группа из восьми цифр, обозначающая дату/время (день, месяц и время наблюдения);
С - обозначение ВПП;
D - длина расчищенной части ВПП, м, если она менее объявленной длины ВПП (для передачи сообщения о не расчищенной части ВПП, графа Т);
Е - ширина расчищенной части ВПП, м, если она менее объявленной ширины ВПП; при смещении от осевой ВПП влево или вправо добавить "L" или "R", учитывая, что это определяется от порога ВПП, имеющей наименьший номер обозначения;
F - осадки по всей длине ВПП, м, как указано в SNOW NOTAM.
Для обозначения различных условий на отдельных участках ВПП могут использоваться соответствующие комбинаций указанных номеров. Если на одном и том же участке ВПП выпадает более одного вида осадков, указанные номера должны передаваться в последовательности от меньшего номера к большему. Если толщина слоя осадков превышает допустимые значения, то о них сообщается в графе Т открытым текстом;
G - средняя толщина осадков, мм, на каждой 1/3 длины ВПП, оценка дается с точностью: до 20 - для сухого снега, 10 - для мокрого снега, 3 мм - для слякоти;
H - условия торможения на каждой 1/3 длины ВПП в последовательности, начиная от порога, имеющего наименьший номер, в виде одной цифры кода в соответствии с приложением 6. Если состояние поверхности или имеющееся измерительное оборудование не позволяют определить надежную эффективность торможения, указать код 9.
(Измененная редакция, Изм. № 1).
Средства измерения коэффициента сцепления указать открытым текстом.
J - большие сугробы. Если имеются, то указать высоту, см, и расстояние от края ВПП, м; при необходимости "L" или "R" на одной стороне или "LR" с учетом того, что это определяется от порога ВПП, имеющей меньший номер обозначения;
К - если огни ВПП плохо различимы, то указать "да" и соответственно "L", "R" или "LR" с учетом того, что это определяется от порога ВПП, имеющей меньший номер обозначения;
L - если предполагается дальнейшая расчистка, указать длину и ширину ВПП; если будет расчищаться вся ВПП, указать "Вся ВПП";
М - указать предполагаемое время окончания работ;
N - для характеристики условий н РД можно использовать код, указанный в графе Р; при отсутствии соответствующей РД, соединенной с ВПП, указать "нет";
Р - если необходимо, указать "да" и боковое расстояние, м;
R - для характеристики условий на перроне можно использовать код, указанный в графе Р; если перрон не используется, указать "нет";
S - указать предполагаемое время проведения последующих наблюдений/измерений;
Т - передать открытым текстом любую информацию, имеющую важное оперативное значение, но всегда указывать длину не расчищенной части ВПП (графа D) и характер загрязнений ВПП (графа F) в соответствии со следующими данными:
загрязнение ВПП - 10 %, если оно составляет менее 10 %;
загрязнение ВПП - 25 %, если оно составляет 11 - 25 %;
загрязнение ВПП - 50 %, если оно составляет 26 - 50 %;
загрязнение ВПП - 100%, если оно составляет 51 - 100%.
Показатель прочности грунта может быть определен с помощью ударника У-1 или пробным рулением самолета.
Ударник У-1 (рис. 1) состоит из трех частей: наконечника с нанесенными на нем делениями через 1 см (рис. 2), гири массой 2,5 кг для забивки наконечника в грунт (рис. 3), направляющего штока для движения по нему гири (рис. 4).
Для измерения показателя прочности грунта ударник У-1 устанавливают вертикально наконечником на грунт, поднимают по направляющему штоку на высоту 50 см гирю (до упора) и опускают ее. Падая, гиря загоняет стержень наконечника в грунт. Если наконечник ударника попадает на твердый предмет в грунте, то испытание должно быть прекращено, а повторено рядом в 0,5 - 1 м от этого места.
Сбрасывание гири повторяется до тех пор, пока наконечник не погрузится в грунт на глубину сначала 10 и далее 30 см. В процессе работы подсчитывается число ударов гарей при погружении наконечника на 10 см и нарастающим итогом на 30 см.

Рис. 1. Ударник У-1:
1 - наконечник ударника; 2 - груз-гиря; 3 - направляющий шток

Рис. 2. Наконечник ударника. Ст. 30ХГСА
От обреза наконечника между кольцевыми рисками наносятся сантиметровые деления
(оцифровка снизу вверх от 1 до 30 см)

Рис. 3. Гиря. Ст. 30ХГСА
Гирю можно изготовить из другого материала, но при этом обязательно сохранить
массу равной 2,5 кг и расстояние 800 мм от верхней плоскости гири до упорной
шайбы

Рис. 4. Шток направляющий. Ст. 30ХГСА
Отверстие Æ39
мм сверлится сквозным под шпильку
Затем определяются средние арифметические значения из полученных измерений отдельно для погружения на 10 и 30 см для каждого места измерений. По графикам рис. 5 или табл. 1, используя средние значения количества ударов, определяется прочность грунта на глубине 10 и 30 см.
Прочность грунтов в месте измерения определяется по формуле
![]()
где σи - прочность грунта в месте измерения, кПа (кгс/см2);
σ10 - прочность грунта на глубине 10 см;
σ30 - прочность грунта на глубине 30 см.
Показатель прочности грунта определяется как среднеарифметическое значение показателей прочности грунта мест измерений деленных на их количество. Периодически массу гири необходимо контролировать взвешиванием. Допуск на контролируемый параметр ± 10 г. По измеренной глубине колеи конкретного типа самолета показатель прочности грунта определяется по графикам рис. 6, а и 6,б, которые получены в результате определения параметров проходимости ВС на грунтовых аэродромах в летных испытаниях.
Пример. Требуется определить показатель прочности грунта, зная, что глубина колеи от колес основной опоры самолета Ан-2 равна 3 см. По графику для самолета Ан-2 находим значение колеи, равное 3 см, и из этой точки восстанавливаем перпендикуляр до пересечения с осью ординат, на которой получаем значение показателя прочности грунта.
В данном примере показатель прочности грунта будет равен 490,5 кПа (5 кгс/см2).
Периодичность контроля показателя прочности грунтов должна быть не менее указанной в табл. 2.
Тип почвогрунта определяется на основе данных лабораторного анализа его гранулометрического состава в почвенно-грунтовой лаборатории либо в полевых условиях - приближенным способом по методу Красюка (табл.3).
Плотность и влажность почвогрунтов в верхнем слое грунтовой части летного поля определяется в соответствии с требованиями СНиП 3.06.06-88 Аэродромы (пп. 4 и 7. табл. 1), по ГОСТ 5180-84 и ГОСТ 22733-77, а также экспресс-методами. Объем выполняемых измерений должен быть не менее, чем в трех точках на поперечнике грунтовой части летного поля на каждые 2 000 м2. При этом поперечник размешают не реже, чем через 50 м.

Рис. 5. Графики для определения
прочности грунта ударником У-1:
I - для
песчаных, песчаных пылеватых, супесчаных и мелких супесчаных грунтов: II - для пылеватых, суглинистых, тяжелых
суглинистых, суглинистых пылеватых и глинистых грунтов; III - для черноземов, каштановых и
других засоленных грунтов
Примечание. Тип грунта, указанный на графиках, определяется на основе данных лабораторного анализа, а в полевых условиях - приближенным способом (по табл.1)
Таблица 1
|
Песчаные и мелкие |
Песчаные, супесчаные |
Пылеватые, супесчаные, подзолистые грунты |
Пылевые, суглинистые тяжелые, суглинистые, суглинистые пылеватые и глинистые грунты |
Черноземы, каштановые и бурые засоленые грунты |
|||||||||||||
|
п 10 |
σ 10 |
п 30 |
σ 30 |
п 30 |
σ 30 |
п 10 |
σ 10 |
п 30 |
σ 30 |
п 30 |
σ 30 |
п 10 |
σ 10 |
п 30 |
σ 30 |
п 30 |
σ 30 |
|
1,0 |
3,9 |
7,0 |
3,0 |
29 |
11,9 |
1,0 |
2,2 |
7 |
2,0 |
29 |
11,9 |
1,0 |
1,9 |
7 |
1,4 |
29 |
9,5 |
|
1,6 |
4,8 |
8 |
4,5 |
30 |
12,0 |
1,5 |
3,4 |
8 |
2,2 |
30 |
12,,0 |
1,5 |
2,8 |
8 |
1,5 |
30 |
9,7 |
|
2,0 |
6,0 |
9 |
5,3 |
31 |
12,,1 |
2,0 |
4,7 |
9 |
3,0 |
31 |
12,,1 |
2,0 |
4,0 |
9 |
1,5 |
31 |
9,8 |
|
2,5 |
7,3 |
10 |
6,2 |
32 |
12,2 |
2,5 |
5,8 |
10 |
3,6 |
32 |
12,2 |
2,5 |
5,0 |
10 |
1,8 |
32 |
10,0 |
|
3,0 |
8,2 |
11 |
6,8 |
33 |
12,3 |
3,0 |
7,0 |
11 |
4,3 |
33 |
12,3 |
3,0 |
5,7 |
11 |
1,9 |
33 |
10,3 |
|
3,5 |
9,0 |
12 |
7,3 |
34 |
12,4 |
3,5 |
8,0 |
12 |
5,0 |
34 |
12,4 |
3,5 |
6,3 |
12 |
2,2 |
34 |
10,6 |
|
4,0 |
9,7 |
13 |
7,8 |
35 |
12,5 |
4,0 |
8,7 |
13 |
6,0 |
35 |
12,5 |
4,0 |
6,8 |
13 |
2,8 |
35 |
10,7 |
|
4,5 |
10,5 |
14 |
8,4 |
36 |
12,6 |
4,5 |
9,5 |
14 |
7,2 |
36 |
12,6 |
4,5 |
7,2 |
14 |
3,2 |
36 |
10,8 |
|
5,0 |
11,2 |
15 |
8,7 |
37 |
12,7 |
5,0 |
10,2 |
15 |
8,1 |
37 |
12,7 |
5,0 |
7,8 |
15 |
3,8 |
37 |
11,0 |
|
6,0 |
12,,0 |
16 |
9,0 |
38 |
12,8 |
6,0 |
11,2 |
16 |
9,0 |
38 |
12,8 |
6,0 |
8,5 |
16 |
4,3 |
38 |
11,1 |
|
7,0 |
13,0 |
17 |
9,4 |
39 |
12,9 |
7,0 |
12,0 |
17 |
9,4 |
39 |
12,9 |
7,0 |
9,2 |
17 |
5,0 |
39 |
11,3 |
|
8,0 |
13,7 |
18 |
9,8 |
40 |
13,0 |
8,0 |
13,0 |
18 |
9,8 |
40 |
13,0 |
8,0 |
9,9 |
18 |
5,5 |
40 |
11,5 |
|
9,0 |
14,3 |
19 |
103 |
41 |
13,1 |
9,0 |
13,8 |
19 |
10,0 |
41 |
13,1 |
9,0 |
10,5 |
19 |
6,0 |
41 |
11,7 |
|
10,0 |
15,0 |
20 |
10,3 |
42 |
13,2 |
10,0 |
14,5 |
20 |
10,3 |
42 |
13,2 |
10,0 |
11,1 |
20 |
6,4 |
42 |
11,9 |
|
11,0 |
15,5 |
21 |
10,5 |
43 |
13,3 |
11,0 |
15,0 |
21 |
10,5 |
43 |
13,3 |
11,0 |
11,6 |
21 |
6,7 |
43 |
12,1 |
|
12,0 |
16,0 |
22 |
10,7 |
44 |
13,4 |
12,0 |
- |
22 |
10,8 |
44 |
13,4 |
12,0 |
12,1 |
22 |
7,3 |
44 |
I2,2 |
|
- |
- |
23 |
10,9 |
45 |
13,5 |
- |
- |
23 |
10,9 |
45 |
13,5 |
- |
- |
23 |
7,6 |
45 |
12,3 |
|
- |
- |
24 |
11,0 |
46 |
13,6 |
- |
- |
24 |
11,0 |
46 |
13,6 |
- |
- |
24 |
7,9 |
46 |
12,5 |
|
- |
- |
25 |
11,2 |
47 |
13,7 |
- |
- |
25 |
11,2 |
47 |
13,7 |
- |
- |
25 |
8,3 |
47 |
12,6 |
|
- |
- |
26 |
11,4 |
48 |
13,8 |
- |
- |
26 |
11,4 |
48 |
13,84 |
- |
- |
26 |
8,5 |
48 |
12,8 |
|
- |
- |
27 |
11,5 |
49 |
13,9 |
- |
- |
27 |
11,6 |
49 |
13,9 |
- |
- |
27 |
8,9 |
49 |
12,9 |
|
- |
- |
28 |
11,7 |
50 |
14,0 |
- |
- |
28 |
11,7 |
50 |
14,0 |
- |
- |
28 |
9,2 |
50 |
13,0 |

Рис. 6. а. График зависимости прочности грунта от глубины колеи для самолетов Ан-2 и Л-410М

Рис. 6.б. Графики зависимости прочности грунта от глубины колеи для самолетов Ан-24, Ан-26, Ан-30, Ан-12, Як 40, Ил-14
Таблица 2
Периодичность контроля показатели прочности грунта
|
Периоды года |
Периодичность контроля |
|
Весной после схода снегового покрова до наступления устойчивой среднесуточной температуры выше 10 °С |
Ежедневно до оттаивания и просыхания грунта на глубину до 30 см, когда прочность грунта будет устойчивой и показатель прочности в течение суток будет изменяться не более, чем на 0,3 кгс/см2 |
|
Летом при устойчивой среднесуточной температуре равной или выше 10 °С |
В бездождливый период при низкой влажности грунта не реже одного раза в неделю; непосредственно после выпадения дождей с количеством осадков от 5 мм и более и в дальнейшем ежедневно до просыхания грунта, когда прочность его будет устойчивой, и период затяжных дождей продолжительностью более суток ежедневно и до просыхания грунта |
|
В осенне-зимний период при среднесуточной температуре ниже 10 °С |
В сухой период не реже одного раза в неделю до момента промерзания грунта на глубину 10 см. Непосредственно после выпадения дождей с количеством осадков от 3 мм и более, а в дальнейшем ежедневно до просыхания грунта или его промерзания на глубину более 10см |
Таблица 3
Определение вида почвы и грунта в полевых условиях (по методу Красюка)
|
Виды почв и грунта |
Особенности грунта |
|||||
|
При растирании на руке |
Состояние в сухом виде |
Состояние во влажном виде |
При скатывании в сыром состоянии |
При свертывании шнура в кольцо |
При сдавливании в сыром состоянии |
|
|
Глины |
Комочки трудно раздавливаются, а при растирании на пальцах частицы не чувствуются |
Твердые в кусках |
Вязкие, пластичные; липкие и мажутся |
Образуется длинный шнур тоньше 0,5 мм |
Шнур легко свертывается в кольцо без трещин |
Шар сдавливается в лепешку, не трескаясь по краям |
|
Суглинки |
Комочки раздавливаются легко, а при растирании чувствуются песчаные частицы |
Комья и куски от удара молота рассыпаются |
Пластичность и липкость слабые |
Тонкий и длинный шнур не образуется (шнур рвется при толщине 2 мм) |
Шнур при свертывании трескается и ломается |
Шар сдавливается в лепешку с трещинами по краям |
|
Супеси |
Комочки раздавливаются при слабом сдавливании, при растирании преобладают песчаные частицы |
При сдавливании руками комья и куски легко рассыпаются и крошатся |
Не пластичные |
В шнур почти не скатываются |
Шнур при свертывании рассыпается |
Шар при сдавливании рассыпается |
|
Пески |
Глинистых частиц не чувствуется |
Цементации нет |
- |
- |
- |
- |
(Измененная редакция, Изм. № 2).
Для определения показаний прочности (несущей способности) уплотненного снежного покрытия рекомендуется применять твердомер НИАС.
Твердомер НИАС (рис. 1) состоит из конуса, площадки для ступни человека, вертикальной стойки и вертикальной доски упора.
Конус твердомера делается из дюрали или дерева, обшитого жестью или листовым алюминием, и жестко скрепляется с площадкой для ступни. Угол конуса у вершины - 34°12' высота - 130 мм, диаметр основания - 80 мм.
Площадка для ступни имеет размеры 300´120 мм. Вертикальная стойка высотой 700 мм имеет внизу квадратную пластинку - основание размером 100´100 мм. Стойка свободно двигается в двух направляющих скобах, прикрепленных к доске-упору. На стойке прикреплена металлическая стрелка, указывающая глубину погружения конуса в снег.
Доска-упор размером 900´100 мм двумя фанерными косынками жестко скреплена с горизонтальной площадкой для ступни.
На доске-упоре имеется шкала, по которой отсчитывают глубину погружения конуса в снег и по показателям которой определяют несущую способность уплотненного снега. Чертежи твердомера НИАС приведены на рис. 2.
Последовательность пользования твердомером следующая:
1. Поставить твердомер на снежное покрытие.
2. Вынуть шпильку, скрепляющую стойку с доской-упором, рукой взяться за рукоятку и, став одной ногой на площадку для ступни, перенести на нее тяжесть своего тела, затем записать показание прибора по шкале.
Прочность уплотненного снега в зависимости от прилагаемой нагрузки и глубины погружения конуса определяется по графику (рис. 3) или по формуле

![]()
где σ - показатель прочности снега, кПа (кг/см2);
Р - нагрузка на конус, кг;
h -глубина погружения конуса, см;
а - угол конуса 34°12'.

Рис. 1. Твердомер НИАС:
1 - конус; 2 - площадка для ступни; 3 - вертикальная стояка; 4 - вертикальная
доска-упор

Рис 2. Чертежи конусного твердомера
Определение плотности снега может производиться портативным пружинным плотномером (рис. 4), который состоит из корпуса, пружины, шкалы и мерного стаканчика. Корпус изготавливается из дюралевой трубки, внутри которой крепится эластичная пружина из качественной стали с растяжением примерно 0,5 мм на 1 г массы. К нижнему концу пружины крепится мерная шкала из дюралевой пластинки, которая градуирована через 10 г. Мерный стаканчик изготавливается из дюрали и подвешивается за дужку к мерной шкале. Деталировка плотномера приведена на рис.5 - 12. Измерение портативным плотномером производится в следующем порядке.

Рис. 3. Зависимость глубины погружения конуса от прочности снега

Рис. 4. Пружинный плотномер. :
А - пружинные весы с мерным стаканчиком; В - пробоотборник;
1 - кольцо (по месту); 2 - втулка; 3 - корпус; 4 - пружина (подбирается на
растяжение); 5 - шкала; 6 - направляющая шкала; 7 - дужка (по месту); 8 -
мерный стаканчик; 9 - головка; 10 - корпус пробоотборника; 11 -опорная площадка
(Измененная редакция, Изм.
№ 2).

Рис. 5. Втулка (2). Ст. 3

Рис. 6. Корпус (3). Материал - дюралевая трубка

Рис. 7. Шкала (5). Материал - дюраль

Рис. 8. Направляющая шкала (6). Ст. 3

Рис. 9. Мерный стаканчик (8). Материал - дюраль

Рис. 11. Корпус пробоотборника (10). Ст. 3

Рис. 12. Опорная площадка (11). Ст. 3
1. На участке измерения с помощью ножа-лопатки выравнивается площадка размером 0,2´0,2 м. Выравнивание следует производить без уплотнения снега только за счет его срезания.
2. Мерный стаканчик устанавливается заостренными кромками на подготовленную поверхность и заглубляется в снег до тех пор, пока днище стаканчика не дойдет до выровненной поверхности снега. Окончание погружения контролируется через отверстие в днище.
В процессе заглубления необходимо следить за сохранением вертикального положения стаканчика относительно поверхности площадки.
3. Стаканчик с пробой откапывается и осторожно извлекается из снега с помощью ножа-лопатки, а затем переворачивается вниз дном.
Поверхность снега выравнивается заподлицо с режущими кромками стаканчика.
4. На мерный стаканчике пробой надевается дужка, за которую он подвешивается к шкале пружинных весов и взвешивается.
Плотность снега вычисляется по формуле
![]()
где Q - масса пробы, определенная по шкале, г;
V - объем пробы снега, равный объему мерного стаканчика, см3.
5. Периодически (два - три раза в месяц) следует производить контрольную проверку показаний шкалы пружинных весов, для чего мерный стаканчик загружается набором гирь в 10, 20, 30, 100 г. В случае несоответствия показаний на шкале необходимо нанести новые деления, соответствующие массам контрольных гирь.
В полевых условиях плотность снежного покрова может быть также измерена с помощью рычажного плотномера и косвенно путем растапливания образца снега определенного объема.
Рычажной плотномер состоит из металлического цилиндра и безмена. Цилиндр высотой 600 мм с площадью поперечного сечения 50 см2 на наружной поверхности имеет деления через 1 см. Нижняя режущая кромка цилиндра заточена. На цилиндр свободно надето кольцо с дужкой для подвешивания цилиндра к безмену. Цилиндр закрывается крышкой. Безмен с движущимся грузиком имеет деления через 10 г.
Для определения плотности снежного покрова цилиндр режущей кромкой ставится вертикально на поверхность снежного покрова и погружается в снег нажатием либо легкими ударами молотка до упора. После этого по делениям на корпусе цилиндра определяется толщина снегового покрытия, а затем ножом-лопаткой снег под цилиндром подрезается, и он извлекается из снега; цилиндр переворачивается режущей кромкой кверху и подвешивается к безмену для определения массы образца снега определенного объема. Далее вычисляется плотность снега.
Для маркировки искусственных покрытий аэродромов рекомендуется применять эмали: ЭП-5155 (ТУ 6-10-1085-75), НЦ-25 (ГОСТ 5406-73), КО-503 (ТУ 6-27-18-61-91). Основные данные эмалей приведены в табл. 1.
Таблица 1
|
Основные характеристики эмалей |
Марки эмалей |
|||
|
ЭП-5155 |
НЦ-25 |
КО-503 |
||
|
Категория эмалей |
||||
|
первая |
высшая |
|||
|
Цвет |
Белый, оттенок не нормируется |
Белый, черный, желтый, красный, зеленый, голубой |
Белый, желтый, красный |
|
|
Вязкость по вискозиметру ВЗ-4 при t° = 20°С |
40-120 |
|
45 - 70 |
|
|
Время высыхания при t° = (20±2)°С, мин, не более |
60 |
40 |
60 |
40 |
|
Растворитель для разбавления эмали до рабочей вязкости |
№ 646 или 648 |
№ 646 или 645 |
№ 646 или 647 |
|
|
Гарантийный срок хранения эмалей, мес. |
6 |
|
12 |
|
Гарантийный срок хранения растворителей № 645, 646, 647, 648 - 1 год.
Растворители и эмали являются легковоспламеняемыми, пожароопасными и токсичными материалами. При работе с ними должны соблюдаться правила пожарной безопасности и промышленной санитарии.
Для маркировки переносных маркировочных знаков рекомендуется использовать эмали: ПФ-115 (ГОСТ 6465) пентафталевая и ПФ-133 (ГОСТ 926) пентафталевая. Основные данные эмалей приведены в табл. 2.
Таблица 2
|
Основные характеристики эмалей |
Марки эмалей. |
|
|
ПФ-115 |
ПФ 133 |
|
|
Цвет |
Белый, черный, красный, вишневый, бежевый, серый, голубой, коричневый, желтый, слоновой кости, песочный |
Желтый, черный, красно-коричневой, голубой, темно-серый, светло-серый, оранжевый, синий, темно-зеленый, морской волны |
|
Продолжительность высыхания при t° = (15…35)°С, ч |
24 |
24 |
|
Эксплуатационные свойства |
Атмосферостойкие, включая тропический климат |
Атмосферостойкие, устойчивые к периодическому воздействию воды |
|
Условия эксплуатации |
На открытом воздухе с умеренным и холодным климатом, в помещениях и под навесом |
На открытом воздухе, в умеренном, сухом, влажном тропическом климате |
|
УТВЕРЖДАЮ (подпись руководителя авиапредприятия) «________»_______________19_____г.
|
искусственных покрытий элементов летного поля аэродрома (вертодрома)
Предприятие ВТ ___________________________________________"__________"____19 г.
Комиссия в составе_____________________________________________________________
(указываются должности, фамилии, инициалы членов комиссии)
_____________________________________________________________________________
действующая на основании______________________________________________________
(указываются полномочия комиссии, № приказа или распоряжения)
произвела в период с "________"_____________19_____г.
по "___"___________19_____г. технический осмотр _________________________________
_____________________________________________________________________________
(наименование элемента летного поля)
в целях установления причин и объемов разрушений и
дефектов в работе отдельных
элементов конструкций.
На основании технического осмотра в натуре_______________________________________
(сооружения в целом или его элементов)
комиссия установила, что в результате____________________________________________
_____________________________________________________________________________
(причина, послужившая образованию дефекта)
_____________________________________________________________________________
(объемы повреждений)
Требуется произвести следующие ремонтные работы:
1._________________________________________________
2._________________________________________________
Председатель комиссии _______________________________________(Ф.И.О.)
(подпись)
Члены комиссии: ____________________________________________(Ф.И.О.)
(подпись)
____________________________________________(Ф.И.О.)
(подпись)
"___"___________ 19_____г.
Испытания якорных креплений заключаются в приложении к швартовочному кольцу (петле) якоря определенной вертикальной нагрузки, величину которой устанавливают в соответствии с требованиями п. 5.1.77.
Нагрузку прикладывают вертикально. Если за один якорь крепят несколько швартовочных растяжек ВС, то величину испытательной нагрузки, прикладываемой к якорю, назначают равной сумме усилий в каждой растяжке.
Нагрузку на якорные крепления создают самолетным гидродомкратом соответствующей мощности, дооборудованным шлангами высокого давления длиной не менее 3,5 м каждый и манометром, врезанным в гидросистему домкрата. Гидродомкрат перед проведением испытаний необходимо оттарировать на прессе, имеющем действующее свидетельство о госпроверке. Манометр должен быть рассчитай на давление, на 25 % превышающее создаваемое при проведении испытаний.
Порядок проведения испытаний следующий. Над испытываемым якорным устройством монтируют установку в соответствии с рис. 1.
Масса страховочно-опорного блока должна быть не менее 25 % величины нагрузки, прикладываемой к якорному креплению. Балку крепят к блоку страховочным тросом (цепью), второй конец балки опирают на гидродомкрат. Балка должна быть в горизонтальном положении. В случае необходимости под гидродомкрат положить устойчивые прочные подкладки. Через швартовочные петли якоря пропустить трос и закрепить его на балке, установить насос-станцию гидродомкрата на расстоянии не менее 3,0 м от гидродомкрата по направлению вдоль балки. Удалить всех членов испытательной комиссии на расстояние не менее 5,0 м от якоря в ту же сторону. Привести гидродомкрат в действие и довести усилие до величины F, определяемой по формуле
![]()
где Р - расчетная нагрузка на якорное крепление; L1 и L2 - плечи приложения усилий испытательной установки.
Выдержать якорное крепление под постоянной нагрузкой в течение 10 мин и разгрузить гидродомкрат. Разобрать испытательную установку и провести осмотр якорного крепления, проверяя целость тела якоря, металлических частей и грунта засыпки.

Рис. 1. Схема установки для испытания
якорных креплений:
1 - испытываемое якорное крепление; 2 - швартовочная петля; 3 - балка из
швеллера № 20-30; 4 - трос; 5 - страховочно-опорный блок; 6 - страховочный
трос; 7 - гидродомкрат; 8 - насосная станция гидродомкрата с манометром
|
УТВЕРЖДАЮ (подпись руководителя авиапредприятия) «________»_______________19_____г.
|
Аэропорт_____________________
Комиссия в составе ____________________________________________________________
(представители АС, АТБ и ОЭНС)
действующая на основании______________________________________________________
(№ приказа или распоряжения)
провела проверку прочности якорных креплений на МС №___________________________
эксплуатируемых ВС ___________________________________________________________
(указать тип/типы ВС)
путем испытаний расчетной нагрузкой в целях определения пригодности их к эксплуатации.
Величина испытательной нагрузки на MC № _____ - кН, на МС № ____ - кН
В процессе испытаний якорные крепления на МС №_________________________________
выдержали
(не выдержали) расчетные нагрузки и на основании этого признаны
пригодными (непригодными) к эксплуатации вышеуказанными типами ВС.
Следующую проверку провести "_____ "________19_____ г.
Члены комиссии:
Начальник АС ___________________________________ (Ф.И.О.)
(подпись)
Начальник АТБ__________________________________ (Ф.И.О.)
(подпись)
Начальник ОЭНС ________________________________ (Ф.И.О)
(подпись)
1. Возможность эксплуатации воздушных судов на искусственном покрытии определяется путем сопоставления классификационного числа PCN с классификационными числами воздушных судов ACN при одной и той же категории прочности основания.
Классификационные числа PCN и ACN определяются по формуле
PCN (ACN) = 2M. (1)
где М - масса в тоннах нагрузки на покрытие, приложенной через одноколесную опору с давлением в шине колеса 1,25 МПа.
2. Классификационные числа ВС (ACN) рассчитываются на ЭВМ по стандартным программам ИКАО.
Значения ACN рассчитываются и публикуются изготовителями ВС.
Значения ACN основных ВС приведены в табл. 1.
3. Классификационные числа покрытий (PCN) элементов аэродрома определяются расчетно-теоретическим методом на основе данных проектной документации, обследования и испытания покрытий в соответствии с МОС НГЭА.
Если техническую оценку выполнить нет возможности, то оценку можно основывать на опыте эксплуатации ВС Для этого значения ACN расчетного ВС, регулярно эксплуатируемого на данном покрытии, приравнивают к значению PCN при одной категории прочности основания.
Полученное таким образом PCN означает, что на данном покрытии могут эксплуатироваться другие ВС, если они не предъявляют более жестких требований по сравнению с эксплуатируемым воздушным судном.
4. Информация о несущей способности искусственного покрытия, предназначенного для эксплуатации ВС массой более 5700 кг, должна содержать следующие данные:
- классификационное число покрытия (PCN);
- тип покрытия;
- прочность основания;
- максимально-допустимое давление в шине колеса главной опоры воздушного судна;
- метод оценки прочности покрытия.
Таблица 1
Классификационные числа ACN воздушных судов
|
Тип воздушного судна |
Масса ВС (кг), максимальная пустого |
Нагрузка на основную опору. % |
Давление в шинах, МПа |
ACN при категории прочности основания |
|||||||
|
Жесткие покрытия (R) |
Нежесткие покрытии (F) |
||||||||||
|
А |
В |
С |
D |
А |
В |
С |
D |
||||
|
Ил -62М |
168000 71400 |
47,0 |
1,08 |
43 16 |
52 17 |
62 19 |
71 22 |
50 17 |
57 18 |
67 20 |
83 26 |
|
Ил-62 |
162600 66400 |
47,0 |
1,08 |
42 14 |
50 15 |
60 18 |
69 20 |
47 16 |
54 16 |
64 18 |
79 24 |
|
Ил-96 |
231000 111800 |
31,7 |
1,08 |
35 15 |
43 16 |
52 19 |
61 23 |
42 17 |
46 18 |
57 20 |
76 26 |
|
Ил-76Т |
171000 83800 |
23,5 |
0,588 |
29 10 |
32 13 |
29 15 |
33 14 |
24 9 |
27 10 |
34 12 |
45 16 |
|
Ил-76ТД |
191000 87200 |
23,5 |
0,686 |
35 12 |
36 14 |
35 16 |
40 15 |
29 10 |
32 11 |
40 13 |
53 17 |
|
Ил-86 |
216600 110700 |
31,2 |
0,932 |
26 14 |
31 15 |
38 17 |
46 20 |
34 16 |
36 17 |
44 19 |
61 23 |
|
Ил-18 |
64500 33600 |
47,0 |
0,92 |
16 7 |
20 8 |
24 10 |
27 11 |
18 8 |
19 8 |
24 9 |
31 13 |
|
Ил-114 |
22750 14500 |
47,5 |
0,588 |
11 6 |
12 7 |
13 8 |
14 8 |
9 5 |
11 6 |
13 7 |
15 9 |
|
Ту-204 |
93600 54970 |
45,4 |
1372 |
23 12 |
27 14 |
32 16 |
37 18 |
25 13 |
28 14 |
33 15 |
43 20 |
|
Ту-154 |
96000 53600 |
45,1 |
0,932 |
19 8 |
25 10 |
32 13 |
38 17 |
20 10 |
24 11 |
30 13 |
38 18 |
|
Ту-134 |
47800 29350 |
45,6 |
0334 |
11 7 |
13 8 |
16 9 |
19 10 |
12 7 |
13 8 |
16 9 |
21 12 |
|
Як-40 |
16000 9700 |
44,0 |
039 |
9 6 |
9 6 |
10 6 |
10 6 |
7 4 |
9 5 |
11 7 |
13 8 |
|
Як-42 |
58500 31800 |
47,0 |
0,88 |
13 6 |
16 7 |
20 9 |
23 10 |
15 7 |
16 8 |
20 9 |
26 11 |
|
Ан-225 |
800000 254000 |
47,5 |
1,18 |
41 16 |
56 16 |
84 19 |
122 25 |
55 17 |
64 19 |
81 22 |
110 30 |
|
Ан-124 |
398000 180000 |
47,9 |
1,08 |
36 16 |
49 16 |
74 19 |
101 25 |
50 17 |
58 19 |
73 22 |
100 30 |
|
Ан-22 |
228000 118500 |
45,9 |
0,49 |
25 12 |
27 14 |
27 15 |
37 15 |
28 12 |
36 15 |
43 18 |
61 24 |
|
Ан-12 |
61000 32000 |
46,0 |
0,74 |
13 7 |
17 7 |
20 8 |
23 10 |
16 7 |
18 7 |
21 9 |
26 11 |
|
Ан-72 |
34800 19000 |
45,9 |
0,491 |
2 6 |
13 7 |
14 7 |
16 8 |
9 5 |
12 6 |
14 7 |
16 8 |
|
Ан-32 |
27000 19000 |
46,7 |
0,49 |
12 8 |
13 9 |
14 9 |
15 10 |
9 6 |
12 8 |
14 9 |
17 11 |
|
Ан-26 |
24000 16000 |
46,6 |
039 |
9 5 |
10 5 |
12 6 |
13 7 |
7 4 |
9 5 |
12 7 |
15 8 |
|
Ан-24 |
21000 13400 |
46,6 |
0,49 |
9 5 |
10 6 |
11 7 |
12 7 |
7 4 |
9 5 |
11 6 |
14 8 |
Представление перечисленных данных осуществляется при помощи следующих кодом:
для обозначения тина покрытия:
R - жесткие покрытия, усиленные или не усиленные асфальтобетоном;
F - нежесткие покрытия.
Жесткие покрытия, перекрытые асфальтобетоном, кодируются дополнительным кодом "смешанное";
для характеристики прочности оснований применяют четыре кода в соответствии с табл. 2.
Таблицa 2
|
Код основания |
Категория прочности основания |
Коэффициент постели оснований жестких покрытий «К», МП/м3 |
Модуль упругости грунтового основания нежестких покрытий «Е», МПа |
|
А |
Высокая |
Более 120 |
Более 130 |
|
В |
Средняя |
120...60 |
130...60 |
|
С |
Низкая |
<60 ...≥25 |
<60... ≥40 |
|
D |
Очень низкая |
Менее 25 |
Менее 40 |
для обозначения максимально допустимого давления в шинах колес ВС:
W - высокое давление (более 1,50 МПа);
X - среднее давление (до 1,50 МПа);
Y - низкое давление (до 1,00 МПа);
Z - очень низкое давление (до 0,50 МПа);
для метода оценки прочности покрытия:
Т - техническая оценка, полученная на основании специальных исследований характеристик прочности покрытия, включая, теоретические методы;
U - использование опыта эксплуатации воздушных судов, когда известно, что данное покрытие при регулярных полетах удовлетворительно выдерживает нагрузку от ВС определенного типа и массы.
5. Максимально допустимое давление в шинах колес ВС для нежестких покрытий принимается но табл. 3 в зависимости от суммарной толщины асфальтобетонных слоев покрытия.
Для жестких покрытий с маркой бетона по прочности на сжатие верхнего слоя не ниже М 400 давление в шинах колес не ограничивается (код W); для покрытий с маркой бетона верхнего слоя М 250, М 350 и покрытия, усиленных асфальтобетоном, допустимое давление следует принимать до 1,50 МПа (код X).
Таблица 3
|
Суммарная толщина асфальтобетонных слом, см |
Максимально допустимое давление в шинах колес ВС, МПа |
Код максимально допустимого давления |
|
Более 25 |
Более 1,50 |
W |
|
16 - 25 |
До 1,50 |
X |
|
7-15 |
До 1,00 |
Y |
|
5 и менее |
До 0,50 |
Z |
6. Информация о несущей способности покрытий представляется в следующем виде:
PCN80/R/B/X/T - для жестких покрытий;
PCN80/R/B/X/T смешанное - для жестких покрытий, усиленных асфальтобетоном;
PCN80/F/B/Y/T - для нежестких покрытий,
где цифрой (в данном случае 80) обозначается классификационное число покрытия (PCN).
7. Информация о несущей способности искусственного покрытия, эксплуатируемого ВС с массой 6700 кг и менее, представляется в следующем виде:
4000 кг/0,50 МПа.
Указываются максимально допустимая масса ВС и допустимое давление в шинах колес (в данном примере соответственно 4000 кг и 0.50 МПа).
8. Покрытие может эксплуатироваться ВС без ограничения, если выполняется условие:
ACN ≤ PCN. (2)
Если условие (2) не выполняется, необходимо ввести ограничения массы ВС или интенсивности его движения.
9. Ограничения массы ВС назначается путем линейной интерполяции значений ACN (см. табл. 1) между массой пустого ВС и максимальной массой. При этом значение PCN приравнивается к значению ACN при одной категории прочности основания но формуле
(3)
где mдоп - масса, с которой допускается эксплуатация ВС; m1 - максимальная масса ВС; m2 - масса пустого ВС; ACN1 - классификационное число ВС с максимальной массой; ACN2 - классификационное число пустого ВС.
Экстраполяция значений ACN не допускается.
10. Ограничения по интенсивности движения ВС определяются специалистами в области эксплуатационной оценки прочности аэродромных покрытий по результатам обследования (испытаний) покрытий и анализа интенсивности и состава движения ВС за прошедший срок службы покрытий.
На жестких покрытиях ограничения назначаются по соотношению PCN/ACN в соответствии с рис. 1; для нежестких покрытий вводятся ограничения в суточной интенсивности движения. Для этого выполняется расчет покрытий с учетом их эксплуатационно-технического состояния на нагрузку от ВС, у которых ACN >PCN.
11. Если выполнить обследование покрытий нет возможности, ограничения в интенсивности движения вводятся по соотношению PCN/ACN. На жестких покрытиях для ВС, имеющих соотношение 1>PCN/ACN ≥0,85, среднегодовую суточную интенсивность рекомендуется ограничить десятью самолето-вылетами в сутки; при 0,85 >PCN/ACN ≥ 0,8 - двумя; при 0,8 > PCN/ACN ≥ 0,75 - одним самолето-вылетом в сутки. На нежестких покрытиях для ВС, имеющих соотношение 1>PCN/ACN ≥0,8, суммарную интенсивность рекомендуется ограничить двадцатью самолето-вылетами в сутки; при 0,8 > PCN/ACN ≥ 0,7 - пятью самолето-вылетами.
Разовые (аварийные) посадки ВС допускается выполнять при PCN/ACN ≥ 0,5.
12. При полетах с перегрузкой, когда ACN превышает PCN на 10-25 %, следует регулярно проверять состояние покрытий. В случае обнаружения повреждений, вызванных перегрузкой покрытий, полеты с перегрузкой необходимо отменить до завершения работ по усилению покрытий.
Пример. Определить допустимую массу самолета Ил-62М для регулярной эксплуатации на искусственном покрытии, несущая способность которого представлена следующей информацией:
PCN 47/R/B/X/T
Решение. В табл. 1 в графе 6 ("Жесткие покрытия (R)", категория прочности основания "В") находим значения ACN самолета Ил-62М для максимальной массы 168 000 кг и массой пустого ВС 71 400 кг. Значения ACN соответственно равны 62 и 17.
Линейной интерполяцией по формуле (3) определяем допустимую массу самолета при PCN = ACN = 47.
![]()

Рис.1. График для назначения режима ограниченной летной эксплуатации по условию прочности покрытия жесткого типа
|
|
|
|