//
ТехЛит.ру
- крупнейшая бесплатная электронная интернет библиотека для "технически умных" людей.
WWW.TEHLIT.RU - ТЕХНИЧЕСКАЯ ЛИТЕРАТУРА

:: Алготрейдинг::


АЛГОТРЕЙДИНГ
шаг за шагом
с нуля по урокам!

Торговые роботы на PYTHON, BackTrader,
Pandas, Pine Script для TradingView. Связка с брокерами, телеграм и легкими приложениями.


ОТРАСЛЕВОЙ СТАНДАРТ

ТРОЙНИКИ ШТАМПОВАННЫЕ ПЕРЕХОДНЫЕ ДЛЯ ПАРОПРОВОДОВ ТЭС

Конструкция и размеры

ОСТ 108.104.20-82

Взамен

ОСТ 24.104.28-72,

ОСТ 24.104.29-72,

ОСТ 24.104.31-72

Указанием Министерства энергетического машиностроения от 04.06.82 № ВВ-002/4628 срок действия установлен с 01.01.85 до 01.01.96.

Проверен в 1983 г

(Измененная редакция, Изм. № 1, Изм. № 3, Изм. № 4).

Несоблюдение стандарта преследуется по закону

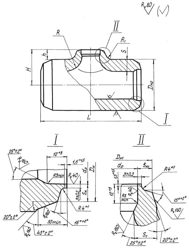
1. Настоящий стандарт распространяется на переходные штампованные тройники с вытянутой горловиной для паропроводов тепловых электростанций с абсолютным давлением Р = 9,81 МПа (100 кгс/см2) и температурой пара t = 540°С.

(Измененная редакция, Изм. № 3).

2. Конструкция, размеры и материал тройников должны соответствовать указанным на чертеже и в таблице.

3. Размеры высот Н и h, радиусов R и R1 и толщины стенки Sk1 могут быть изменены при сообщении условий прочности по усмотрению изготовителя.

4. Предельные отклонения по наружному диаметру Dн2 не должны превышать плюс 1,25% и минус 2%.

5. Остальные технические требования по ОСТ 24.125.60-89.

(Измененная редакция, Изм. № 3, Изм. № 4).

7. Размер S1 обеспечивается технологией изготовления.

(Измененная редакция, Изм. № 4).


Размеры в мм

Исполнение

Условный проход Dу ´Dу1

Присоединяемые трубы

Dн

Dн1

Dн2

dр

dр1

L

Н*

h, пред. откл. ±5

S

не менее

S1

не менее

Sk

Sk1

R

R1

Материал (марка, ТУ)

Масса, кг

Наружный диаметр и толщина стенки

Номин.

Пред. откл.

Номин.

Пред. откл.

Номин.

Пред. откл.

Номин.

Пред. откл.

Пред. откл. ±5

не менее

не более

Пред. откл. ±5

01

150´100

194´16

133´11

196

±1,2

136

+2

205

 

 

112

+0,54

450

138

35

30

18

13,5

9,1

60

25

Сталь 15Х1М1Ф ТУ 14-3-460-75

71,6

02

150´125

159´13

162

225

163

+0,63

134

+0,63

148

36

21

10,8

70

30

Сталь 15Х1М1Ф ТУ 14-3-460-75

94,7

03

175´150

219´18

194´16

222

198

245

184

 

163

500

158

15,0

13,5

105,0

04

225´125

273´22

159´13

276

165

280

 

+0,72

134

173

25

38

23

18,2

10,8

80

134,0

05

225´150

194´16

198

230

 

163

188

40

13,5

35

06

250´225

325´26

273´22

328

±2,0

277

+3

360

275

+0,81

230

+0,72

650

220

40

50

29

21,8

18,2

103

50

262,0

* Размеры для справок

 (Измененная редакция, Изм. № 2, Изм. № 3, Изм. № 4).

Пример условного обозначения тройника штампованного переходного с условными проходами Dу´Dу1 225´150 мм исполнения 05:

ТРОЙНИК ПЕРЕХОДНЫЙ 225´150 05 ОСТ 108.104.20-82

Пример маркировки: 05 ОСТ 108.104.20-82 Марка завода

ЛИСТ РЕГИСТРАЦИИ ИЗМЕНЕНИЙ

Изм.

Номера листов (страниц)

Номер документа

 

Подпись

 

Дата

Срок введения изменения

измененных

замененных

новых

аннулированных

 

 

 

 

 

 

 

 

 

 

 




Яндекс цитирования



   Copyright © 2007-2026,  www.tehlit.ru.

[ ѓосты, стандарты, нормативы, инструкции, правила, строительные нормы ]