//
|
|
МИНИСТЕРСТВО ПУТЕЙ СООБЩЕНИЯ ГЛАВНОЕ УПРАВЛЕНИЕ ПУТИ
Утверждено Министерством путей сообщения 7 марта 1986 г,
ТЕХНИЧЕСКИЕ УКАЗАНИЯ ПО УСТРАНЕНИЮ ПУЧИН И ПРОСАДОК ЖЕЛЕЗНОДОРОЖНОГО ПУТИ ЦП 4369
МОСКВА «ТРАНСПОРТ» 1987
В Технических указаниях даны требования и рекомендации по получению исходных данных для проектирования, условиям применения противодеформационных конструкций из природных дренирующих и полимерных материалов, по проектированию и расчету, а также по организации и технологии работ при устройстве этих конструкций на железных дорогах. Технические указания разработаны ВНИИЖТом, МИИТом, НИИЖТом и ХабИИЖТом совместно с Главным управлением пути МПС.
Заведующий редакцией В. Г. Пешков
Выпущено по заказу Министерства путей сообщения СОДЕРЖАНИЕ ВВЕДЕНИЕПри промерзании наиболее распространенных на сети железных дорог СССР глинистых увлажненных грунтов земляного полотна происходит их пучение на различную высоту. Если в результате пучения грунтов рельсовая колея поднимается таким образом, что возникающие искажения в профиле и по уровню не превышают допустимых значений по нормам содержания пути, то пучение считают равномерным. В определенных условиях неравномерность морозного пучения превышает эти допустимые значения и на пути образуются пучины. По внешнему виду их подразделяют на пучинные горбы, впадины, перепады, перекосные и односторонние пучины (рис. 1). Оттаивание мерзлых грунтов земляного полотна в весенний; период сопровождается снижением их несущей способности. В отдельных случаях на участках образования пучин или большого равномерного пучения происходят просадки пути. Они могут проявляться также в период выпадения дождей. Просадки характеризуются быстро протекающими неравномерными оседаниями и сдвижками рельсовой колеи, разжижением глинистого грунта с выплесками из-под шпал, выдавливанием масс этого грунта на поверхность с образованием бугров выпирания по оси; пути, на обочинах или в междупутье или смещением откосов; кюветов. В результате указанных деформаций на основной площадке образуются неровности в виде балластных корыт и лож: различной глубины. Необеспеченный сток влаги из этих углублений приводит к неравномерному повышенному увлажнению глинистых грунтов.
Рис. 1. Разновидности пучин: Образование пучин и просадок пути связано с явлением морозного пучения грунтов. Увеличение объема грунта вызывается замерзанием и расширением воды, находившейся перед замерзанием между отдельными его агрегатами, а также поступившей (мигрировавшей) из нижележащих талых слоев. Постепенное нарастание в ходе промерзания мощности и количества ледяных включений в виде отдельных линз, прослоек и прожилок в грунте приводит к поднятию рельсового пути. Процесс льдо-выделения происходит не только у фронта промерзания, но и в некотором определенной толщины приграничном слое промерзающего грунта. Промерзающий грунт выше этого слоя поднимается за счет пучения грунта во вновь промерзающих нижележащих слоях. Распученный грунт оказывается переувлажненным, в связи с чем при оттаивании его несущая способность резко снижается. Морозное пучение характеризуют величиной и интенсивностью пучения. Величина пучения определяется по высоте поднятия поверхности балластного слоя (рельсошпальной решетки) по сравнению с ее предзимним положением. При наличии нескольких разнородных по составу и свойству грунтовых слоев эта величина равна сумме высот пучения всех слоев, слагающих зону сезонного промерзания. Отношение величины пучения каждого отдельного слоя к его толщине называют интенсивностью пучения. На интенсивность и величину пучения влияют гранулометрический и минералогический состав грунтов, их влажность, плотность, глубина залегания грунтовых вод, глубина и скорость промерзания. Тепловлажностный режим грунтов в свою очередь зависит от климатических и местных факторов. Из климатических факторов наиболее значимыми являются количество осадков, выпавших в предзимний период, температура наружного воздуха и продолжительность зимнего периода. Последние два параметра характеризуются обобщенным показателем - суммой градусо-суток отрицательных температур воздуха. Местными факторами, оказывающими влияние на величину пучения, являются конструктивные параметры земляного полотна, толщина балластного слоя, ровность основной площадки (границы раздела между дренирующими материалами балластного слоя и глинистыми грунтами земляного полотна), условия отвода поверхностных и грунтовых вод. К подверженным пучению грунтам железнодорожного земляного полотна относятся следующие их виды: глинистые (глины, суглинки, супеси); крупнообломочные с глинистым заполнителем при содержании частиц размером менее 0,1 мм в количестве более 20% по массе; легковыветривающиеся породы (сланцы, алевролиты, аргиллиты, мергели) в зоне активного выветривания; пылеватые пески при насыщении их водой; торфы и заторфованные грунты. При увеличении содержания пылеватых фракций в грунте величина и интенсивность пучения возрастают. Дренирующие грунты (щебень, галька, гравий, песчано-гравийная смесь, крупно- и среднезернистые пески, шлаки), предохраненные от загрязнения и заиливания, неводонасыщенные мелкие пески, а также асбестовые отходы, применяемые в качестве балластных материалов, пучению не подвержены. Основными источниками увлажнения грунтов являются инфильтрующиеся через балластные материалы атмосферные осадки и грунтовые воды. Роль этих источников различна в зависимости от уровня расположения грунтовых вод и обеспеченности внутригрунтового стока инфильтрующихся осадков. При глубоком залегании грунтовых вод и наличии балластных углублений (корыт и лож) на основной площадке превалирующее воздействие на увлажнение и пучение грунтов оказывают атмосферные осадки. Наиболее часто пучению и просадкам подвержены участки железнодорожного пути со следующими типами конструкций земляного полотна: выемки, нулевые места и насыпи высотой до 2 м при залегании в пределах зоны сезонного промерзания-оттаивания пучинистых грунтов; особую опасность представляют участки с неравномерным залеганием разнородных (пучинистых и непучинистых) грунтов, в том числе низкие насыпи на основании с мелкобугристым рельефом; выемки и нулевые места в легко выветривающихся породах в условиях избыточного увлажнения или близкого залегания грунтовых вод; концевые участки выемок в скальных, дренирующих и других непучинистых грунтах, если эти участки сложены пучинистыми грунтами; полунасыпи и полувыемки на косогорных участках, сложенных пучинистыми грунтами; насыпи высотой более 2 м из глинистых грунтов; насыпи на участках расположения водопропускных труб и примыканий к мостам, отсыпанные глинистыми грунтами или имеющие такую высоту, при которой возможно промерзание-оттаивание пучинистых грунтов основания; участки пересечения земляного полотна из пучинистых грунтов трубопроводами, изменяющими температурный режим этих грунтов; участки земляного полотна на косогорах круче 1:5 или у их подошвы при наличии в пределах сезоннооттаивающего слоя косогоров потоков грунтовых вод в дренирующих грунтах (возможно образование наледных пучин). Порядок учета имеющихся пучин и просадок в технических паспортах дистанций пути установлен Главным управлением пути МПС (ЦП МПС). Непроизводительные затраты, связанные с ежегодными периодическими выправками пути, потерями пропускной способности линий из-за ограничения скорости движения поездов уменьшением срока службы элементов верхнего строения пут (в первую очередь рельсов и шпал), вызывают необходимость усиления пути на участках проявления этих деформаций. Настоящие Технические указания содержат необходимые требования и рекомендации по устранению пучин и просадок целях усиления железнодорожного пути на этих участках применительно к современным условиям эксплуатации. Указания разработаны с учетом опыта, накопленного линейными подразделениями, научными и проектными организациями МПС Минтрансстроя при применении утвержденных для использования на железных дорогах СССР нормативно-технических документов. С введением в действие настоящих Технических указаний действующие Технические указания по применению пенопластовых покрытий для предупреждения появления пучин (ЦП/3350) утвержденные МПС 6 августа 1976 г., используют при проектировании тепловой изоляции из пенопластов для частичного выведения зоны сезонного промерзания из пучинистых грунтов, а Технические указания по оздоровлению основной площадки ледяного полотна на пучинистых участках (ЦП/2557), утвержденные МПС 14 ноября 1967 г., считаются утратившими силу. 1. ОБЩИЕ ПОЛОЖЕНИЯ1.1. Настоящие Технические указания предназначены для использования работниками проектных институтов, служб пути, путевых машинных станций, инженерно-геологических баз путеобследовательских станций и дистанций пути при проектировании и осуществлении противодеформационных мероприятий на участках земляного полотна железных дорог с пучинами просадками пути. 1.2. Требования и рекомендации Технических указаний применимы для железных дорог в районах сезонного промерзают грунтов, а также распространения вечномерзлых грунтов (сливающейся или несливающейся мерзлоты). 1.3. Усиление железнодорожного пути на участках с пучинами и просадками производят по проектам, разработанным на основе технического задания службы пути, в котором указывают перечень пучинных мест и участков с просадками по данным эксплуатационных наблюдений и технического паспорта дистанции пути. 1.4. Назначение противодеформационных мероприятий производят на основании технико-экономического сравнения вариантов с учетом характера и причин пучинных, деформаций, мерзлотно-грунтовых условий, конструкции земляного полотна и водоотводных устройств. К сравнению принимают варианты одинаковой надежности, гарантирующие эксплуатационную стабильность земляного полотна после проведения мероприятий. Проектом усиления железнодорожного пути на участках с пучинами и просадками, помимо мероприятий по оздоровлению непосредственно основной площадки, при необходимости намечают переустройство водоотводов для обеспечения гарантированного стока инфильтрующихся атмосферных осадков от противодеформационных конструкций, а также меры по обеспечению стабильности откосов земляного полотна. 1.5. Работы по осуществлению противодеформационных мероприятий выполняют отдельно или в комплексе с капитальным (средним) ремонтом пути. При этом предусматривают максимальную механизацию этих работ с использованием высокопроизводительных путевых, общестроительных землеройных и специальных машин, предназначенных для ремонта земляного полотна. 1.6. При соответствующем технико-экономическом обосновании участок пути, пораженный пучинами и просадками, может быть перенесен на новую трассу, на которой предусмотрены необходимые противодеформационные мероприятия. 2. ИСХОДНЫЕ ДАННЫЕ ДЛЯ ПРОЕКТИРОВАНИЯ2.1. При инженерно-геологическом обследовании участков пути, подлежащих усилению, получают следующие данные: месторасположение пучин и просадок с указанием величины пучения (просадки) и толщины пучинных подкладок в пределах деформирующегося участка, а также величины равномерного пучения на прилегающих участках; характер залегания грунтов на деформирующемся участке земляного полотна в пределах зоны сезонного промерзания-оттаивания, вид залегающих грунтов, их влажность, гидрогеологические условия (положение уровня грунтовых вод, выход локальных источников увлажнения и др.); характеристика земляного полотна и его элементов - ровность основной площадки, состояние водоотводов (кюветов, лотков, дренажей, нагорных и водоотводных канав), устойчивость откосных частей земляного полотна; характеристика верхнего строения пути (тип рельсов и подрельсового основания, мощность различных слоев балластных материалов, в том числе накопленных в пределах водоотводов и откосных частей земляного полотна), искусственных и инженерных сооружений и обустройств (мосты, трубы, пересечения трубопроводов, устройства электрификации, СЦБ и связи); климатические характеристики района. 2.2. Возникновение пучин, при которых неравномерность морозного пучения грунтов превышает установленные нормы содержания пути, обусловливают следующие причины: неоднородность состава и сложения грунтов по простиранию и глубине в зоне сезонного промерзания-оттаивания, в том числе неровности основания низких насыпей; неравномерность увлажнения грунтов за счет перераспределения инфильтрующейся атмосферной влаги в местах балластных углублений (корыт, лож) различной глубины; неравномерное увлажнение грунтов земляного полотна локальными источниками грунтовых вод или при местном застое воды; неравномерность промерзания грунтов земляного полотна и основания в местах расположения инженерных сооружений (трубопроводы, пересекающие земляное полотно, водопропускные трубы, промерзающие изнутри, и др.). Эти причины могут проявляться порознь или совместно. При этом наличие корыт и лож на основной площадке из глинистых грунтов даже в случае неоднородного сложения грунтов или различного промерзания их вблизи инженерных сооружений усугубляет неравномерность морозного пучения. К особому виду относят пучины на подходах к мостам и трубам, а также наледные пучины. Последние возникают на косо-горных участках, сложенных с поверхности дренирующими грунтами, подстилаемыми водоупором (скала, многолетнемерзлые грунты, плотные глины и т. п.), при наличии потока грунтовых вод. 2.3. Исходные данные при инженерно-геологическом обследовании получают в следующем объеме. Для определения величины пучения, точного месторасположения, вида и размеров пучинных неровностей производят двухразовое нивелирование пути в соответствии с требованиями приложения 1. По результатам нивелирований строят совмещенные продольные профили пути по головкам обеих рельсовых нитей, соответствующие зимнему (весеннему) и летнему положениям пути. На профиль наносят местоположение и величину пучинных подкладок и определяют на нем наиболее близко расположенные друг к другу места с максимальной и минимальной величиной пучения. В этих местах (не менее двух для сравнения), а также на прилегающих участках равномерного пучения устраивают разведочные прорези и закопушки, в которых определяют общую толщину слоя дренирующих и непучинистых материалов и очертание основной площадки по поверхности пучинистых грунтов. В целях снижения трудоемких земляных работ при обследовании может быть использован метод электродинамического зондирования. Количество мест обследования обусловливается характером неравномерности пучения, высотой и видом пучин, протяженностью и характером просадки. В каждом месте обследования толщину слоя дренирующих материалов и очертание основной площадки определяют в двух сечениях, отстоящих друг от друга на расстояние 25 - 30 см, - в сечении шпального ящика и под рядом расположенной шпалой. При общей толщине слоя дренирующих материалов более 0,8 м очертание основной площадки можно определять только в сечении шпального ящика. Уровень основной площадки замеряют в следующих точках поперечного сечения: по оси пути, под обеими рельсовыми нитями (с их наружной стороны), на расстоянии 20 - 40 см от обоих концов шпалы. При обследовании устанавливают также толщину слоя накопленных дренирующих материалов поверх грунтов земляного полотна за пределами основной площадки (в водоотводных сооружениях, на откосных частях). Для выявления грунтового сложения земляного полотна в местах максимальной и минимальной величины пучения закладывают скважины: при прямых пучинах и просадках - по оси пути; при односторонних и перекосных пучинах - по концам шпал. Скважины бурят до глубины 0,5-1,0 м ниже зоны промерзания-оттаивания. При использовании электродинамического зондирования количество закладываемых буровых скважин может быть сокращено. Протяженность и величину просадок пути устанавливают по материалам обследования и опроса линейных работников. При этом определяют количество и суммарную величину подъемок пути при выправках просадок за один сезон. Обследование очертания основной площадки земляного полотна выполняют в местах наибольшего развития деформаций и за пределами деформируемого участка в соответствии с вышеизложенными требованиями. Состав и состояние грунтов земляного полотна устанавливают путем проведения лабораторных анализов проб, отобранных при бурении. Для глинистых грунтов определяют естественную влажность и пределы пластичности, для крупнообломочных грунтов с глинистым заполнителем - гранулометрический состав, естественную влажность глинистого заполнителя, пределы пластичности заполнителя, для пылеватых песков - естественную влажность и гранулометрический состав. При проходке геологических выработок (скважины, закопушки и др.) пробы грунта для определения естественной влажности отбирают через 0,2 м, а крупнообломочного грунта с глинистым заполнителем - через 0,5 м. Пробы для определения пределов пластичности глинистых грунтов, а также валовые пробы крупнообломочных грунтов с глинистым заполнителем и пылеватых песков отбирают для каждой разновидности грунтов, но не реже чем через 1 м. Пределы пластичности и естественную влажность грунтов определяют по ГОСТ 5180-84. На основании полученных данных устанавливают консистенцию глинистых грунтов и глинистого заполнителя крупнообломочных грунтов. Гранулометрический состав крупнообломочных и песчаных грунтов определяют путем ситового анализа в соответствии с ГОСТ 12536-79. Естественную влажность крупнообломочных грунтов определяют для всей пробы грунта (валовая влажность) wе и для глинистого заполнителя wм. Естественная влажность глинистого заполнителя
где wмм - максимальная молекулярная влажность крупных (более 2 мм) фракций грунта; а - содержание крупных фракций, доли единицы. При возможности отбора пробы глинистого заполнителя с минимальным количеством крупнообломочных включений влажность заполнителя может определяться следующим образом. После определения влажности каждую пробу глинистого заполнителя, имеющую некоторое количество дресвы и гравия, отдельно размачивают и пропускают через сито. Частицы, оставшиеся на сите, высушивают при температуре 105 °С, затем взвешивают и определяют их процентное содержание в составе пробы. В установленную ранее влажность вносят соответствующую этому процентному содержанию поправку. Пределы пластичности определяют по глинистой фракции, отделенной при ситовом анализе валовой пробы. По данным анализов грунты классифицируют в соответствии с ГОСТ 25100-82. Грунты считают однородными при возможности отнесения их к одному виду по данной классификации. В ходе инженерно-геологического обследования определяют гидрогеологические характеристики деформирующегося участка. Во всех пройденных геологических выработках проводят наблюдение за положением уровня грунтовых вод (УГВ). Для этого по окончании бурения скважину прочищают холостым проходом бура 2 - 3 раза. УГВ измеряют до его полного установления в течение 2 - 3 сут. При необходимости скважину на этот период оборудуют фильтром. Для уточнения взаимосвязи УГВ в пределах основной площадки с его положением в естественных условиях дополнительно закладывают скважины в некотором отдалении от нее (на откосах или за бровкой выемки, в основании насыпи). В этих скважинах УГВ наблюдают в соответствии с вышеизложенным. Помимо непосредственных наблюдений в геологических выработках, фиксируют наличие различных вод в непосредственной близости от земляного полотна (реки, естественные и искусственные водоемы, родники, болота), а также описывают рельеф, растительность и другие факторы. Особое внимание уделяют локальным источникам увлажнения, располагающимся в пределах земляного полотна. Если зафиксированные одновременно гидрогеологические и гидрологические данные не позволяют судить о единой поверхности грунтовых вод, то наличие этих вод в выработках, пройденных в пределах основной площадки, обусловлено дефектами конструкции земляного полотна (замкнутые балластные углубления, местные застои воды в кюветах и др.). По данным ближайшей метеостанции определяют сумму градусо-суток отрицательных температур наружного воздуха в год обследования, среднюю многолетнюю, а также максимальную в десятилетнем периоде. Для участков со сливающейся мерзлотой определяют сумму градусо-суток положительных температур наружного воздуха для указанных выше периодов. Для подсчета этих параметров используют соответствующие среднемесячные температуры воздуха. По данным метеостанции устанавливают также среднее многолетнее количество осадков по месяцам и толщину снежного покрова. Последняя характеристика уточняется для различных элементов земляного полотна на месте. Глубину сезонного промерзания-оттаивания определяют расчетом на основе данных инженерно-геологического обследования в соответствии с п. 4.2.4 настоящих Указаний. 2.4. Инженерно-геологическое обследование производят в следующие сроки. Весной в период максимального промерзания грунтов земляного полотна, когда снежный покров сошел с балластной призмы, но оттаивание ее еще не началось, производят осмотр подлежащего усилению деформирующегося участка с пучинами. По характеру искажения продольного и поперечного профиля уточняют границы этого участка и производят нивелирование. После полного оттаивания грунтов земляного полотна выполняют второе нивелирование. На участках сезонного промерзания путь нивелируют в мае-июне, на участках не сливающейся мерзлоты - в июле-августе и на участках сливающейся мерзлоты - в сентябре-октябре. С целью получения достоверных данных о величине и характере пучения в пределах обследуемых участков выправка и подъемка пути на балластные материалы до проведения летнего нивелирования не допускается, за исключением участков с активно протекающими просадками пути. При необходимости путь выправляют в этот период на пучинные подкладки. По результатам анализа совмещенных профилей пути по первому и второму нивелированию определяют объем дополнительной инструментальной съемки в продольном и поперечном направлениях пути и назначают геологические выработки. На участках с просадками пути сроки проведения летних инженерно-геологических работ смещаются. Обследование проводят после оттаивания слоя дренирующих балластных материалов, но до полного оттаивания глинистых грунтов земляного полотна, т.е. в период наибольшей активизации просадок. 2.5. На основе анализа полученных материалов инженерно-геологического обследования устанавливают причину неравномерного пучения земляного полотна в соответствии с требованиями п. 2.2. 2.6. В результате инженерно-геологического обследования на подлежащий усилению участок пути должна быть составлена следующая документация: план участка с показанными на нем пучинами, просадками пути и сопутствующими деформациями (выдавливание грунта, выплески, трещины, сплывы и т.д.), водоотводами, сооружениями и обустройствами, ранее выполненными инженерно-геологическими выработками и др.; совмещенные профили пути, соответствующие его летнему и зимнему положению; продольные и поперечные профили с соответствующими инженерно-геологическими разрезами, отражающими изменения, происшедшие в земляном полотне при эксплуатации (погребенные кюветы, балластные углубления, шлейфы и т.д.); данные лабораторных определений состава, свойств и состояния грунтов; климатические характеристики района; заключение об инженерно-геологическом обследовании с указанием причины или комплекса причин неравномерного пучения или просадок пути. 2.7. Порядок проведения инженерно-геологических работ на пути, обеспечение безопасности движения поездов, безопасности людей, ограждение сигналами мест производства инженерно-геологических выработок определяется совместно ответственными представителями проектной организации и дистанции пути в зависимости от местных условий и объемов работ. 3. УСЛОВИЯ НАЗНАЧЕНИЯ ПРОТИВОДЕФОРМАЦИОННЫХ МЕРОПРИЯТИЙ3.1. Для ликвидации деформаций земляного полотна на участках с пучинами и просадками с целью усиления железнодорожного пути назначают следующие противодеформационные мероприятия: замену пучинистых грунтов дренирующими и непучинистыми материалами с частичным или полным выведением из зоны сезонного промерзания-оттаивания этих грунтов (врезные подушки или комбинированные); подъемку пути на балласт или устройство накладных подушек при залегании неоднородных грунтов в нижней части, зоны сезонного промерзания-оттаивания; укладку теплоизоляционного покрытия из пенопластов для предупреждения сезонного промерзания-оттаивания пучинистых грунтов; планировку основной площадки земляного полотна с вырезкой пучинистых грунтов ниже дна балластных углублений; устройство гидроизоляционного покрытия из полимерных пленок для уменьшения влажности и величины морозного пучения грунтов; устройство горизонтальных дренажей и каптажа.
Совместно с указанными конструкциями осуществляют мероприятия по надлежащему отводу поверхностных вод и осушению грунтов земляного полотна. Для поверхностного водоотвода, перехвата и понижения уровня грунтовых вод применяют углубленные кюветы, лотки, дренажи закрытого типа, в том числе мелкого заложения, продольные канавы. 3.2. Условия назначения противодеформационных мероприятий при различных типах конструкций земляного полотна в зависимости от причин появления деформаций изложены в табл. 1. 3.3. Для противодеформационных конструкций используют следующие виды грунтов: пески всех разновидностей, кроме пылеватых, песчано-гравийную смесь, гравий, щебень; скальные разрыхленные и дресвяно-щебенистые грунты слабовыветривающихся пород; асбестовые отходы; шлаки доменные гранулированные и котельные. В дренирующих грунтах и непучинистых материалах количество частиц размером менее 0,1 мм не должно превышать 10% по массе. При использовании скального грунта требуется предварительно отсыпать на глинистый грунт слой мелкого гравия или песка толщиной не менее 0,1 м. Поверх скального грунта укладывают дресвяный грунт или гравий с укаткой во избежание потерь балласта. 3.4. Для теплоизоляционных покрытий используют пенопласты, требования к которым изложены в п. 6.1. 3.5. В гидроизоляционных покрытиях применяют полимерные пленки, удовлетворяющие требованиям, изложенным в п. 7.2. 4. ПРОЕКТИРОВАНИЕ И РАСЧЕТ ПРОТИВОПУЧИННЫХ ПОДУШЕК4.1. Общие требования4.1.1. Толщину слоя дренирующих и непучинистых грунтов подушки и величину замены пучинистых грунтов определяют, исходя из условий: ограничения величины деформаций пути под воздействием морозного пучения; обеспечения несущей способности грунтов основной площадки. К исполнению принимают большую из полученных величин. 4.1.2. Величину деформаций пути под воздействием морозного пучения ограничивают из условий: полного исключения морозного пучения; допустимой величины пучения. Расчетные значения допустимой величины пучения Рдоп принимают в зависимости от перспективной скорости движения поездов v:
4.1.3. Расчет противопучинных конструкций по условию ограничения величины деформации пути под воздействием морозного пучения производят с помощью номограмм, на которых дана зависимость глубины промерзания-оттаивания земляного полотна от толщины слоя дренирующих и непучинистых грунтов в его верхней части и климатических характеристик. Для районов сезонного промерзания грунта и участков с не сливающейся мерзлотой в земляном полотне, а также для участков сливающейся мерзлоты, расположенных в районах южнее 60° северной широты и восточнее 110° восточной долготы (восточный район), в качестве расчетной климатической характеристики принимают многолетнюю среднюю сумму градусо-суток отрицательных температур наружного воздуха Q, °С - сут. В этом случае расчет производят по номограммам (рис. 2, 3, 4).
Рис. 2. Номограмма для определения глубины промерзания Zпр (а) и оттаивания Zотт (б) при песчано-гравийной подушке
Рис. 3. Номограмма для определения глубины промерзания Zпр (а) и оттаивания Zотт (б) при подушке из асбестовых отходов Для участков сливающейся мерзлоты в остальных районах страны с распространением вечномерзлых грунтов (северный, район) расчетной климатической характеристикой является средняя многолетняя сумма положительных температур наружного воздуха Ω, °С·сут. Расчет противопучинных конструкций для этих участков выполняют с помощью номограмм (рис. 5). 4.1.4. Толщину слоя дренирующих и не пучинистых грунтов из условия обеспечения несущей способности пучинистых грунтов определяют в соответствии с требованиями Рекомендаций по проектированию противодеформационных мероприятий на участках весенних просадок пути. Минимальная толщина этого слоя при устранении просадок пути, а также при устройстве врезных и комбинированных подушек в верхней части зоны сезонного промерзания-оттаивания определяется по данным табл. 2. Рис. 4. Номограмма для определения глубины- промерзания Zпр (а) и оттаивания Zотт (б) при шлаковой подушке Рис. 5. Номограммы для определения глубины оттаивания Zотт в зависимости от суммы градусо-суток положительных температур воздуха А при песчано-гравийной подушке (а), подушке из асбестовых отходов (б) и шлаковой (в)
При наличии балластных корыт и лож вырезку и замену пучинистого грунта производят в соответствии с изложенными требованиями, но на глубину не менее 0,1 м ниже дна этих углублений. 4.2. Расчет противодеформационных конструкций по допустимой величине пучения4.2.1. Необходимую толщину врезных, комбинированных и накладных подушек, а также высоту подъемки пути на балласт по допустимой величине пучения определяют с помощью номограмм. При расчете врезных и комбинированных подушек из песчано-гравийной смеси или песка используют номограммы на рис. 2 и 5, а, из асбестовых отходов - номограммы на рис. 3 и 5, б, из доменного гранулированного или котельного шлака - номограммы на рис. 4 и 5, в. Расчет накладных подушек и высоты подъемки пути на балласт производят с помощью номограмм на рис. 2 и 5, а. Порядок использования номограмм в конкретных климатических и мерзлотных условиях изложен в п. 4.1.3. Условные обозначения расчетных параметров на номограммах следующие: Ω - многолетняя средняя сумма градусо-суток отрицательных температур наружного воздуха; А - многолетняя средняя сумма градусо-суток положительных температур наружного воздуха; Zпр - глубина сезонного промерзания земляного полотна от верха балластной призмы; Zотт - глубина сезонного оттаивания земляного полотна от верха балластной призмы; hп - суммарная толщина подушки из песчано-гравийной смеси и балластной призмы; ha-суммарная толщина подушки из асбестовых отходов и балластной призмы; hш - суммарная толщина подушки из шлака и балластной призмы; hпmax ,hamax и hшmax- соответственно величины, hп ,ha и hш при полном выведении зоны промерзания-оттаивания из пучинистых грунтов. Расчетные схемы врезных и комбинированных подушек при полном и частичном выведении зоны промерзания из пучинистых грунтов, подъемки пути на балласт и накладных подушек приведены на рис. 6. 4.2.2. При полном выведении зоны промерзания-оттаивания из пучинистых грунтов толщина врезной или комбинированной подушки из песчано-гравийной смеси, асбестовых отходов или шлака
где m - коэффициент, учитывающий увеличение глубины промерзания земляного полотна по сравнению с многолетними средними данными; n - коэффициент, учитывающий конструкцию земляного полотна; Zmax - глубина промерзания-оттаивания земляного полотна при устройстве подушки из песчано-гравийной смеси, асбестовых отходов или шлаков во всей зоне промерзания-оттаивания; hб - проектная толщина слоя балластных материалов от верха балластной призмы.
Рис. 6. Расчетные схемы противодеформационных конструкций: Коэффициент m для районов с сезонным промерзанием, грунта, характеризуемых величиной Ω≤2500°С·сут,
где Ω10 - максимальная в десятилетнем периоде сумма градусо-суток отрицательных температур воздуха, °С·сут; Ω - многолетняя средняя сумма градусо-суток отрицательных температур воздуха, °С·сут. Для районов глубокого сезонного промерзания и вечной мерзлоты при Ω>2500°С·сут коэффициент m принимают равным 1. Коэффициент, учитывающий конструкцию земляного полотна, для нулевых мест n=1,0, для выемок глубиной более 1 м n=0,95 м и для насыпей высотой более 1 м n=1,05. Величину Zmax определяют для данного климатического района в зависимости от вида применяемых грунтов по кривым hпmax ,hamax и hшmax на номограммах. Толщину слоя балластных материалов с учетом высоты шпалы принимают по СНиП II-39-76 для земляного полотна из дренирующих грунтов. 4.2.3. Подъемку пути на балласт или устройство накладных подушек осуществляют из условия полного выведения зоны сезонного промерзания-оттаивания из пучинистых грунтов. Высота подъемки пути на баласт из песчано-гравийной смеси или асбестовых отходов
где q - коэффициент, принимаемый равным 1,0 для песчано-гравийной смеси и 0,9 для асбестовых отходов; hбс - толщина существующего слоя балластных материалов по оси пути от верха балластной призмы до пучинистых грунтов основной площадки по материалам обследования. Толщина накладной подушки из асбестовых отходов или шлака при использовании в балластной призме щебня
где s - коэффициент, принимаемый соответственно равным 0,95 и 0,85 для асбестовых отходов и шлака. В формуле (4) значение Zmax определяют по номограммам, соответствующим устройству подушек из песчано-гравийной смеси (см. рис. 2 и 5, а). При полученной расчетом толщине накладной подушки из асбестовых отходов или шлака менее 0,2 м эти подушки не устраивают, а проектируют подъемку пути на балласт, определяя высоту подъемки по формуле (3). 4.2.4. При частичном выведении зоны промерзания-оттаивания из пучинистых грунтов толщина врезной или комбинированной подушки из песчано-гравийной смеси или асбестовых отходов
где Z'- глубина промерзания-оттаивания земляного полотна при устройстве подушки из песчано-гравийной смеси или асбестовых отходов в верхней части зоны промерзания-оттаивания; hдоп - допустимая толщина промерзающего или оттаивающего слоя пучинистых грунтов под подушкой. Значение Z' в формуле (5) определяют для данного климатического района в зависимости от вида применяемых грунтов подушки по кривым hп и ha на номограммах (см. рис. 1, 3, 5, а, 5, б), интерполируя при необходимости между ними. При интерполяции необходимо учитывать, что толщина слоя hп или ha на кривой hпmax или hamax равна для данных климатических условий глубине промерзания-оттаивания Zmax. В качестве hп и ha принимают суммарную толщину подушки и балластного слоя, т.е. П'+hб. При устройстве подушки из шлака ее толщину определяют по формуле (5), - в которой Z'=Zmax и находится по кривой hшmax на номограммах рис. 4 и 5, в. Искомую толщину подушки из песчано-гравийной смеси или асбестовых отходов по формуле (5) находят методом последовательного приближения после определения hдоп. При известной hдоп добиваются соблюдения равенства
Допустимая толщина промерзающего или оттаивающего слоя пучинистых грунтов под подушкой
где Рдоп - допустимая величина пучения, принимается в соответствии с п. 4.1.2; Со - коэффициент, характеризующий особенности промерзания и пучения. Его принимают равным 1,0 для условий сезонного промерзания и несливающейся мерзлоты в 1,4 для условий сливающейся мерзлоты; f - расчетная интенсивность пучения:
Рmах - максимальная на пучинном участке величина морозного пучения, зафиксированная при инженерно-геологическом обследовании; Z'бc - глубина промерзания грунтов земляного полотна при данной hбc; hбc - толщина существующего слоя балластных материалов по оси пути от верха балластной призмы до пучинистых грунтов по материалам обследования. Размерность Рmах, Z'бc и hбc принимают одинаковой и величина f в формуле (8) в этом случае будет выражена в долях: единицы. Величину Z'бc определяют расчетом по номограммам (см. рис. 2 или 5, а), принимая hп=hбc Этот расчет выполняют в следующем порядке. По кривой hп=0 определяют
глубину промерзания-оттаивания однослойного пучинистого грунта
По кривой, соответствующей hп=hбc на номограмме, определяют путем интерполяции ZНбc и приращение
глубины промерзания-оттаивания по сравнению со значением при hп=0 (
Рассчитывают глубину промерзания-оттаивания, земляного полотна при hп=hбc с учетом фактической влажности пучинистого грунта:
Полученную расчетом по формуле (7) hдоп подставляют в равенство (6) и определяют методом, последовательного приближения соответственно толщину врезной или комбинированной подушки из песчано-гравийной смеси или асбестовых отходов при частичном выведении зоны промерзания-оттаивания из пучинистых грунтов. 4.2.5. Примеры расчета 1. На участке железной дороги, расположенном на насыпи высотой более 2 м, при выправке односторонних пучин укладывают карточки до 40 мм. При двухразовом нивелировании установлена максимальная высота пучения Рmaх=45 мм. Район расположения участка характеризуется многолетней средней величиной Ω=1000°С·сут и максимальной в десятилетнем периоде Ω10=1390°С·сут. Причиной возникновения пучин по данным инженерно-геологического обследования является неравномерное в поперечном сечении насыпи залегание разнородных грунтов (суглинков и отсыпанных при устройстве вторых путей песков) в зоне промерзания. Требуется определить толщину врезной подушки из песчано-гравийной смеси при полном выведении зоны промерзания из пучинистых грунтов. Толщина нового балластного слоя hб=0,45 м. По номограмме на рис. 2,
а при Ω=1000°С·сут находим
на кривой hпmax величину
Zmax=l,45 м. По формуле (2) коэффициент 2. На концевом участке выемки глубиной до 5 м в суглинистых грунтах, примыкающем к насыпи из дренирующих грунтов, наблюдаются пучинные горбы и перепады, которые могут быть устранены частичным выведением зоны промерзания из пучинистых грунтов с устройством продольных сопряжений. Район расположения участка характеризуется многолетней средней величиной Ω=3100°С·сут. Толщина существующего слоя балластных и дренирующих материалов hбc=1,0 м. Максимальная величина пучения Рmах = 60 мм. Средняя в зоне промерзания естественная влажность суглинка равна wе=25%, максимальная скорость движения поездов на участке составляет 90 км/ч. Требуется определить толщину врезной подушки из асбестовых отходов из условия допустимой величины пучения Рдоп. Толщина балластного слоя по проекту hб=0,45 м. Вначале рассчитаем многолетнюю среднюю глубину промерзания
земляного полотна в данных условиях Z'бc.
По номограмме на рис.
2 на кривой hп=0 находим для
Ω=3100°С·сут -
По кривой, соответствующей hп=hбc=1м для; Ω=3100°С·сут, находим Zбc=2,4 м и приращение глубины промерзания по сравнению
со значением при hп=0 ∆=2,4-2,2=0,2 м. Определяем глубину промерзания земляного полотна при hп=hбc с учетом фактической влажности пучинистого грунта по формуле (11)
Интенсивность пучения грунта по формуле (8).
Допустимая толщина слоя промерзающих, пучинистых грунтов
По формуле (6) методом последовательного приближения, с использованием номограммы (см. рис. 3) находим толщину подушки из асбестовых отходов. Принимаем hа=П'+hб=1,5 м. При этом для Ω=3100°С·сут Z'=2,40 м и равенство (7) П'+hб=mnZ'-hдоп (1,5 ≠1·0,95·2,40-0,6=1,7) не соблюдается.. Принимаем ha=l,7 м. Тогда Z'=2,45 м и, следовательно, ha=1,7 м равно mnZ'-hдоп=1·0,95·2,45-0,6=1,7 м. Таким образом, толщина подушки из асбестовых отходов при частичном выведении пучинистых грунтов из зоны промерзания в данных условиях по формуле (6) П'=1,25 м. 3. На пучинном участке в выемке глубиной менее 1 м no-результатам двухразового нивелирования зафиксирована максимальная величина пучения 50 мм. Участок расположен в условиях сливающейся мерзлоты в восточном районе, многолетняя средняя сумма градусо-суток отрицательных температур воздуха Ω=4200°С·сут. Толщина оттаявшего слоя грунтов по оси пути Z'бc=2,2 м. Толщина старого балластного слоя hбc=0,7 м. В земляном полотне в местах пучинных горбов залегают суглинки. Проектная толщина балластного слоя hб=0,4 м. Характер напластований: разнородных грунтов позволяет устранить неравномерное пучение путем частичного выведения зоны сезонного оттаивания, из пучинистых грунтов с устройством продольных сопряжений. Требуется определить толщину подушки из гранулированного» доменного шлака при допустимой величине пучения Рдоп=25 мм. При расчетной интенсивности пучения, определяемой по формуле
(8),
По формуле (6) и номограмме (см. рис. 4) определяем толщину подушки из шлака П'=1·1·1,85-0,4-0,55=0,9 м. Общая толщина слоя непучинистых материалов от верха балластной призмы составляет при этом 1,3 м. По условию обеспечения несущей способности суглинистых грунтов при Ω=4200°С·сут минимальная толщина этого слоя должна быть 1,4 м (см. табл. 2). Следовательно, толщину подушки увеличивают до 1,0 м. 4. На участке железной дороги, расположенном в условиях сливающейся мерзлоты на севере европейской части СССР, на нулевом месте наблюдаются пучинные горбы. Расчетным климатическим параметром в этих условиях является многолетняя средняя сумма градусо-суток положительных температур воздуха А=1000°С·сут. Причиной неравномерного пучения по данным инженерно-геологического обследования является неравномерное залегание разнородных по своим пучинистым свойствам грунтов. Толщина существующего слоя балластных материалов hбс=1,0 м. Мощность сезонно оттаивающего слоя пучинистых грунтов составляет 0,7 м. Проектная толщина балластной призмы из щебня равна 0,4 м. Требуется определить толщину накладной подушки из доменного гранулированного шлака. По формуле (4) и номограмме (см. рис. 5, а) находим Пн=0,85·1,0·1,0·2,15-1,0-0,4=0,45м. 4.3. Основные конструктивные требования4.3.1. Врезные подушки устраивают вырезкой и заменой пучинистого грунта на дренирующий или непучинистый с сохранением существующих отметок головок рельсов. Комбинированные подушки сооружают частично за счет вырезки и замены пучинистого грунта, а частично за счет подъемки пути на материал подушки и балласт. Комбинированные подушки применяют с целью уменьшения глубины вырезки пучинистого грунта, а также при габаритных ограничениях величины подъемки пути (например, подмостовыми габаритами, высотой подвески контактного провода и др.). Подъемку пути и накладные подушки используют при небольшой толщине и глубоком расположении пучинообразующего слоя там, где нет ограничений по условиям габарита и профиля пути. 4.3.2. Протяженность L вырезки и замены пучинистого грунта при устройстве врезной или комбинированной подушки принимают равной длине отдельной пучины, пучинного или просадочното участка. На перекосных пучинах за L принимают расстояние от начала пучины по одной рельсовой нити до удаленного конца пучины по другой. Наименьшая величина L зависит от перспективной скорости движения и поездов: при v=100 км/ч L = 20 м, при v>100 км/ч L = 25 м. Частичную замену пучинистого грунта на участках земляного полотна с неоднородными чередующимися по длине участка пучинистыми и непучинистыми грунтами производят в том случае, если пучинистые грунты залегают на длине не менее L+2lcc, где lcc - длина продольного сопряжения. При несоблюдении этого условия производят замену пучинистого грунта во всей зоне сезонного промерзания-оттаивания. При частичном выведении пучинистых грунтов из зоны промерзания-оттаивания на концевых участках, примыкающих к дренирующему (скальному) грунту, выполняют сопряжения в продольном направлении, линейно увеличивая толщину слоя дренирующего грунта врезной или комбинированной подушки (рис. 7). Длина продольного сопряжения, устраиваемого в пределах пучинистого грунта,
где iдоп - допустимый уклон отводов рельсовых нитей дополнительно к существующему на элементе профиля в зависимости от скорости движения v поездов (при v≤100 км/ч iдоп=0,001; при v>100 км/ч iдоп=0,0005). При устройстве врезных или комбинированных подушек на земляном полотне, сложенном пучинистыми грунтами как в пределах усиливаемого деформирующегося участка, так и вне его, длина сопряжения определяется величиной морозного пучения, наблюдаемого по концам подушки. Сопряжения выполняются постепенным линейным уменьшением глубины вырезки на участке, соответствующем длине отводов рельсовых нитей с допустимым уклоном iдоп (рис. 8).
Рис. 7. Схема устройства продольного сопряжения с частичным
выведением пучинистых грунтов из зоны промерзания-оттаивания на концевых
участках, сложенных скальными (дренирующими) грунтами:
Рис. 8. Продольный профиль врезной подушки с сопряжениями: Длина сопряжений в этом случае
где Рр - расчетная величина равномерного пучения на участке сопряжения. При полном выведении зоны промерзания из пучинистых грунтов в формуле (13) принимают Pдоп=0. Расчетная величина равномерного пучения
где Ррп - наблюденная величина равномерного лучения за пределами пучинного участка или пучины (в конце подушки); k - коэффициент увеличения равномерного пучения.
При наличии балластных углублений на основной площадке в конце устроенного, в соответствии с вышеизложенным требованием, сопряжения выполняют дополнительное продольное сопряжение с уклоном 0,02. Длина этого сопряжения l'c с определяется разностью наивысшего уровня поверхности основной площадки (как правило, на обочине или но оси пути) и уровня дна углубления (рис. 8, б). Минимальная длина сопряжений врезной подушки с прилегающими участками земляного полотна должна быть 10 м. Длина накладных подушек поверху должна быть не менее длины пучинного участка и соответствовать требованиям на проектирование продольного профиля пути. При ликвидации пучин в комплексе с капитальным и средним ремонтом пути следует предусматривать увязку продольного профиля пути с противопучинными конструкциями. Продольный профиль пути при ликвидации пучин подъемкой на балласт проектируют в соответствии с требованиями, указанными для накладных подушек. Исходя из этих же условий, определяют длину накладной части комбинированной подушки. Длина врезной части этой подушки понизу при оздоровлении пучинного участка может быть равной длине накладной части или короче ее, но не должна быть менее длины пучинного участка. Конструкцию врезной части комбинированной подушки, включая сопряжения с невырезаемым пучинистым грунтом по ее краям, проектируют согласно указаниям для врезных подушек. Полная длина комбинированной подушки определяется длиной ее накладной части, включая длину отводов. Длина отводов накладных подушек (а также длина отводов при подъемке пути на балласт) принимается в соответствии с требованиями на проектирование элементов продольного профиля. Материал накладных подушек на длине сопряжений может размещаться по всей длине или в пределах части ее, но не менее длины отвода по технологическим условиям U. В этих случаях остающийся объем подушки на длине сопряжений можно заполнить балластными материалами. Длина отвода lт определяется допускаемым уклоном пути при производстве путевых работ.
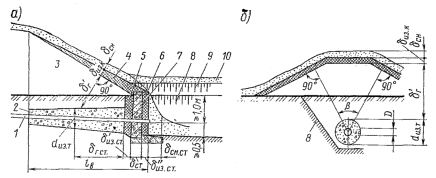
Рис. 9. Схема устройства врезных подушек на насыпи однопутного участка (а), под один (б) и. под два пути (в), на двухпутном участке.
Рис. 10. Схема устройства врезных подушек в выемке однопутного участка (а), под один (б) и под два пути (в) на двухпутном участке: 1 - лоток; 2 - углубленный кювет; 3 - дренаж Сопряжения накладной части комбинированной подушки проектируют по требованиям, указанным для накладных подушек. 4.3.3. Врезные подушки проектируют с односторонним или двухсторонним отводом воды в поперечном направлении со сплошными выпусками (по длине подушки) на откосы насыпей, в углубленные кюветы, лотки, дренажи, которыми осуществляется продольный отвод воды в выемках. Поперечный уклон по дну подушек должен быть не менее 0,04 (рис. 9, 10). Конструкцию водоотводов, проектируют в зависимости от местных условий. Врезные подушки из асбестовых отходов при залегании грунтовых вод ниже границы промерзания более 1 м допускается устраивать без выпуска воды. Ширину противопучинных подушек определяют в зависимости от количества путей на оздоравливаемом участке земляного полотна, конструкции подушки и условий отвода воды. При устройстве одностороннего отвода воды из врезных подушек расстояние от оси пути до невырезанного грунта по дну подушки Вн/2 должно быть не менее 1,8 м. Крутизну грунтовых откосов врезной части подушек принимают не более 1:0,5. Для отвода воды в выемках глубиной до 2 м целесообразно нарезать углубленные кюветы. В более глубоких выемках сооружают лотки или дренажи.
Рис. 11. Схема устройства врезной подушки на станционных путях: 1 - дренаж; 2 - пассажирская платформа На станционных площадках врезные подушки устраивают с отводом воды в дренажи или лотки, проложенные по междупутью (рис. 11). На крайних путях воду отводят на откосы насыпей, в углубленные кюветы выемок. Для ликвидации пучинного перепада на участке примыкания насыпи из пучинистых грунтов к скальной выемке грунт заменяют на полную глубину промерзания на протяжении не менее Lн = 5 м от места залегания скальных пород и затем устраивают сопряжение с невырезанным пучинистым грунтом (рис. 12). На участках замены пучинистого грунта в основании низких насыпей при непросадочных грунтах основания ниже дна врезной подушки устраивают водоотводные канавы (рис. 13, а). Конструкция врезной подушки на низких насыпях при просадочных грунтах основания в условиях вечной мерзлоты приведена на рис. 13, б. Отвод воды в этом случае осуществляется дренажными трубами. При ликвидации на полунасыпях односторонних пучин, связанных с различной толщиной пучинообразующего слоя в поперечном сечении земляного полотна, производят вырезку пучинистых грунтов с заменой на дренирующий с поперечным уклоном 0,04 в низовую сторону с учетом требования обеспечения под основной площадкой (в проекции) равномерной толщины слоя дренирующего грунта. При ликвидации пучин на подходах к мостам, над водопропускными трубами и трубопроводами толщину слоя дренирующего грунта определяют расчетом из условия полного выведения пучинистых грунтов из зоны сезонного промерзания-оттаивания.
Рис. 12. Продольный профиль врезной
подушки на участке примыкания насыпи из пучинистых грунтов к скальной выемке:
Рис. 13. Схема устройства дренирующего слоя с заменой грунта
в основании насыпи: Протяженность этого участка, включая размер инженерного сооружения вдоль пути, должна быть не менее L (см. п. 4.3.2). С обеих сторон участка устраивают продольные сопряжения, определяя их длину в соответствии с требованиями п. 4.3.2 по формуле (13). Продольную планировку пучинистого грунта при устранении пучин на подходе к мосту производят на длине не менее Lн = 5 м от обоих устоев с уклоном не менее 0,04 в сторону от устоя моста (рис. 14). В нижней точке спланированного основания перед началом сопряжения укладывают поперечный дренаж для выпуска воды. При ликвидации пучин над водопропускными трубами замену пучинистых грунтов выполняют, учитывая возможности сезонного промерзания-оттаивания грунта со стороны трубы. На участках с пучинными впадинами в местах пересечения земляного полотна трубопроводами протяженность подушки понизу без учета сопряжений принимают не менее указанной в табл. 3.
Рис. 14. Продольный профиль врезной подушки при ликвидации
пучин у моста:
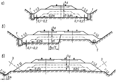
Примечание. Значения в скобках даны для скорости движения поездов более 100 км/ч. Температуру воздуха в защитном кожухе (температуру его поверхности) определяют в конце периода промерзания вытяжными термометрами, размещаемыми внутри кожуха или в скважине, закладываемой в сечении по оси трубопровода до верха кожуха. 4.3.4. При устройстве комбинированных подушек (рис. 15, 16) вырезку и замену грунта во врезной части производят на глубину не менее 0,1 м ниже уровня основной площадки (границы раздела дренирующих материалов балластного слоя и пучинистых грунтов), а при наличии балластных углублений - на глубину не менее 0,1 м ниже дна этих углублений. Уширение насыпи для размещения накладной части подушки выполняют до уровня дна врезной части подушки (рис. 17). При ширине отсыпаемой части менее 3 м, а также при наличии балластных шлейфов на откосах уширение производят дренирующим грунтом с коэффициентом фильтрации более 3 м/сут (рис. 17, а, б). При ширине отсыпаемой части более 3 м на насыпях высотой свыше 2 м допускается применять местный грунт (рис. 17, в). На высоких насыпях (2<Н<6 м) балластные шлейфы срезают и в связных грунтах очищенного откоса насыпи устраивают уступы высотой 0,5-1 м. 4.3.5. Конструкция подъемки пути на балласт в поперечном, сечении земляного полотна показана на рис. 18. Уширение насыпей при подъемке пути производят до уровня существующих обочин в соответствии с требованиями п. 4.3.4. Подъемку пути в выемках выполняют без уширения основной площадки земляного полотна. Для отвода воды по дну старых кюветов укладывают дренажи мелкого заложения (дренажные трубофильтры) или устраивают лотки. В целях уменьшения высоты лотков их можно сооружать за пределами кювета в нижней части откоса выемки. На двух- и многопутных линиях подъемку выполняют по всем путям; превышение одного пути над другим допускается в пределах, установленных нормами.
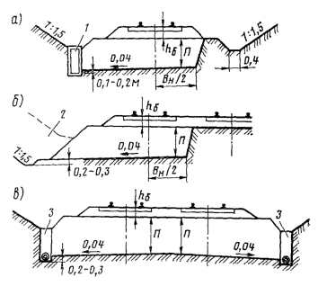
Рис. 15. Схема устройства комбинированной подушки на насыпи однопутного участка (а), под один (б) и под два пути (в) на двухпутном участке: 1, 2 - досыпка насыпи соответственно из местного и дренирующего грунта
Рис. 16. Схема устройства комбинированной подушки в выемке
однопутного участка (а), под один (б) и под два пути (в) на двухпутном участке:
Рис. 17. Схема уширения насыпей при устройстве комбинированных подушек с применением дренирующего (а, б) и местного (в) грунтов
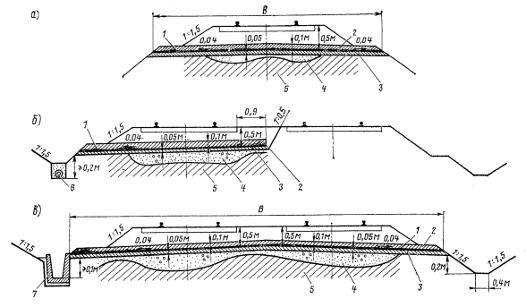
Рис. 18. Поперечный профиль пути при подъемке: Накладные подушки устраивают в соответствии с требованиями, предъявляемыми для конструкций подъемки пути на балласт. 4.3.6. При пересечении земляного полотна трубопроводами различного назначения в целях предупреждения неравномерного пучения следует предусматривать выполнение требований, изложенных в приложении 2. 5. ПЛАНИРОВКА ОСНОВНОЙ ПЛОЩАДКИ ЗЕМЛЯНОГО ПОЛОТНА5.1. Планировку производят на деформирующихся участках при наличии замкнутых балластных углублений на основной площадке земляного полотна, сложенного однородными глинистыми грунтами (глины, суглинки, супеси), когда основной причиной возникновения пучин или просадок пути является высокое и неравномерное увлажнение этих грунтов инфильтрующимися атмосферными осадками (см. табл. 1). 5.2. Пучины или просадки пути ликвидируют сплошной вырезкой грунта на глубину не менее 0,1м ниже дна максимального углубления с планировкой основной площадки. Вырезанный грунт заменяют дренирующим. Толщину дренирующего слоя определяют расчетом из условия обеспечения несущей способности глинистого грунта (см. п. 4.1.4). При этом она должна быть не менее величины, указанной в табл. 2. Необходимая мощность дренирующего слоя может быть обеспечена дополнительной (по сравнению с 0,1 м) вырезкой грунта ниже дна балластных углублений или подъемкой пути. Схемы планировки основной площадки в поперечном сечении земляного полотна приведены на рис. 19.
Рис. 19. Схема планировки основной площадки в поперечном
сечении земляного полотна (а); то же
с дополнительной подъемкой пути (б):
Рис. 20. Продольный профиль планировки основной площадки в
местах балластных углублений: 5.3. По концам вырезки в продольном направлении устраивают прямолинейные сопряжения с невырезанным грунтом с уклоном не круче 0,02 (рис. 20). Длина сопряжения определяется разностью наивысшего уровня поверхности основной площадки (как правило, на обочине или по оси пути), установленного при инженерно-геологическом обследовании, и уровня планировки грунта. Планировка грунта на участке сопряжения в поперечном направлении производится с уклоном 0,04 в сторону откоса на насыпи или в сторону водоотводного сооружения в выемке. 6. ТЕПЛОВАЯ ИЗОЛЯЦИЯ ИЗ ПЕНОПЛАСТОВ6.1. Для тепловой изоляции земляного полотна в целях предупреждения пучин применяют пенопласты - материалы с системой изолированных, не сообщающихся друг с другом ячеек (пор), содержащих газ. Пенопласты должны иметь следующие характеристики:
Допускается применение пенопластов с большим значением коэффициента теплопроводности по сравнению с указанным. Это учитывается при расчете тепловой изоляции путем введения поправочных коэффициентов (см. п. 6.4). Наиболее экономично использовать полистирольные и поливинилхлоридные пенопласты. Применение пенопластов, имеющих водопоглощение по объему за 24 ч от 1 до 3%, не допускается при залегании грунтовых вод на глубине 1 м и менее от верха балластной призмы. 6.2. Применение пенопластов целесообразно при необходимости полного выведения зоны промерзания-оттаивания из пучинистых грунтов, когда осуществление другого противодеформационного устройства технически невозможно или экономически неоправданно (при глубоком промерзании-оттаивании грунтов; на коротких деформирующихся участках, примыкающих к участкам земляного полотна из дренирующих грунтов; при расположении пучинообразующегося слоя в нижней части зоны сезонного промерзания-оттаивания и т.п.). Условия применения тепловой изоляции из пенопластов в: зависимости от причин возникновения неравномерного пучения изложены в табл. 1. Тепловую изоляцию из пенопластов применяют в условиях сезонного промерзания и несливающейся мерзлоты в земляном полотне. 6.3. Теплоизоляционное покрытие состоит из пенопласта верхнего и нижнего защитных слоев. Слой пенопласта размещается на глубине не менее 0,5 м от верха балластной призмы. Под покрытием при необходимости (см. п. 6.4) устраивают дренирующую подушку. Покрытие укладывают в пределах участка с неравномерным: пучением и прилегающих участков с равномерным пучением величиной более 30 мм при перспективной скорости движения поездов v>100 км/ч и более 50 мм при v≤100 км/ч. При этом протяженность тепловой изоляции в пределах участка с равномерным пучением должна быть не менее 5 м с каждой стороны. Наименьшая протяженность L теплоизоляционного слоя указана в п. 4.3.2. На участках с пучинными впадинами в местах пересечения; земляного полотна трубопроводами минимальную протяженность теплоизоляционного слоя принимают по данным табл. 3. При ликвидации пучин, возникающих в пределах стрелочного перевода, протяженность теплоизоляционного слоя должна быть не менее длины стрелочного перевода. По концам теплоизоляционного слоя устраивают сопряжения с прилегающими участками земляного полотна. Длина сопряжения зависит от расчетной величины равномерного пучения Рр на участке сопряжения, определяемой в соответствии с п. 4.3.2. Минимальная длина сопряжения на участках земляного полотна, сложенного пучинистыми грунтами, должна быть 20 м. Сопряжения не устраивают, если концевые участки теплоизоляционного слоя примыкают к земляному полотну, сложенному в пределах зоны сезонного промерзания-оттаивания дренирующими (скальными) грунтами. 6.4. При полном выведении зоны промерзания-оттаивания из пучинистых грунтов толщину слоя пенопласта в покрытии определяют в зависимости от климатических характеристик района и толщины слоя балластных материалов (дренирующей подушки) под покрытием (рис. 21). В качестве расчетного климатического параметра в районах сезонного промерзания грунта, характеризующихся многолетней средней суммой градусо-суток отрицательных температур воздуха Ω≤2500°С·сут, принимают максимальную в десятилетнем периоде величину Ω10. При Ω>2500°С·сут в условиях сезонного промерзания и несливающейся мерзлоты в земляном полотне расчетным климатическим параметром является многолетняя средняя сумма градусо-суток отрицательных температур Ω. Толщина слоя пенопласта hт в данных климатических условиях имеет наибольшее значение при расположении покрытия непосредственно на пучинистых грунтах, когда мощность слоя дренирующих материалов под пенопластом δ = 0,05 м. За расчетную толщину дренирующей подушки под пенопластом δ принимают минимальную в поперечном сечении толщину слоя существующих балластных материалов, остающуюся после вырезки грунта до проектного уровня, низа пенопластового покрытия. При наличии балластных углублений на основной площадке эта минимальная толщина определяется на расстоянии 40 см от концов шпал. В целях уменьшения толщины слоя пенопласта может быть произведена дополнительная, подъемка пути с соответствующим уменьшением глубины вырезки балластных материалов или дополнительная вырезка грунта, предусматривающая размещение под пенопластом слоя дренирующих материалов необходимой мощности δ. При толщине существующего слоя дренирующих материалов от верха балластной призмы до пучинистых грунтов основной площадки по оси пути hбс менее величины, указанной в табл. 2, производят дополнительную подъемку пути. Высота подъемки определяется как разница между минимально требуемой величиной и толщиной существующего слоя балластных материалов hбс.
Рис. 21. Графики для определения расчетной толщины теплоизоляционного слоя hт в условиях сезонного промерзания и несливающейся мерзлоты в земляном полотне
Рис. 22. Схема устройства тепловой изоляции из пенопласта на однопутном участке (а), под один (б) и под два пути (в) на двухпутном участке: 1 - слои тепловой изоляции; 2 - верхний защитный слой; 3 - дренирующая подушка При применении пенопластов с расчетным коэффициентом теплопроводности λп>0,04 ккал/(м·ч·°С) толщина слоя пенопласта hт, определяемая по рис. 21, умножается на 25λп. Расчетная толщина слоя тепловой изоляции hт обеспечивается при сплошной укладке плит пенопласта в одно- или многослойное покрытие суммарной толщиной, равной или более требуемой. Плиты пенопласта в многослойном покрытии укладывают с перекрытием швов на 10-15 см. 6.5. Устройство тепловой изоляции из пенопластов при частичном выведении зоны сезонного промерзания-оттаивания из пучинистых грунтов с целью предотвращения недопустимых пучинных неровностей разрешается производить на основании специальных наблюдений за режимом морозного пучения в соответствии с Техническими указаниями по применению пенопластовых покрытий для предупреждения появления пучин. 6.6. Нижний защитный слой устраивают в случае размещения теплоизоляционного покрытия непосредственно на пучинистых грунтах. Этот слой толщиной не менее 5 см выполняют из песка или асбестовых отходов. Поверх теплоизоляционного покрытия устраивают защитный слой из указанных материалов толщиной не менее 10 см. Верхний и нижний защитные слои размещают по всей ширине покрытия. 6.7. Минимальная ширина теплоизоляционного покрытия под одним путем Во должна составлять: 4,5 м - для районов, характеризующихся многолетней средней величиной Ω<2000°С·сут; 5,5 -при 2000<Ω≤3000 °С·сут; 6 м - при Ω>3000°С·сут. При этом край теплоизоляционного покрытия должен выступать за концы шпал на величину Ь, соответственно равную 0,9; 1,4 и 1,6 м (рис. 22). При ликвидации пучин в пределах стрелочных переводов слой тепловой изоляции укладывают с переменной шириной, превышающей длину переводных брусьев на величину b с каждой стороны (рис 23). По всей ширине слоя тепловой изоляции его толщина hт сохраняется неизменной. Плиты пенопласта в покрытии укладывают вплотную. Допускаемая ширина зазора между отдельными плитами должна быть не более 1 см.
Рис. 23. Схема устройства тепловой
изоляции из пенопласта в пределах стрелочного перевода:
Рис. 24. Устройство сопряжений при различном количестве слоев
пенопластовых плит в покрытии: 6.8. Сопряжения выполняют для плавного увеличения глубины промерзания грунтов по краям теплоизоляционного покрытия. Это достигается за счет уменьшения толщины тепловой изоляции и создания просветов между плитами пенопласта, которые заполняют песком или асбестовыми отходами. Длина сопряжения lтс определяется величиной равномерного пучения у краев теплоизоляционного покрытия и допустимым уклоном отвода рельсовых нитей по формуле (13), в которой Рдоп принимают равным нулю. Сопряжение разбивается на отдельные элементы. Количество этих элементов равно количеству слоев плит пенопласта в покрытии. Относительная длина элементов сопряжений при различном количестве слоев указана на рис. 24. Элемент, имеющий один слой, состоит из четырех продольных полос пенопласта, уменьшающихся по ширине. При большем количестве слоев под этими полосами располагается сплошное (без просветов) покрытие. Конструкция элементов сопряжения показана на рис. 25. Продольные полосы на элементах сопряжения устраивают из отдельных прямоугольных блоков со ступенчатым изменением ширины. Нижний слой плит пенопласта у края сопряжения выводится на уровень верха покрытия. 6.9. Сопряжения по краям теплоизоляционного слоя, уложенного в пределах стрелочного перевода, сооружают в соответствии с требованиями п. 6.8 в трех направлениях - за рамными рельсами и за крестовиной по прямому и боковому путям.
Рис. 25. Схематические планы: 6.10. При глубине вырезки грунтов подрельсового основания под укладку теплоизоляционного слоя ниже уровня основной площадки (вырезка пучинистых грунтов) по концам участка вырезки вдоль пути выполняют продольную планировку земляного полотна с уклоном 0,02 в соответствии с требованиями п. 5.3. 6.11. Укладку теплоизоляционного слоя из пенопластов на участках сезонного промерзания грунтов и несливающейся мерзлоты в земляном полотне в условиях вечной мерзлоты производят во второй половине лета после максимального прогрева грунтов. 7. ГИДРОИЗОЛЯЦИОННОЕ ПОКРЫТИЕ ИЗ ПОЛИМЕРНЫХ ПЛЕНОК7.1. Гидроизоляционное покрытие применяют во всех климатических зонах страны в следующих случаях: для ликвидации пучин, возникающих в местах неравномерно выраженных балластных углублений (корыт, лож и т.п.) на основной площадке земляного полотна, сложенного однородными глинистыми грунтами (глинами, суглинками, супесями); для устранения просадок пути, сопровождающихся быстропротекающими расстройствами рельсовой колеи и в отдельных случаях выпиранием разжиженного грунта через балластный слой; при усилении земляного полотна из глинистых грунтов в связи с усложнившимися условиями эксплуатации (увеличение грузонапряженности, скорости движения поездов, осевых и погонных нагрузок, применение железобетонных подрельсовых оснований и др.). В условиях сезонного промерзания и несливающейся мерзлоты гидроизоляционное покрытие применяют также для ликвидации пучин на участках примыкания земляного полотна к устоям мостов и расположения водопропускных труб совместно-с планировкой основной площадки ниже дна балластных углублений. 7.2. Гидроизоляционное покрытие устраивают из полимерной пленки. Для предупреждения механического повреждения пленки в покрытии укладывают защитные слои. Для покрытия используют водонепроницаемые пленки, например поливинилхлоридную пленку марки В толщиной 0,23 мм по ГОСТ 16272-79. Применяемая пленка должна иметь следующие характеристики:
В защитных слоях покрытия используют песок или асбестовые отходы. Взамен этих материалов в защитных слоях может быть применен нетканый материал из синтетических волокон, удовлетворяющий следующим требованиям:
7.3. Гидроизоляционное покрытие укладывают в пределах участка пути, подверженного неравномерным деформациям, перекрывая при этом прилегающие участки с величиной равномерного пучения более 10 мм. 7.4. Пленку размещают на глубине не менее 0,5 м от верха балластной призмы. Вырезку старых балластных материалов производят на указанную глубину, увеличенную на толщину нижнего защитного слоя. При существующей общей толщине слоя балластных и дренирующих материалов по оси пути hбc меньше величины, приведенной в табл. 2, после укладки гидроизоляционного покрытия выполняют дополнительную подъемку пути для достижения указанной минимальной толщины. Глубина вырезки старых балластных материалов в этом случае может быть соответственно уменьшена. 7.5. Гидроизоляционное покрытие укладывают на всю ширину основной площадки В с одно- или двухсторонним поперечным уклоном 0,04 (рис. 28, а, в). На двухпутных участках покрытие допускается устраивать под одним путем, если существующая общая толщина слоя балластных и дренирующих материалов по оси пути hбc<1 м и исключена возможность подтекания воды под покрытие со стороны второго пути. Покрытие в этом случае должно иметь односторонний уклон и край его со стороны междупутья располагают на расстоянии не менее 0,9 м от концов шпал (рис. 26, б). Покрытие под стрелочными переводами устраивают с переменной шириной, превышающей длину переводных брусьев не менее чем на 0,9 м с каждой стороны.
Рис. 26. Схема конструкции гидроизоляционного покрытия на
однопутном участке (а), под одним (б) и под двумя путями (в) на двухпутном участке: 7.6. Планировку грунта под гидроизоляционное покрытие в поперечном направлении производят в одну или в обе стороны с уклоном не менее 0,04 по всей ширине земляного полотна по верху. На двухпутном участке при устройстве покрытия на одном пути грунт планируют на половину этой ширины. Выпуск воды от спланированной поверхности устраивают по всей длине участка покрытия в водоотводные сооружения выемок или на откосы насыпей. При существующей общей толщине слоя балластных и дренирующих материалов hбc>1 м выпуск воды осуществляют в продольные лотки или дренажи мелкого заложения, устраиваемые по краям гидроизоляционного покрытия (рис. 27). Дно этих водоотводов должно быть ниже дна балластных углублений на основной площадке на 0,15 м. При укладке покрытия на станционных путях и в пределах стрелочных переводов воду выпускают в продольные лотки или дренажи мелкого заложения, устраиваемые в междупутье. На участках с близким расположением грунтовых вод (менее 1 м от границы промерзания) для понижения уровня этих вод в комплексе с гидроизоляционным покрытием устраивают продольные дренажи. Укладка покрытия без устройства дренажей в этих условиях не допускается. Гидроизоляционную пленку в покрытии укладывают в один или два слоя. При укладке одного слоя пленки по всей ширине ее устраивают нижний защитный слой. Толщина его при использовании песка или асбестовых отходов должна быть не менее 0,05 м. При укладке пленки в два слоя нижний защитный слой можно не устраивать. Пленку при этом укладывают непосредственно на спланированные грунты (щебень, песчано-гравийный или асбестовый балласт или связные грунты земляного полотна). Толщина верхнего защитного слоя из песка или асбестовых отходов должна быть не менее 0,1 м. 7.9. Полосы пленки в покрытии укладывают вдоль пути в несколько рядов с перекрытием каждого последующего нижележащего ряда на ширину не менее 10 см. Количество рядов определяется шириной полос. При укладке гидроизоляционной пленки в два слоя полосы в верхнем слое стыкуются между собой так же, как и в нижнем. При этом стыки в верхнем и нижнем слоях в поперечном сечении должны отстоять друг от друга на величину не менее 30 см. При необходимости отдельные полосы пленки в каждом слое могут быть соединены между собой. Ширина перекрытия в этом случае зависит от технологии соединения.
Рис. 27. Схема конструкции гидроизоляционного покрытия при
общей толщине балластного слоя hбc≥l
м: Укладку нетканого материала в защитных слоях производят в соответствии с требованиями, предъявляемыми в укладке гидроизоляционной пленки. 7.10 В случае если при планировке основания на проектируемую глубину производится срезка связных грунтов земляного полотна (на обочинах или под рельсошпальной решеткой), по концам участка вырезки вдоль пути выполняют продольную планировку земляного полотна с уклоном 0,02 в соответствии с требованиями п. 6.3. 7.11. С обеих сторон гидроизоляционного покрытия устраивают поперечные ограждающие дренажи (прорези). Дренаж врезают в глинистые грунты основной площадки и дно его должно быть ниже дна балластного углубления на величину не менее 0,1 м. Уклон по дну прорези должен составлять 0,04. Дно прорези на выходе должно возвышаться над уровнем водоотводного сооружения, в которое будет отводиться вода, на величину не менее 0,2 м. Ширина прорези определяется условиями производства работ. Дно прорези и ее стенку, примыкающую к гидроизоляционному покрытию, выстилают гидроизоляционной пленкой. 7.12. Ликвидацию пучин на подходах к мостам, а также устранение пучинных впадин и перепадов производят в соответствии с требованиями Указаний по гидроизоляции земляного полотна на участках с пучинами и просадками. 8. ПРОЕКТИРОВАНИЕ ДРЕНАЖЕЙ В УСЛОВИЯХ ВЕЧНОЙ МЕРЗЛОТЫ8.1. Дренажи в условиях вечной мерзлоты проектируют в комплексе с противодеформационными конструкциями для обеспечения выпуска воды от них. В качестве самостоятельного мероприятия дренажи применяют для ликвидации наледных пучин, возникающих в дренирующих грунтах в результате притока грунтовых вод. При проектировании учитывают требования руководства «Дренажные сооружения железнодорожного земляного полотна». 8.2. Горизонтальный трубчатый дренаж состоит из осушающей линии - дрены (или системы дрен) и отводной линии, заканчивающейся выпуском. Дреной служат перфорированные трубопроводы с фильтром или трубофильтры. Для отводной линии используют трубопроводы, допускающие работу в напорном режиме в период внутреннего оледенения трубы на выпуске. Дренажный выпуск может быть открытого (канава) или закрытого (поглощающий колодец, траншея) типа. Дренаж сооружают с одной или с обеих сторон пути под кюветом, за кюветом или под обочиной. Дренажный выпуск размещают на участке отрицательного перелома местности в удобном для сброса воды месте. Трасса отводной линии, соединяющей дрену с выпуском, должна иметь минимальную длину и максимально допустимый продольный уклон. В дополнение к исходным данным, получаемым в соответствии с п. 2.3 и руководством по дренажам (см. п. 8.1), по трассе дренажа выполняют обследования, отражающие: фильтрационную способность грунтов земляного полотна, водообильность и водопроницаемость водоносного горизонта; годовой режим уровня, напора и температуры грунтовых вод; мерзлотно-грунтовые условия трассы отводной линии. 8.3. Тип дренажа по степени вскрытия водоносного горизонта определяется глубиной водоупора. При неглубоком (до 4 м) его залегании устраивают дренаж совершенного типа, врезаемый в водоупор на 0,3-0,5 м. Водоупором служат плотные глинистые или скальные грунты. Водоупором может быть также контакт слоев грунта, коэффициент фильтрации которых отличается в 200 раз и более. Глубина дренажей несовершенного типа определяется их назначением и инженерно-геологическими условиями участка. При устройстве дренажей, выполняющих роль самостоятельного противодеформационного мероприятия (см. п. 8.1), глубину дренажа принимают равной глубине промерзания грунта с учетом прибавления высоты стояния воды в дренажной траншее. При этом глубина дренажа не должна превышать 3,5 - 4 м. Глубина дренажей, устраиваемых для отвода воды от противодеформационных конструкций, определяется параметрами этих конструкций. 8.4. При проектировании дренажа выполняют тепловые расчеты отводной линии, соответствующие двум критическим периодам: зимнему, когда требуется защита выпуска от преждевременного перемерзания; летне-осеннему, когда необходимо обеспечить прочность основания трубопровода на участках вечной мерзлоты. Конструкция выпуска, параметры трубопровода отводной линии и меры эксплуатационного содержания дренажа, обоснованные тепловыми расчетами первого критического периода, должны обеспечивать круглогодичное функционирование выпуска (в случае неограниченных запасов подземных вод) или его перемерзание после опорожнения трубопровода дрены и основного протяжения отводной линий (при недостаточных запасах грунтовых вод). При проектировании закрытого выпуска типа поглощающей траншеи производят гидравлические расчеты ее размеров по исходным данным зимнего критического периода. Конструкции и параметры отводной линии, обоснованные тепловыми расчетами второго критического периода, должны предотвратить недопустимые осадки вечномерзлого основания трубопровода. В качестве расчетных сроков первого критического периода следует принимать: для дренажей круглогодичного действия - период с конца января до середины марта; для дренажей периодического действия - период, когда расход дренажа уменьшается до 0,1 максимального (летнего) значения, либо срок промерзания грунта на глубину, составляющую 0,9 глубины заложения дрены. Расчетным сроком второго критического периода является начало октября. Тепловые и гидравлические расчеты дренажа выполняют в соответствии с приложением 3. 8.5. При устройстве дрены используют трубофильтры по ТУ 33-5-80 или перфорированные трубы с фильтрами. Для отводной линии рекомендуются асбоцементные водопроводные напорные трубы по ГОСТ 539-80, сочлененные с резиновым уплотнением либо эластичными пластмассовыми муфтами трубофильтров. При прокладке отводной линии в зоне действия подвижной нагрузки следует использовать стальные трубы. Смотровые колодцы, устраиваемые через 50-70 м по длине дренажа, должны быть сборными железобетонными с введением в их конструкцию противопучинных консистентных обмазок, наружной теплоизоляции и внутреннего отопления посредством 2-3 отсеков, разделенных деревянными крышками. Вводы трубопроводов в колодец выполняют с зазорами, заполненными эластичным уплотнением. Трубопровод открытого дренажного выпуска обваловывают местным грунтом. Утепляющий вал проектируют по окружности, проведенной из центра трубопровода радиусом, превышающим расчетную глубину промерзания грунта. Концевая часть вала оформляется в виде деревянной или шлакобетонной подпорной стенки. Сброс воды производят в открытую водоотводную канаву глубиной не менее 1,5 м. При этом расстояние от низа трубы до дна канавы должно превышать 0,5 м. При обосновании тепловыми расчетами в конструкцию выпускного оголовка могут вводиться поверхностная теплоизоляция вала и подпорной стенки, застенная теплоизоляция и обсыпка трубопровода теплоизолирующим материалом. Закрытый дренажный выпуск представляет собой траншею, заполненную каменным фильтром, укрытую тепловой изоляцией и обвалованную местным грунтом. Профиль траншеи принимают в виде трапеции. В качестве заполнителя используют камень, диаметр которого в центре траншеи должен составлять 10-15 см, а к периферии уменьшаться до размеров мелкого щебня. 9. ОРГАНИЗАЦИЯ И ОСНОВНЫЕ ПРАВИЛА ВЫПОЛНЕНИЯ РАБОТ9.1. Проект организации работ является составной частью технического проекта. 9.2. Работы выполняются по рабочим технологическим процессам специализированными подразделениями - путевыми машинными станциями (ПМС), колоннами ПМС и дистанций пути. Рабочие технологические процессы разрабатываются ремонтными подразделениями (в отдельных случаях проектными организациями) на основе проекта организации работ и типовых технологических процессов. 9.3. Для работы используют путеукладочные краны, струги, электробалластеры, хопперы-дозаторы, думпкары, бульдозеры, скреперы, автогрейдеры, экскаваторы, дреноукладочные машины и др. 9.4. При разработке технологических процессов и выполнении работ по ним необходимо руководствоваться изложенными ниже положениями. 9.5. Работы по сооружению противодеформационных конструкций разделяют на три вида: подготовительные; основные; заключительные. 9.6. Подготовительные работы. 9.6.1. В подготовительный период производят разбивку и закрепление на месте начала и конца сооружаемой противодеформационной конструкции, в том числе сопряжений и отводов от нее. В зависимости от выбранного способа производства работ и местных условий в подготовительный период регулируют зазоры, меняют негодные шпалы, подготавливают основание для укладки пути на обходе, углубляют кюветы, готовят место для работы бульдозеров или скреперов и т.п. При необходимости создают запас материалов для защитных слоев или подушки. Путевые сигнальные знаки относят за пределы габарита непосредственно перед «окном». 9.6.2. При устройстве тепло- или гидроизоляционного покрытия назначают места для раскладки рулонов пленки, нетканого материала или плит пенопласта. Плиты пенопласта раскраивают необходимых размеров, монтируют их в укрупненные блоки, маркируют и раскладывают в определенной последовательности. 9.6.3. Перед началом основных работ с помощью установленных на весь период «окна» нивелиров снимают существующие отметки верха шпал по оси пути в закрепленных через 10 м сечениях с тем, чтобы во время вырезки грунтов контролировать глубину этой вырезки до проектных отметок. Привязку оси разбираемого пути в этих закрепленных сечениях производят к второму пути или к временным забитым в стороне от пути колышкам. 9.7. Основные работы. 9.7.1. При сооружении врезных, комбинированных подушек или планировке основной площадки рельсошпальную решетку разбирают либо сдвигают (в случае устройства на время работ обхода) и производят вырезку грунта, частично заполняют котлован дренирующим грунтом или непучинистым материалом с разравниванием и уплотнением его. Путевую решетку укладывают или передвигают на место. После укладки пути производят дополнительную выгрузку материала и выполняют подъемку пути до создания проектной толщины противопучинной подушки. После каждой подъемки путь выправляют со сплошной подбивкой шпал. Затем выгружают балласт, поднимают путь и выправляют его в плане и профиле со сплошной подбивкой шпал электрошпалоподбойками. Выправка пути, поднятого на проектные отметки, может производиться выправочно-подбивочными машинами. Первые три поезда пропускают со скоростью не более 15 км/ч, а последующие - со скоростью не более 25 км/ч. Дальнейшее повышение скорости производят в зависимости от состояния пути. Примерный график производства работ в «окно» при устройстве врезных подушек или планировке основной площадки приведен на рис. 28. 9.7.2. При устройстве тепловой изоляции из пенопласта после снятия рельсошпальной решетки производят срезку грунта (балластных материалов) до проектных отметок и планировку основания. На двухпутных участках при возможности занятия второго пути срезку выполняют с помощью струга-снегоочистителя за несколько проходов. Отвод в разрабатываемый котлован с одной стороны устраивают непосредственно крылом струга, а с другой (в конце участка заезда) - бульдозером. Для возможности стыковки решетки при укладке и пропуска рабочих поездов отводы должны иметь дополнительный уклон не более 20% с плавными сопряжениями. На однопутных участках и при невозможности занятия смежного пути на двухпутных срезку грунта производят бульдозерами, скреперами или другими высокопроизводительными землеройными машинами. Количество машин определяется их производительностью и протяженностью фронта работ. После срезки грунта в предусмотренных проектом случаях устраивают нижний защитный слой, а затем укладывают плиты (блоки) пенопластового покрытия. В пределах сопряжений тепловой изоляции просветы заполняют балластными материалами на ширину рельсошпальной решетки до уровня верха пенопластового покрытия. Рельсошпальную решетку укладывают непосредственно на плиты (блоки) пенопласта.
Рис. 28. График производства основных
работ в «окно» при устройстве противопучинной подушки механизированным
способом: После укладки решетки выгружают песок или асбестовые отходы по всей длине шпалы для верхнего защитного слоя и с помощью электробалластера без струнок поднимают путь. Затем выгружают балластные материалы и производят подъемку пути до проектных отметок. Графики производства работ в «окна» при укладке тепловой изоляции из пенопласта представлены на рис. 29. 9.7.3. При устройстве гидроизоляционного покрытия подготовку основания под укладку полимерной пленки производят в соответствии с требованиями п. 9.7.2.
Рис. 29. Графики производства работ при устройстве тепловой
изоляции в «окно> совместно с капитальным ремонтом пути (а) и в самостоятельное «окно» (б): При применении в нижнем защитном слое нетканого материала производят его расстилку на спланированное основание и затем раскатывают полосы пленки, начиная с низовой стороны. Последующие полосы пленки должны перекрывать нижележащие предыдущие на величину не менее 10 см. Края покрытия вручную пригружают вырезанным балластным материалом во избежание смещения и укладывают на покрытие звенья рельсошпальной решетки. Из хопперов-дозаторов выгружают песок (асбестовые отходы) для верхнего защитного слоя и с помощью электробалластера без струнок поднимают путь. Последующие подъемки пути до проектной отметки производятся на материал нового балластного слоя. 9.7.4. После подъемок пути на участке тепловой изоляции из пенопластов и гидроизоляционного покрытия из полимерной пленки подбивку шпал выполняют электрошпалоподбойками; применение выправочно-подбивочных машин до создания проектной толщины балластного слоя не допускается. 9.7.5. Основные работы завершаются выправкой пути в плане и профиле и проверкой габарита. Пропуск поездов по месту работ осуществляют в соответствии с требованиями п. 9.7.1. 9.8. Заключительные работы выполняют во время обкатки пути поездами. В этот период выправляют путь, устанавливают путевые знаки, убирают и планируют вырезанный грунт, устраивают продольные водоотводы в соответствии с проектом и выполняют отделку балластной призмы. 9.9. Работы по устройству продольных дренажей для отвода воды от противодеформационных конструкций производят в соответствии с Технологическими указаниями по устройству дренажей механизированным способом. 9.10. На технологические процессы устройства противодеформационных конструкций составляют следующую документацию: состав бригад; ведомость потребных инструмента и машин; ведомость затрат труда и числа занятых рабочих, затрат времени и длительности работы машин при выполнении отдельных операций; схемы рабочих поездов с указанием их длины; графики производства работ в «окно»; описание процесса; распределение всех работ по дням с указанием исполнителей.
ПРИЛОЖЕНИЕ 1
| ||||||||||||||||||||||||||||||||||||||||||||||||||||||||||||||||||||||||||||||||||||||||||||||||||||||||||||||||||||||||||||||||||||||||||||||||||||||||||||||||||||||||||||||||||||||||||||||||||||||||||||||||||||||||||||||||||||||||||||||||||||||||||||||||||||||||||||||||||||||||||||||||||||||||||||||||||||||||||||||||||||||||||||||||||||||||||||||||||||||||||||||||||||||||||||||||||||||||||||||||||||||||||||||||||||||||||||||||||||||||||||||||||||||||||||||||||||||||||||||||||||||||||||||||||||||||||||||||||||||||||||||||||||||||||||||||||||||||||||||||||||||||||||||||||||||||||||||||||||||||||||||||||||||||||||||||||||||||||||||||||||||||||||||||||||||||||||||||||||||||||||||||||||||||||||||||||||||||||||||||||||||||||||||||||||||||||||||||||||||||||||||||||||||||||||||||||||||||
|
Длина хода, м |
100 |
200 |
300 |
400 |
500 |
600 |
700 |
|
Величина невязки, мм
|
±4 |
±6 |
±7 |
±8 |
±9 |
±10 |
±11 |
|
Длина хода, м |
800 |
1000 |
1200 |
1400 |
1600 |
1800 |
2000 |
|
Величина невязки, мм |
±12 |
±13 |
±14 |
±15 |
±16 |
±17 |
±18 |
При получении допустимой невязки производят ее разгонку по
точкам. Поправка к точке хода
, где ∆h- невязка хода; п -
число точек хода без одной; i - номер
точки. Точками хода следует считать начальную (репер), связующие и конечную.
При невязке более допустимой величины выполняют повторное нивелирование.
В период максимального промерзания грунтов при первом нивелировании в местах установки рейки (точках нивелирования) замеряют толщину пучинных и типовых подкладок между рельсом и металлической подкладкой и между этой подкладкой и шпалой. Если в промежутке между точками нивелирования толщина уложенных пучинных подкладок резко изменяется, то их замеряют на всех шпалах этого промежутка. При втором, летнем, нивелировании также фиксируют толщину подкладок под рельсами, отмечая изменение этой величины за период между нивелированиями.
Данные, получаемые при нивелировании, замере пучинных и типовых подкладок, записывают в специальные журналы. В журнал технического нивелирования заносят соответствующие плановые привязки, отсчеты по рейкам и вычисленные условные отметки (форма 1). Сведения о толщине типовых и пучинных подкладок заносят в журнал по форме 2.
По результатам первого нивелирования вычерчивают продольный профиль пути по каждой рельсовой нити в масштабах: горизонтальном 1:500 и вертикальном 1:5. На профиль в соответствующем масштабе наносят зафиксированные пучинные подкладки. После проведения второго нивелирования отметки пути, соответствующие летнему положению, накладывают на имеющийся профиль. На совмещенном продольном профиле пути указывают численную величину морозного пучения в каждой точке, определяя ее как разность отметок первого и второго нивелирования за вычетом разности толщин подкладок, зафиксированных при этих нивелированиях. Образец, совмещенного продольного микропрофиля пути приведен на рис. П.1.

Рис. П.1. Продольный профиль пучинного
участка пути с примером размещения створов выработок для
инженерно-геологического обследования:
1 - положение пути летом; 2 - то же зимой в период максимального промерзания; 3
- размещение пучинных подкладок
Журнал технического нивелирования
|
Объект 105 км линии |
|
железная дорога. Дата 13 марта 19___ г. |
|
Номер станции |
Номер точек, реперов |
Привязка реперов, точек, станций (ПК+…) |
Расчеты по рейке |
Горизонт нивелирования |
Условные отметки |
Примечания |
||||||
|
Путь |
Путь |
|||||||||||
|
I (левый) |
II (правый) |
I (левый) |
II (правый) |
|||||||||
|
Нити рельсов |
Нити рельсов |
|||||||||||
|
левая |
правая |
левая |
правая |
левая |
правая |
левая |
правая |
|||||
|
I |
RpI |
ПК1+99,2 |
|
01811 |
|
|
10811 |
|
10000 |
|
RpI - репер на выработанной горизонтальной площадке в фундаменте опоры путепровода, условная отметка - 10000. Рельсы длиной 25,0 м, стык - ПК2+48,1 (г. 10+2,5) |
|
|
- |
ПК2+43 |
- |
- |
- |
- |
- |
- |
- |
- |
|||
|
10 |
ПК2+45,6 |
0528 |
0529 |
0591 |
0591 |
10283 |
10282 |
10220 |
10220 |
|||
|
11 |
|
0542 |
0640 |
0602 |
0602 |
10269 |
10271 |
10209 |
10209 |
|||
|
12 |
|
0556 |
0554 |
0609 |
0608 |
102561 |
10257 |
10202 |
10203 |
|||
|
13 |
|
0561 |
0555 |
0611 |
0611 |
10250 |
10256 |
10200 |
10200 |
|||
|
14 |
|
0570 |
0566 |
0625 |
0624 |
10241 |
10245 |
10186 |
10187 |
|||
|
15 |
|
0584 |
0580 |
0642 |
0640 |
10227 |
10231 |
10169 |
10171 |
|||
|
16 |
|
0598 |
0595 |
0658 |
0656 |
10213 |
10216 |
10153 |
10155 |
|||
|
17 |
|
0611 |
0610 |
0671 |
0668 |
10200 |
10201 |
10140 |
10143 |
|||
|
18 |
|
0619 |
0618 |
0683 |
0681 |
10192 |
10193 |
10128 |
10130 |
|||
|
Объект 105 км линии |
|
железная дорога. Дата 13 марта 19___ г. |
Журнал для записи замеров толщины пучинных и типовых подкладок
|
Номер пути |
Номер точки |
Привязка точек (ПК+...) |
Суммарная толщина пучинных и типовых подкладок по левой (л) и правой (п) рельсовым нитям, мм |
Номер точки |
|||||||||||||||||||||
|
под точкой |
Над шпалами в промежутке между точками нивелирования |
||||||||||||||||||||||||
|
1 |
2 |
3 |
4 |
5 |
6 |
7 |
8 |
9 |
10 |
||||||||||||||||
|
л |
п |
л |
п |
л |
п |
л |
п |
л |
п |
л |
п |
л |
п |
л |
п |
л |
п |
л |
п |
л |
п |
||||
|
1 |
10 |
ПК2+45,6 |
8 |
4 |
5 |
3 |
5 |
3 |
3 |
0 |
0 |
0 |
0 |
0 |
0 |
0 |
0 |
0 |
0 |
0 |
0 |
0 |
- |
- |
11 |
|
|
11 |
|
5 |
5 |
7 |
8 |
8 |
10 |
10 |
12 |
14 |
16 |
17 |
19 |
20 |
22 |
24 |
26 |
26 |
28 |
26 |
30 |
- |
- |
12 |
|
|
12 |
|
27 |
32 |
28 |
34 |
29 |
33 |
30 |
33 |
30 |
35 |
30 |
35 |
30 |
35 |
26 |
30 |
24 |
28 |
21 |
25 |
- |
- |
13 |
|
|
13 |
|
17 |
20 |
15 |
18 |
12 |
14 |
9 |
12 |
7 |
7 |
5 |
3 |
3 |
0 |
0 |
0 |
0 |
0 |
0 |
0 |
- |
- |
14 |
|
|
14 |
|
0 |
0 |
0 |
0 |
0 |
3 |
3 |
6 |
4 |
8 |
7 |
10 |
7 |
10 |
12 |
15 |
13 |
16 |
20 |
25 |
- |
- |
15 |
|
|
15 |
|
25 |
30 |
26 |
31 |
31 |
38 |
34 |
40 |
38 |
42 |
38 |
42 |
40 |
45 |
40 |
45 |
38 |
45 |
37 |
45 |
- |
- |
16 |
|
|
16 |
|
35 |
40 |
30 |
35 |
23 |
33 |
25 |
28 |
22 |
25 |
18 |
20 |
14 |
14 |
10 |
10 |
8 |
8 |
5 |
5 |
- |
- |
17 |
|
|
17 |
|
3 |
3 |
0 |
0 |
0 |
0 |
0 |
0 |
0 |
0 |
0 |
0 |
0 |
0 |
0 |
0 |
0 |
0 |
0 |
0 |
- |
- |
18 |
|
|
18 |
|
0 |
0 |
0 |
0 |
0 |
0 |
0 |
0 |
0 |
0 |
0 |
0 |
0 |
0 |
0 |
0 |
0 |
0 |
0 |
0 |
- |
- |
19 |
По полученному профилю устанавливают протяженность неравномерно-деформируемого участка, характер изменения величины пучения (вид пучин) на этом участке и величину равномерного пучения за его пределами. По профилю также определяют месторасположение и необходимое количество геологических выработок в соответствии с требованиями главы 2.
При устройстве пересечений земляного полотна трубопроводами различного назначения необходимо соблюдать следующие основные требования.
Рабочий трубопровод под железнодорожными путями должен быть заключен в защитную трубу (канал, тоннель). Длина защитной трубы (канала, тоннеля) должна приниматься не менее чем на 3 м больше размеров, пересекаемого земляного полотна (в каждую сторону).
В конструкции переходов следует предусматривать возможность периодических осмотров, текущего ремонта, отключения и опорожнения трубопроводов. Открытый способ проходки, как правило, не допускается.
При уширении земляного полотна рабочий трубопровод в месте пересечения заключают в защитную трубу.
Трубопроводы располагают под полотном железной дороги вне горловин; станций на расстоянии от стрелочных переводов и других пересечений пути более 20 м. Минимальное расстояние от трубопровода до искусственных сооружений (мосты, водопропускные трубы и др.) должно быть не менее 30 м.
Расстояние по вертикали от верха защитной трубы (канала, тоннеля) до подошвы рельсов железных дорог следует принимать не менее 2 м, до дна кювета или других водоотводных сооружений или до основания насыпи: железнодорожного земляного полотна - не менее 0,5 м.
Заглубление трубопроводов, пересекающих земляное полотно, сложенное пучинистыми грунтами, должно определяться расчетом из условий, при которых исключается влияние тепловыделений на равномерность морозного пучения грунта. При невозможности обеспечить заданный температурный режим за счет заглубления трубопроводов должна предусматриваться вентиляция защитной трубы (канала, тоннеля), замена пучинистого грунта на участке пересечения, устройство тепловой изоляции из пенопласта или надземная прокладка трубопровода.
Тепловые расчеты первого (зимнего) критического периода (см. п. 8.4) выполняют в следующем порядке.
1. Определяют термическое сопротивление трубопровода отводной линии, °С·ч·м/ккал:
|
|
(П.1) |
где λм - коэффициент теплопроводности мерзлого грунта, ккал/(м·ч·°С); hпp - приведенная глубина заложения трубопровода на участке отводной линии;
;
h - глубина заложения трубопровода от поверхности земли, м; δсн; λсн - толщина, м, и коэффициент теплопроводности снежного покрова; δиз; λиз - толщина, м, и коэффициент теплопроводности слоя теплоизоляции траншеи; dт - диаметр талика вокруг трубопровода, м; D - наружный диаметр трубопровода, м; λт - коэффициент теплопроводности талого грунта, ккал/(м·ч·°С).
2. Назначают вариант открытого выпуска с конструкцией оголовка по схеме рис. П.2 (трубопровод под обваловкой со скошенным торцом и подпорной стенкой со стороны водоотводной канавы). Размеры этой конструкции выпуского оголовка определяют из условия
Rв≥R,
где Rв - термическое сопротивление трубопровода на участке выпуска;
|
|
(П.2) |
Rв(oб) - термическое сопротивление теплопередаче в атмосферу через обваловку трубопровода, °С·ч·м/ккал; βэф - эффективный угол рассеивания тепла трубопровода в атмосферу, учитывающий влияние подпорной стенки, град; Rвн - сопротивление теплопередаче подземного трубопровода в окружающий грунт, °С·ч·м/ккал.
Величину Rв(об) определяют по формуле
|
|
(П.3) |
где δ'г, δиз.к, δсн - толщина слоя соответственно грунта, наружной теплоизоляции конструкции и снега, порядок определения которых показан на рис. П.2; α - коэффициент теплоотдачи поверхности, принимаемый равным 20 ккал/(м2·ч·°С).

Рис. П.2. Схемы к тепловому расчету дренажа:
а - конструкция оголовка выпуска
открытого типа; б-схема определения
угла
1 -трубопровод; 2 - теплоизоляция трубы; 3 - грунт обваловки; 4 - теплоизоляция
обваловки; 5, 6 -застенная и съемная теплоизоляция; 7 - подпорная стенка; 8 -
откос водоотводной канавы; 9 - откос земляного валика; 10 - снежный покров
Величину Rвн определяют по формуле
|
|
(П.4) |
где hвпр - приведенная глубина заложения трубопровода на выпуске, м;
;
dиз.т - наружный диаметр теплоизоляции трубопровода, м; λπ - коэффициент теплопроводности льда, ккал/(м·ч·°С); Dπ - диаметр живого сечения водного потока трубопровода, оледеневающего на участке lв;
0,02÷0,03 м;
Q - расход дренажа в расчетный период, м3/с; iв - гидравлический уклон напорного оледеневшего трубопровода на выпуске;
iв≤il/lв,
i - уклон местности по трассе отводной линии; l - полная длина трубопровода отводной линии, м; lв - длина конструкции выпуска, в пределах которой возможно внутреннее оледенение трубопровода отводной линии, м: lв= 2H (H -максимальная высота обваловки трубопровода).
Эффективный угол
,
где β - фактический угол рассеивания, определяемый графическим построением по схеме (см. рис. П.2); К - коэффициент влияния подпорной стенки;
|
|
(П.5) |
Fст - площадь поверхности подпорной стенки, вступающей в теплообмен с атмосферой, м2; Rст - сопротивление теплопередаче через плоскую стенку, °С·ч м2/ккал;
|
|
(П.6) |
3. По расходу и температуре воды в дренаже, соответствующим зимнему критическому периоду, определяют длину отводной линии l. С этой целью методом последовательных приближений решают относительно l уравнение
|
|
(П.7) |
где tвып - температура воды на выпуске, °С; K1, K2 - размерные коэффициенты, равные 4,684 ккал/м4 и 1000 ккал/(м3·°С); Q - расход дренажа, м3/ч; tдрен - температура воды в дренаже, °С; tг - температура грунта в естественных условиях на глубине заложения оси трубопровода отводной линии, °С; tcp - температура среды трубопровода на выпуске, °С.
Температуру воды на выпуске задают в пределах от 0,05 до 0,1 °С. Средняя температура среды трубопровода на выпуске
|
|
(П.8) |
где tв - температура воздуха в расчетный период, °С; tгв - температура грунта на глубине заложения трубопровода выпуска, °С.
Значения температуры грунта tг на глубине h заложения трубопровода отводной линии и tгв на глубине δ'г заложения трубопровода выпуска можно определить, руководствуясь рекомендациями раздела 5 Пособия по теплотехническим расчетам санитарно-технических сетей, прокладываемых в вечномерзлых грунтах (М.: Стройиздат, 1971. 73 с).
Если при различных вариантах значений расчетных параметров, входящих в формулу (П.7), длина отводной линии не превышает 5-10 м и по условиям местности устройство открытого выпуска на этом расстоянии оказывается неудобным, переходят к проектированию закрытого выпуска типа поглощающей траншеи, заполненной обратным каменным фильтром.
Гидравлические расчеты закрытого выпуска выполняют с целью определения размеров поглощающей траншеи. Траншея должна поглощать расход воды, сбрасываемой дренажем в критический период. При этом учитывают увеличение свободной пористости грунта и возрастание потерь воды траншеей в грунт по мере снижения уровня грунтовых вод в связи с прекращением их инфильтрационного питания. Площадь поперечного сечения траншеи, м2,
|
|
(П.9) |
где Qmax - максимальный (летний) расход дренажа, м3/с; Кз - коэффициент фильтрации заполнителя траншеи, м/с; i -уклон дна траншеи.
Длина фронта поглощения, м,
|
|
(П.10) |
где η - превышение уреза воды в траншее над уровнем грунтовых вод, м; Qmax - максимальный расход, м3/сут; τ - время, прошедшее с 1 октября-до наступления расчетного периода, сут; φ - коэффициент, определяемый по формуле

ρ - коэффициент, зависящий от H/η принимаемый осредненным за период τ;
|
H/η |
0 |
1 |
2 |
3 |
4 |
5 |
|
ρ |
0,7 |
1,05 |
1,35 |
1,6 |
1,8 |
2,0 |
Н - мощность водоносного горизонта, м; μ - дефицит насыщения;
;
ρs - плотность частиц грунта; ρd - плотность сухого грунта; ω - влажность грунта в долях единицы; ρω - плотность воды; Кф - коэффициент фильтрации грунта, м/сут.
Тепловые расчеты отводной линии, выполняемые для второго (осеннего) критического периода, производят с целью определения зоны возможного развития просадочных деформаций вечномерзлого основания трубопровода. Радиус талика, м, формирующегося вокруг трубопровода, находят из выражения
|
|
(П.11) |
где A=λтt; B=λмtг; t - температура воды в трубопроводе, значение которой в любом сечении может быть определено по Пособию по теплотехническим расчетам санитарно-технических сетей, прокладываемых в вечномерзлых грунтах.
Примеры расчета. 1. Выполним тепловые расчеты первого (зимнего) критического периода. Определим по формуле (П.1) термическое сопротивление трубопровода отводной линии. Принимаем λм=2 ккал/(м·ч·°С); h=2 м; D=0,l м. Значения остальных величин ясны из приводимых ниже выражений.
м;
°С
ч·м/ккал.
Определим Rв, для чего приведем предварительные вычисления. Из формулы (П.3)

Из формулы (П.4):
![]()
;
Dл=0,02 м.
Из формулы (П.5)
м.
Из формулы (П.6)
![]()
Вычисляем по формуле (П.2) на основе полученных данных значение Rв:
.
Rв=0,756° С м ч/ккал.
Таким образом, при принятых параметрах конструкции входного оголовка выполнено условие Rв≥R.
Определим по формуле (П.7) длину отводной линии. На основе данных инженерно-геологического обследования установлено: Q=0,12 м3/ч; tдрен=0,3°С; tв=-12,1 °С. Принимаем i=0,l; lв=4 м; tвып=0,1 °С. Расчетом найдены значения tг=-4,2 °С и tг=-9,5 °С.
Определим по формуле (П.8)
.
После подстановки имеющихся расчетных данных добиваемся соблюдения равенства (П.7), изменяя значение l. При l=10,5 м имеем:
![]()
После вычисления получаем 0,1-1,05=0,3-1,25. Таким образом, в результате расчета длина отводной линии получена равной l=10,5 м, что удовлетворяет поставленному условию. Вариант открытого выпуска принимается в проекте как окончательный.
2. Выполним гидравлические расчеты закрытого выпуска для случая, когда устройство открытого выпуска невозможно. По данным обследования критический расход воды Qкp=0,lQmax. Максимальный (летний) расход дренажа равен Qmax=0,8·10-4 м3/с=6,9 м3/сут. Мощность водоносного горизонта H=l,5 м; μ =2,5 м. Коэффициенты фильтрации К3=3,5·10-4 м/с и Кф=0,1 м/сут.
Площадь поперечного сечения траншеи определим по формуле (П.9)
.
Для H/η=0,6 находим коэффициент ρ=0,9.
Определим коэффициенты η и φ:
;
.
Длина фронта поглощения по формуле (П.10)
.
3. Выполним тепловые расчеты для осеннего критического периода для варианта с закрытым выпуском при Rт=0,02 м hпр=3 м.
Температура воды в трубопроводе, определенная расчетом по Пособию по теплотехническим расчетам, t=1,5 °С; температура грунта tг=-0,4 °С.
Находим: А=1,8·1,5=2,7; В=2(-0,4)=-0,8.
Определим радиус талика по формуле (П.11)
;
rт=1,6 м.
Установленный размер талика вокруг трубопровода допустим в данных мерзлотно-грунтовых условиях.
|
|
|
|