//
|
|
ОТКРЫТОЕ АКЦИОНЕРНОЕ ОБЩЕСТВО ЦЕНТРальный научно-исследовательский И ПРОЕКТНО-ЭКСПЕРИМЕНТАЛЬНЫЙ ИНСТИТУТ промышленных зданий и сооруженийОАО ЦНИИПРОМЗДАНИЙКомплектные системы КНАУФ. Полы по железобетонным перекрытиям со сборной стяжкой из гипсоволокнистых листов для жилых и общественных зданий Материалы для проектирования и рабочие чертежи узловМ 28.06/04
Москва 2004Содержание
| ||||||||||||||||||||||||||||||||||||||||||||||||||||||||||||||||||||||||||||||||||||||||||||||||||||||||||||||||||||||||||||||||||||||||||||||||||||||||||||||||||||||||||||||||||||||||||||||||||||||||||||||||||||||||||||||||||||||||||||||||||||||||||||||||||||||||||||||||||||||||||||||||||||||||||||||||||||||||||||||||||||||||||||||||||||||||||||||||||||||||||||||||||||||||||||||||||||||||||||||||||||||||||||||||||||||||||||||||||||||||||||||||||||||||||||||||||||||||||||||||||||||||||||||||||||||||||||||||||||||||||||||||||||||||||||||||||||||||||||||||||||||||||||||||||||||||||||||||||||||||||||||||||||||||||||||||||||||||||||||||||||||||||||||||||||||||||||||||||||||||||||||||||||||||||||||||||||||||||||||||||||||||||||||||||||||||||||||||||||||||||||||||||||||||||||||||||||||||||||||||||||||||||||||||||||||||||||||||||||||||||||||||||||||||||||||||||||||||||||||||||||||||||||||||||||||||||||||||||||||||||||||||||||||||||||||||||||||||||||||||||||||||||||||||||||||||||||||||||||||
|
№№ п/п |
Наименование материалов, ГОСТ, ТУ |
Масса |
Назначение в конструкции пола |
|
|
кг/м |
кг/м |
|||
|
1 |
Изделия паркетные. Паркет штучный. ГОСТ 862.1-85 |
800 |
- |
Покрытие пола |
|
2 |
Изделия паркетные. Доски паркетные. ГОСТ 862.3-86 |
600 |
- |
Покрытие пола |
|
3 |
Линолеум поливинилхлоридный на теплозвукоизолирующей подоснове. ГОСТ 18108-80 |
- |
5,0 |
Покрытие пола |
|
4 |
Ковры сварные из поливинилхлоридного линолеума на теплозвукоизолирующей подоснове. ГОСТ 27023-86* |
- |
5,0 |
Покрытие пола |
|
5 |
Плитки поливинилхлоридные для полов. ГОСТ 16475-81 |
- |
3,3 |
Покрытие пола |
|
6 |
Покрытие для полов рулонное на основе химических волокон. ГОСТ 26149-84* |
- |
2,0 |
Покрытие пола |
|
7 |
Плитки керамические для полов ГОСТ 6787-90 |
- |
31 |
Покрытие пола |
|
8 |
Плитки из природного камня ГОСТ 9480-89 |
1700-3300 |
- |
Покрытие пола |
|
9 |
Мастики клеящие каучуковые ГОСТ 24064-80 |
1000-1100 |
- |
Приклейка покрытий полов из паркета |
|
10 |
Мастики строительные полимерные клеящие латексные ГОСТ 30307-95 |
1000-1100 |
- |
Приклейка линолеума, ковров из синтетических волокон, соединение паркетных досок и ламината между собой в шпунт |
|
11 |
Грунтовка «КНАУФ-Тифенгрунд» ТУ 5772-031-04001508-2004 |
1000 |
- |
Обработка поверхности ГВЛ с целью улучшения адгезии |
|
12 |
Мастика гидроизоляционная эмульсионная битумно-полимерная ТУ5775-010-42789835-01 |
1000-1100 |
- |
Гидроизоляция стяжки |
|
13 |
Лента герметизирующая самоклеящаяся «ЛИПС» ТУ 2245-001-12963867-95 |
- |
- |
Гидроизоляция примыканий стяжки к ограждающим конструкциям |
|
14 |
Плиточный клей «КНАУФ-Флизенклебер» ТУ 5745-01204001508-2004 |
- |
2,5-4,5 |
Приклейка керамических плиток и плиток из природного камня |
|
15 |
Тлиточный клей эластичный «КНАУФ-Флексклебер» ТУ 5745-01204001508-2004 |
- |
2,5-4,5 |
Приклейка керамических плиток и плиток из природного камня |
|
16 |
Плиточный клей быстротвердеющий «КНАУФ-Шнельклебер» ТУ 5745-01204001508-2004 |
- |
1,9-3,7 |
Приклейка керамических плиток и плиток из природного и искусственного камня |
|
17 |
Плиточный клей «КНАУФ-Марморклебер» ТУ 5745-01204001508-2004 |
- |
1,7-3,3 |
Приклейка плит из мрамора и полупрозрачной плитки (стекломозаики) |
|
18 |
Материал рулонный кровельный и гидроизоляционный ТУ 400-1-409-5-92 |
- |
2,5-3,5 |
Гидроизоляция полов |
|
19 |
Шпаклёвка «КНАУФ-Фугенфюллер ГВ» ТУ 5744-008-03515377-02 или ТУ 5745-003-05800969-02 |
1200 |
|
Заделка стыков в сборной стяжке и мест установки винтов |
|
20 |
Гипсоволокнистые листы влагостойкие малоформатные ГОСТ Р 51829-2001 |
1200 |
- |
Сборная стяжка из отдельных листов |
|
21 |
Элементы пола из гипсоволокнистых влагостойких малоформатных листов ТУ 5742-007-03515377-97 или ТУ 5742-004-05800968-04 |
1200 |
- |
Сборная стяжка из элементов заводской готовности |
|
22 |
Мастика клеящая ТУ 2384-0003-365379-56-00 |
1000-1100 |
|
Склеивание отдельных листов и фальцев элементов сборной стяжки |
|
23 |
Винты самонарезающие стальные термически обработанные ГОСТ Р ИСО 2702-93 |
|
|
Крепление отдельных листов и фальцев элементов сборной стяжки |
|
24 |
Кромочная лента из вспененного полиэтилена ТУ 2244-069-04696843-03 |
30 |
- |
Отделка примыканий полов к стенам и ограждающим конструкциям |
|
25 |
Минераловатные плиты ТУ 5763-001-56846022-03 |
100 |
- |
Тепло-звукоизоляция |
|
26 |
Плиты пенополистирольные ГОСТ 15588-86 |
20 |
- |
Тепло-звукоизоляция |
|
27 |
Плиты пенополистирольные «KNAUF Therm» ТУ 2244-003-50934765-2002 |
20 |
- |
Тепло-звукоизоляция |
|
28 |
Иглопробивные маты из минеральных волокон ТУ РБ 3000059047/049-2002 |
150 |
- |
Тепло-звукоизоляция |
|
29 |
Вспененный полиэтилен ТУ 2291 -009-0399049-96 |
30 |
- |
Тепло-звукоизоляция |
|
30 |
Сухая засыпка ТУ 5767-001-587-46-С6-1-04 |
500-800 |
- |
Выравнивающие слои, тепло-звукоизоляция |
|
31 |
Плёнка полиэтиленовая ГОСТ 10354-82* |
|
- |
Пароизоляция по железобетонным плитам перекрытий |
|
32 |
Растворы строительные ГОСТ 28013-98 |
1800 |
- |
Заделка зазоров между плитами, мест примыканий перекрытий к стенам, перегородкам, трубам |
|
33 |
Детали профильные из древесины и древесных материалов для строительства ГОСТ 8242-88 |
600 |
- |
Плинтус |
|
34 |
Изделия погонажные профильные поливинилхлоридные ГОСТ 19111-77 |
600 |
- |
Плинтус |
3.2 В качестве основания под покрытия пола предусмотрена сборная стяжка из влагостойких гипсоволокнистых листов ГВЛВ (ГОСТ Р 51829-2001) общей толщиной 20 мм, монтируемая из:
а) двух отдельных малоформатных листов размером 1500×1200×10 мм;
б) готовых элементов стяжки (производственная марка «элемент пола») выполненных из двух малоформатных гипсоволокнистых листов, склеенных между собой в заводских условиях со смещением относительно друг друга на 50 мм (ТУ 5742-007-03515377-97 или ТУ 5742-004-05800968-04).
3.3Форма и номинальные размеры элементов пола и малоформатных ГВЛВ приведены на рис. 1.
Предельные отклонения от номинальных размеров ГВЛВ не должны превышать: по длине и ширине 0; -3 мм, по толщине ± 0,3 мм; отклонения от прямоугольности не должны быть более 4 мм.
Предельные отклонения элементов пола не должны превышать для отдельного листа: по длине ± 1,5 мм, по ширине ± 1,0 мм, а по толщине элемента +0,6; -0,1 мм. Разность длин диагоналей ± 3,0 мм.
Отклонения плоскости (покоробленность) ГВЛВ и элементов пола ограничивается не более 1,0 мм на длине 1000 мм.

3.4 Пожарно-технические характеристики ГВЛВ и физико-технические характеристики стяжек представлены в табл. 3.2 и 3.3 соответственно.
|
Группа горючести по ГОСТ 30244-94 |
Г1 |
|
Группа воспламеняемости по ГОСТ 30402-96 |
В1 |
|
Группа дымообразующей способности по ГОСТ 12.1.044-89 |
Д1 |
|
Группа токсичности по ГОСТ 12.1.044-89 |
Т1 |
|
Группа распространения пламени по ГОСТ Р 51032-97 |
РП1 |
|
Показатель |
Величина показателя |
|
Плотность, кг/м3 |
1160±40 |
|
Масса 1 м2, кг |
около 24 |
|
Предел прочности при сжатии, МПа |
не менее 22 |
|
Предел прочности при изгибе, МПа |
не менее 5 |
|
Предел прочности клеевого соединения при отрыве, МПа |
не менее 0,4 |
|
Поверхностное водопоглощение, кг/м |
менее 1,0 |
|
Набухание в воде по толщине через 24 ч, % |
менее 1,8 |
|
Теплопроводность, Вт/м·°С |
от 0,22 до 0,36 |
|
Коэффициент теплоусвоения, Вт/(м2·°С) |
от 5,0 до 6,2 |
|
Коэффициент паропроницаемости, Мг/м·ч·Па |
0,12 |
|
Удельная эффективная активность естественных радионуклидов Бк/кг |
менее 370 |
3.5 Пожарно-технические характеристики сборных стяжек из элементов пола и малоформатных ГВЛВ тождественны соответствующим показателям ГВЛВ.
3.6 В качестве звукоизоляционного слоя предусмотрено применение минераловатных плит (ТУ 5763-001-56846022-03), плит пенополистирольных (ГОСТ 15588-86), иглопробивных матов из минеральных волокон (ТУ РБ 3000059047/049-2002) и вспененного полиэтилена (ТУ 2291-009-0399049-96), а в качестве выравнивающего и звукоизоляционного слоя - сухих засыпок из минеральных песков природного или искусственного происхождения (ТУ 5767-001-587-46-66-1-04).
3.7 Характеристики пористо-волокнистых и вспененных звукоизолирующих материалов представлены в табл.3.4.
|
Виды, марки материалов ГОСТ (ТУ) |
Плотность γ, кг/м3 |
Динамический модуль упругости Ед, МПа при нагрузке 2000 Па |
Динамическая жесткость S, МПа/м |
|
1.Плиты минераловатные ГОСТ 12.1.007; ТУ 5763-001-56846022-03 |
100 |
0,55 |
27,5 |
|
2.Иглопробивные маты из минеральных волокон ТУ РБ 3000059047/049-2002 |
150 |
0,45 |
41 |
|
3.Плиты пенополистрольные ГОСТ 15588-86 или ТУ 2244-003-50934765-2002 |
20 |
1,3 |
43 |
|
4.Вспененный полиэтилен ТУ 2291-009-0399049-96 |
30 |
0,26 |
32,5 |
3.8 Сухая засыпка (ТУ 5767-001-587-46-66-1-04) изготавливается в производственных условиях путем гранулометрического подбора минерального песка природного или искусственного происхождения. Она должна иметь частицы размером до 5 мм. Содержание пылевидных частиц должно составлять не более 10%, содержание глинистых или илистых частиц, а также органических частиц не допускается. Прочность при сжатии (при сжатии в цилиндре) должна быть не менее 2,5 МПа, а относительное сжатие сухой засыпки при распределённой нагрузке, действующей на покрытие пола, равной 500 кг/м2, не более 5%.
3.9 В конструкциях полов со сборными стяжками из гипсоволокнистых листов могут использоваться и другие тепло-звукоизолирующие материалы, являющиеся аналогами и с величинами технических показателей, соответствующими приведённым в таблице 3.4.
4.1 Конструктивные решения разработаны для полов по перекрытиям из монолитного железобетона, сплошных железобетонных плит толщиной 140, 160, 180 и 200 мм и многопустотных железобетонных плит толщиной 220 мм.
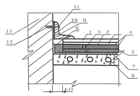
4.2 Конструкции полов в помещениях с нормируемыми показателями звукоизоляции представлены в четырех вариантах:
«Альфа» - со стяжкой из гипсоволокнистых листов по перекрытию с ровной поверхностью;
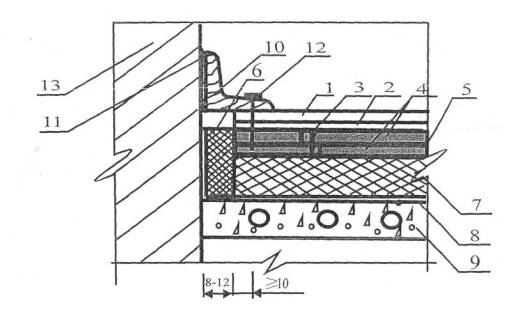
«Бета» - со стяжкой из гипсоволокнистых листов на слое из эффективных звуко-теплоизолирующих пористоволокнистых (минераловатных плит, иглопробивных матов типа «Вибросил-Е» или вспененных (вспененного полиэтилена типа «Вилатерм, вспененного полистирола) материалов по перекрытию с ровной поверхностью;
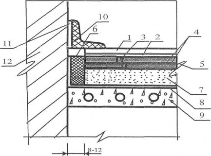
«Вега» - со стяжкой из гипсоволокнистых листов по выравнивающему и звукоизолирующему слою сухой засыпки;
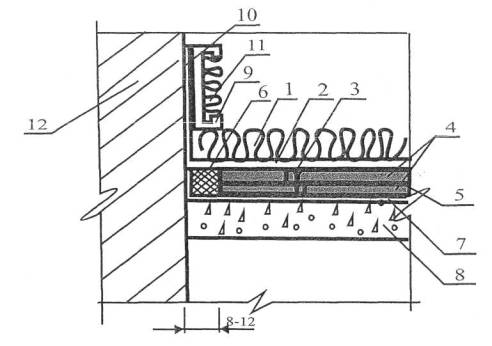
«Гамма» - со стяжкой из гипсоволокнистых листов на слое из эффективных звуко-теплоизолирующих пористоволокнистых или вспененных материалов с прослойкой из гипсоволокнистых листов по выравнивающему и звукоизолирующему слою сухой засыпки.
4.3 Выбор типа конструкции и тепло-звукоизоляционного материала осуществляется с учётом требований СНиП 23-03-2003 (табл. 4.1) по фактическим показателям шумопонижения конструкций по монолитным и сплошным плитам перекрытий (таблица 4.2) и по многопустотным плитам перекрытий (таблица 4.3).
4.4 Толщина слоя тепло-звукоизоляции в помещениях с трубопроводами принимается с учётом необходимости их укрытия и размещения защитных элементов (кожухов, коробов и т.п.). Она должна превышает диаметр трубы не менее чем на 15 мм.
4.5 В помещениях, расположенных над арками и не отапливаемыми помещениями или подвалами, толщина теплоизоляционного слоя определяется из условия обеспечения термического сопротивления слоя утеплителя не менее термического сопротивления наружной стены. Требуемая толщина данного слоя устанавливается расчётом в соответствии с указаниями СНиП 23-02-2003.
4.6 При толщине засыпного тепло-звукоизоляционного слоя более 100 мм для распределения сосредоточенных точечных нагрузок под сборную стяжку укладывают прослойку из гипсоволокнистых листов толщиной не менее 10 мм. Такая же прослойка укладывается между тепло-звукоизолирующими пористо-волокнистыми матами или вспененными плитами и сухими засыпками.
|
Наименование и расположение ограждающей конструкции |
Индекс изоляции воздушного шума Rw в дБ, не менее
|
Индекс приведённого уровня ударного шума Lnw в дБ, не более |
|
Жилые здания |
|
|
|
|
1. Перекрытия между помещениями квартир и отделяющие помещения квартир от холлов, лестничных клеток и используемых чердачных помещений |
|||
|
в домах категории А |
54 |
55 |
|
|
в домах категории Б |
52 |
58 |
|
|
в домах категории В |
50 |
60 |
|
|
2.Перекрытия между помещениями квартир расположенными под ними магазинами |
|
|
|
|
в домах категории А |
59 |
55 |
|
|
в домах категории Б и В |
57 |
58 |
|
|
3. Перекрытия между комнатами в квартире в двухуровнях |
|
|
|
|
в домах категории А |
47 |
63 |
|
|
в домах категории Б |
45 |
66 |
|
|
в домах категории В |
43 |
68 |
|
|
4. Перекрытия между жилыми помещениями общежитий |
50 |
60 |
|
|
5. Перекрытия, отделяющие помещения культурнобытового обслуживания общежитий друг от друга и от помещений общего пользования (холлы, вестибюли и пр.) |
47 |
65 |
|
|
6. Перекрытия между помещениями квартиры и расположенными под ними ресторанами, кафе, спортивными залами |
|
|
|
|
в домах категории А |
62 |
55 |
|
|
в домах категории Б и В |
60 |
58 |
|
|
7. Перекрытия между помещениями квартиры и расположенными под ними административными помещениями, офисами |
|
|
|
|
в домах категории А |
52 |
58 |
|
|
в домах категории Б и В |
50 |
60 |
|
Гостиницы |
|
|
|
|
8. Перекрытия между номерами: |
|
|
|
|
категории А |
52 |
57 |
|
|
категории Б |
50 |
60 |
|
|
категории В |
48 |
62 |
|
|
9. Перекрытия, отделяющие номера от помещений общего пользования (вестибюли, холлы, буфеты): |
|
|
|
|
категории А |
54 |
55 |
|
|
категории Б и В |
52 |
58 |
|
|
10. Перекрытия, отделяющие номера от помещений ресторанов, кафе: |
|
|
|
|
категории А |
62 |
57 |
|
|
категории Б и В |
59 |
60 |
|
Административные здания, офисы |
|
|
|
|
11. Перекрытия между рабочими комнатами, кабинетами, секретариатами и отделяющие эти помещения от помещений общего пользования (вестибюли, холлы) |
|
|
|
|
категории А |
52 |
63 |
|
|
категории Б |
50 |
66 |
|
|
12. Перекрытия, отделяющие рабочие комнаты, кабинеты от помещений с источниками шума (машбюро, телетайпные залы и т.п.) |
|
|
|
|
категории А |
54 |
60 |
|
|
категории Б |
52 |
63 |
|
Больницы и санатории |
|
|
|
|
13. Перекрытия между палатами, кабинетами врачей |
47 |
60 |
|
|
14. Перекрытия между операционными и отделяющие операционные от палат и кабинетов |
57 |
60 |
|
|
15. Перекрытия, отделяющие палаты, кабинеты врачей от помещений общего пользования (вестибюлей, холлов) |
52 |
63 |
|
|
16. Перекрытия, отделяющие палаты, кабинеты от столовых, кухонь |
57 |
63 |
|
Учебные заведения |
|
|
|
|
17. Перекрытия между классами, кабинетами, аудиториями и отделяющие эти помещения от помещений общего пользования (коридоры, вестибюли, холлы) |
47 |
63 |
|
|
19. Перекрытия между музыкальными классами средних учебных заведений |
57 |
58 |
|
|
20. Перекрытия между музыкальными классами высших учебных заведений |
60 |
53 |
|
Детские дошкольные учреждения |
|
|
|
|
21. Перекрытия между групповыми комнатами, спальнями |
47 |
63 |
|
|
22. Перекрытия, отделяющие групповые комнаты, спальни от кухонь |
51 |
63 |
Категория А - высоко комфортные условия;
Категория Б - комфортные условия;
Категория В - предельно-допустимые условия.
|
Конструкции перекрытий |
Показатели шумоизоляции (Rw, Lnw, дБ) |
|||||||||
|
без напольных покрытий |
с напольными покрытиями |
|||||||||
|
Rw |
Lnw |
паркет |
линолеум |
ковролин |
плитка |
|||||
|
Rw |
Lnw |
Rw |
Lnw |
Rw |
Lnw |
Rw |
Lnw |
|||
|
1 |
2 |
3 |
4 |
5 |
6 |
7 |
8 |
9 |
10 |
11 |
|
Тип конструкции «Альфа» |
|
|
|
|
|
|
|
|
|
|
|
1. Перекрытие, включающее покрытие пола, сборную стяжку из ГВЛВ и железобетонную плиту перекрытия (Типы пола ТП-1 - ТП-5) при толщине перекрытия |
||||||||||
|
140 мм |
51 |
63 |
51 |
62 |
51 |
62 |
51 |
61 |
51 |
65 |
|
160 мм |
52 |
62 |
52 |
61 |
52 |
61 |
52 |
60 |
52 |
64 |
|
180 мм |
53 |
61 |
53 |
60 |
53 |
60 |
53 |
59 |
53 |
63 |
|
200 мм |
54 |
59 |
54 |
58 |
54 |
58 |
54 |
57 |
54 |
61 |
|
Тип конструкции «Бета» |
|
|
|
|
|
|
|
|
|
|
|
2. Перекрытие, включающее покрытие пола, сборную стяжку из ГВЛВ, тепло-звукоизоляционный слой из пористо-волокнистых матов или вспененных плит и железобетонную плиту перекрытия толщиной 140 мм (Типы пола ТП-6 - ТП-10) при применении теплоизоляционных материалов марок |
||||||||||
|
OLA-20 |
54 |
53 |
54 |
50 |
54 |
52 |
54 |
51 |
54 |
49 |
|
FLO-30 |
54 |
51 |
55 |
48 |
54 |
50 |
54 |
49 |
54 |
47 |
|
Вибросил 6 мм |
52 |
59 |
52 |
58 |
52 |
58 |
52 |
57 |
53 |
55 |
|
Вибросил 11 мм |
52 |
57 |
52 |
57 |
52 |
57 |
52 |
56 |
53 |
53 |
|
Вилатерм 8 мм |
52 |
59 |
54 |
56 |
52 |
58 |
52 |
57 |
53 |
55 |
|
Пенополистирол 30 мм |
52 |
60 |
52 |
57 |
52 |
59 |
52 |
58 |
52 |
56 |
|
Тип конструкции «Бета» |
|
|
|
|
|
|
|
|
|
|
|
3. Перекрытие, включающее покрытие пола, сборную стяжку из ГВЛВ, тепло-звукоизоляционный слой из пористо-волокнистых матов или вспененных плит и железобетонную плиту перекрытия толщиной 160 мм (Типы пола ТП-6 — ТП-10) при применении теплоизоляционных материалов марок |
||||||||||
|
OLA-20 |
54 |
52 |
54 |
49 |
54 |
52 |
54 |
50 |
54 |
48 |
|
FLO-30 |
54 |
50 |
55 |
47 |
54 |
50 |
54 |
48 |
54 |
46 |
|
Вибросил 6 мм |
53 |
58 |
53 |
57 |
53 |
58 |
53 |
56 |
53 |
54 |
|
Вибросил 11 мм |
53 |
55 |
53 |
52 |
53 |
55 |
53 |
53 |
53 |
51 |
|
Вилатерм 8 мм |
53 |
58 |
54 |
55 |
53 |
58 |
53 |
56 |
53 |
54 |
|
Пенополистирол 30 мм |
53 |
59 |
53 |
56 |
53 |
59 |
53 |
57 |
53 |
55 |
|
Тип конструкции «Бета» |
|
|
|
|
|
|
|
|
|
|
|
4. Перекрытие, включающее покрытие пола, сборную стяжку из ГВЛВ, тепло-звукоизоляционный слой из пористо-волокнистых матов или вспененных плит и железобетонную плиту перекрытия толщиной 180 мм (Типы пола ТП-6 - ТП-10) при применении теплоизоляционных материалов марок |
||||||||||
|
OLA-20 |
55 |
51 |
54 |
48 |
55 |
51 |
55 |
49 |
55 |
47 |
|
FLO-30 |
55 |
49 |
55 |
46 |
55 |
49 |
55 |
47 |
55 |
45 |
|
Вибросил 6 мм |
53 |
57 |
53 |
56 |
53 |
57 |
53 |
55 |
53 |
53 |
|
Вибросил 11 мм |
53 |
54 |
53 |
51 |
53 |
54 |
53 |
52 |
53 |
48 |
|
Вилатерм 8 мм |
53 |
57 |
54 |
54 |
53 |
57 |
53 |
55 |
53 |
51 |
|
Пенополистирол 30 мм |
53 |
58 |
53 |
55 |
53 |
58 |
53 |
56 |
53 |
52 |
|
Тип конструкции «Бета» |
|
|
|
|
|
|
|
|
|
|
|
5. Перекрытие, включающее покрытие пола, сборную стяжку из ГВЛВ, тепло-звукоизоляционный слой из пористо-волокнистых матов или вспененных плит и железобетонную плиту перекрытия толщиной 200 мм (Типы пола ТП-6 — ТП-10) при применении теплоизоляционных материалов марок |
||||||||||
|
OLA-20 |
56 |
49 |
54 |
46 |
56 |
49 |
56 |
47 |
45 |
45 |
|
FLO-30 |
56 |
47 |
55 |
44 |
56 |
47 |
56 |
45 |
56 |
43 |
|
Вибросил 6 мм |
54 |
55 |
54 |
54 |
54 |
55 |
54 |
53 |
54 |
51 |
|
Вибросил 11 мм |
54 |
51 |
54 |
49 |
54 |
51 |
54 |
49 |
54 |
47 |
|
Вилатерм 8 мм |
54 |
55 |
54 |
54 |
54 |
55 |
54 |
53 |
54 |
50 |
|
Пенополистирол 30 мм |
54 |
56 |
54 |
53 |
54 |
56 |
54 |
54 |
54 |
51 |
|
Тип конструкции «Вега» |
|
|
|
|
|
|
|
|
|
|
|
6. Перекрытие, включающее покрытие пола, сборную стяжку из ГВЛВ, теплозвукоизоляционный слой толщиной 30-40 мм из керамзитового песка и железобетонную плиту перекрытия толщиной 140 мм (Типы пола ТП-11 — ТП-15) при применении теплоизоляционных материалов с плотностью |
||||||||||
|
γ 500-600 кг/м3 |
52 |
60 |
55 |
59 |
52 |
59 |
52 |
58 |
52 |
58 |
|
γ 700-800 кг/м3 |
54 |
60 |
54 |
60 |
54 |
59 |
54 |
58 |
54 |
58 |
|
7. Тип конструкции «Вега» |
|
|
|
|
|
|
|
|
|
|
|
Перекрытие, включающее покрытие пола, сборную стяжку из ГВЛВ, теплозвукоизоляционный слой толщиной 30-40 мм из керамзитового песка и железобетонную плиту перекрытия толщиной 160 мм (Типы пола ТП-11 — ТП-15) при применении теплоизоляционных материалов с плотностью |
||||||||||
|
γ 500-600 кг/м3 |
53 |
59 |
55 |
58 |
53 |
58 |
53 |
57 |
54 |
57 |
|
γ 700-800 кг/м3 |
54 |
59 |
54 |
59 |
54 |
58 |
54 |
57 |
55 |
57 |
|
Тип конструкции «Вега» |
|
|
|
|
|
|
|
|
|
|
|
8. Перекрытие, включающее покрытие пола, сборную стяжку из ГВЛВ, теплозвукоизоляционный слой толщиной 30-40 мм из керамзитового песка и железобетонную плиту перекрытия толщиной 180 мм (Типы пола ТП-11 — ТП-15) при применении теплоизоляционных материалов с плотностью |
||||||||||
|
γ 500-600 кг/м3 |
54 |
58 |
56 |
57 |
54 |
57 |
54 |
56 |
54 |
56 |
|
γ 700-800 кг/м3 |
56 |
58 |
55 |
58 |
55 |
57 |
56 |
56 |
56 |
56 |
|
Тип конструкции «Вега» |
|
|
|
|
|
|
|
|
|
|
|
9. Перекрытие, включающее покрытие пола, сборную стяжку из ГВЛВ, теплозвукоизоляционный слой толщиной 30-40 мм из керамзитового песка и железобетонную плиту перекрытия толщиной 200 мм (Типы пола ТП-11 —ТП-15) при применении теплоизоляционных материалов с плотностью |
||||||||||
|
γ 500-600 кг/м3 |
55 |
56 |
56 |
55 |
55 |
55 |
55 |
54 |
55 |
54 |
|
γ 700-800 кг/м3 |
57 |
56 |
56 |
56 |
56 |
55 |
57 |
54 |
57 |
54 |
|
Тип конструкции «Гамма» |
|
|
|
|
|
|
|
|
|
|
|
10. Перекрытие, включающее покрытие пола, сборную стяжку из ГВЛВ, теплозвукоизоляционный слой из пористо-волокнистых матов или вспененных плит, слой из ГВЛВ, выравнивающий слой толщиной 30-40 мм из керамзитового песка плотностью 500-800 кг/м3 и железобетонную плиту перекрытия толщиной 140 мм (Типы пола ТП-16 - ТП-20) при применении теплоизоляционных материалов марок |
||||||||||
|
OLA-20 |
54 |
53 |
55 |
50 |
54 |
53 |
54 |
51 |
54 |
49 |
|
FLO-30 |
54 |
51 |
55 |
49 |
54 |
51 |
54 |
50 |
54 |
47 |
|
Вибросил 6 мм |
53 |
56 |
53 |
53 |
53 |
56 |
53 |
54 |
54 |
52 |
|
Вибросил 11 мм |
54 |
53 |
54 |
50 |
54 |
53 |
54 |
51 |
54 |
49 |
|
Вилатерм 8 мм |
54 |
53 |
54 |
50 |
54 |
53 |
54 |
51 |
54 |
49 |
|
Пенополистирол 30 мм |
52 |
58 |
52 |
55 |
52 |
57 |
52 |
57 |
53 |
54 |
|
Тип конструкции «Гамма» |
|
|
|
|
|
|
|
|
|
|
|
11. Перекрытие, включающее покрытие пола, сборную стяжку из ГВЛВ, теплозвукоизоляционный слой из пористо-волокнистых матов или вспененных плит, слой из ГВЛВ, выравнивающий слой толщиной 30-40 мм из керамзитового песка плотностью 500-800 кг/м3 и железобетонную плиту перекрытия толщиной 160 мм (Типы пола ТП-16 - ТП-20) при применении теплоизоляционных материалов марок |
||||||||||
|
OLA-20 |
55 |
52 |
56 |
49 |
55 |
52 |
55 |
50 |
55 |
48 |
|
FLO-30 |
55 |
50 |
56 |
47 |
55 |
50 |
55 |
49 |
55 |
46 |
|
Вибросил 6 мм |
54 |
55 |
55 |
52 |
54 |
55 |
54 |
54 |
55 |
51 |
|
Вибросил 11 мм |
55 |
52 |
56 |
49 |
55 |
52 |
55 |
50 |
55 |
48 |
|
Вилатерм 8 мм |
55 |
52 |
56 |
49 |
55 |
52 |
55 |
50 |
55 |
48 |
|
Пенополистирол 30 мм |
53 |
57 |
54 |
54 |
53 |
57 |
53 |
56 |
54 |
53 |
|
Тип конструкции «Гамма» |
|
|
|
|
|
|
|
|
|
|
|
12. Перекрытие, включающее покрытие пола, сборную стяжку из ГВЛВ, теплозвукоизоляционный слой из пористо-волокнистых матов или вспененных плит, слой из ГВЛВ, выравнивающий слой толщиной 30-40 мм из керамзитового песка плотностью 500-800 кг/м3 и железобетонную плиту перекрытия толщиной 180 мм (Типы пола ТП-16 — ТП-20) при применении теплоизоляционных материалов марок |
||||||||||
|
OLA-20 |
56 |
51 |
56 |
48 |
56 |
51 |
56 |
49 |
56 |
47 |
|
FLO-30 |
56 |
49 |
56 |
46 |
56 |
49 |
56 |
47 |
56 |
45 |
|
Вибросил 6 мм |
55 |
54 |
55 |
51 |
55 |
54 |
55 |
52 |
55 |
50 |
|
Вибросил 11 мм |
56 |
51 |
56 |
47 |
56 |
51 |
56 |
49 |
56 |
47 |
|
Вилатерм 8 мм |
56 |
51 |
56 |
47 |
56 |
51 |
56 |
49 |
56 |
47 |
|
Пенополистирол 30 мм |
54 |
56 |
54 |
53 |
54 |
56 |
54 |
54 |
54 |
52 |
|
Тип конструкции «Гамма» |
|
|
|
|
|
|
|
|
|
|
|
13. Перекрытие, включающее покрытие пола, сборную стяжку из ГВЛВ, теплозвукоизоляционный слой из пористо-волокнистых матов или вспененных плит, слой из ГВЛВ, выравнивающий слой толщиной 30-40 мм из керамзитового песка плотностью 500-800 кг/м3 и железобетонную плиту перекрытия толщиной 200 мм (Типы пола ТП-16 - ТП-20) при применении теплоизоляционных материалов марок |
||||||||||
|
OLA-20 |
56 |
56 |
56 |
46 |
56 |
49 |
56 |
47 |
56 |
45 |
|
FLO-30 |
56 |
56 |
56 |
44 |
56 |
47 |
56 |
45 |
56 |
43 |
|
Вибросил 6 мм |
55 |
55 |
55 |
49 |
55 |
52 |
55 |
50 |
55 |
48 |
|
Вибросил 11 мм |
56 |
56 |
56 |
46 |
55 |
49 |
56 |
47 |
56 |
45 |
|
Вилатерм 8 мм |
56 |
56 |
56 |
46 |
56 |
49 |
56 |
47 |
56 |
45 |
|
Пенополистирол 30 мм |
56 |
54 |
56 |
51 |
56 |
54 |
56 |
52 |
56 |
50 |
|
Конструкции перекрытий |
Показатели шумоизоляции (Rw; Lnw, дБ) |
||||||||||
|
без напольных покрытий |
С напольными покрытиями |
||||||||||
|
Rw |
Lnw |
паркет |
линолеум |
ковролин |
плитка |
||||||
|
Rw |
Lnw |
Rw |
Lnw |
Rw |
Lnw |
Rw |
Lnw |
||||
|
1 |
2 |
3 |
4 |
5 |
6 |
7 |
8 |
9 |
10 |
11 |
|
|
Тип конструкции «Альфа» 1. Перекрытие, включающее покрытие пола, сборную стяжку из ГВЛВ и многопустотную железобетонную плиту перекрытия толщиной 220 мм (Типы пола ТП-1 - ТП-5) |
53 |
78 |
53 |
74 |
53 |
77 |
54 |
77 |
54 |
70 |
|
|
Тип конструкции «Бета» 2. Перекрытие, включающее покрытие пола, сборную стяжку из ГВЛВ, тепло-звукоизоляционный слой изпористо-волокнистых матов или вспененных плит и многопустотную железобетонную плиту перекрытия толщиной 220 мм (Типы пола ТП-6 -ТП-10) при применении теплоизоляционных материалов марок |
|
|
|
|
|
|
|
|
|
|
|
|
OLA-20 |
53 |
56 |
54 |
54 |
53 |
56 |
54 |
56 |
54 |
52 |
|
|
FLO-30 |
54 |
52 |
54 |
50 |
54 |
52 |
55 |
52 |
55 |
49 |
|
|
Вибросил 6 мм |
52 |
66 |
52 |
64 |
52 |
66 |
53 |
66 |
52 |
64 |
|
|
Вибросил 11 мм |
52 |
63 |
53 |
62 |
52 |
63 |
53 |
63 |
53 |
61 |
|
|
Вилатерм 8 мм |
53 |
62 |
54 |
60 |
53 |
62 |
54 |
62 |
54 |
60 |
|
|
Пенополистирол 30 мм |
53 |
48 |
53 |
47 |
53 |
48 |
54 |
48 |
54 |
46 |
|
|
Тип конструкции «Вега» 3. Перекрытие, включающее покрытие пола, сборную стяжку из ГВЛВ, тепло-звукоизоляционный слой толщиной 30-40 мм из керамзитового песка и многопустотную железобетонную плиту перекрытия толщи- ной 220 мм (Типы пола ТП-11 - ТП-15) |
53 |
77 |
53 |
73 |
53 |
75 |
54 |
76 |
53 |
69 |
|
|
Тип конструкции «Гамма» 4. Перекрытие, включающее покрытие пола, сборную стяжку из ГВЛВ, тепло-звукоизоляционный слой из пористо-волокнистых матов или вспененных плит, слой из ГВЛВ, выравнивающий слой толщиной 30-40 мм из кварцевого песка и многопустотную железобетонную плиту перекрытия толщиной 220 мм (Типы пола ТП-16 - ТП-20) при применении теплоизоляционных материалов марок |
|
|
|
|
|
|
|
|
|
|
|
|
OLA-20 |
54 |
55 |
55 |
53 |
54 |
55 |
54 |
55 |
55 |
51 |
|
|
FLO-30 |
54 |
51 |
55 |
49 |
54 |
51 |
54 |
51 |
55 |
48 |
|
|
Вибросил 6 мм |
54 |
65 |
55 |
63 |
54 |
65 |
54 |
65 |
55 |
63 |
|
|
Вибросил 11 мм |
54 |
62 |
55 |
61 |
54 |
61 |
54 |
61 |
55 |
60 |
|
|
Вилатерм 8 мм |
54 |
61 |
55 |
59 |
54 |
61 |
54 |
61 |
55 |
59 |
|
|
Пенополистирол 30 мм |
53 |
47 |
54 |
46 |
53 |
47 |
53 |
47 |
55 |
45 |
|
4.7 В местах примыкания пола к стенам следует предусматривать зазор, равный 8-10 мм, заполняемый демпфирующей и звукоизоляционной прокладкой, в качестве которой рекомендуется использовать кромочную ленту из вспененного полиэтилена (ТУ 2244-069-04696843-00), отвечающую следующим пожарно-техническим требованиям: группа горючести по ГОСТ 30244-97 - Г2, группа воспламеняемости по ГОСТ 30402-96 - В2, группа дымообразующей способности по ГОСТ 12.1.044-89 – Д3. Возможно также использование в качестве прокладки мягких древесноволокнистых или минераловатных плит.
4.8 По железобетонной плите перекрытия может быть предусмотрена пароизоляция, в качестве которой рекомендуется использовать полиэтиленовую плёнку толщиной 0,1-0,2 мм (ГОСТ 10354-82*), а также битумно-полимерных мастики.
4.9 Тип покрытия пола следует принимать в зависимости от функционального назначения помещения с учётом вида и интенсивности механических, жидкостных и тепловых воздействий, специальных требований (безискровости, антистатичности, скользкости, экологической безопасности и т.п.) с учётом допустимых эксплуатационных воздействий, приведённых в табл. 1, 2, 3 Приложения 1, а так же исходя из условия достижения нормативных (в соответствии с указания ми СНиП 23-02-2003) параметров теплоусвоения покрытий полов.
4.10 Нормативный коэффициент теплоусвоения покрытий полов не должен превышать:
- в жилых зданиях, больничных учреждениях, диспансерах, амбулаториях, поликлиниках, родильных домах, домах ребёнка, домах-интернатах для престарелых и инвалидов, общеобразовательных и детских школах, детских садах, яслях, детских домах и детских приёмниках-распределителях - 12 Вт/(м2·°С);
- в общественных зданиях, кроме вышеуказанных, вспомогательных зданиях и помещениях промышленных предприятий -14 Вт/(м2·°С).
4.11 Показатель теплоусвоения покрытия пола не нормируется в общественных зданиях, эксплуатация которых не связана с постоянным пребыванием людей (залы музеев и выставок, фойе театров и кинотеатров и т.п.).
4.12 Расчёт показателя теплоусвоения покрытия пола осуществляется в соответствии с указаниями (Приложение 2).
4.13 Покрытия, выполненные из поливинилхлоридного линолеума на тепло-звукоизолирующей подоснове, штучного и наборного паркета и ковров на основе химических волокон являются «тёплыми» и характеризуются показателем теплоусвоения пола с покрытиями из линолеума и паркета не более 12 Вт/(м2·К), а с ковровыми покрытиями - не более 11,6 Вт/(м2·К).
4.14 Применение линолеума поливинилхлоридного многослойного и однослойного без подосновы в помещениях с нормируемыми показателями теплоусвоения возможно только при укладке сборной стяжки по слою теплоизоляции.
4.15 Покрытия из керамических плиток относятся к «холодным», что исключает возможность их применения в помещениях с нормируемым показателем теплоусвоения полов.
4.16 Материалы для покрытий полов должны иметь санитарно-эпидемиологическое заключение, а линолеумы и полимерные покрытия полов, кроме того, согласно приказу № 320 МЧС РФ от 8 июля 2002 г. «Об утверждении перечня продукции, подлежащей обязательной сертификации в области пожарной безопасности» - сертификат пожарной безопасности.
4.17 В соответствии со СНиП 21-01-97* в зданиях всех степеней огнестойкости и классов конструктивной пожарной опасности, кроме зданий V степени огнестойкости и зданий класса конструктивной пожарной опасности здания СЗ, на путях эвакуации при устройстве полов не до пускается применять материалы с более высокой пожарной опасностью, чем:
Г2, РП2, Д2, Т2 - в вестибюлях, лестничных клетках и лифтовых холлах;
Г3, РП2, Д3, Т2 - общих коридорах, холлах, фойе.
4.18 В помещениях со средней и большой интенсивностью воздействия жидкостей на покрытие пола перед укладкой плитки стыки стяжки со стенами следует герметизировать самоклеющейся гидроизоляционной лентой «ЛИПС» по ТУ 2245-001-1263867-95 или «КНАУФ-Флэхендихтбанд» и поверхность покрывать гидризоляционной мастикой «ГидроМЭБ» по ТУ 5775-010-42788835-01 или «КНАУФ-Флэхендихт». Для гидроизоляции могут применяться и рулонные гидроизоляционные материалы.
4.19 Уровень пола в туалетных и ванных комнатах должен быть на 15-20 мм ниже уровня пола в смежных помещениях либо помещения должны быть разделены порогом.
4.20 При устройстве по сборным стяжкам из ГВЛВ покрытий из штучного и наборного парке та, учитывая склонность паркетных планок к набуханию или усыханию при изменении температурно-влажностного режима (прежде всего в осенний и весенний период), приводящих к возникновению напряжений как в покрытии, так и в нижележащих слоях пола и, как следствие, к короблению паркета, рекомендуется увеличивать толщину стяжки до 30 мм за счет укладки по ней дополнительного слоя из влагостойких гипсоволокнистых листов по клеевому слою и крепления их со стяжкой винтами для ГВЛ длиной 30 мм с шагом не менее 300 мм. Целесообразно также дополнительно использовать эластичные клеевые мастики под паркетные покрытия и (или) устраивать разделительный слой между паркетным покрытием и сборной стяжкой из эластичных материалов (в частности клей типа UZIN-92S и рулонный материал на основе полиэстерного волокна типа UZIN Multimoll Vlies (фирма «UZIN», Германия). Конкретные способы, материалы и технологии компенсации деформационных напряжений определяются в каждом конкретном случае производителями работ по устройству паркетных покрытий.
4.21 При устройстве по сборным стяжкам из ГВЛВ покрытий из линолеума, поливинилхлоридных плиток, ковров из синтетических волокон и ламината, учитывая, что данные типы покрытий полов предъявляют повышенные требования к ровности подстилающих слоев, стыки элементов сборной стяжки и места установки шурупов должны быть заделаны шпаклёвкой «КНАУФ-Фугенфюллер ГВ» (ТУ 5744-008-03515377-02 или ТУ 5745-003-05800969-02), а на поверхности сборной стяжки под поливинилхлоридный многослойный и однослойный линолеум без подосновы следует выполнить выравнивающий слой толщиной не менее 2 мм из гипсовой высокопрочной (предел прочности на сжатие не менее 22 МПа) самовыравнивающейся композиции.
4.22 При стыковке полов с разнородными покрытиями рекомендуется установка медных, алюминиевых или стальных элементов, защищающих края покрытий от механических повреждений, попадания воды в шов и отклеивания. В паркетных и плиточных покрытиях полов такие элементы, кроме того, позволяют компенсировать температурно-влажностные деформации
5.1 Устройство полов со сборными стяжками из ГВЛВ следует осуществлять в период отделочных работ. Производство электромонтажных и санитарно-технических, а также всех строительных работ, связанных с «мокрыми» процессами, должно быть завершено до начала монтажа сборных стяжек.
5.2 До начала производства работ монтажные отверстия в перекрытиях, зазоры между плитами, места примыканий перекрытий к стенам, перегородкам, трубам должны быть тщательно заделаны цементно-песчаным раствором марки не ниже M100.
5.3 При необходимости прокладки трубопроводов в полах с тепло- и звукоизоляционным слоем из пенополистирольных плит трубы следует обернуть минераловатными матами, а при применении сухих засыпок обёрнутые минераловатными матами трубы дополнительно защищаются металлическими кожухами, прикрепляемыми к плите перекрытия разжимными дюбелями.
5.4 Весовая влажность бетона плит перекрытий, листов ГВЛВ, элементов пола и сухой засыпки должна быть не более 4%.
5.5 Работы по устройству сборных стяжек следует выполнять при температуре воздуха на уровне пола не ниже +10°С и относительной влажности воздуха не более 60 %.
5.6 Перед началом монтажа элементы пола, листы ГВЛВ, сухие засыпки и тепло-звукоизоляционные пористо-волокнистые маты и вспененные плиты должны быть выдержаны в температурно-влажностных условиях зоны монтажа.
5.7 Монтаж сборных стяжек предполагает следующую последовательность работ:
- нанесение на стены отметки уровня верха стяжки;
- устройство пароизоляции;
- установку кромочной ленты по периметру помещения;
- устройство выравнивающего, звукоизолирующего, дополнительного и других слоев пола в соответствии с проектным решением;
- укладку сборной стяжки из элементов пола или малоформатных гипсоволокнистых листов;
- подготовку поверхности стяжки под покрытие пола;
- устройство покрытия пола.
5.8 Нанесение отметки уровня верха стяжки осуществляется путем выноса геодезической отметки этажа на ограждающие конструкции монтажных зон с помощью гидравлического или лазерного нивелира. К ней привязываются уровни проектных слоев конструкций пола.
5.9 Полиэтиленовую плёнку пароизоляционного слоя рекомендуется укладывать с нахлёсткой соседних полотен не менее чем на 200 мм с выводом её краёв выше уровня стяжки.
5.10 Кромочная лента устанавливается на пароизоляционный слой в местах примыкания сборной стяжки к ограждающим конструкциям. Она должна отделять стяжку и конструктивные слои пола от ограждающих конструкций.
5.11 Сухую засыпку укладывают по всей поверхности перекрытия слоем проектной толщины. При толщине засыпки более 50 мм, а также в местах примыканий к ограждающим конструкциям она перед нивелированием уплотняется при помощи валика массой не менее 100 кг.
5.12 Нивелирование сухой засыпки производится с помощью комплекта из двух направляющих и одной нивелирующей реек, начиная от стены, противоположной дверному проему.
Перед нивелированием необходимо:
установить направляющие рейки на засыпку параллельно друг другу на расстоянии, равном длине рабочей части нивелирующей рейки;
выставить нижние плоскости направляющих реек на расчетный (привязанный к геодезическому) уровень.
Нивелирование засыпки производится нивелирующей рейкой «захватками» путем ее перемещения по направляющим рейкам.
5.13 Укладку прослойки из листов ГВЛВ производят от дверного проема с зазором в стыках не более 1 мм и с разбежкой в рядах не менее 250 мм.
5.14 Пористо-волокнистые маты и вспененные плиты укладываются от стены, противоположной дверному проему, в перпендикулярном по отношению к листам выравнивающего слоя направлении в аналогичном порядке. При этом не допускается совпадение стыков жестких звуко-теплоизолирующих материалов и гипсоволокнистых листов прослойки.
5.15 При монтаже стяжки необходимо, чтобы её стыки не совпадали со стыками плитных звуко-теплоизолирующих материалов, а также стыками гипсоволокнистых листов прослойки.
5.16 Монтаж стяжек из элементов пола осуществляется в следующем порядке:
Укладку начинают от стены с дверным проемом справа налево (рис. 2а). В случаях, диктуемых особенностями конфигурации помещений, возможна укладка с противоположной стороны слева направо (рис. 2б).
Предварительно у элементов пола фальцы, примыкающие к ограждающим конструкциям, удаляют (рис. 3).
Каждый новый ряд начинают с укладки остатка элемента предыдущего ряда, что минимизирует отходы и способствует необходимому смещению торцевых стыков в соседних рядах.
При укладке элементов пола на слой сухой засыпки для передвижения по ней устраиваются островки из фрагментов гипсоволокнистых листов размером не менее 50×50 см.
Элементы пола крепятся между собой путем последовательного нанесения из тарной тубы двух полос клеящей мастики (ТУ 2384-0003-365379-56-00) на фальцы стыкуемых элементов и их фиксации винтами для ГВЛ длиной 19 .мм, располагаемых с шагом не более 300 мм (согласно рис. 4а и рис. 5а).
При монтаже стяжек в конструкциях «Бета», «Вега» и «Гамма» могут применяться и винты большей длины (22; 25 или 30 мм) в случаях, исключающих возможность повреждения защиты расположенных под стяжкой технических сетей и пароизоляции. Крепежные винты должны входить в детали стяжки под прямым углом. Головки винтов необходимо утапливать на глубину около 1 мм. Изогнутые, неправильно завернутые винты должны быть удалены и заменены новыми в местах, расположенных на расстоянии около 50 мм от прежних.
Выступающий на поверхность стяжки из стыков клеевой состав удаляется шпателем.


Рис. 3 Удаление фальцев в примыканиях к ограждающей конструкции

Рис. 4 Соединение элементов пола (а) и малоформатных ГВЛВ (б) при изготовлении сборных стяжек

Рис. 5 Схема крепления винтами: а - элементов пола, б - малоформатных ГВЛВ
В местах расположения дверных проемов соединение элементов пола с удаленными фальцами осуществляется по месту с помощью вставок из ГВЛВ с формированием фальцевых соединений (рис. 6). Их крепление производится вышеизложенным порядком.
5.17 При монтаже стяжки из малоформатных ГВЛВ укладка листов нижнего слоя ведется от стены с дверным проемом встык и с разбежкой относительно друг друга не менее чем на 250 мм (рис. 7а).
Листы второго слоя укладываются таким же порядком с предварительным нанесением клеевого состава (ТУ 2384-0003-365379-56-00) и разравниванием его при помощи гребешкового шпателя последовательно под каждый лист верхнего слоя (рис. 4б). Плоскости листов верхнего слоя должны накрывать стыки листов нижнего слоя. При этом смещения их стыков также должны составлять не менее 250 мм (рис. 7б).
Крепление листов верхнего и нижнего слоев стяжки из малоформатных ГВЛВ производится специальными винтами для ГВЛ так же, как фальцев элементов пола согласно рис.5б.
5.18 Дополнительный слой ГВЛВ, требуемый под покрытия пола из паркета штучного и наборного для упрочения стяжки, укладывается и закрепляется на поверхности сборной стяжки при помощи клеевого соединения и винтов для ГВЛ по технологии, предусмотренной для укладки верхнего слоя стяжки из малоформатных ГВЛВ.

Рис.6. Устройство вставки в месте дверного проёма

Рис. 7 Схемы раскладки малоформатных ГВЛВ: а - нижний слой, б - верхний слой
5.19 При подготовке поверхности стяжки под покрытие пола выступающие части полиэтиленовой пленки пароизоляционного слоя и кромочной ленты срезаются в один уровень с поверхностью стяжки.
Заделка стыков элементов стяжки и мест установки винтов производится по необходимости, в зависимости от характера покрытия пола. Под покрытия из линолеума с подосновой, ковролина, поливинилхлоридных плиток и т.п. заделка осуществляется шпаклевочными составами «КНАУФ-Фугенфюллер ГВ» (ТУ 5744-008-03515377-02 или ТУ 5745-003-05800969-02) с предварительной обработкой грунтовкой «КНАУФ-Тифенгрунд» (ТУ 5772-031-04001508-2004) и последующим шлифованием зашпаклёванной поверхности.
Дополнительное выравнивание поверхности сборной стяжки под покрытия из поливинилхлоридного многослойного и однослойного линолеума без подосновы, требующие бесшовных оснований с повышенной ровностью и прочностью, осуществляется гипсовыми саморазравнивающимися композициями с пределом прочности не менее 22 МПа при помощи зубчатого шпателя. Толщина данного выравнивающего слоя должна быть не менее 2 мм.
5.20 Ведомость необходимого при изготовлении сборных стяжек из ГВЛВ инвентаря, приспособлений и инструмента приведена в таблице 5.1.
|
Наименование инструментов и приспособлений |
Тип |
Технические характеристики |
Примечания |
|
Тележка двухколёсная |
ручная |
вес 21 кг |
для транспортировки ЭП и ГВЛВ по этажу |
|
Приспособление для переноски ГВЛВ |
инвентарное |
|
-«- |
|
Шуруповёрт |
электрический |
вес 1,46 кг, 4000 об/мин, мощность 600 Вт |
для установки самонарезающих винтов |
|
Уровень |
гидравлический |
|
для разметки проектного положения конструкции |
|
Нивелир |
лазерный или обычный |
|
для разметки проектного положения конструкции |
|
Метр |
складной |
|
измерительный инструмент |
|
Шнуроотбойное устройство |
|
длина 15м |
для нанесения разметочных линий на плоские поверхности |
|
Комплект нивелирующих реек |
|
длиной не более 2,5 м |
для нивелирования сухой засыпки и проверки правильности её укладки |
|
Нож для ГВЛ |
|
вес 0,19 кг |
для раскроя ЭП и ГВЛВ |
|
Ножовка с калённым зубом и углом наклона 45° |
инвентарная |
|
Резка ЭП и ГВЛВ |
|
Рулетка 5 м |
инвентарная |
|
для разметки и раскроя |
|
Рубанок обдирочный |
инвентарный |
вес 0,54 кг |
для обработки кромок ЭП и ГВЛВ после раскроя |
|
Миксер |
инвентарный |
|
для приготовления саморазравнивающейся шпаклёвочной смеси |
|
Короб для шпаклёвочной смеси |
инвентарный |
вес 0,43 кг |
для приготовления шпаклёвочной смеси |
|
Мастерок |
|
вес 0,175 кг, ширина 8 см |
для приготовления смесей |
|
Шпатель с отвёрткой |
|
ширина 15 см |
для шпаклевания стыков стяжки и доворачивания винтов |
|
Шпатель |
гребешковый |
|
для нанесения клея |
|
Приспособление шлифовальное |
ручное |
вес 0,4 кг |
для шлифования зашпаклёванных поверхностей |
|
Сетка съёмная к ручному шлифовальному приспособлению |
инвентарная |
вес 0,03 кг |
для шлифования поверхности |
|
Уровень прикладной |
|
длина не менее 1,2 м |
для контроля горизонтальных положений направляющих реек и элементов конструкции |
|
Нож многофункциональный с выдвижным лезвием |
|
10 сегментов |
для резки полиэтиленовой плёнки и кромочной ленты |
|
Карандаш строительный |
|
|
для нанесения разметки |
5.21 Устройство покрытий по сборным стяжкам возможно через сутки после их изготовления.
5.22 Работы по укладке паркета штучного и наборного следует выполнять при температуре воздуха в помещении не ниже 10°С и его влажности до 60%. Данный температурно-влажностный режим следует поддерживать и при эксплуатации покрытий.
5.23 Наборный и штучный паркет следует приклеивать к предварительно огрунтованным основаниям быстротвердеющими мастиками на водостойких вяжущих, в частности полимерными клеями по ГОСТ 24064-80. Грунтовки должны соответствовать по химической основе применяемым клеям.
5.24 Паркет следует укладывать в соответствии с принятым рисунком: «в ёлку» с фризами по периметру помещения и без них; «квадратом» - прямым и развёрнутым диагонально; «прямой» - с расположением планок в одном направлении и стыковкой торцами и кромками. При этом следует иметь ввиду, что при рисунке «прямой» напряжения, возникающие в древесине планок при влагосменах, распространяются в одном направлении - поперёк планок, что может снизить эксплуатационную надёжность пола.
5.25 Работы по изготовлению покрытий полов рекомендуется начинать с укладки маячных рядов. В помещениях малого размера маячный ряд следует укладывать у стены, наиболее удалённой от входной двери. В больших помещениях два стыкуемых маячных ряда следует укладывать в середине площадки и работы вести в двух направлениях.
5.26 Паркетные планки укладывают вплотную к ранее уложенным, втапливают в мастику и плотно соединяют в шпунт с помощью паркетного молотка. Толщина слоя мастики под паркетом должна быть не более 1 мм, зазоры между смежными планками - 0,3 мм.
5.27 Покрытие из паркета следует отциклевать, а затем отшлифовать.
5.28 Зазоры между паркетным покрытием и стенами (перегородками) должны перекрываться после циклевки паркета плинтусами или галтелями, которые крепят гвоздями длиной 30-40 мм, диаметром 2,5 мм или шурупами длиной 25 мм, диаметром 3 мм либо только к стене (перегородке), либо только к полу. Поливинилхлоридные плинтусы приклеивают к стенам и перегородкам полимерными клеями или крепятся с помощью клипс.
5.29 Упругие прокладки из полос линолеума на теплоизолирующей подоснове следует укладывать между плинтусом и стеной, если плинтус крепится к полу, или между плинтусом и полом, если плинтус крепится к стене.
5.30 Паркетные полы для защиты от изнашивания и загрязнений, а также выявления естественной фактуры древесины покрывают лаком.
5.31 Эксплуатация паркетных покрытий полов после отделки лаком допускается не ранее, чем через 7 суток.
5.32 Работы по устройству покрытий полов из паркетных досок и ламината следует производить при температуре воздуха в помещении не ниже 10°С и относительной влажности до 70%.
5.33 Покрытия пола из паркетных досок и ламината выполняются без наклейки на основание, а сами изделия следует соединять между собой в шпунт с посадкой на клей. В качестве клея рекомендуется применять поливинилацетатную дисперсию (ГОСТ 18992-80) и мастики строительные полимерные клеящие латексные (ГОСТ 30307-95).
5.34 При устройстве покрытия пола паркетные доски и ламинат укладывают на амортизирующую подложку, в качестве которой рекомендуется использовать гофрированный картон или вспененный полиэтилен, а также пенопласт толщиной 2-3 мм.
5.35 Укладку паркетных и ламинатных досок следует начинать в направлении слева направо пазовой стороной к стене на расстоянии 8-10 мм от стены, наиболее удалённой от входа. При ширине помещения более 6 м в направлении ширины доски, зазор между стеной и доской следует увеличить на 1,5 мм на каждый дополнительный метр.
5.36 Последующие ряды следует укладывать таким образом, чтобы шаг стыков между торцами досок смежных рядов был не менее 30 см.
5.37 В целях обеспечения возможности разборки покрытия рекомендуется использовать ламинат со специальными замковыми соединениями.
5.38 Зазоры между покрытием из паркетных досок или ламината и стенами следует перекрывать плинтусами или галтелями, которые крепят гвоздями длиной 30-40 мм, диаметром 2,5 мм или шурупами длиной 25 мм, диаметром 3 мм только к стене (перегородке). Поливинилхлоридные плинтусы приклеивают к стенам и перегородкам полимерными клеями или крепятся при помощи клипс.
5.39 Упругие прокладки из полос линолеума на теплоизолирующей подоснове следует укладывать между плинтусом и полом.
5.40 В помещениях, где устраиваются полы из линолеума, синтетических плиток или ковровых покрытий, температура воздуха на уровне пола должна быть не ниже 15°С, относительная влажность воздуха - не более 60 %.
5.41 Линолеум в виде сварных ковров (размером на комнату) и синтетические ковровые материалы должны поставляться в рулонах, намотанных на сердечники диаметром 100-150 мм. При этом каждый рулон синтетического коврового материала должен быть упакован в обёрточную бумагу, поливинилхлоридную или полиэтиленовую плёнку.
5.42 Поверхность основания следует огрунтовать разбавленными водой дисперсионными клеями и мастиками или растворёнными в растворителе клеями и мастиками на основе синтетических смол и каучуков. Грунтовки должны соответствовать по химической основе применяемым клеям.
5.43 Рулоны линолеума и синтетических ворсовых ковров следует раскатать для устранения волнистости не позднее, чем за двое суток до их укладки, выдержать при температуре воздуха не ниже 15°С. Деформированные места листов, не прилегающие к основанию, следует пригрузить.
5.44 Линолеум, синтетические плитки и синтетические ворсовые ковры должны быть приклеены к нижележащему слою по всей площади. Толщина слоя клеевой прослойки должна быть не более 0,8 мм.
5.45 Для приклейки линолеумных полотнищ, синтетических плиток и ковров рекомендуется применять водостойкие клеи и мастики, в частности мастики строительные полимерные клеящие латексные (ГОСТ 30307-95) и мастики клеящие каучуковые (ГОСТ 24064-80), обеспечивающие прочность сцепления на отрыв не менее 0,15 МПа через 24 часа после приклеивания и не менее 0,3 МПа через 72 часа.
5.46 На дисперсионные клеи и мастики линолеум следует укладывать сразу после их нанесения на основание. Клеи и мастики на основе синтетических смол и каучуков следует наносить на основание и на тыльную сторону покрытия (кроме синтетических ковров) толщиной 0,2-0,3 мм и выдерживать до отлипа для улетучивания избытка растворителя. При этом, если основание пористое, клей следует наносить два раза, второй слой после высыхания первого (через 3-6 часов).13
5.47 При приклейке рулона линолеума с рисунком на лицевой стороне нельзя смещать его относительно смежного. Если ворс синтетических ковров наклонён под углом к подоснове, то угол наклона ворса всех полотнищ должен быть в одном направлении. Рекомендуется покрытия укладывать так, чтобы наклон ворса был от окна в сторону двери.
5.48 Зазоры между смежными кромками листов линолеума и синтетических ворсовых ковров в покрытии не допускаются. Эти листы следует укладывать с напуском 10 мм на ранее уложенные, приклеивая по всей площади, за исключением краёв шириной около 100 мм. В местах напуска оба листа одновременно разрезают по линейке. Отрезанные полоски удаляют и края листов приклеивают к нижележащему слою. Кромки полотнищ следует приклеивать к основанию тем же клеем, что и сами полотнища. Во время приклейки листы следует плотно прижимать к нижележащему слою. Зазор между кромкой ковра из линолеума или синтетического ковра со стеной должен составлять 4-5 мм и перекрываться плинтусом.
5.49 Стыки приклеенных смежных полотнищ и ковров прирезают после высыхания клеевой прослойки, но не ранее чем через 3-е суток после приклейки, что необходимо для стабилизации первоначальной усадки линолеума.
5.50 При устройстве покрытий из линолеума, сваренного в ковры, и из синтетических ковров их предварительно отгибают на половину длины и на освободившуюся площадь основания наносят клей, после чего раскатывают ковёр по клеевому слою, прижимая его к основанию с помощью катка или гладилки с целью удаления воздуха. При использовании клея на полимерной основе клеевой слой предварительно выдерживают в течение 20 минут, а затем раскатывают ковер по основанию. Аналогичную операцию проводят со второй половиной ковра.
5.51 В помещениях с влажным режимом эксплуатации для предотвращения возможности проникания влаги в подоснову линолеума и основание через швы стыкуемых полотнищ, а также в «чистых» и «особо чистых» помещениях для предотвращения выделения частиц пыли из швов полотнища в стыке рекомендуется сваривать.
5.52 Линолеумы, имеющие в своём составе термопластическую поливинилхлоридную смолу, сваривают горячим воздухом, контактно-тепловым нагревом или воздействием инфракрасных лучей. Для этого рекомендуется применять электронное устройство «Пилад» или полуавтомат типа «Пчёлка».
5.53 Полотнища поливинилхлоридного линолеума со вспененной подосновой и печатным рисунком, которые не свариваются, стыкуют методом «холодной сварки» с помощью клеёв.
5.54 Перед устройством покрытия из синтетических плиток следует произвести разбивку осей. При этом если помещения соединены между собой, разбивочные оси рекомендуется прокладывать во всех помещениях через середины проёмов смежных помещений. В других помещениях разбивочные оси прокладывают через их центр.
5.55 Перед наклейкой плиток следует выполнить пробную раскладку плиток насухо. Если целое число плиток не укладывается точно по длине и ширине помещения, разбивочные оси смещаются таким образом, чтобы плитки можно было бы подрезать только у одной или двух взаимно-перпендикулярных стен.
5.56 Наклейку плиток следует начинать от пересечения разбивочных осей. В больших помещениях рекомендуется укладывать плитки в двух или четырех направлениях от разбивочных осей. В помещениях с небольшой площадью укладку плиток на клеях из синтетических смол и каучуков следует начинать от входной двери и вести от себя, находясь на ранее наклеенных плитках, а при использовании дисперсионных клеев укладку плиток следует вести в направлении на себя, не наступая на ранее уложенные плитки.
5.57 Клеи следует наносить толщиной 0,4-0,5 мм полосой шириной на 80-100 мм шире плитки. При этом укладку плиток производят через 15-20 минут после нанесения клея. В случае применения синтетического клея укладку следует завершить через 40 минут после нанесения клея.
5.58 После изготовления покрытий полов устанавливают плинтусы. Деревянные плинтусы (ГОСТ 8242-75) прибивают к предварительно установленным в стенах пробкам гвоздями длиной 30-40 мм или крепят шурупами длиной 25 мм. Плинтусы устанавливают так, чтобы они только касались покрытия пола и не были к нему прижаты. Поливинилхлоридные плинтусы приклеивают к стенам и перегородкам полимерными клеями.
5.59 Покрытия полов из линолеума, синтетических плиток и ковров на основе синтетических волокон принимают в эксплуатацию не ранее, чем через трое суток после наклейки.
5.60 По сборным стяжкам из гипсоволокнистых листов допускается укладывать покрытия из керамических плиток и плит из керамогранита размером не более 33×33 см. Для толстослойных плит из природного камня ограничений линейных размеров нет.
5.61 Покрытия из керамических плиток, плит из природного камня и керамогранита рекомендуется выполнять при температуре воздуха не ниже 10°С.
5.62 Штучные материалы рекомендуется укладывать на предварительно огрунтованную грунтовкой «КНАУФ-Ти-фенгрунд» (ТУ 5772-031-04001508-2004) поверхность сборной стяжки по прослойке из плиточных клеёв на основе минеральных вяжущих, в качестве которых рекомендуются составы на основе портландцемента с модифицирующими добавками:
- для варианта конструкции «Альфа» - плиточный клей «КНАУФ-Флизенклебер» (ТУ 5745-01204001508-2004), быстротвердеющий клей «КНАУФ-Шнельклебер» » (ТУ 5745-01204001508-2004) или для приклейки мрамора и полупрозрачных плит «КНАУФ-Марморклебер» (ТУ 5745-01204001508-2004) (для плиток со стороной 25 см);
- для вариантов конструкций «Бета», «Вега» и «Гамма» - эластифицированный клей «КНА-УФ-Флексклебер» (ТУ 5745-01204001508-2004), либо «КНАУФ-Флизен-клебер» (ТУ 5745-01204001508-2004), «КНАУФ-Шнельклебер» (ТУ 5745-01204001508-2004) , «КНАУФ-Марморклебер» (ТУ 5745-01204001508-2004) с предварительным добавлением эластифицирующей добавки «КНАУФ-Боденэласт».
5.63 Перед устройством покрытий плитки следует предварительно разложить насухо для подбора. Цвет и рисунок покрытия пола устанавливается проектом.
5.64 Толщина прослойки из плиточных клеёв регулируется размером зубцов шпателя, применяемого при нанесении данной композиции.
5.65 Плитки укладываются сразу после разравнивания клея по шнуру в направлении «на себя» с образованием швов, которые затем заполняют окрашенными полимерцементными затирочными композициями.
5.66 Расшивку швов следует выполнять через сутки после укладки керамических плиток.
5.67 Эксплуатация покрытий полов из керамических плиток допускается после набора материалом прослойки марочной прочности и достижения воздушно-сухого состояния - как правило, после выдержки в течение 3-5 суток.
6.1 Работы по устройству полов должны выполняться специализированными бригадами под техническим руководством и контролем инженерно-технических работников организаций, имеющих лицензию на право производства таких работ. К производству работ допускаются рабочие не моложе 18 лет, прошедшие медицинский осмотр, обученные правилам техники безопасности, методам ведения этих работ и мерам пожарной безопасности.
6.2 О проведении инструктажа рабочих должна быть отметка в специальном журнале под роспись. Журнал должен храниться у лица ответственного за проведение работ на объекте или в строительной (ремонтной) организации. При этом необходимо руководствоваться указаниями СНиП 12-03-99 «Безопасность труда в строительстве», СНиП III-4-80 «Техника безопасности в строительстве» издания 1993 г., «Правилами технической эксплуатации электроустановок потребителей», а также «Правилами техники безопасности при эксплуатации электроустановок потребителей», утверждёнными Госэнергонадзором.
6.3 Рабочие должны быть обеспечены спецодеждой и средствами индивидуальной защиты.
6.4 Используемые при производстве работ инструменты, оснастка и приспособления должны быть инвентарными, в соответствии с нормокомплектом и отвечать безопасным условиям их эксплуатации.
6.5 Лица, выполняющие работы по подогреву изоляционных материалов, должны проходить обучение по программам пожарно-технического минимума в обязательном порядке со сдачей зачётов (экзаменов).
6.6 У мест выполнения работ по устройству полов, а также около оборудования, имеющего повышенную пожарную опасность (у мест приготовления битумной мастики, при производстве работ по укладке горючего утеплителя), следует вывешивать стандартные знаки (аншлаги, таблички) безопасности.
6.7 При ремонтах полов снимаемый горючий материал должен удаляться на специально подготовленную площадку. Устраивать свалки горючих отходов на территории объектов не разрешается. Горючие отходы должны своевременно вывозиться в места, определённые местной администрацией .
6.8 Выполнение работ по устройству полов одновременно с другими строительно-монтажными работами, связанными с применением открытого огня (сварка и т.п.), не допускается.
6.9 По окончании рабочей смены не разрешается оставлять неиспользованный горючий утеплитель и мастики, газовые баллоны и другие горючие и взрывоопасные вещества и материалы в помещении, где производятся работы по устройству полов.
6.10 Разогрев растворителей не допускается. При смешивании разогретый битум следует вливать в растворитель (бензин, керосин), постоянно перемешивая мастику деревянной мешалкой.
6.11 Не разрешается пользоваться открытым огнём в радиусе 50 м от места смешивания битума с растворителем.
6.12 Для производства работ с использованием растворителей и битумных мастик должен применяться инструмент, изготовленный из материалов, не дающих искр - алюминий, медь, бронза, пластмассы и т.п. Промывать инструмент и оборудование, применяемое при производстве работ с горючими веществами, необходимо на открытой площадке или в помещении, имеющем вентиляцию.
6.13 Лица, участвующие в приготовлении составов холодного отвердения и их применении должны быть обеспечены спецодеждой и средствами индивидуальной защиты. Для защиты органов дыхания – респираторами марок Ф-62Ш, РУ-60М и типа «Лепесток». Для защиты кожи -пастами и мазями типа силиконовых, ПМ-1, ХИОТ БГ и другими, перчатками резиновыми. На местах проведения работ должны быть вода и аптечка с медикаментами для оказания первой помощи.
6.14 Ёмкости с растворителем и мастикой холодного отвердения должны подноситься к рабочему месту в специальной герметично закрытой таре в количестве, не превышающем однодневного запаса.
6.15 В помещениях для хранения и местах применения растворителей и мастик запрещается обращаться с открытым огнём и производить работы с искрообразованием.
6.16 Переливать и транспортировать растворители и мастику на растворителях следует при хорошем естественном освещении. Электрическое освещение в таких помещениях должно быть выполнено во взрывобезопасном исполнении.
6.17 Растворители и мастики должны храниться в специально оборудованных помещениях в соответствии со СНиП III-4-80 изд. 1993 г. «Техника безопасности в строительстве». Каждая ёмкость должна иметь бирку с наименованием содержимого. Порожнюю тару из-под растворителей следует складировать в закрытых помещениях.
6.18 Помещения, связанные с подготовкой мастик, их разбавлением растворителями и нанесением защитных покрытий, должны быть изолированы от смежных помещений и оборудованы принудительной приточно-вытяжной вентиляцией во взрывобезопасном исполнении.
6.19 Содержание вредных веществ в рабочей зоне не должно превышать предельно допустимых концентраций.
6.20 Горючий утеплитель и другие вещества и материалы, используемые при работе, необходимо хранить вне строящегося или ремонтируемого здания в отдельно стоящем сооружении или на специальной площадке на расстоянии не менее 18 м от строящихся и временных зданий, сооружений и складов.
6.21 В местах приготовления и хранения приклеивающих составов и исходных материалов не допускается курение и применения открытого огня. В случае загорания этих материалов необходимо использовать при тушении углекислотные огнетушители, песок. Использование воды для тушения битумов и растворителей не допускается.
6.22 При обнаружении пожара или признаков горения (задымление, запах гари, повышение температуры и т.п.) необходимо:
немедленно сообщить об этом в пожарную охрану,
принять по возможности меры эвакуации людей, тушению пожара и обеспечению сохранности материальных ценностей.
6.23 Для обеспечения успешного тушения пожара необходимо обучить работников правилам и способам работы с первичными средствами пожаротушения.
6.24 По окончании работ необходимо провести осмотр рабочих мест и привести их в пожаро-взрывобезопасное состояние.
6.25 На объекте должно быть определено лицо, ответственное за сохранность и готовность к действию первичных средств пожаротушения.
6.26 Огнетушители должны всегда содержаться в исправном состоянии, периодически осматриваться, проверяться и своевременно перезаряжаться.
6.27 При расстановке огнетушителей необходимо выполнять условие, чтобы расстояние от возможного очага пожара до места размещения огнетушителей не превышало 20 м.
6.28 В зимнее время (при температуре ниже 1°С) огнетушители необходимо хранить в отапливаемых помещениях, на дверях которых должна быть надпись «Огнетушители».
6.29 Все работники должны уметь пользоваться первичными средствами пожаротушения.
6.30 При механизированной окраске покрытий полов красками и лаками с использованием составов, содержащих вредные вещества, следует соблюдать «Санитарные правила при окрасочных работах с применением ручных краскораспылителей», утверждённые Главным санитарным врачом РФ.
6.31 При устройстве гидроизоляции из рулонных и других материалов с применением битумных мастик в закрытых помещениях должно быть обеспечено проветривание этих помещений.
6.32 При работе с цементом, гипсом и сухими растворными смесями необходимо защищать глаза очками. Подколку и подтёску плиток следует производить в рукавицах и защитных очках.
6.33 При применении ручного электроинструмента следует соблюдать правила безопасности эксплуатации, предусмотренные ГОСТ 12.1.013-78 и ГОСТ 12.2.010-75, а также инструкциями заводов-изготовителей.
6.34 К работе с электроинструментом допускаются лица не моложе 18 лет, прошедшие медосмотр, имеющие I квалификационную группу по технике безопасности, знающие устройство инструмента, имеющие практический опыт работы и удостоверение на право работы с ним.
6.35 Перед началом работ с электроинструментами рабочие должны надеть спецодежду, проверить исправность средств индивидуальной защиты, пройти инструктаж по технике безопасных методов производства работ электроинструментом, осмотреть и проверить электроинструмент на холостом ходу.
6.36 При обнаружении неисправностей работу с электроинструментом необходимо прекратить и сообщить об этом производителю работ.
6.37 При производстве работ запрещается:
натягивать и перегибать провода переносного электроинструмента; передавать электроинструмент другим лицам;
разбирать и производить самим ремонт электроинструмента; держаться при работе за питающий провод;
оставлять без надзора электроинструмент, подсоединенный к электросети.
6.38 При прекращении подачи напряжения, перерывах в работе, а также по окончании рабочей смены электроинструмент следует отключить от электросети.
6.39 Помещения, где производятся работы по устройству полов из синтетических материалов, должны быть обеспечены вентиляцией.
6.40 Погрузо-разгрузочные работы должны производиться в соответствии с ГОСТ 12.3.009-76* ССБТ. При использовании подъёмников для вертикальной подачи материалов на этаж, схема их установки и подключения должна быть отражена в проекте производства работ. Безопасная работа этих механизмов должна отвечать требованиям ГОСТ 12.3.033-84 ССБТ и паспортным параметрам.
6.41 Производство работ в искусственно отапливаемых в холодное время года зданиях разрешается только после тщательного проветривания (не реже одного раза в смену).
6.42 Места, опасные для прохода людей, необходимо ограждать. В этих местах должны вывешиваться предупредительные плакаты.
6.43 Запрещается принимать пищу в помещении, где производятся строительно-монтажные работы.
7.1 При приёмке полов рекомендуется осуществлять поэтапный приёмочный контроль качества устройства основания, подстилающего слоя, гидроизоляции, тепло-звукоизоляции, стяжки и покрытия с записью в журнал работ и составлением актов на скрытые работы.
7.2 На каждом этапе приёмки Исполнитель (подрядная организация) должен по требованию Заказчика представить ГОСТы, ТУ или Технические свидетельства, содержащие технические характеристики используемых материалов, а также паспорта заводов-изготовителей, а при устройстве покрытий полов на основе полимерных материалов - Пожарные сертификаты. Заказчик также имеет право запросить Сертификат соответствия и провести входной контроль используемых материалов на соответствие их физико-механических показателей данным, представленным в вышеуказанных документах путем испытания их в аккредитованных испытательных лабораториях.
7.3 Отклонение поверхности подстилающего слоя от горизонтальной плоскости на длине 2 м не должно превышать 10 мм, отклонение поверхности сборной стяжки не должно превышать 2 мм, отклонение поверхности покрытия пола - 2 мм у покрытий полов из паркета, линолеума, рулонных на основе синтетических волокон и 4 мм у покрытий из керамических плит.
7.4 Отклонение от горизонтальности поверхности сборной стяжки из ГВЛВ и покрытий полов не должен превышать 0,2% соответствующего размера помещений, но не более 50 мм.
7.5 Толщина клеевой прослойки должна быть не более 1,0 мм при приклеивании паркета и не более 0,8 мм при приклеивании рулонных материалов.
7.6 Высота уступа между смежными изделиями покрытий из керамических плиток не должна превышать 1 мм.
7.7 В полах паркетных и из линолеума уступы между смежными изделиями не допускаются.
7.8 Отклонение швов в покрытиях пола между рядами штучных материалов от прямой линии не должно превышать 10 мм на длине ряда в 10 м. Ширина швов между плитками не должна превышать 6 мм при втапливании плиток и блоков в прослойку вручную и 3 мм при вибровтапливании.
7.9 Зазоры между паркетными досками не должны превышать 0,5 мм и между смежными планками штучного паркета - 0,3 мм.
7.10 Зазоры между смежными кромками полотнищ линолеума и ковров не допускаются.
7.11 При проверке сцепления покрытий из керамических плиток с нижележащими элементами пола простукиванием не должно быть изменения характера звучания.
7.12 Площадь приклейки паркетной планки должна составлять не менее 80%.
7.13 Поверхность покрытия не должна иметь выбоин, трещин, волн, вздутий, приподнятых кромок. Цвет покрытия должен соответствовать проектному.
7.14 При приёмке основания, подстилающего слоя, гидроизоляции, тепло-звукоизоляционного слоя, стяжки Исполнитель составляет акты на скрытые работы.
7.15 Приемка готового пола должна оформляться актом с обязательной оценкой качества выполненных работ и выдачей Заказчику гарантийного паспорта, в котором указывается наименование объекта, объем работ по устройству полов, их качество и гарантийный срок.

|
Поз |
Наименование |
Расход |
Примечание |
|
1 |
Паркет штучный и наборный |
1,02 м2/м2 |
|
|
2 |
Паркетный клей |
800-1200 гр/м3 |
|
|
3 |
Винт для ГВЛВ |
|
Расход зависит от схемы крепления (см. рис. 5) и геометрических размеров элементов стяжки |
|
4 |
Дополнительный лист ГВЛВ |
1,02 м^/м2 |
|
|
5 |
Мастика клеящая на основе дисперсии ПВА или латекса |
500 гр/м2 |
|
|
6 |
Сборная стяжка из элементов пола или листов ГВЛВ |
1,02 м2/м2 2,04 м2/м2 |
Расход приведен при применении для изготовлении сборной стяжки элементов пола Расход приведён при применении для изготовлении сборной стяжки листов ГВЛВ |
|
7 |
Мастика клеящая на основе |
50 гp/м2 |
Расход приведён при применении для изготовлении сборной стяжки элементов пола |
|
|
дисперсии ПВА или латекса |
500 гp/м2 |
Расход приведён при применении для изготовлении сборной стяжки листов ГВЛВ |
|
8 |
Полиэтиленовая плёнка |
1,15 гp/м2 |
|
|
9 |
Железобетонная сплошная или многопустотная плита перекрытия с ровной поверхностью |
|
|

|
Поз |
Наименование |
Расход |
Примечание |
|
l |
Паркетные доски или ламинат |
1,02 м2/м2 |
|
|
2 |
Во до-дисперсионный клей |
5-30 гр/п.м. |
Применяется для склеивания стыков |
|
3 |
Упругая прослойка |
1 м2/м2 |
|
|
4 |
Вияг для ГВЛВ |
|
Расход зависит от схемы крепления (см. рис. 5) и геометрических размеров элементов стяжки |
|
5 |
Сборная стяжка из элементов пола или листов ГВЛВ |
1,02 м2/м2 |
Расход приведён при применении для изготовлении сборной стяжки элементов пола |
|
2,04 м2/м2 |
Расход приведён при применении для изготовлении сборной стяжки листов ГВЛВ |
||
|
6 |
Мастика клеящая на основе дисперсии ПВ А или латекса |
50 гр/м2 |
Расход приведён при применении для изготовлении сборной стяжки элементов пола |
|
500 гр/м2 |
Расход приведён при применении для изготовлении сборной стяжки листов ГВЛВ |
||
|
7 |
Полиэтиленовая плёнка |
1,15 м2/м2 |
|
|
8 |
Железобетонная сплошная или многопустотная плита перекрытия с ровной поверхностью |
|
|

|
Поз |
Наименование |
Расход |
Примечание |
|
1 |
Линолеум, синтетические плитки или ковры из синтетических волокон |
1,02 м2/м2 |
|
|
2 |
Водо-дисперсионный или полимерный клей |
300-500 гр/м2 |
|
|
3 |
Винт для ГВЛВ |
|
Расход зависит от схемы крепления (см. рис. 5) и геометрических размеров элементов стяжки |
|
4 |
Сборная стяжка из элементов пола или листов ГВЛВ |
1,02 м2/м2 |
Расход приведён при применении для изготовлении сборной стяжки элементов пола |
|
2,04 м2/м2 |
Расход приведен при применении для изготовлении сборной стяжки листов ГВЛВ |
||
|
5 |
Мастика клеящая на основе дисперсии ПВА или латекса |
50 гр/м" |
Расход приведён при применении для изготовлении сборной стяжки элементов пола |
|
500 гр/м! |
Расход приведён при применении для изготовлении сборной стяжки листов ГВЛВ |
||
|
6 |
Полиэтиленовая плёнка |
1,15 м2/м2 |
|
|
7 |
Железобетонная сплошная или многопустотная плита перекрытия с ровной поверхностью |
|
|

|
Поз |
Наименование |
Расход |
Примечание |
|
1 |
Керамическая плитка для полов, плиты из природного камня, керамогранита |
1,02 м2/м2 |
|
|
2 |
Плиточный клей |
1,7-3,3 кг/м2 |
|
|
3 |
Винт для ГВЛВ |
|
Расход зависит от схемы крепления (см. рис. 5) и геометрических размеров элементов стяжки |
|
4 |
Сборная стяжка из элементов пола или листов ГВЛВ |
1,02 м2/м2 |
Расход приведен при применении для изготовлении сборной стяжки элементов пола |
|
2,04 м2/м3 |
Расход приведен при применении для изготовлении сборной стяжки листов ГВЛВ |
||
|
5 |
Мастика клеящая на основе |
50 гp/м2 |
Расход приведён при применении для изготовлении сборной стяжки элементов пола |
|
500 гр/м2 |
Расход приведён при применения для изготовлении сборной стяжки листов ГВЛВ |
||
|
6 |
Полиэтиленовая плёнка |
1,15 м2/м2 |
|
|
7 |
Железобетонная сплошная или многопустотная плита перекрытия с ровной поверхностью |
|
|

|
Поз |
Наименование |
Расход |
Примечание |
|
1 |
Керамическая плитка для полов, плиты из природного камня, керамогранита |
1,02 м2/м2 |
|
|
2 |
Плиточный клей |
1,7-3,3 кг/м2 |
|
|
3 |
Мастичная или рулонная гидроизоляция |
1 кг/ м2 |
Расход приведён при применении мастичной гидроизоляции |
|
1,02 м2/м2 |
Расход приведен при применении рулонной гидроизоляции |
||
|
4 |
Винт для ГВЛВ |
|
Расход зависит от схемы крепления (см. рис. 5) и геометрических размеров элементов стяжки |
|
5 |
Сборная стяжка из элементов пола или листов ГВЛВ |
1,02 м2/м2 |
Расход приведен при применении для изготовлении сборной стяжки элементов пола |
|
2,04 м2/м2 |
Расход приведен при применении для изготовлении сборной стяжки листов ГВЛВ |
||
|
6 |
Мастика клеящая на основе дисперсии ПВА или латекса |
50 гp/ м2 |
Расход приведён при применении для изготовлении сборной стяжки элементов пола |
|
500 гр/ м2 |
Расход приведён при применении для изготовлении сборной стяжки листов ГВЛВ |
||
|
7 |
Полиэтиленовая плёнка |
1,15 м2/м2 |
|
|
8 |
Железобетонная сплошная или многопустотная плита перекрытия с ровной поверхностью |
|
|

|
Поз |
Наименование |
Расход |
Примечание |
|
1 |
Паркет штучный и наборный |
1,02 м2/м2 |
|
|
2 |
Паркетный клей |
800-1200 гр/м2 |
|
|
3 |
Винт для ГВЛВ |
|
Расход зависит от схемы крепления (см. рис. 5) и геометрических размеров элементов стяжки |
|
4 |
Дополнительный лист ГВЛВ |
1,02 м2/м2 |
|
|
5 |
Мастика клеящая на основе дисперсии ПВА или латекса |
500 гр/м2 |
|
|
6 |
Сборная стяжка из элементов пола или листов ГВЛВ |
1,02 м2/мг |
Расход приведён при применении для изготовлении сборной стяжки элементов пола |
|
2,04 м2/м2 |
Расход приведён при применении для изготовлении сборной стяжки листов ГВЛВ |
||
|
Мастика клеящая на основе дисперсии ПВА или латекса |
50 гр/м: |
Расход приведён при применении для изготовлении сборной стяжки элементов пола |
|
|
500 гр/м2 |
Расход приведен при применении для изготовлении сборной стяжки листов ГВЛВ |
||
|
8 |
Минераловатные плиты «ISOVER» (толщина 20 или 30 мм) Иглопробивные маты из минеральных волокон «Вибросил Е» (толщина 6 или 11мм) Вспененный полиэтилен «Вилатерм» (толщина 8 мм) Плиты пенополистирольные (толщина 30 мм) |
1,02 м2/м2 |
Выбор звукоизолирующего материала осуществляется по таблицам 4.2 и 4.3 с учетом требований таблицы 4.1, а также (при необходимости) с учётом теплофизических расчётов |
|
9 |
Полиэтиленовая плёнка |
1,15 м2/м2 |
|
|
10 |
Железобетонная сплошная или многопустотная плита перекрытия с ровной поверхностью |
|
|

|
Поз |
Наименование |
Расход |
Примечание |
|
1 |
Паркетные доски или ламинат |
1,02 м2/м2 |
|
|
2 |
Водо-дисперсионный клей |
5-30 гр/п.м. |
Применяется для склеивания стыков |
|
3 |
Упругая прослойка |
1 м2/м2 |
|
|
4 |
Винт для ГВЛВ |
|
Расход зависит от схемы крепления (см. рис. 5) и геометрических размеров элементов стяжки |
|
5 |
Сборная стяжка из элементов пола или листов ГВЛВ |
1,02 м2/м2 |
Расход приведён при применении для изготовлении сборной стяжки элементов пола |
|
2,04 м2/м2 |
Расход приведён при применении для изготовлении сборной стяжки листов ГВЛВ |
||
|
6 |
Мастика клеящая на основе дисперсии ПВА или латекса |
50 гр/м2 |
Расход приведён при применении для изготовлении сборной стяжки элементов пола |
|
500 гр/м2 |
Расход приведён при применении для изготовлении сборной стяжки листов ГВЛВ |
||
|
7 |
Минераловатные плиты «ISOVER» (толщина 20 или 30 мм) |
1,02 м2/м2 |
Выбор звукоизолирующего материала осуществляется по таблицам 4.2 и 4.3 с учетом требований таблицы 4.1, а также (при необходимости) с учётом теплофизических расчётов |
|
Иглопробивные маты из минеральных волокон «Вибросил Е» (толщина 6 или 11 мм) |
|||
|
Вспененный полиэтилен «Вилатерм» (толщина 8 мм) |
|||
|
Плиты пенополистирольные (толщина 30 мм) |
|||
|
8 |
Полиэтиленовая плёнка |
1,15 м2/м2 |
|
|
9 |
Железобетонная сплошная 1 или многопустотная плита перекрытия с ровной поверхностью |
|
|

|
Поз |
Наименование |
Расход |
Примечание |
|
1 |
Линолеум, синтетические плитки или ковры из синтетических волокон |
1,02 м2/м2 |
|
|
2 |
Водо-дисперсионный или полимерный клей |
300-500 гр/м2 |
|
|
3 |
Винт для ГВЛВ |
|
Расход зависит от схемы крепления (см. рис. 5) и геометрических размеров элементов стяжки |
|
4 |
Сборная стяжка из элемен- |
1,02 м2/м2 |
Расход приведён при применении для изготовлении сборной стяжки элементов пола |
|
2,04 м2/м2 |
Расход приведён при применении для изготовлении сборной стяжки листов ГВЛВ |
||
|
5 |
Мастика клеящая на основе |
50 гр/м2 |
Расход приведён при применении для изготовлении сборной стяжки элементов пола |
|
500 гр/м2 |
Расход приведен при применении для изготовлении сборной стяжки листов ГВЛВ |
||
|
6 |
Мииераловатные плиты «ISOVER» (толщина 20 или 30 мм) Иглопробивные маты из минеральных волокон «Вибросил Е» (толщина 6 или 11мм) Вспененный полиэтилен «Вилатерм» (толщина 8 мм) Плиты пенополистирольные (толщина 30 мм) |
1,02 м2/м2 |
Выбор звукоизолирующего материала осуществляется по таблицам 4.2 и 4.3 с учетом требований таблицы 4.1, а также (при необходимости) с учётом теплофизических расчётов |
|
7 |
Полиэтиленовая плёнка |
1,15 м2/м2 |
|
|
8 |
Железобетонная сплошная или многопустотная плита перекрытия с ровной поверхностью |
|
|

|
Поз |
Наименование |
Расход |
Примечание |
|
1 |
Керамическая плитка для полов, плиты из природного камня, керамогранита |
1,02 м2/м2 |
|
|
2 |
Плиточный клей |
1,7-3,3 кг/м2 |
|
|
3 |
Винт для ГВЛВ |
|
Расход зависит от схемы крепления (см. рис. 5) и геометрических размеров элементов стяжки |
|
4 |
Сборная стяжка из элементов пола или листов ГВЛВ |
1,02м2/м2 |
Расход приведён при применении для изготовлении сборной стяжки элементов пола |
|
2,04 м2/м2 |
Расход приведен при применении для изготовлении сборной стяжки листов ГВЛВ |
||
|
5 |
Мастика клеящая на основе |
50 гр/м2 |
Расход приведён при применении для изготовлении сборной стяжки элементов пола |
|
дисперсии ПВА или латекса |
500 гр/м2 |
Расход приведён при применении для изготовлении сборной стяжки листов ГВЛВ |
|
|
б |
Минераловатные плиты «ISO-VER» (толщина 20 или 30 мм) |
1,02 м2/м2 |
Выбор звукоизолирующего материала осуществляется по таблицам 4.2 и 4.3 с учетом требований таблицы 4.1, а также (при необходимости) с учётом теплофизических расчётов |
|
Иглопробивные маты из минеральных волокон «Вибросил Е» (толщина б или 11мм) |
|||
|
Вспененный полиэтилен «Вилатерм» (толщина 8 мм) |
|||
|
Плиты пенополистирольные (толщина 30 мм) |
|||
|
7 |
Полиэтиленовая плёнка |
1,15 м2/м2 |
|
|
8 |
Железобетонная сплошная или многопустотная плита перекрытия с ровной поверхностью |
|
|

|
Поз |
Наименование |
Расход |
Примечание |
|
1 |
Керамическая плитка для полов, плиты из природного камня, керамогранита |
1,02 м2/м2 |
|
|
2 |
Плиточный клей |
1,7-3,3 кг/м2 |
|
|
3 |
Мастичная или рулонная гидроизоляция |
1кг/м2 |
Расход приведён при применении мастичной гидроизоляции |
|
1,02 м2/м2 |
Расход приведён при применении рулонной гидроизоляции |
||
|
4 |
Винт для ГВЛВ |
|
Расход зависит от схемы крепления (см. рис. 5) и геометрических размеров элементов стяжки |
|
5 |
Сборная стяжка из элементов пола или листов ГВЛВ |
1,02 м2/м2 |
Расход приведён при применении для изготовлении сборной стяжки элементов пола |
|
2,04 м2/м2 |
Расход приведён при применении для изготовлении сборной стяжки листов ГВЛВ |
||
|
6 |
Мастика клеящая на основе |
50 гр/м2 |
Расход приведён при применении для изготовлении сборной стяжки элементов пола |
|
500 гр/м2 |
Расход приведён при применении для изготовлении сборной стяжки листов ГВЛВ |
||
|
7 |
Минераловатные плиты «ISO-VER» (толщина 20 или 30 мм) Иглопробивные маты из минеральных волокон «Вибросил Е» (толщина 6 или 11 мм) Вспененный полиэтилен «Вила-терм» (толщина 8 мм) Плиты пенополистирольные (толщина 30 мм) |
1,02 м2/м2 |
Выбор звукоизолирующего материала осуществляется по таблицам 4.2 и 4.3 с учетом требований таблицы 4.1, а также (при необходимости) с учётом теплофизических расчётов |
|
8 |
Полиэтиленовая плёнка |
1,15м2/м2 |
|
|
9 |
Железобетонная сплошная или многопустотная плита перекрытия с ровной поверхностью |
|
|

|
Поз |
Наименование |
Расход |
Примечание |
|
1 |
Паркет штучный и наборный |
1,02 м2/м2 |
|
|
2 |
Паркетный клей |
800-1200 гр/м2 |
|
|
3 |
Винт для ГВЛВ |
|
Расход зависит от схемы крепления (см. рис. 5) и геометрических размеров элементов стяжки |
|
4 |
Дополнительный лист ГВЛВ |
1,02 м2/м2 |
|
|
5 |
Мастика клеящая на основе дисперсии ПВА или латекса |
500 гр/м2 |
|
|
6 |
Сборная стяжка из элементов пола или листов ГВЛВ |
1,02 м2/м2 |
Расход приведён при применении для изготовлении сборной стяжки элементов пола |
|
2,04 м2/м2 |
Расход приведен при применении для изготовлении сборной стяжки листов ГВЛВ |
||
|
7 |
Мастика клеящая на основе дисперсии ПВА или латекса |
50 гр/м2 |
Расход приведён при применении для изготовлении сборной стяжки элементов пола |
|
500 гр/м2 |
Расход приведён при применении для изготовлении сборной стяжки листов ГВЛВ |
||
|
8 |
Сухая засыпка |
0,01 м3/м2 |
На каждые 10 мм слоя засыпки |
|
9 |
Полиэтиленовая плёнка |
1,15м2/м2 |
|
|
10 |
Железобетонная сплошная или многопустотная плита перекрытия с неровной поверхностью |
|
|

|
Поз |
Наименование |
Расход |
Примечание |
|
l |
Паркетные доски или ламинат |
1,02 м2/м2 |
|
|
2 |
Водо-дисперсионный клей |
5-30 гр/п.м. |
Применяется для склеивания стыков |
|
3 |
Упругая прослойка |
1 м2/м2 |
|
|
4 |
Винт для ГВЛВ |
|
Расход зависит от схемы крепления (см. рис. 5) и геометрических размеров элементов стяжки |
|
5 |
Сборная стяжка из элементов пола или листов ГВЛВ |
1,02 м2/м2 |
Расход приведён при применении для изготовлении сборной стяжки элементов пола |
|
2,04 м2/м2 |
Расход приведён при применении для изготовлении сборкой стяжки листов ГВЛВ |
||
|
6 |
Мастика клеящая на основе дисперсии ПВА или латекса |
50 гр/ м2 |
Расход приведён при применении для изготовлении сборной стяжки элементов пола |
|
500 гр/м2 |
Расход приведён при применении для изготовлении сборной стяжки листов ГВЛВ |
||
|
7 |
Сухая засыпка |
0,01 м3/м2 |
На каждые 10 мм слоя засыпки |
|
8 |
Полиэтиленовая плёнка |
1,15 м2/м2 |
|
|
|
Железобетонная сплошная или многопустотная плита перекрытия с неровной поверхностью |
|
|

|
Поз |
Наименование |
Расход |
Примечание |
|
1 |
Линолеум, синтетические плитки или ковры из синтетических волокон |
1,02 м2/м2 |
|
|
2 |
Водо-дисперсионный или полимерный клей |
300-500 гр/м2 |
|
|
3 |
Винт для ГВЛВ |
|
Расход зависит от схемы крепления (см. рис. 5) и геометрических размеров элементов стяжки |
|
4 |
Сборная стяжка из элементов пола или листов ГВЛВ |
1,02 м2/м2 |
Расход приведен при применении для изготовлении сборной стяжки элементов пола |
|
2,04 м2/м2 |
Расход приведен при применении для изготовлении сборной стяжки листов ГВЛВ |
||
|
5 |
Мастика клеящая на основе дисперсии ПВА или латекса |
50 гр/м2 |
Расход приведён при применении для изготовлении сборной стяжки элементов пола |
|
500 гр/м2 |
Расход приведён при применении для изготовлении сборной стяжки листов ГВЛВ |
||
|
6 |
Сухая засыпка |
0,01 м3/м2 |
На каждые 10 мм слоя засыпки |
|
7 |
Полиэтиленовая плёнка |
1,15 м2/м2 |
|
|
8 |
Железобетонная сплошная или многопустотная плита перекрытия с неровной поверхностью |
|
|

|
Поз |
Наименование |
Расход |
Примечание |
|
1 |
Керамическая плитка для полов, плиты из природного камня, керамогранита |
1,02 м2/м2 |
|
|
2 |
Плиточный клей |
1,7-3,3 кг/м2 |
|
|
3 |
Винт для ГВЛВ |
|
Расход зависит от схемы крепления (см. рис. 5) и геометрических размеров элементов стяжки |
|
4 |
Сборная стяжка из элементов пола или листов ГВЛВ |
1,02 м2/м2 |
Расход приведён при применении для изготовлении сборной стяжки элементов пола |
|
2,04 м2/м2 |
Расход приведён при применении для изготовлении сборной стяжки листов ГВЛВ |
||
|
5 |
Мастика клеящая на основе дисперсии ПВА или латекса |
50 гр/м2 |
Расход приведён при применении для изготовлении сборной стяжки элементов пола |
|
500 гр/м2 |
Расход приведен при применении для изготовлении сборной стяжки листов ГВЛВ |
||
|
6 |
Сухая засыпка |
0,01 м3/м2 |
На каждые 10 мм слоя засыпки |
|
7 |
Полиэтиленовая плёнка |
1,15 м2/м2 |
|
|
8 |
Железобетонная сплошная или многопустотная плита перекрытия с неровной поверхностью |
|
|

|
Поз |
Наименование |
Расход |
Примечание |
|
1 |
Керамическая плетка для полов, плиты из природного камня, керамогранита |
1,02 м2/м2 |
|
|
2 |
Плиточный клей |
1,7-3,3 кг/м2 |
|
|
3 |
Мастичная или рулонная гидроизоляция |
1 кг/м2 |
Расход приведён при применении мастичной гидроизоляции |
|
1,02 м2/м2 |
Расход приведён при применении рулонной гидроизоляции |
||
|
4 |
Винт для ГВЛВ |
|
Расход зависит от схемы крепления (см. рис. 5) и геометрических размеров элементов стяжки |
|
5 |
Сборная стяжка из элементов пола или листов ГВЛВ |
1,02 м2/м2 |
Расход приведён при применении для изготовлении сборной стяжки элементов пола |
|
2,04 м2/м2 |
Расход приведён при применении для изготовлении сборной стяжки листов ГВЛВ |
||
|
6 |
Мастика клеящая на основе дисперсии ПВА или латекса |
50 гр/м2 |
Расход приведён при применении для изготовлении сборной стяжки элементов пола |
|
500 гр/м2 |
Расход приведён при применении для изготовлении сборной стяжки листов ГВЛВ |
||
|
7 |
Сухая засыпка |
0,01 м3/м2 |
На каждые 10 мм слоя засыпки |
|
8 |
Полиэтиленовая плёнка |
1,15 м2/м2 |
|
|
9 |
Железобетонная сплошная или многопустотная плита перекрытия с неровной поверхностью |
|
|

|
Поз |
Наименование |
Расход |
Примечание |
|
1 |
Паркет штучный и наборный |
1,02 м2/м2 |
|
|
2 |
Паркетный клей |
800-1200 гр/м2 |
|
|
3 |
Винт для ГВЛВ |
|
Расход зависит от схемы крепления (см. рис. 5) и геометрических размеров элементов стяжки |
|
4 |
Дополнительный лист ГВЛВ |
1,02м2/м2 |
|
|
5 |
Мастика клеящая на основе дисперсии ПВА или латекса |
500 гр/м2 |
|
|
6 |
Сборная стяжка из элементов пола или листов 1 BJ1B |
1,02 м2/м2 |
Расход приведён при применении для изготовлении сборной стяжки элементов пола |
|
2,04 м2/м2 |
Расход приведён при применении для изготовлении сборной стяжки листов ГВЛВ |
||
|
7 |
Мастика клеящая на основе дисперсии ПВА или латекса |
50 гp/м2 |
Расход приведен при применении для изготовлении сборной стяжки элементов пола |
|
500 гр/м2 |
Расход приведен при применении для изготовлении сборной стяжки листов ГВЛВ |
||
|
8 |
Минераловатные плиты «ISOVER» (толщина 20 или 30 мм) Иглопробивные маты из минеральных волокон «Вибросил Е» (толщина 6 или 11 мм) Вспененный полиэтилен «Вилатерм» (толщина 8 мм) Плиты пенополистирольные (толщина 30 мм) |
1,02 м2/м2 |
Выбор звукоизолирующего материала осуществляется по таблицам 4.2 и 4.3 с учетом требований таблицы 4.1, а также (при необходимости) с учётом теплофизических расчётов |
|
9 |
Прослойка из листа ГВЛВ |
1,02 м2/м2 |
|
|
10 |
Сухая засыпка |
0,01 м3/м2 |
На каждые 10 мм слоя засыпки |
|
11 |
Полиэтиленовая плёнка |
|
|
|
12 |
Железобетонная сплошная или многопустотная плита перекрытия с неровной поверхностью |
|
|

|
Поз |
Наименование |
Расход |
Примечание |
|
1 |
Паркетные доски или ламинат |
1,02 м2/м2 |
|
|
2 |
Водо-дисперсионный клей |
5-30 гр/п.м. |
Применяется для склеивания стыков |
|
3 |
Упругая прослойка |
1 м2/м2 |
|
|
4 |
Винт для ГВЛВ |
|
Расход зависит от схемы крепления (см. рис. 5) и геометрических размеров элементов стяжки |
|
5 |
Сборная стяжка из элементов пола или листов ГВЛВ |
1,02 м2/м2 |
Расход приведен при применении для изготовлении сборной стяжки элементов пола |
|
2,04 м2/м2 |
Расход приведён при применении для изготовлении сборной стяжки листов ГВЛВ |
||
|
6: |
Мастика клеящая на основе дисперсии ИВА или латекса |
50 гр/м2 |
Расход приведён при применении для изготовлении сборной стяжки элементов пола |
|
500 гр/м2 |
Расход приведён при применении для изготовлении сборной стяжки листов ГВЛВ |
||
|
7 |
Минераловатные плиты «ISOVER» (толщина 20 или 30 мм) Иглопробивные маты из минеральных волокон «Вибросил Е» (толщина 6 или 11 мм) Вспененный полиэтилен «Вилатерм» (толщина 8 мм) Плиты пенополистиролъные (толщина 30 мм) |
1,02 м2/м2 |
Выбор звукоизолирующего материала осуществляется по таблицам 4.2 и 4.3 с учетом требований таблицы 4.1, а также (при необходимости) с учётом теплофизических расчётов |
|
8 |
Прослойка из листа ГВЛВ |
1,02 м2/м: |
|
|
9 |
Сухая засыпка |
0,01 м3/м2 |
На каждые 10 мм слоя засыпки |
|
10 |
Полиэтиленовая пленка |
1,15 м2/м2 |
|
|
1! |
Железобетонная сплошная или многопустотная плита перекрытия с неровной поверхностью |
|
|

|
Поз |
Наименование |
Расход |
Примечание |
|
1 |
Линолеум, синтетические плитки или ковры из синтетических волокон |
1,02м2/м2 |
|
|
2 |
Водо-дисперсионный или полимерный клей |
300-500 гр/м2 |
|
|
3 |
Винт для ГВЛВ |
|
Расход зависит от схемы крепления (см. рис. 5) и геометрических размеров элементов стяжки |
|
4 |
Сборная стяжка из элементов пола или листов ГВЛВ |
1,02 м2/м2 |
Расход приведён при применении для изготовлении сборной стяжки элементов пола |
|
2,04 м2/м2 |
Расход приведён при применении для изготовлении сборной стяжки листов ГВЛВ |
||
|
5 |
Мастика клеящая на основе дисперсии ПВА или латекса |
50 гр/ м2 |
Расход приведён при применении для изготовлении сборной стяжки элементов пола |
|
500 гр/м2 |
Расход приведён при применении для изготовлении сборной стяжки листов ГВЛВ |
||
|
6 |
Минераловатные плиты «ISOVER» (толщина 20 или 30 мм) Иглопробивные маты из минеральных волокон «Вибросил Е» (толщина или 11 мм) Вспененный полиэтилен «Вилатерм» (толщина 8 мм) Плиты пенополистирольные (толщина 30 мм) |
1,02 м2/м2 |
Выбор звукоизолирующего материала осуществляется по таблицам 4.2 и 4.3 с учетом требований таблицы 4.1, а также (при необходимости) с учётом теплофизических расчётов |
|
7 |
Прослойка из листа ГВЛВ |
1,02 м2/м2 |
|
|
8 |
Сухая засыпка |
0,01 м3/м2 |
На каждые 10 мм слоя засыпки |
|
9 |
Полиэтиленовая плёнка |
1,15 м2/м2 |
|
|
10 |
Железобетонная сплошная или многопустотная плита перекрытия с неровной поверхностью |
|
|

|
Поз |
Наименование |
Расход |
Примечание |
|
1 |
Керамическая плитка для полов, плиты из природного камня, керамогранита |
1,02 м2/м2 |
|
|
2 |
Плиточный клей |
1,7-3,3 кг/м2 |
|
|
3 |
Винт для ГВЛВ |
|
Расход зависит от схемы крепления (см. рис. 5) и геометрических размеров элементов стяжки |
|
4 |
Сборная стяжка из элементов пола или листов ГВЛВ |
1,02 м2/м2 |
Расход приведен при применении для изготовлении сборной стяжки элементов пола |
|
2,04 м2/м2 |
Расход приведён при применении для изготовлении сборной стяжки листов ГВЛВ |
||
|
5 |
Мастика клеящая на основе дисперсии ПВА или латекса |
50 гр/м2 |
Расход приведен при применении для изготовлении сборной стяжки элементов пола |
|
500 гр/м2 |
Расход приведён при применении для изготовлении сборной стяжки листов ГВЛВ |
||
|
6 |
Минераловатные плиты «ISOVER» (толщина 20 или 30 мм) Иглопробивные маты из минеральных волокон «Вибросил Е» (толщина б или 11 мм) Вспененный полиэтилен «Вилатерм» (толщина 8 мм) Плиты пенополистирольные (толщина 30 мм) |
1,02 м2/м2 |
Выбор звукоизолирующего материала осуществляется по таблицам 4.2 и 4.3 с учетом требований таблицы 4.1, а также (при необходимости) с учетом теплофизических расчётов |
|
7 |
Прослойка из листа ГВЛВ |
1,02 м2/м2 |
|
|
8 |
Сухая засыпка |
0,01 м3/м2 |
На каждые 10 мм слоя засыпки |
|
9 |
Полиэтиленовая плёнка |
1,15 м2/м2 |
|
|
10 |
Железобетонная сплошная или многопустотная плита перекрытия с неровной поверхностью |
|
|

|
Поз |
Наименование |
Расход |
Примечание |
|
1 |
Керамическая плитка для полов, плиты из природного камня, керамогранита |
1,02 м2/м2 |
|
|
2 |
Плиточный клей |
1,7-3,3 кг/м2 |
|
|
3 |
Мастичная или рулонная гидроизоляция |
1кг/м2 |
Расход приведён при применении мастичной гидроизоляции |
|
1,02 м2/м2 |
Расход приведен при применении рулонной гидроизоляции |
||
|
4 |
Винт для ГВЛВ |
|
Расход зависит от схемы крепления (см. рис. 5) и геометрических размеров элементов стяжки |
|
5 |
Сборная стяжка из элементов пола или листов ГВЛВ |
1,02 м2/м2 |
Расход приведён при применении для изготовлении сборной стяжки элементов пола |
|
2,04 м2/м2 |
Расход приведён при применении для изготовлении сборной стяжки листов ГВЛВ |
||
|
6 |
Мастика клеящая на основе дисперсии ПВА или латекса |
50 гр/м2 |
Расход приведён при применении для изготовлении сборной стяжки элементов пола |
|
500 гр/м2 |
Расход приведён при применении для изготовлении сборной стяжки листов ГВЛВ |
||
|
7 |
Минераловатные плиты «ISOVER» (толщина 20 или 30 мм) Иглопробивные маты из минеральных волокон «Вибросил Е» (толщина 6 или 11 мм) Вспененный полиэтилен «Вилатерм» (толщина 8 мм) Плиты пенополистиролъные (толщина 30 мм) |
1,02 м2/м2 |
Выбор звукоизолирующего материала осуществляется по таблицам 4.2 и 4.3 с учетом требований таблицы 4.1, а также (при необходимости) с учётом теплофизических расчетов |
|
8 |
Прослойка из лист ГВЛВ |
1,02 м2/м- |
|
|
9 |
Сухая засыпка |
0,01 м3/м2 |
На каждые 10 мм слоя засыпки |
|
10 |
Полиэтиленовая пленка |
1,15 м2/м2 |
|
|
11 |
Железобетонная сплошная или многопустотная плита перекрытия с неровной поверхностью |
|
|

|
Поз |
Наименование |
Расход |
Примечание |
|
1 |
Паркет штучный и наборный |
1,02 м2/м2 |
|
|
2 |
Паркетный клей |
800-1200 гр/м2 |
|
|
3 |
Винт для ГВЛВ |
|
Расход зависит от схемы крепления (см. рис. 5) и геометрических размеров элементов стяжки |
|
4 |
Дополнительный лист ГВЛВ |
1,02 м2/м2 |
|
|
5 |
Мастика клеящая на основе дисперсии ПВА или латекса |
500 гр/м2 |
|
|
6 |
Сборная стяжка из элементов пола или листов ГВЛВ |
1,02 м2/м2 |
Расход приведён при применении для изготовлении сборной стяжки элементов пола |
|
2,04 м2/м2 |
Расход приведён при применении для изготовлении сборной стяжки листов ГВЛВ |
||
|
7 |
Мастика клеящая на основе дисперсии ПВА или латекса |
50 гр/м2 |
Расход приведён при применении для изготовлении сборной стяжки элементов пола |
|
500 гр/м2 |
Расход приведён при применении для изготовлении сборной стяжки листов ГВЛВ |
||
|
8 |
Кромочная лента |
|
|
|
9 |
Полиэтиленовая плёнка |
1,15 м2/м2 |
|
|
10 |
Железобетонная сплошная плита перекрытия с ровной поверхностью |
|
|
|
11 |
Деревянный плинтус |
|
|
|
12 |
Звукоизоляционная прослойка |
|
|
|
13 |
Гвоздь |
|
|
|
14 |
Деревянная пробка |
|
|
|
15 |
Стена |
|
|

|
Поз |
Наименование |
Расход |
Примечание |
|
1 |
Паркет штучный и наборный |
1,02 м2/м2 |
|
|
2 |
Паркетный клей |
800-1200 гр/м2 |
|
|
3 |
Винт для ГВЛВ |
|
Расход зависит от схемы крепления (см. рис. 5) и геометрических размеров элементов стяжки |
|
4 |
Дополнительный лист ГВЛВ |
1,02 м2/м2 |
|
|
5 |
Мастика клеящая на основе дисперсии ПВА или латекса |
500 гр/м2 |
|
|
6 |
Сборная стяжка из элементов пола или листов ГВЛВ |
1,02 м2/м2 |
Расход приведён при применении для изготовлении сборной стяжки элементов пола |
|
2,04 м2/м2 |
Расход приведён при применении для изготовлении сборной стяжки листов ГВЛВ |
||
|
7 |
Мастика клеящая на основе дисперсии ПВА или латекса |
50 гр/м2 |
Расход приведён при применении для изготовлении сборной стяжки элементов пола |
|
500 гр/м2 |
Расход приведён при применении для изготовлении сборной стяжки листов ГВЛВ |
||
|
8 |
Кромочная лента |
|
|
|
9 |
Тепло-звукоизоляция из пористо-волокнистых матов и вспененных плит |
1,02 м2/м2 |
Выбор звукоизолирующего материала осуществляется по таблицам 4.2 и 4.3 с учетом требований таблицы 4.1, а также (при необходимости) с учётом теплофизических расчётов |
|
10 |
Полиэтиленовая плёнка |
1,15 м2/м2 |
|
|
11 |
Железобетонная сплошная плита перекрытия с ровной поверхностью |
|
|
|
12 |
Деревянный плинтус |
|
|
|
13 |
Звукоизоляционная прослойка |
|
|
|
14 |
Саморез или шуруп |
|
|
|
15 |
Стена |
|
|

|
Поз |
Наименование |
Расход |
Примечание |
|
1 |
Паркетные доски или ламинат |
1,02 м2/м2 |
|
|
2 |
Вододисперсионный клей |
5-30 гр/п.м. |
Применяется для склеивания стыков |
|
3 |
Упругая прослойка |
1 м2/м2 |
|
|
4 |
Винт для ГВЛВ |
|
Расход зависит от схемы крепления (см. рис. 5) и геометрических размеров элементов стяжки |
|
5 |
Сборная стяжка из элементов пола или листов ГВЛВ |
1,02 м2/м2 |
Расход приведен при применении для изготовлении сборной стяжки элементов пола |
|
2,04 м2/м2 |
Расход приведён при применении для изготовлении сборной стяжки листов ГВЛВ |
||
|
6 |
Мастика клеящая на основе дисперсии ПВА или латекса |
50 гр/м2 |
Расход приведён при применении для изготовлении сборной стяжки элементов пола |
|
500 гр/м2 |
Расход приведён при применении для изготовлении сборной стяжки листов ГВЛВ |
||
|
7 |
Кромочная лента |
|
|
|
8 |
Сухая засыпка |
0,01 м3/м2 |
На каждые 10 мм слоя засыпки |
|
9 |
Полиэтиленовая плёнка |
1,15 м2/м2 |
|
|
10 |
Железобетонная сплошная плита перекрытия с неровной поверхностью |
|
|
|
11 |
Деревянный плинтус |
|
|
|
12 |
Звукоизоляционная прослойка |
|
|
|
13 |
Гвоздь |
|
|
|
14 |
Деревянная пробка |
|
|
|
15 |
Стена |
|
|

|
Поз |
Наименование |
Расход |
Примечание |
|
1 |
Паркетные доски или ламинат |
1,02 м2/м2 |
|
|
2 |
Водо-дисперсионный клей |
5-30 гр/п.м. |
Применяется для склеивания стыков |
|
3 |
Упругая прослойка |
1 м2/м2 |
|
|
4 |
Винт для ГВЛВ |
|
Расход зависит от схемы крепления (см. рис. 5) и геометрических размеров элементов стяжки |
|
5 |
Сборная стяжка из элементов пола или листов ГВЛВ |
1,02 м2/м2 |
Расход приведен при применении для изготовлении сборной стяжки элементов пола |
|
2,04 м2/м2 |
Расход приведён при применении для изготовлении сборной стяжки листов ГВЛВ |
||
|
6 |
Мастика клеящая на основе дисперсии ПВА или латекса |
50 гр/м2 |
Расход приведён при применении для изготовлении сборной стяжки элементов пола |
|
500 гр/м2 |
Расход приведён при применении для изготовлении сборной стяжки листов ГВЛВ |
||
|
7 |
Кромочная лента |
|
|
|
8 |
Тепло-звукоизоляция из пористо-волокнистых матов и вспененных плит |
1,02 м2/м2 |
Выбор звукоизолирующего материала осуществляется по таблицам 4.2 и 4.3 с учетом требований таблицы 4.1, а также (при необходимости) с учётом теплофизических расчётов |
|
9 |
Прослойка из листа ГВЛВ |
1,02 м2/м2 |
|
|
10 |
Сухая засыпка |
0,01 м3/м2 |
На каждые 10 мм слоя засыпки |
|
11 |
Полиэтиленовая плёнка |
1,15 м2/м2 |
|
|
12 |
Железобетонная сплошная плита перекрытия с неровной поверхностью |
|
|
|
13 |
Поливинилхлоридный плинтус |
|
|
|
14 |
Полимерный клей |
|
|
|
15 |
Стена |
|
|

|
Поз |
Наименование |
Расход |
Примечание |
|
1 |
Линолеум, синтетические плитки или ковры из синтетических волокон |
1,02 м2/м2 |
|
|
2 |
Водо-дисперсионный или полимерный клей |
300-500 гр/м2 |
|
|
3 |
Винт для ГВЛВ |
|
Расход зависит от схемы крепления (см. рис. 5) и геометрических размеров элементов стяжки |
|
4 |
Сборная стяжка из элементов пола или листов ГВЛВ |
1,02 м2/м2 |
Расход приведён при применении для изготовлении сборной стяжки элементов пола |
|
2,04 м2/м2 |
Расход приведён при применении для изготовлении сборной стяжки листов ГВЛВ |
||
|
5 |
Мастика клеящая на основе дисперсии ПВА или латекса |
50 гр/м2 |
Расход приведён при применении для изготовлении сборной стяжки элементов пола |
|
500 гр/м2 |
Расход приведён при применении для изготовлении сборной стяжки листов ГВЛВ |
||
|
6 |
Кромочная лента |
|
|
|
7 |
Полиэтиленовая плёнка |
1,15 м2/м2 |
|
|
8 |
Железобетонная многопустотная плита перекрытия с ровной поверхностью |
|
|
|
9 |
Деревянный плинтус |
|
|
|
10 |
Звукоизоляционная прослойка |
|
|
|
11 |
Гвоздь |
|
|
|
12 |
Деревянная пробка |
|
|
|
13 |
Стена |
|
|

|
Поз |
Наименование |
Расход |
Примечание |
|
1 |
Линолеум, синтетические плитки или ковры из синтетических волокон |
1,02 м2/м2 |
|
|
2 |
Водо-дисперсионный или полимерный клей |
300-500 гр/м2 |
|
|
3 |
Винт для ГВЛВ |
|
Расход зависит от схемы крепления (см. рис. 5) и геометрических размеров элементов стяжки |
|
4 |
Сборная стяжка из элементов пола или листов ГВЛВ |
1,02 м2/м2 |
Расход приведён при применении для изготовлении сборной стяжки элементов пола |
|
2,04 м2/м2 |
Расход приведён при применении для изготовлении сборной стяжки листов ГВЛВ |
||
|
5 |
Мастика клеящая на основе дисперсии ПВА или латекса |
50 гр/м2 |
Расход приведен при применении для изготовлении сборной стяжки элементов пола |
|
500 гр/м2 |
Расход приведён при применении для изготовлении сборной стяжки листов ГВЛВ |
||
|
6 |
Кромочная лента |
|
|
|
7 |
Тепло-звукоизоляция из пористо-волокнистых матов и вспененных плит |
1,02 м2/м2 |
Выбор звукоизолирующего материала осуществляется по таблицам 4.2 и 4.3 с учетом требований таблицы 4.1, а также (при необходимости) с учётом теплофизических расчётов |
|
8 |
Полиэтиленовая плёнка |
1,15 м2/м2 |
|
|
9 |
Железобетонная многопустотная плита перекрытая с ровной поверхностью |
|
|
|
10 |
Деревянный плинтус |
|
|
|
11 |
Звукоизоляционная прослойка |
|
|
|
12 |
Саморез или шуруп |
|
|
|
13 |
1 Стена |
|
|

|
Поз |
Наименование |
Расход |
Примечание |
|
1 |
Линолеум, синтетические плитки или ковры из синтетических волокон |
1,02 м2/м2 |
|
|
2 |
Водо-дисперсионный или полимерный клей |
300-500 гр/м2 |
|
|
3 |
Винт для ГВЛВ |
|
Расход зависит от схемы крепления (см. рис. 5) и геометрических размеров элементов стяжки |
|
4 |
Сборная стяжка из элементов пола или листов ГВЛВ |
1,02 м2/м2 |
Расход приведён при применении для изготовлении сборной стяжки элементов пола |
|
2,04 м2/м2 |
Расход приведён при применении для изготовлении сборной стяжки листов ГВЛВ |
||
|
5 |
Мастика клеящая на основе дисперсии ПВА или латекса |
50 гр/м2 |
Расход приведён при применении для изготовлении сборной стяжки элементов пола |
|
500 гр/м2 |
Расход приведён при применении для изготовлении сборной стяжки листов ГВЛВ |
||
|
6 |
Кромочная лента |
|
|
|
7 |
Сухая засыпка |
0,04 м3/м2 |
|
|
8 |
Полиэтиленовая плёнка |
1,15 м2/м2 |
|
|
9 |
Железобетонная многопустотная плита перекрытия с неровной поверхностью |
|
|
|
10 |
Поливинилхлоридный плинтус |
|
|
|
11 |
Полимерный клей |
|
|
|
12 |
Стена |
|
|

|
Поз |
Наименование |
Расход |
Примечание |
|
1 |
Линолеум, синтетические плитки |
1,02 м2/м2 |
|
|
2 |
Водо-дисперсионный или полимерный клей |
300-500 гр/м2 |
|
|
3 |
Винт для ГВЛВ |
|
Расход зависит от схемы крепления (см. рис. 5) и геометрических размеров элементов стяжки |
|
4 |
Сборная стяжка из элементов пола или листов ГВЛВ |
1,02 м2/м2 |
Расход приведён при применении для изготовлении сборной стяжки элементов пола |
|
2,04 м2/м2 |
Расход приведён при применении для изготовлении сборной стяжки листов ГВЛВ |
||
|
5 |
Мастика клеящая на основе дисперсии ПВА или латекса |
50 гр/м2 |
Расход приведён при применении для изготовлении сборной стяжки элементов пола |
|
500 гр/м2 |
Расход приведён при применении для изготовлении сборной стяжки листов ГВЛВ |
||
|
6 |
Кромочная лента |
|
|
|
7 |
Тепло-звукоизоляция из пористо-волокнистых матов и вспененных плит |
1,02 м2/м2 |
Выбор звукоизолирующего материала осуществляется по таблицам 4.2 и 4.3 с учетом требований таблицы 4.1, а также (при необходимости) с учётом теплофизических расчётов |
|
8 |
Прослойка из листа ГВЛВ |
1,02 м2/м2 |
|
|
9 |
Сухая засыпка |
0,01 м3/м2 |
На каждые 10 мм слоя засыпки |
|
10 |
Полиэтиленовая плёнка |
1,15 м2/м2 |
|
|
11 |
Железобетонная многопустотная плита перекрытия с неровной поверхностью |
|
|
|
12 |
Стена |
|
|

|
Поз |
Наименование |
Расход |
Примечание |
|
1 |
Ковры из синтетических волокон |
1,02 м2/м2 |
|
|
2 |
Клей для ковров из синтетических волокон |
300-500 гр/м2 |
|
|
3 |
Винт для ГВЛВ |
|
Расход зависит от схемы крепления (см. рис. 5) и геометрических размеров элементов стяжки |
|
4 |
Сборная стяжка из элементов пола или листов ГВЛВ |
1,02 м2/м2 |
Расход приведён при применении для изготовлении сборной стяжки элементов пола |
|
2,04 м2/м2 |
Расход приведён при применении для изготовлении сборной стяжки листов ГВЛВ |
||
|
5 |
Мастика клеящая на основе дисперсии ПВА или латекса |
50 гр/м2 |
Расход приведён при применении для изготовлении сборной стяжки элементов пола |
|
500 гр/м2 |
Расход приведён при применении для изготовлении сборной стяжки листов ГВЛВ |
||
|
6 |
Кромочная лента |
|
|
|
7 |
Полиэтиленовая плёнка |
1,15 м2/м2 |
|
|
8 |
Железобетонная сплошная плита перекрытия с ровной поверхностью |
|
|
|
9 |
Поливинилхлоридный плинтус |
|
|
|
10 |
Клей |
|
|
|
11 |
Полоска ковролина |
|
|
|
12 |
Стена |
|
|

|
Поз |
Наименование |
Расход |
Примечание |
|
1 |
Керамическая плитка для полов, плиты из природного камня, керамогранита |
1,02 м2/м2 |
|
|
2 |
Плиточный клей |
1,7-3,3 кг/м2 |
|
|
3 |
Винт для ГВЛВ |
|
Расход зависит от схемы крепления (см. рис. 5) и геометрических размеров элементов стяжки |
|
4 |
Сборная стяжка из элементов пола или листов ГВЛВ |
1,02 м2/м2 |
Расход приведён при применении для изготовлении сборной стяжки элементов пола |
|
2,04 м2/м2 |
Расход приведён при применении для изготовлении сборной стяжки листов ГВЛВ |
||
|
5 |
Мастика клеящая на основе дисперсии ПВА или латекса |
50 гр/м2 |
Расход приведён при применении для изготовлении сборной стяжки элементов пола |
|
500 гр/м2 |
Расход приведён при применении для изготовлении сборной стяжки листов ГВЛВ |
||
|
6 |
Кромочная лента |
|
|
|
7 |
Тепло-звукоизоляция из пористо-волокнистых матов и вспененных плит |
1,02 м2/м2 |
Выбор звукоизолирующего материала осуществляется по таблицам 4.2 и 4.3 с учетом требований таблицы 4.1, а также (при необходимости) с учётом теплофизических расчётов |
|
8 |
Полиэтиленовая плёнка |
1,15 м2/м2 |
|
|
9 |
Железобетонная многопустотная плита перекрытия с ровной поверхностью |
|
|
|
10 |
Поливинилхлоридный плинтус |
|
|
|
11 |
Полимерный клей |
|
|
|
12 |
Стена |
|
|

|
Поз |
Наименование |
Расход |
Примечание |
|
1 |
Керамическая плитка для полов, плиты из природного камня, керамогранита |
1,02 м2/м2 |
- |
|
2 |
Плиточный клей |
1,7-3,3 кг/м2 |
|
|
3 |
Винт для ГВЛВ |
|
Расход зависит от схемы крепления (см. рис. 5) и геометрических размеров элементов стяжки |
|
4 |
Сборная стяжка из элементов пола или листов ГВЛВ |
1,02 м2/м2 |
Расход приведён при применении для изготовлении сборной стяжки элементов пола |
|
2,04 м2/м2 |
Расход приведён при применении для изготовлении сборной стяжки листов ГВЛВ |
||
|
5 |
Мастика клеящая на основе дисперсии ПВА или латекса |
50 гр/м2 |
Расход приведён при применении для изготовлении сборной стяжки элементов пола |
|
500 гр/м2 |
Расход приведён при применении для изготовлении сборной стяжки листов ГВЛВ |
||
|
6 |
Кромочная лента |
|
|
|
7 |
Сухая засыпка |
0,01 м3/м2 |
На каждые 10 мм слоя засыпки |
|
8 |
Полиэтиленовая плёнка |
1,15 м2/м2 |
|
|
9 |
Железобетонная сплошная плита перекрытия с неровной поверхностью |
|
|
|
10 |
Разделка затирочной композицией |
|
|
|
11 |
Стена |
|
|

|
Поз |
Наименование |
Расход |
Примечание |
|
1 |
Керамическая плитка для полов, плиты из природного камня, керамогранита |
1,02м2/м2 |
|
|
2 |
Плиточный клей |
1,7-3,3 кг/м2 |
|
|
3 |
Мастичная или рулонная гидроизоляция |
1 кг/м2 |
Расход приведён при применении мастичной гидроизоляции |
|
1,02 м2/м2 |
Расход приведён при применении рулонной гидроизоляции |
||
|
4 |
Гидроизоляционная самоклеящаяся лента |
|
|
|
5 |
Винт для ГВЛВ |
|
Расход зависит от схемы крепления (см. рис. 5) и геометрических размеров элементов стяжки |
|
6 |
Сборная стяжка из элементов пола или листов ГВЛВ |
1,02 м2/м2 |
Расход приведён при применении для изготовлении сборной стяжки элементов пола |
|
2,04 м2/м2 |
Расход приведён при применении для изготовлении сборной стяжки листов ГВЛВ |
||
|
7 |
Мастика клеящая на основе дисперсии ПВА или латекса |
50 гр/м2 |
Расход приведён при применении для изготовлении сборной стяжки элементов пола |
|
500 гр/м2 |
Расход приведён при применении для изготовлении сборной стяжки листов ГВЛВ |
||
|
8 |
Кромочная лента |
|
|
|
9 |
Тепло-звукоизоляция из пористо-волокнистых матов и вспененных плит |
1,02 м2/м2 |
Выбор звукоизолирующего материала осуществляется по таблицам 4.2 и 4.3 с учетом требований таблицы 4.1, а также (при необходимости) с учётом теплофизических расчётов |
|
10 |
Прослойка из листа ГВЛВ |
1,02 м2/м2 |
|
|
11 |
Сухая засыпка |
0,01 м2/м2 |
На каждые 10 мм слоя засыпки |
|
12 |
Полиэтиленовая плёнка |
1,15 м2/м22 |
|
|
13 |
Железобетонная сплошная плита перекрытия с неровной поверхностью |
|
|
|
14 |
Разделка затирочной композицией |
|
|
|
15 |
Герметик |
|
|
|
16 |
Стена |
|
|

|
Поз |
Наименование |
Расход |
Примечание |
|
1 |
Паркет штучный и наборный |
1,02 м2/м2 |
|
|
2 |
Паркетный клей |
800-1200 гр/м2 |
|
|
3 |
Винт для ГВЛВ |
|
Расход зависит от схемы крепления (см. рис. 5) и геометрических размеров элементов стяжки |
|
4 |
Дополнительный лист ГВЛВ |
1,02 м2/м2 |
|
|
5 |
Мастика клеящая на основе дисперсии ПВА или латекса |
500 гр/м2 |
|
|
6 |
Сборная стяжка из элементов пола или листов ГВЛВ |
1,02 м2/м2 |
Расход приведён при применении для изготовлении сборной стяжки элементов пола |
|
2,04 м2/м2 |
Расход приведён при применении для изготовлении сборной стяжки листов ГВЛВ |
||
|
7 |
Мастика клеящая на основе дисперсии ПВА или латекса |
50 гр/м2 |
Расход приведён при применении для изготовлении сборной стяжки элементов пола |
|
500 гр/м2 |
Расход приведён при применении для изготовлении сборной стяжки листов ГВЛВ |
||
|
8 |
Труба |
|
|
|
9 |
Обкладка трубы пористо-волокнистыми матами |
По факту |
Обкладка трубы пористо-волокнистыми матами применяется при использовании для изготовления тепло-звукоизоляционного слоя вспененных плит |
|
10 |
Тепло-звукоизоляция из пористо-волокнистых матов и вспененных плит |
По расчёту |
Толщина тепло-звукоизоляционного слоя должна превышать на 15-20 мм диаметр трубы |
|
11 |
Полиэтиленовая пленка |
1,15 м2/м2 |
|
|
12 |
Железобетонная сплошная плита перекрытия с ровной поверхностью |
|
|

|
Поз |
Наименование |
Расход |
Примечание |
|
1 |
Паркетные доски или ламинат |
1,02 м2/м2 |
|
|
2 |
Водо-дисперсионный клей |
5-30 гр/п.м. |
Применяется для склеивания стыков |
|
3 |
Упругая прослойка |
1 м2/м2 |
|
|
4 |
Винт для ГВЛВ |
|
Расход зависит от схемы крепления (см. рис. 5) и геометрических размеров элементов стяжки |
|
5 |
Сборная стяжка из элементов пола или листов ГВЛВ |
1,02 м2/м2 |
Расход приведён при применении для изготовлении сборной стяжки элементов пола |
|
2,04 м2/м2 |
Расход приведён при применении для изготовлении сборной стяжки листов ГВЛВ |
||
|
6 |
Мастика клеящая на основе дисперсии ПВА или латекса |
50 гр/м2 |
Расход приведён при применении для изготовлении сборной стяжки элементов пола |
|
500 гр/м2 |
Расход приведён при применении для изготовлении сборной стяжки листов ГВЛВ |
||
|
7 |
Труба |
|
|
|
8 |
Обкладка трубы пористо-волокнистыми матами |
По факту |
|
|
9 |
Защитный металлический кожух |
|
|
|
10 |
Дюбель разжимной |
|
|
|
11 |
Сухая засыпка |
По расчёту |
Толщина тепло-звукоизоляционного слоя должна превышать на 15-20 мм диаметр трубы |
|
12 |
Полиэтиленовая плёнка |
1,15 м2/м2 |
|
|
13 |
Железобетонная сплошная плита перекрытия с неровной поверхностью |
|
|

|
Поз |
Наименование |
Расход |
Примечание |
|
1 |
Линолеум, синтетические плитки или ковры из синтетических волокон |
1,02 м2/м2 |
|
|
2 |
Водо-дисперсионный или полимерный клей |
300-500 гр/м2 |
|
|
3 |
Винт для ГВЛВ |
|
Расход зависит от схемы крепления (см. рис. 5) и геометрических размеров элементов стяжки |
|
4 |
Сборная стяжка из элементов пола или листов ГВЛВ |
1,02 м2/м2 |
Расход приведён при применении для изготовлении сборной стяжки элементов пола |
|
2,04 м2/м2 |
Расход приведён при применении для изготовлении сборной стяжки листов ГВЛВ |
||
|
5 |
Мастика клеящая на основе дисперсии ПВА или латекса |
50 гр/м2 |
Расход приведён при применении для изготовлении сборной стяжки элементов пола |
|
500 гр/м2 |
Расход приведён при применении для изготовлении сборной стяжки листов ГВЛВ |
||
|
6 |
Тепло-звукоизоляция из пористо-волокнистых матов и вспененных плит |
1,02 м2/м2 |
Выбор звукоизолирующего материала осуществляется по таблицам 4.2 и 4.3 с учетом требований таблицы 4.1, а также (при необходимости) с учётом теплофизических расчётов |
|
7 |
Прослойка из листа ГВЛВ |
1,02 м2/м2 |
|
|
8 |
Труба |
|
|
|
9 |
Обкладка трубы пористо-волокнистыми матами |
По факту |
|
|
10 |
Защитный металлический кожух |
|
|
|
11 |
Дюбель разжимной |
|
|
|
12 |
Сухая засыпка |
По расчёту |
Толщина тепло-звукоизоляционного слоя должна превышать на 15-20 мм диаметр трубы |
|
13 |
Полиэтиленовая плёнка |
1,15 м2/м2 |
|
|
14 |
Железобетонная сплошная плита перекрытия с неровной поверхностью |
|
|

|
Поз |
Наименование |
Расход |
Примечание |
|
1 |
Керамическая плитка для полов, плиты из природного камня, керамогранита |
1,02 м2/м2 |
|
|
2 |
Плиточный клей |
1,7-3,3 кг/м2 |
|
|
3 |
Винт для ГВЛВ |
|
Расход зависит от схемы крепления (см. рис. 5) и геометрических размеров элементов стяжки |
|
4 |
Сборная стяжка из элементов пола или листов ГВЛВ |
1,02м2/м2 |
Расход приведён при применении для изготовлении сборной стяжки элементов пола |
|
2,04 м2/м2 |
Расход приведён при применении для изготовлении сборной стяжки листов ГВЛВ |
||
|
5 |
Мастика клеящая на основе дисперсии ПВА или латекса |
50 гр/м2 |
Расход приведён при применении для изготовлении сборной стяжки элементов пола |
|
500 гр/м2 |
Расход приведён при применении для изготовлении сборной стяжки листов ГВЛВ |
||
|
б |
Труба |
|
|
|
7 |
Обкладка трубы пористо-волокнистыми матами |
По факту |
Обкладка трубы пористо-волокнистыми матами применяется при использовании для изготовления тепло-звукоизоляционного слоя вспененных плит |
|
8 |
Тепло-звукоизоляция из пористо-волокнистых матов и вспененных плит |
По расчёту |
Толщина тепло-звукоизоляционного слоя должна превышать на 15-20 мм диаметр трубы |
|
9 |
Полиэтиленовая плёнка |
1,15 м2/м2 |
|
|
10 |
Железобетонная многопустотная плита перекрытия с ровной поверхностью |
|
|

|
Поз |
Наименование |
Расход |
Примечание |
|
1 |
Керамическая плитка для полов, плиты из природного камня, керамогранита |
1,02 м2/м2 |
|
|
2 |
Плиточный клей |
1,7-3,3 кг/м2 |
|
|
3 |
Мастичная или рулонная гидроизоляция |
1кг/м2 |
Расход приведён при применении мастичной гидроизоляции |
|
1,02 м2/м2 |
Расход приведён при применении рулонной гидроизоляции |
||
|
4 |
Винт для ГВЛВ |
|
Расход зависит от схемы крепления (см. рис. 5) и геометрических размеров элементов стяжки |
|
5 |
Сборная стяжка из элементов пола или листов ГВЛВ |
1,02 м2/м2 |
Расход приведён при применении для изготовлении сборной стяжки элементов пола |
|
2,04 м2/м2 |
Расход приведён при применении для изготовлении сборной стяжки листов ГВЛВ |
||
|
6 |
Мастика клеящая на основе дисперсии ПВА или латекса |
50 гр/м2 |
Расход приведён при применении для изготовлении сборной стяжки элементов пола |
|
500 гр/м2 |
Расход приведён при применении для изготовлении сборной стяжки листов ГВЛВ |
||
|
7 |
Труба |
|
|
|
8 |
Обкладка трубы пористо-волокнистыми матами |
По факту |
|
|
9 |
Защитный металлический кожух |
|
|
|
10 |
Дюбель разжимной |
|
|
|
11 |
Сухая засыпка |
По расчёту |
Толщина тепло-звукоизоляционного слоя должна превышать на 15-20 мм диаметр трубы |
|
12 |
Полиэтиленовая плёнка |
1,15 м2/м2 |
|
|
13 |
Железобетонная многопустотная плита перекрытия с ровной поверхностью |
|
|

|
Поз |
Наименование |
Расход |
Примечание |
|
1 |
Паркетные доски или ламинат |
1,02 м2/м2 |
|
|
2 |
Водо-дисперсионный клей |
5-30 гр/п.м. |
Применяется для склеивания стыков |
|
3 |
Упругая прослойка |
1 м2/м2 |
|
|
4 |
Винт для ГВЛВ |
|
Расход зависит от схемы крепления (см. рис. 5) и геометрических размеров элементов стяжки |
|
5 |
Сборная стяжка из элементов пола или листов ГВЛВ |
1,02 м2/м2 |
Расход приведён при применении для изготовлении сборной стяжки элементов пола |
|
2,04 м2/м2 |
Расход приведён при применении для изготовлении сборной стяжки листов ГВЛВ |
||
|
6 |
Мастика клеящая на основе дисперсии ПВА или латекса |
50 гр/м2 |
Расход приведён при применении для изготовлении сборной стяжки элементов пола |
|
500 гр/м2 |
Расход приведён при применении для изготовлении сборной стяжки листов ГВЛВ |
||
|
7 |
Тепло-звукоизоляция из пористо-волокнистых матов и вспененных плит |
1,02 м2/м2 |
Выбор звукоизолирующего материала осуществляется по таблицам 4.2 и 4.3 с учетом требований таблицы 4.1, а также (при необходимости) с учётом теплофизических расчётов |
|
8 |
Лист ГВЛВ |
1,02 м2/м2 |
|
|
9 |
Труба |
|
|
|
10 |
Обкладка трубы пористо-волокнистыми матами |
По факту |
|
|
11 |
Защитный металлический кожух |
|
|
|
12 |
Дюбель разжимной |
|
|
|
13 |
Сухая засыпка |
По расчёту |
Толщина тепло-звукоизоляционного слоя должна превышать на 15-20 мм диаметр трубы |
|
14 |
Полиэтиленовая плёнка |
1,15 м2/м2 |
|
|
15 |
Железобетонная многопустотная плита перекрытия с неровной поверхностью |
|
|

|
Поз |
Наименование |
Расход |
Примечание |
|
1 |
Паркет штучный и наборный |
1,02 м2/м2 |
|
|
2 |
Паркетные доски или ламинат |
1,02 м2/м2 |
|
|
3 |
Паркетный клей |
800-1200 гр/м2 |
|
|
4 |
Водо-дисперсионный клей |
5-30 гр/п.м. |
Применяется для склеивания стыков |
|
5 |
Упругая прослойка |
1 м2/м2 |
|
|
6 |
Винт для ГВЛВ |
|
Расход зависит от схемы крепления (см. рис. 5) и геометрических размеров элементов стяжки |
|
7 |
Дополнительный лист ГВЛВ |
1,02 м2/м2 |
|
|
8 |
Мастика клеящая на основе дисперсии ПВА или латекса |
500 гр/м2 |
|
|
9 |
Сборная стяжка из элементов пола или листов ГВЛВ |
1,02 м2/м2 |
Расход приведён при применении для изготовлении сборной стяжки элементов пола |
|
2,04 м2/м2 |
Расход приведён при применении для изготовлении сборной стяжки листов ГВЛВ |
||
|
10 |
Мастика клеящая на основе дисперсии ПВА или латекса |
50 гр/м2 |
Расход приведен при применении для изготовлении сборной стяжки элементов пола |
|
500 гр/м2 |
Расход приведён при применении для изготовлении сборной стяжки листов ГВЛВ |
||
|
11 |
Полиэтиленовая пленка |
1,15 м2/м2 |
|
|
12 |
Железобетонная сплошная плита перекрытия с ровной поверхностью |
|
|
|
13 |
Поливинилхлоридный плинтус |
|
|
|
14 |
Полимерный клей |
|
|
|
15 |
Перегородка |
|
|
|
16 |
Уплотняющая лента |
|
|
|
17 |
Дюбель разжимной |
|
|

|
Поз |
Наименование |
Расход |
Примечание |
|
1 |
Линолеум, синтетические плитки или ковры из синтетических волокон |
1,02 м2/м2 |
|
|
2 |
Паркетные доски или ламинат |
1,02 м2/м2 |
|
|
3 |
Водо-дисперсионный или полимерный клей |
300-500 гр/м2 |
|
|
4 |
Водо-дисперсионный клей |
5-30 гр/п.м. |
Применяется для склеивания стыков |
|
5 |
Упругая прослойка |
1 м2/м2 |
|
|
6 |
Винт для ГВЛВ |
|
Расход зависит от схемы крепления (см. рис. 5) и геометрических размеров элементов стяжки |
|
7 |
Сборная стяжка из элементов пола или листов ГВЛВ |
1,02 м2/м2 |
Расход приведён при применении для изготовлении сборной стяжки элементов пола |
|
2,04 м2/м2 |
Расход приведён при применении для изготовлении сборной стяжки листов ГВЛВ |
||
|
8 |
Мастика клеящая на основе дисперсии ПВА или латекса |
50 гр/м2 |
Расход приведён при применении для изготовлении сборной стяжки элементов пола |
|
500 гр/м2 |
Расход приведён при применении для изготовлении сборной стяжки листов ГВЛВ |
||
|
9 |
Тепло-звукоизоляция из пористо-волокнистых матов и вспененных плит |
1,02м2/м2 |
|
|
10 |
Полиэтиленовая плёнка |
1,15 м2/м2 |
|
|
11 |
Железобетонная сплошная плита перекрытия с ровной поверхностью |
|
|
|
12 |
Поливинилхлоридный плинтус |
|
|
|
13 |
Полимерный клей |
|
|
|
14 |
Перегородка |
|
|
|
15 |
Уплотняющая лента |
|
|
|
16 |
Дюбель разжимной |
|
|

|
Поз |
Наименование |
Расход |
Примечание |
|
1 |
Линолеум |
1,02 м2/м2 |
|
|
2 |
Синтетические плитки или ковры из синтетических волокон |
1,02 м2/м2 |
|
|
3 |
Водо-дисперсионный или полимерный клей |
300-500 гр/м2 |
|
|
4 |
Винт для ГВЛВ |
|
Расход зависит от схемы крепления (см. рис. 5) и геометрических размеров элементов стяжки |
|
5 |
Сборная стяжка из элементов пола или листов ГВЛВ |
1,02 м2/м2 |
Расход приведён при применении для изготовлении сборной стяжки элементов пола |
|
2,04 м2/м2 |
Расход приведён при применении для изготовлении сборной стяжки листов ГВЛВ |
||
|
6 |
Мастика клеящая на основе дисперсии ПВА или латекса |
50 гр/м2 |
Расход приведён при применении для изготовлении сборной стяжки элементов пола |
|
500 гр/м2 |
Расход приведён при применении для изготовлении сборной стяжки листов ГВЛВ |
||
|
7 |
Сухая засыпка |
0,01 м3/м2 |
На каждые 10 мм слоя засыпки |
|
8 |
Полиэтиленовая плёнка |
1,15 м2/м2 |
|
|
9 |
Железобетонная многопустотная плита перекрытия с неровной поверхностью |
|
|
|
10 |
Деревянный плинтус |
|
|
|
11 |
Саморез или шуруп |
|
|
|
12 |
Перегородка |
|
|
|
13 |
Уплотняющая лента |
|
|
|
14 |
Дюбель разжимной |
|
|

|
Поз |
Наименование |
Расход |
Примечание |
|
1 |
Керамическая плитка для полов, плиты из природного камня, керамогранита |
1,02 м2/м2 |
|
|
2 |
Плиточный клей |
1,7-3,3 кг/м2 |
|
|
3 |
Мастичная или рулонная гидроизоляция |
1 к г/м2 |
Расход приведён при применении мастичной гидроизоляции |
|
1,02 м2/м2 |
Расход приведён при применении рулонной гидроизоляции |
||
|
4 |
Гидроизоляционная самоклеящаяся лента |
|
|
|
5 |
Винт для ГВЛВ |
|
Расход зависит от схемы крепления (см. рис. 5) и геометрических размеров элементов стяжки |
|
6 |
Сборная стяжка из элементов пола или листов ГВЛВ |
1,02 м2/м2 |
Расход приведён при применении для изготовлении сборной стяжки элементов пола |
|
2,04 м2/м2 |
Расход приведён при применении для изготовлении сборной стяжки листов ГВЛВ |
||
|
7 |
Мастика клеящая на основе дисперсии ПВА или латекса |
50 гр/м2 |
Расход приведён при применении для изготовлении сборной стяжки элементов пола |
|
500 гр/м2 |
Расход приведён при применении для изготовлении сборной стяжки листов ГВЛВ |
||
|
8 |
Тепло-звукоизоляция из пористо-волокнистых матов и вспененных плит |
1,02 м2/м2 |
Выбор звукоизолирующего материала осуществляется по таблицам 4.2 и 4.3 с учетом требований таблицы 4.1, а также (при необходимости) с учётом теплофизических расчётов |
|
9 |
Прослойка из Листа ГВЛВ |
1,02 м2/м2 |
|
|
10 |
Сухая засыпка |
0,01 м3/м2 |
На каждые 10 мм слоя засыпки |
|
11 |
Полиэтиленовая плёнка |
1,15 м2/м2 |
|
|
12 |
Железобетонная многопустотная плита перекрытия с неровной поверхностью |
|
|
|
13 |
Разделка затирочной композицией |
|
|
|
14 |
Перегородка |
|
|
|
15 |
Уплотняющая лента |
|
|
|
16 |
Дюбель разжимной |
|
|

1 - защитный элемент фирмы Folotec
2 - защитный элемент фирмы Schluter system

1 - защитный элемент фирмы Garpet-Accessory-Trims
2 - защитный элемент фирмы Folotec

|
1 - защитный элемент фирмы Folotec 2 - защитный элемент фирмы Schluter system 3 - защитный элемент фирмы Garpet-Accessory-Trims |

|
1 - демпфирующий элемент фирмы Folotec 2 - демпфирующий элемент фирмы Schluter system 3 - демпфирующий элемент фирмы Garpet-Accessory-Trims
|
|
№№ п/п |
Покрытие |
Предельные значения интенсивности воздействия на пол |
||||||||||||||
|
Интенсивность движения, ед./сутки, на 1 полосу движения |
Волочение твёрдых предметов с острыми углами и рёбрами, работа на полу с лопатами, ломами и т.п. острым инструментом |
Массы предметов, (кг), падающих с высоты 1 м |
Удельного давления от сосредоточенных нагрузок, Н/см2 (кгс/см2) |
Нагревание пола до температуры °С |
||||||||||||
|
Пешеходов и тележек на резиновых шинах |
Тележек на металлических шинах и перекатывания круглых металлических предметов (бочек и т.п.) |
Транспортных средств на резиновом ходу |
Транспортных средств на гусеничном ходу |
|||||||||||||
|
Более 500 |
Менее 500 |
Коэф «С1» |
Более 50 |
30-50 |
Менее 30 |
Более 200 |
100-200 |
Менее 100 |
Более 10 |
Менее 10 |
||||||
|
1. |
Керамические плитки толщиной 10-13 мм |
Допускается |
- |
Не допускается |
Не допускается |
Не допускается |
Не допускается |
2 |
200 (20) |
100 |
||||||
|
2. |
Штучный и наборный паркет |
Допускается |
- |
Не допускается |
Не допускается |
Не допускается |
Не допускается |
Не допускается |
200 кг в точку |
50 |
||||||
|
3. |
Паркетные доски |
Допускается |
- |
Не допускается |
Не допускается |
Не допускается |
Не допускается |
Не допускается |
200 кг в точку |
50 |
||||||
|
4. |
Линолеум |
Не допускается |
Допускается |
- |
Не допускается |
Не допускается |
Не допускается |
Не допускается |
Не допускается |
500 (50) |
50 |
|||||
|
5. |
Плитки поливинилхлоридные толщиной до 4 мм |
Не допускается |
Допускается |
- |
Не допускается |
Не допускается |
Не допускается |
Не допускается |
Не допускается |
500 (50) |
50 |
|||||
|
6. |
Плитки резиновые толщиной до 4 мм |
Не допускается |
Допускается |
- |
Не допускается |
Не допускается |
Не допускается |
Не допускается |
5 |
500 (50) |
50 |
|||||
|
7. |
Рулонное на основе синтетических волокон |
Не допускается |
Допускается |
- |
Не допускается |
Не допускается |
Не допускается |
Не допускается |
Не допускается |
100(10) |
50 |
|||||
|
8. |
Ламинат |
Не допускается |
Допускается |
- |
Не допускается |
Не допускается |
Не допускается |
Не допускается |
Не допускается |
100(10) |
50 |
|||||
1). Коэффициент С давления на пол металлических шин и круглых предметов определяют по формуле:
где
P – наибольшее давление колеса или обода на пол в кг;
D –диаметр колеса или обода в м;
b – ширина колеса или обода в см.
|
№ |
Покрытие |
Предельные значения интенсивности воздействия на пол |
|||||||||||||||
|
Воды и растворов нейтраль- |
Мине- ральных масел и эмульсий из них |
Органических растворителей |
Веществ животного происхож- |
Растворов кислот |
Растворов щелочей |
||||||||||||
|
Сырой нефти и нефтепродуктов (мазут, дизтопливо, керосин, бензин) |
На аромати- |
Кетонов |
Фтористоводной, кремнефтористо- |
Окисляющих (азотная, хлорноватистая, хромовая и др.) |
Неокисляющих неорганических (серная, соляная и др.) |
Органических |
Концент- % |
Интенсив- |
|||||||||
|
Концент- |
Интенсив- |
Концент- |
Интенсив- |
Концент- |
Интенсив- |
Концент- |
Интенсив- |
||||||||||
|
1.. |
Керамические плитки |
В зависимости от типа прослойки и материала расшивки швов |
|||||||||||||||
|
2. |
Штучный и наборный паркет |
Не допускается |
|||||||||||||||
|
3. |
Паркетные доски |
||||||||||||||||
|
4. |
Линолеум |
||||||||||||||||
|
5. |
Плитки поливинилхлоридные |
||||||||||||||||
|
6. |
Плиты резиновые |
большая |
малая |
малая |
средняя |
средняя |
большая |
не допускается |
20 |
средняя |
8 |
средняя |
|||||
|
7. |
Рулонное на основе химических волокон |
Не допускается |
|||||||||||||||
|
8. |
Ламинат |
||||||||||||||||
|
№ |
Покрытие |
Характеристика покрытия пола по специальным требованиям |
|||||||||
|
Беспыльность (пылеотделение) |
Электропроводность в сухом состоянии4) |
Способности накапливать на поверхности заряды статического электричества в сухом состоянии |
Безыскровость при ударных воздействиях |
Лёгкости очистки от производственных загрязнений |
|||||||
|
Соответствие количественным показателям по классам беспыльности помещений в соответствии с ОСТ 11 14.3308-87 и стандартом СЭВ 3783-82 |
по визуальной оценке |
||||||||||
|
пылевидных |
жидкостных |
||||||||||
|
Кл. 1000 |
Кл.10000 |
Кл.100000 |
|||||||||
|
1. |
Керамические плитки |
Не соответствует |
Малое |
Условно электропроводное1) |
Не накапливает |
Искрящее |
Легкоочищаемое |
Среднеочищаемое |
|||
|
2. |
Штучный и наборный паркет |
Не соответствует |
Малое |
Не электропроводное |
Не накапливает |
Безыскровое |
Легкоочищаемое |
Среднеочищаемое |
|||
|
3. |
Паркетные доски |
Не соответствует |
Малое |
Не электропроводное |
Не накапливает |
Безыскровое |
Легкоочищаемое |
Среднеочищаемое |
|||
|
4. |
Линолеум |
Не соответствует |
Соответствует |
Беспыльное |
Не электропроводное |
Накапливает |
Безыскровое |
Легкоочищаемое |
Легкоочищаемое |
||
|
5. |
Плитки поливинилхлоридные |
Не соответствует |
Соответствует |
Беспыльное |
Не электропроводное |
Накапливает |
Безыскровое |
Легкоочищаемое |
Легкоочищаемое |
||
|
6. |
Плиггы резиновые |
Не соответствует |
Малое |
Не электропроводное2) (антистатическое) |
Не накапливает5) |
Безыскровое |
Среднеочищаемое |
Среднеочищаемое |
|||
|
7. |
Рулонное на основе химических волокон |
Не соответствует |
Среднее |
Не электропроводное |
Накапливает |
Безыскровое |
Среднеочищаемое |
Трудноочищаемое |
|||
|
8. |
Ламинат |
Не соответствует |
Соответствует |
Беспыльное |
Не электропроводное |
Накапливает |
Безыскровое |
Легкоочищаемое |
Трудноочищаемое |
||
1). Приобретает способность проводить электрический ток при увлажнении
2). Электропроводное - удельное поверхностное электросопротивление менее 104 Ом, условно электропроводное - 106-104 Ом, антистатическое – 106- 109 Ом, неэлектропроводное - более 109 Ом
В соответствии со СНиП 23-02-2003 показатель теплоусвоения поверхности пола Уn Вт/(м2°С), определяют в следующей последовательности:
если покрытие пола имеет тепловую инерцию D1 = R1·Sl ³ 0,5, то показатель теплоусвоения поверхности пола вычисляют по формуле:
Уп =2S1, , где
S1 - расчётные коэффициент теплоусвоения материала 1-го слоя, Вт/(м2·°С);
R1 - термическое сопротивление 1-го слоя, (м2·°С)/Вт, определяемое по формуле:
R1 =δ1/λ1, где
δ1 - толщина первого слоя;
λ1 - теплопроводность материала первого слоя.
если первые «n» слоев конструкции пола (n > 1) имеют суммарную тепловую инерцию D1 + D2 +....+ Dn < 0,5, но тепловая инерция (n + 1)-го слоев D1 + D2 +....+ Dn+1 < 0,5, то показатель теплоусвоения поверхности пола Уп определяется последовательно расчётом показателей теплоусвоения поверхностей слоев конструкции, начиная с «n»-го до 1-го.
Для «n»- го слоя по формуле:
![]()
Для «i»-го слоя (i= n – 1; n – 2;…, 1) по формуле:
![]()
Показатель теплоусвоения поверхности пола принимается равным показателю теплоусвоения поверхности 1-го слоя У1
Ri, Rn - термические сопротивления, (м2·°С)/Вт, «i»-ro и «n»-го слоев конструкции пола, определяемые по формуле:
R = δ/λ, где
δ - толщина слоя;
λ - коэффициент теплопроводность материала слоя, принимаемая по приложению 3* СНиП 23-02-2003 или по ГОСТу или ТУ на используемые материалы.
Si, Sn, Sn+i - расчётные коэффициенты теплоусвоения материалов отдельных слоев, принимаемые по приложению 3* СНиП 23-02-2003, при этом для зданий жилых, больничных учреждений (больниц, клиник, стационаров и госпиталей), диспансеров, амбулаторно-поликлинических учреждений, родильных домов, домов ребёнка, домов-интернатов для престарелых и инвалидов, общеобразовательных детских школ, детских садов, яслей, яслей-садов (комбинатов), детских домов и детских приёмников-распределителей, общеобразовательных зданий, вспомогательных зданий и помещений промышленных предприятий, участков с постоянными рабочими местами в отапливаемых помещениях производственных зданий, в которых выполняются легкие физические работы - во всех случаях при условии эксплуатации А или по нормативной документации на используемые материалы.
Пример: Пол жилого дома с покрытием из безосновного поливинилхлоридного линолеума, заклеенного холодной битумной мастикой на сборную стяжку из ГВЛВ по железобетонной плите перекрытия (тип конструкции «Альфа»).
|
Номер слоя |
Материал |
Толщина слоя δ, м |
Плотность материала в сухом состоянии γо, кг/м3 |
Коэффициенты при условии эксплуатации А |
Термическое сопротивление R,(м2·°С)/Вт |
|
|
Теплопроводности λ, Вт/(м·°С) |
Теплоусвоения S, Вт/(м2·°С) |
|||||
|
1. |
Линолеум поливинилхлоридный многослойный |
0.003 |
1600 |
0,33 |
7,52 |
0.009 |
|
2. |
Сборная стяжка из ГВЛВ |
0,020 |
1150 |
0,29 |
5,6 |
0,069 |
|
3. |
Плита перекрытия |
0,14 |
2400 |
1,74 |
16,77 |
0,08 |
1. Тепловая инерция слоев
D1 = R1·Sl = 0,009·7,52 = 0,068
D2 = R2·S2 = 0,069·5,60 = 0,386
D3 = R3·S3 = 0,08·16,77 = 1,34
2. Так как D1 + D2 = 0,068 + 0,386 = 0,454 < 0,5, но D1 + D2 + D3 = 0,034 + 0,386+ 1,34 = 1,794 > 0,5, показатель теплоусвоения поверхности пола определяем последовательно с учётом трёх слоев пола, начиная со второго:
![]()
3. Так как Уп = 12,9 Вт/(м2·°С) > Унп = 12 Вт/(м2·°С) (см. требования СНиП 23-02-2003) пол не удовлетворяет требованиям теплоусвоения. В связи с чем вносим изменения в конструкцию пола. Предусматриваем по плите перекрытия под сборной стяжкой теплоизоляционный слой из плит пенополистирольных плит толщиной 30 мм (тип конструкции «Бета» - расчёт А, теплоизоляционный слой толщиной 40 мм из кварцевого песка (тип конструкции «Вега») - расчёт Б и теплоизоляционный слой из пористо-волокнистых матов толщиной 11 мм по прослойке из гипсово-локнистых листов и выравнивающему слою из керамзитового песка толщиной 30 мм (тип конструкции «Гамма» - расчёт В.
Расчёт А
|
Номер слоя |
Материал |
Толщина слоя δ, м |
Плотностьматериала в сухом состоянии λ о, кг/м3 |
Коэффициенты при условии эксплуатации А |
Термическое сопротивление R, (м2·°С)/ Вт |
||
|
Теплопроводности λ, Вт/(м·°С) |
Теплоусвоения S, Вт(м2·°С) |
||||||
|
1. |
Линолеум поливинилхлоридный многослойный |
0,003 |
1600 |
0,33 |
7,52 |
0,009 |
|
|
2. |
Сборная стяжка из ГВЛВ |
0,020 |
1150 |
0,29 |
5,6 |
0,069 |
|
|
3. |
Плиты пенополистирольные |
0,030 |
20 |
0,041 |
0,41 |
0,732 |
|
|
4. |
Плита перекрытия |
0,140 |
2400 |
1,74 |
16,77 |
0,08 |
|
1. Тепловая инерция слоев
D1 = R1·Sl = 0,009·7,52 = 0,068
D2 = R2·S2 = 0,069·5,60 = 0,386
D3 = R3·S3 = 0,723·0,41 = 0,300
D4 = R4·S4 = 0,08·16,77 = 1,34
2. Так как D1 + D2 = 0,068 + 0,386 = 0,454 < 0,5, но D1 + D2 + D3 = 0,034 + 0,386+ 0,300 = 0,754 > 0,5, показатель теплоусвоения поверхности пола определяем последовательно с учётом трёх слоев пола, начиная со второго:
![]()
![]()
Так как Уп = 10,18 Вт/(м2·°С) < Унп = 12 Вт/ Вт/(м2·°С) пол удовлетворяет требованиям теплоусвоения
Расчёт Б
|
Номер слоя |
Материал |
Толщина слоя δ, м |
Плотность материала в сухом состоянии λ о, кг/м3 |
Коэффициенты при условии эксплуатации А |
Термическое сопротивление R (м2·°С))/Вт |
|
|
Теплопроводности λ, Вт/(м·°С) |
Теплоусвоения S, Вт/(м2·°С) |
|||||
|
1. |
Линолеум поливинилхлоридный многослойный |
0,003 |
1600 |
0,33 |
7,52 |
0,009 |
|
2. |
Сборная стяжка из ГВЛВ |
0,020 |
1150 |
0,29 |
5,6 |
0,069 |
|
3. |
Сухая засыпка |
0,040 |
800 |
0,21 |
3,36 |
0,190 |
|
4. |
Плита перекрытия |
0,14 |
2400 |
1,74 |
16,77 |
0,08 |
1. Тепловая инерция слоев
D1 = R1·Sl = 0,009·7,52 = 0,068
D2 = R2·S2 = 0,069·5,60 = 0,386
D3 = R3·S3 = 0,190·3,36 = 0,638
D4 = R4·S4 = 0,08·16,77 = 1,34
2. Так как D1 + D2 = 0,068 + 0,386 = 0,454 < 0,5, но D1 + D2 + D3 = 0,068 + 0,386+ 0,638 = 1,092 > 0,5 показатель теплоусвоения поверхности пола определяем последовательно с учётом трёх слоев пола, начиная со второго:
![]()
![]()
Так как Уп = 11,45 Вт/(м2·°С) < Унп = 12 Вт/(м2·°С) пол удовлетворяет требованиям теплоусвоения.
Расчёт В
|
Номер слоя |
Материал |
Толщина слоя δ, м |
Плотность материала в сухом состоянии λ о, кг/м3 |
Коэффициенты при условии эксплуатации А |
Термическое со-противление R (м2·°С))/Вт |
|
|
Теплопроводности λ, Вт/(м·°С) |
Теплоусвоения S, Вт/(м2·°С) |
|||||
|
1. |
Линолеум поливинилхлоридный многослойный |
0,003 |
1600 |
0,33 |
7,52 |
0,009 |
|
2. |
Сборная стяжка из ГВЛВ |
0,020 |
1150 |
0,29 |
5,6 |
0,069 |
|
3. |
Маты минераловатные |
0,011 |
150 |
0,064 |
0,73 |
0,172 |
|
4. |
Лист ГВЛВ |
0,010 |
1150 |
0,29 |
5,6 |
0,034 |
|
5. |
Сухая засыпка |
0,03 |
800 |
0,21 |
3,36 |
0,143 |
|
6. |
Плита перекрытия |
0,14 |
2400 |
1,74 |
16,77 |
0,08 |
1. Тепловая инерция слоев
D1 = R1·Sl = 0,009·7,52 = 0,068
D2 = R2·S2 = 0,069·5,60 = 0,386
D3 = R3·S3 = 0,172·0,73 = 0,126
D4 = R4·S4 = 0,034·5,6 = 0,190
D5 = R5·S5 = 0,143·3,36 = 0,480
D3 = R3·S3 = 0,08·16,77 = 1,34
2. Так как D1 + D2 = 0,068 + 0,386 = 0,454 < 0,5, но D1 + D2 + D3 = 0,068 + 0,386 + 0,126 = 0,580 > 0,5 показатель теплоусвоения поверхности пола определяем последовательно с учётом трёх слоев пола, начиная со второго:
![]()
![]()
Так как Уп = 10,37 Вт/(м2·°С) < Унп = 12 Вт/(м2·°С) пол удовлетворяет требованиям теплоусвоения.
|
|
|
|