//
ТехЛит.ру
- крупнейшая бесплатная электронная интернет библиотека для "технически умных" людей.
WWW.TEHLIT.RU - ТЕХНИЧЕСКАЯ ЛИТЕРАТУРА

:: Алготрейдинг::


АЛГОТРЕЙДИНГ
шаг за шагом
с нуля по урокам!

Торговые роботы на PYTHON, BackTrader,
Pandas, Pine Script для TradingView. Связка с брокерами, телеграм и легкими приложениями.


РУКОВОДЯЩИЙ ДОКУМЕНТ

 

МЕТОДИЧЕСКИЕ УКАЗАНИЯ

Методика выполнения измерений массовой доли кислоторастворимых форм металлов (меди, свинца, цинка, никеля, кадмия) в пробах почвы атомно-абсорбционным анализом

 

РД 52.18.191-89

 

 

 

ГОСУДАРСТВЕННЫЙ КОМИТЕТ СССР ПО ГИДРОМЕТЕОРОЛОГИИ

Москва

1990

Содержание

1 СУЩНОСТЬ МЕТОДА АНАЛИЗА

2. СРЕДСТВА ИЗМЕРЕНИЙ, ОБОРУДОВАНИЕ, МАТЕРИАЛЫ, РЕАКТИВЫ

3. ОТБОР ПРОБ

4. ПОДГОТОВКА К АНАЛИЗУ.

5. ПРОВЕДЕНИЕ АНАЛИЗА

6. ПОДГОТОВКА СРЕДСТВ ИЗМЕРЕНИЙ К РАБОТЕ

Пример построения градуировочного графика

7. ПРОВЕДЕНИЕ ИЗМЕРЕНИЙ.

8.ОБРАБОТКА И ОФОРМЛЕНИЕ РЕЗУЛЬТАТОВ ИЗМЕРЕНИЙ.

9 . ТРЕБОВАНИЯ К КВАЛИФИКАЦИИ АНАЛИТИКА

10. ТРЕБОВАНИЯ БЕЗОПАСНОСТИ

11. НОРМЫ ЗАТРАТ РАБОЧЕГО ВРЕМЕНИ НА АНАЛИЗ

12. КОНТРОЛЬ ПОГРЕШНОСТИ МВИ.

ПРИЛОЖЕНИЕ

ИНФОРМАЦИОННЫЕ ДАННЫЕ

 

РУКОВОДЯЩИЙ ДОКУМЕНТ

МЕТОДИЧЕСКИЕ УКАЗАНИЯ

Методика выполнения измерений массовой доли кислоторастворимых форм металлов (меди, свинца, цинка, никеля, кадмия) в пробах почвы атомно-абсорбционным анализом

РД 52.18.191-89

Дата введения 01.01.91

Настоящие методические указания устанавливают порядок выполнения измерений массовой доли кислоторастворимых форм тяжелых металлов (мели, свинца, цинка, никеля, кадмия) в пробах почвы и предназначены для использования в лабораториях Общегосударственной службы наблюдения и контроля загрязнения природной среды и научно- исследовательских учреждениях Государственного комитета СССР по гидрометеорологии.

Методика ограничивает нижний предел диапазона определяемых величин массовой доли меди, свинца, цинка, никеля и почве - 20,0 млн-1, кадмия - 1,0 млн-1. Верхний предел практически не ограничен, так как разбавление кислотных вытяжек позволяет определять металлы в растворе в оптимальной области разрешающей способности спектрофотометра.

Оптимальный диапазон определяемых атомно-абсорбционным анализом концентраций металлов при атомизации распылением раствора в пламя:

Медь

 - 0,2 - 5,0 мкг/мл;

Свинец

 - 1,0 - 20,0 мкг/мл;

Цинк

 - 0,05 - 1,00 мкг/мл;

Никель

 - 0,3 - 5,0 мкг/мл;

Кадмий

 - 0,05 - 2,00 мкг/мл.

Термины, использованные в настоящих методических указаниях и пояснениях к ним, приведены в приложении.

1 СУЩНОСТЬ МЕТОДА АНАЛИЗА

1.1. Метод атомно-абсорбционного анализа основан на свойстве атомов металлов поглощать в основном состоянии свет определенных длин волн, который они испускают в возбужденном состоянии. Необходимую для поглощения резонансную линию чаше всего получают от лампы с полым катодом, изготовленным из определяемого элемента.

В атомно-абсорбционной спектроскопии, так же как и в молекулярной, действует закон Ламберта-Бугера-Бера:

 

А = k • С,

(1)

 

где А - величина, характеризующая поглощение света (оптическая плотность, абсорбция), мБ или %;

k - коэффициент поглощения;

С - концентрация определяемого элемента, мкг/мл

Величина поглощения света пропорциональна содержанию определяемых элементов, на чем и основано их количественное определение.

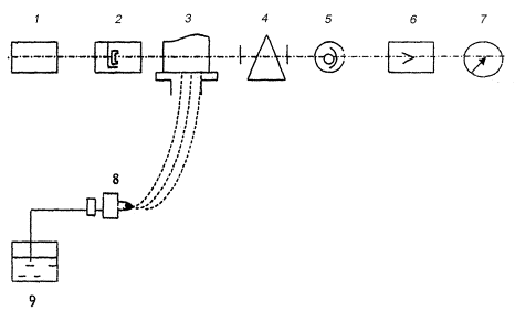
1.2. Блок-схема атомно-абсорбционного спектрофотометра приведена на черт. 1.

Анализируемый раствор 9 в виде аэрозоля из распылителя 8 вводят в пламя горелки 3 (пламя ацетилен-воздух, температура от 2000 до 3000 К). В пламени происходит испарение растворителя, плавление и испарение пробы почвы, термическая диссоциация молекул и образование свободных атомов, которые могут поглощать излучение внешнего источника света 2.

Световой поток от лампы проходит через пламя горелки 3 и монохроматор 4. Монохроматор выделяет узкую спектральную линию (обычно 0,2 - 2,0 нм), в которой находится измеряемая спектральная линия определяемого элемента. Атомы исследуемого элемента поглощают световой поток лампы. Выходящий световой поток с помощью фотоумножителя 5 превращается в электрический сигнал и после усилителя 6 регистрируется гальванометром 7.

Блок-схема атомно-абсорбционного спектрофотометра

1 - источник питания; 2- лампа с полым катодом: 3- пламя (зона атомизации; 4- монохроматор; 5 - фотоумножитель; 6 - усилители; 7 - гальванометр; 8 - распылитель; 9 - анализируемый раствор

Черт. 1

Нормы погрешности измерений

Методика выполнения измерений обеспечивает выполнение измерений с погрешностью в соответствии с таблицей 1а.

Таблица 1а

Наименование определяемого вещества

ПДК, млн-1

Диапазон концентраций,

млн-1

Значение составляющей погрешности, %

Погрешность методики, (показатель точности) Р=0,95, ΔМ

Случайная

Неисключенная систематическая

(показатель правильности), Δс

Показатель сходимости,

Показатель воспроизводимости,

Медь

33,0 - 132

Ниж. пред. для Cd =1,0;

других металлов - 20;

Верхний предел не ограничен

3,0

4,0

15

19

Свинец

32.0 - 130

10

15

10

32

Цинк

55,0 - 220

4,0

6,0

18

24

Никель

20,0 - 80,0

8,0

11

14

27

Кадмий

0,5 - 2,0

3.0

4,0

35

40

2. СРЕДСТВА ИЗМЕРЕНИЙ, ОБОРУДОВАНИЕ, МАТЕРИАЛЫ, РЕАКТИВЫ

2.1. Средства измерений.

2.1.1. Весы аналитические - по ГОСТ 24104 типа ВЛР-200Г.

2.1.2. Атомно-абсорбционный спектрофотометр в пламенном варианте типа C115-1M (производство СССР). ААС - 1 и ААС - 3 (производство ГДР), Хитачи - 308 (Производство Японии) или другие.

2.1.3. Колбы мерные вместимостью 1000 мл - но ГОСТ 1770 - 6 шт.

2.1.4. Колбы мерные вместимостью 50 мл - по ГОСТ 1770 - 50 шт.

2.1.5. Пипетки калиброванные с делениями - по ГОСТ 20292

вместимостью 1 мл

- 15 шт.

вместимостью 2 мл

- 15 шт.

вместимостью 5 мл

0 - 15 шт.

вместимостью 10 мл

- 15 шт.

2.1.6. Цилиндр мерный вместимостью 50 мл - по ГОСТ 1770 - 2 шт.

2.1.7. Цилиндр мерный вместимостью 500 мл - по ГОСТ 1770 - 2 шт.

2.1.8. Цилиндр мерный вместимостью 1000 мл - по ГОСТ 1770 - 2 шт.

2.2. Оборудование, материалы.

2.2.1. Шкаф сушильный лабораторный типа СНОЛ - 2.5.2.5.2.5/2M-M01 - по ТУ 16-531-099.

2.2.2. Аквадистиллятор типа ДЭ-4-2 д.АО.000.736ПС - по ТУ 61-1-721 - 1шт.

2.2.3. Аппарат для бидистилляции воды типа БД-2-по ТУ 25-11-1102 - 1 шт.

2.2.4. Электроплитка с закрытой спиралью типа ЭПШ 1-0.8/220 по ГОСТ 14919 -3 шт.

2.2.5. Ступки с пестиком - по ГОСТ 9147 - 3 шт.

2.2.6. Флакон полиэтиленовый вместимостью 1000 мл - по ТУ 6-19-110 - 10 шт.

2.2.7. Флакон полиэтиленовый вместимостью 100 мл - по ТУ 6-19-110 - 10 шт.

2.2.8. Флакон полиэтиленовый вместимостью 50 мл - по ТУ 6-19-110 - 60 шт.

2.2.9. Фильтры бумажные с «красной» или «белой» лентой по МР ТУ 6-09-2411 - 1000 шт.

2.2.10. Пленка полиэтиленовая 50 мкм - по ГОСТ 10354 - 40 м.

2.2.11. Баня водяная (использовать любую емкость) - 2 шт.

2.2.12. Эксикатор - по ГОСТ 23932 - 2 шт.

2.2.13. Колбы конические вместимостью 50 мл - но ГОСТ 25336 - 50 шт.

2.2.14. Стеклянные воронки диаметром 70-80 мм - по ГОСТ 25336 - 50 шт.

2.2.15. Стакан для взвешивания (бюкса), СН-34/12 - по ГОСТ 23932 -50 шт.

2.2.16. Сита капроновые (хозяйственные) с диаметром отверстий 1 мм - 2 шт.

2.3. Средства измерений, используемые при выполнении работ должны быть поверены в соответствии с ГОСТ 8.513. Нестандартизованные средства измерений должны быть метрологически аттестованы в соответствии с ГОСТ 8.326.

2.4. Реактивы.

2.4.1. Кислота азотная (удельный вес 1,42 г/см3) особой чистоты - по ГОСТ 11125.

2.4.2. Магний хлорнокислый (ангидрон) - по ТУ 6-09-3880.

2.4.3. Государственные стандартные образцы состава растворов солей металлов (ГСОРМ), используемые в анализе, приведены в табл. 1.

Таблица 1

 

ГСОРМ

Номер госреестра мер и измерительных приборов (раздел «Стандартные образцы»)

16

3399-86

17

3400-86

18

3401-86

19

3402-86

 

2.4.4. Вода дистиллированная - по ГОСТ 6709.

2.4.5. Вода бидистиллированная.

2.4.6. Ацетилен - по ГОСТ 5457.

2.4.7. Воздух сжатый - по ГОСТ 17433.

3. ОТБОР ПРОБ

3.1. Метод отбора проб зависит от целей исследования.

3.2. В целях контроля загрязнения почв металлами отбор проб почв следует производить в соответствии с:

ГОСТ 17.4.3.01;

«Методическими рекомендациями по проведению полевых и лабораторных исследований почв и растений при контроле загрязнения окружающей среды металлами» - М.: Гидрометеоиздат. 1981. - С.9 - 33;

«Временными методическими рекомендациями по контролю загрязнения почв» - М.: Гидрометеоиздат, 1983. - С. 82 - 84.

3.3. При отборе проб почв должна быть определена протяженность и топография зон загрязнения, которая зависит от розы ветров по сезонам года, скорости и продолжительности ветров, периода выпадения осадков.

3.4. Участки для отбора проб почв должны хорошо отражать структуру района исследования: почвенного покрова, материнской породы, рельефа, геологии и гидрологии.

3.5. Объединенные пробы почвы, отобранные с участков должны быть представительными. Площадки для отбора проб почвы должны быть размером 100×100 м или 100×200 м, и объединенные пробы почвы должны составляться из точечных проб почвы, отобранных по методу конверта (четыре точки в углах площадки и одна в центре). Вокруг каждой из пяти точек делается еще по четыре прикопки.

3.6. Пробы почвы на целине необходимо отбирать на глубину 0 - 5 см, на пашне 0 - 20 см (или на глубину пахотного горизонта).

3.7. Необходимым условием при отборе проб почвы является предохранение их от вторичных загрязнений на всех этапах подготовки.

3.8. Инструменты для отбора проб почв должны быть из прочной пластмассы.

Можно применять инвентарь из любой стали, предварительно тщательно очистив его от ржавчины. Однако, перед взятием пробы, слой, который соприкасался с металлом, необходимо удалить острым ножом из пластмассы.

3.9. При отборе проб почвы не следует употреблять оцинкованные ведра, медные изделия, эмалированные тазы, окрашенные инструменты и детали, содержащие цветные металлы или определяемые элементы.

3.10. В качестве упаковочного материала для транспортировки и хранения отобранных проб почвы можно применять мешочки из хлопчатобумажной плотной, отбеленной ткани. На мешочке должны быть шнуры для завязки и пришитая полоска ткани, на которой пишут те же сведения, что и на сопроводительном талоне.

Можно использовать полиэтиленовую пленку или бумажную кальку-восковку.

3.11. Отобранные пробы почвы необходимо зарегистрировать в журнале и пронумеровать, заполнив сопроводительный талон в соответствии с ГОСТ 17.4.4.02, приложение 3.

3.12. При дальнейшей обработке, транспортировке и хранении пробы почвы не должны подвергаться воздействию атмосферных осадков и других источников вторичного загрязнения.

4. ПОДГОТОВКА К АНАЛИЗУ.

4.1. Подготовка проб почвы к анализу.

4.1.1. Из воздушно-сухой объединенной пробы почвы, поступившей в лабораторию, тщательно удалить корни, камни и взять методом квартования пробу почвы массой 0,2 кг.

4.1.2. Отобранную пробу почвы следует перетереть в большой фарфоровой ступке и просеять через капроновое сито с диаметром отверстий 1 мм. Непросеянные комочки почвы растереть и снова просеять. Из полученной пробы почвы следует взять навески на анализ.

4.2. Приготовление растворов, используемых в анализе.

4.2.1. Приготовление растворов необходимо проводить в вытяжном шкафу.

4.2.2. Приготовление раствора одномолярной азотной кислоты.

В коническую термостойкую колбу вместимостью 1000 мл цилиндром вместимостью 1000 мл отобрать 938 мл бидистиллированной воды.

Цилиндром вместимостью 100 мл следует отобрать 62 мл азотной кислоты (удельный вес 1,42 г/см3) и ввести ее в бидистиллированную воду, осторожно помешивая раствор стеклянной палочкой. Полученный раствор следует охладить до комнатной температуры.

4.2.3. Приготовление раствора пятимолярной азотной кислоты.

В коническую термостойкую колбу вместимостью 1000 мл цилиндром вместимостью 1000 мл следует отобрать 600 мл дистиллированной воды. Цилиндром вместимостью 500 мл отобрать 310 мл азотной кислоты (удельный вес 1,42 г/см3) и ввести ее в дистиллированную воду, осторожно помешивая раствор стеклянной палочкой. Полученный раствор следует охладить до комнатной температуры.

4.2.4. Требования к используемой в анализе посуде.

4.2.4.1. Для проведения анализа следует применять исключительно стеклянную и пластмассовую (полиэтиленовую, полипропиленовую или тефлоновую) посуду.

4.2.4.2. Посуду, используемую для анализов и хранения растворов необходимо промыть моющим веществом (сода, стиральный порошок), промыть водопроводной водой, вымочить в течение 24 часов в разбавленной азотной кислоте (кислота: вода = 1:5), тщательно промыть водопроводной водой и ополоснуть дистиллированной водой.

4.3. Определение гигроскопической воды в пробах почвы.

4.3.1. С целью перерасчета воздушно-сухой на абсолютно-сухую пробу почвы следует провести определение гигроскопической воды в пробах почвы.

4.3.2. Массу абсолютно-сухой пробы почвы следует рассчитывать по формуле:

 

,

(2)

 

где ΔРсух. - масса абсолютно-сухой пробы почвы, г;

ΔРвозд.-сух. - масса воздушно-сухой пробы почвы, г;

К - коэффициент пересчета.

4.3.3. Для определения массы воздушно-сухой пробы почвы в сухие стаканчики с притертыми крышками (бюксы) следует взять навески воздушно-сухой пробы почвы на аналитических весах (около 1,00 г точностью до 0,01 г). Количество навесок не менее трех.

Сначала необходимо взвесить пустую бюксу и записать ее массу (Р0). чатом взвесить эту же бюксу с пробой почвы и записать ее массу (Рвозд.-сух.). Массу воздушно-сухой пробы почвы (ΔРвозд.-сух.) следует найти из соотношения:

 

,

(3)

 

4.3.4. Коэффициент (К) необходимо определять по формуле:

 

,

(4)

 

где q - содержание гигроскопической воды в пробах почвы, %.

4.3.5. Для определения содержания гигроскопической воды в пробах почвы, бюксы с воздушно-сухими пробами почвы необходимо поставить открытыми в сушильный шкаф с температурой от 105 до 115 °С. После трехчасового нагревания бюксы закрыть крышками и перенести в эксикатор, наполненный ангидридом или безводным хлористым кальцием и после остывания (через 20 минут) взвесить на аналитических весах. После взвешивания пробы почвы следует нагревать в течение двух часов, затем охладить в эксикаторе и снова взвесить. Высушивание необходимо повторять до постоянной массы.

Содержание гигроскопической воды в пробе почвы (q) следует рассчитать по формуле:

 

,

(5)

 

где ΔРвозд. - масса абсолютно-сухой пробы почвы, г;

ΔРвозд. - следует рассчитать по формуле:

 

,

(6)

 

где Рсух. - масса бюксы с абсолютно сухой пробой почвы, г.

4.3.6. Форма регистрации результата измерений при определении гигроскопической воды в пробах почвы представлена в таблице 2.

Таблица 2

 

Дата

Номер пробы

Номер опыта

Р0, г

Рвозд.-сух., г

ΔРвозд.-сух., г

Рсух., г

ΔРсух., г

q

K

1

2

3

4

5

6

7

8

9

10

 

 

 

 

 

 

 

 

 

 

 

5. ПРОВЕДЕНИЕ АНАЛИЗА

5.1. Методика предусматривает атомизацию распылением раствора в пламя. Для получения раствора необходимо пробы почвы подвергнуть экстракции пятимолярной азотной кислотой при температуре 100° С в течение трех часов и в полученном кислотном растворе определить содержание химических элементов атомно-абсорбционным анализом.

5.2. Кислотная экстракция металлов из проб почвы.

5.2.1. В колбу вместимостью 50 мл на аналитических весах следует взять навеску воздушно-сухой пробы почвы (массой около 2,00 г с точностью до 0,01 г), одновременно определив содержание гигроскопической воды (q) для пересчета навески на абсолютно-сухую пробу почвы по п. 4.3.

5.2.2. Цилиндром вместимостью 10 мл необходимо прилить к навеске пробы почвы 10 мл пятимолярной азотной кислоты (соотношение почва : кислота = 1 : 5). Вращательными движениями колбы осторожно смочить и перемешать пробу почвы.

5.2.3. Колбы закрыть крышками-холодильниками пли полиэтиленовой пленкой, приклепленной к горловине колбы полиэтиленовой лентой (отрезанной от полиэтиленовой пленки). Пленку следует слегка утопить внутрь горловины колбы, а для выхода газов в ней сделать отверстия диаметром 0,1 - 0,5 мм неметаллическом острой палочкой.

5.2.4. Закрытые колбы следует установить в кипящую водяную баню (допускается нагревание без водяной бани на закрытой электрической плитке при медленном кипении раствора в колбе). На водяной бане колбы необходимо выдерживать в течение трех часов. Пробу почвы с раствором необходимо перемешивать через каждый час нагревания круговыми движениями колбы. Для предотвращения опрокидывания колб в водяной бане можно использовать крышку с отверстиями, изготовленную из фольги или другого материала. В отверстиях крышки фиксировать горловины колб.

5.2.5. Через 3 часа колбы следует извлечь из водяной бани и охладить до комнатной температуры.

5.2.6. После остывания раствор необходимо профильтровать через фильтр с «красной» или «белой» лентой на воронке в мерную колбу вместимостью 50 мл, промывая пробу на фильтре и в колбе дистиллированной водой (приблизительно 30 мл). Полученный фильтрат дополнить до объема 50 мл дистиллированной водой и перенести в полиэтиленовый флакон вместимостью 50 мл. В полученном кислотном экстракте следует определить содержание тяжелых металлов атомно-абсорбционным анализом.

6. ПОДГОТОВКА СРЕДСТВ ИЗМЕРЕНИЙ К РАБОТЕ

6.1. При выполнении измерений должны соблюдаться условия в соответствии с ГОСТ 22261:

температура окружающего воздуха, °С

20 ± 10;

относительная влажность окружающего воздуха, %

30 - 80;

атмосферное давление, кПа (мм.рт.ст.)

84 - 106

(630 - 795);

напряжение питающей сети переменного (50 Гц) тока, В

220 ± 4,4.

6.2. При кислотной экстракции температура водяной бани, °С    100.

6.3. Приготовление рабочих и калибровочные стандартных растворов, используемых при атомно-абсорбционном определении металлов в пробах почвы.

6.3.1. Рабочие стандартные растворы следует готовить на основе Государственных стандартных образцов состава комплексных растворов солей металлов ГСОРМ-16, ГСОРМ-17, ГСОРМ-18, ГСОРМ-19. Растворы ГСОРМ находятся в запаянных ампулах вместимостью 6 мл (ГСОРМ-16, ГСОРМ-17, ГСОРМ-18) и 12 мл (ГСОРМ-19).

6.3.2. Растворы солей металлов с концентрацией элементов менее 50 мкг/мл следует готовить в день употребления,

6.3.3. Приготовление растворов кадмия.

6.3.3.1. Приготовление из основного стандартного раствора ГСОРМ-16 рабочего раствора кадмия с концентрацией 10 мкг/мл,

Две ампулы основного раствора ГСОРМ-16 с концентрацией металлов (кадмий, барий, бериллий, германий, вольфрам, цирконий) 0,1 мг/мл следует вскрыть и вылить в сухую пробирку вместимостью 20 мл:

В мерную колбу вместимостью 100 мл отобрать 10 мл основного раствора пипеткой вместимостью 10 мл, добавить одномолярную азотную кислоту, дополнив ею объем раствора до 100 мл. Полученный раствор с концентрацией кадмия 10 мкг/мл использовать для приготовления калибровочных растворов.

6.3.3.2. Приготовление калибровочных растворов кадмия.

Калибровочные растворы кадмия необходимо готовить добавлением к указанным в таблице 3 количествам рабочего раствора кадмия одномолярной азотной кислоты, дополнив объем растворов до 100 мл.

Таблица 3

Рабочий раствор, мл

0,0

0,50

1,0

2,0

5,0

10,0

20,0

Калибровочный раствор (кадмий, барий, бериллий, германий, вольфрам, цирконий) мкг/мл

0,0

0,05

0,1

0,2

0,5

1,0

2,0

 

6.3.4. Приготовление растворов свинца, никеля, меди.

6.3.4.1. Приготовление из основного стандартного раствора ГCOPM-17 рабочего раствора свинца, никеля, меди с концентрацией этих элементов 100 мкг/мл.

Две ампулы основного раствора ГСОРМ-17 с концентрацией металлов (свинец, никель, медь, марганец, кобальт, литий, стронций) 0,5 мг/мл следует вскрыть и вылить в сухую пробирку вместимостью 20 мл.

В мерную колбу вместимостью 50 мл необходимо отобрать 10 мл основного раствора пипеткой вместимостью 10 мл добавить одномолярную азотную кислоту и дополнить ею объем раствора до 50 мл. Полученным раствор с концентрацией свинца, никеля, меди, марганца, кобальта, лития, стронция 100 мкг/мл следует использовать для приготовления калибровочных растворов. Хранить раствору в закрытом полиэтиленовом флаконе.

6.3.4.2. Приготовление калибровочных растворов свинца; никеля, меди.

Калибровочные растворы свинца, никеля, меди готовят добавлением к указанным в таблице 4 количествам рабочего раствора одномолярной азотной кислоты, дополнив объем растворов до 100 мл.

Таблица 4

Рабочий раствор, млл

0,0

0,1

0,5

1,0

2,0

5,0

10,о

20,0

Калибровочный раствор (свинец, медь, никель, марганец, литий, стронций) мкг/мл

0,0

0,1

0,5

1,0

2,0

5,0

10,0

20,0

 

6.3.5. Приготовление раствора цинка.

6.3.5.1. Приготовление из основного стандартного раствора ГСОРМ-19 рабочего раствора цинка с концентрацией 100 мкг/мл.

Одну ампулу основного раствора ГСОРМ-19 с концентрацией металлов (цинк, магний - 2,5 мг/мл; алюминий, кальций, железо - 5 мг/мл) следует вскрыть и вылить в сухую пробирку вместимостью 10 мл.

В мерную колбу вместимостью 50 мл необходимо отобрать 2 мл основного раствора пипеткой вместимостью 2 мл, добавить одномолярную азотную кислоту и дополнить ею объем раствора до 50 мл. Полученный раствор с концентрацией цинка 100 мкг/мл использовать для приготовления калибровочных растворов. Хранить раствор в закрытом полиэтиленовом флаконе.

6.3.5.2. Приготовление калибровочных растворов цинка

Калибровочные растворы цинка следует готовить добавлением к указанным в таблице 5 количествам рабочего раствора одномолярной азотной кислоты, дополнив объем растворов до 100 мл.

Таблица 5

Рабочий раствор, млл

0,0

0,05

0,1

0,5

1,0

2,5

0,5

Массовая, концентрация

 

 

 

 

 

 

 

1. Цинк, магний, мкг/мл

0,0

0,05

0,1

0,5

1,0

2,5

0,5

2. Алюминий, кальций, железо, мкг/мл

0,0

0,10

0,2

1,0

2,0

5,0

10,0

 

6.4. Способ построения градуировочных графиков.

6.4.1. Градуировочные графики необходимо строить в координатах зависимости оптической плотности (абсорбции) (А), от концентрации калибровочного раствора (С), в соответствии с черт. 2.

Пример построения градуировочного графика

1, 2, 3 - точки для построения градуировочной прямой

Черт. 2

Согласно закону Ламберта-Бугера-Бера допускается работа только в линейном диапазоне графика.

6.4.2. Форма регистрации измерений для построения градуировочного графика представлена в таблице 6.

Таблица 6

 

Дата

Концентрация калибровочного раствора, С, мкг/мл

Оптическая плотность (абсорбция) при измерении калибровочного раствора, А1, мБ

медь

свинец

цинк

никель

кадмий

медь

свинец

цинк

никель

кадмий

 

 

 

 

 

 

 

 

 

 

 

 

 

6.4.3. Градуировочный график необходимо проверять перед проведением анализов исследуемых растворов.

6.5. Оптимальными условиями атомно-абсорбционного определения являются минимум мешающих влияний и максимум соотношения сигнал/шум.

Оптимизации подлежат:

ток лампы;

рабочая высота пламени;

соотношение горючее/окислитель;

ширина щели.

6.5.1. Ток лампы. При увеличении тока лампы (но не более максимального) улучшается воспроизводимость, но уменьшается время жизни лампы, особенно для легколетучих элементов. Поэтому высокие токи лампы следует применять при очень низких концентрациях вблизи предела обнаружения, вызывающего, абсорбцию, эквивалентную двойной флуктуации фона.

6.5.2. Рабочая высота пламени.

Оптимальная высота для воздушно-ацетиленового пламени 5 - 13 мм.

6.5.3. Соотношение горючее/окислитель влияет на окислительно-восстановительные свойства пламени, на его собственное поглощение и эмиссию. Легко атомизирующиеся элементы (медь, свинец, цинк, никель, кадмий) определяются в окислительном пламени, которое обычно более прозрачно, характеризуется меньшими шумами и более высокой температурой. Оптимальное давление и раскол окислителя зависят от конструкции распылителя и обычно указаны фирмой - изготовителем прибора.

6.5.4. Спектральная ширина щели составляет 0,1 - 2, 0 им. Как правило, используют максимальную спектральную ширину щели, при которой меньше дрейф установленной длины волны и в спектральный интервал не попадают посторонние линии. При наличии в спектре источника линий, близких к резонансной, следует работать с малой спектральной шириной щели. Так, для меди рекомендуемая ширина спектральной щели - 0,7 нм, для цинка 0,7 - 2,0 нм, для никеля 0,1 - 0,2 нм.

6.6. Методы устранения мешающих влияний в атомно-абсорбционном анализе.

6.6.1. Несмотря на то, что применение окислительного воздушно - ацетиленового пламени позволяет с хорошей селективностью определять медь, свинец, цинк, никель, кадмий, метод атомно-абсорбционной спектроскопии не свободен от помех.

6.6.2. При определении металлов будет наблюдаться различное светопоглощение, если состав исследуемого и калибровочных растворов будет настолько различен, что их вязкость, поверхностное натяжение существенно отличаются друг от друга. Поскольку для приготовления рабочих и калибровочных растворов рекомендуется использовать одномолярную азотную кислоту, методика предусматривает полученный при кислотной экстракции объем раствора 10 мл, разбавлять при фильтровании до 50 мл дистиллированной водой, уравнивая концентрацию азотной кислоты исследуемого и стандартных растворов.

6.6.3. Растворенные соли при большом содержании (свыше 5000 мкг/мл) могут помешать определению, вызвать неспецифическое поглощение и рассеяние света. Это явление обычно наблюдается при определении металлов, у которых длина резонансной линии менее 300 нм. Устранить его можно разбавлением раствора. Однако из-за низкой концентрации измеряемого раствора это не всегда можно сделать.

Если используемый спектрофотометр позволяет осуществить корректировку фона, это мешающее явление устраняется. В противном случае измеренную оптическую плотность (абсорбцию) необходимо уменьшить на величину фона, измеренного на близкой аналитической не резонансной спектральной линии. Коррекция неселективного поглощения при определении металлов в почвенных вытяжках необходима для свинца, цинка, никеля, кадмия.

Аналитические длины волн при определении исследуемых элементов приведены в таблице 7.

Таблица 7

Металл

Аналитическая длина волны, нм

Никель

232,0

Свинец

283,3

Цинк

213,9

Кадмий

228,3

Медь

324,7

7. ПРОВЕДЕНИЕ ИЗМЕРЕНИЙ.

Различия в конструкции атомно-абсорбционных спектрофотометров различных фирм не позволяет дать единую инструкцию для установки и эксплуатации всех приборов. Поэтому установку, включение и работу на спектрофотометре необходимо осуществлять в соответствии с инструкцией по эксплуатации прибора. Работу обычно ведут по следующей программе.

7.1. Соответствующую определенному металлу лампу необходимо поставить на прогревание. Время прогрева ламп для однолучевых приборов 15-30 минут, для двухлучевых приборов прогрев ламп необязателен.

7.2. Установить монохроматор на соответствующую анализируемому элементу длину волны.

7.3. Выбрать целесообразную ширину щели.

7.4. Проверить силу тока, подаваемого на лампу.

7.5. Провести юстировку лампы.

7.6. Согласно инструкции к прибору, установить оптимальное соотношение горючего и поддерживающего горение газа и поджечь пламя,

7.7. Поставить на распыление бидистиллированную воду.

7.8. Установить нулевую линию прибора по бидистиллированной воде.

7.9. Ввести в пламя калибровочный раствор с максимальной концентрацией излучаемого элемента и установить размах шкалы, обеспечивающей наибольшую точность считывания результата измерения.

7.10. Снова проверить нулевую линию прибора и, если надо, провести корректировку начала отсчета. Повторением и постепенным уточнением проведенных операций достигается выявление оптимальной установки всех параметров.

7.11. Ввести в пламя остальные калибровочные растворы в порядке возрастания в них концентрации элементов и регистрировать соответствующие им показания прибора. Форма регистрации измерений для построения градуировочного графика приведена в таблице 5. Градуировочный график необходимо строить по 6.4.1.

7.12. После построения градуировочного графика, следует измерить оптическую плотность (А1) калибровочного раствора с максимальной концентрацией (С1) в пределах избранного интервала линейной зависимости А от С.

7.13. Затем необходимо ввести в пламя горелки кислотный экстракт, полеченный при обработке пробы почвы пятимолярной азотной кислотой и измерить оптическую плотность раствора (А2).

7.14. Для учета неселективного поглощения (если спектрофотометр не снабжен корректором фона) необходимо измерить оптическую плотность (А3) исследуемого раствора на близкой к аналитической не резонансной линии и вычесть ее из (А2).

7.15. Если применялись реактивы квалификации ниже особой чистоты, то следует провести холостой опыт, т.е. повторить все химические процедуры по пунктам 5.1.1. - 5.1.6. только без пробы почвы, определить оптическую плотность полученного раствора (Ар) и вычесть ее из (А2).

7.16. Форма регистрации результатов измерений массовой доли, металлов в пробах почвы представлена в табл. 8.

Таблица 8

Дата

Номер пробы почвы

Номер опыта

Масса навески абсолютно сухой пробы почвы, г

Объем кислотной вытяжки, мл

Металл

Оптическая плотность, мБ

Массовая доля металла в пробе почвы, С, млн-1

калибровочного раствора, А1

исследуемого раствора, А2

неселективного поглощения, А3

Раствора холостого опыта, Ар

 

 

 

 

 

 

 

 

 

 

 

 

8.ОБРАБОТКА И ОФОРМЛЕНИЕ РЕЗУЛЬТАТОВ ИЗМЕРЕНИЙ.

8.1. Результат измерений рассчитывается по формуле

 

,

(7)

 

где С - массовая доля определяемого металла в пробе почвы, млн-1;

А2 - оптическая плотность исследуемого раствора, мБ;

А3 - оптическая плотность неселективного поглощения, мБ;

Ар - оптическая плотность раствора холостого опыта, мБ;

С1 - концентрация калибровочного раствора, мкг/мл;

V - объем исследуемого раствора, мл;

А1 - оптическая плотность калибровочного раствора, мБ;

Рвозд.-сух. - масса воздушно-сухой пробы почвы, г;

q - содержание гигроскопической воды в пробах почвы, %.

8.2. Результат измерений представляют по форме в соответствии с МИ 1317 по формуле:

 

А ± Δ ,

Р = 0,95

(8)

 

где А - результаты измерений рабочих проб;

Δ - погрешность измерений по методике;

Р - доверительная вероятность, Р = 0,95.

9 . ТРЕБОВАНИЯ К КВАЛИФИКАЦИИ АНАЛИТИКА

Работы по настройке и обслуживанию спектрофотометра, а также приготовление эталонов и обработку результатов анализа необходимо производить инженеру. Однако, при рациональной организации труда сотрудников, возможна их частичная специализация и частичная взаимозаменяемость, при этом отдельные вилы работ могут выполнять как инженеры, так и техники.

10. ТРЕБОВАНИЯ БЕЗОПАСНОСТИ

10.1. Безопасность труда при проведении работ должно быть в соответствии с «Правилами по технике безопасности при производстве наблюдений и работ на сети Госкомгидромета» - Л.: Гидрометеоиздат, 1983.- С. 161 189.

10.2. Помещение, в котором проводятся анализы, должно быть оборудовано приточно-вытяжной вентиляцией.

10.3. При выполнении анализов необходимо соблюдать осторожность при работе с концентрированной азотной кислотой. Приготовляя разбавленные растворы, необходимо строго соблюдать правила добавления азотной кислоты в воду.

10.4. Использованные растворы категорически запрещается сливать в раковины без предварительной нейтрализации.

10.5. Концентрированная азотная кислота должна храниться в вытяжном шкафу на поддоне.

10.6. При использовании растворов ГСОРМ следует руководствоваться требованиями безопасности в соответствии с ГОСТ 12.1.007.

10.7. К выполнению работ на спектрофотометре могут быть допущены лица не моложе 18 лет, прошедшие специальный практикум по выполняемым работам и исчерпывающий инструктаж по технике безопасности выполнения этих работ.

10.8. Для удаления вредно действующих на организм человека веществ, выделяющихся в источнике возбуждения спектра, камера сжигания атомно-абсорбционного спектрофотометра должна быть обеспечена достаточной и надежно работающей вентиляцией.

10.9. При пользовании баллонами с газами, находящимися под давлением, следует строго выполнять требования инструкций по безопасному их обслуживанию. Исправность действия арматуры, контрольно-измерительных приборов и предохранительных устройств должна систематически проверяться.

10.10. К работе на пламенном спектрофотометре допускаются сотрудники, ознакомленные с устройством и эксплуатацией баллонов с ацетиленом.

11. НОРМЫ ЗАТРАТ РАБОЧЕГО ВРЕМЕНИ НА АНАЛИЗ

11.1. Нормы затрат рабочего времени на отбор и первичную обработку проб почвы, согласно РД 52.18.70 «Единые отраслевые нормы времени на работы по отбору проб почвы, их анализу и обработке материалов наблюдений», приведены в таблице 10.

11.2. Ориентировочные нормы времени на выполнение измерений атомно-абсорбционного анализа металлов с пламенной атомизацией приведены в таблице 11.

Таблица 10

Тип почвы

Исполнитель

Норма времени, чел.-ч.

Примечание

Отбор и первичная обработка

целина

пашня

1. Песчаные, супесчаные, легкие суглинки

Техник

0,67

0,62

Объединенная проба почвы состоит из 5 проб, взятых по методу конверта; почва отбирается методом неоднократного квартования

2. Суглинистые, глинистые

Техник

1,05

0,99

Таблица 11

Наименование этапа работы

Количество определений (проб)

Исполнитель

Норма времени,

чел.-час

Примечание

1. Подготовка посуды

-

Техник

1,50

 

2. Отбор навесок

16

Техник

0,48

по

РД 52.18.70

3. Приготовление растворов кислоты

-

Техник

0,5

 

4. Подготовка водяной бани(3 шт.)

-

Техник

0,54

по

РД 52.18.70

5. Кислотная обработка проб почв, включая нагревание в течение 3-х часов на водяной бане, фильтрование, промывку

16

Техник

7,0

 

6. Чистка горелки спектрофотометра, установка и прогрев лампы (на определение 1 элемента)

-

Инженер

1,0

 

7. Настройка прибора на определение одного элемента

-

Инженер

0,25

 

8. Получение данных для построения градуировочного графика

-

Техник

0,5

 

9. Определение одного элемента в 16 растворах

-

Техник

0,5

 

10. Обработка результатов анализа металлов

16 определений одного элемента

Инженер

1,0

 

11. Приготовление эталонов

-

Инженер

40,0

по

РД 52.18.70

12. КОНТРОЛЬ ПОГРЕШНОСТИ МВИ.

12.1. Контроль погрешности МВИ проводят по установленным нормативам оперативного контроля (табл. 12), рассчитанным па основе характеристики погрешности и ее составляющих для диапазона действия методики в соответствии с таблицей 1а.

12.2. Контроль сходимости методики проводят по размаху результатов параллельных определений содержания компонента в рабочих пробах. Решение об удовлетворительной сходимости принимают при выполнении условия:

 

,

(12)

 

где X1, Х2- максимальное и минимальное значение результатов параллельных определений;

d - норматив оперативного контроля сходимости.

12.3. Контроль воспроизводимости методики проводят по размаху двух результатов измерений содержания компонента в рабочей пробе, полученных в условиях воспроизводимости (результаты измерений, полученные в разное время разными операторами с разными средствами измерений и реактивами). Решение об удовлетворительной воспроизводимости принимают при выполнении условия:

 

,

(13)

 

где , - результаты анализа пробы;

D - норматив оперативного контроля воспроизводимости.

12.4. Контроль погрешности методики проводят по размаху между результатом определения содержания компонента и их аттестованными значениями в стандартном образце (СО) или аттестованной смеси (АС).

Решение об удовлетворительной погрешности методики принимают при выполнении условия:

 

,

(14)

 

где  - результат определения содержания компонентов СО (АС);

С - аттестованное значение СО (АС);

К - норматив оперативного контроля погрешности методики.

12.5. Нормативы оперативного контроля погрешности МВИ приведены в таблице 12.

Таблица 12

 

Определяемый компонент

Диапазон измеряемых значений определяемого компонента, млн-1

Нормативы оперативного контроля, Р=0,95, %

погрешности,

К

воспроизводимости,

D

m = 2

сходимости,

D

n = 2

Медь

Свинец

Цинк

Никель

Кадмий

Нижний предел Cd составляет 1 млн-1;

других металлов - 20 млн-1;

Верхний предел не ограничен

19

32

24

27

40

11

42

17

30

11

8

28

11

22

8

ПРИЛОЖЕНИЕ

Справочное

ТЕРМИНЫ, ИСПОЛЬЗУЕМЫЕ В НАСТОЯЩИХ МЕТОДИЧЕСКИХ УКАЗАНИЯХ, И ПОЯСНЕНИЯХ К НИМ

Термин

Пояснение

Абсолютно - сухая проба почвы

по ГОСТ 27593

Воздушно- сухая проба почвы

по ГОСТ 27593

Квартование

по РД 52.18.156

Навеска

Необходимая масса пробы почвы, взвешенная с определенной точностью на аналитических весах

Проба почвы

Определенное количество почвы, взятое в соответствии с нормативно-технической документацией для исследований

Холостой опыт

Опыт, включающий все стадии анализа без пробы почвы

ИНФОРМАЦИОННЫЕ ДАННЫЕ

1. УТВЕРЖДЕН Государственным комитетом СССР по гидрометеорологии

2. ИСПОЛНИТЕЛИ:

П.Е. Тулупов, доктор хим. наук (руководитель темы);

Л.И. Журавлева; В.Н. Скосырева; А, Ф. Ковалев; В.А. Красковская;

Ю.С. Дыхалин, Н.Н. Лазарева

3. ЗАРЕГИСТРИРОВАН ЦКБ ГМП за № 191 от 04.10.89

4. ВВЕДЕН ВПЕРВЫЕ

5. ССЫЛОЧНЫЕ НОРМАТИВНО-ТЕХНИЧЕСКИЕ ДОКУМЕНТЫ

 

Обозначение НТД, на который дана ссылка

Номер пункта, подпункта, перечисления, обозначения

ГОСТ 8.326-78

2.3

ГОСТ 8.513-84

2.3

ГОСТ 12.1.007-76

10.6

ГОСТ 17.4.3.01-83

3.2

ГОСТ 17.4.4.02-84

3.11

ГОСТ 1770-74

2.1.3; 2.1.4; 2.1; 6; 2.1.7; 2.1.8

ГОСТ 5457-75

2.4.6

ГОСТ 6709-72

2.4.4

ГОСТ 9147-80

2.2.5

ГОСТ 10354-62

2.2.10

ГОСТ 11125-84

2.4.1

ГОСТ 14919-83

2.2.4

ГОСТ 17433-80

2.4.7

ГОСТ 20292-74

2.1.5

ГОСТ 22261-82

6.1

ГОСТ 23932-79

2.2.12; 2.2.15

ГОСТ 24104-88

2.1.1

ГОСТ 25335-82

2.2.13; 2.2.14

ГОСТ 27593-88

Приложение

РД 52.18.70-86

11.1; 11.2

РД 52.18.156-88

Приложение

МИ 1317-86

8.2

МРТУ 6-09-2411-65

2.2.9

ТУ 6-09-3880-75

2.4.2

ТУ 6-19-110-78

2.2.6; 2.2.7; 2.2.8

ТУ 16-531-099-67

2.2.1

ТУ 25-11-1102-78

2.2.3

ТУ 61-1-721-79

2.2.2

 

 

Обозначение НТД, на который дана ссылка

Номер пункта, подпункта, перечисления, обозначения

Правила по технике безопасности при производстве наблюдений и работ на сети Госкомгидромета - Л.: Гидрометеоиздат, 1983. - С.161 - 189

10

Методические рекомендации по проведению полевых и лабораторных исследований почв и растений при контроле загрязнения окружающей среды металлами - М.: Гидрометеоиздат, 1981, - С.9 - 33

3

Временные методические рекомендаций по контролю загрязнения почв - М.: Гидрометеоиздат, 1983, - С. 82 - 84

3

ЛИСТ РЕГИСТРАЦИИ ИЗМЕНЕНИЙ РД 52.18.191

Номер изменения

Номер листа (страницы)

Номер документа

Подпись

Дата внесения изменений

Дата введения изменения

измененного

замененного

нового

аннулированного

 

 

 

 

 

 

 

 

 

 

Внесено при переиздании

 




Яндекс цитирования