//
ТехЛит.ру
- крупнейшая бесплатная электронная интернет библиотека для "технически умных" людей.
WWW.TEHLIT.RU - ТЕХНИЧЕСКАЯ ЛИТЕРАТУРА

:: Алготрейдинг::


АЛГОТРЕЙДИНГ
шаг за шагом
с нуля по урокам!

Торговые роботы на PYTHON, BackTrader,
Pandas, Pine Script для TradingView. Связка с брокерами, телеграм и легкими приложениями.


ФЕДЕРАЛЬНОЕ АГЕНТСТВО
ПО ТЕХНИЧЕСКОМУ РЕГУЛИРОВАНИЮ И МЕТРОЛОГИИ

НАЦИОНАЛЬНЫЙ
СТАНДАРТ
РОССИЙСКОЙ
ФЕДЕРАЦИИ

ГОСТ Р
52506-
2005
(ЕН 12015:2004)

Совместимость технических средств
электромагнитная

ЛИФТЫ, ЭСКАЛАТОРЫ
И ПАССАЖИРСКИЕ КОНВЕЙЕРЫ

Помехоэмиссия

EN 12015:2004 Electromagnetic compatibility - Product family standard
for lifts, escalators and moving walks - Emission (MOD)

Москва

Стандартинформ

2006

Предисловие

Цели и принципы стандартизации в Российской Федерации установлены Федеральным законом от 27 декабря 2002 г. № 184-ФЗ «О техническом регулировании», а правила применения национальных стандартов Российской Федерации - ГОСТ Р 1.0-2004 «Стандартизация в Российской Федерации. Основные положения»

Сведения о стандарте

1 РАЗРАБОТАН Закрытым акционерным обществом «Научно-испытательный центр «САМТЭС», Закрытым акционерным обществом «Акционерная компания «Лифт», Техническим комитетом по стандартизации «Электромагнитная совместимость технических средств» (ТК 30) и Техническим комитетом по стандартизации «Лифты, строительные подъемники, эскалаторы и подъемные платформы для инвалидов» (ТК 209)

2 ВНЕСЕН Техническим комитетом по стандартизации «Электромагнитная совместимость технических средств» (ТК 30) и Техническим комитетом по стандартизации «Лифты, строительные подъемники, эскалаторы и подъемные платформы для инвалидов» (ТК 209)

3 УТВЕРЖДЕН И ВВЕДЕН В ДЕЙСТВИЕ Приказом Федерального агентства по техническому регулированию и метрологии от 30 декабря 2005 г. № 550-ст

4 Настоящий стандарт является модифицированным по отношению к европейскому стандарту ЕН 12015:2004 «Электромагнитная совместимость - Стандарт для группы однородной продукции, распространяющийся на лифты, эскалаторы и пассажирские конвейеры - Помехоэмиссия» («Electromagnetic compatibility - Product family standard for lifts, escalators and moving walks - Emission»). При этом дополнительные положения и требования, включенные в текст стандарта для учета потребностей национальной экономики Российской Федерации, выделены курсивом

5 В настоящем стандарте реализованы требования общего технического регламента об электромагнитной совместимости и специального технического регламента о безопасности лифтов

6 ВВЕДЕН ВПЕРВЫЕ

Информация об изменениях к настоящему стандарту публикуется в ежегодно издаваемом информационном указателе «Национальные стандарты», а текст изменений и поправок - в ежемесячно издаваемых информационных указателях «Национальные стандарты». В случае пересмотра (замены) или отмены настоящего стандарта соответствующее уведомление будет опубликовано в ежемесячно издаваемом информационном указателе «Национальные стандарты». Соответствующая информация, уведомления и тексты размещаются также в информационной системе общего пользования - на официальном сайте национального органа Российской Федерации по стандартизации в сети Интернет

Содержание

Предисловие к европейскому стандарту

Введение

1 Область применения

2 Нормативные ссылки

3 Термины и определения

4 Процедуры испытаний

4.1 Общие положения

4.2 Излучаемые и кондуктивные индустриальные радиопомехи

4.3 Гармонические составляющие тока, потребляемого из электрической сети

5 Применимость испытаний

6 Нормы помехоэмиссии

6.1 Порты корпуса (излучаемые индустриальные радиопомехи)

6.2 Порты электропитания переменного тока (кондуктивные помехи)

6.3 Выходные порты электропитания (кондуктивные индустриальные радиопомехи)

6.4 Кратковременные индустриальные радиопомехи

6.5 Колебания напряжения, вызываемые в электрической сети

6.6 Гармонические составляющие тока, потребляемого из электрической сети

6.7 Проведение измерений

7 Комплект документов для установщика аппарата / комплекта аппаратов

Библиография

Предисловие к европейскому стандарту

Европейский стандарт ЕН 12015:2004 разработан взамен стандарта ЕН 12015:1998 Техническим комитетом ТК10 «Лифты, эскалаторы и пассажирские конвейеры» Европейского комитета по стандартизации (СЕН) и подлежит принятию государствами - членами Европейского Союза в качестве национального стандарта.

Европейский стандарт ЕН 12015:2004 разработан для обеспечения соответствия лифтов, эскалаторов и пассажирских конвейеров основным требованиям Директивы Европейского Союза об электромагнитной совместимости 89/336/ЕЭС [1].

Нормы помехоэмиссии в ЕН 12015:2004 установлены с учетом того, что группа однородной продукции, на которую распространяется настоящий стандарт, включает всю номенклатуру лифтов, эскалаторов и пассажирских конвейеров, применяемых в жилых зданиях, офисах, госпиталях, отелях, на промышленных предприятиях и т.д., и что лифты, эскалаторы и пассажирские конвейеры имеют, как правило, для обеспечения работы свою собственную специальную питающую сеть, которая должна подключаться с согласия поставщика электрической энергии к источнику с низким полным сопротивлением.

Соответствующие требования устойчивости лифтов, эскалаторов и пассажирских конвейеров к электромагнитным помехам установлены в европейском стандарте ЭМС для группы однородной продукции ЕН 12016:2004 [2].

Введение

Настоящий стандарт разработан с целью ознакомления заинтересованных лиц со средствами и способами подтверждения соответствия лифтов, эскалаторов и пассажирских конвейеров требованиям общего технического регламента об электромагнитной совместимости и специального технического регламента о безопасности лифтов.

Требования настоящего стандарта установлены таким образом, чтобы уровень эмиссии электромагнитных помех от лифтов, эскалаторов и пассажирских конвейеров мог приводить лишь к минимальным нарушениям функционирования другого оборудования.

Установленные нормы помехоэмиссии, однако, не относятся к следующим случаям:

а) когда вероятность события, способного привести к возникновению помехоэмиссии, превышающей обычно существующую на практике, чрезвычайно мала, например, при аварийной остановке лифта, эскалатора и пассажирского конвейера из-за неисправности;

б) когда аппаратура с высокой восприимчивостью к электромагнитным помехам будет применяться в непосредственной близости к оборудованию, на которое распространяется настоящий стандарт.

В этом случае может оказаться необходимым принять следующие меры:

- уменьшить помехоэмиссию таким образом, чтобы ее уровень был ниже норм, установленных в настоящем стандарте;

- увеличить уровень устойчивости к электромагнитным помехам аппаратов, подвергаемых воздействию.

Нормы помехоэмиссии регламентированы в стандарте исходя из того, что оборудование, на которое распространяется настоящий стандарт, устанавливается как в помещениях, так и вне помещений (в зданиях всех видов), включает в свой состав устройства коммутации значительных токов и нагрузки, обладающие значительной индуктивностью, и в основном подключается к низковольтным распределительным системам электроснабжения.

При разработке стандарта учитывалось, что из-за размеров лифта, установленного в здании, становится нецелесообразным осуществлять его испытания в целом как в испытательной лаборатории, так и на месте эксплуатации (где, кроме того, на процедуры и результаты испытаний может оказывать влияние неконтролируемая электромагнитная обстановка). Кроме того, из-за ограничений, налагаемых внутренними размерами кабины лифта, затрудняется проведение испытаний внутри кабины лифта. В равной степени нецелесообразно осуществление испытаний в целом эскалаторов и пассажирских конвейеров, установленных в зданиях, учитывая размеры оборудования.

Основанием для пересмотра стандарта ЕН 12015:1998 явились следующие важнейшие изменения:

а) введены требования контроля уровня кондуктивных индустриальных радиопомех на частотах ниже 30 МГц на порте питания механизма/двигателя. При этом установленные нормы помех не зависят от величины потребляемого тока. Нормы помех и методы испытаний соответствуют установленным в ГОСТ Р 51318.14.19. Применительно к другим портам установленные нормы излучаемых индустриальных радиопомех на частотах выше 30 МГц обеспечивают достаточный контроль эмиссии помех в кабельные соединения, поскольку сведения о проблемах на частотах ниже 30 МГц в настоящее время отсутствуют;

б) введены требования контроля гармонических составляющих тока, потребляемого из электрической сети, и колебаний напряжения, вызываемых в сети;

в) методы измерения излучаемых индустриальных радиопомех приведены в соответствие с установленными в ГОСТ Р 51318.11;

г) термин «установка» заменен на термин «система». Это обусловлено тем, что в соответствии с официальной интерпретацией для стационарных установок не введено подтверждение соответствия основным требованиям Директивы об ЭМС 89/336/ЕЭС, как это имеет место для аппаратов и систем1). Поэтому стандарт ЕН 12015:2004 применяется для аппаратов и комплектов аппаратов, из которых состоят лифты, эскалаторы и пассажирские конвейеры, и их совокупностей, образующих системы;

_____________

1) В соответствии с Директивой Европейского Союза об ЭМС 2004/108/ЕС [3] подтверждение соответствия стационарных установок основным требованиям ЭМС проводится по указанию компетентных органов власти государств - членов Европейского Союза при наличии очевидных признаков несоответствия (например, создания установкой чрезмерных электромагнитных помех).

д) для обеспечения соответствия основным требованиям Директивы об ЭМС 89/336/ЕЭС установлен единый комплект норм помехоэмиссии, не зависящий от различий параметров электромагнитной обстановки, обусловленных предполагаемым размещением здания (в жилой или производственной зоне). При этом учитывалось, что лифты, эскалаторы и пассажирские конвейеры относятся к системам, для которых входящие в их состав аппараты и комплекты аппаратов распределены по всему объему здания (причем некоторые из них являются движущимися). Таким образом, параметры электромагнитной обстановки, связанные с предполагаемым размещением здания, не могут быть установлены заранее или считаться фиксированными.

В настоящем стандарте указанный единый комплект норм помехоэмиссии применительно к излучаемым индустриальным радиопомехам основан на нормах для промышленных зон, установленных в ГОСТР 51317.6.4. Эти нормы, как известно, являются менее жесткими, чем для жилых и коммерческих зон. Применение указанных норм оправдано опытом работы систем, отвечающих требованиям ЕН 12015-1998, применительно к которым не известны случаи нарушения электромагнитной совместимости с другими системами по отношению к индустриальным радиопомехам в сетевых кабелях и излучаемым индустриальным радиопомехам на частотах выше 30 МГц. Кроме того, нормы излучаемых индустриальных радиопомех установлены с учетом расположения аппаратов и комплектов аппаратов, входящих в состав оборудования лифтов, эскалаторов и пассажирских конвейеров, на значительном расстоянии от бытовых радиоэлектронных приборов. Нормы кондуктивных индустриальных радиопомех учитывают то обстоятельство, что силовые кабели лифта, эскалатора или пассажирского конвейера отделены от других кабелей электропитания в здании на расстояние, по крайней мере, равное расстоянию до точки общего присоединения. Требованиями изготовителя должна быть также предусмотрена раздельная прокладка кабелей системы и других кабелей электропитания.

Нормы помехоэмиссии в настоящем стандарте установлены также с учетом того, что оборудование должно соответствовать требованиям безопасности в отношении токов утечки в системе заземления. Установление более жестких норм, которые в некоторых случаях могли бы считаться адекватными, требует применения помехоподавляющих фильтров (как индуктивных, так и емкостных) с большими значениями вносимого затухания, что приведет к повышению восприимчивости систем к изменениям параметров сетевого электропитания и увеличению токов утечки в системе заземления. Возросшее рассеяние мощности в помехоподавляющих фильтрах вызовет (в общем случае) повышенный расход электроэнергии и необходимость дополнительных требований к вентиляции и (или) охлаждению здания, что имеет особое значение для систем с непрерывным функционированием.

Требования устойчивости к электромагнитным помехам лифтов, эскалаторов и пассажирских конвейеров установлены в ГОСТ Р 52505-2005 (ЕН 12016:2004).

Содержание европейского стандарта ЕН 12015-2004 набрано прямым шрифтом, дополнительные положения и требования - курсивом.

ГОСТ Р 52506-2005 (EH 12015:2004)

Совместимость технических средств электромагнитная

ЛИФТЫ, ЭСКАЛАТОРЫ И ПАССАЖИРСКИЕ КОНВЕЙЕРЫ

Помехоэмиссия

Electromagnetic compatibility of technical equipment.
lifts, escalators and moving walks.
Emission

1 Область применения

Настоящий стандарт устанавливает нормы эмиссии электромагнитных помех и условия испытаний лифтов, эскалаторов и пассажирских конвейеров, предназначенных для стационарной установки в зданиях.

Указанные нормы (в части индустриальных радиопомех) могут, однако, не обеспечивать полной защиты радио- и телевизионного приема в случаях, когда радиовещательные приемники и телевизоры расположены на расстояниях, меньше указанных в таблице 1.

Применение настоящего стандарта соответствует условиям применения, регламентированным в серии стандартов [4] и в [5] (в части влажности воздуха, температуры и т.д.), с учетом влияния указанных условий на обеспечение ЭМС.

2 Нормативные ссылки

В настоящем стандарте использованы нормативные ссылки на следующие стандарты:

ГОСТ 14777-76 Радиопомехи индустриальные. Термины и определения

ГОСТ 30372-95/ГОСТ Р 50397-92 Совместимость технических средств электромагнитная. Термины и определения

ГОСТ Р 51317.3.2-99 (МЭК 61000-3-2-95) Совместимость технических средств электромагнитная. Эмиссия гармонических составляющих тока техническими средствами с потребляемым током не более 16 А (в одной фазе). Нормы и методы испытаний

ГОСТ Р 51317.3.3-99 (МЭК 61000-3-3-94) Совместимость технических средств электромагнитная. Колебания напряжения и фликер, вызываемые техническими средствами с потребляемым током не более 16 А (в одной фазе), подключаемыми к низковольтным системам электроснабжения. Нормы и методы испытаний

ГОСТ Р 51317.6.4-99 (МЭК 61000-6-4-97) Совместимость технических средств электромагнитная. Помехоэмиссия от технических средств, применяемых в промышленных зонах. Нормы и методы испытаний

ГОСТ Р 51318.11-99 (СИСПР 11-97) Совместимость технических средств электромагнитная. Радиопомехи индустриальные от промышленных, научных, медицинских и бытовых (ПНМБ) высокочастотных устройств. Нормы и методы испытаний

ГОСТ Р 51318.14.1-99 (СИСПР 14-1-93) Совместимость технических средств электромагнитная. Радиопомехи индустриальные от бытовых приборов, электрических инструментов и аналогичных устройств. Нормы и методы испытаний.

ГОСТ Р 51320-99 Совместимость технических средств электромагнитная. Методы испытаний технических средств - источников индустриальных радиопомех.

ГОСТ Р 52505-2005 (EH 12016:2004) Совместимость технических средств электромагнитная. Лифты, эскалаторы и пассажирские конвейеры. Устойчивость к электромагнитным помехам.

Примечание - При пользовании настоящим стандартом целесообразно проверить действие ссылочных стандартов в информационной системе общего пользования на официальном сайте национального органа Российской Федерации по стандартизации в сети Интернет или по ежегодно издаваемому информационному указателю «Национальные стандарты», который опубликован по состоянию на 1 января текущего года, и по соответствующим ежемесячно издаваемым информационным указателям, опубликованным в текущем году. Если ссылочный документ заменен (изменен), то при пользовании настоящим стандартом следует руководствоваться замененным (измененным) стандартом. Если ссылочный документ отменен без замены, то положение, в котором дана ссылка на него, применяется в части, не затрагивающей эту ссылку.

3 Термины и определения

В настоящем стандарте применены термины, установленные в ГОСТ 14777-76, ГОСТ 30372, ГОСТ Р 51317.3.2, ГОСТ Р 51317.3.3, ГОСТ Р 51318.14.1, ГОСТ Р 51320, а также следующие:

3.1 система: Лифт, эскалатор или пассажирский конвейер, состоящий из совокупности аппаратов с электрическим и электронным оборудованием и линий межсоединений.

Примечание - В качестве примеров см. рисунки 1 и 2.

3.2 комплект аппаратов: Объединение взаимосвязанных аппаратов, которые могут испытываться совместно.

Примечание - В качестве примеров см. рисунки 1 и 2.

3.3 аппарат: Совокупность компонентов, обеспечивающая выполнение функции, установленной изготовителем.

Примечания

1 В качестве примеров см. рисунки 1 и 2.

2 Элементы безопасности, указанные в Приложении IV Директивы Европейского Союза о лифтах [6], считают аппаратами.

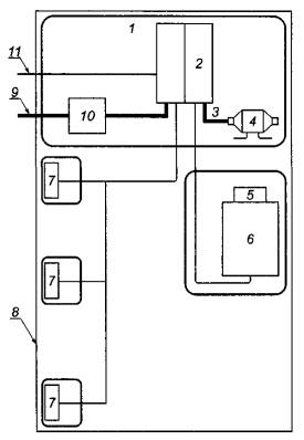
1 - машинное помещение; 2 - основной блок управления / шкаф управления; 3 - выходной порт электропитания; 4 - механизм / двигатель; 5 - устройство управления дверью; 6 - кабина лифта; 7 - аппаратура, установленная на этажах (например, устройства кнопочного управления, индикации); 8 - граница системы; 9 - порты электропитания (переменного и /или постоянного тока); 10 - главный выключатель; 11 - сигнальные порты, порты управления

Примечание - Комплекты аппаратов обведены утолщенными линиями.

Рисунок 1 - Вариант представления лифта в виде системы (помехоэмиссия)

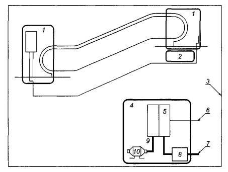
1 - панель управления; 2, 4 - машинное помещение; 3 - граница системы; 5 - основной блок управления/шкаф управления; 6 - сигнальные порты, порты управления; 7 - порты электропитания (переменного и /или постоянного тока); 8 - главный выключатель; 9 - выходной порт электропитания; 10 - механизм / двигатель

Примечание - Машинное помещение может быть внешним по отношению к системе.

Рисунок 2 - Вариант представления эскалатора и пассажирского конвейера в виде системы (помехоэмиссия)

3.4 среднеквадратичное значение: Эффективное значение тока.

3.5 коэффициент гармонических искажений (КГИ): Отношение среднеквадратичного значения суммы гармонических составляющих тока к среднеквадратичному значению тока основной частоты.

Примечание - КГИ вычисляют по формуле

                                                                          (1)

где In представляет собой среднеквадратичное значение тока n-ой гармоники; I1 - среднеквадратичное значение тока основной частоты.

3.6 частичный взвешенный коэффициент гармонических искажений (ЧВКГИ): Отношение среднеквадратичного значения суммы выделенных гармонических составляющих тока высокого порядка (начиная от 14-го порядка), взвешенных с коэффициентами, равными порядку гармоники, к среднеквадратичному значению тока основной частоты.

Примечание - ЧВКГИ вычисляют по формуле

                                                               (2)

3.7 симметричная трехфазная система: Система, подключаемая к трем фазным проводам системы электроснабжения, сконструированная таким образом, чтобы при номинальных условиях среднеквадратичные значения тока в каждой из трех фаз отличались не более чем на 20 %.

Примечание - Нейтральный проводник при нормальных рабочих условиях в качестве токонесущего проводника не используют.

3.8 точка общего присоединения (ТОП): Точка распределительной электрической сети общего назначения, электрически ближайшая к системе, к которой присоединено или может быть присоединено другое оборудование.

3.9 мощность короткого замыкания Ssc: Величина мощности короткого замыкания трехфазной системы, рассчитываемая с учетом величин номинального напряжения системы Un и ее полного сопротивления Z в точке общего присоединения:

                                                                                    (3)

3.10 кажущаяся номинальная мощность Sequ: Величина, рассчитываемая для аппарата / комплекта аппаратов с учетом среднеквадратических значений линейного напряжения сети Ui и номинального потребляемого тока Iequ:

                                                                         (4)

3.11 отношение короткого замыкания Rsce: Отношение мощности короткого замыкания источника к кажущейся номинальной мощности нагрузки (нагрузок).

Примечание - Для аппарата / комплекта аппаратов, подключаемого к трехфазной системе электроснабжения, его вычисляют по формуле:

                                                                                  (5)

3.12 порт: Граница между определенным аппаратом /комплектом аппаратов и внешней электромагнитной средой.

Примечание - В качестве примера см. рисунок 3.

3.13 порт корпуса: Физическая граница аппарата / комплекта аппаратов, через которую могут излучаться создаваемые или проникать внешние электромагнитные поля.

Примечание - В качестве примера см. рисунок 3.

Рисунок 3 - Примеры портов аппарата / комплекта аппаратов

4 Процедуры испытаний

4.1 Общие положения

4.4.1 Измерения должны проводиться в рабочем режиме, обеспечивающем наибольший уровень помехоэмиссии при условии нормального использования. Необходимо обеспечить наибольший уровень помехоэмиссии испытуемого изделия путем изменения его расположения на рабочем месте при проведении испытаний (при соответствии типовому применению и типовым условиям установки).

4.4.2 Если невозможно измерить уровни помех при выполнении аппаратом / комплектом аппаратов каждой функции, следует выбирать наиболее критичный период работы в нормальном рабочем режиме, при котором обеспечивается наибольший уровень помехоэмиссии.

4.1.3 Испытания проводят при одних и тех же условиях окружающей среды в пределах рабочих диапазонов температуры окружающего воздуха, относительной влажности воздуха и атмосферного давления, а также напряжения электропитания, установленных изготовителем, если в основополагающих национальных стандартах в области ЭМС, указанных в разделе 2, не установлены иные требования.

4.1.4 При каждом испытании должна быть обеспечена воспроизводимость результатов измерений. Конфигурация испытуемых аппаратов /комплектов аппаратов и режимы из функционирования должны быть отражены в протоколе испытаний.

4.2 Излучаемые и кондуктивные индустриальные радиопомехи

4.2.1 Требования к проведению испытаний, методы испытаний, испытательные установки - в соответствии с ГОСТ Р 51318.11.

4.2.2 При проведении испытаний на излучаемые индустриальные радиопомехи кабинные и иные кабели, длина которых может превышать 5 м, заменяют отрезками кабеля, длина которых должна составлять не менее 5 м, подключаемыми к соответствующим портам испытуемого изделия.

4.2.3 Если аппарат имеет большое количество одинаковых портов или порты с большим количеством одинаковых подключений, то при проведении испытаний следует выбрать столько одинаковых портов (подключений), чтобы было возможно имитировать реальные условия функционирования аппаратуры и проверить нагрузки всех видов.

4.2.4 При испытаниях аппарата / комплекта аппаратов измерения индустриальных радиопомех осуществляют: излучаемых - на портах корпуса, кондуктивных - на портах электропитания переменного тока и выходных портах электропитания.

4.3 Гармонические составляющие тока, потребляемого из электрической сети

Требования к проведению испытаний, методы испытаний, испытательные установки - в соответствии с [7]1).

Так как поставщики электрической энергии не гарантируют определенного значения полного сопротивления питающей электрической сети, то в разных местах размещения лифтов, эскалаторов и пассажирских конвейеров мощность короткого замыкания сети питания может быть различной.

Учитывая, что указанный параметр обычно заранее не известен, приходится нормировать его на основании опыта практического применения лифтов, эскалаторов и пассажирских конвейеров, находящихся в эксплуатации. В настоящем стандарте в качестве среднего значения отношения короткого замыкания для лифтов, эскалаторов и пассажирских конвейеров установлено значение Rsce = 250. Так как указанные изделия обычно являются симметричными трехфазными системами, то нормы помехоэмиссии, установленные в соответствии с указанным значением отношения короткого замыкания, соответствуют стандартам, распространяющимся на системы такого вида.

__________

1) Национальный стандарт, эквивалентный [7], находится на разработке.

5 Применимость испытаний

Применение испытаний для оценки уровней помехоэмиссии зависит от типа аппарата / комплекта аппаратов, его конфигурации, наличия портов, технических характеристик и режимов функционирования.

5.1 По результатам анализа электрических характеристик и способов применения аппарата / комплекта аппаратов конкретного типа может быть принято решение не проводить некоторые испытания на помехоэмиссию. Это решение и обоснование исключения некоторых испытаний на помехоэмиссию должны быть отражены в протоколе испытаний.

5.2 При отклонениях от методов испытаний, установленных в стандартах, приведенных в 4.2.1 и 4.3, указанные отклонения и обоснования их введения должны быть отражены в протоколе испытаний.

6 Нормы помехоэмиссии

6.1 Порты корпуса (излучаемые индустриальные радиопомехи)

Уровни излучаемых индустриальных радиопомех, измеренных на каждом порте корпуса аппарата / комплекта аппаратов, не должны превышать норм, указанных в таблице 1. Данные нормы не применяют при испытаниях на месте установки.

6.2 Порты электропитания переменного тока (кондуктивные помехи)

6.2.1 Уровни кондуктивных индустриальных радиопомех, измеренные на каждом порте электропитания переменного тока аппарата / комплекта аппаратов, работающего при напряжении менее 1000 В (среднеквадратичное значение), не должны превышать норм, указанных в таблице 2.

Для кратковременных индустриальных радиопомех применяют нормы, установленные в 6.4.

6.2.2 Уровни гармонических составляющих тока, измеренные на каждом порте электропитания переменного тока аппарата / комплекта аппаратов, работающего при напряжении менее 600 В (среднеквадратичное значение), не должны превышать норм, указанных в таблице 31)

___________

1) Настоящий стандарт в части требований к гармоническим составляющим тока, потребляемого из электрической сети, применяют с даты введения национального стандарта, эквивалентного [7].

К помехам, создаваемым при конкретных рабочих условиях, применяют особые нормы, также приведенные в таблице 3.

6.3 Выходные порты электропитания (кондуктивные индустриальные радиопомехи)

Уровни кондуктивных индустриальных радиопомех, измеренные на каждом порте механизма / двигателя, входящего в состав аппарата / комплекта аппаратов, не должны превышать норм, указанных в таблице 4.

Если в соответствии с требованиями изготовителя аппарата / комплекта аппаратов, для портов механизма /двигателя должны использоваться экранированные соединители и кабели или кабели, длина которых не превышает 2 м, то в проведении измерений на указанных портах нет необходимости.

6.4 Кратковременные индустриальные радиопомехи

Уровни кратковременных индустриальных радиопомех, измеренные на портах в соответствии с 6.2.1, не должны превышать норм, указанных в таблице 2, если частота появления кратковременных радиопомех превышает 30 импульсов в минуту. Для кратковременных индустриальных радиопомех с частотой появления от 0,2 до 30 импульсов в минуту нормы, установленные в таблице 2, увеличивают на

где N - количество кратковременных радиопомех в минуту.

Указанные нормы не применяют к прерывистым индустриальным радиопомехам, относящимся к исключениям, установленным в 4.2.3 ГОСТ Р 51318.14.1.

6.5 Колебания напряжения, вызываемые в электрической сети

Нормы и методы испытаний - в соответствии с [8]2).

Уровень колебаний напряжения, вызываемых в электрической сети, зависит от полного сопротивления сети, к которой подключена конкретная система, и от характеристик аппарата / комплекта аппаратов. В документации изготовителя должно быть указано максимальное значение полного сопротивления сети, к которой может быть подключена система.

Примечание - Известно, что аппараты / комплекты аппаратов, включающие электрические приводы с регулируемой скоростью вращения, не создают помех в виде колебаний напряжения, вызывающих фликер. Однако следует обращать внимание на прямой запуск на линии или запуск по системе «звезда - треугольник» двигателей эскалаторов, подъемников и гидронасосов и повторяющуюся непосредственную коммутацию нагрузок, обладающих значительной индуктивностью (например, трансформаторов).

____________

2) Национальный стандарт, эквивалентный [8], находится на разработке. Настоящий стандарт в части требований к колебаниям напряжения, возникающим в сети электропитания, и фликеру применяют с даты введения национального стандарта, эквивалентного [8].

6.6 Гармонические составляющие тока, потребляемого из электрической сети

Нормы гармонических составляющих тока приведены в таблице 3.

6.7 Проведение измерений

6.7.1 Излучаемые и кондуктивные индустриальные радиопомехи

Для определения соответствия требованиям, указанным в 6.1 и 6.2.1, измерения уровней радиопомех должны осуществляться методами, установленными ГОСТ Р 51318.11, в условиях, приведенных в разделе 4.

Для определения соответствия требованиям, указанным в 6.3, должен быть применен метод, установленный ГОСТ Р 51318.14.1 для зажимов нагрузки.

6.7.2 Гармонические составляющие тока, потребляемого из электрической сети

Если значения отношений In/I1 для последующей оценки определяют путем измерений, то указанные значения должны быть получены по результатам измерений мгновенных значений токов основной частоты и гармоник.

Отношения In/I1, используемые для сравнения с нормами, приведенными в таблице 3, должны быть определены при токе основной частоты не менее номинального тока системы, указанного изготовителем.

Таблица 1 - Нормы помехоэмиссии для портов корпуса (излучаемые индустриальные радиопомехи)

Полоса частот, МГц

Норма индустриальных радиопомех, дБ(мкВ/м) (измерительная площадка с измерительным расстоянием 10 м 1))

30-230

40 (квазипиковое значение)

230-1000

47 (квазипиковое значение)

1) Нормы помехоэмиссии, приведенные в таблице, основаны на нормах, установленных ГОСТ Р 51317.6.4. При измерениях на расстоянии менее 10 м должны выполняться условия, установленные ГОСТ Р 51318.11. Измерения не должны осуществляться на расстоянии менее 3 м. Требования к измерительным площадкам - по ГОСТ Р 51320.

Таблица 2 - Нормы помехоэмиссии для портов электропитания переменного тока (кондуктивные индустриальные радиопомехи)

Полоса частот, МГц

Норма индустриальных радиопомех, дБ (мкВ), при номинальном потребляемом токе1)

< 25А

от 25 до 100 А

> 100 А2)

0,15-0,50

79 (квазипиковое значение)

100 (квазипиковое значение)

130 (квазипиковое значение)

 

66 (среднее значение)

90 (среднее значение)

120 (среднее значение)

0,50-5,0

73 (квазипиковое значение)

86 (квазипиковое значение)

125 (квазипиковое значение)

 

60 (среднее значение)

76 (среднее значение)

115 (среднее значение)

5,0-30

73 (квазипиковое значение)

90-703) (квазипиковое значение)

115 (квазипиковое значение)

 

60 (среднее значение)

80-603) (среднее значение)

105 (среднее значение)

1) Ток, для которого разработан аппарат.

2) Подразумевается питающая сеть, подключенная к специальному трансформатору.

3) Уменьшается с логарифмом частоты.

Таблица 3 - Нормы гармонических составляющих тока

Параметр

Нормы длительных помех1), %

Нормы помех малой длительности2), %

I5/I1

30

45

I7/I1

18

27

I11/I1

13

19

I13/I1

8

12

кги

35

52

чвкги

39

58

1) Нормы основаны на установленных в [7] для Rsce =250 (симметричное трехфазное оборудование).

2) Для токов гармоник максимальной длительностью до 10 с в случаях, когда система включается в первый раз вручную или автоматически, или выключается.

Примечания

1 Относительная величина четных гармоник не должна превышать 16/n %.

2 Относительная величина нечетных гармоник, кратных 3, не должна превышать 9/n %.

Таблица 4 - Нормы помехоэмиссии для выходных портов электропитания (кондуктивные индустриальные радиопомехи)

Полоса частот, МГц

Норма индустриальных радиопомех, дБ(мкВ)1)

0,15-0,50

80 (квазипиковое значение)

 

70 (среднее значение)

0,50-5,0

74 (квазипиковое значение)

 

64 (среднее значение)

5,0-30

74 (квазипиковое значение)

 

64 (среднее значение)

1) При номинальном выходном токе.

7 Комплект документов для установщика аппарата / комплекта аппаратов

Установщик должен быть обеспечен справочной документацией и инструкциями, необходимыми для проведения установочных и монтажных работ и использования аппарата / комплекта аппаратов в соответствии с требованиями настоящего стандарта.

Комплект документов должен включать:

- инструкции по сборке и физическому сопряжению с другой аппаратурой;

- инструкции и предупреждения, устанавливающие меры предосторожности при подключении к другой аппаратуре;

- технические требования к соединительным кабелям и устройствам;

- инструкции по вводу в эксплуатацию и испытаниям;

- руководство по предотвращению ошибочных действий и неправильной сборки аппарата / комплекса аппаратов, которые вызовут несоответствие требованиям настоящего стандарта.

Библиография

[1] Директива Совета Европейских сообществ 89/336/ЕЭС от 3 мая 1989 г. о сближении законодательных актов государств-членов об электромагнитной совместимости

[2] ЕН 12016:2004 Электромагнитная совместимость - Стандарт для группы однородной продукции, распространяющийся на лифты, эскалаторы и пассажирские конвейеры - Устойчивость к электромагнитным помехам

[3] Директива Европейского Парламента и Совета Европейского Союза 2004/108/ЕС от 15 декабря 2004 г. о сближении законодательных актов государств-членов об электромагнитной совместимости и отмене Директивы 89/336/ЕЭС

[4] ЕН 81 Правила безопасности при изготовлении и установке лифтов

[5] ЕН 115 Правила безопасности при изготовлении и установке эскалаторов и пассажирских конвейеров

[6] Директива Европейского Парламента и Совета Европейского Союза 95/16/ЕС от 28 июня 1995 г. о сближении законодательных актов государств-членов, относящихся к лифтам

[7] МЭК 61000-3-4:1998 Электромагнитная совместимость (ЭМС) - Часть 3-4: Нормы- Ограничение эмиссии гармонических составляющих тока в низковольтных распределительных системах электроснабжения для технических средств с потребляемым током более 16 А (в одной фазе)

[8] ЕН 61000-3-11:2000 Электромагнитная совместимость (ЭМС) - Часть 3-11: Нормы - Ограничение колебаний напряжения и фликера в низковольтных распределительных системах электроснабжения - Технические средства с номинальным потребляемым током не свыше 75 А (в одной фазе), подключаемые к сети при выполнении установленных условий

Ключевые слова: электромагнитная совместимость; лифты, эскалаторы, пассажирские конвейеры; помехоэмиссия; индустриальные радиопомехи; гармонические составляющие тока, потребляемого из сети электропитания; колебания напряжения, вызываемые техническими средствами в сети электропитания; фликер; нормы; методы испытаний




Яндекс цитирования



   Copyright © 2007-2026,  www.tehlit.ru.

[ ѓосты, стандарты, нормативы, инструкции, правила, строительные нормы ]