//
|
|
ФЕДЕРАЛЬНОЕ АГЕНТСТВО ПО ТЕХНИЧЕСКОМУ РЕГУЛИРОВАНИЮ И МЕТРОЛОГИИ
Чистые помещения ОДЕЖДА ТЕХНОЛОГИЧЕСКАЯОбщие требования
Предисловие Цели и принципы стандартизации в Российской Федерации установлены Федеральным законом от 27 декабря 2002 г. № 184-ФЗ «О техническом регулировании», а правила применения национальных стандартов Российской Федерации - ГОСТ Р 1.0-2004 «Стандартизация в Российской Федерации. Основные положения» Сведения о стандарте 1. РАЗРАБОТАН Общероссийской общественной организацией «Ассоциация инженеров по контролю микрозагрязнений» (АСИНКОМ) 2. ВНЕСЕН Техническим комитетом по стандартизации ТК458 «Правила производства и контроля качества лекарственных средств» 3. УТВЕРЖДЕН И ВВЕДЕН В ДЕЙСТВИЕ Приказом Федерального агентства по техническому регулированию и метрологии от 21 апреля 2006 г. № 73-ст 4. ВВЕДЕН ВПЕРВЫЕ Информация об изменениях к настоящему стандарту публикуется в ежегодно издаваемом информационном указателе «Национальные стандарты», а текст изменений и поправок - в ежемесячно издаваемых информационных указателях «Национальные стандарты». В случае пересмотра (замены) или отмены настоящего стандарта соответствующее уведомление будет опубликовано в ежемесячно издаваемом информационном указателе «Национальные стандарты». Соответствующая информация, уведомления и тексты размещаются также в информационной системе общего пользования - на официальном сайте Федерального агентства по техническому регулированию и метрологии в сети Интернет Содержание Введение Во многих отраслях промышленности предъявляются специальные требования не только к качеству исходных материалов, технологических сред и энергоносителей, но и к чистоте воздушной среды в рабочих зонах и помещениях в целом. Эти требования выполняются за счет применения чистых помещений, классификация которых проводится по ГОСТ ИСО 14644-1 и ГОСТ Р 52249. Основным источником загрязнения воздушной среды является человек, который постоянно выделяет частицы, создающие опасность загрязнения продукции. Для защиты воздушного пространства от загрязнений, вносимых персоналом, работающим в чистых помещениях, применяются различные комплекты технологической одежды, изготовленные из специальных тканей (далее - одежда). Комплекты одежды со специальным нижним бельем, носками и головными уборами (капюшонами, шлемами и шапочками) используются вместе с защитными принадлежностями: масками для лица, очками, перчатками (для переодевания и технологическими), обувью и бахилами. Модели одежды, классификация по условиям применения, характеристики и применение тканей, фурнитуры и методика контроля одежды приведены в приложениях А - Г. Настоящий стандарт предназначен для изготовителей и потребителей одежды и входит в комплекс стандартов по чистым помещениям. НАЦИОНАЛЬНЫЙ СТАНДАРТ РОССИЙСКОЙ ФЕДЕРАЦИИ
Дата введения -2007-01-01 1. Область примененияТребования настоящего стандарта распространяются на одежду для чистых помещений, применяемых в различных отраслях промышленности, здравоохранении и др. Стандарт устанавливает требования к одежде по признаку защиты воздушной среды чистых помещений, технологического процесса и продукта от загрязнений, выделяемых человеком. Требования стандарта не распространяются на одежду общего назначения, применяемую в неклассифицируемых помещениях, а также на защитную одежду, обувь и принадлежности, относящиеся к средствам индивидуальной защиты, предусмотренным требованиями по охране труда и технике безопасности. 2. Нормативные ссылкиВ настоящем стандарте использованы нормативные ссылки на следующие стандарты: ГОСТ 12807-2003 Изделия швейные. Классификация стежков, строчек и швов ГОСТ 10581-91 Изделия швейные. Маркировка, упаковка, транспортирование и хранение ГОСТ ИСО 14644-1-2002 Чистые помещения и связанные с ними контролируемые среды. Часть 1. Классификация чистоты воздуха ГОСТ Р ИСО 14644-5-2005 Чистые помещения и связанные с ними контролируемые среды. Часть 5. Эксплуатация ГОСТ Р 52249-2004 Правила производства и контроля качества лекарственных средств Примечание - При пользовании настоящим стандартом целесообразно проверить действие ссылочных стандартов в информационной системе общего пользования - на официальном сайте Федерального агентства по техническому регулированию и метрологии в сети Интернет или по ежегодно издаваемому информационному указателю «Национальные стандарты», который опубликован по состоянию на 1 января текущего года, и по соответствующим ежемесячно издаваемым информационным указателям, опубликованным в текущем году. Если ссылочный документ заменен (изменен), то при пользовании настоящим стандартом следует руководствоваться замененным (измененным) документом. Если ссылочный документ отменен без замены, то положение, в котором дана ссылка на него, применяется в части, не затрагивающей эту ссылку. 3. Термины и определенияВ настоящем стандарте применены термины по ГОСТ ИСО 14644-1, а также следующие термины с соответствующими определениями: 3.1. одежда (технологическая): Швейное изделие в виде комбинезона, костюма или халата и принадлежностей, изготовленное из специальной ткани, разрешенной для применения в чистых помещениях. 3.2. комплект (одежды): Набор швейных изделий, изготовленных из специальных тканей, в т.ч. комбинезон или куртка с брюками или халате дополнительными элементами: головным убором, обувью и защитными принадлежностями. Примечание - Комплект одежды должен соответствовать классу чистоты помещения. 3.3. комбинезон: Швейное изделие с капюшоном, фронтальной застежкой-молнией, длинными рукавами с плотно облегающими манжетами, изготовленное из специальной ткани. Примечание - Допускается использовать модель комбинезона с воротником-стойкой, которая применяется с отдельным шлемом с пелериной. 3.4. костюм: Швейное изделие, состоящее из куртки и брюк с элементами кроя и застежкой, аналогичными комбинезону, изготовленное из специальной ткани. Примечание - Допускается использовать модель куртки с воротником-стойкой, которая применяется с отдельным шлемом с пелериной. 3.5. нижняя одежда: Швейное изделие, изготовленное из двухслойного трикотажного полотна, состоящее из двух частей: фуфайки с длинными рукавами с плотно облегающими манжетами и длинных брюк с манжетами, плотно облегающими щиколотки, надеваемое под комбинезон или костюм. Примечания 1. Допускается использовать трикотажные полотна из материалов с повышенной сорбционной активностью или полых синтетических волокон. 2. К нижней одежде относятся также носки, изготовленные из аналогичных трикотажных полотен и надеваемые под обувь. 3.6. обувь (технологическая): Обувное изделие, изготовленное из натуральной кожи или высококачественного заменителя, с закрытыми носком и пяткой, применяемое под бахилы в чистых помещениях. Примечание - Для неклассифицируемых производственных помещений допускается применять обувь без бахил. В этом случае рекомендуется применять аналогичную обувь, но с закрытой пяткой. 3.7. шлем: Швейное изделие, изготовленное из специальной ткани, плотно прилегающее по овалу лица, что достигается с помощью регулирующих элементов на затылке и шее, полностью закрывающее волосяной покров головы, шею, уши, верхнюю часть лба, с пелериной, закрывающей плечи и убираемой под воротник комбинезона или куртки. 3.8. шапочка: Швейное изделие, изготовленное из специальной ткани, полностью закрывающее волосяной покров головы, уши и верхнюю часть лба, что достигается с помощью регулирующих завязок на затылке. Примечание - Не рекомендуется применять шапочки с отворотами и козырьками всех видов и другими элементами кроя. 3.9. шапочка-сетка: Дополнительный головной убор, изготовленный из мягкого длинноволокнистого нетканого полотна в виде круглой шапочки на резинке по нижнему краю, полностью закрывающий волосяной покров головы, уши и часть лба, надеваемый под капюшон комбинезона или куртки. 3.10. бахилы: Швейное изделие, парное, изготовленное из специальной ткани, в виде сапог с длинным голенищем с завязками или кнопками, удерживающими их под коленями, с подошвой повышенной устойчивости к истиранию, позволяющей свободное перемещение человека в чистом помещении и исключающей возможность его падения. Примечания 1. Бахилы, изготовленные из нетканого полотна (одноразовые), как правило, закрывают обувь и применяются персоналом, работающим в чистых помещениях, на этапах переодевания и посетителями. 2. Для работы в помещениях классов чистоты 3-6 ИСО допускаются бахилы с подошвой из резины или других материалов, пригодных для применения в чистых помещениях данных классов чистоты. 3.11. принадлежности (технологические): Предметы, входящие в комплект одежды: маска для лица, очки, перчатки (для переодевания и технологические). 3.12. маска (для лица): Швейное изделие, изготовленное из специальных тканей одноразового или многоразового использования, как правило, прямоугольной формы, стандартных размеров, надеваемое на нижнюю часть лица, закрывая нос и роте целью защиты окружающей среды, продукта и технологического процесса от загрязнений, выделяемых человеком при дыхании. Примечание - Маски для лица в помещениях классов чистоты 7-8 ИСО применяются при необходимости. 3.13. очки (защитные): Изделие, изготовленное из прозрачного материала с краями, окантованными мягкой резиной, плотно закрывающее верхнюю часть лица, брови и глаза человека и защищающее воздушную среду от выпадающих волос бровей, ресниц и выделений из глаз. Примечание - Рекомендуется применять специальные средства, защищающие очки от запотевания. 3.14. перчатки для переодевания: Швейное изделие, парное, изготовленное из трикотажного полотна с низким ворсоотделением, применяемое персоналом для переодевания в стерильную одежду. Примечание - Перчатки для переодевания могут быть цельновязаными трикотажными или стачными из тканей, аналогичных нижней одежде, и могут применяться под перчатки технологические. 3.15. перчатки (технологические): Парное изделие, изготовленное из латекса, резины или других материалов, пригодных для применения в чистых помещениях, надеваемое непосредственно на руки или на перчатки для переодевания. Примечание - Необходимость обработки перчаток дезинфицирующими средствами определяется условиями производства. Перечень дезинфицирующих средств и периодичность обработки перчаток должен быть приведен в инструкциях на правила переодевания и проведение технологического процесса. 3.16. одежда общего назначения: Швейное изделие, изготовленное из смесовой ткани, как правило, в виде халата и головного убора, применяемое персоналом, работающим в чистых помещениях, для промежуточного переодевания или для основной работы в других помещениях. Примечания 1. Головной убор в виде шапочки изготовляется из той же ткани, что и халат. 2. В неклассифицируемых помещениях допускается использовать костюм или халат с шапочкой. 3.17. кратность использования одежды: Число циклов эксплуатации (использование-обработка) одного комплекта одежды между обработками. 4 Классификация одеждыКлассификацию одежды проводят по двум признакам: условиям применения и кратности использования. 4.1. Условия примененияКлассификация одежды по условиям применения позволяет выбрать комплект моделей женской и мужской одежды (далее - комплект) в зависимости от особенностей эксплуатации в помещениях заданных классов чистоты с учетом постоянной или временной работы персонала. Выбор модели комплекта одежды зависит от требований к продукту, технологическим процессам и воздушной среде чистых помещений по классам чистоты. Для работы в помещениях классов 3-6 ИСО рекомендуется применять модели комплектов одежды типов А-Г (рисунки А.1-А.4 приложения А), применяемые с обувью и соответствующими принадлежностями. Выбор комплекта одежды должен быть обоснован и указан в инструкции по проведению технологических процессов в чистом помещении данного класса. В таблице Б.1 приложения Б приведен перечень элементов одежды, из которых можно выбрать комплект одежды для соответствующих условий производства. Примечания 1. Для помещений классов 7-8 ИСО и неклассифицируемых помещений комплекты одежды выбирают в соответствии с рекомендациями, приведенными в таблице Б.1 приложения Б. 2. Допускается применять другие комплекты одежды в соответствии с требованиями, указанными в инструкциях для потребителя. 4.2. Кратность использованияУсловия применения должны соответствовать кратности использования одежды, которая может быть одноразовой и многоразовой. Одноразовая одежда, изготовленная, как правило, из нетканого полотна, уступает многоразовой по прочности, долговечности и пылеворсоотделению. Пылеворсоотделение уменьшается за счет одно - или двустороннего ламинирования. Одноразовая одежда предназначена, как правило, для посетителей; такую одежду после применения утилизируют. Из принадлежностей одноразовыми могут быть маски, шапочки-сетки, перчатки для переодевания и бахилы. Для работы персонала в чистых помещениях используется многоразовая одежда в соответствии с инструкциями, устанавливающими правила обработки и замены. Рекомендуемая периодичность замены одежды приведена в таблице Б.2 приложения Б. 5 Технические требованияОсновное назначение технологической одежды - защищать воздушную среду чистого помещения от загрязнений, выделяемых человеком, и не аккумулировать заряженные аэрозольные частицы. Это достигается за счет правильного выбора тканей, швейной фурнитуры, оптимальной конструкции моделей и высококачественного выполнения пошивочных работ. 5.1. Ткани. Конструкция. Пошив5.1.1. Эксплуатационные характеристики (показатели) тканей, используемых для изготовления одежды для чистых помещений, приведены в таблице В. 1 приложения В. 5.1.2. Изготовитель одежды для чистых помещений должен получить от поставщика документ на партию ткани, подтверждающий возможность ее применения для пошива одежды для чистых помещений, и инструкцию по обработке изделий из данной ткани (режимы стирки, сушки, утюжки и стерилизации). 5.1.3. Готовая одежда должна соответствовать эстетическим требованиям человека к внешнему виду и цвету, быть комфортной при носке и сохранять устойчивость к обработке в течение срока годности, гарантированного изготовителем. 5.1.4. С целью минимизации выброса загрязнений, выделяемых человеком, конструкция одежды должна обеспечивать прилегание к телу, особенно по овалу лица, на запястьях и щиколотках, с сохранением при этом свободы движений человека. 5.2. Швейная фурнитура5.2.1. К швейной фурнитуре, применяемой при пошиве одежды, относятся нитки, кнопки, застежка-молния, эластичная лента и капроновый шнур. Фурнитура должна быть качественной. Назначение и требования нормативной документации к качеству фурнитуры приведены в таблице В.2 приложения В. 5.2.2. Основным требованием к качеству эластичной ленты и капронового шнура является отсутствие пылеворсоотделения и сохранение эластичности в течение всего периода эксплуатации одежды. 5.2.3. Фурнитура, применяемая в одежде в виде металлических кнопок и пластиковых застежек-молний, должна быть функционально устойчивой в процессе ее эксплуатации и при обработке одежды; технологические свойства фурнитуры должны сохраняться в течение срока службы одежды (например, выдерживать не менее 50 циклов обработки). 5.2.4. Недопустимыми дефектами фурнитуры являются механические разрушения конструкций и поверхностей: сломы слайдеров, дефекты поверхности застежек-молний, шелушение и коррозия кнопок, способных вызвать коррозию ткани. Примечание - Если фурнитура в процессе эксплуатации или обработки теряет указанные свойства, допускается ее замена по согласованию с изготовителем. 5.3. Нижняя одежда и носки5.3.1. Для помещений классов 3-6 ИСО рекомендуется применять нижнюю одежду, в состав которой входит фуфайка, брюки и носки. В зависимости от назначения фуфайка может иметь различную длину рукавов. Брюки должны быть длинными, свободной формы. Нижняя одежда должна плотно прилегать к телу в местах запястий и щиколоток, что достигается за счет применения эластичных манжет. Носки надеваются поверх брюк. 5.3.2. Для работы в чистых помещениях классов 7-8 ИСО и неклассифицируемых помещениях под одежду допускается надевать личное нижнее белье. 5.3.3. Под обувь для чистых помещений рекомендуется надевать носки из материалов, аналогичных материалам для нижней одежды, или других, имеющих повышенную износостойкость и гигиеничность. 5.3.4. Нижнюю одежду и носки в процессе эксплуатации необходимо содержать в чистоте. 5.3.5. Требования к обработке одежды должны быть указаны в технологической инструкции. Периодичность обработки комплектов технологической одежды, нижней одежды и носков для помещений классов 3-6 ИСО, как правило, должна совпадать. Если периодичность обработки не установлена, то обработку и замену нижней одежды и носков следует проводить через одну рабочую смену. 5.3.6. Персонал, работающий в чистых помещениях классов 3-6 ИСО, следует обеспечить комплектами нижней одежды и носками в количестве, соответствующем комплектам одежды для чистых помещений с учетом кратности использования. 5.4. Обувь5.4.1. К обуви, предназначенной для использования в чистых помещениях, относятся туфли из кожи или ее высококачественных заменителей, устойчивых к обработке и дезинфекции, с невысоким каблуком типа сабо и возможностью легко снимать (надевать) обувь без помощи рук. Обувь необходимо надевать на носки. 5.4.2. Для исключения накопления на обуви загрязнений и микроорганизмов ее следует обрабатывать по инструкции, разработанной пользователем с учетом особенностей производства выпускаемой продукции. Примечание - Рекомендуется обрабатывать обувь с помощью ультрафиолетового бактерицидного облучения и хранить в специальных шкафах до следующего использования. По окончании работы обувь до следующего использования рекомендуется хранить в специальных шкафах, оснащенных устройствами для бактерицидного облучения. На предприятии должна действовать система учета и контроля обработки и замены обуви. 5.5. Принадлежности5.5.1. К принадлежностям для чистых помещений относятся маска для лица (бороды), очки, а также перчатки для переодевания и технологические перчатки. При выборе типа защиты и материалов принадлежностей следует учитывать условия производства, характер загрязнения от персонала и удобство применения. 5.5.2. Принадлежности для лица служат барьером для выделений из носа, рта и с кожи лица персонала и применяются, как правило, в помещениях классов 3-6 ИСО. Примечания 1. В помещениях классов 6-8 ИСО маски применяют при необходимости. 2. Маску для бороды применяют при необходимости. 5.5.3. Наиболее распространенной принадлежностью является маска для лица, закрывающая область под глазами, нос, рот и подбородок. Маски могут быть одноразового и многоразового пользования. Одноразовые маски рекомендуется изготовлять из двойного нетканого полотна, стандартных размеров 200×100 мм, стремя складками (по типу «плиссе»), с завязками или эластичными резинками. После однократного использования одноразовые маски утилизируют. Многоразовые маски изготовляют из пористой синтетической ткани, нейлонового полотна или батистовой ткани с низким ворсоотделением; по форме они аналогичны одноразовым. Материал для многоразовых масок должен быть устойчивым к технологической обработке, а при необходимости, к дезинфекции и стерилизации. 5.5.4. Обработку масок многоразового пользования проводят аналогично обработке комплектов одежды для чистых помещений соответствующих классов. В других случаях технологический процесс и периодичность обработки, а также кратность использования масок может устанавливаться пользователем с учетом особенностей производства выпускаемой продукции. 5.5.5. В зависимости от условий производства могут применяться маски вместе с очками. Очки из прозрачных материалов служат дополнительным барьером, позволяющим предотвращать попадание частиц кожи, выпадающих волосков бровей и ресниц на продукцию или критические поверхности. Плотный контакт очков с верхней частью лица и маски достигается за счет овальных краев пластика, окантованных мягкой резиной. 5.5.6. Обработку очков проводят по инструкции пользователя, разработанной с учетом условий производства. 5.5.7. Для защиты стерильной одежды при надевании рекомендуется применять перчатки для переодевания; а для выполнения некоторых технологических процессов - технологические перчатки. 5.5.8. Требования к перчаткам видов, указанных в 5.5.7, устанавливаются с учетом особенностей чистого помещения и технологических процессов. Перчатки для переодевания изготовляются из тонкого безворсового материала (нитяные, трикотажные) или из нетканого полотна, которые должны (при необходимости) выдерживать дезинфекцию и стерилизацию. Нижние перчатки, надетые под технологические перчатки, впитывают влагу с кожи рук и обеспечивают комфортное состояние рук персонала при выполнении технологических операций. Перчатки могут применяться до первого повреждения целостности, после чего утилизируются. 5.5.9. Перчатки для переодевания утилизируют по инструкции, разработанной пользователем с учетом требований к охране окружающей среды. 5.5.10. В качестве технологических перчаток используют перчатки, указанные в инструкциях на технологический процесс. 5.5.11. Материал и модели перчаток должны соответствовать целям их использования. При выборе перчаток необходимо учитывать не только требования технологических процессов (загрязненность поверхностей, выделение газов, стерильность и др.), но и свойства материала и моделей перчаток: тактильность (осязаемость), прочность, комфортность, прилегаемость к рукам и способ упаковки. Длина перчаток должна закрывать рукава одежды так, чтобы при движении персонала во время выполнения технологических операций верхний край манжет рукавов одежды не открывался. 5.5.12. Технологические перчатки надевают в последнюю очередь, непосредственно перед входом в чистое помещение. При необходимости, перчатки обрабатывают дезинфицирующими средствами. 5.5.13. Порядок применения перчаток для переодевания и перчаток технологических, а также процесс обработки, периодичность замены и условия хранения должны быть установлены пользователем и приведены в инструкции на проведение технологического процесса. 5.6. Маркировка одежды изготовителем5.6.1. Каждый комплект одежды должен иметь маркировку по ГОСТ 10581. 5.6.2. Специальную информацию для потребителя (памятку - инструкцию по уходу за одеждой для чистых помещений) размещают на листе-вкладыше, прилагаемом к каждому изделию (к групповой упаковке) или указывают в сопроводительной документации на изделие. 5.6.3. Для одноразовой одежды и принадлежностей, предназначенных для применения в производстве стерильной продукции (стерильная одежда из ламинированного нетканого полотна или др.), на листе-вкладыше должна быть отметка с указанием вида стерилизации и срока сохранения стерильности. 5.6.4. Для контроля срока службы комплектов одежды (по числу циклов обработки) на рукаве комбинезона или куртки, пелерине шлема и голенищах бахил целесообразно на внешней стороне настрачивать нашивку с таблицей циклов обработки, датой выпуска изделий и свободным местом для нанесения потребителем знаков идентификации. Примечание - К знакам идентификации относятся фамилия, инициалы или номер лица, использующего комплект одежды для чистых помещений. 5.6.5. Материал нашивки и печать таблицы должны сохранять эксплуатационные свойства (иметь печатные знаки, однозначно читаемые после проведения не менее 50 полных циклов обработки). 5.6.6. При отсутствии нашивки рекомендуется проводить регистрацию циклов обработки вплоть до утилизации одежды способом, установленным пользователем. 5.7. Приемка готовой одежды и упаковка первичная5.7.1. Приемку готовой одежды проводят в порядке, установленном в инструкции по обращению с одеждой. 5.7.2. Способы складывания готовой одежды устанавливает изготовитель с учетом обеспечения сохранности товарного вида изделий до начала эксплуатации по согласованию с потребителем. 5.8. Хранение одежды у изготовителя5.8.1. Готовая одежда, упакованная в пакеты, должна храниться в крытых складских помещениях, на стеллажах и быть защищенной от прямого попадания солнечных лучей и атмосферного воздуха. 5.8.2. Расстояние от пола до нижней полки стеллажа и от внутренних стен до изделий должно быть не менее 0,2 м, от отопительных приборов - не менее 1 м. Расстояние между стеллажами - не менее 0,7 м. 5.9. Транспортирование5.9.1. Для транспортирования пакеты с одеждой укладывают в контейнер с крышкой (потребительская упаковка). 5.9.2. Готовая одежда в потребительской упаковке и транспортной таре транспортируется в крытых транспортных средствах любого вида в соответствии с правилами перевозки грузов, действующими на данном виде транспорта, и соблюдением требований к чистоте упаковки. 6. Эксплуатация6.1. Служба подготовки одежды6.1.1. Для правильной эксплуатации одежды на предприятии-потребителе должна быть организована служба подготовки и эксплуатации одежды (далее - служба подготовки одежды) и участок подготовки одежды. 6.1.2. Основными обязанностями персонала службы подготовки одежды считают следующие: - аудит изготовителя (поставщика) одежды; - выбор комплектов одежды, соответствующих данному виду производства; - разработку графиков и определение циклов обработки одежды с учетом условий производства; - разработку технологических инструкций и регламентов для работы участка подготовки одежды; - расчет потребности и разработку норм расхода одежды и принадлежностей с учетом классификации одежды; - разработку инструкций по переодеванию персонала в одежду в соответствии с классом чистоты помещения; - обучение и периодическую проверку знаний персоналом участка подготовки одежды соответствующей технической документации; - организацию работы и контроль персонала участка подготовки одежды; - организацию контроля качества одежды после обработок; - ведение учета числа циклов обработки для каждого комплекта одежды; - утилизацию одежды и принадлежностей. 6.1.3. Комплекты одежды выбирают с учетом классификации одежды по разделу 4 и таблице Б.1 приложения Б. 6.1.4. Порядок операций в цикле обработки одежды выбирают с учетом вида производства. Например, для производства стерильной продукции один цикл обработки может содержать технологические операции «стирка - стерилизация» или «дезинфекция - стирка - стерилизация»; для других производств - «дезинфекция - стирка» или «стирка». 6.1.5. Работа персонала участка подготовки одежды регламентируется инструкциями, регламентами и графиками. В комплект технической документации рекомендуется включать должностные инструкции для персонала участка подготовки одежды и технологические инструкции по проведению операций с одеждой и уборке участка подготовки одежды, инструкции по переодеванию персонала. Перечень документов, рекомендуемых для работы потребителя с одеждой, может содержать следующие инструкции: - по получению одежды от изготовителя и выдаче персоналу одежды, обуви и принадлежностей; - по первичной обработке одежды; - по сбору и транспортированию использованной одежды; - по сортировке и обработке использованной одежды; - по упаковке и хранению одежды после обработки; - по транспортированию чистой одежды к месту применения (комнатам для переодевания); - по порядку переодевания; - по ремонту и утилизации одежды; - по уборке и дезинфекции участка подготовки одежды (помещений и оборудования). Примечания 1. Должностные инструкции разрабатывают в установленном порядке в соответствии с перечнем профессий персонала, работающего на участке подготовки одежды. 2. При разработке технологической инструкции по обработке одежды следует учитывать рекомендации изготовителя ткани, указанные в инструкции по стирке одежды. 3. Перечень документов может быть дополнен потребителем в соответствии с условиями производства. 6.1.6. Служба подготовки одежды должна разработать нормы выдачи одежды, обуви и принадлежностей, а также инструкции по технике безопасности при приготовлении и применении моющих и дезинфицирующих растворов, работе с оборудованием участка подготовки одежды и инвентарем для уборки. 6.1.7. Обучение персонала и периодическую проверку знаний нормативной документации, применяемой в работе участка, проводит служба подготовки одежды по графику, утвержденному в установленном порядке. 6.1.8. Контроль качества одежды после обработки проводят по регламенту, установленному в технологической инструкции с ведением учета числа циклов обработки для каждого комплекта одежды. 6.2. Расчет норм расхода одежды6.2.1. При расчете норм расхода одежды используют данные следующих документов: а) перечня помещений с указанием классов чистоты по ГОСТ ИСО 14644-1; б) перечня профессий и должностей персонала, работающего в чистых помещениях; в) технологических инструкций изготовления продукции; г) инструкции по комплектности одежды в соответствии с заданными классами чистоты с учетом сроков эксплуатации одежды, установленной изготовителем. 6.2.2. Потребность комплектов одежды и принадлежностей для одного работающего в год устанавливают с учетом периодичности смены одежды, указанной в технологических инструкциях изготовления продукции и сроков эксплуатации, гарантированных изготовителями одежды и тканей (таблица В.2 приложения В). Примечание - Корректировка норм расхода одежды и принадлежностей допускается при внесении изменений в документацию, указанную в перечислениях а)-г). 6.3. Участок подготовки одеждыПодготовка одежды может выполняться на предприятии (на участке подготовки одежды) или в специализированной фирме (прачечной), осуществляющей на договорной основе подготовку одежды с обеспечением качества, соответствующего требованиям настоящего стандарта. 6.3.1. Проектирование 6.3.1.1. На участке подготовки одежды (далее - участок) должно быть обеспечено выполнение следующих операций: - приемки, сортировки (при необходимости) новой одежды; - приемки, сортировки и дезинфекции (при необходимости) использованной одежды; - ремонта одежды; - стирки; - сушки одежды; - утюжки одежды (при необходимости); - комплектации одежды по принадлежности; - стерилизации одежды (при необходимости); - упаковки одежды до распределения ее по применяемости; - хранение обработанной одежды. 6.3.1.2. Классы чистоты помещений участка определяют с учетом требований к чистоте помещений, в которых предполагается эксплуатация данной одежды. 6.3.1.3. Площадь основных помещений участка определяют в соответствии с производительностью прачечной и количеством оборудования; площадь вспомогательных помещений должна соответствовать требованиям к проектированию производственных помещений. 6.3.1.4. В зависимости от назначения технологической одежды помещения участка должны быть объединены в функциональные блоки. Планировочные решения основных помещений и размещение оборудования должны обеспечивать организацию работы участка на основе поточной системы в логической последовательности и исключать возможность загрязнения одежды. 6.3.1.5. Количество устанавливаемого оборудования (стиральные машины, сушильные барабаны, стерилизаторы, гладильные машины и пр.) определяют в соответствии с производительностью прачечной. Тип устанавливаемого оборудования выбирают в зависимости от назначения помещений, в которых эксплуатируется одежда. Для подготовки одежды для работы в чистых помещениях классов 3-6 ИСО рекомендуется использовать стиральные машины и стерилизаторы проходного исполнения. 6.3.2. Обработка6.3.2.1. Перечень операций по обработке одежды, применяемой в чистых помещениях, устанавливает потребитель. Например, полный цикл обработки одежды для помещений классов 3-6 ИСО может включать в себя следующие последовательные технологические операции: дезинфекция, стирка, сушка, утюжка, стерилизация, упаковка. В других случаях для обработки одежды может быть достаточным проведение следующих операций: стирка, сушка, упаковка, стерилизация или стирка, сушка, утюжка, упаковка. 6.3.2.2. Процесс обработки использованной одежды следует начинать с приемки и осмотра. При приемке и визуальном осмотре использованной одежды определяют ее состояние, наличие повреждений, исправную работу застежек, необходимость ремонта, а также оценивают степень износа. Одежду рекомендуется разделять по цвету и сортировать по элементам: комбинезоны, куртки, брюки, отдельные шлемы, бахилы. Одежду следует сортировать также по степени загрязненности. 6.3.2.3. Технологическую операцию «дезинфекция» проводят в зависимости от условий производства и вносят в технологический процесс обработки одежды. 6.3.2.4. Технологическая операция «стирка» может включать в себя следующие процессы: - стирку с применением жидких моющих средств; - неоднократные полоскания (при необходимости, в специально подготовленной воде); -отжим. Режимы процессов (время, температура воды, концентрация растворов моющих средств, качество воды для полоскания, скорость и время отжима) должны быть указаны в технологической инструкции по стирке одежды с учетом рекомендаций изготовителей тканей и стиральных машин. Примечание - При стирке в стиральных машинах рекомендуется применять специальные сетки. 6.3.2.5. Первая и все последующие обработки одежды должны быть зарегистрированы персоналом участка в соответствии с инструкцией по обращению с одеждой. 6.3.2.6. Сушка одежды проводится в специальном оборудовании в режимах, указанных в инструкции по сушке одежды с учетом рекомендаций изготовителя ткани. После сушки проверяют состояние одежды. Примечания 1. Конструкция сушильных барабанов должна исключать возможность загрязнения одежды. 2. Для сушки одежды, предназначенной для помещений классов чистоты 3-5 ИСО, могут применяться шкафы или зоны с однонаправленным потоком воздуха, проходящего через НЕРАфильтры, оборудованные специальными штангами для размещения одежды, развешенной после стирки и отжима на вешалках из непылящих материалов (нержавеющей стали или пластмассы). 6.3.2.7. Одежду, подлежащую стерилизации, упаковывают в чехлы для стерилизации под ламинарным укрытием (в ламинарной зоне). 6.3.2.8. Утюжку одежды рекомендуется проводить, при необходимости, с применением специального гладильного оборудования. После утюжки одежду складывают в полиэтиленовые пакеты соответствующих размеров с последующей запайкой последних. Примечание - Не рекомендуется проводить утюжку одежды, используемую в помещениях классов 3-6 ИСО. 6.3.2.9. Нарушения режимов стирки, сушки и утюжки могут привести одежду в негодность. В данном случае ответственность за качество одежды и дальнейшее ее применение в чистых помещениях возлагается на потребителя. 6.3.2.10. Условия и сроки хранения обработанной одежды должны быть установлены в инструкции. 6.3.3. Стерилизация 6.3.3.1. Метод стерилизации должен быть указан изготовителем в документации на одежду. 6.3.3.2. Режимы стерилизации, способы размещения комплектов одежды в стерилизаторах должны быть указаны в инструкции по стерилизации одежды. 6.3.3.3. На упаковку для стерилизации следует наносить индикационные ленты стерилизации. 6.3.3.4. В инструкции по стерилизации должна быть установлена форма и содержание ярлыка, заполняемого лицом, ответственным за стерилизацию. На ярлыке должны быть указаны следующие данные: идентификационный номер комплекта, вид стерилизации, дата и время проведения стерилизации и данные об исполнителе (фамилия, номер личного клейма или др.). Ярлык размещают на упаковке в месте, удобном для его прочтения без вскрытия упаковки. 6.3.3.5. Комплекты с истекшим сроком хранения следует передавать на повторную стерилизацию с регистрацией в установленном порядке. 6.3.3.6. В инструкции по стерилизации должно быть указано число допустимых циклов стерилизации в условиях хранения одежды без ее использования. 6.3.4. Упаковка и транспортирование одежды к местам применения 6.3.4.1. Упаковку одежды проводят в соответствии с требованиями соответствующей инструкции. Вид упаковки зависит от наличия в цикле обработки операций по стерилизации. 6.3.4.2. Предпочтительным способом упаковки нестерильной одежды является вакуумная упаковка в полиэтиленовые пакеты с применением соответствующего оборудования. Примечание - Для изготовления пакетов для вакуумной упаковки используют полиэтиленовую пленку толщиной не менее 0,09 мм по ГОСТ 10581. 6.3.4.3. Упакованную одежду от участка обработки до мест применения доставляют в порядке, установленном в инструкции по транспортированию одежды. 6.3.4.4. Использованную упаковку собирает и подготавливает к утилизации лицо, ответственное за поставку одежды к местам применения, в порядке, установленном в инструкции по утилизации одежды. 6.3.5. Хранение одежды у потребителя 6.3.5.1. Новую одежду хранят в упаковке изготовителя на участке на полках (в шкафах). Для упорядочивания хранения одежды и исключения пересортицы при хранении полки должны быть промаркированы любым образом, не загрязняющим одежду. 6.3.5.2. Порядок учета выданной и принятой одежды (от первой обработки одежды до выдачи персоналу и возврату по причине износа), а также время хранения обработанной одежды и действия персонала при нарушении сроков хранения должно быть установлено инструкцией по выдаче одежды. 6.3.6. Ремонт и утилизация 6.3.6.1. По согласованию с потребителем изготовитель может проводить ремонт одежды, имеющей исправимые дефекты. 6.3.6.2. Допустимые виды работ по ремонту одежды: - замена фурнитуры (кнопок, застежек молний); - замена поврежденных трикотажных манжет комбинезона, куртки и брюк; - повторные строчки швов (при разрыве нитей по пройме спинки или шаговых швов брюк); - полная замена подошвы бахил; - замена эластичных лент и шнуров. 6.3.6.3. Не допускается ремонт разрывов ткани одежды путем соединения краев строчкой или наложением заплаток. 6.3.6.4. Одежду, полученную после любого ремонта, следует обработать соответствующим образом с регистрацией об этом в установленном порядке. 6.3.6.5. Замена фурнитуры потребителем не допускается. В противном случае изготовитель имеет право отклонить претензии потребителя к качеству одежды. 6.3.6.6. Порядок учета сроков использования одежды, сбора ее для утилизации и проведение утилизации должен быть установлен в инструкции по утилизации одежды и принадлежностей, разработанной службой подготовки одежды. 6.3.6.7. Ответственность за своевременную утилизацию одежды возлагают на службу подготовки одежды. 6.3.7. Требования к эксплуатации помещений участка подготовки одежды 6.3.7.1. Помещения участка должны быть подготовлены к работе согласно требованиям к помещениям соответствующего класса чистоты. 6.3.7.2. Персонал участка должен быть обучен правилам поведения, личной гигиены, гигиены труда, надевания и ношения технологической одежды, пользования умывальниками и одет в одежду, соответствующую классу чистоты помещения, в котором он работает. 6.3.7.3. Общие требования к эксплуатации чистых помещений участка подготовки одежды - по ГОСТ Р ИСО 14644-5. 7. Контроль одежды7.1. Изготовитель устанавливает предельно допустимое число циклов эксплуатации (использование - обработка), по достижении которого возможно выделение частиц тканью одежды и снижение ее барьерных свойств (пропускание частиц, выделяемых персоналом). С этой целью изготовитель проводит контроль одежды. При необходимости такой контроль может проводить пользователь одежды. 7.2. Контроль одежды проводят в условиях однонаправленного потока воздуха по методике, приведенной в приложении Г или аналогичной методике. Приложение А
(рекомендуемое)
| |||||||||||||||||||||||||||||||||||||||||||||||||||||||||||||||||||||||||||||||||||||||||||||||||||||||||||||||||||||||||||||||||||||||||||||||||||||||||||||||||||||||||||||||||||||||||||||||||||||||||||||||||||||||||||||||||||||||||||||
|
Рисунок А.1 -Женский комплект одежды модели типа А (комбинезон с капюшоном и бахилы)
|
Рисунок А.2-Женский комплект одежды модели типа Б (комбинезон, шлем и бахилы)
|
А.3. Женский комплект одежды модели типа В состоит из куртки с капюшоном, брюк и бахил (рисунок А.З).
А.4 Женский комплект одежды модели типа Г состоит из куртки с воротником-стойкой, шлема с пелериной, брюк и бахил (рисунок А.4).

|
Рисунок А.3 - Женский комплект одежды модели В(куртка с капюшоном, брюки и бахилы) |
Рисунок А.4 - Женский комплект одежды модели типа Г (куртка, шлем, брюки и бахилы) |
Классификация, приведенная в настоящем приложении, включает в себя перечень элементов комплекта одежды, выбираемого с учетом его применения в помещении заданного класса чистоты (таблица Б.1). В таблице Б.2 приведена рекомендуемая периодичность смены одежды.
Таблица Б.1 - Комплекты одежды по условиям применения
|
Элемент комплекта одежды |
Класс чистоты помещения по ГОСТ ИСО 14644-1 |
|||||
|
3 ИСО |
4 ИСО |
5 ИСО |
6 ИСО |
7 ИСО |
8 ИСО |
|
|
Комбинезон |
+ |
+ |
+ |
+ |
+* |
- |
|
Шлем (с пелериной) |
+ |
+ |
+ |
+ |
+* |
- |
|
Шапочка-сетка |
+ |
+ |
+ |
+ |
+ |
- |
|
Бахилы (длинные) |
+ |
+ |
+ |
+ |
+* |
- |
|
Бахилы (короткие) |
- |
- |
- |
- |
+* |
+* |
|
Обувь |
+ |
+ |
+ |
+ |
+ |
+* |
|
Куртка с притачным капюшоном |
- |
- |
- |
+ |
+ |
+ |
|
Куртка с отдельным шлемом |
- |
- |
- |
+ |
+ |
+ |
|
Брюки |
- |
- |
- |
+ |
+ |
+ |
|
Халат из смесовой ткани |
+** |
+** |
+** |
+** |
+** |
+ |
|
Шапочка из смесовой ткани |
+** |
+** |
+** |
+** |
+** |
+ |
|
Маска для лица |
+ |
+ |
+ |
+ |
+* |
- |
|
Перчатки для переодевания |
+ |
+ |
+ |
+ |
- |
- |
|
Перчатки технологические |
+ |
+ |
+ |
+ |
+* |
- |
|
Нижнее белье |
+ |
+ |
+ |
+ |
+ |
- |
|
Носки |
+ |
+ |
+ |
+ |
+ |
- |
|
* Применяется в зависимости от условий производства. ** Рекомендуется для применения при промежуточном переодевании (переходная одежда). Примечание - Знак «+» обозначает, что данный элемент комплекта одежды - рекомендуется для применения; знак «-» - применение не рекомендуется. |
||||||
Таблица Б.2 - Рекомендуемая периодичность смены одежды
|
Класс чистоты помещения по ГОСТ ИСО 14644-1 |
Периодичность смены одежды |
|
З ИСО |
При каждом входе |
|
4 ИСО |
При каждом входе |
|
5 ИСО |
При каждом входе или один раз в смену |
|
6 ИСО |
Один раз в смену |
|
7 ИСО |
Ежедневно или через день |
|
8 ИСО |
1-3 раза в неделю |
Таблица В.1 - Эксплуатационные характеристики (показатели) тканей из непрерывных синтетических нитей
|
Наименование эксплуатационных характеристик (показателей) |
Значение* |
|
|
до первой обработки |
после 50 обработок |
|
|
Барьерные свойства, %: удержание частиц с размерами ≥ 0,3 мкм |
98,0 |
97,0 |
|
Пылеворсоотделение |
В зависимости от метода испытаний** |
|
|
Воздухопроницаемость, см3/(см2·с) |
Менее 30 |
|
|
Паропроницаемость, г/(м2 ч) |
Менее 60 |
|
|
Удельное поверхностное электрическое сопротивление, Ом |
103-108 |
|
|
Сминаемость |
Низкая |
|
|
Пилингуемость |
Не допускается |
|
|
Усадка при обработке (по основе и утку) |
Не более 5 % |
|
|
Сохранение технологических свойств, циклы обработки |
Не менее 50 |
|
|
* Значения характеристик приведены для информации изготовителя и потребителя при выборе поставщика тканей для изготовления одежды. ** Метод испытаний, результаты испытаний и подтверждение соответствия приводятся изготовителем одежды. |
||
Таблица В.2 - Рекомендуемые ткани, фурнитура и нитки, применяемые для пошива одежды для чистых помещений
|
Наименование тканей и фурнитуры |
Назначение |
|
Ткань полиэфирная с углеродными или металлическими нитями |
Пошив одежды |
|
Нитки полиэфирные типа ПЭ № 40 |
Пошив одежды |
|
Лента эластичная шириной 20 мм |
Для стягивания низа брюк и комбинезонов |
|
Лента эластичная шириной 8 мм |
Для комбинезонов и брюк (по линии талии), курток (по линии низа) |
|
Застежка-молния |
Для комбинезонов, курток, шлемов, бахил |
|
Кнопка металлическая |
Для манжет рукавов, полочки и регулируемых застежек капюшона и шлема |
|
Шнур капроновый |
Для стягивания кулиски комбинезона, куртки, брюк и бахил |
Г.1. Цель
Испытания проводят для определения пригодности новой и использованной одежды.
Метод отбора проб - по ГОСТ ИСО 14644-1.
Г.2. Приборы и оборудование
Г.2.1. Испытания проводят с помощью следующего оборудования и приборов:
- зоны с вертикальным однонаправленным потоком воздуха заданной кратности, проходящего через НЕРА (ULPA) фильтры соответствующего класса и скоростью однонаправленного потока воздуха 0,45 м/с ± 20 %;
- счетчика частиц в воздухе со скоростью отбора проб 28 л/мин.
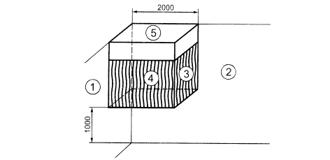
Г.2.2. Рекомендуемые размеры ламинарной зоны - не менее 1,0×2,0 м в поперечном сечении, перпендикулярном к направлению движения воздуха. Зона должна быть ограничена прозрачными занавесями из пластиковых материалов, нижний край которых находится на расстоянии одного метра от пола (рисунок Г.1).

1 и 2 - стеновые панели чистого помещения; 3 и 4 - занавеси ламинарной зоны; 5 - НЕРА фильтр
Рисунок Г. 1 - Ламинарная зона для контроля одежды
Г.3. Порядок проведения испытаний одежды
Г.3.1. Испытания проводят два человека:
- испытатель, одетый в испытуемый комплект одежды и совершающий определенные циклы движений, чередуя их с нахождением в состоянии покоя;
- оператор, работающий со счетчиком частиц.
Порядок надевания одежды, обуви и принадлежностей при входе в чистое помещение данного класса чистоты должен соответствовать инструкции предприятия (потребителя).
Примечание - Испытания всех видов комплектов одежды проводят в аналогичном порядке.
Г.3.2. До начала испытаний для подтверждения класса чистоты ламинарной зоны определяют концентрацию частиц.
Пробоотборник счетчика частиц должен находиться внутри ламинарной зоны на расстоянии 1 мот пола.
Полученные результаты должны соответствовать требованиям, установленным для данной зоны.
Г.3.3. Испытатель входит в зону и занимает место в центре. Оператор со счетчиком частиц находится за зоной.
Пробоотборник счетчика частиц должен находиться в том же положении, при котором проводилось определение концентрации частиц до начала испытаний.
Г.3.4 Испытатель проводит ряд движений, чередуя их с состоянием покоя. Оператор перед каждым циклом движений или состоянием покоя испытателя включает счетчик частиц, который регистрирует число частиц с размерами большими или равными 0,5 мкм, которые выделяются одеждой и испытателем.
Действия оператора и движения испытателя проводятся циклами в следующем порядке:
1). Оператор включает счетчик. Испытатель поднимает обе вытянутые руки перед собой на высоту плеч, затем сгибает их, касаясь кистями плеч, и опускает вниз. Этот цикл движений, испытатель повторяет в течение 5 мин.
2). Испытатель стоит неподвижно в течение 3 мин.
3). Испытатель имитирует ходьбу на месте в течение 5 мин.
4). Испытатель стоит неподвижно в течение 3 мин.
5). Испытатель приседает 10 раз.
6). Испытатель стоит неподвижно в течение 3 мин.
При выполнении испытателем циклов движений, указанных в перечислениях 1)—6), оператор ведет счет частиц.
Г.3.5 Обработка результатов
Определяют средние значения концентрации частиц для испытуемого комплекта одежды для каждого вида движений, указанных в перечислениях 1)-6).
Г.3.6 Оценка результатов
Концентрация частиц с размерами большими или равными 0,5 мкм после выполнения циклов движений по Г.3.4, перечисления 1)-6) не должна превышать одной десятой предельно допустимых значений, установленных ГОСТ ИСО 14644-1 для помещения данного класса чистоты.
Ключевые слова: чистота, чистые помещения, одежда технологическая, защита от загрязнения, принадлежности, обработка, контроль одежды.
|
|
|
|