//
ТехЛит.ру
- крупнейшая бесплатная электронная интернет библиотека для "технически умных" людей.
WWW.TEHLIT.RU - ТЕХНИЧЕСКАЯ ЛИТЕРАТУРА

:: Алготрейдинг::


АЛГОТРЕЙДИНГ
шаг за шагом
с нуля по урокам!

Торговые роботы на PYTHON, BackTrader,
Pandas, Pine Script для TradingView. Связка с брокерами, телеграм и легкими приложениями.


Филиал ОАО «Инженерный центр ЕЭС» - «Фирма ОРГРЭС»

РЕКОМЕНДАЦИИ
ПО ПРИМЕНЕНИЮ МНОГОЧАСТОТНЫХ ГАСИТЕЛЕЙ ВИБРАЦИИ ДЛЯ САМОНЕСУЩИХ ВОЛОКНО - ОПТИЧЕСКИХ КАБЕЛЕЙ (ОКСН)

СО 34.20.265-2005

Центр производственно - технической информации и технического обучения ОРГРЭС

Москва 2005

1 ВВЕДЕНИЕ

При составлении настоящих Рекомендаций учитывались требования международных стандартов CEI IEC 61897 1998 «Требования и испытания гасителей вибрации типа Стокбриджа» и седьмого издания ПУЭ.

При выборе типов гасителя использовались результаты экспериментально-аналитических расчетов с помощью ЭВМ, выполненных лабораторией Центра инжиниринга воздушных линий электропередачи (ЦИВЛ) Фирмы ОРГРЭС.

2 НАЗНАЧЕНИЕ И ОБЛАСТЬ ПРИМЕНЕНИЯ

2.1. Настоящие Рекомендации распространяются на проектируемые и находящиеся в эксплуатации волоконно-оптические линии связи (ВОЛС), на которых применяются самонесущие неметаллические оптические кабели (ОКСН).

2.2. Рекомендации предназначены для персонала предприятий, осуществляющих эксплуатацию ВОЛС, а также для проектных организаций, проектирующих ВОЛС на действующих, строящихся и модернизируемых линиях электропередачи.

2.3. Рекомендации содержат типовые решения по защите ОКСН от вибрации, а также основные виды гасителей вибрации и их технические параметры.

3 ОБЩИЕ ВОПРОСЫ ПО ЗАЩИТЕ ОКСН ОТ ВИБРАЦИИ

Условия работы оптико-волоконных кабелей при вибрации в основном определяются среднеэксплуатационным тяжением, диаметром кабеля и его массой. Отличительной особенностью самонесущего волоконно-оптического кабеля от обычных проводов и тросов при вибрации является небольшая масса и незначительное самодемпфирование из-за отсутствия межвиткового трения.

При выборе гасителя и места его установки исходят из следующих положений:

- во избежание разрушения кабеля (особенно стекловолоконной части) в месте установки гаситель должен иметь небольшой импеданс (сопротивление) и, соответственно, иметь небольшую массу. Необходимая эффективность легких гасителей при отсутствии самодемпфирования в кабеле достигается увеличенным количеством устанавливаемых гасителей в пролете;

- месторасположение гасителя должно находиться в пучности волны при всех значениях скоростей ветра.

Обычный диапазон скоростей ветра, вызывающий вибрацию, составляет 0,6-7 м/с. Определение места установки гасителя производится при верхнем пределе скорости ветра, который принимается несколько пониженным, так как при более высоких скоростях ветра поток становится турбулентным и поступаемая энергия ветра к проводу значительно снижается.

Исходя из этих условий в международной практике для проводов и тросов длина полуволны (λ/2)min определяется при скорости ветра 0,5 м/с по формуле:

,                                                  (1)

где λ - длина волны вибрации, м;

d - диаметр кабеля, мм;

Тэ - тяжение в кабеле при среднегодовой температуре, Н;

m - масса кабеля, кг/м.

Для обеспечения надежной защиты при более высоких скоростях ветра полученные расстояния уменьшаются и составляют для обычных типовых гасителей 85 % указанных выше, что обеспечивает лучшую защиту кабеля от вибрации:

,                                                       (2)

При применении новых и более совершенных типов гасителей совместно с протекторами, например многочастотных с разными массами грузов и разными плечами гибкого элемента, рекомендуется использовать более короткие расстояния:

,

,

,

,

(3)

где S - расстояние от выхода кабеля из поддерживающего зажима до центра гасителя.

Марки гасителей вибрации, места установки и их количество выбираются в зависимости от условий прохождения линии, тяжения в кабеле, длины пролета и диаметра кабеля. При этом масса кабеля определяется совместно с массой протектора.

В таблице 1 представлено пять основных разновидностей топографических особенностей и категорий местности.

Таблица 1

Категории и особенности топографии местности

 

Категория местности

Характерные особенности топографии

1

Ровная открытая местность без преград со снежным покровом более 5 мес. в году, водная поверхность значительных размеров

2

Ровная открытая местность без снежного покрова или со снежным покровом менее 5 мес. в году

3

Слабохолмистая местность, отдельные деревья и строения

4

Пересеченная местность, редкий или низкорослый лес, невысокая застройка

5

Горные районы, территория города с высокой застройкой, лесной массив

В зависимости от условий прохождения трассы линии и ее конструктивных параметров защита от вибрации кабелей не требуется при длинах пролетов, равных или меньших указанных в таблице 2.

Таблица 2

Длины пролетов, при которых не требуется защита кабелей от вибрации

 

Провода (тросы)

Номинальный диаметр, мм

Категория местности

2 и 3

4

5

Пролеты длиной (м) более

Кабели сечением 110-140 мм2

11-15

80

90

100

Кабели сечением более 140 мм2

16-19

100

120

130

В зависимости от длины пролета и категории местности в соответствии с таблицей 3 гасители устанавливаются на кабеле с обеих сторон пролета или с одной стороны.

Таблица 3

Количество гасителей в зависимости от длины пролета и категории местности

 

Количество гасителей

Категория местности

2 и 3

4

5

Пролеты длиной (м) более

1

150

180

205

2

300

360

410

3

450

540

615

4

600

720

820

Примечания

1 При 2 гасителях на пролет устанавливается по одному гасителю на каждом конце пролета; при 3 гасителях - два на одном конце пролета и один - на другом; при 4 гасителях - по два гасителя на каждом конце пролета.

2 Количество гасителей в районах Крайнего Севера необходимо увеличивать на один.

3 Защита от вибрации кабелей ОКСН в пролетах более 800 м должна производиться по специальному проекту с использованием многочастотных гасителей с увеличенной массой.

4 ТИПОВЫЕ РЕШЕНИЯ ПО ЗАЩИТЕ ОКСН ОТ ВИБРАЦИИ

4.1 Для защиты ОКСН от вибрации могут использоваться специальные стержневые гасители ГВС (рисунок 1), разработанные для ОКСН, и гасители ГВУ (рисунок 2), равноценные по своим техническим параметрам. Предпочтение необходимо отдавать гасителям ГВС, которые по своим техническим характеристикам обеспечивают защиту от вибрации ОКСН всех типов.

Выбор типа гасителей вибрации производится по таблице 4.

Таблица 4

Типы гасителей вибрации в зависимости от эксплуатационных тяжений

 

Диаметр кабеля, мм

Марка зажима

Диапазон частот вибрации провода, Гц

Тип гасителя при эксплуатационных тяжениях, кН

5-10

10-25

25-35

9,0-11,0

1

18-110

ГВС-0,4-0,6

ГВС-0,4-0,6

-

11,1-14,0

1

14-90

ГВС-0,4-0,6

ГВС-0,4-0,6

-

14,1-17,0

1

12-70

ГВС-0,4-0,6

ГВС-0,6-0,8 или ГВУ-0,6-0,8

-

17,1-20,0

2

10-60

ГВС-0,6-0,8 или ГВУ-0,6-0,8

ГВС-0,6-0,8 или ГВУ-0,6-0,8

ГВС-0,8-1,2или ГВУ-0,8-1,2

20,1-26,0

2

8-50

ГВС-0,6-0,8 или ГВУ-0,6-0,8

ГВС-0,8-1,2 или ГВУ-0,8-1,2

ГВС-1,2-1,6 или ГВУ-1,2-1,6

4.2 Места установки гасителей выбираются расчетом по формулам 3 так, чтобы во всем диапазоне опасных частот гасители не были расположены в узлах колебаний.

Типовое решение расположения гасителей у подвесного и натяжного зажимов должно быть следующим (рисунок 3):

4.2.1 При эксплуатационном тяжений 5-10 кН:

а) расстояние от выхода кабеля из поддерживающего зажима:

- до центра 1-го гасителя - 0,4 м;

- до центра 2-го гасителя - 0,7 м;

- до центра 3-го гасителя - 1,23 м;

б) расстояние от выхода кабеля из верхнего слоя спирального натяжного зажима:

- до центра 1-го гасителя - 0,05 м;

- до центра 2-го гасителя - 0,45 м;

- до центра 3-го гасителя - 1,00 м.

Марка гасителя

Размеры, мм

Полная длина груза, мм

Масса гасителя, кг

L

d1

D

d2

d3

ГВС-0,4-0,6-8,0

400

14

54

18

8,0

330

1,62

ГВС-0,6-0,8-8,0

400

18

51

20

8,0

330

2,03

ГВС-0,8-1,2-9,1

400

20

48

24

9,1

330

2,54

ГВС-1,2-1,6-9,1

400

24

44

28

11,0

330

3,32

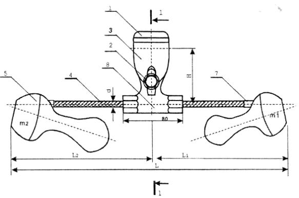
Рисунок 1 - Гаситель вибрации ГВС

1-захват зажима; 2-крепежный болт; 3-плашка; 4-упругий элемент; 5-груз; 6-пружинные шайбы; 7-втулка гасителя; 8-зажим гасителя

Рисунок 2 - Гаситель вибрации ГВУ

б)

а - у поддерживающего зажима; б - у натяжного зажима

Рисунок 3

Расположение гасителей вибрации у поддерживающего и натяжного зажимов

Примечание - Длинная сторона гибкого элемента располагается в сторону опоры, короткая - в сторону пролета. Размеры в скобках соответствуют тяжению в проводе 5-10 кН, вне скобок - тяжению 10-25 кН.

4.2.2. При эксплуатационном тяжении 10-25 кН:

а) расстояние от выхода кабеля из поддерживающего зажима:

- до центра 1-го гасителя - 0,5 м;

- до центра 2-го гасителя - 0,93 м;

- до центра 3-го гасителя - 1,58 м;

б) расстояние от выхода кабеля из верхнего слоя спирального натяжного зажима:

- до центра 1-го гасителя - 0,05 м;

- до центра 2-го гасителя - 0,45 м;

- до центра 3-го гасителя - 1,13 м.

При установке гасителей вибрации необходимо следить за тем, чтобы гаситель был расположен строго под проводом и надежно закреплен.




Яндекс цитирования



   Copyright © 2007-2026,  www.tehlit.ru.

[ ѓосты, стандарты, нормативы, инструкции, правила, строительные нормы ]