//
|
|
Приказ Федеральной службы по
экологическому, технологическому и атомному надзору
| ||||||||||||||||||||||||||||||||||||||||||||||||||||||||||||||||||||||||||||||||||||||||||||||||||||||||||||||||||||||||||||||||||||||||||||||||||||||||||||||||||||||||||||||||||||||||||||||||||||||||||||||||||||||||||||||||||||||||||||||||||||||||||||||||||||||||||||||||||||||||||||||||||||||||||||||||||||||||||||||||||||||||||||||||||||||||||||||||||||||||||||||||||||||||||||||||||||||||||||||||||||||||||||||||||||||||||||||||||||||||||||||||||||||||||||||||||||||||||||||||||||||||||||||||||||||||||||||||||||||||||||||||||||||||||||||||||||||||||||||||||||||||||||||||||||||||||||||||||||||||||||||||||||||||||||||||||||||||||||||||||||||||||||||||||||||||||||||||||||||||||||||||||||||||||||||||||||||||||||||||||||||||||||||||||||||||||||||||||||||||||||||||||||||||||||||||||||||||||||||||||||||||||||||||||||||||||||||||||||||||||||||||||||||||||||||||||||||||||||||||||||||||||||||||||||||||||||||||||||||||||||||||||||||||||||||||||||||||||||||||||||||||||||||||||||||||||||||||||||||
|
Руководитель |
К.Б. Пуликовский |
Введена в действие с 1 августа 2006 г.
|
Руководитель группы |
Н.Г. Кутьин |
Настоящая Методика определения пробивной способности кумулятивных зарядов в условиях атмосферного давления и температуры окружающей среды Федеральной службы по экологическому, технологическому и атомному надзору (далее - Методика), разработана с целью создания единых условий контроля качественных параметров разрабатываемых и уже применяемых кумулятивных зарядов.
Методика является внутренним документом Федеральной службы по экологическому, технологическому и атомному надзору (далее - Ростехнадзор).
Методика применяется при рассмотрении вопросов связанных с выдачей разрешений на испытания или на постоянное применение кумулятивных зарядов, а также при осуществлении Ростехнадзором контрольно-надзорных функций на опасных производственных объектах связанных с ведением прострелочно-взрывных работ, а также разработкой, производством и хранением кумулятивных зарядов.
Методика может применяться предприятиями (организациями) разработчиками и производителями при неукоснительном соблюдении и использовании положений Методики.
Результаты испытаний, проводимых в соответствии с Методикой, не являются ограничением использования тестируемых перфорационных систем (ПС) или кумулятивных зарядов (КЗ) на рынке, так как данная система не отражает всего спектра эксплуатационных свойств и экономических показателей изделий.
Испытания (тестовые испытания) КЗ проводится при рассмотрении документов на допуск КЗ к приемочным испытаниям и к допуску на постоянное применение, кроме того КЗ прошедшие испытания по данной Методике проходят контрольные тестовые испытания не реже одного раза в два года.
Все работы, связанные с проведением испытаний по Методике, должны проводиться специально назначенной комиссией Ростехнадзора, в соответствии с эксплуатационной документацией испытательных стендов, утвержденной в установленном порядке, а также соответствовать требованиям "Единых правил безопасности при взрывных работах", утвержденных Ростехнадзором.
Данная редакция Методики может быть изменена или дополнена.
1.1 Настоящая Методика устанавливает требования к проведению комплекса тестовых испытаний (тестированию) кумулятивных зарядов и является единой на территории Российской Федерации как для российских, так и для зарубежных производителей.
1.2 Тестирование проводятся в соответствии с данной Методикой.
Тестированию подвергаются разрабатываемые кумулятивные заряды, а также уже имеющие разрешение на постоянное применение, выданное Ростехнадзором (Госгортехнадзором РФ), после проведения приемочных испытаний.
1.3 На основании результатов тестирования Ростехнадзором выдается документ (сертификат установленного образца) сроком на два года на тестируемые кумулятивные заряды с указанием марки и типа перфорационной системы, в которых они используются (Приложение В).
По истечении срока действия сертификата вновь проводятся тестовые испытания и выдается последующий сертификат на тестируемые изделия сроком на два года и т.д. Тестирование изделий проводится до их снятия с производства.
В период срока действия сертификата, а также в процессе отработки кумулятивных зарядов возможно проведение испытаний изделий по инициативе организации-производителя, организации потребителя или Ростехнадзора. (По предложению организации-производителя по результатам дополнительного тестирования орган сертификации может выдать сертификат с уточненными характеристиками.).
1.4 Основной задачей Методики (внутренней системы сертификации Ростехнадзора - СС) является определение фактических показателей тестируемых изделий (кумулятивных зарядов).
1.5 Система сертификации кумулятивных зарядов состоит из методики:
- определения пробивной способности при одновременном срабатывании КЗ в условиях атмосферного давления и температуры окружающей среды.
- определения пробивной способности кумулятивного заряда в условиях атмосферного давления и температуры окружающей среды;
1.6 Ростехнадзор привлекает на договорной основе, для проведения тестирования и измерения испытательные лаборатории (центры) аккредитованные в установленном порядке и имеющих лицензию на хранение ВМ и изделий, снаряженных взрывчатыми веществами промышленного назначения. Допускается проводить тестирование на стендах организации-производителя и/или организации потребителя, которая представила свои изделия, при этом стенды должны быть согласованы с Ростехнадзором и должны соответствовать требованиям настоящей Методики, при этом основанием для проведения тестирования кумулятивных зарядов является официальная заявка от организации-производителя и/или организации - потребителя в Ростехнадзор. К заявке прилагается комплект технической документации, которая включает:
- программу испытаний (ПИ) (назначение, общее описание продукции, схему проведений испытаний и т.д.);
- чертежи, технические условия (ТУ) и инструкцию по эксплуатации (применению);
- протоколы собственных испытаний;
- разрешение на постоянное применение, выданное Ростехнадзором (если имеется).
Примечание: Если предполагается использование перфорационных систем в скважинах с различными типоразмерами обсадных колонн, тестирование КЗ проводить для каждого типоразмера отдельно. Для этого в ПИ обязательно указывать размеры расположения заряда внутри перфорационной системы, диаметр перфорационной системы и обсадной колонны (фокус 1, 2). Размеры должны соответствовать размерам, указанным в конструкторской документации.
2.1 Настоящая методика определения пробивной способности кумулятивных зарядов в условиях атмосферного давления и температуры окружающей среды является основной для сертификации изделия, так как позволяет определить фактические параметры кумулятивных зарядов.
2.2 Методика состоит из двух разделов:
Раздел I - Тестирование кумулятивных зарядов, при их одновременном срабатывание, по пакету металлических пластин.
Раздел II - Испытание кумулятивного заряда по пакету металлических пластин.
2.3 Испытание изделий по разделу II методики проводятся при разработке КЗ, при производстве (экспресс-контроль параметров), при сравнительных или демонстрационных испытаниях.
Примечание:
1. В случае последующей сертификации или при модернизации КЗ проводят тестирование по разделу I.
2. В течение действия сертификата тестирование не проводится, кроме как по инициативе организации-производителя или органа, выдающего сертификат.
3.1 Тестирования по разделу I методики проводят путем одновременного отстрела кумулятивных зарядов по пакету металлических пластин.
Металлическая мишень состоит из стальной пластины 4 (вар. 1), которую устанавливают в верхней части мишени и пакета состоящего из пластин 4 (вар. 2) (см. Приложение Б). Количество пластин выбирают таким образом, чтобы общая высота пакета превышала заявляемую глубину пробития на 50 - 75 мм.
Примечание: Для кумулятивных зарядов, у которых заявленная глубина пробития менее 300 мм допускается для увеличения разрешающей способности использовать металлические пластины с механическими свойствами, указанными в таблице 4 (твердость по Бринеллю равна 55).
3.2 Подготовка к тестированию
3.2.1 Объем выборки, правила отбора изделий, подготовка изделий к тестированиям, схема тестирований, количество опытов, средства инициирования устанавливаются в соответствии с программой тестирований.
Примечание:
1. Рекомендуемый порядок определения количества параллельных опытов тестируемых изделий приведен в Приложении А. Минимальное количество одновременно тестируемых изделий - 12 шт.
2. Шаг установки КЗ должен соответствовать максимальной плотности, указанной в технических условиях на ПС или указанному в конструкторской документации расстоянию между зарядами.
3.2.2 Для тестирований производителем должна быть предоставлена минимальная партия тестируемых зарядов объемом не менее 1000 шт. Минимальная партия отбирается в произвольном порядке из одной производственной партии, прошедшей приемочный контроль; для каждого исполнения заряда (согласно ТУ) отбирается отдельная минимальная партия. Заряды из минимальной партии должны быть упакованы в стандартную тару производителя и выдержаны до проведения тестирований с целью старения при стандартных условиях хранения в течение не менее одного месяца с даты изготовления (должна быть указана на упаковке). Данные заряды передаются членам комиссии вместе с копией паспорта на производственную партию.
Отбор зарядов из минимальной партии в необходимом для тестирований количестве (п. 3.2.1) осуществляется в произвольном порядке (из одной или более упаковок) членами комиссии. Отобранные изделия упаковываются в отдельную тару, пломбируются и доставляются на место проведения тестирований.
Элементы схемы тестирований и взрывной цепи предоставляются организацией, проводящей тестовые испытания.
3.2.3 Для проведения испытаний проводят контроль физико-механических параметров материала (лист, плита, пруток), предложенных аккредитованным испытательным центром совместно с организацией-производителем, продукция которой предложена для тестирования.
Примечание:
1. В случае, если тестирование изделий проводят на испытательном полигоне организации-производителя, органу по сертификации предоставляется сертификат с указанием стандартных физико-механических параметров исходного материала (лист, плита) (1), из которого изготавливаются пластины для металлической мишени, а также Акт входного контроля проверки твердости по Бринеллю, проведенный в соответствии с ГОСТ 9012-93 (2).
По-видимому, в тексте предыдущего абзаца допущена опечатка. Имеется в виду ГОСТ 9012-59 "Металлы. Метод измерения твердости по Бринеллю"
2. Органу по сертификации предоставляется право проведения дополнительной проверки твердости, предоставленных для проведения тестирований, пластин.
3.3 Оборудование и средства измерения
3.3.1 Перечень оборудования и средств измерения представлен в таблице 1.
Таблица 1
|
Наименование |
Технические характеристики |
Назначение |
|
Пластина 5 (см. Приложение Б) |
Общий вид - рис. 1, поз. 3. Толщина 5 ± 0,5 мм |
Имитация корпуса перфоратора |
|
Пластина 4, вар. 1 (см. Приложение Б) |
Общий вид - рис. 1, поз. 6. Толщина 10 ± 0,5 мм |
Составная часть мишени имитация обсадной колонны |
|
Пластина 4, вар. 2 (см. Приложение Б) |
Общий вид - рис. 1, поз. 7. Толщина 10-25 мм |
Для определения глубины пробития КЗ |
|
Подставки (фокус 1, 2) |
Общий вид - рис. 1, поз. 2, поз. 4. Наличие и размеры согласно ПИ. Подставка поз. 4, в которую наливают воду. |
Имитация расположения заряда в корпусе перфоратора и перфоратора в обсадной колонне |
|
Штангенциркуль ШЦ-1-125 ... 200-0,1-1. ГОСТ 166-89 |
|
Измерение длины пробитого канала |
|
Рулетка Р1Н2 ГОСТ 7502-98 или Линейка-1000 ... 1500. ГОСТ 427-75 |
|
Измерение диаметра входного отверстия |
3.4. Проведение тестирования
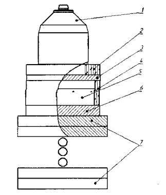
3.4.1 Отобранные пластины в соответствии с п. 3.2.3 устанавливает зажимное устройство, позволяющие механически скрепить пластины без зазора между собой. Высота пакета пластин должна превышать заявленное пробитие на 50-75 мм. Схема тестирований КЗ по пакету металлических пластин приведена на рисунке 1.

Рис. 1. Схема тестирований КЗ по пакету металлических пластин
1 - тестируемый КЗ; 2 - общая подставка (Фокус 1); 3 - пластина 5; 4 - общая подставка (Фокус 2), наполненная водой - 5; 6 - пластина 4 (вар. 1); 7 - пластина 4 (вар. 2) ММ-ПА-01.
Примечание: Наполнение водой, общей подставки поз. 4, произвести в пределах не менее 1/2 и не более 2/3 высоты подставки.
3.4.2 После отстрела произвести разборку мишени и определить глубину пробития каждого кумулятивного заряда путем замера рулеткой, линейкой или штангенциркулем.
3.4.3 Штангенциркулем измеряют внутренние размеры каждого входного и выходного отверстия в пластине 4 (рис. 1) по короткой (dmin) и длинной (dmax) осям эллипса и определяют входной диаметр d0 как среднее арифметическое значение измерений.
3.4.4 Результаты оформляются в соответствии с п. 5.
4.1 Испытания по разделу II методики проводят путем одиночного отстрела кумулятивного заряда по пакету металлических пластин.
Металлическая мишень состоит из стальной пластины 2, которую устанавливают в верхней части мишени и пакета состоящего из пластин 3 (Приложение Б). Количество пластин выбирают таким образом, чтобы общая высота пакета превышала заявляемую глубину пробития 50-75 мм.
Примечание:
1. Допускается использовать металлические пластины (см. Примечание п. 3.1).
2. Допускается использовать в качестве металлической мишени цельный пруток диаметром не менее диаметром 80 мм (см. п. 6).
4.2 Подготовка к испытаниям
4.2.1 Испытания проводят в соответствии с программой испытаний.
4.2.2 К испытаниям предоставляются КЗ из той же минимальной партии, которая используется по разделу I. Требования в соответствии с пп. 3.2.1, 3.2.2.
4.3 Оборудование и средства измерения представлены в таблице 2.
Таблица 2.
|
Наименование |
Технические характеристики |
Назначение |
|
Пластина 1 (см. Приложение Б) |
Общий вид - рис. 1, поз. 3. Толщина 5 ± 0,5 мм |
Имитация корпуса перфоратора |
|
Пластина 2 (см. Приложение Б) |
Общий вид - рис. 1, поз. 6. Толщина 10 ± 0,5 мм |
Составная часть мишени имитация обсадной колонны |
|
Пластина 3 (см. Приложение Б) |
Общий вид - рис. 1, поз. 7. Толщина 10-25 мм |
Для определения глубины пробития КЗ |
|
Полые цилиндры (фокус 1,2) из плотной бумаги, картона или пластмассы |
Общий вид - рис. 1, поз. 2, поз. 4. Наличие и размеры согласно ПИ. Цилиндр поз. 4, в который наливают воду, должна быть диаметром 7 5 мм. |
Имитация расположения заряда в корпусе перфоратора и перфоратора в обсадной колонне |
|
Штангенциркуль ШЦ-1-125 ... 200-0,1-1. ГОСТ 166-89 |
|
Измерение длины пробитого канала |
|
Рулетка Р1Н2 ГОСТ 7502-98 или Линейка-1000 ... 1500 ГОСТ 427-75 |
|
Измерение диаметра входного отверстия |
4.4 Проведение испытаний
4.4.1 Отобранные пластины в соответствии с п. 3.2.3 устанавливает зажимное устройство, позволяющие механически скрепить пластины без зазора между собой. Высота пакета пластин должна превышать заявленное пробитие на 50-75 мм. Схема испытаний КЗ по пакету металлических пластин приведена на рисунке 2.

Рис. 2. Схема испытаний КЗ по пакету металлических пластин
1 - тестируемый КЗ; 2 - полый цилиндр (Фокус 1); 3 - пластина 1; 4 - полый цилиндр (Фокус 2), наполненный водой - 5; 6 - пластина 2; 7 - пластина 3 (ММ-ПА-02).
4.4.2 После отстрела произвести разборку мишени и определить глубину пробития путем замера рулеткой, линейкой или штангенциркулем.
4.4.3 Штангенциркулем измеряют внутренние размеры входного отверстия в пластине 2 (рис. 2) по короткой (dmin) и длинной (dmax) осям эллипса и определяют входной диаметр d0 как среднее арифметическое значение измерений.
4.4.4 Результат оформляется в соответствии с п. 5.
5.1 Результаты испытаний по разделам I и II настоящей методики считаются достоверными, если в мишени имеется непростреленный слой 50 - 75 мм. При сквозном пробитии, когда струя прошла по центру мишени, глубина пробития принимается равной высоте металлической мишени. Результаты тестирований не засчитываются при отклонении и выходе струи на боковую поверхность мишени.
5.2 Статистическую обработку результатов тестирований кумулятивных зарядов выполняют в соответствии с ГОСТ 8.207-76 (11).
Минимальное и максимальное значение результатов тестирований не берут в расчет. Записывают в сертификат 10 значений из 12. Для каждого исполнения заряда при тестировании по разделу I рассчитываются средняя глубина пробития и средний входной диаметр; данные величины являются основными результатами тестирований и вносятся в сертификат (Приложение В).
Если количество достоверных результатов для зарядов одного исполнения в серии параллельных опытов составляет менее восьми, проводятся повторные тестирования для зарядов данного исполнения по той же серии, при этом по согласованию с производителем объем выборки допускается увеличить.
В сертификате указывается также значение нормализованной средней глубины пробития приведенной к определенной величине твердости по Бринеллю равной 90. Таблица приведения к нормализованной величине средней глубины пробития показана в (Приложение Г, лист 1, 2, 3).
При необходимости расчет приведения к нормализованной величине средней глубины пробития проводить по формуле:
lnР = lnp + 0,0063 (h-H), где (12, 13)
Р - глубина проникновения в металлическую мишень, имеющая твердость по Бринеллю Н;
р - глубина проникновения в испытываемую металлическую мишень;
h - твердость по Бринеллю испытываемой металлической мишени;
Н - твердость по Бринеллю металлической мишени, в которой глубина проникновения по Бринеллю должна быть приведена (в частности к величине твердости по Бринеллю равной 90).
Для кумулятивных зарядов, глубина пробития которых составляет менее 300 мм использовать таблицу Приложение Г, лист 3.
5.3 Порядок, условия проведения и результаты тестирований заносят и хранят в Едином журнале установленного образца. Результаты тестирований отражаются в акте, который оформляется и утверждается членами комиссии в установленном порядке. Акт выдается производителю тестируемых изделий.
5.4 На основании сведений, изложенных в акте, орган по сертификации утверждает и выдает сертификат на каждое исполнение кумулятивного заряда.
Сертификат оформляется (Приложения В) в установленном порядке и выдается производителю изделий. Сертификат является основным документом, регламентирующим параметры пробивной способности кумулятивного заряда.
6.1 Для проведения испытаний КЗ и ПС в соответствии с разделом I, II методики используется металлические мишени ММ-ПА-01.02. Размеры металлических мишеней показаны в таблице 3.
Таблица 3
|
Наименование |
Номер из пластин |
Примечание |
|
ММ-ПА-01 |
80×900 |
Высота пакета в соответствии с ПИ |
|
ММ-ПА-02 |
80×80 |
|
Примечание:
1. Высота пакета hmin = 150 мм, hmax = 600 мм. В зависимости от толщины листа высота пакета может быть кратной 10 - 25 мм.
2. Отклонение толщины при нормальной точности не более (-0,5 мм) ГОСТ 17232-99.
3. Поверхность пластины (составной элемент пакета) должны быть чистыми, без заусенцев, острых граней и других дефектов, видимых невооруженным глазом. Допускаются точечные дефекты па поверхности проката исходного материала. При установке зажимное устройство не должна иметь зазоров между собой. В случае обнаружения зазора более 1 мм пластину отрехтовать или заменить.
Шероховатость торцевых поверхностей должна быть не хуже Rz20, отклонения от плоскостности и перпендикулярности по отношению к боковой поверхности - не более 0,2 мм. Радиусы скруглений не должны превышать 0,5 мм.
6.2 Пластины для ММ-ПА-01.02 изготавливают из материала, указанного в таблице 4.
|
Материал |
Предел текучести сигма 0,2, кг/мм / МПа |
Предел прочности на растяжке сигма в кг/мм2/ МПа |
Относительное удлинение не менее дельта, % |
Твердость по Бринеллю НВ, кг/мм2 МПа |
Сортимент |
|
АВТ1 ГОСТ 4784-74 |
29/290 |
31/310 |
10 |
95/950 |
Листы из алюминия и алюминиевых сплавов ГОСТ 21631-76 Толщина до 10, 5 мм |
|
АДЗЗТ1 ГОСТ 4784-74 |
27/270 |
31/310 |
12 |
95/950 |
|
|
АМцН ГОСТ 4784-74 |
18/180 |
22/220 |
5 |
55/550 |
|
|
Amг1H ГОСТ 4784-74 |
19/190 |
21/210 |
5 |
55/550 |
Примечание:
1. Допускается использовать другие алюминиевые сплавы с аналогичными характеристиками, приведенными в таблице 4.
2. Допускается использовать плиты из алюминиевого сплава ГОСТ 17232-99, толщина от 11 до 30 мм.
3. Допускается использовать цельный пруток ГОСТ 21488-97 (14) диаметром не менее 80 мм из алюминиевых сплавов с аналогичными характеристиками, приведенными в таблице 4.
4. Сплаву АВТ1, АДЗЗТ1 соответствует американский алюминиевый сплав 6601Т6.
6.3 Пакет металлической мишени набирать из пластин, нарубленных из листа одной поставки, имеющих один и тот же сертификат и Акт входного контроля с указанием твердости по Бринеллю, проведенный в соответствии с ГОСТ 9012-93.
В общем случае количество параллельных опытов в серии при испытаниях кумулятивных зарядов одного исполнения определяется статистическим путем в соответствии с критериями Стьюдента по формуле:

где t - нормированное отклонение;
kвар - коэффициент вариаций, %;
kдоп - допускаемая ошибка, %.
Величину нормированного отклонения определяют в зависимости от задаваемой надежности Р по таблице А.1.
Таблица А.1
|
Р |
0,80 |
0,85 |
0,90 |
0,95 |
0,955 |
0,990 |
0,997 |
0,999 |
|
t |
1,28 |
1,44 |
1,65 |
1,96 |
2,0 |
2,58 |
3,0 |
4,0 |
Если в технических условиях на тестируемый заряд отсутствует величина показателя надежности, то принимают следующие величины: минимальный показатель Р для производственно-исследовательских работ - 0,95; величина допускаемой ошибки -5+10%.
Коэффициент вариации определяют по статистическим данным, получаемым в процессе выполнения приемо-сдаточных испытаний кумулятивных зарядов соответствующего исполнения, проводимых производителем в соответствии с ТУ.

Металлическая мишень (пластины 1, 2, 3)
(ГОСТ 380-94, ГОСТ 21631-76, ГОСТ 17232-99, ГОСТ 4784-74)
Приложение Б
Лист 2

Металлическая мишень (пластины 4, 5)
|
Значение твердости по Бринеллю |
|||||||||||
|
Lф |
80 |
82 |
84 |
86 |
88 |
90 |
92 |
94 |
96 |
98 |
100 |
|
300 |
281,68 |
285,25 |
288,87 |
292,53 |
296,24 |
300 |
303,8 |
307,66 |
311,56 |
315,51 |
319,51 |
|
305 |
286,38 |
290,01 |
293,69 |
297,41 |
301,18 |
305 |
308,87 |
312,78 |
316,75 |
320,77 |
324,83 |
|
310 |
291,07 |
294,76 |
298,5 |
302,29 |
306,12 |
310 |
313,93 |
317,91 |
321,94 |
326,02 |
330,16 |
|
315 |
295,77 |
299,52 |
303,32 |
307,16 |
311,06 |
315 |
318,99 |
323,04 |
327,13 |
331,28 |
335,48 |
|
320 |
300,46 |
304,27 |
308,13 |
312,04 |
315,99 |
320 |
324,06 |
328,17 |
332,33 |
336,54 |
340,81 |
|
325 |
305,16 |
309,03 |
312,94 |
316,91 |
320,93 |
325 |
329,12 |
333,29 |
337,52 |
341,8 |
346,13 |
|
330 |
309,85 |
313,78 |
317,76 |
321,79 |
325,87 |
330 |
334,18 |
338,42 |
342,71 |
347,06 |
351,46 |
|
335 |
314,55 |
318,53 |
322,57 |
326,66 |
330,81 |
335 |
339,25 |
343,55 |
347,91 |
352,32 |
356,78 |
|
340 |
319,24 |
323,29 |
327,39 |
331,54 |
335,74 |
340 |
344,31 |
348,68 |
353,1 |
357,58 |
362,11 |
|
345 |
323,94 |
328,04 |
332,2 |
336,41 |
340,68 |
345 |
349,37 |
353,8 |
358,29 |
362,83 |
367,43 |
|
350 |
328,63 |
332,8 |
337,02 |
341,29 |
345,62 |
350 |
354,44 |
358,93 |
363,48 |
368,09 |
372,76 |
|
355 |
333,32 |
337,55 |
341,83 |
346,17 |
350,56 |
355 |
359,5 |
364,06 |
368,68 |
373,35 |
378,08 |
|
360 |
338,02 |
342,31 |
346,65 |
351,04 |
355,49 |
360 |
364,56 |
369,19 |
373,87 |
378,61 |
383,41 |
|
365 |
342,71 |
347,06 |
351,46 |
355,92 |
360,43 |
365 |
369,63 |
374,31 |
379,06 |
383,87 |
388,73 |
|
370 |
347,41 |
351,81 |
356,28 |
360,79 |
365,37 |
370 |
374,69 |
379,44 |
384,25 |
389,13 |
394,06 |
|
375 |
212,71 |
356,57 |
361,09 |
212,71 |
370,3 |
375 |
379,75 |
384,57 |
389,45 |
394,38 |
399,39 |
|
380 |
356,8 |
361,32 |
365,9 |
370,54 |
375,24 |
380 |
384,82 |
389,7 |
394,64 |
399,64 |
404,71 |
|
385 |
361,49 |
366,08 |
370,72 |
375,42 |
380,18 |
385 |
389,88 |
394,83 |
399,83 |
404,9 |
410,04 |
|
390 |
366,19 |
370,83 |
375,53 |
380,29 |
385,12 |
390 |
394,95 |
399,95 |
405,02 |
410,16 |
415,36 |
|
395 |
370,88 |
375,59 |
380,35 |
385,17 |
390,05 |
395 |
400,01 |
405,08 |
410,22 |
415,42 |
420,69 |
|
400 |
375,58 |
380,34 |
385,16 |
390,05 |
394,99 |
400 |
405,07 |
410,21 |
415,41 |
420,68 |
426,01 |
Приложение Г
|
Значение твердости по Бринеллю |
|||||||||||
|
Lф |
80 |
82 |
84 |
86 |
88 |
90 |
92 |
94 |
96 |
98 |
100 |
|
400 |
375,58 |
380,34 |
385,16 |
390,05 |
394,99 |
400 |
405,07 |
410,21 |
415,41 |
420,68 |
426,01 |
|
405 |
380,27 |
385,09 |
389,98 |
394,92 |
399,93 |
405 |
410,14 |
415,34 |
420, 6 |
425,94 |
431,34 |
|
410 |
384,97 |
389,85 |
394,79 |
399,8 |
404,87 |
410 |
415,2 |
420,46 |
425,79 |
431,19 |
436, 66 |
|
415 |
389,66 |
394, 6 |
399,61 |
404,67 |
409,8 |
415 |
420,26 |
425,59 |
430,99 |
436,45 |
441,99 |
|
420 |
394,36 |
399,36 |
404,42 |
409,55 |
414,74 |
420 |
425,33 |
430,72 |
436,18 |
441,71 |
447,31 |
|
425 |
399,05 |
404,11 |
409,23 |
414,42 |
419,68 |
425 |
430,39 |
435,85 |
441,37 |
446,97 |
452,64 |
|
430 |
403,75 |
408,87 |
414,05 |
419,3 |
424,62 |
430 |
435,45 |
440,97 |
446,57 |
452,23 |
457,96 |
|
435 |
408,44 |
413,62 |
418,86 |
424,17 |
429,55 |
435 |
440,52 |
446,1 |
451,76 |
457,49 |
463,29 |
|
440 |
413,14 |
418,37 |
423,68 |
429,05 |
434,49 |
440 |
445,58 |
451,23 |
456,95 |
462,74 |
468,61 |
|
445 |
417,83 |
423,13 |
428,49 |
433,93 |
439,43 |
445 |
450,64 |
456,36 |
462,14 |
468 |
473,94 |
|
450 |
422,52 |
427,88 |
433,31 |
438,8 |
444,37 |
450 |
455,71 |
461,48 |
467,34 |
473,26 |
479,26 |
|
455 |
427,22 |
432,64 |
438,12 |
443,68 |
449,3 |
455 |
460,77 |
466,61 |
472,53 |
478,52 |
484,59 |
|
460 |
431,91 |
437,39 |
442,94 |
448,55 |
454,24 |
460 |
465,83 |
471,74 |
477,72 |
483,78 |
489,91 |
|
465 |
436, 61 |
442,14 |
447,75 |
453,43 |
459,18 |
465 |
470,9 |
476,87 |
482,91 |
489,04 |
495,24 |
|
470 |
441,3 |
446,9 |
452,57 |
458,3 |
464,12 |
470 |
475,96 |
481,99 |
488,11 |
494,3 |
500,56 |
|
475 |
269,43 |
451,65 |
457,38 |
269,43 |
469,05 |
475 |
481,02 |
487,12 |
493,3 |
499,55 |
505,89 |
|
480 |
450,69 |
456,41 |
462,19 |
468,06 |
473,99 |
480 |
486,09 |
492,25 |
498,49 |
504,81 |
511,21 |
|
485 |
455,39 |
461,16 |
467,01 |
472,93 |
478,93 |
485 |
491,15 |
497,38 |
503,68 |
510,07 |
516,54 |
|
490 |
460,08 |
465,92 |
471,82 |
477,81 |
483,86 |
490 |
496,21 |
502.5 |
508,88 |
515,33 |
521,86 |
Приложение Г
|
Значение твердости по Бринеллю |
|||||||||||||||||
|
Lф |
40 |
42 |
44 |
46 |
48 |
50 |
52 |
54 |
55 |
56 |
58 |
60 |
62 |
64 |
66 |
68 |
70 |
|
100 |
72,98 |
73,9 |
74,84 |
75,79 |
76,75 |
77,72 |
78,71 |
79,71 |
80,21 |
80,72 |
81,74 |
82,78 |
83,83 |
84,89 |
85,97 |
87,06 |
88,16 |
|
110 |
80,28 |
81,29 |
82,33 |
83,37 |
84,43 |
85,5 |
86,58 |
87,68 |
88,23 |
88,79 |
89,92 |
91,06 |
92,21 |
93,38 |
94,56 |
95,76 |
96,98 |
|
120 |
87,57 |
88,69 |
89,81 |
90,95 |
92,1 |
93,27 |
94,45 |
95,65 |
96,25 |
96,86 |
98,09 |
99,33 |
100,59 |
101,87 |
103,16 |
104,47 |
105,79 |
|
130 |
94,87 |
96,08 |
97,29 |
98,53 |
99,78 |
101,04 |
102,32 |
103,62 |
104,28 |
104,93 |
106,26 |
107,61 |
108,98 |
110,36 |
111,76 |
113,17 |
114,61 |
|
140 |
102,17 |
103,47 |
104,78 |
106,11 |
107,45 |
108,81 |
110,19 |
111,59 |
112,3 |
113,01 |
114,44 |
115,89 |
117,36 |
118,85 |
120,35 |
121,88 |
123,43 |
|
150 |
109,47 |
110,86 |
112,26 |
113,69 |
115,13 |
116,59 |
118,06 |
119,56 |
120,32 |
121,08 |
122,61 |
124,17 |
125,74 |
127,34 |
128,95 |
130,59 |
132,24 |
|
160 |
116,77 |
118,25 |
119,75 |
121,26 |
122,8 |
124,36 |
125,94 |
127,53 |
128,34 |
129,15 |
130,79 |
132,45 |
134,13 |
135,83 |
137,55 |
139,29 |
141,06 |
|
170 |
124,06 |
125,64 |
127,23 |
128,84 |
130,48 |
132,13 |
133,81 |
135,5 |
136,36 |
137,22 |
138,96 |
140,72 |
142,51 |
144,32 |
146,14 |
148 |
149,87 |
|
180 |
131,36 |
133,03 |
134,71 |
136,42 |
138,15 |
139,9 |
141,68 |
143,47 |
144,38 |
145,29 |
147,14 |
149 |
150,89 |
152,8 |
154,74 |
156,7 |
158,69 |
|
190 |
138,66 |
140,42 |
142,2 |
144 |
145,83 |
147,68 |
149,55 |
151,45 |
152,4 |
153,37 |
155,31 |
157,28 |
159,27 |
161,29 |
163,34 |
165,41 |
167,51 |
|
200 |
145,96 |
147,81 |
149,68 |
151,58 |
153,5 |
155,45 |
157,42 |
159,42 |
160,42 |
161,44 |
163,48 |
165,56 |
167,66 |
169,78 |
171,94 |
174,12 |
176,32 |
|
210 |
153,26 |
155,2 |
157,17 |
159,16 |
161,18 |
163,22 |
165,29 |
167,39 |
168,44 |
169,51 |
171,66 |
173,84 |
176,04 |
178,27 |
180,53 |
182,82 |
185,14 |
|
220 |
160,55 |
162,59 |
164,65 |
166,74 |
168,85 |
170,99 |
173,16 |
175,36 |
176,47 |
177,58 |
179,83 |
182,11 |
184,42 |
186,76 |
189,13 |
191,53 |
193,96 |
|
230 |
167,85 |
169,98 |
172,14 |
174,32 |
176,53 |
178,77 |
181,03 |
183,33 |
184,49 |
185,65 |
188,01 |
190,39 |
192,8 |
195,25 |
197,73 |
200,23 |
202,77 |
|
240 |
175,15 |
177,37 |
179,62 |
181,9 |
184,2 |
186,54 |
188,9 |
191,3 |
192,51 |
193,72 |
196,18 |
198,67 |
201,19 |
203,74 |
206,32 |
208,94 |
211,59 |
|
250 |
182,45 |
184,76 |
187,1 |
189,48 |
191,88 |
194,31 |
196,77 |
199,27 |
200,53 |
201,8 |
204,36 |
206,95 |
209,57 |
212,23 |
214,92 |
217,64 |
220,4 |
|
260 |
189,75 |
192,15 |
194,59 |
197,05 |
199,55 |
202,08 |
204,65 |
207,24 |
208,55 |
209,87 |
212,53 |
215,22 |
217,95 |
220,72 |
223,52 |
226,35 |
229,22 |
|
270 |
197,04 |
199,54 |
202,07 |
204,63 |
207,23 |
209,86 |
212,52 |
215,21 |
216,57 |
217,94 |
220,7 |
223,5 |
226,34 |
229,21 |
232,11 |
235,06 |
238,04 |
|
280 |
204,34 |
206,93 |
209,56 |
212,21 |
214,9 |
217,63 |
220,39 |
223,18 |
224,59 |
226,01 |
228,88 |
231,78 |
234,72 |
237,7 |
240,71 |
243,76 |
246,85 |
|
290 |
211,64 |
214,32 |
217,04 |
219,79 |
222,58 |
225,4 |
228,26 |
231,15 |
232,61 |
234,08 |
237,05 |
240,06 |
243,1 |
246,18 |
249,31 |
252,47 |
255,67 |
|
300 |
218,94 |
221,71 |
224,52 |
227,37 |
230,25 |
233,17 |
236,13 |
239,12 |
240,64 |
242,16 |
245,23 |
248,34 |
251,48 |
254,67 |
257,9 |
261,17 |
264,48 |
Сертификат N
|
|
Наименование |
Значение |
Примечание |
|||||||||||||||
|
Производитель |
|
|
Вес и тип ВВ |
|
|
|
||||||||||||
|
Марка заряда |
|
|
Материал корпуса заряда |
|
|
|
||||||||||||
|
Марка перфоратора |
|
|
Материал облицовки |
|
|
|
||||||||||||
|
Тип перфоратора |
|
|
Калибр |
|
|
|
||||||||||||
|
Диаметр обсадной колонны, мм |
|
|
Макс. рабочая температура, СО |
|
|
|
||||||||||||
|
Плотность |
|
|
Макс, давление |
|
|
|
||||||||||||
|
L шаг, мм |
|
|
||||||||||||||||
|
Раздел 1 |
||||||||||||||||||
|
Тип мишени Пакет металлических пластин |
|
|||||||||||||||||
|
Марка материала Твердость по Бринеллю |
|
|||||||||||||||||
|
Дата проведения теста |
|
|||||||||||||||||
|
|
|
|||||||||||||||||
|
Номер отстрела |
N 1 |
N 2 |
N 3 |
N 4 |
N 5 |
N 6 |
N 7 |
N 8 |
N 9 |
N 10 |
Сред. знач. |
|||||||
|
Партия |
|
|
|
|
|
|
|
|
|
|
|
|||||||
|
Заводской номер |
|
|
|
|
|
|
|
|
|
|
|
|||||||
|
Зазор, мм Программа испытаний |
|
|
|
|
|
|
|
|
|
|
|
|||||||
|
Диаметр вх. отверстия в обсадной колонне, короткая ось, мм |
|
|
|
|
|
|
|
|
|
|
|
|||||||
|
Диаметр вх. отверстия в обсадной колонне, длинная ось, мм |
|
|
|
|
|
|
|
|
|
|
|
|||||||
|
Средний диаметр вх. отверстия в обсадной колонне, мм |
|
|
|
|
|
|
|
|
|
|
|
|||||||
|
Длина канала, мм 1 фак |
|
|
|
|
|
|
|
|
|
|
|
|||||||
|
Длина канала, мм 1 норм |
|
|
|
|
|
|
|
|
|
|
|
|||||||
|
Высота заусенца, мм |
|
|
|
|
|
|
|
|
|
|
|
|||||||
|
Замечания: |
|
|||||||||||||||||
|
Сертификация Подтверждаем, что данные теста были проведены по методике, отраженной в документе СС-05, 1-я редакция, 2006 г. Все оборудование, которое использовалось при проведении тестирования: перфораторы, детонирующий шнур и т.п., являлось стандартным оборудованием, которое используется нашей компанией для проведения ПВР, и не подвергалось каким-либо изменениям конструкций проведения ПВР, и не подвергалось каким-либо изменениям конструкций для проведения данного тестирования. Более того, это оборудование было взято со склада по принципу случайного отбора, поэтому оно идентично тому оборудованию, которое будет использоваться любым оператором для перфорации скважин. Сертифицировано: |
||||||||||||||||||
|
Пересертифицировано: |
(Организация) (Ф.И.О.) (Дата введения) |
|
(Срок действия) |
|||||||||||||||
|
|
(Организация) (Ф.И.О.) (Дата введения) |
|
(Срок действия) |
|||||||||||||||
|
Изм. |
Номер разделов пунктов подпунктов |
Всего листов (страниц) в докум. |
N докум. |
Входящий N сопроводительного докум. и дата |
Подп. |
Дата |
|||
|
измененных |
замененных |
новых |
аннулированных |
||||||
|
|
|
|
|
|
|
|
|
|
|
|
|
|
|
|
|
|
|
|
|
|
|
|
|
|
|
|
|
|
|
|
|
|
|
|
|
|
|
|
|
|
|
|
|
|
|
|
|
|
|
|
|
|
|
|
|
|
|
|
|
|
|
|
|
|
|
|
|
|
|
|
|
|
|
|
|
|
|
|
|
|
|
|
|
|
|
|
|
|
|
|
|
|
|
|
|
|
|
|
|
|
|
|
|
|
|
|
|
|
|
|
|
|
|
|
|
|
|
|
|
|
|
|
|
|
|
|
|
|
|
|
|
|
|
|
|
|
|
|
|
|
|
|
|
|
|
|
|
|
|
|
|
|
|
|
|
|
|
|
|
|
|
|
|
|
|
|||||||||
|
|
|
|
|
|
Система сертификации СС-05 |
Лист |
|||
|
|
|
|
|
|
24 |
||||
|
Изм. |
Лист |
N докум. |
Подп. |
Дата |
|
||||
|
|
|
|