//
ТехЛит.ру
- крупнейшая бесплатная электронная интернет библиотека для "технически умных" людей.
WWW.TEHLIT.RU - ТЕХНИЧЕСКАЯ ЛИТЕРАТУРА

:: Алготрейдинг::


АЛГОТРЕЙДИНГ
шаг за шагом
с нуля по урокам!

Торговые роботы на PYTHON, BackTrader,
Pandas, Pine Script для TradingView. Связка с брокерами, телеграм и легкими приложениями.


МИНИСТЕРСТВО РОССИЙСКОЙ ФЕДЕРАЦИИ ПО ДЕЛАМ ГРАЖДАНСКОЙ ОБОРОНЫ, ЧРЕЗВЫЧАЙНЫМ СИТУАЦИЯМ И ЛИКВИДАЦИИ ПОСЛЕДСТВИЙ СТИХИЙНЫХ БЕДСТВИЙ

МЕТОДИЧЕСКИЕ РЕКОМЕНДАЦИИ ПО СОЗДАНИЮ В РАЙОНАХ РАЗМЕЩЕНИЯ ПОТЕНЦИАЛЬНО ОПАСНЫХ ОБЪЕКТОВ ЛОКАЛЬНЫХ СИСТЕМ ОПОВЕЩЕНИЯ

2-е издание

Москва - 2005

В «Методических рекомендациях по созданию в районах размещения потенциально опасных объектов локальных систем оповещения» (далее - Методические рекомендации) изложены:

назначение, организация и порядок задействования локальных систем оповещения;

организационно-техническое построение локальных систем оповещения в районах размещения потенциально опасных объектов;

организация и основные этапы создания локальных систем оповещения;

организация эксплуатационно-технического обслуживания технических средств локальных систем оповещения;

основные тактико-технические характеристики комплекса технических средств оповещения П-166, а также образцы оформления типового технического задания на создание локальной системы оповещения и паспорта локальной системы оповещения потенциально опасного объекта.

Методические рекомендации предназначены для руководителей структурных подразделений центрального аппарата МЧС России; органов управления по делам ГОЧС всех уровней; руководителей министерств, ведомств и организаций всех форм собственности Российской Федерации, в ведении которых находятся потенциально опасные объекты; для начальников гражданской обороны потенциально опасных объектов; руководителей и сотрудников проектных организаций и организаций связи при разработке технических заданий на проектирование, строительство (реконструкцию) и эксплуатацию локальных систем оповещения в районах размещения ядерно-, радиационно и химически опасных предприятий и гидросооружений.

Методические рекомендации также могут быть рекомендованы для преподавателей, слушателей и курсантов учебных заведений и сотрудников научно-исследовательских учреждений МЧС России.

Утверждены МЧС России 24 декабря 2002 г.

Содержание

ПЕРЕЧЕНЬ СОКРАЩЕНИЙ

УСЛОВНЫЕ ОБОЗНАЧЕНИЯ

1. ОБЩИЕ ПОЛОЖЕНИЯ

2. НАЗНАЧЕНИЕ, ОРГАНИЗАЦИЯ И ПОРЯДОК ЗАДЕЙСТВОВАНИЯ ЛОКАЛЬНЫХ СИСТЕМ ОПОВЕЩЕНИЯ

2.1. Назначение локальных систем оповещения

2.2. Организация локальных систем оповещения

2.3. Порядок задействования локальной системы оповещения

3. ОРГАНИЗАЦИОННО-ТЕХНИЧЕСКОЕ ПОСТРОЕНИЕ ЛОКАЛЬНЫХ СИСТЕМ ОПОВЕЩЕНИЯ В РАЙОНАХ РАЗМЕЩЕНИЯ ПОТЕНЦИАЛЬНО ОПАСНЫХ ОБЪЕКТОВ

3.1. Организационно-техническое построение локальной системы оповещения в районе размещения атомной электростанции (АЭС)

3.2. Организационно-техническое построение локальных систем оповещения в районах размещения химически опасных объектов

3.3. Организационно-техническое построение локальных систем оповещения в районах размещения гидроэлектростанций

4. ОРГАНИЗАЦИЯ И ОСНОВНЫЕ ЭТАПЫ СОЗДАНИЯ ЛОКАЛЬНЫХ СИСТЕМ ОПОВЕЩЕНИЯ

5. ОРГАНИЗАЦИЯ ЭКСПЛУАТАЦИОННО-ТЕХНИЧЕСКОГО ОБСЛУЖИВАНИЯ ТЕХНИЧЕСКИХ СРЕДСТВ ЛОКАЛЬНЫХ СИСТЕМ ОПОВЕЩЕНИЯ

6. ПОРЯДОК ФИНАНСИРОВАНИЯ РАБОТ ПО СОЗДАНИЮ И ПОДДЕРЖАНИЮ В ГОТОВНОСТИ ЛОКАЛЬНЫХ СИСТЕМ ОПОВЕЩЕНИЯ

ПРИЛОЖЕНИЕ 1 ОСНОВНЫЕ ТАКТИКО-ТЕХНИЧЕСКИЕ ХАРАКТЕРИСТИКИ КОМПЛЕКСА ТЕХНИЧЕСКИХ СРЕДСТВ ОПОВЕЩЕНИЯ П-166

ПРИЛОЖЕНИЕ 2 ТЕХНИЧЕСКОЕ ЗАДАНИЕ на создание (реконструкцию) локальной системы оповещения

ПРИЛОЖЕНИЕ 3 ПАСПОРТ локальной системы оповещения потенциально опасного объекта

ПЕРЕЧЕНЬ СОКРАЩЕНИЙ

АПУ - автоматизированный пульт управления

АТС - автоматическая телефонная станция

АХОВ - аварийно химически опасное вещество

АЭС - атомная электростанция

БИК - блок индивидуальных комплектов

БКС - блок коммутации сообщений

БОТ - блок оповещения универсальный

БПР - блок переключения радиотрансляционного узла

ВАУ - выходное акустическое устройство

ГЗПУ - городской запасный пункт управления

ГО - гражданская оборона

ГУПВ - городской узел проводного вещания

ГЭС - гидроэлектростанция

ЗЗПУ - загородный запасный пункт управления

ЗИП - запасные части, инструмент и принадлежности

ИВЭП - источник вторичного электропитания

КТС - комплекс технических средств

ЛСО - локальная система оповещения

НГО - начальник гражданской обороны

ОД - оперативный дежурный

ОУ - орган управления (по делам гражданской обороны и чрезвычайным ситуациям)

ОУС - объектовый узел связи

ПЭВМ - персональная электронно-вычислительная машина

РТУ - радиотрансляционный узел

РЭ - руководство по эксплуатации

СДЯВ - сильнодействующее ядовитое вещество

ТАСЦО - территориальная автоматизированная система централизованного оповещения

ТЭЗ - типовой элемент замены

ТЧ - тональная частота

УПВ - узел проводного вещания

УС - узел связи

ХОО - химически опасный объект

ЦЩРК - центральный щит радиационного контроля

ЦЩУ - центральный щит управления

ЧС - чрезвычайная ситуация

УСЛОВНЫЕ ОБОЗНАЧЕНИЯ

- блок коммутации сообщений аппаратуры оповещения из состава комплекса технических средств оповещения П-166

- узел проводного вещания

- оконечное устройство «А» (П-164А)

- электросирена

- абонентское устройство (громкоговоритель)

- прямая телефонная связь

- стационарная (мобильная) радиостанция в радиосети оповещения

- носимая радиостанция

1. ОБЩИЕ ПОЛОЖЕНИЯ

1.1. Настоящие "Методические рекомендации по созданию в районах размещения потенциально опасных объектов локальных систем оповещения» разработаны в целях реализации Федерального закона «О гражданской обороне» от 12 февраля 1998 г. № 28-ФЗ с учетом требований федерального закона «О защите населения и территорий от чрезвычайных ситуаций природного и техногенного характера» от 21 декабря 1994 г. № 68-ФЗ, постановлений Правительства Российской Федерации «Об утверждении Положения о порядке использования действующих радиовещательных и телевизионных станций для оповещения и информирования населения Российской Федерации в чрезвычайных ситуациях мирного и военного времени» от 1 марта 1993 г. № 177, «О создании локальных систем оповещения в районах размещения потенциально опасных объектов» от 1 марта 1993 г. № 178 и совместного приказа МЧС России, Минсвязи России и ВГТРК «Об утверждении Положения о системах оповещения гражданской обороны» от 7 декабря 1998 г. №701/212/803.

1.2. В Методических рекомендациях определены: назначение, порядок задействования, организационно-техническое построение, этапы работ по созданию в районах размещения потенциально опасных объектов локальных систем оповещения на базе комплекса технических средств оповещения (КТСО) П-166 и порядок эксплуатационно-технического обслуживания технических средств локальных систем оповещения (ЛСО).

1.3. Методические рекомендации предназначены для использования: министерствами, ведомствами и организациями, в ведении которых находятся потенциально опасные объекты; органами, специально уполномоченными решать задачи гражданской обороны и задачи по предупреждению и ликвидации чрезвычайных ситуаций, в составе или при органах исполнительной власти субъектов Российской Федерации и органах местного самоуправления (далее - органы управления по делам гражданской обороны и чрезвычайным ситуациям); начальниками гражданской обороны потенциально опасных объектов; проектными организациями и организациями связи при разработке технических заданий на проектирование, строительстве (реконструкции) и эксплуатации локальных систем оповещения в районах размещения ядерно-, радиационно и химически опасных предприятий и гидросооружений.

1.4. За создание (реконструкцию) и поддержание в постоянной готовности к использованию по предназначению локальных систем оповещения несут персональную ответственность руководители потенциально опасных объектов, являющиеся по должности начальниками гражданской обороны.

1.5. Создание локальной системы оповещения - составная часть комплекса мероприятий гражданской обороны, проводимых с целью защиты персонала каждого потенциально опасного объекта, а также проживающего в районе его размещения населения.

1.6. Локальная система оповещения представляет собой организационно-техническое объединение дежурной службы потенциально опасного объекта, технических средств оповещения, сетей вещания и линий связи.

1.7. При разработке Методических рекомендаций учтены требования действующих нормативных документов, регламентирующих вопросы организации оповещения населения Российской Федерации.

2. НАЗНАЧЕНИЕ, ОРГАНИЗАЦИЯ И ПОРЯДОК ЗАДЕЙСТВОВАНИЯ ЛОКАЛЬНЫХ СИСТЕМ ОПОВЕЩЕНИЯ

2.1. Назначение локальных систем оповещения

Локальные системы оповещения предназначены для обеспечения доведения сигналов и информации оповещения до:

руководителей и персонала объектов;

объектовых сил и служб гражданской обороны;

руководителей (дежурных служб) объектов (организаций), расположенных в зоне действия соответствующей локальной системы оповещения;

оперативных дежурных служб органов управления по делам гражданской обороны и чрезвычайным ситуациям субъекта Российской Федерации, города, городского района;

населения, проживающего в зоне действия локальной системы оповещения.

При авариях (катастрофах), прогнозируемые последствия которых не выходят за границы потенциально опасного объекта, оповещаются:

руководители и персонал объекта;

объектовые силы и службы гражданской обороны;

оперативные дежурные службы органов управления по делам гражданской обороны и чрезвычайным ситуациям (ГОЧС) субъекта Российской Федерации, города, городского района.

При авариях, прогнозируемые последствия которых выходят за границы потенциально опасного объекта, дополнительно оповещаются:

персонал (руководители, дежурные службы) объектов (организаций), расположенных в зоне действия локальной системы оповещения;

население, проживающее в зоне действия локальной системы оповещения.

2.2. Организация локальных систем оповещения

2.2.1. Схемы организации локальных систем оповещения в районах размещения потенциально опасных объектов: атомных электростанций (АЭС), химически опасных объектов (ХОО) и гидроэлектростанций (ГЭС) приведены на рис. 2.1, 2.2 и 2.3.

2.2.2. Дежурный диспетчер (начальник смены) потенциально опасного объекта отвечает за своевременное задействование локальной системы оповещения, а также информирование оперативных дежурных служб органов управления по делам гражданской обороны и чрезвычайным ситуациям субъекта Российской Федерации, города или городского района о факте аварии и складывающейся обстановке.

2.2.3. Оперативные дежурные службы органов управления по делам гражданской обороны и чрезвычайным ситуациям субъекта Российской Федерации, города или городского района отвечают за своевременное задействование территориальных и местных систем оповещения населения, проживающего в зонах возможного радиоактивного и химического заражения (загрязнения) и катастрофического затопления, в том числе в части дублирования оповещения населения, проживающего в зоне действия локальной системы оповещения.

Рис. 2.1. Организация локальной системы оповещения в районе размещении АЭС

Рис. 2.2. Организация локальной системы оповещения в районе размещения химически опасного объекта

Рис.2.3. Организация локальной системы оповещения в районе размещения ГЭС

2.2.4. Управление локальной системой оповещения на потенциально опасном объекте осуществляется с пультов, расположенных на основном и запасном пунктах управления (ЗПУ) потенциально опасного объекта.

2.2.5. Рабочее место дежурного диспетчера (начальника смены) потенциально опасного объекта оборудуется техническими средствами, обеспечивающими:

управление локальной системой оповещения;

прямую телефонную и, при необходимости, радиосвязь с оперативными дежурными органов управления по делам гражданской обороны и чрезвычайным ситуациям субъекта Российской Федерации, города или городского района;

прямую проводную и радиосвязь дежурного диспетчера с оперативным персоналом систем аварийной сигнализации и контроля, а также с дежурными сменами аварийно-спасательных служб потенциально опасного объекта;

прием сообщений, передаваемых по территориальной системе централизованного оповещения;

контроль прохождения сигналов и информации, передаваемых по локальной системе оповещения;

телефонную связь общего пользования.

2.2.6. Технические средства локальных систем оповещения должны находиться в режиме постоянной готовности к передаче сигналов и информации оповещения и обеспечивать автоматизированное включение оконечных средств оповещения по сигналам территориальной автоматизированной системы централизованного оповещения и от дежурного диспетчера (начальника смены) потенциально опасного объекта.

2.2.7. При создании локальных систем оповещения необходимо предусматривать их организационное, техническое и программное сопряжение с территориальной автоматизированной системой централизованного оповещения субъекта Российской Федерации, системами аварийной сигнализации и контроля потенциально опасного объекта.

2.2.8. Зоны действия локальных систем оповещения определяются в соответствии с действующими нормативными документами и с учетом особенностей построения сетей связи и вещания в районе размещения потенциально опасного объекта:

в районах размещения ядерно - и радиационно-опасных объектов - в радиусе 5 км вокруг каждого из объектов (включая поселок у объекта);

в районах размещения химически опасных объектов в радиусе до 2,5 км вокруг каждого из объектов;

в районах размещения гидротехнических объектов (в нижнем бьефе, в зонах затопления) - на расстоянии до 6 км от каждого объекта.

2.3. Порядок задействования локальной системы оповещения

2.3.1. Решение на задействование локальной системы оповещения принимает руководитель потенциально опасного объекта или лицо его замещающее.

В исключительных случаях, не терпящих отлагательства, решение о задействовании локальной системы оповещения может быть принято дежурным диспетчером (начальником смены станции) потенциально опасного объекта.

2.3.2. При задействовании локальных систем оповещения должен соблюдаться следующий порядок:

подается сигнал «Внимание всем!» путем дистанционного включения электросирен;

передается команда дистанционного включения электропитания усилителей проводного вещания и переключения их на передачу информации оповещения;

с микрофона или ПЭВМ осуществляется многократная (2 - 3 раза) передача речевой информации оповещения;

длительность передачи речевой информации оповещения не должна превышать 5 минут.

2.3.3. О всех случаях (санкционированных и несанкционированных) задействования локальной системы оповещения сообщается в орган управления по делам гражданской обороны и чрезвычайным ситуациям субъекта РФ (города, городского района).

3. ОРГАНИЗАЦИОННО-ТЕХНИЧЕСКОЕ ПОСТРОЕНИЕ ЛОКАЛЬНЫХ СИСТЕМ ОПОВЕЩЕНИЯ В РАЙОНАХ РАЗМЕЩЕНИЯ ПОТЕНЦИАЛЬНО ОПАСНЫХ ОБЪЕКТОВ

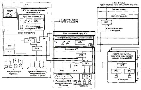
3.1. Организационно-техническое построение локальной системы оповещения в районе размещения атомной электростанции (АЭС)

Типовой вариант организационно-технического построения локальной системы оповещения в районе размещения АЭС приведен на рисунке 3.1.

3.1.1. В помещении центрального щита управления (ЦЩУ) и на запасных пунктах управления (ЗПУ) противоаварийными действиями, как правило, устанавливаются:

автоматизированный пульт управления (П-166 АПУ) - для управления локальной системой оповещения, приема сигналов и речевой информации оповещения, передаваемой

Рис. 3.1. Организационно-техническое построение локальной системы оповещения в районе размещения АЭС

по территориальной автоматизированной системе централизованного оповещения (ТАСЦО), а также для передачи информации об аварии в орган управления по делам гражданской обороны и чрезвычайным ситуациям субъекта Российской Федерации и на ЗПУ начальника гражданской обороны субъекта Российской Федерации;

абонентское устройство (громкоговоритель) - для контроля речевой информации, передаваемой по локальной системе оповещения;

средства прямой телефонной связи и радиосвязи с дежурным центрального щита радиационного контроля (ЦЩРК) и оперативным дежурным органа управления по делам гражданской обороны и чрезвычайным ситуациям субъекта Российской Федерации, города (городского района).

3.1.2. На узле связи атомной станции и на узле электросвязи пристанционного поселка (города) устанавливаются:

блок коммутации сообщений (П-166 БКС) - для коммутации команд дистанционного управления и речевой информации, передаваемых по ЛСО и ТАСЦО, на комплекты аппаратуры оповещения, установленные на узлах связи атомных станций и пристанционных поселков (городов);

блок оповещения универсальный (П-166 БОУ) - для приема команд дистанционного управления и речевой информации, передаваемых по ЛСО и ТАСЦО, и для передачи их на блок переключения радиотрансляционного узла (П-166 БПР), блок индивидуальных комплектов (П-166 БИК), а также для дистанционного управления электросиренами;

блок переключения радиотрансляционного узла (П-166 БПР) - для обеспечения дистанционного включения электропитания и переключения радиотрансляционных усилителей на передачу речевой информации;

блок индивидуальных комплектов (П-166 БИК) - для циркулярного оповещения руководства и дежурных смен аварийных служб атомной станции по телефонам.

3.1.3. На узле электросвязи райцентра устанавливаете блок коммутации сообщений (П-166 БКС) - для коммутации команд дистанционного управления и речевой информации, передаваемых по ЛСО и ТАСЦО, на комплекты аппаратуры оповещения местной системы оповещения.

3.1.4. В населенных пунктах, расположенных в границах локальной системы оповещения, как правило, устанавливается блок переключения радиотрансляционного узла (П-166 БПР) - для обеспечения дистанционного управления радиотрансляционным усилителем или выходным акустическим устройством (П-166 ВАУ).

3.2. Организационно-техническое построение локальных систем оповещения в районах размещения химически опасных объектов

Типовые варианты организационно-технического по строения локальных систем оповещения в районах размещения химически опасных объектов (ХОО) приведены в рисунках 3.2 и 3.3.

3.2.1. В диспетчерской и на пункте управления отдельно стоящего химически опасного объекта, как правило, устанавливаются:

автоматизированный пульт управления (П-166 АПУ) -для управления локальной системой оповещения, приема сигналов и речевой информации оповещения, передаваемой по ТАСЦО, а также для передачи информации об аварии в орган управления по делам гражданской обороны и чрезвычайным ситуациям субъекта Российской Федерации, города

Рис. 3.2. Организационно-техническое построение локальной системы оповещения в районе размещения отдельно стоящего химически опасного объекта

Рис. 3.3. Организационно-техническое построение локальной системы оповещения в районе размещения рядом стоящих химически опасных объектов

(городского района) и на ЗПУ начальника гражданской обороны населенного пункта города, на территории которого находится потенциально опасный объект;

абонентское устройство (громкоговоритель) - для контроля речевой информации, передаваемой по локальной системе оповещения;

средства прямой телефонной связи и радиосвязи с оперативным дежурным органа управления по делам гражданской обороны и чрезвычайным ситуациям города (городского района), диспетчерами (начальниками смен) расположенных рядом объектов, персоналом в местах хранения или перегрузки аварийно химически опасных веществ (АХОВ) или сильнодействующих ядовитых вещества (СДЯВ).

3.2.2. На объектовом узле связи (АТС и УПВ) устанавливаются:

блок коммутации сообщений (П-166 БКС) - для коммутации команд дистанционного управления и речевой информации, передаваемых по ЛСО и местной системе оповещения, на комплекты аппаратуры оповещения, установленной на объектовом узле связи и АТС районов города, расположенных в границах ЛСО;

блок оповещения универсальный (П-166 БОУ) - для приема команд дистанционного управления и речевой информации, передаваемых по ЛСО и местной системе оповещения, и передачи их на блок переключения радиотрансляционного узла (П-166 БПР), блок индивидуальных комплектов (П-166 БИК), а также для дистанционного управления электросиренами;

блок индивидуальных комплектов (П-166 БИК) - для оповещения руководящего состава гражданской обороны объекта по служебным телефонам.

блок переключения радиотрансляционного узла (П-166 БПР) - для обеспечения дистанционного включения электропитания и переключения объектового радиотрансляционного усилителя на передачу речевой информации.

3.2.3. На АТС городов, городских районов или населенных пунктов, расположенных в границах локальной системы оповещения, как правило, устанавливаются:

блок коммутации сообщений (П-166 БКС) - для коммутации команд дистанционного управления и речевой информации, передаваемых по ЛСО и ТАСЦО;

блок оповещения универсальный (П-166 БОУ) - для приема команд дистанционного управления и речевой информации, передаваемых по ЛСО и ТАСЦО, и передачи их на блок переключения радиотрансляционного узла (П-166 БПР), блок индивидуальных комплектов (П-166 БИК), а также дистанционного управления электросиренами местной системы оповещения;

блок индивидуальных комплектов (П-166 БИК) - для оповещения руководящего состава гражданской обороны объекта по телефонам;

блок переключения радиотрансляционного узла (П-166 БПР) - для обеспечения дистанционного включения электропитания и переключения радиотрансляционного усилителя на передачу речевой информации.

3.2.4. На объектах, расположенных в границах локальной системы оповещения, как правило, устанавливается блок переключения радиотрансляционного узла (П-166 БПР) -для обеспечения дистанционного управления радиотрансляционным усилителем или выходным акустическим устройством (П-166 ВАУ).

3.2.5. В органе управления по делам гражданской обороны и чрезвычайным ситуациям города (городского района) для приема и отображения сообщений об аварии на химически опасном объекте устанавливается (или используется имеющийся) автоматизированный пульт управления (П-166АПУ).

3.2.6. Особенностью схемы, приведенной на рисунке 3.3, является создание на долевой основе в интересах двух или более химически опасных объектов объединенной локальной системы оповещения, управление которой обеспечивается с рабочих мест диспетчеров (начальников смен) каждого из объектов.

3.3. Организационно-техническое построение локальных систем оповещения в районах размещения гидроэлектростанций

Типовой вариант организационно-технического построения локальной системы оповещения в районе размещения гидроэлектростанции (ГЭС) приведен на рисунке 3.4.

3.3.1. В диспетчерской ГЭС устанавливаются:

автоматизированный пульт управления (П-166 АПУ) - для управления локальной системой оповещения, приема сигналов и речевой информации оповещения, передаваемой по ТАСЦО, а также для передачи информации об аварии в орган управления по делам гражданской обороны и чрезвычайным ситуациям субъекта Российской Федерации и на ЗПУ начальника гражданской обороны субъекта Российской Федерации;

абонентское устройство (громкоговоритель) - для контроля речевой информации, передаваемой по локальной системе оповещения;

средства прямой телефонной связи и радиосвязи с оперативным дежурным органа управления по делам гражданской обороны и чрезвычайным ситуациям субъекта Российской Федерации.

Рис. 3.4. Организационно-техническое построение локальной системы оповещения в районе размещения ГЭС

3.3.2. На узле связи ГЭС устанавливаются:

блок коммутации сообщений (П-166 БКС) - для коммутации команд дистанционного управления и речевой информации, передаваемых по ЛСО и ТАСЦО, на комплекты аппаратуры оповещения, установленной на узлах связи ГЭС, поселка энергетиков, города, городского района;

блок оповещения универсальный (П-166 БОУ) - для приема команд дистанционного управления и речевой информации, передаваемых по ЛСО и ТАСЦО, и передачи их на блок переключения радиотрансляционного узла (П-166 БПР), блок индивидуальных комплектов (П-166 БИК), а также дистанционного управления электросиренами;

блок переключения радиотрансляционного узла (П-166 БПР) - для обеспечения дистанционного включения электропитания и переключения радиотрансляционного усилителя ГЭС на передачу речевой информации;

блок индивидуальных комплектов (П-166 БИК) - для циркулярного оповещения руководства ГЭС по служебным телефонам.

3.3.3. На узлах связи поселка энергетиков и других населенных пунктов, расположенных в границе локальной системы оповещения, устанавливаются:

блок оповещения универсальный (П-166 БОУ) - для приема команд дистанционного управления и речевой информации, передаваемых по ЛСО и ТАСЦО, и передачи их на блок переключения радиотрансляционного узла (П-166 БПР), блок индивидуальных комплектов (П-166 БИК), а также для дистанционного управления электросиренами местной системы оповещения;

блок индивидуальных комплектов (П-166 БИК) - для оповещения руководящего состава гражданской обороны ГЭС по телефонам;

блок переключения радиотрансляционного узла (П-166 БПР) - для обеспечения дистанционного включения электропитания и переключения радиотрансляционного усилителя на передачу речевой информации.

3.3.4. На районном узле электросвязи устанавливается блок БКС для сопряжения локальной системы оповещения ГЭС с ТАСЦО субъекта Российской Федерации.

4. ОРГАНИЗАЦИЯ И ОСНОВНЫЕ ЭТАПЫ СОЗДАНИЯ ЛОКАЛЬНЫХ СИСТЕМ ОПОВЕЩЕНИЯ

4.1. Мероприятия по созданию в районах размещения потенциально опасных объектов локальных систем оповещения проводятся под руководством руководителей этих объектов, являющихся по должности начальниками гражданской обороны (НГО), с участием органов, осуществляющих управление гражданской обороной на территории субъекта Российской Федерации или города (городского района), а также соответствующих служб оповещения и связи гражданской обороны.

4.2. Основанием для начала работ по созданию локальной системы оповещения является приказ руководителя потенциально опасного объекта, в котором определяется заказчик работ, цель, задачи, порядок работы и источники финансирования, основные этапы создания и обязанности должностных лиц по их выполнению.

4.3. На основании приказа руководителя потенциально опасного объекта штаб гражданской обороны объекта разрабатывает, согласовывает с органом управления по делам гражданской обороны и чрезвычайным ситуациям субъекта Российской Федерации города (городского района) и представляет на утверждение план мероприятий по созданию локальной системы оповещения.

4.4. В плане мероприятий по созданию локальной системы оповещения весь период работ целесообразно разделить на три этапа:

подготовка к проектированию и проектирование локальной системы оповещения - 4 - 8 месяцев;

проведение строительно-монтажных и пуско-наладочных работ - 8 - 12 месяцев;

приемка и ввод в эксплуатацию системы оповещения ГО - 4 - 8 месяцев.

4.5. На первом этапе:

разрабатывается техническое задание на разработку проекта по созданию локальной системы оповещения;

определяется проектная организация и заключается договор на выполнение проектных работ;

проводятся проектные работы;

осуществляется приемка и утверждение проекта.

4.6. Техническое задание на создание локальной системы оповещения является основным документом, определяющим требования к системе и порядок ее создания, в соответствии с которым осуществляются работы по ее созданию и приемка в эксплуатацию.

4.7. Техническое задание на создание локальной системы оповещения разрабатывается штабом ГО объекта с участием объектового подразделения связи на основе типового технического задания (Приложение 2) и согласовывается с органом управления по делам гражданской обороны и чрезвычайным ситуациям субъекта Российской Федерации или города (городского района) и службой оповещения и связи гражданской обороны.

При разработке технического задания (ТЗ) должны учитываться:

возможности аппаратуры оповещения П-166;

особенности организационно-технического построения объектовых сетей связи и вещания;

особенности организационно-технического построения территориальной и местной систем оповещения;

особенности организации сетей связи и вещания в районе размещения потенциально опасного объекта и перспективы их развития;

наличие и размещение попадающих в зону ответственности локальной системы оповещения населенных пунктов, других потенциально опасных объектов и объектов экономики, мест массового скопления населения и т. д.

4.8. Согласованное с органом управления по делам гражданской обороны и чрезвычайным ситуациям субъекта Российской Федерации или города (городского района), техническое задание утверждается руководителем потенциально опасного объекта, проектной организацией и оформляется в виде приложения к договору на выполнение проектных работ.

4.9. Проект на создание локальной системы оповещения разрабатывается проектными организациями связи в соответствии с следующими основными документами:

постановлением Правительства Российской Федерации от 1.03.93 г. № 178 «О создании локальных систем оповещения в районах размещения потенциально опасных объектов»;

техническим заданием на создание локальной системы оповещения;

СНиП 2.01.51-90.

4.10. Проект на создание локальной системы оповещения направляется на экспертизу в организации государственной вневедомственной экспертизы в субъекте Российской Федерации.

4.11. Проект на создание локальной системы оповещения с заключением организаций государственной вневедомственной экспертизы направляется на согласование в органы управления по делам гражданской обороны и чрезвычайным ситуациям субъекта Российской Федерации или города (городского района) и подразделения Госэкспертизы МЧС России для подготовки сводного экспертного заключения.

4.12. Проект на создание локальной системы оповещения утверждается руководителем потенциально опасного объекта при наличии положительного сводного экспертного заключения.

4.13. На основании утвержденного проекта на создание локальной системы оповещения, как правило, проводятся торги (тендеры) и заключается договор подряда на выполнение работ по созданию локальной системы оповещения.

4.14. На втором этапе:

определяются генеральный подрядчик и субподрядчики на выполнение работ по созданию локальной системы оповещения;

заключаются договора на закупку оборудования, проведение строительно-монтажных и пуско-наладочных работ;

осуществляется в соответствии с проектом закупка оборудования и его поставка;

проводятся строительно-монтажные и пуско-наладочные работы;

генеральным подрядчиком направляется заказчику уведомление о готовности локальной системы оповещения к приему в эксплуатацию.

4.15. Генеральный подрядчик работ по созданию локальной системы оповещения определяется заказчиком на конкурсной основе в соответствии с действующим законодательством Российской Федерации.

4.16. Субподрядчики определяются генеральным подрядчиком по согласованию с заказчиком.

4.17. Договора на создание локальной системы оповещения заключаются в соответствии с действующим законодательством Российской Федерации:

между заказчиком и генеральным подрядчиком; между генеральным подрядчиком и субподрядчиками.

4.18. К проведению монтажных и пуско-наладочных работ по созданию локальной системы оповещения целесообразно привлекать местные организации связи.

4.19. В период проведения работ по созданию локальной системы оповещения, при необходимости, по согласованию с органами управления по делам гражданской обороны и чрезвычайным ситуациям субъекта Российской Федерации или города (городского района), совместно с службами оповещения и связи гражданской обороны разрабатывается и проводится комплекс организационно-технических мероприятий по исключению несанкционированного задействования территориальной или местной системы оповещения.

4.20. Генеральный подрядчик после завершения строительно-монтажных работ в соответствии с договором подряда представляет заказчику необходимые документы, включая официальное извещение об окончании работ и готовности локальной системы оповещения к эксплуатации, а также предложения о сроках работы приемочной комиссии.

4.21. До приема локальной системы оповещения в эксплуатацию генподрядчик при участии заказчика:

организует выполнение пуско-наладочных работ, включающих в себя проверку, регулировку, настройку, тренировку и электрические измерения индивидуального оборудования, а также их контрольную проверку (опробование), в процессе которых все параметры оборудования и системы должны быть доведены до нормативных;

совместно с заказчиком готовит справки о соответствии локальной системы оповещения и смонтированного оборудования утвержденному проекту, о выполнении строительно-монтажных работ в соответствии с требованиями СНиП 2.01.51-90, о результатах контрольных измерений, испытаний и опробования оборудования и системы;

разрабатывает и согласовывает с органом, осуществляющим управление гражданской обороной, и службой оповещения и связи гражданской обороны программу и методику приемо-сдаточных испытаний и представляет их заказчику на утверждение.

4.22. На третьем этапе:

осуществляется приемка системы в эксплуатацию; разрабатывается и представляется на утверждение приказ о приеме локальной системы оповещения в эксплуатацию.

4.23. Приемка в эксплуатацию локальной системы оповещения осуществляется в соответствии с законодательными актами, строительными нормами и правилами (СНиП), инструкциями и руководствами, действующими в Российской Федерации в период ее создания и приемки в эксплуатацию.

4.24. Основанием для начала приема локальной системы оповещения в эксплуатацию является приказ руководителя потенциально опасного объекта о создании приемочной комиссии, в котором определяются состав комиссии,

сроки проведения, цель и задачи приемки, обязанности должностных лиц из состава комиссии.

4.25. Рекомендуется следующий состав приемочной комиссии:

председатель комиссии - заместитель руководителя потенциально опасного объекта (начальник штаба ГО объекта);

заместители(ль) председателя комиссии - начальник органа, осуществляющего управление гражданской обороны, начальник службы оповещения и связи гражданской обороны, представитель генерального подрядчика;

члены комиссии - начальники оперативного отдела и отдела связи органа, осуществляющего управление гражданской обороной, представители службы оповещения и связи гражданской обороны, генерального подрядчика, субподрядчиков и проектной организации.

4.26. Работу приемочной комиссии организует ее председатель. Необходимые условия для работы комиссии создают заказчик и генподрядчик.

4.27. На основании приказа руководителя потенциально опасного объекта о создании приемочной комиссии разрабатывается план работы приемочной комиссии, который после согласования с органом управления по делам гражданской обороны и чрезвычайным ситуациям, службой оповещения и связи гражданской обороны, представляется на утверждение председателю комиссии.

4.28. В плане работы приемочной комиссии указываются: состав рабочих групп (не обязательно из состава комиссии) по проверке выполнения требований технического задания на создание локальной системы оповещения; дата проверки, пункты технического задания, выполнение которых проверяется; пункты программы и методики испытаний, в соответствии с которыми осуществляется проверка соответствия локальной системы оповещения требованиям технического задания.

Целесообразно из состава рабочих групп определять ответственного за своевременное проведение проверки, оформление и представление в комиссию протоколов испытаний.

4.29. В протоколе испытаний членами рабочей группы отражаются результаты испытаний, замечания и рекомендации по работе системы и делается вывод о выполнении проверяемого пункта технического задания.

При отсутствии согласованного мнения по результатам испытаний член рабочей группы имеет право отразить в протоколе особое мнение.

4.30. Протокол по результатам испытаний подписывается членами рабочей группы и представляется в приемочную комиссию для дальнейшего рассмотрения и утверждения председателем комиссии.

4.31. Приемочная комиссия по результатам рассмотрения протоколов испытаний оформляет акт, в котором указываются цель и основные результаты работы приемочной комиссии, основные замечания и рекомендации, высказанные членами рабочих групп, делается вывод о соответствии локальной системы оповещения требованиям технического задания и даются рекомендации по приему системы в эксплуатацию.

К акту прилагаются:

протоколы рабочих групп;

ведомость соответствия локальной системы оповещения требованиям технического задания;

замечания и рекомендации по результатам работы приемочной комиссии с указанием сроков их устранения и реализации, а также ответственных исполнителей.

4.32. Акт подписывается членами комиссии и представляется на утверждение руководителю потенциально опасного объекта.

При наличии у отдельных членов приемочной комиссии обоснованных возражений они должны быть рассмотрены до утверждения акта с участием организаций, представители которых входят в состав комиссии.

4.3.3. Если приемочная комиссия принимает решение о невозможности приемки локальной системы оповещения в эксплуатацию, то вместо акта составляется мотивированное заключение с обоснованиями, имеющими ссылки на действующие законодательные и нормативные акты (которое подписывается членами комиссии) и рекомендуемыми мерами по обеспечению ввода системы в эксплуатацию.

4.34. Председатель приемочной комиссии направляет руководителю потенциально опасного объекта акт приемки или мотивированное заключение о невозможности приемки системы в эксплуатацию.

4.35. Юридической основой принятия локальной системы оповещения в эксплуатацию является приказ руководителя потенциально опасного объекта о принятии локальной системы оповещения в эксплуатацию.

4.36. На принятую в эксплуатацию локальную систему оповещения штабом ГО объекта оформляется паспорт (Приложение 3), который утверждается руководителем потенциально опасного объекта.

4.37. Копии приказа руководителя потенциально опасного объекта о приеме локальной системы оповещения в эксплуатацию, акта приемки и паспорт локальной системы оповещения направляются в органы управления по делам гражданской обороны и чрезвычайным ситуациям субъекта Российской Федерации, города (городского района).

5. ОРГАНИЗАЦИЯ ЭКСПЛУАТАЦИОННО-ТЕХНИЧЕСКОГО ОБСЛУЖИВАНИЯ ТЕХНИЧЕСКИХ СРЕДСТВ ЛОКАЛЬНЫХ СИСТЕМ ОПОВЕЩЕНИЯ

5.1. Эксплуатационно-техническое обслуживание представляет собой комплекс работ по поддержанию в исправном состоянии, восстановлению работоспособности и ресурса технических средств оповещения, выполняемых в период их использования по назначению.

5.2. Технические средства оповещения в зависимости от их технического состояния оцениваются как работоспособные (исправные) и неработоспособные (неисправные).

Технические средства оповещения являются работоспособными, если они в состоянии выполнять заданные функции, сохраняя значения заданных параметров в пределах, установленных эксплуатационно-технической документацией.

Технические средства оповещения являются неработоспособными, если значение хотя бы одного из параметров не соответствует нормам, установленным эксплуатационно-технической документацией.

5.3. Постоянная готовность к задействованию локальных систем оповещения достигается своевременным и качественным эксплуатационно-техническим обслуживанием ее технических средств.

5.4. Ответственность за организацию, контроль за состоянием и поддержанием технических средств оповещения в постоянной готовности к задействованию по предназначению несет руководитель потенциально опасного объекта.

5.5. Непосредственное выполнение работ по эксплуатационно-техническому обслуживанию технических средств

оповещения осуществляют подразделения связи потенциально опасного объекта или организации связи на договорной основе по согласованию с органами управления по делам гражданской обороны и чрезвычайным ситуациям субъекта Российской Федерации, города или городского района;

5.6. Технические средства оповещения, как правило, находящиеся в исправном (работоспособном) состоянии, имеющие полный комплект эксплуатационно-технической документации и ЗИП, должны передаваться на эксплуатационно-техническое обслуживание организациям связи по актам.

Технические средства оповещения, не удовлетворяющие указанным требованиям, могут приниматься на эксплуатационно-техническое обслуживание с указанием их фактического технического состояния в приемо-сдаточных актах.

Технические параметры технических средств оповещения могут быть доведены до норм технических условий организациями связи по отдельному договору.

5.7. Технические средства оповещения, принятые на эксплуатационно-техническое обслуживание, должны закрепляться приказами за специалистами, непосредственно отвечающими за их сохранность, своевременное и качественное выполнение всех видов технического обслуживания и текущего ремонта, пополнение израсходованных элементов ЗИП, аккуратное и правильное ведение учета технического состояния и оформление эксплуатационно-технической документации.

5.8. К самостоятельной работе по техническому обслуживанию технических средств оповещения должны допускаться специалисты:

прошедшие специальную подготовку и стажировку, имеющие практические навыки в использовании техники по назначению, в ее техническом обслуживании;

сдавшие зачеты по знанию правил и особенностей технического обслуживания технических средств оповещения, знанию правил техники безопасности;

прошедшие инструктаж по технике безопасности.

5.9. Для технических средств оповещения должны предусматриваться следующие виды технического обслуживания:

ежедневное техническое обслуживание (ЕТО);

 техническое обслуживание № 1 (ТО-1);

 техническое обслуживание № 2 (ТО-2).

5.10. Ежедневное техническое обслуживание должно проводиться на технических средствах оповещения, работающих непрерывно и предусматривает проверку:

наличия и состояния основных комплектующих блоков, приборов и запасного имущества;

исправности источников электроснабжения и готовности их к применению;

надежности крепления блоков и соединения электрических разъемов;

наличия и правильности ведения эксплуатационно-технической документации;

работоспособности и проведения необходимых регулировок технических средств оповещения по встроенным приборам.

О результатах проведения ЕТО должна делаться отметка в книге учета технического состояния технических средств оповещения.

5.11. Техническое обслуживание № 1 должно проводиться один раз в месяц независимо от интенсивности использования технических средств оповещения и предусматривать выполнение следующих основных работ:

работы в объеме ЕТО;

детальный осмотр и чистку технических средств оповещения;

проверку работоспособности технических средств оповещения с использованием встроенных систем контроля и автономных средств измерений;

проведение при необходимости электрических и механических регулировок, а также чистку и смазку трущихся частей;

доукомплектование одиночного комплекта ЗИП и израсходованных эксплуатационно-технических материалов.

Результаты ТО-1 должны записываться в книгу учета технического состояния технических средств оповещения.

5.12. Техническое обслуживание № 2 должно проводится один раз в год и предусматривать выполнение следующих основных работ:

работы в объеме ТО-1;

измерение параметров и характеристик технических средств оповещения, предусмотренных эксплуатационной документацией, и доведение их до установленных норм;

проверку и замену некачественных (неработоспособных) элементов технических средств оповещения;

проверку правильности ведения формуляров (паспортов) и другой эксплуатационной документации и порядка их хранения.

Результаты ТО-2 и значения измеренных параметров должны заноситься в формуляры (паспорта) и в книгу учета технического состояния технических средств оповещения.

5.13. В целях обеспечения непрерывности работы локальных систем оповещения перед началом технического обслуживания должны проводиться подготовка и проверка резервной аппаратуры, каналов и линий связи.

Выключение действующих технических средств оповещения для проведения планового ТО-1 (ТО-2) должно осуществляться с разрешения оперативного дежурного органа управления по делам гражданской обороны и чрезвычайным ситуациям на подведомственной территории которого, расположен потенциально опасный объект.

5.14. Основными документами по учету технического обслуживания технических средств оповещения являются:

формуляр;

книга учета технического состояния технических средств оповещения.

5.15. В формуляре должны отражаться:

сведения о поступлении технических средств оповещения, закреплении их за ответственными лицами, а также о всех последующих изменениях, включая передачу в другие структурные подразделения организации связи;

учет часов работы (учет ведется помесячно с суммированием данных о наработке за каждый год; на комплексы технических средств оповещения ведется раздельно для каждого комплектующего изделия);

учет отказов и повреждений;

учет технического обслуживания в объеме ТО-2 с занесением результатов измерения всех параметров и характеристик;

сведения о ремонте с указанием вида ремонта, места и времени его проведения и о доработках;

сведения об изменении категории, назначения и другие данные, предусмотренные разделами формуляра.

Все записи в формуляре должны быть чистыми и разборчивыми. Подчистки и незаверенные исправления не допускаются. Должности и фамилии лиц, вносивших записи в формуляр, должны быть записаны разборчиво.

При замене утраченных или пришедших в негодность комплектующих изделий изменения в формуляре (комплекте поставки) должны заверяться подписью довольствующего органа и гербовой печатью.

В случае утраты или порчи формуляра должен быть заведен его дубликат (после административного расследования по обстоятельствам и причинам утраты или порчи).

5.16. В книге учета технического состояния технических средств оповещения должны записываться:

время включения в работу, вынужденные перерывы в работе и их причины, время окончания использования по предназначению;

время проведения ЕТО, ТО-1 и ТО-2, кто выполнял работы, выявленные неисправности и выполненные работы по их устранению;

результаты контроля должностными лицами качества технического обслуживания;

результаты периодического контроля должностными лицами технического состояния технических средств оповещения.

5.17. Текущий ремонт технических средств оповещения проводится не планово и должен включать в себя работы по поиску и замене отказавших легкосъемных функциональных блоков, узлов и элементов, восстановлению их работоспособности после отказов и повреждений путем замены и (или) восстановления отдельных составных блоков (элементов), а также другие восстановительные работы, не требующие использования специального ремонтного оборудования.

5.18. С целью контроля готовности локальных систем оповещения к задействованию должны проводиться следующие виды проверок:

технические проверки готовности локальной системы оповещения к задействованию без включения оконечных средств оповещения населения;

комплексные проверки готовности локальной системы оповещения с доведением проверочных сигналов и информации оповещения до органов управления по делам гражданской обороны и чрезвычайным ситуациям и населения, проживающего на данной территории, должностных лиц потенциально опасного объекта.

Комплексные проверки должны проводиться не реже одного раза в год комиссиями в составе представителей органов управления по делам гражданской обороны и чрезвычайным ситуациям, службы оповещения и связи, организаций связи, осуществляющих эксплуатационно-техническое обслуживание технических средств оповещения. Как правило, комплексные проверки локальных систем оповещения проводятся в рамках комплексных проверок территориальных систем оповещения.

Технические проверки готовности системы оповещения гражданской обороны к задействованию должны проводиться без включения оконечных средств оповещения населения дежурным диспетчером потенциально опасного объекта путем ежедневной передачи сигнала (или речевого сообщения) «Техническая проверка» с последующей записью результатов в книгу учета технического состояния технических средств оповещения.

Перед проведением указанных проверок обязательно должен проводиться комплекс организационно-технических мероприятий с целью исключения несанкционированного запуска системы.

6. ПОРЯДОК ФИНАНСИРОВАНИЯ РАБОТ ПО СОЗДАНИЮ И ПОДДЕРЖАНИЮ В ГОТОВНОСТИ ЛОКАЛЬНЫХ СИСТЕМ ОПОВЕЩЕНИЯ

6.1. Финансирование работ по созданию и поддержанию в готовности локальных систем оповещения осуществляется в соответствии с федеральными законами и иными нормативными правовыми актами Российской Федерации.

ПРИЛОЖЕНИЕ 1
ОСНОВНЫЕ ТАКТИКО-ТЕХНИЧЕСКИЕ ХАРАКТЕРИСТИКИ КОМПЛЕКСА ТЕХНИЧЕСКИХ СРЕДСТВ ОПОВЕЩЕНИЯ П-166

1. Введение

1.1. Назначение комплекса технических средств П-166

Комплекс технических средств (КТС) предназначен для создания автоматизированных систем централизованного оповещения (АСЦО) с целью доведения сигналов оповещения, а также построения местных и локальных систем оповещения с целью доведения речевой информации до населения по сетям проводного вещания и телевидения, должностных лиц - на домашние и служебные телефоны, включения электросирен и акустических установок.

1.2. Условные и сокращенные обозначения

В руководстве по эксплуатации применяются следующие сокращения и условные обозначения:

АСЦО - автоматизированная система централизованного оповещения

АТС - автоматическая телефонная станция;

ЗИП - запасные части, инструмент и принадлежности;

КТС - комплекс технических средств;

МКФ - микрофон;

ПЭВМ - персональная электронно-вычислительная машина;

РЭ - руководство по эксплуатации;

ТЧ канал - канал тональной частоты;

ТЭЗ - типовой элемент замены.

2. Описание комплекса технических средств и принципы построения АСЦО

2.1. Состав изделия

В состав оповещения П-166 входят:

- КТС станции местной телефонной (МТ) станции (П-166 МТ) состоящий из: блока оповещения универсального (П-166 БОУ) НЯИТ.465689.004 ТУ; блоков индивидуальных комплектов (П-166 БИК) НЯИТ.465689.003 ТУ;

- блок коммутации сообщений (П-166 БКС) НЯИТ.465653.007 ТУ;

- командный пульт управления (П-166 КПУ) НЯИТ.465673.004 ТУ;

- автоматизированный пульт управления (П-166 АПУ) НЯИТ.465673.003 ТУ;

- блок переключения РТУ (П-166 БПР) НЯИТ.468332.039 ТУ;

- приемник местного оповещения (П-166 ПМО) НЯИТ.468383.000 ТУ.

Для текущего ремонта имеются одиночные комплекты ЗИП-О, имеющие в своем составе типовые элементы замены (ТЭЗ).

ЗИП-О имеют следующие составные части: П-166 МТ, П-166 БКС, П-166 КПУ, П-166 АПУ, П-166 БПР.

ЗИП-О на П-166 МТ поставляется по отдельному заказу и имеет модификации в зависимости от числа блоков БИК в составе станции.

Для пополнения соответствующих ЗИП-О имеется ЗИП-Г, рассчитанный на 5 изделий.

2.2. Особенности работы и эксплуатации составных частей

2.2.1. Комплекс технических средств станции МТ (П-166 МТ) предназначен для доведения речевой информации до населения по радиотрансляционной сети, до должностных лиц - на телефоны (или приемники местного оповещения П-166 ПМО), для управления электросиренами и включает в себя:

- блок оповещения универсальный (П-166 БОУ);

- блоки индивидуальных комплектов (П-166 БИК) - до 8 штук;

Блоки имеют стандартный размер 600×302×306 мм и размещаются на МТС райцентра, АТС города или сельского района.

БОУ предназначен для управления оконечными средствами оповещения (телефоны, ПМО, электросирены, РТУ, П-166 ВАУ (СГС-22 М)) и обеспечивает:

- прием команд управления и речевых сообщений с верхнего звена или КПУ (АПУ) для циркулярного или избирательного запуска оконечных устройств;

- отбор абонентских линий, передачу на телефонные аппараты вызывного сигнала и ретрансляцию речевых сообщений при снятии трубки;

- отбор абонентских линий и передачу по ним сигналов управления устройствами П-164 А для включения электросирен в непрерывном или прерывистом режимах;

- передачу по каналам ТЧ или соединительным линиям сигналов управления на БПР для переключения РТУ или звукового сопровождения телевещания и ретрансляции по ним речевых сообщений;

- управление БИК (до 8 шт.).

БИК предназначен для наращивания числа направлений и должен выполнять функции БОУ в части управления оконечными устройствами оповещения (число направлений - до 20).

Питание блоков осуществляется от сети постоянного тока напряжением 60 В.

Пример записи при заказе и в технических документах:

Пример записи при заказе и в технических документах:

Общее количество ТЭЗ МДК-05, МДКФ-5 и МДКТ должно быть от одного до двух.

Далее по тексту приводится обозначение ТЭЗ МДК, кроме оговоренных случаев.

Общее количество ТЭЗ ИК, ИКП, ИКС, ИКД, ИКР должно быть от одного до десяти.

Установка ТЭЗ ИК (индивидуальных комплектов) в блоки БОУ и БИК на заводе-изготовителе осуществляется в соответствии со спецификацией заказа в зависимости от типа и количества оконечных средств оповещения.

Установка модемов в блоки БОУ на заводе-изготовителе осуществляется в соответствии со спецификацией заказа в зависимости от типа линий связи (отбираемых каналов ТЧ, выделенных физических линий, коммутируемых линий АТС) и количества направлений с верхнего звена или КПУ(1 - 2).

2.2.2. Блок коммутации сообщений (П-166 БКС) заказывается при необходимости и предназначен для коммутации команд и речевых сообщений по 8 направлениям с целью создания разветвленной радиально-узловой структуры сети местного оповещения и обеспечивает:

- отбор соединительных линий, прием команд с верхнего звена управления по одному из трех независимых входов и ретрансляцию по 8 направлениям в нижнее звено (на БКС или БОУ или БПР);

- прием и ретрансляцию речевых сообщений;

- прием информации по каждому из 8 входов с нижнего звена и их ретрансляцию в верхнее звено.

Питание осуществляется от сети постоянного тока напряжением 60 В.

Пример записи при заказе и в технических документах:

Общее количество ТЭЗ МД-05, МДКФ-5 и МДКТ должно быть от двух до одиннадцати.

Установка модемов в блоки БКС на заводе-изготовителе осуществляется в соответствии со спецификацией заказа в зависимости от типа линий связи (отбираемых каналов ТЧ, выделенных физических линий, коммутируемых линий АТС) и количества направлений для разветвления и с верхнего звена (3 - 11).

2.2.3. Командный пульт управления (П-166 КПУ) предназначен для управления оконечными средствами КТС местного оповещения и для приема информации оповещения с верхнего звена и состоит из клавиатуры и блока обмена, соединенных кабелем длиной до 5 м.

Клавиатура размещается на столе, а блок обмена, представляющий из себя моноблок с двумя ТЭЗ, в любом удобном месте.

КПУ обеспечивает:

- набор на клавиатуре команд, отбор канала ТЧ или физической линии и передачу на БОУ информации для управления сиренами, РТУ, телефонными аппаратами (или ПМО) в циркулярном и избирательном режимах;

- передачу речевых сообщений с микрофона или диктофона;

- прием с БОУ подтверждений и индикацию ответов абонентов;

- прием по каналу ТЧ или физической линии команд оповещения с КТС верхнего звена, индикацию номера принятой команды и звуковую сигнализацию о приеме;

- передачу на КТС верхнего звена автоматических и ручных подтверждений о приеме сигнала оповещения;

- обмен речевыми сообщениями с КТС верхнего звена.

Напряжение питания - 220 В переменного тока.

КПУ имеет 2 варианта поставки:

- НЯИТ.465673.004 - выполняет все перечисленные выше функции;

- НЯИТ.465673.004-02 не выполняет функции управления оконечными средствами оповещения и предназначен для приема команд, передачи подтверждений и обмена речевыми сообщениями.

2.2.4. Автоматизированный пульт управления (П-166 АПУ) предназначен для управления оконечными средствами местного оповещения и для приема информации оповещения с верхнего звена, построен на базе ПЭВМ, выполняет функции КПУ и дополнительно обеспечивает:

- предварительную подготовку, коррекцию и хранение списка абонентов, речевых сообщений и программ запуска сети;

- документирование на принтере и жестком диске результатов оповещения.

Вариант поставки П-166 АПУ-01 работает только по выделенным физическим линиям (без отбора).

2.2.5. Блок переключения РТУ (П-166 БПР) предназначен для переключения радиотрансляционного узла с основного режима работы на передачу речевой информации оповещения и обеспечивает:

- прием по каналам ТЧ или физическим линиям (2-х или 4-х проводным) команд и речевой информации с БОУ или БКС;

- дистанционное включение питания усилителей РТУ (до 4-х);

- передачу подтверждений о приеме команды управления;

- ретрансляцию речевой информации на вход усилителей (до 4-х).

Вместо РТУ возможно управление по НЧ - входам телевизионных передатчиков и передача речевой информации оповещения по каналам звукового сопровождения.

Напряжение питания - 220 В переменного тока.

Вариант исполнения П-166 БПР обеспечивает управление переключением радиотрансляционного узла с основного режима работы на передачу речевой информации оповещения и работает по выделенным каналам ТЧ или физическим линиям (2-х или 4-х проводным).

Вариант исполнения П-166 БПР-01 обеспечивает управление акустической установкой СГС-22 М (П-166 ВАУ) для включения ее в режим выдачи сигнала сирены или ретрансляции речевого сообщения и работает по выделенным каналам ТЧ или физическим линиям (2-х или 4-х проводным).

Вариант исполнения П-166 БПР-02 обеспечивает управление переключением радиотранляционного узла с основного режима работы на передачу речевой информации оповещения и работает по отбираемым у основного потребителя каналам ТЧ или физическим линиям (2-х или 4-х проводным).

Вариант исполнения П-166 БПР-03 обеспечивает управление акустической установкой СГС-22 М (П-166 ВАУ) для включения ее в режим выдачи сиренного сигнала или ретрансляции речевого сообщения и работает по отбираемым у основного потребителя каналам ТЧ или физическим линиям (2-х или 4-х проводным).

Блоки П-166 БПР всех исполнений при работе по физическим линиям обеспечивают коррекцию АЧХ для расширения полосы пропускания.

2.2.6. Приемник местного оповещения (П-166 ПМО) предназначен для оповещения личного состава в помещениях и должен обеспечивать:

- прием по двухпроводной линии вызывного сигнала с БОУ и включение звуковой сигнализации о приеме;

- передачу ручного подтверждения о приеме вызывного сигнала;

- прием речевого сообщения и воспроизведение его через встроенный громкоговоритель.

ПМО размещается на стене или на столе.

Источника питания не требуется.

Развитие и внедрение цифровых транспортных сетей типа SDH и АТМ приводит к тому, что (особенно в крупных городах) существует весьма разнородная структура каналов связи и телекоммуникационного оборудования. Для доступа непосредственно в цифровую сеть необходимо дополнительно устанавливать мультиплексоры серии FCD (например Мegарlex 2000/2004 фирмы RAD-дистрибьютер «Информсвязь») для выделения из двух мегабитных потоков Е1 аналоговых виртуальных каналов ТЧ, к которым и подключается аппаратура оповещения.

Мультиплексоры FCD могут быть оборудованы как электрическим (по стандарту G.703), так и оптоволоконным интерфейсом для подключения к оборудованию опорной транспортной сети, а для сопряжения с оборудованием пользователя в мультиплексор устанавливаются платы LS-6 для организации до 40 каналов ТЧ.

Таким образом, может быть создана наложенная сеть с выделенными каналами ТЧ, которые можно использовать не только для передачи информации оповещения.

Другим вариантом подключения аппаратуры оповещения при отсутствии аналоговых окончаний каналов связи

или физических линий является использование модификаций КТС П-166 (БОУ, БКС) с установленным телефонным модемом МДКТ для работы по абонентским линиям АТС путем автоматического набора номера при передаче информации оповещения.

В этом случае, БОУ при приеме вызова с АТС имитирует снятие трубки и происходит установление соединения через АТС.

Недостатком данного варианта является увеличение до 20 секунд времени запуска и резкое снижение вероятности доставки сообщений из-за участия АТС в установлении соединения.

 

ПРИЛОЖЕНИЕ 2

 

УТВЕРЖДАЮ

 

УТВЕРЖДАЮ

Руководитель

 

Руководитель

проектной организации

 

организации заказчика

 

 

 

«__»______200_г.

 

«__»______200_г.

 

ТЕХНИЧЕСКОЕ ЗАДАНИЕ
на создание (реконструкцию) локальной системы оповещения

 

 

 

 

Начальник органа

 

Начальник службы

управления по делам

 

оповещения и связи ГО

ГОЧС субъекта РФ

 

 

«___»_______200_г.

 

«___»_______200_г.

 

 

200____г.

 

1. Общие положения

1.1. Наименование создаваемой (реконструируемой) локальной системы оповещения (ЛСО).

Даётся полное наименование и условное обозначение создаваемой (реконструируемой) ЛСО с указанием наименования потенциально опасного объекта.

1.2. Основания для создания (реконструкции). Указываются директивные документы, на основании которых создается (проводится реконструкция) ЛСО, кем и когда утверждены эти документы.

1.3. Назначение ЛСО и цели ее создания (реконструкции).

1.3.1. Назначение ТСО.

Указывается назначение системы.

1.3.2. Цели создания (реконструкции).

Приводятся наименования и требуемые значения показателей ЛСО, которые должны быть достигнуты в результате создания (реконструкции).

1.4. Заказчик.

Указывается полное наименование и реквизиты заказывающей организации.

1.5. Головной исполнитель.

Указывается полное наименование и реквизиты организации головного исполнителя.

1.6. Соисполнители.

Указываются полные наименования и реквизиты организаций соисполнителей.

1.7. Генеральный подрядчик.

Указывается полное наименование и реквизиты организации, осуществляющей строительно-монтажные и пусконаладочные работы.

1.8. Сроки выполнения работ.

Указываются основные этапы проектных, строительно-монтажных и пуско-наладочных работ, сроки их начала и окончания.

При необходимости указываются сроки предоставления отдельных документов (технико-экономических расчётов, рабочих проектов и т. д.).

1.9. Порядок предоставления заказчиком исходных данных.

Указываются сроки, порядок и способ предоставления заказчиком головному исполнителю исходных данных.

2. Характеристика действующей ЛСО

Приводятся краткие сведения о действующей ЛСО или ссылки на документы, содержащие такую информацию, а также сведения об условиях ее эксплуатации.

3. Требования к ЛСО

3.1. Требования к ЛСО в целом.

3.1.1. Требования к структуре и функционированию системы.

Указываются:

- основные задачи ЛСО;

- количество и места размещения пунктов управления ЛСО;

- конкретные границы ЛСО, населенные пункты и районы, включаемые в систему;

- перечень подсистем ЛСО, их назначение и основные характеристики, требования к числу уровней иерархии и степени централизации системы;

- требования к характеристикам взаимосвязей ЛСО со смежными системами, в том числе параметры ее сопряжения, указания о способах обмена информацией (автоматически, по телефону и т. п.);

- требования к режимам функционирования ЛСО;

- требования к диагностированию ЛСО;

- перспективы развития, модернизации ЛСО.

3.1.2. Требования к численности и квалификации персонала и режиму его работы.

Приводятся:

- требования к численности оперативного и эксплуатационного персонала;

- требования к квалификации оперативного и эксплуатационного персонала, порядку его подготовки и контроля знаний и навыков;

- режим работы оперативного и эксплуатационного персонала.

3.1.3. Требования к показателям надежности. Приводятся значения параметров, характеризующие степень соответствия ЛСО ее назначению, в том числе указываются:

- состав и количественные значения показателей надежности для системы в целом или ее подсистемам;

- перечень ситуаций, по которым должны быть регламентированы требования к надежности, и значения соответствующих показателей;

- требования к надежности технических средств и программного обеспечения;

- требования к методам оценки и контроля показателей надежности на разных стадиях реконструкции ЛСО.

3.1.4. Требования по безопасности.

Приводятся требования по обеспечению безопасности при монтаже, наладке, эксплуатации, обслуживании и ремонте технических средств ЛСО.

3.1.5. Требования по эргономике и технической эстетике.

Приводятся показатели ЛСО, задающие необходимое качество взаимодействия человека с машиной и комфортность условий работы.

3.1.6. Требования к эксплуатации, техническому обслуживанию и ремонту.

Приводятся:

- условия и регламент (режим) эксплуатации, которые должны обеспечивать использование технических средств ЛСО с заданными техническими показателями, в том числе виды и периодичность обслуживания технических средств системы или допустимость работы без обслуживания;

- требования к составу, размещению и условиям хранения комплекта запасных изделий и приборов;

- предварительные требования к допустимым площадям для размещения персонала и технических средств системы, к параметрам сетей энергоснабжения и т. п.

3.1.7. Требования к защите информации от несанкционированного доступа.

Приводятся требования, установленные в нормативно-технической документации (НТД).

3.1.8. Требования к сохранности информации при авариях.

Приводится перечень событий: аварий, отказов технических средств (в том числе - потеря электропитания) и т. п., при которых должна быть обеспечена сохранность информации в ЛСО.

3.1.9. Дополнительные требования. Приводятся:

- требования к оснащению системы устройствами для обучения персонала;

- требования к сервисной аппаратуре, стендам для проверки элементов системы;

- требования к ЛСО, связанные с особыми условиями эксплуатации;

- специальные требования по усмотрению разработчика или заказчика.

3.2. Требования к видам обеспечения.

Приводятся требования к информационному, техническому, метрологическому, организационному, методическому и другим видам обеспечения.

3.2.1. Для информационного обеспечения системы приводятся требования:

- к информационному обмену между компонентами системы;

- к информационной совместимости со смежными системами;

- к защите данных от разрушений при авариях и сбоях в электропитании системы;

- к контролю, хранению, обновлению и восстановлению данных.

3.2.2. Для технического обеспечения ЛСО приводятся требования к видам технических средств, в том числе к видам комплексов технических средств, программно-технических комплексов и других комплектующих изделий, допустимых к использованию в системе. Указывается комплекс аппаратуры и средств оповещения, составляющих основу создаваемой ЛСО.

3.2.3. В требованиях к метрологическому обеспечению приводятся:

- требования к метрологическому обеспечению технических и программных средств, входящих в состав измерительных каналов системы, средств встроенного контроля;

- вид метрологической аттестации (государственная или ведомственная) с указанием порядка ее выполнения и организаций, проводящих аттестацию.

3.2.4. Для организационного обеспечения приводятся требования:

- к структуре и функциям подразделений, участвующих в функционировании системы или обеспечивающих эксплуатацию;

- к организации функционирования системы;

- к защите от ошибочных действий оперативного и эксплуатационного персонала системы.

4. Дополнительные требования по выполнению работ

4.1. Уточнение и дополнение ТЗ.

Оговаривается порядок согласования с заказчиком возможных требований, отдельных положений ТЗ при проведении сбора исходных данных, обосновании требований и др.

4.2. Исходные данные.

Перечисляются исходные данные, представляемые заказчиком исполнителю для проведения работ (схемы системы связи и оповещения, условия размещения аппаратуры оповещения и т. д.).

4.3. Проектно-сметная документация (ПСД).

Указываются:

- нормативные документы, на основании которых исполнитель разрабатывает ПСД, а также рассчитывает нормативное время проектирования;

- при необходимости разработки ПСД в сжатые сроки оговаривается порядок доплаты за сокращение нормативных сроков проектирования и указывается документ, на основании которого производится доплата;

- указывается необходимость увязки разрабатываемой ПСД с ранее выпущенными типовыми проектными материалами. В целях уменьшения объёма работы отдельные решения, имеющиеся в вышеуказанных материалах, могут не приводиться.

Определяется перечень, состав и объём основных и вспомогательных проектно-сметных документов, предоставляемых исполнителем заказчику, а также, при необходимости, оговариваются требования к отдельным документам.

Примерный перечень ПСД:

- схема организации ЛСО с пояснительной запиской;

- планы размещения и установки технических средств оповещения;

- монтажные схемы соединений с учётом сопряжения всех устанавливаемых технических средств;

- спецификация оборудования, кабельных изделий и других необходимых материалов;

- сметные расчёты.

5. Состав и содержание работ по реконструкции ЛСО

Должен содержать перечень стадий и этапов работ по созданию ЛСО, сроки их выполнения, перечень организаций-исполнителей работ, ссылки на документы, подтверждающее согласие этих организаций на участие в создании системы, или запись, определяющих ответственного (заказчика или разработчика) за проведение этих работ.

В данном разделе также приводятся:

- перечень документов, предъявляемых по окончании соответствующих стадий и этапов работ;

- вид и порядок проведения экспертизы технической документации (стадия, этап, объем проверяемой документации, организация эксперт).

6. Требования к составу и содержанию работ по подготовке ЛСО к вводу в действие

Приводится перечень основных мероприятий и их исполнителей, которые следует выполнить при подготовке ЛСО к вводу в действие.

Указываются порядок оформления и предъявления заказчику результатов работы по реконструкции системы (ее частей), по изготовлению и наладке отдельных средств (технических, программных и др.) и программно-технических (программно-методических) комплексов системы.

7. Порядок контроля и приемки ЛСО

Указываются:

- общие требования к приемке работ по стадиям (перечень участвующих предприятий и организаций, место и сроки проведения), порядок согласования и утверждения приемочной документации;

- количество экземпляров разрабатываемой ПСД и расчёт её рассылки;

- порядок согласования с заказчиком и заинтересованными организациями ПСД (исходных данных), а также сдачи-приёмки готовой продукции;

- виды, состав, объем и методы испытаний системы и ее составных частей;

- статус приемочной комиссии (государственная, межведомственная, ведомственная).

8. ТЗ подписывают:

представители заказчика;

начальник оперативного отдела органа управления по делам ГОЧС субъекта Российской Федерации;

начальник отдела связи органа управления по делам ГОЧС субъекта Российской Федерации;

представители головного исполнителя, соисполнителя и генерального подрядчика.

ПРИЛОЖЕНИЕ 3
ПАСПОРТ
локальной системы оповещения потенциально опасного объекта

(по состоянию на 01.01.200___г.)

Наименование и шифр локальной системы оповещения (ЛСО) потенциально опасного объекта (ПОО)

 

1. Охват ЛСО населения и территории

1.1. Количество населенных пунктов (городов, райцентров и т. д.), объектов экономики, включенных в ЛСО,_____кол-во,____% от потребности.

1.2. Сопряженность ЛСО с ТАСЦО субъекта РФ______(да/нет).

1.3. Количество населения, проживающего в зоне действия ЛСО,________(чел.)

1.4. Охват обслуживающего персонала ПОО/населения различными средствами оповещения, включенными в ЛСО: всего - _____/______%;

в том числе:

электросиренами___________/__________%;

проводным вещанием_________/________%;

радиовещанием__________/____________%;

телевидением__________/______________%.

2. Характеристика ЛСО

2.1. Тип аппаратуры, используемый в ЛСО (подчеркнуть): П-166, П-160, П-164 и др.

2.2.Управление ЛСО:

с основного пункта управления___________________;

с запасного (защищенного) пункта управления______.

2.3. Каналы связи, используемые в ЛСО:

по кабельным линиям___________________________%

по радио и радиорелейным линиям________________%

по постоянным воздушным линиям________________%

2.5. Количество электросирен всего:________________;

в том числе: в населенных пунктах_________________;

на объектах (в цехах)_____________________________

Количество электросирен с ручным управлением - ___.

2.6. Количество абонентов системы циркулярного вызова:

всего:___________________________________________;

в том числе:

в населенных пунктах_____________________________;

на объектах (в цехах)______________________________.

2.7. Количество узлов проводного вещания, используемых в ЛСО, - ____________.

Число уличных громкоговорителей - ________________

3. Организация эксплуатационно-технического обслуживания (ЭТО)

3.1. Даты начала и завершения работ по созданию (реконструкции ЛСО) и ввода ее в эксплуатацию________________.

3.2. Организации, обеспечивающие ЭТО:

станционной части: _______________________________;

электросирен ____________________________________;

уличных громкоговорителей________________________.

3.3. Количество работников, обслуживающих ЛСО:

всего_________,

в том числе:

освобожденных__________________________;

по совместительству______________________.

3.4. Организации, на балансе которых находятся:

аппаратура оповещения:____________________;

электросирены____________________________;

уличные громкоговорители__________________.

3.5. Стоимость ЭТО в год (на начало текущего года)_____млн. руб.




Яндекс цитирования



   Copyright © 2007-2026,  www.tehlit.ru.

[ ѓосты, стандарты, нормативы, инструкции, правила, строительные нормы ]