//
|
|
ГОСУДАРСТВЕННАЯ СЛУЖБА ДОРОЖНОГО ХОЗЯЙСТВА МИНИСТЕРСТВА ТРАНСПОРТА РОССИЙСКОЙ ФЕДЕРАЦИИ
АНАЛИЗ НОРМ ПРОЕКТИРОВАНИЯ ПОЛОТНА АВТОМОБИЛЬНЫХ ДОРОГ ЗАРУБЕЖНЫХ СТРАН НА ПРИМЕРЕ ПОСЛЕДНИХ НОРМ И ПРАВИЛ ФЕДЕРАТИВНОЙ РЕСПУБЛИКИ ГЕРМАНИИ
Приложение II Часть «Поперечные профили автомобильных дорог» (RAS-Q)
Москва 2003
СОДЕРЖАНИЕ
В Приложении II «Нормы и правила проектирования автомобильных дорог Федеративной Республики Германии», часть «Поперечные профили автомобильных дорог» (RAS-Q), приведены допустимые и рекомендуемые значения элементов в поперечном профиле при проектировании строительства, реконструкции и капитальном ремонте автомобильных дорог. Дается обоснование элементов в поперечном профиле, их размеров, типовые поперечные профили автомобильных дорог различных категорий с их особенностями на искусственных сооружениях, основные принципы и критерии их назначения. Рассматриваются методы проверки соответствия поперечных профилей пропускной способности и качеству транспортного обслуживания с учетом особенностей проложения дорог в конкретных условиях местности. Особое внимание уделено поперечному профилю с одной проезжей частью и с тремя полосами движения, дополнительным полосам на двухполосных дорогах, контролю за безопасностью движения. Приложение II «Нормы и правила проектирования автомобильных дорог Федеративной Республики Германии» разработаны Научно-исследовательским обществом по строительству дорог и транспорту, рабочая группа «Проектирование дорог». Утверждены Федеральным Министерством транспорта ФРГ 06.10.96 г. Изданы в 1996 г. Данное Приложение II является продолжением Приложения I, часть «Проложение трассы автомобильных дорог» (RAS-L). Перевел на русский язык и подготовил к изданию канд. техн. наук В.А. Федотов (ГУ «Росдорэкспертиза») 1. ВВЕДЕНИЕ1.1. Область примененияДороги народнохозяйственного значения в соответствии с «Руководством по функциональной организации сети автомобильных дорог» (RAS-N) подразделяют на пять групп от А до Е, представленных в табл. 1, по: • месту проложения (на свободных или на застроенных территориях); • прилегающей к дороге застройке (при отсутствии или наличии вдоль дороги застройки); • основной выполняемой функции (обеспечение транспортной связи, обслуживание прилегающих территорий, местопребывание). В соответствии со значением в организации транспортной связи и с выполнением определенных задач в дорожной сети (характеризуемым по «Руководству по функциональной организации сети автомобильных дорог» (RAS-N) функциональными уровнями от I до VI) автомобильные дороги групп от А до Е можно разделить принципиально на 16 категорий. Настоящая часть «Поперечные профили автомобильных дорог» (RAS-Q) предназначена для проектирования нового строительства, реконструкции и капитального ремонта общегосударственных автомобильных дорог только группы А, а также категорий ВI и В II. При проектировании дорог категорий ВIII и ВIV в условиях отсутствия застройки, а также дорог групп от С до Е при наличии застройки следует руководствоваться «Рекомендациями по проектированию дорог общегородского значения» (EAHV 1993) и «Рекомендациями по проектированию дорог в населенных пунктах» (ЕАЕ 1985/95). Дороги категории АVI (например, сельскохозяйственные дороги и дороги лесных угодий) проектируются по специальным техническим, указаниям.
Таблица 1 Область применения Норм и правил проектирования автомобильных дорог, часть «Поперечные профили автомобильных дорог» (RAS-Q)
Примечание. Знак «-» означает отсутствие данных связей на дорогах. 1.2. Основные требования к поперечным профилямВ дорожно-транспортной сети каждая дорога, какой-либо участок дороги должны выполнять определенную задачу. При установлении транспортных требований к поперечному профилю дорог на свободных от застройки территориях должны учитываться требования к организации этих территорий. В пределах застроенных территорий необходимо, кроме того, учитывать планы развития их дорожно-транспортной сети. Для обоснования составных элементов поперечного профиля основными факторами являются безопасность движения, качество транспортного обслуживания, стоимость строительства и транспортные расходы. Необходимо также принимать во внимание требования к защите природы и ландшафта, охране окружающей среды и градостроительные проблемы. На застроенных территориях требования, предъявляемые городской и сельской средой к организации придорожной полосы (например, сохранение сельского и городского ландшафта), должны быть согласованы между собой и с транспортными требованиями к дороге. Пешеходное и велосипедное движение необходимо удалять от движения автомобилей. 2. ОБОСНОВАНИЯ РАЗМЕРОВ СОСТАВНЫХ ЭЛЕМЕНТОВ ПОПЕРЕЧНОГО ПРОФИЛЯ ДОРОГИ2.1. Основные размеры2.1.1. Исходные данные В основу обоснования поперечного профиля положен расчетный автомобиль шириной 2,5 м (ширина расчетного автомобиля не идентична максимально допустимой ширине автомобиля, которая по дорожным правилам Германии составляет 2,55 м, в особых случаях устанавливается 2,6 м) и высотой 4,0 м. 2.1.2. Пространство, занимаемое при движении автомобилем Боковое пространство при движении представляет собой воздушный зазор, который требуется для выравнивания неточностей в движении и управлении автомобилем, а также в качестве расстояния для предохранения выступающих частей (например, зеркал). К боковому пространству при движении относятся и дополнительно занимаемые автомобилями площади на кривых малого радиуса при отсутствии уширений полос движения, проектируемых в соответствии с требованиями части «Проложение трассы автомобильных дорог» (RAS-L). Пространство при движении включает в себя также расстояние между встречными автомобилями для их разъезда на дорогах с одной проезжей частью. Ширина бокового пространства на дорогах, трассируемых на свободных от застройки территориях, определяется, в первую очередь, ожидаемыми скоростями, интенсивностью движения, особенно большегрузных автомобилей. Ширина бокового зазора при движении установлена в зависимости от типа поперечного профиля и составляет от 0,25 до 1,25 м. Верхнее пространство при движении автомобилей представляет собой воздушный зазор, который требуется движущемуся автомобилю для выравнивания неточностей положения груза, колебаний автомобиля, обусловленных неровностями покрытия, и составляет 0,25 м. 2.2. Транспортный габаритТранспортный габарит для движения автомобилей состоит из занимаемого расчетным автомобилем габарита, боковых и верхнего зазоров, а также из габарита, занимаемого краевыми полосами или водоотводными лотками и остановочными полосами. Высота транспортного габарита составляет 4,25 м. Транспортный габарит для пешеходных дорожек и велодорожек имеет высоту 2,25 м. Ширина габарита зависит от управления (выбора положения) автомобилем, положения дорог и интенсивности движения соответствующих транспортных средств. Разграничение по размерам и зазорам для пешеходного и велосипедного движений не дается. 2.3. Габарит в светуГабарит в свету представляет собой очертание поперечного профиля, которое не должно иметь внутри жестких препятствий. Он состоит из транспортных габаритов, предохранительных боковых и верхнего зазоров (рис. 1).
Рис. 1. Составные элементы поперечного профиля дороги:
2.3.1. Боковое предохранительное пространство 2.3.1.1. Движение автомобилей Ширина бокового предохранительного пространства устанавливается от края транспортного габарита к внешней стороне. Необходимая ширина зависит от допустимой скорости движения Vдоп (максимальная скорость, допустимая на дороге или ее участках для легковых и грузовых автомобилей): при V > 70 км/ч ширина ≥ 1,25 м; при 50 км/ч < Vдоп ≤ 70 км/ч ширина ≥ 1,0 м; при Vдоп ≤ 50 км/ч ширина ≥ 0,75 м. Эти размеры могут быть уменьшены у остановочных полос, центральной разделительной полосы и бордюра на 0,25 м. Стойки (диаметром не более 76 мм) дорожных знаков и устройств должны устанавливаться так, чтобы их ось совпадала с границей габарита в свету. Защитные устройства и легко деформируемые части дорожных устройств могут приближаться к транспортному габариту на расстояние до 0,5 м. При этом следует учитывать Нормы и правила для устройства защитных ограждений на дорогах (RPS). Для дорог с двумя проезжими частями боковое предохранительное пространство до защитных ограждений может быть уменьшено, если в стесненных условиях только этим и можно сделать с учетом безопасности движения разумное разделение проезжих частей разных направлений посредством устройства разделительной полосы. Высокий бортовой камень высотой не более 0,2 м (п. 2.4.8.), в тоннелях в исключительных случаях не более 0,25 м (Нормы и правила оборудования и эксплуатации автодорожных тоннелей RABT, издание 1994 г.), может входить в габарит в свету до границы транспортного габарита. 2.3.1.2. Велосипедное движение Для велосипедного движения ширина бокового предохранительного пространства составляет 0,25 м. Дорожные знаки и устройства могут входить в габарит в свету до границы транспортного габарита. 2.3.1.3. Пешеходное движение Для пешеходного движения можно не устанавливать свой особый боковой предохранительный зазор. Пешеходные дорожки, которые прилегают непосредственно к дорогам, состоят одновременно из транспортного габарита для пешеходов (пешеходный габарит) и предохранительного пространства транспортного габарита. 2.3.1.4. Составные поперечные профили При объединении отдельных транспортных габаритов в общий поперечный профиль происходит совмещение их боковых предохранительных зазоров. Определяющим является в каждом случае наибольшее боковое предохранительное пространство. Полосы движения соприкасаются без боковых предохранительных зазоров. 2.3.2. Верхний предохранительный зазор Верхний предохранительный зазор составляет для автомобилей 0,25 м. Требуемая высота в свету - 4,5 м. Для возможности обновления покрытия с укладкой новых слоев поверху рекомендуется увеличение габарита в свету до 4,7 м. На участках дорог, рассчитываемых на пропуск грузовых автомобилей больших габаритов, можно также увеличить габарит до 4,7 м. Для пешеходных и велосипедных дорожек верхний предохранительный зазор составляет 0,25 м, высота в свету - 2,5 м; дорожные знаки могут входить в габарит в свету только до границы транспортного габарита. 2.4. Составные элементы поперечного профиля дорогиВ зависимости от функций, выполняемых дорогой, поперечный профиль состоит из различных составных элементов. Типичные составные комбинации элементов образуют типовые поперечные профили. 2.4.1. Проезжая часть Проезжая часть состоит из полос движения и краевых полос. 2.4.1.1. Полосы движения Ширина полос движения на типовых поперечных профилях установлена на основе ширины расчетного автомобиля и боковых зазоров при движении с учетом многолетнего опыта, включая и опыт организации безопасности дорожного движения. Проектирование участков с переходно-скоростными полосами на пересечениях и примыканиях дорог определяется Нормами и правилами проектирования автомобильных дорог, часть «Пересечения и примыкания» (RAS-K-1 и RAS-K-2). 2.4.1.2. Краевые полосы Краевые полосы конструктивно относятся к проезжей части. Они служат для бокового упора с целью предотвращения повреждений кромок проезжей части при наезде на них и представляют собой внешнее обрамление проезжей части дороги. Поэтому краевые полосы не должны подвергаться наезду и воздействию транспортных нагрузок. Кроме того, краевые полосы служат для нанесения на них разметки, сбора грязи и предохранения проезжих частей от нее. Вместо краевых полос может устраиваться бордюр, вдоль которого необходимы лотки для отвода поверхностной воды. На краевых полосах разметку следует наносить на прилегающей к проезжей части стороне. На дорогах с одной проезжей частью краевые полосы имеют ширину, как правило, 0,25 м. На дорогах с RQ 10,5 (RQ - типовой профиль; 10,5 - расстояние между бровками полотна дороги в метрах) краевые полосы уширяют до 0,5 м, если интенсивность движения большегрузных автомобилей превышает 900 авт./сут (к большегрузным автомобилям относятся грузовые автомобили общей массой более 3,5 т, автобусы, автопоезда, седельные тягачи). В этом случае поперечный профиль имеет ширину в бровках 11,0 м. Дороги с типовым поперечным профилем RQ 7,5 имеют ширину проезжей части 5,5 м. Исходя из границ применения этого профиля, наезд на край проезжей части возможен редко, и его можно не принимать во внимание. Разметку на этом типовом поперечном профиле следует наносить по краю проезжей части. На поперечных профилях дорог с двумя проезжими частями с центральной разделительной полосой краевые полосы устраиваются шириной 0,5 м по обеим сторонам каждой проезжей части. На типовом поперечном профиле RQ 29,5 краевые полосы устраиваются по обеим сторонам проезжей части шириной 0,75 м. Благодаря такой ширине, ее можно использовать вместе с шириной проезжей части для соразмерного выделения полос движения на проезжей части в местах временного производства ремонтных работ для создания необходимой для этого организации движения. Такая ширина позволяет увеличить расстояние видимости на левосторонних кривых и облегчить размещение водоотводных устройств на центральной разделительной полосе. Именно с учетом этих соображений внутренние краевые полосы у типового поперечного профиля RQ 35,5 предусматриваются шириной 0,75 м. Такая полоса облегчает также в критических случаях произвести стоянку легкового автомобиля у центральной разделительной полосы и выход из него пассажиров. 2.4.2. Разделительные полосы Минимальная ширина разделительных полос между транспортными поверхностями (габаритами) определяется необходимым боковым предохранительным интервалом (п. 2.3.1.). 2.4.2.1. Центральная разделительная полоса Центральная разделительная полоса служит для разделения заранее предусмотренным для ее устройства способом проезжих частей дороги противоположных направлений движения. Она предназначается также для установки опор перекрывающих дорогу сооружений и технического оборудования (защитные устройства, стойки дорожных рамных указателей и знаков). Стандартная ширина центральной разделительной полосы приведена в табл. 2. Необходимо обеспечивать требуемое расстояние видимости для остановки. В случае, если не предоставляется возможным обеспечить требуемое расстояние видимости с внутренней полосы раздельной проезжей части на левосторонней кривой в плане из-за наличия растительности, противоослепляющих устройств, шумозащитных стенок или из-за нахождения защитных ограждений на участках выпуклых кривых, и нельзя перейти на больший радиус, может потребоваться увеличение ширины разделительной полосы посредством раздельного проложения проезжих частей. В качестве дополнительного мероприятия может быть предложено ограничение допустимой скорости движения по мокрому покрытию. Для определения расстояния, необходимого для обеспечения требуемой глубины видимости, от левой полосы движения до препятствия видимости можно использовать метод, приведенный в Приложении 10 части «Проложение трассы автомобильных дорог» (RAS-L). Центральные разделительные полосы должны быть, как правило, озеленены. При ширине 3,0 м и более для этого используется кустарник. При этом следует гарантировать постоянство требуемого расстояния видимости для остановки. Ширина центральной разделительной полосы 2,0 м и менее является недостаточной для размещения опор и водоотводных устройств. Для этого может потребоваться ее уширение с учетом местных ограничений. При частых пересечениях дорог в одном уровне с устройством переходно-скоростных полос для левоповоротного движения, что препятствует отгону ширины разделительной полосы, для возможности размещения таких полос на дорогах е типовым поперечным профилем RQ 20 необходимо предусматривать ширину центральной разделительной полосы 5,25 м. Ширина составных элементов поперечного профиля
1) Разграничение проезжей части на участке: двухполосные с возможностью обгона на них и однополосные во встречном направлении без обгона в их пределах выполняются двойной линией разметки шириной 0,50 м, которая и служит для разделения встречного движения. 2) Обочина рядом с однополосными участками должна быть укреплена (п. 2.4.4.). 3) При интенсивности движения большегрузных автомобилей более 900 авт./сут краевые полосы следует предусматривать шириной 0,5 м. В целях учета интересов окружающей среды в особых условиях местности или из экономических соображений могут быть и более широкие центральные разделительные полосы или ступенчатое расположение проезжих частей. 2.4.2.2. Боковые разделительные полосы Боковые разделительные полосы предназначаются для отделения проезжей части транзитного движения от рядом располагающейся проезжей части для местного движения или от пешеходных и велосипедных дорожек путем устройства разделительного газона. Стандартные размеры боковых разделительных полос приведены в табл. 2. На узких участках и в других исключительных случаях допустимы их уменьшения согласно п.2.3.1. По планировочно-конструктивным соображениям боковые разделительные полосы должны быть озеленены. На участках, предусматриваемых к озеленению, ширина разделительной полосы может быть больше стандартной. При этом следует учитывать необходимость обеспечения видимой зрительной связи между проезжей частью и пешеходной или велосипедной дорожкой. 2.4.3. Остановочные полосы Остановочные полосы служат для съезда на них с проезжей части, остановки и стоянки автомобилей в аварийных ситуациях. При дорожно-транспортных происшествиях или выполнении ремонтных работ на отдельных участках они позволяют осуществлять одностороннее движение транспортных средств по нескольким полосам. Остановочные полосы облегчают проведение эксплуатационного надзора у внешней кромки проезжей части и тем самым способствуют снижению помех движению транспортного потока. Для безопасной стоянки широких автомобилей ширина остановочной полосы должна быть 2,5 м. При ширине остановочной полосы 2,0 м широкие автомобили вынуждены занимать обочину или проезжую часть. При большой интенсивности движения большегрузных автомобилей необходимо принимать в расчет устройство остановочных полос шириной 2,5 м также и на типовых поперечных профилях RQ 33 и RQ 26. Стандартная ширина остановочных полос приведена в табл. 2. На типовых поперечных профилях без остановочных полос, особенно на поперечном профиле RQ 20, а также и на участках дорог с высокой интенсивностью движения с поперечными профилями RQ 15,5 или RQ 10,5 для безопасности движения на них могут быть предусмотрены в необходимых случаях аварийные остановочные карманы. 2.4.4. Обочины Обочины выполняют техническую функцию внешнего оформления элементов проезжей части. Кроме того, они служат для установки защитных ограждений, направляющих устройств, дорожных указателей и знаков, а также при отсутствии пешеходных дорожек - в качестве габарита приближения для пешеходов и рабочего габарита для приближения к местам производства работ по содержанию дороги. Ширина обочин приведена в табл. 2. Укрепленные обочины (например, щебеночным покрытием) шириной от 2,0 м и более позволяют производить стоянку аварийных легковых автомобилей без создания помех движению транспортного потока и облегчают проведение эксплуатационных работ. Обочины такой ширины могут быть приняты в расчет при больших транспортных потоках или интенсивности движения большегрузных автомобилей, прежде всего на участках дорог, на которых действуют запреты на обгон или на которых устроения рядом с дорогой защитные ограждения. В таких случаях защитные устройства должны быть вынесены за проезжую часть насколько позволяют конструктивные возможности. Обочины на однополосных участках типового поперечного профиля RQ 15,5 должны быть укрепленными. Если на участках выемок не требуется устройство защитных ограждений или у дороги находится шумозащитный насыпной вал, то ширина обочин может быть уменьшена на соответствующей стороне дороги на 0,5 м при обеспечении при этом требуемого расстояния видимости до остановки. Ширина обочины не может быть менее 1,0 м. По Нормам и правилам проектирования автомобильных дорог, часть «Водоотвод» (RAS-Ew), канавы, располагаемые между обочиной и откосом, имеют ширину от 1,0 до 2,5 м. Перед шумозащитными стенками в качестве стандартного решения следует предусматривать ширину обочины 1,0 м и ширину боковой канавы 2,0 м. Ширина обочин рядом с пешеходными и велосипедными дорожками должна быть не менее 0,5 м. Неукрепленные обочины должны иметь травяной покров и примыкать к краю укрепленной поверхности на 3 см глубже, поперечный уклон, равный 12%, на внешнюю сторону. Следует не допускать увеличения высоты обочин при проведении соответствующих мероприятий по содержанию дороги. В тех случаях, когда водоотвод с проезжей части и укрепленных поверхностей дороги осуществляется не по обочинам, поперечный уклон может быть уменьшен до 6%. Укрепленные боковые полосы (обочина, остановочные полосы, поверхности для парковки автомобилей) и дополнительные полосы должны иметь по величине и направлению уклон, равный уклону проезжей части дороги. 2.4.5. Совмещенные пешеходные и велосипедные дорожки На дорогах вне населенных мест совмещенные пешеходные и велосипедные дорожки по одну сторону полотна дороги являются типовым решением и имеют ширину 2,5 м. Для облегчения условий эксплуатации и содержания они должны иметь ширину не менее 2,25 м Ширина совмещенных пешеходных и велосипедных дорожек при наличии бордюра определяется с учетом бокового предохранительного зазора по п. 2.3.1. и по табл. 3. Ширина пешеходных и велосипедных дорожек
1) Также для мостов без пассивных защитных устройств. 2) Приуменьшенной ширине велосипедных дорожек по п.2.4.7. 3) При совмещении пешеходных и велосипедных дорожек с минимальной шириной по п. 2.4.5. 2.4.6. Пешеходные дорожки Стандартная ширина пешеходных дорожек составляет 1,5 м. Ширина пешеходных дорожек при наличии бордюра принимается по табл. 3. 2.4.7. Велосипедные дорожки Стандартная ширина велосипедных дорожек составляет 2,0 м. Если велосипедные дорожки отделены от проезжей части посредством боковой разделительной полосы и рядом отсутствуют другие укрепленные части полотна (например, пешеходные дорожки), то велосипедные дорожки должны иметь ширину 2,25 м для возможности их эксплуатации и содержания. При наличии рядом тротуаров или при небольшом велосипедном движении и в стесненных условиях ширина велосипедных дорожек может быть уменьшена до минимальной 1,6 м. Ширину велосипедных дорожек при наличии бордюра назначают по табл. 3. Размеры, больше, чем приведенные, могут быть только при особом назначении велосипедных дорожек. 2.4.8. Бордюры и водоотводные лотки На дорогах вне застройки бордюры следует, по возможности, не предусматривать, так как исходя из требований охраны окружающей среды, безопасности и стоимости, водоотвод должен осуществляться только открытым способом; к тому же бордюры представляют собой жесткие препятствия, находящиеся в пределах габарита в свету. Пешеходные и велосипедные дорожки расположены за боковой разделительной полосой в более безопасном положении, чем за бордюром. Если в исключительных случаях неизбежно устройство бордюра, то он должен находиться за кромкой полосы движения на расстоянии 0,5 м. Тогда ширину краевых полос (водоотводных лотков) необходимо соответственно увеличить. Если для обеспечения водоотвода должны быть предусмотрены лотки с попеременным изменением на них направления продольного уклона, то рядом с ними должна устраиваться краевая полоса постоянной ширины. В качестве стандартной высоты для бортового камня принята высота 0,12 м (на искусственных сооружениях 0,15 м). Максимальная высота составляет 0,2 м (кроме туннелей согласно п. 2.5.1.4. Норм и правил оборудования и эксплуатации автодорожных тоннелей RABT) и может быть применима для бордюра, ограничивающего тротуары и велосипедные дорожки от проезжей части без необходимости устройства пассивных защитных ограждений по Нормам и правилам для устройства защитных ограждений на дорогах (RPS). Перед защитными ограждениями высоту бортового камня следует ограничить до 0,07 м. В местах пешеходных переходов высоту бордюров необходимо понизить до 0,03 м, в местах переездов велодорожек он отсутствует. 2.5. ОткосыНасыпи и выемки высотой h = 2,0 м и более должны иметь стандартный уклон откосов 1:n = 1:1,5. При высоте откоса 2,0 м и менее вместо стандартного уклона должна приниматься постоянная ширина заложения откоса b = 3,0 м для того, чтобы уклон откоса становился положе с уменьшением высоты откоса. Конструктивное решение сопряжения откосов с рельефом местности приведено на рис. 2. Другой уклон откоса и его конструктивное решение могут быть приняты • из условия устойчивости земляного полотна; • при согласовании дороги с ландшафтом; • для исключения снежных заносов.
Рис. 2. Конструктивное решение сопряжения откосов с рельефом местности Если применяются отличные от стандартного уклона 1:1,5 уклоны 1:n, то ширина заложения откосов при высоте откоса ниже 2,0 м определяется как b = 2n. Тогда на участке высотой 2,0 м происходит плавное по длине сопряжение поверхности откосов. Переход от откоса к рельефу местности закругляется. Закругление откосов можно выполнить по расчету с применением параболической кривой. При высоте откосов более 2,0 м длина тангенсов закругления составляет 3,0 м, при высоте меньше 2,0 м -1,5 h. Длина тангенсов измеряется горизонтально. В стесненных условиях от закругления при высоте насыпей менее 2,0 м можно отказаться. Водоотводные лотки или канавы у насыпей и выемок устраиваются у основания земляного полотна в естественном грунте. При переходе из выемки в насыпь и, наоборот, из-за различного расположения канавы от бровки в каждом из поперечных профилей ее следует для взаимного сопряжения плавно отгонять. На высоких насыпях может стать целесообразным устройство берм для повышения их устойчивости и облегчения содержания дороги. 2.6. Поперечный уклон элементов поперечного профиляПроезжие части должны иметь на прямолинейных участках поперечный уклон 2,5 % для отвода поверхностной воды. Представление поперечных уклонов на кривых приводится в части «Проложение трассы автомобильных дорог» (RAS-L). Дополнительные, переходно-скоростные и остановочные полосы должны иметь по величине и направлению уклон проезжей части. Обочины и боковые полосы, по которым происходит отвод поверхностной воды с проезжей части, имеют уклон 12 % на внешнюю сторону, в других случаях - 6 %. Поперечный уклон пешеходных и велосипедных дорожек должен составлять 2,5 %. 2.7. Оборудование дороги в поперечном профилеУстановка дорожных указателей, знаков, светофоров, устройств противоослепления, мачт освещения и противошумовых экранов, а также пассивных защитных ограждений должна производиться, не затрагивая размеры габарита в свету (п. 2.3.). При этом следует руководствоваться соответствующими нормами и правилами. 2.7.1. Трубопроводы Трубопроводы должны располагаться на достаточном расстоянии от проезжей части, остановочных полос и водоотводных устройств. Проложенные под обочиной трубопроводы могут быть повреждены при установке дорожных знаков или защитных ограждений. Поэтому необходимо соблюдать от края транспортного габарита минимальное расстояние, равное 2,0 м. На дорогах, где предстоит перекладка кабелей дальней связи, для его переустройства следует дополнительно предусматривать в проекте широкую полосу вне пределов закругления подошвы откосов согласно данным, указанным в Нормах и правилах проектирования автомобильных дорог, часть «Защита деревьев, растительности и животных при строительных мероприятиях» (RAS-LP4-99). Эта полоса должна быть за пределами новых древесных насаждений. Заложение трубопроводов по глубине должно быть не менее 1,1 м (до верхней кромки трубопровода). 2.7.2. Зеленые насаждения Для зеленых насаждений следует руководствоваться Нормами и правилами проектирования автомобильных дорог, часть «Сохранение и уход за ландшафтом» (раздел 1 RAS-LP1-96 и раздел 2 RAS-LP2-94). При новой посадке деревьев расстояние до края транспортного габарита должно быть таким, чтобы не было необходимости в устройстве защитных ограждений по Нормам и правилам для устройства защитных ограждений на дорогах (RPS). Минимальное расстояние, которое необходимо соблюдать в любом случае при посадке новых деревьев, составляет 4,5 м. В зависимости от категории дороги, ее проложения и поперечного уклона элементов профиля могут потребоваться и большие расстояния. Если эти расстояния в отдельных случаях не могут быть соблюдены, то следует выполнить проверку необходимости установки защитных ограждений. Габарит в свету должен быть свободен от ветвей, сучьев и зарослей кустарников. В выемках расстояние от водоотводной канавы до кроны кустарников должно составлять не менее 0,5 м. Для обеспечения благоприятных условий видимости внутреннюю сторону криволинейных участков следует освобождать полностью от кустарниковой растительности. Велосипедные дорожки необходимо прокладывать на расстоянии не менее 1,5 м от стволов деревьев. При расширении существующих дорог следует соблюдать по отношению к имеющимся деревьям, по меньшей мере, предохранительный зазор (п. 2.3.1.1.). 3. ПРЕДСТАВЛЕНИЕ ПОПЕРЕЧНЫХ ПРОФИЛЕЙ3.1. Типовые поперечные профили3.1.1. Систематизация типовых поперечных профилей При проектировании, строительстве и эксплуатации дорог должно быть единообразие в представлении поперечных профилей для всех границ их применения. Для этого приводятся типовые поперечные профили, от которых нельзя отступать без должного на то обоснования. Все типовые поперечные профили с составными элементами в упорядоченной последовательности представлены в табл. 2. Типовые поперечные профили для дорог с двумя проезжими частями показаны на рис. 3, а для дорог с одной проезжей частью - на рис. 4. При добавлении по одной полосе шириной 3,75 м с каждой стороны можно из типового поперечного профиля RQ 35,5 получить поперечный профиль автомагистрали с количеством полос по четыре для движения в каждом направлении.
Рис. 3.
Типовые поперечные профили дорог с двумя проезжими частями:
Рис 4. Типовые поперечные профили дорог с одной проезжей частью: а - RQ 15,5; б - RQ 10,5; в - RQ 9,5; г - RQ 7,5; * - увеличение значений при интенсивности движения большегрузных автомобилей 900 авт./сут 3.1.2. Основные принципы назначения поперечных профилей На основании планов развития и реконструкции федеральных и региональных дорог, планов районной планировки, а также прогноза развития транспорта формируются основные исходные данные для назначения поперечного профиля дороги. Представленные на рис. 5 границы применения поперечных профилей в зависимости от интенсивности движения служат для их первоначального предварительного назначения.
Рис. 5. Предварительное назначение типовых поперечных профилей На этом рисунке знаком «*» показана возможность использования в отдельных случаях RQ 29,5 или RQ 35,5; «**» -интенсивность движения грузовых автомобилей 300 авт./сут; «***» - то же, 60 авт./сут. Средняя, полностью закрашенная черным цветом область каждой вытянутой полоски на графике, показывает те пределы размеров движения, для которых соответствующий типовой поперечный профиль является с высокой степенью вероятности наиболее пригодным, В этой области дорога с соответствующим поперечным профилем воспринимает приходящуюся на нее транспортную нагрузку независимо от граничных условий: доли грузовых транспортных средств, продольного уклона и извилистости. По краям каждой полоски графика возможность установления типового поперечного профиля зависит от этих граничных условий. В последующем необходимо проверить, насколько в конкретных геометрических пространственных условиях при соответствующих транспортных потоках выбранный типовой поперечный профиль будет соответствовать пропускной способности, позволит обеспечить требуемое качество транспортного обслуживания. Проверка пропускной способности выполняется с помощью метода, приведенного в Приложении 1 RAS-Q. Поперечный профиль, проложение трассы на местности и пересечения дорог являются главными составными элементами дорожного полотна и совместно оказывают влияние на качество транспортного процесса и безопасность движения. Поэтому планировочные и конструктивные решения всех этих элементов должны быть согласованы между собой. Количество полос движения оказывает определяющее значение на пропускную способность дороги. Дополнительные полосы на участках подъема следует предусматривать и выполнять согласно Приложению 2 RAS-Q. Если для полученной интенсивности движения необходимо сопоставить между собой несколько типовых поперечных профилей, то с помощью метода, приведенного в Приложении 3 RAS-Q, можно рассматривать и обеспечение безопасности движения каждым из них. Совместно с выбором поперечного профиля следует учитывать в сопоставлении между собой также интересы содержания и эксплуатации дороги. Безопасность движения зависит от многочисленных, не поддающихся, отчасти, количественной оценке влияющих на нее факторов. Большое значение наряду с интенсивностью и составом движения имеет конструктивное представление поперечного профиля дороги. Поскольку с уменьшением ширины полосы движения снижаются и боковые зазоры при движении, то возрастает риск при встречном движении и маневрах обгона, если при этом не происходит заведомо уменьшение скорости. Наличие остановочных полос на раздельных проезжих частях заметно повышает безопасность движения (см. Приложение 3 RAS-Q), и поэтому они используются преимущественно для организации движения при возникновении помех, вызванных случаями ДТП или мероприятиями по ремонту и содержанию дороги. Разделение проезжих частей в виде заранее предусмотренной к строительству разделительной полосы имеет качественный скачок в отношении организации движения, что очень важно для безопасности движения. Можно исходить из того, что на дорогах с двумя раздельными проезжими частями с устройством развязок в разных уровнях количество погибших, относимых на производительность работы этих дорог, составляет лишь половину от величины, приходящейся на участки дорог с двумя полосами движения. Значительное преимущество для безопасности движения по отношению к двухполосным дорогам имеет типовой поперечный профиль RQ 15,5 с тремя полосами движения в форме его эксплуатации 2+1 (две полосы в одном направлении и одна - в противоположном направлении со сменой рядности через определенные расстояния) и только для движения автомобилей. Этим поперечным профилем достигается более высокое качество транспортного обслуживания. Он должен постоянно рассматриваться в качестве альтернативы назначения типового поперечного профиля при соответствующих интенсивностях движения и особенно, когда, исходя из транспортной нагрузки и экономических расчетов, необходимо выбрать поперечный профиль с одной или двумя проезжими частями. При назначении типового поперечного профиля дороги, интенсивность движения на которой достигает верхней границы пропускной способности двухполосной дороги, необходимо принимать во внимание, что дорога с одной дополнительной полосой с типовым поперечным профилем RQ 15,5, т.е. дорога с попеременными возможностями обгона для обоих направлений движения или альтернативная ей четырехполосная дорога может лучше согласовываться с действующими ограничениями в плане и гармонировать с пересеченной местностью, чем двухполосная дорога. Часто поперечный профиль RQ 15,5 приводит к меньшему воздействию на окружающую среду, ибо на двухполосных дорогах с высокой интенсивностью движения требование обеспечения достаточно большого расстояния видимости встречного автомобиля при обгоне приводит к необходимости использования относительно больших элементов в проложении трассы. Кроме того, качество транспортного процесса, благодаря возможности рассредоточения потока, становится соответственно выше. 3.1.3. Границы применения типовых поперечных профилей Границы применения типовых поперечных профилей, представленных на рис. 3 и 4, зависят от интенсивности движения и категории дороги. В каждом конкретном случае установление окончательного типового поперечного профиля необходимо выполнить по методу, приведенному в Приложении 1 RAS-Q. Это позволяет проверить, насколько назначенный поперечный профиль обеспечивает при заданных условиях требуемый уровень транспортного обслуживания. При этом с учетом экономии затрат необходимо соблюдение минимального уровня загрузки. Затем при рассмотрении нескольких типовых поперечных профилей необходимо вести их сравнение на безопасность движения по методу, приведенному в Приложении 3 RAS-Q. Установление типового поперечного профиля происходит, таким образом, с учетом качества транспортного обслуживания, безопасности движения и экономичности. Типовые поперечные профили RQ 35,5; RQ 29,5; RQ 33; RQ 26 должны использоваться на автомагистралях или - как и типовой поперечный профиль RQ 15,5 - на дорогах только для движения автомобилей. Поперечный профиль RQ 26 должен применяться только на дорогах для движения автомобилей с одновременным ограничением допустимой скорости до 100 км/ч, что снижает возможность возникновения ДТП от стоящих аварийных автомобилей. Использование типового поперечного профиля RQ 20 находится на границе максимальной интенсивности движения, равной 30 тыс. авт./сут. При более высокой интенсивности движения следует отказаться от применения данного поперечного профиля, так как из-за отсутствия остановочной полосы нет возможности организовать движение в местах проведения ремонтных работ по двум полосам на одной их проезжих частей. Поперечный профиль RQ 20 имеет, тем не менее, более высокую степень безопасности (см. Приложение 3 RAS-Q) и может использоваться вместо типового поперечного профиля RQ 15,5 (даже и при невысокой интенсивности движения, как показано на рис. 5). Если в пределах одной категории могут рассматриваться несколько двухполосных типовых поперечных профилей на основе установленных границ их применения, то определяющим критерием в назначении профиля является интенсивность движения большегрузных автомобилей. При превышении интенсивности большегрузных автомобилей 300 авт./сут следует отдавать предпочтение типовому поперечному профилю RQ 10,5 по отношению к RQ 9,5. При интенсивности движения большегрузных автомобилей свыше 900 авт./сут типовой поперечный профиль RQ 10,5 во изменение рис. 4 должен иметь краевые полосы шириной 0,5 м (п. 2.4.1.2.). Кроме типовых поперечных профилей, представленных на рис. 3 и 4, возможно в отдельных обоснованных случаях применение также и других поперечных профилей для дорог с одной проезжей частью, ширину полос движения которых можно назначать с шагом изменения 0,25 м. 3.1.4. Принципы применения части «Поперечные профили автомобильных дорог» (RAS-Q) Нормы и правила этой части не являются жесткими при их применении. В тексте и на иллюстрациях данного документа приводятся и показаны стандартные размеры элементов поперечных профилей. Указания на возможные отклонения от них можно встретить в отдельных его разделах. Могут иметь место при соответствующем обосновании и другие отклонения от стандартных размеров, если возникает необходимость в учете местных особенностей. При разработке проектов строительства автомобильных дорог следует обстоятельно взвешивать последствия принятия решений: не будет ли сохранение одного и того же типового поперечного профиля при наличии особенностей местности способствовать в каждом отдельном случае несоразмерно сильному воздействию на окружающую среду (застройку, ландшафт). При отклонении от стандартных размеров элементов следует учитывать, что меньшие размеры снижают стандарт дороги. В конечном счете, задачей инженера-проектировщика является нахождение с соблюдением действующих ограничений компромисса между основными требованиями безопасности движения и качеством транспортного обслуживания для всех пользователей, с одной стороны, и требованиями экономичности, гармоничного согласования и сочетания с природной средой, с другой стороны. 3.2. Пешеходное и велосипедное движениеНа дорогах вне населенных пунктов пешеходное и велосипедное движение устраивается, как правило, с одной стороны на совмещенных дорожках без их разграничения. 3.2.1. Конструктивное решение пешеходных и велосипедных дорожек Пешеходные и велосипедные дорожки могут прокладываться: •параллельно проезжей части с разделительной полосой от нее или с бордюром с необходимым предохранительным зазором от проезжей части; • независимо от полотна дороги в стороне от нее. Совмещенные пешеходные и велосипедные дорожки следует устраивать, как показано на рис. 6. На участках дорог вне застроенных территорий целесообразно отдавать предпочтение расположению пешеходных и велосипедных дорожек за пределами водоотводных устройств, так как это имеет существенное преимущество для пешеходов и велосипедистов (разделение разных видов транспортных средств, независимое проложение трассы, лучшее согласование с местностью, сохранение поверхности зоны водоотвода в виде естественной растительной полосы, облегчение зимнего содержания, устранение опасности ослепления, меньшая подверженность воздействию выхлопных газов и вредных веществ). 3.2.2. Границы применения пешеходных и велосипедных дорожек При отсутствии других приемлемых альтернативных путей велосипедные дорожки следует предусматривать там, где: • ожидается в перспективе регулярное велосипедное движение; • появляются участники движения, требующие особого отношения, как, например, дети на пути в школу; • принимается в расчет поток велосипедного движения в свободное время, в конце недели и выходные дни; • осуществляется движение автомобилей с особенно большими скоростями и на четырех- и более полосных дорогах. Для расположения тротуаров и велосипедных дорожек следует руководствоваться границами применения согласно данным табл. 4. При достижении или превышении приведенных величин необходимо предусматривать тротуары и велосипедные дорожки. Для совмещенного расположения пешеходных и велосипедных дорожек можно также использовать границы применения, приведенные в табл. 4. При большом количестве пешеходов и велосипедистов каждая дорожка может устраиваться шириной 2,0 м; разделяются они разметкой.
Рис. 6. Совмещение пешеходных и велосипедных дорожек: а - вне пределов водоотвода; б - с устройством боковой разделительной полосы на типовых поперечных профилях RQ 20; RQ 15,5; RQ 10,5; RQ 9,5; в - то же, на типовом поперечном профиле RQ 7,5; * - ширина в стесненных условиях Пешеходные дорожки или совмещенные пешеходные и велосипедные дорожки могут располагаться по обе стороны или с одной стороны дороги. Одностороннее расположение рекомендуется как более экономичное решение. На участках, где ожидается частое пересечение проезжей части (например, вблизи зон отдыха), необходимо отдавать предпочтение дорожкам по обеим сторонам. Границы применения пешеходных и велосипедных дорожек
Примечание. В случае наличия данных только дневного учета пешеходов и велосипедистов в час пик принимать 20% от дневных значений. 3.3. Движение транспортных средств для обслуживания сельскохозяйственных и лесных угодийДвижение сельскохозяйственных транспортных средств может осуществляться по основной дороге или по специально отведенным для этих целей параллельным дорогам. Параллельные дороги необходимы для автомобильных дорог, предназначаемых только для движения автомобилей, а также в целях безопасности для дорог со смешанным движением категорий АII и АIII. При необходимости учета, согласно п. 3.2., движения пешеходов или велосипедистов и при этом обслуживания сельскохозяйственных и лесных угодий целесообразно совмещать их движение на самостоятельных, отдельных от автомобильного движения, дополнительных дорогах. Отдельные элементы конструктивного решения таких дорог приводятся в Нормах и правилах для проектирования сельских дорог с учетом осуществления строительных мероприятий на федеральных автомобильных дорогах или при их создании на основе межобщинного плана обслуживания сельских и лесных угодий. 3.4. Движение общественного пассажирского транспортаОтдельные конструктивные детали и расчеты сооружений для общественного пассажирского транспорта выполняются по данным, указанным в Нормах и правилах проектирования автомобильных дорог, часть «Сооружения общественного пассажирского транспорта», раздел 1 «Трамвай» и раздел 2 «Автобус и троллейбус» (RAS-O), а также по приведенным в них указаниям. 3.4.1. Автобусное движение На двухполосных дорогах с типовыми поперечными профилями RQ 10,5 и RQ 9,5 маршрутное движение автобусов возможно без ограничений. На дорогах с типовым поперечным профилем RQ 7,5 может возникнуть стеснение движения от автобусов во встречном движении, так как на ширине 2,5 м для расчетного автомобиля выступающие части автобуса, такие как внешние зеркала, не входят в транспортный габарит. 3.4.2. Трамвайное движение Минимальная ширина разделительной полосы между проезжей частью и трамвайным полотном состоит из бокового предохранительного интервала для дороги, предохранительного интервала со стороны трамвайного полотна и дополнительной ширины для различных устройств. Стандартная ширина складывается из ширины, определяемой по п. 2.4.2.2. и по RAS-O, а также из правил установления габарита в свету при строительстве и эксплуатации трамвайных путей. 3.5. Дополнительные полосы движенияДополнительные полосы позволяют на участках дорог с большими продольными уклонами рассредоточивать автомобили в транспортном потоке по скорости движения. Основными определяющими факторами для устройства дополнительных полос движения являются: интенсивность и состав движения, типовой поперечный профиль, проектная линия в продольном профиле, а для дорог с одной проезжей частью - возможность обгона, предопределенная как следствие проложения трассы, а также требуемое для участка качество транспортного обслуживания, определяемое расчетной скоростью VB (устанавливаемая средняя скорость сообщения легковых автомобилей на маршруте). Необходимость в дополнительных полосах на участках подъема следует проверять по методу, приведенному в Приложении 2 RAS-Q, в котором описаны элементы для детального проектирования дополнительных полос. 3.6. Поперечные профили на особых участках дорог3.6.1. Участки с искусственными сооружениями К таким участкам согласно части «Поперечные профили автомобильных дорог» (RAS-Q) относятся, главным образом, мосты, путепроводы, тоннели, шумозащитные стенки, подпорные стенки и рамные указатели. Поперечные профили дорог в пределах искусственных сооружений должны, как правило, соответствовать поперечным профилям на участках подходов. Если на подходах имеются защитные ограждения, то они должны продолжаться в пределах искусственных сооружений на том же расстоянии от транспортного габарита. Водоотвод осуществляется в пределах искусственных сооружений, как правило, посредством лотков вдоль бортов. При этом следует соблюдать требуемые расстояния от борта до полосы движения, которая составляет 0,5 м и более. Дороги с одной проезжей частью с узкими краевыми полосами необходимо уширить соответствующим образом. При устройстве лотка шириной 0,5 м водоприемники не попадают в пределы полос движения. Конструктивные особенности искусственных сооружений не должны уменьшать ширину транспортного габарита по отношению к участкам подходов. Однако при расположении бортов или защитных ограждений в пределах сооружений ограничения, допустимые для габарита в свету по п. 2.3., могут использоваться с целью получения экономичных решений, прежде всего, при совмещенных поперечных профилях. С учетом интересов служб эксплуатации (габариты транспортных средств зимнего содержания) ширину велосипедных дорожек, как и совмещенных тротуаров и велосипедных дорожек, следует предусматривать между защитными устройствами не менее 2,25 м. Конструктивное представление поперечных профилей в пределах искусственных сооружений показано на рис. 7. Знаком «*» на нем показано, что ширину при наличии тротуаров и велодорожек следует определять по рис. 8; знаком «**» - в особых случаях возможны отклонения. На рис. 8 представлен поперечный профиль при расположении совмещенных тротуаров и велосипедных дорожек или тротуаров за защитными ограждениями. Ширину тротуаров и/или велосипедных дорожек на искусственных сооружениях без устройства защитных ограждений следует принимать по табл. 3. На рис. 9 приведено несколько примеров конструкций поперечных профилей на искусственных сооружениях. Знаком «*» на нем показано, что, если общая длина в свету между опорами на участке автомагистрали с поперечным профилем RQ 29,5 или RQ 35,5 составляет 100 м и более, то центральное перекрытие устраивается шириной 3,0 м. Внутренние краевые полосы имеют тогда ширину 1,0 м; ширина внешних краевых полос составляет 0,5 м. В результате, несмотря на уменьшение всей ширины сооружения для типового поперечного профиля RQ 29,5 на 0,5 м, ширина 11,5 м раздельных проезжих частей обеспечивается. Необходимый отгон уширений производится по части «Проложение трассы автомобильных дорог» (RAS-L). Знаком «**» на рис. 9 показано уменьшение ширины разделительной полосы на мостовом полотне до 2,0 м по сравнению с приведенной шириной на рис. 4 для этого типа поперечного профиля, обусловленное необходимостью обеспечения между бортами ширины не менее 11,50 м для создания возможности движения по одной проезжей части в случае производства ремонтно-строительных работ, осуществляемых на другой проезжей части.
Рис. 7. Конструктивный вид поперечных профилей на искусственных сооружениях: а - с защитными планками; б - то же, с бетонными стенками; в - рядом с жесткими устройствами с ограждением и на разделительной полосе (типовое решение); г - рядом с жесткими устройствами с защитным ограждением на разделительной полосе (в стесненных условиях); д - рядом с жесткими устройствами без ограждения; е - в тоннеле и в выемках с подпорными стенками Знаком «***» на рис. 9 показана общая ширина для одностороннего расположения тротуара и пешеходной дорожки. Рис. 8. Расположение пешеходных тротуаров и велосипедных дорожек на искусственных сооружениях: а - совмещенный тротуар и велосипедная дорожка рядом с барьерным ограждением (для дорог групп А и В является типовым решением в соответствии с п. 2.4.5.); б - тротуар рядом с барьерным ограждением; * - ширина в стесненных условиях 3.6.1.1. Конструкция поперечных профилей на искусственных сооружениях Как этого требуют специальные нормы и правила, на искусственных сооружениях необходимо предусматривать защитные ограждения.
Рис. 9. Примеры типовых поперечных профилей на искусственных сооружениях: а - RQ 29,5; б - RQ 26; в - RQ 15,5; г - RQ 10,5; д - RQ 9,5; е – RQ 7,5; G/R - пешеходная и(или) велодорожка Между ними и перилами, при отсутствии тротуаров и велосипедных дорожек, предусматривается служебный проход шириной 0,75 м (см. рис. 7,а и 7,б). Для расположения тротуаров и велосипедных дорожек на искусственных сооружениях следует принимать во внимание габарит в свету (п. 2.3.). На рис. 8 показаны примеры для расположения этих размеров. С учетом устройств осмотра мостовых конструкций ширину тротуаров и велосипедных дорожек можно увеличить до 2,5 м. 3.6.1.2. Конструкции поперечных профилей в приближении к искусственным сооружениям, в тоннелях и выемках с подпорными стенками Расстояния до жестких устройств определяются размерами габарита в свету согласно п. 2.3. Кроме того, следует учитывать Нормы и правила для устройства защитных ограждений на дорогах (RPS). Расстояния до жестких устройств могут определяться также в соответствии с требованиями обеспечения расстояния видимости. Из психологических и конструктивных соображений расстояния до жестких устройств должны назначаться больше (пока это экономически оправдано). В тоннелях из экономических соображений указываются, как правило, ограничения на размеры. Конструкции поперечных профилей в тоннелях устанавливаются по Нормам и правилам оборудования и эксплуатации автодорожных тоннелей (RABT). Обочины в тоннелях на участках перегонов следует устраивать как служебные проходы шириной 1,0 м (см. рис. 7,е). 3.6.2. Места производства строительно-ремонтных работ В местах производства строительно-ремонтных работ при необходимости сохранении движения транспортных средств и в целях безопасности движения, безопасности строительных площадок, беспрепятственного процесса ведения строительных работ нельзя организовывать движение по одной отдельной полосе на одной из раздельных проезжих частей со строительной площадкой (например, по принципу 3+1). Поэтому интересы обеспечения непрерывности движения транспортных средств с созданием временной организации движения при производстве строительно-ремонтных работ являются основными при: • назначении ширины транспортного габарита на дорогах с двумя проезжими частями с типовым поперечным профилем RQ 29,5 и более; • установлении границ применения типового поперечного профиля RQ 20 (по интенсивности движения), так как в этом случае при закрытии движения по одной проезжей части для производства строительно-ремонтных работ на другой проезжей части остается только по одной полосе для движения в каждом направлении. Раздельные проезжие части в типовом поперечном профиле RQ 29,5 позволяют обеспечить организацию движения на одной проезжей части шириной 11,5 м по принципу 4+0. При применении типового поперечного профиля RQ 26 следует иметь ввиду, что в случаях закрытия движения на одной проезжей части на другой остается только по одной полосе в каждом направлении. Поскольку закрытие движения происходит неизбежно, особенно в связи с производством строительно-ремонтных работ на мостовых сооружениях, дороги с типовым поперечным профилем RQ 26 следует уширять на мостах между бортами до ширины не менее 11,5 м. Для этого центральное перекрытие между раздельным мостовым полотном следует уменьшить до 2,0 м. При отсутствии такой возможности, например, из-за большого перепада высоты между раздельными конструкциями пролетных строений, уширение транспортного габарита необходимо произвести на внешнюю сторону. Разницу в ширине следует отгонять за пределами устоев моста в соответствии с требованиями части «Проложение трассы автомобильных дорог» (RAS-L). При этом внутренние краевые полосы сохраняют шириной 0,5 м, а остановочные полосы - 3,5 м. Разметку проезжей части на участках подходов следует продлевать без изменения и на мостах. В случаях, когда на участке длиной меньшей двукратной длины отгона уширения, находится другое уширяемое мостовое сооружение, участок дороги между этими сооружениями выполняется так же, как и на мостах. Ширина обочин при этом составляет 1,5 м. Необходимо предусмотреть, чтобы с обеих сторон уширяемого мостового сооружения можно было устроить переезды через центральную разделительную полосу при закрытии движения по одному из пролетных строений. В случае, если переезды через разделительную полосу не могут быть выполнены как исключение в пределах участка отгона уширения, то необходимо решить вопрос о возможности создания заранее широкого земляного полотна в бровках до местоположения переезда и не потребуется ли соответствующее уширение полотна в будущем. На автомагистралях с шестиполосным типовым поперечным профилем RQ 35,5 можно организовать движение в виде 5+0, 5+1 или 4+2. Все другие особенности безопасной организации движения в местах производства работ на дорогах можно найти в соответствующих нормах и правилах. 3.6.3. Изменение поперечного профиля, расширения и сужения проезжей части Изменения в поперечном профиле следует производить, по возможности, в пределах пересечений дорог, но не в пределах мостовых сооружений. Конструктивное решение уширений и сужений проезжей части следует выполнять как показано в части «Проложение трассы автомобильных дорог» (RAS-L). Места смены элементов в типовом поперечном профиле RQ 15,5 необходимо проектировать способом, предложенным в Приложении 4 RAS-Q. ПРИЛОЖЕНИЕ
1
| |||||||||||||||||||||||||||||||||||||||||||||||||||||||||||||||||||||||||||||||||||||||||||||||||||||||||||||||||||||||||||||||||||||||||||||||||||||||||||||||||||||||||||||||||||||||||||||||||||||||||||||||||||||||||||||||||||||||||||||||||||||||||||||||||||||||||||||||||||||||||||||||||||||||||||||||||||||||||||||||||||||||||||||||||||||||||||||||||||||||||||||||||||||||||||||||||||||||||||||||||||||||||||||||||||||||||||||||||||||||||||||||||||||||||||||||||||||||||||||||||||||||||||||||||||||||||||||||||||||||||||||||||||||||||||||||||||||||||||||||||||||||||||||||||||||||||||||||||||||||||||||||||||||||||||||||||||||||||||||||||||||||||||||||||||||||||||||||||||||||||||||||||||||||||||||||||||||||||||||||||||||||||||||||||||||||||||||||||||||||||||||||||||||||||||||||||||||||||||||||||||||||||||||||||||||||||||||||||||||||||||||||||||||||||||||||||||||||||||||||||||||||||||||||||||||||||||||||||||||||||||||||||||||||||||||||||||||||||||||||||||||||||||||||||||
|
Типовой поперечный профиль |
Минимальные уровни загрузки для типовых поперечных профилей, % |
Уровень разгрузки, отнесенный к интенсивности движения при скорости Va (км/ч), % |
|
RQ 35,5 |
60 |
80 |
|
RQ 33 |
60 |
80 |
|
RQ 29,5 |
60 |
80 |
|
RQ 26 |
60 |
70 |
|
RQ 20 |
50 |
70 |
|
RQ 15,5 |
45 |
60 |
|
RQ 10,5 |
35 |
50 |
|
RQ 9,5 |
15 |
50 |
Максимальная допустимая интенсивность движения на двухполосных дорогах общей сети при Va = 50 км/ч (значения округлены)
|
Класс подъема |
Извилистость, гон/км |
Максимальная допустимая интенсивность движения, авт./ч |
||||
|
Доля большегрузных автомобилей, % |
||||||
|
0 |
5 |
10 |
15 |
20 |
||
|
1 |
0 - 75 |
2400 |
2200 |
2100 |
2025 |
1950 |
|
75 - 150 |
2200 |
2050 |
1950 |
1850 |
1775 |
|
|
150 - 250 |
2050 |
1850 |
1750 |
1675 |
1600 |
|
|
>250 |
1875 |
1675 |
1575 |
1500 |
1425 |
|
|
2 |
0 - 75 |
2300 |
2100 |
2025 |
1950 |
1875 |
|
75 - 150 |
2100 |
1925 |
1825 |
1730 |
1700 |
|
|
150 - 250 |
1950 |
1750 |
1650 |
1575 |
1500 |
|
|
>250 |
1750 |
1575 |
1450 |
1400 |
1325 |
|
|
3 |
0 - 75 |
2200 |
2000 |
1975 |
1825 |
1750 |
|
75 - 150 |
2000 |
1800 |
1700 |
1625 |
1550 |
|
|
150 - 250 |
1800 |
1625 |
1500 |
1425 |
1350 |
|
|
>250 |
1625 |
1400 |
1300 |
1225 |
1150 |
|
|
4 |
0 - 75 |
2075 |
1875 |
1775 |
1675 |
1625 |
|
75 - 150 |
1875 |
1675 |
1575 |
1500 |
1425 |
|
|
150 - 250 |
1675 |
1475 |
1375 |
1225 |
1200 |
|
|
>250 |
1475 |
1250 |
1150 |
1075 |
1000 |
|
|
5 |
0 - 75 |
1950 |
1750 |
1650 |
1550 |
1475 |
|
75 - 150 |
1725 |
1550 |
1425 |
1325 |
1250 |
|
|
150 - 250 |
1525 |
1300 |
1200 |
1100 |
1025 |
|
|
>250 |
1325 |
1100 |
1000 |
900 |
800 |
|
При применении расчетной интенсивности движения QB в качестве входной величины, причем соотношение Q ≤ QB ≤ Qmax остается справедливым, необходимо получить по диаграмме среднюю скорость сообщения легковых автомобилей VR. Для успешного расчета она должна находиться выше расчетной скорости VB.
Хотя обе из рассмотренных здесь возможностей выполнения действий в равной степени могут найти применение, в примерах и таблицах приводится только последний из представленных методов (QB является входной величиной, VR - результат отсчета).
Средняя скорость легковых автомобилей зависит от интенсивности движения. Для расчета следует использовать диаграмму, приведенную на рис. 11. Она справедлива для участков дорог с типовыми поперечными профилями RQ 35,5, RQ 33, RQ 29,5 и RQ 26 со следующими особенностями:
• продольный уклон составляет < 2% (включая участки со спусками, а также с большими уклонами, чем 2%);
• отсутствуют ограничения скорости движения.
Кривые следует отличать по доле грузовых автомобилей (≥ 3,5 т). Промежуточные значения могут быть получены интерполяцией. При доле грузовых автомобилей >15% применяется кривая для 15%, при доле грузовых автомобилей < 5% (или 10% при раздельных проезжих частях с тремя полосами движения) - кривая для 5% (или 10%).
Интенсивность движения включает интенсивность большегрузных автомобилей и получается как сумма интенсивностей движения на всех полосах движения проезжей части в одном направлении.
Скорость легковых автомобилей уменьшается с увеличением подъема, что может быть учтено посредством корректировки скорости движения легковых автомобилей по формуле
V1.i = V0.i – ΔVs.i, (9)
Где V1.i - зависящая от подъема скорость движения легковых автомобилей на рассматриваемом отрезке дороги i, км/ч;
V0.i - скорость легковых автомобилей на раздельных проезжих частях с продольным уклоном < 2%, принятая по диаграмме рис, 11, км/ч;
ΔVs.i - снижение скорости, км/ч.
Величины снижения скорости легковых автомобилей на участках подъема для дорог с двумя проезжими частями приведены ниже.
Продольный уклон, % Уменьшение скорости ΔVS, км/ч
< 2 0
< 3 11
< 3 18
³ 4 25
Уменьшенная таким образом скорость движения соответствует лишь в том случае фактической достижимой скорости, если рассматриваемый отрезок дороги имеет достаточное протяжение для достижения установившейся скорости. Чтобы это установить, необходимо вначале определить разность между ранее уменьшенными скоростями для двух следуемых друг за другом отрезков в одном направлении по формуле
ΔVL.i, = V1.i – V1.i,I (10)
где ΔVL.i - разность в скорости на двух следуемых друг за другом отрезках дороги, км/ч;
V1.i - зависящая от подъема скорость легковых автомобилей на рассматриваемом отрезке дороги i, км/ч;
V1.i - зависящая от подъема скорость легковых автомобилей на предшествующем в направлении движения отрезке дороги (i-1), км/ч.
Каждой разности в скорости движения ΔVL.i может быть поставлена в соответствие минимальная протяженность отрезка Smin. Если рассматриваемый отрезок i длиной Si короче, чем Smin, то скорость V1.i корректируется еще раз по графику, приведенному на рис. 15, и следующей формуле:
VR.i = V1.i при Si ≥ Smin, (11)
VR.i = V1.i + ΔVK,i при Si ≥ Smin
где VR.i - фактически достижимая скорость легковых автомобилей на рассматриваемом отрезке дороги i, км/ч;

Протяженность отрезков дороги на рассматриваемом участке, м
Рис. 15. График корректировки разности скоростей при изменении величин продольных уклонов на подъеме при значении ΔVL.i определяемом по формуле (10)
ΔVK.i - приращение скорости по графику, приведенному на рис. 15, для ΔVLi, определяемом по формуле (10), (ΔVKi имеет тот же знак, что и ΔVL.i), км/ч;
Smin- минимальная длина, м.
Ниже даны минимальные длины участков для достижения установившейся скорости на участках подъема (промежуточные значения получают интерполяцией).
Разность в скорости ΔVL.i, км/ч Минимальная длина участка Smin, м
5,0 100
7,5 250
10,0 400
12,5 600
15,0 850
17,5 1150
20,0 1500
22,5 1800
25,0 2100
По приведенной модели расчета можно последовательно определить для каждого промежуточного отрезка i длиной Si фактически достижимую на соответствующем продольном уклоне s; среднюю скорость движения легковых автомобилей VRi. Численный пример применения данного метода расчета приведен ниже в п. 4.4. Приложения 1 RAS-Q.
Для выполнения расчета и проверки пропускной способности необходимо произвести действия в следующей последовательности:
1. Вычисление расчетной интенсивности движения QB как результата прогнозных расчетов (п. 2.2. Приложения 1 RAS-Q), в том числе большегрузных автомобилей.
2. Установление расчетной скорости VB происходит на основе данных организации движения на дороге в соответствии с «Руководством по функциональной организации сети автомобильных дорог» (RAS-N).
3. Назначение соответствующего поперечного профиля (см. рис. 5).
4. Установление проложения трассы на местности на основе части «Проложение трассы автомобильных дорог» (RAS-L) с представлением чертежа проектной линии в продольном профиле.
5. Наличие списка определяющих факторов:
•количество полос движения n (п. 3. данного расчета);
•продольные уклоны s (п. 4. данного расчета);
• доля грузовых автомобилей b в составе потока (п. 1. данного расчета).
6. Разделение участка дороги на отдельные промежуточные отрезки i с соответствующими неизменяемыми условиями ni, si, bгруз (по п. 5. данного расчета).
7. Производят для каждого промежуточного отрезка i:
• выбор соответствующей кривой на диаграмме интенсивность - скорость (см. рис. 11) с учетом п. 5. данного расчета;
• входной параметр на оси х-х: расчетная интенсивность движения QB (п.l. данного расчета);
• отсчет по оси у-у: достижимая скорость сообщения легковых автомобилей V0.i для горизонтального участка;
• расчет достижимой скорости VR.i; для продольного уклона s. путем понижения на ΔVi (формулы 9-11);
• сравнение достижимой скорости легковыми автомобилями VR.i с расчетной скоростью VB (п. 2. данного расчета);
• входной параметр на оси у-у: скорость по табл. 5 (на участках подъема с уклоном s ≥ 2% повышать до Va* = Va + (V0,i – VR.i);
• отсчет по оси х-х: максимально допустимая интенсивность движения Qmax;
• расчет достигнутого уровня загрузки по формуле (8) и сравнение с минимальным уровнем загрузки по табл. 5.
8. Общее рассмотрение всего участка дороги по формуле (7).
Для выполнения расчета ниже на примере приводится определение достижимой скорости движения при заданной расчетной интенсивности на раздельной проезжей части (табл. 7).
Для участка автомагистрали протяженностью 4 км между транспортными развязками А и В, который, исходя из транспортной функции автомагистрали в сети автомобильных дорог, отнесен к категории АI в соответствии с «Руководством по функциональной организации сети автомобильных дорог» (RAS-N), средняя планируемая скорость сообщения для легковых автомобилей должна составить 100 км/ч. Участок может быть разделен на четыре промежуточных отрезка, характеризующихся различными продольными уклонами (рис. 16). По рис. 5 вначале назначается типовой поперечный профиль RQ 29,5. На рассматриваемом участке автомагистрали в направлении от А до В в результате планирования развития перевозок прогноз показывает ожидаемую интенсивность движения 2500 авт./ч. Доля грузовых автомобилей в составе транспортного потока оценивается в размере 10 %. Необходимо провести проверку на обеспечение качества транспортного обслуживания.

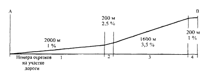
Рис. 16. Проектная линия для примера расчета 1
Таблица 7
Пример расчета 1
|
Участок автомагистрали с движением в одном направлении |
|||||
|
1. |
Промежуточный отрезок № |
1 |
2 |
3 |
4 |
|
2. |
Категория дороги по RAS-N |
А1 |
A1 |
A1 |
A1 |
|
3. |
Расчетная скорость движения VB, км/ч |
100 |
100 |
100 |
100 |
|
4. |
Расчетная интенсивность движения QB, авт./ч |
2500 |
2500 |
2500 |
.2500 |
|
5. |
Доля грузовых автомобилей, % |
10 |
10 |
10 |
10 |
|
6. |
Поперечный профиль по RAS-Q |
RQ 29,5 |
RQ 29,5 |
RQ 29,5 |
RQ 29,5 |
|
7. |
Количество полос движения n |
2 |
2 |
2 |
2 |
|
8. |
Протяженность Si, м |
2000 |
200 |
1600 |
200 |
|
9. |
Продольный уклон Si, % |
1 |
2,5 |
3,5 |
1 |
|
10. |
Достижимая скорость на горизонтальном отрезке (см. рис. 11) VR.i, км/ч |
110 |
110 |
110 |
110 |
|
11. |
Уменьшение скорости (п. 4.2. Приложения 1 RAS-ΔVS.i, км/ч |
0 |
11 |
18 |
0 |
|
12. |
Зависящая от подъема установившаяся скорость V1.i = V0.i; - ΔVS.i, км/ч |
110 |
99 |
92 |
110 |
|
13. |
Разность в скоростях между смежными отрезками ΔVL.i = Vl(0-i) – Vl.i |
0 |
+11 |
+7 |
-18 |
|
14. |
Отнесенная к длине поправка скорости (см. рис. 15) ΔVK.i, км/ч |
0 |
+4 |
0 |
-12 |
|
15. |
Скорость сообщения легковых автомобилей (промежуточный отрезок) VR.i = Vl.i + ΔVK.i, км/ч |
110 |
103 |
92 |
98 |
|
16. |
Скорость сообщения легковых автомобилей (весь участок) (формула (7)) VR, км/ч |
101 |
|||
|
17. |
Сравнение VR |
VR > VB |
|||
|
18. |
Скорость Va (см. табл. 5), км/ч |
80 |
|||
|
19. |
Зависящая от подъема разность скоростей (строка 10 - строка 15) V0.i - VR.i, км/ч |
0 |
7 |
18 |
12 |
|
20. |
Максимальная допустимая интенсивность движения Qi.max при Va, (см. рис. 11) Va = Va + (V0.i - VR.i), aвт./ч |
3450 |
3360 |
3120 |
3200 |
|
21. |
Уровень загрузки (QB / Qi.max)·100, % |
72 |
74 |
80 |
78 |
5.1.1. Поперечный профиль дороги
В зависимости от транспортной функции дороги на основе «Руководства по функциональной организации сети автомобильных дорог» (RAS-N) устанавливается категория дороги. Для соответствующих категорий дорог могут быть подобраны типовые поперечные профили по рис. 5. Назначение определенного поперечного профиля уже имеет, независимо от проложения дороги, значительное влияние на качество транспортного процесса на рассматриваемой дороге.
Это особенно четко проявляется на поперечном профиле RQ 15,5, который из-за наличия третьей полосы, предоставляемой попеременно для обгона, обеспечивает значительно лучшие условия для движения транспортных потоков и более высокую безопасность движения, чем поперечный профиль обычной двухполосной дороги.
Выбор типового поперечного профиля производится с учетом заданной расчетной скорости VB (п. 2.1. Приложения 1 RAS-Q) и приводит к указанию на минимальный уровень загрузки (см. табл. 5).
5.1.2. Продольный уклон
Влияние проектной линии в продольном профиле учитывается благодаря упорядочиванию установленных в п. 3. Приложения 1 RAS-Q промежуточных отрезков участка дороги по классу подъема от 1 до 5. В качестве критерия для этого принимается определяющая скорость расчетного большегрузного автомобиля на рассматриваемом участке, величина которой приведена ниже.
Определяющая скорость Класс подъема
расчетного большегрузного
автомобиля по рис. 17, км/ч
> 70 1
60-70 2
45-60 3
30-45 4
<30 5
Определяющая скорость получается в зависимости от протяженности промежуточного отрезка и величины уклона на подъеме (см. рис. 17). На промежуточных отрезках, на которых большегрузный автомобиль достигнет установившейся скорости, эта скорость и является определяющей. Если это не произойдет, то определяющей скоростью остается средняя скорость на промежуточном отрезке.
Только большегрузный автомобиль определяет деление участка дороги на промежуточные отрезки по классу подъема. В данной модели предполагается, что большегрузный автомобиль на горизонтальном отрезке или нулевом уклоне дороги движется со скоростью 80 км/ч.
Для определения класса подъема на отдельных отрезках для расчетного большегрузного автомобиля строятся с помощью рис. 17 диаграммы скорость - путь. Вертикальные выпуклые и вогнутые кривые могут заменяться ломаными линиями.
При построении диаграммы скорость - путь следует учитывать установленные ограничения скорости, а также должна быть известна, хотя бы в одном поперечном профиле в начале или перед рассматриваемым отрезком, скорость расчетного большегрузного автомобиля в обоих направлениях.
Такими местами являются:
• пересечения дорог с принудительным регулированием или места, где установлены знаки «Стоп»;
• отрезки дороги с ограничениями скорости движения до 80 км/ч;
• затяжные подъемы, на которых расчетный большегрузный автомобиль движется с устоявшейся скоростью.

Рис. 17. График кривых распределения скоростей для расчетного большегрузного автомобиля на различных продольных уклонах:
- замедление
(Vна = 80 км/ч, si =
1 - 7%);
- ускорение
(Vнач. =0; si на спуск =-2 - 6%;
si на подъем
= 0 - 7%)
Представленный метод на участках подъема не применим для типового поперечного профиля RQ 15,5, поскольку в этом случае скорости движения легковых автомобилей из-за запрещения обгона не в одинаковой мере будут зависеть от скоростей на участках с одной полосой движения в данном направлении большегрузных автомобилей в отличие от обычных двухполосных дорог.
5.1.3. Извилистость трассы и возможность обгона
На двухполосных дорогах извилистость трассы и возможность обгона, зависящая от фактического расстояния видимости, оказывают значительное влияние на скорость движения. При большой интенсивности движения доля отрезков дороги с обеспеченным расстоянием видимости при обгоне не оказывает уже влияние на возможность совершения обгона, поскольку эти возможности тогда определяются главным образом интенсивностью движения и распределением ее по направлениям. Поэтому для определения скорости или допустимой интенсивности движения достаточно учитывать только извилистость трассы в качестве определяющего фактора. Она устанавливается как отношение суммы всех абсолютных значений углов поворота трассы к длине участка
(12)
где KU - извилистость трассы, гон/км;
γ - углы поворота трассы, гон;
L - длина трассы, км.
Вместе с топографическими особенностями местности, влияние которых на возможность совершения обгона учитывается в достаточной степени извилистостью, ограничивают обгон и соответствующие дорожные знаки. Оказываемое ими влияние на скорость движения легковых автомобилей учитывается посредством дополнительной величины в виде приращения к извилистости, которая указана ниже.
Доля отрезков дороги с Приращение к извилистости,
запретом на обгон, % гон/км
0-15 0-75
> 15-30 75-150
> 15-30 150-250
Величина, как сумма значений извилистости трассы и приращения к ней на основе учета определенных составных участков с запретом на них обгона, является общим фактором для проверки качества транспортного обслуживания. Для этого дороги по их извилистости подразделяются на четыре степени.
Извилистость, гон/км Степень извилистости
0-75 1
75-150 2
150-250 3
> 250 4
К типовому поперечному профилю RQ 15,5 метод расчета применим только для первой степени извилистости.
5.1.4. Доля большегрузных автомобилей и наличие медленно движущихся транспортных средств
Влияние большегрузных автомобилей на соотношения интенсивность движения - скорость непосредственно учитывается в диаграмме Q-V. На дорогах общей сети, на которых постоянно происходит движение медленно движущихся транспортных средств (сельскохозяйственной техники и специальных машин с конструктивной скоростью до 25 км/ч), обусловленные таким образом помехи режиму движения включаются в корректировку основной интенсивности движения. В зависимости от числа медленно движущихся транспортных средств в час можно для выбранного типового поперечного профиля определить коэффициент «с», на который умножается расчетная интенсивность движения. Для получаемой в результате фиктивной интенсивности движения по диаграмме Q-V (см. рис. 12) отсчитывается средняя скорость сообщения
QB* = QB·c, (13)
где QB* - фиктивная интенсивность движения, авт./ч;
QB - расчетная интенсивность движения, авт./ч;
с - коэффициент учета медленно движущихся транспортных средств, определяемый по рис. 18.
Для поперечного профиля RQ 15,5 коэффициент «с» не должен учитываться, так на дорогах с таким поперечным профилем движение медленно движущихся транспортных средств не допускается.

Рис. 18. График определения коэффициента «с» для поперечных профилей:
1 - RQ 9,5; 2 - RQ 10,5
Для двухполосных дорог общей сети с типовыми поперечными профилями RQ 10,5 и RQ 9,5 остаются справедливыми соотношения Q-V, представленные на рис. 12.
Максимальная интенсивность движения Qmax на двухполосных дорогах общей сети с типовыми поперечными профилями RQ 10,5 и RQ 9,5 представлена отдельно для различных классов подъема, степени извилистости и состава большегрузных автомобилей в табл. 6 (для пользования необходимо сделать сопоставление с п. 3. данного Приложения, включая табл. 5 и рис. 14).
Соотношения интенсивность движения - скорость для типовых поперечных профилей RQ 15,5 принимается по графику, приведенному на рис. 13.
Интенсивность движения включает в себя интенсивность большегрузных автомобилей и относится на весь поперечный профиль.
Ниже приводится последовательный порядок выполнения действий при применении метода для проверки качества транспортного обслуживания.
1. Вычисление расчетной интенсивности движения QB как результата прогнозирования роста автомобильного движения (п. 2.2. Приложения 1 RAS-Q) с учетом большегрузных автомобилей.
2. Установление расчетной скорости VB на основе данных развития дорожно-транспортной сети «Руководства по функциональной организации сети автомобильных дорог» (RAS-N).
3. Предварительное задание подходящего поперечного профиля (см. рис. 5).
4. Установление проложения трассы (п. 5.1.3. Приложения 1 RAS-Q и на основе части «Проложение трассы автомобильных дорог» (RAS-L), включая проектирование продольного профиля.
5. Состав определяющих факторов:
• продольный уклон;
• извилистость;
• возможность обгона;
• доля грузовых автомобилей и медленно движущихся транспортных средств;
• места с явной потерей времени (например, регулируемые пересечения).
6. Подразделение участка дороги на промежуточные отрезки i с одинаковыми условиями движения по п. 5 данного расчета.
7. Для каждого промежуточного отрезка производят:
• установление класса подъема;
• определение извилистости;
• выбор соответствующей кривой на диаграмме интенсивность движения - скорость (см. рис.12) с учетом п. 5. данного расчета;
• установление коэффициента «с» для учета медленно движущихся транспортных средств;
• расчет фиктивной интенсивности движения QB* с учетом предыдущего пункта данного расчета, равной входному параметру по оси х-х;
• отсчет по оси у-у достижимой скорости движения легковыми автомобилями;
• сравнение достижимой скорости движения легковыми автомобилями VR.i расчетной скоростью VB;
• входной параметр по оси х-х скорость Va (см. табл. 5);
• отсчет по оси х-х максимальной допустимой интенсивности движения Qmax;
• вычисление достижимого уровня загрузки по формуле (8) и сравнение с минимальным уровнем загрузки по табл. 5.
8. Обобщенное рассмотрение всего участка по формуле (7).
На примере приводится расчет определения достижимой скорости движения и уровня загрузки при заданной интенсивности движения (табл. 8).
Для дороги протяженностью 8 км между пунктами А и Б, которая на основе транспортной функции, отведенной ей в сети дорог, отнесена в соответствии с «Руководством по функциональной организации сети автомобильных дорог» (RAS-N) к категории АII, вначале задается типовой поперечный профиль RQ 10,5. В качестве расчетной скорости устанавливается скорость VB - 60 км/ч. Участок дороги может быть разделен на четыре промежуточных отрезка, которые характеризуются различными продольными уклонами (рис. 19).
С учетом всех определяющих факторов необходимо провести проверку на соответствие требуемому качеству транспортного обслуживания.
|
Участок дороги |
|||||
|
1. |
Промежуточный отрезок № |
1 |
2 |
3 |
4 |
|
2. |
Категория дороги на основе RAS-N |
AII |
АII |
АII |
АII |
|
3. |
Поперечный профиль на основе RAS-Q |
RQ 10,5 |
RQ 10,5 |
RQ 10,5 |
RQ 10,5 |
|
4. |
Расчетная скорость VB, км/ч |
60 |
60 |
.60 |
60 |
|
5. |
Расчетная интенсивность движения QB, авт./ч |
1200 |
1150 |
1050 |
1100 |
|
6. |
Доля грузовых автомобилей, % |
5 |
5 |
5 |
5 |
|
7. |
Количество медленно движущейся техники, ед./ч |
5 |
10 |
10 |
5 |
|
8. |
Протяженность, м |
4000 |
400 |
3200 |
400 |
|
9. |
Продольный уклон (продольный профиль), % |
1 |
2,5 |
3,5 |
1 |
|
Класс подъема в соответствии с п. 5.1.2. Приложения 1 RAS-Q |
1 |
1 |
3 |
3 |
|
|
10. |
Извилистость (трасса в плане с углами), гон/км |
70 |
0 |
60 |
0 |
|
11. |
Доля участков с запретом на обгон, % |
10 |
100 |
15 |
100 |
|
Приращение к извилистости в соответствии с п.5.1.2. Приложения 1 RAS-Q, гон/км |
0-75 |
150-250 |
0-75 |
150-250 |
|
|
12. |
Степень извилистости в соответствии с п.5.1.3. Приложения 1 RAS-Q |
2 |
3 |
2 |
3 |
|
13. |
Коэффициент «с» (см. рис. 18) |
1,08 |
1,15 |
1,15 |
1,08 |
|
14. |
Расчетная интенсивность движения QB* = QB·с, авт./ч |
1296 |
1323 |
1208 |
1188 |
|
15. |
Скорость сообщения легковых автомобилей VR.i (промежуточный отрезок) (см. рис. 12), км/ч |
70 |
63 |
66 |
61 |
|
16. |
Скорость сообщения легковых автомобилей VR (весь участок) (формула (7), км/ч |
68 |
|||
|
17. |
Сравнение VR |
VR на всех промежуточных отрезках ≥ VB |
|||
|
18. |
Максимальная допустимая интенсивность движения Qi (см. табл. 6) при Va по табл. 5, авт./ч |
2050 |
1850 |
1800 |
1625 |
|
19. |
Уровень загрузки (QB* / Qi.max) 100, % |
63 |
73 |
67 |
73 |

Рис. 19. Проектная линия для примера расчета 2
Дополнительные полосы предназначаются для уширения проезжих частей на участках подъема. Они служат для рассредоточения быстро и медленно движущихся транспортных средств и тем самым - для повышения безопасности движения и улучшения качества транспортного процесса (рис. 20).

Рис. 20. Элементы типового поперечного профиля для дорог с одной проезжей частью с дополнительной полосой движения (ДПД) в направлении подъема:
а - для поперечного
профиля RQ 10,5;
б - то же, RQ 9,5
В данном Приложении приводятся границы применения, положение начала и конца, конструктивное решение и организация движения на участках устройства дополнительных полос на дорогах с одной и двумя проезжими частями вне застроенных территорий. Нормативные требования относятся к устройству дополнительных полос на дорогах нового строительства и на существующих дорогах. Уже построенные дополнительные полосы необходимо привести в соответствие (там, где это возможно) с изложенными ниже принципами.
Цель раздела - представление стандартного конструктивного решения для устройства дополнительных полос и обеспечение тем самым повышение безопасности движения. Для конструктивного решения устройства дополнительных полос, отвечающего требованиям организации движения, равномерное использование поверхности проезжей части имеет такое же важное значение, как и решение задачи предоставления участникам движения в пределах участков подъема такого поперечного профиля, который по своим характеристикам вполне бы соответствовал типовому поперечному профилю.
Проектирование и устройство дополнительных полос на участках подъема является составной частью проекта дороги и их следует рассматривать постоянно во взаимосвязи с обычными принципами проложения дорог, конструированием поперечных профилей и пересечений дорог, а также с правилами разметки дорог.
Назначение дополнительных полос должно сопровождаться проверкой их экономической целесообразности. Поскольку принятие решений происходит во взаимосвязи с общим проектированием дороги, то при наличии участков подъема должны быть сопоставлены дополнительные расходы заказчика с доходами участников движения.
При проектировании строительства новых участков дорог проложение трассы необходимо проверять в плане и в продольном профиле посредством диаграммы скорость - путь (п. 5.1.2. Приложения 1 RAS-Q). При этом в некоторых случаях на строительной стоимости можно сэкономить за счет сокращения длины участков путем целевого применения коротких участков, но с большими уклонами на подъем и с дополнительными полосами, что в совокупности обеспечит более экономичное решение, чем с использованием длинных участков, но с малым продольным уклоном. В любом случае проложение дороги следует вариантно прорабатывать с целью исключения тех из них, подъемы на которых потребовали бы устройства дополнительных полос. Это относится как к отдельным, так и к последовательно следующим друг за другом коротким подъемам, которые находятся чуть ниже границы применения дополнительных полос. На участках, где устройство дополнительных полос обязательно, продольные уклоны нужно назначать так, чтобы участки подъемов могли быть объединены насколько возможно, поскольку на коротких, так называемых «участках отдыха» между участками подъема, дополнительные полосы должны быть сохранены, исходя из безопасности движения.
Для устройства дополнительных полос на участках подъема определяющими факторами являются интенсивность и состав движения, типовой поперечный профиль, проектная линия в продольном профиле, а при одной проезжей части - заданные проложением трассы возможности обгона, а также требуемое качество транспортного обслуживания, выражаемое через расчетную скорость VB.
Необходимость в дополнительных полосах на участках подъема следует проверять выполнением следующих действий.
1. Влияние проектной линии в продольном профиле, т.е. от длины и крутизны подъема, устройство дополнительных полос сказывается на фактической скорости движения расчетного большегрузного автомобиля. На рассматриваемом участке для данного расчетного большегрузного автомобиля в соответствии с рис. 17 составляется диаграмма скорость - путь. Вертикальные выпуклые и вогнутые кривые могут быть заменены полигоном, который при большой величине переломов в уклонах (переход от подъема к спуску или наоборот) должен иметь горизонтальную составляющую в качестве касательной к кривой.
Установление фактической скорости на участке начинается с поперечного профиля, на котором скорость большегрузного автомобиля является известной. Такими местами являются, например:
• пересечения дорог с регулируемым движением или знак «стоп»;
• участки дорог с ограничением скорости движения < 80 км/ч;
• длинные подъемы, на которых большегрузный автомобиль достигает установившейся скорости.
При составлении диаграммы скорость - путь предполагается, что фактическая скорость большегрузного автомобиля обуславливается только динамическими факторами автомобиля, а не другими автомобилями.
2. Пока на отрезке происходит уменьшение фактической скорости большегрузного автомобиля до 70 км/ч или она становится не более чем на 10 км/ч меньше достижимой расчетной скорости на всем участке (определяющей является наименьшая скорость), от устройства дополнительной полосы следует отказаться, так как проектная линия не оказывает влияния на требуемое качество обслуживания или это влияние слабое.
Если, напротив, фактическая скорость большегрузного автомобиля уменьшается на дороге с двумя проезжими частями и становится в соответствии с рис. 17 менее 30 км/ч или на дороге с одной проезжей частью - менее 20 км/ч, то независимо от фактической транспортной нагрузки, из соображений безопасности движения (большая разница в скорости между грузовыми и легковыми автомобилями), необходимо предусмотреть устройство одной дополнительной полосы.
Если фактическая скорость большегрузного автомобиля на участке приходится между выше названными граничными значениями, то следует проверку продолжить в приводимой ниже последовательности.
3. Влияние типового поперечного профиля, а на дорогах с одной проезжей частью - возможности обгона в направлении на подъем, на устройство дополнительных полос учитывается во взаимосвязи с достижимой для всего участка расчетной скоростью через допустимую наименьшую скорость VZNS большегрузного автомобиля на участке. Эту скорость следует определить по формуле
Vдоп = a + b·QB, (14)
где Vдоп - допустимая наименьшая скорость движения на участке расчетного большегрузного автомобиля, км/ч;
а - константа, взятая из табл. 9 (в зависимости от расчетной скорости VB) и доли грузовых автомобилей в расчетной интенсивности движения QB, км/ч;
b - коэффициент, взятый из табл. 9 (в зависимости от расчетной скорости VB), км/ч;
QB - расчетная интенсивность движения (п. 3. Приложения 1 RAS-Q), авт/ч.
В формулу (14) входят интенсивности движения, которые представляют прогнозные нагрузки для рабочего дня в часы пик. В отдельных случаях следует проверять, какой временной интервал для расчета является определяющим.
4. На отдельных отрезках, на которых фактическая скорость большегрузного автомобиля окажется меньше допустимой наименьшей скорости на участке по формуле (14), проезжая часть должна быть уширена на дополнительную полосу для обеспечения качества обслуживания.
От устройства дополнительной полосы можно в отдельном случае отказаться, если допустимая наименьшая скорость на участке окажется лишь незначительно или на коротком отрезке меньше. В этом случае подлежит проверке, не лишней ли оказывается дополнительная полоса при уменьшении на 10 км/ч желаемой расчетной скорости на рассматриваемом отрезке подъема. Это относится, прежде всего, к плавно протрассированным дорогам с расчетной скоростью ≥ 70 км/ч для дорог с одной проезжей частью и со скоростью ≥ 100 км/ч для дорог с раздельными проезжими частями.
Когда в качестве допустимой наименьшей скорости на участке получается значение, находящееся выше устанавливаемой расчетной скорости, то следует ожидать, что для принятого поперечного профиля при имеющейся транспортной нагрузке желаемый уровень обслуживания не может быть достижим даже на равнинной местности.
Константа а и коэффициент b для определения допустимой наименьшей скорости
|
Параметры |
Доля грузовых автомобилей, % |
Расчетная скорость Vв, км/ч |
|||||||
|
40 |
50 |
60 |
70 |
80 |
90 |
100 |
110 |
||
|
Трехполосные раздельные проезжие части |
|||||||||
|
а |
5 |
- |
- |
- |
-78 |
-72 |
-60 |
-46 |
-18 |
|
10 |
- |
- |
- |
-72 |
-66 |
-54 |
-41 |
-15 |
|
|
15 |
- |
- |
- |
-68 |
-61 |
-49 |
-36 |
-12 |
|
|
20 |
- |
- |
- |
-62 |
-57 |
-46 |
-33 |
-9 |
|
|
b |
|
- |
- |
- |
0,0355 |
0,0351 |
0,0338 |
0,0338 |
0,0328 |
|
Двухполосные раздельные проезжие части |
|||||||||
|
а |
5 |
- |
- |
- |
-58 |
-50 |
-40 |
-28 |
-4 |
|
10 |
- |
- |
- |
-52 |
-45 |
-34 |
-23 |
-1 |
|
|
15 |
- |
- |
- |
-47 |
-40 |
-30 |
-19 |
2 |
|
|
20 |
- |
- |
- |
-43 |
-36 |
-26 |
-16 |
5 |
|
|
b |
|
- |
- |
- |
0,0486 |
0,0469 |
0,0456 |
0,0458 |
0,0411 |
|
Дороги с одной проезжей частью |
|||||||||
|
при извилистости KU<150 гон/км а |
5 |
-274 |
-155 |
-82 |
-11 |
- |
- |
- |
- |
|
10 |
-258 |
-144 |
-73 |
-4 |
- |
- |
- |
- |
|
|
15 |
-246 |
-135 |
-65 |
1 |
- |
- |
- |
- |
|
|
20 |
-236 |
-128 |
-59 |
7 |
- |
- |
- |
- |
|
|
b |
|
0,2002 |
0,1381 |
0,1078 |
0,0803 |
- |
- |
- |
- |
|
при извилистости KU > 150 гон/км а |
5 |
-158 |
-90 |
-35 |
- |
- |
- |
.- |
- |
|
10 |
-145 |
-80 |
-27 |
- |
- |
- |
- |
- |
|
|
15 |
-135 |
-71 |
-21 |
- |
- |
- |
- |
- |
|
|
20 |
-126 |
-64 |
-15 |
- |
- |
- |
- |
- |
|
|
b |
|
0,1524 |
0,1179 |
0,1026 |
- |
- |
- |
- |
- |
Дополнительные полосы на участках спуска на дорогах с двумя проезжими частями, как правило, не требуются, так как в направлении спуска разность скоростей и тем самым потребность в обгоне значительно меньше, чем в направлении подъема. Но она может возникнуть на нагруженных участках спуска с уклонами s > 5 %, а также на длинных участках спуска с уклонами s > 4 %, в случае существенного снижения скорости грузовыми автомобилями или вследствие принудительного ограничения допустимой максимальной скорости путем установки соответствующих дорожных знаков для грузовых автомобилей, в целях повышения безопасности движения. При этом следует ожидать значительного снижения качества транспортного обслуживания.
В противоположность
дорогам с двумя проезжими частями на дорогах с одной проезжей частью
отсутствует возможность обгона в направлении спуска, если дополнительная полоса
устраивается только в направлении подъема. Поэтому для дорог с одной проезжей
частью при продольных уклонах свыше 5 % и при разности по высоте более
Дополнительная полоса
должна начинаться там, где фактическая скорость движения большегрузного
автомобиля на участке становится менее
Начало дополнительной полосы для рассредоточения быстро и медленно движущихся транспортных средств должно находиться на участках подъема вне пересечений дорог, В случае неизбежного появления начала дополнительной полосы в пределах пересечения ее положение и конструктивное решение участка уширения следует выполнить по рекомендациям п.п. 6.1.1. и 6.2.1. Приложения 2 RAS-Q.
Дополнительная полоса должна
заканчиваться там, где фактическая скорость движения большегрузного автомобиля
на участке снова достигает
Конец дополнительной полосы должен всегда находиться вне пересечений дорог, т.е. дополнительная полоса не должна заканчиваться в пределах пересечений в виде исключения полосы из ширины проезжей части.
Независимо от полученной
длины дополнительной полосы между установленным положением ее начала и конца по
п.п.
3.1. и 3.2. Приложения 2 RAS-Q на дорогах с двумя проезжими частями
она должна быть не менее
Если расстояния между
следующими друг за другом дополнительными полосами на дорогах с двумя проезжими
частями менее
При необходимости устройства нескольких следующих друг за другом дополнительных полос можно рекомендовать сплошную дополнительную полосу даже при больших промежуточных расстояниях.
4.1.1. Участок отгона уширения
Для равномерного
использования поверхности проезжей части дополнительные полосы должны
добавляться с внутренней стороны сквозной проезжей части. Уширение проезжей
части происходит на участках нового строительства путем отгона левой кромки
проезжей части способом, приведенным в части «Проложение трассы автомобильных
дорог» (RAS-L), в уширенную
соответствующим образом разделительную полосу (рис. 21,а). Длина отгона уширения составляет
Такое уширение должно производиться посредством независимого проложения соответствующей проезжей части или обеих проезжих частей.
При устройстве
дополнительных полос на существующих участках их конструктивное включение
возможно, как правило, только с внешней стороны проезжей части. В таких случаях
проезжая часть уширяется постепенным отгоном правой ее кромки (а также с
относящимся ограничением проезжей части и с направляющей линией) (рис. 21,б),
в то время как дополнительная полоса размечается с внутренней стороны
раздельной проезжей части (п. 5.2. Приложения 2 RAS-Q). Минимальная длина отгона правой
кромки проезжей части составляет
4.1.2. Участок подъема
Представление поперечного профиля на участке двухполосных раздельных проезжих частей с дополнительными полосами соответствует поперечным профилям с трехполосными раздельными проезжими частями (см. рис. 3).

Рис. 21. Расположение дополнительной полосы на участках подъема дорог с двумя проезжими частями:
а - при новом строительстве; б - на существующей дороге
4.1.3. Участок сужения
В соответствии с конструктивным решением участка уширения дополнительные полосы должны заканчиваться на внутренней стороне сквозной проезжей части.
Сужение проезжей части в
конце дополнительной полосы происходит при новом строительстве дорог
посредством отгона левой кромки проезжей части способом, представленным в части
«Проложение трассы автомобильных дорог» (RAS-L).
Длина отгона уширения составляет
При последующем
устройстве дополнительных полос на существующих дорогах оптически протягивается
внутренняя полоса движения посредством выделения разметкой разделительной
поверхности в соответствии с рис. 21,б. Конструктивное сужение происходит при
этом на длине минимум
4.2.1. Участок уширения
Уширение
проезжей части происходит конструктивно посредством отгона правой кромки
проезжей части способом, представленным в части «Проложение трассы
автомобильных дорог» (RAS-L). Длина отгона составляет
≥

Рис. 22. Расположение дополнительной полосы на участках подъема дорог с одной проезжей частью:
а - при новом строительстве; б - на существующей дороге
4.2.2. Участок подъема
Дополнительная полоса на дорогах с одной проезжей частью пристраивается в направлении подъема с правой стороны проезжей части без изменения поперечного уклона. Поперечный профиль дороги с одной проезжей частью с дополнительной полосой в направлении подъема показан на рис. 20.
Если согласно п. 2.
Приложения 2 RAS-Q требуется
устройство дополнительных полос как в направлении подъема, так и в направлении
спуска, то из соображений безопасности движения, как правило, необходимо
предусматривать конструктивно центральное разделение проезжих частей. При
применении защитных ограждений для этого достаточна ширина центральной
разделительной полосы
4.2.3. Участок сужения
Сужение проезжей части в
конце дополнительной полосы происходит по аналогии с конструктивным решением уширения
проезжей части также на длине от ≥
Дополнительные полосы не имеют функции специальных полос движения, в транспортном отношении они равнозначны другим полосам движения; этим сохраняется в их границах обычное правило «ехать справа». Поэтому между дополнительной полосой и другими полосами движения наносится разметкой направляющая линия. На дорогах с одной проезжей частью на участке дополнительных полос оба направления движения разделяются сплошной двойной линией.
Организация направления движения транспортных средств в границах дополнительных полос осуществляется посредством информационно-указательных знаков и разметки. Знаки располагаются, как правило, справа на неукрепленной обочине, на дорогах с двумя проезжими частями - дополнительно также и слева на центральной разделительной полосе.
Последовательная расстановка информационно-указательных знаков, оповещающих конец дополнительной полосы и с левой стороны проезжей части, оказалась уместной также на дорогах с одной проезжей частью, так как благодаря этому обеспечивается лучшая распознаваемость знаков на полосе обгона для скоростных транспортных средств.
Преднамеренное рассредоточение скоростных и медленно движущихся транспортных средств может быть дополнено путем установки знаков с указанием минимальных скоростей движения по полосам.
5.2.1. Участок уширения
На участках дорог нового строительства в пределах уширений разметка наносится в соответствии с рис. 21,а, при последующей пристройке дополнительных полос на существующих дорогах - с рис. 21,б (если отгон сквозных полос движения не представляется возможным выполнить настолько плавно, чтобы они воспринимались как прямое направление, то на рис. 21,б должен быть показан отступ для сквозных полос вправо и дополнительную полосу необходимо выделить путем указания прямой стрелкой).
Наличие уширения
оповещается информационно-указательными знаками за
5.2.2. Участок подъема
В начале дополнительной
полосы организация движения по трем полосам подчеркивается посредством
информационно-указательного знака, на котором указывается длина дополнительной
полосы. При одновременном указании минимальных скоростей движения
информационно-указательный знак должен иметь вид в соответствии с рис. 23,б.
Повторный информационно-указательный знак с указанием оставшейся длины
устанавливается после каждого примыкания. Дополнительно при указании
минимальных скоростей движения требуется установка повторных знаков на
расстоянии около
5.2.3. Участок сужения
На участке сужения проезжей части направляющая линия заканчивается между левой и средней полосами движения в начале отгона дополнительной полосы (см. рис. 21).
Положение
полос движения на участке сужения оповещается информационно-указательными
знаками. Знаки устанавливаются на соответствующем расстоянии друг от друга с
указанием 600, 400 и

Рис. 23. Указатели управления движением на участках дополнительных полос при ограничении минимальной скорости движения
В случае необходимости в
пределах сужения проезжей части может быть ограничена скорость движения до
На участке сужения проезжей
части и на последующем участке дороги для улучшения режима движения
транспортного потока может быть установлен знак запрещения обгона грузовыми
автомобилями. Знак размещается в начале участка отгона (см. рис. 21), а
запрет на обгон снимается на расстоянии около
5.3.1. Участок уширения
Участок уширения
размечается в соответствии с рис. 22,а. Если не представляется возможным
выполнить отгон сквозной полосы достаточно плавно, чтобы она воспринималась при
движении как прямое направление, то следует произвести ее отступ вправо и
дополнительная полоса размечается прямым указателем стрелкой как на рис. 22,а.
То же самое правило действует для уширения (см. рис. 22,б). При этом сквозная полоса
движения переходит в правую полосу участка подъема, а дополнительная полоса,
расположенная посередине проезжей части, принимает характер полосы обгона.
Наличие уширения оповещается информационно-указательным знаком за
Ограничение минимальной
скорости для левой полосы движения в направлении на подъем составляет, как
правило,
5.3.2. Участок подъема
В начале дополнительной
полосы организация движения по трем полосам подчеркивается посредством
информационно-указательного знака, на котором указывается длина дополнительной
полосы. При одновременном указании минимальной скорости движения
информационно-указательный знак должен иметь вид как на рис. 23,д (если в
соответствии с рис.
22,б дополнительная полоса размещается и в направлении спуска, то
вместо указателей, приведенных на рис. 23,д, следует применять указатели,
показанные на рис.
23,з). Информационно-указательный знак с указанием оставшейся длины повторяется
после каждого пересечения. При ограничении минимальной скорости движения
установка знаков дополнительно повторяется через каждую
Полосы движения в направлении подъема отделяются от полосы движения в направлении спуска с помощью сквозной двойной линии в соответствии с рис. 22,а. Если в исключительных случаях в направлении на спуск размещается вторая полоса, то требуется устройство, как правило, центральной разделительной полосы в теле дороги.
5.3.3. Участок сужения
Конец дополнительной
полосы обозначается в начале сужения проезжей части разметкой разделительной
поверхности в соответствии с рис. 22,а. Разметка направляющей линии между
левой и правой полосами движения в направлении на подъем заканчивается в начале
вхождения левой полосы движения. Максимальная ширина разделительной поверхности
составляет
В начале вхождения дополнительной полосы размещается дорожный знак запрещения обгона, который прекращает свое действие в конце отгона правой кромки проезжей части.
6.1.1. Пересечения в начале дополнительной полосы
Если начало дополнительной полосы попадает согласно п. 3.1. Приложения 2 RAS-Q в пределы пересечения, то оно должно быть удалено от пересечения для исключения взаимного наложения информационно-указательных знаков: с одной стороны появление дополнительной полосы, а с другой - порядок движения на пересечении. Если начало дополнительной полосы неизбежно в пределах пересечения, то в исключительных случаях на участке между съездом и въездом устраивается уширение проезжей части с ее внутренней стороны. При этом начало отгона уширения проезжей части должно находиться непосредственно за конструктивно полученным направляющим островком разделения проезжей части дороги. Уширение осуществляется согласно п. 4.1.1. Приложения 2 RAS-Q.
Установка информационно-указательных знаков согласно п. 5.2.1. данного Приложения происходит в таких случаях только на центральной разделительной полосе и непосредственно в начале отгона. В конце переходно-скоростной полосы на въезде следует предусмотреть повторную установку информационно-указательных знаков согласно п. 5.2.2. этого же Приложения на неукрепленной обочине и на разделительной полосе.
В данном случае дополнительная полоса может быть получена так же, как продолжение переходно-скоростной полосы на участке въезда.
6.1.2. Пересечения на участке дополнительной полосы
Съезды и въезды на участках дорог с дополнительными полосами следует проектировать так же, как и в случаях дорог с раздельными проезжими частями без дополнительных полос движения. На участке въезда в конце переходно-скоростной полосы въехавшие на нее должны руководствоваться установленной в пределах участка с дополнительной полосой организацией движения по информационно-указательному знаку согласно п. 5.2.2. этого Приложения. Знак должен быть размещен там, где начинается поперечный профиль непосредственно дороги. Установку знака на разделительной полосе можно при этом не делать.
6.1.3. Пересечения в конце дополнительной полосы
Если конец дополнительной
полосы согласно п. 3.2. данного Приложения попадает в
пределы пересечения, то ее следует продолжить за пределы пересечения и, по
возможности, далее на расстояние
6.2.1. Пересечения в начале дополнительной полосы
Если начало дополнительной полосы согласно п. 3.1. этого Приложения приходится на пределы пересечения, то начало дополнительной полосы и/или положение пересечения необходимо переместить так, как показано на рис. 24. В этом случае отпадает необходимость в установке информационно-указательного знака об оповещении наличия уширения для исключения наложения различных по назначению знаков.
В определенных случаях дополнительная полоса может быть получена также из переходно-скоростной полосы для правоповоротного движения.
6.2.2. Пересечения в пределах дополнительной полосы
На участке дополнительных полос следует по возможности исключать пересечения дорог. Это в большей степени относится непосредственно к пересечениям. Если устройства пересечения на участке подъема избежать нельзя, то необходимо проверить конструктивное решение по нормам и правилам части RAS-K-1 или части RAS-K-2. Исходя из пропускной способности и безопасности движения, может быть предложено и принудительное регулирование движения на пересечении.
Дополнительная полоса (полоса обгона) в пределах пересечения не может переходить в комбинированную левоповоротную полосу и полосу прямого движения. В остальном для устройства пересечений сохраняются принципы указанных норм и правил.
6.2.3. Пересечения в конце дополнительных полос
Если конец дополнительной полосы согласно п. 3.2. Приложения 2 RAS-Q попадает в пределы пересечения, то дополнительную полосу следует завершить перед пересечением.

Рис. 24. Начало участков с дополнительными полосами на дорогах с одной проезжей частью у примыканий дорог
Приведение существующих дополнительных полос в соответствие с требованиями этого документа возможно тогда, когда дополнительные полосы отвечают, по меньшей мере, следующим критериям:
• ширина полосы движения соответствует решению поставленной задачи (см. рис. 20) или приблизительно равна ширине других полос движения в поперечном профиле;
• поперечный уклон одинаков и на других полосах движения в направлении подъема (разницей в поперечном уклоне в 1 % можно пренебречь).
7.2.1. Планировочно-конструктивное решение
При приведении в соответствие существующих дополнительных полос необходимо стремиться к всестороннему согласованию конструктивных элементов к типовой форме исполнения (например, одинаковая конструкция дорожной одежды, в случае необходимости устройство остановочных полос, установленное правилами положение начала и конца ДПД, а также соответствующее решение отгонов уширения).
Для устранения неприглядного вида разобранных поверхностей дорожного полотна разметка должна производиться, по возможности, во взаимосвязи с проведением строительных мероприятий по устройству верхних слоев покрытия, например, нанесение тонкого слоя покрытия.
7.2.2. Организация движения (разметка, расстановка знаков)
При приведении в соответствие существующих дополнительных полос разметка и расстановка знаков производятся так же, как и при последующем устройстве дополнительных полос на существующих дорогах (п. 5.2. и п. 5.3. данного Приложения, см. рис. 21,б; 22,а).
Существующие дополнительные полосы, которые по этим требованиям не могут быть приведены в соответствие, представляют собой полосы для медленно движущихся транспортных средств. Полосами для них являются специальные полосы, пристроенные с внешней стороны транзитной проезжей части для движения тяжелых большегрузных автомобилей. Специальная функция этих полос четко обозначается разметкой в форме направляющей линии с широкой штриховкой (прерывистое ограничение полосы движения). Необходимо стремиться к соответствию существующих полос для медленно движущихся транспортных средств действующим нормам и правилам при обновлении дорожной одежды.
Представленный в
продольном профиле участок дороги с одной проезжей частью с типовым поперечным
профилем RQ 10,5
имеет уклон 5,2 % на подъем протяжением
Порядок выполнения действий для проверки необходимости устройства дополнительных полос движения на участках подъема приведен ниже и на рис. 25.

Рис. 25. Пример расчета для определения границ применения дополнительных полос движения на участках подъема:
1-7 - отдельные промежуточные участки с соответствующими им кривыми скоростей движения для грузовых автомобилей на уклонах (см. рис. 17)
1.
Определение фактической скорости расчетного большегрузного автомобиля на
участке. Эта скорость наносится на график с помощью диаграммы, показанной на рис. 17.
Кривая скорости начинается на спуске, находящемся перед рассматриваемым
участком подъема. Здесь скорость большегрузного автомобиля может быть принята
как известная максимальной величиной
• с уклоном на спуске 6 %
с максимальной скоростью
• на кривой замедления от
скорости 80 до
•на кривой ускорения от
скорости 46 до
• на кривой замедления от
скорости 63 до
•на кривой подъема 5,2 %
с установившейся скоростью
• на кривой ускорения от
скорости 30 до
• на спуске 1,0 % с
максимальной скоростью
2. Сравнение
фактической скорости большегрузного автомобиля на участке с граничными
скоростями. От устройства дополнительной полосы можно отказаться, если
фактическая скорость большегрузного автомобиля на участке не снижается менее
3. Определение допустимой
наименьшей скорости движения большегрузного автомобиля. Допустимая наименьшая
скорость движения большегрузного автомобиля VZNS на участке рассчитывается для типового поперечного профиля RQ 10,5 и для планируемой расчетной
скорости VB =
4. Сравнение фактической
наименьшей и допустимой скоростей движения большегрузного автомобиля на
участке. Для представленного участка дороги фактическая скорость большегрузного
автомобиля сопоставляется с допустимой наименьшей скоростью на участке. В
пределах подъема с уклоном 5,2 % фактическая скорость, равная
5. Установление начала и
конца дополнительной полосы. Начало и конец дополнительной полосы устраиваются
в соответствии с п. 3. данного Приложения
при расчетной скорости движения VB =
Безопасность движения на дорогах при строительстве их по соответствующим правилам зависит в большей степени от конструктивного решения поперечных профилей. Другие важные определяющие факторы следуют из планировочно-конструктивного решения пересечений дорог и интенсивности движения. Влияние проложения трассы дорог на безопасность движения при соблюдении Норм и правил проектирования автомобильных дорог, части «Проложение трассы автомобильных дорог» (RAS-L), особенно в отношении соотносительного трассирования, имеет меньшее значение. Безопасность движения характеризуется числом и тяжестью ДТП, относимых на пробег автомобилей.
Число и тяжесть ДТП измеряются народнохозяйственными потерями как стоимость несчастных случаев. Поскольку с увеличением длины участка дороги и ростом интенсивности движения стоимость ДТП возрастает, то в качестве меры для оценки безопасности движения служит SДТП.
Средний показатель стоимости ДТП - SДТП для участков дорог с типовыми поперечными профилями представлен на рис. 26; характерные для пересечений дорог ДТП, совершаемые при поворотных маневрах и взаимных пересечениях, при этом не учтены. Они зависят, в основном, от планировочно-конструктивного решения пересечений и от регулирования движения.
Из показателя стоимости ДТП и прогнозной величины среднегодовой суточной интенсивности движения (N) на дороге можно вычислить ежегодные относимые на длину расходы на ДТП
VДТП = 365·10-6·SДТП·(RQ)·N, 1000 DM/(km), (15)
где VДТП - расходы на ДТП, отнесенные на длину в год;
N - среднегодовая суточная интенсивность движения (прогнозная величина на рассматриваемом участке дороги) авт./сут;
SДТП (RQ) - показатель стоимости ДТП на рассматриваемом типовом поперечном профиле, DM/(1000 авт.·км).

Рис.26. Показатель стоимости ДТП для различных типовых поперечных профилей (по состоянию на 1995г.)
Для возможности оценки допустимых дополнительных или подлежащих экономии инвестиционных расходов, связанных с применением различных рассматриваемых для данного участка поперечных профилей, необходимо расходы на ДТП на планируемый период (в 20 лет) пересчитать в дисконтированную стоимость. Для этого служит коэффициент пересчета, вычисляемый по формуле
(16)
где р - процентная ставка; она составляет для народнохозяйственных интересов 3% в год (по EWS-96);
n - продолжительность периода для оценки в годах n = 20 лет (по EWS-96).
Дисконтированный коэффициент, вычисленный по формуле (16), составляет bf - 14,9.
Действительные расходы QДТП, связанные с ДТП и относимые на длину, находят путем умножения расходов на ДТП на дисконтированный коэффициент bf
QДТП = 0,0149·VДТП – 5.44·10-6SДТП·(RQ)·N, млн. DM/км (17)

Рис. 27. Средние расходы QДТП, связанные с ДТП и относимые на длину, для различных
типовых поперечных профилей в зависимости от среднегодовой суточной
интенсивности движения (в ценах
1 - RQ-7,5; 2 - RQ 9,5; 3 - RQ 10,5; 4 - RQ 15,5; 5 - RQ 20; 6 – RQ 33 и RQ 26; 7 - RQ 35,5 и RQ 29,5
На рис. 27 показаны средние расходы на ДТП, относимые на длину, в зависимости от среднесуточной интенсивности движения для каждого типового поперечного профиля. С помощью формулы (17) или рис. 27 можно для заданной интенсивности движения на проектируемой дороге установить, какой величины народнохозяйственные расходы на основе принятия решения между применяемыми поперечными профилями (по рис. 5 или по Приложению 1 RAS-Q) предположительно могут быть сэкономлены или превышены. Такому изменению народнохозяйственных расходов из-за ДТП могут быть поставлены в соответствие и изменения в затратах заказчика.
В табл. 10 приведен пример результата расчета стоимости ДТП при строительстве новой дороги категории АII с прогнозной интенсивностью движения 17 тыс. авт./сут при сопоставлении поперечных профилей.
Таблица 10
|
|
Поперечные профили |
||
|
RQ 10,5 |
RQ 15,5 |
RQ 20 |
|
|
Показатель стоимости ДТП SДТП, DM/(1000 авт., км) по рис. 25 |
66 |
47 |
42 |
|
Расходы на ДТП QДТП, отнесенные на длину, по формуле (17) или по рис. 26, млн. DM/км |
6,10 |
4,35 |
3,88 |
Если вместо двухполосного поперечного профиля RQ 10,5 выбрать поперечный профиль с тремя полосами и с организацией движения по полосам 2+1, то это является оправданным для заказчика при дополнительных вложениях до 1,75 млн. DM/ км дороги. Применение поперечного профиля RQ 20 с раздельными проезжими частями вместо профиля RQ 10,5 влечет дополнительные расходы в сумме 2,22 млн. DM/км, а вместо RQ 15,5 - 0,47 млн. DM/км.
И наоборот, сэкономленные расходы при отказе заказчика от реализации каждого из применяемых профилей более высокой стоимости должны как минимум соответствовать указанной разности.
В случае необходимости проведения всесторонней оценки различных дорог и их поперечных профилей следует руководствоваться рекомендациями по экономическим изысканиям дорог (EWS-96). К такой оценке можно не прибегать, если предварительное рассмотрение, т.е. сопоставление дополнительных затрат заказчика и сэкономленных затрат по ДТП имеют настолько большие расхождения (например, более 25 %), что этого вполне достаточно для принятия однозначного решения.
Границы полос движения
между полосой движения однополосного участка и полосой обгона противоположного
направления размечаются двойной линией. Посредством этой двойной линии полосы
движения для встречных транспортных средств смещаются друг от друга на
Конструктивное изменение элементов в поперечном профиле выполняется, исходя из соображений динамики движения, в соответствии с частью «Проложение трассы автомобильных дорог» (RAS-L). В результате в конце участка дороги с типовым поперечным профилем RQ 15,5 происходит резкое сужение проезжей части за счет исключения средней полосы движения; переход к последующему нормальному по ширине поперечному профилю осуществляется по указанным выше правилам RAS-L.
Для подкрепления и усиления действия разметки важными элементами являются указатели направлений движения и знаки запрещения обгона, особенно при движении в темное время суток, дожде и снегопаде. Благоприятным средством для подавления желания выполнить обгон на однополосных участках является оповещение начала последующего двухполосного участка дороги путем равномерной установки указателей на одинаковых расстояниях.

Рис. 28. Рекомендации по разметке и установке дорожных знаков и указателей на дорогах с типовым поперечным профилем RQ 15,5:
а - участок критической
смены числа полос движения;
б - то же, некритической
В тех случаях, когда двухполосные участки дорог попадают на участки подъема, то путем запрета на обгон большегрузных автомобилей можно достичь лучшего рассредоточения быстро движущихся автомобилей от медленно движущихся транспортных средств.
Отдельные участки должны
быть рассчитаны по длине таким образом, чтобы образовавшаяся на однополосных
участках колонна автомобилей смогла бы рассредоточиться на двухполосных
участках. Поэтому двухполосные участки должны быть длиной не менее
При наличии в составе
потока не более 15 % грузовых автомобилей благоприятными представляются длины
отдельных участков, которые должны быть от 1000 до
Для устройства мест смены числа полос по направлениям необходимо соблюдать следующие условия:
• места смены числа полос движения должны располагаться на участках, где водитель может сконцентрировать свое внимание на смену своей или другой полосы, т.е. на хорошо обозримых участках, по возможности, на плавных участках дороги. На ненаглядных участках нельзя устраивать критические места смены числа полос (сужения с двух полос до одной полосы движения);
• места смены числа полос не должны располагаться на участках, подверженных гололеду (например, на мостах);
• на кривых в плане малого радиуса двухполосные участки должны находиться с внешней стороны. В противном случае надежнее будет прервать эксплуатационную схему 2+1 перед кривой в плане, а среднюю полосу разметить как разделительную с запрещающей для движения поверхностью. На таких участках для разделения проезжих частей можно предусматривать в проекте устройство разделительной полосы;
• на подъемах рекомендуется устройство двухполосного участка в направлении подъема. Начало и конец двухполосного участка определяются методом, приведенным в п. 3. Приложения 2 RAS-Q. По этому методу на участках выпуклых кривых могут быть обоснованы четырехполосные проезжие части, для которых в проекте предпочтительно предусматривать разделение проезжих частей встречных направлений посредством устройства разделительной полосы;
• исходя из соображений безопасности движения, перед въездом в населенные пункты рекомендуется применять однополосные участки дорог, так как в этом случае образовавшие колонну автомобили въезжают в город с заведомо уменьшенной скоростью.
В тех случаях, когда на дорогах с поперечным профилем 2+1 встречаются пересечения с другими дорогами в виде транспортных развязок в разных уровнях, переходно-скоростные полосы на них выполняются по Нормам и правилам проектирования автомобильных дорог, часть «Пересечения автомобильных дорог в разных уровнях» RAL-K-2 и АН RAL-K-2. Во избежание вытеснения автомобилями с примыкающего въезда движущихся транспортных средств по транзитной полосе на полосу встречного движения целесообразно на участках въездов транспортных средств устраивать разделительные полосы для проезжих частей встречных направлений. Необходимо информировать также въезжающих на дорогу по съезду водителей путем установки указателей о планировке на входном участке. На развязках в разных уровнях могут быть устроены две полосы движения в одном направлении. Правая полоса движения не может перейти как переходно-скоростная полоса в последующий съезд.
В случаях местонахождения пересечений дорог в одном уровне на участках дорог с поперечным профилем 2+1 следует, исходя из пропускной способности и безопасности движения, выполнить проверку необходимости светофорного регулирования движения.
На примыканиях дорог к
нерегулированным пересечениям в одном уровне устанавливаются, как правило, а на
регулируемых примыканиях всегда, ограничения скорости до
К пересечениям в одном уровне подъезд дорог с профилем 2+1 не должен происходить по двум полосам. Если критические места попадают на пересечение, то двухполосные подходы необходимо заранее сузить до одной полосы. Полоса для левоповоротного движения должна быть размещена за островком безопасности.
На участках дорог с профилем 2+1 рекомендуется как для пересечений в одном, так и в разных уровнях некритические места располагать в пределах пересечений. Эти участки должны проектироваться так, чтобы входящие полосы, переходя в переходно-скоростные, продолжались за пересечение в оба направления в качестве правой полосы двухполосного участка. Такие участки из-за необходимых маневров смены числа полос движения не должны выполняться на минимальной длине.
На пересечениях в одном уровне со светофорным регулированием целесообразно предусматривать дополнительную полосу перед пересечением, а за пересечением ее продолжить.
На основании имеющегося опыта преимущества схемы 2+1 по безопасности движения относятся только к дорогам с движением автомобилей. Возможности применения этой схемы к дорогам с общим движением транспортных средств устанавливаются.
Типовой поперечный профиль RQ 15,5 применяется не только при новом строительстве, но из-за высокой степени безопасности движения рекомендуется при реконструкции, а также для переразметки существующих дорог с широкой проезжей частью. В таких случаях допустимо уменьшение показанных на рис. 4 размеров составных элементов поперечного профиля, если необходимо уширение земляного полотна и проезжей части.
Минимальные размеры элементов поперечного профиля представлены в табл. 11. При назначении минимальных размеров рекомендуется на двухполосных участках запрет на обгон для грузовых автомобилей.
Таблица 11
Стандартные размеры типового поперечного профиля RQ 15,5 и минимальные размеры при уменьшенных размерах элементов
|
Элементы поперечного профиля |
Стандартный размер, м |
Минимальный размер, м |
|
Полосы движения: одна полоса |
3,75 |
3,50 |
|
две полосы: слева |
3,25 |
3,25 |
|
справа |
3,50 |
3,25 |
|
Разделительные полосы |
0,50 |
0,50 |
|
Краевые полосы |
2x0,25 |
2x0,25 |
|
Ширина проезжей части |
11,50 |
11,00 |
|
Обочина со стороны: одной полосы движения |
2,50 |
2,00 |
|
двух полос движения |
1,50 |
1,50 |
|
Ширина полотна дороги в бровках |
15,50 |
14,50 |
Поперечные
профили четырехполосных дорог с уменьшенными размерами элементов с устройством разделительной
полосы между направлениями движения представляют благоприятную альтернативу
профилям дорог с одной проезжей частью из-за их более высокой безопасности
движения. Особенно при применении защитных ограждений из бетона или стали,
которые по сравнению с защитными барьерными планками позволяют уменьшить ширину
центральной разделительной полосы. Четырехполосные поперечные профили с
уменьшенными размерами элементов (рис. 29) приспособлены не только для
применения в стесненных условиях, но прежде всего для переразметки дорог с
одной проезжей частью с дополнительным устройством центральной разделительной
полосы. Общая ширина поперечного профиля благодаря уменьшению расстояния
внутренней краевой полосы у центральной разделительной полосы может быть еще снижена
до минимального размера

Рис. 29. Пример поперечного профиля с четырьмя полосами движения с уменьшенными элементами и выделением разделительной полосы:
* - уменьшение значений в исключительных случаях
При
ширине полосы движения
|
|
|
|