//
ТехЛит.ру
- крупнейшая бесплатная электронная интернет библиотека для "технически умных" людей.
WWW.TEHLIT.RU - ТЕХНИЧЕСКАЯ ЛИТЕРАТУРА

:: Алготрейдинг::


АЛГОТРЕЙДИНГ
шаг за шагом
с нуля по урокам!

Торговые роботы на PYTHON, BackTrader,
Pandas, Pine Script для TradingView. Связка с брокерами, телеграм и легкими приложениями.


ГОСУДАРСТВЕННЫЙ КОМИТЕТ СОВЕТА МИНИСТРОВ СССР ПО ДЕЛАМ СТРОИТЕЛЬСТВА
(ГОССТРОЙ СССР)

 

УКАЗАНИЯ ПО ПРОЕКТИРОВАНИЮ ГИДРОИЗОЛЯЦИИ ПОДЗЕМНЫХ ЧАСТЕЙ ЗДАНИЙ И СООРУЖЕНИЙ

 

СН 301-65

 

2-е издание

 

Утверждены
Государственным комитетом по делам строительства СССР
19 января 1965 г.

 

ИЗДАТЕЛЬСТВО ЛИТЕРАТУРЫ ПО СТРОИТЕЛЬСТВУ
Москва – 1971

СОДЕРЖАНИЕ

1. ОБЩАЯ ЧАСТЬ

2. ВЫБОР ТИПА ГИДРОИЗОЛЯЦИИ

3. КОНСТРУКЦИИ И УСЛОВИЯ ПРИМЕНЕНИЯ ГИДРОИЗОЛЯЦИИ

Окрасочная битумная гидроизоляция

Штукатурная цементная гидроизоляция

Штукатурная асфальтовая гидроизоляция из холодных (эмульсионных) мастик

Штукатурная асфальтовая гидроизоляция из горячих растворов или мастик

Литая асфальтовая гидроизоляция

Оклеенная битумная гидроизоляция

Пластмассовая гидроизоляция

Металлическая гидроизоляция

 

 

«Указания по проектированию гидроизоляции подземных частей зданий и сооружений» (СН 301-65) разработаны НИИМонтажспецстроем при участии институтов: ВНИИГ им. Б.Е. Веденеева, Гипромез, Промстройпроект, Теплопроект и Фундаментпроект.

Во 2-е издание Указаний (СН 301-65) внесены редакционные поправки в отдельные пункты и уточнены ссылки на действующие нормативные документы.

Редакторы – инж. В.Д. Несов (ГосстройСССР), канд. тхн. нук С.К. Носков, инж. Т.М. Самохина (НИИМонтажспецстрой).

 

Государственный комитет Совета Министров СССР по делам строительства
(Госстрой СССР)

Строительные нормы

СН 301-65

Указания по проектированию гидроизоляции подземных частей зданий и сооружений

-

1. ОБЩАЯ ЧАСТЬ

1.1. Настоящие указания распространяются на гидроизоляцию подземных частей производственных, вспомогательных зданий и сооружений промышленных предприятий, жилых и общественных зданий и сооружений. Особенности гидроизоляции специальных сооружений (метрополитенов, гидротехнических и др.), а также всех сооружений, находящихся в агрессивной среде и в вечномерзлых грунтах в настоящих Указаниях не рассматриваются.

1.2. Гидроизоляцию надлежит применять в тех случаях, когда она по сравнению с другими мероприятиями (дренаж, битумизация, цементация и силикатизация грунтов, поднятие уровней полов и др.) имеет преимущества по эксплуатационным, техническим, экономическим или иным соображениям.

1.3. Выбор гидроизоляции следует производить из следующих ее типов: окрасочная битумная, штукатурная цементная, штукатурная асфальтовая из горячих мастик и растворов, штукатурная асфальтовая из холодных (эмульсионных) мастик, литая асфальтовая, оклеечная битумная, пластмассовая (окрасочная и листовая) и металлическая.

При выборе типа и состава гидроизоляции необходимо, учитывая назначение данного подземного помещения (сооружения), установить вначале степень допустимого увлажнения (см. п. 2.2 настоящих Указаний) и группу трещиностойкости ограждающих конструкций, затем установить пригодность данного типа гидроизоляции по всем требуемым свойствам ее и только после этого определить состав принятой гидроизоляции (количество слоев, толщину).

Работы по устройству гидроизоляции надлежит выполнять в соответствии с главой СНиП III-В.12-69 «Кровли, гидроизоляция и пароизоляция. Правила производства и приемки работ».

 

Внесены
Государственным производственным комитетом по монтажным и специальным строительным работам СССР

Утверждены
Государственным комитетом по делам строительства СССР
19 января 1965 г.

Срок введения
1 апреля 1965 г.

 

1.4. Гидроизоляционный слой должен быть непрерывным (без разрывов) на всей изолируемой поверхности, и его, как правило, следует предусматривать при наличии гидростатического напора со стороны последнего, а при действии капиллярной влажности и просачивающейся воды - на увлажняемых поверхностях. Если на отдельных участках изолируемых поверхностей сооружения имеются различные нагрузки и воздействия (гидростатический напор, вес и давление грунтов, нагрузки на перекрытия и др.), то для каждого участка должен быть выбран соответствующий тип гидроизоляции, назначаемый согласно требованиям раздела 2 настоящих Указаний.

При наличии переменного по направлению гидростатического напора асфальтовые, битумные и пластмассовые гидроизоляции должны быть зажаты с обеих сторон жесткими конструктивными элементами, рассчитанными на действующий на них напор.

1.5. При проектировании зданий и сооружений на просадочных грунтах выбор типа гидроизоляции и дополнительные мероприятия по защите грунта от обводнения атмосферными водами и промышленными стоками надлежит производить с учетом требований главы СНиП II-Б.2-62* «Основания и фундаменты зданий и сооружений на просадочных грунтах. Нормы проектирования», а также «Указаний по проектированию сетей и сооружений водоснабжения, канализации и тепловых сетей на просадочных грунтах» (СН 280-64); выполнение таких конструкций необходимо осуществлять согласно главе СНиП III-Б.10-62 «Строительство на просадочных грунтах. Правила организации, производства и приемки работ».

1.6. При выборе типа и конструкции гидроизоляции необходимо учитывать химический состав грунтовых вод, и наличие блуждающих токов. Установление степени агрессивности воды по отношению к цементам и выбор цемента для бетонов и растворов изолируемой конструкции следует производить в соответствии с «Инструкцией по проектированию. Признаки и нормы агрессивности воды-среды для железобетонных и бетонных конструкций» (СН 249-63). Защиту от блуждающих токов надлежит осуществлять в соответствии с «Правилами защиты подземных металлических сооружений от коррозии» (СН 266-63).

1.7. На рабочих чертежах должны быть даны указания о методах и последовательности производства гидроизоляционных работ. В календарных планах проектов производства работ гидроизоляционные работы должны быть четко увязаны с опалубочными, бетонными и другими работами.

1.8. При выборе типа гидроизоляции сооружений, находящихся под действием сдвигающих сил, необходимо учитывать, что асфальтовые, битумные и некоторые пластмассовые гидроизоляции отличаются ползучестью; на эту гидроизоляцию не допускаются постоянно действующие сдвигающие и растягивающие нагрузки, а сжимающие нагрузки не должны превышать 5 кГ/см2 (при применении полиизобутиленовых листов - 3 кГ/см2).

1.9. Гидроизоляцию фундаментов, находящихся в неагрессивных средах, как правило, предусматривать не следует, а для защиты стен и других стоящих на фундаменте конструкций от капиллярной влаги необходимо предусматривать устройство гидроизоляции согласно п. 1.10 настоящих Указаний. Массивные и каркасные фундаменты с расположенными в них технологическими и другими помещениями, каналами, галереями, приямками и прочими полостями должны быть изолированы с учетом требований, предъявляемых к гидроизоляции этих полостей, согласно пп. 1.11 и 1.14 настоящих Указаний.


Таблица 1

Рекомендации по выбору типа гидроизоляции при наличии гидростатического напора (+ рекомендуется или допускается; - не рекомендуется или не применяется)

№ п/п

Изолируемые конструкции

Категории конструкций (по п. 2.2 настоящих Указаний)

Тип гидроизоляции

металлическая

цементная штукатурная, наносимая торкретированием

асфальтовые (литая и горячая штукатурная)

асфальтовая холодная

битумная

пластмассовая

оклеечная

окрасочная

листовая

окрасочная

Группа трещиностойкости конструкций (по п. 2.3 настоящих Указаний)

III

II (до 0,05 мм)

I

III

II (до 0,1 мм)

I

III

II (до 0,1 мм)

1

I, II, III

III

II (до 0,1 мм)

I

I, II, III

III

II (до 0,1 мм)

I

1

Подвалы зданий8, заглубленные и подземные помещения и сооружения, возводимые открытым способом (тоннели, коллекторы, галереи, каналы, приямки, переходы и т. п.)

Подошва

I

+

-

-

-

-

-

+

-

+

+

+

-

-

-

+

-

-

+

II

-

-

-

-

-

+

+

+

+

+

+

-

-

+

+

-

+

+

III

-

-

-

-

+

+

+

+

+

+

+

-

+

+

+

+

+

+

Стены

I

+

-

-

-

+6

+6

+

-

+

+

+

-

-

-

+

-

-

+1

II

-

+9

+10

+10

+6

+

+

+

+

+

+

-

-

+1

+

-

+1

+1

III

-

+10

+10

+10

+

+

+

+

+

+

+

-

+1

+1

+

+1

+1

+1

Перекрытия

I

+

-

-

-

-

-

+

-

+

+

+

-

-

-

+

-

-

-

II

-

+9

+9

+3

-

+

+

+

+

+

+

-

-

-

+

-

-

+

III

-

+9

+9

+3

+

+

+

+

+

+

+

-

-

-

+

-

+

+

2

Водонаполненные сооружения (резервуары, бассейны, лотки, отстойники и т. п.)

Днища

-

+4

+7

+7

+

-

+

+

-

+

+

+

-

+5

+5

+

-

+

+

Стены

-

+4

+7

+7

+

+6

+

+

-

+

+

+

-

+5

+5

+

-

+

+

Перекрытия

-

+4

+7

+7

+

-

+

+

-

+

+

+

-

+5

+5

+

-

+

+

3

Опускные колодцы

Стены

I

+

-

-

-

-

-

+

-

-

-

-

-

-

-

-

-

-

-

II

-

+9

+3

+3

-

+

+

-

-

-

-

-

-

-

-

-

-

-

III

-

+3

+3

+3

+

+

+

-

-

-

-

-

-

-

-

-

-

-

Днища

I

-

-

-

-

-

-

+

-

-

-

+

-

-

-

+

-

-

-

II

-

-

-

-

-

+

+

-

-

+

+

-

-

-

+

-

-

-

III

-

-

-

-

+

+

+

-

+

+

+

-

-

-

+

-

-

-

4

Кессоны

Перекрытие над камерой

I

+

-

-

-

-

-

+

-

-

-

-

-

-

-

-

-

-

-

II

-

+2

+

+

-

+

+

-

-

-

-

-

-

-

-

-

-

-

III

-

+

+

+

+

+

+

-

-

-

-

-

-

-

-

-

-

-

Стены

I

+

-

-

-

-

-

+

-

-

-

-

-

-

-

-

-

-

-

II

-

+9

+3

+3

-

+

+

-

-

-

-

-

-

-

-

-

-

-

III

-

+3

+3

+3

+

+

+

-

-

-

-

-

-

-

-

-

-

-

5

Бесканальные теплопроводы

-

-

-

-

-

+

+

+

-

-

-

+

-

-

-

+

-

-

-

1 Не применяется при гидроизоляции стен по защитному ограждению с последующим возведением несущей конструкции.

2 При условии устройства гидроизоляции с наружной и внутренней стороны.

3 С устройством окрасочной гидроизоляции по наружной поверхности торкрет-бетона.

4 При необходимости полной гарантии от утечки жидкости из резервуара и притока грунтовых вод в него.

5 При возможности периодического осмотра и ремонта.

6 Только литая за опалубкой.

7 Кроме круглых резервуаров, работающих на растяжение.

8 Цементная гидроизоляция подвалов, как правило, не применяется.

9 Торкретирование следует предусматривать на несущей конструкции с наружной и внутренней стороны с устройством по наружному слою торкрет-бетона окрасочной гидроизоляции.

10 Торкретирование следует предусматривать на несущей конструкции (на одной из ее сторон) с устройством окрасочной гидроизоляции по наружному слою торкрет-бетона.


При применении свайных фундаментов гидроизоляцию блока или фундаментной плиты следует предусматривать по ростверку, а сваи при необходимости защищать отдельно.

1.10. Противокапиллярную гидроизоляцию в стенах надлежит проектировать так, чтобы сплошная прокладка пересекала стену и внутреннюю штукатурку (рис. 1).

Прокладки, как правило, следует предусматривать из укладываемых насухо по выровненной поверхности двух слоев рулонного материала с покровным слоем (толем). При применении беспокровных материалов (толь-кожи, гидроизола) последние необходимо наклеивать на выровненную поверхность сплошным слоем битума или мастики толщиной 1-2 мм. Пластмассовые листы следует укладывать в один слой насухо со склейкой или сваркой швов. Если стены испытывают сдвигающие, растягивающие или сжимающие (более указанных в п. 1.8 настоящих Указаний), а также сейсмические нагрузки, противокапиллярные прокладки в стенах следует предусматривать из цементного раствора состава 1:2 толщиной 20-30 мм, желательно с уплотняющими добавками согласно п. 3.10 настоящих Указаний.

Прокладки в стенах надлежит располагать на высоте 0,1-0,5 м от планировочной отметки. Если пол окажется ниже планировочной отметки, то в стенах под полом следует предусматривать устройство второй прокладки; стены с наружной стороны над тротуаром (отмосткой) должны быть до уровня прокладки оштукатурены цементным раствором.

Рис. 1. Устройство противокапиллярных прокладок в стенах

1 - противокапиллярная прокладка; 2 - цементная штукатурка; 3 - покрытие мастикой; 4 - гидроизоляция пола; 5-фундамент; 6 - бетонная подготовка; 7 - отмостка; 8 - максимальный уровень грунтовых вод

1.11. Гидроизоляцию заглубленных в землю и подземных помещений и сооружений (подвалов, тоннелей, каналов, коллекторов, галерей, приямков и т. п.), возводимых в котлованах открытым способом, надлежит предусматривать по табл. 1 и в соответствии с рис 2, 3 и 4.

При отсутствии грунтовых вод допускается для конструкций II и III категории (по классификации, приведенной в п. 2.2 настоящих Указаний) вместо противокапиллярной гидроизоляций устраиваемых на грунте полов предусматривать укладку под бетонную подготовку пола гравийного слоя толщиной не менее 5 см или подготовки под полы из асфальтобетона.

Рис. 2. Гидроизоляция подземных сооружений

а - от напора грунтовых вод; б - от грунтовой капиллярной влаги;
1 - гидроизоляция; 2- несущая конструкция; 3 - бетонная подготовка; 4 - защитное ограждение гидроизоляции на стенах (устраивается при необходимости); 5 - защитное покрытие; 6 - максимальный уровень грунтовых вод

Рис. 3. Гидроизоляция заглубленных сооружений

а - от напора грунтовых вод; б - от грунтовой капиллярной влаги;

1 - гидроизоляция от напора грунтовых вод; 2 - гидроизоляция от капиллярной влаги; 3 - несущая конструкция; 4 - защитное ограждение (устраивается при необходимости); 5 - бетонная подготовка; 6 - уровень земли; 7 - максимальный уровень грунтовых вод

1.12. Противонапорную гидроизоляцию на стенах надлежит предусматривать выше максимального напорного уровня не менее чем на 0,5 м; выше этого уровня стены, расположенные в грунте, должны быть изолированы против капиллярного подсоса влаги. Гидроизоляцию перекрытий подземных сооружений, располагаемых выше уровня грунтовых вод, в связи с. повышенными требованиями по степени допустимого увлажнения потолков согласно п. 2.2 настоящих Указаний надлежит проектировать как от напорной воды с давлением до 5 м.

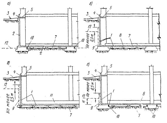
Рис. 4. Гидроизоляция подвалов

а - от грунтовой капиллярной влаги; б - от напора грунтовых вод (железобетонное днище заанкерено в стены); в - от напора грунтовых вод на сплошном фундаменте в виде монолитной железобетонной плиты; г - от напора грунтовых вод с пригрузочным слоем на днище;

1 - гидроизоляция от напора грунтовых вод; 2- гидроизоляция от капиллярной влаги; 3 - отмостка; 4 - цементная штукатурка; 5 - противокапиллярная прокладка; 6 - пригрузочная конструкция высотой h (1,1 - коэффициент запаса, H - гидростатический напор в м, γ - объемный вес материала пригрузочной конструкции в т/м3); 7 - бетонная подготовка; 8 - заанкеренная железобетонная плита; 9 - защитное ограждение (устраивается при необходимости); 10- окраска мастикой; 11- фундаментная плита; 12 - максимальный уровень грунтовых вод

1.13. У наружных стен зданий с подвалами необходимо предусматривать устройство водонепроницаемой отмостки. Отмостку следует проектировать из асфальтобетона или литого асфальта по щебеночной подготовке на уровне планировочной отметки с устройством отмостки сразу после засыпки и тщательного уплотнения грунта в пазухах. Ширина и уклон отмостки назначаются в соответствии с требованиями п. 3.122 главы СНиП II-М.1-62 «Генеральные планы промышленных предприятий. Нормы проектирования».

1.14. Водонаполненные сооружения - резервуары, бассейны, лотки, отстойники, водоприемники и т. п. (рис. 5) - надлежит изолировать, как правило, с внутренней стороны (со стороны гидростатического напора).

Рис. 5. Гидроизоляция водонаполненных сооружений

а - с защитным ограждением (при необходимости защиты гидроизоляции от механических повреждений и при проточной воде); б - без защитного ограждения (при создании возможности периодического осмотра и ремонта гидроизоляции и непроточной воде); в - при наличии напора грунтовых вод; г - то же (вариант с торкретной гидроизоляцией);

1 - гидроизоляция от гидростатического напора; 2 - несущая конструкция; 3 -защитное ограждение; 4 - торкрет; 5 -гидроизоляция от грунтовой капиллярной влаги; 6 - бетонная подготовка; 7 - максимальный уровень воды в сооружении; 8 - уровень земли; 9 - максимальный уровень грунтовых вод

Если снаружи сооружения действует напор грунтовых вод и гидроизоляция должна противостоять переменному по направлению напору (рис. 5,г), то при применении асфальтовой, битумной и пластмассовой гидроизоляций их следует выполнять с наружной стороны, а защитное ограждение рассчитывать на действующий напор изнутри. Сооружения, возводимые способом опускного колодца или кессона, надлежит изолировать с учетом требований п. 1.16 настоящих Указаний, Допускается также обеспечивать водонепроницаемость резервуаров для воды путем подбора специальных плотных бетонов или введением в бетон уплотняющих добавок.

1.15. Защитные ограждения асфальтовых, битумных и пластмассовых гидроизоляций, расположенные на внутренней поверхности водонаполненных сооружений, надо армировать и предусматривать мероприятия, обеспечивающие устойчивость этих ограждений на период опорожнения сооружения.

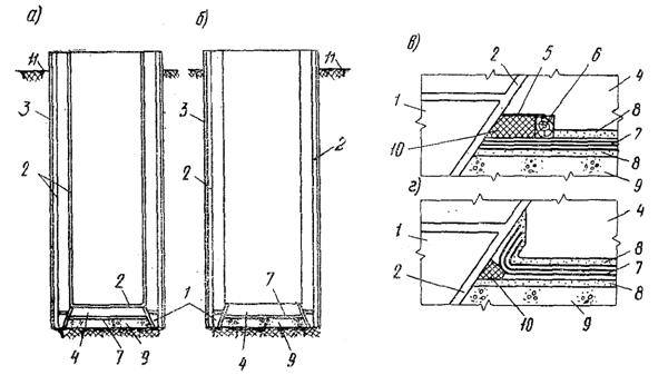
Рис. 6. Гидроизоляция опускных колодцев

а -с двух сторон; б -с одной наружной стороны; в, г- сопряжения оклеечной гидроизоляции с цементной гидроизоляцией стен;

1 - нож опускного колодца; 2 - цементная гидроизоляция (торкрет); 3 - окрасочная битумная гидроизоляция; 4 - днище опускного колодца; 5 - лист оклеечной гидроизоляции; 6 - деревянная рейка 50×50 мм; 7 - оклеечная гидроизоляция; 8 - выравнивающая и защитная стяжки; 9 - бетонная подготовка; 10 - битумная мастика; 11 - уровень земли

1.16. Гидроизоляцию заглубленных помещений и сооружений, возводимых способом опускных колодцев и кессонов, следует предусматривать по табл. 1 и в соответствии с рис. 6 и 7, учитывая назначение сооружений. Металлическую гидроизоляцию опускных колодцев и кессонов разрешается применять лишь для конструкций I категории (см. п. 2.2 настоящих Указаний) и при недопустимости появления трещин, располагая гидроизоляцию, как правило, с внутренней стороны.

Рис. 7. Гидроизоляция кессонов

а - с двух сторон; б - с одной наружной стороны;

1 - окрасочная битумная гидроизоляция; 2 - цементная гидроизоляция; 3 - несущая конструкция; 4 - уровень земли; 5 - максимальный уровень грунтовых вод

1.17. Гидроизоляцию бесканальных теплопроводов, укладываемых ниже уровня грунтовых, вод, следует проектировать по теплоизоляционному слою. Выполнять гидроизоляцию следует, как правило, в заводских условиях в виде двухслойной штукатурки асфальтовой горячей мастикой или оклейки двумя слоями рулонных битумных либо пластмассовых материалов с учетом данных теплотехнического расчета. Гидроизоляционный слой на теплопроводах для защиты их при транспортировке необходимо покрывать асбестоцементной штукатуркой по стальной сетке.

При прокладке бесканальных теплопроводов выше уровня грунтовых вод в качестве теплогидроизоляции рекомендуется применять засыпку траншей гидрофобным песком или золой, приготовленными путем обработки нагретых песка или золы битумным раствором. Трубы в этих случаях необходимо окрашивать теплостойкими антикоррозионными составами.

Гидроизоляцию на теплопроводах, прокладываемых в каналах, как правило, предусматривать не следует, а необходимо изолировать сами каналы (в соответствии с п. 1.11 настоящих Указаний); открытые теплопроводы следует изолировать от атмосферных осадков, как при бесканальной прокладке.

1.18. Борова дымовых труб, располагаемые ниже уровня грунтовых вод, необходимо защищать путем устройства дренажа. При невозможности устройства такого дренажа для защиты боровов следует применять только металлическую гидроизоляцию (рис. 8). При температуре газов выше 700°С металл необходимо защищать футеровочным слоем.

1.19. При применении асфальтовых и окрасочной гидроизоляции для сооружений из сборных элементов на стыках последних следует предусматривать наклейку полос прочной гнилостойкой ткани шириной 20-30 см. Такое же усиление гидроизоляции необходимо предусматривать на перегибах, в углах и на деформационных швах.

При возможности образования трещин на изолируемых плоскостях окрасочную и асфальтовую гидроизоляции следует армировать сплошь прочной тканью или мягкой проволочной сеткой, прокладывая армирующий слой между первым и вторым слоями гидроизоляции.

Рис. 8. Гидроизоляция боровов

1 - гидроизоляция от напора грунтовых вод (металлический короб); 2 - гидроизоляция от грунтовой капиллярной влаги; 3 - гидроизоляция от просачивающейся сверху воды; 4 - железобетонный короб; 5 - засыпка (котельный шлак или другой теплоизоляционный материал); 6 - теплоизоляция (принимается по расчету в зависимости от температуры отходящих газов); 7 - щебеночная подготовка; 8 - футеровка; 9 - уровень земли; 10 - максимальный уровень грунтовых вод

Рис. 9. Способы сопряжения закладных деталей с гидроизоляцией

а, б - с оклеечной, при пропуске труб через отверстия диаметром более диаметра труб; в - с оклеечной, при пропуске горячих труб; г - с оклеечной, при применении бандажных накладок; д - с оклеечной, при заделке анкера в стену; е - с асфальтовой при заделке анкера в стену; ж - с асфальтовой, при заделке труб в стену; з - групповой фланец для нескольких труб и кабелей; и, к - с асфальтовой и цементной при пропуске труб через отверстия диаметром более диаметра труб;

1 - изолируемая конструкция; 2 - гидроизоляция; 3 - защитное ограждение; 4 - труба (анкер); 5 - манжет из битумированной стеклоткани (рулонного материала) с обмоткой жгутом (проволокой) или с зажимом бандажной накладкой; 6 - фланец и защемляющая накладка; 7 - упор, уплотняющая набивка и зажимное приспособление; 8 - заливка мастикой; 9 - защитная металлическая диафрагма; 10 - армирующая металлическая сетка

1.20. При пропуске через гидроизоляцию труб, кабелей, анкеров и т. п. (рис. 9) необходимо предусматривать установку закладных частей с фланцами или приварку к пропускаемым деталям уплотнительных фланцев. Закладные части, как правило, следует делать из труб диаметром более диаметра пропускаемой детали, а фланцы шириной не менее 12 си приваривать так, чтобы их наружная поверхность была расположена в плоскости гидроизоляционного слоя. Сопряжение фланцев с гидроизоляцией, а также уплотнение свободного пространства в закладных частях надлежит предусматривать в соответствии с принятым типом гидроизоляции (рис. 9). При проектировании гидроизоляции от капиллярной влаги допускается для пропуска труб, кабелей, анкеров и пр. принимать более простые решения (например, рис. 9,г). При пропуске горячих труб через асфальтовые, битумные и пластмассовые гидроизоляции необходимо предусматривать теплоизоляционную защиту гидроизоляции (рис. 9,в).

Рис. 10(I). Способы уплотнения деформационных швов при устройстве гидроизоляции

а - окрасочной; б - цементной; в - при заполнении шва поропластом; г - при перекрытии шва профилированной резиной; д - с односторонним усилением металлическими листами, залитыми битумом; е - то же, с двух сторон; ж - с односторонним усилением металлическими листами и рулонным материалом; з - то же, с двух сторон; и - из пластикатных листов; к - с фигурным компенсатором и окантовкой широких швов; л - то же, в стене (при необходимости смены компенсатора); м - с фигурным компенсатором при узких швах (до 20 мм); н -на перекрытиях; о - компенсатор для тоннелей и каналов, примыкающих к сооружениям, с большими осадками;

1 - выровненная бетонная или железобетонная подготовка по утрамбованному грунту; 2 - гидроизоляция; 3 - рулонный материал; 4 - плоские металлические листы; 5 - заполнение шва эластичной мастикой; 6 - сварка пластикатных листов; 7 - фигурный металлический компенсатор с болтовым креплением; 8 - то же, без крепления; 9 - резиновая или пластмассовая лента; 10 - поропласт; 11 - жгут из рулонного материала, просмоленной пакли; каната, резины; 13 - окантовка шва; 14 - армирующая металлическая сетка; 15 - цементный раствор (асфальтобетон)

Рис. 10(II). Способы уплотнения деформационных швов при устройстве гидроизоляции

н - резиновые или пластмассовые профилированные компенсаторы (ленты толщиной 6-9,5 мм и шириной 150-250 мм); р - угловое звено фигурного компенсатора; с - из асфальтовых мастик и растворов при деформации в шве до 20 мм в основании сооружения; т - то же, в стене; у, ф - то же, при деформации более 20 мм;

1 - выровненная бетонная или железобетонная подготовка по утрамбованному грунту; 2 - гидроизоляция; 5 - заполнение шва эластичной мастикой; 7 - фигурный металлический компенсатор с болтовым креплением; 8 - то же, без крепления; 11 - жгут из рулонного материала, просмоленной пакли, каната, резины; 12 - асфальтовый мат или антисептированный войлок; 15- цементный раствор (асфальтобетон)

1.21. Вертикальную гидроизоляцию необходимо, как правило, предусматривать по несущим стенам. При небольшой осадке изолированных стен (до 5 мм) вертикальную оклеенную и горячую асфальтовую гидроизоляции допускается, устраивать по возводимым заранее (до устройства несущих стен) защитным стенкам (со стороны, обращенной к несущим стенам). Если несущие стены при этом возводят из блоков, их необходимо выкладывать на относе от гидроизоляции, заполняя получающийся зазор цементным раствором путем нагнетания.

1.22. В сооружениях с деформационными швами необходимо предусматривать герметизацию (уплотнение) последних и надежное соединение уплотнения с гидроизоляцией поверхностей. Уплотнение швов, как правило осуществляют заполнением их эластичными мастиками, предусмотренными главой СНиП I-B.25-66 «Кровельные гидроизоляционные и пароизоляционные материалы на органических вяжущих», а при гидростатическом напоре - применением дополнительных мероприятий, осуществляемых по рис. 10 (I, II) в соответствии с принятым типом гидроизоляции (см. раздел 3 настоящих Указаний). Ширину деформационных швов следует принимать, как правило, 20-30 мм.

1.23. Все типы гидроизоляции, кроме торкретной, при действии отрывающего напора необходимо зажимать противонапорными конструкциями, рассчитываемыми на действующий напор или против всплытия с коэффициентом запаса 1,1.

1.24. Сопряжения гидроизоляции различных типов друг с другом, а также с закладными частями и компенсаторами должны быть плотными.

Окрасочную гидроизоляцию с оклеечной соединяют путем наклейки всех слоев последней на окрасочную гидроизоляцию на полосе шириной не менее 50 см с устройством дополнительной окрасочной гидроизоляции по оклеечной на этой же полосе.

Асфальтовые (горячую, холодную, литую) гидроизоляции друг с другом, а также с окрасочной и оклеечной соединяют внахлестку на полосе шириной 30-40 см, причем горячие окрасочные и штукатурные составы наносят на основание и затем вторично ими же покрывают сопрягаемые гидроизоляции.

С металлической гидроизоляцией, а также с фланцами закладных частей, анкеров и компенсаторами асфальтовые гидроизоляции сопрягают путем создания на сопрягаемой полосе под металлом полости в 2-3 раза толще асфальтовой гидроизоляции и заполнения этой полости горячей асфальтовой мастикой. Металл на этой полосе должен быть тщательно очищен и заранее огрунтован битумным раствором, а затем после установки на место окрашен горячей мастикой. Допускается также на полосе шириной 30-40 см наносить на металл горячую асфальтовую штукатурку или оклеивать его прочной тканью на горячей мастике. Во всех случаях кратчайший путь фильтрации по контакту асфальт-металл должен быть не менее 10 см.

Оклеечную гидроизоляцию соединяют с металлической путем перекрытия последней всеми слоями рулонного ковра на полосе шириной 20 см и зажатия ковра планками на болтах, как на фланцах и компенсаторах, изображенных на рис. 9 и 10 (I, II).

Цементную гидроизоляцию соединяют с асфальтовыми, окрасочной и оклеечной гидроизоляциями на полосе шириной не менее 50 см внахлестку, причем на основание наносят цементную гидроизоляцию.

С металлической гидроизоляцией, а также с фланцами закладных частей, анкеров и с компенсаторами цементную гидроизоляцию сопрягают так, чтобы металл был заделан в ней на полосе не менее 10 см.

2. ВЫБОР ТИПА ГИДРОИЗОЛЯЦИИ

2.1. При выборе типа гидроизоляции необходимо учитывать следующие основные факторы:

а) требуемый влажностный режим изолируемых помещений и степень допустимого увлажнения ограждающих конструкций (см. п. 2.2 и табл. 1 настоящих Указаний);

б) трещиностойкость изолируемых конструкций (см. п. 2.3 и табл. 1 настоящих Указаний);

в) величину гидростатического напора (см. раздел 3 настоящих Указаний);

г) механические воздействия на гидроизоляцию (см. табл. 2 настоящих Указаний);

д) действие на гидроизоляцию агрессивных сред (см. табл. 2 настоящих Указаний);

е) температурные воздействия на гидроизоляцию (см. табл. 2 настоящих Указаний);

ж) условия производства работ (см. табл. 2 настоящих Указаний);

з) дефицитность материалов и стоимость гидроизоляции (см. табл. 2 настоящих Указаний);

и) сейсмичность района строительства (см. п. 1.10 настоящих Указаний).


Таблица 2

Основные свойства гидроизоляции (+ обладает свойствами; - не обладает свойствами)

№ п/п

Свойства гидроизоляции

Тип гидроизоляции

металлическая

цементная, наносимая торкретированием

асфальтовая горячая

асфальтовая холодная

асфальтовая литая

битумная

пластмассовая

окрасочная

оклеечная

окрасочная

оклеечная

1

Стойкость против гидростатического напора в м

Не ограни-чива-ется7

20

30

30

30

2

30

5

30

2

Стойкость при механических воздействиях:

 

 

 

 

 

 

 

 

 

а) давлении сооружения (его веса и полезных нагрузок)

+

+

+5

+5

+6

+5

+5

+

+5

б) давлении грунта (насыпи, обратной засыпки)

+

+

+

+

+

+

+2

+

+2

в) потока воды и вол-

+

+

+

+3

+

+3

+2

+3

+2

г) примерзшего льда, снега

+

+

+

+3

+2

+3

+2

+3

+2

д) сдвиге грунта при опускании колодцев, при оползании грунта

+

+

+

+2

+2

-

+2

+

+2

3

Стойкость при действии агрессивных сред:

 

 

 

 

 

 

 

 

 

а) мягких и слабощелочных вод (по СН 249-63)

+

+

+

+

+

+3

+

+

+

б) сульфатной и магнезиальной агрессии (по СН 249-63)

+

+1

+1

+1

+1

+3

+1

+

+

в) общекислотной и углекислой агрессии (по СН 249-63)

-

-

+1

-

+1

+3

+1

+

+

г) нефтепродуктов

+

+

-

-

-

-

-

+1

+1

д) блуждающих токов (при отсутствии активной защиты металлических элементов сооружений)

-

-

+

-

+

-

+

+1

+

4

Стойкость при температурных воздействиях (максимально допустимая температура в °С)

700

80

601

80

601

401

402

60

60

5

Возможность механизации производства работ

+

+

+

+

+

+

-

+

+

6

Возможность нанесения на влажные основания

+

+

-

+

-

-4

-

-4

+

7

Возможность производства работ на открытом, воздухе в зимнее время

+

-

+

+1

+

+4

-

+ 4

+

1 Со специальным подбором состава.

2 Только при наличии защитного ограждения.

3 Если возможны периодический ремонт или возобновление.

4 Кроме эмульсий и паст.

5 Не более 5 кГ/см2, из полиизобутиленовых листов не более 3 кГ/см2.

6 Со специальным подбором состава и сжимающих нагрузках, не превышающих 5 кГ/см2.

7 Металлическую гидроизоляцию допускается применять в случаях, указанных в п. 3.65 настоящих Указаний.


2.2. Влажностный режим изолируемых помещений надлежит устанавливать по главе СНиП II-В.6-62* «Ограждающие конструкции. Нормы проектирования». Для выбора гидроизоляции все ограждающие конструкции делят на три категории, характеризуемые степенью допустимого их увлажнения:

I категория - конструкции с сухой поверхностью; допускаются лишь отдельные сырые пятна общей площадью не более 1 % площади поверхности;

II категория - конструкции с поверхностью, на которой допускаются отдельные влажные участки (без выделения капельной влаги); общая площадь влажных участков допускается не более 20% площади поверхности;

III категория - конструкции с поверхностью, на которой допускаются отдельные влажные участки с выделением капельной влаги (кроме поверхности потолков); общая площадь увлажненных участков допускается не более 20% площади поверхности.

Для отвода просачивающейся воды в полу таких помещений необходимо предусматривать водосборные лотки и приямки со свободным сбросом воды в канализацию или с удалением ее путем откачки.

При размещении в подвалах убежищ во всех случаях следует предусматривать водоприемник с откачкой воды насосом.

Влажностный режим изолируемых помещений следует регулировать при помощи отопления и вентиляции.

2.3. Трещиностойкость изолируемых конструкций следует характеризовать предельной величиной расчетного раскрытия трещин, разделяя все изолируемые конструкции на три группы:

I группа - трещиностойкие конструкции (без раскрытия, трещин по данным расчета);

II группа - конструкции с ограниченным по расчету раскрытием трещин (до 0,05 и до 0,1 мм в зависимости от типа гидроизоляции, см. табл. 1 настоящих Указаний);

III группа - конструкции, рассчитываемые только на прочность.

2.4. Состав гидроизоляции (количество слоев, толщину) следует устанавливать в соответствии с требованиями раздела 3 настоящих Указаний после того, как по табл. 1 выбран ее тип и по табл. 2 установлена пригодность данного типа гидроизоляции по всем требуемым свойствам. Основным показателем для выбора состава гидроизоляции является величина действующего на нее гидростатического напора (см. пп. 3.2; 3.13; 3.20; 3.48; 3.66 и табл. 3, 4 и 6 настоящих Указаний).

3. КОНСТРУКЦИИ И УСЛОВИЯ ПРИМЕНЕНИЯ ГИДРОИЗОЛЯЦИИ

Окрасочная битумная гидроизоляция

3.1. Окрасочную битумную гидроизоляцию надлежит проектировать из нефтяных битумов марок БН-III и БН-IV (в том числе разжиженных и эмульгированных) или мастик, предусмотренных главой СНиП I-B.25-66. Кровельные, гидроизоляционные и пароизоляционные материалы на органических вяжущих, с нанесением на изолируемую поверхность с увлажняемой стороны в 2-4 слоя общей толщиной 3-6 мм.

3.2. Окрасочную гидроизоляцию следует применять в основном для защиты от капиллярной влажности; при гидростатическом напоре ее можно применять, если нет деформационных швов и если будет создана возможность периодического осмотра и ремонта гидроизоляции, а напор не будет превышать 2 м.

Нанесение окрасочных слоев надлежит, как правило, производить механизированным способом независимо от применения горячих или холодных составов.

3.3. Основание для окрасочной гидроизоляции должно быть жестким, сплошным и прочным с закругленными (радиусами 3-5 см) или срезанными на фаску углами и гранями. Перед нанесением окрасочного состава основание должно быть очищено от грязи и пыли, высушено и огрунтовано разжиженным окрасочным составом, а углы и грани оклеены полосками стеклосетки или гидроизола шириной не менее 20 см. При применении битумных эмульсий, эмульсионных паст, а также мастик на их основе высушивание изолируемых оснований не требуется. Нанесение окрасочных слоев надлежит производить после полного высыхания грунтовочного слоя или отвердевания нижележащего слоя.

3.4. В сооружениях, конструкции которых подвержены действию постоянного электрического тока, окрасочную гидроизоляцию из разжиженных составов применять не следует.

3.5. Уплотнение деформационных швов при применении окрасочной гидроизоляции надлежит проектировать в соответствии с пп. 1.39 и 1.22 (рис. 10,а) настоящих Указаний,

3.6. Не допускается применение окрасочной битумной гидроизоляции по нежесткому основанию или при наличии неустранимой влажности изолируемых поверхностей, а также при действии на сооружение растворителей битума.

3.7. Засыпку стен с окрасочной гидроизоляцией следует производить только мягким грунтом; защитное ограждение гидроизоляции в этом случае не требуется.

Штукатурная цементная гидроизоляция

3.8. Штукатурную цементную гидроизоляцию надлежит проектировать в виде покрытия из цементно-песчаного раствора (состава от 1:1 до 1:2), наносимого механизированным (торкретированием) или ручным способом на изолируемую поверхность конструкции.

3.9. Торкретный слой наносят цемент-пушкой или установкой «Пневмобетон» на увлажненную шероховатую изолируемую поверхность в два или три слоя (намета); общую толщину торкрета следует принимать соответственно 25 или 30 мм.

3.10. Ручным способом цементную гидроизоляцию допускается наносить при небольших объемах работ (до 100 м2) только конструкций III категории и, как правило, при безнапорных водах. Поверхность такой гидроизоляции в свежем состоянии рекомендуется затирать цементом («железнить»). В случае воздействия напорных вод (но при напоре не более 2 м) при ручном способе оштукатуривания следует применять растворы на водонепроницаемом безусадочном цементе (ВВЦ) либо на портландцементе с уплотняющими добавками [алюминатом натрия, жидким стеклом, сульфитно-спиртовой бардой (ССБ), хлорным железом, гидратом окиси железа и др.].

3.11. Торкретирование следует применять, как правило, для защиты, ограждающих конструкций из монолитного железобетона при воздействии гидростатического напора. Если конструкции не рассчитаны на трещинообразование, их толщина должна быть не менее 25 см.

При применении цементной гидроизоляции для защиты от безнапорных вод толщина конструкций не ограничивается. На сборных конструкциях цементную гидроизоляцию можно применять лишь в случае омоноличивания конструкций с помощью напряженной арматуры (например, на резервуарах).

3.12. Для торкретирования рекомендуется применять цемент того же наименования, что и в бетоне сооружения; водонепроницаемый безусадочный цемент (ВВЦ) следует применять в гидроизоляции по конструкциям из портландцемента. Применение пуццоланового и шлако-портландцемента не рекомендуется.

Для обеспечения стойкости гидроизоляции против действия агрессивной воды-среды с концентрацией агрессивных веществ в пределах, указанных в «Инструкции по проектированию. Признаки и нормы агрессивности воды-среды для железобетонных и бетонных конструкций» (СН 249-63), следует применять соответствующие цементы. Для защиты против воды-среды с концентрацией агрессивных веществ, превышающей величины, указанные в СН 249-63, применение торкретирования не рекомендуется.

3.13. При напоре воды до 10 м токретирование следует производить в два намета общей толщиной 25 мм; при гидростатическом напоре от 10 до 20 м - в три намета общей толщиной до 30 мм.

3.14. По требованиям трещиностойкости торкретирование следует применять:

а) для трещиностойких конструкций, центрально либо внецентренно растянутых (при одноименной эпюре напряжений в сечении конструкции), в которых по расчету не допускается раскрытия трещин;

б) для конструкций II категории, изгибаемых и внецентренно сжатых, в которых по расчету раскрытие трещин допускается не более 0,05 мм; при этом торкретный слой следует наносить, как правило, со стороны напора воды;

в) для ограждающих конструкций II и III категории, размеры и армирование сечений которых назначены по расчету на прочность (без расчета на раскрытие трещин); при этом торкретный слой для конструкций III категории следует наносить только со стороны напора, а II категории - с обеих сторон изолируемой конструкции.

Поверх торкретного слоя, наносимого по наружной поверхности стен и перекрытий, следует, как правило, предусматривать окрасочную битумную изоляцию; по торкретному слою на днище необходимо предусматривать защитную стяжку. Торкретный слой, работающий на отрыв, рекомендуется армировать стальной сеткой.

3.15. При пропуске сквозь ограждающие конструкции труб и других деталей (см. п. 1.20 настоящих Указаний) для усиления цементной гидроизоляции необходимо к фланцам закладных частей приваривать стальную сетку и покрывать ее и фланец торкретным слоем (рис. 9, и и к).

3.16. Уплотнение деформационных швов при применении цементной гидроизоляции надлежит проектировать в соответствии с п. 1.22 настоящих Указаний; для усиления гидроизоляции к краям металлических компенсаторов необходимо приваривать металлические сетки и заделывать их вместе с краями в торкретный слой (рис. 10,б).

Штукатурная асфальтовая гидроизоляция из холодных (эмульсионных) мастик

3.17. Штукатурную асфальтовую гидроизоляцию (холодную) надлежит проектировать из холодной (эмульсионной) асфальтовой мастики, предусмотренной табл. 6 главы СНиП I-B.25-66 «Кровельные гидроизоляционные и пароизоляционные материалы на органических вяжущих», наносимой на изолируемую поверхность в виде нескольких слоев (наметов).

3.18. Асфальтовую гидроизоляцию из эмульсионных мастик можно применять для защиты железобетонных, бетонных и каменных конструкций, нанося мастику, как правило, механизированным путем. Вручную мастику допускается наносить только на горизонтальные поверхности и с уклоном не более 45°. Высушивать основание не требуется, но последующие слои надлежит наносить на затвердевший нижележащий слой мастики.

3.19. Холодную асфальтовую гидроизоляцию следует располагать, как правило, со стороны действующего на сооружение гидростатического напора. При защите от капиллярной и просачивающейся (безнапорной) воды гидроизоляцию допускается располагать на противоположной от увлажнения стороне.

3.20. Толщину отдельных наметов (слоев) эмульсионной мастики при механизированном нанесении допускается принимать от 2 до 4 мм, а при нанесении вручную - до 20 мм. Количество слоев и общую толщину гидроизоляции следует выбирать в зависимости от действующего гидростатического напора:

при капиллярном подсосе влаги - два слоя общей толщиной 5-7 мм;

при напоре до 10 м - три-четыре слоя общей толщиной 10-15 мм;

при напоре 10 м и более, а также при защите помещений I категории при любом напоре (до 30 м) - четыре-пять слоев общей толщиной 15-20 мм.

3.21. Защитное ограждение холодной асфальтовой гидроизоляции на горизонтальных поверхностях следует выполнять в виде стяжки из цементного раствора или бетона. На вертикальных поверхностях защитным ограждением может служить стенка из кирпича, бетонных плит или досок либо слой цементной штукатурки толщиной 1-2 см, который при высоте более 2 м надлежит армировать. Защитное ограждение холодной асфальтовой гидроизоляции не требуется, если она засыпается талым песком или доступна для периодического осмотра и ремонта, а также на омываемых поверхностях бассейнов и других водонаполненных сооружений.

3.22. Уплотнение деформационных швов при применении холодной асфальтовой гидроизоляции надлежит проектировать в соответствии с пп. 1.19 и 1.22 (рис. 10, с-ф), а уплотнение при пропуске через гидроизоляцию труб, кабелей, анкеров и пр. - в соответствии с п. 1.20 (рис. 9, е, ж, и, к) настоящих Указаний.

3.23. Не допускается применение холодной асфальтовой гидроизоляции при общекислотной агрессии, а также для защиты стальных конструкций от коррозии блуждающими токами.

Штукатурная асфальтовая гидроизоляция из горячих растворов или мастик

3.24. Штукатурную асфальтовую гидроизоляцию (горячую) надлежит проектировать из горячих растворов или мастик, предусмотренных табл. 4 главы СНиП I-B.25-66 «Кровельные, гидроизоляционные и пароизоляционные материалы на органических вяжущих», наносимых на изолируемую поверхность в расплавленном виде механизированным путем.

3.25. Количество наметов и общую толщину горячей асфальтовой гидроизоляции следует устанавливать по табл. 3.

3.26. Выбирая состав асфальтового материала при наличии механических воздействий, следует отдавать предпочтение асфальтовому раствору, а при повышенных температурах и для гидроизоляции потолков - асфальтовой мастике.

3.27. Горячую асфальтовую гидроизоляцию можно применять на вертикальных, наклонных и потолочных поверхностях бетонных и каменных конструкций с нанесением ее всегда со стороны напора или увлажнения.

Таблица 3

Штукатурная асфальтовая гидроизоляция

Назначение гидроизоляции

Гидроизоляция

из асфальтового, раствора

из асфальтовой мастики

количество наметов

общая толщина в мм

количество наметов

общая толщина в мм

Против капиллярной влаги

1

4-6

1

3-5

Против гидростатического напора до 5 м

2

8-12

2

6-10

Против гидростатического напора 5 ж и более, а также при защите помещений I категории при любом напоре (до 30 м)

3

12-18

3

9-15

3.28. Основанием для горячей асфальтовой гидроизоляции должна, как правило, служить поверхность защищаемого сооружения и подготовка под днище. Если ожидаемые осадки сооружения будут не более 5 мм, гидроизоляцию в раскрепленных траншеях и при проходке тоннелей закрытым способом допускается наносить на защитное ограждение или скальную выработку, которые будут служить опалубкой при бетонировании несущей конструкции сооружения. Основание должно быть жестким (не гибким), ровным, чистым и сухим. Перед нанесением гидроизоляции должна быть выполнена сплошная насечка и огрунтовка основания разжиженным битумом.

3.29. Уплотнение деформационных швов при применении горячей асфальтовой гидроизоляции надлежит проектировать в соответствии с пп. 1.19 и 1.22 (рис. 10, г, д, е, н, с-ф), а уплотнение при пропуске через гидроизоляцию труб, кабелей, анкеров и пр. - в соответствии с п. 1.20 (рис. 9, е, ж, и, к) настоящих Указаний.

3.30. Горячую асфальтовую гидроизоляцию следует, как правило, применять без защитного ограждения.

Литая асфальтовая гидроизоляция

3.31. Литую асфальтовую гидроизоляцию надлежит проектировать из асфальтовых материалов (раствора, мастики), наносимых в расплавленном (горячем) состоянии путем розлива и разравнивания либо залива в швы или полости между отдельными элементами сооружения.

3.32. На горизонтальных поверхностях литую гидроизоляцию следует устраивать по бетонной или щебеночной подготовке из одного или двух слоев асфальтовых мастик или раствора, разливаемых, разравниваемых и уплотняемых по изолируемой поверхности.

3.33. Количество и толщину горизонтальных слоев литой гидроизоляции следует назначать по табл. 4.

Таблица 4

Литая асфальтовая гидроизоляция

Назначение гидроизоляции

Варианты

Толщина отдельных слоев в мм

первого слоя

второго слоя

из асфальтовой мастики

из асфальтового раствора

из асфальтовой мастики

из асфальтового раствора

Против капиллярной влаги

1

5-7

-

-

-

2

-

12-15

-

-

Против гидростатического напора до 10 м

1

5-7

-

5-7

-

2

5-7

-

-

15-20

3

-

15-20

-

15-20

Против гидростатического напора свыше 10 м, а также при защите конструкций I категории при любом напоре (до 30 м)

1

7-10

-

7-10

-

2

7-10

-

-

20-25

3

-

20-25

-

20-25

3.34. В случае устройства двухслойной гидроизоляции из раствора и мастики слой мастики следует располагать со стороны действующего на гидроизоляцию напора.

3.35. На горизонтальных поверхностях по литой гидроизоляции необходимо предусматривать защитную стяжку.

3.36. На вертикальных и наклонных поверхностях литую гидроизоляцию следует устраивать путем поярусной заливки асфальтового раствора или мастики в щель между изолируемой поверхностью сооружения и опалубкой или ограждением из дерева, кирпича или бетонных камней и плит. Опалубку, как правило, следует оставлять на месте в качестве защитного ограждения литой гидроизоляции.

3.37. Толщину вертикальной гидроизоляции (ширину щели) назначают в зависимости от вида гидроизоляционного материала, вида ограждения и условий производства работ (температура окружающего воздуха, высота одновременной заливки). В табл. 5 приведены рекомендуемые значения ширины щели, причем нижние пределы можно принимать для асфальтовых мастик, верхние - для асфальтового раствора.

Таблица 5

Ширина щели в мм для заливки асфальтовыми мастиками или растворами

Высота одновременной заливки в мм

Ограждение

деревянное

каменное

Температура воздуха в °С

5-15

выше 15

5-15

выше 15

До 200

35-40

30-35

40-45

40

200-400

40-45

35-45

45-50

40-45

400-600

50

45-50

50-60

50

В случае нагнетания мастики снизу вверх ширину щели можно принимать вдвое меньше (15-20 мм).

3.38. Уплотнение деформационных швов при применении литой гидроизоляции надлежит проектировать в соответствии с п. 1.19 и 1.22 (рис. 10, с-ф) настоящих Указаний. Уплотнение при пропуске через гидроизоляцию труб, кабелей, анкеров и пр. следует проектировать в соответствии с п. 1.20 настоящих Указаний.

Оклеенная битумная гидроизоляция

3.39. Оклеечную битумную гидроизоляцию надлежит проектировать в виде гидроизоляционного ковра из рулонных или гибких листовых гидроизоляционных материалов, наклеиваемых послойно битумом или мастикой, предусмотренных главой СНиП I-B.25-66 «Кровельные, гидроизоляционные и пароизоляционные материалы на органических вяжущих», на ровную огрунтованную разжиженным битумом н высушенную поверхность изолируемой конструкции или защитного ограждения.

3.40. Оклеечную гидроизоляцию следует проектировать только из гнилостойких рулонных материалов; дегтебитумных (ДБ), гудрокамовых (РГМ), гидроизола (ГИ), изола, стеклоткани, стекловойлока (см. главу СНиП I-B.25-66), располагая гидроизоляционный ковер, как правило, со стороны гидростатического напора и обеспечивая зажим его между изолируемой конструкцией и защитным ограждением (см. п. 3.46 настоящих Указаний) с усилием около 0,1 кГ/см2.

При невозможности зажима оклеечную гидроизоляцию применять не рекомендуется. Применение для гидроизоляции негнилостойких материалов (рубероида, пергамина, толя, толь-кожи и др.) запрещается.

3.41. Количество слоев оклеечной гидроизоляции следует назначать в зависимости от влажностного режима ограждаемых помещений, категории (см. п. 2.2 настоящих Указаний) конструкций и действующего на гидроизоляцию гидростатического напора по табл. 6.

Таблица 6

Количество слоев оклеечной гидроизоляции

Назначение гидроизоляции

Количество слоев рулонного материала при категориях конструкций

I

II

III

Против капиллярной влаги и просачивающейся воды

3

2

-

Против гидростатического напора в м:

 

 

 

до 5

4

3

2

более 5 до 30

5

4

3

3.42. Деформационные швы изолируемых конструкций в случае устройства безнапорной оклеечной гидроизоляции следует перекрывать всеми слоями ковра и двумя дополнительными слоями стеклоткани, или частой стальной сетки. При гидростатическом напоре швы следует перекрывать нержавеющими или защищенными от коррозии в данной среде плоскими металлическими листами (рис. 10, д-и), фигурными компенсаторами (рис. 10, к-н), профилированными резиновыми лентами (рис. 10, г, п).

Уплотнения при пропуске через гидроизоляцию труб, кабелей, анкеров и пр. следует проектировать в соответствии с п. 1.20 (рис. 9, а-д, з) настоящих Указаний.

3.43. Для крепления гидроизоляционного ковра к вертикальным и наклонным (свыше 45°) поверхностям временно до устройства защитных ограждений необходимо предусматривать установку деревянных антисептированных реек или других приспособлений через каждые 1,5-2 м, т. е. по высоте рабочих захваток по наклейке ковра. Такие рейки или устройства следует крепить либо к изолируемой конструкции, либо к защитной стенке в зависимости от того, на что наклеивается гидроизоляционный ковер (см. п. 1.21 настоящих Указаний). Сопряжение отдельных слоев ковра в этих местах надлежит предусматривать внахлестку - ступенчатым швом.

3.44. В местах сопряжения смежных изолируемых поверхностей (по закруглению или фаске) и в местах защемления гидроизоляции (у деформационных компенсаторов и на фланцах закладных частей) необходимо предусматривать усиление гидроизоляционного ковра листами кровельной стали (ГОСТ 8075-56*), стальной сеткой с ячейками 5×5 мм (ГОСТ 2715-44 и ГОСТ 3826-66**), стеклосеткой, наклеиваемыми в соответствии с пп. 5.33 и 6.19 главы СНиП III-В.12-69 «Кровли, гидроизоляция и пароизоляция. Правила производства и приемки работ». В местах перехода наружной гидроизоляции с днища на стену усиление при больших осадках сооружения следует производить только металлическими листами. Слои усиления должны иметь ширину около 50 см.

3.45. Для предохранения гидроизоляционного ковра от повреждений в процессе строительства необходимо предусматривать защитные стяжки и штукатурки, выполняемые в соответствии с требованиями п. 8.1 главы СНиП III-В.12-69.

3.46. Защитные ограждения для зажима и обеспечения сохранности наружной гидроизоляции в процессе ее эксплуатации надлежит предусматривать по наружным контурам сооружения в виде стенок толщиной 10-15 см из кирпича или бетонных плит и блоков; на перекрытиях зажим и защиту гидроизоляции следует предусматривать слоем толщиной 3-5 см из бетона марки не ниже 50, кирпича или бетонных плит, укладываемых на цементных или асфальтовых растворах.

Защитные стенки для обеспечения эффективного зажима гидроизоляции от бокового давления грунта надо ставить на прокладку из двух слоев толя и с помощью таких же прокладок разрезать эти стенки по вертикали на перегибах, в углах и через каждые 4,5-5 м.

3.47. Защитные ограждения оклеенной гидроизоляции, располагаемые в агрессивной грунтовой воде, необходимо проектировать из стойких в данной среде материалов; под днищем вместо бетонной подготовки необходимо предусматривать укладку утрамбованного и пролитого горячим битумом стойкого в данной среде щебня, а по нему слоя плотного асфальтобетона толщиной 6-8 см.

Наклейку и окраску гидроизоляционного ковра в агрессивных средах надлежит выполнять чистым битумом или мастикой со стойким в данной среде наполнителем; защитные стенки, кроме того, рекомендуется закрывать оградительным замком толщиной 25-30 см из плотно утрамбованной мятой глины или выполнять их из кирпича; пропитанного битумом.

Пластмассовая гидроизоляция

3.48. Пластмассовую гидроизоляцию следует проектировать в виде покрытия, устраиваемого по изолируемой поверхности путем окраски несколькими слоями лакокрасочных составов или наклейки на ней (либо укладки насухо со сваркой стыков) листовых и рулонных пластмасс.

Пластмассовые гидроизоляции следует применять в основном при действии агрессивных сред: окрасочные - при напоре до 5 м; рулонные и листовые (в один слой) - при напоре до 30 м, располагая их, как правило, со стороны гидростатического напора или увлажнения.

3.49. В качестве окрасочных составов рекомендуется применять этинолевые краски, эпоксидные смолы, венилиденхлоридные краски, шпатлевочный лак № 75, кремиийорганические соединения (силиконы), перхлорвиниловые эмали и др. В качестве листовых и рулонных пластмасс рекомендуются поливинилхлорид, полиизобутилен (ПСГ), полиэтилен (ПЭ), полиамид (ПА) и др.

3.50. При применении этинолевых красок следует учитывать, что в сухих условиях, а также при температуре свыше 50°С под действием солнечных лучей этинолевая пленка быстро окисляется, вследствие чего она растрескивается и отслаивается. Покрытие этинолевой окраски защитной пленкой из каменноугольного лака замедляет разрушение окрасочного слоя. Точно так же добавка в лак этиноль измельченного антофиллитового асбеста в количестве около 50% по весу от состава смеси (асбовиниловая масса) и окраска этим составом по полиизобутиленовому подслою дают возможность получить более эластичное, водонепроницаемое покрытие. Полезной является добавка из тонкомолотого графита в количестве 20%. Расход этинолевой краски должен составлять около 150 г/м2 на каждый слой.

3.51. Покрытия из эпоксидных смол или композиций на их основе обладают высокими механическими свойствами и могут работать на отрыв. Для придания покрытию светлой окраски в последний слой следует вводить 10% алюминиевой пудры.

3.52. Винилиденхлоридные краски (ГОСТ 9355-60) рекомендуется применять для покрытия емкостей с питьевой водой и наносить по грунтовке ХС-010 четырьмя слоями из эмали ХС-710 и лака ХС-76.

3.53. Шпатлевочный лак № 75 (ГОСТ 6807-53*) следует применять для защиты металлических, каменных и бетонных поверхностей, работающих при повышенной температуре (50°С и выше). Наносить его надо путем распыления краскопультом и высушивать при температуре 18-20°С в течение суток, при 60°С в течение 6 ч, а при 100°С в течение 45 мин.

3.54. Окраска изолируемых поверхностей кремний-органическими соединениями (ГКЖ-10, ГКЖ-94) в отличие от остальных покрытий создает лишь водоотталкивающую (гидрофобную) поверхность, а поры в материале не закрывает и внешний вид поверхности не изменяет. Такие окраски следует применять в виде раствора с концентрацией от 1:10 до 1:20 для защиты поверхностей от увлажнения атмосферными осадками.

3.55. Покрытия из перхлорвиниловых эмалей (ГОСТ 6993-54), изготовляемых из перхлорвиниловой смолы, следует применять при высокоагрессивных средах и проектировать многослойными из 3-12 слоев с нанесением путем распыления или кистями.

3.56. Пленку поливинилхлоридную следует применять либо самостоятельно в качестве гидроизоляционного слоя, либо как защитный слой по подслою из полиизобутилена, к которому его следует приклеивать клеем № 88Н.

3.57. При применении винипласта (ГОСТ 9639-61) следует учитывать, что он стоек к действию кислот и щелочей, водостоек и водонепроницаем и имеет прочность на растяжение свыше 100 кГ/см2, а относительное удлинение - не менее 100%.

3.58. Для твердых пластмассовых листов, применяемых в гидроизоляционном покрытии, следует предусматривать свободное крепление, чтобы покрытие не разрушалось при температурных перемещениях. Гайки болтов с этой целью полностью не затягивают. Покрышки над гайками, изготавливаемые из пластмасс способом горячего прессования, приваривают к листам. Между собой листы следует соединять путем сварки стыковых или нахлесточных швов наподобие газовой сварки стальных листов.

3.59. При применении мягких поливинилхлоридных листов и полотнищ следует предусматривать их приклеивание к изолируемой поверхности перхлорвиниловым клеем. По швам, выполненным внахлестку, наклеенные листы и полотнища рекомендуется через несколько дней после наклейки сварить, чтобы создать дополнительную гарантию водонепроницаемости покрытия.

3.60. Полиизобутиленовые листы (ПСГ) для гидроизоляции допускается применять при температуре от -55 до +60°С при сжимающих нагрузках не более 3 кГ/см2. К изолируемой поверхности полиизобутиленовые листы следует приклеивать клеем № 88Н или битумно-полиизобутиленовым клеем Б-12, а швы сваривать струей горячего воздуха или специальным электропаяльником. Влажность изолируемых бетонных поверхностей не должна, превышать 6%.

3.61. Полиэтиленовые пленки и листы, применяемые для гидроизоляции, следует наклеивать гидрокамполимерной мастикой МПТ-70; пленки и листы можно также сваривать. При устройстве гидроизоляции полиамидные листы и пленки сваривают, но их предварительно надо просушить при температуре 80°С в течение 10 ч,

3.62. Уплотнение деформационных швов при применении пластмассовых гидроизоляций надлежит проектировать в соответствии с п. 1.22 (рис. 10, в, г, и) настоящих Указаний; допускается также применять решения, предусмотренные п. 3.42 настоящих Указаний, в соответствии с которыми следует проектировать уплотнения при пропуске через пластмассовые гидроизоляции труб, кабелей, анкеров и пр.

3.63. При проектировании пластмассовых гидроизоляций необходимо также руководствоваться требованиями раздела I и пп. 3.7; 3.45; 3.46 и 3.47 настоящих Указаний.

Металлическая гидроизоляция

3.64. Металлическую гидроизоляцию надлежит проектировать в виде сплошного ограждения из стальных листов, соединенных между собой сваркой и с изолируемой конструкцией путем заанкеривания в бетон.

3.65. Металлическую гидроизоляцию допускается применять для защиты от напорных вод только конструкций I категории, а также для изоляции конструкций, подвергающихся воздействию повышенных температур (80-100°С); при температурах свыше 100°С необходимо предусматривать специальные мероприятия по защите бетона изолируемых конструкций от температурных воздействий.

3.66. Металлическую гидроизоляцию рекомендуется устраивать, как правило, по внутренней поверхности: ограждающих конструкций, что дает возможность в процессе эксплуатации устранять течи. При работе гидроизоляции на отрыв ее надо рассчитывать на восприятие гидростатического напора в соответствии с п. 3.70 настоящих Указаний. Величина гидростатического напора на металлическую гидроизоляцию не ограничивается.

3.67. Металлическую гидроизоляцию надлежит выполнять из стальных листов толщиной не менее 4 мм. Листы необходимо закреплять анкерами; анкеры из арматурной стали приваривают либо к самому листу гидроизоляции, либо к опорам из полосовой стали или проката (уголка, тавра, половины двутавра и др.), к которым, в свою очередь, потом приваривают листы (рис. 11).

3.68. Металлическую гидроизоляцию стен следует использовать в качестве опалубки при бетонировании. Опоры с анкерами в днище надлежит закладывать в бетон, при этом укладку бетона следует производить так, чтобы между поверхностью бетона и листом гидроизоляции (лист приваривают к заанкеренным опорам после бетонирования) оставался зазор величиной около 3 см. После приварки листов гидроизоляции зазор путем нагнетания заполняют цементно-песчаным раствором, для чего в листах должны быть предусмотрены отверстия.

3.69. Сварные швы металлической гидроизоляции должны быть испытаны на плотность.

3.70. Листы металлической гидроизоляции, работающие на отрыв, следует рассчитывать как гибкую нить, нормальное давление которой передается на опоры. Опоры, воспринимающие указанное давление, рассчитывают как неразрезные балки с пролетом, равным расстоянию между анкерами. Усилие от натяжения листов должны воспринимать анкера, привариваемые по торцам гидроизоляции в ее плоскости (рис. 11, в).

Рис. 11. Детали металлической гидроизоляции

а - опускных колодцев; б, в - варианты гидроизоляции с приваркой анкеров непосредственно к стальным листам изоляции

1 - гидроизоляция, 2 - опора для листов - полосовая сталь или прокат (тавр, двутавр или уголок); 3 - отверстия для нагнетания цементного раствора; 4 - анкеры; 5 - анкеры для восприятия распора

3.71. При пропуске сквозь металлическую гидроизоляцию закладных деталей следует предусматривать приварку этих деталей к металлическим листам сплошным швом; таким же путем к металлической гидроизоляции крепят деформационные компенсаторы в случае их применения.

3.72. Поверхность металлических листов изнутри помещения следует покрывать антикоррозионным лаком, а в днище, кроме того, защищать металл от механических повреждений.

На наружной поверхности стен металлическую гидроизоляцию защищают торкрет-бетоном по стальной сетке или железобетонной рубашкой.




Яндекс цитирования



   Copyright © 2007-2026,  www.tehlit.ru.

[ ѓосты, стандарты, нормативы, инструкции, правила, строительные нормы ]