//
ТехЛит.ру
- крупнейшая бесплатная электронная интернет библиотека для "технически умных" людей.
WWW.TEHLIT.RU - ТЕХНИЧЕСКАЯ ЛИТЕРАТУРА

:: Алготрейдинг::


АЛГОТРЕЙДИНГ
шаг за шагом
с нуля по урокам!

Торговые роботы на PYTHON, BackTrader,
Pandas, Pine Script для TradingView. Связка с брокерами, телеграм и легкими приложениями.


МИНИСТЕРСТВО ГРАЖДАНСКОЙ АВИАЦИИ

Государственный проектно-изыскательский и научно-исследовательский институт Аэропроект

 

 

УКАЗАНИЯ ПО ПОВЫШЕНИЮ ДОЛГОВЕЧНОСТИ АЭРОДРОМНЫХ ЦЕМЕНТОБЕТОННЫХ ПОКРЫТИЙ

 

Москва 1983

 

СОДЕРЖАНИЕ

1. ОСНОВНЫЕ ПОЛОЖЕНИЯ

2. РЕКОМЕНДУЕМЫЕ ЗАЩИТНЫЕ СОСТАВЫ

3. ТРЕБОВАНИЯ К ИСХОДНЫМ МАТЕРИАЛАМ И ПРАВИЛА ИХ ХРАНЕНИЯ

4. ОРГАНИЗАЦИЯ И ПРОИЗВОДСТВО РАБОТ

5. КОНТРОЛЬ КАЧЕСТВА ЗАЩИТНОЙ ОБРАБОТКИ ПОКРЫТИЙ

6. ТЕХНИКА БЕЗОПАСНОСТИ ПРИ РАБОТЕ С ЗАЩИТНЫМИ РАСТВОРАМИ

Приложение 1 Сведения о заводах-изготовителях и стоимости рекомендуемых к применению материалов

Приложение 2 Пример расчета состава раствора кремнийорганических гидрофобизаторов необходимой концентрации

 

 

Настоящие Указания разработаны в соответствии с планом НИР МГА на 1980 - 1982 гг. (работа ) и предназначены для использования в аэропортах гражданской авиации.

В Указаниях изложена технология проведения защитной поверхностной обработки (пропитки) аэродромных цементобетонных покрытий растворами кремнийорганических соединений и нефтеполимерных смол с целью повышения стойкости верхнего слоя покрытия к агрессивным климатическим и эксплуатационным воздействиям.

Указания содержат требования к пропиточным материалам, рецептуру защитных составов, ориентировочные нормы расхода и рекомендуемые средства механизации для нанесения составов на покрытие. В них приведены основные требования по контролю качества и по технике безопасности при проведении работ по защитной обработке.

Указания составлены на основании лабораторных и экспериментальных исследований, выполненных ГПИ и НИИ ГА Аэропроект совместно с МАДИ и другими организациями. Опытно-производственное освоение технологии поверхностной обработки покрытий и апробирование защитных составов проведено в аэропортах Домодедово и Ульяновск.

В Указаниях учтены результаты научно-исследовательских работ НИИ ЖБ Госстроя СССР, НИИ МХП СССР, ИХС АН СССР, ВИКИ им. А.Ф. Можайского и других организаций.

Указания разработали: канд. техн. наук Э.Н. Смирнов, В.П. Кузнецов, инженеры Т.С. Пчелкина, Ж.А. Широкова, В.Г. Подопригора с участием инженеров Г.С. Долинской и Т.М. Филимоновой.

Указания утверждены Министерством гражданской авиации 14 сентября 1982 г.

1. ОСНОВНЫЕ ПОЛОЖЕНИЯ

1.1. Настоящие Указания составлены в дополнение к "Руководству по организации и технологии ремонта аэродромов без перерыва летной эксплуатации" и к "Рекомендациям по методам защиты аэродромных цементобетонных покрытий от поверхностных разрушений* с учетом современных условий эксплуатации аэродромных покрытий в аэропортах гражданской авиации.

1.2. В Указаниях приведены методы защиты цементобетонных покрытий от поверхностных разрушений, предусматривающие пропитку верхнего слоя цементобетона растворами на основе гидрофобизирующих кремнийорганических соединений (КОС) и кольматирующих составов нефтеполимерных смол (НПС).

1.3. Указания предназначены для работников аэродромных служб аэропортов и содержат практические рекомендации по производству защитной обработки поверхности аэродромных цементобетонных покрытий, находящихся в эксплуатации. Защитная обработка имеет целью повышение стойкости верхнего слоя покрытий к комплексному воздействию климатических факторов (периодическому увлажнению - высушиванию, замораживанию - оттаиванию) и химических реагентов, применяемых при эксплуатационном содержании покрытий для борьбы с гололедом (типа АНС, НКМ, карбамид) и обслуживании самолетов для предупреждения их обледенения (жидкости типа "Арктика").

1.4. Поверхностная пропитка экранирует цементобетонное покрытие путем гидрофобизации и кольматации пор, капилляров и трещин поверхностного слоя бетона, что препятствует проникновению воды и растворов химических реагентов во внутренние слои бетона, предохраняя его от избыточного увлажнения. Защитные составы одновременно с повышением водоустойчивости бетона улучшают его морозостойкость, придают ему теплоизолирующие свойства, снижая адгезию льда к поверхности цементобетона.

Предлагаемая защитная обработка покрытий является одним из простейших и эффективных способов повышения стойкости и долговечности цементобетонных покрытий.

1.5. Защитная обработка целесообразна на всех цементобетонных покрытиях, отвечающих требованиям СНиП II-47-80 гл. 5, с целью предупреждения их преждевременного шелушения, а также при ремонте плит с шелушением глубиной не более 10 мм. При более сильном шелушении, когда поверхностный слой цементобетона слишком ослаблен, для достижения защитного эффекта необходимо удалить непрочный слой бетона и выровнять поверхность фрезерованием.

На вновь построенных покрытиях пропитка может быть проведена не ранее, чем через 6 месяцев после укладки бетона. Существующие покрытия, уже подвергавшиеся воздействию антигололедных химреагентов, следует обрабатывать в конце лета или осенью, чтобы было достаточно времени для вымывания выпадающими осадками остатков примененных ранее химреагентов.

1.6. Технология защитной обработки аэродромного покрытия включает тщательную подготовку покрытия к пропитке, приготовление растворов и нанесение их на поверхность покрытия с оптимальным расходом.

1.7. Применение поверхностной обработки покрытий защитными составами эффективно только в том случае, когда бетонная поверхность чистая и сухая.

При наличии на поверхности бетона пленкообразующих материалов, следов резины от пневматиков самолетов, маркировочных красок или каких-либо других загрязнений на участках покрытий, которые могут препятствовать и ухудшать проникновение пропитывающих растворов в поры бетона, обработка покрытий не допускается.

При обработке покрытий ВПП на это обстоятельство должно быть обращено особое внимание. Невпитавшиеся растворы следует сразу удалить путем россыпи мелкого песка с последующей его уборкой, поскольку на загрязненных участках значительно повышается скользкость покрытия и создается неравноценное состояние поверхности по коэффициенту сцепления колеса самолета с покрытием.

1.8. Срок действия защитного эффекта приведенных ниже составов зависит от конкретных погодно-климатических условий района аэропорта, интенсивности воздействия эксплуатационных факторов и др. Ориентировочные сроки службы защитной обработки водными растворами КОС составляют 1 - 2 года, составами КОС и НПС на органических растворителях - 2 - 3 года.

1.9. Стоимость материалов для защитной обработки 1 м2 покрытий в зависимости от вида, расхода и конструкции пропиточных растворов составляет:

для растворов на основе кремнийорганических соединений (КОС)           0,03 - 0,39 руб.;

для растворов нефтеполимерных смол (НПС)                                                           0,03 - 0,09 руб.

Стоимость защитной обработки 100 м2 цементобетонного покрытия, с учетом работ по подготовке поверхности к пропитке, ориентировочно составляет:

для растворов на основе кремнийорганических соединений (КОС)           12 - 42 руб.;

для растворов нефтеполимерных смол (НПС)                                                           5 - 13 руб.

Стоимость исходных материалов для приготовления пропиточных составов, а также заводы-изготовители приведены в Приложении 1.

2. РЕКОМЕНДУЕМЫЕ ЗАЩИТНЫЕ СОСТАВЫ

2.1. Для поверхностной обработки аэродромных цементобетонных покрытий могут быть применены:

составы на основе кремнийорганических соединений (КОС) типа полиэтилгидросилоксана (136-41 и КЭ-30-04), алюмометилсиликоната натрия (АМСР-3), тетраэтоксисилана (ТЭС);

растворы нефтеполимерных смол (НПС) на основе стирольно-инденовой смолы (СИС) и смолы пиролиза полимеризованной (СПП).

Принципы защитного действия указанных составов имеют свои особенности.

2.2. Сущность защитного эффекта указанных КОС состоит в поглощении составов дефектной поверхностью цементобетона, адсорбции КОС и гидролитической конденсации КОС во влажной щелочной среде с образованием гидрофобной пленки на поверхности цементобетона и гидрофобных твердых продуктов в порах, капиллярах и микродефектах бетона.

Кремнийорганические соединения применяют в виде водных растворов или растворов в органических растворителях. Растворы КОС достаточно стабильны, технология их приготовления и нанесения проста. Они легко распределяются по покрытию, хорошо связываются с поверхностью бетона, защитные свойства их проявляются достаточно быстро. Вязкость водных растворов позволяет механизировать процесс их нанесения на покрытие, используя серийную поливомоечную машину с незначительными усовершенствованиями. Рекомендуемые KОC нетоксичны, сравнительно недороги.

Кремнийорганические гидрофобизаторы имеют ряд преимуществ перед другими водоотталкивающими веществами. Они не изменяют внешний вид бетона, фактуру его поверхности, не нарушают его паро- и воздухопроницаемость, благодаря чему исключается возможность концентрации и внутренней конденсации влаги в поверхностном слое бетона в холодное время года.

2.3. Ориентировочная концентрация водных растворов из кремнийорганических жидкостей КЭ-30-04 и АМСР-3 составляет 5 - 10%. Расход растворов за один прием может составлять 200 - 300 г/м2. Кратность нанесения гидрофобизирующих растворов на покрытие при расходе 200 - 250 г/м2 за один прием в зависимости от объемного водопоглощения бетона составляет при водопоглощении до 8% - один раз; при 8-10% - два раза.

Составы КОС в органических растворителях приготавливают из смеси жидкостей 136-41 и ТЭС в соотношении 1:1; 1:2.

В качестве растворителя для КОС можно применять бензин, толуол, ксилол. Концентрация КОС в органических растворах должна быть 10 - 15% по массе. Ориентировочный расход раствора составляет 500 г2 при однократной обработке поверхности.

2.4. Принцип защитной пропитки нефтеполимерными смолами заключается в том, что после разлива пропиточного состава на поверхность и впитывания его бетоном растворитель испаряется, смола переводит в твердое состояние и кольматирует поры и микродефекты поверхностного слоя.

Нефтеполимерные смолы применяют в виде растворов в органических растворителях: сольвенте, ксилоле, толуоле. Допускается использование смеси толуола или ксилола с керосином в отношении 3:1.

Для защитной обработки (пропитки) аэродромных покрытий используются составы 20 - 25% концентрации стирольно-инденовой смолы (СИС) и смолы СПП в органических растворителях. Смолу СПП рекомендуется пластифицировать добавлением хлорпарафина ХII-470 в количестве 7 - 8%. Растворы нефтеполимерных смол СИС и СПП стабильны в герметической таре, недефицитны, недороги, после нанесения нетоксичны.

Поверхность цементобетона, обработанная растворами СПП, имеет светло-желтый цвет, а после обработки растворами СИС - темно-коричневый.

2.5. Пропиточные составы целесообразно готовить на заводах-изготовителях смолы с использованием специального оборудования, после чего доставлять к месту использования в герметичных металлических емкостях. При объемном дозировании применяемого растворителя следует иметь в виду, что масса 1 литра сольвента, ксилола и толуола составляет 0,86 кг, а керосина - 0,78 кг.

Расход растворов за один прием при нанесении распылением должен составлять 150 - 180 г/м2.

Пропиточные составы наносятся на покрытие в зависимости от объемного водопоглощения бетона: при водопоглощения до 3% - двухкратная с общим расходом 300 - 350 г/м2; при водопоглощении более 3% - трехкратная с общим расходом 400 - 500 г/м2.

2.6. Определение оптимальных составов защитных материалов производят в эксплуатационных условиях при пробном нанесении растворов на конкретное цементобетонное покрытие.

Оптимальная концентрация и расход раствора зависит от плотности бетона. Менее плотные бетоны легко впитывают растворы, требуют большего его расхода и допускают применение растворов более высокой концентрации. Превышение оптимальных для данной плотности бетона концентраций и расхода пропиточных составов не дает положительного эффекта с точки зрения повышения стойкости бетона и приводит к снижению коэффициента сцепления колеса самолета с покрытием. По сравнительной интенсивности впитывания воды поверхностью ориентировочно можно определить способность бетона к пропитке, а также выявить участки покрытия из менее плотного, плотного и особо плотного бетона. Чем плотнее бетон, тем меньше интенсивность впитывания воды поверхностью. Более точно плотность бетона может быть определена по величине объемного водопоглощения на взятых из цементобетона кернах.

2.7. Приведенные в Указаниях защитные составы могут быть применены для поверхностной обработки всех участков аэродромных покрытий. При этом следует учитывать следующие основные особенности защитных составов:

цементобетонные покрытия, обработанные растворами на основе СИС, в начальный период имеют темно-коричневый цвет, а после обработки растворами на основе СПП - светло-желтый, растворы КОС цвет цементобетонных покрытий не изменяет;

участки покрытий МС и перронов, где осуществляют обработку воздушных судов перед полетом антиобледенительным реагентом типа "Арктика", следует защищать растворами нефтеполимерных смол СИС и СПП с общим расходом раствора не менее 400 г2;

учитывая сравнительно высокую стоимость защитных составов КОС, их целесообразно применять преимущественно для поверхностной обработки покрытий ВПП с обязательным контролем коэффициента сцепления сухой и влажной обработанной поверхности через сутки после обработки.

Окончательный выбор оптимального защитного состава должен исходить из продолжительности предоставляемого "технологического окна", возможности приобретения необходимых пропиточных материалов (смол) в районе расположения аэропорта.

3. ТРЕБОВАНИЯ К ИСХОДНЫМ МАТЕРИАЛАМ И ПРАВИЛА ИХ ХРАНЕНИЯ

3.1. Рекомендуемые для приготовления защитных растворов материалы должны удовлетворять требованиям следующих технических условий:

полиэтилгидросилоксановая эмульсия КЭ-30-04 - ТУ 6-02-816-73;

алюмометилсиликонат натрия АМСР-3 - ТУ 6-02-700-76;

полиэтилгидросилоксановая жидкость 136-41 (ПЭГС) - ГОСТ 10834-76;

тетраэтоксисилан (ТЭС) - ТУ 6-02-708-76;

стирольно-инденовая смола (СИС) - ТУ 14-6-89-73;

смола пиролиза полимеризованная (СПП) - ТУ 38-10916-77.

3.2. КЭ-30-04 представляет собой однородную водную 50%-ную эмульсию белого цвета на основе полиэтилгидросилоксановой жидкости 186-41. АМСР-3 представляет собой водно-спиртовой 30%-ный раствор алюмометилсиликоната натрия от бесцветного до желтого цвета. Физико-химические показатели материалов должны удовлетворять требованиям, приведенным в табл. 1.

Таблица 1

Материалы

Показатели

Нормы по соответствующим ТУ

КЭ-30-04

Стабильность при разведении, г.

≥ 24

Концентрация водородных ионов (рН) 25%-ного раствора

5,5 + 7,0

Содержание кремния, %

16,5 + 19,5

Содержание активного водорода, %

0,6 + 0,8

Гидрофобизирущая способность, ч

≥ 3

АМСР-3

Щелочность (в пересчете на NaОН), %

6 + 10

Содержание кремния, %

6 + 8

Содержание алюминия, %

1,7 + 3,1

Атомарное соотношение кремния к алюминию

2,5 + 3,5

Водоупорность водяного столба, мм

≥ 130

Для приготовления водных растворов КЭ-30-04 и АМСР-3 рабочих концентраций используется питьевая вода (ГОСТ 4797-69).

3.3. Гидрофобизирующая жидкость 136-41 (ПЭГС) представляет собой бесцветную или слабожелтую жидкость без механических примесей. По своим физико-химическим показателям она должна соответствовать требованиям и нормам, указанным в табл.2.

Таблица 2

Наименование показателей

Норма

Методы испытаний

1

2

3

Содержание активного водорода, %

1,30 - 1,42

По п.3.2. ГОСТ 10834-76

Вязкость кинематическая при 20°С,

сСТ

50 - 165

По ГОСТ 33-66

Реакция среды (рН водной вытяжки)

6 - 8

По ГОСТ 20841.4-75 и по п.3.3 ГОСТ 10834-76

Гидрофобизирующая способность, ч,

 

 

не менее

3

По п.3.4. ГОСТ 10334-76

Жидкость 136-41 хорошо растворяется в ароматических и хлорированных углеводородах, бензине. С водой не смешивается, но образует эмульсию. Коррозионно не активна, вредных паров или газов не выделяет.

3.4. Тетраэтоксисилан (ТЭС) представляет собой подвижную бесцветную прозрачную жидкость плотностью 0,93 - 0,94 г/см3. Гидролизуется водой в присутствии каталитических количеств кислот или щелочей. ТЭС хорошо растворяется в ароматических углеводородах, бензине, спиртах. С водой не смешивается, но образует эмульсии. Коррозионно не активен, вредных паров не выделяет, но оказывает наркотическое действие.

3.5. Кремнийорганические жидкости должны храниться в металлических бочках, полиэтиленовых флягах или стеклянных бутылках в складском помещении при температуре не ниже 0° и не выше 30°С. Емкости должны быть плотно закрыты и защищены от прямого солнечного света.

3.6. Стирольно-инденовая смола (СИС) представляет собой твердое вещество темно-коричневого цвета, получаемое из кубовых остатков ректификация сырого бензола и смолы пиролиза.

Смола пиролиза полимеризованная (СПП) получается путем инициированной полимеризации алкил-ароматической фракции смолы пиролиза (130 - 190°С) жидких продуктов нефтяного сырья. По своим техническим показателям СИС и СПП должны удовлетворять требованиям, приведенным в табл.3.

Таблица 3

Наименование показателей

Нормы ТУ

Методы испытаний

ТЕХНИЧЕСКИЕ ПОКАЗАТЕЛИ СИС

 

 

Температура размягчения оC, в пределах

80 - 100

ГОСТ 9263-66

Зольность в %, в пределах

1,0 - 3,0

ГОСТ 9263-66 п.3 + 2

Кислотность или щелочность НCl или КОН, %,не более

0,05

ГОСТ 9266-66

Содержание влаги, %, не более

0,4

ГОСТ 2477-65

Содержание серы, %

6,0

ГОСТ 6263-60

Выпускная форма

Гранулы, пластины толщиной до 3 мм

Внешний осмотр

Механические примеси

Отсутствуют

Фильтрация раствора через бумажный фильтр

ТЕХНИЧЕСКИЕ ПОКАЗАТЕЛИ СПП

 

 

Плотность при 20°С, г/см3

1,04

ГОСТ 9263-66

Температура размягчения, °С, не ниже

90

ГОСТ 9263-66

Цвет по йодометрической шкале, не более

30

ГОСТ 9266-66

Содержание летучих веществ %, не более

2,0

ГОСТ 2477-65

Зольность, %, не более

0,1

ГОСТ 6263-60

Выпускная форма

Твердый продукт

Внешний осмотр

Сорность

Отсутствует

Фильтрация раствора через бумажный фильтр

3.7. Хранятся СИС и СПП в закрытых неотапливаемых помещениях с естественной вентиляцией. Гарантийные сроки хранения смол без ограничений.

3.8. Для приготовления гидрофобизирующих растворов на органических растворителях могут быть использованы керосин (ГОСТ 18499-73), толуол (ГОСТ 5789-69), уайт-спирит (ГОСТ 3134-52), бензин (ГОСТ 443-76), ксилол (ГОСТ 9949-76).

Допускается использование смеси толуола или ксилола с керосином в отношении 3:1 для НПС. Основные характеристики растворителей представлены в табл.4.

Гарантийный срок хранения ароматических растворителей со дня изготовления - 6 мес. По истечении указанного срока растворители должны быть проверены на соответствующие требования стандартов.

Органические растворители должна сохраняться в полном соответствии с требованиями ГОСТов и правилами пожарной безопасности.

3.9. Пропиточные составы на основе НПС заводского изготовления или приготовленные на аэродроме должны сохраняться в тех же условиях, что и растворитель. Хранить пропиточный состав можно в течение 1 года после его приготовления; по истечении указанного срока состав должен быть проверен на соответствующие технические требования.

4. ОРГАНИЗАЦИЯ И ПРОИЗВОДСТВО РАБОТ

4.1. Поверхностная обработка аэродромных цементобетонных покрытий защитными составами проводится в устойчивую сухую безветренную погоду при температуре воздуха не ниже +15°С.

4.2. Рабочая площадка для временного размещения материалов и для осуществления заправки машин водой и защитными составами выбирается с учетом удобного местонахождения и максимального приближения ее к месту производства работ. Для складирования расходных материалов необходимо предусмотреть закрытое складское помещение или площадку с навесом.

4.3. Производство по поверхностной обработке покрытий состоит из следующих основных этапов: подготовка покрытия; приготовление составов; нанесение составов на покрытие.


Таблица 4

Наименование растворителей

ГОСТ

Состав или химическая формула

Плотн., при 20°С, г/см3

Температура кипения, °С

Вязкость по вискозиметру ВЗ-4 при температуре

Сольвент

1928-67

60% ксилола + толуол и др.

0,865

120 - 130

14,1

Ксилол

9949-76

С6Н4(СН3)2

0,864

137 - 141

14,2

Толуол

5789-69

С6Н5СН3

0,867

110

13,7

Керосин

18499-73

Смесь углеводородов

0,783

150 - 180

14,4


4.4. Эффективность обработки покрытий достигается при нанесении пропитывающих составов на сухой и чистый бетон. Поэтому подготовке покрытий уделяется особое внимание.

Перед началом работ производится тщательная очистка поверхности покрытий от пыли и грязи механическими щетками машины ПМ-130 и газовоздушной струей от авиадвигателя ветровой машины. Сильно загрязненные участки покрытий следует промыть водяной струей машины ПМ-130 и затем просушить ветровой машиной, работающей на режиме малого газа и при скорости, обеспечивающей полное высыхание бетонного покрытия.

4.5. Для нанесения рабочих составов на площади до 1000 м2 рекомендуется применять стандартное оборудование для малярных работ: окрасочные агрегаты типа 0-27, 0-30, 0-53. Могут быть использованы агрегаты, составленные из компрессора типа 0-16, 0-38, 0-22, красконагнетательного бачка типа 0-15, 0-20, 0-25, А-10-6, С-383, НБ-16, С-765, С-865, пистолетов-распылителей типа КР-10, КР-20, КР-30, 0-19, 0-31, 0-45, C-512 и т.п. (рис. 1).

Работы на больших площадях целесообразно выполнять с применением стандартной поливомоечной машины ПМ-130 со специальным распределительным устройством конструкции Аэропроекта (рис. 2).

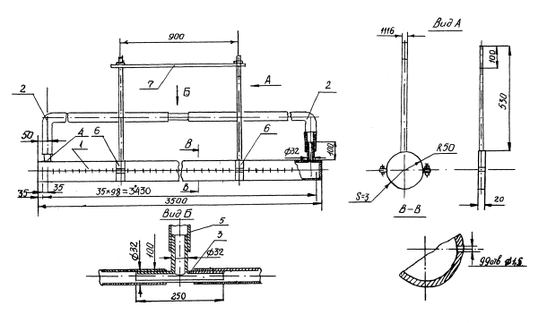
4.6. Установка и конструкция распределительного устройства на машине ПМ-130 приведена на рис.3 и 4. Конструкция распределительного устройства проста и позволяет изготавливать его и монтировать силами аэродромной службы аэропортов.

Распределительное устройство представляет собой трубу (см. рис.4) с патрубками. Все элементы устройства должны выдерживать давлений жидкостей до 7.9,81.10 Па. Патрубки привариваются (припаиваются) к распределительной трубе. Резиновые шланги подбираются для работы под давлением не менее 79,81.104 Па.

Рис. 1. Нанесение защитных составов окрасочным агрегатом с использованием компрессора машины ЗИЛ-130

 

Рис. 2. Нанесение защитных составов поливомоечной машиной ПМ-130

 

Рис. 3. Установка на машине ПМ-130 распределительного устройства для нанесения жидких защитный составов: 1 - распределительное устройство; 2 - емкость; 3 -вентиль для циркуляции; 4 - запорный вентиль; 5 - распределительная труба; 6 - машина ПМ-130.

 

Рис. 4. Распределительное устройство: 1 - распределительная труда; 2 - шланг резиновый Ø 32 l = 2000; 3 - распределительный патрубок; 4 - патрубок Ø 32 l = 100; 5 - шланг резиновый Ø 32 l = 4500; 6 - стяжной хомут; 7 - прижимная планка.

Стяжные хомуты и прижимная планка выполняются из обычной стали, при этом планка может быть выполнена из уголка, швеллера и так далее. Приспособление для присоединения шланга к распределительной трубе машины изготавливается в зависимости от конструкции выходного отверстия распределительной трубы.

При установке трубы следует обратить внимание на то, чтобы оси отверстий диаметром (Ø) 1,5 мм были расположены в горизонтальной плоскости или под углом 10 - 15° к поверхности покрытия.

4.7. Водные составы следует приготавливать в емкостях поливомоечных машин ПМ-130, оборудованных специальным распределительным устройством. Для приготовления рабочих составов в емкость машины заливается определенное количество воды, объем которой замеряется рейкой или мерным шестом, а затем через заливочную горловину в емкость заливают гидрофобизатор в количестве, необходимом для получения рабочего состава требуемой концентрации.

После загрузки емкости ПМ-130 водой и гидрофобизатором производится перемешивание всей смеси в течение 5 - 7 мин путем включения насоса, работающего по внутреннему контуру водяной системы машины ПМ-130.

4.8. Для приготовления рабочего состава КЭ-30-04 5%-ной концентрации, необходимо на 1 т воды взять 0,115 т гидрофобизатора КЭ-30-04 имеющего 50%-ную товарную концентрацию; соответственно для получения рабочего состава 10%-ной концентрации берется 0,250 т эмульсии КЭ-30/04.

4.9. Приготовление гидрофобизирующих составов на органических растворителях следует осуществлять на аэродромном дворе и к месту работ доставлять в металлических герметических емкостях или бочках, на котором указывается номер раствора и количество смеси.

4.10. Рабочие составы на основе нефтеполимерных смол СИС и СПП в органических растворителях готовятся в машине ПМ-130, оборудованной табельным распределительным устройством для проведения дезактивации покрытий или распределительным устройством.

Кроме того на машине ПМ-130 необходимо произвести следующее дооборудование: установить глушитель и выхлопную трубу двигателя под передним бампером автомобиля; для прокладок, шлангов и рукавов использовать химстойкую и бензомаслостойкую резину. Это требование относится и к тем случаям, когда для пропитки используются КОС в органических растворителях.

Порядок приготовления состава следующий. Через заливочную горловину машины ПМ-130 заливается органический растворитель (сольвент, ксилол или толуол) в заданном процентном отношении. Затем в эту смесь засыпается расчетное количество кристаллической стирольно-инденовой смолы. Процесс растворения смолы производится при периодической циркуляции раствора с помощью насоса. Полное растворение смол происходит ориентировочно через 3 ч. Готовый состав разливается на покрытие обычным путем.

4.11. Равномерное нанесение защитных составов сплошным слоем обеспечивается при движении машины ПМ-130 со скоростью 15 - 20 км/ч на второй передаче при включенном насосе. При этом запорный вентиль (3) (рис.4.3.) должен быть открыт на 1 - 1,5 оборота, а показатель давления на манометре (в кабине водителя) 5-7.9,81.104 Па. Расход гидрофобизирующего раствора при таком режиме составит 250 - 300 г/м2,

4.12. Нанесение гидрофобизирующих составов в зависимости от пористости поверхностного слоя бетона может выполняться за 1 или 2 прохода. Время между первым и вторым нанесением состава уточняется в процессе работы. Следует учитывать, что при нанесении составов на основе НПС интервал между проходами от 2 до 24 ч дает значительное увеличение глубины их проникания в поверхностный слой.

4.13. Обработку покрытий раствором с помощью машины ПМ-130 следует выполнять при движении машины вдоль обрабатываемого покрытия. Водитель машины должен постоянно следить за равномерным распределением защитного состава. Ширина захватки обрабатываемого участка составляет 3 - 3,5 м. При полной загрузке машины рабочим раствором(4,5 т) длина обрабатываемой полосы (при ширине 3 - 3,5 м) составит соответственно 2800 - 2400 п.м. Движение машины при обработке покрытий выполняется по челночной схеме. При проходе машин следует предусмотреть перекрытие предыдущего слоя не менее, чем на 10 см.

4.14. Приготовленный в емкости машины ПМ-130 состав, не израсходованный в течение 3 - 4 часов, должен быть повторно перемешан перед нанесением его на покрытие. Длительное хранение приготовленных составов на органических растворителях следует осуществлять в герметических металлических емкостях или бочках.

4.15. Нанесение гидрофобизирующих составов следует проводить преимущественно в безветренную погоду. При слабом ветре обработку покрытий следует производить так, чтобы машина двигалась против ветра. Контроль за сплошностью и равномерностью нанесения составов должен быть в этом случае особенно тщательным.

При сильном ветре работы по обработке покрытий не проводятся.

4.16. Время, затрачиваемое на полный цикл обработки покрытия водными составами КОС (заправка машины водой и гидрофобизатором, перемешивание, проезд машины к месту работ, нанесение состава на покрытие), составляет в среднем около 1,5 - 2 ч; при обработке НПС, растворяемыми в емкости машины ПМ-130, время увеличивается на 3,5 - 4 ч.

4.17. Время, затрачиваемое на розлив приготовленного состава машиной ПМ-130 при полной (4,5 т) загрузке, составляет 10 мин.

4.18. Для эффективной и более производительной работы при нанесении пропитывающих составов, особенно при обработке больших площадей в аэропортах ГА, следует иметь не менее двух машин ПМ-130 с распределительными устройствами.

4.19-. Участки покрытий, полностью затертые резиной от пневматиков воздушных судов, пропиточной обработке не подлежат. Участки покрытия, частично затертые резиной (менее 50%), подлежат ручной обработке.

4.20. Режим защитной обработки аэродромных покрытий в каждом конкретном случае зависит от состояния цементобетона и его поверхности, эксплуатационного назначения обрабатываемого участка и допустимого изменения коэффициента сцепления пневматиков с покрытием.

4.21. После окончания поверхностной обработки покрытий и полного высыхания бетона следует проверить коэффициент сцепления колеса с покрытием с помощью аэродромной тормозной тележки АТТ-2 на сухом и увлажненном покрытии. Величина коэффициента сцепления колеса с покрытием не должна быть ниже допускаемых пределов, установленных в НАС ГА-80.

Если коэффициент сцепления ниже этих пределов, следует частично снять гидрофобную пленку с поверхности цементобетонного покрытия, путем обработки ее тепловой машиной.

4.22. Движение воздушных судов по обработанному покрытию следует открывать не ранее, чем через сутки после проведения работ (при соответствии нормативу коэффициента сцепления).

На участках с малой интенсивностью движения (крайние ряды плит на ВПП, МС и перроне) эксплуатация может быть разрешена после полного высыхания поверхности бетона).

4.23. Примерный состав рабочей бригады по поверхностной обработке покрытий:

 

Кол-во, чел.

Бригадир (инженер аэродромной службы)

1

Водитель ПМ-130

1

Водитель ветровой машины

1

Шофер автопогрузчика

1

Разнорабочие

2

4.24. Ориентировочное количество материалов для обработки цементобетонных покрытий (табл. 5).

Таблица 5

Наименование материалов

Един, измерения пл. (м2)

Потребное кол-во материалов на ед. изм., кг

КЭ-30-04

1000

60

Вода

 

500

АМСР-3

 

60

Вода

1000

500

СИС

 

65

Растворитель

1000

200

СПП

 

65

Растворитель

1000

200

5. КОНТРОЛЬ КАЧЕСТВА ЗАЩИТНОЙ ОБРАБОТКИ ПОКРЫТИЙ

5.1. В процессе производства работ по пропитке покрытий контролируются:

качество подготовки поверхности;

качество пропиточного раствора;

качество каждого нанесенного слоя;

качество обработанного покрытия

5.2. Применяемые материалы, а также условия их хранения должны соответствовать требованиям ГОСТ или ТУ, перечисленным в разделе настоящих Указаний.

5.3. Для равномерного нанесения пропиточного состава и бесперебойной работы краскораспыляющих устройств рабочие растворы должны быть однородны и не должны содержать никаких механических примесей. Проверку на отсутствие сорности проводят фильтрацией через тканевый или бумажный фильтр 200 мл пропиточного раствора из каждой партии (емкости). На фильтре не должно оставаться посторонних включений и гелеобразных частиц.

5.4. В случае их наличия раствор фильтруется через латунную сетку 015, имеющую 1600 отв./м2 или через марлю, сложенную вчетверо.

5.5. Вязкость взятых проб пропиточного состава измеряют на вискозиметре ВЗ-4 при t = 20°C. Она должна быть в пределах 13 - 15 с.

5.6. Нанесение растворов должно производиться равномерно по всей поверхности. Проверку режима нанесения гидрофобизирующих растворов определяют визуально по сплошности покрытия, по расходу на 1 м2 поверхности и по скорости впитывания раствора. Расход определяется с помощью контрольных противней, располагаемых на участках, подлежащих обработке, путем замера массы попавшего на противень состава при одном проходе. Пропитка считается достаточной, если после очередной обработки поверхность остается влажной в течение 1 мин. Такая скорость впитывания указывает на оптимальное насыщение поверхностного слоя цементобетона. Особенно тщательным контроль должен быть при работах в слабоветренную погоду.

5.7. Контроль качества защитного слоя обработанного цементобетона проводят спустя 2 - 3 сут. после обработки, опрыскивая поверхность водой. Если вода не впитывается и бетон не увлажняется (не темнеет), а на взятом керне глубина пропитки составляет не менее 2 мм, гидрофобная обработка считается удовлетворительной.

Для более точного определения эффективности обработки следует произвести измерение краевого утла смачивания воды на обработанном бетоне, для чего необходимо сделать небольшой скол покрытия в намеченном месте и рассмотреть каплю воды на поверхности.

5.9. Контроль эффективности защиты осуществляется при помощи 10%-ного раствора соляной кислоты, наносимой на покрытие, подвергнутое защитной обработке. Отсутствие взаимодействия кислоты с цементным камнем (последнее на необработанном бетоне проявляется в виде вспенивания раствора) говорит о высоком качестве полученной защиты.

5.10. Перед началом эксплуатации обработанного покрытия необходимо проверить коэффициент сцепления пневматиков с покрытием при помощи аэродромной тормозной тележки АТТ-2.

Величина его не должна быть ниже допускаемых пределов, установленных в НАС ГА-80.

6. ТЕХНИКА БЕЗОПАСНОСТИ ПРИ РАБОТЕ С ЗАЩИТНЫМИ РАСТВОРАМИ

6.1. Все рабочие и инженерно-технические работники перед началом работ по пропитке покрытий должны быть ознакомлены со свойствами применяемых материалов и правилами техники безопасности.

6.2. При выполнении работ по гидрофобизации поверхностного слоя аэродромных покрытий рабочие должны быть обеспечены спецодеждой.

6.3. Работы по нанесению защитных составов следует производить преимущественно в безветренную погоду. При слабом ветре обработку следует производить так, чтобы люди и средства механизации находились с наветренной стороны.

6.4. Эмульсия КЭ-30-04 нетоксична, трудногорюча, не действует на кожу и слизистую оболочку, так как основу ее составляет жидкость 136-41. При работе с эмульсией КЭ-30-04 и ее водными растворами специальных мер предосторожности не требуется.

6.5. Кремнийорганическая жидкость АМСР-3 нетоксична, неогнеопасна. Жидкость имеет щелочную реакцию, действуя на кожу прижигающим образом, поэтому работая с АМСР-3 и ее водными растворами, следует избегать попадания жидкости на лицо, руки и особенно в глаза, соблюдая при этом правила техники безопасности те же, что и при работе со щелочами. При попадании жидкости на кожу необходимо обмыть пораженный участок струей воды, затем сделать примочки из 5%-ного раствора уксусной или лимонной кислоты; при попадании жидкости в глаза необходимо тщательно промыть их струей воды, затем закапать 2%-ный раствор новокаина.

В качестве мер индивидуальной защиты применяют защитные очки, резиновые перчатки, прорезиненный фартук, резиновые сапоги.

6.6. При работе с органическими растворителями, являющимися легковоспламеняющимися и токсичными жидкостями, должны быть приняты особые меры предосторожности. Условия хранения органических растворителей должны соответствовать нормам НИПИ 108-56.

6.7. На все время проведения работ необходимо выделить специальное оборудование и емкости, не используемые для хранения и перевозки питьевой воды.

6.8. Пистолеты-краскораспылители, используемые для пропитки, должны быть исправными, не давать течи из сопла и сальников; не должны пропускать воздуха в сальнике, хвостовом винте и частях, которые связаны с воздухопроводящей системой.

6.9. При работе с растворами нефтеполимерных смол - стирольно-инденовой смолы (СИС) и смолы пиролиза полимеризованной (СПП) - в органических растворителях во избежание лишнего расхода раствора и образования в рабочей зоне токсичного аэрозоля, распылительное устройство должно находится от поверхности на расстоянии 30 - 50 см. Давление в воздухопроводящей системе должно составлять 3-4.9,81.104 Па.

6.10. К работам с механизмами и оборудованием для розлива, растворов и жидкостей допускаются липа, хорошо знакомые с их устройством, правилами эксплуатации и получившие соответствующую подготовку.

6.11. По окончании работ емкости, используемые под гидрофобизирующие растворы, необходимо промыть горячей водой.

Приложение 1
Сведения о заводах-изготовителях и стоимости рекомендуемых к применению материалов

Наименование материалов

Кем выпускаются

Цена за 1т материала, руб.

136-41

г. Данков, Липецкой обл., химзавод;

г. Усолье-Сибирское, Ирк. обл., Химкомбинат;

4800

г. Редкино, Калининской обл., Химкомбинат;

г. Запорожье, завод "Кремнийполимер"

ТЭС

то же

1500

КЭ-30-04

-"-

3000

АМСР-3

то же

600

СИС

г. Кохтла-Ярве, ЭССР, сланцеперерабатывающий комбинат им. В.И. Ленина;

г. Сланцы, Ленинградской обл., Сланцеперерабатывающий завод "Сланцы";

г. Донецк и г. Енакиево, коксохимические заводы;

140

СПП

то же

220

Приложение 2
Пример расчета состава раствора кремнийорганических гидрофобизаторов необходимой концентрации

Требуется приготовить 1000 кг 5%-ного водного раствора КЭ-30-04 для гидрофобизации поверхности бетона. Согласно данным паспорта, товарная концентрация составляет 50%. Сколько нужно взять этой жидкости для приготовления раствора нужной концентрации?

где V - объем 5% водного раствора, который требуется приготовить;

К - концентрация рабочего раствора;

КТОВ - товарная концентрация вещества.

Так как масса раствора 1000 кг, а КЭ-30-04 требуется 100 кг, то воды требуется:

1000 кг - 100 кг = 900 кг (л)

Составим пропорцию:

1000 - х

900 - 100              

Вода                      КЭ-30-04

На 1000 кг водного раствора нужно взять 111 кг КЭ-30-04.

 




Яндекс цитирования