//
|
|
МИНИСТЕРСТВО ТРАНСПОРТНОГО СТРОИТЕЛЬСТВА СССР ГОСУДАРСТВЕННЫЙ ВСЕСОЮЗНЫЙ ДОРОЖНЫЙ НАУЧНО-ИССЛЕДОВАТЕЛЬСКИЙ ИНСТИТУТ (СОЮЗДОРНИИ) МЕТОДИЧЕСКИЕ УКАЗАНИЯ Москва 1973 СОДЕРЖАНИЕ Предисловие«Методические указания по инженерно-геологическому обследованию болот, при изысканиях автомобильных и железных дорог» предназначены для практического руководства при обследовании торфяных болот в процессе инженерно-геологических изысканий автомобильных и железных дорог, выполняемых проектно-изыскательскими организациями. При составлении настоящих «Методических указаний» учтены основные положения "Методических указаний по проектированию земляного полотна на слабых грунтах", результаты специальных исследований, выполненных авторами в последние годы, а также опубликованные результаты соответствующих исследований, проведенных в Калининском политехническом институте, Омском филиале Союздорнии, Белорусском научно-исследовательском институте мелиорации и водного хозяйства, ВСЕГИНГЕО, Гидропроекте и других организациях. Кроме того, учтен опыт инженерно-геологических изысканий ведущих проектно-изыскательских организаций (Союздорпроект, Ленгипротранс, Сибгипротранс и др.). Методические указания составили кандидаты технических наук В.Д. Казарновский, Э.К. Кузахметова (Союздорнии), И.Е. Евгеньев и В.Н. Яромко (Белдорнии), инж. Л.И. Кузнецова, канд. техн. наук Е.А. Яковлева и канд. биол. наук Н.Г. Несветайлова (ЦНИИС). Замечания и пожелания по "Методическим указаниям" следует направлять по адресу: 143900 г. Балашиха, Московской обл., Союздорнии.
1 Основные понятия1.1. Болотом называется участок суши, характеризующийся избытком влаги на поверхности или в верхних слоях грунтовой толщи и наличием в геологическом разрезе специфичных болотных отложений (болотных грунтов), При наличии слоя торфяных отложений болото называется торфяником или торфяным болотом. В настоящих "Методических указаниях" рассматриваются преимущественно торфяные болота. 1.2. В пределах геологического разреза болота различают растительно-корневой слой, слабую толщу и дно болота. 1.3. Слабая толща включает в себя пласты слабых болотных грунтов, иногда переслаивающихся с пластами наносных более прочных грунтов. Слабая толща может включать в себя горизонты с остатками пней, а также слои жидких образований. По стратиграфическим особенностям различают однослойные болота, слабая толща которых представлена одной породой, и многослойные болота, в пределах слабой толщи которых имеются слои различных пород. 1.4. В зависимости от суммарной мощности растительно-корневого слоя и слабой толщи болота делят на мелкие - при помощи слабых отложений менее 2 м, средние - от 2 до 4 м и глубокие - более 4 м. 1.5. Дно болота может быть сложено глинистыми, песчаными или скальными породами и в зависимости от этого может быть водопроницаемым или водонепроницаемым. 1.6. По степени минерализации воды, идущей на увлажнение верхнего слоя грунтовой толщи, в пределах которого располагается корневая система растений (растительно-корневой слой), различают низинные и верховые болота, К низинным относят болота, поверхность которых увлажняют воды, богатые минеральными слоями. К верховым - болота, увлажняемые водой, бедной минеральными солями. Степень минерализации зависит от источника водного питания болота (грунтовые, атмосферные воды) и предопределяет различие в растительности, произрастающей на поверхности низинных и верховых болот, что в конечном итоге отражается на величине зольности грунтовой толщи. Примечание. В болотоведении выделяют еще переходные болота как промежуточный тип между верховыми и низинными. В строительных целях выделять переходное болота не требуется. 2. Болотные грунты2.1. Грунты, входящие в комплекс болотных грунтов, подразделяют на группы и подгруппы в соответствии см. табл. 1 2.2. Торф - своеобразное, относительно молодое геологическое образование, формирующееся в результате отмирания болотной растительности при избыточном количестве влаги и недостаточном доступе воздуха. Для торфа характерна высокая влагоемкость и влажность в естественном состоянии (обычно в пределах 150 - 3000 %). Твердое вещество высушенного торфа состоит из не вполне разложившихся растительных остатков - растительного волокна, продуктов разложения растительных остатков - темного бесструктурного вещества (гумуса) и неорганических примесей. Волокнистая часть торфа при достаточном ее содержании может образовывать своеобразный структурный каркас, ячейки которого заполнены аморфной массой из продуктов разложения и неорганических примесей. 2.3. Механические свойства торфов зависят от их структурных особенностей, определяемых степенью волокнистости, плотности (влажности) и состава торфообразователей, косвенно отражаемого величиной зольности торфа.
Примечание. П - потери при. прокаливании. При зольности менее 5 % состав торфообразователей соответствует условиям формирования верхового болота. Торф в этом случае называют малозольным (верховым). При зольности от 5 % до 20 % торф следует относить к торфам средней зольности (низинный), а при зольности 20-40 % - к высокозольным (минерализованным). Значения показателей механических свойств торфяных грунтов ориентировочно можно установить по основным показателям состава и состояния, используя табл. 2. Способы определения влажности, зольности и волокнистости изложены в приложении 1. Физико-механические свойства торфяных грунтовТаблица 2
Таблица 2(правая часть)
Продолжение таблицы 2
Продолжение таблицы 2 (правая часть)
Примечания: 1. В скобках даны средние значения модулей осадки, без скобок - максимальные 2. "мз" - малозольный торф (потеря при прокаливании П > 95 %), "сз" - торф средней зольности П < 95 %, ≥ 80 %). 3. Величины показателей механических свойств при промежуточных значениях влажности определяются интерполяцией. 2.4. Сапропели - представляют собой озерные отложения, образующиеся в водоемах в результате отмирания животных и растительных организмов и оседания минеральных частиц, заносимых водой и ветром. Механические свойства сапропелей зависят от их структурных особенностей, состава и плотности (влажности) в природном состоянии. Значения показателей механических свойств ориентировочно можно установить по табл. 3. 2.3. Болотный мергель - представляет собой современную рыхлую осадочную породу, образовавшуюся в озерно-болотных условиях при поступлении в водоемы вод, содержащих в растворенном виде кислый углекислый кальций СО (НСО3)2. По мере испарения воды и удаления из нее СО2 из раствора выпадает углекислый, кальций СaСО3. Болотный мергель может подстилать торфяную толщу или переслаиваться с торфяными пластами. Мергель содержит от 25 до 50 % карбоната кальция. Остальная часть состоит из песчаных, глинистых и илистых частиц и растительных остатков различной степени разложения. Механические свойства мергеля в зависимости от величины природной влажности ориентировочно можно определить по табл. 4. 2.6. Пресноводные илы. Илами называются глинистые грунты в начальной стадии формирования, которые образовались как структурный осадок в воде. Илы в природном залегании характеризуются текучей консистенцией, наличием необратимых структурных связей и способностью к тиксотропным превращениям. Физико-механические свойстваТаблица 3
Примечание. Величины показателей механических значениях влажности определяются интерполяцией.
Физико-механические свойства болотного мергеля (П<10)
2.7. Механические свойства илов зависят от их структурных особенностей, природной влажности и глинистости (числа пластичности). Ориентировочно значения показателей механических свойств пресноводных илов можно установить по табл. 5. 3. Типы оснований по устойчивости, строительные типы болот и болотных грунтовРазличают три основных типа основания по устойчивости: I - основания, не требующие специальных мероприятий по обеспечению устойчивости; II - основания, для обеспечения устойчивости которых достаточно применение только мер технологического характера; III - основания, которые требуют специальных конструктивных мер по обеспечению устойчивости (изменение конструкции насыпи или удаление слабого слоя). 3.2. Если расчетная нагрузка на основание насыпи не превышает 0,55 кгс/см2 при учете эффекта взвешивания нижней части насыпи и 0,75 кгс/см2 без учета взвешивания, при глубине болота не более 6-8 м и простом (трапецеидальном) поперечном профиле насыпи, допускается тип основания определять по строительному типу болота. Физико-механические свойства пресноводных илов
Строительный тип болота устанавливают с учетом строительного типа грунтов, слагающих слабую толщу. Следует различать три строительных типа болотных грунтов: I - грунты, которые обладают достаточной прочностью в природном состоянии и при передаче на них нагрузки от насыпи могут только сжиматься, независимо от скорости передачи нагрузки; II - грунты, не обладающие в природном состоянии достаточной прочностью, вследствие чего при быстрой передаче на них нагрузки от насыпи они выдавливаются, при медленной же передаче нагрузки они успевают уплотниться настолько, что не выдавливаются, а лишь сжимаются; III - грунты, которые при передаче на них нагрузки в любом случае выдавливаются из-за недостаточной прочности в природном состоянии и недостаточной упрочняемости при уплотнении. 3.4 Строительный тип болотного грунта можно установить: а) по основным показателям состава и состояния грунта, используя таблицы 6-9; б) по величине сопротивляемости сдвигу, устанавливаемой путем испытаний с помощью "крыльчаток" в условиях природного залегания; для определения строительного типа болотного грунта в этом случае можно использовать табл. 10. I - болота, слабая толща которых представлена только грунтами I строительного типа; II - болота, слабая толща которых представлена грунтами I и II типа; III - болота, слабая толща которых включает хотя бы один слой грунтов III строительного типа. Примечание. Вся толщина наиболее слабого пласта не превышает 5 % от общей мощности слабой толщи, его наличие при определении типа болота не учитывают. Тип болота соответствует типу основания по устойчивости. Определение строительного типа торфяного грунта
х) К 1 типу следует относить торф влажности менее 500 %. хх) К типу 1 следует относить торф средней зольности (5-20 %) с влажностью менее 400 % Таблица 7 Определение строительного типа сапропелевых грунтов
х) Для уточнения типа необходимы лабораторные испытания на сдвиг и компрессию. К1 типу относить органический сапропель при Wпр < 200 % и органно-минеральный при Wпр < 50 %. хх) К III типу относить органический сапропель при Wnp > 1000 % и органо-минеральный при Wпр > 550 %. Таблица 8 Определение строительного типа илов
Определение строительного типа болотного мергеля
х) К 1 типу относить при W < 60 % Таблица 10 Определение типа болотных грунтов по сопротивляемости сдвигу в природном залегании
х) К 1 типу относить при R < 25 % хх) Для уточнения типа необходимы лабораторные испытания на сдвиг и компрессию. 4. Общие задачи инженерно - геологического обследования болот при изысканиях дорог. Состав работ. Отчетная документация4.1. Целью инженерно-геологического обследования болот при изысканиях дорог является получение данных, необходимых для обоснования окончательного проложения трассы и назначения конструкции и технологии сооружения земляного полотна. 4.2. При инженерно-геологическом обследовании болота необходимо: а) установить границы болота в пределах зоны возможного расположения трассы; б) выявить строение слабой толщи (ее стратиграфические особенности) и характер дна болота (вид пород и рельеф); в) установить физико-механические характеристики грунтов, слагающих слабую толщу, необходимые для определения строительного типа болота, типа основания по устойчивости и расчета конструкции насыпи; г) выявить особенности гидрологического режима болота, 4.3. Для получения требуемых данных (п. 4.2) выполняются следующие работы: а) топографическая съемка болота; б) проходка зондировочных и опорных скважин с отбором проб грунтов нарушенного и ненарушенного сложения и испытание грунтов в условиях их природного залегания (без отбора монолитов); в) лабораторные испытания проб грунтов нарушенного сложения с определением основных показателей состава и состояния грунтов и испытания монолитов для определения характеристик механических свойств грунтов (параметров, характеризующих сопротивляемость сдвигу, сжимаемость и скорость уплотнения грунта); г) камеральная обработка материалов обследования с составлением отчетной документации. 4.4. Отчетная документация оформляется в виде паспорта, включающего: а) план болота с изолиниями мощности слабой толщи (рис. 1); б) геологические разрезы по оси вариантов трассы и по поперечникам с нанесенными на них результатами определения основных показателей состава и состояния грунтов и механических испытаний грунтов в условиях природного залегания полевыми приборами (рис. 2); в) результаты лабораторных испытаний грунтов слабой толщи; г) пояснительную записку. Пояснительная записка должна содержать: подробное описание болота, включая его происхождение: источники питания; состав и состояние грунтов слабой толщи; данные о растительно-корневом покрове болота, пнистости, наличии поверхностного водоотвода; данные о постоянных водотоках и о проходе весенних вод; данные о характере пород, слагающих дно болота и о рельефе последнего.
Рис. 1. План болота (М 1:2000) Изолиния мощности торфа проведены через 0,6 м Условные обозначения: Оскв-2 83,95 (4,15) - опорная скважина, ее номер, отметка устья, мощность торфа (в скобках, м) 88,80 (3,4) - зондировочная скважина, отметка устья и мощность торфа (в скобках, м)
Рис. 2. Геологические разрезы по трассе: а - продольный разрез по оси дороги; б, в - поперечный разрез; ▼ - отметка устья скважины, Расстояния между скважинами 25 м В пояснительной записке дают оценку строительных свойств болотных грунтов; выделяют расчетные (однотипные) участки, расчетные слои (т.е. слои единообразные по инженерно-геологическим свойствам) и дают расчетные значения механических характеристик грунтов для этих слоев. На основе количественной оценки механических свойств грунтов слабой толщи должна быть проведена предварительная оценка слабой толщи как основания насыпи. Для, упрощения такой оценки при глубине болота не более 6-8 м и условиях нагружения указанных в пп. 3.3 настоящих Методических указаний может использоваться строительная типизация болотных грунтов и строитель пая типизация болот. Пояснительная записка должна содержать также сведения о по вед елки, и состоянии существующих дорожных насыпей, расположенных в пределах данного болота, состоянии земляного полотна, конфигурации основания насыпи по данным бурения, качественной оценке грунтов тела насыпи и т.д. Должны быть приведены сведения о резервах грунта, намечаемых для использования при возведении насыпи на болоте, с указанием характеристик этих грунтов. 4.5. В результате обобщения всех данных, обследования должно быть сделано заключение о принципиальной возможности или невозможности (нецелесообразности) использования слабой толщи в качестве основания и указаны наиболее целесообразные конструкции, которые могут рассматриваться в качестве конкурирующих вариантов при дальнейшей разработке проекта. 4.6. Состав и объем работ, выполняемых при обследовании, методика их выполнения и применяемые способы определения свойств грунтов и аппаратуре зависят от стадийности и этапа изысканий. 5. Порядок проведения инженерно - геологических обследований5.1. Инженерно-геологическое обследование следует выполнять поэтапно. Этапы обследования отличаются друг от друга методикой определений и составом работ. При этом каждый последующий этап как по методике определений, так и по применяемому оборудованию и составу определений более сложен и трудоемок, чем предыдущий. Целесообразно выделять три этапа обследования. На первом этапе (рекогносцировочном) лабораторных определений не выполняют. На втором этапе лабораторные исследования ограничиваются определением показателей состава и состояния грунтов в потевой (нестационарной) лаборатории. На третьем этапе выполняют испытания в стационарной лаборатории для определения показателей механических свойств грунтов. 5.2. В зависимости от конкретных условий проектирования указанные этапы обследования могут быть распределены по стадиям проектирования. При двухстадийном проектировании (технический проект и рабочие чертежи) целесообразно первые два этапа обследований проводить на первой стадии проектирования, а третий этап - на второй стации. 5.3. Количество этапов обследование и состав работ уточняют по мере обобщения результатов предшествующего этапа. Первый этап обследования 5.4. На первом этапе обследования до проведения полевых инженерно-геологических работ изучают карты и предварительно полученные аэрофотоматериалы. Использование аэрофотоматериалов особенно важно при значительных размерах болот, пересекаемых трассой. В этом случае целесообразно дополнять камеральное дешефрирование фотосхем и аэроснимков аэровизуальными наблюдениями с вертолета или тихоходного самолета. 5.5. Оптимальным масштабом материалов аэрофотосъемки является 1:10000 - 1:17000, но можно также использовать масштабы 1:8000 и 1:25000. Наибольший эффект достигается при использовании аэрофотоснимков масштаба 1:12000-1:17000 в сочетании с 1:6000-1:8000. Для Детального дешифрирования пригодны материалы плановой панхроматической черно-белой аэрофотосъемки, но наибольший эффект достигается в сочетании со спектрозональной. 5.6. По указанным аэрофотоматериалам можно установить границы болота, относительную мощность торфяной толщи, приблизительный рельеф кровли минерального дна болота, генезис болота, источники его водного питания, направление и интенсивность внутреннего и поверхностного стока в болоте, относительное увлажнение его отдельных частей, геоморфологический тип болота, его микрорельеф и растительность. При изучении строения толщи торфяных отложении, мощности и расположения отдельных слоев, физико-механических свойств торфа материалы аэрофотосъемки дают возможность предварительно разделить участки болот на характерные типы. При наличии эталонных материалов эхо позволяет, более рационально организовать полевое обследование болот и сократить объемы полевых работ за счет меньше детальности исследований повторных участков каждого типа. 5.7. Полевые работы по инженерно-геологическому обследованию болота, выполняемые на первом (рекогносцировочном) этапе, включают зондировочное бурение скважин в зоне, примыкающей к трассе, положение которой намечено по данным аэрофотосъемки или по карте. Скважины бурят по редкой сетке (от 50 × 50 м до 150 × 150 м в зависимости от размеров болота и с учетом данных аэрофотосъемки), при этом захватывается зона шириной примерно 300 м (по 150 м в каждую сторону от оси трассы). Зондировочные скважины проходят с помощью бура геолога (приложение 2) или 2-х дюймового бурового комплекта без обсадки. Кроме того, может быть применена переносная буровая установка ПВБС-15 с бензомоторным двигателем "Дружба". При проходке зондировочных скважин отбирают пробы через 0,5-1,0 м для визуального установления наименования грунтов и оценки в первом приближении их физико-механических свойств с помощью визуальных методов и классификационных таблиц. На этом же этапе изучают особенности гидрологического режима болота. Лабораторных испытаний на этом этапе не проводят и образцы для этих целей не отбирают. 5.8. Параллельно с зондировочным бурением или непосредственно вслед за ним по той же сетке выполняют статическое зондирование толщи с помощью вдавливания конусных наконечников (приложение 3). Результаты статического зондирования позволяют уточнить границы отдельных слоев слабой толщи, общую ее мощность и получить предварительную информацию о механических свойствах слагающих ее грунтов. 5.9. В выводах по результатам первого этапа обследования дают: а) рекомендации по уточнению расположения трассы, исходя из наиболее благоприятных условий пересечения болота с точки зрения строения слабой толщи, рельефа дна и особенностей гидрологического режима болота; б) предварительное заключение о целесообразности или нецелесообразности проработки варианта, предусматривающего использование слабой толщи в качестве основания. Второй этап обследования 5.10. Второй этап обследования назначают лишь в том случае, если в результате первого этапа предварительно установлена целесообразность проработки варианта, предусматривающего использование слабой толщи в качестве основания. 5.11. На этом этапе бурят зондировочные скважины по оси возможных конкурирующих вариантов трассы, положение которых уточнено по результатам первого этапа обследования. Скважины располагают по оси и на поперечниках. При этом захватывается узкая полоса, равная полутора-двум ширинам земляного полотна по низу. 5.12. Расстояние между скважинами по оси трассы принимают примерно 25-50 м в зависимости от протяженности заболоченного участка и особенностей строения болота, выявленных на первом этапе обследования. Поперечники подразделяют на основные и промежуточные. На основных проходят 5-7 скважин, на промежуточных - 1-3 (рис. 3). 5.13. При проходке скважин отбирают пробы грунтов и определяют основные показатели состава и состояния в полевой (нестационарной) лаборатории. Пробы отбирают через 0,5-1,0 м (но не менее трех проб по глубине из каждого характерного слоя). 5.14. Параллельно с проходкой зондировочных скважин или непосредственно вслед за ней выполняют зондирование слабой толщи конусным наконечником, а также примерно через каждые 0,5 м по глубине толщи испытывают грунты на сдвиг с помощью крыльчатки. Методики зондирования конусным наконечником и испытания крыльчаткой изложены в приложениях 3 и 4. 5.15. В лаборатории определяют следующие основные показатели состава и состояния грунтов: влажность; потери при прокаливании (или зольность); степень волокнистости или степень разложения (только для Торфяных грунтов); пределы пластичности (только для илов); удельный вес (выборочно для характерных слоев); объемный вес влажного грунта; ботанический состав (дополнительно для торфяных грунтов).
Рис. 3. Схема расположения скважин при инженерно-геологическом обследовании болот 1 - основные скважины; 2 - зондировочные; 3 - основные (опорные) поперечники, 4 - промежуточные; I – первоначальный вариант положения оси трассы; II - уточненный Методики определения указанных характеристик изложены в приложении 1. 5.16. По результатам испытаний выделяют расчетные слои и определяют расчетные значения основных показателей состава и состояния грунтов в пределах каждого слоя. В качестве основы для выделения расчетных слоев, т.е. слоев, однородных с точки зрения основных показателей инженерно-геологических свойств, используют результаты описания грунтов при зондировочном бурении и материалы статического зондирования конусным наконечником. Границы слоев устанавливают предварительно по визуальным признакам. Далее детально расчленяют толщу по результатам статического зондирования, которое позволит не только уточнить границы отдельных слоев, выделенных по визуальным признакам, но и расчленить визуально-однородные слои на отдельные расчетные слои, в пределах которых физико-механические свойства грунта могут считаться постоянными (приложение 6). 5.17. Для выделенных расчетных слоев путем статистической обработки результатов испытаний определяют расчетные значения основных показателей состава и состояния грунтов и сопротивляемость зондирования к вращательному срезу (см. приложение 5). 5.18. По расчетным значениям основных показателей состава и состояния грунтов, используя таблицы 2-5, определяют ориентировочно расчетные значения показателей механических свойств грунтов в пределах каждого расчетного слоя. По этим данным, а также по результатам испытаний крыльчаткой, уточняют границы расчетных участков и определяют строительный тип болота или тип основания по устойчивости, а также уточняют место расположения расчетных поперечников и наиболее неблагоприятных по своим механическим свойствам слоев. 5.19. По результатам второго этапа обследования уточняют предварительный вывод о целесообразности дальнейшей проработки варианта с использованием слабой толщи в качестве основания. При положительном выводе осуществляют третий этап обследования. Третий этап обследования 5.20. На третьем этапе обследования проводятся следующие работы: 1) дополнительная проходка зондировочных скважин и испытание крыльчаткой (при необходимости); 2) проходка опорных скважин на расчетных, поперочниках с отбором монолитов грунтов; 3) лабораторные испытания монолитов; 4) определение динамических характеристик торфяной толщи (при необходимости). 5.21. Места расположения опорных скважин и место отбора монолитов определяют на основании обобщения результатов второго этапа обследования с таким расчетом, чтобы основные показатели состава и состояния отбираемых монолитов в возможно большей степени отвечали расчетным значениям этих показателей для выделенных слоев в пределах расчетных участков. 5.22. Количество отбираемых монолитов зависит от состава испытаний, определяемого типом основания по устойчивости (или строительным типом болота). 5.23. При основании 1 типа на монолитах определяют объемный вес грунта и проводят компрессионные и консолидационные испытания. Количество монолитов и их размеры определяют исходя из того, чтобы для каждого вида испытаний можно было получить не менее шести образцов из каждого расчетного слоя на каждом расчетном участка. 5.24. При основаниях II и III типов кроме компрессионных и консолидационных испытаний (п. 5.23) проводят испытания на сдвиг грунта из наиболее слабого слоя (за исключением грунтов, которые неизбежно будут выдавлены). Количество монолитов, отбираемых для сдвиговых испытаний, должно обеспечить возможность получения не менее 9-12 образцов для каждого расчетного слоя на каждом расчетном участке. 5.25. К требуемому количеству монолитов необходимо добавлять 25 % запасных на случай порчи монолитов при транспортировке, подготовке и проведении испытаний. 5.26. Монолиты отбирают с помощью специального оборудования или указанного в приложении 2, а в некоторых случаях - из шурфов (при неглубоких осушенных болотах). Правила отбора образцов, транспортировки и хранения их изложены в приложении 6. 5.27. Испытания на компрессию, консолидацию и сдвиг проводят в стационарных лабораториях по специальным методикам. Методика испытаний и аппаратура указаны в приложении 7. 5.29. По данным обследований проводят расчет и назначают конструкцию земляного полотна в соответствии с "Методическими указаниями по проектированию земляного полотна на слабых грунтах" (М., "Оргтрансстрой, 1968). Пример простейших расчетов приведен в приложении 8. ПРИЛОЖЕНИЯПриложение 1
| ||||||||||||||||||||||||||||||||||||||||||||||||||||||||||||||||||||||||||||||||||||||||||||||||||||||||||||||||||||||||||||||||||||||||||||||||||||||||||||||||||||||||||||||||||||||||||||||||||||||||||||||||||||||||||||||||||||||||||||||||||||||||||||||||||||||||||||||||||||||||||||||||||||||||||||||||||||||||||||||||||||||||||||||||||||||||||||||||||||||||||||||||||||||||||||||||||||||||||||||||||||||||||||||||||||||||||||||||||||||||||||||||||||||||||||||||||||||||||||||||||||||||||||||||||||||||||||||||||||||||||||||||||||||||||||||||||||||||||||||||||||||||||||||||||||||||||||||||||||||||||||||||||||||||||||||||||||||||||||||||||||||||||||||||||||||||||||||||||||||||||||||||||||||||||||||||||||||||||||||||||||||||||||||||||||||||||||||||||||||||||||||||||||||||||||||||||||||||||||||||||||||||||||||||||||||||||||||||||||||||||||||||||||||||||||||||||||||||||||||||||||||||||||||||||||||||||||||||||||||||||||||||||||||||||||||||||||||||||||||||||||||||||||||||||||||||||||||||||||||
|
Степень разложения, % |
Растительные остатки |
Пластично-упругие свойства |
Отжимаемая вода |
Мазок |
|
До 10 |
Хорошо сохранились и составляют почти всю массу торфа, различные мхи, остатки осоковой растительности |
Торф не мажет руку, отжатая масса пружинит и быстро принимает первоначальный объем |
Отжимается легко, бесцветная или слабо окрашенная |
Бесцветный или слабо-желтый с большим количеством налипшего волокна |
|
10 - 20 |
Хорошо сохранились, но измельчены в большей степени |
При сжатии в кулаке не продавливается" между пальцами: в сжатом торфе заметна упругость |
Отжимается легко, мутная, желтая, коричневая или светло-серая |
Желтый или слегка коричневый, светло-серый, имеются налипшие волокна |
|
20 - 35 |
Сохранились, но определить затруднительно, часть, из них гумифицирована |
Несколько пластичен, при сжатии в кулаке часть торта продавливается между пальцами, при растирании мажет руку |
Отжимается с некоторым усилием, мутная, коричневая или бурая |
Коричневый или серовато-коричневый налипшего волокна нет |
|
35 - 50 |
Заметны, но распознаются трудно, много гумифицированных частиц |
Пачкает руку, продавливается значительная часть торфа |
Отжимается со значительным усилием, мутная, бурая или коричневая |
От коричневого до темно-коричневого с серым и черным оттенком и с гладкой поверхностью |
|
Более 50 |
Мало заметны или почти совсем незаметны, преобладает гумифицированная масса |
Большая часть полностью продавливается между пальцами, пачкает руку |
Почти или совсем не отжимается |
Черно-коричневый, хорошо сохраняет отпечатки пальцев. |
Определение нижней границы пластичности производят раскатыванием в шнур (ГОСТ 5183-64 "Грунты. Метод лабораторного определения границы раскатывания").
Результаты определения пределов пластичности заторфованных грунтов следует сопровождать указанием процентного содержания (по весу) растительных остатков, если весовое количество их составляет более 5 % от веса сухой минеральной части грунта.
Подготовку илов и органо-минеральных болотных грунтов следует производить с соблюдением п. "б" указанных ГОСТов.
Пикнометрический метод. Удельный вес грунта определяется как отношение веса частиц грунта, высушенного при t = 100-105°С до постоянного веса, к объему этих частиц.
Грунт, высушенный до воздушно-сухого состояния, растирают пестиком в фарфоровой ступке и просеивают через сито с диаметром отверстий 1 мм. (Частицы крупнее 1 мм механически дробят и добавляют к пробе).
Из просеянного грунта (весом 300 г) отбирают среднюю пробу весом 3-5 г (для органических грунтов) на каждые 100 см емкости пикнометра. При этом дополнительно отбирают две пробы для определения гигроскопической влажности.
Наливают в пикнометр (1/3 емкости) дистиллированную воду и взвешивают. При помощи воронки вводят пробу грунта в пикнометр и снова взвешивают. Разница первого и второго веса равна весу введенного грунта q. Содержимое пикнометра кипятят в течение 1 часа с момента закипания суспензии. Кипячение должно быть спокойным, без разбрызгивания по стенкам прибора. Пикнометр с суспензией охлаждают до 20С, а затем доливают кипяченую воду до отмеченного уровня таким образом, чтобы вогнутая часть мениска касалась уровня.
Взвешивают пикнометр с грунтом и водой q1, освобождают его от грунта и воды, тщательно моют, наполняют дистиллированной водой (той же температуры что и вода в пикнометре) и взвешивают q2.
Удельный вес грунта вычисляют по формуле
г/см3, (6)
где q - вес сухого грунта, введенного в пикнометр, г
(7)
q1 - вес пикнометра с грунтом и водой, г;
q2 - вес пикнометра с водой, г;
W - влажность воздушно-сухого грунта, %;
q - вес воздушно-сухого грунта, г.
За расчетный удельный вес принимают среднее арифметическое из результатов двух параллельных определений, расхождение между которыми не должно превышать 0,02 г/см3.
Метод высоких давлений. Удельный вес твердой фазы органических грунтов можно определить с помощью уплотнителя УВД-3 конструкция Калининского политехнического института (рис. 5).
Торф в воздушно-сухом состоянии (влажность 10-25 %) подвергают сжатию в закрытой камере под давлением 3500-4000 кгс/см2, В сжатом состоянии определяют его объем с последующим пересчетом и вычислением удельного веса.
Порядок определения. Втулку (см. рис. 5) с верхним штоком снимают с нижнего штока и переворачивают при вставленном верхнем штоке. В свободное пространство втулки засыпают навеску исследуемого грунта, затем во втулку вставляют нижний шток с индикатором.

Рис. 5 Конструкция уплотнителя УВЛ-3;
1 - подставка, 2 - индикатор, 3 - нижний шток; 4 - втулка; 5 - верхний шток; 6 - испытываемый грунт; 7 - зажимный болт
Выдерживают образец под этой нагрузкой в течение 2-3 мин. При этом деформация образца, регистрируемая индикатором, должна прекратиться. Записывают максимальное показание индикатора, по которому вычисляют толщину образца при заданной нагрузке.
Далее нагрузку снимают, вынимают втулку вместе с верхним штоком и извлекают последний. Определяют вес уплотненного образца кольцевой формы.
Удельный вес образца при данной влажности вычисляют по формуле
(8)
где G - навеска грунта (вес образца), г;
D - диаметр матрицы, см;
d - диаметр тонкого стержня, см;
h - толщина образца после уплотнения под давлением, см;
Удельный вес твердой фазы грунта за вычетом объема влаги определяют по формуле
(9)
где W - влажность, % по весу;
- плотность
адсорбционной воды, принимаемая равной 1 г/см3.
Объемным весом грунта называют его вес в единице объема.
Объемный вес определяют методом режущего кольца или методом гидростатического взвешивания образца, покрытого пленкой (ГОСТ 5182-64."Грунты. Методы лабораторного определения объемного веса").
Метод режущего кольца применяют в тех случаях, когда объем и форма отбираемого образца могут быть сохранены только с помощью жесткой обоймы.
Метод гидростатического взвешивания можно применять при образцах неправильной формы.
Для определения объемного веса торфов можно рекомендовать также волюменометрический метод.
Метод режущих колец. Режущим кольцом отбирают образец в лаборатории из монолита или в шурфе. Остаток грунта, выступающий из гильзы, срезают ножом. Кольцо с грунтом взвешивают, Объемный вес вычисляют по формуле
(10)
где q - вес образца грунта при данной влажности, г;
v - объем грунта, заключенного внутри кольца, см.
При малоразложившихся торфах метод режущих колец не обеспечивает достаточной точности, так как трудно правильно обработать отобранный образец ножом и кроме того он деформируется при перерезании неразложившихся растительных остатков.
Метод парафинирования. Образец грунта многократно опускают на несколько секунд в парафин, чтобы нарастить слой не менее 0,5 мм.
Пузырьки воздуха, обнаруженные в застывшей парафиновой оболочке, удаляют, прокалывая иглой и заглаживая образовавшиеся отверстия.
Запарафинированный образец взвешивают сначала в воздухе q2 затем подвешивают к серьге коромысла весов и погружают в стакан с водой для взвешивания в воде q3 Контролируют вес в воздухе, чтобы убедиться, что в грунт не попала вода (предварительно обтерев запарафинированный образец). Тщательно удалив парафин с образца, берут пробы для определения влажности. Проводят не менее двух параллельных определений.
Объемный вес вычисляют по следующим формулам:
(11)
(12)
V=V2-V1 (13)
(14)
где V1 - объем парафина, см3;
q - вес образца при данной влажности, г;
q2 - вес запарафинированного образца в воздухе,
V2 - объем запарафинированного образца, см3;
q3 - вес запарафинированного образца, в воде, г;
-
удельный вес парафина (0,9 г/см3);
- удельный вес воды (1 г/см3);
V- объем образца без парафина, см3 ;
- объемный вес, г/см3
Волюменометрический метод. Образец торфа взвешивают, а затем помещают в сетчатый каркас и погружают в волюменометр. По трубке устанавливают изменение уровня воды и вычисляют объем исследуемого образца. Делению шкалы трубки соответствует определённый объем вытесненный воды.
Ботанический состав определяют с помощью микроскопа по характеру неразложившихся растительных остатков в соответствии с описанием различных видов торфа.х)
Предварительно гумус отделяют методом отмучивания, пропуская взвесь через сито с диаметром отверстий 0,1 мм при торфе сильноразложившемся и через сито с диаметром отверстий 0,25 мм при торфе с меньшей степенью разложения.
Из отмученной массы навеску торфа переносят пинцетом на стекло стандартного размера и под микроскопом с увеличением не менее, чем в 90 раз, устанавливают процентное содержание растений-торфообразователей.
Название ботанического вида торфу дается по остаткам, которых в данном образце > 15 %.
Если, например, в состав образца входят: осоки - 30 %, древесных остатков - 40 %, гипнума - 20 % и сфагнуме - 10 %, то торф называют гипново-осоково-древесным.
х) При определении ботанического состава торфа кроме того, надлежит пользоваться классификацией видов торфа и торфяных залежей, а также соответствующими атласами и руководствами.
8. Характеристики, определяемые расчетом
Объёмный вес скелета грунта (вес частиц в единице объема грунта) определяют по формуле
(15)
где
- объемный вес
грунта, г/см;
W - весовая влажность, %,
Пористость грунта (отношение объема пор к объему всего грунта) определяют по формуле
(16)
где
- удельный вес грунта, г/см3
Коэффициент пористости (отношение объема пор к объему минеральных частиц в грунте, выряженное в долях единицы) находят по формуле
(17)
или
(18)
Коэффициент водонасыщения определяется по формуле
(19)
где Δ - удельный вес воды 1,0, г/см3
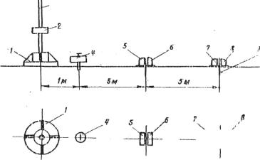
Для отбора проб слабых грунтов могут быть применены следующие пробоотборники: торфяной бур ТБ-5, грунтонос конструкции Игумнова, грунтонос конструкции Фурса и универсальный грунтонос конструкции ЦНИИС (рис. 6-9).

бур открыт бур закрыт
![]()
1 - винт; 2 - полуконус; 3 - нож 4 - сердечник; 5 - ложка.
Кроме указанного оборудования для отбора проб может быть использован поршневой грунтонос конструкции Белдорнии (рис. 10).
Поршневой грунтонос конструкции Белдорнии применяют при отборе монолитов без бурения скважин в болотных грунтах низкой плотности (на болотах II типа) и с бурением скважин, если плотность грунта высокая.

Рис. 7. Грунтонос конструкции Игумнова для взятия монолитов илов и других глинистых грунтов мягкопластичной и скрытотекучей консистенции:
1 - головка с конусным переходом; 2 - диафрагма; 3 - верхний стакан; 4 - гильза; 5 - нижний стакан; 6 - резьбы; 7 - направляющая; 8 - башмак

Рис. 8. Грунтонос конструкции фурса для изъятия монолитов илов и других глинистых грунтов мягкопластичной и скрытотекучей консистенции
1 - лопасть тормозная, 2 - башмак, 3 - лепесток, 4 - нижний стакан, 5 - гильза, 6 - верхний стакан, 7 - головка

Рис. 9. Универсальный грунтонос конструкции ЦНИИС для отбора монолитов торфов и других болотных отложений со сменными коронками:
I - для слаборазложившихся торфов; II - хорошо разложившихся торфов; III-IV - для минерализованных торфов и пластичных грунт ив; V - для сапропелей и илов

Рис. 10. Поршневой грунтонос конструкции Белдорнии для отбора проб слабых грунтов:
1 - рукоятка поршневой штанги; 2 - рукоятка наружной штанги 3 - поршневая штанга; 4 - наружная штанга; 6 - корпус; 8 - кольца; 7 - запирающее кольцо; 8 - поршень; 9 - сальник; 10, 11 - отверстие
Грунтонос (см. рис. 10) состоит из корпуса, сменных колец, башмака, поршня с сальником, наружной и поршневой штанг.
Башмак с режущими кромками навинчивается на корпус, он служит для облегчения задавливания и удержания колец. К верхней части корпуса крепится наружная штанга с рукояткой. В наружной штанге свободно двигается поршневая штанга перемещающая поршень внутри корпуса. Штанги изготовляют из газовых труб,
В конусной части корпуса имеется отверстие для удаления воздуха и жидкого шлама при движении поршня вверх. Для удержания поршня в фиксированном положении в штангах имеются отверстия для пальцев.
Грунтонос ставят в вертикальное положение (поршень занимает положение А, см. рис. 10) и задавливают на намеченную глубину, вынимают палец, отсоединяя этим поршневую и наружную штанги. Затем давя на рукоятку наружной штанги, задавливают грунтонос до тех нор, пока поршень не займет положение Б (см. рис. 10). После этого поршневая и наружная штанги стопорятся и поднимают грунтонос. Выпадению монолита препятствует образовавшийся вакуум между поршнем и образцом (монолитом).
После поднятия грунтоноса рассоединяют поршневую и наружную штанги, свинчивают запирающее кольцо и поршнем выдавливают монолит с кольцами. Осторожно, чтобы не нарушить естественную структуру грунта, разрезают, отделяя все пять колец друг от друга, ножом. Затем кольца с монолитами закрывают плотно крышками или слоем парафина и отправляют для исследования в лабораторию.
Монолиты из скважин отбирают аналогичным образом.
Метод зондирования грунтов основан на том, что грунты в зависимости от их структурных особенностей, состава и состояния оказывают различное сопротивление прониканию зонда с рабочим наконечником, имеющим обычно форму конуса. При зондировании глубина погружения наконечника всегда превышает его высоту.
Применительно к болотным грунтам наиболее удобен метод статического зондирования, так как для вдавливания зонда в торфяную залежь достаточно усилия 20-30 кгс и эту операцию могут осуществлять 1-2 человека.
Зондирование позволяет получать непрерывную информацию о строении залежи по глубине, наличии слабых слоев, что не всегда удается при обычном бурении.
В результате статического зондирования можно уточнить деление слабой толщи на расчетные слои, предварительно выполненное при бурении по визуальным признакам. При этом использование зондирования позволяет в пределах визуально однородных слоев выделять расчетные слои, однородные по физико-механическим свойствам.
Дня зондирования болотных грунтов рекомендуется применять пенетрометр П-4 конструкции Калининского политехнического института.
Штанги прибора П-4 и штанги сдвигометра крыльчатки СК-8 взаимозаменяемы.
Задавливают конус в грунт вручную. Оператор на определенных глубинах фиксирует показание индикатора Δl. Скорость вдавливания должна быть умеренной и по возможности стабильной (1,5-2,5 см/сек).
Усилие зондирования определяют по формуле
(20)
где
- общее показание индикатора;
- показание
индикатора без конуса (для учета трения)
n - постоянная характеристика упругой пружины.
Для учета возможного трения штанг о грунт (которое иногда имеет место при большой глубине зондирования, например, из-за кривизны штанг и т.п.) следует перед каждым последующим погружением зонда слегка приподнять прибор (на 20-30 мм). Тогда стержень выдвинется из конуса. При последующем погружении в пределах этих 20-30 мм индикатор будет фиксировать только величину трения штанг по грунту.
Тарировка прибора и правила его эксплуатации изложены в инструкции, прилагаемой к прибору.
Объективным показателем, статического зондирования является удельное сопротивление зондированию Q равное отношению усилия зондирования Р к квадрату высоты конического наконечника h2кон
кгс/см2. (21)
В некоторых случаях не исключается возможность выражения зондировочных испытаний в виде величин условного среднего давления по основанию конического наконечника (удельного лобового сопротивления зондированию)
кгс/см2 (22)
где r - радиус основания наконечника.
Для однородных связных грунтов удельное сопротивление зондированию обладает свойством инвариантности, т.е. не зависит от величины усилия зондирования. Условие инвариантности при зондировании нарушается, если диаметр конического наконечника пенетрометра равен диаметру штанги.
Поэтому испытания грунта зондированием необходимо выполнять наконечниками, диаметр которых, не менее чем в 1,6 раз превышает диаметр штанги.

Рис. 11 Конструкция пенетрометров П-4:
1 - конусный наконечник; 2 - стержень; 3 - штанга; 4 - упор; 5 - направляющая втулка; 6 - рукоятка; 7 - индикатор; 8 - упругая пружина; 9 - винт
Однако с целью стандартизации испытаний на практике рекомендуется пользоваться конусными наконечниками с углом при вершине 30° высотой 100 и 70,7 мм.
Принцип инвариантности удельного сопротивления зондированию обеспечивает объективный контроль за точностью и достоверностью испытаний. Для этого выполняют два контрольных испытания с наконечниками различной высоты.
При испытаниях зондовый пенетрометр следует погружать плавно со скоростью 1,5-2,5 см/сек. По ходу погружения регистрирует сопротивление вдавливанию и глубину погружения через каждые 10-20 см и во всех случаях, когда наблюдается изменение усилия вдавливания. В последнем случае отсчеты по индикатору снимают через интервалы равные (0,5-1,0) hкон глубины погружения конуса. Погружение зонда прекращают только для наращивания штанг.
Методика определения удельного сопротивления зондированию
По результатам испытаний первоначально строят график зондирования (рис. 12, а), который выражает зависимость усилия зондирования от глубины погружения конуса и является основой для построения эпюры, выражающей зависимость удельного сопротивления зондированию от глубины (рис. 12, б).
Построение эпюры зондирования представляет некоторые трудности, поэтому ниже, на основе анализа закономерностей взаимодействия конуса с грунтом, приведены простые признаки объективной интерпретации результатов статического зондирования болотных грунтов (по В.Ф. Разоренову).
1. В поверхностном слое грунта (h < hкон) наблюдается начальный участок 0-1 (участок пенетрации) характеризуемый параболическим очертанием кривой (рис. 12, а), вогнутой к оси абсцисс. При глубине погружения наконечника, превышающей его высоту h > hкон площадь поперечного сечения наконечника считается неизменной, поэтому дальнейшее увеличение усилия в связных и, в частности, в болотных грунтах, в пределах однородного слоя остается постоянным и поэтому удельное сопротивление зондированию не изменяется.
Удельное сопротивление зондированию на участке
Усилие зондирования Удельное сопротивление
P, кгc зондированию q. Кгс/см2

Рис. 12 Статическое зондирование болотного грунта:
а - график; б - эпюра; в - схема
Удельное сопротивление зондированию на участке 1-2 графика определяют по формуле
(23)
Для параболического участка 0-1 для однородного грунта величина Q1 должна соответствовать величине удельного зондирования на участке 1-2. Для проверки этого положения пенетрационную часть кривой зондирования (участок 0-1) необходимо перестроить в координатах «усилие зондирования Р - квадрат глубины погружения наконечника h2. Удельное сопротивление пенетрации определяется как тангенс угла наклона определяющей прямой к оси ординат
(24)
2. В промежутке между двумя однородными слоями с различными физико-механическими свойствами грунтов всегда отчетливо наблюдается переходный участок, равный высоте конического наконечника и характеризуемый параболическим очертанием кривой.
Переходный участок возникает в результате прохождения конуса через два слоя одновременно.
Удельное сопротивление зондированию на этом участке (участок 2-3) определяют по формуле
(25)
где Q1 - удельное сопротивление зондированию на участке 1-2
h2<hкон - глубина погружения наконечника во второй слой
Параболическая зависимость проявляется немедленно вслед за погружением острия наконечника во второй слой и заканчивается, когда, основание наконечника совпадает с границей между слоями (см. рис. 12 б, позиция 3).
3. Если в пределах глубины зондирования прослойка грунта меньше высоты конического наконечника (рис. 13, б) то наконечник одновременно проходит через два слоя (верхний слой и прослойку), затем через три слоя (верхний, прослойку и нижний) и, наконец, - снова через два слоя прослойку и нижний слой.
Соотношения между удельными сопротивлениями зондированию Q1 и Q2 и, соответственно Q2 иQ3 устанавливают на условия инвариантности удельных сопротивлений зондированию Q1, Q2, Q3 в границах соответствующих однородных слоев по методике В.Ф. Разоренова. При наличии прослойки толщина переходной зоны H3-H1=hсл+hкон.


Усилие зондирования P, кгс Приращение усилия зондирования
Рис. 13. Статическое зондирование трех слоев грунта:
а - график; б - схема погружения наконечника; в - эпюра; г- график инвариантности приращения удельного сопротивления зондированию, д - Усилие зондирования ΔQ2 и ΔQ3
(рис. 13 ,а). Для определения Q2 рассматривается интервал погружения наконечника от позиции 1-4 (см. рис. 13, б). При этом зависимость (25) с учетом соотношения P1 = Q1h2кон (рис. 13, а) преобразуется
Q2 = Q1 + ΔQ2 (26)
где
(27)
Нижняя граница прослойки выявляeтcя из условия H3-H1=hсл+hкон откуда Н2=Н1-hсл или Н2=Н3-hкон
Для сокращения вычислений по оси абсцисс откладывают не разность p-p1, а непосредственно усилия зондирования P1, P2, P3 и т.д. (см. рис. 13, г). При этом имеется в виду, что начало координат графика инвариантности ΔQ2 обязательно находится на оси абсцисс в точке с абсциссой P1. После вычисления ΔQ2 и Q2 приступают к вычислению удельного сопротивления зондированию Q3. При этом удобно рассматривать только второй характерный интервал погружения наконечника от позиции 5 До позиции 8, т.е. h3 = H-H2 (см. рис. 13, б).
В этом случае, аналогично предыдущему
Q3 = Q2 + Δ Q3 (28)
где
(29)
Схема графика инвариантности
ΔQ3 изображена на рис. 13, а. Отметим,
что значения
непосредственно в
испытаниях не являются, так как hсл<hкон
Если в реальных условиях после позиции 8 (см. рис. 13 д) следует обычный режим зондирования P3 = Const то результаты расчетов обязательно контролируются условиями сходимости результатов
Q3 = Q1 + ΔQ2 + ΔQ3 (30)
(31)
Точное значение Q3 определяется по формуле (31). Небольшое расхождение в значениях ΔQ2 и ΔQ3 распределяется пропорционально этим значениям.
В качестве примера на рис. 14 приведены график и эпюра статического зондирования одного из болот Белоруссии. Зондировали пенетрометром П-4 с коническим наконечником высотой 10 см с углом при вершине 30°. При этом было обнаружено несколько прослоек 4, 5, 6, 7, 11, 12 толщиной от 10 до 40 см.

14. Пример обработки результатов статического зондирования болотных грунтов:
а - график; б - эпюра; в - геологический разрез; 1 - торф древесно-осоковый; 2 - торф тростниковый; 3 - сапропель; 4 - мергель; 5 - песок мелкий
Измеряют максимальный крутящий момент, возникающий при срезе грунта во время вращения в нем крестообразной лопасти, помешенной в грунт.
Для массовых испытаний при зондировании торфяных залежей пластов сапропелей и илов рекомендуется использовать прибор сдвигомер-крыльчатку конструкции Калининского политехнического института СК-8 или сдвигомер-крыльчатку Белдорнии.
Сдвигомер-крыльчатка СК - 8
Измерительную головку (рис. 15) надевают на переходник, в отверстие переходника и упора завинчивают стопорный винт. Затем при помощи рукояток крыльчатку залавливают целиком в грунт.
Перед поворотом измерительной головки проверяют положение стрелки индикатора и циферблат устанавливают на нуль. После указанных операций и проверки вертикального положения штанги обеими руками измерительную головку поворачивают по часовой стрелке. По мере роста угла поворота отклонения стрелки индикатора возрастают. В процессе поворота следят за стрелкой индикатора до тех пор, пока не прекратится ее отклонение и не начнется спад. Положение стрелки, соответствующие началу ее обратного движения, представляет собой искомое значение. Его записывают в журнал. Обычно грунт разрушается при углах поворота от 20° до 60°
Влияние трения по штангам учитывают следующим образом. После задавливания крыльчатки до заданной глубины прибор слегка поднимают (на 10-15 мм) при помощи ручек. При этом лопасти отключатся от штанг. Далее поворачивают штанги и фиксируют по индикатору усилие по преодолению трения штанг о грунт.
После этого штанги опускают, приводят в зацепление с крыльчаткой. Далее осуществляют поворот с включенной крыльчаткой.
По окончании испытания прибор извлекают из грунта. Для отвинчивания штанг можно использовать стопорный винт. При задавливании и извлечении прибора необходимо следить за вертикальным положением штанги.
Если при задавливании и повороте крыльчатки встречаются пни или камни, необходимо извлечь прибор из грунта и попытаться задавить прибор в другом месте.

Рис. 15. Конструкция крыльчатки СК - 8:
1 - крыльчатка; 2, 3, 6 - штанга; 4 - бронзовая втулка 5 - рукоятка; 7 - упор; 8, 9 - винт 10 - пластина; 11 - стопорный винт; 12 - индикаторная головка
Применяющиеся крыльчатки имеют следующие размеры:
Н = 100 мм, Д1 = 54 мм и Д2 = 75 мм
Сдвигомер-крыльчатка СК-8 Белдорнии
Прибор (рис. 16) состоит из трех основных узлов рабочего наконечника (крыльчатки), комплекта штанг и динамометрического устройства (рис. 17).

Рис. 16. Лопастной прибор Белдорнии для определения сопротивления сдвигу торфяных грунтов:
1 - рукоятка; 2 - верхняя штанга; 3 - полумуфта; 4 - нижняя штанга; 6 - лопасть

Рис. 17. Динамометрическое устройство
1 - рычаг в сборе; 2 - труба; 3 - вилка; 4 - вороток; 5 - рукоятка; 6 - серьга 7 - шкала; 8 - указатель; 9 - пружина; 10 - стержень
Прибор комплектуется двумя крыльчатками одинаковой высоты (100 мм), но с различными диаметрами 54 и 75 мм. Четырехлопастная крыльчатка является сварной деталью, состоящей из металлических лопастей толщиной 2,5 мм, приваренных к штанге. Для облегчения процесса задавливания и извлечения крыльчатки из грунта верхние и нижние торцы лопастей затачивают; Длина наконечника в сборе (с крыльчаткой и полумуфтой) - 500 мм.
Крыльчатку навинчивают на стандартные штанги ручного бура с конусными резьбовыми соёдинениями. Диаметр штанг - 84 мм. Рабочая длина штанги в комплекте к прибору составляет 2 м.
Динамометрическое устройство (см. рис. 17), предназначенное для создания и измерения крутящих моментов, включает пружинный динамометр, ведущий рычаг, ведомый рычаг.
Пружинный динамометр состоит из одной пружины, шкалы и указателя. Пружинка шарнирно крепится между ведомым и ведущими рычагами. В комплект к прибору входят три пружины, усилие на растяжение которых составляет соответственно 30-40 и 50 кгс.
Ведущий рычаг свободно вращается на оси. Ведомый рычаг жестко укреплен на штанге независимо от ведущего рычага. Рычаги связаны только пружинным динамометром.
В качестве ведомого рычага можно использовать жимки от бурового комплекта. Ведомый рычаг служит также для задавливания штанг с крыльчаткой в торф и их извлечения после окончания испытаний. Благодаря наличию зажимного устройства, он легко перемещается по штанге вместе со всем динамометрическим устройством и может устанавливаться на любой высоте в процессе работы.
Величину деформации пружины определяют указатель и шкала.
Крыльчатка ЦНИИС
На небольших участках обследования когда верхние слои слабой толщи осушены и уплотнены или перекрыты пластами более плотных и прочных грунтов и уплотнены их весом, что требует больших усилий при задавливании крыльчатки и без бурения невозможно, целесообразно применять лопастной прибор конструкции ЦНИИС (рис. 18) Испытания этим прибором вдут в скважинах.
Бурение скважины заканчивают выше отметки очередного испытания с таким расчетом, чтобы крыльчатка при испытании находилась ниже забоя скважины не менее чем на 5Д (Д - ширина лопастей крыльчатки).


Рис. 18. Лопастной прибор конструкции ЦННИС:
1 - лопасть; 2 - штанга 3 - соединительная муфта; 4 - центрирующая муфта; 5 - стойка прибора; 6 - головка
Крыльчатку, опущенную на забой скважины на штангах, вдавливают в грунт до заданной отметки, вращают с помощью головки, установленной над устьем скважины и соединенной штангами. Вращая крыльчатку со скоростью 0,1-0,2° в сек, срезают грунт и фиксируют значения максимального крутящего момента. Затем производят 2-3 полных оборота крыльчатки и фиксируют крутящий момент, соответствующий прочности грунта нарушенной структуры на сдвиг.
По окончании испытания на заданной глубине прибор снимают, крыльчатку и штанги извлекают, а скважину углубляют для испытания.
Для вычисления сопротивления грунта сдвигу в измерений крутящий момент вносят поправку из тарировочной таблицы прибора.
Лопастной прибор конструкции ЦНИИС комплектуют крыльчатками четырех, размеров
|
Д, мм |
Н, мм |
|
55 |
110 |
|
75 |
150 |
|
75 |
200 |
|
100 |
200 |
По результатам испытаний вычисляют сопротивляемость грунта сдвигу, именуемую условным сцеплением Cусл
(32)
где
Мкр - значение крутящего момента, устанавливаемого по тарировочной кривой (по оси ординат откладываются показания индикатора Δl, а по оси абсцисс - Мкр) в зависимости от значения Δl= Δlпол- Δlтр
Δlтр - максимальное число делений при отклонении стрелки индикатора в процессе, поворота штанг без крыльчатки (при необходимости учета трения грунта о штанги);
Δlпол - показания индикатора (максимальное число делениий в процессе) поворота крыльчатки в грунте ненарушенной структуры
K - постоянная прибора, определяемая по выражениям:
- при
повороте крыльчатки у поверхности толщи или на дне скважины (при срезе одной
торцевой поверхностью крыльчатки)
- при срезе в толще грунта обеими торцевыми
поверхностями крыльчатки;
H; D - высота и диаметр крыльчатки.
Результаты испытаний представляют в виде эпюр изменения сопротивляемости сдвигу по глубине (рис. 19)

Рис. 19. Эпюра изменения сопротивления сдвигу по глубине
Количество точек испытаний по глубине назначают с учетом слабой толщи и особенностей ее геологического строения.
Обычно испытания проводят через 0,5-1,0 м по глубине (пп. 5.8, 5.18 настоящих "Методических указаний"), при этом в каждом слое мощностью не менее трех точек по глубине в пределах одной скважины.
Предварительно слабую толщу разделяют на отдельные расчетные слои на основе геологического разреза, получаемого по результатам бурения с визуальной оценкой грунтов по качественным признакам. Для уточнения границ выделенных слоев и дальнейшей детализации расчленения толщи необходимо использовать данные статического зондирования (см. приложение 3), а также всю совокупность полученных данных о свойствах грунтов в пределах слабой толщи.
С этой целью на геологический разрез наносят кривые удельного сопротивления зондированию, сопротивляемости сдвигу по крыльчатке и основные показатели состава и состояния грунтов (рис. 20). В качестве последних для болотных грунтов целесообразно использовать природную влажность.
После выделения расчетных слоев по полученным графикам определяют расчетные значения физико-механических свойств грунтов в пределах того или иного слоя, оценивают однородность выделенных расчетных слоев с точки зрения инженерно-геологических свойств грунтов этих слоев и при необходимости уточняют их границы.
Обработку материалов начинают с построения для выделенного расчетного слоя графиков рассеяния показателей физико-механических свойств грунта.

График рассеянии имеет одну ось, на которой в произвольно выбранном, но удобном для нанесения точек масштабе, нанесена шкала обрабатываемого показателя свойств (рис. 21).
Графическая обработка показателей и методы математических расчетов разбираются на примере обработки сопротивления сдвигу торфов по результатам испытаний крыльчаткой на одном из болот Частные значения сопротивления сдвигу торфа показаны на графике точками (рис. 21, а).

Рис. 20. Графики изменения по глубине удельного сопротивления зондированию и сопротивляемости сдвигу по крыльчатке:
а - геологический разрез; б - удельное сопротивление зондированию; в - сопротивляемость сдвигу; 1 - торф древесно-осоковый 2 - торф тростниковый; 3 - сапропель; 4 - мергель; 5 - песок мелкий.
График рассеяния служит основой для построения полигона распределения (рис. 21, б) показателей в частотах или частостях. Ось графика рассеяния делят на 8-10 равных по величине интервалов (классов) с таким расчетом, чтобы в каждый интервал (за исключением крайних) попали точки, т.е. чтобы не было пустых классов. Число точек, попавших в отдельные классы, носит название "частоты". Частоты выписывают в специальную графу (рис. 21, а) над графиком рассеяния. Точки попавшие на границы классов, делятся поровну и при подсчетах частот разносятся по соседним классам, а в случае нечетного их количества "лишнюю" точку следует отнести в класс, тяготеющий к центру графика рассеяния.

Рис. 21. Пример статистической обработки показателей физико-механических свойств болотных грунтов:
а - графики рассеяния; б - полигон распределения
Сумма частот должна быть равна количеству определений обрабатываемого показателя; она записывается над графиком рассеяния.
Точкам, попавшим в один класс, присваивают одинаковые значения, разные среднему значению данного класса.
При построении полигона распределения частоты наблюдений данного показателя откладывают напротив середины интервалов и полученные точки соединяют прямыми (рис. 21, 6). Для удобства "полигон распределения" строят ниже графика рассеяния.
Четко выраженный максимум в центре полигона распределения и закономерное симметрическое изменение показателя в обе стороны от максимума свидетельствует о нормальном законе распределения (законе Гаусса) показателей свойств грунтов. При резком нарушении симметрии графика распределения необходимо проводить проверку нормальности распределения
Таблица 12
|
Местоположение, км |
№ поперечника |
Глубина, м |
Сопротивлении сдвигу болотного грунта в скважинах по испытаниям крыльчаткой, кгс/см2 |
||
|
С - 1 |
С - 2 |
С - 3 |
|||
|
1037 + 275 |
2 |
0,2 |
0,150 |
0,154 |
0,161 |
|
|
|
0,3 |
0,180 |
0,178 |
0,171 |
|
|
|
0,4 |
0,231 |
0,236 |
0,215 |
|
|
|
0,5 |
0,265 |
0,260 |
0,288 |
|
|
|
0,6 |
0,242 |
0,248 |
0,272 |
|
|
|
0,7 |
0,230 |
0,240 |
0,293 |
|
|
|
0,8 |
0,252 |
0,260 |
0,281 |
|
|
|
0,9 |
0,240 |
0,241 |
0,254 |
|
|
|
1,0 |
0,220 |
0,210 |
0,285 |
|
|
|
1,1 |
0,217 |
0,195 |
0,277 (2) |
|
|
|
1,2 |
0,186 |
0,184 |
0,217 |
|
|
|
1,3 |
0,178 |
0,175 |
0,206 |
|
|
|
1,4 |
0,180 |
0,184 |
0,189 |
|
|
|
1,5 |
0,188 |
0,182 |
0,175 |
|
|
|
1,6 |
0,190 |
0,194 |
0,187 |
|
|
|
1,7 |
0,184 |
0,191 |
0,238 |
|
|
|
1,8 |
0,196 |
0,196 |
0,171 |
|
|
|
1,9 |
0,191 |
0,190 |
0,169 |
|
|
|
2,0 |
0,196 |
0,194 |
0,184 |
|
|
|
2,1 |
0,185 |
0,187 |
0,198 |
|
|
|
2,2 |
0,175 |
0,195 |
0,292 (3) |
|
|
|
2,3 |
0,189 |
0,179 |
0,157 |
|
|
|
2,4 |
0,211 |
0,201 |
0,160 |
|
|
|
2,5 |
0,205 |
0,191 |
0,147 |
|
|
|
2,6 |
0,210 |
0,203 |
0,256 (1) |
|
|
|
2,7 |
0,230 |
0,235 |
0,268 |
|
|
|
2,8 |
0,234 |
0,241 |
0,240 |
|
|
|
2,9 |
0,237 |
0,242 |
0,248 |
|
|
|
3,0 |
0,250 |
0,269 |
0,237 |
Примечание: 1. Жирной чертой выделены границы слоев. 2. Цифры в скобках - номера точек на графике Рассеяния (рис. 21, а).
Однако многочисленные проверки показывают, что распределение показателей свойств грунта за редким исключением подчиняется закону нормального распределения, и отклонение от него свидетельствуют об ошибках, допущенных при выделении единообразных инженерно-геологических слоев.
Дальнейшая обработка результатов заключается в оценке однородности слоя с точки зрения данной характеристики (оценка разброса значений рассматриваемой характеристики) в установлении значения, характеризующего всю совокупность экспериментально полученных результатов определения этой характеристики (нормативное значение) и в установлении расчетного значения рассматриваемого показателя.
Обработку можно вести подробным или упрощенным способом в зависимости от конкретных условий.
Подробный способ обработки результатов и определение расчетных значений характеристик
Определение числовых характеристик статистического распределения
Любое значение искомого показателя, вычисленное на основе ограниченного числа опытов, всегда содержит элемент случайности. В качестве оценки истинного значения измеряемой величины при нормальном законе распределения принимают среднее арифметическое значение результатов измерений
(33)
где
- среднее
арифметическое значение;
-
частные значения измеряемой величины;
n - число измерений.
Для ускорения вычислений
используют график
рассеяния. В этом случае среднее арифметическое значение показателя вычисляют
упрощенным методом по формулам
= hdn+a (34)
(35)
(36)
где
- условная средняя
величина, близкая к ![]()
Обычно за
принимают середину
какого-либо интервала вблизи от центра распределения;
h - ширина интервалов;
x i - среднее значение показателя в i-ом интервале;
di - количество интервалов между xi и ai;
m - количество интервалов (классов) на графике рассеяния;
Ni - частота в i-ом интервале;
N - сумма чаcтот, которая равна общему числу измерении данного показателя.
Среднее арифметическое значение рассчитывают под полигоном распределения в следующей последовательности:
1) выбирают в качестве условного
начала
среднюю точку одного
из интервалов вблизи от центра распределения;
2) вычисляют отклонение di от условного начала;
3) умножают отклонение каждого интервала di на частоту Ni с учетом знаков (Ni di);
4) находят алгебраическую сумму ΣNi di
5) делят эту сумму на общую сумму частот и получают поправку dn выраженную в терминах интервалов;
6) определяют величину среднего
арифметического
по формуле (34).
Для контроля повторно вычисляют
среднее арифметическое при другом значении условного среднего
, взятого в соседнем интервале.
Вторая важная статистическая характеристика - мера рассеяния показателей относительно среднего арифметического значения. При одном и том же значении последнего может быть совершен различный разброс данных. О степени неоднородности грунта по какому-либо показателю дают представление характерно тики рассеяния: среднее квадратичное отклонение и коэффициент вариации. Чем больше значения этих характеристик, тем разнороднее грунт по данному показателю.
Среднее квадратичное отклонение σ для ограниченного числа опытных данных вычисляют по следующей формуле
(37)
где m - число интервалов;
Ni - частота в i-ом интервале;
xi - среднее значение показателя в i-ом интервале.
Квадрат среднего квадратичного
отклонения
называется
дисперсией. Для облегчения вычисления σ
можно воспользоваться условной средней a и расчетами, выполняемыми при вычислении среднего
арифметического
В этом случае
дисперсию вычисляют по формуле
(38)
где μ1; μ2 - условные начальные моменты, равные
(39)
(40)
h - ширина интервала;
N - число измерений.
Пример вычисления среднего арифметического и среднего квадратичного отклонения (см. рис. 21) приведен в табл. 13.
Чтобы оценить относительную степень изменчивости показателя, среднее квадратичное отклонение сопоставляют со средним арифметическим значением. Такой показатель относительной изменчивости называется коэффициентом вариации и представляет собой отношение среднего квадратичного отклонения к среднему арифметическому значению, выраженное в процентах
(41)
В практике исследования болотных грунтов обычно считают, что при Кв < 20 % грунт по прочностным показателям является однородным, а при Кв > 20 % - неоднородным.
Среднее квадратичное отклонение σ является мерой рассеяния
отдельного измерения. Очевидно, важнее знать, насколько может уклоняться от
истинного значения
среднее
арифметическое
наших измерений.
Ошибку, допущенную при измерении среднего арифметического
, можно определить по формуле
(42)
где
- средняя квадратичная ошибка серии измерений (ошибка
среднего арифметического).
1) Вычисления характеристик статистического распределения
скв. 1
|
№ класса |
1 |
2 |
3 |
4 |
5 |
6 |
7 |
8 |
9 |
10 |
|
Частоты Ni |
1 |
2 |
3 |
4 |
2 |
1 |
1 |
2 |
1 |
1 |
|
Отклонение di |
-2 |
-1 |
0 |
1 |
2 |
3 |
4 |
5 |
6 |
7 |
|
Nidi |
-2 |
-2 |
0 |
4 |
4 |
3 |
4 |
10 |
8 |
7 |
|
Nidi2 |
4 |
2 |
0 |
4 |
8 |
9 |
16 |
100 |
36 |
49 |
|
ΣNidi = 34; a = 0,185; h
= 0,005; |
||||||||||
скв. 2
|
№ класса |
1 |
2 |
3 |
4 |
5 |
6 |
7 |
8 |
|
Частоты Ni |
1 |
2 |
3 |
3 |
5 |
1 |
1 |
1 |
|
Отклонение di |
-3 |
-2 |
-1 |
0 |
1 |
2 |
3 |
4 |
|
Nidi |
-3 |
-4 |
-3 |
0 |
5 |
2 |
3 |
4 |
|
Nidi2 |
9 |
8 |
3 |
0 |
5 |
4 |
9 |
10 |
|
ΣNidi = 4; a = 0,190; h
= 0,005; |
||||||||
скв. 3
|
№ класса |
1 |
2 |
3 |
4 |
5 |
6 |
|
|
Частоты Ni |
1 |
4 |
4 |
2 |
1 |
1 |
|
|
Отклонение di |
-2 |
-1 |
0 |
1 |
2 |
3 |
|
|
Nidi |
-2 |
-4 |
0 |
2 |
2 |
3 |
|
|
Nidi2 |
4 |
4 |
0 |
2 |
4 |
9 |
|
|
ΣNidi =1;
a = 0,18; h = 0,02; |
|||||||
2) Определение расчетных показателей
Средневзвешенное значение сопротивления сдвигу и дисперсии слоя на поперечнике

![]()
= 0,18 кгс/см2
Средневзвешенное значение коэффициента вариации сопротивления сдвигу слоя
![]()
Зная среднее арифметическое и
размер его ошибки, можно судить о достоверности вычисленного среднего значения
по величине
показателя точности:
(43)
Учитывая выражение (41), получим зависимость для определения показателя точности
(44)
Точность вычисления среднего арифметического зависит от числа измерений (количества частных показателей)
Точность вычисления можно считать
достаточной, если
≤ 15 %
2. Выявление и исключение грубых ошибок
Если серия из небольшого числа измерений содержит грубую погрешность - промах, то наличие этого промаха может сильно исказить как среднее значение измеряемой величины, так и границы доверительного интервала. Поэтому из окончательного результата необходимо исключить этот промах. Обычно промах имеет резко отличающиеся от других измерений значение. Но дока не проверено, не является ли это отклонение следствием статистического разброса, определить это измерение как промах нельзя. Для определения грубых ошибок, полученных вследствие нарушенности структуры образцов, каких-либо включений, а в ряде случаев описок в журналах испытаний, можно использовать коэффициент вариации показателя.
При Кв > 20 % выскакивающее значение следует подвергнуть анализу с целью выяснить, относятся ли они к грубым ошибкам измерений (промахам) характеризуют другой слой.
В условиях нашего примера коэффициент вариации сопротивления сдвигу не выходит за пределы 20 %, поэтому все измерения должны быть приняты при вычислении статистических характеристик. Результаты испытаний крыльчаткой (СКВ.3) в трех случаях выходят за доверительные пределы, в связи с чем их исключают и при расчете средних значений данного слоя не учитывают. Анализ показал, что точка 3 является промахом, а точки 1,2 относятся к другим Слоям. Иначе результаты среднего значения сопротивления сдвигу и погрешности измерения будут искажены. В частности при учете выскакивающих значений получены следующие статистические характеристики прочности торфа:
= 0,201 кгс/см2;
σ3 = 0,047 кгс/см2; Кв = 23,5 %
а после исключения выскакивающих значений
= 0,182 кгс/см2;
σ3 = 0,028 кгс/см2;
Кв = 15,4 %
т.е. Kв ≤ 20 %
Только при более или менее симметричном характере распределения значений изучаемого показателя отскок можно не принимать в расчет. В противном случае следует выяснить причины отскоков: не относятся ли они к какому-либо пропущенному (не подвергнутому детальному исследованию) слою, имеющему важное значение для оценки устойчивости сооружения.
а) Для однородного слоя в целом. Выше был рассмотрен вопрос определения статистических Характеристик физико-механических показателей грунта, значения которых определены с одинаковой точностью (равноточные измерения). Применительно к грунтам это значит, что приведенные формулы можно использовать для вычисления характеристик статистического распределения того или иного показателя грунта, который получен по результатам испытаний образцов в пределах однородного слоя из одной выработки (скважины, шурфа).
Результаты испытаний грунтов, отобранных из нескольких выработок, нельзя считать равноточными в силу возможной неоднородности грунта по простиранию. В этом случае в качестве оценки истинного значения показателя грунта всего слоя принимают средневзвешенное значение
(45)
где
- веса измерений;
- среднее
взвешенное значение показателя для однородного слоя;
- средние
арифметические значения показателя отдельных выработок.
Средневзвешенное значение дисперсии однородного слоя определяют по формуле
(46)
где n1, n2, n3, - количество измерений показателя для отдельных скважин в пределах рассматриваемого слоя;
σ12, σ22, σ32 - дисперсии соответствующих показателей
В рассматриваемом примере средневзвешенное значение сопротивления сдвигу слоя в пределах поперечника равно:
кгс/см2
где
= 0,194,
= 0,190,
= 0,182 кгс/см2
![]()
σср = 0,018
кгс/см2
Средневзвешенное значение показателей болотных грунтов по формуле (46) можно использовать как оценку истинного значения показателя механических свойств грунтов, характеризующих прочность (сопротивление сдвигу), деформативность (сжимаемость) и скорость уплотнения грунта во времени.
б) Для слоистой толщи в целом. Толща болотных грунтов, как правило, не бывает однородной, а состоит из нескольких слоев. Каждый слой характеризуется своими физико-механическими показателями.
В некоторых случаях возникает необходимость определять значения того или иного параметра для толщи в целом.
Опыт показывает, что с
достаточной для практических целей точностью слоистую толщу можно
характеризовать общим средневзвешенным значением показателя, приписывая каждому
значению
, в качестве веса его толщину Hi
(47)
В качестве примера рассмотрим
поперечный профиль болота, представленного тремя слоями: каждый спой
характеризуется средневзвешенной плотностью (удельного веса скелета) торфа
= 0,14 г/см3;
= 0,15 г/см3;
= 0,16 г/см3
и мощностью слоев H1 = 1,8 м; H2 = 1,2 м; Н3
= 1,0 м.
Средневзвешенное значение плотности торфяной толщи n целом определим по формуле (47)
г/см3
Вероятностно-статистический метод назначения расчетных характеристик болотных грунтов
Для определения расчетных значений характеристик грунта целесообразно применять непосредственно вероятностно-статистические методы определения расчетных характеристик, назначая надежность расчетных показателей (доверительную вероятность) в зависимости от категории автомобильной дороги.
Расчетные характеристики болотных грунтов определяют по формуле
Ap = AH ± εα (48)
где Ap - расчетное значение показателя,
AH - нормативное значение показателя;
εα - отклонение нормативного значения показателя от истинного значения (половина ширины доверительного интеравала)
(49)
- коэффициент
Стьюдента, определяемый по табл. 14
в зависимости, от заданной доверительной вероятности (коэффициента надежности)
и числа измерений;
σ - среднее квадратичное отклонение;
N - число измерений.
При определении расчетных характеристик состава и состояния грунтов коэффициент надежности ά назначают по табл. 15 в зависимости от категории проектируемой дороги.
При определении расчетных значений прочностных характеристик грунтов (сцепление и угол внутреннего трения, сопротивляемость сдвигу по крыльчатке и т.п.) коэффициент надежности принимают равным 0,99 независимо от категории проектируемой дороги.
Из формулы (48) видно, что расчетное значение показателя зависит от заданного коэффициента надежности и будет принимать значения в интервале с доверительными границами (AH-Eά, AH+Eά) В качестве расчетного значения следует принимать наименее выгодное значение показателя. Так, например, для сопротивления сдвигу следует принимать значение AH-Eά а для влажности
Пример 1. Определим расчетное сопротивление сдвигу:
Cп = 0,19 кгс/см2;
σ = 0,018 кгс/см2; N = 48
Принимаем коэффициент надежности α = 0,99 tα = 2,68 (по табл. 14) По формуле (49) находим
кгс/см2
Доверительный интервал значений сопротивление сдвигу равен 0,19 ÷ 0,007 кгс/см2 или 0,183 ÷ 0,197 кгс/см2 В качестве расчетного значения следует принять наименьшее значение, т.е. Срасч = 0,183 кгс/см2.
|
Число измерений N |
Значения tα при коэффициенте надежности α |
||||
|
0,7 |
0,8 |
0,9 |
0,95 |
0,99 |
|
|
3 |
1,336 |
1,886 |
2,92 |
4,30 |
9,92 |
|
4 |
1,250 |
1,638 |
2,35 |
3,18 |
5,84 |
|
5 |
1,190 |
1,533 |
2,13 |
2,77 |
4,60 |
|
6 |
1,156 |
1,476 |
2,02 |
2,57 |
4,03 |
|
7 |
1,334 |
1,440 |
1,943 |
2,45 |
3,71 |
|
8 |
1,119 |
1,415 |
1,895 |
2,36 |
3,50 |
|
9 |
1,108 |
1,397 |
1,860 |
2,31 |
3,38 |
|
10 |
1,100 |
1,383 |
1,833 |
2,26 |
3,25 |
|
11 |
1,093 |
1,372 |
1,812 |
2,23 |
3,17 |
|
12 |
1,088 |
1,363 |
1,796 |
2,20 |
3,11 |
|
13 |
1,083 |
1,356 |
1,782 |
2,18 |
3,06 |
|
14 |
1,079 |
1,350 |
1,771 |
2,16 |
3,01 |
|
15 |
1,076 |
1,345 |
1,761 |
2,14 |
2,98 |
|
16 |
1,074 |
1,341 |
1,753 |
2,13 |
2,95 |
|
17 |
1,071 |
1,337 |
1,746 |
2,12 |
2,92 |
|
18 |
1,069 |
1,333 |
1,740 |
2,11 |
2,90 |
|
19 |
1,067 |
1,330 |
1,734 |
2,10 |
2,88 |
|
20 |
1,066 |
1,328 |
1,729 |
2,09 |
2,86 |
|
21 |
1,064 |
1,325 |
1,725 |
2,09 |
2,84 |
|
22 |
1,063 |
1,323 |
1,721 |
2,08 |
2,83 |
|
23 |
1,061 |
1,321 |
1,717 |
2,07 |
2,82 |
|
24 |
1,060 |
1,319 |
1,714 |
2,07 |
2,81 |
|
25 |
1,059 |
1,318 |
1,711 |
2,06 |
2,80 |
|
26 |
1,058 |
1,316 |
1,708 |
2,06 |
2,79 |
|
27 |
1,058 |
1,313 |
1,706 |
2,06 |
2,78 |
|
28 |
1,057 |
1,314 |
1,703 |
2,05 |
2,77 |
|
29 |
1,056 |
1,313 |
1,701 |
2,05 |
2,76 |
|
30 |
1,055 |
1,311 |
1,699 |
2,04 |
2,76 |
|
31 |
1,055 |
1,310 |
1,697 |
2,04 |
2,75 |
|
40 |
1,050 |
1,303 |
1,684 |
2,02 |
2,70 |
|
60 |
1,046 |
1,296 |
1,671 |
2,00 |
2,66 |
|
120 |
1,041 |
1,289 |
1,658 |
1,980 |
2,62 |
|
|
1,036 |
1,282 |
1,645 |
1,960 |
2,58 |
|
Категории дороги |
I |
II |
III |
IV и ниже |
|
Коэффициент надежности α (доверительная вероятность) |
0,95 |
0,90 |
0,80 |
0,70 |
Пример 2. Требуется определить расчетную влажность слабого грунта, используемого в качестве основания дорог III категории. Все расчеты характеристик статистического распределения приведены на рис. 22.

Рис. 22. Определение расчетной влажности болотных грунтов вероятностно-статическим методом:
a - график рассеяния; б - полигон распределения
Вычисление характеристик статистического распределения
Таблица 16
|
№ классов |
1 |
2 |
3 |
4 |
5 |
6 |
7 |
|
Частоты Ni |
1 |
1 |
4 |
9 |
3 |
1 |
1 |
|
Отклонение di |
-2 |
-1 |
0 |
1 |
2 |
3 |
4 |
|
Ni di |
-2 |
-1 |
0 |
0 |
8 |
3 |
4 |
|
Ni di2 |
4 |
1 |
0 |
9 |
12 |
9 |
16 |
|
ΣNi di = 19; α=550 %; h=10 %;
|
|||||||
Расчетная влажность:
α = 0,80; tα = 1,328; εα = 4 %; Wрасч = 564 %
α = 0,90; tα = 1,729; εα = 5 %; Wрасч = 565 %
α = 0,95; tα = 2,09; εα = 6 %; Wрасч = 566 %
В результате этих расчетов получено:
Wрасч = 560 %; σ = 12 % ; N = 20. Для дороги III категории α = 0,80, следовательно, tα = 1,328. По формуле (49) определяем
![]()
Доверительный интервал значений влажности равен 556 ÷ 564 %. В качестве расчетного значения следует принять менее выгодное т.е. Wрасч = 564 %
Принимая соответственно коэффициент надежности α = 0,90 и α = 0,95, получим следующие значения расчетной влажности
; Wрасч = 565 %
; Wрасч = 566 %
Определим расчетное значение влажности, принимая, что нами испытано не 20, а 6 образцов. В этом случае получим
; Wрасч = 567 %
; Wрасч = 570 %
; Wрасч = 573 %
Расчеты свидетельствуют о влиянии числа испытаний на размеры доверительного интервала. Чем меньше число измерений, тем больше доверительный интервал при данном коэффициенте надежности, одно из граничных значений которого принимают в качество расчетного значения показателя.
Упрощенный способ обработки и определения расчетных значений показателей физико-механических свойств грунтов
При упрощенном способе слой считают однородным, если не менее 90 % значений рассматриваемой характеристики лежит в пределах условно устанавливаемых границ. Последние можно назначать, например, с учетом составленных таблиц физико-механических свойств (п. 2.3. табл. 2 настоящих "Методических указаний") для данного вида болотного грунта. Например, применительно к торфяным грунтам допустимый диапазон изменения природной влажности в однородном слое можно принять равным диапазону изменения влажности в пределах одной разновидности грунта
В качестве природной влажности определяют среднемедианное значение ее непосредственно по графику рассеяния (рис. 23) и соответствующее экспериментальной точке, расположенной в середине ряда, считая снизу или сверху. Например, при 15 экспериментальных точках среднемедианное значение будет соответствовать восьмой точке, отсчитываемой снизу (или сверху). При четном количестве точек за среднемедианное принимают среднее значение между двумя точками в середине ряда. Например, при 16 точках среднее значение между 8 и 9 точками. При определении среднемедианного значения графики рассеяния предварительно подвергают анализу и при наличии явно отскакивающих точек, их в расчет не принимают (если их не более 10 % от общего количества точек).

Рис. 23. График рассеяния значений природной влажности торфяного слоя
Среднемедианное значение принимают за нормативную величину данной характеристики.
За расчетное значение данной характеристики принимают величину, зависящую от так называемой гарантированной частости Σгap определяемой по графику (рис. 24).
По величине Σгap используя интегральный график накопленный частости, (рис. 25), определяют расчетное значение характеристики.

Рис. 24. Определение гарантированной частости Σгap в зависимости от числа определений показателей физико-механических свойств грунтов n

Рис. 25. График накопленной частости значений природной влажности торфяного слоя
При этом необходимо учитывать характер определяемого параметра, чтобы расчетное значение в одних случаях оказалось больше (влажность), а в других меньше (прочность) среднемедианного значения.
Образцы грунтов отбирают из скважины (нарушенной или ненарушенной структуры) или из шурфов.
1. Образцы с ненарушенным сложением (монолиты) отбирают из буровых скважин в специальные жесткие гильзы, располагаемые внутри грунтоноса. Гильзы изготовляют из металла (жести) или из плотного картона, пропитанного парафином.
Открытые поверхности образца грунта закрывают крышками или марлей, пропитанной парафином. Перед изоляцией открытых поверхностей образца на верхнюю поверхность кладут этикетку, кроме того этикетка кладется на боковую поверхность в процессе парафинирования монолита.
Если гильза изготовлена из картона, то после отбора образца следует обернуть гильзу с образцом несколькими слоями марли и запарафинировать. Нарушенные образцы грунтов, в которых требуется сохранить естественную влажность, укладывают в металлические или пластмассовые банки (бюксы) с герметически закрывающимися крышками. Для сохранения влажности образца грунта горловинную часть банки, закрытую крышкой, следует запарафинировать. Для герметизации по стыку, крышки бюкса с корпусом приклеивают также хлорвиниловую изоляционную ленту.
2. При заложении шурфов на
поверхности земли намечают лопатой прямоугольник следующих размеров: 80
170 см - при отборе образцов с глубины 1-2 м а 40
60 см с глубины 50-70 см.
Затем по абрису прямоугольника копают яму так, чтобы не испортить "лицевой" стенки (одна из коротких стенок); на противоположной стороне шурфа делают ступени. Воду, поступающую в шурф, удаляют.
Каждый заложенный шурф регистрируют в нолевом журнале.
На лицевой стенке вырезают
образцы грунта в форме прямоугольного параллелепипеда (15
15
20 см).
Образцы ненарушенной структуры
отбирают непосредственно с лицевой стенки в форме параллелепипеда размером 20
20
30 см и сразу же помечают "Верх".
В целях сохранения естественной влажности монолиты на месте отбора немедленно изолируют от наружного воздуха (метод парафинирования).
Образец обматывают двумя слоями марли (пористый образец заворачивают в целлофан или полиэтиленовую пленку) и парафинируют. Первый слой парафина рекомендуется наносить щеткой, а затем образец несколько раз погружают в расплавленный парафин до тех пор, пока толщина оболочки парафина будет не менее 2-3 мм; до завертывания образца в марлю на верхнюю его поверхность кладут этикетку, пропитанную парафином, второй экземпляр этикетки, смоченный парафином, наклеивают сверху запарафинированного образца.
В целях увеличения пластичности в парафин желательно добавлять воск (20-25 % по весу), канифоль (5-10 %) и минеральное масло (3-5 %).
Для отбора монолитов в шурфах также применяют специальные металлические ящики (рис. 28), которые состоят из металлического корпуса толщиной 1,5-2,0 мм, съемных крышек с уплотнительными прокладками и стяжных болтов.
К стенкам ящика приварены две ручки для удобства переноса извлечения ящика с монолитом из шурфа.
Процесс отбора монолита. На устроенный выступ (на заданной глубине отбора) к узкой стенке шурфа ставится ящик, который залавливают в торфяной грунт таким образом, чтобы верх ящика оказался ниже поверхности грунта. Затем осторожно острым ножом или лопаткой монолит с ящиком подрезают и извлекают из шурфа. Излишки торфа сверху и снизу срезают заподлицо со стенками ящика, кладут этикетку монолита и закрывают ящик крышками с уплотнитёльными прокладками.

Рис. 26. Тара для образцов слабых грунтов:
а - ящик для отбора монолитов; б - цилиндр для отбора монолитов
Образцы грунтов для отправки в лаборатории, расположенные на значительном расстоянии от места отбора образцов, упаковывают в деревянные ящики, вмещающие не более 30 кг. Образцы укладывают плотно, заполняя свободное пространство древесными опилками, стружками и т.п. Образцы хранят в помещении при температуре воздуха не ниже 2°С и не выше +20°С, При этом срок хранения, как правило, не должен превышать 30 дней, считая со дня отбора образца до производства лабораторных испытаний.
При расчете земляного полотна на торфяном основании в некоторых случаях (см. п. 5.20 и 5.28 настоящих "Методических, указаний") необходимо иметь данные о следующих динамических характеристиках основания:
а) упругие характеристики - модуль упругости E и коэффициент Пуассона μ
б) диссипативные характеристики (характеристики поглощения) - логарифмический декремент колебаний λ, коэффициент поглощения ψ или коэффициент демпфирования D);
в) частоты собственных колебаний торфяного грунта в залежи.
Для определения динамических характеристик наиболее целесообразно использовать сейсмический метод возбуждением колебаний с помощью удара. По свободным затухающим колебаниям торфа в залежи, вызванных ударом, определяют частоту собственных колебаний и диссипативные характеристики, а по скорости распространения упругих волн в торфяной залежи - модуль упругости и коэффициент Пуассона.
1. Методика полевых испытаний
При проведении испытании используется стандартная виброизмерительная и регистрирующая аппаратура, обычно применяемая при динамических испытаниях строительных конструкций (вибродатчики типа ВИБ-А, виброизмерительный комплект К-001 с вибродатчиками И-001 и др.; светолучевые осциллографы Н-700.К-12-22 и др.) или сейсморазведочная аппаратура (сейсмостанции) СС-24-П, "Поиск-1-6/12 АСМ - ОВ" и др.).
Для записи продольных и поперечных волн в каждой точке наблюдения устанавливают по два вибродатчика (рис. 27), из которых один ориентируется в вертикальной, а другой - в горизонтальной плоскости Вибродатчики устанавливают по оси трассы с шагом 5 м на расчетных поперечниках. Момент удара отмечают специальным вибродатчиком, установленным вблизи места удара.

Рис. 27. Схема установки для возбуждения и регистрации колебаний торфяной залежи
1 - штамп; 2 - груз; 3 - направляющая; 4 - вибродатчик отметки момента удара; 5,7 - вертикальные вибродатчики; 6, 8 - горизонтальные вибродатчики; 9 - свайка длиной 40 см
Возбуждение упругих волн и колебаний торфяной залежи производится ударным способом с помощью специальной установки (см. рис. 27). Установка состоит из штампа, груза и направляющей. Вес груза 15-20 кг, высота сбрасывания 1,5-2,0 м. На каждой стоянке проводят три параллельных испытания.
2. Обработка результатов испытаний
1) Определение упругих параметров торфяной залежи. На осциллограмме колебаний (рис. 28, а) отмечают моменты первых вступлений продольных и поперечных волн. Далее, пользуясь отметками времени, определяют время прихода волн к каждому вибродатчику. Эти данные выписывают над соответствующей виброграммой.
Скорость распространения упругих волн определяют по формуле
V = S/t (48)
где
t - время пробега волной расстояния S от места удара до вибродатчика (см. рис. 27).
Модуль упругости торфяной залежи определяют по следующим формулам:
(49)
или E = 2(1 + μ)pV2s (50)
где
p = δ/g - массовая плотность торфа;
δ - объемный вес скелета торфа;
g - ускорение силы тяжести;
Vp- скорость распространения продольных волн;
Vs - скорость распространения поперечных волн.
Коэффициент Пуассона μ находят по формуле
(51)
где γv=Vs/Vp - отношение скоростей поперечных и продольных волн.

Рис. 28. Запись колебаний торфяного основания
а - при определении скоростей распространения продольных и поперечных волн; б - кривая собственных колебаний торфяной залежи записанная датчиком 5 для определения частот колебаний и характеристик затухания
2) Определение частот собственных колебаний торфяного основания. При определении частот собственных колебаний на осциллограмме (рис. 28, б) выделяют участок с отчетливой записью и желательно с большим числом периодов колебаний. Частоту собственных колебаний определяют по формуле
ψ, (52)
где
ψ - частота колебаний, герц;
T - период колебаний, сек;
V - скорость движения бумаги в осциллографе, мм/сек;
S - длина участка осциллограммы мм, содержащего n периодов колебании.
Круговую частоту колебаний ώ находят по формуле
ώ = 2πψ ≈ 6,28ψ (53)
3) Определение характеристик затухания колебаний торфяного основания (логарифмического декремента колебаний, коэффициента поглощения и коэффициента демпфирования) производится на том же участке осциллограммы, что и определение частоты собственных колебании в следующей последовательности:
а) размеряют размахи (двойные амплитуды) Ai причем размах менее 5 мм измеряют с помощью лупы с нанесенной на ней сеткой. Двойные амплитуды измеряют как сумму двух соседних наибольших отклонений противоположного знака (см. рис. 28, б);
б) вычисляют отношения размахов для каждого периода (размаха, взятого в предыдущем периоде) к размаху последующего периода) по формулам
а1 = A1/A2; a2
= A2/A3; …
(54)
В качестве расчетного принимают среднее арифметическое значение аср величин отношения размахов
(55)
Зная аср определяют логарифмический декремент λ, коэффициент поглощения ψ и коэффициент демпфирования D по следующим формулам:
λ = ln аср (56)
ψ = 2 λ (57)
(58)
Коэффициент Демпфирования по формуле (58) вычисляют в предположении, что силы затухания пропорциональны скорости колебаний.
Анализ материалов инженерно-геологического обследования болот на различных этапах и, в частности, решение вопроса о целесообразности использования болотных грунтов в основании или проверка и уточнение ранее сделанных в этом отношении выводов иногда требует простейших инженерных расчетов уже на стадии взысканий. Необходимость в таких расчетах возрастает также в тех случаях, когда заранее известно, что проектная нагрузка по тем или иным причинам будет превышать значения, положенные и основу разделения болотных грунтов на строительные типы (см. п.п. 3.1-3.5 настоящих "Методических указаний"), или значения прочностных параметров болотных грунтов лежат вблизи от граничных значений, положенных в основу указанного выше разделения болотных грунтов на типы. Другими словами потребность в таких расчетах на стадии изысканий возникает тогда когда нет уверенности в том, что в данном конкретном случае достаточно определить строительный тип болота и не нужна более детальная его оценка с определением типа основания по устойчивости.
Для этих целей можно использовать следующие простейшие (прикидочные) расчеты.
Определение конечной величины осадки
Принимая уровень грунтовых вод практически совпадающим с поверхностью болота и объемный вес грунта насыпи равным 2 т/м3 осадку ориентировочно определяют по формуле
(59)
где hрасч - расчетная толщина насыпи;
Eср - средневзвешенный штамповый модуль деформации слабой толщи, кгс/см2;
Hрасч - расчетная глубина болота (мощность слабой толщи).
Расчетную толщину насыпи hрасч принимают равной рабочей отметке, но не менее 2,5 м.
Средневзвешенный модуль деформации вычисляют по формуле
(60)
где Hi - мощность отдельного слоя;
Ei - модуль деформации этого слоя.
Расчетную глубину болота принимают в зависимости от отношения фактической глубины Нфакт к полуширине насыпи по средней линии вср
при Нфакт/вср < 1,5 Hрасч = Нфакт
при 1,5 < Нфакт/вср < 2,0 Hрасч = 0,9Нфакт
Нфакт/вср < 1,5 для расчета осадки можно использовать также формулу
S = 0,001lрср∙H (61)
где lрср - средний модуль осадки толщи
(62)
Hi - мощность отдельного слоя, м;
lpi; - модуль осадки грунта в пределах. этого слоя, мм/м. при нагрузке равной расчетной нагрузке на поверхности основания (после завершения осадки).
Степень устойчивости основания при трапецеидальном очертании насыпи находят по коэффициенту безопасности, определяемому минимальным значением коэффициента стабильности
(63)
где Cусл - сопротивляемость сдвигу но крыльчатке на данном горизонте V;
β0 - параметр, устанавливаемый в зависимости от (относительной) глубины рассматриваемого горизонта V и параметров очертания поперечного сечения насыпи 2а/b по графику (рис. 29)
Ррасч - расчетная нагрузка на основание.
Определение Кбез, по формуле (63) проще всего выполнять графическим методом (рис. 30). Для этого строят графики двух функций Сусл = f1(V1) и Ррасч∙β0 = f2(V) и график их отношения
Кстаб = f1(V)/ f2(V) (64)
Минимум Кстаб определяет величину Кбез
В простейших случаях коэффициент безопасности можно оценить, пользуясь формулой
(65)
Величина Aо зависит от мощности слабой толщи.
Устойчивость основания связана с интенсивностью отсыпки насыпи. Поэтому коэффициент безопасности определяют для двух крайних режимов отсыпки:
1) для быстрой (мгновенной) отсыпки насыпи на полную толщину (высота плюс осадка);
2) для медленной отсыпки, при которой нагрузка на основание остается практически постоянной и равной расчетной в результате того, что толщина наращивается лишь по мере осадки ее нижней части.
В зависимости от расчетного режима отсыпки определяют по формуле (63) Кначбез или Кконбез - коэффициенты безопасности соответственно для режима быстрой и медленной отсыпки.
При определении Кначбез величину Ррасч устанавливают по выражению
Ррасч = γH(hрасч +S) (66)
где γH - объемный вес насыпи;
hрасч - расчетная высота насыпи;
S - расчетная осадка.

Рис. 29. Графики функции β при ψ=00
1-2a/B = 0,2; 2-2a/B = 0,6; 3-2a/B = 1,0; 4-2a/B = 3; 5-2a/B = 10
При определении Кконбез величину Ррасч принимают:
Ррасч = γH hрасч + (γH - 1) s (67)

Рис. 30 Графический метод определения коэффициента безопасности
По величине Кначбез и Кконбез и предварительно устанавливают тип основания по устойчивости (табл.18)
Таблица 17
|
Относительная мощность слабой толщи (в долях от полуширины насыпи по низу) |
А0 |
|
0,1 |
5,25 |
|
0,2 |
3,84 |
|
0,3 |
3,51 |
|
0,4 |
3,34 |
|
0,6 и более |
3,23 |
Типы слабых оснований
|
Тип основания |
Определяющий признак |
Характеристика устойчивости |
Преобладающие деформации грунта наиболее опасного слоя |
Возможность использования слабой толщи в качестве основания |
|
|
I |
Кначбез ≥ 1 |
Устойчивость обеспеченна при любой скорости отсыпки насыпи |
Сжатие |
Можно использовать в качестве оснований |
|
|
II |
A |
Кначбез < 1 ≤ Кконбез |
Устойчивость при быстрой отсыпке не обеспечена, но обеспечена при медленной отсыпке |
При быстрой отсыпке сдвиг (выдавливание) выпор, при медленной сжатие |
Можно пользовать в качестве основания при условии медленной отсыпки |
|
Б |
0,2 ≤ Кконбез < 1 |
Для окончательного суждения о степени устойчивости необходимы лабораторные испытания |
- |
- |
|
|
III |
Кконбез < 0,2 |
Устойчивость не может быть обеспечена ни при какой степени консолидации |
Сдвиг (выдавливание, выпор) |
В качестве основания использовать нельзя (необходимо удалить слабый слой) |
|
1. Амарян Л.С. Прочность и деформируемость торфяных грунтов, Недра* М., 1969
2. Евгеньев И.Е. Строительство автомобильных дорог через болота /Д., "Транспорт", 1968
3. Евгеньев И.Е. Яромко В.А. Обработка результатов инженерно-геологических изысканий при проектировании дорожных переходов через болота. Минск, 1973
4. Методические указания но проектированию земляного полотна на слабых грунтах. М., Оргтрансстрой, 1968
5. Материалы к первой Всесоюзной конференции по строительству на торфяных грунтах. Калинин, 1972, т.1, П
6. Труды Союздорнии, выпуски 24, 60, 64.
МЕТОДИЧЕСКИЕ УКАЗАНИЯ ПО ИНЖЕНЕРНО-ГЕОЛОГИЧЕСКОМУ ОБСЛЕДОВАНИЮ БОЛОТ ПРИ ИЗЫСКАНИЯХ АВТОМОБИЛЬНЫХ И ЖЕЛЕЗНЫХ ДОРОГ, Союздорнии, М., 1973.
Включены описания всех видов работ, выполняемых на различных этапах обследований болот, в том числе полевых и лабораторных приборов, оборудования и методик испытаний, применяемых в процессе обследований. Значительно развиты и уточнены на основе последних данных таблицы физико-механических свойств болотных грунтов, введена их общая классификация по прочности в природном залегании.
|
|
|
|