//
ТехЛит.ру
- крупнейшая бесплатная электронная интернет библиотека для "технически умных" людей.
WWW.TEHLIT.RU - ТЕХНИЧЕСКАЯ ЛИТЕРАТУРА

:: Алготрейдинг::


АЛГОТРЕЙДИНГ
шаг за шагом
с нуля по урокам!

Торговые роботы на PYTHON, BackTrader,
Pandas, Pine Script для TradingView. Связка с брокерами, телеграм и легкими приложениями.


Министерство высшего и среднего специального образования РСФСР

Омский политехнический институт

В.А. Давыдов

ОСОБЕННОСТИ ИЗЫСКАНИЙ И ПРОЕКТИРОВАНИЯ АВТОМОБИЛЬНЫХ ДОРОГ В РАЙОНАХ ВЕЧНОЙ МЕРЗЛОТЫ

Омск - 1979

 

СОДЕРЖАНИЕ

ВВЕДЕНИЕ

1. ВЕЧНОМЕРЗЛЫЕ ГРУНТЫ

1.1. Распространение вечномерзлых грунтов

1.2. Основные понятия, термины

2. ПРИНЦИПЫ ПРОЕКТИРОВАНИЯ АВТОМОБИЛЬНЫХ ДОРОГ В РАЙОНАХ ВЕЧНОЙ МЕРЗЛОТЫ

3. ДОРОЖНО-КЛИМАТИЧЕСКОЕ РАЙОНИРОВАНИЕ ЗОНЫ ВЕЧНОЙ МЕРЗЛОТЫ

4. ОСОБЕННОСТИ ВОДНО-ТЕПЛОВОГО РЕЖИМА ЗЕМЛЯНОГО ПОЛОТНА И РАСЧЕТА НА ПРОЧНОСТЬ ДОРОЖНЫХ КОНСТРУКЦИЙ НЕЖЕСТКОГО ТИПА

5. КОНСТРУКЦИИ ЗЕМЛЯНОГО ПОЛОТНА И ТРЕБОВАНИЯ К ГРУНТАМ

5.1. Требования к грунтам земляного полотна

5.2. Конструкции земляного полотна

6. ОСОБЕННОСТИ ИЗЫСКАНИЙ АВТОМОБИЛЬНЫХ ДОРОГ

6.1. Температурный (мерзлотный) режим грунтов

6.2. Наблюдение за осадкой (пучением) грунтов земляного полотна и дорожных покрытий

ЛИТЕРАТУРА

 

В пособии изложены основы мерзлотоведения, дано распространение вечномерзлых грунтов. Приведены принципы проектирования дорог, изложены особенности расчета на прочность дорожных конструкций и теоретические основы водно-теплового режима земляного полотна. В пособии приведены конструкции земляного полотна, требования к грунтам и особенности изысканий.

ВВЕДЕНИЕ

Настоящее учебное пособие рекомендуемся в помощь студентам специальности 1211 "Автомобильные дороги" для курсового и дипломного проектирования. Пособие составлено с учетом последних достижений отечественной науки и обобщения передового опыта проектных и строительных организаций СССР.

Раздел "Изыскание и проектирование автомобильных дорог" в особых природно-климатических условиях изучается студентами на 5 курсе (9 семестр), а заочниками на 6 курсе.

Одновременно с лекционным курсом (28 ч) студенты выполняют курсовой проект участка автомобильной дороги в особых природных условиях (вечная мерзлота, заболоченные районы, районы искусственного орошения, пересечения в разных уровнях, горные районы и др.).

Настоящее пособие составлено применительно к условиям вечномерзлых грунтов. Проектирование дорог в этих районах приобретает все более важное значение в настоящее время, когда происходит интенсивное освоение Сибири и Крайнего Севера, где в основном работают и будут работать выпускники Сибирского автомобильно-дорожного института им. В.В. Куйбышева.

1. ВЕЧНОМЕРЗЛЫЕ ГРУНТЫ

1.1. Распространение вечномерзлых грунтов

Вечномерзлые грунты распространены на одной пятой части суши Земного шара и встречаются на половине территории СССР, большей части Аляски и одной трети территории Канады.

Мировая тенденция развития производительных сил все более отчетливо ориентируется на северные территории. И это не случайно. Действительно, Север - это крупнейший и самый богатый фонд свободных земель. Но вместе с тем, Север- это и весьма слабо изученные пространства, таящие в своих недрах уникальные месторождения ценнейших полезных ископаемых. Наконец, Север - это место обитания многих малых народов, чей быт, уклад жизни и дальнейшее процветание теснейшим образом связаны с его развитием. Вот почему промышленное освоение Севера - одна из крупнейших народнохозяйственных проблем. Но не только на Севере, где-то за Полярным кругом, но и на всей громадной территории Сибири, от Урала на западе до побережья Чукотки на востоке, человек, осваивая новые районы, неизбежно сталкивается со своеобразием природных комплексов, вызванных наличием мерзлой зоны, широким распространением мерзлых пород, подземных льдов.

Промышленное освоение новых районов немыслимо без развитой сети автомобильных дорог. Площадь распространения мерзлых пород в СССР составляет 10 млн. 700 тыс. км, превышая на I млн. 400 тыс. км территорию США, включая Аляску.

На территории средних и высоких широт обоих полушарий верхние слои литосферы на относительно долгий срок охлаждаются до отрицательной температуры. Грунты, почвы, породы, содержащие включения льда, называются мерзлыми; не содержащие в своем составе кристаллов льда - талыми.

Тяжелые природные условия рассматриваемой зоны: низкие отрицательные температуры (до -60°), суровые и длинные зимы (7 - 9 месяцев), близко залегающие к поверхности вечномерзлые грунты, а также отдаленность от экономически развитых районов страны и слабое развитие транспортной сети (0,16 км на 1000 кв. км) - приводят к тому, что стоимость строительства дорог в несколько раз превышает стоимость их строительства в средней полосе.

Высокий уровень промышленно-энергетического потенциала нашей страны позволил перейти к интенсивному освоению богатейших природных ископаемых, разведанных в районах распространения вечномерзлых грунтов (в Западной и Восточной Сибири, Якутии и Забайкалье):

- Тюменской и Томской областях - запасов нефти, газа и леса;

- Красноярском крае и Иркутской области - редких и цветных металлов, леса и энергетических ресурсов рек;

- Якутии - алмазов, золота, угля;

- Забайкалье - редких и цветных металлов, минерального сырья и др.

Директивами ХXIV и ХХV съездов КПСС предусмотрено в областях и краях, занятых вечномерзлыми грунтами, значительно "…расширить строительство и реконструкцию автомобильных дорог". Однако строительство автомобильных дорог в районах вечной мерзлоты связано с преодолением специфических особенностей природно-климатического характера; наличием вечномерзлых грунтов, преобладанием пылеватых грунтов в деятельном (сезоннооттаивающем) слое и избыточным увлажнением местности.

Как показывает многолетний опыт строительства железных и автомобильных дорог в СССР, США и Канаде, отмеченные факторы обусловили специфический подход к назначению дорожных конструкций, земляное полотно которых проектируют и строят преимущественно в насыпях (выемки составляют менее 2 - 3%) из несцементированных обломочных грунтов. Однако отечественная и зарубежная практика дала много примеров деформаций и разрушений на автомобильных дорогах в районах вечной мерзлоты, что указывает на недостаточную изученность и неполноту исследований вопросов проектировании прочного и устойчивого земляного полотна на вечномерзлых грунтах.

Применение несцементированных обломочных грунтов в качестве материала для земляного полотна еще не решает проблему его прочности и в то же время приводит к высокой стоимости строительства автомобильных дорог, превышающей в 3 - 5 раз их стоимость в обычных условиях.

Наиболее эффективными путями снижения стоимости строительства дорог в рассматриваемых районах следует считать:

- расширение объемов применения местных глинистых грунтов для сооружения земляного полотна;

- учет специфически особенностей рассматриваемой зоны при проектировании дорожных, конструкций с целью обеспечение их длительной прочности и устойчивости.

Естественно, рациональное проектирование и строительство транспортных сооружений, в первую очередь земляного полотна, на вечномерзлых грунтах должны базироваться на тщательном изучении материалов детальных геокриологических исследований.

В последние годы значительно повысился технический уровень проектирования и строительства земляного полотна автомобильных дорог на вечномерзлых грунтах. Однако еще недостаточно технической, учебно-методической литературы, нормативных и научно-технических документов, обосновывающих рациональные конструкции, материалы и технологию строительства автомобильных дорог на вечномерзлых грунтах [l, 2].

Особенности изысканий и проектирования дорог в районах вечной мерзлоты изложены в немногочисленных работах [l, 2] и специальной инструкции ВСН 84-75, разработанной коллективом научных работников Омского филиала Союздорнии с участием проф. Н.А. Пузакова (МАДИ и проф. И.А. Золотаря (ВОЛАТТ).

1.2. Основные понятия, термины

Грунты называются мерзлыми, если они имеют нулевую или отрицательную температуру и содержат в своем составе лед. Грунты называются вечномерзлыми, если они находятся в мерзлом состоянии в продолжении многих лет (от 3-х и более). В их состав входят минеральные частицы, лед, вода и воздух. Величина, форма и состав этих составляющих характеризуют особую криогенную (мерзлотную) текстуру. Различают массивную, слоистую и сетчатую текстуры (рис. 1.1.). Массивная текстура (рис. 1.1.,а) характеризуется наличием в основном порового льда. Слоистая текстура (рис. 1.1.,б) представляет собой чередование ледяных включений в виде прослоек и линз с минеральными слоями, которые имеют массивную текстуру. Сетчатая текстура (рис. 1.1.,в) формируется ледяными включениями, располагающимися в виде сетки.

Рис. 1.1. Основные виды текстур мерзлых грунтов:

а - массивная; б - слоистая; в - сетчатая

Вечномерзлые грунты классифицируются I - по физическому состоянию (или температуре); II - по территориальному распространению; III - по продолжительности существования.

I. По физическому состоянию:

- низкотемпературные (твердомерзлые), то есть прочно спаянные льдом, практически несжимаемые грунты с температурой ниже границ замерзания грунтов (для песков пылеватых температура замерзания ниже -0,3°С, для супесей ниже -0,6°С, для суглинков ниже -1°С и для глин -1,5°C);

- высокотемпературные (пластичномерзлые), то есть с большим содержанием незамерзшей воды, с температурой ниже 0°С и выше температуры замерзания грунтов, обладающие вязкими свойствами и характеризуемые способностью сжиматься под нагрузками oт вооружения.

II. По территориальному распространению вечномерзлых грунтов:

- районы географически сплошной вечной мерзлоты, то есть обширные пространства, в пределах которых вечная мерзлота, как правило, наблюдается повсеместно;

- районы, в пределах которых обширные пространства с вечномерзлыми грунтами на более или менее значительном протяжении расчленены таликами. Талики представляют собой талые породы, ограниченные в своем распространении мерзлыми породами;

- острова и районы островов с вечномерзлыми грунтами вдали от общего вечномерзлого массива.

III. По продолжительности существования:

- кратковременномерзлые грунты (в течение нескольких суток);

- сезонномерзлые грунты (в течение нескольких месяцев, менее года);

- многолетнемерзлые или вечномерзлые грунты (в течение более 3-х лет до сотен, десятков сотен и даже нескольких тысяч лет), то есть существующие "вечно".

Кроме того, могут быть случаи, когда верхний слой грунта при замерзании не сливается с вечномерзлыми (несливающаяся мерзлота) и сливается (сплошная сливающаяся мерзлота) (рис. 1.2.).

Рис. 1.2. Сливающаяся (а) и несливающаяся (б) вечная мерзлота

Полная глубина сезонного оттаивания hOT устанавливается замерами в конце осеннего периода (X и XI месяцы). На некоторой глубине, называемой глубиной нулевых амплитуд, где не сказываются сезонные колебания температур, замеряют постоянную температуру вечномерзлого грунта. Эта температура с отсутствием амплитуд считается основной характеристикой среднегодовой температуры вечномерзлых грунтов. Однако она непостоянна даже для одного конкретного района, а изменяется в зависимости от состава пород, их льдистости, экспозиции склона, наличия грунтовых вод и т.п.

2. ПРИНЦИПЫ ПРОЕКТИРОВАНИЯ АВТОМОБИЛЬНЫХ ДОРОГ В РАЙОНАХ ВЕЧНОЙ МЕРЗЛОТЫ

Обычно у поверхности земли находится слой, который ежегодно летом оттаивает, а зимой замерзает. Он называется деятельным (сезоннооттаивающим) слоем.

Для инженерных целей важнейшим вопросом является изучение физических процессов в сезонноталом (деятельном) слое и его толщины, поскольку инженерные сооружения главным образом возводятся на этом и в этом слое.

Постройка дороги вносит большие изменения в природный режим вечномерзлых грунтов. Влияние этих изменений необходимо иметь все время в виду, принимая те или иные проектные решения. Вырубка деревьев и кустарников на придорожной полосе и удаление мохового покрова способствуют увеличению толщины деятельного слоя. При оттаивании пылеватые льдонасыщенные вечномерзлые грунты из твердого состояния переходят в разжиженное, растекаясь под действием собственного веса.

Оттаивание вечномерзлого грунта под невысокими насыпями в зависимости от количества льда, содержащегося в грунте, вызывает дополнительные осадки или полное расползание насыпей. На участках с близким к поверхности расположением погребенного льда при таянии на полосе отвода могут возникать провальные озера {термокарстовые явления).

Откосы выемок, разработанных в вечномерзлых грунтах и содержащих прослойки льда при оттаивании, подвержены оплывам. Наоборот, средние и высокие насыпи создавая теплоизоляцию, способствуют поднятию уровня вечной мерзлоты, которая может входить в тело насыпи.

Наиболее распространенный во всех зонах вид деформации - пучение земляного полотна. Оно происходит вследствие объемного расширения воды в связном грунте, при этом наибольшее пучение вызвано дополнительным поступлением воды, перемещающейся в мерзлый грунт из нижележащих талых слоев грунта. Пучение интенсивно проявляется в южной части зоны вечной мерзлоты. Здесь же наблюдаются значительные деформации земляного полотна, возникающие из-за затопления его наледями. Изменение режима подземных вод и водотоков зимой при промерзании грунта часто приводит к прорыву их на поверхности и затоплению окружающей местности и дорожных сооружений, сопровождающееся полным разрушением проезжей части.

На Крайнем Севере, наоборот, значительные деформации (термокарстовые образования, просадки и осадки) возникают в результате протаивания грунтов деятельного слоя.

Различные мерзлотно-грунтовые условия, характеризующиеся разными типами местности, обусловливают дифференцированный подход к проектированию и строительству земляного полотна автомобильных дорог.

Гидротехнические, промышленные и жилые сооружения в большинстве случаев своими фундаментами опираются на вечномерзлую толщу, мало или почти не меняющую своих свойств во времени. Основной элемент автомобильной дороги - земляное полотно, которое возводится на грунтовом слое, изменяющем в годовом периоде свои свойства от воздействия природных факторов, и, в первую очередь, температуры воздуха. Из этого следует, что устойчивость дорожной конструкции в период эксплуатации зависит главным образом от состояния грунта основания (мерзлое или талое), его вида и влажности.

В настоящее время рекомендуется использовать грунты сезоннооттаивающего слоя в качестве основания земляного полотна по одному из следующих принципов.

Первый - сохранение вечномерзлых грунтов в основании земляного полотна в течение всего периода эксплуатации дороги.

Второй - частичное оттаивание мерзлых грунтов основания на величину, определяемую расчетом.

Третий - оттаивание вечномерзлых грунтов до начала строительства дороги и осушения придорожной полосы.

3. ДОРОЖНО-КЛИМАТИЧЕСКОЕ РАЙОНИРОВАНИЕ ЗОНЫ ВЕЧНОЙ МЕРЗЛОТЫ

Разнообразие природно-климатических условий СССР учитывают с помощью дорожно-климатического районирования, нашедшего отражение в нормативных документах (СНиП II-Д.5-72, ВСН 97-63, ВСН 46-72 и др.).

Многолетний опыт применения существующего дорожно-климатического районирования показал, что оно не в полной мере удовлетворяет практике проектирования дорог и требует дальнейшего уточнения и детализации.

Целесообразно территорию Советского Союза разделить на два примерно равных по площади региона: первый, основной особенностью которого является сезонное промерзание грунтов, и второй, в котором поверхностный одой грунтов протаивает на некоторую глубину летом, а остальную часть года находился в мерзлом состоянии (зона вечномерзлых грунтов). Линией раздела регионов следует принять границу распространения вечномерзлых грунтов на территории СССР.

Изучение природных условий зоны вечной мерзлоты показало, что на ее территории отчетливо выражено зональное изменение основных физико-географических факторов, что обусловливает необходимость деления территории зоны на подзоны (районы).

На основе исследований [1, 2, 3, 4], проведенных Омским филиалом Союздорнии (Р.З. Порицкий, В.А. Давыдов и др.), и результатов многолетних наблюдений за мерзлотным режимом на постах и опытных участках автомобильных дорог зона вечной мерзлоты разделена на три характерных района (рис. 3.1.): первый I1 - северный район - низкотемпературных вечномерзлых грунтов (НТВМГ) сплошного распространения с высокой влажностью грунтов сезоннооттаивающего слоя (влажность грунтов выше предела текучести); второй I2 - центральный район НТВМГ сплошного распространения с умеренной влажностью грунтов сезоннооттаивающего слоя.

Рис. 3.1. Схема дорожно-климатических районов зоны вечной мерзлоты: I1 - северный; 12 - центральный; I3 - южный; II - дорожно-климатическая зона

Таблица 3.1

Характеристика и границы районов зоны вечной мерзлоты

Район зоны вечной мерзлоты

Характеристика природных мерзлотно-грунтовых условий

Примерные границы районов

I1 - северный район низкотемпературных вечномерзлых грунтов (НТВМГ) сплошного распространения

Сплошное распространение вечномерзлых грунтов мощностью от 200 до 900 м и более.

Среднегодовая температура вечномерзлых грунтов от -5 до -10°C и ниже. Глубина сезонного оттаивания от 0,2 до 2 м (преимущественно менее 1 м). Высокое содержание в вечномерзлых грунтах льдов различных типов и их неглубокое залегание.

Грунты глинистые, пылеватые, иловатые, тундровые и болотные со среднегодовой суммарной влажностью более предела текучести.

Рельеф - равнины и низменности. Интенсивное развитие криогенных процессов

Включает зону тундры и лесотундры с пятнистым микрорельефом.

 

Расположен севернее линии: Нарьян-Мар - Салехард - Курейка - Трубка Удачная - Верхоянск - Дружина - Горный мыс - Марково

I2 - центральный район низкотемпературных вечномерзлых грунтов (НТВМГ) сплошного распространения

Сплошное распространение вечномерзлых грунтов мощностью от 50 до 400 м. Среднегодовая температура вечномерзлых грунтов от -1 до -5°С.

Глубина сезонного оттаивания от 0,8 до 3 м.

Грунты скальные, щебенистые, гравийно-галечниковые и глинистые по среднегодовой суммарной относительной влажностью от 0,7 до 1,0 относительно предела текучести.

Рельеф, в основном, гористый, частично нагорья и сглаженный равнинный

Включает таежную зону, зону смешанных лесов.

Расположен восточнее линии: устье реки Нижняя Тунгуска - Ербогачен - Ленск - Бодайбо - Богдарин; севернее линий: Могоча - Сковородино - Зея - Охотск - Палатка - Слаутское.

С севера ограничен I-м районом

I3 - южный район высокотемпературных вечномерзлых грунтов (ВТВМГ) островного и частично-сплошного распространении

Преимущественно островное распространение вечномерзлых грунтов мощностью до 50 - 100 м.

Среднегодовая температура вечномерзлых грунтов выше -1°С.

Глубина сезонного оттаивания достигает 4 и более. Грунты пылеватые, глинистые, песчаные, торфоглинистые - в западной части района и щебенистые, галечниковые и глинистые - в восточной части района.

Со среднегодовой: суммарной относительной влажностью от 0,7 до 1,0 относительно предела текучести

Рельеф равнинный в западной части района и горный или холмистый – в восточной части»

Заключает таежные, лесостепные и степные зоны, побережье Охотского моря. Расположен севернее южной географической границы вечной мерзлоты в Европейской части СССР, в Западной Сибири, на Дальнем Востоке и севернее южной государственной границы с Монголией и Китаем в Восточной Сибири. Включает северную и центральную часть Камчатки.

Примечания: 1. Границы даны примерно, их следует корректировать в процессе проектно-изыскательских работ в соответствии с характеристикой условий местности (см. текст и настоящую таблицу).

2. В горных районах в связи с вертикальной зональностью необходимо учитывать изменение природно-климатических условий по мере увеличения высоты пояса.

3. В гористой местности вечномерзлые грунты обычно встречаются на заболоченных участках, на склонах северной экспозиции и в пониженных затененных местах.

(W0TH = 0,7 - 1);

третий I3 - южный район высокотемпературных вечномерзлых грунтов (ВТВМГ) сплошного и островного распространения с умеренной влажностью сезоннооттаивающего слоя (WОТН = 0,7 - 1).

В основу районирования положены факторы, оказывающие решающее влияние на устойчивость дорожных конструкций в этой зоне: вид грунта сезоннооттаивающего слоя и его влажность, характер распространения вечномерзлых грунтов и их температура, мощность слоя сезонного оттаивания. Совокупность этих признаков обусловлена сочетанием климатических, грунтово-гидрогеологических и мерзлотных особенностей и присуща в определенной степени природным ландшафтам земной поверхности. Действительно, каждый природный ландшафт является уникальным, обладающим неповторимой в целом совокупностью физико-географических условий, а также типичным и наиболее распространённым комплексом природных и территориальных особенностей.

Поэтому за основу для выделения границ районов взяты границы зональных типов ландшафтов. В схеме деления территории зоны вечной мерзлоты на дорожно-климатические районы (см. рис. 3.1.) принята нумерация районов I1, I2, I3, обозначающая: первый район I дорожно-климатической зоны; второй район I дорожно-климатической зоны и т.д. Такая нумерация районов позволяет не изменять общепринятых названий дорожно-климатических зон (СНиП II-Д.5-72).

Характеристика природных условий и примерные географические границы районов приведены в табл. 3.1. Наиболее неблагоприятным для дорожного строительства является первый район I1, где широко распространены жильные и подземные льды, близко залегающие к поверхности земли. Здесь в большинстве мест необходимо проектировать и строить дороги с минимальным нарушением естественного режима местности, используя, как правило, первый принцип проектирования.

Природно-климатические условия второго района I2 позволяют проектировать земляное полотно по второму принципу с оттаиванием грунтов основания и учетом возникающих при этом деформаций. Третий район I3 более благоприятный для дорожного строительства.

Таблица 3.2.

Типы местности по характеру поверхностного стока, степени увлажнения и мерзлотно-грунтовым условиям.

Тип местности

Условия увлажнения

Характерные признаки

1-й (сухие места)

Без избыточного увлажнения. Поверхностный сток обеспечен. Естественная относительная влажность грунтов менее 0,8 от предела текучести.

Каменистые возвышенности, крутые склоны сопок, песчаные и гравийно-галечниковые косы с мощностью сезоннооттаивающего слоя более 2,5 м. Грунты гравийно-галечниковые, песчаные, а также супесчаные, глинистые непросадочные. х)

2-й (сырые места)

Избыточное увлажнение в отдельные периоды года. Поверхностный сток не обеспечен. Естественная относительная влажность грунтов от 0,8 до предела текучести.

Плоские водоразделы, пологие склоны гор и их шлейфы с мощностью сезоннооттаивающего слоя от 1,0 до 2,5 м. Грунты глинистые просадочные х)

3-й (мокрые места)

Постоянное избыточное увлажнение. Водоотвод не обеспечен. Надмерзлотные и длительно стоящие (более 20 суток) поверхностные воды. Естественная относительная влажность грунтов выше предела текучести.

Мари, заболоченные тальвеги, замкнутые впадины с развитым мохоторфяным покровом и малой мощностью (до 1 м ) сезоннооттаивающего слоя. Грунты глинистые сильно просадочных х), содержащие в пределах двойной мощности сезоннооттаивающего слоя линзы льда толщиной более 10 см.

х) Грунты считаются условно непросадочными при относительной степени просадочности σ<0,03, просадочными - при 0,03≤σ≤0,1 и силънопросадочными - при σ>0,1. Степень просадочности определяется по формуле

где γМ - объемный вес скелета в мерзлом состоянии, г/см3;

γТН> - объемный вес скелета грунта, оттаявшего под нагрузкой 9,80665.104 н/м3.

Здесь вечномерзлые грунты встречаются или в виде сплошной высокотемпературной вечной мерзлоты, или в виде отдельных мерзлых островов среди талой толщи грунта. В горных районах в связи с вертикальной зональностью необходимо учитывать изменение природно-климатических условий, по мере увеличения высоты пояса. В гористой местности вечномерзлые грунты обычно встречаются на заболоченных участках, склонах северной экспозиции и в пониженных затененных местах.

Земляное полотно на участках островной мерзлоты следует проектировать и строить по третьему принципу, то есть с обеспечением предварительного оттаивания грунтов основания и осушения дорожной полосы до возведения земляного полотна. Для более детальной характеристики условий район проложения трассы автомобильной дороги принято делить на участки (типы местности) по характеру поверхностного стока и степени увлажнения (СНиП II-Д.5-72). Такое деление на типы местности возможно также и для зоны вечной мерзлоты с введением дополнений, отражающих специфические мерзлотно-грунтовые условия этой зоны (табл. 3.2), которые, в свою очередь, определяют выбор и расчет дорожных конструкций.

4. ОСОБЕННОСТИ ВОДНО-ТЕПЛОВОГО РЕЖИМА ЗЕМЛЯНОГО ПОЛОТНА И РАСЧЕТА НА ПРОЧНОСТЬ ДОРОЖНЫХ КОНСТРУКЦИЙ НЕЖЕСТКОГО ТИПА

Своеобразные гидрогеологические условия в сочетании с суровыми природно-климатическими факторами зоны вечной мерзлоты предопределяют особый водно-тепловой режим земляного полотна автомобильных дорог.

Оттаивание земляного полотна и основания в зоне вечной мерзлоты протекает по схеме (рис. 4.1.B), подобной схеме промерзания, например, во II дорожно-климатической зоне СССР (рис. 4.1,B), так как имеет место одинаковое направление потоков тепла (в зоне вечной мерзлоты) и потоков холода (в районах сезонного промерзания). В рассматриваемой зоне оттаивание происходит сверху и продолжается в течение всего теплого периода года, пока не установится динамическое равновесие между потоками тепла сверху от атмосферы и потоками холода снизу от вечномерзлых грунтов.

Процесс промерзания земляного полотна и основания в зоне вечной мерзлоты (см. рис. 4.1.,Б) подобен схеме процесса оттаивания в средней полосе страны (см. рис. 4.1,Б). В обоих случаях имеет место двустороннее направление потоков: холода - в зоне вечной мерзлоты и тепла - в средней полосе страны.

Промерзание в зоне вечной мерзлоты происходит с двух сторон: сверху - за счет отрицательных температур воздуха и снизу - за счет охлаждения от вечномерзлых грунтов.

Таким образом, в зоне вечной мерзлоты в течение всего теплого времени года в земляном полотне или в его основании находится мерзлый (вечномерзлый), практически несжимаемый слой грунта на незначительной глубине оттаивания (до 1,5 м).

Как установлено (Н.А. Цытович и др.), модули упругости (деформации) мерзлых глинистых грунтов имеют высокие значения, а талых - в несколько раз (иногда в десятки раз) меньше. В переходном состоянии от мерзлого к талому величина модуля упругости может иметь различные промежуточные значения, которые уменьшаются как за счет перехода мерзлого состоянии грунта в талое, так и более глубокого расположения мерзлого слоя грунта. Это положение имеет большое практическое значение для проектирования и строительства дорог в указанных районах, так как регулированием глубины расположения вечномерзлого слоя грунта можно повышать величину эквивалентного модуля упругости грунта земляного полотна, увеличивая таким образом прочность всей дорожной конструкции [1, 5, 6].

Рис. 4.1. Схема годового цикла водно-теплового режима земляного полотна и основания в районах вечной мерзлоты и сезонного оттаивания грунтов:

А - изменение модуля упругости грунта земляного полотна в годовом периоде; и В - схемы протаивания, промерзания и увлажнения.

1 - сухой талый грунт; 2 - влажный талый грунт; 3 - талый грунт повышенной влажности; 4 - переувлажненный талый грунт; 5 - надмерзлотная вода; 6 - твердомерзлый грунт; 7 - прослойки и линзы льда; Нн - высота насыпи; HОТ - мощность слоя оттаивания (промерзания); Н0 - глубина расположения границы нулевых амплитуд

Многолетние исследования на дорогах Якутской и Бурятской АССР позволили проследить за изменением модулей упругости и деформации в процессе оттаивания, которые определяли с помощью пресса и жестких металлических штампов диаметрами 20, 25 и 34 см. При НОТ = 0, то есть когда грунт был мерзлым, модули упругости, по данным наших опытов, имели огромную величину: Еу =2.103 - 25.103 кгс/см2, а ЕД = 0,4.103 - 5.103 кгс/см2. При глубине оттаивания 4 - 5 см модуль упругости составлял уже 1800 - 2190 кгс/см2, а деформации - 629 - 347 кгс/см2.

Затем по мере увеличения глубины оттаивания грунта величина его эквивалентного модуля упругости быстро уменьшалась. Это происходило вследствие перехода грунта из мерзлого состояния в талое (за счет разрушения в нем льдоцементирующих связей) и удаления от поверхности более прочного мерзлого слоя грунта.

При глубине оттаивания, равной 3 - 4 диаметрам штампа, модули упругости достигали минимальных значений, близких по абсолютной величине к модулям полностью талого грунтового полупространства. Таким образом, при глубине оттаивания больше 4 диаметров штампа влияние мерзлого слоя практически прекращается (составляет менее 4 - 5%). Это явление необходимо учитывать при расчетах прочности дорожных конструкций. На величину модуля упругости кроме влажности и плотности глинистого грунта значительное влияние оказывает положение мерзлого слоя при оттаивании, ограничивающего зону обжатия грунта. Вопрос о распределении напряжений и деформаций до настоящего времени наиболее полно разработан только применительно к упругому изотропному полупространству при действии статических нагрузок. Величины снимающих напряжений, возникающих на контакте грунтового слоя и жесткого основания, исследовались за рубежом (Мелан, Био, Маргерр и др.) и в нашей стране (О.Я. Шехтер, К.Е. Егоров, М.И. Горбунов-Посадов и др.). Получены аналитические решения и разработаны приемы численного определения напряжений и деформаций.

Согласно этим решениям, а также опытным данным (О.Ф. Никитина в ХАДИ, В.А. Давыдова в Омском филиале Союздорнии и др.), установлено, что величина осадки в системе с несжимаемым основанием меньше, чем в однородном полупространстве. Была получена картина распределения сжимающих напряжений в слое грунта ограниченной толщины на несжимаемом основании. При этом установлено, что наличие жесткого несжимаемого слоя вызывает концентрацию напряжений по оси нагрузки. Оттаивание грунта создает сложную многослойную систему, которую с некоторыми допущениями можно принять за двухслойную.

Величину эквивалентного модуля упругости системы - талый (верхний) плюс мерзлый (нижний) слои - можно определить, принимая мерзлый слой грунта абсолютно несжимаемым. В этом случае влияние нижнего более прочного и жесткого слоя уменьшает осадку под нагрузкой верхнего талого однородного грунта, повышая таким образом прочность системы - упругопластичный слой грунта плюс жесткое несжимаемое основание. Это явление можно учесть, используя решение К.Е. Егорова, основанное на формуле Маргерра:

                                    (4.1)

где R - радиус штампа, см; r - расстояние от центра круглого штампа до точки, перемещения которой определяют, см; J0 - функция Бесселя нулевого порядка первого рода; J1 - функция Бесселя нулевого порядка второго рода; sh, ch - соответственно гиперболические синус и косинус; t - произвольный параметр интегрирования; H - мощность талого слоя грунта, см.

Для точек, расположенных под центром нагруженной площадки, то есть при r = 0, J0 - 1,0, коэффициент влияния жесткого несжимаемого слоя на величину модуля упругости является обратной величиной коэффициента β:

                                           (4.2)

 

Таким образом, влияние мерзлого слоя на прочность оттаивающего грунта может быть определено по формуле (4.2.) или по графику (риc. 4.2.).

В грунтах земляного полотна и основания, как правило, влажность по глубине неоднородна (в верхних слоях меньше, а в нижних больше) и в течение всего периода оттаивания имеет непостоянные значения (рис. 4.3.). Указанную закономерность для естественных условий зоны вечной мерзлоты отмечали проф. Н.А. Пузаков и мерзлотоведы, однако практических рекомендаций по ее учету при оценке прочности грунтов не было сделано.

Характерные эпюры распределения влажности по глубине оттаявшего слоя в расчетный период (весна-лето) были установлены автором в процессе обследования автомобильных дорог в зоне вечной мерзлоты. В начале оттаивания земляного полотна происходит увлажнение верхнего активного слоя грунта (весенний период), затем, по мере опускания границы оттаивания вниз, вслед за горизонтом мерзлоты опускается свободная влага под действием гравитационных сил.

В летний период за счет испарения с поверхности и инфильтрации просыхают верхние слои земляного полотна, а в нижних слоях на границе с мерзлым грунтом наблюдается максимальная влажность, нередко достигающая предела текучести. Такое распределение влажности обусловливает неравнопрочность грунтов по глубине, что следует учитывать в расчетах прочности дорожных конструкций.

По фактическим данным натурных исследований автором было установлено (1966 г.), что при глубине оттаивания более величины НОТ, равной 3 диаметрам штампа, влажность грунта по глубине распределяется по экспоненциальной зависимости. Следовательно, зная влажность верхнего и нижнего слоев, можно по зависимости Е = f/(W) определить соответствующие значения модулей упругости или деформации любого слоя грунта.

Рис 4.2. График для определения коэффициента влияния мерзлого слоя А на величину модуля упругости (деформации) в зависимости от относительной глубины залегания мерзлого слоя

Рис. 4.3. Изменение влажности грунтов по мере оттаивания слоя насыпи в течение весенне-летнего периода: I- влажность грунта в весенний период (начало оттаивания); II - влажность грунта в начале летнего периода; III - влажность грунта в конце летнего периода; ГМ - горизонт мерзлоты

При этом целесообразно использовать метод вычисления осадок и напряжений отдельных слоев, основанный на решении задач по законам теории упругости. Многослойная система дорожной конструкции может рассматриваться как упругое неоднороднее полупространство, состоящее из однородных слоев, связанных между собой условием непрерывности напряжений и перемещений. Каждый из слоев характеризуется определенной толщиной, модулем упругости и коэффициентом Пуассона. Величину эквивалентного модуля упругости на поверхности неоднородного по глубине земляного полотна можно получить, используя решение Б.И. Когана, разработанное дли конструирования дорожных одежд. На основе этого решения разработана [6] номограмма (рис. 4.4.).

В общем виде график изменения модуля упругости грунта от глубины оттаивания с учетом мерзлого слоя и неоднородного увлажнения описывается уравнением

                                                 (4.3)

где выражение в квадратных скобках названо обобщенным коэффициентом влияния мерзлого слоя грунта и неоднородного увлажнения его по глубине Ау; в и С - коэффициенты, зависящие от типа грунта, величины относительной деформации и других факторов (табл. 4.1.);  - модуль упругости однородного массива грунта при определенных значениях его влажности и плотности.

На рис. 4.5. приведен пример зависимости общего модуля деформация грунта (супеси) земляного полотна на одном из опытных участков, построенных на автомобильной дороге V категории в Бурятской АССР.

По исследованиям Н.А. Пузакова, В.Ф. Бабкова, С.А. Голованенко, И.Д. Золотаря, В.М. Сиденко и др. [8, 9] снижение прочности (модуля деформации и модуля упругости) грунтов земляного полотна (см. рис. 4.1,А) в районах сезонного промерзания происходит весной на незначительный срок , исчисляемый 5 - 16 днями в IV и 15 - 30 днями во II и III дорожно-климатических зонах.

По исследованиям В.А. Давыдова [1, 5, 6, 7] в зоне вечной мерзлоты прочность земляного полотна в течение весенне-летнего периода понижаемся до очень малых величин , , (см, рис. 4.1.А), а продолжительность расчетного периода  увеличивается до 1,5 - 4,0 и более месяцев, то есть практически достигает 0,7 - 0,9 всего периода теплого времени года. Этот существенный фактор - длительность ослабленного (расчетного) состояния грунтов земляного полотна - необходимо учитывать в расчетах прочности дорожных одежд, что повысит надежность и долговечность всей дорожной конструкции.

Таблица 4.1.

Значения параметров в и С критических значений модуля деформации Ед и относительной глубины оттаивания Н/D

Грунт

Относительная деформация λ

в

С

Критические точки

H/D

 

Экспериментальные средние кривые

Супеси

0,01

420

-2,42

5,07

300

4,5

0,02

305

-2,23

4,8

220

4,0

0,03

220

-2,23

3,9

150

3,5

Экспериментальные минимальные кривые

0,01

300

-4,2

7,3

120

3,5

0,02

230

-3,7

6,2

100

3,3

0,03

160

-3,0

4,5

80

3,0

 

Экспериментальные средние кривые

Суглинки

0,01

340

-3,3

6,6

200

4,0

0,02

270

-3,1

5,5

150

3,5

0,03

200

-3,0

4,5

100

3,0

 

Экспериментальные минимальные кривые

Глины

0,01

200

-4,2

6,3

60

3,0

0,02

150

-3,7

5,2

50

2,8

0,03

100

-3,0

3,75

40

2,6

Рис. 4.4. Номограмма значения коэффициента α0, учитывающего неравномерное увлажнение по глубине земляного полотна в зависимости от величины т = Ев/Ен и относительной глубины расположения слоя H/D

Рис. 4.5. Изменение модуля деформации оттаивающего супесчаного грунта (при λ0 = 0,01) на одном из опытных участков: 1 - для средних значений модуля деформации; 2 - для минимальных значений

Таким образом, при расчете прочности конструкций дорожных одежд в зоне вечной мерзлоты следует учитывать основные факторы водно-теплового режима земляного полотна, руководствуясь в основном ВСН 46-72 [10] и ВСН 84-75 [11]. При этом дорожная конструкция (земляное полотно в комплексе с дорожной одеждой) должна удовлетворять трем условиям:

                                                                               (4.4)

                                                                                     (4.5)

,                                                                                  (4.6)

где  - общий модуль упругости дорожной конструкции, Н/м2;

 - требуемый модуль упругости дорожной конструкции, определяемый по формуле (4.7.) в зависимости от расчетной нагрузки, состава и интенсивности перспективного движения и длительности расчетного периода, Н/м2;

σp - наибольшее растягивающее напряжение при изгибе в материале рассматриваемого конструктивного слоя одежды, Н/м2;

R - предельно допустимое растягивающее напряжение при изгибе в материале конструктивного слоя с учетом усталостных явлений, Н/м2;

Та - наибольшее активное напряжение сдвига в грунте или слабосвязном материале конструктивного слоя одежды, которое слагается из активных напряжений сдвига от временной нагрузи Та и от веса вышележащих слоев Та.в, Н/м2;

[Та] - допустимое активное напряжение сдвига в грунте земляного полотна или в слое дорожной одежды, Н/м2,

Величины , σp, R, Та., [Та] определяют по рекомендациям и указаниям ВСН 46-72 [10].

Требуемый общий модуль упругости дорожной конструкции определяют по формуле

                                                                 (4.7)

где Етр - требуемый общий модуль упругости дорожной конструкции, определяемый по ВСН 46-72, то есть без учета длительности расчетного периода;

Р - нагрузка от расчетного автомобиля на дорожное покрытие, н/м2;

λд - допустимый упругий прогиб дорожной конструкции, устанавливаемый в зависимости от материала покрытия и условий его работы в рассматриваемом районе;

К - коэффициент, учитывающий длительность расчетного периода.

Автором установлена средние значение коэффициента К для всех дорожно-климатических районов зоны вечной мерзлоты: для района I1 К = 1,3; I2 К = 1,2; I3 К = 1,1.

Разработана такая номограмма (рис. 4.6.), позволяющая дифференцированно определить коэффициент К для различных конкретных пунктов зоны вечной мерзлоты [6].

Нормативную нагрузку на дорогах общей сети (I - V категорий) и для городских дорог принимают по табл. 4.2.

Рис. 4.6. Номограмма значений коэффициента К, учитывающего относительную длительность расчетного периода Dр.п, повторность и динамичность воздействия транспортных средств расчетной интенсивности движения Np.

Таблица 4.2.

Нормативная нагрузка

Нормативный документ

Расчетная нагрузка

Параметры расчета нагрузок

Удельное давление на покрытие Р, кгс/см2

Диаметр нагруженной площади, D, см

ГОСТ 9314-09

Автомобили группы А

 

 

6

33

Автобусы группы А

6

35

СНиП II-К.3-61

Н-30

6

36

Н-10

5,5

33

На подъездных и внутренних дорогах промышленных предприятий нормативную нагрузку для дорог III-п и IV-п категорий принимают на основе технико-экономических расчетов согласно п. 1.3. (СНиП II-Д.5-72) из условия припуска принятых расчетных типов автомобилей и автопоездов.

Влияние мерзлого слоя на прочность при известной глубине оттаивания дорожной конструкции учитывают по формуле

                                                                       (4.8)

где  - общий модуль упругости (деформации) и оттаявшего грунтового массива, Н/м2;

 - расчетное значение модуля упругости (деформаций) грунта, определяемое по табл. 4.3. и 4.4., или при известной расчетной влажности по графикам (рис 4.7., 4.8.), Н/м2;

 - комплексный коэффициент, учитывающий влияние мерзлого слоя в зависимости от глубины оттаивания (Нот или ) и неоднородное увлажнение земляного полотна и сезоннооттаивающего слоя по глубине; значения коэффициента  определяют по табл. 4.5.

Таблица 4.3.

Значения EУ и ЕД

Грунты основания

Расчетные значения

 

ЕУ, кгс/см2

ЕД, кгс/см2

Суглинок пылеватый

90 - 160

30 - 60

Супесь пылеватая

110 - 120

40 - 80

Песок мелкий пылеватый

140 - 260

70 - 120

Суглинок с примесью до 20% щебня

150 - 240

70 - 90

Суглинок с примесью до 50% щебня

190 - 280

90 - 130

Примечание. В таблице приведены значения модулей упругости по В.А. Давыдову, а модулей деформации - по Н.А. Пузакову.

Рис. 4.7. Зависимость модуля деформации грунтов земляного полотна от влажности: а - супеси; б - суглинки и глины; 1, 2, 3 - соответственно при λ0 = 0,01; 0,02; 0,03

 


Таблица 4.4.

Расчетные показатели грунтов земляного полотна

Тип местности

Грунт

I1 - южный район зоны вечной мерзлоты

I2 - центральный район зоны вечной мерзлоты

I3 - северный район зоны вечной мерзлоты

Wотн

Еу

Ед

С

φ

Wотн

Еу

Ед

С

φ

Wотн

Еу

Ед

С

φ

I.

 2

3

4

5

6

7

8

9

10

11

12

13

14

15

16

17

1-й

Супеси легкие, оптимальные смеси

0,45

570

150

0,48

37

0,50

500

150

 0,45

36

0,56

420

110

0,44

36

Пески пылеватые, супеси тяжелые

0,56

420

120

0,42

36

0,59

390

110

0,39

33

0,63

350

100

0,36

32

Суглинки легкие и тяжелые, глины

0,68

280

110

0,60

46

0,71

250

100

0,54

44

0,75

220

90

0,5

42

Супеси пылеватые и тяжелые пылеватые, суглинки легкие пылеватые и тяжелые пылеватые

0,82

180

90

0,18

15

0,83

175

85

 0,16

14

0,84

160

80

0,13

11

2-й

Супеси легкие, оптимальные смести

0,53

460

120

0,44

36

0,56

420

110

 0,42

34

0,65

340

90

0,4

33

Пески пылеватые, супеси тяжелые

0,73

290

80

0,3

34

0,74

285

80

0,27

25

0, 75

280

80

0,25

22

Суглинки легкие и тяжелые, глины

0,71

190

75

0,35

38

0,82

180

70

0,39

38

0,86

160

65

0,38

37

Супеси пылеватые и тяжелые пылеватые, суглинки легкие пылеватые и тяжелые пылеватые

0,89

140

70

0,16

14

0,92

130

65

0,14

12

0,94

120

60

0,12

10

3-й

Супеси легкие, оптимальные смеси

0,54

440

115

0,4

35

0,62

360

95

0,39

33

0,71

300

80

0,35

31

Пески пылеватые, супеси тяжелые

0,78

260

75

0,2

22

0,80

250

70

0,22

20

0,82

240

70

0,18

15

Суглинки легкие и тяжелые, глины

0,82

180

70

0,28

32

0,84

160

65

0,25

30

0,87

150

60

0,23

26

Супеси пылеватые и тяжелые пылеватые, суглинки легкие пылеватые и тяжелые пылеватые

0,93

120

60

0,14

11

0,94

110

55

0,12

10

0,95

100

50

0,09

8

Примечания: 1. Значения модулей, влажности и показателей сдвига даны для однородных по зерновому составу грунтов мощностью слоя не менее 0,8 м при требуемом уплотнении.

2. В таблице приведены расчётные показатели грунтов при 5% обеспеченности.

 


Таблица 4.5.

Значения коэффициентов А'у, А'д

Относительная глубина оттаивания HОТ/D

Относительный радиус штампа, R/D

Супеси

Суглинки и глины

А'у

А'д

А'у

А'д

0,125

4

351,4

362,2

292,2

304,2

0,25

2

81,3

85,4

67,0

69,4

0,5

1

17,7

18,4

14,0

14,4

1,0

0,5

3,4

3,5

2,45

2,5

1,5

0,33

1,20

1,31

0,84

0,86

2,1

0,24

0,64

0,65

0,41

0,42

2,5

0,2

0,50

0,51

0,34

0,35

3,0

0,17

0,43

0,45

0,33

0,34

3,3

0,15

0,43

0,45

0,35

0,36

3,5

0,14

0,44

0,46

0,36

0,37

4,0

0,13

0,45

0,46

0,38

0,40

4,5

0,11

0,47

0,49

0,41

0,43

4,8

0,10

0,49

0,50

0,44

0,46

5,0

0,10

0,50

0,51

0,46

0,47

6,0

0,09

0,53

0,55

0,50

0,52

10,0

0,05

0,66

0,69

0,64

0,68

:∞

0

1,0

1,0

1,0

1,0

Расчетные прочностные и деформативные характеристики материалов принимают по ВСН 46-72 [10], грунтов естественного основания - по табл. 4.3. и грунтов земляного полотна  - по табл. 4.4.

Расчетные значения прочностных характеристик С и φ грунтов естественного основания принимают по СНиП II-Б.1-42 (см. прилож.1 табл. 13а,б в "Сборнике изменений, поправок и дополнений, внесенных в СНИП" , - Сгройиздат, 1966).

Величины расчетных значений модулей упругости и деформации, сцепления и угла внутреннего трения установлены в работах [5, 6, 12] на основе фактического материала, полученного при многолетних обследованиях дорог и обработанного методами математической статистики (см. табл. 4.4.).

Зависимость модуля деформации грунтов от их влажности (рис. 4.7.) может быть выражена уравнением

                                                                       (4.9)

Где   модуль деформации грунта при определенных значениях относительной деформации λ0 (λ0 = 0,01; 0,02; 0,03 и т.д.) и относительной влажности Wотн, кгс/см2;  - значение модуля деформации грунта, которое соответствует влажности предела текучести, кгс/см2.

п - безразмерный коэффициент, зависящий от типа грунта и его физико-механических свойств.

Значения модулей деформации грунтов на пределе текучести  и коэффициентов п устанавливают экспериментально. Выполненная статистическая обработка многочисленных экспериментальных данных позволила установить [6, 12] значения  и п для характерных грунтов зоны вечной мерзлоты (табл. 4.6.).

Таблица 4.6.

Значения модуля деформации грунта

Грунт

λ0 = 0,01

λ0 = 0,02

λ0 = 0,03

п

п

п

Супеси

60

2,42

50

2,07

45

1,62

Суглинки и глины

50

2,32

45

1,80

36

1,18

Модуль упругости грунтов земляного полотна является более стабильной характеристикой. Он в меньшей мере зависит от относительной деформации грунта. Основное влияние на величину модуля упругости грунта оказывает его влажность.

Статистическая обработка фактических данных по определению модуля упругости Еу грунта позволила вывести аналогичную зависимость:

                                                                         (4.10)

где Еу - значение модуля упругости грунта, соответствующее определенной влажности Wотн Н/м2;  - значение модули упругости грунта, соответствующее влажности предела текучести грунта, Н/м2; Wотн - относительная влажность грунта т - безразмерный коэффициент, зависящий от вида грунта.

Рис. 4.8. Зависимость модуля упругости грунта от его влажности: 1 - суглинки и глины; 2 - супеси

Формулы (4.6.) и (4.10) справедливы в пределах значений относительной влажности грунта от 0,2 до 1,0 Wтек (см. рис. 4.7.; 4.8.). Значения модулей упругости на пределе текучести грунта Еу и коэффициента т устанавливают экспериментально. На основании статистической обработки многочисленных экспериментальных данных [6, 12] значения  и т, для характерных грунтов зоны вечной мерзлоты приведены в табл. 4.7.

Таблица 4.7.

Значения модуля упругости грунтов

Грунт

т

Супеси

180

1,59

Суглинки и глины

106

2,40

5. КОНСТРУКЦИИ ЗЕМЛЯНОГО ПОЛОТНА И ТРЕБОВАНИЯ К ГРУНТАМ

5.1. Требования к грунтам земляного полотна

В рассматриваемых районах необходимая прочность и устойчивость земляного полотна в значительной мере зависят от качества грунтов, используемых для его возведения.

Исследования показали, что на марях и участках с высокой влажностью и льдонасыщенностью (мокрые места) земляное полотно предпочтительно отсыпать из несцементированных обломочных и песчаных грунтов (кроме пылеватых), а также водоустойчивых материалов и отходов промышленности (отходы дробильно-сортировочных заводов, металлургические шлаки, хорошо обожженные породы и др.).

В верхнюю часть насыпи допускается укладывать камни, размером ребра не более 30 см. При этом обязательны послойная по 30 - 40 см отсыпка и уплотнение грунтов катками на пневматических шинах, что способствует заполнению пространства между крупными камнями более мелкими фракциями материала и увеличению плотности насыпей.

 


Таблица 5.1.

Требования к глинистым грунтам земляного полотна

Часть насыпи

Глубина расположения слоя от низа дорожной одежды, м

 Покрытия капитальные

Покрытия усовершенствованные облегченные

Покрытия переходного и низшего типов

Тип местности по характеру поверхностного стока, степени увлажнения и мерзлотно-грунтовым условиям (см. табл. 3.2.)

1-й

2-й

3-й

1-й

2-й

3-й

1-й

2-й

3-й

Верхняя

до 1,5

Супеси легкие, суглинки лёгкие с содержанием пылеватых частиц не более 35% и глинистых не более 15%

Супеси легкие с содержанием пылеватых частиц не более 35% и глинистых 5%

Супеси легкие и суглинки легкие, суглинки и глины с содержанием пылеватых частиц не более 50% и глинистых не более 20%

Супеси и суглинки легкие с содержанием пылеватых частиц не более 35% и глинистых не более 15%

Супеси легкие и суглинки, суглинки и глины с содержанием пылеватых частиц не более 55% и глинистых не более 25%

Супеси легкие и суглинки легкие, суглинки и глины с содержанием пылеватых частиц не более 40% и глинистых не более 20%

Нижняя неподтапливаемая

1,5 - 6

Супеси легкие, суглинки легкие, суглинки тяжелые. и глины с содержанием пылеватых частиц не более 50% и глинистых не более 20%

Супеси легкие с содержанием пылеватых частиц не более 35% и глинистых более 5%

Супеси и суглинки легкие, суглинки и - глины с содержанием пылеватых частиц не более 55% и глинистых не более 25%

Супеси и суглинки легкие с содержанием пылеватых частиц не более 35% и глинистых не более 15%

Супеси и суглинки легкие, суглинки и глины с содержанием пылеватых частиц не более 60% и глинистых не более 20%

Супеси легкие и суглинки легкие, и глины с содержанием пылеватых частиц не более 40% и глинистых не более 25%

Нижняя подтапливаемая

1,5 - 6

 

Супеси легкие и суглинки легкие с содержанием пылеватых частиц не более 35% и глинистых не более 15%

 

Супеси легкие и суглинки легкие, суглинки и глины с содержанием пылеватых частиц не более 50% и глинистых не более 20%

Супеси и суглинки легкие, суглинки и глины с содержанием пылеватых частиц не более 35% и глинистых не более 15%

 

Супеси и суглинки легкие, суглинки и глины с содержанием пылеватых частиц не более 55% и глинистых не более 25%

Супеси и суглинки легкие, суглинки и глины с содержанием пылеватых частиц не более 40% и глинистых не более 20%

Примечания: 1. Коэффициент морозного пучения глинистых грунтов, отсыпаемых в верхнюю часть насыпи, не должен превышать 3%, а в нижнюю часть - 5%.

2. Степень засоленности глинистых грунтов, отсыпаемых в верхнюю часть насыпи, не должна превышать 0,25 г/см3 порового раствора, а в нижнюю часть - 0,5 г/см8.

 


На всех типах местности допускается применять и глинистые грунты, удовлетворяющие требованиям табл. 5.1.

Степень пригодности глинистых грунтов для сооружения земляного полотна устанавливают испытанием грунтовых проб и образцов, отобранных в карьерах и резервах, с определением зернового состава (ГОСТ 12536-67), влажности на границе раскатывания и текучести (ГOCT 6183-64, ГОСТ 5184-64), оптимальной влажности и максимальной плотности грунта (Инструкция по определению требуемой плотности и контроле за уплотнением земляного полотна автомобильных дорог. ВСН 55-69.- М.: Оргтрансстрой, 1969), объемного и удельного весов (ГОСТ 5182-64, ГОСТ 5181-64), засоленности грунта методом водной вытяжки, набухания по стандартной методике, коэффициента влагонакопления грунта.

Коэффициент влагонакопления Квлаг промерзающих глинистых грунтов должен быть не более значений, указанных в табл. 5.2.

На участках первого и второго типов местности (сухие и сырые места) применяют местные глинистые грунты с влажностью, не превышающей допустимую из условия уплотнения (табл. 5.3.).

Таблица 5.2

Значения коэффициента влагонакопления

Грунт

Допустимые значения

Супесь пылеватая

0,04

Суглинок легкий пылеватый

0,03

Суглинок тяжелый пылеватый

0,01

Таблица 5.3.

Значения допустимой влажности глинистых грунтов

Грунт

Wдоп (в долях оптимальной) при коэффициенте уплотнения

1,00 - 0,98

0,95

0,90

Супеси легкие

0,9 - 1,2

0,85 - 1,3

0,8 - 1,4

Суглинки легкие пылеватые и супеси пылеватые

0,9 - 1,15

0,85 - 1,25

0,8 - 1,35

Глины, суглинки тяжелые и суглинки тяжелые пылеватые

0,9 - 1,1

0,8 - 1,2

0,8 - 1,30

Глины пылеватые

0,9 - 1,05

0,9 - 1,15

0,8 - 1,2

Примечание. В табл. 5.2. и 5.3. приведены данные А.С. Плоцкого.

При более высоких значениях влажности должны быть предусмотрены мероприятия по заблаговременному осушению грунтов. Для определения степени увлажнения грунтов в сравнении с оптимальной, величина последней может быть установлена через предел текучести (легко определяемый как в лабораторных, так и в полевых условиях) по следующим зависимостям (А.О. Плоцкого);

супесь легкая - Wonm =  0,70 Wтек,

суглинок легкий пылеватый - Wопт = 0,60 Wтек;

суглинок тяжелый, глина пылеватая - Wопт = 0.55 Wтек.

Ориентировочные значения оптимальной влажности для характерных грунтов зоны вечной мерзлоты можно определять также по данным табл. 5.4.

Таблица 5.4.

Значения оптимальной влажности

Грунт

Оптимальная влажность, Wопт,%

Максимальная плотность при стандартном уплотнении, δсм, г/см3

Супесь легкая

15

1,85

Супесь пылеватая, суглинок легкий пылеватый

16

1,75

Суглинок тяжелый пылеватый

20

1,70

Суглинок тяжелый, глина

24

1,60

Примечание. В таблице приведены .данные А.С. Плоцкого

Местные глинистые грунты можно применять для возведения земляного полотка только при соблюдении требований к ним по гранулометрическому составу и в порядке послойной их укладки.

При большем содержании пылеватых и глинистых частиц, чем указано в табл. 5.1., грунты применяют для отсыпки лишь нижней части насыпи, а верхняя должна быть отсыпана из непылеватых грунтов на толщину не менее 0,8 - 1,0 м (считая от поверхности покрытия).

При получении необходимой прочности земляного полотна грунты должны быть уплотнены до требуемой плотности.

Наименьший коэффициент уплотнения грунтов в насыпях назначают в зависимости oт расположения слоя грунта в насыпи по высоте, типа покрытия и дорожно-климатического района (табл. 5.5.).

 


Таблица 5.5

Значения наименьшего коэффициента уплотнения грунта

Часть насыпи

Глубина расположения от низа  дорожной одежды, м

Районы I дорожно-климатической зоны

I1

I2

I3

Минимальные коэффициенты уплотнения земляного полотна Ку при типе дорожного покрытия

Капитал.

Облегч.

Переходн. к низшему

Капитальном

Облегч.

Переходн. к низшему

Капитальном

Облегч.

Переходн. к низшему

Верхняя

0 - 0,4

0,97 – 0,96

0,96

0,94

0,98 - 0,97

0,97

0,95

0,98 - 1,0

0,98

0,96

0,4 - 1

0,96 - 0,94

0,93

0,93

0,97 - 0,96

0,95

0,94

0,98 - 0,97

0,96

0,95

1 - 1,5

0,95 - 0,93

0,91

0,90

0,96 - 0,95

0,94

0,92

0,97 - 0,96

0,95

0,93

Нижняя неподтапливаемая

1,5 - 6

0,93 - 0,90

0,90

0,90

0,94 - 0,92

0,91

0,91

0,95 - 0,93

0,92

0,92

Нижняя подтапливаемая

1,5 - 6

0,96 - 0,93

0,93

0,92

0,97 - 0,94

0,94

0,93

0,98 - 0,95

0,95

 

Примечание. Большие значения Ку принимают для цементобетонных покрытий.

 

 


5.2. Конструкции земляного полотна

Как уже отмечалось, в рассматриваемой зоне проектирование плана трассы, продольного и поперечного профилей имеет ряд особенностей, обусловленных природно-климатическими и мерзлотно-грунтовыми условиями.

Наиболее экономично проектировать и строить дорогу по кратчайшему направлению между заданными грузообразующими пунктами, которому соответствует прямая линия. Однако в рассматриваемой зоне такому трассированию препятствуют не только элементы рельефа земной поверхности, встречающиеся в любых условиях (горы, овраги, реки, озера, болота), но и специфичные для вечной мерзлоты явления (бугры пучения, термокарстовые впадины, участки с солифлюкционными явлениями, наледями, меандрирующие озера, скопления массивов подземного льда, мари).

Основные технические нормы и требования по проектированию плана и продольного профиля автомобильных дорог изложены в специальной (СНиП-Д.5-72, ВСН) и учебной литературе [13, 14]. Особенности изысканий и проектирования дорог в районах вечной мерзлоты изложены в специальной инструкции, разработанной коллективом научных работников Омского филиала Союздорнии [11] с участием проф. Н.А. Пузакова (МАДИ) и проф. И.А. Золотаря (ВОЛАТТ).

Конструирование поперечных профилей земляного полотна базируется на принципах проектирования, изложенных в разделе 2. При этом большое значение придается назначению высоты земляного полотна и его ширины. Высоту земляного полотна следует назначать по теплотехническому расчету используя рекомендуемые методы расчета промерзания, протаивания грунтов и насыпей дорог, ширину земляного полотна, по расчету в зависимости от габаритов преобладающего типа машин, обращающихся по дорогам.

Обследования дорог, выполненные в течение 1964 - 1974 гг., показали, что в рассматриваемых районах автомобили большой грузоподъемностью составляют до 60%.

При ширине проезжей части 6 - 7 м проектная скорость движения (соответственно 40 - 60 км/ч) автомобилей не обеспечивается и, как показали наблюдения, снижается до 5 - 10 км/ч, что влечет за собой дополнительные эксплуатационно-транспортные издержки и нередко создает аварийную ситуацию, особенно при встречах с большегабаритными автомобилями.

Ширину полосы движения В2 для дороги с двусторонним движением определяют по формуле

где Кa - ширина кузова автомобиля, м; Ск – ширина колеи автомобиля, м; Va - расчетная скорость движения автомобиля, км.

Полученную по расчету ширину проезжей части следует округлить до 0,5 м. Ширина обочин назначается не менее 2,5 - 3 м с тем, чтобы обеспечить движение гусеничного транспорта по ним и стоянку автомобилей, так как устраивать объезды в рассматриваемой зоне практически невозможно, а зачастую недопустимо (при наличии льдонасыщенных грунтов деятельного слоя).

Если взять дорогу V категории с преобладающим движением автомобилей типа БелАЗ-540, то полученная ширина земляного полотна будет равняться 14 - 15 м.

Например, для автомобиля типа БелАЗ - 540

Тогда ширина земляного полотна

В = 2.В2 + 2.Об = 2.4,6 + 2.2,5 = 14,2 м.

Принимаем В = 14 м. При обочинах шириной 3 м соответственно В = 15 м.

5.2.1. Конструкции земляного полотна по первому принципу проектирования

Проектирование по первому принципу ведут на особо сложных по мерзлотно-грунтовым условиям участках (3-й тип местности) с низкотемпературной вечной мерзлотой на глинистых сильнопросадочных грунтах с влажностью выше предела текучести, когда оттаивание грунта основания не допускается, так как может привести к недопустимым деформациям и разрушению дорожной одежды.

При проектировании автомобильных дорог по принципу обеспечения мерзлого состояния грунтов основания земляное полотно конструируют в насыпях (безрезервный поперечный профиль) из несцементированных обломочных грунтов с обязательным сохранением в неразрушенном состоянии мохорастительного покрова в основании насыпи и на всей дорожной полосе (рис. 5.1, тип I).

В лесистой местности ширина просеки не должна превышать ширины основания насыпи. Для предохранения мохорастительного покрова от разрушения целесообразно предусматривать в нижней части насыпи прослойки из дренирующих грунтов мелких фракций (не крупнее 50 - 100 мм) толщиной 0,3 – 0,8 м (рис. 5.2., тип II).

При необходимости уменьшения высоты насыпи или наличии дешевых местных теплоизоляционных материалов в основание земляного полотна укладывают теплоизоляционные прослойки различной толщины (рис. 5.2, тип III) из местных строительных материалов, обладающих небольшим коэффициентом теплопроводности и достаточной прочностью (уплотненные мох и торф, нестроевая древесина, шлак и другие местные или привозные теплоизоляционные материалы).

Если высокие насыпи сооружают в две стадии, то на первой (зимней) стадии применяются только несцементированные обломочные грунты (рис. 5.3., типы IV и V), а на второй стадии (летней) допускаются глинистые грунты.

Рис. 5.1. Поперечный профиль насыпи на льдонасыщенном основании: 1 - несцементированный обломочный грунт; 2 - мохорастительный покров; 3 - верхняя граница вечной мерзлоты (ВГВМ) до постройки насыпи; 4 - ВГВМ после постройки насыпи

 

Рис. 5.2. Поперечные профили насыпи на льдонасыщенных грунтах: 1 - мохорастительный покров; 2 - защитный слой из дренирующего грунта мелких фракций; 3 – несцементированный обломочный грунт; 4 - термоизоляция из мха (назначается на основе теплотехнического расчета); 5 - ВГВМ до постройке насыпи; 6 - ВГВМ после постройки насыпи

В таких случаях верхняя часть насыпи отсыпается из щебеночного или гравийного материалов слоем не менее 0,5 м (см. рис. 5.3., тип IV).

На косогорных участках (не круче 1:5) земляное полотно проектируют в насыпи, иногда (на участках не положе 1:10) предусматривают полунасыпи-полувыемки. Во избежание нарушения мерзлотного режима местности, увеличения глубины оттаивания и снижения устойчивости сооружения уступы на косогоре не устраивают.

В низовой части откоса насыпи защищают от теплового воздействия основания присыпкой из мохоторфа или другого теплоизоляционного материала (например, пенопласта, полистирола и др.) (рис. 5.4., тип VI).

5.2.2. Конструкции земляного полотна по второму принципу проектирования

Проектирование по второму принципу ведут на сложных по мерзлотно-грунтовым условиям участках (2-й тип местности) с низкотемпературной вечной мерзлотой на глинистых и песчаных просадочных грунтах с влажностью менее предела текучести, когда прогнозируют оттаивание грунтов естественного основания с учетом допускаемых деформаций покрытия в процессе эксплуатации дороги.

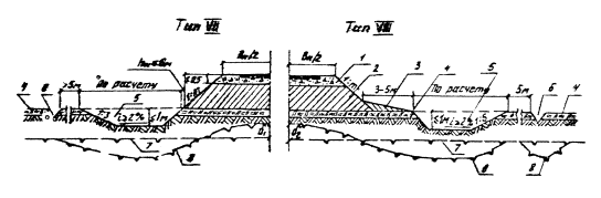
При проектирований автомобильных дорог по принципу ограничения глубины оттаивания грунтов основания, исходя из допустимых деформаций, земляное полотно конструируют в соответствия с поперечными профилями, приведенными на рис. 5.1. - 5.4. Допускается возводить земляное полотно из местных глинистых грунтов с закладкой сосредоточенных или притрассовых резервов (рис. 5.5., типы VII, VIII). При этом запрещается убирать или разрушать мохорастительный покров в основании насыпи.

Рис. 5.3. Поперечные профили насыпей на льдонасыщенном основании, отсыпаемых в две стадии: 1 - щебень или гравий по расчету на прочность (но не менее 0,5 м); 2 - глинистый грунт; 3 – несцементированный обломочный грунт; 4 – мохорастительный покров; 5 - ВГВМ до постройки насыпи; 6 - ВГВМ после постройки насыпи

Pис. 5.4. Поперечный профиль насыпи на льдонасыщенном косогоре крутизной менее 1:5; 1 - несцементированный обломочный грунт; 2. - мохорастительный покров; 3 - ВГВМ до постройки насыпи; 4 - ВГВМ после постройки насыпи; 5 - нагорный мерзлотный валик; 6 - укрепление бетонными плитами па слое мохоторфа; 7 - теплоизоляция из мха или торфа толщиной не менее 0,5 м; 8 - глинистый грунт толщиной 15 - 20 см; 9 - дренирующая присыпка

Рис. 5.5. Поперечные профили насыпи из местных глинистых грунтов: 1 - щебень или гравий по расчету на прочность (но не менее 0,5 м); 2 – глинистый грунт из притрассовых резервов; 3 - земляная берма; 4 - мохорастительный покров;. 5 - резерв; 6 - водоотводная канава; 7 - ВГВМ до постройки насыпи; 8 - ВГВМ после постройки насыпи

В случае маловлажных грунтов естественного основания и при небольшой высоте насыпи (до 1,5 м) резервы можно располагать непосредственно у подошвы насыпи (см. рис. 5.5., тип VII).

На сырых участках местности (II тип) целесообразно предусматривать между подошвой насыпи и внутренней бровкой резерва земляные бермы шириной 3 - 5 м. Поверхность бермы должна иметь уклон в сторону резерва (см. рис. 5.5., тип VIII).

На косогорных участках (круче 1:5) земляное полотно низовой части нужно поддерживать специальными подпорными стенками, предусматривая их заглубление в вечномерзлый грунт по расчету на выпучивание (рис. 5.6., тип IX).

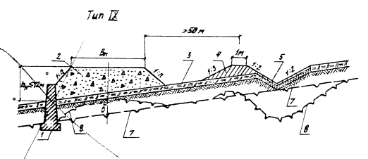
На затапливаемых участках и на подходах к мостам и другим искусственным вооружениям земляное полотно возводят из несцементированных обломочных грунтов. Бровка земляного полотна должна быть выше уровня расчетного горизонта воды на высоту волны с набегом на откос, но не менее 0,5 м. В случае низкого расчетного горизонта воды верхнюю часть насыпи можно отсыпать из глинистых грунтов. При этом высоту нижней части насыпи из несцементированных обломочных грунтов назначают по расчету (высота подпора вода плюс высота набега волны на широких поймах), во всех случаях она должна быть выше расчетного горизонта воды не менее чем на 0,5 м (рис 5.7., тип X).

Высокие насыпи на затопляемых участках конструируют в соответствии с рис. 5.8. (типы XI - XII).

5.2.3. Конструкции земляного полотна в выемках

Как отмечалось выше, выемку в зоне вечной мерзлоты допускается проектировать главным образом на участках местности с благоприятными грунтово-гидрогеологическими условиями (скальные, щебенистые и гравелистые грунты) при отсутствии линз и прослоек льда (рис. 5.9., тип XIII).

Рис. 5.6. Поперечный профиль насыпи на косогоре (круче 1:5): 1 - подпорная станка; - несцементированный обломочный грунт; 3 - мохорастительный покров; 4 - мерзлотный валик; 5 - укрепление бетонными плитами на слое из мохоторфа; 6 - нагорная водоотводная канава; 7 - ВГВМ до постройки насыпи; 8 - ВГВМ после постройки насыпи

Рис. 5.7. Поперечный профиль на затопляемом участке (насыпь высотой до 12 м, глубина воды на пойме до 4 м): 1 - щебень или гравий по расчету на прочность; 2 - глинистый грунт; 3 - несцементированный обломочный грунт; РГВ - расчетный горизонт воды (конструкция применима при глубине воды до 2 м); 4 - ВГВМ до постройки насыпи; 5 - ВГВМ после постройки насыпи

Рис. 5.8. Поперечный профиль насыпи на затапливаемой пойме (насыпь высотой до 12 м, глубина воды на пойме до 4 м); обозначения те же, что и на рис. 5.7.

В случае разработки выемок в сложных грунтово-гидрогеологических условиях (сырые места) их нужно проектировать с соответствующим обеспечением теплоизоляции откосов, заменой переувлажненных пылеватых грунтов песчаным или другим качественным материалом, с устройством в основании дорожной одежды морозозащитных слоев (рис. 5.10., тип XV).

Мелкие выемки раcкрывают или разделывают под насыпь для повышения их устойчивости и улучшения их снегонезаносимости (см. рис. 5,10., тип XV).

Во всех случаях должен обеспечиваться надежный водоотвод из выемки.

Толщину заменяемого в выемках грунта следует определять на основе теплотехнического расчета из условия обеспечения требуемой устойчивости дорожной конструкции.

В отдельных случаях при неблагоприятных грунтово-мерзлотных условиях следует устраивать закюветные полки шириной 1,5 - 2 м или уположение откосов выемки. Крутизну откосов выемок, устраиваемых в неблагоприятных гидрогеологических и мерзлотно-грунтовых условиях, следует назначать по индивидуальным проектам.

Рис. 5.9. Поперечный: профиль выемки в скальных грунтах: 1 - нагонная водоотводная канава; 2 - растительный слой; 3 - легковыветривающаяся скальная порода; 4 - невыветривающаяся скальная порода

Рис. 5.10. Поперечные профили в слабольдонасыщенных грунтах: 1 - щебень или гравий; 2 - глинистый грунт основания; 3 - укрепление бетонными плитами на слое мохоторфа; 4 - термоизоляция из мха по расчету; 5 - ВГВМ до устройства выемки; 6 - ВГВМ после устройства выемки; 7 - водоотводная канава; I : т и I : п - по расчету на снегозаносимость; 8 - мерзлотный валик

Рис.5.11. Поперечные профили земляного полотна на легкоосушаемых: грунтах: 1 - водоотводная канава; 2 - мохорастительный покров; 3 - резерв; 4 - глинистый легкоосушаемый грунт с примесью крупного песка, щебня или гравия; 5 - супесчаный грунт; 6 - ВГВМ до постройки насыпи; 7 - ВГВМ после постройки насыпи

5.2.4. Конструкция земляного полотна по третьему принципу проектирования

Проектирование по третьему принципу ведут на легкоосушаемых проселочных грунтах с влажностью менее предела текучести на участках высокотемпературной сплошное и островной вечной мерзлоты. Его применяют главным образом на сырых участках местности, когда предусматривается заблаговременное оттаивания вечномерзлых грунтов, осушение дорожной полосы и упрочнение грунтов основания за счет их предпостроечной осадки при оттаивании.

При проектирования автомобильных дорог по принципу обеспечения оттаивания и осушения грунтов основания с учетом допускаемых деформаций земляное полотно конструируют в насыпях (рис. 5.11. типа XVI, XVII). При этом необходимо не менее чем за год до начала основных работ расчистить дорожную полосу от леса и кустарника, сплошь снять мохорастительный покров в пределах дорожной полосы и устроить водоотводные канавы.

6. ОСОБЕННОСТИ ИЗЫСКАНИЙ АВТОМОБИЛЬНЫХ ДОРОГ

Рассмотрим особенности изысканий автомобильных дорог в районах вечной мерзлоты. Стадийность проектно-изыскательских работ (табл. 6.1.) устанавливают на основе технико-экономического обоснования строительства дороги (титула), для составления которого проводят экономические и рекогносцировочные изыскания.

 


Таблица 6.1.

Стадийность проектно-изыскательских и опытных работ

Стадия работ и представляемые документы

Стадии технических изысканий

Периоды изыскательских и опытных работ

Подразделения и организации, выполняющие работы

Организации, принимающие работы

Технико-экономическое обоснование строительства дорог

Рекогносцировочные изыскания

Подготовительный Полевой Камеральный

Комплексная экспедиция с применением аэрометодов (состав экспедиции № I по приложению 3). Дорожные и экономические отделы (группы) проектных организаций

Утверждающая инстанция

I стадия проектирования - технический проект строительства дорога

Подробные изыскания

Подготовительный Полевой Камеральный

Комплексная экспедиция № 2с применением аэрометодов (по приложению 3)

Комиссия под председательством автора проекта

Техническое задание на проектирование опытных участков с наблюдательными постами

То же

Организация наблюдательных постов

Заказчик и дорожная научно-исследовательская организация

Проектная организация

II стадия проектирования - рабочие чертежи строительства дороги

Предпостроечные изыскания

Полевой, Камеральный

Комплексная экспедиция (состав экспедиции 3 по приложению 3)

Заказчик и комиссия под председательством автора проекта

Рабочие чертежи строительства опытных участков

То же

Полевой, Камеральный

Проектная организация

Научно-исследовательская организация и заказчик

Строительство дороги - паспорта опытных участков и постов наблюдения

-

Строительство опытных участков

Заказчик, дорожно-строительные организации

Заказчик, научно-исследовательские и проектные организации

Эксплуатация дороги - регулярное заполнение паспортов опытных участков и постов наблюдения

-

Наблюдения на постах и опытных участках

Дорожно-эксплуатационные участки дорожных управлении

Дорожные управления и научно-исследовательские институты

 


Новые автомобильные дороги проектируют, как правило, в две стадии: проведением подробных изысканий для составления технического проекта дороги (TП) и предпостроечных изысканий для составления рабочих чертежей (РЧ).

При реконструкции дорог возможно одностадийное проектирование на основе подробных изысканий - технорабочий проект (ТРП),

На всех стадиях изысканий проводят мерзлотно-грунтовые исследования, объем и содержание которых должны быть достаточными для составления по каждому сооружению не менее двух (продольного и поперечного) мерзлотно-грунтовых разрезов, необходимых для разработки мероприятий, обеспечивающих устойчивость проектируемых сооружений.

Мерзлотно-грунтовые исследования предусматривают:

- предварительную оценку работ;

- подробную мерзлотно-грунтовую съемку;

- проходку разведочных скважин;

- полевые и лабораторные определения физико-механических свойств грунтов.

Для достоверности оценки топографических, мерзлотно-грунтовых и гидрогеологических условий местности изыскания автомобильных дорог проводят, как правило, в теплый период года; обследование наледных мест, бугров пучения и снегозаносимых участков - в зимнее время.

Инженерно-геологические, гидрогеологические обследования и мерзлотно-грунтовые исследования выполняют при технических изысканиях комплексной проектно-изыскательской экспедицией, оснащенной оборудованием в зависимости от стадии проектирования.

На основе результатов этих работ выявляют участки местности с наиболее благоприятными инженерно-геологическими, гидрогеологическими и мерзлотно-грунтовыми условиями для проложения трассы дopoги по наивыгоднейшему варианту.

Окончательные решения принимают на основе технико-экономических расчетов.

Изыскательские экспедиции и их отдельные партии обеспечивают (в зависимости от местных условий) самолетами, вертолетами, вездеходами, катерами и в отдельных случаях оленьими или собачьими упряжками, В течение всего периода изысканий экспедиционные группы должны иметь двустороннюю радиосвязь с базой экспедиции.

Объем изыскательских работ на каждой стадии корректируют в зависимости от сложности геологических, мерзлотно-грунтовых и топографических условий с учетом освоенности района изысканий, в том числе и наличия дорог.

Проектно-изыскательские работы разделяют, как правило, на подготовительные, полевые и камеральные,

В подготовительный период предусматривают сбор и изучение литературных фондовых материалов в проектных строительных и эксплуатационных организациях, в организациях гидрометеослужбы и геологических управлениях.

В полевой период выполняют все топографо-геодезические и инженерно-геологические работы.

В камеральный период систематизируют полученные в подготовительном и полевом периодах сведения, изучают результаты лабораторных и волевых анализов грунтов и строительных материалов, составляют подробную пояснительную записку с иллюстративно-графическими материалами: картами, планшетами, схемами, разрезами, продольными и поперечными профилями, фотоснимками отдельных мест и т.п.

Рекогносцировочные изыскания предусматривают выполнение инженерно-геологических обследований и мерзлотно-грунтовых исследований в объеме, необходимом для уточнения вариантов трассы, назначенных по карте и фондовым материалам.

Подробные изыскания предусматривают выполнение в полном объеме всех топографических работ, инженерно-геологических обследований и мерзлотно-грунтовых исследований для составления технического проекта, в котором дается окончательный вариант проложенной трассы, уточненный на особо сложных и недостаточно проработанных ранее участках.

При проведении рекогносцировочных и подробных технических изысканий широко применяются геофизические методы, аэрофотосъемка, аэровизуальное наблюдение и инженерно-геологическое дешифрование аэрофотоснимков.

При предпостроечных изысканиях, перед составлением рабочих чертежей, трассу восстанавливают на местности, закрепляют в плане и по высоте, уточняют гидрогеологические и мерзлотно-грунтовые условия на участках наиболее ответственных сооружений (места проектируемых малых искусственных сооружений, подходы к большим водотокам и перехода через них, площадки под линейные здания службы эксплуатации и т.п.).

Одной из главных особенностей проектно-изыскательских работ следует считать необходимость организации наблюдательных постов и опытных участков.

Организацию опытных участков, оборудование наблюдательных постов и проведение на них стационарных наблюдений и испытаний целесообразно начинать в период производства изыскательских работ и заканчивать при строительстве дороги (см. табл. 6.1.).

Стационарные наблюдения проводят с целью проверки правильности применяемых конструкций, способов производства работ, новых решений в области конструирования, расчета, эксплуатации сооружений, а также установления характера их взаимодействия с вечно- и сезонномерзлыми грунтами. Стационарные наблюдения проводят на специальных пунктах (постах), организуемых на опытных конструкциях, а также на характерных участках эксплуатируемых автомобильных дорог.

В программу наблюдений входит круглогодичное систематическое изучение: а) теплового режима грунтов земляного полотна и естественного основания (температуры, глубины и скорости промерзания и оттаивания); б) водного режима грунтов земляного полотна и естественного основания (влажности, источников увлажнения); в) пучения и осадки грунтов земляного полотна и дорожных покрытий; г) прочности и деформативности грунтов земляного полотна и естественного основания (модуля упругости, сцепления и угла внутреннего трения); д) метеорологических условий (температуры воздуха, осадков, ветра, времени установления и схода снегового покрова).

Наблюдательные посты оборудуют после подробного изучения климатических, мерзлотно-грунтовых и гидрогеологических условий местности, конструктивных особенностей участка дороги и составляют специальный паспорт.

6.1. Температурный (мерзлотный) режим грунтов

Наблюдения за температурой, глубиной и скоростью промерзания и оттаивания грунтов, осуществляют с помощью жидкостных (ртутных, спиртовых) термометров, а также электрических термометров сопротивления.

Жидкостные термометры применяют, как правило, при измерениях температуры грунтов в шурфах и буровых скважинах, а электрические термометры сопротивления - в скважинах.

Температуру фиксируют на глубине 0,2; 0,4; 0,8; 1,2; 1,6; 2; 2,5; 3 м; от 3 до 10 м - через каждый метр, а глубже 10 м - через 5 м. На глубинах до 3 м измеряют температуру четыре раза в сутки, до 10 м - один раз в сутки, глубже 10 м - один раз в месяц.

Схема заложения термометров и влагомеров на наблюдательном посту представлена в табл. 6.1.

Результаты измерений температуры заносят в журнал наблюдений.

Рис. 6.1. Схема заложения, датчиков на наблюдательном посту; 1 - измерительная вертикаль по оси дороги; 2 -  то же на обочине; 3 - то же посередине кювета; 4 - го же на границе полосе отвода; (+) - термометры; (-) - влагомеры; б - пост наблюдения

6.2. Наблюдение за осадкой (пучением) грунтов земляного полотна и дорожных покрытий

Пучение (осадку) фиксируют путем нивелирования специальных марок (маяков). На участках автомобильных дорог с капитальными и облегченными покрытиями применяют закрепленные в покрытиях стержни со шляпкой, имеющей сферическую поверхность или специальную выточку для установки на ней рейки.

Марки для наблюдения за осадкой (пучением) грунтов основания земляного полотна изготовляют из металлического листа толщиной 3 - 4 мм размерами 30×30 или 40×40 см и диаметром стержня 10 - 16 мм, приваренного по центру листа. Высота стержня должна быть на 10 см меньше высоты насыпи в точке установления.

Нивелировочной основой является мерзлотный репер, устанавливаемый в придорожной полосе (см. рис 6.2.).

Рис 6.2. Конструкция мерзлотного репера: 1 - деревянный короб; 2 - торф или мох; 3 - грунт; 4 - заглушка; 5 - стержень репера в вечномерзлом грунте; 6 - глинистый раствор; 7 - засыпка песком; 8 - заполнение солидолом; 9 - труба

6.3. Определение модуля упругости мерзлых и оттаивающих грунтов в полевых условиях

Модуль упругости мерзлых и оттаивающих грунтов земляного полотна и соответственного основания в зоне вечной мерзлоты определяют посредством пробных нагружений грунта с помощью передвижного пресса. Испытания проводят с помощью специального пресса или более простого оборудования, состоящего из гидравлического (или механического) домкрата, манометра, набора штампов разных диаметров и индикаторов для замера осадок штампа.

Домкрат упирают в раму груженого автомобиля или прицепа. Применяемая для испытания установка должна иметь мощность, достаточную для нагружения грунта нагрузками, превышающими расчетные.

Осадки штампа замеряют гремя индикаторами, установленными на равном расстоянии от центра штампа и друг от друга (под углом 120о). На основании этих данных вычисляют упругую деформацию при каждой ступени нагрузки штампа и строят зависимость величины деформации от удельного давления. Имея значения упругой деформации при каждой степени удельной нагрузки Р, по формуле вычисляют величину модуля упругости

где Р - удельная нагрузка (кгс/см2), под действием которой установлена величина отразимой упругой деформации ly (см); D - диаметр жесткого штампа, cм;

μ - коэффициент Пуассона, равный 0,2 - 0,3;

 - поправочный коэффициент, учитывающий использование жесткого штампа.

ЛИТЕРАТУРА

1. Земляное полотно автомобильных дорог в северных условиях / Под ред. А.А. Малышева. М., Транспорт, 1974. - 288 с.

2. Справочник по строительству на вечномерзлых грунтах / Под ред. Ю.Я. Велли, В.И. Докучаева, Н.Л. Федорова. - Л.; Стройиздат, 1977.- 652 с.

3. Давыдов В.А. Дорожно-климатическое районирование зоны вечной мерзлоты для целей транспортного строительства. - В кн: Методика инженерно-геологических исследований и картирования области вечной мерзлоты. Вып. 3. Якутск, Якутское кн. изд-во, 1977, с. 29-30.

4. Малышев А.А. Нужны нормативы проектирования дорог для первой климатической зовы. Автомобильные дороги, 1969, № 8, с.27-28.

5. Давыдов В.А. Особенности работы автомобильных дорог в условиях Забайкалья. - В кн.; Проблемы строительства в условиях Забайкалья. Материалы к Первой научно-производственной конференции по строительству. Вып.1. Чита, Забайкальский филиал географического общества СССР, 1967. - 146 с.

6. Давыдов В.А. Оценка прочности грунтов земляного полотна и дорожных покрытий переходного типа в I дорожно-климатической зоне. - В кн.: Материалы Всесоюзной межвузовской научно-технической конференции по прочности дорожных одежд. Харьков, 1968, с.130-132, с.172,

7. Давыдов В.А., Пузаков Н.А. Расчет прочности дорожных конструкций в условиях вечной мерзлоты. - В кн.: Строительство на вечномерзлых грунтах: Материалы V Всесоюзного совещания-семинара по строительству в суровых климатических условиях, Том VII, вып.1. Красноярск, 1988, c.86-68,

8. Пузаков Н.А. Водно-тепловой режим земляного полотна автомобильных дорог. - M.: Автотрансиздат, 1960, с.166.

9. Золотарь И.А. Водно-тепловой режим земляного полотна и дорожных одежд. - М.: Транспорт, 1971, с.415.

10. Минтрансстрой / ВСН 46-72. Инструкция по проектированию конструкций дорожных одежд нежесткого типа. - М.: Транспорт, 1973. - 113 с.

11. РСН 31-69, Госстрой РСФСР. Указания по производству инженерно-геологических изысканий в районах распространения вечномерзлых грунтов. М.; ЦТИСИЗ, 1970, с.102.

12. Давыдов В.А. Расчетные прочностные и деформативные показатели грунтов земляного полотна автомобильных дорог для центрального района строительства БАМа. - В кн. 5 Современные направления развития и совершенствования оснований и фундаментов в транспортном, промышленном и гражданском строительстве: Тезисы докладов зональной научно-технической конференции. Хабаровск, ХПИ, 1976, 15-16.

13. Бабков В.Ф., Андреев О.В. Проектирование автомобильных дорогу. - М.: Транспорт, 1979, ч.I, II с.307,407.

14. Справочник инженера-дорожника: Изыскания и проектирование автомобильных дорог / Под ред. О.В. Андреева. - М.; Транспорт, 1977. - 569 с.




Яндекс цитирования



   Copyright © 2007-2026,  www.tehlit.ru.

[ ѓосты, стандарты, нормативы, инструкции, правила, строительные нормы ]