//
ТехЛит.ру
- крупнейшая бесплатная электронная интернет библиотека для "технически умных" людей.
WWW.TEHLIT.RU - ТЕХНИЧЕСКАЯ ЛИТЕРАТУРА

:: Алготрейдинг::


АЛГОТРЕЙДИНГ
шаг за шагом
с нуля по урокам!

Торговые роботы на PYTHON, BackTrader,
Pandas, Pine Script для TradingView. Связка с брокерами, телеграм и легкими приложениями.


МИНИСТЕРСТВО ТРАНСПОРТНОГО СТРОИТЕЛЬСТВА
ВСЕСОЮЗНЫЙ НАУЧНО-ИССЛЕДОВАТЕЛЬСКИЙ ИНСТИТУТ ТРАНСПОРТНОГО СТРОИТЕЛЬСТВА

УТВЕРЖДАЮ

Зам. директора института

Г.Д. ХАСХАЧИХ

7 сентября 1982 г.

РЕКОМЕНДАЦИИ
ПО ПРИМЕНЕНИЮ УГЛЕРОДИСТЫХ АРМАТУРНЫХ СТАЛЕЙ В ЖЕЛЕЗОБЕТОННЫХ КОНСТРУКЦИЯХ МОСТОВ И ТРУБ СЕВЕРНОГО ИСПОЛНЕНИЯ

Согласованы Главным техническим управлением

Москва 1982

СОДЕРЖАНИЕ

ПРЕДИСЛОВИЕ

1. ОБЩИЕ ПОЛОЖЕНИЯ

2. УСЛОВИЯ И ОБЛАСТЬ ПРИМЕНЕНИЯ УГЛЕРОДИСТОЙ АРМАТУРНОЙ СТАЛИ В АВТОДОРОЖНЫХ И ГОРОДСКИХ МОСТАХ И ТРУБАХ

3. УСЛОВИЯ И ОБЛАСТЬ ПРИМЕНЕНИЯ УГЛЕРОДИСТОЙ АРМАТУРНОЙ СТАЛИ В ЖЕЛЕЗНОДОРОЖНЫХ МОСТАХ И ТРУБАХ

4. УКАЗАНИЯ ПО РАСШИРЕНИЮ ОБЛАСТИ ПРИМЕНЕНИЯ УГЛЕРОДИСТОЙ АРМАТУРНОЙ СТАЛИ В ЖЕЛЕЗОБЕТОННЫХ КОНСТРУКЦИЯХ СЕВЕРНОГО ИСПОЛНЕНИЯ

5. КОНСТРУКТИВНО-ТЕХНОЛОГИЧЕСКИЕ ТРЕБОВАНИЯ

Приложение 1 КОНСТРУКЦИИ, ЭЛЕМЕНТЫ И ДЕТАЛИ ЖЕЛЕЗОБЕТОННЫХ МОСТОВ И ТРУБ СЕВЕРНОГО ИСПОЛНЕНИЯ, В КОТОРЫХ ДОПУСКАЕТСЯ ПРИМЕНЕНИЕ АРМАТУРНЫХ СТАЛЕЙ КЛАССА А-II МАРОК ВСт5сп2 И ВСт5пс2 (согласно пп. 4.1 и 4.3)

Приложение 2 МАКСИМАЛЬНЫЕ ГЛУБИНЫ ПРОНИКАНИЯ ТЕМПЕРАТУР МИНУС 40°С В ЖЕЛЕЗОБЕТОННУЮ ПЛИТУ, м, ЗА 5 СУТОК ПРИ ПОСТОЯННОЙ ТЕМПЕРАТУРЕ ТВ НА НАРУЖНОЙ ОТКРЫТОЙ ПОВЕРХНОСТИ ПЛИТЫ

Приложение 3 ПЕРЕЧЕНЬ ДЕЙСТВУЮЩИХ НОРМАТИВНЫХ И МЕТОДИЧЕСКИХ ДОКУМЕНТОВ ПО ПРИМЕНЕНИЮ УГЛЕРОДИСТЫХ АРМАТУРНЫХ СТАЛЕЙ 

ПРЕДИСЛОВИЕ

Настоящие Рекомендации разработаны в развитие постановления Коллегии Минтрансстроя от 23.03.81 г. (протокол № 9) о замене низколегированных сталей менее дефицитным прокатом.

В Рекомендациях уточняются положения, касающиеся стали марки BCт5сп, изложенные в "Информационном письме по применению углеродистой стали в железобетонных конструкциях мостов и труб северного исполнения" (М., ЦНИИС, 1981). В них также даны разъяснения отдельных положений действующих норм, вызывающих у проектировщиков и строителей неоднозначное толкование по использованию арматурных сталей.

Рекомендации разработаны кандидатами техн. наук В.А. Балючиком, Л.В. Захаровым и инж. Л.И. Коротковым (ЦНИИС). В уточнении отдельных положений принимали участие инж. Г.С. Коледа (Главное техническое управление) В.Б. Семенов (Гипротрансмост), Л.Н. Подольцев (Главмостострой).

Зав. отделением искусственных сооружений

К.С. Силин

1. ОБЩИЕ ПОЛОЖЕНИЯ

1.1. Условия и область применения углеродистых арматурных сталей в железобетонных конструкциях мостов и труб северного исполнения регламентируются главой СНиП II-Д.7-62 х с учетом изменений, введенных в действие постановлением Госстроя СССР № 112 от 20 июля 1971 г., "Указаниями по проектированию железобетонных и бетонных конструкций железнодорожных, автодорожных и городских мостов и труб" (СН 355-67) и разработанными в их развитие "Инструкцией по проектированию и строительству железобетонных и бетонных конструкций железнодорожных мостов и труб северного исполнения" (ВСН 151-78), "Указаниями по проектированию и строительству железобетонных и бетонных конструкций автодорожных и городских мостов и труб, предназначенных для эксплуатации в условиях низких температур (северное исполнение)" (ВСН 155-69), "Рекомендациями по применению углеродистой стержневой полуспокойной арматурной стали классов A-I и А-II в железобетонных конструкциях железнодорожных мостов" и "Рекомендациями по применению углеродистой стержневой полуспокойной арматурной стали классов A-I и А-II в железобетонных конструкциях автодорожных и городских мостов", постановлениями Госстроя СССР от 12.05.75 г. № HK 2095-1 и от 21.05.81 г. № АБ-2960-1 [1 - 9].

1.2. К конструкциям северного исполнения следует относить сооружения, предназначенные для эксплуатации на территории с расчетной температурой воздуха ниже минус 40°С.

1.3. В соответствии с действующими нормами (СНиП II-Д.7-62х с Изменением согласно постановлению Госстроя СССР от 20.07.71 г., приведенным в "Бюллетене строительной техники", 1971 г., № 10) за расчетную температуру следует принимать среднюю температуру воздуха наиболее холодных суток по данным главы СНиП "Строительная климатология и геофизика".

1.4. В железобетонных конструкциях арматурная сталь может быть расчетной и нерасчетной.

Нерасчетной следует считать арматурную сталь, которая не учтена в проекте конструкций в расчетах на прочность, трещиностойкость, выносливость и используется в виде сварных или вязаных каркасов, сеток или отдельных стержней.

1.5. Расчетам на выносливость подлежат железобетонные элементы, подвергающиеся воздействию железнодорожного подвижного состава, за исключением фундаментов, массивных опор и труб (в зависимости от глубины засыпки). В железобетонных элементах, рассчитываемых на выносливость, может быть арматурная сталь, которую не рассчитывают на выносливость (сжатая арматура, арматура, поставленная по условиям транспортировки, хомуты железнодорожных пролетных строений мостов, хомуты свай, ригелей и др.).

1.6. Для монтажных (подъемных) петель следует использовать арматурную сталь класса А-II марки ВСт3сп2 и класса А-II марки 10ГТ.

1.7. В железобетонных конструкциях мостов и труб северного исполнения применять импортные арматурные детали запрещается.

1.8. При определении области и условий применения углеродистых арматурных сталей классов A-I и А-II различных марок рекомендуется руководствоваться приведенной ниже таблицей.

1.9. Во всех случаях применения арматурных сталей (в вязаных или сварных каркасах и сетках) допускаются сварные стыковые соединения в соответствии с указаниями СН 365-67.

2. УСЛОВИЯ И ОБЛАСТЬ ПРИМЕНЕНИЯ УГЛЕРОДИСТОЙ АРМАТУРНОЙ СТАЛИ В АВТОДОРОЖНЫХ И ГОРОДСКИХ МОСТАХ И ТРУБАХ

2.1. В конструкциях автодорожных и городских мостов и труб, которые эксплуатируются или подвергаются загружению на стадии производства работ при расчетных отрицательных температурах ниже минус 40°C, допускается применять арматурную сталь класса A-I марок BCт3сп2, ВСт3пс2 и ВСт3Гпс2 в качестве расчетной ненапрягаемой арматуры:

сталь марки ВСт3сп2 диаметром 6 - 40 мм как в вязаных, так и в сварных каркасах и сетках;

сталь марок ВСт3пс2 и ВСт3Гпс2 диаметром 6 - 10 мм (катанка) во всех конструкциях, за исключением хомутов пролетных строений, и только в вязаных каркасах и сетках.

2.2. Арматурную сталь класса А-II марки ВСт5сп2 допускается применять в конструкциях автодорожных и городских мостов и труб, которые эксплуатируются или загружаются на стадии производства работ при расчетной отрицательной температуре от минус 40°С до минус 55°С в качестве расчетной ненапрягаемой арматуры только в вязаных каркасах и сетках, если динамический коэффициент не более 1.1.

 


Перечень применяемых расчетных углеродистых арматурных сталей в железобетонных конструкциях мостов и труб в зависимости от характера нагрузок и температурных воздействий

Ненапрягаемая стержневая горячекатаная арматурная сталь

Диаметр стержней, мм

Документы, регламентирующие качество стали

Арматура, рассчитываемая

на прочность

на прочность я выносливость

вид

класс

марка по действующим государственный стандартам

 

 

 

 

при температуре

до -30°С включительно

до -40°С включительно

ниже -40°С

до -30°С включительно

до -40°С включительно

ниже -40оС

Гладкая

A-I

ВСт3сп2

6 - 40

ГОСТ 5781-75 и ГОСТ 380-71х

+

+

+

+

+

+3

ВСт3пс2

6 - 10

+

+

+1

+

+1

-

ВСт3сп2

12 - 16

+

+1

-

+

+1

-

ВСт3пс2

18 - 40

+

+1

-

+I

-

-

ВСт3Гпс2

6 - 10

+

+

+1

+

+1

-

ВСт3Гпс2

12 - 16

+

+1

-

+

+1

-

ВСт3Тпс2

18

+

+1

-

+1

-

-

ВСт3кп2

6 - 10

+

+

-

-

-

-

Ст3сп3

6 - 10

+

+

-

-

-

-

Ст3пс3

6 - 10

+

+

-

-

-

-

Ст3кп3

6 - 10

+

+

-

-

-

-

Периодического профиля

А-II

ВСг5сп2

10 - 40

+

+

+125

+125

+

-

ВСт5пс2

10 - 16

+

+1

+

+

+1

-

BСт5пс2

18 - 404

+

-

-

+1

-

-

Примечание: Полуспокойную аппаратную сталь марок ВCт5пс2, ВСт3Гпс2 и ВСт3пс2 в железобетонных конструкциях пролетных строений допускается применять диаметром не более 16 мм при расчете на выносливость и не более 20 мм при расчете на прочность.

+ допускается; - не допускается;

1 - только в вязаных каркасах и сетках;

2 - кроме хомутов и арматуры, работающей на сжатие в пролетных строениях железнодорожных мостов;

3 - только диаметром 6 - 10 мм;

4 - в конструкциях пролетных строений железнодорожных мостов не допускается:

5 - если динамический коэффициент не более 1,1.

 


2.3. Арматурную сталь класса А-II марок ВСт5сп2 и ВСт5пс2, класса A-I марок ВСт3сп2, ВСт3Гпс2 и ВСт3пс2 допускается применять без ограничений в конструкциях северного исполнения в качестве нерасчетной арматуры.

2.4. Арматурную сталь класса А-II марки ВСт5пс2 запрещается применять в качестве расчетной арматуры в конструкциях автодорожных и городских мостов и труб, эксплуатируемых или загружаемых на стадии производства работ при расчетных отрицательных температурах ниже минус 40°С.

3. УСЛОВИЯ И ОБЛАСТЬ ПРИМЕНЕНИЯ УГЛЕРОДИСТОЙ АРМАТУРНОЙ СТАЛИ В ЖЕЛЕЗНОДОРОЖНЫХ МОСТАХ И ТРУБАХ

3.1. В конструкциях железнодорожных мостов, которые эксплуатируются или подвергаются загружению на стадии производства работ при расчетных отрицательных температурах ниже минус 40°С, допускается применять арматурную сталь класса A-I марок ВСт3сп2, ВСт3пс2 и ВСт3Гпс2 диаметром 6 - 10 мм в качестве расчетной ненапрягаемой арматуры:

сталь марки ВСт3сп2 во всех конструкциях, за исключением хомутов пролетных строений;

сталь марок ВСт3пс2 и ВСт3Гпс2 во всех конструкциях, за исключением хомутов пролетных строений, в вязаных каркасах и сетках.

3.2. Арматурную сталь класса А-II марки ВСт5сп2 допускается применять в конструкциях железнодорожных мостов и труб, эксплуатируемых или загружаемых на стадии производства работ при расчетной температуре от минус 40°С до минус 55°С, в качестве расчетной ненапрягаемой арматуры только в вязаных каркасах и сетках, если она согласно указаниям СН 365-67 не подлежит расчету на выносливость,

3.3. Арматурную сталь класса А-II марки ВСт5сп2 запрещается применять в качестве хомутов и для арматуры, работающей на сжатие в пролетных строениях железнодорожных мостов северного исполнения.

3.4. Арматурную сталь класса А-II марки ВСт5пс2 запрещается использовать в качестве расчетной арматуры в конструкциях железнодорожных мостов и труб, эксплуатируемых или загружаемых на стадии производства работ при расчетной температуре ниже минус 40°С.

3.5. Арматурную сталь класса A-I марок ВСт3сп2, ВСт3Гпс2 и BСт3пс2 и класса А-II марок ВСт5сп2 и ВСт5пс2 разрешается применять без ограничений в конструкциях железнодорожных мостов и труб наварного исполнения в качестве нерасчетной арматуры»

4. УКАЗАНИЯ ПО РАСШИРЕНИЮ ОБЛАСТИ ПРИМЕНЕНИЯ УГЛЕРОДИСТОЙ АРМАТУРНОЙ СТАЛИ В ЖЕЛЕЗОБЕТОННЫХ КОНСТРУКЦИЯХ СЕВЕРНОГО ИСПОЛНЕНИЯ

4.1. В развитие глав 2 и 3 настоящих рекомендаций углеродистые арматурные стали класса А-II марок ВСт5сп2 и ВСт5пс2 допускается применять в качестве расчетной арматуры в элементах конструкций мостов и труб северного исполнения, которые не подвергаются при эксплуатации или загружении на стадии производства работ воздействию расчетных температур ниже минус 40°С.

4.2. Рекомендуемый перечень конструкций элементов и деталей железобетонных мостов и труб северного исполнения, армирование которых может быть выполнено углеродистыми сталями класса А-II марок ВСт5сп2 и ВСт5пс2, приведен в приложении 1.

4.3. Разрешается также применение арматурных сталей класса А-II марок ВСт5сп2 и ВСт5пс2 в качестве расчетной арматуры в элементах конструкций, мостов и труб северного исполнения, которые имеют достаточную степень защищенности от воздействия температуры воздухе ниже минус 40°С (п. 2.3 дополнений к СНиП II-Д.7-62х).

4.4. Величину заглубления элементов конструкций мостов и труб, указанных в графе 2 приложения 1, или назначение вида их защиты от воздействия температур ниже минус 40оC необходимо обосновывать соответствующими теплотехническими расчетами [10, 11].

4.5. Нормативные колебания температуры для проведения теплотехнических расчетов необходимо принимать в зависимости от изотерм соответствующих месту расположения сооружения.

4.6. При расчете распределения температур в вечномерзлом грунте (для назначения заглубления элементов конструкций мостов и труб в зависимости от нормативной температуры наружного воздуха) рекомендуется использовать условный обобщенный график (рис. 1)х).

х) График предложен канд. техн. наук Н.А. Цукановым (отделение ВМ ЦНИИСа).

Рис. 1. Условный обобщенный график распределения температур по глубине вечномерзлого грунта при односуточном и пятисуточном понижений температуры воздуха:

___ при ТВ минус 60°С; ---- при ТВ минус 50°С; -×-×- при ТВ минус 45°С

4.7. Для условий сезонного промерзании грунтов распределение температур в зависимости от нормативной температуры наружного воздуха и глубины промерзания грунта следует определять по схеме, приведенной на рис. 2.

Глубина промерзания грунта принимается согласно СНиПу или вычисляется по Методическим рекомендациям [12].

4.8. Величину заглубления конструкции или ее элементов, полученную по распределению температуры в грунте, необходимо проверить расчетом на проникание температуры ниже минус 40°С по материалу конструкции от ее открытой поверхности.

4.9. В тех случаях, когда требуемый температурный режим (не ниже минус 40°С) в зоне расположения арматуры не обеспечивается при нормативной температуре наружного воздуха, следует изменить заглубление или защитить теплоизоляцией открытую поверхность конструкции (например, в виде слоя асфальтокерамзитбетона).

Рис. 2. Схема распределения температуры по глубине грунта (для условий сезонного промерзания), Trpi - температура грунта в i-м слое

При подборе параметров теплоизоляционного покрытия следует руководствоваться данными приложения 2 или произвести специальные расчеты.

5. КОНСТРУКТИВНО-ТЕХНОЛОГИЧЕСКИЕ ТРЕБОВАНИЯ

5.1. При защите железобетонных конструкций от воздействия низких температур грунтом необходимо:

обсыпку производить грунтом, не подверженным при промерзании пучению;

подошву ростверка (плит) свайных фундаментов заглублять не менее 1 м ниже дневной поверхности или на расчетную глубину согласно пп. 4.4 - 4.9 настоящих Рекомендаций;

грунт по периметру конструкции укладывать послойно с уплотнением;

в случае укладки грунта без уплотнения заглублять подошву свайного ростверка не менее чем на 1,5 м.

запретить защиту конструкций от воздействия низких температур крупнопористым обломочным грунтом и каменной обсыпкой.

В случае обсыпки конуса устоя слоем крупнообломочного сортированного материала из скальных пород последний следует размещать над поверхностью конуса, отсыпанного из песчаного грунта (рис. 3).

5.2. Стыкование стержневой арматуры в конструкциях сварного исполнения (соединения стержней по длине) рекомендуется выполнять сварными стыками всех типов согласно требованиям пп.5.29, 5.32, 5.33 СН 365-67, как для конструкций обычного исполнения.

Примечание. Пункт 5.33 СН 365-67 следует применять в уточненной редакции: "В растянутых зонах элементов сварные стыки заводские и монтажные следует располагать вразбежку, но не ближе 50 см друг от друга и не в местах наибольших усилий. При этом в элементах, подлежащих расчету на выносливость, количество стыков заводского изготовления в одном сечении не должно превышать 25 % от общего количества стержней главной арматуры в данной сечении" ("Бюллетень строительной техники", 1969, № 11).

5.3. Допускается выполнение сварных стыков арматурных стержней из сталей различных классов, марок (например, стержни из стали марки 10ГТ приваривать к стержням из стали марки 25Г20) и диаметров, с предъявлением требований к стыку по худшей прочности и свариваемой стали согласно СН 393-78 [13] и с учетом п.3.32 СН 365-67.

5.4. Сварку пересекающихся стержней при изготовлении сеток и каркасов, приварку наклонных стержней, подкладок и т.д. рекомендуется производить с соблюдением требований п.п. 5.30, 5.31 СН 365-67, как для конструкций обычного исполнения.

5.5. Монтажную сварку арматуры и стальных закладных деталей железобетонных конструкций следует производить при температуре воздуха не ниже минус 30°С для сталей класса A-I марки Ст3 и не ниже минус 20°С для всех других сталей с учетом пп. 4.94 - 4.99 СН 393-78, а также п. 5.4 ВСН 151-78.

При более низких температурах окружающего воздуха должны применяться меры по обогреву рабочего места сварщика.

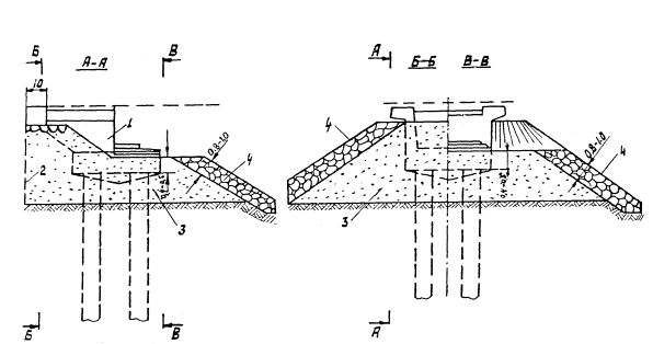
Рис. 3. Схема обсыпки конуса насыпи столбчатого устоя камнем:

1 - устой; 2 - граница обсыпки; 3 - конус насыпи; 4 - каменная обсыпка

Приложение 1
КОНСТРУКЦИИ, ЭЛЕМЕНТЫ И ДЕТАЛИ ЖЕЛЕЗОБЕТОННЫХ МОСТОВ И ТРУБ СЕВЕРНОГО ИСПОЛНЕНИЯ, В КОТОРЫХ ДОПУСКАЕТСЯ ПРИМЕНЕНИЕ АРМАТУРНЫХ СТАЛЕЙ КЛАССА А-
II МАРОК ВСт5сп2 И ВСт5пс2 (согласно пп. 4.1 и 4.3)

№ п/п

Конструкции и элементы

Примечание

 

A. Устои

 

1

Фундаменты на естественном основании, бетон и грунт на уровне обреза которых .имеет температуру на ниже минус 40°С

Величина заглубления от уровня дневной поверхности грунта может быть уточнена теплотехническими расчетами (см. рис. 1 и 2) или назначена не менее 1 м до обреза без расчета (см. пп. 4.3 - 4.9)

2

Свайное или столбчатое основание высоких и низких свайных ростверков: плита ростверка и столбы или сваи при обеспечении в них температуры минус -40°C и выше

то же

3

Обсыпные устои с обсыпкой дренирующими или гравийно-песчаными грунтами: средние и крайние по отношению к насыпи стойки и столбы [14, 15]

-

4

Массивные монолитные и сборно-монолитные устои: контурные блоки и в качестве нерасчетной арматуры тела или ядра и прокладников

-

5

Части железобетонных устоев, находящихся в теле насыпи и имеющих температуру не ниже минус 40°С

.-

 

Б. Промежуточные опоры

 

6

Фундаменты на естественном основании и опускные колодцы при обеспечении их расчетной температуры на ниже минус 40°С

Величина заглубления от уровня дневной поверхности грунта или межени может быть уточнена теплотехническими расчетами (см. рис. 1 и 2) или назначена на менее 0,5 м до обреза без расчета (см. пп. 4.3 - 4.9)

7

Фундаменты в виде низких свайных ростверков; сваи и столбы при обеспечении их расчетной температуры  на нижа минус 40°С

-

8

Фундаменты в виде высоких свайных ростверков: сваи и столбы при обеспечении их расчетной температуры не ниже минус 40°С

Величина заглубления от уровня дневной поверхности грунта или межени может быть уточнена теплотехническими расчетами (см. рис. 1 и 2) или назначена на менее 1 м до подошвы плиты без расчета (см. пп. 4.3 - 4.9)

9

Безростверковые опоры из столбов и оболочек - нижние звенья (ниже низкой межени на менее 1 м)

то же

10

Массивные опоры в качества нерасчетной арматуры контурных блоков, тела ядра и прокладников

-

 

В. Водопропускные трубы

-

11

Водопропускные трубы отверстием 1,5 м: средние части (за исключением трех звеньев от конца трубы) при обеспечении четкой маркировки всех элементов трубы и строгом соблюдении порядка установки звеньев

-

Примечания: 1. При определении расчетных температур грунта за расчетную отметку грунта в устоях следует считать поверхность конуса насыпи, в промежуточных опорах - поверхность ледостава или грунта (вне русловой части) с учетом размыва.

Температуру на этих отметках рекомендуется принимать согласно требованиям главы СНиП "Строительная климатология и геофизика" или по материалам управлений гидрометеорологической службы с учетом п. 4.4.

2. Диаметры стержневой арматуры назначаются согласно требованиям таблицы настоящих Рекомендаций.

Приложение 2
МАКСИМАЛЬНЫЕ ГЛУБИНЫ ПРОНИКАНИЯ ТЕМПЕРАТУР МИНУС 40°С В ЖЕЛЕЗОБЕТОННУЮ ПЛИТУ, м, ЗА 5 СУТОК ПРИ ПОСТОЯННОЙ ТЕМПЕРАТУРЕ ТВ НА НАРУЖНОЙ ОТКРЫТОЙ ПОВЕРХНОСТИ ПЛИТЫ

Состояние конструкции

Максимальные глубины проникания температур при ТВ

-60°С

-55°С

-50°С

-45°С

При открытой поверхности

1,0

1,0

0,65

0,30

При защите поверхности теплоизоляцией с термическим сопротивлением Р, м2ч°С/ккал:

 

 

 

 

0,1

-

0,60

0,40

0,15

0,25

0,55

0,40

0,20

-

0,5

0,20

0,10

-

-

Примечания: 1. Плита на всю высоту должна быть обсыпана песчаным грунтом.

2. Обсыпку следует производить с тщательным послойным уплотнением укладываемого грунта для исключения его последующей осадки.

3. Термическое сопротивление Р = 0,1; 0,25; 0,5 м2ч°С/ккал соответствует, например, слоям асфальтокерамзитобетонной теплоизоляции толщиной 2,5 и 10 см соответственно.

Приложение 3
ПЕРЕЧЕНЬ ДЕЙСТВУЮЩИХ НОРМАТИВНЫХ И МЕТОДИЧЕСКИХ ДОКУМЕНТОВ ПО ПРИМЕНЕНИЮ УГЛЕРОДИСТЫХ АРМАТУРНЫХ СТАЛЕЙ

1. СНиП II-Д.7-62х. Мосты и трубы. Нормы проектирования.

2. Изменения к СНиП II-Д.7-62х. "Бюллетень строительной техники", 1971, № 10 и № 11.

3. Указания по проектированию железобетонных и бетонных конструкций железнодорожных, автодорожных и городских мостов и труб". СН 365-67, М., Стройиздат, 1967.

4. Инструкция по проектированию и строительству железобетонных и бетонных конструкций железнодорожных мостов и труб северного исполнения. ВСН 151-78. М., Оргтрансстрой, 1979.

5. Указания по проектированию и строительству железобетонных и бетонных конструкций автодорожных и городских мостов и труб, предназначенных для эксплуатации в условиях низких температур (северное исполнение). ВСН 155-69. М., Оргтрансстрой, 1962.

6. Рекомендации по применению углеродистой стержневой полуспокойной арматурной стали классов A-I и А-II в железобетонных конструкциях железнодорожных мостов. М., ЦНИИС, 1974.

7. Рекомендации по применению углеродистой стержневой полуспокойной арматурной стали классов A-I и А-II в железобетонных конструкциях автодорожных и городских мостов. М., ЦНИИС, 1974.

8. Постановление Госстроя СССР от 12.05.75 г. № НК 2093-1 о применении стали марок ВСт3пс2, В18Гпс2 и ВСт3Гпс2 диаметром 6-10 мм.

9. Письмо Госстроя СССР от 21.05.81 № АБ-2960-1. О применении арматурных сталей железобетонных конструкций мостов.

10. Рекомендации по методике прогноза изменений мерзлотногрунтовых условий при строительстве и эксплуатации сооружений на трассе БАМ. M., ЦНИИС, 1976.

11. Технические указания по определению нормативной глубины промерзания грунта расчетом. ВСН 45-60, М., Оргтрансстрой, 1961.

12. Методические рекомендации по определению глубины промерзания грунта теплотехническим расчетом. М., ЦНИИС, 1977.

13. Инструкция по сварке соединений арматуры и закладных деталей железобетонных конструкций. СН 393-78. М., Госстрой СССР, 1979.

14. Проектирование и строительство искусственных сооружений (справочно-методическое руководство) БАМ. В помощь строителям. М., Транспорт, 1978.

15. Руководство по проектированию и постройка столбчатых фундаментов и опор малых и средних мостов БАМ на вечномерзлых грунтах, используемых в основаниях по принципу I. М., ЦНИИС, 1978.

16. Инструкция по проектированию малых и средних мостов БАМ. ВСН 187-76. М., Оргтрансстрой, 1976.

17. Временные рекомендации по применению импортных арматурных сталей в железобетонных конструкциях искусственных сооружений. М., ЦНИИС, 1975.




Яндекс цитирования