//
|
|
Министерство строительства и эксплуатации автомобильных Дорог РСФСР Государственный дорожный проектно - изыскательский и научно - исследовательский
институт
ПРЕДИСЛОВИЕВ "Рекомендациях" описан способ определения прочностных характеристик грунтов - угла внутреннего трения φ и сцепления С методом одноповерхностного вращательного среза. Изложены методика, порядок проведения работ и обработки результатов на стадиях изыскания, строительства и проверки качества земляного полотна и его основания эксплуатируемых дорог. В приложении даются описание приборов и правила работы с ними. "Рекомендации" разработаны инженером Н.М. Смуровым и кандидатом технических наук Ю.Р. Перковым при участии инженера В.М. Смирнова. Научная редакция выполнена Ю.Р. Перковым. Все замечания и пожелания направлять по адресу: 109089, Москва 1 - 89, наб. Мориса Тореза, 34, Гипродорнии. Заместитель директора по научной работе доцент, канд. техн. наук А.П. Васильев
| |||||||||||||||||||||||||||||||||||||||||||||||||||||||||||||||||||||||||||||||||||||||||||
|
S = σ tgφ + С |
(1.1) |
где σ - действующее нормальное напряжение на плоскости сдвига;
φ, С - расчетные параметры, соответственно угол внутреннего трения и общее сцепление (для песчаных грунтов С - параметр линейности).
При этом
|
C = ∑ + Cc |
(1.2) |
где ∑ - сцепление связности с восстанавливающимся после разрушения характером связей;
Cc - структурное сцепление с жесткими, статически невосстанавливающимися после разрушения связями.
1.5. Определение расчетных параметров φ и С по уравнению (1.1) требует проведения минимум двух испытаний при различных значениях нормального напряжения σ. Если в процессе испытаний конечные плотность и влажность при различных значениях нормального напряжения σ оказались различными, то расчетные параметры φ и С следует считать условными прочностными характеристиками.
Если конечное состояние плотности - влажности глинистого грунта при испытании с различными значениями нормальных напряжений оказалось одинаковым, то уравнение (1.1) записывается в виде (по В.Д. Казарновскому)
|
S6wG = σ tgφW + СGW |
(1.3) |
где расчетные параметры φW и СGW следует считать реальными прочностными характеристиками.
При практически полностью водонасыщенных глинистых грунтах (G > 0,9) влажность грунта становится эквивалентом его плотности, и выражение (1.3) может быть записано в виде (по Н.Н. Маслову)
|
S GW = σ tgφW + СW |
(1.3¢) |
Если же степень водонасыщения грунта G < 0,9, расчетные параметры φW и СW в выражении (1.3') также носят условный характер.
1.6. В расчетах устойчивости оснований сооружений, откосов земляного полотна, выемок могут быть использованы как реальные, так и условные прочностные характеристики.
Необходимым условием при определении реальных прочностных характеристик является совпадение выбранного диапазона нормальных напряжений с расчетным (или реальным) напряжением. При определении условных прочностных характеристик одно из значений нормальных напряжений должно совпадать с расчетным (или реальным).
1.7. В общем случае испытания грунтов по методу ОВС могут проводиться по одной из трех основных схем*)
а) недренированные испытания;
б) консолидированно - недренированные испытания;
в) дренированные испытания.
1.8. Недренированные испытания проводятся в тех случаях, когда к моменту расчетного периода консолидация грунта не завершена как под действием основной нагрузки, так и под действием боковой пригрузки.
1.9. Консолидированно - недренированные испытания назначаются тогда, когда к моменту расчетного периода консолидация грунта под действием боковой пригрузки полностью завершилась, но под действием основной нагрузки еще продолжается.
1.10. Дренированные иопытания проводятся в тех случаях, когда к моменту расчетного периода консолидация грунта завершена как под действием боковой пригрузки, так и под действием основной нагрузки.
1.11. Во всех случаях очередность приложения нормальной нагрузки и боковой пригрузки в процессе испытаний должна соответствовать реальным условиям возведения сооружения.
*) В принципе возможны и другие более дифференцированные виды испытаний, представляющие собой различную степень консолидации грунта под действием боковой пригрузки, нормальной нагрузки и сдвигающего усилия.



Рис. 1. Схемы работы грунта в сооружении:
а - заглубленный фундамент; б - насыпь с контрбанкетами; в - колесо автомобиля и дорожная одежда; г - автодорога в выемке

Рис. 2. Схема проведения испытаний методом ОВС:
а - определение сопротивляемости грунта сдвигу; б - определение сил трения грунта по металлу
2.1.1.1. Основной особенностью определения прочностных характеристик грунтов при изысканиях является отсутствие будущего сооружения, а следовательно, и отсутствие реального напряженного состояния, определяющего плотность - влажность грунтов и их прочностные характеристики.
2.1.1.2. При испытаниях прочности грунтов под будущим сооружением по схеме (рис. 1), проводимых в забое шурфа или скважины, боковой пригрузкой служит масса грунта, залегающего вокруг выработки выше ее забоя.
2.1.1.3. Во всей случаях прочностные характеристики грунта, полученные при испытаниях на определенной глубине А грунтового массива, соответствуют только этой глубине даже в том случае, когда геологический разрез однороден и представлен одним и тем же грунтом по всей исследуемой глубине. Поэтому количество определений φ и С по глубине зависит от принятой схемы расчета устойчивости сооружения.
2.1.1.4. Оценку прочности грунтов в точках, расположенных за пределами основания будущего сооружения, в непосредственной близости от него, следует проводить в лаборатории, так как в этом случае нагрузка от веса будущего сооружения будет играть роль боковой пригрузки, и осуществить в полевых условиях проведение подобных испытаний сложно.
2.1.1.5. При многослойном строении геологического разреза определение прочностных характеристик должно производиться отдельно для каждого слоя, входящего в активную зону работы грунта.
2.1.1.6. Значения нормальных нагрузок Рп , при которых проводятся испытания, в общем случае назначаются по выражению:
|
1/2 (σz +gwz) ≤ Рп ≤ 3/2 (σz +gwz) |
(2.1) |
где gw - объемная масса грунта (при отсутствии определений берется по справочным данным);
z - глубина от подошвы будущего сооружения до точки проведения испытаний;
σz - нормальные напряжения от веса будущего сооружения. При этом необходимо, чтобы в процессе определения сопротивляемости сдвигу одна из выбранных нагрузок (желательно средняя) равнялась:
|
Рп = σz +gwz |
(2.2) |
2.1.1.7. Для случая определения прочности грунтов, находящихся под воздействием комбинированных нагрузок (насыпь, выемка) с учетом влияния каждой из составляющих частей нагрузки, величина σz в каждой точке определяется по формуле:
|
σz = JPо |
Коэффициент влияния J, учитывающий нагрузку слева и справа от рассматриваемой точки, равен
|
J = Jл + Jп |
(2.4) |
где Jл - коэффициент влияния, учитывающий нагрузку слева от точки;
Jп - коэффициент влияния, учитывающий нагрузку справа от точки.
2.1.1.8. В соответствии с п. 2.1.1.7 при определении прочности грунта в точке MI (рис. 3), находящейся под прямоугольной частью насыпи, исходными величинами для определения коэффициента Jл по номограмме (рис. 4) будут a/z и b1/z , а для коэффициента Jп соответственно a/z и b2/z.
При определении прочности грунта в точке M2, находящейся за пределами прямоугольной части насыпи, вводится фиктивная нагрузка.
В этой случае формула (2.4) принимает вид
|
J = Jп - J¢п |
где J¢п - коэффициент влияния фиктивной нагрузки.
Исходными величинами для определения коэффициента Jп по номограмме (рис. 4) будут являться отношения - a/z и b¢/z , а для коэффициента J¢п соответственно a/z и b¢¢/z.
Формулы (2.3), (2.4) и (2.5) могут быть использованы и для определения напряжения σz только от прямоугольной нагрузки. В этом случае отношение a/z принимается равным 0
.
Рис. 3. Схема трапецеидальной нагрузки, поясняющая принцип пользования номограммой (рис. 4) для определения коэффициента влияния J

Рис. 4. Номограмма идя определения коэффициента влияния J =f(a/z, b/z) (по Остербеpry )
2.1.1.9 При проведении испытаний в основании естественных склонов в точках, расположенных в стороне от их подошвы, для определения σz можно воспользоваться формулами (2.3) и (2.5). В этом случае отношение b'/z принимается равным b'/z = ¥ при проведении испытании прочности грунтов, слагающих непосредственно склон, полубесконечную нагрузку, ограниченную с одной стороны треугольной (рис. 5), разбивают на ряд подобных нагрузок горизонтальными линиями, проходящими через точки испытаний М1, М2, М3.
Величина σz в этом случае определяется по формуле:
|
σz = gwh |
(2.6) |
где gw - объемная масса грунта;
h - глубина проведения испытаний.
2.1.1.10. При обследовании грунтовых резервов для возведения земляного полотна отбираются пробы на лабораторное определение зависимости сопротивляемости сдвигу S и показателя хрупкости F от влажности W в соответствии с пп. 3.2.17. Порядок отбора проб аналогичен отбору проб на испытания по определению оптимальной влажности Wопт. и максимальной плотности gск. таx

Рис. 5. Разбивка трапецеидальной нагрузки на составные части при определении прочности грунтов склонов и откосов:
М1, М2, М3 - точки проведения испытаний
2.1.2.1. В этот период решается задача контроля качества строительства, которая включает:
а) определение соответствия достигнутых при возведении земляного полотна показателей грунтов по прочности заданным значениям;
б) уточнение прочностных характеристик грунтов в откосах пройденных выемок для корректировки расчета их устойчивости;
в) определение прочностных характеристик основания земляного полотна и его откосов при нарушении их устойчивости.
2.1.2.2. Соответствие достигнутых в процессе возведения земляного полотна показателей по прочности проектным данным находят путем сопоставления полевых определений сопротивляемости сдвигу и показателя хрупкости грунта с полученными в лабораторных условиях зависимостями (см. п. 2.1.1.10) соответственно сопротивляемости сдвигу и показателя хрупкости от влажности стандартно уплотненных образцов.
2.1.2.3. Показатель хрупкости Fnp. с учетом глубины испытаний (боковой пригрузки) определяется по формуле:
|
Fnp = KF |
(2.7) |
где К - коэффициент влияния пригрузки;
F - показатель хрупкости, определяемый в результате полевых испытаний по формуле:
|
|
(2.8) |
где DS - разность между сопротивляемостями грунта первому сдвигу S1 и второму S2, осуществленному после восстановления связности при одной и той же нормальной нагрузке Рп (см. Приложение п. 2).
2.1.2.4. При соответствии влажности грунта, уложенного в земляное полотно, оптимальной и плотности грунта максимальной сопротивляемость сдвигу S , полученная при полевых испытаниях, должна быть равна сопротивляемости сдвигу Swопт,, полученной в лаборатории при оптимальной влажности, а показатель хрупкости Fnp. равным показателю хрупкости Fnpwопт. при оптимальной влажности.
2.1.2.5. Если при сопоставлении (рис. 6) полученных в полевых условиях значений сопротивляемости сдвигу S¢ и показателя хрупкости F¢np с лабораторными данными S = f1(w) и Fnp= f2(w) значения S¢ и F¢np, окажутся на одной ординате (при этом S¢ # Swопт ) то грунт земляного полотна уплотнялся не при оптимальной влажности. При этом влажность грунта будет больше оптимальной W > Wonт,, если значение показателя хрупкости F¢np будет меньше его значения при оптимальной влажности. И наоборот, если значение F¢np. будет больше значения показателя хрупкости при оптимальной влажности, то влажность уплотненного грунта будет меньше оптимальной. Если при сопоставлении полученных в полевых условиях значений F¢¢np. и S¢¢ с лабораторными зависимостями S = f1(w)) и Fnp=f2(W) значения S¢¢ и F¢¢np. не окажутся на одной ординате, то грунты земляного полотна недоуплотнены.
2.1.2.6. Величина нормальной нагрузки Р при полевом определении S и Fnp. вычисляется по формуле:
|
Pn = ∑giw hi + σzpaсч. |
где giw - объемная масса отдельных слоев дорожной конструкции, залегающих по проекту выше уплотняемого слоя;
hi - толщина отдельных слоев дорожной конструкции выше уплотняемого слоя;
σzpaсч - напряжение в грунте от колеса расчетного автомобиля на данной глубине z .
2.1.2.7. Величина σz определяется по формуле:
|
σzрасч = 2J σzoрасч |
(2.10) |
где σzoрасч - величина вертикального нормального напряжения от колеса автомобиля на границе земляного полотна и дорожной одежды;
J - коэффициент влияния, определяемый по номограмме (рис.4), при a/z = 0, b/z = 0,5/z м

Рис. 6. График зависимости сопротивляемости сдвигу S и показателя хрупкости Fпр от влажности грунта W
2.1.2.8. Величина вертикального нормального напряжения принимается в соответствии с типом покрытия согласно "Методическим указаниям по оценке прочности и расчету усиления нежестких дорожных одежд" М., Гипродорнии, 1974 (табл. 1, стр. 120).
2.1.2.9. Определение прочностных характеристик откосов выемок производится в соответствии с п. 2.1.1.9.
2.1.2.10. Определение прочностных характеристик основания земляного полотна при выяснении причин нарушения его устойчивости производится в соответствии с пп. 2.1.1.7. и 2.1.1.8.
2.1.2.11. Определение прочностных характеристик откосов возведенного земляного полотна производится в соответствии с п. 2.1.1.9.
2.1.3.1. Определение прочности грунтов методом ОВС на эксплуатируемых автомобильных дорогах может производиться при:
а) оценке состояния и качества земляного полотна под проезжей частью автомобильной дороги в случае выяснения причин нарушения ровности или сплошности дорожной одежды;
б) выяснении причин нарушения устойчивости откосов земляного полотна и выемок;
в) выяснении причин нарушения оползневой устойчивости естественных склонов.
2.1.3.2. Определение прочности грунтов склонов и откосов при оценке их реологической устойчивости производится в лабораторных условиях.
2.1.3.3. Оценка качества грунтов земляного полотна под проезжей частью производится в расчетный период как путем определения прочностных характеристик φ и С для расчета дорожной одежды при необходимости ее усиления, так и путем сравнения показателя хрупкости Fпp, (см. п. 2.1.2.4) с показателем хрупкости Fпp.(расч.), определяемым в лабораторных условиях при расчетной влажности.
2.1.3.4. Испытания по определению прочностных характеристик производятся в скважине, пробуренной в дорожной одежде, или в шурфе в зоне, примыкающей к его стенке.
2.1.3.5. Величины нормальных нагрузок, при которых производятся определения сопротивляемости сдвигу, выбираются с таким расчетом, чтобы меньшая из двух или средняя из трех нормальных нагрузок соответствовала формуле (2.9). Показатель хрупкости Fпp вычисляется по результатам испытаний при этой нормальной нагрузке в соответствии с п. 3.2.21.
2.1.3.6. Если в процессе обследования существующей автомобильной дороги были проведены послойные штамповые испытания дорожной конструкции, то величина нормального напряжения σz в формуле (2.9) может быть определена по номограмме (рис. 7).

Рис. 7. Номограмма для определения нормального напряжения σz на грунт земляного полотна от колеса автомобиля:
Еоб - модуль упругости дорожных конструкций;
E1 - модуль упругости дорожной одежды;
Е2 - модуль упругости грунта земляного полотна;
Р - нагрузка от колеса автомобиля на покрытие дорожной одежды
2.1.3.7. Определение нормальной нагрузки для проведения испытаний прочности грунтов при выяснении причин нарушения устойчивости откосов и склонов производится в соответствии с пп. 2.1.1.6, 2.1.1.8 и 2.1.1.9.
В лабораторных условиях могут определяться как условные прочностные характеристики φ и С, так и прочностные характеристики φw и CwG (см. п. 1.5).
Внутри каждого из рассматриваемых согласно п. 1.7 типов испытаний (недренированные, дренированные и т.д.) нагрузка образца может производиться по двум основным схемам: "насыпь" и "выемка". При этом по схеме "насыпь" производятся также испытания прочности грунта под колесом автомобиля, в основании заглубленного фундамента и во всех других случаях, когда выполняется условие Рo > Рпригр (см. рис. 1). Схеме "выемка" соответствуют условия нагружения Pо < Рпригр.
2.2.1.1. При моделировании работы грунта в этих условиях по схеме "насыпь с контрбанкетами" приложение на исследуемый образец нормальной нагрузки Рп и боковой пригрузки Рпригр осуществляется через сплошные водонепроницаемые штампы. При этом Рп и Рпригр задаются одновременно, для чего круглый штамп пригрузки устанавливается без центральной пробки, вместо которой вводится крыльчатка с центральными секторными штампами. Величина нормальной нагрузки Рп принимается в соответствии с п. 2.1.1.6. или п. 2.1.2.5. (см. Приложение, п.3).
2.2.1.2. Величина Рпригр для выполнения условий по моделированию определяется по формуле:
|
Рпригр = ∑γiw hi |
(2.11) |
где γiw - объемная масса отдельных слоев грунта или дорожной одежды, залегающих выше рассматриваемой плоскости в реальных условиях;
hi - толщина (мощность) указанных слоев.
2.2.1.3. При моделировании работы грунта по схеме "выемка" образец грунта помещают в контейнер и производят его предварительное уплотнение. Величина уплотняющего давления принимается в соответствии с п. 2.2.1.1.
2.2.1.4. После завершения консолидации образец разгружают, прикладывают последовательно кольцевую пригрузку и нормальную нагрузку, величина которых принимается в соответствии с формулой (2.11) и пп. 2.1.1.6 или 2.1.2.5.
2.2.1.5. После создания
давления пригрузки и нормального давления к центральной части образца
прикладывается сдвигающее усилие (крутящий момент). Режим нагружения образца
аналогичен режиму недренированных испытаний, изложенному в "Рекомендациях
по усовершенствованию и унификации методов лабораторных и полевых испытаний
грунтов, применяемых в дорожном строительстве", ч. I,
2.2.2.1. Вне зависимости от схемы нагружения ("насыпь", "выемка" и др.) образец грунта помещают в контейнер с перфорированными вкладышами через которые на всю площадь образца ступенями прикладывают нагрузку, равную Рпригр. Величина Рпригр определяется по формуле (2.11). Режим нагружения аналогичен режиму при дренированных испытаниях, изложенному в "Рекомендациях по усовершенствованию и унификации методов лабораторных и полевых испытаний грунтов, применяемых в дорожном строительстве", ч. I, 1971 г.
2.2.2.2. После завершения консолидации образца согласно п 2.2.2.1. дальнейшее его испытание по схеме "насыпь" состоит в том, что центральная часть образца грунта нагружается нормальным давлением в соответствии с пп. 2.1.1.6 или 2.1.2.5, а затем сдвигающей нагрузкой. При этом в зависимости от решаемых задач нормальная нагрузка может являться либо дополнением к уже созданной уплотняющей нагрузке или создаваться вновь после предварительного разгружения центральной части. Режим создания нормальной и сдвигающей нагрузок осуществляется в соответствии с п. 2.2.1.5.
2.2.2.3. При проведении испытаний по схеме "выемка" после уплотнения грунта по п. 2.2.2.1 центральная часть образца разгружается, и консолидация образца продолжается под действием только боковой пригрузки. После завершения консолидации к центральной части образца прикладывается нормальная нагрузка, и дальнейшие испытания проводятся в соответствии с п. 2.2.2.2.
2.2.3.1. Дренированные испытания отличаются от консолидированно - недренированных режимом приложения нормальной и сдвигающей нагрузок, который аналогичен в данном случае режиму дренированных испытаний, изложенному в "Рекомендациях по усовершенствованию и модификации методов лабораторных и полевых испытаний, применяемых в дорожном строительстве", ч.1. XI Комиссия ОСЖД, 1971.
2.2.3.2. Величина прилагаемой нормальной нагрузки определяется в соответствии с пп. 2.1.1.6. или 2.1.2.6.
3.1.1. Под надежностью определения прочностных характеристик грунтов следует понимать вероятность того, что полученные при испытаниях значения не выйдут за пределы установленных границ одностороннего или двустороннего доверительного интервала.
При этом необходимая точность D испытаний устанавливается только для сопротивляемости грунта сдвигу S и определяется категорией сооружения.
3.1.2. При предварительном обследовании объекта или на стадии изысканий под технический проект количество n частных определений сопротивляемости сдвигу при одном значении нормальной нагрузки Р определяется по графику прилож. 3 к ГОСТу 20522-75 "Грунты. Метод статистической обработки результатов определений характеристик". При этом показатель ρ точности оценки среднего значения сопротивляемости сдвигу принимается равным 0,10, а коэффициент вариации равным 0,20. Для третичных глин твердой и полутвердой консистенции, а также для элювиальных глинистых грунтов любой консистенции коэффициент вариации принимается равным 0,30.
3.1.3. При детальном обследовании объекта, а также при изысканиях под техно - рабочий проект количество п необходимых, испытаний определяется методом последовательного оценивания.
3.1.4. Для определения количества п испытаний по методу последовательного оценивания для каждого i - го испытания из предполагаемых N ≤ 10 - 20 испытаний (в зависимости от изменчивости сопротивляемости сдвигу грунта и выбранного интервала D ) рассчитывается функция:
|
|
(3.1) |
где tά - коэффициент, определяемый по табл. 2 прилож. I ГОСТа 20522 - 75. При этом число степеней свободы принимается равным К = i - 2 при определении расчетных значений φ и С и К= i - 1 при определении нормативных значений φ и С.
3.1.5. По вычисленным значениям fi строится график fi = f(i) (рис 8).
3.1.6. Для каждого i – го определения сопротивляемости сдвигу Si определяется сумма
. Вспомогательная величина Ui определяется по формуле:
|
|
(3.2) |
где i - количество проведенных определений сопротивляемости сдвигу;
Si - i - ое значение сопротивляемости грунта сдвигу;
- сумма всех значений сопротивляемости
грунта сдвигу, определенных в процессе проведения испытаний.

Рис. 8. График определения необходимого количества испытаний грунта на одноповерхностный вращательный срез
3.1.7.
Каждое значение
наносится на график зависимости f(i).
Необходимое
минимальное количество определений п находится из условия
= fi ,что на графике (рис. 8) соответствует точке пересечения линий fi и![]()
3.2.1. В основе расчета сопротивляемости грунтов сдвигу методом одноповерхностного вращательного среза лежит формула:
|
|
(3.4) |
где M1 - первый максимальный крутящий момент без сил трения грунта по металлу;
DМ - разность между первым и вторым максимальными крутящими моментами (DМ = M1 - M2) без сил трения грунта по металлу;
M2 - второй максимальный крутящий момент без сил трения грунта по металлу, определяемый при повторном сдвиге грунта по той же поверхности после восстановления сцепления связности ∑;
rвн - внутренний радиус крыльчатки.
3.2.2. Формула (3.4) является обобщенной и описывает все возможные виды сдвига грунта:
при DМ = M1 - чисто упругий сдвиг;
при DМ = 0 - чисто пластичный сдвиг;
при DМ >0 - сдвиг с разупрочнением; .
при DМ < 0 - сдвиг с упрочнением.
3.2.3. С учетом сил трения грунта по металлу формула (3.4) приобретает рабочий вид:
|
|
(3.5) |
где М¢1тр„ - максимальный момент сил трения грунта по металлу при первом сдвиге цилиндрического стакана;
DМтр - разность между максимальными моментами сил трения грунта по металлу (DМтр = М¢1тр - М¢2тр) при первом и втором сдвигах цилиндрического стакана;
n - коэффициент пересчета, учитывающий разницу в геометрических размерах заглубленных частей крыльчатки и цилиндрического стакана.
3.2.4. При глубине задавливания Н цилиндрического стакана, меньшей или равной глубине задавливания h крыльчатки, коэффициент пересчета определяется по формуле:
|
|
(3.6) |
где rнар - наружный радиус крыльчатки;
Rнар. - наружный радиус цилиндрического стакана.
3.2.5. Если определение момента сил трения грунта по металлу производится вне точки испытания прочности грунта крыльчаткой, то коэффициент пересчета определяется по формуле:
|
|
(3.7) |
где Rвн - внутренний радиус цилиндрического стакана.
3.2.6. Прочностные характеристики могут быть определены аналитическим или графическим путем.
3.2.7. При аналитическом определении нормативные значения прочностных характеристик выражаются формулами:
|
|
(3.8) |
|
|
(3.9) |
где Pi - нормальная нагрузка при определении сопротивляемости сдвигу Si;
п. - количество определений ,
Si - при различных нормальных нагрузках Pi .
3.2.8. При графическом определении условных прочностных характеристик φ и С строится график зависимости сопротивляемости сдвигу S от нормальной нагрузки Р без учета плотности - влажности грунта. По оси абсцисс откладывается нормальная, нагрузка, а по оси ординат - сопротивляемость сдвигу (рис. 9).
3.2.9. Если полученная графическая зависимость имеет большую кривизну, исключающую возможность осреднения прямой линией, то точку на графике, отвечающую реальному значению нагрузки от веса сооружения, например P2, (рис. 9) соединяют прямой с той ближайшей точкой, которая дает пересечение полученной линии с положительной осью S .
3.2.10. Угол наклона полученной прямой с осью Р дает условное значение угла внутреннего трения φ, а отрезок, отсекаемый прямой на оси S - условное значение сцепления С.
3.2.11. Разделение общего сцепления С на связность ∑ и структурное сцепление Сс может быть произведено двумя способами.
3.2.12. По первому способу определяют пластическую составляющую сопротивляемости сдвигу грунта по формуле:
|
|
где М2 - максимальный крутящий момент при повторном сдвиге после восстановления сцепления связности ∑;
М¢2тр - максимальный крутящий момент сил трения грунта по металлу при повторном сдвиге.
3.2.13. Величина структурного сцепления будет равна разности DS между полной сопротивляемостью сдвигу S и ее пластичной составляющей:
|
DS = Сс = S - Sпл |
Величина сцепления связности находится из выражения
|
∑ = С - Сс |
3.2.14. По второму способу величина структурного сцепления определяется по формуле
|
|
где DМ = M1 - М2,
DМ¢1тр = М¢1тр - М¢2тр
Сцепление связности находится по формуле (3.12).
3.2.15. Отрицательное значение DS определяет величину упрочнения грунта в процессе сдвига.

Рис. 9. График построения зависимости S = f(Pn) при определении условных прочностных характеристик φ и С
3.2.16. Определение прочностных характеристик φw и Cw производится графическим способом путем построения зависимости SpwG =f (Р) или для водонасыщенных грунтов Spw =f (Р), в которой каждое из значений сопротивляемости сдвигу SpwG или Spw на прямой строящихся графиков соответствует одному и тому же значению плотности - влажности W - G.
3.2.17. Для построения указанных зависимостей испытывают не менее трех образцов c различной начальной плотностью - влажностью; После каждого сдвига из зоны отбираются пробы на влажность, а из зон, непосредственно примыкающих к зоне сдвига (удобнее всего использовать грунт, срезанный крыльчаткой), пробы для определения плотности методом парафинирования. Пробы на плотность могут не браться в случае, если степень водонасыщения G >. 0,9.
3.2.18. Построение зависимостей Spw = f(P) для водонаcыщенных грунтов и SpwG = f(P) для неполноcтью водо - насыщенных грунтов производится в соответствии с существующими методическими пособиями.1)
3.2.19. Разделение общего сцепления CW и CWG соответственно на составные части ∑W , Cc(w) и ∑WG, Cc(wG) производится по формулам (3.10), (3.11) и (3.12) или по формулам (3.13) и (3.12).
3;2.20. Показатель хрупкости F определяют по формуле:
|
|
(3.14) |
где значения моментов М2, М¢2тр, DМ и М¢1тр определены в испытаниях без боковой пригрузки.
3.2.21. Показатель хрупкости Fпр определяют по формуле:
|
|
(3.15) |
где значения моментов М2пр, М 1пр 2тр , DММр и М 1пр1тр определены в.испытаниях с боковой пригрузкой.
3.2.22. Коэффициент влияния пригрузки определяется по формуле:
|
|
(3.16) |
1) Бирюков Н.С., Казарновский В.Д., Мотылев Ю.Л. "Методическое пособие
по определению физико - механических свойств грунтов". М.,
"Недра",
Полевой прибор ОВС - 2п (рис. 1а) состоит из: четырехлопастной крыльчатки 1, жестко закрепленной в тонкостенном цилиндре 2, распределительного устройства (рис. 1б), включающего секторные штампы 3, пружины 4, направляющие стержни 5 и опорную площадку 6; штанг 7, грузов 8, двух сменных динамометрических ключей с динамометром 9 и рукояткой 10, столика с треногой 11 и цилиндрического стакана 12 (рис. 1в) для замера трения грунта по металлу.
Крыльчатка 1, закрепленная в цилиндре 2, является основным рабочим органом прибора, позволяющим осуществлять вращательный срез грунта только по одной, торцевой, поверхности. При этом нормальное давление на поверхности среза создается с помощью секторных штампов распределительного устройства и грузов.
Столик оборудован лимбом с нониусом для определения угла поворота крыльчатки и гнездом для закрепления центрирующей втулки с подшипником.
Прибор снабжен двумя комплектами грузов: малого диаметра для работы в скважинах и большого диаметра для работы с поверхности. Грузы малого диаметра на торцевой поверхности имеют нарезное отверстие для ввинчивания специального штыря, обеспечивающего их спуск - подъем при проведении работ.

Рис. 1. Полевой прибор ОВС - 2п:
1 - крыльчатка; 2 - цилиндричвоков кольцо; 3 - секторные штампы; 4 - пружины; 5 - направляющие стержни; 6 - опорная площадка; 7 - штанги; 8 - грузы; 9 - динамометр; 10 - рукоятка; 11 - тренога; 12 - цилиндрический стакан
Динамометрические ключи прибора предназначены для создания и замера крутящего момента при вращении крыльчатки с колонной грузов и выполнены в двух модификациях: для слабых и для прочных грунтов.
Полевой прибор ОВС - 4п отличается от прибора ОБС - 2п отсутствием грузов для создания нормального давления на поверхности среза грунта. Создание требуемого давления на крыльчатку или на поверхность среза осуществляется с помощью домкрата, установленного на верхнем конце центральной штанги. В качестве реактивной опоры используется вращатель буровой установки или кронштейн, закрепленный на кузове автомобиля (рис. 2).
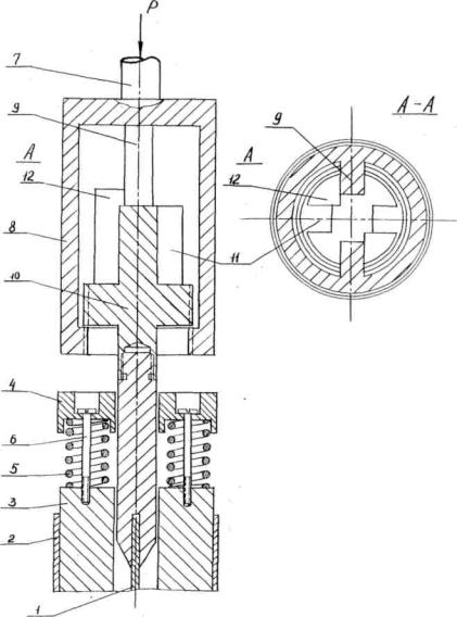
Для обеспечения возможности раздельной передачи давления с помощью штанги на крыльчатку и на секторные штампы прибор ОВС - 4п снабжен специальной переходной муфтой (рис. 3, 4), установленной между крыльчаткой 1 и штангой 7.
Переходная муфта состоит из полого цилиндра 8, на внутренней поверхности которого выполнены выступы 9. В полом цилиндре 8 размещен шток 10 с пазами 11, на верхнем торце штока 10 выполнены секторные ограничители 12. Шток 10 жестко соединен с крыльчаткой 1.
Определение прочностных характеристик грунтов полевыми приборами ОВС состоит в последовательном выполнении следующих операций:
1) подготовка грунтовой поверхности;
2) установка прибора;
3) нагружение грунта;
4) погружение крыльчатки;
5) сдвиг грунтового объема;
6) замер трения грунта по металлу.

Рис. 2. Полевой прибор ОВС - 4п:
а - схема прибора; б - схемы создания реактивной опоры;
1 - крылъчатка; 2 - цилиндрическое кольцо; 3 - секторные штампы; 4 - пружины; 5 - направляющие стержни; 6 - опорная площадка; 7 - штанга; 8 - переходная муфта; 9 - динамометр; 10 - рукоятка; II - тренога; 12 - опорный стакан; 13 - упорный подшипник; 14 - домкрат
Подготовка грунтовой поверхности выполняется непосредственно перед установкой прибора. На открытой поверхности для этих целей можно воспользоваться любым режущим инструментом, в скважинах - ложкой с плоским дном. При подготовке с поверхности удаляются комья, включения или разрыхленный грунт, который по плотности отличается от основного испытуемого объема.
Установка прибора ОВС - 2п производится в следующем порядке:
- крыльчатка с распределительным устройством навинчивается на штангу;
- на штангу поверх распределительного устройства устанавливается требуемое количество грузов;
- собранный зонд опускается в скважину и по мере спуска колонна штанг наращивается;
- после установки зонда на забое над устьем скважины устанавливается столик о треногой;
- полуштанга в столике соединяется с колонной штанг в скважине;
- на полуштангу одевается динамометрический ключ.
Если погружение крыльчатки в грунт осуществляется забивкой, то динамометрический ключ одевается после погружения крыльчатки. Установка прибора ОВС - 4п заключается в следующем:
- в скважину опускается колонна штанг, собираемая по мере погружения, предварительно снабженная крыльчаткой с прессами, распределительным устройством и специальной переходной муфтой;
- погружение крыльчатки под действием собственного веса;
- на колонну штанг навинчивается хвостовик, снабженный центрирующей втулкой для фиксации колонны штанг в столике и упорными кольцами, после чего одевается динамометрический ключ;
- упорные кольца и муфта закрепляются в столике и с устья скважины снимаются стопорные устройства;
- хвостовик штанг снабжается опорным столиком, на который устанавливается винтовой домкрат.
Нагружение грунта при использовании прибора ОВС - 2п выполняется путем укладки (при работе на поверхности) или спуске (при работе в скважине) специальных грузов, одеваемых на штангу. Количество грузов определяется в зависимости от характера решаемой задачи.
Нагружение грунта при использовании прибора ОВС - 4п осуществляется домкратом с измерительным устройством, устанавливаемым как это показано на рис. 2. Для этого освобождается верхнее стопорное кольцо; штанга 7 с полым цилиндром 8 (рис. 3) проворачивается до совмещения выступов 9 с пазами 11 штока 10 и опускается, скользя выступами 9 по пазам II, до соприкосновения нижнего торца полого цилиндра 8 с распределительным диском 4. Винт поршня домкрата приводится во вращение, в результате чего в цилиндре создается гидростатическое давление, передаваемое через днище цилиндра и штанги на прессы крыльчатки. Величина создаваемого давления фиксируется манометром.
Погружение (забивка) крыльчатки в грунт при использовании прибора ОВС - 2п осуществляется с помощью специального молота, входящего в комплект прибора.
Погружение крыльчатки при использовании прибора ОВС - 4п выполняется винтовым домкратом. Для этого штанга 7 с полым цилиндром 8 приподнимается относительно штока 10, поворачивается до соприкосновения выступов 9 с секторными ограничителями 12 и опускается выступами 9 на верхний торец штока 10 (рис. 4). Под действием давления, создаваемого домкратом, крыльчатка, перемещаясь относительно неподвижных секторных штампов 3, залавливается в грунт.
Глубина погружения для приборов типа ОВС - 2п и ОВС - 4п принимается равной h1 = 3 - 4 см. Сдвиг нагруженного c помощью грузов или домкрата грунта по торцевой поверхности крыльчатки в приборах ОВС - 2п и ОВС - 4п осуществляется путем вращения динамометрического ключа с одновременным замером величины максимального крутящего момента. В процессе испытаний соблюдается следующая последовательность:
- при нормальном давлении P1 производится сдвиг грунта c замером максимального крутящего момента M1;
- после среза грунта крыльчаткой вращение останавливается и грунт выдерживается при том же давлении P1 в, течение 15 - 20 мин для восстановления сцепления связности;

Рис. 3. Положение переходной муфты при забивании крыльчатки:
1 - крыльчатка; 2 - цилиндрическое кольцо; 3 - секторные штампы; 4 - опорная площадка; 5 - пружины; 6 - направляющие стержни; 7 - штанга; 8 - полый цилиндр; 9 - выступы; 10 - шток; 11 - пазы; 12 - секторные ограничители

Рис. 4. Положение переходной муфты при создании нормального давления на поверхность среза (цифровое обозначение - см. на рис.3)
- производится повторный сдвиг с замером величины нового максимального крутящего момента М2;
- увеличивается количество грузов или давление в домкрате до создания нового нормального давления P2.
- крыльчатка заглубляется описанным выше способом еще на 2 - 3 см и эксперимент повторяется в той же последовательности при новом нормальном давлении P2.
Рабочая высота крыльчатки позволяет провести не менее 3 - х последовательных испытаний грунта при различных значениях нормального давления без извлечения последней из грунта.
Для замера трения грунта по внешней поверхности крыльчатки, величина которого должна быть в дальнейшем исключена из показаний, прибор извлекается из грунта, крыльчатка с распределительным устройством, грузами и переходной муфтой снимаются со штанги, а на их место навинчивается специальный цилиндрический стакан.
Цилиндрический стакан устанавливается в точке проведения испытаний и задавливается (или забивается) в грунт на глубину, не превышающую максимальную глубину погружения крыльчатки при проведенных испытаниях.
Поворот стакана осуществляется по аналогии с вращением крыльчатки при сдвиге грунта с одновременным замером максимального крутящего момента M¢1тр.
После первого поворота стакан останавливается и выдерживается в грунте 15 - 20 мин., затем вновь поворачивается с одновременным замером максимального крутящего момента M¢2тр.
Прибор ОВС - 1л предназначен для испытания прочности монолитов грунтов и грунтов нарушенного сложения в лаборатории с возможностью моделирования реальных условий.

Рис. 5. Лабораторный прибор одноповерхностного вращательного среза ОВС - 1л
Прибор (рис. 5) состоит из: станины 1, контейнера 2 для грунта 3, крыльчатки одноповерхностного вращательного среза 4, секторных штампов 5, грузов 6 для создания нормального давления на поверхность среза грунта, упорно - радиального подшипника 7, штампа с центральным отверстием 8, которое может закрываться завинчивающейся пробкой 9 (рис. 6), кольцевого переходника 10, соединенного с силовой рамой 11, рычага 12, грузов для создания давления пригрузки 13, диска 14 с накрученным на него тросиком 15, роликов 16 с винтами 17, грузов 18 для создания крутящего момента, штанги 19 и радиального подшипника 20, мессур 21 и 22, нониуса 4 и столика 24 с лимбом для замера углов поворота крыльчатки.
Контейнер с грунтом закрывается штампом 8 с завинченной пробкой 9. На штамп накладывается кольцевой переходник 10, соединенный с силовой рамой 11. С помощью грузов 13 в грунте создается давление, равное требуемому давлению пригрузки Рпригр Количество грузов определяется по формуле:
Qшт = Рпригр× Fшт
где Qшт. - общая масса грузов;
Fшт - площадь штампа.
Осадка штампа фиксируется по мессурам 21.
Пробка 9 вывинчивается, и часть грузов 13 снимается, чтобы сохранить неизменным давление пригрузки Рпригр
Масса снимаемых грузов определяется по формуле:
Qnp = Рпригр×Fnp.
где Fnp.. - площадь пробки 9.
Штанга 19 вводится во втулку радиального подшипника 20. На нижний конец штанги навинчивается крыльчатка с секторными штампами и упорно - радиальным подшипником, а на верхний конец - диск 14.

Рис. 6. Контейнер лабораторного прибора ОВС - 1л с устройством для создания давления пригрузки:
2 - контейнер; 3 - грунт; 8 - штамп; 9 - пробка; 10 - кольцевой переходник; 11 - силовая рама; 21, 22 - мессуры.
Крыльчатка вводится в отверстие штампа 8 и устанавливается на грунте. С помощью грузов 8 на будущей поверхности среза грунта создается требуемое нормальное давление Рn1. Количество грузов определяется по формуле:
Qn = Рп1×Fсp.
где Qn - общая масса грузов;
Fсp - площадь среза грунта.
Осадка грунта под нормальной нагрузкой фиксируется по мессурам 22.
После создания требуемого нормального давления Р крыльчатка забивается в грунт на глубину h. .
Штанга 19 закрепляется во втулке радиального подшипника 20. Ролики 16 с помощью винтов 17 устанавливаются на уровне диска 14. Тросик 15 накручивается на диск 14 и перекидывается через ролики 16.С помощью грузов 18 ступенями к грунту прикладывается крутящий момент М1 ступени при одностороннем приложении грузов определяется по формуле:
![]()
![]()
где rвн, - внутренний радиус крыльчатки;
Rдис - радиус диска 14.
Деформация сдвига фиксируется по лимбу на столике 24.
Величина максимального крутящего момента М1 определяется по формуле:
М1 = Qтаx Rдис,
где Qmax - масса грузов в момент срыва грунта.
После срыва грунт выдерживается под той же нормальной, нагрузкой Рп1 в течение 15 - 20 мин.
Затем вновь ступенями увеличивается крутящий момент и определяют новое значение максимального крутящего момента М2.
После определения моментов М1 и М2 увеличивают количество грузов 6 для создания нового нормального давления Рп2. Крыльчатку задавливают на новую глубину и эксперимент повторяют при значении нормальной нагрузки Рп2. Для правильного определения прочностных характеристик эксперимент проводится не менее, чем при трех различных значениях Рп
Определение величины крутящего момента сил трения грунта по металлу производят также, как и при полевых испытаниях. Грузы 6 снимаются, крыльчатка вынимается из грунта, свинчивается со штанги, а на ее место навинчивается специальный цилиндрический стакан. Стакан залавливается на глубину H ≤ hmax в грунт. К стакану ступенями прикладывается крутящий момент и определяется его максимальное значение M¢1тр. Затем стакан выдерживается в грунте в течение 15 - 20 мин. и вновь проворачивается с замером новой величины крутящего момента M¢2тр
|
|
|
|