//
ТехЛит.ру
- крупнейшая бесплатная электронная интернет библиотека для "технически умных" людей.
WWW.TEHLIT.RU - ТЕХНИЧЕСКАЯ ЛИТЕРАТУРА

:: Алготрейдинг::


АЛГОТРЕЙДИНГ
шаг за шагом
с нуля по урокам!

Торговые роботы на PYTHON, BackTrader,
Pandas, Pine Script для TradingView. Связка с брокерами, телеграм и легкими приложениями.


РОССИЙСКИЙ ГОСУДАРСТВЕННЫЙ КОНЦЕРН РОСАВТОДОР

ЦЕНТРАЛЬНОЕ БЮРО НАУЧНО - ТЕХНИЧЕСКОЙ ИНФОРМАЦИИ

АВТОМОБИЛЬНЫЕ ДОРОГИ

ЗАЩИТА ОТКОСОВ АВТОМОБИЛЬНЫХ ДОРОГ ОТ РАЗМЫВА

Москва 1992

Содержание

1. ВВЕДЕНИЕ

2. ОПЫТ ПРИМЕНЕНИЯ ОТКОСОУКРЕПИТЕЛЬныХ СООРУЖЕНИЙ НА АВТОМОБИЛЬНЫХ ДОРОГАХ

2.1. Биологические и каменнонабросные укрепления

2.2. Сборно-монолитные железобетонные укрепления

2.3. Сборно-железобетонные укрепления

2.4. Цементогрунтовые укрепления

2.5. Сборно-монолитные асфальтобетонные укрепления

2.6. Сборно-монолитные укрепления из синтетических материалов и автомобильных покрышек

3. ЗАРУБЕЖНЫЙ ОПЫТ ЭКСПЛУАТАЦИИ ОТКОСОУКРЕПИТЕЛЬНЫХ СООРУЖЕНИЙ НА АВТОМОБИЛЬНЫХ ДОРОГАХ

4. НОВЫЕ КОНСТРУКЦИИ ЗАЩИТНЫХ ПОКРЫТИЙ УКРЕПЛЕНИЯ ОТКОСОВ

5. РАСЧЕТ КОНСТРУКЦИИ ОТКОСОУКРЕПИТЕЛЬНЫХ СООРУЖЕНИЙ

5.1. Методика расчета

5.2. Основные положения по гидрологическому обоснованию укреплений откосов

6. МЕТОДИКА ОПРЕДЕЛЕНИЯ ДАВЛЕНИЯ СЕЛЕВЫХ ПОТОКОВ И ПАВОДКОВ НА ОТКОС ДОРОГИ

7. НАДЕЖНОСТЬ НЕКОТОРЫХ ТИПОВ ЗАЩИТНЫХ ПОКРЫТИЙ ДЛЯ УКРЕПЛЕНИЯ ОТКОСОВ

8. МЕТОДИКА ЭКОНОМИЧЕСКОГО ОБОСНОВАНИЯ СТРОИТЕЛЬСТВА ОТКОСОУКРЕПИТЕЛЬНЫХ СООРУЖЕНИЙ

9. ВЕРОЯТНОСТНАЯ ОЦЕНКА ЭКСПЛУАТАЦИОННОГО СОСТОЯНИЯ КОНСТРУКЦИИ ОТКОООУКРЕПИТЕЛЬНЫХ СООРУЖЕНИЙ

ЗАКЛЮЧЕНИЕ

СПИСОК ЛИТЕРАТУРЫ

В данном выпуске обзорной информации приведены известные конструкции защитных покрытий для укрепления откосов дорог, проверенных практикой строительства и эксплуатации в условиях СНГ и за рубежом, их классификация по видам материалов и условиям применения, а также некоторые новые эффективные типы конструкции, разработанные одним из авторов.

Кроме того, изложены методики расчета конструкций и вероятностей оценки эксплуатационного состояния откосоукрепительных сооружений и использования элементов теории надежности в расчете этих сооружений.

Обзор подготовили канд. техн. наук Х.Б. Байнатов (Алма-Атинский архитектурно-строительный институт), д-р техн. наук, академик Академии Транспорта России Б.Ф. Перевозников (Союздорпроект)

1. ВВЕДЕНИЕ

В нашей стране расширяется строительство энергетических, промышленных и транспортных объектов в различных регионах с одновременным строительством автомобильных и железных дорог. Однако нормальная эксплуатация дорог затрудняется рядом неблагоприятных гидрометеорологических воздействий и в том числе от размыва речными и селевыми паводками с учетом климатических, рельефных и гидрогеологических особенностей местности.

При проектировании автомобильных дорог применяют научно обоснованные параметры земляного полотна и проезжей части. Большое внимание уделяют также вопросам устойчивости земляного полотна, которая обеспечивается приданием грунтовой насыпи полотна необходимых размеров и формы. Грунтовой массив обычно ограничивается боковыми откосами, крутизну которых назначают с учетом механических свойств грунта и высоты насыпи.

Откосы автомобильных дорог очень часто подвергаются размывам вследствие разрушающего действия стока по ним дождевых и талых вод, а также речных и селевых потоков.

Практика показывает, что в тех случаях, когда вопросам обеспечения устойчивости откосов и их защита от размыва не уделяется должного внимания, возникают деформации земляного полотна и откосозащитных сооружений, на устранение которых требуются немалые затраты. Из этого следует, что защитные покрытия для укрепления откосов и подошвы насыпей должны соответствовать определенным требованиям, т.е. иметь такую конструкцию, чтобы быть устойчивыми, долговечными и экономичными в строительстве и эксплуатации. Кроме того, конструкции защитных покрытий для укрепления откосов следует так "вписывать" в окружающую среду, чтобы по внешнему виду эти сооружения хорошо сочетались с ней и не нарушали экологическое равновесие.

Укрепление откосов дорог в наиболее трудных гидрологических условиях устраивают обычно из железобетонных сборных плит. Им отдается предпочтение перед другими типами покрытий (например, плетневыми заборами, посевом трав, камнем в плетневых клетках и др.) из-за возможности получения укреплений любой прочности, индустриальное строительства и из-за хорошего внешнего вида.

Значительный ущерб, наносимый автомобильным дорогам размывами, часто является результатом ошибок, допускаемых при проектировании автомобильных дорог. Проблема рационального строительства укреплений откосов с высокими технико-экономическими показателями также связана с практическими методами расчета таких конструкций.

Вопросами оценки надежности защитных сооружений и особенно разработки научно-методических основ решений этой проблемы, а также их широкой информации в строительстве начали заниматься сравнительно недавно. Это обусловлено тем, что на современном этапе изготовление и монтаж строительных конструкций осуществляются индустриальными методами. В связи с этим учет требований надежности, долговечности, безотказности, ремонтопригодности будет способствовать повышению эффективности капитальных вложений, направляемых в строительство.

2. ОПЫТ ПРИМЕНЕНИЯ ОТКОСОУКРЕПИТЕЛЬныХ СООРУЖЕНИЙ НА АВТОМОБИЛЬНЫХ ДОРОГАХ

Совершенствование конструкции новых экономичных и индустриально удобных откосозащитных сооружений на автомобильных дорогах не может успешно развиваться без учета глубокого анализа отечественных и зарубежных научно-технических достижений и передового опыта в данной области.

Многообразие конструкций откосоукрепительных сооружений дает возможность проектировщикам и строителям в широком диапазоне варьировать их типами, создавать отдельные комплексы применительно к региональным условиям территории.

Выбор конструкции откосоукрепительных сооружений во многом зависит от крутизны уклона откоса, показателей физико-механических свойств грунтов, скорости течения потока, а также гидрологического режима подтопления.

Все приведенные конструкции укрепления откосов в зависимости от разновидности материалов, продолжительности эксплуатации, массы и особенности региона подразделены на шесть групп: биологические и каменнонабросные; сборно-монолитные железобетонные; сборно-железобетонные; цементогрунтовые; сборно-монолитные асфальтобетонные и из синтетических материалов и автомобильных покрышек.

Основной принцип использования всех конструкций укрепления - обеспечение устойчивости и сохранения долговечности откоса в период активной эксплуатации дороги.

2.1. Биологические и каменнонабросные укрепления

Укрепление откосов камнем в плетневых клетках [1]. Клетки выполняются квадратными размером 1´1 м из плетня высотой 20-30 см и устанавливаются над поверхностью откоса (рис. 1). Дно клеток выстилают сухой травой или соломой, затем отмащивают или засыпают бутовым камнем или половинками кирпича. В двух пересекающихся направлениях клетки укрепляются деревянными кольями, расположенными косыми рядами.

Рис. 1. Укрепление откоса камнем в плетневых клетках:
а - общий вид; б - разрез откоса

В практике строительства укреплений в некоторых случаях применяется хворост с укладкой по откосу слоями и креплением кольями.

Укрепление откосов плетневыми заборами. Заборы из плетня выполняются параллельно бровке дороги уступами высотой 0,5-0,6 м и крепятся к поверхности откоса кольями. За плетень укладывается солома и засыпается грунтом (рис. 2).

Рис. 2. Укрепление откосов плетневыми заборами

Укрепление посевом трав. Этот способ применяется для любых откосов с различными уклонами. На поверхность откоса насыпается слой чернозема толщиной 10-15 см, потом поверхность засевается травой (клевером, люцерной и т.д.). Для лучшей связи подстилающего слоя с насыпным грунтом по откосу нарезаются борозда (рис. 3).

Рис. 3. Укрепление откосов посевом трав:
1-слой чернозема; 2- борозда

Рис. 4. Фашинное укрепление откосов:
1-фашины d = 0,2-0,3 м; 2-колья длиной 0,8-1,2 м

Фашинные конструкции предназначены для защиты откосов от эрозионных деформаций, деформаций локального скольжения, пластического течения, сплышов и оплывин в тех случаях, когда отсутствуют местные недорогие материалы.

Фашины изготавливают из гибкого свежевырубленного кустарника (ивы или подобных ей пород), очищенного от листьев и тонких ветвей, диаметром в комле 0,02-0,03 м и длиной 2-4,5 м. Фашины перевязывают проволокой или просмоленной веревкой в среднем через 1 м, на расстоянии 0,8-0,9 м от концов фашины (рис. 4).

Фашины укладывают плашмя, в виде тюфяков, параллельно образующей откоса или перпендикулярно откосу, прикрепляя их новыми кольями, способными к быстрому прорастанию [2].

Дерн - один из биологических материалов для укрепления откосов высотой до 4 м. Конструкции из дерна требуют значительных трудозатрат, поскольку такие работы, как правило, выполняют вручную. Для лучшего приживания дернин к укрепляемому откосу их надо брать из мест, аналогичных по своим почвенным условиям месту укладки на откос. Дерн считается лучшего качества, если он содержит клевер и злаковые растения (пырей, мятлику, овсяницу и пр.).

Дернины должны быть нарезаны из плотного лугового растительного покрова с чистой и низкой травой. Снимать их нужно на глубину главной корневой системы, но не тоньше 6 см.

Длина и ширина дернин и дерновых лент зависят от назначения, способа заготовки, укладки и транспортирования и составляют 0,25´0,40; 0,30´0,30; 0,70´0,70 м. Толщина их должна быть 0,06-0,12 м. Уложенный дерн прикрепляют к поверхности откоса деревянными спицами, длиной 25-30 см.

Способ укрепления каменной наброской применяют при высоких откосах для защиты их от размыва различными поверхностными водами и волнового воздействия [3,4]. При оползании низового откоса его укрепляют камнями разного размера с укладкой крупных камней снаружи (рис. 5). Этот способ укрепления очень распространен благодаря малой трудоемкости, простоте ремонта и восстановления. Недостаток его - водопроницаемость, поэтому необходимо защищать насыпной грунт от оплывания и суффозии.

Габионные укрепления используют в любых климатических условиях при скорости течения 4-6 м/с [5].

Материалом габионной одежда служит оцинкованная проволока длиной до 2 м для плетения сетки и прутковое железо диаметром 6-8 мм для создания каркаса. Иногда габионы устраивается без каркаса в виде проволочного мешка. Габионные ящики заполняются камнем твердых водостойких пород. Верхние камни должны быть наиболее крупными и выступать из ячеек; внутрь габиона помещаются мелкие камни (рис. 6).

Рис. 5. Укрепление откоса каменной наброской

Рис. 6. Габионное укрепление:
а - укрепление берега габионными ящиками; б - деталь укладки камней у наружных граней габиона

Под габионы укладывается щебеночная или гравийная подготовка слоем толщиной 0,2-0,4 м, а габионы соединяются между собой вязальной отожженной проволокой диаметром 3 мм, длиной 0,30-0,35 м на расстоянии 0,15-0,2 м друг от друга.

2.2. Сборно-монолитные железобетонные укрепления

К несущим защитным и изолирующим типам укрепления откосов относятся решетчатые конструкции, бетонные, железобетонные и асфальтобетонные плиты, гибкие асфальтобетонные покрытия, конструкции из грунтов, обработанных вяжущими, конструкции из набрызгматериалов и синтетических материалов [6] .

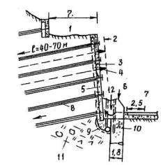
Бетонные и железобетонные сплошные покрытия являются дорогими, и применение их должно быть обосновано технико-экономическими расчетами. При устройстве бетонных или железобетонных плит покрытия тщательно выполнят герметизацию стыков и швов (рис. 7). При наличии мелких камней в районе дорожного строительства можно применять для укрепления откосов каменную наброску в железобетонных ящиках [3]. Железобетонные ящики выполняются квадратными без дна с размером стороны 1,2-1,5 м и высотой 0,4-0,5 м. После укладки они заполнятся мелкими камнями (рис.8).

 

Рис. 7. Укрепление откоса бетонными и железобетонными плитами:
1-бетонные или железобетонные сборные плиты; 2-битумно-полимерная мастика

Рис. 8. Укрепление откоса каменной наброской в железобетонных ящиках:
1-железобетонные ящики; 2-каменная наброска

Подпорные стенки различной формы - наиболее распространенная конструкция для обеспечения устойчивости откосов автомобильных дорог в горной местности [7] . Они применяются при проложении дорог в стесненных условиях и в местах, подверженных действию оползней, обвалов, лавин и снежных заносов, селевых потоков (рис. 9).

Рис. 9. Укрепление откосов подпорными стенками:
а-массивные подпорные стенки; б-тонкие железобетонные подпорные стенки; в-тонкие анкерные железобетонные подпорные стенки

При прокладке дорог вблизи рек, озер наряду с подпорными стенками используются сборная железобетонная ряжевая стена [8] и сборные железобетонные тетраподы [9, 10] (рис. 10).

Рис. 10. Укрепление откосов сборными железобетонными тетраподами

При защите откосов дорог от действия оползней часто применяются противооползневые удерживающие конструкции в виде забивных и буронабивных свай (рис. 11) [11].

Рис. 11. Укрепление откосов:
а-забивными сваями; б-буронабивными сваями

Укрепление откосов тюфяками из железобетонных блоков с усиленным креплением блоков между собой и к дамбам.

Конструкция тюфяков из блоков с минимальными зазорами, представленная на рис.12, состоит из железобетонных блоков-тюфяков, нанизанных на анкерные стержни с креплением этих стержней к "зубу" дамбы. Помимо "зуба" с речной стороны в дамбе имеются анкерные балки и анкерные тяги из железобетона [12] .

Рис. 12. Конструкция тюфяков из железобетонных блоков с минимальными зазорами:
1-анкерная балка; 2-анкерная тяга; 3-тюфяк; 4-зуб; 5-анкерные стержни

Анкерные балки в плане повторяют очертание передней грани струенаправляющей дамбы, а анкерные тяги соединяют "зуб" и анкерную балку, в результате этого обеспечивается надежное удержание тюфяков от сползания.

Сборно-монолитная консольная стена с облегченными тюфяками представляет собой стену с фундаментом неглубокого заложения, возводимую из блочной или монолитной кладки. Такая стена защищается от размыва облегченными тюфяками, которые устанавливаются перед ней на уровне горизонта меженных вод на расстоянии 5-6 м друг от друга (рис. 13).

Рис. 13. Сборно-монолитная консольная стена с облегченными тюфяками:
1-сборные бетонные блоки; 2-железобетонная консоль; 3-монолитная кладка; 4-тюфяки; 5-связь из арматурной стали

Скользящие массивы применяются в случаях, когда скорость течения паводков не превышает 4-5 м/с, и у основания защищаемых откосов отсутствуют крупные фракции каменного материала, а также на прямолинейных или пологих криволинейных участках: откосов.

Скользящие массивы состоят из сборных бетонных блоков, помещаемых на бруски-салазки, уложенные на направляющие железобетонные балки. Нижние продольные железобетонные балки втоплены в сухую кладку из крупного рваного камня (рис. 14).

Рис. 14. Скользящие массивы:
1-бруски-салазки; 2-направляющие железобетонные балки; 3-продольные железобетонные балки; 4-сухая кладка из крупных рваных камней; 5-скользящие массивы из бетонных блоков

Подпорно-оседающие стенки - массивы - предложены Н.К. Конановым и являются разновидностью конструкции скользящих массивов.

Оседающие стенки применяются для защиты откосов выемки в грунтах, легко поддающихся разрушению под влиянием атмосферных воздействий. В грунтах, обладающих большой величиной сцепления, одевающие стенки устраиваются почти вертикальными (рис. 15), в грунтах с меньшим сцеплением - более пологими.

Рис. 15. Многоярусная одевающая стенка, защищающая от выветривания откос из песчаников и сланцев:
а-поперечный разрез по защищаемому стенкой склону; б-сечение стенки;
1-дорога; 2-стенка; 3-сухая кладка; 4-кладка на растворе;5-пласты песчаника и сланца

Стенка является одевающей, если величина распора близка к нулю, т.е. такие стенки как бы прислоняются к откосам; устойчивые сами по себе, они не испытывают распора (рис. 16).

Бетонные монолитные массивы укладываются по спланированному и выровненному откосу на подготовку из сухой кладки под углом к горизонту (a = 60-65°) (рис. 17) без устройства сложных конструкций железобетонных направляющих и салазок, имеющихся в скользящих массивах.

Оседающие массивы применяются при наличии в основании защищаемого откоса булыжника и крупных камней. Они просты в изготовлении, стоимость их невелика.

При больших скоростях течения (4-6 м/с) оседающие массивы укладываются на подготовку из сухой кладки.

В Грузинском политехническом институте им. В.И. Ленина разработаны различные виды защитных покрытий укрепления откосов [12, 13] :

Рис. 16. Одевающая стенка

Рис. 17. Подпорно-оседающие стенки-массивы:
1-сухая кладка из камня; 2-прокладка из толя; 3-бетонные массивы

а) сборно-монолитные комбинированные стены и дамбы с разгружающими устройствами в виде железобетонных плит (конструкция Шоди) (рис. 18,а); с разгружающей площадкой на кронштейнах (конструкция З.В. Цагарели) (рис. 18,б) и в виде пустотелых железобетонных блоков (конструкция В.А. Еремина) (рис. 18, в).

Фундаменты стен и дамб во всех случаях следует проектировать с заложением ниже глубины наибольшего возможного размыва или защищенными от подмыва облегченными тюфяками из бетонных плит.

Рис. 18. Сборно-монолитные откосоукрепительные стены и дамбы:
а-с разгружающими устройствами в виде железобетонных плит; б-с разгружающей площадкой на кронштейнах; в-из пустотелых железобетонных блоков

б) продольные сооружения зубчатого очертания в плане. Для уменьшения размывов вдоль продольных откосов укрепительных сооружений и обеспечения их устойчивости предложено придавать стенам, дамбам и береговым ограждениям зубчатое очертание в плане (рис. 19).

Рис. 19. Схема продольного откосоукрепительного сооружения зубчатого очертания в плане

Такие сооружения изготавливают из бетонных и железобетонных секций трапецеидального сечения; из бетонных прямоугольных массивов, соединенных между собой парными шарнирными связями из арматурной стали; из свайного частокола и каменной наброски за ним.

Оптимальным отношением стрелы секции к ее длине является f/l = 1/4.

в) береговые ограждения из железобетонных свай и досок

Ограждение устраивается в виде забора из железобетонных свай и досок, укладываемых за сваями и прикрепляемых к ним арматурной проволокой или скобами. Нижний ряд досок опирается на бетонную рандбалку высотой 0,8-1 м.

Пространство между стеной из железобетонных досок и откосом заполняется каменной наброской. Стена из досок выполняется сплошной или сквозной.

При небольших размывах у откоса конструкция ограждения выполняется как показано на рис. 20,а, а при больших размывах к зубу-рандбалке крепятся облегченные тюфяки из бетонных плит (рис. 20,б).

Рис. 20. Продольные откосоукрепительные железобетонные ограждения:
а-при небольших размывах; б-при больших размывах;
1-муфта; 2-железобетонные доски; 3-железобетонные сваи; 4-рандбалки; 5-тюфяки из бетонных плит

2.3. Сборно-железобетонные укрепления

Одним из возможных путей решения проблемы защиты поверхности откосов от деформаций, связанных с нарушением их местной устойчивости, является применение сборных бетонных, железобетонных или армированных цементогрунтовых элементов, которые после объединения в стыках образуют решетчатую конструкцию.

С помощью металлических анкеров, забиваемых в узлы стыков, конструкция крепится к поверхности откоса, при этом обеспечиваются ее жесткость и устойчивость. Ячейки такой конструкции могут быть заполнены растительным грунтом с посевом трав, грунтом, обработанным вяжущим или монолитным бетоном, и т.д. Это дает возможность при минимальном расходе материалов на изготовление самих элементов (по сравнению со сборными плитами) применять разнообразные местные материалы для заполнения ячеек [14].

Решетчатые укрепления. Для укрепления откосов от деформации в поверхностных слоях, возникающей в результате воздействия погодно-климатических факторов, а также поверхностных и грунтовых вод, применяются решетчатые конструкции, состоящие из сборных железобетонных или армированных элементов, которые после объединения в стыках образуют на поверхности откоса решетку с ячейками заданного размера [14].

Конструкция присоединяется к поверхностным слоям грунта откоса металлическими штырями или железобетонными сваями, забиваемыми в узлах стыков. Сборные элементы могут иметь диагональное или прямоугольное расположение в конструкции укрепления. В нижней части, возле подошвы земляного полотна, расположен бетонный упор, который воспринимает сдвигающее усилие от собственной массы решетчатой конструкции.

Существует несколько вариантов решетчатых конструкций из сборных элементов (рис. 21) [15]:

облегченная с диагональным расположением элементов;

облегченная с прямоугольным расположением элементов;

усиленная с прямоугольным расположением элементов;

усиленная с диагональным расположением элементов;

универсальная (любое расположение элементов) ригель-стойка.

Укладку элементов производят снизу вверх в поперечном направлении с последующей забивкой металлических стоек 500´18 мм в узлах решетчатых конструкций, затем осуществляют омоноличивание стыков бетонным раствором. Стыки сборных элементов могут иметь гибкое соединение с помощью арматурных петель или жесткое замковое соединение.

Укрепление откосов железобетонной рамой рекомендуется применять для подтапливаемых откосов. Прямоугольные железобетонные рамы, имеющие скосы по углам, укладывают на поверхность откоса (рис. 21,д). Скосы углов образуют вертикальные каналы, через которые пропускают и забивают металлические штыри и омоноличивают цементным раствором (рис. 21,л). В нижней части располагается бетонный упор. Ячейки рам заполняются грунтом с засевом трав, щебнем, камнем, тощим бетоном [16].

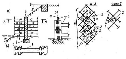
Разновидностью решетчатых конструкций укреплений является железобетонная обрешетка (рис. 22), заанкерованная на откосе. За счет анкеровки, дополнительной пригрузки и распределения местных напряжений в откосе на значительной площади не происходит развитие деформации в приповерхностных слоях и локальных деформаций откоса на большую глубину.

Рис. 21. Варианты решетчатых конструкций из сборных элементов:
а-облегченная с диагональный расположением элементов; б-облегченная с прямоугольным расположением элементов; в-усиленная с прямоугольным расположением элементов; г-универсальная (любое расположение элементов) "ригель-стойка"; д-рамная; ж,з,к,л-узлы соединения элементов

Рис. 22. Железобетонная обрешетка на поверхности откоса:
1-монтажная плита; 2-балка; 3-свая; 4-посев травами по слою растительного грунта

Железобетонное гибкое покрытие ЦНИИС [12] устраивают для защиты откосов постоянно или периодически подтопляемых насыпей и береговых откосов, подверженных воздействию волн высотой до 1,5 м и скорости течения до 3 м/с.

Гибкие покрытия откосов состоят из отдельных жестких железобетонных элементов, соединенных между собой пластическими связями. Гибкие плиты и блоки решеток, из которых монтируется покрытие, практически не испытывают изгибающих моментов [2] .

Гибкие покрытия подразделяются на сплошные плитные и решетчатые с ячейками, образованными взаимно пересекающимися гирляндами. Конструкция состоит из отдельных жестких железобетонных элементов, объединенных посредством пластических связей из арматурной стали в полимерной оболочке. Между отдельными элементами образуются линейные шарниры, благодаря чему конструкция способна вписываться в криволинейные поверхности.

Гибкие плитные покрытия, изготавливают из бетона марки 300-400 и армируют стальной сеткой из пакетов проволоки, укладываемой по середине толщины плиты.

Гибкость железобетонного покрытия обеспечивается системой ортогонально-направленных линейных шарниров. Они выполняются путем разреза бетона плиты в двух направлениях с разделением ее на прямоугольные или квадратные элементы, при этом арматура в местах разреза выполняет роль пластической связи (рис. 23).

Рис. 23. Плита гибкого железобетонного покрытия:
а-общий вид; б,в-разновидности плиты; г-конструкция гибкого узла;
1-плита для средней части покрытия; 2-то же, для крайних рядов; 3-пакет арматурных стержней; 4-петля для стыковки элементов; 5-полиэтиленовая оболочка

Гибкое железобетонное покрытие толщиной 5 см укладывают на щебеночный слой толщиной 0,1 м.

Отдельные плиты размером в плане 2,695´4,5 и 2,625´7,5 м, из которых состоит покрытие, после укладки на откос соединяют, сваривая выпуски арматуры. Швы между плитами заполняют раствором.

Гибкие решетчатые покрытия, применяемые для защиты от воздействия течения и волн, состоят из соединенных между собой гибкими связями свободно лежащих отдельных блоков, выполненных в виде гибкой решетки из железобетонных гирлянд, пересекающихся по взаимно перпендикулярным осям. Причем каждая гирлянда защемлена другими гирляндами, пересекающими ее попеременно сверху и снизу.

Гибкость гирлянды, а следовательно, и решетки в целом достигается разделением бетона гирлянд на мелкие элементы длиной 30 или 37,5 см, при этом в местах разреза бетона стержни армирования диаметром 5 мм в оболочке из полиэтилена выполняют роль пластических связей (рис. 24).

Рис. 24. Гирлянды железобетонного решетчатого покрытия:
а,б-линейные расположения гирлянд в двух плоскостях;
1-петли для стыковки элементов; 2-полиэтиленовая оболочка; 3-пазы линейных шарниров

Решетчатые покрытия могут защищать от воздействия волн откосы крутизной не более 1:2,5. Ячейки решетки заполняются щебнем или галькой.

2.4. Цементогрунтовые укрепления

Конструкции укрепления из грунтов, обработанных вяжущими, предназначены для быстрой защиты откосов насыпей и выемок от процессов выветривания, водной и воздушной эрозий; для укрепления поверхности высоких откосов и устройства водонепроницаемого покрытия на бермах.

Указанные конструкции используют в районах, где растительный грунт представляет собой большую ценность для сельского хозяйства и не может быть использован для укрепления откосов.

Необходимым условием применения грунтов, обработанных вяжущими, является наличие местных песчаных, супесчаных, легких суглинистых грунтов, гравийно-песчаных смесей, пригодных для приготовления цементогрунта или битумогрунта.

Конструкции укрепления из набрызгматериалов. Пневмонабрызг представляет собой процесс нанесения с помощью сжатого воздуха цементогрунтовых, цементопесчаных, а также бетонных смесей на наклонные и вертикальные поверхности откосных частей земляного полотна специальными машинами. Этот метод исключает применение опалубки, а также специальных машин для вибрационного уплотнения смесей.

Конструкции укрепления, выполненные методом пневмонабрызга, состоят из металлической сетки, монтажных анкеров, несущих анкеров, набрызгматериала.

Сетка может быть расположена либо на всей поверхности откоса, либо в отдельных ее местах.

Чтобы предотвратить попадание атмосферных осадков или вод снеготаяния под слой покрытия, предусматривают специальные козырьки.

Укрепление экранами. Если откосы дорог сложены из глин или суглинков с повышенной водопроницаемостью, то в качестве защитного и противофильтрационного устройства применяются грунтовые экраны и экраны из полимерной пленки [3]. Грунтовый экран выполняется путем рыхления верхнего слоя откоса на глубину 30-40 см с последующим уплотнением или путем укладки на поверхность откоса хорошо уплотняемых глин или суглинков. При применении экрана из полимерных пленок необходимо предварительно подготовить основание из песчаного грунта. Далее укладывается полимерная пленка и покрывается слоем уплотняемого грунта толщиной 50 см (рис. 25).

Рис. 25. Экран из полимерной пленки:
1-полимерная пленка; 2-защитный слой грунта

2.5. Сборно-монолитные асфальтобетонные укрепления

Асфальтобетонные защитные покрытия применяют при скоростях потока до 2 м/с. Они обладают высокой деформативностью (гибкостью), просты в эксплуатации, имеют сравнительно невысокую стоимость изготовления и не трудоемки [17]. Эти покрытия устраиваются монолитными и сборными. Перед укладкой монолитного покрытия откос планируют, протравливают (во избежание прорастания трав) ядохимикатами и уплотняют до остаточной пористости 35-40%. Для увеличения несущей способности откоса в него втрамбовывают щебень, затем производят розлив битумных материалов автогудронаторами. Возможно устройство армированного асфальтобетонного покрытия (два слоя битума с прокладкой между ними арматурной сетки).

Асфальтобетонные покрытия из сборных элементов предназначены для крепления подтопляемых частей откосов и состоят из двух слоев, между которыми расположена арматурная сетка. Общая толщина покрытия составляет 5-10 см.

Асфальтобетонные покрытия выпускаются в виде отдельных плит размером до 15 м2 и секций размером до 50 м2, намотанных на барабан. Укладка их производится путем сматывания с барабана (рис. 26) [18]. Отдельные плиты и секции должны перекрывать друг друга на 1-3 см. Выше уреза вода их крепят к анкерам-сваям в грунт на глубину 1,5-2 м. Конец плиты, находящийся в воде, должен быть утяжелен бетонными брусками размерами 20´20 см.

 

Рис 26. Укладка на откос сборного асфальтобетонного покрытия с барабана:
а-подводная часть покрытия; б-размотка тюфа с барабана; 1,2-асфальтобетонные тюфяки; 3-барабан; 4-плавучий кран

Гибкое асфальтобетонное покрытие применяют в виде сплошных покрытий, которые изготавливают в заводских условиях или непосредственно на месте производства укрепительных работ. Такие конструкции подразделяют на асфальтовые маты, гибкие битумные мембраны или уложенные под защитным слоем экраны, а также собственно гибкие асфальтобетонные покрытия.

Асфальтовые маты состоят из обработанной битумом арматуры (пеньки, джута, конопли, картона), размещенной внутри слоя мелкозернистого асфальтобетона толщиной 2,5 см. Более мощные конструкции матов имеют толщину до 13 см, ширину 0,75-1,0 м, длину 7,5 м.

Усиленные асфальтовые маты состоят из армированного или неармированного асфальтового ядра, помещенного между двумя слоями пропитанного битумом синтетического войлока, и водонепроницаемого защитного наружного слоя.

Гибкие битумные мембраны представляют собой тончайшие асфальтобетонные покрытия в виде оболочек-мембран, которые должны быть защищены слоем грунта толщиной не менее 0,3 м или обработанными битумом галькой и щебнем.

Уложенные под защитным слоем экраны состоят из прослойки вязкого битума толщиной 6 мм и слоя связного грунта.

Обе конструкции предназначены для защиты откосов насыпей из глинистых грунтов от проникания атмосферных осадков при устройстве защитных и изолирующих конструкций, а также в случае подтопления при отсутствии течения и волн.

2.6. Сборно-монолитные укрепления из синтетических материалов и автомобильных покрышек

Конструкции укрепления из синтетических текстильных материалов (СТМ) могут выполнять защитные или несущие функции. Такие конструкции целесообразно комбинировать с другими типами укрепления: защитными слоями, решетчатыми конструкциями, посевом трав и т.п.

Конструкции из СТМ в виде сплошных покрытий предназначены для защиты от размывов не только откосов, но и обочин, с которых нередко начинается размыв.

Для этих целей верхний край полотнища СТМ должен быть выведен на обочину и закреплен под дорожной одеждой, а нижний край - у подошвы откоса.

В качестве варианта данной конструкции возможна укладка CТM только в пределах обочин и бровки насыпи плюс 0,5-1,0 м по откосу. Для засыпки защитного слоя могут быть использованы различные материалы: морозостойкие неусадочные грунты, растительный грунт, гравийно-песчаные или торфопесчаные смеси.

Высокая прочность и устойчивость к истиранию некоторых материалов позволяют осуществлять укладку и даже наброску непосредственно на них камней массой до 0,9 т.

В качестве обратных фильтров на откосоукрепительных сооружениях используют различные ткани из нейлона, полиэтилена, поливинилхлорида и т.д.

Для укрепления откосов пойменных насыпей используют синтетические нейтронные материалы и полимерные сетки [19].

В качестве синтетического нетканого материала применяют дорнит Ф-2 и полимерную сетку с ячейками размером 4 мм и нитью толщиной 2 мм. Прочность на разрыв сетки составляет 5-8 МПа.

Значительная прочность защитных синтетических материалов и их фильтрационная способность создают предпосылки к их высокой работоспособности на откосах насыпей в районах с суровыми природно-климатическими условиями.

Полосы дорнита закрепляют на откосе деревянными кольями или прорастающими ивовыми черенками (рис. 27).

Стоимость укрепления откосов дорнитом 4 р/м2, укрепления полимерной сеткой - 2,8 р/м2.

В песчаных пустынях Казахстана земляное полотно возводят из мелких несвязных (барханных) песков. При отсутствии надлежащей защиты на откосах насыпей из таких песков образуются эрозионные деформации. Они сопровождаются разрушением обочин на ширину до 1,5-2 м, что представляет большую опасность для движения транспортных средств [20].

Для обеспечения устойчивости неподтапливаемых откосов насыпей из мелких песков на участках образования сосредоточенных размывов их укрепляют:

пропиткой поверхности песка битумной эмульсией или высокосмолистой нефтью (рис. 28);

нетканым синтетическим материалом дорнитом;

решетчатыми конструкциями из сборных элементов.

Рис. 27. Комбинированная конструкция укрепления откосов с использованием дорнита и растительного грунта:
1-диагональные обрешетки из дорнита: 2-растительный грунт толщиной 10-15 см; 3-прослойка из дорнита; 4-колья деревянные или ивовые черенки

Рис. 28. Схема поперечной укладки нетканого материала:
1-защитный слой; 2-нетканый материал; 3-шпильки

При неблагоприятном сочетании климатических факторов и чувствительности грунтов откоса к процессам физико-химического выветривания устраиваются совмещенные термогидроизоляционные покрытия [21] не на полную высоту откоса, а на 1,5-2 м меньше (рис. 29).

Рис. 29. Схема устройства термогидроизоляционного покрытия на откосе:
1-поверхностное укрепление; 2-теплоизоляционный слой

Откосоукрепительные сооружения из использованных автомобильных шин. Утилизация шин является актуальной проблемой, так как они не распадаются в естественной среде, полностью не сгорают, при их сжигании в атмосферу попадают вредные вещества.

Применение использованных автомобильных шин в качестве основной строительной конструкции дает возможность возводить откосоукрепительные сооружения, отличающиеся низкой стоимостью, незначительными затратами труда и материалов.

Эластичность шин столь высока, что они способны деформироваться на 30% без остаточных деформаций и без значительного нарушения структуры материала. Именно поэтому они длительное время сохраняют гибкость и прочность даже при неблагоприятных условиях эксплуатации.

В качестве крепежных материалов для модулей из шин и тюфяков не рекомендуется использовать металлические негальванизированные канаты из-за быстрой их коррозии, синтетические и натуральные канаты - из-за их перетирания в абразивной среде в течение короткого времени. В пресной воде следует применять крепления из конвейерной ленты, скреплённой нейлоновыми болтами, а в морской среде - из конвейерной ленты, скрепленной гальванизированной сваркой цепью диаметром 12,7 мм и более.

Модули из шин вследствие неровной поверхности обладают значительными волногасящими свойствами по сравнению с каменной наброской или откосоукрепительным сооружением из бетонных плит.

Врезая откосы в узкую скальную выемку, рекомендуется придавать им ярусную форму и на каждой ступени укладывать слой грунта с тем, чтобы в дальнейшем нарастить на нем траву, а иногда и мелкий кустарник. Такое устройство откосов (рис. 30) обеспечит хорошую освещенность дороги и надежную прочность откосов [22].

Ярусные откосы выемок в большинстве случаев предпочтительнее обычных гладких при приложении автомобильных дорог в горных условиях.

Рис. 30. Варианты (I и II) откосов ярусной формы

3. ЗАРУБЕЖНЫЙ ОПЫТ ЭКСПЛУАТАЦИИ ОТКОСОУКРЕПИТЕЛЬНЫХ СООРУЖЕНИЙ НА АВТОМОБИЛЬНЫХ ДОРОГАХ

В разных странах проводят примерно однотипные мероприятия по укреплению откосов автомобильных дорог, которые включают: живые посадки; хворостяные и сипайные укрепления; облицовку камней; наброску из фигурных блоков; возведение габионов, молов и асфальто-железобетонных конструкций в сборном или монолитном исполнении.

За последние десятилетия во Франции, США, Японии, ФРГ и других странах мира в откосах используется насыпной армированный грунт [7,23]. Основными типами облицовки подпорных стен являются сборные железобетонные плиты и металлические волнистые листы (рис. 31). Наружную железобетонную облицовку собирают из плоских плит одного размера, шарнирно соединенных между собой. При этом заделку стыков раствором не производят, наружную металлическую облицовку изготавливают из горизонтальных профилей эллиптического сечения.

В качестве армирующих элементов служат гибкие металлические полосы, канаты, сетки, решетки, обладающие достаточным коэффициентом трения с грунтом и хорошо работающие на растяжение. Армирующие элементы жестко крепятся к конструкциям облицовки в перпендикулярном направлении, далее на них отсыпается послойно грунт на всю высоту откоса.

Рис. 31. Насыпной армированный грунт:
а-облицовка подпорной стенки железобетонными плитами; б-то же, металлическими волнистыми листами;
1-железобетонная плита; 2-армирующие элементы; 3-насыпной грунт; 4-металлический волнистый лист

В ФРГ, Франции, США и ряде других стран для защиты откосов от воздействия атмосферных осадков и ветра широко используют износостойкий материал из беспорядочно переплетенных невытянутых нейлоновых нитей, получивший название Enkamat [24,25]. Защитный слой из этого материала укладывают слоем толщиной 7-22 мм. Материал с нанесенным на него растительным грунтом был успешно использован для укрепления откоса крутизной 70° из глинистых грунтов. В течение года откос стабилизировался и зарос травой. Практика показала возможность использования этого материала для укрепления водоотводных канав от размыва [26].

Бетонные блоки с замковым соединением используются при укреплении откосов в Нидерландах, Англии и США.

Типовые блоки представляют собой квадратные плиты с замковыми соединениями типа "корабельное (судовое) перекрытие". Эти соединения обеспечивают механические зацепления двух соседних блоков (рис. 32).

Покрытия из асфальтобетонных матов широко распространены в США [27]. Сначала маты изготовляли путем пропитки битумом основы из джута, конопли или пеньки. Пропитанную таким образом арматуру размещали внутри слоя из мелкозернистого асфальтобетона толщиной 2,5 см. В настоящее время для облицовки откосов применяют заранее заготовляемые тонкослойные покрытия из очищенного или окисленного битума толщиной 4-8 мм. Для армированных матов стали использовать основу из стеклянного волокна, джута, реже - асбестовый картон и алюминиевую жесть. Созданные в последние годы синтетические текстильные материалы широко применяют для изготовления гибких асфальтобетонных матов с помощью пропитки или обработки такой основы вязким битумом.

Рис. 32. Защитные покрытия из замковых бетонных блоков:
а, б - схемы расположения откосов;
1 - блок типа "судовое перекрытие"; 2 - тканевый фильтр из пластического материала; 3 - блок типа "шип и паз"

В США предложена конструкция асфальтобетонных матов, которые имеют толщину 13 мм, ширину 0,75-1 м и длину около 7,5 м. Такой лист состоит из армированного или неармированного асфальтобетонного ядра, помещенного между двумя слоями пропитанного битумом синтетического войлока. Кроме того, лист имеет водонепроницаемый защитный наружный слой. Маты такой конструкции укладывают на подготовленную и обработанную стерилизующими веществами поверхность откоса. Листы соединяют внахлест на 7,5 см. Швы заделывают мастикой или цементным раствором. Возможны варианты многослойных матов.

В США используют также тончайшие асфальтобетонные покрытия в виде оболочек-мембран. Тонкие покрытия из асфальтобетона остаются устойчивыми на откосах даже при крутизне 1:1,75. Оболочки-мембраны защищают слоем грунта толщиной не менее 0,3 м или грунтом, обработанным битумом, галькой и щебнем.

В США, Италии, Франции для укрепления подтапливаемых откосов, в основном, использовали грунты, обработанные вяжущими материалами, вместо бетонных конструкций. В США широко используется цементогрунт, который американские специалисты подразделяют на два основных типа: стандартный и пластичный. Стандартный цементогрунт близок к дорожному, пластичный цементогрунт содержит большее количество вода и цемента, чем стандартный.

В США применяется способ укрепления крутых откосов нейлоновыми матами, заполненными цементным раствором.

Вариантом откосоукрепительного сооружения является покрытие в виде тюфяка, укладываемого на защищаемый откос секциями и заполняемого бетоном, приготовленным на мелком заполнителе, или цементным раствором. Тюфяки изготовляют из нейлона, не подверженного гниению. Такая конструкция укрепления откоса была разработана в Нидерландах, а затем применялась в США [25]. Толщина тюфяка составляет 8-30 см. Ткань пропускает лишнюю воду при укладке бетонной смеси или цементного раствора и задерживает частицы цемента и заполнителя. Благодаря этому бетон при твердении имеет свойства, аналогичные свойствам бетона с низким водоцементным отношением: быстро твердеет, приобретает высокие прочность и плотность.

Одним из преимуществ этой конструкции укрепления откосов является то, что на неровной поверхности тюфяков оседает илистый грунт, который способствует прорастанию растительности. Корневая система растений дополнительно укрепляет тюфяки на откосе.

В шт.Луизиана (США) применены два метода защиты откосов.

В первом методе использовали гибкую открытую облицовку, состоящую из ячеистых бетонных блоков с тальковой верхушкой на пластиковой фильтровальной ткали (рис. 33).

Рис. 33. Блок gobi на фильтровальной ткани:
а-общий вид гобимата; б-блок GOBI ;
1-каменная верхушка; 2-фильтровальная ткань

Ткань шириной 18 футов крепится двумя 10-дюймовыми трубами Лонгарда.

Второй метод заключался в применении труб Лонгарда, заполненных песком.

При укреплении дороги в окрестностях Нью-Йорка была использована синтетическая ткань Hold/GRO, в структуру которой входят тонкие полоски бумаги, быстро разлагающиеся под воздействием природных факторов. Синтетическая ткань защищает грунт от размыва, отводит поверхностную воду и удерживает уложенный на откосе слой мульчи. Кроме того, ткань уменьшает объем седиментационных отложений на откосе при разливе реки.

В штатах Алабама, Арканзас и Миссури, начиная с 1983 г., проводятся опытные работы по укреплению откосов насыпей на подходах к мостам инъецированием жидкого раствора извести или известково-зольного шлама.

В отличив от цементации грунта при инъецировании расход раствора, нагнетаемого в грунт при помощи механических или гидравлических иньекторов, больше. Оборудование для инъецирования включает трейлер, на котором смонтирована емкость для шлама вместимостью 7,5 тыс.л. с механической мешалкой, насос и три инъектора.

Для борьбы с эрозией фирма "Enka Geomatrix Sistems "выпускает объемные ячеистые панели, изготовленные из нетканых полиэфирных материалов, отличающиеся легкостью, износостойкостью и простотой установки. Ими можно облицовывать и укреплять откосы искусственных сооружений, дамбы, берега водоемов.

В США для укрепления откосов дорог применяются треугольные бетонные блоки aru, объединенные в гладкое покрытие [28,29]. Защитный комплекс состоит из двух частей: прочных бетонных блоков aru и нижнего слоя из геотекстиля. Под действием массы блоков, имениях форму равностороннего треугольника со стороной длиной 37,5 см и толщиной 15 см, полотнище геотекстиля удерживается на месте. Соединительные элементы объединяют треугольные блоки, придают гибкость покрытию, позволяя блокам смещаться относительно друг друга.

Соединительные элементы (массой 16 кг) изготавливаются из бетона и в поперечном сечении имеют форму гантелей. Длина соединительного элемента 21,11 см, ширина стержня элемента поверху 7,5 см, диаметр утолщений на концах элемента 8,8 см. Соединительный элемент толщиной 10 см сужается к низу, так что ширина стержня в нижней части элемента на 2,5 см меньше, чем сверху. Соединительные элементы вставляют в круглые углубления, выполненные на трех сторонах соседних блоков. Такое соединение обеспечивает подвижность блоков.

Для стабилизации откосов автомобильной дороги в шт. Колорадо (США) использованы блоки из полистирола массой 36,5 кг, которые легко распиливаются (рис. 34).

Блоки из полистирола также применяли для стабилизации мостовых переходов [29]. Конструкцию с блоками из полистирола приняли взамен обычной конструкции крепления с применением геотекстиля и жесткой подпорной стенки. Для отведения поверхностных вод от блоков полистирола в процессе таяния снега предусмотрены четыре системы гидроизоляции и дренажа. Две из них расположены над слоем блоков, две другие - ниже этих блоков. Верхняя основная система гидроизоляции представляет собой слой бетона толщиной 15 см, армированный стальной сеткой. Срок службы таких блоков не менее 30 лет.

Рис. 34. Укрепление откосов из блоков полистирола:
а-общий вид; б-облегченный блок полистирола;
1-дорога; 2-кирпичная кладка из блоков полистирола; 3-бетонная гидроизоляция

В США для армирования грунта откосов опытного участка дорожной насыпи протяженностью 128 м применяли волокна из синтетического материала тексол, которые перемешивали с грунтом с образованием композитного материала.

Использование этого материала позволило принять более крутые откосы. Наружный откос заложен под углом 65°, внутренний 73° при высоте насыпи 5,5 м. Ширина усиленного волокном участка по основанию составляет 0,9-1,8 м.

В Великобритании для защиты откосов дорог от размыва применяются:

хворостяные укрепления (переплетение кольев) - для формирования противоэрозионной системы на месте;

резиновые шины (рис. 35) - из одного или двух рядов шин формируют колонны, забивают для устойчивости по их центру колья, затем шины заполняют подходящим местным материалом и в рядах соединяют неразлагаемым в естественной среде материалом;

распыляемые покрытия - их получают разбрызгиванием бетонных смесей или засевом трав;

"катаный" бетон - бетонная смесь распределяется на специальные щиты, уложенные на сухую поверхность откоса, и уплотняется виброкатками.

В Великобритании для строительства подпорных стенок широко используются изношенные автомобильные шины [30] .

Конструкция подпорных стенок состоит из облицовочных шин, уложенных в ряд и прочно связанных друг с другом, и шин, выполняющих роль анкеров, соединенных с облицовочными шинами прочной лентой Paraweb. Анкерные шины располагали на расстоянии 3 м от облицовочных шин (между центрами). Внутреннее пространство шин заполняли песком. Каждый ряд шин смещали относительно нижнего на половину диаметра шины. Поверхности облицовочных шин придавали уклон 1:0,7 (рис. 36).

Рис. 35. Укрепление откосов автомобильными покрышками:
а-ковер из резиновых шин и их анкеровка на откосе дорог; б-стойки из покрышек, используемые как подпорная стенка

Рис. 36. Подпорная стенка из изношенных шин:
1-облицовочные шины; 2-анкерные шины; 3-песок; 4-дорога

Анализ эффективности подпорной стенки из изношенных шин показал их экономичность (в 10 раз дешевле и в 9 раз менее трудоемки, чем традиционная стенка из армированного грунта). Подпорные стенки из изношенных автомобильных шин можно строить и без анкерных шин.

Рис. 37. Укрепление скального откоса бермы, используемой для строительства местной дороги:
1-анкерная опора; 2-дренажные скважины; 3-анкер; 4-выравнивающий слой из бетона; 5-скальные иглы; 6-набрызг бетона по стальной сетке

Рис. 38. Комбинированная система из анкеров и ряда свай:
1-берма; 2-облицовка; 3-плиты размером 5,7´26 м: 4-дополнительный анкер; 5-пористый бетон; 6-насадка; 7-резервная полоса; 8-грунтовый анкер; 9-слой торкретирования бетоном; 10-сваи; 11-массив грунта слоистого строения; 12-колодец

В некоторых случаях (рис. 37, 38) для предохранения поверхности откосов выемки в неустойчивых скальных породах применяют легкие решетчатые одевающие стенки [31] или торкретирование поверхности откоса бетоном [32, 33].

Для озеленения подпорных и одевающих стенок используют конструкции с отверстиями, которые засылают гравелистым грунтом с примеоью пылевато-глинистых частиц с последующей присыпкой слоя растительного грунта [34,35]. Вид растений выбирают с учетом требований ландшафтной архитектуры, климата, рельефа, экспозиции склона, загазованности воздуха и конструкции сооружения.

Фирма MMG Civil Engineering Systems Ltd (Англия) для укрепления откоса автомобильной дороги АII вдоль р.Тет использовала бетонные рамки марки Armoplex, связанные между собой проволокой в единую гибкую систему. Более 1 тыс.м2 береговых откосов было закрыто такими рамками и более 5 тыс.м2 - водонепроницаемой мембраной марки Nicotorp 100 hd. На гладкую поверхность мембраны уложили материал марки Armater с сотовыми ячейками глубиной 10 см. Соты засыпали растительным грунтом с последующим высевом семян трав.

На дорогах ФРГ для укрепления откосов применяют фильтрующий геотекстиль На Те тип 02214. Полотнища геотекстиля шириной 5 м укладывали на откос с помощью специальной машины, затем сшивали между собой. Поверх геотекстиля устраивали слой каменной наброски толщиной 40 см. Геотекстилем был заменен слой обратного фильтра из гравия толщиной 30-40 см.

Фирмой "Генрих Ольгманс" разработан способ укрепления откосов синтетическими матами в комбинации с травосеянием [36]. Вначале укрепляемый откос планируют и засевают травами, имеющими длинные корни. Затем на него укладывают не подверженные гниению эластичные синтетические маты с шероховатой поверхностью, обеспечивающей лучшее сцепление с грунтом. Маты шириной 5 м, толщиной 2 см доставляют на строительство в рулонах. Расстеленные маты дополнительно закрепляют скобами длиной по 20 см (4-5 скоб на площади 1 м2), которые через некоторое время разлагаются и не служат помехой при последующих покосах трав. Расстеленные маты покрывают слоем растительного грунта, по которому осуществляют посев трав.

Травы могут свободно развиваться, надежно скрепляя корнями верхние слои почвы. Таким образом, синтетические маты защищают грунтовое основание от размыва и закрепляют нанесенный поверх них растительный слой.

На одной из курортных дорог Югославии откосы земляного полотна в мергелистых грунтах укрепили предварительно изготовленными бетонными брусьями сечением 30´37 см и длиной, равной высоте откоса (18 м). Брусья, расположенные через 2,5 м по длине откоса, закрепили анкерами в грунте. Пространство между брусьями заполнили слоем торкрет-бетона толщиной 18 см после предварительного армирования. Для улучшения внешнего вида стенки по высоте откоса были подвешены желоба, в которые высажены растения, частично закрывшие участки торкретирования.

В Ливане для укрепления откосов автомагистрали Хамат-Хери устроена подпорная стенка из армированного грунта, а на скальном обрыве применено анкерное крепление.

В Австрии и Индии неустойчивые откосы закрепляют посадкой растительности.

Решетчатые конструкции широко применяют в некоторых странах, в частности, в Японии для укрепления откосов из глинистых грунтов, склонных к набуханию при увлажнении, а также в Болгарии при укреплении откосов глубоких выемок.

За рубежом для укрепления откосов широко практикуются молы. В районах, открытых для воздействия волн, молы представляют собой сооружения из каменной наброски. В тех же районах, где указанные воздействия не столь значительны, используются как стальные ячейки, так и кессоны из бетона.

Рис. 39. Укрепление откосов молами:
а-каменно-асфальтовая смесь; б-откос, укрепленный тетраподами; в-то же, из трибаров массой 18 т

Каменно-асфальтовую смесь для молов приготавливают методом двойного замеса. При этом сначала в камерах горячего смешения получали традиционную асфальтобетонную смесь, а затем смешивали ее с предварительно высушенными и прошедшими термическую обработку камнями (для крупных проектов).

Различные конструкции молов из тетраподов и трибаров показаны на рис. 39.

4. НОВЫЕ КОНСТРУКЦИИ ЗАЩИТНЫХ ПОКРЫТИЙ УКРЕПЛЕНИЯ ОТКОСОВ

Ниже приводятся новые конструкции, разработанные авторами за последнее время, которые соответствуют предъявляемым требованиям к защитным покрытиям укрепления откосов автомобильных дорог на любые воздействия [37-43].

Рис. 40. Защитное покрытие откосов из каменных валунов:
а-дорожное полотно с гибкими матами; б-крепление гибкого мата к стойке ограждения автомобильной дороги; в-блок из двух валунов;
1-каменный валун; 2-половина покрышки; 3-вертикалышй хомут; 4-трос; 5 и 6 - соответственно длинные и короткие тросы

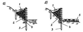
Защитное покрытие откосов из каменных валунов. На рис. 40,б показано устройство для защиты откосов дорог от размыва и оползней, выполненное из гибких матов, соединенных между собой тросами и закрепленных на верхней кромке откоса. Гибкие маты состоят из каменных валунов (блоков), обжатых замкнутыми половинками автомобильных покрышек, соединенных между собой хомутами.

Гибкие маты укладывают по двум сторонам откосов и заглубляют в грунт, соединяют тросами, перекинутыми через полотно дороги.

Данная конструкция покрытия проста, устойчива на опрокидывание и сдвиг. Противоположно расположенные нижние блоки, соединенные длинными тросами, удерживают находящиеся выше блоки по откосу от сдвига, верхние блоки, соединенные короткими тросами, исключают опрокидывание и сдвиг и не допускают перемещение их в один ряд.

При многократном воздействии паводков на откос блоки погружаются под собственной массой в воду, описывая очертания поверхности размыва, таким образом исключается появление обнаженных поверхностей откосов.

Особенно эффективно применение данной конструкции для защиты откосов плотин моренных и ледниковых озер и автомобильных дорог, расположенных в высокогорных и труднодоступных районах.

Защитное покрытие откосов дорог автомобильными покрышками, насаженными на сваи (рис. 41). Покрытие собирается из автомобильних покрышек, расположенных ступенчато по откосу и насаженных на вертикально установленные сваи. Покрышки крепятся к сваям следующим образом. Насаженные на сваи нижние покрышки одним краем внутреннего диаметра со стороны откоса упираются в сваи, а покрышки верхних рядов своим противоположным краем внутреннего диаметра прикреплены к сваям с помощью гибких хомутов. Промежуточные покрышки свободно насажены на сваи, скреплены между собой, а с верхними и нижними покрышками соединены посредством расположенного в их полостях заполнителя (булыжника).

Рис. 41. Защитное покрытие крутых откосов из автомобильных покрышек:
а-укрепление нижнего и верхнего откосов автомобильными покрышками; б-поперечное сечение покрытия - схема соединения стоек с покрышками; в-соединение покрышек хомутами;
1-автомобильная покрышка; 2-сваи; 3-хомут; 4-булыжники;5-ограждение дорог; 6-кустарник

Защитное покрытие откосов из коробчатых железобетонных плит. Защитное покрытие откосов выполняется из коробчатых прямоугольных плит с клинообразными выступами по углам (рис. 42). При соединении (укладке) коробчатых плит клинообразные стороны выступов стыкуются между собой и их проектное положение фиксируется хомутами и вертикально расположенными автомобильными покрышками. Глубина заложения покрышек в грунт откосов переменная и зависит от характера действующего на откос потока и уклона откоса.

Рис. 42. Защитное покрытие откосов дорог из коробчатых железобетонных плит:
а-общий вид дороги с защитным покрытием откосов; б-укрепленный откос в плане; в-фрагмент соединения двух коробчатых плит; г,д,е-различные варианты соединения коробчатых плит с покрышками;
1-коробчатый элемент; 2-выступы платы; 3-соединительный хомут; 4-автомобильная покрышка; 5-обнажэнный участок откоса; 6-дорога; 7-форма снежного заноса; 8-форма наката волны

Коробчатые плиты располагаются в плане в шахматном порядке с образованием между ними открытых участков, которые заполняются камнями или грунтом. Устойчивость и анкеровка покрышек обеспечиваются собственной массой плит и хомутами крепления.

Коробчатые плиты могут также применяться при защите дорог от снежных и песчаных заносов (рис. 42,а). При этом высота покрышки от поверхности плит меняется по кривой, описывающей форму снежного покрова, т.е. вблизи дороги высота покрышки является минимальной и увеличивается к середине откоса, далее она убывает от середины откоса в сторону верхней части защитного покрытия. Кроме того, максимальное заглубление покрышки в грунт вблизи дороги повышает устойчивость откосов от оползней и сдвигов грунтовой массы.

При защите откосов от размыва высота покрышки от поверхности плиты возрастает от нижней к верхней части защитного покрытия, так как чем выше и крупнее барьер на пути движения, тем меньше размывается поверхность откоса. Автомобильные покрышки также являются волнорезом, соединяют коробчатые прямоугольные плиты и удерживают их от сдвига по уклону откоса.

Применение коробчатых прямоугольных плит для защиты откосов повышает прочность покрытия, так как плита имеет особую геометрическую форму в виде жесткого замкнутого контура коробки. Используемый способ соединения коробчатых плит с покрышками с регулируемой высотой повышает устойчивость покрытия на сдвиг за счет заглубления в грунт, а также создает упругие барьеры для гашения удара волновых воздействий и задержания снежных заносов.

Защитное покрытие откосов из треугольных железобетонных элементов. Покрытие откосов данного типа состоит из жестко соединенных, геометрически неизменяемых равносторонних треугольных элементов, вершины которых имеют вогнутые формы с арматурными петлями (рис. 43). На поверхности защищаемых откосов треугольные элементы укладываются рядом таким образом, чтобы петли вершин трех элементов образовывали общую петлю для анкеровки их штырями в грунт с целью повышения устойчивости всего покрытия на сдвиг.

Рис. 43. Защитное покрытие откосов дорог из треугольных элементов:
а-схема расположения треугольных элементов в плане (пунктирная линия - второй верхний слой); б-треугольный элемент; в-схема соединения трех элементов; г-двухслойное защитное покрытие; д-комбинация двух треугольников для получения тетраэдра:
1-треугольный элемент; 2-вершина вогнутой формы элемента; 3-монтажная петля; 4-металлический штырь

Разработанная конструкция универсальна. Используя треугольные элементы одного типоразмера, можно получить различные формы зубьев против сдвига и барьеров для рассекания различных волновых воздействий и задержания снежных заносов и селевых потоков на дорогах. Такие формы (рис. 43,д) получают следующим образом: на горизонтально уложенные по откосу треугольные элементы одевают второй вертикально расположенный треугольный элемент. Таким образом, образуется поверхность тетраэдерного типа. При кругом уклоне откоса вершина вертикального треугольника должна быть направлена в грунт насыпи, при этом происходит максимальное заглубление, повышающее устойчивость защитного покрытия на сдвиг. А для получения конструкции волнореза вершина вертикально расположенного треугольного элемента направляется вверх, при этом образуется конструкция тетраэдерной формы с регулируемым направлением.

Предложенное техническое решение позволяет регулировать густоту сетки в плане за счет двух- или трехслойного расположения (рис. 43,г) треугольных элементов, при этом каждый слой сдвинут относительно нижнего на половину его длины. Это обеспечивает эффективность волногашения за счет глубинной сквозности защитного покрытия.

Кроме того, при необходимости можно заполнить пустоты сетки камнями, что увеличивает ее массивность, т.е. повышается устойчивость на сдвиг и опрокидывание.

Во всех новых вариантах горизонтально расположенные треугольные элементы стыкуются между собой вогнутообразными вершинами и петли их соединяются между собой.

Укрепление дорожной насыпи, сопряженной о мостом, осуществляется железобетонными кольцевыми элементами, расположенными сплошными рядами, описывающими в плане очертания откоса (рис.44).

Рис. 44. Укрепление насыпи моста железобетонными кольцами:
а-общий вид укрепления; б-соединение кольцевых элементов бетонными шпонками против сдвига;
1-железобетонные кольца; 2-эллипсоидная шпонка; 3-болт; 5-булыжник; 6-мост

Каждый ряд расположен относительно предыдущего ряда ступенчато по откосу, создавая вертикальные щели (каналы). Эти каналы замоноличиваются бетоном по всей длине элементов с использованием опалубки. Кольцевые элементы, расположенные по горизонтали, соединяют между собой горизонтальными болтами, необходимыми для исключения взаимных сдвигов колец. Внутренние полости кольцевых элементов заполняют камнями или грунтом.

Укрепление устоев мостов армированием из железобетонных балок с двутавровыми окончаниями.

Конструкция арматуры состоит из железобетонных балок, имеющих на концах двутавровые окончания и отверстия в них. Концы балок, укладываемых по торцам устоев, соединяются друг с другом через двутавровое окончание, т.е. на нижележащую балку надевают верхнюю балку при помощи имеющихся прямоугольных пазов, и образуют прямоугольные ячейки в плане (рис. 45). Крайние и средние узлы стыка балок закрепляют при помощи вертикальных металлических тросов, пропущенных через отверстия в пазах на концах балок и заанкерованных в фундаменты. Вертикальные каналы, образованные в средних узлах стыка конца балок, заполняют бетоном. После завершения монтажа балок ячейки каркаса засыпают каменно-песчаным заполнителем. Для укрепления берегов и откосов дорог строятся подпорные стенки из этих же элементов с укладкой балок по принципу "плетение".

Рис. 45. Укрепление устоев мостов армированием грунта откоса железобетонными элементами:
а-общий вид укрепления (разрез); б-фрагмент соединения балки; в-балка с двутавровыми окончаниями;
1-балка; 2-стойка; 3-камни; 4-трос; 5-мост

5. РАСЧЕТ КОНСТРУКЦИИ ОТКОСОУКРЕПИТЕЛЬНЫХ СООРУЖЕНИЙ

5.1. Методика расчета

Для расчета конструкции откосоукрепительных сооружений используются методы расчета изгиба балок, лежащих на упругом основании. Методы расчета таких конструкций в первую очередь зависят от выбранной механической модели грунтового основания.

Разработанные методы расчета балок, лежащих на упругом основании, могут быть объединены в две группы: базирующиеся на использовании гипотезы Винклера и опирающиеся на основные уравнения теории линейно деформируемой среды.

Механическая модель грунтового основания, согласно гипотезе Винклера, может быть представлена в виде системы пружин, не имеющих горизонтальных связей. При действии нагрузки на отдельные пружины они сжимаются, но не вовлекают в работу соседние пружины. Следовательно, если балка, на всем протяжении нагружена равномерно распределенной нагрузкой, то в соответствии с гипотезой Винклера в сечениях балки не возникают изгибающие моменты и перерезывающие силы. Однако практические данные свидетельствуют о том, что пропорциональности между давлением и осадкой в конкретной точке под балкой не наблюдается, так как осадка зависит не только от нагрузки в этой точке, но и от соседних нагрузок. При увеличении равномерно распределенной нагрузки возрастают изгибающий момент и поперечная сила в отдельных сечениях балки. Грунт основания, воспринимая сжимающие напряжения, на растяжение не работает.

Указанные недостатки ограничивают область распространения этого метода.

В данном обзоре использован известный метод, основанный на теории нелинейно деформируемой среды.

В качестве механической модели грунтового основания принимается нелинейно деформируемое полупространство или полуплоскость.

Все необходимые для расчета физические характеристики комбинированного (нелинейного) основания можно определить из опытной кривой, приведенной в работе [44].

Для выбора расчетной схемы предполагается, что на балки действует внешняя нагрузка, вследствие которой под ними возникает реактивное кривое давление. Для упрощения расчета балки разделяют на равные части. Осадки балки определяется для середин отдельных прямолинейных участков в сечениях, условные опоры в которых выражены жесткими стержнями-связями, присоединенными шарнирно к балке и основанию. Число жестких стержневых опор в балке характеризует степень точности расчета. Следовательно расчетная схема представляет собой статически неопределимую систему.

Рассмотрим симметричный плоский откосоукрепительный элемент (рис. 46,а), который нагружен равномерно распределенной нагрузкой (рис. 46,в). В этом плоском элементе реакции всех балок, приложенные к упругому полупространству, оказывают взаимное влияние, и это приводит к перераспределению сил во всей системе.

Рис. 46. Этапы расчета конструкции защитного покрытия откосов:
а-коробчатый конструктивный элемент; б-разбивка коробчатого элемента на балки; в-характер загружения упругой балки на откосе; г-расчетная схема по методике Жемочкина и Синицына; д,ж-эпюры Р,У,М и Q для симметричной половины балки

Расчет в упругой стадии выполняется, используя симметрию для 1/8 части откосоукрепительного элемента. В основной системе отделяется балка от упругого полупространства, а фиктивная заделка размещается в середине пролета.

Для балки плоского элемента расчетная схема будет такая же, как для простой балки на упругом полупространстве, поскольку изгиб балки вызывается только теми силами, которые приложены к ней.

Для вычисления осадок основания можно использовать приближенные формулы, заменяя распределенную нагрузку сосредоточенной. Тогда осадка точки основания, расположенная на расстоянии от точки приложения нагрузки, будет равна

                                                                                                    (1)

где F - нагрузка;

Ео - модуль деформации;

mо - коэффициент Пуассона основания;

r - расстояние от точки приложения нагрузки.

В остальном расчет в упругой стадии выполняется в обычном порядке.

Для исследования работы защитных покрытий, расположенных на комбинированной модели основания, может быть применен модифицированный способ Б.Н. Жемочкина [45], состоящий в замене непрерывных связей между балкой и основанием стержневыми связями, усилия в которых принимаются в качестве основных неизвестных. Они находятся из решения системы канонических уравнений смешанного метода строительной механики.

Пример. Выполним расчет балки защитного покрытия на комбинированном основании, нагруженной равномерной нагрузкой q =15 т/м. Длина пролета балки l = 4,5 м, ширина в = 1м и жесткость ЕJ = 53800 тм2. Основание характеризуется пределом упругости Ру = 1,2 кг/см2, модулем упругой осадки  кг/см2 и коэффициентами постели для остаточных осадок K2 = 5,6 кг/см3 (5600 т/м3); K1 = ∞.

Заменим сплошное основание дай каждой половины балки пятью опорными стержнями, а равномерную нагрузку таким же количеством сосредоточенных сил, каждая из которых составляет Р = q·c = 15·0,5 = 7,5 т, где с - расстояние между опорными стержнями (рис. 46,г).

Если предположить, что реакция основания распределена равномерно и ее интенсивность составляет Р =1,5 кг/см2, то предел упругости Ру =1,2 кг/см2 окажется превзойденным. Тогда главные и побочные перемещения канонического уравнения вычисляются по формуле

                         (2)

где

Fii, Fik, wii, wik - соответственно перемещения основания и прогибы конструкции, значения которых берутся по таблицам [45];

Ео - модуль деформации грунта;

К1 и К2 - коэффициенты постели грунта для различных участков балки;

p - коэффициент Пуассона грунта.

Подставляя значение dik и Dip в канонические уравнения, получаем следующую систему.

11,552Х0 + 1,855Х1 + 0,980Х2 + 0,660Х3 + 0,498Х4 - Уо - 20,20 = 0;

1,855Х0 + 6,273Х1 + 1,277Х2 + 0,768Х3 + 0,569Х4 - Уо - 20,91 = 0;

0,980Х0 + 1,277Х1 + 6,083Х2 + 1,230Х3 + 0,802Х4 - Уо - 22,63 = 0;

0,660Х0 + 0,768Х1 + 1,230Х2 + 6,139Х3 + 1,368Х4 - Уо - 24,87 = 0;

0,498Х0 + 0,569Х1 + 0,802Х2 + 1,368Х3 + 6,396Х4 - Уо - 27,30 = 0.

Так как в этой системе содержится шесть неизвестных, то дополнительно используем еще одно уравнение статики

- Х0 - Х1 - Х2 - Х3 - Х4 + SF = 0.

Решая эти уравнения, находим значения неизвестных: Х0 =3,49 т; Х1 = 7,04 т; Х2 = 7,11 т; Х3 =7,51 т; Х4 = 8,6 т; Уо = 49,20 см.

Выполняя проверку SУ = 3,49 + 7,04 + 7,11 + 7,51 + 8,6 - 7,5·4 - 7,5/2 = 0, убеждаемся, что опорные реакции вычислены верно.

Для определения интенсивности распределенной реакции грунта нужно разделить каждую сосредоточенную реактивную силу на в·с =0,5 м2. Тогда получим эпюру Р реакций (рис. 46, д)

Po = Х0/в·с = 2·3,49/0,5 = 13,95 т/м2;

P1 = Х1/в·с = 7,04/0,5 = 14,08 т/м2;

Р2 = Х2/в·с = 7,11/0,5 = 14,22 т/м2;

Р3 = Х3/в·с = 7,51/0,5 = 15,02 т/м2;

Р4 = Х4/в·с = 8,6/0,5 = 17,2 т/м2.

При этом наименьшая интенсивность реакции Рmin = 13,95 т/м2 превосходит предел упругости грунта Ру = 12 т/м2, т.е. подтверждается первоначальное предположение (15 > 12). Эпюра показывает, что необходимо уменьшить нагрузку или уплотнить грунт.

Эпюра М изгибающих моментов строится также, как при расчете балок на упругом полупространстве (рис. 46,ж). По Мmах подбирается поперечное сечение балки.

Мо = Х4·2 + Х3·1,52·1,0 + Х1·0,5 + Хо·0,5/4 - P(2 +1,5 + 1,0 + 0,5) - (P/2)(0,5/0,4) = 1,55 т·м;

М1 = Х4·1,5 + Х3·1,02·0,5 + Х1·0,5/4 - P(1,5 + 1,0 + 0,5) - P(0,5/4) = 1,402 т·м;

М2 = Х4·1 + Х3·0,52·(0,5/4) - P(1,0 + 0,5) - P(0,5/4) = 1,055 т·м;

М3 = Х4·0,5 + Х3·(0,5/4) - P·0,5 - P(0,5/4) = 0,55 т·м;

М4 = Х4·(0,5/4) - P(0,5/4) = 0,1375 т·м;

Поперечные силы вычисляются следующим образом:

Qо = - Х4 - Х3 - Х2 - Х1 - Х0 - 4P - P/2 = 0;

Q1 = - Х4 - Х3 - Х2 - 0,5Х1 + 4P = 3,26 т;

Q'1 = - Х4 - Х3 - Х2 - 0,5Х1 + 3P = -4,2 т;

Q2 = - Х4 - Х3 - 0,5Х2 + 3P = 2,83 т;

Q'2 = - Х4 - Х3 - 0,5Х2  + 2P = -4,66 т;

Q3 = - Х4 - 0,5Х3  + 2P = 2,645 т;

Q'3 = - Х4 - 0,5Х3  + P = -4,85 т;

Q4 = - 0,5Х4  + P = 3,2 т;

Q'4 = - 0,5Х4 = -4,3 т.

Эпюра Q поперечных сил показана на рис. 46,ж.

При вычислении значения осадок под каждой реактивной силой воспользуемся формулой

Например, Уо = (11,552Хо - 20,2 + 1,858Х1 - 0,980Х2 + 0,660Х3 + 0,498Х4)/9430 = 0,526 см.

Эпюра осадок (У) показана на рис. 46

5.2. Основные положения по гидрологическому обоснованию укреплений откосов

Для оценки устойчивости укреплений откосов земляного полотна и обеспечения их надежной работы требуется выполнение соответствующих инженерно-гидрометеорологических обоснований. Это обоснования для типовых укреплений состоят в определении расчетных гидрометеорологических параметров, сопоставлении их с допускаемыми для различных типов защитно-несущих конструкций и выборе последних с целью назначения в проектах строительства автомобильных дорог, мостовых переходов, регуляционных и откосоукрепительных сооружений [41, 42, 43].

Перед использованием индивидуальных и новых конструкций укреплений необходимо провести не только конструктивные расчеты и расчеты на общую устойчивость, но и гидравлические и гидрометеорологические обоснования, а также определить соответствующие критерии условий их работы. Именно это требование и обусловливает обязательное выполнение инженерно-гидрометеорологических обоснований и выработку критериев применимости индивидуальных конструкций, в том числе тех, которые рассматриваются в настоящей работе.

К числу главных и первоочередных вопросов, подлежащих рассмотрению в требуемых гидрометеорологических обоснованиях, следует отнести выявление факторов возможных гидрометеорологических воздействий, последствий их проявления, расчетных гидрометеорологических величин заданной вероятности превышения этих воздействий и оценки несущей способности укрепительных сооружений под непосредственным влиянием расчетных величин гидрометеорологических факторов.

При выявлении факторов гидрометерологических воздействий необходимо учитывать их происхождение и возможное развитие во времени, определяющем срок службы возводимого сооружения. Следует выделять факторы естественного происхождения, определяемые развитием природных гидрометеорологических процессов в конкретном регионе и на конкретном объекте проектирования, строительства и реконструкции. При этом нужно учитывать, что факторы, определяемые развитием природных гидрометеорологических явлений, могут быть изменены или вызваны под влиянием таких отрицательных процессов, как оползни, обвалы, эрозия, наледеобразование. Таковы заторы русл рек, их искривление, временное уменьшение (увеличение) пропускной способности и другие последствия.

К дополнительным факторам могут быть отнесены такие, которые выявляются в результате хозяйственной деятельности человека в руслах и на поймах рек, а также на склонах водосборов. Эти факторы способны в значительной степени изменить первоначальные расчетные гидрометеорологические характеристики природных факторов и вызвать деформации укрепительных конструкций. К их числу могут быть отнесены: плотины гидроэлектростанций и других сооружений, дноуглубления русл, попятный размыв при заборе грунта из нижележащих участков реки, террасирование склонов, слив воды вдоль пойменных насыпей значительного протяжения и т.д.

Действие факторов естественного и искусственного происхождения необходимо оценивать не только по их расчетным величинам требуемой вероятности превышения, но и по времени их развития. Расчетные величины этих факторов могут иметь свое проявление не только в период эксплуатации укрепительных сооружений, но и в период их строительства. Требуемые строительными нормами критерии вероятности превышения для дорог и мостов определяют только равнопрочность сооружений одинаковой капитальности и являются прогнозируемыми, а для укрепительных сооружений они вообще не нормированы. В период службы укрепительных сооружений, кроме расхода воды могут наблюдаться паводковые или иные виды гидрометеорологических воздействий. Существуют такие водоопасные регионы, в которых расчетные или близкие к ним величины гидрометеорологических воздействий возникают каждые 3-4 года (Читинская область и другие районы Дальнего Востока) либо по нескольку раз в год (Северная Индия, Непал).

Учет такого многократного воздействия гидрометеорологических факторов на устойчивость укрепительных сооружений должен производиться на величины более редких вероятностей превышения, чем принимаемые в строительных нормах для паводковых воздействий.

Остальные виды гидрометеорологических воздействий для оценки равнопрочности одинаковых по капитальности укрепительных сооружений рекомендуется нормировать критериями вероятности превышения, регламентированными строительными нормами.

Особое внимание при оценке устойчивости, укрепительных сооружений против паводковых воздействий следует уделять местным искривлениям водной поверхности, которые возможны при переменных волновых явлениях, подпоре и набеге волны на откосы земляного полотна от динамического воздействия потока.

Верхняя часть откосных укреплений и примыкающие к ним поверхности дорожного полотна в виде обочин должны быть предохранены от ударной силы дождя и стекающих дождевых вод. Эти воды, попадая под откосные укрепления способны вымывать мелкие частицы подстилающего грунта. А вследствие этого поверхность укрепления может приобретать волнистое очертание и деформироваться.

Одним из ответственных участков укрепления является его низовая часть, примыкающая к поверхности земли или нисходящая в деформируемую часть русла. Продольное течение вдоль низовой части укрепления способно размывать грунты, примыкающие к концевой части откосного укреплениями деформировать его. Это одно из распространенных видов разрушений, которое подлежит более детальному гидравлико-гидрологическому изучению и обоснованию соответствующих мероприятий по его предотвращению. К сожалению, во многих проектах, а также при выработке условий применимости новых индивидуальных конструкций этот фактор детально не исследуется и не учитывается в должной мере.

Универсальность применения ряда индивидуальных укреплений во многом сдерживается тем, что эти укрепления не всегда можно использовать в условиях постоянного (или длительного более 20 суток) подтопления, как по их недостаточной устойчивости, так и по сложности производства строительных работ. В ряде типов укрепления не в полной мере учитываются сила и частота волновых воздействий, что является одной из распространенных причин их разрушения.

Откосные сооружения и способы их строительства могут при недостаточном их инженерно-гидрометеорологическом обосновании оказывать негативное влияние на окружающую среду. Поэтому этим вопросам необходимо уделять большее внимание. Наряду с капитальными откосными укреплениями в практике дорожного строительства применяются укрепления временного типа. Их устраивают для быстрого восстановления дорог от размывов, а также для укрепления временных и вспомогательных сооружений. Однако до настоящего времени методы их гидрологического обоснования не получили развития и требуют дальнейших исследований.

Наиболее полно теоретические основы по учету негативного влияния факторов гидрометеорологических воздействий при проектировании, строительстве и реконструкции автомобильных дорог, включая и укрепительные сооружения, нашли свое отражение в соответствующих методических рекомендациях Союздорпроекта.

6. МЕТОДИКА ОПРЕДЕЛЕНИЯ ДАВЛЕНИЯ СЕЛЕВЫХ ПОТОКОВ И ПАВОДКОВ НА ОТКОС ДОРОГИ

Решением задачи взаимодействия, селевого потока с инженерными сооружениями (земляным полотном дорог) занимаются различные институты как в нашей стране, так и за рубежом. Однако до сих пор отсутствуют достаточно надежные теоретические и экспериментальные расчетные зависимости, вскрывающие механизм соударения селевого потока с инженерными сооружениями. Сложность решения вопроса, помимо других многочисленных причин, заключается еще и в том, что взаимодействие селевого потока с земляным полотном зависит также от вида селевого потока, формирующегося в данном селеносном бассейне.

Проводятся обширные исследования динамики селевых потоков, однако пока еще нет общепризнанных зависимостей, описывающее движение селя, которые могут быть подтверждены в натурных условиях. Это вызвано сложностью физико-механической и динамической структуры селевых потоков, не подчиняющихся обычным законам гидродинамики, трудностями моделирования этих потоков в лабораторных условиях (необходимостью создания специального оборудования), высокими концентрациями массы и связанными с этим сложностями ее циркуляции на экспериментальных установках и др.

Указанные обстоятельства значительно препятствуют экспериментальному изучению природы селевых потоков, установлению их точных динамических характеристик и изучению схемы взаимодействия потока и препятствий.

Одним из основных вопросов при рассмотрении нагрузки от селевых потоков является установление концепции о характере их движения [46,47,48]. В настоящее время существуют две точки зрения. Согласно первой, основным видом движения селевых потоков, в том числе и потоков, обладающих вязкопластическими свойствами, является течение в турбулентном режиме при минимальном влиянии сил вязкости на кинематику и динамику потока [47,48]. Принятие ее дало возможность на первом этапе использовать для исследования и описания динамики селевого потока метода гидравлики и гидродинамики.

Согласно второй точке зрения, предполагается наличие существования структурного режима движения селевого потока (по мнению автора, такие потоки имеют ограниченные возможности существования). Вопросам динамики структурных потоков посвящены также работы [48-52]. Нагрузки от движения структурного слоя в однородной массе, несмотря на большие коэффициенты сопротивления, ввиду малых скоростей движения не превышают нагрузки от потоков, текущих в турбулентном режиме [53]. Большие скорости могут быть лишь на коротких участках с крутыми уклонами, где происходит, скольжение массы по подстилающей поверхности. В последнем случае воздействие массы должно, скорее всего, описываться зависимостями для неупругого удара твердых тел.

Проведение специальных методических исследований по изучению вопросов силового воздействия селевых потоков, текущих в различных режимах, и по установлению реальных расчетных схем воздействия в дальнейшем позволит разработать более точные методы расчета, снять излишние запасы прочности проектируемых инженерных сооружений, повысить надежность их работы. В процессе таких исследований выявится возможность более полного использования относительно богатого материала по воздействию на сооружение морских волн и снежных лавин,

В настоящее время почти полностью отсутствуют экспериментальные материалы, реально отражающие специфические особенности динамики многофазного селевого потока.

Среди различных подходов к решению проблемы динамического воздействия потока на вертикальные преграды наибольшее распространение получили методы, в которых динамическое давление представляется давлением струи воды на плоскую преграду, которое выражается формулой

                                                                                                 (3)

где К - коэффициент, определяемый экспериментальным путем;

a - корректив скорости;

g - удельный вес потока;

А - площадь струи;

V - скорость потока.

Формула (3) выведена с применением теоремы импульсов в предположении, что воздействие перешло в давление обтекания и что расход потока за период воздействия остается постоянным; силы трения преграды не учитываются.

Для решения поставленной задачи необходимо располагать данными о форме фронта потока, распределении скоростей на фронте волны, а также о распределении во времени всех этих параметров с учетом влияния твердой фазы в потоке, формы и упругих свойств преграды и и.п.

Расчет параметров неустановившегося движения селевого потока сам по себе представляет сложную задачу, рассмотренную в работе [54].

Однако можно с достаточным основанием использовать для определения динамической составляющей давления простые зависимости формулы (3), основанные на применении теоремы импульсов к развитому давлению для установившегося потока с постоянными расходом и массой.

Форма живого сечения русла на подходе к сооружению, а также размеры и формы самого сооружения в пределах ширины русла изменяются иногда значительно. Для облегчения расчетов русло по ширине всегда можно разбить на ряд характерных участков, в пределах которых все расчетные параметры могут быть определены для одной вертикали.

В результате экспериментальных исследований, проведенных в ЗакНИГМИ [55], по воздействию на преграды глинистого раствора сделан вывод о том, что в начальный момент подхода потока к сооружениям на датчиках давления не было зафиксировано каких-либо значительных скачков давления, превышающих давление установившегося потока. Для гарантии рассредоточения ударного давления во времени можно рекомендовать придавать передним граням земляного полотна уклон более 1:5.

для упрощения расчета, принимают допущения, что расход и скорости течения в рассматриваемый промежуток времени остаются постоянными.

Г.М. Беручашвили рассматривает схему, по которой возможен как перелив потока через преграду V2 = 0, так и обрушение его на верхний бьеф (рис. 47).

Рис. 47. Расчетная схема откоса для определения давления селевых потоков

На основании этой схемы уравнения импульсов между сечениями 1-1 и 2-2 в горизонтальной (г) и вертикальной (в) проекциях имеют вид:

Ег = Е·sina = m·V1 +P1 – (m·V2 + P2 + T) cosa                                                 
Ев = E·cosa = Roб + (m·V2 + P2 + T) sina                                                          (4)

где Е - полное давление;

P1, P2 - силы гидростатического давления в сечениях 1-1 и 2-2, равные

                                                                    (5)

где jо - угол естественного откоса селевой массы;

g - плотность селевого потока;

Т - сила трения потока о наклонную грань;

 - масса потока, проходящего в единицу времени в сечении 1-1;

V1, h1 и V2, h2 - соответственно скорости и глубины потока в сечениях 1-1 и 2-2.

Масса потока, набежавшего на наклонную грань, определяется по формуле

                                                                                     (6)

или с учетом

V1· h1 = V2· h2

                                                                                  (7)

В результате подстановки выражение Беручашвили принимает вид

                                                                        (8)

или

                                                                        (9)

На вертикальную стенку

или после подстановки значений т и Р1

                                                                                            (10)

При выводе формулы (8) члены, содержащие давление в створе 2-2 и трение, исключаются.

Введение в выражение статического давления, коэффициента, учитывающего угол внутреннего трения потока, представляется вполне обоснованным, хотя количественные данные требуют тщательного изучения (например Мостков М.А. предлагает принять j =16°, y = 0,57, а И.И. Херхеулидзе - jо = f(gc ) т.е. j = 7.24(g - 1)5,82

Для определения V2 записывается уравнение Бернулли между сечениями 1-1 и 2-2.

                                                                                            (11)

где

Hn - высота плотины; i - уклон;

                                                                               (12)

Скорость V2 рекомендуется определять из уравнения подбором. В работе [56] приведена следующая запись исходного уравнения импульсов в проекции на горизонтальную ось:

откуда

                                                                    (13)

С учетом постоянства расхода

q = V1 h1 = V2 h2

                                                                       (14)

Уравнение Бернулли

                                                                                           (15)

откуда

                                                                             (16)

Горизонтальная проекция силы полного давления определяется по формуле

                                           (17)

В этих выводах принято, что P2 = Т = 0 и Rоб = 0.

Максимум суммарного давления определяется анализом при переменной V или h формулы (10), который приводит к следующим связям

                                                                            (18)

где ao - коэффициент Буссинеска (корректив скорости по количеству движения).

Этот критерий дает возможность оценить по глубине потока, на каких участках русла может снижаться или увеличиваться давление.

Если в формуле (17) принять h = Hn и ввести корректив скорости по количеству движения, то получим формулу

                                                             (19)

Принято

h1 = hc, V1 = Vc

В исходную формулу необходимо ввести расчетную формулу скорости с учетом корректирующего члена, учитывающего влияние твердой фазы. По И.И. Херхеулидзе.

(20)

где А - числовой коэффициент;

S - объемная концентрация наносов

                                                                                                    (21)

где gc - плотность массы селевого потока;

gж - плотность жидкой составляющей;

gт - плотность твердой составляющей;

Snт - предел текучести селевой масса

                                            (22)

где  - объемная концентрация на пределе текучести при отсутствии коллоидов;

SW - объемная концентрация при 100%-ном содержании коллоидов.

Последняя зависимость рекомендуется как наиболее простая и удобная для приближенных расчетов.

7. НАДЕЖНОСТЬ НЕКОТОРЫХ ТИПОВ ЗАЩИТНЫХ ПОКРЫТИЙ ДЛЯ УКРЕПЛЕНИЯ ОТКОСОВ

При расчете откосов дорог на действие волн, селевых потоков и снежных лавин откосы должны иметь запасы, необходимые при нормативных значениях воздействующих факторов. В реальных условиях работы откосов дорог всегда необходимо учитывать случайные природные факторы, например, погодные условия, турбулизацию потока, наличие в нем взвешенных наносов, отклонения толщины снежного покрова и его увлажненность и другие факторы, как правило, непосредственно не учитываемые в инженерных расчетах.

Использование теории надежности применительно к проектированию откосов автомобильных дорог позволяет учитывать неточность существующих методов расчета и возможные случайные процессы.

а) На примере рассмотрим приложение теории надежности к расчету устойчивости откоса. Известно, что нарушение устойчивости откоса происходит как результат превышения суммы момента сил, сдвигающих земляные массивы (SMcд) над суммой момента сил, удерживающих их (SMуд). За коэффициент запаса устойчивости откоса принимают отношение п =SMуд/SMcд и сравнивают с допустимым коэффициентом запаса пдоп. Если п > пдоп, откос находится в устойчивом состоянии; при п = пдоп - в состоянии предельного равновесия, а при п > пдоп в неустойчивом состоянии.

Величина пдоп, данная в [3] не дает возможности оценить количественно надежность откоса, о чей свидетельствуют; многочисленные обрушения и оползания откосов дорог, вызванные различными случайными причинами.

Дня полной оценки надежности предлагается определить показатель надежности откоса насыпи. Считая, что значение SMcд, случайно и изменяется во времени, а значение SMуд постоянно, в соответствии с методом приближенной оценки надежности искомая вероятность безотказного откоса (Р) вычисляется по выражению [57].

                                                                          (23)

где  - среднеквадратическое отклонение SMуд;

 - значение интеграла вероятностей берется из таблиц интеграла вероятностей.

Принимая SMуд = 100 тм, SMcд = 93 тм при заданной высоте откоса, плотности, угле внутреннего трения и удельном сцеплении грунта

тогда

б) Далее рассмотрим приложение теории надежности к расчету защитных покрытий укрепления откосов на ледовые воздействия.

Общую устойчивость защитного покрытия при действии вырывающей ледовой нагрузки проверяют по формуле [3].

                                                                                                   (24)

где K ³ 1

 - сумма моментов сил, удерживающих крепление, относительно расчетного вертикального сечения Хо;

МПР - предельный (вырывающий) момент, действующий в сечении Х(МХ).

Принимая  тм, МПР =13 тм,

определим

в) При длительном воздействии водного потока на закрепленный откос дороги возникает необходимость определения возможной глубины размыва.

Расчет приводится для защитного покрытия укрепления откосов каменной наброской в блоках с коэффициентом заложения откоса т = 2,00, коэффициентом шероховатости n = 0,04, средней глубиной потока Нр =3,5 м, скоростью потока V =1,0 м/с. Далее определим по формулам, данным в работе [58], rи - минимальный радиус кривизны излучины (по оси условного русла), r - то же, у условного вогнутого русла

                                                                                                           (25)

где аи - расстояние от середины шага излучины lи до ее вершины, аи = 4 м; lи = 60 м, то

где Вр - условная ширина русла, Вр =8 м, то

r = (225 + 8/2) = 229 м.

Глубина потока у вогнутого условного берега (откоса) определяется по формуле [58]

где Vo - донная размывающая скорость потока, определяемая по формуле;

Ф - коэффициент формы для укрепления откоса каменной наброской, Ф = 1.

                                                                             (27)

где d = 0,0015 м (средний диаметр частиц песка, сложенного на дне)

Далее с учетом c2 -распределения для ряда в 20 членов коэффициент увеличения среднего квадратического отклонения при заданной Р = 0,90, g =1,4 (см. приложение 3 [58]), тогда безразмерное среднее квадратическое отклонение hmax , s = 0,1·1,4 = 0,14. Из уравнения  находим

По приложению № 1 [58] находим, что такое значение функция Фо принимает при ,откуда hн = 1,28·0,14 + 1 = 1,18. Возможная глубина потока у вогнутого берега hmax = 2,60·1,18 = 3,10 м, что меньше заданной глубины Н = 3,5 м. Следовательно, местных размывов у условного берега при его укреплении заданной конструкцией не будет.

Из приведенных примеров следует, что именно в применении средств теории вероятности имеются резервы для повышения технико-экономических показателей новых типов защитных покрытий откосов дорог. Решение данного вопроса требует развития средств измерений и методов обследования такого типа сооружений в натурных условиях. На этой основе могут быть установлены показатели надежности.

8. МЕТОДИКА ЭКОНОМИЧЕСКОГО ОБОСНОВАНИЯ СТРОИТЕЛЬСТВА ОТКОСОУКРЕПИТЕЛЬНЫХ СООРУЖЕНИЙ

При укреплении крутых откосов автомобильных дорог применяются различные новые конструктивные решения, в основном, из железобетона: решетчатые конструкции из сборных элементов, монолитных полос; конструкции из набрызгматериалов и т.д. Новые конструкции укреплений особенно целесообразны при строительстве автомобильных дорог во вновь осваиваемых районах. Для районов со сложными природно-климатическими условиями объем укрепительных работ достигает более 2 млн.м2 на каждые 100 км дорог. Поэтому выбор оптимальных конструкций для каждой местности является актуальным. Для обоснованного выбора конструктивных решений разработаны различные методики, основанные на детерминированном и вероятностном подходах.

Оценка экономического эффекта применения новых конструкций укрепления при детерминированном подходе сводится к определению годового экономического эффекта Э с учетом приведения сравниваемого варианта к новому качеству [27] .

Э = S(R1+R2) = S[(c1 + E·k1)u - (c2 + E·k2)]                                                       (28)

при

                                         (29)

где S - площадь укрепляемой поверхности откоса, м2;

R1, R2 - приведенные сопоставимые затраты сравниваемых конструкций укрепления, р.;

с1, с2 - сопоставимые себестоимости работ, р.;.

Е - нормируемый коэффициент эффективности капитальных вложений, равный 0,12;

k1, k2 - удельные капитальные вложения по вариантам;

u - коэффициент приведения к новому качеству (в данном случае поверхностных слоев откосов при укреплении их новыми конструкциями с учетом ожидаемых затрат);

g = T2/T1 - коэффициент увеличения срока службы поверхностного слоя откоса при его новом качестве (т.е. более долговечной конструкции укрепления);

Eo - нормируемый коэффициент отдаленности затрат, равный 0,08;

T1, Т2 - сроки службы поверхностного слоя откоса, соответственно укрепленного новыми конструкциями и конструкциями сравниваемого варианта (или вообще неукрепленного), годы.

Надежность - категория не только техническая, но и экономическая, так как увеличение срока службы откосоукрепительных сооружений при прочих равных условиях эквивалентно экономическому эффекту, который мог бы быть получен в результате новых капиталовложений в строительство. Капиталовложения являются функцией обеспечиваемой надежности; чем выше надежность, тем больше капиталовложения. Иногда, учитывая указанное, следует стремиться не к самой высокой надежности, а к оптимальной, дающей максимальный экономический и технический эффект [59]

                                                               (30)

где С - стоимость произведенной продукции (в данном случае участок откоса автомобильной дороги, устойчивость которого обеспечивается комплексом откосоукрепительных мероприятий);

К(Р,Т) - капиталовложения, обеспечивающие заданную надежность в период эксплуатации защитных мероприятий;

n(Т) - число отказов за время Т;

uо - затраты на устранение каждого отказа;

uk - затраты на устранение ущерба в результате одного из отказов.

Ущерб от размыва откоса дорог повышается при эксплуатации укрепительных сооружений в сложных условиях, т.е. в сейсмических районах, на просадочных и вечномерзлых грунтах, над горными выработками. Сумма полных затрат П на строительство и эксплуатацию укрепительного сооружения в сложных условиях имеет вид

П = Со + См + Сr,                                                                                               (31)

где Со - сметная стоимость сооружения;

См - стоимость защитных мероприятий;

Сr - эксплуатационные расхода на восстановительные ремонты, условно приведенные к началу эксплуатации сооружений.

Два последних слагаемых в формуле (31) составляют ущерб, являющийся следствием строительства и эксплуатации укрепительных сооружений в сложных условиях. Задача прогноза эксплуатационной составляющей для проектируемых укрепительных сооружений этого ущерба решается с помощью различных вероятностных моделей, заключающихся в представления Сr как случайной величины или случайной функции времени [60,61].

Зная вероятности состояний эксплуатации откосоукрепительных сооружений Pi(i = 1,…,m), можно сформулировать различные оптимизационные задачи на основе минимизации функции экономического риска.

                                                                                         (32)

где - эксплуатационные расходы на ремонт системы сооружения - защитные мероприятия, находящиеся в i-м эксплуатационном состоянии;

 - обобщенный коэффициент приведения эксплуатационных затрат к моменту эксплуатации сооружения, определяемый по формуле

                                                                                                     (33)

где ui - среднее число повторений состояния i за расчетный срок эксплуатации сооружения Т,

                                                                                                     (34)

Kjt - нормативный коэффициент приведения

Вывод формул (33), (34) основывается на следующих соображениях [62]. Установившийся режим эксплуатации системы соответствует повторению с вероятностью Pi циклов отказ-ремонт для каждого состояния i(i = 1,…,m). Среднее число этих циклов или среднее число повторений состояний i за расчетный срок эксплуатации сооружения Т при Pi = 1 определяется делением Т на время цикла отказ-ремонт . Среднее время  можно определить суммированием средних времен  переходов системы от начального состояния Sо до состояния S1.

9. ВЕРОЯТНОСТНАЯ ОЦЕНКА ЭКСПЛУАТАЦИОННОГО СОСТОЯНИЯ КОНСТРУКЦИИ ОТКОООУКРЕПИТЕЛЬНЫХ СООРУЖЕНИЙ

Надежность и эффективность откосоукрепительных сооружений определяются в значительной степени правильностью заданных при их проектировании расчетных параметров: грунта, защитного покрытия укрепления и характера воздействия внешних нагрузок. Методика определения таких расчетных параметров разработана недостаточно. Это приводит или к чрезмерному повышению запаса прочности, или к быстрому разрушению конструкции. Анализ ситуаций, возникающих в практике проектирования откосоукрепительных сооружений, показывает, что обычный расчет системы при произвольно назначенных исходных данных создает видимость получения объективной информации о напряженно-деформированном состоянии конструкции. В то же время этот расчет способствует определению лишь единичной реализации значений усилий, а для получения аффективных оценок параметров должны быть использованы методы, учитывающие степень неопределенности исходных данных.

Основной путь внедрения теории надежности в практику проектирования заключается в нормировании расчетных значений усилий.

Задачи нормирования расчетных значений формулируются как информационные и сводятся к задачам оценивания усилий и перемещений в условиях неполной исходной информации.

В зависимости от степени обеспеченности информацией исходные данные задаются в виде детерминированных и неопределенных величин.

В настоящее время известны несколько способов описания неопределенных величин. В работе [63] неопределенные величины задаются на нечетких множествах с субъективно вводимой функцией принадлежности, в работе [64] - в виде детерминированных величин, которые могут принимать любые значения из некоторого интервала, а в работе [65] - в виде случайных величин с известным классом плотностей вероятностей.

В данной работе использован вероятностный способ описания неопределенных величин, заимствованных из работ [64, 66].

Представлены пять случаев информационной обеспеченности, которые могут встретиться в практике проектирования. Соответственно рассматриваются пять классов симметричных плотностей вероятностей Ф(d):

с ограниченной дисперсией ;

со средней величиной дисперсии ;

с интервалом значений неопределенной величины ;

с ограниченной вероятностью того, что неопределенная величина расположена в заданном интервале ;

представляющая собой композицию ,

где q(d) - известная, a h(d) - неизвестная плотности, b - заданное число.

Для каждого из классов известны, кроме того, оценки центра распределения.

Общий вид разрешающей системы уравнения [67] имеет вид

С·У = Р+d,                                                                                                         (35)

где С, У, Р - соответственно матрица жесткости, векторы неизвестных перемещений и нагрузки; d - вектор ошибок.

Система (35) недоопределена, так как содержит кроме неизвестных У еще и неизвестные ошибки d. Дня получения единственного условия необходимо поставить дополнительное условие.

В качестве такого условия примем максимум количества информации [68], содержащегося в оценке  относительно величины ошибок d , т.е.

                                                        (36)

где

d = dр + Сddс.                                                                                                      (37)

Принимая во внимание систему (35), запишем

                                                                              (38)

С учетом формулы (38) выражение для  примет вид

                                      (39)

Оба слагаемых в (39) имеют следующий информационный смысл: первое представляет собой энтропию Нр, второе - условную энтропию нагрузки  относительно фиксированного значения

                                                                                   (40)

Энтропия  характеризует информационные потери, вызванные неполнотой информации. Из выражения (40) видно, что если , то информация об  равна энтропии Р. Если ,что имеет место в рассматриваемом случае, то данная задача сводится к максимизации .

Поскольку Нр не зависит от , то данная задача сводится к минимизации по

                                                                       (41)

В зависимости ох имеющейся информации относительно вектора нагрузок Р на основе минимизации  можно решать следующие две задачи.

Задача экспериментатора. Если известны результаты Рi, наблюдений Р, то задача сводится к нахождению оценок  из минимизации эмпирического аналога

                                                                          (42)

т.е. к задаче оценки методом максимума правдоподобия. Аналогичная задача решена в работе [67] применительно к диафрагмам многоэтажных зданий.

Задача проектировщика. На стадии проектирования есть информация о первичной статистической обработке результатов наблюдений, представленная в нормах и справочниках в виде нормативных значений. Обычно это среднеарифметические значения  результатов наблюдений Рi.

Если линеаризовать выражение (42) в ряд Тейлора относительно точек , удерживая три первых члена, и учесть, что плотности  симметричны относительно , то получим

                                                                                                      (43)

Ограничение количества членов в ряде Тейлора приводит к зависимости качества оценок , полученных из уравнения (43), от вида плотностей .

Критерии качества в виде минимума объема дисперсионного эллипсоида ошибок dу оценок  удовлетворяет только нормальное распределение, для которого среднеарифметическое значение является достаточной статистикой. Для остальных видов плотностей  оценки  получаемые из уравнения (43), оптимальны в классе линейных несмещенных оценок.

Оценка эксплуатационного состояния конструктивных систем с существенно неполной информацией. Часто ошибки di элементов матрицы С могут быть настолько существенны, что приведение ее к линейной форме может оказаться некорректным. В этом случае гарантированные значения можно получить выборочным методом, моделируя распределения, как показано в работе [66].

Использование выборочного метода дает возможность рассматривать параметры эксплуатационной пригодности как случайные величины и моделировать их на ЭВМ совместно с параметрами напряженно-деформированного состояния, определяя в результате вероятностную оценку эксплуатационного состояния конструкций.

С помощью выборочного метода предпосылки вероятностно-оптимизационного подхода [61] можно соединять с методами проверки статистических гипотез [69].

Для наглядности будем считать: конструктивный элемент характеризуется одним параметром состояний y, что несущественно повлияет на общность выводов. Например, рассмотрим в качестве y резерв прочности конструкции [61].

y = R - S                                                                                                            (44)

где R - прочность конструкции;

S - усилие в конструкции.

Пусть конструкция находится в одном из двух эксплуатационных состояний: пригодности (y ³ 0) и непригодности (y < 0).

Задано вероятностное описание резерва прочности, т.е. известны вид функции распределения y и часть его параметров. Формально плотность распределения можно задать в параметрическом виде f(q,y), где q - вектор параметров распределения, который является элементом множества W. Множество W разделено на два подмножества Wо и W1, назначаемых так, чтобы при qÎWо конструкция считалась пригодной. В общем случае пространство W можно разделить на основе обучающих выборок, а также методов работы [61].

Рассмотрим случай, когда y распределен нормально, среднее значение параметра т существует в интервале (-~ ¸ ~), а дисперсия s2 постоянна. Множество (-~ ¸ ~) параметра т разделяется на подмножества пригодности (то ¸ ~) и непригодности (-~ ¸ то) на основании [61].

то = g·s1                                                                                                                                                                                    (45)

где g - характеристика безопасности конструкции.

Задача определения эксплуатационного состояния конструкции сводится к проверке сложной гипотезы о среднем нормального распределения Hо:т³то против сложной альтернативы Hо:т<то при известной дисперсии. Используя критерий Неймана-Пирсона, показываем, что решающее правило для принятия гипотезы

                                                                                       (46)

где ya-a - отклонение, %;

a - уровень значимости;

n - число расчетов.

На основе изложенной методики можно сделать следующие выводы:

определение расчетных значений перемещений и усилий сформулировано как задача расчета конструкций в условиях неполной информации;

задача оценки эксплуатационного состояния конструкции в условиях неполной информации сведена к проверке сложных статистических гипотез;

задача решена статистическим методом, заключающимся в выборе наиболее невыгодного распределения из заданного класса распределений и получении оценки с минимальной дисперсией.

ЗАКЛЮЧЕНИЕ

Приведенные в обзоре конструктивные решения по укреплению устойчивости откосов автомобильных дорог от размыва свидетельствуют об эффективности и многообразии их применения. Во многих случаях размыв откосов связан не только с недостаточным совершенствованием конструкции, но и с трудностями учета их взаимодействия с внешними факторами (паводками, селевыми потоками, выветриванием, затоплением).

Укрепительные и защитные устройства следует сооружать из долговечных местных дешевых материалов, обеспечивая максимальную механизацию работ.

Проектируя любые конструкции защитных покрытий откосов, целесообразно в проект включить живые посадки как элемент укрепления, так и источник сохранения чистоты окружающей среды.

Применение хворостяных и каменно-хворостяных укреплений, фашин и фашинных тюфяков можно рекомендовать в условиях, обеспечивающих длительную и надежную их работу. Такие укрепления должны применяться для подводных частей. В надводных частях они должны быть прорастаемыми; при этом следует обеспечить соответствующий агротехнический уход за ними.

В качестве основного мероприятия по борьбе с размывами и подмывами текущей водой и волноприбоем целесообразно применять каменные наброски, допускающие полную механизацию работ.

Вместо каменных набросок в ряде случаев, например для устройства обратных фильтров, следует использовать фигурные блоки (тетрапод, стабилопод, трибарс, стебит и др.), если они обеспечивают такие же условия работы сооружений, как и каменные наброски.

При дефиците каменных материалов и технико-экономической нецелесообразности применения каменных набросок необходимо рассмотреть варианты плитных покрытий.

Если поверхности крепления велики, есть возможность выполнить работы в сухое и теплое время года, основания под плитами защищены от неравномерных осадок, следует применять монолитные карты, особенно при криволинейных поверхностях крепления.

Сборно-плитные крепления используют при крутизне откосов не более 1:2,5. При этом особое внимание необходимо уделять высококачественному устройству швов, обратных фильтров, шарнирных соединений и стыковых узлов в целом.

Плитные конструкции обычно рассчитывают на невсплываемость, устойчивость и прочность; обратные фильтры - на обеспечение от вымывания грунта под плитами; основания под плитами, как и в случае наброски, - от тиксотропных разжижений грунтов под систематическими ударными воздействиями волн.

Одним из возможных путей решения проблемы защиты поверхности откосов от нарушения их местной устойчивости является применение сборных железобетонных элементов, которые после объединения в стыках образуют решетчатую конструкцию. Ячейки такой конструкции могут быть заполнены любым материалом - от растительного грунта с посевом трав до более мощного заполнения в виде грунта, обработанного вяжущими, или монолитного бетона.

Решетчатые конструкции являются действенным типом укрепления, обеспечивающим немедленный эффект зашиты.

При использовании решетчатых конструкций можно повысить крутизну откосов, что позволяет уменьшить объем земляных работ, строить дороги в стесненных условиях, уменьшить ширину выемки поверху или ширину насыпи по подошве.

Применение защитного покрытия из коробчатых прямоугольных плит по способу соединения элементов с шинами с регулируемой высотой повышает устойчивость покрытия на сдвиг за счет заглубления в грунт, а также создает упругие барьеры для гашения удара волновых воздействий и задержания снежных и песчаных заносов.

Преимуществами каменных блоков, снабженных разрезанными вдоль покрышками и соединенных между собой в ряд хомутами, перемычками, длинными и короткими тросами, являются высокая степень проницаемости, определяющая повышенный волногасящий эффект, устойчивое положение блоков и гибких матов, что позволяет увеличить крутизну откосов дорог.

Для обеспечения устойчивости неподтапливаемых откосов, сооружаемых из мелких песков, исключения размывов рекомендуется их укреплять пропиткой поверхности песка битумной эмульсией, нетканым синтетическим материалом дорнитом и решетчатыми конструкциями из сборных элементов.

При использовании решетчатых конструкций крутизну откосов принимают 1:2 независимо от климатического района и высоты насыпи.

В случая неблагоприятного сочетания климатических факторов и чувствительности грунтов к процессам физико-химического выветривания устраивают совмещенные термогидроизоляционные покрытия.

В районах с суровыми природно-климатическими условиями более выгодным является применение комплексного метода укрепления

откосов пойменных насыпей с использованием синтетических нетканых материалов и полимерных сеток.

СПИСОК ЛИТЕРАТУРЫ

1. Савин К.Д. Искусственные сооружения. - М.: Транспорт, 1983.

2. Методические рекомендации по проектированию и строительству гибких железобетонных покрытий откосов транспортных сооружений / ЦНИИС. - М., 1984.

3. Гидротехнические сооружения: Справочник проектировщика / Под ред. В.П. Недриги. - М.: Стройиздат, 1983.

4. Рекомендации по проектированию железобетонных и каменнонабросных креплений откосов земляных сооружений берегов внутренних водоемов /ВНИИ "ВодГЕО" М.: Стройиздат, 1984.

5. Альбом конструкции креплений откосов земляного полотна железных и автомобильных дорог общей сети Союза CCР / Мосгипротранс. - М., 1970.

6. Методические рекомендации по выбору конструкции укрепления конусов и откосов земляного полотна, технологии и механизации укрепительных работ / Союздорнии. - М., 1981.

7. Толмачев К.Х. Автомобильные дороги: Спец. сооружения. - М.: Транспорт, 1986.

8. Дранников A.M., Стрельцес Г.В., Купраш Р.П. Оползни на автомобильных дорогах. - М.: Транспорт, 1972.

9. Костомаров В.М. Противооползневые мероприятия в городах. - М.: Стройиздат, 1967.

10. Морозов A.M. Строительство морских берегозащитных сооружений. - М.: Изд-во МИСИ, 1984.

11. Гинзбург Л.К. Противооползневые удерживающие конструкции. - М.: Стройиздат, 1979.

12. Защита земляного полотна от горных рек: Сб. тр. комитета по земляному полотну. Вып. 12. - М.: Транспорт, 1975.

13. Тевдорашвили Н. Защита земляного полотна дорог от размыва в узких горных долинах // Защита земляного полотна от горных рек. - М.: Транспорт, 1975.

14. Методические рекомендации по выбору решетчатых конструкций для укрепления конусов и откосов земляного полотна автомобильных дорог / Союздорнии. - М., 1973.

15. Дурикин В.Т., Львович Ю.М. Новый способ укрепления конусов и откосов земляного полотна автомобильных дорог. - М., 1975. - (Обзорн. информ. /Оргтрансстрой).

16. Укрепление откосов земляного полотна сборными и решетчатыми конструкциями/ В.Б. Завадский, Ю.Л. Мотылев, В.Д. Казарновский и др. // Автомоб. дороги. - 1971. - № 7.

17. Гидротехнические сооружения: Ч. 2 / Под ред. М.М. Гришина. - М.: Высш. школа, 1979.

18. Наместников С.К., Борисов Г.В., Кузнецов Е.И. Строительство сборных берегозащитных покрытий из асфальтополимербетона. -Киев: Будiвельник, 1986.

19. Десятова Н.С. Укрепление откосов пойменных насыпей синтетическими неткаными материалами и цементогрунтами - М., 1986. -(ЭИ/ ВПТИтрансстрой)

20. Методические рекомендаций по защите откосов песчаных насыпей от размыва в условиях Казахстана/Союздорнии. -М., 1980.

21. Методические указания по оценке местной устойчивости откосов и выбору способов их укрепления в различных природных условиях/ ЦНИИС. - М., 1970.

22. Трескинский С.А. Склоны и откосы в дорожном строительстве. - М.: Транспорт, 1984.

23. Барванов В.А., Воронель Д.А. Сооружения из армированного грунта. - М., 1984. - (Стр-во и архитектура. Сер. 8. Строит, конструкции: Обзорн. информ. /БНИИИС Госстроя СССР; Вып. 7).

24. Böschungsschutz mit Enkamat // Tiefbau-Ingenieurbau-Strassenbau. - 1977. - Vol.19. - N 1.

25. Verge G.C., Reid I.B. Reinforced earth retaining walls in Highways // Austral. Road Res. - 1976. - Vol.6. - N 3.

26. Порожняков B.C. Проектирование и строительство горных дорог. - М., 1986. - (Итоги науки и техники/ ВИНИТИ; Т. 7).

27. Львович Ю.М., Мотылев Ю.Л. Укрепление откосов земляного полотна автомобильных дорог. - М.: Транспорт, 1979.

28. Бетонные блоки для защиты берегов от эрозии // Трансп. стр-во за рубежом: Экспресс-информ. / ВПТИтрансстрой.- 1985.-Вып. I.

29. Микроинформация // Гражд. стр-во (США). - 1989. - № 12.

30. Dalton D.C., Hoban K.M. Tyre walls in highway construction // The Highwey Engineer. - 1982. - N 2.

31. Цурси Хироси. Анкерные подпорные стенки //Сэко гидзюцу.-1976. - Vol. 9. - № 8.

32. Юдин Л.Н. Устойчивость набросного материала в решетчатой конструкции при возведении речного потока // Мероприятия по обеспечению устойчивости земляного полотна автомобильных дорог в пересеченной и горной местности. - М., 1980. - C..101-107 - (Сб. тр. / Союздорнии).

33. Кацман А.Я., Хромов Ю.И. укрепление откосов земляных сооружений цементогрунтовым набрызгбетоном // Мероприятия по обеспечению устойчивости земляного полотна автомобильных дорог в пересеченной и горной местности. -М., 1980. - С. 95 - 100 -(Сб. тр. / Союздорнии).

34. Brandel H. Boschungssicherungen und oanierung von Rutschuagen // Strasse und Autobahn. - 1976. - Vol.27. - H 6.

35. Vogel F. Bepflanzung von Stutzbauverkehr mit aufge-loaten Oberflachen // Strasse und Verkehr. - 1983. - Vol. 69. -H 4.

36. Яковенко В.Г. Строительство берегоукрепительных сооружений. - М.: Транспорт, 1986.

37. Байнатов Ж.Б. Комбинированные защитные покрытия откосов автомобильных дорог от размыва // Автомоб. дороги: Науч.-техн. достижения и передовой опыт в области автомоб. дорог: Информ. сб. / ЦБНТИ Росавтодора РСФСР. - 1991. - Вып. 4.

38. Байнатов Ж.Б. Защитные покрытия откосов дорог // Транспорт, наука, управление: Сб. обзорн. информ. / ВИНИТИ. - 1991.-№ 12.

39. Байнатов Ж.Б. Искусственные защитные сооружения на горных автомобильных дорогах/ - М., 1992. - (Итоги науки и техники Сер. Автомоб. дороги / ВИНИТИ; т. 10).

40. Байнатов Ж.Б., Досхожаев А.С. Эффективные конструкции защитных покрытий от размыва // Водохоз. стр-во: Экспресс-информ. / Госстрой КазССР. - 1991. - № 2.

41. Перевозников Б.Ф. Водоотвод с автомобильных дорог. - М.: Транспорт, 1982.

42. Перевозников Б.Ф. Водопропускные сооружения лоткового типа. - М.: Транспорт, 1978.

43. Перевозников Б.Ф. Расчет максимального стока при проектировании дорожных сооружений. - М.: Транспорт. 1975.

44. Клейн Г.К., Скуратов Л.Ф. Расчет балок на нелинейно-деформируемом основании // Строит, механика / ЦНИИСК, МИСИ, Воен,-инж. акад. - М.: Стройиздат, 1966.

45. Жемочкин Б.Н., Синицын А.П. Практические метода расчета фундаментных балок и плит на упругом основании. - М.: Госстройиздат, 1962.

46. Беручашвили Г.М. Некоторые вопросы динамики селевого потока // Материалы IV Всесоюз. конф. по селевым потокам. -Алма-Ата, изд-во АН КазССР, 1959.

47. Херхеулидзе И.И. Сквозные защитные и регулирующие сооружения на горных реках. - М.: Гидрометеоиздат, 1967.

48. Херхеулидзе И.И. Расчет основных характеристик селевых потоков: ООН, междунар. симпозиум по паводкам и их расчетам. - Л., 1967.

49. Виноградова Б.И., Херхеулидзе Г.И. О силовом воздействии структурного селевого потока на противоселевые конструкции // Тр. ЗакНИГМИ. - 1970. - Вып. 37 (43).

50. Виноградова В.И., Херхеулидзе Г.И., Огаян В.К. Лабораторные исследования лобового сопротивления противоселевых сооружений системы ЗакНИГМИ /Ар. ЗакНИГМИ. - 1969. - Вып. 32(38).

51. Гагошидзе М.С. Селевые явления и борьба с ними. - Тбилиси: Сабчота Сапартвело, 1970.

52. Тевзадзе В.И. О применимости механики ньютоновских систем для описания динамики структурных селевых потоков // Тр. ГрузНИИГиМ. - 1968. - Вып. 26.

53. Херхеулидзе. К определению нагрузок от воздействия селевого потока на поперечные преграды. // Тр. ЗакНИГМИ. -1972. - Вып. 40(46).

54. Херхеулидзе И.И., Виноградова В.И., Рухадзе Н.В. Эмпирические зависимости для расчета элементов прорыва завальных плотин // Тр. ЗакНИГМИ. - 1972. - Вып. 40(46).

55. Виноградова В.И., Херхеулидзе Г.И. Влияние вязкости и турбулентности потока на характеристики сопротивления сквозных конструкций // Тр. ЗакНИГМИ. - 1970. - Вып. 37(43).

56. Непорожний П.С. Защита гидроэлектростанции от селевых потоков. - М.: Госэнергоиздат, 1947.

57. Мехти-Заде P.M. Методы теории надежности в строительном проектировании. - М., 1987. - (Стр-во и архитектура. Сер. Обществ, здания: Обзорн. информ. / ЦНИИС Госстроя СССР; Вып. 6).

58. Бегам Л.Г., Цыпин В.Ш. Надежность мостовых переходов через водотоки. - М.: Транспорт; 1984.

59. Противооползневые конструкции на автомобильных дорогах/ В.Д. Браславский, Ю.М. Львович, Л.В. Грицюк и др. - М.: Транспорт, 1985.

60. Болотин В.В. Применение методов теории вероятностей и теории надежности в расчетах сооружений. - М.: Стройиздат, 1971.

61. Ржаницын Р.А. Теория расчета строительных конструкций на надежность. - М., Стройиздат, 1979.

62. Волга B.C., Подольский Д.М. Оптимизационные модели надежности жилых зданий, эксплуатируемых в сложных условиях // Надежность и долговечность машин и сооружений / АН УССР. - Киев.-1983. - № 4.

63. Заде Л. Понятие лингвистической переменной и его применение к принятию приближенных решений. - М.: Мир, 1976.

64. Эльясберг А.Е., Бахшиян Б.Ц. Определение траектории полета космического аппарата при отсутствии сведений о законе распределения ошибок измерений // Космические исследования. - 1969.-Сер. 7. - Вып. I. - С. 25-31.

65. Huber P.I. Robust estimation of a location parameter // Ann. Mathematical Statistics. - 1964. - № 35.

66. Подольский Д.М. О решении задач надежности сложных систем // Надежность и долговечность машин и сооружений/ АН УССР, -Киев, 1982. - № 2.

67. Подольский Д.М., Байнатов Ж.Б. Выбор расчетных моделей диафрагм жесткости многоэтажных зданий на основе экспериментальных исследований // Строит, механика и расчет сооружений.-1978. - № I.

68. Пугачев B.C. Введение в теорию вероятностей. - М.: Наука, 1968. - 368 с.

69. Закс Ш. Теория статистических выводов. - М.: Мир, 1975.




Яндекс цитирования



   Copyright © 2007-2026,  www.tehlit.ru.

[ ѓосты, стандарты, нормативы, инструкции, правила, строительные нормы ]