//
ТехЛит.ру
- крупнейшая бесплатная электронная интернет библиотека для "технически умных" людей.
WWW.TEHLIT.RU - ТЕХНИЧЕСКАЯ ЛИТЕРАТУРА

:: Алготрейдинг::


АЛГОТРЕЙДИНГ
шаг за шагом
с нуля по урокам!

Торговые роботы на PYTHON, BackTrader,
Pandas, Pine Script для TradingView. Связка с брокерами, телеграм и легкими приложениями.


МИНИСТЕРСТВО ПРОМЫШЛЕННОГО СТРОИТЕЛЬСТВА СССР ГЛАВНОЕ ТЕХНИЧЕСКОЕ УПРАВЛЕНИЕ
Научно-исследовательский институт промышленного строительства
(НИИпромстрой)

МЕТОДИЧЕСКИЕ РЕКОМЕНДАЦИИ ПО КОНТРОЛЮ ПРОЧНОСТИ ЦЕНТРИФУГИРОВАННОГО БЕТОНА ПРИ ИЗГОТОВЛЕНИИ ПОЛЫХ КРУГЛЫХ СВАЙ И СВАЙ-ОБОЛОЧЕК

Уфа 1982

"Методические рекомендации по контролю прочности центрифугированного бетона при изготовлении полых круглых свай" разработаны НИИпромстроем на основании результатов лабораторных и опытно-производственных работ. Настоящие Рекомендации имеют цель упростить контроль прочности, повысить его точность, качество и надежность полых круглых свай. Составлены в дополнение "Руководства по проектированию, изготовлению и применению железобетонных центрифугированных конструкций кольцевого сечения (М.; Стройиздат, 1979) и учитывают специфику производства полых круглых свай из центрифугированного бетона на заводах Минпромстроя СССР.

При составлении рекомендаций использованы отечественный опыт производства центрифугированных конструкций и результаты научно-исследовательских, проектных и опытных работ.

Рекомендации разработаны Р.И. Бурангуловым, В.А.Максименко, Н.Ш. Юлдашевым, З.Б. Мишеловой.

Замечания и предложения по содержание Рекомендаций просьба направлять в НИИпромстрой по адресу: 450064, Уфа, Конституции,3.

СОДЕРЖАНИЕ

1. ОБЩИЕ ПОЛОЖЕНИЯ

1.1. Настоящие Рекомендация распространяются на центрифугированный тяжелый бетон, применяемый для изготовления полых круглых свай и свай-оболочек, и устанавливает методику определения его прочности на сжатие.

1.2. Прочность центрифугированного бетона определяют испытанием на сжатие образцов-призм квадратного сечения, выколотых из кольца, изготовленного совместно со сваей, через металлические прокладки. Величину прочности вычисляют по результатам измерений и испытаний.

1.3. Отбор проб бетона, назначение количества проб, объема партий, хранение и маркировку образцов производят в соответствии с требованиями ГОСТ 18105-72 и ГОСТ 10180-78.

2. ФОРМА И РАЗМЕРЫ ОБРАЗЦОВ, ИХ ИЗГОТОВЛЕНИЕ

2.1. Для испытания на сжатие применяют образцы, выколотые из специально изготовленного кольца, сечением со стороной, равной δ.

2.2. Образец имеет форму призмы с основанием в виде секториальной части кольца с шириной по средней линии, равней толщине стенки сваи δ плюс 60 мм.

2.3. Отклонение размеров призм по сторонам поперечного сечения не должно превышать ± 1 %. Неплоскостность опорных граней призм, прилегающих к платам пресса, не должна превышать 0,05 мм на 10 мм длины. Неперпендикулярность смежных граней призм не должна превышать 1 мм на 100 мм длины.

2.4. Кольцо изготавливают совместно со сваей в той же форме, в одном из торцов.

2.5. После пропаривания и распалубки кольцо раскалывают по радиальным сечениям на образцы-призмы.

2.6. Минимально необходимое число образцов рассчитывают по формуле

n = t2v2/ρ2,                                                                              (1)

где t - коэффициент обеспеченности (t = 2 при обеспеченности 95 %);

V - коэффициент изменчивости;

ρ - допускаемая ошибка (5 - 10 %).

До проведения испытания значение V неизвестно а его принимают на основании предшествующего опыта. Если после испытания значение V окажется больше принятого, надо пересчитать n.Если значение V меньше принятого, то полученный результат испытания находится в пределах

где S - среднеквадратичное отклонение;

x - среднее значение измеряемой характеристики, полученное по испытаниям образцов.

3. ОБОРУДОВАНИЕ, ПРИБОРЫ И ИНСТРУМЕНТЫ

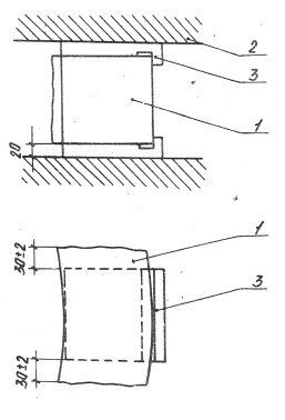
3.1. Для изготовления кольца используют один из торцевых участков формы контролируемой сваи, в котором для получения кольца устраивают отсек путем установки стальной диафрагмы, прикрепляемой к торцу формы болтами (рис.1).

3.2. Для раскалывания бетонного кольца применяют устройство, используемое для испытания бетона на растяжение при раскалывании по ГОСТ 10180-78.

3.3. Для измерения образца используют штангенциркуль с ценой деления шкалы не более 0,1 мм.

3.4. Для испытания образцов применяют испытательные машины или прессы по ГОСТ 8965-73.

3.5. При испытании образцов на сжатие усилие пресса передают через металлические прокладки толщиной 20 ± 2 мм, размеры которых в плане равны размеру поперечного сечения образца призмы с допуском плюс 1 мм. Прокладки изготовляют из конструкционной стали твердостью НRС = 55... 60. Поверхность прокладок, прилегающая к образцам, должна иметь параметры шероховатости Ra 2,5 мкм по ГОСТ 2789-73.

На серединах боковых граней прокладок должны быть нанесены риски, с помощью которых центрируют образцы в испытательной машине (прессе) перед началом погружения. Схема испытания приведена на рис.2.

4. ПОДГОТОВКА К ИСПЫТАНИЯМ

4.1. Подготовка образцов к испытаниям должна производиться с учетом общих требований ГОСТ 10180-78.

4.2. Перед испытанием образцы осматривают и измеряют.

Рис.1. Схема установка формы-вкладыша для изготовления колец:
1 - диаграмма; 2 - втулка; 3 - болт; 4 - гайка; 5 - торцевой борт; 6 - стенка формы

Рис.2. Схема испытания на сжатие образцов-призм, выколотых из кольца:
1 - образец; 2 - плита пресса; 3 - пластина

4.3. Измерение линейных размеров образцов производят с погрешностью ± 1 %.

Измерение ширины образца производят в четырех местах на опорных гранях по радиальным сечениям влево и вправо на 40 мм от центра призмы и вычисляют как среднее арифметическое значение результатов всех измерений.

4.4. Неплоскостность опорных граней призм определяют по рекомендациям ГОСТ 10180-78.

Неперпендикулярность смежных граней образцов-призм определяют измерением с помощью щупов величины зазора между рабочей поверхностью поверочного угольника 90 ° и поверхностью образца. При этом одна из сторон угольника должна быть плотно прижата к поверхности образца,

4.5. На боковые грани образцов по центрам наносят осевые риски для центрирования при установке прокладок.

5. ПРОВЕДЕНИЕ ИСПЫТАНИЙ

5.1. Перед установкой образца на пресс с контактирующих с гранями образца опорных плит пресса, прокладок удаляют частицы бетона.

5.2. Шкалу силоизмерителя пресса выбирают из условия, что ожидаемое значение разрушающей нагрузки будет в интервале 20-80 % от максимальной нагрузки, допускаемой выбранной шкалой.

5.3. При испытаний образцы устанавливают между двумя прокладками так, чтобы риска на прокладках и на гранях испытуемого образца совпали. Прокладки устанавливают на нагружаемые грани образца выступами вплотную к наружной образующей кольца и на расстоянии 30 + 2 мм от изломов (см. рис.2). Прокладки центрируют относительно оси пресса по рискам, нанесенным на них и на плите пресса.

5.4. Нагружение образца должно осуществляться непрерывно с постоянной скоростью 0.6-0,2 МПа в секунду до его разрушения.

5.5. Подготовка образцов к испытанию и проведение испытаний должны производиться в соответствии с общими требованиями

по технике безопасности, предъявляемыми СНиП по технике безопасности в строительстве.

6. ОБРАБОТКА РЕЗУЛЬТАТОВ

6.1. Прочность центрифугированного бетона на сжатие Rіk в МПа для каждого образца вычисляет по формуле

где р - разрушающая сила, H ;

F - площадь рабочего сечения образца, ограниченная

прокладками, м2;

a - масштабный коэффициент прочности бетона в образцах базового размера, принимаемый по ГОСТ 10180-78.

Значение Rik вычисляют с точностью до 0,1 МПа

6.2. В журнале, в который заносят результаты испытаний центрифугированного бетона, должны быть предусмотрены те же графы, что и в ГОСТ 10180-78.




Яндекс цитирования



   Copyright © 2007-2026,  www.tehlit.ru.

[ ѓосты, стандарты, нормативы, инструкции, правила, строительные нормы ]