//
ТехЛит.ру
- крупнейшая бесплатная электронная интернет библиотека для "технически умных" людей.
WWW.TEHLIT.RU - ТЕХНИЧЕСКАЯ ЛИТЕРАТУРА

:: Алготрейдинг::


АЛГОТРЕЙДИНГ
шаг за шагом
с нуля по урокам!

Торговые роботы на PYTHON, BackTrader,
Pandas, Pine Script для TradingView. Связка с брокерами, телеграм и легкими приложениями.


ГЛАВМОСОБЛСТРОЙ ПРИ МОСОБЛИСПОЛКОМЕ ТРЕСТ «МОСОБЛОРГТЕХСТРОЙ»

УКАЗАНИЯ
по механизированному нанесению
комплексного накрывочного слоя при производстве штукатурных работ

Москва - 1982

Содержание

ПРЕДИСЛОВИЕ

В решениях XXVI съезда КПСС большое внимание уделяется увеличению производительности труда в строительстве и улучшению его качества. В настоящее время при производстве штукатур пых работ и гражданских и общественных зданиях затраты труда составляют в среднем 8-10 % от общей суммы трудовых затрат. Поэтому одной из актуальных задач строителей Главмособлстроя является снижение трудовых затрат при производстве отделочных работ,

Снижения указанных трудовых затрат можно достигнуть путем внедрения на стройках Главмособлстроя нового прогрессивного метода выполнения штукатурных работ с совмещением операций шпатлевания поверхностей и накрывочного слоя штукатурки (комплексный накрывочный слой), выполняемых механизированным способом.

Новый прогрессивный метод штукатурных работ позволяет достигнуть снижения трудовых затрат на 53 чел.-д на 1000 м2 отделываемой поверхности.

В основу «Указаний» положены обобщение опыта применения комплексного накрывочного слоя в трестах Мособлстрой № 2, 9, 23, а также результаты исследований, приведенные в «Временных рекомендациях», но использованию сухих смесей для выполнения накрывочного слоя при производстве штукатурных работ (ВР-46-76), МособлстройЦНИЛа.

«Указания» разработаны отделом внедрения передовых методов труда треста Мособлоргтехстрой (инженеры: В.И. Лычаков, И.Н. Исаев, В.Е. Дюбанов, Г.И. Кузнецова).

1. ОБЩИЕ ПОЛОЖЕНИЯ

1.1. Настоящие «Указания» распространяются на выполнение штукатурных работ с совмещением операций шпатлевания поверхностей и накрывочного слоя (комплексный слой) строительными организациями Главмособлстроя при улучшенной и высококачественной отделке помещений. При этом методе оштукатуривания нанесение слоев обрызга и грунта производится обычным традиционным способом - соплованием с помощью штукатурной станции ПШУ-1, а для комплексного накрывочного слоя штукатурки при меняется раствор, приготовленный из сухих известково-песчаных смесей на Люберецком песке с добавлением 20 % шпатлевки от массы раствора.

1.2. Механизированное нанесение такого раствора для накрывочного слоя может осуществляться бескомпрессорным способом или воздушным распылением.

1.2.1. В первом случае штукатурная накрывочная смесь под давлением, создаваемым растворонасосом, поступает в форсунку, проходит через отверстие в насадке и выбрасывается в виде плоского веерообразного факела. Применение бескомпрессорных форсунок позволяет облегчить труд рабочих, сократить расход электроэнергии.

1.2.2. Во втором случае подача и нанесение накрывочной смеси осуществляется пневматическим способом. Для этого применяются шпатлевочный агрегат СО-21 и компрессор СО-7А. Применение пневматических форсунок с указанными агрегатами несколько усложняет ведение работ.

1.3. Технология выполнения комплексного накрывочного слоя состоит из трех операций:

приготовления раствора для накрывочного слоя из сухой известково-песчаной смеси и шпатлевки;

нанесения накрывочного слоя па подготовленную поверхность; затирки накрывочного слоя.

Эти операции осуществляются механизированным способом по разработанным технологическим схемам 1, 2, 3, 4.

1.4. Выбор технологической схемы выполнения комплексного накрывочного слоя при  производстве штукатурных работ в каждом конкретном случае определяется в зависимости от наличия средств механизации.

1.5. Применение в качестве накрывочного слоя раствора из известково-песчаной смеси с добавлением в него 20 % шпатлевки исключает один процесс шпатлевания поверхности стен перед окрас- кон при высококачественной отделке поверхностей.

1.6. Производство работ необходимо осуществлять согласно СНиП III-21-73 и СНиП III-4-80. «Техника безопасности в строительстве».

2. ПРИМЕНЯЕМЫЕ МАТЕРИАЛЫ

2.1. Сухие известково-песчаные штукатурные смеси на Люберецком песке представляют собой смесь молотой негашеной извести и кварцевого песка.

2.2. Смеси применяются в виде штукатурных растворов после тщательного перемешивания с водой для нанесения накрывочного слоя.

2.3. Материалы, применяемые для изготовления смесей, должны удовлетворять требованиям ГОСТа:

известь строительная

ГОСТ 9179-77

песок для строительных работ

ГОСТ 8736-77

(предельная крупность песка не более 1,0 мм допускается в смесях и наличие зерен размером 1,5 мм не более 5 % от массы).

2.4. Состав смеси на 1 г:

песок

700 кг

известь

300 кг

2.5. Сухая известково-песчаная смесь должна соответствовать ТУ 400-1-153-73.

2.6. Технические требования к сухой штукатурной смеси и раствору из нее приведены в таблице.

Наименование показателей

 

1. Влажность сухой смеси, не более, %

5

2. Объемный вес сухой смеси, т/м3

1,2-1,4

3. Объемный вес раствора, т/м3

1,85

4. Подвижность по конусу СтройЦНИЛ, см

10-12

5. Необходимое количество воды для затворения сухой смеси до заданной консистенции, л/м3

300-350

6. Выход раствора из 1 м3 сухой смеси, м3

0,8

7. Расход на 1 м2 поверхности, кг

1,0

Примечание. Показатели объемного веса и количество воды для затворения даются в зависимости о влажности сухой смеси.

3. ТЕХНОЛОГИЯ ПРОЦЕССА И ОРГАНИЗАЦИЯ ТРУДА

3.1. Приготовление раствора из известково-песчаной смеси.

3.1.1. Для приготовления раствора известково-песчаную смесь затворяют водой. Раствор выдерживают не менее 12 часов - до полного окончания процесса гашения молотой извести. Для приготовления накрывочной смеси в раствор добавляют 20 % шпатлевки от массы раствора, для чего используются масляно-клеевая, клеевая и безолифная шпатлевки.

3.1.2. Приготовление накрывочной смеси (раствора) в зависимости от объема работ может выполняться по двум технологическим схемам - 1, 2. При больших объемах работ, когда на объекте работает не менее двух бригад штукатуров, целесообразно работы производить по схеме 1. В этом случае смесь приготовляется в приемном бункере штукатурной станции ПШУ-1, а затем растворонасосом подается на рабочие места штукатуров к бескомпрессорным форсункам.

Схема 1

Механизированное приготовление и подача накрывочной смеси (раствора) к рабочим местам штукатуров

1. Форсунка бескомпрессорного распыления, конструкции Мособлоргтехстроя, или прямоточная. 2. Материальный шланг диам. 38 мм. 3. штукатурная станция ПШУ-1. 4. Склад для храпения известково-песчаной смеси и шпатлевки.

3.1.3. При выполнении небольших объемов работ приготовление и подача накрывочной смеси осуществляется по схеме 2. В этом случае применяется установка этажная УЭС-71 с растворонасосом.

3.2. Механизированное нанесение накрывочного штукатурного слоя из приготовленного известково-песчаного раствора.

3.2.1. Накрывочный слой из раствора, приготовленного на основе сухой смеси и шпатлевочного состава, наносится толщиной 2-3 мм но выровненному грунту после его схватывания.

3.2.2. Производство работ осуществляется по технологическим схемам 3 и 4.

3.2.3. В соответствии со схемой 3 нанесение смеси осуществляется бескомпрессорными форсунками с использованием растворонасоса, установленного на этаже, или штукатурной станции ПШУ-1, находящейся около отделываемого здания.

Схема 2

Механизированное приготовление и подача накрывочной смеси (раствора) к рабочим местам штукатуров

1. Емкость для приема готовой смеси. 2. Материальный шланг диам. 38 мм. 3. Затаренная в мешки известково-песчаная смесь. 4. Емкость для хранении шпатлевки. 5. Емкость для гашения известково-песчаной смеси, 6. Установка этажная УЭС-71 с растворонасосом

3.2.4. При производстве работ по схеме 4 (пневматический способ) поданный на этаж раствор заливают через металлическую сетку с ячейкой 0,3-0,4 мм в двухбачковый шпатлевочный агрегат СО-21. Затем подается сжатый воздух от компрессора СО-7А в один из бачков агрегата. За счет избыточного давления смесь поступает по материальному резиновому шлангу в модернизированную удочку Кораблева с материальной трубкой внутренним диаметром 18 мм и выходным отверстием головки 6-8 мм.

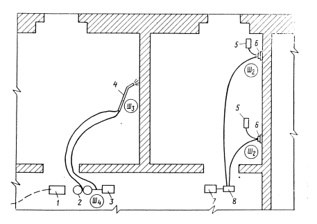
Схема 3

Механизированное бескомпрессорное нанесение и затирка накрывочного слоя

1. Приемный бункер. 2. Растворонасос С-855. 3. Материальный шланг диам. 38 мм. 4. Бескомпрессорная форсунка, конструкции Мособлоргтехстроя, или прямоточная. 5. Бензорезный бачок для подачи воды к затирочной машинке. 6. Затирочная машинка СО-86. 7. Преобразователь частоты эл. тока ИО-9403. 8. Разветвительный блок на 5 розеток
Ш13 - положения штукатуров в процессе работы

3.2.5. Рабочее давление в системе должно быть 2-3 атм. Факел смеси наносится плавными круговыми движениями слева направо и сверху вниз на расстоянии 80-100 см от стены под углом 70-90° до образования однородной поверхности.

3.3. Затирка нанесенного накрывочного слоя.

3.3.1. Технологически перерыв между нанесением накрывочного слоя и его затиркой зависит от местных условий: температуры и влажности воздуха в помещении, консистенции раствора - от 15 до 60 мин.

3.3.2. К затирке накрывочного слоя приступают после того, как накрывочный слой достаточно затвердеет.

3.3.3. Для затирки применяются затировочные машины СО-86.

3.3.4. Работа выполняется в такой последовательности: включается двигатель машины, вращающийся диск прислоняется к оштукатуренной поверхности стеньг и производится затирка накрывочного слоя.

3.3.5. Необходимо отработать технику движения при выполнении этой рабочей операции. Более рациональны горизонтальные движения по затираемой поверхности, напоминающие движения по дуге длиной 0,5-0,9 м. При этом штукатур, направляя машину слева направо и справо налево, сначала затирает сверху вниз вертикальную полосу накрывочного слоя шириной до 2 м, а затем, передвигаясь вдоль степы, продолжает затирку такими же вертикальными полосами. Зону наибольшего удобства работ при затирке поверхностен стен и перегородок рабочий подбирает по своему росту. В процессе затирки поверхность смачивается водой в подсохших местах. Вода поступает по резиновой трубке из бачка для бензореза и регулируется клапаном, укрепленным на корпусе затирочной машины. Дефекты устраняют путем подмазки накрывочной смесью и последующей затирки их машиной.

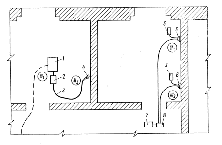
Схема 4

Пневматическое нанесение и механизированная затирка накрывочного слоя

1. Емкость для приема готовой смеси (раствора). 2. Шпатлевочный агрегат СО-21. 3. Компрессор СО-7А. 4. Удочка «Кораблева» - модернизированная. 5. Бензорезный бачок для подачи воды к затирочной машинке. 6. Затирочная машинка СО-86. 7. Преобразователь частоты эл. тока ПЭ-9403. 8. Разветвительный блок на 5 розеток.
Ш24; - положения штукатуров в процессе работы

3.3.6. Толщина слоя накрывки после его выравнивания и затирки должна быть не более 2 мм.

3.4. Организация труда.

3.4.1. Для выполнения работ по нанесению и затирке накрывочного слоя в бригаде штукатуров, выполняющих работу поточно-расчленённым методом, организуется звено из четырех человек. Один штукатур - 4 разряда (Ш4) - осуществляет приготовление накрывочной смеси и следит за работой механизмов, другой штукатур - 3 разряда (Ш3) - наносит механизированным способом приготовленную смесь на огрунтованную поверхность, два штукатура 2 разряда (Ш2) производят обработку поверхности штукатурно-затирочными машинами СО-86. В звене Ш3 является ведущим.

3.4.2. Полный перечень механизмов, приспособлений, инвентаря и инструмента для бригады штукатуров дается в каталоге нормокомплекта треста Мособлоргтехстрой.

4. ТЕХНИКА БЕЗОПАСНОСТИ

4.1. Штукатурные рабаты необходимо выполнять, соблюдая правила техники безопасности и охраны труда рабочих в соответствии со СНиП III-4-80 «Техника безопасности в строительство».

4.2. К обслуживанию штукатурной станции допускается моторист, имеющий соответствующее удостоверение.

4.3. Разрешается пользоваться растворонасосом только с исправным предохранительным клапаном и манометром.

4.4. Все рубильники во время перерыва и по окончании работы должны закрываться.

4.5. Перед началом работы с инвентарных трубчатых безболтовых подмостей в лестничных клетках 5-х этажей мастер (прораб) должен проверить правильность их установки и дать разрешение па производство работ.

4.6. К управлению мачтовыми подъемниками допускается моторист, имеющий соответствующее удостоверение-разрешение.

4.7. У мест загрузки и разгрузки платформы подъемника должны быть надписи, указывающие вес предельного груза (грузоподъемность).

4.8. Рабочие механизированного звена должны быть снабжены защитными очками.

4.9. Штукатурные работы должны производиться с металлических инвентарных столиков-подмостей, имеющих в комплекте ограждения и стремянки.

4.10. При эксплуатации подъемника доступ в опасную зону подъёмника должен быть запрещен на все время его работы. Размеры опасной зоны принимаются из расчета максимальных размеров платформы в плане плюс 1/4 высоты подъема груза.




Яндекс цитирования



   Copyright © 2007-2026,  www.tehlit.ru.

[ ѓосты, стандарты, нормативы, инструкции, правила, строительные нормы ]