//
|
|
È.Ñ. Ïðîñòàïåíêî Èíñòðóêöèîííî-òåõíîëîãè÷åñêèå êàðòû ïî òåõíîëîãèè îáëèöîâî÷íûõ ðàáîò ÌÎÑÊÂÀ «ÂÛÑØÀß ØÊÎËÀ» 1990
ÑÎÄÅÐÆÀÍÈÅ Ðåöåíçåíò - êàíä. òåõí. íàóê Ã.Ñ. Àãàäæàíîâ Äîïóùåíî ê èçäàíèþ Ãîñóäàðñòâåííûì êîìèòåòîì ÑÑÑÐ ïî íàðîäíîìó îáðàçîâàíèþ Ï 82 Èíñòðóêöèîííî-òåõíîëîãè÷åñêèå êàðòû ïî òåõíîëîãèè îáëèöîâî÷íûõ ðàáîò: Ïðàêò. ïîñîáèå äëÿ ÏÒÓ. - Ì.: Âûñø. øê., 1990.-191ñ: èë. Ïðèâåäåíû èíñòðóêöèîííî-òåõíîëîãè÷åñêèå êàðòû äëÿ îáó÷åíèÿ ó÷àùèõñÿ ïðîöåññàì è îïåðàöèÿì îáëèöîâî÷íûõ ðàáîò.  êàðòàõ äàíû ðåêîìåíäàöèè ïî îðãàíèçàöèè òðóäà è ðàáî÷èõ ìåñò ó÷àùèõñÿ; îïèñàíû ìàøèíû, èíñòðóìåíòû è ïðèñïîñîáëåíèÿ äëÿ îáëèöîâî÷íûõ ðàáîò; ðàññêàçàíî î òåõíîëîãèè âûïîëíåíèÿ è ïðèåìàõ ðàáîò, à òàêæå î ïîîïåðàöèîííîì êîíòðîëå êà÷åñòâà ðàáîò è òåõíèêå áåçîïàñíîñòè. Ïîñîáèå äëÿ ó÷àùèõñÿ, ìàñòåðîâ ïðîèçâîäñòâåííîãî îáó÷åíèÿ ïðîôòåõó÷èëèù, à òàêæå îòäåëî÷íèêîâ-ñòðîèòåëåé. ÏÐÅÄÈÑËÎÂÈÅÊíèãà ïðåäñòàâëÿåò ñîáîé ñáîðíèê èç 41 èíñòðóêöèîííî-òåõíîëîãè÷åñêîé êàðòû äëÿ ïðîèçâîäñòâåííîãî îáó÷åíèÿ îáëèöîâùèêîâ-ïëèòî÷íèêîâ, îáëèöîâùèêîâ-ìîçàè÷íèêîâ â ïðîôåññèîíàëüíî-òåõíè÷åñêèõ ó÷èëèùàõ ñ ó÷åòîì òðåáîâàíèé ó÷åáíîé ïðîãðàììû ê âèäàì âûïîëíÿåìûõ ðàáîò äëÿ óñòàíîâëåííîãî óðîâíÿ êâàëèôèêàöèè âûïóñêíèêîâ ïðîôòåõó÷èëèù.  èíñòðóêöèîííî-òåõíîëîãè÷åñêèõ êàðòàõ, îòðàæàþùèõ òðåáîâàíèÿ ÅÒÊÑ, ðàññìàòðèâàþòñÿ ðàáîòû, âûïîëíÿåìûå â ïðåäåëàõ óðîêà ïðîèçâîäñòâåííîãî îáó÷åíèÿ. Ïîñîáèå ñîñòîèò èç ñåìè ãëàâ. Ê ñîáñòâåííî òåõíîëîãèè îáëèöîâî÷íûõ ðàáîò îòíîñÿòñÿ øåñòü ãëàâ: I - ïîäãîòîâêà êåðàìè÷åñêèõ ïëèòîê ê óêëàäêå; II - óñòðîéñòâî ïëèòî÷íûõ ïîëîâ; III - óñòðîéñòâî ìîçàè÷íûõ ïîëîâ; IV - óñòðîéñòâî áåñøîâíûõ ïîêðûòèé ïîëîâ; V - îáëèöîâêà âåðòèêàëüíûõ ïîâåðõíîñòåé; VI - ðåìîíò îáëèöîâî÷íûõ ïîêðûòèé.  ãëàâå VII äàíû êðàòêèå ìåòîäè÷åñêèå ðåêîìåíäàöèè ìàñòåðó ïðîèçâîäñòâåííîãî îáó÷åíèÿ.  êàæäîé ãëàâå èíñòðóêöèîííî-òåõíîëîãè÷åñêèå êàðòû ñãðóïïèðîâàíû ïî êîíñòðóêòèâíî-òåõíîëîãè÷åñêîìó ïðèçíàêó âûïîëíåíèÿ îáëèöîâî÷íûõ ðàáîò (ïîäãîòîâêà îñíîâàíèé, ïðèãîòîâëåíèå ðàñòâîðà èëè ìàñòèêè, èõ íàíåñåíèå, îáëèöîâêà è ò. ï.). Èñõîäÿ èç òðåáîâàíèé äèäàêòèêè, ñòðóêòóðà èíñòðóêöèîííî-òåõíîëîãè÷åñêèõ êàðò óíèôèöèðîâàíà. Êàæäàÿ êàðòà èìååò íåñêîëüêî ÷àñòåé: ñîñòàâ òåõíîëîãè÷åñêèõ îïåðàöèé, íà êîòîðûå ðàñ÷ëåíÿåòñÿ ïðîèçâîäñòâåííûé ïðîöåññ; ïåðå÷åíü ìàøèí, èíñòðóìåíòîâ, ïðèñïîñîáëåíèé è ìàòåðèàëîâ äëÿ âûïîëíåíèÿ ðàáîò; ðåêîìåíäàöèè ïî îðãàíèçàöèè ðàáî÷åãî ìåñòà; òåõíîëîãèÿ âûïîëíåíèÿ êàæäîé òåõíîëîãè÷åñêîé îïåðàöèè, âõîäÿùåé â ñîñòàâ ðàáîò; òðåáîâàíèÿ ÑÍèÏ ê êà÷åñòâó âûïîëíåííîé ðàáîòû; òðóäîâûå çàòðàòû ñ ó÷åòîì êîíêðåòíûõ óñëîâèé ðàáîòû; ïðàâèëà òåõíèêè áåçîïàñíîñòè; êîíòðîëüíûå âîïðîñû äëÿ çàêðåïëåíèÿ ó÷åáíîãî ìàòåðèàëà. ×òîáû îáëåã÷èòü óñâîåíèå ìàòåðèàëà, â êàðòàõ ïðèâåäåíû èëëþñòðàöèè, ðàñêðûâàþùèå ïðèåìû ðàáîò è ðàöèîíàëüíóþ îðãàíèçàöèþ ðàáî÷èõ ìåñò. Ýòî ïîçâîëèò ìàñòåðó ïðîèçâîäñòâåííîãî îáó÷åíèÿ ñî÷åòàòü èíñòðóêòàæ ó÷àùèõñÿ ñ ïîêàçîì èëëþñòðàöèé, ÷òî îñîáåííî âàæíî íà ñòàäèè íà÷àëüíîãî îáó÷åíèÿ. Íåîáõîäèìî ñðàçó ïðèâèòü ó÷àùèìñÿ ðàöèîíàëüíûå ïðèåìû âûïîëíåíèÿ ðàáîò. Íåëîâêèå, íåöåëåñîîáðàçíûå äâèæåíèÿ, íåóäîáíàÿ ðàáî÷àÿ ïîçà òðåáóþò èçëèøíèõ ôèçè÷åñêèõ óñèëèé, ÷òî çàòðóäíÿåò ôîðìèðîâàíèå ïðîôåññèîíàëüíûõ óìåíèé è íàâûêîâ.  èíñòðóêöèîííî-òåõíîëîãè÷åñêèõ êàðòàõ çíà÷èòåëüíîå ìåñòî îòâîäèòñÿ ïðîèçâîäñòâåííîìó îáó÷åíèþ ïî îïåðàöèÿì. Ïîëüçóÿñü êàðòàìè, ó÷àùèåñÿ ïðèó÷àþòñÿ îöåíèâàòü ñâîè äåéñòâèÿ íå òîëüêî ïî êîíå÷íûì ðåçóëüòàòàì âûïîëíåííîé ðàáîòû, íî è ïî ýëåìåíòàì (îïåðàöèÿì) ïðîèçâîäñòâåííîãî ïðîöåññà. Îíè íà÷èíàþò ïîíèìàòü íàçíà÷åíèå è ðîëü êàæäîé îïåðàöèè â îáåñïå÷åíèè âûñîêîãî êà÷åñòâà ðàáîòû, ïðèâûêàþò ñàìîñòîÿòåëüíî ïðèíèìàòü ðåøåíèÿ äëÿ ïðåäóïðåæäåíèÿ áðàêà. Ýòèì ôîðìèðóþòñÿ íàâûêè òåõíîëîãè÷åñêîé äèñöèïëèíû. Äàííûå î òðóäîâûõ çàòðàòàõ (íîðìû âðåìåíè è âûðàáîòêè íà åäèíèöó ðàáîò) ñ ó÷åòîì êîíêðåòíûõ óñëîâèé ïðîèçâîäñòâà ó÷àò öåíèòü ôàêòîð âðåìåíè, çàñòàâëÿÿ ó÷àùåãîñÿ ïëàíèðîâàòü âðåìÿ íà âûïîëíåíèå êàæäîé îïåðàöèè. Ïðèâåäåííûå â êàðòàõ
íîðìû âðåìåíè è âûðàáîòêè ðàññ÷èòàíû íà âçðîñëîãî ðàáî÷åãî. ×òîáû îïðåäåëèòü
âðåìÿ, òðåáóåìîå ó÷àùåìóñÿ äëÿ âûïîëíåíèÿ òîãî æå çàäàíèÿ, ïîëüçóþòñÿ
ïåðåâîäíûìè ïîíèæàþùèìè êîýôôèöèåíòàìè (ñì. ïðèëîæåíèå
7). Íàïðèìåð, åñëè ó÷àùåìóñÿ 1 êóðñà â àïðåëå âòîðîãî ïîëóãîäèÿ
ïîðó÷åíà çàãîòîâêà (ïåðåðóáàíèå, ðåçêà) íåïîëíîìåðíûõ êåðàìè÷åñêèõ ïëèòîê, â
êàðòå ¹ 3 íîðìà âðåìåíè íà 1000 ïëèòîê - 11 ÷åë-÷, à íîðìà âûðàáîòêè íà 1
÷åë-äí 723 ïëèòêè.  òàáëèöå ïîíèæàþùèõ êîýôôèöèåíòîâ óêàçàíî: íîðìà âðåìåíè
ó÷àùåãîñÿ íà äàííîì ïåðèîäå îáó÷åíèÿ óìíîæàåòñÿ íà 4 (ñîñòàâëÿåò 25 % îò
ðàáî÷åé íîðìû), ñëåäîâàòåëüíî, ó÷àùåìóñÿ íà ïåðåðóáàíèå 1000 ïëèòîê îòâîäèòñÿ:
11∙4 = 44 ÷, à íîðìà âûðàáîòêè: Íà óðîêàõ ïðîèçâîäñòâåííîãî îáó÷åíèÿ èíñòðóêöèîííî-òåõíîëîãè÷åñêèå êàðòû èñïîëüçóþò êàê ïëàêàòû. Äåëàþò èõ äëÿ òîãî, ÷òîáû ìàòåðèàë áûë âèäåí âñåé ãðóïïå ó÷àùèõñÿ. Ïðè îáó÷åíèè íà ñòðîèòåëüíûõ îáúåêòàõ ó÷àùèåñÿ ïîëüçóþòñÿ òåõíîëîãè÷åñêèìè êàðòàìè äëÿ ñàìîñòîÿòåëüíîé ðàáîòû. Êàðòû ïîìîãàþò ó÷àùèìñÿ âûáðàòü ðàöèîíàëüíûå ôîðìû è ìåòîäû îðãàíèçàöèè òðóäà íà ðàáî÷åì ìåñòå, îïðåäåëèòü íåîáõîäèìûå ìàòåðèàë, èíñòðóìåíòû è. ïðèñïîñîáëåíèÿ, à òàêæå ïîñëåäîâàòåëüíîñòü âûïîëíåíèÿ òåõíîëîãè÷åñêèõ îïåðàöèé è ðàöèîíàëüíûå ïðèåìû òðóäà. Âî âðåìÿ âûïîëíåíèÿ ðàáîòû íåîáõîäèìî ñîáëþäàòü ïðåäóñìîòðåííóþ êàðòàìè ïîñëåäîâàòåëüíîñòü òåõíîëîãè÷åñêèõ îïåðàöèé, ñîñòàâëÿþùèõ äàííûé ïðîèçâîäñòâåííûé ïðîöåññ (ðàáîòó), ñëåäèòü çà ïðèìåíåíèåì ðàöèîíàëüíûõ òðóäîâûõ ïðèåìîâ, êà÷åñòâîì ðàáîò, ñâåðÿÿ åãî ñ íîðìàòèâíûìè òðåáîâàíèÿìè, çà âðåìåíåì, îòâåäåííûì íà äàííûé ïðîöåññ, âûïîëíÿòü ïðàâèëà òåõíèêè áåçîïàñíîñòè.  ñëó÷àå âîçíèêíîâåíèÿ òðóäíîñòåé â ïðîöåññå âûïîëíåíèÿ ðàáîò ïðè îòñóòñòâèè â ðàáî÷åé çîíå ìàñòåðà ïðîèçâîäñòâåííîãî îáó÷åíèÿ ñëåäóåò äîïîëíèòåëüíî ïðî÷èòàòü â èíñòðóêöèîííî-òåõíîëîãè÷åñêîé êàðòå ìàòåðèàë î ïîñëåäîâàòåëüíîñòè âûïîëíåíèÿ òåõíîëîãè÷åñêèõ îïåðàöèé, âíèìàòåëüíî ðàññìîòðåòü èëëþñòðàöèè è ñâåðèòü ñâîè äåéñòâèÿ ñ íîðìàòèâíûìè.  êîíöå óðîêà (ñìåíû) ðàáî÷åå ìåñòî óáèðàþò, îïðåäåëÿþò îáúåì è êà÷åñòâî âûïîëíåííîé ðàáîòû, òðóäîâûå çàòðàòû (íîðìû âðåìåíè), çàíîñÿò ýòè ñâåäåíèÿ â äíåâíèê ó÷åòà ó÷åáíûõ ðàáîò. Óâåëè÷åíèå îáúåìîâ êàïèòàëüíîãî ñòðîèòåëüñòâà, ðåêîíñòðóêöèè è ðåìîíòà çäàíèé ñ öåëüþ ðåøåíèÿ æèëèùíîé ïðîáëåìû â íàøåé ñòðàíå òðåáóåò ñîâåðøåíñòâîâàíèÿ ôîðì è ìåòîäîâ îðãàíèçàöèè òðóäà â ñòðîèòåëüñòâå, ïîâûøåíèÿ êà÷åñòâà âûïîëíÿåìûõ ðàáîò. Îò ðàáî÷èõ îòäåëî÷íûõ ïðîôåññèé, â òîì ÷èñëå ïëèòî÷íèêîâ-îáëèöîâùèêîâ, ïëèòî÷íèêîâ-ìîçàè÷íèêîâ, çàâèñÿò êà÷åñòâî íàèáîëåå òðóäîåìêèõ îáëèöîâî÷íûõ ðàáîò, äåêîðàòèâíîñòü è äîëãîâå÷íîñòü èíòåðüåðà çäàíèé. Ðàáî÷èå â ñîâåðøåíñòâå äîëæíû âëàäåòü ñâîåé ïðîôåññèåé, àêòèâíî ñòðåìèòüñÿ ê îâëàäåíèþ ïðîãðåññèâíîé òåõíîëîãèåé. Äëÿ ýòîãî òðåáóåòñÿ èçó÷àòü îïûò íîâàòîðîâ è ïåðåäîâèêîâ, øèðîêî îñâåùàåìûé â ñòðîèòåëüíîé ëèòåðàòóðå, è âíåäðÿòü åãî â ïðîèçâîäñòâî, ïîñòîÿííî ïîâûøàòü ñâîþ êâàëèôèêàöèþ. ÃËÀÂÀ I
| ||||||||||||||||||||||||||||||||||||||||||||||||||||||||||||||||||||||||||||||||||||||||||||||||||||||||||||||||||||||||||||||||||||||||||||||||||||||||||||||||||||||||||||||||||||||||||||||||||||||||||||||||||||||||||||||||||||||||||||||||||||||||||||||||||||||||||||||||||||||||||||||||||||||||||||||||||||||||||||||||||||||||||||||||||||||||||||||||||||||||||||||||||||||||||||||||||||||||||||||||||||||||||||||||||||||||||||||||||||||||||||||||||||||||||||||||||||||||||||||||||||||||||||||||||||||||||||||||||||||||||||||||||||||||||||||||||||||||||||||||||||||||||||||||||||||||||||||||||||||||||||||||||||||||||||||||||||||||||||||||||||||||||||||||||||||||||||||||||||||||||||||||||||||||||||||||||||||||||||||||||||||||||||||||||||||||||||||||||||||||||||||||||||||||||||||||||||||||||||||||||||||||||||||||||||||||||||||||||||||||||||||||||||||||||||||||||||||||||||||||||||||||||||||||||||||||||||||||||||||||||||||||||||||||||||||||||||||||||||||||||||||||||||||||||||||||||||||||||||||
|
Ðèñ. 1. Îðãàíèçàöèÿ ðàáî÷åãî ìåñòà ïðè ñîðòèðîâêå ïëèòîê: 1 - íåîòñîðòèðîâàííûå ïëèòêè, 2 - øàáëîí äëÿ ñîðòèðîâêè ïëèòîê, 3 - êîíòåéíåð ñ îòñîðòèðîâàííûìè ïëèòêàìè |
Ðèñ. 2. Ïðèåìû ñîðòèðîâêè ïëèòîê ñ ïîìîùüþ øàáëîíà: 1 - îñíîâàíèå, 2 - îãðàíè÷èòåëüíûé áðóñîê-ëèíåéêà, 3 - êàëèáðîâî÷íàÿ ïëàíêà |

Ðèñ. 3. Ñîðòèðîâêà ïëèòîê ñ ïîìîùüþ ïðèñïîñîáëåíèÿ
1, 2 - ïîäâèæíûé è íåïîäâèæíûé îãðàíè÷èòåëüíûå óïîðû
3 - øêàëà
Ïîñëåäîâàòåëüíîñòü âûïîëíåíèÿ òåõíîëîãè÷åñêèõ îïåðàöèé. Äî íà÷àëà îáëèöîâî÷íûõ ðàáîò êåðàìè÷åñêèå ïëèòêè, äîñòàâëåííûå íà îáúåêò, ñîðòèðóþò.
Ñîðòèðîâêà (êàëèáðîâêà) ïëèòîê ñ ïîìîùüþ øàáëîíîâ (ðèñ. 2). Ïëèòêó âñòàâëÿþò â øàáëîí ðåáðîì âïëîòíóþ ê îãðàíè÷èòåëüíîìó áðóñêó-ëèíåéêå 2 òàê, ÷òîáû ïðîòèâîïîëîæíîå ðåáðî çàíÿëî â êàëèáðîâî÷íîé ïëàíêå 3 âûñòóï, ñîîòâåòñòâóþùèé øèðèíå ïëèòêè. Çàòåì êàëèáðóþò äðóãóþ ñòîðîíó ïëèòêè. Ïðè ðàâíûõ ðàçìåðàõ ñòîðîíû ïëèòêè (êâàäðàòíîé) çàíèìàþò îäíî è òî æå ïîëîæåíèå â øàáëîíå. Ïî ìåðå íàêîïëåíèÿ îòñîðòèðîâàííûå ïëèòêè óêëàäûâàþò â êîíòåéíåð.
Ñîðòèðîâêà ïëèòîê ñ ïîìîùüþ ïðèñïîñîáëåíèÿ (ðèñ. 3). Ïëèòêó âêëàäûâàþò ìåæäó íåïîäâèæíûì 2 è ïîäâèæíûì 1 óïîðàìè. Ñòðåëêà, ñâÿçàííàÿ ñ ïîäâèæíûì óïîðîì, ôèêñèðóåò íà øêàëå 3 îòêëîíåíèå ðàçìåðà ïëèòêè â ìì.
Ïî öâåòó, òîíó è ðèñóíêó ïëèòêè ñîðòèðóþò îäíîâðåìåííî ñ êàëèáðîâêîé. Äëÿ ýòîãî èõ ñðàâíèâàþò ñ îáðàçöîì, ïðèíÿòûì çà ýòàëîí.
Îòñîðòèðîâàííûå ïëèòêè óêëàäûâàþò â ïåðåíîñíûå êîíòåéíåðû èëè ÿùèêè-êàññåòû â ñîîòâåòñòâèè ñ ðàçìåðàìè, öâåòîì è ðèñóíêîì.
Îöåíêà êà÷åñòâà. Âûáðàêîâûâàþò ïëèòêè, èìåþùèå ñëåäóþùèå äåôåêòû: îòáèòûå óãëû; çàçóáðèíû íà êðîìêàõ ëèöåâîé ïîâåðõíîñòè ãëóáèíîé 1...2 ìì; íå÷åòêèé ðèñóíîê; íàïëûâû ãëàçóðè, âîëíèñòîñòü, ïîñå÷êè è äðóãèå äåôåêòû ëèöåâîé ïîâåðõíîñòè, âèäèìûå ñ ðàññòîÿíèÿ 1,7 ì.
Òðóäîâûå çàòðàòû. Íîðìà âðåìåíè íà ñîðòèðîâêó 1000 øò. ïëèòîê - 4 ÷åë-÷; íîðìà âûðàáîòêè íà 1 ÷åë-äí - 2000 øò. ïëèòîê.
Òåõíèêà áåçîïàñíîñòè. Ïëèòêè ñîðòèðóþò â ðåçèíîâûõ ïåð÷àòêàõ èëè íàïàëü÷íèêàõ. Ïîìåùåíèå äîëæíî áûòü õîðîøî îñâåùåííûì è ïðîâåòðèâàòüñÿ.
Êîíòðîëüíûå âîïðîñû.  êàêîé ïîñëåäîâàòåëüíîñòè ñîðòèðóþò ïëèòêè? Ñêîëüêî ñòîðîí êåðàìè÷åñêîé ïëèòêè êîíòðîëèðóþò ïðè ñîðòèðîâêå (êàëèáðîâêå)? Êàê ñîðòèðóþò ïëèòêè ñ ïîìîùüþ ïðèñïîñîáëåíèÿ? Ïî êàêèì ïðèçíàêàì âûïîëíÿþò ñîðòèðîâêó êåðàìè÷åñêèõ ãëàçóðîâàííûõ ïëèòîê? Ïåðå÷èñëèòå äåôåêòû ëèöåâîé ïîâåðõíîñòè ïëèòîê, ïî êîòîðûì ïëèòêè âûáðàêîâûâàþò. Ãäå ìîæíî èñïîëüçîâàòü áðàêîâàííûå ïëèòêè?
Ñîñòàâ òåõíîëîãè÷åñêèõ îïåðàöèé. Óäàëåíèå ìåñòíûõ âûñòóïîâ è âûðàâíèâàíèå (ïîäòà÷èâàíèå) âñåé ïîâåðõíîñòè êðîìêè íåïîëíîìåðíûõ è öåëûõ ïëèòîê.
Ìåõàíèçìû, èíñòðóìåíòû, ïðèñïîñîáëåíèÿ, èíâåíòàðü. Ýëåêòðè÷åñêîå òî÷èëî èëè ýëåêòðè÷åñêàÿ ñâåðëèëüíàÿ ìàøèíà ñ íàñàäêàìè. Øëèôîâàëüíûå áðóñêè; ðàøïèëü; ìîëîòî÷åê ïëèòî÷íèêà èëè êèðî÷êà; êóñà÷êè; ñêëàäíîé ìåòð; ìåòàëëè÷åñêèé óãîëüíèê; êîíòåéíåðû äëÿ ñêëàäèðîâàíèÿ îáðàáîòàííûõ ïëèòîê; çàùèòíûå î÷êè; ðåçèíîâûå ïåð÷àòêè èëè ðóêàâèöû.
Ìàòåðèàëû. Êåðàìè÷åñêèå ïëèòêè ñ êðîìêàìè, òðåáóþùèìè îáðàáîòêè.
Îðãàíèçàöèÿ ðàáî÷åãî ìåñòà. Íà ñòîëå-âåðñòàêå ñòàöèîíàðíî çàêðåïëÿþò ïåðåíîñíîå ýëåêòðè÷åñêîå òî÷èëî èëè ýëåêòðè÷åñêóþ ñâåðëèëüíóþ ìàøèíó äëÿ ìåõàíèçèðîâàííîé îáðàáîòêè êðîìîê êåðàìè÷åñêèõ ïëèòîê ïðè áîëüøîì îáúåìå ðàáîò.
Ïðè íåáîëüøîì îáúåìå ðàáîò êðîìêè ïëèòîê îáðàáàòûâàþò âðó÷íóþ, ðàñïîëàãàÿ íà ñòîëå-âåðñòàêå ñ îäíîé ñòîðîíû íåîáõîäèìûå èíñòðóìåíòû, à ñ äðóãîé - ïëèòêè, òðåáóþùèå îáðàáîòêè.
Ïîñëåäîâàòåëüíîñòü âûïîëíåíèÿ òåõíîëîãè÷åñêèé îïåðàöèé. Ìåñòíûå íåðîâíîñòè - âûñòóïû, áóãðû - îòëàìûâàþò êóñà÷êàìè èëè ïëèòêîëîìîì (ðèñ. 4).
Ïîñëå ýòîãî âûðàâíèâàþò, ïîäòà÷èâàþò êðîìêè, êîíòðîëèðóÿ ïðÿìîóãîëüíîñòü ïëèòîê óãîëüíèêîì. Ïðè áîëüøîì îáúåìå ðàáîò èñïîëüçóþò ñòàöèîíàðíûå èëè ïåðåíîñíûå ìåõàíèçìû (ðèñ. 5, à, á). Ïëèòêó äåðæàò ëèöåâîé ïîâåðõíîñòüþ ââåðõ, à îáðàáàòûâàåìóþ êðîìêó ïåðïåíäèêóëÿðíî ïîâåðõíîñòè øëèôîâàëüíîãî êðóãà. Ïðè ýòîì ïëèòêó óäåðæèâàþò íåïîäâèæíî èëè ñëåãêà ïåðåìåùàþò ïî øèðèíå âðàùàþùåãîñÿ êðóãà äî ïîëó÷åíèÿ ðîâíîé ïîâåðõíîñòè êðîìêè.

Ðèñ. 4. Óñòðàíåíèå ìåñòíûõ èñêðèâëåíèé íà êðîìêàõ ïëèòîê ñ ïîìîùüþ êóñà÷åê (à) èëè çàõâàòíîãî ïðèñïîñîáëåíèÿ - ïëèòêîëîìà (á)

Ðèñ. 5. Âûðàâíèâàíèå (ïîäòà÷èâàíèå) êðîìîê ïëèòîê: à - íà ñòàöèîíàðíîì òî÷èëå, á - íà ïåðåíîñíîì èíñòðóìåíòå ñ øëèôîâàëüíûì êðóãîì, â - âðó÷íóþ øëèôîâàëüíûì êðóãîì èëè ðàøïèëåì
Ïðè íåáîëüøèõ îáúåìàõ ðàáîò êðîìêè âûðàâíèâàþò øëèôîâàëüíûì áðóñêîì, êðóãîì èëè ðàøïèëåì (ðèñ. 5, â).
Òåõíèêà áåçîïàñíîñòè. Ðàáîòó âûïîëíÿþò â çàùèòíûõ î÷êàõ è ðåçèíîâûõ ïåð÷àòêàõ â ïîìåùåíèè õîðîøî îñâåùàåìîì, ñ ïðèòî÷íî-âûòÿæíîé èëè åñòåñòâåííîé âåíòèëÿöèåé.
Ê ðàáîòå ñ ýëåêòðîèíñòðóìåíòàìè äîïóñêàþòñÿ ó÷àùèåñÿ, ïðîøåäøèå îáó÷åíèå è èíñòðóêòàæ íà ðàáî÷åì ìåñòå.
Êîíòðîëüíûå âîïðîñû. Ïîêàæèòå ïðèåìû, èñïîëüçóåìûå ïðè âûðàâíèâàíèè êðîìîê êåðàìè÷åñêèõ ïëèòîê íà ñòàöèîíàðíîì è ïåðåíîñíîì òî÷èëàõ ñ íàñàäêàìè.  êàêîé ïîñëåäîâàòåëüíîñòè îáðàáàòûâàþò êðîìêè íåïîëíîìåðíûõ êåðàìè÷åñêèõ ïëèòîê? Êàê îðãàíèçóþò ðàáî÷åå ìåñòî ïëèòî÷íèêà ïðè îáðàáîòêå êðîìîê êåðàìè÷åñêèõ ïëèòîê? Êàê êîíòðîëèðóþò êà÷åñòâî îáðàáîòàííûõ êåðàìè÷åñêèõ ïëèòîê? Çà÷åì îáðàáàòûâàþò êðîìêè íåïîëíîìåðíûõ êåðàìè÷åñêèõ ïëèòîê â îáëèöîâî÷íûõ ðàáîòàõ? Êàê îáåñïå÷èòü áåçîïàñíîñòü òðóäà ïðè îáðàáîòêå êðîìîê êåðàìè÷åñêèõ ïëèòîê?
Ñîñòàâ òåõíîëîãè÷åñêèõ îïåðàöèé. Íàíåñåíèå ðàçìåòî÷íîé ðèñêè (÷åðòû); ðåçêà ïëèòîê; îòêàëûâàíèå íàäðåçàííîé ÷àñòè.
Ìåõàíèçìû, èíñòðóìåíòû, ïðèñïîñîáëåíèÿ, èíâåíòàðü. Ðîëèêîâûé è ðû÷àæíûé ïëèòêîðåçû; ïðèñïîñîáëåíèÿ äëÿ ðåçêè ïëèòîê ïî ïðÿìîé è ïîä óãëîì; ðåçåö; çàõâàòíîå ïðèñïîñîáëåíèå (ïëèòêîëîì); ðåéñìóñ; ìîëîòî÷åê ïëèòî÷íèêà èëè êèðî÷êà; ñêëàäíîé ìåòð èëè ëèíåéêà ñ ìèëëèìåòðîâûìè äåëåíèÿìè; êàðàíäàø; êîíòåéíåðû èëè êàññåòû; çàùèòíûå î÷êè, ðóêàâèöû.
Ìàòåðèàëû. Îòñîðòèðîâàííûå êåðàìè÷åñêèå ïëèòêè, ïðåäíàçíà÷åííûå äëÿ ðåçêè.
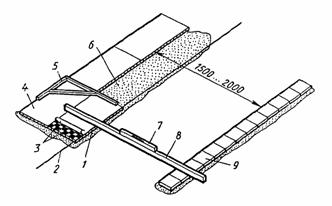
Îðãàíèçàöèÿ ðàáî÷åãî ìåñòà. Ðåçêó êåðàìè÷åñêèõ ïëèòîê âûïîëíÿþò íà ñòîëå-âåðñòàêå â õîðîøî îñâåùåííîì ïîìåùåíèè.  öåíòðå âåðñòàêà ðàçìåùàþò ïëèòêîðåç (ðèñ. 6). Ñ îäíîé ñòîðîíû îò ïëèòêîðåçà ðàçìåùàþò êîíòåéíåð èëè êàññåòû äëÿ çàãîòîâëåííûõ ïëèòîê, ñ äðóãîé - ïëèòêè, ïîäëåæàùèå îáðàáîòêå.

Ðèñ. 6. Ñõåìà îðãàíèçàöèè ðàáî÷åãî ìåñòà ïðè ðåçêå êåðàìè÷åñêèõ ïëèòîê ñ ïîìîùüþ ðû÷àæíîãî ïëèòêîðåçà: 1 - äåðåâÿííîå îñíîâàíèå ïëèòêîðåçà, 2 - ìåòàëëè÷åñêèå ñòîéêè, 3 - íàïðàâëÿþùàÿ ïëàíêà-òðàâåðñà, 4 - êàðåòêà, 5 - ïðèæèìíûé ðû÷àã ñ ðîëèêîâûì íîæîì, 6 - ìåðíàÿ ëèíåéêà ñ óïîðíîé ïëàíêîé
Ïîñëåäîâàòåëüíîñòü âûïîëíåíèÿ òåõíîëîãè÷åñêèõ îïåðàöèé. Ðàçìåòêà ïëèòîê. Çàäàííûé ðàçìåð îïðåäåëÿþò ñêëàäíûì ìåòðîì èëè ëèíåéêîé ñ ìèëëèìåòðîâûìè äåëåíèÿìè. Ðèñêó íàíîñÿò êàðàíäàøîì èëè ðåéñìóñîì (ðèñ. 7, à).
Ïîñëå ðàçìåòêè ïëèòêè ðåæóò ðàçëè÷íûìè ñïîñîáàìè.
Ðåçêà ïëèòîê ðåçöîì. Ñèëüíî íàæèìàÿ íà ïëèòêó ðåçöîì ñ ðîëèêîì èç òâåðäîãî ñïëàâà (ðèñ. 7, á), ïðîðåçàþò ãëàçóðü è ÷àñòü ÷åðåïêà (ïðè íåîáõîäèìîñòè ðåç äåëàþò äâàæäû). Çàòåì íèæíåé ñòîðîíîé ïëèòêè óäàðÿþò î ðåáðî äîñêè èëè êðûøêè âåðñòàêà òàê, ÷òîáû ëèíèÿ íàäðåçà ïîïàëà íà ðåáðî äîñêè (ðèñ. 7, â). Ïðè ýòîì ïëèòêà ðàñêàëûâàåòñÿ òî÷íî ïî íàäðåçó. Äëÿ îòëàìûâàíèÿ óçêèõ íàäðåçàííûõ ïîëîñ êåðàìè÷åñêîé ïëèòêè èñïîëüçóþò ïëèòêîëîì (ðèñ. 7, ã).
Ðàçðåçêà íåãëàçóðîâàííûõ ïëèòîê îòëè÷àåòñÿ ëèøü ñïîñîáîì èõ ðàçëàìûâàíèÿ. Ïî íàäðåçàííîé ïëèòêå ïîñòóêèâàþò ìîëîòî÷êîì ñ òîðöîâ, ïåðïåíäèêóëÿðíûõ ëèíèè íàäðåçà, ïîñëå ÷åãî ïëèòêà ïðè íàæàòèè ëåãêî ðàçëàìûâàåòñÿ ïî ëèíèè íàäðåçà.

Ðèñ. 7. Ïðèåìû ðåçêè ïëèòîê:
à - ðàçìåòêà ðåéñìóñîì, á - íàäðåçàíèå ãëàçóðè ðåçöîì, â, ã - ðàçëàìûâàíèå ïëèòêè ïî íàäðåçó î áðóñîê è ïëèòêîëîìîì
Ðåçêà ïëèòîê ñ èñïîëüçîâàíèåì ïðèñïîñîáëåíèé (ðèñ. 8). Ïðè ïðÿìîé è äèàãîíàëüíîé ðåçêå ïëèòêó 1 âñòàâëÿþò â çàçîð ïðèñïîñîáëåíèÿ. Ëåâîé ðóêîé ïîääåðæèâàþò ïëèòêè, à ðåçöîì 3, êîòîðûé äåðæàò â ïðàâîé ðóêå, âûïîëíÿþò íàäðåç âäîëü íàïðàâëÿþùåé ïëàíêè. Çàòåì ïëèòêó ïðîñòóêèâàþò ìîëîòî÷êîì âäîëü ëèíèè íàäðåçà ñ íåëèöåâîé ñòîðîíû è ðàçëàìûâàþò ñ ïîìîùüþ çàõâàòà.
Ðåçêà ïëèòîê ðîëèêîâûì ïëèòêîðåçîì (ðèñ. 9). Äëÿ ðàçðåçêè ïëèòêè äâèæîê íà ñòåðæíÿõ ðåçöà 5 çàêðåïëÿþò òàê, ÷òîáû ðàññòîÿíèå îò ðåçöà äî íàïðàâëÿþùåãî óãîëêà 3 ñîîòâåòñòâîâàëî øèðèíå îòðåçàåìîé ïîëîñû. Çàæèìíûì âèíòîì 2 ñáëèæàþò ñòåðæíè ðåçöà, ÷òîáû çàçîð ìåæäó ðåçöîì è ðåçèíîâûì ðîëèêîì 6 áûë íà 1 ìì ìåíüøå òîëùèíû ïëèòêè. Ïëèòêó, ïîääåðæèâàÿ ëåâîé ðóêîé, âñòàâëÿþò â ïðîìåæóòîê ìåæäó ðåçöîì è âàëèêîì è óïèðàþò â íàïðàâëÿþùèé óãîëîê. Ïðàâîé ðóêîé ïëèòêîðåç äâèãàþò íà ñåáÿ, äåëàÿ íàäðåç íà ïëèòêå. Çàòåì ëåãêèì íàæèìîì ïëèòêó ðàçëàìûâàþò ïî ëèíèè íàäðåçà.

Ðèñ. 8. Ðåçêà êåðàìè÷åñêèõ ïëèòîê ñ ïîìîùüþ ïðèñïîñîáëåíèé äëÿ ïðÿìîé ðåçêè ïî ðàçìåðó (à) è äëÿ ðåçêè ïîä óãëîì (á):
1 - ðàçðåçàåìûå ïëèòêè, 2 - ëèíåéêà, 3 - ðåçåö, 4 - óãîëüíèê
Ðåçêà ïëèòîê ðû÷àæíûì ïëèòêîðåçîì (ñì. ðèñ. 6). Ïëèòêó ïîñëå íàíåñåíèÿ ðàçìåòî÷íîé ëèíèè âñòàâëÿþò â ïàçû îñíîâàíèÿ 1 ëèöåâîé ñòîðîíîé ââåðõ, ÷òîáû ðîëèêîâûé íîæ íàõîäèëñÿ òî÷íî íàä ëèíèåé ðàçðåçà. Êàðåòêó 4 óñòàíàâëèâàþò â èñõîäíîå ïîëîæåíèå. Íàæèìàÿ íà ïðèæèìíûé ðû÷àã 5 ñ ðîëèêîâûì íîæîì, ïåðåäâèãàþò êàðåòêó âäîëü ïëèòêè. Çàòåì ïëèòêó íàäðåçîì ñìåùàþò íà ðåáðî îñíîâàíèÿ è íàæèìîì ðóêè èëè ñ ïîìîùüþ ïëèòêîëîìà ðàçëàìûâàþò.
Ðóáêà ïëèòîê. Ðóáêó âûïîëíÿþò ïî õîäó îáëèöîâî÷íûõ ðàáîò â òåõ ñëó÷àÿõ, êîãäà íóæíî çàäåëàòü îòäåëüíûå ìåñòà ó íàëè÷íèêîâ, â óãëàõ, ó âîäîðàçáîðíûõ êðàíîâ è ñòàíäàðòíûå ïëèòêè íåïðèãîäíû. Íà òûëüíîé ñòîðîíå ïëèòêè äåëàþò êàðàíäàøîì ðèñêó. Ïî ýòîé ðèñêå ëåãêèìè óäàðàìè îñòðûì êîíöîì ìîëîòî÷êà ïëèòî÷íèêà äåëàþò íàñå÷êè òàê, ÷òîáû êàæäûé óäàð íåñêîëüêî íàõîäèë íà ïðåäûäóùèé, ïîñëå ÷åãî ñèëüíûì óäàðîì òóïîãî êîíöà ìîëîòî÷êà ñíà÷àëà ïî ñåðåäèíå, à çàòåì ïî âñåé ëèíèè ïåðåðóáà ðàñêàëûâàþò ïëèòêó.
Êîíòðîëü êà÷åñòâà. Êðîìêè ðàçðåçàííûõ (ïåðåðóáëåííûõ) ïëèòîê äîëæíû áûòü ïðÿìûìè, áåç çíà÷èòåëüíûõ âûùåðáèí è ñêîëîâ. Ëèöåâàÿ ïîâåðõíîñòü ïëèòîê íå äîëæíà èìåòü ïîâðåæäåíèé.
Òðóäîâûå çàòðàòû. Íîðìà âðåìåíè íà ðàçðåçêó 100 øò. ïëèòîê ìåõàíèçèðîâàííûì ñïîñîáîì - 0,31 ÷åë-÷, âðó÷íóþ - 1,1 ÷åë-÷.

Ðèñ. 9. Ïðèåìû ðåçêè êåðàìè÷åñêèõ ïëèòîê ñ ïîìîùüþ ðîëèêîâîãî ïëèòêîðåçà: 1 - ñòàëüíàÿ ïëàñòèí÷àòàÿ ïðóæèíà, 2 - âèíò-ôèêñàòîð, 3 - íàïðàâëÿþùèé óãîëîê, 4 - ðåãóëèðîâî÷íûé âèíò, 5 - ðåçåö, 6 - ðåçèíîâûé ðîëèê
Íîðìà âûðàáîòêè íà 1 ÷åë-äí ïðè ðåçêå ïëèòîê ìåõàíèçèðîâàííûì ñïîñîáîì - 2580 øò.; âðó÷íóþ - 723 øò.
Òåõíèêà áåçîïàñíîñòè. Ðàáîòó íåîáõîäèìî âûïîëíÿòü â çàùèòíûõ î÷êàõ è ðóêàâèöàõ.
Êîíòðîëüíûå âîïðîñû. Êàê âûïîëíÿþò ðåçêó êåðàìè÷åñêèõ ãëàçóðîâàííûõ ïëèòîê ñ ïîìîùüþ ðû÷àæíîãî ïëèòêîðåçà? Ïåðå÷èñëèòå ïðèñïîñîáëåíèÿ äëÿ ðåçêè êåðàìè÷åñêèõ ïëèòîê. Êàê îáåñïå÷èâàåòñÿ êà÷åñòâî ïåðåðóáêè (ðåçêè) êåðàìè÷åñêèõ ïëèòîê? Ïîêàæèòå ïðèåìû ðåçêè êåðàìè÷åñêèõ ïëèòîê ìåõàíèçèðîâàííûì ñïîñîáîì. Êàêèå ïðàâèëà òåõíèêè áåçîïàñíîñòè íåîáõîäèìî âûïîëíÿòü ïðè ðåçêå ïëèòîê ìåõàíèçèðîâàííûì ñïîñîáîì è âðó÷íóþ?
Ñîñòàâ òåõíîëîãè÷åñêèõ îïåðàöèé. Ðàçìåòêà öåíòðà îòâåðñòèÿ; âûñâåðëèâàíèå îòâåðñòèé òðåáóåìîãî äèàìåòðà.
Ìåõàíèçìû, èíñòðóìåíòû, ïðèñïîñîáëåíèÿ, èíâåíòàðü. Ïåðåíîñíûé ñâåðëèëüíûé ñòàíîê; ðó÷íàÿ ñâåðëèëüíàÿ ýëåêòðè÷åñêàÿ ìàøèíà ñ êîìïëåêòîì íàñàäîê äëÿ ñâåðëåíèÿ îòâåðñòèé äèàìåòðîì 20…78 ìì. Ïðèñïîñîáëåíèå äëÿ ñâåðëåíèÿ îòâåðñòèé äèàìåòðîì äî 50 ìì; êîëîâîðîò ñ ïðèñòàâêîé äëÿ ñâåðëåíèÿ îòâåðñòèé äèàìåòðîì äî 60 ìì; ðàçâåðòêà äëÿ ñâåðëåíèÿ îòâåðñòèé äèàìåòðîì äî 14 ìì; êóñà÷êè; êèðî÷êà; ëèíåéêà è êàðàíäàø; çàùèòíûå î÷êè è ðåçèíîâûå ïåð÷àòêè; êîíòåéíåðû.
Ìàòåðèàëû. Êåðàìè÷åñêèå ïëèòêè ãëàçóðîâàííûå è íåãëàçóðîâàííûå.
Îðãàíèçàöèÿ ðàáî÷åãî ìåñòà (ðèñ. 10). Ðàáî÷åå ìåñòî ïëèòî÷íèêà äîëæíî áûòü õîðîøî îñâåùåíî è èìåòü íåîáõîäèìûå ìåõàíèçìû, èíñòðóìåíòû è ïðèñïîñîáëåíèÿ äëÿ âûñâåðëèâàíèÿ îòâåðñòèé.
Íà ðàáî÷èé ñòîë ñëåâà óêëàäûâàþò ïëèòêè äëÿ âûñâåðëèâàíèÿ îòâåðñòèé, ñïðàâà óñòàíàâëèâàþò êîíòåéíåð äëÿ ïëèòîê ñ ïðîñâåðëåííûìè îòâåðñòèÿìè. Ïî ñåðåäèíå âåðñòàêà ðàñïîëàãàþò ðàáî÷èé èíñòðóìåíò.

Ðèñ. 10. Îðãàíèçàöèÿ ðàáî÷åãî ìåñòà ïðè âûñâåðëèâàíèè îòâåðñòèé ñ ïîìîùüþ ïðèñïîñîáëåíèÿ ñ âðàùàþùèìñÿ ðåçöîì:
1 - ïëèòêà, 2 - ðåçåö, 3 - ïðóæèíà, 4 - îãðàíè÷èòåëü, 5 - ôèêñàòîð, 6 - ðóêîÿòêà
Ïîñëåäîâàòåëüíîñòü âûïîëíåíèÿ òåõíîëîãè÷åñêèõ îïåðàöèé. Îòâåðñòèÿ âûñâåðëèâàþò ïîñëå ñîðòèðîâêè ïëèòîê ïî öâåòó, îòòåíêó, âíåøíåìó âèäó è ðàçìåðàì, ïîäøëèôîâêè êðîìîê è äîâîäêè ïëèòîê äî òðåáóåìûõ ðàçìåðîâ ïî ìåñòó óêëàäêè.
Ðàçìåòêà. Ñêëàäíûì ìåòðîì èëè ëèíåéêîé îïðåäåëÿþò ìåñòîïîëîæåíèå öåíòðà îòâåðñòèÿ íà ëèöåâîé ïîâåðõíîñòè ïëèòêè.  öåëÿõ ïðåäóïðåæäåíèÿ îøèáîê ðàçìåòêó âûïîëíÿþò äâàæäû - ñ âçàèìíî ïåðïåíäèêóëÿðíûõ ñòîðîí ïëèòêè. Öåíòð îòâåðñòèÿ ôèêñèðóþò êàðàíäàøîì. Îñòðèåì ðàçâåðòêè (ðèñ. 11, à) èëè ìîëîòî÷êà (ðèñ. 11, á) â öåíòðå, îáîçíà÷åííîì êàðàíäàøíîé ðèñêîé, ïðîöàðàïûâàþò ñëîé ãëàçóðè.

Ðèñ. 11. Ðó÷íûå èíñòðóìåíòû äëÿ âûñâåðëèâàíèÿ îòâåðñòèé â êåðàìè÷åñêèõ ïëèòêàõ: à - ðàçâåðòêà, á - ìîëîòî÷åê ïëèòî÷íèêà, â - êîëîâîðîò ñ íàñàäêîé
Ñâåðëåíèå îòâåðñòèé. Ïðè íåáîëüøîì îáúåìå ðàáîò â öåíòð îòâåðñòèÿ ïîìåùàþò îñòðûé êîíåö ðåçöà ðàçâåðòêè èëè êîëîâîðîòà (ðèñ. 11, â) è âûñâåðëèâàþò îòâåðñòèå òðåáóåìîãî äèàìåòðà.
Äëÿ âûñâåðëèâàíèÿ îòâåðñòèé ñ ïîìîùüþ ïðèñïîñîáëåíèÿ (ñì. ðèñ. 10) ïëèòêó 1 ïîìåùàþò ìåæäó îãðàíè÷èòåëÿìè 4 è ïåðåäâèãàþò êàðåòêó òàê, ÷òîáû öåíòð ðåçöà ñîâïàë ñ öåíòðîì îòâåðñòèÿ. Çàêðåïèâ ïëèòêó ôèêñàòîðîì 5, ðóêîÿòêîé 6 âðàùàþò ðåçåö, âûñâåðëèâàþùèé îòâåðñòèå.
Ïðè áîëüøîì îáúåìå ðàáîò èñïîëüçóþò ïåðåíîñíûé ñòàíîê (ðèñ. 12, à). Ðåçöåäåðæàòåëü 6 óñòàíàâëèâàþò â öåíòðå áóäóùåãî îòâåðñòèÿ è ñòîïîðíûì ðû÷àãîì 4 çàêðåïëÿþò ïëèòêó 5. Ðàìêó 3 ïåðåìåùàþò â çàâèñèìîñòè îò ìåñòà ðàñïîëîæåíèÿ îòâåðñòèÿ íà ïëèòêå. Íàæàòèåì êíîïêè 9 íà ùèòêå çàïóñêàþò ýëåêòðîäâèãàòåëü 8, êîòîðûé ÷åðåç êëèíîðåìåííóþ ïåðåäà÷ó 1 âðàùàåò ðàáî÷èé âàë ðåçöà. Îòâåðñòèå âûñâåðëèâàþò â òå÷åíèå 1…6 ìèí. Äëÿ ýòèõ æå öåëåé èñïîëüçóþò ðó÷íóþ ñâåðëèëüíóþ ìàøèíó (ðèñ. 12, á) ñ íàñàäêîé.

Ðèñ. 12. Ïåðåíîñíûé ñòàíîê (à) äëÿ âûñâåðëèâàíèÿ îòâåðñòèé è ðó÷íàÿ ñâåðëèëüíàÿ ìàøèíà (á) ñ íàñàäêîé:
1 - êëèíîðåìåííàÿ ïåðåäà÷à, 2 - êîðïóñ ïîäøèïíèêà ðàáî÷åãî âàëà, 3 - ðàìêà, 4 - ñòîïîðíûé ðû÷àã, 5 - ïëèòêà, 6 - ðåçöåäåðæàòåëü, 7 - ìåõàíèçì ãîðèçîíòàëüíîé ïîäà÷è ïëèòêè, 8 - ýëåêòðîäâèãàòåëü, 9 - êíîïêè óïðàâëåíèÿ
Äëÿ ïîëó÷åíèÿ îòâåðñòèÿ îâàëüíîé ôîðìû èëè óâåëè÷åíèÿ äèàìåòðà îòâåðñòèÿ ïðèìåíÿþò ïëèòî÷íûå êóñà÷êè (ðèñ. 13). Îñòîðîæíî îòêóñûâàÿ êðîìêè ïëèòêè, ðàñøèðÿþò îòâåðñòèå äî òðåáóåìûõ ðàçìåðîâ.
Êîíòðîëü êà÷åñòâà. Äèàìåòð îòâåðñòèé äîëæåí ñîîòâåòñòâîâàòü çàäàííîìó ðàçìåðó. Äèàìåòð êîíòðîëèðóþò èçìåðèòåëüíûìè èíñòðóìåíòàìè. Êðîìêè îòâåðñòèé íå äîëæíû èìåòü âûùåðáèí, ñêîëîâ è ïîâðåæäåíèé ëèöåâîé ïîâåðõíîñòè ïëèòîê.
Òðóäîâûå çàòðàòû. Íîðìà âðåìåíè â ÷åë-÷ íà âûñâåðëèâàíèå 100 îòâåðñòèé â ïëèòêàõ:
ãëàçóðîâàííûõ ìåõàíèçèðîâàííûì ñïîñîáîì - 0,6, âðó÷íóþ - 1,95;
íåãëàçóðîâàííûõ ìåõàíèçèðîâàííûì ñïîñîáîì - 0,75, âðó÷íóþ - 2,5.
Íîðìà âûðàáîòêè íà 1 ÷åë-äí íà âûñâåðëèâàíèå îòâåðñòèé â ïëèòêàõ, øò.:
ãëàçóðîâàííûõ ìåõàíèçèðîâàííûì ñïîñîáîì - 1333, âðó÷íóþ - 410;
íåãëàçóðîâàííûõ ìåõàíèçèðîâàííûì ñïîñîáîì - 1065, âðó÷íóþ - 320.

Ðèñ. 13. Ðàñøèðåíèå îòâåðñòèÿ êóñà÷êàìè
Òåõíèêà áåçîïàñíîñòè. Ê ðàáîòå íà ýëåêòðè÷åñêîì ñòàíêå äîïóñêàþòñÿ ó÷àùèåñÿ, ïðîøåäøèå îáó÷åíèå è èíñòðóêòàæ íà ðàáî÷åì ìåñòå. Ïåðåä ðàáîòîé èñïðàâíîñòü ýëåêòðè÷åñêîãî ñòàíêà è äðóãèõ ýëåêòðîèíñòðóìåíòîâ ïðåäâàðèòåëüíî ïðîâåðÿåò ìåõàíèê èëè ìàñòåð ïðîèçâîäñòâåííîãî îáó÷åíèÿ. Ýëåêòðîäâèãàòåëü âêëþ÷àþò ïîñëå íàäåæíîãî çàêðåïëåíèÿ ïëèòêè è óñòàíîâêè ñâåðëà â öåíòðå íàìå÷åííîãî îòâåðñòèÿ. Ïîñëå âûñâåðëèâàíèÿ îòâåðñòèÿ ýëåêòðîäâèãàòåëü âûêëþ÷àþò.
×åðåç êàæäûå 30 ìèí íåïðåðûâíîé ðàáîòû ýëåêòðîäâèãàòåëü âûêëþ÷àþò íà 5...7 ìèí äëÿ îõëàæäåíèÿ.
Ñâåðëåíèå îòâåðñòèé âûïîëíÿþò â çàùèòíûõ î÷êàõ è ðåçèíîâûõ ïåð÷àòêàõ.
Êîíòðîëüíûå âîïðîñû.  êàêîé ïîñëåäîâàòåëüíîñòè âûñâåðëèâàþò îòâåðñòèÿ â êåðàìè÷åñêèõ ïëèòêàõ? Íàçîâèòå è ïîêàæèòå èíñòðóìåíòû äëÿ âûñâåðëèâàíèÿ îòâåðñòèé äèàìåòðîì äî 14, äî 50 è äî 60 ìì. Êàê âûïîëíÿþò îòâåðñòèå îâàëüíîé ôîðìû? Ïî êàêèì ïðèçíàêàì áðàêóþò ïëèòêè ñ âûñâåðëåííûìè îòâåðñòèÿìè? Ãäå óêëàäûâàþò ïëèòêè ñ âûñâåðëåííûìè îòâåðñòèÿìè? Ïåðå÷èñëèòå ïðàâèëà òåõíèêè áåçîïàñíîñòè ïðè âûñâåðëèâàíèè îòâåðñòèé â êåðàìè÷åñêèõ ïëèòêàõ.
Ñîñòàâ òåõíîëîãè÷åñêèõ îïåðàöèé. Äîçèðîâêà ñîñòàâëÿþùèõ (âÿæóùåãî, çàïîëíèòåëåé, âîäû); çàãðóçêà áàðàáàíà ñìåñèòåëÿ; ïåðåìåøèâàíèå ñìåñè â ðàñòâîðîñìåñèòåëå; âûãðóçêà ïðèãîòîâëåííîãî ðàñòâîðà èç ðàñòâîðîñìåñèòåëÿ.
Ìåõàíèçìû, èíñòðóìåíòû, ïðèñïîñîáëåíèÿ, èíâåíòàðü. Ðàñòâîðîñìåñèòåëè âìåñòèìîñòüþ 65…80 ë. Ìåðíûå ÿùèêè äëÿ ïåñêà è öåìåíòà; âåäðî; ðàñòâîðíàÿ ëîïàòà; ýòàëîííûé êîíóñ; îòäåëî÷íûé êîâø, òåëåæêà íà ïíåâìîêîëåñíîì õîäó, ñòðîèòåëüíàÿ êàñêà; ðåñïèðàòîð ØÁ-1 «Ëåïåñòîê»; çàùèòíûå î÷êè.

Ðèñ. 14. Ðàñòâîðîñìåñèòåëè:
à - ÑÎ-46Á, á - ÑÎ-238 ñ îòêèäíûìè ëîïàñòÿìè â ðàáî÷åì ïîëîæåíèè, â - òî æå, â íåðàáî÷åì ïîëîæåíèè; 1 - òåëåæêà, 2 - ñìåñèòåëüíûé áàðàáàí; 3 - ëîïàñòíîé âàë; 5 - ðó÷êà, 6 - ðåäóêòîð, 7 - ýëåêòðîäâèãàòåëü, 8 - ðàìà, 9 - îïóùåííûå ëîïàñòè, 10 - òà÷êà ñ áóíêåðîì; 11 ëîïàñòè
Ìàòåðèàëû. Öåìåíò; ìåëêîçåðíèñòûé ïåñîê; âîäà. Êîëè÷åñòâî ìàòåðèàëà çàâèñèò îò ìàðêè ïðèãîòîâëÿåìîãî ðàñòâîðà.
 çàâèñèìîñòè îò ìàðêè öåìåíòíûõ ðàñòâîðîâ èõ ñîñòàâû (âîäà : öåìåíò M400 : ïåñîê) ìîãóò áûòü ñëåäóþùèìè.
|
Ìàðêà ðàñòâîðà |
Ñîñòàâ, ìàññ. ÷. |
|
150 |
0,55: 1: 3 |
|
200 |
0,45: 1: 2,8 |
|
300 |
0,48: 1: 2,8 |
|
400 |
0,3: 1: 2 |
Ïðèìåðû ðàñõîäà ìàòåðèàëîâ äëÿ ïðèãîòîâëåíèÿ 1 ì3 öåìåíòíîãî ðàñòâîðà Ì 150:
1. Öåìåíò Ì400 - 390 êã; ïåñîê - 1520 êã; âîäà - 203 ë.
2, Öåìåíò Ì500 - 390 êã; ïåñîê - 1 575 êã; âîäà - 207 ë.
Ñõåìà îðãàíèçàöèè ðàáî÷åãî ìåñòà.  çàâèñèìîñòè îò ìåñòíûõ óñëîâèé ðàáî÷åå ìåñòî îðãàíèçóþò òàê, ÷òîáû íåîáõîäèìûå ìàòåðèàëû äëÿ ïðèãîòîâëåíèÿ ðàñòâîðà áûëè ðÿäîì ñ ðàñòâîðîñìåñèòåëåì.
Ïîñëåäîâàòåëüíîñòü âûïîëíåíèÿ òåõíîëîãè÷åñêèõ îïåðàöèé. Ðàáîòó íà÷èíàþò, ïðîâåðèâ èñïðàâíîñòü ðàñòâîðîñìåñèòåëÿ è íàëè÷èå íåîáõîäèìûõ ìàòåðèàëîâ. Öåìåíò è ïåñîê äîçèðóþò â ìåðíûå ÿùèêè, êðàòíûå âìåñòèìîñòè áàðàáàíà ðàñòâîðîñìåñèòåëÿ (ðèñ. 14).
Ñíà÷àëà â áàðàáàí 2 ðàñòâîðîñìåñèòåëÿ çàëèâàþò äîçèðîâàííîå êîëè÷åñòâî âîäû, à çàòåì çàñûïàþò çàïîëíèòåëü - ìåëêîçåðíèñòûé ïåñîê - è âÿæóùåå - öåìåíò.
Çàãðóçèâ áàðàáàí, ðàñòâîðîñìåñèòåëü âêëþ÷àþò è ïåðåìåøèâàþò êîìïîíåíòû â òå÷åíèå 6 ìèí äî ïîëó÷åíèÿ îäíîðîäíîé ñìåñè.
Ïîñëå ïåðåìåøèâàíèÿ âíåøíèì îñìîòðîì ïðîâåðÿþò îäíîðîäíîñòü ñìåñè. Ïëàñòè÷íîñòü ïðèãîòîâëåííîãî ðàñòâîðà êîíòðîëèðóþò ýòàëîííûì êîíóñîì (ðèñ. 15). Ïîñëå ýòîãî ïðèñòóïàþò ê ðàçãðóçêå è òðàíñïîðòèðîâàíèþ ðàñòâîðà ê ðàáî÷åìó ìåñòó. Ïðè ñìåííûõ áóíêåðàõ ðàñòâîðîñìåñèòåëÿ ëîïàñòè 11 ïîäíèìàþò ââåðõ è ðàñòâîð íå âûãðóæàþò, à ïîäàþò ê ðàáî÷åìó ìåñòó ïðÿìî â òà÷êå ñ áóíêåðîì 10.
Êîíòðîëü êà÷åñòâà. Ïðèãîòîâëåííûé ðàñòâîð íå äîëæåí èìåòü ïîñòîðîííèõ è íåïåðåìåøàííûõ âêëþ÷åíèé. Ïîäâèæíîñòü ðàñòâîðà, îïðåäåëÿåìàÿ îñàäêîé ýòàëîííîãî êîíóñà (ÎÊ), äîëæíà áûòü 4...6 ñì.
Òðóäîâûå çàòðàòû. Íîðìà âðåìåíè íà ïðèãîòîâëåíèå 1 ì3 ðàñòâîðà - 1,6 ÷åë-÷; íîðìà âûðàáîòêè íà ÷åë-äí - 5 ì3 ðàñòâîðà.

Ðèñ. 15. Ïðîâåðêà ïëàñòè÷íîñòè ðàñòâîðà ýòàëîííûì êîíóñîì
Òåõíèêà áåçîïàñíîñòè. Ê ðàáîòå ñ ðàñòâîðîñìåñèòåëåì äîïóñêàþòñÿ ó÷àùèåñÿ, ïðîøåäøèå îáó÷åíèå è íåîáõîäèìûé èíñòðóêòàæ.
Ðàñòâîðîñìåñèòåëè ñ ýëåêòðîïðèâîäîì ïîäêëþ÷àþò ê ñåòè òîëüêî ÷åðåç çàùèòíî-îòêëþ÷àþùåå óñòðîéñòâî ñ ïîìîùüþ øòåïñåëüíîãî ñîåäèíåíèÿ.
Ðàáîòó ñ öåìåíòîì è ñóõèìè ðàñòâîðíûìè ñìåñÿìè âûïîëíÿþò â ðóêàâèöàõ, çàùèòíûõ î÷êàõ è ðåñïèðàòîðå.
Êîíòðîëüíûå âîïðîñû.  êàêîé ïîñëåäîâàòåëüíîñòè ïðèãîòîâëÿþò çàìåñ ðàñòâîðà â ðàñòâîðîñìåñèòåëå? Êàê äîçèðóþò èñõîäíûå ìàòåðèàëû äëÿ ïðèãîòîâëåíèÿ òðåáóåìîãî ñîñòàâà ðàñòâîðà? Êàê ïî âíåøíåìó âèäó îïðåäåëèòü êà÷åñòâî ïðèãîòîâëåííîãî ðàñòâîðà?  êàêîé ïîñëåäîâàòåëüíîñòè çàãðóæàþò èñõîäíûå ìàòåðèàëû â áàðàáàí ðàñòâîðîñìåñèòåëÿ? Êàêèå òðåáîâàíèÿ òåõíèêè áåçîïàñíîñòè íåîáõîäèìî ñîáëþäàòü ïðè ðàáîòå ñ ðàñòâîðîñìåñèòåëåì? Êàê çàùèùàþò îðãàíû äûõàíèÿ ïðè ðàáîòå ñ öåìåíòîì è ñóõèìè ðàñòâîðíûìè ñìåñÿìè?
Ñîñòàâ òåõíîëîãè÷åñêèõ, îïåðàöèé. Êîíòðîëü ðîâíîñòè îñíîâàíèÿ; óñòðàíåíèå äåôåêòîâ ïîâåðõíîñòè; óäàëåíèå çàãðÿçíåíèé, æèðîâûõ ïÿòåí.
Ìåõàíèçìû, èíñòðóìåíòû, ïðèñïîñîáëåíèÿ, èíâåíòàðü. Ýëåêòðè÷åñêèé ìîëîòîê; ýëåêòðè÷åñêàÿ ùåòêà; ïîäìåòàëüíàÿ âàêóóìíàÿ ìàøèíà èëè ïûëåñîñ. Ñêàðïåëü; çóáèëî; ìîëîòîê; ñòàëüíàÿ ùåòêà; ëåéêà; ðàñòâîðíàÿ ëîïàòêà; ëîïàòêà äëÿ ïëèòî÷íûõ ðàáîò; îòäåëî÷íûé êîâø äëÿ ïîäà÷è ðàñòâîðà; âåäðà äëÿ âîäû è ðàñòâîðà. Êîíòðîëüíàÿ äâóõìåòðîâàÿ ðåéêà; ñòðîèòåëüíûé óðîâåíü; ñêëàäíîé ìåòð èëè ðóëåòêà. Çàùèòíûå î÷êè.

Ðèñ. 16. Ïðîâåðêà ðîâíîñòè îñíîâàíèÿ êîíòðîëüíîé ðåéêîé (à) è óñòðàíåíèå äåôåêòîâ îñíîâàíèÿ (á) (1 - äåôåêòíîå ìåñòî)
Ìàòåðèàëû. Öåìåíòíîïåñ÷àíûé ðàñòâîð ìàðêè íå íèæå 150, ïðèãîòîâëÿåìûé íà ìåñòå ðàáîò. Ðàñòâîð ñîëÿíîé êèñëîòû 3 %-íîé êîíöåíòðàöèè. Âåòîøü äëÿ óäàëåíèÿ çàãðÿçíåííûõ ïÿòåí.
Ïîñëåäîâàòåëüíîñòü âûïîëíåíèÿ òåõíîëîãè÷åñêèõ îïåðàöèé. Ê ðàáîòå ïðèñòóïàþò ïîñëå ñäà÷è ïîìåùåíèÿ ïîä îòäåëî÷íûå ðàáîòû.
Êîíòðîëü ðîâíîñòè îñíîâàíèÿ. Ïîñëå óäàëåíèÿ ñòðîèòåëüíîãî ìóñîðà ïîâåðõíîñòü îñíîâàíèÿ ïðîâåðÿþò äâóõìåòðîâîé ðåéêîé (ðèñ. 16, à), ïåðåìåùàåìîé â ïðîäîëüíîì è ïîïåðå÷íîì íàïðàâëåíèÿõ. Ïðîñâåòû ìåæäó ðåéêîé è îñíîâàíèåì íå äîëæíû ïðåâûøàòü 10 ìì. Äåôåêòíûå ìåñòà 1 íà ïîâåðõíîñòè - âûñòóïû, âïàäèíû è äð. - îòìå÷àþò ìåëîì.
Óñòðàíåíèå äåôåêòîâ. Âïàäèíû, òðåùèíû, çàçîðû ìåæäó óëîæåííûìè ïëèòàìè ïåðåêðûòèé, à òàêæå ìåñòà èõ ïðèìûêàíèÿ ê ñòåíàì î÷èùàþò îò ïûëè, ñìà÷èâàþò âîäîé è çàäåëûâàþò öåìåíòíûì ðàñòâîðîì (ðèñ. 16, á) ñ ïîìîùüþ ëîïàòêè äëÿ ïëèòî÷íûõ ðàáîò.
Âûïóêëîñòè, íàïëûâû ñõâàòèâøåãîñÿ ðàñòâîðà ñðóáàþò ñêàðïåëåì (ðèñ. 17, à) èëè çóáèëîì. Ïðè áîëüøîì îáúåìå ðàáîò íåðîâíîñòè óñòðàíÿþò ýëåêòðè÷åñêèì ìîëîòêîì (ðèñ. 17, á), ïðåäâàðèòåëüíî ïðîâåðèâ åãî èñïðàâíîñòü íà õîëîñòîì õîäó.
Óäàëåíèå æèðîâûõ ïÿòåí. Âåòîøüþ, ñìî÷åííîé 3 %-íûì ðàñòâîðîì ñîëÿíîé êèñëîòû, ïðîòèðàþò çàãðÿçíåíèÿ äî ïîëíîãî óäàëåíèÿ ïÿòåí. Ðàáîòó âûïîëíÿþò â ðåçèíîâûõ ïåð÷àòêàõ è çàùèòíûõ î÷êàõ.
Êîíòðîëü êà÷åñòâà. Ïðîñâåòû ìåæäó äâóõìåòðîâîé ðåéêîé è ïîâåðõíîñòüþ îñíîâàíèÿ â ìåñòàõ óñòðàíåíèÿ äåôåêòîâ äîïóñêàþòñÿ íå áîëåå 10 ìì, Çàçîðû â ìåñòàõ ïðèìûêàíèÿ ïåðåêðûòèé ê ñòåíàì äîëæíû áûòü çàäåëàíû öåìåíòíûì ðàñòâîðîì ìàðêè íå íèæå Ì150. Ïîâåðõíîñòü äîëæíà áûòü ÷èñòîé, îáåñïûëåííîé è áåç ïÿòåí.

Ðèñ. 17. Ñðóáàíèå âûñòóïîâ, íàñå÷êà áåòîííûõ ïîâåðõíîñòåé: à - ñêàðïåëåì èëè çóáèëîì, á - ýëåêòðè÷åñêèì ìîëîòêîì
Òðóäîâûå çàòðàòû. Íîðìû âðåìåíè â ÷åë-÷ íà åäèíèöó ðàáîò è íîðìû âûðàáîòêè íà 1 ÷åë-äí ïðè ïîäãîòîâêå îñíîâàíèé ñëåäóþùèå:
|
|
Íîðìû âðåìåíè ÷åë-÷ |
Íîðìû âûðàáîòêè íà 1 ÷åë-äí |
|
Î÷èñòêà îñíîâàíèÿ îò ñòðîèòåëüíîãî ìóñîðà |
0,054 |
148 ì 2 |
|
Çàäåëêà âûáîèí ïëîùàäüþ äî 0,25 ì2 |
0,34 |
24 øò. |
|
Çàäåëêà îòâåðñòèé ïëîùàäüþ äî 0,2 ì 2, ãëóáèíîé äî 10 ñì |
0,78 |
10 øò. |
|
Îáåçæèðèâàíèå îòäåëüíûõ ìåñò ñ ïðîìûâêîé îðãàíè÷åñêèìè ðàñòâîðèòåëÿìè |
0,043 |
186 ì2 |
Òåõíèêà áåçîïàñíîñòè. Ïðè ïðèãîòîâëåíèè ðàñòâîðà ñîëÿíîé êèñëîòû íà ìåñòå ðàáîò êèñëîòó òîíêîé ñòðóåé ÷åðåç âîðîíêó âëèâàþò â âîäó ïðè ïîñòîÿííîì ïåðåìåøèâàíèè. Ïðè ýòîì íåîáõîäèìî èìåòü 10 %-íûé ðàñòâîð ñîäû äëÿ íåéòðàëèçàöèè êèñëîòû â ñëó÷àå åå ðàçáðûçãèâàíèÿ. Äëÿ ðàáîòû ñ êèñëîòîé íàäåâàþò ðåçèíîâûå ïåð÷àòêè, çàùèòíûå î÷êè è ðåñïèðàòîð.
Ê ðàáîòå ñ ýëåêòðè÷åñêèì ìîëîòêîì äîïóñêàþòñÿ ó÷àùèåñÿ, ïðîøåäøèå îáó÷åíèå è èíñòðóêòàæ íà ðàáî÷åì ìåñòå.
Ðàáîòàþò ñ ýëåêòðè÷åñêèì ìîëîòêîì â äèýëåêòðè÷åñêèõ ïåð÷àòêàõ, ðåçèíîâûõ ñàïîãàõ è çàùèòíûõ î÷êàõ. Óäàëÿþò íåðîâíîñòè ëîìîì, ñêàðïåëåì èëè çóáèëîì â ðóêàâèöàõ è çàùèòíûõ î÷êàõ.
Êîíòðîëüíûå âîïðîñû. Êàê ïðîâåðÿþò ðîâíîñòü îñíîâàíèÿ ïîä ïëèòî÷íûå ïîëû íà öåìåíòíî-ïåñ÷àíîé ïðîñëîéêå? Êàêèå äåôåêòû óñòðàíÿþò ïðè ïîäãîòîâêå áåòîííîãî îñíîâàíèÿ? Ðàññêàæèòå î ïðàâèëàõ òåõíèêè áåçîïàñíîñòè, êîòîðûå íåîáõîäèìî ñîáëþäàòü ïðè ðàáîòå ñ ýëåêòðè÷åñêèì ìîëîòêîì, ñêàðïåëåì, çóáèëîì? Êàê ïðîâåðÿþò êà÷åñòâî ïîäãîòîâëåííîãî îñíîâàíèÿ?
Ñîñòàâ òåõíîëîãè÷åñêèõ îïåðàöèé. Óñòàíîâêà è âûâåðêà ìàÿ÷íûõ ðååê; óâëàæíåíèå îñíîâàíèÿ; óêëàäêà è ðàçðàâíèâàíèå ðàñòâîðíîé ñìåñè; óïëîòíåíèå è çàãëàæèâàíèå ïîâåðõíîñòè ñòÿæêè; ñíÿòèå ìàÿ÷íûõ ðååê è çàäåëêà áîðîçä.
Ìåõàíèçìû, èíñòðóìåíòû, ïðèñïîñîáëåíèÿ, èíâåíòàðü. Ìàøèíà ÑÎ-126 äëÿ ïðèãîòîâëåíèÿ è ïîäà÷è ðàñòâîðîâ, âèáðîðåéêà; øëèôîâàëüíàÿ ìàøèíà äëÿ çàòèðêè öåìåíòíûõ ñòÿæåê. Ñòðîèòåëüíûé óðîâåíü; ðóëåòêà èëè ñêëàäíîé ìåòð; äåðåâÿííûé óãîëüíèê ñ óäëèíåííîé ëèíåéêîé; ðàçìåòî÷íûé øíóð â êîðïóñå; ýòàëîííûé êîíóñ; ñòàëüíûå øòûðè; ñòðîèòåëüíûé ìîëîòîê ìàññîé 600 ã; ìàÿ÷íûå ðåéêè äåðåâÿííûå èëè ìåòàëëè÷åñêèå äëèíîé 3…6 ì; ëîïàòêè äëÿ ïëèòî÷íûõ ðàáîò è ðàñòâîðíàÿ; îêîâàííîå îäíîñòîðîííåå ïðàâèëî; ñêðåáîê, ñòàëüíàÿ ãëàäèëêà; öàðàïêà; äâóõìåòðîâàÿ êîíòðîëüíàÿ ðåéêà; äåðåâÿííûå ðåéêè ñ îòôóãîâàííîé âåðõíåé êðîìêîé; òåëåæêà íà ïíåâìîêîëåñíîì õîäó.
Ìàòåðèàëû. Öåìåíòíî-ïåñ÷àíûé ðàñòâîð. Ðàñõîä ðàñòâîðà, ì3 íà 1 ì2 ñòÿæêè, çàâèñèò îò òîëùèíû ñòÿæêè:
|
Òîëùèíà ñòÿæêè, ìì |
25 |
30 |
35 |
40 |
45 |
50 |
|
Ðàñõîä ðàñòâîðà, ì3 |
0,028 |
0,033 |
0,039 |
0,044 |
0,050 |
0,55 |
Ñõåìà îðãàíèçàöèè ðàáî÷åãî ìåñòà.  ïîìåùåíèè, ãäå íóæíî óëîæèòü âûðàâíèâàþùóþ ñòÿæêó, çàðàíåå ðàñêëàäûâàþò ìàÿ÷íûå ðåéêè è çàãîòàâëèâàþò íåîáõîäèìîå êîëè÷åñòâî ðàñòâîðà äëÿ èõ çàêðåïëåíèÿ.
Ïîñëåäîâàòåëüíîñòü âûïîëíåíèÿ òåõíîëîãè÷åñêèõ îïåðàöèé. Ê óñòðîéñòâó âûðàâíèâàþùåé ñòÿæêè ïðèñòóïàþò ïîñëå î÷èñòêè îñíîâàíèÿ îò ìóñîðà, çàäåëêè äåôåêòíûõ ìåñò, ñðóáàíèÿ âûñòóïîâ, íàñå÷êè áåòîííûõ îñíîâàíèé, óäàëåíèÿ çàãðÿçíåííûõ ó÷àñòêîâ è âûíåñåíèÿ íà ñòåíû îòìåòêè âåðõíåãî ïîêðûòèÿ ïîëà.
Ðàáîòó íà÷èíàþò ñî ñòîðîíû, ïðîòèâîïîëîæíîé âõîäó â ïîìåùåíèå.
Óñòàíîâêà è âûâåðêà ìàÿ÷íûõ ðååê. Ðàññòîÿíèå (øàã) óêëàäûâàåìûõ ðååê 2...2,5 ì. Ìàÿ÷íûå ðåéêè óñòàíàâëèâàþò ïî óðîâíþ òàê, ÷òîáû èõ âåðõ ñîîòâåòñòâîâàë òîëùèíå ñòÿæêè. Èõ ïîëîæåíèå â ïëàíå è ïî âûñîòå çàêðåïëÿþò êðåïåæíûìè ìàðêàìè èç ðàñòâîðà (ðèñ. 18, à). Ïðè íåîáõîäèìîñòè óñòàíîâëåííûå ìàÿ÷íûå ðåéêè âòàïëèâàþò â ðàñòâîðíóþ ìàðêó èëè, íàîáîðîò, ïðèïîäíèìàþò, äîáàâëÿÿ ðàñòâîð, êîíòðîëèðóÿ èõ ïîëîæåíèå óðîâíåì (ðèñ. 18, á).

Ðèñ. 18. Óñòðîéñòâî âûðàâíèâàþùåé ñòÿæêè:
à - ðàñêëàäêà ìàÿ÷íûõ ðååê, á - êîíòðîëü ìàÿ÷íûõ ðååê ïî óðîâíþ, â - óâëàæíåíèå îñíîâàíèÿ

Ðèñ. 19. Óêëàäêà, ðàçðàâíèâàíèå è óïëîòíåíèå ðàñòâîðà:
1 - ïðàâèëî, 2 - ãðàáëè, 3 - âèáðîðåéêà; I-V - ïîñëåäîâàòåëüíîñòü çàïîëíåíèÿ ðàñòâîðíîé ñìåñüþ ïîëîñ-çàõâàòîê
Óâëàæíåíèå îñíîâàíèÿ. Îñíîâàíèå ïîëèâàþò âîäîé èç øëàíãà ñ ðàñïûëÿþùåé íàñàäêîé èëè îáû÷íîé ëåéêîé (ðèñ. 18, â), íå äîïóñêàÿ ïðîïóñêîâ è ëóæ.
Óêëàäêà è ðàçðàâíèâàíèå ñìåñè. Öåìåíòíî-ïåñ÷àíûé ðàñòâîð íà÷èíàþò óêëàäûâàòü îò ñòåí, ïðîòèâîïîëîæíûõ âõîäó â ïîìåùåíèå. Ðàñòâîð ðàçãðóæàþò â ïîëîñó-çàõâàòêó, îãðàíè÷åííóþ ìàÿ÷íûìè ðåéêàìè, è ðàçðàâíèâàþò âäîëü ïîëîñû ãðåáêîì èëè ãðàáëÿìè 2 (ðèñ. 19) íà òîëùèíó ìàÿ÷íûõ ðååê. Ïîñëå ýòîãî âûðàâíèâàþò ðàñòâîð ïðàâèëîì 1, êîòîðîå îïèðàþò íà ìàÿ÷íûå ðåéêè.  áîëüøèõ ïîìåùåíèÿõ ñòÿæêó óêëàäûâàþò ïîñëåäîâàòåëüíî (I - V) ïîëîñàìè ÷åðåç îäíó, â íåáîëüøèõ ïîìåùåíèÿõ - ñðàçó ïî âñåé ïëîùàäè.
Óïëîòíåíèå è çàãëàæèâàíèå ïîâåðõíîñòè ñòÿæêè. Ñòÿæêó èç ïëàñòè÷íûõ è ëèòûõ öåìåíòíî-ïåñ÷àíûõ ñìåñåé ñ îñàäêîé êîíóñà äî 13 ñì çàãëàæèâàþò ìåòàëëè÷åñêîé ãëàäèëêîé. Ñòÿæêó èç æåñòêîãî ðàñòâîðà ñ îñàäêîé êîíóñà ìåíåå 13 ñì óïëîòíÿþò âèáðîðåéêîé 3 äî ïîÿâëåíèÿ öåìåíòíîãî ìîëîêà.
Ñâåæåóëîæåííûå è óïëîòíåííûå ó÷àñòêè íàêðûâàþò ðîãîæåé èëè ìåøêîâèíîé è ïîääåðæèâàþò 7...10 ñóò. âî âëàæíîì ðåæèìå. Íåçàòâåðäåâøèå ïîâåðõíîñòè ñòÿæêè îáðàáàòûâàþò öàðàïêîé èëè ýëåêòðîùåòêîé.
Ñíÿòèå ìàÿ÷íûõ ðååê è çàäåëêà áîðîçä. Óäàëÿþò ðåéêè ïîñëå ñõâàòûâàíèÿ ðàñòâîðà, íàíîñÿ ëåãêèå óäàðû ìîëîòêîì ïî äëèíå ðåéêè è ïðèïîäíèìàÿ åå çà îäèí êîíåö. Êðîìêè óëîæåííûõ ïîëîñ ïðîìûâàþò âîäîé è ãðóíòóþò öåìåíòíûì ìîëîêîì. Ïîñëå ýòîãî óêëàäûâàþò ðàñòâîð â áîðîçäû, îñòàâøèåñÿ îò ðååê, à óëîæåííûå ó÷àñòêè ñòÿæêè èñïîëüçóþò êàê ìàÿêè.
Ïðè óêëàäêå ñòÿæêè â íåáîëüøîì ïîìåùåíèè (áåç ïîëîñ-çàõâàòîê) óñòàíîâëåííûå ìàÿêè âûðóáàþò. Áîðîçäû â ìåñòàõ âûðóáëåííûõ ìàÿêîâ çàäåëûâàþò òåì æå ðàñòâîðîì.
Êîíòðîëü êà÷åñòâà. Óëîæåííàÿ ñòÿæêà äîëæíà èìåòü ïðîåêòíóþ òîëùèíó. Ãîðèçîíòàëüíîñòü óëîæåííîé ñòÿæêè êîíòðîëèðóþò äâóõìåòðîâîé ðåéêîé, ïåðåäâèãàåìîé â ðàçíûõ íàïðàâëåíèÿõ, è óðîâíåì. Ïðîñâåòû ìåæäó ñòÿæêîé è ðåéêîé íå äîëæíû ïðåâûøàòü 10 ìì. Îòêëîíåíèå îò ãîðèçîíòàëüíîé ïëîñêîñòè è çàäàííîãî óêëîíà (ïî äëèíå èëè øèðèíå ïîìåùåíèÿ) äîïóñêàåòñÿ äî 0,2 %, íî íå áîëåå 50 ìì.
Òðóäîâûå çàòðàòû. Íîðìû âðåìåíè íà óñòðîéñòâî 1 ì2 ñòÿæêè èç öåìåíòíî-ïåñ÷àíîãî ðàñòâîðà ïðè ìåõàíèçèðîâàííîì íàíåñåíèè ðàñòâîðà - 0,096, ïðè óêëàäêå ðàñòâîðà âðó÷íóþ - 0,23 ÷åë-÷.
Íîðìû âûðàáîòêè íà 1 ÷åë-äí ïðè ìåõàíèçèðîâàííîì íàíåñåíèè ðàñòâîðà - 83,3, ïðè óêëàäêå ðàñòâîðà âðó÷íóþ - 34,8 ì 2.
Òåõíèêà áåçîïàñíîñòè. Âûðàâíèâàþùóþ ñòÿæêó óêëàäûâàþò, ïðèìåíÿÿ èñïðàâíûå èíñòðóìåíòû, ïðèñïîñîáëåíèÿ è èíâåíòàðü.
Ìåõàíèçèðîâàííóþ óêëàäêó ðàñòâîðà â ïîëîñû-çàõâàòêè âûïîëíÿþò â ðåçèíîâûõ ñàïîãàõ è ïåð÷àòêàõ, â çàùèòíûõ î÷êàõ, ïðè ýòîì èñïîëüçóþò ãàñèòåëü ñòðóè ðàñòâîðà íà âûõîäå èç ðàñòâîðîïðîâîäà.
Êîíòðîëüíûå âîïðîñû. Êîãäà ïðèñòóïàþò ê óêëàäêå âûðàâíèâàþùèõ ñòÿæåê ïîä ïëèòî÷íûå ïîëû?  êàêîé ïîñëåäîâàòåëüíîñòè çàïîëíÿþò ðàñòâîðîì ïîëîñû-çàõâàòêè â ïîìåùåíèÿõ áîëüøîé ïëîùàäè? Êàê îáðàáàòûâàþò ïîâåðõíîñòü öåìåíòíî-ïåñ÷àíîé ñòÿæêè, óëîæåííîé ïîä ïîëû èç êåðàìè÷åñêîé ïëèòêè? Êàê óñòàíàâëèâàþò è çàêðåïëÿþò ìàÿ÷íûå ðåéêè ïðè óñòðîéñòâå âûðàâíèâàþùèõ ñòÿæåê? Êàê îáðàáàòûâàþò êðîìêè ïîëîñ çàòâåðäåâøåé ðàñòâîðíîé ñòÿæêè ïðè óêëàäêå ðàñòâîðíîé ñìåñè? Ïåðå÷èñëèòå èíñòðóìåíòû, íåîáõîäèìûå äëÿ êîíòðîëÿ ïîâåðõíîñòè óëîæåííîé ðàñòâîðíîé ñòÿæêè? Êàêèå ïðàâèëà òåõíèêè áåçîïàñíîñòè íóæíî âûïîëíÿòü ïðè óñòðîéñòâå âûðàâíèâàþùåé ñòÿæêè?
Ñîñòàâ òåõíîëîãè÷åñêèõ îïåðàöèé. Ïðîâåðêà ãåîìåòðè÷åñêîé ôîðìû ïîêðûòèÿ; ðàçáèâêà ýëåìåíòîâ ïîêðûòèÿ.

Ðèñ. 20. Ðàçáèâêà ïðÿìîóãîëüíîãî ïîêðûòèÿ ïîëà: à - âûâåðêà ãåîìåòðè÷åñêîé ôîðìû ïîìåùåíèÿ, á - ðàçìåòêà çàäåëêè è ôðèçà; 1 - ðåéêà-øàáëîí Áîëîòèíà, 2 - çàäåëêà, 3 - óãîëüíèê, 4 - ôðèç
Èíñòðóìåíòû è ïðèñïîñîáëåíèÿ. Ðàçìåòî÷íûé øíóð â êîðïóñå; ðóëåòêà; ñêëàäíîé ìåòð; ðåéêà-øàáëîí Áîëîòèíà; ðåéêà-ïðàâèëî; óðîâåíü; óãîëüíèê; ñòàëüíûå øòûðè äëÿ çàêðåïëåíèÿ øíóðà; öâåòíûå ìåëêè èëè ãðèôåëü; êàðàíäàø.
Ñõåìà îðãàíèçàöèè ðàáî÷åãî ìåñòà. Ðàáî÷åå ìåñòî - ïîìåùåíèå, ãäå ïðîèçâîäèòñÿ ðàçáèâêà ïîêðûòèÿ ïîëà, äîëæíî áûòü ñâîáîäíî îò ïîñòîðîííèõ ïðåäìåòîâ.

Ðèñ. 21. Ðàçáèâêà íåïðÿìîóãîëüíîãî ïîêðûòèÿ ïîëà: 1 - ó÷àñòîê ñ ïðèðóáëåííûìè ïëèòêàìè, 2 - ôîí ïîëà, 3 - ôðèç, 4 - çàäåëêà
Ïîñëåäîâàòåëüíîñòü âûïîëíåíèÿ òåõíîëîãè÷åñêèõ îïåðàöèé. Ê ðàáîòå ïðèñòóïàþò ïîñëå èñïðàâëåíèÿ äåôåêòîâ, ïðîâåðêè ðîâíîñòè è ãîðèçîíòàëüíîñòè îñíîâàíèÿ.
Ïðîâåðêà ãåîìåòðè÷åñêîé ôîðìû ïîìåùåíèÿ. Íàòÿíóòûì øíóðîì èçìåðÿþò äèàãîíàëè ïîìåùåíèÿ (ðèñ. 20, à). Ðàâåíñòâî äèàãîíàëåé ñâèäåòåëüñòâóåò î âçàèìíîé ïåðïåíäèêóëÿðíîñòè ïðèìûêàþùèõ ñòîðîí.  òàêîì ïîìåùåíèè ôðèç îòäåëÿåò ðÿäû çàäåëêè îäèíàêîâîé øèðèíû ïî âñåìó ïåðèìåòðó ñòåí.
Ðàçáèâêà ïðÿìîóãîëüíîãî ïîêðûòèÿ (çàäåëêè, ôðèçà, ôîíà). Ðàçìåòî÷íóþ ðåéêó-øàáëîí Áîëîòèíà 1 (ðèñ. 20, á) ïðèêëàäûâàþò òîðöîì ê ñòåíå. Öâåòíûì ìåëêîì íàíîñÿò ðèñêè, íàìå÷àÿ ãðàíèöû ðàñïîëîæåíèÿ ðÿäîâ çàäåëêè 2 è ôðèçà 4. Íàïðàâëåíèå âíóòðåííåé ñòîðîíû ôðèçîâîãî ðÿäà îïðåäåëÿþò ïî óãîëüíèêó 3. Âíóòðåííèå âåðøèíû ôðèçîâûõ ðÿäîâ (êðàòíûõ öåëîìó ðÿäó ïëèòîê) çàêðåïëÿþò ñòàëüíûìè øòûðÿìè.
Ðàçáèâêà íåïðÿìîóãîëüíîãî ïîêðûòèÿ (ðèñ. 21).  íåïðÿìîóãîëüíîì ïîìåùåíèè äèàãîíàëè íå ðàâíû. Ðóëåòêîé èçìåðÿþò äëèíó êîðîòêèõ ïðîòèâîïîëîæíûõ ñòîðîí îñíîâàíèÿ. Èõ ñåðåäèíó çàêðåïëÿþò ñòàëüíûìè øòûðÿìè è íàòÿãèâàþò øíóð, ôèêñèðóþùèé îñü áóäóùåãî ïîêðûòèÿ. Âäîëü íàòÿíóòîãî øíóðà ïðèêëàäûâàþò ðåéêó Áîëîòèíà è öâåòíûì ìåëêîì íàìå÷àþò ãðàíèöû ðÿäîâ ïëèòîê, ðàâíûõ øèðèíå çàäåëêè è ôðèçà.
Íàïðàâëåíèå âíóòðåííåé êîðîòêîé ñòîðîíû ôðèçîâîãî ðÿäà îïðåäåëÿþò óãîëüíèêîì îòíîñèòåëüíî îñè ïîêðûòèÿ ïîëà. Ðàçìåðû êîðîòêèõ ñòîðîí ôðèçîâîãî ðÿäà êðàòíû öåëîìó ÷èñëó ïëèòîê. Âíóòðåííèå óãëû ôðèçà çàêðåïëÿþò ñòàëüíûìè øòûðÿìè. Âñå îòêëîíåíèÿ îò ïðÿìîóãîëüíîñòè îñíîâàíèÿ ïðè òàêîé ðàçáèâêå îêàæóòñÿ âíå ïîëÿ ôîíà 2 è çà ôðèçîì 3 - â ïîëîñå çàäåëêè 4. Èõ âûðàâíèâàþò ïðèðóáëåííûìè (íåïîëíîìåðíûìè) ïëèòêàìè 1, ïðèìûêàþùèìè ê ñòåíå. Íåïîëíîìåðíûå ïëèòêè ðàñïîëàãàþò ñî ñòîðîíû âõîäà â ïîìåùåíèå.
Ïðè ðàçáèâêå îñíîâàíèÿ íóæíî ó÷èòûâàòü, ÷òî ïîêðûòèå ìîæåò áûòü âûïîëíåíî ïî çàäàííîìó ðèñóíêó.
Êîíòðîëü êà÷åñòâà. Òî÷íîñòü ðàçáèâêè ïîêðûòèÿ ïîëà â ïîìåùåíèÿõ ïðàâèëüíîé è íåïðàâèëüíîé ôîðìû êîíòðîëèðóþò, ïðîâåðÿÿ ðàâåíñòâî äèàãîíàëåé ïî âíóòðåííèì óãëàì ôðèçà.
Òåõíèêà áåçîïàñíîñòè. Ðàáîòà äîëæíà âûïîëíÿòüñÿ â õîðîøî îñâåùåííûõ ïîìåùåíèÿõ, ñâîáîäíûõ îò ïîñòîðîííèõ ïðåäìåòîâ è ìàòåðèàëîâ.
Êîíòðîëüíûå âîïðîñû. Êàê ïðîâåðèòü ïðÿìîóãîëüíîñòü îñíîâàíèÿ ïðè óñòðîéñòâå ïîêðûòèÿ ïîëà? Êàêîâû îñîáåííîñòè ðàçìåòêè ïðÿìîóãîëüíûõ ïîêðûòèé? Ñêîëüêî ðÿäîâ ïëèòêè äîëæíî áûòü â ôðèçîâîì ðÿäó, çàäåëêå? Â êàêîé ïîñëåäîâàòåëüíîñòè âûïîëíÿþò ðàçìåòêó ïîêðûòèé íåïðàâèëüíîé ôîðìû? Ãäå ðàñïîëàãàþò ïðèðóáëåííûå ðÿäû çàäåëêè?
Ñîñòàâ òåõíîëîãè÷åñêèõ îïåðàöèé. Ïåðåíîñ ãåîäåçè÷åñêîé îòìåòêè â ïîìåùåíèå; âûíåñåíèå îòìåòîê óðîâíÿ ÷èñòîãî ïîëà; óñòàíîâêà ðåïåðíîãî ìàÿêà; óñòàíîâêà ïðîìåæóòî÷íûõ ìàÿêîâ.
Èíñòðóìåíòû, ïðèñïîñîáëåíèÿ, èíâåíòàðü. Ãèáêèé (âîäÿíîé) óðîâåíü; êîíòðîëüíàÿ äâóõìåòðîâàÿ ðåéêà; ñòðîèòåëüíûé óðîâåíü; ñêëàäíîé ìåòð èëè ðóëåòêà; ðàçìåòî÷íûé øíóð â êîðïóñå; äåðåâÿííûé óãîëüíèê ñ ëèíåéêîé; ðåéêà-øàáëîí Áîëîòèíà ñ äåëåíèÿìè; ëîïàòêè äëÿ ïëèòî÷íûõ ðàáîò è ðàñòâîðíàÿ; ñòàëüíûå øòûðè; ìîëîòîê; öâåòíûå ìåëêè èëè ãðèôåëü; òåëåæêà ñî ñìåííîé òàðîé äëÿ ðàñòâîðà è ïëèòîê; íàïàëü÷íèêè.
Ìàòåðèàëû. Êåðàìè÷åñêèå ïëèòêè; öåìåíòíûé èëè ãèïñîâûé ðàñòâîð.

Ðèñ. 22. Ãåîäåçè÷åñêèå îòìåòêè óðîâíÿ ÷èñòîãî ïîëà 1, 2 è 3-ãî ýòàæåé
Ñõåìà îðãàíèçàöèè ðàáî÷åãî ìåñòà. Ïîìåùåíèå, â êîòîðîì óñòàíàâëèâàþòñÿ ìàÿêè, äîëæíî áûòü ñäàíî ïîä îòäåëêó è ïîäãîòîâëåíî ê óêëàäêå ïîëîâ èç ïëèòîê, ò.å. îñâîáîæäåíî îò ïîñòîðîííèõ ïðåäìåòîâ.
Ïîñëåäîâàòåëüíîñòü âûïîëíåíèÿ òåõíîëîãè÷åñêèõ îïåðàöèé. Ê ðàáîòå ïðèñòóïàþò ïîñëå âûâåðêè îñíîâàíèÿ è ðàçáèâêè ïîêðûòèÿ.
Ïåðåíîñ ãåîäåçè÷åñêîé îòìåòêè â ïîìåùåíèå. Ãåîäåçè÷åñêèé çíàê (ðåïåð â âèäå êàðàíäàøíîé ÷åðòû) îïðåäåëÿåò âûñîòíîå ïîëîæåíèå ñòåíû ëåñòíè÷íîé êëåòêè (ðèñ. 22) îòíîñèòåëüíî óðîâíÿ ïîëà ïåðâîãî ýòàæà. Ïðè ïåðåíîñå îòìåòêè íóëåâîå äåëåíèå âèçèðíîé òðóáêè âîäÿíîãî (ãèáêîãî) óðîâíÿ ñîâìåùàþò ñ ðåïåðîì (ðèñ. 23, à). Íà äðóãîì êîíöå óðîâíÿ (â ïîìåùåíèè, ãäå íàñòèëàþò ïîëû) óðîâåíü æèäêîñòè â òðóáêå íà íóëåâîì äåëåíèè ñîîòâåòñòâóåò ïîëîæåíèþ ïåðåíîñèìîé îòìåòêè, êîòîðóþ çàêðåïëÿþò êàðàíäàøíîé ÷åðòîé.
Çàêðåïëåíèå óðîâíÿ ÷èñòîãî ïîëà. Îò ãåîäåçè÷åñêîé îòìåòêè (ðåïåðà), ïåðåíåñåííîé â ïîìåùåíèå âòîðîãî ýòàæà, âû÷èñëåíèåì îïðåäåëÿþò ïîëîæåíèå ëèíèè, ðàñïîëîæåííîé íà 1 ì âûøå óðîâíÿ ÷èñòîãî ïîëà.

Ðèñ. 23. Ïåðåíîñ â ïîìåùåíèå îòìåòêè ãèáêèì (âîäÿíûì) óðîâíåì (à) è çàêðåïëåíèå óðîâíÿ ÷èñòîãî ïîëà (á): 1 - ðåçèíîâûé øëàíã, 2 - âèçèðíàÿ òðóáêà, 3 - ãåîäåçè÷åñêàÿ îòìåòêà (çíàê), 4 - ëèíèÿ, îòáèòàÿ íàìåëåííûì øíóðîì, 5 - ðèñêà óðîâíÿ ïîëà
Äëÿ íàøåãî ïðèìåðà 3,850 - 2,800 = 1,050, ãäå 3,850 - ãåîäåçè÷åñêàÿ îòìåòêà â ïîìåùåíèè ëåñòíè÷íîé êëåòêè; 2,800 - óðîâåíü ÷èñòîãî ïîëà. Çàòåì îò ãåîäåçè÷åñêîé îòìåòêè (ðèñ. 23, á) âíèç îòìåðÿþò 50 ìì è çàêðåïëÿþò êàðàíäàøíîé ðèñêîé. Ýòà ðèñêà îçíà÷àåò ïîëîæåíèå, ðàâíîå 1 ì âûøå óðîâíÿ ÷èñòîãî ïîëà. Çàòåì ñ ðèñêîé ñîâìåùàþò íóëåâîå äåëåíèå òðóáêè 2 ãèáêîãî óðîâíÿ. Äðóãîé êîíåö óðîâíÿ íà ðàññòîÿíèè äëèíû ðåçèíîâîãî øëàíãà ïåðåìåùàþò ïëàâíî ââåðõ è âíèç äî ñîâïàäåíèÿ óðîâíÿ æèäêîñòè ñ íóëåâûì äåëåíèåì è çàêðåïëÿþò îòìåòêè ðèñêîé.
Óðîâåíü ïåðåìåùàþò ïî ïåðèìåòðó ïîìåùåíèÿ è íàíîñÿò òàêèì æå îáðàçîì îòìåòêè íà âñå ñòåíû. Íàòÿíóòûì ðàçìåòî÷íûì øíóðîì, íàòåðòûì ïèãìåíòîì, îòáèâàþò ëèíèþ íà êàæäîé ñòåíå, ðàñïîëîæåííóþ íà 1000 ìì âûøå îòìåòêè óðîâíÿ ïîëà.
Óñòàíîâêà ðåïåðíîãî è ïðîìåæóòî÷íîãî ìàÿêîâ. Îòìåðÿÿ âíèç îò çàêðåïëåííîé íà ñòåíå ëèíèè ðàññòîÿíèå, ðàâíîå 1000 ìì, îïðåäåëÿþò âåðõíèé óðîâåíü ðåïåðíîãî ìàÿêà 1 (ðèñ. 24) íà óðîâíå ÷èñòîãî ïîëà. Ìàÿ÷íóþ ïëèòêó, ôèêñèðóþùóþ óðîâåíü ÷èñòîãî ïîëà, óñòàíàâëèâàþò íà æåñòêîì ðàñòâîðå ÷óòü âûøå òðåáóåìîãî óðîâíÿ, à çàòåì åå îñàæèâàþò òîðöîì ðó÷êè ëîïàòêè ïëèòî÷íèêà. Ïîëüçóÿñü îáû÷íûì óðîâíåì è ðåéêîé 3, óñòàíàâëèâàþò ðåïåðíûå ìàÿêè 1 ïîñëåäîâàòåëüíî âî âñåõ óãëàõ ôðèçà è ïðîìåæóòî÷íûå ìàÿêè 2.

Ðèñ. 24. Óñòàíîâêà ðåïåðíîãî (îïîðíîãî) è ïðîìåæóòî÷íûõ ìàÿêîâ: 1 - ðåïåðíûé ìàÿê, 2 - ïðîìåæóòî÷íûå ìàÿêè, 3 - ðåéêà ñ óðîâíåì, 4 - ìàÿ÷íûå ðÿäû
Ïðè çàêðåïëåíèè ïðîìåæóòî÷íûõ ìàÿêîâ ïî óðîâíþ ïðåäâàðèòåëüíî êîíòðîëèðóþò ïðàâèëüíîñòü ïîêàçàíèé óðîâíÿ. Äëÿ ýòîãî óñòàíàâëèâàþò óðîâåíü íà ðåéêó, óáåæäàþòñÿ, ÷òî åãî ïóçûðåê íàõîäèòñÿ â íóëü-ïóíêòå, è îòìå÷àþò êàðàíäàøîì ìåñòîïîëîæåíèå óðîâíÿ íà ðåéêå. Çàòåì óðîâåíü ïîâîðà÷èâàþò íà 180° è îïÿòü ñòàâÿò íà îòìå÷åííûé íà ðåéêå êîíòóð. Åñëè ïðè ýòîì ïóçûðåê íàõîäèòñÿ â íóëü-ïóíêòå, çíà÷èò, óðîâåíü äàåò ïðàâèëüíûå ïîêàçàíèÿ.
Ïðîìåæóòî÷íûå ìàÿêè óñòàíàâëèâàþò âïðàâî è âëåâî îò ðåïåðíîãî ìàÿêà.
 ìåñòàõ ôðèçà ïðîìåæóòî÷íûå ìàÿêè óñòàíàâëèâàþò ïî óðîâíþ, äëÿ ÷åãî îäèí êîíåö ðåéêè îïèðàþò íà ðåïåðíûé ìàÿê, à ïîä äðóãîé êîíåö ðåéêè ïîäêëàäûâàþò ïëèòêó íà ðàñòâîðå òàê, ÷òîáû ïóçûðåê óðîâíÿ íàõîäèëñÿ â íóëü-ïóíêòå. Ïðîìåæóòî÷íûå ïëèòêè ïî ôîíó ïîêðûòèÿ óñòàíàâëèâàþò òîëüêî â ïîìåùåíèÿõ áîëüøîé ïëîùàäè.
Êîíòðîëü êà÷åñòâà. Ïðàâèëüíîñòü óñòàíîâêè ìàÿêîâ êîíòðîëèðóþò, äâóõìåòðîâîé ðåéêîé è óðîâíåì, ó êîòîðîãî ïóçûðåê äîëæåí íàõîäèòüñÿ â íóëü-ïóíêòå.
Òðóäîâûå çàòðàòû. Íîðìà âðåìåíè íà óñòàíîâêó 100 øò. ìàÿêîâ - 3,9 ÷åë-÷.
Íîðìà âûðàáîòêè íà 1 ÷åë-äí - 205 øò. ìàÿêîâ.
Òåõíèêà áåçîïàñíîñòè. Ðàáîòó ïî óêëàäêå ìàÿ÷íûõ ïëèòîê íà ðàñòâîð âûïîëíÿþò â ðåçèíîâûõ íàïàëü÷íèêàõ.
Êîíòðîëüíûå âîïðîñû. Êàê âû÷èñëèòü îòìåòêó óðîâíÿ ÷èñòîãî ïîëà â ïîìåùåíèè? Êîãäà ïðèñòóïàþò ê óñòàíîâêå ìàÿêîâ? Êàêèå âèäû ìàÿêîâ óñòàíàâëèâàþò äî óêëàäêè ïîëîâ â ïîìåùåíèè?  êàêîé ïîñëåäîâàòåëüíîñòè è êàê óñòàíàâëèâàþò ïðîìåæóòî÷íûå ìàÿêè? ×åìó äîëæåí ñîîòâåòñòâîâàòü âåðõ ðåïåðíîãî ìàÿêà?
Ñîñòàâ òåõíîëîãè÷åñêèé îïåðàöèé. Î÷èñòêà è óâëàæíåíèå îñíîâàíèÿ; ðàçáèâêà ïîêðûòèÿ íà çàõâàòêè è óñòàíîâêà ïðîìåæóòî÷íûõ ìàÿêîâ; óêëàäêà ðàñòâîðíîé ïðîñëîéêè è ïëèòîê.
Èíñòðóìåíòû, ïðèñïîñîáëåíèÿ, èíâåíòàðü. Òåëåæêà ñî ñìåííûìè êîíòåéíåðàìè; ðàñòâîðîñìåñèòåëü; ïûëåñîñ. Ëîïàòêà äëÿ ïëèòî÷íûõ ðàáîò; ðàñòâîðíàÿ ëîïàòà; êèñòü-ìàêëîâèöà; äåðåâÿííûé ïîëóòåðîê; ñòàëüíûå øòûðè ñ ïðè÷àëüíûì øíóðîì; ìîëîòîê-êóëà÷îê äëÿ çàáèâêè øòûðåé; ðåéêà-ïðàâèëî äëèíîé äî 1,5 ì äëÿ ðàçðàâíèâàíèÿ ðàñòâîðíîé ïðîñëîéêè ïî ìàÿêàì; äåðåâÿííàÿ êèÿíêà èëè õëîïóøà äëÿ îñàæèâàíèÿ óëîæåííûõ ïëèòîê; ìåòàëëè÷åñêèå ãðàáëè; ñòàëüíîé ñêðåáîê èëè ïðîâîëî÷íàÿ ùåòêà äëÿ î÷èñòêè îòäåëüíûõ ìåñò îñíîâàíèÿ; ðåéêà Áîëîòèíà; äâóõìåòðîâàÿ ðåéêà ñ óðîâíåì; ìåòàëëè÷åñêàÿ ðóëåòêà è ìåòð; ðû÷àæíûé ïëèòêîðåç; óãîëüíèê; êîíòðîëüíî-ñòóïåí÷àòàÿ ëèíåéêà äëÿ èçìåðåíèÿ âûñòóïîâ èëè âïàäèí. Êîíòåéíåð äëÿ ïåðåíîñêè è õðàíåíèÿ ïëèòêè; âåäðà ñ âîäîé äëÿ óâëàæíåíèÿ ïëèòîê. Ïîäíîæêà äëÿ ðàáîòû ïëèòî÷íèêà íà ñâåæåóëîæåííîé ðàñòâîðíîé ïðîñëîéêå; ñêàìåå÷êà äëÿ ðàáîòû ïëèòî÷íèêà; âëàãîíåïðîíèöàåìûå íàêîëåííèêè.

Ðèñ. 25. Ñõåìà îðãàíèçàöèè ðàáî÷åãî ìåñòà ïðè ïîøòó÷íîé óêëàäêå ïëèòîê:
1 - ìàÿ÷íûå ïëèòêè, 2 - ðàáî÷åå ìåñòî ïëèòî÷íèêà, 3 - ìàÿ÷íàÿ ðåéêà, 4, 5 - êîíòåéíåðû ñ ðàñòâîðàìè ñ ïëèòêàìè, 6 - ïûëåñîñ, 7 - ãðàíèöû çàõâàòîê, 8 - ðàñòâîðîñìåñèòåëü
Ìàòåðèàëû. Êåðàìè÷åñêèå ïëèòêè äëÿ ïîëîâ (ÃÎÑÒ 6787-80). Öåìåíòíî-ïåñ÷àíûé ðàñòâîð ìàðêè 150, ïîäâèæíîñòüþ 3,5...6 ñì. Ðàñõîä ðàñòâîðà äëÿ óñòðîéñòâà 1 ì2 ïðîñëîéêè òîëùèíîé 7…15 ìì - 0,02 ì3.
Ñõåìà îðãàíèçàöèè ðàáî÷åãî ìåñòà (ðèñ. 25). Ïëèòêó óêëàäûâàþò ñïîñîáîì «íà ñåáÿ», äâèãàÿñü ïî íàïðàâëåíèþ ê âûõîäó èç ïîìåùåíèÿ. Ïîýòîìó íàïðàâëåíèå çàõâàòîê, êàê ïðàâèëî, äîëæíî ñîâïàäàòü ñ íàïðàâëåíèåì ñâåòà èç îêîííûõ ïðîåìîâ.
Òåõíîëîãè÷åñêàÿ ïîñëåäîâàòåëüíîñòü ðàáîò. Î÷èñòêà è óâëàæíåíèå îñíîâàíèÿ. Ñòðîèòåëüíûé ìóñîð, ãðÿçü, ïûëü óäàëÿþò âàêóóìíî-ùåòî÷íîé ìàøèíîé, ïûëåñîñîì. Ïîñëå ýòîãî îñíîâàíèå ñìà÷èâàþò âîäîé, íå äîïóñêàÿ ëóæ èëè ñóõèõ ìåñò.
Ðàçáèâêà ïîâåðõíîñòè íà çàõâàòêè. Ðåéêîé Áîëîòèíà ðàçìå÷àþò øèðèíó ïîëîñ-çàõâàòîê. Îò ñòåíû èëè ðÿäà ðàíåå óëîæåííûõ ïëèòîê 1 (ðèñ. 26) îòêëàäûâàþò ðàññòîÿíèå, ðàâíîå ïÿòè ðÿäàì ïëèòîê 1, è óñòàíàâëèâàþò ìàÿ÷íûå ðåéêè 2 ñ ïîìîùüþ ïðàâèëà 3 è óðîâíÿ íà ðàñòâîðíûå ìàðêè 4. Âåðõ ðåéêè äîëæåí ñîîòâåòñòâîâàòü óðîâíþ ðàñòâîðíîé ïðîñëîéêè.
Óêëàäêà ðàñòâîðíîé ïðîñëîéêè. Äîñòàâëåííûé â êîíòåéíåðàõ ðàñòâîð ðàñòâîðíîé ëîïàòîé óêëàäûâàþò íà äëèíó 1…1,5 ì ïî âñåé øèðèíå çàõâàòêè (ðèñ. 27, à). Çàòåì ðàñòâîð ðàçðàâíèâàþò ïðàâèëîì (ðèñ. 27, á), ñíèìàÿ èçëèøêè, è ïðèïîðàøèâàþò âûðîâíåííóþ ïîâåðõíîñòü ñóõèì öåìåíòîì, ïîñëå ÷åãî ñëîé çàãëàæèâàþò ïëèòî÷íîé ëîïàòêîé äî ïîÿâëåíèÿ íà ïîâåðõíîñòè öåìåíòíîãî ìîëîêà. Èçëèøêè öåìåíòíîãî ìîëîêà óäàëÿþò êèñòüþ-ìàêëîâèöåé. Ïîäãîòîâëåííàÿ ïðîñëîéêà äîëæíà áûòü íà 1...2 ìì âûøå óëîæåííîãî ðàíåå ðÿäà ïëèòîê.

Ðèñ. 26. Çàõâàòêà:
1 - óëîæåííûå ïëèòêè, 2 - ìàÿ÷íàÿ ðåéêà, 3 - ïðàâèëî ñ óðîâíåì, 4 - ðàñòâîðíûå ìàðêè

Ðèñ. 27. Óêëàäêà (à) è âûðàâíèâàíèå (á) ðàñòâîðíîé ïðîñëîéêè

Ðèñ. 28. Ïîøòó÷íàÿ óêëàäêà ïëèòîê:
à - ðàñêëàäêà ïëèòîê ñòîïêàìè, á - óêëàäêà è îñàæèâàíèå ïëèòîê, â - íàñòèëêà ïîëà ñ ïðèìåíåíèåì ñêàìåå÷êè ïëèòî÷íèêà

Ðèñ. 29. Âûðàâíèâàíèå ãîðèçîíòàëüíîñòè (à) è ïðÿìîëèíåéíîñòè øâà (á) ñâåæåóëîæåííîãî ïîêðûòèÿ
Óêëàäêà ïëèòîê. Ïëèòêè ïðåäâàðèòåëüíî ðàñêëàäûâàþò ñòîïêàìè ïî 10 øò. ïî äëèíå çàõâàòêè (ðèñ. 28, à). Ñòîïêè äîëæíû íàõîäèòüñÿ îäíà îò äðóãîé íà ðàññòîÿíèè äâóõ ïëèòîê. Íà ðàñòâîð ïëèòêó óêëàäûâàþò ïî øèðèíå çàõâàòêè (ïî 5 øò. â ðÿäó) ñïðàâà íàëåâî, à çàòåì ñëåâà íàïðàâî. Ïðåäâàðèòåëüíî òûëüíóþ ñòîðîíó ïëèòîê ïðîòèðàþò ìîêðîé âåòîøüþ è ëåâîé ðóêîé êëàäóò íà ïîäñòèëàþùèé ñëîé. Ëåãêèìè óäàðàìè ìîëîòêà èëè ðó÷êîé ëîïàòêè îñàæèâàþò íà ðàñòâîð äî íóæíîãî óðîâíÿ (ðèñ. 28, á). Ïðè ýòîì ñëåäÿò, ÷òîáû øèðèíà øâà ìåæäó ïëèòêàìè íå ïðåâûøàëà 3 ìì. Èñïðàâëÿþò øèðèíó èëè îáùåå íàïðàâëåíèå øâà êðàåì ëîïàòêè íå ïîçäíåå 15...30 ìèí ïîñëå óêëàäêè ðàñòâîðà. Ïðè ðàáîòå íà ðàñòâîðíîé ïðîñëîéêå ïîëüçóþòñÿ ñêàìåå÷êîé ïëèòî÷íèêà (ðèñ. 28, â).
Óëîæèâ 5 èëè 6 ïîïåðå÷íûõ ðÿäîâ, íà ïëèòêè êëàäóò áðóñîê è óäàðàìè õëîïóøè, ìîëîòêà èëè êèÿíêè (ðèñ. 29, à) âûðàâíèâàþò ãîðèçîíòàëüíîñòü ïîêðûòèÿ. Íàïðàâëåíèå øâà âûðàâíèâàþò ðåéêîé, ïðèêëàäûâàåìîé ê êðîìêå óëîæåííîãî ðÿäà ïëèòîê (ðèñ. 29, á).
Êîíòðîëü êà÷åñòâà. Êîíòðîëü îñóùåñòâëÿþò ïî õîäó ðàáîòû.
Øèðèíà øâîâ ìåæäó ïëèòêàìè ïîêðûòèÿ äîëæíà áûòü îäèíàêîâîé è íå áîëåå 3 ìì. Íå äîïóñêàþòñÿ ïðîñâåòû áîëåå 4 ìì ìåæäó ïîâåðõíîñòüþ ïîëà è íàëîæåííîé äâóõìåòðîâîé êîíòðîëüíîé ðåéêîé, óñòóïû ìåæäó ñìåæíûìè ïëèòêàìè áîëåå 1 ìì. Öâåò è ðèñóíîê ïîêðûòèÿ äîëæíû ñîîòâåòñòâîâàòü ïðîåêòíûì.
Òðóäîâûå çàòðàòû (òàáë. 1).
Òàáëèöà 1.
Íîðìû âðåìåíè, ÷åë-÷, íà 1 ì2 ïîêðûòèÿ ïîëà (â ÷èñëèòåëå) è íîðìû âûðàáîòêè, ì , íà 1 ÷åë-äí (â çíàìåíàòåëå) ïðè ïîøòó÷íîé óêëàäêå ïëèòîê
|
Ïëîùàäü ïîêðûòèÿ, ì2 |
Ðàçìåðû ïëèòîê, |
ìì |
|
|
100×100 |
150×150 |
200×200 |
|
|
Äî 2 |
1,2 6,6 |
0,78 10,25 |
0,67 11,94 |
|
Äî 10 |
_1_ 8,0 |
0,68 11,7 |
0,59 13,5 |
|
Ñâûøå 10 |
0,95 8,4 |
0,64 12,5 |
0,56 14,3 |
Òåõíèêà áåçîïàñíîñòè. Îáåñïûëèâàíèå îñíîâàíèÿ âûïîëíÿþò â çàùèòíûõ î÷êàõ. Ïðè óêëàäêå ïëèòîê ïîëüçóþòñÿ âîäîíåïðîíèöàåìûìè íàêîëåííèêàìè è ðåçèíîâûìè íàïàëü÷íèêàìè.
Êîíòðîëüíûå âîïðîñû. Ïî÷åìó ðàñòâîðíàÿ ïðîñëîéêà äîëæíà áûòü âûøå óðîâíÿ ðàíåå óëîæåííûõ ïëèòîê? Êàê óêëàäûâàþò ïëèòêè ìåæäó ìàÿêàìè? Êàêèå èíñòðóìåíòû è ïðèñïîñîáëåíèÿ íåîáõîäèìû ïðè óêëàäêå ðàñòâîðíîé ïðîñëîéêè; ïëèòîê? ×åì ðàçìå÷àþò çàõâàòêè ïðè íàñòèëêå ïëèòî÷íûõ ïîëîâ?  ÷åì çàêëþ÷àåòñÿ ïîîïåðàöèîííûé êîíòðîëü êà÷åñòâà óêëàäêè êåðàìè÷åñêèõ ïëèòîê? Êàê êîíòðîëèðóþò êà÷åñòâî ïîêðûòèÿ?
Ñîñòàâ òåõíîëîãè÷åñêèõ îïåðàöèé. Î÷èñòêà è óâëàæíåíèå îñíîâàíèÿ; ðàçáèâêà ïîêðûòèÿ íà çàõâàòêè è óñòàíîâêà ïðîìåæóòî÷íûõ ìàÿêîâ; óêëàäêà ðàñòâîðíîé ïðîñëîéêè; çàïîëíåíèå øàáëîíà ïëèòêîé; óêëàäêà øàáëîíà, çàïîëíåííîãî ïëèòêîé.
Èíñòðóìåíòû, ïðèñïîñîáëåíèÿ, èíâåíòàðü. Ïûëåñîñ èëè âàêóóìíî-ùåòî÷íàÿ ìàøèíà. Ëîïàòêà äëÿ ïëèòî÷íûõ ðàáîò è ðàñòâîðíàÿ ëîïàòà; ãðàáëè; ñòàëüíûå øòûðè; ìîëîòîê-êóëà÷îê; êèÿíêà; õëîïóøà; êèñòü-ìàêëîâèöà; ðåéêà Áîëîòèíà; äåðåâÿííûé óãîëüíèê; ðóëåòêà; ñêëàäíîé ìåòð; ñòðîèòåëüíûé óðîâåíü; êîíòðîëüíàÿ äâóõìåòðîâàÿ ðåéêà; ðåéêà-ïðàâèëî äëèíîé äî 1,5 ì; øàáëîí êîíñòðóêöèè Êîðíåøîâà. Ñêàìåå÷êà ïëèòî÷íèêà; ïîäíîæêà; âëàãîíåïðîíèöàåìûå íàêîëåííèêè; òåëåæêè ñ êîíòåéíåðàìè äëÿ ïëèòîê è áàêîì äëÿ âîäû; òåëåæêà ñî ñìåííîé òàðîé äëÿ ðàñòâîðà.

Ðèñ. 30. Îðãàíèçàöèÿ ðàáî÷åãî ìåñòà ïðè óêëàäêå ïëèòîê ïàêåòíûì ñïîñîáîì:
1 - ìàÿ÷íûå ïëèòêè, 2 - ðàáî÷èå ìåñòà ïëèòî÷íèêîâ, 3 - ìàÿ÷íàÿ ðåéêà, 4 - êîíòåéíåð (òåëåæêà) ñ ðàñòâîðîì, 5 - ðåøåò÷àòûå øàáëîíû, 6 - ïûëåñîñ, 7 - ãðàíèöû çàõâàòîê, 8 - ðàñòâîðîñìåñèòåëü
Ìàòåðèàëû. Êåðàìè÷åñêèå ïëèòêè äëÿ ïîëîâ (ÃÎÑÒ 6787-80). Öåìåíòíî-ïåñ÷àíûé ðàñòâîð ìàðêè 150 ïîäâèæíîñòüþ 3…6 ñì.
Ðàñõîä ðàñòâîðà äëÿ óñòðîéñòâà 1 ì2 ñîåäèíèòåëüíîé ïðîñëîéêè òîëùèíîé 7…15 ìì - 0,02 ì3; ðàñõîä êåðàìè÷åñêèõ ïëèòîê íà 1 ì2 ïîêðûòèÿ - 1,03 ì2.
Ñõåìà îðãàíèçàöèè ðàáî÷åãî ìåñòà (ðèñ. 30). Ïëèòêè ïîêðûòèÿ óêëàäûâàþò «íà ñåáÿ» çàõâàòêàìè, äâèãàÿñü ïî íàïðàâëåíèþ ê âûõîäó.
Ïîñëåäîâàòåëüíîñòü âûïîëíåíèÿ òåõíîëîãè÷åñêèõ îïåðàöèé. Ê. ðàáîòå ïðèñòóïàþò ïîñëå ïîäãîòîâêè îñíîâàíèÿ è âûíåñåíèÿ îòìåòêè óðîâíÿ ÷èñòîãî ïîëà.
Î÷èñòêà è óâëàæíåíèå îñíîâàíèÿ. Îñíîâàíèå î÷èùàþò âàêóóìíî-ùåòî÷íîé ìàøèíîé èëè ïûëåñîñîì. Çàòåì îñíîâàíèå ñìà÷èâàþò âîäîé, íå äîïóñêàÿ ñêîïëåíèÿ âîäû â îòäåëüíûõ ìåñòàõ èëè ïðîïóñêîâ â ïîëèâêå.

Ðèñ. 31. Øàáëîí äëÿ ïàêåòíîé óêëàäêè ïëèòîê: 1 - ðàìà øàáëîíà, 2 - ïëèòêè, óëîæåííûå òûëüíîé ñòîðîíîé ââåðõ, 3 - ñêîáû äëÿ çàïîðíûõ ñòåðæíåé, 4 - çàïîðíûå ñòåðæíè, 5 - îãðàíè÷èòåëè, 6 - óïîðíûå øïèëüêè, 7 - îòñîðòèðîâàííûå è ñìî÷åííûå ïëèòêè
Ðàçáèâêà ïîêðûòèÿ íà çàõâàòêè è óñòàíîâêà ïðîìåæóòî÷íûõ ìàÿêîâ. Ñ ïîìîùüþ ðåéêè Áîëîòèíà ðàçìå÷àþò ïîïåðå÷íûå çàõâàòêè. Îïèðàÿ ðåéêó ñ óðîâíåì íà ðåïåðíûé ìàÿê, óñòàíàâëèâàþò ïðîìåæóòî÷íûå ìàÿêè 1 è ìàÿ÷íûå ðåéêè 3 âäîëü çàõâàòêè.
Óêëàäêà ðàñòâîðíîé ïðîñëîéêè íà îñíîâàíèè. Ðàñòâîð ðàññòèëàþò ïîëîñîé, ðàâíîé øèðèíå øàáëîíà; äëèíà ïîëîñû äîëæíà â ïÿòü-øåñòü ðàç ïðåâûøàòü ðàçìåð áîëüøåé ñòîðîíû øàáëîíà. Óëîæåííûé ðàñòâîð íà çàõâàòêå ñ îäíîé ñòîðîíû îãðàíè÷èâàþò óëîæåííûå ïëèòêè, ñ äðóãîé - ìàÿ÷íûå ðåéêè.
Ðàñòâîð, óëîæåííûé íà ïîëîñå-çàõâàòêå, ðàçðàâíèâàþò ãðàáëÿìè è çàãëàæèâàþò ïðàâèëîì. Âûðîâíåííóþ ïîâåðõíîñòü ïðèïîðàøèâàþò ñóõèì öåìåíòîì, çàãëàæèâàþò ëîïàòêîé ïëèòî÷íèêà äî ïîÿâëåíèÿ öåìåíòíîãî ìîëîêà.

Ðèñ. 32. Êîíòðîëü êà÷åñòâà ïëèòî÷íîãî ïîêðûòèÿ: 1 - òîëùèíà øâîâ ìåæäó ïëèòêàìè, 2 - ïðîñâåòû ìåæäó ïîâåðõíîñòüþ ïîêðûòèÿ è äâóõìåòðîâîé ðåéêîé, 3 - îòêëîíåíèå ïîâåðõíîñòè ïîëà îò ãîðèçîíòàëüíîé ïëîñêîñòè èëè çàäàííîãî óêëîíà, 4 - îòêëîíåíèå øâîâ îò ïðÿìîé, 5 - óñòóï ìåæäó ñìåæíûìè ïëèòêàìè
Çàïîëíåíèå øàáëîíà ïëèòêîé. Ñíà÷àëà íà ðàáî÷åì ñòîëå çàãîòàâëèâàþò ñòîïêè îòñîðòèðîâàííûõ è ñìî÷åííûõ ïëèòîê 7 (ðèñ. 31). Çàòåì íà÷èíàþò ïîñëåäîâàòåëüíî çàïîëíÿòü øàáëîí ïëèòêàìè 2 òûëüíîé ñòîðîíîé ââåðõ, ðàñêëàäûâàÿ èõ â ñîîòâåòñòâèè ñ çàäàííûì ðèñóíêîì ïîëà. Ðàçëîæåííóþ â øàáëîíå ïëèòêó çàêðåïëÿþò çàïîðíûìè ñòåðæíÿìè 4, âäâèãàÿ èõ â ñêîáû 3. Çàïîëíåííûé øàáëîí ïåðåíîñÿò ê ìåñòó óêëàäêè.
Óñòðîéñòâî ïîêðûòèÿ. Øàáëîí îñòîðîæíî óêëàäûâàþò íà ðàñòâîðíóþ ïðîñëîéêó ïëèòêîé âíèç, ñîâìåùàÿ ïðîäîëüíûå è ïîïåðå÷íûå øâû â ïîêðûòèè ïîëà ñî øâàìè ïàêåòà ïëèòîê â øàáëîíå. Ïîëîæåíèå óëîæåííîãî øàáëîíà êîíòðîëèðóþò ïî ïðè÷àëüíîìó øíóðó è óðîâíþ. Çàòåì, ïðèäåðæèâàÿ øàáëîí, âûíèìàþò çàïîðíûå ñòåðæíè è óäàðàìè êèÿíêè ïî øàáëîíó ïëèòêè ïðèïðåññîâûâàþò ê ðàñòâîðó. Ïîñëå ýòîãî øàáëîí ñíèìàþò. Ñëåäóþùèé öèêë ïàêåòíîé óêëàäêè ïëèòîê ïîâòîðÿþò â òàêîé æå ïîñëåäîâàòåëüíîñòè.
Êîíòðîëü êà÷åñòâà. Òîëùèíà øâîâ 1 (ðèñ. 32) ìåæäó ïëèòêàìè ðàçìåðîì äî 200 ìì äîïóñêàåòñÿ íå áîëåå 2 ìì, ðàçìåðîì áîëåå 200 ìì - 3 ìì. Ïðîñâåòû 2 ìåæäó ïîâåðõíîñòüþ ïîêðûòèÿ è äâóõìåòðîâîé êîíòðîëüíîé ðåéêîé, ïðèêëàäûâàåìîé â ðàçëè÷íûõ íàïðàâëåíèÿõ, äîëæíû áûòü íå áîëåå 4 ìì. Îòêëîíåíèå 3 ïîâåðõíîñòè ïîëà îò ãîðèçîíòàëüíîé ïëîñêîñòè èëè çàäàííîãî óêëîíà íå äîëæíî ïðåâûøàòü 0,2 %, íî íå áîëåå 50 ìì. Îòêëîíåíèå øâîâ îò ïðÿìîé ëèíèè íà 10 ì äëèíû ïîêðûòèÿ äîïóñêàåòñÿ íå áîëåå 10 ìì. Ìåæäó äâóìÿ ñìåæíûìè ýëåìåíòàìè ïîêðûòèÿ ìîãóò áûòü óñòóïû äî 1 ìì.
Òðóäîâûå çàòðàòû. Íîðìû âðåìåíè ïðè íàñòèëêå 1 ì2 ïîêðûòèÿ èç êåðàìè÷åñêèõ ïëèòîê ðàçìåðîì 100×100 ìì ïàêåòíûì ñïîñîáîì - 0,52 ÷åë-÷, ïðè íàñòèëêå ïëèòîê ðàçìåðîì 150×150 ìì - 0,44 ÷åë-÷; íîðìû âûðàáîòêè íà 1 ÷åë-äí ñîîòâåòñòâåííî- 15,3 è 18,1 ì2.
Òåõíèêà áåçîïàñíîñòè. Ïëèòêó óêëàäûâàþò â ðåçèíîâûõ ïåð÷àòêàõ èëè íàïàëü÷íèêàõ, âîäîíåïðîíèöàåìûõ íàêîëåííèêàõ. Îáåñïûëèâàòü îñíîâàíèå íóæíî â çàùèòíûõ î÷êàõ è ðåñïèðàòîðå.
Êîíòðîëüíûå âîïðîñû. Ïî÷åìó íàñòèëêó ïîëîâ âûïîëíÿþò îäíîâðåìåííî íåñêîëüêèìè øàáëîíàìè? Êàê âåäóò ïàêåòíóþ óêëàäêó êåðàìè÷åñêèõ ïëèòîê ñ ïîìîùüþ øàáëîíà? Ðàññêàæèòå î çàïîëíåíèè øàáëîíà ïëèòêàìè. Êàêîâû îñîáåííîñòè óêëàäêè øàáëîíà, çàïîëíåííîãî ïëèòêîé, íà ðàñòâîðíóþ ïðîñëîéêó? Íàçîâèòå òðåáîâàíèÿ òåõíèêè áåçîïàñíîñòè, êîòîðûå âûïîëíÿþò ïðè ïàêåòíîé óêëàäêå êåðàìè÷åñêèõ ïëèòîê.
Ñîñòàâ òåõíîëîãè÷åñêèõ îïåðàöèé. Î÷èñòêà è ñìà÷èâàíèå îñíîâàíèÿ; ïðåäâàðèòåëüíîå çàìà÷èâàíèå ïëèòîê â âîäíîì ðàñòâîðå ïîâåðõíîñòíî-àêòèâíûõ âåùåñòâ (ÏÀÂ); óêëàäêà ïðîñëîéêè èç æåñòêîãî öåìåíòíî-ïåñ÷àíîãî ðàñòâîðà; ðàñêëàäêà è âòàïëèâàíèå ïëèòîê âèáðîïëèòîé.
Ìåõàíèçìû, èíñòðóìåíòû, ïðèñïîñîáëåíèÿ, èíâåíòàðü. Ïûëåñîñ; âèáðîïëèòà èëè âèáðîêàòîê. Ëîïàòêè äëÿ ïëèòî÷íûõ ðàáîò è ðàñòâîðíàÿ; ìîëîòîê-êóëà÷îê (ìàññîé 600 ã); ïðàâèëî äëèíîé 1,2 ì; êèÿíêà äåðåâÿííàÿ èëè ðåçèíîâàÿ; õëîïóøà; äâóõìåòðîâàÿ êîíòðîëüíàÿ ðåéêà; ãðàáëè; ùåòêà; ñòàëüíîé ñêðåáîê; ñòàëüíàÿ ùåòêà; êèñòü-ìàêëîâèöà; ñòðîèòåëüíûé óðîâåíü; óãîëüíèê; èçìåðèòåëüíàÿ ðóëåòêà; ñêëàäíîé ìåòð; ðåéêà Áîëîòèíà; ñòàëüíûå øòûðè; êëåò÷àòûé øàáëîí; âàííî÷êà äëÿ çàìà÷èâàíèÿ ïëèòîê. Òåëåæêà ñ êîíòåéíåðîì äëÿ ïëèòîê è áàêîì äëÿ âîäû; òåëåæêà ñ êîíòåéíåðàìè äëÿ ðàñòâîðà. Ñêàìåéêà ïëèòî÷íèêà; ïîäíîæêà; âëàãîíåïðîíèöàåìûå íàêîëåííèêè; ðåçèíîâûå ïåð÷àòêè èëè íàïàëü÷íèêè.

Ðèñ. 33. Âàííî÷êà äëÿ çàìà÷èâàíèÿ ïëèòîê
Ìàòåðèàëû. Öåìåíòíî-ïåñ÷àíûé ðàñòâîð ìàðêè 150 (ÎÊ = 2,3 ñì). Êåðàìè÷åñêèå ïëèòêè äëÿ ïîëîâ (ÃÎÑÒ 6787-80). Âîäíûé ðàñòâîð ÏÀ (1 %-íûé ðàñòâîð õëîðèñòîãî êàëèÿ èëè 0,5 %-íûé ðàñòâîð õëîðèñòîãî àëþìèíèÿ).
Ñõåìà îðãàíèçàöèè ðàáî÷åãî ìåñòà.  ïîìåùåíèè, â êîòîðîì íàñòèëàþò ïëèòî÷íûå ïîëû ñïîñîáîì âèáðîâòàïëèâàíèÿ ïëèòîê, èìåþùåì áîëüøóþ äëèíó èëè øèðèíó è íåçíà÷èòåëüíîå êîëè÷åñòâî âûñòóïîâ è êîëîíí, âñå íåîáõîäèìûå èíñòðóìåíòû è ìàòåðèàëû ðàñïîëàãàþò ðÿäîì ñ çàõâàòêîé. Äëèíà êàáåëåé âèáðîìàøèí äîëæíà îáåñïå÷èâàòü ñâîáîäíóþ îáðàáîòêó ïëèòîê â íàèáîëåå óäàëåííîì îò âõîäà ìåñòå.
Ïîñëåäîâàòåëüíîñòü âûïîëíåíèÿ òåõíîëîãè÷åñêèõ îïåðàöèé. Ê ðàáîòå ïðèñòóïàþò ïîñëå ïîäãîòîâêè îñíîâàíèÿ ïîä ïîêðûòèå. Ïëèòêè óêëàäûâàþò «íà ñåáÿ», íà÷èíàÿ îò ñòåíû, ïðîòèâîïîëîæíîé âõîäó â ïîìåùåíèå.
Î÷èñòêà è ñìà÷èâàíèå îñíîâàíèÿ. Îñòàòêè ñòðîèòåëüíîãî ìóñîðà óáèðàþò, îñíîâàíèå îáåñïûëèâàþò âàêóóìíî-ùåòî÷íîé ìàøèíîé èëè ïûëåñîñîì è çàòåì óâëàæíÿþò, íå äîïóñêàÿ ïðîïóñêîâ è ëóæ.
Çàìà÷èâàíèå ïëèòîê. Ïëèòêè ïåðåä óêëàäêîé ïîìåùàþò â âàííî÷êó (ðèñ. 33) è â òå÷åíèå 15…20 ìèí çàìà÷èâàþò â âîäå èëè âîäíîì ðàñòâîðå ÏÀÂ.
Óêëàäêà ïðîñëîéêè èç æåñòêîãî öåìåíòíî-ïåñ÷àíîãî ðàñòâîðà. Ïî óðîâíþ è ðåéêå óñòàíàâëèâàþò ìàÿêè (ðåïåðíûé, ôðèçîâûå, ïðîìåæóòî÷íûå). Âûñîòà ìàÿêîâ äîëæíà ñîîòâåòñòâîâàòü òîëùèíå ðàñòâîðíîé ïðîñëîéêè. Ïî øíóðó, êîòîðûé íàòÿãèâàþò íà ñòàëüíûõ øòûðÿõ, óñòàíàâëèâàþò íàïðàâëÿþùèå ðåéêè è ìåæäó íèìè ðàññòèëàþò ðàñòâîð ïðîñëîéêè. Ðàñòâîð íà÷èíàþò óêëàäûâàòü îò ñòåíû, ïðîòèâîïîëîæíîé âõîäó â ïîìåùåíèå. Çàòåì ðàñòâîð âûðàâíèâàþò ïðàâèëîì è ðàçãëàæèâàþò ïîëóòåðêîì çàïîäëèöî ñ óëîæåííûìè ðåéêàìè. Ðåéêè óáèðàþò, è áîðîçäêè, îáðàçîâàâøèåñÿ îò íèõ, çàäåëûâàþò òåì æå ðàñòâîðîì. Óðîâåíü óëîæåííîé ðàñòâîðíîé ïðîñëîéêè äîëæåí áûòü íà 1...2 ìì âûøå ïðîåêòíîé îòìåòêè ñ ó÷åòîì ïîñëåäóþùåãî âòàïëèâàíèÿ ïëèòîê.

Ðèñ. 34. Íàñòèëêà ïîëà ñ ïîìîùüþ êëåòî÷íîãî øàáëîíà
Ðàñêëàäêà è âòàïëèâàíèå ïëèòîê âèáðîïëèòîé. Íà âûðîâíåííóþ â ïåðâîé çàõâàòêå ïðîñëîéêó â óãëó ïîìåùåíèÿ óñòàíàâëèâàþò êëåò÷àòûé øàáëîí (ðèñ. 34). Çàòåì ïî øíóðó øàáëîíû óêëàäûâàþò ïî âñåé äëèíå çàõâàòêè, ñëåäÿ, ÷òîáû ðåøåòêè øàáëîíà ñîâïàäàëè ñ ñîîòâåòñòâóþùèìè øâàìè óëîæåííîãî ó÷àñòêà ïîëà. Øàáëîíû çàïîëíÿþò ïëèòêàìè ïî çàäàííîìó ðèñóíêó ïîëà, ïîëüçóÿñü äëÿ ïåðåìåùåíèÿ ïî óëîæåííîé ïðîñëîéêå ïîäíîæêàìè, ñíèæàþùèìè äàâëåíèå íà ïðîñëîéêó. Ïîñëå çàïîëíåíèÿ øàáëîíîâ è âûðàâíèâàíèÿ îòäåëüíûõ ïëèòîê øàáëîíû ñíèìàþò.
Íå ïîçäíåå ÷åì ÷åðåç 2 ÷ ïîñëå óêëàäêè ïëèòêè âòàïëèâàþò âèáðîêàòêîì (ðèñ. 35, à) èëè âèáðîïëèòîé (ðèñ. 35, á). Ïðè ýòîì ðó÷íûå ìàøèíû ïåðåìåùàþò ïî ïîêðûòèþ äî ïîëíîãî çàïîëíåíèÿ øâîâ ðàñòâîðîì.

Ðèñ. 35. Âòàïëèâàíèå (ïðèïðåññîâûâàíèå) ñâåæåóëîæåííûõ ïëèòîê âèáðîêàòêîì (à) è âèáðîïëèòà (á)
Êîíòðîëü êà÷åñòâà. Ðèñóíîê ïîêðûòèÿ äîëæåí ñîîòâåòñòâîâàòü ïðîåêòíîìó. Øâû øèðèíîé íå áîëåå 3 ìì äîëæíû áûòü ïîëíîñòüþ çàïîëíåíû ðàñòâîðîì. Îòêëîíåíèå îò ãîðèçîíòàëüíîé ïëîñêîñòè èëè îò çàäàííîãî óêëîíà íå äîëæíî ïðåâûøàòü 0,2 %; ïðè øèðèíå èëè äëèíå ïîìåùåíèÿ áîëåå 25 ì ýòî îòêëîíåíèå íå äîëæíî ïðåâûøàòü 50 ìì íà âñå ïîìåùåíèå.
Îòêëîíåíèå øâîâ îò ïðÿìîé ëèíèè íà 10 ì äëèíû ïîìåùåíèÿ äîïóñêàåòñÿ íå áîëåå 10 ìì. Óñòóïû ìåæäó ñìåæíûìè ïëèòêàìè íå äîëæíû ïðåâûøàòü 1 ìì.
Òðóäîâûå çàòðàòû. Íîðìà âðåìåíè íà íàñòèëêó 1 ì ïëèòî÷íûõ ïîëîâ ìåòîäîì âèáðîâòàïëèâàíèÿ (â ïîìåùåíèÿõ ïëîùàäüþ áîëåå 20 ì) - 0,33 ÷åë-÷; íîðìà âûðàáîòêè íà 1 ÷åë-äí - 24,2 ì2.
Òåõíèêà áåçîïàñíîñòè. Ê ðàáîòå ñ âèáðîïëèòîé äîïóñêàþòñÿ ëèöà, ïðîøåäøèå ïðàêòè÷åñêîå îáó÷åíèå è èíñòðóêòàæ íà ðàáî÷åì ìåñòå.
Èñïðàâíîñòü ìåõàíèçìà äî íà÷àëà ðàáîò ïðîâåðÿåò ìåõàíèê èëè ìàñòåð ïðîèçâîäñòâåííîãî îáó÷åíèÿ.  ýëåêòðîñåòü âèáðîïëèòó âêëþ÷àþò ÷åðåç çàùèòíî-îòêëþ÷àþùèå óñòðîéñòâà ñ ïîìîùüþ øòåïñåëüíîãî ñîåäèíåíèÿ, èìåþùåãî çàùèòíî-çàçåìëÿþùèé êîíòàêò. Ïðè ìåõàíèçèðîâàííîé ïîäà÷å ðàñòâîðà âûõîä åãî èç ðàñòâîðîïðîâîäà îñóùåñòâëÿþò ÷åðåç ãàñèòåëü ñòðóè.
Ðàáîòàòü ñ âèáðîïëèòîé íóæíî â ðåçèíîâûõ ñàïîãàõ è ïåð÷àòêàõ. Ïðè ðàáîòå ñ âîäíûìè ðàñòâîðàìè ïîâåðõíîñòíî-àêòèâíûõ âåùåñòâ íàäåâàþò ðåçèíîâûå ïåð÷àòêè è çàùèòíûå î÷êè.
Êîíòðîëüíûå âîïðîñû. Êàêóþ ïëàñòè÷íîñòü èìååò ðàñòâîðíàÿ ñìåñü äëÿ óêëàäêè ïëèòîê ñïîñîáîì âèáðîâòàïëèâàíèÿ? Íàçîâèòå îñîáåííîñòè óñòðîéñòâà ðàñòâîðíîé ïðîñëîéêè äëÿ óêëàäêè ïëèòîê ñïîñîáîì âèáðîâòàïëèâàíèÿ. Êàê ïðîâåðèòü ïðèãîäíîñòü ðàñòâîðà äëÿ óñòðîéñòâà ïðîñëîéêè? Ïî êàêèì ïðèçíàêàì ñëåäóåò ïåðåìåùàòü âèáðîïëèòó íà ñëåäóþùèé ó÷àñòîê ïîêðûòèÿ? Íàçîâèòå ïîñëåäîâàòåëüíîñòü óêëàäêè ïëèòîê íà ïîäãîòîâëåííóþ ïðîñëîéêó. Íàçîâèòå ïðàâèëà òåõíèêè áåçîïàñíîñòè, êîòîðûå íóæíî âûïîëíÿòü ïðè óêëàäêå ïîëîâ ñïîñîáîì âèáðîâòàïëèâàíèÿ.
Ñîñòàâ òåõíîëîãè÷åñêèõ îïåðàöèé. Ðàçìåòêà çàõâàòîê; óêëàäêà ðàñòâîðíîé ïðîñëîéêè; óêëàäêà êåðàìè÷åñêèõ ïëèòîê; îòäåëêà êèñëîòîóïîðíîãî ïîêðûòèÿ.
Èíñòðóìåíòû, ïðèñïîñîáëåíèÿ, èíâåíòàðü. Ëîïàòêè äëÿ ïëèòî÷íûõ ðàáîò è ðàñòâîðíàÿ; ñòàëüíûå øòûðè; ìîëîòîê-êóëà÷îê; ðåéêà-ïðàâèëî äëèíîé 1,5 ì; äåðåâÿííûé ïîëóòåðîê äëèíîé 300...800 ìì; ãðàáëè; ñòàëüíîé ñêðåáîê; ïðîâîëî÷íàÿ ùåòêà; ðåéêà Áîëîòèíà; äåðåâÿííàÿ êèÿíêà èëè õëîïóøà. Ìåòàëëè÷åñêàÿ ðóëåòêà; ñêëàäíîé ìåòð; äåðåâÿííûé óãîëüíèê; êîíòðîëüíàÿ äâóõìåòðîâàÿ ðåéêà; ñòðîèòåëüíûé óðîâåíü; àðåîìåòð. Âëàãîíåïðîíèöàåìûå íàêîëåííèêè; ñêàìåéêà ïëèòî÷íèêà; ïîäíîæêà.
Ìàòåðèàëû. Êèñëîòîóïîðíûå êåðàìè÷åñêèå ïëèòêè òîëùèíîé 20 ìì. Êèñëîòîóïîðíûé ðàñòâîð (íà æèäêîì íàòðèåâîì ñòåêëå ïëîòíîñòüþ 1,38…1,40 ã/ñì3) ñ óïëîòíÿþùèìè äîáàâêàìè.
Ðàñõîä ìàòåðèàëîâ èç ðàñ÷åòà óñòðîéñòâà 1 ì2 êèñëîòîóïîðíûõ ïîëîâ: êåðàìè÷åñêèå ïëèòêè - 1,03 ì2; öåìåíòíûé ðàñòâîð Ì150 - 0,021 ì3; áèòóìíàÿ ìàñòèêà - 5,2 êã; êèñëîòîóïîðíûé ðàñòâîð - 0,011 ì3; æèäêîå íàòðèåâîå ñòåêëî - 0,48 êã; öåìåíò Ì400 - 2 êã; ìåëêèé ïåñîê - 0,001 ì3.
Ñõåìà îðãàíèçàöèè ðàáî÷åãî ìåñòà (ðèñ. 36). Ïëèòêè, ïîäëåæàùèå óêëàäêå, ðàñêëàäûâàþò ïîçàäè ïëèòî÷íèêà; ðàñòâîð äîñòàâëÿþò ê ìåñòó ðàáîòû â ñìåííûõ êîíòåéíåðàõ èëè ïåðåäâèæíûõ ÿùèêàõ-òåëåæêàõ.

Ðèñ. 36. Ñõåìà îðãàíèçàöèè ðàáî÷åãî ìåñòà ïðè íàñòèëêå êèñëîòîóïîðíûõ ïîëîâ:
1 - ïîêðûòèå, 2 - ïðàâèëî, 3 - ïðîñëîéêà, 4 - ñòîïêè ïëèòîê, 5 - ïðè÷àëüíûé øíóð, 6 - ìàÿ÷íûå ïëèòêè (íàïðàâëåíèå óêëàäêè ïîêðûòèÿ ïîêàçàíî ñòðåëêîé)
Ïîñëåäîâàòåëüíîñòü âûïîëíåíèÿ òåõíîëîãè÷åñêèõ îïåðàöèé. Ðàáîòó íà÷èíàþò ïîñëå óñòðîéñòâà ãèäðîèçîëÿöèè, î÷èñòêè è ïðîñóøêè îñíîâàíèÿ, îãðóíòîâêè æèäêèì ñòåêëîì ïëîòíîñòüþ 1,15 ã/ñì3, à òàêæå ðàçáèâêè ïîêðûòèÿ è óñòàíîâêè ìàÿêîâ.
Ðàçìåòêà çàõâàòîê. Ðåéêîé Áîëîòèíà ðàçìå÷àþò øèðèíó ïîëîñ-çàõâàòîê, ðàññ÷èòàííûõ íà 2...3 ðÿäà ïëèòîê. Ñ îäíîé ñòîðîíû çàõâàòêó îãðàíè÷èâàåò ñòåíà ïîìåùåíèÿ èëè óëîæåííûé ðàíåå ðÿä ïëèòêè, ñ äðóãîé - ïðè÷àëüíûé øíóð, íàòÿíóòûé íà óðîâíå ïîêðûòèÿ ïî ñòàëüíûì øòûðÿì.

Ðèñ. 37. Óêëàäêà ðàñòâîðíîé ïðîñëîéêè: 1 - ïðàâèëî, 2 - ïîëóòåðîê

Ðèñ. 38. Âûðàâíèâàíèå ñâåæåóëîæåííûõ ðÿäîâ ïëèòîê ðåéêîé (à) è óäàëåíèå âûñòóïàþùåãî ðàñòâîðà ñêðåáêîì (á)
Óêëàäêà ðàñòâîðíîé ïðîñëîéêè. Êèñëîòîóïîðíûé ðàñòâîð ðàññòèëàþò ëîïàòîé â ïîëîñû ïî îãðóíòîâàííîìó îñíîâàíèþ, ðàçðàâíèâàþò ãðàáëÿìè, çàòåì ðåéêîé-ïðàâèëîì 1 (ðèñ. 37) è çàãëàæèâàþò äåðåâÿííûì ïîëóòåðêîì 2. Òîëùèíà ïðîñëîéêè 10…15 ìì.
Óêëàäêà ïîêðûòèÿ. Óêëàäûâàåìûå ïëèòêè äîëæíû áûòü ñóõèìè, î÷èùåííûìè îò ïûëè. Òûëüíóþ ñòîðîíó ïëèòîê ïîêðûâàþò òîíêèì ñëîåì êèñëîòîóïîðíîãî ðàñòâîðà è óêëàäûâàþò íà ïðîñëîéêó òî÷íî â çàäàííîå ïîëîæåíèå. Øèðèíó è ðîâíîñòü øâîâ êîíòðîëèðóþò ïî ïðè÷àëüíîìó øíóðó. Ñìåñòèâøèåñÿ ïëèòêè íåîáõîäèìî ñðàçó âûðàâíèâàòü èç-çà áîëüøîé âÿçêîñòè êèñëîòîóïîðíîãî ðàñòâîðà. Ïîñëå óêëàäêè íåñêîëüêèõ ðÿäîâ ïëèòîê, íî íå ïîçäíåå ÷åì ÷åðåç 20 ìèí, ïîêðûòèå âûðàâíèâàþò äåðåâÿííîé ðåéêîé (ðèñ. 38, à) è êèÿíêîé. Çàêîí÷èâ óêëàäêó ðÿäà íà çàõâàòêå, èçëèøêè ðàñòâîðà ïîäðåçàþò è óäàëÿþò ìåòàëëè÷åñêèì ñêðåáêîì (ðèñ. 38, á).
Îòäåëêà êèñëîòîóïîðíîãî ïîêðûòèÿ. Ïî èñòå÷åíèè ÷åòûðåõ ñóòîê ïîêðûòèå ïðîòèðàþò 5 %-íûì ðàñòâîðîì ñåðíîé, àçîòíîé èëè ñîëÿíîé êèñëîòû (â çàâèñèìîñòè îò ñîñòàâà àãðåññèâíîé ñðåäû). Îáðàáîòêó ðàñòâîðîì êèñëîòû âûïîëíÿþò äâàæäû ñ ïåðåðûâîì íå ìåíåå ÷åì 4 ÷. Íà ñëåäóþùèé äåíü ïîë ïðîòèðàþò ñóõèìè îïèëêàìè.
Êîíòðîëü êà÷åñòâà. Øâû ìåæäó ïëèòêàìè øèðèíîé íå áîëåå 2 ìì äîëæíû áûòü ïðÿìîëèíåéíûìè è òùàòåëüíî çàïîëíåííûìè; ïðîñâåòû ìåæäó ïîâåðõíîñòüþ ïîëà è äâóõìåòðîâîé êîíòðîëüíîé ðåéêîé - íå áîëåå 4 ìì. Óñòóïû ìåæäó ñìåæíûìè ïëèòêàìè íå äîëæíû ïðåâûøàòü 1 ìì. Öâåò è ðèñóíîê ïîêðûòèÿ äîëæíû ñîîòâåòñòâîâàòü ïðîåêòíûì.
Òðóäîâûå çàòðàòû (òàáë. 2).
Òàáëèöà 2.
Íîðìû âðåìåíè, ÷åë-÷, íà 1 ì2: ïîêðûòèÿ èç êåðàìè÷åñêèõ ïëèòîê (â ÷èñëèòåëå) è íîðìû âûðàáîòêè, ì2, íà 1 ÷åë-äí (â çíàìåíàòåëå) ïðè óñòðîéñòâå êèñëîòîóïîðíûõ ïîëîâ
|
Ïëîùàäü ïîêðûòèÿ, ì 2 |
Ðàçìåð ïëèòîê, ìì |
||
|
100×100 |
150×150 |
200×200 |
|
|
Äî 2 |
1,2 6,6 |
0,78 10,25 |
0,67 11,94 |
|
Äî 10 |
_1_ 8,0 |
0,68 11,7 |
0,59 13,5 |
|
Ñâûøå 10 |
0,95 8,4 |
0,64 12,5 |
0,56 14,3 |
Òåõíèêà áåçîïàñíîñòè. Ðàáîòû ïî óñòðîéñòâó êèñëîòîóïîðíûõ ïîêðûòèé âûïîëíÿþò â ñïåöîäåæäå, èñïîëüçóÿ èíäèâèäóàëüíûå ñðåäñòâà çàùèòû.
Î÷èñòêó ñâåæåóëîæåííûõ ïîêðûòèé âûïîëíÿþò 5 %-íûì ðàñòâîðîì êèñëîòû. Ïðè ïðèãîòîâëåíèè ðàñòâîðà êèñëîòó òîíêîé ñòðóåé îñòîðîæíî âëèâàþò â âîäó, ïîñòîÿííî ïåðåìåøèâàÿ. Êîíöåíòðèðîâàííûé ðàñòâîð êèñëîòû â áóòûëÿõ õðàíÿò è ïåðåíîñÿò â ïëåòåíûõ êîðçèíàõ; ðàçëèâàþò êèñëîòó ÷åðåç âîðîíêó. Ðàáîòàþò ñ êèñëîòîé â ðåçèíîâûõ ïåð÷àòêàõ.
Ïðè äîçèðîâàíèè êðåìíåôòîðèñòîãî íàòðèÿ äëÿ ïðèãîòîâëåíèÿ êèñëîòîóïîðíîãî ðàñòâîðà ðàáîòàþò â ïëîòíîì êîìáèíåçîíå, ðóêàâèöàõ è ïðîòèâîãàçå èëè ðåñïèðàòîðå ØÁ-1 «Ëåïåñòîê». Õðàíÿò êðåìíåôòîðèñòûé íàòðèé â ãåðìåòè÷íîé óïàêîâêå.
Ïîñëå ðàáîòû ñ êèñëîòîé íåîáõîäèìî òùàòåëüíî âûìûòü ðóêè ñ ìûëîì.
Íàñòèëàþò ïëèòêè â ðåçèíîâûõ ïåð÷àòêàõ, ïðåäâàðèòåëüíî ïðîòåðåâ ðóêè òàëüêîì èëè ìåëîâûì ïîðîøêîì.
Êîíòðîëüíûå âîïðîñû. Èç êàêèõ îïåðàöèé ñêëàäûâàåòñÿ óñòðîéñòâî êèñëîòîóïîðíûõ ïîêðûòèé? Óêàæèòå ïðèìåðíóþ øèðèíó çàõâàòêè ïðè íàñòèëêå êèñëîòîóïîðíûõ ïîëîâ. Ïî÷åìó êèñëîòîóïîðíûå ðàñòâîðû ïðèãîòîâëÿþò íåïîñðåäñòâåííî íà ìåñòå ðàáîò? Ïî÷åìó óñòðîéñòâî êèñëîòîóïîðíûõ ïîêðûòèé íà çàõâàòêå äîëæíî áûòü çàêîí÷åíî â òå÷åíèå 30…40 ìèí? Ïåðå÷èñëèòå ïðàâèëà òåõíèêè áåçîïàñíîñòè ïðè óñòðîéñòâå êèñëîòîóïîðíûõ ïîêðûòèé.
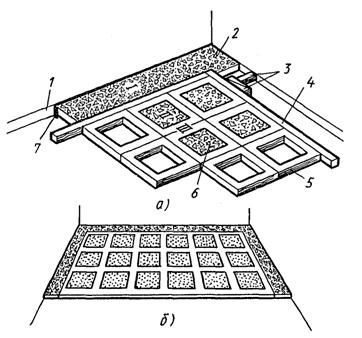
Ñîñòàâ òåõíîëîãè÷åñêèõ îïåðàöèé. Ñîðòèðîâêà êàðò êîâðîâîé ìîçàèêè; ðàçáèâêà ïîêðûòèÿ; óêëàäêà ìàÿêîâ è ðàñòâîðíîé ïðîñëîéêè; óêëàäêà êàðò ôðèçîâîãî ðÿäà; óêëàäêà êàðò ôîíà.
Èíñòðóìåíòû, ïðèñïîñîáëåíèÿ, èíâåíòàðü. Ïëèòî÷íàÿ ëîïàòêà; ðàñòâîðíàÿ ëîïàòà; ìîëîòîê-êóëà÷îê; ñòàëüíûå øòûðè; êèñòü-ìàêëîâèöà; ðåéêà-ïðàâèëî äëèíîé 1,5 ì; äåðåâÿííûé ïîëóòåðîê äëèíîé 300...800 ìì; êèÿíêà èëè õëîïóøà; íîæ äëÿ ðàçðåçêè áóìàæíîé îñíîâû êàðò; ãðàáëè; ñòàëüíîé ñêðåáîê èëè ïðîâîëî÷íàÿ ùåòêà. Ðåéêà Áîëîòèíà. Äâóõìåòðîâàÿ êîíòðîëüíàÿ ðåéêà; ñòðîèòåëüíûé óðîâåíü; ðóëåòêà èëè ñêëàäíîé ìåòð; óãîëüíèê. Âåäðî; êîâø äëÿ îòäåëî÷íûõ ðàáîò; ðàçìåòî÷íûé øíóð â êîðïóñå. Ïîäíîæêè; âîäîíåïðîíèöàåìûå íàêîëåííèêè.
Ìàòåðèàëû. Êàðòû êîâðîâîé ìîçàèêè, íàêëååííûå ëèöåâîé ñòîðîíîé íà ïëîòíóþ áóìàãó (ÃÎÑÒ 17057-80). Öåìåíòíî-ïåñ÷àíûé ðàñòâîð ìàðêè 150 ïîäâèæíîñòüþ 3…3,5 ñì. Ñóõîé öåìåíò ìàðêè 400 äëÿ ïðèïóäðèâàíèÿ ðàñòâîðíîé ïðîñëîéêè ïåðåä óêëàäêîé êàðò.

Ðèñ. 39. Îðãàíèçàöèÿ ðàáî÷åãî ìåñòà ïðè íàñòèëêå ïîëîâ èç êàðò êîâðîâîé ìîçàèêè:
1 - óãëîâàÿ êàðòà ôðèçîâîãî ðÿäà, 2 - ïðÿìûå êàðòû ôðèçîâîãî ðÿäà, 3 - çàäåëêà, 4 - êàðòû îñíîâíîãî ôîíà, 5 - ðàñòâîðíàÿ ïðîñëîéêà, 6 - ïðè÷àëüíûé øíóð, 7 - øòàáåëÿ êàðò êîâðîâîé ìîçàèêè, 8 - ïåðåäâèæíîé ÿùèê-òåëåæêà ñ ðàñòâîðîì, 9 - áàê ñ âîäîé, 10 - ðàáî÷èå ìåñòà ïëèòî÷íèêà
Ïðè óñòðîéñòâå 1 ì2 ðàñòâîðíîé ïðîñëîéêè ðàñõîäóåòñÿ 0,02 ì3 ðàñòâîðà, ñóõîãî öåìåíòà - 150...200 ã.
Ñõåìà îðãàíèçàöèè ðàáî÷åãî ìåñòà. Ðàáî÷åå ìåñòî îðãàíèçóþò òàê, êàê ïîêàçàíî íà ðèñ. 39.
Ïîñëåäîâàòåëüíîñòü âûïîëíåíèÿ òåõíîëîãè÷åñêèõ îïåðàöèé. Óêëàäêó êàðò êîâðîâîé ìîçàèêè âåäóò ïðîäîëüíûìè ðÿäàìè ñëåâà íàïðàâî è ñïðàâà íàëåâî è â îáðàòíîì íàïðàâëåíèè (ðèñ. 40). Ê ðàáîòå ïðèñòóïàþò ïîñëå î÷èñòêè è óâëàæíåíèÿ îñíîâàíèÿ.
Ñîðòèðîâêà êàðò êîâðîâîé ìîçàèêè.  ñîîòâåòñòâèè ñ çàäàííûì ðèñóíêîì îòáèðàþò êàðòû äëÿ óêëàäêè âî ôðèçîâûé ðÿä, çàäåëêó è îñíîâíîé ôîí. Áóìàæíóþ îñíîâó êàðò â îòäåëüíûõ ìåñòàõ ïðîêàëûâàþò èëè ïðîðåçàþò, ÷òîáû ïðåäóïðåäèòü ïîÿâëåíèå âîçäóøíûõ ìåøêîâ. Ñ ó÷åòîì ðàçìåòêè çàãîòîâëÿþò öåëûå è íåïîëíîìåðíûå êàðòû.
Ðàçáèâêà ïîêðûòèÿ è óêëàäêà âðåìåííûõ ìàÿêîâ. Ðåéêîé Áîëîòèíà ðàçìå÷àþò ìåñòîïîëîæåíèå çàõâàòîê, óñòàíàâëèâàþò âðåìåííûå ìàÿ÷íûå ðÿäû 9 (ðèñ. 41) èç êåðàìè÷åñêèõ ïëèòîê ïî óðîâíþ 7. Íà ãðàíèöå çàõâàòêè âáèâàþò ñòàëüíûå øòûðè è íàòÿãèâàþò ïðè÷àëüíûé øíóð äëÿ îáîçíà÷åíèÿ íàðóæíîé ñòîðîíû ôðèçà.
Óêëàäêà ðàñòâîðíîé ïðîñëîéêè. Îñíîâàíèå ñìà÷èâàþò âîäîé, è íà çàõâàòêå (ïî øèðèíå êàðòû) ïîä çàäàííûé óðîâåíü ðàññòèëàþò ðàñòâîð. Ðàçðîâíåííóþ ãðàáëÿìè ïðîñëîéêó âûðàâíèâàþò ðåéêîé-ïðàâèëîì.
Ïåðåä óêëàäêîé êàðò ïîâåðõíîñòü ðàñòâîðíîé ïðîñëîéêè ïðèïîðàøèâàþò ñóõèì öåìåíòîì è çàãëàæèâàþò ïîëóòåðêîì äî ïîÿâëåíèÿ öåìåíòíîãî ìîëîêà.
Óêëàäêà óãëîâîé êàðòû ôðèçîâîãî ðÿäå. Ïî ïðè÷àëüíîìó øíóðó è óãîëüíèêó óãëîâóþ êàðòó ôðèçîâîãî ðÿäà óêëàäûâàþò íà ðàñòâîðíóþ ïðîñëîéêó áóìàæíîé îñíîâîé ââåðõ; óëîæåííóþ êàðòó îñàæèâàþò õëîïóøåé ïîä óðîâåíü ìàÿ÷íîãî ðÿäà, ÷òîáû øâû ìåæäó ïëèòêàìè êîâðà áûëè çàïîëíåíû ðàñòâîðîì. Íàìîêàíèå áóìàæíîé îñíîâû íàä øâàìè ñâèäåòåëüñòâóåò î çàïîëíåíèè øâîâ.  ìåñòàõ, ãäå áóìàãà íå íàìîêëà, äåëàþò ïðîêîëû, âûïóñêàÿ âîçäóõ.

Ðèñ. 40. Ïîñëåäîâàòåëüíîñòü (ïîêàçàíà ñòðåëêîé) óêëàäêè êàðò êîâðîâîé ìîçàèêè
Óãëû ôðèçîâîãî ðÿäà ñ ðèñóíêîì ïîëó÷àþò èç äâóõ êàðò, ïîñëåäîâàòåëüíî ðàñêðàèâàÿ èõ ïîïåðå÷íûì (ðèñ. 42, à) è ñòóïåí÷àòûì ðàçðåçîì (ðèñ. 42, á). ×àñòè ðàñêðîåííîãî êîâðà ñîåäèíÿþò ïîä ïðÿìûì óãëîì (ðèñ. 42, â).
Óêëàäêà ïðÿìûõ ôðèçîâûõ êàðò. Óëîæèâ óãîë ôðèçà, ïî ïðè÷àëüíîìó øíóðó óêëàäûâàþò êàðòû ôðèçîâîãî ðÿäà.
Ïî ìåðå óêëàäêè êàðò ôðèçîâîãî ðÿäà ñíèìàþò âðåìåííûé ìàÿ÷íûé ðÿä (âäîëü ñòåíû).  çàçîð ìåæäó ñòåíîé è ôðèçîì íà ñëîé ðàñòâîðà óêëàäûâàþò ïðîäîëüíûå ïîëîñû ðÿäîâûõ êàðò.
Çàâåðøåíèå ôðèçîâîãî ðÿäà è óêëàäêà êàðò îñíîâíîãî ôîíà. Ôðèçîâîé ðÿä çàâåðøàþò óãëîâîé êàðòîé, óëîæåííîé ïåðïåíäèêóëÿðíî ôðèçîâîìó ðÿäó ïî íàòÿíóòîìó ïðè÷àëüíîìó øíóðó.
Ïîñëå ðàçìåòêè øèðèíû çàõâàòêè è íàòÿãèâàíèÿ ïðè÷àëüíîãî øíóðà ïî ïîäãîòîâëåííîé ðàñòâîðíîé ïðîñëîéêå óêëàäûâàþò êàðòû ñëåäóþùåãî ðÿäà, ÿâëÿþùåãîñÿ ôîíîì ïîêðûòèÿ. Çàâåðøàþò ðÿä ïîïåðå÷íî óëîæåííîé êàðòîé ôðèçà.

Ðèñ. 41. Ðàçáèâêà ïîêðûòèÿ è óñòàíîâêà âðåìåííûõ ìàÿêîâ: 1 - ðàñòâîðíàÿ ïðîñëîéêà, 2 - ïðè÷àëüíûé øíóð, 3 - êàðòà, óêëàäûâàåìàÿ áóìàæíîé îñíîâîé ââåðõ, 4 - ñâåæåóëîæåííûé ðÿä êàðò, 5 - óãîëüíèê, 6 - âûðîâíåííûé ñëîé ðàñòâîðíîé ïðîñëîéêè, 7 - óðîâåíü, 8 - êîíòðîëüíàÿ ðåéêà, 9 - âðåìåííûé ìàÿ÷íûé ðÿä
Øèðèíó øâîâ ìåæäó óëîæåííûìè êàðòàìè ðåãóëèðóþò âñòàâêàìè - äåðåâÿííûìè êëèíüÿìè. Ïðè îäèíàêîâîé øèðèíå øâîâ ñòûêè ìåæäó óëîæåííûìè êàðòàìè íå áóäóò âûäåëÿòüñÿ íà ïîâåðõíîñòè ïîêðûòèÿ.
Äëÿ ïðåäóïðåæäåíèÿ èñêðèâëåíèÿ øâîâ è ñîáëþäåíèÿ ïðàâèëüíîñòè ðèñóíêà êàæäûé ðÿä óêëàäûâàåìûõ êàðò âûâåðÿþò ïî óãîëüíèêó è ïðè÷àëüíîìó øíóðó.
Ïðè÷àëüíûì øíóðîì ôèêñèðóþò î÷åðåäíóþ ïîëîñó-çàõâàòêó, ðàâíóþ øèðèíå êàðòû, óâëàæíÿþò îñíîâàíèå âîäîé è óêëàäûâàþò ðàñòâîðíóþ ïðîñëîéêó. Êàðòû êîâðîâîé ìîçàèêè óêëàäûâàþò âäîëü çàõâàòêè ïðîäîëüíûìè ðÿäàìè ñëåâà íàïðàâî è îáðàòíî ñ ïåðåõîäîì íà ñëåäóþùèé ðÿä.  õîäå ðàáîò êîíòðîëèðóþò ãîðèçîíòàëüíîñòü óêëàäêè êàðò, äëÿ ÷åãî îäèí êîíåö êîíòðîëüíîé ðåéêè ñòàâÿò íà ôðèç, à äðóãîé - íà âðåìåííûé ìàÿ÷íûé ðÿä èç ïëèòîê.
Âàðèàíòû ðèñóíêîâ ïîêðûòèé èç êàðò êîâðîâîé ìîçàèêè ïðèâåäåíû íà ðèñ. 43.
Êîíòðîëü êà÷åñòâà. Ïåðåä óêëàäêîé êàðòû êîâðîâîé ìîçàèêè äëÿ ôðèçà, ôîíà è çàäåëêè ñîðòèðóþò ïî ðàçìåðó, öâåòó è ðèñóíêó; íà íèõ íå äîëæíî áûòü îòñëîèâøèõñÿ è äåôåêòíûõ ïëèòîê (ñ òðåùèíàìè, îòêîëîòûìè óãëàìè). Èçìåðèòåëüíûìè èíñòðóìåíòàìè êîíòðîëèðóþò êà÷åñòâî ïîêðûòèÿ. Îíî íå äîëæíî èìåòü èñêðèâëåíèÿ ëèíèé øâîâ â ìåñòàõ ñîåäèíåíèÿ êàðò; ðèñóíîê äîëæåí ñîîòâåòñòâîâàòü ïðîåêòíîìó. Îòêëîíåíèÿ ïîâåðõíîñòè ïîêðûòèÿ îò ïëîñêîñòè ïðè ïðîâåðêå äâóõìåòðîâîé êîíòðîëüíîé ðåéêîé, ïðèêëàäûâàåìîé â ðàçëè÷íûõ íàïðàâëåíèÿõ, íå äîëæíû ïðåâûøàòü 4 ìì. Óñòóïû ìåæäó óëîæåííûìè êàðòàìè äîïóñêàþòñÿ íå áîëåå 1 ìì. Ïîâåðõíîñòü ïîêðûòèÿ íå äîëæíà èìåòü âûáîèí, öâåò è ðèñóíîê äîëæíû ñîîòâåòñòâîâàòü ïðîåêòíîìó.

Ðèñ. 42. Ðàñêðîé ðÿäîâîé ôðèçîâîé êàðòû: à - ðàçðåçêà êàðòû ïîïåðåê, 6 - ñòóïåí÷àòûé ðàçðåç, â - óãîë ôðèçà èç äâóõ ïîëîâèíîê (1, 2) êàðòû

Ðèñ. 43. Ðèñóíêè ïîêðûòèé èç êàðò êîâðîâîé ìîçàèêè
Òðóäîâûå çàòðàòû. Íîðìà âðåìåíè íà 1 ì2 ïîëà èëè ôðèçà è íîðìà âûðàáîòêè íà 1 ÷åë-äí ïðè óñòðîéñòâå ïîêðûòèé èç êàðò êîâðîâîé ìîçàèêè ñëåäóþùèå:
|
|
Íîðìû âðåìåíè, ÷åë-÷ |
Íîðìû âûðàáîòêè, ì2 |
|
Ïëîùàäü ïîêðûòèÿ, ì2: |
|
|
|
ïîëîâ: |
||
|
äî 5 |
0,78 |
10,25 |
|
ñâûøå 5 |
0,59 |
13,5 |
|
ôðèçîâ: |
|
|
|
äî 5 |
0,99 |
8,08 |
|
ñâûøå 5 |
0,77 |
10,4 |
Òåõíèêà áåçîïàñíîñòè. Íîæ äëÿ ðàçðåçêè êàðò êîâðîâîé ìîçàèêè âî âðåìÿ ïåðåðûâîâ â ðàáîòå íóæíî õðàíèòü â ñïåöèàëüíîì ÷åõëå. Ïðè ðàáîòå ñ ðàñòâîðîì è ïëèòêàìè ñëåäóåò ïîëüçîâàòüñÿ ðåçèíîâûìè ïåð÷àòêàìè èëè íàïàëü÷íèêàìè äëÿ ïðåäîõðàíåíèÿ ðóê, ïðè óñòðîéñòâå ïîêðûòèÿ - âëàãîíåïðîíèöàåìûìè íàêîëåííèêàìè è ïîäíîæêàìè.
Êîíòðîëüíûå âîïðîñû. Èç êàêèõ òåõíîëîãè÷åñêèõ îïåðàöèé ñêëàäûâàåòñÿ óñòðîéñòâî ïîêðûòèé èç êàðò êîâðîâîé ìîçàèêè? Êàê îáåñïå÷èòü íàäåæíîå ñöåïëåíèå êàðò êîâðîâîé ìîçàèêè ñ îñíîâàíèåì? Êàê êîíòðîëèðóþò ãîðèçîíòàëüíîñòü ïîêðûòèÿ èç êàðò êîâðîâîé ìîçàèêè? Çà÷åì ïåðåä óêëàäêîé êàðò êîâðîâîé ìîçàèêè ïðèïîðàøèâàþò ðàñòâîðíóþ ïðîñëîéêó ñóõèì öåìåíòîì? Êàê îðãàíèçóþò ðàáî÷åå ìåñòî ïðè óêëàäêå êàðò êîâðîâîé ìîçàèêè? Êàêèå òðåáîâàíèÿ ïðåäúÿâëÿþò ê êà÷åñòâó ïîêðûòèÿ èç êàðò êîâðîâîé ìîçàèêè? Êàêèå òðåáîâàíèÿ òåõíèêè áåçîïàñíîñòè íåîáõîäèìî âûïîëíÿòü ïðè íàñòèëêå ïîëîâ èç êàðò êîâðîâîé ìîçàèêè?
Ñîñòàâ òåõíîëîãè÷åñêèé îïåðàöèé. Ïðèãîòîâëåíèå ïëàñòè÷íîãî öåìåíòíîãî ðàñòâîðà; çàëèâêà øâîâ ìåæäó ïëèòêàìè; î÷èñòêà è ïðîìûâêà ïîêðûòèÿ ïîëà.

Ðèñ. 44. Îòäåëêà ïëèòî÷íûõ ïîêðûòèé:
à - çàëèâêà øâîâ ðàñòâîðîì, á - ðàñïðåäåëåíèå ðàñòâîðà ùåòêîé; â - òî æå, øïàòåëåì
Èíñòðóìåíòû, ïðèñïîñîáëåíèÿ, èíâåíòàðü. Îòäåëî÷íûé êîâø; ëîïàòêà ïëèòî÷íàÿ; ðàñòâîðíàÿ ëîïàòà; âåäðî; ëåéêà; ùåòêà; êèñòü-ìàêëîâèöà; åìêîñòü äëÿ äðåâåñíûõ îïèëîê.
Ìàòåðèàëû. Öåìåíò; äðåâåñíûå îïèëêè; âåòîøü; 3 %-íûé ðàñòâîð ñîëÿíîé êèñëîòû.
Íà îòäåëêó 100 ì2 ïîêðûòèÿ ðàñõîä öåìåíòíîãî ìîëîêà - 0,03 ì3, îïèëîê- 0,1 ì3.
Ñõåìà îðãàíèçàöèè ðàáî÷åãî ìåñòà. Ó ìåñòà ðàáîò ðàñïîëàãàþò âñå íåîáõîäèìûå èíñòðóìåíòû, ïðèñïîñîáëåíèÿ, èíâåíòàðü è ìàòåðèàëû.
Ïîñëåäîâàòåëüíîñòü âûïîëíåíèÿ òåõíîëîãè÷åñêèõ îïåðàöèé. Ðàáîòû íà÷èíàþò ÷åðåç 1…2 ñóò. ïîñëå óêëàäêè ïîêðûòèÿ.
Ïðèãîòîâëåíèå ïëàñòè÷íîãî öåìåíòíîãî ðàñòâîðà. Äëÿ çàïîëíåíèÿ øâîâ øèðèíîé 2 ìì ïðèãîòîâëÿþò ïëàñòè÷íûé öåìåíòíûé ðàñòâîð ñîñòàâà 1:1 íà ìåëêîçåðíèñòîì ïåñêå. Äëÿ çàïîëíåíèÿ øâîâ øèðèíîé 1 ìì ïðèãîòîâëÿþò öåìåíòíîå ìîëîêî.
Çàëèâêà øâîâ ìåæäó ïëèòêàìè. Æèäêèé ðàñòâîð èëè öåìåíòíîå ìîëîêî ðàçëèâàþò êîâøîì (ðèñ. 44) è ðàâíîìåðíî ðàñïðåäåëÿþò ïî ïîêðûòèþ ùåòêîé (ðèñ. 44, á) èëè øïàòåëåì ñ ðåçèíîâîé âñòàâêîé (ðèñ. 44, â), çàïîëíÿÿ øâû. Èçëèøêè ðàñòâîðà óäàëÿþò äî íà÷àëà åãî ñõâàòûâàíèÿ.

Ðèñ. 45. Î÷èñòêà ïîêðûòèÿ:
à - ïðîòèðêà ïîâåðõíîñòè âëàæíûìè îïèëêàìè, á - óäàëåíèå îñòàòêîâ ñõâàòèâøåãîñÿ ðàñòâîðà
Î÷èñòêà è ïðîìûâêà ïîêðûòèÿ ïîëà. Ïîñëå ñõâàòûâàíèÿ ðàñòâîðà â øâàõ ïîêðûòèå ïðîòèðàþò âëàæíûìè îïèëêàìè, âåòîøüþ (ðèñ. 45, à) è ïðîìûâàþò âîäîé. Ñëåäû ñõâàòèâøåãîñÿ ðàñòâîðà èëè ïîòåêè êðàñêè ñ÷èùàþò ìåòàëëè÷åñêèì ñêðåáêîì (ðèñ. 45, á) èìè óäàëÿþò 3%-íûì ðàñòâîðîì ñîëÿíîé êèñëîòû.
Äëÿ çàùèòû îò çàãðÿçíåíèÿ ïðè ïðîèçâîäñòâå ïîñëåäóþùèõ îòäåëî÷íûõ ðàáîò ïîêðûòèå çàñûïàþò âëàæíûìè îïèëêàìè ñëîåì òîëùèíîé 1,5...2 ñì, ÷òî ñïîñîáñòâóåò òàêæå òâåðäåíèþ ðàñòâîðà.
Êîíòðîëü êà÷åñòâà. Øâû äîëæíû áûòü çàïîäëèöî ñ ïîâåðõíîñòüþ ïîêðûòèÿ çàïîëíåíû ðàñòâîðîì (øèðèíà øâîâ - íå áîëåå 2 ìì). Íå äîïóñêàþòñÿ ïðîïóñêè â çàïîëíåíèè øâîâ. Ïîêðûòèå íå äîëæíî èìåòü çàãðÿçíåíèé è çàìåòíûõ ïÿòåí.
Òðóäîâûå çàòðàòû. Íîðìà âðåìåíè íà 100 ì2 ïîêðûòèÿ - 5,2 ÷åë-÷. Íîðìà âûðàáîòêè íà 1 ÷åë-äí - 153 ì2.
Òåõíèêà áåçîïàñíîñòè. Î÷èùàþò ïîêðûòèÿ ðàñòâîðîì ñîëÿíîé êèñëîòû â ðåçèíîâûõ ïåð÷àòêàõ è çàùèòíûõ î÷êàõ. Ïðè ðàáîòå ñ êèñëîòîé íå äîïóñêàåòñÿ óïîòðåáëÿòü äóáîâûå îïèëêè äëÿ î÷èñòêè ïëèòîê.
Êîíòðîëüíûå âîïðîñû. Êîãäà ïðèñòóïàþò ê çàïîëíåíèþ øâîâ â ñâåæåóëîæåííîì ïîêðûòèè? Êàêîé ñðîê íåîáõîäèì äëÿ âûäåðæèâàíèÿ ïëèòî÷íîãî ïîêðûòèÿ? Èç êàêèõ îïåðàöèé ñîñòîèò îòäåëêà ïëèòî÷íûõ ïîêðûòèé? Êàê î÷èùàþò ïîêðûòèÿ, çàãðÿçíåííûå îñòàòêàìè ðàñòâîðà èëè êðàñêîé? Çà÷åì ïîñëå óêëàäêè êåðàìè÷åñêèõ ïëèòîê ïîêðûòèå çàñûïàþò ñëîåì âëàæíûõ îïèëîê? Êàêèå ïðàâèëà òåõíèêè áåçîïàñíîñòè ñîáëþäàþò ïðè î÷èñòêå ïîêðûòèÿ ðàñòâîðîì ñîëÿíîé êèñëîòû?
Ñîñòàâ òåõíîëîãè÷åñêèõ îïåðàöèé. Î÷èñòêà è îáåñïûëèâàíèå îñíîâàíèÿ; îãðóíòîâêà îñíîâàíèÿ; ðàçìåòêà ïîëîæåíèÿ ìàÿ÷íûõ ðÿäîâ; íàíåñåíèå ìàñòèêè; íàêëåéêà ïëèòîê.
Ìåõàíèçìû, èíñòðóìåíòû, ïðèñïîñîáëåíèÿ, èíâåíòàðü. Âàêóóìíî-ùåòî÷íàÿ ìàøèíà. Êàòîê ÑÎ-162; ýëåêòðîïîäîãðåâàòåëü (äëÿ ðàáîò ïðè òåìïåðàòóðå â ïîìåùåíèè íèæå 10°Ñ). Âîëîñÿíàÿ ùåòêà; ñòàëüíûå øòûðè; ìîëîòîê; øïàòåëü ñî ñìåííûìè ïîëîòíàìè; çóá÷àòûé øïàòåëü; ãèëüîòèííûå íîæíèöû; ðåçèíîâàÿ êèÿíêà; ðàçìåòî÷íûé øíóð â êîðïóñå; ðóëåòêà èëè ñêëàäíîé ìåòð; êîíòðîëüíàÿ äâóõìåòðîâàÿ ðåéêà; óðîâåíü.
Êîíóñíûå âåäðà; âàííî÷êà ñ ñåòêîé äëÿ îòæàòèÿ êèñòè. Òåëåæêà ñî ñìåííûìè êîíòåéíåðàìè. Çàùèòíûå î÷êè; ðåñïèðàòîð; ðóêàâèöû èëè ðåçèíîâûå ïåð÷àòêè; ðåçèíîâàÿ îáóâü.
Ìàòåðèàëû. Ïîëèâèíèëõëîðèäíûå ïëèòêè ÏÂÕ (ÃÎÑÒ 16475-81). Áèòóìíî-ñêèïèäàðíàÿ ìàñòèêà «Áèñêè» è áèòóìíî-ñèíòåòè÷åñêèé êëåé «ÁÑÊ». Áèòóìíàÿ ãðóíòîâêà (ðàñòâîð áèòóìà â áåíçèíå 1 : 2 èëè 1 : 3). Ðàñõîä ãðóíòîâêè - 300 ã íà 1 ì2.
Ñîñòàâû ìàñòèê, ìàñ. ÷.
|
|
«Áèñêè» 65 |
«ÁÑÊ» 60 |
|
Áèòóì ÁÍ 70/30 |
65 |
60 |
|
Ñêèïèäàð |
5 |
- |
|
Óàéò-ñïèðèò |
22 |
17 |
|
Ðåçèíîâûé êëåé |
3 |
3 |
|
Êàíèôîëü (ñîñíîâàÿ) |
- |
10 |
|
Ïîðòëàíäöåìåíò ìàðêè 400 |
5 |
5 |
Ñõåìà îðãàíèçàöèè ðàáî÷åãî ìåñòà. Ðàáî÷åå ìåñòî îðãàíèçóþò òàê, êàê ïîêàçàíî íà ðèñ. 46. Óêëàäûâàþò ïëèòêè çàõâàòêàìè â îäèí - äâà ðÿäà, äâèãàÿñü ïî íàïðàâëåíèþ ê âûõîäó èç ïîìåùåíèÿ. Ýëåêòðîïîäîãðåâàòåëü ðàñïîëàãàþò èëè â ïîìåùåíèè, ãäå íàñòèëàþò ïîêðûòèå, èëè â ñìåæíîì ïîìåùåíèè, ïðè ýòîì ïîäîãðåòûå ïëèòêè ïîäíîñÿò ê ìåñòó óêëàäêè â ïà÷êàõ, ÷òîáû îíè íå óñïåâàëè îñòûòü.
 ïîìåùåíèè äîëæíà áûòü âåíòèëÿöèÿ äëÿ óäàëåíèÿ ïàðîâ ðàñòâîðèòåëåé, ñîäåðæàùèõñÿ â ìàñòèêå èëè êëåå.

Ðèñ. 46. Ñõåìû îðãàíèçàöèè ðàáî÷åãî ìåñòà ïðè ïîêðûòèè ïîëîâ ñèíòåòè÷åñêèìè ïëèòêàìè:
à - ïðè îãðóíòîâêå îñíîâàíèÿ áèòóìíîé ìàñòèêîé, á - ïðè óêëàäêå ïîëèâèíèëõëîðèäíûõ ïëèòîê ñïîñîáîì «íà ñåáÿ»; 1 - íàïðàâëåíèå îãðóíòîâêè, 2 - ïîëîñû-çàõâàòêè, 3 - ðàáî÷åå ìåñòî ïëèòî÷íèêà, 4 - âàííî÷êà ñ ìàñòèêîé, 5 - ìàÿ÷íûé ðÿä, 6 - ñëîé ìàñòèêè, 7 - ñòîïêè ïëèòîê
Ïîñëåäîâàòåëüíîñòü âûïîëíåíèÿ òåõíîëîãè÷åñêèõ îïåðàöèé. Ðàáîòó íà÷èíàþò ïîñëå âûðàâíèâàíèÿ îñíîâàíèÿ (ïî óðîâíþ) è óñòðàíåíèÿ îòäåëüíûõ äåôåêòîâ ïîâåðõíîñòè.
Î÷èñòêà è îáåñïûëèâàíèå îñíîâàíèÿ. Ñ ïîìîùüþ ñêðåáêà (ðèñ. 47, à) îñíîâàíèå î÷èùàþò îò ãðÿçè è áðûçã ðàñòâîðà. Ïûëü ñ ïîâåðõíîñòè óäàëÿþò ïîäìåòàëüíî-ïûëåñîñíîé ìàøèíîé (ðèñ. 47, á), ïûëåñîñîì (ðèñ. 47, â). Ñ ïîìîùüþ øëàíãà ñî ñìåííûìè íàñàäêàìè óäàëÿþò ïûëü èç óãëîâ, ïðèñòåííûõ ó÷àñòêîâ è äðóãèõ òðóäíîäîñòóïíûõ ìåñò.
Îãðóèòîâêà îñíîâàíèÿ. Îáåñïûëåííóþ ïîâåðõíîñòü ãðóíòóþò ðàñòâîðîì áèòóìà â áåíçèíå ñ ïîìîùüþ âîëîñÿíîé êèñòè (ðèñ. 48).
Ùåòêó (êèñòü) ïîãðóæàþò â ãðóíòîâêó, îòæèìàþò èçëèøêè ãðóíòîâêè î ñåòêó âàííî÷êè è íàíîñÿò ïàðàëëåëüíûìè ïîëîñàìè, ïåðåêðûâàþùèìè äðóã äðóãà. Ùåòêó ïðèæèìàþò ïîä óãëîì 60…65° ê îñíîâàíèþ, íàíîñÿ òîíêèé ñëîé ãðóíòîâêè. Ïîñëå îãðóíòîâêè îñíîâàíèå ñîõíåò â òå÷åíèå 5…10 ÷.

Ðèñ. 47. Î÷èñòêà è îáåñïûëèâàíèå îñíîâàíèÿ:
à - î÷èñòêà îò îñòàòêîâ ñõâàòèâøåãîñÿ ðàñòâîðà ñêðåáêîì, á - îáåñïûëèâàíèå ïîäìåòàëüíî-ïûëåñîñíîé ìàøèíîé, â - òî æå, ïðîìûøëåííûì ïûëåñîñîì; 1 - ôèëüòð, 2 - çàõâàò, 3 - ìîòîðíî-âåíòèëÿòîðíûé áëîê, 4 - ìóñîðîñáîðíèê
Ðàçìåòêà ïîëîæåíèÿ ìàÿ÷íûõ ðÿäîâ (ðèñ. 49, à). ×åðåç ñåðåäèíó êîðîòêèõ ñòîðîí ïîìåùåíèÿ çàêðåïëÿþò ïðîäîëüíóþ îñü. Çàòåì ðóëåòêîé îïðåäåëÿþò åå ñåðåäèíó. ×òîáû çàêðåïèòü øíóðîì ïîïåðå÷íóþ îñü, ïðîõîäÿùóþ ïîä ïðÿìûì óãëîì, èñïîëüçóþò óãîëüíèê.
Òî÷íîñòü ðàçáèâêè ïðîâåðÿþò, óêëàäûâàÿ ìàÿ÷íûå ðÿäû íàñóõî. Íà÷èíàþò ðàñêëàäûâàòü ïëèòêè ñ ïåðåñå÷åíèÿ îñåé - ïî ïëèòêå â ïðîäîëüíîì è ïîïåðå÷íîì íàïðàâëåíèÿõ (ðèñ. 49, á). Ïîñëåäóþùèå ïëèòêè óêëàäûâàþò âïëîòíóþ îäíà ê äðóãîé.
Åñëè ó ñòåí îñòàþòñÿ çàçîðû ìåíåå ïîëîâèíû ïëèòêè, òî ïðåäâàðèòåëüíî ðàçëîæåííûå ðÿäû (ðèñ. 50) ñäâèãàþò, ÷òîáû óëîæèòü öåëîå ÷èñëî ïëèòîê.

Ðèñ. 48. Îãðóíòîâêà îñíîâàíèÿ
Íàíåñåíèå ìàñòèêè. Ìàñòèêó èç âåäðà ðàçëèâàþò ïî îñíîâàíèþ ïîëîñîé 35...40 ñì (íà øèðèíó 1...2 ïëèòîê), äëèíîé 5...6 ì, ñëîåì òîëùèíîé 0,6...1 ìì. Ðàçðàâíèâàþò ìàñòèêó çóá÷àòûì øïàòåëåì (ðèñ. 51, à), óäåðæèâàÿ ïîëîòíî øïàòåëÿ ïîä óãëîì îêîëî 60° ê îñíîâàíèþ. Íà ïîâåðõíîñòè îñíîâàíèÿ îáðàçóåòñÿ ðîâíûé ñëîé ìàñòèêè òîëùèíîé 0,3...0,5 ìì.
Íàêëåéêà ïëèòîê. Ïîñëå âûäåðæèâàíèÿ ñëîÿ ìàñòèêè â òå÷åíèå 15...20 ìèí, ÷òîáû èñïàðèëñÿ ëåòó÷èé ðàñòâîðèòåëü, ïðîâåðÿþò âûñûõàíèå ìàñòèêè «íà îòëèï» (ïàëåö íå äîëæåí èñïà÷êàòüñÿ ïîñëå ëåãêîãî íàæàòèÿ íà ñëîé ìàñòèêè).
Óêëàäêó ïëèòîê íà÷èíàþò ñ íàêëåèâàíèÿ ìàÿ÷íûõ ðÿäîâ 5 (ðèñ. 51, á). Çàòåì ïî îáå ñòîðîíû îñè íàêëåèâàþò ïî ðÿäó ïëèòîê, êîíòðîëèðóÿ âåëè÷èíó çàçîðîâ è ïðàâèëüíîñòü ðèñóíêà. Íàñòèëàþò ïëèòêè ñïîñîáîì «íà ñåáÿ» çàõâàòêàìè øèðèíîé â 1...2 ïëèòêè, ÷òîáû íå íàñòóïàòü íà ñâåæåóëîæåííîå ïîêðûòèå.

Ðèñ. 49. Ðàçìåòêà è óêëàäêà ìàÿ÷íûõ ðÿäîâ:
à - çàêðåïëåíèå ïðîäîëüíûõ è ïîïåðå÷íûõ ðÿäîâ, á - óêëàäêà íàñóõî ìàÿ÷íûõ ðÿäîâ (I-V - ïîñëåäîâàòåëüíîñòü óêëàäêè ïëèòîê)

Ðèñ. 50. Ðàñêëàäêà ïëèòîê ìàÿ÷íûõ ðÿäîâ: 1, 2 - ïåðâîíà÷àëüíîå ïîëîæåíèå ïðîäîëüíîé è ïîïåðå÷íîé îñåé, 3, 4 - îêîí÷àòåëüíîå ïîëîæåíèå îñåé, 5 - ðÿäû ïëèòîê ïðè îêîí÷àòåëüíîé ðàñêëàäêå, 6 - äîáîðíûå ïëèòêè
Ïëèòêó áåðóò çà áîêîâûå ðåáðà è ïðèñòàâëÿþò îäíîé êðîìêîé âïðèòûê ê ðàíåå óëîæåííîé (ðèñ. 52, à). Ïîñëå ýòîãî ïëèòêó îñòîðîæíî îïóñêàþò íà îñíîâàíèå, ÷òîáû íå çàãðÿçíèòü åå êðàÿ ìàñòèêîé. Óëîæåííóþ ïëèòêó ïðèæèìàþò ñíà÷àëà ñ îäíîé ñòîðîíû, çàòåì îò ñåðåäèíû ê êðàÿì ïî âñåé ïîâåðõíîñòè (ðèñ. 52, á). Ëåãêèìè óäàðàìè ðåçèíîâîé êèÿíêè ïëèòêó ïðèïðåññîâûâàþò ê îñíîâàíèþ. Ìàñòèêó, âûäàâëåííóþ ïðè îáæàòèè ïëèòîê, óäàëÿþò âåòîøüþ ñóõîé èëè ñëåãêà ñìî÷åííîé â ðàñòâîðèòåëå. Ïîêðûòèå çàêðûâàþò áóìàãîé äëÿ çàùèòû îò çàãðÿçíåíèé. Åñëè ó ñòåí óìåùàþòñÿ òîëüêî íåïîëíîìåðíûå ïëèòêè, èõ ïîäðåçàþò ñ ïîìîùüþ ãèëüîòèííûõ íîæíèö (ðèñ. 53).
Êîíòðîëü êà÷åñòâà. Ïîêðûòèå ïîëà èç ñèíòåòè÷åñêèõ ïëèòîê (ÏÂÕ) äîëæíî èìåòü ðàâíîìåðíóþ îêðàñêó îäíîãî òîíà, à ïðè ìíîãîöâåòíîì ðèñóíêå - ïðàâèëüíîå î÷åðòàíèå óçîðà. Íà ëèöåâîé ïîâåðõíîñòè íå äîïóñêàþòñÿ ïÿòíà, öàðàïèíû, áóãðû, ñëåäû ìàñòèêè, âûñòóïèâøåé èç øâîâ, è äðóãèå äåôåêòû. Íåäîïóñòèìû çàçîðû è óñòóïû ìåæäó êðîìêàìè óëîæåííûõ ïëèòîê. Çàçîðû ìåæäó ñòåíîé è ïëèòêàìè íå äîëæíû ïðåâûøàòü 10 ìì. Øâû â ïîêðûòèè äîëæíû áûòü ðîâíûìè è ïàðàëëåëüíûìè. Ïðîñâåòû â ïîêðûòèè ïðè ïðîâåðêå äâóõìåòðîâîé êîíòðîëüíîé ðåéêîé, ïðèêëàäûâàåìîé â ðàçëè÷íûõ íàïðàâëåíèÿõ, íå äîëæíû ïðåâûøàòü 2 ìì.

Ðèñ. 51. Óêëàäêà ïîëèâèíèëõëîðèäíûõ ïëèòîê: à - ðàçðàâíèâàíèå ìàñòèêè, á - íàïðàâëåíèå óêëàäêè ïëèòîê (ïîêàçàíî ñòðåëêàìè); 1 - óëîæåííûé ó÷àñòîê ïîêðûòèÿ, 2 - áîðîçäêè â ìàñòèêå, 3 - çóá÷àòûé øïàòåëü, 4 - ðàçðàâíèâàåìûé ñëîé ìàñòèêè, 5 - ìàÿ÷íûå ðÿäû

Ðèñ. 52. Óêëàäêà ïëèòîê íà ìàñòèêó (à) è ïðèïðåññîâûâàíèå èõ ê îñíîâàíèþ (á)
Òðóäîâûå çàòðàòû. Íîðìû âðåìåíè, ÷åë-÷, íà 1 ì2 ïîëà (â ÷èñëèòåëå) è íîðìû âûðàáîòêè, ì2, íà 1 ÷åë-äí (â çíàìåíàòåëå) ïðè íàñòèëêå ñèíòåòè÷åñêèõ ïëèòîê ñëåäóþùèå:
|
|
Ïîêðûòèå â 1...2 öâåòà |
Ïîêðûòèå â 3 öâåòà |
|
Ðàçìåð ïëèòîê, ìì: |
|
|
|
125×125 |
62/12,9 |
0,7/11,4 |
|
150×150 |
0,51/156 |
0,59/13,5 |
|
200×200 |
041/195 |
0,49/16,3 |
|
300×300 è 350×350 |
0,37/21,6 |
0,41/19,5 |

Ðèñ. 53. Çàãîòîâêà íåïîëíîìåðíûõ ïëèòîê ãèëüîòèííûìè íîæíèöàìè
Òåõíèêà áåçîïàñíîñòè Êëåÿùèå ìàñòèêè ñîäåðæàò ëåãêî âîñïëàìåíÿþùèåñÿ ðàñòâîðèòåëè, ïî ýòîìó íåîáõîäèìî ñîáëþäàòü ìåðû ïîæàðíîé áåç îïàñíîñòè.
Çàïàñ ìàñòèêè íà ðàáî÷åì ìåñòå íå äîëæåí ïðåâûøàòü ñìåííîé ïîòðåáíîñòè. Òàðó ñ îñòàòêîì ìàñòèêè ïîñëå ðàáîòû ïëîòíî çàêðûâàþò êðûøêîé è ïåðåíîñÿò â ñïåöèàëüíîå ìåñòî õðàíåíèÿ.  ïîìåùåíèè, ãäå óñòðàèâàþò ïîëû èç ñèíòåòè÷åñêèõ ïëèòîê, äîëæíà áåñïåðåáîéíî ðàáîòàòü âåíòèëÿöèÿ.  ïîìåùåíèÿõ çàïðåùàåòñÿ ðàáîòàòü ñ îòêðûòûì îãíåì, êóðèòü.
Ïðè ðàáîòå ñ ìàñòèêàìè íåîáõîäèìî áûòü â çàùèòíûõ î÷êàõ, ðåñïèðàòîðå è ðåçèíîâûõ ïåð÷àòêàõ.
Êîíòðîëüíûå âîïðîñû. Êàê ïîäãîòàâëèâàþò îñíîâàíèå ïîä ïîëû èç ñèíòåòè÷åñêèõ ïëèòîê? Ðàññêàæèòå îá îðãàíèçàöèè ðàáî÷åãî ìåñòà ïðè îãðóíòîâêå îñíîâàíèÿ; ïðè óêëàäêå ïëèòîê. Èç êàêèõ îïåðàöèé ñîñòîèò óñòðîéñòâî ïîêðûòèÿ èç ñèíòåòè÷åñêèõ ïëèòîê?  êàêîé ïîñëåäîâàòåëüíîñòè íàêëåèâàþò ìàÿ÷íûå ðÿäû? Ïî÷åìó ïðè íàêëåéêå ïîëèâèíèëõëîðèäíûõ ïëèòîê íà ïîâåðõíîñòè îñíîâàíèÿ íåäîïóñòèìû íåðîâíîñòè? Êàêèå ïðàâèëà òåõíèêè áåçîïàñíîñòè ñîáëþäàþò ïðè óñòðîéñòâå ïîëîâ èç ñèíòåòè÷åñêèõ ïëèòîê?
Ñîñòàâ òåõíîëîãè÷åñêèõ îïåðàöèé. Âûâåðêà ðîâíîñòè îñíîâàíèÿ; óñòðàíåíèå äåôåêòîâ; óäàëåíèå çàãðÿçíåíèé; çàêðåïëåíèå íà ñòåíàõ ïîìåùåíèÿ îòìåòêè âåðõíåãî óðîâíÿ íèæíåé ïðîñëîéêè; îãðóíòîâêà îñíîâàíèÿ öåìåíòíûì ìîëîêîì (äî óêëàäêè íèæíåé ïðîñëîéêè ìîçàè÷íîãî ïîêðûòèÿ).
Ìåõàíèçìû, èíñòðóìåíòû, ïðèñïîñîáëåíèÿ, èíâåíòàðü. Âàêóóìíî-ùåòî÷íàÿ ìàøèíà èëè ïûëåñîñ; ýëåêòðè÷åñêàÿ ùåòêà; ïíåâìàòè÷åñêèé èëè ýëåêòðè÷åñêèé ìîëîòîê. Ñêàðïåëü; çóáèëî; ìîëîòîê; ëîïàòêà äëÿ ïëèòî÷íûõ ðàáîò; ðàñòâîðíàÿ ëîïàòà; êîâø îòäåëî÷íûé; ëåéêà; âåäðà; ñòðîèòåëüíûé óðîâåíü; äâóõìåòðîâàÿ êîíòðîëüíàÿ ðåéêà; ïðàâèëî; ðóëåòêà; ñêëàäíîé ìåòð; êèñòü-ìàêëîâèöà; ìåòëà. Çàùèòíûå î÷êè; ðåñïèðàòîð ØÁ-1 «Ëåïåñòîê»; âëàãîíåïðîíèöàåìûå íàêîëåííèêè; ðåçèíîâûå ïåð÷àòêè.
Ìàòåðèàëû. Öåìåíòíî-ïåñ÷àíûé ðàñòâîð ìàðêè 200 ïîäâèæíîñòüþ 3...4 ñì; 3…5 %-íûé ðàñòâîð ñîëÿíîé êèñëîòû è âåòîøü äëÿ óäàëåíèÿ æèðîâûõ ïÿòåí; öâåòíûå ìåëêè èëè ãðèôåëü äëÿ îáîçíà÷åíèÿ äåôåêòíûõ ìåñò îñíîâàíèÿ.
Ñõåìà îðãàíèçàöèè ðàáî÷åãî ìåñòà. Ðàáî÷åå ìåñòî îðãàíèçóþò òàê, êàê ïîêàçàíî íà ðèñ. 54.
Äëèíà ýëåêòðîêàáåëåé äîëæíà îáåñïå÷èâàòü âîçìîæíîñòü îáðàáîòêè ïî âñåé ïëîùàäè îñíîâàíèÿ.
Ïîñëåäîâàòåëüíîñòü âûïîëíåíèÿ òåõíîëîãè÷åñêèõ îïåðàöèé. Ïîäãîòîâêó îñíîâàíèÿ íà÷èíàþò ñî ñòîðîíû, ïðîòèâîïîëîæíîé âõîäó â ïîìåùåíèå.
Âûâåðêà ðîâíîñòè îñíîâàíèÿ. Âíà÷àëå îñíîâàíèå óâëàæíÿþò è óäàëÿþò ñòðîèòåëüíûé ìóñîð. Âûâåðÿþò ïîâåðõíîñòü äâóõìåòðîâîé êîíòðîëüíîé ðåéêîé, ïðèêëàäûâàåìîé â ðàçëè÷íûõ íàïðàâëåíèÿõ. Ïðîñâåòû ìåæäó ðåéêîé è îñíîâàíèåì äîïóñêàþòñÿ íå áîëåå 10 ìì. Âûÿâëåííûå äåôåêòû ïîâåðõíîñòè - âûñòóïû, âïàäèíû è äð. - îòìå÷àþò ãðèôåëåì èëè öâåòíûìè ìåëêàìè.
Óñòðàíåíèå äåôåêòîâ îñíîâàíèÿ. Âïàäèíû, òðåùèíû è çàçîðû â ìåñòàõ ïðèìûêàíèÿ ê ñòåíàì î÷èùàþò îò ïûëè ýëåêòðè÷åñêîé ùåòêîé èëè âàêóóìíî-ùåòî÷íîé ìàøèíîé, ãðóíòóþò öåìåíòíûì ìîëîêîì è çàäåëûâàþò öåìåíòíûì ðàñòâîðîì. Âûñòóïàþùèå íåðîâíîñòè ïëîùàäüþ äî 1 ì2 (âûïóêëîñòè, íàïëûâû çàòâåðäåâøåãî ðàñòâîðà) ñðóáàþò ñêàðïåëåì èëè çóáèëîì, à âûñòóïàþùèå íåðîâíîñòè ïëîùàäüþ áîëåå 1 ì2 óñòðàíÿþò ïíåâìàòè÷åñêèì èëè ýëåêòðè÷åñêèì ìîëîòêîì. Òàêèì æå îáðàçîì ïðîèçâîäÿò è íàñå÷êó áåòîííûõ ïîâåðõíîñòåé.
Ïîñëå óñòðàíåíèÿ äåôåêòîâ îñíîâàíèå âíîâü î÷èùàþò ýëåêòðè÷åñêîé ùåòêîé ïîëîñàìè, íà÷èíàÿ îò ñòåíû, óäàëåííîé îò âõîäà â ïîìåùåíèå.
Ïîñëå îáðàáîòêè ýëåêòðîùåòêîé îñíîâàíèå îáåñïûëèâàþò âàêóóìíî-ùåòî÷íîé ìàøèíîé, à çàòåì ïûëåñîñîì, óäàëÿÿ ïûëü èç óãëîâ, ïðèìûêàíèé ïîëà ê ñòåíàì è äðóãèõ òðóäíîäîñòóïíûõ ìåñò.

Ðèñ. 54, Îðãàíèçàöèÿ ðàáî÷åãî ìåñòà ïðè ïîäãîòîâêå îñíîâàíèÿ ïîä ìîçàè÷íûå ïîëû:
1 - ýëåêòðîùåòêà, 2 - êîíòðîëüíàÿ ðåéêà, 3 - ÿùèê ñ ðàáî÷èì èíñòðóìåíòîì, 4 - ïûëåñîñ, 5 - ëåéêà
Æèðîâûå ïÿòíà íà îñíîâàíèè óäàëÿþò âåòîøüþ, ñìî÷åííîé 3 %-íûì ðàñòâîðîì ñîëÿíîé êèñëîòû.
Çàêðåïëåíèå íà ñòåíàõ ïîìåùåíèÿ îòìåòêè âåðõíåãî óðîâíÿ íèæíåé ïðîñëîéêè. Ïî ïåðèìåòðó ñòåí ïîìåùåíèÿ îòáèâàþò ìåëîâóþ ÷åðòó, ðàñïîëîæåííóþ íà 1 ì âûøå îòìåòêè ÷èñòîãî ïîëà (ïðèåìû ïåðåíîñà îòìåòêè â ïîìåùåíèå îïèñàíû â êàðòå 9). Âíèç îò ÷åðòû îòêëàäûâàþò 102,5 ñì. Ýòî ðàññòîÿíèå ñîîòâåòñòâóåò âåðõíåìó óðîâíþ íèæíåé ïðîñëîéêè ìîçàè÷íîãî ïîëà. Óðîâåíü ïðîñëîéêè òàêæå çàêðåïëÿþò íà ñòåíå ìåëîâîé ÷åðòîé.
Îãðóíòîâêà îñíîâàíèÿ. Ïåðåä óêëàäêîé íèæíåé ïðîñëîéêè ìîçàè÷íîãî ïîêðûòèÿ îñíîâàíèå ðàâíîìåðíî ãðóíòóþò öåìåíòíûì ìîëîêîì ñ ïîìîùüþ êèñòè-ìàêëîâèöû.
Êîíòðîëü êà÷åñòâà. Ïîäãîòîâëåííîå îñíîâàíèå ïîä ìîçàè÷íûå ïîêðûòèÿ íå äîëæíî èìåòü æèðîâûõ ïÿòåí, ïîòåêîâ ðàñòâîðà, áèòóìà. Ïðîñâåòû ìåæäó êîíòðîëüíîé ðåéêîé è ïîâåðõíîñòüþ îñíîâàíèÿ â ìåñòàõ óñòðàíåíèÿ äåôåêòîâ - íå áîëåå 10 ìì. Øâû ìåæäó ïëèòàìè ïåðåêðûòèé, ìåñòà èõ ïðèìûêàíèÿ ê ñòåíàì è ìîíòàæíûå îòâåðñòèÿ äîëæíû áûòü çàäåëàíû öåìåíòíûì ðàñòâîðîì.
Òðóäîâûå çàòðàòû. Íîðìû âðåìåíè íà åäèíèöó èçìåðåíèÿ ðàáîò (ì2 èëè îäíî ìåñòî) è íîðìû âûðàáîòêè íà 1 ÷åë-äí ïðè ïîäãîòîâêå îñíîâàíèÿ ïîä ìîçàè÷íûå ïîëû ñëåäóþùèå:
|
|
Íîðìû âðåìåíè, ÷åë-÷ |
Íîðìû âûðàáîòêè, ì2 |
|
Î÷èñòêà îñíîâàíèÿ îò ìóñîðà |
0,054 |
148 |
|
Çàäåëêà âïàäèí (îäíî ìåñòî) |
1,34 |
23,5 |
|
Îáåçæèðèâàíèå ìåñò ñ ïðîìûâêîé îðãàíè÷åñêèìè ðàñòâîðèòåëÿìè |
0,043 |
186 |
|
Íàñå÷êà ïíåâìàòè÷åñêèì èëè ýëåêòðè÷åñêèì ìîëîòêîì |
0,2 |
40 |
|
Î÷èñòêà îñíîâàíèÿ ýëåêòðîùåòêîé èëè ïûëåñîñîì |
0,057 |
141 |
Òåõíèêà áåçîïàñíîñòè. Íàñå÷êó áåòîííûõ îñíîâàíèé, ñðóáàíèå âûñòóïîâ è íàïëûâîâ ìåõàíèçèðîâàííûì ñïîñîáîì âûïîëíÿþò â ðåçèíîâûõ ïåð÷àòêàõ, ðåçèíîâîé îáóâè è çàùèòíûõ î÷êàõ, à ïðè ðó÷íîì ñïîñîáå - â ðóêàâèöàõ è î÷êàõ.
Ïðîìûâàòü îñíîâàíèå ðàñòâîðèòåëÿìè ñëåäóåò â ðåñïèðàòîðå, çàùèòíûõ î÷êàõ è ðåçèíîâûõ ïåð÷àòêàõ.
Êîíòðîëüíûå âîïðîñû. Èç êàêèõ òåõíîëîãè÷åñêèõ îïåðàöèé ñîñòîèò ïîäãîòîâêà îñíîâàíèÿ ïîä ìîçàè÷íûå ïîêðûòèÿ? Çà÷åì îáðàáàòûâàþò áåòîííîå îñíîâàíèå ýëåêòðîùåòêîé? ×åì è äëÿ ÷åãî áåòîííîå îñíîâàíèå íàñåêàþò? Êàê ïðîâåðÿþò ðîâíîñòü îñíîâàíèÿ ïîä ìîçàè÷íûå ïîëû?  ÷åì çàêëþ÷àåòñÿ óñòðàíåíèå äåôåêòîâ îñíîâàíèÿ? Êàêèìè èíäèâèäóàëüíûìè ñðåäñòâàìè çàùèòû ïîëüçóþòñÿ ïðè óäàëåíèè ñ îñíîâàíèÿ æèðîâûõ ïÿòåí? Êàêèå ïðàâèëà òåõíèêè áåçîïàñíîñòè íåîáõîäèìî ñîáëþäàòü ïðè ðàáîòå ýëåêòðîùåòêîé, ïûëåñîñîì?
Ñîñòàâ òåõíîëîãè÷åñêèõ îïåðàöèé. Äîçèðîâêà êîìïîíåíòîâ ìîçàè÷íîãî ðàñòâîðà; çàãðóçêà äîçèðîâàííûõ êîìïîíåíòîâ â áàðàáàí ðàñòâîðîñìåñèòåëÿ; ïåðåìåøèâàíèå ñìåñè â ðàñòâîðîñìåñèòåëå; âûãðóçêà ïðèãîòîâëåííîãî ðàñòâîðà èç áàðàáàíà ðàñòâîðîñìåñèòåëÿ.
Ìåõàíèçìû, èíñòðóìåíòû, ïðèñïîñîáëåíèÿ, èíâåíòàðü. Ðàñòâîðîñìåñèòåëè ÑÎ-23Á, ÑÎ-46À âìåñòèìîñòüþ äî 100 ë èëè áåòîíîìåñèòåëü ÑÁ-101; ìåðíûå ÿùèêè; ìåðíûå ìåòàëëè÷åñêèå êðóæêè; íàñòîëüíûå âåñû; ðàñòâîðíàÿ ëîïàòà; îòäåëî÷íûé êîâø; ýòàëîííûé êîíóñ. Ðó÷íàÿ òåëåæêà ñî ñìåííîé òàðîé. Ðåñïèðàòîð ØÁ-1 «Ëåïåñòîê»; çàùèòíûå î÷êè; ðåçèíîâûå ïåð÷àòêè.
Ìàòåðèàëû. Ïîðòëàíäöåìåíò ìàðêè 400 (äëÿ îáû÷íûõ ìîçàè÷íûõ ïîëîâ); áåëûé èëè öâåòíîé ïîðòëàíäöåìåíò (äëÿ ïîëîâ ñ ïîâûøåííûìè äåêîðàòèâíûìè êà÷åñòâàìè); êàìåííàÿ ìóêà èç áåëûõ èëè ñâåòëûõ ïîðîä ìðàìîðà êðóïíîñòüþ çåðåí äî 0,15 ìì; êàìåííàÿ êðîøêà (ìðàìîðíàÿ èëè ãðàíèòíàÿ) êðóïíîñòüþ çåðåí 2,5...15 ìì; ïèãìåíòû (îõðà, æåëåçíûé ñóðèê, ïåðîêñèä ìàðãàíöà).
Ðàñõîä ìàòåðèàëîâ íà óñòðîéñòâî 100 ì2 ìîçàè÷íûõ ïîëîâ (ïðè ìàðêå ðàñòâîðà ïðîñëîéêè è âåðõíåãî ñëîÿ ìîçàè÷íîãî ïîêðûòèÿ Ì200) ñëåäóþùèé: öåìåíòíûé ðàñòâîð ìàðêè 200 - 2,18 ì3; ìîçàè÷íûé ðàñòâîð ñ êàìåííîé êðîøêîé ìàðêè 200 - 1,53 ì; öåìåíò ìàðêè 400 - 0,05 ò; êâàðöåâûé ïåñîê- 1,13 ì3.
Ñõåìà îðãàíèçàöèè ðàáî÷åãî ìåñòà. Ìîçàè÷íûé ðàñòâîð ïðèãîòîâëÿþò â ðàñòâîðî- èëè áåòîíîñìåñèòåëå (ðèñ. 55), ðàñïîëîæåííîì íà ìåñòå ðàáîòû. Âñå íåîáõîäèìûå ìàòåðèàëû, èíñòðóìåíòû è èíâåíòàðü ðàñïîëàãàþò ðÿäîì ñ ðàñòâîðî- èëè áåòîíîñìåñèòåëåì.
Ïîñëåäîâàòåëüíîñòü âûïîëíåíèÿ òåõíîëîãè÷åñêèõ îïåðàöèé. Ðàáîòó íà÷èíàþò ïîñëå ïðîâåðêè èñïðàâíîñòè ðàñòâîðî-, áåòîíîñìåñèòåëÿ, ïîäâîäêè ê íåìó âîäû è çàãîòîâêè íåîáõîäèìûõ ìàòåðèàëîâ äëÿ ïðèãîòîâëåíèÿ ìîçàè÷íîé ñìåñè ïî çàäàííîìó ñîñòàâó.
Ïèãìåíò òðåáóåìîãî öâåòà îòâåøèâàþò íà îäèí çàìåñ è âûñûïàþò â ìåðíóþ êðóæêó; êàìåííóþ êðîøêó ðàçëè÷íûõ ôðàêöèé è öâåòà, ïåñîê, öåìåíò çàãðóæàþò â ìåðíûå ÿùèêè, êðàòíûå âìåñòèìîñòè áàðàáàíà ðàñòâîðîñìåñèòåëÿ.
Îòìåðåííûå ïîðöèè öåìåíòà, ïèãìåíòà (êðàñèòåëÿ), ðàçáåëèòåëÿ (êàìåííîé ìóêè) çàñûïàþò â áàðàáàí ñìåñèòåëÿ.
 ïðîöåññå ïåðåìåøèâàíèÿ â ñìåñèòåëü äîáàâëÿþò êàìåííóþ êðîøêó è ïåðåìåøèâàþò â òå÷åíèå 2…3 ìèí. Çàòåì äîáàâëÿþò äîçèðîâàííîå êîëè÷åñòâî âîäû è âíîâü ïåðåìåøèâàþò â òå÷åíèå 6...7 ìèí äî ïîëó÷åíèÿ ìàññû îäíîðîäíîé êîíñèñòåíöèè.
Âèçóàëüíî îïðåäåëèâ îäíîðîäíîñòü ïðèãîòîâëåííîé ìàññû, âûêëþ÷àþò ýëåêòðîäâèãàòåëü è ïðèâîäÿò áàðàáàí â íàêëîííîå ïîëîæåíèå. Ïðèãîòîâëåííóþ ñìåñü âûãðóæàþò â ñìåííûé êîíòåéíåð ðó÷íîé òåëåæêè è äîñòàâëÿþò ê ìåñòó óêëàäêè.
Ïîñëå ðàçãðóçêè áàðàáàí î÷èùàþò îò îñòàòêîâ ñìåñè è ïîäãîòàâëèâàþò ê î÷åðåäíîìó çàìåñó.

Ðèñ. 55. Áåòîíîñìåñèòåëü ÑÁ-101;
1 - ñìåñèòåëüíîé áàðàáàí, 2 - âðàùàþùèåñÿ ëîïàñòè, 3 - ýëåêòðîäâèãàòåëü ñ ðåäóêòîðîì, 4 - ðàìà íà ïíåâìàòè÷åñêèõ êîëåñàõ
 çàâèñèìîñòè îò íàçíà÷åíèÿ ìîçàè÷íûå ñîñòàâû ïðèìåíÿþò ìàðîê 200, 300 è 400. Äîçèðîâêà êîìïîíåíòîâ â çàâèñèìîñòè îò ìàðêè ñîñòàâà ñëåäóþùàÿ, ìàñ. ÷.:
|
Ìàðêà ìîçàè÷íîãî ñîñòàâà |
200 |
300 |
400 |
|
Âîäà |
0,65 |
0,5 |
0,4 |
|
Ïîðòëàíäöåìåíò ìàðêè 400 |
1 |
1 |
1 |
|
Ïåñîê |
2 |
1,4 |
1 |
|
Êàìåííàÿ êðîøêà |
3,4 |
2,4 |
1,7 |
Ñîñòàâû öâåòíûõ ìîçàè÷íûõ ñìåñåé (Âÿæóùèå è çàïîëíèòåëè â ÷àñòÿõ ïî îáúåìó, ïèãìåíòû â % îò ìàññû öåìåíòà.)
ÌÊ - ìîçàè÷íàÿ êðîøêà êðóïíàÿ ðàçìåðîì çåðåí 10...15 ìì; ÌÑ - ñðåäíÿÿ, ðàçìåðîì çåðåí 5...10 ìì; ÌÌ - ìåëêàÿ, ðàçìåðîì çåðåí 2,5...5 ìì.
Ñâåòëûé ðàçáåëåííûé. Ïîðòëàíäöåìåíò ìàðêè íå íèæå 400 - 1; êàìåííàÿ ìóêà áåëîãî öâåòà - 0,3; êàìåííàÿ êðîøêà - 2.
×åðíûé. Ïîðòëàíäöåìåíò ìàðêè íå íèæå 400 - 1; ïåðîêñèä ìàðãàíöà - 5; êàìåííàÿ êðîøêà ÷åðíîãî öâåòà ÌÊ, ÌÑ, ÌÌ - 1 + 1 + 1.
Áåëûé ñ ÷åðíûì. Ïîðòëàíäöåìåíò ìàðêè íå íèæå 400 - 1; ïåðîêñèä ìàðãàíöà - 12,5; êàìåííàÿ êðîøêà áåëîãî öâåòà ÌÊ, ÌÑ, ÌÌ - 1 + 1 + 1.
Áåëûé ñ êðàñíûì. Ïîðòëàíäöåìåíò ìàðêè íå íèæå 400 - 1; æåëåçíûé ñóðèê - 10; êàìåííàÿ êðîøêà áåëîãî öâåòà ÌÊ, ÌÑ, ÌÌ - 1 + 1 + 1.
×åðíûé ñ áåëûì. Áåëûé ïîðòëàíäöåìåíò ìàðêè 400 - 1,5; êàìåííàÿ êðîøêà ÷åðíîãî öâåòà ÌÊ, ÌÑ, ÌÌ - 1,5 + 1 + 1.
Ðîçîâûé ñ êðàñíûì. Áåëûé ïîðòëàíäöåìåíò ìàðêè íå íèæå 400 - 1; æåëåçíûé ñóðèê - 8; êàìåííàÿ êðîøêà ðîçîâîãî öâåòà ÌÊ, ÌÑ, ÌÌ - 1 + 1 + 1.
Êðàñíûé ñ êîðè÷íåâûì. Ïîðòëàíäöåìåíò ìàðêè íå íèæå 400 - 1; æåëåçíûé ñóðèê - 5; ïåðîêñèä ìàðãàíöà - 5; êàìåííàÿ êðîøêà êðàñíîãî öâåòà ÌÊ, ÌÑ, ÌÌ - 1 + 1 + 1.
Æåëòûé. Áåëûé ïîðòëàíäöåìåíò ìàðêè íå íèæå 400 - 1; îõðà (ñóõàÿ) - 10; êàìåííàÿ êðîøêà æåëòîãî öâåòà ÌÊ, ÌÑ - 1 + 2.
Ïÿòíèñòûé. Áåëûé èëè îáû÷íûé ïîðòëàíäöåìåíò ìàðêè 400 - 1; êàìåííàÿ êðîøêà áåëîãî öâåòà ÌÊ, ÌÑ, ÌÌ - 0,5 + 0,5 + 0,5; êàìåííàÿ êðîøêà ÷åðíîãî öâåòà ÌÊ, ÌÑ, ÌÌ - 0,5 + 0,5 + 0,5.
Ïîä ãðàíèò. Ïîðòëàíäöåìåíò ìàðêè íå íèæå 400 - 1; êàìåííàÿ êðîøêà èç ãðàíèòà ÌÊ, ÌÑ - 1 + 1; êàìåííàÿ êðîøêà èç áåëîãî ìðàìîðà ÌÌ - 1.
Ñîîòíîøåíèå çàïîëíèòåëåé ìîçàè÷íûõ ñîñòàâîâ äîëæíî áûòü òàêèì, ÷òîáû 75...80 % ïîêðûòèÿ ïîñëå åãî îáðàáîòêè ñîñòàâëÿëà êàìåííàÿ êðîøêà, à 15…25 % - öåìåíòíûé êàìåíü.
Êîíòðîëü êà÷åñòâà. Ïðèãîòîâëåííàÿ ìîçàè÷íàÿ ñìåñü íå äîëæíà èìåòü ïîñòîðîííèõ âêëþ÷åíèé è íåïåðåìåøàííûõ ÷àñòèö. Êàìåííàÿ êðîøêà äîëæíà áûòü ðàâíîìåðíî ðàñïðåäåëåíà ïî ãóñòîòå è êðóïíîñòè ôðàêöèé â êàæäîì çàìåñå; ìàêñèìàëüíûå ðàçìåðû ÷àñòèö êðîøêè - íå áîëåå 0,6 òîëùèíû ïîêðûòèÿ. Ïîäâèæíîñòü ïðèãîòîâëåííîé ñìåñè (2…4) ñì êîíòðîëèðóþò ýòàëîííûì êîíóñîì. Ïðè ââåäåíèè ïëàñòèôèêàòîðà ïîäâèæíîñòü ñìåñè ìîæåò áûòü äî 15 ñì.
Äëÿ ïîìåùåíèé íåáîëüøîé ïëîùàäè ìîçàè÷íûé ðàñòâîð ïðèãîòîâëÿþò ñðàçó äëÿ âñåãî ïîêðûòèÿ.
Òðóäîâûå çàòðàòû. Íîðìà âðåìåíè íà ïðèãîòîâëåíèå 1 ì3 ìîçàè÷íîãî ðàñòâîðà â áåòîíîñìåñèòåëå - 2,6 ÷åë-÷. Íîðìà âûðàáîòêè íà 1 ÷åë-äí - 3,07 ì3.
Òåõíèêà áåçîïàñíîñòè. Ê ðàáîòå íà ðàñòâîðî-áåòîíîñìåñèòåëå äîïóñêàþòñÿ ëèöà, ïðîøåäøèå ïðàêòè÷åñêîå îáó÷åíèå è ñïåöèàëüíûé èíñòðóêòàæ íà ðàáî÷åì ìåñòå. Ðàñòâîðî-áåòîíîñìåñèòåëü, ðàáîòàþùèé îò ýëåêòðîïðèâîäà, ïîäêëþ÷àþò ê ñåòè ÷åðåç çàùèòíî-îòêëþ÷àþùåå óñòðîéñòâî ïðè ïîìîùè øòåïñåëüíîãî ñîåäèíåíèÿ. Ðàáîòó ñ öåìåíòîì, ñóõèìè ïèãìåíòàìè âûïîëíÿþò â ðåçèíîâûõ ïåð÷àòêàõ (ðóêàâèöàõ), çàùèòíûõ î÷êàõ è ðåñïèðàòîðå.
Êîíòðîëüíûå âîïðîñû. Êàê âûïîëíÿþò äîçèðîâêó ñîñòàâëÿþùèõ äëÿ ïðèãîòîâëåíèÿ ìîçàè÷íîãî ñîñòàâà? Íàçîâèòå çàïîëíèòåëè äëÿ ïðèãîòîâëåíèÿ ìîçàè÷íûõ ðàñòâîðîâ. Êàê ïðîâåðÿþò óäîáîóêëàäûâàåìîñòü ìîçàè÷íîãî (òåððàöåâîãî) ðàñòâîðà? Êàêèå âèäû êàìåííîé êðîøêè íåîáõîäèìû äëÿ ïðèãîòîâëåíèÿ ìîçàè÷íîãî ðàñòâîðà? Ðàññêàæèòå î ïðàâèëàõ òåõíèêè áåçîïàñíîñòè, êîòîðûå íóæíî ñîáëþäàòü ïðè ïðèãîòîâëåíèè ìîçàè÷íûõ ðàñòâîðîâ.
Ñîñòàâ òåõíîëîãè÷åñêè» îïåðàöèé. Óñòàíîâêà è âûâåðêà ìàÿ÷íûõ ðååê; ïðèãîòîâëåíèå öåìåíòíîãî ìîëîêà è îãðóíòîâêà îñíîâàíèÿ; óêëàäêà è ðàçðàâíèâàíèå ðàñòâîðà ïîäñòèëàþùåé ïðîñëîéêè; ñíÿòèå ìàÿ÷íûõ ðååê è çàäåëêà áîðîçä ðàñòâîðîì.
Ìåõàíèçìû, èíñòðóìåíòû, ïðèñïîñîáëåíèÿ, èíâåíòàðü. Óñòàíîâêà ÑÎ-126 äëÿ ïîäà÷è ðàñòâîðà. Ðó÷íàÿ òåëåæêà ñî ñìåííûìè êîíòåéíåðàìè äëÿ òðàíñïîðòèðîâêè ðàñòâîðà. Ìàÿ÷íûå ðåéêè äëèíîé 3...5 ì; ñòðîèòåëüíûé óðîâåíü ñ ïðàâèëîì; äåðåâÿííûé óãîëüíèê ñ äëèííîé ëèíåéêîé; ìåòàëëè÷åñêàÿ ðóëåòêà èëè ñêëàäíîé ìåòð; ýòàëîííûé êîíóñ; ñòàëüíûå øòûðè; ìîëîòîê; ðàçìåòî÷íûé øíóð â êîðïóñå; ðàñòâîðíàÿ ëîïàòà; ãðàáëè; ëîïàòêà äëÿ ïëèòî÷íûõ ðàáîò; ïðàâèëî; âèáðîðåéêà; ìåòàëëè÷åñêàÿ èëè äåðåâÿííàÿ òðàìáîâêà; äåðåâÿííûé ïîëóòåðîê äëèíîé 800 ìì; ñòàëüíàÿ ãëàäèëêà; êîíòðîëüíàÿ äâóõìåòðîâàÿ ðåéêà. Äåðåâÿííûå ðåéêè èëè ìåòàëëè÷åñêèå òðóáû äëÿ ìàÿêîâ.
Ìàòåðèàëû. Öåìåíòíî-ïåñ÷àíûé ðàñòâîð ìàðêè 150.
|
Ðàñõîä pañòâîðà â çàâèñèìîñòè î òîëùèíû ïðîñëîéêè äëÿ óñòðîéñòâà 1 ì2 ìîçàè÷íûõ ïîêðûòèé ïîëîâ |
|||||||
|
Òîëùèíà ïðîñëîéêè, ìì |
20 |
25 |
30 |
35 |
40 |
45 |
50 |
|
Ðàñõîä ðàñòâîðà, ì |
0,022 |
0,023 |
0,033 |
0,039 |
0,044 |
0,05 |
0,055 |
Ïðè çíà÷èòåëüíûõ íàãðóçêàõ ïîäñòèëàþùóþ ïðîñëîéêó àðìèðóþò ñòàëüíîé ñåòêîé.
Ñõåìà îðãàíèçàöèè ðàáî÷åãî ìåñòà. Ïîìåùåíèå äîëæíî áûòü îñâîáîæäåíî îò ïîñòîðîííèõ ïðåäìåòîâ. Íåîáõîäèìûå ìåõàíèçìû, èíñòðóìåíòû, ïðèñïîñîáëåíèÿ, èíâåíòàðü ðàñïîëàãàþò â íåïîñðåäñòâåííîé áëèçîñòè îò ìåñòà ðàáîòû, à ïðè çíà÷èòåëüíîé ïëîùàäè - â ýòîì æå ïîìåùåíèè.
Ïîñëåäîâàòåëüíîñòü âûïîëíåíèÿ òåõíîëîãè÷åñêèõ îïåðàöèé. Ðàáîòû íà÷èíàþò ñî ñòîðîíû, ïðîòèâîïîëîæíîé âõîäó â ïîìåùåíèå, ïîñëå î÷èñòêè è ïîäãîòîâêè îñíîâàíèÿ, ïðîâåðêè ðîâíîñòè îñíîâàíèÿ, óñòðàíåíèÿ äåôåêòîâ, âûíåñåíèÿ îòìåòîê âåðõíåãî óðîâíÿ ïîäñòèëàþùåé ïðîñëîéêè íà ñòåíàõ ïîìåùåíèÿ.
Óñòàíîâêà ìàÿ÷íûõ ðååê. Ìàÿ÷íûå ðåéêè ñ îòôóãîâàííûìè âåðõíèìè êðîìêàìè èëè òðóáû óñòàíàâëèâàþò ñòðîãî ïî óðîâíþ ÷åðåç 2,5...4 ì (â çàâèñèìîñòè îò äëèíû ïðèìåíÿåìîãî ïðàâèëà). Ðåéêè çàêðåïëÿþò ðàñòâîðíûìè ìàðêàìè. Âåðõíèå êðîìêè ìàÿ÷íûõ ðååê èëè òðóá ðàñïîëàãàþò íà óðîâíå ïîäñòèëàþùåãî ñëîÿ, çàêðåïëåííîãî íà ïðîäîëüíûõ ñòåíàõ ïîìåùåíèÿ, ò.å. íèæå óðîâíÿ ÷èñòîãî ïîëà íà 25 ìì.
Ïðè íåîáõîäèìîñòè ìàÿ÷íûå ðåéêè âòàïëèâàþò (îñàæèâàþò) â ðàñòâîðíóþ ìàðêó èëè, íàîáîðîò, ïðèïîäíèìàþò, äîáàâëÿÿ ðàñòâîð.

Ðèñ. 56. Ïîäà÷à (à), óêëàäêà (á) è ðàçðàâíèâàíèå (â) ðàñòâîðà:
1 - ãàñèòåëü, 2 - øëàíã, 3 - ñòîÿê, 4 - ïíåâìîðàñòâîðîíàãíåòàòåëü, 5 - êîìïðåññîð, 6 - ðàìà ãàñèòåëÿ, 7 - êàìåðà, 8 - ïàòðóáîê, 9 - ïðàâèëî
Óêëàäêà è ðàçðàâíèâàíèå ðàñòâîðíîé ñìåñè. Ïîñëå âûâåðêè ðååê îñíîâàíèå îáèëüíî ñìà÷èâàþò âîäîé áåç ïðîïóñêîâ â ïîëèâêå è îáðàçîâàíèÿ ëóæ. Çàòåì îñíîâàíèå ãðóíòóþò öåìåíòíûì ìîëîêîì ñîñòàâà 1:1 (öåìåíò : âîäà). Ïðè áîëüøèõ îáúåìàõ ðàáîò ðàñòâîðíóþ ñìåñü ïîäàþò ê ìåñòó óêëàäêè ñ ïîìîùüþ óñòàíîâêè (ðèñ. 56). Ðàìó ãàñèòåëÿ 6 óñòàíàâëèâàþò ìåæäó ìàÿ÷íûìè ðåéêàìè. Ðàñòâîðíàÿ ñìåñü ïî øëàíãó 2 ïîäàåòñÿ ÷åðåç ïàòðóáîê 8 â êàìåðó 7. Ïåðåäâèãàÿ ãàñèòåëü, ðàñòâîð óêëàäûâàþò â ïîëîñû-çàõâàòêè ìåæäó ìàÿ÷íûìè ðåéêàìè è ðàçðàâíèâàþò âäîëü çàõâàòêè íà òîëùèíó óëîæåííûõ ìàÿêîâ (ðååê). Çàòåì ñëîé óëîæåííîé ðàñòâîðíîé ñòÿæêè âûðàâíèâàþò ãðåáêîì íà äëèííîé ðó÷êå èëè ïðàâèëîì 9, ïåðåäâèãàåìûì ïî ìàÿ÷íûì ðåéêàì áåç çàãëàæèâàíèÿ è çàòèðêè ïîâåðõíîñòè.
Ðàñòâîðíóþ ïðîñëîéêó íà÷èíàþò óêëàäûâàòü îò ñòåíû, ïðîòèâîïîëîæíîé âõîäó â ïîìåùåíèå. Ðàñòâîðîì çàïîëíÿþò ïîëîñû-çàõâàòêè ÷åðåç îäíó.
Ñíÿòèå ìàÿ÷íûõ ðååê è çàäåëêà áîðîçä. Çàâåðøèâ óêëàäêó ðàñòâîðà ïðîñëîéêè â íå÷åòíûõ ïîëîñàõ-çàõâàòêàõ, ÷åðåç ñóòêè ñíèìàþò ìàÿ÷íûå ðåéêè. Êðîìêè óëîæåííûõ ïîëîñ ïðîìûâàþò âîäîé è îãðóíòîâûâàþò öåìåíòíûì ìîëîêîì. Çàòåì óêëàäûâàþò ðàñòâîð â ÷åòíûå ïîëîñû-çàõâàòêè.  êà÷åñòâå ìàÿêîâ ñëóæàò óëîæåííûå ðàíåå ïîëîñû-çàõâàòêè.
 íåáîëüøèõ ïîìåùåíèÿõ ïîäñòèëàþùóþ ïðîñëîéêó óêëàäûâàþò ïî âñåé ïëîùàäè. Ïðè ýòîì ìàÿ÷íûå ðåéêè èçâëåêàþò, à îáðàçîâàâøèåñÿ áîðîçäû çàäåëûâàþò ðàñòâîðîì òîé æå ìàðêè.
Êîíòðîëü êà÷åñòâà. Òî÷íîñòü óñòàíîâêè ìàÿ÷íûõ ðååê èëè òðóá êîíòðîëèðóþò ðåéêîé è óðîâíåì. Óëîæåííàÿ ïðîñëîéêà ïîä ìîçàè÷íûå ïîëû äîëæíà îòâå÷àòü ñëåäóþùèì òðåáîâàíèÿì: áûòü ãîðèçîíòàëüíîé; íàõîäèòüñÿ íà çàäàííîé îòìåòêå; èìåòü øåðîõîâàòóþ ïîâåðõíîñòü è ïðîåêòíóþ òîëùèíó; áûòü áåç çàìåòíûõ íåðîâíîñòåé, áóãðîâ è âïàäèí.
Ïðîñâåòû ìåæäó óëîæåííîé ïîâåðõíîñòüþ ïðîñëîéêè è äâóõìåòðîâîé êîíòðîëüíîé ðåéêîé, ïðèêëàäûâàåìîé âî âñåõ íàïðàâëåíèÿõ, íå äîëæíû ïðåâûøàòü 10 ìì; îòêëîíåíèå ïî òîëùèíå ïðîñëîéêè äîïóñêàåòñÿ íå áîëåå ± 10 % îò ïðîåêòíîé; îòêëîíåíèå îò çàäàííîãî óêëîíà íà ó÷àñòêàõ äëèíîé 1 ì íå äîëæíî ïðåâûøàòü ± 25 % îò çàäàííîãî íàïðàâëåíèÿ.
Òðóäîâûå çàòðàòû. Íîðìà âðåìåíè íà óñòðîéñòâî 1 ì2 ïîäñòèëàþùåé ïðîñëîéêè ïîä ìîçàè÷íûå ïîêðûòèÿ - 0,23 ÷åë-÷. Íîðìà âûðàáîòêè íà 1 ÷åë-äí - 34,8 ì2.
Òåõíèêà áåçîïàñíîñòè. Ó÷àùèåñÿ, óêëàäûâàþùèå ðàñòâîðíóþ ñòÿæêó, äîëæíû ðàáîòàòü â ñïåöîäåæäå, çàùèòíûõ î÷êàõ è ðåñïèðàòîðå.
Êîíòðîëüíûå âîïðîñû. Êîãäà íà÷èíàþò óêëàäêó ïîäñòèëàþùåé ïðîñëîéêè ïîä ìîçàè÷íûå ïîêðûòèÿ?  êàêîé ïîñëåäîâàòåëüíîñòè óêëàäûâàþò ðàñòâîðíóþ ïðîñëîéêó â ïîëîñû-çàõâàòêè? Êàêóþ òîëùèíó èìååò ïîäñòèëàþùàÿ ïðîñëîéêà ïîä ìîçàè÷íûå ïîêðûòèÿ? Êàêèå òåõíîëîãè÷åñêèå îïåðàöèè ïðåäøåñòâóþò óêëàäêå ïîäñòèëàþùåé ïðîñëîéêè? Çà÷åì óâëàæíÿþò îñíîâàíèå ïåðåä óêëàäêîé ïîäñòèëàþùåé ïðîñëîéêè? Êàêèå ïðàâèëà òåõíèêè áåçîïàñíîñòè äîëæíû ñîáëþäàòüñÿ ïðè óñòðîéñòâå ïîäñòèëàþùåé ïðîñëîéêè?
Ñîñòàâ òåõíîëîãè÷åñêèõ îïåðàöèé. Ïðîâåðêà êîíôèãóðàöèè ïîìåùåíèÿ â ïëàíå; ðàçáèâêà è çàêðåïëåíèå ðèñóíêà ïîêðûòèÿ; âûâåðêà è çàêðåïëåíèå ðàìîê äëÿ íàáèâêè ðèñóíêà.
Èíñòðóìåíòû, ïðèñïîñîáëåíèÿ, èíâåíòàðü. Ðó÷íàÿ òåëåæêà ñî ñìåííûìè êîíòåéíåðàìè äëÿ ðàñòâîðà; ñòàëüíûå øòûðè; ìîëîòîê; ðàìêè; øàáëîíû; êëèíüÿ; ðàñïîðêè äëÿ çàêðåïëåíèÿ ðèñóíêà ïîêðûòèÿ; ïëèòî÷íàÿ ëîïàòêà; ðàñòâîðíàÿ ëîïàòà; ðàçìåòî÷íûé øíóð; ðóëåòêà; ñêëàäíîé ìåòð; ïðàâèëî è óðîâåíü; äåðåâÿííàÿ èëè ðåçèíîâàÿ êèÿíêà; êèñòü ìî÷àëüíàÿ - îêàìåëîê; âåäðà; ìàÿ÷íûå ðåéêè ñ îòôóãîâàííîé âåðõíåé êðîìêîé.
Ìàòåðèàëû. Öåìåíòíûé ðàñòâîð ìàðêè 150 ïîäâèæíîñòüþ 2…3 ñì.
Ñõåìà îðãàíèçàöèè ðàáî÷åãî ìåñòà. Ïîâåðõíîñòü ïîäñòèëàþùåé ïðîñëîéêè äîëæíà áûòü î÷èùåíà îò ñòðîèòåëüíîãî ìóñîðà è ãðÿçè. Ó âõîäà â ïîìåùåíèå ðàñêëàäûâàþò ìàÿ÷íûå ðåéêè ñ îòôóãîâàííîé âåðõíåé êðîìêîé, øàáëîíû, ðàñïîðêè, êëèíüÿ è ñìåííóþ òàðó äëÿ ðàñòâîðà.
Ïîñëåäîâàòåëüíîñòü âûïîëíåíèÿ òåõíîëîãè÷åñêèõ îïåðàöèé. Ê ðàáîòå ïðèñòóïàþò ïîñëå òâåðäåíèÿ ðàñòâîðà ïðîñëîéêè.
Ïðîâåðêà êîíôèãóðàöèè ïîêðûòèÿ. Ôîðìó ïîêðûòèÿ êîíòðîëèðóþò ïðè÷àëüíûì øíóðîì, íàòÿíóòûì èç ïðîòèâîïîëîæíûõ óãëîâ ïîìåùåíèÿ. Ïðè ðàâíûõ äèàãîíàëÿõ êîíôèãóðàöèÿ îñíîâàíèÿ ïðÿìîóãîëüíàÿ; åñëè äèàãîíàëè íå ðàâíû - íåïðÿìîóãîëüíàÿ. Ýòîò äåôåêò ïîêðûòèÿ èñïðàâëÿþò çà ñ÷åò ôðèçà.
Ðóëåòêîé èçìåðÿþò ïðîòèâîïîëîæíûå êîðîòêèå ñòîðîíû îñíîâàíèÿ; èõ ñåðåäèíó çàêðåïëÿþò øòûðÿìè. Ìåæäó øòûðÿìè íàòÿãèâàþò øíóð, ôèêñèðóþùèé îñü ïîêðûòèÿ. Ïðèëîæèâ ðåéêó Áîëîòèíà 1 (ðèñ. 57) âäîëü íàòÿíóòîãî øíóðà, ìåëîì íàìå÷àþò øèðèíó ôðèçà. Íàïðàâëåíèå âíóòðåííåé ñòîðîíû ôðèçà îïðåäåëÿþò äåðåâÿííûì óãîëüíèêîì 3 îòíîñèòåëüíî ïðîäîëüíîé îñè. Âíóòðåííèå óãëû ôðèçà çàêðåïëÿþò ñòàëüíûìè øòûðÿìè 5.  ðåçóëüòàòå íåïðÿìîóãîëüíîñòü áóäåò ñêðûòà ïðÿìîóãîëüíîé ôîðìîé ïîëÿ ôîíà.

Ðèñ. 57. Ðàçìåòêà ôðèçà â ïîìåùåíèÿõ ñ íåïðÿìîóãîëüíîé êîíôèãóðàöèåé îñíîâàíèÿ:
1 - ðåéêà Áîëîòèíà, 2 - ëèíèÿ ôðèçà, 3 - óãîëüíèê, 4 - øíóð, 5 - øòûðü
Ðàçáèâêà è çàêðåïëåíèå ðèñóíêà ïîêðûòèÿ. Ïîñëå ðàçìåòêè ôðèçà 2 (ðèñ. 58) íà ïîâåðõíîñòü îñíîâàíèÿ íàíîñÿò öâåòíûìè ìåëêàìè ðèñóíîê ïîêðûòèÿ, ïðåäóñìîòðåííûé ïðîåêòîì. Â ñîîòâåòñòâèè ñ ðàçìåòêîé ðàñêëàäûâàþò ðàìêè 8 äëÿ íàáèâêè ðàñòâîðà. Ïî ãðàíèöå ôðèçà óêëàäûâàþò ðåéêè, çàêðåïëÿÿ èõ ðàñïîðêàìè 7.
Âûâåðêà ðàìîê. Ïî ÷åðòå, ôèêñèðóþùåé âåðõíèé óðîâåíü ìîçàè÷íîãî ïîêðûòèÿ, ðåéêîé è óðîâíåì êîíòðîëèðóþò ïîëîæåíèå ðàìîê äëÿ íàáèâêè ðàñòâîðà. Âåðõíÿÿ êðîìêà ðàìîê äîëæíà áûòü â óðîâíå ëèöåâîãî ïîêðûòèÿ.  õîäå âûâåðêè ðàìêè è ôðèçîâûå ðåéêè ïðèïîäíèìàþò èëè îñàæèâàþò. Îò ãîðèçîíòàëüíîãî ñìåùåíèÿ èõ óäåðæèâàþò ðàñïîðêè ñ êëèíüÿìè.
Êîíòðîëü êà÷åñòâà. Ðàçáèâêà ïîêðûòèÿ äîëæíà ñîîòâåòñòâîâàòü çàäàííîìó ðèñóíêó. Ãîðèçîíòàëüíîñòü ôðèçîâûõ ðååê è ðàìîê êîíòðîëèðóþò äâóõìåòðîâîé ðåéêîé ñ óðîâíåì, ïðèêëàäûâàåìîé â ðàçëè÷íûõ íàïðàâëåíèÿõ; ïîëîæåíèå ïóçûðüêà â íóëü-ïóíêòå óðîâíÿ ñîîòâåòñòâóåò ãîðèçîíòàëüíîñòè óëîæåííûõ ðååê è ðàìîê äëÿ íàáèâêè ðèñóíêà.
Òðóäîâûå çàòðàòû. Íîðìà âðåìåíè íà 1 ì2 ðàçáèâêè è çàêðåïëåíèÿ íåñëîæíîãî ïðÿìîëèíåéíîãî ðèñóíêà ïîêðûòèÿ - 0,24 ÷åë-÷, ñëîæíîãî - 0,3 ÷åë-÷; íîðìà âûðàáîòêè íà 1 ÷åë-äí ñîîòâåòñòâåííî 33,3 è 26,6 ì2.

Ðèñ. 58. Ðàçáèâêà è çàêðåïëåíèå ðèñóíêà ìîçàè÷íîãî ïîêðûòèÿ: à - ðàçìåòêà ðèñóíêà íà ïîâåðõíîñòè ïðîñëîéêè, á - óñòàíîâêà ôðèçîâûõ ðååê è íàáèâíûõ ðàìîê; 1 - êâàäðàòû (áåëîãî èëè äðóãîãî öâåòà), 2 - ôðèç, 3 - ôîí, 4 - ôðèçîâàÿ ðåéêà, 5 - îòìåòêà óðîâíÿ ïîêðûòèÿ ïîëà, 6 - ñòðîèòåëüíûé óðîâåíü ñ ðåéêîé, 7 - ðàñïîðêà ñ êëèíüÿìè, 8 - ðàìêè äëÿ íàáèâêè êâàäðàòîâ, 9 - óãîëüíèê; I - III - ïîñëåäîâàòåëüíîñòü óêëàäêè ìîçàè÷íîãî ðàñòâîðà
Òåõíèêà áåçîïàñíîñòè. Ìàÿ÷íûå ðåéêè, ðàìêè óñòàíàâëèâàþò â ðóêàâèöàõ. Ïðè çàáèâêå øòûðåé íàäåâàþò çàùèòíûå î÷êè.
Êîíòðîëüíûå âîïðîñû. Êàêèå òåõíîëîãè÷åñêèå îïåðàöèè íåîáõîäèìû äëÿ ðàçìåòêè è çàêðåïëåíèÿ ðèñóíêà ïîä ìîçàè÷íûå ïîëû? Êàê ïðîâåðèòü êîíôèãóðàöèþ îñíîâàíèÿ ïîä ïîëû? Êàê âûïîëíÿþò ðàçáèâêó ðèñóíêà ïîêðûòèÿ, åñëè îñíîâàíèå èìååò íåïðÿìîóãîëüíóþ êîíôèãóðàöèþ? Ïîñëå êàêîé òåõíîëîãè÷åñêîé îïåðàöèè âûïîëíÿþò ðàçáèâêó ðèñóíêà ìîçàè÷íîãî ïîêðûòèÿ? Êàê óñòàíàâëèâàþò ðåéêè è øàáëîíû äëÿ íàáèâêè ìîçàè÷íîãî ðèñóíêà? Êàêèå ïðàâèëà òåõíèêè áåçîïàñíîñòè ñîáëþäàþò ïðè ðàçáèâêå è çàêðåïëåíèè ðèñóíêà ìîçàè÷íîãî ïîêðûòèÿ?
Ñîñòàâ òåõíîëîãè÷åñêèõ îïåðàöèé. Óñòàíîâêà è âûâåðêà ìàÿêîâ; óêëàäêà è ðàçðàâíèâàíèå ìîçàè÷íîãî ëèöåâîãî ñëîÿ ïîêðûòèÿ; óïëîòíåíèå ìîçàè÷íîãî ñîñòàâà; ñíÿòèå ìàÿ÷íûõ ðååê è óêëàäêà ìîçàè÷íîãî ðàñòâîðà â ñìåæíûå ïîëîñû-çàõâàòêè.
Ìåõàíèçìû, èíñòðóìåíòû, ïðèñïîñîáëåíèÿ, èíâåíòàðü. Âèáðîðåéêà èëè âèáðàòîð; ýëåêòðîùåòêà. Ñòàëüíàÿ è âîëîñÿíàÿ ùåòêè; âåäðà; ñòàëüíûå øòûðè; ìîëîòîê; ìàÿ÷íûå ðåéêè; ïëèòî÷íàÿ ëîïàòêà; ðàñòâîðíàÿ ëîïàòà; ðàçìåòî÷íûé øíóð; ðóëåòêà; ñêëàäíîé ìåòð; äåðåâÿííûé óãîëüíèê; ïðàâèëî è óðîâåíü; êèÿíêà äåðåâÿííàÿ èëè ðåçèíîâàÿ; òðàìáîâêà; òåëåæêà ñî ñìåííûìè êîíòåéíåðàìè äëÿ ðàñòâîðà.
Ìàòåðèàëû. Ìîçàè÷íûé ðàñòâîð çàäàííîãî ñîñòàâà, ïðî÷íîñòè è öâåòà ïîäâèæíîñòüþ 2 ñì. Ïîëîñêè èç òîëÿ èëè ðóáåðîèäà.
Ñõåìà îðãàíèçàöèè ðàáî÷åãî ìåñòà. Ïîìåùåíèå, ãäå óêëàäûâàþò ëèöåâîé ñëîé ìîçàè÷íîãî ïîêðûòèÿ, äîëæíî áûòü îñâîáîæäåíî îò ïîñòîðîííèõ ïðåäìåòîâ. Äëèíà ýëåêòðîêàáåëåé è ìåñòà ïîäêëþ÷åíèÿ ìåõàíèçìîâ äîëæíû îáåñïå÷èòü âîçìîæíîñòü óïëîòíåíèÿ ìîçàè÷íîé ñìåñè ïî âñåé ïëîùàäè ïîìåùåíèÿ.
Ïîñëåäîâàòåëüíîñòü âûïîëíåíèÿ òåõíîëîãè÷åñêèõ îïåðàöèé. Ðàáîòû íà÷èíàþò ïîñëå íàáîðà ïðî÷íîñòè óëîæåííîé ïðîñëîéêè.
Óñòàíîâêà è âûâåðêà ìàÿêîâ. Âäîëü äëèííûõ ñòîðîí ïîìåùåíèÿ ðóëåòêîé ðàçìå÷àþò ïîëîñû-çàõâàòêè øèðèíîé 1,5 ì äëÿ óñòàíîâêè ìàÿêîâ.  êà÷åñòâå ìàÿêîâ èñïîëüçóþò äåðåâÿííûå ðåéêè 1 (ðèñ. 59) èëè ñòàëüíûå òðóáû. Ìàÿêè íà÷èíàþò óñòàíàâëèâàòü îò ñòåíû, ãäå âûíåñåíà îòìåòêà âåðõíåãî ïîêðûòèÿ ïîëà. Ïîëîæåíèå ìàÿêîâ â ïëàíå è ïî âûñîòå çàêðåïëÿþò ðàñòâîðíûìè ìàðêàìè 2. Òî÷íîñòü óñòàíîâêè ìàÿêîâ êîíòðîëèðóþò ðåéêîé 3 ñ óðîâíåì. Ïðè íåîáõîäèìîñòè ìàÿêè âòàïëèâàþò â ðàñòâîðíûå ìàðêè èëè, íàîáîðîò, ïðèïîäíèìàþò, äîáàâëÿÿ ðàñòâîð.
Óêëàäêà è ðàçðàâíèâàíèå ìîçàè÷íîé ñìåñè ëèöåâîãî ñëîÿ ïîêðûòèÿ. Äî óêëàäêè ìîçàè÷íîé ñìåñè ïîâåðõíîñòü ïðîñëîéêè ñìà÷èâàþò âîäîé è îãðóíòîâûâàþò öåìåíòíûì ìîëîêîì (ðèñ. 60, à).

Ðèñ. 59. Óñòàíîâêà ìàÿ÷íûõ ðååê:
1 - ìàÿ÷íûå ðåéêè, 2 - ðàñòâîðíûå ìàðêè, 3 - ðåéêà ñ óðîâíåì

Ðèñ. 60. Óêëàäêà ìîçàè÷íîé ñìåñè:
à - îãðóíòîâêà îñíîâàíèÿ, á - ïîñëåäîâàòåëüíîñòü (I - VIII) óêëàäêè ìîçàè÷íîé ñìåñè
Íà÷èíàþò óêëàäûâàòü ìîçàè÷íóþ ñìåñü îò ñòåíû, ïðîòèâîïîëîæíîé âõîäó â ïîìåùåíèå, ïîëîñàìè-çàõâàòêàìè øèðèíîé 1,5 ì, îãðàíè÷åííûìè ìàÿ÷íûìè ðåéêàìè. Ïîëîñû çàïîëíÿþò ðàñòâîðîì ÷åðåç îäíó (ðèñ. 60, á).  ïîëîñàõ-çàõâàòêàõ, ïðèìûêàþùèõ ê ñòåíàì, óêëàäûâàþò ïîëîñêè òîëÿ, ïðèæèìàÿ èõ ðàñòâîðíûìè ëåïêàìè, Ìîçàè÷íóþ ñìåñü óêëàäûâàþò íåñêîëüêî âûøå âåðõà ìàÿ÷íûõ ðååê, ðàçðàâíèâàþò ëîïàòîé è ïðîâåðÿþò ïðàâèëîì. ×òîáû íå ñìåùàòü êðîøêó êðóïíîé ôðàêöèè, ñìåñü íå ðàçðàâíèâàþò ïðàâèëîì.  ïîíèæåííûå ìåñòà äîáàâëÿþò ìîçàè÷íóþ ñìåñü, ðàçðàâíèâàÿ åå ðàñòâîðíîé ëîïàòêîé (ðèñ. 61).

Ðèñ. 61. Âûðàâíèâàíèå ìîçàè÷íîé ñìåñè â ïîëîñàõ-çàõâàòêàõ ðàñòâîðíîé ëîïàòêîé
Óïëîòíåíèå ìîçàè÷íîãî ñîñòàâà. Âèáðîðåéêó óñòàíàâëèâàþò íà ìàÿ÷íûå ðåéêè ïîïåðåê ïîëîñû (ðèñ, 62, à), ÷òîáû åå êîíöû îïèðàëèñü íà ìàÿ÷íûå ðåéêè, è ìåäëåííî ïåðåäâèãàþò äî ïîÿâëåíèÿ íà ïîâåðõíîñòè öåìåíòíîãî ìîëîêà.
 ïîìåùåíèÿõ íåáîëüøîé ïëîùàäè èëè â ñòåñíåííûõ ìåñòàõ ìîçàè÷íóþ ñìåñü óïëîòíÿþò êàòêîì (ðèñ. 62, á) èëè ìåòàëëè÷åñêîé òðàìáîâêîé. Èçëèøêè öåìåíòíîãî ìîëîêà ñ ïîâåðõíîñòè óäàëÿþò êèñòüþ-ìàêëîâèöåé (ðèñ. 62, â).
Ïðî÷íîñòü ïîêðûòèÿ çàâèñèò îò êà÷åñòâà óïëîòíåíèÿ ìîçàè÷íîé ñìåñè.
Ñíÿòèå ìàÿ÷íûõ ðååê è óêëàäêà ìîçàè÷íîãî ðàñòâîðà â ñìåæíûå ïîëîñû-çàõâàòêè. Ïîñëå òâåðäåíèÿ óëîæåííîé ñìåñè (÷åðåç 1 ñóò.) ìàÿ÷íûå ðåéêè èëè òðóáû îñòîðîæíî óäàëÿþò. Êðîìêè óëîæåííûõ ïîëîñ è îñíîâàíèå (ìåæäó ñîñåäíèìè ïîëîñàìè) ñìà÷èâàþò âîäîé è îãðóíòîâûâàþò öåìåíòíûì ìîëîêîì, ïîñëå ÷åãî óêëàäûâàþò ìîçàè÷íûé ðàñòâîð. Óëîæåííóþ ñìåñü ðàçðàâíèâàþò ïëèòî÷íîé ëîïàòêîé. Ãîðèçîíòàëüíîñòü âûðîâíåííîãî ðàñòâîðà êîíòðîëèðóþò ïðàâèëîì, îïèðàåìûì íà óëîæåííûå ðàíåå ïîëîñû. Ìîçàè÷íûé ðàñòâîð, óëîæåííûé ìåæäó ñìåæíûìè ïîëîñàìè, óïëîòíÿþò âèáðîðåéêîé èëè ïîâåðõíîñòíûì âèáðàòîðîì. Óïëîòíåíèå ïðîäîëæàþò äî ïîÿâëåíèÿ íà ïîâåðõíîñòè öåìåíòíîãî ìîëîêà, èçëèøêè êîòîðîãî óäàëÿþò ñ ïîâåðõíîñòè ñ ïîìîùüþ ñîâêà è êèñòí-ìàêëîâèöû.

Ðèñ. 62. Óïëîòíåíèå ìîçàè÷íîé ñìåñè:
à - âèáðîðåéêîé, á - êàòêîì, â - óäàëåíèå èçëèøêîâ öåìåíòíîãî ìîëîêà
Êîíòðîëü êà÷åñòâà. Âíåøíèì îñìîòðîì óëîæåííîãî ïîêðûòèÿ ïðîâåðÿþò ðàâíîìåðíîñòü çàïîëíåíèÿ ëèöåâîãî ñëîÿ ìðàìîðíîé êðîøêîé, îòñóòñòâèå ïîòåêîâ öåìåíòíîãî ìîëîêà, çàêðûâàþùåãî êðîøêó.  ìåñòàõ ïðèìûêàíèÿ ê ñòåíàì, êîëîííàì äîëæíû áûòü ïðîêëàäêè èç òîëÿ èëè ðóáåðîèäà, ïðåäóïðåæäàþùèå ïîÿâëåíèå òðåùèí â ïîêðûòèè.
Òðóäîâûå çàòðàòû. Íîðìà âðåìåíè íà óñòðîéñòâî 1 ì îäíîöâåòíîãî (ìîíîëèòíîãî) ìîçàè÷íîãî ïîêðûòèÿ - 0,7 ÷åë-÷; íîðìà âûðàáîòêè íà 1 ÷åë-äí - 11,4 ì2.
Òåõíèêà áåçîïàñíîñòè. Ê ðàáîòå ñ ïîâåðõíîñòíûì âèáðàòîðîì, âèáðîðåéêîé, ýëåêòðîùåòêîé äîïóñêàþòñÿ ëèöà, ïðîøåäøèå ïðàêòè÷åñêîå îáó÷åíèå è èíñòðóêòàæ ïî òåõíèêå áåçîïàñíîñòè. Ðàáîòó âûïîëíÿþò â ðåçèíîâûõ ïðîòèâîâèáðàöèîííûõ ïåð÷àòêàõ è ðåçèíîâîé îáóâè. ×åðåç êàæäûå 30 ìèí ðàáîòû âèáðàòîð âûêëþ÷àþò íà 5...7 ìèí äëÿ îõëàæäåíèÿ. Çàïðåùåíî ïåðåìåùàòü âèáðàòîð çà øëàíãîâûé ïðîâîä èëè êàáåëü.
Êîíòðîëüíûå âîïðîñû. Êàê óêëàäûâàþò ìàÿ÷íûå ðåéêè òðàïåöèåâèäíîãî ñå÷åíèÿ ïðè óñòðîéñòâå ëèöåâîãî ñëîÿ ìîçàè÷íûõ ïîëîâ?  êàêèõ ñëó÷àÿõ èñïîëüçóþò ýëåêòðîùåòêó äî óêëàäêè ëèöåâîãî ñëîÿ ìîçàè÷íîãî ïîêðûòèÿ? Ãäå óêëàäûâàþò ïðîêëàäêè èç ðóáåðîèäà, ïðåäóïðåæäàþùèå ïîÿâëåíèå òðåùèí? Èç êàêèõ òåõíîëîãè÷åñêèõ îïåðàöèé ñîñòîèò óêëàäêà ìîçàè÷íîé ñìåñè? Êàêèå ïðàâèëà òåõíèêè áåçîïàñíîñòè íåîáõîäèìî âûïîëíÿòü ïðè ðàáîòå ñ âèáðàòîðîì?
Ñîñòàâ òåõíîëîãè÷åñêèõ îïåðàöèé. Óêëàäêà ìîçàè÷íîé ñìåñè (öâåòíîé) â ôðèçîâûå ïîëîñû; íàáèâêà êâàäðàòîâ ìåæäó ðàìêàìè ìîçàè÷íîé ñìåñüþ (äðóãîãî öâåòà); óäàëåíèå ìàÿ÷íûõ ðååê è ðàìîê; óêëàäêà ìîçàè÷íîé ñìåñè â áîðîçäû ìåæäó êâàäðàòàìè.
Ìåõàíèçìû, èíñòðóìåíòû, ïðèñïîñîáëåíèÿ, èíâåíòàðü. Âèáðîðåéêà èëè ïîâåðõíîñòíûé âèáðàòîð; ïûëåñîñ. Ìåòàëëè÷åñêàÿ òðàìáîâêà; ñòàëüíàÿ ãëàäèëêà; ðàñòâîðíàÿ ëîïàòà; ìîëîòîê; ñêàðïåëü; ñêðåáîê; ñòàëüíàÿ ùåòêà; ïðàâèëî è óðîâåíü; êèñòü-ìàêëîâèöà; ñîâîê; ùåòêà; ëåéêà; âåäðà; òåëåæêà ñî ñìåííûìè êîíòåéíåðàìè äëÿ ðàñòâîðà.
Ìàòåðèàëû. Ìîçàè÷íàÿ ñìåñü ìàðêè íå íèæå 150 ïîäâèæíîñòüþ 2…3 ñì (òðåõöâåòíàÿ). Öåìåíò ìàðêè 400 äëÿ ïðèãîòîâëåíèÿ öåìåíòíîãî ìîëîêà.
Ñõåìà îðãàíèçàöèè ðàáî÷åãî ìåñòà. Ïîìåùåíèå äîëæíî áûòü îñâîáîæäåíî îò ïîñòîðîííèõ ïðåäìåòîâ. Íåîáõîäèìûå èíñòðóìåíòû, ìåõàíèçìû, ïðèñïîñîáëåíèÿ è ìàòåðèàëû ðàñïîëàãàþò â íåïîñðåäñòâåííîé áëèçîñòè îò ðàáî÷åãî ìåñòà. Äëèíà ýëåêòðîêàáåëåé äîëæíà îáåñïå÷èâàòü âîçìîæíîñòü óïëîòíåíèÿ ñìåñè ïî âñåé ïëîùàäè ïîìåùåíèÿ.
Ïîñëåäîâàòåëüíîñòü âûïîëíåíèÿ òåõíîëîãè÷åñêèõ îïåðàöèé. Óêëàäêà öâåòíîé ìîçàè÷íîé ñìåñè â ôðèçîâûå ïîëîñû. Ïåðåä óêëàäêîé ðàñòâîðà ïîâåðõíîñòü ïðîñëîéêè îáåñïûëèâàþò, ñìà÷èâàþò âîäîé è îãðóíòîâûâàþò öåìåíòíûì ìîëîêîì. Íàáèâêó ìíîãîöâåòíîãî ìîçàè÷íîãî ïîêðûòèÿ íà÷èíàþò ñ ïîëîñ ôðèçà (ðèñ. 63, à). Ìîçàè÷íóþ ñìåñü ïîñëåäîâàòåëüíî óêëàäûâàþò â ïîëîñû ôðèçà ïî ïåðèìåòðó ñòåí ïîìåùåíèÿ. Ìåñòà ïðèìûêàíèÿ ê ñòåíàì îãðàæäàþò ïðîêëàäêàìè èç ðóáåðîèäà.
Óëîæåííóþ ñìåñü ðàçðàâíèâàþò ðàñòâîðíîé ëîïàòîé è âûâåðÿþò ïðàâèëîì. Ïðè ýòîì ñëåäÿò çà ðàâíîìåðíûì ðàñïðåäåëåíèåì ìðàìîðíîé êðîøêè. Çàòåì ìîçàè÷íûé ðàñòâîð óïëîòíÿþò âèáðàòîðîì, óñòàíàâëèâàåìûì ïîïåðåê ïîëîñû, äî ïîÿâëåíèÿ íà ïîâåðõíîñòè öåìåíòíîãî ìîëîêà.
Ïðè âèáðèðîâàíèè ñëåäóþùåãî ó÷àñòêà óïëîòíåííûé ó÷àñòîê ôðèçà ïåðåêðûâàþò âèáðàòîðîì íà 10…15 ñì. Óïëîòíåíèå â óãëàõ è äðóãèõ òðóäíîäîñòóïíûõ ìåñòàõ âûïîëíÿþò òðàìáîâêàìè èëè ðó÷íûìè êàòêàìè. Ñ ïîâåðõíîñòè óïëîòíåííîãî ìîçàè÷íîãî ñëîÿ öåìåíòíîå ìîëîêî óäàëÿþò ñ ïîìîùüþ ñîâêà èëè êèñòè-ìàêëîâèöû.

Ðèñ. 63, Ìíîãîöâåòíîå ìîçàè÷íîå ïîêðûòèå:
à - ïîñëåäîâàòåëüíîñòü íàáèâêè (I - III), á - ãîòîâîå ïîêðûòèå; 1 - óðîâåíü ÷èñòîãî ïîëà, 2 - ëèöåâîé ñëîé ôðèçà, 3 - ðàñïîðêà ñ êëèíüÿìè, 4 - ìàÿ÷íàÿ ðåéêà, 5 - ìàÿ÷íàÿ ðàìêà, 6 - ëèöåâîé ñëîé íàáèòîãî êâàäðàòà, 7 - ïðîêëàäêà èç ðóáåðîèäà ïî ïåðèìåòðó ñòåí
Íàáèâêà êâàäðàòîâ ìåæäó ðàìêàìè ìîçàè÷íîé ñìåñüþ äðóãîãî öâåòà (ñì. êàðòó 20). Óëîæåííûå ðàìêè îáðàçóþò ïðÿìîóãîëüíûå êâàäðàòû, â êîòîðûå íàáèâàþò ìîçàè÷íóþ ñìåñü, îòëè÷àþùóþñÿ öâåòîì îò ñìåñè, óëîæåííîé âî ôðèçîâûõ ïîëîñàõ.
Ïåðåä óêëàäêîé ñìåñè ïîâåðõíîñòü ïðîñëîéêè â ÿ÷åéêàõ êâàäðàòîâ ñìà÷èâàþò âîäîé è îãðóíòîâûâàþò öåìåíòíûì ìîëîêîì.
Ìîçàè÷íóþ ñìåñü íà÷èíàþò óêëàäûâàòü ñî ñòîðîíû, ïðîòèâîïîëîæíîé âõîäó â ïîìåùåíèå. Ñìåñü â ÿ÷åéêå êâàäðàòà ñíà÷àëà ðàçðàâíèâàþò ëîïàòêîé ïëèòî÷íèêà 1 (ðèñ. 64). Ïðè ýòîì ðàñòâîð äîëæåí áûòü íåñêîëüêî âûøå óðîâíÿ ðàìîê. Çàòåì ñìåñü óïëîòíÿþò ìåòàëëè÷åñêèìè 2 èëè äåðåâÿííûìè òðàìáîâêàìè äî ïîÿâëåíèÿ íà ïîâåðõíîñòè öåìåíòíîãî ìîëîêà. Óäàëèâ öåìåíòíîå ìîëîêî, ïîâåðõíîñòü óïëîòíåííîãî ðàñòâîðà çàãëàæèâàþò êðóãîâûìè äâèæåíèÿìè ñ ïîìîùüþ ñòàëüíûõ ãëàäèëîê 3.

Ðèñ. 64. Òåõíîëîãèÿ íàáèâêè ìîçàè÷íîãî ïîêðûòèÿ:
1 - ðàçðàâíèâàíèå ñìåñè ëîïàòêîé, 2 - óïëîòíåíèå ìåòàëëè÷åñêîé òðàìáîâêîé, 3 - çàãëàæèâàíèå ñòàëüíîé ãëàäèëêîé
Óäàëåíèå ìàÿ÷íûõ ðååê è ðàìîê. ×åðåç 18…24 ÷, êîãäà óëîæåííàÿ ìîçàè÷íàÿ ñìåñü â ïîëîñàõ ôðèçà è â êâàäðàòàõ ôîíà ïðèîáðåòåò äîñòàòî÷íóþ ïðî÷íîñòü, ïðèñòóïàþò ê ðàçáîðêå ìàÿ÷íûõ ðååê è ðàìîê. Èõ îñòîðîæíî óäàëÿþò ñ ïîìîùüþ ìîëîòêà è ñêàðïåëÿ.
Óêëàäêà ìîçàè÷íîé ñìåñè â áîðîçäû ìåæäó êâàäðàòàìè. Ïîñëå óäàëåíèÿ ðååê è ðàìîê áîðîçäû, íåçàïîëíåííûå ìîíîëèòíûì ðàñòâîðîì, î÷èùàþò îò ìóñîðà è ïûëè. Ïîñëå ýòîãî ïîâåðõíîñòü ïðîñëîéêè è êðîìêè êâàäðàòîâ óâëàæíÿþò âîäîé, îãðóíòîâûâàþò öåìåíòíûì ìîëîêîì è çàïîëíÿþò ðàñòâîðîì.
Ìîçàè÷íóþ ñìåñü, óëîæåííóþ â áîðîçäû ìåæäó çàòâåðäåâøèìè êâàäðàòàìè, ðàçðàâíèâàþò, óïëîòíÿþò âèáðàòîðîì äî îáðàçîâàíèÿ íà ïîâåðõíîñòè öåìåíòíîãî ìîëîêà. Çàòåì öåìåíòíîå ìîëîêî óäàëÿþò, à áîðîçäû çàãëàæèâàþò ñòàëüíûìè ãëàäèëêàìè.
Êîíòðîëü êà÷åñòâà. Äåêîðàòèâíîñòü ìíîãîöâåòíûõ ìîçàè÷íûõ ïîêðûòèé çàâèñèò îò ðàöèîíàëüíîãî ïîäáîðà èñõîäíûõ ìàòåðèàëîâ, èõ êîëè÷åñòâåííîãî ñîîòíîøåíèÿ è êà÷åñòâåííûõ ïîêàçàòåëåé (ïðî÷íîñòü, çåðíîâîé ñîñòàâ, êîíòðàñòíîñòü). Ãîòîâîå ïîêðûòèå äîëæíî èìåòü ãëàäêóþ, ãîðèçîíòàëüíóþ ïîâåðõíîñòü ñ ðàâíîìåðíûì ðàñïðåäåëåíèåì ïî âñåé ïëîùàäè êàìåííîé êðîøêè. Ðèñóíîê è öâåò ïîêðûòèÿ äîëæíû ñîîòâåòñòâîâàòü ïðîåêòíîìó.
Ìíîãîöâåòíîå ìîçàè÷íîå ïîêðûòèå òðóäíî ïîääàåòñÿ ðåìîíòó è óñòðàíåíèþ äîïóùåííûõ äåôåêòîâ, ïîýòîìó íåîáõîäèìî ïîñòîÿííî êîíòðîëèðîâàòü âñå îïåðàöèè òåõíîëîãè÷åñêîãî ïðîöåññà è êà÷åñòâåííî âûïîëíÿòü èõ.
Òðóäîâûå çàòðàòû. Íîðìû âðåìåíè íà óñòðîéñòâî 1 ì2 ìíîãîöâåòíîãî ìîçàè÷íîãî ïîêðûòèÿ (áåç æèëîê) ïî ãîòîâîé ïîäñòèëàþùåé ïðîñëîéêå è íîðìû âûðàáîòêè íà 1 ÷åë-äí ñëåäóþùèå:
|
|
Íîðìû âðåìåíè, ÷åë-÷ |
Íîðìû âûðàáîòêè, ì2 |
|
Î÷èñòêà îñíîâàíèÿ îò ìóñîðà |
0,054 |
148 |
|
Ïðèäàíèå øåðîõîâàòîñòè îñíîâàíèþ ýëåêòðîùåòêîé |
0,057 |
140,3 |
|
Ãðóíòîâàíèå îñíîâàíèé |
0,23 |
34,8 |
|
Óñòðîéñòâî ìîçàè÷íîãî ïîêðûòèÿ ñ ïðÿìîëèíåéíûì ðèñóíêîì èëè ðèñóíêîì â øàøêó |
0,67 |
12 |
Òåõíèêà áåçîïàñíîñòè. Îáåñïûëèâàíèå ïîäñòèëàþùåãî ñëîÿ ïûëåñîñîì èëè âîëîñÿíîé ùåòêîé, óïëîòíåíèå ìîçàè÷íîé ñìåñè ïîâåðõíîñòíûì âèáðàòîðîì âûïîëíÿþò â ðåçèíîâûõ ïåð÷àòêàõ, ðåçèíîâîé îáóâè, çàùèòíûõ î÷êàõ è ðåñïèðàòîðå.
Ê ðàáîòå ñ ìåõàíèçìàìè äîïóñêàþòñÿ ëèöà, ïðîøåäøèå ïðàêòè÷åñêîå îáó÷åíèå è èíñòðóêòàæ íà ðàáî÷åì ìåñòå.
Êîíòðîëüíûå âîïðîñû.  êàêîé ïîñëåäîâàòåëüíîñòè óïëîòíÿþò ìíîãîöâåòíûå ìîçàè÷íûå ïîêðûòèÿ? Èç êàêèõ îïåðàöèé ñîñòîèò óêëàäêà ìîçàè÷íîãî ðàñòâîðà â ôðèçîâûå ïîëîñû? Êàê óêëàäûâàþò ìîçàè÷íûé ðàñòâîð â êâàäðàòû ôîíà ëèöåâîãî ïîêðûòèÿ? Êîãäà ïðèñòóïàþò ê ðàçáîðêå ìàÿ÷íûõ ðååê è ðàìîê ïðè óñòðîéñòâå ìíîãîöâåòíîãî ìîçàè÷íîãî ïîêðûòèÿ? Çà÷åì óäàëÿþò ñ ïîâåðõíîñòè óïëîòíåííîãî ìîçàè÷íîãî ïîêðûòèÿ öåìåíòíîå ìîëîêî? Êàêèå ïðàâèëà òåõíèêè áåçîïàñíîñòè ñîáëþäàþò ïðè óñòðîéñòâå ïîêðûòèÿ?
Ñîñòàâ òåõíîëîãè÷åñêèõ îïåðàöèé. Ðàçìåòêà ðèñóíêà ìîçàè÷íîãî ïîêðûòèÿ; óñòðîéñòâî ìàÿêîâ; ïðîêëàäêà ðàçäåëèòåëüíûõ æèëîê ñ ðèõòîâàíèåì; íàáèâêà, âûðàâíèâàíèå è óïëîòíåíèå ìîçàè÷íîãî ðàñòâîðà.
Ìåõàíèçìû, èíñòðóìåíòû, ïðèñïîñîáëåíèÿ, èíâåíòàðü. Ïûëåñîñ; íàðåç÷èê øâîâ ÌÁ-26 èëè îòðåçîâêà. Íîæíèöû äëÿ ðåçêè ìåòàëëà; äåðåâÿííàÿ èëè ðåçèíîâàÿ êèÿíêà; ðîëèêîâûé ñòåêëîðåç; âîëîñÿíàÿ ùåòêà; ëåéêà; âåäðà; ðåéêà Áîëîòèíà; ðàçìåòî÷íûé øíóð èëè ðóëåòêà; ñêëàäíîé ìåòð; äåðåâÿííûé óãîëüíèê; ïëèòî÷íàÿ ëîïàòêà; ïðàâèëî è óðîâåíü; òðàìáîâêà èëè êàòîê.
Ìàòåðèàëû. Ìîçàè÷íûé ðàñòâîð ïîäâèæíîñòüþ 2…3 ñì çàäàííîãî ñîñòàâà è ïðî÷íîñòè (ìàðêà); æèëêè ìåòàëëè÷åñêèå èëè ñòåêëÿííûå òîëùèíîé 0,8...2 ìì; ãâîçäè äèàìåòðîì 4…5 ìì äëÿ àíêåðîâêè ìåòàëëè÷åñêèõ æèëîê; öâåòíûå ìåëêè.
Ñõåìà îðãàíèçàöèè ðàáî÷åãî ìåñòà (ðèñ. 65). Ïîìåùåíèÿ, ãäå óñòðàèâàþò ìîçàè÷íûå ïîêðûòèÿ, äîëæíû áûòü î÷èùåíû îò ìóñîðà, îñíîâàíèÿ îáðàáîòàíû ýëåêòðîùåòêîé äëÿ ïðèäàíèÿ èì øåðîõîâàòîñòè è îáåñïûëåíû, óðîâåíü ïîëà çàêðåïëåí íà ñòåíàõ ïîìåùåíèÿ.

Ðèñ. 65. Îðãàíèçàöèÿ ðàáî÷åãî ìåñòà ïðè óñòðîéñòâå ìíîãîöâåòíîãî ìîçàè÷íîãî ïîêðûòèÿ ñ ðàçäåëèòåëüíûìè æèëêàìè: 1 - øòàáåëÿ ðàçäåëèòåëüíûõ æèëîê, 2 - ðàçìåòî÷íûå îñè, 3 - ÿùèê ñ ðàáî÷èì èíñòðóìåíòîì, 4 - êîíòðîëüíàÿ ðåéêà, 5 - òåëåæêà ñ ðàñòâîðîì, 6 - âåäðà

Ðèñ. 66. Ðàçìåòêà ðèñóíêà ìîçàè÷íîãî ïîêðûòèÿ:
1 - ïðè÷àëüíûé øíóð, 2 - ëèíèÿ íà âûñîòå 1 ì íàä óðîâíåì ÷èñòîãî ïîëà, 3 - ðèñêè
Ïîñëåäîâàòåëüíîñòü âûïîëíåíèÿ òåõíîëîãè÷åñêèõ îïåðàöèé. Ðàçìåòêà ðèñóíêà ìîçàè÷íîãî ïîêðûòèÿ. Ïîñëå ïðîâåðêè êîíôèãóðàöèè ïîêðûòèÿ ïåðåíîñÿò êîíòóðû ðèñóíêà íà îñíîâàíèå è çàêðåïëÿþò åãî ìåëîì èëè ïðè÷àëüíûì øíóðîì 1 (ðèñ. 66). Ïðè ýòîì ðóëåòêó èëè èçìåðèòåëüíûé øíóð íóæíî óäåðæèâàòü â íàòÿíóòîì ïîëîæåíèè.
Åñëè êîíôèãóðàöèÿ îñíîâàíèÿ èìååò íåïðàâèëüíóþ ôîðìó, òî îïðåäåëÿþò ìåñòî ïîëîæåíèÿ äâóõ âçàèìíî ïåðïåíäèêóëÿðíûõ îñåé îñíîâàíèÿ è îò íèõ âïðàâî è âëåâî âåäóò ðàçìåòêó ïîêðûòèÿ.
Ïî ïåðèìåòðó ïîìåùåíèÿ ðèñêàìè 3 ôèêñèðóþò øàã ìåæäó ðÿäàìè óñòàíàâëèâàåìûõ æèëîê.
Óñòðîéñòâî ìàÿêîâ.  ñîîòâåòñòâèè ñ óðîâíåì ïîëà â äàííîì ïîìåùåíèè ïî ïåðèìåòðó ñòåí íàíîñÿò ëèíèþ 2, íàõîäÿùóþñÿ íà 1 ì âûøå ïîêðûòèÿ. Çàòåì ñòàâÿò ðåïåðíûé ìàÿê (ðèñ. 67, à) íà 1…1.5 ìì âûøå óðîâíÿ ïîêðûòèÿ. Ñ ïîìîùüþ óðîâíÿ è ðåéêè óñòàíàâëèâàþò ôðèçîâûå è ïðîìåæóòî÷íûå ìàÿêè.  êà÷åñòâå âðåìåííûõ ìàÿêîâ ìîãóò áûòü êåðàìè÷åñêèå ïëèòêè, óëîæåííûå íà ñëîé ðàñòâîðà.

Ðèñ. 67. Ïîñëåäîâàòåëüíîñòü óñòàíîâêè ðàçäåëèòåëüíûõ ëèíèé: à - óñòàíîâêà ðåïåðíîãî ìàÿêà, á - âûâåðêà óñòàíîâëåííûõ æèëîê, â - ïðîðåçêà áîðîçäîê, ã - îðãàíèçàöèÿ ðàáîò; 1 - ðåïåðíûé ìàÿê, 2 - ðàçäåëèòåëüíûå æèëêè, 3 - êîíòðîëüíàÿ ðåéêà; 4 - óðîâåíü, 5 - ðàñòâîðíûå ìàðêè, 6 - Ï-îáðàçíûé õîìóòèê, 7 - îòâåðñòèå äëÿ àíêåðíîãî ãâîçäÿ, 8 - áîðîçäêà, 9 - îòðåçîâêà
Óñòàíîâêà ðàçäåëèòåëüíûõ æèëîê. Ïî êîíòóðó ðèñóíêà, îïðåäåëÿþùåãî ìåñòîïîëîæåíèå æèëîê íà ïîâåðõíîñòè ïðîñëîéêè è çàêðåïëåííîãî ìåëîì èëè ïðè÷àëüíûìè øíóðàìè, âñòàâëÿþò æèëêè. Åñëè ðàñòâîð ïðîñëîéêè íå íàáðàë îêîí÷àòåëüíîé ïðî÷íîñòè, îòðåçîâêîé 9 ïðîðåçàþò áîðîçäêè 8, â êîòîðûå âñòàâëÿþò æèëêè. Ïðè çàòâåðäåâøåé ïðîñëîéêå æèëêè óñòàíàâëèâàþò â áîðîçäêè, ñäåëàííûå íàðåç÷èêîì øâîâ, èëè íà ðàñòâîðíûå ìàðêè 5 è âðåìåííî çàêðåïëÿþò Ï-îáðàçíûì õîìóòèêîì 6.  íèæíåé ÷àñòè æèëîê (äëèíîé 1,5 ì) èìåþòñÿ îòâåðñòèÿ 7 äëÿ ãâîçäåé, âûïîëíÿþùèõ ðîëü àíêåðîâ. Ïåðåä óñòàíîâêîé ìåòàëëè÷åñêèå æèëêè ïðè íåîáõîäèìîñòè âûïðàâëÿþò ìîëîòêîì-êèÿíêîé.

Ðèñ. 68. Ïîñëåäîâàòåëüíîñòü íàáèâêè ìîçàè÷íîãî ðàñòâîðà: à - çàïîëíåíèå êâàäðàòîâ ðàñòâîðîì, á - ðàçðàâíèâàíèå ðàñòâîðà, â - îðãàíèçàöèÿ ðîáîò, ã - ãîòîâîå ïîêðûòèå; 1 - çàãëàæèâàíèå ðàñòâîðà ëîïàòêîé, 2 - óïëîòíåíèå ðàñòâîðà òðàìáîâêîé, 3 - çàãëàæèâàíèå ïîâåðõíîñòè ãëàäèëêîé
Óñòàíàâëèâàþò ðàçäåëèòåëüíûå æèëêè ïî óðîâíþ 4 ñ ðåéêîé 3, êîòîðóþ îïèðàþò íà ðåïåðíûé ìàÿê. Âûñîòà æèëîê äîëæíà íà 1…1,5 ìì ïðåâûøàòü òîëùèíó ëèöåâîãî ñëîÿ. Óðîâåíü âåðõíåé êðîìêè âûâåðÿþò ïî óðîâíþ. Âûâåðåííûå ïî âûñîòå æèëêè çàêðåïëÿþò ðàñòâîðíûìè ìàðêàìè, îñàæèâàÿ èëè äîáàâëÿÿ ðàñòâîð. Æèëêè îáðàçóþò æåñòêèé êàðêàñ äëÿ ìîçàè÷íîãî ðàñòâîðà.  ìåñòàõ ïðèìûêàíèÿ ïîëà ê ñòåíàì, êîëîííàì óêëàäûâàþò æèëêè, ïðåäîòâðàùàþùèå äåôîðìàöèþ ïîêðûòèÿ ïðè îñàäêå ñòåí, ïåðåãîðîäîê.
Ïîñëåäîâàòåëüíîñòü íàáèâêè è óïëîòíåíèÿ ìîçàè÷íîãî ðàñòâîðà. Äî óêëàäêè ìîçàè÷íîãî ðàñòâîðà ïîâåðõíîñòü ïðîñëîéêè â êàæäîé ÿ÷åéêå-êâàäðàòå, îãðàíè÷åííîé æèëêàìè, ãðóíòóþò öåìåíòíûì ìîëîêîì.
Ìîçàè÷íûé ðàñòâîð óêëàäûâàþò â ÿ÷åéêó, îáðàçîâàííóþ æèëêàìè (ðèñ. 68, à). Çàòåì ðàñòâîð ðàçðàâíèâàþò ëîïàòêîé (ðèñ. 68, á) è óïëîòíÿþò ìåòàëëè÷åñêîé òðàìáîâêîé 2 (ðèñ. 68, â) äî ïîÿâëåíèÿ íà ïîâåðõíîñòè öåìåíòíîãî ìîëîêà. Ïåðåä ñõâàòûâàíèåì ðàñòâîðà öåìåíòíîå ìîëîêî óäàëÿþò êèñòûî-ìàêëîâèöåé. Ïîñëå ýòîãî ïîâåðõíîñòü çàãëàæèâàþò êðóãîâûìè äâèæåíèÿìè ñ ïîìîùüþ ñòàëüíûõ ãëàäèëîê 3. Òàêèì îáðàçîì, ÿ÷åéêè, îãðàíè÷åííûå æèëêàìè, áóäóò çàïîëíåíû ìîçàè÷íûì ðàñòâîðîì (ðèñ. 68, ã).
Êîíòðîëü êà÷åñòâà. Ìîçàè÷íûå ïîêðûòèÿ ñ ðàçäåëèòåëüíûìè æèëêàìè äîëæíû èìåòü ãîðèçîíòàëüíóþ ðîâíóþ ïîâåðõíîñòü ñ ðàâíîìåðíûì ðàñïðåäåëåíèåì êàìåííîé êðîøêè è ñîîòâåòñòâîâàòü ðèñóíêó è öâåòó, óñòàíîâëåííûì ïðîåêòîì. Îòêëîíåíèå îò óðîâíÿ ÷èñòîãî ïîëà ðàçäåëèòåëüíûõ æèëîê íå äîëæíî ïðåâûøàòü 1 ìì íà 1 ì äëèíû. Ïðè îòêëîíåíèè ñâûøå 3 ìì äåôåêòû èñïðàâëÿþò äî óêëàäêè ìîçàè÷íîé ìàññû.
Êðóïíîñòü çåðåí êàìåííîé êðîøêè íå äîëæíà ïðåâûøàòü 15 ìì è 0,6 òîëùèíû ìîçàè÷íîãî ïîêðûòèÿ.
Òðóäîâûå çàòðàòû (òàáë. 3).
Òàáëèöà 3.
Íîðìû âðåìåíè, ÷åë-÷, íà óñòðîéñòâî 1 ì2 ìíîãîöâåòíîãî ìîçàè÷íîãî ïîêðûòèÿ (áåç ó÷åòà óñòðîéñòâà ïðîñëîéêè) è íà óñòàíîâêó 1 ì ðàçäåëèòåëüíûõ æèëîê (â ÷èñëèòåëå) è íîðìû âûðàáîòêè ñîîòâåòñòâåííî, ì2 è ì, íà 1 ÷åë-äí (â çíàìåíàòåëå)
|
Âèä ïîêðûòèÿ |
Íîðìû íà |
||
|
Óñòðîéñòâî ïîêðûòèÿ ïîëà |
Óñòàíîâêà æèëîê |
||
|
ñòåêëÿííûõ |
ëàòóííûõ |
||
|
Ñ ïðÿìîëèíåéíûì ðèñóíêîì æèëêàìè äëèíîé äî 3 ì íà 1ì2 ïîëà èëè ñ ðèñóíêîì â øàøêó |
0,8 10 |
0,12 66 |
0,16 50 |
|
Ñ ïðÿìîëèíåéíûì ðèñóíêîì æèëêàìè äëèíîé áîëåå 3 ì íà 1ì2 ïîëà èëè ñ êðèâîëèíåéíûì ðèñóíêîì |
1,0 8 |
0,22 36,3 |
0,23 35 |
Òåõíèêà áåçîïàñíîñòè. Ïðè çàãîòîâêå æèëîê îòõîäû ñòåêëà èëè ìåòàëëà íóæíî ñîáèðàòü â ñïåöèàëüíûé ÿùèê äëÿ îòõîäîâ. Íàáèâàþò ìîçàè÷íûé ðàñòâîð â ÿ÷åéêè ìíîãîöâåòíîãî ìîçàè÷íîãî ïîêðûòèÿ âî âëàãîíåïðîíèöàåìûõ íàêîëåííèêàõ è ðåçèíîâûõ ïåð÷àòêàõ.
Êîíòðîëüíûå âîïðîñû.  êàêîé ïîñëåäîâàòåëüíîñòè âûïîëíÿþò íàáèâêó ìíîãîöâåòíîãî ìîçàè÷íîãî ïîêðûòèÿ? Êàêèå ìàòåðèàëû èñïîëüçóþò äëÿ ðàçäåëèòåëüíûõ æèëîê? Ïî÷åìó óïëîòíåíèå ìîçàè÷íîãî ðàñòâîðà â ÿ÷åéêå ñ ðàçäåëèòåëüíûìè æèëêàìè âûïîëíÿþò òðàìáîâêîé, à íå âèáðàòîðîì? Êàê ðàçìå÷àþò ìåñòîïîëîæåíèå ðàçäåëèòåëüíûõ æèëîê? Êàêèå ïðàâèëà òåõíèêè áåçîïàñíîñòè íåîáõîäèìî ñîáëþäàòü ïðè èçãîòîâëåíèè ñòåêëÿííûõ æèëîê?
Ñîñòàâ òåõíîëîãè÷åñêèõ îïåðàöèé. Îáäèðêà ìîçàè÷íîãî ïîêðûòèÿ; îáäèðêà òðóäíîäîñòóïíûõ ìåñò; óñòðàíåíèå ìåëêèõ äåôåêòîâ ïîêðûòèÿ.
Ìåõàíèçìû, èíñòðóìåíòû, ïðèñïîñîáëåíèÿ, èíâåíòàðü. Ìîçàè÷íî-øëèôîâàëüíàÿ ìàøèíà ÑÎ-111À, ÑÎ-91 èëè ÈÝ-8201Á ñ ãèáêèì âàëîì; îáäèðî÷íûé êðóã çåðíèñòîñòüþ 16…24; ïûëåñîñ. Ëåùàäü ñ áðóñêîì; ïëîñêèé ñêðåáîê èëè ôàíåðíàÿ ëîïàòà; ëåéêà; âîëîñÿíàÿ ùåòêà; ðåçèíîâûé øëàíã; øïàòåëü ñî ñìåííûìè ïîëîòíàìè; ëîïàòêà ïëèòî÷íàÿ; ëîïàòà ðàñòâîðíàÿ; ïåðåäâèæíîé ÿùèê-òåëåæêà. Äèýëåêòðè÷åñêèå ïåð÷àòêè è ðåçèíîâàÿ îáóâü; çàùèòíûå î÷êè.
Ìàòåðèàëû. Êâàðöåâûé ïåñîê; âîäà; öåìåíò.
Ñõåìà îðãàíèçàöèè ðàáî÷åãî ìåñòà. Ïîìåùåíèå äîëæíî áûòü îñâîáîæäåíî îò ïîñòîðîííèõ ïðåäìåòîâ. Íåîáõîäèìûå èíñòðóìåíòû, ìåõàíèçìû, ïðèñïîñîáëåíèÿ è ìàòåðèàëû ðàñïîëàãàþò â íåïîñðåäñòâåííîé áëèçîñòè îò ðàáî÷åãî ìåñòà. Äëèíà ýëåêòðîêàáåëåé äîëæíà îáåñïå÷èâàòü âîçìîæíîñòü îáðàáàòûâàòü ïîêðûòèå ïî âñåé ïëîùàäè ïîìåùåíèÿ.

Ðèñ. 69. Îáäèðêà ìîçàè÷íîãî ïîêðûòèÿ ìîçàè÷íî-øëèôîâàëüíîé ìàøèíîé
Ïîñëåäîâàòåëüíîñòü âûïîëíåíèÿ òåõíîëîãè÷åñêèõ îïåðàöèé. Ê ðàáîòå ïðèñòóïàþò ÷åðåç 3...6 ñóò ïîñëå óêëàäêè ìîçàè÷íîãî ïîêðûòèÿ, ÷òîáû èñêëþ÷èòü âûêðàøèâàíèå êàìåííîé êðîøêè.
Îáäèðêà ìîçàè÷íîãî ïîêðûòèÿ. Ïîâåðõíîñòü, ïîäëåæàùóþ îáäèðêå, ñìà÷èâàþò âîäîé è ïîñûïàþò êâàðöåâûì ïåñêîì. Çàòåì ïðîâåðÿþò èñïðàâíîñòü ìîçàè÷íî-øëèôîâàëüíîé ìàøèíû íà õîëîñòîì õîäó. Ïðèñîåäèíèâ âîäîïðîâîäíûé øëàíã ê òðóáêå ìàøèíû, ðåãóëèðóþò ïîñòóïëåíèå âîäû, ÷òîáû îíà òîíêèì ñëîåì ðàâíîìåðíî ïîêðûâàëà ïîâåðõíîñòü, îõâàòûâàåìóþ ðàáî÷èì îðãàíîì ìàøèíû.
Ïîêðûòèå îáðàáàòûâàþò ïîëîñàìè-çàõâàòêàìè (ðèñ. 69), äâèãàÿ ìîçàè÷íî-øëèôîâàëüíóþ ìàøèíó ïåðåä ñîáîé ìåäëåííûìè çèãçàãîîáðàçíûìè äâèæåíèÿìè (âïðàâî è âëåâî). Ñëåäóþùóþ ïîëîñó îáðàáàòûâàþò â îáðàòíîì íàïðàâëåíèè.
Ïðè ïîêðûòèÿõ ñ ìðàìîðíîé êðîøêîé â âîäó äîáàâëÿþò êàëüöèíèðîâàííóþ ñîäó (1…1,2 êã íà 1 ì3 âîäû). Òàêàÿ ïîâåðõíîñòíî-àêòèâíàÿ äîáàâêà ñîêðàùàåò âðåìÿ íà îòäåëêó ïîêðûòèÿ.
Îáäèðêó ïðîäîëæàþò äî îáíàæåíèÿ êàìåííîé êðîøêè.
Ìåëêèå îòõîäû (øëàì), îáðàçóþùèåñÿ ïðè îáäèðêå ìîçàè÷íîãî ïîêðûòèÿ, óáèðàþò ôàíåðíîé ëîïàòîé èëè ñêðåáêîì; îñòàòêè øëàìà ñìûâàþò âîäîé. Ïðîìûòîå ïîêðûòèå ïîñûïàþò îïèëêàìè, çàòåì èõ ñîáèðàþò ëîïàòàìè è ñìåòàþò âåíèêîì.

Ðèñ. 70. Äîøëèôîâêà ïîêðûòèÿ â òðóäíîäîñòóïíûõ ìåñòàõ óíèâåðñàëüíîé øëèôîâàëüíîé ìàøèíîé ñ ãèáêèì âàëîì (à) èëè ëåùàäüþ, çàêðåïëåííîé â îáîéìå (á).
Òðóäíîäîñòóïíûå ìåñòà - óãëû, ïðèñòåííûå çîíû - îáðàáàòûâàþò ìîçàè÷íî-øëèôîâàëüíîé ìàøèíîé ñ ãèáêèì âàëîì (ðèñ. 70, à).
Ïðè íåáîëüøèõ îáúåìàõ ðàáîò ýòó îïåðàöèþ âûïîëíÿþò ëåùàäüþ, çàêðåïëåííîé â îáîéìå (ðèñ. 70, á).
Óñòðàíåíèå ìåëêèõ äåôåêòîâ ïîêðûòèÿ. Ïðèãîòîâëÿþò íåáîëüøóþ ïîðöèþ æåñòêîãî öåìåíòíîãî ðàñòâîðà, íå îòëè÷àþùåãîñÿ îò öâåòà ïîêðûòèÿ. Çàòåì ïëèòî÷íîé ëîïàòêîé èëè ñòàëüíûì øïàòåëåì øïàòëþþò äåôåêòû ìîçàè÷íîãî ïîêðûòèÿ (öàðàïèíû, ðàêîâèíû), âòèðàÿ æåñòêèé ðàñòâîð â ïîðû øëèôîâàëüíûì áðóñêîì.
Êîíòðîëü êà÷åñòâà. Ìîçàè÷íîå ïîêðûòèå äîëæíî èìåòü ïðîåêòíóþ òîëùèíó, ãîðèçîíòàëüíóþ ðîâíóþ ïîâåðõíîñòü ñ ðàâíîìåðíûì ðàñïðåäåëåíèåì êàìåííîé êðîøêè ïî ëèöåâîé ïîâåðõíîñòè. Ðèñóíîê, öâåò, òîí è äåêîðàòèâíûå ýëåìåíòû ïîêðûòèÿ äîëæíû ñîîòâåòñòâîâàòü ïðîåêòó. Ïðîñâåòû ìåæäó êîíòðîëüíîé äâóõìåòðîâîé ðåéêîé, ïðèêëàäûâàåìîé âî âñåõ íàïðàâëåíèÿõ, è ïîâåðõíîñòüþ ïîêðûòèÿ íå äîëæíû ïðåâûøàòü 4 ìì.
Òðóäîâûå çàòðàòû. Íîðìû âðåìåíè, ÷åë-÷, íà øëèôîâàíèå 1 ì2 ïîëà è íà îòäåëêó 1 ì ïðèìûêàíèé ïîëîâ ê ñòåíàì è êîëîííàì; íîðìû âûðàáîòêè, ì2 ïîëà è 1 ì ïðèìûêàíèé, íà 1 ÷åë-äí ñëåäóþùèå:
|
|
Íîðìû âðåìåíè |
Íîðìû âûðàáîòêè |
|
Øëèôîâàíèå 1 ì2 ïîëîâ: |
|
|
|
ìåõàíèçèðîâàííûì ñïîñîáîì |
0,32 |
25 |
|
âðó÷íóþ |
1,7 |
4,7 |
|
Îòäåëêà 1 ì ïðèìûêàíèé: |
|
|
|
ìåõàíèçèðîâàííûì ñïîñîáîì |
0,14 |
57 |
|
âðó÷íóþ |
0,27 |
29,6 |
Òåõíèêà áåçîïàñíîñòè. Ìîçàè÷íî-øëèôîâàëüíûå ìàøèíû ìîæíî âêëþ÷àòü â ýëåêòðîñåòü òîëüêî ñ ïîìîùüþ øòåïñåëüíûõ ðîçåòîê. Çàïðåùàåòñÿ óäëèíÿòü ýëåêòðîêàáåëü ïóòåì ñêðó÷èâàíèÿ êîíöîâ ïðîâîäîâ.
Îáðàáàòûâàþò ìîçàè÷íûå ïîêðûòèÿ â äèýëåêòðè÷åñêèõ ïåð÷àòêàõ è ñàïîãàõ.
Êîíòðîëüíûå âîïðîñû.  êàêîé ïîñëåäîâàòåëüíîñòè âûïîëíÿþò îáäèðêó ìîçàè÷íîãî ïîêðûòèÿ? Äëÿ ÷åãî óäàëÿþò (îáäèðàþò) âåðõíèé ñëîé ìîçàè÷íîãî ïîêðûòèÿ?  êàêîé ïîñëåäîâàòåëüíîñòè âûïîëíÿþò ìåõàíè÷åñêóþ îáäèðêó ìîçàè÷íîãî ïîêðûòèÿ? Ïîñëå îêîí÷àíèÿ êàêîé îïåðàöèè ïðèñòóïàþò ê îáäèðêå ìîçàè÷íîãî ïîêðûòèÿ? Ãäå èñïîëüçóþò ëåùàäü? Êàêèå òðåáîâàíèÿ òåõíèêè áåçîïàñíîñòè íóæíî âûïîëíÿòü ïðè ðàáîòå ñ ìîçàè÷íî-øëèôîâàëüíîé ìàøèíîé?
Ñîñòàâ òåõíîëîãè÷åñêèõ îïåðàöèé. ×èñòîâàÿ îáðàáîòêà ïîêðûòèÿ; îáðàáîòêà ñòåñíåííûõ è òðóäíîäîñòóïíûõ ìåñò; óñòðàíåíèå ìåëêèõ äåôåêòîâ ïîêðûòèÿ.
Ìåõàíèçìû, ïðèñïîñîáëåíèÿ, èíñòðóìåíò, èíâåíòàðü. Ìîçàè÷íî-øëèôîâàëüíûå ìàøèíû ÑÎ-91, ÑÎ-111 À, ÈÝ-8201Á; øëèôîâàëüíûé êðóã çåðíèñòîñòüþ 60...80; ìàøèíà ÑÎ-181 èëè ñêðåáîê ñ øàðíèðîì, èëè ôàíåðíàÿ ëîïàòà äëÿ óáîðêè øëàìà; ïûëåñîñ. Ëåùàäü ñ áðóñêîì; ëåéêà; øïàòåëü; ëîïàòêà ïëèòî÷íàÿ; ïðàâèëî äëèíîé 2 ì; êîíòðîëüíàÿ ñòóïåí÷àòàÿ ëèíåéêà; ïåðåäâèæíîé ÿùèê-òåëåæêà. Äèýëåêòðè÷åñêèå ïåð÷àòêè; ðåçèíîâàÿ îáóâü.
Ìàòåðèàëû. Öåìåíò; ìðàìîðíàÿ ìóêà; ïèãìåíò (ïðè óñòðîéñòâå öâåòíûõ ïîëîâ).
Ñõåìà îðãàíèçàöèè ðàáî÷åãî ìåñòà. Ïîìåùåíèå äîëæíî áûòü îñâîáîæäåíî îò ïîñòîðîííèõ ïðåäìåòîâ.
Íåîáõîäèìûå èíñòðóìåíòû, ìåõàíèçìû, ïðèñïîñîáëåíèÿ è ìàòåðèàëû ðàñïîëàãàþò â íåïîñðåäñòâåííîé áëèçîñòè îò ðàáî÷åãî ìåñòà. Äëèíà ýëåêòðîêàáåëåé äîëæíà îáåñïå÷èâàòü âîçìîæíîñòü øëèôîâàíèÿ ïî âñåé ïëîùàäè ïîìåùåíèÿ.
Ïîñëåäîâàòåëüíîñòü âûïîëíåíèÿ òåõíîëîãè÷åñêèõ îïåðàöèé. Ê ðàáîòå ïðèñòóïàþò ïîñëå îáíàæåíèÿ äåêîðàòèâíîãî çàïîëíèòåëÿ.
×èñòîâàÿ îáðàáîòêà ìîçàè÷íîãî ïîêðûòèÿ. Âêëþ÷èâ øëèôîâàëüíóþ ìàøèíó, ìåäëåííî ïåðåäâèãàþò åå çèãçàãîîáðàçíûìè äâèæåíèÿìè âïåðåäè ñåáÿ. Ïîêðûòèå øëèôóþò ïîëîñàìè-çàõâàòêàìè äî ïîëó÷åíèÿ ãëàäêîé ïîâåðõíîñòè ñ ïîëíûì ðàñêðûòèåì ôàêòóðû êàìåííîé êðîøêè (ðèñ. 71). Ñëåäóåò ïîìíèòü îá îïòèìàëüíûõ ñðîêàõ øëèôîâêè; ÷åðåç 7…14 ñóò ïîñëå óêëàäêè ïîêðûòèÿ âðåìÿ øëèôîâàíèÿ óâåëè÷èâàåòñÿ â 2,5...5 ðàç. Êðîìå òîãî, íóæíî ïåðèîäè÷åñêè êîíòðîëèðîâàòü òîëùèíó ñîøëèôîâàííîãî ñëîÿ. Äëÿ ýòîãî ñâåðëÿò ëóíêè è èçìåðÿþò òîëùèíó ïîêðûòèÿ.
Øëàì, îáðàçóþùèéñÿ ïðè øëèôîâêå ìîçàè÷íîãî ïîêðûòèÿ, óäàëÿþò ñ îáðàáàòûâàåìîé ïîâåðõíîñòè ìàøèíîé ÑÎ-181, ôàíåðíîé ëîïàòîé èëè ñêðåáêîì.
Îáðàáîòêà òðóäíîäîñòóïíûõ ìåñò. Ýëåêòðè÷åñêîé øëèôîâàëüíîé ìàøèíîé ñ ãèáêèì âàëîì äîøëèôîâûâàþò óãëû, ïîëîñû âäîëü ñòåí, êîëîíí è äðóãèå òðóäíîäîñòóïíûå ìåñòà.

Ðèñ. 71. Øëèôîâêà ìîçàè÷íîãî ïîêðûòèÿ
Ïðè äîøëèôîâêå âðó÷íóþ ëåùàäüþ ñ áðóñêîì òðåáóåìîé êðóïíîñòè çåðåí ïîâåðõíîñòü ñìà÷èâàþò âîäîé è âîçâðàòíî-ïîñòóïàòåëüíûìè äâèæåíèÿìè ëåùàäè äîâîäÿò íåçàøëèôîâàííûé ó÷àñòîê äî òîé æå ñòåïåíè îáðàáîòêè, ÷òî è îñòàëüíîå ïîêðûòèå.
Óñòðàíåíèå ìåëêèõ äåôåêòîâ ïîêðûòèÿ. Çàêîí÷èâ øëèôîâêó, ñìûâàþò îñòàòêè øëàìà, âûÿâëåííûå äåôåêòû ïîâåðõíîñòè (ðàêîâèíû è äðóãèå ïîâðåæäåííûå ìåñòà, à òàêæå ðàññâåðëåííûå ëóíêè äëÿ âûÿâëåíèÿ òîëùèíû ñîøëèôîâàííîãî ñëîÿ) óñòðàíÿþò øïàòëåâàíèåì öåìåíòíûì òåñòîì ñ äîáàâëåíèåì êàìåííîé ìóêè è ïîâòîðíî øëèôóþò.
Êîíòðîëü êà÷åñòâà. Îòøëèôîâàííàÿ ïîâåðõíîñòü äîëæíà áûòü ðîâíîé, ãëàäêîé, áåç öàðàïèí è äðóãèõ âèäèìûõ äåôåêòîâ. Ïðè íàëîæåíèè äâóõìåòðîâîé êîíòðîëüíîé ðåéêè â ðàçëè÷íûõ íàïðàâëåíèÿõ íå äîïóñêàþòñÿ çàçîðû ìåæäó ðåéêîé è ïîêðûòèåì áîëåå 4 ìì.
Òðóäîâûå çàòðàòû. Íîðìû âðåìåíè, ÷åë-÷, íà øëèôîâàíèå 1 ì2 ìîçàè÷íîãî ïîêðûòèÿ è îòäåëêè 1 ì ìåñò ïðèìûêàíèé ê ñòåíàì, êîëîííàì è íîðìû âûðàáîòêè, ì2 è ì, íà 1 ÷åë-äí ñëåäóþùèå:
|
|
Íîðìû âðåìåíè |
Íîðìû âûðàáîòêè |
|
Øëèôîâàíèå ïîëîâ: |
|
|
|
ìåõàíèçèðîâàííûì ñïîñîáîì. |
0,38 |
21,5 |
|
âðó÷íóþ |
2,04 |
3,92 |
|
Øëèôîâàíèå ìåñò ïðèìûêàíèé: |
|
|
|
ìåõàíèçèðîâàííûì ñïîñîáîì. |
0,14 |
57,0 |
|
âðó÷íóþ |
0,27 |
29,6 |
Òåõíèêà áåçîïàñíîñòè. Ýëåêòðè÷åñêèå øëèôîâàëüíûå ìàøèíû âêëþ÷àþò â ñåòü ñ ïîìîùüþ øòåïñåëüíîãî ñîåäèíåíèÿ. Èñïðàâíîñòü ìàøèí ïðîâåðÿþò íà õîëîñòîì õîäó; òîêîïðîâîäÿùèå ïðîâîäà íåëüçÿ ïåðåêðó÷èâàòü, äîïóñêàòü òðåíèÿ îá îñòðûå óãëû.  õîäå ðàáîòû íåëüçÿ ïîâåðõíîñòüþ ìàøèíû êàñàòüñÿ òðóáîïðîâîäîâ, îòîïèòåëüíûõ ïðèáîðîâ è äðóãèõ ìåòàëëè÷åñêèõ ÷àñòåé. Ðàáîòàòü íóæíî â äèýëåêòðè÷åñêèõ ïåð÷àòêàõ, ðåçèíîâîé îáóâè, ðåñïèðàòîðå è çàùèòíûõ î÷êàõ.
Êîíòðîëüíûå âîïðîñû. Çà÷åì ïîñëå îáäèðêè íåîáõîäèìî øëèôîâàíèå ëèöåâîãî ñëîÿ ìîçàè÷íîãî ïîêðûòèÿ? Èç êàêèõ òåõíîëîãè÷åñêèõ îïåðàöèé ñîñòîèò ïðîöåññ øëèôîâêè ìîçàè÷íîãî ïîêðûòèÿ? Êàê âûïîëíÿþò îòäåëêó ìåñò ïðèìûêàíèÿ ïîêðûòèÿ ê ñòåíàì è êîëîííàì? Êàê óñòðàíÿþò ìåëêèå äåôåêòû â ïðîöåññå øëèôîâàíèÿ ìîçàè÷íîãî ïîêðûòèÿ? Êàêèå òðåáîâàíèÿ òåõíèêè áåçîïàñíîñòè ñîáëþäàþò ïðè ðàáîòå ñ ýëåêòðè÷åñêîé ìîçàè÷íî-øëèôîâàëüíîé ìàøèíîé?
Ñîñòàâ òåõíîëîãè÷åñêèõ îïåðàöèé. Øïàòëåâàíèå ìîçàè÷íîé ïîâåðõíîñòè; ÷èñòîå øëèôîâàíèå; ëîùåíèå; ïîëèðîâêà.
Ìåõàíèçìû, èíñòðóìåíòû, ïðèñïîñîáëåíèÿ, èíâåíòàðü. Ìîçàè÷íî-øëèôîâàëüíàÿ ìàøèíà ÑÎ-111À èëè ÈÝ-8201Á; ïîëèðîâàëüíûé êðóã çåðíèñòîñòüþ 230…325; âîéëî÷íûå èëè ñóêîííûå äèñêè. Ìàøèíà ÑÎ-181 èëè ñêðåáîê äëÿ óáîðêè øëàìà. Âàêóóìíî-ùåòî÷íàÿ ìàøèíà; ïûëåñîñ. Ëåùàäü ñ ìðàìîðíûì áðóñêîì; âîéëî÷íûå êðóãè ê øëèôîâàëüíîé ìàøèíå; øïàòåëè ñî ñìåííûìè ïîëîòíàìè èëè ñ ðåçèíîâûì íàêîíå÷íèêîì; ëîïàòêà ïëèòî÷íàÿ; ëåéêà; âîëîñÿíàÿ ùåòêà; êîíòðîëüíîå ïðàâèëî äëèíîé 2 ì; ñêëàäíîé ìåòð. Âëàãîíåïðîíèöàåìûå íàêîëåííèêè; çàùèòíûå î÷êè; ðåñïèðàòîð; äèýëåêòðè÷åñêèå ïåð÷àòêè; ðåçèíîâàÿ îáóâü.
Ìàòåðèàëû. Áåëûé èëè öâåòíîé öåìåíò; ìðàìîðíàÿ ìóêà äëÿ ïðèãîòîâëåíèÿ øïàòëåâêè; ïîëèðîâàëüíûé ïîðîøîê.
Ñõåìà îðãàíèçàöèè ðàáî÷åãî ìåñòà. Ïîìåùåíèå äîëæíî áûòü îñâîáîæäåíî îò ïîñòîðîííèõ ïðåäìåòîâ. Ðàáîòó íà÷èíàþò ïîñëå ïîäãîòîâêè íåîáõîäèìûõ ìåõàíèçìîâ, èíñòðóìåíòîâ, ïðèñïîñîáëåíèé, èíâåíòàðÿ è ìàòåðèàëîâ â íåïîñðåäñòâåííîé áëèçîñòè ó ìåñòà ðàáîòû. Ê ìåñòó ðàáîòû äîëæíû áûòü ïîäâåäåíû ýëåêòðîýíåðãèÿ è âîäîïðîâîä.
Ïîñëåäîâàòåëüíîñòü âûïîëíåíèÿ òåõíîëîãè÷åñêèõ îïåðàöèé. Ðàáîòó íà÷èíàþò ïîñëå øëèôîâêè ïîêðûòèÿ.
Øïàòëåâàíèå ïîâåðõíîñòè. Îòøëèôîâàííóþ ïîâåðõíîñòü óâëàæíÿþò è ïðèñûïàþò ñóõèì áåëûì èëè öâåòíûì öåìåíòîì ïîä öâåò ïîêðûòèÿ. Øëèôîâàëüíîé ìàøèíîé âòèðàþò óâëàæíåííûé öåìåíò â ïîâåðõíîñòü ïîêðûòèÿ. Ïðè ýòîì ìîçàè÷íî-øëèôîâàëüíóþ ìàøèíó íà çàõâàòêå ïåðåìåùàþò íà ñåáÿ, ÷òîáû êîëåñàìè ìàøèíû è íîãàìè íå ïîâðåäèòü ñëîÿ øïàòëåâêè.
×èñòîå (äîïîëíèòåëüíîå) øëèôîâàíèå. Ïîñëå çàòâåðäåíèÿ çàøïàòëåâàííûõ ìåñò ïîâåðõíîñòü îïÿòü îáðàáàòûâàþò øëèôîâàëüíîé ìàøèíîé. Ïðè ýòîì ñ ëèöåâîé ïîâåðõíîñòè ñíèìàåòñÿ èçáûòîê øïàòëåâêè. Ïðèñòåííûå çîíû è óãëû äîøëèôîâûâàþò îñåëêîì äî ïîëó÷åíèÿ ðîâíîé, ãëàäêîé ïîâåðõíîñòè ïîêðûòèÿ.
Ëîùåíèå. Ìîçàè÷íî-øëèôîâàëüíóþ ìàøèíó ïî ïðîäîëüíûì çàõâàòêàì ïåðåìåùàþò äóãîîáðàçíûìè äâèæåíèÿìè âïðàâî è âëåâî. Ïðè ýòîì ïîâåðõíîñòü ïîêðûòèÿ ïðèîáðåòàåò ìàòîâûé îòòåíîê. Òðóäíîäîñòóïíûå ìåñòà (óãëû, ïðèñòåííûå çîíû è äð.) îáðàáàòûâàþò âðó÷íóþ ëåùàäüþ ñ ìðàìîðíûì áðóñêîì äî ìàòîâîñòè ôîíà ïîêðûòèÿ.
Ïîëèðîâêà. Ëîùåíóþ ïîâåðõíîñòü ïðîìûâàþò âîäîé, ïîñûïàþò òîíêèì ñëîåì ïîëèðîâàëüíîãî ïîðîøêà è îáðàáàòûâàþò âîéëî÷íûìè èëè ñóêîííûìè äèñêàìè, çàêðåïëåííûìè â îáîéìå øëèôîâàëüíîé ìàøèíû. Äîïîëèðîâêó ïðèñòåííûõ ïîëîñ, óãëîâ è äðóãèõ òðóäíîäîñòóïíûõ ìåñò âûïîëíÿþò âðó÷íóþ äî òîíà, íå îòëè÷àþùåãîñÿ îò ôîíà ïîêðûòèÿ.
Êîíòðîëü êà÷åñòâà. Îòïîëèðîâàííàÿ ïîâåðõíîñòü ìîçàè÷íîãî ïîêðûòèÿ äîëæíà áûòü ñîâåðøåííî ãëàäêîé è èìåòü çåðêàëüíûé áëåñê áåç ïîëîñ, îñòàâøèõñÿ îò îáðàáîòêè, è öàðàïèí. Ïðè íàëîæåíèè äâóõìåòðîâîé êîíòðîëüíîé ðåéêè â ðàçëè÷íûõ íàïðàâëåíèÿõ íå äîëæíî áûòü ïðîñâåòîâ áîëåå 4 ìì.
Òåõíèêà áåçîïàñíîñòè. Ïîëèðîâêó ïîêðûòèÿ ìîçàè÷íî-øëèôîâàëüíîé ìàøèíîé âûïîëíÿþò â ðåçèíîâîé îáóâè è äèýëåêòðè÷åñêèõ ïåð÷àòêàõ. Ïðè íàãðåâàíèè äâèãàòåëÿ ìàøèíó âûêëþ÷àþò íà 5…7 ìèí äëÿ îõëàæäåíèÿ. Ðàáîòó âûïîëíÿþò âî âëàãîíåïðîíèöàåìûõ íàêîëåííèêàõ è ðåçèíîâûõ ïåð÷àòêàõ.
Òðóäîâûå çàòðàòû. Íîðìû âðåìåíè íà ïîëèðîâàíèå 1 ì2 ïîêðûòèÿ è 1 ì ìåñò ïðèìûêàíèé ïîëîâ ê ñòåíàì, êîëîííàì è íîðìû âûðàáîòêè íà 1 ÷åë-äí ñëåäóþùèå:
|
|
Íîðìû âðåìåíè, ÷åë-÷ |
Íîðìû âûðàáîòêè |
|
Ïîëèðîâàíèå ïîëîâ: |
|
|
|
ìåõàíèçèðîâàííûì ñïîñîáîì |
0,56 |
14,2 ì2 |
|
âðó÷íóþ |
26 |
3,1 ì2 |
|
Ïîëèðîâàíèå ìåñò ïðèìûêàíèÿ |
0,46 |
17,4 ì2 |
Êîíòðîëüíûå âîïðîñû. Èç êàêèõ òåõíîëîãè÷åñêèõ îïåðàöèé ñîñòîèò ïîëèðîâêà ìîçàè÷íûõ ïîêðûòèé? Çà÷åì ïðîèçâîäÿò ÷èñòîå øëèôîâàíèå? Êàê âûïîëíÿþò ëîùåíèå ìîçàè÷íîãî ïîêðûòèÿ? Êàêèå ìàòåðèàëû íåîáõîäèìû äëÿ ïîëèðîâêè ìîçàè÷íîãî ïîêðûòèÿ? Íàçîâèòå ïðàâèëà òåõíèêè áåçîïàñíîñòè, êîòîðûå íóæíî ñîáëþäàòü ïðè ïîëèðîâêå ìîçàè÷íûõ ïîêðûòèé.
Ñîñòàâ òåõíîëîãè÷åñêèõ îïåðàöèé. Ïðèãîòîâëåíèå ìàñòèêè; íàíåñåíèå íà ïîêðûòèå ìàñòèêè; íàòèðêà ïîêðûòèÿ.
Ìåõàíèçìû, èíñòðóìåíòû, ïðèñïîñîáëåíèÿ, èíâåíòàðü. Ìîçàè÷íî-øëèôîâàëüíàÿ ìàøèíà ÑÎ-111À èëè ÈÝ-3201Á; ïîëîòåðíàÿ ìàøèíà ÑÎ-37; ïûëåñîñ èëè âàêóóìíî-ùåòî÷íàÿ ìàøèíà. Âîéëî÷íûå èëè ñóêîííûå êðóãè; âîëîñÿíàÿ ùåòêà; åìêîñòü äëÿ ìàñòèêè; øïàòåëü ñî ñìåííûìè ïîëîòíàìè; äåðåâÿííàÿ ðåéêà äëèíîé 2 ì; ñêëàäíîé ìåòð; åìêîñòè äëÿ âîäÿíîé áàíè; äèýëåêòðè÷åñêèå ïåð÷àòêè, ðåçèíîâàÿ îáóâü.
Ìàòåðèàëû. Ñêèïèäàð; áåíçèí; ñòåàðèí; ïàðàôèí; âîñê; êàíèôîëü.
Ñõåìà îðãàíèçàöèè ðàáî÷åãî ìåñòà.  ïîìåùåíèè íå äîëæíî áûòü ïîñòîðîííèõ ïðåäìåòîâ. Åìêîñòü ñ ìàñòèêîé ðàñïîëàãàþò ðÿäîì ñ ïîëîñîé-çàõâàòêîé.
Ïîñëåäîâàòåëüíîñòü âûïîëíåíèÿ òåõíîëîãè÷åñêèõ îïåðàöèé. Ðàáîòó íà÷èíàþò ïîñëå øëèôîâêè èëè ïîëèðîâêè ïîêðûòèÿ.
Ïðèãîòîâëåíèå âîñêîâîé ìàñòèêè. Âûïîëíÿþò íà ìåñòå ðàáîò. Ñòåàðèí, ïàðàôèí, âîñê íàðåçàþò ìåëêîé ñòðóæêîé, ñìåøèâàþò ñ ïîðîøêîì êàíèôîëè è ðàñïëàâëÿþò â âîäÿíîé áàíå äî ïîëó÷åíèÿ îäíîðîäíîé ìàññû. Ñìåñü âûíèìàþò èç áàíè, ñëåãêà îõëàæäàþò è âëèâàþò â íåå òîíêîé ñòðóåé ñêèïèäàð èëè áåíçèí ïðè íåïðåðûâíîì ïåðåìåøèâàíèè äî ïîëó÷åíèÿ îäíîðîäíîé ìàññû.
Ñîñòàâ âîñêîâîé ìàñòèêè, ìàñ. ÷.: ñêèïèäàð èëè áåíçèí - 10; ñòåàðèí - 2; ïàðàôèí - 1; âîñê - 1; êàíèôîëü - 0,25.
Ïîêðûòèå ïîâåðõíîñòè ìàñòèêîé. Íà îáåñïûëåííîå îñíîâàíèå ìàñòèêó íàíîñÿò âîëîñÿíîé ùåòêîé (êèñòüþ) òîíêèì ðîâíûì ñëîåì â âèäå ïàðàëëåëüíûõ ïîëîñ (ðèñ. 72), ïåðåêðûâàþùèõ äðóã äðóãà íà 20…30 ìì.
Íàòèðêà ìàñòèêîé. Ïîâåðõíîñòü, ïîêðûòóþ ìàñòèêîé, ïîëèðóþò ýëåêòðîïîëîòåðíîé èëè ìîçàè÷íî-øëèôîâàëüíîé ìàøèíîé ñ âîéëî÷íûìè èëè ñóêîííûìè êðóãàìè. Ðàáîòó íà÷èíàþò ñî ñòîðîíû, ïðîòèâîïîëîæíîé âõîäó â ïîìåùåíèå, ïðîäîëüíûìè ïîëîñàìè. Ìàøèíó, íàòèðàþùóþ ïîë ìàñòèêîé, ïåðåìåùàþò íà ñåáÿ, ÷òîáû íå èñïîðòèòü ïîâåðõíîñòü, îòïîëèðîâàííóþ äî çåðêàëüíîãî áëåñêà.

Ðèñ. 72. Íàíåñåíèå âîñêîâîé ìàñòèêè ùåòêîé
 òðóäíîäîñòóïíûõ ìåñòàõ - óãëàõ è ïðèñòåííûõ çîíàõ - íàòèðêó ïîëà âûïîëíÿþò âðó÷íóþ ïîëîòåðíûìè ùåòêàìè èëè äåðåâÿííûìè áðóñêàìè, îáòÿíóòûìè âîéëîêîì.
Òðåáîâàíèÿ ê êà÷åñòâó. Íàòåðòîå ìàñòèêîé ïîêðûòèå äîëæíî áûòü ãëàäêèì ñ çåðêàëüíûì áëåñêîì áåç ïðîïóñêîâ, ïÿòåí, ñëåäîâ îáðàáîòêè è öàðàïèí. Ïðè íàëîæåíèè äâóõìåòðîâîé êîíòðîëüíîé ðåéêè â ðàçëè÷íûõ íàïðàâëåíèÿõ äîïóñêàþòñÿ ïðîñâåòû íå áîëåå 4 ìì.
Òðóäîâûå çàòðàòû. Íîðìà âðåìåíè íà 10 ì2 ìåõàíè÷åñêîé ïîëèðîâêè ìîçàè÷íîãî ïîêðûòèÿ âîñêîâîé ìàñòèêîé - 7,3 ÷åë-÷; íîðìà âûðàáîòêè íà 1 ÷åë-äí - 12 ì2.
Òåõíèêà áåçîïàñíîñòè. Ðàáîòàòü íóæíî â âîäîíåïðîíèöàåìûõ íàêîëåííèêàõ, ðåçèíîâûõ ïåð÷àòêàõ è ðåçèíîâîé îáóâè. Ïðè íàãðåâàíèè ýëåêòðîäâèãàòåëÿ ýëåêòðîøëèôîâàëüíóþ ìàøèíó âûêëþ÷àþò íà 7…10 ìèí äëÿ îõëàæäåíèÿ.
Êîíòðîëüíûå âîïðîñû. Èç êàêèõ îïåðàöèé ñîñòîèò íàòèðêà ìîçàè÷íîãî ïîêðûòèÿ âîñêîâîé ìàñòèêîé? Êàê ïðèãîòîâëÿþò âîñêîâóþ ìàñòèêó? ×åì íàíîñÿò âîñêîâóþ ìàñòèêó íà ïîâåðõíîñòü ìîçàè÷íîãî ïîêðûòèÿ? Êàê íàòèðàþò ìîçàè÷íîå ïîêðûòèå âîñêîâîé ìàñòèêîé? Êàêèå òðåáîâàíèÿ òåõíèêè áåçîïàñíîñòè íåîáõîäèìî ñîáëþäàòü ïðè ïîêðûòèè è íàòèðêå ìîçàè÷íîãî ïîêðûòèÿ âîñêîâîé ìàñòèêîé?
Ñîñòàâ òåõíîëîãè÷åñêèõ îïåðàöèé. Óñòàíîâêà è âûâåðêà òðóá÷àòûõ èëè ðåå÷íûõ ìàÿêîâ; çàïîëíåíèå íå÷åòíûõ ïîëîñ ðàñòâîðîì; óêëàäêà áîÿ êàìåííûõ ïëèò â ëèöåâîå ïîêðûòèå; óêëàäêà ïîêðûòèÿ â ÷åòíûõ ïîëîñàõ; óõîä çà ñâåæåóëîæåííûì ïîêðûòèåì.
Ìåõàíèçìû, èíñòðóìåíòû, ïðèñïîñîáëåíèÿ, èíâåíòàðü. Ëåéêà; âåäðà; ëîïàòêà ïëèòî÷íàÿ; ëîïàòà ðàñòâîðíàÿ; ðó÷íàÿ òåëåæêà ñî ñìåííûìè êîíòåéíåðàìè èëè ïåðåäâèæíîé ÿùèê-òåëåæêà; äåðåâÿííûé ïîëóòåðîê äëèíîé 300...800 ìì; ðóëåòêà; ñêëàäíîé ìåòð; ðàçìåòî÷íûé øíóð; äåðåâÿííûé óãîëüíèê ñ äëèííîé ëèíåéêîé; äåðåâÿííàÿ êèÿíêà; ìîëîòîê; êîíòðîëüíàÿ äâóõìåòðîâàÿ ðåéêà è óðîâåíü; öâåòíûå ìåëêè èëè ãðèôåëü.
Ìàòåðèàëû. Ïîëîñêè èç ðóáåðîèäà èëè òîëÿ. Êóñêè ìðàìîðíûõ ïëèò ïðîèçâîëüíûõ ðàçìåðîâ. Öåìåíòíûé ðàñòâîð ìàðêè íå íèæå 150 ïîäâèæíîñòüþ 3...3,5 ñì.
Ñõåìà îðãàíèçàöèè ðàáî÷åãî ìåñòà. Ïîìåùåíèå äîëæíî áûòü îñâîáîæäåíî îò ïîñòîðîííèõ ïðåäìåòîâ. Ó ðàáî÷åãî ìåñòà ïîäãîòàâëèâàþò íåîáõîäèìûå ìàòåðèàëû, èíñòðóìåíòû, èíâåíòàðü è èíäèâèäóàëüíûå ñðåäñòâà çàùèòû.
Ïîñëåäîâàòåëüíîñòü âûïîëíåíèÿ òåõíîëîãè÷åñêèé îïåðàöèé. Ïîñëå âûíåñåíèÿ îòìåòîê óðîâíÿ ÷èñòîãî ïîëà íà ñòåíû è òâåðäåíèÿ öåìåíòíî-ïåñ÷àíîé ïðîñëîéêè ðàáîòû âåäóò íà ïðîäîëüíûõ ïîëîñàõ-çàõâàòêàõ, îãðàíè÷åííûõ òðóá÷àòûìè èëè ðåå÷íûìè ìàÿêàìè (ðèñ. 73).
Óñòàíîâêà ïðîäîëüíûõ ìàÿêîâ.  ñîîòâåòñòâèè ñ îòìåòêàìè óðîâíÿ ÷èñòîãî ïîëà, çàêðåïëåííûìè íà ñòåíàõ ïîìåùåíèÿ, óñòàíàâëèâàþò òðóá÷àòûå èëè ðåå÷íûå ìàÿêè 5 ñ øàãîì 1200…1000 ìì. Òî÷íîñòü óñòàíîâêè ìàÿêîâ êîíòðîëèðóþò äâóõìåòðîâîé êîíòðîëüíîé ðåéêîé è óðîâíåì 1. Ïðè íåîáõîäèìîñòè ìàÿêè âòàïëèâàþò â ðàñòâîðíóþ ìàðêó èëè, íàîáîðîò, ïîäíèìàþò, äîáàâëÿÿ ðàñòâîð.
Ïî ïåðèìåòðó ñòåí óêëàäûâàþò ïðîêëàäêè 2 èç ïîëîñ ðóáåðîèäà èëè òîëÿ è ïðèæèìàþò èõ ê ñòåíå ðàñòâîðíûìè ëåïêàìè.
Çàïîëíåíèå íå÷åòíûõ ïîëîñ ðàñòâîðîì. Ïåðåä óêëàäêîé ðàñòâîðà â ïîëîñó-çàõâàòêó ïîâåðõíîñòü íèæíåé ïðîñëîéêè ñìà÷èâàþò âîäîé è îãðóíòîâûâàþò öåìåíòíûì ìîëîêîì.
Óêëàäêó ðàñòâîðà â ïîëîñû-çàõâàòêè íà÷èíàþò îò ñòåí, ïðîòèâîïîëîæíûõ âõîäó â ïîìåùåíèå. Âíà÷àëå çàïîëíÿþò ðàñòâîðîì íå÷åòíûå ïîëîñû ÷åðåç îäíó. Ïðè ýòîì ñëåäÿò çà òåì, ÷òîáû ðàñòâîð íå äîõîäèë äî âåðõíåé ãðàíè ìàÿêîâ íà 5...7 ìì (ïðè òîëùèíå óêëàäûâàåìûõ êóñêîâ ïëèò 10…15 ìì) è íà 10...15 ìì (ïðè òîëùèíå óêëàäûâàåìûõ ïëèò 20…30 ìì).

Ðèñ. 73. Îðãàíèçàöèÿ ðàáîò ïðè óêëàäêå ñïëîøíûõ áðåê÷èåâèäíûõ ïîêðûòèé:
1 - ðåéêà ñ óðîâíåì, 2 - ïðîêëàäêà èç ðóáåðîèäà, 3 - ëèíèÿ âûøå óðîâíÿ ÷èñòîãî ïîëà íà 1 ì, 4 - ðàñòâîðíûå ìàðêè, 5 - òðóá÷àòûå ìàÿêè; I - IV - ïîëîñû-çàõâàòêè
Óêëàäêà áîÿ êàìåííûõ ïëèò â ëèöåâîå ïîêðûòèå. Ïî âûðîâíåííîé ðàñòâîðíîé ïðîñëîéêå 5 (ðèñ. 74) â øàõìàòíîì ïîðÿäêå ÷åðåç 800…1000 ìì óêëàäûâàþò ìàÿ÷íûå êóñêè ïëèò 6, êîíòðîëèðóÿ èõ ïîëîæåíèå ðåéêîé-ïðàâèëîì 7 ïî óñòàíîâëåííûì ïðîäîëüíûì ìàÿêàì íà ãðàíèöàõ ïîëîñ-çàõâàòîê. Çàòåì ïðîìåæóòêè ìåæäó ìàÿêàìè çàïîëíÿþò êóñêàìè êàìåííûõ ïëèò 3, âòàïëèâàÿ èõ â ðàñòâîð êèÿíêîé èëè ðåéêîé-ïðàâèëîì äî óðîâíÿ ìàÿ÷íîé ïëèòû è ïðîäîëüíûõ ìàÿêîâ. Åñëè ðàçëîæåííûå êóñêè ïëèò íå îñåëè äî òðåáóåìîãî óðîâíÿ, èõ îñàæèâàþò ëåãêèìè óäàðàìè ìîëîòêà ïî äåðåâÿííîìó áðóñêó. Ïðè ýòîì øèðèíà ðàñòâîðíûõ øâîâ 4 ìåæäó óëîæåííûìè êóñêàìè äîëæíà áûòü íå áîëåå 5…7 ìì. Óëîæèâ êóñêè ïëèò â ïîëîñå-çàõâàòêå, øâû ïðî÷èùàþò ñòàëüíîé ùåòêîé íà ãëóáèíó âòîïëåííîé â ðàñòâîð ïëèòêè (ðèñ. 75, à). Ðàñ÷èùåííûå áîðîçäêè øâîâ óâëàæíÿþò, ïîñëå ÷åãî èõ çàïîëíÿþò ïëàñòè÷íûì ðàñòâîðîì íà öâåòíîì öåìåíòå (ðèñ. 75, á). Ðàñòâîð ðàçðàâíèâàþò øïàòåëåì ñ ðåçèíîâûì íàêîíå÷íèêîì. ×åðåç 1,5...2 ÷, êîãäà ñõâàòèòñÿ ðàñòâîð, ðàáîòàÿ øïàòåëåì «íà ñäèð» (ðèñ. 75, â), ïîêðûòèå î÷èùàþò îò èçëèøêîâ ðàñòâîðà. Çàòåì øâû (öåìåíòíûé êàìåíü) çàãëàæèâàþò ñòàëüíûìè ãëàäèëêàìè (ðèñ. 75, ã).

Ðèñ. 74. Ïîñëåäîâàòåëüíîñòü óñòðîéñòâà áðåê÷èåâèäíîãî ïîêðûòèÿ: 1 - ìàÿ÷íûå ðåéêè èëè òðóáû, 2 - öåìåíòíî-ïåñ÷àíûé ðàñòâîð, 3, 8 - êóñêè ïëèò èç äåêîðàòèâíîãî êàìíÿ, 4 - øâû, 5 - âûðîâíåííûé ïîäñòèëàþùèé ñëîé, 6 - ìàÿ÷íûå ïëèòêè, 7 - ðåéêà-ïðàâèëî; I - III - ïîëîñû-çàõâàòêè.
Óêëàäêà ïîêðûòèÿ â ÷åòíûõ ïîëîñàõ. Ïî èñòå÷åíèè 18…24 ÷ ìàÿêè îñòîðîæíî óäàëÿþò. Êðîìêè çàêîí÷åííûõ ïîëîñ áðåê÷èåâèäíîãî ïîêðûòèÿ ïðîìûâàþò âîäîé è îãðóíòîâûâàþò öåìåíòíûì ìîëîêîì.
Ïðè óñòðîéñòâå ïîêðûòèÿ â ÷åòíûõ ïîëîñàõ ìàÿêàìè ñëóæàò ðàíåå óëîæåííûå ïîëîñû-çàõâàòêè. Ðàáîòû âûïîëíÿþò â òàêîì æå ïîðÿäêå, êàê è ïðè çàïîëíåíèè íå÷åòíûõ ïîëîñ. Ïðè ýòîì ñëåäÿò çà òåì, ÷òîáû â ëèöåâîì ïîêðûòèè íå âûäåëÿëñÿ ïðîäîëüíûé (ðàáî÷èé) øîâ íà ãðàíèöàõ ïîëîñ-çàõâàòîê, ÷òî äîñòèãàåòñÿ íåñèììåòðè÷íîé óêëàäêîé êóñêîâ ïëèò, ïðåäâàðèòåëüíî îòñîðòèðîâàííûõ ïî òîëùèíå.
Óõîä çà ñâåæåóëîæåííûì ïîêðûòèåì. ×åðåç 2 ñóò. áðåê÷èåâèäíûå ïîêðûòèÿ çàñûïàþò îïèëêàìè ñëîåì 3…5 ñì è â òå÷åíèå 4…7 ñóò. ïîääåðæèâàþò âî âëàæíîì ñîñòîÿíèè, ïîëèâàÿ èç ëåéêè.
Êîíòðîëü êà÷åñòâà. Áðåê÷èåâèäíûå ïîêðûòèÿ èç îáëîìêîâ ïëèò ïðîèçâîëüíîé ôîðìû è ðàçìåðîâ äîëæíû èìåòü çàäàííóþ òîëùèíó, ãîðèçîíòàëüíóþ ðîâíóþ è ãëàäêóþ ïîâåðõíîñòü, ñ ãóñòûì íàïîëíåíèåì êàìíÿ ïî âñåé ïîâåðõíîñòè. Ïëîùàäü, çàíèìàåìàÿ êóñêàìè ïëèò, äîëæíà áûòü íå ìåíåå 75…85 % ïëîùàäè ïîêðûòèÿ. Îòêëîíåíèå ïîâåðõíîñòè ïîêðûòèÿ îò ãîðèçîíòàëè ïðè ïðîâåðêå äâóõìåòðîâîé êîíòðîëüíîé ðåéêîé, ïðèêëàäûâàåìîé âî âñåõ íàïðàâëåíèÿõ, íå äîëæíî ïðåâûøàòü 4 ìì.

Ðèñ. 75. Çàïîëíåíèå øâîâ áðåê÷èåâèäíîãî ïîêðûòèÿ: à - ïðî÷èñòêà øâîâ ñòàëüíîé ùåòêîé, á - çàëèâêà öâåòíîãî ðàñòâîðà, â - î÷èñòêà ïîêðûòèÿ îò èçëèøêîâ ðàñòâîðà, ã - ïðèòèðêà (çàãëàæèâàíèå) ðàñòâîðà ñòàëüíîé ãëàäèëêîé
Òðóäîâûå çàòðàòû. Íîðìà âðåìåíè íà óñòðîéñòâî 1 ì2 ïîëîâ ñ ïðèìåíåíèåì áîÿ ìðàìîðíûõ ïëèò (áðåê÷èé) - 1,12 ÷åë-÷; íîðìà âûðàáîòêè íà 1 ÷åë-äí - 7,14 ì2.
Òåõíèêà áåçîïàñíîñòè. Ñîðòèðîâêó è óêëàäêó â ïîêðûòèå îáëîìêîâ ïëèò äåêîðàòèâíîãî êàìíÿ ïðîèçâîäÿò â ðóêàâèöàõ è çàùèòíûõ î÷êàõ.
Êîíòðîëüíûå âîïðîñû. Èç êàêèõ îïåðàöèé ñîñòîèò ïðîöåññ óñòðîéñòâà ïîëîâ èç áðåê÷èåâèäíûõ ïîêðûòèé? Êàê îïðåäåëÿþò øèðèíó è âûñîòíîå ïîëîæåíèå ïîëîñ-çàõâàòîê? Êàê ïîâûñèòü äåêîðàòèâíîñòü áðåê÷èåâèäíûõ ïîêðûòèé? Êàê îïðåäåëèòü êà÷åñòâî áðåê÷èåâèäíîãî ïîêðûòèÿ? Êàêèå òðåáîâàíèÿ òåõíèêè áåçîïàñíîñòè íåîáõîäèìî âûïîëíÿòü ïðè óñòðîéñòâå ïîêðûòèÿ èç îáëîìêîâ ìðàìîðíûõ ïëèò?
Ñîñòàâ òåõíîëîãè÷åñêèõ îïåðàöèé. Óñòàíîâêà è âûâåðêà äåðåâÿííûõ ðååê-øàáëîíîâ; íàáèâêà ìîçàè÷íîãî ðàñòâîðà; ñíÿòèå øàáëîíà è óêðûòèå ïëèíòóñà âëàæíîé ìåøêîâèíîé.
Èíñòðóìåíòû, ïðèñïîñîáëåíèÿ, èíâåíòàðü. Êåëüìà; ñîâêîâàÿ ëîïàòà; ñêëàäíîé ìåòð èëè ðóëåòêà; èçìåðèòåëüíûé øíóð; êèñòü; ïðîôèëèðîâàííûå ðåéêè-øàáëîíû ñ ìåòàëëè÷åñêèìè ñêîáàìè; âåäðà; ìåøêîâèíà; âåòîøü.
Ìàòåðèàëû. Ìîçàè÷íûé ðàñòâîð êàìåííîé êðîøêè ñ êðóïíîñòüþ çåðåí 3...10 ìì.
Ñõåìà îðãàíèçàöèè ðàáî÷åãî ìåñòà. Ðàáî÷åå ìåñòî ïðè óñòðîéñòâå ìîçàè÷íûõ ïëèíòóñîâ îðãàíèçóþò òàê, êàê ïîêàçàíî íà ðèñ. 76.
Ïîñëåäîâàòåëüíîñòü âûïîëíåíèÿ òåõíîëîãè÷åñêèõ îïåðàöèé. Ê óñòðîéñòâó ìîçàè÷íûõ ïëèíòóñîâ ïðèñòóïàþò ÷åðåç 2...3 ñóò ïîñëå óêëàäêè ïîëîâ.
Óñòàíîâêà è âûâåðêà ðååê-øàáëîíîâ. Äî íà÷àëà óñòàíîâêè ðååê-øàáëîíîâ ìåñòîïîëîæåíèå áóäóùåãî ïëèíòóñà ñìà÷èâàþò âîäîé ñ ïîìîùüþ êèñòè. Ðåéêè ðàñêëàäûâàþò ïî ïåðèìåòðó ñòåíû. Íà÷èíàþò óñòàíàâëèâàòü ðåéêè îò óãëà ïîìåùåíèÿ. Øèðèíó ïëèíòóñà, ò.å. çàçîð ìåæäó ñòåíîé è ðåéêîé-øàáëîíîì, îòìåðÿþò ñ ïîìîùüþ ìåòðà íà îäíîì è äðóãîì êîíöå ñòåíû.

Ðèñ. 76. Ñõåìà îðãàíèçàöèè ðàáî÷åãî ìåñòà ïðè óñòðîéñòâå ìîçàè÷íûõ ïëèíòóñîâ:
1 - óñòàíîâëåííûå ðåéêè-øàáëîíû, 2 - çàçîð ìåæäó ñòåíîé è ðåéêîé, 3 - ïðè÷àëüíûé øíóð ìåæäó êðàéíèìè øàáëîíàìè, 4 - íåóñòàíîâëåííûå ðåéêè-øàáëîíû, 5 - ïðèãðóçû, 6 - ïëèíòóñ, óêðûòûé ìåøêîâèíîé

Ðèñ. 77. Çàêðåïëåíèå ðåéêè-øàáëîíà
Óñòàíîâèâ è âûâåðèâ ðåéêó, íà ñêîáó êëàäóò ãðóç (êèðïè÷) (ðèñ. 77). Òàê æå óñòàíàâëèâàþò ðåéêó íà äðóãîì êîíöå ñòåíû, ïîñëå ÷åãî ìåæäó ðåéêàìè íàòÿãèâàþò ïðè÷àëüíûé øíóð, ôèêñèðóþùèé ïîëîæåíèå áóäóùåãî ïëèíòóñà. Ïðîìåæóòî÷íûå ðåéêè-øàáëîíû óñòàíàâëèâàþò ïî ïðè÷àëüíîìó øíóðó.
Íàáèâêà ìîçàè÷íîãî ðàñòâîðà. Ìîçàè÷íûé ðàñòâîð óêëàäûâàþò â çàçîð ìåæäó ñòåíîé è ðåéêîé (ðèñ. 78, à). Çàïîëíèâ ïðèìåðíî ïîëîâèíó âûñîòû ïëèíòóñà, ðàñòâîð óïëîòíÿþò ðåáðîì ïîëîòíà êåëüìû, ïîñëå ÷åãî ïðîäîëæàþò çàïîëíÿòü çàçîð äî âåðõà øàáëîíà è ñíîâà óïëîòíÿþò ðàñòâîð è çàãëàæèâàþò êåëüìîé ïî âåðõó øàáëîíà (ðèñ. 78, á).
Ñíÿòèå øàáëîíîâ. Ïîñëå ñõâàòûâàíèÿ óëîæåííîãî ðàñòâîðà ãðóç ñíèìàþò ñ ìåòàëëè÷åñêèõ ñêîá. Ïîëîòíî êåëüìû âñòàâëÿþò ìåæäó ðåéêîé-øàáëîíîì è ïîëîì è îñòîðîæíî ïðèïîäíèìàþò êîíåö ðåéêè, çàòåì áåðóòñÿ çà ñêîáó è äâèæåíèåì íà ñåáÿ è ââåðõ, îòäåëÿþò ðåéêó îò ïëèíòóñà. Ïðîôèëèðîâàííóþ ïîâåðõíîñòü øàáëîíà î÷èùàþò âåòîøüþ îò îñòàòêîâ ðàñòâîðà äëÿ ïîâòîðíîãî èñïîëüçîâàíèÿ. Îáíàðóæåííûå äåôåêòû (ìåëêèå ðàêîâèíû, ñêîëû) íà ïîâåðõíîñòè ïëèíòóñà çàäåëûâàþò òåì æå ðàñòâîðîì è íàêðûâàþò ãîòîâûé ïëèíòóñ óâëàæíåííîé ìåøêîâèíîé.

Ðèñ. 78. Íàáèâêà ìîçàè÷íûõ ïëèíòóñîâ: à - çàïîëíåíèå è óïëîòíåíèå ðàñòâîðà, á - âûðàâíèâàíèå ðàñòâîðà çàïîäëèöî ñ øàáëîíîì
Êîíòðîëü êà÷åñòâà. Íåîáõîäèìî ñëåäèòü, ÷òîáû ïî âñåé ïîâåðõíîñòè ïëèíòóñà áûëà ðàâíîìåðíî ðàñïðåäåëåíà ìðàìîðíàÿ êðîøêà. Ãîòîâûé ïëèíòóñ äîëæåí áûòü ñïëîøíûì ïî âñåìó ïåðèìåòðó, áåç âûñòóïîâ è äðóãèõ äåôåêòîâ, âèäèìûõ ñ ðàññòîÿíèÿ 3 ì.
Òðóäîâûå çàòðàòû. Íîðìà âðåìåíè íà óñòðîéñòâî 1 ì ìîçàè÷íûõ ïëèíòóñîâ - 0,43 ÷åë-÷; íîðìû âûðàáîòêè íà 1 ÷åë-äí - 17,2 ì.
Òåõíèêà áåçîïàñíîñòè. Óñòðîéñòâî ìîçàè÷íûõ ïëèíòóñîâ ïðîèçâîäÿò âî âëàãîíåïðîíèöàåìûõ íàêîëåííèêàõ è ðåçèíîâûõ ïåð÷àòêàõ.
Êîíòðîëüíûå âîïðîñû. Ãäå ðàñïîëàãàþòñÿ ïëèíòóñû è êàêîâî èõ íàçíà÷åíèå? Êîãäà ìîæíî ïðèñòóïàòü ê óñòðîéñòâó ìîçàè÷íûõ ïëèíòóñîâ? ×åì îòëè÷àåòñÿ òåõíîëîãèÿ óñòðîéñòâà ìîçàè÷íûõ ïëèíòóñîâ îò òåõíîëîãèè óñòðîéñòâà öåìåíòíûõ ïëèíòóñîâ? Ïî÷åìó ìîçàè÷íûå ïëèíòóñû íåëüçÿ âûòÿãèâàòü ïðè ïîìîùè øàáëîíà èëè ìàëêè? Êàêîâî óñòðîéñòâî è ïðèíöèï äåéñòâèÿ øàáëîíà äëÿ íàáèâêè ìîçàè÷íûõ ïëèíòóñîâ?
Ñîñòàâ òåõíîëîãè÷åñêèõ îïåðàöèé. Îòòèðêà ïîâåðõíîñòè ïëèíòóñà; øïàòëåâêà îòäåëüíûõ ìåñò; øëèôîâêà ïîâåðõíîñòè ïëèíòóñîâ.
Ìåõàíèçìû, èíñòðóìåíòû, èíâåíòàðü. Ýëåêòðè÷åñêàÿ øëèôîâàëüíàÿ ìàøèíà ÈÝ-8201Á ñ íàáîðîì ñìåííûõ êðóãîâ çåðíèñòîñòüþ 60...80 è 230...325. Ëåùàäü; êèñòü; ðåçèíîâûé øïàòåëü; êåëüìà; âåäðî; âåòîøü; ðåçèíîâûå ïåð÷àòêè è îáóâü.
Ìàòåðèàëû. Öåìåíòíàÿ øïàòëåâêà, ñîîòâåòñòâóþùàÿ öâåòó ìîçàè÷íîãî ïëèíòóñà.
Ñõåìà îðãàíèçàöèè ðàáî÷åãî ìåñòà. Ïîìåùåíèå äîëæíî áûòü îñâîáîæäåíî îò ïîñòîðîííèõ ïðåäìåòîâ. Íåîáõîäèìûå ìåõàíèçìû, èíñòðóìåíòû, èíâåíòàðü è ìàòåðèàëû äîëæíû áûòü ðàñïîëîæåíû â íåïîñðåäñòâåííîé áëèçîñòè îò ðàáî÷åãî ìåñòà.
Ïîñëåäîâàòåëüíîñòü âûïîëíåíèÿ òåõíîëîãè÷åñêèõ îïåðàöèé. Ê îòäåëêå ìîçàè÷íûõ ïëèíòóñîâ ïðèñòóïàþò ÷åðåç 3...5 ñóò ïîñëå èõ óñòðîéñòâà è ïðèîáðåòåíèÿ ðàñòâîðîì ïðî÷íîñòè, èñêëþ÷àþùåé âûêðàøèâàíèå ìðàìîðíîé êðîøêè.
Îòòèðêà ïîâåðõíîñòè ïëèíòóñà. Îòäåëûâàåìóþ ïîâåðõíîñòü ïëèíòóñà ñìà÷èâàþò êèñòüþ. Ïîñëå ïðîâåðêè ýëåêòðîøëèôîâàëüíîé ìàøèíû íà õîëîñòîì õîäó íà÷èíàþò îòòèðêó, ïåðåäâèãàÿñü âäîëü ïëèíòóñà (ðèñ. 79, à). Îòòèðêó â óãëàõ è äðóãèõ ñòåñíåííûõ ìåñòàõ âåäóò ëåùàäüþ. Çàòåì ïîâåðõíîñòü ïëèíòóñà ñìà÷èâàþò âîäîé ñ ïîìîùüþ êèñòè è ïðîòèðàþò âåòîøüþ.

Ðèñ. 79. Îòäåëêà ìîçàè÷íûõ ïëèíòóñîâ:
à - îòòèðêà è øëèôîâêà ìîçàè÷íî-øëèôîâàëüíîé ìàøèíîé, á - øïàòëåâàíèå äåôåêòíûõ ìåñò
Øïàòëåâêà îòäåëüíûõ ìåñò. Ñêîëû, öàðàïèíû è äðóãèå äåôåêòû íà ïîâåðõíîñòè ïëèíòóñà çàäåëûâàþò öåìåíòíîé øïàòëåâêîé, íàíîñÿ åå ðåçèíîâûì øïàòåëåì (ðèñ. 79, á).
Øëèôîâêà ïîâåðõíîñòè. Ïîâåðõíîñòü ïëèíòóñà ñìà÷èâàþò âîäîé è îáðàáàòûâàþò ýëåêòðîøëèôîâàëüíîé ìàøèíîé ñ ïîìîùüþ ìåëêîçåðíèñòûõ êðóãîâ äâèæåíèÿìè îò ñåáÿ è íà ñåáÿ. Ïî îêîí÷àíèè øëèôîâêè ïîâåðõíîñòü ñìà÷èâàþò âîäîé è ìåòàëëè÷åñêèì øïàòåëåì óäàëÿþò øëàì (ìåëêèå îòõîäû).
Êîíòðîëü êà÷åñòâà. Ôîðìà è ðèñóíîê ïëèíòóñà äîëæíû ñîîòâåòñòâîâàòü çàäàííûì. Íà ëèöåâîé ïîâåðõíîñòè äîëæíû áûòü âèäíû ðàâíîìåðíûå âêðàïëåíèÿ ìðàìîðíîé êðîøêè. Ïîâåðõíîñòü äîëæíà áûòü ðîâíîé è ãëàäêîé, áåç äåôåêòîâ, âèäèìûõ ñ ðàññòîÿíèÿ 3 ì.
Òðóäîâûå çàòðàòû. Íîðìà âðåìåíè íà îòäåëêó 1 ì ïëèíòóñà - 0,56 ÷åë-÷; íîðìà âûðàáîòêè íà 1 ÷åë-äí - 14,3 ì.
Òåõíèêà áåçîïàñíîñòè. Ðàáîòàòü ñ ýëåêòðîøëèôîâàëüíîé ìàøèíîé íóæíî â ðåçèíîâûõ ïåð÷àòêàõ è ðåçèíîâîé îáóâè.
Êîíòðîëüíûå âîïðîñû. Íàçîâèòå äåôåêòû, âñòðå÷àþùèåñÿ ïðè óñòðîéñòâå ìîçàè÷íûõ ïëèíòóñîâ, ïðè÷èíû èõ âîçíèêíîâåíèÿ è ñïîñîáû ïðåäóïðåæäåíèÿ.  êàêîé òåõíîëîãè÷åñêîé ïîñëåäîâàòåëüíîñòè îòäåëûâàþò ìîçàè÷íûå ïëèíòóñû? ×åì îòëè÷àåòñÿ îáäèðêà îò øëèôîâàíèÿ ïîâåðõíîñòåé ìîçàè÷íûõ ïëèíòóñîâ? Êàêèå ïðàâèëà òåõíèêè áåçîïàñíîñòè íåîáõîäèìî âûïîëíÿòü ïðè ðàáîòå ñ ýëåêòðîøëèôîâàëüíîé ìàøèíîé?
Ñîñòàâ òåõíîëîãè÷åñêèõ îïåðàöèé. Ïðèãîòîâëåíèå ãðóíòîâî÷íûõ è âûðàâíèâàþùèõ ñîñòàâîâ; ïîäãîòîâêà îñíîâàíèÿ è óñòàíîâêà ìàÿ÷íûõ ðååê; ãðóíòîâêà îñíîâàíèÿ; íàíåñåíèå âûðàâíèâàþùåãî ñëîÿ; ñíÿòèå ìàÿ÷íûõ ðååê è çàäåëêà áîðîçä; îòäåëêà ëèöåâîé ïîâåðõíîñòè.
Ìåõàíèçìû, èíñòðóìåíòû, ïðèñïîñîáëåíèÿ, èíâåíòàðü. Ðàñòâîðîñìåñèòåëü ÑÎ-23Á ñ îòêèäíûìè ëîïàñòÿìè, äâóìÿ áóíêåðàìè-òà÷êàìè äëÿ ãîòîâîãî è ïðèãîòîâëÿåìîãî ðàñòâîðîâ; ýëåêòðè÷åñêàÿ øëèôîâàëüíàÿ ìàøèíà ÈÝ-8201Á ñ ãèáêèì âàëîì; óñòàíîâêà ÑÎ-21À ñ ñîïëîì-ôîðñóíêîé äëÿ íàíåñåíèÿ ìàñòèêè; âèáðîðåéêà; øëèôîâàëüíàÿ ìàøèíà ÑÎ-91. Ëåùàäü; ðàñòâîðíàÿ ëîïàòà; ëîïàòêà ïëèòî÷íàÿ; ôëåéöåâàÿ êèñòü (øèðèíîé 120 ìì) èëè âàëèê ñ âàííî÷êîé; øïàòåëü ñî ñìåííûìè ïîëîòíàìè; ïîëóòåðîê äëèíîé 800 ìì; ãëàäèëêà; ñèòî; ôàíåðíûå ùèòû; ìàÿ÷íûå ðåéêè ñ îòôóãîâàííîé âåðõíåé êðîìêîé; ðåçèíîâûå ïåð÷àòêè, ðåçèíîâàÿ îáóâü, çàùèòíûå î÷êè, ðåñïèðàòîð.
Ìàòåðèàëû. Öåìåíò. Ãðóíòîâêà - äèñïåðñèÿ ÏÂÀ, ðàçáàâëåííàÿ â ñîîòíîøåíèè 1 : 8 ìàñ. ÷. (äèñïåðñèÿ : âîäà) ïî ìàññå.
Ñîñòàâ äëÿ âûðàâíèâàþùåãî ñëîÿ, êã: ñóõàÿ ðàñòâîðíàÿ ñìåñü ìàðêè 150 - 100; äèñïåðñèÿ ÏÂÀ, ðàçáàâëåííàÿ âîäîé â ñîîòíîøåíèè 1:4 ìàñ. ÷. (äèñïåðñèÿ: âîäà) - 14.
Ñîñòàâ âîñêîâîé ìàñòèêè äëÿ îòäåëêè ëèöåâîãî ïîêðûòèÿ, ìàñ. ÷.: ñêèïèäàð èëè áåíçèí - 10; ñòåàðèí - 2; ïàðàôèí - 1; âîñê - 1; êàíèôîëü - 0,25.
Ñõåìà îðãàíèçàöèè ðàáî÷åãî ìåñòà. Íåîáõîäèìûå ìàòåðèàëû, ìåõàíèçìû, èíñòðóìåíòû, èíâåíòàðü ðàçìåùàþò ó ìåñòà ðàáîò (ðèñ. 80) èëè â ñìåæíîì ïîìåùåíèè.

Ðèñ. 80. Ñõåìà îðãàíèçàöèè ðàáî÷åãî ìåñòà ïðè óñòðîéñòâå ïîëèìåð-öåìåíòíûõ íàëèâíûõ ïîëîâ:
1 - óñòàíîâêà
ÑÎ-21À, 2 - èíâåíòàðíûå ùèòêè, 3 - ïîëîñû-çàõâàòêè,
4 - ìàÿ÷íûå ðåéêè, 5 - âèáðîðåéêà, 6 - ëàðè ñìàòåðèàëàìè, 7 -
ðàñòâîðî-ñìåñèòåëü
Ïîñëåäîâàòåëüíîñòü âûïîëíåíèÿ òåõíîëîãè÷åñêèõ îïåðàöèé. Ðàáîòó íà÷èíàþò ïîñëå ñäà÷è ïîìåùåíèÿ ïîä îòäåëî÷íûå ðàáîòû è çàêðåïëåíèÿ íà ñòåíàõ ïîìåùåíèÿ óðîâíÿ ÷èñòîãî ïîëà.
Ïðèãîòîâëåíèå ãðóíòîâî÷íûõ è âûðàâíèâàþùèõ ñîñòàâîâ. Ïîëèìåðöåìåíòíóþ ãðóíòîâêó ïðèãîòîâëÿþò íà ìåñòå ðàáîòû â ðàñòâîðîñìåñèòåëå ÑÎ-23 ñî ñìåííûìè áóíêåðàìè-òà÷êàìè.  áóíêåð-òà÷êó ââîäÿò äîçèðîâàííîå êîëè÷åñòâî ïîëèâèíèëàöåòàòíîé äèñïåðñèè è âîäû, îïóñêàþò ëîïàñòíûé âàë, âêëþ÷àþò ðàñòâîðîñìåñèòåëü è ïåðåìåøèâàþò â òå÷åíèå 2...3 ìèí; çàòåì çàñûïàþò öåìåíò, ïåðåìåøèâàÿ ñìåñü äî îäíîðîäíîñòè. Ïðèãîòîâëåííóþ ãðóíòîâêó ïðîöåæèâàþò ÷åðåç ñèòî.
Ñîñòàâ äëÿ âûðàâíèâàþùåãî ñëîÿ ïðèãîòîâëÿþò, âëèâàÿ â áóíêåð-òà÷êó ðàñòâîðîñìåñèòåëÿ äîçèðîâàííûé îáúåì ïîëèâèíèëàöåòàòíîé äèñïåðñèè, âêëþ÷àþò ëîïàñòíûé âàë. Ïðè ïåðåìåøèâàíèè äîáàâëÿþò äîçèðîâàííîå êîëè÷åñòâî âîäû; ñìåñü ïåðåìåøèâàþò â òå÷åíèå 1…2 ìèí. Çàòåì, íå îñòàíàâëèâàÿ ñìåñèòåëü, çàñûïàþò ïðîñåÿííóþ ñóõóþ ðàñòâîðíóþ ñìåñü, ïèãìåíòû è ïðîäîëæàþò ïåðåìåøèâàíèå â òå÷åíèå 5...7 ìèí äî ïîëó÷åíèÿ îäíîðîäíîãî, áåç êîìêîâ ñîñòàâà. Ïîäâèæíîñòü ñîñòàâà, êîíòðîëèðóåìîãî ýòàëîííûì êîíóñîì, äîëæíà áûòü 5…7 ñì.
Ïðèãîòîâëåííûå ãðóíòîâî÷íûå è âûðàâíèâàþùèå ïîëèìåðöåìåíòíûå ñîñòàâû äîñòàâëÿþò â áóíêåðå-òà÷êå ê óñòàíîâêå ÑÎ-21À.
Ïîäãîòîâêà îñíîâàíèÿ è óñòàíîâêà ìàÿ÷íûõ ðååê. Âûÿâëåííûå äåôåêòû îñíîâàíèÿ ïðè íàëîæåíèè äâóõìåòðîâîé êîíòðîëüíîé ðåéêè îòìå÷àþò öâåòíûìè ìåëêàìè. Âûïóêëîñòè ïîâåðõíîñòè óäàëÿþò ìîçàè÷íî-øëèôîâàëüíîé ìàøèíîé ñíà÷àëà ñ êðóïíîçåðíèñòûìè êðóãàìè, à çàòåì ñðåäíåçåðíèñòûìè.
Îñíîâàíèå î÷èùàþò îò ìóñîðà, ãðÿçè, îáåñïûëèâàþò ïûëåñîñîì. Ïîñëå ýòîãî âäîëü ñòåí óñòàíàâëèâàþò ôàíåðíûå èëè îðãàëèòîâûå çàùèòíûå ùèòêè 2 (ñì. ðèñ. 80). Ïî îòìåòêå óðîâíÿ ÷èñòîãî ïîëà, âûíåñåííîé íà ñòåíû ïîìåùåíèÿ, óêëàäûâàþò, âûâåðÿþò ïî óðîâíþ è çàêðåïëÿþò ìàÿ÷íûå ðåéêè ñ øàãîì 1,5…2 ì. Âûñîòà ìàÿ÷íûõ ðååê ñîîòâåòñòâóåò òîëùèíå ïîêðûòèÿ.
Îãðóíòîâêà îñíîâàíèÿ. Íà îáåñïûëåííîå îñíîâàíèå íàíîñÿò ãðóíòîâî÷íûé ñîñòàâ, çàêðåïëÿþùèé âåðõíèé ñëîé îñíîâàíèÿ è îáåñïå÷èâàþùèé áîëåå ïðî÷íîå ñöåïëåíèå âûðàâíèâàþùåãî ñëîÿ ñ îñíîâàíèåì.
Ãðóíòîâêó íàíîñÿò âîëîñÿíûìè ùåòêàìè, à ïðè áîëüøîì îáúåìå ðàáîò - ôîðñóíêîé ñ ïîìîùüþ óñòàíîâêè 1. Ïî ïðîñîõøåé ãðóíòîâêå ñ ïîìîùüþ øïàòåëÿ ñîñòàâîì, ïðåäíàçíà÷åííûì äëÿ âûðàâíèâàþùåãî ñëîÿ, èñïðàâëÿþò ìåëêèå äåôåêòû îñíîâàíèÿ.
Íàíåñåíèå âûðàâíèâàþùåãî ñëîÿ. Ïîñëå ñõâàòûâàíèÿ øïàòëåâêè â äåôåêòíûõ ìåñòàõ íàíîñÿò ôîðñóíêîé ëèöåâîé ñëîé ïîëèìåðöåìåíòíîãî ïîêðûòèÿ ñ ïîìîùüþ óñòàíîâêè 1 äî óðîâíÿ óëîæåííûõ ìàÿêîâ. Ñëîé ðàçðàâíèâàþò ïðàâèëîì èëè ãëàäèëêîé, óïëîòíÿþò âèáðîðåéêîé 5, îïèðàÿ êîíöû åå íà ìàÿ÷íûå ðåéêè 4.
Îòäåëêà ëèöåâîé ïîâåðõíîñòè. Ïîñëå òâåðäåíèÿ âûðàâíèâàþùåãî ñëîÿ ÷åðåç 18…24 ÷ ëèöåâóþ ïîâåðõíîñòü ñëåãêà óâëàæíÿþò è îáðàáàòûâàþò øëèôîâàëüíîé ìàøèíîé ñ ìåëêîçåðíèñòûì øëèôîâàëüíûì êðóãîì.
Äîøëèôîâêó òðóäíîäîñòóïíûõ è ñòåñíåííûõ ìåñò, óçêèõ ïîëîñ âäîëü ñòåí âûïîëíÿþò âðó÷íóþ áðóñêîì, çàêðåïëåííûì â îáîéìå ëåùàäè.
Ìåëêèå äåôåêòû ïîâåðõíîñòè (âûêðîøåííûå ïåñ÷èíêè è ò.ä.) øïàòëþþò ñîñòàâîì, ïðåäíàçíà÷åííûì äëÿ âûðàâíèâàþùåãî ñëîÿ, à ïîñëå âûñûõàíèÿ øëèôóþò ìåëêîçåðíèñòûìè êðóãàìè áåç óâëàæíåíèÿ ïîâåðõíîñòè.
Ïîñëå òâåðäåíèÿ âñåé ïëîùàäè ïîêðûòèÿ, à òàêæå ïîñëå øëèôîâàíèÿ åãî íàíîñÿò âîñêîâóþ ìàñòèêó èëè ïîêðûâàþò ëàêîì.
Êîíòðîëü êà÷åñòâà. Ïîëèìåðöåìåíòíîå ìàñòè÷íîå ïîêðûòèå äîëæíî èìåòü çàäàííóþ òîëùèíó, ãîðèçîíòàëüíóþ ðîâíóþ ïîâåðõíîñòü áåç ðàêîâèí, òðåùèí, âûáîèí è äðóãèõ äåôåêòîâ. Öâåò, òîí ïîêðûòèÿ äîëæíû ñîîòâåòñòâîâàòü ïðîåêòó. Ïðîñâåòû ìåæäó äâóõìåòðîâîé êîíòðîëüíîé ðåéêîé, ïðèêëàäûâàåìîé ê ïîâåðõíîñòè ïîêðûòèÿ âî âñåõ íàïðàâëåíèÿõ, íå äîëæíû ïðåâûøàòü 4 ìì.
Òðóäîâûå çàòðàòû. Íîðìà âðåìåíè íà óñòðîéñòâî 1 ì2 îäíîñëîéíûõ ïîëèìåðöåìåíòíûõ ïîëîâ - 0,31 ÷åë-÷; íîðìà âûðàáîòêè íà 1 ÷åë-äí - 25,8 ì2.
Òåõíèêà áåçîïàñíîñòè. Ïîìåùåíèÿ, â êîòîðûõ óñòðàèâàþò ïîëèìåðöåìåíòíûå íàëèâíûå ïîëû, äîëæíû èìåòü âåíòèëÿöèþ. Ðàáîòàòü ñ ýëåêòðèôèöèðîâàííûìè ìåõàíèçìàìè íóæíî â ðåçèíîâîé îáóâè è ïåð÷àòêàõ. Ïðè ðàáîòàõ, ñâÿçàííûõ ñ âûäåëåíèåì ïûëè, ïîëüçóþòñÿ çàùèòíûìè î÷êàìè, à ïðè ïîêðûòèè ïîëîâ ëàêîì - è ðåñïèðàòîðîì.
Êîíòðîëüíûå âîïðîñû. Êàê ãîòîâÿò îñíîâàíèå ïîä ïîëèìåðöåìåíòíûå íàëèâíûå ïîëû? Èç êàêèõ òåõíîëîãè÷åñêèõ îïåðàöèé ñîñòîèò óñòðîéñòâî ïîëèìåðöåìåíòíûõ íàëèâíûõ ïîêðûòèé? Íàçîâèòå ñâÿçóþùåå ïðè ïðèãîòîâëåíèè ïîëèìåðöåìåíòíûõ ñîñòàâîâ? Êàê îòäåëûâàþò ïîëèìåðöåìåíòíûå íàëèâíûå ïîêðûòèÿ?
Ñîñòàâ òåõíîëîãè÷åñêèõ îïåðàöèé. Ïðèãîòîâëåíèå ãðóíòîâî÷íîãî ñîñòàâà; ïðèãîòîâëåíèå âûðàâíèâàþùåãî è ëèöåâûõ ñîñòàâîâ; çàòàðèâàíèå ìàñòè÷íûõ ñîñòàâîâ.
Ìåõàíèçìû, èíñòðóìåíòû, ïðèñïîñîáëåíèÿ, èíâåíòàðü. Ðàñòâîðîñìåñèòåëü ÑÎ-23 ñî ñìåííûìè áóíêåðàìè-òà÷êàìè; æåðíîâàÿ êðàñêîòåðêà ÑÎ-110À; âèáðîñèòî òèïà ÑÎ-130 ñ êîìïëåêòîì ñåòîê ðàçìåðîì ÿ÷ååê 0,2×0,2…0,5×0,5. Ëîïàòêà äëÿ ïëèòî÷íûõ ðàáîò; ëîïàòà ðàñòâîðíàÿ; âåñû; ìåðíûå ñòåêëÿííûå åìêîñòè íà 0,5...1 ë; ñòåêëÿííûå áàíêè âìåñòèìîñòüþ 5...10 ë; ìåðíûå ìåòàëëè÷åñêèå êðóæêè; âèñêîçèìåòð ÂÇ-4; äåðåâÿííàÿ ìåøàëêà äëèíîé 1,2 ì.
Ìàòåðèàëû. Ãðóíòîâî÷íûé ñîñòàâ - ðàñòâîð ïîëèâèíèëàöåòàòíîé äèñïåðñèè ñîñòàâà 1: 5 (äèñïåðñèÿ : âîäà), ìàñ. ÷. Âûðàâíèâàþùèé è ëèöåâûå ñîñòàâû (òàáë. 4).
Òàáëèöà 4.
Ñîñòàâû ìàñòèê äëÿ óñòðîéñòâà äâóõ-, òðåõñëîéíûõ ïîëèâèíèëàöåòàòíûõ ïîïîâ
|
Êîìïîíåíòû |
Ñîñòàâû, ìàñ. ÷. |
||
|
âûðàâíèâàþùèé |
ëèöåâîé |
||
|
æåñòêèé |
ïëàñòè÷íûé |
||
|
Ïîëèâèíèëàöåòàòíàÿ äèñïåðñèÿ |
1 |
1 |
1 |
|
Ïåñîê êâàðöåâûé ìåëêèé (ðàçìåð çåðåí äî 0,25 ìì) |
4 |
- |
- |
|
Ïåñîê ìîëîòûé (ìàðøàëëèò) |
- |
1,8 |
0,8…0,9 |
|
Ïèãìåíòû ùåëî÷åñòîéêèå (æåëåçíûé ñóðèê, îõðà, îêñèä õðîìà, óëüòðàìàðèí) |
0,3…0,5 |
0,1…0,2 |
0,2…0,1 |
|
Âîäà |
0,25...0,3 |
0,4 |
0,4 |
Ñõåìà îðãàíèçàöèè ðàáî÷åãî ìåñòà (ðèñ. 81). Ïîëèâèíèëàöåòàòíûå ìàñòèêè äëÿ óñòðîéñòâà áåñøîâíûõ ïîëîâ ïðèãîòîâëÿþò â ïîìåùåíèÿõ, èìåþùèõ âåíòèëÿöèþ, ðàññ÷èòàííóþ íà ÷åòûðåõêðàòíûé îáìåí âîçäóõà â ÷àñ, îáîðóäîâàííûõ âîäîïðîâîäîì, êàíàëèçàöèåé è îáåñïå÷åííûõ ýëåêòðîýíåðãèåé. Ê íà÷àëó ðàáîòû äîëæíû áûòü ïðîâåðåíû è ïîäêëþ÷åíû íåîáõîäèìûå ìåõàíèçìû, äîñòàâëåíû ìàòåðèàëû äëÿ ïðèãîòîâëåíèÿ ìàñòèê.
Ïîñëåäîâàòåëüíîñòü âûïîëíåíèÿ òåõíîëîãè÷åñêèõ îïåðàöèé. Ïðèãîòîâëåíèå ãðóíòîâî÷íîãî ñîñòàâà. Ïîëèâèíèëàöåòàòíóþ äèñïåðñèþ è âîäó, âõîäÿùèå â ñîñòàâ ãðóíòîâêè, äîçèðóþò ìåðíîé òàðîé. Ñíà÷àëà â ðàñòâîðîñìåñèòåëü (ðèñ. 82, ã) çàëèâàþò îòìåðåííîå êîëè÷åñòâî (1 ìàñ. ÷.) ïîëèâèíèëàöåòàòíîé äèñïåðñèè, çàòåì äîáàâëÿþò âîäó (5 ìàñ. ÷.) è ñìåñü ïåðåìåøèâàþò â òå÷åíèå 1…2 ìèí äî ïîëó÷åíèÿ ìàññû îäíîðîäíîé êîíñèñòåíöèè.
Ïðèãîòîâëåíèå âûðàâíèâàþùèõ è ëèöåâûõ ñîñòàâîâ. Òðåáóåìîå êîëè÷åñòâî ïûëåâèäíûõ íàïîëíèòåëåé îòâåøèâàþò, ñìåøèâàþò ñ ñóõèìè ïèãìåíòàìè è ïðîñåèâàþò íà âèáðîñèòå (ðèñ. 82, â). Ïîëèâèíèëàöåòàòíóþ äèñïåðñèþ, âîäó, ìåëêèé ïåñîê äîçèðóþò ìåðíîé òàðîé. Ïèãìåíòû äëÿ êàæäîãî çàìåñà âçâåøèâàþò íà ÷àøå÷íûõ âåñàõ (ñì. ðèñ. 82, à) è ïåðåòèðàþò â æåðíîâîé êðàñêîòåðêå ÑÎ-110 (ðèñ. 82, á), ïîñëå ÷åãî äîáàâëÿþò âîäó äî ïîëó÷åíèÿ ãóñòîé ïàñòû. Ïàñòó ðàçáàâëÿþò âîäîé äî æèäêîé êîíñèñòåíöèè îäíîðîäíîé ðàñöâåòêè.

Ðèñ. 81. Ñõåìà îðãàíèçàöèè ðàáî÷åãî ìåñòà äëÿ ïðèãîòîâëåíèÿ ìàñòè÷íûõ ñîñòàâîâ:
à - îáîðóäîâàíèå ïîìåùåíèÿ, á - ðàñòâîðíûé óçåë äëÿ ïðèãîòîâëåíèÿ è ïîäà÷è ìàñòè÷íûõ ñîñòàâîâ; 1 - ëàðè äëÿ íàïîëíèòåëåé; 2 - øêàô äëÿ ðàáî÷åãî èíñòðóìåíòà, 3 - ðàáî÷èé ñòîë, 4 - âåñû, 5 - âèñêîçèìåòð, 6 - âèáðîãðîõîò, 7 - ðàñòâîðîñìåñèòåëü, 8 - áóíêåð ñ âèáðîñèòîì, 9 - ðàñòâîðîíàñîñ, 10 - ýìóëüñàòîð, 11 - òàðà ñ ïèãìåíòàìè, 12 - êðàñêîòåðêà, 13 - âèáðîñèòî, 14 - ïåðåäâèæíîé êîìïðåññîð, 15 - ôîðñóíêà-ðàñïûëèòåëü
Çàãðóæàþò ðàñòâîðîñìåñèòåëü (ðèñ. 82, ã) â îïðåäåëåííîé ïîñëåäîâàòåëüíîñòè. Ïîëèâèíèëàöåòàòíóþ äèñïåðñèþ çàëèâàþò â ñìåñèòåëü è, ïåðåìåøèâàÿ, äîáàâëÿþò âîäó. ×åðåç 1…2 ìèí, íå îñòàíàâëèâàÿ ñìåñèòåëü, çàñûïàþò ïðåäâàðèòåëüíî ïðîñåÿííûé íàïîëíèòåëü (ìåëêèé ìîëîòûé ïåñîê), äîáàâëÿþò âîäó è ïðîäîëæàþò ïåðåìåøèâàíèå â òå÷åíèå 5 ìèí. Çàòåì çàëèâàþò ïèãìåíòíóþ ïàñòó, ïðîäîëæàÿ ïåðåìåøèâàíèå â òå÷åíèå 5 ìèí äî ïîëó÷åíèÿ îäíîðîäíîãî ñîñòàâà.
Çàòàðèâàíèå ïðèãîòîâëåííûõ ñîñòàâîâ. Ïåðåä çàòàðèâàíèåì ó ñîñòàâîâ ïðîâåðÿþò âÿçêîñòü, èçìåðÿåìóþ âðåìåíåì âûòåêàíèÿ ìàñòèêè îáúåìîì 100 ñì3 èç âîðîíêè âèñêîçèìåòðà (ðèñ. 83). Âÿçêîñòü ñîñòàâîâ äîëæíà áûòü 120…180 ñ. Ðåãóëèðóþò âÿçêîñòü èëè äîáàâëåíèåì íàïîëíèòåëÿ ïðè ïðèãîòîâëåíèè î÷åðåäíîãî çàìåñà, èëè ðàçæèæàÿ ñîñòàâ ðàñòâîðèòåëåì (àöåòîíîì).

Ðèñ. 82. Ïðèãîòîâëåíèå øïàòëåâî÷íûõ, âûðàâíèâàþùèõ è ëèöåâûõ ñîñòàâîâ:
à - äîçèðîâàíèå ïèãìåíòîâ, á - ïåðåòèðàíèå ïèãìåíòîâ íà æåðíîâîé êðàñêîòåðêå, â - âèáðîñèòî, ã - çàãðóçêà ðàñòâîðîñìåñèòåëÿ
Ìàñòèêó ñëèâàþò â ðàñõîäíûé áóíêåð, ïðîöåæèâàÿ ÷åðåç ñèòî ñ ðàçìåðîì ÿ÷ååê 0,5 ìì, äàþò îòñòîÿòüñÿ â òå÷åíèå 15…20 ìèí äî ïîëíîãî âñïëûâàíèÿ ïåíû, êîòîðóþ çàòåì óäàëÿþò. Ñîñòàâû â òå÷åíèå 2…3 ñóò. õðàíÿò â ãåðìåòè÷åñêè çàêðûòîé òàðå. Ïðè äëèòåëüíîì ñðîêå õðàíåíèÿ ìàñòèêè ïåðåä ïðèìåíåíèåì ñ åå ïîâåðõíîñòè óäàëÿþò ïëåíêó, ïîñëå ÷åãî ñîñòàâ çàëèâàþò â ñìåñèòåëü è ïåðåìåøèâàþò â òå÷åíèå 10 ìèí.
Êîíòðîëü êà÷åñòâà. Öâåò ïðèãîòîâëåííîé ìàñòèêè äîëæåí áûòü îäíîðîäíûì, à åå ñîñòàâ ñîîòâåòñòâîâàòü çàäàííîìó ñòðîèòåëüíîé ëàáîðàòîðèåé. Ìàñòè÷íûå ñîñòàâû íå äîëæíû ñîäåðæàòü íåïåðåòåðòûõ ÷àñòèö, êîìêîâ, ñãóñòêîâ.

Ðèñ. 83. Ïðîâåðêà âÿçêîñòè ñîñòàâîâ íà âèñêîçèìåòðå ÂÇ-4
Òðóäîâûå çàòðàòû. Íîðìà âðåìåíè íà ïðèãîòîâëåíèå 100 êã ìàñòèêè - 2,1 ÷åë-÷; íîðìà âûðàáîòêè íà 1 ÷åë-äí - 380 êã.
Òåõíèêà áåçîïàñíîñòè. Äî íà÷àëà ðàáîò íåîáõîäèìî ïðîéòè èíñòðóêòàæ è îáó÷åíèå ðàáîòå ñ ìåõàíèçìàìè, ïðàâèëàì òåõíèêè áåçîïàñíîñòè, ïðîèçâîäñòâåííîé ñàíèòàðèè. Ìåõàíèçìû äëÿ ïðèãîòîâëåíèÿ ìàñòèêè ìîæíî ïîäêëþ÷àòü â ýëåêòðîñåòü òîëüêî ÷åðåç øòåïñåëüíîå ñîåäèíåíèå.
Âñå ìàòåðèàëû, íåîáõîäèìûå äëÿ ïðèãîòîâëåíèÿ ìàñòèêè, õðàíÿò â ïîìåùåíèè, îáîðóäîâàííîì ïðèíóäèòåëüíîé âåíòèëÿöèåé. Æèäêèå êîìïîíåíòû äîëæíû õðàíèòüñÿ â ãåðìåòè÷åñêîé òàðå.
Êîíòðîëüíûå âîïðîñû.  êàêîé ïîñëåäîâàòåëüíîñòè ââîäÿò â ðàñòâîðîñìåñèòåëü ñîñòàâëÿþùèå äëÿ ïðèãîòîâëåíèÿ ãðóíòîâî÷íûõ, âûðàâíèâàþùèõ è ëèöåâûõ ñîñòàâîâ? Êàê îïðåäåëÿþò âÿçêîñòü ìàñòèêè? ×òî äåëàþò ñ ïðèãîòîâëåííûì ìàñòè÷íûì ñîñòàâîì ïîñëå âûãðóçêè åãî èç áóíêåðà ðàñòâîðîñìåñèòåëÿ? Êàêèå êîìïîíåíòû âõîäÿò â ñîñòàâ âûðàâíèâàþùåé ìàñòèêè? Êàêèå ïðàâèëà òåõíèêè áåçîïàñíîñòè íåîáõîäèìî ñîáëþäàòü â ïðîöåññå ïðèãîòîâëåíèÿ ìàñòèê?
Ñîñòàâ òåõíîëîãè÷åñêèõ îïåðàöèé. Ïðîâåðêà ïðî÷íîñòè è ãîðèçîíòàëüíîñòè îñíîâàíèÿ; øëèôîâàíèå îñíîâàíèÿ ñ óñòðàíåíèåì ìåëêèõ äåôåêòîâ è îáåñïûëèâàíèåì ïîâåðõíîñòè; íàíåñåíèå ãðóíòîâêè.
Ìåõàíèçìû, èíñòðóìåíòû, ïðèñïîñîáëåíèÿ, èíâåíòàðü. Øëèôîâàëüíàÿ ìàøèíà; âàêóóìíî-ùåòî÷íàÿ ïîäìåòàëüíàÿ ìàøèíà; óñòàíîâêà ÑÎ-21À ñ ïåðåäâèæíûì êîìïðåññîðîì ÑÎ-75 äëÿ ìåõàíèçèðîâàííîãî ðàñïûëåíèÿ ãðóíòîâêè. Ëîïàòêà ïëèòî÷íàÿ; øïàòåëü ñî ñìåííûìè ïîëîòíàìè; ëåùàäü; âàëèê ïîðîëîíîâûé ñ âàííî÷êîé èëè ôëåéöåâàÿ êèñòü øèðèíîé ðàáî÷åé ÷àñòè 120 ìì; âîëîñÿíàÿ ùåòêà; ôàíåðíûå ùèòû; âåäðà; äâóõìåòðîâàÿ êîíòðîëüíàÿ ðåéêà; çàùèòíûå î÷êè; ðåçèíîâûå ïåð÷àòêè.
Ìàòåðèàëû. Ðàñòâîð ïîëèâèíèëàöåòàòíîé äèñïåðñèè ñîñòàâà 1:5 (äèñïåðñèÿ : âîäà), ìàñ. ÷., äëÿ îãðóíòîâêè îñíîâàíèÿ. Öåìåíòíûé ðàñòâîð, çàòâîðåííûé âîäíûì ðàñòâîðîì ïîëèâèíèëàöåòàòíîé äèñïåðñèè 1 : 4 (äèñïåðñèÿ : âîäà), äëÿ ïîäìàçêè äåôåêòíûõ ìåñò.
Ñõåìà îðãàíèçàöèè ðàáî÷åãî ìåñòà. Ïîìåùåíèå äîëæíî áûòü îñâîáîæäåíî îò ïîñòîðîííèõ ïðåäìåòîâ. Íåïîñðåäñòâåííî ó ìåñòà ðàáîò äîëæíû áûòü ðàñïîëîæåíû âñå íåîáõîäèìûå ìàòåðèàëû, ìåõàíèçìû, èíñòðóìåíòû è èíâåíòàðü.
Ïîñëåäîâàòåëüíîñòü âûïîëíåíèÿ òåõíîëîãè÷åñêèõ îïåðàöèé. Ðàáîòó íà÷èíàþò ïîñëå òâåðäåíèÿ ñòÿæêè è óñòðîéñòâà ïëèíòóñîâ èç öåìåíòíî-ïåñ÷àíîãî ðàñòâîðà ñîñòàâà 1:3.
Êîíòðîëü ïðî÷íîñòè âûðàâíèâàþùåé ñòÿæêè, óñòðàíåíèå äåôåêòîâ. Ïðî÷íîñòü âûðàâíèâàþùåé ñòÿæêè ïîä ìàñòè÷íûå ïîëû ïðîâåðÿþò ïðîñòóêèâàíèåì âñåé ïîâåðõíîñòè. Ãëóõîé çâóê ñâèäåòåëüñòâóåò îá îòñëîåíèè ñòÿæêè. Òàêèå ìåñòà ðàçðóøàþò, î÷èùàþò îñíîâàíèå îò ìóñîðà è ïûëè, ïðîìûâàþò âîäîé è ãðóíòóþò öåìåíòíûì ìîëîêîì, ïîñëå ÷åãî óêëàäûâàþò öåìåíòíîïåñ÷àíóþ ñòÿæêó âðîâåíü ñ ðàíåå óëîæåííîé. Ðàñòâîð â ìåñòàõ ñîïðÿæåíèÿ óïëîòíÿþò è çàãëàæèâàþò, ÷òîáû øîâ áûë íåçàìåòíûì.
Ïðîâåðêà ãîðèçîíòàëüíîñòè îñíîâàíèÿ è çàäåëêà çàïàäàþùèõ ìåñò. Îñíîâàíèå ïðîâåðÿþò äâóõìåòðîâîé êîíòðîëüíîé ðåéêîé. Ïðîñâåòû áîëåå 10 ìì íå äîïóñêàþòñÿ. Âûÿâëåííûå çàïàäàþùèå ìåñòà è ðàêîâèíû ãëóáèíîé áîëåå 10 ìì î÷èùàþò îò ïûëè, ãðóíòóþò âîäíûì ðàñòâîðîì ïîëèâèíèëàöåòàòíîé äèñïåðñèè è çàäåëûâàþò ïîëèìåðöåìåíòíûì ðàñòâîðîì.
Ìåñòíûå âûïóêëîñòè è áóãîðêè çà÷èùàþò øëèôîâàëüíûì áðóñêîì, çàêðåïëåííûì â îáîéìå. Ìàñëÿíûå, æèðîâûå è äðóãèå ïÿòíà óñòðàíÿþò, îáðàáàòûâàÿ èõ 5 %-íûì ðàñòâîðîì êàëüöèíèðîâàííîé ñîäû, à ïðè ñèëüíîì çàãðÿçíåíèè âûðóáàþò è çàäåëûâàþò öåìåíòíîïåñ÷àíûì ðàñòâîðîì ñîñòàâà 1:3. Ïîñëå ïðîñóøêè èñïðàâëåííûå ìåñòà øëèôóþò.

Ðèñ. 84. Ðåãóëèðîâàíèå ôàêåëà ðàñïûëåíèÿ (à) è îãðóíòîâêà îñíîâàíèÿ ñ ïîìîùüþ óñòàíîâêè ÑÎ-21À (á)
Íàíåñåíèå ãðóíòîâêè. Äî íàíåñåíèÿ ãðóíòîâêè ïîâåðõíîñòü î÷èùàþò îò ìóñîðà è îáåñïûëèâàþò (áåç óâëàæíåíèÿ âîäîé).
Ïðè íåáîëüøèõ îáúåìàõ ðàáîò ãðóíòîâêó ïîâåðõíîñòè âîäíûì ðàñòâîðîì ïîëèâèíèëàöåòàòíîé äèñïåðñèè âûïîëíÿþò âîëîñÿíûìè ùåòêàìè èëè ïîðîëîíîâûìè âàëèêàìè.
Ïðè çíà÷èòåëüíûõ îáúåìàõ ðàáîò èñïîëüçóþò óñòàíîâêó ÑÎ-21À ñ ïåðåäâèæíûì êîìïðåññîðîì. Ïðèãîòîâëåííûé ðàñòâîð ãðóíòîâêè âëèâàþò â êðàñêîíàãíåòàòåëüíûé áà÷îê, çàêðûâàþò åãî êðûøêîé. Âîçäóøíûé øëàíã ïðèñîåäèíÿþò ê êîìïðåññîðó, à ìàòåðèàëüíûé øëàíã - ê ñîïëó-ôîðñóíêå. Çàòåì, âêëþ÷èâ êîìïðåññîð è ñîçäàâ äàâëåíèå â êðàñêîíàãíåòàòåëüíîì áà÷êå â 4 êÏà, ðåãóëèðóþò ðàñïûëÿþùèé ôàêåë ãðóíòîâêè íàä âåäðîì (ðèñ. 84, à).
Ñîîòíîøåíèå ñæàòîãî âîçäóõà è ðàñòâîðà ãðóíòîâêè äîëæíî áûòü òàêèì, ÷òîáû ïðîèçâîäèòåëüíîñòü áûëà íàèáîëüøåé, à ïîòåðè ãðóíòîâêè íà òóìàíîîáðàçîâàíèå - íàèìåíüøèìè. Èçáûòîê âîçäóõà óâåëè÷èâàåò òóìàíîîáðàçîâàíèå, à íåäîñòàòîê åãî íå ïîçâîëèò èìåòü ìîùíîãî ôàêåëà.
Îòðåãóëèðîâàâ ôàêåë ðàñïûëåíèÿ, ïðèñòóïàþò ê íàíåñåíèþ ãðóíòîâêè (ðèñ. 84, á). Ðàññòîÿíèå óäî÷êè-ôîðñóíêè äî îñíîâàíèÿ - 600...800 ìì. Óäî÷êó äåðæàò ïåðïåíäèêóëÿðíî ïîâåðõíîñòè ïîëà.
Íàíîñÿò ãðóíòîâî÷íûé ñëîé ïîëîñàìè-çàõâàòêàìè, îòïóñêàÿ êóðîê íà âðåìÿ ïåðåìåùåíèÿ óäî÷êè (ðàñïûëèòåëÿ) ñ îäíîé ïîëîñû íà äðóãóþ.
 ñòåñíåííûõ ìåñòàõ ïîäñòèëàþùèé ñëîé ãðóíòóþò âîëîñÿíûìè êèñòÿìè èëè ïîðîëîíîâûìè âàëèêàìè ñ âàííî÷êàìè äëÿ îòæàòèÿ èçëèøêîâ ãðóíòîâêè.
Êîíòðîëü êà÷åñòâà. Îãðóíòîâàííàÿ ïîâåðõíîñòü äîëæíà áûòü ðîâíîé, ïðî÷íîé, èìåòü õîðîøåå ñöåïëåíèå ñ îñíîâàíèåì. Ïðîñâåòû ìåæäó íàëîæåííîé äâóõìåòðîâîé êîíòðîëüíîé ðåéêîé è ïîâåðõíîñòüþ îñíîâàíèÿ - íå áîëåå 2 ìì. Ðîâíûé ñëîé ãðóíòîâêè íå äîëæåí èìåòü ïðîïóñêîâ.
Òðóäîâûå çàòðàòû. Íîðìû âðåìåíè, ÷åë-÷ (â ÷èñëèòåëå), íà ïîäãîòîâêó 10 ì îñíîâàíèÿ è íîðìû âûðàáîòêè íà 1 ÷åë-äí, ì2 (â çíàìåíàòåëå), ñëåäóþùèå.
|
|
Íàíåñåíèå ãðóíòîâêè |
|
|
1 ðàç |
2 ðàçà |
|
|
Çàäåëêà íåðîâíîñòåé, òðåùèí, âûáîèí ïîëèâèíèëàöåòàòíîé øïàòëåâêîé |
0,03/266 |
|
|
Øëèôîâàíèå îñíîâàíèÿ: |
|
|
|
øëèôîâàëüíîé ìàøèíîé |
0,32/250 |
0,52/154 |
|
âðó÷íóþ |
0,84/95 |
1,35/60 |
|
Ãðóíòîâàíèå ñòÿæêè âîäíûì ðàñòâîðîì äèñïåðñèè: |
|
|
|
øëèôîâàëüíîé ìàøèíîé |
0,95/533 |
0,25/320 |
|
âðó÷íóþ |
0,23/348 |
0,39/205 |
Òåõíèêà áåçîïàñíîñòè. Ïîìåùåíèå, ãäå âûïîëíÿþò îãðóíòîâêó îñíîâàíèÿ ïîä ìàñòè÷íûå ïîëû ðàñòâîðîì ïîëèâèíèëàöåòàòíîé äèñïåðñèè, äîëæíî áûòü îáåñïå÷åíî íàäåæíîé âåíòèëÿöèåé. Ìåõàíèçìû äëÿ íàíåñåíèÿ ïîëèâèíèëàöåòàòíîé ãðóíòîâêè äîëæíû áûòü èñïûòàíû íà äàâëåíèå, ïðåâûøàþùåå ðàáî÷åå íå ìåíåå ÷åì íà 50 %. Ðàáîòó âûïîëíÿþò â çàùèòíûõ î÷êàõ è ðåçèíîâûõ ïåð÷àòêàõ.
Êîíòðîëüíûå âîïðîñû. Èç êàêèõ òåõíîëîãè÷åñêèõ îïåðàöèé ñîñòîèò ïîäãîòîâêà îñíîâàíèé ïîä ìàñòè÷íûå ïîëû? Ðàññêàæèòå îá îðãàíèçàöèè ðàáî÷åãî ìåñòà ïðè îãðóíòîâêå ñòÿæêè ïîä ìàñòè÷íûå ïîëû? Êàê îòðåãóëèðîâàòü ðàñïûëÿþùèé ôàêåë ãðóíòîâêè? Êàêèìè ñïîñîáàìè âûÿâëÿþò è óñòðàíÿþò äåôåêòû îñíîâàíèÿ ïîä ìàñòè÷íûå ïîëû? Ïåðå÷èñëèòå òðåáîâàíèÿ, êîòîðûì äîëæíî óäîâëåòâîðÿòü îñíîâàíèå ïîä ìàñòè÷íûå ïîëû. Êàêèå òðåáîâàíèÿ òåõíèêè áåçîïàñíîñòè íåîáõîäèìî ñîáëþäàòü ïðè ìåõàíè÷åñêîé îãðóíòîâêå ñòÿæêè ïîä ìàñòè÷íûå ïîëû?
Ñîñòàâ òåõíîëîãè÷åñêèõ îïåðàöèé. Íàíåñåíèå øïàòëåâî÷íîãî ñëîÿ; øëèôîâêà ïîâåðõíîñòíîñòè; íàíåñåíèå âûðàâíèâàþùåãî ñëîÿ; íàíåñåíèå ëèöåâîãî ñëîÿ; îòäåëêà ïîêðûòèÿ.
Ìåõàíèçìû, èíñòðóìåíòû, ïðèñïîñîáëåíèÿ, èíâåíòàðü. Øëèôîâàëüíàÿ ýëåêòðè÷åñêàÿ ìàøèíà ÈÝ-8201Á ñ ãèáêèì âàëîì. Óñòàíîâêà ÑÎ-21À. Âàêóóìíî-ùåòî÷íàÿ ìàøèíà. Ëåùàäü; øëèôîâàëüíûå êðóãè ñðåäíåé çåðíèñòîñòè; âîéëî÷íûå êðóãè; ãðåáîê; ôëåéöåâàÿ êèñòü; âîëîñÿíàÿ ùåòêà; ïîðîëîíîâûé âàëèê ñ âàííî÷êîé; øïàòåëü; ìåòàëëè÷åñêàÿ ãëàäèëêà; ôàíåðíûå ùèòû. Çàùèòíûå î÷êè; ðåñïèðàòîð ØÁ-1 «Ëåïåñòîê»; ðåçèíîâûå ïåð÷àòêè.
Ìàòåðèàëû. Ïîëèâèíèëàöåòàòíàÿ øïàòëåâêà èç ñóõîé ðàñòâîðíîé ñìåñè ìàðêè 150, çàòâîðåííàÿ âîäíûì ðàñòâîðîì ïîëèâèíèëàöåòàòíîé äèñïåðñèè â ñîîòíîøåíèè 1:4 â ìàñ. ÷. (äèñïåðñèÿ: âîäà) ñ äîáàâëåíèåì ïèãìåíòîâ; ïîëèâèíèëàöåòàòíûå ìàñòèêè äëÿ âûðàâíèâàþùåãî è ëèöåâîãî ñëîåâ (òàáë. 5). Ïåíòàôòàëåâûé ëàê ÏÔ-211 èëè ñìåñü ëàêîâ ïåíòàôòàëåâîãî ÏÔ-170 è ìàñëÿíî-ñìîëÿíîãî Ñ â ñîîòíîøåíèè 3:2.
Òàáëèöà 5.
Ñîñòàâû äëÿ óñòðîéñòâà ìàñòè÷íûõ ïîëîâ
|
Êîìïîíåíòû |
Ñîñòàâ, ìàñ. ÷. |
||
|
øïàòëåâî÷íûé |
ëèöåâîé |
||
|
|
æåñòêèé |
ïëàñòè÷íûé |
|
|
Ïîëèâèíèëàöåòàòíàÿ äèñïåðñèÿ |
1 |
1 |
1 |
|
Ïåñîê êâàðöåâûé ìåëêèé |
4 |
- |
- |
|
Ïåñîê ìîëîòûé (ìàðøàëëèò) |
- |
1,8 |
0,8.0,9 |
|
Ùåëî÷åñòîéêèå ïèãìåíòû (æåëåçíûé ñóðèê, îõðà, îêñèä õðîìà, óëüòðàìàðèí) |
0,3…0,5 |
0,1...0,2 |
0,1…0,2 |
|
Âîäà |
0,25…0,3 |
0,4 |
0,4 |
Ñõåìà îðãàíèçàöèè ðàáî÷åãî ìåñòà. Ðàáî÷åå ìåñòî îðãàíèçóþò òàê, êàê ïîêàçàíî íà ðèñ. 85. Ïëîùàäü ïîêðûòèÿ ðàçäåëÿþò íà çàõâàòêè.

Ðèñ. 85. Ñõåìà îðãàíèçàöèè ðàáî÷åãî ìåñòà ïðè óñòðîéñòâå ìàñòè÷íûõ ïîëîâ:
1 - øëàíã ïîäà÷è ìàñòèêè, 2 - êîìïðåññîðû, 3 - âîçäóøíûå øëàíãè, 4 - ôîðñóíêè, ðàñïûëÿþùèå ìàñòèêó, 5 - ãðàíèöû çàõâàòîê; (I - VI - ïîñëåäîâàòåëüíîñòü ðàáîò íà çàõâàòêàõ
Ïîñëåäîâàòåëüíîñòü âûïîëíåíèÿ òåõíîëîãè÷åñêèõ îïåðàöèé. Ê ðàáîòå ïðèñòóïàþò ïðè òåìïåðàòóðå âîçäóõà â ïîìåùåíèè íå íèæå 10°Ñ è âëàæíîñòè ïîäñòèëàþùåãî ñëîÿ íå áîëåå 5 %. Îñíîâàíèå äîëæíî áûòü îãðóíòîâàíî 10 %-íûì âîäíûì ðàñòâîðîì äèñïåðñèè ÏÂÀ.
Ðàáîòó íà÷èíàþò ñî ñòîðîíû, ïðîòèâîïîëîæíîé âõîäó â ïîìåùåíèå.
Íàíåñåíèå øïàòëåâî÷íîãî ñëîÿ. ×åðåç ñóòêè ïîñëå îãðóíòîâêè îñíîâàíèå øïàòëþþò ðàñòâîðîì, ïðèãîòîâëåííûì èç ñóõîé ðàñòâîðíîé ñìåñè ìàðêè 150, çàòâîðåííîé 25 %-íûì âîäíûì ðàñòâîðîì ïîëèâèíèëàöåòàòíîé äèñïåðñèè.
Øïàòåëåì ñïîñîáîì «íà ñäèð» çàäåëûâàþò äåôåêòíûå ìåñòà ïðèãîòîâëåííûì ñîñòàâîì (ñì. òàáë. 5). Ïîñëå ïîäñûõàíèÿ çàäåëàííûõ ìåñò íà îñíîâàíèå íàíîñÿò øïàòëåâêó ðàñïûëåíèåì ñ ïîìîùüþ óñòàíîâêè ÑÎ-21À. Ê ôîðñóíêå óñòàíîâêè ïðèñîåäèíÿþò ìàòåðèàëüíûé øëàíã îò íàãíåòàòåëüíîãî áà÷êà, à âîçäóøíûé - îò êîìïðåññîðà. Ïîñëå âêëþ÷åíèÿ êîìïðåññîðà, êîãäà äàâëåíèå â ñèñòåìå ïîäíèìàåòñÿ äî 4 êÏà, íàñòðàèâàþò (ðåãóëèðóþò) ôàêåë ðàñïûëåíèÿ. Ðåãóëèðóÿ ñîîòíîøåíèå ïîäà÷è âîçäóõà è ìàñòèêè, äîáèâàþòñÿ ðàâíîìåðíîãî ôàêåëà ðàñïûëåíèÿ ìàñòèêè. Îïòèìàëüíûé äèàìåòð ôàêåëà 30...40 ñì. Ïðè íàñòðîéêå ôàêåëà ìàñòèêó ñëèâàþò â âåäðî.
Øïàòëåâî÷íûé ñëîé íàíîñÿò îò ñòåíû, ïðîòèâîïîëîæíîé âõîäó â ïîìåùåíèå, è âåäóò «íà ñåáÿ» ïàðàëëåëüíî ãðàíèöå çàõâàòêè. Îáðàáàòûâàåìàÿ ïîëîñà äîëæíà áûòü øèðèíîé 1,5…2 ì (ðèñ. 86, à). Ôîðñóíêó äåðæàò íà 0,6…0,7 ì âûøå îñíîâàíèÿ è ïîä óãëîì ïðèìåðíî 60° (ðèñ. 86, á). Ìàñòèêó íàíîñÿò ðîâíûì ñëîåì òîëùèíîé 1…1,5 ìì, ïðèäàâàÿ ðàñïûëÿåìîìó ôàêåëó âðàùàòåëüíîå äâèæåíèå.
Øëèôîâêà ïîâåðõíîñòè. ×åðåç ñóòêè çàòâåðäåâøèé ñëîé øïàòëåâêè îáðàáàòûâàþò øëèôîâàëüíîé ìàøèíîé ñ øëèôîâàëüíûìè êðóãàìè ñðåäíåé çåðíèñòîñòè. Øëàì è ïûëü óäàëÿþò ïîäìåòàëüíîé âàêóóìíî-ùåòî÷íîé ìàøèíîé èëè ïûëåñîñîì.

Ðèñ. 86. Íàíåñåíèå ìàñòèêè (à) è ïîëîæåíèå ðàñïûëèòåëÿ âî âðåìÿ ðàáîòû (á)
 óãëàõ, ïðèñòåííûõ çîíàõ è äðóãèõ òðóäíîäîñòóïíûõ ìåñòàõ øëèôîâêó âûïîëíÿþò âðó÷íóþ øëèôîâàëüíûì áðóñêîì.
Íàíåñåíèå âûðàâíèâàþùåãî ñëîÿ. Ïåðåä íàíåñåíèåì ìàñòèêè (íå ðàíåå ÷åì çà 2 ÷) îñíîâàíèå îáåñïûëèâàþò âîëîñÿíîé ùåòêîé èëè ïûëåñîñîì. Ìàñòèêó íàíîñÿò óñòàíîâêîé ÑÎ-21À â òîé æå ïîñëåäîâàòåëüíîñòè, ÷òî è øïàòëåâî÷íûé ñëîé, ñëîåì òîëùèíîé 2...2,5 ìì.
Ñòåíû îò áðûçã ìàñòèêè çàùèùàþò èíâåíòàðíûìè ùèòàìè èç ôàíåðû èëè îðãàëèòà.
Âûðàâíèâàþùèé ñëîé ìàñòèêè òâåðäååò â òå÷åíèå 6…8 ÷. Îáíàðóæåííûå íà ïîâåðõíîñòè òðåùèíû è âïàäèíû çàäåëûâàþò ýòîé æå ìàñòèêîé, à áóãîðêè, íàïëûâû ñðåçàþò ìåòàëëè÷åñêèì øïàòåëåì.
Íàíåñåíèå ëèöåâîãî ñëîÿ. Ïîâåðõíîñòü âûðàâíèâàþùåãî ñëîÿ îáåñïûëèâàþò, ïîñëå ÷åãî ïðèñòóïàþò ê íàíåñåíèþ ëèöåâîãî ïîêðûòèÿ.
Îòðåãóëèðîâàâ ôàêåë ðàñïûëåíèÿ ñîïëà ôîðñóíêè, ìàñòèêó íàíîñÿò îò ñòåíû, ïðîòèâîïîëîæíîé âõîäó â ïîìåùåíèå.
Äâèãàÿñü âäîëü ïîëîñû çàõâàòêè, ìàñòèêó íàíîñÿò ðàâíîìåðíûì ñëîåì òîëùèíîé 1,2...1,3 ìì, ïðîèçâîäÿ êðóãîîáðàçíûå äâèæåíèÿ ñîïëîì ôîðñóíêè.

Ðèñ. 87. Îòäåëêà ëèöåâîãî ñëîÿ ëàêîì
Ïðè ïåðåðûâàõ â ðàáîòå âíîâü íàíîñèìûé ñëîé ñòûêóþò ñ íàõëåñòîì 15...20 ñì íà ðàíåå óëîæåííûé.
Îòäåëêà ëèöåâîãî ñëîÿ ïîêðûòèÿ. Ïî èñòå÷åíèè 2…3 ñóò ëèöåâîå ïîêðûòèå ïîëèðóþò âîéëî÷íûìè èëè ñóêîííûìè êðóãàìè. Çàòåì íà ëèöåâóþ ïîâåðõíîñòü çà 2…3 ðàçà íàíîñÿò ïåíòàôòàëåâûé ëàê ÏÔ-211 èëè ñìåñü ïåíòàôòàëåâîãî ëàêà ÏÔ-170 ñ ìàñëÿíî-ñìîëÿíûì ëàêîì 40 (â ñîîòíîøåíèè 3:2). Ôëåéöåâóþ êèñòü øèðèíîé 120 ìì íà äëèííîé ðó÷êå (ðèñ. 87) îïóñêàþò â åìêîñòü ñ ëàêîì íà 1…1,5 ñì è ñëåãêà îòæèìàþò î äåðåâÿííóþ âåñåëêó, ïîñòàâëåííóþ â âàííî÷êó (íî íå î êðàé åìêîñòè). Ïåðâûé òîíêèé ñëîé ëàêà íàíîñÿò â îäíîì íàïðàâëåíèè, ñëåäóþùèé - ïåðïåíäèêóëÿðíî ïåðâîìó.
Êîíòðîëü êà÷åñòâà. Ïîëèâèíèëàöåòàòíûå áåñøîâíûå (ìàñòè÷íûå) ïîêðûòèÿ äîëæíû áûòü ïðî÷íûìè, îäíîðîäíûìè, ðîâíûìè; èõ ëèöåâàÿ ïîâåðõíîñòü íå äîëæíà èìåòü òðåùèí, âçäóòèé, øåðîõîâàòîñòè è äðóãèõ äåôåêòîâ. Íå äîïóñêàåòñÿ îòñëîåíèå ïîêðûòèé îò íèæåëåæàùåãî ñëîÿ (îïðåäåëÿþò ïðîñòóêèâàíèåì). Öâåò ëèöåâîãî ïîêðûòèÿ äîëæåí áûòü îäíîòîííûì, áåç ïîëîñ è âêðàïëåíèé. Ãðàíèöû ìåæäó ó÷àñòêàìè, íàíåñåííûìè â ðàçíîå âðåìÿ, íå äîëæíû áûòü çàìåòíû. Òîëùèíó íàíîñèìûõ ñëîåâ ïîñòîÿííî êîíòðîëèðóþò ïðîâîëî÷íûì êàëèáðîì èëè ùóïîì. Îòêëîíåíèÿ òîëùèíû ýëåìåíòîâ ïîëà îò ïðîåêòíîé äîïóñêàþòñÿ ëèøü â îòäåëüíûõ ìåñòàõ è íå áîëåå 10 % çàäàííîé òîëùèíû. Ïðè êîíòðîëå ðîâíîñòè ïîâåðõíîñòè íàëîæåíèåì äâóõìåòðîâîé êîíòðîëüíîé ðåéêè âî âñåõ íàïðàâëåíèÿõ äîïóñêàåìûå îòêëîíåíèÿ íå áîëåå 2 ìì.
Òðóäîâûå çàòðàòû. Íîðìû âðåìåíè, ÷åë-÷ (â ÷èñëèòåëå), íà óñòðîéñòâî 10 ì2 ìàñòè÷íûõ ïîëîâ è íîðìà âûðàáîòêè íà 1 ÷åë-äí, ì2 (â çíàìåíàòåëå), ñëåäóþùèå:
|
Øïàòëåâàíèå (çà 1 ðàç): |
|
|
ìåõàíèçèðîâàííûì ñïîñîáîì |
0,28/250 |
|
âðó÷íóþ |
0,59/103,5 |
|
Øëèôîâàíèå (çà 1 ðàç): |
|
|
ìåõàíèçèðîâàííûì ñïîñîáîì |
0,32/250 |
|
âðó÷íóþ |
0,84/95 |
|
Íàíåñåíèå ïîêðûòèé: |
|
|
ìåõàíèçèðîâàííûì ñïîñîáîì |
0,78/102,5 |
|
âðó÷íóþ |
1,8/44 |
Òåõíèêà áåçîïàñíîñòè.  ïîìåùåíèÿõ, ãäå óñòðàèâàþò ìàñòè÷íûå ïîêðûòèÿ, äîëæíà ðàáîòàòü ïîáóäèòåëüíàÿ âåíòèëÿöèÿ, ðàññ÷èòàííàÿ íà ÷åòûðåõêðàòíûé îáìåí â ÷àñ. Ìåõàíèçìû è àïïàðàòû äëÿ íàíåñåíèÿ ïîëèâèíèëàöåòàòíûõ ìàñòèê ïåðåä ïóñêîì â ðàáîòó äîëæíû áûòü ïðîâåðåíû ìåõàíèêîì, èñïûòàíû íà äàâëåíèå, ïðåâûøàþùåå ðàáî÷åå íå ìåíåå ÷åì íà 50 %.  õîäå ðàáîò ñëåäÿò çà ìàíîìåòðîì è ïðåäîõðàíèòåëüíûìè êëàïàíàìè, íå äîïóñêàÿ ïðåâûøåíèÿ äàâëåíèÿ. Íåèñïðàâíûìè ìåõàíèçìàìè è àïïàðàòàìè ïîëüçîâàòüñÿ çàïðåùàåòñÿ. Ïðèñîåäèíÿþò è ðàçúåäèíÿþò øëàíãè ïîñëå ïðåêðàùåíèÿ ïîäà÷è âîçäóõà.
Ïåðåä ðàáîòîé ñî øëèôîâàëüíîé ìàøèíîé ÈÝ-8201Á ñ ãèáêèì âàëîì íåîáõîäèìî óáåäèòüñÿ â ïðî÷íîñòè êðåïëåíèÿ øëèôîâàëüíûõ êðóãîâ. Ïðè íàíåñåíèè ìàñòèê, øëèôîâàíèè ïîêðûòèÿ íóæíî ïîëüçîâàòüñÿ ðåñïèðàòîðîì è çàùèòíûìè î÷êàìè.
Êîíòðîëüíûå âîïðîñû. Êàê ðåãóëèðóþò ôàêåë ðàñïûëåíèÿ ìàñòèêè? Èç êàêèõ òåõíîëîãè÷åñêèõ îïåðàöèé ñîñòîèò óñòðîéñòâî ïîëèâèíèëàöåòàòíûõ ïîêðûòèé? Êàê ñâîäÿò âûðàâíèâàþùèé èëè ëèöåâîé ñëîé «íà íåò» è êàê ñòûêóþò ñëîè ìàñòèêè? Êàêèìè ñïîñîáàìè óñòðàíÿþò äåôåêòû â ïðîìåæóòî÷íûõ ïðîñëîéêàõ ïîëèâèíèëàöåòàòíûõ ïîêðûòèé? Íàçîâèòå òðåáîâàíèÿ, ïðåäúÿâëÿåìûå ê êà÷åñòâó ëèöåâîãî ïîêðûòèÿ ìàñòè÷íûõ ïîëîâ. Êàê îòäåëûâàþò ëèöåâîå ïîêðûòèå ìàñòè÷íûõ ïîëîâ? Ïåðå÷èñëèòå ïðàâèëà òåõíèêè áåçîïàñíîñòè ïðè óñòðîéñòâå ìàñòè÷íûõ ïîëîâ.
Ñîñòàâ òåõíîëîãè÷åñêèõ îïåðàöèé. Âûÿâëåíèå äåôåêòîâ ïîâåðõíîñòè; óäàëåíèå âûñòóïàþùèõ ìåñò; çàäåëêà âïàäèí ðàñòâîðîì; íàñå÷êà íåãëóáîêèõ áîðîçäîê; ïîäãîòîâêà äåðåâÿííûõ ïîâåðõíîñòåé; óñòàíîâêà ìàðîê è ìàÿêîâ; îáìàçêà ðàñòâîðîì ìåòàëëè÷åñêîé ñåòêè; íàíåñåíèå âûðàâíèâàþùåãî ðàñòâîðíîãî íàìåòà.
Ìåõàíèçìû, èíñòðóìåíòû, ïðèñïîñîáëåíèÿ, èíâåíòàðü. Ýëåêòðè÷åñêèé èëè ïíåâìàòè÷åñêèé ìîëîòîê; ýëåêòðè÷åñêàÿ ñâåðëèëüíàÿ ìàøèíà; øòóêàòóðíûé àãðåãàò ÑÎ-152. Áó÷àðäà; ñêàðïåëü èëè çóáèëî; ìîëîòîê; ïðîâîëî÷íàÿ ùåòêà; êèñòü; øòóêàòóðíàÿ ëîïàòêà; ñîêîë äëÿ øòóêàòóðíûõ ðàáîò; ðàñòâîðíàÿ ëîïàòà; îòäåëî÷íûé êîâø; ãèáêèé âîäÿíîé óðîâåíü; ñòðîèòåëüíûé óðîâåíü; îòâåñ; ïðàâèëî; ñîâîê; äåðåâÿííûé ïîëóòåðîê äëèíîé 350…800 ìì; ñòàëüíàÿ ãëàäèëêà; ïðàâèëà óñåíî÷íîå è ëóçãîâîå; öàðàïêà; íîæíèöû äëÿ ðåçêè ìåòàëëà; èíâåíòàðíûå ìåòàëëè÷åñêèå ìàðêè äëÿ óñòàíîâêè ìàÿêîâ; èçìåðèòåëüíûé øíóð; ðóëåòêà èëè ñêëàäíîé ìåòð; äâóõìåòðîâàÿ êîíòðîëüíàÿ ðåéêà; òåëåæêà ñî ñìåííîé òàðîé èëè ïåðåäâèæíûå ÿùèêè äëÿ ðàñòâîðà.
Ìàòåðèàëû. Öåìåíòíîïåñ÷àíûé ðàñòâîð äëÿ çàäåëêè âïàäèí è ñïëîøíîãî âûðàâíèâàíèÿ áåòîííûõ è êèðïè÷íûõ ïîâåðõíîñòåé; 10 %-íûé ðàñòâîð ïîëèâèíèëàöåòàòíîé äèñïåðñèè.
Ðàñõîä ìàòåðèàëîâ äëÿ ïîäãîòîâêè 1 ì2 äåðåâÿííûõ ïîâåðõíîñòåé (ïîäáèâêà ñåòêè, îøòóêàòóðèâàíèå) ñëåäóþùèé: öåìåíòíûé ðàñòâîð - 0,33 ì3; ìåòàëëè÷åñêàÿ ñåòêà - 1,08 ì2; ãâîçäè äëèíîé 40 ìì - 0,065 êã; âÿçàëüíàÿ ïðîâîëîêà - 0,067 êã; êîðîòêîâîëîêíèñòûé àñáåñò - 0,2 êã.
Ñõåìà îðãàíèçàöèè ðàáî÷åãî ìåñòà. Ðàáî÷åå ìåñòî îðãàíèçóþò òàê, ÷òîáû íåîáõîäèìûå ìàòåðèàëû è èíñòðóìåíò áûëè óäîáíî ðàçìåùåíû ïî ôðîíòó ðàáîò; áûëà ïîäâåäåíà ýëåêòðîýíåðãèÿ äëÿ ïîäêëþ÷åíèÿ ýëåêòðîèíñòðóìåíòîâ.
Òåëåæêó èëè ïåðåäâèæíîé ÿùèê ñ ðàñòâîðîì ðàñïîëàãàþò íà ðàññòîÿíèè 1 ì îò ñòåíû è ñïðàâà èëè ñëåâà îò ïëèòî÷íèêà â çàâèñèìîñòè îò òîãî, êàêîé ðóêîé íàíîñÿò ðàñòâîð.
Ïîñëåäîâàòåëüíîñòü âûïîëíåíèÿ òåõíîëîãè÷åñêèõ îïåðàöèé. Ðàáîòó íà÷èíàþò ïîñëå ñäà÷è ïîìåùåíèÿ ïîä îáëèöîâî÷íûå ðàáîòû.
Âûÿâëåíèå äåôåêòîâ ïîâåðõíîñòè. Ïðèêëàäûâàÿ äâóõìåòðîâóþ êîíòðîëüíóþ ðåéêó ê ïîâåðõíîñòè â ðàçëè÷íûõ íàïðàâëåíèÿõ, âûÿâëÿþò íåðîâíîñòè, âïàäèíû è äðóãèå äåôåêòû, îòìå÷àÿ èõ öâåòíûì ìåëêîì. Ìåñòíûå íåðîâíîñòè íå äîëæíû ïðåâûøàòü 10 ìì.

Ðèñ. 83. Ìåõàíèçèðîâàííàÿ íàñå÷êà áåòîííîé ïîâåðõíîñòè (à) è èíñòðóìåíòû (á, â) äëÿ âûïîëíåíèÿ ðàáîò âðó÷íóþ: à - ýëåêòðîìîëîòîê, á - íàñå÷íîé ìîëîòîê, â - áó÷àðäà
Èñïðàâëåíèå äåôåêòîâ ïîâåðõíîñòè. Âûñòóïàþùèå ìåñòà óäàëÿþò ýëåêòðè÷åñêîé ñâåðëèëüíîé ìàøèíîé ñ çàêðåïëåííîé â ïàòðîíå ñòàëüíîé ùåòêîé èëè øëèôîâàëüíûì êðóãîì. Ïðè íåçíà÷èòåëüíûõ îáúåìàõ ðàáîò âûñòóïàþùèå ìåñòà ñðóáàþò ñêàðïåëåì èëè çóáèëîì.
Âïàäèíû ãëóáèíîé 15 ìì è áîëåå çàäåëûâàþò öåìåíòíîïåñ÷àíûì ðàñòâîðîì. Ïðåäâàðèòåëüíî òàêèå ìåñòà ãðóíòóþò 10 %-íûì âîäíûì ðàñòâîðîì ïîëèâèíèëàöåòàòíîé äèñïåðñèè. Öåìåíòíîïåñ÷àíûé ðàñòâîð íàíîñÿò îòäåëî÷íûì êîâøîì, ñîâêîì èëè øòóêàòóðíîé ëîïàòêîé ñ ñîêîëà. Ðàñòâîð ðàçðàâíèâàþò ïîëóòåðêîì, íå çàòèðàÿ ïîâåðõíîñòü äëÿ ñîõðàíåíèÿ øåðîõîâàòîñòè.
Íàñå÷êà áåòîííûõ èëè êèðïè÷íûõ ïîâåðõíîñòåé. Ýòà îïåðàöèÿ íåîáõîäèìà äëÿ ëó÷øåãî ñöåïëåíèÿ îáëèöîâêè ñ îñíîâàíèåì. Åå âûïîëíÿþò ðó÷íûì ïíåâìàòè÷åñêèì èëè ýëåêòðè÷åñêèì ìîëîòêîì (ðèñ. 88, à); ïðè íåáîëüøèõ îáúåìàõ ðàáîò - íàñå÷íûì ìîëîòêîì èëè áó÷àðäîé (ðèñ. 88, á, â). Ðàáî÷èé îðãàí ìîëîòêà ïîäíîñÿò ê ãëàäêîé áåòîííîé ïîâåðõíîñòè èëè êèðïè÷íîé êëàäêå ñ ïîëíûì çàïîëíåíèåì øâîâ è, íàæàâ íà êóðîê, íàíîñÿò 1000…1200 óäàðîâ íà 1 ì2 ïîâåðõíîñòè.

Ðèñ. 89. Ïîäãîòîâêà äåðåâÿííûõ ïîâåðõíîñòåé:
1 - äåðåâÿííàÿ ïåðåãîðîäêà, 2 - áðóñêè 20×30 ìì, 3 - ñëîé òîëÿ, 4 - òîíêàÿ ïðîâîëî÷íàÿ ñåòêà, 5 - ãðóíò èç öåìåíòíîãî ðàñòâîðà, 6 - ðàñòâîðíàÿ ïðîñëîéêà, 7 - îáëèöîâàííàÿ ïîâåðõíîñòü
Ïûëü ñ íàñå÷åííîé ïîâåðõíîñòè óäàëÿþò êèñòüþ, ñìî÷åííîé â âîäå.
Ïîäãîòîâêà äåðåâÿííûõ ïîâåðõíîñòåé. Ê ñòåíàì èëè ïåðåãîðîäêàì 1 (ðèñ. 89) ïðèáèâàþò áðóñêè 2 èëè äåðåâÿííûå øàøêè òîëùèíîé 2…2,5 ñì íà ðàññòîÿíèè 400 ìì äðóã îò äðóãà. Çàòåì ïî áðóñêàì èëè øàøêàì íàòÿãèâàþò òîëü èëè ðóáåðîèä 3. Ãâîçäÿìè çàêðåïëÿþò ìåëêîÿ÷åèñòóþ ñòàëüíóþ ñåòêó 4, âûâåðÿÿ ðîâíîñòü åå óñòàíîâêè ïî âåðòèêàëè è ãîðèçîíòàëè.
Ïî íàòÿíóòîé ñåòêå íàíîñÿò öåìåíòíî-ïåñ÷àíûé ðàñòâîð 5 ñ äîáàâêàìè î÷åñîâ è âîëîêîí àñáåñòà, ñïîñîáñòâóþùèõ óäåðæàíèþ ðàñòâîðà íà ñåòêå.
Âîçäóøíàÿ ïðîñëîéêà, îáðàçîâàííàÿ áðóñêàìè èëè øàøêàìè, ïðåäîõðàíÿåò áóäóùóþ îáëèöîâêó îò ïîâðåæäåíèÿ â ñëó÷àå êîðîáëåíèÿ äîñîê äåðåâÿííîé ñòåíû (ïåðåãîðîäêè). Ïîâåðõíîñòü ñòàëüíîé ñåòêè îøòóêàòóðèâàþò öåìåíòíûì ðàñòâîðîì 6 ñîñòàâà 1 : 3 (öåìåíò : ïåñîê) ñëîåì òîëùèíîé íå áîëåå 20 ìì (áåç íàíåñåíèÿ íàêðûâî÷íîãî ñëîÿ).
Ðàñòâîð íàíîñÿò ñ ñîêîëà (ðèñ. 90), óäåðæèâàÿ åãî ëåâîé ðóêîé íàä ÿùèêîì. Íèç ñîêîëà ïðèæèìàþò øòóêàòóðíîé ëîïàòêîé ê ñòåíå. Ñîêîë ïîä óãëîì 15...20° ê ñòåíå ïðîòÿãèâàþò ââåðõ, ðàñïðåäåëÿÿ ðàñòâîð òîíêèì ñëîåì ïî ïîâåðõíîñòè.
Çàêðåïëåíèå ìàÿêîâ è ìàðîê.  âåðõíåé ÷àñòè ñòåíû íà ðàññòîÿíèè 25…30 ñì îò ïðèìûêàþùåé ñòåíû è ïîòîëêà ïðèìîðàæèâàþò èíâåíòàðíûé ìàÿê èëè çàáèâàþò ãâîçäü (ðèñ. 91) òàê, ÷òîáû øëÿïêà åãî âûñòóïàëà íàä ïîâåðõíîñòüþ íà òîëùèíó ðàñòâîðíîãî ñëîÿ. Çàòåì îïóñêàþò îòâåñ, ïðèæèìàÿ øíóð ê øëÿïêå ãâîçäÿ. Âíèçó, îðèåíòèðóÿñü ïî îòâåñó, ïðèìîðàæèâàþò ìàÿê èëè çàáèâàþò âòîðîé ãâîçäü íà 30 ñì âûøå óðîâíÿ ïîëà. Òàê æå ïðîâåøèâàþò ñòåíó ó ïðîòèâîïîëîæíîãî óãëà ïîìåùåíèÿ.

Ðèñ. 90. Íàíåñåíèå øòóêàòóðíîãî ðàñòâîðà íà ñòàëüíóþ ñåòêó
Ïî óñòàíîâëåííûì ìàÿêàì èëè çàáèòûì ãâîçäÿì íàòÿãèâàþò øíóð (ãîðèçîíòàëüíî è ïî äèàãîíàëè) è ïðîâåðÿþò âîçìîæíóþ òîëùèíó ðàñòâîðíîé ïðîñëîéêè (7...15 ìì). Ïðè íåîáõîäèìîñòè ðåãóëèðóþò âûñîòó øëÿïîê ãâîçäåé, äîáèâàÿñü íàèìåíüøåé ðàâíîìåðíîé òîëùèíû ïðîñëîéêè.
Íàíåñåíèå âûðàâíèâàþùåãî ðàñòâîðíîãî íàìåòà. Ïðè çíà÷èòåëüíîì êîëè÷åñòâå äåôåêòîâ ïîâåðõíîñòè ðàçìåðîì áîëåå 15 ìì èõ óñòðàíÿþò âûðàâíèâàþùèì íàìåòîì. Âíà÷àëå íàíîñÿò îáðûçã - ïëàñòè÷íûé ðàñòâîð ïîäâèæíîñòüþ 12...13 ñì äëÿ çàïîëíåíèÿ ïîð è ïóñòîò. Ðàñòâîð íàíîñÿò ñ ñîêîëà, ñîâêîì èëè îòäåëî÷íûì êîâøîì ñïðàâà íàëåâî èëè íàîáîðîò (ðèñ. 92). Êîâø óäåðæèâàþò ïðàâîé èëè ëåâîé ðóêîé, ÷òîáû áîëüøîé ïàëåö íàõîäèëñÿ ñâåðõó ðó÷êè. Âçìàõîì ðóêè ïîðöèþ ðàñòâîðà ñáðàñûâàþò íà îáðàáàòûâàåìóþ ïîâåðõíîñòü, ïðèäàâàÿ êðàþ êîâøà òàêîå ïîëîæåíèå, ïðè êîòîðîì áû ðàñòâîð ðàññåèâàëñÿ âååðîîáðàçíîé ñòðóåé.
Ïðè íåáîëüøîì îáúåìå ðàáîò èëè â ñòåñíåííûõ ìåñòàõ ðàñòâîð íàíîñÿò øòóêàòóðíîé ëîïàòêîé ñ ñîêîëà. Äåðæàò ñîêîë â ëåâîé ðóêå, à øòóêàòóðíóþ ëîïàòêó - â ïðàâîé. Ïîðöèè ðàñòâîðà ñ ñîêîëà íàáðàñûâàþò ãîðèçîíòàëüíûìè ðÿäàìè ñâåðõó âíèç.
 çàâèñèìîñòè îò ðàñïîëîæåíèÿ îøòóêàòóðèâàåìîé ïîâåðõíîñòè ðàñòâîð íàíîñÿò ïðèåìàìè ñëåâà íàïðàâî (ðèñ. 93, à) èëè ñïðàâà íàëåâî (ðèñ. 93, á).

Ðèñ. 91. Çàêðåïëåíèå ìàÿêîâ è ìàðîê
Âòîðîé ñëîé íàìåòà - ãðóíò - íàíîñÿò òåìè æå ïðèåìàìè ïîñëå ñõâàòûâàíèÿ ñëîÿ îáðûçãà. Íàìåò ðàçðàâíèâàþò çàïîäëèöî ñ ìàÿêàìè ñíèçó ââåðõ, ïåðåäâèãàÿ ïîëóòåðîê âïðàâî è âëåâî (ðèñ. 94).
Êîíòðîëü êà÷åñòâà. Ïîâåðõíîñòè, ïîäãîòîâëåííûå ïîä îáëèöîâêó, íå äîëæíû èìåòü îòêðûòûõ øâîâ, ñêâîçíûõ òðåùèí, îòêëîíåíèé îò âåðòèêàëè áîëåå 3 ìì íà 1 ì âûñîòû. Íå äîïóñêàþòñÿ íåðîâíîñòè â âèäå âûñòóïîâ è óãëóáëåíèé áîëåå 15 ìì, âûñîëû è æèðîâûå ïÿòíà.

Ðèñ. 92. Ïðèåìû íàíåñåíèÿ ðàñòâîðà îòäåëî÷íûì êîâøîì

Ðèñ. 93. Íàáðàñûâàíèå ðàñòâîðà øòóêàòóðíîé ëîïàòêîé ñ ñîêîëà ñëåâà íàïðàâî (à), ñïðàâà íàëåâî (á)
Òðóäîâûå çàòðàòû. Íîðìû âðåìåíè íà 1 ì ïîäãîòàâëèâàåìîé ïîâåðõíîñòè è íîðìû âûðàáîòêè íà 1 ÷åë-äí ïðè ïîäãîòîâêå-ïîâåðõíîñòè ïîä îáëèöîâêó ñëåäóþùèå:
|
|
Íîðìû âðåìåíè, ÷åë-÷ |
Íîðìû âûðàáîòêè, ì2 |
|
Íàñå÷êà ïîâåðõíîñòåé: ìåõàíèçèðîâàííûì ñïîñîáîì: |
|
|
|
Íàñå÷êà ïîâåðõíîñòåé |
|
|
|
êèðïè÷íûõ |
0,16 |
50 |
|
áåòîííûõ |
0,30 |
26,7 |
|
ðó÷íûì ñïîñîáîì: |
|
|
|
êèðïè÷íûõ |
0,32 |
25 |
|
áåòîííûõ |
0,59 |
13,5 |
|
Ñðóáàíèå íàïëûâîâ ñïîñîáîì |
|
|
|
ìåõàíèçèðîâàííûì: |
0,62 |
13 |
|
ðó÷íûì: |
1,24 |
6,5 |
|
Âûðàâíèâàíèå äåôåêòíûõ ìåñò: |
|
|
|
ñòåí |
0,3 |
26,6 |
|
ñòîëáîâ, ïèëÿñòð |
0,4 |
20 |
|
Êðåïëåíèå ñåòêè ê êàðêàñó ñ îáìàçêîé ðàñòâîðîì ïîâåðõíîñòåé: |
|
|
|
ñòåí è ïåðåãîðîäîê. |
0,49 |
16,5 |
|
ñòîëáîâ, ïèëÿñòð, êîëîíí |
0,74 |
10,8 |

Ðèñ. 94. Ðàçðàâíèâàíèå ðàñòâîðà ïîëóòåðêîì
Òåõíèêà áåçîïàñíîñòè. Íàñåêàþò è øëèôóþò ïîâåðõíîñòè ñ ïîìîùüþ ýëåêòðîèíñòðóìåíòîâ â äèýëåêòðè÷åñêîé îáóâè, ðåçèíîâûõ ïåð÷àòêàõ è çàùèòíûõ î÷êàõ.
Êîíòðîëüíûå âîïðîñû. Êàê âûÿâëÿþò äåôåêòû íà âåðòèêàëüíîé ïîâåðõíîñòè, ïðåäíàçíà÷åííîé ïîä îáëèöîâêó? Êàê âûïîëíÿþò íàñå÷êó íåãëóáîêèõ áîðîçä íà áåòîííûõ ïîâåðõíîñòÿõ? Îáúÿñíèòå, êàê óäàëÿþò âûñòóïû è çàäåëûâàþò âïàäèíû íà âåðòèêàëüíûõ ïîâåðõíîñòÿõ, ïðåäíàçíà÷åííûõ ïîä îáëèöîâêó. Ðàññêàæèòå, êàê ãîòîâÿò äåðåâÿííóþ ïîâåðõíîñòü ïîä îáëèöîâêó. Êàê íàíîñÿò âûðàâíèâàþùèé ðàñòâîðíûé íàìåò íà îñíîâàíèå ïîä îáëèöîâêó? Êàêèå ïðàâèëà òåõíèêè áåçîïàñíîñòè íóæíî âûïîëíÿòü ïðè ðàáîòå ñ ýëåêòðîèíñòðóìåíòàìè?
Ñîñòàâ òåõíîëîãè÷åñêèõ îïåðàöèé. Ðàçìåòêà ïîâåðõíîñòåé ïîä îáëèöîâêó; ðàçìåòêà ïåðâîãî ðÿäà ïëèòîê; óêëàäêà ïåðâîãî ðÿäà ïëèòîê; óêëàäêà ïîñëåäóþùèõ ðÿäîâ.
Èíñòðóìåíòû, ïðèñïîñîáëåíèÿ, èíâåíòàðü. Ïëèòî÷íàÿ ëîïàòêà, ðàñòâîðíàÿ ëîïàòà; êîíòåéíåð-òåëåæêà; ãèáêèé (âîäÿíîé) è ñòðîèòåëüíûé óðîâíè; ðóëåòêà èëè ñêëàäíîé ìåòð; îòâåñ; ðàçìåòî÷íûé øíóð; ñòàëüíûå øòûðè; ìîëîòîê; ïðîâîëî÷íûå ñêîáû, êëèíûøêè, ñòåêëÿííûå ïîëîñêè äëÿ ôèêñàöèè òîëùèíû øâîâ; ðåéêîäåðæàòåëè; âèíòîâûå ìàÿêè; óíèâåðñàëüíûé ñòîëèê îáëèöîâùèêà; äâóõâûñîòíûé ñòîëèê ñ îãðàæäåíèåì è ïîëêîé äëÿ ðàáîòû íà âûñîòå äî 2,7 ì; êèñòü-ìàêëîâèöà; øïàòåëü ñî ñìåííûìè ïîëîòíàìè; ïðàâèëî; äåðåâÿííûå (îïîðíûå) áðóñêè.

Ðèñ. 95. Ñõåìà îðãàíèçàöèè ðàáî÷åãî ìåñòà ïðè îáëèöîâêå âåðòèêàëüíûõ ïîâåðõíîñòåé:
1 - ñêàìåå÷êà ïëèòî÷íèêà, 2 - âåäðî, 3 - óíèâåðñàëüíûé ñòîëèê ñ ïëèòêàìè, 4, 5 - ðàáî÷èå ìåñòà ïëèòî÷íèêîâ, 6 - êîíòåéíåðû ñ ïëèòêàìè, 7 - ñìåííàÿ òàðà äëÿ ðàñòâîðà
Ìàòåðèàëû. Êåðàìè÷åñêèå ãëàçóðîâàííûå ïëèòêè (ÃÎÑÒ 6141-82) ïîëíîìåðíûå, íåïîëíîìåðíûå (äîáîðíûå) è ôàñîííûå. Öåìåíòíûé ðàñòâîð ìàðêè 150 ïîäâèæíîñòüþ 3…4 ñì èç ðàñ÷åòà 0,015 ì ðàñòâîðà íà 1 ì2 îáëèöîâêè (ïðè òîëùèíå ïðîñëîéêè 7…15 ìì).
Ñõåìà îðãàíèçàöèè ðàáî÷åãî ìåñòà. Ðàáî÷åå ìåñòî ïðè îáëèöîâêå âåðòèêàëüíûõ ïîâåðõíîñòåé áåç øàáëîíîâ îðãàíèçóþò òàê, ÷òîáû íåîáõîäèìûå ìàòåðèàëû, èíâåíòàðü áûëè óäîáíî ðàçìåùåíû (ðèñ. 95). Çàïàñû ðàñòâîðà äîëæíû áûòü ðàññ÷èòàíû íà 1...1,5 ÷ íåïðåðûâíîé ðàáîòû (ñðîêè ñõâàòûâàíèÿ ðàñòâîðà).
Ïîñëåäîâàòåëüíîñòü âûïîëíåíèÿ òåõíîëîãè÷åñêèõ îïåðàöèé. Ðàáîòó íà÷èíàþò ïîñëå çàâåðøåíèÿ ñòðîèòåëüíî-ìîíòàæíûõ, ñàíèòàðíî-òåõíè÷åñêèõ è ýëåêòðîòåõíè÷åñêèõ ðàáîò, ïðè âûïîëíåíèè êîòîðûõ âîçìîæíî ïîâðåæäåíèå îáëèöîâêè. Ê íà÷àëó ðàáîò ïîâåðõíîñòè äîëæíû áûòü ïîäãîòîâëåíû ïîä îáëèöîâêó, âûíåñåíû íà ñòåíû îòìåòêè óðîâíÿ ÷èñòîãî ïîëà.

Ðèñ. 96. Êðåïëåíèå ïðè÷àëüíîãî øíóðà (à) ñ ïîìîùüþ çàæèìíûõ ìóôò (á):
1 - íèæíèé øòûðü, 2 - êðþ÷îê ñ çàæèìíîé ìóôòîé, 3 - ïðîâîëî÷íàÿ ñòðóíà, 4 - ïðè÷àëüíûé øíóð, 5 - îïîðíûé áðóñîê
Ðàçìåòêà ïîâåðõíîñòè ïîä îáëèöîâêó. Íèç îáëèöîâêè ðàñïîëàãàþò íà óðîâíå ÷èñòîãî ïîëà. Äëÿ ýòîãî ïåðâûé ðÿä ïëèòîê ðàñêëàäûâàþò íàñóõî, íà÷èíàÿ îò ñåðåäèíû ñòåíû, è ïîäñ÷èòûâàþò íåîáõîäèìîå ÷èñëî ïëèòîê.
Äëÿ îïðåäåëåíèÿ âåðòèêàëüíûõ êîíòóðîâ îáëèöîâûâàåìîé ïîâåðõíîñòè óñòàíàâëèâàþò ìàÿêè. Ó ïðîòèâîïîëîæíûõ ñòîðîí ñòåíû íà 3…4 ñì âûøå îïîðíîãî áðóñêà è âåðõà îáëèöîâêè çàáèâàþò ñòàëüíûå øòûðè 1 (ðèñ. 96, à). Ìåæäó íèìè ïî îòâåñó íàòÿãèâàþò ïðîâîëî÷íûå ñòðóíû 3.
Ìåæäó ïðèìûêàþùåé ñòåíîé è íàòÿíóòîé ñòðóíîé îñòàâëÿþò çàçîð ìåíüøå ïîëîâèíû òîëùèíû óãëîâîé ôàñîííîé ïëèòêè.
Ðàçìåòêà ïåðâîãî ðÿäà ïëèòîê. Íèæíèé ðÿä îáëèöîâêè ðàñêëàäûâàþò, îïèðàÿ íà óñòàíîâëåííóþ ïî óðîâíþ ðåéêó 5 (âûñîòà êîòîðîé ðàâíà òîëùèíå ïîëà). Ïðè ðàñêëàäêå ïëèòîê íàñóõî ñòðåìÿòñÿ óëîæèòü â óãëàõ íåïîëíîìåðíûå ïëèòêè îäèíàêîâîé øèðèíû, åñëè íå óìåùàåòñÿ ðÿä èç öåëûõ ïëèòîê. Çàòåì íàòÿãèâàþò ïðè÷àëüíûé øíóð 4 ìåæäó ñòðóíàìè 3, ñäâèãàÿ çàæèìíóþ ìóôòó â ñòîðîíó ïðè÷àëüíîãî øíóðà (ðèñ. 96, á). ×òîáû îñëàáèòü íàòÿæåíèå øíóðà, ìóôòó ñäâèãàþò â ñòîðîíó êðþêà.
Óêëàäêà ïåðâîãî ðÿäà ïëèòîê. Óñòàíîâèâ ïðè÷àëüíûé øíóð íà óðîâíå âåðõà ïåðâîãî ðÿäà ïëèòîê, èõ óñòàíîâêó íà÷èíàþò îò ñåðåäèíû ñòåíû.
Èç ñòîïêè ïëèòîê, óëîæåííûõ ëèöåâîé ñòîðîíîé ââåðõ, ëåâîé ðóêîé áåðóò îäíó ïëèòêó è òûëüíîé ñòîðîíîé ïîäíîñÿò åå ñíèçó ê îòâåðñòèþ ðàìêè-øàáëîíà 2 óíèâåðñàëüíîãî ñòîëèêà (ðèñ. 97, à). Íà ïðèæàòóþ ê áîðòàì øàáëîíà ïëèòêó íàêëàäûâàþò ðàñòâîð, âûðàâíèâàÿ åãî ïîâåðõíîñòü ðåáðîì ïëèòî÷íîé ëîïàòêè. Ïðè ýòîì ïî êðàÿì òûëüíîé ñòîðîíû ïëèòêè îñòàþòñÿ íå çàïîëíåííûå ðàñòâîðîì ïîëîñêè øèðèíîé 5 ìì. Ïëèòêó ñ ðàñòâîðîì â ãîðèçîíòàëüíîì ïîëîæåíèè ïîäíîñÿò ê ìåñòó óêëàäêè, çàòåì áûñòðî, íî îñòîðîæíî ïðèñëîíÿþò îäíîé ñòîðîíîé ê îïîðíîìó áðóñêó (ðèñ. 97, á). Ïîäíèìàÿ ââåðõ, ïëèòêó óñòàíàâëèâàþò íà ìåñòî, îñàæèâàÿ ðó÷êîé ïëèòî÷íîé ëîïàòêè äî óðîâíÿ ïðè÷àëüíîãî øíóðà. Èçëèøêè ðàñòâîðà, âûñòóïàþùèå ïî êðàÿì, ñðåçàþò ëîïàòêîé è ïðîäîëæàþò óêëàäêó ïëèòîê âïðàâî è âëåâî îò ïåðâîé ïëèòêè.

Ðèñ. 97. Óñòàíîâêà ïåðâîãî ðÿäà ïëèòîê:
à - óíèâåðñàëüíûé ñòîëèê ïëèòî÷íèêà, á - óñòàíîâêà ïëèòêè íà îïîðíûé áðóñîê, â - óñòàíîâêà ïëèòîê ñ ïðèìåíåíèåì ñêîá; 1 - øàáëîí äëÿ ðåçêè è êàëèáðîâêè ïëèòîê, 2 - îòêðûëîê ñ îòâåðñòèÿìè äëÿ äîçèðîâêè ðàñòâîðà, 3, 4 - åìêîñòè äëÿ ðàñòâîðà è âîäû, 5 - îòêðûëîê äëÿ ñêëàäèðîâàíèÿ ïëèòîê, 6 - áóíêåð äëÿ áîÿ ïëèòîê, 7 - îïîðíûé áðóñîê, 8 - ñêîáû
Óêëàäêà ïîñëåäóþùèõ ðÿäîâ. Ïðè÷àëüíûé øíóð íàòÿãèâàþò ïî âåðõó óñòàíàâëèâàåìîãî ðÿäà.  íà÷àëå è â êîíöå ðÿäà çàêðåïëÿþò ìàÿ÷íûå ïëèòêè. Óñòàíîâêó ïîñëåäóþùèõ ïëèòîê âûïîëíÿþò òàê æå, êàê è â ïåðâîì ðÿäó.
Äëÿ ñîáëþäåíèÿ îäèíàêîâîé øèðèíû øâîâ ìåæäó ïëèòêàìè âñòàâëÿþò ïðîâîëî÷íûå ñêîáû 8 (ðèñ. 97, â) äèàìåòðîì 3 ìì ñî ñïëþùåííûìè êîíöàìè, êëèíûøêè èç òâåðäûõ ïîðîä äðåâåñèíû èëè ïîëîñêè ñòåêëà òîëùèíîé 3 ìì. Ïîñëå çàòâåðäåíèÿ ðàñòâîðà èõ ïåðåñòàâëÿþò èç íèæåëåæàùèõ ðÿäîâ íà ó÷àñòîê óêëàäêè î÷åðåäíûõ ïëèòîê. Ïîñëåäóþùèå ðÿäû îáëèöîâêè âûïîëíÿþò òàê æå, êàê îáëèöîâêó ïðåäûäóùèõ ðÿäîâ. Âåðòèêàëüíûå øâû ìåæäó ïëèòêàìè êîíòðîëèðóþò îòâåñîì.

Ðèñ. 98. Êðèòåðèè îöåíêè êà÷åñòâà âûïîëíåííîé îáëèöîâêè:
1 - òîëùèíà øâîâ ìåæäó ïëèòêàìè (â çàâèñèìîñòè îò íàçíà÷åíèÿ ïîìåùåíèÿ) - 2.5 ìì, 2 - îòêëîíåíèå ïîâåðõíîñòè îáëèöîâêè îò ïëîñêîñòè - 2 ìì, 3 - îòêëîíåíèå îò âåðòèêàëè ëóçã è óñåíêîâ íà 1 ì - 2 ìì, 4 - âûùåðáèíû è çàçóáðèíû â êðîìêàõ ïëèòîê - 0,5 ìì
Ïî îêîí÷àíèè îáëèöîâêè ñòåí óñòàíàâëèâàþò óãëîâûå ôàñîííûå ïëèòêè, ïîëüçóÿñü ãîòîâîé îáëèöîâêîé êàê íàïðàâëÿþùåé ïëîñêîñòüþ.
Êîíòðîëü êà÷åñòâà. Ãîðèçîíòàëüíîñòü îáëèöîâêè ïðîâåðÿþò êîíòðîëüíîé ðåéêîé, ïðèêëàäûâàÿ åå ê îáëèöîâàííîé ÷àñòè ñòåíû è ê îäíîé èç âåðõíèõ ìàÿ÷íûõ ïëèòîê. Òîëùèíà ðàñòâîðíîé ïðîñëîéêè äîëæíà áûòü íå áîëåå 15 è íå ìåíåå 7 ìì. Íà îáëèöîâàííîé ïîâåðõíîñòè íå äîëæíî áûòü ñëåäîâ ðàñòâîðà. Øâû ìåæäó ïëèòêàìè äîëæíû áûòü ïîëíîñòüþ çàïîëíåíû ðàñòâîðîì. Òîëùèíà øâîâ íå áîëåå 5 ìì.
Ïîâåðõíîñòè îáëèöîâêè íå äîëæíû ïðåâûøàòü äîïóñêàåìûõ îòêëîíåíèé (ðèñ. 98).
Òðóäîâûå çàòðàòû. Íîðìû âðåìåíè íà 1 ì2 îáëèöîâêè è íîðìû âûðàáîòêè íà 1 ÷åë-äí ïðè îáëèöîâêå ïëèòêàìè íà öåìåíòíîïåñ÷àíîì ðàñòâîðå ñëåäóþùèå:
|
|
Íîðìû âðåìåíè, ÷åë-÷ |
Íîðìû âûðàáîòêè, ì |
|
Îáëèöîâêà ïðè òîëùèíå øâîâ 1...2 ìì ïëèòêàìè ðàçìåðîì |
|
|
|
100×100; 15075 |
1,9 |
4,2 |
|
150×150. |
1,6 |
5 |
|
Îáëèöîâêà ïðè òîëùèíå øâîâ 3.5 ìì ïëèòêàìè ðàçìåðîì |
|
|
|
100×100; 150×75 |
1,6 |
5 |
|
150×150 ìì; |
1,4 |
5,7 |
|
Óñòàíîâêà ñïåöèàëüíûõ ïëèòîê: |
|
|
|
êàðíèçíûõ èëè óãëîâûõ, ì |
0,2 |
40 ì |
|
öîêîëüíûõ èëè ïëèíòóñíûõ, ì |
0,33 |
25 ì |
Òåõíèêà áåçîïàñíîñòè. Ïðè îáëèöîâêå ñòåí è ïåðåãîðîäîê êåðàìè÷åñêèìè ïëèòêàìè íåîáõîäèìî çàùèùàòü ïàëüöû ðóê îò ñîïðèêîñíîâåíèÿ ñ ïëèòêîé è ðàñòâîðîì.
Êîíòðîëüíûå âîïðîñû. Ïåðå÷èñëèòå èíñòðóìåíòû è ïðèñïîñîáëåíèÿ, íåîáõîäèìûå äëÿ îáëèöîâêè ñòåí êåðàìè÷åñêèìè ïëèòêàìè. Êàê è çà÷åì óñòàíàâëèâàþò îïîðíûé áðóñîê äî íà÷àëà îáëèöîâêè ñòåí? Ðàññêàæèòå îá óêëàäêå ïåðâîãî ðÿäà ïëèòîê. Ïåðå÷èñëèòå âåëè÷èíû äîïóñêàåìûõ îòêëîíåíèé ïðè îáëèöîâêå ñòåí. Êàêèå òðåáîâàíèÿ ïðåäúÿâëÿþò ê êà÷åñòâó îáëèöîâàííîé ïîâåðõíîñòè?
Ñîñòàâ òåõíîëîãè÷åñêèõ îïåðàöèé. Îáëèöîâêà ñ ïðèìåíåíèåì îäíîñòîðîííåãî øàáëîíà; îáëèöîâêà ñ ïðèìåíåíèåì äâóñòîðîííåãî øàáëîíà; îáëèöîâêà ñ ïðèìåíåíèåì ñïàðåííîãî øàáëîíà.
Èíñòðóìåíòû, ïðèñïîñîáëåíèÿ, èíâåíòàðü. Ïëèòî÷íàÿ ëîïàòêà; óíèâåðñàëüíûé ïåðåäâèæíîé ñòîëèê îáëèöîâùèêà; òåëåæêà-êîíòåéíåð; øàáëîíû îäíîñòîðîííèé è äâóñòîðîííèé äëÿ îáëèöîâêè âåðòèêàëüíûìè ðÿäàìè; øàáëîí Ãðåêîâà äëÿ îáëèöîâêè ãîðèçîíòàëüíûìè ðÿäàìè; óðîâíè ãèáêèé (âîäÿíîé) è ñòðîèòåëüíûé; ðóëåòêà èëè ñêëàäíîé ìåòð; îòâåñ; ðàçìåòî÷íûé øíóð; ñòàëüíûå øòûðè; ìîëîòîê; ïðîâîëî÷íûå ñêîáû, äåðåâÿííûå êëèíûøêè, ïîëîñêè èç ñòåêëà äëÿ ôèêñàöèè òîëùèíû øâîâ; ðåéêîäåðæàòåëè; êèñòü-ìàêëîâèöà; øïàòåëü ñî ñìåííûìè ïîëîòíàìè; ïðàâèëî; äåðåâÿííûå (îïîðíûå) áðóñêè; äâóõâûñîòíûé ñòîëèê ñ îãðàæäåíèåì.
Ìàòåðèàëû. Êåðàìè÷åñêèå ãëàçóðîâàííûå ïëèòêè (ÃÎÑÒ 6141-82) ïîëíîìåðíûå, íåïîëíîìåðíûå è ôàñîííûå; öåìåíòíûé ðàñòâîð ìàðêè 150 ïîäâèæíîñòüþ 3…4 ñì èç ðàñ÷åòà 0,015 ì3 ðàñòâîðà íà 1 ì2 îáëèöîâêè ïðè òîëùèíå ïðîñëîéêè 7...15 ìì.
Ñõåìà îðãàíèçàöèè ðàáî÷åãî ìåñòà. Ðàáî÷åå ìåñòî ïðè îáëèöîâêå âåðòèêàëüíûõ ïîâåðõíîñòåé ñ ïðèìåíåíèåì øàáëîíîâ îðãàíèçóþò òàê, ÷òîáû íåîáõîäèìûå ìàòåðèàëû è èíâåíòàðü áûëè óäîáíî ðàçìåùåíû â íåïîñðåäñòâåííîé áëèçîñòè îò îáëèöîâùèêà, à çàïàñû ìàòåðèàëîâ áûëè ðàññ÷èòàíû äëÿ ðàáîòû â òå÷åíèå ñìåíû.
Ïîñëåäîâàòåëüíîñòü âûïîëíåíèÿ òåõíîëîãè÷åñêèõ îïåðàöèé. Ê îáëèöîâêå ïðèñòóïàþò ïîñëå çàâåðøåíèÿ ñòðîèòåëüíî-ìîíòàæíûõ, ñàíèòàðíî-òåõíè÷åñêèõ è ýëåêòðîòåõíè÷åñêèõ ðàáîò, âûïîëíåíèå êîòîðûõ ìîæåò ïðèâåñòè ê ïîâðåæäåíèþ îáëèöîâêè. Îáëèöîâêó áåòîííûõ è êèðïè÷íûõ ïîâåðõíîñòåé ñ çàïîëíåííûìè øâàìè âûïîëíÿþò ïîñëå íàñå÷êè è ïðîìûâêè ïîâåðõíîñòè. Îòêëîíåíèÿ è íåðîâíîñòè îáëèöîâûâàåìûõ ïîâåðõíîñòåé ãëóáèíîé 15 ìì ïðåäâàðèòåëüíî âûðàâíèâàþò öåìåíòíûì ðàñòâîðîì, à ïðè îòêëîíåíèè áîëåå 15 ìì ðàñòâîð íàíîñÿò ïî íàäåæíî óêðåïëåííîé ìåòàëëè÷åñêîé ñåòêå.
Îáëèöîâêà ñ ïðèìåíåíèåì îäíîñòîðîííåãî øàáëîíà. Ïî îòìåòêå óðîâíÿ ÷èñòîãî ïîëà óêëàäûâàþò îïîðíûé áðóñîê 2 (ðèñ. 99). Îò óãëà ñòåíû íà øèðèíó îäíîé ïëèòêè ïî îòâåñó óñòàíàâëèâàþò øàáëîí 5 íà îïîðíûé áðóñîê, ÷òîáû åãî íàðóæíàÿ ãðàíü ñîâïàëà ñ ïëîñêîñòüþ áóäóùåé îáëèöîâêè. Çàêðåïëÿþò øàáëîí ëåïêàìè ðàñòâîðà 6 ïðîñëîéêè èëè íàêëîííûì ïîäêîñîì.
Íà÷èíàþò îáëèöîâêó ñíèçó, óñòàíàâëèâàÿ ïëèòêó ìåæäó ñòàëüíûìè ïëàñòèíêàìè 1 è ïðèæèìàÿ åå áîêîâîé ñòîðîíîé ê øàáëîíó. Ïåðâóþ ïëèòêó óñòàíàâëèâàþò íà îïîðíûé áðóñîê, ïîñëåäóþùèå - íà ïëàñòèíêè øàáëîíà. Ïîñëå çàâåðøåíèÿ óñòàíîâêè ðÿäà íà çàäàííóþ âûñîòó îñòîðîæíî ñíèìàþò øàáëîí. Ïëàñòèíêè øàáëîíà ñìàçûâàþò îòðàáîòàííûì ìàøèííûì ìàñëîì èëè ìåëîâîé ïàñòîé è ïåðåñòàâëÿþò, ïîëüçóÿñü ìåðíîé ðåéêîé 3, â íîâîå ïîëîæåíèå, ñîîòâåòñòâóþùåå øèðèíå âåðòèêàëüíîãî ðÿäà îáëèöîâêè.

|
Ðèñ. 99. Îáëèöîâêà ñòåí ñ ïðèìåíåíèåì îäíîñòîðîííåãî øàáëîíà: 1 - âûñòóïû ñ ïëàñòèíêîé-ôèêñàòîðîì øâîâ, 2 - îïîðíûé áðóñîê, 3 - ìåðíàÿ ðåéêà, 4 - óðîâåíü ÷èñòîãî ïîëà, 5 - øàáëîí, 6 - ëåïêè ðàñòâîðà |
Ðèñ. 100. Îáëèöîâêà ñòåí ñ ïðèìåíåíèåì äâóñòîðîííåãî øàáëîíà |
Îáëèöîâêà ñ èñïîëüçîâàíèåì äâóñòîðîííåãî øàáëîíà. Ïëèòêó óêëàäûâàþò îäíîâðåìåííî ïî îáå ñòîðîíû øàáëîíà (ðèñ. 100). Çàâåðøèâ óêëàäêó äâóõ ðÿäîâ, øàáëîí ñíèìàþò, è âåðòèêàëüíûé ïðîìåæóòîê ìåæäó âûëîæåííûìè ðÿäàìè çàïîëíÿþò ïëèòêàìè, ñîáëþäàÿ ãîðèçîíòàëüíîñòü øâîâ ñ óñòàíîâëåííûìè ïëèòêàìè,
Îáëèöîâêà ñ ïðèìåíåíèåì ñïàðåííîãî øàáëîíà. Íà ðàññòîÿíèè îäíîãî âåðòèêàëüíîãî ðÿäà ïëèòîê îò óãëà ïîìåùåíèÿ ïî îòâåñó óñòàíàâëèâàþò ñïàðåííûé øàáëîí 2 (ðèñ. 101, à) íà îïîðíûé áðóñîê 1, ÷òîáû åãî íàðóæíàÿ ãðàíü ñîâïàëà ñ ïëîñêîñòüþ áóäóùåé îáëèöîâêè. Çàêðåïëÿþò øàáëîí ðåéêîäåðæàòåëÿìè 4. Øèðèíó ïëèòêè âåðòèêàëüíîãî ðÿäà îïðåäåëÿþò ìåðíîé ðåéêîé 3. Óêëàäêó ïåðâîãî, âòîðîãî è òðåòüåãî ðÿäîâ (I…III) (ðèñ. 101, á) íà÷èíàþò ñíèçó, ïðèæèìàÿ ïëèòêè ïåðâîãî ðÿäà âïðàâî ê øàáëîíó, à ïëèòêè âòîðîãî è òðåòüåãî ðÿäîâ - âëåâî. Çàâåðøèâ óêëàäêó òðåõ ðÿäîâ, îñòîðîæíî ñíèìàþò øàáëîí è óñòàíàâëèâàþò åãî â î÷åðåäíóþ ïîçèöèþ. Ïðîìåæóòêè (â ìåñòàõ ðàñïîëîæåíèÿ øàáëîíà) çàêëàäûâàþò ïëèòêîé, îðèåíòèðóÿñü íà óëîæåííûå ãîðèçîíòàëüíûå ðÿäû.

Ðèñ. 101. Îáëèöîâêà ñòåí ñ ïðèìåíåíèåì ñïàðåííîãî øàáëîíà:
à - óñòàíîâêà øàáëîíà, á - óêëàäêà ïëèòîê ïî øàáëîíó; 1 - îïîðíûé áðóñîê, 2 - øàáëîí, 3 - ìåðíàÿ ðåéêà, 4 - ðåéêîäåðæàòåëü, 5 - ðÿäû, óëîæåííûå ïîñëå ñíÿòèÿ øàáëîíà; I - III -ïîñëåäîâàòåëüíîñòü ðàáîò
Îáëèöîâêà ãîðèçîíòàëüíûìè ðÿäàìè ñ ïîìîùüþ øàáëîíà Ãðåêîâà. Óñòàíàâëèâàþò ùèò øàáëîíà 1 (ðèñ. 102) íà îïîðíûé áðóñîê 2 íà óðîâíå ÷èñòîãî ïîëà. Ïîñëå ýòîãî øàáëîí âûâåðÿþò ïî âåðòèêàëè îòâåñîì, à ïî ãîðèçîíòàëè óðîâíåì â ïëîñêîñòè áóäóùåé îáëèöîâêè è çàêðåïëÿþò ðåéêîäåðæàòåëÿìè 3. Óñòàíîâêó øàáëîíà â ïëîñêîñòè îáëèöîâêè ðåãóëèðóþò îïîðíûìè âèíòàìè 5. Îáëèöîâêó íà÷èíàþò ñíèçó ââåðõ èëè ñâåðõó âíèç. Ïëèòêè óêëàäûâàþò íà ïðîìåæóòî÷íûå ðåéêè 4 øàáëîíà ìåæäó ñòàëüíûìè ïëàñòèíêàìè 6, ïðèæèìàÿ êàæäóþ ïëèòêó ê ëåâîé ïëàñòèíêå. Çàïîëíèâ âñå ðÿäû, øàáëîí îñòîðîæíî ñíèìàþò è çàïîëíÿþò ïëèòêàìè ïîëîñû, íàõîäèâøèåñÿ ïîä øàáëîíîì.
Êîíòðîëü êà÷åñòâà. Òîëùèíà ðàñòâîðíîé ïðîñëîéêè ìåæäó îáëèöîâûâàåìûìè ïîâåðõíîñòÿìè è ïëèòêàìè äîëæíà áûòü 7...15 ìì. Íåðîâíîñòè ïîâåðõíîñòè îáëèöîâêè ïðè íàëîæåíèè äâóõìåòðîâîé ðåéêè äîïóñêàþòñÿ íå áîëåå 2 ìì; òîëùèíà øâîâ ìåæäó ïëèòêàìè ïðèíèìàåòñÿ â çàâèñèìîñòè îò íàçíà÷åíèÿ ïîìåùåíèÿ è íå äîëæíà ïðåâûøàòü 5 ìì.

Ðèñ. 102. Îáëèöîâêà ãîðèçîíòàëüíûìè ðÿäàìè ñ ïîìîùüþ øàáëîíà: 1 - ùèò øàáëîíà, 2 - îïîðíûé áðóñîê, 3 - ðåéêîäåðæàòåëü, 4 - ïðîìåæóòî÷íûå ðåéêè, 5 - îïîðíûì âèíò, 6 - ñòàëüíûå ïëàñòèíêè
Òðóäîâûå çàòðàòû. Íîðìû âðåìåíè, ÷åë-÷, íà 1 ì îáëèöîâêè è íîðìû âûðàáîòêè, ì2, íà 1 ÷åë-äí ïðè îáëèöîâêå ïîâåðõíîñòåé ñ ïîìîùüþ øàáëîíîâ àíàëîãè÷íû ïðèâåäåííûì â êàðòå 36.
Òåõíèêà áåçîïàñíîñòè. Ïðè îáëèöîâêå ñòåí êåðàìè÷åñêîé ïëèòêîé íåîáõîäèìî çàùèùàòü ïàëüöû ðóê îò ñîïðèêîñíîâåíèÿ ñ ïëèòêàìè è ðàñòâîðîì.
Êîíòðîëüíûå âîïðîñû. Äàéòå êðàòêóþ õàðàêòåðèñòèêó øàáëîíîâ, ïðèìåíÿåìûõ äëÿ îáëèöîâêè ñòåí êåðàìè÷åñêîé ïëèòêîé. Êàê âûïîëíÿþò îáëèöîâêó ñòåí ñ ïîìîùüþ ñäâîåííîãî øàáëîíà?  êàêîé ïîñëåäîâàòåëüíîñòè âûïîëíÿþò îáëèöîâêó ñòåí ãîðèçîíòàëüíûìè ðÿäàìè ñ ïðèìåíåíèåì øàáëîíà? Çà÷åì è êàê óñòàíàâëèâàþò îïîðíûé áðóñîê äî íà÷àëà îáëèöîâêè ñòåí? Êàêèå òðåáîâàíèÿ ïðåäúÿâëÿþòñÿ ê êà÷åñòâó îáëèöîâêè âåðòèêàëüíûõ ïîâåðõíîñòåé?
Ñîñòàâ òåõíîëîãè÷åñêèõ îïåðàöèé. Ïðîâåøèâàíèå, ðàçìåòêà, óñòàíîâêà ìàÿêîâ; ïðîâåøèâàíèå ðÿäà êîëîíí, óñòàíîâêà ïðè÷àëîê; îáëèöîâêà êîëîíí, ïèëÿñòð, îòêîñîâ.
Èíñòðóìåíòû, ïðèñïîñîáëåíèÿ, èíâåíòàðü. Ïëèòî÷íàÿ ëîïàòêà; îòâåñ; ñòðîèòåëüíûé óðîâåíü; òåëåæêà ñ êîíòåéíåðîì äëÿ ïëèòîê è áàêîì äëÿ âîäû; óíèâåðñàëüíûé ñòîëèê îáëèöîâùèêà; äâóõâûñîòíûé ñòîëèê; ìåòàëëè÷åñêèå ñêîáû, äåðåâÿííûå êëèíûøêè, ïîëîñêè èç ñòåêëà äëÿ ôèêñàöèè òîëùèíû øâîâ; êèñòü-ìàêëîâèöà; ðàçìåòî÷íûé øíóð; ìàÿêè âèíòîâûå; øïàòåëü ñî ñìåííûìè ïîëîòíàìè; äâóõìåòðîâàÿ êîíòðîëüíàÿ ðåéêà; äåðåâÿííûå ðåéêè; ðåçèíîâûå ïåð÷àòêè èëè íàïàëü÷íèêè.
Ìàòåðèàëû. Êåðàìè÷åñêèå ïëèòêè äëÿ âíóòðåííåé îáëèöîâêè ñòåí è ïåðåãîðîäîê (ÃÎÑÒ 6141-82) ïîëíîìåðíûå, íåïîëíîìåðíûå è ôàñîííûå.
Öåìåíòíûé ðàñòâîð ìàðêè 150 èç ðàñ÷åòà 0,015 ì3 ðàñòâîðà íà 1 ì2 îáëèöîâêè ïðè òîëùèíå ïðîñëîéêè 7…15 ìì. Âåòîøü, 5 %-íûé ðàñòâîð ñîëÿíîé êèñëîòû.
Ñõåìà îðãàíèçàöèè ðàáî÷åãî ìåñòà. Íåîáõîäèìûå îáîðóäîâàíèå, èíâåíòàðü è ìàòåðèàëû äîëæíû áûòü óäîáíî ðàçìåùåíû íåïîñðåäñòâåííî ó ìåñòà ðàáîò. Ïåðåäâèæíóþ òåëåæêó ñ êîíòåéíåðîì äëÿ ïëèòîê è áàêîì äëÿ âîäû óñòàíàâëèâàþò íà ðàññòîÿíèè 1 ì îò îáëèöîâûâàåìîé êîëîííû, ïèëÿñòðû. Îáëèöîâêó êîëîíí, ïèëÿñòð íà âûñîòå áîëåå 1,2 ì âûïîëíÿþò ñ äâóõâûñîòíîãî ñòîëèêà.
Ïîñëåäîâàòåëüíîñòü âûïîëíåíèÿ òåõíîëîãè÷åñêèõ îïåðàöèé. Ïðîâåøèâàíèå, ðàçìåòêà, óñòàíîâêà ìàÿêîâ. Âåðòèêàëüíîñòü ãðàíåé êîëîíí, ïèëÿñòð ïðîâåðÿþò îòâåñîì. Íåñêîëüêî âûøå áóäóùåé îáëèöîâêè íà ãðàíÿõ êîëîíí, ïèëÿñòð óñòàíàâëèâàþò âðåìåííûå ìàÿêè 2, 5 (ðèñ. 103) èç ïëèòîê íà ãèïñîâîì ðàñòâîðå. Ìàÿêè óñòàíàâëèâàþò òàê, ÷òîáû ïëîñêîñòü îáëèöîâêè îòñòîÿëà îò öåíòðà êîëîííû, ïèëÿñòðû íà ïîëîâèíó åå øèðèíû - b/2 ñ ó÷åòîì òîëùèíû îáëèöîâêè s. Çàòåì ïî îòâåñó âíèç îò ìàÿêîâ 2 íàòÿãèâàþò ïðè÷àëüíûå øíóðû 4 è çàêðåïëÿþò èõ â íèæíåé ÷àñòè ãðàíåé êîëîííû. Âåðòèêàëüíûå øíóðû ôèêñèðóþò ãðàíè îáëèöîâûâàåìûõ êîëîíí, ïèëÿñòð.
Ïðîâåøèâàíèå ðÿäà êîëîíí, óñòàíîâêà ïðè÷àëîê. Âíà÷àëå â âåðõíåé ÷àñòè íà êðàéíèõ êîëîííàõ ðÿäà óñòàíàâëèâàþò ìàÿêè 3 (ðèñ. 104). Ïî íèì íàòÿãèâàþò ïðè÷àëüíûé øíóð 4, îïðåäåëÿþùèé ïîëîæåíèå ìàÿêîâ íà ãðàíÿõ ïðîìåæóòî÷íûõ êîëîíí (ïèëÿñòðàõ). Çàòåì íà èõ ãðàíÿõ çàêðåïëÿþò ìàÿêè. Ñ ïîìîùüþ îòâåñà óñòàíàâëèâàþò ìàÿêè â íèæíåé ÷àñòè ãðàíåé. Çàòåì ïî âåðõíåìó è íèæíåìó ìàÿêàì íàòÿãèâàþò øíóðû, îïðåäåëÿþùèå ïîëîæåíèå ðåáåð îáëèöîâêè.
 ðÿäó êîëîíí (ïèëÿñòð) âåðòèêàëüíûå ñòðóíû 1 çàêðåïëÿþò ó êðàéíèõ ðåáåð è ïî íèì íàòÿãèâàþò ãîðèçîíòàëüíûé øíóð 4.
Îáëèöîâêà êîëîíí, ïèëÿñòð, îòêîñîâ. Ïåðâûé ðÿä ïëèòîê îïèðàþò íà ãîðèçîíòàëüíóþ ðåéêó, ó êîòîðîé âåðõíÿÿ ïëîñêîñòü íàõîäèòñÿ íà óðîâíå îòìåòêè ÷èñòîãî ïîëà. Äëÿ îïðåäåëåíèÿ êîëè÷åñòâà öåëûõ è íåïîëíîìåðíûõ ïëèòîê ïåðâûé íèæíèé ðÿä ïëèòîê ñíà÷àëà óñòàíàâëèâàþò íàñóõî. Íåïîëíîìåðíûå ïëèòêè ðàñïðåäåëÿþò ñèììåòðè÷íî îò îñè êîëîíí òàê, ÷òîáû â ðÿäó óêëàäûâàëîñü îäèíàêîâîå êîëè÷åñòâî öåëûõ è íåïîëíîìåðíûõ ïëèòîê.

Ðèñ. 103. Îáëèöîâêà ïðÿìîóãîëüíûõ êîëîíí è ïèëÿñòð:
à - ïðîâåøèâàíèå è óñòàíîâêà ìàÿêîâ, á - îáëèöîâêà ïî äåðåâÿííûì ðåéêàì; 1 - êîëîííà, 2, 5 - âåðõíèå è íèæíèå ìàÿêè, 3 - èíâåíòàðíûé ìàÿê äëÿ êðåïëåíèÿ îòâåñà èëè ïðè÷àëüíîãî øíóðà, 4 - ïðè÷àëüíûé øíóð, 6 - îòâåñ, 7 - îïîðíûé áðóñîê, 8 - íèæíèé ðÿä îáëèöîâêè, 9 - îáëèöîâàííàÿ ïîâåðõíîñòü, 10 - äóãîâîé ðåéêîäåðæàòåëü, 11 - ìàÿ÷íûå ðåéêè, óñòàíîâëåííûå ïî îòâåñó, 12 - ðàñòâîðíàÿ ïðîñëîéêà; b - øèðèíà ãðàíè êîëîííû, s - òîëùèíà ñëîÿ îáëèöîâêè
Ïðè îáëèöîâêå «øîâ â øîâ» íåïîëíîìåðíûå ïëèòêè ñìåùàþò ê ðåáðàì êîëîííû; ïðè îáëèöîâêå âïåðåâÿçêó èõ ðàñïîëàãàþò ïîïåðåìåííî ñ îäíîé è äðóãîé ñòîðîí. Ïëèòêè íà ãðàíÿõ ïèëÿñòð, ïðèëåãàþùèõ ê ñòåíå, óñòàíàâëèâàþò ïî óãîëüíèêó èëè ëóçãîâîìó ïîëóòåðêó ñ ïðîâåðêîé âíóòðåííåãî óãëà. Äëÿ îáðàçîâàíèÿ ðåáåð, ãðàíåé êîëîíí èñïîëüçóþò ôàñîííûå óãëîâûå ïëèòêè.
Îáëèöîâêà îòêîñîâ. Íàòÿíóâ øíóð ïî âûñòóïàþùèì óãëàì îêîííûõ èëè äâåðíûõ îòêîñîâ, çàáèâàþò ñòàëüíûå øòûðè. Çàòåì ó âíóòðåííåãî óãëà äåëàþò ÷åðòó íà êîðîáêå ïðîåìà, âäîëü êîòîðîé óñòàíàâëèâàþò ïëèòêè.
Êîíòðîëü êà÷åñòâà. Óñòàíîâêó êðàéíèõ ïëèòîê, îáðàçóþùèõ óãîë êîëîííû, êîíòðîëèðóþò óãîëüíèêîì, à ïðè îáëèöîâêå ïîñëåäóþùèõ ãðàíåé - ðåéêîé ñ óðîâíåì. Ãðàíè ïèëÿñòð, ïàðàëëåëüíûå ñòåíå, âûâåðÿþò ïî øíóðó, íàòÿíóòîìó ïî ìàÿêàì ïèëÿñòð êðàéíèõ â ðÿäó. Îáëèöîâàííûå ïîâåðõíîñòè êîëîíí, ïèëÿñòð, îòêîñîâ äîëæíû áûòü îäíîòîííûìè ïî öâåòó, ñ ãåîìåòðè÷åñêè ÷åòêèì ðèñóíêîì øâîâ.

Ðèñ. 104. Ïðîâåøèâàíèå ðÿäà êîëîíí:
1 - ñòðóíà, 2 - ñòàëüíîé øòûðü, 3 - ãèïñîâûé ìàÿê, 4 - ïðè÷àëüíûé øíóð, 5 - îòìåòêà âåðõà (âûñîòû) îáëèöîâêè
Äîïóñêàåìûå îòêëîíåíèÿ îáëèöîâêè îò ãåîìåòðè÷åñêèõ ôîðì, ìì, íå áîëåå: îò âåðòèêàëè íà ðàññòîÿíèè 1 ì - 1,5; îò âåðòèêàëè íà âñþ âûñîòó îáëèöîâêè - 4; îò ïðÿìîëèíåéíîñòè øâîâ íà ðàññòîÿíèè 1 ì - 1,5; íåðîâíîñòè ïîâåðõíîñòè ïðè íàêëàäûâàíèè äâóõìåòðîâîé êîíòðîëüíîé ðåéêè - 2; îòêëîíåíèå øèðèíû øâîâ îò çàäàííîé - 2.
Òðóäîâûå çàòðàòû. Íîðìû âðåìåíè íà îáëèöîâêó 1 ì2 ñòîëáîâ, îòêîñîâ è íîðìû âûðàáîòêè íà 1 ÷åë-äí ñëåäóþùèå:
|
|
Íîðìû âðåìåíè, ÷åë-÷ |
Íîðìû âûðàáîòêè, ì2 |
|
Îáëèöîâêà ïðè òîëùèíå øâîâ 1…2 ìì ïëèòêàìè ðàçìåðîì, ìì: |
|
|
|
100×100; 150×75 |
3,5 |
2,28 |
|
150×150 |
2,9 |
2,75 |
|
Îáëèöîâêà ïðè òîëùèíå øâîâ 3…5 ìì ïëèòêàìè ðàçìåðîì, ìì: |
|
|
|
100×100; 150×75 |
3,4 |
2,35 |
|
150×150 |
2,9 |
2,75 |
|
Óñòàíîâêà êàðíèçíûõ è óãëîâûõ |
0,2 |
40 ì |
Òåõíèêà áåçîïàñíîñòè. Îáëèöîâî÷íûå ðàáîòû âåäóò â ðåçèíîâûõ ïåð÷àòêàõ èëè íàïàëü÷íèêàõ. Ðàáîòó íà âûñîòå âûïîëíÿþò ñ èñïðàâíûõ ñòîëèêîâ-ïîäìîñòåé.
Êîíòðîëüíûå âîïðîñû. Êàê óñòàíîâèòü ìàÿêè íà ãðàíÿõ êîëîíí? Êàê ïðîâåøèâàþò ðÿä êîëîíí? Çà÷åì óñòàíàâëèâàþò îïîðíûé áðóñîê? Êàê ïåðåâÿçûâàþò øâû ïðè îáëèöîâêå ãðàíåé êîëîíí è ïèëÿñòð? Ïåðå÷èñëèòå îáîðóäîâàíèå è èíâåíòàðü, èñïîëüçóåìûå ïðè îáëèöîâêå êîëîíí, ïèëÿñòð, îòíîñîâ. Êàê îöåíèòü êà÷åñòâî îáëèöîâêè êîëîíí, ïèëÿñòð? Êàêèå òðåáîâàíèÿ òåõíèêè áåçîïàñíîñòè íåîáõîäèìî ñîáëþäàòü ïðè îáëèöîâêå êîëîíí, ïèëÿñòð, îòêîñîâ?
Ñîñòàâ òåõíîëîãè÷åñêèõ îïåðàöèé. Ïðèãîòîâëåíèå ðàñòâîðà çàäàííîãî öâåòà; çàïîëíåíèå øâîâ îáëèöîâêè; î÷èñòêà îáëèöîâàííûõ ïîâåðõíîñòåé îò çàãðÿçíåíèé è æèðîâûõ ïÿòåí.
Èíñòðóìåíòû, ïðèñïîñîáëåíèÿ, èíâåíòàðü. Ïëèòî÷íàÿ ëîïàòêà; øïàòåëü ñî ñìåííûìè ïîëîòíàìè; êèñòü-ìàêëîâèöà; äâóõâûñîòíûé ñòîëèê ñ îãðàæäåíèåì; áàê äëÿ âîäû; âåäðî äëÿ ðàñòâîðà; ðåçèíîâûå ïåð÷àòêè.
Ìàòåðèàëû. Ìðàìîðíàÿ ìóêà (ïóäðà) èëè ìîëîòûé ìåë; áåëûé öåìåíò; ãèïñîâîå âÿæóùåå; ïèãìåíòû òðåáóåìîãî öâåòà; 5 %-íûé ðàñòâîð ñîëÿíîé êèñëîòû; âåòîøü.
Ñõåìà îðãàíèçàöèè ðàáî÷åãî ìåñòà.  1,5 ì îò îáðàáàòûâàåìîé ïîâåðõíîñòè óñòàíàâëèâàþò ïåðåäâèæíîé ÿùèê-òåëåæêó ñ ðàñòâîðîì, äâóõâûñîòíûé ñòîëèê äëÿ ðàáîòû íà âûñîòå, à òàêæå íåîáõîäèìûå ìàòåðèàëû äëÿ ïðèãîòîâëåíèÿ ðàñòâîðà è î÷èñòêè ïîâåðõíîñòåé.
Ïîñëåäîâàòåëüíîñòü âûïîëíåíèÿ òåõíîëîãè÷åñêèõ îïåðàöèé. Ðàáîòó íà÷èíàþò ïîñëå îêîí÷àíèÿ îáëèöîâêè ïîâåðõíîñòåé.
Ïðèãîòîâëåíèå ðàñòâîðà äëÿ çàïîëíåíèÿ øâîâ. ×òîáû øâû îáëèöîâêè áûëè ìåíåå çàìåòíû, ñîñòàâ öåìåíòíîãî ðàñòâîðà äëÿ ïîâåðõíîñòåé, îáëèöîâàííûõ áåëûìè ãëàçóðîâàííûìè ïëèòêàìè, 1:1 - áåëûé öåìåíò : ïåñîê. Âìåñòî áåëîãî öåìåíòà ìîæíî èñïîëüçîâàòü ïîðòëàíäöåìåíò ñ ðàçáåëèòåëÿìè - ìðàìîðíîé ìóêîé (ïóäðîé), ìîëîòûì ìåëîì.  íåêîòîðûõ ñëó÷àÿõ ïðèìåíÿþò ãèïñîâîå âÿæóùåå.
Îêðàøèâàþò ðàñòâîð, äîáàâëÿÿ â ñóõóþ ñìåñü öåìåíòà ñ ìðàìîðíîé ìóêîé èëè ìåëîì ïèãìåíòû íóæíîãî öâåòà. Äëÿ ïðèãîòîâëåíèÿ ðàñòâîðà íåîáõîäèìîãî öâåòà ñóõóþ ñìåñü, ïåðåìåøàííóþ ñ ïèãìåíòîì, çàòâîðÿþò âîäîé.
Çàïîëíåíèå øâîâ îáëèöîâêè. Íåáîëüøèå ïîðöèè ðàñòâîðà äâèæåíèÿìè øïàòåëÿ ñ ðåçèíîâûì íàêîíå÷íèêîì âäîëü è ïîïåðåê øâà âòèðàþò â íåçàïîëíåííûå øâû îáëèöîâêè. Ïîñëå ñõâàòûâàíèÿ èçëèøêè ðàñòâîðà ñ÷èùàþò âåòîøüþ, ÷òîáû íå ïîâðåäèòü ãëàçóðü.
Øâû çàïîëíÿþò ðàñòâîðîì ïîä öâåò ãëàçóðîâàííîé ïëèòêè èëè æå âûäåëÿþò êîíòðàñòíî, íàïðèìåð, ñ áåëûì öâåòîì õîðîøî ãàðìîíèðóþò øâû çåëåíîãî öâåòà, ñ ãîëóáûì - áåëîãî öâåòà.
Î÷èñòêà îáëèöîâàííûõ ïîâåðõíîñòåé îò çàãðÿçíåíèé è æèðîâûõ ïÿòåí. Îáëèöîâêó îò çàãðÿçíåíèÿ çàùèùàþò òîíêèì ñëîåì ãèïñîâîãî èëè ìåëîâîãî òåñòà, êîòîðîå ëåãêî óäàëÿåòñÿ âåòîøüþ ïðè îêîí÷àòåëüíîé î÷èñòêå îáëèöîâàííîé ïîâåðõíîñòè.
Ñëåäû ðàñòâîðà ñ ïîâåðõíîñòè óäàëÿþò ñíà÷àëà âëàæíîé âåòîøüþ, çàòåì ñóõîé. Ïðè íàëè÷èè ìàñëÿíûõ èëè äðóãèõ ïÿòåí ïîâåðõíîñòü îáëèöîâêè î÷èùàþò âåòîøüþ, ñìî÷åííîé â êåðîñèíå èëè äðóãîì ðàñòâîðèòåëå, ïîñëå ÷åãî åå ïðîìûâàþò âîäîé è ïðîòèðàþò.
Êîíòðîëü êà÷åñòâà. Øâû îáëèöîâêè äîëæíû áûòü ïîëíîñòüþ çàïîëíåíû ðàñòâîðîì. Öâåò ðàñòâîðà, çàïîëíÿþùåãî øâû, äîëæåí áûòü êîíòðàñòíûì èëè ñîâïàäàòü ñ ôîíîì îáëèöîâêè.
Ïîâåðõíîñòü îáëèöîâêè äîëæíà áûòü ÷èñòîé, áåç áðûçã ðàñòâîðà, æèðîâûõ ïÿòåí è äðóãèõ çàãðÿçíåíèé.
Òðóäîâûå çàòðàòû. Íîðìà âðåìåíè íà îáðàáîòêó 100 ì2 îáëèöîâàííîé ïîâåðõíîñòè - 7,5 ÷åë-÷, íîðìà âûðàáîòêè íà 1 ÷åë-äí - 107 ì2.
Òåõíèêà áåçîïàñíîñòè. Ïðè ðàáîòå íà âûñîòå íåîáõîäèìî ïîëüçîâàòüñÿ èñïðàâíûìè ñòîëèêàìè-ïîäìîñòÿìè. Ïðè î÷èñòêå ïÿòåí ñ ïîâåðõíîñòè ðàñòâîðîì êèñëîòû íóæíî áûòü â çàùèòíûõ î÷êàõ, ðåñïèðàòîðå è â ðåçèíîâûõ ïåð÷àòêàõ.
Êîíòðîëüíûå âîïðîñû. Êàê ïðèãîòîâèòü öåìåíòíûé ðàñòâîð äëÿ çàïîëíåíèÿ øâîâ ìåæäó ïëèòêàìè? Çà÷åì èñïîëüçóþò â ðàñòâîðå ðàçáåëèòåëè, ïèãìåíòû? Êàê î÷èùàþò îáëèöîâêó îò ñëåäîâ ðàñòâîðà è æèðîâûõ ïÿòåí? Êàêèì èíñòðóìåíòîì ïîëüçóþòñÿ ïðè çàïîëíåíèè øâîâ? Äëÿ ÷åãî ïîâåðõíîñòü îáëèöîâêè ïîêðûâàþò ãèïñîâîé èëè ìåëîâîé ïàñòîé? Êàêèå òðåáîâàíèÿ òåõíèêè áåçîïàñíîñòè ñîáëþäàþò ïðè çàïîëíåíèè øâîâ è î÷èñòêå îáëèöîâêè?
Ñîñòàâ òåõíîëîãè÷åñêèõ îïåðàöèé. Ïðîâåðêà ñîñòîÿíèÿ ïîëà, îïðåäåëåíèå ó÷àñòêîâ, ïîäëåæàùèõ ðåìîíòó; çàäåëêà íåñêâîçíûõ òðåùèí è ùåëåé â ïëèòêàõ; óäàëåíèå äåôåêòíûõ è îòñëîèâøèõñÿ ïëèòîê; î÷èñòêà è âûðàâíèâàíèå îñíîâàíèÿ ðåìîíòèðóåìîãî ó÷àñòêà ïîëà; çàìåíà îòäåëüíûõ ïîâðåæäåííûõ ïëèòîê; ðåìîíò áîëüøîé ïëîùàäè ïîêðûòèÿ.
Ìåõàíèçìû, èíñòðóìåíòû, ïðèñïîñîáëåíèÿ, èíâåíòàðü. Ìîëîòîê ýëåêòðè÷åñêèé ñ äâîéíîé èçîëÿöèåé; ïîäìåòàëüíàÿ âàêóóìíàÿ ìàøèíà; ïûëåñîñ. Ñêàðïåëü èëè ñëåñàðíîå çóáèëî; ìîëîòîê; ñòàëüíàÿ ùåòêà; ëåéêà; âåäðî; êèðî÷êà; ìîëîòî÷åê ïëèòî÷íèêà; ïëèòî÷íàÿ ëîïàòêà; ðàñòâîðíàÿ ëîïàòà; ìåòàëëè÷åñêèé óãîëüíèê; ñòðîèòåëüíûé óðîâåíü; èçìåðèòåëüíàÿ ðóëåòêà; ñêëàäíîé ìåòð; ñòàëüíûå øòûðè; äåðåâÿííûé ïîëóòåðîê äëèíîé 300…800 ìì; êîâø äëÿ îòäåëî÷íûõ ðàáîò; êèñòü-ìàêëîâèöà; øïàòåëü ñî ñìåííûìè ïîëîòíàìè; òåëåæêà ñî ñìåííîé òàðîé äëÿ ðàñòâîðà; òåëåæêà ñ êîíòåéíåðîì äëÿ ïëèòîê è áàêîì äëÿ âîäû. Âîäîíåïðîíèöàåìûå íàêîëåííèêè; ðåçèíîâûå ïåð÷àòêè èëè íàïàëü÷íèêè; çàùèòíûå î÷êè.
Ìàòåðèàëû. Êåðàìè÷åñêèå ïëèòêè äëÿ ïîëîâ (ÃÎÑÒ 6787-80). Öåìåíòíîïåñ÷àèûé ðàñòâîð ìàðêè íå íèæå 150 ïîäâèæíîñòüþ 4…6 ñì. Ïîðòëàíäöåìåíò Ì400 è ìåëêèé ïåñîê äëÿ ïðèãîòîâëåíèÿ ïëàñòè÷íîãî ðàñòâîðà èëè öåìåíòíîãî ìîëîêà äëÿ çàïîëíåíèÿ øâîâ ìåæäó ïëèòêàìè. Ìàñòèêè ÊÍ-2, ÊÍ-3 è äð. Öâåòíûå ìåëêè, 3...5 %-íûé ðàñòâîð ñîëÿíîé êèñëîòû.
Ñõåìà îðãàíèçàöèè ðàáî÷åãî ìåñòà. Ðåìîíò ïëèòî÷íûõ ïîêðûòèé çàâèñèò îò îñîáåííîñòåé è îáúåìà ðåìîíòíûõ ðàáîò. Ó÷àñòêè, ïîäëåæàùèå ðåìîíòó, äîëæíû áûòü îñâîáîæäåíû îò ïîñòîðîííèõ ïðåäìåòîâ, ìåøàþùèõ âûïîëíåíèþ ðàáîò, î÷èùåíû îò ìóñîðà è ãðÿçè. Ê ìåñòó ðàáîò äîñòàâëÿþò íåîáõîäèìûå ìàòåðèàëû, ìåõàíèçìû, èíñòðóìåíòû è ïðèñïîñîáëåíèÿ.
Ïîñëåäîâàòåëüíîñòü âûïîëíåíèÿ òåõíîëîãè÷åñêèõ îïåðàöèé. Ïðîâåðêà ñîñòîÿíèÿ ïîëà, îïðåäåëåíèå ó÷àñòêîâ, ïîäëåæàùèõ ðåìîíòó. Òùàòåëüíûì îñìîòðîì âûÿâëÿþò íàëè÷èå òðåùèí, âûáîèí â ïëèòêàõ. Ðó÷êîé ïëèòî÷íîé ëîïàòêè ïðîñòóêèâàþò êàæäóþ ïëèòêó. Ïî ãëóõîìó çâóêó îïðåäåëÿþò ïðî÷íîñòü ñöåïëåíèÿ ïëèòîê ñ îñíîâàíèåì, âûÿâëåííûå äåôåêòû îòìå÷àþò öâåòíûìè ìåëêàìè.
Çàäåëêà íåñêâîçíûõ òðåùèí â ïëèòêàõ.  îáðàçîâàâøåéñÿ íåñêâîçíîé òðåùèíå àêêóðàòíî ïðî÷èùàþò õîðîøî çàòî÷åííûì ñêàðïåëåì êðàÿ óãëóáëåíèÿ äëÿ ëó÷øåãî óäåðæàíèÿ ðàñòâîðà ïðè çàäåëêå. Óãëóáëåíèå î÷èùàþò îò ïûëè, ñìà÷èâàþò âîäîé. Öåìåíòíûé ðàñòâîð ñ äîáàâêîé ñîîòâåòñòâóþùåãî êðàñèòåëÿ âìàçûâàþò â ùåëü îòðåçîâêîé è óïëîòíÿþò çàïîäëèöî ñ ïîâåðõíîñòüþ ïëèòîê. Îòðåìîíòèðîâàííûå ó÷àñòêè ïîêðûòèÿ çàñûïàþò âëàæíûìè îïèëêàìè è îãðàæäàþò.
Óäàëåíèå äåôåêòíûõ è îòñëîèâøèõñÿ ïëèòîê. Äåôåêòíûå ïëèòêè îñòîðîæíî âûðóáàþò ëåãêèìè óäàðàìè ìîëîòêà ïî çóáèëó, óäåðæèâàåìîìó â ëåâîé ðóêå (ðèñ. 105, à), à îòñëîèâøèåñÿ ïëèòêè, ïîääåâàÿ îòðåçîâêîé, ñíèìàþò òàê, ÷òîáû, ñîõðàíèòü äëÿ ïîâòîðíîãî èñïîëüçîâàíèÿ. Òûëüíóþ ñòîðîíó ñíÿòûõ öåëûõ ïëèòîê î÷èùàþò îò îñòàòêîâ ðàñòâîðà êèðî÷êîé èëè ìîëîòî÷êîì ïëèòî÷íèêà òàê, ÷òîáû íå ïîâðåäèòü êðîìîê (ðèñ. 105, á).
Î÷èñòêà è âûðàâíèâàíèå îñíîâàíèÿ ðåìîíòèðóåìîãî ó÷àñòêà ïîëà. Ñ îñíîâàíèÿ óäàëÿþò îñòàòêè ðàñòâîðíîé ïðîñëîéêè, ñðóáàÿ åå çóáèëîì (ðèñ. 105, â). Ïðè íåîáõîäèìîñòè äåëàþò íàñå÷êó îñíîâàíèÿ ãëóáèíîé 3…5 ìì ÷åðåç 30...50 ìì. Ïîñëå ýòîãî îñíîâàíèå òùàòåëüíî î÷èùàþò ñòàëüíûì øïàòåëåì è ñòàëüíîé ùåòêîé (ðèñ. 105, ã) è ïðîìûâàþò âîäîé. Íà ïîäãîòîâëåííîå îñíîâàíèå íà ñëîé ðàñòâîðà óêëàäûâàþò ïëèòêó.
Çàìåíà îòäåëüíûõ ïîâðåæäåííûõ ïëèòîê. Äëÿ ñîõðàíåíèÿ ãðàíåé öåëûõ ïëèòîê, ñîïðèêàñàþùèõñÿ ñ ïîâðåæäåííûìè, ïîñëåäíèå óäàëÿþò îòäåëüíûìè ÷àñòÿìè. Îñòðèå çóáèëà (ñêàðïåëÿ) ñòàâÿò ïîä òûëüíóþ ñòîðîíó óäàëÿåìîé ïëèòêè è óäàðÿþò ïî çóáèëó ìîëîòêîì. Ïî ìåðå î÷èñòêè ãíåçäà çóáèëî ïåðåäâèãàþò îò ñåðåäèíû óäàëÿåìîé ïëèòêè ê êðàÿì. Ïîñëå óäàëåíèÿ ïëèòêè îñíîâàíèå î÷èùàþò îò îñòàòêîâ ðàñòâîðà è ïðè íåîáõîäèìîñòè äåëàþò íàñå÷êó. Îáåñïûëåííîå, óâëàæíåííîå îñíîâàíèå çàïîëíÿþò öåìåíòíî-ïåñ÷àíûì ðàñòâîðîì è ðàçðàâíèâàþò åãî ïëèòî÷íîé ëîïàòêîé. Ïîâåðõíîñòü ðàñòâîðà äîëæíà íàõîäèòüñÿ íà óðîâíå íèæíåé ïëîñêîñòè öåëûõ ïëèòîê. Çàòåì óêëàäûâàþò ïëàñòè÷íûé ðàñòâîð ñîñòàâà 1:1 (öåìåíò: ïåñîê) ñëîåì òîëùèíîé äî 3 ìì èëè ïðèïîðàøèâàþò ñóõèì öåìåíòîì, ïîñëå ÷åãî óâëàæíåííóþ ïëèòêó óòàïëèâàþò â ðàñòâîð äî óðîâíÿ ñìåæíûõ ïëèòîê ïîêðûòèÿ. Åñëè ïëèòêà îêàæåòñÿ íå çàïîäëèöî ñ íåðåìîíòèðóåìîé ïîâåðõíîñòüþ ïîëà, åå âûíèìàþò è ïî ìåðå íåîáõîäèìîñòè óáàâëÿþò èëè äîáàâëÿþò ðàñòâîð. Ñâåæåóëîæåííûå ïëèòêè ïîêðûâàþò ùèòêîì. Ïðè çàìåíå ïëèòîê íîâûå ïîäáèðàþò ïî öâåòó, îòòåíêàì è ðàçìåðó â ñîîòâåòñòâèè ñî ñòàðûì ïîêðûòèåì.

Ðèñ. 105. Ðåìîíò ïîêðûòèÿ ïîëà:
à - âûðóáêà äåôåêòíîé ïëèòêè, á - î÷èñòêà ïëèòêè îò ðàñòâîðà, â - âûðóáêà îñòàòêîâ ðàñòâîðíîé ïðîñëîéêè, ã - î÷èñòêà îñíîâàíèÿ ñòàëüíîé ùåòêîé

Ðèñ. 106. Îñàæèâàíèå è âûðàâíèâàíèå ïëèòîê íà îòðåìîíòèðîâàííîì ó÷àñòêå: 1 - îòðåìîíòèðîâàííûé ó÷àñòîê ïîêðûòèÿ, 2 - ïðàâèëî
Ðåìîíò áîëüøîé ïëîùàäè ïîêðûòèÿ. Îñíîâàíèå ïîäãîòàâëèâàþò òàê, êàê áûëî îïèñàíî âûøå.  óãëàõ è â ñåðåäèíå ðåìîíòèðóåìîãî ó÷àñòêà ïîëà óêëàäûâàþò íà ðàñòâîð ìàÿ÷íûå ïëèòêè íà óðîâíå ñîõðàíèâøåãîñÿ ïîêðûòèÿ, ðàñïîëàãàÿ èõ â óãëàõ ñ îòñòóïîì îò ñòåíû íà øèðèíó ôðèçà, à â ñåðåäèíå íà ðàññòîÿíèè íå áîëåå 2 ì (äëèíà ïðàâèëà) îò ñòàðîãî ïîêðûòèÿ. Ïðàâèëüíîñòü óêëàäêè ìàÿ÷íûõ ïëèòîê ïðîâåðÿþò äâóõìåòðîâîé êîíòðîëüíîé ðåéêîé ñ óðîâíåì. Ìåæäó ìàÿ÷íûìè ïëèòêàìè ïî øíóðó è óðîâíþ óêëàäûâàþò ïëèòêè ìàÿ÷íûõ ðÿäîâ ïî ïåðèìåòðó ðåìîíòèðóåìîãî ó÷àñòêà è ïëèòêè ïðîìåæóòî÷íûõ ðÿäîâ - â ñåðåäèíå ðåìîíòèðóåìîãî ó÷àñòêà.
Íà ïîäãîòîâëåííîå îñíîâàíèå óêëàäûâàþò ñëîé ïëàñòè÷íîãî ðàñòâîðà ñîñòàâà 1 : 1 (öåìåíò : ïåñîê) òîëùèíîé 3...5 ìì, çàãëàæèâàþò åãî ëîïàòêîé ïëèòî÷íèêà èëè ñòàëüíîé ãëàäèëêîé è ìåæäó ìàÿ÷íûìè ðÿäàìè óêëàäûâàþò ðÿäîâûå ïëèòêè íåñêîëüêî âûøå ìàÿ÷íûõ ïëèòîê, çàòåì îñàæèâàþò èõ ïðàâèëîì 2 (ðèñ. 106) è òùàòåëüíî âûðàâíèâàþò ïî óðîâíþ íå ðåìîíòèðóåìîãî ïîêðûòèÿ ïîëà. Ïðè óêëàäêå ïëèòîê íà ïëàñòè÷íóþ ðàñòâîðíóþ ïðîñëîéêó îòïàäàåò íåîáõîäèìîñòü çàëèâêè øâîâ ìåæäó ïëèòêàìè.
Êîíòðîëü êà÷åñòâà. Ïîâåðõíîñòü îòðåìîíòèðîâàííûõ ó÷àñòêîâ ïëèòî÷íûõ ïîêðûòèé ïî ôîðìå, ðèñóíêó, öâåòó è îòòåíêó íå äîëæíà îòëè÷àòüñÿ îò ñòàðîãî ïîêðûòèÿ. Âíîâü óëîæåííûå ïëèòêè äîëæíû ïëîòíî ïðèëåãàòü ê ðàñòâîðó ïðîñëîéêè. Äîïóñêàþòñÿ óñòóïû ìåæäó êðîìêàìè ñìåæíûõ ïëèòîê íå áîëåå 1 ìì, øèðèíà øâîâ - äî 2 ìì. Âñå øâû ìåæäó ïëèòêàìè äîëæíû áûòü òùàòåëüíî çàïîëíåíû ðàñòâîðîì, ïðèìûêàíèÿ ê ñòåíàì, ôðèçàì - âûïîëíåíû èç öåëûõ ïëèòîê èëè âñòàâîê, ïðèðóáëåííûõ ïî ìåñòó.
Òðóäîâûå çàòðàòû. Íîðìû âðåìåíè íà ðåìîíò 1 ì2 ïîêðûòèÿ è íîðìû âûðàáîòêè íà 1 ÷åë-äí ïðè ðåìîíòå ïëèòî÷íûõ ïîêðûòèé ïîëîâ ñëåäóþùèå:
|
Ðàçáîðêà ïîêðûòèÿ ñ ñîõðàíåíèåì ïëèòîê, ãîäíûõ äëÿ ðàáîò, %: |
Íîðìû âðåìåíè, ÷åë-÷ |
Íîðìà âûðàáîòêè, ì2 |
|
0 |
0,15 |
53,3 |
|
25 |
0,22 |
36,3 |
|
50 |
0,34 |
23,5 |
|
75 |
0,52 |
15,3 |
|
100 |
0,74 |
10,8 |
Ïðè çàìåíå äî 10 øò. ÷åòûðåõãðàííûõ ïëèòîê â îäíîì ìåñòå íîðìà âðåìåíè - 0,13 ÷åë-÷, íîðìà âûðàáîòêè íà 1 ÷åë-äí - 62 øò. ïëèòîê; ïðè çàìåíå äî 45 ïëèòîê ñîîòâåòñòâåííî - 0,09 ÷åë-÷ è 89 øò.
Òåõíèêà áåçîïàñíîñòè. Óäàëåíèå áðàêîâàííûõ ïëèòîê, ïîäãîòîâêó îñíîâàíèÿ ñî ñðóáàíèåì ñòàðîãî ðàñòâîðà ïðîñëîéêè, ïîäãîíêó ïëèòîê ê ìåñòó óêëàäêè âûïîëíÿþò â çàùèòíûõ î÷êàõ.
Ðàáî÷èå îðãàíû ðó÷íûõ èíñòðóìåíòîâ óäàðíîãî òèïà (çóáèëî, ñêàðïåëü, ìîëîòîê) íå äîëæíû èìåòü ïîâðåæäåíèé (âûáîèí, ñêîëîâ). Íà ïîâåðõíîñòè ðóêîÿòîê èíñòðóìåíòîâ íå äîïóñêàþòñÿ ñó÷êè, âûáîèíû, ñêîëû.
Óêëàäûâàòü ïëèòêè â ïîêðûòèå íóæíî â ðåçèíîâûõ ïåð÷àòêàõ èëè íàïàëü÷íèêàõ. Ïðîìûâàòü ïëèòêè êèñëîòîé íóæíî â ðåçèíîâûõ ïåð÷àòêàõ è çàùèòíûõ î÷êàõ. Êîíöåíòðàöèÿ ðàñòâîðà ñîëÿíîé êèñëîòû íå äîëæíà ïðåâûøàòü 3…5 %. Äëÿ ïðèãîòîâëåíèÿ ðàñòâîðà íà ìåñòå ðàáîò êèñëîòó âëèâàþò ÷åðåç âîðîíêó òîíêîé ñòðóåé â åìêîñòü ñ âîäîé ïðè ïîñòîÿííîì ïåðåìåøèâàíèè.
Êîíòðîëüíûå âîïðîñû. Êàêèå äåôåêòû ïëèòî÷íûõ ïîêðûòèé íàèáîëåå ÷àñòî ïðèõîäèòñÿ óñòðàíÿòü â ïðîöåññå ýêñïëóàòàöèè çäàíèé? Ñ ÷åãî íà÷èíàþò ðåìîíò ïëèòî÷íîãî ïîêðûòèÿ ïîëà? Êàê óäàëÿþò îòñëîèâøèåñÿ ïëèòêè?  êàêîé ïîñëåäîâàòåëüíîñòè âûïîëíÿþò ðåìîíò ïëèòî÷íûõ ïîêðûòèé â ìåñòàõ èíòåíñèâíîãî äâèæåíèÿ? Ìàê âûïîëíÿþò ðåìîíò ïëèòî÷íûõ ïîêðûòèé íà íåçíà÷èòåëüíûõ ó÷àñòêàõ ïîâðåæäåíèé?  êàêîé ïîñëåäîâàòåëüíîñòè çàìåíÿþò îòäåëüíûå ïîâðåæäåííûå ïëèòêè? Êàêèå òðåáîâàíèÿ ïðåäúÿâëÿþò ê êà÷åñòâó îòðåìîíòèðîâàííûõ ïîêðûòèé? Êàêèå ìåðû ïðåäîñòîðîæíîñòè ñîáëþäàþò â ïðîöåññå ðåìîíòà ïëèòî÷íûõ ïîêðûòèé?
Ñîñòàâ òåõíîëîãè÷åñêèõ îïåðàöèé. Îïðåäåëåíèå ó÷àñòêîâ ïîâðåæäåííîé îáëèöîâêè; çàìåíà îòäåëüíûõ ïëèòîê ïðè ñîõðàíÿâøåéñÿ ðàñòâîðíîé ïðîñëîéêå è ñ óäàëåíèåì ïðîñëîéêè; ðåìîíò îáëèöîâêè ïðè ñîõðàíèâøåéñÿ ïðîñëîéêå è ñ óäàëåííîé ïðîñëîéêîé; ðåìîíò îáëèöîâêè ïðèìûêàíèé, ñîïðÿæåíèé.
Èíñòðóìåíòû, ïðèñïîñîáëåíèÿ, èíâåíòàðü. Ïëèòî÷íàÿ ëîïàòêà; çóáèëî; ñêàðïåëü; ìîëîòîê; ñòàëüíîé øïàòåëü; ñòàëüíàÿ ùåòêà; êèðî÷êà; ìîëîòî÷åê äëÿ ïëèòî÷íûõ ðàáîò; çóá÷àòûé øïàòåëü; êèñòü-ðó÷íèê; ñòàëüíûå øòûðè; ÿùèê-òåëåæêà ñ ðàñòâîðîì; äâóõâûñîòíûé ñòîëèê; ðåéêà-ïðàâèëî äëèíîé 1 - 1,5 ì; ñêëàäíîé ìåòð èëè ðóëåòêà; çàùèòíûå î÷êè; ðåçèíîâûå ïåð÷àòêè.
Ìàòåðèàëû. Êåðàìè÷åñêèå ïëèòêè äëÿ âíóòðåííåé îáëèöîâêè ñòåí è ïåðåãîðîäîê (ÃÎÑÒ 6141-82). Öåìåíòíîïåñ÷àíûé ðàñòâîð ñîñòàâà 1 : 6 ìàðêè íå íèæå 150 ïîäâèæíîñòüþ 4...6 ñì. Êëåÿùèå ìàñòèêè ÊÍ-2, ÊÍ-3. Ãóñòîòåðòûå áåëèëà èëè äðóãàÿ êðàñêà, 3…5 %-íûé ðàñòâîð ñîëÿíîé êèñëîòû è âåòîøü.
Ñõåìà îðãàíèçàöèè ðàáî÷åãî ìåñòà. Ðåìîíò ñòåí, ïåðåãîðîäîê, êîëîíí è äðóãèõ âåðòèêàëüíûõ ïîâåðõíîñòåé, îáëèöîâàííûõ êåðàìè÷åñêèìè ïëèòêàìè, çàâèñèò îò îñîáåííîñòåé è îáúåìà ðåìîíòíûõ ðàáîò. Ê ìåñòó ðàáîò äîñòàâëÿþò íåîáõîäèìûå ìàòåðèàëû, ìåõàíèçìû, èíñòðóìåíòû è ïðèñïîñîáëåíèÿ. ßùèê-òåëåæêó ñ ðàñòâîðîì óñòàíàâëèâàþò â 1,5 ì îò îòðàáàòûâàåìîé ïîâåðõíîñòè.
Ïîñëåäîâàòåëüíîñòü òåõíîëîãè÷åñêèõ îïåðàöèé. Îïðåäåëåíèå ó÷àñòêîâ ïîâðåæäåííîé îáëèöîâêè. Ðó÷êîé ëîïàòêè ïëèòî÷íèêà ïðîñòóêèâàþò êàæäóþ ïëèòêó (ðèñ. 107) è ïî çâóêó îïðåäåëÿþò ïðî÷íîñòü ñöåïëåíèÿ ïëèòîê ñ ðàñòâîðîì ïðîñëîéêè. Ïî ãëóõîìó çâóêó ñóäÿò î ìåñòíîì îòñëîåíèè îáëèöîâêè. Âíåøíèì îñìîòðîì âûÿâëÿþò íàëè÷èå òðåùèí, îòáèòûõ óãëîâ, âûïàâøèõ ïëèòîê è äðóãèõ äåôåêòîâ íà ëèöåâîé ïîâåðõíîñòè îáëèöîâêè; öâåòíûì ìåëêîì îòìå÷àþò ãðàíèöû äåôåêòíûõ çîí.

Ðèñ. 107. Âûÿâëåíèå îòñëîèâøèõñÿ ïëèòîê
Íàèáîëåå ÷àñòûìè äåôåêòàìè îáëèöîâêè âåðòèêàëüíûõ ïîâåðõíîñòåé ÿâëÿþòñÿ: ÷àñòè÷íîå èëè ìåñòíîå îòñëîåíèå ïëèòîê (ðèñ. 108, à); ïðîòÿæåííûå òðåùèíû íà ëèöåâîé ïîâåðõíîñòè îáëèöîâêè (ðèñ. 108, á); èñêàæåííûé ðèñóíîê îáëèöîâêè èëè äåôåêòíàÿ ïëèòêà (ðèñ. 108, â); ïîëíîñòüþ îòñëîèâøèåñÿ ïëèòêè â îòäåëüíûõ ìåñòàõ èëè íà çíà÷èòåëüíîì ó÷àñòêå ñòåí (ðèñ. 108, ã).
Óäàëåíèå ïëèòîê è ðàñòâîðíîé ïðîñëîéêè. Îòñëîèâøèåñÿ ïëèòêè êîíöîì ïëèòî÷íîé ëîïàòêè (ðèñ. 109, à) èëè ñòàëüíûì øïàòåëåì îñòîðîæíî ïðèïîäíèìàþò è èçâëåêàþò, ñòàðàÿñü íå ïîâðåäèòü êðîìîê è íå óðîíèòü, î÷èùàþò îò ðàñòâîðà äëÿ ïîâòîðíîãî èñïîëüçîâàíèÿ.
Äåôåêòíûå ïëèòêè, èìåþùèå ìåõàíè÷åñêîå ïîâðåæäåíèå, â öåëÿõ ñîõðàíåíèÿ ãðàíåé ðÿäîì ðàñïîëîæåííûõ êà÷åñòâåííûõ ïëèòîê îáëèöîâêè óäàëÿþò îòäåëüíûìè ÷àñòÿìè (ðèñ. 109, á). Äëÿ ýòîãî, óäåðæèâàÿ çóáèëî (ñêàðïåëü) â ëåâîé ðóêå, óñòàíàâëèâàþò åãî ëåçâèå ïîä òûëüíóþ ñòîðîíó ïëèòêè. Óäàðÿÿ ìîëîòêîì ïî çóáèëó, ïåðåäâèãàþò åãî ïî ìåðå î÷èñòêè ãíåçäà îò ñåðåäèíû ê êðàÿì.
Ïîñëå óäàëåíèÿ äåôåêòíîé ïëèòêè ïðîâåðÿþò ïðî÷íîñòü îñíîâàíèÿ. Îòñëîèâøóþñÿ ïðîñëîéêó óäàëÿþò â òàêîé æå ïîñëåäîâàòåëüíîñòè îò ñåðåäèíû ãíåçäà ê êðàÿì. Ïðî÷íóþ ðàñòâîðíóþ ïðîñëîéêó â ìåñòàõ îòñëîèâøèõñÿ ïëèòîê îáåñïûëèâàþò, ïîñëå ÷åãî ñîõðàíèâøèåñÿ ïëèòêè èëè íîâûå óñòàíàâëèâàþò íà êëåÿùèå ìàñòèêè, ãóñòîòåðòûå áåëèëà èëè ýìàëè ñâåòëûõ òîíîâ.

Ðèñ. 108. Íàèáîëåå ÷àñòî âñòðå÷àþùèåñÿ äåôåêòû îáëèöîâêè: à - ÷àñòè÷íîå (ìåñòíîå) îòñëîåíèå ïëèòêè, á - òðåùèíû íà ëèöåâîé ïîâåðõíîñòè îáëèöîâêè, â - èñêàæåííûé ðèñóíîê, ã - ïîëíîå îòñëîåíèå ïëèòîê
Óñòàíîâêà ïëèòîê ïðè ñîõðàíèâøåéñÿ ïðîñëîéêå. Äëÿ óñòàíîâêè ïëèòîê íà ìàñòèêó ñóõèå ïëèòêè è îñíîâàíèå î÷èùàþò îò ïûëè êèñòüþ, ùåòêîé (ðèñ. 109, â) èëè ñóõîé âåòîøüþ. Åñëè ðàñòâîðíàÿ ïðîñëîéêà ñîõðàíåíà, ñëîé ìàñòèêè òîëùèíîé 0,2 ìì íàíîñÿò çóá÷àòûì øïàòåëåì íà îñíîâàíèå, ãäå áóäåò óëîæåíà ïëèòêà, è íà òûëüíóþ ñòîðîíó ïëèòêè. Ïîñëå âûñûõàíèÿ îãðóíòîâàííûõ ïîâåðõíîñòåé íàíîñÿò âòîðîé ñëîé òîëùèíîé 0,5 ìì. ×åðåç 10…15 ìèí ïëèòêè óêëàäûâàþò, ïëîòíî ïðèæèìàÿ ê îñíîâàíèþ. Ïðè ýòîì íåîáõîäèìî ñîáëþäàòü ðèñóíîê îáëèöîâêè è øèðèíó øâà ïðèìûêàþùèõ ó÷àñòêîâ îáëèöîâêè. Èçëèøêè ìàñòèêè, âûñòóïèâøèå íà ïîâåðõíîñòè óëîæåííîé ïëèòêè, ñðàçó î÷èùàþò âåòîøüþ, êîòîðóþ ïðè íåîáõîäèìîñòè ñìà÷èâàþò â êåðîñèíå. Øâû ìåæäó óëîæåííûìè ïëèòêàìè â òå÷åíèå 1...2 ñóò îñòàâëÿþò íåçàïîëíåííûìè. Øâû ðàñøèâàþò öåìåíòíûì ðàñòâîðîì èëè ìàñòèêîé ïîä öâåò øâîâ ïðèìûêàþùåé îáëèöîâêè.
Ðåìîíò îáëèöîâêè íà ó÷àñòêàõ ñ óäàëåííîé ïðîñëîéêîé. Ìåñòî, êóäà óêëàäûâàþò ïëèòêó âìåñòî óäàëåííîé, åñëè íåîáõîäèìî, íàñåêàþò, î÷èùàþò îò ïûëè ñòàëüíîé ùåòêîé, âåòîøüþ è ñìà÷èâàþò. Âëàæíîé âåòîøüþ ïðîòèðàþò òûëüíóþ ñòîðîíó ïëèòêè. Ëîïàòêîé ïëèòî÷íèêà íà ïëèòêó íàêëàäûâàþò ðàñòâîð â òàêîì êîëè÷åñòâå, ÷òîáû ïðè óñòàíîâêå ïîä ïëèòêîé íå îñòàâàëîñü ïóñòîò.
Ïëèòêó ñ ðàñòâîðîì â ãîðèçîíòàëüíîì ïîëîæåíèè ïîäíîñÿò ê ìåñòó óêëàäêè, áûñòðî, íî îñòîðîæíî ïîâîðà÷èâàþò åå â âåðòèêàëüíîå ïîëîæåíèå, ïðèêëàäûâàÿ ê ñòåíå ñíà÷àëà òîé ñòîðîíîé, ãäå íàíåñåí ðàñòâîð, çàòåì - âñåé ïëîñêîñòüþ. Ïëèòêó îðèåíòèðóþò (ðèõòóþò) ïî ïðèìûêàþùèì ðÿäàì, íå äîïóñêàÿ çàïàäàíèÿ îòíîñèòåëüíî ëèöåâîé ïëîñêîñòè èëè îäíîñòîðîííåãî ïåðåêîñà.

Ðèñ. 109. Ðåìîíò âåðòèêàëüíûõ ïîâåðõíîñòåé: à- óäàëåíèå îòñëîèâøåéñÿ ïëèòêè, á - óäàëåíèå äåôåêòíîé ïëèòêè, â - î÷èñòêà îñíîâàíèÿ ñòàëüíîé ùåòêîé
Ïðè çàìåíå áîëåå ïÿòè ïëèòîê â îäíîì ìåñòå êîíòðîëü ðîâíîñòè ïîâåðõíîñòè âûïîëíÿþò ïðàâèëîì.
Ðåìîíò îáëèöîâêè ïðèìûêàíèé è ñîïðÿæåíèé. Ïðè çàìåíå ïëèòîê ó ðîçåòîê, âûêëþ÷àòåëåé, âîäîïðîâîäíûõ òðóá è êðàíîâ â óñòàíàâëèâàåìîé ïëèòêå ñíà÷àëà âûñâåðëèâàþò îòâåðñòèå, êîòîðîå ïðè ïîìîùè ïëèòî÷íûõ êëåùåé ðàñøèðÿþò äî òðåáóåìîãî ðàçìåðà è ôîðìû. Ïîäãîòîâëåííóþ ïëèòêó àêêóðàòíî ðàçðåçàþò ïî öåíòðó îòâåðñòèÿ, ïîäãîíÿþò ïî ìåñòó îáå ïîëîâèíêè è óñòàíàâëèâàþò èõ íà ðàñòâîð èëè ìàñòèêó (ðèñ. 110).
Çàìåíó îòäåëüíûõ ïîâðåæäåííûõ ïëèòîê ñîïðÿæåíèé âíóòðåííèõ è âíåøíèõ óãëîâ îáëèöîâêè âûïîëíÿþò â òîé æå ïîñëåäîâàòåëüíîñòè, ÷òî è ïðè çàìåíå îòäåëüíûõ ïëèòîê.
Êîíòðîëü êà÷åñòâà. Îòðåìîíòèðîâàííûå ó÷àñòêè îáëèöîâêè íå äîëæíû îòëè÷àòüñÿ îò ïåðâîíà÷àëüíîé îáëèöîâêè ïî öâåòó, ôîðìå è ðàçìåðó ïëèòîê, ïî øèðèíå è íàïðàâëåíèþ ãîðèçîíòàëüíûõ è âåðòèêàëüíûõ øâîâ. Ïîâåðõíîñòü îòðåìîíòèðîâàííîãî ó÷àñòêà äîëæíà íàõîäèòüñÿ â îäíîé ïëîñêîñòè ñ ïîâåðõíîñòüþ ðàíåå âûïîëíåííîé îáëèöîâêè. Âíîâü óëîæåííûå ïëèòêè ñ ðàññòîÿíèÿ 3 ì íå äîëæíû áûòü çàìåòíûìè è âûäåëÿòüñÿ íà ôîíå ðàíåå âûïîëíåííîé îáëèöîâêè.

Ðèñ. 110. Çàìåíåííûå ïëèòêè ó âîäîðàçáîðíîãî êðàíà
Òðóäîâûå çàòðàòû. Íîðìû âðåìåíè è íîðìû âûðàáîòêè íà 1 ÷åë-äí ïðè ðåìîíòå îáëèöîâêè âåðòèêàëüíûõ ïîâåðõíîñòåé ñëåäóþùèå:
|
|
Íîðìû âðåìåíè, ÷åë-÷ |
Íîðìû âûðàáîòêè |
|
Ðåìîíò îáëèöîâêè ñòåí ïðè çàìåíå â îäíîì ìåñòå ïëèòîê, øò.: |
|
|
|
äî 10 |
0,24 |
33,3 øò. |
|
äî 45 |
0,18 |
44,4 øò. |
|
Ðàçáîðêà îáëèöîâêè ñ î÷èñòêîé Ãîäíûõ ïëèòîê îò ðàñòâîðà, ì2, ñ ñîõðàíåíèåì ïëèòîê, %: |
|
|
|
äî 75. |
1 |
8 ì2 |
|
äî 100 |
1,4 |
5,7 ì2 |
Òåõíèêà áåçîïàñíîñòè. Ðåìîíòíûå ðàáîòû, ñâÿçàííûå ñ óäàëåíèåì äåôåêòíûõ ïëèòîê è ðàñòâîðíîé ïðîñëîéêè, íàñå÷êîé îñíîâàíèé, î÷èñòêîé è îáåñïûëèâàíèåì, íåîáõîäèìî âûïîëíÿòü â çàùèòíûõ î÷êàõ, ðåçèíîâûõ ïåð÷àòêàõ èëè ðóêàâèöàõ.
Êëåÿùèå ìàñòèêè, ñîäåðæàùèå ëåòó÷èå, îãíåîïàñíûå è òîêñè÷íûå âåùåñòâà, äîëæíû íàõîäèòüñÿ íà ðàáî÷åì ìåñòå â êîëè÷åñòâ, íåîáõîäèìîì äëÿ ðàáîò â òå÷åíèå îäíîé ñìåíû. Åìêîñòè ñ ìàñòèêîé îòêðûâàþò òîëüêî ïåðåä åå óïîòðåáëåíèåì. Ïî îêîí÷àíèè ðàáîò åìêîñòè ñ ìàñòèêîé ïëîòíî çàêðûâàþò êðûøêàìè è ñäàþò íà ñêëàä.
Êîíòðîëüíûå âîïðîñû. Êàêèå äåôåêòû íàèáîëåå ÷àñòî âñòðå÷àþòñÿ ïðè ðåìîíòå îáëèöîâêè ñòåí?  êàêîé ïîñëåäîâàòåëüíîñòè ïðîèçâîäÿò çàìåíó îòñëîèâøèõñÿ ïëèòîê ïðè ñîõðàíèâøåéñÿ ðàñòâîðíîé ïðîñëîéêå? Êàê ïðîèçâîäÿò çàìåíó ïîâðåæäåííûõ ïëèòîê? Êàê ïðîèçâîäÿò çàìåíó îòñëîèâøèõñÿ ïëèòîê ñ óäàëåíèåì ðàñòâîðíîé ïðîñëîéêè? Êàêèå òðåáîâàíèÿ ïðåäúÿâëÿþò ê êà÷åñòâó îòðåìîíòèðîâàííîé ïîâåðõíîñòè ñòåí? Êàêèå ïðàâèëà òåõíèêè áåçîïàñíîñòè ñîáëþäàþò ïðè ðåìîíòå îáëèöîâêè?
Ñóùíîñòü ïðîöåññà ïðîèçâîäñòâåííîãî îáó÷åíèÿ
Ýòàïû ïðîèçâîäñòâåííîãî îáó÷åíèÿ. Ïðîôåññèîíàëüíûå óìåíèÿ è íàâûêè áóäóùèõ îáëèöîâùèêîâ-ïëèòî÷íèêîâ è ìîçàè÷íèêîâ ôîðìèðóþòñÿ â õîäå ïðîèçâîäñòâåííîãî îáó÷åíèÿ, ïðåäóñìàòðèâàþùåãî ñëåäóþùèå òðè ýòàïà, êàæäûé èç êîòîðûõ èìååò ñâîè äèäàêòè÷åñêèå çàäà÷è:
îáó÷åíèå â ó÷åáíûõ ìàñòåðñêèõ. Íà ïåðâîì ýòàïå ôîðìèðóþòñÿ îáùèå ïðåäñòàâëåíèÿ îá îñíîâíûõ ýëåìåíòàõ òðóäà îáëèöîâùèêà-ïëèòî÷íèêà è ìîçàè÷íèêà, ïåðâîíà÷àëüíûõ óìåíèÿõ è íàâûêàõ âûïîëíåíèÿ ïðèåìîâ ïëèòî÷íûõ è îáëèöîâî÷íûõ ðàáîò;
îáó÷åíèå íà ñòðîèòåëüíûõ îáúåêòàõ. Çäåñü ïîëó÷åííûå ïåðâîíà÷àëüíûå óìåíèÿ è íàâûêè çàêðåïëÿþòñÿ, ôîðìèðóþòñÿ áîëåå ñëîæíûå óìåíèÿ ïî âûïîëíåíèþ êîìïëåêñîâ îïåðàöèé è òåõíîëîãè÷åñêèõ ïðîöåññîâ, âûðàáàòûâàåòñÿ ñêîðîñòü è ðèòìè÷íîñòü â ðàáîòå;
ïðåäâûïóñêíàÿ ïðîèçâîäñòâåííàÿ ïðàêòèêà. Çàâåðøàåòñÿ ñîâåðøåíñòâîâàíèå ïðèîáðåòåííûõ óìåíèé è íàâûêîâ, âûðàáàòûâàåòñÿ ñïîñîáíîñòü ïåðåíîñèòü óìåíèÿ è çíàíèÿ â äðóãèå óñëîâèÿ ðàáîòû, ñ èñïîëüçîâàíèåì òðàäèöèîííûõ ìàòåðèàëîâ, ðàöèîíàëüíûõ èíñòðóìåíòîâ, ìåõàíèçìîâ.
Ýôôåêòèâíîñòü óðîêà ïðîèçâîäñòâåííîãî îáó÷åíèÿ îïðåäåëÿåòñÿ ïðàâèëüíîé ïîñòàíîâêîé öåëè, ïîäãîòîâêîé ôðîíòà ðàáîòû, íàëè÷èåì íåîáõîäèìûõ èíñòðóìåíòîâ è ìàòåðèàëîâ.
 ïðîèçâîäñòâåííîì îáó÷åíèè ðàçëè÷àþò òðè öåëè: îáðàçîâàòåëüíóþ, âîñïèòàòåëüíóþ è ðàçâèâàþùóþ.
Îáðàçîâàòåëüíàÿ öåëü - ôîðìèðîâàíèå îáùåòðóäîâûõ, îáùåïðîôåññèîíàëüíûõ è ñïåöèàëüíûõ óìåíèé è íàâûêîâ äëÿ ðàáîòû ïî âûáðàííîé ïðîôåññèè è ïðàêòè÷åñêèõ çíàíèé, òðåáóåìûõ ó÷åáíîé ïðîãðàììîé.
Îáðàçîâàòåëüíûå öåëè ìàñòåð ôîðìóëèðóåò â òàêîé ôîðìå: îçíàêîìèòü ó÷àùèõñÿ ñ ïîñëåäîâàòåëüíîñòüþ âûïîëíåíèÿ êîíêðåòíûõ ðàáîò; îáåñïå÷èòü â õîäå óðîêà ïîâòîðåíèå, çàêðåïëåíèå îñíîâíûõ ïðîôåññèîíàëüíûõ ïîíÿòèé è ïðîäîëæèòü ôîðìèðîâàíèå è çàêðåïëåíèå ðàíåå èçó÷åííûõ ïðîôåññèîíàëüíûõ óìåíèé è íàâûêîâ.
Óìåíèÿ è íàâûêè ðàçëè÷àþò îðãàíèçàöèîííûå è ïîäãîòîâèòåëüíûå, íàïðèìåð ðàöèîíàëüíî ñïëàíèðîâàòü ðàáîòó, îðãàíèçîâàòü ðàáî÷åå ìåñòî, âûáðàòü íåîáõîäèìûå ìàòåðèàëû, îñíàñòêó, èíñòðóìåíòû, ïîäãîòîâèòü ìåõàíèçìû ê ðàáîòå è ò.ä.
Óìåíèÿ è íàâûêè, íåîáõîäèìûå äëÿ âûïîëíåíèÿ ïðîèçâîäñòâåííîãî ïðîöåññà, âêëþ÷àþò: âûïîëíåíèå îòäåëüíûõ òåõíîëîãè÷åñêèõ îïåðàöèé è ïðîöåññà â öåëîì; óïðàâëåíèå è ðåãóëèðîâêó ðó÷íûõ ìàøèí; ñîáëþäåíèå òåõíèêè áåçîïàñíîñòè. Ïðè ýòîì ôîðìèðóþòñÿ óìåíèÿ êîíòðîëÿ è ñàìîêîíòðîëÿ, ò.å. óìåíèå ïîëüçîâàòüñÿ êîíòðîëüíî-èçìåðèòåëüíûìè èíñòðóìåíòàìè, ïîýòàïíîãî êîíòðîëÿ ïðîèçâîäñòâåííîãî ïðîöåññà (îòäåëüíûõ òåõíîëîãè÷åñêèõ îïåðàöèé) è êà÷åñòâà ðàáîòû.
Îáðàçîâàòåëüíûå öåëè óðîêà ìàñòåð ïîä÷èíÿåò òðåáîâàíèÿì êâàëèôèêàöèîííîé õàðàêòåðèñòèêè è ñîäåðæàíèþ äèäàêòè÷åñêîãî àíàëèçà ïðîãðàììû ïðîèçâîäñòâåííîãî îáó÷åíèÿ è íà ýòîé îñíîâå ôîðìóëèðóåò êîíêðåòíûå çàäà÷è óðîêà. Äëÿ ðåàëèçàöèè îáðàçîâàòåëüíûõ öåëåé ìàñòåðó íåîáõîäèìî èìåòü ÷åòêîå ïðåäñòàâëåíèå î ñòðóêòóðå óìåíèé è íàâûêîâ, ó÷åáíîì âðåìåíè, íåîáõîäèìîì äëÿ èõ âûðàáîòêè, à òàêæå î êðèòåðèÿõ èõ ñôîðìèðîâàííîñòè.
Óìåíèå - ýòî ñïîñîáíîñòü âûïîëíÿòü ïðàêòè÷åñêèå äåéñòâèÿ íà îñíîâå óñâîåííûõ çíàíèé â ðàçëè÷íûõ ïðîèçâîäñòâåííûõ óñëîâèÿõ.
Íàâûêè - àâòîìàòèçèðîâàííûå êîìïîíåíòû äåÿòåëüíîñòè, â êîòîðûõ ñîçíàíèå ïðèíèìàåò îïîñðåäîâàííîå ó÷àñòèå.
 êàæäîé òåìå ïðîèçâîäñòâåííîãî îáó÷åíèÿ íåîáõîäèìî çàïëàíèðîâàòü âðåìÿ íà òðåíèðîâî÷íûå óïðàæíåíèÿ è ïðîèçâîäñòâåííóþ äåÿòåëüíîñòü.
Îñíîâó ïðîèçâîäñòâåííîé äåÿòåëüíîñòè ïëèòî÷íèêà-îáëèöîâùèêà, ìîçàè÷íèêà ñîñòàâëÿþò òðóäîâûå ïðîöåññû, ñîñòîÿùèå èç îïåðàöèé, õàðàêòåðíûõ òåì, ÷òî ïðèìåíÿþò îäíîòèïíûå èíñòðóìåíòû, ïðèñïîñîáëåíèÿ è ñõîäíûå òðóäîâûå ïðèåìû. Òðóäîâàÿ îïåðàöèÿ - ýòî ñîâîêóïíîñòü òðóäîâûõ ïðèåìîâ, ñîñòîÿùèõ èç ðàáî÷èõ äâèæåíèé.
 õîäå óïðàæíåíèé ïðîèñõîäèò ôîðìèðîâàíèå óìåíèé è íàâûêîâ âûïîëíåíèÿ îòäåëüíûõ ðàáî÷èõ äâèæåíèé, ïðèåìîâ è îïåðàöèé, êîòîðûå çàêðåïëÿþòñÿ è ñîâåðøåíñòâóþòñÿ â ïðîöåññå ïðîèçâîäñòâåííîé äåÿòåëüíîñòè.
Ïðîäóìàííàÿ ðàáîòà ìàñòåðà â íà÷àëüíîé ñòàäèè îáåñïå÷èò âûðàáîòêó óìåíèé è ïðî÷íîñòü èõ ôîðìèðîâàíèÿ ó ó÷àùèõñÿ â áîëåå êîðîòêèå ñðîêè.  äàëüíåéøåì íåîáõîäèì êîíòðîëü çà õîäîì ôîðìèðîâàíèÿ óìåíèé è êîððåêòèðóþùàÿ ïîìîùü îòäåëüíûì ó÷àùèìñÿ. Ñëåäóåò ïîìíèòü, ÷òî èñïðàâèòü îøèáêè, äîïóùåííûå ïðè ôîðìèðîâàíèè íàâûêîâ (íàïðèìåð, âûïîëíåíèå ëèøíèõ äâèæåíèé), òðóäíåå, ÷åì îøèáêè, äîïóùåííûå ïðè ôîðìèðîâàíèè óìåíèé.
Íà óðîêàõ ïðîèçâîäñòâåííîãî îáó÷åíèÿ ìàñòåð ïîñòîÿííî äåìîíñòðèðóåò ðàáî÷èå äâèæåíèÿ, ïðèåìû è òðóäîâûå îïåðàöèè, ïîêàçûâàÿ òðóäîâîé ïðîöåññ â öåëîì èëè ïî ÷àñòÿì, â ðàáî÷åì è çàìåäëåííîì òåìïå.
Âîñïèòàòåëüíàÿ öåïü. Ïðîèçâîäèòåëüíûé òðóä - îñíîâà âîñïèòàíèÿ, ãàðìîíè÷åñêîãî ðàçâèòèÿ ôèçè÷åñêèõ, óìñòâåííûõ è íðàâñòâåííûõ êà÷åñòâ ëè÷íîñòè. Öåëîñòíûé ïîäõîä ê îïðåäåëåíèþ âîñïèòàòåëüíûõ öåëåé ïðåäïîëàãàåò ôîðìèðîâàíèå ó ó÷àùèõñÿ äèàëåêòèêî-ìàòåðèàëèñòè÷åñêîãî ìèðîâîççðåíèÿ, èäåéíî-ïîëèòè÷åñêîãî, òðóäîâîãî, íðàâñòâåííîãî, ýñòåòè÷åñêîãî è ôèçè÷åñêîãî âîñïèòàíèÿ. Ðàçóìååòñÿ, íå êàæäûé óðîê ïîçâîëÿåò ðåøàòü ýòè çàäà÷è. Ñïåöèôèêà óðîêà, ìåñòî ïðîâåäåíèÿ çàíÿòèé, èñïîëüçîâàíèå îïûòà íîâàòîðîâ ïðîèçâîäñòâà äîïóñêàþò âû÷ëåíåíèå òåõ âîñïèòàòåëüíûõ çàäà÷, êîòîðûå ìîãëè áû ðåøàòüñÿ ïðè èçó÷åíèè êîíêðåòíîãî ìàòåðèàëà.
Ôîðìèðîâàíèå ýêîíîìè÷åñêîãî ìûøëåíèÿ - âàæíûé ôàêòîð âîñïèòàíèÿ. Ýòî áåðåæíîå îòíîøåíèå ê îáùåñòâåííîé ñîáñòâåííîñòè, íåòåðïèìîñòü ê íåîðãàíèçîâàííîñòè, âûñîêàÿ ñîçíàòåëüíàÿ äèñöèïëèíà è ñòðåìëåíèå ïîñòîÿííî ïîâûøàòü êà÷åñòâî è ïðîèçâîäèòåëüíîñòü òðóäà.  ýòèõ öåëÿõ ðåêîìåíäóåòñÿ ïðîâîäèòü ñðàâíèòåëüíûé àíàëèç òåõíîëîãè÷åñêèõ îïåðàöèé è ïðîöåññîâ ïî çàòðàòàì òðóäà è ðàñõîäó ìàòåðèàëîâ.
Áîëüøèíñòâî âîñïèòàòåëüíûõ çàäà÷ íîñèò óíèâåðñàëüíûé õàðàêòåð äëÿ âñåõ óðîêîâ. Íàïðèìåð, âîñïèòàíèå ñîçíàòåëüíîé äèñöèïëèíû, êóëüòóðû òðóäà è îáùåíèÿ è ïð. Ïîýòîìó íåò íåîáõîäèìîñòè èõ îòðàæàòü â ïëàíàõ óðîêîâ, íå çàáûâàÿ î ðåàëèçàöèè ýòèõ çàäà÷ â ïîâñåäíåâíîé ïðîèçâîäñòâåííîé äåÿòåëüíîñòè ó÷àùèõñÿ. Ïðè ðàáîòå ó÷àùèõñÿ íà ñòðîèòåëüíûõ îáúåêòàõ ìàñòåð ó÷èòûâàåò áëàãîïðèÿòíûå óñëîâèÿ, ÷òîáû ïîâûñèòü óðîâåíü òåõíîëîãè÷åñêîé è òðóäîâîé äèñöèïëèíû ó÷àùèõñÿ, ðàçâèòü èõ òðóäîâóþ èíèöèàòèâó, ñòðåìëåíèå ê òîâàðèùåñêîìó ñîòðóäíè÷åñòâó, âçàèìîïîìîùè.
Âîñïèòàòåëüíûå öåëè â ïðîèçâîäñòâåííîì îáó÷åíèè ìîæíî ñôîðìóëèðîâàòü ñëåäóþùèì îáðàçîì:
ôîðìèðîâàòü äîáðîñîâåñòíîå îòíîøåíèå ê òðóäó (ðàñêðûâàÿ ñóùíîñòü ïîíÿòèé «îáùåñòâåííûé äîëã», «êîëëåêòèâèçì», «òîâàðèùåñêàÿ âçàèìîïîìîùü»);
ïîáóæäàòü ÷óâñòâî óâàæåíèÿ ê ðåçóëüòàòó òðóäà, ëþäÿì òðóäà;
âîñïèòûâàòü ÷óâñòâî õîçÿèíà, ñîõðàíÿÿ è óìíîæàÿ îáùåñòâåííîå äîñòîÿíèå;
ôîðìèðîâàòü òâîð÷åñêîå è îòâåòñòâåííîå îòíîøåíèå ê êà÷åñòâó òðóäà;
ñïîñîáñòâîâàòü ïîëîæèòåëüíîé ìîòèâàöèè ó÷åáíî-ïðîèçâîäñòâåííîé è òðóäîâîé äåÿòåëüíîñòè.
Âîñïèòàòåëüíûå öåëè, ðåàëèçóåìûå íà óðîêàõ ïðîèçâîäñòâåííîãî îáó÷åíèÿ, óâÿçûâàþò ñ îñíîâíûìè íàïðàâëåíèÿìè âîñïèòàòåëüíîé ðàáîòû â ó÷èëèùå.
Ðàçâèâàþùàÿ öåëü. Ïðîèçâîäñòâåííîå îáó÷åíèå ïðåäóñìàòðèâàåò ðàçâèòèå ó ó÷àùèõñÿ ïðîôåññèîíàëüíûõ êà÷åñòâ ëè÷íîñòè, ñïîñîáñòâóþùèõ óñïåøíîìó îâëàäåíèþ ïðîôåññèåé.
Ýòî îáåñïå÷èâàåòñÿ ðåøåíèåì çàäà÷ ïî ðàçâèòèþ íà êàæäîì óðîêå âíèìàíèÿ, ïàìÿòè, ìûøëåíèÿ è äðóãèõ êà÷åñòâ ëè÷íîñòè.
Ðàçâèâàþùèå öåëè óðîêà ïðåäïîëàãàþò ðàçâèòèå òàêèõ ïðîôåññèîíàëüíûõ ôóíêöèé, êàê ìûøëåíèå, ãëàçîìåð, ñêîðîñòü, àêêóðàòíîñòü, ñîðàçìåðíîñòü è êîîðäèíàöèÿ äâèæåíèé.
Ðàçâèâàþùèå öåëè â ïðîèçâîäñòâåííîì îáó÷åíèè ìîæíî ñôîðìóëèðîâàòü ñëåäóþùèì îáðàçîì:
óìåòü óñòàíàâëèâàòü ñâÿçè è îòíîøåíèÿ ìåæäó ÿâëåíèÿìè äåéñòâèòåëüíîñòè;
óìåòü âûäåëÿòü ñóùåñòâåííûå ïðèçíàêè è ñâîéñòâà ÿâëåíèé;
êëàññèôèöèðîâàòü ôàêòû è äåëàòü îáîáùåííûå âûâîäû;
òâîð÷åñêè ðåøàòü ïðîèçâîäñòâåííûå çàäà÷è;
îðèåíòèðîâàòüñÿ â íåñòàíäàðòíûõ ïðîèçâîäñòâåííûõ ñèòóàöèÿõ;
ïðîÿâëÿòü íàñòîé÷èâîñòü â ïðåîäîëåíèè òðóäíîñòåé ïðè äîñòèæåíèè íàìå÷åííîé öåëè;
óìåòü âëàäåòü ñîáîé, ñîõðàíÿòü âûäåðæêó è ñàìîîáëàäàíèå.
 ñîäåðæàíèè êàæäîãî óðîêà âûáèðàþòñÿ íàèáîëåå âàæíûå öåëè, îïðåäåëÿåìûå ñîäåðæàíèåì ó÷åáíîãî ìàòåðèàëà. Ïðè ýòîì öåëè ïî ôóíêöèîíàëüíîìó íàçíà÷åíèþ äåëÿòñÿ íà îáðàçîâàòåëüíûå, âîñïèòàòåëüíûå, ðàçâèâàþùèå.
Ïëàíèðîâàíèå è ïîäãîòîâêà ê çàíÿòèÿì
Ïëàíèðîâàíèå è ïîäãîòîâêà ê çàíÿòèÿì - ýëåìåíòû ïîäãîòîâèòåëüíîé äåÿòåëüíîñòè ìàñòåðà - òåñíî âçàèìîñâÿçàíû. Ïîäãîòîâêà ê çàíÿòèÿì âêëþ÷àåò äâà ýòàïà: ïåðñïåêòèâíóþ - ïîäãîòîâêó ê ó÷åáíîìó ãîäó è òåêóùóþ - ïîäãîòîâêó ê î÷åðåäíîìó óðîêó. Êàæäûé ýòàï ïðåäóñìàòðèâàåò ëè÷íóþ ïîäãîòîâêó ìàñòåðà, ïîäãîòîâêó ó÷åáíî-ìàòåðèàëüíîãî îñíàùåíèÿ è ïëàíèðîâàíèå ó÷åáíîãî ïðîöåññà.
Ê ëè÷íîé ïîäãîòîâêå ìàñòåðà îòíîñÿòñÿ: èçó÷åíèå êâàëèôèêàöèîííîé õàðàêòåðèñòèêè, ó÷åáíîãî ïëàíà è ïðîãðàììû, íîâèíîê ïåäàãîãè÷åñêîé è òåõíè÷åñêîé ëèòåðàòóðû, ó÷àñòèå â ïåäàãîãè÷åñêèõ êîíôåðåíöèÿõ, ðàáîòå øêîë ïåðåäîâîãî îïûòà, èçãîòîâëåíèå îáðàçöîâ (ýòàëîíîâ) ó÷åáíî-ïðîèçâîäñòâåííûõ ðàáîò è ò.ä.
Ïîäãîòîâêà ó÷åáíî-ìàòåðèàëüíîãî îñíàùåíèÿ âêëþ÷àåò ïîäãîòîâêó ó÷åáíîé ìàñòåðñêîé, ó÷åáíûõ ó÷àñòêîâ è ðàáî÷èõ ìåñò íà ñòðîèòåëüíîì îáúåêòå â ñîîòâåòñòâèè ñ òðåáîâàíèÿìè ó÷åáíûõ ïðîãðàìì, íîðì è ïðàâèë îõðàíû òðóäà è òåõíèêè áåçîïàñíîñòè; ïîäãîòîâêó íåîáõîäèìûõ ìàòåðèàëîâ äëÿ ó÷åáíî-ïðîèçâîäñòâåííûõ ðàáîò; ïîäãîòîâêó ó÷åáíî-òåõíè÷åñêîé äîêóìåíòàöèè, íàãëÿäíûõ ïîñîáèé, òåõíè÷åñêèõ ñðåäñòâ îáó÷åíèÿ; ïîäãîòîâêó è ïðîâåðêó èñïðàâíîñòè îáîðóäîâàíèÿ, èíñòðóìåíòîâ, ïðèñïîñîáëåíèé.
Ïëàíèðîâàíèå ó÷åáíîãî ïðîöåññà - ýòî ïîäãîòîâêà ïåðå÷íÿ ó÷åáíî-ïðîèçâîäñòâåííûõ ðàáîò, ðàçðàáîòêà ïåðñïåêòèâíûõ ïëàíîâ ó÷åáíîé è âîñïèòàòåëüíîé ðàáîòû, ðàçðàáîòêà ó÷åáíî-òåõíè÷åñêîé äîêóìåíòàöèè, êðèòåðèåâ îöåíêè, äåòàëüíîé ïðîãðàììû ïðîèçâîäñòâåííîé ïðàêòèêè; ðàñïðåäåëåíèå ó÷åáíîãî ìàòåðèàëà òåìû íà ïîäòåìû è óðîêè, âûÿâëåíèå ìåæïðåäìåòíûõ ñâÿçåé, îñâåùåíèå ïåðåäîâûõ ïðèåìîâ òðóäà ïî èçó÷àåìîé òåìå.
Ïëàíèðîâàíèå êîíêðåòíîãî óðîêà íà÷èíàåòñÿ ñ àíàëèçà èòîãîâ ïðåäûäóùèõ çàíÿòèé, óòî÷íåíèÿ ñîäåðæàíèÿ òåìû, îáðàçîâàòåëüíîé, âîñïèòàòåëüíîé è ðàçâèâàþùåé öåëåé ïðåäñòîÿùåãî óðîêà. Çàðàíåå îïðåäåëÿþòñÿ ñòðóêòóðà óðîêà è âðåìÿ êàæäîãî ýëåìåíòà, ìåòîäû ïðîâåäåíèÿ ââîäíîãî èíñòðóêòàæà, ñèñòåìà óïðàæíåíèé è ñàìîñòîÿòåëüíîé ðàáîòû ó÷àùèõñÿ, ìåòîäû òåêóùåãî èíñòðóêòàæà è ìåðû ïî ïðåäóïðåæäåíèþ òèïè÷íûõ îøèáîê ó÷àùèõñÿ.
Îáåñïå÷åíèå áåçîïàñíûõ óñëîâèé òðóäà
Îñîáîå âíèìàíèå ñëåäóåò óäåëèòü îáó÷åíèþ áåçîïàñíûì ìåòîäàì ðàáîò è ñèñòåìàòè÷åñêîìó èíñòðóêòèðîâàíèþ ó÷àùèõñÿ íà ðàáî÷èõ ìåñòàõ (â ó÷åáíûõ ìàñòåðñêèõ, íà ñòðîèòåëüíûõ îáúåêòàõ).
Êàæäûé ó÷àùèéñÿ äîëæåí îñîçíàòü ïîñëåäñòâèÿ íàðóøåíèé ïðàâèë òåõíèêè áåçîïàñíîñòè. Ýòî ïîìîæåò èì â êàæäîì îòäåëüíîì ñëó÷àå ïðèíÿòü íåîáõîäèìûå ìåðû ïðåäîñòîðîæíîñòè.
Êàæäûé ó÷àùèéñÿ ïðîõîäèò ñïåöèàëüíóþ ïîäãîòîâêó ïî òåõíèêå áåçîïàñíîñòè è íå ðåæå îäíîãî ðàçà â ãîä ñäàåò ýêçàìåí.
Îáó÷åíèå áåçîïàñíûì óñëîâèÿì òðóäà ïðîâîäèòñÿ â ñîîòâåòñòâèè ñ òðåáîâàíèÿìè ÑÍèÏ III-4-80 «Òåõíèêà áåçîïàñíîñòè â ñòðîèòåëüñòâå».
Ïåðâûé èíñòðóêòàæ ïî òåõíèêå áåçîïàñíîñòè íà÷èíàåòñÿ ñ îáùèõ òðåáîâàíèé ïî áåçîïàñíîñòè òðóäà â ó÷åáíîé ìàñòåðñêîé, íà ñòðîèòåëüíîì îáúåêòå. Íåîáõîäèìî îçíàêîìèòü ó÷àùèõñÿ ñ ðàñïîðÿäêîì äíÿ, óñëîâèÿìè òðóäà â ìàñòåðñêîé, íà îáúåêòå, èíôîðìèðîâàòü î íàëè÷èè ñàíèòàðíî-áûòîâûõ óñòðîéñòâ è îçíàêîìèòü ñ ïðàâèëàìè èõ ïîëüçîâàíèÿ, ïðàâèëàìè äâèæåíèÿ ïî ñòðîèòåëüíîé ïëîùàäêå. Ñäåëàòü àêöåíòû íà ïëàêàòû è ïðåäóïðåäèòåëüíûå íàäïèñè ïî òåõíèêå áåçîïàñíîñòè.
Ñòðóêòóðà óðîêà ïðîèçâîäñòâåííîãî îáó÷åíèÿ
Îáùèå ïîëîæåíèÿ. Ïðè îáó÷åíèè â ìàñòåðñêèõ è íà ïðîèçâîäñòâå ìàñòåð èñïîëüçóåò îñíîâíóþ ôîðìó ó÷åáíîãî ïðîöåññà - óðîê. Óðîê ïðîèçâîäñòâåííîãî îáó÷åíèÿ îòëè÷àåòñÿ îò óðîêà òåîðåòè÷åñêîãî îáó÷åíèÿ ïðîäîëæèòåëüíîñòüþ è ñîñòàâëÿåò 6 ÷. Çà ýòî âðåìÿ ïðîõîäÿò îòäåëüíóþ òåìó èëè ÷àñòü åå. Íà óðîêàõ ïðîèçâîäñòâåííîãî îáó÷åíèÿ ïðèìåíÿþò ðàçíîîáðàçíûå ôîðìû îðãàíèçàöèè ó÷åáíîé äåÿòåëüíîñòè ó÷àùèõñÿ. Ââèäó áîëüøîé ïðîäîëæèòåëüíîñòè óðîêà ïðîèçâîäñòâåííîãî îáó÷åíèÿ âàæíîå çíà÷åíèå èìåþò ïîëîæèòåëüíûå âçàèìîîòíîøåíèÿ ìåæäó ìàñòåðîì è ó÷àùèìñÿ, à òàêæå ìåæäó ó÷àùèìèñÿ â ïðîöåññå ïðîèçâîäèòåëüíîãî òðóäà.
Ñòðóêòóðà óðîêà ïðîèçâîäñòâåííîãî îáó÷åíèÿ âêëþ÷àåò: ââîäíûé èíñòðóêòàæ; ñàìîñòîÿòåëüíóþ ðàáîòó (óïðàæíåíèÿ) ó÷àùèõñÿ; òåêóùèé è çàêëþ÷èòåëüíûé èíñòðóêòàæè.
Ââîäíûé èíñòðóêòàæ. Ïðè ïðîâåäåíèè ââîäíîãî èíñòðóêòàæà ìîæíî ðóêîâîäñòâîâàòüñÿ ñëåäóþùåé òèïîâîé ñòðóêòóðîé:
ñîîáùåíèå òåìû è öåëè óðîêà;
ïðîâåðêà çíàíèé ó÷àùèõñÿ ïî ìàòåðèàëó òåîðåòè÷åñêîãî îáó÷åíèÿ è ïðåäûäóùèõ óðîêîâ ïðîèçâîäñòâåííîãî îáó÷åíèÿ, ñâÿçàííîìó ñ ñîäåðæàíèåì äàííîãî óðîêà;
îçíàêîìëåíèå ó÷àùèõñÿ ñ ìàòåðèàëàìè, èíñòðóìåíòàìè, ïðèñïîñîáëåíèÿìè, èñïîëüçóåìûìè íà óðîêå;
îáúÿñíåíèå è ïîêàç ðàöèîíàëüíûõ ïðèåìîâ, ñïîñîáîâ è ïîñëåäîâàòåëüíîñòè âûïîëíåíèÿ çàäàíèé;
äåìîíñòðàöèÿ ýòàëîíîâ äëÿ ïðåäñòîÿùèõ ó÷åáíî-ïðîèçâîäñòâåííûõ ðàáîò;
ðàññìîòðåíèå òèïè÷íûõ îøèáîê, èõ ïðåäóïðåæäåíèå è óñòðàíåíèå, à òàêæå ïîîïåðàöèîííûé êîíòðîëü êà÷åñòâà ðàáîòû;
ïîêàç è îáúÿñíåíèå ðàöèîíàëüíûõ ôîðì è ìåòîäîâ îðãàíèçàöèè òðóäà, îðãàíèçàöèè ðàáî÷åãî ìåñòà;
ïîêàç áåçîïàñíûõ ïðèåìîâ òðóäà;
çàêðåïëåíèå è ïðîâåðêà óñâîåíèÿ ó÷àùèìèñÿ ìàòåðèàëà ââîäíîãî èíñòðóêòàæà; ïðè íåîáõîäèìîñòè äîïîëíèòåëüíûé ïîêàç ïðèåìîâ è ñïîñîáîâ ðàáîòû;
âûäà÷à çàäàíèé è ðàñïðåäåëåíèå ó÷àùèõñÿ ïî ðàáî÷èì ìåñòàì.
Ñòðóêòóðà ââîäíîãî èíñòðóêòàæà ìîæåò âèäîèçìåíÿòüñÿ â çàâèñèìîñòè îò öåëè è îñîáåííîñòåé óðîêà, íî äîëæíà ñîõðàíÿòü âñå ïåðå÷èñëåííûå ýëåìåíòû.
Òåìó óðîêà ìàñòåð çàïèñûâàåò íà äîñêå. Î÷åíü âàæíî ðàñêðûòü öåëü óðîêà, íå ïðîñòî äàòü èíôîðìàöèþ î òîì, ÷òî äîëæíû ñäåëàòü ó÷àùèåñÿ, íî ðàçúÿñíèòü, äëÿ ÷åãî îíè áóäóò ýòî äåëàòü, ÷åìó íàó÷àòñÿ è êàê ýòî ïîìîæåò â óñïåøíîì îâëàäåíèè ïðîôåññèåé. Îò ìàñòåðà òðåáóåòñÿ ÷åòêîå ïðåäñòàâëåíèå, êàêèå âîñïèòàòåëüíûå è ðàçâèâàþùèå öåëè âîçìîæíî îñóùåñòâèòü íà äàííîì óðîêå.
Íåò íåîáõîäèìîñòè èíôîðìèðîâàòü ó÷àùèõñÿ î âîñïèòàòåëüíîé è ðàçâèâàþùåé öåëÿõ óðîêà, êîòîðûå ìàñòåð ñòàâèò ïåðåä ñîáîé è ðåàëèçóåò â ïðîöåññå îáó÷åíèÿ,
Äëÿ âçàèìîñâÿçè ïðîèçâîäñòâåííîãî è òåîðåòè÷åñêîãî îáó÷åíèÿ ìàñòåðó íåîáõîäèìî çíàòü ñîäåðæàíèå ó÷åáíûõ ïðîãðàìì ïî ñïåöèàëüíûì, îáùåòåõíè÷åñêèì è äðóãèì äèñöèïëèíàì, ÷òîáû îïðåäåëèòü èõ ìåæïðåäìåòíûå ñâÿçè è óâÿçàòü ñ ñîäåðæàíèåì ïðîèçâîäñòâåííîãî îáó÷åíèÿ. Äëÿ ýòîé öåëè ìàñòåð èñïîëüçóåò íàãëÿäíûå ïîñîáèÿ, òåõíè÷åñêóþ è ó÷åáíî-òåõíîëîãè÷åñêóþ äîêóìåíòàöèþ.
Îñíîâó ââîäíîãî èíñòðóêòàæà ñîñòàâëÿþò îáúÿñíåíèå è ïîêàç ïðèåìîâ è ñïîñîáîâ âûïîëíåíèÿ ó÷åáíî-ïðîèçâîäñòâåííûõ çàäàíèé. Çäåñü çàäà÷à ìàñòåðà - çàëîæèòü â ñîçíàíèå ó÷àùèõñÿ ïðî÷íóþ îñíîâó äëÿ ðàöèîíàëüíîãî âûïîëíåíèÿ ïðåäñòîÿùèõ óïðàæíåíèé.
Ãîòîâÿñü ê ïîêàçó ïðèåìîâ, âàæíî ïðàâèëüíî íàìåòèòü, ÷òî è êàê äåìîíñòðèðîâàòü ó÷àùèìñÿ, ïîêàçûâàòü òîëüêî òå ïðèåìû è ñïîñîáû ðàáîòû, êîòîðûå äëÿ ó÷àùèõñÿ ÿâëÿþòñÿ íîâûìè. Ðàíåå èçó÷åííûå ïðèåìû è ñïîñîáû, êîòîðûå áóäóò ïðèìåíÿòüñÿ â ïðîöåññå óïðàæíåíèé, ïîêàçûâàòü íåò íåîáõîäèìîñòè, îäíàêî ñëåäóåò óáåäèòüñÿ, ÷òî ó÷àùèåñÿ îâëàäåëè èìè.
Ïðèåìû ðàáîòû ìàñòåð äåìîíñòðèðóåò ñíà÷àëà â íîðìàëüíîì ðàáî÷åì òåìïå, çàòåì â çàìåäëåííîì, ñ ðàñ÷ëåíåíèåì íà ýëåìåíòû è ïîêàçîì îòäåëüíûõ òðóäîâûõ äâèæåíèé, è çàòåì âíîâü â íîðìàëüíîì ðàáî÷åì òåìïå.
Ðåçóëüòàòèâíîñòü äåìîíñòðàöèè ïðèåìîâ ñîñòîèò â òîì, ÷òî ó÷àùèåñÿ óáåæäàþòñÿ â èõ ïðàêòè÷åñêîé çíà÷èìîñòè, ïîýòîìó íóæíî îáåñïå÷èòü õîðîøóþ âèäèìîñòü ïîêàçûâàåìûõ ïðèåìîâ. Íå ïîñëåäíþþ ðîëü ïðè ýòîì èãðàåò ñî÷åòàíèå äåìîíñòðàöèè è ñëîâ ìàñòåðà. Ñëîâà ïîìîãàþò îáúÿñíèòü çàäà÷ó, çíà÷åíèå èçó÷àåìûõ ïðèåìîâ, ñäåëàòü ïîïóòíûå ïîÿñíåíèÿ, àêöåíòèðóþò âíèìàíèå íà íàèáîëåå âàæíîì. Ïîêàçó è óñâîåíèþ ïðèåìîâ ó÷àùèìèñÿ â çíà÷èòåëüíîé ìåðå ïîìîãàþò èíñòðóêöèîííî-òåõíîëîãè÷åñêèå êàðòû (ÈÒÊ).
ÈÒÊ ðàçðàáàòûâàþò íà ðàáî÷èå îïåðàöèè, èñïîëüçóÿ äàííûå íàó÷íûõ èññëåäîâàíèé, ïåðåäîâîé îïûò íîâàòîðîâ ñòðîèòåëüíîãî ïðîèçâîäñòâà.
Ðàáî÷àÿ îïåðàöèÿ - ýòî ïðîñòåéøèé òåõíîëîãè÷åñêè îäíîðîäíûé ïðîèçâîäñòâåííûé ïðîöåññ ñ íåèçìåííûì ñîñòàâîì çâåíà, ðàáî÷åãî ìåñòà, ìàòåðèàëîâ è ñðåäñòâ òðóäà. Ðàáî÷èå îïåðàöèè âûïîëíÿþòñÿ èíäèâèäóàëüíî - îäíèì ðàáî÷èì èëè ñîâìåñòíî - çâåíîì èç íåñêîëüêèõ ðàáî÷èõ.
Ðàáî÷èé ïðîèçâîäñòâåííûé ïðîöåññ - ýòî íåñêîëüêî ðàáî÷èõ îïåðàöèé, îáúåäèíåííûõ â îïðåäåëåííîé îðãàíèçàöèîííî-òåõíîëîãè÷åñêîé ïîñëåäîâàòåëüíîñòè, ñ íåèçìåííûì ñîñòàâîì çâåíà è ðàáî÷åãî ìåñòà.
Çàêðåïëåíèå è ïðîâåðêà óñâîåíèÿ - âàæíûé ýëåìåíò ââîäíîãî èíñòðóêòàæà. Ýòî - îïðîñ, íîñÿùèé ïðèêëàäíîé è ïðàêòè÷åñêèé õàðàêòåð è çàâåðøàþùèé èíñòðóêöèîííî-òåõíîëîãè÷åñêèå êàðòû.
Ïðè ýòîì ìàñòåð ïðåäëàãàåò ó÷àùèìñÿ âîñïðîèçâåñòè èçó÷åííûå ïðèåìû, ïîâòîðèòü èõ âûïîëíåíèå, ïðîäåìîíñòðèðîâàòü ñïîñîáû êîíòðîëÿ ðàáîòû, ðàññêàçàòü î ïðàâèëàõ îðãàíèçàöèè òðóäà, ðàáî÷åãî ìåñòà, òðåáîâàíèÿõ òåõíèêè áåçîïàñíîñòè è ò.ï.
Âîïðîñû äëÿ çàêðåïëåíèÿ è ïðîâåðêè óñâîåíèÿ ìàòåðèàëà ââîäíîãî èíñòðóêòàæà äîëæíû áûòü îòðàæåíû ìàñòåðîì â ïëàíå óðîêà.
Ñàìîñòîÿòåëüíûå óïðàæíåíèÿ è òåêóùåå èíñòðóêòèðîâàíèå ó÷àùèõñÿ ìàñòåðîì - öåíòðàëüíàÿ ÷àñòü óðîêà ïðîèçâîäñòâåííîãî îáó÷åíèÿ.
Îñíîâíàÿ öåëü ïðîèçâîäñòâåííîãî îáó÷åíèÿ - ôîðìèðîâàíèå ó ó÷àùèõñÿ óìåíèé è íàâûêîâ - ðåàëèçóåòñÿ ïîñëå ââîäíîãî èíñòðóêòàæà, êîãäà ó÷àùèåñÿ íà ñâîèõ ðàáî÷èõ ìåñòàõ âûïîëíÿþò ó÷åáíî-ïðîèçâîäñòâåííûå çàäàíèÿ.
Ñàìîñòîÿòåëüíîñòü, à ýòî ãëàâíîå â âûïîëíåíèè ïðîèçâîäñòâåííûõ çàäàíèé, ïðîÿâëÿåòñÿ â óìåíèè ïðåîäîëåâàòü òðóäíîñòè, ðàáîòàòü â îïðåäåëåííîì òåìïå, èñïîëüçóÿ ïðîãðåññèâíóþ òåõíîëîãèþ è ðàöèîíàëüíûå ïðèåìû òðóäà. Ïðè ïðîâåäåíèè òåêóùåãî èíñòðóêòàæà ìàñòåð äîëæåí îáðàùàòü âíèìàíèå íà òåìï è êà÷åñòâî ðàáîò, íà âûïîëíåíèå òåõíè÷åñêèõ òðåáîâàíèé, óìåíèå ïðîèçâîäèòü îïåðàöèè â ðàçëè÷íûõ ñî÷åòàíèÿõ è ðàçíîîáðàçíûìè ïðèåìàìè.
Òåêóùèé èíñòðóêòàæ ïðîâîäÿò èíäèâèäóàëüíî ñ êàæäûì ó÷àùèìñÿ. Ïðè ïîäâåäåíèè èòîãîâ öåëåñîîáðàçåí êîëëåêòèâíûé èíñòðóêòàæ. Çäåñü íåîáõîäèìî ðàññìîòðåòü òèïè÷íûå îøèáêè, äàòü ïðàêòè÷åñêèå ñîâåòû, ïðîàíàëèçèðîâàòü ïðè÷èíû äîïóùåííîãî áðàêà è ò.ä.
Âî âðåìÿ òåêóùåãî èíñòðóêòàæà äîëæíî îñòàâàòüñÿ ïîä êîíòðîëåì ìàñòåðà âûïîëíåíèå êàæäûì ó÷àùèìñÿ ïðàâèë áåçîïàñíîñòè òðóäà.
Îñíîâíàÿ ôîðìà òåêóùåãî èíñòðóêòàæà - öåëåâûå îáõîäû. Èõ íàìå÷àþò çàðàíåå, ÷òîáû íå îòâëåêàòüñÿ íà âòîðîñòåïåííîå è íå óïóñòèòü ãëàâíîãî.
 õîäå òåêóùåãî èíñòðóêòàæà ó÷àùèõñÿ ðàöèîíàëüíû ñëåäóþùèå ïðèåìû:
âìåøàòåëüñòâî â ðàáîòó ó÷àùåãîñÿ, êîãäà åãî äåéñòâèÿ ìîãóò ïðèâåñòè ê áðàêó èëè íàðóøåíèþ ïðàâèë áåçîïàñíîñòè òðóäà;
ðàçúÿñíåíèÿ, çàìå÷àíèÿ, ñîâåòû äëÿ êîððåêòèðîâêè äåéñòâèé;
óêàçàíèÿ, âîñïèòûâàþùèå ó ó÷àùèõñÿ àêêóðàòíîñòü, âíèìàíèå, ñàìîñòîÿòåëüíîñòü, íàñòîé÷èâîñòü, îòâåòñòâåííîñòü, áåðåæëèâîñòü è ò.ä.
Êîíòðîëü çà ó÷åáíî-ïðîèçâîäñòâåííîé äåÿòåëüíîñòüþ ó÷àùèõñÿ - ñîñòàâíàÿ ÷àñòü òåêóùåãî èíñòðóêòèðîâàíèÿ. Ìàñòåð îñóùåñòâëÿåò åãî ïðîâåðêîé õîäà è ðåçóëüòàòîâ ó÷åáíî-ïðîèçâîäñòâåííûõ ðàáîò è òåêóùèì íàáëþäåíèåì çà ïðîöåññîì ðàáîòû ó÷àùèõñÿ.
Ðåçóëüòàò ïðîâåðêè âûïîëíåííîé ðàáîòû - çàêëþ÷åíèå î åå êà÷åñòâå, ò.å. ñîîòâåòñòâèè òåõíè÷åñêèì òðåáîâàíèÿì, à òàêæå î ïðîèçâîäèòåëüíîñòè òðóäà ó÷àùåãîñÿ.
Îöåíèâàÿ ðàáîòó, ìàñòåð äîëæåí ñòðåìèòüñÿ ê òîìó, ÷òîáû ñàìè ó÷àùèåñÿ ó÷èëèñü îïðåäåëÿòü ñîîòâåòñòâèå ðàáîòû òåõíè÷åñêèì òðåáîâàíèÿì è íàõîäèëè îøèáêè è ñïîñîáû èõ óñòðàíåíèÿ è ïðåäóïðåæäåíèÿ.
Òàêàÿ ìåòîäèêà èòîãîâîãî êîíòðîëÿ ïðèó÷àåò ó÷àùèõñÿ îñóùåñòâëÿòü ñàìîàíàëèç, ñàìîêîíòðîëü çà õîäîì ðàáîòû, âîñïèòûâàÿ ó íèõ ñîçíàòåëüíîñòü è ñàìîñòîÿòåëüíîñòü.
Çàêëþ÷èòåëüíûé èíñòðóêòàæ. Âûïîëíåííîå çàäàíèå ìàñòåð äîëæåí ïðèíÿòü, îöåíèòü ðàáîòó ó÷àùåãîñÿ â öåëîì è ïî îòäåëüíûì îïåðàöèÿì. Ýòî ïðîèñõîäèò ïðè ïðîâåäåíèè çàêëþ÷èòåëüíîãî èíñòðóêòàæà. Îöåíêà âûïîëíåííûõ çàäàíèé è ðåçóëüòàòîâ íàáëþäåíèé çà èõ âûïîëíåíèåì âêëþ÷àåò òðóäîâûå êà÷åñòâà ëè÷íîñòè ó÷àùåãîñÿ, åãî çíàíèÿ è óìåíèÿ, ñîçíàòåëüíîñòü è ïîâåäåíèå.
 îáëèöîâî÷íûõ è ìîçàè÷íûõ ðàáîòàõ áîëüøóþ ðîëü èãðàþò êà÷åñòâî ðàáîòû, òåõíîëîãè÷åñêàÿ ïîñëåäîâàòåëüíîñòü, ðàöèîíàëüíîå è ñàìîñòîÿòåëüíîå âûïîëíåíèå ðàáîòû, îòíîøåíèå ê íåé. Çäåñü âàæíî îáó÷åíèå ñàìîêîíòðîëþ; ñëåäóåò ïîñòîÿííî ïðèâëåêàòü ó÷àùèõñÿ ê ñàìîñòîÿòåëüíîìó àíàëèçó âûïîëíåííûõ ðàáîò.
Çàêëþ÷èòåëüíûé èíñòðóêòàæ âêëþ÷àåò ñëåäóþùèå ýòàïû: àíàëèç âûïîëíåíèÿ çàäàíèÿ - ñðàâíåíèå öåëè è ðåçóëüòàòà; îöåíêà ðåçóëüòàòîâ; îáîáùåíèå ïîëó÷åííûõ ó÷àùèìèñÿ çíàíèé; àíàëèç äîïóùåííûõ ó÷àùèìèñÿ îøèáîê è ïðè÷èí èõ âîçíèêíîâåíèÿ; èçëîæåíèå ìåòîäîâ óñòðàíåíèÿ è ïðåäóïðåæäåíèÿ îøèáîê; îöåíêà ïîâåäåíèÿ è îòíîøåíèÿ ê îáó÷åíèþ; ðàññìîòðåíèå ïåðñïåêòèâ ïðèìåíåíèÿ èçó÷åííîãî â áóäóùåì.
Çàêëþ÷èòåëüíûé èíñòðóêòàæ ïðîõîäèò îáû÷íî â ôîðìå áåñåäû, ÷àñòî ñ ïîêàçîì ëó÷øèõ ðàáîò.
Ðîëü çàêëþ÷èòåëüíîãî èíñòðóêòàæà âîçðàñòàåò, åñëè â õîäå îáó÷åíèÿ óñâàèâàþòñÿ íå òîëüêî îñíîâíûå ïðàêòè÷åñêèå óìåíèÿ è íàâûêè, íî è îáîáùàþùèå îïûò íîâàòîðîâ ñòðîèòåëüíîãî ïðîèçâîäñòâà. Ìàñòåð äîëæåí ïîääåðæèâàòü æåëàíèå ó÷àùèõñÿ ðàöèîíàëèçèðîâàòü âûïîëíÿåìóþ ðàáîòó, ïî-íîâîìó îðãàíèçîâûâàòü ðàáî÷åå ìåñòî è ò.ä.
Ïðîâåäåíèå óðîêà ïðîèçâîäñòâåííîãî îáó÷åíèÿ
Ïîäãîòîâêà îáëèöîâùèêîâ-ìîçàè÷íèêîâ íà÷èíàåòñÿ â ó÷åáíîé ìàñòåðñêîé ñ èçó÷åíèÿ òåõíîëîãè÷åñêèõ îïåðàöèé îò ïðîñòûõ ê ñëîæíûì. Î÷åíü âàæíî, ÷òîáû ìàñòåðñêàÿ èìåëà ïëîùàäü, äîñòàòî÷íóþ äëÿ îäíîâðåìåííîãî âûïîëíåíèÿ óïðàæíåíèé âñåìè ó÷àùèìèñÿ ãðóïïû.
Îáîðóäîâàíèå ó÷åáíîé ìàñòåðñêîé äîëæíî ñîîòâåòñòâîâàòü òèïîâûì íîðìàòèâàì (ñì. ïðèëîæåíèÿ 8 - 10), îòâå÷àòü óðîâíþ òåõíè÷åñêîé îñíàùåííîñòè áàçîâîãî ïðåäïðèÿòèÿ è îáåñïå÷èâàòü âîçìîæíîñòü îâëàäåíèÿ ïåðåäîâûìè ìåòîäàìè è ïðèåìàìè òðóäà.
Îñîáîå âíèìàíèå óäåëÿþò îðãàíèçàöèè ðàáî÷èõ ìåñò äëÿ ó÷àùèõñÿ. Ðàáî÷èå ìåñòà äîëæíû èìåòü âñå íåîáõîäèìîå, ÷òîáû îáåñïå÷èòü èçó÷åíèå âñåõ îïåðàöèé è ïðîâåäåíèå âñåãî êîìïëåêñà ðàáîò, ïðåäóñìîòðåííîãî ó÷åáíîé ïðîãðàììîé (ñì. ïðèëîæåíèå 9).
Ñ ïåðâîãî äíÿ îáó÷åíèÿ ìàñòåð ïðèâèâàåò ó÷àùèìñÿ íàâûêè ðàöèîíàëüíîé îðãàíèçàöèè ðàáî÷èõ ìåñò, îáðàùàÿ âíèìàíèå íà òàêèå âàæíûå óñëîâèÿ ðàáîòû, êàê ñîáëþäåíèå ïðàâèë òåõíèêè áåçîïàñíîñòè, òðåáîâàíèé ïðîèçâîäñòâåííîé ñàíèòàðèè è ãèãèåíû, óäîáíîå ðàñïîëîæåíèå ìàòåðèàëîâ, èíñòðóìåíòîâ è ìåõàíèçìîâ, íàëè÷èå íà ðàáî÷åì ìåñòå òîëüêî òåõ èíñòðóìåíòîâ, êîòîðûå òðåáóþòñÿ äëÿ âûïîëíåíèÿ äàííîé îïåðàöèè, è ò.ä.
Íà óðîêàõ ïðîèçâîäñòâåííîãî îáó÷åíèÿ èñïîëüçóþò ðàçíîîáðàçíûå ôîðìû îðãàíèçàöèè ó÷åáíîé äåÿòåëüíîñòè ó÷àùèõñÿ: ôðîíòàëüíóþ, áðèãàäíóþ, èíäèâèäóàëüíóþ.
Îñíîâíûå ïóòè ïîâûøåíèÿ ýôôåêòèâíîñòè óðîêà ïðîèçâîäñòâåííîãî îáó÷åíèÿ ñëåäóþùèå: ÷åòêàÿ ôîðìóëèðîâêà öåëè óðîêà; ñîâåðøåíñòâîâàíèå ìåòîäèêè ââîäíîãî, òåêóùåãî è çàêëþ÷èòåëüíîãî èíñòðóêòàæåé; ðàöèîíàëüíûé âûáîð äèäàêòè÷åñêèõ è òåõíè÷åñêèõ ñðåäñòâ îáó÷åíèÿ; óâÿçêà òåîðèè ñ ïðàêòèêîé; ôîðìèðîâàíèå ïîëîæèòåëüíîé ìîòèâàöèè è ïîçíàâàòåëüíîãî èíòåðåñà; ñîçäàíèå óñëîâèé, èñêëþ÷àþùèõ íàïðÿæåííîñòü.
Áàëêîí - ïëîùàäêà, âûñòóïàþùàÿ èç ïëîñêîñòè ñòåíû è îãðàæäåííàÿ ïåðèëàìè.
Âåíòèëÿöèÿ - ðåãóëèðóåìûé âîçäóõîîáìåí â ïîìåùåíèÿõ äëÿ ñîçäàíèÿ óñëîâèé âîçäóøíîé ñðåäû, áëàãîïðèÿòíûõ äëÿ çäîðîâüÿ ÷åëîâåêà, îòâå÷àþùèõ òðåáîâàíèÿì òåõíîëîãè÷åñêîãî ïðîöåññà, ñîõðàíåíèÿ îáîðóäîâàíèÿ, õðàíåíèÿ ìàòåðèàëîâ è ò.ï.
Ãàëòåëü - êîíñòðóêòèâíûé ýëåìåíò ïîëà, çàêðûâàþùèé çàçîð â ìåñòàõ ïðèìûêàíèÿ ïîëà ê âåðòèêàëüíûì êîíñòðóêöèÿì.
Ãèäðîèçîëÿöèÿ - ïðîñëîéêà èç ðóëîííûõ èëè îêðàñî÷íûõ ìàòåðèàëîâ, çàùèùàþùàÿ ñòðîèòåëüíûå êîíñòðóêöèè, íàïðèìåð ïîëû, îò âðåäíîãî âîçäåéñòâèÿ ãðóíòîâûõ èëè ñòî÷íûõ âîä, à òàêæå õèìè÷åñêè àãðåññèâíûõ æèäêîñòåé:
â âèäå ñòÿæêè èç öåìåíòíîãî èëè àñôàëüòîâîãî ðàñòâîðà, óëîæåííîãî ñëîåì òîëùèíîé 15…30 ìì;
îêëåå÷íàÿ - â âèäå äâóõ-, ÷åòûðåõñëîéíîãî ðóëîííîãî êîâðà èç ðóáåðîèäà, òîëÿ èëè äðóãèõ ðóëîííûõ ìàòåðèàëîâ;
îêðàñî÷íàÿ - äâóõ- è òðåõñëîéíîå ïîêðûòèå ïîâåðõíîñòè ñòðîèòåëüíûõ êîíñòðóêöèé áèòóìíûìè, ñèíòåòè÷åñêèìè ìàñòèêàìè, ýïîêñèäíûìè ñìîëàìè.
Ãëàçóðü - òîíêèé ñòåêëîîáðàçíûé ñëîé, ñîçäàâàåìûé íà ïîâåðõíîñòè îáëèöîâî÷íûõ ïëèòîê è äðóãèõ êåðàìè÷åñêèõ èçäåëèé ïóòåì ïîêðûòèÿ èõ òîíêî èçìåëü÷åííîé ìèíåðàëüíîé øèõòîé ñ ïîñëåäóþùèì îáæèãîì.
Äâåðü - ïîäâèæíîå îãðàæäåíèå, îáåñïå÷èâàþùåå ñâÿçü ìåæäó ïîìåùåíèÿìè, èëè âõîä è âûõîä èç çäàíèÿ.
Äåëÿíêà - ðàáî÷àÿ çîíà, ãäå ðàáîòàåò çâåíî îòäåëî÷íèêîâ â òå÷åíèå ñìåíû.
Äåôîðìàöèîííûé øîâ - ñêâîçíîé çàçîð â ïîêðûòèè ïîëà, ïðåïÿòñòâóþùèé îáðàçîâàíèþ óñàäî÷íûõ òðåùèí.
Çàäåëêà - ïîëîñû ïëèòî÷íîãî ïîêðûòèÿ ïîëà, ïðèìûêàþùèå ê ñòåíàì.
Çàõâàòêà - ðàáî÷àÿ çîíà, ãäå ðàáîòàåò çâåíî, áðèãàäà îòäåëî÷íèêîâ.
Èíòåðüåð - âíóòðåííåå ïðîñòðàíñòâî çäàíèÿ èëè îòäåëüíîãî ïîìåùåíèÿ.
Êàðíèç - 1) ãîðèçîíòàëüíûé âûñòóï íà ñòåíå, çàùèùàþùèé íàðóæíóþ ïîâåðõíîñòü ñòåí îò óâëàæíåíèÿ; 2) ðÿä ôèãóðíûõ èëè ïëîñêèõ ïëèòîê ñ çàêðóãëåííîé âåðõíåé ãðàíüþ, çàâåðøàþùèé âåðõ îáëèöîâêè.
Êàðòà êîâðîâîé ìîçàèêè - ìåëêèå êåðàìè÷åñêèå ïëèòêè, íàêëååííûå ëèöåâîé ñòîðîíîé íà ïëîòíóþ áóìàãó.
Êâàðòèðà - æèëèùå, ñîñòîÿùåå èç æèëûõ è ïîäñîáíûõ ïîìåùåíèé, èìåþùåå îòäåëüíûé âõîä ñ ëåñòíè÷íîé êëåòêè èëè êîðèäîðà, ñ óëèöû è ò. ï.
Êåðàìèêà - èçäåëèÿ èç ãëèí èëè ñìåñåé èõ ñ ìèíåðàëüíûìè äîáàâêàìè, îáîææåííûå äî êàìíåâèäíîãî ñîñòîÿíèÿ.
Êîëîííà - îïîðà (êâàäðàòíîãî, ãðàíåíîãî èëè êðóãëîãî ñå÷åíèÿ), ïðåäíàçíà÷åííàÿ äëÿ âîñïðèÿòèÿ âåðòèêàëüíûõ íàãðóçîê; ýëåìåíò àðõèòåêòóðíîé êîìïîçèöèè çäàíèÿ.
Êñèëîëèò (ìàãíîëèò) - èñêóññòâåííûé ìàòåðèàë èç ñìåñè ìàãíåçèàëüíîãî âÿæóùåãî, îïèëîê è äðåâåñíîé ìóêè (îïèëîê). Ïðèìåíÿþò äëÿ óñòðîéñòâà áåñøîâíûõ ïîëîâ, à òàêæå îñíîâàíèé ïîä ÷èñòûå ïîëû èç ðóëîííûõ è ïëèòî÷íûõ ïîëèìåðíûõ ìàòåðèàëîâ.
Ëåñòíèöà - êîíñòðóêòèâíûé ýëåìåíò çäàíèÿ äëÿ ñîîáùåíèÿ ìåæäó ýòàæàìè.
Ëèíîëåóì - ðóëîííûé ìàòåðèàë äëÿ ïîêðûòèÿ ïîëîâ, èçãîòîâëÿåìûé èç ïëàñòè÷íûõ ìàññ, â ñîñòàâ êîòîðûõ âõîäÿò ñèíòåòè÷åñêèå ñìîëû, ðàñòèòåëüíûå ìàñëà èëè èõ çàìåíèòåëè, ïëàñòèôèêàòîðû, íàïîëíèòåëè, ïèãìåíòû è äîáàâêè.
Ëîäæèÿ - îòêðûòîå ïîìåùåíèå íà ôàñàäå çäàíèÿ, îãðàæäåííîå ñ òðåõ ñòîðîí ñòåíàìè.
Ëîòîê - óãëóáëåíèå íà ïîâåðõíîñòè ïîëà, ïðåäíàçíà÷åííîå äëÿ ñòîêà æèäêîñòè.
Ìàéîëèêà - êåðàìè÷åñêèå èçäåëèÿ ñ öâåòíûì ÷åðåïêîì, ïîêðûòûå íåïðîçðà÷íûìè áåëûìè (öâåòíûìè) ãëàçóðÿìè èëè ýìàëÿìè.
Ìàíñàðäà - ïîìåùåíèå, óñòðàèâàåìîå âíóòðè ñâîáîäíîãî ÷åðäà÷íîãî ïðîñòðàíñòâà.
Ìàðêà - îòìåòêà â âèäå ãâîçäÿ èëè äðóãîãî ïðåäìåòà, ôèêñèðóþùàÿ îòäåëüíûå òî÷êè ëèöåâîé ïîâåðõíîñòè îáëèöîâêè.
Ìàñòèêà - ïëàñòè÷íàÿ ñìåñü âÿæóùåãî, òîíêîìîëîòîãî íàïîëíèòåëÿ è ðàçëè÷íûõ äîáàâîê, êîòîðóþ ïðèìåíÿþò äëÿ ïðèêëåèâàíèÿ îòäåëî÷íûõ ìàòåðèàëîâ.
Ìàÿê - 1) êîëûøåê, ôèêñèðóþùèé âûñîòó ïîäñòèëàþùåãî ñëîÿ; 2) Ì. îïîðíûé - çíàê, ôèêñèðóþùèé òî÷êó îáëèöîâî÷íîé ïîâåðõíîñòè; 3) Ì. ðåïåðíûé - ïëèòêà, óëîæåííàÿ íà ðàñòâîð è îïðåäåëÿþùàÿ óðîâåíü íàñòèëàåìîãî ñëîÿ.
Ìîçàèêà - èçîáðàæåíèå (îðíàìåíò, ñþæåòíàÿ êîìïîçèöèÿ), âûïîëíåííîå èç ðàçíîöâåòíûõ ìåëêèõ êàìíåé, êóñî÷êîâ ìðàìîðà, îêðàøåííîãî ñòåêëà, ñìàëüòû (ñòåêëÿííûé ñïëàâ), öâåòíîé ãëàçóðîâàííîé êåðàìèêè è ò.ä., óêðåïëåííûõ íà ñëîå öåìåíòíîãî ðàñòâîðà èëè ìàñòèêè.
Íàðÿä - ïåðâè÷íûé äîêóìåíò, ñîäåðæàùèé ïðîèçâîäñòâåííîå çàäàíèå, óñòàíàâëèâàåìîå áðèãàäå, çâåíó èëè îòäåëüíîìó ðàáî÷åìó ñ öåëüþ äîâåäåíèÿ ïëàíà ðàáîò (çàäàíèÿ), à òàêæå óñëîâèé îïëàòû òðóäà äî íåïîñðåäñòâåííûõ èñïîëíèòåëåé.
Íåñóùèå êîíñòðóêöèè - îñíîâíûå êîíñòðóêòèâíûå ýëåìåíòû, îáåñïå÷èâàþùèå ïðî÷íîñòü è óñòîé÷èâîñòü çäàíèé è ñîîðóæåíèé.
Íèâåëèð - ãåîäåçè÷åñêèé ïðèáîð äëÿ îïðåäåëåíèÿ âûñîòíîãî ïîëîæåíèÿ ìîíòèðóåìûõ èëè óæå ñìîíòèðîâàííûõ ýëåìåíòîâ çäàíèÿ.
Íèøà - óãëóáëåíèå â òîëùå ñòåíû.
Íîðìà âðåìåíè - êîëè÷åñòâî âðåìåíè, óñòàíîâëåííîå íà âûïîëíåíèå åäèíèöû ïðîäóêöèè ðàáî÷èìè ñîîòâåòñòâóþùåé ïðîôåññèè è êâàëèôèêàöèè â óñëîâèÿõ ïðàâèëüíîé îðãàíèçàöèè òðóäà è ïðîèçâîäñòâà.
Íîðìîêîìïëåêò (òåõíîëîãè÷åñêèé) - íàáîð èíñòðóìåíòîâ, ïðèñïîñîáëåíèé, èíâåíòàðÿ, ðàññ÷èòàííûé íà áðèãàäó îáëèöîâùèêîâ èëè íà îòäåëüíîãî èñïîëíèòåëÿ è ïðåäíàçíà÷åííûé äëÿ âûïîëíåíèÿ îñíîâíûõ è âñïîìîãàòåëüíûõ ðàáîò.
Îêíî - ñâåòîïðîçðà÷íîå îãðàæäåíèå, èñïîëüçóåìîå äëÿ îñâåùåíèÿ è ïðîâåòðèâàíèÿ ïîìåùåíèÿ.
Îáëèöîâêà - ïîêðûòèå èç ïëèòîê èëè äðóãèõ èçäåëèé, ìàòåðèàëîâ, ïðèäàþùåå êîíñòðóêöèè äåêîðàòèâíûå, çàùèòíûå è äðóãèå ñâîéñòâà.
Îñíîâàíèå (ïîëà) - ìåæäóýòàæíîå ïåðåêðûòèå èëè åñòåñòâåííûé ãðóíò.
Îñíîâàíèå ãðóíòîâîå - òîëùà ãðóíòà, âîñïðèíèìàþùàÿ íàãðóçêè îò ïîëà.
Îòìåòêà - ÷èñëî, îïðåäåëÿþùåå âûñîòíîå ïîëîæåíèå êîíñòðóêòèâíîãî ýëåìåíòà çäàíèÿ: Î. àáñîëþòíàÿ îòíîñèòåëüíî óðîâíÿ Áàëòèéñêîãî ìîðÿ; Î. óñëîâíàÿ îòíîñèòåëüíî óðîâíÿ ïîëà ïåðâîãî ýòàæà.
Îöåíêà êà÷åñòâà ðàáîò (êðèòåðèè);
«îòëè÷íî» - ðàáîòû âûïîëíåíû ñ îñîáîé òùàòåëüíîñòüþ, ìàñòåðñòâîì è òåõíè÷åñêèìè ïîêàçàòåëÿìè, ïðåâîñõîäÿùèìè ïîêàçàòåëè, òðåáóåìûå íîðìàòèâíûìè äîêóìåíòàìè, èëè óëó÷øàþùèå ýêñïëóàòàöèîííûå ïîêàçàòåëè;
«õîðîøî» - ðàáîòû âûïîëíåíû â ïîëíîì ñîîòâåòñòâèè ñ ïðîåêòîì è íîðìàòèâíûìè äîêóìåíòàìè;
«óäîâëåòâîðèòåëüíî» - ðàáîòû âûïîëíåíû ñ ìàëîçíà÷èòåëüíûìè îòêëîíåíèÿìè îò òåõíè÷åñêîé äîêóìåíòàöèè, íî íå ñíèæàþùèìè ïîêàçàòåëåé íàäåæíîñòè, ïðî÷íîñòè, äîëãîâå÷íîñòè, âíåøíåãî âèäà è ýêñïëóàòàöèîííûõ êà÷åñòâ.
Îõðàíà òðóäà - êîìïëåêñ ñâÿçàííûõ ìåæäó ñîáîé òåõíè÷åñêèõ, ñàíèòàðíî-ãèãèåíè÷åñêèõ, çàêîíîäàòåëüíûõ è îðãàíèçàöèîííûõ ìåðîïðèÿòèé, íàïðàâëåííûõ íà îáåñïå÷åíèå çäîðîâûõ è áåçîïàñíûõ óñëîâèé òðóäà íà ïðîèçâîäñòâå. Âêëþ÷àåò òðè ÷àñòè: òåõíèêó áåçîïàñíîñòè, ïðîèçâîäñòâåííóþ ñàíèòàðèþ è òðóäîâîå çàêîíîäàòåëüñòâî.
Ïàíäóñ - íàêëîííàÿ ïëîñêîñòü, çàìåíÿþùàÿ ëåñòíèöó âíóòðè èëè ñíàðóæè çäàíèÿ.
Ïàðàïåò - ïðÿìîóãîëüíîå çàâåðøåíèå íàðóæíûõ ñòåí çäàíèÿ, âîçâûøàþùååñÿ íàä êðûøåé.
Ïåðåãîðîäêà - âíóòðåííÿÿ îãðàæäàþùàÿ êîíñòðóêöèÿ, ðàçäåëÿþùàÿ ñìåæíûå ïîìåùåíèÿ â çäàíèè è íå âîñïðèíèìàþùàÿ íàãðóçêè îò âûøåëåæàùèõ êîíñòðóêòèâíûõ ýëåìåíòîâ.
Ïåðåêðûòèå - ãîðèçîíòàëüíàÿ âíóòðåííÿÿ îãðàæäàþùàÿ êîíñòðóêöèÿ, ðàçäåëÿþùàÿ ïî âûñîòå ñìåæíûå ïîìåùåíèÿ â çäàíèè.
Ïåðåìû÷êà - êîíñòðóêòèâíûé ýëåìåíò, ïåðåêðûâàþùèé îêîííûå èëè äâåðíûå ïðîåìû â ñòåíå è âîñïðèíèìàþùèé íàãðóçêó îò âûøåðàñïîëîæåííûõ êîíñòðóêöèé.
Ïèëÿñòðà - ïëîñêèé ïðÿìîóãîëüíûé â ïëàíå âûñòóï ñòåíû (ñòîëáà), îáû÷íî óñòðàèâàåìûé äëÿ óñèëåíèÿ ñòåíû â ìåñòàõ îïèðàíèÿ íà íåå ïåðåêðûòèÿ èëè êàðíèçà çäàíèÿ.
Ïëèíòóñ - 1) êîíñòðóêòèâíûé ýëåìåíò ïîëà, çàêðûâàþùèé çàçîð â ìåñòàõ ïðèìûêàíèÿ ïîëîâ; 2) ðÿä ôàñîííûõ èëè óòîëùåííûõ ïëèòîê, ïîä÷åðêèâàþùèé ïåðåõîä îò ïîëà ê ñòåíå.
Ïîäñòèëàþùèé ñëîé (ïîäãîòîâêà) - ýëåìåíò â êîíñòðóêöèè ïîëà, îáåñïå÷èâàþùèé íåçûáëåìîñòü ïîêðûòèÿ è ðàâíîìåðíîå ðàñïðåäåëåíèå íàãðóçêè íà ïåðåêðûòèå èëè ãðóíò.
Ïîäãîòîâêà - âûðàâíèâàþùèé ñëîé öåìåíòíîãî ðàñòâîðà, îáðàçóþùèé æåñòêîå ïîêðûòèå ïîä îáëèöîâêó.
Ïîêðûòèå - âåðõíèé ýëåìåíò ïîëà, ïîäâåðãàþùèéñÿ ýêñïëóàòàöèîííûì âîçäåéñòâèÿì. Ï. ìîçàè÷íîå - îòäåëî÷íûé ñëîé áåòîííîãî ïîëà èç öåìåíòà, êàìåííîé êðîøêè, ìèíåðàëüíûõ êðàñèòåëåé.
Ïîë - êîíñòðóêòèâíûé ýëåìåíò çäàíèÿ, âîñïðèíèìàþùèé íàãðóçêè îò ïåðåìåùåíèÿ ëþäåé, äâèæóùåãîñÿ òðàíñïîðòà è äðóãèõ ýêñïëóàòàöèîííûõ âîçäåéñòâèé.
Ïîòîëîê - íèæíÿÿ ÷àñòü îãðàæäàþùåé êîíñòðóêöèè, îãðàíè÷èâàþùåé ïîìåùåíèå ñâåðõó. Ï. ìîæåò áûòü íåïîñðåäñòâåííî íèæíåé ÷àñòüþ ïåðåêðûòèÿ (ïîêðûòèÿ) èëè îáðàçîâàí îñîáûìè êîíñòðóêòèâíûìè ýëåìåíòàìè (ïîäâåñíûå).
Ïðèìûêàíèå - ìåñòî ñîåäèíåíèÿ ãîðèçîíòàëüíîãî ýëåìåíòà êîíñòðóêöèè ñ âåðòèêàëüíîé, íàïðèìåð, ïîëà ñî ñòåíîé.
Ïðèÿìîê - ïðÿìîóãîëüíûé êàíàë - óãëóáëåíèå â êîíñòðóêöèè ïîëà, çàêðûòîå ñâåðõó æåëåçîáåòîííîé èëè ñòàëüíîé ïëèòîé.
Ïðîâåøèâàíèå - îïðåäåëåíèå è âðåìåííîå çàêðåïëåíèå òî÷åê ëèöåâîé ïîâåðõíîñòè áóäóùåé îáëèöîâêè.
Ïðîñëîéêà - 1) ñëîé ðàñòâîðà èëè ìàñòèêè, ñöåïëÿþùèé îáëèöîâî÷íîå èçäåëèå ñ ïîäãîòîâêîé; 2) Ï. â ïîëàõ - ïðîìåæóòî÷íûé ñëîé, ñâÿçûâàþùèé ïîêðûòèå ñ íèæåëåæàùèì ýëåìåíòîì ïîëà.
Ðàáîòû:
áåòîííûå è æåëåçîáåòîííûå - óñòàíîâêà àðìàòóðíûõ êàðêàñîâ, ïðèãîòîâëåíèå, òðàíñïîðòèðîâàíèå, óêëàäêà è óïëîòíåíèå áåòîííîé ñìåñè â ïîäãîòîâëåííóþ îïàëóáêó;
ãèäðîèçîëÿöèîííûå - çàùèòà êîíñòðóêöèè îò ãðóíòîâûõ âîä è àãðåññèâíûõ âîçäåéñòâèé ñðåäû, óêëàäêà âîäîíåïðîíèöàåìûõ ïðîñëîåê;
êàìåííûå - âîçâåäåíèå ñòåí, ñòîëáîâ è äðóãèõ êîíñòðóêòèâíûõ ýëåìåíòîâ;
êðîâåëüíûå - óñòðîéñòâî êðîâåëü èç ñòàëüíûõ èëè àñáåñòîöåìåíòíûõ ëèñòîâ, ðóëîííûõ ìàòåðèàëîâ, ìàñòèê;
ìàëÿðíûå - îêðàøèâàíèå ïîâåðõíîñòåé ëàêîêðàñî÷íûìè ìàòåðèàëàìè, îêëåèâàíèå âíóòðåííèõ ïîâåðõíîñòåé îáîÿìè;
ìîíòàæíûå - ïîäúåì, óñòàíîâêà, âûâåðêà è çàêðåïëåíèå ñáîðíûõ êîíñòðóêöèé è äåòàëåé, èç êîòîðûõ â îïðåäåëåííîé òåõíîëîãè÷åñêîé ïîñëåäîâàòåëüíîñòè ñîáèðàþò îñíîâíûå ýëåìåíòû çäàíèé è ñîîðóæåíèé; ìîíòàæ ïàññàæèðñêèõ è ãðóçîâûõ ëèôòîâ;
îáëèöîâî÷íûå - ïîêðûòèå (îòäåëêà) ïîâåðõíîñòè ñòåí, êîëîíí, ïåðåãîðîäîê èçäåëèÿìè èç ïðèðîäíîãî êàìíÿ, êåðàìè÷åñêîé ïëèòêè, ñèíòåòè÷åñêèõ ìàòåðèàëîâ è äð.;
ïëîòíè÷íûå - èçãîòîâëåíèå è ìîíòàæ äåðåâÿííûõ êîíñòðóêöèé è äåòàëåé - ðóáêà ñòåí, óñòðîéñòâî ñêàòíûõ êðûø, îïàëóáêè, äîùàòûõ ïîëîâ, óñòàíîâêà îêîííûõ è äâåðíûõ áëîêîâ â ïðîåìû ñòåí; óñòðîéñòâî ëåñîâ è ïîäìîñòåé, îãðàæäåíèé è ò.ï.;
ñàíèòàðíî-òåõíè÷åñêèå - óñòðîéñòâî ñèñòåì îòîïëåíèÿ, âåíòèëÿöèè, ãàçîñíàáæåíèÿ, âîäîïðîâîäà, êàíàëèçàöèè è äð.;
ñòåêîëüíûå - çàïîëíåíèå ñâåòîïðîçðà÷íûõ îãðàæäåíèé îáû÷íûì èëè ñïåöèàëüíûì ñòåêëîì;
ñòîëÿðíûå - èçãîòîâëåíèå è óñòàíîâêà îêîííûõ è äâåðíûõ áëîêîâ, ïàíåëåé âíóòðåííåãî îáîðóäîâàíèÿ ïîìåùåíèé, ìåáåëè è ò.ï.;
òåïëîèçîëÿöèîííûå - óñòðîéñòâî òåïëîâîé èçîëÿöèè îãðàæäàþùèõ êîíñòðóêöèé çäàíèé è ñîîðóæåíèé, ïðîìûøëåííîãî îáîðóäîâàíèÿ è äðóãèõ äëÿ îáåñïå÷åíèÿ òðåáóåìûõ òåïëîòåõíè÷åñêèõ õàðàêòåðèñòèê è ïîääåðæàíèÿ îïðåäåëåííîãî òåìïåðàòóðíî-âëàæíîñòíîãî ðåæèìà;
øòóêàòóðíûå - ïîêðûòèå êîíñòðóêòèâíûõ ýëåìåíòîâ çäàíèé (ñîîðóæåíèé) âûðàâíèâàþùèì ñëîåì öåìåíòíûõ, èçâåñòêîâûõ èëè äðóãèõ ðàñòâîðîâ èëè îòäåëêà âíóòðåííèõ ïîâåðõíîñòåé ñòåí ãèïñîêàðòîííûìè ëèñòàìè;
ýëåêòðîìîíòàæíûå - ìîíòàæ îñâåòèòåëüíûõ ñèëîâûõ ñèñòåì è ñëàáîòî÷íûõ óñòðîéñòâ.
Ðàáî÷åå ìåñòî - çîíà, ãäå ðàáîòàåò îòäåëüíûé ðàáî÷èé.
Ðàçáèâêà ïîêðûòèÿ ïîëà - èçìåðåíèÿ, îïðåäåëÿþùèå ôîðìó ïëîùàäè ïîëà, ìåñòîïîëîæåíèå è ðàçìåðû åãî îñíîâíûõ ýëåìåíòîâ (ôîíà, ôðèçà).
Ðåïåð - ãåîäåçè÷åñêèé çíàê, âäåëàííûé â ñòåíó êàìåííîãî ñîîðóæåíèÿ èëè â ãðóíò; îáîçíà÷àåò è çàêðåïëÿåò íà ìåñòíîñòè òî÷êó, âûñîòà êîòîðîé íàä óðîâíåì ìîðÿ îïðåäåëåíà íèâåëèðîâàíèåì.
Ðèãåëü - ãîðèçîíòàëüíàÿ êîíñòðóêöèÿ, ÿâëÿþùàÿñÿ îïåðîé äëÿ ïàíåëåé ìåæäóýòàæíîãî ïåðåêðûòèÿ.
Ðÿä ìàÿ÷íûé - ðÿä ïëèòîê, ôèêñèðóþùèé ïðîòÿæåííîñòü îáëèöîâêè.
Ñâîä - íåñóùàÿ ïðîñòðàíñòâåííàÿ êîíñòðóêöèÿ ïîêðûòèÿ â âèäå êðèâîëèíåéíîé ïëèòû ñ ðàñïîðîì è ðàáîòàþùàÿ ïðåèìóùåñòâåííî íà ñæàòèå.
Ñîîðóæåíèå - ñòðîåíèå, ñîñòîÿùåå èç íåñóùèõ, à èíîãäà è èç îãðàæäàþùèõ êîíñòðóêöèé è ïðåäíàçíà÷åííîå äëÿ âûïîëíåíèÿ ðàçëè÷íûõ ïðîèçâîäñòâåííûõ ïðîöåññîâ, õðàíåíèÿ ìàòåðèàëîâ, èçäåëèé, îáîðóäîâàíèÿ, äëÿ âðåìåííîãî ïðåáûâàíèÿ ëþäåé è ò.ï.
Ñîïðÿæåíèå - ìåñòî ñîåäèíåíèÿ ðàçíîòèïíûõ ïîêðûòèé ïîëîâ.
Ñòåíà - âåðòèêàëüíàÿ êîíñòðóêöèÿ, îãðàæäåíèå, çàùèùàþùåå ïîìåùåíèå îò âîçäåéñòâèÿ âíåøíåé ñðåäû èëè îòäåëÿþùåå îäíî ïîìåùåíèå îò äðóãîãî.
Ñòÿæêà - ñëîé áåòîíà èëè ðàñòâîðà, âûðàâíèâàþùèé ïîâåðõíîñòü ïîäñòèëàþùåãî ñëîÿ èëè ïðèäàþùèé ïîêðûòèþ çàäàííûé óêëîí.
Ñóõàÿ ðàñòâîðíàÿ ñìåñü - äîçèðîâàííûé è òùàòåëüíî ïåðåìåøàííûé ñîñòàâ èç âÿæóùèõ è çàïîëíèòåëåé.
Òåïëî- è çâóêîèçîëÿöèÿ - ïðîñëîéêè â êîíñòðóêöèè ïîëà, ïðåïÿòñòâóþùèå óòå÷êå èç ïîìåùåíèÿ òåïëîòû è îñëàáëÿþùèå åãî ïðîíèêíîâåíèå ÷åðåç îãðàæäåíèÿ çäàíèÿ.
Òåððàêîòà - íåãëàçóðîâàííûå êåðàìè÷åñêèå èçäåëèÿ ñ ïîðèñòûì ÷åðåïêîì, ïðèìåíÿþòñÿ äëÿ óñòðîéñòâà ïîÿñîâ, òÿã, êàðíèçîâ, êàïèòåëåé, êîëîíí, áàðåëüåôîâ, ïàííî è äðóãèõ ýëåìåíòîâ ôàñàäà.
Òðàï - óãëóáëåíèå â ïîíèæåííîé ÷àñòè ïîëà äëÿ ñáîðà ñòåêàþùåé æèäêîñòè, çàêðûòîå ðåøåòêîé.
Ôàñàä - íàðóæíûå ëèöåâûå ïîâåðõíîñòè çäàíèÿ, îáðàçîâàííûå îãðàæäàþùèìè êîíñòðóêöèÿìè, îêîííûìè è äâåðíûìè ïðîåìàìè, áàëêîíàìè, ëîäæèÿìè, ýðêåðàìè, êàðíèçàìè è äðóãèìè àðõèòåêòóðíûìè ýëåìåíòàìè, èìåþùèìè ôóíêöèîíàëüíîå, êîíñòðóêòèâíîå è õóäîæåñòâåííîå íàçíà÷åíèå.
Ôîíàðü - ñâåòîïðîçðà÷íîå îãðàæäåíèå íà ïîêðûòèÿõ ïðîìûøëåííûõ çäàíèé, ïðåäíàçíà÷åííîå äëÿ îñâåùåíèÿ è âåíòèëÿöèè. Ô. â àðõèòåêòóðå - òî æå, ÷òî ýðêåð.
Ôðèç - ïîëîñà ïëèòî÷íîãî, ìîçàè÷íîãî, ïàðêåòíîãî ïîêðûòèÿ ïîëà, ðàñïîëîæåííàÿ ïî åãî ïåðèìåòðó è îòëè÷àþùàÿñÿ ïî öâåòó èëè ðèñóíêó îò îñíîâíîãî ôîíà îáëèöîâêè, ïîêðûòèÿ ïîëà.
Ôðîíòîí - âåðõíÿÿ ÷àñòü ôàñàäíîé ñòåíû çäàíèÿ, îáðàçóåìàÿ ñêàòàìè êðûøè.
Ôóíäàìåíò - ïîäçåìíàÿ ÷àñòü çäàíèÿ, âîñïðèíèìàþùàÿ íàãðóçêè îò âûøåëåæàùèõ ýëåìåíòîâ è ïåðåäàþùàÿ èõ íà ãðóíò. Ô. áûâàþò ëåíòî÷íûå, ñòîëá÷àòûå è ñâàéíûå.
Öîêîëü - 1) íèæíÿÿ ÷àñòü íàðóæíûõ ñòåí, îáëèöîâàííàÿ èëè îøòóêàòóðåííàÿ; 2) ðÿä èç öâåòíûõ èëè óòîëùåííûõ ïëèòîê, óëîæåííûõ âûøå ïëèíòóñà.
Ýðêåð - îñòåêëåííûé âûñòóï íà ôàñàäå íàðóæíîé ñòåíû.
|
Òèï |
äëèíà |
Ðàçìåðû, ìì |
Êîëè÷åñòâî ïëèòîê íà 1 ì2 |
Ïðèìå÷àíèÿ |
|
|
øèðèíà |
òîëùèíà |
||||
|
Êâàäðàòíûå ïëèòêè |
|||||
|
1 |
300 |
300 |
13; 15 |
11 |
Òèïû 5, 11, 13, 15 ïðèìåíÿþò äîáîðíûìè; òèïû 6…10 äîáîðíûìè ê âîñüìèãðàííûì |
|
2 |
200 |
200 |
11; 13; 15 |
25 |
|
|
3 |
170 |
170 |
11;13;15 |
35 |
|
|
4 |
150 |
150 |
11;13;15 |
45 |
|
|
5 |
100 |
100 |
10; 13; 15; 11 |
100 |
|
|
6 |
85 |
85 |
11; 13;15 |
140 |
|
|
7 |
80 |
80 |
11; 13;15 |
157 |
|
|
8 |
70 |
70 |
11;13;15 |
205 |
|
|
9 |
60 |
60 |
11;13;15 |
278 |
|
|
10 |
50 |
50 |
11;13;15 |
400 |
|
|
11 |
48 |
48 |
4; 6 |
435 |
|
|
Ïðÿìîóãîëüíûå ïëèòêè |
|||||
|
12 |
300 |
150 |
11; 13; 15 |
23 |
- |
|
13 |
200 |
100 |
11; 13; 15 |
50 |
|
|
14 |
170 |
100 |
11; 13; 15 |
60 |
|
|
15 |
150 |
74 |
11; 13; 15 |
90 |
|
|
16 |
48 |
22 |
4; 6 |
905 |
|
|
Òðåóãîëüíûå ïëèòêè |
|||||
|
17 |
98 |
139 |
11; 13; 15 |
209 |
Òèïû 17, 22, ïðèìåíÿþò äîáîðíûìè ê âîñüìèãðàííûì |
|
18 |
83 |
118 |
11; 13; 15 |
291 |
|
|
19 |
78 |
111 |
11; 13; 15 |
325 |
|
|
20 |
68 |
97 |
11; 13; 15 |
433 |
|
|
21 |
58 |
83 |
11; 13; 15 |
595 |
|
|
22 |
48 |
69 |
11; 13; 15 |
869 |
|
|
Øåñòèãðàííûå ïëèòêè |
|||||
|
23 |
200 |
230 |
11; 13; 15 |
30 |
- |
|
24 |
170 |
196 |
11; 13; 15 |
41 |
|
|
25 |
150 |
173 |
11; 13; 15 |
52 |
|
|
26 |
100 |
115 |
10 |
117 |
|
|
×åòûðåõãðàííûå ïëèòêè |
|||||
|
27 |
100 |
230 |
11; 13; 15 |
60 |
Òèïû 27, 30, ïðèìåíÿþò äîáîðíûìè ê øåñòèãðàííûì |
|
28 |
85 |
196 |
11; 13; 15 |
82 |
|
|
29 |
75 |
173 |
11; 13; 15 |
103 |
|
|
30 |
50 |
115 |
10 |
234 |
|
|
Ïÿòèãðàííûå ïëèòêè |
|||||
|
31 |
200 |
115 |
11; 13; 15 |
58 |
Òèïû 31, 34 ïðèìåíÿþò äîáîðíûìè ê øåñòèãðàííûì |
|
32 |
170 |
98 |
11; 13; 15 |
81 |
|
|
33 |
150 |
86,5 |
11; 13; 15 |
107 |
|
|
34 |
100 |
57,5 |
10 |
232 |
|
|
Âîñüìèãðàííûå ïëèòêè |
|||||
|
35 |
200 |
70 (100) |
11; 13; 15 |
29 |
- |
|
36 |
170 |
60 (85) |
11; 13; 15 |
40 |
|
|
37 |
150 |
50 (80) |
11; 13; 15 |
50 |
|
|
Äëèíà ïëèòîê, ìì |
Îòêëîíåíèÿ, ìì |
||||
|
ïî äëèíå è øèðèíå |
ïî òîëùèíå |
ïî êîñîóãîëüíîñòè |
ïî èñêðèâëåíèþ ïîâåðõíîñòè |
ïî èñêðèâëåíèþ óãëîâ |
|
|
Äî 48 âêëþ÷èòåëüíî |
±1(±0,8) |
±0,5 |
0,5 |
0,5 |
- |
|
43…100 |
±2 (±1,5) |
±1(±0,8) |
0,5 |
0,75 (0,5) |
1,5 (0,9) |
|
Ñâûøå 100 |
±2 (±1,5) |
±1(±0,8) |
0,5 |
1,5 (0,75) |
2(1) |
|
äî 150 âêëþ÷èòåëüíî |
|
|
|
|
|
|
Ñâûøå 150 |
±2,5 (±2) |
±1(±0,8) |
1 |
1,8 (1) |
2,5 (1,5) |
Ïðèìå÷àíèå.  ñêîáêàõ îòêëîíåíèÿ äëÿ ïëèòîê âûñøåé êàòåãîðèè êà÷åñòâà.
|
Òðåùèíû îáùåé äëèíîé, ìì, |
|
|
äëÿ ïëèòîê äëèíîé, ìì: |
|
|
äî 48 |
5 |
|
ñâûøå 48 äî 50 |
10 |
|
ñâûøå 150 |
15 |
|
Îòáèòûå óãëû |
íå äîïóñêàþòñÿ äëèíîé áîëåå |
|
Öâåòîâûå îòòåíêè è ïÿòíà, âèäèìûå ñ ðàññòîÿíèÿ 1,7 ì |
äî 10 % â ïàðòèè |
|
Ìóøêè (îòäåëüíûå ðåäêî ðàçáðîñàííûå òåìíûå è áåëûå
òî÷êè) äèàìåòðîì áîëåå |
íå äîïóñêàþòñÿ |
|
Îòáèòîñòè, ùåðáèíû è çàçóáðèíû íà ðåáðàõ ëèöåâîé
ïîâåðõíîñòè äëèìîé äî |
2 ìì äî 20 % â ïàðòèè |
Ïðèìå÷àíèå.  ïàðòèè äîïóñêàþòñÿ äî 10
%ïëèòîê ñ îòáèòûìè óãëàìè äëèíîé äî
|
Íàèìåíîâàíèå è ôîðìà ïëèòîê |
Òèï |
Ðàçìåðû, ìì |
|
|
äëèíà |
øèðèíà |
||
|
Êâàäðàòíûå: áåç çàâàëà |
|
|
|
|
1 |
200 |
200 |
|
|
2 |
150 |
150 |
|
|
3 |
100 |
100 |
|
|
4 |
200 |
200 |
|
|
ñ çàâàëîì îäíîé ñòîðîíû |
5 |
150 |
150 |
|
6 |
100 |
100 |
|
|
ñ çàâàëîì äâóõ ñìåæíûõ ñòîðîí (ëåâàÿ è ïðàâàÿ) |
7 |
200 |
200 |
|
8 |
150 |
150 |
|
|
9 |
100 |
100 |
|
|
ñ çàâàëîì ÷åòûðåõ ñòîðîí |
13 |
200 |
200 |
|
14 |
150 |
150 |
|
|
15 |
100 |
100 |
|
|
Ïðÿìîóãîëüíûå: |
|
|
|
|
áåç çàâàëà |
16 |
200 |
150 |
|
17 |
200 |
100 |
|
|
18 |
150 |
100 |
|
|
19 |
150 |
75 |
|
|
20 |
150 |
25 |
|
|
ñ çàâàëîì îäíîé ñòîðîíû |
21 |
200 |
150 |
|
22 |
200 |
100 |
|
|
23 |
150 |
100 |
|
|
24 |
150 |
75 |
|
|
ñ çàâàëîì äâóõ ñìåæíûõ ñòîðîí (ëåâàÿ è ïðàâàÿ) |
25 |
200 |
150 |
|
26 |
200 |
100 |
|
|
27 |
150 |
100 |
|
|
28 |
150 |
75 |
|
|
Ôàñîííûå óãëîâûå ïëèòêè: |
|
|
|
|
óñåíî÷íûå äëÿ çàêðóãëåíèÿ âíåøíèõ óãëîâ |
37 |
- |
150 |
|
ëóçãîâûå äëÿ çàêðóãëåíèÿ âíóòðåííèõ óãëîâ |
38 |
- |
150 |
|
Êàðíèçíûå ïðÿìûå |
39 |
150 |
50 |
|
Ïëèíòóñíûå ïðÿìûå |
43 |
150 |
80 |
|
44 |
150 |
50 |
|
|
Äåôåêòû |
Ñîðòà ïëèòîê |
||
|
1-é |
2-é |
3-é |
|
|
Îòáèòûå óãëû |
Íå äîïóñêàþòñÿ |
Íå
áîëåå îäíîãî ïðè äëèíå áîëüøåé ñòîðîíû îòáèòîãî óãëà äî |
Íå
áîëåå äâóõ ïðè äëèíå áîëüøåé ñòîðîíû îòáèòîãî óãëà äî |
|
Íàïëûâû è âîëíèñòîñòü ãëàçóðè |
Òî æå |
Äîïóñêàåòñÿ âîëíèñòîñòü ãëàçóðè, à òàêæå íàïëûâû âäîëü êðàåâ ïëèòêè øèðèíîé íå áîëåå, ìì: |
|
|
1,2 |
1,5 |
||
|
Ùåðáèíû íà êðîìêàõ ãëàçóðîâàííîé ïîâåðõíîñòè |
» |
Íå äîïóñêàþòñÿ øèðèíîé áîëåå |
|
|
10 |
12 |
||
|
Öåê ãëàçóðè (ïîâåðõíîñòíûå âîëîñíûå òðåùèíû) |
- |
Íå äîïóñêàåòñÿ |
|
|
Ïëåøèíû è çàøëèôîâàííûé ñëèïûø (íå ïîêðûòûå ãëàçóðüþ ìåñòà) |
Íå äîïóñêàþòñÿ |
Íå äîïóñêàþòñÿ îáùåé ïëîùàäüþ áîëåå, ìì2 |
|
|
5 |
10 |
||
|
Çàñîðåíèå ãëàçóðîâàííûì è íåöàðàïàþùèìè ÷àñòèöàìè øàìîòà èëè ïåñêà, ïðèïëàâëåííûìè ê èçäåëèþ |
Òî æå |
Íå
ðåãëàìåíòèðóþòñÿ äèàìåòðîì äî |
|
|
íå
áîëåå òðåõ äèàìåòðîì îò 0,2 äî |
íå
áîëåå ïÿòè äèàìåòðîì îò 0,2 äî |
||
|
Íàêîëû (óãëóáëåíèÿ â ãëàçóðè) |
Äèàìåòðîì îò 0,4 äî |
||
|
äâóõ |
òðåõ |
ïÿòè |
|
|
Ìóøêà (òåìíûå òî÷êè) |
Äèàìåòðîì
áîëåå |
Äèàìåòðîì
îò 0,2 äî |
Äîïóñêàþòñÿ
íå áîëåå òðåõ äèàìåòðîì îò 0,2 äî |
|
Çà÷èùåííûå ñëåäû îò ãðåáåíîê âäîëü êðàåâ ïëèòêè |
Äîïóñêàþòñÿ äëèíîé, ìì, íå áîëåå: |
||
|
1,5 |
2 |
2,5 |
|
|
 êîëè÷åñòâå (øò.) íå áîëåå: |
|||
|
äâóõ |
òðåõ |
÷åòûðåõ |
|
|
Îêðàøåííûå ïÿòíà, íà ãëàçóðîâàííîé ïîâåðõíîñòè |
Íå äîïóñêàþòñÿ |
Íå
äîïóñêàþòñÿ äèàìåòðîì áîëåå |
|
|
Ñóõîñòü ãëàçóðè |
Òî æå |
Äîïóñêàåòñÿ âäîëü êðàÿ ïëèòêè øèðèíîé, ìì, íå áîëåå: |
|
|
1 |
2 |
||
Ïðèìå÷àíèå. Êîëè÷åñòâî îòêëîíåíèé ïî âíåøíåìó âèäó, ïåðå÷èñëåííûõ â òàáëèöå, äîïóñêàåòñÿ íà îäíîé ïëèòêå 1-ãî ñîðòà íå áîëåå äâóõ, 2-ãî ñîðòà - íå áîëåå òðåõ, 3-ãî ñîðòà - íå áîëåå ÷åòûðåõ.
Ñíà÷àëà îïðåäåëÿþò ðàñõîä
ïëèòîê íà
Äëèíà ôðèçà ðàâíà ïåðèìåòðó ïîëà. Ïëîùàäü ïëèòîê, ì2, òðåáóåìûõ äëÿ ôðèçà, âû÷èòàþò èç îáùåé ïëîùàäè ïîëà, à íà îñòàâøóþñÿ îñíîâíóþ ïëîùàäü ïîëà äåëàþò ðàñ÷åò îòäåëüíî, ïîñëå ÷åãî ñóììèðóþò ïëîùàäü ïëèòîê äëÿ ôðèçà è äëÿ îñíîâíîãî ôîíà.
 ïîìåùåíèè ïëîùàäüþ
1. Íà
Âñåãî äëÿ óñòðîéñòâà
2. Îáùàÿ ïëîùàäü
îñíîâíîãî ôîíà áåç ôðèçà:
Ïîòðåáíîñòü â ïëèòêàõ:
êâàäðàòíûõ ïëèòîê
ðîçîâîãî öâåòà -
êâàäðàòíûõ ïëèòîê æåëòîãî
öâåòà -
òðåóãîëüíûõ ïëèòîê
æåëòîãî öâåòà -
Ñëåäîâàòåëüíî, îáùèé
ðàñõîä ïëèòîê ñîñòàâëÿåò: 46,625∙2 + 5 + 1,75 =
|
Ìåñÿö îáó÷åíèÿ |
Ïåðåâîäíîé êîýôôèöèåíò |
Ðàáî÷àÿ íîðìà, % |
|
Ïåðâûé êóðñ îáó÷åíèÿ |
||
|
(äëÿ ðàáîò 2-ãî è 3-ãî ðàçðÿäîâ) |
||
|
Âòîðîå ïîëóãîäèå (íà÷àëî íîðìèðîâàíèÿ ðàáîò) |
||
|
Àïðåëü |
4 |
25 |
|
Ìàé |
4 |
25 |
|
Èþíü |
3,5 |
28,5 |
|
Èþëü |
3,5 |
28,5 |
|
Âòîðîé êóðñ îáó÷åíèÿ |
||
|
(äëÿ ðàáîò 2-ãî è 3-ãî ðàçðÿäîâ) |
||
|
Ïåðâîå ïîëóãîäèå |
||
|
Ñåíòÿáðü |
3 |
33 |
|
Îêòÿáðü |
3 |
33 |
|
Íîÿáðü |
2,5 |
40 |
|
Äåêàáðü |
2,0 |
50 |
|
Âòîðîå ïîëóãîäèå |
||
|
ßíâàðü - ìàðò |
2,0 |
50 |
|
Àïðåëü |
1,5 |
66,6 |
|
Ìàé |
1 |
100 |
|
Èþíü, èþëü |
1 |
100 |
|
Òðåòèé êóðñ îáó÷åíèÿ |
||
|
(äëÿ ðàáîò 3-ãî è 4-ãî ðàçðÿäîâ) |
||
|
Ïåðâîå ïîëóãîäèå |
||
|
Ñåíòÿáðü |
2 |
50 |
|
Îêòÿáðü |
1.9 |
52,6 |
|
Íîÿáðü |
1,8 |
55,5 |
|
Äåêàáðü |
1,7 |
58,8 |
|
Âòîðîå ïîëóãîäèå |
||
|
ßíâàðü |
1,6 |
62,5 |
|
Ôåâðàëü |
1,5 |
66,6 |
|
Ìàðò |
1,4 |
71,4 |
|
Àïðåëü |
1.2 |
83,3 |
|
Ìàé |
1,0 |
100 |
|
Èþíü |
1,0 |
100 |
|
Èþëü |
1,0 |
100 |
I. Ñðåäñòâà ìàëîé ìåõàíèçàöèè Ïîòðåáíîñòü íà ãðóïïó
ÐàñòâîðîñìåñèòåëüÑÎ-23 ñ îòêèäíûìè ëîïàñòÿìè 1
Ðàñòâîðîñìåñèòåëü ÑÎ-26Â 1
Ýëåêòðè÷åñêèé ìîëîòîê ÈÝ-4213À 1
Ïíåâìàòè÷åñêèé ìîëîòîê ÈÏ-4126 1
Ýëåêòðîòî÷èëî «Àëìàç-2» 1
Ýëåêòðîùåòêà Ä-378 1
Óñòàíîâêà ÑÎ-50Á äëÿ òðàíñïîðòèðîâêè ðàñòâîðà 1
Ïîäìåòàëüíàÿ âàêóóìíî-ùåòî÷íàÿ ìàøèíà ÊÓ-405 1
Âèáðîðåéêà ÑÎ-131À 1
Ìåõàíèçì äëÿ âèáðîâòàïëèâàíèÿ ïëèòîê 1
Øòóêàòóðíûé àãðåãàò ÑÎ-152À 1
Ñâåðëèëüíàÿ ýëåêòðè÷åñêàÿ ìàøèíà ÈÝ-1038 (ÈÝ-1032,
ÈÝ-1033À) 1
Ìîçàè÷íî-øëèôîâàëüíàÿ ìàøèíà ÑÎ-111À 1
Øëèôîâàëüíàÿ ìàøèíà ÈÝ-2201Á (ÈÝ-2009) 1
Ðàñïûëèòåëü äëÿ íàíåñåíèÿ øïàòëåâêè ÑÎ-123À 1
Æåðíîâàÿ êðàñêîòåðêà ÑÎ-116À 1
Ýëåêòðè÷åñêîå âèáðîñèòî ÑÎ-130À 1
Çàùèòíî-îòêëþ÷àþùåå óñòðîéñòâî ÈÝ-9814 1
Ðó÷íûå ñòðîèòåëüíî-ìîíòàæíûå èíñòðóìåíòû
Ëîïàòêè:
äëÿ ïëèòî÷íûõ ðàáîò òèïà ËÏ 15
øòóêàòóðíàÿ 3
Ìîëîòêè:
ïëèòî÷íûé ÌÏËÈ 15
øòóêàòóðíûé òèïà ÌØÒ 5
ñòðîèòåëüíûé 3
Ðîëèêîâûé ïëèòêîðåç 5
Ðåçåö äëÿ ðåçêè êåðàìè÷åñêèõ ïëèòîê 5
Ñêàðïåëü äëÿ ïëèòî÷íûõ ðàáîò 3
Ñêðåáîê 3
Êîâø äëÿ îòäåëî÷íûõ ðàáîò òèïà Ê1 5
Ñëåñàðíîå çóáèëî 3
Ðåéêîäåðæàòåëü 12
Ðàñøèâêà äëÿ ïëèòî÷íûõ ðàáîò 3
Ðåçèíîâàÿ ïëàñòèíà äëÿ çàïîëíåíèÿ øâîâ 12
Ðåéêà Áîëîòèíà 3
Ïðàâèëî:
îêîâàííîå îäíîñòîðîííåå
äëèíîé
äþðàëþìèíèåâîå 5
Ñîêîë äëÿ øòóêàòóðíûõ ðàáîò 5
Äåðåâÿííûé ïîëóòåðîê 350...800 ìì 5
Ñòàëüíàÿ ãëàäèëêà 3
Íîæíèöû ìåòàëëîðåæóùèå 3
Øïàòåëè:
çóá÷àòûé 3
ìàëÿðíûé 5
Êèÿíêè:
äåðåâÿííàÿ 5
ðåçèíîâàÿ 3
Õëîïóøà 3
Öàðàïêà 3
Ùåòêè:
âîëîñÿíàÿ 5
ñòàëüíàÿ ïðÿìîóãîëüíàÿ 3
Êèñòü-ìàêëîâèöà òèïà ÊÌÀ-1 3
Êîíòðîëüíî-èçìåðèòåëüíûå èíñòðóìåíòû
Ìåòð ñêëàäíîé ìåòàëëè÷åñêèé 5
Ñòàëüíàÿ ðóëåòêà 5
Ðàçìåòî÷íûé øíóð â êîðïóñå 5
Óãîëüíèêè:
ìåòàëëè÷åñêèé 5
äåðåâÿííûé ñ äëèííîé ëèíåéêîé 5
Óðîâíè:
ñòðîèòåëüíûé 5
ãèáêèé (âîäÿíîé) 3
Îòâåñ ñòðîèòåëüíûé 5
Êîíòðîëüíî-ñòóïåí÷àòàÿ ëèíåéêà ñ öåíîé äåëåíèÿ 0,5 ìì 6
Ýòàëîííûé êîíóñ 3
Êîíòðîëüíàÿ äâóõìåòðîâàÿ ðåéêà 3
Ãëàäèëêà äëÿ ïëèíòóñîâ 3
Æåëîá÷àòàÿ ðóëåòêà 5
Èíâåíòàðü è ïðèñïîñîáëåíèÿ
Øàáëîí äëÿ ñîðòèðîâêè ïëèòîê 5
Ïëèòêîðåçû:
ðîëèêîâûé 1
ðû÷àæíûé 1
Ïðèñïîñîáëåíèå äëÿ ðåçêè ãëàçóðîâàííûõ ïëèòîê 1
Çàõâàò (ïëèòêîëîì) 1
Ïëèòî÷íûå êóñà÷êè 1
Êîëîâîðîò 1
Ðàçâåðòêà äëÿ ïëèòî÷íûõ ðàáîò 1
Øàáëîíû:
äëÿ îáëèöîâêè ïîâåðõíîñòåé ãëàçóðîâàííîé ïëèòêîé 2
ðåå÷íûé 2
Ãðåêîâà äëÿ îáëèöîâêè ñòåí ãîðèçîíòàëüíûìè ðÿäàìè 2
Äëÿ íàñòèëêè ïîëîâ:
êëåòî÷íûé 2
ðåøåò÷àòûé (Êîðíåøîâà) 2
áàðàáàííîãî òèïà 1
Âèíòîâûå ìàÿêè äëÿ óêðåïëåíèÿ ïðè÷àëîê 2 (êîìïë.)
Êîíòåéíåð äëÿ êåðàìè÷åñêèõ ïëèòîê 3
Ñòîëèêè:
äâóõâûñîòíûé ñ îãðàæäåíèåì è ïîëêîé 3
óíèâåðñàëüíûé ïåðåäâèæíîé 1
Ñòàëüíîé øòûðü äëÿ ïëèòî÷íûõ ðàáîò 6
Ñêîáû (ïðîâîëî÷íûå) äëÿ ôèêñàöèè øâîâ ãëàçóðîâàííûõ ïëèòîê 40
Ìåðíûå ìåòàëëè÷åñêèå êðóæêè 6
Âàííî÷êà äëÿ çàìà÷èâàíèÿ è ïåðåíîñêè ïëèòîê 3
Ïîäíîæêè 2 ïàðû
Ñêàìåå÷êà ïëèòî÷íèêà 3
Ñòóëü÷èê ïëèòî÷íèêà 1
Ìåðíûå ÿùèêè:
äëÿ ïåñêà 3
äëÿ öåìåíòà 3
Âåäðà âìåñòèìîñòüþ
Ëåéêà 3
Ìàÿ÷íûå äåðåâÿííûå ðåéêè 5
Îïîðíûå áðóñêè 6
Áàê äëÿ âîäû 1
Òåëåæêè:
ñ êîíòåéíåðîì äëÿ ïëèòîê è áàêîì äëÿ âîäû 1
íà ïíåâìîêîëåñíîì õîäó 1
äëÿ ñìåííîé òàðû, êîíòåéíåðîâ 1
Ñðåäñòâà èíäèâèäóàëüíîé çàùèòû
Ñòðîèòåëüíàÿ êàñêà 15
Ðåçèíîâûå ïåð÷àòêè 5 ïàð
Ðåçèíîâûå íàïàëü÷íèêè 15
Âëàãîíåïðîíèöàåìûå íàêîëåííèêè 2 ïàðû
Ðóêàâèöû ñ íàëàäîííèêàìè èç áðåçåíòà 5 ïàð
Çàùèòíûå î÷êè òèïà ÇÏ 5
Ðåñïèðàòîð ØÁ-1 «Ëåïåñòîê» 3
Àïòå÷êà 1
Îáîðóäîâàíèå
Ìîçàè÷íî-øëèôîâàëüíàÿ ìàøèíà
ñ íàáîðîì àáðàçèâíûõ èíñòðóìåíòîâ 1
Ãèëüîòèííûå íîæíèöû äëÿ ðåçêè ïîëèâèíèëõëîðèäíûõ ïëèòîê 1
Ïðåîáðàçîâàòåëü ÷àñòîòû òîêà Ì-572 èëè È-75Á 1
Ñòàíîê Å. Ï. Ïîïîâà äëÿ ðàçðåçêè ãëàçóðîâàííûõ ïëèòîê
è ôàñîííûõ äåòàëåé 1
Ýëåêòðîòî÷èëüíûé ñòàíîê äëÿ ïîäòî÷êè öåëûõ
èëè ïåðåðóáëåííûõ êåðàìè÷åñêèõ ïëèòîê 1
Ïîíèæàþùèé òðàíñôîðìàòîð È-100 1
Óñòàíîâêà äëÿ ðàçîãðåâà áèòóìà 1
Ýëåêòðîíàãðåâàòåëü êîíñòðóêöèè Ë. Ãóáèíà äëÿ ïîäîãðåâà
àñáåñòîñìîëÿíûõ ïëèòîê 1
Èíñòðóìåíòû è ïðèñïîñîáëåíèÿ
|
|
Äëÿ èíäèâèäóàëüíîãî ïîëüçîâàíèÿ |
äëÿ ãðóïïîâîãî ïîëüçîâàíèÿ |
|
Áðóñîê äëÿ îñàæèâàíèÿ ïëèòîê íà ñòåíå |
- |
6 |
|
Òî÷èëüíûé áðóñîê äëÿ ïîäòî÷êè è ñãëàæèâàíèÿ êðàåâ ãëàçóðîâàííûõ ïëèòîê |
15 |
|
|
Âàëèê äëÿ ïðèêàòêè ïëàñòìàññîâûõ ïëèòîê |
- |
3 |
|
Ãëàäèëêà |
- |
8 |
|
Çóáèëî |
- |
3 |
|
Êèðî÷êà äâóñòîðîííÿÿ |
- |
3 |
|
Êèñòü äëÿ ïðîìûâêè ñòåí |
15 |
- |
|
êèÿíêà |
15 |
3 |
|
Êëåùè äëÿ ðàçëàìûâàíèÿ ïëèòêè ïî íàäðåçó |
- |
3 |
|
Çàõâàò (ïëèòêîëîì) äëÿ ëîìêè íàäðåçàííûõ |
- |
8 |
|
Ìîëîòêè: |
- |
- |
|
Ìàññîé
|
- |
3 |
|
Äëÿ ïðîáèâàíèÿ îòâåðñòèé â ïëèòêàõ |
- |
8 |
|
Ïëèòî÷íûé
ìàññîé |
- |
5 |
|
Òî
æå, |
15 |
- |
|
Îòâåñ |
15 |
- |
|
Îòðåçîâêà |
- |
6 |
|
Ïëèòêîðåç |
- |
1 |
|
Ïðèáîð äëÿ ðåçêè êåðàìè÷åñêèõ ïëèòîê |
- |
1 |
|
Ïðèáîð Êðèâöîâà äëÿ ðàçáîðêè ïëèòîê ïî ðàçìåðàì |
- |
3 |
|
Ïðèáîð Í.È. ×óäàêîâîé äëÿ ðàçðóáêè ïëèòîê |
- |
1 |
|
Òî æå, äëÿ ñâåðëåíèÿ îòâåðñòèé â ïëèòêàõ |
- |
1 |
|
Ïðèñîñ ðåçèíîâûé äëÿ çàõâàòà è óäåðæàíèÿ ïëèòêè |
- |
2 |
|
Ðåçåö ñòàëüíîé ñ ïîáåäèòîâûì íàêîíå÷íèêîì |
- |
3 |
|
Ðåçèíîâàÿ ïëàñòèíà |
- |
2 |
|
Ðóëåòêà
ñòàëüíàÿ äëèíîé |
- |
3 |
|
Ñòåêëîðåç äëÿ ðàçðåçêè ãëàçóðè êåðàìè÷åñêèõ ïëèòîê |
15 |
- |
|
Ñêàðïåëü |
- |
3 |
|
Óãîëüíèê |
- |
3 |
|
Óïëîòíèòåëü (ïàçîâûé) |
- |
2 |
|
Õëîïóøè |
- |
3 |
|
Óíèâåðñàëüíûé óðîâåíü |
- |
5 |
|
Öàðàïêà |
- |
8 |
|
Øàáëîí À.Ñ. Àôîíèíà äëÿ îáëèöîâêè ñòåí |
- |
1 |
|
Øàáëîí È.È. Ãðåêîâà äëÿ îáëèöîâêè ñòåí êåðàìè÷åñêèìè ïëèòêàìè ãîðèçîíòàëüíûìè ðÿäàìè |
- |
1 |
|
Øàáëîí È.Í. Êîðíåøîâà äëÿ îáëèöîâêè ñòåí êåðàìè÷åñêèìè ïëèòêàìè |
- |
1 |
|
Øàáëîí ðó÷íîé äëÿ ñîðòèðîâêè ïëèòîê |
- |
3 |
|
Øàáëîí ñïàðåííûé À.À. Êàðàãèíîâà è È.Ä. Êîçëîâà äëÿ óñòàíîâêè ïÿòè âåðòèêàëüíûõ ðÿäîâ ïëèòîê |
- |
1 |
|
Øëÿìáóð |
- |
3 |
|
Øíóð (ðàçìåòî÷íûé) |
- |
5 |
|
Øïàòåëè: |
|
3 |
|
Ñî ñìåííûìè ïîëîòíàìè |
- |
3 |
|
Çóá÷àòûé |
- |
- |
|
ðåçèíîâûé äëÿ çàïîëíåíèÿ øâîâ ðàñòâîðîì èëè ìàñòèêîé |
15 |
|
|
Ñòàëüíîé |
- |
6 |
|
Øòûðü
ñòàëüíîé Ø |
25 |
- |
|
Èíâåíòàðü |
||
|
Âåäðî ìåòàëëè÷åñêîå |
1 |
5 |
|
Âåñëî äåðåâÿííîå äëÿ ïåðåìåøèâàíèÿ |
- |
2 |
|
Êîìïëåêò ïðèñïîñîáëåíèé äëÿ ïîäîãðåâàíèÿ è ðàçíîñêè ãîòîâîé áèòóìíîé ìàñòèêè |
- |
1 |
|
Èíâåíòàðíûå òóìáî÷êè äëÿ ïëèòî÷íûõ ðàáîò |
- |
- |
|
Î÷êè çàùèòíûå |
15 |
- |
|
Ñèòî
ñ ðàçìåðîì ÿ÷ååê |
- |
3 |
|
Ñòåëëàæ äëÿ ïðèñïîñîáëåíèé |
- |
1 |
|
Äâóõâûñîòíûé ñòîëèê |
- |
2 |
|
Ñòîëèê ìåòàëëè÷åñêèé ñêëàäíîé |
- |
6 |
|
Òåëåæêà äëÿ ïåðåâîçêè ïëèòîê â èíâåíòàðíûõ ÿùèêàõ |
- |
1 |
|
Øêàô èíñòðóìåíòàëüíûé ãðóïïîâîé |
- |
1 |
|
ßùèê ìåòàëëè÷åñêèé åìêîñòüþ 150ë äëÿ õðàíåíèÿ ìàñòèêè |
- |
1 |
Îáîðóäîâàíèå, ìåáåëü è èíâåíòàðü
Êîìáèíèðîâàííûé øêàô ñ êëàññíîé äîñêîé, êèíîýêðàíîì è îòäåëåíèÿìè (ñåêöèÿìè) äëÿ ðàçìåùåíèÿ è õðàíåíèÿ ó÷åáíî-íàãëÿäíûõ ïîñîáèé, òåõíè÷åñêèõ ñðåäñòâ îáó÷åíèÿ, ëè÷íîãî èíñòðóìåíòà, òåõíè÷åñêîé ëèòåðàòóðû è ò. ï. 2
Òåõíîëîãè÷åñêîå îáîðóäîâàíèå äëÿ äåìîíñòðàöèè ðàáî÷èõ ïðèåìîâ â ïåðèîä èíñòðóêòèðîâàíèÿ ó÷àùèõñÿ (êîìïë.) 1
Ðàáî÷èé ñòîë 1
Ñòóë 1
Ñòîéêà äåìîíñòðàöèîííàÿ 1
Òóìáî÷êà, êðîíøòåéí èëè äðóãîå óñòðîéñòâî äëÿ óñòàíîâêè íà âðåìÿ ïîêàçà äèàïðîåêòîðà, êèíîïðîåêòîðà, ãðàôîïðîåêòîðà è ò.ï. 1
Ïóëüò ñèãíàëèçàöèè è ñâÿçè ñ ðàáî÷èìè ìåñòàìè ó÷àùèõñÿ 1
Ïëàêàòíèöà àâòîìàòè÷åñêàÿ 1
Ñòåíä äëÿ ñïðàâî÷íûõ òàáëèö è òåõíè÷åñêîé äîêóìåíòàöèè 1
Ñòåíä ïî ïðàâèëàì áåçîïàñíîñòè òðóäà â ó÷åáíîé ìàñòåðñêîé 1
Àïòå÷êà 1
Èíñòðóìåíòû è ïðèñïîñîáëåíèÿ
Ëè÷íûé òåõíîëîãè÷åñêèé èíñòðóìåíò ìàñòåðà (êîìïë.) 1
Ïðèñïîñîáëåíèÿ è ïðèíàäëåæíîñòè (êîìïë.) 1
Òåõíè÷åñêèå ñðåäñòâà îáó÷åíèÿ
Äèàïðîåêòîð òèïà «Ëåêòîð-600» 1
Ãðàôîïðîåêòîð òèïà «Ëåêòîð-2000» 1
Êèíîïðîåêòîð òèïà«Ðàäóãà» 1
ÑÍ 528-80. Ïåðå÷åíü åäèíèö ôèçè÷åñêèõ âåëè÷èí, ïîäëåæàùèõ ïðèìåíåíèþ â ñòðîèòåëüñòâå.
ÑÍèÏ 2.03.13-88. Ïîëû.
ÑÍèÏ 3.01.01-85. Îðãàíèçàöèÿ ñòðîèòåëüíîãî ïðîèçâîäñòâà.
ÑÍèÏ 3.01.03-84. Ãåîäåçè÷åñêèå ðàáîòû â ñòðîèòåëüñòâå.
ÑÍèÏ 3.03.01-87. Íåñóùèå è îãðàæäàþùèå êîíñòðóêöèè.
ÑÍèÏ 3.04.01-87. Èçîëÿöèîííûå è îòäåëî÷íûå ïîêðûòèÿ.
ÑÍèÏ III-4-80. Òåõíèêà áåçîïàñíîñòè â ñòðîèòåëüñòâå.
Àíäðèàíîâ Ð.À. Ëàáîðàòîðíûå ðàáîòû äëÿ îòäåëî÷íèêîâ ñòðîèòåëüíûõ. Ì., 1988.
Áóðìèñòðîâ Ã.Í. Ìàòåðèàëû äëÿ îáëèöîâêè çäàíèé. Ì., 1988.
Ãîðÿ÷åâ Â.È., Íååëîâ Â.À. Îáëèöîâêà êåðàìè÷åñêèìè è ñèíòåòè÷åñêèìè ìàòåðèàëàìè. Ì., 1989.
Ëåáåäåâ Ì.Ì., Ëåáåäåâà Ë.Ì. Ñïðàâî÷íèê ìîëîäîãî øòóêàòóðà. Ì., 1989.
Ìàëèí Â.È. Ñïðàâî÷íèê ìîëîäîãî îáëèöîâùèêà-ïëèòî÷íèêà è ìîçàè÷íèêà. Ì., 1988.
Ïîïîâ Ê.Í. Ïîëèìåðíûå è ïîëèìåðöåìåíòíûå áåòîíû, ðàñòâîðû è ìàñòèêè. Ì., 1987.
×ìûðü Â.Ä. Ìàòåðèàëîâåäåíèå äëÿ îòäåëî÷íèêîâ-ñòðîèòåëåé. Ìàòåðèàëû äëÿ ìàëÿðíûõ è øòóêàòóðíûõ ðàáîò. Ì., 1990.
Øåïåëåâ À.Ì. Òåõíîëîãèÿ øòóêàòóðíûõ ðàáîò. Ì., 1989. Ó÷åáíîå èçäàíèå
|
|
|
|