//
ТехЛит.ру
- крупнейшая бесплатная электронная интернет библиотека для "технически умных" людей.
WWW.TEHLIT.RU - ТЕХНИЧЕСКАЯ ЛИТЕРАТУРА

:: Алготрейдинг::


АЛГОТРЕЙДИНГ
шаг за шагом
с нуля по урокам!

Торговые роботы на PYTHON, BackTrader,
Pandas, Pine Script для TradingView. Связка с брокерами, телеграм и легкими приложениями.


ГОССТРОЙ СССР

ЦЕНТРАЛЬНЫЙ НАУЧНО-ИССЛЕДОВАТЕЛЬСКИЙ И ПРОЕКТНО-ЭКСПЕРИМЕНТАЛЬНЫЙ ИНСТИТУТ ОРГАНИЗАЦИИ МЕХАНИЗАЦИИ И ТЕХНИЧЕСКОЙ ПОМОЩИ СТРОИТЕЛЬСТВУ
(ЦНИИОМТП)

БЮРО ВНЕДРЕНИЯ

ТЕХНОЛОГИЧЕСКИЕ СХЕМЫ ПРИМЕНЕНИЯ НОВЫХ СРЕДСТВ МЕХАНИЗАЦИИ ЗЕМЛЯНЫХ РАБОТ

МОСКВА-1982

СОДЕРЖАНИЕ

BВЕДЕНИЕ

ТЕХНОЛОГИЧЕСКИЕ СХЕМЫ ПРИМЕНЕНИЯ ОДНОКОВШОВЫХ УНИВЕРСАЛЬНЫХ ГИДРАВЛИЧЕСКИХ ЭКСКАВАТОРОВ С РАЗЛИЧНЫМИ ВИДАМИ СМЕННОГО РАБОЧЕГО ОБОРУДОВАНИЯ И РАБОЧИХ ОРГАНОВ

ЭКСКАВАТОР ЭО-3322Б

ЭКСКАВАТОР ЭО-3322В

ЭКСКАВАТОР ЭО-3332А

ЭКСКАВАТОР Э-5015А

ЭКСКАВАТОР ЭО-4321

ЭКСКАВАТОР ЭО-4121А

ЭКСКАВАТОР ЭО-5122

ТЕХНОЛОГИЧЕСКИЕ СХЕМЫ ПРИМЕНЕНИЯ ЭКСКАВАТОРОВ III-V ТИПОРАЗМЕРНЫХ ГРУПП, ОБОРУДОВАННЫХ ОБРАТНОЙ ЛОПАТОЙ, ЗАЧИСТНЫМ УСТРОЙСТВОМ И ПРИБОРОМ КОНТРОЛЯ ГЛУБИНЫ КОПАНИЯ (ГЛУБИНОМЕРОМ)

ТЕХНОЛОГИЧЕСКИЕ СХЕМЫ ПРИМЕНЕНИЯ ТРАНШЕЙНЫХ ЭКСКАВАТОРОВ

ЭКСКАВАТОР ЭТЦ-252

ЭКСКАВАТОР ЭТР-134

ТЕХНОЛОГИЧЕСКИЕ СХЕМЫ ПРИМЕНЕНИЯ РЫХЛИТЕЛЕЙ НА БАЗЕ ГУСЕНИЧНЫХ ТРАКТОРОВ

РЫХЛИТЕЛЬ ДП-26С НА БАЗЕ ТРАКТОРА Т-130.1.Г-1

РЫXЛИТЕЛЬ ДП-22С НА БАЗЕ ТРАКТОРА T-180

РЫХЛИТЕЛЬ ДП-9С-1 НА БАЗЕ ТРАКТОРА ДЭТ-250М 

Рекомендовано к изданию решением Научно-технического совета ЦНИИОМПТ Госстроя СССР.

Технологические схемы применения новых средств механизации земляных работ. М., 1982, 124 с. (Госстрой СССР. Центр. науч.-исслед. и проектно-эксперим. ин-т организации, механизации и техн. помощи стр-ву. ЦНИИОМПТ. Бюро внедрения).

Технологические схемы приведены как справочный материал для составления технологических карт и проектов производства земляных работ и направлены на улучшение использования поставляемых строителям землеройных машин. Разработаны технологические схемы применения гидравлических одноковшовых экскаваторов с различными видами сменного рабочего оборудования, траншейных экскаваторов, а также рыхлителей на базе гусеничных тракторов.

Работа предназначена для инженерно-технических работников строительных организаций, занимающихся составлением проектов производства земляных работ и эксплуатацией землеройных машин.

BВЕДЕНИЕ

Технологические схемы применения новых средств механизации земляных работ служат справочным материалом при составлении технологических карт и проектов производства земляных работ и направлены на улучшение использования поставляемых строителям землеройных машин.

Разработаны технологические схемы применения гидравлических одноковшовых экскаваторов, траншейных экскаваторов, а также рыхлителей на базе гусеничных тракторов.

Гидравлические одноковшовые экскаваторы, заменившие в строительстве экскаваторы с механическим приводом, имеют высокие удельные усилия резания, широкую номенклатуру сменного рабочего оборудования и рабочих органов, хорошие эргономические показатели. Гидропривод экскаваторов обеспечивает совмещение операций рабочего цикла, увеличивая тем самым производительность и плавное регулирование движений рабочего органа, что позволяет достичь более высокой точности при производстве земляных работ.

Серийно выпускаемые гидравлические одноковшовые универсальные экскаваторы оснащаются следующими основными видами сменного рабочего оборудования: обратной лопатой, грейферным и прямого копания.

Экскаваторы с оборудованием обратная лопата в зависимости от используемых сменных рабочих органов предназначены для рытья траншей и котлованов ниже уровня стоянки с выгрузкой грунта в отвал или в транспортные средства, для рыхления мерзлого грунта сезонного промерзания, трещиноватых скальных пород и старого дорожного полотна.

Экскаваторы с грейферным оборудованием предназначены для разработки грунта ниже уровня стоянки в местных выемках траншей и котлованов, для отрывки колодцев с выгрузкой грунта в отвал или в транспортные средства, а также для производства погрузочных работ.

Экскаваторы с оборудованием прямого копания используются с целью разработки грунта и строительных материалов на уровне или выше уровня стоянки в карьерах и котлованах с погрузкой грунта в транспортные средства, а также для погрузки материалов из штабеля в транспортные средства.

Большой объем ручных работ по зачистке дна земляных сооружений при разработке грунта одноковшовыми экскаваторами с оборудованием обратная лопата вызвал необходимость создания специальных зачистных устройств и прибора контроля глубины копания (глубиномера), позволяющих повысить точность производства земляных работ и механизировать разработку недоборов грунта. Такие устройства и глубиномер разработаны в НИИпромстрое СССР (г. Уфа). Предполагается их внедрение на экскаваторных заводах.

Значительнее увеличения объемов земляных работ на линейных объектах (траншеи различного назначения, каналы и др.) вызвали необходимость разработки и применения специальных средств механизации. Отечественной промышленностью в последние годы освоен выпуск новых траншейных экскаваторов, в связи с чем разработаны технологические схемы их применения.

Кроме того, разработаны технологические схемы применения рыхлителей на базе гусеничных промышленных тракторов класса 10-25 т.

Заложенные при разработке технологических схем исходные данные для расчета технологических параметров и технико-экономических показателей определены для некоторых машин по результатам приемочных испытаний, для некоторых - по имеющимся нормативам, а для отдельных машин определены экспертным путем.

Технологические схемы подготовлены отделом землянах работ (Б.Н. Ладыженский, А.В. Голуб, Ю.Ю. Каммерер, Н.Е. Мягкова и др.) и проектной частью (О.В. Баранов, Г.А. Величеикова, Л.А. Зуева, А.С. Полежаев и др.) ЦНИИОМПТ при участии НИИпромстроя.

ТЕХНОЛОГИЧЕСКИЕ СХЕМЫ ПРИМЕНЕНИЯ ОДНОКОВШОВЫХ УНИВЕРСАЛЬНЫХ ГИДРАВЛИЧЕСКИХ ЭКСКАВАТОРОВ С РАЗЛИЧНЫМИ ВИДАМИ СМЕННОГО РАБОЧЕГО ОБОРУДОВАНИЯ И РАБОЧИХ ОРГАНОВ

ЭКСКАВАТОР ЭО-3322Б

Экскаватор ЭО-3322Б (рис. 1) производства Калининского экскаваторного завода предназначен для разработки грунта I-IV групп, отрывки колодцев и других местных выемок, погрузки предварительно разрыхленного грунта V и VI групп и мерзлого грунта, а также погрузки различных сыпучих материалов из штабеля и других работ в условиях умеренного климата при температуре окружающего воздуха от -40 до +40°С.

Техническая характеристика

Наибольшая скорость передвижения, км/ч

19,68

Наибольший преодолеваемый подъем, град.

22

Номинальная мощность, л.с.

75

Номинальный расход гидрожидкости, л/мин

330

Номинальное давление в гидросистеме, МПа

16

Экскаватор поставляется потребителям, оборудованный обратной лопатой с ковшом емкостью 0,5 м3.

По заказам потребителей заводом-изготовителем могут быть поставлены следующие виды смежных рабочих органов. К оборудованию обратная лопата (с моноблочной или составной стрелой): ковши емкостью 0,4; 0,63 и 0,2 м3; ковш профильный емкостью 0,5 м3; гидромолот СП-71; рыхлитель статического действия; удлиненная рукоять.

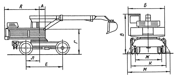
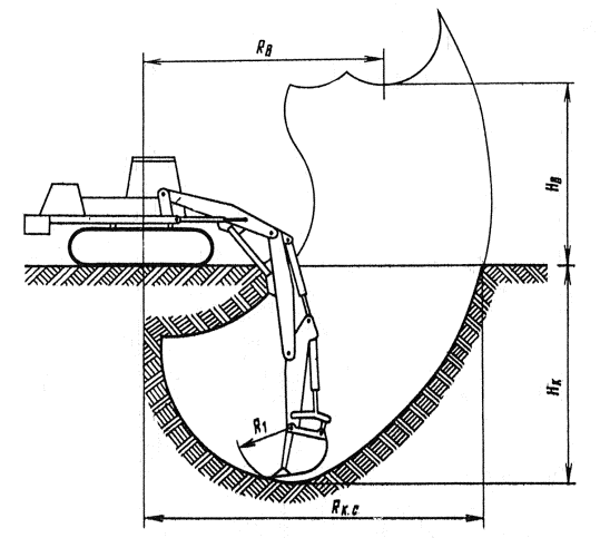
Рис. 1. Схема экскаватора ЭО-3322Б

R -

радиус вращения хвостовой части, м

2,8

Б -

ширина поворотной платформы (по кабине), м

2,66

В -

высота по кабине, м

3,14

Г -

высота оси пяты стрелы, м

1,96

А -

расстояние от оси пяты стрелы до оси вращения, м

0,45

Е -

база, м

2,8

Ж -

колея, м

2,04

К -

ширина ходовой части, м

2,7

Л -

расстояние от оси вращения экскаватора до оси задних колес, м

1

М -

ширина при работе на выносных опорах, м

1,3

К грейферному оборудованию: грейферные ковши двухчелюстные емкостью 0,32 и 0,5 м3; грейферный ковш пятичелюстной емкостью 0,35/0,5 м3.

К оборудованию прямого копания - ковши емкостью 0,57 и 1 м3.

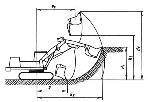
Схемы и кинематические параметры рабочей зоны экскаватора ЭО-3322Б с оборудованием обратная лопата, грейферным оборудованием, оборудованием прямого копания и различными рабочими органами приведены на рис. 2-7.

Рис. 2. Схема работы экскаватора ЭО-3322Б

Наименование (к рис. 2)

Нормальная рукоять при ковше объемом, м3

Удлиненная рукоять при ковше объемом, м3

0,5

0,63

0,2

0,4

0,2

R1 - радиус, описываемый кромкой зуба ковша, м

1,1

1,3

1,2

1

1,2

Rк,с - наибольший радиус копания на уровне стоянки, м

7,5

7,6

7,5

8,2

8,2

Нк - наибольшая глубина копания, м

4,2

4,3

4,3

5

5,2

Hв - наибольшая высота выгрузки, м

4,8

4,8

4,9

5,2

5,3

Rв - радиус выгрузки при наибольшей высоте выгрузки, м

6,2

6,2

6,3

7,1

7,2

Рис. 3. Схема работы экскаватора ЭО-3322Б с обратной лопатой и зубом-рыхлителем

Rк.с -

наибольший радиус копания на уровне стоянки, м

8,1

Нк -

наибольшая допустимая глубина забоя, м

0,4

R1 -

радиус, описываемый режущей кромкой зуба, м

0,6

Рис. 4. Схема закрепления гидромолота СП-71 на экскаваторе ЭО-3322Б

Н -

высота гидромолота с клином, мм

2530

b -

ширина гидромолота, мм

640

lк -

длина клина, мм

500

Рис. 5. Схема работы гидромолота CП-71 на экскаваторе ЭО-3322Б

Нр -

наибольшая глубина рыхления, м

5,3

R -

наименьший радиус рыхления на уровне стоянки, м

3,5

R -

наибольший радиус рыхления на уровне стоянки, м

7,6

Rp.c -

Ширина забоя (рациональная), м

5

Техническая характеристика

Энергия удара, Дж

2940

Частота ударов (не более), уд./мин

120

Начальное давление в пневмоаккумуляторе, МПа

0,7-0,8

Масса, кг

750

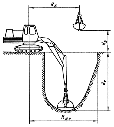
Рис. 6. Схема работы экскаватора ЭО-3322Б с грейферным оборудованием

Rк.с -

наибольший радиус копания на уровне стоянки, м

9,35

R -

наименьший радиус копания на уровне стоянки, м

2,36

Rв -

радиус выгрузки при наибольшей высоте выгрузки, м

5,00

Нк -

наибольшая глубина копания, м

7,5

Hв -

наибольшая высота нагрузки, м

6,35

Рис. 7. Схема работы экскаватора ЭО-3322Б с погрузочным оборудованием

Rк.с -

наибольший радиус копания на уровне стоянки, м

5,59

Rв -

радиус выгрузки при наибольшей высоте выгрузки, м

4,04

Hв -

наибольшая высота выгрузки, м

3,2

L -

длина планируемого участка, м

2,02

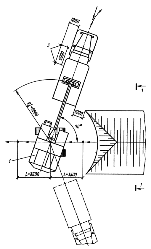
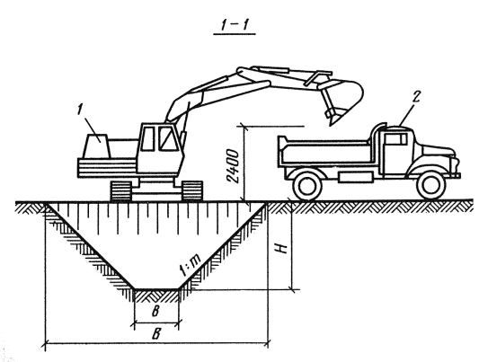
Разработка выемок лобовым забоем экскаватором ЭО-3322Б, оборудованным обратной лопатой, и погрузка грунта в автомобили-самосвалы

Общие положения

В зависимости от вида разрабатываемого грунта и необходимых параметров выемки экскаватор может применяться с нормальной и удлиненной рукоятью. Удлиненная рукоять монтируется только на моноблочную стрелу экскаватора.

На нормальную рукоять монтируют экскавационные ковши емкостью 0,2; 0,4; 0,5 или 0,63 м3, а на удлиненную - экскавационные ковши емкостью 0,2 или 0,4 м3.

Наибольшие размеры выемок с откосами различной крутизны, разрабатываемых экскаватором ЭО-3322Б, и величина передвижки экскаватора приведены в табл. 1 (параметры выемок определены, исходя из технологических параметров экскаватора).

Таблица 1

Наименование

Крутизна откосов (1:m)

1:1,25

1:1

1:0,67

1:0,5

1:0,25

1

2

3

4

5

6

Нормальная рукоять и ковш емкостью 0,4-0,5 м3

Параметры выемки, м:

 

 

 

 

 

глубина Н

 3,2

2,3

 3,2

2,3

 3,2

2,3

 3,2

2,3

 3,2

2,3

ширина по верху В

 9,0

9,0

 7,4

9,0

 5,3

9,0

 4,2

9,0

 2,6

9,0

ширина по дну в

 1,0

3,3

 1,0

4,4

 1,0

5,9

 1,0

6,7

 1,0

7,8

Величина передвижки экскаватора L, м

 0,5

2,0

 0,5

2,0

 0,5

2,0

 0,5

2,0

 0,5

2,0

Нормальная рукоять и ковш емкостью 0,63 м3

Параметры выемки, м

 

 

 

 

 

Н

 3,2

2,3

 3,3

2,3

 3,3

2,3

 3,3

2,3

 3,3

2,3

В

 9,0

9,0

 7,7

9,0

 5,5

9,0

 4,4

9,0

 2,8

9,0

в

 1,1

3,4

 1,1

4,5

 1,1

6,0

 1,1

6,8

 1,1

7,9

Величина передвижки экскаватора L м

 0,5

2,0

 0,5

2,0

 0,5

2,0

 0,5

2,0

 0,5

2,0

Нормальная рукоять и ковш емкостью 0,2 м3

Параметры выемки, м

 

 

 

 

 

Н

 3,2

2,3

 3,2

2,3

 3,2

2,3

 3,2

2,3

 3,2

2,3

В

 8,5

8,7

 6,9

8,7

 4,8

8,7

 3,7

8,7

 2,1

8,7

в

 0,5

3,0

 0,5

4,1

 0,5

5,6

 0,5

6,4

 0,5

7,5

Величина передвижки экскаватора L м

 0,5

2,0

 0,5

2,0

 0,5

2,0

 0,5

2,0

 0,5

2,0

Удлиненная рукоять и ковш емкостью 0,4 м3

Параметры выемки, м

 

 

 

 

 

Н

 3,9

2,3

 3,9

2,3

 3,9

2,3

 3,9

2,3

 3,9

2,3

В

 10,7

10,7

 8,7

10,7

 6,1

10,7

 4,8

10,7

 2,9

10,7

в

 0,9

5,0

 0,9

6,1

 0,9

7,6

 0,9

8,4

 0,9

9,5

Величина передвижки экскаватора L м

 0,5

2,5

 0,5

2,5

 0,5

2,5

 0,5

2,5

 0,5

2,5

Удлиненная рукоять и ковш емкостью 0,2 м3

Параметры выемки, м

 

 

 

 

 

Н

 3,9

2,3

 3,9

2,3

 3,9

2,3

 3,9

2,3

 3,9

2,3

В

 10,3

10,7

 8,3

10,7

 5,7

10,7

 4,4

10,7

 2,4

10,7

в

 0,5

5,0

 0,5

6,1

 0,5

7,6

 0,5

8,4

 0,5

9,5

Величина передвижки экскаватора L м

 0,5

2,5

 0,5

2,5

 0,5

2,5

 0,5

2,5

 0,5

2,5

Примечание. В числителе приведены параметры выемки при минимальной ширине выемки по дну, равной ширине ковша; в знаменателе - при максимальной ширине выемки по верху, которую можно разработать экскаватором за один проход.

Производительность экскаватора ЭО-3322Б при разработке выемок и погрузке грунта в автомобили-самосвалы приведена в табл. 2.

Таблица 2

Производительность

Нормальная рукоять при ковше емкостью,

Удлиненная рукоять при ковш* емкость»,

0,5

0,63

0,2

0,4

0,2

Техническая, м3/ч, в грунтах

 

 

 

 

 

II группы

78,3

100,0

-

-

31,2

IV группы

47,2

-

19,0

37,8

-

Эксплуатационная, м3/ч, в грунтах

 

 

 

 

 

II группы

31,3

40,0

-

-

12,5

IV группы

18,9

-

7,6

15,1

-

Примечание. Значения производительности приняты по ДиЗ (ЕНиР), вып. 10.

Основные указания по производству работ

До начала земляных работ предварительно производят планировку поверхности бульдозером, инструментальную разбивку выемки, прокладывают, землевозные дороги.

Разрабатывают грунт в выемке лобовым забоем. Откос лобовой стенки забоя принят равным 1:0,5.

При разработке грунта ось проходки экскаватора совмещена с осью выемки.

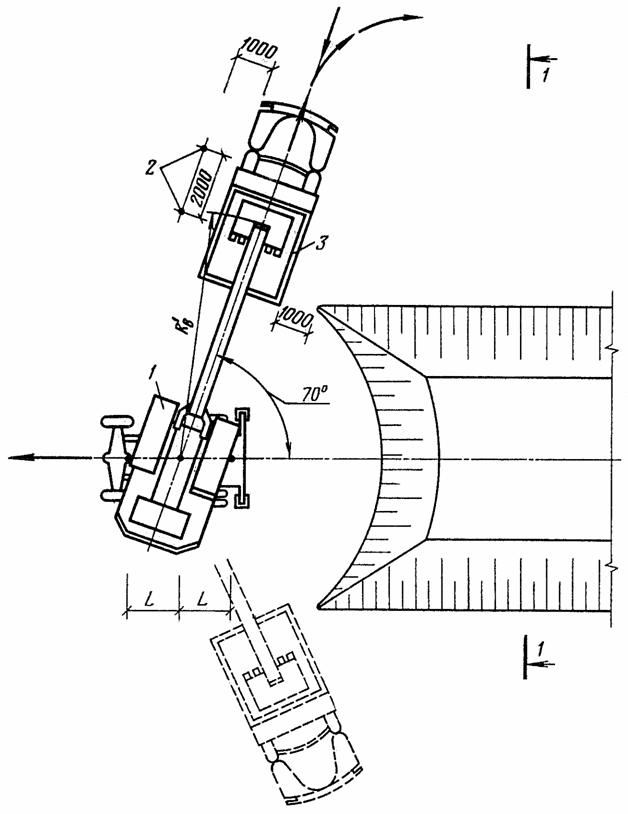
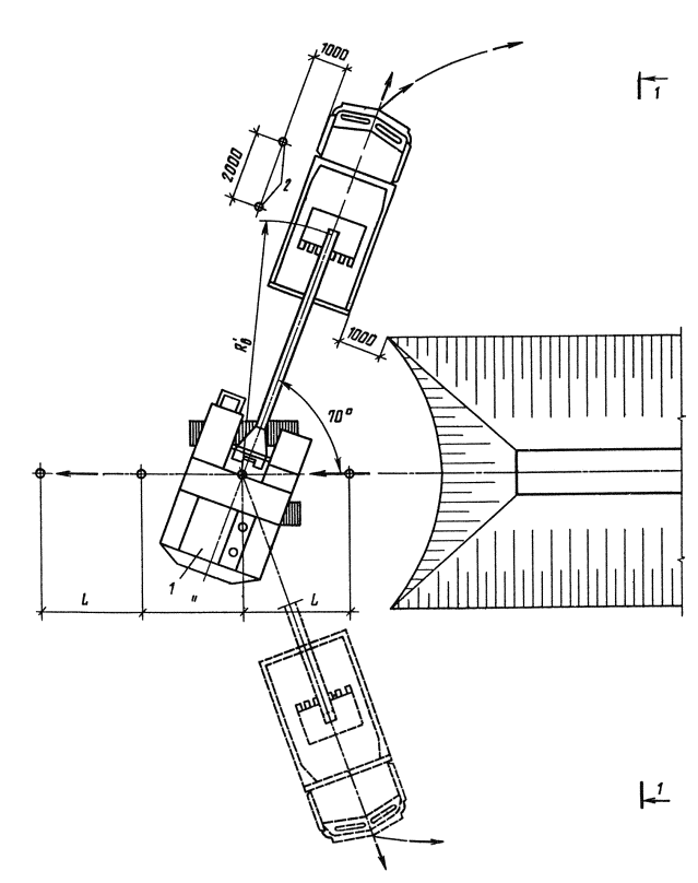
Автомобили-самосвалы под погрузку подают задним ходом и устанавливают в соответствии, со СНиП III-4-79 на расстоянии 1 м от бровки траншей с таким расчетом, чтобы средний угол поворота стрелы экскаватора не превышал 70°. При этом учитывают, что радиус выгрузки экскаватора Rв (высота выгрузки 2,4 м); выгрузка в автомобили-самосвалы ЗИЛ-ММЗ-555 составляет: с нормальной рукоятью и ковшами емкостью 0,5 и 0,63 м3 - 6,6 м; с нормальной рукоятью и ковшом 0,2 м3 - 6,7 м; с удлиненной рукоятью и ковшом емкостью 0,4 м3 - 7,7 м; с удлиненной рукоятью и ковшом 0,2 м3 - 7,6 м.

Откосы боковых стенок выемок, разрабатываемых экскаватором, должны приниматься в соответствии со СНиП III-8-76 в зависимости от вида грунта в глубины выемки.

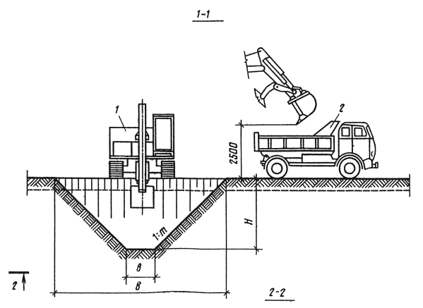
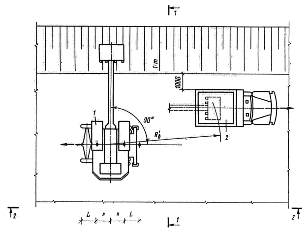
Технологическая схема на разработку грунта в выемках экскаватором ЭО-3322Б приведена на рис. 8.

Технико-экономические показатели

Технико-экономические показатели при разработке выемки и погрузке грунта в автомобили-самосвалы приведены в табл. 3.

Рис. 8. Схема разработки грунта в выемках экскаватором ЭО-3322Б

1 - экскаватор ЭО-3322Б; 2 - вешки; 3 - автомобиль-самосвал ЗИЛ-ММЗ-565

Таблица 3

Наименование

Нормальная рукоять при ковше емкостью, м3

Удлиненная рукоять при ковше емкостью м3

0,5

0,63

0,2

0,4

0,2

Затраты труда на 100 м3 чел.-ч, в грунтах

 

 

 

 

 

II группы

3,2

2,5

-

-

8,0

IV группы

5,3

-

13,1

6,6

-

Затраты машинного времени на 100 м3, маш.-ч, в грунтах

 

 

 

 

 

II группы

3,2

2,5

-

-

8,0

IV группы

5,3

-

13,1

6,6

-

Выработка на 1 чел.-день, м3, в грунтах

 

 

 

 

 

II группы

256,6

328,0

-

-

102,5

IV группы

155,0

-

62,6

124,0

-

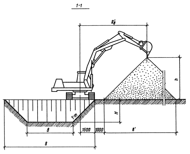
Разработка выемок лобовым забоем экскаватором ЭО-3322Б, оборудованным обратной лопатой, и выгрузка грунта в отвал

Общие положения

В зависимости от вида разрабатываемого грунта и необходимых параметров выемки экскаватор может применяться с нормальной или удлиненной рукоятью.

На нормальную рукоять монтируют экскавационные ковши емкостью 0,5; 0,63 или 0,2 м3, а на удлиненную рукоять - 0,4 или 0,2 м3.

Разработка выемок с выгрузкой грунта в отвал может производиться с совмещением оси движения экскаватора с осью выемки и со смещением оси движения экскаватора относительно оси выемки осуществляется в случае необходимости размещения отвала при увеличенных размерах выемки.

Наибольшие размеры выемок с откосами различной крутизны, разрабатываемых экскаватором ЭО-3322Б, и отсыпаемых отвалов грунта, а также величина передвижки и радиус выгрузки экскаватора в отвал при совмещении оси движения экскаватора с осью выемки приведены в табл. 4.

Таблица 4

Наименование

Крутизна откосов (1:m)

1:1,25,

1:1

1:0,67

1:0,5

1:0,25

1

2

3

4

5

6

Нормальная рукоять и ковш емкостью 0,5 м3

Параметры выемки, м

 

 

 

 

 

глубина Н

 1,9

1,9

 2,2

2,2

 2,8

2,3

 3,2

2,3

 3,2

2,3

ширина по верху В

 5,7

5,7

 5,4

5,4

 4,8

4,9

 4,2

4,7

 2,6

4,6

ширина по дну b

 1,0

1,0

 1,0

1,0

 1,0

1,8

 1,0

2,4

 1,0

3,1

Параметры отвала, м

 

 

 

 

 

h

 2,8

2,8

 2,9

2,9

 3,1

3,0

 3,1

3,1

 2,6

3,2

B'

 5,6

5,6

 5,8

5,8

 6,2

6,0

 6,2

6,2

 5,2

6,4

Величина передвижки экскаватора L, м

 2,5

2,5

 2,0

2,0

 1,0

2,0

 0,5

2,0

 0,5

2,0

Радиус выгрузки экскаватора Rв, м

 6,6

6,6

 6,6

6,6

 6,5

6,5

 6,2

6,5

 4,9

6,5

Нормальная, рукоять и ковш емкостью 0,63 м3

Параметры выемки, м

 

 

 

 

 

Н

 1,8

1,8

 2,1

2,1

 2,8

2,3

 3,3

2,3

 3,3

2,3

B

 5,6

5,6

 5,3

5,3

 4,8

4,9

 4,4

4,7

 2,8

4,6

b

 1,1

1,1

 1,1

1,1

 1,1

1,8

 1,1

2,4

 1,1

3,1

Параметры отвала, м

 

 

 

 

 

h

 2,7

2,7

 2,8

2,8

 3,1

3,0

 3,3

3,1

 2,8

3,2

B'

 5,4

5,4

 5,6

5,6

 6,2

6,0

 6,6

6,2

 5,6

6,4

Величина передвижки экскаватора L, м

 2,5

2,5

 2,0

2,0

 1,5

2,0

 0,5

2,0

 0,5

2,0

Радиус выгрузки экскаватора Rв, м

 6,5

6,5

 6,5

6,5

 6,5

6,5

 6,5

6,5

 5,2

6,5

Нормальная рукоять и ковш емкостью 0,2 м3

Параметры выемки, м

 

 

 

 

 

Н

 2,1

2,1

 2,4

2,3

 3,2

2,3

 3,2

2,3

 3,2

2,3

B

 5,8

5,8

 5,3

5,4

 4,8

5,1

 3,7

4,8

 2,1

4,6

b

 0,5

0,5

 0,5

0,8

 0,5

2,0

 0,5

2,5

 0,5

3,1

Параметры отвала, м

 

 

 

 

 

h

 2,8

2,8

 2,9

2,9

 3,2

3,1

 2,8

3,2

 2,2

3,2

B'

 5,6

5,6

 5,8

5,8

 6,4

6,2

 5,6

6,4

 4,4

6,4

Величина передвижки экскаватора L, м

 2,0

2,0

 2,0

2,0

 0,5

2,0

 0,5

2,0

 0,5

2,0

Радиус выгрузки экскаватора Rв, м

 6,7

6,7

 6,6

6,6

 6,6

6,6

 5,7

6,6

 4,7

6,5

Удлиненная рукоять и ковш ёмкостью 0,4 м3

Параметры выемки, м

 

 

 

 

 

Н

 2,3

2,3

 2,6

2,3

 3,4

2,3

 3,9

2,3

 3,9

2,3

B

 6,6

6,6

 6,1

6,2

 5,5

5,9

 4,8

5,7

 2,9

5,5

b

 0,9

0,9

 0,9

1,6

 0,9

2,8

 0,9

3,4

 0,9

4,4

Параметры отвала, м

 

 

 

 

 

h

 3,2

3,2

 3,3

3,3

 3,6

3,5

 3,7

3,5

 3,0

3,7

B'

 6,4

6,4

 6,6

6,6

 7,2

7,0

 7,4

7,0

 6,0

7,4

Величина передвижки экскаватора L, м

 2,5

2,5

 2,5

2,5

 1,0

2,5

 0,5

2,5

 0,5

2,5

Радиус выгрузки экскаватора Rв, м

 7,5

7,5

 7,4

7,4

 7,4

7,4

 7,1

7,4

 6,0

7,4

Удлиненная рукоять и ковш емкостью 0,2 м3

Параметры выемки, м

 

 

 

 

 

Н

 2,4

2,3

 2,9

2,3

 3,8

2,3

 3,9

2,3

 3,9

2,3

B

 6,5

6,7

 6,3

6,3

 5,6

6,0

 4,4

5,8

 2,5

5,6

b

 0,5

1,0

 0,5

1,7

 0,5

2,9

 0,5

3,5

 0,5

4,5

Параметры отвала, м

 

 

 

 

 

h

 3,2

3,2

 3,4

3,3

 3,7

3,5

 3,4

3,6

 2,6

3,7

B'

 6,4

6,4

 6,8

6,6

 7,4

7,0

 6,8

7,2

 5,2

7,4

Величина передвижки экскаватора L, м

 2,5

2,5

 2,0

2,5

 0,5

2,5

 0,5

2,5

 0,5

2,5

Радиус выгрузки экскаватора Rв, м

 7,5

7,5

 7,5

7,5

 7,5

7,5

 6,6

7,5

 5,4

7,5

Примечание. В числителе приведены параметры выемки и отвала при минимальной ширине выемки по дну, равной ширине ковша; в знаменателе - параметры выемки и отвала при максимальной ширине выемки по верху, которую можно разработать экскаватором за один проход.

Наибольшие размеры выемок с откосами различной крутизны, разрабатываемых экскаватором ЭО-3322Б, и отсыпаемых отвалов грунта, а также величина передвижки и радиус выгрузки экскаватора в отвал при смещении оси движения экскаватора относительно оси выемки приведены в табл. 5.

Таблица 5

Наименование

Крутизна откосов (1:m)

1:1,25

1:1

1:0,67

1:0,5

1:0,25

1

2

3

4

5

6

Нормальная рукоять и ковш емкостью 0,5 м3

Параметры выемки, м

 

 

 

 

 

Н

 2,5

2,3

 2,6

2,3

 3,0

2,3

 3,2

2,3

 3,2

2,3

B

 8,8

8,8

 7,7

8,2

 6,5

7,5

 5,7

7,1

 4,1

6,4

b

 2,5

3,1

 2,5

3,6

 2,5

4,4

 2,5

4,8

 2,5

5,2

Параметры отвала, м

 

 

 

 

 

h

 4,1

4,0

 4,0

4,0

 4,0

4,0

 4,0

4,0

 3,6

4,0

B'

 8,2

8,0

 8,0

8,0

 8,0

8,0

 8,0

8,0

 7,2

8,0

Величина передвижки экскаватора L, м

 1,5

2,0

 1,5

2,0

 1,0

2,0

 0,5

2,0

 0,5

2,0

Радиус выгрузки экскаватора Rв, м

 6,4

6,3

 6,3

6,3

 6,3

6,3

 6,3

6,3

 5,9

6,3

Нормальная рукоять и ковш емкостью 0,63 м3

Параметры выемки, м

 

 

 

 

 

Н

 2,5

2,3

 2,7

2,3

 3,0

2,3

 3,3

2,3

 3,3

2,3

B

 8,6

8,8

 7,8

8,1

 6,4

7,4

 5,7

7,0

 4,1

6,3

b

 2,4

3,1

 2,4

3,5

 2,4

4,3

 2,4

4,7

 2,4

5,1

Параметры отвала, м

 

 

 

 

 

h

 4,0

4,0

 4,0

4,0

 4,0

4,0

 4,0

4,0

 3,6

4,0

B'

 8,0

8,0

 8,0

8,0

 8,0

8,0

 8,0

8,0

 7,2

8,0

Величина передвижки экскаватора L, м

 1,5

2,0

 1,5

2,0

 1,0

2,0

 0,5

2,0

 0,5

2,0

Радиус выгрузки экскаватора Rв, м

 6,3

6,3

 6,3

6,3

 6,3

6,3

 6,3

6,3

 5,9

6,3

Нормальная рукоять и ковш емкостью 0,2 м3

Параметры выемки, м

 

 

 

 

 

Н

 2,4

2,3

 2,6

2,3

 2,9

2,3

 3,2

2,3

 3,2

2,3

B

 8,8

8,8

 8,1

8,4

 6,8

7,7

 6,1

7,3

 4,5

6,6

b

 2,9

3,0

 2,9

3,8

 2,9

4,6

 2,9

5,0

 2,9

5,4

Параметры отвала, м

 

 

 

 

 

h

 4,1

4,0

 4,1

4,1

 4,1

4,1

 4,1

4,1

 3,8

4,1

B'

 8,2

8,0

 8,2

8,2

 8,2

8,2

 8,2

8,2

 7,6

8,2

Величина передвижки экскаватора L, м

 2,0

2,0

 1,5

2,0

 1,0

2,0

 0,5

2,0

 0,5

2,0

Радиус выгрузки экскаватора Rв, м

 6,4

6,3

 6,4

6,4

 6,4

6,4

 6,1

6,4

 6,1

6,4

Удлиненная рукоять и ковш емкостью 0,4 м3

Параметры выемки, м

 

 

 

 

 

Н

 2,8

2,3

 3,2

2,3

 3,6

2,3

 3,9

2,3

 3,9

2,3

B

 9,5

9,5

 8,9

9,5

 7,4

9,5

 6,5

9,1

 4,6

8,6

b

 2,6

3,7

 2,6

4,9

 2,6

6,4

 2,6

6,8

 2,6

7,4

Параметры отвала, м

 

 

 

 

 

h

 4,5

4,3

 4,6

4,5

 4,6

4,6

 4,6

4,6

 4,1

4,6

B'

 9,0

8,6

 9,2

9,0

 9,2

9,2

 9,2

9,2

 8,2

9,2

Величина передвижки экскаватора L, м

 1,5

2,5

 1,0

2,5

 1,0

2,5

 0,5

2,5

 0,5

2,5

Радиус выгрузки экскаватора Rв, м

 6,8

6,6

 7,1

6,8

 6,9

7,1

 6,9

7,1

 6,4

7,1

Удлиненная рукоять и ковш емкостью 0,2 м3.

Параметры выемки, м

 

 

 

 

 

Н

 2,8

2,3

 3,2

2,3

 3,7

2,3

 3,9

2,3

 3,9

2,3

B

 9,4

9,5

 8,8

9,5

 7,3

9,5

 6,3

9,1

 4,4

8,6

b

 2,4

3,7

 2,4

4,9

 2,4

6,4

 2,4

6,8

 2,4

7,4

Параметры отвала, м

 

 

 

 

 

h

 4,6

4,3

 4,6

4,5

 4,6

4,6

 4,5

4,6

 4,0

4,6

B'

 9,2

8,6

 9,2

9,0

 9,2

9,2

 9,0

9,2

 8,0

9,2

Величина передвижки экскаватора L, м

 2,0

2,5

 1,0

2,5

 0,5

2,5

 0,5

2,5

 0,5

2,5

Радиус выгрузки экскаватора Rв, м

 6,9

6,6

 6,9

6,8

 6,9

7,1

 6,8

7,1

 6,3

7,1

Примечание. В числителе приведены параметры выемки и отвала при минимальной ширине выемки по дну; в знаменателе - параметры выемки и отвала при максимальной ширине выемки по верху которую можно разработать экскаватором за один проход.

Производительность экскаватора ЭО-3322Б при разработке выемок и выгрузке грунта в отвал приведена в табл. 6.

Таблица 6

Производительность

Нормальная рукоять при ковше емкостью, м3

Удлиненная рукоять при ковше емкостью, м3

0,5

0,63

0,2

0,4

0,2

Техническая, м3/ч, в грунтах

 

 

 

 

 

II группы

96,3

119,0

-

-

38,5

IV группы

61,0

-

24,4

48,8

-

Эксплуатационная, м3/ч, в грунтах

 

 

 

 

 

II группы

38,5

47,6

-

-

15,4

IV группы

24,4

-

9,8

19,5

-

Примечание. Значения производительности приняты по ДнЗ (ЕНиР), вып. 10.

Основные указания по производству работ

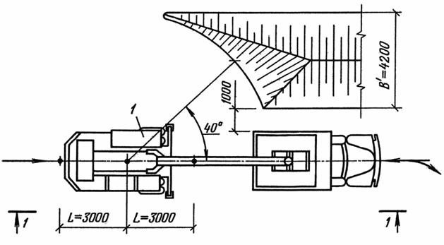
До начала производства земляных работ выполняют подготовительные работы: планировку поверхности бульдозером, инструментальную разбивку осей выемки и отвала.

Разрабатывают грунт в выемке лобовым забоем. Откос лобовой стенки забоя принят равным 1:0,5.

Откосы боковых стенок выемки, разрабатываемой экскаватором, должны приниматься в соответствии со СНиП III-8-76, в зависимости от вида грунта и глубины выемки.

Схема разработки выемки лобовым забоем экскаватором ЭО-3322Б и выгрузки грунта в отвал показана на рис. 9.

Рис. 9. Схема разработки выемки лобовым забоем экскаватором ЭО-3322В и выгрузки грунта в отвал

Технико-экономические показатели

Технико-экономические показатели при разработке грунта с выгрузкой его в отвал приведены в табл. 7.

Таблица 7.

Наименование

Нормальная рукоять при ковше емкостью, м3

Удлиненная рукоять при ковше емкостью, м3

0,5

0,63

0,2

0,4

0,2

Затраты труда на 100 м3, чел.-ч. В грунтах

 

 

 

 

 

II группы

2,6

2,1

-

-

6,5

IV группы

4,1

-

10,2

5,1

-

Затраты машинного времени на 100 м3, маш.-ч. в грунтах

 

 

 

 

 

II группы

2,6

3,4

-

-

6,5

IV группы

4,1

-

10,2

5,1

-

Выработка на 1 чел.-день, м3, в грунтах

 

 

 

 

 

II группы

315,5

390,4

-

-

126,2

IV группы

200,0

-

80,4

160,8

-

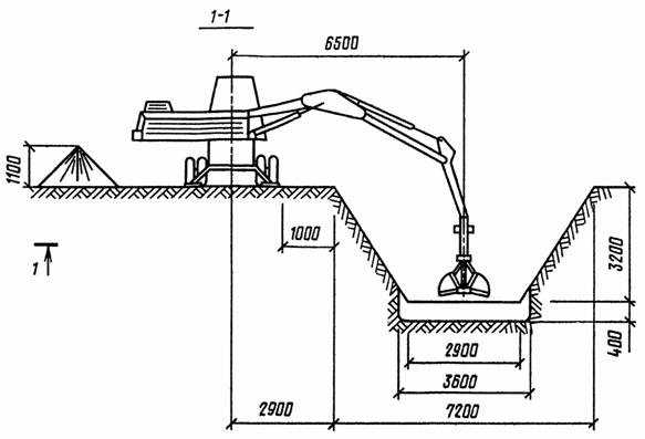
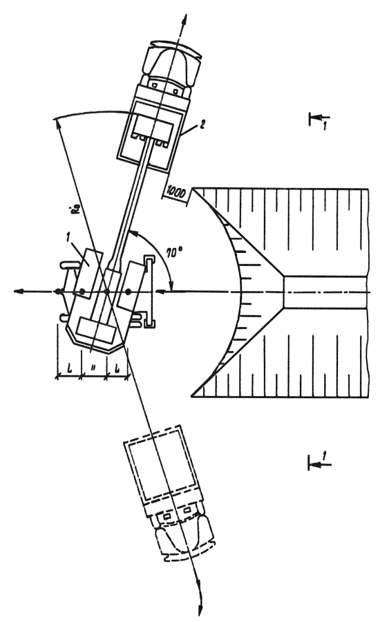
Разработка траншей экскаватором ЭО-3322Б, оборудованным обратной лопатой и профильным ковшом, с выгрузкой грунта в отвал.

Общие положения

При разработке траншей небольшой глубины с откосами 1:1 (45°) в грунтах II группы экскаватор оснащается профильным ковшом емкостью 0,5 м3.

Параметры траншеи определены исходя из геометрических размеров ковша с добавлением необходимого припуска по ширине траншеи в соответствии со СНиП III-8-76.

Техническая производительность экскаватора ЭО-3322Б при разработке траншеи в грунтах II группы профильным ковшом и выгрузкой грунта в отвал составляет 54,6 м3/ч, эксплуатационная 38,2 м3/ч (значения производительности приведены по данным ЦНИИОМТП)

Рис. 10. Схема разработки траншеи лобовым забоем экскаватором ЭО-3322Б, оснащенным профильным ковшом с выгрузкой грунта в отвал.

1 - экскаватор ЭО-3322Б; 2 - вешки;. 3 - автомобиль-самосвал ЗИЛ-ММЗ-555

Основные указания по производству работ

До начала производства земляных работ выполняют подготовительные операции: планировку поверхности бульдозером, инструментальную разбивку осей траншеи и отвала.

Разрабатывают грунт в траншее лобовым забоем. Угол наклона лобовой стенки забоя принят равным 1:0,5.

При разработке грунта ось проходки экскаватора совмещена с осью траншеи.

Схема разработки траншеи лобовым забоем экскаватором ЭО-3322Б, оснащенным профильным ковшом с выгрузкой грунта в отвал, приведена на рис. 10.

Технико-экономические показатели при разработке, грунта II группы с выгрузкой его в отвал

Затраты труда на 100 м3 грунта, чел.-ч

3,2

Затраты машинного времени на 100 м3 грунта, маш.-ч

1,6

Выработка на 1 чел.-день, м3

256

Рыхление грунта в траншее (котловане) с применением навесного гидромолота СП-71 на экскаваторе ЭО-3322Б

Общие положения

Гидромолот СП-71 предназначен для рыхления мерзлых грунтов при любой глубине промерзания, разрушения асфальто-бетонных дорожных покрытий, разделки негабаритов, разборки каменных и железобетонных конструкций в условиях, где невозможно или затруднено применение рыхлителей на базе гусеничных тракторов или взрывного способа.

Гидромолот СП-71 монтируется на рукоять обратной лопаты экскаватора ЭО-3322Б.

Производительность экскаватора ЭО-3322Б при рыхлении мерзлых грунтов группы IIм гидромолотом СП-71 составляет 9,5 м3/ч, эксплуатационная - 7 м3/ч (значения производительности - по данным ЦНИИОМТП).

Основные указания воспроизводству работ

До начала рыхления мерзлого грунта выполняют подготовительные работы: инструментальную разбивку трассы выемки и очистку ее от снега.

При рыхлении грунта ось проходки экскаватора совмещена с осью, выемки.

При глубине промерзания до 0,9 м рыхление выполняется за один проход. При большей глубине промерзания - слоями толщиной 0,9-1,0 м с уборкой разрыхленного грунта каждого слоя (см. рис 5).

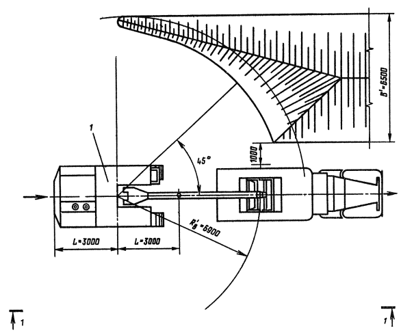
Схема рыхления грунта в выемке экскаватором ЭО-3322Б с гидромолотом СП-71 приведена на рис. 11.

Технико-экономические показатели при разработке грунта группы. IIм в выемке

Затраты труда на 100 м3 грунта, чел.-ч

14,3

Затраты машинного времени на 100 м3 грунта, маш.-ч

14,3

Выработка на 1 чел.-день, м3

57,3

Рыхление мерзлого грунта сезонного промерзания экскаватором ЭО-3322Б с зубом-рыхлителем

Общие положения

Для рыхления мерзлого грунта сезонного промерзания и взламывания старого дорожного полотна экскаватор ЭО-3322Б, оборудованный обратной лопатой, оснащается зубом-рыхлителем.

За один проход возможно рыхление мерзлого грунта глубиной промерзания до 400 мм.

Техническая производительность экскаватора ЭО-3322Б при рыхлении грунта сезонного промерзания составляет 25 м3/ч, эксплуатационная - 17,5 м3/ч (значения производительности - по данным ЦНИИОМТП).

Рис. 11. Схема рыхления грунта в выемке экскаватором ЭО-3322Б с гидромолотом СП-71

1 - экскаватор ЭО-3322Б с навесным гидравлическим молотом СП-71; 2 - разрыхленный грунт; 3 - молот СП-71

Основные указания по производству работ.

До начала производства работ по разрушению грунта выполняют подготовительные операции: инструментальную разбивку оси проходки экскаватора и полосы рыхления грунта.

Рыхление грунта сезонного промерзания производят по радиусу полосами шириной 1 м при условии поворота рабочего оборудования на угол не более 30° в каждую сторону от оси движения экскаватора.

Шаг передвижки экскаватора принят равным 1 м при глубине промерзания грунта 400 мм.

Схема разрушения грунта сезонного промерзания экскаватором ЭО-3322Б приведена на рис. 12.

Технико-экономические показатели при рыхлении грунта сезонного промерзания

Затраты труда на 100 м3 грунта, чел.-ч

5,7

Затраты машинного времени на 100 м3 грунта, маш.-ч

5,7

Выработка на 1 чел.-день, м3

143,5

Погрузка в автомобили-самосвалы сыпучих материалов из штабеля экскаватором ЭО-3322Б с оборудованием прямого копания

Общие положения

Для погрузки сыпучих материалов с объемной массой до 1,4 т/м3 из штабеля или грунтов I, II групп из резерва в автотранспортные средства экскаватор оснащается оборудованием прямого копания и погрузочным ковшом емкостью 1,0 м3.

Техническая производительность экскаватора ЭО-3322Б при погрузке грунта из штабеля в автомобили-самосвалы составляет 113,4 м3/ч, эксплуатационная - 79,4 м3/ч (значения производительности по данным ЦНИИОМТП).

Рис. 12. Схема разрушения грунта сезонного промерзания экскаватором ЭО-3322Б

Основные указания по производству работ

До начала погрузочных работ выполняют подготовительные операции: устанавливают переносные вешки, устраивают необходимые временные автомобильные дороги.

При погрузке ось проходки экскаватора совмещена с осью штабеля. Размеры штабеля определены оптимальными условиями разгрузки в автомобили-самосвалы (угол поворота стрелы экскаватора на выгрузку составляет не более 70°).

Схема производства, погрузочных работ из штабеля экскаватором ЭО-3322Б приведена на рис. 13.

Рис. 13. Схема производства погрузочных работ из штабеля экскаватором ЭО-3322Б

1 - экскаватор ЭО-3322Б; 2 - вешка; 3 - автомобиль-самосвал ЗИЛ-ММЗ-555

Технико-экономические показатели при погрузке грунта из штабеля в автомобили-самосвалы

Затраты труда на 100 м3 грунта, чел.-ч

1,26

Затраты машинного времени на 100 м3 грунта, маш.-ч

1,26

Выработка на 1 чел.-день м3

650,8

Погрузка в автомобили-самосвалы грунта из штабеля экскаватором ЭО-3322Б с грейферным оборудованием

Общие положения

Для погрузки сыпучих материалов с объемной массой до 1,4 т/м3 же штабеля или грунтов I, II групп из резерва в автотранспортные средства экскаватор оснащается грейферным оборудованием, монтируемым на стреле обратной лопаты, с нормальной рукоятью и ковшом емкостью 0,5 м3.

Техническая производительность экскаватора ЭО-3322Б при погрузке грунта из штабеля в автомобили-самосвалы составляет 52,5 м3/ч, эксплуатационная -36,8 м3/ч (значения производительности - по данным ЦНИИОМТП)

Основные указания по производству работ

До начала погрузочных работ выполняют подготовительные операции: устанавливают вешки, устраивают, при необходимости, временные автомобильные дороги.

Ширина штабеля ограничена максимальным радиусом копания экскаватора с учетом передвижения экскаватора вдоль штабеля.

Автомобили-самосвалы под догрузку подают задним ходом и устанавливают по оси движения экскаватора.

Схема производства погрузочных работ из штабеля экскаватором ЭО-3322Б с грейферным оборудованием приведена на рис. 14.

Технико-экономические показатели при погрузке грунта из штабеля

Затраты труда на 100 м3 грунта, чел.-ч

2,7

Затраты машинного времени на 100 м3 грунта, маш.-ч

2,7

Выработка на 1 чел.-день, м3

303,7

Рис. 14. Схема производства погрузочных работ из штабеля экскаватором ЭО-3322Б с грейферным оборудованием

1 - экскаватор ЭО-3322Б; 2 - автомобиль-самосвал ЗИЛ-ММЗ-555

Разработка грунта местных выемок экскаватором ЭО-3322Б с грейферным оборудованием

Общие положения

Для разработки грунта местных выемок (под местные фундаменты, смотровые колодцы трубопроводов, для заделки стыков чугунных трубопроводов, железобетонных труб диаметром 2 и длиной 4,63 м) в грунтах I и II групп экскаватор ЭО-3322Б оснащается грейферным оборудованием с напорным грейфером емкостью 0,32 м3.

Техническая производительность экскаватора ЭО-3322Б с грейферным оборудованием при разработке грунта и выгрузке его в отвал составляет 28,8 м3/ч, эксплуатационная - 20,1 м3(значения производительности - по данным ЦНИИОМТП).

Основные указания по производству работ

До начала производства земляных работ выполняют инструментальную разбивку расположения местных выемок.

Схема разработки грунта местных выемок экскаватором ЭО-3322Б, оснащенным копающим грейферным ковшом, приведена на рис. 15.

Экскаватор передвигается вдоль траншеи, в которой необходимо отрыть местные выемки на расстоянии, в соответствии со СНиП III-4-79, не менее 1 м от бровки траншеи.

Технико-экономические показатели при разработке местных выемок в грунтах 1 группы

Затраты труда на 100 м3 грунта, чел.-ч

5

Затраты машинного времени на 100 м3 грунта, маш.-ч

5

Выработка на 1 чел.-день, м3

41

Рис. 15. Схема разработки грунта местных выемок экскаватором ЭО-3322Б с грейферным ковшом

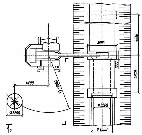
Разработка грунта при рытье колодца экскаватором ЭО-3322Б с грейферным оборудованием

Общие положения

При рытье колодцев в грунтах I, II групп экскаватор ЭО-3322Б оснащается составной стрелой и пятичелюстным грейферным ковшом емкостью 0,5 м3.

Техническая производительность экскаватора ЭО-3322Б при рытье колодцев и выгрузке грунта в отвал составляет 35,7 м3/ч, эксплуатационная - 25 м3/ч (значения производительности приведены по данным ЦНИИОМТП).

Основные указания по производству работ

До начала производства земельных работ выполняют инструментальную разбивку расположения колодца, отвала, установку ограждения.

Угол поворота стрелы экскаватора на выгрузку составляет 45°.

Максимальная глубина копания ограничена соприкосновением стрелы экскаватора со стенкой колодца.

Схема рытья колодцев экскаватором ЭО-3322Б, оснащенным грейфером, приведена на рис. 16.

Рис 16. Схема рытья колодцев экскаватором ЭО-3322Б, оснащенным грейфером

1 - экскаватор ЭО-3322Б; 2 - ограждение

Технико-экономические показатели при рытье колодцев в грунтах II группы

Затрата труда на 100 м3 грунта, чел.-ч

4

Затраты машинного времени на 100 м3 грунта, маш.-ч

4

Выработка на 1 чел.-день, м3

205

ЭКСКАВАТОР ЭО-3322В

Экскаватор ЭО-3322В (рис. 17) производства Калининского экскаваторного завода предназначен для разработки грунтов I-III групп, планировки откосов и горизонтальных поверхностей, земляных сооружений, а также зачистки недоборов грунта при разработке траншей и котлованов.

Экскаватор может быть использован для работы при температуре окружающего воздуха от -40 до +40°С.

Машина снабжена полуавтоматической системой управления, которая позволяет механизировать зачистку дна разрабатываемого им земляного сооружения до проектных отметок. Зачищают дно режущей кромкой ковша при установке его на зачищенную поверхность после разработки основного объема грунта (с одной стоянки экскаватора) или планировочным отвалом.

Экскаватор снабжен также системой позволяющей разворачивать ковш вокруг оси рукояти на угол, равный ±45°, и формировать откосы узких траншей с заложением до 1:1 при движении экскаватора по оси траншеи.

ЭО-3322В поставляется потребителям с нормальной рукоятью и экскавационно-планировочным ковшом емкостью 0,5 м3.

По заказам потребителей заводом-изготовителем могут быть поставлены следующие виды смежных рабочих органов: экскавационно-планировочный ковш емкостью 0,4 м3; планировочный отвал; удлиненная рукоять.

Кроме этого, экскаватор ЭО-3322В может применяться со всеми, видами сменного рабочего оборудования и рабочих органов экскаватора ЭО-3322Б.

Рис. 17. Схема экскаватора ЭО-3322В

R -

радиус вращения хвостовой части, м

2,8

Б -

ширина поворотной платформы (по кабине), м

2,655

В -

высота по кабине, м

3,14

Г -

высота оси пяты стрелы, м

1,96

А -

расстояние от оси пяты стрелы до оси вращения, м

0,45

Е -

база, м

2,8

Ж -

колея, м

2,04

К -

ширина ходовой части, м

2,7

Л -

расстояние от оси вращения экскаватора до оси задних колес, м

1,0

М -

ширина при работе на выносных опорах, м

1,3

Техническая характеристика

Наибольшая скорость движения, км/ч

19,68

Наибольший преодолеваемый подъем, град

22

Номинальная мощность, л.с.

75

Номинальный расход гидрожидкости, л/мин

330

Номинальное давление в гидросистеме, МПа

16

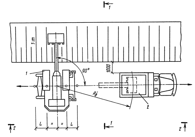
Схемы и кинематические параметры рабочей зоны экскаватора ЭО-3322В с экскавационно-планировочным ковшом, с нормальной рукоятью и планировочным отвалом, с удлиненной рукоятью и планировочным отвалом приведены на рис. 18-21.

Рис. 18. Схема работ экскаватора ЭО-3322В с экскавацнонно-планнровочным ковшом

Наименование

Ковш с рукоятью

нормальной

удлиненной

R1 -

радиус, описываемый кромкой зуба ковша, м

1,24

1,80

Rк.с. -

наибольший радиус копания, м

7,90

8,50

Нк -

наибольшая глубина копания, м

4,30

5,20

Нв -

наибольшая высота выгрузки, м

4,60

4,80

Rв -

радиус выгрузки при наибольшей высоте выгрузки, м

6,10

6.60

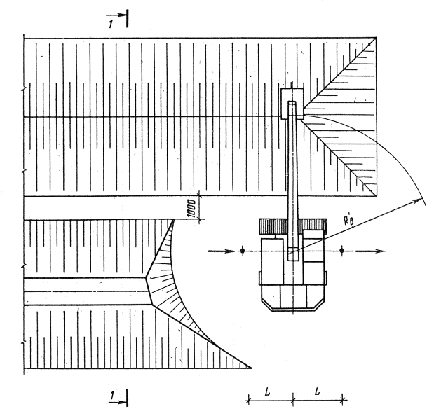
Рис. 19. Схема работы экскаватора ЭО-3322В с экскавационно-планировочным ковшом и нормальной рукоятью

I - зона горизонтальной планировки;

II - зова планировки пря нижней стоянке экскаватора;

III - зова планировки при верхней стоянке экскаватора

Н1 - наибольшая высота горизонтальной планировки, м

4,60

Н2 - наибольшая высота планировки откосов при нижней стоянке экскаватора, м

4,40

B1 - наибольшая глубина горизонтальной планировки, м

4,30

В2 - наибольшая глубина планировки откосов пря нижней стоянке экскаватора, м

2,70

В3 - наибольшая глубина планировки откосов при верхней стоянке экскаватора, м

3,10

L1 - длина планируемого участка на уровне стоянки экскаватора, м

3,10

Рис. 20. Схема работа экскаватора ЭО-3322В с нормальной рукоятью и планировочным отвалом

I - зона горизонтальной планировки;

II - зова планировки пря нижней стоянке экскаватора;

III - зова планировки при верхней стоянке экскаватора

Н1 - наибольшая высота горизонтальной планировки, м

4,80

Н2 - наибольшая высота планировки откосов при нижней стоянке экскаватора, м

4,74

B1 - наибольшая глубина горизонтальной планировки, м

4,00

В2 - наибольшая глубина планировки откосов пря нижней стоянке экскаватора, м

3,76

В3 - наибольшая глубина планировки откосов при верхней стоянке экскаватора, м

2,30

L1 - длина планируемого участка на уровне стоянки экскаватора, м

3,10

Рис. 21. Схема работы экскаватора ЭО-3322В с удлиненной рукоятью и планировочным отвалом

I - зона горизонтальной планировки;

II - зова планировки пря нижней стоянке экскаватора;

III - зова планировки при верхней стоянке экскаватора

Н1 - наибольшая высота горизонтальной планировки, м

5,0

Н2 - наибольшая высота планировки откосов при нижней стоянке экскаватора, м

5,2

B1 - наибольшая глубина горизонтальной планировки, м

4,9

В2 - наибольшая глубина планировки откосов пря нижней стоянке экскаватора, м

4,3

В3 - наибольшая глубина планировки откосов при верхней стоянке экскаватора, м

4,0

L1 - длина планируемого участка на уровне стоянки экскаватора, м

4,60

Разработка выемок лобовым забоем экскаватором ЭО-3322В, оборудованным обратной лопатой, и погрузка грунта в автомобили-самосвалы

Общие положения

В зависимости от вида разрабатываемого грунта и необходимых параметров выемки экскаватор может применяться с нормальной и удлиненной рукоятью.

На нормальную рукоять монтируется экскавационно-планировочный ковш емкостью 0,4 или 0,5 м3, а на удлиненную рукоять экскавационно-планировочный ковш емкостью 0,4 м3.

Наибольшие размеры выемок с откосами различной крутизны, разрабатываемых с одновременной зачисткой дна экскаватором ЭО-3322В, приведены в табл. 8 (параметры выемок определены, исходя из технологических параметров экскаватора).

Таблица 8

Параметры выемок, м

Крутизна откосов (1:m)

1:1,25

1:1

1:0,67

1:0,5

1:0,25

Нормальная рукоять и ковш емкостью 0,5 м3

H

2,3

2,3

2,3

2,3

2,3

B

 7,0

9,0

 5,8

9,0

 4,3

9,0

 3,5

9,0

 2,4

9,0

b

 1,2

3,2

 1,2

4,4

 1,2

5,9

 1,2

6,7

 1,2

7,8

Удлиненная рукоять и ковш емкостью 0,4 м3

H

2,3

2,3

2,3

2,3

2,3

B

 7,0

10,0

 5,8

10,0

 4,3

10,0

 3,5

10,0

 2,4

10,0

b

 1,2

4,2

 1,2

5,4

 1,2

7,0

 1,2

7,7

 1,2

8,8

Примечание. В числителе приведены параметры выемки при минимальной ширине выемки по дну, равной ширине ковша; в знаменателе - при максимальной ширине выемки по верху, которую можно разработать экскаватором за один проход.

Производительность экскаватора ЭО-3322В при разработке выемок с одновременной зачисткой их дна и погрузке в автомобили-самосвалы приведены в табл. 9.

Таблица 9

Производительность

Ковш емкостью, м3

0,5

0,4

Техническая, м3/ч, в грунтах

 

 

II группы

122,0

98,0

IV группы

82,0

65,0

Эксплуатационная, м3/ч, в грунтах

 

 

II группы

49,0

39,0

IV группы

33,0

26,0

Примечание. Значения производительности - по данным ЦНИИОМТП.

Основные указания по производству работ

До начала производства земляных работ выполняют подготовительные операции: планировку поверхности бульдозером, инструментальную разбивку выемки, прокладывают землевозные дороги.

Разрабатывают грунт в выемке лобовым забоем. Откос лобовой стенки забоя принят равным 1:0,5.

При разработке грунта ось проходки экскаватора совмещена с осью выемки.

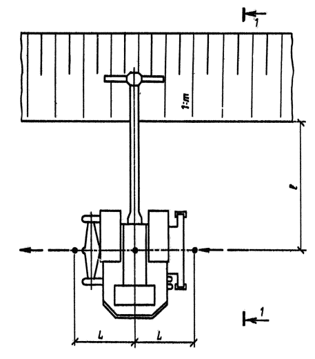
Автомобили-самосвалы под погрузку подают задним ходом и устанавливают в соответствии со СНиП III-4-79 на расстоянии 1 м от бровки траншеи с таким расчетом, чтобы средний угол поворота стрелы экскаватора не превышал 70°. При этом учитывают, что радиус выгрузки экскаватора R'в при высоте выгрузки 2,4 м (выгрузка в автомобили-самосвалы ЗИЛ-ММЗ-555) составляет: при ковше с нормальней рукоятью 6,6 м; с удлинённой рукоятью 7,4 м. Величина передвижки экскаватора: с нормальной рукоятью - 1,4 м; с удлинённой рукоятью - 2 м.

Откосы боковых стенок выемок, разрабатываемых экскаватором, должны приниматься в соответствии со СНиП III-8-76 в зависимости от вида грунта и глубины выемки.

Схема разработки выемок лобовым забоем экскаватором ЭО-73322В, оборудованным обратной лопатой, и погрузки грунта в автомобили-самосвалы приведена на рис. 22.

Рис. 22. Схема разработки выемок лобовым забоем экскаватором ЭО-3322В, оборудованным обратной лопатой

1 - экскаватор ЭО-3322В; 2 - автомобиль-самосвал ЗИЛ-ММЗ-555; 3 - вешки

Технико-экономические показатели

Технико-экономические показатели при разработке выемки и погрузке грунта в автомобили-самосвалы приведены в табл. 10.

Таблица 10

Наименование

Ковш емкостью, м3

0,5

0,4

Затраты труда на 100 м3, чел.-ч, в грунтах

 

 

II группы

2,04

2,56

IV группы

3,03

3,85

Затраты машинного времени на 100 м3, маш.-ч, в грунтах

 

 

II группы

2,04

2,56

IV группы

3,03

3,85

Выработка на 1 чел.-день, м3, в грунтах

 

 

II группы

401,8

320

IV группы

270,6

213

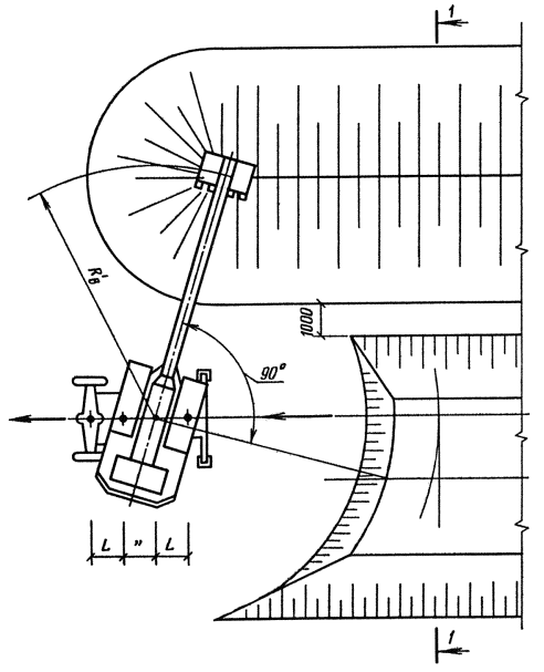
Разработка выемок лобовым забоем экскаватором ЭО-3322В, оборудованным обратной лопатой, и выгрузка грунта в отвал при совмещении оси движения экскаватора с осью выемки

Общие положения

В зависимости от вида разрабатываемого грунта и необходимых параметров выемки экскаватор может применяться с нормальной и удлиненной рукоятью.

На нормальную рукоять монтируется экскавационно-планировочный ковш емкостью 0,4 или 0,5 м3, а на удлиненную - экскавационно-планировочный ковш емкостью 0,4 м3.

Наибольшие размеры выемок с откосами различной крутизны, разрабатываемых с одновременной зачисткой дна экскаватором ЭО-3322В, и отсыпаемых отвалов разработанного грунта, а также величина передвижки и радиус выгрузки экскаватора приведены в табл. 11.

Параметры выемок определяются технологическими параметрами экскаватора и возможностью размещения отвала.

Таблица 11

Наименование

Крутизна откосов (1:m)

1:1,25

1:1

1:0,67

1:0,5

1:0,25'

1

2

3

4

5

6

Нормальная рукоять и ковш емкостью 0,5 м3

Параметры выемки, м

 

 

 

 

 

H

 1,8

1,8

 2,0

2,0

 2,7

2,3

 3,2*

2,3

 4,0*

2,3

В

 5,7

5,7

 5,2

5,2

 4,8

5,1

 4,4

4,7

 3,2

4,6

b

 1,2

1,2

 1,2

1,2

 1,2

2,0

 1,2

2,4

 1,2

3,4

Параметры отвала, м

 

 

 

 

 

h

 2,7

2,7

 2,8

2,8

 3,1

3,1

 3,3

3,1

 3,4

3,3

B'

 5,4

5,4

 5,6

5,6

 6,2

6,2

 6,6

6,2

 6,8

6,6

Величина передвижки экскаватора L, м

 2,0

2,0

 1,7

1,7

 1,0

1,5

 0,6

1,5

 0,4

1,5

Радиус выгрузки экскаватора

 6,5

6,5

 6,4

6,4

 6,5

6,6

 6,5

6,5

 6,0

6,6

Удлиненная рукоять и ковш емкостью 0,4 м3

Параметры выемки, м

 

 

 

 

 

H

 2,1

2,1

 2,5

2,3

 3,2*

2,3

 3,9*

2,3

 4,8*

2,3

В

 6,4

6,4

 6,2

6,2

 5,5

5,7

 5,1

5,6

 3,6

5,2

b

 1,2

1,2

 2,2

1,6

 1,2

2,6

 1,2

3,3

 1,2

4,0

Параметры отвала, м

 

 

 

 

 

h

 3,1

3,1

 3,3

3,3

 3,6

3,4

 3,8

3,5

 3,7

3,6

B'

 6,2

6,2

 6,6

6,6

 7,2

6,8

 7,6

7,0

 7,4

7,2

Величина передвижки экскаватора L, м

 2,2

2,2

 1,9

2,0

 1,2

2,0

 0,8

2,0

 0,5

2,0

Радиус выгрузки экскаватора

 7,3

7,3

 7,4

7,4

 7,3

7,3

 7,3

7,3

 6,5

7,2

Примечания:

1. В числителе приведены параметры выемки и отвала при минимальной ширине выемки по дну, равной ширине ковша; в знаменателе - параметры выемки и отвала при максимальной ширине выемки по верху, которую можно разработать экскаватором за один проход.

2. Звездочка указывает, что зачистка дна невозможна из-за большой глубины копания.

Значения производительности экскаватора ЭО-3322В при разработке выемок с одновременной зачисткой дна и выгрузкой в отвал приведены в табл. 12.

Таблица 12

Производительность

Ковш емкостью, м8

0,5

0,4

Техническая, м3/ч, а грунтах

 

 

II группы

135

117

IV группы

117

107,5

Эксплуатационная, м3/ч, в грунтах

 

 

II группы

54,0

43

IV группы

46,8

37,6

Примечание. Значения производительности по данным ЦНИИОМТП.

Основные указания по производству работ

До начала производства земляных работ выполняют подготовительные операции: планировку поверхности бульдозером, инструментальную разбивку осей выемки и отвала.

Разрабатывают грунт в выемке лобовым забоем. Откос лобовой стенки принят равным 1:0,5.

При разработке грунта ось проходки экскаватора совмещена с осью выемки.

Откосы боковых стенок выемок, разрабатываемых экскаватором, должны приниматься в соответствии со СНиП III-8-76, в зависимости от вида грунта и глубины выемки.

Схема разработки выемок лобовым забоем экскаватором ЭО-3322В приведена на рис. 23.

Технико-экономические показатели

Технико-экономические показатели при разработке выемки с выгрузкой грунта в отвал приведены в табл. 13

Таблица 13

Наименование

Ковш емкостью, м3

0,5

0,4

Затраты труда на 100 м3, чел.-ч, в грунтах

 

 

II группы

1,85

2,33

IV группы

2,14

2,67

Затраты машинного времени на 100 м3, маш.-ч, в грунтах

 

 

II группы

1,85

2,33

IV группы

2,14

2,67

Выработка на 1 чед.-день, м3, в грунтах

 

 

II группы

444

354

IV группы

383

308

Разработка выемок лобовым забоем экскаватором ЭО-3322В, оборудованным обратной лопатой и выгрузка грунта в отвал при смещении оси движения экскаватора относительно оси выемки

Общие положения

В зависимости от вида разрабатываемого грунта и необходимых параметров выемки экскаватор может применяться с нормальной и удлиненной рукоятью.

Рис. 23 Схема разработки выемок лобовым забоем экскаватором ЭО-3322В

На нормальную рукоять монтируется экскавационно-планировочный ковш емкостью 0,5 м3, а на удлиненную - экскавационно-планировочный емкостью 0,4 м3.

Наибольшие размеры выемок с откосами различной крутизны, разрабатываемых экскаватором ЭО-3322B, с одновременной зачисткой дна и отсыпаемых отвалов разработанного грунта, a также величина передвижки и радиус выгрузки приведены в табл. 14.

Таблица 14

Наименование

Крутизна откосов (1:m)

1:1,25

1:1

1:0,67

1:0,5

1:0,25

1

2

3

4

5

6

Нормальная рукоять и ковш емкостью 0,5 м3

Параметры выемки, м

 

 

 

 

 

H

1,8

2,0

2,3

2,3

2,3

B

5,7

5,2

5,7

5,3

4,7

b

1,2

1,2

2,6

3,0

3,6

Параметры отвала, м

 

 

 

 

 

h

2,7

2,8

3,4

3,4

3,4

B'

5,4

5,6

6,8

6,8

6,8

Величина передвижки экскаватора L, м

1,9

1,7

1,4

1,4

1,4

Радиус выгрузки экскаватора R'в

6,5

6,4

5,5

6,5

6,5

Удлиненная рукоять и ковш емкостью 0,4 м3

Параметры выемки, м

 

 

 

 

 

H

2,1

2,3

2,3

2,3

2,3

B

6,4

6,8

7,3

7,8

8,2

b

1,2

2,2

4,2

5,5

7,0

Параметры отвала, м

 

 

 

 

 

h

3,1

3,5

4,0

4,3

4,6

B'

6,2

7,0

8,0

8,6

9,2

Величина передвижки экскаватора L, м

2,2

2,0

2,0

2,0

2,0

Радиус выгрузки экскаватора R'в

7,3

7,4

7,1

7,1

6,8

Параметры выемок определены исходя из технологических параметров экскаватора и возможности размещения отвала. Наибольшая заданная глубина копания - 2,3 м.

Значения производительности экскаватора ЭО-3322В при разработке выемок с одновременной зачисткой их дна и выгрузкой грунта в отвал приведены в табл. 15.

Таблица 15

Производительность

Ковш емкостью, м3

0,5

0,4

Техническая, м3/ч, в грунтах

 

 

II группы

136

117

IV группы

117

107,5

Эксплуатационная, м3/ч, в грунтах

 

 

II группы

64

43

IV группы

46,8

37,6

Примечание. Значения производительности - по данным ЦНИИОМТП.

Общие указания по производству работ

До начала производства земляных работ выполняют подготовительные операции: планировку поверхности бульдозером, инструментальную разбивку осей выемки и отвала.

Разрабатывают грунт в выемке лобовым забоем. Откос лобовой стенки забоя принят равным 1:0,5.

Ось проходки экскаватора смещена отностительно оси выемки, исходя из необходимости размещения отвала при получении выемки большей ширины и глубины. Откосы боковых стенок выемки, разрабатываемой экскаватором, должны приниматься в соответствии со СНиП III-6-76, в зависимости от вида грунта и глубины выемки.

Схема разработки выемки лобовым забоем экскаватором ЭО-3322В при смещении оси движения экскаватора относительно оси выемки показана на рис. 24.

Рис. 24. Схема разработки выемки лобовым забоем при смещении оси движения экскаватора ЭО-3322В относительно оси выемки

Технико-экономические показатели

Технико-экономические показатели при разработке грунта с нагрузкой его в отвал приведены в табл. 16.

Таблица 16

Наименование

Ковш емкостью, м3

0,5

0,4

Затрата труда на 100 м3, чел.-ч, в грунтах

 

 

II группы

1,85

2,33

IV группы

2,14

2,67

Затрат машинного времени на 100 м3, маш.-ч, в грунтах

 

 

II группы

1,85

2,33

IV группы

2,14

2,67

Выработка на 1 Чел.-день, м3, в грунтах

 

 

II группы

444

354

IV группы

383

308

Планировка откосов экскаватором ЭО-3322В, оборудованным обратной лопатой и планировочным отвалом

Общие положения

При окончательной планировке откосов насыпей, а также в случае, когда нет необходимости в транспортировке срезанного грунта, экскаватор ЭО-3322В может быть оснащен планировочным отвалом длиной 2,4 м, который монтируется как на удлиненную рукоять, так и на рукоять нормальной длины.

Наибольшая высота насыпи, откосы которой можно планировать при движении экскаватора по верху насыпи (при верхней стоянке экскаватора) и вдоль ее основания (при нижней стоянке экскаватора), а также величина передвижки и оптимальное расстояние от оси движения экскаватора до основания насыпи (при нижней стоянке экскаватора) при откосах насыпи различной крутизны приведены в табл. 17.

Наибольшая высота насыпи и другие параметры, приведенные в табл. 17, определены исходя из технологических возможностей экскаватора.

Таблица 17

Наименование

Крутизна откосов (1:m)

1:1,25

1:1

1:0,67

1:0,5

1:0,25

Нормальная рукоять

Высота насыпи Н, м

 1,6

1,2

 1,8

1,5

 2,3

2,1

 2,5

2,6

 3,1

3,7

Расстояние от оси экскаватора до подошвы насыпи l, м

 -

5,9

 -

5,9

 -

5,9

 -

5,9

 -

5,9

Удлиненная рукоять

Высота насыпи Н, м

 -

1,1

 -

1,4

 -

2,0

 -

2,4

 -

5,1

Расстояние от оси экскаватора до подошвы насыпи l, м

 -

5,8

 -

5,8

 -

5,8

 -

5,8

 -

5,9

Примечание. В числителе приведены данные в случае планировки откосов при верхней стоянке экскаватора, в знаменателе - при нижней стоянке.

Техническая производительность экскаватора ЭО-3322В при планировке откосов насыпи в грунтах II группы составляет 500 м2/ч (нижняя стоянка) и 700 м2/ч (верхняя стоянка), эксплуатационная 200 м2(нижняя стоянка) и 280 м3/ч (верхняя стоянка). Значения производительности - по данным ЦНИИОМТП.

Основные указания по производству работ

До начала планировочных работ выполняют инструментальную разбивку оси проходки экскаватора. В случае если планировка откосов производится при перемещении экскаватора вдоль основания насыпи, расстояние от оси экскаватора до основания, откоса определяется кинематическими параметрами экскаватора.

При перемещении экскаватора по верху насыпи расстояние от бровки откоса до ближайшей к откосу точки опоры экскаватора должно быть не менее 1 м в соответствии со СНиП III-4-79.

Схема планировки откосов экскаватором ЭО-3322В приведена на рис. 25-26.

Технико-экономические показатели

Технико-экономические показатели экскаватора при планировке откосов насыпи в грунтах II группы приведены в табл. 18.

Таблица 18

Наименование

Стоянка экскаватора

Нижняя

верхняя

Затраты труда на 100 м2 грунта, чел.-ч

0,5

0,36

Затраты машинного времени на 100 м2, маш.-ч

0,5

0,36

Выработка на 1 чел.-день, м

1640

2296

Рис. 25. Схема планировки откосов экскаватором ЭО3322В при верхней стоянке

Рис. 26. Схема планировки откосов экскаватором ЭО3322В при нижней стоянке

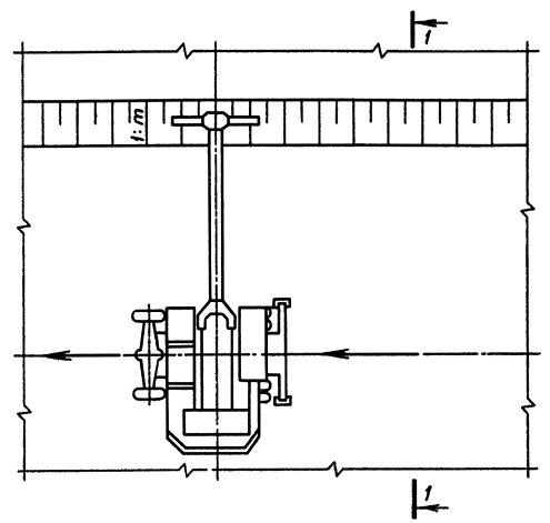
Планировка грунта на уровне стоянки экскаватором ЭО-3322В, оборудованным обратной лопатой и планировочным отвалом

Общие положения

При планировке грунта I, II групп на уровне стоянки экскаватор ЭО-3322В оснащают планировочным отвалом длиной 2,4 м.

В зависимости от необходимой полосы планировки экскаватор может применяться с нормальной и удлиненной рукоятью.

Техническая производительность экскаватора при планировке грунта II группы на уровне стоянки составляет 1025 м2/ч, эксплуатационная 410 м2(значения производительности - по данным ЦНИИОМТП).

Основные указания по производству работ

До начала производства планировочных работ выполняют инструментальную разбивку оси проходки экскаватора и полосы планировки.

Схема планировки, грунта экскаватором ЭО-3322В приведена на рис. 27.

Рис. 27. Схема работы экскаватора ЭО-3322В с планировочным отвалом при планировке грунта на уровне стоянки

Наименование

Ковш экскаватора

с нормальной рукоятью

с удлиненной рукоятью

Наибольший радиус планировки Rmax, м

6,5

7,2

Наименьший радиус планировки Rmin, м

3,4

2,6

Наибольшая ширина планировки B, м

7,6

8,6

Величина передвижки экскаватора L, м ,

1,5

1,5

Технико-экономические показатели экскаватора при планировке грунта II группы на уровне стоянки

Затраты труда на 100 м2 грунта, чел.-ч

0,244

Затрата машинного времени на 100 м2, маш.-ч

0,244

Выработка на 1 чел.-день, м2

3360

ЭКСКАВАТОР ЭО-3332А

Экскаватор ЭО-3332А (рис. 28) производства Калининского экскаваторного завода предназначен дня разработки грунта I-IV групп, планировки откосов и горизонтальных поверхностей земляных сооружений в условиях умеренного климата при температуре окружающего воздуха от -40 до +40°С.

Рис. 28. Схема экскаватора ЭО-3332А

R -

радиус вращения хвостовой части, м

2,8

Б -

ширина поворотной платформы (по кабине), м

2,655

В -

высота по кабине, м

3,14

Г -

высота оси пяты стрелы, м

1,96

А -

расстояние от оси пяты стрелы до оси вращения, м

0,45

Е -

база, м

2,8

Ж -

колея, м

2,04

К -

ширина ходовой части, м

2,7

Л -

расстояние от оси вращения экскаватора до оси задних колес, м

1,0

М -

ширина при работе на выносных опорах, м

1,3

Техническая характеристика

Наибольшая скорость передвижения, км/ч

18,5

Наибольший преодолеваемый уклон, град.

22

Номинальная мощность, л.с

75

Номинальный расход гидрожидкости, л/мин

330

Номинальное давление в гидросистеме, МПа

16

Экскаватор снабжен системой, позволяющей разворачивать ковш вокруг оси стрелы на угол равный ±45°, что дает возможность формировать откосы узких траншей с заложением до 1:1 при движении экскаватора по оси траншей. Управление разворотом ковша осуществляется из кабины машиниста.

ЭО-3332А поставляют потребителям с экскавационным ковшом емкостью 0,4 м3. По заказам потребителей заводом-изготовителем могут быть поставлены такие сменные рабочие органы, как: планировочный ковш ёмкостью 0,4 м3; планировочный отвал; зуб-рыхлитель.

Схема и кинематические параметры рабочей зоны экскаватора ЭО-3332А приведена на рис. 29.

Разработка выемок лобовым забоем экскаватором ЭО-3332А и погрузка грунта в автомобили-самосвалы

Общие положения

При разработке грунта экскаватором ЭО-3332А применяется экскавационный ковш емкостью 0,4 м3.

Наибольшие размеры выемок с откосами различной крутизны, разрабатываемых экскаватором ЭО-3332А, приведены в табл. 19. Параметры выемок определены исходя из технологических параметров экскаватора.

Рис. 29. Схема работы экскаватора ЭО-3332А

Наименование

Экскаватор с

экскавационным ковшом

планировочным отвалом

Rк.с-

наибольший радиус копания на уровне стоянки, м

8,90

8,60

Hк-

наибольшая глубина копания (планировки), м

5,20

5,10

H'к-

наибольшая высота копания (планировки), м

5,50

5,60

R1-

радиус, описываемый режущей кромкой, м

1,24

0,96

Hв-

наибольшая высота выгрузки, м

5,3

-

Rв-

радиус выгрузки при высоте выгрузки, м

6,6

-

Таблица 19

Наименование

Крутизна откосов (1:m)

1:1,25

1:1

1:0,67

1:0,5

1:0,25

Параметры выемки, м

 

 

 

 

 

H

2,3

2,3

2,3

2,3

2,3

B

 6,8

11,0

 5,6

11,0

 4,0

11,0

 3,3

11,0

 2,2

11,0

b

 1,0

5,2

 1,0

6,4

 1,0

8,0

 1,0

8,7

 1,0

9,8

Примечание. В числителе приведены параметры выемки при минимальной ширине выемки по дну, равной ширине ковша; в знаменателе - при максимальной ширине выемки по верху, которую можно разработать экскаватором за один проход.

Производительность экскаватора ЭО-3332А при разработке выемок и погрузке грунта в автомобили-самосвалы

Техническая, м3/ч, в грунтах

 

II группы

76,25

IV группа

54,25

Эксплуатационная, м3/ч, в грунтах

 

II группы

30,5

IV группы

21,7

Примечание. Значения производительности - по данным ЦНИИОМТП.

Основные указания по производству работ

До начала производства земляных работ выполняют подготовительные операции: планировку поверхности бульдозером, инструментальную разбивку выемки, прокладывают землевозные дороги.

Разрабатывают грунт в выемке лобовым забоем. Угол наклона лобовой стенки забоя принят равным 50° из условия получения наибольшей глубины копания при установке экскаватора на безопасном расстоянии от кромки лобового забоя, равном 1 м.

Автомобили-самосвалы под погрузку подают задним ходом и устанавливают в соответствии со СНиП III-4-79 на расстоянии 1 м от бровки выемки с таким расчетом, чтобы средний угол поворота стрелы экскаватора не превышал 70°. При этом радиус выгрузки экскаватора при высоте выгрузки 2,4 м (в автомобили-самосвалы ЗИЛ-ММЗ-555) составляет 7,9 м.

Откосы боковых стенок выемки, разрабатываемых экскаватором, должны приниматься в соответствии со СНиП III-8-76, в зависимости от вида грунта и глубины выемки.

Величина передвижки экскаватора принята равной 3 м.

Схема разработки выемок лобовым забоем экскаватором ЭО-3332А и погрузки грунта в автомобили-самосвалы приведена на рис. 30.

Технико-экономические показатели при разработке выемки и погрузке грунта в автомобили-самосвалы.

Затрата труда на 100 м3, чел.-ч, в грунтах

 

II группы

3,28

IV группы

4,60

Затрат машинного времени на 100 м3, маш.-ч, в грунтах

 

II группы

3,28

IV группы

4,60

Выработка на 1 Чел.-день, м3, в грунтах

 

II группы

250

IV группы

178

Разработка выемок лобовым забоем экскаватором ЭО-3332А и выгрузка грунта в отвал при совмещении оси движения экскаватора с осью выемки

Общие положения

При разработке грунта лобовым забоем экскаватором ЭО-3332A применяется экскавационный ковш емкостью 0,4 м3.

Наибольшие размеры выемок с откосами различной крутизны, разрабатываемых экскаватором ЭО-3332А, и отвалов разработанного грунта, а также величина передвижки и радиус выгрузки экскаватора приведены в табл. 20. Параметры выемок определены исходя из технологических параметров экскаватора и возможности размещения отвала.

Таблица 20

Наименование

Крутизна откосов (1:m)

1:1,25

1:1

1:0,67

1:0,5

1:0,25

Параметры выемки, м

 

 

 

 

 

H

 2,3

2,3

 2,7

2,3

 3,6

2,3

 4,0

2,3

 4,0

2,3

B

 6,8

6,8

 6,4

6,6

 5,8

6,2

 5,0

6,3

 3,0

5,8

b

 1,0

1,0

 1,0

2,0

 1,0

3,2

 1,0

4,0

 1,0

4,6

Параметры отвала, м

 

 

 

 

 

h

 3,3

3,3

 3,5

3,4

 3,8

3,6

 3,8

3,9

 3,1

3,8

B'

 6,6

6,6

 7,0

6,8

 7,6

7,2

 7,6

7,8

 6,2

7,6

Величина передвижки экскаватора L, м

 3,0

3,0

 2,5

3,0

 1,0

3,0

 0,6

3,0

 0,6

3,0

Радиус выгрузки экскаватора R'в

 7,6

7,6

 7,6

7,7

 7,7

7,7

 7,3

7,7

 7,5

7,7

Примечание. В числителе приведены параметры выемки при минимальной ширине выемки по дну, равной ширине ковша; в знаменателе - при максимальной ширине выемки по верху, которую можно разработать экскаватором за один проход.

Производительность экскаватора ЭО-3332А при разработке выемки с выгрузкой грунта в отвал

Техническая, м3/ч, в грунтах

 

II группы

87,5

IV группы

81,5

Эксплуатационная, м3/ч, в грунтах

 

II группы

35

IV группы

32,6

Примечание. Значения приведены по данным ЦНИИОМТП.

Рис. 30. Схема разработки выемок лобовым забоем экскаватором ЭО-3332А и погрузка грунта в автомобили-самосвалы

1 - экскаватор ЭО-3332А; 2 - автомобиль-самосвал ЗИЛ-ММЗ-555

Основные указания по производству работ

До начала земляных работ выполняют подготовительные операции: планировку поверхности бульдозером, инструментальную разбивку осей выемки и отвала.

Разработку грунта в выемке производят лобовым забоем. Угол наклона лобовой стенки забоя принят равным 50° из условия получения наибольшей глубины копания при установке экскаватора на безопасном расстоянии от кромки лобового забоя, равном 1 м (СНиП III-4-79).

При разработке грунта ось проходки экскаватора совмещена с осью выемки.

Откосы боковых стенок выемки, разрабатываемых по принятой схеме производства работ, должны приниматься в соответствии со СНиП III-8-76, в зависимости от вида грунта и глубины выемки.

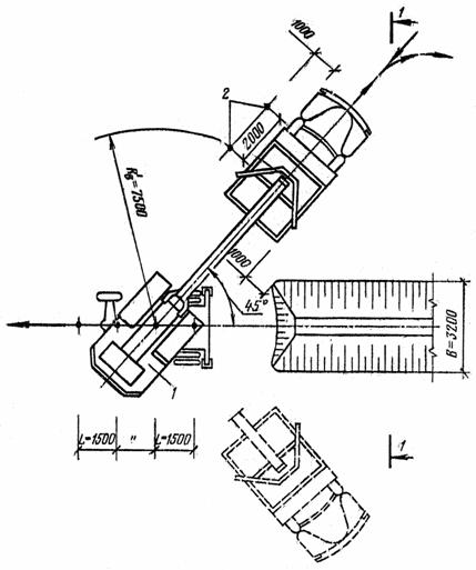
Схема разработки выемок лобовым забоем экскаватором ЭО-3332А с выгрузкой грунта в отвал при совмещении оси экскаватора с осью выемки приведена на рис. 31.

Рис. 31. Схема разработки выемок лобовым забоем с выгрузкой грунта в отвал при совмещении оси экскаватора ЭО-3332А с осью выемки

Технико-экономические показатели экскаватора ЭО-3332А при разработке грунта с выгрузкой в отвал

Затраты труда на 100 м3, чел.-ч, в грунтах

 

II группы

2,85

IV группы

3,07

Затраты машинного времени на 100 м3, маш.-ч, в грунтах

 

II группы

2,85

IV группы

3,07

Выработка на 1 чел.-день, м3 в грунтах

 

II группы

287

IV группы

287

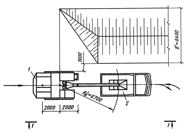
Разработка выемок лобовым забоем экскаватором ЭО-3332А и выгрузка грунта в отвал при смещении оси движения экскаватора относительно оси выемки

Общие положения

При разработке грунта экскаватором ЭО-3332А применяется экскавационный ковш емкостью 0,4 м3.

Наибольшие размеры выемок с откосами различной крутизны, разрабатываемых экскаватором ЭО-3332А, и отвалов грунта, а также величина передвижки и наибольший радиус выгрузки экскаватора приведены в табл. 21. Параметры выемок определены, исходя из технологических параметров экскаватора и возможности размещения отвала. Наибольшая заданная глубина копания - 2,3 м.

Таблица 21

Наименование

Крутизна откосов (1:m)

1:1,25

1:1

1:0,67

1:0,5

1:0,25

Параметры выемки, м

 

 

 

 

 

H

2,3

2,3

2,3

2,3

2,3

B

6,8

7,5

8,8

9,1

9,6

b

1,0

2,9

5,8

6,8

8,4

Параметры отвала, м

 

 

 

 

 

h

3,3

3,8

4,5

4,7

5,0

B'

6,6

7,6

9,0

9,4

10,0

Величина передвижки L, м

3,0

3,0

3,0

3,0

3,0

Радиус выгрузки R'в, м

7,6

7,6

7,6

7,3

7,3

Производительность экскаватора ЭО-3332А при разработке выемки с выгрузкой грунта в отвал

Техническая, м3/ч, в грунтах

 

II группы

87,5

IV группы

81,5

Эксплуатационная, м3/ч, в грунтах

 

II группы

35,0

IV группы

32,6

Примечание. Значения производительности по данным ЦНИИОМТП.

Основные указания по производству работ

До начала производства земляных работ выполняют подготовительные операции: планировку поверхности бульдозером, инструментальную разбивку осей выемки и отвала.

Разрабатывают грунт в выемке лобовым забоем. Угол наклона лобовой стенки забоя принят равным 50° из условия получения наибольшей глубины копания при установке экскаватора на безопасном расстоянии от кромки лобового забоя, равном 1 м (СНиП III-4-79).

Ось проходки экскаватора смещена относительно оси выемки, исходя из необходимости размещения отвала грунта при разработке выемки большой ширины и глубины.

Откосы боковых стенок выемки, разрабатываемой экскаватором, должны приниматься в соответствии со СНиП III-8-76 в зависимости от вида грунта и глубины выемки.

Схема разработки выемки лобовым забоем экскаватором ЭО-3332А и выгрузки грунта в отвал при смещении оси движения экскаватора относительно оси выемки приведена на рис. 32.

Рис. 32. Схема разработки выемки лобовым забоем и выгрузки грунта в отвал при смещении оси движения экскаватора ЭО-3332А относительно оси выемки.

Технико-экономические показатели при разработке грунта с выгрузкой его в отвал

Затраты труда на 100 м3, чел.-ч, в грунтах

 

II группы

2,85

IV группы

3,07

Затраты машинного времени на 100 м3, маш.-ч, в грунтах

 

II группы

2,85

IV группы

3,07

Выработка на 1 чел.-день, м3 в грунтах

 

II группы

287

IV группы

287

Планировка откосов экскаватором ЭО-3332А, оснащенным планировочным ковшом и погрузка грунта в автомобили-самосвалы

Общие положения

При планировке откосов насыпей и необходимости погрузки срезанного грунта в автотранспортные средства экскаватор ЭО-3332A оснащается планировочным ковшом емкостью 0,4 м3.

Наибольшая высота насыпи, откосы которой можно планировать при движении экскаватора по верху насыпи (верхняя, стоянка экскаватора) и вдоль основания насыпи (нижняя стоянка экскаватора), а также радиус выгрузки экскаватора в автомобили-самосвалы ЗИЛ-ММЗ-555, величина передвижки и расстояние от оси движения экскаватора до основания насыпи (нижняя стоянка экскаватора) при откосах насыпи различной крутизны приведены в табл. 22.

Таблица 22

Наименование

Крутизна откосов (1:m)

1:1,25

1::1

1:0,67

1:0,5

1:0,25

Высота насыпи Н, м

 3,5

3,0

 4,0

3,4

 4,5

3,8

 -

5,3

 -

5,3

Величина передвижки экскаватора L, м

1,0

1,0

1,0

1,0

1,0

Радиус выгрузки экскаватора Rв, м

7,9

7,9

7,9

7,9

7,9

Расстояние от оси движения экскаватора до основания насыпи l, м

 -

4,7

 -

4,9

 -

5,0

 -

5,2

 -

5,4

Примечание. В числителе приведена высота насыпи в случае планировки откосов насыпи при верхней стоянке экскаватора; в знаменателе - при нижней стоянке экскаватора.

Техническая производительность экскаватора ЭО-3332A при планировке откосов насыпи в грунтах III группы планировочным ковшом составляет 60 м3/ч (верхняя стоянка), и 63,8 м3/ч (нижняя стоянка), эксплуатационная производительность составляет соответственно 24 и 25,5 м3/ч (значения производительности - по данным ЦНИИОМТП)

Основные указания по производству работ

До-начала планировочных работ выполняют инструментальную разбивку оси проходки экскаватора.

Планировка откосов производится при перемещении экскаватора вдоль насыпи. При передвижении по верху насыпи расстояние от бровки откоса до ближайшей точки опоры экскаватора зависит от крутизны откоса. Это расстояние должно составлять не менее 1 м в соответствии со СНиП III-4-79.

При движении экскаватора вдоль основания насыпи расстояние от оси движения экскаватора до основания насыпи определяется исходя из условия получения наибольшей высоты планирования.

Автомобили-самосвалы под погрузку подаются задним ходом и устанавливаются на расстоянии 1 м от края откоса (при движении по верху насыпи). При этом наибольший радиус выгрузи в автомобиль-самосвал составляет 7,9 м.

Схема планировки откосов насыпи экскаватором ЭО-3332А с планировочным ковшом при погрузке грунта в автомобиль-самосвал приведена на рис. 33-34.

Технико-экономические показатели

Технико-экономические показатели при планировке откосов насыпи в грунтах III группы приведены в табл. 23.

Таблица 23

Наименование

Стоянка экскаватора

верхняя

нижняя

Затраты труда на 100 м3 грунта, чел.-ч

4,16

3,92

Затраты машинного времени на 100 м3 грунта, маш.-ч

4,16

3,92

Выработка на 1 чел.-день; м3

197

209

Рис. 33. Схема планировки откосов экскаватором ЭО-3332А с планировочным ковшом при погрузке грунта в автомобиль-самосвал при верхней стоянке экскаватора

1 - экскаватор ЭО-3332А; 2 - автомобиль-самосвал ЗИЛ-ММЗ-555

Рис. 34. Схема планировки откосов экскаватором с планировочным ковшом при погрузке грунта в автомобиль-самосвал при нижней стоянке экскаватора

1 - экскаватор ЭО-3332А; 2 - автомобиль-самосвал ЗИЛ-ММЗ-555

Планировка откосов экскаватором ЭО-3332А, оснащенным планировочным отвалом

Общие положения

При окончательной планировке откосов насыпей, а также в случае, когда нет необходимости в транспортировке срезанного грунта, экскаватор ЭО-3332А оснащается плакировочным отвалом длиной 2,4 м.

Наибольшая высота насыпи, откосы которой можно планировать при движении экскаватора по верху насыпи (верхняя стоянка экскаватора) и вдоль основания насыпи (нижняя стоянка экскаватора), а также величина передвижки и оптимальное расстояние от оси движения экскаватора до основания насыпи (нижняя стоянка экскаватора) при откосах насыпи различной крутизны приведены в табл. 24.

Планировка откосов при движении экскаватора вдоль основания насыпи может применяться как исключение, так как качество планирования в этом случае ниже, чем при движении экскаватора по верху насыпи.

Таблица 24

Наименование

Крутизна откосов (1:m)

1:1,25

1:1

1:0,67

1:0,5

1:0,25

Высота насыпи Н, м

 3,3

2,9

 3,8

3,5

 4,0

4,7

 -

5,6

 -

6,8

Величина передвижки экскаватора L, м

2,3

2,3

2,3

2,3

2,3

Расстояние от оси движения экскаватора до основания насыпи l, м

 -

5,2

 -

5,2

 -

5,2

 -

5,2

 -

5,6

Примечание. В числителе приведена высота насыпи в случае планировки откосов при верхней стоянке экскаватора; в знаменателе - при нижней стоянке экскаватора.

Техническая производительность экскаватора ЭО-3332А при планировке откосов насыпи в грунтах II группы составляет 525 м2(верхняя стоянка) и 670 м2/ч (нижняя стоянка), эксплуатационная производительность соответственно 210 и 268 м2/ч (значения производительности - по данным ЦНИИОМТП).

Рис. 35. Схема планировки откосов насыпи экскаватором ЭО-3332А с планировочным отвалом при верхней стоянке

Основные указания по производству работ

До начала производства планировочных работ выполняют инструментальную разбивку оси проходки экскаватора.

Планируют откосы при перемещении экскаватора вдоль основания насыпи и по ее верху. При перемещении вдоль основания насыпи расстояние от оси движения экскаватора до основания насыпи определяется исходя из условия получения наибольшей высоты планирования. При передвижении по верху насыпи расстояние от бровки откоса до ближайшей к откосу точки опоры экскаватора должно составлять не менее 1м в соответствии со СНиП III-4-79.

Схема планировки откосов насыпи экскаватором ЭО-3332А с планировочным отвалом приведена на рис. 35-36.

Технико-экономические показатели.

Технико-экономические показатели при планировке откосов насыпи в грунтах II группы приведены в табл. 25.

Таблица 25

Нименование

Стоянка экскаватора

Нижняя

верхняя

Затраты труда на 100 м2 грунта, чел.-ч

0,476

0,373

Затраты машинного времени на 100 м2, маш-ч.

0,476

0,373

Выработка на 1 чел.-день, м2

1722

2198

Рис. 36. Схема планировки откосов насыпи экскаватором ЭО-3332А с планировочным отвалом пря нижней стоянке экскаватора

Планировка грунта на уровне стоянки экскаватором ЭО-3332А, оснащенным планировочным отвалом

Общие положения

При планировке грунта I, II групп на уровне стоянки экскаватор ЭО-3332А оснащается планировочным отвалом длиной 2,4 м.

Производительность экскаватора ЭО-3332А при планировке грунта II группы на уровне стоянки составляет: техническая 950 м2/ч, эксплуатационная 380 м2(значения производительности - по данным ЦНИИОМТП).

Рис. 37. Схема планировки грунта экскаватором ЭО-3332А с планировочным отвалом

Основные указания по производству работ

До начала производства планировочных работ выполняют инструментальную разбивку оси проходки экскаватора и полосы планировки.

Схема планировки грунта экскаватором ЭО-3332А с планировочным отвалом приведена на рис. 37.

Технико-экономические показатели при планировке грунта II группы на уровне стоянки

Затраты груда на 100 м2, чел.-ч

0,26

Затраты машинного времени на 100 м2, маш.-ч

0,26

Выработка на 1 чел.-день, м2

3116

Рыхление мерзлого грунта сезонного промерзания экскаватором ЭО-3332А с зубом-рыхлителем

Общие положения

Для рыхления мерзлого грунта сезонного промерзания и взламывания старого дорожного полотна экскаватор ЭО-3332А оснащается зубом-рыхлителем.

Техническая производительность экскаватора ЭО-3332А при рыхлении грунта сезонного промерзания составляет 45 м3/ч., эксплуатационная 18 м3/ч (значения производительности - по данным ЦНИИОМТП).

Основные указания по производству работ

До начала земляных работ выполняют инструментальную разбивку оси проходки экскаватора и полосы рыхления.

Рыхление грунта сезонного промерзания производят по радиусу полосами шириной 1 м при повороте рабочего оборудования на угол не более 30° в каждую сторону от оси движения экскаватора.

Схема рыхления грунта сезонного промерзания экскаватором ЭО-3332А с зубом-рыхлителем приведена на рис. 38.

Технико-экономические показатели экскаватора ЭО-3332А при рыхлении грунта сезонного промерзания

Затраты груда на 100 м3, чел.-ч

5,56

Затраты машинного времени на 100 м3, маш.-ч

5,56

Выработка на 1 чел.-день, м3

147,6

Рис. 38. Схема рыхления грунта сезонного промерзания экскаватором ЭО-3332А с зубом-рыхлителем

ЭКСКАВАТОР Э-5015А

Экскаватор Э-5015А (рис. 39) выпускаемый ПО "Красный экскаватор" предназначен для разработки грунта I-IV групп в том числе с включениями, имеющими размер не более 400 мм, а также для производства погрузочно-разгрузочных работ.

Экскаватор может быть использован для работы в условиях умеренного климата при температуре окружающего воздуха от -40 до +40°С.

Рис. 39. Схема экскаватора Э-5015А

А -

расстояние от оси пяты стрелы до оси вращения, м

0,15

Е -

база гусеничного ходового устройства, м

2,57

Е1 -

длина гусеничного ходового устройства, м

2,77

Ж -

колея гусеничного ходового устройства, м

2,16

Д -

ширина гусеничной ленты, м

0,61

Б -

ширина поворотной платформы, м

2,47

F -

просвет под поворотной платформой, м

0,94

Г -

высота до оси пяты стрелы, м

1,53

В -

высота до крыши кабины, м

2,73

R -

радиус вращения хвостовой части, м

2,5

Техническая характеристика

Наибольшая скорость передвижения, км/ч

2,0

Наибольший преодолеваемый подъем, град.

24

Номинальная мощность, л.с.

75

Номинальный расход гидрожидкости, л/мин.

240

Номинальное давление в гидросистеме, МПа

15

Машина поставляется потребителям с оборудованием обратная лопата и ковшом емкостью 0,5 м3.

По заказам потребителей заводом-изготовителем могут быть поставлены следующие виды сменных рабочих органов:

к оборудованию обратная лопата: профильные ковши с боковыми стенками, расположенными под углом 60 и 45; зачистной ковш; зуб-рыхлитель;

к грейферному оборудованию - двухчелюстной ковш емкостью 0,5 м3.

Схемы и кинематические параметры рабочих зон экскаватора Э-5015A с различными видами сменного рабочего оборудования и сменных рабочих органов приведены на рис. 40-42.

Рис. 40. Схема применения экскаватора с обратной лопатой и ковшом объемом 0,5м3

R1 -

радиус, описываемый кромкой зуба ковша, м

1,3

Rкс -

наибольший радиус копания на уровне стоянки, м

7,0

Нк -

наибольшая глубина копания; м

4,5

Hв -

наибольшая высота выгрузки, м

3,9

Rв -

радиус выгрузки при наибольшей высоте выгрузки, м

4,9

Рис. 41. Схема работы экскаватора Э-5015А с обратной лопатой и зубом-рыхлителем

R -

наибольший радиус рыхления, м

6,91

Нк -

наибольшая допустимая глубина забоя, м

0,60

R -

радиус, описываемый режущей кромкой зуба-рыхлителя, м

1,00

Рис. 42. Схема работы экскаватора Э-5015А с грейферным оборудованием

Rв -

радиус выгрузки при наибольшей высоте выгрузки, м

4,90

Rк.с -

наименьший радиус копания на уровне стоянки, м

6,75

Нк -

расчетная высота забоя, м

5,80

Hв -

наибольшая высота выгрузки, м

2,25

Разработка выемок лобовым забоем экскаватором Э-5015А, оборудованным обратной лопатой, и погрузка грунта в автомобили-самосвалы

Общие положения

Экскаватор Э-5015А при разработке выемок в грунтах I-IV групп применяется с ковшом емкостью 0,5 м3.

Наибольшие размеры выемок с откосами различной крутизны, разрабатываемых экскаватором Э-5015А, а также величина передвижки экскаватора приведены в табл. 26.

Таблица 26

Наименование

Крутизна откосов (1:m)

1:1,25

1:1

1:0,67

1:0,5

1:0,25

Параметры выемки, м

 

 

 

 

 

H

 2,6

2,6

 3,3

3,0

 3,5

3,0

 3,5

3,0

 3.5

3,0

B

 7,4

7,4

 7,4

7,4

 5,5

7,4

 4,9

7,4

 2,5

7,4

b

 0,9

0,9

 0,9

1,4

 0,9

3,4

 0,9

4,4

 0,9

5,9

Величина передвижки экскаватора L, м

 1,5

1,5

 1,0

1,0

 0,5

1,0

 0,5

1,0

 0,5

1,0

Примечание. В числителе приведены параметры выемки при минимальной ширине выемки по дну, равной ширине ковша; в знаменателе -при максимальной ширине выемки по верху, которую можно разработать экскаватором за один проход.

Техническая производительность экскаватора Э-5015А при разработке выемок в грунтах IV группы и погрузке грунта в автомобили-самосвалы составляет 47,2 м3/ч, эксплуатационная-18,9 м3/ч (значения производительности приняты по ДиЗ,. вып. 10 к ЕНиР).

Основные указания по производству работ

До начала производства земляных работ выполняют подготовительные операции: планировку поверхности бульдозером (при необходимости), разбивку оси движения экскаватора и границ выемки, прокладывают землевозные дороги.

Разрабатывают грунт в выемке лобовым забоем. Откос лобовой стенки забоя принят равным 1:0,5.

При разработке грунта ось проходки экскаватора совмещена с осью выемки.

Автомобили-самосвалы под погрузку подают задним ходом и устанавливают в соответствии со СНиП III-4-79 на расстоянии 1 м от бровки траншеи с таким расчетом, чтобы средний угол поворота стрелы экскаватора не превышал 70°. При этом учитывают, что радиус выгрузки экскаватора при высоте выгрузки 2,4 м (выгрузка в автомобили-самосвалы ЗИЛ-ММЗ-555) составляет 6 м. Откосы боковых стенок выемок, разрабатываемых экскаватором, должны приниматься в соответствии со СНиП III-8-76.

Схема разработки выемок лобовым забоем экскаватором Э-5015А, оборудованным обратной лопатой, и погрузки грунта в автомобили-самосвалы приведена на рис. 43.

Рис. 43. Схема разработки выемок лобовым забоем экскаватором Э-5015А, оборудованным обратной лопатой, и погрузки грунта в автомобили-самосвалы.

1 - экскаватор Э-5015А; 2 - автомобиль-самосвал ЗИЛ-ММЗ-555

Технико-экономические показатели при разработке выемок в грунтах IV группы и погрузке разработанного грунта в автомобили-самосвалы

Затраты труда на 100 м3 грунта, чел.-ч

5,3

Затраты машинного времени на 100 м3 грунта, маш.-ч

5,3

Выработка на 1 чел.-день, м3

154,7

Разработка выемок лобовым забоем экскаватором Э-5015А, оборудованным обратной лопатой и выгрузка грунта в отвал при совмещении оси движения экскаватора с осью выемки

Общие положения

Экскаватор Э-5015А при разработке выемок в грунтах I-IV группы применяется с ковшом емкостью 0,5 м3.

Наибольшие размеры выемок с откосами различной крутизны, разрабатываемых экскаватором Э-5015А, и выгрузка грунта в отвал, а также величина передвижки и радиус выгрузки экскаватора приведены в табл. 27. Параметры выемок определены исходя из технологических параметров экскаватора и возможности размещения отвала.

Таблица 27

Наименование

Крутизна откосов (1:m)

1:1,25

1:1

1:0,67

1:0,5

1:0,25

1

2

3

4

5

6

Параметры выемки, м

 

 

 

 

 

H

 1,7

1,7

 1,9

1,7

 2,4

1,7

 3,0

1,7

 3,5

3,0

B

 5,1

5,1

 4,7

4,7

 4,1

4,2

 3,9

4,2

 2,6

3,3

b

 0,9

0,9

 0,9

1,3

 0,9

2,0

 0,9

2,5

 0,9

1,8

Параметра отвала, м

 

 

 

 

 

h

 2,4

2,4

 2,5

2,4

 2,7

2,5

 2,9

2,6

 2,7

3,0

В

 4,8

4,8

 5,0

4,8

 5,4

5,0

 5,8

5,2

 5,4

6,0

Величина передвижки экскаватора L, м

 2,5

2,5

 2,5

2,5

 2,0

2,5

 1,0

2,5

 0,5

1,0

Радиус выгрузки экскаватора Rв, м

 5,9

6,0

 5,8

6,0

 5,8

6,0

 5,8

6,0

 5,0

5,8

Примечание. В числителе приведены параметры выемки при минимальной ширине выемки по дну, равной ширине ковша; в знаменателе - при максимальной ширине выемки по верху, которую можно разработать экскаватором за один проход.

Техническая производительность экскаватора Э-5015А при разработке выемки в грунтах IV группы c выгрузкой грунта в отвал составляет 61 м3/ч, эксплуатационная -24 м3/ч (значения производительности - по ДиЗ, вып. 10 к ЕНиР).

Основные указания по производству работ

До начала производства земляных работ выполняют подготовительные операции: планировку поверхности бульдозером, инструментальную разбивку осей выемки и отвала.

Разрабатывают грунт в выемке лобовым забоем. Откос лобовой стенки забоя принят равным 1:0.5.

При разработке грунта ось проходки экскаватора совмещена с осью выемки.

Откосы боковых стенок выемок, разрабатываемых по принятой схеме производства работ, должны приниматься в соответствии со СНиП III-8-76, в зависимости от вида грунта и глубины выемки.

Схема разработки выемок лобовым забоем экскаватором Э-5015А с выгрузкой грунта в отвал при совмещении оси движения экскаватора с осью выемки приведена на рис. 44.

Рис. 44. Схема разработки выемок лобовым забоем экскаватором Э-5015А с выгрузкой грунта в отвал при совмещении оси движения экскаватора с осью выемки.

Технико-экономические показатели при разработке выемок в грунтах IV группы с выгрузкой разработанного грунта в отвал

Затраты труда на 100 м3 грунта, чел.-ч

4,1

Затраты машинного времени на 100 м3 грунта, маш.-ч

4,1

Выработка на 1 чел.-день, м3

200

Разработка выемок лобовым забоем экскаватором Э-5015А, оборудованным обратной лопатой, и выгрузка грунта в отвал при смещении оси движения экскаватора относительно оси выемки

Общие положения

Экскаватор Э-5015A при разработке выемок в грунтах I-IV групп применяется с ковшом емкостью 0,5 м3.

Таблица 28

Наименование

Крутизна откосов (1:m)

1:1,25

1:1

1:0,67

1:0,5

1:0,25

Параметры выемки, м

 

 

 

 

 

H

 2,3

2,3

 2,6

2,3

 3,0

3,0

 3,4

3,0

 3,5

3,0

B

 7,0

7,0

 6,4

6,1

 5,2

5,2

 4,6

4,6

 3,0

3,9

b

 1,2

1,2

 1,2

1,5

 1,2

1,2

 1,2

1,6

 1,2

2,4

Параметра отвала, м

 

 

 

 

 

h

 3,4

3,4

 3,4

3,2

 3,4

3,4

 3,4

3,4

 3,0

3,4

В'

 6,8

6,8

 6,8

6,4

 6,8

6,8

 6,8

6,8

 6,0

6,8

Величина передвижки экскаватора L, м

 2,0

2,0

 1,5

2,0

 1,0

1,0

 0,5

1,0

 0,5

1,0

Радиус выгрузки экскаватора Rв, м

 5,8

5,8

 5,8

5,8

 5,8

5,8

 5,8

5,8

 5,4

5,8

Примечания:

1. В числителе приведены параметры выемки при минимальной ширине выемки по дну, равной ширине ковша; а в знаменателе - при максимальной ширине выемки по верху, которую можно разработать экскаватором за один проход.

2. Минимальная ширина выемки по дну принята равной 1,2 м с учетом смещения оси движения экскаватора относительно оси выемки.

Наибольшие размеры выемок с откосами различной крутизны, разрабатываемых экскаватором Э-5015А, и отвалов разработанного грунта, а также величина передвижки и радиус выгрузки экскаватора приведены в табл. 28. Параметры выемок определены исходя из технологических параметров экскаватора и возможностей размещения отвала.

Техническая производительность экскаватора Э-5015А при разработке выемок в грунтах IV группы c выгрузкой грунта в отвал составляет 61 м3/ч, эксплуатационная - 24,4 м3(значения производительности - по ДиЗ, вып. 10 к ЕНиР).

Основные указания по производству работ

До начала производства земляных работ выполняют подготовительные операции: планировку поверхности бульдозером (в случае необходимости), инструментальную разбивку осей выемки и отвала.

Разрабатывают грунт в выемке лобовым забоем. Откос лобовой стенки забоя принят равным 1:0,5.

При разработке грунта ось проходки экскаватора смещена относительно оси выемки.

Откосы боковых стенок выемок, разрабатываемых экскаватором, должны приниматься в соответствии со СНиП III-8-76, в зависимости от вида грунта и глубины выемки.

Схема разработки выемок лобовым забоем экскаватором Э-5015А с выгрузкой грунта в отвал при смещении оси экскаватора относительно оси выемки приведена на рис. 45.

Технико-экономические показатели при разработке выемки в грунтах IV группы и выгрузке грунта в отвал.

Затраты труда на 100 м3 грунта, чел.-ч

4,1

Затраты машинного времени на 100 м3 грунта, маш.-ч

4,1

Выработка на 1 чел.-день, м3

200

Рис. 45. Схема разработки выемок лобовым забоем экскаватором Э-5015А с выгрузкой грунта в отвал при смещении его оси относительно оси выемки

Разработка траншей экскаватором Э-5015A, оборудованным обратной лопатой и профильным ковшом, с выгрузкой грунта в отвал

Общие положения

При разработке траншей небольшой глубины с откосами 1:1,73 (30°) в грунтах II группы, экскаватор Э-5015А оснащается профильным ковшом емкостью 0,5 м3.

Параметры траншеи определены, исходя из геометрических размеров ковша с добавлением необходимого припуска по ширине траншеи в соответствии со СНиП III-8-76.

Техническая производительность экскаватора Э-5015A при разработке траншеи в грунтах II группы профильным ковшом и выгрузкой грунта в отвал составляет 62,5 м3/ч, эксплуатационная - 25 м3/ч (значения производительности - по данным ЦНИИОМТП).

Основные указания по производству работ

До начала земляных работ выполняют подготовительные операции: планировку поверхности бульдозером, инструментальную разбивку осей траншеи и отвала.

Разработку грунта в траншее производят лобовым забоем. Угол наклона лобовой стенки забоя принят равным 1:0,5.

При разработке грунта ось проходки экскаватора совмещена с осью траншеи.

Схема разработки траншеи лобовым забоем экскаватором Э-5015А, оснащенным профильным ковшом, с выгрузкой грунта в отвал приведена на рис. 46.

Технико-экономические показатели при разработке грунта II группы с выгрузкой его в отвал

Затраты труда на 100 м3 грунта, чел.-ч

4

Затраты машинного времени на 100 м3 грунта, маш.-ч

4

Выработка на 1 чел.-день, м3

205

Рис. 46. Схема разработки траншей лобовым забоем экскаватором Э-5015А, оснащенным профильным ковшом, с выгрузкой грунта в отвал

Рыхление мерзлого грунта сезонного промерзания экскаватором Э-5015А, оборудованным обратной лопатой и зубом-рыхлителем

Общие положения

Для рыхления мерзлого грунта сезонного промерзания и разрушения старого дорожного полотна экскаватор Э-5015А, оборудованный обратной лопатой, оснащается зубом-рыхлителем.

За один проход возможно рыхление мерзлого грунта глубиной промерзания до 400 мм.

Техническая производительность экскаватора Э-5015А при рыхлении грунта сезонного промерзания составляет 45 м3/ч, эксплуатационная - 18 м3/ч (значения производительности - по данным ЦНИИОМТП).

Основные указания по производству работ

До начала работ по разрушению грунта выполняют подготовительные операции: инструментальную разбивку оси проходки экскаватора и полосы рыхлений грунта.

Рыхление грунта сезонного промерзания производят по радиусу полосами шириной 1 м при условии поворота рабочего оборудования на 30° в каждую сторону от оси движения экскаватора.

Шаг передвижки экскаватора принят равным 1 м при глубине промерзания грунта 400 мм.

Схема разрушения грунта сезонного промерзания экскаватором Э-5015А приведена на рис. 47.

Рис. 47. Схема разрушения грунта сезонного промерзания экскаватором Э-5015А

Технико-экономические показатели при рыхлений грунта сезонного промерзания

Затраты труда на 100 м3 грунта, чел.-ч

5,6

Затраты машинного времени на 100 м3 грунта, маш.-ч

5,6

Выработка на 1 чел.-день, м3

146,4

ЭКСКАВАТОР ЭО-4321

Экскаватор ЭО-4321, выпускаемый ПО "Красный экскаватор", предназначен для разработки грунта I-IV групп при выполнении работ на рассредоточенных объектах, в том числе грунта с включениями, имеющими наибольший размер менее 500 мм, а также для производства погрузочно-разгрузочных работ.

Экскаватор может быть попользован для работы в условиях умеренного климата при температуре окружающего воздуха от -40 до +40°С.

Схема экскаватора ЭО-4321 приведена на рис. 48.

Рис 48. Схема экскаватора ЭО-4321

Е -

база колесного ходового устройства, м

2,8

Ж -

колея, м

2,2

М -

ширина экскаватора, м

3,0

Г -

высота до оси пяты стрелы, м

2,2

В -

высота до крыши кабины, м

3,3

R -

радиус вращения хвостовой части, м

2,6

Л -

расстояние от оси вращения экскаватора до задних колес, м

1,1

К -

ширина ходовой части, м

2,7

Б -

ширина поворотной платформы по кабине, м

2,7

Экскаватор поставляется потребителям, оборудованный обратной лопатой и ковшом ёмкостью 0,65 м3, а также с бульдозерным оборудованием, установленным на шасси.

По заказам потребителей заводом-изготовителем могут быть поставлены следующие виды сменных рабочих органов. К оборудованию обратная лопата: ковш емкостью 0,4 и 1,0 м3; зуб-рыхлитель; удлиненная рукоять; гидромолот.

К грейферному оборудованию: двухчелюстной ковш емкостью 0,65 м3; удлинительные вставки.

К оборудованию прямого копания: ковш емкостью 0,8 м3.

Техническая характеристика

Наибольшая скорость передвижения, км/ч

19,5

Наибольший преодолеваемый подъем, град.

23

Номинальная мощность, л.с.

80

Номинальный расход гидрожидкости, л/мин

240

Номинальное давление в гидросистеме, МПа

25

Схемы и кинематические параметры рабочих зон экскаватора ЭО-4321 с различными видами сменных рабочих органов приведены на рисунках 49-52.

Рис. 49. Схема работы экскаватора ЭО-4321 с обратной лопатой и зубом-рыхлителем

Rк.с. -

наибольший радиус рыхления, м

8,80

Hк -

наибольшая допустимая глубина забоя, м

0,80

R1 -

радиус, описываемый режущей кромкой зуба-рыхлителя, м

1,15

Рис. 50. Схем работ экскаватора ЭО-4321 с ковшом

Наименование

Экскаватор

с нормальной рукоятью и ковшом объемом 0,65 м3

с удлиненной рукоятью и ковшом объемом 0,4 м3

при сдвижке верхней части стрелы и ковше объемом 1,0 м3

Rк.с. -

наибольший радиус копания на уровне стоянки, м

8,95

10,16

6,90

Hк -

наибольшая кинематическая глубина копани, м

5,50

6,70

4,00

Hв -

наибольшая высота выгрузки, м

5,60

6,18

5,00

Rв -

Радиус выгрузки при наибольшей высоте выгрузки, м

6,30

7,60

4,10

R -

радиус, описываемый кромкой зуба ковша, м

1,30

1,10

1,44

Рис. 51. Схема работы экскаватора ЭО-4321 с грейферным оборудованием

Rв -

радиус выгрузки при наибольшей высоте выгрузки, м

6,40

Rк.с. -

наименьший радиус копания на уровне стоянки, м

7,26

Нк -

расчетная высота забоя, м

6,80

Hв -

наибольшая высота выгрузки, м

4,10

Рис. 52. Схема работа экскаватора ЭО-4321 с прямой лопатой

Rк.с -

наименьший радиус копания на уровне стоянки, м

4,0

R -

радиус копания при расчетной высоте забоя, м

7,4

Rв -

радиус выгрузки при наибольшей высоте выгрузки, м

4,1

Hк -

расчетная высота забоя, м

2,2

Hв -

наибольшая высота выгрузки, м

5,7

Разработка выемок лобовым забоем экскаватором ЭО-4321, оборудованным обратной лопатой, и погрузка грунта в автомобили-самосвалы

Общие положения

В зависимости от вида разрабатываемого грунта и необходимых параметров выемки экскаватор может применяться с нормальной или удлиненной рукоятью и со смещением верхней части стрелы. На нормальную рукоять монтируется экскавационный ковш емкостью 0,65 м3, на удлиненную - емкостью 0,4 м3, при смещении верхней части стрелы - ковш емкостью 1,0 м3.

Наибольшие размеры выемок с откосами различной крутизны, разрабатываемых экскаватором ЭО-4321, а также величина передвижки экскаватора приведены в табл. 29.

Таблица 29

Наименование

Крутизна откосов (1:m)

1:1,25

1:1

1:0,67

1:0,5

1:0,25

Нормальная рукоять и ковш емкостью 0,65 м3

Параметры выемки, м

 

 

 

 

 

Н

 3,1

3,1

 3,9

3,7

 4,4

3,7

 4,4

3,7

 4,4

3,7

В

 8,8

8,8

 8,8

8,8

 6,9

8,8

 5,4

8,8

 3,2

8,8

b

 1,0

1,0

 1,0

1,4

 1,0

3,8

 1,0

5,2

 1,0

7,0

Величина передвижки экскаватора L, м

 2,5

2,5

 1,5

2,0

 1,0

2,0

 1,0

2,0

 1,0

2,0

Удлиненная рукоять и ковш емкостью 0,4 м3

Параметры выемки, м

 

 

 

 

 

Н

 4,6

4,5

 5,5

4,5

 5,5

4,5

 5,5

4,5

 5,5

4,5

В

 12,4

12,4

 11,8

12,4

 8,2

12,4

 6,3

12,4

 3,6

12,4

b

 0,8

1,2

 0,8

3,4

 0,8

6,4

 0,8

7,8

 0,8

10,2

Величина передвижки экскаватора L, м

 2,0

2,0

 1,0

2,0

 1,0

2,0

 1,0

2,0

 1,0

2,0

При сдвиге верхней части стрелы и ковше ёмкостью 1,0 м3

Параметры выемки, м

 

 

 

 

 

Н

 1,0

1,0

 1,5

1,5

 2,2

2,2

 2,5

2,5

 2,5

2,5

В

 4,2

4,2

 4,2

4,2

 4,2

4,2

 3,7

4,2

 2,5

4,2

b

 1,2

1,2

 1,2

1,2

 1,2

1,2

 1,2

1,7

 1,2

3,0

Величина передвижки экскаватора L, м

 2,5

2,5

 2,0

2,0

 1,2

1,2

 1,0

1,0

 1,0

1,0

Примечание. В числителе приведены параметры выемки при минимальной ширине выемки по дну, равной ширине ковша; в знаменателе - при максимальной ширине выемки по верху, которую можно разработать экскаватором за один проход.

Производительность экскаватора ЭО-4321 при разработке выемки и погрузке грунта в автомобили-самосвалы приведены в табл. 30.

Таблица 30

Производительность

Экскаватор

с нормальной рукоятью и ковшом емкостью 0,65 м3

с удлиненной рукоятью и ковшом емкостью 0,4 м3

со сдвигом верхней части стрелы и ковшом емкостью 1,0 м3

Техническая, м3/ч в грунтах

 

 

 

III группы

-

-

89,5

IV группы

59,5

41,6

-

Эксплуатационная, м3/ч, в грунтах

 

 

 

III группы

-

-

35,8

IV группы

23,8

16,7

-

Примечание. Значения производительности - по ДиЗ, выпуск 10 к ЕНиР.

Основные указания по производству работ

До начала производства земляных работ выполняют подготовительные операции: планировку поверхности бульдозером (при необходимости), инструментальную разбивку выемки, прокладывают землевозные дороги.

Разрабатывают грунт в выемке лобовым забоем. Откос лобовой стенки забоя принят равным 1:0,5.

При равработке грунта ось проходки экскаватора совмещена с осью выемки.

Автомобили-самосвалы под погрузку подают задним ходом и устанавливают в, соответствии со СНиП III-4-79 на расстоянии 1 м от бровки выемки с таким расчетом, чтобы средний угол поворота стрелы экскаватора не превышал 70°. При этом учитывают, что:

при высоте выгрузки 2,5 м (выгрузка в автомобили-самосвалы МАЗ-503А) радиус выгрузки экскаватора с нормальной рукоятью и ковшом емкостью 0,65 м3 составляет 7,2 м; радиус выгрузки экскаватора со смещением верхней части стрелы и ковшом емкостью 1,0 м3 составляет 4,9 м;

при высоте выгрузки 2,4 м (выгрузка в автомобили-самосвалы ЗИЛ-ММЗ-555), радиус выгрузки экскаватора с удлиненной рукоятью и ковшом емкостью 0,4 м3 составляет 8,6 м.

Откосы боковых стенок выемок, разрабатываемых экскаватором, должны приниматься в соответствии со СНиП III-8-76 в зависимости от вида грунта и глубины выемки.

Схема разработки грунта в выемках экскаватором ЭО-4321 приведена на рис. 53.

Технико-экономические показатели

Технико-экономические показатели при разработке выемки и погрузке грунта в автомобили-самосвалы приведены в табл. 31.

Таблица 31

Наименование

Экскаватор

с нормальной рукоятью и ковшом емкостью 0,65 м3

с удлиненной рукоятью и ковшом емкостью 0,4 м3

со сдвигом верхней части стрелы и ковшом емкостью 1,0 м3

Затраты труда на 100 м3 грунта, чел.-ч

4,2

6,0

2,8

Затраты машинного времени на 100 м3 грунта, маш.-ч

4,2

6,0

2,8

Выработка на один чел.-день, м3

194,3

137,0

292,9

Разработка выемок лобовым забоем экскаватором ЭО-4321, оборудованным обратной лопатой, и выгрузка грунта в отвал при совмещении оси движения экскаватора с осью выемки

Общие положения

В зависимости от вида разрабатываемого грунта и необходимых параметров выемки экскаватор может применяться с нормальной или удлиненной рукоятью, а также со смещением верхней части стрелы.

Рис. 53. Схема разработки грунта в выемках лобовым забоем экскаватором ЭО-4321 с обратной лопатой

1 - экскаватор ЭО-4321; 2 - вешки; 3 - автомобиль-самосвал МАЗ-503А

На нормальную рукоять монтируют ковш емкостью 0,65 м3, на удлиненную - 0,4 м3, а при смещении верхней части стрелы - емкостью 1 м3.

Наибольшие размеры выемок с откосами различной крутизны, разрабатываемых экскаватором ЭО-4321, и отсыпаемых отвалов разработанного грунта, а также величина передвижки и радиус выгрузки экскаватора приведены в табл. 32. Параметры выемок определяются; технологическими параметрам экскаватора и возможностью размещения отвала.

Таблица 32

Наименование

Крутизна откосов (1:m)

1:1,25

1:1

1:0,67

1:0,5

1:0,25

1

2

3

4

5

6

Нормальная рукоять и ковш емкостью 0,65 м3

Параметры выемки, м

 

 

 

 

 

Н

 2,1

2,1

 2,4

2,1

 3,2

2,1

 3,7

2,1

 4,4

3,7

B

 6,3

6,3

 5,8

6,0

 5,3

5,6

 4,7

5,5

 3,2

4,2

b

 1,0

1,0

 1,0

1,8

 1,0

2,8

 1,0

3,4

 1,0

2,4

Параметры отвала, м

 

 

 

 

 

h

 3,0

3,0

 3,1

3,1

 3,5

3,3

 3,5

3,4

 3,3

3,8

B'

 6,0

6,0

 6,2

6,2

 7,0

6,6

 7,0

6,8

 6,6

7,6

Величина передвижки экскаватора L, м

 3,5

3,5

 3,0

3,5

 2,0

3,5

 1,5

3,5

 0,5

1,5

Радиус выгрузки экскаватора Rв, м

 7,1

7,1

 7,0

7,1

 7,1

7,1

 7,0

7,0

 5,9

6,9

Удлинённая рукоять и ковш емкостью 0,4 м3

Параметры выемки, м

 

 

 

 

 

Н

 2,7

2,7

 3,2

2,7

 4,2

2,7

 5,0

4,5

 5,5

4,5

B

 7,6

7,6

 7,2

7,3

 6,4

6,6

 5,8

5,8

 3,6

5,3

b

 0,8

0,8

 0,8

1,9

 0,8

3,0

 0,8

1,3

 0,8

3,0

Параметры отвала, м

 

 

 

 

 

h

 3,7

3,7

 3,9

3,8

 4,2

4,0

 4,4

4,4

 3,8

4,7

B'

 7,4

7,4

 7,8

7,6

 8,4

8,0

 8,8

8,8

 7,6

9,4

Величина передвижки экскаватора L, м

 4,0

4,0

 3,0

4,0

 2,0

4,0

 1,0

2,0

 0,5

2,0

Радиус выгрузки экскаватора Rв, м

 8,5

8,5

 8,5

8,4

 8,4

8,3

 8,3

8,3

 6,6

8,3

При смещении верхней части стрелы и ковш емкостью 1,0 м3

Параметры выемки, м

 

 

 

 

 

Н

 1,2

1,2

 1,3

1,2

 1,7

1,2

 2,0

1,2

 2,5

2,5

B

 4,2

4,2

 3,9

4,0

 3,5

3,8

 3,2

3,8

 2,4

2,4

b

 1,2

1,2

 1,2

1,6

 1,2

2,0

 1,2

2,6

 1,2

1,2

Параметры отвала, м

 

 

 

 

 

h

 2,0

2,0

 2,0

2,0

 2,2

2,1

 2,3

2,1

 2,3

2,3

B'

 4,0

4,0

 4,0

4,0

 4,4

4,2

 4,6

4,2

 4,6

4,6

Радиус выгрузки экскаватора Rв, м

 5,0

5,0

 4,9

5,0

 4,9

5,0

 4,9

5,0

 4,5

4,5

Примечание. В числителе приведены параметры выемки и отвала при минимальной ширине выемки по дну, равной ширине ковша; в знаменателе - параметры выемки и отвала при максимальной ширине выемки по верху, которую можно разработать экскаватором за один проход.

Производительность экскаватора ЭО-4321 при разработке выемок и выгрузке грунта в отвал приведена в табл. 33.

Таблица 33

Производительность

Экскаватор

С нормальной рукоятью и ковшом емкостью 0,65 м3

с удлиненной рукоятью и ковшом емкостью 0,4 м3

со сдвигом верхней части стрелы и ковшом емкостью 1,0 м3

Техническая, м3/ч в грунтах

 

 

 

III группы

-

-

108,5

IV группы

73,6

54,3

-

Эксплуатационная, м3/ч, в грунтах

 

 

 

III группы

-

-

43,4

IV группы

29,4

21,7

-

Примечание. Значение производительности - по ДиЗ, выпуск 10 к ЕНиР.

Основные указания по производству работ

До начала производства земляных работ выполняют подготовительные операции: планировку поверхности бульдозером (при необходимости), инструментальную разбивку осей выемки и отвала.

Разрабатывают грунт в выемке лобовым забоем. Откос лобовой стенки забоя принят равным 1:0,5.

При разработке грунта ось проходки экскаватора совмещена с осью выемки.

Откосы боковых стенок выемки, разрабатываемых экскаватором, должны приниматься в соответствии со СНиП III-8-76, в зависимости от вида грунта и глубины выемки.

Схема разработки выемок лобовым забоем экскаватором ЭО-4321 приведена на рис. 54.

Технико-экономические показатели

Технико-экономические показатели экскаватора ЭО-4321 при разработке выемки с выгрузкой грунта в отвал приведены в табл. 34.

Таблица 34

Наименование

Экскаватор

с нормальной рукоятью и ковшом емкостью 0,65 м3

с удлинённой рукоятью и ковшом емкостью 0,4 м3

со сдвигом верхней части стрелы, и ковшом емкостью 1,0 м3

Затраты труда на 100 м3, чел.-ч, в грунтах

 

 

 

III группы

-

-

2,3

IV группы

3,4

4,6

-

Затраты машинного времени на 100 м3, маш.-ч, в грунтах

 

 

 

III группы

-

-

2,3

IV группы

3,4

4,6

-

Выработка на 1 чел-день, м3 в грунтах

 

 

 

III группы

-

-

356,5

IV группы

241,2

178,3

-

Разработка выемок лобовым забоем экскаватором ЭО-4321, оборудованным обратной лопатой, и выгрузка грунта в отвал при смещении оси движения экскаватора относительно оси выемки

Общие положения

В зависимости от вида разрабатываемого грунта и необходимых параметров выемки экскаватор может применяться с нормальной или удлиненной рукоятью и смещением верхней части стрелы.

На нормальную рукоять монтируется экскавационный ковш емкостью 0,65 м3, на удлиненную - емкостью 0,4 м3, со сдвигом верхней части стрелы - ковш емкостью 1 м3.

Наибольшие размеры выемок с откосами различной крутизны разрабатываемых экскаватором ЭО-4321, и отсыпаемых отвалов разработанного грунта, а также величина передвижки и радиус выгрузки экскаватора приведены в табл. 35. Параметры выемок определяются технологическими параметрами экскаватора и возможностью размещения отвала.

Рис. 54. Схема разработки выемок лобовым забоем экскаватором ЭО-4321 с обратной лопатой и выгрузки грунта в отвал при совмещении оси движения экскаватора с осью выемки

Таблица 35

Наименование

Крутизна откосов (1:m)

1:1,25

1:1

1:0,67

1:0,5

1:0,25

1

2

3

4

5

6

Нормальная рукоять и ковш емкостью 0,65 м3

Параметры выемки, м

 

 

 

 

 

Н

 3,1

3,1

 3,4

3,1

 4,0

3,7

 4,4

3,7

 4,4

3,7

B

 9,0

9,0

 8,0

9,0

 6,6

7,0

 5,6

6,3

 3,4

5,4

b

 1,2

1,2

 1,2

1,4

 1,2

2,0

 1,2

2,6

 1,2

3,5

Параметры отвала, м

 

 

 

 

 

h

 4,4

4,4

 4,3

4,4

 4,3

4,4

 4,2

4,4

 3,6

4,4

B'

 8,8

8,8

 8,6

8,8

 8,6

8,8

 8,4

8,8

 7,0

8,8

Величина передвижки экскаватора L, м

 2,0

2,0

 1,5

2,0

 1,0

1,0

 0,5

1,0

 0,5

1,0

Радиус выгрузки экскаватора Rв, м

 6,9

6,9

 6,8

6,9

 6,8

6,9

 6,7

6,9

 6,0

6,9

Удлиненная рукоять и ковш емкостью 0,4 м3

Параметры выемки, м

 

 

 

 

 

Н

 3,6

3,6

 4,5

4,5

 5,5

4,5

 5,5

4,5

 5,5

4,5

B

 10,0

10,0

 10,0

10,0

 8,4

8,5

 6,5

7,7

 3,8

6,6

b

 1,0

1,0

 1,0

1,0

 1,0

2,5

 1,0

3,2

 1,0

4,4

Параметры отвала, м

 

 

 

 

 

h

 4,8

4,8

 5,4

5,4

 5,5

5,4

 4,9

5,4

 4,0

5,4

B'

 9,6

9,6

 10,8

10,8

 11,0

10,8

 9,8

10,8

 8,0

10,8

Величина передвижки экскаватора L, м

 3,0

3,0

 2,0

2,0

 0,5

2,0

 0,5

2,0

 0,5

2,0

Радиус выгрузки экскаватора Rв, м

 7,3

7,3

 7,9

7,9

 7,9

7,9

 7,4

7,9

 6,5

7,9

Co смещением верхней части стрелы и ковшом емкостью 1 м3

Параметры выемки, м

 

 

 

 

 

 

Н

 1,6

1,6

 1,7

1,6

 1,9

1,6

 2,1

1,6

 2,5

2,5

 

B

 5,4

5,4

 4,8

4,8

 3,9

4,3

 3,5

4,1

 2,6

2,6

 

b

 1,4

1,4

 1,4

1,6

 1,4

2,2

 1,4

2,5

 1,4

1,4

 

Параметры отвала, м

 

 

 

 

 

 

h

 2,5

2,5

 2,5

2,5

 2,5

2,5

 2,5

2,5

 2,4

2,4

 

B'

 5,0

5,0

 5,0

5,0

 5,0

5,0

 5,0

5,0

 4,8

4,8

 

Величина передвижки экскаватора L, м

 1,5

1,5

 1,5

1,5

 1,0

1,5

 1,0

1,5

 0,5

0,5

 

Радиус выгрузки экскаватора Rв, м

 5,0

5,0

 5,0

5,0

 5,0

5,0

 5,0

5,0

 4,9

4,9

 

Примечания:

1. В числителе приведены параметры выемки и отвала при минимальной ширине выемки по дну; в знаменателе - параметры выемки и отвала при максимальной ширине выемки по верху, которую можно разработать экскаватором за один проход.

2. Минимальная ширина выемки по дну принята равной 1,2 м для ковша емкостью 0,65 м3, 1 м - для ковша емкостью 0,4 м3; 1,4 м - для ковша емкостью 1 м3 с учетом смещения оси движения экскаватора относительно оси выемки.

Производительность экскаватора ЭО-4321 при разработке выемки с выгрузкой грунта в отвал приведена в табл. 36.

Таблица 36

Производительность

Экскаватор

с нормальной рукоятью и ковшом емкостью 0,65 м3

с удлиненной рукоятью и ковшом емкостью 0,4 м3

со смещением верхней части стрелы и ковшом емкостью

1

2

3

4

Техническая, м3/ч, в грунтах

 

 

 

III группы

-

-

108,5

IV группы

73,6

54,3

-

Эксплуатационная, м3/ч, в грунтах

 

 

 

III группы

-

-

43,4

IV группы

29,4

27,7

-

Примечание. Значения производительности - по ДиЗ, выпуск 10 к ЕНиР.

Основные указания по производству работ

До начала производства земляных работе выполняют подготовительные операции: планировку поверхности бульдозером (при необходимости), инструментальную-разбивку осей выемки и отвала.

Разрабатывают грунт в выемке лобовым забоем. Откос лобовой стенки, забоя, принят равным 1:0,5.

Рис. 55. Схема разработки выемки лобовым забоем при смещении оси движения экскаватора ЭО-4321 относительно оси выемки

Ось проходки экскаватора смещена относительно оси выемки, исходя из необходимости размещения отвала при получении выемки большей ширины и глубины. Откосы боковых стенок выемки, разрабатываемой экскаватором, должны приниматься в соответствии со СНиП III-8-76, в зависимости от вида грунта и глубины выемки.

Схема разработки выемки лобовым забоем экскаватором ЭО-4321 при смещении оси движение экскаватора относительно оси выемки приведена на рис. 55.

Технико-экономические показатели

Технико-экономические показатели при разработке грунта с выгрузкой его в отвал приведены в табл. 37.

Таблица 37

Наименование

Экскаватор

с нормальной рукоятью и ковшом емкостью 0,65 м3

с удлиненной рукоятью и ковшом емкостью 0,4 м3

со смещением верхней части стрелы и ковшом емкостью 1,0 м3

Затраты труда на 100 м3, чел.-ч, в грунтах

 

 

 

III группы

-

-

2,3

IV группы

3,4

4,6

-

Затраты машинного времени на 100 м3, маш.-ч, в грунтах

 

 

 

III группы

-

-

2,3

IV группы

3,4

4,6

-

Выработка на 1 чел.-день, м3, в грунтах

 

 

 

III группы

-

-

356,5

IV группы

241,2

178,3

-

Рыхление мерзлого грунта сезонного промерзания экскаватором ЭО-4321 с зубом-рыхлителем

Общие положения

Для рыхления мерзлого грунта сезонного промерзания и разрушения старого дорожного полотна экскаватор ЭО-4321 оснащается зубом-рыхлителем, навешиваемым на рукоять нормальной длины.

Техническая производительность экскаватора 30-4321 при рыхлении грунта сезонного промерзания составляет 50 м3/ч, эксплуатационная 20 м3/ч (значения производительности - по данным ЦНИИОМТП).

Основные указания по производству работ

До начала земляных работ выполняют инструментальную разбивку оси проходки экскаватора и полосы рыхления.

Рыхление грунта сезонного промерзания производят по радиусу полосами шириной 1 м при условии поворота рабочего оборудования на угол не более 30° в каждую сторону от оси движения экскаватора.

Схема рыхления грунта сезонного промерзания экскаватором ЭО-4321 с зубом-рыхлителем приведена на рис. 56.

Технико-экономические показатели экскаватора ЭО-4321 при рыхлении грунта сезонного промерзания

Затраты труда на 100 м3 грунта, чел.-ч

5,6

Затраты машинного времени на 100 м3 грунта, маш.-ч

5,6

Выработка на 1 чел.-день, м3

146,4

Рис 56. Схема рыхления грунта сезонного промерзания экскаватором ЭО-4321 с зубом-рыхлителем

ЭКСКАВАТОР ЭО-4121А

Экскаватор ЭО-4121А (рис 67) производства Ковровского экскаваторного завода предназначен для разработки грунта I-IV групп, отрывки колодцев и других местных выемок, погрузки предварительно разрыхленного грунта V, IV групп и мерзлого грунта, а также погрузки различных сыпучих материалов из штабеля и других работ в условиях умеренного климата при температуре окружающего воздуха от -40 до +40°С.

Экскаватор поставляется потребителям с оборудованием обратная лопата и ковшом емкостью 1,0 м3.

По заказам потребителей заводом-изготовителем могут быть поставлены следующие виды сменных рабочих органов.

К оборудованию обратная лопата: ковш емкостью 0,65 м3; рыхлитель статического действия; захватно-клещевое устройство (однозубое и трехзубое); гидромолот СП-62; удлиненная рукоять.

К оборудованию прямого копания: ковш поворотный емкостью 1,0 м3; ковш открывающийся днищем емкостью 1,0 м3; ковш для производства погрузочных работ емкостью 1,5 м3.

К грейферному оборудованию: грейферный ковш емкостью 1,0 м3; удлинительные вставки.

Рис. 57. Схема экскаватора ЭО-4121А

А -

расстояние от оси пяты стрелы до оси вращения, м

0,52

Е -

база гусеничного ходового устройства, м

2,75

Е1 -

длина гусеничного ходового устройства, м

3,48

Ж -

колея гусеничного ходового устройства, м

2,35

Д -

ширина гусеничной ленты с нормальным звеном, м

0,58

Б -

ширина поворотной платформы, м

3,0

F -

просвет под поворотной платформой, м

0,93

Г -

высота до оси пяты стрелы, м

2,01

В -

высота до крыши кабины, м

3,00

Н -

просвет под ходовой рамой, м

0,52

L -

длина базовой части стрелы, м

3,22

R -

радиус вращения хвостовой части, м

3,13

Техническая характеристика

Наибольшая скорость передвижения, км/ч

2,9

Наибольший преодолеваемый подъем, град.

22

Номинальная мощность, л.с.

130

Номинальный расход гидрожидкости, л/мин

330

Номинальное давление в гидросистеме, МПа

1,6

Схемы и кинематические параметры рабочей зоны экскаватора ЭО-4121А, оборудованного обратной, прямой лопатами и различными рабочими органами, приведены на рис-58-64.

Рис. 58. Схема работы экскаватора ЭО-4121А с обратной лопатой

Наименование

Экскаватор

с нормальной рукоятью

с удлиненной рукоятью

R1 -

радиус описываемый кромкой зуба ковша, емкостью 1 м3, м

1,44

-

Rк.с. -

наибольший радиус копания на уровне стоянки, м

9,10

10,20

Нк -

наибольшая глубина копания, м

5,80

7,10

Нв -

наибольшая высота выгрузки, м

5,00

5,20

Rв -

Радиус выгрузки при наибольшей высоте выгрузки, м

7,4

8,90

Рис. 59. Схема применения гидромолота СП-62 на экскаваторе ЭО-4121А

H -

высота гидромолота с клином, мм

2400

b -

ширина гидромолота, мм

500

lк -

длина клина, мм

700

Рис. 60. Схема применения экскаватора с обратной лопатой и зубом-рыхлителем

Rк.с. -

наибольший радиус копания, м

9,00

Нк -

наибольшая допустимая глубина забоя, м

2,00

R1 -

радиус, описываемый режущей кромкой, м

1,15

Техническая характеристика

Энергии удара, Дж

9000

Частота ударов, уд./мин

160

Масса ударной части, кг

600

Максимальное рабочее давление, МПа

16

Расход жидкости, л/мин

165

Масса, кг

2100

Рис. 61. Схема работы экскаватора ЭО-4121А с обратной лопатой и ковшом с открывающимся днищем

Нк -

наибольшая высота копания, м

7,45

Нв -

наибольшая высота выгрузки, м

5,00

H1 -

расчетная высота забоя, м

3,55

Rк -

радиус копания при расчетной высоте забоя, м

7,00

R -

наименьший радиус копания на уровне стоянки, м

3,10

Rв -

радиус выгрузки при наибольшей высоте выгрузки, м

4,60

Рис. 62. Схема работы экскаватора ЭО-4121А с прямой лопатой и поворотным ковшом

Rк -

наибольший радиус копания, м

7,10

R -

наименьший радиус копания на уровне стоянки, м

4,00

Rв -

радиус выгрузки при наибольшей высоте выгрузки

4,75

Нк -

наибольшая высота копания, м

7,40

Нв -

наибольшая высота выгрузки, м

4,45

H1 -

расчетная высота забоя, м

3,65

L -

длина планируемого участка на уровне стоянки, м

2,60

Рис. 63. Схема работы экскаватора ЭО-4121А с погрузочным оборудованием

Rп -

наибольший радиус планируемого участка, м

6,65

Rв -

радиус выгрузки при наибольшей высоте выгрузки, м

5,13

Hв -

наибольшая высота выгрузки, м

3,75

L -

длина планируемого участка на уровне стоянки, м

2,25

Рис. 64. Схема работы экскаватора ЭО-4121А с грейферным оборудованием

Rк.с. -

наибольший радиус копания на уровне стоянки, м

8,90

R1 -

наименьший радиус копания на уровне стоянки, м

4,20

Rв -

радиус выгрузки при наибольшей высоте выгрузки, м

6,70

Нк -

наибольшая глубина копания, м

7,90

Hв -

наибольшая высота выгрузки, м

3,00

Нг -

высота грейфера, м

3,37

Разработка выемок лобовым забоем экскаватором ЭО-4121А, оборудованным обратной лопатой, и погрузка грунта в автомобили-самосвалы

Общие положения

В зависимости от вида разрабатываемого грунта и необходимых параметров выемки экскаватор может применяться с нормальной и удлиненной рукоятью.

На нормальную рукоять монтируется экскавационный ковш емкостью 0,65 или 1,0 м3, а на удлинённую рукоять - емкостью 0,65 м3.

Наибольшие размеры выемок с откосами различной крутизны, разрабатываемых экскаватором ЭО-4121А, а также величина передвижки экскаватора приведены в табл. 38.

Таблица 38

Наименование

Крутизна откосов (1:m)

1:1,25

1:1

1:0,67

1:0,5

1:0,25

1

2

3

4

5

6

Нормальная рукоять и ковш емкостью 0,65 м3

Параметры выемки, м

 

 

 

 

 

Н

 2,7

2,3

 3,4

2,3

 5,0

2,3

 5,0

2,3

 5,0

2,3

B

 7,8

7,8

 7,8

7,8

 7,7

7,8

 6,0

7,8

 3,5

7,8

b

 1,0

2,0

 1,0

3,2

 1,0

4,7

 1,0

5,5

 1,0

6,6

Величина передвижки экскаватора L, м

 3,5

4,0

 2,7

4,0

 0,5

4,0

 0,5

4,0

 0,5

4,0

Нормальная рукоять и ковш емкостью 1 м3

Параметры выемки, м

 

 

 

 

 

Н

 2,6

2,3

 3,3

2,3

 4,8

2,3

 5,0

2,3

 5,0

2,3

B

 7,8

7,8

 7,8

7,8

 7,8

7,8

 6,3

7,8

 3,8

7,8

b

 1,3

2,0

 1,3

3,2

 1,3

4,7

 1,3

5,5

 1,3

6,6

Величина передвижки экскаватора L, м

 3,5

4,0

 2,7

4,0

 0,6

4,0

 0,5

4,0

 0,5

4,0

Удлиненная рукоять и ковш емкостью 0,65 м3

Параметры выемки, м

 

 

 

 

 

Н

 3,8

2,3

 4,7

2,3

 6,0

2,3

 6,0

2,3

 6,0

2,3

B

 10,4

10,4

 10,4

10,4

 9,0

10,4

 7,0

10,4

 4,0

10,4

b

 1,0

4,8

 1,0

5,8

 1,0

7,3

 1,0

8,1

 1,0

9,2

Величина передвижки экскаватора L, м

 3,5

5,0

 2,0

5,0

 0,5

5,0

 0,5

5,0

 0,5

5,0

Примечание. В числителе приведены параметры выемки при минимальной ширине выемки по дну, равной ширине ковша; в знаменателе - при максимальной ширине выемки по верху, которую можно разработать экскаватором за один проход.

Производительность экскаватора ЭО-4121А при разработке выемки и погрузке грунта в автомобили-самосвалы приведена в табл. 39.

Таблица 39

Производительность

Экскаватор

с нормальной рукоятью и ковшом емкостью, м3

с удлиненной рукоятью и ковшом емкостью 0,65 м3

0,65

1,0

1

2

3

4

Техническая, м3/ч, в грунтах

 

 

 

II группы

100,0

113,8

90,0

III группы

78,3

89,3

70,5

IV группы

59,5

57,6

53,6

Эксплуатационная, м3/ч, в грунтах

 

 

 

 

II группы

40,0

45,5

36,0

 

III группы

31,3,

35,7

28,2

 

IV группы

23,8

27,0

21,4

 

Примечание. Значения производительности приняты по ДиЗ, выпуск 10 к ЕНиР.

Основные указания по производству работ

До начала производства земляных работ выполняют подготовительные операции: планировку поверхности бульдозером, инструментальную разбивку выемки, прокладывают землевозные дороги.

Разрабатывают грунт в выемке лобовым забоем. Откос лобовой стенки забоя принят равным 1:0,5.

При разработке грунта ось проходки экскаватора совмещена с осью выемки. Автомобили-самосвалы под погрузку подают задним ходом и устанавливают в соответствии со СНиП III-4-79 на расстоянии 1 м от бровки выемки с таким расчетом, чтобы средний угол поворота стрелы экскаватора не превышал 70°. При этом учитывают, что радиус выгрузки экскаватора R'в, при высоте выгрузки 2,5 м (выгрузка в автомобили-самосвалы МАЗ-503А) составляет: с нормальной рукоятью - 7,4 м, с удлиненной 8,8 м.

Откосы боковых стенок выемок, разрабатываемых экскаватором, должны приниматься в соответствии со СНиП III-8-76 в зависимости от вида грунта и глубины выемки.

Схема разработки грунта в выемках экскаватором ЭО-4121А приведена не рис. 65.

Технико-экономические показатели

Технико-экономические показатели при разработке выемки и погрузке грунта в автомобили-самосвалы приведены в табл. 40.

Таблица 40

Наименование

Экскаватор

с нормальной рукоятью и ковшом емкостью, м3

с удлиненной рукоятью и ковшом емкостью 0,65 м3

0,65

1,0

Затраты труда на 100 м3 чел.-ч, в грунтах

 

 

 

II группы

2,50

2,20

2,78

III группы

3,20

2,80

3,55

IV группы

4,20

3,70

4,70

Затраты машинного времени на 100 м3, маш.-ч, в грунтах

 

 

 

II группы

2,50

2,20

2,78

III группы

3,20

2,80

3,55

IV группы

4,20

3,70

4,70

Выработка на 1 чел.-день, м3, в грунтах

 

 

 

II группы

328

372,7

295,2

III группы

256,7

292,7

231

IV группы

195,2

221,4

175,7

Разработка выемок лобовым забоем экскаватором ЭО-4121A, оборудованным обратной лопатой, и выгрузка грунта в отвал при совмещении оси движения экскаватора с осью выемки

Общие положения

В зависимости от вида разрабатываемого грунта и необходимых параметров выемки экскаватор может применяться с нормальной, и удлиненной рукоятью.

На нормальную рукоять монтируется экскавационный ковш емкостью 0,65 или 1,0 м3, а на удлиненную рукоять ковш емкостью 0,65 м3.

Наибольшие размеры выемок с откосами различной крутизны, разрабатываемых экскаватором ЭО-4121А, и отсыпаемых отвалов грунта, а также величина передвижки и радиус выгрузки экскаватора в отвал, приведены в табл. 41.

Рис. 65. Схема разработки грунта в выемках экскаватором ЭО-4121А с обратной лопатой и погрузка грунта в автомобили-самосвалы

1 - экскаватор ЭО-4121А; 2 - вешки; 3 - автомобиль-самосвал MAЗ-503A

Таблица 41

Наименование

Крутизна откосов (1:m)

1:1,25

1:1

1:0,67

1:0,5

1:0,25

1

2

3

4

5

6

Нормальная рукоять и ковш емкостью 0,65 м3

Параметры выемки, м

 

 

 

 

 

Н

 2,2

2,2

 2,6

2,3

 3,3

2,3

 3,9

2,3

 5,0

2,3

B

 6,5

6,5

 6,2

6,1

 5,4

5,7

 4,9

5,5

 3,5

5,2

b

 1,0

1,0

 1,0

1,5

 1,0

2,7

 1,0

3,2

 1,0

4,0

Параметры отвала, м

 

 

 

 

 

h

 3,1

3,1

 3,2

3,3

 3,5

3,4

 3,7

3,5

 3,7

3,6

B'

 6,2

6,2

 6,4

6,6

 7,0

6,8

 7,4

7,0

 7,4

7,2

Величина передвижки экскаватора L, м

 4,3

4,3

 4,0

4,3

 3,0

4,3

 2,5

4,3

 0,5

4,3

Радиус выгрузки экскаватора Rв, м

 7,3

7,3

 7,3

7,3

 7,2

7,3

 7,2

7,3

 7,3

7,2

Нормальная рукоять и ковш емкостью 1,0 м3

Параметры выемки, м

 

 

 

 

 

Н

 2,1

2,1

 2,4

2,3

 3,1

2,3

 3,7

2,3

 5,0

2,3

B

 6,6

6,6

 6,1

6,2

 5,4

5,7

 5,0

5,5

 3,8

5,2

b

 1,3

1,3

 1,3

1,5

 1,3

2,7

 1,3

3,2

 1,3

4,0

Параметры отвала, м

 

 

 

 

 

h

 3,1

3,1

 3,3

3,3

 3,5

3,4

 3,7

3,5

 3,9

3,6

B'

 6,2

6,2

 6,6

6,6

 7,0

6,8

 7,4

7,0

 7,8

7,2

Величина передвижки экскаватора L, м

 4,5

4,5

 4,2

4,3

 3,3

4,3

 2,6

4,3

 0,5

4,3

Радиус выгрузки экскаватора Rв, м

7,3

7,3

7,3

7,3

7,2

7,3

7,2

7,3

6,8

7,2

Удлиненная рукоять и ковш емкостью 0,65 м3

Параметры выемки, м

 

 

 

 

 

Н

 2,7

2,3

 3,2

2,3

 4,1

2,3

 5,0

2,3

 6,0

2,3

B

 7,8

8,0

 7,4

7,7

 6,5

7,3

 6,0

7,3

 4,0

6,9

b

 1,0

2,2

 1,0

3,1

 1,0

4,3

 1,0

5,0

 1,0

5,7

Параметры отвала, м

 

 

 

 

 

h

 3,8

3,7

 4,0

3,9

 4,4

4,0

 4,6

4,1

 4,2

4,2

B'

 7,6

7,4

 8,0

7,8

 8,8

8,0

 9,2

8,2

 8,4

8,4

Величина передвижки экскаватора L, м

 5,0

5,5

 4,5

5,5

 3,5

5,5

 2,3

5,5

 0,5

5,5

Радиус выгрузки экскаватора Rв, м

 8,7

8,7

 8,7

8,7

 8,6

8,7

 8,6

8,7

 8,5

8,6

Примечание. В числителе приведены параметры выемки и отвала при минимальной ширине выемки по дну, равной ширине ковша; в знаменателе - параметры выемки и отвала при максимальной ширине выемки по верху, которую можно разработать экскаватором за один проход.

Производительность экскаватора ЭО-4121А при разработке выемки с выгрузкой грунта в отвал приведена в табл. 42.

Таблица 42

Производительность

Экскаватор

с нормальной рукоятью и ковшом емкостью, м3

с удлиненной рукоятью и ковшом емкостью 0,65 м3

0,65

1,0

1

2

3

4

Техническая, м3/ч, в грунтах

 

 

 

II группы

119

142,9

107,1

III группы

92,6

108,7

83,3

IV группы

73,5

89,3

66,2

Эксплуатационная, м3/ч, в грунтах

 

 

 

II группы

47,6

67,1

42,9

III группы

37,0

43,5

33,3

IV группы

29,4

35,7

26,5

Примечание. Значения производительности приняты до ДиЗ, вып. 10 к ЕНиР.

Основные указания по производству работ

До начала производства земляных работ выполняют подготовительные операции: планировку поверхности бульдозером, инструментальную разбивку осей выемки и отвала.

Разрабатывают грунт в выемке лобовым забоем. Откос лобовой стенки забоя принят равным 1:0,5.

При разработке грунта ось проходки экскаватора совмещена с осью выемки.

Откосы боковых стенок выемки, разрабатываемых экскаватором, должен приниматься в соответствии со СНиП III-8-76, в зависимости от вида грунта и глубины выемки.

Схема разработки грунта в выемках, экскаватором ЭО-4121А приведена на рис. 66.

Рис. 66. Схема разработки выемок лобовым забоем экскаватором ЭО-4121А с обратной лопатой и выгрузка грунта в отвал при совмещении оси движения экскаватора с осью выемки

Технико-экономические показатели

Технико-экономические показатели при разработке выемки с выгрузкой грунта в отвал приведены в табл. 43.

Таблица 43

Наименование

Экскаватор

с нормальной рукоятью и ковшом емкостью, м3

с удлиненной рукоятью и ковшом емкостью 0,65 м3

0,65

1,0

Затраты труда на 100 м3 грунта, чел.-ч, в грунтах

 

 

 

II группы

2,1

1,75

2,34

III группы

2,7

2,30

3,02

IV группы

3,4

2,80

3,78

Затраты машинного времени на 100 м3 грунта, маш.-ч, в грунтах

 

 

 

II группы

2,1

1,75

2,34

III группы

2,7

2,30

3,02

IV группы

3,4

2,80

3,78

Выработка на 1 чел.-дн, м3, в грунтах

 

 

 

II группы

390,3

488,2

351,8

III группы

303,4

356,7

273,1

IV группы

241,1

292,7

217,3

Разработка выемок лобовым забоем экскаватором ЭО4121А, оборудованным обратной лопатой, и выгрузка грунта в отвал при смещении оси движения экскаватора относительно оси выемки

Общие положения

В зависимости от вида разрабатываемого грунта и необходимых параметров выемки экскаватор может применяться с нормальной и удлиненной рукоятью.

На нормальную рукоять монтируется экскавационный ковш емкостью 0,65 или 1,0 м3, а на удлиненную рукоять - емкостью 0,65 м3. Наибольшие размеры выемок с откосами различной крутизны, разрабатываемых экскаватором ЭО-4121А и отсылаемых отвалов грунта, а также величина передвижки и радиус выгрузки экскаватора приведены в табл. 44. Параметры выемок определены исходя из технологических параметров экскаватора и возможности размещения отвала.

Таблица 44

Наименование

Крутизна откосов (1:m)

1:1,25

1:1

1:0,67

1:0,5

1:0,25

1

2

3

4

5

6

Нормальная рукоять и ковш емкостью 0,65 м8

Параметры выемки, м

 

 

 

 

 

Н

 3,2

2,3

 3,5

2,3

 4,2

2,3

 4,7

2,3

 5,0

2,3

B

 9,3

10,0

 8,3

9,6

 6,8

8,8

 5,9

8,5

 3,7

7,9

b

 1,2

4,2

 1,2

5,0

 1,2

5,8

 1,2

6,2

 1,2

6,7

Параметры отвала, м

 

 

 

 

 

h

 4,5

4,4

 4,5

4,5

 4,5

4,5

 4,5

4,5

 3,8

4,5

B'

 9,0

8,8

 9,0

9,0

 9,0

9,0

 9,0

9,0

 7,6

9,0

Величина передвижки экскаватора L, м

 3,2

4,3

 2,7

4,3

 1,8

4,3

 1,0

4,3

 0,5

4,3

Радиус выгрузки экскаватора Rв, м

 7,0

6,9

 7,0

7,0

 7,0

7,0

 7,0

7,0

 6,3

7,0

Нормальная рукоять и ковш емкостью 1,0 м3

Параметры выемки, м

 

 

 

 

 

Н

 3,1

2,3

 3,4

2,3

 4,0

2,3

 4,5

2,3

 5,0

2,3

B

 9,3

10,0

 8,3

9,6

 6,9

8,8

 6,0

8,5

 4,0

7,9

b

 1,5

4,2

 1,5

5,0

 1,5

5,8

 1,5

6,2

 1,5

6,7

Параметры отвала, м

 

 

 

 

 

h

 4,5

4,4

 4,5

4,5

 4,5

4,5

 4,5

4,5

 4,1

4,5

B'

 9,0

8,8

 9,0

9,0

 9,0

9,0

 9,0

9,0

 8,2

9,0

Величина передвижки экскаватора L, м

 3,2

4,3

 2,7

4,3

 1,9

4,3

 1,1

4,3

 0,5

4,3

Радиус выгрузки экскаватора Rв, м

 7,0

6,9

 7,0

7,0

 7,0

7,0

 7,0

7,0

 6,6

7,0

Удлиненная рукоять и ковш емкостью 0,65 м3

Параметры выемки, м

 

 

 

 

 

Н

 3,5

2,3

 4,4

2,3

 5,4

2,3

 6,0

2,3

 6,0

2,3

B

 10,0

10,0

 10,0

10,0

 8,4

10,0

 7,2

10,0

 4,2

10,0

b

 1,2

4,3

 1,2

5,4

 1,2

6,9

 1,2

7,7

 1,2

8,8

Параметры отвала, м

 

 

 

 

 

h

 4,8

4,4

 5,4

4,6

 5,6

4,8

 5,5

4,9

 4,4

5,1

B'

 9,6

8,8

 10,8

9,2

 11,2

9,6

 11,0

9,8

 8,8

10,2

Величина передвижки экскаватора L, м

 4,0

5,5

 3,0

5,5

 1,6

5,5

 0,5

5,5

 0,5

5,5

Радиус выгрузки экскаватора Rв, м

 7,3

6,9

 7,9

7,1

 8,1

7,3

 8,0

7,4

 6,9

7,6

Примечания:

1. В числителе приведены параметры выемки и отвала при минимальной ширине выемки по дну; в знаменателе - параметры выемки и отвала при максимальной ширине выемки по верху, которую можно разработать экскаватором за один проход.

2. Минимальная ширина выемки по дну принята равной 1,2 м для ковша емкостью 0,65 м3 и 1,5 м для ковша 1,0 м3 с учетом смещения оси движения экскаватора относительно оси выемки.

Производительность экскаватора ЭО-4121А при разработке выемки с выгрузкой грунта в отвал приведена в табл. 45.

Таблица 45

Производительность

Экскаватор

с нормальной рукоятью и ковшом емкостью, м3

с удлиненной рукоятью и ковшом, емкостью 0,65 м3

0,65

1,0

Техническая, м3/ч, в грунтах

 

 

 

II группы

119

142,9

107,1

III группы

92,6

108,7

83,3

IV группы

73,5

89,3

66,2

Эксплуатационная, м3/ч, в грунтах

 

 

 

II группы

47,6

57,1

42,9

III группы

37,0

43,5

33,3

IV группы

29,4

35,7

26,5

Примечание. Значения производительности приняты по ДиЗ, выпуск 10 к ЕНиР.

Основные указания по производству работ

До начала производства земляных работ выполняют подготовительные операции: планировку поверхности бульдозером, инструментальную разбивку осей выемки, отвала и проходки экскаватора.

Разрабатывают грунт в выемке лобовым забоем. Откос лобовой стенки забоя принят равным 1:0,5. Ось проходки экскаватора смещена относительно оси выемки, исходя из необходимости размещения отвала при разработке выемки большей ширины и глубины. Откосы боковых, стенок выемки, разрабатываемой экскаватором, должны приниматься в соответствии со СНиП III-8-76, в зависимости от вида грунта и глубины выемки.

Схема разработки выемки лобовым забоем экскаватором ЭО-4121А при смещении оси движения экскаватора приведена на рис. 67.

Рис. 67. Схема разработки выемки лобовым забоем экскаватором ЭО-4121А при смещении оси движения экскаватора относительно оси траншеи

Технико-экономические показатели

Технико-экономические показатели при разработке выемки с выгрузкой грунта в отвал приведены в табл. 46.

Таблица 46

Наименование

Экскаватор

с нормальной рукоятью и ковшом емкостью, м3

с удлиненной рукоятью и ковшом емкостью 0,65 м3

0,65

1,0

Затрат труда на 100 м3, чел.-ч, в грунтах

 

 

 

II группы

2,1

1,75

2,34

III группы

2,7

2,30

3,02

IV группы

3,4

2,80

3,78

Затрата машинного времени на 100 м3, маш.-ч, в грунтах

 

 

 

II группы

2,1

1,75

2,34

III группы

2,7

2,30

3,02

IV группы

3,4

2,80

3,78

Выработка на 1 чел.-дн, м3, в грунтах

 

 

 

II группы

390,3

468,2

351,8

III группы

303,4

356,7

273,1

IV группы

241,1

292,7

217,3

Рыхление грунта в траншее (котловане) с применением навесного гидромолота СД-62 на экскаваторе ЭО-4121А

Общие положения

Гидромолот СП-62 предназначен для рыхления мерзлых грунтов при любой глубине промерзания, разрушения асфальтобетонных дорожных покрытий, разделки негабаритов, разборки каменных и железобетонных конструкций в условиях, где невозможно или затруднено применение рыхлителей на базе гусеничных тракторов или взрывного способа.

Гидромолот СП-62 монтируется на рукоять обратной лопаты экскаватора ЭО-4121А (рис. 68).

Производительность экскаватора ЭО-4121А при рыхлении мерзлых грунтов гидромолотом СП-62

Техническая, м3

25

Эксплуатационная, м3/ч, в грунтах

 

IIм группы

15

V-VI групп (скальные включения до 30% по объему)

11

Значения производительности приняты по данным ЦНИИОМТП.

Рис. 68. Схема применения гидромолота СП-62 на экскаваторе ЭО-4121А

Hр -

наибольшая глубина рыхления, м

7

R -

наименьший радиус рыхления на уровне стоянки, м

3,2

Rк.с. -

наибольший радиус рыхления на уровне стоянки, м

9

 

Ширина забоя (рациональная), м

6,5

Основные указания по производству работ

До начала рыхления мерзлого грунта выполняют подготовительные, работы: инструментальную разбивку трассы выемки и очистку ее от снега.

Рис 69. Схема рыхления грунта в выемке экскаватором: ЭО-4121А с гидромолотом СП-62

1 - экскаватор ЭО-4121А с навесным гидравлическим молотом СП-62; 2 - гидравлический молот СП-62

→ направление движения экскаватора

При рыхлении грунта ось проходки экскаватора совмещают с осью выемки.

Если глубина промерзания составляет не более 1,3 м, рыхление выполняется за один проход. При большей глубине промерзания - слоями толщиной 0,9-1,0 м с уборкой разрыхленного грунта каждого слоя. Схема рыхления грунта в выемке экскаватором ЭО-4121A с гидромолотом, СП-62 приведена на рис. 69.

Технико-экономические показатели при разработке грунта в выемке

Затраты труда на 100 м3, чел.-ч, в грунтах

 

IIм группы

6,67

V-VI групп

9,1

Затраты машинного времени на 100 м3, маш.-ч, в грунтах

 

IIм группы

6,67

V-VI групп

9,1

Выработка на чел.-день, м3 в грунтах

 

IIм группы

123

V-VI групп

90

Разработка выемок лобовым забоем экскаватором ЭО-4121А, оборудованным обратной лопатой и захватно-клещевым устройством

Общие положения

Для рыхления мерзлого грунта сезонного промерзания и одновременной разработки выемок экскаватор ЭО-4121А оснащается захватно-клещевым устройством, монтируемым на рукоять обратной лопаты нормальной длины. Захватно-клещевое устройство представляет собой специальный ковш емкостью 0,65 м3 и одно- или трехзубый рыхлитель.

Глубина разработки мерзлого грунта однозубым захватно-клещевым устройством не должна превышать 3,5 м.

Наибольшие размеры выемок с откосами различной крутизны, величина передвижки и радиус выгрузки экскаватора приведены в табл.47.

Таблица 47

Наименование

Крутизна откосов (1:m)

1:1,25

1:1

1:0,67

1:0,5

1:0,25

Параметры выемки, м

 

 

 

 

 

H

 2,7

2,3

 3,4

2,3

 5,0

2,3

 5,0

2,3

 5,0

2,3

B

 7,8

7,8

 7,8

7,8

 7,7

7,8

 6,0

7,8

 3,5

7,8

b

 1,0

2,0

 1,0

3,2

 1,0

4,7

 1,0

5,5

 1,0

6,6

Величина, передвижки экскаватора L, м

 3,5

4,0

 2,7

4,0

 0,5

4,0

 0,5

4,0

 0,5

4,0

Примечание. В числителе приведены параметры выемки при минимальной ширине выемки по дну, равной ширине ковша; в знаменателе - при максимальной ширине выемки по верху, которую можно разработать экскаватором за один проход.

Производительность экскаватора ЭО-4121А при рыхлении и погрузке мерзлого грунта в автотранспортные средства приведены в табл. 48

Таблица 48

Производительность

Экскаватор с захватно-клещевым устройством.

однозубым

трехзубым

Техническая, м3

28,7

50,0

Эксплуатационная, м3

19,4

33,8

Примечание. Значения производительности указаны по данным ЦНИИОМТП при разработке малопрочных мерзлых грунтов в пропорции 2/3 части мерзлого и 1/3 часть талого с числом ударов до 70, что характерно для начального зимнего и весеннего периодов года.

Основные указания по производству работ

До начала производства земляных работ выполняют подготовительные операции: очистку поверхности от снега, инструментальную разбивку осей выемки и движения экскаватора.

Разрабатывают грунт в выемке торцевым забоем, при этом ось движения экскаватора совмещена с осью выемки.

Автомобили-самосвалы под погрузку подают задним ходом и устанавливают в соответствии со СНиП III-4-79 на расстоянии 1 м от бровки выемки с таким расчётом, чтобы средний угол поворота стрелы экскаватора не превышал 70°. При этом учитывают, что радиус выгрузки в автомобиль-самосвал МАЗ-503А при высоте выгрузки равной 2,5 м составляет 7,4 м.

Откосы боковых стенок выемок в талом грунте, находящемся под слоем мерзлого грунта, должны приниматься в соответствии со СНиП III-8-76 в зависимости от вида талого грунта и глубины выемки. Схема разработки выемок лобовым забоем экскаватором ЭО-4121А, оборудованным обратной лопатой и захватно-клещевым устройством, приведена на рис. 70.

Технико-экономические показатели

Технико-экономические показатели при рыхлении и разработке мерзлого грунта приведены в табл. 49.

Таблица 49

Наименование

Экскаватор с захватно-клещевым устройством

однозубым

трехзубым

Затраты труда, на 100 м3 грунта, чел.-ч

5,15

2,96

Затраты машинного времени на 100 м3 грунта, маш.-ч

5,15

2,96

Выработка на 1 чел-день, м3

159,5

278,0

Рис. 70. Схема разработки выемок лобовым забоем экскаватором ЭО-4121А, оборудованным обратной лопатой и захватно-клещевым устройством

1 - экскаватор ЭО-4121A; 2 - автомобиль-самосвал MA3-50A; 3 -вешки

Рыхление мерзлого грунта сезонного промерзания экскаватором ЭО-4121А, оборудованным обратной лопатой и зубом-рыхлителем

Общие положения

Для рыхления мерзлого грунта сезонного промерзания и разрушения старого дорожного полотна экскаватор ЭО-4121А, оборудованный обратной лопатой, оснащается зубом-рыхлителем, монтируемым на рукоять нормальной длины. За один проход можно рыхлить мерзлый грунт глубиной промерзания до 400 мм.

Техническая производительность экскаватора ЭО-4121А при разрушении грунта сезонного промерзания составляет 70 м3/ч, эксплуатационная 28 м3/ч (значения производительности - по данным ЦНИИОМТП).

Основные указания по производству работ

До начала работ по рыхлению грунта выполняют подготовительные операции: инструментальную разбивку оси проходки экскаватора и полосы рыхления грунта.

Рыхление грунта сезонного промерзания производят по радиусу полосами шириной 1 м, при условии, что рабочее оборудование поворачивается на угол 30° в каждую сторону от оси движения экскаватора. Шаг передвижки экскаватора принят 1 м при глубине промерзания грунта 400 мм.

Схема разрушения грунта сезонного промерзания экскаватором ЭО-4121А приведена на рис. 71.

Технико-экономические показатели при разрушении грунта сезонного промерзания

Затраты труда на 100 м3 грунта, чел.-ч

3,57

Затраты машинного времени на 100 м3 грунта, маш.-ч

3,57

Выработка на 1 чел.-день, м3

229,6

Разработка выемок лобовым забоем экскаватором ЭО-4121А, оборудованным прямой лопатой, и погрузка грунта в автомобили-самосвалы

Общие положения

При разработке грунта выше уровня стоянки и погрузке его в транспортные средства экскаватор ЭО-4121А оборудуется прямой лопатой. В этом случае могут применяться ковши емкостью 1,0 м3 - поворотный или с открывающимся днищем.

Наибольшие размеры выемки, которую можно получить, при разработке грунта экскаватором ЭО-4121А, оборудованным прямой лопатой, величина передвижки и радиус выгрузки в автомобили-самосвалы приведены в табл. 50. Параметры выемок определены исходя ин технологических возможностей экскаватора.

Таблица 50

Наименование

Ковш

с открывающимся днищем

поворотный

Параметры выемки, м

 

 

Н

3,55

3,65

B

14,00

14,40

b

10,40

10,75

Величина передвижки экскаватора, м

2,50

3,00

Радиус выгрузки экскаватора Rв, м

5,60

5,30

Производительность экскаватора ЭО-4121А при разработке выемок с погрузкой грунта в автомобили-самосвалы приведена в табл. 51.

Таблица 51

Производительность

Ковш

поворотный

c открывающимся днищем

Техническая, м3/ч, в грунтах

 

 

II грудин

265

290

III группы

215

234

IV группы

183

199

Эксплуатационная, м3/ч, в грунтах

 

 

II грудин

106

116

III группы

86

93,5

IV группы

73

79,6

Примечание. Значения производительности - по данным ЦНИИОМТП.

Рис. 71. Схема разрушения грунта сезонного промерзания экскаватором ЭО-4121А, оборудованным обратной лопатой и зубом-рыхлителем

Основные указания по производству работ

Перед началом разработки грунта в выемке проводят подготовительные операции: инструментальную разбивку оси выемки, прокладку автомобильных дорог.

Во время разработки грунта для сокращения времени цикла автомобили подают под погрузку на стоянку 1 или 2 в зависимости от места набора грунта экскаватором (в зоне I или зоне II). Ось проходки экскаватора совмещена с осью выемки.

Наличие козырьков неразработанного грунта в соответствии со СНиП III-8-76 не допускается.

Схема разработки выемок экскаватором ЭО-4121А выше уровня стоянки и погрузки грунта в автомобиль-самосвал приведена на рис. 72.

Рис. 72. Схема разработки выемок экскаватором ЭО-4121А, оборудованным прямой лопатой, и погрузка грунта в автомобиль-самосвал.

1 - экскаватор ЭО-4121А; 2 - автомобиль-самосвал МАЗ-503А

№ 1 - стоянка автомобиля-самосвала МАЗ-503А при разработке грунта в зоне I;

№2 - то же, в зоне II;

Технико-экономические показатели

Технико-экономические показатели при разработке выемок с погрузкой грунта в автомобили-самосвалы приведены в табл. 52.

Таблица 52

Наименование

Ковш

Поворотный

с открывающимся днищем

1

2

3

Затрата труда на 100 м3, чел.-ч, в грунтах

 

 

II группы

0,94

0,86

III группы

1,16

1,07

IV группы

1,37

1,26

Затрата машинного времени, на 100 м3, маш.-ч, в грунтах

 

 

II группы

0,94

0,86

III группы

1,16

1,07

IV группы

1,37

1,26

Выработка на 1 чел.-день, м3, в грунтах

 

 

II группы

869

951

III группы

705

768

IV группы

599

653

Погрузка в автомобили-самосвалы сыпучих материалов из штабеля экскаватором ЭО-4121A, оборудованным прямой лопатой

Общие положения

Для погрузки сыпучих материалов объемной массой до 1,6 т/м3 из штабеля (или грунта I, II групп из резерва) в автотранспортные средства экскаватор ЭО-4121А оснащается прямой лопатой и поворотным погрузочным ковшом емкостью 1,5 м3.

Производительность экскаватора ЭО-4121A при погрузке грунта из штабеля в автомобили-самосвалы.

Техническая, м3/ч, в грунтах

 

I группы

470

II группы

383

Эксплуатационная, м3/ч, в грунтах

 

I группы

188

II группы

153

Примечание. Значения производительности - по данным - ЦНИИОМТП.

Основные указания по производству работ

До начала производства погрузочных работ выполняют подготовительные операции: устанавливают переносные вешки, устраивают необходимые временные автомобильные дороги.

При погрузке ось проходки экскаватора совмещена с осью штабеля. Размеры последнего определены оптимальными условиями разгрузки в автомобили-самосвалы (угол поворота стрелы экскаватора на выгрузку составляет не более 70°).

Схема погрузки грунта из штабеля экскаватором ЭО-4121A приведена на рис. 73.

Технико-экономические показатели при погрузке грунта из штабеля в автомобили-самосвалы

Затраты труда на 100 м3, чел.-ч, в грунтах

 

I группы

0,53

II группы

0,65

Затраты машинного времени на 100 м3, маш.-ч, в грунтах

 

I группы

0,53

II группы

0,65

Выработка на 1 чел.-день, м3, в грунтах

 

I группы

1545

II группы

1255

Рис. 73. Схема погрузки грунта экскаватором ЭО-4121А с прямой лопатой и погрузочным ковшом

1 - экскаватор; 2 - вешки; 3 - автомобиль-самосвал МАЗ-503А

Погрузка в автомобили-самосвалы грунта из штабеля экскаватором ЭО-4121А с грейферным оборудованием

Общие положения

Для погрузки сыпучих материалов объемной массой до 1,4 т/м3 из штабеля или грунта I, II групп из резерва в автотранспортные средства экскаватор оснащается грейферным оборудованием с ковшом емкостью 1,0 м3.

Производительность экскаватора ЭО-4121А при погрузке грунта из штабеля в автомобили-самосвалы

Техническая, м3/ч, в грунтах

 

I группы

270

II группы

240

Эксплуатационная, м3/ч, в грунтах

 

I группы

108

II группы

96

Примечание. Значения производительности - по данным ЦНИИОМТП.

Основные указания по производству работ

До начала погрузочных работ выполняют подготовительные операции: устанавливают вешки, устраивают, при необходимости, временные автомобильные дороги.

Ширина штабеля ограничена максимальным радиусом копания экскаватора с учетом передвижения его вдоль штабеля.

Автомобили-самосвалы под погрузку подают задним ходом и устанавливают по оси движения экскаватора.

Схема погрузки грунта из штабеля экскаватором ЭО-4121A, оборудованным грейферным ковшом, приведена рис. 74.

Рис. 74. Схема погрузки грунта в автомобиль-самосвал из штабеля экскаватором ЭО-4121А с грейферным оборудованием

1 - экскаватор; 2 - автомобиль-самосвал МАЗ-503А

Технико-экономические показатели при погрузке грунта из штабеля

Затраты труда на 100 м3, чел.-ч, в грунтах

 

I группы

0,93

II группы

1,04

Затраты машинного времени на 100 м3, маш.-ч, в грунтах

 

I группы

0,93

II группы

1,04

Выработка на 1 чел.-день, м3, в грунтах

 

I группы

885,6

II группы

787,0

Разработка грунта местных выемок экскаватором ЭО-4121А с грейферным оборудованием

Общие положения

Для разработки грунта местных выемок (под фундаменты, смотровые колодцы трубопроводов, для, заделки стыков чугунных трубопроводов, железобетонных труб диаметром 2 и длиной 4,63 м) в грунтах I и II групп экскаватор ЭО-4121А оснащается грейферным оборудованием с напорным грейфером емкостью 0,8 м3.

Техническая производительность экскаватора ЭО-4121А при разработке грунта и выгрузке в отвалы составляет 215 м3/ч, эксплуатационная 86 м3/ч (значения производительности - до данным ЦНИИОМТП).

Основные указания по производству работ

До начала производства земляных работ выполняют инструментальную разбивку местных выемок.

Разрабатывают грунт местных выемок экскаватором ЭО-4121А, оснащенным напорным грейфером, с выгрузкой грунта в отвалы.

Схема разработки грунта местных выемок экскаватором ЭО-4121A, оснащенным копающим грейферным ковшом, приведена на рис. 75.

Экскаватор передвигается вдоль траншеи, в которой необходимо отрыть местные выемки, на расстоянии в соответствии со СНиП III-4-79 не менее 1 м от бровки траншеи.

Технико-экономические показатели при разработке местных выемок в грунтах I группы

Затраты труда на 100 м3 грунта, чел.-ч

1,16

Затраты машинного времени на 100 м3 грунта, маш.-ч

1,16

Выработка на 1 чел.-день, м3

705,0

Рис. 75. Схема разработки грунта местных выемок экскаватором ЭО-4121А с грейферным ковшом

ЭКСКАВАТОР ЭО-5122

Экскаватор ЭО-5122 (рис. 76) Воронежского ПО по выпуску экскаваторов им. Коминтерна предназначен для разработки грунта I-IV групп и погрузки предварительно разрыхленного грунта V-VI групп или мерзлого грунта с величиной кусков не более 600 мм, а также погрузки различных сыпучих материалов из штабеля и других работ в условиях умеренного климата при температуре окружающего воздуха от -40 до +40°С.

Экскаватор поставляется потребителям с универсальным оборудованием, позволяющим использовать его с унифицированной обратной лопатой (ковш емкостью 1,25 м3) и прямой лопатой (ковш емкостью 1,6 м3).

По заказам потребителей заводом-изготовителем могут быть поставлены следующие виды сменного рабочего оборудования и сменных рабочих органов:

специальная обратная лопата с ковшами емкостью 1,6 и 2,0 м3 и зубом-рыхлителем;

грейферное с ковшом емкостью 1,0 м3.

Техническая характеристика

Наибольшая скорость передвижения, км/ч

2,40

Наибольший преодолеваемый уклон, град.

20

Номинальный расход гидрожидкости, л/мин

225

Номинальное давление в гидросистеме, МПа

25

Рис 76. Схема экскаватора ЭО-5122

А -

расстояние от оси пяты стрелы до оси вращения, м

0,66

Е -

база гусеничного ходового устройства, м

3,12

E1 -

длина гусеничного ходового устройства, м

4,00

Ж -

колея гусеничного ходового устройства, м

3,11

Д -

ширина гусеничной ленты с нормальным эленом, м

0,66

Б -

ширина поворотной платформы, м

3,00

F -

просвет под поворотной платформой, м

1,06

Г -

высота до оси пята стрелы, м

2,00

В -

высота до крыши кабины, м

2,95

Н -

просвет под ходовой рамой, м

0,46

L -

длина базовой части стрелы, м

3,70

R -

радиус вращения хвостовой части, м

3,15

Схемы экскаватора ЭО-5122 с различными видами сменных рабочих органов приведены на рис. 77-61.

Рис. 77. Схема работы экскаватора ЭО-5122 с обратной лопатой и ковшом

Наименование

Экскаватор

с унифицированной обратной лопатой и ковшом объемом 1,6 м3

со специальной обратной лопатой и ковшом объемом, м3

1,6

1,25

Hк -

наибольшая кинематическая глубина копания, м

6,2

6,0

7,3

Rк.с. -

наибольший радиус копания на уровне стоянки, м

9,7

9,4

10,7

Hв -

наибольшая высота выгрузки, м

5,3

5,0

5,5

Rв -

радиус выгрузки при наибольшей высоте выгрузки, м

6,3

6,2

7,4

R1 -

радиус, описываемый кромкой зуба ковша, м

1,8

1,8

1,6

Рис. 78. Схема работы экскаватора ЭО-5122 с обратной лопатой и зубом-рыхлителем

Наименование

Ковш

с унифицированной обратной лопатой

со специальной обратной лопатой

Rк.с. -

наибольший радиус копания на уровне стоянки, м

9,36

10,20

Hк -

наибольшая допустимая глубина забоя, м

2,50

2,50

R1 -

радиус, описываемый режущей кромкой зуба, м

1,30

1,30

Рис. 79. Схема работы экскаватора ЭО-5122 с погрузочным оборудованием

Нк -

наибольшая высота копания, м

9,65

Нв -

наибольшая высота выгрузки, м

4,73

R -

наименьший радиус копания на уровне стоянки, м

4,64

Rк.с. -

наибольший радиус копания на уровне стоянки, м

8,70

L -

длина планируемого участка на уровне стоянки, м

3,90

Rв -

радиус выгрузки при наибольшей высоте выгрузки, м

5,53

Рис. 80. Схема работы экскаватора ЭО-5122 с прямой лопатой

Нк -

наибольшая высота копания, м

9,66

Hв -

наибольшая высота выгрузки, м

5,10

H1 -

расчетная высота забоя, м

3,60

Rк -

радиус копания при расчетной высоте забоя, м

8,55

R -

наименьший радиус копания на уровне стоянки, м

4,70

Rв -

радиус выгрузки при наибольшей высоте выгрузки, м

4,62

Рис. 81. Схема работ экскаватора ЭО-5122 с грейферным оборудованием

Наименование

Ковш

с унифицированной обратной лопатой

со специальной обратной лопатой

Rк.с. -

наибольший радиус копания на уровне стоянки, м

9,15

10,10

R -

наименьший радиус копания на уровне стоянки, м

3,60

2,50

Rв -

радиус выгрузки при наибольшей высоте выгрузки, м

6,30

7,40

Hк -

наибольшая глубина копания, м

8,10

9,20

Hв -

наибольшая высота выгрузки, м

3,40

3,50

Hг -

высота грейфера, м

3,60

3,60

Разработка выемок лобовым забоем экскаватором ЭО-5122, оборудованным обратной лопатой, и погрузка грунта в автомобили-самосвалы

Общие положения

В зависимости от вида разрабатываемого грунта и необходимых параметров выемки экскаватор может применяться с унифицированной или специальной обратной лопатой.

На унифицированную обратную лопату монтируют экскавационные ковши емкостью 1,28 или 1,6 м3, а на специальную - емкостью 1,25, 1,6 или 2,0 м3.

Наибольшие размеры выемок с откосами различной крутизны, разрабатываемых экскаватором ЭО-5122, и величина передвижки экскаватора, приведены в табл. 53.

Основные указания по производству работ

До начала производства земляных работ выполняют подготовительные операции: планировку поверхности бульдозером (при необходимости), разбивку оси движения экскаватора и оси выемки, прокладывают землевозные дороги.

Разрабатывают грунт в выемке лобовым забоем. Откос лобовой стенки забоя принят равным 1:0,5.

При разработке грунта ось проходки экскаватора совмещена с осью выемки.

Автомобили-самосвалы под погрузку подают задним ходом и устанавливают в соответствии со СНиП III-4-79 на расстоянии 1 м от бровки траншеи с таким расчетом, чтобы средний .угол поворота стрелы экскаватора не превышал 70°. При этом учитывают, что радиус выгрузки экскаватора R'в при высоте выгрузки, равной 3 м (выгрузка в автомобили-самосвалы КрАЗ-2565) составляет: о унифицированной обратной лопатой и ковшом емкостью 1,6 м3 - 7,6 м; со специальной обратной лопатой и ковшом емкостью 1,6 м3 - 7,2 м; с ковшом емкостью 1,25 м3- 8,5 м.

Откосы боковых стенок выемок, разрабатываемых экскаватором, должны приниматься в соответствии со СНиП III-8-76.

Схема разработки выемок лобовым забоем экскаватором ЭО-5122 с обратной лопатой и погрузка грунта в автомобили-самосвалы приведена на рис. 82.

Рис. 82. Схема разработки выемок лобовым забоем экскаватором ЭО-5122 с обратной лопатой и погрузка грунта в автомобили-самосвалы

1 - экскаватор ЭО-5122; 2 - вешки; 3 - автомобиль-самосвал КрАЗ-2565

Таблица 53

Наименование

Крутизна откосов(1:m)

1:1,25

1:1

1:0,67

1:0,5

1:0,25

Унифицированная обратная лопата и ковш емкостью 1,6 м3

Параметры выемки, м

 

 

 

 

 

Н

 2,7

2,3

 3,4

2,3

 5,1

2,3

 5,5

2,3

 5,5

2,3

B

 8,6

8,6

 8,6

8,6

 8,6

8,6

 7,3

8,6

 4,6

8,6

b

 1,8

2,8

 1,8

4,0

 1,8

5,5

 1,8

6,3

 1,8

7,4

Величина передвижки экскаватора L, м

 3,5

4,0

 3,0

4,0

 1,0

4,0

 0,5

4,0

 0,5

4,0

Специальная обратная лопата и ковш емкостью 1,6 м3

Параметры выемки, м

 

 

 

 

 

Н

 2,5

2,3

 3,1

2,3

 4,6

2,3

 5,0

2,3

 5,0

2,3

B

 8,0

8,0

 8,0

8,0

 8,0

8,0

 6,8

8,0

 4,3

8,0

b

 1,8

2,2

 1,8

2,4

 1,8

4,9

 1,8

5,7

 1,8

6,8

Величина передвижки экскаватора L, м

 3,5

3,5

 3,0

3,5

 1,0

3,5

 0,5

3,5

 0,5

3,5

Специальная обратная лопата и ковш емкостью 1,25 м3

Параметры выемки, м

 

 

 

 

 

Н

 3,5

2,3

 4,4

2,3

 6,2

2,3

 6,2

2,3

 6,2

2,3

B

 10,2

10,2

 10,2

10,2

 9,7

10,2

 7,6

10,2

 4,5

10,2

b

 1,4

4,4

 1,4

5,6

 1,4

7,1

 1,4

7,9

 1,4

9,0

Величина передвижки экскаватора L, м

 4,0

5,0

 3,0

5,0

 0,5

5,0

 0,5

5,0

 0,5

5,0

Примечание. В числителе приведены параметры выемки при минимальной ширине выемки по дну, равной ширине ковша; в знаменателе - при максимальной ширине выемки по верху, которую можно разработать экскаватором за один проход.

Производительность - экскаватора ЭО-5122 при разработке выемки и погрузке грунта II группы в автомобили-самосвалы приведены в табл. 54.

Таблица 54.

Производительность

Экскаватор

с унифицированной, обратной лопатой и ковшом емкостью 1,6 м3

со специальной обратной лопатой и ковшом емкостью, м3

1,6

1,25

Техническая, м3

194

180

142

Эксплуатационная, м3

113

105

83

Примечание. Значения производительности - по данным ЦНИИОМТП.

Технико-экономические показатели

Технико-экономические показатели при разработке выемок в грунтах II группы и погрузке разработанного грунта в автомобили-самосвалы приведены в табл. 55.

Таблица 55

Наименование

Экскаватор

с унифицированной обратной лопатой и ковшом емкостью 1,6 м3

со специальной обратной лопатой и ковшом емкостью, м3

1,6

1,25

Затраты труда на 100 м3 грунта, чел.-ч

1,76

1,9

2,4

Затраты машинного времени на 100 м3, маш.-ч

0,88

0,95

1,2

Выработка на 1 чел.-день, м3

466,0

432,0

342,0

Разработка выемок лобовым забоем экскаватором ЭО-5122, оборудованным обратной лопатой, и выгрузка грунта в отвал

Общие положения

В зависимости от вида разрабатываемого грунта и необходимых параметров выемки экскаватор может применяться с унифицированной или специальной обратной лопатой.

На унифицированную обратную лопату монтируются экскавационные ковши емкостью 1,25 или 1,6 м3, а на специальную - емкостью 1,25, 1,6 или 2,0 м3.

Разработка выемок с выгрузкой грунта в отвал может производиться при совмещении оси движения экскаватора с осью выемки и при смещении оси движения экскаватора относительно оси выемки.

Смещение оси движения экскаватора относительно оси выемки осуществляется в случае необходимости размещения отвала при увеличенных размерах выемки.

Наибольшие размеры выемок с откосами различной крутизны, разрабатываемых экскаватором ЭО-5122, и отсыпаемых отвалов грунта, а также величина передвижки и радиус выгрузки экскаватора в отвал, при совмещении оси движения экскаватора с осью выемки, приведены в табл. 56.

Таблица 56

Наименование

крутизна откосов (1:m)

1:1,25

1:1.

1:0,67

1:0,5

1:0,25

1

2

3

4

5

6

Унифицированная обратная лопата и ковш емкостью 1,6 м3

Параметры выемки, м

 

 

 

 

 

Н

 2,0

2,0

 2,4

2,3

 2,9

2,3

 3,4

2,3

 5,0

2,3

B

 6,8

6,8

 6,6

6,4

 5,7

6,0

 5,2

5,8

 4,3

5,7

b

 1,8

1,8

 1,8

1,8

 1,8

3,0

 1,8

3,5

 1,8

4,5

Параметры отвала, м

 

 

 

 

 

h

 3,2

3,2

 3,2

3,3

 3,6

3,5

 3,8

3,6

 4,3

3,7

B'

 6,4

6,4

 6,4

6,6

 7,2

7,0

 7,6

7,2

 8,6

7,4

Величина передвижки экскаватора L, м

 4,5

4,5

 4,0

4,0

 3,5

4,0

 3,0

4,0

 1,0

4,0

Радиус выгрузки экскаватора Rв, м

 7,6

7,6

 7,5

7,5

 7,5

7,5

 7,4

7,5

 7,4

7,5

Специальная обратная лопата и ковш емкостью 1,6 м3

Параметры выемки, м

 

 

 

 

 

Н

 1,8

1,8

 2,1

2,1

 2,7

2,3

 3,2

2,3

 3,7

2,3

B

 6,3

6,3

 6,0

6,0

 5,4

5,6

 5,0

5,3

 4,6

5,1

b

 1,8

1,8

 1,8

1,8

 1,8

2,6

 1,8

3,0

 1,8

3,9

Параметры отвала, м

 

 

 

 

 

h

 3,0

3,0

 3,1

3,1

 3,4

3,4

 3,6

3,4

 3,8

3,5

B'

 6,0

6,0

 6,2

6,2

 6,8

6,8

 7,2

6,8

 7,6

7,0

Величина передвижки экскаватора L, м

 4,0

4,0

 4,0

4,0

 3,0

3,5

 2,5

3,5

 2,0

3,5

Радиус выгрузки экскаватора Rв, м

 7,2

7,2

 7,2

7,2

 7,1

7,1

 7,1

7,1

 7,1

7,1

Специальная обратная лопата и ковш емкостью 1,25 м3

Параметры выемки, м

 

 

 

 

 

Н

 2,5

2,3

 2,8

2,3

 3,7

2,3

 4,4

2,3

 6,2

2,3

B

 7,6

7,6

 7,0

7,2

 6,3

7,0

 5,8

6,7

 4,5

6,6

b

 1,4

1,8

 1,4

2,6

 1,4

4,0

 1,4

4,4

 1,4

5,4

Параметры отвала, м

 

 

 

 

 

h

 3,6

3,6

 3,8

3,7

 4,1

3,9

 4,3

3,9

 4,7

4,0

B'

 7,2

7,2

 7,6

7,4

 8,2

7,8

 8,6

7,8

 9,4

8,0

Величина передвижки экскаватора L, м

 5,0

5,0

 4,5

5,0

 3,5

5,0

 3,0

5,0

 0,5

5,0

Радиус выгрузки экскаватора Rв, м

 8,4

8,4

 8,3

8,3

 8,3

8,4

 8,2

8,4

 7,9

8,3

Примечание. В числителе приведены параметры выемки при минимальной ширине выемки по дну, равной ширине ковша; в знаменателе - при максимальной ширине выемки по верху, которую можно разработать экскаватором за один проход.

Наибольшие размеры выемок с откосами различной крутизны, разрабатываемых экскаватором ЭО-5122, и, отсыпаемых отвалов грунта, а также величина передвижки и радиус выгрузки экскаватора в отвал при смещении оси движения экскаватора относительно оси выемки приведены в табл. 57.

Таблица 57

Наименование

Крутизна откосов (1:m)

1:1,25

1:1

1:0,67

1:0,5

1:0,25

1

2

3

4

5

6

Унифицированная обратная лопата и ковш емкостью 1,6 м3

Параметры выемки, м

 

 

 

 

 

Н

 2,6

2,3

 3,2

2,3

 3,9

2,3

 4,3

2,3

 5,2

2,3

B

 8,7

8,7

 8,7

8,7

 7,4

8,7

 6,5

8,7

 4,8

8,7

b

 2,2

2,9

 2,2

4,1

 2,2

5,6

 2,2

6,4

 2,2

7,5

Параметры отвала, м

 

 

 

 

 

h

 4,1

4,0

 4,6

4,2

 4,7

4,4

 4,7

4,6

 4,7

4,7

B'

8,2

9,2

9,4

9,4

9,4

Величина передвижки экскаватора L, м

 3,5

4,0

 3,0

4,0

 2,5

4,0

 2,0

4,0

 0,5

4,0

Радиус выгрузки экскаватора Rв, м

 6,6

6,5

 7,1

6,7

 7,2

6,9

 7,2

7,1

 7,2

7,2

Специальная обратная лопата и ковш емкостью 1,6 м3

Параметры выемки, м

 

 

 

 

 

Н

 2,5

2,3

 3,1

2,3

 3,6

2,3

 4,0

2,3

 4,8

2,3

B

 8,5

8,5

 8,1

8,5

 7,0

8,5

 6,2

8,2

 4,6

7,7

b

 2,2

2,8

 2,2

3,9

 2,2

5,4

 2,2

5,9

 2,2

6,5

Параметры отвала, м

 

 

 

 

 

h

 4,0

3,9

 4,4

4,1

 4,4

4,4

 4,4

4,4

 4,4

4,4

B'

 8,0

7,8

 8,8

8,2

 8,8

8,8

 8,8

8,8

 8,8

8,8

Величина передвижки экскаватора L, м

 3,0

3,5

 2,5

3,5

 2,0

3,5

 1,5

3,5

 0,5

3,5

Радиус выгрузки экскаватора Rв, м

 6,5

6,4

 6,9

6,6

 6,9

6,9

 6,9

6,9

 6,9

6,9

Специальная обратная лопата и ковш емкостью 1,25 м3

Параметры выемки, м

 

 

 

 

 

Н

 3,2

2,3

 4,0

2,3

 4,5

2,3

 5,0

2,3

 6,2

2,3

B

 9,6

9,6

 9,6

9,6

 7,7

9,6

 6,7

9,6

 4,8

9,6

b

 1,7

3,8

 1,7

5,0

 1,7

6,5

 1,7

7,3

 1,7

8,4

Параметры отвала, м

 

 

 

 

 

h

 4,7

4,3

 5,2

4,5

 5,0

4,7

 5,0

4,8

 4,9

5,0

B'

 9,4

8,6

 10,4

9,0

 10,0

9,4

 10,0

9,6

 9,8

10,0

Величина передвижки экскаватора L, м

 4,0

5,0

 3,0

5,0

 3,0

5,0

 2,0

5,0

 0,5

5,0

Радиус выгрузки экскаватора Rв, м

 7,2

6,8

 7,7

7,0

 7,5

7,2

 7,5

7,3

 7,4

7,5

Примечания.

1. В числителе приведены параметры выемки и отвала при минимальной ширине выемки по дну; в знаменателе - параметры выемки и отвала при максимальной ширине выемки по верху, которую можно разработать экскаватором за один проход.

2. Минимальная ширина выемки по дну принята равной 2,2 м для ковша емкостью 1,6 м3 и 1,7 для ковша 1,25 м3 с учетом смещения оси движения экскаватора относительно оси выемки.

Производительность экскаватора ЭО-5122 при разработке выемки в грунтах II группы и выгрузке грунта в отвал приведена в табл. 58.

Таблица 58

Производительность

Экскаватор

с унифицированной обратной лопатой и ковшом емкостью 1,6 м3

со специальной обратной лопатой и ковшом емкостью, м3

1,6

1,25

Техническая, м3

230

214

166

Эксплуатационная, м3

126

114

97

Примечание. Значения производительности - по данным ЦНИИОМТП.

Основные указания по производству работ

До начала производства земляных работ выполняют подготовительные операции: планировку поверхности бульдозером, инструментальную разбивку осей выемки и отвала. Разрабатывают грунт в выемке лобовым забоем. Откос лобовой стенки забоя принят равным 1:0,5.

Откосы боковых стенок выемки, разрабатываемой по принятой схеме производства работ, должны приниматься в соответствии со СНиП III-8-76, в зависимости от вида грунта и глубины выемки.

Схема разработки выемок лобовым забоем экскаватором ЭО-5122 с выгрузкой грунта в отвал приведена на рис. 83.

Технико-экономические показатели

Технико-экономические показатели при разработке выемок в грунтах II группы с выгрузкой разработанного грунта в отвал приведены в табл. 59.

Таблица 59

Наименование

Экскаватор

с унифицированной обратной лопатой и ковшом емкостью 1,6 м3

со специальной обратной лопатой и ковшом емкостью, м3

1,6

1,25

Затраты труда на 100 м3 грунта, чел.-ч

1,6

1,6

2,0

Затраты машинного времени на 100 м3 грунта, маш.-ч

0,8

0,9

1,0

Выработка на 1 чел.-день м3

513

456

410

Рис. 83. Схема разработки выемок лобовым забоем экскаватором ЭО-5122 с обратной лопатой и погрузка грунта а отвал

Рыхление мерзлого грунта сезонного промерзания экскаватором ЭО-5122, оборудованным обратной лопатой и зубом-рыхлителем

Общие положения.

Для рыхления мерзлого грунта сезонного промерзания и взламывания старого дорожного полотна экскаватор ЭО-5122, оборудованный унифицированной или специальной обратной лопатой, оснащается зубом-рыхлителем. За один проход возможно рыхление мерзлого грунта с глубиной промерзания до 500 мм.

Техническая производительность экскаватора ЭО-5122 при рыхлении грунта сезонного промерзания составляет 80 м3/ч, эксплуатационная 32 м3/ч (значения производительности - по данным ЦНИИОМТП).

Основные указания по производству работ

До начала производства работ по рыхлению грунта выполняют подготовительные операции: инструментальную разбивку оси проходки экскаватора и полосы рыхления грунта.

Рыхление грунта сезонного промерзания производят по радиусу полосами шириной 1 м, при условии поворота рабочего оборудования на угол не более 30° в каждую сторону от оси движения экскаватора.

Шаг передвижки экскаватора принят равным 1 м при глубине промерзания грунта 500 мм.

Схема рыхления грунта сезонного промерзания экскаватором ЭО-5122 приведена на рис. 84.

Технико-экономические показатели при рыхлении грунта сезонного промерзания

Затраты труда на 100 м3 грунта, чел.-ч

6,2

Затраты машинного времени на 100 м3 грунта, маш.-ч

3,1

Выработка на 1 чел.-день, м3

132

Рис. 84. Схема рыхления грунта сезонного промерзания экскаватором ЭО-5122 с обратной лопатой и зубом-рыхлителем

Параметры

Унифицированная обратная лопата

специальная обратная лопата

Максимальный радиус рыхления Rmax, м

0,36

10,26

Минимальный радиус рыхления Rmin, м

4,1

4,1

Величина рабочей передвижки экскаватора L, м

1

1

Ширина рыхления B, м

12

13,4

Разработка выемок лобовым забоем экскаватором ЭО-5122, оборудованным прямой лопатой и погрузка грунта в автомобили-самосвалы

Общие положения

При разработке грунта выше уровня стоянки, и погрузке его в транспортные средства экскаватор ЭО-5122 оснащается оборудованием прямая лопата. В этом случае могут применяться ковши емкостью 1,6 или 2,0 м3.

Наибольшие размеры выемки, которую можно получить при разработке грунта экскаватором ЭО-5122, оборудованным прямой лопатой, величина передвижки и радиус, выгрузки в автомобили-самосвалы приведены в табл. 60. Параметры выемок определены, исходя из технологических возможностей экскаватора.

Таблица 60

Наименование

Крутизна откосов (1:m)

1:1,25

1:1

1:0,67

1:0,5

1:0,25

Параметры выемки, м

 

 

 

 

 

Н

3,3

4,0

4,6

4,6

4,6

B

17,6

17,4

17,0

17,0

17,0

b

9,4

9,4

10,9

12,4

14,8

Величина передвижки экскаватора L, м

1,0

1,0

0,5

1,5

2,5

Радиус выгрузки экскаватора Rв, м

6,0

6,0

6,0

6,0

6,0

Производительность экскаватора ЭО-5122 при разработке выемок с погрузкой грунта II группы в автомобили-самосвалы приведены в табл. 61.

Таблица 61

Производительность

Экскаватор с ковшом емкостью, м3

1,6

2,0

Техническая, м3

230

288

Эксплуатационная, м3

122

153

Примечание. Значения производительности - по данным ЦНИИОМТП.

Основные указания по производству работ

Перед началом разработки грунта в выемке проводят подготовительные операции: инструментальную разбивку оси выемки, прокладку автомобильных дорог.

Во время разработки грунта для сокращения времени цикла автомобили под погрузку подают на стоянку №1 или 2 в зависимости от места набора грунта экскаватором (в зоне I или в зоне II); Ось проходки экскаватора совмещена с осью выемки.

Наличие козырьков неразработанного грунта в соответствии со СНиП III-8-76 не допускается.

Схема разработки грунта II группы в выемках экскаватором ЭО-5122 приведена на рис. 85.

Технико-экономические показатели

Технико-экономические показатели при разработке выемок с погрузкой грунта II группы в автомобили-самосвалы приведены в табл. 62.

Таблица 62

Наименование

Экскаватор с ковшом емкостью, м3

1,6

2,0

Затраты труда на 100 м3 грунта, чел.-ч

1,64

1,30

Затраты машинного времени на 100 м3 грунта, маш.-ч

0,82

0,65

Выработка на. 1 чел.-день, м3

500

631

Pиc. 85. Схема разработка выемки лобовым забоем экскаватором ЭО-5122, оборудованным обратной лопатой, и погрузка грунта в автомобили-самосвалы

1 - экскаватор ЭО-5122; 2 - автомобиль-самосвал КрАЗ-2565; 3 - вешки

№1 - стоянка автомобиля-самосвала КрАЗ-2565 при разработке грунта в зоне I; №2 - то же, в зоне II

Погрузка в автомобили-самосвалы сыпучих материалов из штабеля экскаватором ЭО-5122, оборудованным прямой лопатой

Общие положения

Для погрузки сыпучих материалов объемной, массой до 1,8 т/м3 из штабеля (или грунта I, II групп из резерва) в автомобили-самосвалы экскаватор оснащается прямой лопатой и погрузочным ковшом емкостью 2,8 м3.

Техническая производительность экскаватора ЭО-5122 при погрузке сыпучих материалов объемной массой 1,6 т/м3 в автомобили-самосвалы из штабеля составляет 288 м3/ч, эксплуатационная - 151 м3/ч (значения производительности - по данным ЦНИИОМТП).

Основные указания по производству работ

До начала производства погрузочных работ выполняют подготовительные операции: устанавливают переносные вешки, устраивают необходимые временные автомобильные дороги.

При погрузке ось проходки экскаватора совмещена с осью штабеля. Размеры штабеля определены оптимальными условиями разгрузки в автомобили-самосвалы (угол поворота стрелы экскаватора на выгрузку составляет не более 70°).

Схема производства погрузочных работ из штабеля экскаватором ЭО-5122 приведена на рис. 86.

Рис. 86. Схема погрузки грунта экскаватором ЭО-5122 с прямой лопатой и погрузочным ковшом

1 - экскаватор ЭО-5122; 2 - автомобиль-самосвал КрАЗ-2565; 3 - вешки

Технико-экономические показатели при погрузке грунта из штабеля в автомобили-самосвалы

Затраты труда на 100 м3 грунта, чел.-ч

1,32

Затраты машинного времени на 100 м3 грунта, маш.-ч

0,66

Выработка на. 1 чел.-день, м3

621

Погрузка грунта из штабеля экскаватором ЭО-5122 с грейферным оборудованием

Общие положения.

Для погрузки сыпучих материалов объемной массой до 1,8 т/м3 из штабеля или грунта I, II групп из резерва в автотранспортные средства экскаватор оснащается грейферным оборудованием с ковшом емкостью 1,0 м3.

Техническая производительность экскаватора ЭО-5122 при погрузке сыпучих материалов объемной массой. 1,6 т/м3 из штабеля в автомобили-самосвалы составляет 120 м3/ч, эксплуатационная - 63 м3/ч (значения производительности - по данным ЦНИИОМТП).

Основные указания по производству работ

До начала производства погрузочных работ выполняют подготовительные операции: устанавливают вешки, устраивают, при необходимости, временные автомобильные дороги.

Ширина штабеля ограничена максимальным радиусом копания экскаватора с учетом передвижки экскаватора вдоль штабеля.

Автомобили-самосвалы под погрузку подают задним ходом и устанавливают по оси движения экскаватора.

Схема погрузки грунта из штабеля экскаватором ЭО-5122, оборудованным грейферным ковшом, приведена на рис. 87.

Технико-экономические показатели при погрузке грунта II группы из штабеля

Затраты труда на 100 м3 грунта, чел.-ч

3,2

Затраты машинного времени на 100 м3 грунта, маш.-ч

1,6

Выработка на. 1 чел.-день, м3

256

Рис. 87. Схема погрузки грунта из штабеля экскаватором ЭО-5122, оборудованным грейферным ковшом, в автомобиль-самосвал

1 - экскаватор ЭО-5122; 2 - автомобиль-самосвал КрАЗ-2565

ТЕХНОЛОГИЧЕСКИЕ СХЕМЫ ПРИМЕНЕНИЯ ЭКСКАВАТОРОВ III-V ТИПОРАЗМЕРНЫХ ГРУПП, ОБОРУДОВАННЫХ ОБРАТНОЙ ЛОПАТОЙ, ЗАЧИСТНЫМ УСТРОЙСТВОМ И ПРИБОРОМ КОНТРОЛЯ ГЛУБИНЫ КОПАНИЯ (ГЛУБИНОМЕРОМ)

Зачистное устройство к ковшу экскаватора (рис. 88) предназначено для механизированной зачистки оснований земляных сооружений до проектной отметки, при разработке грунта одноковшовыми экскаваторами в выемках, при планировке откосов выемок, и насыпей в талых нескальных грунтах I-IV групп, в том числе с незначительными рассредоточенными включениями.

Рис. 88. Ковш с зачистным устройством

1 - нож; 2 - тяга; 3 - гидроцилиндр; 4 - ковш

Зачистное устройство может быть использовано c ковшами обратная лопата емкостью от 0,5 до 1,0 м3 одноковшовых экскаваторов с гидравлическим или пневматическим управлением операциями рабочего цикла.

Зачистное устройство состоит из ножа с прямолинейной режущей кромкой, механизмов его поворота и фиксации в нерабочем положении, гидро- пневмопривода механизма поворота ножа. Гидро- пневмосистема навесного устройства подключается к гидро- пневмосистеме экскаватора, а кран управления устройством устанавливается в кабине машиниста.

При зачистке дна котлована или траншеи нож посредством системы рычагов опускается на зубья ковша, образуя при этом сплошную режущую кромку. В нерабочем положении нож откидывается к рукояти экскаватора и удерживается в этом положении гидро- пневмоцилиндром.

Из рабочего положения в нерабочее и обратно нож переводится принудительно при любом положении ковша в пространстве с пульта управления экскаватором. Эти операции можно совмещать с одновременным подъемом, опусканием, стрелы или поворотом экскаватора.

Основные данные технической характеристики зачистного устройства для экскаваторов разных моделей приведены в табл. 63.

Таблица 63

Наименование

Экскаваторы

ЭО-3322А

ЭО-3322Б

Э-5015А

ЭО-4321

Э-652Б

ЭО-4121А

Емкость ковша, м3

0,5

0,5

0,5

0,65

0,65

1,0

Ширина зачистного ножа, м

0,900

1,160

0,830

0,965

1,180

1,30

Рабочее давление, МПа

 

 

 

 

 

 

в гидросиотеме

16,0

16,0

15,0

25,0

-

25,0

в пневмосистеме

-

-

-

-

0,7

-

Время, необходимое на перевод ножа из рабочего положения в нерабочее и наоборот

3

3

3

3

3

3

Масса зачистного оборудования, кг

197,5

199,0

156

145

298

239,4

Точность зачистки, (±см)

5

5

5

5

5

5

Электронно-гидростатический глубиномер ГЭГ-2 (рис. 89) предназначен для оперативного контроля глубины копания при разработке выемок одноковшовым экскаватором, оборудованным обратной лопатой.

Глубиномер ГЭГ-2 может быть использован для работы с одноковшовыми экскаваторами III-V типоразмерных групп, оснащенными обратной лопатой и зачистным устройством. На экскаваторе ЭО-3322В глубиномер может применяться без зачистного устройства.

Принцип работы глубиномера основан на изменении гидростатического давления жидкости в зависимости от высоты (глубины) подъема (опускания) ковша экскаватора.

Глубиномер состоит из прицела, стакана в комплекте с барабаном, задатчика и датчика.

Репер или обноску, задающие положение верхнего уровня столба жидкости, помещают в зоне видимости машиниста экскаватора.

Свободную поверхность жидкости устанавливают на линию визирования с помощью прозрачных сообщающихся сосудов прицела. Для изменения положения линии свободной поверхности жидкости в прицеле используется стакан в комплекте с барабаном.

Рис. 89. Схема глубиномера ГЭГ-2

1 - барабан; 2 - прицел; 3 - стакан; 4 - задатчик; 5 - микроамперметр; 6 - датчик электростатический; 7 - линия визирования; 8 - репер инвентарный

Прицел крепят к кабине машиниста экскаватора на противоположной от двери стенке, на высоте, обеспечивавшей визирование. В нерабочем положении прицел складывается и крепится к стенке кабины.

Прицеливание осуществляется совмещением нижних обрезов двух поплавков с линией визирования репера. При этом, в случае необходимости, уровень жидкости в прицеле регулируется барабаном.

Стакан устанавливается вдоль оси вращения платформы и служит для компенсации возможных ошибок при наклоне базы экскаватора.

Датчик электростатический находится на ковше экскаватора и гидравлически связан с прицелом и стаканом. Датчик воспринимает гидравлическое давление жидкости и преобразует его в электрический сигнал с помощью дифференциально-трансформаторного преобразователя.

Задатчик служит для определения проектной глубины копания. Устанавливается он в кабине в зоне видимости машиниста. Здесь же для определения проектной глубины копания находится индикатор, в качестве которого использован микроамперметр с нулем на середине шкалы.

Техническая характеристика глубиномера ГЭГ-2

Наибольшая глубина измерения, м

 

от уровня стоянки экскаватора

8

от базовой плоскости

10

Погрешность измерения, см

±3

Предельная дальность визирования, м

50

Потребляемая мощность, Вт

3,5

Эксплуатационная масса прибора, кг

31,59

Объем, гидросистемы, дм3

1,5

Состав рабочей жидкости, % по объему

 

глицерин (ГОСТ 6823-54)

50

вода дистиллированная (ГОСТ 6709-72)

50

Плотность рабочей жидкости при 20°С, кг/м3

1130

Напряжение питания от сети экскаватора, В

12

Габаритные размеры, мм

 

репера

1175×200×150

блок-датчика

225×146×110

стакана

515×164×89

Барабана

122×106×69

прицела

836×185×45

задатчика

190×120×76

Разработка выемок лобовым забоем одноковшовыми экскаваторами III-V типоразмерных групп, оснащенными обратной лопатой, зачистным устройством и глубиномером, и погрузка грунта в автомобили-самосвалы

Общие положения

Применение зачистного устройства не изменяет кинематические параметры копания и выгрузки обратной лопаты экскаваторов, не уменьшает емкость их ковшей.

Применение глубиномера ГЭГ-2 исключает необходимость привлечения двух человек для контроля глубины копания во время работы экскаватора.

Для прямолинейного участка движения ковша с зачистным оборудованием с одной стоянки экскаватора приведена в табл. 64.

Таблица 64

Наименование

Экскаваторы

Э-5015А

ЭО-4321

Э-652Б

ЭО-4121А

Точность зачистки, см

4

3

5

3

Длина прямолинейного участка движения ковша с зачистным оборудованием с одной стоянки экскаватора, м

 

 

 

 

на уровне стоянки

3,5

5,0

4,2

4,2

на глубине 1,5 м

-

-

4,0

4,1

на глубине 2 м

2,5

3,8

-

-

на глубине 3 м

-

-

-

2,7

на глубине 4,5 м

1,0

1,5

-

1,4

Зачистка дна выемки происходит одновременно с разработкой грунта. Значения производительности экскаваторов при копании грунта II группы с одновременной зачисткой основания приведены в табл. 65.

Таблица 65

Производительность

Экскаваторы

Э-5015А

ЭО-4321

Э-652Б

ЭО-4121А

Техническая, м3

60,5

82,0

68,4

100,2

Эксплуатационная, м3

24,2

32,8

27,3

40,1

Примечания:

1. Значения производительности - по ДиЗ вып. 10 к ЕНиР, скорректированные по данным НИИпромстроя.

2. Применение глубиномера не влияет на производительность экскаватора.

Основные указания по производству работ

До начала производства земляных работ выполняют подготовительные операции: планировку поверхности бульдозером (при необходимости), разбивку оси движения экскаватора и границ выемки, прокладывают землевозные дороги.

С каждой стоянки экскаватором разрабатывается выемка обычным способом с недобором грунта до проектной отметки на 15-20 см. При этом зачистное устройство находится в нерабочем (верхнем) положении.

Когда до проектной отметки остается 15-20 см, нож зачистного устройства переводят в рабочее (нижнее) положение и производят зачистку грунта (с применением глубиномера ГЭГ-2 или без него).

Зачистку основания котлована (траншеи) производят путем снятия грунта слоями толщиной 5-10 см острой режущей кромкой ножа зачистного устройства с переменным углом резания (в соответствии с траекторией резания рабочим оборудованием).

Процесс взаимодействия ножа зачистного устройства с грунтом складывается из вдавливания в грунт режущей кромки ножа и последующего его перемещения вместе с ковшом по определенной траектории.

Автомобили-самосвалы под погрузку подают задним ходом и устанавливают в соответствии со СНиП III-4-79 на расстоянии 1 м от бровки траншеи с таким расчётом, чтобы средний угол поворота стрелы экскаватора не превышал 70°. Откосы боковых стенок выемок, разрабатываемых экскаватором, должны приниматься в соответствии со СНиП III-8-76.

Схема разработки выемок лобовым забоем одноковшовым экскаватором, оснащенным обратной лопатой и зачистным устройством, с погрузкой грунта в автомобили-самосвалы и контролем глубины копания приведена на рис. 90.

Рис. 90. Схема разработки котлована экскаватором с зачиотным устройством и контроля глубины копания

1 - экскаватор; 2 - автотранспорт; 3-ходовая визирка-обноска

Схема разработки выемок лобовым забоем одноковшовым экскаватором, оснащенным обратной лопатой, зачистным устройством и глубиномером с погрузкой грунта в автомобили-самосвалы приведена на рис. 91 и 92. На рис. 91 показано применение, глубиномера с одной визиркой в случае, когда дно земляного сооружения горизонтально; на рис 92 - применение глубиномера с двумя визирками в случае, когда осуществляется разработка земляного сооружения с заданным уклоном его дна.

Рис. 91. Схема разработки котлована экскаватором с зачистным устройством и контроля глубины копания

Рис. 92. Разработка траншеи экскаватором с зачистным устройством и контролем глубины копания глубиномером и двумя перемещающимися визирками

1 - экскаватор; 2 - автотранспорт; 3 - внзирка

Технико-экономические показатели при разработке выемок в грунтах II группы с одновременной зачисткой основания и погрузкой грунта в автомобили-самосвалы

Таблица 66

Наименование

Экскаваторы

ЭО-3322Б

ЭО-5015А

ЭО-4321А

Э-652Б

ЭО-4121А

Затрата труда на 100 м3 грунта, чел.-ч

4,1

4,1

3,1

3,7

2,5

Затраты машинного времени на 100 м3 грунта, маш.-ч

4,1

4,1

3,1

3,7

2,5

Выработка на 1 чел.-день, м3

196

196

269

224

329

ТЕХНОЛОГИЧЕСКИЕ СХЕМЫ ПРИМЕНЕНИЯ ТРАНШЕЙНЫХ ЭКСКАВАТОРОВ

ЭКСКАВАТОР ЭТЦ-252

Экскаватор ЭТЦ-252 (рис. 93) Дмитровского экскаваторного завода предназначен для разработки траншей глубиной до 3,5 м прямоугольного или трапецеидального профиля в немерзлых грунтах I-III группы и прямоугольного профиля в мерзлых грунтах с прочностью по поверхности до 200 ударов по плотномеру ДорНИИ.

Рис. 93. Схема работы экскаватора ЭТЦ-252

L - длина в транспортном положении, м

 

с основным оборудованием (глубина копания, 2,5 м)

10,2

с дополнительным оборудованием (глубина копания 3,5 м)

11,5

F - расстояние от оси экскаватора до оси барабана, м

3,37

Базовая машина

Трелевочный трактор ТТ-4

Н - высота, м

3,3

Е - база гусеничного ходового устройства, м

2,72

В - колея, мм

2000

А - ширина гусеничной ленты, мм

500

Число цепей, шт.

2

Номинальная мощность двигателя, л.с.

110

Экскаватор может быть использован для работы в условиях умеренного климата при температуре окружающего воздуха; от -40 до +40°С.

Экскаватор имеет цепной бесковшовый рабочий орган. Выгрузка разработанного грунта производится в одну сторону траншеи. На раме рабочего органа установлены цепные откосообразователи.

Разработка траншей в грунтах II группы экскаватором ЭТЦ-252

Общие положения

Боковые откосы траншей, разрабатываемых в мерзлых грунтах устойчивы. В немерзлых грунтах при рытье на глубину 2,5 и наблюдаются обрушения боковых откосов. Более склонны к обрушению грунты с повышенной влажностью, особенно в глубоких траншеях, Просадка грунта на дно траншеи не более 5-8 см.

Максимальная глубина отрываемых траншей 3,5 м.

Параметры выемок с откосами и отвалов, разрабатываемых экскаватором ЭТЦ-252, приведены в табл. 67.

Таблица 67

Наименование

При работе с цепными откосообразователями

Без откосообразователей

1

2

3

С основным оборудованием

Параметры выемки, м

 

 

Н

2,5

2,5

B

2,8

1

b

1; 0,8

1; 0,8

Крутизна откосов (1:m)

1:0,4

1:0

Параметры отвала, м

 

 

h

2,4

1,8

B'

4,8

3,4

С дополнительным оборудованием

Параметры выемки, м

 

 

Н

3,5

3,5

B

2,8

1

b

1; 0,8

1; 0,8

Крутизна откосов (1:m)

1:3

1:0

Параметры отвала, м

 

 

h

2,4

2

B'

5,5

4

Производительность экскаваторах ЭТЦ-252 при разработке траншеи в немерзлых грунтах II группы в отвал составляет: техническая - 220 м3/ч, эксплуатационная-88 м3(значения производительности приняты по данным завода-изготовителя).

Основные указания по производству работ

До начала земляных работ выполняют подготовительные операции: планировку поверхности бульдозером, инструментальную разбивку оси траншеи.

При разработке грунта в траншее ось проходки экскаватора совмещена с осью траншеи.

Разработку грунта в траншее начинают с забоя, который устраивают сразу на полный профиль траншеи. Затем разрабатывают грунт, непрерывно по всей длине траншеи.

Схема, разработки грунта в траншее глубиной 2,5 м экскаватором ЭТЦ-252 приведена на рис. 94.

Технико-экономические показатели, при разработке траншеи в немерзлом, грунте II группы экскаватором ЭТЦ-252.

Затраты труда на 100 м3 грунта чел.-ч.

1,15

Затраты машинного времени на 100 м3 грунта, маш.-ч

1,15

Выработка на чел.-день, м3

713

Рис. 94. Схема работа экскаватора ЭТЦ-252

ЭКСКАВАТОР ЭТР-134

Экскаватор ЭТР-134 (рис. 95) Дмитровского экскаваторного завода предназначен для разработки траншей прямоугольного профиля в немерзлых грунтах I-IV групп и в мерзлых грунтах с прочностью по поверхности до 200 ударов по плотномеру ДорНИИ, в том числе грунтов с включениями размером не более 250 мм.

Экскаватор может быть использован для работы в условиях умеренного климата при температуре окружающего воздуха от -40 до +40°С.

Рабочим органом экскаватора является дискофрезерный ротор. Выгрузка разработанного, грунта производится по обе стороны траншеи. На раме рабочего органа установлено зачистное устройство.

Рис. 95. Схема экскаватора ЭТР-134

В -

база трактора, мм

2720

С -

колея, мм

2000

а -

ширина гусеницы, мм

500

h -

просвет дорожный, мм

490

Техническая характеристика

Базовый трактор

ТТ-4

Номинальная мощность, л.с.

110

Привод ротора

Гидромеханический

Рабочая скорость экскаватора, м/ч

10-480

Габаритные размеры, мм

 

длина

6300

ширина

2550

высота

3560

Масса, кг

18300

Разработка траншей экскаватором ЭТР-134

Общие положения

Экскаватор ЭТР-134 при разработке траншеи показан на рис. 96.

Рис. 96. Схема применения экскаватора ЭТР-134 при разработке траншей

h1 -

максимальная глубина копания, мм

1300

b -

ширина траншеи, мм

280

d -

диаметр ротора, мм

2360

 

Количество зубьев

18

Производительность экскаватора при разработке траншей в мерзлых грунтах с различной глубиной промерзания

Техническая, м3/ч, при глубине промерзания

 

1300 мм

50

до 1000 мм

100

Эксплуатационная, м3/ч, при глубине промерзания

 

1300 мм

20

до 1000 мм

40

Примечание. Значения производительности - по данным завода-изготовителя.

Основные указания по производству работ

До начала разработки траншеи выполняют подготовительные операции: планировку трассы шириной 4 м бульдозером, инструментальную разбивку оси траншеи.

Технико-экономические показатели при разработке траншеи в мерзлом грунте экскаватором ЭТР-134.

Затраты груда на 100 м3 грунта, чел.-ч, при глубине промерзания грунта

 

1300, мм

10

до 1000 мм

5

Затраты машинного времени не 100 м3, маш.-ч, при глубине промерзания грунта

 

1300, мм

5

до 1000 мм

2,5

Выработка на 1 чел.-день, м3, при глубине промерзания грунта

 

1300 мм

82

до 1000 мм

164

Экскаватор обслуживают два человека: машинист 6 разряда и помощник машиниста 5 разряда. Машинист управляет экскаватором. Помощник машиниста устанавливает вешки по оси траншеи, следит за работой ротора, периодически проверяет глубину траншеи.

ТЕХНОЛОГИЧЕСКИЕ СХЕМЫ ПРИМЕНЕНИЯ РЫХЛИТЕЛЕЙ НА БАЗЕ ГУСЕНИЧНЫХ ТРАКТОРОВ

РЫХЛИТЕЛЬ ДП-26С НА БАЗЕ ТРАКТОРА Т-130.1.Г-1

Рыхлитель ДП-26С (рис. 97) на базе трактора Т-130.1.Г-1 Челябинского завода дорожных машин предназначен для рыхления мерзлого грунта при температуре его не ниже -6°С, да также для рыхления трещиноватых скальных пород.

Рыхлитель, может применяться для работы в условиях умеренного климата при температуре окружающего воздуха от -40 до +40ºС.

Указанный механизм входит в состав бульдозерно-рыхлительного агрегата ДЗ-116 или ДЗ-117, где используется с бульдозером ДЗ-110 (с неповоротным отвалом) или ДЗ-109 (с поворотным отвалом).

Рис. 97. Схема рыхлителя ДП-26С

а -

ширина гусеницы, мм

203; 500

h -

просвет дорожный, мм

407

B -

база трактора, мм

2473

С -

колея, мм

1880

Техническая характеристика

Базовый трактор

Т-130.1.Г-1

Номинальная мощность, л.с.

160

Управление

Гидравлическое

Наибольшая скорость передвижения, км/ч

12,45

Габаритные размеры, мм

 

длина

6350

ширина

3220

высота

3065

Масса, кг

18430

Общие положения

Производительность ДП-26С при рыхлении мерзлого грунта с прочностью на поверхности до 60 ударов (до плотномеру ДорНИИ) и передвижке разрыхленного грунта на расстояние до 35 м составляет: техническая - 40 м3/ч. эксплуатационная - 16 м3/ч.

Основные указания по производству работ

До начала рыхления мерзлого грунта производят инструментальную разбивку осей земляного сооружения.

Рыхление осуществляют, в основном, в двух взаимно перпендикулярных направлениях - вдоль и поперек площадки. Грунт рыхлят слоями с постепенным заглублением зуба рыхлителя в начале прохода и подъемом к концу.

Схема работы рыхлителя приведена на рис. 98. Глубина рыхления зависит от прочности грунта.

После каждого прохода рыхлитель разворачивается для рыхления в обратном направлении так, чтобы следующий его проход был смещен по отношению к предыдущему на расстояние b.

Сразу после окончания рыхления на заданной площадке грунт убирают бульдозером во избежание повторного смерзания.

Рис. 96. Схема работы рыхлителя ДП-26С

h1 -

оптимальная глубина рыхления, мм

200*

h2 -

эффективная глубина рыхления, мм

100*

l -

путь заглубления или подъема стойки рыхлителя, мм

5000

b -

расстояние между параллельными проходками рыхлителя, мм

250*

 

Количество зубьев

1

* При прочности грунта, определяемой ударником ДорНИИ (количество ударов 60).

Технико-экономические показатели

Технико-экономические показатели при рыхлении мерзлого грунта прочностью на поверхности до 60 ударов по ударнику ДорНИИ рыхлителем ДП-26С и перемещении разрыхленного грунта на расстояние до 35 м бульдозером ДЗ-109.

Затраты труда на 100 м3 грунта чел.-ч.

6,25

Затраты машинного времени на 100 м3 грунта, маш.-ч

6,25

Выработка на чел.-день, м3

131

РЫXЛИТЕЛЬ ДП-22С НА БАЗЕ ТРАКТОРА T-180

Рыхлитель ДП-22С на базе трактора T-180 Брянского завода дорожных машин (рис. 99) предназначен для рыхления мерзлого грунта при температуре его не ниже -6°C (без толкача) при температуре не ниже -10°С (с толкачом), а также для рыхления трещиноватых скальных пород.

Рыхлитель может быть использован для работы в условиях умеренного и холодного климата при температуре окружающего воздуха от -60 до +40°С.

Рыхлитель используется к составе бульдозерно-рыхлительного агрегата, состоящего из бульдозера ДЗ-35 и рыхлителя ДП-Э2С.

Рис. 99. Схема рыхлителя ДП-22С

B -

база трактора, мм

2314

C -

колея, мм

2040

а -

ширина гусеницы, мм

620

h -

просвет дорожник, мм

500

Техническая характеристика

Базовый трактор

T-180

Номинальная мощность, л.с.

160

Управление

Гидравлическое

Наибольшая скорость передвижения, км/ч

12

Габаритные размеры, мм

 

длина

8350

ширина

3640

высота

2825

масса, кг

22290

Общие положения

Производительность рыхлителя при рыхлении мерзлого грунта с прочностью на поверхности до 60 ударов по плотномеру ДорНИИ и перемещению разрыхленного грунта на расстояние до 35 м составляет: техническая - 59 м3/ч, эксплуатационная - 23,6 м3/ч.

Основные указания по производству работ

До начала работ по рыхлению мерзлого грунта производят инструментальную разбивку осей земляного сооружения.

Рыхлят в основном в двух взаимно перпендикулярных направлениях - вдоль и поперек площадки. Грунт рыхлят слоями с постепенным заглублением зуба рыхлителя в начале прохода и выглублением в конце.

Схема работы рыхлителя ДП-22С приведена на рис. 100. Глубина рыхления зависит от прочности грунта.

Рис. 100. Схема работы рыхлителя ДП-22С

h1 -

оптимальная глубина рыхления, мм

300*

h2 -

эффективная глубина рыхления, мм

140*

b -

расстояние между параллельными проходами рыхлителя, мм

250*

l -

путь заглубления или выглубления стойки рыхлителя, мм

5000

 

Количество зубьев

1

* При прочности грунта, определяемой ударником ДорНИИ (количество ударов - 60).

После каждого прохода рыхлитель разворачивается для рыхления в обратном направлении так, чтобы следующий его проход был смещен по отношению к предыдущему на расстояние b.

Сразу после окончания рыхления на заданной площадке грунт убирают бульдозером во избежание повторного смерзания.

Технико-экономические показатели

Технико-экономические показатели при рыхлении мерзлого грунта с прочностью на поверхности до 60 ударов по ударнику ДорНИИ рыхлителем ДП-22С и перемещению разрыхленного грунта на расстояние до 35 м бульдозером ДЗ-35.

Затраты труда на 100 м3 грунта чел.-ч.

4,24

Затраты машинного времени на 100 м3 грунта, маш.-ч

4,24

Выработка на чел.-день, м3

193

РЫХЛИТЕЛЬ ДП-9С-1 НА БАЗЕ ТРАКТОРА ДЭТ-250М

Рыхлитель ДП-9С-1 (рис. 101) на базе трактора ДЭТ-250М Челябинского завода дорожных машин предназначен для разработки мерзлого грунта при температуре его не ниже -15°С, а также трещиноватых опальных пород. Он может быть использован для работы в условиях умеренного и холодного климата при температуре окружающего воздуха от -60 до +40°С.

Рыхлитель используется в составе бульдозерно-рыхлительного агрегата ДЗ-126, состоящего из бульдозера ДЗ-118 и рыхлителя ДП-9С-1.

Рис. 101. Схема работы рыхлителя ДП-9С-Г

B -

база трактора, мм

4440

С -

колея, мм

2450

а -

ширина гусеницы, мм

690

h -

просвет дорожный, мм

430

Техническая характеристика

Базовый трактор

ДЭТ-250М

Номинальная мощность, л.с.

310

Управление

Гидравлическое

Наибольшая скорость передвижения, км/ч

19

Габаритные размеры, мм

 

длина

8655

ширина

4540

высота

3180

масса, кг

38350

Общие положения

Схема разработки мерзлого грунта рыхлителем ДП-9С-1 приведена на рис. 102.

Производительность механизма при рыхлении мерзлого грунта с прочностью на поверхности до 60 ударов по плотномеру ДорНИИ и перемещение разрыхленного грунта на расстояние до 40 м составляет: техническая - 150,2 м3/ч, эксплуатационная - 60,1 м3/ч.

Рис. 102. Схема применения рыхлителя ДП-9С-1

Наименование

С*-60-72

С-87

C-111

Количество зубьев

1

1

1

h1 - оптимальная глубина рыхления, мм

570

380

350

h2 - эффективная глубина рыхления, мм

250

160

120

b - расстояние между параллельными проходами рыхлителя, мм

500

500

500

l - путь заглубления или выглубления стойки рыхлителя, мм

5500

5500

5500

* С - прочность грунта, определяемая ударником ДорНИИ (количество ударов)

Основные положения по производству работ

До начала работ по рыхлению мерзлого грунта производят инструментальную разбивку осей земляного сооружения.

Рыхлят в основном в двух взаимно перпендикулярных направлениях - вдоль и поперек площадки. Грунт рыхлят слоями с постепенным заглублением зуба рыхлителя в начале прохода и выглублением в конце.

Глубина рыхления зависит от прочности грунта.

После каждого прохода рыхлитель разворачивается для рыхления в обратном направлении так, чтобы следующий его проход был смещен по отношению к предыдущему на расстояние b.

Сразу после окончания рыхления грунта на заданной площадке его убирают бульдозером во избежание повторного смерзания.

Технико-экономические показатели

Технико-экономические показатели при рыхлении мерзлого, грунта с прочностью на поверхности до 60 ударов по ударнику ДорНИИ рыхлителем ДП-9С-1 и перемещению разрыхленного грунта на расстояние до 40 м бульдозером ДЗ-34С.

Затраты труда на 100 м3 грунта чел.-ч.

1,67

Затраты машинного времени на 100 м3 грунта, маш.-ч

1,67

Выработка на чел.-день, м3

491

 




Яндекс цитирования



   Copyright © 2007-2026,  www.tehlit.ru.

[ ѓосты, стандарты, нормативы, инструкции, правила, строительные нормы ]