Ульяновскоргтехстрой
КАРТЫ ОРГАНИЗАЦИИ ТрудА
ПРОИЗВОДСТВО штукАтуРНых РАБОТ ЖИЛОГО ДОМА серии 1-447C
1971
СОДЕРЖАНИЕ
|
Министерство
строительства СССР
|
КАРТЫ ОРГАНИ3АЦИИ
ТрудА
ПРОИ3ВОДСТВО штукАтуРНых РАБОТ ЖИЛОГО ДОМА серии 1-447C
|
КТ-2.0-68
Главульяновскстрой
|
|
Подготовлено трестом
«Ульяновскоргтехстрой»
|
Утверждено:
Главульяновскстроем
|
При составлении карт организации труда были
использованы передовые методы межпостроечных школ, проводимых в г. Ульяновске городами
Свердловск и Новосибирск, а также передовые методы построечных школ г.
Ульяновска.
Настоящие
карты рассчитаны на широкий круг рабочих, бригадиров и учащихся школ по
подготовке и повышению квалификации рабочих кадров.
Внедрение карт
организации труда позволят повысить общую производительность на 20 - 25 %
Карты составили инженеры группы НОТ отдела внедрения и
пропаганды передового опыта и технологической информации треста
«Ульяновскоргтехстрой» Козлова Л.К., Рябова Л.И., Тараненко А.Ф.
|
КТ-2.1-68
|
Производство штукатурных
работ
|
|
Наименование
|
|
|
Исполнители
|
Разряды
|
Количество человек
|
Условные обозначения
|
|
Мотористы
|
IV
|
I
|
M-I
|
1.
НАЗНАЧЕНИЕ И ЭФФЕКТИВНОСТЬ КАРТЫ
1-1. Карта предназначена
для организации труда при механизированной подаче раствора к рабочему месту.
1-2.
Применение рекомендуемых методов труда повышает производительность труда на 110
% по сравнению с подачей раствора вручную.
1-3. Показатели производительности труда
|
Наименование показателя
|
Величина показателя в
ч/час
|
|
По карте
|
По ЕНиР (I–II)
|
|
Механизированная подача 1 м3 раствора
на высоту = 12 м. Растворонасосом производительностью 3 куб/час
|
0,33
|
0,7
|
2. ПРЕДМЕТЫ И ОРУДИЯ ТРУДА
|
№№ пп
|
Наименование
|
№№ чертежей гост
|
Количество
|
Примечание
|
|
1
|
Штукатурный агрегат Тольмера
|
-
|
1
|
Рабочие чертежи
разработаны трестом «Оргтехстрой» Главсредуралстроя г. Свердловск
|
|
2
|
Лопата растворная
|
3620-63
|
1
|
3.
условия и ПОДГОТОВКА ПРОЦЕССА
3-1. Моторист
проверяет состояние всех узлов агрегата, материальных шлангов, наличие воды,
электроэнергии и сигнализации между мотористом и штукатуром - оператором.
4. ТЕХнология и ОРГАНИЗАЦИЯ
ПРОЦЕССА
4-1.
Известковый раствор подается на объект в а/самосвалах. Из самосвала раствор
выгружается в приемный бункер штукатурного агрегата Тольмера. В приемном
бункере раствор перемешивается роторным колесом и доводится до нужной
консистенции.
Ковшами,
закрепленными на роторном колесе, раствор подаётся на лоток и по лотку
самотеком попадает на вибросито в бункер растворонасоса.
Процеженный
раствор из бункера с помощью растворонасоса подается по инвентарному стояку и
материальным шлангам к рабочему месту.
На водяную
камеру растворонасоса устанавливается авторегулятор Шепеленко, который
регулирует давление в растворопроводе.
4-2. При
наличии авторегулятора на растворонасосе штукатур-оператор может самостоятельно
перекрывать кран растворопровода без предупреждения моториста, так как авторегулятор
включает её. В случае выхода из строя авторегулятора автоматически отключается
подача раствора, что полностью исключает травматизм рабочих, обслуживающих
растворонасос и растворопровод. На карте камере сжатия растворонасоса
устанавливается расширитель, который исключает пульсацию раствора в
растворопроводе.
4-3.
Штукатурный агрегат Тольмера устанавливается у строящегося объекта таким
образом, чтобы охватить наиболее широкий фронт работ.
4-4. Организация рабочего места

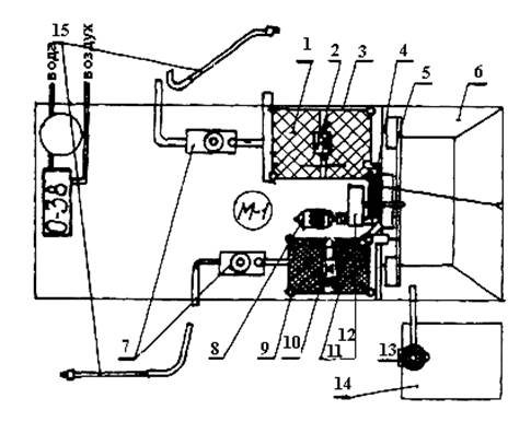
СПЕЦИФИКАЦИЯ:
1. Вибросито
5×5 мм
2.
Электровибратор С-857
3. Бункер
крупного раствора
4. Ручная
лебедка ПЛ-90
5. Элеваторный
ротор
6. Приемный
бункер
7.
Растворонасос 0-584
8.
Электродвигатель А-42 № 2,8
9. Вибросито
1×1 мм
10.
Электровибратор С-857
11. Бункер
мелкого раствора
12. Редуктор
Р-250-II = 40,17
13. Шнековый
насос на базе И-116
14. Бункер для
извести
15. Удочка с
соплом.
5. ПРИЕМЫ ТРУДА
|
Наименование
приемов инструментов, механизмов, исполнители
|
Описание
приемов
|
Иллюстрации
|
|
1
|
2
|
3
|
|
Выгрузка раствора
М-1,
лопата растворная
|
Моторист
открывает крышку приемного бункера, дает сигнал шоферу, самосвал, подъехав к
приемному бункеру агрегата, сгружает раствор. М-1 растворной лопатой очищает
кузов самосвала
|

|
|
Перемешивание раствора
М-1,
Штукатурный агрегат
Тольмера
|
М-1
подходит к пульту управления и нажатием кнопки включает роторное колесо. Для
перемешивания раствора роторное колесо вращается против часовой стрелки.
После этого моторист переходит от пульта управления к приемному бункеру и
приготавливает раствор нужной консистенции в зависимости от назначения его:
добавляет в раствор воду из временного водопровода, подведенного к
штукатурному агрегату, и для пластичности известь из бункера, установленного
за пределами штукатурного агрегата. М-1 стандартным конусом периодически
измеряет пластичность раствора. Приготовив раствор, таким образом, моторист
переходит к пульту управления и нажатием кнопки отключает роторное колесо.
|

|
|
Подача раствора в бункер
растворонасоса
M-1,
штукатурный агрегат
Тольмера
|
Получив
сигнал от штукатура-оператора, моторист нажатием кнопки на пульте управления
включает в работу вибросито, затем роторное колесо. Роторное колесо, вращаясь
по часовой стрелке, ковшами захватывает раствор из приемного бункера и подает
на лоток. Приемный лоток разделен на 2 рукава, а каждый рукав перекрывается
шибером. Если штукатур-оператор будет производить обрызг или грунт, то
включается растворонасос и вибросито с размером ячеек 5×5 мм Отходы с
вибросита выбрасываются в емкость, установленную за пределами штукатурного
агрегата. Если накрывку включается растворонасос и вибросито с ячейками
1×1 мм. Отходы с вибросита выбрасываются обратно в приемный бункер
штукатурного агрегата и в дальнейшем используются для производства обрызга и
грунта. По лотку раствор самотеком стекает на вибросито, установленное на
бункере растворонасоса. Раствор процеживается через вибросито и опускается в
бункер.
|
–
|
|
Транспортирование раствора
на рабочее место.
M-1,
штукатурный агрегат
Тольмера
|
После
того, как приемный бункер растворонасоса заполнится на одну треть объема, М-1
нажатием кнопки на пульте управления включает растворонасос, и раствор по
инвентарному стояку подается на рабочее место.
|

|
|
Окончание подачи раствора
М-1,
штукатурный агрегат
|
Получив
сигнал от штукатура-оператора, М-1 нажатием кнопки на пульте управления
отключает роторное колесо. После того, как бункер растворонасоса освободится
от раствора, M-1 открывает водопроводный кран и подает воду в бункер
растворонасоса для промывки растворопровода. После окончания промывки
растворопровода М-1 отключает вибросито и растворонасос
|
–
|
|
КТ-2.2-68
|
Производство штукатурных
работ
|
|
Наименование
|
|
|
Исполнители
|
Разряды
|
Количество человек
|
Условные обозначения
|
|
Штукатур
|
III
|
1
|
III-1
|
|
Штукатур
|
II
|
1
|
III-2
|
1. НАЗНАЧЕНИЕ И ЭФФЕКТИВНОСТЬ КАРТЫ
1-1. Карта
предназначена для организации труда по подготовке поверхностей под штукатурку
1-2.
Применение рекомендуемых методов труда позволяет повысить производительность
труда на 48 %
1-3. Показатели производительности труда
|
Наименование показателя
|
Величина показателя ч/час
|
|
По карте
|
Исходный уровень
|
|
Смачивание поверхности механизированным способом
на 100 м2
|
0,169
|
0,25
|
2. ПРЕДМЕТЫ ОРУДИЯ ТРУДА
|
№№ пп
|
Наименование
|
№ ГОСТа чертежа
|
Количество
|
Примечание
|
|
1
|
Краскопульт
|
С-536
|
1 шт.
|
-
|
|
2
|
Электромолоток
|
М-33
|
1 шт.
|
-
|
|
3
|
Скребок
|
5631-51
|
1 шт.
|
-
|
|
4
|
Отвес О-200
|
7948-63
|
1 шт.
|
-
|
|
5
|
Емкость для запаса воды объем до 1 м3
|
-
|
1 шт.
|
-
|
|
6
|
Ведро
|
-
|
2 шт.
|
-
|
|
7
|
Щетка
|
-
|
1 шт.
|
-
|
|
8
|
Шнур
|
-
|
100 п/м
|
-
|
|
9
|
Ветошь
|
-
|
-
|
-
|
|
10
|
Стремянка
|
-
|
2 шт.
|
-
|
3. УСЛОВИЯ И ПОДГОТОВКА ПРОЦЕССА
3-1. Вода в
емкость на этажи подается растворонасосом во время промывки шлангов.
3-2. Для
непосредственного смачивания поверхности воду подносят в ведрах.
4. ТЕХНОЛОГИЯ И ОРГАНИЗАЦИЯ ПРОЦЕССА
4-1.
Последовательность работ:
1. Очистка
поверхности от наплывов раствора, пыли, от различных пятен (битумных, масляных
и других);
2. Промывание
поверхности;
3. Смачивание
поверхности водой перед оштукатуриванием
4-2. Схема организации рабочего места для провешивания поверхности и
установки маяков.

Условные обозначения:
1. Стремянка; 2. Ящик
с раствором; 3. Ведро
5.
ПРИЕМЫ ТРУДА
|
Наименование приемов,
инструментов, механизмов, исполнителей
|
Описание приемов
|
Иллюстрации
|
|
1
|
2
|
3
|
|
Очистка поверхности от
наплывов раствора, пыли и пятен
Ш-1,
Ш-2,
скребок–шуровка, ветошь
|
Держа скребок-шуровку
обоими руками, Ш-1 очищает поверхность кирпичных стен от наплывов раствора. В
это время Ш–2 наматывает ветошь на скребок, смачивает ее в солярке и очищает
все битумные и жировые пятна, а также очищает стены от пыли металлической
щеткой. Щетка не только очищает поверхность, но и нацарапывает ее.
|

|
|
Провешивание поверхности
Ш-1,
Ш-2
отвес, электромолоток
|
В верхнем углу на
расстоянии 30-40 см от лузга стены у потолка Ш-1 забивает гвоздь-1, так чтобы
его шляпка отстояла от поверхности стены на толщину слоя штукатурки без учета
толщины накрывки (2 мм). Со шляпки гвоздя-1, Ш-1, стоя на стремянке, опускает
отвес и на расстоянии 20 - 30 см от пола, Ш-2 вбивает гвоздь-2. Аналогично
забивают гвозди 3 и 4. По этим гвоздям Ш-1 и Ш-2 натягивают шнур по
диагоналям стены. Если шнур касается стены, то это место следует срубить.
Если исправить поверхность невозможно, то нужно немного вытащить
противоположную пару гвоздей, но так, чтобы общая возможная толщина
штукатурки не превышала допускаемый слой.·После этого в промежутках между
гвоздями 1 - 2; 3 - 4 по отвесу забивают через 1,5 - 2 м дополнительные
гвозди - как по вертикали, так и по горизонтали. И по ним аналогично
натягивается шнур и выверяется поверхность. По окончании провешивания
поверхностей во всех местах, где забиты гвозди-1, устанавливает заподлицо со
шляпкой марки 50×50 мм по форме усеченной пирамиды из гипсового
картона.
|

|
|
Смачивание поверхностей
водой
Ш-1
Ш-2,
ручной краскопульт.
|
3а 20 - 40 минут до
нанесения обрызга поверхности, подготовленные к оштукатуриванию, нужно смочить
водой. Ш-2 подносит ведро с водой к нагнетательному бачку краскопульта и,
опустив всасывающий шланг в ведро, движением качка периодически вниз-вверх,
создает давление в шлангах. Ш-1 двумя руками держит удочку и, открыв кран,
опрыскивает поверхность. Стоит он от стены на расстоянии 0,7 - 1,0 м, держа
удочку с направлением водяного факела перпендикулярно к ней. Головкой удочки
Ш-1 совершает спиралевидные движения.
|

|
|
КТ-2.3-68
|
Производство штукатурных
работ
|
|
Наименование
|
|
|
Исполнители
|
Разряды
|
Количество человек
|
Условные обозначения
|
|
Штукатур–оператор
|
V
|
1
|
Ш-1
|
|
Штукатур
|
III
|
1
|
Ш-2
|
|
Штукатур
|
III
|
1
|
Ш-3
|
|
Штукатур
|
II
|
1
|
Ш-4
|
|
Штукатур
|
II
|
1
|
Ш-5
|
1. НАЗНАЧЕНИЕ И ЭФФЕКТИВНОСТЬ КАРТЫ
1-1. Карты
предусматривают организацию труда рабочих при оштукатуривании поверхностей с
механизированным нанесением раствора.
1-2.
Рекомендуемые методы труда позволяют снизить потери раствора, облегчить труд штукатура-оператора
(из-за малого веса форсунки и напора раствора), повысить производительность
труда на 14 %
1-3. Показатели производительности труда
|
Наименование показателя
|
Величина показателя в
ч/час
|
|
По карте
|
По ЕНиР (8-1-6)
|
|
1 м2 огрунтованной поверхности
|
0,14
|
0,16
|
2. Предметы орудия труда
|
№№ пп
|
Наименование
|
№ ГОСТа чертежа
|
Количество
|
Примечание
|
|
1
|
Шнековая форсунка
|
-
|
1 шт.
|
Чертежи Свердловского
оргтехстроя
|
|
2
|
Шланги диаметром 38 - 25
|
-
|
50 п. м.
|
-
|
|
3
|
Кельма штукатурная КШ
|
9533-60
|
4 шт.
|
-
|
|
4
|
Правило 2-х метровое
|
-
|
2 шт.
|
Каталог-справочник г.
Ульяновск
|
|
5
|
Полуверок
|
-
|
4 шт.
|
Каталог-справочник г.
Ульяновск
|
|
6
|
Лотки металлические
|
-
|
Согласно технологических
карт
|
-"-
|
|
7
|
Столик-подмости
|
-
|
-
|
Каталог-справочник г.
Ульяновск
|
|
8
|
Правило усеночное
|
-
|
1 шт.
|
Каталог-справочник г.
Ульяновск
|
|
9
|
Правило лузговое
|
-
|
1 шт.
|
Каталог-справочник г.
Ульяновск
|
|
10
|
Емкость для запаса
раствора (0,14 м3)
|
-
|
2 шт.
|
Каталог-справочник г.
Ульяновск
|
3. УСЛОВИЯ И ПОДГОТОВКА ПРОЦЕССА
До начала
нанесения обрызга и грунта должны быть выполнены следующие работы:
1. Поверхность
стен выверена провешиванием, срублены выступающие места, при необходимости
нацарапаны бороздки;
2. Поверхность
смочена водой;
3. Установлены
маяки;
4. Полы
подметены;
5. Вдоль стен
установлены металлические лотки.
4. ТЕХНОЛОГИЯ И ОРГАНИЗАЦИЯ ПРОЦЕССА
4-1. Раствор
готовится пластичностью для обрызга - 9 - 10 см; для грунта - 7 - 8 см;
4-2. При
нанесении обрызга и грунта в форсунку вкладываются вкладыш с диаметром выхода
14 мм. При давлении 5 ат. - факел раствора 60 - 80 см.
4-3.
Растворонасос подает по материальным шлангам раствор на рабочее место. Через
шнековую форсунку раствор наносится слоями на обрабатываемую поверхность.
Обрызг и грунт наносится друг за другом с выдержкой 80 времени 40 - 50 минут,
ввиду хорошего сцепления раствора при данном способе оштукатуривания стен.
Обрызг и грунт наносятся по 2 - 3 слоя каждый, в зависимости от толщины каждого
слоя до общей требуемой толщины штукатурки.
4-4. 3а
штукатуром-оператором идет звено штукатуров, которое снимает отдельные наплывы
раствора при обрызге и разравнивает каждый слой грунта.
5. ПРИЕМЫ ТРУДА
|
Наименование приемов,
исполнителей, инструментов
|
Описание приемов
|
Иллюстрация
|
|
1
|
2
|
3
|
|
Регулировка требуемого
факела раствора
Ш-1
форсунка, емкость для
запаса раствора
|
Ш-1 подает сигнал для включения
растворонасоса. Затем он устанавливает форсунку над емкостью, открывает
пробковый кран и проверяет требуемую струю раствора, регулирует факел подачи.
|

|
|
Нанесение слоев обрызга и
грунта
Ш-1
форсунка
|
Отрегулировав струю раствора
Ш-1 перекрывает ее пробковым краном и подходит к стене, находясь от стены на
0,6 - 0,8 м. и держа удочку с форсункой под углом 40 - 50 градусов, Ш-1
открывает пробковый кран и начинает сопловать. При этом оператор держит
правой рукой удочку с форсункой, а левая рука лежит на пробковом кране,
которым он перекрывает растворопровод при переходах от стены к стене. В
зависимости от нагрузки Ш-1 меняет положение рук.
Примечание: оператора могут подменять
штукатуры из звена
|

|
|
Положение удочки с форсункой
во время соплования
Ш-1
шнековая форсунка
|
Раствор наносится на стену
поступательным движением удочки справа налево и наоборот. И в то же время
движение происходит по спирали. Сопловка начинается сверху вниз на участке
шириной 1,5 м. Такой способ нанесения раствора улучшает сцепление слоев. При
сопловании верхней части стены Ш-1 держит удочку форсункой вниз. При
сопловании нижней части стены Ш-1 держит удочку форсункой вверх
|

|
|
Разравнивание слоев
раствора большим правилом,
Ш-2,
Ш-4
Большое правило
мастерок
|
Ш-2 и Ш-4 идут вслед за
штукатуром-оператором, которые снимают наплывы раствора при обрызге и
разравнивают каждый слой грунта, срезая лишний раствор 2-х метровым правилом
и указывая оператору перепады поверхности. А такие они производят черновую
формовку лузг и усенков. Разравнивание раствора производится справа налево
зигзагообразным движением при вертикальном положении инструмента
|

|
|
Разравнивание слоев
раствора полутерком
Ш-3
Ш-5
полутерком, мастерок
|
Раствор, который теряет
слоев раствора оператор и который срезают штукатуры, падает на металлические
лотки. Ш-3 и Ш-5 полутерком собирают раствор и набрасывают его на перепады
поверхности, разравнивают снизу вверх при горизонтальном положении полутерка.
При этом полутерок держат под углом 30 - 45º к поверхности стены.
|

|
|
КТ–2.4–68
|
Производство штукатурных
работ
|
|
Наименование
|
|
|
Исполнители
|
Разряды
|
Количество человек
|
Условные обозначения
|
|
Штукатур
|
V
|
1
|
Ш-1
|
1. Назначение и эффективность карты
1-1. Карта
предназначена для организации труда при механизированной накрывке при
улучшенной штукатурке.
1-2.
Применение рекомендуемых методов труда значительно повышает производительность
труда
1-3. Показатели производительности труда
|
Наименование показателей
|
Величина показателя ч/час
|
|
По карте
|
По ЕНиР (8-1-6)
|
|
1 м2 накрывочного слоя поверхности
|
0,016
|
В сборнике ЕНиР 8-1-6 отсутствуют нормы,
соответствующие данному процессу работ
|
2. Предметы и орудия труда
|
№№ пп
|
Наименование
|
№ ГОСТа чертежа
|
Количество
|
Примечание
|
|
1
|
Шнековая форсунка
|
-
|
1 шт.
|
Чертежи Свердловского
Оргтехстроя
|
|
2
|
Шланги ø 25 мм
|
-
|
50 п/м
|
-
|
3. УСЛОВИЯ И ПОДГОТОВКА ПРОЦЕССА
3-1. Для
накрывочного слоя в шнековую форсунку складывается вкладыш с диаметром выхода 8
- 10 мм. При давлении 5 ат. - факел раствора 50 - 70 см.
3-2.
Пластичность раствора для накрывки должна быть по стандартному конусу.
3-3. Для
улучшенной механизированной накрывки поверхность подготовительного слоя
штукатурки должна быть тщательно выровнена.
3-4.
Накрывочный слой наносят через 4 - 5 часов после грунта.
4.
ПРИЕМЫ ТРУДА
|
Наименование приемов,
исполнители, механизм
|
Описание приемов
|
Иллюстрации
|
|
1
|
2
|
3
|
|
Механизированная накрывка
Ш-1,
шнековая форсунка
|
Накрывочный слой должен быть не более 2-х см.
Слой накрывки выравнивает
поверхность грунта, образуя гладкую ровную пленку, которую можно легко и быстро
затереть. Ш-1 правой рукой держит удочку, левой придерживает пробковый кран.
Ш-1 стоит от стены на 0,5 - 0,7 м. Растворный факел при этом будет 40 - 50
см. Накрывка наносится аналогично нанесению обрызга и грунта только в один
слой.
|

|
|
КТ-2.5-68
|
Производство штукатурных
работ
|
|
Наименование
|
|
|
Исполнители
|
Разряды
|
Количество человек
|
Условные обозначения
|
|
Штукатур
|
IV
|
1
|
Ш-1
|
1. Назначение и эффективность карты
1-1. Карта
предназначена для организации труда при механизированной затирке оштукатуренных
поверхностей кирпичных стен.
1-2.
Примененный метод затирки стен позволяет повысить качество работ и значительно
снизить трудоемкость
1-3. Показатели производительности труда
|
Наименование показателя
|
Величина показателя в
ч/час
|
|
По карте
|
По ЕНиР
|
|
Механизированная затирка 1 м2
|
0,055
|
В сборнике 8-1-6 отсутствуют нормы,
соответствующие данному процессу работ
|
2.
ИНСТРУМЕНТЫ, ПРИСПОСОБЛЕНИЯ, МЕХАНИ3МЫ
|
№№ пп
|
Наименование
|
№ ГОСТа чертежа
|
Количество
|
Примечание
|
|
1
|
Затирочная машина
|
С-943
|
1
|
-
|
|
2
|
Подмости-столик штукатура
|
-
|
Согласно технологической
карты
|
Чертежи Ульяновского
Оргтехстроя
|
3. УСЛОВИЯ И ПОДГОТОВКА ПРОЦЕССА
3-1. Перед
затиркой поверхности должны быть выполнены следующие работы:
а) на
поверхность нанесен слой накрывки;
б) затирка
производится пневматической затирочной машинкой С-943, которая работает от
компрессора О-38.
Для смачивания
поверхности водой по шлангу вода самотеком поступает из емкости, закрепленной
выше уровня машинки;
в) компрессор
установлен внутри штукатурной станции
4. ТЕХНОЛОГИЯ И оргаНИ3Ация
процесса
4-1. Работу затирочной
машинкой С-943 рационально проводить 2-мя рабочими, периодически сменяющими
друг друга, в зависимости от утомляемости. Пока один штукатур работает с
машинкой, другой подмазывает раствором протирины, получающиеся от дисков
затирочной машинки.
4-2. Затирать
необходимо до тех пор, пока на поверхности не останется выбоин, царапин, выемок
и других дефектов.
4-3. По
окончании работ затирочную машинку необходимо очистить промыть и высушить.
4-4. Показатели качества выполнения
|
Наименование дефектов
|
Допускаемые отклонения
штукатурки при улучшенной отделке
|
|
1. Неровности поверхности,
обнаруженные при накладывании правила или шаблона l = 2 м
|
Не более 2-х неровностей
глубиной или высотой до 3 мм
|
|
2. Отклонения поверхности
от горизонтали
|
2 мм на 1 м высоты, но не
более 10 мм на всю длину помещения
|
|
3. Отклонения поверхности
по вертикали
|
2 мм на 1 м длины, но не
более 10 мм на всю длину помещения или часть его ограниченную прогонами,
балконами и т.п.
|
|
Наименование приемов, исполнителей,
приспособлений и механизмов
|
Описание приемов
|
Иллюстрации
|
|
Механизированная затирка
Ш-1.
Затирочная машинка марки
С-943
|
Держа правой рукой за
ручку машинки, мягкими круговыми движениями, чуть касаясь поверхности, водят ее
по нанесенному слою раствора. На выпуклостях диск прижимают чуть сильнее, на
выемках - слабее. Периодически поверхность смачивают водой, для чего нажимают
левой рукой на кнопку подачи воды по шлангу этой машинки
|

|
|
КТ-2.6-68
|
Производство штукатурных
работ
|
|
Наименование
|
|
|
Исполнители
|
Разряды
|
Количество человек
|
Условные обозначения
|
|
Штукатур
|
V
|
1
|
Ш-1
|
1. Назначение и эффективность карты
1-1. Карта предназначена
для организации труда по выделке лузг и усенков специальным инструментом, что
позволяет повысить качество работ, снизить трудоемкость процесса.
1-2. Показатели производительности труда
|
Наименование показателей
|
Величина показателя ч/час
|
|
По карте
|
По ЕНиР
|
|
Выделка 1 пог. м.
|
0,24
|
В сборнике ЕНиР 8-1-7 отсутствуют нормы,
соответствующие данному процессу
|
2. Предметы и орудия труда
|
№№ пп
|
Наименование
|
№ ГОСТа чертежа
|
Количество
|
Примечание
|
|
1
|
Правило лузговое
|
-
|
1
|
-
|
|
2
|
Правило усеночное
|
-
|
1
|
-
|
|
3
|
Мастерок штукатурный
|
-
|
1
|
-
|
3. УСЛОВИЯ И ПОДГОТОВКА ПРОЦЕССА
3-1 Перед
выделкой лузг и усенков на поверхности должны быть выполнены следующие
операции:
а) нанесен слой
раствора на стороны лузга и усенков - накрывка;
б) выполнена
черновая формовка лузг и усенков;
в) выделка
лузг и усенков выполняется при помощи специальных шаблонов–лузговых и
усеночных.
4. ТЕХНОЛОГИЯ И ОРГАНИЗАЦИЯ ПРОЦЕССА
4-1. Лузг - внутренней,
усенок - наружный угол, образуемый плоскостями стен или потолков
4-2.
Преимущество выполнения лузг и усенков специальным шаблоном против обыкновенных
правил заключается в том, что с применением шаблона раствор ложится ровнее по
всей длине угла, быстрее происходит процесс оштукатуривания, шаблоном легче
работать.
4-3. Линии
лузг и усенков должны быть строго горизонтальны, или вертикальны: искривления
линий не допускаются.
4-4. Усенки,
имеющие острые углы, легко обиваются, поэтому для лучшего оформления с острых
углов усенков, снимается фаска плоская или выпуклая. Фаска должна быть
выполнена строго не вертикально или горизонтально. Кроме того, по всей ширине
она должна иметь один размер, или один профиль при выпуклой форме
4-5. Показатели качества выполненной штукатурки лузг и усенков
|
Наименование
|
Допускаемые отклонения при
улучшенной штукатурке
|
|
Отклонения лузг и усенков от горизонтали и
вертикали
|
2 мм на 1 м высоты или длины, но не более 5 мм на
весь элемент
|
|
Отклонения тяг от прямой линии в пределах между
углами пересечения тяг и раскреповками
|
3 мм
|
|
Наименование приемов
исполнителей, механизмов
|
Описание приемов
|
Иллюстрации
|
|
Выделка лузг
Ш-1
правило лузговое,
мастерок штукатурный
|
Ш-1 берет двумя руками
правило и приставляет его к лузге. Затем движением вверх-вниз он натирает
лузгу до образования чистой строгой линии лузги
|

|
|
Выделка усенков
Ш-1
правило усеночное,
мастерок штукатурный
|
Аналогично лузгам
|

|
|
КТ-2.7-68
|
Производство штукатурных
работ
|
|
Наименование
|
|
|
Исполнители
|
Разряды
|
Количество человек
|
Условные обозначения
|
|
Штукатур
|
IV
|
-
|
Ш-1
|
|
Штукатур
|
II
|
-
|
Ш-2
|
1. Назначение и эффективность карты
1-1. Карты
предусматривают организацию труда при нанесении беспесчаной накрывки на
гипсобетонные перегородки.
1-2.
Применение предлагаемых методов труда и металлической гладилки позволяет
повысить производительность труда на 18 %, по сравнению с перетиркой.
1-3. Показатели производительности труда
|
Наименование показателя
|
Величина показателя в
ч/час
|
|
По карте
|
По ЕНиР (8-1-11)
|
|
Беспесчаная накрывка 1 м2
|
0,14
|
0,17
|
2. ПРЕДМЕТЫ И ОРУДИЯ ТРУДА
|
№№ пп
|
Наименование
|
№ ГОСТа чертежа
|
Количество
|
Примечание
|
|
1
|
Штукатурная кельма
|
9533-60
|
2 шт.
|
|
|
2
|
Окамелок (ручная кисть)
|
-
|
1 шт.
|
|
|
3
|
Сито с размером ячеек 1,0×1,0 мм
|
-
|
1 шт.
|
|
|
4
|
Ведро
|
-
|
1 шт.
|
|
|
5
|
Ящик для раствора
|
-
|
1 шт.
|
|
|
|
1. Металлическая гладилка
|
-
|
1 шт.
|
Чертежи Киевского
Оргтехстроя
|
3. УСЛОВИЯ И ПОДГОТОВКА ПРОЦЕССА
3-1. Перед
производством обеспеченной накрывки должны быть проведены следующие работы:
1. Перегородки
тщательно отметены от пыли и смочены водой
2. Материалы,
гипс и известковое тесто, должны находиться на месте приготовления раствора в
соответствующей таре и необходимом количестве на смену
4. ТЕХНОЛОГИЯ И ОРГАНИЗАЦИЯ
ПРОЦЕССА
4-1. Раствор
для накрывки готовится небольшими порциями за 5 - 6 мин до использования
раствора. Рекомендуемый состав раствора по объему: гипс и известковое тесто
(1:4) разбавленные водно-клеевым составом (1:200) до консистенции густой
сметаны.
4-2. Готовый
раствор накладывается кельмой на полотно гладилки и наносится на стену.
4-3. Не
допускается образование бугров и остатков раствора. Готовая поверхность должна
иметь совершенно гладкую фактуру, пригодную для окраски без шпаклевки.
5. ПРИЕМЫ ТРУДА
|
Наименование приемов,
исполнителей, инструментов
|
Описание приемов
|
Иллюстрации
|
|
1
|
2
|
3
|
|
Приготовление раствора
(заводка) кельма, ящик, ведро, сито
|
Ш-2 накладывает на ящик с
известковым тестом сито и движением кельмы по ситу просеивает нужное количество
гипса. Затем убирает сито, добавляет водно-клеевой состав и перемешивает
кельмой весь состав до рабочей консистенции.
|

|
|
Накладывание раствора на
полотно гладилки
Ш-1
кельма, гладилка
|
Ш-1 берет в левую руку металлическую
гладилку, а правой рукой при помощи кельмы набирает из ящика раствор и
накладывает его грядкой на полотно терки
|

|
|
Нанесение гипсового
раствора на гипсобетонную панель
Ш-1
гладилка
|
Приставляя гладилку с раствором
нижней гранью к поверхности стены Ш-1 движением руки снизу вверх наносит
раствор тонким слоем на поверхность зигзагообразными полосами
|

|
|
3аглаживание нанесенного
раствора
Ш-1.
Гладилка, кельма
|
Ш-1, держа гладилку обеими
руками, движением справа налево и сверху вниз сглаживает раствор «на сдир»
при положении полотна 40 - 50º к поверхности. При этом периодически
гладилка очищается от лишнего раствора
|

|
|
КТ-2.8-68
|
Производство штукатурных
работ
|
|
Наименование
|
|
|
Исполнители
|
Разряд
|
Количество человек
|
Условные обозначения
|
|
Штукатур
|
IV
|
1
|
Ш-1
|
|
Штукатур
|
III
|
1
|
Ш-2
|
1. НАЗНАЧЕНИЕ И ЭФФЕКТИВНОСТЬ КАРТЫ
1-1. Карта предназначена
для организации труда при штукатурной отделке проемов.
1-2.
Применение рекомендуемых методов труда позволяет повысить производительность
труда на 7 %
1-3. Показатели производительности труда
|
Наименование показателя
|
Величина показателя в чел/час
|
|
По карте
|
По ЕНиР (8-1-8)
|
|
Оштукатуривание
(м2 поверхности отскоков)
|
1,77
|
1,9
|
2. ПРЕДМЕТЫ И ОРУДИЯ ТРУДА
|
№№ пп
|
Наименование
|
№№ чертежей ГОСТ
|
Количество
|
Примечание
|
|
1
|
Столик инвентарный
|
7945-63
|
1
|
|
|
2
|
Ковш Шаульского
|
-
|
1
|
|
|
3
|
Кельма
|
9533-60
|
1
|
|
|
4
|
Рамка
|
-
|
1
|
(2×10 длина, по
высоте проема)
|
|
5
|
Малка
|
-
|
1
|
|
|
6
|
Отвес
|
7948-63
|
1
|
|
|
7
|
Метр складной, металлический
|
7253-54
|
1
|
|
|
8
|
Ящик для запаса раствора
|
-
|
1
|
|
|
9
|
Ящик штукатурный
|
-
|
1
|
|
|
10
|
Ящик для запаса гипса
|
-
|
1
|
|
|
11
|
Кисть мочальная (окамелок)
|
-
|
1
|
|
|
12
|
Ведро
|
-
|
2
|
|
|
13
|
Терка с основанием из войлока
|
-
|
1
|
|
|
14
|
Молоток
|
2310-54
|
1
|
|
|
15
|
Лопата
|
3620-63
|
1
|
|
|
16
|
Полутерок
|
-
|
1
|
(2×20×50) см
|
|
17
|
штукатурный столик
|
-
|
1
|
|
3. условия и ПОДГОТОВКА ПРОЦЕССА
3-1. Перед
оштукатуриванием откосов должны быть выполнены следующие работы:
1. Стены отштукатурены
и затерты.
2. Коробки
установлены, законопачены, выверены по вертикали и горизонтали.
3. Переплеты
сняты.
3-2.
Необходимые материалы должны находиться на месте приготовления смесей в
соответствующей таре и количестве, необходимом на смену
3-3. В целях
безопасности проемы необходимо забивать досками крест-накрест
4. ТЕХНОЛОГИЯ И ОРГАНИЗАЦИЯ ПРОЦЕССА
4-1.
Оштукатуривание проемов производится вручную
В состав
работы входят следующие операции:
1. Установка
рамки
2. Смачивание
поверхности водой
3. Нанесение
обрызга и грунта
4.
Разравнивание
5. Нанесение
накрывочного слоя с затиркой
6. Снятие
рамки с выделкой ребер, фасок
4-2. Верхние и
боковые откосы оштукатуривают известково-цементным раствором, а наружные
откосы, заглушены и сливы - цементным
4-3. Штукатур
IV разряда ведет отделку откосов, а штукатур III разряда готовит ему раствор в
столике штукатура, просеивает его через сито (1,6×1,6 мм) и подает в
растворный ящик, который установлен на инвентарном столике
4-4. Организация рабочего места

Условные
обозначения:
1. Инвентарный
столик.
2. Ведро
3. Ящик
растворный
4. Ящик для
запаса раствора
5. Ящик для
запаса гипса
6. Столик
штукатура
место работы штукатура
5. ПРИЕМЫ ТРУДА
|
Наименование приемов,
исполнителей, инструменты
|
Описание приемов
|
Иллюстрации
|
|
1
|
2
|
3
|
|
Установка рамки
Ш-1,
Ш-2.
Рамка, инвентарный столик,
рейкодержатель, молоток
|
Ш-2 подает рамку Ш-1,
который стоит на инвентарном столике. Ш-2 берет рамку двумя руками и
устанавливает ее по центру проема. Ш-2 в левой руке держит рейкодержатель, а
в правой молоток. Он вбивает штырь рейкодержателя в стену и зажимает болтом
рейку рамки в 2-3 местах. После этого Ш-2 передает молоток Ш-1, который
окончательно закрепляет рамку еще в 2 - 3 местах, а Ш-2 начинает
приготавливать известково-цементный раствор
|

|
|
Смачивание поверхности
Ш-1.
Ведро, кисть
|
Ш-1 держит в правой руке
кисть, обмакивая ее в ведро с водой, смачивает поверхность откосов
|

|
|
Приготовление
известково-цементного раствора
Ш-2.
Ящик с цементом, растворный
ящик, столик штукатура, лопата, малка
|
Ш-2, производя дозировку
составляющих (известковый раствор, вода, цемент), встает с боковой стороны
ящика. Взяв малку обеими руками, движениями слева на право и справа на лево
производит перемешивание раствора
|

|
|
Нанесение обрызга и грунта
Ш-1.
Ковш Шаульского
|
Ш-1 берет ковш, правой
рукой, забирает им порцию раствора и сильным взмахом руки сбрасывает его на
поверхность. Рука с ковшом должна двигаться с такой силой, чтобы раствор выбрасывался
из ковша, не задерживаясь в нем.
Ковшу необходимо придать
такое положение, чтобы край ковша как бы рассеивал раствор, направляя его
веерообразной струей, и раствор ровным слоем ложится на поверхность.
Примечание: Раствор можно наносить не
только правой, но левой рукой
|

|
|
Разравнивание раствора
Ш-1.
Малка
|
После нанесения каждого
слоя раствора кроме обрызга Ш-1 приступает к разравниванию. Держа малку
обеими руками, плотно прижимая ее одним концом к рамке, другим к коробке,
движением снизу вверх Ш-1 разравнивает нанесенный слой раствора
|

|
|
Нанесение отделочного слоя
с затиркой поверхности, отделкой ребер, фасок,
Ш-1
полутерок, терка, кисть,
ведро с водой
|
Ш-1 в левой руке держит полутерок,
а правой рукой при помощи кельмы накладывает на полутерок грядкою раствор.
Приставив полутерок под углы к поверхности, Ш-1 наносит отделочный слой.
Смочив поверхность водой с помощью кисти, Ш-1 затирает поверхность откоса,
теркой держа ее в правой руке круговыми движениями сверху вниз и обратно (в
разгонку)
|

|
|
КТ-2.9-68
|
Производство штукатурных
работ
|
|
Наименование
|
|
|
Исполнители
|
Разряд
|
Количество человек
|
Условные обозначения
|
|
Штукатур
|
IV
|
1
|
Ш-1
|
|
Штукатур
|
III
|
1
|
Ш-2
|
1. НАЗНАЧЕНИЕ И ЭФФЕКТИВНОСТЬ КАРТЫ
1-1. Карта
предназначена для организации труда при оштукатуривании мест соединения ж/б
плит с прорезкой рустов
1-2. Приемы
труда, предлагаемые картой, позволяют повысить производительность труда на 8 %
1-3. Показатели производительности труда
|
Наименование показателя
|
Величина показателя в
ч/час
|
|
По карте
|
По ЕНиР (8-1-10)
|
|
П.м. оштукатуренного и прорезанного руста
|
0,3
|
0,32
|
2. ПРЕДМЕТЫ И ОРУДИЯ ТРУДА
|
№№ пп
|
Наименование
|
№№ чертежей ГОСТ
|
Количество
|
Примечание
|
|
1
|
Пружинящие распорки из досок
|
|
3
|
Длина на 10-15 см больше
высоты помещения, толщина 20
мм, ширина 100
см.
|
|
2
|
Деревянная направляющая рейка
|
|
Согласно технологической
карте
|
|
|
3
|
Инвентарные столики
|
|
3 - 6
|
В зависимости от длины
руста
|
|
4
|
Сокол
|
|
1
|
|
|
5
|
Терка
|
|
2
|
|
|
6
|
Рустовка
|
|
1
|
|
|
7
|
Конопатка
|
|
1
|
|
|
8
|
Молоток киянка
|
|
1
|
|
|
9
|
Столик штукатура
|
|
1
|
|
|
10
|
Бучарда
|
|
1
|
|
|
11
|
Кисть (окамелок)
|
|
2
|
|
|
12
|
Ведро
|
|
2
|
|
|
13
|
Ящик для запаса раствора гипса
|
|
2
|
|
|
14
|
Кельма
|
|
1
|
|
|
15
|
Сито (1,6×1,6 мм)
|
|
1
|
|
3. УСЛОВИЯ И ПОДГОТОВКА ПРОЦЕССА
3-1. Перед
оштукатуриванием мест соединения ж/бетонных плит должны быть выполнены
следующие работы:
1. Стены и
примыкания оштукатурены и затерты
2. Выполнена скрытая
проводка
3-2.
Необходимые материалы должны находиться на месте приготовления смесей в
соответствующей таре и количестве, необходимом на смену
3-3.
Организация рабочего места
Условные
обозначения:
- рабочее
место штукатура
место прорезки
руста
1-столики
(инвентарные)
2-место
установки пружинящей рейки
4. ТЕХНОЛОГИЯ И ОРГАНИЗАЦИЯ ТРУДА
4-1.
Оштукатуривание мест соединения ж/бетонных плит и про резка рустов производятся
вручную. В состав работ входят следующие операции:
1. Насечка
кромок ж/бетонных плит
2. Конопатка
швов паклей
3.
Оштукатуривание мест соединения плит, с затиркой
4. Установка
направляющей рейки
5. Прорезка
руста
6. Зачистка
углов и кромок руста.
4-2.
Цементно-известковый раствор приготовляет вручную штукатур III разряда,
просеивает его и подает для оштукатуривания. Для быстрого схватывания в раствор
можно добавлять гипс до 10 %.
4-3. Прорезку
рустов производят оба штукатура вместе
5. ПРИЕМЫ ТРУДА
|
Наименование приемов,
исполнителей, инструменты
|
Описание приемов
|
Иллюстрации
|
|
1
|
2
|
3
|
|
Насечка кромок ж/б плит
перекрытия
Ш-1
инвентарные столики,
бучарда
|
Ш-1 стоит на инвентарном
столике, берет бучарду двумя руками и ее торцом наносит удары по кромкам
паза, передвигаясь вдоль мест соединения ж/б плит по инвентарным столикам. Зубчики,
расположенные на торцах бучарды, составляют при ударе ямки на кромках.
Примечание: Ш-1 должен обязательно
работать в очках
|

|
|
Конопатка швов паклей
Ш-1
Ш-2
инвентарные столики,
столик штукатура, кельма, ведро, конопатка молоток-киянка
|
Ш-2 приготавливает
гипсовый раствор в столике штукатура. Затем берет паклю, разделяет ее на
отдельные части, смачивает в приготовленном растворе и подает Ш-1. Ш-2, стоя
на инвентарном столике, берет паклю, вставляет ее в паз между плитами
перекрытия, уплотняет деревянной конопаткой. Широкий конец конопатки Ш-1
вставляет в паз, а по ручке наносит удары деревянным молотком–киянкой.
Примечание: Паз заполняют
изоляционным материалом до уровня поверхности плит перекрытия, а оставляют
зазор 2 - 8 см
|

|
|
Намазывание раствора на
поверхность мест, соединения плит перекрытия
Ш-1
Ш-2
ящики для раствора, сокол,
кельма, инвентарные столики
|
Ш-1 держит левой рукой
сокол, а правой держа кельму, накладывает на него из ящика порцию раствора.
Подносит сокол к месту соединения ж/б плит перекрытия и намазывает раствор
вдоль по стыку на себя, заполняя равномерно шов
|

|
|
Нанесение накрывочного
слоя
Ш-1,
Ш-2
ящики для раствора, терка,
кельма, инвентарные столики
|
Ш-1 держит левой рукой
терку, правой рукой кельмой накладывает на нее порцию раствора. Прижимая одно
ребро терки к месту соединения ж/б плиты перекрытия двигая терку с раствором
на себя, наносит его на поверхность слоем 1,5 - 2 мм
|

|
|
Затирка поверхности мест
соединения ж/б плит перекрытия
Ш-1,
Ш-2.
Растворные ящики, кельма,
терка, кисть (окомелок)
|
Ш-1 держит в правой руке
терку, в левой кисть (окомелок). Смочив обрабатываемую поверхность водой, Ш-1
круговыми движениями терки затирает раствор.
|

|
|
Крепление направляющей
рейки
Ш-1,
Ш-2
молоток штукатурный,
пружинящие распорки, направляющая рейка
|
III-1, стоя на инвентарном
столике, прижимает направляющую рейку к месту соединения плит перекрытия. Ш-2
молотком подбивает под нее пружинящие распорки в 2 - 3 местах.
|

|
|
Прорезка руста
Ш-1,
Ш-2
инвентарные столики,
рустовка, малый полутерок
|
Ш-1 берет в правую руку
рустовку, приставляет ее к направляющей рейке, и, нажимая на нее движением
«на себя», прорезает руст. Ш-2 поднимается на инвентарный столик, берет в
правую руку маленький полутерок и поправляет руст
|

|
|
Производство
штукатурных работ
|
|
Наименование
|
|
Перед
началом работы НЕОБХОДИМО:
1. Внимательно
ознакомиться со своим рабочим местом, убрать все лишние предметы и освободить
рабочие проходы;
2. Осмотреть
состояние инструмента и рабочего инвентаря. Убедиться в их исправности;
3. Проверить
состояние подмостей и лесов и получить разрешение мастера на пользование ими;
пользоваться лесами до осмотра их мастером запрещается;
4. Приступать
к работе только после наличия ограждений в оконных и иных проемах;
5. Все
рабочие, имеющие дело с механизированным нанесением готовых растворов или их
составляющих, должны иметь спецодежду предохранительные очки, респираторы и
рукавицы;
6. Перед
производством работ с применением растворонасоса необходимо проверить,
произведено ли механическое испытание трубопровода на двойное давление против
рабочего, а также следить за тем, чтобы материальные шланги были уложены без
переломов. Проверить исправность сигнализации от места работы к машинисту;
7. Перекрыть
материальные шланги, подающие раствор, в местах проездов и проходов переходными
мостиками;
8. При
промывке материальных шлангов удалить из помещения, где находятся шланги, всех
рабочих, кроме тех, которые заняты этой работой;
9. Нельзя
пользоваться растворонасосом без исправного предохранительного клапана и
манометра.
Во
время работы необходимо:
1. Постоянно
следить за состоянием подмостей;
2. Не
перегружать подмости строительными материалами: ящики с раствором и другие
материалы располагать не ближе 0,3 м от края подмостей или настилов;
3. При работе
агрегата нужно постоянно следить по манометру за давлением и немедленно
включать насос, если давление станет выше нормального;
4. Во время
работы ковшевого элеватора агрегата запрещается очищать ковш и проталкивать
раствор лопатой;
5. Очистку
наконечника форсунки производить только после прекращения давления в шлангах.
После
работы СЛЕДУЕТ:
1. Привести в
порядок рабочее место;
2. Все
рубильники должны быть отключены и закрыты на замок;
3. Сдать
инструмент в кладовую или закрыть его в ящик;
4. Снять
спецодежду и тщательно вымыть руки и лицо водой с мылом.