|
| |
Типовые технологические карты
на производство отдельных видов работ
ТИПОВАЯ ТЕХНОЛОГИЧЕСКАЯ КАРТА
на бетонные и железобетонные работы
(монолитный железобетон)

Устройство монолитных железобетнных
фундаментов под колонны граЖданских зданий с применением блочной опалубки
СОДЕРЖАНИЕ
|
разработанА
|
СОГЛАСОВАНО
|
|
Центральный
научно-исследовательским и проектно-экспериментальным институтом
организации, механизации и технической помощи строительству (ЦНИИОМТП)
|
Управлением механизации и
технологии строительства Госстроя СССР
|
|
Зам. директора института, д.т.н В.Д. Топчий
|
Письмо от 27.09.90 г. № 12-34
|
|
Начальник отдела экспериментального
проектирования Ю.А. Ярымов
|
Введено в действие с 27 января
1990 г.
|
|
Зав. лабораторий опалубочных работ Н.И.
Евдокимов
|
|
|
Типовая технологическая карта
разработана на устройство столбчатых монолитных фундаментов под каркас гражданских
и промышленных зданий с использованием опалубки из блок-форм. Технологической
картой предусматривается устройство монолитных фундаментов с применением
опалубки из стальных опалубочных блок-форм, разработанных ЦНИИОМТП Госстроя
СССР (проект 79-2.00.000). В типовой технологической карте предусматривают два
варианта подачи бетонной смеси в конструкции:
краном в бункерах;
автобетононасосом СБ-I26А;
Работы выполняются в летний период в
две смены.
До начала устройства фундаментов
должны быть выполнены следующие работы:
организован отвод поверхностных вод от
котлована;
устроены подъездные пути и автодороги;
обозначены в пролете пути движения
механизмов, места складирования, укрупнения арматурных сеток и опалубки,
подготовлена монтажная оснастке и приспособления;
выполнена бетонная подготовка под
фундаменты;
завезены арматурные сетки и комплекты
опалубки в количестве, обеспечивающем бесперебойную работу не менее чем в
течение двух смен;
составлены акты приемки основания
фундаментов в соответствии с исполнительной схемой;
устроено временное электроосвещение
рабочих мест и подключены электросварочные аппараты;
произведена геодезическая разбивка
осей и разметка положения фундаментов в соответствии с проектом;
на поверхность бетонной подготовки
краской нанесены риски, фиксирующие положение рабочей плоскости щитов опалубки.
Арматурные сетки подколонников
доставляют на строительную площадку и разгружают на площадке сборки
армокаркасов, а сетки башмаков - непосредственно у мест возведения фундаментов.
Cборку
армокаркасов подколонников производят на стенде сборки с помощью кондуктора
конструкции ЦНИИОМТП в следующей последовательности:
укладывают арматурные сетки на
кондуктор и фиксируют в проектном положении вязальной проволокой с последующей
электроприхваткой;
снимают армокарнас с кондуктора
автокраном и укладывают на площадку для складирования.
К месту установки армокаркасы
доставляют автотранспортом.
Работы по установке арматуры выполняют
в последовательности:
устанавливают арматурные сетки башмака
на фиксаторы, обеспечивающие защитный слой бетона по проекту;
после устройства опалубки башмака
устанавливают армокаркас подколонника с закреплением его к нижней сетке
вязальной проволокой.
Опалубку монолитных железобетонных
фундаментов выполняют из отдельных унифицированных стальных опалубочных блоков.
В комплект опалубки блок-форм для фундаментов, рассматриваемых в данной
технологической карте, входят, опалубочный блок двухступенчатой башмачной части
фундамента и блок подколонника, состоящий из двух блоков.
Сборочные единицы стальных опалубочных
форм и их количество приведены в табл. 5.
Стальные опалубочные формы для
железобетонных монолитных фундаментов должны поступать на строительную площадку
комплектно в состоянии, пригодном к сборке и эксплуатации.
Монтаж стальных опалубочных блок-форм
производится в такой технологической последовательности:
устанавливают опалубочный блок
двухступенчатой башмачной части фундамента в проектное положение строго по oceвым рискам, нанесенным
на бетонную подготовку, и закрепляют его металлическими штырями к основанию;
устанавливают на центрирующие штыри
рамы опалубки башмачной части фундамента опалубочный блок подколонника и
закрепляют его при помощи фиксаторов;
устанавливают подмости на центрирующие
штыри верхнего блока подколонника и закрепляют фиксаторами;
устанавливают лестницу и закрепляют
верхний конец на подмостях;
устанавливают вкладыши на центрирующие
штыри верхнего блока подколонника и закрепляют фиксаторами;
Разборку опалубки производят сразу
после достижения бетоном проектной прочности.
Демонтаж блок-форм производят в
следующем порядке:
демонтируют подмости;
демонтируют вкладыши;
раскрывают замковые стяжки при помощи
приспособления для раскрывания блоков, отводят створки блоков от бетона;
отсоединяют блок подколонника от рамы
опалубки башмачной части фундамента;
демонтируют блок подколонника;
выбивают клин, поворачивают палец и
отводят щиты башмака от бетона, после чего демонтируют блок-форму башмачной
части фундамента.
При необходимости опалубочную
поверхность очищают от налипшего бетона металлическими щетками и скребками и
производят смазку эмульсионным составом.
Демонтированные блоки опалубки
транспортируют к месту нового бетонирования.
После проверки правильности установки
опалубки и арматуры производят бетонирование фундаментов.
Транспортирование бетонной смеси
осуществляют автобетоносмесителем с разгрузкой в поворотные бункеры или
приемную воронку автобетононасоса.
В состав работ по бетонированию
фундаментов входят:
прием и подача бетонной смеси;
укладка и уплотнение бетонной смеси.
Подача бетонной смеси в конструкции
предусматривается в двух вариантах:
автомобильным краном СМК-10 в
поворотных бункерах;
автобетононасосом СБ-126А (при
подвижности бетонной смеси от 4 до 16 см).
Бетонирование фундаментов
осуществляется в два этапа: на первом этапе бетонируют башмак фундамента и
подколонник до отметки низа вкладыша; на втором этапе бетонируют верхнюю часть
подколонника после установки вкладыша.
Бетонную смесь укладывают
горизонтальными слоями толщиной 30 - 40 см.
Каждый слой уложенного бетона
тщательно уплотняют глубинным вибратором. При уплотнении бетонной смеси конец
рабочей части вибратора должен погружаться в ранее уложенный слой бетона на
глубину 5 - 10 см. Шар перестановки вибратора не должен превышать 1,5 радиуса
его действия.
Перекрытие предыдущего слоя бетона
последующим должно быть выполнено до начала схватывания бетона в предыдущем
слое.
В углах и у стен опалубки бетонную
смесь дополнительно уплотняют штыкованием ручными металлическими шуровками.
Бетонирование фундаментов производят с
навесных подмостей.
При бетонировании монолитных
фундаментов автобетононасосом СБ-126А радиус действия распределительной стрелы
позволяет производить укладку бетонной смеси в одном ряду с двух точек.
Мероприятия по уходу за бетоном в
период набора прочности, порядок и сроки их проведения, контроль за выполнением
этих мероприятий необходимо осуществлять в соответствии с требованиями СНиП 3.03.01-87
«Несущие ограждающие строительные конструкции. Правила производства работ».
Сроки выдерживания и периодичность поливки назначает строительная лаборатория.
Предельное отклонение положения
элементов опалубки, арматуры и выполненных монолитных фундаментов относительно
разбивочных осей или ориентирных рисок при приемке не должны превышать величин,
указанных в СНиП
3.03.01-87.
Технические критерии и средства
контроля операций и процессов приводятся в табл. 1.
Таблица 1
|
Наименование
процессов, подлежащих контролю
|
Предмет
контроля
|
Инструмент
и способ контроля
|
Периодичность
контроля
|
Ответственный
за контроль
|
Технические
критерии оценки качества
|
|
Монтаж
опалубки
|
Смещение
осей опалубки от проектного положения
|
Линейка
измерительная
|
В
процессе монтажа
|
Мастер
|
Допускаемое
отклонение 15 мм
|
|
Отклонение
плоскости опалубки от вертикали на всю высоту фундамента
|
Отвес,
линейка измерительная
|
В
процессе установки
|
То же
|
Допускаемое
отклонение 20 мм
|
|
Монтаж
арматуры
|
Отклонение
от проектных размеров толщины защитного слоя
|
Линейка
измерительная
|
В процессе
работ
|
То же
|
Допускаемые
отклонения при толщине защитнго слоя более 15 мм - 5 мм; при толщине
защитного слоя 15 мм и менее - 3 мм
|
|
Смещение
арматурных стержней при их установке в опалубку, а также при изготовлении арматурных
каркасов и сеток
|
То же
|
То же
|
То же
|
Допускаемое
отклонение не должно превышать 1/5 наибольшего диаметра стержня и 1/4
устанавливаемого стержня
|
|
Отклонение
от проектных размеров положения осей вертикальных каркасов
|
Геодезический
инструмент
|
То же
|
То же
|
Допускаемое
отклонение 5 мм
|
|
Укладка
бетонной смеси
|
Толщина
слоев бетонной смеси
|
Визуально
|
То же
|
То же
|
Толщина
слоя должна быть не более 1,25 длины рабочей части вибратора
|
|
Уплотнение
бетонной смеси, уход за бетоном
|
То же
|
То же
|
То же
|
Шаг
перестановки вибратора не должен быть больше 1,5 радиуса действия вибратора,
глубина погружения должна быть несколько больше толщины уложенного бетона.
Благоприятные температурно-влажностные условия для твердения бетона должны
обеспечиваться предохранением его от воздействия ветра, прямых солнечных
лучей и систематическим увлажнением.
|
|
Подвижность
бетонной смеси
|
Конус
СтройЦНИЛпресс (ПСУ-500)
|
Для
бетонирования
|
Строительная
лаборатория
|
Подвижность
бетонной смеси должна быть 1 - 3 см осадки конуса по СНиП 3.03.01-87
|
|
Состав
бетонной смеси при укладке автобетононасосом
|
Путем
опытного перекачивания
|
То же
|
То же
|
Опытное
перекачивание автобетононасосом бетонной смеси и испытание бетонных образцов,
изготовление из отобранных после перекачивания проб бетонной смеси
|
|
Распалубливание
конструкций
|
Проверка
соблюдения сроков распалубливания, отсутствие повреждений бетона при распалубливании
|
Визуально
|
После
набора прочности бетоном
|
Производитель
работ, строительная лаборатория
|
Таблица 2
|
Наименование
процесса
|
Номер
фасета для пересчета показателей
|
Единица
измерения
|
Объем
работ
|
Обоснование
(ЕНиР и др. Нормы)
|
Нормы
времени
|
Расценка,
р.-к.
|
Затраты
труда
|
Заработная
плата, р.-к.
|
Время
пребывания машины на объекте, маш.-ч
|
Заработная
плата машиниста с учетом пребывания машины на объекте, р.-к.
|
|
Рабочих
чел.-ч
|
машиниста
чел.-ч (маш.-ч)
|
рабочих
|
машиниста
|
рабочих,
чел.-ч
|
машиниста,
чел.-ч (маш.-ч)
|
рабочих
|
машиниста
|
|
|
|
Вспомогательные
работы
|
|
Разгрузка
арматурных сеток с транспортных средств автокраном
|
01
|
100 т
|
0,02
|
ЕНиР,
1987 г., § Е1-5, табл. 2, п. 1а, б, К = 0,75 к расценке машиниста
|
22
|
11
(11)
|
14-09
|
8-74
|
0,44
|
0,22
(0,22)
|
0-28
|
0-17
|
0,22
|
0-17
|
|
Сортировка
и подача арматурных сеток к месту работы
|
-
|
т
|
1,98
|
ЕНиР,
1987 г., § Е5-1-1, п. 3
|
10
|
-
|
7-00
|
-
|
19,8
|
-
|
13-86
|
-
|
-
|
-
|
|
Разгрузка
с транспортных средств укрупненных элементов опалубки
|
01
|
100 т
|
0,166
|
ЕНиР,
1987 г., § ЕI-5, табл. 2, п. 1а, б, К = 0,75 к расценке машиниста
|
22
|
11
(11)
|
14-09
|
8-74
|
3,65
|
1,83
(1,83)
|
2-34
|
1-45
|
1-83
|
1-45
|
|
Итого
|
23,89
|
2,05
(2,05)
|
16-48
|
1-62
|
2-05
|
1-62
|
|
Арматурные
работы
|
|
Установка
вручную арматурных сеток башмаков массой до 20 кг
|
06
|
сетка
|
56
|
ЕНиР,
1987 г., § Е4-1-44, табл. 2, п. а
|
0,17
|
-
|
0-11,2
|
-
|
9,52
|
-
|
6-27
|
-
|
-
|
-
|
|
Укрупнительная
сборка арматурных каркасов подколонников на площадке укрупнительной сборки
|
-
|
элемент
т
|
112
1,078
|
ЕНиР,
1987 г., § Е5-1-3, табл. 2, п. 1, 2к
|
0,18
0,55
|
-
|
0-15,3
0-46,8
|
-
|
20,16
0,59
|
-
|
17-14
0-50
|
-
|
-
|
-
|
|
Сварка
арматуры
|
-
|
10 м
шва
|
1,1
|
ЕНиР,
1987 г., § Е22-1-1, п. 2 в, К = 1,3
|
4,16
|
-
|
2-91
|
-
|
4,58
|
-
|
3-20
|
-
|
-
|
-
|
|
Погрузка
и разгрузка предварительно собранных армокаркасов подколонников
|
0,1
|
100 т
|
0,01
|
ЕНиР,
1987 г., § Е1-5, табл. 2, п. 1 а, б, К = 0,75, к расценке машиниста
|
22
|
11
(11)
|
14-09
|
8-74
|
0,22
|
0,11
(0,11)
|
0-14
|
0-09
|
0,11
|
0-09
|
|
Установка
арматурных каркасов подколонников краном
|
05
|
Каркас
|
14
|
ЕНиР,
1987 г., § Е4-1-44, табл. 1, п. 2 а
|
0,79
|
0,20
(0,20)
|
0-53,5
|
0-21,2
|
11,06
|
2,80
(2,80)
|
7-49
|
2-97
|
2-80
|
2-97
|
|
Итого
|
46,13
|
2,91
(2,91)
|
34-74
|
3-06
|
2-91
|
3-06
|
|
Установка
опалубки
|
|
Монтаж
укрупненных блок-форм:
Башмачной
части фундамента;
|
02
|
1 м2
опалубки, соприка-сающейся с бетоном
|
58
|
ЕНиР,
1987 г., § Е4-1-38, табл. п. 1 б
|
0,35
|
0,175
(0,175)
|
0-26,1
|
0-18,5
|
20,3
|
10,15
(10,15)
|
18-14
|
10-73
|
10,15
|
10-73
|
|
Подколонника
с установкой вкладышей
|
02
|
То жг
|
136
|
То
же, п. 1 в
|
0,28
|
0,14
(0,14)
|
0-20,9
|
0-14,8
|
38,08
|
19,04
(19,04)
|
28-42
|
20-13
|
19,04
|
20-13
|
|
Итого
|
58,38
|
29,19
(29,19)
|
43-56
|
30-86
|
29,19
|
30,86
|
|
Бетонные
работы
|
|
Вариант
1. Подача бетонной смеси краном в бункерах
|
|
Прием
бетонной смеси из автобетоно-смесителя в поворотные бункеры
|
-
|
100 м3
|
0,728
|
Расчет
2
|
-
|
3,32
(3,32)
|
-
|
2-62
|
-
|
2,42
(2,42)
|
-
|
1-91
|
2-42
|
1-91
|
|
Подача
бетонной смеси краном в бункерах
|
07
|
м3
|
72,8
|
ЕНиР,
1987, § Е1-6, табл. 2, п. 16 а, б
|
0,29
|
0,145
(0,145)
|
0-18,6
|
0-15,4
|
21,11
|
10,56
(10,56)
|
13-54
|
11-21
|
10-56
|
11-21
|
|
Укладка
бетонной смеси в фундаменты объемом до 10 м3
|
04
|
м3
|
72,8
|
ЕНиР,
1987, § Е4-1-49, табл. 1, п. 3
|
0,33
|
-
|
0-23,6
|
-
|
24,02
|
-
|
17-18
|
-
|
-
|
-
|
|
Итого
|
45,13
|
12,98
(12,98)
|
30-72
|
13-12
|
12,98
|
13-12
|
|
Вариант
2. Подача бетонной смеси автобетононасосом
|
|
Прием
бетонной смеси из автобетоно-смесителя в приемный бункер автобетоно-насоса
|
-
|
100 м3
|
0,728
|
Расчет
2
|
-
|
3,32
(3,32)
|
-
|
2-62
|
-
|
2,42
(2,42)
|
-
|
1-91
|
2,42
|
1-91
|
|
Подача бетонной смеси к месту
укладки автобетоно-насосом
|
-
|
100 м3
|
0,728
|
Расчет
1
|
6,4
|
6,4
(6,4)
|
4-10
|
5-06
|
4,66
|
4,66
(4,66)
|
2-98
|
3-69
|
4,66
|
3-69
|
|
Укладка бетонной смеси в
конструкцию объемом до 10 м3
|
04
|
м3
|
72,8
|
ЕНиР,
1987 г., § Е4-1-49, табл. п. 1
|
0,33
|
-
|
0-23,6
|
-
|
24,02
|
-
|
17-18
|
-
|
-
|
-
|
|
Итого
|
28,68
|
7,08
(7,08)
|
20-16
|
5-60
|
7,08
|
5-60
|
|
Демонтаж
опалубки
|
|
Демонтаж укрупненных
элементов блок-форм
|
|
Подколонника
|
03
|
1 м2
опалубки, соприка-сающейся с бетоном
|
136
|
ЕНиР
1987, § Е4-1-38, табл. 1, п. 2 в
|
0,2
|
0,1
(0,1)
|
0-14,9
|
0-10,6
|
27,2
|
13,6
(13,6)
|
20-26
|
14-42
|
13,6
|
14-42
|
|
Башмачной
части фундамента
|
03
|
То же
|
58
|
То
же, п. 2 б
|
0,28
|
0,14
(0,14)
|
0-20,9
|
0-14,8
|
16,24
|
8,12
(8,12)
|
12-12
|
8-58
|
8,12
|
8-58
|
|
Подача
укрупненных элементов блок-форм на площадку складирования
|
07,
08
|
100 т
|
0,166
|
ЕНиР
1987, § Е1-6, п. 17 а, б
|
23
|
11,5
(11,5)
|
14-72
|
12-19
|
3,82
|
1,91
(1,91)
|
2-44
|
2-02
|
1,91
|
2-02
|
|
Итого
|
47,26
|
23,63
(23,63)
|
34-82
|
25-02
|
23,63
|
25-02
|
|
Всего: при подаче бетонной
смеси краном
|
220,79
|
70,76
(70,76)
|
160-32
|
73-68
|
70,76
|
73-68
|
|
При подаче бетонной смеси
автобетононасосом
|
204,34
|
64,86
(64,86)
|
149-76
|
66-16
|
64,86
|
66-16
|
Таблица 3


Потребность в механизмах, инструменте
инвентаре и приспособлениях приведена в таблице 4
Таблица 4
|
Наименование
|
Марка,
техническая характеристика, ГОСТ, № чертежа
|
Количество
|
Назначение
|
|
Кран автомобильный
|
КС-2561Д. Грузоподъемность 6,3 т; стрела 8 м
|
1
|
Разгрузка и раскладка элементов блок-форм; монтаж армокаркасов подколонника;
монтаж блок-форм, навесных подмостей, лестниц, вкладышей
|
|
Кран автомобильный
|
СМК-10. Длина стрелы 16 м; грузоподъемность 10 т
|
1
|
Подача бетонной смеси в бункерах, демонтаж блок-форм
|
|
Автобетононасос
|
СБ-126А. Дальность подачи распределительной стрелой 18 м; производительность
техническая 60 м3/ч
|
1
|
Подача бетонной смеси
|
|
Автобетоносмеситель
|
СБ-159 (СБ-921А)
|
1
|
Транспортирование бетонной смеси
|
|
Трансформатор сварочный
|
ТД-500
|
1
|
Сварочные работы
|
|
Трансформатор переносной понижающий
|
ИВ-9
|
1
|
Подключение электрифицированного инструмента
|
|
Электродержатель
|
ГОСТ
14651-78*Е
|
1
|
Сварочные работы
|
|
Бункер поворотный
|
БП-1. Вместимость 1,0 м3 ГОСТ
21807-76
|
2
|
Укладка бетонной смеси
|
|
Вибратор глубинный
|
ИВ-67
|
2
|
Уплотнение бетонной смеси
|
|
Строп четырехветвевой универсальный
|
4СК2-5,0 ГОСТ
25573-82*
|
1
|
Строповка арматуры, опалубки, бункера
|
|
Приспособление для раскрывания блоков
|
ЦНИИОМТП Р.Ч. 79-2. 80.000
|
1
|
Демонтаж блок-форм
|
|
Кондуктор-шаблон для сборки арматурных каркасов
|
ЦНИИОМТП. Масса 50 кг
|
1
|
Сборка каркасов на стенде сборки
|
|
Фиксатор для временного крепления арматурных сеток
|
Рабочие чертежи ЦНИИОМТП
|
1
|
Арматурные работы
|
|
Фиксатор для временного крепления арматурных каркасов
|
Трест Мосоргпромстрой
|
1
|
То же
|
|
Уровень строительный
|
УС-ГОСТ
9416-83
|
1
|
Контрольно-измерительные работы
|
|
Отвес стальной строительный
|
ОТ-600, ГОСТ 7948-80
|
1
|
То же
|
|
Метр складной металлический
|
ТУ 12-156-76
|
1
|
То же
|
|
Рулетка измерительная
|
ГОСТ 7502-80*
|
1
|
То же
|
|
Лом монтажный
|
ЛМ-24, ГОСТ 1405-83
|
1
|
Рихтовка
|
|
Ключи гаечные
|
ГОСТ
2839-80*Е
|
1
комплект
|
Опалубочные работы
|
|
Молоток слесарный
|
ГОСТ 2310-77*Е
|
1
|
То же
|
|
Лопата растворная
|
ГОСТ 3620-76
|
2
|
Подача бетона
|
|
Скребок металлический
|
ЦНИИОМТП Р.Ч. 568-75
|
2
|
Очистка поверхности опалубки от налипшего бетона
|
|
Кувалда кузнечная тупоносая
|
ГОСТ
11402-75*
|
1
|
То же
|
|
Щетка стальная
|
ТУ 36-2460-82
|
2
|
Очистка опалубки и арматуры
|
|
Очки защитные
|
ГОСТ
12.4.013-85Е
|
2
|
Средства защиты
|
|
Щиток защитный
|
ГОСТ
12.4.035-78*
|
1
|
То же
|
|
Пояс предохранительный
|
ГОСТ
12.4.089-80
|
3
|
То же
|
|
Каска строительная
|
ГОСТ
12.4.087-84
|
9
|
То же
|
|
Сапоги резиновые
|
ГОСТ
5375-79
|
2
|
То же
|
|
Перчатки резиновые
|
ГОСТ 20010-74*
|
2
|
Тоже
|
|
Кусачки
|
ГОСТ 7282-75*Е
|
1
|
Арматурные работы
|
|
Плоскогубцы комбинированные
|
ГОСТ 5547-86Е
|
1
|
То же
|
|
Ножницы для резки арматуры
|
ГОСТ 7210-75*Е
|
1
|
То же
|
Потребность в материалах и полуфабрикатах для
выполнения работ приводится в таблице 5
Таблица 5
|
Наименование
материала, полуфабриката, конструкции (марка ГОСТ)
|
Вариант
(фасет, код)
|
Исходные
данные
|
Потребное
количество
|
|
Единица
измерения по нормам (чертежам)
|
Объем
работ в нормативных единицах
|
Принятая
норма расхода материалов на единицу измерения
|
|
Стальные опалубочные формы
железобетонных монолитных фундаментов: Блок башмака

Р.Ч. ЦНИИОМТП 79-2.50.000
|
-
|
шт./т
|
-
|
-
|
|
|
Блок подколонника Б-1,5×1,2×0,9
Р.Ч. ЦНИИОМТП 72-23.30.000
|
-
|
шт./т
|
-
|
-
|
|
|
Подмости Р.Ч. ЦНИИОМТП
79-2.70.000
|
-
|
шт./т
|
-
|
-
|
|
|
Вкладыш Р.Ч. ЦНИИОМТП
79-2.02.000
|
-
|
шт./т
|
-
|
-
|
|
|
Арматурные сетки. Серия
1.412-1/77, вып. 1,2,3
|
|
С1
|
-
|
шт./т
|
-
|
-
|
|
|
С2
|
-
|
шт./т
|
-
|
-
|
|
|
С3
|
-
|
шт./т
|
-
|
-
|
|
|
С4
|
-
|
шт./т
|
-
|
-
|
|
|
С5
|
-
|
шт./т
|
-
|
-
|
|
|
Электроды Э-42 ГОСТ 9467-75
|
-
|
кг
|
-
|
-
|
9,98
|
|
Бетонная смесь
|
-
|
м3
|
72,8
|
1,01
м3
|
73,68
м3
|
|
Эмульсия для смазки щитов опалубки
|
-
|
На 1
м2 формующей опалубки
|
194
|
|
|
* В числителе - расход
при нанесении пневмораспылителем, в знаменатeлe - при
нанесении вручную кистью или валиком.
Все работы по устройству монолитных
фундаментов следует вести в строгом соответствии со СНиП III-4-80* «Техника безопасности в
строительстве».
Особое внимание необходимо обращать на
следующее:
не допускается нахождение людей под
монтируемыми элементами до установки их в проектное положение и закрепления;
монтаж и демонтаж опалубки может быть
начат с разрешения технического руководителя строительства и должен
производиться под непосредственным наблюдением специально назначенного лица из
технического персонала;
бункеры для бетонной смеси должны
удовлетворять ГОСТ
21807-76;
перемещение загруженного бункера
разрешается только при закрытом затворе;
не допускается опирание вибраторов на
арматуру;
к управлению автобетононасосами
допускаются лица, имеющие удостоверение на право работы на данном типе машины;
при работе на высоте более 1,5 м все
рабочие обязаны пользоваться предохранительными поясами с карабинами.
Разборка опалубки допускается после
набора бетоном распалубочной прочности с разрешения производителя работ.
Отрыв опалубки от бетона производится
с помощью домкратов. В процессе отрыва бетонная поверхность не должна повреждаться.
Таблица 6
|
Наименование
показателем
|
Подача
бетонной смеси краном в бункерах
|
Подача
бетонной смеси автобетононасосом
|
|
Нормативные
затраты труда рабочих, чел.-день
|
0,49
|
0,45
|
|
Нормативные
затраты машинного времени, маш.-смен
|
0,12
|
0,11
|
|
Заработная
плата рабочих, р.-к.
|
2-20
|
2-06
|
|
Заработная
плата механизаторов, р.-к.
|
01
|
0-91
|
|
Продолжительность
выполнения работ, смена
|
0,08
|
0,09
|
|
Выработка
на одного рабочего в смену, мЗ/чел.-смен
|
2,04
|
2,22
|
|
Условные
затраты на механизацию для базового варианта, р.-к.
|
6-54
|
13-07
|
|
Сумма
изменяемых затрат, р.-к.
|
8-74
|
15-13
|
ФАСЕТ 01
Грузоподъемность крана
|
Наименование
фактора
|
Обоснование
|
Код
|
Значение
фактора
|
|
Кран автомобильный, грузоподъемность
до 6,3 т
|
ЕНиР,
1987 г., § Е1-5, табл. 2
|
1
|
По калькуляции
|
|
Кран автомобильный грузоподъемностью
10 т и более
|
То же
|
2
|
Расц. Машиниста умножать на
1,333
|
|
Кран автомобильный грузоподъемностью
от 6,3 до 10 т
|
То же
|
3
|
Расц. Машиниста умножать на
1,146
|
Фасет 02
Монтаж укрупненных элементов блок-форм
|
Наименование
фактора
|
Обоснование
|
Код
|
Значение
фактора
|
|
Площадь
внутренней поверхности блока опалубки, м2, до:
|
|
5
|
ЕНиР, 1987 г., § Е1-5, табл.
1, п. 1 б
|
1
|
По калькуляции
|
|
3
|
То же, п. 1 а
|
2
|
Н. вр. и Расц. умножать на
1,169
|
|
30
|
То же п. 1 г
|
3
|
Н. вр. умножать на 0,657,
Расц. умножать на 0,655
|
|
40
|
То же п. 1 д
|
4
|
Н. вр. и Расц. умножать на
0,571
|
|
20
|
То же п. 1 в
|
5
|
По калькуляции
|
Фасет 03
Демонтаж укрупненных элементов блок-форм
|
Наименование
фактора
|
Обоснование
|
Код
|
Значение
фактора
|
|
Площадь
внутренней поверхности блока опалубки, м2, до:
|
|
5
|
ЕНиР, 1987 г., § Е1-5, табл.
1, п. 1 б
|
1
|
По калькуляции
|
|
3
|
То же, п. 2 а
|
2
|
Н. вр. умножать на 1,107,
Расц. умножать на 1,105
|
|
30
|
То же п. 2 г
|
3
|
Н. вр. умножать на 0,643,
Расц. умножать на 0,641
|
|
40
|
То же п. 2 д
|
4
|
Н. вр. умножать 0,534, Расц.
умножать на 0,536
|
|
20
|
То же п. 2 в
|
5
|
По калькуляции
|
Фасет 04
Укладка бетонной смеси в конструкции
|
Наименование
фактора
|
Обоснование
|
Код
|
Значение
фактора
|
|
Укладка
бетонной смеси в конструкцию объемом, м3, до:
|
|
10
|
ЕНиР, 1987 г., § Е1-5, табл.
1, п. 3 б
|
1
|
По калькуляции
|
|
25
|
То же, п. 4 а
|
2
|
Н. вр. и Расц. умножать на
0,788
|
|
30
|
То же п. 5 г
|
3
|
Н. вр. умножать на 0,697,
Расц. умножать на 0,695
|
|
Свыше
30
|
То же п. 6 д
|
4
|
Н. вр. умножать 0,667, Расц.
умножать на 0,665
|
Фасет 05
Установка арматурных каркасов кранов
|
Наименование
фактора
|
Обоснование
|
Код
|
Значение
фактора
|
|
Установка арматурных каркасов
подколонников краном при массе каркаса, т, до: 03
|
ЕНиР, 1987 г., § Е4-1-44,
табл. 1, п. 2 а
|
1
|
По калькуляции
|
|
06
|
То же, п. 2 б
|
2
|
Н. вр. умножать на 1,646,
Расц. Умножать на 1,647
|
|
1
|
То же п. 2 в
|
3
|
Н. вр. умножать на 3,418,
Расц. умножать на 3,421
|
|
2
|
То же п. 2 г
|
4
|
Н. вр. умножать и Расц. умножать
на 4,430
|
|
3
|
То же п. 2 д
|
5
|
Н. вр. умножать на 5,190,
Расц. Умножать на 5,196
|
Фасет 06
Установка арматурных сеток вручную
|
Наименование
фактора
|
Обоснование
|
Код
|
Значение
фактора
|
|
Установка сеток вручную при
массе сетки, кг, до: 20
|
ЕНиР, 1987 г., табл. 2, п. а
|
1
|
По калькуляции
|
|
50
|
П. б
|
2
|
Н.
вр. умножать на 1,412, Расц. умножать на 1,411
|
|
100
|
п. в
|
3
|
Н.
вр. умножать на 2,118, Расц. умножать на 2,125
|
Фасет 07
Грузоподъемность крана при подаче материалов
|
Наименование
фактора
|
Обоснование
|
Код
|
Значение
фактора
|
|
Кран автомобильный
грузоподъемностью от 10 до 20 т
|
ЕНиР, 1987 г., § Е1-6
|
1
|
По калькуляции
|
|
Кран автомобильный
грузоподъемностью от 20 до 25 т
|
То же
|
2
|
Расц. машиниста умножать на
0,935
|
|
Кран автомобильный
грузоподъемностью до 6,3 т и гусеничном ходу грузоподъемностью до 5,0 т
|
То же
|
3
|
Расц. машиниста умножать на
1,333
|
|
Кран автомобильный
грузоподъемностью от 6,3 т до 10 т и кран пневмоколесном и гусеничном ходу
грузоподъемностью до 10 т
|
То же
|
4
|
Расц. машиниста умножать на
1,163
|
Фасет 08
Подача материалов автомобильным краном
|
Наименование
фактора
|
Обоснование
|
Код
|
Значение
фактора
|
|
Подача
блок-форм автомобильным краном при общей массе поднимаемого груза, т, до: 0,5
|
ЕНиР, 1987 г., табл. 2 п.17а,
б
|
1
|
По калькуляции
|
|
1
|
То же п. 18 а, б
|
2
|
Н.вр. и Расц. умножать на
0,739
|
|
1,5
|
То же п. 19 а, б
|
3
|
Н.вр. и Расц.машиниста
умножать на 0,469; такелажника на 0,478
|
|
2
|
То же п. 20 а, б
|
4
|
Н.вр. и Расц. умножать на
0,278
|
|
2,5
|
То же п. 21 а, б
|
5
|
Н.вр. и Расц. умножать на
0,226
|
|
3
|
То же п. 22 а, б
|
6
|
Н.вр. и Расц. умножать на
0,191
|
|
3,5
|
То же п. 23 а, б
|
7
|
Н.вр. и Расц. умножать на
0,165
|
|
4
|
То же п. 24 а, б
|
8
|
Н.вр. и Расц. умножать на
0,139
|
Расчет 1
Нормы времени и расценки на подачу
бетонной смеси в конструкции автобетононасосом СБ-126А.
Эксплуатационная производительность
автобетононасоса определяется по формуле:
,
где Пт - техническая производительность автобетононасоса;
К1 - коэффициент
переходов от технической производительности к эксплуатационной, К1 = 0,4.
К2 - коэффициент
снижения производительности автобетононасоса, учитывающей непостоянный режим
подачи бетона, К2 = 0,65.

Обслуживает звено из 2 человек
(машинист бетононасосной установки 4 разряда - 1 бетонщик 2 разряда - 1).
Норма времени на 100 м3
бетонной смеси:
Для
рабочих:

Для
машиниста:

Расценка составит:
Для рабочих 0,64×6,4 = 4-10
рублей
Для машиниста 0,79×6,4 = 5-06
рублей
Расчет 2
Норма времени и расценки на разгрузку автобетоносмесителя
СБ-159.
Время разгрузки автобетоносмесителя по
технической характеристики составляет 8 минут (0,133 часа).
Часовая тарифная ставка шофера 0-79
рублей
Вместимость барабана - 4 м3
Норма времени на разгрузку 100 м3
бетонной смеси:

Расценка составит:
0-79×3,32=2-62 руб.
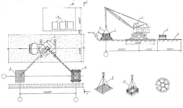
Схема устройства монолитных
фундаментов при кладке бетонной смеси с помощью стрелового крана

Условные обозначения:
1 - кран автомобильный СМК-10; 2 - кран автомобильный КС-2561Д; 3 - площадка
для приема бетонной смеси; 4 - место складирования арматуры и опалубки; 5 -
подмости навесные
-
направление движения работ при возведении фундаментов
-
временные автодороги
Состав работ:
I - готовые
фундаменты;
II - демонтаж
опалубки;
III - выдержка
бетона и уход за ним;
IV - укладка
бетонной смеси в опалубку;
V - монтаж
опалубки и арматуры подколонника;
VI - установка
арматурных сеток башмачной части
Схема производства арматурных работ
Разрез 1 - 1

|
1 - кран автомобильный КС-2561Д;
2 - площадка складирования;
3 - арматурная сетка башмачной части фундамента;
4 - арматурный каркас подколонника;
5 - страп четырехветвевой;
6 - фиксатор защитного слоя бетона
|
Схема строповки
|
Фиксатор защитного слоя бетона
|
|
|
Схема производства опалубочных работ
Разрез 1 - 1

1 - кран автомобильный КС-2561Д;
2 - опалубка башмачной части фундамента;
3 - опалубка подколонника;
4 - площадка складирования;
5 - страп четырехветвевой
6 -
деревянные подкладки
|
Опалубка башмачной части
|
Блок подколонника Б – 1,5×1,2×0,9
|

1 - рама; 2 - щит; 3 - кронштейн; 1 - стяжка замковая; 2 - фиксатор; 3 -
щит торцовый; 4 - щит боковой
Стальные опалубочные формы

1 - опалубка башмачной части: 
2 - опалубка подколонника: Б - 1,5×1,2×0,9 (2 шт.)
3 - подмости;
4 - вкладыш;
5 - фиксатор
Схема производства бетонных работ при подаче бетонной смеси краном в
бункерах
Разрез
1 - 1

Подача бетонной смеси в конструкцию
1 - кран автомобильный СМК-10; 2 - автобетоносмеситель СБ159; 3 - бункер
поворотный БП-1; 4 - лоток; 5 - кронштейн; 6 - фундамент заармированный; 7 -
бетонируемый фундамент; 8 - строп
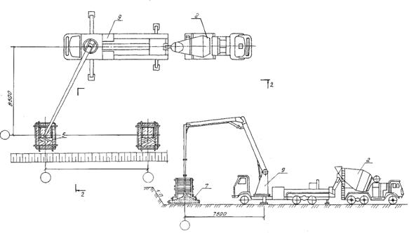
Схема производства бетонных работ при
подаче бетонной смеси автобетононасосом СБ-126А

9 - автобетононасос СБ-126А
Разрез 2-2
| |
|