//
ТехЛит.ру
- крупнейшая бесплатная электронная интернет библиотека для "технически умных" людей.
WWW.TEHLIT.RU - ТЕХНИЧЕСКАЯ ЛИТЕРАТУРА

:: Алготрейдинг::


АЛГОТРЕЙДИНГ
шаг за шагом
с нуля по урокам!

Торговые роботы на PYTHON, BackTrader,
Pandas, Pine Script для TradingView. Связка с брокерами, телеграм и легкими приложениями.


ФЕДЕРАЛЬНОЕ ГОСУДАРСТВЕННОЕ УНИТАРНОЕ ПРЕДПРИЯТИЕ

ВСЁРОСИЙСКИЙ НАУЧИО-ИССЛЕДОВАТЕЛЬСКИЙ

ИНСТИТУТ РАСХОДОМЕТРИИ

(ФГУП ВНИИР)

ФЕДЕРАЛЬНОГО АГЕНТСТВА ПО ТЕХНИЧЕСКОМУ РЕГУЛИРОВАНИЮ И МЕТРОЛОГИИ

УТВЕРЖДАЮ
Заместитель директора
ФГУП ВНИИР
Немиров
10.03.2006

РЕКОМЕНДАЦИЯ
Государственная система обеспечения единства измерений.

РАСХОДОМЕРЫ-СЧЕТЧИКИ ЖИДКОСТИ УЛЬТРАЗВУКОВЫЕ UFM 500.

Методика поверки

МИ 2983-2006

Казань 2006

ПРЕДИСЛОВИЕ

1. РАЗРАБОТАНА Федеральным государственным унитарным предприятием Всероссийским научно-исследовательским институтом расходометрии (ФГУП ВНИИР)

ИСПОЛНИТЕЛИ:

Сафин А.Г., канд. техн. наук;

 

Хомяков Г.Д., канд. техн. наук

РАЗРАБОТАНА ООО «Кроне-автоматика»

ИСПОЛНИТЕЛИ:

Гутин Е.А.;

 

Чеснаков В.В.

2. УТВЕРЖДЕНА ФГУП ВНИИР 10 марта 2006 г.

3. ЗАРЕГИСТРИРОВАНА ФГУП ВНИИМС 26 апреля 2006 г.

4. ВВЕДЕНА ВПЕРВЫЕ

Содержание

РЕКОМЕНДАЦИЯ

Государственная система обеспечения единства измерений.

МИ 2983-2006

Расходомеры-счетчики жидкости ультразвуковые UFM 500.

Методика поверки

1 ОБЛАСТЬ ПРИМЕНЕНИЯ

Настоящая рекомендация распространяется на расходомеры-счетчики жидкости ультразвуковые модели UFM 500 (далее - расходомеры) и устанавливает методику их первичной и периодической поверок.

Расходомер состоит из следующих составных частей:

- первичного преобразователя расхода модели UFS-500 (далее - ППР);

- сигнального конвертера модели UFC-030 (далее - СК).

Данная рекомендация распространяется на расходомеры с ППР с внутренним диаметром более 200 мм и разработана с учетом положений нормативного документа фирмы «KROHNE Altometer» «Ультразвуковой счетчик ALTOSONIC UFM 500. Методика проведения поверочных испытаний без использования эталонного объема».

Межповерочный интервал: не более одного года.

2 НОРМАТИВНЫЕ ССЫЛКИ

В настоящей рекомендации использованы ссылки на следующие нормативные документы:

ГОСТ Р 50118-92 Термометры с вложенной шкалой длинные для точных измерений

ГОСТ Р 51232-98 Вода питьевая. Общие требования к организации и методам контроля качества

ГОСТ 10-88 Нутромеры микрометрические. Технические условия

ГОСТ 166-89 Штангенциркули. Технические условия

ПР 50.2.006-94 Государственная система обеспечения единства измерений. Порядок проведения поверки средств измерений

Примечание - При пользовании настоящей рекомендацией целесообразно проверить действие ссылочных нормативных документов в информационной системе общего пользования - на официальном сайте национального органа Российской Федерации по стандартизации в сети Интернет или по ежегодно издаваемому информационному указателю «Национальные стандарты», который опубликован по состоянию на 1 января текущего года, и по соответствующим ежемесячно издаваемым информационным указателям, опубликованным в текущем году. Если ссылочный документ заменен (изменен), то при пользовании настоящей рекомендацией руководствуются замененным (измененным) документом. Если ссылочный документ отменен без замены, то положение, в котором дана ссылка на него, применяют в части, не затрагивающей эту ссылку.

3 ОПЕРАЦИИ ПОВЕРКИ

При проведении поверки выполняют операции, указанные в таблице 1.

Таблица 1

Наименование операции

Пункт рекомендации

Обязательность проведения при поверке

первичной

периодической

Внешний осмотр

8.1

Да

Да

Опробование

8.2

Да

Да

Определение метрологических характеристик

8.3

 

 

Определение геометрических параметров ГПТР

8.3.1*

Да

Нет

Проверка выходных сигналов СК

8.3.2

Да

Да

Измерения параметров приемного сигнала

8.3.3

Да

Да

Проверка режима «нулевого расхода»

8.3.4

Да

Да

Измерения скорости распространения ультразвукового сигнала

8.3.5

Да

Да

* При выполнении операции допускается использование результатов измерений, выполненных службой обеспечения качества предприятия-изготовителя расходомеров.

4 СРЕДСТВА ПОВЕРКИ

4.1 При проведении поверки применяют следующие средства:

- вольтметр универсальный Щ31 по 3.349.033 ТУ кл. точности 0,01

- частотомер 43-64/1 по ДЛИ2.721.006 ТУ;

- осциллограф С1-114 по 2.044018 ТУ;

- термометр лабораторный по ГОСТ Р 50118 с ценой деления 0,1°С и диапазоном измерений 8...38°С;

- барометр-анероид БАММ по ТУ 25004-1618;

- психрометр МВ-34 по ТУ25-1607054;

- диагностическую систему SoundCheck с программным обеспечением SoundCheck program;

- штангенрейсмус ШР-Ш-0,1 по ГОСТ 166;

- нутромер макрометрический НМ 1250 по ГОСТ 10 с диапазоном измерений 50...3000 мм;

- штангенглубиномер ШГО-40,0 по ГОСТ 166.

4.2 Допускается применение других - аналогичных по назначению средств поверки с метрологическими характеристиками, не уступающими указанным в 4.1.

5 ТРЕБОВАНИЯ БЕЗОПАСНОСТИ И К КВАЛИФИКАЦИИ ОПЕРАТОРОВ

5.1. При проведении поверки соблюдают требования безопасности, определяемые:

- Правилами эксплуатации электроустановок потребителей, VI издание, 2003 г.;

- Правилами техники безопасности при эксплуатации электроустановок потребителей, IV издание, 1994 г.;

- правилами безопасности при эксплуатации средств поверки, приведенных в их эксплуатационной документации.

5.2. К проведению поверки и обработки ее результатов допускают лиц с техническим образованием не ниже среднего, аттестованных в качестве поверителя; имеющих опыт проведения поверки средств измерений и допуск к работе с электроизмерительными приборами; изучивших настоящую рекомендацию и эксплуатационную документацию на средства поверки и расходомер; прошедших обучение и проверку знаний и допущенных к обслуживанию расходомеров и прошедших инструктаж по технике безопасности.

6 УСЛОВИЯ ПОВЕРКИ

При проведении поверки соблюдают следующие условия:

6.1. Окружающая среда имеет следующие параметры:

- температура окружающего воздуха 15°С...25°С;

- относительная влажность не более 80 %;

- давление 86... 106,7 кПа;

6.2. Рабочей жидкостью является вода по ГОСТ Р 51232 с температурой 15°С…25°С.

6.3. Изменение температуры рабочей жидкости в процессе поверки: не более 2°С.

6.4. Параметры напряжения питания, вибрации, внешних магнитных полей находятся в пределах, нормированных в эксплуатационной документации на расходомер и средства поверки.

7 ПОДГОТОВКА К ПОВЕРКЕ

При подготовке к поверке выполняют следующие работы:

а) проверяют наличие средств поверки согласно разделу 4 и действующих свидетельств о поверке или оттисков поверительных клейм;

б) проверяют комплектность, маркировку и правильность монтажа средств поверки и расходомера в соответствии с инструкциями по их эксплуатации;

в) проверяют соблюдение условий согласно разделам 5 и 6;

г) подготавливают к работе расходомер и средства поверки согласно их эксплуатационной документации;

д) подключают расходомер к источнику питания в соответствии с указаниями на фирменной табличке (напряжение, частота) и инструкцией по его эксплуатации;

е) вводят в СК расходомера базисные параметры, проводят выбор единиц измеряемых величин, устанавливают функцию устройства выдачи показаний в соответствии с инструкцией по эксплуатации и протоколом настройки СК;

ж) выдерживают перед поверкой расходомер в нерабочем состоянии не менее 30 мин, а затем во включенном состоянии не менее 30 мин.

8 ПРОВЕДЕНИЕ ПОВЕРКИ И ОБРАБОТКА РЕЗУЛЬТАТОВ ИЗМЕРЕНИЙ

8.1. Внешний осмотр

При внешнем осмотре устанавливают соответствие расходомера следующим требованиям:

- комплектность и маркировка соответствуют технической документации;

- на расходомере отсутствуют внешние механические повреждения, влияющие на его работоспособность.

8.2. Опробование

При опробовании определяют работоспособность расходомера следующим образом:

- заполняют ППР расходомера водой;

- устанавливают режим показа расхода и объема дисплея СК расходомера в соответствии с инструкцией по эксплуатации (гл. 4.3, меню 1.2.1, 1.2.2);

- контролируют показания дисплея СК расходомера (при этом значение расхода равно нулю, показания сумматора (объем) неизменны).

8.3. Определение метрологических характеристик Определение метрологических характеристик осуществляют в соответствии с указаниями инструкции по эксплуатации расходомера.

8.3.1. Определение геометрических параметров ППР

Измерения геометрических параметров ППР проводят на предприятии-изготовителе в процессе изготовления с применением средств поверки, указанных в разделе 4.

Перед измерениями очищают внутреннюю поверхность ППР.

Измерения линейных параметров проводят с погрешностью не более 0,5 мм.

Отклонение смещения осей каналов от нормального значения (X = 0,5 R): не более 0,01 R.

8.3.1.1. Измерения внутреннего диаметра корпуса ППР

Внутренний диаметр ППР Двн измеряют нутромером НМ в сечении 1 - 1 (рисунок 1), перпендикулярного оси ППР, в двух плоскостях не менее трех раз.

Рисунок 1

Вычисляют среднее арифметическое значение результатов измерений и принимают его значением внутреннего диаметра.

8.3.1.2. Измерения расстояния между акустическими излучателями

Расстояние между осями акустических излучателей (далее - АИ) каждого акустического канала (далее - АК) по образующей, параллельной оси ППР, проводят последующей методике.

ПНР торцом устанавливают на разметочную плиту (рисунок 1). С помощью штангенрейсмуса от верхней и нижней кромок штуцеров АИ проводят отметку на образующую ПИР. Расстояние между отметками а и в измеряют не менее трех раз и вычисляют их среднее арифметическое значение А1. Измерения повторяют для второго АК и вычисляют A2.

Значения расстояний между осями В1(2) вычисляют по формуле:

В1(2) = А1(2) - (d + 2lст),                                                                   (1)

где d - диаметр АИ;

lст - толщина стенок штуцера.

Значения d, lст берут из чертежей на АИ для штуцера для данного типоразмера ПИР (рисунок 2).

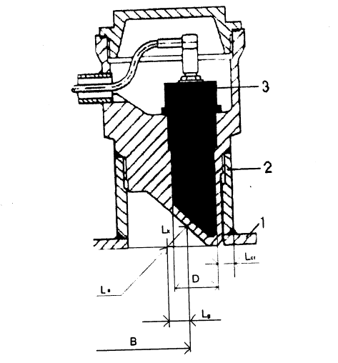
1 - стенка трубы ППР; 2 - корпус штуцера; 3 - акустический излучатель

Рисунок 2

8.3.1.3. Измерения расстояния между АИ каждого АК ППР

Измерения осуществляет СК UFC 030 в автоматическом режиме.

Для этого ППР, заглушённый с одного конца прокладкой, заполняют водой, выдерживают при комнатной температуре не менее 30 мин для удаления воздуха и измеряют ее температуру с погрешностью не более 0,1°С.

По таблице 2 по измеренным значениям температуры воды t определяют значение скорости ультразвука в воде v и вводят в меню Fnct 5.04.07 СК.

В меню Fnct 5.04.08 и Fnct 5.04.09 регистрируют измеренные значения расстояний L1 и L2. Измерения повторяют не менее трех раз и вычисляют их среднее арифметическое значение. Таблица 2

t, °C

v, м/с

0

0,1

0,2

0,3

0,4

0,5

0,6

0,7

0,8

0,9

14

1462,4

1462,7

1463,1

1463,4

1463,8

1464,2

1464,5

1464,9

1465,2

1465,6

16

1469,4

1469,7

1470,0

1470,4

1470,7

1471,1

1471,4

1471,7

1472,1

1472,4

18

1476,0

1476,3

1476,7

1477,0

1477,3

1477,6

1477,9

1478,3

1478,6

1478,9

20

1482,3

1482,6

1482,9

1483,2

1483,5

1483,8

1484,1

1484,4

1484,7

1485,0

22

1488,3

1488,6

1488,9

1489,2

1489,5

1489,7

1490,0

1490,3

1490,6

1490,9

24

1493,9

1494,2

1494,5

1494,8

1495,0

1495,3

1495,6

1495,9

1496,1

1496,4

26

1499,3

1499,6

1499,8

1500,1

1500,4

1500,6

1500,8

1501,1

1501,4

1501,6

28

1504,3

1504,6

1504,8

1505,1

1505,3

1505,6

1505,8

1506,0

1506,2

1506,5

30

1509,1

1509,3

1509,6

1509,8

1510,0

1510,3

1510,5

1510,7

1510,9

1511,2

8.3.1.4. Определение длины активной части АК

Значения длин активной части осей АК La1(2) вычисляют по формуле:

La1(2) = L1(2) + 2lк1(2),                                                                       (2)

где lк1(2) - глубины карманов для АИ первого и второго АК.

Значения lк1(2) берут из чертежей на АИ для штуцеров для данного типоразмера ППР (рисунок 2).

8.3.1.5. Определение расстояния между АИ в плоскости, перпендикулярной оси ППР

Расстояние между АИ С в плоскости, перпендикулярной оси ППР (длина хорды), вычисляют по формуле:

                                                                     (3)

где В1(2)к = В1(2) - 2lд1(2).

Значения lд1(2) берут из чертежей на АИ для штуцеров для данного типоразмера ППР (рисунок 2).

Проверяют выполнение условия 0,85Двн ≤ С ≤ 0,88Двн.

8.3.1.6 Определение смещения оси АК относительно оси ППР Смещение оси АК X относительно оси ППР вычисляют по формуле:

                                                                  (4)

Проверяют выполнение условия 0,49RX0,51R, где R-радиус ППР.

8.3.1.7. Определение угла наклона оси АК относительно оси трубы ППР

Угол наклона оси АК а относительно оси трубы ППР вычисляют по формуле:

                                                                       (5)

8.3.1.8. Вычисление постоянной ППР

Для каждого канала ППР и для расходомера вычисляют коэффициент ППР Ки, м3 по формулам:

                                                         (6)

                                                                                (7)

где Двн - внутренний диаметр ППР, м;

R - радиус ППР, мм;

Х - смещение оси канала от оси трубопровода, мм;

α - угол наклона оси канала относительно оси трубы ППР.

Вычисляют значения Кр, м3, для нормированных значений параметров (α = 45°; Х = 0,5R, мм) по формуле:

Кр = 0,68Д3вн                                                                                  (8)

Значения постоянной ППР Gk вычисляют по формуле:

                                                                                        (9)

Значение Gk вводят в память СК UFS 030 для корректировки результатов измерений

8.3.2. Проверка выходных сигналов СК

К соответствующим выходным клеммам СК подключают вольтметр Щ31 и частотомер 43-64/1.

Последовательно выбирают и устанавливают значения выходного тока 0; 4; 12; 20; 22 мА и регистрируют показания вольтметра.

Показания вольтметра: не более следующих выходных значений: 0 ± 0,02; 4 ± 0,008; 12 ± 0,024; 20 ± 0,04; 22 ± 0,048 мА.

Последовательно выбирают значения выходной частоты 1; 10; 100; 1000; 2000 Гц и регистрируют показания частотомера.

Показания частотомера: не более следующих выходных значений: 1 ± 0,002; 10 ± 0,02; 100 ± 0,2; 1000 ± 2; 2000 ± 4 Гц.

Проверку работы дисплея и микропроцессора проводят в режиме тестирования при подаче напряжения питания, при этом дисплей сигнального конвертора UFC 030 последовательно выдает следующие сообщения:

«UFC 030»

(номер программного обеспечения)

«STARTUP».

8.3.3. Измерения параметров приемного сигнала

Внутреннюю полость ППР заполняют водой и выдерживают при комнатной температуре не менее 30 мин для удаления пузырьков воздуха.

Измерения параметров сигнала и их оценку проводят по методике предприятия-изготовителя с использованием диагностической системы SoundCheck.

Перед поверкой очищают излучающие поверхности АИ и проводят измерения на рабочей жидкости в условиях эксплуатации.

8.3.4. Проверка режима «нулевого расхода»

Измерения проводят в условиях, указанных в 8.3.3.

Вводят режим измерений «нулевого расхода». На дисплее СК индицируется измеренное значение расхода, не превышающее 1,4·10-3 Ду, м3/ч, где Ду - внутренний диаметр ППР, мм, или равное установленному значению «нулевого расхода».

Допускается отклонение от установленного значения не более чем на 0,2 %.

При периодической поверке допускается проводить измерения на рабочей жидкости, если имеется возможность остановки потока.

8.3.5. Измерения скорости распространения ультразвукового сигнала (далее - УС)

Измерения проводят в условиях, указанных в 8.3.3, на рабочей жидкости в условиях эксплуатации по следующей методике.

Вводят СК в меню режима измерений скорости УС и регистрируют измеренные значения. Полученные значения скорости УС V1 сравнивают с известными значениями скорости УС в рабочей жидкости V2, которые определяют по методике, изложенной в приложении А.

Относительное отклонение скоростей: не более 0,2 %.

8.3.6. При положительных результатах поверки по 8.3.1-8.3.5 расходомер допускают к применению для измерений объема и объемного расхода жидкостей (при соблюдении числа Re потока в диапазоне от 1·104 до 1·107) с пределами допускаемой относительной погрешности: ± 2,0 %.

9 ОФОРМЛЕНИЕ РЕЗУЛЬТАТОВ ПОВЕРКИ

9.1. Результаты поверки оформляют протоколом, который является неотъемлемой частью свидетельства.

9.2. При положительных результатах поверки оформляют свидетельство о поверке в соответствии ПР 50.2.006.

9.3. На лицевой стороне свидетельства о поверке записывают, что расходомер на основании поверки признан годным и допущен к применению с пределами допускаемой относительной погрешности: ± 2,0 %.

9.4. При отрицательных результатах поверки расходомер к эксплуатации не допускают, свидетельство о поверке аннулируют и выдают извещение о непригодности в соответствии с ПР 50.2.006.

ПРИЛОЖЕНИЕ А
МЕТОДИКА ОПРЕДЕЛЕНИЯ СКОРОСТИ УЛЬТРАЗВУКОВОГО
СИГНАЛА В ЖИДКОСТИ

При отсутствии таблиц зависимости скорости УС от температуры жидкости скорость УС определяют с помощью приспособления, изображенного на рисунке А.1. Непосредственно перед измерениями скорости УС корпус приспособления (стальную скобу) погружают в исследуемую жидкость из трубопровода, а толщиномер настраивают для измерений скорости УС. Затем ультразвуковым толщиномером проводят непосредственные измерения скорости УС.

Для измерений скорости УС в жидкости допускается применение прибора УС-12 ИМ (ЩО 2.048.045 ТО), толщиномеров других типов и т.д.

Рисунок А.1




Яндекс цитирования



   Copyright © 2007-2026,  www.tehlit.ru.

[ ѓосты, стандарты, нормативы, инструкции, правила, строительные нормы ]