//
|
|
РУКОВОДЯЩИЙ ДОКУМЕНТ ИНСТРУКЦИЯ ПО БАЛЛАСТИРОВКЕ ТРУБОПРОВОДОВ С ПРИМЕНЕНИЕМ АНКЕР-ИНЪЕКТОРОВ РД 39Р-00147105-028-02 МИНИСТЕРСТВО ЭНЕРГЕТИКИ РОССИЙСКОЙ ФЕДЕРАЦИИ Государственное унитарное предприятие "ИНСТИТУТ ПРОБЛЕМ ТРАНСПОРТА ЭНЕРГОРЕСУРСОВ" (ГУЛ "ИПТЭР")
ИНСТРУКЦИЯ ПО БАЛЛАСТИРОВКЕ ТРУБОПРОВОДОВ С ПРИМЕНЕНИЕМ АНКЕР-ИНЪЕКТОРОВ УФА 2002
Содержание ПРЕДИСЛОВИЕ1 РАЗРАБОТАН Самостоятельным структурным подразделением хозрасчетной научно-исследовательской лабораторией «Трубопроводсервис» и кафедрой «Сооружение и ремонт газонефтепроводов и газонефтехранилищ» Уфимского государственного нефтяного технического университета. Творческий коллектив: Абдуллин Н.В., Ведерникова Т.Г., Веселов Д.Н., Гамбург И.Ш., Гильметдинов Р.Ф., Домрачев Е.Н., Квицинская М.С., Квятковский О.П., Коновалов Н.И., Маркухов О.В., Мустафин Ф.М. (руководитель), Соловьев А.Б., Тарасов А.В., Фархетдинов И.Р., Харисов Р.А., Щепетов А.Е. 2 УТВЕРЖДЕН И
ВВЕДЕН В ДЕЙСТВИЕ приказом по ГУЛ «ИПТЭР», от "18" июля 3 Разработчики выражают благодарность специалистам ВФ АО «ВНИИСТ», ООО «Старстрой», РЦ НТО «Башпромбезопасность», Башкирскому управлению ГОСГОРТЕХНАДЗОРа России, АК «Транснефть» «УФАГИПРОТРУБОПРОВОД», за полезные замечания и предложения к первой редакции инструкции. 4 РД согласован с
ГОСГОРТЕХНАДЗОРом России (письмо от "15"сентября ИНСТРУКЦИЯ ПО БАЛЛАСТИРОВКЕ ТРУБОПРОВОДОВ С ПРИМЕНЕНИЕМ АНКЕР-ИНЪЕКТОРОВ Дата введения 2002-11-01 1 ОБЛАСТЬ ПРИМЕНЕНИЯ1.1 Настоящий руководящий документ (РД) устанавливает основы технологии и организации работ по закреплению на проектных отметках трубопроводов, прокладываемых на заболоченных и периодически обводняемых участках при помощи анкер-инъекторов. 1.2 РД разработан
и рекомендуется для выполнения работ по закреплению на проектных отметках
трубопроводов и ответвлений от них с условным диаметром до 1.3 В РД рассматриваются вопросы организации и технологии строительного процесса, требования по технике безопасности, содержатся схемы производства работ, требования по контролю качества выполняемых работ, технические характеристики используемых механизмов. РД предназначен для специалистов, занятых в области проектирования, строительства, эксплуатации и ремонта трубопроводов. 2 НОРМАТИВНЫЕ ССЫЛКИ2.1 В настоящем документе использованы ссылки на следующие стандарты: ВСН 004-88. Строительство магистральных трубопроводов. Технология и организация ВСН 007-88. Строительство магистральных и промысловых трубопроводов. Конструкции и балластировка ВСН 012-88. Строительство магистральных и промысловых трубопроводов. Контроль качества и приемка работ СНиП III-42-80*. Магистральные трубопроводы. Правила производства и приемки работ СНиП III-4-80*. Техника безопасности в строительстве СНиП 2.05.06-85*. Магистральные трубопроводы СНиП 12-03-01. Безопасность труда в строительстве СН 245-81. Санитарные нормы проектирования промышленных предприятий 3 ТЕРМИНЫ И ОПРЕДЕЛЕНИЯТрубопровод рассматривается как система последовательно соединенных элементов (труб и деталей). Разрушение одного из них выводит из строя весь трубопровод. В инструкции кроме описанных используются следующие обозначения: Qакт - суммарная расчетная нагрузка на трубопровод, действующая вверх (включая упругий отпор при прокладке свободным изгибом), Н; Qпас - суммарная расчетная нагрузка, действующая вниз (включая собственный вес), Н; qбал - нормативный вес балластировки в воде, Н/м; qтр - расчетный вес единицы длины трубопровода в воздухе с учетом изоляции, определяемый как сумма расчетного веса трубы и изоляционного покрытия, Н/м; qдоп - нагрузка от веса перекачиваемого продукта, Н/м; qв - расчетная выталкивающая сила воды, действующая на трубопровод, Н/м; qтр - расчетный вес единицы длины трубопровода на воздухе с учетом изоляции; Dн.и. - наружный диаметр трубопровода с учетом изоляции и футеровки, определяемый в соответствии с видом изоляционного покрытия и толщиной футеровочных реек, м; Dн - наружный диаметр трубопровода, м; Dанк - максимальный линейный размер проекции одного анкера на горизонтальную плоскость, при вертикальном расположении анкера - это диаметр анкера; D - диаметр корня анкера, м; Dвн - внутренний диаметр трубопровода, м; R2 - расчетное сопротивление трубной стали, Па; W - осевой момент сопротивления поперечного сечения трубы, м3; Pпл - распределенная нагрузка на участке, свободном от грузов (положительная плавучесть), Н/м; Pанк - расчетная несущая способность анкера, Н; Р -
давление при инъекции, Банк - расчетная несущая способность анкерного устройства (воспринимаемое им усилие), Н; Фанк - несущая способность анкера, Н; Lk - длина корня анкера, м; kн.в. - коэффициент надежности устойчивости положения трубопровода против всплытия, равный для пойменных и периодически затопляемых участков за границами производства подводно-технических работ 1,05; kн - коэффициент надежности анкера, равный 1,4, если несущая способность анкера определена расчетом, или 1,25, если несущая способность анкера определена по результатам полевых испытаний статической нагрузкой; kа - коэффициент замоноличивания анкера, зависящий от угла внутреннего трения грунта;
nб - коэффициент надежности по нагрузке, величина которого варьируется между 0,9 и 1,0; r - радиус закрепления грунта (корня анкера); γв -
удельный вес воды с учетом
растворенных в ней солей, равный γ - удельный вес грунта, Н/м3; ℓа - расстояние между анкерными устройствами, м; ℓa max - максимальное расстояние между анкерными устройствами, определяемое из условия прочности, м; za - количество анкеров в одном анкерном устройстве; mанк - коэффициент условий работы анкерного устройства; h - вертикальное расстояние от поверхности грунта до середины анкера, м; β - коэффициент заполнения пор; n - пористость; k - эмпирический коэффициент, равный 1,13; t - время инъекции, сут; Vв - объем воды,
вытесненной δиз - толщина изоляционного покрытия, м. 4 ОБЩИЕ ПОЛОЖЕНИЯ4.1 РД разработан на основе опыта использования анкер-инъекторов в строительстве и исследований по увеличению удерживающей способности грунтов с применением закрепляющих вяжущих продуктов [14, 15, 16]. 4.2 Для закрепления трубопровода на проектных отметках используют Анкер-инъекторы, а в качестве инъектируемого продукта - различные вяжущие продукты (битум, цементные растворы, карбамидные смолы, жидкое натриевое стекло и другие жидкие водонерастворимые быстротвердеющие вещества). 4.3 Балластировка трубопровода с помощью анкер-инъекторов применяется на обводненных прямолинейных и криволинейных участках при подземном, полузаглубленном и наземном способах их прокладки как в летнее, так и в зимнее время. 4.4 Анкерное устройство из анкер-инъекторов обладает повышенной удерживающей способностью (расчеты приведены в приложении Н). Схема способа закрепления трубопровода анкер-инъекторами представлена на рисунке 1. 4.5 При проведении работ по закреплению трубопровода на проектных отметках с помощью анкер-инъекторов должны соблюдаться требования соответствующих нормативных документов по проектированию, строительству, технике безопасности, а также данной инструкции. 4.6 Проведение работ должно сопровождаться природоохранными мероприятиями с целью недопущения загрязнения окружающей среды вяжущими продуктами. 4.7 Краткая технологическая последовательность производства работ сводится к следующему: после укладки
заизолированного трубопровода на дно траншеи в грунт внедряются инъекционные
анкеры на расчетную глубину до
1 - тяга анкера; 2 - минеральный грунт; 3 - инъектируемый вяжущий продукт; 4 - силовой пояс; 5 - защитная прокладка и футеровочный мат; 6 -трубопровод; 7 - штуцер для подачи вяжущего; 8 - корпус сменного оголовка; 9 - штуцер для подачи сжатого воздуха; 10 - траншея трубопровода Рисунок 1 - Схема балластировки трубопровода анкер-инъекторами
| |||||||||||||||||||||||||||||||||||||||||||||||||||||||||||||||||||||||||||||||||||||||||||||||||||||||||||||||||||||||||||||||||||||||||||||||||||||||||||||||||||||||||||||||||||||||||||||||||||||||||||||||||||||||||||||||||||||||||||||||||||||||||||||||||||||||||||||||||||||||||||||||||||||||||||||||||||||||||||||||||||||||||||||||||||||||||||||||||||||||||||||||||||||||||||||||||||||||||||||||||||||||||||||||||||||||||||||||||||||||||||||||||||||||||||||||||||||||||||||||||||||||||||||||||||||||||||||||||||||||||||||||||||||||||||||||||||||||||||||||||||||||||||||||||||||||||||||||||||||||||||||||||||||||||||||||||||||||||||||||||||||||||||||||||||||||||||||||||||||||||||||||||||||||||||||||||||||||||||||||||||||||||||||||||||||||||||||||||||||||||||||||||||||||||||||||||||||||||||||||||||||||||||||||||||||||||||||||||||||||||||
|
Угол внутреннего трения грунта φ |
Коэффициент замоноличивания анкера ka |
|
20° |
1,5 |
|
30° |
5,5 |
|
40° |
30 |
Радиус закрепления грунта (корня анкера) определяется по формуле
, (9)
где
- коэффициент фильтрации;
P - давление при инъекции, × 104Па;
β - коэффициент заполнения пор;
n - пористость;
k -эмпирический коэффициент, равный 1,13;
t - время инъекции, сут.
Полученное значение ℓa необходимо сравнить с ℓa max - максимальным расстоянием между анкерными устройствами, определяемым из условия прочности:
(10)
где R2 - расчетное сопротивление трубной стали, Па;
W - осевой момент сопротивления поперечного сечения трубы, м3:
, (11)
где Dвн - внутренний диаметр трубопровода, м,
Pпл - распределенная нагрузка на участке, свободном от грузов (положительная плавучесть), Н/м:
, (12)
где qmp - расчетный вес единицы длины трубопровода на воздухе с учетом изоляции;
Vв - объем воды, вытесненной
, (13)
где δиз - толщина изоляционного покрытия, м.
При ℓa > ℓa max принимается значение ℓa max.
7.1 До начала основных работ по закреплению трубопровода анкер-инъекторами должны быть проведены организационные мероприятия по проведению данного вида работ на основании материалов предварительного обследования участка.
7.2 Должна быть получена проектная документация на производство работ по балластировке трубопровода анкер-инъекторами.
7.3 Оформление финансирования по выполнению работ должно проводиться в заранее обговоренные сроки.
7.4 Подрядчик принимает у заказчика геодезическую разбивочную основу в натуре.
7.5 Организация, производящая работы по закреплению трубопровода, проверяет расстояние между реперами, указывающими место расположения анкерного устройства, и сравнивает его с расчетным проектным значением.
7.6 Бригады для всех видов работ по балластировке должны быть полностью укомплектованы, ознакомлены с ППР и технологическими картами и проинструктированы по технике безопасности.
7.7 Техника, используемая при балластировке, должна быть проверена и подготовлена к работе.
7.8 Анкер-инъекторы, а также другие механизмы, приспособления, инструменты и материалы должны быть доставлены к месту монтажа.
7.9 Должны быть определены вид и физико-механические свойства грунтов на глубину до 10м использованием буровых установок. Для бурения скважин предлагается применить станки БТС-150 на шасси трактора Т-170; УРБ-4т на шасси трактора ТТ-4; УРБ-2а-2 на шасси автомашин ЗИЛ-131, УРАЛ-4320, К-АМАЗ-4310, КРАЗ-255. Технические характеристики буровых установок приведены в приложении Л. Исходя из результатов исследований, выбирают вяжущий продукт и режим инъектирования.
7.10 Для корректировки расчетных проектных параметров (несущей способности, расстояния между анкер - инъекторными устройствами) необходимо произвести закрепление контрольного анкера с последующим его подъемом, определением удерживающей способности и сравнением результатов испытаний с расчетными данными.
8.1 Работы по закреплению анкер-инъекторов производят после укладки заизолированного трубопровода на дно траншеи. Технологическая схема балластировки трубопровода инъекционными анкерами представлена на рисунке 2. Состав бригады, машин и механизмов представлены в таблице 2.
8.2 Работы необходимо производить при наименьшем уровне грунтовых вод.
8.3 При большой обводненности траншеи её необходимо осушить при помощи водоотливной установки АВ - 701А. (технические характеристики приведены в приложении Б). При проведении этих работ в зимнее время необходимо проверить возможность сброса воды (до её замерзания) по отводным каналам.
В качестве запасного варианта может быть предложено погружение трубопровода на проектные отметки с помощью инвентарных утяжелителей.
8.4 Подготовительные работы, выполненные в условиях ремонтно-механических мастерских, включают следующие процессы:
• изготовление защитных ковриков;
• изготовление футеровочных матов.
Исполнители:
I звено: электросварщик (Э1 - 1 чел.; монтажники конструкций (К1, К2) - 2 чел.;
II звено: изолировщик (И1) - 1 чел.;
III звено: плотник (П1) - 1 чел.
8.5 В основные работы, выполняемые на трассе, входят следующие процессы:
• разметка мест установки анкеров, выгрузка и раскладка анкеров и комплектующих элементов на берме траншеи;
• внедрение анкеров в грунт;
• инъектирование вяжущего продукта в грунт;
• монтаж и сварка силового пояса с анкерными тягами.
Таблица 2 - Состав бригады для производства работ по закреплению трубопровода инъекционными анкерами и потребность в машинах и механизмах
|
Наименование механизмов |
Марка |
Профессия |
Количество машин и механизмов |
Состав бригады |
|
Трубовоз |
ЗИЛ-131 |
Водитель |
1 |
1 |
|
Битумовоз |
ДС-138 |
Водитель |
1 |
1 |
|
Бульдозер |
ДЗ-110А |
Машинист |
1 |
1 |
|
Водоотливная установка |
АВ-701А |
Машинист |
1 |
1 |
|
Плунжерный насос |
ПС-4Б |
Машинист |
1 |
1 |
|
Машина для внедрения анкеров |
ВАГ-206 |
Машинист-помощник |
1 |
1 |
|
Компрессор |
АКС-8 |
Машинист |
1 |
1 |
|
Кран-трубоукладчик |
ТГ-61 |
Машинист |
1 |
1 |
|
1 Сварочный | агрегат |
АСБ-1 АДД-305 |
Сварщик |
1 |
1 |
|
|
Бригадир-трубоукладчик |
- |
1 |
|
|
Монтажник-трубоукладчик |
- |
1 |
||
|
Изолировщик |
- |
1 |
||
|
ИТОГО: |
|
9 |
12 |
|

Рисунок 2 - Технология балластировки трубопровода анкер-инъекторами
Исполнители:
I звено: машинист трактора (Ml) - 1 чел.; трубоукладчик (Tl, Т2) - 2 чел.
II звено: машинист вращателя (М2) - 1 чел.; трубоукладчик (ТЗ, Т4) - 2чел.;
III звено: машинист крана-трубоукладчика (МЗ) -1 чел.; электросварщик (Э2) - 1 чел.; изолировщик (И2) - 1 чел.
8.6 Требования к анкерным устройствам.
Устройство анкерное поставляется в разобранном виде, комплект поставки состоит из:
|
анкера инъекционного, шт. |
- 2 |
|
пояса силового, шт. |
- 1 |
Концы анкера не должны иметь отклонений от цилиндрической формы, искривлений.
Отклонение от цилиндричности должно быть в пределах допуска на отверстие наконечника.
Кромки (торцевые и продольные) силового пояса не должны иметь заусенцев, рваных краев.
Изгиб силового пояса по верхней образующей трубопровода производится при монтаже анкерного устройства. При этом необходимо обеспечить сохранность изоляционного покрытия.
При привязке к конкретным условиям необходимо учитывать: природно-климатические особенности района строительства; несущую способность грунтов; состав применяемых строительных машин и механизмов.
8.7 Основные показатели производительности труда при изготовлении защитных ковриков:
|
выработка звена в смену, ковриков |
- 89 |
|
затраты труда на один коврик, чел. - ч, включая время |
|
|
подготовительно-заключительных работ, - ПЗР (4 %) и отдых (6%) |
- 0,09 |
|
продолжительность процесса на один коврик, ч |
- 0,09 |
|
численность рабочих в звене, чел. |
- 1 |
8.8 До начала работ по изготовлению защитных ковриков необходимо:
•выделить рабочую площадь в закрытом помещении мастерской;
•установить специальный стол с размоточным устройством, прижимной линейкой и разметочными линиями на поверхности стола;
• обеспечить рабочее место материалами, инвентарными
приспособлениями и инструментами.
8.9 Выполнение работ осуществляется с привлечением следующих исполнителей: изолировщик 2 разряда (И1 - 1 чел., а также орудий труда: машины, оборудование, инструмент, приспособления, инвентарь (таблица 3).
8.10 Рулон бризола
устанавливается в размоточном приспособлении специального стола. Стол
оборудован прижимной линейкой. На стол нанесены разметочные линии для диаметров
1020,1220,
Рулон разматывается на плоскости стола до нужной разметочной линии, отмеренное полотенце складывается вдвое и обрезается по прижимной линейке.
Готовый коврик сворачивается в рулон и укладывается на стеллаж готовой продукции.
|
|
Наименование, назначение и основные параметры |
ГОСТ, ТУ, марка, номер чертежа |
Кол-во, шт. |
|
1 |
Стол специальный для раскроя бризола с размоточным приспособлением: высота ширина - длина - |
Изготовляется в РММ строительно-монтажной организации |
1 |
|
2 |
Нож линолеумный для резки бризола |
ТУ 400.28.187-76 |
1 |
|
3 |
Линейка с оковкой |
ОТУ 22-661-67 |
1 |
8.11 Работы по изготовлению защитных ковриков из бризола выполняются в соответствии со схемой (таблица 4) в следующей последовательности:
подноска и установка рулона бризола на размоточное приспособление стола;
разматывание рулона и отмеривание полотнища;
складывание полотнища вдвое и отрезка;
сворачивание коврика в рулон и укладка на стеллаж готовой продукции.
8.12 Основные показатели производительности труда при изготовлении футеровочных матов:
|
выработка звена в смену, матов |
- 23 |
|
затраты труда на один мат, чел. - ч, включая время ПЗР (5 %) и отдых (9 %) |
- 0,35 |
|
продолжительность процесса на один мат, ч |
- 0,35 |
|
численность рабочих в звене, чел. |
- 1 |
Таблица 4 - Трудовой процесс изготовления защитных ковриков
|
|
Операции |
Исполнители |
Продолжительность, мин |
Затраты труда, чел.-мин |
|
1 |
Подноска и установка рулона бризола на размоточное приспособление стола |
И1, |
1,5 |
1,5 |
|
2 |
Разматывание рулона и отмеривание полотнища |
И1, |
1 |
1 |
|
3 |
Складывание полотнища вдвое и отрезка |
И1, |
1 |
1 |
|
4 |
Сворачивание коврика в рулон и укладка на стеллаж готовой продукции |
И1, |
1,5 |
1,5 |
|
|
Итого на один коврик |
|
|
5 |
8.13 До начала работ по изготовлению футеровочных матов необходимо:
• выделить рабочую площадь в закрытом помещении мастерской;
• разместить верстак для изготовления футеровочных матов, бак для грунтовки, стеллажи для хранения материалов и готовых изделий;
• обеспечить рабочее место материалами, инвентарными приспособлениями, инструментами.
8.14 Выполнение работ осуществляется с привлечением исполнителей:
плотник 2 разряда (П1) - 1 чел., а также орудий труда: машины, оборудование, инструмент, приспособления, инвентарь (таблица 5).
Таблица 5 - Перечень оборудования и инструмента для изготовления футеровочных матов
|
|
Наименование, назначение и основные параметры |
ГОСТ, ТУ, марка, номер чертежа |
Кол-во, шт. |
|
1 |
Верстак для изготовления футеровочных матов, мм: высота - 800 ширина-1000 длина-3000 |
Изготовляется в РММ строительно-монтажной организации |
1 |
|
2 |
Бак для хранения грунтовки вместимостью |
-"- |
1 |
|
3 |
Трап для подхода к баку с грунтовкой |
-" - |
1 |
|
4 |
Брус деревянный, используемый при смачивании поверхности реек
футеровочного мата в
баке с грунтовкой, размер бруса 25 × 25 × |
|
1 |
|
5 |
Петля проволочная из отожженной проволоки диаметром |
|
1 |
|
6 |
Молоток плотничный МПЛ для забивки гвоздей при сборке реек в футеровочный мат |
ГОСТ 11042-72 |
1 |
|
7 |
Кусачки торцовые |
ГОСТ 7282-75 |
1 |
8.15 Сборка
футеровочных матов производится из деревянных реек размером
50×50×400 мм, соединенных двумя кусками стальной проволоки
диаметром
8.16 Собранные футеровочные маты сворачиваются в рулоны и опускаются в бак с грунтовкой ГТ - 760ИН. Пропитанные грунтовкой футеровочные маты укладываются на стеллаж для хранения.
8.17 Работы по изготовлению футеровочных матов выполняются в соответствии со схемой (таблица 6) в следующей последовательности:
подбор и раскладка материала на верстаке;
забивка гвоздей;
соединение реек проволокой;
загибание гвоздей;
сворачивание футеровочного мата в рулон;
грунтование футеровочного мата;
укладка футеровочного мата на стеллаж.
Таблица 6 - Трудовой процесс изготовления футеровочных матов
|
|
Операции |
Исполнители |
Продолжительность, мин |
Затраты труда, чел.-мин |
|
1 |
Подбор и раскладка материала на верстаке |
П1 |
4 |
4 |
|
2 |
Забивка гвоздей |
П1 |
4 |
4 |
|
3 |
Соединение реек проволокой |
П1 |
4 |
4 |
|
4 |
Загибание гвоздей |
П1 |
2 |
2 |
|
5 |
Сворачивание футеровочного мата в рулон |
П1 |
1 |
1 |
|
6 |
Грунтование футеровочного мата |
П1 |
1,5 |
1,5 |
|
7 |
Укладка футеровочного мата на стеллаж |
П1 |
1,5 |
1,5 |
|
|
Итого на один мат |
18 |
||
8.18 Разметка мест установки анкеров, выгрузка и раскладка анкеров и комплектующих элементов на берме траншеи.
Для организации труда рабочих, выполняющих разметку мест установки анкеров, выгрузку и раскладку на берме траншеи анкеров и комплектующих элементов (соединительных поясов, защитных ковриков и футеровочных матов) предусматривается применение трактора Т-130 с металлическими санями.
8.19 До начала работ по выгрузке и раскладке анкеров и комплектующих элементов на берме траншеи (вдоль участка трубопровода) необходимо анкеры и комплектующие элементы погрузить на сани и доставить к месту выгрузки и раскладки.
8.20 Основные показатели производительности труда:
|
выработка звена в смену (8 ч), комплектов |
- 133,4 |
|
на 1 чел.- смену, комплектов |
- 44,4 |
|
затраты труда на один комплект, включая время на ПЗР (5 %) и отдых (10 %), чел. - ч |
- 0,18 |
|
продолжительность процесса на один комплект, ч |
- 0,06 |
|
численность рабочих в звене, чел. |
- 3 |
8.21 Выполнение работ осуществляется с привлечением следующих исполнителей: машинист трактора 6 разряда (M1) - 1 чел.; трубоукладчик 4 разряда (Т1 Т2) - 2 чел., а также орудий труда: машины, оборудование, инструмент, приспособления, инвентарь (таблица 7).
Таблица 7 - Перечень оборудования и инструмента для выполнения работ по выгрузке и раскладке анкеров
|
|
Наименование, назначение и основные параметры |
ГОСТ, ТУ, марка, номер чертежа |
Кол-во, шт. |
|
1 |
Трактор |
Т-130,ЧТЗ |
1 |
|
2 |
Сани металлические |
Изготовляются в мастерских СУ(СМУ) |
1 |
|
3 |
Разметочный штырь металлический диаметром |
-"- |
1 - на одно анкерное устройство |
|
4 |
Кувалда массой штырей в грунт |
ГОСТ 10402-73 |
1 |
|
5 |
Рулетка измерительная металлическая PC - 20 |
ГОСТ 7502-69 |
1 |
8.22 Работы по разметке мест для внедрения анкеров, выгрузке и раскладке анкеров и комплектующих элементов на берме траншеи (вдоль участка трубопровода) выполняются в соответствии со схемой (рисунок 3,таблица 8) в следующей технологической последовательности:
разметка мест установки анкеров;
выгрузка и раскладка анкеров на берме траншеи;
выгрузка и раскладка комплектующих элементов на берме траншеи;
обслуживание трактора;
перемещение к следующему месту установки анкеров.
8.23 Внедрение анкер-инъекторов в грунт в предварительно вырытой траншее производится машиной для внедрения анкеров ВАГ-206 (технические характеристики приведены в приложении В).

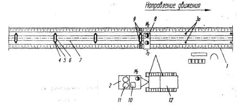
1 - трактор; 2 - сани металлические; 3 - анкеры; 4 - мат футеровочный; 5 -пояс силовой, соединительный; 6 - коврик защитный; 7 - штырь разметочный; ◑- рабочее место исполнителя. Исполнители: M1 - машинист трактора; Т1 Т2 - трубоукладчики
Рисунок 3 - Схема организации работ и рабочих мест при разметке мест установки анкеров, выгрузке и раскладке анкеров и комплектующих элементов на берме траншеи
Таблица 8 - Трудовой процесс разметки мест установки анкеров, выгрузки и раскладки анкеров и комплектующих элементов на берме траншеи
|
|
Операции |
Исполнители |
Продолжительность, мин. |
Затраты труда, чел.-мин. |
|
1 |
Разметка мест установки анкеров |
Т2 |
3 |
3 |
|
2 |
Выгрузка и раскладка анкеров на берме траншеи |
Т1 |
1,5 |
1,5 |
|
3 |
Выгрузка и раскладка комплектующих элементов на берме |
Т1 |
1 |
1 |
|
4 |
Обслуживании трактора |
М1 |
2,5 |
2,5 |
|
5 |
Перемещение к следующему месту |
Т1 М1 |
0,5 |
1 |
|
|
Итого на один комплект |
9 |
||
8.24 Основные
показатели производительности труда рабочих, выполняющих погружение анкеров в
грунт при закреплении магистральных и промысловых трубопроводов диаметром до
|
выработка звена в смену (8 ч), пар анкеров |
- 20 |
|
на 1 чел.-смену, пар анкеров |
- 6,7 |
|
затраты труда на одну пару анкеров, включая время на ПЗР (5 %) и отдых (10 %), чел.- ч |
- 1,2 |
|
продолжительность процесса на одну пару анкеров, ч |
- 0,4 |
|
численность рабочих в звене, чел. |
- 3 |
8.25 До начала работ по внедрению анкеров в грунт дна траншей
необходимо:
• уложить участок трубопровода в траншею;
• произвести разметку и обозначение мест установки анкеров в соответствии с проектом;
• разложить и поставить готовые анкеры в обозначенных местах.
Выполнение работ осуществляется с привлечением следующих исполнителей: машинист анкерного вращателя 6 разряда (М2) - 1 чел.; трубоукладчик 4 разряда (Т3, Т4) - 2 чел., а также орудий труда: машины, оборудование, инструмент, приспособления, инвентарь.
8.26 Работы по внедрению анкеров в грунт дна траншеи выполняются в соответствии со схемой (рисунок 4, таблица 9) в следующей последовательности :
запасовка тяги анкера в штангу вращателя;
завинчивание анкеров в грунт;
вытаскивание штанги вращателя из грунта;
переезд к следующему месту установки анкеров.

1 - траншея; 2 - вращатель анкерный гидравлический ВАГ - 206; 3 -анкеры, разложенные на берме траншеи; За - анкеры, завинченные в дно траншеи; 4 - мат футеровочный; 5 - пояс силовой соединительный; 6 - коврик защитный; 7 - штырь разметочный; 9 - рабочее место исполнителя. Исполнители: М2 - машинист вращателя; Т3, Т4 - трубоукладчики
Рисунок 4 - Схема организации работ и рабочих мест при погружении анкеров в грунт
Таблица 9 - Трудовой процесс погружения анкеров в грунт
|
|
Операции |
Исполнители |
Продолжительность, мин |
Затраты труда, чел.-мин |
|
1 |
Запасовка тяги анкера в штангу вращателя |
М2, Т3, Т4 |
4 |
12 |
|
2 |
Погружение анкеров в грунт |
М2, Т3, Т4 |
10 |
30 |
|
3 |
Вытаскивание штанги вращателя из грунта |
М2, Тз, Т4 |
4 |
12 |
|
4 |
Переезд к следующему месту установки анкеров |
М2, Тз, Т4 |
2 |
6 |
|
|
Итого на одну пару анкеров |
60 |
||
8.27
Работы необходимо производить при наименьшем уровне грунтовых вод. Внедрение
анкер-инъекторов производится на расчетную глубину 4...
8.28 Рекомендуемые конструкции анкер-инъекторов представлены на рисунке 8. Допускается применение других конструкций анкеров при проведении соответствующих расчетов и согласований.
8.29 Внедрение производится с приложением нагрузки, не превышающей расчетного значения устойчивости анкер-инъектора.
8.30 После внедрения производится инъектирование вяжущего продукта в грунт.
8.31 Приготовление вяжущего продукта необходимо вести параллельно с работами по внедрению анкер - инъектора согласно рекомендаций, указанных в п. 2.
8.32 Закачку вяжущего продукта следует вести через сменный разъемный оголовок.
8.33 Закачка
производится с помощью плунжерных насосов (например, НС-45, НС-3, НД, ПС - 4Б и
др.) или опрессовочных агрегатов (техническая характеристика плунжерного насоса
ПС - 4Б приведена в приложении К).Расход вяжущего вещества
должен составлять 150 ...
8.34 При инъектировании в слабые несвязные слои фунта давление составляет 0,1 ... 0,5 МПа. Время инъекции 0,5 ... 4 мин, в зависимости от свойств грунта.
8.35 При инъектировании в плотные связные слои грунта процесс закачки вяжущего продукта необходимо вести в два этапа:
1 этап - давление 5 ... 10 МПа
2 этап - давление 1,5 ... 5 МПа.
Время инъектирования 0,5 ... 4 мин.
8.36 При проведении работ по закреплению грунта вяжущими необходимо следить за качеством выполнения операций (п.6) и выполнением правил техники безопасности (п.7).
8.37 После устройства первого анкера производится устройство второго, операции производятся в аналогичной последовательности.
8.38 На трубопровод между внедренными анкерами (см. рисунки 1, 2)устанавливаются защитный коврик и футеровочный мат для защиты изоляционного покрытия трубопровода от повреждения силовым поясом.
8.39 Силовой пояс приваривается к анкер-инъекторам при помощи ручной электродуговой сварки (технические характеристики сварочного агрегата приведены в приложении Д). Силовой пояс необходимо защитить от коррозии путем окраски его праймером или другими изоляционными покрытиями.
8.40 Монтаж и сварка силового пояса с анкерными тягами.
Для организации труда
рабочих, выполняющих монтаж и сварку силового пояса с анкерной тягой при
закреплении магистральных и промысловых трубопроводов диаметром до

Основные показатели производительности труда:
|
выработка звена в смену (8 ч), силовых поясов |
- 28,6 |
|
на 1 чел.-смену, силовых поясов |
- 9,5 |
|
затраты труда на один силовой пояс, включая время на ПЗР (5 %) и отдых (12 %), чел.- ч |
- 0,84 |
|
продолжительность процесса на один силовой пояс, ч |
- 0,28 |
|
численность рабочих в звене, чел. |
- 3 |
Таблица 10 - Совмещение профессий для выполнения монтажа и сварки силового пояса с анкерными тягами
|
Основная профессия |
Разряд |
Шифр рабочего |
Совмещаемая профессия |
|
Машинист крана-трубоукладчика |
5 |
М3 |
Машинист сварочного агрегата 4 разряда |
|
Электросварщик |
|
Э2 |
Трубоукладчик 4 разряда |
Орудия труда: машины, оборудование, инструмент, приспособления, инвентарь приведены в таблице 11.
Таблица 11 - Перечень машин, оборудования, инструмента и приспособлений для выполнения монтажа и сварки силового пояса с анкерными тягами
|
|
Наименование, назначение и основные параметры |
ГОСТ, ТУ, марка, номер чертежа |
Кол-во, шт. |
|
1 |
2 |
3 |
4 |
|
1 |
Кран-трубоукладчик |
ТГ61, изготовитель - завод "Газстроймаш" |
1 |
|
2 |
Сварочный агрегат |
АДД-305 |
1 |
Продолжение таблицы 11
|
1 |
2 |
3 |
4 |
|
3 |
Ключ для отгибания анкерных тяг, труба диаметром |
Изготовляется в мастерских СУ, СМУ |
2 |
|
4 |
Кувалда
массой |
ГОСТ 7811-74 |
1 |
|
5 |
Молоток для отбивки шлака |
ГОСТ 7211-77 |
1 |
|
6 |
Переносная инвентарная лестница |
Изготовляется в мастерских СУ, СМУ |
2 |
|
7 |
Переходной мостик |
То же |
1 |
|
8 |
Электротермос для мастики вместимостью |
ЦНИИОМТП Госстроя* СССР проект 3294.70.000 |
2 |
|
9 |
Ковш КМ-1,2 для нанесения мастики в местах сварки |
ГОСТ 22-686-73 |
2 |
|
10 |
Кисть - ручник КР - 45 |
ГОСТ 10597-70 |
2 |
|
11 |
Строп четырехветвевой ЧСК |
ОСТ 2409048-79 |
1 |
|
12 |
Сани металлические |
Изготовляются в мастерских СУ, СМУ |
1 |
|
13 |
Маска электросварщика |
ГОСТ 1361-69 |
1 |
|
14 |
Электрододержатель |
I |
8.41 До начала работ по монтажу и сварке силового пояса с анкерной тягой следует:
• произвести внедрение анкеров в грунт;
• разложить комплектующие элементы на берме траншеи. Выполнение работ осуществляется с привлечением следующих исполнителей: электросварщик 4 разряда (Э2) - 1 чел.; машинист крана-трубоукладчика 5 разряда (М3) - 1 чел.; изолировщик 4 разряда (И2) - 1 чел.
8.42 Работы по монтажу и сварке силового пояса с анкерными тягами выполняются в соответствии со схемой (рисунок 6, таблица 12) в следующей технологической последовательности:
установка переходного мостика;
укладка защитного коврика и футеровочного мата для защиты изоляционного покрытия трубопровода от повреждений силовым поясом;
одевание силового пояса;
отгибание анкерных тяг;
сварка силового пояса с анкерной тягой;
изоляция мест сварки;
обслуживание сварочного агрегата, крана-трубоукладчика и подогрев битумной мастики;
перемещение переходного мостика.

1 - траншея; 2 - сани металлические; За - анкеры, завинченные в грунт; 4 - мат футеровочный 5 - пояс силовой соединительный; 6 - коврик защитный; 7 - трубопровод; 8 - мостик переходной; 9 - лестница; 10 - сварочный агрегат; 11 - электротермос; 12 - кран-трубоукладчик; ◑ - рабочее место исполнителя. Исполнители: М3 - машинист крана-трубоукладчика; Э2 - электросварщик; И2 -изолировщик
Рисунок 6 - Схема организации работ и рабочих мест при монтаже и сварке силового пояса с анкерными тягами
8.43 Закрепленный трубопровод засыпается минеральным грунтом при помощи бульдозеров согласно действующей НТД [1, 10, 11].
8.44 Обратная рекультивация плодородного слоя производится бульдозерами согласно действующей НТД [1, 10, 11].
Таблица 12 - Трудовой процесс монтажа и сварки силового пояса с анкерными тягами
|
|
Операции |
Исполнители |
Продолжительность, мин |
Затраты труда, чел.-мин |
|
1 |
Установка переходного мостика |
М3, Э2, И2 |
1,5 |
4,5 |
|
2 |
Укладка защитного коврика и футеровочного мата |
Э2, И2 |
1,5 |
3 |
|
3 |
Одевание силового пояса |
Э2, И2 |
1,5 |
3 |
|
4 |
Отгибание анкерных тяг |
Э2, И2 |
2 |
4 |
|
5 |
Сварка силового пояса с анкерной тягой |
Э2, И2 |
4 |
8 |
|
6 |
Изоляция мест сварки |
Э2, И2 |
0,5 |
1 |
|
7 |
Обслуживание сварочного агрегата, крана-трубоукладчика и подогрев битумной мастики |
М3 |
9,5 |
9,5 |
|
8 |
Перемещение переходного мостика |
М3, Э2, И2 |
3 |
9 |
|
|
Итого на один силовой пояс |
42 |
||
8.45 Для повышения надежности эксплуатации трубопроводов на обводненных участках с использованием анкер-инъекторов рекомендуется производить комплексную балластировку с чередованием установки железобетонных пригрузов.
На основании выполненных исследований наиболее экономичным и безопасным сочетанием является балластировка трубопровода 8 группами анкер-инъекторов и 6 штуками железобетонных пригрузов типа УБО. Причем расстояние между железобетонными пригрузами рассчитывается согласно ВСН-007-88. Схема комплексной балластировки трубопровода представлена на рисунке в приложении О.
9.1 При производстве и приемке работ по балластировке и закреплению трубопроводов инъекционными анкерами должен осуществляться входной, пооперационный и приемочный контроль.
9.2 Входному контролю подвергаются материалы, средства и устройства для балластировки и закрепления трубопроводов, которые должны иметь технический паспорт (сертификаты).
9.3 Импортные материалы, средства и устройства проверяются по показателям, оговоренным в контракте.
9.4 Материалы, средства и устройства, не соответствующие требованиям проекта, должны быть отбракованы в установленном порядке.
9.5 Пооперационный контроль качества выполняемых работ по балластировке и закреплению трубопроводов инъекционными анкерами производится согласно требованиям проектов производства работ и технологических карт, утвержденных в установленном порядке.
9.6 Приемочный контроль качества балластировки и закрепления трубопроводов производится с целью проверки соответствия выполненных работ требованиям рабочей документации, технологических карт и проектов производства работ. При этом проверяются:
- общее число установленных на каждом из участков средств балластировки;
- качество установки футеровочных матов, защитных ковриков, силовых поясов;
- наличие актов на скрытые работы по балластировке и закреплению участков трубопровода;
- несущая способность инъекционных анкерных устройств на отдельных участках по результатам контрольных испытаний выдергивающей нагрузкой.
9.7 Контроль за несущей способностью анкерных устройств осуществляется посредством проведения контрольных испытаний анкеров выдергивающей нагрузкой в соответствии с требованиями ГОСТ 5686-94 «Грунты. Методы полевых испытаний сваями» на величину, указываемую в проекте. Число испытываемых анкеров определяется требованиями рабочих чертежей в зависимости от конкретных грунтовых условий на участках анкерного закрепления трубопровода, но не менее трех штук.
9.8 Соответствие выполненных работ рабочим чертежам должно быть оформлено актом приемки работ, подписываемым ответственными представителями заказчика и подрядчика.
9.9 Для осуществления технического надзора за качеством закрепления трубопровода, приемки выполняемых работ и оформления документации назначается лицо из числа работников служб, несущих ответственность за безаварийную эксплуатацию трубопровода.
9.10 Организация пооперационного контроля и установление надзора за его осуществлением на строительстве возлагается на начальников строительно-монтажных подразделений, а ответственность за полноту и своевременность выполнения пооперационного контроля исполнителями работ - на линейный инженерно-технический персонал.
9.11 Исполнителями работ (рабочими и бригадирами) перед закреплением трубопровода должны быть изучены положения по технологии пооперационного контроля, а также карты и схемы пооперационного контроля качества, методы самоконтроля.
9.12 Поступившие анкерные устройства и вяжущие материалы проверяют на соответствие данных паспортов и сертификатов требованиям ГОСТ, ТУ и проекта. Все выявленные в ходе контроля дефекты и отклонения от нормативной и проектной документации должны быть исправлены до начала последующих работ.
9.13 Линейные инженерно-технические работники (производители работ и мастера) обязаны выполнять все положения по контролю качества, вести учет производственного брака и дефектов, выявленных в процессе указанного контроля, и фиксировать их в журнале работ по строительству объекта.
9.14 При закреплении трубопровода инъекционными анкерами контролируют:
а) расстояние между анкерными устройствами по проекту с уточнением расстояния в зависимости от фактической характеристики минеральных грунтов;
б) заглубление анкера и качество соединения анкера с силовым поясом;
в) отклонение оси анкера от вертикали. Отклонение не должно превышать 5°;
г) нарушение целостности изоляционного покрытия трубы и элементов анкера;
д) наличие и правильность установки прокладок;
е) давление нагнетания вяжущего продукта и время инъектирования.
9.15 Ежедневно после установки анкерных устройств на трубопровод (в течение рабочей смены) производитель работ составляет паспорт по установленной форме, в котором регистрирует результаты контроля и предъявляет его на подпись представителю территориальной инспекции по качеству строительства.
10.1 При производстве работ по балластировке и закреплению трубопроводов инъекционными анкерными устройствами следует руководствоваться правилами техники безопасности, изложенными в следующих документах:
СНиП III-4-80* "Техника безопасности в строительстве".
СНиП 12-03-01 "Безопасность труда в строительстве".
"Правила устройства и безопасной эксплуатации грузоподъемных кранов"
"Единые правила безопасности при геологоразведочных работах".
"Правила технической эксплуатации электроустановок потребителей и правила техники безопасности при эксплуатации электроустановок потребителей".
ГОСТ 12.3.003-86. БТ "Работы электросварочные. Требования безопасности".
10.2 Строительно-монтажные работы запрещается выполнять без утвержденного в установленном порядке проекта производства работ (ПИР),предусматривающего комплекс организационных и технических мероприятий, выполнение которых обеспечивает безопасность проведения работ.
10.3 К выполнению работ по балластировке и закреплению трубопроводов инъекционными анкерами могут быть допущены рабочие:
- прошедшие предварительный и периодический медицинские осмотры в сроки, установленные Минздравом Российской Федерации;
- достигшие возраста 18 лет и обученные безопасным методам труда и приемам ведения работ, прошедшие экзаменационную проверку знаний (и инструктаж) методов и приемов ведения работы, обеспеченные спецодеждой, спецобувью и защитными приспособлениями.
10.4 На месте производства работ необходимо иметь отапливаемый вагон - домик, а освещенность при работе в темное время не должна быть менее 25 лк.
10.5 Во избежание неблагоприятного воздействия статического электричества на рабочий персонал применяемое оборудование должно быть заземлено, а рабочие места снабжены резиновыми ковриками.
10.6 В процессе работы по балластировке трубопроводов необходимо следить за надежностью стенок и бровки траншеи; при появлении трещин исколов грунта, которые могут привести к обрушению бермы, следует немедленно прекратить работу и принять меры к недопущению развития таких явлений.
10.7 При проведении балластировочных работ в пределах призмы обрушения увлажненных грунтов не допускается движение тяжелых транспортных средств, а также складирование материалов.
10.8 В звене, занятом работами, назначается старший - бригадир, распоряжения его обязательны для остальных членов звена.
10.9 Вяжущие вещества, используемые для инъектирования, относятся к малотоксичным соединениям, не оказывающим вредного влияния на здоровье работающих.
10.10 При работе с вяжущими необходимо применять спецодежду и спецобувь согласно типовым отраслевым нормам.
10.11 Хранить вяжущее вещество необходимо в закрытых емкостях.
10.12 До начала работ необходимо обучить рабочих безопасным методами режимам работ.
10.13 Нефтепродукты, используемые при производстве работ, не должны содержать вредные токсичные вещества, влияющие на здоровье обслуживающего персонала.
Место, где были пролиты вяжущие продукты, следует засыпать песком или землей.
10.14 Битумовозы, бульдозеры и другие машины должны быть оснащены огнетушителями и исправными искрогасителями.
При использовании в качестве вяжущего вещества битумной смеси необходимо строгое соблюдение правил пожарной безопасности. При вскрытии тары запрещается пользоваться инструментом, дающим при ударе искру.
10.15 При хранении
и применении вяжущего вещества на основе нефтяных битумов запрещается использовать
открытый огонь, курить на расстоянии ближе
10.16 При
нагнетании и вытеснении вяжущего вещества в грунт и вытеснении вяжущего из
полости анкера необходимо соблюдать безопасное расстояние от шлангов насосного
и компрессорного агрегатов. Опасная зона должна быть ограждена в радиусе не
менее
10.17 При проведении сварочных работ необходимо соблюдение правил электробезопасности.
10.18 Погрузку и разгрузку инъекционных анкеров и других материалов необходимо вести рабочим, имеющим квалификационное удостоверение и разрешение на проведение данного вида работ. Нахождение посторонних лиц в зоне ведения работ запрещается.
10.19 В строительно-монтажной организации, выполняющей закрепление трубопровода, должна разрабатываться инструкция по технике безопасности соответственно конкретным условиям проведения работ.
10.20 Закрепление трубопроводов инъекционными анкерными устройствами осуществляют на болотах с глубиной, равной или меньше глубины траншеи, и с подстилающими минеральными грунтами, обеспечивающими надежную работу анкеров, а также на пойменных и периодически обводняемых участках.
10.21 Закрепление трубопроводов на проектных отметках инъекционными анкерными устройствами допускается на участках, сложенных минеральными грунтами, имеющими тенденцию к восстановлению прочностных свойств после нарушения их естественного состояния при условии отсутствия воды в траншее в период производства работ.
10.22 Не
допускается установка анкерных устройств на участках трубопроводов, получающих
в процессе эксплуатации продольные перемещения свыше
10.23 Анкеры погружаются в грунт в летнее время, как правило, после укладки трубопровода в траншею. В зимний период установку анкеров, в основном, осуществляют сразу же после разработки траншеи. При этом выполняется комплекс мероприятий, обеспечивающий сохранность изоляционного покрытия трубопровода при укладке последнего в траншею.
10.24 Установка инъекционных анкеров в грунт (если допущено промерзание траншеи) выполняется после размораживания мерзлых грунтов в основании траншеи или после их механического рыхления.
10.25 Производство работ в траншеях с откосами, подвергшимися увлажнению, разрешается только после тщательного осмотра производителем работ (мастером) состояния грунта откосов и обрушения неустойчивого грунта в местах, где обнаружены "козырьки" или трещины (отслоения).
10.26 Перед
допуском рабочих в траншеи глубиной более
10.27 Траншеи, разработанные в зимнее время, при наступлении оттепели должны быть осмотрены, а по результатам осмотра должны быть приняты меры к обеспечению устойчивости откосов или креплений.
10.28 В процессе проведения работ по балластировке трубопроводов инъекционными анкерами должно быть организовано проведение проверок, контроля и оценки состояния охраны и условий безопасности труда, включающих следующие уровни и формы проведения контроля:
постоянный контроль работниками исправности оборудования, приспособлений, инструмента, проверка наличия и целостности ограждений, защитного заземления и других средств защиты до начала работ и в процессе работы на рабочих местах согласно инструкциям по охране труда;
периодический оперативный контроль, проводимый руководителями работ и подразделений предприятия согласно их должностным инструкциям;
выборочный контроль состояния условий и охраны труда в подразделениях предприятия, проводимый службой охраны труда согласно утвержденным планам.
10.29 При обнаружении нарушений норм и правил охраны труда работники должны принять меры к их устранению собственными силами, а в случае невозможности этого прекратить работы и информировать должностное лицо.
10.30 В случае возникновения угрозы безопасности и здоровью работников ответственные лица обязаны прекратить работы и принять меры по устранению опасности, а при необходимости обеспечить эвакуацию людей в безопасное место.
10.31 Охрана труда рабочих должна обеспечиваться выдачей администрацией необходимых средств индивидуальной защиты (специальной одежды, обуви и других), выполнением мероприятий по коллективной защите рабочих (ограждения, освещение, вентиляция, защитные и предохранительные устройства и приспособления и т.д.), санитарно-бытовыми помещениями и устройствами в соответствии с действующими нормами и характером выполняемых работ. Рабочим должны быть созданы необходимые условия труда, питания и отдыха.
10.32 Работодатель должен обеспечить работников, занятых в процессе проведения работ по балластировке трубопроводов, инъекционными анкерами, санитарно-бытовыми помещениями (гардеробными, сушилками для одежды и обуви, душевыми, помещениями для приема пищи, отдыха и обогрева и проч.) согласно СНиП 2.09.04-87 (2000) «Административные и бытовые здания» и коллективному договору или тарифному соглашению.
10.33 Подготовка к эксплуатации санитарно-бытовых помещений и устройств должна быть закончена до начала производства работ.
10.34 В составе санитарно-бытовых помещений должны быть выделены и укомплектованы места для размещения аптечек с медикаментами, носилок, фиксирующих шин и других средств для оказания первой помощи пострадавшим.
10.35 Работодатель обязан организовать расследование каждого несчастного случая или профзаболевания в соответствии с Положением о порядке расследования и учета несчастных случаев на производстве. По результатам расследования несчастного случая должны быть разработаны и выполнены профилактические мероприятия по предупреждению производственного травматизма и профзаболеваний.
10.36 Работодатель обязан представлять Федеральной инспекции труда и другим органам государственного надзора и контроля запрашиваемую ими документацию, относящуюся к охране труда, осуществлять беспрепятственный допуск представителей этих органов на производственные территории, в производственные и санитарно-бытовые помещения и на рабочие места.
11.1 При организации работ по балластировке трубопроводов инъекционными анкерами необходимо осуществлять мероприятия и работы по охране окружающей природной среды, которые должны включать рекультивацию земель, предотвращение потерь природных ресурсов, предотвращение или очистку вредных выбросов в почву, водоемы и атмосферу. Указанные мероприятия и работы должны быть предусмотрены в проектно-сметной документации.
11.2 Производство строительно-монтажных работ в пределах охранных, заповедных и санитарных зон и территорий следует осуществлять в порядке, установленном специальными правилами и положениями о них.
11.3 На территории строящихся объектов не допускаются непредусмотренные проектной документацией свалка древесно-кустарниковой растительности и засыпка грунтом корневых шеек и стволов растущих деревьев и кустарников.
11.4 Выпуск воды со строительных площадок непосредственно на склоны без надлежащей защиты от размыва не допускается. При выполнении планировочных работ почвенный слой, пригодный для последующего использования, должен предварительно сниматься и складироваться в специально отведенных местах.
11.5 Временные автомобильные дороги и другие подъездные пути должны устраиваться с учетом требований по предотвращению повреждений сельскохозяйственных угодий и древесно-кустарниковой растительности.
11.6 При производстве работ по балластировке трубопроводов инъекционными анкерами должны быть приняты предусмотренные проектом меры по предотвращению загрязнения подземных вод нижележащих горизонтов.
11.7 Производственные и бытовые стоки, образующиеся на строительной площадке, должны очищаться и обезвреживаться в порядке, предусмотренном проектом организации строительства и проектами производства работ.
11.8 Попутная разработка природных ресурсов допускается только при наличии проектной документации, согласованной соответствующими органами государственного надзора и местной администрацией.
11.9 Работы по мелиорации земель, созданию прудов и водохранилищ, ликвидации оврагов, балок, болот и выработанных карьеров, выполняемые попутно со строительством объектов промышленного и жилищно-гражданского назначения, следует производить только при наличии соответствующей проектной документации, согласованной в установленном порядке с заинтересованными организациями и органами государственного надзора.
11.10 При производстве работ, связанных с вырубкой леса и кустарника, строительство необходимо организовать так, чтобы обеспечить оттеснение животного мира за пределы строительной площадки.
1. СНиП III-42-80 Магистральные трубопроводы. Правила производства и приемки работ. - М.: Госстрой СССР, 1999.
2. СНиП III-4-80* Техника безопасности в строительстве. - М.: Госстрой СССР, 1980.
3. СНиП 2.05.06-85*. Магистральные трубопроводы. - М. : Госстрой СССР, 1999.
4. Соколович В.Е. Химическое закрепление грунтов. - М.: Стройиздат, 1980.
5. Томов Б.С., Евстатиев А.Г. и др. Инъекционные напряженные анкеры. - М.: Энергоатомиздат, 1986.
6. Ржаницын Б.А. Химическое закрепление грунтов в строительстве. - М.: Стройиздат, 1986.
8. Каталог машин для строительства магистральных трубопроводов. - М.: Недра, 1984.
9. СНиП 12-03-01. Безопасность труда в строительстве. - М.: Стройиздат, 1999.
10. СН 245-81. Санитарные нормы проектирования промышленных предприятий. - М.: Стройиздат, 1982.
11. ВСН 004-88. Строительство магистральных трубопроводов. Технология и организация. /Миннефтегазстрой. - М.: ВНИИСТ, 1990. - 102с.
12. ВСН 007-88. Строительство магистральных и промысловых трубопроводов. Конструкции и балластировка. /Миннефтегазстрой. - М.: ВНИИСТ, 1990.-50с.
13. ВСН 012-88. Строительство магистральных и промысловых трубопроводов. Контроль качества и приемка работ. 4.1. /Миннефтегазстрой. - М., 1989.-60 с.
17. Мустафин Ф.М., Серебренникова О.В., Гамбург И.Ш. Разработка технологии балластировки трубопроводов анкер-инъекторами. Трубопроводный транспорт нефти и газа: Материалы Всероссийской научно-технической конференции. - Уфа: УГНТУ, 2002.
|
Показатели |
Значение |
|
Подача, м3 /ч |
65 / 1,2 |
|
Напор, м |
75 / 2000 |
|
Тип двигателя |
ГАЗ-321 |
|
Тип насоса |
3К-6/ГН-1200-400 |
|
База |
Прицеп ЛM3 |
|
Габариты, мм: длина ширина высота |
2700 1710 2050 |
|
Масса, кг |
2100 |
Примечание - В числителе указаны данные, относящиеся к наполнительной части, в знаменателе - к опрессовочной.
|
Показатели |
Значение |
|
Производительность, м 3/ч |
700 |
|
Полный напор, МПа |
0,12 |
|
Частота вращения, об/мин |
1500 |
|
Потребляемая мощность насоса, кВт |
47 |
|
Время, необходимое на всасывание, мин |
3-4 |
|
Число шлангов, шт. |
3 |
|
Среднее давление на грунт, МПа |
0,058 |
|
Габаритные размеры, мм: |
|
|
длина |
5200 |
|
ширина |
2150 |
|
высота |
2830 |
|
Масса, кг . |
7920 |
|
Показатели |
Значение |
|
Крутящий момент. Н* м |
20000 |
|
Частота вращения штанги анкера, об/мин |
10 |
|
Габаритные размеры, мм: |
|
|
длина |
5370 |
|
ширина |
3900 |
|
высота |
10000 |
|
Масса, кг |
25000 |
|
Показатели |
Значение |
|
Полезный объем, м3 |
8 |
|
Производительность, кг/ч |
800 |
|
Форсунки |
Механические |
|
Топливо |
Дизельное или тракторный керосин |
|
Расход топлива, кг/ч |
30 |
|
Подача воздуха в топку |
Принудительная, центробежным вентилятором |
|
Топливный насос |
Шестеренчатый |
|
Давление в топливной системе, МПа |
0,39 |
|
Габаритные размеры, мм: |
|
|
длина |
3880 |
|
ширина |
2050 |
|
высота |
3500 |
|
Масса, кг: |
|
|
общая |
7400 |
|
одного котла |
3500 |
|
Показатели |
Значение |
|
Число сварочных постов |
1 |
|
Тип генератора |
ГСО - 300 |
|
Вольтамперная характеристика |
Падающая |
|
Напряжение холостого хода, В не более |
80 |
|
Масса, кг |
900 |
|
Плотность, г/см3 |
1,038 |
1,070 |
1,100 |
1,160 |
1,210 |
|
Вязкость, МПа*с |
2,7 |
3,0 |
3,1 |
3,7 |
5,0 |
|
Плотность, г/см3 |
1,265 |
1,325 |
1,385 |
1,452 |
1,500 |
|
Вязкость, МПа*с |
7,7 |
16,0 |
46,0 |
194,0 |
1074,0 |
|
Показатель |
Значение показателя при марке смолы |
|||
|
КМ (МРТУ 0,5-1101-67) |
КМ - 2 МРТУ 0,5-1101-67) |
КМ-3 (ВТУ 11-151-70) |
МФ-17 МРТУ 6-05-100-666) |
|
|
Внешний вид |
Сиропообразная однотонная по цвету жидкость. Допускается появление мути в виде устойчивых кристаллов |
Однородная вязкая жидкость белого или светло- коричневого цвета |
||
|
Плотность |
1,15-1,2 |
1,15-1,2 |
1,15-1,2 |
1,25-1,27 1 |
|
при 20°С, |
||||
|
г/см3 |
||||
|
Вязкость при 20° С по вискозиметру ВЗ-1, МПа*C |
4-10 |
4-10 |
4-35 |
40-100 |
|
РН |
7,2-9 |
7,2-9 |
7,2-9 |
7,5-8,5 |
|
Содержание свободного формальдегида, %, не более |
Не определяется |
2 |
0,5 |
3 |
|
Растворимость в воде |
Растворяется, допускается легкий осадок |
Не определяется |
В соотношении 1:1 |
В соотношении 3:1 |
Примечание - Срок хранения смолы марок КМ, КМ-2 и КМ-3 не более 3 месяцев, марки МФ-17 - не более 2 месяцев.
|
Показатель |
Значение |
|
Производительность, м3 /мин |
2,0 |
|
Давление нагнетания, МПа |
23,0 |
|
Мощность двигателя, кВт |
80,9 |
|
Масса, т |
3,91 |
|
Показатели |
Значение |
|
Давление, МПа Подача, м3ч Масса, кг |
1,5 0,33 47 |
|
|
Показатели |
Станок буровой тракторный «БТС - 150» |
Установка разведочного бурения «УРБ-2а-2» |
УРБ-4т на шасси трактора ТТ-4 |
|
|
1 |
Глубина бурения, м до |
32 |
30 |
30 |
|
|
2 |
Диаметр скважин, мм |
85-160 |
85-130 |
85-130 |
|
|
3 |
Категория грунтов по СНиП-УТ-5-82 |
V-XI |
V-X1 |
V-XI |
|
|
4 |
Угол уклона бурового стана к вертикали |
0-30° |
- |
- |
|
|
5 |
Продольный уклон работы станка |
25° |
1.5° |
25° |
|
|
6 |
Полный ход цилиндра подачи рабочего органа |
2155 |
4500 |
4500 |
|
|
7 |
Наращивание и разборка бурового стана |
Механич. |
Механич. |
Механич. |
|
|
8 |
Способ очистки скважин от бурового шлама |
Сжатым воздухом |
Сжатым воздухом |
Сжатым воздухом |
|
|
9 |
Габаритные размеры, мм: |
|
|
|
|
|
ширина |
3250 |
2450 |
2950 |
|
|
|
длина |
|
|
|
|
|
|
- в рабочем положении |
7450 |
7660 |
7570 |
|
|
|
- в транспортном |
6150 |
7850 |
7870 |
|
|
|
положении |
|
|
|
|
|
|
высота |
|
|
|
|
|
|
- в рабочем положении |
5840 |
8325 |
8020 |
|
|
|
- в транспортном |
|
|
|
|
|
|
положении |
3800 |
3400 |
3150 |
|
|
|
10 |
Масса полностью заправленного станка, кг |
23880 |
9600 |
10200 |
|
|
Тип болота |
Характеристика |
|
Первый |
Болота, целиком заполненные торфом, допускающие работу и неоднократное передвижение болотной техники с удельным давлением 0,02-0,03 МПа (0,2-0,3 кгс/см2) или работу обычной техники с помощью щитов, cланей и дорог, обеспечивающих снижение удельного давления на поверхность залежи до 0,02 МПа (0,2 кгс/см2) |
|
Второй |
Болота, целиком заполненные торфом, допускающие работу и передвижение строительной техники только по щитам, cланям или дорогам, обеспечивающим снижение удельного давления на поверхность залежи до 0,01 МПа (0,1 кгс/см2) |
|
Третий |
Болота, заполненные растекающимися торфом и водой с плавающей торфяной коркой, допускающие работу только специальной техники на понтонах или обычной техники с плавучих средств. |
Пример 1. Рассчитать расстояние между анкер-инъекторами, приняв следующие исходные данные:
диаметр
трубопровода Dн -
толщина
стенки трубопровода δ =
величина интенсивности балластировки qбал = 3259.2 H/м;
расчетный вес единицы длины трубопровода на воздухе qmp = 2035,3 H/м;
расчетное сопротивление металла трубы R2 = 365 МПа;
давление при инъекции Р = 0,5 МПа;
время инъектирования t = 4 мин;
длина
корня анкера Lk =
характеристики грунта:
удельный вес γ = 2,12 -104 H/м3;
сцепление сгр = 0,2∙104 Па;
угол внутреннего трения φ = 30°;
коэффициент замоноличивания анкера kа = 5,5;
коэффициент заполнения пор β = 0,9;
пористость п = 0,5;
вертикальное расстояние от поверхности грунта до середины анкера h = 2м.
По формуле (9) находим радиус закрепления грунта (корня анкера):

Диаметр корня анкера:
D = 2∙r = 2∙0,26 = 0,52м.
Определяем несущую способность анкера Фанк по формуле (8):
Фанк = π∙D∙Lk∙ka∙γ∙h = 3,14∙0,52∙1∙5,5∙21,2∙2 = 380,77кH
Расчетная несущая способность анкера:
![]()
Учитывая, что в данном расчетном случае za = 2 и Dн /Dанк = 1,38, коэффициент m анк определяется по формуле (6):

Величина расчетной несущей способности анкерного устройства Банк определяется по формуле (5):
Б анк = za∙ mанк Pанк = 2∙0,596∙271,98 = 324,20 кН.
По формуле (4) находим расстояние между анкерными устройствами:
![]()
Осевой момент сопротивления поперечного сечения трубы:
![]()
Объем воды, вытесненной 1м трубы:
![]()
По формуле (12) величина положительной плавучести:
Pпл = γ∙Vв - qтр 1,15∙104∙0,412 - 2035,32=2702,68 H/м.
Находим максимальное расстояние между анкерными устройствами, определяемое из условия прочности по формуле (10):
![]()

Значение la = 99,47м не удовлетворяет условию прочности трубопровода. Расстояние между анкерными устройствами необходимо принять равным
la max - 85,61, т.е. удерживающая способность анкер-инъекторов в данном случае увеличена с запасом. Для уменьшения запаса удерживающей способности можно изменить время инъекции или давление инъектирования.
Пример 2. Для сравнения несущей способности инъекционных анкерных устройств с винтовыми анкерными устройствами проведем расчет балластировки трубопровода винтовыми анкерными устройствами ВАУ-1, приняв те же исходные данные.
Несущая способность анкера обеспечивается винтовой лопастью и определяется по формуле
Фанк = mв∙Рпр (14)
где mв - коэффициент условий работы при выдергивающей нагрузке, определяемый в зависимости от вида и состояния грунта;
Рпр - предельное (критическое) сопротивление анкера, определяемое экспериментальным путем или по формуле
Pпр = (A∙cгр + B∙γгр∙hа)∙Fл, (15)
где А, В - коэффициенты, зависящие от угла внутреннего трения грунта в рабочей зоне лопасти винта;
сгр - сцепление грунта в рабочей зоне лопасти винта;
γгр - средневзвешенный удельный вес грунтов, залегающих от дна траншеи до отметки заложения лопастей анкера;
ha - глубина заложения лопастей от дна траншеи;
Fл, - площадь лопастей анкера, определяемая по
формуле![]()
![]()
(16)
где Dанк - диаметр винтовой лопасти.
Для
трубопровода диаметром
По формуле (16) находим площадь лопастей анкера:
![]()
Коэффициент условий работы при выдергивающей нагрузке для данного вида грунта mв = 0,6.
Учитывая, что в данном случае угол внутреннего трения грунта φ = 30°,коэффициент А = 26,9 и коэффициент В = 16,5, находим предельное сопротивление анкера по формуле (15):
Pпр = (A∙cгр + В∙γгр∙ha)∙Fл = (26,9∙0,2∙104 + 16,5∙2,12∙104∙4)∙0,0628 = 91,2∙103H.
По формуле (14) определяем несущую способность анкера:
Фанк = mв ∙Pпр = 0,6∙91,2∙104 = 54,72 кН.
Расчетная несущая способность анкера:
![]()
Учитывая, что в данном расчетном случае za = 2 и Dн/Dанк = 1,8, коэффициент mанк определяется по формуле (6):

Величина расчетной несущей способности анкерного устройства Банк определяется по формуле (5):
Банк = zа mанк Ранк = 2∙0,7 39,08 = 54,71 кН.
По формуле (4) находим расстояние между анкерными устройствами:

По результатам расчетов анкер-инъекторов и винтовых анкерных устройств можно сделать вывод, что удерживающая способность анкер-инъекторов значительно выше.

1 - трубопровод;
2 - железобетонные пригрузы типа УБО; 3 - Анкер-инъекторы; 4 - траншея; la - расстояниемежду анкер-инъекторами;
- расстояние между железобетонными пригрузами типа УБО
|
Показатель |
Значение |
|
Тип |
Полуприцепная цистерна |
|
Тягач |
ЗИЛ-130В1 |
|
Полезная емкость цистерны, л |
7000 |
|
Время опорожнения цистерны от битума через шибер, мин |
5 |
|
Система подогрева битума: |
Двумя стационарными горелками через жаровые трубы до 15 |
|
способ подогрева |
|
|
расход керосина, л/ч |
|
|
подача топлива |
Пневмосистемой |
|
Скорость нагрева битума (при начальной температуре битума не менее 70° С), град/ч |
25 |
|
Падение температуры битума, град/ч |
2 |
|
Насос: тип |
|
|
Битумный шестеренный |
|
|
производительность, л/мин |
500 |
|
База (с тягачом), мм |
6540 |
|
Дорожный просвет, мм |
255 |
|
Скорость передвижения, км/ч |
80 |
|
Габаритные размеры, мм: длина (с тягачом) ширина высота |
9080 2360 2550 |
|
Масса, кг: без груза с полным грузом |
7515 14590 |
|
|
|
|