//
ТехЛит.ру
- крупнейшая бесплатная электронная интернет библиотека для "технически умных" людей.
WWW.TEHLIT.RU - ТЕХНИЧЕСКАЯ ЛИТЕРАТУРА

:: Алготрейдинг::


АЛГОТРЕЙДИНГ
шаг за шагом
с нуля по урокам!

Торговые роботы на PYTHON, BackTrader,
Pandas, Pine Script для TradingView. Связка с брокерами, телеграм и легкими приложениями.


МИНИСТЕРСТВО ЭНЕРГЕТИКИ РОССИЙСКОЙ ФЕДЕРАЦИИ
(МИНЭНЕРГО РОССИИ)

 

Утверждено приказом
Министерства энергетики
Российской федерации № 279 от 30.06.2003 г.

СТАНДАРТ ОТРАСЛИ

ИНСТРУКЦИЯ ПО ПРИМЕНЕНИЮ ТЕРМОРАСЩЕПЛЁННОГО
ГРАФИТОВОГО СОРБЕНТА
ДЛЯ ЛИКВИДАЦИИ РАЗЛИВОВ НЕФТИ

ОСТ-153-39.0-026-2002

Санкт-Петербург

2003

Настоящая «Инструкция по применению терморасщеплённого графитового сорбента для ликвидации разливов нефти» (ОСТ 153-39.0-026-2002)

РАЗРАБОТАНА:

ЗАО «Газтурбо»

Аудиторами международной системы управления окружающей средой ИСО 14000

И.Г. Бондаренко

Е.А. Бурмистровой

При участии консультанта от ЦНИИМФ Морского флота

Г.Н. Семанова;

Начальника отдела предупреждения и ликвидации чрезвычайных ситуаций Северо-Западного регионального центра МЧС России А.А. Маслова

УТВЕРЖДЕНА

Министерством Энергетики Российской Федерации приказом N 279 от 30.06.2003 Министр И.Х. Юсуфов

СОГЛАСОВАНА:

Министерством Транспорта

Первый заместитель Министра Транспорта РФ В.В. Рукша

Министерством Природных ресурсов РФ ДПР по Северо-Западному региону

Руководитель Северо-Западного ДПР P.M. Галимзянов

Государственным комитетом РФ по рыболовству

Первый заместитель Председателя Комитета А.П. Моисеев

Головным центром государственного санитарно-эпидемиологического надзора Заместитель Главного врача Д.Ф. Беликов

РЕКОМЕНДОВАНА:

АО Центральным ордена Трудового Красного Знамени научно-исследовательским институтом морского флота Заместитель генерального директора С.Н. Драницын

Настоящий отраслевой стандарт не может быть полностью или частично воспроизведён, тиражирован и распространен в качестве официального издания без разрешения Минэнерго России.

Дата введения 30-06-2003

Содержание

Введение

1. Область применения

2. Нормативные ссылки

3 Характеристика сорбента СТРГ и материалов на его основе

3.1 Характеристики сорбента СТРГ

3.2 Характеристики материалов на основе сорбента СТРГ

4. Требования безопасности

5. Место и условия применения сорбента СТРГ в технологическом процессе ликвидации разливов нефти и обработки нефтесодержащих стоков

6. Очистка открытых водоёмов

7. Очистка мелководных водоёмов

8. Очистка твёрдых поверхностей в портах, на гидротехнических сооружениях и автодорогах, пирсах, промышленных объектах и в цехах.

9. Утилизация или уничтожение собранной смеси с сорбентом СТРГ

10. Правила хранения и транспортировки

11. Производители и поставщики сорбента и оборудования

 

Введение

Одним из эффективных способов ликвидации нефтяных загрязнений является их обработка различными сорбентами-поглотителями с неограниченной плавучестью, препятствующими образованию эмульсии типа „масло в воде" и погружению нефтепродуктов на дно в холодное время года. К их числу относится терморасщепленный графитовый сорбент (сорбент СТРГ).

Сорбент СТРГ может применяться для сбора сырой нефти, растительных и смазочных масел, легких и тяжелых нефтепродуктов, в том числе мазутов М-40 и М-100, за исключением сгустившихся мазутов.

ОСТ разработан в соответствии с рекомендациями Госкомэкологии России и Государственного комитета Российской Федерации по рыболовству о возможности использования сорбента СТРГ, а также с учетом Правил ведения работ по очистке загрязненных акваторий портов (РД. 31.04.01-90 Минморфлот. Москва. В/О "МОРТЕХИНФОРМРЕКЛАМА" 1991г).

Сорбент СТРГ имеет допуск Российского Речного Регистра от 3 июля 2000г. № 30-17-08 и сертификат о типовом одобрении Российского Морского Регистра Судоходства от 25 августа 2000г. № 00.085.009.

1. Область применения

Настоящий ОСТ распространяется на работы по сбору нефти и нефтяных пленок на воде, твёрдых поверхностях, грунтах, применяемых организациями и предприятиями нефтяной промышленности для предотвращения загрязнения водных объектов, твёрдых поверхностей и грунтов в результате аварийных и эксплуатационных разливов нефти.

2. Нормативные ссылки

В настоящем стандарте использованы ссылки на следующие стандарты и нормативные документы:

ГОСТ 12.1.005-88 ССБТ. Общие санитарно-гигиенические требования к воздуху рабочей зоны

ГОСТ 12.1.007-76 ССБТ. Вредные вещества. Классификация и общие требования безопасности

ГОСТ 12.4.011-75 ССБТ. Средства индивидуальной защиты. Рукавицы специальные. Технические условия

3 Характеристика сорбента СТРГ и материалов на его основе

3.1 Характеристики сорбента СТРГ

Сорбент СТРГ поставляемый по ТУ 2164-001-0550115070-97 изготовляется ЗАО ГАЗТУРБО. Сорбент СТРГ представляет собой порошкообразный терморасщепленный графит с макропористой структурой, свойства которого приведены в таблице 1.

Адреса организаций-производителей сорбента СТРГ, сорбирующих материалов на его основе и вспомогательных материалов приведены в разделе 11.

Таблица 1 - Свойства сорбента СТРГ

Наименование показателя

Норма

Внешний вид сорбента

Сыпучий продукт матового серо-черного цвета

Содержание влаги в сорбенте, %, не более

5

Зольность сорбента, % не более

8,5

pH водной вытяжки сорбента, не более

6

Насыпная плотность сорбента, кг/м3, не более

12

Содержание серы в сорбенте, не более

0,3

Нефтепоглотительная способность сорбента, т.е. какое количество мерных единиц нефтепродукта способна поглотить одна мерная единица сорбента

кг нефти/кг сорбента, не менее

50

м3 нефти/ м3 сорбента, не менее

0,4382*

кг мазута/кг сорбента, не менее

55

м3 мазута/ м3 сорбента, не менее

0,4816*

кг легких нефтепродуктов/кг сорбента, не менее

30

м3 кг лёгких нефтепродуктов/м3 сорбента, не менее

0,2632*

Влияние солености воды

Не влияет

Диапазон вязкости, при котором сорбент СТРГ эффективно работает

0,5-200 мм2

Диапазон рабочих температур, °С

- 25 - +300

Плавучесть, сутки не менее

100

где *) - объёмное количество нефтепродукта, собираемое 1 м сорбента.

Расчёт производился для насыпной плотности сорбента СРТГ 7 кг/м3

Сорбент СТРГ может использоваться в составе комплексной загрузки фильтров (в т.ч. погружных) для очистки балластных, трюмных, льяльных и сточных вод, содержащих нефтепродукты.

Сорбент СТРГ для транспортировки затаривается в картонные коробки (барабаны), защищенные дополнительным полиэтиленовым мешком, а рабочей тарой являются полиэтиленовые бочки емкостью до 200л (для полуавтоматического нанесения) и транспортировочная коробка в термоусадочной пленке (для нанесения при помощи ручного эжекторного пистолета).

3.2 Характеристики материалов на основе сорбента СТРГ

На основе сорбента СТРГ изготавливаются сорбирующие материалы, ассортимент и назначение которых приведены в таблице 2

Указанные в таблице мат-боны могут поставляться как в заполненном, стандартном исполнении, так и, по желанию потребителя, в заказном исполнении, в соответствии с технологическими особенностями задачи для решения которой они предназначены. Внешний вид мат-бона Н-25-А и Н-8-12 представлены на рис.1, и рис.2 соответственно. Полный ассортимент изделий на основе сорбента СТРГ с техническими параметрами, а также рекомендации по применению каждого конкретного типа изделий в зависимости от типа ситуации приведены в Комментариях к инструкции по применению терморасщепленного графитового сорбента для ликвидации разливов нефти.

Сорбирующие мат-боны, как одноразового, так и многоразового использования, сорбент СТРГ, диспергент-биокорректор и прочее оборудование, необходимое для ликвидации разливов нефти, входят в состав различных экологических модулей, формируемых и изготавливаемых ЗАО «Газтурбо». В качестве обеспечения пневматического привода устройств для подачи сорбента, утилизации отработанного сорбента и сорбирующих изделий используются типовые компрессора с расходом воздуха от 50 м3/час до 300 м3/час и с давлением от 4 атм. до 10 атм. Данные устройства не входят в стандартную комплектацию модуля, и включаются в него по заказу. Внешний вид пневматического оборудования для нанесения и утилизации сорбента СТРГ приведен на рис. 3 и рис. 12.

Таблица 2 - Ассортимент сорбирующих материалов

Тип

Наименование и основные параметры

Назначение

Технические характеристик

Мат-боны

Н-7-А

Øсор6 - 150 мм

Нобщ - 500 мм

Hюбки350 мм

L - 3-10м

Ограничение, ограждение, сорбция, транспортировка, траление, дрейф на акватории, загрязненной нефтепродуктами с одновременной очисткой водной поверхности. Применяются в сточных коллекторах, на очистном оборудовании, в иловых прудах. Работает при вязкости нефтепродукта менее 200 мм2/с, при температуре воздуха выше -5°С, иди температуре воды выше +4°С при скорости ветра менее 10 м/с и скорости течения менее 2 м/с.

Поглощает до 7 кг нефти на 1п/м,

Н-8-16-А

Øсор6 - 160 мм

Нобщ - 500 мм

Hюбки - 350 мм

L - 3-10м

Поглощает до 8 кг нефти на 1п/м,

Н-25-М

Нсор6 - 350 мм

Нвсп - 200 мм

Нобш - 1000 мм

Hюбки - 350 мм

L - 10м

Ограничение, при траление и сбор разлитых на акватории нефтепродуктов различного происхождения при различной температуре воздуха при скорости ветра свыше 10 м/с и скорости течения менее 2 м/с Работает при вязкости нефтепродукта менее 200 мм2/с.

Поглощает до 15 кг нефти на 1п/м.

Маты

Н-25-Б

0 - 350 мм

Н - 355 мм

L - 1-10м

Ограничение распространения нефтепродуктов и сбор их при эксплуатации нефтевышек, сорбционной защите эксплуатируемых трубопроводов, при бункеровке судов, при защите береговой линии, гидротехнических инженерных сооружений, пирсов. Работает при вязкости нефтепродукта менее 200 мм2/с.

Поглощает до 25кг нефти на 1 п/м

Н-9-ЗА

Сбор разливов нефтепродуктов на автодорогах с твердым покрытием. Входят в состав комплекта АКД. Могут неоднократно отжиматься в процессе сбора.

Поглощает до 2кг нефти за один цикл на 1 шт

Н - 250 мм

L - 750 мм

Рукава

Н-8-8

Øсор6 - 80 мм

L - 1-10м

Для ограничения и сбора разлитых нефтепродуктов в лиманах, на мелководье, в поросших травой водоемах, на льду, в труднодоступных местах, на болотах, а также на твердых поверхностях и грунтах для защитного барьера вокруг потенциальных источников разлива нефтепродуктов. Применяется при защите береговой линии, гидротехнических, инженерных сооружений, пирсов. Также входит в комплект АКД для локализации разливов нефтепродуктов на дорогах с твердым покрытием. Работает при вязкости нефтепродукта менее 200 мм2/с.

Поглощает до 2,5кг нефти на 1 п/м

Н-8-12

Øсорб - 120 мм

L - 3-10м

Для ограничения и сбора разлитых нефтепродуктов в лиманах, на мелководье, в том числе поросшем травой, на льду, в труднодоступных местах, на болотах, в сточных коллекторах, на очистном оборудовании, в иловых прудах, а также на твердых поверхностях и грунтах для защитного барьера вокруг оборудования, которое служит потенциальным источником разлива нефтепродуктов. Применяется при защите береговой линии, на гидротехнических, инженерных сооружениях, на ТЭЦ, в котельном хозяйстве, на пирсах. Работает при вязкости нефтепродукта менее 200 мм2/с.

Поглощает до 6кг нефти на 1 п/м

Н-8-16

0сорб - 16ОММ

L - 3-10м

Поглощает до 8кг нефти на 1 п/м

Подушечки

Н-9-2

400×400 мм

Для сбора разлитых нефтепродуктов и химикатов с твердых и с водных поверхностей, а также из труднодоступных мест. Работает при вязкости поглощаемой жидкости менее 200 мм2

Поглощает до 2кг

Н-9-8

800×800 мм

Поглощает до 8кг

Вспомогательные материалы и комплектующие к различным видам природоохранного оборудования обеспечиваются производителем, ЗАО "Газтурбо", включая товары, необходимые для обеспечения мер безопасности.

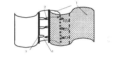
где: 1 - пенополистирол, 2 - сорбент СТРГ, 3 - стропа, 4 - юбка, 5 - кулиска для утяжелителя, 6 - непрошитое отверстие, 7 - люверс, 8 -соединительная часть мат-бона

Рисунок 1. Сорбирующий мат-бон с юбкой

1 - оболочка; 2 - сорбент СТРГ; 3 - петля для крепления; 4 - карабин для крепления к боковой петле;5 - петля для карабина.

Ÿ При длине 10 м

Рисунок 2 Сорбирующий мат-бон (рукав)

Рисунок 3. Ручной (А) и полуавтоматический (Б) эжекторные пистолеты для нанесения сорбента

Универсальные многоцелевые нетонущие сорбирующие мат-боны (см. таблицу 2) имеют различные виды конструктивного исполнения в зависимости от применения. В стандартном исполнении сорбирующие мат-боны поставляются в комплекте, секциями по 3-1 Ом., заполненными сорбентом (Н-25-М, Н-8-16, Н-8-16А, Н-8-8, Н-8-12). Под заказ возможно изготовление мат-бонов нестандартного размера и типа, обусловленного технологическими потребностями заказчика..

4. Требования безопасности

К работе с сорбентом СТРГ допускаются лица, ознакомившиеся с настоящей инструкцией.

При работах с сорбентом СТРГ возможна повышенная запыленность воздуха рабочей зоны. По степени воздействия на организм человека сорбент СТРГ относится к веществам малоопасным, IV класс по ГОСТ 12.1.007-76; предельно допустимая концентрация пыли графита в воздухе рабочей зоны составляет 8 мг/м3 по ГОСТ 12.1.005-88.

Сорбирующие мат-боны пожаро- и взрывобезопасны, обладают стойкостью к агрессивным средам. Кроме того, как и при всех операциях по ликвидации разливов нефти, возможно действие следующих опасных и вредных производственных факторов: загазованность парами нефти воздуха рабочей зоны, повышенная или пониженная температура воздуха, повышенная подвижность воздуха, проведение работ в шлюпке, на мелководье или в болотистой местности. При уничтожении сорбента СТРГ сжиганием возникают дым и открытый огонь, который может быть погашен водой.

Исходя из вышеуказанного, и, несмотря на то, что сорбент СТРГ относится к веществам малоопасным, при ликвидации разливов нефти с использованием сорбента СТРГ принимаются следующие меры безопасности:

4.1 Все работающие должны быть в спецодежде, в специальной обуви, перчатках и иметь средства защиты глаз и органов дыхания от пыли, отвечающих требованиям ГОСТ 12.4.011-75: защитные герметические очки, противопылевые респираторы. Средства индивидуальной защиты должны соответствовать росту и размеру работающего, а также температуре воздуха.

4.2 Все работающие в шлюпках должны быть в спасательных жилетах, работающие на болотистой местности должны быть в болотных сапогах. В условиях болотистой и пересеченной местности, а также мелководья, работы должны выполняться группами не менее 3 человек.

4.3 Все шланги подачи воздуха и сорбента должны быть надежно закреплены. Так как шланг подачи воздуха в комплект поставки эжекторного пистолета не входит, следует проследить, чтобы шланг мог выдерживать давление в сети, соответствующее максимальному давлению компрессора.

4.4 Собранная смесь сорбента СТРГ с нефтью или использованные сорбирующие боны должны упаковываться в полиэтиленовую тару, опечатываться с указанием на табличке даты сбора и характера собранного нефтепродукта, и сдаваться в согласованные с производителем сорбента организации, принимающие подобные отходы на уничтожение. Также насыщенный нефтью сорбент СТРГ может быть сдан производителю на утилизацию, переработан на альтернативное топливо или утилизирован сжиганием в топках или в инсинераторах, поставляемых ЗАО «Газтурбо».

5. Место и условия применения сорбента СТРГ в технологическом процессе ликвидации разливов нефти и обработки нефтесодержащих стоков

5.1 Сорбент СТРГ предназначен для сбора разлитой нефти, нефтепродуктов, жиров, масел на твердых поверхностях, на морских и пресноводных акваториях, везде, где производится добыча, хранение, транспортировка и переработка нефти, нефтепродуктов и жиров. Сорбирующие материалы на основе сорбента СТРГ применяют при очистке нефтезагрязненных сточных вод.

5.2 Сорбент СТРГ может быть использован при тушении пожаров, возникших на разливе нефтепродуктов, так как при структурировании сорбентом СТРГ горящего нефтепродукта, процесс горения замедляется, его интенсивность снижается, и пожар может быть потушен водяным облаком. Сорбент СТРГ может быть сброшен на зону возгорания в специальных кассетах для снижения интенсивности горения или нанесен на водную поверхность в стороне от зоны возгорания и подогнан к ней при помощи струй из брандспойта.

5.3 Сорбирующие материалы на основе сорбента СТРГ (см. таблицы 2 и 4), применяются для:

- сбора разлитой нефти, нефтепродуктов, жиров, траления нефтяного пятна,

ограничения зон разлива в т.ч. в сложных условиях, когда сбор сорбента

обычными средствами затруднен (лед, трава, мелководье, болото);

- сбора разлитой нефти, нефтепродуктов, жиров при локализации разлива

заградительными бонами;

- сбора поверхностной пленки нефтепродуктов в емкостях и коллекторах

сточных вод, иловых прудах, нефтеловушках, в отстойниках и пр. (см. рис. 4);

При установке сорбирующих мат-бонов применяется кольцевой (см. рис.7),

каскадный, шевронный или диагональный метод расположения бонов согласно

Правилам ведения работ по очистке загрязненных акваторий портов

(Дополнительную информацию по постановке бонов см. в п. 6.).

Рис. 4 Использование сорбирующих изделий в отстойниках (а) и коллекторах (б)сточных вод

5.4 Введение сорбента СТРГ в существующие регламентированные технологические процессы локализации и ликвидации разливов нефти и нефтепродуктов осуществляется согласно Комментариям к инструкции по применению сорбента СТРГ.

6. Очистка открытых водоёмов

6.1 Для ликвидации разлива нефти на водных акваториях, вблизи мест вероятного разлива нефти должен находиться запас сорбента СТРГ в количестве, достаточном для сбора, а на борту судна в соответствии с Разрешением к Допуску № 30-17-08 от 3.07.2000 за № 3 08-03-1968 от 12.06.2000 должно находиться 10 кг сорбента СТРГ. На потенциально опасном объекте должен находится сорбент в количестве, предписанном для ликвидации разлива соответствующего уровня, для определения которого учитывается максимально возможный объем нефти, находящийся на данном объекте, в соответствии с Основными требованиями к разработке планов по предупреждению и ликвидации аварийных разливов нефти и нефтепродуктов, принятыми постановлением Правительства Российской Федерации от 21 августа 2000 г. № 613. Данное количество рассчитывается с учетом возможных технологических потерь сорбента и с учетом количества сорбента в сорбирующих мат-бонах, рукавах и подушечках. Также в наличии должны быть устройства для нанесения сорбента СТРГ (ручной или полуавтоматический эжекторные пистолеты) и средства для сбора отработавшего сорбента с поверхности воды - например, скиммеры или черпаки сетчатые (поставляются ЗАО "Газтурбо").

6.2 Согласно нормативным документам по ведению аварийных работ через 2 ч. после начала работ скорость сбора должна быть не менее 80 м3/ч при разливах локального и местного значения. При более крупных разливах через 2ч. после начала работ скорость сбора должна быть не ниже 200 м/ч. Применение сорбента СТРГ обеспечивает выполнение данных временных параметров по сбору нефти и/или нефтепродуктов при условии соблюдения требований настоящей инструкции и использования соответствующих средств для нанесения мелкофракционных материалов в случае применения порошкообразного сорбента СТРГ. Также применение сорбента СТРГ позволяет предотвратить образование эмульсии нефтепродуктов в воде и погружение нефтепродуктов на дно в холодное время года.

Операции по ликвидации разлива нефти при наличии сорбирующих мат-бонов включают:

- подготовку и постановку сорбирующих мат-бонов вокруг места разлива;

- нанесение сорбента СТРГ при объеме разлива превышающем суммарную поглотительную способность мат-бонов;

- сбор сорбента СТРГ и поглощенного им нефтепродукта;

- закольцовывание сорбирующих мат-бонов;

- постановка кольца бонов на якорь и вызов служб, ответственных за исполнение работ по ликвидации разливов для утилизации сорбента СТРГ и сорбирующих мат-бонов.

6.3 Сбор нефтепродуктов при помощи сорбирующих мат-бонов.

В случае использования аварийного запаса сорбирующих мат-бонов перед эксплуатацией все технологические секции мат-бона должны быть подготовлены к работе в соответствии с паспортом на данный вид изделия.

6.3.2 Для подготовки к работе мат-боны разворачиваются одним или двумя операторами в зависимости от размеров секций и оперативности ведения работ. Подготовка мат-бона к работе включает извлечение из транспортировочной тары, соединение секций мат-бонов между собой и расстановка мат-бонов на месте применения, с присоединением к опорным точкам. Время развертывания бонового заграждения длиной 100 м составляет не более 30 мин. для мат-бона Н-7-А и не более 10 мин. для мат-бона Н-8-16-А. Все работы могут вестись даже с малых надувных лодок, рассчитанных не менее, чем на три человека.

6.3.3 Подготовленные к работе секции мат-бона следует соединить между собой, используя имеющиеся соединительные устройства. Мат-бон типа Н-8-16-А следует соединять, как показано на рис. 5. Секции мат-бона соединяются внахлест, чтобы избежать возможной утечки нефтепродукта по месту стыка. Соединительные петли вдеть в карабины на конце прикрепляемой секции таким образом, чтобы они охватывали цилиндрическую часть мат-бона. Скобы соединить с петлями на стропе усиления. Полотнища юбки также соединяются друг с другом при помощи скоб, продетых в специальные люверсы на полотнищах юбки. Если мат-бон поставляется с карабинным соединением, следует соединить секции, как показано на рис. 6. Соединение следует производить таким образом, чтобы не образовывался зазор между секциями.

Секции мат-бона следует присоединять к опорным точкам только при помощи петель, закрепленных на стропе усиления. Для этого следует использовать только трос для траления, диаметром не менее 10 мм, или карабины, способные выдержать нагрузку не менее 1800кг.

Рис. 5. Варианты соединения рабочих секций

Соединительный элемент для мат-бонов с юбкой (модификации Н-7-А, Н-7-Б, Н-25-А, Н-25-М и Н-25-Б) относится к карабинному типу. Такое исполнение обеспечивает более быстрое и надежное соединение мат-бонов, и предназначено для различных методов установки мат-бонов.

1 - мат-боны; 2 - петли (люверсы); 3 - полоса стропы с петлями для карабинов; 4 - карабины

Рисунок 6. Соединение мат-бонов при помощи карабинов

Если мат-бон (модификация Н-7-А или Н-7-Б) поставляется в полном сборе, когда несколько секций бона уже соединены между собой, то для использования части бона в аварийной обстановке можно просто перерезать петли крепления карабинов 3, отмотав нужную длину мат-бона.

Соединение рукавов, применяемое для ограничения пятна разлива, приведено на рис.7.

Если мат-бон (модификация Н-7-А или Н-7-Б) поставляется в полном сборе, когда несколько секций бона уже соединены между собой, то для использования части бона в аварийной обстановке можно просто перерезать петли крепления карабинов 3, отмотав нужную длину мат-бона.

Соединение рукавов, применяемое для ограничения пятна разлива, приведено на рис.7.

Рисунок 7. Соединение рукавов

Для сбора нефти со льда, из-подо льда, с мелководья, поросшего травой, с болот, в сточных коллекторах, на очистном оборудовании, в иловых прудах, на ручейках и в прибрежной зоне используются сорбирующие мат-боны в виде рукавов (модификация Н-8) и маты Н-9-3М (комплект АКД). Для сбора пятен из труднодоступных участков (под причалами, из глубоких колодцев) они могут быть собраны в виде мат-плота или просто опущены в колодцы, сточные коллекторы, отстойники, иловые водоемы и в бассейны канализирования в местах сброса стоков, которые потенциально могут содержать нефтепродукты, а также в нефтеловушки. Все виды мат-бонов применимы при вязкости нефтепродукта менее 200 мм2/с.

Для ограничения пятна разлива и сбора нефти в условиях открытой воды применяются сорбирующие мат-боны модификаций Н-7-А, Н-25-А, имеющие юбку. При температуре воздуха выше -5°С и температуре воды не ниже +4°С применяется модификация Н-8-16-А, а при более низких температурах рекомендуется модификация Н-7-А, с учетом того, чтобы вязкость нефтепродукта не превышала допустимые пределы. Эти же модификации применяются для траления нефтяного пятна на значительные расстояния на скоростях, не превышающих 0,5 узла.

Назначение конкретных модификаций мат-бонов и возможные места их применения указаны в таблице 2 и в таблице 4.

При условии, что распространение пятна разлива надежно ограничено бонами, сбор сорбента СТРГ может производиться не сразу, а в удобное время, так как благодаря его неограниченной плавучести исключено образование эмульсии нефти в воде и ее погружение на дно.

6.3.4 В общем случае необходимое количество сорбента СТРГ определяют по следующей методике:

- определяется средняя толщина плёнки нефти 5, мм;

- приближённо определяется площадь нефтяного пятна F, м2;

- рассчитывается объём нефти в пятне по формуле:

Где VH - объем нефти, л,

F - площадь пятна, м2,

δ - толщина плёнки нефти, мм,

необходимое количество сорбента СТРГ составит:

М сорбента = 0,018 VH

По данной формуле производится также упрощенный расчет количества сорбента, в случае, когда невозможно произвести измерение толщины пленки, но количество пролитой нефти известно.

В случае применения для сбора нефти при возгорании количество сорбента СТРГ удваивают, так как часть сорбента будет израсходована на структурирование пятна.

Необходимое количество тарных ёмкостей определяется по сумме массы содержащегося в них сорбента. Масса нетто сорбента указана на любой тарной емкости, в которой поставляется сорбент СТРГ. 14

Рекомендуемый расход сорбента СТРГ при самых малых разливах и характеристики нефтяного пятна представлены в таблице 3.

6.3.5 Длина бонового заграждения с учетом прочности материала на разрыв не должна превышать 100 погонных метров на одну точку крепления, Точкой крепления может быть буй с якорем весом 15 кг, борт судна водоизмещением не менее 1т, неподвижная опора. Шнур для траления при использовании нескольких рабочих секций крепится к петлям на стропе усиления крайних секций. В этом случае следует использовать шнур для траления диаметром 13 мм. Концы данного шнура должны быть пристраховаиы к безопасной опоре. Ни в коем случае не следует удерживать их руками, так как существует опасность выпасть за борт. Не следует применять шнур для траления диаметром меньше рекомендованного в соответствии с техническими характеристиками мат-бона (указан в сопроводительной документации по мат-бону).

Сорбент СТРГ предназначен для использования в местах возможной утечки нефтепродуктов  - рукавами, содержащими сорбент СТРГ, может быть окружено оборудование, являющееся потенциальным источником утечки нефтепродуктов.

Таблица 3- Характеристика нефтяного пятна и рекомендуемый расход сорбента СТРГ при очень малых разливах

Визуальная оценка пленки нефти

Оценка, баллы

Количество разлитой нефти на м2, г

Рекомендуемый расход сорбента г/м2

Примечания

Чистая водная поверхность без признаков опалесценции

0

-

-

 

Отсутствие пленки и пятен, отдельные радужные полосы

1

0,1

-

См. п. 6.7

Отдельные пятна и серая пленка серебристого налета

2

0,2

0,01

См. п. 6

Пятна и пленка с яркими цветными полосами

3

0,4

0,02

См. п. 6

Нефть в виде пятен и пленки не разрывающаяся при волнении

4

1,2

0,04

 

Поверхность воды темно-коричневая, покрыта сплошным слоем нефти

5

2,4

0,048

 

6.3.6 Подготовленные к работе сорбирующие мат-боны устанавливаются в зависимости от выбранного метода установки (кольцевого, каскадного, шевронного или диагонального метода расположения бонов согласно Правилам ведения работ).

Установка бонных заграждений производится вручную одним или двумя операторами. Для всех операций по подъему-спуску сорбирующих мат-бонов используется шнур для траления или дополнительные мягкие тяжи. Недопустимо осуществлять подъем-спуск мат-бона за люверсы или за ткань бона. При необходимости подъем сорбирующих мат-бонов

6.3.7 Установленные бонные заграждения не следует оставлять без наблюдения в течение всего периода работы их на акватории во избежание их повреждения плавающим мусором, проходящими судами и нефтемусоросборщиками. В случае невозможности обеспечения наблюдения за установленными бонными заграждениями, следует произвести их снятие или произвести буксировку в место, где может быть обеспечен контроль за проведением операции по ликвидации разлива или обеспечено безопасное нахождение бонов.

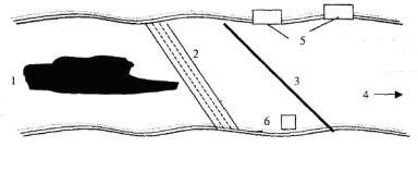
Установленные для локализации разлива нефти бонные заграждения должны удерживаться от сноса их ветром и течением постановкой на якоря, буйки или креплением к причалу, берегу или катерам. При кольцевом методе установки бонов (рис.8) крепление мат бонов может осуществляться постановкой на якорь, либо непосредственно к борту судна, ведущему локализацию разлива.

1 - нефтяное пятно; 2 - якорь; 3 - мат-боны (рабочие секции); 4 - направление течения (ветра).

Рисунок 8. Локализация пятна разлива.

6.3.8 При наличии значительного течения, исключающего возможность локализации разлива нефти на открытой акватории порта, сорбирующие мат-боны должны устанавливаться таким образом, чтобы разлитые нефтепродукты отводились на участки с пониженной скоростью течения. В этом случае следует устанавливать мат-боны под острым углом к направлению течения. В соответствии с Правилами ведения работ рекомендуются следующие методы установки бонных заграждений:

- Шевронный - боны от оси реки отводятся симметрично на оба берега. (рис. 9.)

1- нефтяное пятно; 2 - нефтеприемник; 3 - мат-боны (рабочие секции); 4 - защищаемые объекты; 5- направление течения.

Рисунок 9. Шевронное расположение мат-бонов.

Каскадный - боны от оси реки отводятся на один берег. (Рис. 10.)

1- нефтяное пятно; 2 - нефтеприемник; 3 - мат-боны (рабочие секции); 4 - защищаемые объекты; 5- направление течения.

Рисунок 10. Каскадное расположение мат-бонов.

Диагональный - заграждение устанавливается через всю реку от берега до берега (Рис. 11).

1- нефтяное пятно; 2 - защита от плавающих предметов; 3 - мат-боны; 4- направление течения; 5- защищаемые объекты; 6 - нефтесборное устройство (скиммер).

Рисунок 11. Диагональное расположение мат-бонов

6.3.9 В случае если течение слабо выражено, готовый мат-бон без рывков обводится вокруг пятна разлива. Концы шнура для траления скрещиваются, образуя кольцо (рис.8). Для извлечения мат-бона из воды используется шнур для траления, использовать для извлечения утяжелитель не рекомендуется. Перемещение сорбирующего мат-бона по поверхности воды также производится при помощи шнура для траления. Сорбирующие бонные заграждения фиксируются на месте разлива при помощи буя и прикрепленного к бую якоря весом до 15кг.

6.3.10 Извлечение сорбирующих мат-бонов благодаря их продолжительной плавучести может быть произведено в удобное время при благоприятствующей погоде. Мат-бон следует извлекать плавно, без рывков, т.к. эти изделия изготовляются из полотна, имеющего сетчатую структуру, для обеспечения беспрепятственного доступа нефтепродукта к сорбенту. Данные изделия предназначены для одноразового использования. Мат-боны могут быть собраны как вручную, так и при помощи подъемного устройства и помещены в бункер-приемник для доставки к месту утилизации. При применении сорбента СТРГ используются следующие средства и приспособления: пневматические установки для нанесения сорбента СТРГ на водную поверхность (ручные или полуавтоматические), нефтемусоросборщики, скиммеры, черпаки, полиэтиленовая тара для сбора смеси сорбента с нефтепродуктами (может использоваться тара, в которой поставляется сорбент СТРГ), баллоны с биодеструктором нефти и нефтепродуктов, совковые лопаты, багры.

6.4 Порядок ведения работ по нанесению сорбента СТРГ для сорбции и структурирования нефти производится, как указано ниже:

6.4.1 Для обеспечения необходимой скорости обработки нефтяного пятна нанесение сорбента СТРГ ведется при помощи ручной пневматической установки и требует наличия сети подачи сжатого воздуха (или компрессора), обеспечивающей расход воздуха не менее 50 м3/час при давлении 2-10 атм.

6.4.2 Для обеспечения более высоких скоростей обработки нефтяного пятна нанесение сорбента СТРГ производится полуавтоматической пневматической установкой. Для этого в наличии должна быть сеть подачи сжатого воздуха (компрессор), обеспечивающая расход воздуха не менее 60 м3/час при давлении 3-6 атм. Данная установка требует предварительной калибровки с целью подбора оптимального давления.

Нанесение сорбента СТРГ может быть начато до установки бонных заграждений, начиная с края нефтяного пятна с наветренной стороны к его центру.

6.4.3 Количество сорбента СТРГ для обработки нефтяного пятна определяется по формуле, приведенной в п. 6.3.4. или, при малых разливах, по данным таб. 3. Сорбент должен наносится под нефтяную пленку равномерно. При изменении цвета нефтяной пленки до серого, количество введенного сорбента считать достаточным. Следует избегать избыточной подачи сорбента на отдельные участки, так как это ведет к излишнему расходу сорбента.

6.5 Операции по утилизации отработанной смеси сорбента СТРГ с нефтью могут начинаться с задержкой, при условии, что пятно разлива надежно локализовано.

6.6 Сбор отработанной смеси сорбента СТРГ с нефтью может производиться при помощи нефтемусоросборщика, скиммерных систем, илососов, или, при малом разливе, вручную, сетчатыми черпаками диаметром не менее 250-300 мм с ячеями не более 2×2 мм. Собранная смесь затаривается в полиэтиленовую тару или другие емкости с последующей сдачей их соответствующим организациям, на котельные установки или на площадки для сжигания отходов.

6.7 Качество очистки поверхности воды с помощью сорбента СТРГ контролируется по отсутствию на поверхности воды нефтяных пятен. В тех случаях, когда на поверхности воды остается серебристая с цветными полосами пленка нефти, качество обработки считается удовлетворительным, в противном случае обработку повторяют. Для ликвидации остаточной мономолекулярной пленки рекомендуется использовать диспергент-биодеструктор, способствующий ее разложению на воду и углекислый газ, например, типа диспергента HydroBreak который также может быть поставлен ЗАО «Газтурбо».

7. Очистка мелководных водоёмов

Локализация является составной частью процесса применения сорбента СТРГ и выполняется с целью предотвращения распространения нефтепродуктов по территории водного объекта и управления движением пятна разлива, обработанного сорбентом СТРГ. Технология нанесения и сбора сорбента СТРГ на мелководных водоемах аналогична технологии, приведенной в п.6. с указанными ниже отличиями.

7.1 Локализация загрязненного участка водной поверхности также может быть осуществлена при помощи постановки сорбирующих бонных заграждений. На мелководье, особенно поросшем травой для локализации загрязненного участка водной поверхности целесообразно применять сорбирующие мат-боны в виде матов и подушечек (модификация Н-9), так как из-за травы и камней сбор рассеянного сорбента будет затруднен. Подушечки могут применяться как по отдельности, так и связками на шнуре для траления, при помощи петли, имеющейся на каждой подушечке.

7.2 Ответственное за ликвидацию разлива лицо рассчитывает количество сорбента СТРГ, необходимое для обработки нефтяного пятна по формуле, приведенной в п. 6.3.4 или, при малых разливах - по данным таблицы 3 настоящей инструкции, а также определяет метод обработки пятна. Выбор способа применения сорбента - порошковый сорбент или сорбирующие материалы - обуславливается оптимальным подходом к ликвидации разлива . Рекомендации по выбору оптимального способа применения сорбента в зависимости от конкретной ситуации приведены в комментариях к настоящей инструкции.

Рассчитанное количество сорбента СТРГ наносится зону раздела сред (вода -нефтепродукт) при помощи ручного или полуавтоматического эжекторного пистолета. Нанесение сорбента полуавтоматическим эжекторным пистолетом может вестись в радиусе 100м от источника подачи воздуха, через шланг подачи воздуха. При этом контроль нанесения сорбента оператор ведет визуально, с целью дозировки подачи сорбента и выбора направления размещения тарной емкости с сорбентом или шланга для подачи сорбента. Есть два варианта использования полуавтоматического эжекторного пистолета: либо он установлен в зоне нефтяного пятна на специальных стойках или поплавках, либо он находится на опорах на борту судна тарной емкостью вверх. Последний вариант рекомендуется для малых судов с небольшой высотой борта над уровнем моря, так, чтобы длина шланга для подачи сорбента не превышала 10м. Такие суда также могут использовать более дешевый ручной эжекторный пистолет для нанесения сорбента.

7.3 Для ограничения распространения нефтяного пятна следует установить бонные заграждения. Сорбирующие бонные заграждения могут быть зафиксированы на месте разлива при помощи якоря весом до 15 кг. Подготовка к работе, постановка и извлечение мат-бонов производятся аналогично п.6.

7.4 Операции по сбору отработанной смеси сорбента СТРГ с нефтью могут начинаться с задержкой, при условии, что пятно разлива надежно локализовано (в том числе сорбирующими бонами на основе сорбента СТРГ).

7.5 Сбор смеси сорбента СТРГ с нефтью может производиться при помощи нефтемусоросборщика, скиммерных систем различных моделей, илососов, или, при малом разливе, вручную, черпаками. Собранная смесь затаривается в полиэтиленовую тару с последующей сдачей соответствующим организациям, на котельные установки, на переработку.

7.6 Качество очистки поверхности воды с помощью сорбента СТРГ контролируется аналогично п. 6.7. Для ликвидации остаточной мономолекулярной пленки рекомендуется использовать диспергент- биодеструктор, способствующий ее разложению на воду и углекислый газ, например, типа диспергента HydroBreak который также может быть поставлен ЗАО «Газтурбо».

8. Очистка твёрдых поверхностей в портах, на гидротехнических сооружениях и автодорогах, пирсах, промышленных объектах и в цехах.

Очистка твёрдых поверхностей, гидротехнических сооружений, конструкций, промышленных объектов и цехов, связанных с перевозкой добычей или использованием нефти и нефтепродуктов или с переработкой нефтесодержащих отходов, в портах, на флоте производится как при помощи сорбирующих материалов на основе сорбента СТРГ, так и самим порошкообразным сорбентом СТРГ.

Для сбора разлитых нефтепродуктов используется широкий ассортимент изделий мат-бонов в виде подушечек, матов, рукавов и бонов (см. таб. 2 и 4).

8.1 Промышленные предприятия и объекты, чья деятельность связана с нефтепродуктами, относятся к объектам повышенной опасности и, согласно требованиям нормативных документов, должны быть обеспечены природоохранным оборудованием, в том числе сорбентами, сорбирующими изделиями, оборудованием и пр., согласно технологиям проведения работ по ликвидации аварийных разливов нефти. Примерный порядок проведения данных работ приводится в комментариях к настоящей инструкции.

8.2.Сорбирующие материалы целесообразно применять в очистных сооружениях (коллекторах) на первой ступени очистки для снятия поверхностной пленки нефтепродуктов и других углеводородов (см. рис. 3).

Таблица 4 - Ассортимент сорбирующих материалов.

Тип

Наименование и основные параметры

Назначение

Технические характеристики

Рукава

H-8-8

Ø сорб - 80 мм

L - 3-10м

Ограничение и сбор нефтепродуктов в производственных помещениях, в труднодоступных местах, коллекторах, очистных сооружениях. Использование в качестве защитного барьера вокруг потенциальных источников утечки нефтепродуктов. Работают при вязкости нефтепродукта менее 200 мм2

Поглощает до 2,5 кг нефти на 1 п/м

H-8-12

Ø сорб - 120 мм

L - 3-10м

Поглощает до 7 кг нефти на 1 п/м

Маты

H-9-3A

H - 250 мм

L - 750 мм

Сбор разливов нефтепродуктов на автодорогах с твердым покрытием. Входят в состав комплекта АКД. Могут неоднократно  отжиматься в процессе сбора.

Поглощает до 2 кг нефти за один цикл на 1 шт

Подушечки

H-9-1

200×400

Для сбора разлитых нефтепродуктов с твердых поверхностей, со льда, из труднодоступных мест, коллекторов, емкостей, из колодцев сточных вод, с полов, с растительности, с грунта, с поверхности отстойников, иловых прудов и пр. В специальном исполнении в виде кассет могут применяться при тушении пожаров. Работают при вязкости нефтепродукта менее 200 мм2/с.

Поглощает до 1 кг нефти

H-9-2

400×400

Поглощает до 2 кг нефти

H-9-8

800×800

Поглощает до 8 кг нефти

9. Утилизация или уничтожение собранной смеси с сорбентом СТРГ

9.1 Собранную смесь сорбента СТРГ с нефтью или сорбирующие боны на основе сорбента СТРГ , отработавшие на нефтяном разливе, следует упаковывать в бочки или мешки с указанием вида нефтепродукта и сдавать в организации, принимающие подобные отходы на уничтожение, с которыми должен быть заключен соответствующий договор. Собранная смесь сорбента СТРГ с нефтью может быть сожжена в котельных установках после разжижения смеси необходимым количеством дизельного топлива, либо по договору обслуживания принята производителем.

9.2 Многократный отжим мат-бонов модификации Н-9-3М производится при помощи вальцов (рис. 12 а). Отжатый нефтепродукт содержит не более 2% воды, и впоследствии может быть возвращен в производство, так как химических изменений в составе нефтепродукта не происходит.

Крупные мат-боны для отжима будут разделены на удобные для упаковки части, затарены в полиэтиленовую тару, опечатаны с указанием даты и характера собранного нефтепродукта, а затем направлены на утилизацию в организацию, с которой должен быть заключен соответствующий договор. Также, мат боны могут быть компактированы в пресс-компакторе (рис. 12 б) с одновременной откачкой смеси воды и нефтепродукта. Подушечки модификации Н-9-2 или Н-9-1 могут быть отжаты при помощи центрифуги в специальном исполнении, а если отжимного устройства в наличии нет, мат-боны различных модификаций могут быть при необходимости разрезаны и упакованы - сорбент с нефтепродуктом отдельно, оболочки отдельно. В таком виде они и будут переданы на утилизацию.

Мат-боны модификации Н-7 (А и Б), Н-8 (8, 12 и 16) и Н-9 (2 и 8) могут быть использованы повторно с потерей сорбционной емкости на 15%, либо направлены на утилизацию без отжима. Для этого их следует делить на части при помощи режущего инструмента. Утяжелитель при этом удаляется (можно вместе с юбкой) и принимается производителем.

1- отработанный мат-бон;

2 - валики для отжима;

3 - направление движения валков;

4 - направление движения бона

1 - металлическая съемная бочка 200л;

2 - пластина прессас перфорацией;

3 - мат-боны с нефтепродуктом;

4 - крепление бочки к платформе;

5 - платформа основания

а) вальцы

б) пресс-компактор

Рисунок 12. Устройства для отжима утилизируемых мат-бонов

10. Правила хранения и транспортировки

10.1 Сорбент СТРГ хранится в таре производителя в местах, защищенных от атмосферных воздействий (дождь, снег). Сорбент СТРГ не боится влажности, повышенной или пониженной температуры воздуха. Срок хранения сорбента СТРГ не ограничен при соблюдении условий ТУ 2164-001-05015070- 97 по хранению и транспортировке данного продукта.

10.2 Сорбирующие материалы на основе сорбента СТРГ должны храниться в таре поставщика вплоть до подготовки к употреблению. Подготовленные к работе сорбирующие материалы должны храниться в закрытой таре, препятствующей их повреждению (спрессовыванию и сдавливанию).

10.3 Транспортируют сорбирующие мат-боны и сорбент СТРГ всеми видами крытого транспорта.

10.4 При нарушении герметичности полиэтиленовой упаковки сорбент СТРГ должен быть перезатарен или, в случае потери им физических свойств, уничтожен.

10.5 Следует избегать спрессовывания сорбента СТРГ, так как при спрессовывании он теряет часть своей поглощающей способности.

10.6 Не следует хранить сорбент СТРГ на открытом воздухе.

10.7 Для предотвращения повреждения тары (картонные коробки) коробки складируются на поддонах, не более 3-х штук по высоте. Следует предотвратить попадание на коробки влаги во избежание их размокания.

11. Производители и поставщики сорбента и оборудования

Производители и поставщики сорбента и сорбирующих материалов на его основе:

Россия, Санкт-Петербург

Закрытое акционерное общество «Газтурбо»

Почтовый адрес: 195248, Санкт-Петербург, Ириновский пр., д.2,

Тел/факс: (812)325-06-70 Тел: (812)227-19-70

Информация в электронном виде: http://gasturbo.spb.ru и http://ecoportal.ru

Электронная почта: mail@gasturbo.spb.ru

Ключевые слова: сорбент СТРГ, мат-бон, рукав, ликвидация аварийных разливов, нефть, нефтепродукты, масла, жиры, очистка, локализация, сбор, утилизация, добыча, переработка, транспортировка нефти, сорбирующие материалы, устройства для нанесения сорбентов, диспергент, биодеструктор, биокорректор, пресс-компактор, эжекторный пистолет, колодец, сточный коллектор, отстойник, нефтеловушка, иловый водоем, бассейн канализирования, возгорание, разлив, объекты повышенной опасности.




Яндекс цитирования