//
ТехЛит.ру
- крупнейшая бесплатная электронная интернет библиотека для "технически умных" людей.
WWW.TEHLIT.RU - ТЕХНИЧЕСКАЯ ЛИТЕРАТУРА

:: Алготрейдинг::


АЛГОТРЕЙДИНГ
шаг за шагом
с нуля по урокам!

Торговые роботы на PYTHON, BackTrader,
Pandas, Pine Script для TradingView. Связка с брокерами, телеграм и легкими приложениями.


ФЕДЕРАЛЬНОЕ АГЕНТСТВО

ПО ТЕХНИЧЕСКОМУ РЕГУЛИРОВАНИЮ И МЕТРОЛОГИИ

НАЦИОНАЛЬНЫЙ СТАНДАРТ РОССИЙСКОЙ ФЕДЕРАЦИИ

ГОСТ P 52582-2006

ЗАМКИ ДЛЯ ЗАЩИТНЫХ КОНСТРУКЦИЙ

Требования и методы испытаний на устойчивость к криминальному открыванию и взлому

Москва

Стандартинформ

2007

Предисловие

Цели и принципы стандартизации в Российской Федерации установлены Федеральным законом от 27 декабря 2002 г. 184-ФЗ «О техническом регулировании», а правила применения национальных стандартов Российской Федерации - ГОСТ Р 1.0-2004 «Стандартизация в Российской Федерации. Основные положения»

Сведения о стандарте

1. РАЗРАБОТАН Федеральным государственным учреждением «Научно-исследовательский центр «Охрана» (ФГУ НИЦ «Охрана») МВД России

2. ВНЕСЕН Техническим комитетом по стандартизации ТК 234 «Системы тревожной сигнализации и противокриминальной защиты»

3. УТВЕРЖДЕН И ВВЕДЕН В ДЕЙСТВИЕ Приказом Федерального агентства по техническому регулированию и метрологии от 31 октября 2006 г. 236-ст

4. ВВЕДЕН ВПЕРВЫЕ

Информация об изменениях к настоящему стандарту публикуется в ежегодно издаваемом информационном указателе «Национальные стандарты», а текст изменений и поправок - в ежемесячно издаваемых информационных указателях «Национальные стандарты». В случае пересмотра (замены) или отмены настоящего стандарта соответствующее уведомление будет опубликовано в ежемесячно издаваемом информационном указателе «Национальные стандарты». Соответствующая информация, уведомления и тексты размещаются также в информационной системе общего пользования - на официальном сайте Федерального агентства по техническому регулированию и метрологии в сети Интернет»

Содержание

1. Область применения

2. Нормативные ссылки

3. Термины и определения

4. Общие положения

5. Требования

5.1. Требования к конструкции

5.2. Требования к криптостойкости

5.3. Требования устойчивости к криминальному открыванию

5.4. Требования устойчивости к взлому

5.5. Требования к электромагнитной совместимости

5.6. Маркировка

5.7. Требования безопасности

6. Методы испытаний

6.1. Общие положения

6.2. Отбор образцов для испытаний

6.3. Оценка криптостойкости

6.4. Испытания на устойчивость к криминальному открыванию

6.5. Испытания на устойчивость к взлому

6.5.1. Испытания на устойчивость к взлому разрушающим инструментом

6.5.2. Испытания на устойчивость к динамическим нагрузкам

6.5.3. Испытания на отрыв или сдвиг якоря от рабочей поверхности электромагнитного замка с плоским якорем

6.6. Испытания на электромагнитную совместимость

6.7. Испытания на безопасность

7. Обработка результатов испытаний

Приложение А (обязательное) Классификация инструмента, приспособлений и аппаратуры для проведения испытаний замков на устойчивость к криминальному открыванию

Приложение Б (обязательное) Классификация инструмента и приспособлений для проведения испытаний замков на устойчивость к взлому разрушающим инструментом

Приложение В (обязательное) Перечень технических документов, предъявляемых на испытания замков

Приложение Г (справочное) Пример оценки соответствия замка требованиям настоящего стандарта и определения класса его устойчивости к криминальному открыванию и взлому

Приложение Д (рекомендуемое) Требования к стендовому оборудованию

Библиография

НАЦИОНАЛЬНЫЙ СТАНДАРТ РОССИЙСКОЙ ФЕДЕРАЦИИ

ЗАМКИ ДЛЯ ЗАЩИТНЫХ КОНСТРУКЦИЙ

Требования и методы испытаний на устойчивость к криминальному открыванию и взлому

Locks for protective designs. Requirements and test methods for resistance to criminal open without lock breakage and to burglary

Дата введения - 2007-07-01

1. Область применения

Настоящий стандарт распространяется на механические, электромеханические, электромагнитные замки, замки с электронным управлением (электронные замки с мнемоническим способом введения кода, а также с вещественными носителями кода) и «антипаниковые» замки и устройства, устанавливаемые на защитных конструкциях (далее - замки).

Настоящий стандарт устанавливает требования к замкам для защитных конструкций по ГОСТ Р 51242, ГОСТ Р 51072, ГОСТ Р 51113, ГОСТ Р 51224, ГОСТ Р 51241, а также методы их испытаний на устойчивость к криминальному открыванию и взлому.

2. Нормативные ссылки

В настоящем стандарте использованы ссылки на следующие стандарты:

ГОСТ Р 50009-2000 Совместимость технических средств электромагнитная. Технические средства охранной сигнализации. Требования и методы испытаний

ГОСТ Р 50862-2005 Сейфы, сейфовые комнаты и хранилища. Требования и методы испытаний на устойчивость к взлому и огнестойкость

ГОСТ Р 51053-97 Замки сейфовые. Требования и методы испытаний на устойчивость к криминальному открыванию и взлому

ГОСТ Р 51072-2005 Двери защитные. Общие технические требования и методы испытаний на устойчивость к взлому, пулестойкость и огнестойкость

ГОСТ Р 51113-97 Средства защитные банковские. Требования по устойчивости к взлому и методы испытаний

ГОСТ Р 51224-98 Двери и люки. Общие технические условия

ГОСТ Р 51241-98 Средства и системы контроля и управления доступом. Классификация. Общие технические требования. Методы испытаний

ГОСТ Р 51242-98 Конструкции защитные механические и электромеханические для дверных и оконных проемов. Требования и методы испытаний на устойчивость к разрушающим воздействиям

ГОСТ Р МЭК 60065-2002 Аудио-, видео- и аналогичная электронная аппаратура. Требования безопасности

ГОСТ 12.1.004-91 Система стандартов безопасности труда. Пожарная безопасность. Общие требования

ГОСТ 12.1.005-88 Система стандартов безопасности труда. Общие санитарно-гигиенические требования к воздуху рабочей зоны

ГОСТ 12.1.010-76 Система стандартов безопасности труда. Взрывобезопасность. Общие требования

ГОСТ 12.1.019-79 Система стандартов безопасности труда. Электробезопасность. Общие требования и номенклатура видов защиты

ГОСТ 12.2.003-91 Система стандартов безопасности труда. Оборудование производственное. Общие требования безопасности

ГОСТ 5089-2003 Замки и защелки для дверей. Технические условия

ГОСТ 6629-88 Двери деревянные внутренние для жилых и общественных зданий. Типы и конструкция

ГОСТ 7338-90 Пластины резиновые и резинотканевые. Технические условия

ГОСТ 12997-84 Изделия ГСП. Общие технические требования

ГОСТ 15150-69 Машины, приборы и другие технические изделия. Исполнение для различных климатических районов. Категории, условия эксплуатации, хранения и транспортирования в части воздействия климатических факторов внешней среды

ГОСТ 18321-73 Статистический контроль качества. Методы случайного отбора выборок штучной продукции

Примечание - При пользовании настоящим стандартом целесообразно проверить действие ссылочных стандартов в информационной системе общего пользования - на официальном сайте Федерального агентства по техническому регулированию и метрологии в сети Интернет или по ежегодно издаваемому информационному указателю «Национальные стандарты», который опубликован по состоянию на 1 января текущего года, и по соответствующим ежемесячно издаваемым информационным указателям, опубликованным в текущем году. Если ссылочный документ заменен (изменен), то при пользовании настоящим стандартом следует руководствоваться замененным (измененным) документом. Если ссылочный документ отменен без замены, то положение, в котором дана ссылка на него, применяется в части, не затрагивающей эту ссылку.

3. Термины и определения

3.1. В настоящем стандарте применены термины по ГОСТ Р 50862, ГОСТ Р 51053, ГОСТ Р 51241, а также следующие термины с соответствующими определениями:

3.1.1. замок для защитной конструкции: Изделие повышенной прочности и функциональной надежности, предназначенное для запирания элементов защитной конструкции, имеющее сложную комбинацию запирающих устройств или рабочих штифтов, обеспечивающих блокировку.

3.1.2. кодовое устройство замка (КУ): Часть запирающего устройства, обеспечивающая его секретность и после введения правильного кода позволяющая изменить состояние запирающего устройства.

3.1.3. электромагнитный замок: Замок, в котором функцию засова выполняет магнитное поле, создаваемое электромагнитом.

Примечание - Электромагнитные замки подразделяют на два вида:

- электромагнитные замки с плоским якорем;

- электромагнитные замки с втяжным якорем (соленоидные). Электромагнитные замки с плоским якорем также подразделяют на два вида:

- удерживающие, в которых якорь работает на отрыв;

- сдвиговые, в которых притянутый к электромагниту якорь работает на сдвиг.

3.1.4. кодовый замок: Механический, электромеханический, электронный, электромагнитный замок, открывание которого осуществляется набором кода.

3.1.5. штатный ключ: Ключ, прилагающийся в комплекте с конкретным замком и имеющий код, совпадающий с кодом замка.

3.1.6. нештатный ключ: Ключ, аналогичный по форме штатному ключу, код которого не совпадает с кодом замка на одну или более кодовую комбинацию.

3.1.7. криминальное открывание замка: Открывание замка без разрушения его конструкции путем манипуляций нештатным носителем кодовой информации.

3.1.8. взлом замка (взлом): Способ открывания замка, при котором происходит полное или частичное разрушение конструкции замка.

Примечание - После криминального открывания замок продолжает нормально функционировать, хотя его надежность может снизиться. После взлома замок (или его части, например запорная планка, крепеж и т. д.) негоден к использованию по назначению.

3.1.9. отмычка: Специальное приспособление, предназначенное для криминального открывания ключевого замка посредством подбора его кода.

3.1.10. величина сопротивления: Условное числовое значение, характеризующее устойчивость замка к криминальному открыванию и взлому.

3.1.11. «антипаниковый» замок (устройство): Специальное запирающее устройство различных конструкций, которое применяют на дверях для экстренного выхода с целью гарантировать их быстрое открывание в случае опасности.

4. Общие положения

4.1. В настоящем стандарте установлены следующие классы устойчивости замков к криминальному открыванию и взлому (далее - классы устойчивости): U1, U2, U3, U4. При этом класс U1 является низшим, U4 - высшим.

4.2. Классы устойчивости U1-U4 устанавливают сравнением совокупных результатов испытаний испытуемых образцов замка с требованиями настоящего стандарта.

4.3. Класс устойчивости испытуемого образца, получившего различные результаты оценки его соответствия требованиям 5.3, 5.4, устанавливают по наименьшему значению условных единиц устойчивости по результатам испытаний.

4.4. Замкам, содержащим два и более кодовых устройств, каждое из которых позволяет открыть замок независимо от остальных, присваивают класс устойчивости, соответствующий наименьшему значению условных единиц устойчивости по результатам испытаний.

4.5. Замкам, содержащим два и более кодовых устройств, отпираемым только в случае вскрытия всех кодовых устройств, присваивают класс устойчивости, соответствующий по результатам испытаний сумме наименьших значений условных единиц устойчивости всех кодовых устройств, независимо от того, имеет ли каждое кодовое устройство свое запирающее устройство или все они стопорят одно запирающее устройство.

4.6. Для электрически управляемых замков с возможностью аварийного открывания устанавливают класс устойчивости не выше класса устойчивости механизма аварийного механического открывания.

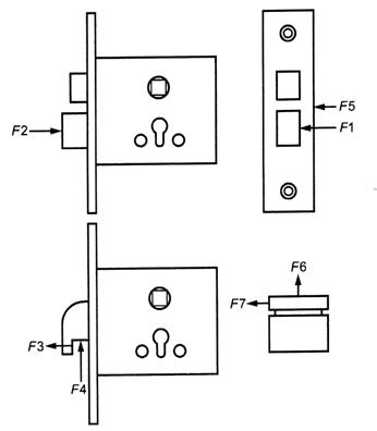
4.7. Обозначения и характеристика сил, воздействующих на механизм замка, приведены в таблице 1, точки приложения сил, действующих на механизм замка, - на рисунке 1.

Таблица 1 - Обозначения и характеристика сил, воздействующих на механизм замка

Обозначение силы

Характеристика воздействующей силы

F1

Боковая сила на засов

F2

Сила на торец засова

F3

Сила вытягивания на Г-образный засов

F4

Размыкающая сила на Г-образный засов

F5

Сила на запорную планку

F6

Отрывающая сила в удерживающих электромагнитных замках с плоским якорем

F7

Отрывающая сила в сдвиговых электромагнитных замках с плоским якорем

F1-F7 - по таблице 1.

Рисунок 1 - Точки приложения сил, воздействующих на механизм замка

5. Требования

5.1. Требования к конструкции

5.1.1. Замки должны изготовляться из экологически чистых конструкционных, электроизоляционных материалов, покрытий и комплектующих изделий в климатических исполнениях О, ОХЛ и ТВ по ГОСТ 15150 в соответствии с техническими условиями (далее - ТУ) и конструкторскими документами на замки конкретных типов.

5.1.2. Конструкция ключевых замков должна обеспечивать блокировку засова в открытом и закрытом состояниях. Если для полного выдвижения засова замка требуется несколько оборотов ключа, блокировка должна проводиться после каждого оборота.

5.1.3. Конструкция замков должна препятствовать раскрытию их секретности и считыванию кода по внешним признакам и обеспечивать устойчивость к силовому открыванию.

5.1.4. Конструкция замков должна обеспечивать;

- взаимозаменяемость сменных одноименных частей;

- механическую прочность;

- соответствие требованиям для классов устойчивости;

- соответствие требованиям безопасности по 5.7 в условиях эксплуатации;

- удобство в эксплуатации и ремонтопригодность.

5.1.5. Электрическая прочность и сопротивление изоляции электромеханических, электромагнитных и электронных замков - по ГОСТ 12997.

5.1.6. Конструкция электромеханических, электромагнитных и электронных замков должна препятствовать их открыванию с использованием внешних источников электропитания без разрушения корпуса замка.

5.1.7. Электромеханические, электромагнитные и электронные замки должны оставаться в закрытом состоянии при отключении электропитания или замене элементов питания, обеспечивая при этом сохранение установленного кода и закрытого состояния в течение не менее одного часа. Если электрически управляемые замки, работающие в нормально закрытом (дежурном) режиме, обесточены, должна быть предусмотрена возможность их аварийного открывания механическим способом.

5.1.8. Конструкция замков и их защитных элементов должна обеспечивать устойчивость к криминальному открыванию с помощью нештатных ключей, отмычек и т. п.

5.1.9. Замки могут иметь встроенные или совместно функционирующие с внешними системами средства контроля их состояния.

5.1.10. Общие требования к конструкции замков - по ГОСТ 5089.

5.2. Требования к криптостойкости

5.2.1. Криптостойкость замков обеспечивают принципом их действия, особенностью конструкции, а также соблюдением требований эксплуатационных документов по установке замков на защитных конструкциях.

5.2.2. Фактическое число кодовых комбинаций замков должно быть не менее:

2500 - для цилиндровых замков;

1000 - для сувальдных замков;

8000 - для бесключевых (кодовых) замков.

5.2.3. Коды замков должны сохраняться до тех пор, пока не будут переустановлены пользователем. Изменение кодов допускается только после открывания замков.

5.2.4. Электронные считывающие устройства замка должны быть вандалоустойчивыми. Попытки их повреждения должны сопровождаться видимыми следами этих повреждений. Конструкцией таких замков должна быть предусмотрена возможность выдачи тревожного извещения при попытке их повреждения.

5.2.5. Кодовые комбинации для ключевых замков следует подбирать по закону случайных чисел по ГОСТ 18321. На корпус замка и на его ключ не допускается наносить какую-либо маркировку, позволяющую облегчить расшифровку кода.

5.2.6. Число кодовых элементов, составляющих часть запирающего механизма замка (или запирающего механизма защелки, если он приводится в действие непосредственно ключом), должно обеспечивать минимальное фактическое число кодовых комбинаций, указанных в 5.2.2, при этом замки с сувальдным механизмом секретности должны иметь не менее четырех кодовых элементов, замки с цилиндровым механизмом секретности - не менее пяти.

5.3. Требования устойчивости к криминальному открыванию

5.3.1. Устойчивость замков к криминальному открыванию Eк, измеряемую в условных единицах (усл. ед.), рассчитывают по формуле:

Eк = kt + B,                                                                                              (1)

где k = 1 - коэффициент эффективности примененного инструмента, усл. ед./мин;

t - рабочее время, мин;

B - базисное значение, усл. ед., соответствующее наиболее высокой категории примененного инструмента (см. приложение А).

5.3.2. В зависимости от класса устойчивости замки должны обладать следующими показателями устойчивости к криминальному открыванию Eк:

2 Eк < 5 усл. ед. - для класса U1;

5 Eк < 10 усл. ед. - для класса U2;

10 Eк 30 усл. ед. - для класса U3;

св. 30 усл. ед. - для класса U4.

5.3.3. Электромеханические, электромагнитные и электронные замки должны дополнительно обеспечивать устойчивость к криминальному открыванию, классы устойчивости к криминальному открыванию которых приведены в таблице 2.

Таблица 2 - Классы устойчивости к криминальному открыванию

Характеристика устойчивости

Класс устойчивости

U1

U2

U3

U4

Число цифр кода, не менее

4

6

7

7

Число кодовых комбинаций, не менее

8000

100000

1000000

3000000

5.4. Требования устойчивости к взлому

5.4.1. Конструкция и защитные элементы замков должны обеспечивать устойчивость к взлому различными инструментами, виды которых указаны в приложении Б.

5.4.2. Устойчивость замков к взлому разрушающим инструментом рассчитывают по значению коэффициента сопротивления конструкции замков прилагаемым воздействиям.

Коэффициент сопротивления Eв, усл. ед., рассчитывают по формуле:

Eв = tK + ΣE0,                                                                                         (2)

где t - рабочее время, мин;

К - наибольший коэффициент эффективности из всего использованного для воздействия инструмента, усл. ед./мин (см. приложение Б);

ΣE0 - сумма базисных значений всех использованных для воздействия инструментов, усл. ед. (см. приложение Б).

Значения коэффициентов сопротивления взлому замков в зависимости от класса устойчивости должны соответствовать указанным в таблице 3.

Таблица 3 - Значения коэффициентов сопротивления замков взлому

Класс устойчивости

Диапазон значений минимального коэффициента сопротивления взлому Ев, усл. ед.

U1

5 Ев < 15

U2

15 Ев < 30

U3

30 Ев < 60

U4

60

5.4.3 Замки в зависимости от класса устойчивости должны быть устойчивы к динамическим нагрузкам, энергия ударов которых приведена в таблице 4.

Таблица 4 - Устойчивость замков к динамическим нагрузкам

Класс устойчивости

Минимальная энергия удара, Дж

U1

100

U2

150

U3

200

U4

300

5.4.4. Электромагнитные замки с плоским якорем в зависимости от класса устойчивости должны быть устойчивы к усилиям отрыва якоря (в удерживающих замках) или сдвига якоря (в сдвиговых замках), значения которых приведены в таблице 5.

Таблица 5 - Устойчивость электромагнитных замков к усилиям отрыва или сдвига якоря

Класс устойчивости

Минимальное усилие отрыва якоря, Н

U1

1500

U2

2500

U3

3500

U4

5000

5.4.5. Механические и электромеханические замки должны быть устойчивы к статическим нагрузкам, прикладываемым к различным частям замка. Значения силы статических нагрузок приведены в таблице 6.

Таблица 6 - Устойчивость замков к статическим нагрузкам

Класс устойчивости

Сила, Н, не менее, прикладываемая к частям замка

засову и запорной планке

механизму засова

соединению лицевой планки с корпусом

U1

3200

1000

1000

U2

3200

1000

1000

U3

5500

1600

2400

U4

7000

2400

5000

5.5. Требования к электромагнитной совместимости

Требования к электромагнитной совместимости электромеханических, электромагнитных и электронных замков - по ГОСТ Р 50009.

5.6. Маркировка

5.6.1. Маркировка замков должна содержать:

- товарный знак и/или другие реквизиты предприятия-изготовителя;

- вид замка;

- тип (модель) замка;

- год выпуска;

- класс устойчивости;

- фирменный знак и/или иные реквизиты организации, проводившей испытания на соответствие требованиям настоящего стандарта.

5.6.2. Маркировку наносят непосредственно на замки, а также на их тару, либо эти данные указывают в листах-вкладышах к каждому замку или в иных сопроводительных документах на замки.

5.6.3. Метод нанесения маркировки на замки должен обеспечивать их износоустойчивость при хранении, транспортировании и использовании по назначению.

5.7. Требования безопасности

5.7.1. Замки должны соответствовать требованиям безопасности ГОСТ Р МЭК 60065.

5.7.2. При испытаниях замков должна быть обеспечена безопасность проведения работ и использования приспособлений, инструмента и аппаратуры в соответствии с ГОСТ 12.1.005, ГОСТ 12.1.010, ГОСТ 12.1.019, ГОСТ 12.2.003, Правилами [1] и [2].

5.7.3. Инструмент, предназначенный для проведения испытаний замков, следует использовать в соответствии с требованиями нормативных документов и инструкций на них.

5.7.4. Электромеханические, электромагнитные и электронные замки должны соответствовать требованиям пожарной безопасности по ГОСТ 12.1.004.

6. Методы испытаний

6.1. Общие положения

6.1.1. Испытаниям подвергают образцы замков, полностью соответствующие представленным техническим документам: чертежам, схемам, спецификациям, ТУ, паспортам. Технические документы, предъявляемые на испытания замков, - в соответствии с приложением В.

Образцы замков, предъявляемые на испытания, отбирают из числа принятых службой технического контроля предприятия-изготовителя.

6.1.2. Образцы замков, предъявляемые на испытания, должны быть полностью укомплектованы и собраны в соответствии с техническими документами на замки конкретных типов.

6.1.3. Для замков устанавливают следующие виды испытаний на:

- устойчивость к криминальному открыванию;

- устойчивость к взлому воздействием ручного, механического, электромеханического режущего, ударного, сборочного, захватывающего, рычажного инструмента;

- устойчивость к динамическим нагрузкам (ударам);

- отрыв (или сдвиг - у сдвиговых замков) якоря от запорной планки электромагнитного замка с плоским якорем;

- устойчивость к статическим нагрузкам.

6.1.4. Комплектование групп испытателей и наблюдателей - по ГОСТ Р 51053 (приложение Д).

6.1.5. Программу и последовательность этапов испытаний замков разрабатывают в соответствии с методиками испытаний, утвержденными в установленном порядке, и на основе анализа представленных технических документов на замки и особенностей конструкций замков.

Отдельные виды или этапы испытаний, проводимые в последовательности, принятой в программе, допускается объединять в произвольные группы. Результаты испытаний регистрируют в установленном порядке в журнале испытаний.

Общие методические вопросы организации испытаний замков на устойчивость к криминальному открыванию и взлому - по ГОСТ Р 51053 (приложение В).

6.1.6. Испытательный инструмент и приспособления, а также режимы воздействия на замок выбирают с учетом максимальной эффективности их применения в соответствии с приложениями А и Б.

В целях безопасности испытателей используют только аттестованные в установленном порядке приспособления и инструменты в соответствии с нормативными документами и инструкциями на них.

6.1.7. Испытания проводят на замках, смонтированных согласно инструкции по установке на прямоугольном имитаторе дверного полотна со сплошным заполнением по ГОСТ 6629 для двери типа У, утвержденной в установленном порядке. При испытаниях на устойчивость к динамическим нагрузкам замки закрепляют на стенде в соответствии с Д.4 (приложение Д).

6.1.8. Контроль показателя устойчивости замков к криминальному открыванию и взлому проводят по методикам, утвержденным в установленном порядке.

6.1.9. Соответствие замков конструктивным требованиям (5.1) проверяют по ТУ на замки конкретных типов.

6.2. Отбор образцов для испытаний

6.2.1. Отбор образцов для испытаний - по ГОСТ 18321.

6.2.2. Число испытуемых образцов определяют из условия обеспечения проведения не менее трех проверок по каждому виду воздействия с учетом того, что допускается проведение разных видов воздействий на одни и те же образцы, если результаты предыдущих испытаний не могут повлиять на результаты последующих.

6.3. Оценка криптостойкости

6.3.1. Криптостойкость замка (5.2) оценивают по:

- сложности применяемых кодов и средствам их защиты от ошибок при наборе или вводе;

- устойчивости кодов от дешифровки, подбора, несанкционированной замены или считывания.

6.3.2. Криптостойкость замков проверяют изучением технических документов на замки, предъявленные на испытания, а также осмотром и сличением конструктивного исполнения замка и его ключа (для ключевых замков) с техническими документами на них.

6.4. Испытания на устойчивость к криминальному открыванию

6.4.1. Испытания на устойчивость замков к криминальному открыванию (5.3) проводят на трех образцах сериями по три испытания каждого, время перерывов между которыми не регламентируют.

6.4.2. Все виды воздействий осуществляют через отверстия или каналы замков, доступ к которым предусмотрен конструкцией замка и его составных частей, а также инструкцией по его установке. При этом допускается снятие крышек, накладок, заглушек и/или других элементов конструкции замков, если эти операции не связаны со взломом. Время выполнения указанных операций входит в рабочее время.

6.4.3. Оценку устойчивости замков к криминальному открыванию и их последующую классификацию проводят по наименьшему числу набранных условных единиц согласно 5.3.2.

6.5. Испытания на устойчивость к взлому

6.5.1. Испытания на устойчивость к взлому разрушающим инструментом

6.5.1.1. При испытаниях замков на устойчивость к взлому разрушающим инструментом (5.4.1, 5.4.2) определяют устойчивость образцов замков к взлому инструментом.

При испытаниях используют следующие типовые способы разрушения замков с целью получения доступа к их механизмам, составным частям и/или деталям, воздействия на них или их удаления: вырезание или перерезание, высверливание или рассверливание, проворачивание, вырывание, переламывание, отжим, отгиб, отслоение (материала) и т. п.

6.5.1.2. При испытаниях допускается применять следующий ручной механический, электрический инструмент: пилы, дрели, зубила, долота, пробойники, молотки, напильники, слесарные ключи, рычаги, клещи, плоскогубцы, щипцы, отвертки, иглы, ножницы, пинцеты и т. п. в соответствии с приложением Б, таблица Б.1.

6.5.1.3. Испытуемый образец замка должен быть надежно закреплен на испытательном стенде.

6.5.1.4. Допускается применять специально изготовленные шаблоны, кондукторы. При этом в рабочее время включают время, затраченное на установку шаблонов и кондукторов, и время приложения разрушающего воздействия.

6.5.1.5. Оценку устойчивости образцов замков к взлому разрушающим инструментом и их последующую классификацию проводят в соответствии с 5.4.2, таблица 3.

6.5.2. Испытания на устойчивость к динамическим нагрузкам

6.5.2.1. Испытаниям замков на устойчивость к динамическим нагрузкам (5.4.3) подвергают образец засова замка и запорную планку.

6.5.2.2. Испытания проводят на специальном стенде, состоящем из имитатора створки двери, установленной на петлях в имитаторе дверной коробки.

Стенд должен обеспечивать надежное закрепление замка на имитаторе створки двери и запорной планки на имитаторе дверной коробки.

6.5.2.3. Удар наносят стальным шаром массой 30 кг, подвешенным над испытательным стендом. Значения энергии удара и высоты падения шара Н приведены в таблице 7. Удар по имитатору створки двери наносят через демпфирующую подложку, представляющую собой пакет из пяти пластин резины типа I по ГОСТ 7338 толщиной от 5 до 8 мм. Подложку закрепляют по центру имитатора створки двери. Размеры пластин должны быть не менее 220 × 220 мм.

Таблица 7 - Энергия удара и высота падения шара

Энергия удара, Дж

Высота падения шара Н, мм

100+3

340+10

150+3

510+10

200+3

680+10

300+3

1020+10

6.5.2.4. Испытания проводят сериями по три удара энергией 100, 150, 200 и 300 Дж. После каждой серии ударов проводят осмотр образцов запорной планки или замка. Замки считают выдержавшими испытание динамической нагрузкой, если после его окончания они сохраняют свои функции и защитные свойства.

6.5.2.5. Форма и размеры имитатора засова для испытаний запорной планки должны быть идентичны засову замка.

6.5.2.6. В момент удара засов (имитатор засова) должен быть прижат в направлении удара к запорной планке (имитатору запорной планки).

6.5.2.7. Расположение замка и запорной планки при проведении испытаний должно соответствовать требованиям Д.4 (приложение Д).

6.5.2.8. Допускается совмещать испытания засова и запорной планки замка.

6.5.2.9. Оценку устойчивости замков к динамическим нагрузкам и их последующую классификацию проводят в соответствии с 5.4.3, таблица 4.

6.5.3. Испытания на отрыв или сдвиг якоря от рабочей поверхности электромагнитного замка с плоским якорем

6.5.3.1 Испытание замков на отрыв или сдвиг якоря от рабочей поверхности электромагнитного замка с плоским якорем (5.4.4) проводят с целью определения усилия отрыва или сдвига якоря от рабочей поверхности электромагнитного замка с плоским якорем.

6.5.3.2. Испытания проводят на специальном стенде. Места приложения нагрузки (силы F6 и F7) показаны на рисунке 1.

6.5.3.3. Усилие отрыва или сдвига якоря от рабочей поверхности определяют по показаниям динамометра.

6.5.3.4. Оценку устойчивости замков к отрыву или сдвигу якоря от рабочей поверхности электромагнитного замка с плоским якорем и их последующую классификацию проводят в соответствии с 5.4.4, таблица 5.

6.5.4. Испытания на устойчивость замков к статическим нагрузкам

6.5.4.1. Испытанию на устойчивость к статическим нагрузкам (5.4.5) подвергают замки с механизмом засова и запорной планкой.

6.5.4.2. Испытание проводят с целью определения усилия, которое выдерживает замок при воздействии на:

- засов и запорную планку (силы F1 и F5, см. рисунок 1);

- механизм засова (сила F2, см. рисунок 1);

- соединение лицевой планки с корпусом - для врезных замков (сила F2, см. рисунок 1).

6.5.4.3. Испытания проводят на специальном стенде.

6.5.4.4. Усилия, прикладываемые к засову и запорной планке, определяют по показаниям динамометров.

6.5.4.5. Оценку устойчивости замков к статическим нагрузкам и их последующую классификацию проводят в соответствии с 5.4.5, таблица 6.

6.6. Испытания на электромагнитную совместимость

6.6.1. Испытания замков на электромагнитную совместимость (5.5) проводят в соответствии с ГОСТ Р 50009.

6.7. Испытания на безопасность

6.7.1. Испытания замков на безопасность (5.6) должны проводиться по ГОСТ Р МЭК 60065 и методике, установленной в ТУ на замки конкретных типов.

7. Обработка результатов испытаний

7.1. По результатам испытаний составляют протокол в двух экземплярах: один экземпляр передают организации-заявителю, другой - остается в испытательной лаборатории.

7.2. Протокол испытаний должен содержать:

- наименование организации (фирмы) - заявителя и/или разработчика (изготовителя) замка;

- условное обозначение замка;

- перечень предъявленных на испытания технических документов на замки;

- программу испытаний;

- поэтапные результаты испытаний;

- выводы по результатам испытаний;

- перечень приспособлений, инструментов, аппаратуры (как стандартных, так и нестандартных), примененных при испытаниях;

- заключение о классификации замка по результатам испытаний в соответствии с требованиями настоящего стандарта.

7.3. Результаты испытаний оформляют протоколом, форма которого должна быть утверждена в установленном порядке.

7.4. Класс устойчивости замка при разных результатах оценки по различным показателям устанавливают по наименьшему значению этих показателей.

7.5. Пример оценки соответствия замка классу устойчивости к криминальному открыванию и взлому приведен в приложении Г.

Приложение А
(обязательное)
Классификация инструмента, приспособлений и аппаратуры для проведения испытаний замков на устойчивость к криминальному открыванию

Таблица А.1 - Соответствие базисных значений виду инструмента

Категория инструмента

Базисное значение инструмента В, усл. ед.

Характеристика инструмента

Примеры наименований инструмента

Универсальный ручной инструмент общего назначения

0

Обычный инструмент, применяемый в производстве и быту и находящийся в свободной продаже

Слесарно-сборочный инструмент (отвертки, напильники, плоскогубцы, клещи, иглы, пинцеты и пр.)

Инструмент ограниченного применения

5

Инструмент, изготовленный непромышленным способом, приспособленный для криминального вскрытия замков

Наборы ключей, металлические заготовки, имитирующие ключи, простейшие отмычки (в том числе буры, крючки и т. п.)

Приложение Б
(обязательное)
Классификация инструмента и приспособлений для проведения испытаний замков на устойчивость к взлому разрушающим инструментом

Таблица Б.1 - Эффективность по классам и видам инструментов

Вид инструмента по функциональному назначению

Техническая характеристика

Категория инструмента

Коэффициент эффективности инструмента К, усл. ед./мин

Базисное значение инструмента Eо, усл. ед.

1 Ручной сборочный

Масса не более 1,5 кг;

длина не более 400 мм

А

1,0

0

Масса не более 3 кг;

длина не более 750 мм

С

5,0

5,0

2 Ручной захватывающий

Масса не более 1,5 кг;

длина не более 400 мм

А

1,0

0

Длина не более 750 мм

С

5,0

5,0

3 Ручной рычажный

Длина не более 400 мм;

момент силы не более 9,8 Н·м

А

5,0

0

Длина не более 750 мм;

момент силы не более 24,5 Н·м

С

7,5

7

4 Ручной режущий

Масса не более 1,5 кг;

длина не более 400 мм

А

1,0

0

5 Ручной ударный

Масса головки не более 1,5 кг; длина не более 400 мм

А

1,0

0

Масса головки не более 4 кг; длина не более 750 мм

С

5,0

5,0

6 Специальные приспособления

Масса не более 1,5 кг;

длина не более 400 мм

А

1,0

5,0

7 Дрель электрическая

Масса не более 3 кг;

мощность не более 500 Вт

А

5,0

7,0

Масса не более 3 кг:

мощность не более 800 Вт

С

7,5

11,0

Приложение В
(обязательное)
Перечень технических документов, предъявляемых на испытания замков

1. Комплект конструкторской документации на замок конкретного типа: технические условия, техническое описание, рабочие чертежи и спецификация на элементы замка, принципиальные электрические схемы и средства защиты от взлома, предусмотренные конструкцией замка.

2. Инструкция по установке (Руководство по монтажу) замка на защищаемой конструкции.

3. Руководство по эксплуатации с указанием области применения замка.

4. Паспорт на замок.

Приложение Г
(справочное)
Пример оценки соответствия замка требованиям настоящего стандарта и определения класса его устойчивости к криминальному открыванию и взлому

Г.1. Исходные данные (условные)

Проводят экспертную оценку замка на соответствие требованиям настоящего стандарта и его классификацию по устойчивости к криминальному открыванию и взлому по результатам испытаний.

На испытания предъявляют замок накладной, механический, ключевой, с штифтовым механизмом секретности, типа (обозначение), изготовленный (дата), предназначенный для установки на защитную дверь.

Специальные средства защиты от действия разрушающего инструмента и химических реактивов в конструкции замка не предусматривают.

При проведении классификации замка оценивают: механизм действия; целевые тактико-технические характеристики, обеспечиваемые конструкцией; особенности конструкции.

С учетом полученных результатов испытаний в соответствии с требованиями настоящего стандарта определяют устойчивость испытуемого замка к криминальному открыванию и устойчивость к взлому.

К проведению испытаний представляют следующие документы: ТУ, комплект конструкторских чертежей, техническое описание и руководство по эксплуатации, выполненные с соблюдением требований единой системы конструкторской документации.

Г.2. Результаты анализа технических документов и конструкторской документации

Представленные документы должны соответствовать требованиям приложения В. Внешним осмотром и анализом представленных документов установлено, что:

- испытуемый образец замка относится к ключевым замкам;

- механизм секретности выполнен из латуни и имеет пять групп кодовых штифтов;

- засов замка изготовлен в виде двух стальных цилиндров, ориентированных и перемещающихся в горизонтальном направлении;

- запорная планка изготовлена из стального листа толщиной 2 мм.

Г.3. Испытания на устойчивость к криминальному открыванию

Испытания проводят на одном образце замка в положении «закрыто», закрепленном на фрагменте, имитирующем дверь. Непосредственный доступ к механизму перемещения засова возможен только через ключевое отверстие.

На основе данных, полученных в результате изучения замка, методом экспертных оценок принято решение применить для открывания замка отмычки.

По результатам хронометража получены следующие результаты по времени, затраченному на открывание замка:

2,8 мин - 1-я попытка;

3,1 мин - 2-я попытка;

2,6 мин - 3-я попытка.

Минимальное время испытания - 2,6 мин.

Учитывая, что базисное значение инструмента по таблице А.1 равно 5 усл. ед., по формуле (1) вычисляют расчетное число условных единиц устойчивости:

Ек = 2,6 + 5 = 7,6 усл. ед.

В соответствии с 5.3.2 замок соответствует классу устойчивости U2.

Г.4. Испытания на устойчивость к взлому разрушающим инструментом

При проведении испытаний на устойчивость к взлому разрушающим инструментом используют методику расчета условных единиц устойчивости, приведенную в 5.4.2.

Испытуемый образец замка закрепляют на фрагменте двери, предварительно приведя его в закрытое состояние, и устанавливают на стенде.

Проводят следующие последовательные операции:

- подготавливают и размечают на образце области приложения разрушающего инструмента;

- сверлят цилиндр механизма секретности с целью получения доступа к механизму перемещения засова;

- перемещают засов.

Для испытаний применяют измерительные и слесарно-сборочные инструменты и электрическую дрель со сверлом диаметром 6 мм.

Данные для расчета условных единиц устойчивости приведены в таблице Г.1.

Таблица Г.1 - Результаты испытаний образца замка на устойчивость к взлому

Наименование операции и порядок ее проведения

Наименование примененного инструмента (условно)

Коэффициент эффективности инструмента К, усл.ед./мин

Базисное значение инструмента Ео, усл. ед.

Время проведения операции, мин

1 Подготовка разрушающего инструмента

-

-

-

Время не фиксируют

2 Разметка области приложения разрушающего инструмента

Измерительный инструмент, керн, молоток

1.0

0

0,5

3 Разрушение намеченной к разрушению части замка

Электрическая дрель мощностью до 500 Вт, сверло

5,0

5

1,5

4 Перемещение засова

Отвертка

1,0

0

0,5

Вычисляют общее время испытания t, мин:

t = 0,5 + 1,5 + 0,5 = 2,5.

Учитывая, что наибольший коэффициент эффективности инструмента К = 5 и сумма базисных значений ΣЕв = (0 + 5 + 0), по формуле (2) вычисляют коэффициент сопротивления Ев, усл. ед.:

Ев = 2,5 × 5,0 + 5 = 17,5.

В соответствии с 5.4.2. замок соответствует классу устойчивости U2.

Г.5. Испытания на устойчивость к динамическим нагрузкам

При проведении испытаний замков на устойчивость к динамическим нагрузкам используют стенд, имитирующий дверь, требования к которому изложены в Д.4 (приложение Д). Стенд состоит из имитатора дверной коробки, имитатора створки двери с демпфирующей подложкой, установленной на петлях, стойки, шара массой 30 кг, подвешенного на тросе.

Г.5.1. Испытание засова замка

Испытуемый образец замка закрепляют на имитаторе створки двери. Имитатор запорной планки закрепляют на имитаторе дверной коробки.

По центру имитатора створки двери через демпфирующую подложку наносят серию из трех ударов. Энергия каждого удара должна быть 150 Дж (высота падения шара Н по таблице 7 должна быть 510 мм). При осмотре засова замка повреждений не обнаружено (класс устойчивости U2 по таблице 4).

Наносят серию ударов энергией удара 300 Дж (высота падения шара Н по таблице 7 должна быть 1020 мм). По результатам испытания отмечают, что засов погнулся. В соответствии с таблицей 4 стойкость засова замка соответствует классу устойчивости U2 как наименьшему классу, по которому засов замка выдержал испытания.

Г.5.2. Испытание запорной планки замка

Испытуемую запорную планку закрепляют на имитаторе дверной коробки. Имитатор засова вставляют в запорную планку и закрепляют на имитаторе створки двери. Наносят серию из трех ударов, энергия каждого удара 150 Дж. При осмотре запорной планки замка повреждений не обнаружено (таблица 4, класс U2).

Наносят серию ударов энергией 300 Дж. При осмотре запорной планки обнаружено, что она надорвана в месте соприкосновения с имитатором засова.

В соответствии с таблицей 4 стойкость запорной планки соответствует классу устойчивости U2.

По совокупности результатов данных испытаний замок соответствует классу устойчивости U2 (как наименьшему классу при испытаниях с положительными результатами).

Г.6. Заключение

Согласно 4.3 по результатам проведенных испытаний замку может быть присвоен класс устойчивости U2.

Приложение Д
(рекомендуемое)
Требования к стендовому оборудованию

Д.1. Стенд, предназначенный для проведения испытаний на устойчивость цилиндровых замков к криминальному открыванию, должен обеспечивать надежное закрепление замка.

Д.2. Стенд, предназначенный для проведения испытаний на устойчивость замков с сувальдным механизмом секретности к криминальному открыванию, должен обеспечивать:

- надежное закрепление замка;

- возможность изменять нагрузку при помощи набора грузов.

Д.3. Стенд, предназначенный для установки фрагмента двери с закрепленным замком, проведения испытаний на взлом, а также вспомогательных операций, требующих имитации закрепления замка на створке двери, должен обеспечивать:

- надежное закрепление фрагмента двери с замком;

- стойкость конструкции к ударам молотка массой 0,5 кг в любом направлении.

Д.4. Стенд, предназначенный для проведения испытаний замков на устойчивость к динамическим нагрузкам, должен обеспечивать:

- надежное закрепление замка на двери и запорной планки на коробке;

- имитацию абсолютно жесткой запорной планки при испытаниях механизмов замков;

- имитацию абсолютно жестких засовов замков при испытаниях запорных планок;

- возможность подвешивания шара в точке удара с погрешностью, не превышающей 30 мм;

- возможность нанесения ударов шара по двери с высоты падения не менее 1,1 м.

Д.5. Стенд, предназначенный для проведения испытаний замков на устойчивость к статическим нагрузкам, должен обеспечивать:

- надежное закрепление замка на упоре;

- плавное и равномерное (без рывков) перемещение рабочего штока.

Библиография

[1] ПУЭ-98

Правила устройства электроустановок ПУЭ. Утверждены Главным техническим управлением по эксплуатации энергосистем и Государственной инспекцией по энергонадзору Министерства энергетики и электрификации СССР (6-е изд., М., Энергоатомиздат, 1989)

[2]

Правила технической эксплуатации электроустановок потребителей и Правила техники безопасности при эксплуатации электроустановок потребителей ПТЭ и ПТБ (4-е изд., М., Энергоатомиздат, 1989)

 

Ключевые слова: замок, защитные конструкции, функции, взлом, криминальное открывание, устойчивость, манипуляция, классификация, ключ, шифр, требования, криптостойкость, код, методы испытаний, инструмент, сопротивление взлому, условные единицы

 




Яндекс цитирования