//
|
|
ФЕДЕРАЛЬНОЕ АГЕНТСТВО
МАТЕРИАЛЫ ГЕОТЕКСТИЛЬНЫЕ Методы определения водопроницаемости
ПредисловиеЦели и принципы стандартизации в Российской Федерации установлены Федеральным законом от 27 декабря 2002 г. № 184-ФЗ «О техническом регулировании», а правила применения национальных стандартов Российской Федерации - ГОСТ Р 1.0-2004 «Стандартизация в Российской Федерации. Основные положения» Сведения о стандарте1 РАЗРАБОТАН ФГУП «РОСДОРНИИ» Российского дорожного агентства Министерства транспорта Российской Федерации совместно с ФГУП «СОЮЗДОРНИИ», ОАО «НИИНМ» и ОАО «ДК АВТОДОРСТРОЙ» 2 ВНЕСЕН Техническим комитетом по стандартизации ТК412 «Текстиль» 3 ПРИНЯТ И ВВЕДЕН В ДЕЙСТВИЕ Приказом Федерального агентства по техническому регулированию и метрологии от 11 декабря 2006 г. № 298-ст 4 ВВЕДЕН ВПЕРВЫЕ 5 В настоящем стандарте учтены основные нормативные положения следующих международных стандартов: - ИСО 11058:1999 «Геотекстильные материалы и подобные им изделия. Определение водопроницаемости в направлении, перпендикулярном к плоскости, без нагрузки» (ISO 11058:1999 «Geotextiles and geotextile-related products - Determination of water permeability characteristics normal to the plane, without load», NEQ); - ИСО 12958:1999 «Геотекстильные материалы и подобные им изделия. Определение водопроницаемости в плоскости полотна» (ISO 12958:1999 «Geotextiles and geotextile-related products - Determination of waterflow capacity in their plane», NEQ) Информация об изменениях к настоящему стандарту публикуется в ежегодно издаваемом информационном указателе «Национальные стандарты», а текст изменений и поправок - в ежемесячно издаваемых информационных указателях «Национальные стандарты». В случае пересмотра (замены) или отмены настоящего стандарта соответствующее уведомление будет опубликовано в ежемесячно издаваемом информационном указателе «Национальные стандарты». Соответствующая информация, уведомление и тексты размещаются также в информационной системе общего пользования - на официальном сайте Федерального агентства по техническому регулированию и метрологии в сети Интернет СодержаниеГОСТ Р 52608-2006 МАТЕРИАЛЫ ГЕОТЕКСТИЛЬНЫЕМетоды определения водопроницаемостиGeotextile materials. Дата введения - 2008-01-01 1 Область примененияНастоящий стандарт распространяется на геотекстильные (нетканые, тканые, трикотажные) и другие материалы, создаваемые на их основе (геокомпозиты, в том числе геодрены). Настоящий стандарт устанавливает методы лабораторного определения водопроницаемости применяемых в строительстве и в других целях геотекстильных материалов (геокомпозитов) в направлениях, перпендикулярном к плоскости и в плоскости полотна, при условии изменения водопроницаемости (коэффициента фильтрации) в диапазоне от 1,00 до 250,00 м/сут (для геокомпозитов в направлении плоскости полотна от 50,00 до 600,00 м/сут). 2 Нормативные ссылкиВ настоящем стандарте использованы ссылки на следующие стандарты: ГОСТ Р 50275-92 Материалы геотекстильные. Метод отбора проб ГОСТ Р 50276-92 Материалы геотекстильные. Метод определения толщины при определенных давлениях ГОСТ Р 50277-92 Материалы геотекстильные. Метод определения поверхностной плотности ГОСТ Р 51268-99 Ножницы. Общие технические условия ГОСТ 8.423-81 Государственная система обеспечения единства измерений. Секундомеры механические. Методы и средства поверки ГОСТ 427-75 Линейки измерительные металлические. Технические условия ГОСТ 1770-74 Посуда мерная лабораторная стеклянная. Цилиндры, мензурки, колбы, пробирки. Общие технические условия ГОСТ 7328-2001 Гири. Общие технические условия ГОСТ 24104-2001 Весы лабораторные. Общие технические требования ГОСТ 28498-90 Термометры жидкостные стеклянные. Общие технические требования. Методы испытаний Примечание - При пользовании настоящим стандартом целесообразно проверить действие ссылочных стандартов в информационной системе общего пользования - на сайте Федерального агентства по техническому регулированию и метрологии в сети Интернет или по ежегодно издаваемому информационному указателю «Национальные стандарты», который опубликован по состоянию на 1 января текущего года, и по соответствующим ежемесячно издаваемым информационным указателям, опубликованным в текущем году. Если ссылочный стандарт заменен (изменен), то при пользовании настоящим стандартом следует руководствоваться замененным (измененным) стандартом. Если ссылочный стандарт отменен без замены, то положение, в котором дана ссылка на него, применяется в части, не затрагивающей эту ссылку. 3 Термины и определенияВ настоящем стандарте применены следующие термины с соответствующими определениями: 3.1 материал геотекстильный: Поставляемое в рулонах сплошное водопроницаемое гибкое нетканое, тканое, трикотажное полотно, получаемое путем скрепления волокон или нитей различными способами (механическим, физико-химическим, комбинированным). 3.2 геокомпозит: Поставляемый в рулонах или блоках многослойный материал, создаваемый с применением геотекстильных материалов для более эффективного выполнения отдельных функций в строительстве и для других целей. 3.3 геодрена: Геокомпозит, предназначенный для более эффективного выполнения функций дренирования в строительстве и для других целей. 3.4 водопроницаемость: Способность к пропуску воды в различных направлениях, выражаемая количественно значением коэффициента фильтрации. 3.5 коэффициент фильтрации: Скорость фильтрации воды в определенных направлениях (перпендикулярном к плоскости или в плоскости полотна) при градиенте напора, равном единице, и линейном законе фильтрации, выраженная в см/с (м/сут). 3.6 напор: Разность пьезометрических высот столбов воды на границах входа и выхода воды в (из) пробы геотекстильного материала, выраженная в мм. 3.7 градиент напора: Отношение напора воды к длине пути фильтрации. 4 Методы испытаний4.1 Общие требования4.1.1 Водопроницаемость нетканых геотекстильных материалов, геокомпозитов определяют в направлениях, перпендикулярном к плоскости полотна и в плоскости полотна. Водопроницаемость тканых, трикотажных геотекстильных материалов определяют в направлении, перпендикулярном к плоскости полотна. 4.1.2 Водопроницаемость оценивают на пробах геотекстильного материала, нагруженных определенным давлением при заданном градиенте напора или напоре. 4.1.3 Предварительно для отобранных проб оценивают значения толщины по ГОСТ Р 50276 и поверхностной плотности по ГОСТ Р 50277. Определение толщины может быть выполнено в процессе определения водопроницаемости, если это позволяет конструкция прибора. 4.2 Требования к условиям проведения испытаний4.2.1 Водопроницаемость оценивают при давлениях на пробу 2, 20, 100, 200 кПа или при давлении, соответствующем воздействующему на геотекстильные материалы в конкретной строительной конструкции. 4.2.2 Водопроницаемость в направлении, перпендикулярном к плоскости полотна, при каждом уровне давления оценивают при значениях напора 300, 100, 70, 50 мм или при значении напора, возникающего в конкретной строительной конструкции. Водопроницаемость в плоскости полотна при каждом уровне давления оценивают при значениях градиентов напора 0,1; 1,0; 5,0 или при градиенте напора, соответствующем возникающему в конкретной строительной конструкции. 4.2.3 Контрольные испытания геотекстильных материалов, водопроницаемость которых ранее определялась с учетом 4.2.1, 4.2.2, допускается выполнять при давлении на пробу 20 кПа и напоре 100 мм (в направлении, перпендикулярном к плоскости полотна) и градиенте напора 1,0 (в плоскости полотна). 4.2.4 Для испытаний применяют питьевую воду по нормам [1] с добавлением веществ, снижающих гидрофобный эффект. Допускается применять дистиллированную воду. Вода должна иметь температуру от 18 °С до 22 °С. 4.2.5 Применяемые приборы и методика подготовки проб должны обеспечивать возможность удаления из них воздушных пузырьков. 4.2.6 Отбор проб выполняют в соответствии с ГОСТ Р 50275. Пробы не должны иметь пороков внешнего вида, видимых повреждений или следов перегиба. 4.2.7 Отбирают не менее 21-й пробы, включая: - 10 проб для определения толщины по ГОСТ Р 50276 и поверхностной плотности по ГОСТ Р 50277; - не менее пяти проб для определения водопроницаемости в направлении, нормальном плоскости полотна; - не менее шести проб для определения водопроницаемости в плоскости полотна. 4.2.8 Форма и размер отбираемых для определения водопроницаемости проб должны соответствовать конструктивным особенностям приборов для определения водопроницаемости. Площадь пробы - не менее 75 см2. 4.2.9 Испытания следует проводить при температуре от 18 °С до 22 °С и относительной влажности воздуха от 30 % до 80 %. 4.3 Требования к аппаратуре4.3.1 В комплект оборудования для определения водопроницаемости должны входить: - прибор для определения водопроницаемости; - весы лабораторные по ГОСТ 24104 с комплектом гирь к ним по ГОСТ 7328. Допускается использование других весов, обеспечивающих погрешность измерения массы образца не более 0,1 % при определении поверхностной плотности по ГОСТ Р 50277; - термометр по ГОСТ 28498; - секундомер по ГОСТ 8.423; - ножницы по ГОСТ Р 51268; - шаблон для изготовления образца; - линейка измерительная металлическая по ГОСТ 427; - мерный цилиндр по ГОСТ 1770. 4.3.2 Применяемые приборы и оборудование должны обеспечивать измерения с погрешностью не более: температуры ……………………………………….0,2 °С; времени …………………………………………….0,1 с; высоты водяного столба (напора) ………………..1 мм; объема воды ………………………………………..1 %; давления на образец ……………………………….3%; толщины ……………………………………………1 %. 4.3.3 Применяемые приборы и оборудование должны пройти метрологическую аттестацию и поверяться не реже одного раза в год. 4.3.4 Для выполнения испытаний могут быть применены приборы для определения водопроницаемости, позволяющие подвергать одиночный слой нагруженной заданным давлением пробы воздействию потока воды заданного напора в направлении, перпендикулярном к плоскости или в плоскости полотна. Примеры схем приборов представлены на рисунке 1. Допустимо применение схем приборов, совмещающих возможность воздействия потока воды в разных направлениях. Пример схемы представлен на рисунке 2.
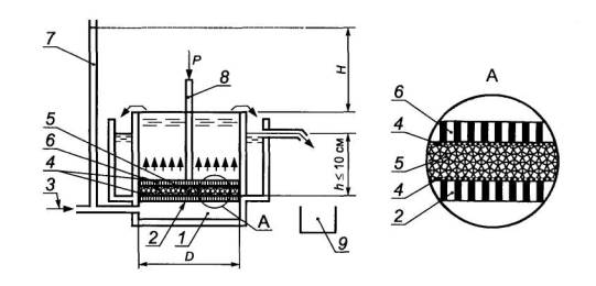
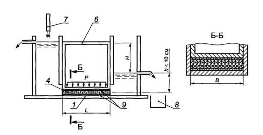
а - в направлении, перпендикулярном к плоскости полотна
б - в плоскости полотна 1 - фильтрационная камера с внутренним диаметром D (для рисунка 1а) или длиной L и шириной В (для рисунка 1б); 2 - перфорированный диск; 3 - сетка; 4 -проба геотекстильного материала; 5 - перфорированный штамп; 6 - устройство для передачи давления (Р) на пробу; 7 - устройство для подачи воды; 8 - емкость для сбора воды; 9 - резиновые прокладки; Н - значение напора; h - уровень воды на выходе из прибора Рисунок 1 - Примеры схем приборов для определения водопроницаемости геотекстильных материалов
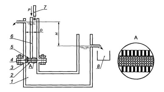
а - в направлении, перпендикулярном к плоскости полотна
б - в плоскости полотна 1 - фильтрационная камера внутренним диаметром D; 2 - перфорированный диск; 3 - устройство для подачи воды; 4 - сетка; 5 - проба геотекстильного материала; 6 - перфорированный штамп; 7 - пьезометрическая трубка; 8 - устройство для передачи давления (Р) на пробу; 9 - емкость для сбора и измерения объема воды; 10 - диск с отверстием диаметром D1 для подачи воды; 11 - резиновые прокладки; Н - значение напора; h - уровень воды на выходе из прибора Рисунок 2 - Примеры схемы прибора со сменной фильтрационной камерой для определения водопроницаемости геотекстильных материалов в разных направлениях 4.3.5 Приборы для определения водопроницаемости должны отвечать следующим общим требованиям: - обеспечивать создание давлений на пробу и напоров (градиентов напоров), указанных в 4.2.1, 4.2.2; - поддерживать постоянный напор в течение испытания, причем проба должна быть всегда в водонасыщенном состоянии (должен сохраняться уровень воды на входе и выходе воды из пробы); - обеспечивать герметичность поверхностей их элементов, контактирующих с пробой; - обеспечивать неизменность положения образца в процессе испытаний; - влияние расположенных на пути фильтрационного потока элементов приборов не должно приводить к изменению коэффициента фильтрации более чем на 3 %; - соприкасающиеся с водой элементы приборов следует изготовлять из коррозионно-стойкого материала. В зависимости от схемы приборы должны отвечать также требованиям, приведенным в 4.7.1, 4.8.1. 4.4 Подготовка к испытаниям4.4.1 Для отобранных по 4.2.6, 4.2.7 проб оценивают значение толщины по ГОСТ Р 50276 и поверхностной плотности по ГОСТ Р 50277. 4.4.2 В воду, предназначенную для определения коэффициента фильтрации, вводят снижающие гидрофобный эффект добавки, помещают пробы геотекстильного материала, слегка помешивают воду для удаления пузырьков воздуха и выдерживают до выравнивания ее температуры с температурой воздуха, но не менее 3 ч. 4.4.3 Выполняют сборку прибора с установкой образца в порядке, зависящем от схемы прибора (см. 4.7, 4.8). 4.4.4 В фильтрационную камеру (трубку) прибора подают воду с напором, соответствующим максимальному из применяемых в испытаниях, выполняют несколько циклов разгружения - нагружения образца давлением 2 кПа, выдерживают образец в фильтрационной камере (трубке) без давления при продолжающейся подаче воды в течение не менее 10 мин и повторно выполняют несколько аналогичных циклов разгружения - нагружения. 4.5 Проведение испытаний4.5.1 В фильтрационную трубку подают воду до максимально возможного уровня и несколько раз приподнимают штамп для удаления пузырьков воздуха, затем создают требуемое давление на пробу и задают значение напора (градиента напора). 4.5.2 Поддерживают заданный напор (градиент напора) воды и измеряют время, в течение которого заполняется мерный цилиндр с рекомендуемой вместимостью 1000 см3. Эту операцию выполняют не менее пяти раз. Если результаты измерений времени отличаются более чем на 10 %, число измерений увеличивают. За окончательный результат принимают среднее из пяти последних измерений значений времени, отличающихся не более чем на 5 %. Время заполнения мерного цилиндра должно быть не менее 15 с. Если это условие не соблюдается, следует увеличить вместимость мерного цилиндра. Измеряют температуру воды. 4.5.3 Повторяют испытания по 4.5.2 для каждого из назначенных значений напоров (градиентов напора) при том же значении давления на пробу. 4.5.4 Проводят испытания по 4.5.2, 4.5.3 для каждого из требуемых значений давлений, поэтапно их увеличивая. 4.5.5 Проводят испытания по 4.5.2, 4.5.3, 4.5.4 для каждой из проб. 4.6 Обработка результатов4.6.1 Коэффициент фильтрации, приведенный к условиям фильтрации при температуре 20 °С, вычисляют для каждого из сочетаний давления на пробу и напора по формулам, зависящим от метода испытаний и схемы прибора (см. 4.7.4.1, 4.8.4.1). 4.6.2 За коэффициент фильтрации принимают среднеарифметическое отдельных вычисленных значений (не менее пяти - перпендикулярно к плоскости полотна, не менее шести - в плоскости полотна), определенных при равных значениях давлений на пробы и напоров (градиентов напоров). Коэффициент фильтрации вычисляют до второй значащей цифры. 4.6.3 В случае, если предусмотрена градуировка прибора (см. 4.7.1, 4.8.1), отличие значений коэффициента фильтрации для градуируемого прибора не должно превышать 5 % или должна быть обоснована возможность введения единого коэффициента для всех сочетаний давлений и напоров (градиентов напоров) в формулы (1), (2) или (3), обеспечивающего отличие в результатах не более 5 %. 4.7 Особенности определения водопроницаемости геотекстильных материалов перпендикулярно к плоскости полотна4.7.1 Прибор по рисункам 1а, 2а должен отвечать следующим дополнительным требованиям: - внутренний диаметр фильтрационной трубки прибора должен быть не менее 50 мм и быть постоянным на расстоянии не менее двух диаметров над и под образцом; - требуемое значение напора должно создаваться давлением водяного столба без применения дополнительных усиливающих напор устройств. Если дополнительные требования не соблюдаются, должна быть выполнена градуировка с применением прибора, удовлетворяющего дополнительным требованиям. 4.7.2 В состав прибора по рисункам 1а, 2а должны входить: - фильтрационная камера (трубка), состоящая из прямого полого цилиндра или двух цилиндров и позволяющая пропускать воду сверху вниз или снизу вверх. Рекомендуется применять для изготовления фильтрационной трубки прозрачный материал (органическое стекло); - перфорированные диски, удерживающие пробу (площадь перфорации - более 40 %, диаметр отверстий - 3-5 мм); - сетки, устанавливаемые над и под пробой (размеры ячейки 0,2-0,5 мм, толщина - не более 2 мм); - устройство для передачи давления; - емкость для подачи и сбора воды и устройство для ее подачи. 4.7.3 Подготовка к испытанию 4.7.3.1 Выполняют подготовительные операции по 4.4.1, 4.4.2. 4.7.3.2 В фильтрационную трубку, предварительно извлеченную и разобранную, если этого требует конструкция прибора, помещают пробу, укладывая ее на перфорированный диск с сеткой. На поверхность пробы устанавливают сетку, перфорированный штамп и выполняют дальнейшую подготовку по 4.4.4. 4.7.4 Обработка результатов 4.7.4.1 Коэффициент фильтрации (нормальный) в направлении, перпендикулярном к плоскости полотна, Кн, м/сут, приведенный к условиям фильтрации при температуре 20 °С, вычисляют по формуле где Кн - коэффициент фильтрации, м/сут; 8640 - переводной коэффициент из см/с в м/сут; V - объем профильтровавшейся воды (вместимость мерного цилиндра), см3; RT - поправочный коэффициент (температурный) по рисунку А.1 (приложение А); F - площадь поперечного сечения фильтрационной трубки, см2; t - средняя продолжительность фильтрации воды с учетом 4.5.2 (время заполнения мерного цилиндра), с; δ - толщина пробы геотекстильного материала, см; Н - высота столба воды (напор), мм. 4.8 Особенности определения водопроницаемости геотекстильных материалов в плоскости полотна4.8.1 Прибор по рисункам 1б, 2б должен отвечать следующим дополнительным требованиям: - минимальные размеры прямоугольной фильтрационной камеры (пробы) ширина × длина в направлении потока воды (длины пути фильтрации) - 50 × 300 мм (для схемы по рисунку 1б); - минимальный диаметр фильтрационной камеры (размер пробы) для приборов по схеме рисунка 2б, предусматривающих подачу воды из центра кольцевого образца к его краям, - 90 мм (внешний), 30 мм (внутренний); - над и под пробой должны быть прокладки из резины или другого материала с замкнутыми порами, подобранные по толщине и деформативности таким образом, чтобы обеспечивалась герметичность контакта с пробой и отсутствовало влияние прокладок на результаты испытаний. Рекомендуемые значения толщины каждой из прокладок для проб толщиной до 10 мм - 10 мм, для проб большей толщины - от 1,0 до 1,25 толщины проб, но не более 25 мм. Рекомендуемые значения деформативности прокладок представлены на рисунке Г.1 (приложение Г); - фильтрационная камера прибора с прокладками должна быть герметична. При давлении на уровне образца 2 кПа, градиенте напора 5,0 и отсутствии пробы в камере расход воды не должен превышать 0,2 см3/с; - прибор должен позволять испытывать пробы толщиной не более 25 мм. Если дополнительные требования для прибора по рисунку 1б не соблюдаются, должна быть выполнена градуировка с применением прибора, удовлетворяющего дополнительным требованиям. Для прибора по рисунку 2б градуировка должна быть выполнена в любом случае с применением прибора по рисунку 1б, удовлетворяющего дополнительным требованиям. 4.8.2 В состав прибора по рисункам 1б, 2б должны входить: - фильтрационная камера прямоугольной или круглой формы, позволяющая пропускать воду в плоскости полотна, герметичная по контакту с пробой, исключая назначенные места входа и выхода воды; - устройство для передачи давления на пробу; - устройство для подачи и емкость для сбора воды; - устройство для измерения напора; - подобранные по толщине и деформативности прокладки по 4.8.1, размеры которых соответствуют размерам фильтрационной камеры и размеру элементов, непосредственно передающих давление на пробу. 4.8.3 Подготовка к испытанию 4.8.3.1 Выполняют подготовительные операции по 4.4.1, 4.4.2. 4.8.3.2 Выполняют сборку прибора, включая все его элементы, в том числе резиновые прокладки, но без размещения между ними пробы геотекстильного материала. 4.8.3.3 Создают давление на резиновые прокладки 2 кПа и в фильтрационную камеру прибора подают воду при градиенте напора 5,0. 4.8.3.4 Поддерживают заданный градиент напора воды и измеряют расход воды в течение 5 мин. Если расход воды превышает 0,2 см3/с, меняют резиновые прокладки и повторяют операции 4.8.3.2, 4.8.3.3. 4.8.3.5 В фильтрационную камеру, предварительно удалив нагрузочное устройство и другие, расположенные над пробой элементы прибора, на нижнюю резиновую прокладку помещают пробу. При испытаниях на приборах по схеме на рисунке 1б с прямоугольной камерой длина трех из шести проб должна совпадать с направлением подлине рулона, остальных трех - с направлением по ширине рулона геотекстильного материала. На поверхности пробы устанавливают верхнюю резиновую прокладку и нагрузочное устройство, выполняя дальнейшую подготовку по 4.4.4. 4.8.4 Обработка результатов 4.8.4.1 Коэффициент фильтрации (горизонтальный) в плоскости полотна Кг, м/сут, приведенный к условиям фильтрации при температуре 20 °С, вычисляют по формулам: - для приборов по схемам на рисунке 1б - для приборов по схемам на рисунке 2б где 8640 - переводной коэффициент из см/с в м/сут; V - объем профильтрованной воды, см3; RT - поправочный коэффициент по рисунку А.1 (приложение А); δ, В, L - толщина, ширина и длина (длина - в направлении фильтрации) пробы в испытаниях по схемам на рисунке 1б, см; t - средняя продолжительность фильтрации воды с учетом 4.8.3.4 (время заполнения мерного цилиндра), с; Н - высота столба воды (напор), мм; D и D1 - внешний и внутренний диаметры кольцевой пробы в испытаниях по схеме на рисунке 2б, см. 4.9 Оформление результатов испытаний4.9.1 В процессе подготовки, проведения и обработки результатов испытаний проб ведут журналы по формам, приведенным в приложениях Б, В. 4.9.2 Если число предварительно назначенных давлений на пробу и значений напоров составляет не менее трех, строят графики зависимости коэффициента фильтрации от напора при разных давлениях отдельно по каждому из направлений. Приложение
А
| ||||||||||||||||||||||||||||||||||||||||||||||||||||||||||||||||||||||||||||||||||||||||||||||||||||||||||||||||||||||||||||||||||||||||||||||||||||||||||||||||||||||||||||||||||||||||||||||||||||||||||||||||||||||||||||||||||||||||||||||||
Журнал лабораторного определения водопроницаемости геотекстильных материалов перпендикулярно к плоскости полотнаОрганизация(лаборатория)________________________________________________________ Марка материала ________________________________________________________________Поверхностная плотность ______________________________________________________г/м2Вид материала __________________________________________________________________Дата отбора проб (испытаний) _________________________________ (__________________) Наименование прибора и краткие сведения о нем_____________________________________ ________________________________________________________________________________ Площадь поперечного сечения фильтрационной трубки ____________________________см2 Температура в лаборатории _____________________________________________________°С Обозначение пробы _____________________________________________________________
Руководитель лаборатории________________________________________________________ (личная подпись, инициалы, фамилия) Исполнитель____________________________________________________________________(должность, личная подпись, инициалы, фамилия)
|
|||||||||||||||||||||||||||||||||||||||||||||||||||||||||||||||||||||||||||||||||||||||||||
Журнал лабораторного определения водопроницаемости геотекстильных материалов в плоскости полотнаОрганизация(лаборатория)________________________________________________________ Марка материала ________________________________________________________________ Поверхностная плотность _____________________________________________________г/м2 Вид материала __________________________________________________________________Дата отбора проб (испытаний)__________________________________(__________________) Наименование прибора и краткие сведения о нем_____________________________________ ________________________________________________________________________________ Размеры пробы (ширина × длина)_____________________см_________________________ смили диаметры (внутренний × внешний) Направление фильтрации (вдоль, поперек рулона или из центра) _______________________ Температура в лаборатории _____________________________________________________°С Обозначение пробы______________________________________________________________
Руководитель лаборатории________________________________________________________(личная подпись, инициалы, фамилия) Исполнитель____________________________________________________________________ (должность, личная подпись, инициалы, фамилия) |
||||||||||||||||||||||||||||||||||||||||||||||||||||||||||||||||||||||||||||||||||||||||||||||||||||||||||||||||

Δh - относительное снижение толщины прокладки в результате передачи на нее давления Р
Рисунок Г.1 - Рекомендуемые значения деформативности резиновых прокладок, контактирующих с пробой по результатам их испытаний на сжатие (заштрихованная зона)
[1] Санитарные нормы СанПиН 2.1.4.1074-2001 Питьевая вода. Гигиенические требования к качеству воды централизованных систем питьевого водоснабжения. Контроль качества
Ключевые слова: геотекстильные материалы, геодрены, методы определения водопроницаемости перпендикулярно к плоскости полотна и в плоскости полотна при определенных давлениях и напорах
|
|
|
|