//
|
|
Шум РУКОВОДСТВО ПО СНИЖЕНИЮ ШУМА ГЛУШИТЕЛЯМИ ISO 14163:1998
Предисловие Цели, основные принципы и основной порядок проведения работ по межгосударственной стандартизации установлены ГОСТ 1.0-92 «Межгосударственная система стандартизации. Основные положения» и ГОСТ 1.2-97 «Межгосударственная система стандартизации. Стандарты межгосударственные, правила и рекомендации по межгосударственной стандартизации. Порядок разработки, принятия, применения, обновления и отмены» Сведения о стандарте 1 ПОДГОТОВЛЕН Открытым акционерным обществом «Научно-исследовательский центр контроля и диагностики технических систем» на основе собственного аутентичного перевода стандарта, указанного в пункте 4 2 ВНЕСЕН Федеральным агентством по техническому регулированию и метрологии 3 ПРИНЯТ Межгосударственным советом по стандартизации, метрологии и сертификации (протокол № 29 от 24 июня 2006 г.) 4 Настоящий стандарт является модифицированным по отношению к международному стандарту ИСО 14163:1998 «Акустика. Руководство по снижению шума глушителями» (ISO 14163:1998 «Acoustics - Guidelines for noise control by silencers»). При этом дополнительные слова и фразы, внесенные в текст стандарта для учета потребностей национальной экономики указанных выше государств или особенностей межгосударственной стандартизации, выделены курсивом. Отличия настоящего стандарта от примененного в нем международного стандарта ИСО 14163:1998 указаны во введении 5 Приказом Федерального агентства по техническому регулированию и метрологии от 28 ноября 2006 г. № 276-ст межгосударственный стандарт ГОСТ 31328-2006 (ИС014163:1998) введен в действие в качестве национального стандарта Российской Федерации с 1 апреля 2007 г. 6 ВВЕДЕН ВПЕРВЫЕ Информация о введении в действие (прекращении действия) настоящего стандарта и изменений к нему публикуется в указателе «Национальные стандарты». Информация об изменениях к настоящему стандарту публикуется в указателе «Национальные стандарты», а текст изменений - в информационных указателях «Национальные стандарты», В случае пересмотра или отмены настоящего стандарта соответствующая информация будет опубликована в информационном указателе «Национальные стандарты» Содержание Введение В случаях, когда воздушный шум не может быть снижен в источнике возникновения, глушители являются эффективным средством ослабления звука на пути его распространения. Глушители имеют многочисленные области применения и разнообразные конструкции с использованием эффектов поглощения и отражения, а также воздействия на источник звука. Настоящий стандарт предлагает систематизированное описание принципов действия, характеристик и областей применения глушителей. Настоящий стандарт имеет следующие отличия от примененного в нем международного стандарта ИСО 14163:1998. Из раздела «Нормативные ссылки» перенесены в структурный элемент «Библиография» международные стандарты ИСО 7235, ИСО 11691 как не имеющие межгосударственных аналогов или не введенные в качестве межгосударственных стандартов. Библиографические ссылки даны в порядке следования по тексту стандарта. Безадресные библиографические ссылки исключены. В некоторых случаях изменен стиль изложения и незначительно сокращен текст для улучшения понимания стандарта и удобства пользования им. Другие отличия от аутентичного текста, выделенные курсивом, носят редакционный характер и не нуждаются в пояснениях.
Дата введения - 2007-04-01 1 Область примененияВ настоящем стандарте даны рекомендации по практическому выбору глушителей для ослабления шума в газообразной среде. Стандарт устанавливает акустические и эксплуатационные требования, которые должны быть согласованы между производителем или поставщиком и пользователем глушителя. Основные принципы действия глушителей изложены в настоящем стандарте, но он не является руководством по проектированию. Глушители применяют, кроме прочего, в следующих областях (см. приложение А) - для ослабления шума и предотвращения взаимного влияния источников шума в системах теплоснабжения, вентиляции и кондиционирования воздуха (ТВКВ); - для предотвращения или ослабления передачи звука через вентиляционные отверстия между помещениями с высокими уровнями шума; - для ослабления шума выпуска магистралей высокого давления; - для ослабления шума впуска и выпуска двигателей внутреннего сгорания; - для ослабления впускного и выпускного шума вентиляторов, компрессоров и турбин. Глушители классифицируют в соответствии с их типами, эксплуатационными параметрами и областью применения. Активные и адаптивные системы ослабления шума настоящий стандарт детально не рассматривает. 2 Нормативные ссылкиВ настоящем стандарте использованы нормативные ссылки на следующие межгосударственные стандарты: ГОСТ 31274-2004 (ИСО 3741:1999) Шум машин. Определение уровней звуковой мощности по звуковому давлению. Точные методы для реверберационных камер (ИСО 3741:1999 «Акустика. Определение уровней звуковой мощности источников шума по звуковому давлению. Точные методы для реверберационных камер», MOD) ГОСТ 31275-2002 (ИСО 3744:1994)1) Шум машин. Определение уровней звуковой мощности источников шума по звуковому давлению. Технический метод в существенно свободном звуковом поле над звукоотражающей плоскостью (ИСО 3744:1994 «Акустика. Определение уровней звуковой мощности источников шума по звуковому давлению. Технический метод в существенно свободном звуковом поле над звукоотражающей плоскостью», MOD) ГОСТ 31324-2006 (ИСО 11820:1996) Шум. Определение характеристик глушителей при испытаниях на месте установки (ИСО 11820:1996 «Акустика. Определение характеристик глушителей при испытаниях на месте установки», MOD) 1) На территории Российской Федерации действует ГОСТ Р 51401-99 (ИСО 3744-94). Примечание - При пользовании настоящим стандартом целесообразно проверить действие ссылочных стандартов поуказателю «Национальные стандарты», составленному по состоянию на 1 января текущего года, и по соответствующим информационным указателям, опубликованным в текущем году. Если ссылочный стандарт заменен (изменен), то при пользовании настоящим стандартом следует руководствоваться замененным (измененным) стандартом. Если ссылочный стандарт отменен без замены, то положение, в котором дана ссылка на него, применяется в части, не затрагивающей эту ссылку. 3 Термины, определения и обозначенияВ настоящем стандарте применены следующие термины с соответствующими определениями и обозначениями: 3.1 глушитель (silenser): Устройство, которое уменьшает передачу звука через канал, трубу или отверстие, не препятствуя переносу среды. 3.2 диссипативный глушитель (dissipative silencer, absorptive silencer): Глушитель, обеспечивающий широкополосное ослабление звука при относительно малых потерях давления частичным преобразованием звуковой энергии в тепловую посредством трения в пористых или волокнистых облицовках канала. 3.3 реактивный глушитель (reactive silencer): Отражательный или резонаторный глушитель, в котором большая часть ослабления шума не связана с поглощением звуковой энергии. 3.4 отражательный глушитель (reflective silencer): Реактивный глушитель, обеспечивающий одиночные или многократные отражения звука от изменений (расширений и сужений) поперечного сечения канала, канальных облицовок с резонаторами или разветвлений канальных секций различной длины. 3.5 резонаторный глушитель (resonator silencer): Реактивный глушитель, обеспечивающий ослабление звука благодаря слабодемпфированным резонансам своих элементов. Примечание - Элементы могут как содержать, так и не содержать поглощающие материалы. 3.6 глушитель сброса (blow-off silencer): Глушитель, применяемый в устройствах выброса пара и линиях снижения давления, дросселирующих газовый поток посредством значительных потерь давления в пористом материале, и обеспечивающий ослабление звука снижением скорости потока на выходе и воздействием на источник звука (например, клапан). 3.7 активный глушитель (active silencer): Глушитель, обеспечивающий снижение звука за счет интерференционных эффектов, создаваемых звуком, генерируемым вспомогательными управляемыми звуковыми источниками. 3.8 адаптивный пассивный глушитель (adaptive passive silencer): Глушитель с пассивными ослабляющими звук элементами, динамически подстраиваемыми под звуковое поле. 3.9 вносимые потери (insertion loss) Di дБ: Разность уровней звуковой мощности проходящего по каналу или через отверстие звука при наличии глушителя и в его отсутствие. 3.10 вносимая разность уровней звукового давления (insertion sound pressure level difference) Dip, дБ: Разность уровней звукового давления при отсутствии внешнего шума в точке приема звука без глушителя и при установленном глушителе. 3.11 потери при прохождении (transmission loss) Dt, дБ: Разность уровней звуковой мощности на входе глушителя и прошедшей через него. Примечание - Для стандартных испытательных лабораторий Dt равно Di с учетом того, что Dt и Di полученные при измерениях на месте установки, часто различаются из-за ограниченных возможностей методов измерений. 3.12 ослабление неоднородностями (discontinuity attenuation) Ds, дБ: Часть вносимых потерь глушителя или секции глушителя, обусловленная наличием неоднородностей. 3.13 удельные потери распространения (propagation loss) Da, дБ/м: Уменьшение уровня звукового давления на единицу длины, наблюдаемое в среднем сечении глушителя, имеющего постоянное поперечное сечение и неизменные параметры конструкции, определяющие продольное ослабление для основной моды. 3.14 потери отражения на выходе (outlet reflection loss) Dm, дБ: Разность уровней звуковой мощности, падающей на открытый конец канала и прошедшей через него. 3.15 моды (modes): Стабильные пространственные структуры звукового поля в канале (или поперечная форма стоячих волн), существующие независимо друг от друга и испытывающие разное ослабление. Примечание - Основная мода испытывает наименьшее ослабление. В узких и протяженных трубах особенно сильно ослабляются моды высших порядков. 3.16 частота возникновения моды (cut-on frequency), Гц: Наименьшее значение частоты, при котором мода в трубе с жесткими стенками еще способна распространяться. Примечание 1) Для трубы с круглым поперечным сечением частота возникновения первой моды fcC = 0,59 с/С, где с - скорость звука; С - диаметр трубы. Для прямоугольного канала с наибольшим размером поперечного сечения Н частота возникновения первой моды fcH = 0,5 с/H. 2) В научно-технической литературе на русском языке вместо термина «частота возникновения моды» иногда применяют термин «критическая частота моды». 3.17 потери давления (pressure loss) Δpt, Па: Разность средних полных давлений в начале и в конце глушителя. 3.18 потоковый шум (regenerated sound, flow noise): Шум, обусловленный движением потока в глушителе. Примечание 1 Уровни звуковой мощности и потери давления, измеренные при лабораторных испытаниях, относятся к случаю однородного поперечного распределения потока на входе глушителя. Если эта однородность распределения потока не достигается в условиях испытаний на месте установки, например вследствие особенностей конструкции выходной части канала, то возможны высокие уровни потокового шума и высокие потери давления. 2 Далее в стандарте использован термин «потоковый шум», в то время как в оригинале ИСО 14163 применен также термин «регенерированный звук». Как правило, этот термин применяют, если генерируемый потоком шум имеет явно выраженный тональный характер. 4 Определение технических требований и выбор конструктивных решений4.1 Необходимые требования4.1.1 В общем случае уровень звукового давления (А - взвешенный, 1/3-октавный или октавный) не должен превышать определенной величины в заданной точке (например, на рабочем месте, вблизи него или в помещении для отдыха). Допустимый вклад источника звука может быть определен по уровню звуковой мощности и показателю направленности этого источника с использованием закономерностей распространения звука и требований относительно долей других источников звука. Требуемые вносимые потери глушителя задаются разностью допустимого и реального уровней звуковой мощности источника шума. В простых случаях, когда принимаемый звук зависит исключительно от источника, подлежащего ослаблению, необходимая вносимая разность уровней звукового давления глушителя может быть вычислена непосредственно как разность реального и допустимого уровней звукового давления в точке наблюдения. В случае, когда разность показателей направленности источника при наличии глушителя и без него пренебрежимо мала, вносимая разность уровней звукового давления равна вносимым потерям глушителя. 4.1.2 Допустимые потери давления не должны быть превышены. Примечание - Это требование следует формулировать по возможности четко. В отличие от неопределенного требования «как можно меньше» должен быть найден разумный предел. Даже когда потери давления рассматривают как «некритичный параметр», предельное значение должно быть определено из максимально допустимой скорости потока, которая не должна быть превышена из соображений механической прочности, опасности появления потокового шума или неоправданно высоких энергетических затрат. 4.1.3 Допустимый размер глушителя должен быть по возможности минимальным (из соображений стоимости и массы). Примечание - Это некоторый минимальный размер, который (при заданных обстоятельствах) не может быть уменьшен. Этот размер зависит от требуемого снижения уровня звука, допустимых потерь давления и других ограничений относительно используемых (или нежелательных к использованию) материалов, устойчивости к различного рода нагрузкам и т.д. 4.1.4 Дополнительные требования (касающиеся материалов, долговечности, герметичности и т.д.) обусловлены использованием глушителя при высоких температурах, запыленности, влажности или агрессивных газах, в магистралях высокого давления или при высоких уровнях звука и вибрации, а также при объединении глушителей с устройствами, контролирующими выпуск газа, искрогасителями и пылеулавливателями. 4.2 Выбор конструкции и места размещения глушителейСпециальная информация, относящаяся к глушителям, может быть взята из: - результатов измерений при лабораторных испытаниях в соответствии с [1]; - данных испытаний, полученных производителем глушителя; - теоретических моделей для расчета удельных потерь распространения и вносимых потерь глушителей с круглым или прямоугольным поперечным сечением; - методов прогнозирования (предварительной оценки) потерь давления и уровня потокового шума. Выбор диссипативного или отражательного глушителя, или глушителя сброса должен быть определен областью его применения или на основании требований настоящего стандарта. Результаты, полученные компьютерными расчетами вносимых потерь для диссипативных глушителей, зависят от предположений относительно значения сопротивления потоку в глушителе и его распределения, а также акустической эффективности облицовки [2]. Трудно учесть при расчетах определенные геометрические особенности, такие как смещения звукопоглощающих пластин или разделителей поглотителей. Наиболее точными являются вычисления параметров вибрации конструкции и вибрации, обусловленной условиями эксплуатации. Воздействия потока на характеристики реактивных глушителей рассчитывают с помощью сложного специального программного обеспечения. 4.3 Проектирование специальных глушителейПроектирование специальных глушителей обычно является итерационным процессом, имеющим следующие характерные этапы: a) грубая оценка требований к размерам свободных каналов для потока совместно с пространством для распределения звука, например с использованием данных, заявленных производителями аналогичных глушителей и взятых для расчета специальных требований и ограничений; b) построение модели для прогнозных вычислений или измерений; c) использование результатов моделирования для сравнения с требуемыми уровнями звука и потерями давления; d) изменение размеров и замена поглощающих материалов для удовлетворения требований или оптимизации конструкции; e) формулировка специальных требований. 5 Типы глушителей, общие принципы и условия эксплуатации5.1 ОбзорГлушители используют в целях: - предотвращения пульсаций и колебаний газа в источнике; - уменьшения преобразования пульсаций и колебаний в звуковую энергию; - обеспечения преобразования звуковой энергии в тепловую. Результирующие вносимые потери глушителя, установленного в канал, в общем случае зависят от степени реализации всех указанных целей. В соответствии с превалирующим механизмом ослабления глушители могут быть классифицированы как (см. таблицу 1): - диссипативные глушители; - реактивные глушители, включая резонаторные и отражательные глушители; - глушители сброса; - активные глушители. Таблица 1 - Типичные достоинства и недостатки глушителей различных типов
5.1.1 Диссипативные глушители Эти глушители обеспечивают широкополосное ослабление звука преобразованием звуковой энергии в тепловую при относительно малых потерях давления. Следует применять меры предосторожности для предотвращения образования налета или забивания поверхности звукопоглощающего материала в случае использования диссипативных глушителей в каналах с переносом газов, загрязненных пылью или образующими налет материалами. Пористые поглотители, изготовленные из хороших волокнистых материалов или тонкостенных структур, могут быть механически разрушены сильно изменяющимся по амплитуде давлением. 5.1.2 Резонаторные глушители (реактивные) Эти глушители обеспечивают преобразование пульсаций и колебаний газа в звуковую энергию и поглощают звук. Простые резонаторы устанавливают как боковые ответвления в стенках канала. Группы резонаторов используют как облицовку канала или разделительные элементы (дефлекторы) в трубах, что ограничивает падение давления. Резонансы преимущественно настроены на низкие и промежуточные частоты, где требуется ослабление. Характеристика ослабления, ограниченная узким частотным диапазоном, чувствительна к проходящему потоку и может (при определенных неблагоприятных условиях) стать отрицательной, что приведет к генерации тонального звука. 5.1.3 Отражательные глушители (реактивные) Отражательные глушители обеспечивают преобразование пульсаций и колебаний газа в звуковую энергию. Обычно эти глушители выбирают из-за их прочности, когда применение чисто диссипативных глушителей менее удобно и допустимы повышенные потери давления. Такие ситуации наблюдаются, например, когда газовые потоки переносят пыль, или при высоких скоростях и давлениях потока, или при сильных механических вибрациях. Максимальное ослабление и частоты, на которых оно имеет место, будут зависеть от параметров потока. В некоторых частотных полосах возможны малые или отрицательные значения ослабления. 5.1.4 Глушители сброса Глушители сброса, которые устанавливают в линиях сброса пара или сжатого воздуха, воздействуют на источник звука, например, клапан, снижая скорость выходного потока, и пропускают его через поверхность большой площади. Преобразование звука в тепло при этом обычно незначительно. Большие потери давления требуют большой механической прочности таких глушителей. Их характеристики могут зависеть от частиц вещества, переносимых газом. Глушители сброса подвержены опасности обледенения. 5.1.5 Активные глушители Такие глушители состоят в основном из совокупности громкоговорителей, управляемых усилителями, на входы которых надлежащим образом подключены микрофоны. Управление осуществляется с помощью высокопроизводительного компьютера или контроллера. Такие специализированные устройства не являются объектом настоящего стандарта. Активные глушители наиболее эффективны для низких частот, где пассивные диссипативные глушители обеспечивают малое ослабление. Примечание - Активные системы в настоящее время предлагают исключительно как индивидуальные заказные решения для частных применений, и поэтому настоящий стандарт их не рассматривает. 5.2 Акустические и аэродинамические характеристики глушителейТребуемое от глушителя ослабление задают вносимыми потерями Di если не определена конкретная точка приема, или вносимой разностью уровней звукового давления Dip в конкретной точке в 1/3-октавных или в октавных полосах частот. В соответствии с методами лабораторных испытаний по [1] ослабление должно быть измерено в 1/3-октавных полосах частот. Величины, относящиеся к октавным полосам частот, могут быть вычислены по формуле
Где D1/3,k (k=1,2,3) - ослабление в 1/3-октавных полосах, относящееся кодной октавной полосе, дБ, и D1/1 - результирующее ослабление в данной октавной полосе. Заявляемое ослабление в целой октавной полосе будет применимо для широкополосного шума и для широкополосных глушителей. Для тонального шума и для резонаторных глушителей, эффективных в узкой полосе частот, ослабление должно быть задано в 1/3-октавных полосах. Примечание - Ослабление в октавных полосах может сильно зависеть от спектра шума (см. приложение В). Необходимым параметром для выбора глушителя являются допустимые потери давления в потоке. Они не должны превысить потери полного давления Δрt, которые зависят от средней скорости потока и плотности газа, а также условий распространения потока, описываемых уравнением где ζ- коэффициент потерь полного давления, определенных по [1] для условий однородного потока на обоих концах глушителя; Δζ -коэффициент дополнительных потерь давления, обусловленный отличием условий переноса потока на месте эксплуатации глушителя от условий при лабораторных испытаниях (эта величина подлежит экспериментальной оценке); р - плотность газа, кг/м3; v1 - средняя скорость потока во входном сечении, м/с. Примечание - Определения коэффициента потерь полного давления отличаются от определений, устанавливаемых [1]. Поэтому необходимо проверять соответствие определений перед использованием всех величин. Например, имеется другое определение скорости потока v\ как скорости в самом узком поперечном сечении глушителя. Это приводит к существенно более низким значениям ζ Другими требующими рассмотрения параметрами, влияющими на акустические и аэродинамические характеристики, являются: - потоковый шум; - максимальные размеры, допустимые для глушителя; - необходимая долговечность глушителя, подвергающегося воздействию потока, пульсаций давления и механической вибрации. 5.3 Пути распространения звукаПомимо прямого распространения звука через глушитель до точки приема 8 (рисунок 1, путь 1) возможно распространение звука многими другими путями. Дополнительные пути излучения: a) от корпуса источника б (путь 2); b) от стенок канала, расположенных до глушителя (путь 3); c) от корпуса 7 самого глушителя (путь 4) и d) структурно распространяющегося звука по глушителю и за ним (путь 5). Распространение звука вдоль указанных боковых путей должно быть исключено обеспечением корпусов источников и стенок канала соответствующей звукоизоляцией и установкой виброизоляторов для устранения распространения структурного шума.
Рисунок 1 - Пути распространения звука (схематично) 5.4 Акустические эффекты, зависящие от монтажаОбеспечиваемое глушителем ослабление звука для определенных типов глушителей и способов применения зависит от характеристик источника, присоединенного со стороны впускного конца, и характеристик оконечного устройства со стороны выпуска. Эффекты, зависящие от условий монтажа, имеют место особенно для реактивных глушителей и для глушителей всех типов на низких частотах. Это также важно, если и источник, и оконечная нагрузка являются реактивными, т.е. непоглощающими. При этих условиях появляющиеся нежелательные резонансные эффекты могут привести к сильной связи между различными частями системы. Формально влияние таких условий монтажа может быть описано формулой
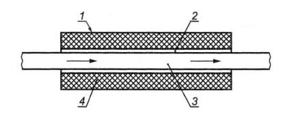
где Lw(rad) - уровень звуковой мощности, излучаемый концом канала, дБ; Lw(source) - уровень звуковой мощности, излучаемый источником в канал с безэховым оконечным устройством, дБ; Dt- потери при прохождении (см. 3.11), дБ; Dm - потери при отражении от выпускного конца канала (см. 3.14 и 6.2.2.2), дБ; Е - коррекция, учитывающая условия монтажа, дБ. В диссипативных системах Е обычно не превышает 10 дБ. Воздействие отраженного звука на источник, описываемое слагаемым Е, может приводить к увеличению или уменьшению излучения звука. Примечание - Для сильно реактивных систем в узкой полосе частот Е может принимать большое положительное значение, что указывает на реальное усиление глушителем звуковой энергии источника. 5.5 Устойчивость к абразивному износу и защита поглощающих поверхностейИзнос материалов, используемых в диссипативных глушителях, может привести к появлению частиц звукопоглощающего наполнителя, переносимых газовым потоком. Примечание - Практически отсутствуют данные о допустимой концентрации частиц для длительной работы глушителя. Если поверхность звукопоглощающего материала повреждена, даже при небольшой скорости потока возможно выдувание большого количества частиц вследствие эрозии. В результате этого может быть целиком истощен поглощающий элемент (поглощающая пластина). Защиту звукопоглощающего наполнителя глушителей от влаги, воды или загрязнений, переносимых газом (в частности в больницах и на предприятиях общественного питания и пищевой промышленности), обеспечивают герметичной упаковкой звукопоглотителя в фольгу. Такая фольга, уменьшая характеристики ослабления на высоких частотах (обычно свыше 1 кГц), может порваться во время работы установки. Разность полного (т.е. статического и динамического) давления внутри и снаружи изолируемого элемента является причиной напряжения в фольге. Высокие температуры и острые (и горячие) частицы в потоке увеличивают риск повреждения, таким образом, защита звукопоглощающего наполнителя с помощью фольги требует тщательного подбора ее толщины, учета температуры, скорости потока и запыленности газа. 5.6 Противопожарная защита и взрывозащитаСуществует повышенная опасность возгорания или передачи пламени вентиляционными глушителями при переносе масляных аэрозолей. Такие глушители применяют, в частности, в химических лабораториях, больших кухнях и испытательных установках для двигателей. Органические вещества, такие как пшеничная или молочная пыль, могут образовывать взрывоопасные смеси с воздухом, и, что следует учитывать, когда запыленные этими веществами газовые потоки переносятся через глушитель. Во всех этих областях использования глушителей и в соответствии со строительными нормами и правилами для изготовления глушителей следует применять негорючие материалы. Накапливание жировых, масляных веществ и пыли в поглощающих материалах должно быть исключено применением соответствующих конструкций глушителей и выбором места их расположения. Резонаторные глушители без поглощающих материалов с использованием мер предосторожности от пылевых отложений также пригодны с точки зрения требований противопожарной защиты и взрывозащиты. 5.7 Запуск и останов оборудованияГлушители, используемые в технологическом оборудовании, могут быть причиной возникновения трудностей при его запуске и останове. Необходимо обеспечить достаточное пространство для размещения компонентов глушителя, чтобы допустить значительные изменения давления и/или температуры. В частности, при изменениях давления и наличии защитных покрытий из фольги снятие давления должно происходить и в слое поглотителя. Запуск и останов оборудования часто проводят при температурах ниже точки росы внутри поглощающей облицовки и внутри корпуса глушителя. Накапливание влаги должно быть предотвращено (например, с помощью установки «осушения»). При этом возможна коррозия. Конденсат следует удалять через дренаж. 5.8 КоррозияМеталлические листы оболочек, кожухов и перегородок глушителей, равно как и монтажные фланцы, должны быть защищены от воздействия атмосферных факторов, кислот в выпускных газах и разностей электрических потенциалов различных материалов. Коррозию можно предотвратить подбором специальных материалов (например, алюминия) или применением защитных покрытий (например, резины). 5.9 Гигиенические требования и риск зараженияДолжны быть удовлетворены специальные требования, например: - к чистым помещениям; - к производствам приготовления пищи; - к помещениям медицинского назначения; - к энергетическим предприятиям. Гигиенические проблемы могут возникать при отложении пыли на адгезивных поверхностях звукопоглощающих облицовок, особенно при повышенной влажности. Существует риск бактериального заражения, особенно при повышении температуры. Ядерное загрязнение может иметь место в ядерных энергетических установках. В таких критических условиях следует использовать для глушителей гладкие поверхности. Следует исключать наличие больших полостей и выступающих ребер из-за их способности накапливать пыль и влагу, а также увеличивать потери давления. 5.10 Осмотр и очистка, обеззараживаниеМероприятия по осмотру, чистке или замене глушителей или пластин следует проводить по мере необходимости. Специальные требования к широко используемым системам кондиционирования воздуха предусматривают проводить очистку и обеззараживание через определенные интервалы времени. Поэтому необходимо обеспечить демонтаж элементов (пластин) для очистки (обеззараживания) или замены. В этом случае корпус глушителя должен быть основательно очищен. В зависимости от конструкции звукопоглощающие пластины должны быть очищены с использованием сжатого воздуха, струи пара, щеток и растворителей или обеззараживающих жидкостей. Налет пыли, образующийся на звукопоглощающих пластинах после определенного времени эксплуатации в условиях запыленного потока, приводит к уменьшению вносимых потерь. Поэтому должны быть проведены соответствующие мероприятия, обеспечивающие очистку звукопоглощающих пластин через определенные интервалы времени. 6 Представление характеристик глушителей различных типов6.1 Диссипативные глушители6.1.1 Простые диссипативные глушители Простой диссипативный глушитель представляет собой прямую трубу со звукопоглощающей облицовкой круглого или прямоугольного поперечного сечения без каких-либо соединений (см. рисунок 2).
1 - оболочка; 2 - звукопроницаемое покрытие; 3 - труба для прохождения потока; 4 - звукопоглощающий материал Рисунок 2 - Диссипативный глушитель (схематично) Звукопоглощающий элемент состоит из одного или нескольких слоев поглощающего материала и звукопроницаемого покрытия. В качестве поглощающего материала используют тонкие минеральные, металлические или пластмассовые волокна и структуры с открытыми порами, изготовленные из пенопласта, металлокерамики или бетона. В крупнозернистых структурах скорость воздуха имеет меньшее влияние по сравнению с турбулентностью. В этом случае разность давлений будет увеличиваться как квадрат скорости потока. Такие нелинейные эффекты могут иметь место в глушителях, где поток проходит через поглотитель или вдоль него. Для защиты волокнистых и пористых материалов, испытывающих большие нагрузки, применяют перфорированные металлические листы с ромбовидной или ребристой ячейкой в сочетании с плотно сплетенным проволочным экраном, стеклотканью или полотном из стального волокна. Для ослабления жестких условий эксплуатации могут быть использованы тонкая фольга, стекловолокно или синтетическая вата. Потери при прохождении Dt (или вносимые потери Di см. 3.11) в простом диссипативном глушителе могут быть выражены формулой
где Ds - ослабление неоднородностями, дБ; Da - удельные потери распространения вдоль глушителя, дБ/м; l - длина глушителя, м. Ослабление неоднородностями может быть определено путем измерений при лабораторных испытаниях для некоторого типа глушителя при двух разных длинах l1, и l2. Если вносимые потери Di1 и Dj2 измерены для длин l1, и l2 при отсутствии влияния побочной передачи звука внутри или вокруг глушителя, ослабление неоднородностями Ds может быть определено по формуле
Удельные потери распространения определяют из таких измерений следующим образом:
Для качественной оценки удельных потерь распространения Da может быть использовано отношение Пейнинга:
где U - длина периметра канала, облицованного изнутри звукопоглощающим материалом, м; S - площадь поперечного сечения канала, м2; a - коэффициент поглощения звука покрытия. Чем больше отношение площади поверхности поглотителя Ul к площади поперечного сечения канала S и выше коэффициент поглощения облицовки глушителя а, тем выше эффективность диссипативного глушителя. Наличие небольших звукоотражающих поверхностей приводит лишь к незначительному отклонению от этой закономерности. Свободная площадь поперечного сечения канала S зависит от максимально допустимой скорости потока. Эта скорость не должна чрезмерно увеличиваться из-за ее влияния на срок службы глушителя, вносимые потери и потоковый шум. Если площадь определяется размерами присоединяемой трубы, то поперечное сечение может быть круглым или прямоугольным. Из формулы (7) следует, что более предпочтительными являются узкие прямоугольные отверстия, длинные стороны которых облицованы звукопоглощающим материалом. Эти отверстия препятствуют также образованию звуковых лучей в случае, если расстояние между стенками превышает половину длины звуковой волны. Высокие значения коэффициента поглощения звука возможны при условии, что толщина звукопоглощающей облицовки составляет не менее одной восьмой части длины звуковой волны. Этот критерий выполняется в простых диссипативных глушителях даже для низких частот, если присоединяемая к входу глушителя труба имеет достаточно большое поперечное сечение. Когда ширина канала становится значительно меньше половины длины волны подлежащего ослаблению звука, пропорциональность коэффициенту поглощения облицовки, следующая из равенства (7), нарушается. Более того, эта формула неприменима для высоких частот, когда имеет место лучевое распространение звука, совсем не попадающего на звукопоглощающую облицовку. Звукопоглощающий материал характеризуется удельным сопротивлением продуванию r [3].
где rс - плотность поглощающего материала, находящегося под давлением, кг/м3; ru - плотность поглощающего материала при атмосферном давлении, кг/м3; h - вязкость газа, Н·с/м2; а - средний диаметр волокон, м. Для глушителей применяют материалы с удельным сопротивлением продуванию от 5 до 50 кН·с/м4. Влияние температуры и давления на сопротивление продуванию Rs = rd слоя материала толщиной d приблизительно описывается следующим равенством:
где Т- абсолютная температура, К; T0 - абсолютный нуль по шкале Кельвина, К; р - давление газа, Па; р0 - опорное давление газа, Па; rс - волновое сопротивление газа для плоской волны, Н·с/м3. Типичные температуры, ожидаемые для различных источников звука, и предельные температуры для различных звукопоглощающих материалов приведены в приложении С. Примеры для удельных потерь распространения в каналах с круглым поперечным сечением и облицовкой различной толщины изображены на рисунке 3. Они основаны на строгих расчетах в отсутствие потока и типичных значениях для удельного сопротивления минеральной ваты. Слой облицовки имеет сильный эффект поглощения на низких частотах. В некоторых случаях необходимо защитить окружающую обстановку от наполнителя глушителя или наполнитель от газового потока. Это выполняют с помощью тонких непроницаемых или перфорированных покрытий. Для широкополосного ослабления эффективную массу на единицу площади покрытия следует выбирать как можно меньшей. Эффективная масса - это или масса непроницаемой оболочки или масса воздуха, колеблющегося около перфорированного покрытия, деленная на долю открытой площади. Примечание - Часто поверхностная масса непроницаемого покрытия, меньшая чем 0,033 кг/м2, или пористость перфорированного покрытия, большая чем 30 %, являются достаточными. Следует удостовериться, что покрытия не приклеены к наполнителю или, в случае многослойных покрытий, к перфорированному слою, что может уменьшить подвижность.
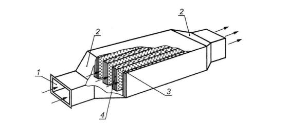
Толщина облицовки t: 1 -0,15 м; 2 - 0,10 м; 3 -0,05 м. Свободный диаметр канала D = 0,2 м. Удельное сопротивление продуванию изотропного поглотителя r = 12 кН·с/м4. Сопротивление продуванию специального покрытия, моделирующего влияние пылевого налета или плотно надетой оболочки Rs = 0,2 кН·с/м3. Рисунок 3 - Зависимость расчетного значения удельных потерь распространения Da от частоты f для простого диссипативного глушителя с круглым поперечным сечением и толщиной облицовки t. Для улучшения ослабления на низких частотах иногда используют утолщенные покрытия или перфорированные покрытия с низкой пористостью. Частые запуск и остановка форсунок могут приводить к накапливанию влаги в газовых каналах глушителя (см. А.2.4). Полимерная фольга не может полностью предотвратить диффузию пара и допускает накапливание влаги в поглотителе, особенно при повреждении фольги. Поглотители должны обладать механической и термической прочностью, и их форма или структура не должна изменяться вследствие вибрации в течение установленного срока службы. 6.1.2 Пластинчатые глушители 6.1.2.1 Общие положения Факторы, определяющие акустические характеристики пластинчатых глушителей, по существу те же самые, что и для простых диссипативных глушителей, описанных в 6.1.1. Пластинчатый глушитель обычно состоит из переходного элемента, служащего для расширения поперечного сечения канала, средней части, содержащей звукопоглощающие пластины (или дефлекторы), прохода или воздуховода для пропускания потока, второго переходного элемента, направляющего звук и поток в канал с поперечным сечением первоначальных размеров (см. рисунок 4). В специальных случаях переходные элементы на обоих концах отсутствуют, или их не считают частью глушителя, если это согласовано заинтересованными сторонами. Наличие некоторого числа параллельных пластин и подходящей свободной площади S способствует достижению высокого ослабления звука в соответствии с равенством (7) при малых потерях давления.
1 - входное поперечное сечение; 2- переходный элемент; 3 - звукопроницаемое покрытие; 4 - звукопоглощающий материал (пластина) Рисунок 4 - Пластинчатый глушитель В зависимости от частотной области вносимые потери пластинчатого глушителя определяются двумя составляющими: ослаблением неоднородностями на входе и удельными потерями распространения вдоль пластин (см. рисунок 5). На низких частотах, когда диаметр присоединенного канала меньше половины длины волны и распространение мод высшего порядка подавлено, ослабление неоднородностями несущественно. На высоких частотах, когда переходный элемент допускает падение звука на пластины под случайными (произвольными) углами, ослабление неоднородностями, обычно составляющее от 6 до 10 дБ, может приводить к увеличению удельных потерь распространения. Дополнительное ослабление неоднородностями эффективно для пластин, в которых изменения внутренней структуры вдоль пути распространения обычно малы.
1 - ослабление неоднородностями; 2 - удельные потери распространения Рисунок 5 - Падение уровня звукового давления Lp вдоль пластинчатого глушителя Все соединения между стенками канала и нижними или верхними краями пластин, которые иногда выполняют в виде широких зазоров (просветов), должны быть герметически закрыты для предотвращения передачи побочного звука. Воздуховоды между пластинами и стенкой могут быть выполнены в половину ширины воздуховода между соседними пластинами. Если удается избежать уменьшения потока по боковым воздуховодам, то крайняя пластина должна быть закреплена на стенке канала. Примечание - С акустической точки зрения крайняя пластина должна иметь половинную толщину, если ее структура однородна. При установке неоднородных по структуре пластин, например, частично облицованных, особое внимание следует уделять инструкциям по монтажу. Как правило, две пластины, образующие воздуховод, должны иметь одинаковую структуру, т.е. структура может изменяться вдоль воздуховода, но не перпендикулярно к нему. Для обеспечения долговечности пластин, подвергающихся воздействию потока со скоростью свыше 5 м/с, следует прибегать к мерам, гарантирующим однородность потока, например к использованию выпрямителей потока. Поток через пластины в поперечном направлении может возникать из-за выдувания материала пластин, что следует предотвращать. Поэтому не рекомендуется располагать пластины сразу за сечениями, в которых сильно изменяется площадь поперечного сечения, и/или сразу за поворотами канала, в противном случае необходимо использовать направляющие стабилизаторы, обеспечивающие однородность потока. Пластины, полностью покрытые фольгой для использования во влажной атмосфере, могут испытывать повышенное внутреннее давление (см. 5.5). Фольга может повреждаться (разрываться, трескаться) в процессе эксплуатации глушителя. Это ухудшает характеристики поглощения на высоких частотах. Для проверки состояния и замены пластин целесообразно предоставлять к ним доступ. При проектировании глушителя необходимо предусмотреть отверстия для возможности проведения измерений. Для выполнения специальных гигиенических требований следует обеспечить извлечение пластин для их очистки. 6.1.2.2 Пластины для широкополосного ослабления В зависимости от толщины пластин, ширины воздуховода, защитного покрытия, расстояния между пластинами и степени их загрязненности пластины с равномерным заполнением поглотителя обеспечивают ослабление в нескольких октавных полосах частот. Для низких частот высокого коэффициента поглощения достигают применением толстых пластин, тогда как для высоких частот достаточны тонкие пластины. Типичные частотные характеристики пластин глушителя изображены на рисунке 6. На низких частотах удельные потери распространения увеличиваются при возрастании толщины пластины и частоты звука. На средних частотах, где ширина канала совпадает с половиной длины волны, наблюдается максимум, значение которого обратно пропорционально значению сопротивления продувания поглотителя. Общее сопротивление продуванию потоком, перпендикулярным к пластине, не должно существенно превышать 2 кН·с/м3. На высоких частотах, для которых ширина канала или расстояние между пластинами значительно превосходит половину длины волны звука, удельные потери распространения становятся очень малыми.
Сопротивление продуванию Rs слоя покрытия: 1 - 0 кН·с/м3; 2 - 0,2 кН с/м3; 3 - 0,4 кН·с/м3. Толщина пластины d = 0,2 м. Ширина воздуховода между пластинами s = 0,2 м. Удельное сопротивление продуванию изотропного поглотителя r = 12 кН с/м4. Рисунок 6 - Зависимость удельных потерь распространения Da от частоты f для пластинчатого глушителя Примечание - Влияние пылевых отложений или плотно облегающего пористого покрытия моделировано с помощью специального сопротивления продуванию Rs слоя покрытия. Влияние толщины пластин показано на рисунке 7. Когда пластины перекрывают одну и туже часть поперечного сечения канала (т.е. отношение s/d = const), толстые пластины незначительно улучшают характеристики глушителя на низких частотах, обеспечивают умеренное ослабление на средних частотах и минимальные удельные потери распространения на высоких частотах. Для того чтобы улучшить поглощение на низких частотах за счет высокочастотного ослабления, применяют облицовочные покрытия с увеличенной поверхностной массой (см. рисунок 8).
Толщина звукопоглощающих пластин d:1 - 0,15 м; 2 - 0,2 м; 3 - 0,3 м. Удельное сопротивление продуванию изотропного поглотителя r =12 кН с/м4. Сопротивление продуванию слоя покрытия Rs - 0,2 кН с/м3. Рисунок 7 - Зависимость удельных потерь распространения Da от частоты f для глушителя с пластинами разной толщины и шириной воздуховодов между пластинами, равной толщине пластин
1 - пластины без покрытия; 2 - пластины с перфорированным покрытием; 3 - пластины с частичным покрытием Рисунок 8 - Зависимость вносимых потерь Di от частоты fдля глушителей с обычными пластинами, полученная по результатам измерений при лабораторных испытаниях При выборе и оптимизации пластинчатых глушителей для низкочастотного ослабления особое внимание следует уделять материалам наполнителя, покрытия и внутреннему секционированию (каркасу) пластин. Для улучшения ослабления на высоких частотах ширина воздуховодов должна быть уменьшена, а секционированные пластины следует размещать вдоль канала со смещением в поперечном направлении. Обе эти меры приводят к увеличению потерь давления. В то время как смещение обеспечивает дополнительное ослабление менее 6 дБ, потери давления могут удвоиться (см. рисунок 9).
l = 0,75 м; s = 0,1 м; 1 - 4 - варианты расположения пластин; х = 0,1 м; d= 0,2м; 5 - направление потока Рисунок 9 - Экспериментально полученные зависимости вносимых потерь Di от частоты f и коэффициент потери давления ζ для различных вариантов расположения пластин Примечание - Значения Di, превышающие 40 дБ, зависят от побочного шума. Отмеченного уменьшения ослабления на высоких частотах можно ожидать при условии наличия прямой видимости между входным и выходным отверстиями глушителя. Загрязнение пластин в общем случае приводит к ухудшению ослабления на средних и высоких частотах. 6.1.2.3 Потери давления Потери полного давления, вызываемые глушителем [см. равенство (2)], являются решающим фактором при выборе пластин и ширины воздуховодов. Они включают в себя потери давления на входе, выходе и вдоль глушителя в воздуховодах между пластинами. Для выбора глушителя должны быть известны допустимые потери полного давления. В случае однородного без вихревого потока на входе глушителя и канала с постоянным поперечным сечением оценка потерь давления на обоих концах глушителя может быть получена с использованием коэффициента потерь давления ζs (no отношению к произвольному сечению канала):
где ζ1 -форм-фактор со стороны входа глушителя; для прямоугольных пластин ζ1 =1; для полукруглого входного профиля ζ1 =0,1; ζ2 - форм-фактор со стороны выхода глушителя; для прямоугольных пластин ζ2 =1; для полукруглого выходного профиля ζ2 = 0,7 (слабое влияние); s - ширина воздуховода, м; d - толщина пластины, м. В целом потери давления увеличиваются как квадрат отношения d/s. Фрикционные потери увеличиваются с ростом отношения длины пластины l к поперечному гидравлическому сечению, которое пропорционально ширине воздуховода s. Для звукопоглощающих пластин с перфорированным покрытием или без него коэффициент потери давления ζf, обусловленный трением, можно оценить по формуле
Значение 0,025 является типичным для половины коэффициента трения звукопоглощающих пластин. Тем не менее, для того чтобы обеспечить потери давления в допустимых границах, пластины не должны быть слишком толстыми, а ширина воздуховодов не должна быть слишком малой. Для сравнения с измерениями при лабораторных испытаниях в соответствии с [1] потери полного давления вычисляют по формуле
Примечание - Условия измерения по [1] приводят к Δζ= 0 [см. равенство (2)]. 6.1.2.4 Влияние потока на ослабление и генерацию звука Поток со скоростью вплоть до 20 м/с испытывает сильное диссипативное ослабление в воздуховоде. Поток может влиять на рассеяние звука в пластинчатых глушителях двумя способами. Во-первых, скорость звука различается для входного и выходного направлений. Во-вторых, неоднородность профиля скорости вызывает эффект рефракции. Оба эффекта зависят от числа Маха Ма, и ими можно пренебречь для Ма < 0,05. Более важным является регенерация звука потоком. Потоковый шум, измеряемый при лабораторных испытаниях, характеризуется уровнями звуковой мощности, непосредственно связанными со скоростями потока. Эти уровни имеют отношение к безвихревому входному потоку глушителя. Если эти условия не выполняются при испытаниях на месте установки глушителя, например вследствие конструкции всасывающего канала, могут наблюдаться повышенные значения уровней потокового шума. Уровень звуковой мощности, излучаемой глушителем, не может быть меньше уровня звуковой мощности потокового шума. Ослабление, измеренное на месте, часто оказывается меньше измеренного при лабораторных испытаниях, которое определяют без учета потокового шума. Оценка октавного уровня звуковой мощности потокового шума Lw,oct может быть определена по формуле где В - величина, зависящая от типа глушителя и частоты, дБ; v - скорость потока в наиболее узком сечении глушителя, м/с; с - скорость звука в среде, м/с; Ма - число Маха (Ма = v/c); р - статическое давление в канале, Па; S - площадь наиболее узкого поперечного сечения, м2; f - среднегеометрическая частота октавной полосы, Гц; Н - максимальный поперечный размер канала, м; δ - пространственный масштаб, характеризующий высокочастотную спектральную составляющую потокового шума, м; W0 = 1Bt. Уровень звуковой мощности потокового шума изменяется с температурой TB в соответствии с приближенной зависимостью –25lg(T/T0). Для гладкостенных диссипативных пластинчатых глушителей, используемых в тепловом, вентиляционном и кондиционирующем оборудовании, приближение задают значениями В = 58 дБ, δ = 0,02 м. Для данного случая график зависимости, определяемой формулой (13), изображен на рисунке 10; корректированные по характеристике А уровни звуковой мощности LWA для поперечного сечения канала площадью 1 м2 вычисляют затем по формуле
где v0 = 1 м/с. Примечание - Для глушителей других типов, в частности резонаторных, В может быть больше в определенных частотных полосах. Однако какую-либо общую информацию о значениях В и δ дать нельзя.
Рисунок 10 - Зависимость октавных уровней звуковой мощности LW,oct потокового шума от частоты f при нормальных атмосферных условиях для канального глушителя с площадью наименьшего поперечного сечения S = 0,5 м2, максимальным поперечным сечением канала Н= 1 м при различных скоростях потока v 6.1.3 Диссипативные глушители с изгибами Изгибы встречаются на всасывающих (например, поглощающих дисковых затворах, см. рисунок 11) или выпускных отверстиях, а также на поворотах трассы длинных канальных систем. На низких частотах, когда диаметр поперечного сечения мал по сравнению с длиной волны звука, изгибы в канале (как и эластичные трубчатые глушители) не влияют на передачу звука. На высоких частотах длина волны меньше ширины канала, и звуковой луч, падая при распространении на поглощающую облицовку, сильно ослабляется.
Рисунок 11 - Всасывающее отверстие глушителя с поглощающим экраном Примечание - По сути, ослабление звука изгибами может быть определено как дополнительное ослабление, наблюдаемое в изогнутых каналах глушителей по сравнению с прямыми. Тем не менее, в настоящее время нет стандартных методик измерения ослабления данного вида. На практике влияние облицовки может быть определено путем сравнения конструкций, имеющих жесткие стены, с конструкциями, включающими в себя поглощающие покрытия. Действие дисковых затворов может быть описано с помощью равенства (7). Отношение U/S не изменяется вдоль радиального пути распространения звука. Эффективная длина определяется радиусом диска. Поскольку размеры затворов обычно малы, подавление образования луча не столь важно. Конец канала образует закругленную воронку, позволяющую уменьшить относительно высокие потери давления. При наличии углов необходимо отчетливо различать каналы (каналы с аэродинамическими формами) и обычные вентиляционные трубы. В обтекаемых каналах применяют звукопоглощающие направляющие стабилизаторы (крылья), которые занимают немного места, но могут иметь существенное действие на высоких частотах. В обычных вентиляционных каналах применяют облицовку стен вблизи угла. Если стены имеют выступы, сравнимые по размерам с длиной волны звука, то большая часть звука будет рассеяна и значительно ослаблена. На рисунке 12 показан пример определения потерь при прохождении для поворота (изгиба) канала при наличии или отсутствии звукоизолирующего покрытия.
Рисунок 12 - Зависимость потерь при прохождении Dt от частоты f для поворота (изгиба) канала при различных способах размещения звукопоглощающей облицовки стенок (вентиляционная шахта подземного туннеля) 6.2 Реактивные глушители6.2.1 Резонаторные глушители 6.2.1.1 Общие положения Как для облицовки каналов, так и при изготовлении звукопоглощающих пластин применяют ослабляющие звук элементы в форме поглотителей или резонаторов. В специальных приложениях полезно объединять оба вида элементов. На рисунке 13 изображены резонаторы следующих типов: а - звукопоглощающий слой с низким сопротивлением продуванию на жесткой подложке с поперечными секциями, представляющими собой четвертьволновый резонатор; b - аналогичное устройство со слабоперфорированной отверстиями или щелями плоскостью для создания эффекта «бутылочного горла» на пути воздушного звука (резонатор Гельмгольца); с - аналогично секционированная облицовка со стенками из звукопоглощающего материала или без поглотителя; d - аналогичное устройство, облицованное легкой пленкой (фольгой) или пластинами.
1 - резистивный слой; 2 - перфорированная пластина или пластина со щелями; 3 - звукопоглощающий слой; 4 - пленка (фольга) или пластина; 5 - твердая подложка или плоскость симметрии Рисунок 13 - Типы резонаторных облицовок (схематично) На практике применяют сочетания резонаторов Гельмгольца и пластинчатых резонаторов, которые не требуют никаких поглощающих материалов [4]. 8.2.1.2 Четвертьволновые резонаторы Частоту четвертьволнового резонанса f0, Гц, определяют формулой
где с - скорость звука, м/с; t - эффективная толщина облицовки, м. Для примера на рисунке 18 показаны многозвенные четвертьволновые резонаторы. Ширина боковых ответвлений, которые могут быть ориентированы перпендикулярно или наклонно к плоскости покрытия, должна быть меньше t (предпочтительно меньше t/2) в направлении распространения звука. Звукопоглощающий материал (в случае применения) должен быть защищен от загрязнения и абразивного истирания, вызываемых потоком. Четвертьволновые резонаторы эффективны также на нечетных гармониках собственной частоты f0, если ширина камеры достаточно мала. 6.2.1.3 Резонаторы Гельмгольца Собственную частоту резонатора Гельмгольца f0 определяют по формуле
где s - доля открытой части площади пластины покрытия l- толщина пластины, м; Δl - концевая поправка к отверстиям; с и t - те же, что в формуле (15). График зависимости (16) показан на рисунке 14. Концевая поправка зависит от диаметра отверстий и их относительного положения, а также от скорости проходящего потока, которая должна превышать 15 м/с. Примечание - При одной и той же глубине резонатор Гельмгольца всегда настроен на более низкую частоту и функционирует в более узкой полосе частот, чем аналогичный четвертьволновый резонатор. Демпфирование камеры не приводит к значительным изменениям ширины полосы. Для сравнения пористый материал, используемый в качестве покрытия, действует как эффективный демпфер, но чувствителен к загрязнению. 6.2.1.4 Пластинчатые или пленочные резонаторы Для вычисления резонансной частоты пластинчатого или пленочного резонатора следует заменить t(l + Δl) в формуле (16) на р/m":
где р - плотность газа, кг/м3; m" - поверхностная плотность пластины или пленки, кг/м2; с и t - те же, что в формуле (15). Для воздуха при нормальных атмосферных условиях а = 60 кг1/2Гц/м1/2. График зависимости (17) показан на рисунке 15. Подходящим выбором материалов и конструкции резонатора можно избежать осаждения отложений и предотвратить их совместную вибрацию с покрытием, которое становится чувствительным к разрушению. Применяют специальную металлическую или пластиковую фольгу. При использовании тонкой фольги существует опасность возбуждения потоком флаттерного шума.
Рисунок 14 - Зависимость резонансной частоты резонатора Гельмгольца f0 от доли s открытой части площади перфорированной пластины покрытия (толщина 1 мм, диаметр отверстий 5 мм) перед разделенной на секции облицовкой глубиной t(c = 340 м/с)
Рисунок 15 - Зависимость резонансной частоты f0 пластинчатого или пленочного резонатора от поверхностной плотности массы m" податливой пластины перед разделенной на секции облицовкой глубиной t (с = 340 м/с, р =1,2 кг/м3) На высоких частотах вибрационные характеристики покрытия используют для формирования акустически мягких стенок в дополнительных частотных полосах. Ослабления в широкой полосе частот с большей надежностью достигают размещением различно настроенных резонаторов вдоль канала. Расстояние между группами резонаторов должно быть не менее одной четверти наибольшей длины волны, для того чтобы избежать нежелательного взаимодействия между ними. Такое же правило применяют для различных сторон каналов. Поскольку резонаторы наиболее эффективны в частотных областях, где ширина воздуховодов между облицовками меньше, чем половина длины волны, различно настроенные резонаторы не следует применять для противоположных стенок. Для резонаторов всех типов собственная частота зависит от температуры вследствие зависимости от температуры скорости звука с: где T - абсолютная температура, К; Т0 - температура окружающей среды, К; с0 - скорость звука при температуре Т0, м/с. Для того чтобы настроить резонатор на заданную собственную частоту при повышенной температуре Т, необходимо увеличить его размеры пропорционально множителю 6.2.2 Отражательные глушители 6.2.2.1 Общие положения Отражательные глушители обычно проектируют для ослабления основных мод в каналах ниже частоты возникновения мод наивысших порядков, т.е. для относительно узких каналов. В более широких каналах распространение наивысших мод может быть предотвращено применением жестких аксиальных перегородок канала (так называемых модовых или модальных фильтров). Часть падающего звука будет отражаться. Этот эффект в настоящее время практически не используют. Отражательные глушители могут состоять из: - простых расширений или сужений; - корпуса, содержащего многочисленные взаимосвязанные расширительные камеры; - ответвляющихся каналов; - пластин реактивного типа. Следует отличать отражательные глушители для стационарных установок от глушителей для автомобилей и другого мобильного оборудования. Выбирая глушитель для стационарного оборудования, прежде всего следует уделить особое внимание возможности достижения необходимой механической прочности простыми конструкционными мерами. В глушителях для магистралей давления корпус проектируют как баллон высокого давления. Излучение звука корпусом подавляют применением подходящих тяжелых или жестких круглых поперечных сечений. Отражательные глушители для автомобилей проектируют с учетом ограничений по массе и поперечным размерам. Как следствие, легкие корпуса изготовляют с овальными или некруглыми поперечными сечениями. Излучение звука такими корпусами должно быть подавлено специальными мерами, например применением конструкций из двух оболочек с поглощающим слоем между ними, использованием жестких переборок в качестве стенок камеры, применением специальных ребер для обеспечения прочности. Все поперечные, а часто и осевые размеры арматуры являются малыми по сравнению с длиной волны подлежащего ослаблению низкочастотного звука. При настройке элементов глушителя следует учитывать повышенные температуры в выпускном газовом потоке двигателей внутреннего сгорания и магистралей высокого давления. Нелинейность (ударные волны) и потоковый шум являются решающими факторами при ослаблении высокочастотного звука, В отсутствие потока и при высоких уровнях звука может быть получено хорошее согласование между расчетными характеристиками канала и результатами при лабораторных испытаниях с использованием громкоговорителей [5]. Однако на практике влияние потока очень важно. Поток вызывает затухание звука в перфорированных трубах и расширительных камерах (см. рисунок 16). Настройка резонаторов нарушается, и их затухание увеличивается или уменьшается в зависимости от направления потока.
Рисунок 16 - Зависимость вносимых потерь Di от частоты f для однокамерного отражательного глушителя для различных скоростей потока в направлении распространения звука 6.2.2.2 Расширения и расширительные камеры Если диаметр поперечного сечения на выходе глушителя мал по сравнению с длиной волны λ= c/f, то звук отражается от открытого конца обратно в направлении источника звука. В этом случае отражение будет сильнее и, следовательно, звук, излученный наружу, будет слабее, чем при большом диаметре, а также будет больше телесный угол излучения Ω. Для увеличения отраженных потерь Dm на выходе площадь S должна быть как можно меньше и выпускное отверстие должно быть (что предпочтительно) расположено как можно дальше от стены (Ω =4π), а не в стене (Ω = 2π), на ребре (Ω = π) и в углу(Ω = π /2), см. равенство (19):
где с - скорость звука, м/с; f - частота, Гц; Ω - телесный угол излучения, ср; S - площадь выпускного отверстия, м2. Поток, выходя из канала в открытое или замкнутое пространство, будет регенерировать звук, если в выходном отверстии заметно падает давление. Для того чтобы в критических случаях сохранить регенерацию звука на малом уровне, выходное отверстие должно иметь по возможности большую площадь и быть свободным от препятствий. Примечание - Когда линейные размеры расширительной камеры в любом направлении малы по сравнению с длиной волны звука, ее объем по отношению к открытой области является «газовой пружиной» заключенного в этом объеме газа. Чем больше объем, тем мягче пружина. Такой элемент имеет характеристику высокочастотного полосового фильтра. Когда линейные размеры расширительной камеры в любом направлении велики по сравнению с длиной волны звука, создается диффузное звуковое поле, которое обеспечивает акустическую развязку (уменьшает взаимное влияние) различных отверстий. Многократные отражения можно использовать для обеспечения заметного ослабления даже в случае слабого поглощения в камере. 6.2.2.3 Сужения Короткие трубки, помещаемые в перегородки между двумя камерами, акустически эффективны вместе с массой находящегося в них газа (с учетом концевых поправок) при условии, что газ неподвижен и длина труб мала по сравнению с длиной волны. Для отверстия в тонкой стенке или в перфорированной пластине эта масса, по существу, сама играет роль концевой поправки. Такие трубки и отверстия имеют низкочастотные полосовые характеристики и могут быть использованы для настройки резонансов глушителя. Для труб, переносящих поток, резистивные свойства повышаются, в частности с падением давления в выпускном отверстии. Проходящий через перфорированную пластину поток также увеличивает удельное сопротивление этого элемента. Специальными сужениями являются насадки Вентури, применяемые как отдельные элементы или объединяемые с перфорированными пластинами. При подходящих размерах такие элементы оказывает значительно меньшее сопротивление для постоянного потока, чем для совокупности импульсных колебаний, т.е. действуют как нелинейные элементы. 6.2.2.4 Многокамерные глушители Отражательные глушители могут состоять из корпуса с несколькими фланцами, соединенными с источником всасывающим и выпускным каналами, и патрубков, установленных внутри корпуса. Эти патрубки формируют изменения поперечного сечения, ответвления и тупики (см. рисунок 17). Изменениями поперечного сечения являются расширения и сужения. Акустические характеристики определяются, главным образом, отношением линейного размера l к длине волны λ. Это отношение обратно пропорционального квадратному корню из абсолютной температуры: где Т- температура газового потока в канале, К; Т0 - температура окружающей среды, К; λ - длина волны звука при температуре Т, м; λ0 - длина волны звука при температуре окружающей Т0, м.
Рисунок 17 - Многокамерный реактивный глушитель 6.2.2.5 Ответвления Если канал разделяется на ветви, отличающиеся по длине от прямого пути распространения звука на величину Δl, то в результате интерференции в месте слияния может быть достигнута высокая степень ослабления на частотах, кратных нечетному числу частоты с/(2Δl), где с - скорость звука. Такая интерференция увеличивает отражения в некоторых узких полосах частот в точках разветвления. Боковые ответвления, у которых длина мала по сравнению с четвертью длины волны, являются специальной разновидностью ответвлений, имеющей характеристики четвертьволновых резонаторов. 6.2.2.6 Реактивные пластины Облицовки каналов или пластины с резонаторами, которые не демпфированы звукопоглощающим материалом, вызывают высокие вносимые потери главным образом на частотах, близких к собственной частоте резонатора (см. рисунки 18 и 19).
1-пластины с резонаторами, настроенными на частоты 160 и 315 ГЦ, 2- пластины с резонаторами, настроенными на частоту 40 Гц. Верхняя кривая - без глушителя, нижняя кривая - с глушителями 1 и 2, установленными последовательно Рисунок 19 - Зависимость уровня звука LрА от частоты f на расстоянии 1 м от выпускного конца дымохода Примечание - Поток со скоростью, превышающей 10 м/с, может изменить настройку резонаторов в сторону высоких частот вплоть до 1/3 октавы и увеличить или уменьшить демпфирование в зависимости от формы резонатора. В зависимости от размеров шероховатости поверхностей по сравнению с длиной волны на высоких частотах ослабление становится независимым от частоты, Это несущественно для плоских резонаторов. Результаты лабораторных измерений являются надежными при условии, если можно реально учесть влияние потока на настройку, демпфирование (увеличение или уменьшение) и регенерирование звука. Влияние температуры на поглощение обычно нельзя измерить. Вычисления часто ограничены областью частот в непосредственной близости к собственной частоте. Учет влияния потока и шероховатости поверхности также вызывает трудности при вычислениях. На рисунке 18 эффективные шероховатости определяются, главным образом, отношением ширины бокового ответвления к длине волны. Отражательные глушители, такие как пластинчатые/пленочные и резонаторы Гельмгольца или их сочетания, в которых поглощение звука происходит исключительно вследствие эффектов в граничном слое (условия вязкости и нагревания) или распространяющейся по конструкции вибрации, представляет особый интерес из-за их способности противостоять загрязнениям даже в случае разрушения глушителя. Этот тип глушителей из-за замкнутости их поверхности особенно пригоден для площадей с повышенными гигиеническими требованиями. 6.3 Глушители сбросаВсегда следует убедиться в том, что присоединенный к машине глушитель не снижает ее безопасность. Глушители сброса, присоединяемые к выходным отверстиям выпускных клапанов, имеют малые размеры. Они состоят из цилиндрического элемента с поверхностью, площадь которой велика по сравнению с поперечным сечением канала (трубы) и проницаема для потока (см. рисунок 20). Подходящее сопротивление продуванию оболочки, состоящей из пористого материала или спеченного металла, обеспечивает почти равномерное распределение потока по всей площади оболочки.
1 - воздухонипроницаемый материал (например, из металлокерамики или спеченного гранулированного металла); 2 - газовая среда под высоким давлением Рисунок 20 - Дросселирующий глушитель для пневматических систем Такие дросселирующие глушители имеют резьбовое окончание для присоединения к трубе. В случае загрязнения их заменяют без очистки паром, моющими средствами или отжигом. Глушители для линий выпускных клапанов повышенной безопасности проектируют как многокаскадную систему сброса давления. Это достигается применением перфорированных металлических листов, которые гарантируют допустимое возрастание давления. Конструкция должна обладать повышенной механической прочностью, так чтобы в момент сброса давления не произошло смятия или разрушения. Следует предотвращать замерзание конденсированной жидкости в глушителе. Для удовлетворения жестких требований к снижению уровня шума перфорированные пластины часто объединяют с диссипативными глушителями. 7 Методы измерений7.1 Лабораторные методы измерений7.1.1 Обзор Применяют следующие методы измерений; - лабораторные измерения для канальных глушителей в соответствии с [1]; - определение вносимых потерь глушителя в каналах без потока, лабораторный ориентировочный метод по [6]; - дополнительные лабораторные измерения для совершенствования и детального анализа канальных глушителей; - определение вносимых потерь для глушителя машины путем измерения уровня звуковой мощности машины с глушителем и без него в соответствии с ГОСТ 31274-2004 и ГОСТ 31275-2002. Метод выбирают в зависимости от области применения глушителя и цели использования полученных результатов. 7.1.2 Методы измерения в соответствии с [1] Методы требуют больших затрат, особенно при определении вносимых потерь в присутствии потока. Поэтому для скоростей потока в воздуховодах между звукопоглощающими пластинами менее 20 м/с обычно пренебрегают эффектами, связанными с потоком. Испытания, проводимые в различных реверберационных камерах на различных испытательных установках, будут показывать малые стандартные отклонения воспроизводимости вносимых потерь до тех пор, пока звуковое поле в глушителе будет образовано плоскими волнами. Однако трудно (вследствие разных причин) избежать возбуждения мод высших порядков вблизи частоты их возникновения и на более высоких частотах. Это может вызывать большие отклонения воспроизводимости измерений. Лабораторные измерения обычно не позволяют экстраполировать характеристики глушителя для больших значений температур, давлений и скоростей потока. 7.1.3 Методы измерения в соответствии с [6]. Лабораторные измерения вносимых потерь без потока в малых глушителях для систем кондиционирования и вентиляции и аналогичных областей применения могут быть выполнены в соответствии с [6]. Малое стандартное отклонение воспроизводимости для измерений в различных лабораториях обеспечивают выбором размеров источника звука и испытательных каналов перед глушителем и позади него, а также размеров замещающей трубы. 7.1.4 Дополнительные измерения для канальных глушителей Глушители с прямыми каналами или воздуховодами для газового потока могут быть детально обследованы путем перемещения микрофона вдоль канала. Этот метод позволяет установить распределение звукового давления, аналогичного показанному на рисунке 5, в частотных полосах. Если модели глушителей построены с соблюдением подобия геометрических пропорций, принципа действия глушителей и свойств материалов (см. 6.1,1), то лабораторные измерения позволяют прогнозировать эффективность глушителей в реальных условиях. Такой метод используют для больших глушителей сложной формы, работающих в особых условиях. 7.1.5 Методы измерений для глушителей шума малых машин Для того чтобы определить вносимые потери глушителей для малых машин, при лабораторных измерениях используют как метод свободного поля (метод измерительной поверхности по ГОСТ 31275-2002), так и метод реверберационной камеры в соответствии с ГОСТ 31274-2004 в зависимости от значимости и разделимости шума других машин. Метод выбирают в соответствии с требуемой точностью. Следует определить, когда нужно проводить измерения с глушителем и без него или замещать глушитель толстостенной трубой с входным и выходным поперечными сечениями, подобными сечениям глушителя. 7.2 Методы измерений на месте установкиИзмерения на месте установки глушителя отличаются от лабораторных измерений следующим: - метод измерения должен быть приспособлен для измерений на месте; - детальные условия измерений, например число и положения точек измерений, не могут быть определены независимо от реальных условий на месте; - преобразования измеряемых величин, таких как уровни звукового давления, в величины, характеризующие глушитель, например вносимые потери, могут быть выполнены не на основе результатов лабораторных испытаний, а только исключительно путем измерений на месте установки; - отделение потокового шума и других факторов, ограничивающих ослабление, является трудноосуществимым; - измерения потока, если это возможно, могут быть выполнены лишь с точностью ориентировочного метода. Эти различия допускаются ГОСТ 31324-2006. Заинтересованные стороны должны до начала измерений выбрать подходящий метод измерений, основываясь на некотором предварительном перечне условий, и достигнуть соглашения относительно практических значений поправок измеряемых величин. Потоковый шум рассматривают как неотъемлемое свойство глушителя, присущее ему в особых условиях применения и в этом смысле являющееся частью его характеристики ослабления. Измерения параметров потока полезны, главным образом, для выявления неоднородности распределения потока, которое может вызывать ненадлежащую работу глушителя. Измерения по ГОСТ 31324-2006 на месте установки могут быть выполнены с помощью перемещающегося или расположенного в фиксированных точках микрофона вдоль свободного канала или воздуховода. Это помогает выявить побочные пути распространения звука. 7.3 Методы измерения на транспортных средствахНе существует специальных стандартов, устанавливающих требования к испытаниям глушителей на движущихся транспортных средствах. 8 Информация о глушителях8.1 Информация, предоставляемая пользователем (потребителем)Для определения требований, предъявляемых к глушителю, пользователь/покупатель должен, по возможности, предоставить поставщику/производителю, как минимум, следующую информацию: a) тип машины или установки (информация относительно репрезентативных режимов работы), например: - для поршневых машин: мощность, скорость (число оборотов) двигателя, принцип действия, последовательность искрообразования или число циклов (тактов) соответственно, - для летательных аппаратов: мощность или объем потока и разность давлений, скорость двигателя, принцип действия, число управляющих и вращающихся лопастей на один оборот, число оборотов, форма и тип лопастей, размеры входного и выходного поперечных сечений; b) перемещаемая среда: - наименование, - массовый или объемный расход, - температура, давление, влажность, газовая постоянная или плотность, - тип и количественные параметры загрязнений, - материалы, допустимые к использованию для изготовления глушителя; с) условия пространственного размещения всей установки, включая глушитель и трубопроводы (эскиз с указанием размеров); d)требуемое ослабление в виде: - корректированного по характеристике А уровня звукового давления для заданного спектра как функции частоты или - вносимые потери в 1/3-октавныхили октавных полосах частот от 50 Гц до 10 кГц, или - вносимая разность уровней звукового давления для заданной контрольной точки измерений в полосах частот от 50 Гц до 10 кГц; e) допустимые потери давления; f) дополнительные требования, касающиеся, например: - огнезащиты, - условий безопасности, - удобства и периодичности обслуживания, продолжительности простоя из-за операций обслуживания, - дополнительной специальной информации (при необходимости). 8.2 Информация, предоставляемая производителемДля определения эксплуатационных характеристик глушителя поставщик/производитель должен, по возможности, предоставить потребителю, как минимум, следующую информацию: a) гарантируемое ослабление звука при заданных условиях работы в 1/3-октавных или октавных полосах частот, задаваемое в форме: - вносимых потерь или - потерь при прохождении вместе с корректирующими величинами в соответствии с ГОСТ 31324-2006 и заданными точками измерений, или - вносимой разности уровней звукового давления для заданной точки наблюдения; b) потери давления при заданных условиях работы с учетом условий для потока на входе и выходе; c) геометрию глушителя (чертеж); d) используемые материалы, в частности информацию, пригодную для оценки совместимости с требованиями чистоты помещений и потенциальной опасности для здоровья путем сравнения с нормами или рекомендуемыми величинами; e) массу, требования к условиям монтажа, проверке и обслуживанию; f) дополнительную специальную информацию (при необходимости). Приложение
А
| ||||||||||||||||||||||||||||||||||||||||||||||||||||||||||||||||||||||||||||||||||||||||||||||||||||||||||||||||||||||||||||||||||||||||||||||||||||||||||||||||||||||||||||||||||||||||||||||||||||||
|
Ослабление, дБ |
Среднегеометрическая частота, Гц |
|||
|
1/3-октавные полосы частот |
Октавная полоса частот |
|||
|
50 |
63 |
80 |
63 |
|
|
Заявленное ослабление |
3 |
12 |
21 |
7 |
|
Искусственный источник розового шума: |
||||
|
Уровень звуковой мощности источника |
90 |
90 |
90 |
95 |
|
Уровень звуковой мощности после ослабления шума глушителем |
87 |
78 |
69 |
88 |
|
Реальное ослабление |
3 |
12 |
21 |
7 |
|
Осевой вентилятор: |
||||
|
Уровень звуковой мощности источника |
84 |
88 |
93 |
95 |
|
Уровень звуковой мощности после ослабления шума глушителем |
81 |
76 |
72 |
83 |
|
Реальное ослабление |
3 |
12 |
21 |
12 |
|
Радиальный вентилятор: |
||||
|
Уровень звуковой мощности источника |
93 |
88 |
84 |
95 |
|
Уровень звуковой мощности после ослабления шума глушителем |
90 |
76 |
63 |
90 |
|
Реальное ослабление |
3 |
12 |
21 |
5 |

1 - 1/3-октавные полосы; 2 - октавная полоса
Рисунок В. 1 - Графическая иллюстрация примера на основе данных таблицы В.1:
а - розовый шум; b - осевой вентилятор; с - радиальный вентилятор
Таблица С.1 - Возможные температуры для различных источников звука
|
Источник звука |
Температура, °С |
|
Паровой клапан |
530 |
|
Газовая турбина |
600 |
|
Реактивный двигатель |
800 |
|
Компрессор |
200 |
|
Автомобильный двигатель |
От 400 до 800 |
Таблица С.2 - Предельные температуры для различных звукопоглощающих материалов
|
Материал |
Ориентировочная предельная температура, °С |
|
Шерсть (войлок) |
50 |
|
Полимерная пена (пенопласт) |
От 150 до 200 |
|
Стекловолоконная ткань |
300 |
|
Минеральная вата: |
|
|
- со связующим |
220 |
|
- без связующего |
500 |
|
Специальное базальтовое волокно |
750 |
|
Спеченный металл: |
|
|
Бронза |
400 |
|
Нержавеющая сталь |
600 |
|
Специальный металл |
1000 |
|
Ткань из нержавеющей стали |
500 В специальных случаях 600 |
[1] ISO 7235 Acoustics - Measurement procedures for dueled silencers - Insertion loss, flow noise and total pressure loss
[3] ISO 9053:1991 Acoustics - Materials for acoustical applications - Determination of airflow resistance.
[6] ISO 11691 Acoustics - Measurement of insertion loss of dueled' silencers without flow - Laboratory survey method
Ключевые слова: шум, глушитель, ослабление звука, резонатор Гельмгольца, звукопоглощающие пластины, автомобильный глушитель, системы вентиляции
|
|
|
|