//
ТехЛит.ру
- крупнейшая бесплатная электронная интернет библиотека для "технически умных" людей.
WWW.TEHLIT.RU - ТЕХНИЧЕСКАЯ ЛИТЕРАТУРА

:: Алготрейдинг::


АЛГОТРЕЙДИНГ
шаг за шагом
с нуля по урокам!

Торговые роботы на PYTHON, BackTrader,
Pandas, Pine Script для TradingView. Связка с брокерами, телеграм и легкими приложениями.


ФЕДЕРАЛЬНОЕ АГЕНТСТВО

ПО ТЕХНИЧЕСКОМУ РЕГУЛИРОВАНИЮ И МЕТРОЛОГИИ

НАЦИОНАЛЬНЫЙ СТАНДАРТ РОССИЙСКОЙ ФЕДЕРАЦИИ

ГОСТ P 52590-2006

ФРЕЗЫ КОНЦЕВЫЕ, ОСНАЩЕННЫЕ СВЕРХТВЕРДЫМИ МАТЕРИАЛАМИ, ДЛЯ ВЫСОКОСКОРОСТНОЙ ОБРАБОТКИ ДРЕВЕСНЫХ МАТЕРИАЛОВ И ПЛАСТИКОВ

Технические условия и требования безопасности

Москва

Стандартинформ

2007

Содержание

Предисловие

Цели и принципы стандартизации в Российской Федерации установлены Федеральным законом от 27 декабря 2002 г. 184-ФЗ «О техническом регулировании», а правила применения национальных стандартов Российской Федерации - ГОСТ Р 1.0-2004 «Стандартизация в Российской Федерации. Основные положения»

Сведения о стандарте

1. РАЗРАБОТАН ОАО «ВНИИИНСТРУМЕНТ»

2. ВНЕСЕН Техническим комитетом по стандартизации ТК 95 «Инструмент»

3. УТВЕРЖДЕН И ВВЕДЕН В ДЕЙСТВИЕ Приказом Федерального агентства по техническому регулированию и метрологии от 16 ноября 2006 г. 258-ст

4. ВВЕДЕН ВПЕРВЫЕ

Информация об изменениях к настоящему стандарту публикуется в ежегодно издаваемом информационном указателе «Национальные стандарты», а текст изменений и поправок - в ежемесячно издаваемых информационных указателях «Национальные стандарты». В случае пересмотра (замены) или отмены настоящего стандарта соответствующее уведомление будет опубликовано в ежемесячно издаваемом информационном указателе «Национальные стандарты». Соответствующая информация, уведомление и тексты размещаются также в информационной системе общего пользования - на официальном сайте Федерального агентства по техническому регулированию и метрологии в сети Интернет

НАЦИОНАЛЬНЫЙ СТАНДАРТ РОССИЙСКОЙ ФЕДЕРАЦИИ

ФРЕЗЫ КОНЦЕВЫЕ, ОСНАЩЕННЫЕ СВЕРХТВЕРДЫМИ МАТЕРИАЛАМИ, ДЛЯ ВЫСОКОСКОРОСТНОЙ ОБРАБОТКИ ДРЕВЕСНЫХ МАТЕРИАЛОВ И ПЛАСТИКОВ

Технические условия и требования безопасности

Superhard tipped end milling cutters for machining wood materials and plastics. Specifications and safety requirements

Дата введения - 2008-01-01

1. Область применения

Настоящий стандарт распространяется на концевые фрезы, оснащенные напайными пластинами из сверхтвердых материалов (СТМ), предназначенные для обработки древесных композиционных материалов (облицованных и необлицованных) и пластиков на высокоскоростных фрезерных станках и обрабатывающих центрах.

2. Нормативные ссылки

В настоящем стандарте использованы нормативные ссылки на следующие стандарты:

ГОСТ 8.051-81 Государственная система обеспечения единства измерений. Погрешности, допускаемые при измерении линейных размеров до 500 мм

ГОСТ 9.301-86 Единая система защиты от коррозии и старения. Покрытия металлические и неметаллические неорганические. Общие требования

ГОСТ 577-68 Индикаторы часового типа с ценой деления 0,01 мм. Технические условия

ГОСТ 1050-88 Прокат сортовой калиброванный со специальной отделкой поверхности из углеродистой качественной конструкционной стали. Общие технические условия

ГОСТ 2789-73 Шероховатость поверхности. Параметры и характеристики

ГОСТ 4543-71 Прокат из легированной конструкционной стали. Технические условия

ГОСТ 9012-59 (ИСО 410-82, ИСО 6506-81) Металлы. Метод измерения твердости по Бринеллю

ГОСТ 9378-93 (ИСО 2632-1-85, ИСО 2632-2-85) Образцы шероховатости поверхности (сравнения). Общие технические условия

ГОСТ 18088-83 Инструмент металлорежущий, алмазный, дереворежущий, слесарно-монтажный и вспомогательный. Упаковка, маркировка, транспортирование и хранение

ГОСТ 23677-79 Твердомеры для металлов. Общие технические требования

ГОСТ 23726-79 Инструмент металлорежущий и дереворежущий. Приемка

ГОСТ 25706-83 Лупы. Типы, основные параметры. Общие технические требования

Примечание - При пользовании настоящим стандартом целесообразно проверить действие ссылочных стандартов в информационной системе общего пользования - на официальном сайте Федерального агентства по техническому регулированию и метрологии в сети Интернет или по ежегодно издаваемому информационному указателю «Национальные стандарты», который опубликован по состоянию на 1 января текущего года, и по соответствующим ежемесячно издаваемым информационным указателям, опубликованным в текущем году. Если ссылочный стандарт заменен (изменен), то при пользовании настоящим стандартом следует руководствоваться замененным (измененным) стандартом. Если ссылочный стандарт отменен без замены, то положение, в котором дана ссылка на него, применяется в части, не затрагивающей эту ссылку.

3. Технические требования

3.1. Основные параметры

3.1.1. Основные параметры фрез должны соответствовать указанным на рисунке 1 и в таблице 1. Направление вращения (правое или левое) указывают при заказе.

Рисунок 1

Таблица 1

Размеры в миллиметрах

Диаметр фрезы D

Диаметр хвостовика d

Общая длина фрезы L

Длина рабочей части l, не менее

Минимальная длина зажима хвостовика l1

Угол подъема винтовой линии или угол наклона ω

Число зубьев z

5

До 10 включ.

60

5

20

От 0° до 20°

1:2

6

6

10

12

2;3;4

12

Св. 10 до 25 включ.

18

2d

16

75

22

20

100

35

25

110

40

От 25 до 30 включ.

120

50

Св. 30 до 40 включ.

130

60

Примечание - Допускается изготовление фрез с другими параметрами по рабочим чертежам, утвержденным в установленном порядке.

3.1.2. Фрезы могут быть изготовлены с режущими кромками, расположенными параллельно оси вращения, наклонно коси вращения и расположенными по винтовой линии. Фрезы изготовляют с торцовым зубом и без него.

3.2. Характеристики

3.2.1. Двухслойные режущие пластины зубьев фрез должны быть изготовлены из сверхтвердых материалов на основе поликристаллических синтетических алмазов. Режущая часть двухслойных пластин может быть изготовлена из других сверхтвердых материалов, физико-механические свойства которых не уступают приведенным в таблице 2.

Таблица 2

Физико-механические свойства

Значение, не менее

Плотность, кг/м3

3500

Твердость по Кнуппу, ГПа

50

Коэффициент трещиностойкости, МПа·м0,5

9

Модуль упругости, ГПа

700

Предел прочности на сжатие, МПа

50

Предел прочности на изгиб, МПа

9

Коэффициент теплопроводности, Вт/(м·К)

100

3.2.2. Корпусы фрез следует изготовлять из стали марки 40Х по ГОСТ 4543 или стали марки 45 по ГОСТ 1050. Допускается изготовление корпусов фрез из сталей других марок с механическими свойствами не ниже, чем у марок 40Х и 45.

3.2.3. Твердость корпусов должна обеспечивать безопасность и гарантированный предприятием-изготовителем срок эксплуатации фрез. Твердость хвостовиков не менее 35 ... 42 HRC.

3.2.4. На режущих пластинах и корпусах фрез не должно быть трещин, выкрашиваний, расслоений и следов коррозии.

3.2.5. Режущие пластины должны быть припаяны припоем, обеспечивающим максимальную сохранность структуры материала пластин после пайки. Прочность неразъемного соединения не должна допускать разрушения его на рабочих режимах и при испытаниях на прочность вращением. Видимый разрыв слоя припоя по контуру пайки должен быть не более 5 % его общей длины.

3.2.6. Поверхности фрез, кроме хвостовика, передней и задней поверхностей зубьев, должны иметь защитное покрытие по ГОСТ 9.301.

3.2.7. Параметры шероховатости поверхностей фрез по ГОСТ 2789 должны быть, мкм, не более:

Rz 0,4 - передних, задних поверхностей зубьев по режущей части;

Rz 3,2 - спинок зубьев по твердому сплаву;

Rz 10 - канавок;

Ra 0,4 - хвостовика.

3.2.8. Предельные отклонения размеров фрез должны быть не более:

h9 - наружного диаметра;

h6 - диаметра хвостовика;

± IT14/2 - длины рабочей части и общей длины фрез.

3.2.9. Предельные отклонения переднего и заднего углов по цилиндру и торцу зубьев должны быть не более ± 1°.

3.2.10. Допуск радиального биения режущих кромок зубьев фрез относительно оси хвостовика должен быть, мм, не более:

0,02 - для диаметров фрез до 25 мм включ.;

0,03         »              »          »          св. 25 мм.

3.2.11. Допуск торцового биения режущих кромок зубьев фрез относительно оси хвостовика должен быть не более 0,02 мм.

3.2.12. При динамическом уравновешивании вращающихся масс дисбаланс для фрез массой до 0,2 кг должен быть, г мм, не более:

20 - при частоте вращения

до 12000 мин-1 включ.;

12

»

»

»

св. 12000 » 18000 мин-1 »

8

»

»

»

» 18000 » 24000 мин-1 »

6

»

»

»

» 24000 » 36000 мин-1 »

4

»

»

»

» 36000 » 48000 мин-1 »

Дисбаланс для фрез массой больше 0,2 кг увеличивается пропорционально массе фрезы.

Допускается проводить статическую балансировку в динамическом режиме. Дисбаланс фрез массой до 0,2 кг при статической балансировке должен быть, г·мм, не более:

10-для частоты вращения до 12000 мин-1 включ.;

6

»

»

»

» 24000 мин-1 »

4

»

»

»

» 36000 мин-1 »

Допускается не проводить балансировку фрез, у которых общая длина не превышает 4D или масса не превышает 0,1 кг.

3.2.13. Средний  и установленный Ту периоды стойкости фрез при условиях испытаний по 5.9 должны соответствовать указанным в таблице 3.

Таблица 3

Диаметр фрез, мм

Материал режущей части

Обрабатываемый материал

Периоды стойкости, мин

Ту

От 5 до 25 включ.

Поликристаллические синтетические алмазы

Древесно-волокнистые плиты средней плотности (МДФ)

Древесно-стружечные плиты, облицованные бумажно-слоистым пластиком

600

300

Св.25

800

400

3.2.14. Критерием затупления фрез является ухудшение качества обработки.

Не допускаются:

- сколы на облицованных поверхностях - при обработке древесно-стружечных плит, облицованных бумажно-слоистым пластиком;

- ворсистость - при обработке МДФ.

3.2.15. Маркировка

На хвостовике каждой фрезы должны быть четко нанесены:

- товарный знак предприятия-изготовителя;

- максимальная рабочая частота вращения;

- марка твердого сплава.

Примечания

1. По требованию заказчика допускается маркировка другой информации.

2. При неразмещении знаков маркировки допускается ее размещение на упаковке.

3.2.16. Транспортная маркировка и маркировка потребительской тары - по ГОСТ 18088.

3.2.17. Упаковка - по ГОСТ 18088.

4. Правила приемки

4.1. Приемка фрез - по ГОСТ 23726.

4.2. Периодические испытания на средний период стойкости проводят один раз в три года, на установленный период стойкости - один раз в год. Испытания проводятся не менее чем на трех фрезах любого типоразмера.

4.3. Допускается проводить испытания у потребителя.

5. Методы контроля и испытаний

5.1. Внешний вид фрез контролируют визуально. Наличие трещин проверяют с помощью лупы ЛП-1-5х по ГОСТ 25706 или дефектоскопа. Внешний вид фрез допускается контролировать визуально сравнением с образцами, утвержденными в установленном порядке.

5.2. Допустимый разрыв шва слоя неразъемного соединения проверяют на видимом контуре шва с помощью лупы ЛП-1-5х по ГОСТ 25706.

5.3. Контроль твердости корпусов фрез - по ГОСТ 9012 с помощью твердомера ТВ по ГОСТ 23677.

5.4. Шероховатость поверхностей фрез определяют сравнением с образцами шероховатости по ГОСТ 9378 или с образцами-эталонами, имеющими значение параметров шероховатости не более указанных в 3.2.7 и утвержденными в установленном порядке, или приборами, предназначенными для указанных целей. Сравнение осуществляют визуально, с применением лупы ЛП-1-5х по ГОСТ 25706.

5.5. При контроле размеров фрез применяют методы и средства измерения, погрешность которых не должна быть более:

- значений, указанных в ГОСТ 8.051, - для линейных размеров;

- 25 % допуска на проверяемый параметр - для отклонения формы и расположения поверхностей;

- 35 % допуска на проверяемый угол - для угловых размеров.

5.6. Контроль биения режущих кромок зубьев в направлении, перпендикулярном к поверхности профиля, и торцового биения фрез осуществляется с помощью индикатора часового типа ИЧ05 по ГОСТ 577 с ценой деления 0,01 мм.

5.7. Дисбаланс фрез контролируют на балансировочных станках с установленными для них нормами точности и жесткости с погрешностью не более 1 г·мм/кг.

5.8. Испытания фрез на прочность вращением проводят на специальных установках в течение 1 мин при частоте вращения, в 1,5 раза превышающей максимальную рабочую, указанную в маркировке.

5.9. Испытания фрез для обработки древесных материалов на работоспособность, средний  и установленный Ту периоды стойкости проводят на вертикально-фрезерных станках, обрабатывающих центрах с ЧПУ с установленными для них нормами точности и жесткости, на режимах резания, указанных в таблице 4.

Таблица 4

Обрабатываемый материал

Подача на зуб, мм/зуб

Глубина фрезерования, мм

Древесноволокнистые плиты средней плотности (МДФ)

0,5

Не более 0,5 диаметра фрезы

Древесно-стружечные плиты, облицованные бумажно-слоистым пластиком (ДСтП)

При испытаниях фрез на работоспособность каждой фрезой должно быть обработано не менее пяти метров, после чего на режущих кромках не должно быть прижогов, трещин и сколов, а также - прижогов на древесине.

5.10. Приемочные значения среднего  и установленного Ту периодов, мин, стойкости для выборки из трех фрез должны быть не менее значений, указанных в таблице 5.

Таблица 5

Обрабатываемый материал

Диаметр фрезы, мм

, мин

Ту мин

Древесно-волокнистые плиты средней плотности (МДФ)

От 5 до 25 включ.

690

345

Древесно-стружечные плиты, облицованные бумажно-слоистым пластиком (ДСтП)

Св.25

920

460

6. Требования безопасности

6.1. Острые кромки, кроме режущих, должны быть притуплены.

6.2. В работе не допускается превышать максимальную рабочую частоту вращения, указанную в маркировке.

6.3. Выступание пластин над корпусом фрезы в радиальном и осевом направлениях не должно превышать толщины пластины.

6.4. Толщина тела зуба фрезы должна быть не менее указанной в таблице 6.

Таблица 6

Толщина пластины s, мм

Наименьшая толщина тела зуба t, мм

Эскиз зуба

До 1,5 включ.

От 6 до 8 включ.

Св. 1,5 до 2,5 включ.

Св. 8 до 10 включ.

Св. 2,5 до 4,0 включ.

Св. 10 до 16 включ.

6.5. Площадь паяного шва должна обеспечивать прочность неразъемного соединения. Паз под пластину и стружечная канавка должны иметь плавные переходы и не иметь концентраторов напряжения.

6.6. Для исключения аварийных поломок фрез, оснащенных поликристаллическими алмазами, угол заострения режущих кромок β должен быть более 65°.

6.7. Каждая фреза должна быть испытана на прочность вращением при частоте, в 1,5 раза превышающей максимальную рабочую частоту вращения.

6.8. Фрезы должны быть сбалансированы. Дисбаланс должен быть не более указанного в 3.2.12.

6.9. Оборудование и вспомогательная оснастка должны соответствовать установленным для них нормам точности и жесткости.

Запрещается ударять по фрезе при посадке ее в зажимное устройство и съеме.

6.10. Минимальная длина зажима хвостовика l1 должна соответствовать указанной в таблице 1.

6.11. Перед установкой фрез на станок пользователь один раз в месяц выполняет измерение суммарного биения шпинделя и вспомогательной оснастки в соответствии с приложением А.

6.12. Эксплуатация фрез с затупленными режущими кромками не допускается. Условия эксплуатации фрез приведены в приложении Б.

6.13. До обработки режущим инструментом обрабатываемые материалы следует проверять на наличие металлических или минеральных включений (гвоздей, скоб, металлических осколков, камней и т.п.) для исключения поломок инструмента и аварийных выкрашиваний режущих кромок.

6.14. Во время вращения инструмента, осуществления рабочей подачи инструмента и при автоматической смене инструмента на станках с ЧПУ запрещается соприкасание работающих с обрабатываемыми материалами и заготовками.

7. Транспортирование и хранение

7.1. Транспортирование и хранение - по ГОСТ 18088.

Приложение А
(обязательное)
Метод измерения суммарного биения шпинделя и вспомогательной оснастки

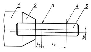
А.1 Диаметр оправки для измерения суммарного биения шпинделя и вспомогательной оснастки должен быть равен номинальному диаметру зажимного устройства, приведенного на рисунке А.1.

1 - приводной шпиндель (хвостовик зажимного устройства); 2 - зажимное устройство; 3, 4 - точки измерения биения; 5 - оправка для измерения суммарного биения; L1 = 10 мм, L2 = L минус минимальная длина зажима, где L - общая длина фрезы

Рисунок А.1

А.2. Предельные отклонения размеров оправки должны быть не более:

g7 - наружного диаметра;

0,002 мм - отклонение от цилиндричности;

0,002 мм - отклонение от параллельности;

0,002 мм - отклонение от круглости.

А.3. На поверхности оправки не должно быть царапин.

А.4. Параметры шероховатости поверхности оправки должны быть не более Rz 6,3 мкм.

А.5. Твердость оправки 58 ... 61 HRC

Максимальное суммарное биение еm вычисляют по формуле:

em = (t1 + t2)/4 esp,

где t1 - биение в точке измерения (3);

t2 - биение в точке измерения (4);

esp, - суммарное радиальное биение оборудования и вспомогательной оснастки, приведенное в нормативных документах на оборудование и вспомогательную оснастку.

Длина оправки должна быть, мм, не менее:

2dmax + L2 + 10,

где dmax - максимальный диаметр хвостовика.

Приложение Б
(рекомендуемое)
Условия эксплуатации фрез

Б.1. Фрезы следует эксплуатировать на высокооборотных станках с программным управлением и вертикально-фрезерных станках, соответствующих установленным для них нормам точности и жесткости.

Б.2. Максимальные значения подачи на зуб для различных обрабатываемых материалов приведены в таблице Б.1.

Таблица Б.1

Обрабатываемый материал

Максимальная подача, мм/зуб, при глубине фрезерования

0,12D

0,25D

0.5D

0.75D

D

ДСтП (ρ = 700 кг/м3)

1,2

0,8

0,4

0,3

0,2

МДФ (ρ = 730 кг/м3)

0,8

0,6

0,3

0,2

0,1

Фанера

0,66

0,44

0,22

0,16

0,1

Бумажно-слоистые пластики

0,33

0,22

0,11

0,08

0,06

Б.3. Глубина фрезерования древесных материалов за один проход не должна превышать 1,5D, при этом подача на зуб не должна превышать половины значений, указанных в таблице Б.1 для глубины фрезерования D.

Б.4. Максимальная рабочая частота вращения в зависимости от диаметра фрезы приведена в таблице Б.2.

Таблица Б.2

Диаметр фрезы D, мм

Частота вращения, мин-1

От 5 до 6 включ.

Св. 6 » 16 »

» 16 » 25 »

» 25 » 40 »

48000

42000

32000

24000

 

Ключевые слова: фрезы концевые, технические условия, требования безопасности

 




Яндекс цитирования



   Copyright © 2007-2026,  www.tehlit.ru.

[ ѓосты, стандарты, нормативы, инструкции, правила, строительные нормы ]