//
|
|
Основные положения
| ||||||||||||||||||||||||||||||||||||||||||||||||
|
Эллипсоид |
Бесселя, 1841 |
Большая полуось 6377397 Сжатие 1/299,15 |
|
Картографическая проекция |
Поперечно-циллиндрическая Гаусса-Крюгера (Transvrtse Mercator) |
|
|
Географические координаты в точке начала отсчета плановых координат |
Широта 55 40' |
Долгота 37 30' |
|
Значения плановых координат в точке начала отсчета |
Х=0,000 м |
Y=0,000 м |
|
Масштабный к-т |
1,000000 |
|
|
Система высот |
Балтийская со смещением + 92 мм |
|
5.1. В соответствии с п. 5.2 СП 11-104-97 "Точность определения планово-высотного положения, плотность и условия закрепления пунктов (точек) геодезической основы должны удовлетворять требованиям производства крупномасштабных топографических съемок (обновления инженерно-топографических планов), в том числе для разработки проектной и рабочей документации предприятий, сооружений и жилищно-гражданских объеков, выноса проекта в натуру, выполнения специальных инженерно-геодезических работ и стационарных наблюдений за опасными природными и техноприродными процессами, а также обеспечения строительства, эксплуатации и ликвидации объектов".
5.2. Плотность пунктов ОГС Москвы должна обеспечивать возможность построения ходов съемочного обоснования длиной не более 300-350 метров. Для этого плотность пунктов ОГС Москвы должна составлять 16-20 пунктов на 1 кв.км.
5.3. В соответствии с п. 5.9 СП 11-104-97 "Предельная погрешность взаимного планового положения смежных пунктов опорной геодезической сети после ее уравнивания не должна превышать 5 см."
5.4. В перспективе ОГС Москвы должна обеспечивать требования к точности создания топографических материалов с точностью и подробностью масштаба 1:200.
6.1. Задание, поддержание и воспроизведение московской городской системы геодезических координат на уровне требований, обеспечивающих решение современных и перспективных задач в области геодезии, строительства, земельных отношений, геодинамики и навигации обуславливает необходимость создания ОГС Москвы на качественно новом, более высоком по сравнению с существующей сетью уровне точности.
6.2. ОГС Москвы, создаваемая в соответствии с настоящими основными положениями, структурно формируется по принципу перехода от общего к частному и включает в себя геодезические построения следующих классов точности.
1) Каркасная спутниковая геодезическая сеть (далее по тексту КСГС).
2) Спутниковая геодезическая сеть сгущения (далее по тексту СГСС).
3) Сеть наземных измерений (далее по тексту СНИ).
6.3. По мере развития КСГС, СГСС и СНИ выполняется уравнивание ОГС Москвы и уточняются параметры связи городской системы геодезических координат с общеземной геоцентрической системой координат, реализуемой спутниковыми навигационными системами, и государственной геодезической системой координат.
7.1. Высший уровень в структуре ОГС Москвы занимает каркасная спутниковая геодезическая сеть. КСГС практически реализует геоцентрическую систему координат в рамках решения задач геодезического обеспечения территории г. Москвы, входит в состав государственной геодезической сети и по своему назначению и параметрам точности соответствует спутниковой геодезической сети 1 класса (СГС-1).
КСГС представляет собой единую высокоточную спутниковую геодезическую сеть, равномерно покрывающую территорию г. Москвы и ее окрестности. Среднее расстояние между смежными пунктами КСГС 5-10 км. Все пункты КСГС должны быть фундаментально закреплены на местности с обеспечением долговременной стабильности их положения как в плане, так и по высоте.
7.2. Пространственное положение пунктов КСГС определяется спутниковым методом в геоцентрической системе координат со средней квадратической погрешностью 2-3 см. Средняя квадратическая погрешность взаимного положения смежных пунктов КСГС в системе координат г. Москвы должна быть не более 0,5-1,0 см в плановом положении и 1-2 см по высоте.
7.3. На пунктах КСГС, как правило, выполняется определение нормальных высот спутниковыми методами с использованием детальной карты высот квазигеоида. Если пункты КСГС находятся на поверхности земли, нормальные высоты определяются методом геометрического нивелирования II класса.
7.4. На основании КСГС определяются параметры связи городской геодезической системы координат с государственной геодезической системой координат СК-95, для чего КСГС должна быть связана с государственной высокоточной геодезической сетью (ВГС) и часть пунктов КСГС должны быть совмещены с пунктами государственной государственной геодезической сети 1-4 классов.
7.5. Повторные наблюдения КСГС в полном объеме выполняются не реже, чем один раз в 10 лет. Между циклами наблюдений КСГС в полном объеме в нее допускается включать новые пункты. Преимущество при выборе включаемых в КСГС пунктов следует отдавать существующим пунктам триангуляции 1-4 классов, закрепленных надстройками.
7.6. Расширение КСГС осуществляется фрагментами. Фрагмент КСГС представляет собой геодезическое построение, опирающееся не менее чем на пять существующих пунктов КСГС. Каждый вновь определяемый пункт в фрагменте КСГС должен быть связан не менее чем тремя базовыми линиями со смежными существующими или вновь определяемыми пунктами КСГС.
7.7. После включения в состав КСГС даже одного нового фрагмента выполняется ее уравнивание в полном объеме.
8.1. Второй уровень в современной структуре ОГС Москвы занимает спутниковая геодезическая сеть сгущения, основной функцией которой является дальнейшее распространение на территорию г. Москвы геоцентрической системы координат и уточнение параметров связи городской геодезической системы координат с геоцентрической системой координат и государственной системой геодезических координат. СГСС, наряду с КСГС, служит основой для развития сети наземных измерений.
8.2. СГСС представляет собой опирающееся на пункты КСГС однородное по точности пространственное геодезическое построение, состоящее из системы пунктов, удаленных один от другого не более чем на 3 км.
Пункты СГСС определяются спутниковыми методами. Средняя квадратическая погрешность взаимного положения смежных пунктов СГСС в системе координат г. Москвы должна быть не более 1,0-1,5 см.
8.3. На пунктах СГСС, как правило, выполняется определение нормальных высот геометрическим нивелированием III класса. Если пункты СГСС располагаются в местах, не позволяющих определять их высоты методом геометрического нивелирования, определение нормальных высот разрешается выполнять спутниковыми методами с использованием детальной карты высот квазигеоида.
8.4. Развитие СГСС осуществляется фрагментами. Фрагмент СГСС представляет собой геодезическое построение, опирающееся не менее чем на три пункта КСГС. Каждый пункт СГСС должен быть связан не менее чем двумя базовыми линиями с пунктами КСГС или смежными пунктами СГСС. Количество пунктов в фрагменте и их расположение должны обеспечивать развитие СНИ в соответствии с требованиями, предъявляемыми СП 11-104-97 к сетям полигонометрии 1-го разряда.
8.5. В случае примыкания нового фрагмента к существующей СГСС как правило производят повторное наблюдение ранее определявшихся пунктов СГСС, находящихся на границе фрагментов.
8.6. Уравнивание СГСС производится по фрагментам методом наименьших квадратов с учетом погрешностей исходных данных (пунктов КСГС). Измененные координаты пунктов КСГС, полученные в результате уравнивания СГСС с учетом погрешностей исходных данных, в каталоги пунктов ОГС Москвы не вносятся - в них сохраняются координаты, полученные в результате уравнивания КСГС.
8.7. Порядок внесения изменений в каталог существующих пунктов СГСС следующий.
1) Если разности координат повторно наблюдавшихся пунктов СГСС не превышают предельной погрешности их определения, изменения в каталог координат не вносятся.
2) Если разности координат повторно наблюдавшихся пунктов СГСС превысили предельную погрешность их определения, производят дополнительные контрольные определения. Изменения в каталог координат существующих пунктов вносят в том случае, если результаты контрольных определений подтверждают изменение положения существующих пунктов СГСС.
8.8. Повторное уравнивание СГСС в полном объеме выполняется после повторного уравнивания КСГС.
9.1. Третий уровень в современной структуре ОГС Москвы занимает сеть наземных измерений. Основное назначение СНИ - доведение плотности пунктов ОГС Москвы до 16-20 пунктов на 1 кв.км.
9.2. СНИ создается методом полигонометрии 1 разряда в виде одиночных ходов или систем ходов с опорой на пункты КСГС и СГСС. Пункты СНИ по возможности совмещаются с пунктами старых сетей. Нормальные высоты пунктов СНИ определяются геометрическим нивелированием III класса.
9.3. Развитие СНИ осуществляется фрагментами. Фрагмент СНИ представляет собой геодезическое построение, опирающееся на пункты СГСС и КСГС, расположенные на поверхности земли. Пункты КСГС или СГСС, расположенные на крышах зданий и сооружений, при развитии СНИ допускается использовать в исключительных случаях только в качестве ориентирных.
9.4. Объединение фрагментов СНИ в единую сеть осуществляется через пункты СГСС или КСГС. Общая схема развития СНИ из отдельных фрагментов показана на рис.1

Рис. 1. Схема развития СНИ из отдельных фрагментов
9.5. Уравнивание СНИ производится по фрагментам методом наименьших квадратов с учетом погрешностей исходных данных (пунктов КСГС и СГСС). Измененные координаты пунктов КСГС или СГСС, полученные в результате уравнивания СНИ с учетом погрешностей исходных данных, в каталоги пунктов ОГС Москвы не вносятся - в них сохраняются координаты, полученные в результате уравнивания КСГС или СГСС.
9.6. Пункты СНИ, наблюдавшиеся в одном фрагменте, допускается для контроля неизменности их положения повторно наблюдать при построении смежного фрагмента. Порядок внесения изменений в каталог существующих пунктов СНИ следующий.
1) Если разности координат повторно наблюдавшихся пунктов СНИ не превышают предельной погрешности их определения, изменения в каталог координат не вносятся.
2) Если разности координат повторно наблюдавшихся пунктов СНИ превысили предельную погрешность их определения, производят дополнительные контрольные определения. Изменения в каталог координат существующих пунктов вносят в том случае, если результаты контрольных определений подтверждают изменение положения существующих пунктов СНИ.
9.7. Повторное уравнивание фрагментов СНИ выполняется после повторного уравнивания КСГС и затем СГСС в полном объеме.
10.1. Производственный цикл построения ОГС Москвы состоит из следующих основных видов работ.
1) Полевое обследование сохранности существующих пунктов и разработка пректов геодезических сетей.
2) Рекогносцировка и закрепление геодезических пунктов.
3) Выполнение измерений.
4) Математическая обработка измерений, составление каталогов координат и высот, технических отчетов, размещение информации в базе данных пунктов ОГС Москвы.
10.2. Проектирование ОГС Москвы должно производиться с учетом всех ранее выполненных работ после обследования сохранности геодезических пунктов. Выбор места расположения геодезического пункта и тип центра должны обеспечивать долговременную сохранность и устойчивость пунктов в плане и по высоте в течение длительного периода времени и удобство его дальнейшего использования.
10.3. Пункты КСГС и СГСС должны располагаться в легко доступных местах с условиями, благоприятными для спутниковых наблюдений и для последующего развития СНИ. Пункты СГСС, как правило, должны располагаться на поверхности земли или иметь пункты-спутники для обеспечения возможности эффективного использования современных электронных тахеометров при развитии сети наземных измерений и съемочного обоснования. При соблюдении указанных требований пункты КСГС и СГСС могут совмещаться с пунктами старой сети.
10.4. Координацию научно-технических и производственных работ по созданию ОГС Москвы осуществляет ГУП "Мосгоргеотрест".
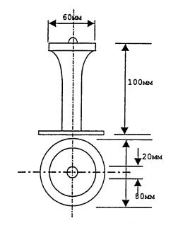
11.1. Пункты СГСС должны закрепляться грунтовыми реперами 6ГР или, при размещении пункта на асфальте или в бетоне, горизонтальными марками (Рис. 2).

Рис. 2. Чертеж горизонтальной марки
11.2. Пункты СНИ, как правило, должны закрепляться в стенах зданий и сооружений с помощью стенных знаков (Рис. 3).

Рис. 3. Чертеж стенного знака
Для закрепления пунктов СНИ допускается использование грунтовых реперов (6ГР), горизонтальных марок (Рис. 2), компактных знаков (Рис. 4) и кернов на анкерных болтах опор ЛЭП, колодцах и других существующих местных предметах, обеспечивающих надежное закрепление пункта.

Рис. 4. Чертеж компактного знака
11.3. В целях обеспечения длительной сохранности геодезических пунктов, они подлежат периодическому обследованию и, при необходимости, восстановлению.
11.4. Геодезический пункт считается утраченным, если утрата центра подтверждена данными инструментально-геодезического поиска.
11.5. Пункты ОГС Москвы, построенные за счет средств городского бюджета или средств ГУП "Мосгоргеотрест", относятся к муниципальной собственности и находятся под охраной Правительства Москвы.
11.6. ГУП "Мосгоргеотрест" несет ответственность за поддержание в рабочем состоянии пунктов ОГС Москвы независимо от ведомственной принадлежности мест их расположения.
|
|
|
|