//
ТехЛит.ру
- крупнейшая бесплатная электронная интернет библиотека для "технически умных" людей.
WWW.TEHLIT.RU - ТЕХНИЧЕСКАЯ ЛИТЕРАТУРА

:: Алготрейдинг::


АЛГОТРЕЙДИНГ
шаг за шагом
с нуля по урокам!

Торговые роботы на PYTHON, BackTrader,
Pandas, Pine Script для TradingView. Связка с брокерами, телеграм и легкими приложениями.


Всесоюзное научно-техническое общество железнодорожников
и транспортных строителей

ДОРОЖНОЕ ПРАВЛЕНИЕ
НАУЧНО-ТЕХНИЧЕСКОГО ОБЩЕСТВА ОРДЕНА ЛЕНИНА
ОКТЯБРЬСКОЙ ЖЕЛЕЗНОЙ ДОРОГИ

Методические рекомендации

ПО ПРОЕКТИРОВАНИЮ ОПОР МОСТОВ

Ленинград

1988

В мостостроении наиболее трудоемкими и ответственными являются работы по возведению опор. Задачи обеспечения надежности и долговечности опор мостов, сокращения расхода материалов и трудозатрат на их строительство должны решаться уже в процессе проектирования путем правильного выбора типа опоры, оптимизации ее элементов, учета местных условий и назначения рациональной технологии строительства.

Новые нормы СНиП 2.05.03-84 «Мосты и трубы» существенно изменили ряд важнейших положений расчета и конструирования опор. Опыт проектирования мостовых конструкций по этому нормативному документу недостаточен, методические материалы отсутствуют.

Целью настоящих Рекомендаций является помощь проектировщикам, строителям, эксплуатационникам и студентам мостовой специальности в проектировании и оценке надежности мостовых опор с использованием СНиП 2.05.03-84.

Рекомендации рассмотрены Советом НТО Ленинградского института инженеров железнодорожного транспорта и Советом НТО Ленгипротрансмоста и одобрены для применения при проектировании мостовых опор.

Рекомендации составлены членами НТО инженером С.Л. Шульманом (главы 1-4, 6 и приложение 1), канд. техн. наук В.В. Мироновым (глава 5 и приложение 2) и канд. техн. наук В. Н. Смирновым (общая редакция).

Председатель Совета НТО ЛИИЖТа В.Е. Павлов

Председатель Совета НТО Ленгипротрансмоста А.К. Васин

Методические рекомендации

ПО ПРОЕКТИРОВАНИЮ ОПОР МОСТОВ

1. ОБЩИЕ СВЕДЕНИЯ ОБ ОПОРАХ МОСТОВ

Опоры мостов подразделяются на концевые (устои) и промежуточные.

Функциональное назначение опор - передача на грунт основания вертикальных и горизонтальных нагрузок от веса пролетных строений, верхнего строения пути железнодорожных мостов или проезжен части автодорожных мостов, подвижного состава, ветра и др. Устои воспринимают также горизонтальное давление грунта от его собственного веса и от временной нагрузки, расположенной на призме обрушения; промежуточные опоры должны быть рассчитаны на ледовые воздействия, а на судоходных реках - и на нагрузку от навала судов.

По конструкции опоры могут быть классифицированы следующим образом: массивные опоры - каменные, бутобетонные, бетонные (монолитные, сборно-монолитные пли сборные), в том числе с облицовкой из естественного камня или бетонных блоков. Появившись па заре мостостроения, массивные опоры применяются и в настоящее время на мостах через большие реки при интенсивных ледоходах и в других сложных условиях (например, наличие зажоров, агрессивности воды, селеобразования), опоры возводятся как па фундаментах мелкого заложения (на естественном основании), так и на свайных фундаментах из свай различных типов. До недавнего времени в качестве фундаментов глубокого заложения широко использовались опускные колодцы и кессоны, практически повсеместно вытесненные сейчас свайными фундаментами (из свай-оболочек диаметром от 1,6 до 3,0 и более метров, буронабивных свай, в том числе с уширениями, и комбинированных конструкций); свайные опоры - конструкции, состоящие из одного или нескольких рядов свай, объединенных поверху насадкой (ригелем), на которую устанавливаются пролетные строения. Свайные опоры из деревянных и металлических свай широко применяются для временных мостов. С развитием сваебойной техники такие опоры стали сооружать из железобетонных свай и использовать для постоянных мостов через малые водотоки при отсутствии ледохода, а также для путепроводов. В 60-70-е годы появились и быстро завоевали признание у строителей разновидности свайных опор: столбчатые, в которых основными несущими элементами являются железобетонные стойки, погружаемые в заранее разбуренные скважины (главным образом, в вечномерзлых грунтах), и безростверковые из свай-оболочек диаметрами 1,6 м и более или буронабивных свай; стоечные (рамные) опоры в виде плоских или пространственных рам из стоек деревянных, металлических или железобетонных, объединяемых поверху насадкой (ригелем). В некоторых случаях рамы снабжены горизонтальными и наклонными связями. Фундаменты стоечных (рамных) опор - мелкого заложения или свайные (аналогично массивным опорам); пустотелые опоры, выполняемые из монолитного бетона или из замкнутых бетонных блоков, преимущественно, прямоугольного (реже - круглого) сечения, устанавливаемых на фундамент любого типа и объединяемых поверху железобетонной плитой сплошного сечения. Пустотелые опоры проектируются как бетонные (без вертикального армирования) или железобетонные с ненапрягаемой или напрягаемой арматурой; комбинированные опоры - имеющие нижнюю (цокольную) часть массивной конструкции и верхнюю часть стоечную (рамную) или пустотелую. Высота цокольной части определяется, обычно, возвышением уровня высокого ледохода над уровнем низкой межени (с некоторым запасом).

В зависимости от расположения в конусе подходной насыпи, устои подразделяются на:

необсыпные, длина которых не менее длины конуса, причем подошва конуса не выходит за переднюю грань устоя. Необсыпные устои в настоящее время применяются, преимущественно, в городских условиях, часто в сочетании с продольными подпорными стенками, ограничивающими размеры насыпи в плане;

обсыпные - расположенные в теле конуса. Такие устои являются сейчас основным типом конструкций, позволяют использовать наиболее эффективные технические решения - свайные и стоечные опоры. Недостатком обсыпных устоев является увеличение длины моста на перекрываемую пролетными строениями часть конуса.

Опора любого из перечисленных типов, как правило, состоит из следующих элементов:

оголовок - верхняя часть опоры, на которой разметены подферменные площадки, предназначенные для установки и крепления опорных частей. Функциональная задача оголовка - распределение нагрузки от опорных частей на нижележащие элементы опоры. В свайных и стоечных опорах в качестве оголовка используется насадка (ригель);

тело опоры - средняя по высоте часть опоры, конструкция которой и определяет ее тип;

фундамент - нижняя часть опоры, размещенная или заделанная в грунте основания.

В свайных опорах и их разновидностях сван являются элементами и тела опоры, и фундамента одновременно.

Элементы или части опоры в зависимости от их положения относительно уровней воды могут быть отнесены к надводной или надземной незатопляемой зоне, расположенной на 1 м выше наивысшего уровня ледохода или поверхности грунта; подводной или подземной зоне, расположенной на 0,5 м ниже нижней поверхности слоя льда наинизшего ледостава или половины глубины промерзания грунта; зоне переменного уровня воды, расположенной между указанными выше зонами.

2. КРАТКИЙ ИСТОРИЧЕСКИЙ ОБЗОР

С древнейших времен и до середины XIX века в мостостроении применялись, в основном, деревянные и каменные опоры.

Деревянные опоры использовались для мостов с деревянными и металлическими пролетными строениями. Достоинства деревянных опор: простота конструкции, возможность использования местных материалов и относительно малый их расход; недостатки; недолговечность, повышенная деформативность, пожароопасность.

В настоящее время сфера применения деревянных опор ограничена временными мостами.

Каменные опоры из естественного или искусственного камня (в частности, кирпича) характеризуется чрезвычайно высокой долговечностью: возраст древнейших из сохранившихся до наших дней опор превышает тысячелетия. В литературе, посвященной проектированию и строительству каменных опор, обычно употребляется термин «Каменные мосты», т.к. из каменной кладки возводилось все сооружение: и опоры, и пролетные строения. Преимущественно, применялись сводчатые конструкции. Размеры (продольные) опор каменных мостов, определявшиеся эмпирически, достигали 1/3 пролета, поскольку их устойчивость при неуравновешенном распоре обеспечивалась только собственным весом конструкций. Каменная кладка выполнилась с применением различных видов связующих растворов. Чаще всего использовался известковый раствор.

В XIX веке появились и получили широкое применение бетонные и бутобетонные опоры (как правило в облицовке из камня). Существенно меньшая трудоемкость возведения, применение вместо тесаного камня щебня и гравия в сочетании с хорошими эксплуатационными качествами привели к тому, что бетонные и бутобетонные опоры не только быстро вытеснили каменные конструкции, но и применяются до настоящего времени.

Принципиально важным для совершенствования конструкций опор стало использование железобетона. Армирование опор позволило резко сократить их размеры. Появились новые типы опор - прежде всего, рамные. Прогресс в конструктивных и технологических решениях фундаментов, в частности, широкое применение железобетонных свай и свай-оболочек, рост мощности кранового оборудования привели к созданию в середине XX века свайных опор из железобетонных свай.

3. СОВРЕМЕННЫЕ КОНСТРУКЦИИ ОПОР

3.1. Основные особенности современного состояния развития мостовых опор

а) Высокий уровень типизации конструкций и их элементов.

Практически все опоры малых и средних мостов строятся по типовым проектам. При индивидуальном проектировании опор больших мостов широко используются типовые элементы и детали.

б) Ориентация на облегченные конструкции.

Вместо применявшихся ранее массивных каменных, бутобетонных и бетонных опор используются стоечные, рамные, пустотелые конструкции. В устоях применение массивных конструкции практически прекратилось. В промежуточных опорах массивные бетонные конструкции сохранились лишь при тяжелом ледоходе, в суровых климатических условиях и других сложных случаях применения.

в) Отказ от гранитной облицовки.

Для защиты от неблагоприятных природных факторов (ледохода, карчехода и др.) применяется искусственная облицовка из бетонных блоков повышенной прочности и морозостойкости.

г) Резкое сокращение объемов котлованных работ.

В мостостроении практически прекратилось использование кессонных фундаментов. Опускные колодцы встречаются в единичных случаях; сокращается объем строительства опор с фундаментами мелкого заложения (на естественном основании). Повсеместное применение получили свайные фундаменты из забивных, буронабивных и буроопускных свай различных конструкций. В малых и средних мостах широко применяются свайные опоры, состоящие из свай и объединяющих их поверху насадок (ригелей). В таких опорах сваи являются одновременно элементами фундамента и тела опоры. Для опор традиционной схемы (включающих фундамент и тело опоры) наметилась тенденция к размещению плиты ростверка выше уровня грунта или рабочего горизонта воды.

д) Повышение уровня сборности опор за счет применения блоков заводского изготовления. Укрупнение блоков.

Уровень сборности опор малых и, частично, средних мостов превышает 90%. Налажено массовое изготовление па заводах МЖБК свай, стоек, насадок. Промбазы мостостроительных организации в достаточном количестве выпускают шкафные блоки устоев, элементы фундаментов, контурные блоки и др.

В связи с ростом грузоподъемности кранового оборудования растет монтажный вес блоков, увеличивается сечение и, соответственно, несущая способность стоек рамных опор.

е) Активизация поисков путей дальнейшего сокращения материалоемкости опор и трудоемкости строительства.

Наметилось несколько направлений этой работы:

- расширение сферы применения железобетонных и бескотлованных конструкций (см. п. «б» и «г»);

- повышение качества изыскательских работ. Например, использование статического и динамического зондирования грунтов; моделирование русловых процессов для уточнения глубины размыва, воздействия льда и пр.;

- совершенствование методики расчета мостов. Созданы теория и необходимое программное обеспечение для расчета пространственных рам с шарнирной, жесткой и упругой заделкой стоек, что позволило снизить трудоемкость и одновременно повысить точность расчетов высоких свайных ростверков и рамных опор. Разработаны мощные программные комплексы для статического и динамического расчета сложных рам на основе МКЭ, позволяющие рассчитывать мосты как системы, т.е. с учетом распределения нагрузок между опорами соответственно их жесткостным характеристикам на любые сочетания нагрузок, включая сейсмические воздействия. Отработаны и конструктивные приемы, обеспечивающие совместную работу опор и пролетных строений моста в единой системе.

3.2. Характеристика и область применения основных типов опор

3.2.1. Свайные опоры

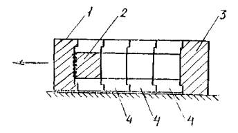
Свайные промежуточные опоры (рис. 3.1, в, г) состоят из свай - основных несущих элементов и насадок (ригелей), объединяющих сваи поверху. Как правило, насадки бетонируются одновременно с подферменными площадками, предназначенными для установки опорных частей.

Свайные устои (рис. 3.1, а, б), кроме того, включают шкафные блоки, являющиеся элементами сопряжения моста с подходной насыпью.

Сборные насадки имеют омоноличиваемые при монтаже сквозные отверстия, в которые заводится арматура свай. Забивные сваи, как правило, не удается погрузить точно до проектной отметки. Поэтому верхние части свай срубаются с обнажением арматуры. При буроопускном методе погружения свай отметки могут быть выдержаны с большой точностью, и выпуски арматуры предусматриваются в сваях заранее, при заводском изготовлении.

Шкафные блоки устоев крепятся к насадкам с помощью сварных или болтовых стыков закладных деталей.

Рис. 3.1. Свайные опоры:

а - устой железнодорожного моста; б - то же, автодорожного; в - промежуточная опора железнодорожного моста; г - то же, автодорожного (1 - свая, 2 - насадка, 3 - шкафной блок)

Для автодорожных мостов обычно применяют шкафные блоки плоские (шкафные стенки), на которые устанавливают плиты мягкого въезда, обеспечивающие постепенное изменение жесткости дорожного покрытия при въезде на мост.

В зависимости от сечения и способа погружения свай опоры подразделяются на:

- собственно свайные опоры (рис. 3.1), в которых используются забивные сваи квадратного сечения размерами чаще всего 350×350 или 400×400 мм, а также полые круглые спаи диаметром 400 или 600 мм;

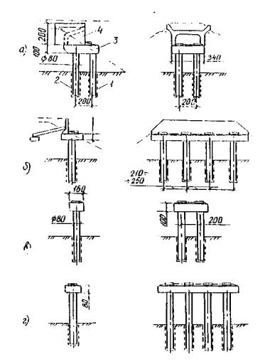
- столбчатые опоры (рис. 3.2), в которых используются буроопускные сваи-стойки сплошного сечения круглые (диаметром 600-800 мм) или прямоугольного сечения (например, 500×800 мм);

- безростверковые опоры (рис. 3.3), в которых используются сваи-оболочки или металлические трубчатые сваи диаметром 1000 мм и более, буронабивные конструкции (например, состоящие из буронабивной сваи в нижней части и секций свай-оболочек в верхней части).

При неразрезных пролетных строениях, имеющих опорные диафрагмы, безростверковые опоры могут быть выполнены из отдельных свай-столбов без объединяющего их ригеля, роль которого выполняет опорная диафрагма пролетного строения или система диафрагм, а опорные части устанавливаются непосредственно на верхние плоскости столбов (рис. 3.4).

Примерная область применения свайных опор приведена в табл. 31. и 3.2.

Геологические условия применения свайных опор, в основном, определяются возможностями используемого оборудования: дизель-молотов, паровых молотов и вибропогружателей - для забивных свай, бурового оборудования - для буроопускных и буронабивных свай.

Рис. 3.2. Столбчатые опоры:

а - устой железнодорожного моста; б - то же, автодорожного; в - промежуточная опора железнодорожного моста; г - то же, автодорожного (1 - скважина, 2 - столб; 3 - насадка, 4 - шкафной блок)

Рис. 3.3. Безростверковые опоры:

а - устои железнодорожного моста; б - то же, автодорожного; в - промежуточная опора железнодорожного моста; г - то же, автодорожного

Рис. 3.4. Безростверковые безригельные опоры:

а - опора под пролетное строение с монолитной диафрагмой; б - опора под пролетные системы ПРК - ЦНИИС

3.2.2. Стоечные и рамные опоры

Основными несущими элементами стоечных и рамных опор (рис. 3.5 и 3.6) являются стойки - преимущественно, железобетонные, прямоугольного или квадратного сечения (реже круглые и обтекаемой формы). Нижние концы стоек заделываются в фундаментах (или плитах ростверков), верхние концы - в насадках. Конструкции насадок и стыков стоек с ними аналогичны свайным опорам. Примерная область применения стоечных и рамных опор приведена в табл. 3.3 и 3.4.

Таблица 3.1

Примерная область применения свайных опор железнодорожных мостов

1 - область применения опор из свай сечением 35×35 см; 2 - то же, сечением 40×40 см.

_____________

* для устоев - высота насыпи - от бровки полотна до расчетной поверхности грунта (см. п. 6.9.1), для промежуточных опор - высота опоры - от верха подферменной площадки до расчетной поверхности грунта (см. п. 6.9.1).

Таблица 3.2.

Примерная область применения свайных (рамных) опор автодорожных мостов

1 - область применения опор из свай сечением 35×35 см; 2 - то же, сечением 40×40 см.

______________

* для устоев - высота насыпи - от бровки полотна до расчетной поверхности грунта (см. п. 6.9.1), для промежуточных опор - высота опоры - от верха подферменной площадки до расчетной поверхности грунта (см. п. 6.9.1).

Рис. 3.5. Стоечные опоры:

а - устой железнодорожного моста; б - то же, автодорожного; в - промежуточная опора железнодорожного моста; г - то же, автодорожного

Рис. 3.6. Рамные опоры:

а - лоская; б - пространственная

Таблица 3.3.

Примерная область применения стоечных (рамных) опор железнодорожных мостов с балочными разрезными пролетными строениями

1 - область применения опор из стоек сечением 40×40 см; 2 - то же, сечением 50×80 см (плоские рамы). 3 - то же, сечением 50×80 см (пространственные рамы).

_____________

* для устоев - высота насыпи - от бровки полотна до обреза фундамента, для промежуточных опор - высота опоры - от верха подферменной площадки до обреза фундамента.

Таблица 3.4.

Примерная область применения стоечных (рамных) опор автодорожных мостов

1 - область применения опор из стоек сечением 35×35 см: 2 - то же, сечением -40×40 см; 3 - то же, сечением 50×80 см.

____________

* для устоев - высота насыпи - от бровки полотна до обреза фундамента, для промежуточных опор - высота опоры - от верха подферменной площадки до обреза фундамента.

Тип фундамента опоры выбирается в зависимости от конкретных геологических условий. Объединение стоек с фундаментами выполняется с использованием фундаментных стаканов (рис. 3.7) при отсутствии значительных растягивающих усилий в стопках, и стыкованием арматуры стоек с выпусками арматуры из фундаментов - в остальных случаях.

Рис. 3.7. Фундамент стоечной опоры:

1 - фундаментный стакан; 2 - плита ростверка; 3 - бетон омоноличивания

В автодорожных путепроводах и средних мостах и городских условиях нередко применяются одностоечные опоры, состоящие из железобетонной стойки и ригеля, выполненных из сборных элементов или монолитными. Обладая высокими архитектурно-планировочными качествами, что особенно важно при строительстве в стесненных условиях (например, при косых путепроводах), такие конструкции требуют значительных затрат арматуры. Трудоемкость их возведения также достаточно велика.

Недостатком стоечных опор в виде пространственных рам с наклонными стойками является значительный расход материалов на фундаменты. Уменьшить материалоемкость фундамента и опоры в целом можно за счет объединения элементов моста в единую систему (рис. 3.8, а). В этом случае могут применяться плоские рамные опоры. Поскольку горизонтальные усилия распределяются в системе пропорционально жесткостям опор, за счет более жестких (вследствие малой высоты) береговых и поименных опор будут менее загружены русловые опоры.

Известно несколько конструктивных приемов объединения опор и пролетных строений в единую систему:

а) для автодорожных мостов:

- установка балочных разрезных пролетных строений на резинометаллические опорные части (РОЧ). Усилия между опорами распределяются с учетом жесткостных характеристик опор и деформативности РОЧ;

- устройство непрерывной проезжей части путем омоноличивания плиты в надопорной зоне и превращение таким образом моста в температурно-неразрезную систему;

- установка балочно-неразрезного пролетного строения только на неподвижные опорные части (при гибких опорах).

б) для железнодорожных мостов:

- устройство упругих прокладок между пролетными строениями и устоями. Такое решение в однопролетных мостах позволяет существенно облегчить устои;

- устройство шарнирных связей между смежными пролетными строениями (рис. 3.8, б, в) - для мостов длиной до 150-200 м;

- использование тормозных поясов - специальных металлоконструкций, прикрепляемых к пролетным строениям и устоям. При этом все пролетные строения могут устанавливаться па подвижные опорные части (на промежуточные опоры будут передаваться горизонтальные усилия, не превышающие силы трения) или на неподвижные и подвижные опорные части (горизонтальные усилия между опорами будут распределяться пропорционально их жесткостям). Тормозные пояса могут быть закреплены за анкера, размешенные в насыпях подходов за пределами устоев, что позволит их существенно разгрузить. Тормозные пояса эффективны в мостах длиной более 150-200 м.

Выбор способа объединения элементов моста в систему осуществляется путем сравнения вариантов.

Рис. 3.8. Объединение элементов моста в единую систему:

а - схема виадука с продольно-связанными балками; б - объединение металлических балок; в - то же, железобетонных

3.2.3. Массивные опоры

Для мостов через большие реки при тяжелых ледовых воздействиях массивные опоры являются единственно возможным типом опор, обеспечивающим надежность и долговечность моста. Для защиты опор в суровых и особо суровых климатических условиях применяются облицовочные блоки.

В этих случаях массивные опоры проектируются как бетонные конструкции, т.е. без учитываемой в расчете вертикальной арматуры.

Основным типом массивных бетонных опор являются сборно-монолитные (рис. 3.9, а), состоящие из контурных блоков, играющих роль облицовочных, и ядра заполнения.

Массовое применение получили два варианта контурных блоков:

- блоки, анкеруемые арматурными выпусками (рис. 3.9, б). Нижняя постель каждого блока скошена во внешнюю сторону и к поперечной оси, образуя опорную плоскость Т-образного очертания в плане. На верхней постели имеются соответствующие канавки, которыми фиксируется положение блоков верхнего ряда. Горизонтальные стыки между блоками на растворе, вертикальные - заполняются бетоном ядра;

- блоки ЦНИИС (рис. 3.9, в). Верхняя и нижняя постели каждого блока одинаковы - плоские со скосом с внутренней стороны. Такое решение позволяет для обеспечения перевязки швов устанавливать блоки в перевернутом положении и, как следствие, сократить количество типоразмеров элементов. Горизонтальные стыки между блоками клеевые, вертикальные - заполняются бетоном ядра.

На основе блоков, анкеруемых арматурными выпусками, разработаны унифицированные блоки, предусматривающие выполнение горизонтальных стыков на клею. Верхняя постель блока имеет ступеньку вдоль лицевой стороны и местный уступ с внутренней стороны блока, расположенный по его поперечной оси. Ступенька и уступ предназначены для фиксации положения вышележащего блока при монтаже и играют роль шпонки при работе опоры на эксплуатационные нагрузки. В целях повышения надежности работы горизонтальных стыков монтаж выполняется без перевязки швов, что исключает точечное опирание блоков при различных отметках соседних блоков. Устройство вертикальных стыков аналогично вышеуказанным.

Рис. 3.9. Массивные опоры:

а - пример сборно-монолитной опоры (из блоков ЦНИИС); б - контурный блок, анкеруемый арматурными выпусками, в - блок ЦНИИС, г - унифицированный блок 1 - контурные блоки; 2 - монолитное ядро; 3 - клеевой стык; 4 - арматурные выпуски

Поскольку СНиП 2.05.03-84 допускает при принятии соответствующих защитных мер использование железобетонных конструкций опор даже в зоне переменного уровня воды, сфера применения массивных бетонных опор сужается. Железобетонные массивные опоры наиболее просто с конструктивной точки зрения могут быть выполнены монолитными.

При наличии инвентарной опалубки, товарного бетона, удачного решения арматурного каркаса монолитные железобетонные опоры технологичны и экономичны.

Проектирование сборно-монолитных опор как железобетонных затрудняется необходимостью устройства стыков между блоками, работающих на растяжение.

Перспективным направлением разработки сборно-монолитных железобетонных опор следует считать применение контурных блоков, высота которых равна высоте яруса опоры (рис. 3.10). В таких опорах вся расчетная арматура размещается в блоках, являющихся, по существу, армоэлементами. Блоки объединяются между собой в уровнях: фундамента, оголовка и прокладников.

Рис. 3.10. Опора из блоков-армоэлементов:

1 - армоэлемент; 2 - бетон заполнения

В некоторых случаях эффективными оказываются комбинированные решения: в зоне переменного уровня воды и ледохода устраивается массивная цокольная часть, на которой размещается рамная надстройка или надстройка из пустотелых конструкций (рис. 3.11).

Рис. 3.11. Комбинированные опоры:

а - с рамной настройкой; б - с настройкой из пустотелых блоков

3.2.4. Пустотелые опоры

Пустотелые опоры занимают промежуточное положение между массивными и рамными опорами и применяются в тех случаях, когда массивные конструкции не требуются (например, на суходолах или выше уровня ледохода), а применение рамных опор невозможно по технологическим или нецелесообразно по экономическим соображениям (например, при большой высоте опор).

Пустотелые опоры (рис. 3.12) могут быть выполнены сборными из блоков замкнутого очертания, объединяемыми на клею, или монолитными.

Рис. 3.12. Пустотелая опора двухпутного виадука:

а - схема опоры; б - блок с точечными фиксаторами; в - блок с контурными фиксаторами

Опоры могут быть запроектированы и бетонными, и железобетонными. Во втором случае в блоках сборных опор устраиваются соосные каналы для размещения рабочей арматуры.

Весьма перспективным является технологическое решение, предложенное Мостотрестом и позволяющее изготовлять в одной оснастке пустотелые блоки с различной толщиной стенок и блоки сплошного сечения (рис. 3.13). Используя эту технологию, можно получить опору постоянных по высоте поперечных размеров, имеющую сплошное сечение в зоне ледохода и пустотелую - в верхней части.

Рис. 3.13. Схема изготовления пустотелых блоков опор:

1 - подвижной упор; 2 - вкладыш; 3 – неподвижный упор; 4 - блоки

4. ОСНОВНЫЕ ПРИНЦИПЫ ВЫБОРА ТИПА ОПОРЫ

Основными показателями, определяющими выбор типа опоры для конкретных условий строительства, являются:

- трудоемкость строительно-монтажных работ и сроки строительства;

- материалоемкость (расход металла, цемента и др.). Для отдаленных районов имеет значение расход (суммарный вес) привозных материалов;

- стоимость строительства.

Решающее влияние на выбор типа опоры и фундамента могут оказать возможности строительной организации, наличие оборудования и оснастки.

Опыт проектирования, строительства и эксплуатации опор различных типов показывает:

а) наименьшие материалоемкость, стоимость и трудоемкость (в сопоставимых условиях) имеют свайные опоры;

б) при малых и средних высотах хорошие показатели имеют стоечные (рамные) опоры;

в) для опор, располагаемых в русле водотока, эффективными являются конструкции, имеющие массивную цокольную часть и рамную пли пустотелую надводную часть.

Таким образом, при выборе типа опоры прежде всего следует рассмотреть возможность применения в данных условиях свайных опор (в зависимости от геологических и производственных факторов - из забивных, буроопускных или буронабивных свай, свай-оболочек и т.п.). Если свайные опоры применить нельзя, то на втором этане оценивается возможность сооружения стоечных опор. В случаях, когда стоечные конструкции неприменимы, следует проектировать массивные опоры, преимущественно, с рампой или пустотелой надводной частью.

Плиту ростверка стоечного устоя на свайном фундаменте следует располагать над поверхностью грунта. Для промежуточных опор (стоечных и массивных) такое решение также предпочтительно и не может быть рекомендовано лишь в случаях тяжелого ледохода в низком уровне, наличия зажоров и других сложных природных явлений, а также по архитектурным соображениям.

5. КОНСТРУИРОВАНИЕ ОПОР

5.1. Общие положения

Проектирование опор ведется в соответствии с действующими СНиП 2.05.03-84 «Мосты и трубы».

При проектировании фундаментов опор руководствуются также СНиП 2.02.01-83 «Основания зданий и сооружений», СНиП II-17-77 «Свайные фундаменты» и СНиП II-18-76 «Основания и фундаменты на вечномерзлых грунтах».

При проектировании мостов в сейсмических районах необходимо руководствоваться СНиП II-7-81 «Строительство в сейсмических районах».

При разработке технологии строительства опор следует руководствоваться СНиП III-43-75 «Мосты и трубы», а также СНиП 3.02.01-83 «Основания и фундаменты» и СНиП III-4-80 «Техника безопасности в строительстве».

Проектируя опору, необходимо учитывать положение ряда характерных уровней воды в реке. Это - уровень меженных вод (УМВ); уровни высоких вод: расчетный (ожидаемый при расчетном паводке (РУВВ) и наибольший (НУВВ) - (СНиП 2.05.03-84 п. 1.25); уровни ледохода низкий и наивысший, уровень наинизшего ледостава. В особых случаях принимаются во внимание и другие уровни. В частности, для правильного учета затрат на вспомогательные сооружения (например, ограждения котлованов) необходимо знать рабочий уровень воды (РУ) - это наивысший уровень, который можно ожидать в период производства работ на данной опоре.

Конструирование опор (включая и стадию разработки вариантов) начинается с анализа исходных данных: продольного профиля, слоев грунта, характерных уровней воды, уровня подошвы рельса (или верха проезжей части) или очертаний подмостовых габаритов, строительных высот и осей опирания пролетных строений и др.

Целями анализа являются: оценка возможности использования типовых пли повторно применяемых конструкций и выбор типа проектируемой опоры с учетом рекомендаций главы 4.

Затем выполняется эскизный чертеж опоры, целями разработки которого являются: назначение расчетной схемы опоры, определение весовых и жесткостных характеристик элементов опоры для использования в дальнейших расчетах (см. главу 6).

На основании результатов расчетов назначаются окончательные размеры элементов, разрабатываются чертежи и определяются технико-экономические показатели опоры, включаемые и проектные материалы по мосту в целом.

5.2. Требования к материалам

В зависимости от климатических условии, характеризуемых среднемесячной температурой наиболее холодного месяца, вида конструкции и зоны ее расположения, к бетону опор предъявляются определенные требования по морозостойкости (F), приведенные в табл. 5.1.

Марки бетона по водонепроницаемости (W) должны назначаться не ниже:

W4 - для конструкций в подводной и подземной зонах;

W8 и W6 - в блоках облицовки опор мостов в районах со средней температурой наружного воздуха наиболее холодной пятидневки соответственно: ниже минус 40°С и от минус 40 °С и выше.

Классы бетона по прочности на сжатие должны быть не ниже:

В20 - в бетонных конструкциях и в железобетонных конструкциях (с непапрягаемой арматурой) в подземных частях сооружения, а также во внутренних полостях сборно-монолитных опор;

В22,5 - в железобетонных конструкциях (с непапрягаемой арматурой) в надземных частях сооружения;

В45 и В35-в блоках облицовки опор на реках с ледоходом при расположении мостов в районах со средней температурой наружного воздуха на их более холодной пятидневки соответственно: ниже минус 40°С и от минус 40°С и выше, (более подробные указания - см. п.п. 3.18-3.23 СНиП 2.05.03-84).

Применение железобетонных конструкции в опорах мостов па водотоках допускается при условии армирования их стержневой арматурой и защиты поверхности от возможных механических повреждений. Применение напрягаемой проволочной арматуры в опорах на водотоках не допускается.

Таблица 5.1

Климатические условия, характеризуемые среднемесячной температурой наиболее холодного месяца, °С

Расположение конструкций и их частей

в надводной, надземной и подземной зонах

в зоне переменного уровня

Вид конструкций

железобетонные (толщиной менее 0,5 м)

бетонные массивные

железобетонные и тонкостенные бетонные

Бетонные массивные

Блоки облицовки

кладка тела опор (бетон наружной зоны)

кладка заполнения при блоках облицовки (бетон внутренней зоны)

Умеренные (минус 10 и выше)

200

100

200

100

100

-

Суровые (ниже минус 10 до минус 20 включительно)

200

100

300

200

100

300

Особо суровые (ниже минус 20)

300

200

300*

300

200

400**

_____________

* 400 - для железобетонных элементов промежуточных опор железнодорожных и совмещенных мостов на постоянных водотоках.

** 500 - для блоков облицовки опор больших железнодорожных и совмещенных мостов через реки с ледоходом при толщине льда свыше 1,5 м.

5.3. Сопряжение моста с насыпью. Концевые опоры (устои)

5.3.1. Общие требования к сопряжению моста с насыпью

Сопряжение моста с подходными насыпями осуществляется в пределах копченых участков насыпей - конусов, внутри которых располагаются концевые опоры моста - устои. Главное требование к этому сопряжению - обеспечить плавный въезд па мост за счет плавного изменения жесткости основания ж.д. пути или дорожного покрытия автопроезда. В пределах моста основание пути (слои балласта или железобетонная плита) дает мод нагрузкой незначительные упругие осадки. На насыпи осадки значительно больше. Чтобы в рельсах не возникали большие напряжения или не происходило расстройство дорожного покрытия, необходимо обеспечить плавное увеличение жесткости основания по мере приближения к мосту. Это обеспечивается прежде всего тем, что устой, воспринимая горизонтальное давление насыпи от собственного веса грунта и временной нагрузки на насыпи за устоем, препятствует большим вертикальным перемещениям верха насыпи. Кроме того изменение жесткости обеспечивается укладкой за устоем специальных переходных плит. Насыпь удерживается от сползания в пролет конусом, который сам по себе должен быть устойчивым. Обсыпные устои даже традиционной конструкции (см. рис. 5.1) не могут удержать насыпь от деформаций, а при расчете па устойчивость против глубокого сдвига (см. п. 6.5.2) увеличивают сдвигающую силу в сравнении со стоечными устоями вследствие большего веса конструкции.

Рис. 5.1. Обсыпной устой

При проектировании необсыпного устоя его переднюю грань совмещают с точкой пересечения откоса конуса с поверхностью грунта (точка В на рис. 5.2).

Рис. 5.2. Необсыпной устой

Основные конструктивные требования, к сопряжениям устоев с насыпью и конструкции устоев, предусмотренные СНиП 2.05.03-84, приведены на рис. 5.3.

Рис. 5.3. Сопряжение устоя с насыпью:

Размеры в см. Н - высота насыпи

___________

*при сейсмичности 9 баллов максимальная крутизна откосов 1:1,75

5.3.2. Устройство конусов

Нарушение устойчивости конуса может произойти из-за подмыва его подошвы, из-за уменьшения сил трения между частицами грунта при намокании, при динамических (особенно сейсмических) воздействиях, а также из-за сдвигов в грунте основания конуса под действием сил веса самого конуса и временной нагрузки на насыпи. Необходимая устойчивость конуса обеспечивается заданием его откосам достаточно пологих уклонов (рис. 5.3), отсыпкой конуса насыпи дренирующим грунтом (песок, гравий, в особых случаях - щебень, каменная наброска), а защита от размыва-укреплением откосов.

При высоте насыпи более 12 м предельно допускаемая крутизна откосов должна определяться расчетом конуса па устойчивость против глубокого сдвига (см. п. 6.5.2).

На реках, где осуществляется регулирование пропуска поды под мостом в периоды паводков путем устройства струенаправляющих дамб и других регуляционных сооружений, откосы дамб и пойменных насыпей проектируются с учетом воздействия ледохода, волн, течения воды и требуют усиленного крепления. Это относится и к откосам конусов, подверженным тем же воздействиям. Обычно откосы укрепляют сборными или монолитными железобетонными плитами, реже - каменным мощением или каменной наброской. Верх укрепления насыпей должен быть защищен от разрушения, особенно под действием накатывающихся волн, способных подмыть крепление сверху. С этой целью укрепление поднимается выше уровня наката волн на откос при высоком уровне воды. Кроме высоты наката волн, необходимо учесть высоту подпора воды перед мостом, и предусмотреть запас по высоте не менее 0,5 м. При определении высоты укрепления ориентируются па высокие уровни воды, соответствующие наибольшим паводкам (НУВВ) - для мостов на железных дорогах общей сети и расчетным паводкам (РУВВ) для остальных мостов.

Верхняя часть конусов и откосов насыпей также укрепляется бетоном или камнем (против ветровой эрозии и разрушения атмосферными осадками). Мощность такого укрепления (толщина плит, крупность камня к др.) обычно меньше мощности укрепления нижней части, подвергающейся ледовому и волновому воздействию. Конус обсыпного устоя может выполнять роль струенаправляющего сооружения (конус с уширением). Если же устраивается струенаправляющая дамба, то конус сливается с дамбой, которая как бы служит его основанием. Поэтому на уровне верха укрепления нижней части откоса обычно устраивается берма шириной 2-3 м (в случае устройства струенаправляющей дамбы эта берма совмещается с горизонтальном площадкой по верху дамбы). При вариантном проектировании уклон откоса конуса ниже бермы может быть назначен в пределах от 1:2 до 1:3, а в случае устройства дамбы уклон ее откоса со стороны русла реки - 1:3 или еще более пологим. Выше берм уклон откоса конуса назначают не круче 1:1,5 (рис. 5.4).

Рис. 5.4. Сопряжение большого моста с насыпью

Укрепление откоса по подошве (в уровне естественной поверхности грунта) упирают в своего рода фундамент (упор) в виде бетонного блока или рисбермы трапецеидального сечения из камня. Укрепляется часто также и некоторая полоса горизонтальной поверхности основания вдоль подошвы откоса.

Конусы, пойменные насыпи, регуляционные сооружения, как правило, располагают за пределами меженного русла реки (в пределах пойм). Это, в частности, является одним из условий (хотя обычно и не главным), определяющих минимальную величину отверстия моста и его расположение относительно меженного русла реки *.

____________

* Исключением являются случаи, когда в процессе строительства моста проводится регулирование русла реки (спрямление русла, устройство набережных), т.е. когда, кроме строительства моста, проводятся еще и специальные гидротехнические работы.

Для сейсмических районов конусы насыпей у устоев проектируются в соответствии со СНиП II-7-81.

5.4. Конструирование устоев

5.4.1. Оголовки устоев

Подферменник (оголовок) устоя служит для распределения нагрузки, воспринимаемой от пролетного строения, на несущую конструкцию. Для массивных бетонных устоев он устраивается железобетонным (обычно армируется двумя арматурными сетками, расположенными поверху и понизу плиты) и должен иметь толщину не менее 40 см. Поверх армированной части плиты укладывается монолитно связанный с ней бетон сливов, имеющий наклонную верхнюю поверхность для стока воды. Уклоны не должны быть положе 1:10.

Опорные части устанавливаются на подферменные площадки, армированные сетками по расчету на местное смятие. Подферменные площадки также монолитно связаны с плитой оголовка и должны возвышаться над наиболее высокой его частью не менее, чем на 15 см. Размеры оголовков и подферменных площадок определяются размерами нижних плит опорных частей (см. рис. 5.3). Величины «а» и «в» принимаются не менее значений, приведенных в табл. 5.2 и 5.3 соответственно.

Таблица 5.2

Минимальные значения расстояния от грани подферменной площадки до грани оголовка опоры вдоль моста

Длина примыкающего пролетного строении l, м

min а, см

менее 15

не нормируется

15 - 30

15

30-100

25

более 100

35

Примечание: при сейсмичности 9 баллов аmin = 0,005 l.

Таблица 5.3

Минимальные значения расстояния от грани подферменной площадки до грани оголовка опоры поперек моста

Тип пролетного строения

Тип опорной части

min b, см

плитное

любой

20

РОЧ

20

ребристое

плоские тангенциальные

30

катковые, секторные

50

Расстояние от оси опирания пролетного строения до шкафной стенки определяется по формуле

где Lп - полная длина пролетного строения в уровне проезжен части (для сквозных ферм - по продольным балкам);

Lр - расчетный пролет;

Δс - зазор, принимаемый:

а) 5 - 6 см - при установке на устой неподвижной опорной части,

б) 5 + Δlт + Δlв - при установке на устой подвижной опорной части (Δlт - температурное удлинение пролетного строения; Δlв - удлинение нижнего пояса от временной нагрузки),

в) по расчету - при установке пролетных строений на резиновые опорные части; при гибких опорах и температурно-неразрезных пролетных строениях.

5.4.2. Обсыпные устои при высоких насыпях

При высоких насыпях устои пока строится по индивидуальным проектам с применением как сборных, так и монолитных конструкций.

Рис. 5.5. Пример стоечного устоя автодорожного моста:

1 - заранее отсыпанная часть насини

На рис. 5.1 показан пример обсыпного устоя моста под железную дорогу - массивной конструкции. Часть тела устоя, расположенная под подферменником, проектируется по размерам подферменника. Остальная часть может быть более узкой. Кроме того, для ее облегчения возможно устройство проемов (ниш). Фундамент смещен в сторону пролета в соответствии с положением равнодействующей нагрузок. Если фундамент обсыпного устоя проектируется свайным, то нет необходимости заглублять плиту ростверка ниже поверхности грунта: целесообразно размещение плиты выше естественной поверхности грунта с погружением свай сквозь отсыпанную или намытую часть насыпи. Это позволяет вести работы без устройства котлована, без водоотлива, что существенно упрощает и удешевляет сооружение устоя.

Примеры сборных устоев см. рис. 5.5 и п. 3. Если судоходный пролет моста с пролетным строением с ездой понизу примыкает к берегу, то может оказаться более экономичным устройство перед устоем переходного пролета, перекрытого пролетным строением с ездой поверху, хотя при этом требуется дополнительная промежуточная опора. С целью предотвращения осадок проезжей части за задней гранью устоя, под полотном дороги укладывается переходная железобетонная плита, которая должна плотно лежать на песчаном или гравийно-щебеночном основании. Одним краем плита опирается на устой а другим - на железобетонный лежень, опирающийся в свою очередь на гравийно-песчаную подушку. Плита укладывается с небольшим уклоном. Переходная плита частично разгружает устой от горизонтального давления грунта насыпи, вызванного временной нагрузкой. Длину плиты принимают обычно 4-8 м.

5.4.3. Необсыпные устои

Необсыпные устои применяют обычно при высотах насыпи до 6-8 м, преимущественно в городских условиях, чаше - в сочетании с подпорными стенами.

Устои с обратными стенками (рис. 5.6) имеет в плане П-образную форму. Внутреннее пространство устоя заполняется дренирующим грунтом. Ширину устоя поперек оси моста обычно назначают равной расстоянию между перилами на проезжей части моста. Толщину бетонных боковых (обратных) стенок назначают поверху около 0,5 м и увеличивают к низу за счет придания внутренним граням стенок уклона порядка 4:1. Толщину железобетонных стенок назначают по расчету. Стенки рассчитывают па действие горизонтального давления грунта засыпки устоя от его собственного веса и от временной нагрузки. Чтобы исключить возможность распирания устоя силами морозного пучении грунта, необходимо обеспечить отвод воды, проникающей внутрь устоя. Для этого внизу засыпки устраивается дренаж.

Деформации засыпки под действием временной нагрузки стеснены передней и обратными стенками, благодаря чему обеспечивается достаточно плавное возрастание жесткости основания пути при въезде на мост.

При небольшой ширине эффективнее оказывается конструкция монолитного необсыпного устоя с балластным корытом (рис. 5.2). Тело устоя устраивается узким, а края балластной призмы и тротуары располагают на железобетонных консолях. Глубина балластного корыта увеличивается по направлению к задней грани устоя, чем обеспечивается плавность въезда на мост («мягкий въезд»).

Рис. 5.6. Необсыпный устой с обратными стенками

Часть устоя, расположенная под балластным корытом, может быть значительно более узкой (до 2,5 м) и дополнительно еще облегчается путем устройства ниш по бокам кладки. В этом случае в среднем (по высоте устоя) сечении кладка устоя имеет Т-образную или двутавровую форму.

5.5. Конструирование промежуточных опор балочных мостов

5.5.1. Оголовки промежуточных опор

Принципы устройства оголовков показаны на рис. 5.7, размеры «а» и «в» - в табл. 5.2 и 5.3. Для массивных опор форма оголовка, как правило, соответствует форме поперечного сечения верхней части опоры. К оголовкам промежуточных опор предъявляются те же конструктивные требования, что и к оголовкам устоев (см. п. 5.4.1). Расстояние «с» между осями опирания соседних пролетных строений определяется по формуле:

с = а1 + а2 + Δс,

где

Lп1, Lп2 - полные длины пролетных строении в уровне проезжей части (для сквозных ферм - по продольным балкам);

Рис. 5.7. Оголовки промежуточных опор:

а - обтекаемой формы; б - необтекаемой формы

Lп1, Lп2 - расчетные пролеты; Δс - зазор, принимаемый:

а) 5-6 см - при опирании па опору разрезных пролетных строений через разноименные опорные части при длинах пролетных строений до 25 м;

б) 5 + Δlt + Δlв - то же при длинах пролетных строении более 25 м (Δlt - температурное удлинение пролетного строения; Δlв - удлинение нижнего пояса от временной нагрузки);

в) по расчету - при установке пролетных строении па резиновые опорные части; при использовании температурно-неразрезных пролетных строений.

При больших пролетах для удобства производства работ в период эксплуатации значение «с» увеличивается на 10-30 см. При определении величины Δlt учитывается температура замыкания (установки на опорные части); при определении величины Δlв учитываются условия установки нижней плиты подвижной опорной части и катка (сектора) -как правило, с учетом того, что при половинной временной нагрузке вертикальные оси верхнего балансира и нижней (опорной) плиты oпopнoй части совпадали.

Если на опору опираются разнотипные пролетные строения, то положение осей опирания относительно оси опоры назначается таким образом, чтобы равнодействующие вертикальных опорных реакций минимально отклонились от оси опоры.

В свайных, столбчатых и стоечных (рамных) опорах железобетонные насадки или ригели выполняют также роль оголовков (подферменников). Они устраиваются более узкими, чем оголовки массивных опор. Их ширина назначается по условиям размещения и заделки свай или стоек и из условия, чтобы расстояния от краев нижних плит опорных частей до краев ригеля или насадки не превышали 15 см.

5.5.2. Основные особенности компоновки промежуточных опор

Промежуточные опоры свайные, столбчатые, стоечные и рамные сооружаются, преимущественно, по действующим типовым проектам. При индивидуальном проектировании таких опор рекомендуется учитывать следующее:

- основные несущие элементы (сваи, стойки) целесообразно располагать но осям опорных частей или в непосредственной близости от них. Такое решение позволит уменьшить армирование насадки (ригеля);

- при значительных горизонтальных усилиях (например, в мостах на кривых) следует применять наклонные сваи и стойки;

- при расчете ригелей в виде перевернутой буквы «Т» (рис. 5.8) количество вертикальной арматуры в ребре, (хомутов) складывается из трех компонентов:

а) хомуты, количество которых определяется расчетом па перерезывающую силу;

б) вертикальные стержни, работающие на отрыв полок опорными реакциями балок (расчет на осевое растяжение);

в) хомуты, воспринимающие крутящие моменты в ригеле при загружении временной нагрузкой одного пролета.

Для предварительном оценки расхода арматуры в ригелях, учитывая значительную трудоемкость расчетов по п. п. «б» и «в», допускается количество вертикальной арматуры, определенное по п. «а», удвоить.

Монолитные и сборно-монолитные массивные опоры сооружаются обычно с вертикальными гранями. Нижним (подтопляемый водой) ярус опоры имеет обтекаемую форму с заостренными ледорезом и кормом.

Грани ледореза образуют обычно угол 60°-90° и сопрягаются между собой и боковыми вертикальными гранями опоры цилиндрическими поверхностями радиусом 0,75 м.

Рис. 5.8. Односеточная опора с ригелем в виде перевернутой буквы «Т»

Ледорез начинается от обреза фундамента и должен возвышаться над уровнем высокого ледохода, поскольку у ледореза происходит торошение льда. Для районов с суровыми и особо суровыми климатическими условиями верх ледореза назначают не ниже расчетной границы зоны переменного уровня воды, т.е. не менее чем на 1 м выше наивысшего уровня ледохода пли с большим запасом, если предполагается значительное торошение льда.

Верхние части опоры могут иметь прямоугольную форму или (при большой ширине моста) состоять из отдельных столбов, стоек. Здесь могут применяться пустотелые конструкции коробчатого или круглого сечения, причем для железобетонных пустотелых конструкции толщина стенок может быть принята не менее 15 см.

Если все тело опоры (начиная от обреза фундамента) проектируется железобетонным, что допускается СНиП 2.05.03-84, то размеры его как вдоль, так и поперек оси моста могут быть значительно уменьшены по сравнению с размерами массивных бетонных опор. В этом случае опора становится более деформативной и лимитирующим может оказаться расчет опоры по горизонтальным перемещениям ее оголовка.

Положение обреза фундамента относительно уровней воды действующими нормами не регламентируется. В случае его расположения в пределах колебания уровней воды и льда следует предусматривать на обрезе фундамента фаски размером не менее 0,3×0,3 м, а фундаменту придавать обтекаемую в плане форму. Нe регламентируется и положение подошвы плиты свайного ростверка относительно уровней воды. В современной практике строительства имеются случаи сооружения опор с расположением плиты свайного ростверка целиком выше уровня межени. Такое конструктивное решение, безусловно является наиболее удобным при производстве работ, однако с эксплуатационной точки зрения оно неприемлемо на реках с сильным ледоходом, а также по архитектурным соображениям.

При конструировании фундамента необходимо рассмотреть разные варианты расположения его по высоте с учетом способов производства работ, затрат на вспомогательные сооружения и в процессе строительства и с учетом условий эксплуатации моста. Если обрез фундамента располагается выше уровня низкого ледохода (УНЛ), то при расчете фундамента необходимо учесть давление льда на фундамент в период ледохода, которое, естественно, больше, чем давление на тело опоры. Необходимо также учитывать дополнительную вертикальную нагрузку на фундамент в период зимнего стояния льда от зависания ледового покрова на обрезе фундамента или на сваях (если нижняя поверхность слоя льда располагается ниже подошвы плиты высокого свайного ростверка), возникающего при колебаниях уровня воды зимой. Такого зависания не происходит, если располагать обрез фундамента ниже нижней поверхности льда наинизшего ледостава не менее, чем на 0,5 м.

В этом случае к бетонной кладке фундамента можно предъявлять требования как к бетону подводных конструкций.

Расположение обреза фундамента выше УМВ может существенно упростить возведение как фундамента, так и тела опоры. Если фундамент свайный, то необходимо учитывать, что для возможности бетонирования плиты ростверка насухо потребуется устраивать ограждение из шпунта или в виде опускного ящика и укладывать под подошвой плиты ростверка тампонажный слой из бетона. Все эти мероприятия не требуются, если подошву плиты поднять выше РУ. Но если фундамент устраивается из буронабивных свай с островка, который так иди иначе ограждается (например, шпунтом), то плиту ростверка можно забетонировать в котловане с водоотливом без особых дополнительных затрат.

Таким образом, вопрос о высотном положении обреза фундамента подошвы плиты свайного ростверка должен решаться путем технико-экономического сравнения варианта с учетом перечисленных и других (например, архитектурных) требований.

При проектировании опор рекомендуется учитывать также предложения по повышению трещиностойкости опор от температурных воздействий (приложение 2).

5.6. Рекомендации по выбору схемы высокого свайного ростверка опоры

С точки зрения простоты производства работ, снижения стоимости вспомогательных сооружений (направляющий каркас и др.) наиболее рациональным является ростверк с вертикальными сваями. Такой ростверк, кроме того, наиболее эффективно воспринимает вертикальные силы и момент, действующие в вертикальных плоскостях. Однако, горизонтальные силы, приложенные к плите ростверка, могут быть восприняты только за счет работы свай на изгиб. Изгибающие моменты в сваях увеличиваются пропорционально увеличению свободной длины сваи (от подошвы плиты ростверка до уровня размыва грунта). Ориентировочно можно считать, приемлемой свободную длину до 6 - 7 диаметров сваи (столбов). При буронабивных сваях и сваях-оболочках диаметром более 1,0 м ростверки на вертикальных сваях являются в настоящее время единственно возможным решением в связи с отсутствием оборудования для наклонного бурения и вибропогружения наклонных свай-оболочек.

С точки зрения эффективности восприятия горизонтальных сил теоретически наиболее выгодной является схема ростверка так называемого козлового типа (рис. 5.9, а), в котором в сваях возникают только продольные усилия. Изгибающие моменты возникают лишь из-за жесткости заделки свай в плите ростверка в связи с ее перемещениями, вызванными продольными деформациями свай, и при внецентренном приложении усилий. Распределение усилий в сваях оказывается наиболее равномерным и поэтому требуется минимальное количество свай. Однако практически осуществлять такую схему сложно по конструктивным причинам. На практике применяются близкие к оптимальной схемы без обратных уклонов свай по типу, показанному на рис. 5.9, б. Наклоны сваям задаются в пределах от 3:1 до 5:1. При более крутых наклонах неточность выполнения заданного наклона существенно влияет па распределение усилий между связями.

Рис. 5.9. Свайные ростверки:

а - козлового типа; б - с вертикальными и наклонными сваями

Схема с веерным расположением свай, показанная на рис. 5.10 наименее эффективна (и обычно оказывается неприемлемой) из-за больших изгибающих моментов, возникающих в сваях, и больших перемещении опоры. Это легко понять, если привести все силы, действующие на опору, к точке пересечения oceй свай (точка М). Горизонтальная и вертикальная равнодействующие воспринимаются за счет продольных усилии в сваях, но изгибающий момент может быть воспринят только за счет работы свай на изгиб. При этом возникает значительный наклон опоры, и горизонтальные перемещения оголовка оказываются значительно больше, чем в случае ростверка с вертикальными сваями. Повысить жесткость ростверка можно путем увеличения диаметра свай (применяя, например, железобетонные сваи-оболочки) или их количества.

Рис. 5.10. Ростверки с веерным расположением свай

5.7. Особенности конструирования опор рамных мостов

Опоры и пролетные строения рамных мостов представляют собой единое целое как в смысле статической работы, так и в конструктивном отношении. Рамные мосты в настоящее время применяются относительно редко и выполняются почти исключительно из железобетона. Определенную специфику имеет узел сопряжения пролетного строения (ригеля рамы) с опорой (стойкой рамы). В этом узле часть изгибающего момента, действующего в пролетном строении, передается па опору.

При больших пролетах пролетные строения обычно выполняются коробчатыми. Рабочая арматура пролетного строения в надопорном сечении располагается в верхней плите и частично (по величине момента, передаваемого на опору) пли полностью заанкеривается у противоположной грани опоры. Если опора монолитная или сборномонолитная, а сборка пролетного строения ведется навесным способом, то опора возводится до уровня верха пролетного строения, и арматура опоры заводится и заанкеривается выше уровня анкеровки рабочей арматуры пролетного строения (в верхнем его поясе). Такая конструкция обеспечивает надежное соединение опоры и пролетного строения.

Если опора в верхней части имеет коробчатую конструкцию, то ее боковые (продольные) стенки располагают в одних плоскостях со стенками пролетного строения, а внутри коробки пролетного строения (в плоскостях поперечных стенок опоры) устраивают диафрагмы. Они обеспечивают передачу изгибающего момента на опору, для чего рабочая арматypa опоры, расположенная в ее поперечных стенках, должна заводиться в эти диафрагмы. Изгибающий момент передается в виде пары сил от вертикальных стенок пролетного строения через диафрагмы на арматуру и бетон опоры. При этом сами диафрагмы работают в вертикальном направлении на срез и соответственно должны быть заармированы расчетной наклонной арматурой или сетками. Дополнительное армирование поперечной арматурой может потребоваться и в надопорных участках пролетного строения - как в его стенках, так и в верхней и нижней плитах. Таким образом, при конструировании коробчатого узла сопряжения пролетного строения с опорой должны быть продуманы сложные условия его пространственной работы.

Опоры железобетонных рамных мостов могут проектироваться как из обычного железобетона, так и предварительно напряженными. При этом в опорах на водотоках допускается применять только стержневую арматуру (ненапрягаемую или предварительно напряженную).

В остальном опоры рамных мостов должны удовлетворять тем же конструктивным требованиям, что и опоры балочных мостов.

5.8. Опоры арочных мостов

Железобетонные арочные мосты являются наиболее надежными и долговечными, почти не требуют эксплуатационных расходов, поскольку бетон арок работает в наиболее естественных условиях - преимущественно на сжатие (изгибающие моменты, возникающие в арках, обычно, очень малы). Недостатками арочных мостов являются: сложность сооружения арок и более высокая стоимость опор, поскольку опоры требуются более массивные, чем у балочных мостов, с более развитыми в плане фундаментами, поскольку опоры арочных мостов воспринимают большие горизонтальные силы от распора арок. Под действием горизонтальных и вертикальных сил они не должны испытывать значительных перемещений, поскольку это существенно влияло бы на напряженное состояние арок. Отсюда вытекают определенные требования к основаниям и фундаментам опор. Наиболее подходящими являются основания в виде скальных или полускальных пород. Вполне приемлемыми являются крупнообломочные, гравелистые грунты, крупно- и среднезернистые и плотные пески. Известны случаи строительства арочных мостов па твердых глинах. Если такие породы налегают глубоко, то в качестве фундаментов применяются свайные ростверки. Последние целесообразны, если опоры сооружаются па суходоле или при небольшой глубине воды. Устои арочных мостов воспринимают односторонний распор от постоянной и временных нагрузок, поэтому их фундаменты должны быть значительно развиты вдоль оси моста в сторону берега. При этом, если несущий слой грунта залегает глубоко, то наиболее целесообразным решением фундамента является свайный ростверк с наклонными сваями, ориентированными по направлению равнодействующей от постоянной и временной вертикальной нагрузок. Подошва плиты ростверка при этом устраивается наклонной и только у передней грани плиты она проектируется горизонтальной, и здесь 2-3 ряда свай погружаются вертикально или наклонно в сторону пролета (с учетом сил, действующих со стороны берега).

Пяты арок должны возвышаться над наивысшим уровнем ледохода (а для железнодорожных мостов также и над расчетным уровнем высоких вод) не менее, чем на 0,25 м.

При выборе вариантов моста (в том числе при курсовом и дипломном проектировании) размеры опор и фундаментов могут быть определены предварительно, рассматривая арки как трехшарнирные. Собственный вес опоры играет очень существенную роль, поэтому размеры опоры и фундамента желательно подбирать методом последовательных приближений (2-3 шага).

При расчете устоя временная нагрузка (в виде эквивалентной нагрузки для линии влияния с максимумом посередине) располагается только на арочном пролетном строении (т.е. с одной стороны устоя). Распор «Н» от временной нагрузки приближенно определяется по формуле:

где l и f - пролет и стрелка арки;

qв - суммарная временная нагрузка с учетом всех полос загружения (для автодорожных мостов).

Вертикальное давление:

Усилия от постоянных нагрузок:

где qр - постоянная нагрузка от веса балласта и верхнего строения пути (или веса дорожного покрытия в случае автодорожного моста), включая вес арочного пролетного строения;

т - коэффициент, учитывающий неравномерность распределения веса арок и стоек надарочного строения по длине пролета, которым можно принять при отношениях f/l, равных 1/4, 1/3 и 1/2, равным соответственно 0,85; 0,8 и 0,7.

Коэффициенты надежности по нагрузке γ в данном случае принимаются большими единицы. Силы Q и Н прикладываются к опоре в центрах опорных сечении арок и считаются распределенными поровну между всеми арками пролетного строения.

При эскизном расчете промежуточной опоры величины Q и Н определяются аналогичным образом, но временная нагрузка располагается на одном пролете (учитывается действие одностороннего распора), а для постоянных нагрузок коэффициенты надежности по нагрузке γf принимаются большими единицы для пролета, на котором установлена временная нагрузка, и меньшими единицы для другого (незагруженного) пролета, а также для опоры и фундамента. Конструирование моста рекомендуется вести таким образом, чтобы распоры арок от постоянных нормативных нагрузок, действующие на промежуточные опоры с одного и другого пролета взаимно уравновешивались.

6. РАСЧЕТ МОСТОВЫХ ОПОР

6.1. Общие положения

В соответствии с требованиями СНиП 2.05.03-84 расчеты опор следует выполнять по предельным состояниям на действие постоянных нагрузок и неблагоприятных сочетаний временных.

Для бетонных и железобетонных опор капитальных мостов расчеты производят по двум группам предельных состояний:

I группа:

- устойчивость фундаментов опор против опрокидывания и сдвига (плоского и глубокого - совместно с грунтом основания);

- прочность элементов конструкции (по материалу);

- устойчивость центрально и внецентренно сжатых элементов;

- выносливость железобетонных элементов конструкции (в случаях, когда коэффициенты асимметрии цикла напряжении превышают: в бетоне - 0,6, в арматуре - 0,7);

- устойчивость фундаментов при воздействии сил морозного пучения грунтов;

- несущая способность основания.

II группа:

- деформации оснований и фундаментов (осадки, крены, горизонтальные смещения);

- продольные и поперечные смещения верха опор (железнодорожных мостов с балочными пролетными строениями);

- трещиностойкость бетонных и железобетонных элементов конструкций.

Последовательность расчетных процедур принимают следующей:

1. Выбор расчетной схемы.

2. Сбор нагрузок.

3. Определение усилий в элементах опор.

4. Расчетные проверки по группам предельных состояний (см. выше).

Обычно расчету предшествует составление эскиза конструкции опоры па основании аналогов, имеющихся типовых конструкций, литературных источников. При выборе типа опоры могут быть использованы материалы п. 3, 4. Целью эскизирования является назначение предварительных, ориентировочных размеров элементов опоры, уточняемых по результатам расчетов.

Ориентировочные размеры элементов используются:

- для вычисления нагрузок от горизонтального давления грунта;

- для определения нагрузки от собственного веса конструкции опоры, веса грунта на уступах фундамента и др.;

- для определения жесткостей элементов опоры, используемых в расчетах статически неопределимых систем, а также для динамических расчетов (на сейсмические воздействия).

6.2. Расчетные схемы опор

6.2.1. Опоры балочных мостов с пролетными строениями, устанавливаемыми на подвижные и неподвижные металлические или резинометаллические (стаканные) опорные части и на опорные части с антифрикционными прокладками (например, из фторопласта), рассчитываются:

- массивные, одностоечные и многостоечные однорядные (в направлении поперек ряда)- по консольным схемам, варьируемым по условиям заделки тела опоры в фундаменте, а фундамента в грунте (рис. 6.1);

Рис. 6.1. Расчетные схемы опор, консольные:

а - опор массивных и однорядных стоечных; б - опор однорядных свайных и столбчатых

ΣN, ΣH, ΣМ - сумма вертикальных, горизонтальных сил и нагибающих моментов относительно центра нижней грани (ригеля) опоры;

Ph1, Ph2 - интенсивность горизонтальной нагрузки, приложенной к опоре ниже оголовка (ригеля);

К1 - обрез фундамента (уровень заделки);

К2 - верх упругой заделки свай или столбов в грунте;

К3 - низ (острие) свай или столбов.

- свайные и стоечные при числе стоек вдоль действия сил две и более - как отдельно стоящие рамы, стойки которых заделаны в фундаменте или в грунте (рис. 6.2);

Рис. 6,2. Расчетные схемы опор рамные (на примере устоев):

а - опор стоечных; б - опор свайных и столбчатых

- рамные опоры, включающие стойки, горизонтальные связи, раскосы и др. - как рамы, расчетные схемы которых должны соответствовать фактическим параметрам опор. Железобетонные опоры обычно рассчитывают как рамы с жесткими узлами (рис. 6.3), металлические- с шарнирными соединениями элементов.

Рис. 6.3. Пример расчетной схемы рамной промежуточной опоры (обозначения см. рис. 6.1)

6.2.2. Опоры балочных мостов с пролетными строениями неразрезными или температурно-неразрезными, при наличии конструктивных мер, обеспечивающих работу моста как системы (см. п. 3.2.2), на усилия, действующие вдоль оси моста, рассчитывают как стойки одноэтажной рамы (рис. 6.4).

Рис. 6.4. Пример расчетной схемы моста в виде одноэтажной рамы:

Т - нагрузка от сил торможения или тяги;

S - сейсмическая нагрузка;

Tt° -температурные воздействия (остальные обозначения см. рис. 6.1).

6.2.3. Опоры рамных, арочных, вантовых и висячих мостов рассчитывают на усилия, определяемые на основе расчетных схем, составленных для моста в целом.

6.3. Нагрузки и их сочетания

6.3.1. Для расчетов опор мостов необходимо определять все нагрузки, перечисленные в табл. 5 СНиП 2.05.03-84, имея в виду поиск наиневыгоднейших сочетаний нагрузок, вызывающих максимальные усилия в элементах опор.

При курсовом и дипломном проектировании балочных мостов с разрезными и неразрезными пролетными строениями можно считать достаточным для назначения основных размеров опор, армирования железобетонных элементов и проверки несущей способности основания, учет нагрузок, перечисленных в табл. 6.1, с соответствующими коэффициентами надежности по нагрузке (см. табл. 6.2).

6.3.2. Приведенные в табл. 6.1 нагрузки прикладываются:

№№ 1а, 1б, 1в, 7а, 7б, 7в - по осям опорных частей;

№№ 3б и 8 - по рекомендациям п. 6.3.3 и прил. 8, СНиП 2.05.03-84;

№№ 1г, 4, 3а - в центрах тяжести соответствующих элементов;

Таблица 6.1

Основные нагрузки, рекомендуемые к учету при курсовом и дипломном проектировании опор, и коэффициенты надежности по нагрузке

№ нагрузки по табл. 5 СНиП 2.05.03-84

Наименование нагрузки

Коэффициент по нагрузке

Примечание

γf  > 1

γf  < 1

1

2

3

4

5

Вес пролетных строений

1,1

0,9

 

Вес жел.-дор. мостового полотна с ездой на балласте

1,3

0,9

 

Вес покрытия автодорожных мостов

1,5

0,9

Включая выравнивающий слой, изоляцию и защитный слой

Вес элементов опор и фундаментов

1,1

0,9

Выше расчетного сечения

Давление грунта от веса насыпи вертикальное

1,4

0,7

На уступы фундамента

То же горизонтальное

1,4

0,7

 

4

Гидростатическое давление (взвешивающее действие воды)

Учитывается при наинизшем уровне воды

Учитывается при наивысшем уровне воды

Для элемента опоры, расположенных ниже уровня воды

Вертикальная нагрузка от подвижного состава на одном пролете

см. табл. 6.2

-

 

То же, на двух пролетах (для устоев - на пролете и устое)

см. табл. 6.2

-

 

Вертикальная нагрузки от веса порожнего подвижного состава на двух пролетах

 

-

Для железнодорожных мостов при расчетах с учетом ветровых нагрузок

8

Давление грунта or подвижного состава на призме обрушения

1,2

-

 

9

Горизонтальная поперечная нагрузка от центробежной силы

см. табл. 6.2

-

Для железнодорожных мостов на кривых участках пути

11

Горизонтальная нагрузка от торможения или силы тяги

см. табл. 6.2

-

 

12

Ветровая нагрузка

1,5

-

 

13

Ледовая нагрузка

1,2

-

 

14

Нагрузка от навала судов

1,2

-

 

15

Температурные климатические воздействия

1,2

-

 

16

Воздействия морозного пучения грунта

1,3

-

 

17

Строительные нагрузки

по табл. 17 СНиП 2.05.03-84

-

 

18

Сейсмические нагрузки

1,0

1,0

 

№ 9 - па высоте 2,2 и 1,5 м oт головки рельса и верха покрытия для нагрузок СК и АК соответственно; по указаниям п. 2.17 СНиП 2.05.03-84 для других нагрузок;

№ 11 и 15 - в уровне центров опорных частей;

№ 12 - для пролетных строении и опор - в центрах тяжести наветренных поверхностей элементов; для подвижного состава железных дорог - на высоте 2 м от головки рельса;

№ 13 - в уровне расчетного ледохода;

№ 14 - на высоте 2 м от расчетного судоходного уровня;

№ 16 - по указаниям СНиП 11-18-76;

Таблица 6.2

Коэффициенты надежности по нагрузке дли временных нагрузок от подвижного состава (нагрузки № 7а и 7б)

Вид нагрузок

γf

Железнодорожные нагрузки СК и ЕСК

График на рис 6.5

Автодорожные нагрузки АК:

 

- тележка

График на рис. 6.6

- равномерно распределенная

1,2

Колесная нагрузка НК-80

1,0

Распределенная нагрузка на тротуарах (от пешеходов)

1.2

Другие временные нагрузки, не оговоренные в табл. 6.1

по СНиП 2.05.03-84

Рис. 6.5. Коэффициенты надежности по нагрузке для СК и ЭСК

№ 17 - в соответствии со схемами производства работ;

№ 18 - в центрах масс элементов.

Рис. 6.6. Коэффициенты надежности по нагрузке для тележек АК

6.3.3. Нормативное горизонтальное давление грунта Ph, от веса насыпи па глубине hx от ее верхней поверхности определяется по формуле

где γn - нормативный удельный вес грунта;

φп - нормативный угол внутреннего трения грунта.

Давление грунта конусов, отсыпанных дренирующим нескальным грунтом, составляет:

Рh = 0,488 hx тс/м2.

Равнодействующую горизонтального давления грунта следует определять, исходя из треугольной или трапецеидальной формы эпюры давления (рис. 6.7 и 6.8) по формулам, приведенным в приложении 3 СНиП 2.05.03-84.

При треугольной форме эпюры давления на участке (по высоте) опоры приведенной (средней) ширины b и отсыпке конуса дренирующим нескальным грунтом величина равнодействующей составит

Fh = 0,244 h2x b тс.

Равнодействующую прикладывают в уровне центра тяжести эпюры давления (при треугольной форме эпюры - на высоте 2/3 hx).

Рис. 6.7. Эпюры горизонтального давления грунта на устой:

а - свайный; б - стоечный, в - массивный в виде подпорной стенки

Рис. 6.8. Эпюры горизонтального давления грунта на промежуточные опоры:

а - фундаментом мелкого заложения; б - со свайным фундаментом

6.3.4. Вертикальные нагрузки от подвижного состава.

6.3.4.1. Нормативные временные вертикальные нагрузки oт подвижного состава железных дорог СК и εСК (для капитальных мостов К = 14) принимаются в виде объемлющих максимальных эквивалентных нагрузок v, приведенных в приложении 5 СНиП 2.05.03-84. Нагрузка εСК используется в расчетах железобетонных элементов опор на выносливость и по раскрытию трещин, в расчетах с учетом нагрузки № 18 и в других случаях, оговоренных в СНиП.

6.3.4.2. Нормативные временные вертикальные нагрузки на автомобильных дорогах принимают:

а) от автотранспортных средств - в виде полос АК (для дорог I-III категорий и в других ответственных случаях К = 11), включающих одну двухосную тележку с осевой нагрузкой Р = К тс и равномерно распределенную нагрузку интенсивностью v = 0,1 K тс/м;

б) от тяжелых одиночных колесных нагрузок (в виде одной четырехосной машины) НK-80, общим весом 80 тс.

6.3.4.3. Нормативную временную вертикальную нагрузку дли пешеходных мостов и тротуаров принимают в виде равномерно распределенной нагрузки интенсивностью:

а) 400 кгс/м2 - для пешеходных мостов и для расчета элементов тротуаров (кроме тротуаров железнодорожных мостов с ездой на балласте);

б) 400-кгс/м2 - для загружения тротуаров автодорожных и городских мостов - длина загружения в метрах);

в) 1000 кгс/м2 - для расчета тротуаров железнодорожных мостов с ездой на балласте;

6.3.4.4. Нормативную временную вертикальную нагрузку от веса порожнего подвижного состава принимают равной 1,4 тс/м.

6.3.5. Нормативное горизонтальное давление грунта на устои от подвижного состава на призме обрушения определяют по прил. 8 СНиП 2.05.03-84.

6.3.6. Нормативную горизонтальную поперечную нагрузку от центробежной силы (для мостов, расположенных на кривых) принимают:

а) для железнодорожных мостов - по графику на рис. 6.9.

Рис 6.9. Нагрузка от центробежной силы подвижного состава железных дорог:

R - радиус кривой (М);

Vn - интенсивность горизонтальной нагрузки (ТС/М);

V - вес нагрузки си подвижного состава (ТС/М).

б) для автодорожных мостов (с каждой полосы нагрузки АII) -по графику на рис. 6.10.

6.3.7. Нормативную продольную нагрузку от торможения или сил тяги подвижного состава принимают равной:

Рис. 6.10. Нагрузка от центробежной силы автомобильной нагрузки AII:

R - радиус кривой (М);

Vn - горизонтальная нагрузка (ТС/М).

а) для железнодорожных мостов-10% веса нормативной вертикальной нагрузки;

б) для автодорожных мостов (от нагрузки АII) -по графику на рис. 6.11.

Рис. 6.11. Сила торможения от автодорожной нагрузки A II:

λ - длина загружения (М);

Fh - сила торможения (ТС).

6.3.8. Нормативную горизонтальную поперечную ветровую нагрузку, действующую на элементы моста, а также на поезд, находящийся на мосту, принимают равной произведению соответствующей нормативной интенсивности ветровой нагрузки на рабочую ветровую поверхность элементов моста и подвижного состава.

Нормативную интенсивность статической составляющей ветровой нагрузки qoKh определяют по п. 2.24 СНиП 2.05.03-84.

Для курсового и дипломного проектирования допускается принимать qoKh = 180 кгс/м2.

При вычислении ветровой нагрузки необходимо учитывать аэродинамические коэффициенты по прил. 9 СНиП 2.05.03-84, равные 1,4-3,2 в зависимости от типа конструкции и направления ветра.

6.3.9. Нормативную ледовую нагрузку, действующую на опоры мостов, принимают по прил. 10 СНиП 2.05.03-84.

6.3.10. Нормативную нагрузку от навала судов на опоры принимают в виде сосредоточенной силы, величина которой зависит от класса водного пути и приведена в табл. 15 СНиП 2.05.03-84.

6.3.11. Температурные климатические воздействия учитываются при определении усилий в статически неопределимых системах. Величину температурного перепада допускается принимать:

а) при проектировании мостов в северных районах - 90°;

б) при проектировании мостов в обычных климатических условиях - 80°.

Величину коэффициента линейного расширения для стали, бетона и железобетона разрешается принимать одинаковой и равной α = 10-5.

6.3.12. При расчете железобетонных конструкций свайных, столбчатых, стоечных (рамных) и пустотелых опор временные нагрузки №№ 7а и 7б учитывают с динамическими коэффициентами, принимаемыми по графику на рис. 6.12.

Строительные нагрузки (№ 17) учитывают с динамическими коэффициентами по п. 2.30 СНиП 2.05.03-84.

Рис. 6.12. Динамические коэффициенты:

1 - к вертикальной погрузке от подвижного состава железных дорог (СК и ЕСК); 2 - к вертикальной нагрузке от подвижного состава автодорог (АК)

6.3.13. Сочетании нагрузок, которые в большинстве случаев определяют размеры элементов опор и фундаментов, армирование элементов, конструктивные решения стыков элементов опор балочных мостов приведены в табл. 6.3 и 6.4.

Опоры, возводящиеся на пучинистых грунтах, рассчитывают дополнительно на постоянные нагрузки с γf < 1 и нагрузку № 16 с η = 1.

Опоры, возводящиеся в сейсмических районах, рассчитывают дополнительно на постоянные нагрузки с γf  > 1 и нагрузку № 18 с η = 0,8, а также по сочетаниям 1, к которым добавляется нагрузка № 18 с η = 0,8. Нагрузки № 7б, 8, 9, 11 для железнодорожных мостов учитывают с η = 0,7, а для автодорожных мостов - нагрузки № 7б и 8 учитывают с η = 0,3, а нагрузки № 9 и 11 - не учитывают.

Таблица 6.3

Лимитирующие сочетания нагрузок для расчета устоев

№ сочетания

№№ нагрузок, входящих в сочетание, с коэффициентами сочетании η

Коэффициенты надежности по нагрузке γf

Рекомендации по использованию сочетания

I

[1a] + [1б] (или [1в]) + [1г] + [3a] + [3б] + 0,8[7б]+0,8[8] + 0,8[9]+0,8[11] + η12[12]**

>l

Определение максимальных нагрузок на сваи или максимального давления на грунт основания

II

[1a] + [1б] (или [1в]) +[1г] + [3a] + [3б] + [8]

<l *

Определение минимальных нагрузок на сваи, проверка устойчивости против опрокидывания и против скольжения, подбор армирования свай и стоек, проверка устойчивости и прочности бетонных сечений

III

[1a] + [1б] (или [1в]) + [1г] + [3a] + [3б] + 0,8 [7а] + 0,8[8] + 0,8[9]+0,8 [11] + η12[12]**

<1 *

То же

____________

* Значения γf <1 принимаются только для постоянных нагрузок.

** η12 = 0,5 - для жел.-дор. мостов; η12 = 0,25 - для автодорожных мостом.

Таблица 6.4

Лимитирующие сочетания нагрузок для расчета промежуточных опор

№ сочетания

№№ нагрузок, входящих в сочетание, с коэффициентами сочетании η

Коэффициенты надежности по нагрузке γf

Рекомендации по использованию сочетания

I

[1a] + [1б] (или [1в]) + [1г] + [3a] + [4] + 0,8[7б] + 0,8[9] + 0,8[11] + η12[12]**

> l

Определение максимальных нагрузок на сваи или максимального давления на грунт основания

II

[1a] + [1б] (или [1в]) + [1г] + [3a] + [4] + 0,8[7а]+0,8[11] + η12[12]**

< l

Определение минимальных нагрузок на сваи, проверка устойчивости против опрокидывания и против скольжения, подбор армирования свай и стоек, проверка устойчивости и прочности бетонных сечений

III

[1a] + [1б] (или [1в]) + [1г] + [3a] + [4] + 0,7 [7в] + η12[12]**

< 1

То же

[1a] + [1б] (или [1в]) + [1г] + [3a] + [4] + 0,7[7б]1+0,7[9] + η12[12]** + 0.8[13]

< 1

То же

___________

* Значения γf <1 принимаются только для постоянных нагрузок.

** η12 = 0,5 - для жел.-дор. мостов; η12 = 0,25 - для автодорожных мостом.

6.4. Определение усилий в элементах опоры

6.4.1. Нагрузки, передающиеся на опору с пролетных строений, прикладывают в уровне центра опорных частей и выражают в виде суммарных вертикальных (Σ Pv) и горизонтальных Σ Pн) сил, а также изгибающих моментов (Σ M), действующих вдоль и поперек оси моста.

Для симметричных опор целесообразно определять изгибающие моменты относительно оси симметрии, для несимметричных - относительно любой вертикальной оси (в дальнейшем, при необходимости, они пересчитываются относительно других осей по правилам строительной механики).

6.4.2. Нагрузки, передающиеся непосредственно на элементы опоры (№№ 1г, 3а, 8, 13 и др.), прикладываются в виде распределенной нагрузки, либо ее равнодействующей, приложенной в центре тяжести элемента (для нагрузки № 1г) или в центре эпюры давления (для прочих нагрузок).

6.4.3. Для опор, рассчитываемых по консольной схеме, выбирают положение расчетных сечений, по которым в дальнейшем выполняются необходимые проверки. Такими сечениями являются: места изменения размеров опоры, обрез и подошва фундамента (или низ плиты свайного ростверка).

В каждом из расчетных сечении определяются суммарные нормальная (вертикальная) сила N и изгибающий момент М при различных сочетаниях нагрузок. Для опор балочных мостов перерезывающую силу определять, как правило, не требуется, т.к. соответствующие расчеты обычно не являются лимитирующими.

Для удобства последующих расчетов и анализа результатов значения усилий рекомендуется представлять в табличной форме (табл. 6.5).

Таблица 6.5

Форма таблицы усилий в сечениях опоры

Местоположение расчетного сечения или его № на схеме опоры

сочетания нагрузок

I

II

III

М

N

М

N

М

N

верх прокладника

 

 

 

 

 

 

обрез фундамента

 

 

 

 

 

 

. . . . . . . . . . . . . . . . . . . . . . . . . . . . . . . . . . . . . . . . . . . .

 

 

 

 

 

 

6.4.4. Для опор, рассчитываемых по рамной схеме, определяют усилия в элементах рамы (нормальные силы N и изгибающие моменты М как результат статического расчета рамы на внешние нагрузки). Расчеты рам производят по правилам строительной механики, с использованием вычислительной техники и имеющегося программного обеспечения.

Для расчета свайных, стоечных и других опор, не имеющих соединительных элементов (диафрагм) между стойками (рис. 3.1, 3.2, 3.5 и др.), могут использоваться программы для расчета высоких свайных ростверков, как правило, допускающие различные варианты заделки свай в грунте (упругая или жесткая заделка). При расчете стоечных опор по таким программам принимается жесткая заделка стоек в фундаментах.

Предварительные расчеты опор как рам могут быть выполнены с использованием таблиц и приближенных формул, помещенных в справочной литературе [18].

Расчеты рамных опор, имеющих соединительные элементы (диафрагмы) между стойками (рис. 3.6, а), производят по программам для расчета стержневых систем.

Результатом расчетов, выполняемых по рамной схеме, является таблица усилий в элементах при различных сочетаниях нагрузок, действующих на опору (см. табл. 6.6).

Таблица 6.6

Форма таблицы усилий в элементах опоры

Наименование элемента

сочетания нагрузок

I

II

III

М

N

М

N

М

N

верх

 

 

 

 

 

 

Стойка 1

 

 

 

 

 

 

низ

 

 

 

 

 

 

верх

 

 

 

 

 

 

Стойка 2

 

 

 

 

 

 

низ

 

 

 

 

 

 

. . . . . . . . . . . . . . . . . . . . . . . . . . . . . . . . . . . . . . . . . . . .

 

 

 

 

 

 

Анализ данных, помещаемых в таблице усилий, должен определить невыгоднейшие сочетания М и N для дальнейших расчетов.

6.5. Расчеты устойчивости и деформативности опор

6.5.1. Устойчивость опор против опрокидывания и сдвига

Расчеты устойчивости опор против опрокидывания и сдвига выполняются по формулам:

Обозначения:

Ми - момент опрокидывающих сил относительно оси возможного поворота (опрокидывания), обычно - относительно наружной грани опоры в сечении;

Mz - момент удерживающих сил относительно той же оси;

Qτ - сдвигающая сила, равная сумме проекции сдвигающих сил на направление возможного сдвига;

Qz - удерживающая сила, равная сумме проекции удерживающих сил па направление возможного сдвига;

 - отношение коэффициента условии работы к коэффициенту надежности по назначению, принимаемое по табл. 6.7.

Таблица 6.7

Коэффициенты к расчетам устойчивости

Наименование расчет

Отношение  в расчетах устойчивости против:

Опрокидывания

сдвига

в стадии эксплуатации

по сечению бетонной опоры или фундамента

0,82

0,82

по подошве фундамента на скальном основании

0,82

0,82

по подошве фундамента на нескальном основании

0,73

0,82

при строительстве

по сечению бетонной опоры или фундамента

0,9

0,9

но подошве фундамент на скальном основании

0,9

0,9

по подошве фундамента на нескальном основании

0,8

0,9

При расчете устойчивости против сдвига значения коэффициентов трения принимают по табл. 6.8.

В случаях, когда устойчивость опоры не обеспечена, могут быть использованы рекомендации по повышению устойчивости опор, приведенные в табл. 6.9.

Выбор меры по повышению устойчивости опоры для реализации в проекте обосновывается технико-экономическим анализом различных вариантов.

Таблица 6.8

Коэффициенты трения бетона

Материал поверхности трения

Коэффициент трения

скальные грунты с омыливающейся поверхностью (известняки, сланцы и т.п.) глины

Во влажном состоянии

0,25

в сухом состоянии

0,30

суглинки и супеси

0,30

пески

0,40

гравийные и галечниковые грунты; бетонная кладка

0,50

скальные грунты с неомыливающейся поверхностью

0,60

Таблица 6.9

Рекомендации по повышению устойчивости опор (см. рис. 6.13 и 6.14)

№ позиции на рис.6.13 и 6.14

Наименование рекомендации

Принцип работы

1

2

3

1

Увеличение размера в направлении опрокидывающего момента

Увеличивается удерживающий момент от вертикальных сил за счет перенесения т. А в положение AI и увеличения веса конструкции

2

Увеличение размера в направлении удерживающего момента

Увеличиваются вес конструкции и вес грунта на плите фундамента

3

Увеличение глубины заложения фундамента

Увеличивается вес конструкции

4

Приложение нагрузки с эксцентриситетом в сторону, противоположную действию опрокидывающего момента, за счет смещения опоры (или ее части) относительно оси опирания пролетного строения (или оси пути)

Увеличивается удерживающий момент от вертикальных сил

5

Увеличение размеров сечения симметрично относительно оси опоры

Увеличивается вес конструкции и удерживающий момент (см. п. 1)

6

Устройство зуба у фундамента

Плоскость сдвига становится наклонной и удерживающая сила увеличивается за счет соответствующей составляющей от вертикальной нагрузки

7

Устройство наклонной грани у подошвы фундамента

 

 

Рис. 6.13. Меры понижения устойчивости опоры прошв опрокидывания:

а - стоечная опора; б - массивная опора

Для устоев с фундаментами мелкого заложения наиболее эффективна, как правило, рекомендация 2 (при необходимости, совместно с рекомендацией 6 и 7, которые по эффективности равноценны).

Для промежуточных опор (при расчете поперек оси моста) эффективна рекомендация 4, но в этом случае требуется выполнение всех проверок, в том числе и по наибольшему относительному эксцентриситету равнодействующей (см. п. 6.5.4).

С точки зрения устойчивости, рекомендация 3 обычно малоэффективна, но ее осуществление может потребоваться но грунтовым условиям.

Рис. 6. 14. Миры повышения устойчивости опоры против сдвига

При осуществлении рекомендаций 3, 6 и 7 необходимо учитывать увеличение горизонтальной нагрузки от веса грунта и подвижного состава за счет увеличения длины призмы обрушения.

6.5.2. Устойчивость фундаментов против глубокого сдвига

Расчет по устойчивости фундаментов против глубокого сдвига (смещения совместно с грунтом по наиболее неблагоприятной поверхности скольжения) выполняется в следующих случаях:

а) для промежуточных опор, расположенных на косогорах;

б) для устоев при насыпях высотой более 12 м;

в) для устоев при насыпях высотой от 0 до 12 м в случаях расположения в основании фундаментов слоя немерзлого или оттаивающего мерзлого глинистого грунта или прослойки водонасыщенного песка, подстилаемого глинистым грунтом.

Расчет производится по следующей общей формуле:

Обозначения - по п. 6.5.1.

Расчеты производят с использованием вычислительной техники по имеющимся программам.

Предварительные расчеты можно выполнять используя приближенную методику проверки устойчивости опоры против сдвига (совместно с окружающим грунтом) по кругло-цилиндрической поверхности, проходящей через заднюю грань подошвы фундамента.

Рис. 6.15. Схема к расчету опоры на глубокий сдвиг

Задаются произвольной цилиндрической поверхностью радиуса R с центром в т. 0 (рис. 6.15). Отсеченный объем разбивают на 7-10 участков длиной li, вычисляют веса Qi участков (включая элементы опоры, попадающие на отдельные участки, вес временном нагрузки на мосту и подходах и опорные реакции от пролетных строений) и плечи ri (расстояние от центра тяжести i-го участка до т. 0).

Ширину bi участка определяют по формуле

bi = Bзп + 2hнi tgφi

где Bзп - ширина земляного полотна (рис. 6.16);

hнi - средняя высота i-го участка;

φi ср- угол внутреннего трения грунта средний по высоте hнi.

Рис. 6.16. Определение ширины участка при расчете устоя на глубокий сдвиг:

а - автодорожный мост; б - железнодорожный мост.

Плоскость скольжения участка как элемент кругло-цилиндрической поверхности глубокого сдвига характеризуется углом аi вычисляемым по формуле

Устойчивость отсеченного участка обеспечена, если выполнено следующее условие

Удерживающий момент Муд относительно т. 0 равен

Муд = R (Σ Sfi + Σ Sci),

где Σ Sfi = Σ Qi cosαi tgφi - сумма сил трения по поверхности сдвига;

φi - угол внутреннего трения грунта, по которому проходит поверхность сдвига на i-том участке;

 - сумма сил сцепления по поверхности сдвига;

сi - сцепление грунта, по которому проходит поверхность сдвига на i-том участке.

сдвигающий момент Мсдв относительно т. 0 равен

Мсдв = Σ Qiri + Σ Hihi

Σ Qiri - сумма моментов вертикальных сил от веса грунта, опоры, временной нагрузки и опорные реакции пролетных строений) относительно т. 0;

Σ Hihi - сумма моментов горизонтальных сил (от торможения, температурных воздействий, трения в опорных частях и др.);

 - см. п. 6.5.1.

Расчет устойчивости по приближенной методике выполняют при нескольких положениях т. 0, найдя наиболее неблагоприятное расположение поверхности сдвига.

В случае, если устойчивость сооружения против глубокого сдвига не обеспечена, рекомендуется рассмотреть следующие пути повышения устойчивости:

- устройство пригрузочных берм у конуса насыпи вдоль пролета;

- увеличение размера фундамента в сторону насыпи;

- замена или укрепление грунтов основания.

6.5.3. Деформативность опор

Деформации опор складываются из упругих деформации конструкций опор и фундаментов при воздействии постоянных и временных нагрузок и осадок и крена фундаментов за счет податливости грунта основания при воздействии постоянных нагрузок.

6.5.3.1. Вертикальными деформациями конструкций опор, как правило, можно пренебречь ввиду большой жесткости конструкций при работе па вертикальные усилия.

Осадки фундаментов допускается не определять при опирании фундаментов на скальные, крупнообломочные грунты с песчаным заполнителем и твердые глины, а для мостов внешне статически определимых систем пролетами до 55 м на железных и до 105 м на автомобильных дорогах - при опирании фундаментов па любые грунты, обеспечивающие расчетную несущую способность.

Осадки фундаментов мостов внешне статически неопределимых систем определяют по нормам проектирования фундаментов, а их величины для соседних опор не должны разниться на величину, вызывающую появление в продольном профиле моста дополнительных углов перелома, превышающих 2% - для автодорожных и 1% железнодорожных мостов.

6.5.3.2. Горизонтальные перемещения верха опор определяются только для железнодорожных мостов. Продольные деформации отдельных опор для мостов с неразрезными и температурно-неразрезными (продольно связанными) пролетными строениями не лимитируются. Продольные деформации опор мостов с разрезными пролетными строениями и поперечные деформации опор всех мостов не должны превышать в уровне верха подферменных площадок величины  где l0 - длина меньшего примыкающего к опоре пролета (м), принимаемая не менее 25 м.

Горизонтальные деформации вычисляются по правилам строительной механики. При расчете опор по рамной схеме и при расчете свайных фундаментов с применением вычислительной техники значения перемещении верха опор обычно могут быть получены автоматически, но для этого следует в исходные данные включить только временные нагрузки (с соответствующими коэффициентами - см. п. 6.3) и учесть, что в этих расчетах местный размыв можно не учитывать. Крен фундамента за счет податливости грунта основания при определении перемещения верха опоры не учитывается.

При расчете устоев следует определять их горизонтальные деформации от постоянных нагрузок (как за счет упругости элементов опоры и фундамента, так и податливости грунта основания) и в случаях, когда суммарная величина превышает величину зазора между шкафной стенкой пролетного строения, уменьшенную на сумму строительных допусков, положение устоя в плане должно назначаться с учетом полученной величины горизонтальной деформации (т.е. для устоев вводится понятие, эквивалентное строительному подъему пролетных строений).

6.5.4. Проверка положения равнодействующей в уровне подошвы фундаментов

Для оснований из нескальных грунтов под фундаментами мелкого заложения, рассчитываемыми без учета заделки в грунт, положение равнодействующей нагрузок (относительный эксцентриситет ) ограничивается значениями, приведенными в табл. 6.10.

Эксцентриситет положения равнодействующей l0 определяют по формуле:

где М - момент всех сил относительно главной центральной оси подошвы фундамента;

N - равнодействующая вертикальных сил.

Радиус ядра сечения фундамента r определяют по формуле:

где W - момент сопротивления подошвы фундамента для менее напряженной грани;

А - площадь подошвы фундамента.

Таблица 6.10

Предельные значения относительного эксцентриситета равнодействующей е0/r

Наименование мостов

Промежуточные опоры

Устои

только постоянные нагрузки

суммарные воздействия

только постоянные нагрузки

суммарные воздействия

Железнодорожные

0,1

1,0

0,5

0,6

Автодорожные

Большие и средине

0,1

1,0

0,8

1,0

малые

0,1

1,0

0,8

1,2

6.6. Расчет бетонных сечений

В соответствии со СНиП 2.05.03-84 бетонные конструкции могут применяться только в элементах, работающих на центральное и внецентренное сжатие.

В опорах мостов бетонные сечения применяются преимущественно в массивных конструкциях (монолитные и сборно-монолитные опоры и фундаменты мелкого заложения), а также в пустотелых полносборных конструкциях из блоков замкнутого сечения. Бетонные сечения рассчитывают по прочности, устойчивости и трещиностойкости.

6.6.1. Прочность и устойчивость

а) Центрально и внецентренно сжатые элементы с начальным эксцентриситетом ес нормальной сжимающей силы относительно центра тяжести сечения, не превышающим радиуса r ядра сечения (есr, рассчитываюn по устойчивости по формуле:

N ≤ φRbAb.

Обозначения:

N - величина сжимающей силы по п. 6.4;

Rb - расчетное сопротивление бетона осевому сжатию (по табл. 23 СНиП 2.05.03-84), уменьшенное на 10% (п. 3.24 СНиП 2.05.03-84);

 -  радиус ядра сечения (ядровое расстояние), для сечений прямоугольной формы , где b - меньшая сторона сечения;

Wb - наименьший момент сопротивления сечения.

где М - величина изгибающего момента по п. 6.4;

Аb - площадь сжатого сечения элемента;

φ - коэффициент продольного изгиба, определяемый по формуле:

где φт - коэффициент продольного изгиба, учитывающий воздействие временной нагрузки;

φl то же, постоянных нагрузок;

Nl - расчетное продольное усилие от постоянной нагрузки;

Nm - то же от временной нагрузки (N = Nl + Nm).

Значения φт и φl принимаются по табл. 6.11, в зависимости от гибкости элемента lo/i и величины относительного эксцентриситета равнодействующей.

lo - расчетная длина элемента, принимаемая с учетом условий закрепления па опоре пролетных строений (для бетонных опор);

lo = 2h - в расчетах вдоль оси моста - при установке на опоре разноименных опорных частей под разрезные пролетные строения; подвижной опорной части под неразрезное пролетное строение; двух подвижных опорных частей под температурно-неразрезные пролетные строения; в расчетах поперек оси моста - во всех случаях;

lo = 0,7h - в расчетах вдоль оси моста при установке на двух и более опорах неподвижных опорных частей под неразрезные или температурно-неразрезные пролетные строения при расчете моста как системы (см. п. 6.2.2);

h - фактическая длина (высота) элемента;

наименьший радиус инерции. Для прямоугольных сечений i = 0,289 b.

Таблица 6.11

Коэффициенты продольного изгиба

Гибкость lo/i

при относительных эксцентриситетах еc/r

φе

0

0,25

0,5

1,0

14

1,0

0,80

0,77

0,65

1,0

21

0,98

0,84

0,75

0,63

0,94

28

0,95

0,81

0,72

0,60

0,88

35

0,92

0,78

0,69

0,57

0,80

42

0,88

0,76

0,67

0,55

0,72

49

0,85

0,74

0,65

0,52

0,62

56

0,79

0,68

0,59

0,48

0,53

63

0,74

0,63

0,54

0,43

0,43

70

0,67

0,56

0,46

0,37

0,32

77

0,63

0,51

0,43

0,34

0,26

84

0,58

0,46

0,38

0,29

0,20

91

0,49

0,38

0,31

0,22

91,0

б) Внецентренно сжатые элементы прямоугольного сечения с начальным эксцентриситетом нормальной сжимающей силы относительно центра тяжести сечения, превышающим радиус ядра сечения (ес > r) рассчитывают но прочности по по формуле

N Rbbx.

Обозначения см. на рис. 6.17.

Рис. 6.17. Схема к расчету бетонных сечений по прочности

Двутавровые, коробчатые и др. сечения следует рассчитывать по п. 3.68 СНиП 2.05.03-84.

Высоту сжатой зоны х определяют по формуле:

х = h – 2есη,

где η - коэффициент, учитывающий влияние прогиба по прочности, определяемый по формуле

Ncr - условная критическая сила, определяемая по формуле

Коэффициент δ равен

, но не менее:

В этой формуле значения Rb принимают в МПа.

Уточненное положение силы N с учетом коэффициента η должно удовлетворять следующему условию:

еcη ≤ 0,8 ac.

Ecли это условие не выполнено, необходимо увеличивать размер сечения вдоль изгибающего момента.

Расчеты прочности и устойчивости обязательно выполняются как вдоль, так и поперек оси моста.

6.6.2. Трещиностойкость

Расчет по трещиностойкости бетонных сечений производится, исходя из недопущения образования в элементе продольных трещин, путем ограничения предельных значений сжимающих напряжении в бетоне σb величиной Rb, mс2 по табл. 23 СНиП 2.05.03-84, уменьшенной на 10%.

Расчетная схема приведена на рис. 6.18.

При расчете прямоугольных сечений высоту сжатой зоны определяют по формуле

Наибольшие сжимающие напряжения в бетоне равны

Если это условие не выполнено, следует увеличить размеры сечения (в направлении изгибающего момента) или увеличить класс бетона по прочности.

Рис. 6.18. Схема к расчету бетонных сечений по трещиностойкости

При расчете сборно-монолитных и полносборных бетонных опор к расчетным сопротивлениям бетона Rb и Rb, mс2 вводятся коэффициенты условий работы mb10 по п.п. 3.28-3.30 СНиП 2.05.03-84, при расчете бетонных опор, предназначенных к эксплуатации в районах с расчетной температурой ниже -40°С; в условиях попеременного замораживания и оттаивания бетона или в условиях жаркого климата, к расчетным сопротивлениям бетона вводятся коэффициенты условий работы mb7, mb8 и mb9 по табл. 24 СНиП 2.05.03-84.

6.7. Расчет железобетонных сечений

6.7.1. При проектировании железобетонных опор и фундаментов следует ориентироваться на преимущественное использование в качестве несущих элементов стандартных и типовых конструкций (свай, стоек и т.п.).

Расчеты железобетонных опор из стандартных и типовых конструкций выполняют путем сопоставления усилий в элементах, вычисленных по указаниям п. 6.4 с их несущей способностью по прочности, трещиностойкости и выносливости, определяемой графиками, имеющимися в составе стандартов и типовой проектной документации. Пример такого графика см. на рис. 6.19.

Рис. 6.19. Пример графика несущей способности железобетонной стойки:

Цифрами обозначены типы армирования: 1 - 8Ø25А11, 2 - 12Ø25А11, 3 - 12Ø28А11

На графике по оси абсцисс откладываются значения нормальной силы (знак «-» обозначает растяжение), по оси ординат - значения изгибающих моментов. Несущая способность сечения при данном типе армирования определяется кривой, которая в точках пересечения с осью абсцисс показывает значения предельной нормальной силы по растяжению и сжатию, по оси ординат - предельный изгибающий момент, в секторе - N, О, М - несущую способность по внецентренному растяжению, а в секторе М, О, N - несущую способность по внецентренному сжатию.

Проверка прочности, выносливости и трещиностойкости сечения выполняется графически:

1) На поле графика находят точку А, координаты которой соответствуют расчетным значениям N и М* по п. 6.4 при том или ином сочетании нагрузок (на рис. 6.19 обозначены NA и МА).

2) Сопоставляют взаимоположение т. А с кривыми несущей способности при различных типах армирования. В данном случае т. А расположена вне поля, ограниченного кривой 1, но внутри полей, ограниченных кривыми 2 и 3, из которых кривая 2 соответствует меньшему армированию. На этой кривой находят т. В и на оси ординат - значение Мв.

Отношение  выражает запас несущей способности по соответствующему предельному состоянию.

_________________

* В случае, если при расчете опоры с использованием вычислительной техники программа не учитывает влияние прогиба на прочности (продольного изгиба) введением коэффициента η, соответствующие вычисления выполняются по п. 3.54 СНиП 2.05.03-84, а величина изгибающего момента (относительно центра тяжести сечения) умножается на коэффициент η т.е.

Мо = Мη,

где Мо - изгибающий момент с учетом продольного изгиба; М - изгибающий момент по п. 6.4.

3) Повторяя те же операции при других сочетаниях нагрузок, для всех свай или стоек данной опоры находят минимально возможный тип армирования по прочности, выносливости и трещиностойкости, который и принимают в проекте.

Если по любой из проверок т. А выходит за пределы поля, ограниченного кривой при максимальном типе армирования для данного сечения, рассматривают (путем технико-экономического анализа) следующие варианты:

а) применение более мощных сечений элементов (по армированию, классу бетона, размерам);

б) изменение схемы опоры (углов наклона, расположения или количества несущих элементов в опоре);

в) изменение схемы моста (уменьшение длины пролета, применение неразрезных или температурно-неразрезных пролетных строений и др.);

г) изменение принципов фундирования (укрепление грунтов, замена слабых грунтов, искусственное охлаждение вечномерзлых грунтов и др.);

д) применение в опоре железобетонных элементов индивидуального проектирования.

6.7.2. При индивидуальном проектировании железобетонных элементов рекомендуется, используя имеющееся программное обеспечение, построить графики несущей способности принятых сечений с несколькими типами армирования. Дальнейшие проверки выполняют по п. 6.7.1.

6.7.3. Предварительную оценку прочности железобетонного элемента для последующего построения графиков его несущей способности по прочности, выносливости и трещиностойкости выполняют по следующей приближенной формуле (для прямоугольных сечений):

NeоRbbx(ho - 0,5x),

где ео = е1 + еcη - эксцентриситет приложения силы N относительно растянутой арматуры;

 - начальный эксцентриситет приложения силы N относительно центра тяжести сечения. Об учете коэффициента η см. сноску к п. 6.7.1;

Rb - призменная прочность бетона по табл. 23 СНиП 2.05.03-84 с учетом коэффициентов условий работы mb7, mb8 и mb9 по табл. 24 СНиП 2.05.03.84;

 - высота сжатой зоны бетона;

Rs - расчетное сопротивление арматуры по табл. 31 СНиП 2.05.03-84;

 - предельное значение относительной высоты сжатой зоны;

ω = 0,85 - 0,008 Rb - безразмерная величина.

В этой формуле расчетные сопротивления Rs и Rb принимаются в МПа.

Остальные обозначения - на рис. 6.20.

Приближенная формула не учитывает сжатую арматуру, что идет в запас прочности.

Рис. 6.20. Схема к расчету внецентренно сжатых железобетонных элементов

Требуемую площадь растянутой арматуры Аs определяют либо методом подбора, либо решением следующего квадратного уравнения:

где

Обозначения - см. выше.

Изложенная методика применима и для расчетов двутавровых и коробчатых сечений в случае, когда высота сжатой зоны не превышает толщины плиты.

Подробные расчеты таких сечений при высоте сжатой зоны, превышающей толщину плиты, производят по п.п. 3.69- 3.75, 3.91-3.94, 3.100, 3.105-3.111 СНиП 2.05.03-84.

6.8. Расчет фундаментов мелкого заложения

6.8.1. Требования к расчетам фундаментов по устойчивости против опрокидывания и сдвига, деформациям и ограничению положения равно действующей нагрузок приведены в п. 6.5.

6.8.2. Расчет по несущей способности оснований выполняют путем сопоставления среднего и максимального давления подошвы фундамента на грунт основания с его расчетным сопротивлением осевому сжатию по формулам:

Обозначения:

 - среднее давление подошвы фундамента на основание;

 - максимальное давление подошвы фундамента на основание (для случаев, когда см. п. 6.5.4);

 - то же (для случаев, когдапри фундаментах прямоугольной формы);

 длина сжимаемой части основания;

h, b - длина и ширина подошвы фундамента;

Аф, Wmin - площадь и момент сопротивления подошвы фундамента (для более напряженной грани);

R - расчетное сопротивление грунтов основания осевому сжатию, принимаемое по прил. 24 СНиП 2.05.03-84;

γn = 1,4 - коэффициент надежности по назначению сооружения;

γc - коэффициент условий работы: γc = 1,0 - для нескальных грунтов при расчете устоев по сочетанию П табл. 3 п. 6.3.13, γc = 1,2 - для нескальных грунтов в остальных случаях и для скальных - во всех случаях;

N, M - сжимающая сила и изгибающий момент относительно центра тяжести подошвы фундамента;

 - эксцентриситет приложения сжимающей силы.

Если максимальное давление превышает расчетное сопротивление, осуществляют одно из следующих мероприятии:

- заглубление подошвы фундамента;

- увеличение площади фундамента (с учетом рекомендации п. 6.5.1);

- замена укрепления, уплотнение грунтов основания;

- переход на свайный фундамент;

- изменение схемы моста.

Выбор того или иного мероприятия осуществляется на основе технико-экономического анализа.

6.8.3. При строительстве на пучинистых грунтах*, т.е. если пучинистые грунты располагаются в толще сезонного промерзания-оттаивания, опоры и фундаменты должны быть рассчитаны на воздействие сил морозного пучения по приложению 5 СНиП 11-18-76. Расчетом должны быть проверены: устойчивость фундамента на действие касательных сил пучения и прочность элементов фундамента (см. рис. 6.21).

____________

* К пучинистым грунтам относятся:

- глинистые грунты, кроме твердых и полутвердых;

- мелкие и пылеватые пески влажные и водонасыщенные;

- крупнообломочные грунты с глинистым, пылеватым и мелкопесчаным заполнителем более 10%.

Рис. 6.21. Схемы к расчету опор на морозное пучение

а - стоечная опора на фундаменте мелкого заложения; б - массивная опора на спайном фундаменте; в - свайная опора; г - свайная опора из буровых спай с уширениями; τ - касательные силы морозного пучения; ÑМ - отметка подошвы сезонно промерзающего слоя; Δh - заглубление фундамента:

Расчетные сечения и проверки:

1 - 1 - осевое растяжение стоек и заделка их в фундаменте;

2 - 2 - разрыв фундамента;

3 - 3 - осевое растяжение свай, и заделка их в фундамент;

4 - 4 - осевое растяжение свай;

5 - 5 - заделка свай в уширении;

6 - 6 - изгиб консоли фундамента.

При курсовом и дипломном проектировании расчеты опор с фундаментами мелкого заложения и свайными на действие сил морозного пучения можно не производить, если выполнены следующие условия:

- подошва фундамента расположена не менее, чем на 0,5 м, а плита свайного ростверка - не менее, чем на 0,25 м ниже расчетной глубины сезонного промерзания-оттаивания, либо подошва плиты ростверка (низ насадки) расположена выше поверхности грунта на 0,5 м для устоев и 1,0 м - для промежуточных опор;

- вдоль боковых поверхностей всех элементов, расположенных в толще сезонного промерзания-оттаивания установлены арматурные сетки с вертикальными стержнями диаметром 16-20 мм с шагом 150-200 мм, заделанными в фундаментной плите или плите ростверка;

- работающие на изгиб элементы фундамента (консольные участки фундаментных плит и плит ростверков) имеют толщину не менее половины длины консоли и армированы по верхней грани стержнями диаметром 10-20 мм с шагом 150 - 200 мм;

- площадь подошвы фундамента мелкого заложения не менее, чем в 2 раза превышает площадь сечения опоры по обрезу фундамента;

- глубина погружения свай свайной опоры не менее, чем утроенная глубина сезонного промерзания-оттаивания.

6.9. Расчет спайных фундаментов

6.9.1. Усилия в сваях свайных фундаментов определяются расчетом, выполняемым с применением вычислительной техники по имеющимся программам, составленным на основе обобщенной теории расчета свайных ростверков, с учетом упругой или жесткой заделки свай в грунте и, как правило, жесткой заделки сваи в плите ростверка (см. п. 6.4.4).

Свободную длину свай принимают от уровня низа плиты ростверка (насадки) до расчетной поверхности, расположенной на уровне:

- естественной поверхности грунта (для устоев);

- дна воронки местного размыва, определяемой но результатам гидравлических расчетов (для промежуточных опор);

- планировочной отметки (для опор путепроводов и виадуков);

- поверхности насыпи, отсыпанной заранее (для свай, забиваемых через эту насыпь);

- поверхности насыпи, возведенной гидронамывом (для свай, погружаемых любым способом).

6.9.2. Расчет свай по материалу (прочность, трещиностойкость, а для свай свайных опор железнодорожных мостов и выносливость) производится в порядке, указанном в п. 6.7.

6.9.3. Несущую способность свай по грунту при действии осевых сжимающих или растягивающих усилий определяют согласно СНиП 11-17-77 (в немерзлых грунтах) или СНиП 11-18-76 (в мерзлых грунтах) и сопоставляют с усилиями, определенными по п. 6.9.1.

6.9.4. Кроме проверки несущей способности по грунту наиболее нагруженной сваи на сжатие и наименее нагруженной на растяжение, выполняют проверку несущей способности основания в уровне низа сваи как для условного массивного фундамента согласно приложению 25 СНиП 2.05.03-84. Такая проверка не требуется для однорядных фундаментов и многорядных фундаментов, сваи которых опираются или заделываются в скальные крупнообломочные (с песчаным заполнителем) грунты, в твердые глинистые грунты и в мерзлые грунты, используемые по принципу 1.

Для курсового и дипломного проектирования указанную проверку можно не производить, если применяются наклонные сваи во всех направлениях и угол наклона свай не менее 5:1.

6.9.5. Расчет свайных фундаментов на морозное пучение производится по п. 6.8.3.

Приложение 1

ОСНОВНЫЕ ПРИНЦИПЫ ОБЕСПЕЧЕНИЯ СЕЙСМОСТОЙКОСТИ МОСТОВ

Как показывают расчеты, в большинстве случаев усиление конструкции мостов для обеспечения их сейсмостойкости при расчетной сейсмичности 7 баллов не требуется, т.к. величина усилий в них от сочетаний нагрузок, не учитывающих сейсмическую нагрузку, превышает усилия от сочетаний, учитывающих сейсмическую нагрузку с соответствующими коэффициентами. Конструктивные мероприятия в этом случае минимальны: армирование бетонных опор, использование преимущественно монолитных фундаментов и обязательное объединение сборных элементов омоноличиванием со сварными или петловыми стыками выпусков арматуры.

При расчетной сейсмичности 8-9 баллов для обеспечения сейсмостойкости мостов перечисленных мер оказывается недостаточно, требуется усилие конструкций. Надежность мостов может быть обеспечена только реализацией комплекса мероприятий, назначаемых при проектировании на основании обработки материалов геологических и геофизических изысканий, проводимых в районе строительства расчетов и конструирования.

Вопросы выбора местоположения и схемы моста в конкретных условиях достаточно хорошо описаны в литературе [7, 8, 10].

Ниже рассмотрены основные принципы проектирования сейсмостойких конструкций мостов, осуществление которых может повысить эффективность проектных решений при обеспечении требуемой надежности.

Расчетная сейсмическая нагрузка Sik, приложенная к точке «k» и соответствующая i-му тону собственных колебаний моста в соответствии с требованиями [9] определяется по формуле:

Sik = k1k2AQkβikψηik,

где k1, k2, A и kψ - безразмерные коэффициенты, учитывающие соответственно допускаемые повреждении сооружений, их конструктивные решения, ускорение колебаний основания в долях от ускорения силы тяжести и деформативность, принимаемые по действующим нормам;

Qk, - вес сооружения, отнесенный к точке «k»;

βi - коэффициент динамичности, соответствующий i-му тону колебаний, обратно пропорциональный периоду свободных колебаний;

ηik - коэффициент, зависящий от формы собственных колебаний сооружения по i-му тону и от точки приложения нагрузки.

Задачей рационального проектирования сейсмостойких конструкций является не только подбор сечений элементов, обеспечивающих восприятие расчетных сейсмических нагрузок, по и анализ возможностей снижения последних, что позволит сократить расход материалов и стоимость строительства.

Наиболее эффективный способ снижения сейсмических воздействий на сооружение - уменьшение его массы - в мостостроении применим со значительными ограничениями, вызванными, главным образом, жестким нормированием предельных деформаций элементов, которые во многих случаях определяют их размеры, а следовательно, и массу. Но, не нарушая этих норм, можно снизить массу элементов сооружения, если при проектировании мостов в сейсмических районах учитывать следующие рекомендации:

1. Для железнодорожных мостов пролетами более 18 м, а для автодорожных - более 33 м взамен железобетонных и сталежелезобетонных пролетных строений целесообразно применить металлические с ортотропной плитой проезжей части. Такое решение позволит снизить массу пролетных строений и, соответственно, сейсмическое воздействие от них в 1,5 - 1,8 раза. За счет применения неразрезных пролетных строений вместо разрезных можно дополнительно снизить сейсмические усилия в опорах моста на 15-20%.

2. В практике проектирования нередко размеры массивных опор определяют, исходя из расчета их как бетонных, даже при учете сейсмических нагрузок. Использование бетонных опор в сейсмических районах при расчетной сейсмичности 8 и 9 баллов приводит к неоправданному увеличению сейсмических усилий в них. Надежность сооружения при этом не возрастает. Поэтому взамен массивных бетонных опор следует применять более легкие железобетонные конструкции: свайные, стоечные (рамные) или комбинированные с массивной частью в зоне переменного уровня воды и ледохода и пустотелой или рамной верхней частью.

Массивную часть опоры следует рассчитывать как железобетонную конструкцию на все предусмотренные СНиП 2.05.03-84 сочетания нагрузок.

Только за счет снижения массы опор сейсмические усилия могут быть уменьшены и 1,3-2,0 раз. Кроме того, сейсмические воздействия снижаются в связи с увеличением гибкости конструкции.

Проектирование сооружений, характеризующихся повышенной гибкостью элементов - второй путь снижения сейсмических усилий. Но и здесь имеются ограничения: упомянутые выше требования к жесткости конструкций и наличие в [9] предельного минимального значения коэффициента динамичности βi = 0,8.

В большинстве случаев реального проектирования мостов снижение массы конструктивных элементов, в частности, опор приводит и к уменьшению их жесткости, а совокупное уменьшение сейсмических воздействии на сооружение в 1,3-1,8 раза превышает эффект, вызванный только снижением массы опоры.

3. Третьим способом повышения сейсмостойкости мостов следует считать проектирование моста как единой системы. Для балочных мостов такой системой является одноэтажная рама, состоящая из опор (стоек) и пролетных строений (элементов или участков ригеля рамы). Связи между элементами - жесткие, шарнирные или упруго-податливые - следует принимать, исходя из реальных конструктивных решений.

Практически, любой мост традиционной конструкции, даже без специальных устройств, работает и может быть рассчитан па сейсмические воздействия как рама (на усилия, действующие поперек оси моста - при любом типе опорных частей; на усилия, действующие вдоль оси моста - при резиновых опорных частях). Известно много конструктивных решений, обеспечивающих возможность работы моста как системы на усилия, действующие вдоль его оси, при любом типе опорных частей. Упомянем здесь простейшие по выполнению и проверенные практикой строительства:

- установка пролетных строений (как разрезных, так и неразрезных) только на неподвижные опорные части;

- объединение смежных разрезных пролетных строений жесткими или упругими шарнирными связями;

- использование «тормозных поясов» - дополнительных продольных элементов, рассчитанных на продольные усилия.

Инерционные силы в элементах системы могут определяться с использованием имеющихся программных комплексов (например, программы «Лира», разработанной в НИИ-АСС Госстроя УССР).

При проектировании моста как системы необходимо учитывать следующее:

1. Требование об ограничении перемещения верха опоры и направлении вдоль оси моста снимается, т.к. все опоры связаны между собой.

2. Невыгоднейшими сочетаниями нагрузок часто оказываются: «постоянная нагрузка + температурные воздействия» и «постоянная нагрузка + временная нагрузка + торможение + температурные воздействия».

3. Система рассчитывается на сейсмические воздействия как при минимальной, так и при максимальной расчетной температуре воздуха.

Рассмотренные выше основные принципы проектирования сейсмостойких мостов требуют минимальных дополнительных затрат и характеризуются одним общим признаком: одинаковыми условиями работы моста на все сочетания нагрузок. В практике сейсмостойкого строительства применяются также специальные способы повышения надежности сооружений при землетрясениях, реализация которых изменяет работу конструкций на сейсмические воздействия в сравнении с работой на другие эксплуатационные нагрузки. Соответственно изменяются и расчетные схемы. Такие способы повышения сейсмостойкости мостов могут быть классифицированы в соответствии со схемой, приведенной на рис. 1.

Рис. 1

Возможность и целесообразность использования специальных способов сейсмозащиты мостов определяются при проектировании.

Для нового строительства сейсмогашение и сейсмоизоляцию целесообразно использовать в случаях, когда возможности уменьшения сейсмических сил, действующих на элементы моста путем снижения массы опор и повышения гибкости исчерпаны, т.е. минимальные размеры элементов определены расчетом па основные и дополнительные сочетания нагрузок, либо лимитируются нормативными требованиями, но для сейсмических воздействий требуется усиление конструкции, т.е. дополнительные затраты (повышенные прочностные характеристики материалов, усиленное армирование и т.п.).

Необходимо иметь в виду, что специальные способы сейсмозащиты требуют повышенных эксплуатационных расходов и будут эффективны в том случае, когда затраты на их устройство и эксплуатацию будут меньше затрат на усиление конструкций.

При реконструкции, усилении, капитальном ремонте мостов сейсмогашение или сейсмоизоляция могут стать единственными способами обеспечения их требуемой сейсмостойкости.

Дополнительные устройства, повышающие безопасность эксплуатации мостов, необходимо применять во всех ответственных случаях: при пролетах более 18 м, при расположении мостов в зоне тектонических разломов и др., а также в комбинации с другими способами сейсмозащиты.

Рассмотрим некоторые особенности применения и конструктивные решения специальных способов сейсмозащиты.

Сейсмогашение

Известны два способа сейсмогашения:

1. Демпфирование, т.е. перевод энергии колебаний системы в другой вид энергии. Например, в демпферах внутреннего трения энергия колебаний расходуется на пластические деформации элементов конструкции моста - чаще всего, каких-либо связей. Демпферы трения скольжения предусматривают трансформацию энергии колебаний в кинетическую энергию взаимных перемещений элементов по трущимся поверхностям и тепловую энергию.

Использование демпфирующих устройств имеет ряд особенностей:

- появление остаточных деформаций и изменение взаимоположения элементов сооружения в результате сейсмических воздействии, требующие восстановления исходного положения после землетрясения;

- нелинейный характер работы системы, существенно затрудняющий расчет моста.

Достаточно простыми для реализации в мостостроении представляются демпферы трения скольжения с использованием «сдвигающихся» опорных частей. Такие опорные части состоят из верхнего и нижнего балансиров, имеющих традиционную конструкцию, и дополнительных металлических листов, разметенных между опорным листом пролетного строении и верхним балансиром и соединяемых высокопрочными болтами. Усилие затяжки болтов может быть подобрано таким, чтобы при часто повторяющихся землетрясениях небольшой силы, на которую и рассчитываются все конструкции моста, фрикционная связь между дополнительными листами не нарушалась, по при превышении заданного значения сейсмической силы усилия в элементах моста не увеличатся, т.к. произойдет сдвижка пролетного строения относительно опоры.

2. Использование динамических гасителей, т.е. такое регулирование масс элементов системы и жесткости связей между ними, при котором обеспечивается противофазность колебаний отдельных элементов, приводящая к снижению инерционных усилий. Такая настройка системы осложняется широким спектром характеристик сейсмических воздействий, изменением жесткостных характеристик элементов в зависимости от величины усилий в них (прежде всего, железобетонных и бетонных конструкций), неопределенным характером работы таких элементов моста, как верхнее строение пути (для ж. д. мостов) пли проезжая часть (для автодорожных мостов), конусов насыпей, деформационных швов и др.

Наиболее перспективным направлением разработки систем с динамическими гасителями колебаний следует считать использование опорных частей, включающих дополнительные упругие элементы, выполненные в виде изгибаемых вертикальных стержней, размещенных под нижним балансиром стандартной опорной части. Жесткость стержней подбирается таким образом, чтобы колебания пролетного строения были противофазны колебаниям опоры. Стержни могут иметь жесткостные характеристики, различные в направлениях вдоль и поперек оси моста, а также могут быть снабжены дополнительной связью, разрушающей при заданной балльности землетрясения.

Сейсмоизоляция

Простейший вид сейсмоизоляции - использование подвижных опорных частей (продольно или всесторонне подвижных) - может весьма эффективно разгрузить одну или несколько опор от усилий, вызванных колебаниями пролетных строений и подвижного состава.

Такое решение может быть необходимым, если условия строительства каких-либо опор (например, геологические) существенно отличаются от других в худшую сторону. Применение «выключающихся» связей, например, в виде срезающихся болтов крепления, обеспечивает возможность нормальной эксплуатации моста по схеме, имеющей нужное для работы на эксплуатационные нагрузки количество неподвижных опорных частей. При заданной балльности землетрясения произойдет разрушение связей и подвижка пролетного строения относительно опоры. Динамическая расчетная схема моста при этом изменяется, но усилия, приходящиеся на остальные опоры (где установлены неподвижные опорные части) при рациональном подборе жесткостей элементов могут увеличиться незначительно.

Дополнительные устройства

Основным и наиболее эффективным способом дополнительной сейсмозащиты мостов является устройство упоров (стопоров) на подферменных площадках опор, оснащенных пружинными амортизаторами.

Такие упоры препятствуют сбросу пролетных строений с опор при случайном или предусмотренном проектом разрушении связей между ними (например, срезе анкерных болтов опорных частей). Варианты конструктивных решений дополнительных антисейсмических устройств достаточно подробно описаны в [10]. При проектировании мостов с использованием дополнительных устройств необходимо предусматривать надежную анкеровку стопоров в бетоне подферменных площадок и арматурную связь последних с телом опоры.

Общие выводы

При проектировании мостов для сейсмических районов необходимо, после того, как выбрана площадка строительства и определена схема моста, оценить возможность уменьшения сейсмических воздействий на сооружение за счет снижения масс и жесткостей его элементов. Способ сейсмозащиты моста следует выбирать на основе технико-экономического сравнения вариантов усиления элементов или применения специальных способов сейсмозащиты, предусмотрев в необходимых случаях установку дополнительных антисейсмических устройств.

Приложение 2

ПРЕДЛОЖЕНИЯ ПО ПОВЫШЕНИЮ ТРЕЩИНОСТОЙКОСТИ ОПОР ПРИ ТЕМПЕРАТУРНЫХ ВОЗДЕЙСТВИЯХ

Проблема трещиностойкости опор возникла с начала строительства бетонных опор без их облицовки естественным камнем. Армирование поверхностей опор арматурными сетками не дало положительного результата. Причиной появления трещин являются большие температурные напряжения, возникающие в кладке опоры при быстром ее охлаждении и поверхностных слоях в период резкого понижения температуры воздуха. Трещины появляются, главным образом, в опорах, забетонированных в летнее время с наступлением периода осенне-зимнего похолодания (ноябрь-декабрь). Наблюдались случаи появления трещин при бетонировании опор и зимнее время, когда рано снимались утепленная опалубка, или когда опора бетонировалась блоками, и очередной блок возводился на уже успевшем охладиться ранее забетонированном блоке (с уже уменьшившимися линейными размерами).

Когда опора бетонируется в зимнее время, при раннем снятии опалубки наружный слой бетона быстро охлаждается, но уменьшению его линейных размеров препятствуют внутренняя часть массива, и в нем образуются трещины. Этому способствует также и то, что бетон не набрал еще достаточной прочности.

В опорах с массивной облицовкой из естественного камня трещины в облицовке возникают редко. Объясняется это тем, что швы между камнями облицовки, заполненные цементно-песчаным раствором, являются местами разрядки температурных напряжении. Трещины образуются в швах, но в процессе эксплуатации моста проводятся периодические ремонты опор с расчисткой швов от выветрившегося раствора и заполнением их новым раствором («расшивка швов»).

Трещины, появляющиеся в кладке бетонных опор, имеют в основном наиболее опасное - вертикальное направление. Они не проходят первоначально глубоко в кладку и вначале не представляют непосредственной опасности для нормальной эксплуатации моста. Однако, являясь концентраторами напряжений, они постепенно развиваются. Этому способствует также замерзание проникающей в них воды. Опора постепенно приходит в аварийное состояние.

Трещины появляются также и в тонкостенных (например, пустотелых коробчатого или круглого сечения) конструкциях опор в местах примыкания тонких стенок к массивной части опоры. Причина этих трещин - более быстрое охлаждение тонкой стенки по сравнению с массивом, с которым она связана, при резком понижении температуры воздуха. Массив препятствует уменьшению размеров стенки, и при большом перепаде температур в стенке появляются трещины.

Появление трещин может быть предотвращено рядом способов:

- уменьшением массивности опор; конструированием опор с плавным изменением толщин в местах сопряжения элементов разной массивности;

- применением бетонов со специальными добавками, повышающими растяжимость цементного камня (увеличение его предельных деформаций при растяжении), что делается, в частности, при изготовлении бетонных облицовочных камней;

- использованием при бетонировании опор без облицовки различных технологических приемов, обеспечивающих в процессе твердения бетона такой температурный режим в бетонном массиве, при котором в наружных слоях бетона в процессе и в конце его твердения поддерживается более низкая температура, чем внутри массива.

Регулирование температурного режима при твердении бетона позволяет получить в бетонном массиве после выравнивания температуры по всему массиву начальные напряжения:

сжимающие в наружных слоях и растягивающие - внутри массива. Тогда при охлаждении наружных слоев бетона (при резком понижении температуры воздуха) этими начальными сжимающими напряжениями гасятся возникающие температурные растягивающие напряжения.

В процессе твердения бетона массив разогревается за счет тепла, выделяющегося при экзотермической реакции гидратации цемента. Необходимо регулировать теплоотдачу через опалубку, чтобы обеспечить более низкую температуру наружных слоев бетона и не допустить чрезмерного их охлаждения. Это достигается в летнее время применением металлической опалубки, защитной опалубки от нагрева солнцем, охлаждением опалубки путем полива водой, а в зимнее время (при бетонировании с применением метода термоса) - подбором оптимальной степени утепления опалубки, чтобы не допустить ни раннего охлаждения бетона до набора минимальной необходимой прочности, ни чрезмерного нагрева наружных слоев бетона за счет выделяющегося при твердении бетона тепла. Температурный режим в массиве должен непрерывно контролироваться с помощью закладываемых в бетон датчиков.

В зимнее время бетонирование массива опоры должно вестись непрерывно, а основание массива (например, фундамент) должно быть прогрето на глубину не менее 30 см до начала укладки бетона.

Для предотвращения опасных перепадов температуры между топкой стенкой и массивом следует предусматривать плавное увеличение толщины стенки у места ее примыкания к массиву. Было предложено также следующее решение. Нижний участок коробчатой конструкции опоры заполняется достаточно эластичным материалом, например, песком, пропитанным водоотталкивающим материалом (гидрофобный носок). Это заполнение позволяет замедлить охлаждение нижнего участка стенки около примыкания ее к массиву, но не препятствует уменьшению ее размеров в пределах заполненного участка.

В нижней части замкнутых коробчатых конструкций возможно образование трещин из-за замерзания скопившейся там воды. Вода скапливается вследствие конденсации ее паров при охлаждении воздуха внутри коробки. Для удаления воды необходимо устраивать внизу коробок специальные отверстия.

Литература

1. Протасов К.Г., Теплиций А.В., Крамаров С.Я., Никитин М.К. Металлические мосты. Изд. 2-е, М., «Транспорт», 1973.

2. Мосты и сооружения на дорогах, ч. 1 и 2 под ред. Е.Е. Гибшмана, М., «Транспорт», 1972.

3. Журавлев М.М. Сопряжение проезжей части автодорожных мостов с насыпью. М., «Транспорт», 1976.

4. Поливанов Н.И. Проектирование и расчет железобетонных и металлических автодорожных мостов. «Транспорт», 1970.

5. Проектирование и строительство современных устоев мостов и СССР и за рубежом (авторы: В.Г. Андреев, Э.А. Балючик, Г.К. Глыбина). Обзорная информации, серия «Мостостроение»; Минтрансстрой, Всесоюзный проектно-технологический институт транспортного строительства «ВПТИтрансстрой». М., 1983.

6. Коваленко С.П. Опоры мостов. М., «Транспорт», 1966.

7. Карцивадзе Г.Н. Сейсмостойкость дорожных искусственных сооружений. М., «Транспорт», 1974.

8. Рекомендации по расчету сейсмических воздействий при проектировании мостов. М., изд. ВНИИ транспорт, стр-ва, 1983.

9. Строительные нормы и правила. Строительство в сейсмических районах (СНиП II-7-81). М., Стройиздат, 1982.

10. Шестоперов Г.С. Сейсмостойкость мостов. М., Транспорт, 1984.

11. Силин К.С., Глотов Н.М., Карпинский В.И. Фундаменты опор мостов из сборного железобетона. М., «Транспорт», 1966.

12. Справочник по строительству на вечномерзлых грунтах (под ред. Ю.Я. Велли и др.). Л., «Стройиздат», 1977.

13. Силин К.С., Глотов Н.М., 3авриев К.С. Проектирование фундаментов глубокого заложения. М., «Транспорт», 1981.

14. Кириллов В.С. Основания и фундаменты. М., «Транспорт», 1980.

15. Мищенко Б.А. и др. Новые конструкции устоев мостов. М., «Транспорт», 1987.

16. Пособие по проектированию оснований зданий и сооружений (к СНиП 2.02.01-83). М., «Стройиздат», 1986.

17. Исследование конструкций опор мостов (под ред. Э.А. Балючика). Труды ВНИИ транспортного строительства. М., «Транспорт», 1985.

18. Справочник проектировщика промышленных, жилых и общественных зданий и сооружений. Расчетно-теоретический (в двух книгах). М., «Стройиздат», 1972.

Содержание

1. ОБЩИЕ СВЕДЕНИЯ ОБ ОПОРАХ МОСТОВ

2. КРАТКИЙ ИСТОРИЧЕСКИЙ ОБЗОР

3. СОВРЕМЕННЫЕ КОНСТРУКЦИИ ОПОР

3.1. Основные особенности современного состоянии развития мостовых опор

3.2. Характеристика и область применения основных типов опор

3.2.1. Свайные опоры

3.2.2. Стоечные и рамные опоры

3.2.3. Массивные опоры

3.2.4. Пустотелые опоры

4. ОСНОВНЫЕ ПРИНЦИПЫ ВЫБОРА ТИПА ОПОРЫ

5. КОНСТРУИРОВАНИЕ ОПОР

5.1. Общие положения

5.2. Требования к материалам

5.3. Сопряжение моста с насыпью. Концевые опоры (устои)

5.3.1. Общие требования к сопряжению моста с насыпью

5.3.2. Устройство конусов

5.4. Конструирование устоев

5.4.1. Оголовки устоев

5.4.2. Обсыпные устои при высоких насыпях

5.4.3. Необсыпные устои

5.5. Конструирование промежуточных опор балочных мостов

5.5.1. Оголовки промежуточных опор

5.5.2. Основные особенности компоновки промежуточных опор

5.6. Рекомендации по выбору схемы высокого свайного ростверка опоры

5.7. Особенности конструирования опор рамных мостов

5.8. Опоры арочных мостов

6. РАСЧЕТ МОСТОВЫХ ОПОР

6.1. Общие положения

6.2. Расчетные схемы опор

6.3. Нагрузки и их сочетания

6.4. Определение усилий в элементах опоры

6.5. Расчеты устойчивости и деформативности опор

6.6. Расчет бетонных сечений

6.7. Расчет железобетонных сечений

6.8. Расчет фундаментов мелкого заложения

6.9. Расчет спайных фундаментов

Приложение 1 ОСНОВНЫЕ ПРИНЦИПЫ ОБЕСПЕЧЕНИЯ СЕЙСМОСТОЙКОСТИ МОСТОВ

Приложение 2 ПРЕДЛОЖЕНИЯ ПО ПОВЫШЕНИЮ ТРЕЩИНОСТОИКОСТИ ОПОР ПРИ ТЕМПЕРАТУРНЫХ ВОЗДЕЙСТВИЯХ

Литература

 




Яндекс цитирования



   Copyright © 2007-2026,  www.tehlit.ru.

[ ѓосты, стандарты, нормативы, инструкции, правила, строительные нормы ]