//
ТехЛит.ру
- крупнейшая бесплатная электронная интернет библиотека для "технически умных" людей.
WWW.TEHLIT.RU - ТЕХНИЧЕСКАЯ ЛИТЕРАТУРА

:: Алготрейдинг::


АЛГОТРЕЙДИНГ
шаг за шагом
с нуля по урокам!

Торговые роботы на PYTHON, BackTrader,
Pandas, Pine Script для TradingView. Связка с брокерами, телеграм и легкими приложениями.


ПРАВИТЕЛЬСТВО МОСКВЫ
МОСКОМАРХИТЕКТУРА

ПОСОБИЕ
к МГСН
2.04-97
ПРОЕКТИРОВАНИЕ ЗВУКОИЗОЛЯЦИИ
ОГРАЖДАЮЩИХ КОНСТРУКЦИЙ
ЖИЛЫХ И ОБЩЕСТВЕННЫХ
ЗДАНИЙ

1998

ПРЕДИСЛОВИЕ

1. РАЗРАБОТАНО Научно-исследовательским институтом строительной физики (НИИСФ) Российской академии архитектуры и строительных наук (докт. техн. наук Осипов Г.Л., кандидаты техн. наук Климухин А.А., Анджелов В.Л.), Московским научно-исследовательским и проектным институтом типологии, экспериментального проектирования (МНИИТЭП) (инж. Лалаев Э.М., Федоров Н.Н.);

при участии ЦНИИЭП жилища (канд. техн. наук Крейтан В.Г.).

2. ПОДГОТОВЛЕНО к утверждению и изданию Управлением перспективного проектирования и нормативов Москомархитектуры (инж. Щипанов Ю.Б., Шевяков И.Ю.)

3. УТВЕРЖДЕНО указанием Москомархитектуры от 12.02.98 г. № 4.

Содержание

ВВЕДЕНИЕ

1. НОРМАТИВНЫЕ ТРЕБОВАНИЯ МГСН 2.04-97 К ЗВУКОИЗОЛЯЦИИ ОГРАЖДАЮЩИХ КОНСТРУКЦИЙ

2. МЕТОДИКА ОПРЕДЕЛЕНИЯ ИНДЕКСА ИЗОЛЯЦИИ ВОЗДУШНОГО ШУМА Rw, ИНДЕКСА ПРИВЕДЕННОГО УРОВНЯ УДАРНОГО ШУМА Lnw И ЗВУКОИЗОЛЯЦИИ НАРУЖНЫХ ОГРАЖДАЮЩИХ КОНСТРУКЦИЙ RАтран. В дБА

3. ОПРЕДЕЛЕНИЕ ЗВУКОИЗОЛЯЦИИ ВНУТРЕННИХ ОГРАЖДАЮЩИХ КОНСТРУКЦИЙ ЖИЛЫХ И ОБЩЕСТВЕННЫХ ЗДАНИЙ

4. ПРОЕКТИРОВАНИЕ ОГРАЖДАЮЩИХ КОНСТРУКЦИЙ, ОБЕСПЕЧИВАЮЩИХ НОРМАТИВНУЮ ЗВУКОИЗОЛЯЦИЮ

ВВЕДЕНИЕ

Настоящее "Пособие" разработано в развитие МГСН 2.04-97 "Допустимые уровни шума, вибрации и требования к звукоизоляции в жилых и общественных зданиях". Оно дополняет и уточняет ряд положений, содержащихся в главе СНиП II-12-77 "Защита от шума" (М., Стройиздат, 1978), "Руководстве по расчету и проектированию звукоизоляции ограждающих конструкций" (М., Стройиздат, 1983) и содержит ряд конкретных примеров по расчету и проектированию звукоизоляции ограждающих конструкций зданий.

Особое внимание следует обратить на то, что в связи с введением в МГСН 2.04-97 новой системы оценки звукоизоляции, соответствующей стандарту 717 Международной организации по стандартизации (ИСО), произошло изменение в численных значениях индексов изоляции воздушного шума и индексов приведенных уровней ударного шума, определяемых ранее по главе СНиП II-12-77, а соответственно и изменение их нормативных значений.

Для возможности сопоставления с новой системой нормирования результатов расчетов и измерений звукоизоляции, выполненных ранее до выхода МГСН 2.04-97, следует использовать следующие пересчетные формулы:

- для индексов изоляции воздушного шума ограждающей конструкцией:

 дБ

- для индексов приведенного уровня ударного шума под перекрытием:

 дБ

где Rw, и Lnw - значения соответствующих индексов по МГСН 2.04-97,

Iв, Iy -значения тех же индексов по главе СНиП II-12-77.

1. НОРМАТИВНЫЕ ТРЕБОВАНИЯ МГСН 2.04-97 К ЗВУКОИЗОЛЯЦИИ ОГРАЖДАЮЩИХ КОНСТРУКЦИЙ

1.1. Нормируемыми параметрами звукоизоляции внутренних ограждающих конструкций жилых и общественных зданий являются индексы изоляции воздушного шума ограждающими конструкциями Rw и индексы приведенного уровня ударного шума под перекрытиями Lnw, дБ.

1.2. Нормативные значения индексов изоляции воздушного шума внутренними ограждающими конструкциями Rw и индексов приведенного уровня ударного шума под перекрытиями Lnw, дБ для жилых и общественных зданий приведены в табл. 1.1 (МГСН 2.04-97, табл. 6) в зависимости от категории здания:

- категория А - высококомфортные условия;

- категория Б - комфортные условия;

- категория В - предельно-допустимые условия.

Категория здания устанавливается техническим заданием на проектирование.

Значения индексов изоляции воздушного шума Rw должны быть не меньше нормативных, а индексов приведенного уровня ударного шума Lnw - не более нормативных.

1.3. Нормируемым параметром звукоизоляции наружных ограждающих конструкций (окон) является звукоизоляция RАтран., дБА, представляющая собой изоляцию внешнего шума, производимого потоком городского транспорта.

1.4. Нормативные величины RАтран для жилых комнат, номеров гостиниц, общежитий, кабинетов и рабочих комнат административных зданий, палат больниц, кабинетов врачей, площадью до 25 м2 при различных уровнях шума у фасада здания приведены в табл. 1.2 (МГСН 2.04-97, табл. 7)

1.5. Для указанных помещений большей площади (свыше 25 м2), а также для помещений со звукопоглощающими облицовками (аудитории, залы собраний, конференц-залы и т.п.) нормативные величины RАтран должны определяться по формуле:

, дБА

где LАнар. - уровень звука снаружи в 2 м от фасада здания, дБА;

LАвн.доп. - допустимый уровень звука в помещении, дБА;

Sо - площадь окна (всех окон в данном помещении, ориентированных в сторону источника внешнего шума), м2.

А - эквивалентная площадь звукопоглощения в помещении (средняя в диапазоне 100 - 1000 Гц), м2.

1.6. Методика определения индексов изоляции Rw, Lnw конкретных внутренних ограждений и звукоизоляции окон RAтран. по известным (рассчитанным или измеренным) частотным характеристикам звукоизоляции приведена в разделе 2.

Таблица 1.1
(Табл. 6 МГСН 2.04-97)

№№ п/п

Наименование и расположение ограждающей конструкции

Rw, дБ

Lnw, дБ

1

2

3

4

 

Жилые здания

 

 

1.

Перекрытия между помещениями квартир и отделяющие помещения квартир от холлов и используемых чердачных помещений

 

 

- в домах категории А

54

55

- в домах категории Б

52

58

- в домах категории В

50

60

2.

Перекрытия между помещениями квартир и расположенными под ними магазинами

 

 

- в домах категории А

59

55

- в домах категории Б и В

57

58

3.

Перекрытия между комнатами в квартире в двух уровнях

 

 

- в домах категории А

47

63

- в домах категории Б

45

66

- в домах категории В

43

68

4.

Перекрытия между жилыми помещениями общежитий

50

60

5.

Перекрытия, отделяющие помещения культурно-бытового обслуживания общежитий друг от друга и от помещений общего пользования (холлы, вестибюли и пр.)

47

65

6.

Стены и перегородки между квартирами, между помещениями квартир и лестничными клетками, холлами, коридорами, вестибюлями

 

 

- в домах категории А

54

-

- в домах категории Б

52

-

- в домах категории В

50

-

7.

Стены между помещениями квартир и магазинами

 

 

- в домах категории А

59

-

- в домах категории Б и В

57

-

8.

Перегородки между комнатами, между кухней и комнатой в квартире

43

-

9.

Стены и перегородки между комнатами общежитий

50

-

10.

Стены и перегородки, отделяющие помещения культурно-бытового обслуживания общежитий друг от друга и от помещений общего пользования (холлы, вестибюли, лестничные клетки)

47

 

11.

Стены с дверью между квартирой и лестничной клеткой

 

 

- в домах категории А

35

-

- в домах категории Б

32

-

- в домах категории В

30

-

 

Гостиницы

 

 

12.

Перекрытия между номерами

 

 

- категории А

52

57

- категории Б

50

60

- категории В

48

62

13.

Перекрытия, отделяющие номера от помещений общего пользования (вестибюли, холлы, буфеты)

 

 

- категории А

54

55

- категории Б и В

52

58

14.

Перекрытия, отделяющие номера от помещений ресторанов, кафе

 

 

- категории А

62

57

- категории Б и В

59

60

15.

Стены и перегородки между номерами

 

 

- категории А

52

-

- категории Б

50

-

- категории В

48

-

16.

Стены и перегородки, отделяющие номера от помещений общего пользования (лестничные клетки, вестибюли, холлы, буфеты)

 

 

- категории А

54

-

- категории Б и В

52

-

17.

Стены и перегородки, отделяющие номера от ресторанов, кафе

 

 

- категории А

62

-

- категории Б и В

59

-

 

Административные здания, офисы

 

 

18.

Перекрытия между рабочими комнатами, кабинетами, секретариатами и отделяющие эти помещения от помещений общего пользования (вестибюли, холлы)

 

 

- категории А

52

63

- категории Б и В

50

66

19.

Перекрытия, отделяющие рабочие комнаты, кабинеты от помещений с источниками шума (машбюро, телетайпные и т.п.)

 

 

- категории А

54

60

- категории Б и В

52

63

20.

Стены и перегородки между кабинетами и отделяющие кабинеты от рабочих комнат

 

 

- категории А

51

-

- категории Б и В

49

-

21.

Стены и перегородки между рабочими комнатами

 

 

- категории А

47

-

- категории Б и В

45

-

22.

Стены и перегородки, отделяющие рабочие комнаты от помещений общего пользования (вестибюли, холлы, буфеты) и от помещений с источниками шума (машбюро, телетайпные и т.п.)

 

 

- категории А

50

-

- категории Б и В

48

-

23.

Стены и перегородки, отделяющие кабинеты от помещений общего пользования и шумных помещений

 

 

- категории А

54

-

- категории Б и В

52

-

Больницы и санатории

 

 

24.

Перекрытия между палатами, кабинетами врачей

47

60

25.

Перекрытия между операционными и отделяющие операционные от палат и кабинетов

57

60

26.

Перекрытия, отделяющие палаты, кабинеты врачей от помещений общего пользования (вестибюли, холлы)

52

63

27.

Перекрытия, отделяющие палаты, кабинеты врачей от столовых, кухонь

57

50

28.

Стены и перегородки между палатами, кабинетами врачей

47

-

29.

Стены и перегородки между операционными и отделяющие операционные от других помещений. Стены и перегородки, отделяющие палаты и кабинеты от столовых и кухонь

57

-

30.

Стены и перегородки, отделяющие палаты и кабинеты от помещений общего пользования

52

-

 

Учебные заведения

 

 

31.

Перекрытия между классами, кабинетами, аудиториями и отделяющие эти помещения от помещений общего пользования (коридоры, вестибюли, холлы)

47

63

32.

Перекрытия между музыкальными классами средних учебных заведений

57

58

33.

Перекрытия между музыкальными классами высших учебных заведений

60

53

34.

Стены и перегородки между классами, кабинетами и аудиториями и отделяющие эти помещения от помещений общего пользования

47

-

35.

Стены и перегородки между музыкальными классами средних учебных заведений и отделяющие эти помещения от помещений общего пользования

57

-

36.

Стены и перегородки между музыкальными классами высших учебных заведений

60

-

 

Детские дошкольные учреждения

 

 

37.

Перекрытия между групповыми комнатами, спальнями

47

63

38.

Перекрытия, отделяющие групповые комнаты, спальни от кухонь

51

63

39.

Стены и перегородки между групповыми комнатами, спальнями и между другими детскими комнатами

47

-

40.

Стены и перегородки, отделяющие групповые комнаты, спальни от кухонь

51

-

Примечание: К гостиницам категории А относятся гостиницы, имеющие по международной классификации четыре и пять звезд; к категории Б - три звезды; к категории В - менее трех звезд.

Таблица 1.2
(Табл. 7 МГСН 2.04-97)

Нормативные требования к звукоизоляции окон

№№ п/п

Назначение помещений

Требуемые значения RАтран. в дБА при эквивалентных уровнях звука у фасада здания в дБА при наиболее интенсивном движении транспорта (в дневное время, час «пик»)

60

65

70

75

1.

Палаты больниц, санаториев, кабинеты медицинских учреждений

15

20

25

30

2.

Жилые комнаты квартир в домах

 

 

 

 

-категории А

15

20

25

30

-категории Б и В

-

15

20

25

3.

Жилые комнаты общежитий

-

-

15

20

4.

Номера гостиниц

 

 

 

 

-категории А

15

20

25

30

-категории Б

-

15

20

25

-категории В

-

-

15

20

5.

Жилые помещения домов отдыха, домов-интернатов для инвалидов

15

20

25

30

6.

Рабочие комнаты, кабинеты в административных зданиях и офисах

 

 

 

 

- категории А

-

-

15

20

- категории Б и В

-

-

-

15

2. МЕТОДИКА ОПРЕДЕЛЕНИЯ ИНДЕКСА ИЗОЛЯЦИИ ВОЗДУШНОГО ШУМА Rw, ИНДЕКСА ПРИВЕДЕННОГО УРОВНЯ УДАРНОГО ШУМА Lnw И ЗВУКОИЗОЛЯЦИИ НАРУЖНЫХ ОГРАЖДАЮЩИХ КОНСТРУКЦИЙ RАтран. В дБА

2.1.Индекс изоляции воздушного шума Rw (в дБ) ограждающей конструкцией с известной (рассчитанной или измеренной) частотной характеристикой изоляции воздушного шума определяется путем сопоставления этой частотной характеристики с оценочной кривой, установленной стандартом 717 Международной организации по стандартизации (ИСО) приведенной в табл. 2.1.

Таблица 2.1.

Средняя частота третьоктавной полосы, Гц

100

125

160

200

250

315

400

500

630

800

1000

1250

1600

2000

2500

3150

Изоляция воздушного шума R, дБ

33

36

39

42

45

48

51

52

53

54

55

56

56

56

56

56

2.2. Для определения индекса изоляции воздушного шума Rw необходимо на график с нанесенной оценочной кривой нанести частотную характеристику изоляции воздушного шума и определить среднее неблагоприятное отклонение нанесенной частотной характеристики от оценочной кривой. Неблагоприятными считаются отклонения вниз от оценочной кривой. Среднее неблагоприятное отклонение составляет 1/16 суммы неблагоприятных отклонений.

Если среднее неблагоприятное отклонение приближается к 2 дБ, но не превышает эту величину, величина индекса Rw составляет 52 дБ.

Если среднее неблагоприятное отклонение превышает 2 дБ, оценочная кривая смещается вниз на целое число децибел так, чтобы среднее неблагоприятное отклонение не превышало указанную величину.

Если среднее неблагоприятное отклонение значительно меньше 2 дБ, или неблагоприятные отклонения отсутствуют, оценочная кривая смещается вверх (на целое число децибел) так, чтобы среднее неблагоприятное отклонение от смещенной кривой максимально приближалось к 2 дБ, но не превышало эту величину.

За величину индекса Rw, принимается ордината смещенной (вверх или вниз) оценочной кривой на частоте 500 Гц.

2.3. Индекс приведенного уровня ударного шума Lnw, (d дБ) под перекрытием с известной частотной характеристикой приведенного уровня ударного шума определяется путем сопоставления этой частотной характеристики с оценочной кривой, установленной стандартом 717 Международной организации по стандартизации (ИСО), приведенной в табл. 2.2.

Таблица 2.2

Средняя частота третьоктавной полосы, Гц

100

125

160

200

250

315

400

500

630

800

1000

1250

1600

2000

2500

3150

Приведенный уровень ударного шума, Ln, дБ

62

62

62

62

62

62

61

60

59

58

57

54

51

48

45

42

2.4.Для вычисления индекса Lnw необходимо на график с оценочной кривой нанести частотную характеристику приведенного уровня ударного шума под перекрытием и определить среднее неблагоприятное отклонение нанесенной частотной характеристики от оценочной кривой. Неблагоприятными считаются отклонения вверх от оценочной кривой, среднее неблагоприятное отклонение составляет 1/16 суммы неблагоприятных отклонений.

Если среднее неблагоприятное отклонение максимально приближается к 2 дБ, но не превышает эту величину, величина индекса Lnw составляет 60 дБ.

Если среднее неблагоприятное отклонение превышает 2 дБ, оценочная кривая смещается вверх (на целое число децибел) так, чтобы среднее неблагоприятное отклонение от смещенной кривой не превышало указанную величину.

Если среднее неблагоприятное отклонение значительно меньше 2 дБ или неблагоприятные отклонения отсутствуют, оценочная кривая смещается вниз (на целое число децибел) так, чтобы среднее неблагоприятное отклонение от смещенной кривой максимально приближалось к 2 дБ, но не превышало эту величину.

За величину индекса Lnw принимается ордината смещенной (вверх или вниз) оценочной кривой на частоте 500 Гц.

2.5. Величина звукоизоляции окна RАтран, дБА, определяется с помощью «эталонного спектра» шума потока городского транспорта, установленного стандартом 717 Международной организации по стандартизации (ИСО). Уровни эталонного спектра, скорректированные в соответствии с кривой частотной коррекции «А», для шума с уровнем 75 дБА приведены в табл. 2.3.

Таблица 2.3.

Средняя частота третьоктавной полосы, Гц

100

125

160

200

250

315

400

500

630

800

1000

1250

1600

2000

2500

3150

Скорректированные уровни звукового давления Li, дБ

55

55

57

59

60

61

62

63

64

66

67

66

65

64

62

60

2.6. Для определения величины звукоизоляции окна RАтран (по известной частотной характеристике изоляции воздушного шума) необходимо в каждой третьоктавной полосе частот из уровня эталонного спектра Li, вычесть величину изоляции воздушного шума Ri, данной конструкцией окна. Полученные величины уровней следует сложить энергетически и результат сложения вычесть из уровня эталонного шума равного 75 дБА.

Величина звукоизоляции окна RАтран ДБА, определяется по формуле:

, дБА

где Li - скорректированные по кривой частотной коррекции «А» уровни звукового давления эталонного спектра в i-ой третьоктавной полосе частот, дБ по табл. 2.3;

Ri - изоляция воздушного шума данной конструкцией окна в i-ой третьоктавной полосе частот, дБ.

Пример 1. Определить индекс изоляции воздушного шума Rw перегородкой, расчетная частотная характеристика звукоизолирующей способности которой R приведена в табл. 2.4 (поз.1).

Расчет проводится по форме табл. 2.4.

Находим неблагоприятные отклонения расчетной частотной характеристики от оценочной кривой (поз. 3). Сумма неблагоприятных отклонений составляет 79 дБ, среднее неблагоприятное отклонение составило 4,9 дБ, что больше 2 дБ. Смещаем оценочную кривую в отрицательную сторону (вниз) на 5 дБ, при этом сумма неблагоприятных отклонений составляет 26,5 дБ, среднее неблагоприятное отклонение уменьшилось до 1,65 дБ. Таким образом, за величину индекса изоляции воздушного шума данной перегородкой принимаем ординату смешенной оценочной кривой на частоте 500 Гц, т.е. Rw = 47 дБ.

Пример 2. Определить индекс приведенного уровня ударного шума Lnw под перекрытием, частотная характеристика приведенного уровня ударного звука Ln имеет значения, показанные в табл. 2.5 (поз. 1).

Решение:

Расчет проводим по форме табл. 2.5.

Находим неблагоприятные отклонения измеренной частотной характеристики от оценочной кривой (поз. 3). Сумма неблагоприятных отклонений составляет 47 дБ, среднее неблагоприятное отклонение равно 2,9 дБ, т.е. больше 2 дБ. Смещаем оценочную кривую в отрицательную сторону (вверх) на 2 дБ. Сумма неблагоприятных отклонений при этом составляет 30 дБ, среднее неблагоприятное отклонение - 1,87 дБ, т.е. очень близко к 2 дБ, но не больше. Таким образом, за величину индекса приведенного уровня ударного шума под перекрытием принимаем ординату смещенной оценочной кривой на частоте 500 Гц, т.е. Lnw = 62 дБ.

Пример 3. Определить звукоизоляцию окна RAтран (изоляцию воздушного шума потока городского транспорта). Частотная характеристика изоляции воздушного шума данной конструкцией окна по представленным фирмой-изготовителем результатам лабораторных испытаний имеет значения, приведенные в табл. 2.6 (поз. 2).

Решение:

Расчет проводим по форме табл. 2.6. Находим разность между уровнями звукового давления эталонного спектра Li (поз.1) и величинами изоляции воздушного шума Ri (поз. 2). Полученные величины подставляем в формулу, приведенную в п. 2.6. Для некоторого упрощения вычислений объединяем одинаковые значения уровней в группы.


Таблица 2.4.

Среднегеометрическая частота 1/3 октавной полосы, Гц

100

125

160

200

250

315

400

500

630

800

1000

1250

1600

2000

2500

3150

1. Расчетная частотная характеристика R, дБ

36,5

36,5

36,5

36,5

36,5

38,5

40,5

42,5

44,5

46,5

48,5

50,5

52,5

54,5

56,5

58,5

2. Оценочная кривая, дБ

33

36

39

42

45

48

51

52

53

54

55

56

56

56

56

56

3. Неблагоприятные отклонения, дБ

-

-

2,5

5,5

8,5

9,5

10,5

9,5

8,5

7,5

6,5

5,5

3,5

1,5

-

-

4. Оценочная кривая, смещенная вниз на 5 дБ

28

31

34

37

40

43

46

47

48

49

50

51

51

51

51

51

5. Неблагоприятные отклонения от смещенной оценочной кривой

-

-

-

0,5

3,5

4,5

5,5

4,5

3,5

2,5

1,5

0,5

-

-

-

-

Таблица 2.5.

Среднегеометрическая частота 1/3 октавной полосы, Гц

100

125

160

200

250

315

400

500

630

800

1000

1250

1600

2000

2500

3150

1. Измеренная частотная характеристика, Ln, дБ

64

65

68

69

68

69

70

66

60

57

54

50

44

37

30

25

2. Оценочная кривая, дБ

62

62

62

62

62

62

61

60

59

58

57

54

51

48

45

42

З. Неблагоприятные отклонения, дБ

2

3

6

7

6

7

9

6

1

-

-

-

-

-

-

-

4. Оценочная кривая, смещенная вверх на 2 дБ

64

64

64

64

64

64

63

62

61

60

59

56

53

50

47

44

5. Неблагоприятные отклонения от смещенной оценочной кривой

-

1

4

5

4

5

7

4

-

-

-

-

-

-

-

-

Таблица 2.6

Среднегеометрическая частота 1/3 октавной полосы, Гц

100

125

160

200

250

315

400

500

630

800

1000

1250

1600

2000

2500

3150

1. Уровни звукового давления эталонного спектра (скорректированы по "A"), Li, дБ

55

55

57

59

60

61

62

63

64

66

67

66

65

64

62

60

2. Изоляция воздушного шума окном, Ri, дБ

16

16

18

20

23

25

26

27

28

30

31

32

33

32

32

32

3. Разность между эталонным спектром и изоляцией, дБ

39

39

39

39

37

36

36

36

36

36

36

34

32

32

30

28


В результате вычислений получим:

 дБА

3. ОПРЕДЕЛЕНИЕ ЗВУКОИЗОЛЯЦИИ ВНУТРЕННИХ ОГРАЖДАЮЩИХ КОНСТРУКЦИЙ ЖИЛЫХ И ОБЩЕСТВЕННЫХ ЗДАНИЙ

3.1. Индекс изоляции воздушного шума однослойными ограждающими конструкциями, а также двухслойными глухими остеклениями и перегородками, выполненными в виде двух облицовок по каркасу с воздушным промежутком, следует определять на основании рассчитанной частотной характеристики изоляции воздушного шума. Индекс изоляции воздушного шума перекрытиями с полом по упругому основанию и индекс приведенного уровня ударного шума под перекрытиями определяются непосредственно (без построения расчетных, частотных характеристик). Допускается при ориентировочных расчетах определять индекс изоляции воздушного шума однослойными массивными ограждающими конструкциями (с поверхностной плотностью от 100 до 1000 кг/м2) непосредственно без построения расчетной частотной характеристики изоляции воздушного шума.

3.2. Частотную характеристику изоляции воздушного шума акустически однородной (однослойной) плоской ограждающей конструкцией сплошного сечения с поверхностной плотностью от 100 до 1000 кг/м2 из бетона, железобетона, кирпича и тому подобных материалов следует определять, изображая ее в виде ломаной линии, аналогичной линии ABCD на рис. 3.1.

Абсциссу точки В - fв следует определять по табл. 3.1 в зависимости от толщины и плотности материала конструкции. Значение fв следует округлять до среднегеометрической частоты третьоктавной полосы частот, в пределах которой находится fв. Границы третьоктавных полос приведены в табл. 3.2.

Ординату точки В - Rв следует определять в зависимости от эквивалентной поверхностной плотности mэ по формуле:

 дБ                                                                               (3.1)

Таблица 3.1

Плотность бетона, g, кг/м3

fв, Гц

³1800

28500/h

1700

29500/h

1600

30500/h

1500

31500/h

1400

32500/h

1300

33500/h

1200

34500/h

1100

35500/h

1000

36500/h

800

38500/h

600

39500/h

Примечание: 1. h - толщина ограждения в мм.

2. Для промежуточных значений g частота fв определяется интерполяцией.

Таблица 3.2.

Среднегеометрическая частота 1/3-октавной полосы

Границы 1/3-октавной полосы

50

45-56

63

57-70

80

71-88

100

89-111

125

112-140

160

141-176

200

177-222

250

223-280

315

281-353

400

354-445

500

446-561

630

562-707

800

708-890

1000

891-1122

1250

1123-1414

1600

1415-1782

2000

1783-2244

2500

2245-2828

3150

2829-3563

4000

3564-4489

5000

4490-5657

Эквивалентная поверхностная плотность mэ определяется по формуле

 кг/м2,                                                                                         (3.2)

где m - поверхностная плотность, кг/м2 (для ребристых конструкций принимается без учета ребер),

К - коэффициент.

Для сплошных ограждающих конструкций плотностью 1800 кг/м3 и более К=1.

Для ограждений из железобетона и бетона плотностью g³1800 кг/м3 с круглыми пустотами коэффициент К определяется по формуле:

,                                                                                           (3.3)

где j - момент инерции сечения, м4;

b - ширина сечения, м;

hnp - приведенная толщина сечения, м.

Для сплошных ограждающих конструкций из бетона на легких заполнителях коэффициент К определяется по таблице 3.3.

Таблица 3.3

Вид материала

Марка

Плотность

К

1

2

3

4

Керамзитобетон

М-100

1500-1550

1,1

1300-1450

1,2

1200

1,3

1100

1,4

М150-200

1700-1750

1,1

1500-1650

1,2

1350-1450

1,3

1250

1,4

Перлитобетон

М-100

1300

1,3

1100-1200

1,4

950-1000

1,5

Аглопоритобе-тон

М-100

1550-1650

1,1

1300-1500

1,3

М-150

1500-1800

1,2

Шлакопемзобе-тон

М-100

1600-1700

1,2

М-150

1700-1800

1,2

Бетон на вулканическом шлаке, пемзе, туфе

М-100

1500-1650

1,2

1300-1400

1,3

М-150

1600-1800

1,1

1500

1,2

М-200

1700

1,2

Газобетон, пенобетон, газосиликат

М-70

1000

1,5

800

1,6

600

1,7

Кладка из кирпича, пустотелых керамических блоков

 

1500-1600

1,1

1200-1400

1,2

Гипс, гипс поризованный, гипс с легкими заполнителями

М-80

1200

1,3

М-100

1000

1,4

Для ограждающих конструкций из легких бетонов с круглыми пустотами коэффициент К определяется как произведение коэффициентов, определенных отдельно для сплошных конструкций из легких бетонов и конструкций с круглыми пустотами.

Значение Rв следует округлять до 0,5 дБ.

Построение частотной характеристики производится в следующей последовательности: из точки В влево проводится горизонтальный отрезок ВА, а вправо от точки В проводится отрезок ВС с наклоном 6 дБ на октаву до точки С с ординатой Rс = 65 дБ, из точки С вправо проводится горизонтальный отрезок CD. Если точка С лежит за пределами нормируемого диапазона частот (fc > 3150 Гц), отрезок CD отсутствует.

Пример 4. Построить частотную характеристику изоляции воздушного шума перегородкой из тяжелого бетона плотностью 2300 кг/м3 и толщиной 100 мм.

Построение частотной характеристики производим в соответствии с рисунком 3.1. Определяем поверхностную плотность ограждения m = gh, в данном случае m = 2300´0,1 = 230 кг/м2. Находим частоту, соответствующую точке В, по табл. 3.1

 Гц

(Округляем до среднегеометрической частоты 1/3 октавной полосы, в пределах которой находится fв).

Определяем ординату точки В по формуле 3.1

 дБ

Из точки В влево проводим горизонтальный отрезок ВА, а вправо от точки В - отрезок ВС с наклоном 6 дБ на октаву до точки С с ординатой 65 дБ. Точка С соответствует частоте 10000 Гц, т.е. находится за пределами нормируемого диапазона частот.

Рассчитанная частотная характеристика изоляции воздушного шума рассмотренной перегородки приведена на рис. 3.2.

В нормируемом диапазоне частот она составляет:

f, Гц

100

125

160

200

250

315

400

500

630

800

1000

1250

1600

2000

2500

3150

R, дБ

35

35

35

35

35

35

37

39

41

43

45

47

49

51

53

55

Пример 5. Построить частотную характеристику изоляции воздушного шума перегородкой из керамзитобетона марки 100, плотностью 1400 кг/м3 и толщиной 120мм.

Определяем поверхностную плотность ограждения m=gh=1400´0,12=168 кг/м2. Находим частоту, соответствующую точке В, по таблице 3.1.

 Гц

(Округляем до среднегеометрической частоты 1/3-октавной полосы, в пределах которой находится fв).

Определяем ординату точки В. По табл. 3.3 находим коэффициент К = 1,2; следовательно, эквивалентная поверхностная плотность составляет mэ=168´1,2=201,6 кг/м2, а величина Rв = 20 lg 201,6-12 = 34,0 дБ

Из точки В влево проводим горизонтальный отрезок ВА, а вправо от точки В - отрезок ВС с наклоном 6 дБ на октаву до точки С с ординатой 65 дБ. Точка С в нашем случае находится за пределами нормируемого диапазона частот (рис. 3.3).

В нормируемом диапазоне частот изоляция воздушного шума перегородкой составляет:

f, Гц

100

125

160

200

250

315

400

500

630

800

1000

1250

1600

2000

2500

3150

R, дБ

34

34

34

34

34

36

38

40

42

44

46

48

50

52

54

56

3.3. При ориентировочных расчетах индекс изоляции воздушного шума ограждающими конструкциями сплошного сечения из материалов, указанных в п. 3.2, допускается определять по формулам:

 дБ при  кг/м2,                                               (3.4)

 дБ при  кг/м2,                                             (3.5)

Для плит из тяжелого бетона с круглыми пустотами:

 дБ,                                                        (3.6)

где h - толщина плиты, м

hnp - приведенная толщина плиты, м.

Пример 6. Рассчитать индекс изоляции воздушного шума многопустотной плиты перекрытия из тяжелого бетона плотностью 2400 кг/м3, толщиной 220 мм и приведенной толщиной 120 мм.

Определяем поверхностную плотность плиты m=2400´0,12=288 кг/м2. Индекс изоляции воздушного шума составит:

 дБ

3.4.Расчеты, изложенные в пп. 3.2 и 3.3, дают достоверные результаты при отношении толщины разделяющего ограждения (подлежащего расчету) к средней толщине примыкающих к нему ограждений в пределах

При других отношениях толщин необходимо учитывать изменение звукоизоляции DR за счет увеличения или уменьшения косвенной передачи звука через примыкающие конструкции.

Для крупнопанельных зданий, в которых ограждающие конструкции выполнены из бетона, железобетона, бетона на легких заполнителях, поправка DR имеет следующие значения:

при 0,3<h/hприм<0,5                       DR=+1 дБ,

при 1,5 < h/hприм< 2                       DR=-1 дБ

при 2 < h/hприм< 3                          DR=- 2дБ.

В каркасно-панельных зданиях, где элеметы каркаса (колонны и ригели) выполняют роль виброзадерживающих масс в стыках панелей, вводится дополнительно поправка к результатам расчета DR=+2 дБ.

3.5.Частотную характеристику изоляции возlушного шума однослойной плоской тонкой ограждающей конструкцией из металла, стекла, асбоцементного листа, гипсокартонных листов (сухой гипсовой штукатурки) и тому подобных материалов следует определять графическим способом, изображая ее в виде ломаной линии, аналогичной линии ABCD на рис. 3.4.

Координаты точек В и С следует определять по табл. 3.4, при этом значения fв и fc округляются до ближайшей среднегеометрической частоты 1/3-октавной полосы. Наклон участка АВ (рис. 3.4) следует принимать 4,5 дБ на октаву, участка CD - 7,5 дБ на октаву.

Таблица 3.4

Материалы

Плотность кг/м3

fв, Гц

fс, Гц

Rв, дБ

Rс, дБ

1. Сталь

7800

6000/h

12000/h

40

32

2. Алюминиевые сплавы

2500-

 

 

32

22

2700

6000/h

12000/h

3. Стекло силикатное

2500

6000/h

12000/h

35

29

4. Стекло органическое

1200

17000/h

34000/h

37

30

5. Асбоцементные листы

2100

9000/h

18000/h

35

29

1800

9000/h

18000/h

34

28

1600

10000/h

20000/h

34

28

6. Гипсокартонные листы (сухая гипсовая штукатурка)

1100

19000/h

38000/h

36

30

850

19000/h

38000/h

34

28

7. Древесно-стружечная плита (ДСП)

850

13000/h

26000/h

32

27

650

13500/h

27000/h

30,5

26

8. Твердая древесно-волокнистая плита (ДВП)

1100

19000/h

38000/h

35

29

Примечание: h - толщина в мм.

Пример 7. Требуется определить изоляцию воздушного шума глухим металлическим витражем, остекленным одним силикатным стеклом толщиной 6 мм.

Находим по табл. 3.4 координаты точек В и С, fв = 6000/6 =1000Гц, fc =12000/6 = 2000 Гц, Rв = 35 дБ, Rс = 29 дБ. Строим частотную характеристику в соответствии со схемой на рис. 3.4. Из точки В проводим влево отрезок ВА с наклоном 4,5 дБ на октаву, из точки С вправо - отрезок CD с наклоном 7,5 дБ на октаву (рис. 3.5).

В нормируемом диапазоне частот изоляция воздушного шума витражем составляет:

f, Гц

100

125

160

200

250

315

400

500

630

800

1000

1250

1600

2000

2500

3150

R, дБ

20

21,5

23

24,5

26

27,5

29

30,5

32

33,5

35

33

31

29

31,5

34

3.6. Частотная характеристика изоляции воздушного шума ограждающей конструкции, состоящей из двух одинаковых тонких листов с воздушным промежутком между ними (двойные глухие остекления, перегородки в виде двух обшивок из одинарных листов сухой гипсовой штукатурки, металла и т.п. по каркасу из тонкостенного металлического или асбоцементного профиля, деревянных брусков), при одинаковой толщине листов строится в следующей последовательности:

а) Строится частотная характеристика изоляции воздушного шума одной обшивкой по п. 3.5 - вспомогательная линия ABCD на рис. 3.6. Затем строится вспомогательная линия A1B1C1D1 путем прибавления к ординатам линии ABCD поправки DR1 на увеличение поверхностной плотности по табл. 3.5 (в данном случае 4,5 дБ). Каркас при этом не учитывается.

Таблица 3.5

mобщ/m1

DR1, дБ

1,4

2,0

1,5

2,5

1,6

3,0

1,7

3,5

1,8

4,0

2,0

4,5

2,2

5,0

2,3

5,5

2,5

6,0

2,7

6,5

2,9

7,0

3,1

7,5

3,4

8,0

3,7

8,5

4,0

9,0

4,3

9,5

4,6

10,0

5,0

10,5

б) Определяется частота резонанса конструкции по формуле:

,Гц,                                                                                  (3.7)

где m1 и m2 - поверхностные плотности обшивок, кг/м2 (в данном случае m1=m2);

d - толщина воздушного промежутка, м.

Значение частоты округляется до ближайшей среднегеометрической частоты 1/3-октавной полосы. До частоты 0,8fp включительно частотная характеристика звукоизоляции конструкции совпадает со вспомогательной линией A1B1C1D1 (точка Е рис. 3.6). На частоте fp звукоизоляция принимается на 4 дБ ниже линии A1B1C1D1 (точка F рис. 3.6).

в) На частоте 8fp, (три октавы выше частоты резонанса) находится точка К с ординатой rК =rf+Н, которая соединяется с точкой F. Величина Н определяется по табл. 3.6 в зависимости от толщины воздушного промежутка. От точки К проводится отрезок KL с наклоном 4,5 дБ на октаву до частоты fв (параллельно вспомогательной линии A1B1C1D1).

Таблица 3.6

Толщина воздушного промежутка d, мм

Величина Н, дБ

15-25

22

50

24

100

26

150

27

200

28

Превышение отрезка KL над вспомогательной кривой A1B1C1D1 представляет собой поправку на влияние воздушного промежутка DR2 (в диапазоне выше 8fp). В том случае, когда fв = 8fp точки К и L сливаются в одну. Если fв < 8fp, отрезок FK проводится только до точки L, соответствующей частоте fв.

г) От точки L до частоты 1,25 fв (до следующей 1/3-октавной полосы) проводится горизонтальный отрезок LM. На частоте fc находится точка N путем прибавления к значению вспомогательной линии A1B1C1D1 поправки DR2 (т.е. RN= RC1 + DR2) и соединяется с точкой М. Далее проводится отрезок NP с наклоном 7,5 дБ на октаву.

Ломаная линия A1EFKLMNP представляет собой частотную характеристику изоляции воздушного шума рассматриваемой конструкции.

Пример 8. Требуется построить частотную характеристику изоляции воздушного шума перегородкой, выполненной из двух гипсокартонных листов (сухой гипсовой штукатурки - СГШ) толщиной 14мм, g =850 кг/м3 по деревянному каркасу. Воздушный промежуток имеет толщину 100 мм.

а) Строим частотную характеристику звукоизоляции для одного листа СГШ в соответствии с п. 3.5. Координаты точек В и С определяем по табл. 3.4:

 Гц; Rв=34 дБ,

 Гц; Rс=28 дБ,

Строим вспомогательную линию ABCD, с учетом поправки DR1 по табл. 3.5, равной 4,5 дБ, строим вспомогательную линию A1B1C1D1 на 4,5 дБ выше линии ABCD (рис. 3.8).

б) Определяем частоту резонанса по формуле (3.7). Поверхностная плотность листа СГШ m=gh= 850´0,014=11,9 кг/м2.

 Гц

На частоте 80 Гц находим точку F на 4 дБ ниже соответствующей ординаты линии A1B1C1D1, RF=16,5 дБ.

в) На частоте 8fp (630 Гц) находим точку К с ординатой RK=RF+H=16,5+26=42,5 дБ (Н=26 дБ по табл. 3.6). От точки К проводим отрезок KL до частоты fв = 1250 Гц с наклоном 4,5 дБ на октаву, RL=47 дБ. Превышение отрезка KL над вспомогательной линией A1B1C1D1 дает нам величину поправки DR2=8,5 дБ.

г) Oт точки L проводим вправо горизонтальный отрезок LM на одну 1/3 октавную полосу. На частоте fc = 2500 Гц строим точку NRN=RC1+DR2=32,5+8,5=41 дБ. От точки N проводим отрезок NP с наклоном 7,5 дБ на октаву.

Линия FKLMNP представляет собой частотную характеристику изоляции воздушного шума данной перегородкой. В нормируемом диапазоне частот звукоизоляция составляет:

f, Гц

100

125

160

200

250

315

400

500

630

800

1000

1250

1600

2000

2500

3150

R, дБ

19,5

22,5

25

28

31

34

36,5

39,5

42,5

44

45,5

47

47

44

41

43,5

3.7. В тех случаях, когда перегородка имеет конструкцию, описанную в п. 3.6, но одна или обе ее обшивки состоят из двух не склеенных между собой листов, ее частотная характеристика изоляции воздушного шума строится в соответствии с п. 3.6, но с учетом увеличения поверхностных плотностей m1, m2 и mобщ.. При этом звукоизоляция на частоте fc увеличивается на DR3=2 дБ, если одна из обшивок состоит из двух слоев (другая - из одного слоя) и DR3=3 дБ, если обе обшивки состоят из двух слоев листового материала. При построении частотной характеристики на графике следует отметить точку S на частоте fc с ординатой RS=RN+DR3=RC+DR1+DR2+DR3, из которой проводится вправо отрезок ST с наклоном 7,5 дБ на октаву.

3.8. Частотная характеристика изоляции воздушного шума каркасно-обшивной перегородкой, выполненной из одного из указанных в п. 3.5 материалов при различной толщине листов обшивки (соотношение толщин не более 2,5), а также двойного глухого остекления при различной толщине стекол, строится в следующей последовательности.

а) Строится частотная характеристика изоляции воздушного шума одним листом (большей толщины) по п. 3.5 - линия ABCD рис. 3.7. Определяется частота fc2 для листа обшивки меньшей толщины. Строится вспомогательная линия A1B1 до частоты fв путем прибавления к значениям звукоизоляции первого (более толстого) листа поправки на увеличение поверхностной плотности ограждения по табл. 3.5 - DR1. Между частотами fв1 и fс2 проводится горизонтальный отрезок B1C1 и далее отрезок C1D1 с наклоном 7,5 дБ на октаву.

б) Определяется частота резонанса конструкции fp по формуле 3.7. До частоты 0,8fp включительно частотная характеристика изоляции воздушного шума конструкцией совпадает со вспомогательной линией A1B1. На частоте fp звукоизоляция принимается на 4 дБ ниже вспомогательной линии A1B1 (точки F рис. 3.7).

в) Па частоте 8fp находится точка К с ординатой rk=rf+h, где Н - величина, определяемая по табл. 3.6 в зависимости от толщины воздушного промежутка.

От точки К частотная характеристика строится параллельно вспомогательной линии A1B1C1D1, т.е. проводится отрезок KL с наклоном 4,5 дБ на октаву до частоты fв1, а затем горизонтальный отрезок LM до частоты fс2 и далее отрезок MN с наклоном 7,5 дБ на октаву.

Если частота fв<8fр, отрезок FK проводится только до точки L, соответствующей частоте fв. Точка К в этом случае лежит вне частотной характеристики и является вспомогательной.

Ломаная линия A1EFKLMN представляет собой частотную характеристику изоляции воздушного шума рассматриваемой конструкцией.

Пример 9. Требуется построить частотную характеристику изоляции воздушного шума двойным глухим металлическим витражем, остекленным стеклами 6 и 4 мм, расстояние между стеклами 60 мм.

а) Строим частотную характеристику звукоизоляции для стекла 6 мм (линия ABCD, рис. 3.9). Координаты точек В и С определяем по табл. 3.4: fв=6000/6=1000 Гц; Rв=35 дБ.

Для тонкого стекла fс2=12000/4=3000»3150 (округляем до ближайшей среднегеометрической частоты 1/3 октавной полосы).

Определяем поправку DR1 по табл. 3.5mобщ./m1=25/15=1,66; DR1=3,5 дБ.

Строим вспомогательную линию A1B1C1. Отрезок A1B1 проводим на 3,5 дБ выше отрезка АВ, далее - горизонтальный отрезок B1C1 до частоты fс2=3150 Гц (точка D1 лежит вне нормируемого диапазона частот).

б) Определяем частоту резонанса конструкции по формуле:

 Гц

Поскольку частота резонанса лежит на границе нормируемого частотного диапазона точки A1 и Е в данном случае не входят в частотную характеристику, которую требуется построить. На частоте 100 Гц находим точку F с ординатой RF=20+3,5-4=19,5 дБ.

в) На частоте 8fp=800 Гц отмечаем точку К с ординатой RK=rf+Н=19,5+24=43,5 дБ и соединяем ее с точкой F. Далее проводим отрезок KL до следующей 1/3 октавной полосы (fв=1000 Гц) и горизонтальный отрезок LM до частоты fc2=3150 Гц). Точка N в данном случае лежит за пределами нормируемого диапазона частот.

Линия FKLM представляет собой частотную характеристику изоляции воздушного шума данной конструкцией, в нормируемом диапазоне частот звукоизоляция составляет:

f, Гц

100

125

160

200

250

315

400

500

630

800

1000

1250

1600

2000

2500

3150

R, дБ

19,5

22

25

27,5

30

33

35,5

38

41

43,5

45

45

45

45

45

45

3.9. Частотная характеристика изоляции воздушного шума каркасно-обшивной перегородкой из одного из указанных в п. 3.5 материалов при заполнении воздушного промежутка пористым или пористо-волокнистым материалом строится в следующей последовательности.

а) Строится частотная характеристика звукоизоляции с незаполненным воздушным промежутком в соответствии с пп. 3.6, 3.7 или 3.8. При этом в общую поверхностную плотность конструкции mобщ при определении поправки DR1 включается поверхностная плотность заполнения воздушного промежутка.

Частота резонанса конструкции fp при заполнении воздушного промежутка полностью или частично минераловатными и стекловолокнистыми плитами определяется по формуле 3.7.

При заполнении промежутка пористым материалом с жестким скелетом (пенопласт, пенополистирол, фибролит и т.п.) частоту резонанса следует определять по формуле

, Гц,                                                                       (3.8)

где m1 и m2 - поверхностные плотности обшивок, кг/м2;

d - толщина воздушного промежутка, м;

ЕД - динамический модуль упругости материала заполнения, Па.

Если обшивки не приклеиваются к материалу заполнения, значения ЕД принимаются с коэффициентом 0,75.

б) До частоты резонанса включительно (f£fp) частотная характеристика звукоизоляции конструкции полностью совпадает с частотной характеристикой, построенной для перегородки с незаполненным воздушным промежутком.

На частотах f³l,6fp звукоизоляция увеличивается дополнительно на величину DR4 (табл. 3.7).

Таблица 3.7.

Материал заполнения

Заполнение промежутка

DR4

Пористо-волокнистый (минвата, стекловолокно)

20 %

2

30 %

3

40 %

4

50 % - 100 %

5

Пористый с жестким скелетом (пенопласт, фибролит)

100 %

3

При построении частотной характеристики звукоизоляции конструкции на частоте f=1,6fp (2 третьоктавные полосы выше частоты резонанса) отмечается точка Q с ординатой на величину DR4 выше точки, лежащей на отрезке FK, и соединяется с точкой F. Далее частотная характеристика строится параллельно частотной характеристике звукоизоляции конструкции с незаполненным воздушным промежутком - линия A1EFQK1L1M1N1P1 (рис. 3.10).

Пример 10. Требуется построить частотную характеристику изоляции воздушного шума перегородкой, выполненной из двух листов сухой гипсовой штукатурки толщиной 10 мм, g=1100 кг/м3 по деревянному каркасу, воздушный промежуток d=50 мм заполнен минераловатными плитами ПП-80, g=80 кг/м3.

а) Строим частотную характеристику звукоизоляции для одного гипсокартонного листа. Координаты точек В и С определяем по табл. 3.4:

 Гц;          Rв=36 дБ

 Гц;          Rс=30 дБ

Общая поверхностная плотность ограждения включает в себя две обшивки с m1=m2=gh=1100´0,01=11 кг/м2 и заполнение 80´0,05=4 кг/м2, mобщ.=26 кг/м2.

mобщ/m1=26/11=2,36; по табл. 3.5 находим Dr1=5,5 дБ. Строим вспомогательную линию A1B1C1 на 5,5 дБ выше линии АВС (рис. 3.11). Точка С лежит уже вне нормируемого диапазона частот.

б) Определяем частоту резонанса конструкции по формуле:

 Гц.

На частоте 0,8fp=100 Гц отмечаем точку Е с ординатой RЕ=16,5+5,5=22 дБ, на частоте fp=125 Гц - точку F с ординатой Rf =18+5,5-4=19,5 дБ.

в) на частоте 8fp=1000 Гц отмечаем точку К с ординатой RК=RF+H=19,5+24=43,5 дБ и соединяем ее с точкой F. Далее до частоты fв=2000 Гц проводим отрезок KL с наклоном 4,5 дБ на октаву, до следующей 1/3 октавной полосы 2500 Гц горизонтальный отрезок LM. На частоте fc=4000 отмечаем точку N с ординатой

 дБ.

Линия EFKLIN является частотной характеристикой изоляции воздушного шума перегородкой с незаполненным воздушным промежутком.

г) На частоте 1,6fp=200 Гц отмечаем точку Q с ординатой rq=25+5= 30 дБ (по табл. 3.7 поправка DR4=5 дБ) и соединяем ее с точкой F. Далее строим частотную характеристику параллельно линии FKLMN, прибавляя к ее значениям поправку DR4=5 дБ.

В нормируемом диапазоне частот изоляция воздушного шума данной перегородкой составляет:

f, Гц

100

125

160

200

250

315

400

500

630

800

1000

1250

1600

2000

2500

3150

R, дБ

22

19,5

24,5

30

32,5

35

38

40,5

43

46

48,5

50

51,5

53

53

50

3.10. Индекс изоляции воздушного шума Rw, дБ, междуэтажным перекрытием со звукоизоляционным слоем следует определять по табл. 3.8 в зависимости от величины индекса изоляции воздушного шума несущей плитой перекрытия Rwo, определенного в соответствии с п. 3.2 или 3.3 настоящих норм и частоты резонанса конструкции fp, Гц, определяемой по формуле 3.8:

, Гц,                                                                       (3.8)

где ЕД - динамический модуль упругости материала звукоизоляционного слоя, Па, принимаемый по табл. 3.9; m1 - поверхностная плотность плиты перекрытия кг/м2; m2 - поверхностная плотность конструкции пола выше звукоизоляционного слоя (без звукоизоляционного слоя), кг/м2; d -толщина звукоизоляционного слоя в обжатом состоянии, м, определяемая по формуле:

                                                                                                 (3.9)

где do - толщина звукоизоляционного слоя в необжатом состоянии, м;

e - относительное сжатие материала звукоизоляционного слоя под нагрузкой, принимаемое по табл. 3.9.

Пример 11. Требуется рассчитать индекс изоляции воздушного шума междуэтажным перекрытием. Перекрытие состоит из железобетонной несущей плиты g=2500 кг/м3 толщиной 10 см, звукоизоляционных полосовых прокладок из мягких древесноволокнистых плит плотностью 250 кг/м3 толщиной 2,5 см в необжатом состоянии и дощатого пола толщиной 3,4 см, на лагах сечением 100´50 мм с шагом 50 см. Полезная нагрузка 2000 Па.

а) Определяем поверхностные плотности элементов перекрытия:

несущей плиты m1=2500´0,1=250 кг/м2

деревянного пола m2=600´0,034(доски)+600´0,05.0,1´2(лаги)=26,4 кг/м2

Нагрузка на прокладку (с учетом того, что на 1 м2 пола приходятся 2 лаги)  Па.

В соответствии с п. 3.3 находим величину Rwo для несущей плиты перекрытия:

 дБ

Таблица 3.8

Конструкция пола

fp, Гц

Индекс изоляции воздушного шума перекрытием Rw в дБ при индексе изоляции воздушного шума несущей плитой перекрытия Rwo, дБ

43

46

49

52

55

1. Деревянные полы по лагам, уложенным на звукоизоляционный слой в виде ленточных прокладок с ЕД=5´105-12´105 Па при расстоянии между полом и несущей плитой 60-70 мм

160

53

54

55

56

57

200

50

52

53

54

56

250

49

51

52

53

55

320

48

49

51

53

55

400

47

48

50

52

55

500

46

48

50

52

55

2. Покрытие пола на монолитной стяжке или сборных плитах с m=60-120 кг/м2 по ЗИ слою с ЕД=3´105-10´105 Па толщиной 20-25 мм в обжатом состоянии1)

100

52

53

54

55

56

125

51

52

53

54

55

160

50

51

53

54

55

200

47

49

51

53

55

3. То же по ЗИ слою из песка или шлака с ЕД=8´106-13´106 Па толщиной 50-60мм 2)

200

52

53

54

55

56

250

50

52

53

54

55

320

49

51

52

54

55

400

48

50

51

53

55

500

47

49

51

53

55

________________________

1 При увеличении толщины прокладки до 40 мм (в обжатом состоянии) к величине Rw, прибавлять 1 дБ

2 При увеличении толщины засыпки до 90-100 мм к величине Rw, прибавлять 1 дБ

Таблица 3.9

Материалы

Плотность, кг/м3

Динамический модуль упругости ЕД, Па, и относительное сжатие eД материала звукоизоляционного слоя при нагрузке на звукоизоляционный слой, Па

2000

5000

10000

ЕД

eД

ЕД

eД

ЕД

eД

1. Плиты минераловатные на синтетическом связующем

 

 

 

 

 

 

 

полужесткие

70-90

3,6×105

0,5

4,5×105

0,55

5,6×105

0,7

95-100

4,0×105

0,5

5,0×105

0,55

6,0×105

0,65

жесткие

110-125

4,5×105

0,5

5,5×105

0,5

7,0×105

0,6

130-150

5,0×105

0,4

6,0×105

0,45

8,0×105

0,55

2. Маты минераловатные прошивные по ТУ 21-24-51-73

75-125

4,0×105

0,65

5,0×105

0,7

-

-

126-175

5,0×105

0,5

6,5×105

0,55

-

-

3. Пенополиэтиленовый материал "Вилатерм"

 

2,7×105

0,03

3,6×105

0,15

4,2×105

0,25

4. Плиты древесноволокнистые мягкие по ГОСТ 4598-74*

250

10×105

0,1

11×105

0,1

12×105

0,15

5. Шлак крупностью до 15 мм

500-800

80×105

0,08

90×105

0,09

-

-

6. Песок прокаленный

1300-1500

120×105

0,03

130×105

0,04

-

-

Примечание:

Для нагрузок на звукоизоляционный слой, не указанных в этой таблице, величины ЕД и eД следует принимать по линейной интерполяции в зависимости от фактической нагрузки.

 Гц

По табл. 3.8 находим индекс изоляции воздушного шума данным междуэтажным перекрытием (с помощью интерполяции):

 дБ.

3.11. Индекс приведенного уровня ударного шума Lnw под междуэтажным перекрытием с полом на звукоизоляционном слое следует определять по табл. 3.10 в зависимости от величины индекса приведенного уровня ударного шума для плиты перекрытия Lnwo, определенной по табл. 3.11, и частоты колебаний пола, лежащего на звукоизоляционном слое, fo определяемой по формуле:

, Гц,                                                                                     (3.10)

где ЕД - динамический модуль упругости звукоизоляционного слоя, Па, принимаемый по табл. 3.9;

d - толщина звукоизоляционного слоя в обжатом состоянии, м;

m2 - поверхностная плотность пола (без звукоизоляционного слоя), кг/м2

Пример 12. Требуется рассчитать индекс приведенного уровня ударного шума под междуэтажным перекрытием. Перекрытие состоит из железобетонной несущей плиты толщиной 10 см, g = 2500 кг/м3 сплошного слоя из древесноволокнистых плит плотностью 250 кг/м3, толщиной 2,5 см в необжатом состоянии, гипсобетонной панели плотностью 1300 кг/м3, толщиной 5 см и линолеума средней плотностью 1100 кг/м3, толщиной 3 мм. Полезная нагрузка 2000 Па.

а) Определяем поверхностные плотности элементов перекрытия:

m1=2500´0,1=250 кг/м2;

m2=1300´0,05+1100´0,003=68,3 кг/м2

Нагрузка на звукоизоляционный слой 2000+683=2683 Па.

По табл. 3.11 находим Lnwo=82 дБ.

б) Вычисляем частоту колебаний пола при ЕД=10´105 (табл. 3.9) и d=0,025(1-0,1)=0,0225м:

.

По табл. 3.10 находим по линейной интерполяции индекс изоляции приведенного уровня шума под данным междуэтажным перекрытием

 дБ.

3.12. Индекс изоляции воздушного шума Rw, дБ, междуэтажным перекрытием без звукоизоляционного слоя с полом из рулонных материалов следует определять в соответствии с п. 3.2 или 3.3 настоящих норм, принимая при этом величину m равной поверхностной плотности плиты перекрытий (без рулонного пола).

Если в качестве покрытия чистого пола принят поливинилхлоридный линолеум на волокнистой теплозвукоизоляционной подоснове (ГОСТ 18108-80), то рассчитанную величину индекса изоляции воздушного шума междуэтажным перекрытием следует уменьшать на 1 дБ.

Индекс приведенного уровня ударного шума Lnw, дБ, под перекрытием без звукоизоляционного слоя с полом из рулонных материалов следует определять по формуле:

                                                                                          (3.11)

где Lnwo - индекс приведенного уровня ударного шума для плиты перекрытия, дБ, принимаемый по табл. 3.11;

DLnw - индекс снижения приведенного уровня ударного шума, дБ, принимаемый в соответствии с паспортными данными на рулонный материал.

Величины DLnw для рулонных материалов покрытий полов принимаются по данным сертификационных испытаний образцов этих материалов.

Таблица 3.10

Конструкция пола

fo, Гц

Индексы приведенного уровня ударного шума под перекрытием Lnw при индексе для несущей плиты перекрытия Lnwо

86

84

82

80

78

76

1. Деревянные полы по лагам, уложенным на ЗИ слой в виде ленточных прокладок с ЕД=5´105-12´105 Па при расстоянии между полом и несущей плитой 60-70 мм

160

59

58

56

55

54

54

200

61

60

58

57

55

54

250

62

61

59

58

56

55

315

64

62

60

59

57

56

2. Покрытие пола на монолитной стяжке или сборных плитах с m=60 кг/м2 по ЗИ слою с ЕД=3´105-10´105 Па

60

61

58

56

54

51

49

80

62

59

57

56

53

52

100

63

60

58

57

56

55

125

66

63

61

59

58

57

160

68

65

63

61

60

58

200

70

68

66

64

62

60

3. То же по ЗИ слою из песка или шлака с ЕД=8´106-13´106 Па

160

62

60

58

57

55

54

200

65

63

61

59

58

57

250

67

65

63

61

60

59

315

71

69

67

66

64

63

4. Покрытие пола на монолитной стяжке или сборных плитах m=120 кг/м2 по ЗИ слою с ЕД=3´105-10´105 Па

60

59

56

54

52

50

48

80

61

58

56

54

52

50

100

63

60

58

57

55

53

125

65

62

60

58

56

54

160

67

64

62

60

58

56

200

68

65

64

62

60

58

5. То же по ЗИ слою из песка или шлака с ЕД=8´106-13´106 Па

160

61

58

56

55

53

52

200

63

60

58

57

55

54

250

65

63

61

59

58

57

315

69

67

65

64

62

61

Примечание: При поверхностной плотности стяжки (сборных плит) между 60 и 120 кг/м2 индексы определять по интерполяции, округляя до целого числа дБ.

Рис. 3.1. Частотная характеристика изоляции воздушного шума однослойным плоским ограждением

Рис. 3.2. Расчетная частотная характеристика к примеру 4

Рис. 3.3. Расчетная частотная характеристика к примеру 5

Рис. 3.4. Частотная характеристика изоляции воздушного шума однослойным плоским тонким ограждением

Рис. 3.5. Расчетная частотная характеристика к примеру 7.

Рис. 3.6. Частотная характеристика изоляции воздушного шума конструкцией, состоящей из двух листов с воздушным промежутком при одинаковой толщине листов

Рис. 3.7. Частотная характеристика изоляции воздушного шума конструкцией, состоящей из двух листов с воздушным промежутком между ними при различной толщине листов

Рис. 3.8. Расчетная частотная характеристика к примеру 8

Рис. 3.9. Расчетная частотная характеристика к примеру 9

Рис. 10. Частотная характеристика изоляция воздушного шума каркасно-обшивной перегородкой с заполнением воздушного промежутка

Рис. 3.11. Расчетная частотная характеристика к примеру 10

Таблица 3.11

Перекрытие

Поверхностная плотность плиты перекрытия, кг/м2

Значения Lnwo, дБ

Со сплошными плитами

150

86

200

84

250

82

300

80

350

78

450

76

4. ПРОЕКТИРОВАНИЕ ОГРАЖДАЮЩИХ КОНСТРУКЦИЙ, ОБЕСПЕЧИВАЮЩИХ НОРМАТИВНУЮ ЗВУКОИЗОЛЯЦИЮ

4.1. Рекомендации общего характера

4.1.1. Для снижения расхода материалов в акустически однородных бетонных конструкциях при заданной звукоизоляции рекомендуется использовать ограждающие элементы из легких бетонов (пористых или с легкими заполнителями) и элементы с круглыми пустотами, в том числе заполненными сыпучими материалами.

4.1.2. Элементы ограждений рекомендуется проектировать из материалов с плотной структурой, не имеющей сквозных пор Ограждения, выполненные из материалов со сквозной пористостью, должны иметь наружные слои из плотного материала, бетона или раствора.

Внутренние стены и перегородки из кирпича, керамических и шлакобетонных блоков рекомендуется проектировать с заполнением швов на всю толщину (без пустошовки) и оштукатуренными с двух сторон безусадочным раствором.

4.1.3. В целях облегчения ограждающих конструкций рекомендуется применение слоистых конструкций вместо акустически однородных. При этом следует по возможности исключать жесткие связи между слоями и заполнять воздушные промежутки мягкими звукопоглощающими материалами (например, стекловолокнистыми или минераловатными матами, плитами).

4.1.4. Ограждающие конструкции необходимо проектировать так, чтобы в процессе строительства и эксплуатации в них не было и не возникало даже минимальных сквозных щелей и трещин. Возникающие в процессе эксплуатации щели и трещины после их расчистки должны устраняться конструктивными мерами и заделкой невысыхающими герметиками и другими материалами на всю глубину.

4.2. Междуэтажные перекрытия

4.2.1. Звукоизоляционную прослойку под конструкцией пола проектируют в виде сплошного слоя или полосовых прокладок. Полосовые прокладки используют с целью уменьшения расхода звукоизоляционного материала, если это позволяют вышерасположенные слои пола. Их принимают шириной 10-20 см и располагают по контуру и по полю основания пола (несущей части) параллельно одной из его сторон с шагом 30-70 см в зависимости от конструктивных особенностей несущей части и пола. При наличии ребер или лаг полосовые прокладки располагаются вдоль их осей. Суммарная площадь, через которую передается нагрузка на полосовые прокладки, должна быть не менее 20 % площади пола. Другое соотношение или применение отдельных (штучных) прокладок должно быть обосновано расчетами.

4.2.2. Пол на звукоизоляционном слое (прокладках) не должен иметь жестких связей (звуковых мостиков) с несущей частью перекрытия, стенами и другими конструкциями здания, т.е. должен быть «плавающим». Деревянный пол или плавающее бетонное основание пола (стяжка) должны быть отделены по контуру от стен и других конструкций здания зазорами шириной 1-2 см, заполняемыми звукоизоляционным материалом или изделием, например, мягкой древесноволокнистой плитой, погонажными изделиями из пористого полиэтилена и т.п.

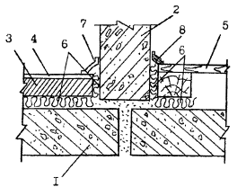
Плинтусы или галтели следует крепить только к поду или только к стене. Примыкание конструкции пола на звукоизоляционной прослойке к стене или перегородке показано на рис. 4.1.

4.2.3. При проектировании пола с основанием в виде монолитной плавающей стяжки следует располагать по звукоизоляционному слою сплошной гидроизоляционный слой (например, пергамин, гидроизол, рубероид и т.п.) с перехлестыванием в стыках не менее 20 см. В стыках звукоизоляционных плит (матов) не должно быть щелей и зазоров.

При проектировании перекрытий в виде комплексных панелей, включающих несущую часть, звукоизоляционный слой и плавающее бетонное основание пола и изготавливаемых в одном производственном цикле, необходимо защищать звукоизоляционный слой от увлажнения и проникания раствора пергамином или другим гидроизоляционным материалом сверху, снизу и с боков. При этом необходимо обеспечить отсутствие звуковых мостиков между плавающим основанием пола и несущей частью перекрытия.

4.2.4. Для увеличения звукоизоляции перекрытия с полом на звукоизоляционном слое при заданной конструкции несущей части принимают следующие меры:

уменьшение динамической жесткости звукоизоляционного слоя путем его утолщения или применения материала с меньшим динамическим модулем упругости;

увеличение поверхностной плотности пола;

применение под звукоизоляционным слоем (или между полосовыми прокладками) засыпок из песка, шлака и т.п. в дополнение к основному звукоизоляционному слою;

применение сплошных звукоизоляционных прокладок вместо полосовых;

увеличение средней толщины промежутка между несущей частью и полом.

4.2.5. В несущих элементах перекрытий с пустотами, заполненными сыпучими материалами, следует предусматривать пустоты круглого сечения. Для заполнения пустот используют сухой прокаленный песок, искусственные и естественные пористые заполнители для бетонов с предельной крупностью 10-20 мм (керамзит, шлаки и др.). Площадь поперечного сечения пустот, заполненных этими материалами, должна составлять не менее 25 % сечения плиты.

4.2.6. В конструкциях перекрытий, не имеющих запаса звукоизоляции, не рекомендуется применение покрытий полов из линолеумов на войлочной (волокнистой) подоснове, снижающих изоляцию воздушного шума на 1 дБ по индексу Rw. Вместо них возможно применение линолеумов со вспененными слоями, которые не влияют на изоляцию воздушного шума и могут обеспечивать необходимую изоляцию ударного шума при соответствующих параметрах вспененных слоев.

4.2.7. Для существенного повышения изоляции ударного шума рекомендуется применение ворсовых, ковровых и т.п. покрытий полов, а также линолеумов со вспененными слоями, прошедших соответствующие акустические испытания и показавших достаточную эффективность.

4.2.8. Междуэтажные перекрытия с повышенными требованиями к изоляции воздушного шума (Rw=57-62 дБ), разделяющие жилые и встроенные шумные помещения, следует проектировать, как правило, с использованием плит из монолитного железобетона достаточной толщины (например, каркасно-монолитная или монолитная конструкция первого этажа). Достаточность звукоизоляции такой конструкции определяется расчетом.

Другим возможным конструктивным вариантом при размещении шумных помещений в первых нежилых этажах является устройство промежуточного (технического) 2-го этажа. При этом также необходимо выполнить расчеты, подтверждающие достаточную звукоизоляцию жилых помещений. Во всех случаях размещения в первых нежилых этажах помещений с источниками шума рекомендуется устройство в них звукопоглощающих конструкций потолков, значительно снижающих шумность этих помещений.

4.3. Внутренние стены и перегородки

4.3.1. Двойные стены или перегородки обычно проектируются с жесткой связью между элементами по контуру или в отдельных точках. Величина промежутка между элементами конструкций должна быть не менее 4 см.

Для увеличения звукоизоляции двойных стен и перегородок рекомендуются следующие конструктивные меры:

увеличение толщины промежутка между элементами двойной конструкции;

устранение жесткой связи между элементами двойной конструкции, а также с конструкциями, примыкающими к стенам и перегородкам;

заполнение промежутка мягкими звукопоглощающими материалами, например, мягкими минераловатными плитами или матами с оставлением небольшой (10-15 мм) сплошной воздушной прослойки.

4.3.2. В конструкциях каркасно-обшивных перегородок следует предусматривать точечное крепление листов к каркасу с шагом не менее 300 мм. Если применяются два слоя листов обшивки с одной стороны каркаса, то они не должны склеиваться между собой. Шаг стоек каркаса и расстояние между его горизонтальными элементами рекомендуется принимать не менее 600 мм. Рекомендованное выше заполнение промежутка мягкими звукопоглощающими материалами особенно эффективно для улучшения звукоизоляции каркасно-обшивных перегородок. Кроме того, для повышения их звукоизоляции рекомендуются самостоятельные каркасы для каждой из обшивок, а в необходимых случаях возможно применение двух- или трехслойной обшивки с каждой стороны перегородки.

4.3.3. Для увеличения изоляции воздушного шума стеной или перегородкой, выполненной из железобетона, бетона, кирпича и т.п., в ряде случаев целесообразно использовать дополнительную обшивку на относе.

В качестве материала обшивки могут использоваться: гипсокартонные листы (сухая гипсовая штукатурка), твердые древесноволокнистые плиты и подобные листовые материалы, прикрепленные к стене по деревянным рейкам, по линейным или точечным маякам из гипсового или цементно-песчаного раствора. Воздушный промежуток между стеной и обшивкой целесообразно выполнять толщиной 40-50 мм и заполнять мягким звукопоглощающим материалом (минераловатными или стекловолокнистыми плитами и т.п.).

4.3.4. Внутренние стены, разделяющие жилые и встроенные шумные помещения, к которым предъявляются повышенные требования по изоляции воздушного шума (требуемый индекс Rw=54...59 дБ), следует проектировать двойными с полным разобщением их элементов между собой и от примыкающих конструкций, исключающим косвенную передачу звука в изолируемое помещение по примыкающим стенам и перекрытиям. В случае применения в качестве таких стен акустически однородных конструкций также должны быть предусмотрены меры по снижению интенсивности косвенной передачи звука по примыкающим конструкциям.

4.3.5. Входные двери квартир следует проектировать с порогом и уплотнительными прокладками в притворах.

4.4. Стыки и узлы

4.4.1. Стыки между внутренними ограждающими конструкциями, а также между ними и другими примыкающими конструкциями должны быть запроектированы таким образом, чтобы в них после строительства отсутствовали и в процессе эксплуатации здания не возникали сквозные трещины, щели и неплотности, которые резко снижают звукоизоляцию ограждений.

4.4.2. Стыки, в которых в процессе эксплуатации, несмотря на принятые конструктивные меры, возможно взаимное перемещение стыкуемых элементов под воздействием нагрузки, температурные и усадочные деформации, следует конструировать с применением долговечных герметизирующих упругих материалов и изделий, приклеиваемых к стыкуемым поверхностям.

4.4.3. Несущие элементы перекрытий следует опирать на внутренние и наружные стены или заводить в них. Свободное примыкание несущих элементов перекрытий к стенам не рекомендуется.

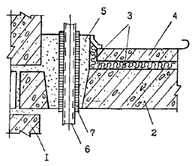
В узлах примыканий без заводки стыкуемого элемента рекомендуется устройство фигурного стыка, препятствующего взаимному смещению элементов и дополняемого применением герметизирующего материала (рис. 4.2). Такую же конструкцию примыкания следует принимать в местах пропуска через отверстия в перекрытиях вертикальных самонесущих элементов, например, вентиляционных блоков.

4.4.4. Стыки между несущими элементами стен и опирающимися на них перекрытиями проектируют с заполнением раствором или бетоном. Если в результате нагрузок или других воздействий возможно раскрытие швов, при проектировании должны быть предусмотрены меры, не допускающие образования в стыках сквозных трещин.

4.4.5. Стыки между несущими элементами внутренних стен проектируют, как правило, с заполнением раствором или бетоном. Сопрягаемые поверхности стыкуемых элементов должны образовывать полость (колодец), поперечные размеры которого обеспечивают возможность плотного заполнения ее монтажным бетоном или раствором на всю высоту элемента. Необходимо предусмотреть меры, ограничивающие взаимное перемещение стыкуемых элементов (устройство шпонок, сварка закладных деталей и т.д.). Соединительные детали, выпуски арматуры и т.п. не должны препятствовать заполнению полости стыка бетоном или раствором. Заполнение стыков рекомендуется производить безусадочным (расширяющимся) бетоном или раствором.

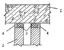
4.4.6. Акустически однородные и двойные перегородки, опирающиеся на несущие конструкции перекрытия, должны устанавливаться на уплотнительно-выравнивающие материалы (цементно-песчаный раствор, цементные пасты и др.). В местах их примыканий к потолку должно быть предусмотрено применение герметизирующего материала. Схема такого стыка показана на рис. 4.3. Примыкание перегородок к наружным и внутренним стенам должно решаться аналогично примыканию к потолку.

4.4.7. Сопряжение несущих элементов внутренних стен с наружными стенами должно осуществляться с заведением внутренней стены в паз или в стык между элементами наружной стены и устройством замоноличенного стыка, исключающего образование сквозных трещин.

4.4.8. При проектировании стыка между сборными элементами междуэтажного перекрытия в пределах помещения следует устраивать стык замоноличенным, исключающим образование сквозных трещин и располагать в стыке уплотняющие прокладки из герметизирующих материалов (рис. 4.4).

4.4.9. Конструкция стыка в двойных стенах, расположенного в пределах помещения, не должна создавать жесткой связи между слоями стены. В месте стыка в промежутке между слоями двойной стены следует располагать уплотняющий брусок со звукоизоляционными прокладками.

4.4.10. Листы обшивок каркасно-обшивных перегородок должны иметь такой размер, чтобы в местах примыканий перегородки к стенам и перекрытиям оставался зазор между листами обшивки и стенами или перекрытиями шириной 10 мм, который необходимо заполнять нетвердеющими герметизирующими мастиками (например, типа «бутепрол»). Горизонтальные элементы каркаса (обвязка) внизу и наверху должны крепиться к несущим частям перекрытий через уплотняющие прокладки в виде полос из пористой резины или другого мягкого полимерного долговечного материала. Также должны крепиться к стенам боковые стойки каркаса. В угловых соединениях каркасно-обшивных перегородок необходимо предусматривать разрыв в обшивке боковой сквозной перегородки, исключающий повышенную косвенную передачу звука.

4.4.11. При проектировании сборных элементов конструкций необходимо принимать такую конфигурацию и размеры стыкуемых участков, которые обеспечивают размещение, наклейку, фиксацию и требуемое обжатие герметизирующих материалов и изделий, когда их применение предусмотрено настоящим «Пособием».

4.4.12. При назначении размеров зазоров и полостей (колодцев) в стыках следует учитывать допуски при изготовлении и монтаже сборных элементов с тем, чтобы при возможных неблагоприятных условиях была обеспечена надежная заделка стыка, предусмотренная проектом.

4.5. Элементы ограждающих конструкций, связанные с инженерным оборудованием

4.5.1. Пропуск труб водяного отопления, водоснабжения и т.п. через межквартирные стены не допускается.

Трубы водяного отопления, водоснабжения и т.п. должны пропускаться через междуэтажные перекрытия и межкомнатные стены (перегородки) в мастичных гильзах (из пористого полиэтилена и других упругих материалов), допускающих температурные перемещения и деформации труб без образования сквозных щелей (рис. 4.5). Допускается установка труб с компенсаторами температурных и других деформаций, исключающими нарушение монолитной заделки труб в несущих элементах перекрытий и в стенах. Монолитная заделка должна выполняться безусадочным (расширяющимся) раствором или бетоном.

В вертикальных шахтах, в которых проходят трубы стояков водоснабжения и канализации, должны быть предусмотрены горизонтальные монолитные диафрагмы в уровне и на толщину междуэтажных перекрытий, препятствующие распространению воздушного шума по шахтам. Пропуск через диафрагмы стояков горячего и холодного водоснабжения должен осуществляться в эластичных гильзах во избежании распространения корпусного шума от работы водоразборной арматуры по перекрытиям в жилые помещения.

4.5.2. Полости в панелях внутренних стен, предназначенные для соединения труб замоноличенных стояков отопления, должны быть заделаны безусадочным бетоном или раствором.

4.5.3. Скрытая электропроводка в межквартирных стенах и перегородках должна располагаться в отдельных для каждой квартиры каналах или штрабах. Полости для установки распаячных коробок и штепсельных розеток должны быть несквозными. Если образование сквозных отверстий обусловлено технологией производства элементов стены, указанные приборы должны устанавливаться в них только с одной стороны. Свободную часть полости заполняют звукопоглощающим материалом (например, минеральной ватой) и заделывают гипсовым или другим безусадочным раствором слоем толщиной не менее 40 мм.

Не рекомендуется устанавливать распаячные коробки и штепсельные розетки в междуквартирных каркасно-обшивных перегородках. В случае необходимости следует использовать штепсельные розетки и выключатели, при установке которых не вырезаются отверстия в листах обшивок.

Рис. 4.1. Схема конструктивного решения узла примыкания пола на звукоизоляционном слое к стене (перегородке)

1 - несущая часть междуэтажного перекрытия; 2 - стена; 3 - бетонное основание пола; 4 - покрытие пола; 5 - дощатый пол на лагах, 6 - прокладка (слой) из звукоизоляционного материала; 7 - гибкий пластмассовый плинтус; 8 - деревянная галтель.

Рис. 4.2. Схема конструктивного решения узла примыкания перекрытая к стене

1 - несущая часть перекрытия; 2 - стена; 3 - монтажный бетон или раствор; 4 - герметик (уплотняющая прокладка или шнур); 5 - раствор

Рис. 4.3. Схема конструктивного решения узла примыкания двойной перегородки к перекрытию

1 - несущая часть перекрытия; 2 - элемент перегородки; 3 - герметик (уплотняющая прокладка или шнур); 4 -раствор

Рис. 4.4. Схема конструктивного решения расположенного в пределах помещения стыка элементов перекрытия с применением герметизирующего материала

1 - сборный элемент перекрытия; 2 - герметик; 3 - монтажные бетон; 4 - раствор

Рис. 4.5. Схема конструктивного решения узла пропуска стояка отопления через междуэтажное перекрытие

1 - стена; 2 - несущая часть перекрытия; 3 - прокладка (слой) из звукоизоляционного материала; 4 - бетонное основание пола; 5 - безусадочный бетон или раствор; 6 -труба стояка отопления; 7 - эластичная гильза.

Рис. 4.6. Схема конструктивного решения выпуска провода из перекрытия к потолочному светильнику (перекрытие со сквозным отверстием)

1 - панель перекрытия; 2 - электроканал; 3 - крюк приварен к круглой стальной пластине; 4 - раствор (заделка нижней части отверстия условно не показана)

4.5.4. При размещении скрытой электропроводки в каналах несущей плиты междуэтажного перекрытия полости для перехода провода из перекрытия в стену должны быть замкнутыми, чтобы не создавались сквозные пути прохождения звука в вертикальном (через перекрытие) и горизонтальном (через стену) направлениях. Если образование сквозной полости в плите перекрытия или стены обусловлено технологией изготовления, необходимо предусмотреть ее наружную заделку.

Вывод провода из перекрытия к потолочному светильнику следует предусматривать в несквозной полости. Если образование сквозного отверстия обусловлено технологией изготовления плиты перекрытия, то отверстие должно состоять из 2-х частей. Верхняя часть большего диаметра должна быть заделана безусадочным раствором, нижняя - заполнена звукопоглощающим материалом (например, супертонким стекловолокном) и прикрыта со стороны потолка слоем раствора или плотной декоративной крышкой (рис. 4.6).

4.5.5. При проектировании сборных элементов ограждений, через которые необходимо пропустить трубы, следует предусматривать отверстия, размеры и формы которых обеспечивают их надежную заделку или специальные закладные детали.

4.5.6. Конструкция вентиляционных блоков должна обеспечивать целостность стенок, разделяющих каналы (отсутствие в них сквозных каверн, трещин). Горизонтальный стык вентиляционных блоков должен исключать возможность проникновения шума по неплотностям из одного канала в другой.

Вентиляционные отверстия смежных по вертикали квартир должны сообщаться между собой через сборный и попутный каналы не ближе, чем через этаж.




Яндекс цитирования



   Copyright © 2007-2026,  www.tehlit.ru.

[ ѓосты, стандарты, нормативы, инструкции, правила, строительные нормы ]