//
ТехЛит.ру
- крупнейшая бесплатная электронная интернет библиотека для "технически умных" людей.
WWW.TEHLIT.RU - ТЕХНИЧЕСКАЯ ЛИТЕРАТУРА

:: Алготрейдинг::


АЛГОТРЕЙДИНГ
шаг за шагом
с нуля по урокам!

Торговые роботы на PYTHON, BackTrader,
Pandas, Pine Script для TradingView. Связка с брокерами, телеграм и легкими приложениями.


МИНИСТЕРСТВО СВЯЗИ СОЮЗА ССР

ПРАВИЛА
СТРОИТЕЛЬСТВА И РЕМОНТА
ВОЗДУШНЫХ ЛИНИЙ СВЯЗИ
И РАДИОТРАНСЛЯЦИОННЫХ СЕТЕЙ

ЧАСТЬ III

СТРОИТЕЛЬСТВО И РЕМОНТ СТОЕЧНЫХ И ПОДЗЕМНЫХ
ЛИНИЙ И ОБОРУДОВАНИЕ ДОМОВОЙ РАСПРЕДЕЛИТЕЛЬНОЙ
РАДИОТРАНСЛЯЦИОННОЙ И СЕЛЬСКОЙ ТЕЛЕФОННОЙ СЕТЕЙ

ИЗДАТЕЛЬСТВО «СВЯЗЬ»

МОСКВА 1975

В книге содержатся правила строительства и ремонта стоечных линий радиотрансляционных сетей, подземных линий радиотрансляционных сетей и сельских телефонных сетей; оборудования домовой распределительной радиотрансляционной и телефонной сетей сельской связи.

Книга предназначена для инженерно-технических работников и эксплуатационного персонала сооружений связи.

ПРЕДИСЛОВИЕ

Изданные в 1960 г. «Правила строительства и ремонта воздушных линий связи и радиотрансляционных сетей» не учитывают того нового, что появилось за последние годы в строительстве этих сетей, а также совмещенного обслуживания сооружений связи и радиофикации.

Переработанные Правила составлены на основе технических условий, стандартов, а также опыта работы строительных и эксплуатационных организаций с учетом уплотнения цепей многопрограммного вещания, увеличения дальности передачи вещания и широкого применения кабелей с пластмассовыми оболочками.

Переработка части III «Правил строительства и ремонта стоечных и подземных линий и оборудования домовой распределительной радиотрансляционной и телефонной сетей сельской связи» выполнена лауреатом Государственной премии инженером А. Н. Гумелей, начальником лаборатории воздушных линий связи Н. П. Волновой и инженером В. Ф. Жабиным с участием главного технолога Главного радиоуправления Министерства связи СССР В. П. Климова.

При разработке Правил учтены замечания Московской и Ленинградской радиотрансляционных сетей и Киевского городского радиотрансляционного узла.

С выходом настоящих Правил «Правила строительства и ремонта воздушных линий связи и радиотрансляционных сетей», часть III (M., Связьиздат, 1960) теряют силу.

ЦЕНТРАЛЬНЫЙ НАУЧНО-ИССЛЕДОВАТЕЛЬСКИЙ ИНСТИТУТ СВЯЗИ

ГЛАВНОЕ РАДИОУПРАВЛЕНИЕ МИНИСТЕРСТВА СВЯЗИ СССР

1. ПОСТРОЙКА СТОЕЧНЫХ ЛИНИЙ РАДИОТРАНСЛЯЦИОННЫХ СЕТЕЙ

1.1. Типы и основные размеры стоек

1.1.1. В зависимости от назначения стойки могут быть:

а) промежуточными, устанавливаемыми та прямолинейных участках линии;

б) угловыми, устанавливаемыми в местах изменения направления линии;

в) переходными, устанавливаемыми в местах пересечения цепей радиотрансляционных сетей (PC) с контактными сетями наземного электротранспорта, линиями электропередачи и линиями связи;

г) оконечными, устанавливаемыми на конце радиотрансляционной линии.

1.1.2. В качестве угловых, оконечных, переходных стоек и стоек для совместной подвески используются промежуточные стойки с усиленным креплением их оттяжками и с дополнительными траверсами.

1.1.3. Стойки изготовляются следующих типов: PCI, PCII, PCIII (ГОСТ 8715-68).

Основные размеры стоек должны соответствовать табл. 1.1.

Таблица 1.1

Типы и размеры стоек

Тип стойки

Размеры, мм

Ствол стойки

Траверса

Длина

Наружный диаметр

Толщина стенки

Длина

Угловая сталь

Количество траверс

PCI

1300

42,3

3,2

340

40×40×4

1

PCI

1600

48,0

4,0

340

40×40×4

2

PCI

1900

60,0

4,5

340

40×40×4

3

PCII

1600

60,0

4,5

940

50×50×5

1 - 2

PCII

1900

60,0

4,5

940

50×50×5

3

PCIII

3600

60,0

4,5

440

50×50×5

1 - 3

PCIII

3900

60,0

4,5

440

50×50×5

1 - 3

PCIII

4200

75,5

4,5

440

50×50×5

1 - 3

Примечания: 1. Для линий типов О и Н допускается изготовлять стволы стоек тепа PCI длиной 1300 мм из труб с наружным диаметром 33,5 мм и толщиной стенки 2,8 мм или из труб с наружным диаметром 32 мм и толщиной стенки 3,0 мм.

2. Тип линии (О, Н, У м ОУ) определяется по ч. I «Правил строительства и ремонта воздушных линий связи и радиотрансляционных сетей» (М., «Связь», 1975).

1.1.4. Стойки типа PCI (рис. 1.1 - 1.3) применяют при напряжении цепи PC до 240 В включительно, габарите линии 0,8 мм и при размещении на каждой траверсе одной цепи. Траверсу к стойке со стволом длиной 1300 мм допускается крепить при помощи электросварки (рис. 1.2).

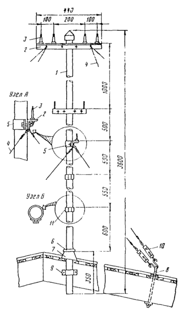
Рис. 1.1. Стойка типа РСI (габарит 0,8 м) с одной съемной траверсой:

1 - ствол стойки; 2 - траверса съемная для стоек PCI; 3 - штырь; 4 - оттяжка; 5 - хомут траверсы; 6 - опорное кольцо; 7 - копыто; 8 - болт стропильный; 9 - хомут для крепления стойки; 10 - винтовая стяжка дли натяжения оттяжек.

Рис. 1.2. Стойка типа PCI (габарит 0,8 м) с приваренной траверсой.

1.1.5. Стойки типа РСII (рис. 1.4) применяют в тех случаях, когда цепи одного или двух направлений объединяют на одной линии, а на каждой траверсе размещают две цепи.

Рис. 1.3. Стойка типа PCI (габарит 0,8 м) для трех траверс.

Рис. 1.4. Стойка типа РСII (габарит 0,8 м), применяемая при объединении линий:

1 - ствол стойки; 2 - траверса съемная для стоек РСII; 3 - штырь; 4 - оттяжка; 5 - хомут траверсы; 6 - опорное кольцо; 7 - копыто; 8 - болт стропильный; 9 - хомут для крепления стойки; 10 - винтовая стяжка для натяжения оттяжек.

1.1.6. Стойки типа PCIII (рис. 1.5) применяют для подвески цепей PC с напряжением выше 240 В до 960 В включительно, при габарите линии 2,5 м, а также для совместной подвески фидерных цепей I и II классов или если длина стоек типа PCI недостаточная и не обеспечивает необходимого габарита линии.

На траверсах стоек типа PCIII во всех случаях размещается одна цепь PC с двойным креплением проводов. Подвеска на стоечных линиях цепей с напряжением выше 960 В запрещается.

1.1.7. Стойки с длиной ствола от 1600 мм до 4200 мм изготовляются со съемными траверсами. Хомуты для крепления съемных траверс и карманы для съемных ступенек привариваются к трубе ствола стойки. На стойках типа PCIII (рис. 1.5) на расстоянии 500 и 1000 мм от нижней траверсы привариваются два хомута для постоянных ступенек. Хомуты и карманы для ступенек располагаются в плоскости, перпендикулярной плоскости расположения хомутов траверс.

По требованию заказчика допускается изготовление стоек с неприваренными хомутами к стволу стойки.

Рис. 1.5. Стойка типа PCIII (габарит 2,5 м):

1 - ствол стойки; 2 - траверса съемная для стоек PCIII; 3 - штырь; 4 - оттяжка; 5 - хомут траверсы; 6 - опорное кольцо; 7 - копыто; 8 - болт стропильный; 9 - хомут для крепления стойки; 10 - винтовая стяжка для натяжения оттяжек; 11 - карман для съемных ступенек.

1.1.8. На стоечных линиях применяются следующие траверсы:

- съемные для стоек типа PCI (рис. 1.6);

- привариваемые для стоек типа PCI (рис. 1.7);

- съемные для стоек типа РСII (рис. 1.8);

- съемные для стоек типа PCIII (рис. 1.9).

Для устройства ответвлений радиосети на промежуточной стойке применяют траверсу одноштырную (рис. 1.10).

Для крепления стойки к стропильной балке, а траверс и ступенек к стойке, применяют хомуты (рис. 1.11 и табл. 1.2).

Рис. 1.6. Траверса съемная для стоек типа PCI.

Рис. 1.7. Траверса, привариваемая для стоек типа PCI.

Наружный диаметр ствола стойки, мм

r, мм

h, мм

42,3

22,0

26,0

33,5

17,5

21,5

32,0

17,5

21,5

Рис. 1.8. Траверса съемная для стоек типа РСII.

Рис. 1.9. Траверса съемная для стоек типа PCIII.

Рис. 1.10. Траверса одноштырная ответвительная.

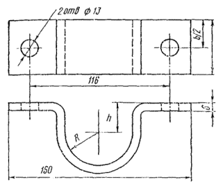
Рис. 1.11. Хомут для крепления стойки к стропильной балке, а траверс и ступенек к стойке.

Таблица 1.2

Размеры хомута для крепления стойки к стропильной балке и траверс к стойке

Тип стойки

Размеры, мм (рис. 1.11)

Диаметр трубы

R

b

 

PCI

32,00

16,0

40

11

PCI

33,50

17,0

40

12

PCI

42,30

21,5

40

16

РСI

48,00

24,0

40

19

PCI

60,00

30,5

40

25

РСII и PCIII

60,00

30,5

50

25

РСII и PCIII

75,50

38,0

50

33

1.1.9. Стойки, поступающие от изготовителя, помимо траверс и хомутов, должны быть укомплектованы:

- колпачками (рис. 1.12 и табл. 1.3);

- опорными кольцами (рис. 1.13 и табл. 1.3);

- копытами (рис. 1.14 и табл. 1.4);

- подкопытниками (рис. 1.15);

- ступеньками (рис. 1.16).

Примечание. Поставка копыт к стойкам не обязательна, если труба стойки устанавливается в имеющиеся на крышах стальные гильзы (стаканы).

Крепление траверс на стойках типа PCI производится болтами 16×30, а на стойках типов РСII и PCIII - 16×35.

Натяжение оттяжек стоек типов PCI и РСII производят стяжками, показанными на рис. 1.17, а стоек PCIII - стяжками, приведенными на рис. 1.18.

Крепление оттяжек к стропильной балке осуществляют болтом, указанным на рис. 1.19; если укрепляют две оттяжки, то применяют еще серьгу (рис. 1.20).

Крепление стойки к стропильной балке производят болтом (рис. 1.21).

Рис. 1.12. Колпачок.

Рис. 1.13. Опорное кольцо.

Таблица 1.3

Размеры опорного кольца и колпачка

Диаметр трубы, мм

Размеры, мм (рис. 1.12 и 1.13)

Опорное кольцо

Колпачок

d

Развернутая длина

D

d1

32,00

34

10×276

54

По внутреннему диаметру трубы стойки

33,50

35

10×283

35

42,30

44

10×340

64

48,00

50

10×377

70

60,00

62

10×452

82

75,50

78

10×555

98

Рис. 1.14. Копыто.

Таблица 1.4

Размеры копыта, отлитого из чугуна

Диаметр трубы, мм

Размеры, мм (рис. 1.14)

d

d1

h

32,00

35

52

45,0

33,50

36

54

45,6

42,30

45

60

50,7

48,00

51

70

54,0

60,00

63

80

61,0

75,50

78

106

71,0

Рис. 1.15. Подкопытник: (размер d находится по табл. 1.4).

Рис. 1.16. Ступенька:

1) полоса стальная 450×50×5; 2) упоры Æ 16 мм.

Рис. 1.17. Стяжка винтовая для стоек типов РСI и РСII.

Рис. 1.18. Стяжка винтовая для стоек типа PCIII:

1 - винт (М16) с крюком, длина резьбы 250 мм; 2 - болт с ушком Æ 16 мм без резьбы с заглушкой; 3 - заглушка на болте гайка М16; 4 - гайка круглая Æ 35×20 с отверстием Æ 17 мм; 5 - то же, с резьбой М16; 6 - круглый стержень Æ 14 мм; 7 - шайба; 8 - контргайка М16.

Рис. 1.19. Стропильный болт для крепления оттяжки к балке:

d = 12 мм, D = 30 мм (для стоек PCI и PCII); d = 16 мм, D = 40 мм (для стоек PCIII).

Рис. 1.20. Серьга.

Рис. 1.21. Болт для крепления трубы стойки к стропильной балке.

1.1.10. На стойках типов PCI и РСII устанавливают штыри типа ШТ-16С и изоляторы типа ТФ-16, а на стойках тина PCIII - штыри ШТ-20С и изоляторы типа ТФ-20.

1.1.11. Стойка должна иметь антикоррозионное покрытие (ГОСТ 5631-51).

1.1.12. На угловых стойках при внутреннем угле поворота линии 165° и менее и при диаметре проводов более 3,0 мм, а также на оконечных и переходных стойках устанавливаются дополнительные траверсы, укрепляемые к основным траверсам с помощью двух кронштейнов из швеллера № 8 или № 10 (рис. 1.22). Двойное крепление проводов выполняют так, как показано на рис. 1.23.

Рис. 1.22. Крепление дополнительной траверсы:

1 - ствол стойки; 2 - хомут; 3 - основная траверса; 4 - дополнительная траверса; 5 - кронштейн из швеллера; 6 - болт M16×35.

Рис. 1.23. Двойное крепление проводов:

а) на одинарной траверсе; б) на двойной траверсе.

1.1.13. Для совместной подвески фидерных цепей I и II классов применяют стойки типа PCIII (см. рис. 1.5).

При этом должны быть выполнены следующие условия:

а) фидерные цепи (напряжением от 360 В и более должны располагаться на стойках выше, чем цепи, имеющие напряжение 120 - 240 В;

б) расстоянии по вертикали между фидерной цепью напряжением 120 - 240 В и фидерной цепью напряжением 360 В и выше должно быть не менее 1,7 м;

в) работы по подвеске, регулированию и натяжению проводов фидерных цепей напряжением 120 - 240 В должны проводиться только после выключения цепи, напряжение которой 360 В и выше.

Для совместной подвески на стойках типа PCI цепей абонентской и фидерной напряжением до 240 В включительно применяются съемные траверсы и стойка длиной 1900 мм. Расстояние по вертикали между абонентской и фидерной цепями при напряжении до 240 В должно быть 60 см, а при напряжении 120 В - 30 см.

Ответвление цепей производится с помощью съемной ответвительной траверсы (см. рис. 1.10).

1.2. Укрепление стоек на крышах зданий

1.2.1. Стойки типов PCI и РСII укрепляют на крышах одним ярусом оттяжек, которые крепятся к отверстиям основных траверс или к трубе стойки. Стойки типа PCIII должны иметь специальные крюки для крепления оттяжек в два яруса.

Число проволок в оттяжках и их диаметр указаны в табл. 1.5 и п. 1.2.3, а схема укрепления стоек оттяжками приведена на рис. 1.24.

Рис. 1.24. Схема укрепления стоек оттяжками:

1 - основная оттяжка; 2 - дополнительная оттяжка.

Таблица 1.5

Число и диаметр проволок оттяжек стоек типов РСI и РСII

Емкость стойки

Тип линии

Число оттяжек в ярусе

Число проволок в каждой оттяжке при диаметре проволоки, мм

4

5

1 или 2 траверсы

О и Н

2-3

1

1

У и ОУ

2-3

2

1

3 траверсы

О и Н

2-3

2

1

У и ОУ

2-3

3

2

1.2.2. На прямолинейных участках линии при напряжении в цепи до 120 В включительно и одинаковых длинах пролетов допускается установка стоек типа PCI длиной 1300 мм без оттяжек.

1.2.3. Стойки типа PCIII укрепляют двумя ярусами оттяжек. Нижние концы основных (верхних) оттяжек укрепляются при помощи серьги и двух винтовых стяжек (см. рис. 1.5).

На линиях типов О и Н оттяжки для стоек типа PCIII изготовляются из одной стальной оцинкованной проволоки диаметром 5 мм, на линиях типов У и ОУ - из двух стальных проволок диаметром 5 мм. Дополнительные оттяжки крепятся к стволу стойки над верхней траверсой; крепление дополнительной оттяжки к стропильному болту производится через винтовые стяжки и серьгу (см. рис. 1.5) или через одну сдвоенную винтовую стяжку.

Отверстия в стойке для ввода проводов в здание должны быть плотно закрыты во избежание попадания влаги внутрь стойки.

1.2.4. Стойка типа PCIII должна быть оборудована карманами для ступенек и съемными ступеньками (рис. 1.25 и 1.26). Карманы приваривают по две штуки с двух сторон трубы.

Рис. 1.25. Карман для съемной ступеньки.

Рис. 1.26. Съемная ступенька.

1.3. Типы и размеры станционных стоек

1.3.1. Для вывода проводов из помещения станции применяют выводные станционные стойки.

Эти стойки применяют также и в тех случаях, когда при столбовой линии по условиям габарита невозможно установить выводной кронштейн.

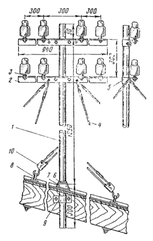
1.3.2. Выводные станционные стойки могут быть двусторонние, трехсторонние или четырехсторонние (рис. 1.27 - 1.31).

Рис. 1.27. Восьмипарная станционная двусторонняя стойка для вывода цепей напряжением до 240 В включительно (общий вид).

Рис. 1.28. Восьмипарная станционная двусторонняя стойка для вывода цепей напряжением до 240 В включительно (вид сверху).

Рис. 1.29. Детали восьмипарной станционной двусторонней стойки:

а) траверса; б) угловая сталь; в) доска; г) хомут.

Рис. 1.30. Шестнадцатипарная станционная четырехсторонняя стойка для вывода цепей напряжением до 240 В включительно.


Рис. 1.31. Детали шестнадцатипарной станционной стойки:

а) выводное колено; б) траверса; в) угловая сталь;

1 - газовая труба; 2 - патрубок; 3 - болт.


1.3.3. На выводных станционных стойках число траверс показано условно, расстояние между изоляторами 30 см или 40 см. Угловая сталь, применяемая для крепления площадки, приваривается к стойкам.

1.3.4. При напряжении до 360 В включительно вывод цепей из здания производится в стволе стойки. При напряжении цепей выше 360 В вывод из здания каждой цепи производится в отдельной трубе.

1.3.5. На многопарных стойках (при числе цепей, выходящих из здания, более четырех и напряжении цепей более 360 В) вывод цепей производится или многопарным кабелем марки ПРТО-2000 или МРМП, на конце которого устанавливают разветвительную кабельную коробку, укрепляемую на стойке, или через выводные трубы, которые объединяют у кровли в одну-два выводных канала. Длина труб для стоек берется такой, чтобы размеры стойки соответствовали требуемым габаритам.

Рис. 1.32. Шестипарная станционная двусторонняя стойка для вывода цепей напряжением до 360 В включительно.

1.4. Разбивка трассы стоечной линии

1.4.1. После предварительного исследования трассы по плану города проводят осмотр будущей трассы на местности, выбрав наиболее выгодное направление и составив ее схему.

1.4.2. К стоечным линиям при разбивке трассы предъявляют следующие требования:

- максимальное соблюдение прямолинейности трассы;

- наименьшее число пересечений и сближений с другими проводами и особенно с проводами линий электропередачи;

- возможность дальнейшего развития;

- удобство обслуживания;

- возможность устройства люков и подвески предохранительных тросов.

Рис. 1.33. Детали шестипарной станционной стойки для вывода цепей напряжением до 360 В включительно:

а) траверса; б) доска; о) угловая сталь; г) хомут.

1.4.3. Места установки стоек должны быть выбраны такими, чтобы провода и части стоек не затрудняли доступа к устройствам, расположенным на крышах, например, к дымовым трубам, слуховым окнам и т.д. При этом необходимо:

- избегать близости дымовых труб, так как выходящие газы разрушают провода;

- следить за тем, чтобы провода были достаточно удалены от выступающих над крышами частей зданий, и соблюдались нормы расстояний (габаритов) по отношению к деталям зданий и к другим линиям.

1.4.4. На зданиях с железобетонными кровлями или с железобетонными стропилами, в целях уменьшения шума в верхних этажах от вибрации проводов, стойки устанавливают над лестничными клетками или над шахтами лифтов. При невозможности установки стоек над лестничными клетками или над шахтами лифтов следует предусмотреть специальные меры по устранению шума в зданиях от проводов (см. п. 1.5.7).

1.4.5. Разметку на кровле мест крепления оттяжек (расстановку стропильных болтов с ушком) надо производить с таким расчетом, чтобы угол наклона оттяжки к горизонту был не более 45°, а угол, образуемый оттяжкой и стволом стойки, соответственно не менее 45°.

1.4.6. При разбивке трассы стоечной линии следует избегать удлиненных пролетов, т.е. пролетов, длины которых превышают максимально допустимые для линейных проводов разных материалов и диаметров.

1.5. Установка и крепление стоек

1.5.1. Строительные материалы и стойки доставляются на крыши зданий согласно указаниям «Правил техники безопасности при работах на воздушных линиях связи и радиофикации» (М., «Связь», 1972).

1.5.2. Для уменьшения нагрузки на стропила и для соблюдения габарита линии стойки должны располагаться возможно ближе к коньку крыши. Вертикальные усилия, возникающие в трубах стоек при максимальных нагрузках для различных проводов и типов линий, приведены в табл. 1.6. Расчет вертикальных усилий производится по формулам приложения 1.

Таблица 1.6

Вертикальные усилия, возникающие в трубах стоек

Емкость стойки

Вертикальные усилия в трубах стоек, кг, при различных типах линии

О

Н

У

ОУ

промежуточная

угловая

оконечная

промежуточная

угловая

оконечная

промежуточная

угловая

оконечная

промежуточная

угловая

оконечная

Однопарная

90

280

303

138

395

570

187

534

940

229

649

1100

двухпарная

169

664

-

272

877

-

371

1175

-

489

1472

-

Трехпарная

228

866

-

373

1144

-

519

1565

-

644

1904

-

Шестипарная

-

-

497

-

-

814

-

-

1676

-

-

2102

Станционная восьмипарная

-

-

707

-

-

1000

-

-

2100

-

-

3750

Станционная шестнадцатипарная

-

-

1400

-

-

2000

-

-

4000

-

-

7500

1.5.3. При установке стоек необходимо осмотреть и при необходимости укрепить стропила. Укрепление стропил производится по указанию специалиста-строителя.

1.5.4. Для установки промежуточной стойки в решетине крыши проделывается отверстие, с таким расчетом, чтобы труба проходила у стропильной балки вблизи конька крыши. При установке оконечной стойки отверстие в решетине делается с противоположной тяжению проводов стороны балки.

1.5.5. На стоечную трубу надевается копыто и прокладывает войлок, просаленный или просмоленный, для защиты чердака от попадания влаги. Если войлока нет, то под копыто подкладывают кольцо, сделанное из каболки и промазанное замазкой с обеих сторон.

Способы установки копыта на крышах с деревянными стропилами и различными кровлями показаны на рис. 1.34 - 1.37.

Рис. 1.34. Установка стойки на крыше с железной кровлей.

Рис. 1.35. Установка стойки на крыше с однослойной этернитовой кровлей.

Рис. 1.36. Установка стойки на крыше с черепичной кровлей.

Рис. 1.37. Установка стойки на крыше с кровлей из волнистой асбофанеры.

Под копыто переходных стоек, а также стоек, габарит которых 2,5 м, необходимо подкладывать стальную прокладку (подкопытник) - стальной лист толщиной 5 мм размерами 250×250 мм.

На зданиях с железобетонными совмещенными кровлями, т.е. на таких крышах, где кровля является одновременно и потолком квартиры верхнего этажа, стойки устанавливают в специальные, установленные на крышах при строительстве здания гильзы из стальной трубы или как на рис. 1.38 и 1.39.

Рис. 1.38. Установка стоек на железобетонных прокатных кровлях:

1 - ствол стойки; 2 - опорное кольцо; 3 - копыто; 4 - болты M16×150 с гайками; 5 - стальная пластина Ст3 (2 шт.); 6 - кровля железобетонная; 7 - угловая равнобоковая сталь (верхняя) 50×50×5 (4 шт.); 8 - то же, нижняя 50×50×5 (4 шт.).

Рис. 1.39. Установка стоек на кровлях с железобетонными балками:

1 - ствол стойки; 2 - опорное кольцо; 3 - копыто; 4 - болты 16×400 с гайками; 5 - стальная пластина Ст3 (2 шт.); 6 - балка железобетонная; 7 - угловая равнобоковая сталь (верхняя) 50×50×5 (4 шт.); 8 - то же, нижняя 50×50×5 (4 шт.).

При отсутствии на зданиях с совмещенной кровлей специальных гильз и якорей вопрос о возможности и способе установки стоек PC на таких кровлях решается в местном архитектурно-строительном управлении. Если имеется машинное отделение над шахтой, стойку устанавливают на стене здания.

1.5.6. После того как стоечная труба, опущенная в отверстие копыта, достигнет кольца, проводят разметку отверстий для крепления стойки хомутом. Стойка прочно закрепляется одним хомутом к деревянной стропильной балке при помощи болтов. Стойки типа PCIII крепятся двумя хомутами.

Для предотвращения смятия древесины стропильной балки и выравнивания неровностей поверхности опорного кирпичного столбика между стволом стойки и балкой (столбиком) под хомутом устанавливается подхомутник из стальной полосы марки Ст3 размером 160×40×4 мм.

1.5.7. При подвеске проводов на стойках, установленных на крышах зданий, наблюдается во время ветра сильный гул (шум), происходящий от вибрации проводов; он проникает во внутренние жилые помещения и производит крайне неприятное ощущение.

Для устранения этого шума необходимо:

1) крепление проводов на изоляторах производить с применением специальных вязок с рессорами или хомутиками, как это указано в Правилах, части I на рис. 6.74 - 6.76 и 7.6 (М., «Связь», 1975);

2) на каждый провод вблизи изолятора надевать свинцовый цилиндр (имеющий вдоль разрез, равный диаметру провода) длиной 100 мм и диаметром 10 мм, в разрез закладывается провод, а затем цилиндр сплющивается;

3) вблизи стойки на каждом проводе (с обеих сторон стойки) устанавливать резиновые демпферы (глушители) с креплением их к проводу металлическими манжетами. Демпфер состоит из двух резиновых полос длиной 400 - 500 мм, толщиной 20 мм с желобом для провода. На провод надевают резину, а затем манжету, изготовленную из кровельной стали, и закрепляют в двух-трех местах перевязочной проволокой;

4) натяжение оттяжек уменьшать возможно больше с помощью винтовых стяжек, а под копыто и хомут, крепящий стойку к стропильной балке, подкладывать прокладки из плотной резины;

5) уменьшать тяжение в проводах (оно должно быть меньше величин, указанных в таблицах, на 10 - 20 кг);

6) в пролете между зданиями и между стойками, установленными на здании, подвешивать вместо голых линейных проводов изолированные провода марок ПРСП, ПРСВ и других диаметром 3 или 4 мм.

1.5.8. При установке стоек на крышах не разрешается выпиливать или подрубать стропильные балки.

1.5.9. Для крепления оттяжек к деревянным стропильным балкам применяется стропильный болт с ушком (см. рис. 1.19) и серьга (см. рис. 1.20).

Закрепление стойки оттяжками проводится в такой последовательности:

1) намечают места укрепления оттяжек стойки на крыше;

2) в намеченных местах в стропильных балках сверлят отверстия, в которые вставляют болты с ушком;

3) заделывают сначала оттяжку, противоположную наклону стойки (укрепленная хомутом стойка всегда имеет некоторый наклон в сторону), а затем остальные оттяжки, добиваясь ими отвесного положения стойки.

Каждая оттяжка временно закрепляется на стропильном болте, а верхний ее конец заделывается за отверстие траверсы или на трубе стойки. Потом заделывается за отверстие струбцины (стяжки) и временно укрепленный конец оттяжки.

При заделке оттяжки на стойке или у струбцины конец проволоки длиной 20 - 40 см пропускают в отверстие траверсы (струбцины, ступеньки) или обвивают вокруг ствола стойки и затем плотно с помощью плоскогубцев закручивают вокруг оттяжки, делая при этом не менее шести витков. Лишний конец проволоки откусывают или отламывают.

Если оттяжка сделана из нескольких проволок, они все пропускаются сквозь отверстие траверсы и одну из них обвивают 5 раз вокруг оттяжки и приложенных к ней других проволок и опять прикладывают к проволокам оттяжки, отгибают вторую проволоку и обвивают не менее 5 раз вокруг оттяжки и прочих приложенных к ней проволок; так же поступают с каждой из остальных проволок;

4) после установки стойки все зазоры вокруг копыта и болтов для крепления оттяжек тщательно заделывают, замазывают замазкой и покрывают масляной краской. Замазка замешивается на тертом сурике.

Не разрешается оставлять на ночь стойку, не укрепленную оттяжками.

1.5.10. Натяжение оттяжек регулируется с помощью винтовых стяжек. На стойках, габарит которых 0,8 м, винтовые стяжки могут укрепляться как на нижнем конце оттяжки, так и на верхнем. На стойках при габарите 2,5 м винтовые стяжки устанавливаются на нижних концах оттяжек. Винтовые стяжки должны иметь не менее 80 % запаса регулирования.

1.5.11. Арматура и стойки, устанавливаемые как на крышах, так и на чердаках, должны быть выкрашены в черный или серый цвет.

1.5.12. При напряжении 240 В и выше на стойке устанавливается табличка с предупреждением об опасности.

Табличка размером 160×240 мм имеет белый фон, без окаймления и снабжается надписью «Опасное напряжение. Опасно для жизни!» и нарисованной красной стрелой между верхней и нижней строками.

1.5.13. Около всех стоек, устанавливаемых на зданиях высотой более одного этажа (в там числе вновь строящихся, реконструированных и капитально ремонтируемых зданиях) с металлическими или другими кровлями, должны оборудоваться люки с закрывающимися крышками и лестницами, закрепленными на чердаках (рис. 1.40 - 1.43).

Рис. 1.40. Люк для выхода на крышу (место соприкосновения кровли с оковкой угловой рамы и все щели промазать замазкой на сурике):

1 - рама люка; 2 - крышка люка в сборе; 3 - брусок; 4 - кольцо стальное (2 шт.); 5 - оковка угловой рамы (4 шт.).

Рис. 1.41. Люк для выхода на асбофанерную кровлю:

1 - люк для выхода на кровлю; 2 - лист для крепления рамы люка; 3 - брусок; 4 - лестница.

Рис. 1.42. Люк для выхода на этернитовую кровлю.

Рис. 1.43. Люк для выхода на черепичную кровлю.

Крышки люков должны быть оборудованы упорами, предохраняющими их от самозакрывания при ветре.

При отсутствии возможности устройства люка от слухового окна до стойки подвешивают предохранительные провода или стальные канаты, а вдоль каната оборудуют трапы (рис. 1.44 и 1.45). Провод из стальной оцинкованной проволоки должен иметь диаметр не менее 5 мм.

Рис. 1.44. Крепление предохранительного троса к стойке и слуховому окну.

Рис. 1.45. Устройство мостков для подхода к стойке.

Предохранительный провод надежно, с помощью болтов, закрепляется на слуховом окне и заделывается скруткой на планке, укрепленной на стволе стойки, на высоте 0,8 м от поверхности кровли в соответствии с «Правилами техники безопасности при работах на воздушных линиях связи и радиофикации» (М., «Связь», 1972). Надежность предохранительного провода и крепления проверяется ежегодно.

1.5.14. На домах, имеющих кровлю из шифера, черепицы, дранки и рубероида (толя), с уклоном 30° и выше, у стоек должны оборудоваться люки и рабочие площадки (рис. 1.46). Трапы на таких кровлях не устанавливаются.

Рис. 1.46. Рабочая площадка у стойки (общий вид):

1 - рама (2 шт.); 2 - брусок горизонтальный (2 шт.), сосна; 3 - брусок вертикальный (2 шт.), сосна; 4 - брусок (2 шт.), сосна; 5 - брусок (2 шт.), сосна; 5 - брусок (1 шт.), сосна; 7 - доска (настил 0,02 м3), сосна; 8 - доска (обшивка 0,02 м3), сосна; 9 - брусок (4 шт.), сосна; 10 - гвозди 4,5×125, сталь; 11 - гвозди 2,5×30, сталь.

Примечания: 1. Бруски (поз. 5 и 6), обернутые сталью тонколистовой оцинкованной, прибить гвоздями к настилу, поверх стального листа.

2. Бруски (поз. 3 и 4) изменяются по длине, в зависимости от подъема крыши.

3. Деталировка площадки дана для наклона крыши 30° к горизонту. При другом наклоне изготовление деталей должно производиться с учетом фактического наклона крыши.

Листы обшивки следует изогнуть по конфигурации площадки и соединить в замок. Нижнюю сторону листа обшивки следует выпустить на кровлю.

При отсутствии люка на кровлях с уклоном менее 30° от слухового окна или от края крыши прокладывают трапы и подвешивают предохранительные провода.

1.5.15. Ограждения высотой не менее 0,6 м должны устраиваться на крышах жилых зданий высотой 10 м и более при уклоне крыши более 10° в соответствии со СНиП II-Л.1-62.

1.5.16. Рабочие площадки, мостки и трапы делают из еловых или сосновых досок толщиной не менее 3,5 см, скрепленных поперечинами (см. рис. 1.45), и надежно скрепляют с кровлей при помощи болтов, глухарей или гвоздей.

1.5.17. На зданиях с совмещенной железобетонной кровлей для облегчения установки стоек типа PCIII в гильзы допускается устанавливать сначала только ствол стойки без траверс, а затем после укрепления ствола оттяжками на нижнем ярусе производить крепление на стволе стойки траверс и других съемных деталей.

1.5.18. Провода, выходящие из стойки, на открытом (воздушном) участке прокладываются в эбонитовой трубке или в металлическом рукаве диаметром 16 мм.

1.6. Подвеска проводов на стоечных линиях

1.6.1. В качестве проводов для подвески на стоечных линиях PC применяются:

- стальная линейная проволока диаметром 4; 3 и 2,5 мм (ГОСТ 1668-73);

- биметаллическая сталемедная проволока марки БСМ-1 или БСМ-2 диаметрами 4; 3; 2 и 1,6 мм (ГОСТ 3822-61);

- биметаллическая сталеалюминиевая проволока марки БСА диаметрами 4,3 и 5,1 мм (ЧМТУ-4-24-70);

- сталеалюминиевые многожильные провода марки АС, которые имеют сердечники из стальной оцинкованной проволоки с пределом прочности не менее 120 кг/мм2, поверх которых навиты алюминиевые проволоки (ГОСТ 839-59);

- провод с атмосферостойкой изоляцией марок ПРСП, ПРСВ (ТУ 16-505.432-72).

1.6.2. Материал, допустимый диаметр проволоки для подвески определяются как электрическими нормами, так и исходя из условий ее механической прочности. Максимально допустимые длины пролетов для проводов разных диаметров, исходя только из их механической прочности, указаны в табл. 1.7.

Таблица 1.7

Максимально допустимые длины пролетов для линий, проходящих в застроенных местностях

Наименование провода и его марка

Диаметр провода, мм

Максимально допустимые длины пролетов, м, для типов линии

О

Н

У

ОУ

Биметаллический БСМ-1 и БСМ-2

1,6

100

60

40

40

2,0

150

80

60

40

3,0

150

100

80

60

4,0

150

125

100

80

Стальной

2,5

100

40

30

-

3,0

125

60

40

-

4,0

150

80

50

40

Сталеалюминиевые (многожильные):

 

 

 

 

 

АС-10

4,4

80

50

40

35

АС-16

5,4

80

60

40

35

АС-25

6,6

150

80

60

50

АС-35

8,4

150

100

85

65

Биметаллический БСА

4,3

150

100

85

65

5,1

150

125

90

75

С атмосферостойкой изоляцией ПРСП (ПРСВ)

3,0

125

60

40

-

4,0

150

80

50

40

1.6.3. Все работы, связанные с подвеской проводов на стоечных линиях, должны проводиться при строгом соблюдении «Правил техники безопасности при работах на воздушных линиях связи и радиофикации» (М., «Связь», 1972).

1.6.4. Провода стоечных линий от станционной, оконечной или контрольной стойки разматывают с ручного тамбура, укрепленного на крыше, или вручную в такой последовательности:

1) бухту проволоки или ручной тамбур подают на крышу здания; для предохранения провода от повреждения под бухты прокладывают доски;

2) для передачи проволоки с крыши на крышу (по трассе линии) с крыш спускают концы веревок на землю, где они соединяются между собой, и после чего веревку натягивают между зданиями;

3) на крыше, где находится бухта, конец проволоки привязывается к веревке и перетаскивается (три небольшом натяжении) на крышу соседнего здания. Аналогичный процесс перетяжки проводов продолжается и далее. При ручной размотке бухту следует повертывать, давая ей разные направления.

1.6.5. Стальная и сталеалюминиевая проволока перед подвеской должна быть вытянута. Вытягивать биметаллическую сталемедную проволоку не допускается, неровные места и изгибы проволоки в данном случае выравниваются деревянным молотком на плоском куске дерева.

Стальная проволока вытягивается следующим образом. Один конец проволоки зажимается в блочную лапку, которая при помощи петли или хомута закрепляется у основания опоры (стойки); другой конец проволоки зажимается в лапку блочной пары, закрепленной у основания опоры, находящейся на расстоянии до 6 - 8 пролетов от первой опоры. Величина усилия при вытягивании проволоки контролируется динамометром, установленным между лапкой и блоками, и должна соответствовать величинам, указанным в табл. 1.8.

Проволоку, уже подвешенную на изоляторах, крюках или траверсах, вытягивать нельзя.

Таблица 1.8

Величины усилия при вытягивании стальной проволоки

Диаметр провода мм

Допускаемое усилие при вытягивании проволоки, кг

4,0

230

3,0

130

2,5 - 2,0

90

1.6.6. Сталеалюминиевую проволоку марок АС перед подвеской необходимо вытягивать, делая это при помощи деревянного зажима (рис. 1.47). Величина усилия при вытягивании контролируется динамометром и должна быть равна для АС-10 100 кг; AC-16 150 кг, АС-25 и АС-35 300 кг.

Рис. 1.47. Деревянный зажим для вытягивания проволоки из цветных металлов.

1.6.7. Для присоединения проводов марки БСА или АС фидерной цепи к клеммам фидерного трансформатора необходимо взять два отрезка стального, медного или сталемедного провода длиной не более 2 м каждый (рис. 1.48).

Концы монтажных проводов длиной 2 м присоединить с одной стороны к проводам фидерной цепи зажимами из алюминиевых сплавов типа СО (ГОСТ 10366-74), а с другой стороны закрепить в клеммах трансформатора.

При отсутствии зажимов присоединение монтажных проводов производится с применением перевязочной проволоки (см. рис. 1.48, узел А). Места соединения следует покрыть изоляционной поливинилхлоридной лентой.

Рис. 1.48. Соединение проводов из разных металлов.

1.6.8. Если провод подвешивают между двумя контрольными стойками, то на одной из них он заделывается оконечной вязкой. На промежуточных стойках провода накладывают на головки изоляторов, второй конец провода (у второй контрольной стойки) берется в блоки, веревки которых заделываются за ушки болтов оттяжек или за стойку. Заделка блоков за выступающие части здания (трубы, перила и т.д.) не допускается.

1.6.9. Определение непосредственно величины стрелы провеса проводов, подвешенных на стойках, производить неудобно. Поэтому при подвеске и регулировке проводов всегда следует точно, с помощью динамометра, определять их натяжение.

При вытягивании проводов сразу на несколько пролетов величину начального натяжения провода выбирают по наиболее длинному пролету.

С помощью блоков и динамометра провода натягивают и регулируют до получения требуемого натяжения, а следовательно, и стрел провеса (табл. 1.9 и 1.10).

Таблица 1.9

Натяжение проводов диаметрами от 3 до 5 мм включительно для стоечных линий

Температура, t °C, для различных зон

Натяжение провода, кг, при различных диаметрах проводов, мм

I

II

III

3,0

4,0

4,3

5,0 - 6,1

- 45

- 30

- 15

92

163

187

255

- 40

- 25

- 10

86

152

175

237

- 35

- 20

- 5

80

142

163

222

- 30

- 15

0

75

134

154

206

- 25

- 10

+ 5

69

123

141

191

- 20

- 5

+ 10

64

113

130

176

- 15

0

+ 15

58

103

118

160

- 10

+ 5

+ 20

53

94

108

146

0

+ 10

+ 25

49

86

99

135

0

+ 15

+ 30

45

80

92

126

+ 5

+ 20

+ 35

41

73

89

115

+ 10

+ 25

+ 40

38

68

78

106

+ 15

+ 30

+ 45

35

63

72

99

Температурные зоны республик, областей и краев определяются из «Правил строительства и ремонта воздушных линий связи радиотрансляционных сетей», часть I (M., «Связь», 1975).

Таблица 1.10

Стрелы провеса стальных, биметаллических сталемедных, биметаллических сталеалюминиевых и многопроволочных сталеалюминиевых проводов

Температура, t °С, для различных зон

Стрела провеса, см, при различных длинах пролета, м

I

II

III

35,7

40

50

62,5

83,3

100

- 45

- 30

- 15

9

15

22

35

62

92

- 40

- 25

- 10

10

16

24

39

66

98

- 35

- 20

- 5

11

17

27

42

71

104

- 30

- 15

0

12

19

30

46

77

110

- 25

- 10

+ 5

14

22

33

51

82

116

- 20

- 5

+ 10

16

24

35

55

88

122

- 15

0

+ 15

19

27

40

60

94

129

- 10

+ 5

+ 20

21

30

43

65

100

135

- 5

+ 10

+ 25

24

34

47

69

105

141

0

+ 15

+ 30

27

37

51

74

110

147

+ 5

+ 20

+ 35

30

40

55

78

116

154

+ 10

+ 25

+ 40

33

44

59

83

123

160

+ 15

+ 30

+ 45

36

47

63

87

129

166

Перетягивать провода (увеличивать натяжение, а следовательно, уменьшать стрелу провеса) не разрешается, так как это может привести при низкой температуре или при отложениях гололеда к обрыву проводов.

При натяжении проводов марок АС обязательно должен применяться деревянный зажим (см. рис. 1.47).

1.6.10. Если разность высот точек подвеса провода составляет величину в 1/30 пролета и больше, то во избежание срыва изоляторов применяются специальные планки, устанавливаемые на траверсах. Способы крепления проводов к изоляторам для этих случаев приведены на рис. 1.49.

Рис. 1.49. Крепление проводов на уклонах.

1.6.11. Во избежание несчастного случая рабочий во время подвески проводов на угловых стойках должен находиться вне угла поворота линии.

1.6.12. При проведении работ на крыше руководитель работ должен следить за тем, чтобы все свободные инструменты, а также монтажные материалы хранились в сумках и чтобы рабочие точно соблюдали правила техники безопасности.

1.6.13. При подвеске фидера с напряжением выше 360 В на металлических стойках по крышам домов необходимо делать заземление стоек (ГОСТ 14857-69).

1.6.14. Стойки заземляют с помощью подвешенного стального провода диаметром 4 мм (рис. 1.50), соединенного электрически со стволами стоек и заземленного через каждые 2 км. Провод заземления подвешивается на 1 м ниже фидерной цепи PC.

При установке стоек на плоских крышах, где дома имеют контурные заземления, провод, предназначенный для заземления стоек, не прокладывается.

Рис. 1.50. Заземление стойки.

1.6.15. Сопротивление промежуточных заземлений должно быть не более значений, приведенных в табл. 1.11.

Таблица 1.11

Сопротивления заземлений стоечной линии

Удельное сопротивление грунта, Ом·м

до 100

101 - 300

301 - 500

свыше 500

Общее сопротивление заземления, Ом

20

30

35

45

1.6.16. При обрыве или коротком замыкании проводов фидеры I класса должны автоматически отключаться; для этого на станциях устанавливают специальные защитные устройства.

1.7. Соединение проводов и крепление их на изоляторах стоечных линий

1.7.1. Соединение концов стальных проводов производят с помощью термитно-муфельной сварки, а биметаллических проводов - с помощью трубок.

1.7.2. Стальной провод с биметаллическим соединяют при помощи термитной сварки.

1.7.3. Концы сталеалюминиевых проводов соединяют при помощи алюминиевых трубок: провод БСА-4,3 или АС-10 - трубкой ТАС-10 длиной 250 мм; провод АС-16 или БСА-5,1 - трубкой ТАС-16 длиной 300 мм; провода АС-25 и АС-35 - трубкой длиной 400 мм. Для соединения концы проводов зачищают мелкой наждачной бумагой и вводят в трубку так, чтобы они выступали из нее на 10 мм с обеих концов.

Концы трубки зажимают в струбцинах вильчатого клуппа, и ключом, устанавливаемым посередине трубки, путем поворота его по часовой стрелке трубка длиной 250 мм закручивается на два оборота (четыре полуоборота), а длиной 300 и 400 мм - на два с половиной оборота.

Применение плоскогубцев для закручивания трубок запрещается. Можно закручивать трубки щипцами, делая три полных оборота по часовой стрелке одними щипцами, вторые щипцы должны оставаться неподвижными.

При отсутствии алюминиевых трубок соединение выполняют следующим образом:

- с концов соединяемых сталеалюминиевых проводов АС раскручивают алюминиевые проводники;

- стальной сердечник соединяют спайкой;

- концы раскрученных алюминиевых проводов накладывают на место спайки, соблюдая повив, а затем алюминиевой перевязочной проволокой (или алюминиевой жилой, снятой с отрезка алюминиевого провода) обматывают место соединения; чтобы обеспечить надежный электрический контакт проводов, начало и конец обмотки должны перекрывать на расстояние 2 - 3 см спайку стального сердечника.

Соединение проводов марки БСА производят при помощи спайки в следующем порядке:

- концы соединяемых проводов очищают напильником и наждачной бумагой до стального сердечника. Затем облуживают на длину пайки и прикладывают друг к другу: на длину 25 - 30 см при проводах диаметром 2,5 - 5 мм и на длину около 20 см при проводах диаметром 1,5 - 2,5 мм;

- эти концы обматывают плотными рядами оцинкованной перевязочной проволокой диаметром 1 мм на протяжении, равном:

20 мм для проводов диаметром 1,5 мм,

40 мм для проводов диаметром 2 ÷ 3 мм,

50 мм для проводов диаметром 4,3 мм;

- по обе стороны сделанной обмотки концы линейных проводов загибают под прямым углом, а обмотку перевязочной проволоки продолжают в обе стороны от загнутых концов еще вокруг одного линейного провода до шести-восьми оборотов. Загнутые концы линейного провода отпиливают так, чтобы остались загибы длиной не более 3 мм;

- место соединения после обматывания проволокой смачивают лудильной водой (флюсом).

Для приготовления флюса в соляную кислоту бросают кусочки цинка до тех пор, пока не прекратится выделение газа. Во избежание отравления выделяющими газами протравливание кислоты не должно производиться в закрытых помещениях. Не следует для приготовления флюса применять посуду с узким горлом (бутылки). Особенно нужно беречь при этой работе глаза от попадания в них брызг кислоты. По окончании газообразования полученный раствор хлористого цинка фильтруют через вату или в крайнем случае через чистую тряпку, затем добавляют одну треть (по отношению к объему полученного раствора) насыщенного раствора нашатыря;

- после того как стык готов и смочен флюсом, производится спайка его, заключающаяся в том, что соединение проводов по всей длине постепенно обливают с ложки над котелком расплавленным оловянно-свинцовым припоем марки ПОС 30 (третником);

- после спайки стык протирают масляной тряпкой для предохранения его от ржавчины;

- остывание стыка должно быть медленным на воздухе. Ни в коем случае не допускается сбрасывать неостывший стык на крышу, траву или на снег.

1.7.4. Соединение концов проводов следует производить вблизи стоек.

1.7.5. Крепление проводов к изоляторам на стоечных линиях производится так же, как и на столбовых линиях (см. ч. I «Правил строительства и ремонта воздушных линий связи и радиотрансляционных сетей». М., «Связь», 1975).

Сталеалюминиевые провода марки АС-10 следует крепить стальной оцинкованной перевязочной проволокой диаметром 2 мм; провода марок АС-16, БСА-4,3 и БСА-5,1 - диаметром 2,5 мм; провода марок АС-25 и АС-35 - диаметром 3 мм.

Вязку проводов и другие работы необходимо производить осторожно, чтобы не повредить оболочку проволоки.

Для вязки стальных проводов и проводов из цветных металлов, а также для других работ должны применяться универсальные плоскогубцы.

В месте вязки сталеалюминиевых проводов марок АС п БСА к изоляторам на провода (для АС по направлению повива алюминиевых проводников) вплотную наматывают алюминиевую ленту размером 250×12×0,2 мм. Для проводов АС-10, АС-16 и БСА-4,3 применяют изоляторы ТФ-16, а для проводов АС-25, АС-35 и БСА-5,1 - ТФ-20.

1.7.6. На стоечных линиях провода регулируются только с применением динамометра (ДТ-0,2 или ДТ-0,5). Стрелы провеса проводов приведены в табл. 1.10, а тяжение проводов - в табл. 1.9.

Стрелы провеса при подвеске проводов делать меньше, чем это указано в таблицах, не разрешается. Допускается стрелу провеса делать большей, чем это указано в таблицах, на 2 - 3 см.

1.7.7. На оконечных стойках крепление проводов диаметром менее 3 мм производится по рис. 1.51 (1). Свободный конец линейной проволоки обвивают вокруг изолятора и плотно, с помощью универсальных плоскогубцев, закручивают вокруг основного провода не менее восьми витков.

Провода диаметрам 3 мм и более крепятся к изоляторам перевязочной проволокой, как показано на рис. 1.51 (2).

Длина перевязочной проволоки для изоляторов ТФ-16 1600 мм, для изоляторов ТФ-20 2100 мм.

Рис. 1.51. Крепление проводов фидера на стойке:

1 - диаметром менее 3 мм; 2 - диаметром 3 мм и более.

1.7.8. На стойках типа PCIII применяют способ двойного крепления проводов (см. рис. 1.23).

1.7.9. При подвеске изолированных проводов в месте их вязки провода обматывают изоляционной лентой для предохранения изоляции от повреждения. Вязку изолированного провода производят на шейке изолятора. Диаметр перевязочной проволоки должен быть 2 мм для проводов диаметром до 3 мм и 2,5 мм для проводов диаметром более 3 мм.

1.8. Устройство контрольно-разрывных пунктов

1.8.1. Для отключения проводов на отдельных участках линий и определения мест повреждения на линиях PC устраиваются контрольно-разрывные пункты.

На фидерной или абонентской линии устанавливаются в среднем два контрольно-разрывных пункта на 1 км длины линии в зависимости от конфигурации и нагрузки линии. Контрольно-разрывные пункты следует устраивать в коротких пролетах.

1.8.2. На магистральных фидерных линиях контрольно-разрывные пункты, как правило, не устраиваются.

1.8.3. Оборудование контрольной стойки на линии PC с применением контрольного сжима показано на рис. 1.52.

Рис. 1.52. Оборудование контрольного пункта.

1.9. Устройство удлиненных пролетов

1.9.1. Если длины пролетов превышают максимально допустимые для линейных проводов (табл. 1.7), то такие пролеты называют удлиненными. На этих пролетах применяют провода большего диаметра, чем линейные, но так, чтобы они соответствовали табл. 1.7, или подвешивают стальные и биметаллические канаты.

Стальной канат применяют диаметром 4,3 мм (ГОСТ 3062-69), биметаллический канат - диаметром 4,5 мм (ГОСТ 4775-60).

1.9.2. Крепление проводов на переходной стойке делают так, как указано на рис. 1.53. При использовании в удлиненном пролете однопроволочного провода большего диаметра, чем линейный провод, соединение обоих проводов выполняют так, как указано на рис. 1.54.

Рис. 1.53. Крепление провода на переходной стойке.

Рис. 1.54. Соединение переходного и линейного проводов.

1.9.3. Стойки в удлиненном пролете укрепляются, кроме основных оттяжек, дополнительной, устанавливаемой в сторону, противоположную от удлиненного пролета.

1.9.4. В удлиненных пролетах и пролетах пересечений на линейных проводах не должно быть ни спаек, ни сварок, ни вообще каких-либо соединений.

1.10. Устройство пересечений линий радиотрансляционных сетей с линиями контактных сетей электрифицированных железных дорог, трамваев и троллейбусов, линиями электропередачи и линиями связи

1.10.1. Пересечение проводов PC с проводами контактных сетей наземного электротранспорта производится по указаниям ГОСТ 67-67.

1.10.2. Пересечения линий PC с контактными сетями электрифицированных железных дорог (эл. ж. д.) должны выполняться подземным кабелем.

При числе проводов до восьми по согласованию с управлением дороги допускаются воздушные пересечения проводов линий PC с контактными сетями эл. ж. д. постоянного тока.

Пересечения линий PC с контактными сетями трамваев и троллейбусов должны выполняться подземным кабелем.

При числе проводов на линиях радиофикации до восьми допускаются воздушные пересечения проводов линий PC с контактными сетями трамваев и троллейбусов или воздушные пересечения путем подвески кабеля на несущем стальном канате.

В пролете пересечения может быть подвешен только один воздушный кабель.

1.10.3. Угол пересечения (в плане) для проводов PC, подвешенных на стойках, с контактными сетями эл. ж. д. постоянного тока, трамваев и троллейбусов должен быть близким к 90°, но не менее 45°. Допускается угол пересечения (в плане) с контактными сетями трамваев и троллейбусов уменьшать до 30°.

В зависимости от типа стоечной линии длина пролета воздушного пересечения должна быть минимальной и не превышать величин, приведенных в табл. 1.12.

При толщине стенки льда на проводе свыше 20 мм или при длинах пролета, превышающих указанные в табл. 1.12, пересечения должны выполняться подземным кабелем.

Таблица 1.12

Максимальные длины пролетов на стоечных линиях при пересечении контактных сетей наземного транспорта

Тип линии

Длина пролета пересечения, м, не более

О

150

Н

100

У

85

ОУ

65

1.10.4. В пролете пересечения с проводами контактных сетей трамваев и троллейбусов должны применяться: биметаллическая сталемедная проволока диаметром 4 мм (ГОСТ 3822-61), антенные голые провода ПАБ-10 и ПАБ-25 (ГОСТ 5990-51), биметаллические сталеалюминиевые многожильные провода марок АС-25 и АС-35, стальные провода диаметром 5 мм или стальные канаты, данные о которых приведены в табл. 1.13.

Таблица 1.13

Марки стальных канатов для пролетов пересечения линии PC с контактными сетями наземного транспорта

Марка стального каната

ГОСТ

Разрывное усилие каната, кг

4,3-Г-1-ЖС-140

3062-69

1415

4,3-Г-1-ЖС-160

3062-69

1615

6,1-Г-1-ЖС-160

3062-69

3280

5,0-Г-1-ЖС-160

3063-66

2160

6,5-Г-1-ЖС-160

3063-66

3655

1.10.5. Стальной канат с подвешенной кабельной вставкой должен иметь марку не ниже 4,3-Г-1-ЖС-160 (ГОСТ 3062-69).

Независимо от типа линии PC при пересечении с контактными сетями трамваев и троллейбусов допускается применять изолированные медные и стальные провода диаметром 3 - 4 мм, покрытые атмосферостойкой изоляцией, пробивное напряжение которой должно быть не менее удвоенного рабочего напряжения пересекаемых проводов контактных сетей трамваев и троллейбусов.

1.10.6. Если на линии применены стальные провода, то в пролете пересечения подвешивают: на линиях типа О и Н стальной провод диаметром 5 мм или стальной канат 4,3-Г-1-ЖС-140 (160), а на линиях типа У и ОУ канат 6,1-Г-1-ЖС-160.

При уплотнении фидера многопрограммным вещанием в пролете пересечения подвешивают провода из цветного металла (п. 1.10.4). В тех случаях, когда линейный провод, исходя из условий механической прочности, не может быть подвешен при длине пролета, превышающего допустимый, линейный провод в удлиненном пролете подвешивают при помощи каната.

Подвеска производится в следующем порядке:

- к подвешиваемому стальному канату длиной, несколько большей длины переходного пролета, привязываются ролики через каждые 0,5 - 0,6 м, причем первый и последний ролики прикрепляются к подвесному канату на расстоянии около 1 м от изоляторов;

- до подвески каната через ролики пропускают линейный провод.

Подвеска каната над верхним проводом контактной сети трамвая или троллейбуса производится с помощью петли, изготовленной из сухой веревки, с соблюдением «Правил техники безопасности при работе на воздушных линиях связи и радиофикации» (М., «Связь», 1972).

Веревка достаточной длины закладывается в блоки, укрепленные на траверсе, затем подвешиваемый канат и провод привязывают к петле и медленно вместе с ней перетягивают через пролет (см. ч. I настоящих Правил);

- подвесной канат на одной из переходных стоек заделывают за два изолятора, а затем регулируют до необходимой стрелы провеса, после чего заделывают на другой стойке;

- конец линейного провода со стороны перехода заделывают оконечной вязкой без натяжения. Другой конец линейного провода со стороны линии заделывают оконечной вязкой с натяжением. Затем оба конца соединяют при помощи трубки или спайки.

1.10.7. Провода в пролете пересечения не должны иметь соединений. Стрелы провеса проводов, кроме марки АС, в пролете пересечения выбираются по табл. 1.14, для проводов марки АС - по табл. 1.15.

Таблица 1.14

Стрелы провеса проводов (кроме марок АС) в пролете пересечения эл. ж. д., трамваев и троллейбусов

Температура, t °С, для различных зон

Стрела провеса, см, при различных длинах пролета пересечения, м

I

II

III

60

80

100

150

- 45

- 30

- 15

32

57

92

207

- 40

- 25

- 10

35

62

98

220

- 35

- 20

- 5

38

67

104

234

- 30

- 15

0

42

72

110

248

- 25

- 10

+ 5

46

77

116

261

- 20

-5

+ 10

50

82

122

275

- 15

0

+ 15

54

87

129

290

- 10

+ 5

+ 20

58

93

135

304

- 5

+ 10

+ 25

63

98

141

317

0

+ 15

+ 30

67

103

147

330

+ 5

+ 20

+ 35

71

109

154

347

+ 10

+ 25

+ 40

76

114

160

360

+ 15

+ 30

+ 45

81

120

166

374

+ 20

+ 55

+ 50

85

125

170

383

+ 25

+ 40

+ 55

88

131

178

400

Таблица 1.15

Стрелы провеса проводов АС-25 и АС-35 для пролетов пересечения наземного электротранспорта

Температура, t °С, для различных зон

Стрела провеса, см, для различных типов линии

О

Н

У и ОУ

I

II

III

и длин пролетов, м

40

50

80

100

150

40

50

80

100

40

50

65

85

- 45

- 30

- 15

9

14

43

103

357

10,5

30

194

356

68

134

146

256

- 40

- 25

- 10

10

16

48

113

367

12

35

200

359

72

137

147

260

- 35

- 20

-5

10,5

18

54

123

377

13

41

207

365

76

141

149

265

- 30

- 15

0

13

20

59

129

390

15

45

212

371

79

144

151

270

- 25

- 10

+ 5

15

23

65

135

400

16,5

49

218

376

81

147

153

273

- 20

- 5

+ 10

17

26

72

142

410

19

53

223

380

84

150

154

281

- 15

0

+ 15

20

30

80

147

420

22

59

228

385

87

153

156

284

- 10

+ 5

+ 20

24

35

90

152

427

26

67

232

389

90

156

158

287

- 5

+ 10

+ 25

30

41

100

158

435

31

75

238

394

93

159

160

292

0

+ 15

+ 30

34

47

109

168

445

35

79

243

400

95

162

161

296

+ 5

+ 20

+ 35

38

51

119

176

457

38

84

247

404

98

165

163

300

+ 10

+ 25

+ 40

42

56

124

186

465

42

88

251

408

101

167

165

304

+ 15

+ 30

+ 45

48

62

130

195

474

49

92

256

411

104

170

167

307

1.10.8. Провода PC на стойках можно подвешивать над проводами линий электропередачи (ВЛ) с напряжением не более 380/220 В.

В пролете пересечения применяются провода марки ПРСП или ПРСВ диаметром 3 или 4 мм.

На стойках, ограничивающих пролет пересечения, линейные провода должны иметь двойное крепление.

1.10.9. Переходные стойки должны иметь диаметр трубы не менее 60 мм.

1.10.10. Соединение и крепление проводов PC на переходных стойках при пересечении контактных сетей должны производиться по указаниям рис. 1.55. При пересечении линий электропередачи и линии PC крепление проводов производится так, как показано на рис. 1.53.

Рис. 1.55. Соединение каната с линейным проводом на стойках при пересечении контактных сетей:

а) крепление проводов на трех изоляторах; б) крепление проводов на двух изоляторах.

1.10.11. Нижние провода линий PC, пересекающие контактные сети (с учетом наихудших метеорологических условий для данной местности при гололеде, изморози или максимальной температуре) должны располагаться в пролете пересечения на высоте:

- не менее 2 м над верхними проводами контактной сети эл. ж. д. постоянного тока;

- не менее 8 м от головки рельс (трамвая) и не менее 9 м от уровня полотна дорожного покрытия (троллейбуса).

1.10.12. Устройство и ремонт проводов линий PC при воздушном пересечении с контактными сетями наземного электротранспорта должны производиться в соответствии с действующими правилами техники безопасности при производстве работ на контактных сетях эл. ж. д. постоянного тока, трамваев и троллейбусов.

Указанные работы проводятся при отключенной и заземленной на месте производства работ контактной сети и при обязательном присутствии представителя службы дистанции (района) контактной сети.

В исключительных случаях, по согласованию между заинтересованными организациями, допускается производить работы на линиях PC, пересекающих контактную сеть трамваев или троллейбусов, без снятия напряжения в контактной сети.

Устройство и ремонт подземного кабельного пересечения линиями PC контактных сетей наземного электротранспорта можно производить без отключения напряжения в контактной сети.

1.10.13. В пролете подземного пересечения линий PC с проводами контактных сетей наземного электротранспорта могут быть применены следующие кабели:

- для PC II класса - типов ПРППМ, МРМП, МРМ;

- для PC I класса - типов МРМП, МРМ, МРМПЭ, МРМПЭБ, СРВ и КСНБ.

При прокладке в канализации или в трубах городских линий при всех напряжениях линии PC применяют кабели типов МРМ, МРМП, МРМПЭ и МРМПЭБ. При многопрограммном вещании и напряжении до 360 В рекомендуется применять кабели типов МРМ, МРМП, МРМПЭ, МРМПЭБ.

1.11. Фидерные отводы и выводы из помещений станций или подстанций радиотрансляционных узлов

1.11.1. Если радиофицируемый пункт находится в стороне от фидерной линии, то прокладывается к нему специальная линия, которую называют фидерным отводом. Устройство фидерного отвода на стоечных линиях изображено на рис. 1.56.

Рис. 1.56. Устройство ответвления проводов от фидера.

1.11.2. Понижающие трансформаторы могут устанавливаться на стойках, в чердачном помещении, на лестничной клетке и в помещении радиофицируемого дома.

1.11.3. В качестве выводных проводов для линий II класса применяют провода марок ПРЖ, ППЖ, ПТПЖ, ПВЖ, ПРППМ или ПРВПМ с сечением жилы не менее 1,0 мм2, прокладываемые в шлангах. В трубу стойки провода вводятся через вводные втулки или воронки, которые закрепляются в отверстии трубы с помощью каболки. На изоляторе выводной провод ПРЖ или ПРППМ заделывается так, как это указано на рис. 1.57.

Рис. 1.57. Устройство вывода на стойках при напряжении до 360 В.

1.11.4. Для вывода со станционной стойки проводов линии PC I класса применяются кабели марки ПРТО-2000 или МРМП с диаметром жилы не менее 1,2 мм или другие равноценные марки кабелей или проводов. Оборудование вывода линий I класса показано на рис. 1.58 и 1.59.

Рис. 1.58. Устройство вывода проводов на стойках линии PC I класса.

Рис. 1.59. Устройство разрядников на выводных стойках с проводами PC I класса.

Кабель на выводной стопке разделывают в такой последовательности:

- на конец кабеля, подлежащий разделке, надевают стальную воронку (рис. 1.60) и опускают ее по кабелю вниз, чтобы она не мешала дальнейшей работе;

- в зависимости от размеров воронки определяют длину жил подлежащего разделке кабеля и удаляют со свинцовой оболочки защитные покровы;

- на кабель поверх брони или свинцовой оболочки в месте его входа в горловину воронки наматывают слой из просмоленной бумаги и смоляной ленты, ширина которого должна быть на 5 - 10 мм больше высоты горловины воронки, а диаметр его таким, чтобы горловина воронки туго надевалась на слой бумаги и ленты;

- удаляют свинцовую оболочку, не доходя до намотанного слоя на 25 - 30 мм, и изгибают жилы, придавая им необходимую форму.

Рис. 1.60. Стальная кабельная воронка.

После этого выполняют следующие операции:

- снимают слой свинцовой оболочки шириной 10 мм и перевязывают ниткой находящуюся под ним поясную изоляцию;

- надвигают воронку на место разделки, проверяя при этом достаточность намотанного слоя под горловину и изгиб жил;

- наматывают смоляную или прорезиненную ленту поверх горловины на длине 5 - 10 мм и на близлежащем участке кабеля;

- концы жил, выходящие из воронки, обматывают киперной или лакотканевой лентой и покрывают эмалевой краской;

- на жилы кабеля надевают ребристые фарфоровые втулки и закрепляют их на намотанном слое из кабельной бумаги таким образом, чтобы ребристая часть втулок выступала поверх кабельной массы;

- заливают воронку кабельной массой марки МТ-2.

Промежутки между втулками и выходящими из них жилами заполняют кабельной массой с тем, чтобы в этих промежутках в период эксплуатации не накапливались пыль, влага и т.п.

Если вывод цепей производится кабелями, не имеющими свинцовых оболочек, то тогда на выводной стойке стальная воронка не устанавливается, а кабель МРМ выводится через трубу, на которой устанавливают патрубок. После выхода из трубы кабель закрепляют, разделывают на отдельные жилы, которые и присоединяют к линейным проводам (рис. 1.61).

Рис. 1.61. Устройство вывода цепей кабелями, не имеющими свинцовой оболочки.

1.12. Габариты стоечных линий

1.12.1. Габариты стоечных линий в зависимости от напряжения проводов выбираются из табл. 1.16 и 1.17.

Таблица 1.16

Габариты стоечных линий

Напряжение линии, В

Габариты, м

До 240

0,8

Свыше 240

2,5

Примечание. Габарит 0,8 м может применяться для всех проводов, имеющих атмосферостойкую изоляцию, при напряжении до 360 В включительно.

Таблица 1.17

Габариты стоечных линий

Характеристика габарита

Наименьшее расстояние, м, для линий PC классов

I

II

Расстояние от земли до нижнего провода линии при пересечении автомобильных дорог

6,0

5,5

Расстояние между нижним проводом фидерной цепи PC и верхним проводом линии связи при их пересечении, а также при пересечении проводов PC напряжением до 1000 В между собой

1,25

1,25

Расстояние в пролете пересечения между нижним проводом линии PC и верхним проводом линии электропередач с напряжением не более 380/220 В в пролете пересечения при подвеске проводов PC на стойках над проводами линии электропередачи

1,25

1,25

Расстояние от наинизшей точки провода линии PC до проводов приемных радиоантенн 1)

0,8

0,8

Расстояние от провода линии PC до мачт приемных антенн 2)

4,0

3,0

Примечания: 1. Пересечение антенными проводами проводов линий PC и связи не допускается.

2) Если мачта будет опускаться в сторону, где проходят провода PC и связи, то расстояние от башмака мачты до проводов должно быть больше длины мачты вместе с антенной.

При определении габаритов максимальное провисание (наинизшая точка) проводов устанавливается для того из двух случаев, который дает наибольшую стрелу провеса:

1) провода и канаты покрыты слоем гололеда, температура окружающего воздуха - 5° С, ветер отсутствует;

2) температура окружающего воздуха наивысшая, ветер отсутствует.

2. РЕМОНТ СТОЕЧНЫХ ЛИНИЙ

2.1. Общие указания

2.1.1. Стойки при ремонте устанавливаются на прежнее место или на новое, если требуется изменить трассу линии или довести до нормы габарит линии.

2.1.2. Все металлические части стоек и арматуры как на крыше, так и на чердаке здания должны быть выкрашены в черный или серый цвет. Резьбы болтов, струбцин и пр. должны быть смазаны солидолом или другой антикоррозионной смазкой.

2.1.3. Все отверстия, появившиеся на крыше в результате замены стоек, после окончания работ должны быть тщательно заделаны с окраской отремонтированных мест работниками, производившими ремонт линии.

2.1.4. Во время ремонта необходимо обеспечить бесперебойную работу линии, для чего устанавливают временные опоры, изолирующие прокладки и т.п.

2.1.5. При работах по ремонту линий должны соблюдаться «Правила по технике безопасности при работах на воздушных линиях связи и радиофикации» (М., «Связь», 1972).

2.1.6. Нормы расхода основных материалов на текущий ремонт и содержание стоечных линий PC приведены в приложении 2.

2.2. Замена промежуточной однопарной стойки

2.2.1. Для того чтобы заменить стойку старого типа стойкой нового типа и установить ее на прежнее место, выполняют следующее:

- освобождают стойку от оттяжек и снимают их;

- на место старой стойки устанавливают новую, на которую надевают копыто. Под копыто прокладывают промасленный и просмоленный войлок или пропитанный суриком жгут из каболки;

- после того как стойку пропустили в отверстие, имеющееся на крыше, ее прикрепляют к стропилам при помощи хомута, ни в коем случае не выпиливая и не подрубая стропильной балки;

- если линейные провода не позволяют вынуть стойку из старого отверстия, вводный провод отключают от фидера или абонентской линии и от разветвительной коробки, установленной на чердаке, а провода заменяемой стойки переносят на специальную доску с роликами такой высоты, чтобы нижняя точка провода не доходила до крыши на 16 - 20 см;

- стойку укрепляют оттяжками, расположенными под углом 45° по отношению к траверсам;

- провода переносят на стойку и крепят к изоляторам временной вязкой; окончательная вязка проводится после проверки других стоек; обветшалые вводные провода заменяют новыми;

- на вводные провода надевают резиновую трубку, а затем пропускают через фарфоровую воронку в трубу стойки; один конец вводного провода подключают к разветвительной коробке, а другой - временно к линии;

- регулируют провода линии, после чего их прикрепляют к изоляторам перевязочной проволокой;

- вводные провода на новой стойке присоединяют окончательно к проводам линии.

2.2.2. Если трассу линии изменяют, то место для установки стойки должно быть выбрано так, чтобы были выдержаны все габариты и имелась возможность для дальнейшего развития линии. Необходимо избегать близости дымовых труб и воздушных вентиляционных шахт.

В этом случае установку стойки на новое место проводят в такой последовательности:

- устанавливают и укрепляют новую стойку;

- освобождают от вязок провода на старой стойке и переносят их на новую стойку, где временно крепят к изоляторам; при удлинении трассы провод наращивают, а при укорочении ненужный кусок провода вырезают на ближайшей стойке контрольного пункта или на оконечной стойке;

- после того как все стойки, находящиеся между двумя контрольными стойками, укреплены, провода регулируют и закрепляют на изоляторах;

- старую стойку, оттяжки и т.д. снимают, а образовавшиеся отверстия в крыше герметически заделывают.

2.3. Замена промежуточной однопарной стойки с ответвлением

2.3.1. Замену стойки проводят следующим образом:

- провода освобождают от вязки, снимают с изоляторов и переносят на ролики деревянной подставки; последнюю устанавливают рядом с заменяемой стойкой и укрепляют в нижнем конце доски при помощи проволочного хомута, а вверху - временной оттяжкой к закрепам гребешка или за сделанное в гребешке крыши отверстие, которое после окончания работ заделывают замазкой;

- снимают провода ответвления с изоляторов и подключают к проводам фидерной линии, временно перенесенным на подставку;

- снимают старую и устанавливают новую стойку таким же способом, как и промежуточную без ответвления;

- после того как установят новую стойку, к ней прикрепляют дополнительную траверсу; кроме того, к стойке крепят дополнительную оттяжку со стороны, противоположной натяжению проводов;

- переносят провода ответвления и фидерной линии на изоляторы основной и дополнительной траверсы, где их крепят временной вязкой;

- регулируют провода, причем перед регулированием отводы временно отключают;

- крепят провода к изоляторам перевязочной проволокой.

2.3.2. Если изменяется трасса линии, то стойки на новое место устанавливают в такой последовательности:

- устанавливают и укрепляют новую стойку; заряжают ее новым проводом в резиновой трубке или снятым с заменяемой стойки проводом, если он годен;

- разветвительную коробку, находящуюся у заменяемой стойки, снимают, переносят к новой стойке и там монтируют; в необходимых случаях наращивают провода, применяя холодную скрутку.

После окончания ремонта в местах, где проведено временное наращивание, провода, идущие от понижающего трансформатора до разветвительной коробки, заменяют;

- дальнейший порядок работы аналогичен описанному в пункте 2.3.1.

2.4. Замена однопарной угловой стойки

2.4.1. Работы по замене угловой стойки проводят в такой последовательности:

- на крыше рядом с заменяемой стойкой со стороны внутреннего угла устанавливают и укрепляют деревянную подставку;

- провода на заменяемой стойке освобождают от вязки и переносят на ролики подставки при помощи веревки; во время работ с проводами угловой стойки рабочий должен находиться вне угла, т.е. на стороне, противоположной натяжению проводов;

- старую стойку снимают, освобождают от креплений, а на ее место устанавливают новую стойку и закрепляют оттяжками;

- при помощи веревки и блоков провода переносят с подставки на изоляторы вновь установленной стойки, где и крепят временной вязкой;

- после окончания ремонта участка между двумя контрольными пунктами регулируют и закрепляют окончательной вязкой на изоляторах.

2.4.2. При установке стойки на новое место следует стремиться к тому, чтобы угол поворота был по возможности меньше, если это позволяет габарит. Работа по установке однопарной угловой стойки на новое место проводится так же, как и установка промежуточной однопарной стойки на прежнее место, с тем отличием, что для новой стойки в стропильной балке через обрешетину просверливают новое отверстие, а старое заделывают.

2.5. Замена многопарной угловой стойки

2.5.1. Работы по замене многопарной угловой стойки проводятся в следующем порядке:

- отключают вводные провода;

- устанавливают с небольшим наклоном и укрепляют на крыше две подставки;

- концы подставок при вылетах угла до 5 м присоединяют к кровельному замку или к отверстию, пробитому в стоячем фальце крыши, а при вылетах более 5 м - только к стоячему фальцу; нижние концы подставок крепят при помощи хомутика, а верхние - при помощи блоков;

- провода переносят на ролики; во избежание срыва проводов их с внутренней стороны прикрепляют проволокой к подставкам;

- после переноса проводов подставку устанавливают в вертикальное положение;

- старую стойку освобождают от креплений и на ее место устанавливают новую стойку;

- провода переносят на новую стойку, где и закрепляют временной вязкой (до окончания ремонта между двумя контрольными пунктами);

- после окончания ремонта и регулирования проводов их крепят к изоляторам постоянно.

2.5.2. При перетрассировке линии могут встретиться два случая установки новых стоек: либо с внешней стороны угла, либо с внутренней стороны угла.

При установке стойки с внешней стороны угла работы проводят в такой последовательности:

- устанавливают и укрепляют новую стойку;

- вязки проводов на стойках, смежных с угловой, ослабляют (оставляя два-три оборота) и провода при помощи веревки или блоков постепенно переносят на новую стойку, начиная с нижних проводов внешнего ряда и далее с верхних внутреннего ряда. Если длина переносимых проводов недостаточна, то около контрольной стойки делают вставки;

- затем провода регулируют и закрепляют перевязочной проволокой на изоляторах;

- снимают старую стойку, а отверстия, образовавшиеся в крыше, заделывают и замазывают;

- если на старой стойке имеются вводные провода, то их подвешивают к новой стойке.

При установке новой стойки с внутренней стороны угла работы проводят в таком же порядке, как и при установке стойки с внешней стороны, с тем изменением, что вместо вставки у ближайшего контрольного пункта, к которому сгоняется слабина, производится вырезка из проводов.

2.6. Замена оконечных стоек

2.6.1. Замену оконечной стойки производят в следующем порядке:

- вводные провода отключают от разветвительной коробки и от воздушной линии;

- каждый линейный провод берут в блоки, укрепленные за струбцины оттяжек или за костыли (на стойках старого типа);

- старую стойку снимают и вместо нее устанавливают новую;

- блоки несколько спускают и конец их, укрепленный за струбцину или за костыль, вместе с проводами освобождают и крепят за траверсу; провода натягивают и заделывают оконечной вязкой;

- вводные провода, подвешенные на стойке, подключают к воздушным проводам и к разветвительной коробке.

2.6.2. При установке стойки на новое место в тех случаях, когда не требуется делать вставок, работы проводят в следующем порядке:

- устанавливают новую стойку;

- вводные провода снимают со старой стойки и, если они еще годны для эксплуатации, переносят на новую стойку;

- линейные провода на старой стойке берут в блоки и освобождают от вязок, затем блоки распускают и вместе с проводами переносят на новую стойку; провода на этой стойке закрепляют временной вязкой до окончания ремонта участка, расположенного между контрольным пунктом и оконечной стойкой;

- после окончания ремонта и регулирования проводов их крепят к изоляторам постоянно;

- вводные провода подключают к воздушным проводам и к разветвительной коробке.

2.6.3. Если при установке стойки на новое место длина смежного с ней пролета увеличивается, то в провода делают вставки, а если укорачивается, то вырезают провод у ближайшего контрольного пункта или у оконечной стойки.

2.7. Замена траверс

2.7.1. Если приваренные траверсы стойки пришли в негодность, то в этом случае старую стойку заменяют новой.

2.7.2. На стойках, имеющих съемные траверсы, замену пришедших в негодность траверс проводят следующим образом:

- траверсу освобождают от болтов, прикрепляющих ее к стойке, и на 13 - 15 см поднимают или опускают по стойке в зависимости от того, куда направлено натяжение проводов. При этом, если за траверсу укреплены верхние концы оттяжек, то их предварительно отсоединяют и укрепляют на стволе стойки.

- на место старой траверсы прикрепляют новую, оснащенную изоляторами;

- старую траверсу опускают или поднимают на уровень вновь укрепленной, где и прикрепляют к стойке;

- провода с заменяемой траверсы переносят на изоляторы новой траверсы и укрепляют временной вязкой. К новой траверсе кренят оттяжки;

- окончательно закрепляют провода после завершения ремонта и регулирования проводов на участке, заключенном между двумя контрольными пунктами.

Если заменяют верхнюю траверсу с тягой проводов вверх, то ее поднимают и удерживают при помощи веревки или проволоки, один конец которой присоединяют к траверсе, а другой - к верхней части трубы.

2.8. Выправка стоек

2.8.1. Промежуточную стойку выправляют в вертикальное положение при помощи регулирования оттяжек струбцинами или винтовыми стяжками и затем проверяют вертикальность по отвесу. Если слабину оттяжки нельзя отрегулировать с помощью струбцин, то оттяжку перезаделывают.

2.8.2. Перед подтягиванием (укорочением) какой-либо оттяжки необходимо проверить натяжение противоположной оттяжки и при необходимости ее удлинить.

2.8.3. Выправку угловой стойки, наклонившейся в плоскости оттяжек или близкой к этой плоскости, проводят в такой последовательности:

- ослабляют вязки;

- стойку со стороны, противоположной наклону, берут в блоки, укрепленные одним концом за отверстие в ушке болта, а другим - за трубу стойки у траверсы, регулируют и проверяют по отвесу;

- провода завязывают вязкой (после окончания ремонта участка).

2.8.4. Стойку, наклонившуюся не в плоскости оттяжек, выправляют следующим образом:

- ослабляют вязку;

- ослабляют винтовые стяжки или гайку у струбцин, расположенных со стороны наклона стойки;

- стойку регулируют так же, как указано в п. 2.8.3, при этом нижний конец блоков крепят к специально вбитому в балку костылю;

- провода закрепляют вязкой;

- костыль вынимают и отверстие замазывают.

3. СТРОИТЕЛЬСТВО ПОДЗЕМНЫХ ЛИНИЙ PC И ЛИНИЙ СВЯЗИ СТС III КЛАССА

3.1. Выбор и разбивка трассы подземных фидерных линий PC и линий СТС

3.1.1. Трассу подземной линии PC или СТС выбирают, как правило, вдоль шоссейных и грунтовых дорог и между полотном дороги и краем поля.

3.1.2. Глубина закопки кабелей независимо от их марки должна быть не менее 1,2 м.

В населенных пунктах глубина закопки однопарных и одночетверочных кабелей с пластмассовой оболочкой должна быть также не менее 1,2 м.

3.1.3. Трасса подземной линии должна удовлетворять следующим условиям:

- расстояние между пунктами должно быть минимальное;

- прокладываемый кабель не должен пересекать территорию садов, парков, спортивных и других сооружений и должно быть наименьшее количество пересечений с подземными сооружениями и с линиями электропередачи напряжением свыше 1000 В.

На трассе не должно быть участков:

- содержащих сточные воды, болотные газы, солончаковые почвы;

- где на большом протяжении происходит сдувание снежного покрова;

- где происходят оползни почвы, обвалы или промоины;

- с явно выраженным массовым заселением грызунами.

3.1.4. Если при прокладке кабеля с пластмассовой оболочкой невозможно обойти участки, зараженные грызунами, то кабели можно прокладывать по грунтовым дорогам с малым потоком транспорта.

3.1.5. При необходимости прокладки кабеля на участках с большим количеством грызунов следует произвести непосредственно перед прокладкой вспахивание и химическую обработку почвы на этих участках. При прокладке с помощью кабелеукладчика используют дополнительный тонкий нож и специальный уплотнитель грунта.

3.1.6. Если направление трассы подземной линии РС или СТС совпадает с воздушной линией связи или пересекает ее, то опоры воздушной линии должны отстоять от трассы подземной линии и заземлителей молниеотводов на расстоянии не менее 1 м.

3.1.7. При пересечении линий электропередачи, имеющих напряжение до 1000 В, с подземными линиями PC и СТС должны быть выполнены следующие требования:

- расстояние по горизонтали от основания кабельной опоры линий PC и СТС до проекции ближайшего провода пересекаемой линии электропередачи на горизонтальную плоскость должно быть не менее 5 м;

- расстояние от подземной линии PC и СТС до заземлителя ближайшей опоры линии электропередачи должно быть в населенной местности не менее 5 м, а в ненаселенной - не менее 25 м;

- расстояние от подземной линии PC и СТС до незаземленной опоры линии электропередачи должно быть в населенной местности не менее 2 м, а в стесненных условиях - не менее 1 м, при этом кабель должен быть проложен в стальной трубе; в ненаселенной местности - не менее 5 м.

3.1.8. При пересечении подземной линии PC или СТС (или кабельной вставки) с линией электропередачи напряжением выше 1000 В должны быть соблюдены следующие требования:

- минимально допустимое расстояние от подземной линии до заземлителя ближайшей опоры линии электропередачи должно быть не менее 25 м при удельном сопротивлении земли до 5·106 Ом·м и 50 м при удельном сопротивлении земли более 10·106 Ом·м;

- расстояние по горизонтали от основания кабельной опоры кабельной вставки линии PC или СТС до проекции ближайшего провода пересекаемой линии электропередачи на горизонтальную плоскость должно быть не менее 10 м.

В случае прокладки кабеля PC или СТС с целью экранирования в стальных трубах, покрытия их швеллером и т.п. на длине, равной расстоянию между крайними проводами линий электропередачи плюс по 10 м с каждой стороны от крайних проводов, допускается уменьшение приведенных расстояний до 5 м.

3.1.9. Если кабели PC или СТС прокладываются параллельно силовым кабелям напряжением до 35 кВ, то расстояние между ними должно быть не менее 0,5 м. Это расстояние можно уменьшить до 0,25 м, если напряжение силовых кабелей не превышает 10 кВ и кабели СТС или PC не уплотнены вч системами передачи или многопрограммным вещанием. При этом кабели должны прокладываться в стальных трубах.

3.1.10. В том случае, когда кабели PC пересекают трассу силовых, телефонных и т.п. кабелей, то слой земли между этими кабелями должен быть толщиной не менее 0,5 м. При этом кабель PC на всем участке пересечения плюс 1 м с каждой стороны от него должен быть заключен в трубы. При пересечении кабелей PC с силовыми кабелями они прокладываются над силовыми кабелями; если кабель PC уже проложен, а силовые кабели невозможно заглубить, - то ниже последних.

Кабели PC следует прокладывать под телефонными кабелями. Над телефонными кабелями могут располагаться кабели PC линии II класса в тех местах, где они были проложены до прокладки телефонных кабелей.

3.1.11. Прокладывать подземную линию PC или СТС вдоль линий электропередачи напряжением выше 1000 В, как правило не рекомендуется. B исключительных случаях, когда это необходимо, допустимые ширина и длина сближения подземной линии PC или СТС с указанными линиями определяются расчетом в соответствии с «Правилами защиты устройств проводной связи, железнодорожной сигнализации и телемеханики от опасного и мешающего влияний линии электропередачи», часть I (M., «Связь», 1969).

3.1.12. Выбранная трасса подземной линии должна быть согласована со всеми заинтересованными организациями (правлением колхоза, доротделом, МПС, ЭТУС, РУС, организациями, занимающимися эксплуатацией линий электропередачи).

3.1.13. Места пересечений трассы подземной линии с железной или шоссейной дорогой и линиями электропередач напряжением выше 1 кВ должны быть согласованы с соответствующими организациями.

3.1.14. Выбранная трасса подземной линии обозначается хорошо видимыми флажками или вехами, устанавливаемыми в вершинах углов поворота. На пересеченной местности дополнительно устанавливаются промежуточные флажки или вехи. Те места, в которых кабель выводится на поверхность земли, обозначаются специальными знаками.

3.2. Выбор и разбивка трассы подземной абонентской линии PC

3.2.1. В населенных пунктах кабель должен прокладываться параллельно оси улиц или линии застройки. При механизированной прокладке кабеля трасса должна отстоять от линии застройки на расстоянии не менее чем 1,0 м. При ручной прокладке это расстояние не нормируется.

3.2.2. Трасса абонентской линии должна выбираться так, чтобы возможно больше были использованы механизмы и в то же время вводные кабели имели наименьшее протяжение.

3.2.3. В зависимости от местных условий и технико-экономической целесообразности можно одну абонентскую линию прокладывать вдоль улицы, ближе к той ее стороне, где больше домов, или две линии прокладывать по обеим сторонам улицы. Абонентские вводы в дома при этом могут выполняться как в виде петель (шлейфов), так и в виде отпаек. В последнем случае для удобства эксплуатации каждый восьмой ввод следует устраивать в виде петли (рис. 3.1).

Если абонентская линия прокладывается по одной стороне улицы, то отводы к домам на противоположную сторону улицы должны делаться только в виде отпаек.

Рис. 3.1. Схема подземной абонентской линии с вводами в дома.

3.2.4. Трасса абонентской линии не должна проходить по проезжей части дороги и через места, содержащие сточные воды.

3.2.5. Трасса абонентской линии с указанием всех расстояний и расположением вводов должна быть нанесена на план населенного пункта или на схему расположения улиц и домов.

3.3. Прокладка в одном направлении нескольких линий PC

3.3.1. Если направления двух или более подземных линий, передающих одну и ту же программу, совпадают, то кабели этих линий могут прокладываться совместно. Допускается также совместная прокладка абонентской линии и фидерной линии напряжением до 240 В включительно. Кабели фидерных линий, имеющих большее напряжение, должны отстоять от кабелей абонентских линий на расстоянии не менее 0,5 м.

3.4. Прокладка в одном направлении нескольких линий СТС

3.4.1. Расстояние между кабелями двух или нескольких подземных однопарных линий СТС должно быть не менее 0,1 м.

3.5. Прокладка в одном направлении линий PC и СТС

3.5.1. При совпадении направления подземных линий PC и СТС, если напряжение подземной линии PC не превышает 240 В, кабели этих линий должны отстоять на расстоянии не менее 0,25 м друг от друга; при напряжении свыше 240 В расстояние между кабелями должно быть не менее 0,5 м, один из кабелей при этом должен быть бронированным.

При прокладке двух кабелей в неметаллической оболочке расстояние между ними должно быть не менее 1 м.

3.5.2. При прокладке линии из кабелей МРМ, МРМП трасса линии должна отстоять от подземных линий СТС или PC не менее чем на 3 м, а в стесненных условиях - не менее 1 м.

3.6. Прокладка кабелей PC в блоках ГТС

3.6.1. Прокладывать кабели PC в блоках телефонной канализации можно при условии, что:

1) для кабелей PC предоставляется отдельный канал (отверстие);

2) рабочее напряжение кабеля не превышает 240 В включительно;

3) результирующее переходное затухание на ближнем конце между телефонными и радиотрансляционными цепями соответствует величинам, указанным в табл. 3.1;

4) длина прокладываемого в телефонной канализации кабеля типа МРМПЭ не должна превышать 2 мм, типа МРМПЭБ - 3 км.

Таблица 3.1

Нормы переходного затухания А012 при различном направлении передач

Напряжение радиотрансляционных цепей, В

Величина А012 при различных направлениях радиопередачи

прямом

обратном

Нп

дБ

Нп

дБ

60

6,7

58,2

8,6

74,7

120

7,3

63,4

9,2

80,0

240

8,0

69,5

9,9

86,0

3.7. Подготовка кабелей в пластмассовых оболочках к прокладке

3.7.1. Кабель, предназначенный к прокладке, должен быть тщательно проверен путем внешнего осмотра и электрических измерений. При этом необходимо следить за тем, чтобы у каждой линии оболочка кабеля была одной и той же рецептуры.

3.7.2. При внешнем осмотре бухт (барабанов) однопарного кабеля необходимо обратить внимание на сохранность упаковки, целость оболочки (отсутствие порезов, трещин и глубоких вмятин в изоляции) и соответствие конструктивных размеров техническим условиям.

У одночетверочных кабелей проверяют наличие заводских паспортов, целость щек и обшивки барабанов, целость оболочки и наличие оконечных заделок.

3.7.3. На бухты кабеля, в которых при внешнем осмотре были выявлены расхождения c данными, указанными на бирке, или обнаружены повреждения, должны быть составлены акты. Повреждения кабеля немедленно устраняют.

3.7.4. Кабели, прошедшие внешний осмотр, подвергают электрическим измерениям.

В однопарных кабелях измеряют:

- сопротивление шлейфа жил постоянному току;

- сопротивление изоляции между жилами и каждой жилой и землей.

В одночетверочных кабелях измеряют:

- сопротивление шлейфа жил в парах;

- омическую асимметрию;

- целость экрана;

- сопротивление изоляции каждой жилы по отношению ко всем остальным, соединенным с экраном и землей;

- сопротивление изоляции между жилами каждой пары;

- сопротивление изоляции между экраном и землей;

- отсутствие «разбитых» пар.

3.7.5. Сопротивление шлейфа жил должно измеряться омметром или мостом постоянного тока, погрешность которых не более ± 5 %. При обнаружении обрыва жил или замыкания их между собой повреждение устраняется.

3.7.6. Сопротивление изоляции однопарного кабеля измеряется мегомметром (при напряжении батареи 100 ÷ 500 В) в следующем порядке: одна или несколько бухт (барабанов) кабеля погружается в какую-либо ванну (бочку, кадку) с водой, так, чтобы концы бухт кабеля выступали из воды. В таком положении кабель выдерживается не менее 24 часов. После этого, не вынимая кабеля из воды, для каждой бухты определяют сопротивление изоляции между жилами и сопротивление изоляции каждой жилы по отношению к земле. Прокладывать можно кабель только из тех бухт, сопротивление изоляции в которых соответствует техническим условиям для данного кабеля.

3.7.7. Перед измерением сопротивления изоляции кабелей МРМ, МРМП строительные длины проверяют на герметичность оболочки. Воздух накачивают в кабель до достижения 2,6 атм на конце кабеля. Если утечка воздуха не наблюдается, кабель подвергают дальнейшим испытаниям.

3.7.8. Бухты кабеля с низким сопротивлением изоляции после того, как они пролежали в ванне с водой в течение 24 часов, должны быть тщательно проверены путем протягивания кабеля через воду при непрерывном измерении сопротивления изоляции.

Участки кабеля с пониженным сопротивлением изоляции вырезаются и концы кабеля сращиваются. Такой кабель может прокладываться только в том случае, если сопротивление изоляции кабеля будет соответствовать величинам, приведенным в табл. 3.4.

3.7.9. При перемотке кабеля из бухт на катушки кабелеукладчика или на барабаны для ручной прокладки концы кабеля обязательно сращиваются. Качество выполненных сращиваний проверяется при измерении сопротивления шлейфа жил и сопротивления изоляции жил кабеля.

3.7.10. В одночетверочном кабеле целость экрана и отсутствие разбитых пар проверяют авометром (тестером) или прозвонкой.

3.8. Прокладка кабелей СТС и PC механизированным способом

3.8.1. Работы по прокладке подземных кабельных линий PC и однопарных кабелей СТС с неметаллической оболочкой, как правило, должны выполняться механизированным способом с применением кабелеукладочных машин, оборудованных специальным уплотнителем грунта, что обеспечивает предохранение кабеля от повреждения грызунами.

3.8.2. Для прокладки кабелей применяются в основном одноосные колесные кабелеукладчики типа КУ-2, но могут применяться кабелеукладчики и других типов, из которых наиболее распространенными являются подвесные. При прокладке кабелей однопарных и одночетверочных попользуют легкие кабелеукладчики типа ЛКУ-61 или ЛКУ-61М. Если в одном направлении прокладывают два кабеля, то используют кабелеукладчики типа КУ-120.

Кабелеукладчики снабжаются ножом для прокладки кабеля на глубину не менее 1,2 м.

Конструкции кабелеукладчиков приведены во «Временной инструкции по прокладке и монтажу одночетверочных кабелей типа КСПП» (М., «Связь», 1970).

3.8.3. Во время прокладки кабеля его проверяют на целость жил и на сопротивление их изоляции.

3.8.4. Если кабель пересекает другую трассу или какие-либо подземные сооружения, то работы ведутся вручную. Во время работ должен присутствовать представитель организации, эксплуатирующей эти сооружения.

3.8.5. Во избежание обрыва или вытягивания жил кабеля, а также повреждения его оболочки при прокладке механизированным способом необходимо, чтобы:

- трактор, на прицепе которого работает кабелеукладчик, двигался плавно;

- кабель свободно и равномерно поступал в укладочную трубу кабелеукладчика.

3.8.6. При одновременной прокладке нескольких кабелей необходимо, чтобы все кабели поступали в укладочную трубу кабелеукладчика с равным натяжением, не создавая утолщений, петель или узлов.

3.8.7. При прокладке кабеля механизированным способом необходимо внимательно следить за тем, чтобы сростки кабеля не были повреждены. Места сростков наносят на план-карту трассы линии с привязкой к местности.

В тех случаях, когда места сростков не могут быть точно обозначены на план-карте, разрешается устраивать кабельные петли.

3.8.8. Если кабель прокладывается механизированным способом, то петли, необходимые для отпаек или установки пупиновских катушек, а также шлейфы для вводов оставляют при помощи специальной скобы (рис. 3.2).

После того как петля вытянута и отмерена, трактор передвигается дальше. Один из работников подкапывает траншею и укладывает кабель. Если траншея не готова к моменту прокладки кабеля, то вытянутую и отмеренную петлю сматывают в бухточку и закапывают на глубине 30 - 40 см недалеко от основной магистрали. Кабель накрывают доской для того, чтобы при откапывании петли не повредить изоляции кабеля и облегчить определение местонахождения петли.

Рис. 3.2. Устройство петли при помощи специальной скобы.

3.8.9. При прокладке кабелей МРМ и МРМП и одночетверочных кабелей с кабелеукладчика снимают катушки и тамбур, а среднюю стойку переоборудуют для установки барабана.

3.8.10. При прокладке одночетверочных забелей, а также кабелей МРМ, МРМП в местах окончания строительных длин, на поворотах трассы, в местах подводных переходов и на пересечениях с дорогами устанавливают замерные столбики (рис. 3.3.). Замерный столбик закапывают на расстоянии 1,5 м от кабеля со стороны «поля».

Рис. 3.3. Железобетонный замерный столбик.

3.8.11. Номер столбика должен соответствовать номеру строительной длины. Столбики нумеруют по усилительным участкам. Начало нумерации ведется от главной- станции. Столбики, установленные на поворотах, отмечают знаком поворота (/\ или \/).

3.8.12. Замерные столбики должны быть выбелены известью, номера и знаки наносят с помощью трафаретов черной масляной краской.

3.8.13. Прокладку и монтаж кабелей с пластмассовой изоляцией и оболочкой осуществляют при температуре, указанной в табл. 3.2.

Таблица 3.2

Допустимые температурные режимы для кабелей с пластмассовой изоляцией и оболочкой

Марка кабеля

Допустимая температура, t °C, при эксплуатации

Допустимая минимальная температура, t °С, при прокладке и монтаже

минимальная

максимальная

ПРВПМ

- 30

+ 45

- 5

ПРПВМ

- 30

+ 45

- 5

ПРППМ

- 40

+ 60

- 10

МРМПЭ

- 40

+ 60

- 15

МРМПЭБ

- 40

+ 60

- 15

ПТВЖ

- 40

+ 50

- 10

ПТПЖ

- 40

+ 50

- 10

ТРВК

- 40

+ 50

- 5

КСПП

- 40

+ 50

- 10

МКПВ

- 40

+ 50

- 10

ТПКШ

- 40

+ 50

- 5

3.9. Прокладка кабелей СТС и PC ручным способом

3.9.1. Перед рытьем траншеи намечают в грунте ее боковые линии. Места пересечения трассы табеля с другими подземными сооружениями обозначают колышками с надписями «Кабель», «Водопровод», «Дренаж» и т.п.

3.9.2. При рытье траншеи ручным способом землю выбрасывают на одну сторону (в сторону поля). Если имеются дерн или мостовые покрытия (булыжник, асфальт, щебень и т.п.), то их следует складывать в штабеля на другой стороне так, чтобы после засыпки траншеи использовать для покрытия разрытого места.

3.9.3. До глубины 30 см траншею роют обычной лопатой, а далее траншею углубляют специальной лопатой (рис. 3.4), для штыковой части которой рекомендуется применять сталь толщиной 2 мм.

Рис. 3.4. Специальная лопата для рытья траншей.

3.9.4. Глубина траншеи должна быть не менее 1,2 м. Минимальная ширина траншеи для прокладки кабелей приведена в табл. 3.3.

Таблица 3.3

Минимальная ширина траншеи для прокладки кабелей

Марка кабелей и их количество

Ширина траншеи в основании, м

ПРВПМ, ПРПВМ, ПРППМ (один или два)

0,15

МРМПЭ, МРМПЭБ

0,15 ÷ 0,2

КСПП

0,35 ÷ 0,4

ТПКШБ (один или два)

0,3

3.9.5. В населенных пунктах нельзя засыпать землей или заваливать мостовыми покрытиями и материалами сточные каналы и решетки, пожарные краны и люки различного рода подземных сооружений.

3.9.6. Дно траншеи должно быть выравнено, очищено от камней и щебня.

3.9.7. Изменение глубины траншеи должно проходить по плавной наклонной линии, без резких уступов.

3.9.8. Длина выкапываемой траншеи должна быть равна длине кабеля, прокладываемого за один рабочий день. Если по условиям работы траншея оставляется открытой на ночь, то она должна быть ограждена и около нее установлен световой сигнал. Кроме того, там, где нужно, через траншею устанавливают временные пешеходные мостики с перилами.

3.9.9. Однопарные кабели прокладывают в траншею с переносного тамбура. Если вдоль трассы можно проехать на автомашине, то кабель перематывают на барабан и устанавливают на козлах, так, чтобы он свободно вращался при размотке.

3.9.10. Одночетверочные и многопарные кабели прокладывают с барабана, установленного на автомашине или на кабельной тележке.

3.9.11. Во всех случаях барабан с кабелем при размотке должен равномерно вращаться. Разматывать кабель, вытягивая колец его с неподвижного барабана, не разрешается.

3.9.12. Кабель должен укладываться посередине дна траншеи. Если в одну траншею укладывается несколько кабелей (PC или СТС), то они должны лежать параллельно и не перекрещиваться. Одночетверочные высокочастотные кабели должны находиться на дне траншеи на максимальном расстоянии друг от друга.

3.9.13. После того как кабель уложен, траншею засыпают слоями земли по 15 - 20 см, причем каждый слой плотно утрамбовывают. В первом слое грунта не должно быть камней и других предметов, которые при утрамбовке могут повредить кабель. В населенных пунктах траншею покрывают верхним покрытием, а в поле - дерном.

3.9.14. При прокладке кабеля нельзя нарушать водоспуски и дренажные устройства. В тех случаях, когда избежать прокладки кабеля в зоне полотна шоссейных или железных дорог невозможно, все водоспуски и дренажные устройства, если они попали в трассу, должны быть восстановлены.

3.9.15. Поверхность засыпанной траншей следует восстанавливать только после осадки грунта.

3.9.16. Для облегчения и ускорения прокладки кабеля ручным способом на коротких участках подземных линий траншею роют с промежутками в 5 м. Затем в нее с помощью домкрата проталкивают стальной штырь длиной 2,5 - 2,6 м диаметром 12 - 15 мм. Чтобы пробить весь промежуток (5 м), посередине его отрывают дополнительную яму шириной 20 - 30 см, как показано на рис. 3.5. Оставшуюся часть промежутка пробивают с другой стороны. Кабель протягивают через отверстие при помощи проволоки диаметром 3 - 4 мм, загнутой в виде небольшого кольца на конце.

Рис. 3.5. Способ прокладки кабеля ручным способом на коротких участках подземной линии (размеры даны в см).

3.10. Устройство переходов через водоемы и овраги

3.10.1. При пересечении больших рек кабель прокладывают, как правило, в трубах, подвешенных или уложенных под фермами моста. Резервные переходы не устраиваются. В тех случаях, когда по мосту проложить кабель невозможно, кабель прокладывают по дну реки.

3.10.2. Переход через судоходную реку кабеля линий СТС или PC необходимо устраивать на глубоком месте и на расстоянии не ближе 300 м от пристаней, переправ или мест стоянки судов. Дно реки в месте перехода должно быть без уступов, а берега - с отлогим переходом к возвышенностям.

3.10.3. Нельзя устраивать кабельные переходы в местах водопоя скота, а также там, где дно и берега водоема подвержены размыванию.

3.10.4. Переходы однопарным кабелем через мелкие реки, водоемы должны проводиться с помощью кабелеукладчика.

Если трактор не может пройти через реку или водоем, то кабелеукладчик перетягивают с помощью перекинутого через реку троса. Конец троса прикрепляют к трактору, который движется по противоположному берегу.

3.10.5. Через глубокие водоемы кабели прокладывают при помощи плавучих средств: лодок, баркасов и барж, грузоподъемность которых должна не менее чем в пять раз превышать вес кабеля и рабочих.

Перед прокладкой однопарные кабели привязываются просмоленной бечевкой или просмоленной тканевой лентой к стальной проволоке диаметром 4 - 5 мм. На расстоянии 1 м друг от друга к стальной проволоке мягкой проволокой либо куском того же кабеля привязывают грузила - металлические или керамические (со сквозными отверстиями). Подготовленный к прокладке кабель закрепляют одним концом на берегу, а остальной кабель со стальной проволокой с прикрепленными грузилами укладывается в лодку. При перемещении лодки кабель свободно без натяжения постепенно погружается с воду.

Для того чтобы трасса кабеля была прямолинейной, следует перебросить через водоем или реку трос или стальной провод, надежно укрепленный на берегах, к которому карабином или петлей крепится лодка.

На подходах к берегам кабель углубляется в дно не менее чем на 0,6 - 0,8 м по отношению к наинизшему уровню воды, а при выходе из воды - на 1,2 м.

3.10.6. Прокладываемый через реки и водоемы кабель должен состоять из целого куска без каких-либо сращиваний.

3.10.7. Переход кабеля через большие, глубокие овраги следует производить по мостам. Если это невозможно, то траншея на спуске и подъеме по склонам оврагов должна быть несколько шире нормальной для того, чтобы по дну ее можно было проложить кабель зигзагообразно со слабиной.

Таким же образом прокладывается кабель на склонах берегов рек, каналов и т.д.

3.10.8. Если овраг имеет обрывистые склоны, то применяют воздушный переход. В этом случае по обеим сторонам оврага устанавливают кабельные опоры для перехода с подземной линии на воздушную.

3.11. Устройство переходов через железные, шоссейные и грунтовые дороги

3.11.1. Кабельные переходы через железные дороги, автомагистрали и шоссейные дороги с усовершенствованным покрытием осуществляются подземными проходами без вскрытия покровов, методами прокола или бурения.

3.11.2. Во время работ по устройству такого перехода обязательно должен присутствовать представитель технического персонала, обслуживающего данный участок.

3.11.3. Кабель прокладывают через шоссейные и грунтовые дороги в бетонных, асбоцементных или керамических трубах.

Для того чтобы в трубах не скоплялась вода, они должны быть проложены с уклоном в одну из сторон дороги. Концы металлических труб при пересечении железной дороги выводятся за границы насыпи, а при пересечении автомагистрали или шоссейной дороги - за пределы водосточных каналов на длину не менее 1 м (рис. 3.6). Кабель при входе в трубу и выходе из нее обматывают просмоленной паклей и затем отверстие трубы замазывают замазкой. У каждого конца трубы устанавливают деревянные, металлические или железобетонные опознавательные столбики - пикеты. Места переходов наносятся на план трассы со всеми необходимыми замерами.

Рис. 3.6. Прокладка кабеля при переходе через железные и автомобильные дороги:

а) профиль автомагистрали; б) профиль железной дороги; в) заделка кабеля при входе его в трубу.

3.11.4. Прокладку кабеля под полотном железной дороги нужно проводить в газовой трубе.

Для прокладки необходимо иметь: трубы диаметром 25 мм с соединительными муфтами, одну газовую трубу диаметром 60 - 75 мм длиной 7 м и один отрезок такой же трубы длиной 2,5 - 3 м, специальный сжим (рис. 3.7) для зажатия проталкиваемой трубы в грунт, торцовый ключ с удлиненной ручкой (рис. 3.8), швеллер длиной 1 - 1,5 м и шириной 10 - 15 см, одну специальную соединительную муфту (рис. 3.9) для труб диаметром 60 - 75 мм, конус (рис. 3.10) и доску 200×25×4 см.

Рис. 3.7. Сжим для зажатия проталкиваемой трубы в грунт.

Рис. 3.8. Торцовый ключ

Рис. 3.9. Соединительная муфта для труб диаметром 60 - 75 мм.

Рис. 3.10. Конус для прокола труб диаметром 25 мм.

В начале перпендикулярно полотну железной дороги роется траншея. Для этого можно использовать кабелеукладчик, ножом которого земля разрыхляется в направлении намеченной траншеи. Потом разрыхленную землю выбрасывают лопатами. Траншея роется до требуемой глубины и выравнивается так, чтобы все дно ее составляло равную плоскость. На другой стороне полотна железной дороги также разрыхляют землю кабелеукладчиком, в месте прокола вынимают грунт, углубляют и выравнивают траншею.

Перед проталкиванием трубы на дно траншеи (рис. 3.11) укладывают доску, по которой будет передвигаться сжим.

На другом конце траншеи укладывают швеллер. На трубу надевают сжим и закрепляют его на расстоянии 60 см от конуса, установленного на конце трубы. Болты сжима закрепляют торцовым ключом с удлиненной ручкой (при заталкивании двух труб длиной 14 м достаточно закреплять сжим двумя болтами по диагонали). К другому концу проталкиваемой трубы присоединяют газовую трубу диаметром 60 - 75 мм в упор до сжима, которая, в свою очередь, соединяется с отрезком трубы длиной 2,5 - 3 м специальной муфтой. Второй конец этой трубы под углом примерно 10° приставляют к болту форкопной планки трактора (или автомашины). При медленном движении трактор (или автомашина) заталкивает трубу до сжима в грунт, затем болты сжима ослабляют при помощи ключа, сжим переставляют на 60 см, закрепляют и снова заталкивают и т.д.

Рис. 3.11. Схема прокалывания грунта.

3.11.5. Для защиты кабеля от механических повреждений при пересечении грунтовых дорог поверх первого слоя земли укладывают горбыль, кирпич, бетонные плиты и др.

3.12. Прокладка кабеля по мостам и путепроводам

3.12.1. По мостам и путепроводам кабель прокладывается в стальных или асбоцементных трубах. Место прокладки кабеля выбирается в зависимости от особенностей конструкции данного моста. Открытая прокладка кабеля по мостам не допускается.

3.12.2. Для того чтобы кабель с неметаллической оболочкой не подвергался сильному нагреванию, желоба или трубы с кабелем следует располагать на мосту так, чтобы они были защищены от непосредственного действия прямых солнечных лучей.

3.12.3. Трубы, с кабелем должны иметь небольшой уклон от середины к концам моста.

3.12.4. Концы труб по обе стороны моста должны закапываться в грунт на уровне проложенного в нем кабеля.

3.13. Проверка и измерение кабеля после его прокладки

3.13.1. После прокладки кабель испытывают на целость шлейфа жил, целость экрана, а также сопротивление изоляции экрана по отношению к земле.

3.13.2. Сопротивление изоляции между жилами и сопротивление изоляции каждой жилы однопарных кабелей PC или СТС, измеренные без нагрузки (трансформаторов, громкоговорителей, телефонных аппаратов), при приемке в эксплуатацию вновь построенной или капитально отремонтированной подземной линии должны составлять не менее 75 % от величин сопротивления изоляции, указанной в технических условиях на этот кабель.

3.13.3. Сопротивление изоляции жил одночетверочных кабелей как при строительстве, так и при эксплуатации должно быть не менее 10000 МОм/км, а между экраном и землей - не менее 50 КОм/км.

3.13.4. Целость жил может быть проверена прозвонкой или измерением сопротивления шлейфа при помощи моста постоянного тока или омметра.

3.13.5. Сопротивление изоляции может быть измерено переносным кабельным прибором или мегомметром. Напряжение батареи при измерении сопротивления изоляции должно быть не менее 100 В.

3.14. Устройство и монтаж контрольно-разрывных пунктов

3.14.1. Для удобства эксплуатации и облегчения нахождения повреждений на подземных линиях радиофикации устраивают контрольно-разрывные пункты.

3.14.2. На фидерных линиях контрольно-разрывные пункты устраиваются в местах подключения отвода к фидерной линии, в местах подключения абонентских трансформаторов, в местах перехода подземной линии на воздушную и на берегах рек и водоемов шириной не менее 100 м.

3.14.3. На фидерных линиях контрольно-разрывной пункт устраивается в виде петли (шлейфа) кабеля, который заводится в кабельную коробку (рис. 3.12). На абонентских линиях контрольно-разрывным пунктом может являться каждый абонентский ввод, выполненный в виде петли, поэтому на этих линиях специальные контрольно-разрывные пункты не устраиваются.

Рис. 3.12. Кабельная коробка.

3.14.4. На подземных фидерных линиях кабельные коробки с устройством в них контрольно-разрывных пунктов должны устанавливаться во всех местах, где подключаются абонентские трансформаторы и фидерные отводы. В местах перехода с подземной линии на воздушную, a также на берегах рек и водоемов контрольно-разрывные пункты могут устраиваться как в кабельных коробках, так и в кабельных ящиках, устанавливаемых на столбах.

3.14.5. Кабельные коробки на подземных линиях PC должны устанавливаться на наружных стенах зданий на высоте 2,5 м, а где это невозможно, то на столбе на той же высоте. Если кабельная коробка устанавливается в пункте перехода с подземной линии на воздушную, то высота установки ее определяется габаритами опоры.

3.14.6. Вывод кабеля из земли и ввод его в кабельную коробку (кабельную воронку) должны выполняться в трубе, под рейкой, в желобе или под угольником.

В случае применения рейки, желоба или угольника кабель на всем протяжении от дна траншеи до входа в кабельную коробку (воронку) обматывается миткалевой или изоляционной лентой и прикрепляется к стене или столбу скобами через каждые 50 - 60 см (рис. 3.13).

Рис. 3.13. Устройство перехода с подземной на воздушную линию.

3.14.7. Труба, рейка, желоб или угольник крепятся к стене или столбу накладками на шурупах.

3.14.8. При установке кабельной коробки на кирпичной или глинобитной стене кабель ввода может быть проложен в штробе (борозде) и заштукатурен.

3.14.9. На подземных линиях СТС контрольно-разрывные пункты устраиваются в местах перехода подземной линии на воздушную и при пересечении рек и водоемов шириной не менее 100 м. Контрольно-разрывные пункты устраиваются в кабельных ящиках, устанавливаемых на столбах.

3.14.10. Крепление кабельных ящиков, кабельных коробок, кабельных воронок, элементов механической защиты кабеля (труб, реек, желобов и т.п.) и проводов заземления на железобетонных столбах производится при помощи хомутов, изготовленных из полосовой стали или проволоки.

Все металлические детали, в том числе хомуты, устанавливаемые на железобетонных столбах, должны быть окрашены масляной краской.

3.15. Устройство и монтаж перехода с подземной линии на воздушную

3.15.1. Переход подземной кабельной линии PC и СТС на воздушную линию осуществляется на кабельной опоре.

3.15.2. Переход подземного однопарного кабеля с пластмассовой оболочкой на воздушную линию производится при помощи кабельной воронки, конструкция которой приведена на рис. 3.14.

Рис. 3.14. Воронка для перехода подземной линии на воздушную

Воронка изготовляется из листовой стали толщиной 1 мм и состоит из трех основных частей: верхней, представляющей собой четырехугольную коробку, размером 100×45×65 мм, нижней - четырехугольную призму высотой 70 мм, суживающуюся книзу до 26 мм, и круглой вводной втулки длиной 27 мм, диаметром 20 мм. Общая высота воронки - 197 мм. Внутри верхней части воронки помещаются два разрядника Р-350. Эта часть воронки имеет дверцу на двух петлях, два ушка для прикрепления воронки к столбику и наружный зажим для заземления.

3.15.3. Переход с воздушной линии на одночетверочный или многопарный подземный кабель осуществляется в кабельном ящике, конструкция которого приведена на рис. 3.15.

Рис. 3.15. Кабельный ящик типа ЯКГ-10×2:

1 - отверстие для заземления; 2 - отверстие для вводного кабеля; 3 - отверстие для вывода проводов.

3.15.4. Кабель линии переходит из траншеи на кабельную опору (глубина прокладки - 1,2 м, сохраняется до самой опоры), поднимается по опоре и вводится в кабельную воронку или в кабельный ящик. Вывод кабеля из земли и прокладка его по столбу производятся, как указано на рис. 3.16 и в пп. 3.14.6, 3.14.7.

Рис. 3.16. Переход кабеля подземной линии из траншеи на кабельную опору.

3.15.5. От места выхода из желоба до входа в воронку кабель дополнительно обматывают изоляционной или тканевой лентой так, чтобы он плотно входил в горловину воронки.

3.15.6. Внутри воротки кабель подключается к зажимам разрядников (см. рис. 3.14). К этим же зажимам проводом марки ПР или ЛТВ (для цепей СТС) подключаются провода воздушной линии.

3.15.7. Соединение провода ПР или ЛТВ с проводом воздушной линии осуществляется следующим образом. Провод ПР или ЛТВ обводится вокруг головки изолятора, завязывается узлом и при помощи ответвительного сжима подключается к проводу воздушной линии (см. рис. 3.13).

3.15.8. На столбе устраивается молниеотвод из проволоки диаметром 4 мм или из двух проволок диаметром 2,5 - 3 мм. К молниеотводу посредством припайки стальной перевязочной проволоки подключается зажим заземления защитного устройства кабельной воронки. Сопротивление заземления молниеотвода должно быть не более 50 Ом.

3.15.9. В кабельный ящик, применяемый вместо воронки, воздушная линия вводится проводом ПР или ЛТВ через две фарфоровые втулки, вставляемые в отверстия дна ящика. В ящике должны быть установлены искровые разрядники.

3.16. Пупинизированные подземные линии

3.16.1. Подземные линии с включенными в определенном порядке пупиновскими катушками называют пупинизированными.

3.16.2. На линиях PC пупиновские катушки включаются только в фидерные цепи. Абонентские подземные цепи не пупинизируются.

3.16.3. Фидерные цепи PC, применяемые для систем многопрограммного вещания, не пупинизируются.

3.16.4. Для подземных фидерных цепей РС применяются пупиновские катушки (см. приложение 3) с индуктивностью LS = 10 мГ, включаемые через расстояния S = 1000 ± 50 м (рис. 3.17).

Разбивка линии PC для включения пупиновских катушек начинается от ее конца. В зависимости от результатов разбивки в начале линии может оказаться либо полушаг (рис. 3.17а), либо полукатушка (рис. 3.17б) с индуктивностью 5 мГ.

Рис. 3.17. Схема включения пупиновских катушек в подземные линии PC.

3.16.5. В конце каждой пупинизированной фидерной линии или отвода в месте установки трансформатора включается корректирующий контур (см. приложение 3).

3.16.6. Магистральные фидерные линии из кабеля типа МРМП могут использоваться для питания распределительной сети, состоящей из воздушных фидерных цепей различной протяженности, подземных фидерных цепей из кабелей ПРВПМ и ПРППМ длиной до 8 - 10 км, а также местной сети населенных пунктов.

Длинные пупинизированные распределительные фидерные цепи из кабелей ПРВПМ и ПРППМ подключать к подземным магистральным линиям из кабеля МРМП не рекомендуется, так как при этом ухудшается качество передачи, а удельная мощность оказывается очень высокой (до 3 Вт на точку).

Все магистральные фидерные линии из кабеля МРМ (МРПМ) длиной более 12 км должны быть пупинизированы. Индуктивность пупиновских катушек - 20 мГ, шаг пупинизации - 1000 м.

3.16.7. При выборе места включения пупиновских катушек линию следует начинать с полушага в том случае, если ближайший к станции отрезок, оставшийся после разбивки, будет длиной не менее 0,3 км и не более 0,8 км. Если длина этого отрезка окажется больше 0,8 км, но меньше 1,2 км, то в начале линии следует включать полукатушки с индуктивностью LS = 5 мГ.

Включение катушек в линию из кабелей типа МРМП (МРМ) производится со стороны станции узла. Первая катушка устанавливается на расстоянии 0,5 км от станции узла, остальные - через 1 км друг от друга. В конце линии катушка не ставится. Катушка помещается в землю на глубину 1,3 - 1,4 м.

3.16.8. Пупинизация на соединительных и абонентских линиях сетей СТС целесообразна только в том случае, когда их длина не менее 4 км.

Для пупинизации подземных линии СТС применяют катушки с индуктивностью LS = 70 мГ. Номинальная величина шага пупинизации должна быть равна S = 1000 ± 50 м, действительный (практический) шаг пупинизации не должен отличаться от номинальной величины более чем на ± 20 м.

3.16.9. Пупинизированные подземные линии СТС должны начинаться и оканчиваться полушагом пупинизации.

В исключительных случаях, когда шаг пупинизации превышает максимально допустимую величину, рекомендуется ставить на одну пупиновскую катушку больше.

Пупинизированная абонентская линия от последней пупиновской катушки до абонентской точки может иметь любую длину в пределах шага пупинизации.

3.16.10. Перед включением в линию пупиновской катушки проверяется сопротивление ее обмоток постоянному току, сопротивление изоляции между обмотками, а также каждой обмотки по отношению к земле. Сопротивление изоляции пупиновских катушек измеряется после того, как они пролежат в ванне с водой в течение 24 часов.

3.16.11. Подземные линии, предназначенные для пупинизации, после их проверки должны удовлетворять следующим условиям:

- километрическое сопротивление шлейфа цепи при отключенных отводах, трансформаторах, нагрузках, станционных и абонентских телефонных устройствах должно соответствовать расчетным величинам электрических параметров непупинизированных кабелей;

- величина сопротивления изоляции жил по отношению к земле и между жилами должна быть не менее данных, указанных в п. 3.13.2;

- отводы от линий PC проверяются отдельно и должны удовлетворять тем же требованиям;

- на линиях PC линейные трансформаторы должны обеспечивать коэффициент трансформации, выбранный по проекту; сопротивление изоляции обмоток трансформатора по отношению к корпусу должно быть не менее 50 МОм;

- входное сопротивление абонентских цепей PC, измеренное без трансформатора при частоте 400 Гц, должно примерно соответствовать значению

 Ом,

где Zaб - входное сопротивление громкоговорителя при частоте 400 Гц; Nаб - число абонентских точек.

Абонентские цепи PC, у которых Zвх окажется значительно меньше этой величины, должны быть проверены, а обнаруженные неисправности устранены.

3.16.12. В том месте, где включается катушка индуктивности, вытягивают петлю кабеля длиной 1 м, после чего прокладку кабеля продолжают. Затем вырывают яму, достаточную для работы по установке катушки. На дне ямы делают углубление по размерам катушки с таким расчетом, чтобы проводники, выходящие из катушки, были уложены по дну котлована с некоторым запасом (рис. 3.18).

Рис. 3.18. Укладка кабеля в местах установки пупиновских катушек.

Чтобы избежать повреждения кабеля, яму отрывают рядом с трассой кабеля. Каждую полуобмотку катушки индуктивности включают последовательно в жилу кабеля (рис. 3.19).

Рис. 3.19. Включение полуобмотки пупиновской катушки в жилу кабеля.

3.16.13. Перед установкой катушки индуктивности проверяют целость полуобмоток и выводов путем их прозвонки и величину сопротивления изоляции между каждой полуобмоткой по отношению к другой полуобмотке, соединенной с корпусом. Величина сопротивления должна быть не менее 1000 МОм для катушек LS = 70 мГ и 50 МОм для LS = 10 мГ.

3.16.14. После того как катушка установлена, ее засыпают слоем разрыхленной земли, поверх которого устраивается защитное покрытие из кирпича, бетонной плитки или из доски, пропитанной битумом. Затем яму засыпают и утрамбовывают.

3.16.15. Место установки пупиновской катушки должно быть отмечено на план-карте трассы линии с привязкой к местности.

3.16.16. По мере включения в линию пупиновских катушек со стороны станции должно измеряться сопротивление шлейфа цепи и сопротивление изоляции жил по отношению к земле. На линиях PC необходимо также проверять правильность включения катушек путем измерения волнового сопротивления линии Zc на двух-трех частотах (400, 1000, 2000 Гц).

3.17. Кабели, применяемые для линий PC и СТС

3.17.1. Типы кабелей, применяемых для PC и СТС, приведены в табл. 3.4.

Таблица 3.4

Типы кабелей или проводов, применяемых для линий PC или СТС

Марка кабеля

Диаметр жилы, мм

Толщина изоляции, мм

Номинальные наружные размеры кабеля, мм

Строительная длина, мм

Масса одного километра кабеля, кг

Сопротивление постоянному току, не более, Ом/км

Сопротивление изоляции, не менее, МОм/км

МРМПЭ

1,2

2,4 ± 0,2

13×18

500

-

15,8

5000

МРММПЭБ

1,2

2,4 ± 0,2

14×19

500

-

15,8

5000

ПРВПМ-2×0,8

0,8

0,5 ± 0,1

3,6×7,2

500

25,1

37,6

10

ПРВПМ-2×1,0

1,0

0,5 ± 0,1

4,0×8,0

500

37,8

23,9

10

ПРВПМ-2×1,2

1,2

0,6 ± 0,1

4,6×9,2

500

52,9

16,7

10

ПРПВМ-2×0,8

0,8

0,7 ± 0,1

3,8×7,6

500

37,1

37,6

100

ПРПВМ-2×1,2

1,2

0,7 ± 0,1

4,2×8,4

500

52,9

16,7

100

ПРППМ-2×0,8

0,8

0,5 ± 0,1

3,6×7,2

500

30,5

35,5

100

ПРППМ-2×1,0

1,0

0,5 ± 0,1

4,0×8,0

500

37,4

22,8

100

ПРППМ-2×1,2

1,2

0,6 ± 0,1

4,6×9,2

500

45,4

15,8

100

КРВПМ-3×2×0,5

0,5

0,3 ± 0,1

7,3

100

31,2

96,0

1000

КРВПС-3×2×0,6

0,6

0,3 ± 0,1

7,7

100

44,3

520

1000

ПТВЖ-2×0,6

0,6

0,6 ± 0,1

1,8×5,6

100

12,0

600

10

ПТВЖ-2×1,2

1,2

0,7 ± 0,1

2,6×7,2

100

31,0

140

10

ПТВЖ-2×1,8

1,8

0,8 ± 0,1

3,4×8,8

100

57,3

70

10

ПТПЖ-2×0,6

0,6

0,6 ± 0,1

1,8×5,6

100

8,6

600

60

ПТПЖ-2×1,2

1,2

0,7 ± 0,1

2,6×7,2

100

25,3

140

60

ПТПЖ-2×1,8

1,8

0,8 ± 0,1

3,4×8,8

100

51,7

70

60

ПРЖ-1×1,8

1,8

0,8 ± 0,1

4,5

-

-

-

-

ПВЖ-1×1,4

1,4

0,8 ± 0,1

3,0

-

-

110

10

ПВЖ-1×1,8

1,8

0,8 ± 0,1

3,4

-

-

70

10

ППЖ-1×1,4

1,4

0,8 ± 0,1

3,0

-

-

110

10

ППЖ-1×1,8

1,8

0,8 ± 0,1

3,4

-

-

70

10

ПСПА-1×3,0

3,0

1,5 ± 0,3

6,0

150

-

-

10

ПСПА-1×4,0

4,0

1,5 ± 0,3

7,0

150

-

-

10

ПСВА-1×3,0

3,0

1,5 ± 0,3

6,0

150

-

-

10

ПСВА-1×4,0

4,0

1,5 ± 0,3

7,0

150

-

-

10

ТРП-2×0,5

0,5

0,7 ± 0,1

2,3×6,6

200

50

95

100

ТРВ-2×0,5

0,5

0,7 ± 0,1

2,3×6,6

200

50

95

100

АТРП

0,7

0,7 ± 0,1

2,5×7,0

200

50

85

100

АТРВ

0,7

0,7 ± 0,1

2,5×7,0

200

50

85

100

3.17.2. Для фидерных линий PC с напряжением до 2000 В и для передачи многопрограммного вещания используются кабели марок:

МРМ или МРМП (магистральный для радиофикации с медными жилами диаметром 1,2 мм с покрытием из поливинилхлорида или полиэтилена);

МРМПЭ (магистральный для радиофикации с медными жилами диаметром 1,2 мм, экранированный, с полиэтиленовой изоляцией и оболочкой);

МРМПЭБ (то же, бронированный).

3.17.3. Для фидерных линий PC с напряжением до 360 В, абонентских линий PC и СТС и соединительных линий СТС используются кабели марок:

ПРВПМ (провод для радиофикации с изоляцией из поливинилхлорида, парный с медными жилами диаметром 1,2 и 1,0 мм);

ПРПВМ (провод для радиофикации с изоляцией из пористого полиэтилена и оболочкой из поливинилхлоридного пластика с медными жилами диаметром 1,2 и 1,0 мм);

ПРППМ (то же, с оболочкой из светостабилизированного полиэтилена, с медными жилами диаметром 1,2 и 1,0 мм).

3.17.4. Для абонентских линий PC и СТС применяются также кабели марок ПРВПМ, ПРППМ и ПРПВМ с диаметром медной жилы 0,8 мм.

3.17.5. На коротких абонентских линиях и на вводах к абонентам PC и СТС применяются кабели марок:

ПТВЖ, ПТПЖ (провод телефонный с поливинилхлоридной или полиэтиленовой изоляцией и стальными жилами диаметром 1,8 и 1,2 мм);

ТРВК (телефонный распределительный однопарный кабель с медными жилами диаметром 0,5 мм).

На коротких линиях внутрипроизводственной телефонной связи, а также на вводах к абонентам радиофикации применяются также кабели марок ПТВЖ и ПТПЖ с диаметром жил 0,6 мм.

3.17.6. На соединительных линиях СТС применяются кабели марок КСПП (КСПВ), МКПВ, ТПП (ТПВ), ТГ (ТБ), ТЗГ (ТЗБ).

3.17.7. На коротких соединительных линиях СТС при вводе в районный центр и на абонентских телефонных линиях применяются кабели марок ТПКШ, ТПКШБ, ТГ и ТБ различной емкости от 10×2×0,5 до 100×2×0,5.

3.17.8. Для абонентской проводки телефонной распределительной сети применяются кабели марок:

ТРП (телефонный распределительный с полиэтиленовой изоляцией и медными жилами диаметром 0,5 мм);

ТРВ (то же, с поливинилхлоридной изоляцией);

АТРП (телефонный распределительный с полиэтиленовой изоляцией и алюминиевыми жилами диаметром 0,7 мм);

АТРВ (то же, с поливинилхлоридной изоляцией).

3.17.9. Транспортировать кабели с неметаллической оболочкой на автогужевом транспорте разрешается при температуре не ниже - 10 °С, причем сбрасывать, ударять или класть посторонние предметы на кабель категорически запрещается.

В зимнее время перевозить кабель разрешается не более 1,5 часа в сутки, при этом кабель следует закрывать соломой, брезентом и т.п.

3.17.10. Складировать бухты штабелем высотой более 1 м не разрешается.

3.17.11. Хранить кабель с неметаллической оболочкой надо в закрытых помещениях, где температура не ниже - 30 °С и не выше + 50 °С. Кабель должен быть хорошо защищен от воздействия влаги, дневного света и вредных кислотных испарений.

3.17.12. Перескладировать кабель можно при температуре не ниже - 10 °С. Все необходимые складские работы, связанные с размоткой и перемоткой кабеля, должны проводиться при температуре не ниже - 5 °С.

3.17.13. Во всех случаях оболочка кабеля не должна испытывать нагрева выше + 60 °С.

3.18. Монтаж кабелей в пластмассовых оболочках

3.18.1. Однопарные кабели монтируют в участки до их прокладки.

3.18.2. Одночетверочные, многопарные кабели и кабели МРМПЭ и МРМПЭБ монтируют после прокладки.

3.18.3. Сращивать можно только те кабели, сопротивление изоляции которых не ниже величин, указанных в табл. 3.4.

3.18.4. Если проложенный участок кабеля имеет повреждение, то отыскивают место повреждения и исправляют до начала монтажных работ.

3.18.5. Монтаж кабелей с пластмассовой изоляцией и оболочкой состоит из следующих этапов: подготовительные работы; разделка кабелей; соединение токоведущих жил; восстановление изоляции; восстановление экрана; восстановление оболочки; проверка качества сростков.

3.18.6. При строительстве линий из однопарных кабелей сростки делаются только постоянными.

3.18.7. При выполнении сростков изоляционное покрытие восстанавливается низкотемпературным способом (см. приложение 4).

3.18.8. Перед началом монтажа кабели разделывают. Размеры разделки кабелей приведены в табл. 3.5. При разделке однопарных кабелей одну жилу делают короче другой. При выполнении тройниковых соединений кабель отвода разделывают так же, как кабель линии.

Таблица 3.5

Размеры разделки кабелей

Марка соединяемых кабелей

Схема

Вид соединения

Размеры, мм

А

Б

В

Г

а

б

в

г

ПРППМ с ПРППМ ПРППМ с ПРВПМ

Прямое

110

30

 

40

100

30

30

60

Тройник

110

110

30

30

-

40

40

100

100

30

30

30

-

60

40

ПРВПМ с ПРВПМ

Прямое

75

25

-

40

70

25

-

45

Тройник

110

110

30

30

-

40

40

100

100

30

30

30

-

60

40

ПРПВМ с ПРПВМ

Прямое

120

50

30

40

110

80

60

30

Тройник

120

80

50

50

30

30

40

30

110

80

80

50

60

30

30

30

ПРВПМ с ПРВПМ ПРППМ с ПРППМ ПРПВМ с ПРВПМ

Отвод

90

10

-

30

80

20

-

30

МРМ с МРМ

Прямой

80

20

-

40

75

20

15

55

Тройник

80

80

20

20

-

40

40

80

80

20

20

-

55

55

ПТВЖ С ПТВЖ

Прямое

110

30

-

40

100

30

30

60

Тройник

110

110

30

30

-

40

40

100

100

30

30

30

-

60

40

ПТПЖ С ПТПЖ

Прямое

75

25

-

40

70

25

-

45

Тройник

110

110

30

30

-

40

40

100

100

30

30

30

-

60

40

КСПП с КСПП

Прямое

100

40

70

40

-

25

-

20

Примечания: 1. Зачищаемые участки на схеме заштрихованы.

2. Для тройниковых соединений в числителе указаны размеры кабеля линии, а в знаменателе - кабеля отвода.

3.18.9. Длинная жила одного конца кабеля соединяется с короткой жилой другого конца. Токоведущие медные жилы скручивают с минимальным шагом по длине в 25 - 30 мм. Скрутки отгибают перпендикулярно кабелю и пропаивают. Стальные токоведущие жилы кабеля предварительно залуживают, затем скручивают по длине в 25 - 30 мм и пропаивают. Алюминиевые жилы кабелей СТС соединяют сваркой с применением флюса.

3.18.10. После соединения токоведущих жил производят восстановление защитного покрытия. Технология восстановления покрытия зависит от типа соединяемых кабелей. Материалы покрытий и изоляции жил кабелей приведены в табл. 3.6.

Таблица 3.6

Материал покрытий и изоляции жил кабелей

Марка кабеля

Материал

токопроводящих жил

изоляции жил

поясной изоляции

экрана

оболочки

ПРВПМ

медь

ПВХ

-

-

-

ПРПВМ

- » -

ПЭ

-

-

ПВХ

ПРППМ

- » -

то же, пористый

-

-

ПЭ

МРМ

- » -

ПЭ

-

-

ПВХ

ПТВЖ

сталь

ПВХ

-

-

-

ПТПЖ

- » -

ПЭ

-

-

-

ТРВК

медь

ПВХ

-

-

-

КСПП

- » -

ПЭ

ПЭ, трубка

алюминиевая лента и медная проволока

ПЭ

МКПВ

- » -

ПЭ

ПЭ, трубка

алюминиевые, стальные или медные ленты и проволока

ПВХ

ТПКШ

- » -

ПЭ

ПЭ, лента

алюминиевая фольга или металлизированная бумага и медная проволока

ПВХ

Примечание. ПВХ - поливинилхлорид; ПЭ - полиэтилен.

4. РЕМОНТ ПОДЗЕМНЫХ ЛИНИЙ PC И СТС

4.1. Виды ремонта

4.1.1. Для сохранения механической прочности линейных сооружений, поддержания нормальных электрических характеристик линий и устранения причин, которые могут вызвать повреждения, проводят следующие виды ремонта линий:

- текущий ремонт (текущее содержание);

- капитальный ремонт.

Для выявления объектов, нуждающихся в ремонте, для определения объема ремонтных работ, а также для проверки качества технического содержания подземных и смешанных линий и линейных сооружений PC и СТС областное (краевое) управление связи организует выборочное освидетельствование линий и линейных сооружений.

Освидетельствование проводится представителем Управления связи при участии заместителя, начальника ЭТУС или техника данного ЭТУС.

4.2. Текущий ремонт

4.2.1. К текущему ремонту (текущему содержанию) относятся работы по поддержанию линий и всех линейных сооружений в исправном состоянии, устранению случайных повреждений и замене быстроизнашивающихся частей и деталей оборудования.

4.2.2. В состав основных работ по текущему ремонту (текущему содержанию), выполняемых силами участкового монтера, входят:

а) приведение к норме электрических показателей подземных линий (сопротивление изоляции, входное сопротивление и затухание цепи);

б) переделка недоброкачественных сращиваний кабеля;

в) подсыпка грунта в местах пробоин, оползней, обвалов, образовавшихся на трассе линий, и углубление кабеля на отдельных участках;

г) ремонт кабельных ящиков, кабельных коробок и воронок, чистка контактов, покраска и возобновление надписей;

д) замена фидерных и абонентских трансформаторов, пришедших в негодность, переноска трансформаторов на новые места;

е) проверка и ремонт кабельных переходов через дороги и водоемы;

ж) проверка состояния и ремонт воздушных переходов через дороги и водоемы (укрепление опор, регулировка проводов, проверка и ремонт молниеотводов и др.);

з) замена неисправных кусков кабеля длиной до 100 м;

и) проверка и исправление паспортизации линий и линейных сооружений;

к) проверка правильности включения линейных трансформаторов;

л) укрепление желобов, реек и угольников, а там, где они отсутствуют или сорваны, - установка их;

м) замена неисправных пупиновских катушек.

4.2.3. Текущий ремонт линий и линейных сооружений проводится по плану, составленному линейным техником или старшим техником ЭТУС и утвержденному начальником или заместителем начальника ЭТУС (выделенного предприятия) связи.

Объем работ по текущему ремонту и те участки линий, на которых этот ремонт должен быть проведен раньше, определяются на основании результатов периодических осмотров линий и систематических измерений их.

4.2.4. Текущий ремонт на подземных линиях, как правило, должен проводиться в летнее время.

4.2.5. После окончания работ по текущему ремонту должны быть проведены необходимые электрические измерения.

4.3. Капитальный ремонт

4.3.1. Капитальный ремонт подземных линий PC и СТС проводится при условии действительной в нем необходимости. Необходимость капитального ремонта определяется для каждого участка в отдельности.

4.3.2. Капитальному ремонту подвергаются те участки подземных линий РС и СТС, на которых:

- не обеспечивается механическая прочность линии;

- параметры линии не соответствуют электрическим нормам;

- требуется замена кабелей, их выноска, перекладка или заглубление;

- имеется необходимость в пупинизации линии;

- требуется замена кабельных ящиков или кабельных коробок и воронок, реконструкция контрольно-разрывных пунктов, замена труб, покрытий, желобов, угольников, реек в местах переходов через водоемы, а также в местах выхода кабеля на поверхность земли или ввода его в помещение;

- линейные трансформаторы заменяются более мощными.

4.3.3. На подземных линиях из однопарных кабелей с пластмассовой оболочкой могут встретиться такие повреждения кабеля, когда необходима замена участка кабеля длиной 200 м. В этих случаях использование кабелеукладчика нерентабельно, а целесообразно использовать следующий способ замены поврежденного участка кабеля. По всей трассе поврежденного кабеля через каждые 4 - 5 м выкапывают траншею на глубину его залегания. В начале поврежденного участка кабель разрезают. К поврежденному отрезку присоединяют конец нового кабеля и вместе с поврежденным участком кабеля протягивают через траншеи. B конце поврежденного участка кабель сращивают, а траншеи засыпают.

4.3.4. На проведение капитального ремонта составляется проект, который должен содержать следующие материалы:

а) план-карту трассы ремонтируемой линии с привязкой к местности (масштаб карты не менее 1 : 50000);

б) сводную ведомость объема основных работ;

в) сводную ведомость необходимой рабочей силы;

г) сводную ведомость материалов, арматуры, инструментов, средств механизации линейных работ, транспортных средств и хозинвентаря, необходимых для выполнения работ;

д) смету;

е) пояснительную записку с обоснованием необходимости проведения капитального ремонта;

ж) календарный план проведения работ.

Проект со всеми документами представляется на утверждение в областное (краевое) управление связи.

4.4. Время проведения ремонтных работ

4.4.1. Текущий ремонт линейных сооружений РС и СТС проводится непрерывно в течение года по графикам, предварительно составленным начальником ЭТУС или выделенного предприятия.

4.4.2. Капитальный ремонт подземных линий и линейных сооружений проводится в период с 1 марта по 1 ноября.

4.5. Подготовка к ремонту

4.5.1. До начала ремонтных работ ЭТУС или выделенные предприятия обеспечивают:

- своевременную развозку материалов и арматуры на места проведения ремонтных работ;

- проверку и ремонт имеющихся инструментов и приспособлений и пополнение недостающих;

- ремонт транспортных средств, оборудования и хозинвентаря;

- подготовку квалифицированных рабочих и монтеров-специалистов по подземно-кабельным линиям из кабелей с неметаллической оболочкой.

4.6. Организация ремонтных работ

4.6.1. Капитальный ремонт подземных линий и линейных сооружений PC и СТС проводится под руководством начальника колонны - линейного техника и бригадира.

4.6.2. Линейные участковые монтеры проводят ремонт подземных линий только на своем участке.

5.2.2. Подземные вводы должны подаваться в технические коридоры и лестничные клетки зданий. Если это сделать невозможно, то вводы могут быть поданы на дворовый или боковой фасады здания непосредственно, на дворовый фасад с прокладкой трубопровода через подвал здания, в подвал через фундамент здания и на дворовый фасад через проезды ворот. Ввод в проезды ворот прокладывается у стены, противоположной той, у которой сделан ввод электрического кабеля.

5.2.3. В виде исключения допускается устройство вводов со стороны уличного фасада здания, когда нет горизонтальной прокладки кабелей по фасаду.

Примечание. Прокладка фасадных проводок по стенам зданий запрещается.

5.2.4. В подвальные помещения можно делать вводы только в том случае, если обеспечивается круглосуточный доступ в эти помещения персонала, обслуживающего сеть.

5.2.5. Для ввода в здание подземных радиотрансляционных и телефонных кабелей должны быть отдельные каналы.

5.2.6. При выводе кабелей на наружные стены зданий трубы должны быть скрыты в толще стен.

5.2.7. Кабели от места их ввода на лестничную клетку (горизонтальная разводка) до стояка должны прокладываться:

- в домах без подвалов - скрытым способом в трубах;

- в домах с подвалами - по подвалу открытым способом, но с защитой кабеля от механических повреждений.

5.2.8. Многоканальный трубопровод вводится под ту часть фундамента здания, которая несет наименьшую нагрузку. Место ввода должно быть согласовано с соответствующим райжилуправлением.

5.2.9. В сельской местности, где радиофикация и телефонизация зданий осуществляются с помощью подземных кабелей или проводов в неметаллической оболочке, можно делать несколько подземных вводов в здания. Вводы должны отвечать следующим требованиям:

- кабель и провод в неметаллической оболочке могут подводиться через фундамент здания или по его наружной стене;

- при наличии в абонентском пункте радиофикации одного абонента вводные провода должны заходить на универсальную ограничительную коробку типа УК-2С; при групповом вводе абонентскую радиотрансляционную проводку включают в разветвительную коробку типа УК-2П;

- ввод кабелей и проводов в абонентский пункт СТС должен заканчиваться в телефонной розетке, в которую включается телефонный аппарат, или в распределительной коробке 10×2, если имеется несколько телефонных абонентов;

- кабели, введенные в здания через фундамент, пропускаются через отверстия в полу, прокладываются по внутренней стороне стены под рейкой или заделываются в стену до высоты установки коробок УК-2С, УК-2П, распределительной коробки 10×2 или розетки;

- кабели, проложенные по наружной стене здания, вводятся через отверстия в стене, находящиеся на уровне установки вышеуказанных устройств PC и СТС. Чтобы защитить выведенный из земли кабель от механических повреждений и воздействия света и влаги, его закрывают металлическим угольником или деревянным желобом по всей длине открытой поверхности и на 0,3 м в земле (рис. 5.1). Угольник или желоб крепится к стене с помощью накладок на шурупах. На кирпичных или саманных стенах вводный кабель прокладывается скрытым способом.

Рис. 5.1. Ввод кабеля в здание по наружной стене.

5.2.10. Устройство ввода в абонентский пункт СТС показано на рис. 5.2. Введенный с опоры (рис. 5.2а) внутрь здания кабель или провод заходит на абонентское защитное устройство типа АЗУ-I (рис. 5.2б), а от него на розетку. Заземляющий провод для АЗУ-I прокладывается в одной траншее с вводным кабелем или проводом, но по разным сторонам траншеи.

Рис. 5.2. Устройство ввода в абонентский пункт СТС:

а) устройство телефонной проводки на опоре; б) устройство телефонной проводки у абонента.

5.2.11. При оборудовании ввода в абонентский пункт PC ставят только молниеотвод с искровым промежутком. Ввод должен заходить на ограничительную коробку типа УК-2С, если в данном помещении один абонент, или на разветвительную коробку типа УК-2П, если в помещении несколько абонентских точек.

5.2.12. В отдельных случаях, когда нельзя установить абонентский трансформатор вне здания, устраивают кабельный подземный фидерный ввод со столбовой линии II класса. Этот ввод прокладывается так же, как и кабельный подземный ввод от абонентской столбовой линии. При этом кабельный подземный фидерный ввод оборудуется в помещении лестничной клетки или в коридоре радиофицируемого здания до места установки абонентского трансформатора.

5.2.13. Если устраиваются воздушные вводы со столбовой линии, то для каждого вида сети (радиотрансляционной и телефонной) делают по одному самостоятельному воздушному вводу. В тех случаях, когда число абонентов велико и здание имеет особую конфигурацию, допускается устройство более одного ввода для каждого вида сети.

5.2.14. Длина пролета ввода PC и СТС (от столбов до стены здания) должна быть не более 40 м.

5.2.15. Длина вводного пролета для линий СТС, диаметр провода которых 2 мм, должна быть не более 20 м; если длина пролета больше, то устанавливают дополнительные опоры.

5.2.16. Если к зданию подходит ввод электросети, необходимо, чтобы вводы PC и СТС их не пересекали.

Расстояние по горизонтали между проводами электросети и линий PC или СТС на вводе должно быть не менее 1,5 м.

5.2.17. Если абонентская линия PC подвешена на изоляторах типа РФО, то верхний вводный провод включается в верхний линейный провод абонентской линии через ограничительную перемычку; если же абонентская линия подвешена на изоляторах типа ТФ, то верхний вводный провод включается в верхний провод абонентской линии через ограничительную перемычку на орешковом изоляторе (1 и 2 на рис. 5.3).

Второй вводный провод подключается к нижнему проводу абонентской линии при помощи сжима или перевязочной проволоки, если сжим отсутствует.

Для удобства заделки конец вводного провода обвивается вокруг шейки изолятора на полтора оборота (3 на рис. 5.3).

Место соединения вводного провода с линейным следует покрывать либо масляной краской, либо асфальтовым лаком, обмотав предварительно место соединения изоляционной лентой.

Рис. 5.3. Устройство индивидуального ввода линий PC со столбовой линии.

5.2.18. Если абонентский ввод PC предназначен для питания двух или более точек, то он должен подключаться к абонентской линии без ограничителя (рис. 5.4). В таких случаях ограничители устанавливаются в здании у каждого абонента в отдельности.

Рис. 5.4. Устройство группового ввода линий PC со столбовой линии.

5.2.19. Для воздушного ввода РС и СТС применяются стальная оцинкованная проволока диаметром 1,5 - 3,0 мм или провода с атмосферостойкой изоляцией типов ПРСП (ПРСВ), ПСБАП (ПСБАВ) и др. В исключительных случаях допускается применение изолированных проводов марок: ПРЖ, ПВЖ, ПТВЖ или ПТПЖ сечением не менее 2,5 мм2.

5.2.20. Изоляторы крепятся к стенам с помощью крюков, завинчиваемых в деревянные стены или вмазываемых на спирали в кирпичные стены раствором алебастра или цемента, так, чтобы изолятор имел вертикальное положение и юбки изолятора были направлены вниз (рис. 5.5 и 5.6). Крюки располагаются по горизонтали, как показано на рис. 5.5 - 5.7. Допускается установка крюков вертикально по отношению друг к другу.

Вводные изоляторы при оборудовании группового ввода устанавливаются на радиофицируемом здании вблизи лестничной клетки.

Рис. 5.5. Устройство ввода PC и СТС через деревянную стену.

Рис. 5.6. Устройство ввода PC и СТС через кирпичную стену.

5.2.21. В глинобитных (саманных) домах рекомендуется крюки устанавливать на брусках (рис. 5.7). Внутри помещения защитное устройство АЗУ-I для цепей СТС крепится также на бруске.

Рис. 5.7. Устройство ввода PC и СТО через глинобитную стену.

Для устройства отверстий в глинобитных стенах можно применять специальный бурав-пробойник, который изготавливают из круглой стали диаметром 10 мм и длиной 700 - 800 мм. Раскаленный конец стального прутка расклепывают до ширины 14 мм, затем с помощью тисков или клещей делают 1 - 1,5 оборота, как это показано на рис. 5.8. Второй конец прутка закаливают.

Рис. 5.8. Бурав-пробойник.

Отверстие в стене пробивают со стороны комнаты молотком, вес которого 0,5 - 0,7 кг. Бурав-пробойник, имеющий на конце спираль, при ударе поворачивается и как бы ввинчивается в стену здания. Вынимают бурав-пробойник из стены с наружной стороны дома; выбивать его из стены сильными ударами молотка не рекомендуется.

При оборудовании ввода с подземной линии целесообразно пробивать отверстия под углом к горизонтальной плоскости. Это несколько уменьшает расход кабеля и исключает случайный вылет бурава-пробойника из отверстия.

5.2.22. Если при устройстве ввода не обеспечиваются требуемые габариты вводных проводов над землей, то можно устанавливать дополнительные изоляторы с крюками, укрепленными над местом установки вводных изоляторов.

Если высота здания не позволяет путем установки дополнительных изоляторов с крюками выдержать требуемые габариты, допускается установка стойки (рис. 5.9).

Рис. 5.9. Установка стойки для ввода проводов к абоненту.

5.2.23. Для грунтового и индивидуального вводов PC и СТС применяются провода марок ПРЖ, ПВЖ, ПТПЖ, ПТВЖ (рис. 5.10). Для индивидуальных вводов СТС допускается применение проводов марок ТРП, ТРВ, АТРП, ATРB.

Рис. 5.10. Устройство индивидуального и группового ввода внутри здания.

5.11. Устройство ввода проводом ПТВЖ.

5.2.24. Каждый вводный провод марки ПРЖ при прокладке его через стену здания заключается в полутвердую трубку. На концы полутвердых трубок с наружной стороны здания надевают воронки и закрепляют их в стене отверстиями вниз; с внутренней стороны на провод надеваются втулки.

Для проводов марок ПТВЖ, ПВЖ, ПТПЖ полутвердые трубки не применяют. При оборудовании ввода через кирпичную, саманную или глинобитную стены часть проводов ПТВЖ, ПВЖ, ПТПЖ, которая находится вне стены, разрезается на две жилы и каждая из них прокладывается через отдельные воронки и общую втулку, как показано на рис. 5.11.

Провода ПТВЖ, ПТПЖ, ПВЖ можно прокладывать через деревянные и каменные стены в одном отверстии с установкой одной втулки и одной воронки. В этом случае конец провода, выходящий к изоляторам, разрезается на две части из такого расчета, чтобы разрезанная часть входила через воронку в стену на 3 см; отдельные жилы провода должны быть плотно обмотаны одним слоем липкой поливинилхлоридной ленты.

Устройство вводов и заземлений через оконные коробки запрещается.

5.2.25. Втулки, воронки и полутвердые трубки выбираются по табл. 5.1 в зависимости от сечения провода (жилы).

Таблица 5.1

Арматура, применяемая для прокладки проводов

Сечение жилы, мм2

Диаметр резиновых полутвердых трубок, мм

Тип ролика фарфорового

Тип втулки фарфоровой

Тип воронки фарфоровой

Тип изолятора фарфорового

Диаметр крюков, якорей и полуякорей, мм

Размер шурупов для крепления роликов, мм

Диаметр перевязочной проволоки, мм

диаметр

длина

0,75

7

Р-25

ВВ-11

В-6

-

-

3,5

40

0,5

1,00

7

Р-25

ВВ-11

В-6

-

-

3,5

40

0,5

1,50

7

Р-25

ВВ-11

В-6

РФ-10

8 - 10

3,5

40

0,7

2,50

9

Р-32

ВВ-13,5

В-16

РФ-10

8 - 10

4,5

45

0,7

4,00

9

Р-32

ВВ-13,5

В-16

РФ-10

12

4,5

45

1,0

6,00

9

Р-32

ВВ-13,5

В-16

РФ-10

12

4,5

45

1,0

Примечание. Длина шурупов указана для крепления роликов на неоштукатуренных деревянных стенах. На каменных стенах длина шурупов должна быть увеличена на 15 мм, а на оштукатуренных деревянных - на 25 мм.

5.2.26. Заделка проводов ПРЖ, ПТВЖ, ПВЖ, ПТПЖ на вводных изоляторах производится, как указано на рис. 5.5 - 5.7. Для удобства заделки конец вводного провода поворачивают вокруг шейки изолятора на полтора оборота (см. 3 на рис. 5.3).

5.2.27. При групповом вводе провода с изоляторов проходят через стену в помещение лестничной площадки и прокладываются скрытым или открытым способом до разветвительной коробки, устанавливаемой на лестничной площадке (см. разд. 5.6).

5.2.28. Фидерный ввод со столбовой линии II класса оборудуется так же, как и абонентский групповой ввод, с тем отличием, что в данном случае провода прокладываются не до разветвительной коробки, а до места установки абонентского трансформатора.

В домах, построенных по индивидуальным типовым проектам, проводка выполняется только скрытым способом, за исключением зданий, сооружаемых из лесоматериалов.

5.2.29. Вводные изоляторы на здании устанавливают вблизи лестничной клетки. При наличии нескольких лестничных клеток рекомендуется оборудовать фидерный ввод в ближайшую от вводного столба лестничную клетку.

5.2.30. В многоэтажных домах питание радиоточек осуществляется от проводов, подключаемых к выходу абонентского трансформатора, установленного на первом или втором этаже.

5.2.31. Питание радиоточек, установленных в квартирах, расположенных на нескольких лестничных клетках, при наличии одного фидерного ввода в радиофицируемое здание осуществляется путем прокладки по лестничным клеткам проводов, подключения их к абонентскому трансформатору или разветвительной коробке через соединительные линии, проложенные по чердачному помещению (рис. 5.12).

Рис. 5.12. Схема построения радиотрансляционной сети в доме.

5.2.32. Абонентский ввод в дом со стоечной линии осуществляется через абонентский трансформатор, укрепленный на стойке, устанавливаемой на крыше здания (рис. 5.13). Стойки должны устанавливаться ближе к коньку крыши так, чтобы провода и части стоек не затрудняли доступа к дымовым трубам, слуховым окнам и другим устройствам, а также, чтобы провода не проходили над дымовыми трубами.

Рис. 5.13. Устройство абонентского ввода со стоечной линии.

5.2.33. Провода ввода соединяются с голыми проводами воздушной линии при помощи сжимов или, как исключение, при помощи перевязочной проволоки («британской» спайки).

Для удобства заделки конец вводного провода на стойке поворачивается вокруг шейки изолятора на один-полтора оборота.

Место соединения вводного провода с линейным следует покрасить масляной краской либо асфальтовым лаком, обмотав предварительно место соединения изоляционной лентой.

5.2.34. Провода ПРЖ, вышедшие из стойки в чердачное помещение, закрепляют каждый в отдельности свободно без натяжения на первой паре роликов типа Р-25 или Р-32. Если применяются провода ПТВЖ, ПТПЖ, ПВЖ, то обе жилы вышедшего из стойки провода крепятся под скобку. Ролики или скобки устанавливаются на стропильной балке на расстоянии не более 20 см от стойки.

После того как провода укреплены на первой паре роликов или под скобкой, их включают в разветвительную коробку, которая устанавливается также на стропильной балке, а затем прокладывают в чердачном помещении до верхней площадки лестничной клетки. В домах, где внедряется многопрограммное вещание (МПВ), вместо разветвительной коробки УК-2П делается горячая спайка или холодная скрутка.

5.2.35. В зданиях, где нет чердачных помещений либо чердачное помещение непригодно для установки линейной арматуры PC, а также в зданиях, где оборудуется одна радиоточка без перспективы дальнейшего развития, можно каждую жилу провода ПТВЖ (ПТПЖ или ПВЖ) уложить в полутвердую резиновую трубку и вводить в стойку по отдельности.

5.2.36. В зданиях пятиэтажных серий 1-510, 1-511, 1-515 коробки УК-2П на чердаке не устанавливают. Провода стоечного трансформатора и чердачной проводки соединяют горячим способом (электросварка аппаратом ВКЗ) или скруткой («британка») с надежной изоляцией этих мест лентой типа ПХВ. Сращивание проводов внутри трубостоек категорически запрещается.

5.2.37. При устройстве фидерного ввода со стоечной линии каждый провод вводится в стойку через отдельное отверстие в Т-образной воронке. Для того чтобы фарфоровая воронка была плотно соединена со стойкой, на патрубок воронки наматывается каболка.

При фидерном вводе каждый провод марки ПРЖ или обе жилы проводов ПТВЖ, ПТПЖ, ПВЖ в отдельной полутвердой трубке пропускаются через трубу стойки, при этом обе жилы проводов ПТВЖ, ПТПЖ, ПВЖ соединяются параллельно и используются как один провод.

5.2.38. Провода, выходящие со стойки на чердак, подключаются к разветвительной коробке, как это указано в п. 5.2.34 и на рис. 5.14, и далее прокладываются по чердачному помещению до верхней лестничной площадки, т.е. до места установки абонентского трансформатора. Можно устанавливать трансформаторы в чердачном помещении рядом со стойкой. В этом случае разветвительная коробка около стойки не устанавливается, а провода подключаются непосредственно к трансформатору (рис. 5.15).

Отверстия в кирпичных, железобетонных и деревянных стенах могут быть сделаны при помощи инструментов, описанных в карточках ТЕХСО: № 473 (1950 г.), № 476 (1950 г.), № 692 (1951 г.), № 1264 (1956 г.), № 1500 (1958 г.).

Рис. 5.14. Устройство фидерного ввода со стоечной линии с установкой трансформатора на лестничной площадке.

Рис. 5.15. Устройство фидерного ввода со стоечной линии с установкой трансформатора на чердаке у стойки.

5.3. Арматура и установочные материалы

5.3.1. Провода в трубу и стойку заводятся через фарфоровые или пластмассовые вводные воронки: Т-образную (вертикальную) (рис. 5.16а); одинарную (боковую) (рис. 5.16б).

Рис. 5.16. Вводные воронки:

а) Т-образная; б) одинарная.

Рис. 5.17. Коробки PC:

а) типа УК-2П; б) типа УК-2С.

5.3.2. При оборудовании внутридомовой радиосети для устройства ответвлений и соединений проводов различных марок применяются коробки типов УК-2П и УК-2С (рис. 5.17).

5.3.3. Для изменения напряжения звуковой частоты PC применяются абонентские и фидерные трансформаторы.

Типы абонентских и фидерных трансформаторов и их основные данные приведены в нормах проектирования PC.

5.3.4. Фарфоровые (пластмассовые) втулки, фарфоровые (пластмассовые) ролики, изоляторы, воронки, полутвердые трубки, применяемые при прокладке проводов через стены и междуэтажные (перекрытия, и другая арматура для прокладки проводов выбираются по табл. 5.1.

5.3.5. Если провода подвешены на изоляторах типа РФО, то при устройстве индивидуальных вводов от столбовой линии устанавливается ограничительная перемычка; если провода подвешены на изоляторах типа ТФ, то устанавливается ограничительная перемычка на орешковом изоляторе (см. рис. 5.3).

5.3.6. Крепить ограничительную перемычку на стойках следует так же, как и при устройстве индивидуального ввода от столбовой линии.

На рис. 5.18 показаны способы крепления ограничительной перемычки для оконечной и промежуточной стоек.

Рис. 5.18. Установка ограничительной перемычки на оконечной и промежуточной стойках.

5.3.7. При оборудовании комнатной проводки от грунтового или индивидуального вводов, от стоечной или подземной линии со стороны коридора устанавливают ограничительную коробку типа УК-2С (рис. 5.19).

Рис. 5.19. Схема включения двух абонентов в коробку УК-2С.

В домах-новостройках для посемейного заселения ограничительные коробки УК-2С устанавливаются в слаботочных шкафах (ШС) на лестничных площадках из расчета двух ограничительных сопротивлений на один ввод в квартиру. Ограничительные коробки УК-2С в поэтажных шкафах соединяются шлейфом (рис. 5.20).

Рис. 5.20. Схема включения проводов в шкафу ШС.

5.3.8. Для подключения настольных телефонных аппаратов применяют розетки типов РТ-2, РТ-4 и РТ-5.

Розетка РТ-2 (рис. 5.21) предназначена для подключения одного телефонного аппарата, а розетка РТ-4 (рис. 5.22) - для подключения еще и параллельного или спаренного аппаратов или добавочного звонка.

Рис. 5.21. Розетка РТ-2.

Рис. 5.22. Розетка РТ-4.

Розетка РТ - телефонная пятиконтактная розетка, позволяет, кроме подключения параллельного или спаренного аппарата, включить дополнительное коммутирующее устройство - кнопку, переключатель и т.п.

5.3.9. Для защиты телефонных аппаратов СТС, установленных на воздушных линиях, от опасных напряжений и токов применяются защитные устройства типа АЗУ (рис. 5.23).

Рис. 5.23. Защитное устройство типа АЗУ.

5.3.10. Характеристики и область применения абонентских защитных устройств приведены в табл. 5.2.

Таблица 5.2

Типы и характеристики защитных устройств

Тип защитного устройства

Характеристика

Область применения

АЗУ-1

С двумя угольными разрядниками типа УР-500

При отсутствии пересечений проводов воздушной линии связи с проводами электрической сети напряжением 380/220 В или с сетями трамвая или троллейбуса

АЗУ-2

С двумя угольными разрядниками типа УР-500 и с двумя трубчатыми предохранителями типа СК-1

При наличии пересечений проводов воздушной линии связи с проводами электрических сетей напряжением 380/220 В или с сетями трамвая или троллейбуса

АЗУ-3

С двумя угольными разрядниками типа УР-500, с двумя трубчатыми предохранителями типа СК-1 и двумя искровыми разрядниками типа ИР-0,3

При установке блокиратора, диодной приставки на воздушных линиях связи и пересечении ее с проводами электрических сетей напряжением 380/220 В или с сетями трамвая или троллейбуса

5.3.11. Для устройства домовой сети применяют провода, перечисленные в табл. 5.3; кроме того, могут применяться и другие провода, рекомендуемые Министерством связи СССР.

Таблица 5.3

Провода, применяемые для устройства внутрикомнатной (домовой) проводки на PC и СТС, и способы их прокладки

Место прокладки

Характер помещения

Типы (марки) проводов и кабелей

Способ прокладки проводов

Индивидуальный или групповой ввод со столбовой линии

-

Проволока стальная диаметром 1,5 - 2 мм и 3 мм

На изоляторах типа РФ-10 или ТФ-12

Ввод через стойку

-

ПРЖ сечением 1,5 - 2,5 мм2

Провод ПРЖ или ЛТВ пропускается в трубу стойки свободно, без натяжения, каждый провод в отдельной полутвердой резиновой трубке диаметром 7 - 9 мм

ПТВЖ. диаметром 1,2 - 1,8 мм

ЛТВ (ЛТП) сечением 0,6 мм2

Ввод через наружную стену

-

ПТВЖ диаметром 1,2 - 1,8 мм

Каждая жила прокладывается в отдельности без применения резиновых трубок

ПТПЖ диаметром 1,2 - 1,8 мм

В отдельных случаях допускается применение:

Каждый провод в отдельной полутвердой резиновой трубке

ПРЖ сечением 1,5 - 2,5 мм2

ЛТВ сечением 0,6 мм2

Чердачное помещение

Неотапливаемое

ПРЖ сечением 1,5 - 2,5 мм2

На роликах Р-25 или Р-32

ПТВЖ диаметром 1,2 - 1,8 мм

Под скобки с применением прокладок или каблучными гвоздями

ПТПЖ диаметром 1,2 - 1,8 мм

Лестничное помещение

Неотапливаемое или отапливаемое

ПТВЖ диаметром 0,6 - 1,2 мм

В каналах без резиновых трубок; скрытым способом в полутвердых трубках; открытым способом под скобки с применением прокладок или каблучными гвоздями

ПТПЖ диаметром 0,6 - 1,2 мм

ПРЖ сечением 1,5 - 2,5 мм2

На роликах Р-25 или Р-32

Коридоры и комнаты

Сухое отапливаемое

ПТВЖ диаметром 0,6 - 1,2 мм

Скрытым способом в каналах без резиновых трубок

ПТПЖ диаметром 0,6 - 1,2 мм

ТРП диаметром 0,5 мм

Открытым способом под скобки или каблучными гвоздями. По бетонным стенам, облицованным изразцами, мрамором и т.п. при помощи клея БМК-5

ТРВ диаметром 0,5 мм

АТРП диаметром 0,7 мм

АТРВ диаметром 0,7 мм

ПТВЖ диаметром 0,6 - 1,2 мм

Открытым способом под скобки или с помощью каблучных гвоздей или клеем БМК-5

ПТПЖ диаметром 0,6 - 1,2 мм

ТРП диаметром 0,5 мм

Скрытым способом в каналах или под слоем штукатурки

АТРП диаметром 0,7 мм

ТРВ диаметром 0,5 мм

АТРВ диаметром 0,7 мм

Подвальное, складское помещения, прачечная и т.д.

Сырое

ПРЖ сечением 1,5 - 2,5 мм2

На роликах или изоляторах

ПТВЖ диаметром 0,6 - 1,2 мм

Под скобки с применением прокладок: в гибких или полугибких металлических трубах

ПТПЖ диаметром 0,6 - 1,2 мм

Примечания: 1. Все провода с медными жилами можно применять для телефонной проводки и для стояков PC в домах с повышенной этажностью.

2. При устройстве ввода через стойку надо выполнять следующие правила монтажа проводов:

- при протягивании провода ПТВЖ через трубу стойки обе жилы его соединяют параллельно и используют как один провод;

- при устройстве абонентского ввода PC или СТС оба провода ввода помещают в одной полутвердой резиновой трубке;

- если абонентский ввод РС устраивают в здании, где нет чердачного помещения или это помещение есть, но оно непригодно для нормальной эксплуатации разветвительных коробок, а также в здании, где оборудуется только одна радиоточка и увеличения числа радиоточек не предвидится, то каждую жилу провода ПТВЖ или ПТЖ вводят в трубу стойки в отдельной полутвердой резиновой трубке.

3. В домах с большой нагрузкой радиотрансляционных точек, когда провода со стальными жилами по электрическим параметрам непригодны, разрешается применять провода с медными жилами.

4. При оборудовании групповой распределительной сети многопрограммного вещания в зданиях прокладывается трехпарный кабель типа КРВПС (при отсутствии его допускается прокладка трех пар проводов) и устанавливается обычная распределительная арматура для включения обычных громкоговорителей.

5.4. Устройство чердачной проводки

5.4.1. При вводе через трубу стойки в здания, имеющие более одной лестничной клетки, разводка проводов к лестничным клеткам проводится по чердаку (рис. 5.24). Разводка по чердаку должна проводиться и в тех случаях, когда ввод в здание осуществляется со столбовой линии в ближайшую от места ввода лестничную клетку.

При совместной прокладке проводов и кабеля радиотрансляционной и телефонной сетей по чердаку необходимо соблюдать те расстояния между ними, которые приведены в п. 5.5.5.

В зданиях, выполненных из железобетона, прокладка чердачных проводов осуществляется в стальных трубах или в металлорукаве.

Крепление труб или металлорукава к строительным железобетонным перекрытиям осуществляется при помощи металлических накладок.

Рис. 5.24. Разводка проводов к лестничным клеткам.

5.4.2. Провода с хлопчатобумажной изоляцией прокладывают по чердачному помещению на роликах, а провода с поливинилхлоридной или полиэтиленовой изоляцией - под скобки или прибивают стальными (каблучными) гвоздями.

Расстояние между роликами и скобками указано в разд. 5.8.

5.4.3. Провода прокладываются по стропильным балкам чердака, переходы с одной балки на другую проводятся по специально прибиваемым доскам толщиною 20 мм и шириной 90 мм. Если между стропилами расстояние 120 см и менее, то доски прибивать не следует.

5.4.4. В чердачных помещениях зданий индивидуального пользования провода крепятся только к стропилам. Между стропилами провода свободно провисают.

5.4.5. Ролики Р-25 и Р-32 в чердачном помещении устанавливают на стропильных балках или досках сбоку или снизу для каждого провода в отдельности так, чтобы провод в случае его провисания не ложился на доску или стропильную балку.

Расстояние между проводами должно быть 35 мм. Ролики крепят шурупами. В исключительных случаях промежуточные ролики должны укреплять гвоздями.

5.4.6. Спуск проводов к проходам, отверстиям, в чердачном перекрытии делается по доскам (размер 20×90), прибиваемым одним концом к стропилам, а другим - к потолочной балке или стропильной затяжке (рис. 5.25).

В чердачных помещениях для предохранения проводки от повреждений провода на спусках защищают металлическими желобами. Металлический желоб крепится скобой на шурупах.

5.4.7. Провода с хлопчатобумажной изоляцией, которые при прохождении через междуэтажные, межквартирные перекрытия в чердачное помещение укладывают в полутвердые резиновые трубки, должны доходить до нижних роликов, устанавливаемых на спусковой доске, потолочной балке или стропильной затяжке (см. рис. 5.25).

Рис. 5.25. Устройство проводки PC в чердачном помещении.

5.4.8. Просверливать стропильные балки и стропильные затяжки запрещается.

5.4.9. Чердачная проводка PC заканчивается разветвительной коробкой у стойки, если абонентский трансформатор устанавливается на стойке, или перед абонентским трансформатором, если он устанавливается на чердаке у стойки.

5.4.10. При скрытой проводке PC на лестничных клетках абонентская арматура устанавливается в нишах или в электрослаботочных шкафах типа ШС.

5.5. Устройство распределительной сети по зданию

5.5.1. Во всех новых и реконструируемых капитальных зданиях (сборных крупнопанельных, крупноблочных, кирпичных и др.) проводка должна осуществляться только скрытым способом.

5.5.2. Открытым способом проводка может осуществляться в новых и реконструируемых некапитальных и дощатых (или из теса) или бревенчатых зданиях. В сырых подвальных помещениях проводка осуществляется открытым способом в гибких или полугибких металлических трубах.

5.5.3. На наружных стенах, лестничных клетках, в коридорах и других местах, где возможно повреждение проводов, проводка должна быть защищена.

5.5.4. По лестничным клеткам и коридорам кабели и провода телефонной и радиотрансляционной сетей следует прокладывать в отдельных каналах или в общем коробе с соблюдением расстояний между телефонной и радиотрансляционной проводками, исключающих возможность влияния радиопередач на телефонные разговоры.

5.5.5. В зависимости от длины параллельной прокладки расстояние между телефонной и радиотрансляционной проводками должно быть не менее:

50 мм при длине 70 м

30 мм при длине 50 м

20 мм при длине 20 м

20 мм при длине 20 м

15 мм при длине 10 м.

5.5.6. Скрытая (внутренняя) проводка (рис. 5.26) выполняется:

- в особых каналах, устроенных в толще или в пустотелых элементах конструктивной части здания (в перегородках, стенах и перекрытиях). Каналы должны быть диаметром не менее 10 мм без применения металлических труб;

- в подготовке полов с прокладкой проводов по периметру стен и перегородок, в пазах между элементами подготовки пола и стенами (перегородками) с защитой проводов слоем цементного раствора от механических повреждений при ведении строительных работ;

- по стенам и перегородкам под слоем штукатурки;

- в пазах между строительными элементами стен, перегородок и перекрытий с последующей заделкой гипсовым раствором;

- поверх пола, не имеющего дополнительного настила линолеума или другого материала, в каналах под деревянными плинтусами и галтелями.

При этом для обхода дверных проемов должны предусматриваться закладные детали для образования каналов под проемами (сечением не менее 1 см2).

В случае настила линолеума непосредственно на плиты перекрытия обход дверных проемов допускается в пазах между дверными коробками, наличниками и стенами, а при отсутствии таких пазов допускается открытая прокладка проводов по торцам наличников.

Рис. 5.26. Схема устройства скрытой проводки.

5.5.7. При скрытой проводке арматура телефонной и радиотрансляционной сетей устанавливается и монтируется в совмещенных электрошкафах типа ШС (рис. 5.27). Слаботочная часть совмещенного электрошкафа предназначена для разветвления абонентских сетей телефонных, телевизионных и радиотрансляционных устройств. В зависимости от серии проекта, по которому построен дом (табл. 5.4), применяются различные типы совмещенных шкафов. На рис. 5.27 показано расположение слаботочной арматуры совмещенного шкафа ШС-5-2к.

Применяются также совмещенные шкафы типов ШС-3-1, ШС-4-1, встраивающиеся в нишу размером 950×900×140, или типов ШСУ (размер ниши 1000×390×130), ШС-7 (размер ниши 600×450×130).

Рис. 5.27. Отделение шкафа для слаботочных устройств.

Спецификация к рис. 5.27

Поз.

Обозначение

Наименование

Кол.

Масса

Материал

Примечание

1

478.01.00.00

Металлоконстр. с дверкой

1

6,7

Сборка

 

2

359.00.05

Стойка

0

0,072

Ст. 3

 

3

359.00.04

Скоба 3-х местная

2

0,02

- » -

 

4

359.00.06

Скоба

6

0,0036

- » -

 

5

359.00.03

Скоба крепл. муфты

1

0,03

- » -

 

6

Каталог ЦИНТИ

Распред. коробка

1

3,20

Готов. изд.

Тип КР10×2

7

- » -

Разветв. коробка

1

0,15

- » -

Тип КРТ6-I2

8

- » -

Разветв. муфта 50×2

1

1,23

- » -

 

9

- » -

Ограничит. коробка

3

0,12

- » -

Тип УК-2С

10

ГОСТ 1489-02

Винт M5×16

21

0,00

- » -

 

11

- » -

Винт M6×16

2

0,005

- » -

 

12

- » -

Винт М4×12

6

0,01

- » -

 

13

ГОСТ 6937-54

Шайба 5

21

0,015

- » -

 

14

- » -

Шайба 6

2

0,0015

- » -

 

15

- » -

Шайба 4

6

0,0024

- » -

 

16

359.01.01

Гайка закл. М5

17

0,11

- » -

 

17

478.00.00.02

Гайка спец. М6

2

0,04

- » -

 

5.5.8. Внутренняя проводка и арматура при устройстве проводки открытым способом располагаются открыто на поверхности.

При открытой прокладке провода марки ПТПЖ крепят монтажными гвоздями, провода марки ПТВЖ - скобами. В домах серий 1-510 и 1-515 провода внутриквартирной радиосети прокладываются из шкафа ШС данного этажа в канале электропанели ЭП-5 (вместе со стояком радиотелевидения) до шкафа ШС нижележащего этажа, откуда через отверстия ввода слаботочных сетей прокладываются в подготовку пола квартир данного этажа (рис. 5.28).

Рис. 5.28. Устройство внутридомовой PC на лестничных площадках и вводы проводов в квартиры.

В домах серии 1-511 провода внутриквартирной сети прокладываются от шкафа ШС-1М в борозде между стояковыми трубами в подготовку пола данного этажа (рис. 5.29).

Рис. 5.29. Устройство проводки PC на лестничных площадках и вводы проводов в квартиры домов серии 1-511.

5.5.9. Внутренняя проводка смешанным способом осуществляется в особых каналах, устроенных в толще или в пустотелых элементах конструктивной части здания, лестничных площадок и коридоров (рис. 5.30 и 5.31) и по стенам квартир и комнат; при этом арматуру сетей, за исключением розеток абонентских приборов и ограничителей, монтируют в общих, специально оборудованных нишах. Розетки и ограничительные коробки устанавливают открыто на поверхности стен.


Рис. 5.30. Устройство смешанной проводки PC в жилом доме.

Рис. 5.31. Устройство смешанной проводки PC в административно-хозяйственном здании.


Таблица 5.4

Типы совмещенных электрошкафов, применяемых для устройства распределительной сети

Тип электрошкафа

Наличие сильноточной части

Наличие слаботочной части

Серия домов, в которых применяется

Габариты, см

Масса, кг

Количество ответвлений

Примечание

ШС-1М

Есть

Есть

1МГ-300; 1-510

100×60×16

44

8

Усилители телесигналов устанавливаются по заказу

ШС-3М

Нет

Есть

К-7-3

90×60×16

17,5

8

 

ШС-5-2К

Нет

Есть

П-49 «П» и «Д» П-57

63×48×16

15

2

Двухквартирный

5.5.10. В домах с глинобитными стенами провода и арматуру укрепляют к каркасу здания.

5.5.11. Канализация для скрытой проводки образуется из непрерывной линии трубопроводов и специально оборудованных шкафов, устраиваемых в толще элементов или в пустотелых элементах конструктивной части здания. Специально оборудованные ниши устраиваются только в стенах зданий, а смотровые коробки можно устраивать и в перекрытиях.

5.5.12. Трубопроводы, специально оборудованные линии и смотровые коробки скрытой проводки должны обеспечивать возможность замены и дополнительной прокладки кабелей и проводов в процессе их эксплуатации. Диаметр канала должен быть не менее 50 мм.

5.5.13. Как правило, вертикальные каналы для скрытой проводки следует устраивать без применения металлических труб. Каналы можно устраивать из асбоцементных, пластикатовых, бетонных труб в пустотелых элементах конструктивной части здания, а также путем оставления соответствующих углублений в стенах здания в процессе его строительства с соответствующей отделкой.

5.5.14. Каналы могут иметь круглую, прямоугольную, овальную и треугольную формы. Треугольная форма допускается только в галтелях.

5.5.15. Размер каналов для всех жилых зданий должен быть:

- на вводах в здание - диаметром 25 мм;

- в стенах, полах и перекрытиях для распределительной телефонной, радиотрансляционной сетей и сети коллективного телевизионного приема - диаметром 50 мм для круглой формы, 60×60 мм для прямоугольной формы и 40×70 для овальной формы; в полах и перекрытиях может быть допущено устройство каналов круглой формы, имеющих диаметр 40 мм, с тем, чтобы прокладка всех кабелей и проводов производилась в нескольких каналах;

- на ответвлениях к абонентам для телефонной, радиотрансляционной сетей и сети коллективного телевизионного приема - диаметром 40 мм для круглой формы, 40×40 мм для прямоугольной формы и 35×60 мм для овальной формы.

5.5.16. Прокладка кабелей и проводов между нишами по вертикали должна осуществляться в отдельных каналах диаметром не менее 40 мм:

- для телефонной сети;

- для радиотрансляционной и телевизионной сети.

В плинтусах и галтелях размер каналов должен быть 15×30 мм для прямоугольной и 25×25×35 мм для треугольной формы (рис. 5.32).

Рис. 5.32. Прокладка кабелей и проводов в плинтусах и в галтелях.

5.5.17. При определении числа каналов должно учитываться устройство общего канала для радиотрансляционной сети и сети коллективных антенн.

5.5.18. Ниши слаботочных устройств (телефона, телевидения и радиотрансляции) следует располагать на расстоянии не менее 200 мм с левой стороны от трубопроводов и ниш электросети. Допускается устройство ниш телефонных, телевизионных и радиотрансляционных сетей совместно с нишами электросети, но эти ниши должны быть разделены и иметь отдельные дверцы с запорами.

5.5.19. Специально оборудованные ниши разделяются на монтажные, поворотные и абонентские.

Монтажные ниши применяются:

- для телефонных распределительных коробок, для разветвительных и ограничительных коробок радиотрансляционной сети, а также для арматуры коллективного телевизионного приема (см. рис. 5.29);

- для разветвительных и ограничительных коробок радиотрансляционной сети и арматуры коллективного телевизионного приема (рис. 5.33); эти ниши устраиваются тогда, когда размеры лестничной клетки не позволяют установить общую нишу;


Рис. 5.33. Монтажная ниша для разветвительных и ограничительных коробок PC и арматуры коллективного телевизионного приема.


- для трансформаторов радиотрансляционной сети при установке трансформаторов в здании (рис. 5.34).

Поворотные ниши применяются для поворотов кабелей и проводов и для перехода с одного типа каналов на другой.

Абонентские ниши применяются для розеток абонентских приборов.

Рис. 5.34. Ниши монтажные для трансформаторов PC.

5.5.20. Габариты специально оборудованных ниш должны быть следующими:

- монтажных ниш для телефонных распределительных коробок, для разветвительных и ограничительных коробок радиотрансляционной сети, а также для арматуры коллективного телевизионного приема - 110×100×50 мм, для трансформаторов радиотрансляционной сети при установке трансформаторов в здании - 250×300×130 мм;

- поворотных ниш 250×250×130 мм (для поворотных угловых габариты должны быть 250×425×130 мм);

- абонентских ниш 100×100×40 мм.

5.5.21. Монтажные разветвительные и поворотные ниши могут устраиваться в стенах и в перегородках.

При смешанном способе проводки ниши располагаются на 0,3 - 0,5 м ниже потолка (или на 2,5 - 2,7 м выше пола, если помещение выше трех метров); при открытом способе проводки ниша должна иметь дверку из металла или столярной плиты с внутренним замком.

Устройство ниш над дверными пролетами и лестничными маршами не разрешается.

5.5.22. Провода и кабели, подключаемые к разветвительным, распределительным и ограничительным коробкам, а также к радио и телефонным розеткам, должны иметь запас (рис. 5.35).

Рис. 5.35. Крепление проводов в разветвительной коробке и розетке.

5.6. Устройство лестничной проводки

5.6.1. Лестничная проводка выполняется проводами, марки которых указаны в табл. 5.3.

Лестничная вертикальная проводка (стояки) должна прокладываться от верхней лестничной клетки до нижней в слаботочных шкафах через ограничительные и разветвительные коробки безразрывно (см. рис. 5.20).

Для установки в слаботочных лестничных шкафах серии ШС применяют универсальную коробку типа УРК-4 (рис. 5.36) вместо одной разветвительной и четырех ограничительных коробок типа УК-2.

Рис. 5.36. Универсальная коробка для PC типа УРК-4:

ШС - шина сборная; КА - клемма абонентская; R - сопротивления

5.6.2. При прокладке проводов по лестничным клеткам скрытым способом в каналах провода укрепляются только в нишах.

5.6.3. Провода, прокладываемые открытым способом, крепятся к стенам параллельно архитектурным линиям на расстоянии, обеспечивающем удобство работ при прокладке, ремонте и обслуживании.

5.6.4. Лестничная вертикальная проводка (стояк) при прокладке проводов открытым способом защищается от механических повреждений металлическим желобом (рис. 5.37) или, как исключение, газовой трубой или угловой сталью, устанавливаемыми до высоты 2,5 м от поверхности пола. Нижний конец желоба, трубы или угловой стали вставляется в сквозное отверстие на лестничной площадке до уровня нижней части перекрытия и заделывается в нем цементом. Желоб, труба или угловая сталь крепятся к стенам стальными двухлапчатыми скобами на шурупах и окрашиваются в тон окраски стен лестничной клетки.

Под желобом или угловой сталью провод не укрепляется, а прокладывается свободно.

Рис. 5.37. Металлический желоб для защиты кабеля и проводов от механических повреждений.

5.6.5. На каждой лестничной площадке устанавливаются разветвительные коробки из расчета одна коробка на две квартиры.

5.6.6. Разветвительные коробки при скрытом способе прокладки проводов крепятся шурупами к подрозетникам, установленным на поверхности стен лестничной площадки, на расстоянии 200 мм от потолка. Деревянные подрозетники крепятся к оштукатуренной деревянной стенке шурупами, а к каменной - шурупами со спиралями. На деревянных неоштукатуренных стенках разветвительные коробки устанавливаются без подрозетников.

Допускается также и установка разветвительных коробок без деревянных подрозетников на оштукатуренных деревянных стенах. Разветвительные коробки, устанавливаемые без деревянных подрозетников, крепятся к стенам одним шурупом, проходящим посередине разветвительной коробки.

5.7. Устройство коридорной и комнатной проводок

5.7.1. Диаметр общего канала для ввода в квартиры радиотрансляционных и телевизионных кабелей, а также отдельного ввода для телефонных кабелей должен быть не менее 25 мм на прямолинейных участках и участках с одним поворотом и не менее 32 мм на участках с двумя поворотами.

5.7.2. Скрытая коридорная и комнатная проводки выполняются одним из способов, указанных в п. 5.5.6.

5.7.3. При скрытой несменяемой проводке радиотрансляционной сети в квартирах применяются провода с поливинилхлоридной или полиэтиленовой изоляцией марок типа ПТВЖ или ПТПЖ диаметром жил не менее 1,2 мм.

5.7.4. Радиорозетка устанавливается, как правило, вблизи наружных стен комнат на расстоянии не далее 1 м от штепсельной розетки осветительной сети (для обеспечения удобства питания трехпрограммного громкоговорителя). Розетки должны быть установлены на высоте 0,5 - 1 м над плинтусом (галтелью) или на одинаковой высоте со штепсельными розетками осветительной сети.

5.7.5. Прокладка радиотрансляционных проводов при скрытом и открытом способах должна быть выполнена без разрыва (шлейфом).

Допускается параллельное подключение радиорозеток внутри квартиры с соединением проводов сваркой, опрессовкой или в разветвительной коробке.

5.7.6. При применении открытой проводки ввод с лестничной клетки в коридор или из коридора в квартиру выполняется проводами марок ПТВЖ, ПТПЖ через дверную коробку или возле нее.

5.7.7. При открытой проводке должны применяться провода марок ПТВЖ, ПТПЖ диаметром не менее 0,6 мм.

5.7.8. Прокладка проводов при открытой радиотрансляционной сети осуществляется по стенам и перегородкам на расстоянии до 50 мм от потолка или поверх плинтусов (галтелей).

5.7.9. Прокладывать провода по печам запрещается. Расстояние от прокладываемых проводов до печей и труб отопления должно быть не менее 0,15 м.

5.7.10. При оборудовании комнатной проводки от группового ввода на стене в передней или коридоре устанавливается ограничительная коробка.

При прокладке провода по коридору в том месте, где предполагается установка ограничительной коробки перед радиофицируемой комнатой, необходимо оставлять запас провода в виде кольца диаметром не менее 5 см.

5.7.11. Настенный телефонный аппарат следует устанавливать на высоте 1,4 м, а розетку настольного аппарата - на высоте 0,25 - 0,70 м.

Не разрешается устанавливать розетки около печей и других отопительных приборов, а также вблизи выходных дверей.

Телефонные и радиотрансляционные кабели и провода должны прокладываться в разных направлениях.

5.7.12. На переходах под дверными проемами и через коридоры, а также если прокладка по различным трассам значительно увеличивает длину абонентской проводки, можно совмещать кабели и провода телефонной и радиотрансляционной сетей в одном канале общим протяжением не более 7 м. Если кабели или провода уложены в отдельных металлических трубках, то их можно укладывать рядом (рис. 5.38).

Рис. 5.38. Пересечение трубопроводов коридора.

5.8. Разметка мест прокладки проводов и кабелей

5.8.1. Перед прокладкой кабеля, провода или шнура по стене необходимо выбрать трассу и произвести разметку мест их крепления. Если провода или кабели прокладываются открытым способом, то они должны идти параллельно архитектурным линиям.

Расстояние между точками крепления для проводов марок ПТВЖ, ПТПЖ, ТРП, ТРВ, АТРП, АТРВ должно быть: по горизонтали - 250 - 300 мм; по вертикали - 350 - 400 мм.

5.8.2. При прокладке проводов скрытым способом в слое штукатурки выбирают наикратчайший путь с наименьшим количеством препятствий и наименьшим количеством поворотов (углов).

Борозды в кирпичных, оштукатуренных и глинобитных стенах при скрытой прокладке проводов прорезают инструментом, описанным в карточках ТЕХСО: № 913 (1954 г.), № 1101 (1956 г.) и № 1264 (1956 г.).

5.9. Прокладка проводов ПРЖ или ПТВЖ, ПТПЖ в особо сырых помещениях

5.9.1. Особо сырыми помещениями считаются такие, в которых воздух постоянно насыщен водяными парами, стены, пол, потолок и находящиеся в помещении предметы покрыты влагой. К таким помещениям относятся: ванные, прачечные, душевые, предбанники, моечные, разливочные и т.д.

5.9.2. В особо сырых помещениях провода типа ПРЖ крепятся на изоляторах. Для проводов сечением до 6,0 мм2 применяют изоляторы типа РФ-10 (табл. 5.1). Изоляторы укрепляются вертикально на крюках, якорях или полуякорях. Юбки изоляторов должны быть направлены вниз. На стержень крюка, якоря или полуякоря перед наверткой изоляторов наматывают каболку или надевают пластмассовый колпачок. Каболка не должна выступать из резьбовой части изолятора.

Кроме этого, изоляторы можно крепить на стержнях, устанавливаемых внутри помещения, путем заливки серы с добавлением к ней не более 50 % сухого просеянного песка или при помощи цементного раствора.

5.9.3. Наименьшее допустимое расстояние между проводами цепи должно быть 100 мм, а наибольшее расстояние между изоляторами - 1500 мм.

5.9.4. Провода укрепляют стальной оцинкованной проволокой диаметром 0,5 - 0,7 мм только на шейке изоляторов с обязательной намоткой изоляционной ленты в местах крепления проводов.

5.9.5. Каждый провод, проходящий через стены, заключают в резиновую полутвердую трубку, на которую со стороны сырого помещения надевается воронка, а со стороны сухого помещения - втулка. Отверстие воронки должно быть направлено вниз. Воронки и втулки заливаются битумной массой.

5.9.6. Провода соединяются либо на изоляторах с обязательной пропайкой и изолированием мест соединения, либо на арматуре.

5.9.7. Провода типов ПТВЖ, ПТПЖ укрепляются скобами, под которые подкладывается прессшпановая прокладка, или монтажными гвоздями.

5.10. Сохранность конструктивных и архитектурных элементов здания

5.10.1. Организация, проводящая работы по оборудованию домовой распределительной сети и установке стоек на крышах зданий, несет ответственность за сохранность и целость всех конструктивных и архитектурных элементов здания на рабочем участке.

5.10.2. Если конструктивные и архитектурные элементы здания повреждены, то их восстановление проводится за счет средств, предусмотренных в сметах на радиофикацию здания.

6. УСТРОЙСТВО ВВОДОВ ПОДЗЕМНЫХ ЛИНИЙ КАБЕЛЯМИ ТИПА ПРВПМ И ПРППМ В ПОМЕЩЕНИЯ СТАНЦИЙ РАДИОТРАНСЛЯЦИОННЫХ УЗЛОВ И СТАНЦИЙ СТС

6.1. Как правило, кабели подземных линий PC и СТС должны вводится в помещение радиотрансляционного узла или станции СТС через фундамент здания. Если количество вводимых подземных кабелей небольшое, то их в здание можно вводить на наружной стене.

6.2. Кабели в подвальный или цокольный этаж здания вводят через фундамент в трубах или в специально сооруженных вводных желобах. Затем кабели вводятся по внутренней стороне стен здания в желобах с крышкой или каждый кабель прокладывается непосредственно по стене и закрывается рейкой или вмазывается в стену.

6.3. На станции радиоузла подземные кабели должны оканчиваться на панели выходной коммутации усилительной аппаратуры или на выходном щитке. На станции СТС подземный кабель оканчивается на вводном щитке или вводной стойке.

6.4. Кабели в здание станции по наружной стенке вводятся следующим образом:

- кабель, переходящий из земли на стены зданий, должен быть защищен от механических повреждений, а также от воздействия света. Для этого его прокладывают в трубе или прикрывают рейкой, угольником или желобом по всей длине от дна траншеи до ввода в помещение;

- при защите рейками, желобами или угольниками вводной кабель по всей своей длине обматывается миткалевой или изоляционной лентой;

- рейки, желоб или угольник крепятся к стене двумя-тремя накладками на шурупах;

- на кирпичных или саманных стенах вводной кабель прокладывается в специальной борозде и заштукатуривается;

- внутрь помещения кабель следует вводить через отверстие в стене с применением втулок и воронок.

6.5. Если в здание станции СТС вводится большое количество кабелей разных марок то в этом случае целесообразно соорудить колодец или оборудовать кабельный ввод с применением кабелей марки ТГ или ТЗГ, объединяющих несколько направлений. Вводы должны заканчиваться кабельными шкафами, установленными на стенах зданий или специальных столбах. В этом случае отдельные кабели с пластмассовой изоляцией и оболочкой прокладывают до кабельного шкафа и включают в него.

Кабель от шкафа или колодки вводится в здание через фундамент, как указано в пп. 6.1 и 6.2.

Сваренные участки должны быть тщательно осмотрены. Не должно быть пережогов, оплавлений и расслоений.

Прокладываемый кабель должен иметь эксплуатационный запас.

ПРИЛОЖЕНИЕ 1

ОПРЕДЕЛЕНИЕ ВЕРТИКАЛЬНЫХ УСИЛИЙ В СТОЙКАХ

1. Масса стойки с оборудованием равняется:

G1 = g1 + g2 + g3 + g4,

где g1 - масса изоляторов, кг;

g2 - масса штырей, кг;

g3 - масса траверс, кг;

g4 - масса трубы стойки, кг.

2. Удельная нагрузка or собственной массы провода, массы льда при гололеде и давления ветра на провод при гололеде:

 кг/м·мм2.

Здесь:

 кг/м·мм2;

 кг/м·мм2;

 кг/м·мм2;

 кг/м·мм2,

в свою очередь, v - скорость ветра, м/с (принимается равной 12 м/с);

q - масса одного погонного метра провода, кг;

d - диаметр провода, мм;

b - толщина стенки льда, мм;

S - поперечное сечение провода, мм;

g0 - плотность льда на проводе, равная 0,9 г/см3.

3. Суммарная величина вертикального усилия в промежуточной стойке от собственной массы стойки с оборудованием и проводами, массы льда и давления ветра на проводе при гололеде:

G = G1 + (g7 n l S), кг.

Здесь п - число проводов;

l - длина пролета, м;

S - поперечное сечение провода, мм2.

4. Для угловой или оконечной стойки необходимо к усилиям, перечисленным в п. 3, прибавить натяжение проводов, которое определяется по формуле

, кг,

где s7 - напряжение в проводе при гололеде, кг/мм2;

S - поперечное сечение провода, мм2;

n - число проводов;

угол 17,5° - угол, образуемый проводами с трубой стойки.

ПРИЛОЖЕНИЕ 2

НОРМЫ РАСХОДА ОСНОВНЫХ МАТЕРИАЛОВ И АРМАТУРЫ НА ЕЖЕГОДНЫЙ РЕМОНТ И СОДЕРЖАНИЕ СТОЕЧНЫХ ЛИНИЙ И КАПИТАЛЬНЫЙ РЕМОНТ СТОЕЧНЫХ ЛИНИЙ

Таблица П.2.1

Нормы расхода материалов и арматуры на оборудование абонентских вводов и домовой распределительной сети

Наименование материалов и арматуры

Единица измерения

Расход материалов на оборудование

группового ввода через трубостойку (включая чердачную проводку до разветвительной коробки на верхней лестничной площадке включительно)

группового ввода со столба (до разветвительной коробки на лестничной площадке включительно)

лестничного стояка (одной лестничной площадки, не считая ту, которая входит в оборудование группового ввода)

абонентской точки от группового ввода (через трубостойку или со столба, включая коридорную проводку)

индивидуального введя через трубостойку

индивидуального ввода со столба

абонентской точки от индивидуального ввода

Алебастр

кг

0,3

0,2

0,3

0,2

0,3

0,2

-

Воронки вводные стоечные

шт.

1,05

-

-

-

1,05

-

-

Воронки В-6 (В-16)

- » -

-

2,1

2,1

-

-

2,1

-

Втулки ВВ-11 (ВВ-16)

- » -

4,2

2,1

2,1

3,15

4,2

2,1

-

Изоляторы РФО-12

- » -

-

1,05

-

-

-

1,05

-

Изоляторы ТФ 10

- » -

-

2,1

-

-

-

2,1

-

Каболка

кг

0,015

0,015

-

-

0,015

0,015

-

Крюки КР-10 (КР-8)

шт.

-

2,0

-

-

-

2,0

-

Крюки КН-12

- » -

-

1,0

-

-

-

1,0

-

Лента изоляционная

кг

0,01

0,005

-

-

0,01

0,005

-

Ограничительные вставки (к ограничительным коробкам)

шт.

-

-

-

2,04

2,04

-

-

Ограничительные перемычки

- » -

-

-

-

-

-

1,02

-

Провод ПРЖ 1×1,8 мм

м

30

-

-

-

20

-

-

Провод ПТВЖ 2×1,2 мм

- » -

-

1,0

4,0

-

-

-

5,0

Провод ПТВЖ 2×0,6 мм

м

-

-

-

10,0

-

-

-

Проволока стальная оцинкованная диаметром 2 мм для вводов

кг

-

1,25

-

-

-

1,25

-

Проволока стальная оцинкованная диаметром 0,7 - 1,0 мм (для вязок и спиралей)

кг

0,05

0,002

0,012

0,004

0,03

-

0,002

Разветвительные коробки типа УК-2П

шт.

2,04

1,02

1,02

-

1,02

-

-

Ограничительные коробки типа УК-2С

- » -

-

-

-

1,02

1,02

-

-

Рейка деревянная

мм

2,0

-

2,5

-

2,0

-

-

Розетки деревянные (подрозетники)

шт.

1,04

1,04

1,04

2,08

1,04

-

1,04

Розетки штепсельные

- » -

-

-

-

1,02

 

-

1,02

Ролики Р-25

- » -

44

-

-

-

26

-

-

Сжимы ответвительные

- » -

2,0

2,0

-

-

2,0

-

-

Скобы стальные двухлапчатые

- » -

3,0

-

3,0

-

3,0

-

-

Скобы проволочные

кг

-

0,003

0,016

0,037

-

-

0,014

Цемент

- » -

0,5

-

0,5

-

0,5

-

 

Шурупы с полукруглой головкой 3×15 мм

- » -

0,006

0,003

0,003

0,006

0,006

-

0,03

Шурупы с полукруглой головкой 4×40 мм

- » -

0,12

-

-

-

0,07

-

-

Шурупы с полукруглой головкой 4×50 мм

- » -

0,24

-

0,036

-

0,024

-

-

Шурупы с плоской головкой 4×50 мм

- » -

0,006

0,006

0,006

0,012

0,006

-

0,006

Перевязочная проволока

- » -

-

0,025

-

-

-

0,025

-

Таблица П.2.2

Нормы расхода основных материалов на ежегодный ремонт и содержание стоечных линий PC

Наименование материалов

Единица измерения

Единица, на которую дается норма

Ежегодный ремонт и содержание

В том числе

ежегодный ремонт

содержание

Войлок

кг

км линии

0,25

0,25

-

Изоляторы

шт.

км провода

1,8

1,2

0,6

Каболка смоляная

кг

- » -

0,045

0,03

0,015

Краска масляная

кг

км линии

0,2

0,2

-

Олифа

- » -

- » -

0,3

0,3

-

Припой ПОС-30 (ПОС-40)

- » -

км провода

0,01

0,01

-

Проволока линейная стальная Æ 5 мм

- » -

- » -

1,94

1,30

0,64

То же, Æ 4 мм

- » -

- » -

1,67

1,1

0,57

- » - Æ 3 мм

- » -

- » -

1,12

0,75

0,37

- » - Æ 2,5; 2,0; 1,5 мм

- » -

- » -

1,0

0,7

0,3

Проволока перевязочная оцинкованная Æ 2,5 мм

- » -

- » -

0,3

0,2

0,1

То же, Æ 2 мм

- » -

- » -

0,3

0,2

0,1

- » - Æ 1,2 мм

- » -

- » -

0,2

0,14

0,06

Проволока линейная биметаллическая Æ 4 мм

- » -

- » -

0,85

0,6

0,25

То же, Æ 3 мм

- » -

- » -

0,47

0,3

0,17

Проволока перевязочная биметаллическая или медная Æ 2,5 мм

кг

- » -

0,32

0,22

0,10

То же, Æ 2,0 мм

- » -

- » -

0,24

0,16

0,08

- » - Æ 1,2 мм

- » -

- » -

0,05

0,04

0,01

Проволока стальная для оттяжек, заземления и молниеотводов Æ 4 - 5 мм

кг

км линии

2,0

1,4

0,6

Сжимы контрольные

шт.

км провода

0,5

0,5

-

Термопатроны для стальных проводов

- » -

- » -

0,5

0,3

0,2

Трубостойки разные

- » -

км линии

0,75

0,75

-

Трубки медные для сращивания медных и биметаллических проводов

- » -

км провода

0,3

0,2

0,1

Примечание. Нормы даны для линий PC при 30 опорах на 1 км стоечной линии. При ином количестве стоек на 1 км линии нормы должны быть умножены на коэффициенты:

0,6 при 18 стойках на 1 км линии,

0,8 при 24 стойках на 1 км линии,

1,2 при 36 стойках на 1 км линии.

Таблица П.2.3

Нормы расходов материалов на капитальный ремонт 1 км стоечной линии PC

Наименование материалов

Единица измерения

Количество

Примечание

Проволока перевязочная Æ 2 мм

кг

1,2

Полная перетяжка и регулировка проводов

Проволока для оттяжек

- » -

22,5

Норма на одну оттяжку 0,375 кг из расчета 60 оттяжек при замене 15 стоек на 1 км

Проволока для заземлений Æ 4 - 5 мм

- » -

5

 

Термопатроны

шт.

2

 

Изоляторы

- » -

36

 

Каболка смоляная

кг

0,45

 

Провод атмосферостойкий

м

42

 

Стоики трубчатые однопарные с арматурой

шт.

15

 

Сжимы контрольные

- » -

2

 

Краска масляная

кг

4

 

Олифа

- » -

6

 

Войлок пропитанный

- » -

5

 

ПРИЛОЖЕНИЕ 3

ПУПИНОВСКИЕ КАТУШКИ И КОРРЕКТИРУЮЩИЕ КОНТУРЫ

Пупиновские катушки для подземных линий PC

Пупиновская катушка без сердечника делается из кабеля ПРВПМ-0,8 (ПРППМ-0,8). Число витков 230. Индуктивность 10 мГ. Сопротивление катушки постоянному току 4,5 Ом, сопротивление изоляции не менее 50 МОм (рис. П.3.1).

Для магистральных фидерных линий из кабеля МРМ (МРМП) индуктивность пупиновских катушек 20 мГ. Схема включения катушки приведена на рис. П.3.2.

Выводные концы пупиновских катушек PC должны быть из кабеля, имеющего оболочку той же рецептуры, что и кабель подземной линии.

Рис. П.3.1. Пупиновская катушка для подземных линий PC.

Рис. П.3.2. Схема включения пупиновской катушки.

Пупиновские катушки для подземных линий СТС

1. Пупиновская катушка имеет индуктивность 70 ± 1,5 мГ. Сопротивление катушки постоянному току 6 Ом. Сопротивления полуобмоток постоянному току должны отличаться не более чем на 0,15 Ом. Сопротивление изоляции между каждой полуобмоткой и другой полуобмоткой, соединенной с корпусом, 1000 МОм (рис. П.3.3).

Рис. П.3.3. Пупиновская катушка для подземных линий СТС.

2. Ящики с пупиновскими катушками разрешается транспортировать автогужевым транспортом при температуре не ниже - 10 °С, причем сбрасывание ящиков или перевертывание их не допускается.

3. Пупиновские катушки должны храниться в сухом закрытом помещении при температуре не ниже - 30 °С и не выше + 50 °С.

При хранении катушек без упаковки необходимо тщательно оберегать их от воздействия дневного света и солнечных лучей.

4. Перекладывание пупиновских катушек из ящика в какое-либо другое место допускается при температуре не ниже - 5 °С.

5. Выводные концы пупиновских катушек PC и СТС должны быть из кабеля, имеющего оболочку той же рецептуры, что и кабель подземной линии.

Корректирующие контуры

1. В корректирующем контуре (рис. П.3.4) катушка L1 имеет 2210 витков провода ПЭЛШО или ПЭШО диаметром 0,41 - 0,50 мм, намотанных на круглый каркас из прессшпана; диаметр каркаса 70 мм, ширина между щечками 40 мм, диаметр начального витка 20 мм.

Рис. П.3.4. Схема корректирующего контура для линий PC.

2. Катушка контура L2 имеет 205×2 витков провода ПЭ диаметром 0,60 - 0,75 мм, намотанных на каркас катушки.

3. Конденсаторы C1 и С2 имеют бумажную изоляцию и рассчитаны на постоянное рабочее напряжение не ниже 400 В.

4. Сопротивления R1 и R2 могут быть проволочные из высокоомного провода диаметром 0,26 - 0,29 мм или непроволочные типа ВС на допустимую мощность рассеивания 5 - 10 Вт.

5. Детали контура монтируются на отдельной панели из изоляционного материала и помещаются в металлический влагонепроницаемый кожух типа линейного трансформатора, который заливается церезином или другой изолирующей массой.

6. Для коррекции частотной характеристики непупинизированного магистрального фидера (кабелей МРМ или МРМП) должна быть использована цепочка из последовательно соединенных R = 200 ÷ 300 Ом и С = 0,06 - 0,1 мкФ.

Характеристика пупинизированной магистральной фидерной линии производится путем установки из последовательно соединенных L = 20 мГ, С = 8 мкФ, R = 1500 ÷ 2000 Ом.

Окончательная подгонка элементов корректирующих цепочек производится на линии при подключении реальной нагрузки.

Корректирование частотной характеристики проводится при пониженном напряжении на входе магистрального фидера, равном 10 % от номинального.

Элементы корректирующих цепочек устанавливают в шкафу понижающей трансформаторной подстанции.

Для коррекции могут быть использованы конденсаторы типа КБГ на напряжение 1500 В и проволочное сопротивление, рассчитанное на мощность 300 - 400 Вт.

ПРИЛОЖЕНИЕ 4

СПОСОБЫ СРАЩИВАНИЯ КАБЕЛЕЙ С ПЛАСТМАССОВОЙ ИЗОЛЯЦИЕЙ И ОБОЛОЧКОЙ

Восстановление изоляции и оболочки кабеля

Технология восстановления защитных покровов зависит от типа соединяемых кабелей.

В качестве постоянного метода используется способ восстановления оболочки и изоляции жил поливинилхлоридными и полиэтиленовыми лентами с клеящими составами.

Поливинилхлоридную изоляцию и оболочку восстанавливают поливинилхлоридной лентой с клеящим составом из смеси пластификаторов или перхлорвиниловым клеем. Полиэтиленовую изоляцию и оболочку восстанавливают полиэтиленовой лентой с полиизобутиленовой массой.

При восстановлении поливинилхлоридной изоляции вместо смеси пластификаторов разрешается использовать клеящий состав на основе дихлорэтана.

Смесь пластификаторов приготовляют из следующих веществ: диметилфталата (или диоктилфталата) - 80 - 85 %; дибутилфталата - 20 - 15 % и пластиката (на 100 г смеси 1 ÷ 2,5 г пластиката) из перхлорвиниловой смолы или мелко нарезанной поливинилхлоридной ленты.

Отмеренные количества пластификаторов сливают в один сосуд и хорошо взбалтывают. Для растворения смолы (ленты) смесь ставят в горячую воду (70 - 80 °С) и периодически перемешивают. После растворения смолы (ленты) смесь пластификаторов охлаждают и разливают в стеклянные бутылки, тюбики или масленки.

Полиизобутиленовую массу приготовляют из смеси полиизобутилена марки П-20 (59 г), полиизобутилена марки П-85 (6 г) с чистым бензином марки Б-70, бензин берут 25 г и в расчете на 100 г массы.

Для приготовления массы полиизобутилен измельчают на кусочки диаметром 5 - 10 мм, перемешивают и закладывают в стеклянную банку, в которую наливают бензин. Банку плотно закрывают на 24 часа. Затем массу периодически тщательно перемешивают сухой деревянной палочкой до получения однородной массы. Через 3 - 4 суток масса готова к употреблению.

Размеры поливинилхлоридных и полиэтиленовых лент, применяемых при монтаже однопарных и одночетверочных кабелей, приведены в табл. П.4.1.

Таблица П.4.1

Размеры лент, применяемых при низкотемпературном способе монтажа кабелей

Марка кабеля

Характер соединения

Количество и размеры лент

полиэтиленовой толщиной 0,1 - 0,15 мм, шириной 15 мм

поливинилхлоридной толщиной 0,15 - 0,25 мм, шириной 15 мм

ПРВПМ-1,8 ПТВЖ-1,8 ТРВК-0,5

Прямое

-

Две, длиной 1 м каждая

Тройник

Две, длиной 1,5 м каждая

ПРПВМ-1,2

Прямое

Две, длиной 0,7 м каждая

Две, длиной 1 м каждая

Тройник

Две, длиной 1,5 м каждая

Две, длиной 1,5 м каждая

ПРППМ-1,2 ПТПЖ-1,8

Прямое

Две, длиной 0,7 м каждая

Две, длиной 1 м каждая

Тройник

Две, длиной 1,5 м каждая

Две, длиной 1,5 м каждая

МРМ

Прямое

Две, длиной 1,5 м каждая

Одна, длиной 4 м

КСПП-1×4×1,2

Прямое

Четыре, длиной 0,7 м каждая и одна длиной 2 м

Одна, длиной 6 - 8 м

Перед монтажными работами поливинилхлоридные и полиэтиленовые ленты нарезают и скручивают в рулоны.

Чтобы рулоны не раскручивались, их закрепляют простой изоляционной лентой.

Примечание. Более подробно о сращивании кабелей изложено в следующих инструкциях, руководствах и справочниках:

- Инструкции по проектированию, строительству, монтажу и эксплуатации подземных магистральных фидерных линий сельской радиофикации из кабелей МРМ и МРМП (М., «Связь», 1970);

- Временном руководстве по прокладке и монтажу однопарных кабелей с пластикатовой, изоляцией для радиофикации и сельской телефонной связи (М., Связьиздат, 1963);

- Временной инструкции по прокладке и монтажу одночетверочных кабелей типа КСПП (М., «Связь», 1970);

- Инженерно-техническом справочнике по электросвязи (Сельская телефонная связь) (М., «Связь», 1973).

При восстановлении изоляции смесь пластификаторов наносится на ленты или оболочки мягкой кисточкой, а полиизобутиленовая масса - деревянной палочкой.

Кисточку и деревянную палочку во избежание их загрязнения рекомендуется хранить в пробирках.

В полевых условиях изоляцию кабеля восстанавливают клеящими составами в монтажном станке.

Подлежащий сращиванию участок кабеля с соединенными токопроводящими жилами укрепляют в станке двумя зажимами. Жилы разводят в сторону, а 30 - 40 мм изоляции и оболочки зачищают монтерским ножом по обе стороны от оголенного участка токопроводящих жил.

Поливинилхлоридную оболочку кабелей «восьмерочной» конструкции типов ПРВПМ и ПТВЖ при соединении их между собой и с кабелями типов ПРППМ, ПРПВМ, ПТПЖ восстанавливают поливинилхлоридной лентой со смесью пластификаторов путем индивидуальной обмотки каждой жилы. На зачищенную поверхность пластиката наносится тонкий слой смеси пластификаторов, причем края оболочки на 3 - 4 мм от оголенного участка жил должны оставаться сухими. Конец ленты накладывают на сухой край оболочки, вокруг нее делают один оборот и далее лента навивается с 50 % перекрытием вдоль оголенной жилы. На другой сухой конец оболочки ленту наматывают в обратном направлении. После двух первых слоев ленты, наматываемых без смеси пластификаторов, на оболочку и ленту наносят кисточкой смесь пластификаторов. Далее ленту наматывают таким образом, чтобы каждый последующий слой по длине был больше предыдущего на половину ширины ленты. Поливинилхлоридная лента должна навиваться без сильного натяжения, без образования неровностей и «карманов». Особенно тщательно следует наматывать ленту по краям при наложении на оболочку кабеля. После намотки всей ленты на одну жилу сросток обматывается изоляционной лентой, клеящим слоем вверх, или миткалевой лентой и перевязывается шпагатом или суровыми нитками. По краям сростка шпагат наматывают плотно виток к витку на длине 15 -2 0 мм. Аналогичным образом восстанавливают и закрепляют оболочку второй жилы кабеля, после чего сросток считается подготовленным к прогреву.

Полиэтиленовая изоляция жил кабелей ПРПВМ, ПРППМ, ПТПЖ «восьмерочной» конструкции и типа МРМ при соединении с такими же кабелями восстанавливается полиэтиленовой лентой с полиизобутиленовой массой путем индивидуальной обмотки каждой жилы. Полиэтиленовая лента навивается только на полиэтиленовую изоляцию и оголенный участок токопроводящей жилы, не захватывая поливинилхлоридную оболочку кабеля. Каждым последующий слой ленты должен перекрывать изоляцию с каждой стороны монтируемого участка на половину ширины ленты. Поверх восстановленной полиэтиленовой изоляции и поливинилхлоридной оболочки каждой жилы навивается поливинилхлоридная лента со смесью пластификаторов. После намотки всей поливинилхлоридной ленты ее закрепляют.

Полиэтиленовая оболочка кабеля ПРППМ или МРМП (при соединении таким же кабелем) восстанавливается полиэтиленовой лентой с полиизобутиленовой массой путем обмотки каждой жилы, как указано для случая восстановления изоляции жил кабелей ПРПВА и ПРПВМ. Поверх покрытия из полиэтиленовой ленты наматывается поливинилхлоридная лента со смесью пластификаторов.

Изоляция и оболочка кабеля при прямых соединениях восстанавливаются таким образом, чтобы наибольшая ширина готового сростка была не более 16 мм.

Изоляция и оболочка кабеля при тройниковых соединениях и отводах восстанавливаются, как и при прямом соединении, с той разницей, что лента наматывается вдоль оголенной жилы кабеля, затем заходит на оболочку, наматывается в обратном направлении до кабеля отвода и далее вдоль его жилы на оболочку. Потом лента наматывается в обратном направлении, переходит на кабель линии и наматывается вдоль него в сторону начала намотки. Таким же образом наматываются последующие слои ленты. С особой тщательностью лента должна накладываться в местах перехода ее с кабеля линии на кабель отвода. После намотки всей ленты закрепляют восстановленную оболочку одной жилы. Далее восстанавливаются изоляция и оболочка другой жилы.

После закрепления восстановленной оболочки сросток погружается в специальный бачок, наполненный водным раствором поваренной соли. Соотношение соли и воды 1 : 2. При работе бачок подвешивается к монтажному станку.

В случае отсутствия запаса кабеля или при сильном ветре, затрудняющем работу с паяльной лампой, бачок может быть установлен на дно котлована. В бачок наливают холодную воду и засыпают соль, после чего в него помешают сросток. Бачок нагревают паяльной лампой. Сросток извлекают из бачка через 7 - 9 мин после начала кипения воды и охлаждают в течение 3 - 5 мин, затем с него снимают шпагат, стягивающие накладки или изоляционную ленту. Шпагат и ленту аккуратно сматывают в мотки для вторичного использования.

Примечание. Ввиду неодинаковой жесткости пластмассовых кабелей до начала монтажных работ следует произвести несколько пробных сращиваний при прогреве сростков в течение 6 - 9 мин. Если в продольном и поперечном срезах сростков нет существенной разницы в монолитности (в местах наложения ленты на оболочку кабеля), то сростки прогревают минимальное время.

После прогрева и снятия закрепляющих средств сросток промывают водой и подвергают наружному осмотру.

Временное сращивание кабелей с пластмассовой изоляцией и оболочкой с помощью липкой поливинилхлоридной ленты

Для временного сращивания берется липкая поливинилхлоридная лента из полосового пластиката толщиной 0,1 - 0,2 мм и шириной 10 - 20 мм, покрытая специальным клеем, обеспечивающим плотное соединение ленты с оболочкой. В процессе сращивания концов кабеля ленту необходимо сохранять в чистоте. Засорение липкого слоя поведет к неплотному прилипанию ленты. Лента применяется только для временных соединений с последующим сращиванием сростков с помощью сухой ленты и клеящей массы.

Концы кабеля, подлежащего сращиванию, освобождаются от поливинилхлоридной оболочки на расстоянии 8 - 10 см. Двойной провод разрезается острым ножом вдоль жил на 25 - 30 мм от торца оболочки. Оголенные жилы скручиваются и пропаиваются припоем ПОС-30. Пайка с применением кислоты или стеарина не допускается.

Каждая из соединенных жил плотно обматывается поливинилхлоридной лентой с таким расчетом, чтобы общая толщина сростка была больше на 0,5 - 0,8 мм толщины провода с оболочкой.

Поливинилхлоридная лента должна перекрывать оболочку на расстоянии не менее 25 - 30 мм от торца.

Соединение жил проводов ПТВЖ, ПТПЖ

При сращивании концов жил проводов ПТВЖ, ПТПЖ между собой концы жил очищаются от изоляции и слоя оцинковки, после чего залуживаются с применением раствора хлористого цинка (соляной кислоты, травленной цинком).

Залуженные жилы тщательно промываются, скручиваются и пропаиваются с применением канифоли.

При сращивании проводов ПТВЖ, ПТПЖ с кабелем ПРВПМ концы жил проводов ПТВЖ, ПТПЖ очищаются от слоя оцинковки, залуживаются и тщательно промываются. Концы жил кабеля ПРВПМ залуживаются с применением канифоли. Пайка медных жил с стальными выполняется с применением канифоли. Сращивание оболочек проводов ПТВЖ и кабеля ПРВПМ выполняется обычным путем.

Сращивание кабелей марки КСПП

Изоляцию жил кабеля КСПП восстанавливают полиэтиленовыми лентами с полиизобутиленовой массой.

Полиэтиленовую ленту наматывают с 50 % перекрытием 9 - 10 витками на оголенную часть жилы.

На витки намотанной ленты и на изоляцию жил деревянной палочкой наносят полиизобутиленовую массу. Последующие витки ленты наматывают, чередуя намотку с нанесением полиизобутиленовой массы и растиранием ее по поверхности. Ленту наматывают ровными слоями и концы ленты приклеивают к сростку. Восстановление изоляции остальных жил осуществляют в том же порядке.

Восстановление поясной изоляции производится также полиэтиленовой лентой с полиизобутиленовой массой. Экранную проволоку наматывают на сросток, соединяют скруткой и пригибают к сростку. Алюминиевые ленты наматывают с 15 - 20 % перекрытием и соединяют кровельным швом.

Полиэтиленовые оболочки одночетверочных кабелей восстанавливаются полиэтиленовыми муфтами. Полиэтиленовые полумуфты перед соединением жил надевают на оба конца кабеля. После восстановления изоляции жил, поясной изоляции и экрана полумуфты надвигают на сросток и сочленяют. Муфты сваривают с оболочкой открытым пламенем под стеклолентой. Полиэтиленовые ленты наматывают на стык полумуфт, на оболочку кабеля и конусы муфты так, чтобы толщина намотанного слоя соответствовала толщине оболочки. Затем полиэтиленовые ленты обматывают двумя слоями ленты из стеклоткани. Концы лент закрепляют мягкой проволокой. Стеклоленту равномерно прогревают пламенем паяльной лампы. После охлаждения сварки до 50 °С стеклоленту снимают.

При восстановлении поливинилхлоридной оболочки сваркой медными вкладышами перед соединением жил на один конец кабеля надевают поливинилхлоридную трубку. После восстановления экрана трубку надвигают на сросток и располагают так, чтобы она перекрывала прилегающие участки оболочки на одинаковую длину. С одного конца сростка под трубку вставляют два медных вкладыша. Конец трубки с вкладышами обматывают резиновой лентой шириной 10 - 15 мм. Хвостовые части вкладышей попеременно нагревают паяльной лампой. После нагрева введенных в муфту участков вкладышей до температуры + 180 ÷ 200 °C они самопроизвольно выдавливаются и выпадают. Муфту охлаждают 2 - 3 мин в неподвижном состоянии, после чего разматывают и снимают резиновую ленту. Второй конец муфты сваривают с оболочкой аналогичным способом.

СОДЕРЖАНИЕ

Предисловие. 1

1. Постройка стоечных линий радиотрансляционных сетей. 1

1.1. Типы и основные размеры стоек. 1

1.2. Укрепление стоек на крышах зданий. 10

1.3. Типы и размеры станционных стоек. 11

1.4. Разбивка трассы стоечной линии. 15

1.5. Установка и крепление стоек. 16

1.6. Подвеска проводов на стоечных линиях. 24

1.7. Соединение проводов и крепление их на изоляторах стоечных линий. 28

1.8. Устройство контрольно-разрывных пунктов. 30

1.9. Устройство удлиненных пролетов. 30

1.10. Устройство пересечений линий радиотрансляционных сетей с линиями контактных сетей электрифицированных железных дорог, трамваев и троллейбусов, линиями электропередачи и линиями связи. 31

1.11. Фидерные отводы и выводы из помещений станций или подстанций радиотрансляционных узлов. 34

1.12. Габариты стоечных линий. 37

2. Ремонт стоечных линий. 37

2.1. Общие указания. 37

2.2. Замена промежуточной однопарной стойки. 37

2.3. Замена промежуточной однопарной стойки с ответвлением.. 38

2.4. Замена однопарной угловой стойки. 39

2.5. Замена многопарной угловой стойки. 39

2.6. Замена оконечных стоек. 40

2.7. Замена траверс. 40

2.8. Выправка стоек. 40

3. Строительство подземных линий PC и линий связи СТС III класса. 41

3.1. Выбор и разбивка трассы подземных фидерных линий PC и линий СТС.. 41

3.2. Выбор и разбивка трассы подземной абонентской линии PC.. 42

3.3. Прокладка в одном направлении нескольких линий PC.. 43

3.4. Прокладка в одном направлении нескольких линий СТС.. 43

3.5. Прокладка в одном направлении линий PC и СТС.. 43

3.6. Прокладка кабелей PC в блоках ГТС.. 43

3.8. Прокладка кабелей СТС и PC механизированным способом.. 44

3.9. Прокладка кабелей СТС и PC ручным способом.. 46

3.10. Устройство переходов через водоемы и овраги. 48

3.11. Устройство переходов через железные, шоссейные и грунтовые дороги. 48

3.12. Прокладка кабеля по мостам и путепроводам.. 51

3.13. Проверка и измерение кабеля после его прокладки. 51

3.14. Устройство и монтаж контрольно-разрывных пунктов. 52

3.15. Устройство и монтаж перехода с подземной линии на воздушную.. 53

3.16. Пупинизированные подземные линии. 55

3.17. Кабели, применяемые для линий PC и СТС.. 57

3.18. Монтаж кабелей в пластмассовых оболочках. 59

4. Ремонт подземных линий PC и СТС.. 60

4.1. Виды ремонта. 60

4.2. Текущий ремонт. 61

4.3. Капитальный ремонт. 61

4.4. Время проведения ремонтных работ. 62

4.5. Подготовка к ремонту. 62

4.6. Организация ремонтных работ. 62

5.3. Арматура и установочные материалы.. 70

5.4. Устройство чердачной проводки. 75

5.5. Устройство распределительной сети по зданию.. 76

5.6. Устройство лестничной проводки. 85

5.7. Устройство коридорной и комнатной проводок. 86

5.8. Разметка мест прокладки проводов и кабелей. 87

5.9. Прокладка проводов ПРЖ или ПТВЖ, ПТПЖ в особо сырых помещениях. 88

5.10. Сохранность конструктивных и архитектурных элементов здания. 88

6. Устройство вводов подземных линий кабелями типа ПРВПМ и ПРППМ в помещения станций радиотрансляционных узлов и станций СТС.. 88

Приложение 1 Определение вертикальных усилий в стойках. 89

Приложение 2 Нормы расхода основных материалов и арматуры на ежегодный ремонт и содержание стоечных линий и капитальный ремонт стоечных линий. 90

Приложение 3 Пупиновские катушки и корректирующие контуры.. 92

Приложение 4 Способы сращивания кабелей с пластмассовой изоляцией и оболочкой. 94

 




Яндекс цитирования



   Copyright © 2007-2026,  www.tehlit.ru.

[ ѓосты, стандарты, нормативы, инструкции, правила, строительные нормы ]