//
ТехЛит.ру
- крупнейшая бесплатная электронная интернет библиотека для "технически умных" людей.
WWW.TEHLIT.RU - ТЕХНИЧЕСКАЯ ЛИТЕРАТУРА

:: Алготрейдинг::


АЛГОТРЕЙДИНГ
шаг за шагом
с нуля по урокам!

Торговые роботы на PYTHON, BackTrader,
Pandas, Pine Script для TradingView. Связка с брокерами, телеграм и легкими приложениями.


Министерство Внутренних Дел Российской Федерации

Государственная противопожарная служба

Нормы пожарной безопасности

Техника пожарная.

Кислородные изолирующие противогазы (респираторы) для пожарных.
Общие технические требования.

Методы испытаний

Fire equipment.
Oxygenous self-contained gas-masks for fireman.
General technical requirements. Test methods

НПБ 164-97

Москва 1999

Разработаны Главным управлением Государственной противопожарной службы (ГУГПС) и Всероссийским научно-исследовательским институтом противопожарной обороны (ВНИИПО) МВД России.

Внесены и подготовлены к утверждению нормативно-техническим отделом ГУГПС МВД России.

Утверждены главным государственным инспектором Российской Федерации по пожарному надзору.

Введены в действие приказом ГУГПС МВД России от 30 декабря 1997 г. № 83.

Дата введения в действие

1 февраля 1998 г.

В текст внесено изменение.

Утверждены приказом ГУГПС МВД России от 25.12.1999 г. № 101.

Измененные требования помечены символом *

1. Область применения

Настоящие нормы распространяются на кислородные изолирующие противогазы (респираторы) для защиты органов дыхания и зрения пожарных (далее - противогазы) от вредного воздействия непригодной для дыхания токсичной и задымленной газовой среды при тушении пожаров в зданиях, сооружениях и на производственных объектах различного назначения.

Настоящие нормы устанавливают общие технические требования и методы испытаний противогазов.

Настоящие нормы применяются на стадиях разработки, изготовления и испытания противогазов и могут использоваться при сертификации в Системе сертификации пожарной безопасности.

2. Нормативные ссылки

В настоящих нормах использованы ссылки на следующие нормативные документы:

ГОСТ 12.4.005-85 ССБТ. Средства индивидуальной защиты. Метод определения величины сопротивления дыханию.

ГОСТ 12.4.008-84 ССБТ. Средства индивидуальной защиты. Метод определения поля зрения.

ГОСТ 12.4.061-88 ССБТ. Метод определения работоспособности человека в средствах индивидуальной защиты.

ГОСТ 12.4.157-75 ССБТ. Противогазы и респираторы промышленные фильтрующие. Нефелометрические методы определения коэффициента подсоса масляного тумана под лицевую часть.

ГОСТ 5583-78 Кислород газообразный технический и медицинский. Технические условия.

ГОСТ 6755-88 Поглотитель химический известковый ХП-И. Технические условия.

ГОСТ 15150-69 Машины, приборы и другие технические изделия. Исполнения для различных климатических районов. Категории, условия эксплуатации, хранения и транспортирования в части воздействия климатических факторов внешней среды.

ГОСТ 16504-81 СГИ. Испытания и контроль качества продукции. Основные термины и определения.

ОСТ 12.43.247-83 ССБТ. Респираторы изолирующие регенеративные для горноспасательных работ. Общие технические требования. Методы испытаний.

Физиолого-гигиенические требованиям к изолирующим средствам индивидуальной защиты, утвержденные Министерством здравоохранения СССР.

Правила устройства и безопасной эксплуатации сосудов, работающих под давлением, утвержденные Госгортехнадзором России (ПБ 10-115-96) № 20 от 18.04.95 г.

Наставление по газодымозащитной службе Государственной противопожарной службы МВД России (приказ МВД России № 234 от 30.04.96 г.).

3. Определения

В настоящих НПБ используются следующие термины с соответствующими определениями.

Кислородный изолирующий противогаз - регенеративный противогаз, в котором атмосфера создается за счет регенерации выдыхаемого воздуха путем поглощения из него двуокиси углерода и добавления кислорода из имеющегося в противогазе запаса, после чего регенерированный воздух поступает на вдох.

Внешнее дыхание или легочное дыхание - совокупность процессов, при которых осуществляется обмен воздуха между внешней средой и легкими и обмен газов между поступившим в легкие воздухом и кровью, т. е. процессов, происходящих непосредственно в органах дыхания человека.

Условное время защитного действия противогаза - период, в течение которого сохраняется защитная способность противогаза при испытании на стенде-имитаторе внешнего дыхания человека (приложение 1164-98 Приложение 1) в режиме выполнения работы средней тяжести (легочная вентиляция 30 дм3/мин) при температуре окружающей среды (25 ± 1) °С.

Фактическое время защитного действия противогаза - период, в течение которого сохраняется защитная способность противогаза при испытании на стенде-имитаторе внешнего дыхания человека в режиме от относительного покоя до очень тяжелой работы при температуре окружающей среды от минус 40 до 60 °С.

Дыхательный режим - совокупность взаимосвязанных значений следующих параметров: потребления кислорода в единицу времени при относительном объеме, выделения двуокиси углерода, дыхательного коэффициента, легочной вентиляции, частоты дыхания и дыхательного объема.

Легочная вентиляция - объем газовой смеси, прошедшей при дыхании через легкие человека за одну минуту.

Дыхательный объем - величина, равная отношению объема воздуха, прошедшего через легкие человека за одну минуту, к частоте его дыхания.

Сагиттальная плоскость - условная линия, делящая симметрично тело человека продольно на правую и левую половину.

Дыхательный коэффициент - величина, равная отношению объема выделенной двуокиси углерода к объему потребленного человеком кислорода.

Сигнальное устройство - приспособление, предназначенное для подачи сигнала работающему о том, что вентиль баллона закрыт или израсходован основной запас кислорода в противогазе.

Стандартные условия (СУ), нормальные условия (НУ), легочные условия (ЛУ) - физические условия состояния объемов газов.

4. Общие технические требования

4.1. Противогаз должен быть работоспособным в режимах дыхания, характеризующихся выполнением нагрузок: от относительного покоя (легочная вентиляция 12,5 дм3/мин) до очень тяжелой работы (легочная вентиляция 85 дм3/мин) при температуре окружающей среды от минус 40 до 60 °С.

4.1.1. Противогаз должен быть работоспособен после пребывания в среде с температурой 200 °С в течение 60 с.

4.2. Требования к составу изделия

4.2.1. В состав противогаза должны входить:

корпус закрытого типа с подвесной и амортизирующей системой;

баллон с вентилем;

редуктор с предохранительным клапаном;

легочный автомат;

устройство дополнительной подачи кислорода (байпас);

манометр со шлангом высокого давления;

дыхательный мешок;

избыточный клапан;

регенеративный патрон;

холодильник;

сигнальное устройство;

шланги вдоха и выдоха;

клапаны вдоха и выдоха;

слюносборник и (или) насос для удаления влаги;

лицевая часть с переговорным устройством;

сумка для лицевой части.

Примечание. В состав противогаза рекомендуется включать перекрывное устройство магистрали манометра и продувочное устройство.

4.3. Требования к показателям назначения

4.3.1. Условное время защитного действия (далее - ВЗД) противогаза для пожарных должно составлять не менее 4 ч.

При определении условного ВЗД должны быть соблюдены требования по составу вдыхаемой газовой смеси и условия дыхания в соответствии с пп. 4.4.3.1, 4.4.3.2, 4.4.3.4 и табл. 7.2.

4.3.2. Фактическое ВЗД противогаза в зависимости от температуры окружающей среды и степени тяжести выполняемой работы должно соответствовать значениям, указанным в табл. 4.1.

Таблица 4.1

Фактическое время защитного действия противогаза

Наименование показателя

При относительном покое

При работе

средней тяжести

тяжелой

Очень тяжелой

Легочная вентиляция, дм3/мин

Фактическое ВЗД по отношению к условному ВЗД при соответствующей температуре окружающей среды, %, не менее:

 

 

 

 

минус (40 ± 2) °С

-

50

25

-

(25 ± 1) °С

100

100

50

20

(40 ± 1) °С

-

40

40

-

(60 ± 2) °С

-

25

-

-

4.4. Эргономические требования

4.4.1. Требования к конструкции

4.4.1.1. Противогаз в рабочем положении должен располагаться на спине человека.

Форма и габаритные размеры противогаза должны соответствовать строению человека, сочетаться с защитной одеждой, каской и снаряжением пожарного и обеспечивать удобство при выполнении всех видов работ на пожаре (в том числе при передвижении через узкие люки и лазы диаметром не менее 800 мм, передвижении ползком, на четвереньках и т. д.).

4.4.1.2. Масса снаряженного противогаза без вспомогательных устройств, применяющихся эпизодически (заряд хладагента, защитные чехлы и др.), должна быть не более 14,0 кг.

4.4.1.3. Приведенный центр массы противогаза должен находиться не далее чем в 30 мм от сагиттальной плоскости человека.

4.4.2. Требования к органам управления

4.4.2.1. Все органы управления противогазом (вентили, рычаги, кнопки и др.) должны быть легкодоступны, удобны в применении и надежно защищены от механических повреждений и случайного срабатывания.

4.4.2.2. Органы управления должны срабатывать при усилии не более 80 Н.

4.4.3. Требования к условиям дыхания

4.4.3.1. Объемная доля кислорода во вдыхаемой газовой смеси должна быть не менее 21 %, а объемная доля двуокиси углерода - не более 1,5 %.

4.4.3.2. Объемная доля двуокиси углерода в дыхательном мешке противогаза, расположенном за регенеративным патроном, в течение условного времени защитного действия должна быть не более 1,0 %, при этом среднее значение за все время работы должно быть не более 0,3 %.

4.4.3.3. Сопротивление дыханию на вдохе и выдохе в противогазе в течение времени защитного действия должно быть не более значений, указанных в табл. 4.2.

Таблица 4.2

Сопротивление дыханию в противогазе

Легочная вентиляция, дм3/мин

Сопротивление дыханию, Па, не более

на вдохе

На выходе

12,5

-100

+300

30

-300

+300

60

-600

+750

85

-900

+1000

4.4.3.4. Температура вдыхаемой газовой смеси в противогазе в течение условного времени защитного действия должна быть не более 38,5 °С.

4.4.3.5. Температура вдыхаемой газовой смеси в противогазе при температуре окружающей среды 40 °С во время выполнения работы средней тяжести (легочная вентиляция 30 дм3/мин) в течение 30 мин от начала работы должна быть не более 37,0 °С.

4.5. Требования к составным частям

4.5.1. Требования к баллонам

4.5.1.1. Баллоны, используемые в противогазе для пожарных, должны соответствовать нормативным документам по сосудам высокого давления и иметь разрешение Госгортехнадзора России или сертификат соответствия.

4.5.1.2. Окраска баллонов должна быть выполнена в соответствии с “Правилами устройства и безопасной эксплуатации сосудов, работающих под давлением”.

4.5.1.3. Номинальное рабочее давление должно составлять не более 25,0 МПа.

4.5.1.4. Количество нагружений (заправок) между нулевым и рабочим давлением баллона, устанавливаемое изготовителем и указываемое в технической документации на баллон, должно составлять не менее 5000 циклов.

4.5.1.5. Срок переосвидетельствования баллонов, входящих в комплект противогаза, должен составлять:

для стальных баллонов - не более одного раза в 5 лет;

для композитных баллонов - не более одного раза в 3 года.

4.5.1.6. Срок службы баллонов, устанавливаемый изготовителем, должен быть не менее 10 лет.

4.5.2. Требования к вентилю баллона

4.5.2.1. Вентиль баллона должен быть выполнен таким образом, чтобы нельзя было полностью вывернуть его шпиндель во время эксплуатации.

4.5.2.2. Конструкция вентиля должна быть такой, чтобы во время работы пожарного исключалась возможность случайного закрытия вентиля.

4.5.2.3. Вентиль баллона должен сохранять герметичность в положениях “Открыто” и “Закрыто”.

4.5.2.4. Вентиль баллона должен выдерживать не менее 3000 циклов открываний и закрываний.

4.5.3. Требования к манометру

4.5.3.1. Манометр должен быть влагонепроницаемым.

4.5.3.2. Конструкция стекла манометра должна предотвращать возможность его разрушения во время работы противогаза.

4.5.3.3. Шкала манометра должна начинаться от 0 МПа (bar), а ее верхний предел должен превышать величину рабочего давления в баллоне не менее чем на 5,0 МПа (bar).

4.5.3.4. Класс точности манометра должен быть не ниже 2,5.

4.5.3.5. Конструкция манометра должна позволять видеть его показания в лицевой части при проведении потребителем периодического контроля значений давления кислорода в противогазе.

4.5.3.6. Манометр должен иметь кожух из эластичного материала для защиты его от возможных ударов, при этом кожух не должен препятствовать возможности контролировать его значения.

4.5.3.7. На шкале манометра должна быть нанесена надпись "Кислород".

4.5.3.8. Конструкция манометра должна позволять контролировать его значения при слабом освещении и в темноте.

4.5.4. Требования к перекрывному устройству магистрали манометра

4.5.4.1. Перекрывное устройство может быть в следующих исполнениях: устройство, срабатывающее автоматически или приводимое в действие вручную. Перекрывное устройство, приводимое в действие вручную, должно быть опломбировано.

4.5.5. Требования к сигнальному устройству

4.5.5.1. Противогаз должен быть снабжен сигнальным устройством, срабатывающим при включении в противогаз с закрытым вентилем баллона, а также при снижении давления кислорода в баллоне до (3,5 ± 0,5) МПа.

4.5.5.2. Сигнальное устройство после срабатывания не должно оказывать влияния на дыхание человека.

4.5.6. Требования к корпусу противогаза

4.5.6.1. Корпус противогаза должен быть выполнен таким образом, чтобы при работе пожарного посторонние частицы (искры, угольки и др.) не могли попасть внутрь и привести к нарушению работоспособности противогаза. Корпус должен защищать все составные части противогаза от возможных повреждений.

4.5.6.2. На корпусе противогаза (с наружной стороны) должны быть нанесены светящиеся или световозвращающие элементы (полосы, катафоты и др.) яркого цвета (оранжевого, красного или желтого), заметные при слабом освещении и в темноте.

4.5.7. Требования к подвесной и амортизирующей системам

4.5.7.1. Подвесная и амортизирующая системы должны быть выполнены таким образом, чтобы противогаз удобно располагался на спине, прочно фиксировался, не вызывая потертостей и ушибов при работе. Эти системы должны обеспечивать возможность циркуляции воздуха между противогазом и одеждой пожарного и предотвращать воздействие на его тело нагретой или охлажденной поверхности корпуса.

4.5.7.2. Подвесная система противогаза должна обеспечивать пожарному возможность быстро, просто и без посторонней помощи надевать противогаз и регулировать его крепление. Прицепная и амортизирующая системы ремней противогаза должны быть снабжены устройствами для регулировки их длины и степени натяжения. Все приспособления для регулировки положения противогаза (пряжки, карабины, застежки и др.) должны быть выполнены таким образом, чтобы ремни после регулировки прочно фиксировались. Регулировка ремней подвесной системы не должна нарушаться в течение всей работы.

4.5.7.3. Устройство прицепной системы должно позволять надевать противогаз после включения в него, а также снимать и перемещать перед собой противогаз без выключения из него при передвижении по тесным помещениям.

4.5.8. Требования к лицевой части

4.5.8.1. В качестве лицевой части в противогазе должна использоваться только маска или шлем-маска, защищающая глаза, нос, рот, подбородок человека.

4.5.8.2. Коэффициент подсоса масляного тумана в подмасочное пространство лицевой части при испытании в комплекте с противогазом должен быть не более 0,01 %.

4.5.8.3. Лицевая часть должна быть удобной и комфортной для ношения ее в течение всего времени работы в противогазе, не вызывать болевых ощущений, наминов третьей степени (в соответствии с “Физиолого-гигиеническими требованиями к изолирующим средствам индивидуальной защиты”) в мягких тканях головы человека.

4.5.8.4. Масса лицевой части должна быть не более 0,7 кг.

4.5.8.5. Лицевая часть должна быть снабжена переговорным устройством.

4.5.8.6. Лицевая часть не должна препятствовать применению пожарной каски.

4.5.8.7. Очковый узел в лицевой части должен обеспечивать общее поле зрения не менее 70 % от поля зрения человека без лицевой части.

4.5.8.8. Стекло лицевой части не должно запотевать и замерзать в течение всего времени работы в противогазе.

Примечание. Для предотвращения запотевания или замерзания стекла лицевой части допускается использование специальных приспособлений или средств.

4.5.8.9. Стекло лицевой части должно выдерживать удар стального шара массой (150 ± 2) г с высоты (1,5 ± 0,01) м.

4.5.8.10. Стекло лицевой части должно оставаться прозрачным в процессе всего срока службы.

4.5.9. Требования к редуктору

4.5.9.1. Отрегулированный изготовителем редуктор должен быть опломбирован для предотвращения несанкционированного доступа.

Величина редуцированного давления должна сохраняться в течение не менее трех лет с момента регулировки и проверки.

4.5.9.2. Предохранительный клапан должен исключать поступление кислорода с высоким давлением к деталям, работающим при редуцированном давлении, при неисправности редуктора.

4.5.10. Требования к кислородоподающей системе противогаза

4.5.10.1. Вакуумметрическое давление, создаваемое у патрубка для подключения лицевой части, при котором должен срабатывать легочный автомат, при отсосе из системы противогаза 10 дм3/мин кислорода должно быть в пределах от 100 до 300 Па, а при отсосе 100 дм3/мин кислорода - не должно превышать 500 Па.

4.5.10.2. Устройство дополнительной подачи кислорода при давлении в баллоне от номинального рабочего до 3 МПа должно обеспечивать подачу кислорода в пределах от 60 до 150 дм3/мин.

4.5.10.3. В противогазе должен быть применен один из следующих способов кислородопитания:

постоянная (без легочно-автоматической) подача кислорода должна быть не менее 4 дм3/мин при давлении кислорода в баллоне от номинального рабочего до 3,0 МПа;

постоянная подача кислорода в сочетании с легочно-автоматической;

легочно-автоматическая подача кислорода.

4.5.10.4. Противогазы, которые работают только с легочно-автоматической или комбинированной подачей, с постоянной подачей менее 1,5 дм3/мин, должны иметь автоматическое продувочное устройство, удаляющее из воздуховодной системы противогаза газовую смесь.

4.5.10.5. Герметичность воздуховодной системы противогаза с лицевой частью должна быть такой, чтобы при избыточном и вакуумметрическом давлении, равном 800 Па, падение этого давления не превышало 50 Па в минуту.

4.5.10.6. Герметичность дыхательных клапанов противогаза должна быть такой, чтобы при избыточном давлении на клапан, равном 500 Па, утечка газовой смеси не превышала 0,5 дм3/мин.

4.5.10.7. Клапанная коробка должна быть сконструирована таким образом, чтобы клапаны можно было легко заменить, при этом должна быть исключена возможность установки клапана вдоха на ветвь выдоха и наоборот.

4.5.10.8. Воздуховодная система должна иметь автоматически действующий избыточный клапан, открывающийся при переполнении дыхательного мешка и выпускающий избыток газовой смеси в окружающую среду.

При потоке 10 дм3/мин газовой смеси через избыточный клапан избыточное давление в воздуховодной системе должно находиться в пределах от 150 до 400 Па.

4.5.10.9. Во время работы в противогазе, имеющем специальное продувочное устройство для удаления азота, пожарный должен иметь возможность контролировать его действие.

4.5.11. Требования к регенеративному патрону

4.5.11.1. В противогазе должен быть применен регенеративный патрон переснаряжающегося типа или одноразового действия.

4.5.11.2. Исходное сопротивление снаряженного регенеративного патрона постоянному потоку воздуха 60 дм3/мин не должно превышать 50 Па.

4.6. Требования к материалам

4.6.1. Дыхательный мешок противогаза должен быть изготовлен из эластичного газонепроницаемого материала.

4.7. Требования по устойчивости к внешним воздействиям

4.7.1. Противогаз по виду климатического исполнения должен относиться к исполнению У категории размещения 1 по ГОСТ 15150, но рассчитан на применение при температуре окружающей среды от минус 40 до 60 °С, относительной влажности до 100 %.

4.7.2. Требования по устойчивости к механическим воздействиям

4.7.2.1. Противогаз должен сохранять работоспособность после транспортной тряски с перегрузкой 3 g (где g - ускорение свободного падения) при частоте от 2 до 3 Гц:

при имитации транспортирования к потребителю в транспортной упаковке;

при имитации транспортирования к месту применения.

4.7.2.2. Противогаз должен сохранять работоспособность после воздействия вибронагрузки с частотой от 50 до 60 Гц и амплитудой 0,4 мм.

4.7.2.3. Противогаз должен сохранять работоспособность после воздействия 1000 ударов с частотой 50 мин-1, длительностью ударного импульса 5 мс и максимальным ускорением 100 м/с2.

4.7.2.4. Противогаз должен сохранять работоспособность после воздействия климатических факторов:

температуры (50 ± 3) °С в течение 4 ч;

температуры минус (60 ± 3) °С в течение 4 ч;

температуры (40 ± 2) °С в течение 10 суток;

температуры (35 ± 2) °С при относительной влажности 90 ± 3 % в течение 24 ч.

4.7.3. Противогаз должен сохранять работоспособность и обеспечивать безопасность дыхания при погружении в воду на время не менее чем 15 с.

4.7.4. Требования по устойчивости к дезинфицирующим растворам и растворам ПАВ

4.7.4.1. Лицевая часть, дыхательные шланги, дыхательный мешок, клапанная (соединительная) коробка и сигнальное устройство должны быть устойчивыми к следующим дезинфицирующим растворам:

этиловому спирту ректифицированному;

водным растворам: 6 % перекиси водорода, 1 % хлорамина, 8 % борной кислоты, 0,5 % марганцовокислого калия.

4.7.4.2. Противогаз должен быть устойчивым к воздействию растворов поверхностно-активных веществ (ПАВ).

4.8. Требования надежности

4.8.1. Вероятность сохранения исправности противогаза за время нахождения его в состоянии ожидания применения в течение 720 ч (30 сут) Pхр (720 ч) должна быть не менее 0,98.

4.8.2. Вероятность безотказной работы за время защитного действия Pб (tр) должна быть не менее 0,999.

4.8.3. Средний срок службы tк должен быть не менее 10 лет.

4.9. Комплектность

Комплект противогаза должен состоять из:

противогаза - 1;

сумки или футляра для лицевой части - 1;

комплекта ЗИП - 1;

руководства по эксплуатации - 1;

паспорта на противогаз - 1;

паспорта на баллон - 1.

Примечание. Все документы должны быть написаны на русском языке.

4.10. Требования к содержанию эксплуатационной документации на противогаз

4.10.1. Требования к содержанию руководства по эксплуатации противогаза

В руководстве по эксплуатации должны содержаться следующие сведения:

назначение противогаза;

условия эксплуатации;

климатическое исполнение;

основные технические характеристики противогаза;

состав противогаза;

время защитного действия;

масса снаряженного противогаза;

средний срок службы противогаза (п. 4.8.3);

устройство и принцип действия составных частей;

проверка и регулировка противогаза;

требования безопасности;

правила пользования противогазом;

возможные неисправности противогаза и методы их устранения.

4.10.2. Требования к содержанию паспорта на противогаз

В паспорте на противогаз должны содержаться следующие сведения:

данные об изготовителе;

основные технические характеристики противогаза;

комплектность;

отметка о приемке;

гарантии изготовителя.

4.10.3. Требования к содержанию паспорта на баллон

В паспорте на баллон должны содержаться следующие сведения:

данные об изготовителе;

номер сертификата соответствия (разрешения Госгортехнадзора России) на эксплуатацию баллона;

условия эксплуатации;

рабочее давление в баллоне;

вместимость;

масса;

габаритные размеры;

допустимое количество циклов наполнения баллона;

назначенный срок эксплуатации баллона;

критерии отбраковки (для композитных баллонов);

правила и порядок технического освидетельствования баллона;

отметка о приемке изделия;

гарантии изготовителя;

требования безопасности.

Примечание. Вышеуказанные сведения допускается излагать в виде раздела в руководстве по эксплуатации противогаза

4.11. Маркировка

4.11.1.* Каждый противогаз должен иметь табличку со следующими данными:

условным обозначением противогаза;

номером технических условий и (или) стандарта;

наименованием предприятия-изготовителя или его товарным знаком;

порядковым номером изделия;

годом и месяцем изготовления.

Сведения о продукции, отражаемые на изделии и поясняющие порядок его применения, правила безопасности и назначение функциональных деталей, должны быть исполнены на русском языке

4.11.2. Табличка с маркировкой должна быть прикреплена к раме противогаза в месте, защищенном от механических повреждений.

5. Требования безопасности

5.1. Требования безопасности к противогазу должны быть изложены в соответствующих разделах руководства по эксплуатации противогаза и паспорте на баллон.

5.2. Эксплуатация противогаза в подразделениях ГПС должна проводиться в соответствии с положениями “Наставления по газодымозащитной службе Государственной противопожарной службы” и “Правилами устройства и безопасной эксплуатации сосудов, работающих под давлением”.

5.3. Газообразный кислород и поглотитель химический известковый, предназначенные для снаряжения противогазов, должны удовлетворять требованиям, приведенным в табл. 5.1.

Таблица 5.1

Вещества, применяемые для снаряжения противогазов

Наименование вещества

Наименование показателя

Значение

Газообразный медицинский кислород по ГОСТ 5583

Объемная доля кислорода, %, не менее

99,5

ХП-И по ГОСТ 6755

Массовая доля связанной СО2, %, не более

4,0

 

Массовая доля влаги, %

16-21

 

Запах

Отсутствует

В случае применения других сорбентов двуокиси углерода и веществ для охлаждения и осушения циркулирующей в противогазе дыхательной газовой смеси необходимость проверки их параметров и ее методика устанавливаются в соответствии с нормативными документами на противогаз.

6. Порядок контроля противогазов

6.1. Для осуществления контроля качества противогазов проводятся следующие контрольные испытания по ГОСТ 16504:

приемочные;

квалификационные;

приемосдаточные;

периодические;

сертификационные.

Другие виды контрольных испытаний противогазов по ГОСТ 16504 проводятся предприятием-изготовителем по программам испытаний, согласованным с заказчиком.

6.2. Контроль качества противогазов осуществляют последовательно по следующим этапам:

анализ нормативно-технической документации, проверка внешнего вида, комплектации, маркировки;

испытания с использованием приборов;

испытания на устойчивость к внешним воздействиям;

испытания на стенде-имитаторе внешнего дыхания человека;

лабораторные испытания на людях;

полигонные испытания;

испытания на надежность.

6.3. Противогазы представляются на испытания партиями не менее 3 комплектов каждого наименования.

На этапы испытаний противогазы представляются в следующих количествах:

для анализа нормативно-технической документации, проверки внешнего вида, комплектации, маркировки - 3 шт.;

для испытаний с использованием приборов - 3 шт.;

для испытаний на устойчивость к внешним воздействиям - 1 шт.;

для испытаний на стенде-имитаторе внешнего дыхания человека - 1 шт.;

для лабораторных испытаний на людях - 1 шт.;

для полигонных испытаний - 3 шт.;

для испытаний на надежность - 3 шт.

6.4. На испытания представляется следующая нормативно-техническая документация на изделие:

сертификат соответствия (разрешение Госгортехнадзора России) на баллон;

техническая документация на русском языке (технические условия, руководство по эксплуатации и паспорт на противогаз, паспорт на баллон).

Примечание. Техническая документация на отечественные изделия должна быть согласована с ГУГПС МВД России в установленном порядке.

6.5. Допускается в лабораторных испытаниях на людях применять только те противогазы, которые прошли испытания с использованием приборов и испытания на стенде-имитаторе внешнего дыхания человека, а по их результатам рекомендованы для испытаний на людях.

6.6.* Продукция, изготавливаемая отечественными предприятиями, допускается к проведению сертификационных испытаний в области пожарной безопасности, если она в установленном порядке прошла все стадии и этапы разработки, предусмотренные ГОСТ 15.001, ГОСТ 2.103, все виды испытаний (включая межведомственные приемочные), имеет полный комплект конструкторской документации на серийное производство с присвоенной в установленном порядке литерой «А», согласованной с государственным заказчиком пожарно-технической продукции.

Продукция, импортируемая российским потребителям, допускается к проведению сертификационных испытаний в области пожарной безопасности, если она сопровождается эксплуатационной документацией, которая должна быть оформлена на русском языке по ГОСТ 2.601 и одобрена государственным заказчиком пожарно-технической продукции.

Экспертиза конструкторской документации обязательна при организации и проведении сертификационных испытаний в области пожарной безопасности

7. Методы испытаний

7.1. Анализ нормативно-технической документации, проверка внешнего вида, комплектации, маркировки

7.1.1. Анализ нормативно-технической документации проводится путем определения соответствия содержания технической документации на противогаз требованиям пп. 4.5.1.1, 4.5.1.4-4.5.1.6, 4.5.10.3, 4.7.1, 4.8.3, 4.10.1-4.10.3 настоящих норм.

7.1.2. Проверку внешнего вида (пп. 4.2.1, 4.5.1.2, 4.5.1.3, 4.5.3.3, 4.5.3.4, 4.5.3.6, 4.5.3.7, 4.5.4.1, 4.5.6.2, 4.5.8.1, 4.5.8.5, 4.5.9.1, 4.5.10.4, 4.5.10.7, 4.5.11.1, 4.6.1), комплектации (п. 4.9) и маркировки противогаза (пп. 4.11.1, 4.11.2) производят визуально.

7.2. Испытания с использованием приборов

7.2.1. Определение массы противогаза и лицевой части (пп. 4.4.1.2, 4.5.8.4)

7.2.1.1. Средства измерения

Весы с диапазоном измерений до 20 кг и с ценой деления 50 г и весы с диапазоном измерений до 3 кг с ценой деления 5 г.

7.2.1.2. Проведение испытаний

Определяется масса полностью укомплектованного и снаряженного в соответствии с инструкцией по эксплуатации противогаза и масса лицевой части с точностью до 0,1 кг.

Результат испытания считается положительным, если выполняются требования пп. 4.4.1.2, 4.5.8.4.

7.2.2. Определение смещения центра массы (п. 4.4.1.3)

Испытания проводят на полностью снаряженном противогазе в соответствии с инструкцией по эксплуатации и противогазе, у которого давление воздуха 3,0 МПа (имитация состояния противогаза в конце работы).

7.2.2.1. Оборудование

Стенд (рис. 7.1).

7.2.2.2. Описание устройства стенда

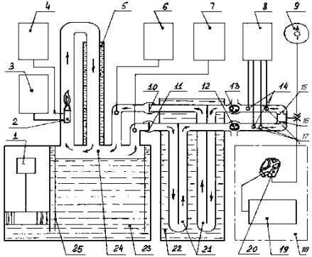
Стенд состоит из щита, закрепленного на стене испытательной лаборатории. В щите закреплен штырь, на который с помощью приспособления подвешивается противогаз. Вертикально через ось штыря нанесена краской линия длиной (1000 ± 5) мм и шириной (1 ± 0,2) мм.

Рис. 7.1

7.2.2.3. Подготовка к проведению испытаний

На корпусе противогаза прочерчивают мелом линию, соответствующую оси симметрии противогаза. В верхней части корпуса противогаза устанавливают приспособление с измерительной линейкой, необходимое для подвешивания противогаза на штырь щита и измерения величины смещения точки подвеса.

7.2.2.4. Проведение испытания

Противогаз с помощью приспособления подвешивают на штырь щита таким образом, чтобы линии, нанесенные на противогазе и щите, были параллельными. С помощью измерительной линейки определяется величина смещения точки подвеса.

Результат испытания считается положительным, если величина смещения точки подвеса противогаза относительно оси симметрии противогаза, измеренная с точностью до 1 мм, составляет не более 30 мм.

7.2.3. Определение усилия срабатывания органов ручного управления (п. 4.4.2.2)

При испытании органов ручного управления противогаза (кнопки, рычаги, маховики и др.) определяют усилие, которое необходимо приложить к ним для включения (выключения) соответствующих устройств.

7.2.3.1. Оборудование

Усилие создают и измеряют оборудованием с погрешностью не более 5 %.

7.2.3.2. Проведение испытаний

Усилие для вентилей прикладывают в точке, лежащей на маховике вентиля и максимально удаленной от оси маховика вентиля.

Результат испытания считается положительным, если значение усилия, необходимого для включения (выключения) органов ручного управления противогаза, не превышает 80 Н.

7.2.4. Определение герметичности (п. 4.5.2.3) и работоспособности вентиля баллона (п. 4.5.2.4)

Испытания проводят на одном баллоне противогаза.

7.2.4.1. Оборудование

Емкость вместимостью не менее 0,25 м3, заполненная водой, для погружения вентиля баллона.

7.2.4.2. Проведение испытаний

Проверку герметичности вентиля баллона в положениях “Открыто” (с установленной в штуцере вентиля заглушкой) и “Закрыто” проводят при номинальном рабочем давлении и давлении 3,0 МПа. Проверка проводится методом опускания вентиля баллона в воду.

Результат испытания считается положительным, если при погружении вентиля баллона в воду не наблюдается выделения пузырьков кислорода из вентиля.

Испытание вентиля баллона (заполненного кислородом до номинального рабочего давления) на работоспособность проводится методом открывания-закрывания вентиля из крайнего положения вентиля "Открыто" в крайнее положение "Закрыто" и обратно. После каждых 500 циклов наработки проверяют герметичность вентиля в положениях "Открыто" и "Закрыто" методом опускания вентиля баллона в воду.

Наработку вентиля прекращают в случаях: негерметичности вентиля (определяется при проверках после каждых 500 циклов); достижения 3000 циклов наработки вентиля или поломки вентиля.

Результат испытания считается положительным, если после 3000 циклов открываний-закрываний вентиля отсутствуют поломки вентиля, а при погружении вентиля баллона в воду не наблюдается выделения пузырьков кислорода из вентиля.

7.2.5. Определение устойчивости стекла к удару (п. 4.5.8.9)

Для испытания используется одна лицевая часть противогаза.

7.2.5.1. Оборудование

Муляж головы человека.

Стальной шар массой 150 г.

7.2.5.2. Проведение испытаний

Лицевая часть надевается на муляж головы человека, лежащий горизонтально на ровной поверхности.

Стальной шар сбрасывают на центр стекла с высоты (1,5 ± 0,01) м, обеспечивая свободное его падение (начальная скорость равна 0, без отклонений от вертикали).

Результат испытания считается положительным, если на поверхности стекла после трех последовательных соударений его с шаром не образуется видимых трещин.

7.2.6. Определение расхода кислорода при работе устройства дополнительной подачи кислорода (байпаса) (п. 4.5.10.2)

7.2.6.1. Оборудование

Ротаметр газовый с пределом измерения до 150 дм3/мин по воздуху с погрешностью не более 2,5 %.

7.2.6.2. Проведение испытаний

Испытания противогаза проводят при номинальном рабочем давлении в баллоне и при давлении 3,0 МПа. Противогаз присоединяют к ротаметру, открывают вентиль баллона, нажимают на байпас и по шкале ротаметра определяют расход кислорода за 1 мин.

Результат испытания считается положительным, если выполняются требования п. 4.5.10.2.

7.2.7. Определение давления открытия клапана легочного автомата (п. 4.5.10.1)

Испытания проводят при номинальном рабочем давлении в баллоне и при давлении, равном 3,0 МПа.

7.2.7.1. Оборудование

Насос производительностью до 100 дм3/мин по воздуху с погрешностью не более 5 %.

Ротаметр с диапазоном измерений от 0 до 150 дм3/мин и погрешностью не более 2,5 %.

Мановакуумметр с диапазоном измерений от минус 1000 до 1000 Па с погрешностью не более 20 Па.

Муляж головы человека.

7.2.7.2. Подготовка к испытаниям

На муляж головы человека надевается лицевая часть противогаза. К муляжу подсоединяется мановакуумметр, а также последовательно подсоединяются ротаметр и насос.

7.2.7.3. Проведение испытаний

При номинальном давлении кислорода в баллоне открывают вентиль баллона и с помощью насоса в системе противогаза создают расход кислорода 10 дм3/мин (контролируется по ротаметру). По мановакуумметру определяют вакуумметрическое давление, при котором начинает работать легочный автомат. Затем создают в системе противогаза расход кислорода 100 дм3/мин и определяют вакуумметрическое давление, при котором начинает работать легочный автомат.

После этого проводят испытание при давлении в баллоне, равном 3,0 МПа.

Результат испытания считается положительным, если при номинальном рабочем давлении в баллоне и при давлении, равном 3,0 МПа, выполняются требования п. 4.5.10.1.

7.2.8. Определение величины постоянной подачи кислорода (п. 4.5.10.3)

Испытания проводят при номинальном рабочем давлении в баллоне и при давлении равном 3,0 МПа.

7.2.8.1. Аппаратура

Ротаметр с пределом измерений до 5 дм3/мин с погрешностью не более 0,1 дм3/мин.

7.2.8.2. Проведение испытаний

В противогазе выключают из работы избыточный клапан, к мундштучному приспособлению (штуцеру для подсоединения лицевой части) присоединяют ротаметр, открывают вентиль баллона и после наполнения дыхательного мешка определяют постоянную подачу кислорода.

Результат испытания считается положительным, если при номинальном рабочем давлении в баллоне и при давлении, равном 3,0 МПа, постоянная подача кислорода не менее 4 дм3/мин.

7.2.9. Определение избыточного давления, при котором срабатывает избыточный клапан противогаза (п. 4.5.10.8)

7.2.9.1. Аппаратура

Насос производительностью до 100 дм3/мин по воздуху с погрешностью не более 5 %.

Мановакуумметр с диапазоном измерений от минус 1000 до 1000 Па с погрешностью не более 20 Па.

7.2.9.2. Проведение испытаний

В систему противогаза подают газовую смесь с объемным расходом 10 дм3/мин и по мановакуумметру определяют избыточное давление, при котором работает избыточный клапан.

Результат испытания считается положительным, если при потоке 10 дм3/мин газовой смеси через избыточный клапан избыточное давление в воздуховодной системе находится в пределах от 150 до 400 Па.

7.2.10. Определение герметичности воздуховодной системы противогаза (п. 4.5.10.5)

7.2.10.1. Оборудование

Мановакуумметр со встроенным насосом с диапазоном измерений от минус 1000 до 1000 Па с погрешностью не более 20 Па.

Муляж головы человека.

Секундомер с погрешностью не более 0,1 с.

7.2.10.2. Проведение испытаний

Лицевую часть противогаза надевают на муляж головы человека, присоединенный к мановакуумметру, создают в воздуховодной системе противогаза вакуумметрическое давление 900 Па и делают выдержку (2,5 ± 0,5) мин для стабилизации системы. Затем устанавливают вакуумметрическое давление (800 ± 20) Па, включают секундомер и через 2 мин регистрируют изменение давления в воздуховодной системе.

По той же схеме проверки выключают из работы избыточный клапан и создают в воздуховодной системе избыточное давление 900 Па и делают выдержку (2,5 ± 0,5) мин. Затем устанавливают избыточное давление (800 ± 20) Па, включают секундомер и через 2 мин регистрируют изменение давления в воздуховодной системе.

Результат испытания считается положительным, если выполняются требования п. 4.5.10.5.

7.2.11. Испытания сигнального устройства (п. 4.5.5.1)

7.2.11.1. Проведение испытаний

При закрытом вентиле баллона противогаза из системы противогаза с помощью легких человека отсасывают воздух и следят за сигнальным устройством. Звуковой сигнал при срабатывании сигнального устройства должен быть четким.

Затем открывают вентиль баллона противогаза и закрывают его. С помощью легких отсасывают газовую смесь из системы противогаза и по манометру противогаза отмечают давление кислорода, при котором срабатывает сигнальное устройство.

Результат испытания считается положительным, если выполняются требования п. 4.5.5.1.

7.2.12. Определение сопротивления регенеративного патрона постоянному потоку воздуха (п. 4.5.11.2)

Испытания проводятся по методике, изложенной в п. 9.3 ОСТ 12.43.247.

7.2.13. Определение герметичности дыхательных клапанов (п. 4.5.10.6)

Испытания проводятся по методике, изложенной в п. 8.11 ОСТ 12.43.247.

7.3. Испытания на устойчивость к внешним воздействиям

Испытания заключаются в том, что противогаз подвергается внешним воздействиям с параметрами, приведенными в пп. 7.3.2, 7.3.3.1-7.3.3.3, 7.3.4, и после каждого воздействия проводится проверка соответствия противогаза требованиям, изложенным в пп. 4.5.5.1, 4.5.10.1 (при расходе кислорода 10 дм3/мин), пп. 4.5.10.3, 4.5.10.6.

Испытания проводят последовательно на одном противогазе.

7.3.1. Средства измерения

Мановакуумметр со встроенным насосом с диапазоном измерений от минус 1000 до 1000 Па с погрешностью не более 20 Па.

Ротаметр с пределом измерений от 0 до 5 дм3/мин с погрешностью не более 0,1 дм3/мин.

7.3.2. Определение работоспособности противогаза после пребывания в среде с температурой 200 °С (п. 4.1.1)

7.3.2.1. Оборудование

Камера тепла вместимостью не менее 0,4 м3, обеспечивающая поддержание температуры в диапазоне от 20 до 220 °С с погрешностью не более 5 °С.

Насос производительностью до 100 дм3/мин по воздуху с погрешностью не более 5 %.

7.3.2.2. Проведение испытания

В камере тепла создается температура от 200 до 230 °С, после чего в нее помещают противогаз. После установки противогаза температура в камере должна поддерживаться в диапазоне от 200 до 205 °С. Противогаз выдерживают в камере в течение 60 с. После этого противогаз извлекают из камеры и проводят проверку его на соответствие требованиям, перечисленным в п. 7.3.

Результат испытания считается положительным, если после окончания испытания выполняются требования, перечисленные в п. 7.3.

7.3.3. Испытания на устойчивость к механическим воздействиям

Испытания должны проводиться при нормальных климатических условиях по ГОСТ 15150.

Испытания включают проверку сохранения работоспособности противогаза после транспортной тряски, воздействия вибронагрузки и ударов.

7.3.3.1. Определение сохранения работоспособности противогаза после транспортной тряски (п. 4.7.2.1)

7.3.3.1.1. Оборудование

Стенд-имитатор транспортной тряски, обеспечивающий имитацию транспортирования противогаза, с диапазоном частот от 2 до 3 Гц с погрешностью не более 2 % и ускорением до 3 g с погрешностью не более 2 %.

Контейнер, имитирующий ячейку для хранения противогаза в отсеке пожарного автомобиля.

Насос производительностью до 100 дм3/мин по воздуху с погрешностью не более 5 %.

7.3.3.1.2. Проведение испытания

Для проверки работоспособности после транспортной тряски (при имитации транспортирования к потребителю в транспортной упаковке) противогаз с давлением в баллоне (баллонах) от 1 до 3 МПа в транспортной упаковке жестко крепят в центре платформы стенда в положении, определяемом надписью или условным знаком на упаковке "Верх". Испытания проводят с перегрузкой 3 g при частоте от 2 до 3 Гц. Продолжительность воздействия 1 ч.

Результат испытания считается положительным, если после его окончания отсутствуют механические повреждения противогаза и выполняются требования, перечисленные в п. 7.3.

Для проверки работоспособности после транспортной тряски (при имитации транспортирования к месту применения) противогаз вертикально (в снаряженном состоянии) закрепляют в контейнере, имитирующем ячейку для хранения противогаза в отсеке пожарного автомобиля. Контейнер в вертикальном положении жестко закрепляют в центре платформы стенда. Испытание проводят с перегрузкой 3 g при частоте от 2 до 3 Гц. Продолжительность воздействия 0,5 ч.

Результаты испытания считаются положительными, если после его окончания отсутствуют механические повреждения противогаза и выполняются требования, перечисленные в п. 7.3.

7.3.3.2. Определение сохранения работоспособности противогаза после воздействия вибронагрузки (п. 4.7.2.2)

7.3.3.2.1. Оборудование

Вибростенд, обеспечивающий создание нагрузки в диапазоне частот от 50 до 60 Гц с погрешностью не более 8 % и амплитудой 0,4 мм с погрешностью не более 10 %.

Контейнер, имитирующий ячейку для хранения противогаза в отсеке пожарного автомобиля.

Насос производительностью до 100 дм3/мин по воздуху с погрешностью не более 5 %.

7.3.3.2.2. Проведение испытания

Противогаз вертикально (в снаряженном состоянии) закрепляют в контейнере, имитирующем ячейку в отсеке пожарного автомобиля. Контейнер в вертикальном положении жестко крепят к столу вибростенда.

Испытания проводят в течение 60 мин в направлении “вверх-вниз” с частотой от 50 до 60 Гц и амплитудой 0,4 мм.

Результат испытания считается положительным, если после его окончания выполняются требования, перечисленные в п. 7.3.

7.3.3.3. Определение сохранения работоспособности противогаза после воздействия ударов (п. 4.7.2.3)

7.3.3.3.1. Оборудование

Установка ударная, обеспечивающая ударный импульс (5 ± 1) мс с погрешностью не более 20 % и максимальное ускорение (100 ± 5) м/с2 с погрешностью не более 20 %.

Насос производительностью до 100 дм3/мин по воздуху с погрешностью не более 5 %.

7.3.3.3.2. Проведение испытания

Противогаз в снаряженном состоянии жестко крепят к столу ударной установки в горизонтальном положении наружной стороной вниз. Производят воздействия 1000 ударов на противогаз с частотой 50 мин-1, длительностью ударного импульса (5 ± 1) мс и максимальным ускорением (100 ± 5) м/с2 .

Результат испытания считается положительным, если после его окончания выполняются требования, перечисленные в п. 7.3.

7.3.4. Климатические испытания (п. 4.7.2.4)

7.3.4.1. Оборудование и средства измерения

Климатическая камера вместимостью не менее 0,4 м3, обеспечивающая поддержание температуры в диапазоне от минус 60 до 100 °С с погрешностью не более ±2 °С.

Камера тепла и влаги вместимостью не менее 0,4 м3, обеспечивающая поддержание температуры в диапазоне от 20 до 100 °С с погрешностью не более 2 °С и влажности от 45 до 95 % с погрешностью не более 3 %.

Насос производительностью до 100 дм3/мин по воздуху с погрешностью не более 5 %.

Мановакуумметр со встроенным насосом с диапазоном измерений от минус 1000 до 1000 Па с погрешностью не более 20 Па.

Ротаметр с пределом измерений от 0 до 5 дм3/мин с погрешностью не более 0,1 дм3/мин.

7.3.4.2. Определение сохранения работоспособности противогаза после воздействия температуры 50 °С (п. 4.7.2.4)

7.3.4.2.1. Проведение испытания

Противогаз без упаковки выдерживают в климатической камере при температуре (50 ± 3) °С в течение 4 ч. После этого его выдерживают при нормальной температуре окружающего воздуха в течение 4 ч.

Результат испытания считается положительным, если после его окончания выполняются требования, перечисленные в п. 7.3.

7.3.4.3. Определение сохранения работоспособности противогаза после воздействия температуры минус 60 °С (п. 4.7.2.4)

7.3.4.3.1. Проведение испытания

Противогаз без упаковки (регенеративный патрон без сорбента двуокиси углерода) выдерживают в климатической камере при температуре минус (60 ± 3) °С в течение 4 ч. После этого его выдерживают при нормальной температуре окружающего воздуха в течение 4 ч. Затем в противогаз устанавливают регенеративный патрон с сорбентом двуокиси углерода и проводят проверку противогаза.

Результат испытания считается положительным, если после его окончания выполняются требования, перечисленные в п. 7.3.

7.3.4.4. Определение сохранения работоспособности противогаза после воздействия температуры 40 °С в течение 10 суток (п. 4.7.2.4)

7.3.4.4.1. Проведение испытания

Противогаз без упаковки выдерживают в климатической камере при температуре (40 ± 2) °С в течение 10 суток. После этого его выдерживают при нормальной температуре окружающего воздуха в течение 24 ч.

Результат испытания считается положительным, если после его окончания выполняются требования, перечисленные в п. 7.3.

7.3.4.5. Определение сохранения работоспособности противогаза после воздействия температуры 35 °С при относительной влажности 90 % (п. 4.7.2.4)

7.3.4.5.1. Проведение испытания

Противогаз без упаковки выдерживают в камере тепла и влаги при температуре (35 ± 2) °С, относительной влажности (90 ± 3) % в течение 24 ч. После этого его выдерживают при нормальных климатических условиях в течение 24 ч.

Результат испытания считается положительным, если после его окончания выполняются требования, перечисленные в п. 7.3.

7.3.5. Определение устойчивости противогаза к дезинфицирующим растворам (п. 4.7.4.1)

7.3.5.1. Материалы

Марлевые салфетки размером 100´100 мм.

Водный раствор (6 ± 1) % перекиси водорода.

Водный раствор (1 ± 0,2) % хлорамина.

Водный раствор (8 ± 1) % борной кислоты.

Водный раствор (0,5 ± 0,1) % марганцовокислого калия.

Спирт этиловый ректифицированный.

7.3.5.2. Проведение испытаний

Проверку проводят поочередно и отдельно каждым из перечисленных (п. 7.3.5.1) водных растворов, а также спиртом.

Намочить в выбранном растворе (спирте) марлевую салфетку, отжать ее и пятикратно обтереть поверхности: лицевой части, дыхательных шлангов, дыхательного мешка, клапанной (соединительной) коробки и сигнального устройства противогаза с интервалом между протирками 15 мин.

Перед каждой протиркой марлевую салфетку следует смачивать заново. Объем каждого раствора должен быть не менее 50 г.

Результат испытания считается положительным, если после протирок всеми перечисленными в п. 7.3.5.1 водными растворами, а также спиртом отсутствуют визуально наблюдаемые изменения поверхностных слоев, обработанных составных частей противогаза.

7.3.6. Определение устойчивости противогаза к воздействию растворов ПАВ (п. 4.7.4.2)

7.3.6.1. Материалы

Пена средней кратности в количестве не менее 50 дм3.

7.3.6.2. Проведение испытаний

Проверку противогаза проводят погружением в пену на 10 мин, после чего обмывают чистой водой и просушивают.

Результат испытания считается положительным, если после его окончания не наблюдается изменений поверхностей противогаза.

7.4. Испытания на стенде-имитаторе внешнего дыхания человека

7.4.1. Испытания противогаза (пп. 4.1, 4.3.1, 4.3.2, 4.4.3.1-4.4.3.5, 4.5.5.1, 4.5.8.8)

7.4.1.1. Оборудование

Стенд-имитатор внешнего дыхания человека, описание которого дано в приложении 1164-98 Приложение 1.

7.4.1.2. Подготовка к испытаниям

При подготовке противогаза к испытанию допускается лишь минимальное вмешательство в его конструкцию, необходимое для определения некоторых параметров, но при условии, что это не нарушит нормальной работы противогаза. Допускается присоединение к лицевой части приспособления для отбора проб газовоздушной смеси и контроля температуры газовоздушной смеси под лицевой частью.

Противогаз снаряжают и проверяют в соответствии с инструкцией по эксплуатации. Вносят в протокол испытания (приложение 2164-98 Приложение 2) параметры противогаза по пп. 2.1-2.10 (до испытания) и заданные значения показателей работы стенда по пп. 3.1-3.9.

Стенд настраивают на дыхательный режим, соответствующий условиям конкретного испытания, и фиксируют в разд. 3 протокола испытаний (приложение 2164-98 Приложение 2) полученные фактические значения.

Рассчитывают заданную объемную долю двуокиси углерода в выдыхаемом воздухе (п. 3.6 приложения 2) при легочных условиях по табл. 7.1 по формуле

,                                                (7.1)

где C - объемная доля двуокиси углерода (заданное значение) в выдыхаемом воздухе при ЛУ, % (табл. 7.1); V - выделение двуокиси углерода при СУ, дм3/мин (табл. 7.2); W - легочная вентиляция при ЛУ, дм3/мин (табл. 7.2); Pн = 101,3 кПа - нормальное давление; Pа - атмосферное давление, кПа.

Значение С, полученное по формуле 7.1, заносят в п. 3.6 протокола испытаний (приложение 2).

Таблица 7.1

Физические условия испытаний

Наименование

Условное обозначение

Температура, °С

Относительная влажность, %

Стандартные условия

СУ

0

0

Нормальные условия

НУ

20

0

Легочные условия

ЛУ

37

100

Таблица 7.2

Наименование показателя

Относительный покой

Работа

средней тяжести

тяжелая

очень тяжелая

Выделение двуокиси углерода (СУ), дм3/мин

0,4

1,0

2,0

3,0

Потребление кислорода (СУ), дм3/мин

0,47

1,14

2,22

3,16

Дыхательный коэффициент

0,85

0,88

0,90

0,95

Легочная вентиляция (ЛУ), дм3/мин

12,5

30

60

85

Дыхательный объем (ЛУ), дм3

0,83

1,5

2,4

2,83

Частота дыхания, мин-1

15

20

25

30

Противогаз помещают в климатическую камеру в вертикальном положении, лицевую часть надевают на муляж головы человека, подключенный к стенду, и закрывают камеру.

7.4.1.3. Проведение испытаний

Испытания проводят при различных условиях дыхания и значениях температуры воздуха в климатической камере.

Испытания противогаза проводят при каждом из четырех дыхательных режимов, характеризующихся совокупностью показателей, приведенных в табл. 7.2. Значения показателей режимов работы стенда во время испытаний должны соответствовать значениям, приведенным в табл. 7.2, с учетом допусков (приложение 1).

Количество испытаний для каждого режима, определяемого совокупностью дыхательного режима и значения температуры, приведено в табл. 7.3.

Таблица 7.3

Объем испытаний противогаза на стенде-имитаторе внешнего дыхания человека

Температура в климатической камере, °С

Легочная вентиляция, дм3/мин

12,5

30

60

85

25 ± 1

1

3

2

1

40 ± 1

-

2

1

-

60 ± 2

-

2

-

-

минус 40 ± 2

-

2

1

-

Перед проведением испытаний при температуре окружающей среды 25 и 40 °С противогаз выдерживают в климатической камере при заданной температуре в течение 30 мин, а перед испытанием при температуре 60 °С его предварительная выдержка проводится при температуре 25 °С в течение 30 мин. При проведении испытаний при температуре минус 40 °С предварительная выдержка противогаза проводится в течение 30 мин при температуре окружающей среды 0 °С.

После выдержки противогаза включают стенд, открывают вентиль баллона, а затем через равные промежутки времени, но не реже чем через 10 мин, регистрируют в протоколе (приложение 2) следующие параметры работы испытываемого противогаза: давление кислорода в баллоне, объемную долю двуокиси углерода и кислорода во вдыхаемом воздухе (п. 4.4.3.1), объемную долю двуокиси углерода в дыхательном мешке (п. 4.4.3.2), сопротивление дыханию на вдохе и выдохе (п. 4.4.3.3), температуру вдыхаемой газовой смеси (пп. 4.4.3.4, 4.4.3.5).

По окончании испытания в протоколе регистрируют работоспособность противогаза (п. 4.1), условное или фактическое время защитного действия (пп. 4.3.1, 4.3.2), давление кислорода, при котором срабатывает сигнальное устройство (п. 4.5.5.1), замерзание и запотевание стекла лицевой части (п. 4.5.8.8).

Испытания проводятся до исчерпания защитной способности противогаза, которая определяется наступлением одного из нижеперечисленных событий: уменьшения давления кислорода в баллоне до 3,0 МПа, превышения значений сопротивления дыханию на вдохе и выдохе, указанных в п. 4.4.3.3, увеличения объемной доли двуокиси углерода во вдыхаемой смеси свыше 1,5 %, уменьшения объемной доли кислорода во вдыхаемой газовой смеси ниже 21 %, превышения значений объемной доли двуокиси углерода в дыхательном мешке противогаза, указанных в п. 4.4.3.2, превышения значений температуры вдыхаемой газовой смеси, указанных в пп. 4.4.3.4, 4.4.3.5.

7.4.1.4. Обработка результатов

Определяют и фиксируют в протоколе испытаний (приложение 2) максимальные и минимальные значения показателей: сопротивления дыханию на вдохе и выдохе, объемной доли двуокиси углерода и кислорода во вдыхаемой смеси, объемной доли двуокиси углерода в дыхательном мешке, температуры вдыхаемой газовой смеси.

Рассчитывают среднеарифметическое значение каждого из вышеуказанных показателей с последующей фиксацией в протоколе (приложение 2).

Результат проверки работоспособности противогаза (п. 4.1) считается положительным, если во всех определениях (при различных значениях легочной вентиляции и температуры окружающего воздуха) выполняются следующие требования: значения сопротивления дыханию на вдохе и выдохе не превышают значений, указанных в п. 4.4.3.3; объемная доля двуокиси углерода во вдыхаемой смеси меньше 1,5 %; объемная доля кислорода во вдыхаемой газовой смеси более 21 %; объемная доля двуокиси углерода в дыхательном мешке противогаза не превышает значений, указанных в п. 4.4.3.2; температура вдыхаемой газовой смеси не превышает значений, указанных в пп. 4.4.3.4, 4.4.3.5.

Результаты проверок (при соответствующих значениях легочной вентиляции и температуры окружающего воздуха): условного времени защитного действия (п. 4.3.1), фактического времени защитного действия (п. 4.3.2), объемной доли двуокиси углерода и кислорода во вдыхаемой смеси (п. 4.4.3.1), объемной доли двуокиси углерода в дыхательном мешке противогаза (п. 4.4.3.2); температуры вдыхаемой газовой смеси (пп. 4.4.3.4, 4.4.3.5), давления кислорода, при котором срабатывает сигнальное устройство (п. 4.5.5.1), - считаются положительными, если во всех определениях выполняются требования пп. 4.3.1, 4.3.2, 4.4.3.1, 4.4.3.2, 4.4.3.4, 4.4.3.5, 4.5.5.1.

Результат проверки работоспособности стекла лицевой части (п. 4.5.8.8) считается положительным, если во всех определениях (при различных значениях легочной вентиляции и температуры окружающего воздуха) отсутствуют визуально наблюдаемые замерзание и запотевание стекла лицевой части.

7.4.2. Определение работоспособности противогаза при погружении в воду (п. 4.7.3) и влагонепроницаемости манометра (п. 4.5.3.1)

7.4.2.1. Оборудование

Стенд-имитатор дыхания СИД, описание которого дано в приложении 1.

Емкость вместимостью не менее 1 м3, заполненная водой и предназначенная для погружения противогаза.

Секундомер с погрешностью не более 0,1 с.

7.4.2.2. Проведение испытания

Лицевая часть снаряженного противогаза надевается на муляж головы человека, подключенный к стенду-имитатору дыхания. Открывается вентиль баллона и включается стенд-имитатор на дыхательный режим 30/25 (легочная вентиляция 30 дм3/мин, температура 25 °С).

Фиксируется сопротивление дыханию по дифманометру стенда, после чего работающий противогаз в горизонтальном положении погружают в воду на 15 с. Вода должна полностью покрывать противогаз. После этого противогаз извлекают из воды (без изменения режима работы), устанавливают в вертикальное положение и выдерживают в течение 10...15 мин.

Результат испытания считается положительным, если в процессе испытания и по его окончании выполняются требования п. 4.4.3.3, а также визуально устанавливается отсутствие влаги под стеклом манометра.

7.5. Лабораторные испытания на людях

Испытания на людях проводятся в соответствии с ГОСТ 12.4.061.

Испытания противогаза на людях дополняют основную оценку противогаза, полученную при испытаниях на приборах и на стенде-имитаторе дыхания.

Испытания проводят с целью определения: защитных свойств противогаза; условий дыхания в противогазе; физиологических реакций людей на работу в противогазе; особенностей работы составных частей и систем противогаза; удобства пользования противогазом.

Испытания должны проводиться под руководством начальника специализированного испытательного подразделения, который назначает ответственного за испытания. Ответственный за испытания противогазов на людях привлекает для участия в них: испытателей, ответственного за подготовку противогазов, врача и физиолога.

В качестве испытателей привлекаются лица, регулярно использующие противогазы и обладающие соответствующими медицинскими показателями. Допуск к испытаниям осуществляет врач. Испытатели не должны в течение 24 ч перед испытанием выполнять тяжелую физическую работу и принимать алкоголь. Испытатели должны получить полную информацию о характере и объеме испытаний.

Перед началом каждого испытания противогазы должны быть проверены в объеме проверки № 2 “Наставления по газодымозащитной службе Государственной противопожарной службы” в соответствии с инструкцией по эксплуатации. Результаты проверки заносятся в протокол (приложение 3164-98 Приложение 3). Разрешение на использование противогазов в испытаниях дает лицо, назначенное ответственным за испытания.

Испытания проводят в эргометрическом зале, камерах тепла и холода, камере масляного тумана.

7.5.1. Испытания в эргометрическом зале, камерах тепла и холода (пп. 4.1, 4.4.1.1, 4.4.2.1, 4.4.3.3, 4.5.2.1, 4.5.2.2, 4.5.3.2, 4.5.3.5, 4.5.3.6, 4.5.3.8, 4.5.5.1, 4.5.5.2, 4.5.7.1-4.5.7.3, 4.5.8.3, 4.5.8.6, 4.5.8.8)

7.5.1.1. Оборудование и средства измерения

7.5.1.1.1. Оборудование для создания физических нагрузок

Эргометрический зал площадью (20 ± 1) м2 и высотой (2,7 ± 0,2) м.

Стенд - движущаяся дорожка со скоростью движения ленты, изменяющейся от 30 до 100 м/мин с погрешностью не более 10 %, с установленным на ней имитатором носилок массой (40 ± 0,5) кг.

Вертикальный эргометр с грузами (10 ± 0,25) кг и (20 ± 0,25) кг, и высотой подъема (1,2 ± 0,05) м.

Стенд - бесконечная лестница с изменяющейся скоростью движения перекладин лестницы в диапазоне от 4 до 20 м/мин с погрешностью не более 10 % и изменяющимся углом наклона лестницы от 65 до 90 °С с погрешностью не более 5 %.

Помост площадью (9,0 ± 1,5) дм2 и высотой (3,0 ± 0,1) дм.

Секундомер с погрешностью не более 0,1 с.

Груз (ящик с ручками для переноски или гиря) массой (20 ± 0,1) кг.

7.5.1.1.2. Оборудование для создания тепла и холода

Камеры тепла и холода с диапазоном температур от минус 50 до 50 °С с погрешностью не более 3 °С, объемом не менее 12 м3.

7.5.1.1.3. Средства измерения

Мановакуумметр с диапазоном измерений от минус 1000 до 1000 Па с погрешностью не более 20 Па.

Термометры для измерения температуры воздуха с диапазоном измерений от 0 до 100 °С и от минус 50 до 0 °С с погрешностью измерений не более 1 °С.

Термометр для измерения температуры тела с погрешностью не более 0,1 °С.

Тонометр медицинский манометрический с погрешностью не более 1 мм рт. ст.

7.5.1.2. Подготовка к испытаниям

Лицевую часть противогаза оборудуют штуцером для подключения мановакуумметра в соответствии с ГОСТ 12.4.005.

7.5.1.3. Условия проведения испытаний

В испытаниях должно участвовать три испытателя.

Испытания проводят путем выполнения испытателями дозированной физической работы, имитирующей реальную нагрузку при выполнении газодымозащитниками работ по тушению пожаров и проведении аварийно-спасательных работ.

Дозированная физическая нагрузка осуществляется путем выполнения комплекса упражнений на оборудовании по п. 7.5.1.1.1 в лабораторных условиях.

Лабораторные испытания противогаза на людях проводят при следующих условиях окружающей среды:

- при температуре окружающей среды (25 ± 2) °С, относительной влажности 40-80 %;

- при температуре окружающей среды (40 ± 2) °С, относительной влажности 15-35 %;

- при температуре окружающей среды минус (40 ± 2) °С.

На испытателях должна быть штатная боевая одежда, сапоги, каска, а при работе в камерах тепла и холода кроме того должны быть надеты рукавицы и шерстяной подшлемник.

7.5.1.4. Проведение испытаний

Перед началом испытаний и после их завершения у испытателя измеряют и фиксируют в протоколе (приложение 3) массу тела, рост, частоту дыхания, частоту пульса, артериальное давление, температуру тела (подмышечную).

Результаты записываются в разд. 4 протокола (приложение 3).

При выполнении испытателем комплекса упражнений в лабораторных условиях контролируются параметры противогаза по пп. 4.4.3.3, 4.5.5.1.

Продолжительность и последовательность выполнения упражнений представлена в табл. 7.4.

Перед испытанием противогаз выдерживают при заданной температуре 30 мин. При температуре минус 40 °С выдержка проводится при температуре 0 °С.

Все упражнения выполняются каждым испытателем последовательно, без выключения из противогаза, как во время работы, так и во время отдыха.

Если давление кислорода в баллоне противогаза по завершении комплекса упражнений больше 3,0 МПа, то упражнения повторяются до исчерпания запаса кислорода.

Таблица 7.4

Перечень упражнений, порядок и продолжительность их выполнения при проведении испытаний противогаза в эргометрическом зале, в камерах тепла и холода

Наименование упражнений

Температура окружающей среды, °С

-40

25

40

Ходьба по горизонтальной движущейся дорожке со скоростью 80 м/мин

-

10/3 *

5/3 **

Ползание на четвереньках по полу со скоростью 10 м/мин

-

5/3

-

Работа на вертикальном эргометре, груз 20 кг, высота подъема 1,2 м, темп 20 раз в минуту

-

5/3

-

Подъем по лестнице (угол наклона 75 °), скорость 10 м/мин

-

5/3

-

Переноска носилок массой 40 кг со скоростью 60 м/мин на движущийся дорожке

-

5/3

-

Работа на вертикальном эргометре, груз 10 кг, высота подъема 1,2 м, темп 20 раз в минуту

-

-

10/3

Подъем на помост высотой 3,0 дм и спуск с него в темпе 20 раз в минуту

5/2

-

5/3

Переноска груза массой 20 кг на расстояние 5 м

10/3

-

10/3

Подъем груза массой 20 кг на высоту 1,2 м с интенсивностью 10 раз в минуту (фиксируется по уровню рук испытателя)

10/3

-

10/3

Ходьба по горизонтальной движущейся дорожке со скоростью 80 м/мин

-

15

5

Примечания:

* В числителе указана продолжительность выполнения упражнения, а в знаменателе - продолжительность отдыха после выполнения упражнения.

** Во время испытания противогаза при температуре 40 °С вводная и заключительная ходьба проводится при температуре окружающей среды 25 °С.

Во время испытаний по окончании каждого упражнения фиксируют в протоколе (приложение 3) следующие физиологические показатели испытателей: частоту пульса; ректальную температуру тела (при испытании в камере тепла); частоту дыхания.

По окончании каждого опыта испытатель сообщает о самочувствии, степени усталости и дает субъективную оценку испытуемого противогаза. Результаты заносятся в протокол (приложение 3).

Испытания противогаза проводят до наступления одного из событий: уменьшения давления кислорода в баллоне до 3,0 МПа; достижения частоты пульса 170 мин-1 или ректальной температуры 38,7 °С; невозможности продолжать работу испытателем.

После испытаний на основании мнения испытателя в протокол (приложение 3) заносят данные о его состоянии, удобстве пользования противогазом и условиях дыхания по следующим пунктам требований: 4.4.1.1, 4.4.2.1, 4.5.2.1, 4.5.2.2, 4.5.3.2, 4.5.3.5, 4.5.3.6, 4.5.3.8, 4.5.5.2, 4.5.7.1-4.5.7.3, 4.5.8.3, 4.5.8.6.

Результаты проверок (при различных температурах окружающего воздуха) сопротивления дыханию на вдохе и выдохе (п. 4.4.3.3) и давления кислорода, при котором срабатывает сигнальное устройство (п. 4.5.5.1), считаются положительными, если во всех определениях выполняются требования пп. 4.4.3.3, 4.5.5.1.

Результат проверки работоспособности противогаза (п. 4.1) считается положительным, если во всех определениях (при различных температурах окружающего воздуха) значения сопротивления дыханию на вдохе и выдохе не превышают значений, указанных в п. 4.4.3.3.

Результаты испытаний считаются положительными, если выполняются требования пп. 4.4.1.1, 4.4.2.1, 4.5.2.1, 4.5.2.2, 4.5.3.2, 4.5.3.5, 4.5.3.6, 4.5.3.8, 4.5.5.2, 4.5.7.1-4.5.7.3, 4.5.8.3, 4.5.8.6.

7.5.2. Определение коэффициента подсоса масляного тумана в подмасочное пространство лицевой части противогаза (п. 4.5.8.2)

7.5.2.1. Аппаратура и материалы

Комплект аппаратуры и материалов в соответствии с ГОСТ 12.4.157.

7.5.2.2. Проведение испытания

Испытание проводится в соответствии с ГОСТ 12.4.157 разд. 2 и 3.

В испытании должно участвовать не менее 10 человек с различными антропометрическими размерами головы (вертикальный обхват - длина круговой линии, проходящей по подбородку и щекам через высшую точку головы (макушки), - от 610 до 720 мм и морфологическая высота лица - расстояние от наиболее углубленной точки спинки носа (переносицы) до наиболее выступающей точки подбородка - от 110 до 140 мм).

Результаты испытаний считаются положительными, если во всех определениях выполняются требования п. 4.5.8.2.

7.5.3. Определение общего поля зрения очкового узла лицевой части (п. 4.5.8.7)

7.5.3.1. Аппаратура

Комплект аппаратуры по ГОСТ 12.4.008 (п. 1.1)

7.5.3.2. Проведение испытания

Испытание проводится по ГОСТ 12.4.008. В испытании должно участвовать не менее 5 человек с различными антропометрическими размерами головы, указанными в п. 7.5.2.2.

Результат испытания считается положительным, если среднеарифметическое значение угла зрения, определенное в соответствии с ГОСТ 12.4.008, не менее 70 % от поля зрения человека без лицевой части.

7.6. Полигонные испытания противогаза

Испытания проводятся на открытом воздухе и в теплодымокамерах.

Два звена газодымозащитников в составе не менее чем из трех человек каждое в боевой одежде со снаряжением выполняют комплекс упражнений.

При испытаниях определяют показатели по пп. 4.4.1.1, 4.4.2.1, 4.5.2.1, 4.5.2.2, 4.5.3.2, 4.5.3.5, 4.5.3.6, 4.5.3.8, 4.5.5.2, 4.5.6.1, 4.5.7.1-4.5.7.3, 4.5.8.3, 4.5.8.6.

Испытания включают следующие этапы: изучение конструкции противогаза; изучение правил пользования и подготовки противогаза; снаряжение и проверку противогаза; работу в противогазе.

7.6.1. Проведение испытаний

Перед началом испытаний и после их завершения у испытателя измеряют массу тела, рост, частоту дыхания, частоту пульса, артериальное давление, температуру тела (подмышечную). Результаты фиксируются в протоколе в произвольной форме.

Перечень упражнений, выполняемых при полигонных испытаниях, и их длительность приведены в табл. 7.5. Детальное содержание каждого вида упражнений определяется лицом, ответственным за проведение испытаний. Порядок и продолжительность выполнения упражнений могут корректироваться в зависимости от типа противогаза, срока его защитного действия и местных условий.

В течение испытаний противогаза после каждого вида работы (упражнения) регистрируют следующие параметры: продолжительность упражнения (работа и отдых); показания манометра; частоту пульса.

Таблица 7.5

Перечень упражнений, проводимых при полигонных испытаниях

Наименование упражнений

Продолжительность упражнений, мин

на свежем воздухе

в дымокамере

в теплокамере

Медленная и быстрая ходьба по горизонтальной поверхности (скорость 50-80 м/мин)

5/-

-

-

Работа с ручным немеханизированным пожарным инструментом (лом, топор)

10/3 *

-

-

Подъем и спуск по лестнице (маршевой, вертикальной, штурмовой)

5/2

-

-

Проведение разведки с отысканием человека (чучела) и вынос его на свежий воздух

-

10/3

-

Вынос имущества из помещений (ящиков 30-40 кг)

-

10/3

-

Проведение разведки с отысканием человека, включение его в спасательное устройство и вывод на свежий воздух

-

10/3

-

Переноска груза массой 10 кг

-

-

8/3

Работа на вертикальном эргометре

-

-

5

Примечание. В числителе указана продолжительность выполнения упражнения, а в знаменателе - продолжительность отдыха после выполнения упражнения.

Испытания противогаза проводят до наступления одного из событий: уменьшения давления кислорода в баллоне до 3,0 МПа; увеличения частоты пульса испытателя свыше 150 мин-1, если она не уменьшается в течение 5 мин отдыха; появления субъективных ощущений, препятствующих продолжению испытаний (высокое сопротивление дыханию, ухудшение самочувствия и др.); нарушения нормальной работы противогаза (неисправность какого-либо устройства, утечка кислорода и др.).

После окончания каждого испытания проводят опрос газодымозащитников о самочувствии, условиях дыхания в противогазе и удобстве пользования им при выполнении различных работ. Результаты опроса фиксируют в протоколе.

Результаты испытаний считаются положительными, если выполняются требования пп. 4.4.1.1, 4.4.2.1, 4.5.2.1, 4.5.2.2, 4.5.3.2, 4.5.3.5, 4.5.3.6, 4.5.3.8, 4.5.5.2, 4.5.6.1, 4.5.7.1-4.5.7.3, 4.5.8.3, 4.5.8.6.

7.7. Испытания на надежность (пп. 4.5.8.10, 4.5.9.2, 4.8.1, 4.8.2)

Испытания по определению соответствия противогаза требованиям пп. 4.5.8.10, 4.5.9.2 проводятся разработчиком по специальным методикам.

Испытания по подтверждению вероятности сохранения исправности противогаза Pхр (720 ч), вероятности безотказной работы противогаза Рб (tр) должны проводиться во время всего комплекса испытаний.

7.7.1. Испытания по подтверждению вероятности сохранения исправности противогаза Pхр (720 ч) (п. 4.8.1)

Для контроля показателя надежности Pхр (720 ч) на испытание представляются 3 противогаза, проверенных и снаряженных в соответствии с инструкцией по эксплуатации. Противогазы должны находиться в состоянии ожидания применения в течение одного месяца. После постановки противогазов на испытание фиксируют дату начала испытания. По истечении одного месяца каждый противогаз подвергают проверке № 2 "Наставления по газодымозащитной службе Государственной противопожарной службы”. При этом фиксируют обнаруженные отказы.

Результат испытания считается положительным, если при проведении проверки № 2 противогазов не обнаружено ни одного отказа.

7.7.2. Испытания по подтверждению вероятности безотказной работы противогаза Рб (tр) (п. 4.8.2)

Для контроля показателя надежности Pб (tp) на испытание следует представить 34 противогаза, в каждом из которых необходимо отработать не менее 10 аппаратосмен. Если на испытаниях находится меньше противогазов, то в каждом из них следует отработать больше аппаратосмен, с тем чтобы в сумме получилось 340 аппаратосмен.

Данный вид испытаний проводят на стадии предварительных испытаний.

Отказы, обнаруженные при испытаниях, фиксируют. При контроле показателя надежности Pб (tp) учитывают отказы, которые ведут к нарушению нормальной работы противогаза.

К отказам при проведении испытания противогаза на стендовом оборудовании относятся: уменьшение давления кислорода в баллоне до 3,0 МПа; превышение значений сопротивления дыханию на вдохе и выдохе, указанных в п. 4.4.3.3; увеличение объемной доли двуокиси углерода во вдыхаемой смеси свыше 1,5 %; уменьшение объемной доли кислорода во вдыхаемой газовой смеси ниже 21 %; превышение значений объемной доли двуокиси углерода в дыхательном мешке противогаза, указанных в п. 4.4.3.2; превышение значений температуры вдыхаемой газовой смеси, указанных в пп. 4.4.3.4, 4.4.3.5.

Отказы при проведении лабораторных и полигонных испытаний противогаза на людях определяет работающий в противогазе по результатам субъективной "боевой" проверки перед началом работы и в течение всей аппаратосмены. К ним относятся, например, значительные, но все же переносимые: повышенные сопротивление дыханию и температура вдыхаемой газовой смеси. К отказам относятся также возникновение обязательной необходимости переключения человека в запасной противогаз или самоспасатель и существенные поломки подвесной системы противогаза, затрудняющие удержание его в рабочем положении. При испытании учитывают лишь отказы, зависящие от внутренних причин, т. е. от конструкции противогаза, и не учитывают отказы, вызванные внешними случайными воздействиями.

Общим признаком отказов испытаний на людях является потеря способности противогаза защищать органы дыхания и зрения человека и обязательной необходимости переключения в резервный противогаз или самоспасатель.

Результат испытания считается положительным, если при проведении 340 аппаратосмен противогазов не обнаружено ни одного отказа.

Приложение 1
(обязательное)

Стенд-имитатор внешнего дыхания человека

Стенд-имитатор внешнего дыхания человека предназначен для объективной оценки противогаза при работе с различной дыхательной нагрузкой и в различных внешних микроклиматических условиях. Принципиальная схема стенда показана на рис. 1.

При испытании противогаза на стенде определяют время защитного действия, условия дыхания, параметры основных систем и устройств.

Стенд имитирует вентиляционную функцию легких и легочный газообмен. Потребление кислорода и выделение двуокиси углерода имитируется при реакции горения метанола. Для имитации вентиляционной функции легких стенд создает пульсирующий поток газа с изменением объемного расхода, близким к синусоидальному, и равной продолжительностью фаз вдоха и выдоха.

Стенд имитирует температурно-влажностный режим выдоха путем нагревания и увлажнения выдыхаемой газовоздушной смеси.

Стенд-имитатор должен обеспечивать значения:

выделения двуокиси углерода при СУ;

потребления кислорода при СУ;

легочную вентиляцию при ЛУ;

дыхательный объем при ЛУ.

Мгновенные значения объемного расхода не должны отличаться от синусоидальных более чем на ±4 %.

Объем дыхательного цикла должен быть от 0,9 до 2,9 дм3, частота дыхания должна быть от 15 до 30 1/мин.

В имитаторе дыхания и в месте присоединения стенда к лицевой части противогаза выдыхаемая газовоздушная смесь должна иметь температуру (36,5 ± 0,5) °С и относительную влажность (95 ± 3) %.

В состав стенда должна входить климатическая камера, где поддерживается температура в пределах от минус 40 до 60 °С с отклонением от заданной величины не более 2 °С, со скоростью воздушного потока в пределах от 0,3 до 0,5 м/с.

Рис. 1.1. Принципиальная схема стенда-имитатора дыхания человека:

1 - привод искусственных легких; 2 - горелка; 3 - дозатор метанола; 4 - дозатор кислорода; 5 - водяной холодильник; 6, 7 - газоанализаторы; 8 - электроконтактные термометры; 9 - мановакуумметр; 10 - клапан вдоха; 11 - клапан выдоха; 12, 13 - трехходовые краны; 14, 17 - сухие и влажные датчики; 15 - клапан вдоха; 16 - клапан выдоха; 18 - климатическая камера; 19 - противогаз; 20 - муляж головы человека с лицевой частью; 21 - теплообменник; 22 - термостат; 23 - термостатическая ванна; 24 - камера газообмена; 25 - корпус

Стенд должен быть укомплектован контрольно-измерительными приборами и устройствами, позволяющими устанавливать и контролировать параметры дыхательной нагрузки и регистрировать следующие параметры противогаза:

сопротивление дыханию в диапазоне от минус 1000 до 1000 Па с погрешностью не более 20 Па;

объемную долю двуокиси углерода во вдыхаемой смеси в диапазоне от 0 до 5 % с погрешностью не более 0,1 %;

объемную долю кислорода во вдыхаемой смеси в диапазоне от 0 до 25 % с погрешностью не более 0,1 %.

Определение усредненного для каждого цикла дыхания содержания двуокиси углерода во вдыхаемой газовоздушной смеси проводится параллельно с регистрацией остальных измеряемых параметров.

Отобранная для анализа смесь должна после его окончания возвращаться в систему стенда.

При включении стенда на холостой ход трехходовые краны устанавливают в положение, при котором имитатор дыхания соединяется по воздуховодной системе стенда с окружающей средой. В этом положении испытуемый противогаз отключен от имитатора дыхания.

Приложение 2
(обязательное)

Протокол № _____
Испытания кислородного изолирующего противогаза (респиратора) на стенде-имитаторе дыхания

Место испытания _________, дата __________, режим _________

1. Общие сведения о противогазе (респираторе)

1.1. Наименование _________________________________

1.2. Изготовитель __________________________________

1.3. Номер документа, на основании которого изготовлен противогаз __________

1.4. Номер противогаза _________________________________

1.5. Дата изготовления __________________________________

1.6. Наименование поглотителя СО2 _____, барабан № ____, партия № ______, массовая доля связанной СО2, %, ______, массовая доля влаги, % ____________

2. Параметры противогаза до и после испытания

Наименование параметра

До испытания

После испытания

2.1. Изменение избыточного и вакуумметрического давления при проверке герметичности противогаза, Па

 

 

2.2. Постоянная подача кислорода, дм3/мин

 

 

2.3. Вакуумметрическое давление, при котором начинает работать легочный автомат, Па

 

 

2.4. Избыточное давление, при котором начинает работать избыточный клапан, Па

 

 

2.5. Масса баллона с кислородом, г

 

 

2.6. Расход кислорода за опыт, г (дм3 )

 

 

2.7. Масса снаряженного патрона, г

 

 

2.8. Масса неснаряженного патрона, г

 

 

2.9. Масса поглотителя, г

 

 

2.10. Привес поглотителя, г

 

 

3. Условия испытания

Наименование показателя

Заданное значение

Фактическое значение

3.1. Температура воздуха в камере, °С

 

 

3.2. Легочная вентиляция, дм3/мин

 

 

3.3. Частота дыхания, мин-1

 

 

3.4. Дыхательный объем (ЛУ), л

 

 

3.5. Выделение СО2 (СУ), дм3/мин

 

 

3.6. Объемная доля СО2 на выдохе, %

 

 

3.7. Потребление О2 (СУ), л/мин

 

 

3.8. Температура выдыхаемого воздуха, °С

 

 

3.9. Влажность выдыхаемого воздуха, %

 

 

4. Запись наблюдений в процессе испытания

Время от начала опыта, мин

Давление в баллоне, МПа

Сопротивление дыханию, Па

Температура вдыхаемого воздуха, °С

Объемная доля газа, %

на входе

на выходе

Сухой термометр

Мокрый термометр

СО2 на выходе

СО2 на входе

СО2 в мешке

О2 на входе

 

 

 

 

 

 

 

 

 

 

 

 

 

 

 

 

 

 

 

 

 

 

 

 

 

 

 

 

 

 

min

 

 

 

 

 

 

 

 

среднее

 

 

 

 

 

 

 

 

max

 

 

 

 

 

 

 

 

Давление кислорода в баллоне, при котором срабатывает сигнальное устройство, МПа ______________________________________________________________________

Дополнительные данные _____________________________

Условное время защитного действия противогаза, мин ____

Фактическое время защитного действия противогаза, мин ____

5. Замечания

_______________________________________________

Ответственный за испытание ___________ ___________

(подпись)              (Ф.И.О.)

Приложение 3
(обязательное)

Протокол № _____
Лабораторные испытания кислородного изолирующего противогаза (респиратора) на человеке

Место испытания ___________________, дата ________________

1. Общие сведения о противогазе (респираторе)

1.1. Наименование _________________________________

1.2. Изготовитель _________________________________

1.3. Номер документа, на основании которого изготовлен противогаз     

1.4. Номер противогаза _________________________________

1.5. Дата изготовления _________________________________

1.6. Наименование поглотителя СО2 __________, барабан № ________, партия № ______, массовая доля связанной СО2, %, ______, массовая доля влаги, % ____________________

2. Параметры противогаза до и после испытания

Наименование параметра

До испытания

После испытания

2.1. Изменение избыточного и вакуумметрического давления при проверке герметичности противогаза, Па

 

 

2.2. Постоянная подача кислорода, дм3/мин

 

 

2.3. Вакуумметрическое давление, при котором начинает работать легочный автомат, Па

 

 

2.4. Избыточное давление, при котором начинает работать избыточный клапан, Па

 

 

2.5. Масса баллона с кислородом, г

 

 

2.6. Расход кислорода за опыт, г (дм3 )

 

 

2.7. Масса снаряженного патрона, г

 

 

2.8. Масса неснаряженного патрона, г

 

 

2.9. Масса поглотителя, г

 

 

2.10. Привес поглотителя, г

 

 

3. Условия испытания

3.1. Температура окружающей среды, °С _________________________________

3.2. Относительная влажность, % _______________________________________

3.3. Барометрическое давление, мм рт. ст. ________________________________

4. Данные об испытателе-добровольце

4.1. Фамилия, имя, отчество _________________________________

4.2. Возраст, лет ___________

4.3. Рост ________

4.4. Стаж работы в СИЗОД, лет ________

До испытания

После испытания

4.5. Масса, кг

 

4.6. Температура тела, °С

 

4.7. Частота пульса, мин-1

 

4.8. Частота дыхания, мин-1

 

4.9. Жизненная емкость легких, дм3

 

4.10. Артериальное давление, мм рт. ст.

 

4.11. Потоотделение, г

 


5. Запись наблюдений в процессе испытания

Время от начала испытания, мин

Вид упражнения

Режим работы, мин

Давление кислорода в баллоне, МПа

Сопротивление дыханию, Па

Частота дыхания, мин-1

Частота пульса, мин-1

Ректальная температура, °С

Температура вдыхаемого воздуха, °С

Артериальное давление, Па

Объемная доля газа в дыхательном мешке, %

Объемная доля газа во вдыхаемом воздухе, %

Работа

Отдых

на входе

на выходе

СО2

О2

СО2

О2

 

 

 

 

 

 

 

 

 

 

 

 

 

 

 

 

 

 

 

 

 

 

 

 

 

 

 

 

 

 

 

 

 

 

 

 

 

 

 

 

 

 

 

 

 

 

 

 

Замечания ведущего испытания ______________________________

Замечания испытателя ______________________________

Испытатель _______________ _____________________

(подпись)                            (Ф. И. О.)

Противогаз к испытанию подготовил

________________ __________________________

(подпись)                                 (Ф.И.О.)

Ответственный за испытание

________________ __________________________

(подпись)                                 (Ф.И.О.)





Яндекс цитирования



   Copyright © 2007-2026,  www.tehlit.ru.

[ ѓосты, стандарты, нормативы, инструкции, правила, строительные нормы ]