//
ТехЛит.ру
- крупнейшая бесплатная электронная интернет библиотека для "технически умных" людей.
WWW.TEHLIT.RU - ТЕХНИЧЕСКАЯ ЛИТЕРАТУРА

:: Алготрейдинг::


АЛГОТРЕЙДИНГ
шаг за шагом
с нуля по урокам!

Торговые роботы на PYTHON, BackTrader,
Pandas, Pine Script для TradingView. Связка с брокерами, телеграм и легкими приложениями.


ГОСТ 12801-98

МЕЖГОСУДАРСТВЕННЫЙ СТАНДАРТ

МАТЕРИАЛЫ НА ОСНОВЕ ОРГАНИЧЕСКИХ ВЯЖУЩИХ
ДЛЯ ДОРОЖНОГО И АЭРОДРОМНОГО СТРОИТЕЛЬСТВА

Методы испытаний

МЕЖГОСУДАРСТВЕННАЯ НАУЧНО-ТЕХНИЧЕСКАЯ КОМИССИЯ
ПО СТАНДАРТИЗАЦИИ, ТЕХНИЧЕСКОМУ НОРМИРОВАНИЮ
И СЕРТИФИКАЦИИ В СТРОИТЕЛЬСТВЕ (МНТКС)

Москва

Предисловие

1 РАЗРАБОТАН Корпорацией «Трансстрой», Государственным дорожным научно-исследовательским и проектным институтом Союздорнии Российской Федерации

ВНЕСЕН Госстроем России

2 ПРИНЯТ Межгосударственной научно-технической комиссией по стандартизации, техническому нормированию и сертификации в строительстве (МНТКС) 12 ноября 1998 г.

За принятие проголосовали:

Наименование государства

Наименование органа государственного управления строительством

Республика Армения

Министерство градостроительства Республики Армения

Республика Казахстан

Комитет по жилищной и строительной политике при Министерстве энергетики, индустрии и торговли Республики Казахстан

Кыргызская Республика

Государственная инспекция по архитектуре и строительству при Правительстве Кыргызской Республики

Республика Молдова

Министерство территориального развития, строительства и коммунального хозяйства Республики Молдова

Российская Федерация

Госстрой России

Республика Таджикистан

Госстрой Республики Таджикистан

Украина

Госстрой Украины

3 ВЗАМЕН ГОСТ 12801-84

4 ВВЕДЕН В ДЕЙСТВИЕ с 1 января 1999 г. в качестве государственного стандарта Российской Федерации постановлением Госстроя России от 24 ноября 1998 г. № 16

ГОСТ 12801-98

МЕЖГОСУДАРСТВЕННЫЙ СТАНДАРТ

МАТЕРИАЛЫ НА ОСНОВЕ
ОРГАНИЧЕСКИХ ВЯЖУЩИХ ДЛЯ ДОРОЖНОГО
И АЭРОДРОМНОГО СТРОИТЕЛЬСТВА

Методы испытаний

MATERIALS ON THE BASIS OF ORGANIC BINDERS FOR ROAD AND AIRFIELD CONSTRUCTION
Test Methods

Дата введения 1999-01-01

1 Область применения

Настоящий стандарт распространяется на смеси асфальтобетонные, органоминеральные, грунты, укрепленные органическими вяжущими, и асфальтобетон, применяемые для устройства покрытий и оснований автомобильных дорог, аэродромов, городских улиц и площадей, дорог промышленных предприятий, и устанавливает методы их испытаний. Методы применяют при подборе состава и контроле качества готовых органоминеральных, асфальтобетонных смесей (далее - смесей), укрепленных органическими вяжущими грунтов (далее - укрепленных грунтов) путем испытания лабораторных образцов, вырубок и кернов, отобранных непосредственно из покрытия или основания.

2 Нормативные ссылки

Стандарты, ссылки на которые использованы в настоящем стандарте, приведены в приложении А.

3 Общие положения

3.1 Образцы взвешивают на лабораторных весах общего назначения 4-го класса точности по ГОСТ 24104 с допускаемой погрешностью взвешивания 0,1 % массы, если в методе не даны другие указания. Массу образцов определяют в граммах с точностью до второго десятичного знака.

3.2 Результаты испытаний рассчитывают с точностью до второго десятичного знака методом округления, если не даны другие указания относительно точности вычислений. В случае проведения параллельных испытаний допускаемое расхождение между результатами указано в соответствующем методе испытания.

3.3 Применяемые средства контроля и вспомогательное оборудование должны пройти поверку и аттестацию в установленном порядке [1]. Допускается использование аналогичного импортного оборудования.

3.4 Температура воздуха в помещении, в котором проводят испытания, должна быть (20±5) °С.

3.5 Вода для проведения испытаний должна соответствовать ГОСТ 23732 или ГОСТ 2874, дистиллированная вода - ГОСТ 6709.

3.6 При использовании в качестве реактивов опасных (едких, токсичных, воспламеняющихся) веществ следует руководствоваться требованиями безопасности, изложенными в нормативных документах на эти вещества.

3.7 Отобранные пробы смесей и укрепленных грунтов, а также изготовленные из них образцы следует хранить в комнатных условиях, если в методе испытания не даны иные указания.

4 Отбор проб и приготовление смесей в лаборатории

4.1 Отбор проб при приготовлении смесей и укрепленных грунтов в производственных смесительных установках начинают не ранее чем через 30 мин после начала выпуска смеси. Для испытаний необходимо отобрать объединенную пробу, составленную из трех-четырех тщательно перемешанных между собой точечных проб.

Отбор точечных проб смесей и укрепленных грунтов производят в зависимости от производительности смесителя с интервалом от 15 до 30 мин. Точечные пробы отбирают непосредственно после выгрузки смеси из смесителя или накопительного бункера.

При производстве работ смешением на дороге точечные пробы отбирают после прохода грунтосмесительной машины или дорожной фрезы через 100- 150 м.

При проведении потребителем контрольных испытаний отбор проб производят из кузовов автомобилей, при этом из одного или нескольких автомобилей в зависимости от объема поставляемой партии отбирают три-четыре точечные пробы для одной объединенной пробы. Масса объединенной пробы смесей и укрепленных грунтов в зависимости от размера зерен минерального материала должна быть не менее указанной в таблице 1.

Таблица 1

Наибольшая крупность минерального материала, мм

Масса объединенной пробы, кг

для приемосдаточных испытаний

для периодических испытаний

В смеси

 

 

5

2,5

3,5

10,15,20

6,5

10

40

6 - для пористых и высокопористых смесей

6

 

17 - для плотных смесей

28

В укрепленном грунте

 

 

25

10

15

40

25

40

4.2 Для отбора проб из конструктивных слоев дорожных одежд выбирают участок покрытия на расстоянии не менее 0,5 м от края покрытия или оси дороги и размером не более 0,5х0,5 м. Отбор проб производят в виде вырубки прямоугольной формы или высверленных цилиндрических кернов. Цилиндрические керны высверливают на всю толщину покрытия (верхний и нижний слой вместе) с помощью буровой установки и разделяют слои в лаборатории.

Размеры вырубки и количество высверливаемых кернов с одного места устанавливают по максимальному размеру зерен и исходя из требуемого для испытаний количества образцов. При этом масса вырубки или кернов, отобранных с одного места, должна быть не менее, кг:

1 - для песчаных смесей;

2 - для мелкозернистых смесей;

6- для крупнозернистых смесей.

Диаметр кернов должен быть не менее, мм:

50 - для проб из песчаного асфальтобетона;

70 - для проб из мелкозернистого асфальтобетона;

100 - для проб из крупнозернистого асфальтобетона.

При требовании заказчика определять пределы прочности при сжатии переформованных образцов массу вырубки или кернов следует увеличивать.

Из вырубки выпиливают или вырубают три образца с ненарушенной структурой для определения средней плотности, водонасыщения, набухания и коэффициента уплотнения смесей в конструктивных слоях дорожных одежд.

Образцы должны иметь форму, приближающуюся к кубу или прямоугольному параллелепипеду со сторонами от 5 до 10 см. Наличие трещин в образцах не допускается. Образцы-керны испытывают целиком. Допускается при необходимости керны распиливать или разрубать на части.

Перед испытанием образцы высушивают до постоянной массы при температуре не более 50 °С. Каждое последующее взвешивание проводят после высушивания в течение не менее 1 ч и охлаждения при комнатной температуре не менее 30 мин.

Испытанные керны и образцы из вырубок, а также оставшиеся части вырубок и оставшиеся керны используют для изготовления переформованных образцов по 6.1.

4.3 При приготовлении смесей в лаборатории по горячей технологии минеральные материалы (щебень, песок, минеральный порошок) предварительно высушивают, а битум обезвоживают.

Минеральные материалы в количествах, заданных по составу, отвешивают в емкость, нагревают, периодически помешивая, до температуры, указанной в таблице 2, и добавляют требуемое количество ненагретого минерального порошка и нагретого в отдельной емкости вяжущего.

При приготовлении смесей и укрепленных грунтов по холодной технологии предварительно высушенные минеральные материалы в количествах, заданных по составу, отвешивают в емкость, добавляют требуемое количество воды, минерального и органического вяжущих и тщательно перемешивают.

Смеси минеральных материалов и грунтов с органическим вяжущим окончательно перемешивают в лабораторном смесителе до полного и равномерного объединения всех компонентов. Время, необходимое для перемешивания, устанавливают опытным путем для каждого вида смесей. Перемешивание считают законченным, если все минеральные зерна равномерно покрыты вяжущим и в готовой смеси нет его отдельных сгустков.

Допускается смешивание вручную, при этом необходимо поддерживать в процессе приготовления горячих смесей температуру в соответствии с требованием таблицы 2.

Таблица 2

Наименование материалов

Температура нагрева, °С, в зависимости от показателей вяжущего

Глубина проникания иглы при 25 °С, 0,1 мм

Условная вязкость по вискозиметру с отверстием 5 мм, с

40-60

61-90

91-130

131-200

201-300

70-130

131-200

Минеральные материалы

170-180

165-175

160-170

150-160

140-150

100-120

120-140

Вяжущее

150-160

140-150

130-140

110-120

100-110

80-90

90-100

Смесь

150-160

145-155

140-150

130-140

120-130

80-100

100-120

Примечание - При применении поверхностно-активных веществ или активированных минеральных порошков для приготовления смесей с вязкими вяжущими температуру нагрева минеральных материалов, вяжущего и смесей снижают на 10-20 °С.

5 Контрольные образцы смесей, укрепленных грунтов и асфальтобетона

5.1 Формы и размеры образцов

5.1.1 Физико-механические свойства смесей, асфальтобетонов и укрепленных грунтов определяют на образцах, полученных уплотнением смесей в стальных формах.

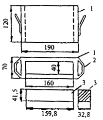
Формы для изготовления цилиндрических образцов представляют собой стальные полые цилиндры, которые могут изготовляться в виде кассеты с тремя взаимосвязанными цилиндрическими формами диаметром 71,4 или 50,5 мм (приспособление Союздорнии) или одиночных обычных (рисунок 1) и облегченных (рисунок 2) форм, размеры которых в зависимости от наибольшей крупности минеральных зерен приведены в таблице 3.

Рисунок 1 - Форма одиночная обычная

Рисунок 2 - Форма одиночная облегченная

Таблица 3

В миллиметрах

Наибольшая крупность минеральных зерен

Размеры форм

Площадь образца,

см

d

d1

H

h1

h2

h3

h4

d

d1

d2

d3

d4

 

Обычная

5

50,5

-

130

80

50

-

-

10

-

-

-

-

20

10; 15:20

71,4

-

160

100

60

-

-

12

-

-

-

-

40

40

101

-

180

110

70

-

-

12

-

-

-

-

80

 

Облегченная

5

50,5

26,5

130

80

50

65

35

 

10

6

12

25

20

10; 15; 20

71,4

47,4

160

100

60

80

40

-

10

6

12

25

40

40

101

77

180

110

70

90

50

-

10

6

12

25

80

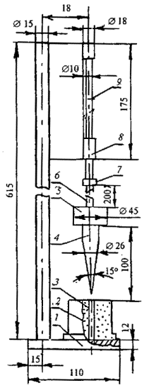
5.1.2 Для определения слеживаемости холодных смесей используют цилиндрические формы диаметром 71,4 мм, высотой 60 мм. Форма снабжена нижним и верхним вкладышами: в центре нижнего вкладыша укреплен стальной стержень, верхний вкладыш имеет в центре сквозное отверстие. Приспособление для уплотнения образца из холодных смесей и размеры образца указаны на рисунке 3.

1 - подставки; 2 - нижний вкладыш формы; 3 - стальной стержень;

4 - цилиндрическая форма; 5 - образец; 6 - верхний вкладыш формы;

7 - сквозное отверстие; 8 - груз.

Рисунок 3 - Приспособление для уплотнения образцов из холодных смесей для определения слеживаемости

5.1.3 Для определения предела прочности на растяжение при изгибе укрепленных грунтов используют формы для изготовления образцов в виде призм квадратного сечения, размеры которых для разных грунтов указаны в таблице 4 и на рисунке 4.

Таблица 4

В миллиметрах

Вид грунта

Размеры образцов-призм

длина

ширина

высота

Глинистые и песчаные

160

40

40

Крупнообломочные

400

100

100

a)

1 - корпус; 2 - ручка; 3 - вкладыш

1 - днище; 2 - продольные стенки; 3 - поперечные стенки;

4 - стягивающие болты; 5 - рамка жесткости; 6 - насадка; 7 - плунжер

Рисунок 4 - Формы для изготовления образцов а - из глинистых и песчаных грунтов; б - из крупнообломочных грунтов

5.1.4 Требования к формам

5.1.4.1 Формы изготовляют из стали с механическими характеристиками не ниже соответствующих конструкционной стали Ст 35 по ГОСТ 1050.

5.1.4.2 На рабочих поверхностях форм, соприкасающихся со смесью, при изготовлении образцов не допускаются трещины, вмятины, риски и т.п. Шероховатость рабочих поверхностей R должна быть не более 3,2 мкм.

5.1.4.3 Допускаемые отклонения от номинальных размеров внутренних диаметров цилиндров и наружных диаметров вкладышей, приведенных в таблице 3 и на рисунке 3, должны обеспечивать зазор между цилиндром и вкладышем в пределах 0,1-0,5 мм.

5.1.4.4 Отклонение внутренней рабочей поверхности формы от цилиндрического профиля Д не должно превышать 0,3 мм и рассчитывается по формуле

                                                             (1)

где dmax, dmin     - соответственно максимальный и минимальный диаметры цилиндрической формы, мм.

5.1.4.5 Отклонение от плоскостности торцевых поверхностей вкладышей должно быть не более, мм:

0,025 - для вкладышей диаметром    50,5 мм;

0,04 -    »           »                »               71,4 мм;

0,05 -    »           »                »               101,0 мм.

5.1.4.6 Отклонение от перпендикулярности образующей цилиндрической поверхности вкладышей относительно поверхности их оснований должно быть не более, мм:

0,04 - для вкладышей диаметром      50,5 мм;

0,05 -    »          »                  »               71,4 мм;

0,06 -    »          »                  »               101,0 мм.

5.1.4.7 Допускаемые отклонения от номинальных размеров внутренних рабочих поверхностей форм-призм и вкладышей, приведенных на рисунке 4, должны обеспечивать зазор между формой и вкладышем в пределах 0,1 - 0,3 мм.

5.1.4.8 Отклонения от плоскостности рабочих поверхностей форм (рисунок 4), образующих опорные грани образцов-призм, не должны быть более 0,06 мм на 100 мм длины.

5.1.4.9 Отклонения от перпендикулярности рабочих поверхностей форм-призм, а также вкладышей (рисунок 4) не должны быть более, мм:

0,04 - при высоте образца     40 мм;

0,05 -    »      »           »           100 мм.

6 Изготовление образцов

6.1 Изготовление образцов из смесей

6.1.1 Образцы цилиндрической формы для определения физико-механических свойств смесей изготовляют путем уплотнения смесей, приготовленных в лабораторных условиях, а также из проб смесей, отобранных на смесительных установках или на участке производства работ. Повторная переформовка лабораторных образцов не допускается. Вырубки или керны нагревают на песчаной бане или в термостате до температуры, указанной в таблице 2, и затем измельчают ложкой или шпателем.

(Измененная редакция, Изм. № 1).

6.1.2 Температура горячих смесей при изготовлении образцов должна соответствовать указанной в таблице 2. Холодные смеси перед уплотнением не нагревают.

6.1.3 Уплотнение образцов из смесей, содержащих до 50 % щебня по массе, производят прессованием под давлением (40,0±0,5) МПа на гидравлических прессах в формах (рисунки 1 и 2). При уплотнении должно быть обеспечено двустороннее приложение нагрузки, что достигается передачей давления на уплотняемую смесь через два вкладыша, свободно передвигающихся в форме навстречу друг другу.

При изготовлении образцов из горячих смесей формы и вкладыши нагревают до температуры 90-100 °С. При изготовлении образцов из холодных смесей формы не нагревают.

Изготовляют пробный образец. Форму со вставленным нижним вкладышем наполняют ориентировочным количеством смеси в соответствии с таблицей 5.

Смесь равномерно распределяют в форме штыкованием ножом или шпателем, вставляют верхний вкладыш и, прижимая им смесь, устанавливают форму со смесью на нижнюю плиту пресса для уплотнения, при этом нижний вкладыш должен выступать из формы на 1.5-2,0 см.

Таблица 5

Размеры образца, мм

Ориентировочное количество смеси на образец, г

диаметр

высота

50,5

50,5±1,0

220-240

71,4

7l,4±l,5

640-670

101,0

101,0±2,0

1900-2000

Верхнюю плиту пресса доводят до соприкосновения с верхним вкладышем и включают электродвигатель пресса.

Давление на уплотняемую смесь доводят до 40 МПа в течение 5-10 с, через (3,0±0,1) мин нагрузку снимают, а образец извлекают из формы выжимным приспособлением и измеряют его высоту штангенциркулем по ГОСТ 166 с погрешностью 0,1 мм.

Если высота образца не соответствует приведенной в таблице 5, то требуемую массу смеси для формования образца g, г, рассчитывают по формуле

,                                                                       (2)

где g - масса пробного образца, г;

h - требуемая высота образца, мм;

ho - высота пробного образца, мм.

Образцы с дефектами кромок и непараллельностью верхнего и нижнего оснований бракуют.

6.1.4 Уплотнение образцов из горячих смесей, содержащих более 50% щебня по массе, следует производить вибрированием с последующим доуплотнением прессованием.

При изготовлении образцов формы, нагретые до 90-100 °С, наполняют смесью, устанавливают на виброплощадку, плотно укрепляют на ней специальным приспособлением (конструкция приспособления для укрепления зависит от типа виброплощадки). Вкладыши должны выступать из формы на 2-2,5 см. Смесь в форме вибрируют в течение (3,0±0,1) мин при частоте (2900±100) мин-1, амплитуде (0,40±0,05) мм и вертикальной нагрузке на смесь (30±5) кПа, которая передается на смесь грузом, свободно навешенным на верхний вкладыш формы.

По окончании вибрации форму с образцом снимают с виброплощадки, устанавливают на плиту пресса для доуплотнения под давлением (20,0±0,5) МПа и выдерживают при этом давлении 3 мин. Затем нагрузку снимают и извлекают образец из формы выжимным приспособлением.

6.1.5 Уплотнение образцов из смесей, испытываемых на слеживаемость, производят в цилиндрических формах (рисунок 3) при температуре приготовления смеси. Форму, нагретую до температуры (80±2) °С, устанавливают на две подставки, а нижний вкладыш со стержнем опускают в форму, как показано на рисунке 3. Смесь в количестве 440 - 460 г засыпают через воронку в форму. Верхний вкладыш вводят в форму таким образом, чтобы стержень, укрепленный в нижнем вкладыше, свободно вошел в отверстие в верхнем вкладыше. Поддерживая форму, подставки убирают, а на верхний вкладыш устанавливают груз, масса которого вместе с массой верхнего вкладыша должна быть (20,0±0,5) кг, что обеспечивает нагрузку 0,05 МПа. Под нагрузкой смесь выдерживают (3,0±0,1) мин, после чего груз снимают, форму поднимают и снимают с образца. Затем снимают с образца верхний вкладыш, а образец осторожно, двумя руками, снимают со стержня и переносят к месту хранения, где выдерживают при температуре воздуха (20±5) °С не менее 4 ч.

Если образец после уплотнения сразу рассыпается, то следующий образец после снятия нагрузки выдерживают в форме не менее 4 ч при температуре (20±5) °С.

Образец должен иметь высоту (60±1) мм. Корректировку количества смеси, пошедшей на изготовление образца, выполняют по формуле (2).

6.2 Изготовление образцов из укрепленных грунтов

6.2.1 Уплотнение образцов из укрепленных грунтов производят в цилиндрических формах, размеры которых выбирают по таблице 3 в зависимости от наибольшей крупности зерен применяемых грунтов. Смесь грунта с вяжущим насыпают в ненагретую форму. Для равномерного распределения смеси ее штыкуют ножом или шпателем, затем вставляют в форму верхний вкладыш. Форму со смесью ставят на нижнюю плиту пресса, подводят верхнюю плиту до соприкосновения с верхним вкладышем и включают пресс. Уплотнение образцов проводят по 6.1.3 под следующими нагрузками, МПа:

(30,0±0,5) - для грунтов, укрепленных органическими вяжущими с активными добавками и без добавок;

(15,0±0,2) - для грунтов, укрепленных органическими вяжущими совместно с минеральными вяжущими.

Время выдерживания смеси под нагрузкой (3,0±0,1) мин, после чего образец извлекают из формы и измеряют штангенциркулем с погрешностью 0,1 мм. Если высота образца не соответствует указанной в таблице 5, то величину навески корректируют по формуле (2).

6.2.2 Уплотнение образцов-призм производят прессованием, при этом величину уплотняющей нагрузки подбирают с таким расчетом, чтобы плотность образца была максимальной, достигаемой при оптимальной влажности на приборе стандартного уплотнения. Ориентировочная нагрузка составляет (12,5±2,5) МПа, а время выдерживания под нагрузкой - (3,0±0,1) мин.

6.3 Хранение образцов

6.3.1 Образцы из смесей с вязкими и жидкими органическими вяжущими, а также образцы из смесей и укрепленных грунтов с активными добавками и без них хранят на воздухе в комнатных условиях. Образцы из смесей и укрепленных грунтов, содержащие в своем составе более 4 % минеральных вяжущих, хранят при температуре (20±5) °С в ванне с гидравлическим затвором или эксикаторе.

6.3.2 Образцы смесей и укрепленных грунтов испытывают через, сут:

0,5-2 - смесей с вязкими и жидкими органическими вяжущими, не содержащими в своем составе воду и минеральные вяжущие;

7 - грунтов, укрепленных органическими вяжущими совместно с активными добавками;

14 - смесей с жидкими и эмульгированными вяжущими, содержащими в своем составе воду и приготовленными совместно с минеральными вяжущими или без них;

28 - грунтов, укрепленных органическими вяжущими совместно с цементом;

90 - грунтов, укрепленных органическими вяжущими совместно с медленнотвердеющими минеральными вяжущими (золы-уноса, шлакощелочное вяжущее, белитовые шламы и т.п.).

6.3.3 Образцы из холодной асфальтобетонной смеси испытывают в прогретом и непрогретом состоянии. По истечении 1-2 сут после изготовления часть образцов испытывают в непрогретом состоянии, а другую часть прогревают в сушильном шкафу при температуре (90±2) °С. Продолжительность прогрева - 2 ч при применении жидких битумов класса СГ и 6 ч - жидких битумов классов МГ и МГО. Прогретые образцы испытывают на следующий день после прогрева.

7 Определение средней плотности уплотненного материала

Сущность метода заключается в определении гидростатическим взвешиванием средней плотности образцов, изготовленных в лаборатории или отобранных из конструктивных слоев дорожных одежд с учетом имеющихся в них пор.

7.1 Средства контроля и вспомогательное оборудование

Весы лабораторные по ГОСТ 24104 4-го класса точности с приспособлением для гидростатического взвешивания.

7.2 Порядок проведения испытания

Образцы взвешивают на воздухе. Затем образцы из смесей погружают на 30 мин в сосуд с водой, имеющей температуру (20±2) °С, таким образом, чтобы уровень воды в сосуде был выше поверхности образцов не менее чем на 20 мм, после чего образцы взвешивают в воде, следя за тем, чтобы на образцах не было пузырьков воздуха. Образцы из укрепленных грунтов перед взвешиванием в воде погружают в парафин при температуре (60±5) °С. После взвешивания в воде образцы обтирают мягкой тканью и вторично взвешивают на воздухе.

7.3 Обработка результатов испытания

Среднюю плотность образца из смеси rm, г/см3 вычисляют по формуле

,                                                            (3)

где g - масса образца, взвешенного на воздухе, г ;

rв - плотность воды, равная 1 г/см3;

g1 - масса образца, взвешенного в воде, г;

g2 - масса образца, выдержанного в течение 30 мин в воде и вторично взвешенного на воздухе, г.

Среднюю плотность образца из укрепленного грунта , г/см3, вычисляют по формуле

                                                  (4)

где g3 - масса образца, покрытого парафином и вторично взвешенного на воздухе, г;

g4 - масса образца, покрытого парафином и взвешенного в воде, г;

rп - плотность парафина, равная 0,93 г/см3.

За результат определения средней плотности принимают округленное до второго десятичного знака среднеарифметическое значение результатов определения средней плотности трех образцов. Если расхождение между наибольшим и наименьшим результатами параллельных определений превышает 0,03 г/см3 то проводят повторные испытания и вычисляют среднеарифметическое из шести значений.

8 Определение средней плотности минеральной части (остова)

Сущность метода заключается в определении плотности минеральной части (остова) уплотненной смеси или укрепленного грунта с учетом имеющихся пор.

Среднюю плотность минеральной части определяют расчетом на основании предварительно установленной средней плотности образцов и соотношения минеральных материалов, вяжущего и воды при наличии ее в смесях или укрепленных грунтах.

Среднюю плотность минеральной части смеси , г/см3, вычисляют по формуле

                                                            (5)

где  - средняя плотность образцов по п. 7.3, г/см3;

qб - массовая доля вяжущего в смеси, % (сверх 100 % минеральной части).

Среднюю плотность минеральной части укрепленного грунта или смеси, содержащих воду, , г/см3 вычисляют по формуле

                                                   (6)

где  - средняя плотность образцов из укрепленного грунта по 7.3, г/см3;

wсм - массовая доля воды в смеси или укрепленных грунтах, % (сверх 100 % минеральной части).

9 Определение истинной плотности минеральной части (остова)

Сущность метода заключается в определении расчетным путем плотности минеральной части (остова) смеси без учета имеющихся в ней пор.

Истинную плотность минеральной части (остова) определяют на основании предварительно установленных истинных плотностей отдельных минеральных материалов (щебня, песка, минерального порошка и др.).

Истинную плотность минеральной части , г/см3 вычисляют по формуле

                                                     (7)

где q1, q2, ..., qn - массовая доля отдельных минеральных материалов, %;

r1, r2, … rn - истинная плотность отдельных минеральных материалов, г/см3.

10 Определение истинной плотности смеси

Сущность метода заключается в определении плотности смеси без учета имеющихся в ней пор.

Истинную плотность при подборе составов определяют расчетным или пикнометрическим методом.

Истинную плотность смесей из покрытия и смесей, отобранных из смесителя, определяют только пикнометрическим методом.

10.1 Определение истинной плотности расчетным методом

На основании предварительно установленных истинных плотностей минеральной части смеси по разделу 9, вяжущего и их массовых соотношений вычисляют истинную плотность смеси r, г/см3, по формуле

                                                                 (8)

где qм - массовая доля минеральных материалов в смеси, % (принимают за 100%);

qб - массовая доля вяжущего в смеси, % (сверх 100 % минеральной части);

rм - истинная плотность минеральной части смеси, рассчитанная по формуле (7), г/см3;

rб - истинная плотность вяжущего, г/см3.

10.2 Определение истиной плотности пикнометрическим методом

10.2.1 Средства контроля и вспомогательное оборудование

Колба коническая, колба мерная или пикнометр, который представляет собой колбу с пришлифованной пробкой, имеющей капиллярное отверстие. Вместимость колб должна быть не менее 500 см3, а диаметр горлышка - от 10 до 50 мм в зависимости от наибольшего размера зерен минеральных материалов смеси.

Весы лабораторные по ГОСТ 24104 4-го класса точности.

Установка вакуумная.

Термометр химический ртутный стеклянный с ценой деления шкалы 1 °С по ГОСТ 400.

Раствор смачивателя. В качестве смачивателя применяют порошкообразные, пастообразные и жидкие моющие средства. Смачиватель вводят в дистиллированную воду в следующем количестве на 1 л воды: жидкий - 15 г, пастообразный (в виде раствора в дистиллированной воде 1:1) - 10 г, порошкообразный - 3 г.

10.2.2 Порядок проведения испытания

Взвешивают чистую и сухую колбу. Из смеси, подготовленной по 6.1.1, отбирают среднюю пробу методом квартования. Для этого смесь распределяют на металлическом противне и делят шпателем на четыре равные части. Из двух противоположных частей отбирают в колбу не менее 200 г смеси. Колбу со смесью охлаждают до комнатной температуры и взвешивают. Затем в колбу со смесью наливают дистиллированную воду с температурой (20±2) °С в таком количестве, чтобы уровень воды был выше уровня смеси не менее чем на 3 см. Колбу помещают на 1 ч в вакуумную установку, где поддерживают давление не более 2000 Па (15 мм рт. ст.).

По истечении указанного времени давление доводят до атмосферного и в колбу добавляют 10 мл раствора смачивателя для удаления пузырьков воздуха с поверхности смеси. Воду в колбе осторожно взбалтывают круговыми движениями до удаления пузырьков воздуха. Когда все пузырьки воздуха всплывут, добавляют дистиллированную воду и доводят воду в колбе до температуры (20±2) °С. Уровень воды фиксируют в зависимости от вида колбы.

В мерную колбу воду доливают до метки. В коническую колбу воду доливают до самого края горлышка, на которое кладут покровное часовое стекло так, чтобы излишки воды вытекли, а под стеклом не оставалось пузырьков воздуха. Колбу пикнометра, заполненную водой, закрывают пробкой, при этом излишек воды вытесняется через капиллярное отверстие. После заполнения водой колбу тщательно обтирают фильтровальной бумагой и взвешивают.

Затем колбу освобождают от воды и смеси, тщательно промывают, заполняют дистиллированной водой с температурой (20±2) °С так как указано выше, и взвешивают.

10.2.3 Обработка результатов испытания

Истинную плотность смеси r, г/см3 вычисляют по формуле

,                                                          (9)

где g - масса колбы со смесью, г;

g1 - масса пустой колбы, г;

g2 - масса колбы с водой, г;

g3 - масса колбы со смесью и водой, г;

rв - плотность дистиллированной воды (принимается равной 1 г/см3).

За результат определения истинной плотности смеси принимают округленное до второго десятичного знака среднеарифметическое значение результатов двух определений. Расхождение между результатами двух параллельных определений не должно быть более 0,02 г/см3. В случае больших расхождений истинную плотность определяют вторично и принимают для расчета среднеарифметическое значение результатов четырех определений.

11 Определение пористости минеральной части (остова)

Сущность метода заключается в определении объема пор, имеющихся в минеральной части (остове) уплотненной смеси или асфальтобетона.

Пористость минеральной части определяют расчетом на основании предварительно установленных значений средней и истинной плотностей минеральной части смеси.

Пористость минеральной части Vмпор, %, вычисляют с точностью до первого десятичного знака по формуле

,                                                      (10)

где rмm - средняя плотность минеральной части уплотненной смеси или асфальтобетона по разделу 8, г/см3;

rм - истинная плотность минеральной части смеси по разделу 9, г/см3.

12 Определение остаточной пористости

Сущность метода заключается в определении объема пор, имеющихся в уплотненной смеси или асфальтобетоне.

Остаточную пористость лабораторных образцов или образцов из покрытия Voпор, %, определяют расчетом на основании предварительно установленных средней и истинной плотностей с точностью до первого десятичного знака по формуле

,                                                      (11)

где rm - средняя плотность минеральной части уплотненной смеси по разделу 7, г/см3;

r - истинная плотность минеральной части смеси по разделу 10, г/см3.

13 Определение водонасыщения

Сущность метода заключается в определении количества воды, поглощенной образцом при заданном режиме насыщения. Водонасыщение определяют на образцах, приготовленных в лаборатории из смеси или на образцах-вырубках (кернах) из покрытия (основания).

13.1 Средства контроля и вспомогательное оборудование

Весы лабораторные по ГОСТ 24104 4-го класса точности с приспособлением для гидростатического взвешивания.

Установка вакуумная.

Устройство для капиллярного водонасыщения образцов (рисунок 5).

Термометр химический ртутный стеклянный с ценой деления шкалы 1 °С по ГОСТ 400.

Сосуд вместимостью не менее 3,0 л.

1 - сосуд; 2 - образцы; 3 - капиллярно увлажненный песок; 4 - вода; 5 - фильтровальная бумага; 6 - металлическая сетка; 7 - металлическая подставка

Рисунок 5 - Схема устройства для капиллярного водонасыщения образцов

13.2 Порядок проведения испытания

13.2.1 Водонасыщение определяют на образцах цилиндрической формы или на образцах-вырубках (кернах). Для смесей испытание проводят на образцах, использованных для определения средней плотности по разделу 7.

13.2.2 Образцы из смесей, взвешенные на воздухе и в воде по п. 7.2, помещают в сосуд с водой с температурой (20±2) °С. Уровень воды над образцами должен быть не менее 3 см.

Сосуд с образцами устанавливают в вакуумную установку, где создают и поддерживают давление не более 2000 Па (15 мм рт. ст.) в течение 1 ч при испытании образцов из смесей с вязкими органическими вяжущими; 30 мин - при испытании образцов из смесей с жидкими и эмульгированными вяжущими. Затем давление доводят до атмосферного и образцы выдерживают в том же сосуде с водой с температурой (20±2) °С в течение 30 мин. После этого образцы извлекают из сосуда, взвешивают в воде, обтирают мягкой тканью и взвешивают на воздухе.

13.2.3 Образцы из укрепленных грунтов, предназначенных для применения в районах со среднемесячной температурой самого холодного месяца минус 20 °С и ниже (I - III дорожно-климатические зоны) после взвешивания на воздухе и в воде подвергают полному водонасыщению, а для укрепленных грунтов, предназначенных для применения в районах со среднемесячной температурой самого холодного месяца выше минус 10 °С - капиллярному водонасыщению.

Полное водонасыщение образцов высотой и диаметром 50 мм проводят в течение 2 сут, а образцов больших размеров - в течение 3 сут, при этом во всех случаях в первые сутки образцы погружают в воду на 1/3 высоты, а в последующие - полностью. Для предотвращения высыхания образцов, погруженных в воду на 1/3 высоты, насыщение проводят в ванне с гидравлическим затвором.

Капиллярное водонасыщение проводят через слой воды, постоянно поддерживаемый с помощью уровнемера в устройстве для капиллярного водонасыщения (рисунок 5).

В сосуд на металлическую подставку укладывают металлическую сетку или устанавливают емкость с сетчатым дном, которое закрывают фильтровальной бумагой. На фильтровальную бумагу насыпают слой мелкого песка одной фракции толщиной 15 см и через сутки после его насыщения ставят образцы, которые насыщают в течение 3 сут. Для предотвращения высыхания сосуд с образцами помещают в ванну с гидравлическим затвором.

После этого образцы извлекают из сосуда или устройства для капиллярного водонасыщения, взвешивают в воде, а затем вытирают мягкой тканью или фильтровальной бумагой и взвешивают на воздухе.

13.3 Обработка результатов испытания

Водонасыщение образца W, %, вычисляют по формуле для смесей

;                                                           (12)

для укрепленных грунтов

;                                                          (13)

где g - масса образца, взвешенного на воздухе, г;

g1 - масса образца, взвешенного в воде, г;

g2 - масса образца, выдержанного в течение 30 мин в воде и взвешенного на воздухе, г;

g5 - масса насыщенного водой образца, взвешенного на воздухе, г.

За результат определения водонасыщения принимают округленное до первого десятичного знака среднеарифметическое значение трех определений.

14 Определение набухания

Набухание определяют как приращение объема образца после насыщения его водой.

Для определения набухания используют данные, полученные при определении средней плотности по разделу 7 и водонасыщения по разделу 13.

14.1 Обработка результатов испытания

Набухание образца Н, % по объему, вычисляют по формуле для смесей

;                                            (14)

для укрепленных грунтов

;                                           (15)

где g6- масса насыщенного водой образца, взвешенного в воде, г.

За результат определения набухания принимают округленное до первого десятичного знака среднеарифметическое значение трех определений.

15 Определение предела прочности при сжатии

Сущность метода заключается в определении нагрузки, необходимой для разрушения образца при заданных условиях.

15.1 Средства контроля и вспомогательное оборудование

Прессы механические или гидравлические по ГОСТ 28840 с нагрузками от 50 до 100 кН (5-10 тc) и до 500 кН (50 тc) с силоизмерителями, обеспечивающими погрешность не более 2 % измеряемой нагрузки.

Термометр химический ртутный стеклянный с ценой деления шкалы 1 °С по ГОСТ 400.

Сосуды для термостатирования образцов вместимостью от 3 до 8 л (в зависимости от размера и количества образцов).

15.2 Порядок подготовки к проведению испытания

Для испытания готовят образцы по 6.1 и 6.2. Перед испытанием образцы термостатируют при заданной температуре: (50±2) °С, (20±2) °С или (0±2) °С. Температуру (0±2) °С создают смешением воды со льдом. Образцы из горячих смесей выдерживают при заданной температуре в течение 1 ч в воде.

Образцы из смесей с жидкими и эмульгированными битумами термостатируют в воздушной среде в течение 2 ч, при этом образцы из укрепленных грунтов упаковывают в полиэтиленовые пакеты. Для определения предела прочности при сжатии образцов в водонасыщенном состоянии используют образцы, испытанные в соответствии с разделом 13. Насыщенные водой образцы после взвешивания на воздухе и в воде снова помещают в воду с температурой (20±2) °С, а перед испытанием вытирают мягкой тканью или фильтровальной бумагой.

15.3 Порядок проведения испытания

Предел прочности при сжатии образцов определяют на прессах при скорости движения плиты пресса (3,0±0,3) мм/мин.

При использовании гидравлических прессов эту скорость перед проведением испытания следует установить при холостом ходе поршня.

Рисунок 6 - Шарнирное устройство

Образец, извлеченный из сосуда для термостатирования, устанавливают в центре нижней плиты пресса, затем опускают верхнюю плиту и останавливают ее выше уровня поверхности образца на 1,5-2 мм. Это же может быть достигнуто соответствующим подъемом нижней плиты пресса. После этого включают электродвигатель пресса и начинают нагружать образец. Для повышения точности определения предела прочности при сжатии рекомендуется использовать шарнирное устройство (рисунок 6), состоящее из шарика 1 и двух металлических пластин 2, которое устанавливают на верхний торец образца 4, накрытый прокладкой из бумаги 3.

Шарнирное устройство обеспечивает равномерное распределение нагрузки по всей площади торца образца в случае непараллельности оснований образца.

Максимальное показание силоизмерителя принимают за разрушающую нагрузку.

15.4 Обработка результатов испытания

Предел прочности при сжатии Rсж, МПа, вычисляют по формуле

,                                                                (16)

где Р - разрушающая нагрузка, Н;

F - первоначальная площадь поперечного сечения образца, см2;

10-2 - коэффициент пересчета в МПа.

За результат определения принимают округленное до первого десятичного знака среднеарифметическое значение испытаний трех образцов.

16 Определение предела прочности на растяжение при расколе

Сущность метода заключается в определении нагрузки, необходимой для раскалывания образца по образующей.

(Измененная редакция, Изм. № 1).

16.1 Средства контроля и вспомогательное оборудование

Средства контроля и вспомогательное оборудование - по п. 15.1.

16.2 Порядок подготовки к проведению испытания

Для испытания готовят образцы по п. 6.1 и 6.2. Перед испытанием образцы термостатируют при заданной температуре (0±2) °С в течение не менее 1 ч в воде. Температуру (0±2) °С создают смешением воды со льдом.

16.3 Порядок проведения испытания

Предел прочности на растяжение при расколе образцов определяют на прессах при заданной постоянной скорости движения плиты пресса (50±1) мм/мин.

(Измененная редакция, Изм. № 1).

При использовании гидравлических прессов требуемую скорость перед проведением испытания следует установить при холостом ходе поршня.

Образец, извлеченный из сосуда для термостатирования, устанавливают в центре нижней плиты пресса на боковую поверхность (рисунок 7), затем опускают верхнюю плиту и останавливают ее выше уровня поверхности образца на 1,5-2 мм. Это может быть достигнуто соответствующим подъемом нижней плиты пресса. После этого включают электродвигатель пресса и начинают нагружать образец.

Максимальное показание силоизмерителя принимают за разрушающую нагрузку.

Рисунок 7 - Схема испытания образцов на растяжение при расколе

16.4 Обработка результатов испытания

Предел прочности на растяжение при расколе Rp МПа, вычисляют по формуле

,                                                                   (17)

где Р - разрушающая нагрузка, Н;

h - высота образца, см;

d - диаметр образца, см;

10-2 - коэффициент пересчета в МПа.

За результат определения принимают округленное до первого десятичного знака среднеарифметическое значение испытаний трех образцов.

17 Определение предела прочности на растяжение при изгибе и показателей деформативности

Сущность метода заключается в определении нагрузки, необходимой для разрушения образца при изгибе (рисунок 8), и соответствующих деформаций растяжения.

Рисунок 8 - Схема испытания образцов-призм на изгиб

17.1 Средства контроля и вспомогательное оборудование

Средства контроля и вспомогательное оборудование - по п. 15.1, включая опорное приспособление и индикатор перемещении с ценой деления 0,01 мм.

17.2 Порядок подготовки и проведения испытания

Для испытания готовят образцы по п. 6.2.2. Перед испытанием образцы термостатируют при температуре (20±2) °С в воздушной среде в течение 2 ч.

Предел прочности на растяжение при изгибе определяют при скорости нагружения по п. 15.3 или при другом заданном режиме деформирования образцов.

На нижней плите пресса укрепляют опорное приспособление (рисунок 8), на которое помещают образец-призму. Образец устанавливают на опоры той гранью, которая при уплотнении была вертикальной. Поверхность образца должна плотно прилегать к опорам по всей ширине. Посередине образца помещают металлический стержень через который происходит нагружение, диаметром 10 мм и длиной не менее ширины образца.

Опускают верхнюю плиту и останавливают выше металлического стержня на 4-6 мм. После этого начинают нагружать образец. Максимальное показание силоизмерителя принимают за разрушающую нагрузку, а величину прогиба фиксируют по индикатору.

17.3 Обработка результатов испытания

Предел прочности на растяжение при изгибе Rизг, МПа, вычисляют по формуле

                                                          (18)

где Р - разрушающая нагрузка, Н;

l - расстояние между опорами, см;

b - ширина образца, см;

h - высота образца, см;

10-2 - коэффициент пересчета в МПа.

За результат определения принимают округленное до второго десятичного знака среднеарифметическое значение испытания трех образцов.

Предельную относительную деформацию растяжения при изгибе eпр вычисляют по формуле

,                                                             (19)

где fпр - максимальная величина прогиба образца в момент разрушения, см.

За результат определения принимают округленное до четвертого десятичного знака среднеарифметическое значение испытания трех образцов.

Модуль деформации Е, МПа, вычисляют по формуле

,                                                        (20)

где Р - нагрузка на образец, Н;

fпр - прогиб образца в середине пролета, см.

За результат определения принимают округленное до целого среднеарифметическое значение испытания трех образцов.

18 Определение характеристик сдвигоустойчивости

Сущность метода заключается в определении максимальных нагрузок и соответствующих предельных деформаций стандартных цилиндрических образцов при двух напряженно-деформированных состояниях (рисунок 9): при одноосном сжатии (1) и при сжатии специальным обжимным устройством по схеме Маршалла (2).

 

Рисунок 9 - Схемы испытания образцов на сдвигоустойчивость:
1 - при одноосном сжатии; 2 - при сжатии по схеме Маршалла

(Измененная редакция, Изм. № 1).

18.1 Средства контроля и вспомогательное оборудование

Средства контроля и вспомогательное оборудование - по 15.1 со следующим дополнением:

Обжимное устройство в виде двух одинаковых частей толстостенной цилиндрической обоймы с внутренним радиусом, равным половине диаметра образца (рисунок 10).

Индикатор перемещений с разрушающим устройством Маршалла или секундомер.

(Измененная редакция, Изм. № 1).

1 - шарнир; 2 - цилиндрические обоймы; 3 - образец;

4 - нижняя плита пресса

Рисунок 10 - Обжимное устройство

18.2 Порядок подготовки к проведению испытания

Для испытания асфальтобетона на сдвигоустойчивость готовят по 6.1 четное число образцов в количестве не менее 6 шт.

Перед испытанием образцы и обжимное устройство выдерживают в течение 1 ч при заданной температуре (50±2) °С в воде. Половина образцов предназначается для испытания по первой схеме нагружения, другая половина - по второй (рисунок 9).

(Измененная редакция, Изм. № 1).

18.3 Порядок проведения испытания

Максимальные разрушающие нагрузки и соответствующие предельные деформации образцов определяют при двух схемах нагружения: при одноосном сжатии и при сжатии по схеме Маршалла. Скорость нагружения образцов для обеих схем сжатия следует принимать одинаковой и равной (50,0±1,0) мм/мин.

Образец, извлеченный из термостатирующего устройства, устанавливают в центре нижней плиты пресса при первой схеме сжатия или в нижнюю часть обжимного устройства при второй схеме сжатия (рисунки 9 и 10).

Верхняя плита пресса должна находиться на расстоянии 5 - 10 мм от верха образца или от верхней части обжимного устройства. После этого включают электродвигатель пресса и начинают нагружать образец.

В процессе испытания образца фиксируют максимальное показание силоизмерителя, которое принимают за разрушающую нагрузку. Одновременно с помощью индикатора перемещений замеряют предельную деформацию, соответствующую разрушающей нагрузке или началу стадии текучести, и время нагружения образца по секундомеру. Допускается определять предельную деформацию по произведению постоянной скорости деформирования на время нагружения образца.

(Измененная редакция, Изм. № 1).

18.4 Обработка результатов испытания

Для каждого образца, испытанного на одноосное сжатие и на сжатие по схеме Маршалла, вычисляют работу А, Дж, затраченную на разрушение, по формуле

,                                                                   (21)

где Р - разрушающая нагрузка, кН;

l - предельная деформация, мм.

Среднюю работу деформирования образцов при одноосном сжатии и при сжатии по схеме Маршалла вычисляют с точностью до второго десятичного знака как среднеарифметическое значение результатов испытания не менее трех образцов.

Коэффициент внутреннего трения асфальтобетона tgj вычисляют по формуле

,                                                         (22)

где Am, Ac - средняя работа деформирования образцов асфальтобетона при испытании соответственно по схеме Маршалла и при одноосном сжатии, Дж.

Сцепление при сдвиге Сл, МПа, вычисляют по формуле

,                                                      (23)

где Rс - предел прочности при одноосном сжатии, определенный по 15.4, МПа.

(Измененная редакция, Изм. № 1).

19 Определение водостойкости

Сущность метода заключается в оценке степени падения прочности при сжатии образцов после воздействия на них воды в условиях вакуума по разделу 13. Прочность при сжатии образцов определяют по разделу 15.

19.1 Средства контроля и вспомогательное оборудование

Средства контроля и вспомогательное оборудование - по 13.1 и 15.1.

19.2 Порядок подготовки к проведению испытания

Образцы насыщают в вакуумной установке по 13.2.2.

19.3 Обработка результатов испытания

Водостойкость Кв вычисляют с точностью до второго десятичного знака по формуле

,                                                                (24)

где  - предел прочности при сжатии при температуре (20±2) °С водонасыщенных в вакууме образцов, МПа;

 - предел прочности при сжатии при температуре (20±2) °С образцов до водонасыщения, МПа.

20 Определение водостойкости при длительном водонасыщении

Сущность метода заключается в определении отношения прочности при сжатии образцов после воздействия на них воды в течение 15 сут к первоначальной прочности параллельных образцов.

20.1 Средства контроля и вспомогательное оборудование

Средства контроля и вспомогательное оборудование - по 13.1 и 15.1.

20.2 Порядок подготовки к проведению испытания

Образцы насыщают в вакуумной установке по 13.2.2.

20.3 Порядок проведения испытания

Образцы, насыщенные в вакуумной установке, переносят в другой сосуд с водой, в котором выдерживают в течение 15 сут, температуру воды поддерживают в пределах (20±5) °С. По истечении 15 сут образцы извлекают из воды, обтирают мягкой тканью и определяют предел прочности при сжатии по разделу 15.

20.4 Обработка результатов испытания

По результатам испытаний с точностью до второго десятичного знака вычисляют водостойкость Квд после длительного водонасыщения по формуле

,                                                                  (25)

где  - предел прочности при сжатии при температуре (20±2) °С образцов после насыщения водой в течение 15 сут, МПа;

 - предел прочности при сжатии при температуре (20±2) °С образцов до насыщения водой, МПа.

21 Определение водостойкости ускоренным методом

Сущность метода заключается в оценке степени падения прочности при сжатии образцов после воздействия на них воды в условиях вакуума и температуры 50 °С.

Метод предназначен для апробации и накопления данных по нормированию ускоренно определяемых показателей водостойкости материалов.

21.1 Средства контроля и вспомогательное оборудование

Средства контроля и вспомогательное оборудование - по 13.1 и 15.1.

21.2 Порядок подготовки и проведения испытания

Образцы погружают в сосуд с водой с температурой (50±2) °С и термостатируют в течение 1 ч. Затем сосуд с образцами помещают в вакуумно-сушильный шкаф с температурой 50 °С и вакуумируют в течение 1 ч при давлении не более 2000 Па (15 мм рт. ст). Затем давление в шкафу доводят до атмосферного и образцы выдерживают в том же сосуде при температуре (50±2) °С еще 1 ч. После этого температуру воды снижают до (20±2) °С и выдерживают образцы при этой температуре в течение 1 ч.

Водонасыщенные образцы извлекают из воды, обтирают мягкой тканью и определяют предел прочности при сжатии по разделу 15.

21.3 Обработка результатов испытания

По результатам испытаний вычисляют с точностью до второго десятичного знака водостойкость при ускоренном водонасыщении Кву по формуле

,                                                                  (26)

где  - предел прочности при сжатии при температуре (20±2) °С образцов после насыщения водой по ускоренной методике (при 50 °С), МПа;

 - предел прочности при сжатии при температуре (20±2) °С образцов до насыщения водой, МПа.

22 Определение морозостойкости

Сущность метода заключается в оценке потери прочности при сжатии предварительно водонасыщенных образцов после воздействия на них установленного числа циклов замораживания - оттаивания.

22.1 Средства контроля и вспомогательное оборудование

Пресс механический или гидравлический по 15.1.

Камера морозильная, обеспечивающая температуру замораживания минус (18±2) °С.

Установка вакуумная и устройство для капиллярного водонасыщения по 13.1.

Ванна для оттаивания образцов, оборудованная устройством для поддержания температуры воды (18±2) °С.

22.2 Порядок подготовки к проведению испытания

Перед испытанием на морозостойкость образцы насыщают водой по 13.2.

Образцы из смесей и укрепленных грунтов испытывают по истечении сроков, указанных в 6.3.2.

22.3 Порядок проведения испытания

Водонасыщенные образцы загружают в морозильную камеру так, чтобы расстояние между образцами было не менее 50 мм. Если после загрузки камеры температура в ней повысится, то началом замораживания считают момент, когда в морозильной камере установится температура минус 18 °С. Продолжительность одного замораживания при установившейся температуре в камере должна быть не менее 4 ч. Оттаивание образцов после их выгрузки из морозильной камеры проводят в течение 4 ч в ванне с водой при температуре (18±2) °С, если до испытания на морозостойкость они подвергались полному водонасыщению, и во влажном песке, если до испытания на морозостойкость они подвергались капиллярному водонасыщению.

Число циклов замораживания - оттаивания в течение суток должно быть не менее одного. При вынужденных или технически обоснованных перерывах при испытании на морозостойкость образцы должны находиться в замороженном состоянии.

После установленного числа циклов замораживания - оттаивания (5, 10, 15, 25, 50) образцы, подвергавшиеся вакуумированию, выдерживают в течение 2 ч в воде при температуре (20±2) °С, а образцы, подвергавшиеся капиллярному водонасыщению, - во влажном песке, после чего их испытывают по разделу 15 и определяют предел прочности при сжатии.

22.4 Обработка результатов испытания

Потерю прочности при сжатии DR, %, вычисляют по формуле

,                                                            (27)

где  - среднеарифметическое значение предела прочности при сжатии при температуре (20±2) °С водонасыщенных образцов, МПа;

 - среднеарифметическое значение предела прочности при сжатии при температуре (20±2) °С образцов после установленного числа циклов замораживания - оттаивания, МПа.

Среднеарифметическое значение потери прочности при сжатии вычисляют по трем образцам, при этом расхождение между результатами испытания отдельных образцов не должно превышать ±10%.

23 Определение состава смеси

Сущность методов заключается в определении содержания вяжущего и зернового состава минеральной части смеси.

23.1 Метод экстрагирования вяжущего

Метод предусматривает определение содержания вяжущего путем экстрагирования его из смеси в специальных приборах-экстракторах с помощью растворителей.

23.1.1 Средства контроля и вспомогательное оборудование

Весы лабораторные по ГОСТ 24104 4-го класса точности. Прибор - аппарат типа Сокслет, состоящий из колбы, обратного холодильника и насадки стеклянной лабораторной для экстрагирования по ГОСТ 23932.

Баня песчаная.

Шкаф сушильный.

Чашка фарфоровая по ГОСТ 9147.

Баня водяная.

Бумага фильтровальная по ГОСТ 12026.

Вата по ГОСТ 5556.

Растворители: хлороформ по ГОСТ 20015, спиртхлороформ (20 % спирта по ГОСТ 17299, 80 % хлороформа), спирт-бензол (20 % спирта, 80 % бензола по ГОСТ 5955), четыреххлористый углерод по ГОСТ 20288, трихлорэтилен по ГОСТ 9976 и др.

23.1.2 Порядок подготовки к проведению испытания

Пробу смеси берут из смесителя или из разогретой и тщательно перемешанной вырубки: для песчаных смесей - 100 г, мелкозернистых и крупнозернистых - 500 г.

Из трех-четырех слоев фильтровальной бумаги готовят цилиндрический патрон диаметром не более диаметра горла экстракционной насадки. Патрон с одной стороны закрепляют (завязывают), высушивают вместе с небольшим кусочком ваты в сушильном шкафу до постоянной массы и взвешивают.

Патрон наполняют смесью, закрывают ватой, снова взвешивают с точностью до 0,01 г и помещают в экстракционную насадку 2 (рисунок 11). Патрон, заложенный в насадку, должен быть не менее чем на 1 см ниже уровня сифона. К верхней части насадки присоединяют холодильник 7, а к нижней - колбу с растворителем 3.

Рисунок 11 - Аппарат типа Сокслет

23.1.3 Порядок проведения испытания

Колбу с растворителем нагревают на песчаной бане до температуры кипения растворителя. Конденсирующиеся в холодильнике пары растворителя, непрерывно стекая на смесь, растворяют вяжущее и извлекают его из смеси. После заполнения экстрактора растворитель переливают в колбу по сифонной трубке.

Извлечение вяжущего продолжают до исчезновения окраски растворителя, собирающегося в экстракционной насадке.

Извлеченный из насадки патрон высушивают в сушильном шкафу при температуре 50-60 °С до постоянных результатов взвешивания.

Если наиболее мелкие частицы минерального материала смеси проходят в экстракт, то его нужно осторожно слить из колбы в чашку и остаток промыть новым количеством растворителя до исчезновения окраски и высушить. Количество мелких частиц, прошедших через гильзу, определяют как разность между массой чашки с остатком и массой пустой чашки. Вычисленную массу мелких частиц прибавляют к массе минерального остатка, полученного после извлечения вяжущего.

23.1.4 Обработка результатов испытания

Массовую долю вяжущего в смеси qв %, вычисляют с точностью до первого десятичного знака по формулам:

при дозировке вяжущего, включенного в 100 % состава смеси

,                                                 (28)

при дозировке вяжущего сверх 100 % минеральной части смеси

,                                                (29)

где G - масса высушенного патрона с ватой, г;

G1 - масса патрона с ватой и смесью до экстрагирования, г;

G2 - масса патрона с ватой и минеральным остатком после экстрагирования и высушивания, г.

Массовую долю вяжущего определяют по результатам двух параллельных испытаний. Расхождение между результатами параллельных определений не должно быть более 0,2 % (по абсолютной величине).

Примечание - Для экстрагирования вяжущего могут быть использованы экстракторы различных типов в соответствии с инструкциями по их эксплуатации.

23.2 Определение зернового состава минеральной части смеси после экстрагирования

23.2.1 Средства контроля и вспомогательное оборудование

Набор сит с отверстиями требуемого размера по ГОСТ 6613.

Весы лабораторные по ГОСТ 24104 4-го класса точности.

Шкаф сушильный.

Чашка фарфоровая диаметром 15-25 см по ГОСТ 9147.

Пестик с резиновым наконечником.

Сосуд вместимостью 6-10 л.

23.2.2 Проведение испытания и обработка результатов испытания

Пробу минеральной части смеси, оставшуюся после экстрагирования по 23.1.3, взвешивают, затем помещают в фарфоровую чашку, заливают небольшим количеством воды и растирают в течение 2-3 мин пестиком с резиновым наконечником.

Воду со взвешенными в ней частицами сливают через сито с сеткой № 0071, установленное над сосудом. Оставшиеся в чашке частицы вновь заливают чистой водой, растирают и воду снова сливают.

Последовательное растирание частиц и сливание мутной воды продолжают до тех пор, пока вода не станет прозрачной. Окончив промывание, оставшиеся на сите частицы минерального материала крупнее 0,071 мм переносят в фарфоровую чашку с остатком. Оставшуюся в чашке воду осторожно сливают, а затем чашку ставят в сушильный шкаф для высушивания остатка минерального материала до постоянной массы при температуре (105±5) °С.

Промывание и растирание минерального материала непосредственно на сите с сеткой № 0071 не допускаются.

Высушенную пробу минерального материала просеивают через набор сит.

Перед окончанием просеивания для проверки каждое сито вручную интенсивно встряхивают в течение 1 мин над листом бумаги. Просеивание считают законченным при следующих условиях:

если на бумаге не будет частиц, прошедших через сито с отверстиями размером 5 мм;

если масса частиц, прошедших через сито с отверстиями размером 0,63 мм, не превышает 0,05 г, а прошедших через сито с отверстиями размером 0,071 мм, - 0,02 г.

Остаток на каждом сите взвешивают и определяют частные остатки на ситах в процентах по отношению к массе просеиваемой навески, округленные до первого десятичного знака.

Содержание зерен размером менее 0,071 мм в процентах определяют вычитанием из 100 % суммы остатков на всех ситах.

23.3 Метод выжигания вяжущего

23.3.1 Средства контроля и вспомогательное оборудование

Печь муфельная.

Весы лабораторные по ГОСТ 241044-го класса точности.

Лотки керамические или металлические огнеупорные.

Щипцы.

23.3.2 Порядок подготовки к проведению испытания

Два лотка взвешивают, помещают в них смесь в количестве по 300-400 г, после чего лотки со смесью вновь взвешивают.

23.3.3 Порядок проведения испытания

Лотки со смесью помещают в муфельную печь, температуру в печи доводят до (500±10) °С и выдерживают при этой температуре в течение 1,5 ч. После прокаливания лотки вынимают щипцами из печи и охлаждают на толстой металлической плите до комнатной температуры. После охлаждения лотки взвешивают и вновь прокаливают при (500±10) °С в течение одного-двух 30-минутных периодов до постоянной массы.

23.3.4 Обработка результатов испытания

Зерновой состав минеральной части смеси после выжигания из нее битума определяют в соответствии с 23.2.

Массовую долю вяжущего qб, %, вычисляют с точностью до второго десятичного знака по формулам:

при дозировке вяжущего, включенного в 100% состава асфальтобетонной смеси

;                                                        (30)

при дозировке вяжущего сверх 100 % минеральной части смеси

                                                         (31)

где G - масса лотка, г;

G1 - масса лотка с навеской смеси до выжигания, г;

G2 - масса лотка с навеской смеси после выжигания, г.

Массовую долю вяжущего определяют по результатам двух параллельных испытаний. Расхождение между результатами параллельных определений не должно быть более 0,2 % (по абсолютной величине).

23.4 Метод отмывки вяжущего растворителем

Настоящий метод применяют при контроле качества приготовления только асфальтобетонных смесей. Метод не допускается применять при определении содержания разжиженных битумов.

23.4.1 Средства контроля и вспомогательное оборудование

Весы лабораторные по ГОСТ 24104 4-го класса точности.

Стакан металлический высотой 15 см, диаметром 10 см с герметически закрывающейся крышкой.

Набор сит с отверстиями требуемого размера по ГОСТ 6613.

Шкаф сушильный.

Чашки фарфоровые по ГОСТ 9147 диаметром 15-25 см.

Цилиндр стеклянный мерный (градуированный) по ГОСТ 1770 вместимостью 0,5-1 л.

Ложка металлическая.

Пипетка стеклянная по ГОСТ 1770 вместимостью 50 см3

Кисть.

Баня песчаная.

Кристаллизатор по ГОСТ 23932 диаметром 30-40 см.

Растворитель (керосин, бензин и т.п.).

23.4.2 Порядок подготовки к испытанию

Пробу смеси, вырубку (керн) из покрытия помещают в сушильный шкаф и нагревают до температуры 70-80 °С, комки тщательно размельчают ложкой и шпателем. Из подготовленной смеси в зависимости от максимального размера зерен берут навеску не менее, г:

500 - для песчаной смеси;

1000 - для мелко- и крупнозернистой смеси.

23.4.3 Порядок проведения испытания

Навеску смеси переносят в металлический стакан и заливают растворителем. Уровень растворителя над смесью должен быть не менее 1 см. Стакан герметически закрывают крышкой и интенсивно встряхивают в течение 10-15 мин. Полученный раствор вяжущего с взвешенными частицами минерального материала оставляют в спокойном состоянии на 10 мин, а затем сливают через сита в поддон.

Оставшуюся в стакане часть смеси заливают вторично свежей порцией растворителя, повторно встряхивают и через 10 мин снова сливают раствор через сита. Оставшийся в стакане материал заливают третьей порцией растворителя, тщательно размешивают ложкой и снова сливают раствор через сита. Промывку повторяют еще 2-3 раза и затем все содержимое стакана переносят на сита. Минеральный материал на ситах промывают растворителем до исчезновения окраски.

Для определения содержания вяжущего раствор его вместе со взвешенными в нем частицами минерального материала тщательно перемешивают, переливают в кристаллизатор и оставляют в спокойном состоянии на 1 ч. Затем из кристаллизатора с глубины 3-5 мм от поверхности пипеткой отбирают 50 см раствора и переносят его в фарфоровую чашку. Остатки раствора в пипетке смывают в чашку чистым растворителем. Растворитель удаляют из чашки выпариванием на песчаной бане при температуре 150-160 °С при определении содержания вязкого и 100-120 °С - жидкого вяжущего. Выпаривание прекращают, когда разность между двумя взвешиваниями не превышает 0,05 г.

23.4.4 Обработка результатов испытания

Содержание вяжущего в смеси gб, г, определяют по формуле

,                                                        (32)

где V1 - объем растворителя, израсходованный на извлечение вяжущего из смеси, см3;

rб - истинная плотность вяжущего (при расчете принимают равной 1,0 г/см3;

G - масса фарфоровой чашки с вяжущим после выпаривания растворителя, г;

G1 - масса фарфоровой чашки, г;

V2 - объем раствора вяжущего, отобранного пипеткой, см3.

Массовую долю вяжущего в смеси qб, %, вычисляют по формулам:

при дозировке вяжущего, включенного в 100 % состава смеси

,                                                              (33)

при дозировке вяжущего сверх 100 % минеральной части смеси

,                                                          (34)

где g - масса навески смеси, г.

Для определения зернового состава минеральной части смеси после отмывки вяжущего растворителем остаток с каждого сита переносят в отдельную фарфоровую чашку и высушивают на песчаной бане или в сушильном шкафу до постоянной массы. Сита также высушивают, а оставшиеся на каждом сите частицы счищают волосяной кистью и присоединяют к соответствующей части минерального материала.

Каждую фракцию после высушивания переносят на сито № 0071, дополнительно отсеивают оставшиеся зерна мельче 0,071 мм, а затем взвешивают.

Вычисляют сумму всех фракций крупнее 0,071 мм G2, г, по формуле

G2 = g1+g2+ …+gn,                                                          (35)

где g1, g2,gn - содержание зерен каждой фракции, г.

Массовую долю каждой фракции по отношению к минеральной части смеси qn, % по массе, вычисляют по формуле

,                                                          (36)

где gn - содержание зерен данной фракции, г;

gб - содержание вяжущего в смеси, г;

g - масса навески смеси, г.

Содержание частиц мельче 0,071 мм g0,071, г, вычисляют по формуле

,                                                       (37)

Массовую долю частиц мельче 0,071 мм в минеральной части смеси q0,071, %, определяют по формуле

,                                                        (38)

Расхождение между результатами параллельных определений по абсолютной величине не должно превышать, %:

0,2 - для вяжущего;

0,3 - для зерен мельче 0,071 мм;

1 - для зерен крупнее 0,071 мм.

24 Определение сцепления вяжущего с минеральной частью смеси

Сцепление оценивают визуально по величине поверхности минерального материала, сохранившей пленку вяжущего после кипячения в водном растворе поваренной соли.

24.1 Средства контроля и вспомогательное оборудование

Весы лабораторные по ГОСТ 24104 4-го класса точности.

Стаканы химические термостойкие по ГОСТ 23932 вместимостью не менее 500 см3.

Сетки металлические диаметром на 5-10 мм меньше диаметра химического стакана с размером отверстий 0,071-0,16 мм по ГОСТ 6613.

Электроплитка, баня песчаная или горелка газовая.

Сетка асбестовая.

Вода дистиллированная по ГОСТ 6709.

Соль поваренная по ГОСТ 13830.

Бумага фильтровальная по ГОСТ 12026.

24.2 Порядок подготовки к проведению испытания

От средней пробы смеси, приготовленной в лаборатории или на асфальтосмесительной установке, берут две навески по 50 г. Одну навеску помещают на сетку 2 (рисунок 12), вторую - оставляют для последующего сравнения со смесью, прошедшей испытание.

Рисунок 12 - Схема испытания для определения сцепления вяжущего с минеральной частью смеси

24.3 Порядок проведения испытания

Химический стакан 7 заполняют примерно на 2/3 объема 15%-ным раствором поваренной соли в дистиллированной воде, устанавливают на электроплитку, песчаную баню или над пламенем горелки и доводят до кипения.

Сетку с навеской смеси опускают в стакан с кипящим раствором таким образом, чтобы уровень раствора 4 над смесью был не менее 30-40 мм, и укрепляют проволочными дужками 3 за край стакана.

При испытании смеси с вязким вяжущим сетку с испытуемым образцом выдерживают в кипящем растворе 30 мин, с жидким - 3 мин. Кипение не должно быть бурным. Вяжущее, отделившееся от поверхности минеральных зерен в процессе кипения и всплывшее на поверхность, удаляют фильтровальной бумагой.

По истечении указанного времени сетку со смесью извлекают из стакана и переносят в стакан с холодной водой для охлаждения и для того, чтобы удалить соль, осевшую на частицах смеси при кипячении, после чего смесь переносят на фильтровальную бумагу для испарения воды.

Сцепление оценивают после полного испарения воды из смеси.

24.4 Обработка результатов испытания

Смесь считают выдержавшей испытание, если после кипячения не менее 3/4 поверхности остается покрытой пленкой вяжущего.

25 Определение слеживаемости холодных смесей

Сущность метода заключается в оценке способности холодной смеси не слеживаться при хранении в штабеле.

25.1 Средства контроля

Прибор (рисунок 13) состоит из основания с подставкой 1 для образца 2, с отверстием 3, штанги 6 и направляющей втулки 8. Во втулке свободно перемещается штанга с навинченным на нее конусным наконечником 4.

Рисунок 13 - Прибор для определения слеживаемости

Масса штанги с наконечником - (500±5) г. Угол в вершине конуса - (15,0±0,5)°. По штанге свободно перемещается цилиндрический груз 5 массой (500±5) г. Высота подъема груза на штанге ограничена вверху упорным кольцом 7 и составляет (200±2) мм. В центре основания имеется отверстие для предохранения острия конуса от затупления. Для фиксации момента касания острия конуса нижней подставки в верхней части штанги нанесена риска 9.

25.2 Порядок подготовки к проведению испытания

Для испытания готовят три образца в соответствии с 6.1.5. Перед испытанием образцы выдерживают в воздушной среде при температуре (20±2) °С не менее 4 ч.

25.3 Порядок проведения испытания

Образец устанавливают на основание, а острие конуса, осторожно направляя рукой, вводят в отверстие образца. Груз поднимают до упорного кольца и опускают его. Удары груза по конусу повторяют до полного разрушения образца или до тех пор, пока острие конуса коснется подставки. При испытании необходимо следить за тем, чтобы при поднятии груза острие конуса не выходило вверх из отверстия в образце.

25.4 Обработка результатов испытания

За условный показатель слеживаемости холодной смеси принимают количество ударов, необходимое для полного разрушения образца конусом.

Показатель слеживаемости вычисляют как среднеарифметическое результатов испытания трех образцов. Расхождение между наибольшим и наименьшим результатами испытаний не должно быть более четырех ударов.

26 Определение коэффициента уплотнения смесей в конструктивных слоях дорожных одежд

Сущность метода заключается в определении отношения средней плотности вырубок (кернов) к средней плотности переформованных из них образцов (коэффициента уплотнения).

26.1 Порядок подготовки к проведению испытания

Образцы-вырубки (керны) отбирают и подготавливают к испытанию по 4.2 и готовят из них переформованные образцы по 6.1.

26.2 Порядок проведения испытания

Образцы-вырубки (керны) и переформованные образцы испытывают по разделу 7.

26.3 Обработка результатов испытания

Коэффициент уплотнения Kу вычисляют с точностью до второго десятичного знака методом округления по формуле

,                                                              (39)

где rm - средняя плотность образца из конструктивного слоя, г/см3;

rm - средняя плотность переформованного образца, г/см3.

27 Определение однородности смеси

Сущность метода заключается в статистической обработке значений показателей свойств смеси в выборке из лабораторного журнала и оценке ее однородности по коэффициенту вариации показателя предела прочности при сжатии при температуре 50 °С для горячих смесей и показателя водонасыщения для холодных смесей.

Объем выборки должен составлять не менее 20 определений и назначаться по числу испытанных проб смеси за период между периодическими испытаниями. Коэффициент вариации СV является мерой отклонения опытных данных от среднего выборочного значения, выраженной в долях единицы или в процентах, и вычисляется по формуле

,                                                                  (40)

где Sn - среднеквадратическое отклонение показателя свойств смеси;

X - среднее значение показателя свойств смеси в объеме выборки.

Среднее значение показателя вычисляют как среднеарифметическое из частных значений, образующих выборку, по формуле

,                                                                 (41)

где хi - частное значение показателя свойств в i-той пробе;

п - количество испытанных проб (объем выборки).

Среднеквадратическое отклонение вычисляют по формуле

,                                                      (42)

28 Определение качества сцепления битумного вяжущего с поверхностью щебня

Раздел 28 введен дополнительно. Изм. № 1.

Качество сцепления оценивают визуально по степени сохранности пленки битумного вяжущего на зернах щебня после его кипячения в дистилированной воде.

28.1 Средства контроля и вспомогательное оборудование

Стаканы химические термостойкоие по ГОСТ 23932 вместимостью не менее 500 см3.

Электроплитка, баня песчаная или горелка газовая.

Сетка асбестовая.

Вода дистиллированная по ГОСТ 6709.

Бумага фильтровальная.

28.2 Порядок подготовки к проведению испытания

Из средней пробы применяемого щебня отбирают шесть зерен размером не менее 10 мм и высушивают их в сушильном шкафу при температуре 105-110 °С.

Каждое зерно щебня обвязывают ниткой или тонкой проволокой (диаметром не более 0,5 мм) и прогревают в сушильном шкафу. Температура прогрева щебня должна быть при применении вязких битумов 130-150 °С, жидких - 80-100 °С. По истечении 1 ч прогретые зерна щебня поочередно погружают на 15 с в применяемое битумное вяжущее, нагретое до температуры, указанной в таблице 2 настоящего стандарта, после чего вынимают и подвешивают на штативе для стекания лишнего битума.

Испытание проводят не ранее чем через 1 ч после обработки зерен щебня битумом.

28.3 Порядок проведения испытания

Химический стакан заполняют на 2/3 объема дистиллированной водой, устанавливают на электроплитку, песчаную баню или на асбестовую сетку над пламенем горелки и доводят воду до кипения (не допуская бурного кипения). Каждое зерно, подвешенное на штативе, поочередно опускают в середину стакана так, чтобы оно не касалось ни дна, ни стенок стакана и выдерживают в кипящей воде при применении вязких битумов 30 мин, жидких - 3 мин.

По истечении указанного времени удаляют фильтровальной бумагой битум, отделившийся от поверхности щебня в процессе кипячения и всплывший на поверхность.

Зерно щебня вынимают из стакана и погружают в стакан с холодной дистиллированной водой на 1-3 мин для охлаждения и закрепления оставшейся на поверхности щебня пленки битума.

Остывший щебень вынимают из воды и помещают на фильтровальную бумагу.

28.4 Обработка результатов испытания

Поверхность зерен щебня осматривают и проводят оценку качества сцепления битумного вяжущего со щебнем по степени сохранности пленки вяжущего в соответствии с таблицей 6.

Таблица 6

Характеристика пленки битума на поверхности щебня

Оценка качества сцепления

Пленка вяжущего полностью сохраняется на поверхности, при этом толщина ее местами может быть уменьшена

Отличное (пять баллов)

Пленка вяжущего полностью сохраняется на поверхности, но частично отделилась с острых углов и ребер

Хорошее (четыре балла)

Пленка вяжущего свыше 50 % сохраняется на поверхности щебня

Удовлетворительное (три балла)

Пленка вяжущего менее 50 % сохраняется на поверхности щебня. На обнажившейся поверхности наблюдаются отдельные капельки битума

Плохое (два балла)

За результат испытания принимают максимальный балл, но не ниже трех баллов, полученный в результате испытания шести зерен щебня, если характеристики пленки битумного вяжущего совпадают на всех зернах. В случае несовпадения характеристик пленки битума на разных зернах испытывают удвоенное число зерен щебня и результат испытания определяют по наибольшему числу зерен щебня, имеющих одинаковые характеристики.

 

ПРИЛОЖЕНИЕ А

(справочное)

Стандарты, ссылки на которые приведены в настоящем стандарте

ГОСТ 166-89 Штангенциркули. Технические условия

ГОСТ 400-80 Термометры стеклянные для испытаний нефтепродуктов. Технические условия

ГОСТ 1050-88 Прокат сортовой калиброванный, со специальной отделкой поверхности из углеродистой качественной конструкционной стали. Общие технические условия

ГОСТ 1770-74 Посуда мерная лабораторная стеклянная. Цилиндры, мензурки, колбы, пробирки. Технические условия

ГОСТ 2874-82* Вода питьевая. Гигиенические требования и контроль за качеством

ГОСТ 5556-81 Вата медицинская гигроскопическая. Технические условия

ГОСТ 5955-75 Бензол. Технические условия

ГОСТ 6613-86 Сетки проволочные тканые с квадратными ячейками. Технические условия

ГОСТ 6709-72 Вода дистиллированная. Технические условия

ГОСТ 9147-80 Посуда и оборудование лабораторные фарфоровые. Технические условия

ГОСТ 9976-94 Трихлорэтилен технический. Технические условия

ГОСТ 12026-76 Бумага фильтровальная лабораторная. Технические условия

ГОСТ 13830-97** Соль поваренная пищевая. Общие технические условия

ГОСТ 17299-78 Спирт этиловый технический. Технические условия

ГОСТ 20015-88 Хлороформ. Технические условия.

ГОСТ 20288-74 Углерод четыреххлористый. Технические условия

ГОСТ 23732-79 Вода для бетонов и растворов. Технические условия

ГОСТ 23932-90 Посуда и оборудование лабораторные, стеклянные. Общие технические условия

ГОСТ 24104-88*** Весы лабораторные общего назначения и образцовые. Общие технические условия

ГОСТ 28840-90 Машины для испытания материалов на растяжение, сжатие и изгиб. Общие технические требования.

___________

* На территории РФ действует ГОСТ Р 51232-98.

** На территории РФ действует ГОСТ Р 51574-2000.

*** С 01.07.2002 действует ГОСТ 24104-2001.

Измененная редакция. Изм. № 1.

ПРИЛОЖЕНИЕ Б

(справочное)

Библиография

[1] ГОСТ Р 8.568-97 Государственная система обеспечения единства измерений. Аттестация испытательного оборудования. Основные положения

Ключевые слова: смеси асфальтобетонные, органоминеральные, укрепленные грунты, асфальтобетон, методы испытания

СОДЕРЖАНИЕ

Предисловие. 1

1 Область применения. 1

2 Нормативные ссылки. 2

3 Общие положения. 2

4 Отбор проб и приготовление смесей в лаборатории. 2

5 Контрольные образцы смесей, укрепленных грунтов и асфальтобетона. 3

5.1 Формы и размеры образцов. 3

6 Изготовление образцов. 7

6.1 Изготовление образцов из смесей. 7

6.2 Изготовление образцов из укрепленных грунтов. 8

6.3 Хранение образцов. 8

7 Определение средней плотности уплотненного материала. 9

7.1 Средства контроля и вспомогательное оборудование. 9

7.2 Порядок проведения испытания. 9

7.3 Обработка результатов испытания. 9

8 Определение средней плотности минеральной части (остова) 9

9 Определение истинной плотности минеральной части (остова) 10

10 Определение истинной плотности смеси. 10

10.1 Определение истинной плотности расчетным методом.. 10

10.2 Определение истиной плотности пикнометрическим методом.. 10

11 Определение пористости минеральной части (остова) 11

12 Определение остаточной пористости. 12

13 Определение водонасыщения. 12

13.1 Средства контроля и вспомогательное оборудование. 12

13.2 Порядок проведения испытания. 12

13.3 Обработка результатов испытания. 13

14 Определение набухания. 13

14.1 Обработка результатов испытания. 13

15 Определение предела прочности при сжатии. 14

15.1 Средства контроля и вспомогательное оборудование. 14

15.2 Порядок подготовки к проведению испытания. 14

15.3 Порядок проведения испытания. 14

15.4 Обработка результатов испытания. 15

16 Определение предела прочности на растяжение при расколе. 15

16.1 Средства контроля и вспомогательное оборудование. 15

16.2 Порядок подготовки к проведению испытания. 15

16.3 Порядок проведения испытания. 15

16.4 Обработка результатов испытания. 16

17 Определение предела прочности на растяжение при изгибе и показателей деформативности. 16

17.1 Средства контроля и вспомогательное оборудование. 16

17.2 Порядок подготовки и проведения испытания. 16

17.3 Обработка результатов испытания. 16

18 Определение характеристик сдвигоустойчивости. 17

18.1 Средства контроля и вспомогательное оборудование. 17

18.2 Порядок подготовки к проведению испытания. 18

18.3 Порядок проведения испытания. 18

18.4 Обработка результатов испытания. 18

19 Определение водостойкости. 18

19.1 Средства контроля и вспомогательное оборудование. 19

19.2 Порядок подготовки к проведению испытания. 19

19.3 Обработка результатов испытания. 19

20 Определение водостойкости при длительном водонасыщении. 19

20.1 Средства контроля и вспомогательное оборудование. 19

20.2 Порядок подготовки к проведению испытания. 19

20.3 Порядок проведения испытания. 19

20.4 Обработка результатов испытания. 19

21 Определение водостойкости ускоренным методом.. 19

21.1 Средства контроля и вспомогательное оборудование. 19

21.2 Порядок подготовки и проведения испытания. 19

21.3 Обработка результатов испытания. 20

22 Определение морозостойкости. 20

22.1 Средства контроля и вспомогательное оборудование. 20

22.2 Порядок подготовки к проведению испытания. 20

22.3 Порядок проведения испытания. 20

22.4 Обработка результатов испытания. 20

23 Определение состава смеси. 21

23.1 Метод экстрагирования вяжущего. 21

23.2 Определение зернового состава минеральной части смеси после экстрагирования. 22

23.3 Метод выжигания вяжущего. 23

23.4 Метод отмывки вяжущего растворителем.. 23

24 Определение сцепления вяжущего с минеральной частью смеси. 25

24.1 Средства контроля и вспомогательное оборудование. 25

24.2 Порядок подготовки к проведению испытания. 25

24.3 Порядок проведения испытания. 26

24.4 Обработка результатов испытания. 26

25 Определение слеживаемости холодных смесей. 26

25.1 Средства контроля. 26

25.2 Порядок подготовки к проведению испытания. 27

25.3 Порядок проведения испытания. 27

25.4 Обработка результатов испытания. 27

26 Определение коэффициента уплотнения смесей в конструктивных слоях дорожных одежд. 27

26.1 Порядок подготовки к проведению испытания. 27

26.2 Порядок проведения испытания. 27

26.3 Обработка результатов испытания. 27

27 Определение однородности смеси. 27

28 Определение качества сцепления битумного вяжущего с поверхностью щебня. 28

28.1 Средства контроля и вспомогательное оборудование. 28

28.2 Порядок подготовки к проведению испытания. 28

28.3 Порядок проведения испытания. 28

28.4 Обработка результатов испытания. 28

ПРИЛОЖЕНИЕ А Стандарты, ссылки на которые приведены в настоящем стандарте. 29

ПРИЛОЖЕНИЕ Б Библиография. 29

 




Яндекс цитирования



   Copyright © 2007-2026,  www.tehlit.ru.

[ ѓосты, стандарты, нормативы, инструкции, правила, строительные нормы ]