//
|
|
ФЕДЕРАЛЬНАЯ СЛУЖБА ГЕОДЕЗИИ И КАРТОГРАФИИ РОССИИ ГЕОДЕЗИЧЕСКИЕ,
КАРТОГРАФИЧЕСКИЕ ИНСТРУКЦИИ, ИНСТРУКЦИЯ
| ||||||||||||||||||||||||||||||||||||||||||||||||||||||||||||||||||||||||||||||||||||||||||||||||||||||||||||||||||||||||||||||||||||||||||||||||||||||||||||||||||||||||||||||||||||||||||||||||||||||||||||||||||||||||||||||||||||||||||||||||||||||||||||||||||||||||||||||||||||||||||||||||||||||||||||||||||||||||||||||||||||||||||||||||||||||||||||||||||||||||||||||||||||||||||||||||||||||||||||||||||||||||||||||||||||||||||||||||||||||||||||||||||||||||||||||||||||||||||||||||||||||||||||||||||||||||||||||||||||||||||||||||||||||||||||||||||||||||||||||||||||||||||||||||||||||||||||||||||||||||||||||||||||||||||||||||||||||||||||||||||||||||||||||||||||||||||||||||||||||||||||||||||||||||||||||||||||||||||||||||||||||||||||||||||||||||||||||||||||||||||||||||||||||||||||||||||||||||||||||||||||||||||||||||||||||||||||||||||||||||||||||||||||||||||||||||||||||||||||||||||||||||||||||||||||||||||||||||||||||||||||||||||||||||||||||||||||||||||||||||||||||||||||||||||||||||||||||||||||||
|
Класс нивелирования |
Средняя квадратическая ошибка |
Допустимые невязки в полигонах и по линиям f, мм |
|
|
случайная η, мм/км |
систематическая σ, мм/км |
||
|
I |
0.8 |
0.08 |
|
|
II |
2.0 |
0.20 |
|
|
III |
5.0 |
- |
|
|
IV |
10.0** |
- |
|
* L - периметр полигона или длина линии, км.
** - ошибку вычисляют по невязкам линий или полигонов.
1.8. Средние квадратические ошибки нивелирования вычисляют по формулам:
![]()
где d = hпp-hобр; hпp и hобр - превышения по секциям, полученные соответственно в прямом и обратном ходах, мм;
r - длина секции, км;
n - число секций;
s - накопление разностей Σd на участке (линии), мм;
L - длина этого участка (линии), км.
Протяженность участка (линии) должна быть не менее 100 км. Периметры полигонов нивелирования в зависимости от районов работ и других условий указаны в табл. 2.
|
Класс нивелирования |
Периметры нивелирных полигонов, км |
||||
|
Обжитые районы России |
Малообжитые районы России |
Локальные и площадные геодинамические полигоны |
Города |
||
|
застроенная территория |
незастроенная территория |
||||
|
I |
1200 |
2000 |
40 |
-* |
-* |
|
II |
400 |
1000 |
20 |
50 |
80 |
|
III** |
60-150 |
100 - 300 |
- |
25 |
40 |
|
IV** |
20-60 |
25-80 |
- |
8 |
12 |
* Периметры нивелирных полигонов I класса в городах устанавливают в зависимости от очертаний городской территории.
** Периметры полигонов III и IV классов зависят от назначения нивелирных работ.
Периметры полигонов I класса, указанные в табл. 2, должны рассматриваться не как предельные значения для отдельного полигона, а как средний периметр группы смежных полигонов. Если среди смежных полигонов I класса присутствуют полигоны «карлики» образованные в результате формирования узла, полигоны созданные для изучения вертикальных деформаций и т.п., то эти полигон при вычислении среднего периметра смежных полигонов не участвуют.
Периметры полигонов II класса, указанные в табл. 2, должны рассматриваться не как предельные значения для отдельного полигона, а как средний периметр полигонов II класса заполняющих полигон I класса. Если среди полигонов II класса присутствуют полигоны «карлики», созданные при формировании узла, для изучения вертикальных деформаций и т.п., то периметры этих полигонов при вычислении среднего периметра не участвуют. Для полигонов II класса, находящихся вне полигона I класса, средний периметр определятся, как и для группы смежных полигонов I класса.
Длины линий в полигонах должны быть по возможности одинаковыми.
1.9. Вновь создаваемые узлы связи линий нивелирования I класса, I и II классов главной высотной основы должны формироваться на территориях не подверженных значительным вертикальным деформациям земной поверхности (более 4 мм/год), что должно обеспечивать минимальное влияние вертикальных деформаций на невязки превышений в полигонах.
Узлы связи (узловые репера) существующих линий нивелирования I и II классов, расположенные в зонах техногенных вертикальных деформаций земной поверхности, должны переноситься из зон деформаций и формироваться новые узлы связи.
1.10. Через каждые 25 лет, а в сейсмоактивных районах через каждые 15 лет, нивелируются повторно все линии I класса и через 35 и 25 лет соответственно - II класса. Сейсмоактивные районы устанавливают по картам сейсмического районирования России.
1.11. Нивелирная сеть II класса создается внутри полигонов I класса, как отдельными линиями, так и в виде системы линий с узловыми пунктами, образуя полигоны. Полученные из обработки значения случайных и систематических средних квадратических ошибок нивелирования II класса, допустимые невязки, полигонов и их периметры не должны превышать значений указанных в табл. 1 и 2.
1.12. В линии государственного нивелирования включают или привязывают к ней пункты спутниковой геодезической сети: ФАГС, ВГС и СГС-1.
1.13. В линии нивелирования I и II классов, которые примыкают к морям или проложены вдоль больших рек и озер, обязательно включают основные и рабочие реперы, нули уровенных реек вековых и постоянных морских, а также основных речных и озерных уровенных постов. Если посты расположены на расстоянии 1 км и более от линий нивелировании I класса, то привязку осуществляют нивелированием II класса. Сведения о местонахождении вековых и постоянных морских, основных речных и озерных постов получают в территориальных управлениях Федеральной службы России по гидрометеорологии и мониторингу окружающей среды (Росгидромет).
Привязку реперов на проектируемых морских уровенных постах выполняют предприятия Роскартографии по заявкам Росгидромета.
1.14. Нивелирные сети III и IV классов прокладывают внутри полигонов высшего класса, как отдельными линиями, так и в виде системы линий, при этом сети и линии должны опираться не менее чем на два репера высшего класса. Допустимые невязки в полигонах III и IV классов, их периметры и полученные из обработки значения средних квадратических ошибок, не должны превышать значений приведенных в табл. 1 и 2.
1.15. При создании высотного обоснования крупномасштабных топографических съемок нивелирные сети III и IV классов прокладывают с расчетом обеспечения требуемой точности съемочного обоснования.
1.16 Линии государственной нивелирной сети I, II, III и IV классов закрепляют на местности реперами не реже чем через 5 км (по трассе).
В труднодоступных районах на отдельных участках, где выбор местоположения реперов затруднен, расстояние между ними может быть увеличено до 7 км (по трассе).
В горных районах линии нивелирования I и II классов закрепляют скальными и стенными реперами через 1-2 км, а грунтовыми - через 3-4 км. На геодинамических полигонах вблизи разломов и границ основных блоков закладывают реперы через 0,5-1,5 км. На каждой стороне блока или разлома должно быть заложено как минимум по два репера.
Расстояния между реперами на линиях нивелирования в городах указаны в разд. 2.
1.17. На линиях нивелирования I, II, III и IV классов закладывают реперы следующих типов: вековые, фундаментальные, грунтовые, скальные, стенные и временные.
Каждый репер должен иметь свой индивидуальный номер, не повторяющийся на данной линии, а по возможности и на ближайших линиях нивелирования.
1.18. Вековые реперы обеспечивают сохранность главной высотной основы на продолжительное время, позволяют изучать современные вертикальные движения земной коры и колебания уровней морей и океанов, сохраняют полную независимость изучаемых явлений от экзогенных и техногенных процессов.
Вековыми реперами закрепляют места пересечений линий нивелирования I класса, уровенные посты, ведущие наблюдения за вековой изменчивостью уровня моря, а также основные пункты нивелирной сети геодинамических полигонов.
Результаты по выбору мест закладки вековых реперов представляют в Роскартографию, где одновременно утверждаются местоположение векового репера, его тип и внешнее оформление.
1.19. Фундаментальные реперы обеспечивают сохранность высотной основы на значительные сроки, позволяют изучать современные движения земной поверхности. Их закладывают на линиях нивелирования I и II классов не реже чем через 60 км, а также на узловых пунктах, вблизи морских, основных речных и озерных уровенных постов.
В сейсмоактивных районах фундаментальные реперы закладывают не реже чем через 40 км.
На расстоянии 50-150 м от фундаментального репера закладывают репер-спутник.
1.20. Грунтовые, скальные, стенные реперы обеспечивают сохранность и надежность высотной основы на длительные сроки и используются для закрепления нивелирных сетей I, II, III и IV классов.
1.21. Временные реперы обеспечивают сохранность высотной опоры в течение нескольких лет и служат высотной основой при топографических съемках. Временные реперы включают в ходовые линии нивелирования II, III и IV классов.
1.22. Прямоугольные координаты местоположения вековых, фундаментальных, грунтовых и скальных реперов определяют с использование инструментальных методов определения местоположения, в том числе с использованием бытовых спутниковых приемников обеспечивающих требуемую точность определения координат реперов.
Координаты вековых и фундаментальных реперов определяют геодезическими приборами с ошибкой не более 1 м, рядовых реперов и марок с ошибкой не более 10 м.
Прямоугольные координаты приводятся в государственной системе координат.
На каждый репер составляют абрис и дают описание его местоположения. Кроме того, расположение реперов показывают на карте масштаба 1:100 000, которую прилагают к материалам нивелирования.
1.23. Для перехода к системе нормальных высот измеренные превышения между реперами нивелирования I и II классов, а также нивелирования III класса в горных районах, исправляют поправками, которые вычисляют по формуле:
![]()
где γm - среднее из средних значений нормальной силы тяжести вдоль нормальных высот этих точек;
γA и γB - нормальные ускорения силы тяжести на отсчетном эллипсоиде, соответствующие реперам А и В;
(g-γ)m -среднее из аномалий силы тяжести на реперах А и В;
Нm - среднее из абсолютных высот реперов А и В;
H - измеренное превышение между реперами А и В.
Порядок вычислений поправок за переход к системе нормальных высот изложен в «Инструкции по вычислению нивелировок» изд. 1971 г.
1.24. Работы по проложению линий нивелирования выполняют на основании разработанных и утвержденных технических проектов.
1.25. Об исполненных работах по нивелированию I, II. III и IV классов составляют технические отчеты в соответствии с действующей «Инструкцией по составлению технических отчетов».
1.26. По окончании уравнительных вычислений нивелирной сети отдельного района или линии нивелирования I, II классов составляют каталог высот в соответствии с действующей Инструкцией по составлению каталогов высот пунктов нивелирования.
1.27. При выполнении полевых работ по нивелированию соблюдают требования и указания действующих «Правил по технике безопасности на топографо-геодезических работах».
2.1. Требования к методике нивелирования, нивелирам и рейкам, порядок выполнения отсчетов на станции те же, что при создании сетей государственного нивелирования соответствующего класса. Отличие состоит в допустимых длинах ходов и в частоте закрепления нивелирных линий реперами.
Превышения между наиболее удаленными друг от друга реперами нивелирной сети города должно быть известно с ошибкой не более 30 мм.
2.2. В городах, территория которых более 500 км , создают нивелирную сеть I класса. Схемы построений нивелирных сетей I класса в городах различны: это или система полигонов, или система пересекающихся линий. Вид сети и расположение линий зависят от очертаний городской территории. Дальнейшее сгущение сети выполняют нивелированием II, III и IV классов.
Высотные сети I и II классов в городах повторно нивелируют не реже чем через каждые 15 лет.
2.3. В городах, площадь которых 50-500 км2, создают нивелирную сеть II класса.
Нивелирные линии II класса должны покрывать всю территорию города, как застроенную, так и незастроенную. Расстояния между узловыми реперами в сети II класса не должны превышать 15 км на застроенной территории и 20 км на незастроенной территории. Длины линий нивелирования II класса между исходными реперами I класса допускаются до 25 км. Периметры нивелирных полигонов II класса в городах указаны в табл. 2.
2.4. Реперы на линиях нивелирования I и II классов закладывают не реже чем через 2 км на застроенной и 3 км на незастроенной территориях. Предпочтение отдают стенным реперам, закладываемым в прочные каменные или железобетонные здания и сооружения.
2.5. В городах площадью 10-50 км2 создается сеть III класса, а в населенных пунктах площадью менее 10 км2 - только нивелирная сеть IV класса.
2.6. Длины линий нивелирования III класса на застроенной территории между узловыми реперами не должны превышать 10 км и 15 км на незастроенной территориях. Длины линий III класса между реперами высшего класса соответственно - 15 и 20 км.
Линии нивелирования III класса на застроенной территории, как правило, прокладывают параллельно друг другу и связывают между собой ходами не реже чем через 5 км и на незастроенной территории через 8 км.
Длины нивелирных линий IV класса на незастроенной территории между реперами высших классов не должны превышать 2 км и на застроенной территории 4 км, а между узловыми реперами соответственно - 1 и 2 км. Периметры нивелирных полигонов III и IV классов указаны в табл. 2.
2.7. Реперы на линиях III и IV классов закладывают на застроенных капитальными зданиями улицах и проездах, не реже чем через 300 м, в слабо застроенной части города или населенного пункта расстояния между реперами можно увеличивать до 800 м, на незастроенной территории реперы закладывают через 500-2000 м.
2.8. Нивелирные сети городов, населенных пунктов, крупных промышленных и гидротехнических объектов должны быть привязаны к государственной нивелирной сети. Для этого в местную нивелирную сеть включают не менее двух реперов, у которых известны высоты из государственного нивелирования. Выбор исходных реперов городской нивелирной сети должен быть согласован с территориальной инспекцией Госгеонадзора Роскартографии в соответствии с подпунктом 1 пункта 5 Положения о государственном геодезическом надзоре за геодезической и картографической деятельностью, утвержденным постановлением Правительства РФ от 28.03.2000 № 273.
2.9. Исходные реперы нивелирной сети города следует располагать в устойчивых зданиях и сооружениях, построенных не менее чем за 7 лет до закладки, сохранность которых гарантируется на многие годы. Исходные репера нивелирной сети города должны располагаться в зонах не подверженных техногенным вертикальным деформациям. В качестве исходных реперов могут быть использованы фундаментальные и грунтовые реперы государственного нивелирования.
2.10. При создании высотных сетей в крупных городах и районах уникальных сооружений, расположенных в зонах с сейсмичностью более 7 баллов, для целей сейсмического микрорайонирования территории нивелирование выполняют по программе, предусмотренной для государственного нивелирования II класса. В этом случае нормальную длину визирного луча, высоту луча визирования над подстилающей поверхностью, допуски на расхождения d = hnp - hобр принимают такими же, как при государственном нивелировании I класса.
При сейсмическом микрорайонировании застроенной
территории сеть нивелирования II класса строят в виде полигонов с периметрами
до 15 км и незастроенной территории до 20 км. Невязки в этих полигонах не
должны превышать 3 мм
, где L -
периметр полигона, км. Сроки повторного нивелирования устанавливают, исходя из
обнаруженных скоростей вертикальных движений земной поверхности.
3.1. Геодинамические полигоны подразделяются:
на локальные полигоны, приуроченные к активным глубинным разломам и разрывам земной коры;
площадные, охватывающие районы возможных эпицентров разрушительных землетрясений, районы крупных населенных пунктов и районы эксплуатируемых и строящихся гидростанций;
региональные, связывающие крупные геологические структуры.
3.2. На локальных и площадных полигонах высотные сети создают в виде пересекающихся линий нивелирования I и II классов. Периметры нивелирных полигонов I и II классов указаны в табл. 2.
3.3. Высотные сети на локальных и площадных построениях привязывают к главной высотной основе России для получения высот в единой системе. Нивелирную сеть в этом случае рассматривают как свободную с опорой на один репер государственной нивелирной сети.
Высотные сети региональных построений входят в сеть государственного нивелирования I и II классов.
3.4. Требования к методике нивелирования, нивелирам и рейкам, порядок выполнения отсчетов на станции те же, что при производстве государственного нивелирования соответствующего класса.
3.5. При закреплении линий на геодинамических полигонах отдают предпочтение скальным и стенным реперам.
Все старые реперы и неработающие скважины, находящиеся на расстоянии 0,5 км от трассы линии нивелирования I класса и на расстоянии до 1 км от трассы линии II класса, обязательно привязывают к ним соответственно нивелированием I или II классов.
К неработающей скважине приваривают марку, которая служит вековым репером. Если на полигоне нет таких скважин, то закладывают вековой репер. На площадке на расстоянии 30-70 м от векового репера закладывают все типы грунтовых центров и реперов, применяемых на данном полигоне. Два раза в год (зимой и летом) нивелируют все реперы на площадке и сопоставляют полученные превышения. Типы реперов, явно неустойчивые, исключают из дальнейшего нивелирования.
3.6. Нивелирование I и II классов на геодинамических и техногенных полигонах - часть комплекса научных геофизических исследований, служащая для получения количественных характеристик деформаций земной поверхности. Поэтому измерения выполняют несколькими последовательными циклами. Интервал времени между повторным нивелированием устанавливают, исходя из ожидаемых скоростей современных вертикальных движений земной коры.
3.7. При проектировании нивелирных сетей на техногенных полигонах расстояние между границей месторождения и реперами, считаемыми неподвижными, следует принимать равным 8-кратной глубине нижнего эксплуатируемого горизонта, но во всех случаях не менее 6 км. Проектируемые линии прокладывают в виде сетей или отдельных линий. Не менее чем от четырех пунктов (реперов) периметра нивелирного полигона, совпадающего с контуром месторождения, прокладывают ходы к реперам, которые считают неподвижными.
3.8. Линии полигона, по возможности, должны совпадать с ранее проложенными линиями нивелирования. Новые линии располагают вдоль местных путевых магистралей или на местности, благоприятной для нивелирования.
4.1. Технические проекты на нивелирные работы разрабатывают, руководствуясь требованиями настоящей Инструкции, действующих нормативных документов по проектированию, и утверждают в установленном порядке до начала работ.
Технические проекты на нивелирные работы по модернизации нивелирной сети I, II классов России составляются в соответствии с действующей Программой модернизации нивелирной сети России I и II классов.
Перед составлением проекта собирают и анализируют все материалы ранее выполненных нивелирных работ. Сведения об этих работах получают в территориальных инспекциях Госгеонадзора или в соответствующих организациях, производивших нивелирные работы.
Особое внимание при анализе материалов ранее выполненных нивелирных работ следует обращать внимание на величины вертикальных деформаций земной поверхности в зонах узлов связи нивелирной сети: планируемого места связи проектируемых и существующих линий нивелирования.
При обнаружении значительных деформаций земной поверхности узлового пункта (репера), влияющих на величину замыкания полигона с учетом новых измерений, в техническом проекте должны быть предусмотрены работы по формированию нового узлового пункта и связь его с существующими линиями нивелирования.
4.2. Обследование и рекогносцировка производятся до составления проекта на восстановление и закладку реперов и нивелирование I и II классов, что даст достоверные сведения об объемах проектируемых работ и повысит качество проектов.
4.3. В техническом проекте устанавливают объем работ, их сметную стоимость, намечают технологию выполнения нивелирования и материально-техническую обеспеченность работ.
В текстовой части проекта указывают:
краткую характеристику физико-географических и климатических условий района работ;
назначение проектируемых работ;
исходные реперы;
сведения о ранее исполненных нивелирных работах и способах их связи с проектируемыми работами;
данные о скоростях вертикальных движений вдоль линий повторного нивелирования, сходящихся в планируемом узле связи или карты (фрагменты карт) вертикальных движений на территорию узла связи, созданную по данным последнего повторного нивелирования;
обоснование формирования нового узла связи;
данные о гравиметрических работах для нивелирования I и II классов во всех районах страны, для нивелирования III класса - в горных районах;
сведения о ранее заложенных реперах и обоснование выбора типов запроектированных реперов;
число проектируемых реперов по типам;
для линий повторного нивелирования I и II классов - обоснование изменений и дополнений, которые внесены проектом в положение и закрепление существующей линии;
технологию выполнения работ по закладке реперов и проведению нивелирования;
приборы и способы нивелирования;
особые случаи нивелирования (передача высот на уровенные посты, через водные препятствия и т.п.);
порядок обработки результатов нивелирования;
технологию инструментального определения координат реперов.
4.4. Проектирование линий нивелирования всех классов выполняют на картах масштабов 1:100 000 - 1:200 000. В необходимых случаях проект уточняют в деталях по картам более крупного масштаба. При проектировании линий нивелирования II, III и IV классов на карту наносят существующие реперы, пункты спутниковой геодезической сети, пункты триангуляции и полигонометрии всех классов, отстоящие от проектируемых линий на расстоянии до 3 км. Рекомендуется совмещать линии нивелирования с пунктами спутниковой геодезической сети и с ходами полигонометрии, прокладываемыми с целью развития и сгущения геодезических сетей.
При проектировании линий нивелирования III и IV классов для обеспечения топографических съемок в масштабе 1:10 000 и крупнее в нивелирную сеть включают все пункты СГС-1, триангуляции и полигонометрии 1, 2, 3 и 4 классов, а также учитывают требования нормативных документов Роскартографии по выполнению геодезических работ при топографических съемках в масштабах 1:10 000 и крупнее.
При проектировании линий нивелирования III и IV классов, прокладываемых для определения высот пунктов СГС-1 и триангуляции, на карту наносят, кроме существующих пунктов, также и проектируемые пункт.
Независимо от границ съемочного участка линии нивелирования III класса проектируют, как правило, в пределах полигона II класса, а линии нивелирования IV класса - в пределах полигона III класса. В технических проектах нивелирования II, III и IV классов может быть предусмотрена закладка временных реперов, предназначенных для использования при топографической съемке.
4.5. При проектировании линии нивелирования I или II класса начало и конец линии нивелирования должны начинаться или заканчиваться на узловых реперах, которые определяются при формировании узловых пунктов нивелирной сети. В качестве узловых реперов должны использоваться вековые или фундаментальные реперы, обеспечивающие долговременную сохранность узлового репера сети.
Трасса, проектируемой линии, пересекающая узловые пункты нивелирной сети I и II классов должна включать в ход узловой репер.
4.6. Наиболее подробно разрабатывают проекты связи новой линии с существующими линиями. При этом руководствуются следующим.
Начало и конец проектируемой линии должны быть просто и надежно связаны с существующими линиями нивелирования более высокого или того же класса.
Узлы связи новых линий нивелирования I и II классов с существующими линиями нивелирования более высокого или того же класса должны формироваться в зонах с минимальными значениями вертикальных деформаций земной поверхности, которые определяются (если возможно) по результатам повторного нивелирования существующих линий нивелирования.
Проектируемая линия должна быть надежно связана с существующими, пересекаемыми ею, линиями нивелирования всех классов.
Связь проектируемых и существующих линий нивелирования I и II классов осуществляют путем включения в линию одного репера (как правило, узлового фундаментального репера узла связи) и выполнения контрольного нивелирования по примыкающей к нему секции существующей линии. Контрольное нивелирование, как правило, выполняют по секции, примыкающей к фундаментальному реперу. Для связи линий можно также проводить контрольное нивелирование между смежными реперами. Выполнение контрольного нивелирования при связи линий одного класса выполняется по соответствующей методике. При связи линий нивелирования различных классов, например I класса со II классом, контрольное нивелирование по примыкающей секции выполняется II классом.
Связь проектируемых линий III и IV классов с существующими линиями нивелирования I, II, III и IV классов осуществляют путем включения одного репера существующей линии.
Привязка линий нивелирования III и IV классов к фундаментальным реперам запрещается.
Все реперы (кроме временных) ранее исполненного нивелирования, расположенные на проектируемой линии нивелирования I и II классов, включают в нее. Реперы, находящиеся вблизи новой линии, привязывают отдельными ходами между двумя постоянными реперами.
Связь проектируемой линии I класса с существующими линиями III и IV классов предусматривают только в тех случаях, когда реперы III и IV классов расположены не далее 500 м от линии нивелирования I класса, от линии II класса - до 3 км.
4.7. На каждый образуемый узел связи линий нивелирования составляют особую схему в крупном масштабе, на которой показывают направления всех связываемых линий и существующие реперы, подлежащие включению в проектируемую линию или в контрольное нивелирование.
4.8. Нивелирование через водные препятствия проектируют в наиболее узких местах, используя острова и мели.
Если ширина водного препятствия на линии нивелирования I, II и III классов 150 м и более, то на обоих берегах предусматривают закладку реперов (по одному на каждом берегу). Каждый репер, по возможности, намечают в незатопляемой зоне. Превышение между ними должно быть не более 0,5 м.
4.9. В проекте линий повторного нивелирования I и II классов предусматривают:
при разреженном закреплении реперами ранее проложенных линий нивелирования дополнительную закладку реперов современных типов;
привязку к новым реперам наиболее надежных реперов ранее проложенной линии, если изменилось положение линии нивелирования. Привязку выполняют отдельными ходами между двумя постоянными реперами нивелированием соответствующего класса либо нивелированием II класса по ранее проложенной линии между двумя новыми реперами. В первом случае привязывают реперы, отстоящие друг от друга на 20-50 км, во втором включают все сохранившиеся реперы ранее проложенного нивелирования;
включение основных реперов и обязательную привязку рабочих реперов и нулей реек, морских и речных уровенных постов, в том числе и тех, которые не были привязаны при первоначальном нивелировании.
4.10. При проектировании высотной основы морских уровенных и основных речных постов следует руководствоваться следующим.
Уровенный пост должен быть оборудован не менее чем тремя реперами: двумя основными, один из которых фундаментальный, и рабочим.
Основные реперы служат для проверки положения рабочего репера и для закрепления нуля поста. В качестве основных используют реперы, находящиеся не далее 3 км от поста. Рабочий репер, предназначаемый для систематического контрольного нивелирования измерительных устройств, располагают в непосредственной близости от этих устройств и вне зоны затопления высокими водами.
В целях повышения достоверности помещаемых в каталоге значений уровней морей и крупных озер исполнитель должен изучить схему передачи высот на уровенном посту, сделать соответствующие зарисовки и контрольное определение нуля уровенного поста.
4.11. При проектировании типов реперов и глубины их закладки используют «Схему промерзания и протаивания грунтов для определения глубины закладки центров и реперов» (приложение 1).
5.1. Рекогносцировка и обследование обязательны на линиях нивелирования всех классов. Разрешается совмещать эти работы с закладкой реперов.
5.2. При рекогносцировке изыскивают оптимальные варианты линий и узлов связи, намечают типы реперов и места для закладки, а также собирают необходимые сведения для организации и выполнения последующих работ.
5.3. В целях выбора наиболее обоснованных вариантов линий и наилучших мест для закладки реперов к рекогносцировке линий государственного нивелирования I класса привлекаются геологические организации, а в особо сложных условиях - геологов или геоморфологов - географов.
5.4. Перед выездом на полевые работы рекогносцировщик собирает следующие сведения о существующих в районе работ линиях нивелирования: названия и класс линий; наименование организации, выполнявшей нивелирование; год исполнения; схемы линий; описание местоположения и абрисы реперов, а также их типы (чертежи);
выписки из каталогов и отчетов; карты наиболее крупного масштаба с нанесенными реперами или выкопировки с них.
5.5. Рекогносцировка начинается с обследования состояния исходного репера и продолжается по направлению намеченной линии. Рекогносцировщик в поле наносит на крупномасштабную карту или на аэрофотоснимки места для закладки новых реперов, составляет описание, абрисы и обозначает на местности места для закладки новых реперов.
5.6. При рекогносцировке нивелирных линий, пересекающих водные препятствия, выбирают такие участки, на которых:
обеспечены хорошие подходы к берегам;
ширина водного препятствия не превышает 150 м. Число переходов через водные препятствия шириной более 400 м необходимо свести к минимуму.
5.7. Обследованию подлежат реперы, по которым будут выполнять повторное нивелирование; включаемые в ходовую линию или привязываемые к ней; включаемые в контрольное нивелирование в узлах связи. Кроме того, обследование реперов выполняют при восстановлении и обследовании геодезических сетей согласно требованиям соответствующих инструкций.
5.8. На линиях, которые нивелируют повторно, кроме реперов обследуют прежнюю трассу с целью выявления изменений, произошедших на местности за период между нивелированием, и при необходимости намечают на отдельных участках новую трассу. Без достаточных оснований прежнюю трассу изменять не следует.
5.9. При полевом обследовании реперов рекогносцировщик оценивает:
состояние репера, его сохранность и соответствие данного типа репера современным требованиям (разд. 6), нарушение наружного оформления, прочность цементации марок;
для стенного репера определяют состояние сооружения, в котором он заложен, местоположение, характер и этажность постройки, наличие и размеры трещин в стенах, видимые нарушения фундамента и т.д.;
влияние инженерно-геологических факторов на устойчивость репера.
При осмотре местности и по результатам опроса местных жителей выявляют факторы, которые неблагоприятны для устойчивости репера;
изучают место, где заложен репер; определяют тип, механический состав и подверженность грунта деформациям; устанавливают глубину грунтовых вод, изменения их уровня за время между повторным нивелированием и особенности рельефа.
5.10. Реперы считаются неустойчивыми, если при их обследовании обнаружены видимые повреждения и несоответствие конструкции современным требованиям. Репер также считается неустойчивым, если в месте его закладки отмечаются карстовые явления, оползни и другие процессы, влияющие на изменение его положения.
Неблагоприятными местами для закладки грунтовых реперов считают: в районах многолетней мерзлоты - участки с глубоким протаиванием грунта;
подвижных песков - вершины барханов и участки такыров, подверженные сильному увлажнению;
в лёссах - впадины, связанные с искусственным или естественным увлажнением почвы;
на торфяниках или переувлажненных грунтах - если марка находится на уровне земной поверхности или изменился водный режим между циклами повторного нивелирования.
Скальные реперы считают неустойчивыми, если они заложены в обломки скал, а также в разрушающиеся и трещиноватые породы.
К неустойчивым стенным реперам относят реперы, заложенные:
в разрушающихся или подвергшихся сильным деформациям зданиях и сооружениях, а также, если отмечены нарушения положения самого знака (качается или разбита его головка, заложен в новом месте);
в устоях мостов через постоянные водотоки, в водоотводных трубах;
в стенках защитных сооружений; работающих водоемных зданиях, если отмечается значительное увлажнение грунта вокруг здания; зданиях и сооружениях, находящихся среди или вблизи железнодорожных путей; некапитальных сооружениях, которые могут менять свое положение по высоте вследствие морозного пучения; каменных цоколях деревянных домов и каменных оградах.
5.11. Реперы ранее исполненного нивелирования, которые намечено включить в прокладываемую линию или в контрольное нивелирование, отыскивают на местности по координатам, по крупномасштабной карте, абрису, материалам аэрофотосъемки и планово- высотной подготовки, геодезическим или фотограмметрическим координатам, которые определены аналитическим способом от пунктов геодезической сети, а также по описанию, внешнему оформлению и сведениям о репере, которые можно получить от местных жителей.
Поиск репера прекращают только с разрешения начальника партии, который выезжает на место и составляет акт об утрате пункта. В акте приводят сведения о репере, способах поиска, причинах утраты и делают заключение о том, что репер не найден или утрачен. Акт утверждают руководитель организации и инспектор ОТК.
5.12. Ненайденные реперы к утраченным реперам не относятся. Причинами утраты считают разрушение репера, снос сооружения, в котором он был заложен, утрату головки репера, деформации трубчатого репера и т.д. Утраченным следует считать и репер на пашне, если его местоположение не удалось установить по промерам, описаниям и опросам местных жителей.
5.13. Все обнаруженные реперы оценивают по их надежности. Рекогносцировщик устанавливает наличие факторов, которые могли вызвать изменение положения репера по высоте за время между нивелированием, и на основе анализа этих факторов дает заключение о его устойчивости. Реперы по устойчивости делят на три группы:
устойчивые - реперы без видимых нарушений и заложенные в благоприятных для устойчивости местах;
относительно устойчивые - реперы, имеющие незначительные повреждения и заложенные в недостаточно благоприятных условиях;
неустойчивые - реперы с видимыми значительными повреждениями и деформациями, а также заложенные в неблагоприятных условиях.
В случае, если рекогносцировщик установил, что данный репер неустойчив, то он выбирает на расстоянии до 2 км от него место для закладки нового репера и указывает, что старый репер не включают в нивелирную линию, а только привязывают.
5.14. При обследовании устанавливают объем работ для восстановления и внешнего оформления, найденных реперов, в том числе и признанных неустойчивыми. Рекогносцировщик по возможности выполняет восстановительные работы (бетонирование сколотого угла пилона, противокоррозийную окраску марки и верхней части трубы, надпись на скале, установку опознавательного столба с охранной надписью и т.д.).
Если внешнее оформление репера нарушено, то его восстанавливают в соответствии с требованиями настоящей Инструкции.
5.15. В том случае, когда устанавливают, что отдельные участки обследуемой линии I и II классов неблагоприятны для нивелирования и некоторые реперы в проектируемых узлах связи утрачены, то рекогносцировщик дает предложения по изменению технического проекта.
5.16. Места для закладки реперов намечают вблизи характерных контуров и ориентиров, которые в дальнейшем облегчают как отыскание их на местности, так и опознавание на материалах аэрофотосъемки. При отсутствии контуров и ориентиров дают рекомендацию о способах маркировки репера, если в ближайшее время намечена аэрофотосъемка участка.
5.17. В целях обеспечения долговременной сохранности и надежности реперов места для их закладки намечают по возможности на повышениях рельефа с крупнозернистыми слабоувлажненными грунтами. Наиболее желательно закладывать реперы в скальные породы и капитальные каменные, бетонные и железобетонные здания и сооружения.
Уровень грунтовых вод в местах закладки реперов должен быть не ближе 3 м от поверхности земли. Случаи закладки реперов в переувлажненные и заболоченные грунты должны быть редким исключением. Глубину залегания грунтовых вод определяют бурением, по гидрогеологическим данным, полученным на метеостанциях и в местных специализированных организациях, имеющих материалы инженерно-гидрометеорологических изысканий, а также по результатам опроса местных жителей.
С особой тщательностью выбирают места для закладки вековых и фундаментальных реперов. Для получения данных о составе грунта и гидрогеологических условиях на глубине 4 - 5 м целесообразно использовать буры типа Д-10, М-1 и др.
В лёссовом грунте не следует закладывать реперы в понижениях местности, где возможна замочка грунта.
Не рекомендуется закладывать реперы в торфяниках. В случае распространения торфяников на больших пространствах необходимо, чтобы якорь репера был заглублен в минеральный грунт не менее чем на 100 см, а марка находилась на 30 см ниже поверхности земли.
Не следует намечать места для закладки реперов на участках, где наблюдаются карстовые и оползневые явления, в затопляемых местах, на косогорах, крутых подъемах, а также там, где будут выполняться строительные, гидротехнические, дорожные, горные и сельскохозяйственные работы.
На пахотных землях реперы закладывают по обочинам и вблизи перекрестков дорог, рядом с опорами линий электропередач и связи, вблизи лесных полезащитных полос и в перелесках, вблизи административных границ и границ землепользователей. При закладке реперов в лесных полезащитных полосах необходимо учитывать возможность наноса земли до 100 см и более.
При выборе мест для закладки реперов вблизи аэродромов, магистральных трубопроводов, линий связи, железных и шоссейных дорог (полоса отчуждения), а также ЛЭП необходимо соблюдать все правила и инструкции соответствующих министерств, ведомств и местных отделений.
В районах подвижных песков реперы закладывают на закрепленных растительностью межбарханных понижениях, по возможности значительных размеров, а также на краях такыров и других местах, где не отмечается движение барханов.
В области многолетней мерзлоты устойчивость реперов может быть обеспечена, если нижнюю часть репера с якорем расположить в многолетнемерзлых грунтах, имеющих достаточно низкую температуру. В области многолетней мерзлоты места для закладки реперов выбирают на повышенных формах рельефа или микрорельефа с небольшой глубиной протаивания грунта: северных, западных и восточных склонах, если на них не скапливается снег; участках, затененных лесом и заросших мхом. Предпочтение отдают местам с небольшой мощностью деятельного слоя.
При закладке реперов стремятся, как можно меньше нарушать мерзлотный режим грунта вблизи закладываемого репера.
К неблагоприятным участкам для закладки реперов в северной и средней зоне многолетней мерзлоты относятся:
открытые южные склоны повышений рельефа, где мощность деятельного слоя, как правило, значительна, а температура мерзлотного слоя близка к 0°С;
подветренные склоны, на которых зимой скапливается мощный слой снегового покрова;
понижения (талики, мари, полосы стока вод, замкнутые впадины), потенциальные аккумуляторы влаги;
места старых гарей, где разрушен дерновый и моховой покров;
участки вблизи морозобойных трещин в полигональной тундре приполярной зоны, буграх пучения (булгунняхах);
места, затопляемые весенними паводками.
В южной зоне многолетней мерзлоты в случае наличия сезонно промерзающих грунтов, реперы закладывают на водоразделах, южных склонах, в поймах рек с песчаным грунтом.
При проложении линий нивелирования вдоль побережий морей в области многолетней мерзлоты закладывают реперы, предназначенные для области сезонного промерзания грунта.
В городах и населенных пунктах разрешается закладывать грунтовые реперы только лишь на тех участках, где нет надежных зданий, в стороне от улиц с интенсивным движением (в парках, бульварах и других местах с древесными насаждениями). Выбор мест для закладки таких реперов должен быть согласован с управлением архитектуры и организациями, в ведении которых находятся подземные коммуникации.
При закладке грунтовых реперов необходимо учитывать, что в населенном пункте мощность деятельного слоя значительно больше, чем показана на Схеме промерзания и протаивания грунтов для установления глубины закладки центров и реперов (приложение 1).
5.18. В городах и поселках в области сезонного промерзания грунта реперы закладывают в стены кирпичных, каменных, бетонных и железобетонных зданий и сооружений: при нивелировании I и II классов, если они построены до закладки не менее чем за семь лет, а на линиях нивелирования III и IV классов - за три года. Здания и сооружения, в которых закладывают стенные реперы, не должны иметь трещин в стенах и видимых нарушений фундамента.
Стенные реперы можно закладывать также в выходы отвесных скал.
Не рекомендуется использовать для закладки стенных реперов здания и сооружения, расположенные ближе 50 м от путей железной дороги.
Стенные реперы следует закладывать вблизи перекрестков улиц, а также в середине кварталов. Стенные реперы должны располагаться на высоте 30 - 60 см от поверхности земли так, чтобы выступы стен не мешали установке реек.
В области многолетней мерзлоты стенные реперы разрешается закладывать только в здания и сооружения, стоящие на скальном или свайном основаниях с продуваемым подпольем (высота подполья 1 - 2 м). Стенные реперы можно закладывать в здания через два года после окончания строительства.
Здание, в котором заложен стенной репер, фотографируют. Кроме того, фотографируют сам репер так, чтобы в кадре был изображен его номер.
5.19. Для установления при рекогносцировке максимальной глубины протаивания в области многолетнемерзлых пород применяют щупы, бурение или шурфование. Полную глубину протаивания Н вычисляют по формуле:
H = h/n,
где h - глубина протаивания грунта на момент рекогносцировки;
n - показатель протаивания (приложение 2).
Значения h и n должны отличаться от нуля. Надежность определения полной глубины протаивания увеличивается к осени.
Необходимость получения таким способом глубины протаивания грунта в местах для закладки реперов возрастает в горных районах и для фундаментальных реперов во всех районах области многолетней мерзлоты.
5.20. По результататам рекогносцировки и обследования представляются следующие материалы:
пояснительная записка;
список обследованных и восстановленных реперов (приложение 3);
длина линии (линий) нивелирования;
уточненные схемы линий (линии) нивелирования, узлов связи прокладываемых линий с существующими линиями, передачи высот через водные препятствия и способы переправы через них;
уточненное описания мест для закладки реперов, а также абрисы;
геологическое строение территории и типы грунтов на трассе (I класс ГВО);
глубина промерзания грунта;
водопроницаемость грунтов и их засоленность;
районы строительства крупных объектов и сооружений, добычи полезных ископаемых, откачки воды, нефти и газа;
меры, принятые для долговременной сохранности нивелирных реперов;
акты на утраченные и ненайденные реперы.
Уточненную схему линий нивелирования составляют на картах масштаба 1:100 000 и крупнее. На схеме показывают отрекогносцированную линию нивелирования, места для закладки реперов, существующие нивелирные линии и реперы. На каждый узел связи составляют отдельную схему с описанием всех необходимых сведений о существующих нивелирных линиях и реперах.
6.1. Разнообразные физико-географические условия страны обусловливают различные типы реперов, которые соответствуют определенным областям. Подробное описание конструкции реперов, методов их изготовления и закладки описано в «Правилах закладки центров и реперов на пунктах геодезической и нивелирной сетей», М., «Картгеоцентр» - «Геодезиздат», 1993.
Расположение этих областей показано на прилагаемой схеме (приложение 4).
6.2. Скальные и стенные реперы включают в нивелирные линии всех классов через сутки после их закладки, грунтовые реперы на линиях нивелирования III и IV классов - не ранее чем через 15 дней после засыпки котлована.
В зоне распространения многолетней мерзлоты грунтовые реперы, заложенные способами бурения и протаивания грунта, включают в нивелирование не ранее чем через два месяца после их закладки, а котлованным способом - в предшествующий нивелированию сезон.
На линиях нивелирования I и II классов грунтовые реперы, как правило, закладывают за год до нивелирования.
6.3. В целях уменьшения или исключения коррозии металлических частей реперов следует применять, по возможности, оцинкованные или эмалированные трубы. В случае их отсутствия на металлические трубы наносят антикоррозийное покрытие (приложение 5). Антикоррозийное покрытие наносят и на поверхность бетонных реперов, если их закладывают в особо агрессивную грунтовую среду.
Для уменьшения влияния морозного пучения наружные поверхности реперов, закладываемых в грунт, необходимо покрывать противопучинистыми средствами (приложение 5).
6.4. Обеспечение охраны реперов осуществляется в соответствии с требованиями Федерального закона «О геодезии и картографии» и «Положения об охранных зонах и охране геодезических пунктов на территории Российской Федерации» (приложение 6), утвержденного постановлением Правительства РФ № 1170 от 7 октября 1996 г. Реперы подлежат осмотру на местности в сроки, предусмотренные нормативными документами Роскартографии по обследованию и восстановлению пунктов геодезической и нивелирной сетей.
6.5. Бетонные и железобетонные детали реперов изготавливают в соответствии с приложением 7.
6.6. Вековые реперы.
6.6.1. Конструкция векового репера зависит от глубины залегания геологически устойчивых, несжимаемых пород. Вековые реперы могут быть скальными и грунтовыми. Типы вековых реперов зависят от глубины нахождения скалы.
Сохранность векового репера обеспечивается качеством закладки, добротностью материалов, из которых он изготовлен, а также местом расположения и внешним оформлением.
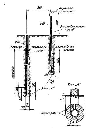
6.6.2. Если скала находится на глубине до 120 см, то закладывают группу из четырех скальных реперов типа 173к (рис. 1,а), расположенных на расстоянии 25 - 50 м друг от друга. Высоты смежных реперов должны отличаться друг от друга не менее чем на 15 см. Репер состоит из марки (нержавеющая сталь или бронза) и бетонного колодца с крышкой. Размеры колодца зависят от глубины залегания скалы. При выходе скалы на дневную поверхность внешние размеры колодца 50×50 см. Если глубина залегания скалы 50 см и более - это колодец диаметром 100 см.


Размеры даны в мм.
Рис. 1. Вековые реперы для скальных грунтов:
а - тип 173к; б - тип 174к
6.6.3. При залегании скалы на глубине от 120 до 500 см закладывают вековой репер типа 174к (рис. 1,б), который состоит из пилона (гранит или высококачественный бетон) с формой параллелепипеда и поперечным сечением 35×35 см, бетонной плиты (якоря) размерами 100×100×40 см и колодца диаметром более 100 см. В верхнюю часть пилона на расстоянии 20 см цементируют две марки (горизонтальную и вертикальную). Верхний конец пилона располагают на глубине 100 см от поверхности земли. Бетонную плиту изготавливают на месте установки репера и цементируют в нее третью марку. До засыпки котлована грунтом и установки колодца измеряют превышения между всеми марками с точностью до 1 мм. Репер в колодце засыпают гравием, а на расстоянии 100-150 м от него устанавливают фундаментальный репер со спутником.

Размеры даны в мм.
Рис. 2. Вековой трубчатый репер. Тип 175к
6.6.4. Вековой трубчатый репер типа 175к (рис. 2) закладывают при залегании несжимаемых пород на глубине более 500 см. Репер закладывают в скважину диаметром -25 см. Он состоит из металлической трубы диаметром 8-15 см с толщиной стенок не менее 1 см, заглубленной в несжимаемые породы на 120 см. Реперная труба заканчивается стальным наконечником длиной не менее 250 см с тремя якорными дисками. Реперная труба при помощи залитого в скважину бетона скрепляется с несжимаемыми породами. Реперная труба находится в защитной трубе диаметром 16-23 см с толщиной стенок не менее 1 см. В нижней части реперная и защитная трубы разделены сальником и битумом, в верхней - резиновой диафрагмой и битумом. На верхнем конце реперной трубы на расстоянии 20 см друг от друга укрепляют две марки из мало окисляющегося материала (горизонтальную и вертикальную). Верхний конец репера располагают на глубине 100 см от поверхности земли. Рядом с вековым репером на расстоянии 100 - 150 м закладывают фундаментальный репер со спутником.
6.7. Фундаментальные реперы.
6.7.1. Фундаментальные реперы в зависимости от условий закладки подразделяют на грунтовые репера (железобетонные, асбоцементные, трубчатые металлические) и скальные.
6.7.2. Фундаментальный репер типа 161 оп. знак (рис. 3) для области сезонного промерзания грунтов изготавливают в котловане. Железобетонный пилон размером 30×30 см составляет единое целое с бетонной плитой (якорем). В верхние грани пилона и плиты цементируют марки из малоокисляющегося материала (бронзы, нержавеющей стали) или чугунные марки с полусферическими вкладышами из малоокисляющегося материала.

Размеры даны в мм.
Рис. 3. Фундаментальный репер для районов с сезонным промерзанием грунтов. Тип 161 оп. знак
Железобетонный пилон разрешается заменять асбоцементной трубой с внешним диаметром не менее 25 см. Внутри трубы устанавливают металлический каркас, и заполняют его бетоном. Для увеличения связи основания асбоцементной трубы с якорем на расстоянии 15-20 см от основания вставляют до заполнения трубы бетоном два взаимно перпендикулярных стержня диаметром 1,0 - 1,5 см и длиной 60 см. Верхнюю грань бетонной плиты располагают на 60 см ниже границы наибольшего промерзания грунта, а верхнюю часть пилона - на 100 см ниже поверхности земли.
Над репером, на глубине 30 см от поверхности земли, закладывают опознавательную бетонную плиту размером 30×30×10 см.
Репер изготавливают в котловане, глубина которого соответствует глубине расположения верхней грани плиты.
Для бетонной плиты (якоря) роют углубление в грунте естественной плотности. Для этого на дне котлована делают четырехгранную выемку, боковые стенки которой расширяют книзу (рис. 3). Размеры плиты с вертикальными боковыми гранями 115×115×40 см.
6.7.3. Фундаментальные реперы для скальных грунтов типов 164 оп. знак и 114 оп. знак показаны на рис. 4. Если скала выходит на земную поверхность или залегает на глубине до 130 см, то в нее цементируют две марки с разностью высот более 100 мм на расстоянии более 500 см друг от друга. В случае, если марки нельзя заложить на разной высоте, то закладывают только одну марку, рядом с которой устанавливают бетонную плиту на цементном растворе со второй маркой. Когда скала залегает на глубине более 130 см, то на ней отливают железобетонный пилон с плитой (якорем). Размеры плиты 80×80×30 см. В верхние грани пилона и плиты закладывают марки из малоокисляющегося материала. Пилон отливают такой высоты, чтобы его верхняя грань располагалась на 100 см ниже поверхности земли.


Размеры даны в мм.
Рис. 4. Фундаментальные реперы для скальных грунтов:
а - тип 164 оп. Знак; б - тип 114 оп. знак
Фундаментальные скальные реперы в области многолетних мерзлых грунтов закладывают таких же типов, как в области сезонного промерзания, но длина железобетонного пилона у них должна быть такой, чтобы его верхняя плоскость располагалась на уровне земли. Если скала залегает на глубине до 50 см от поверхности земли, то закладывают марку в скалу. Марка закрывается плитами разборной скалы, без примеси грунта.
В труднодоступных районах пилон может быть заменен асбоцементной трубой с внешним диаметром не менее 25 см. Труба заполняется бетоном и надежно скрепляется с помощью металлического каркаса с армированным якорем репера. Для изготовления репера в области многолетнемерзлых грунтов используют быстросхватывающийся цемент и добавки, ускоряющие схватывание бетона.
Если в момент закладки репера поверхность скалы имеет отрицательную температуру, то перед отливкой якоря бетон и скалу нагревают.
6.7.4. Превышение между основной и дополнительной маркой фундаментального репера определяют с точностью 1 мм.
Фундаментальные грунтовые реперы для северной зоны области многолетнемерзлых грунтов с глубиной протаивания до 150 см подобны грунтовым рядовым реперам, но основание репера у них располагают на 400 см ниже границы протаивания.
Фундаментальные реперы при глубине протаивания 150 см и более такие же, как и в области сезонного промерзания грунтов, но их пилоны делают такой длины, чтобы его верхняя часть была на уровне земли. Основание репера располагают на 1 м ниже границы наибольшего протаивания грунта, но не менее 250 см от поверхности земли.
Железобетонный пилон репера может быть заменен асбоцементной трубой с внешним диаметром не менее 25 см. При помощи металлического каркаса трубу скрепляют с якорем репера и заполняют бетоном.
Если во время работ многолетнемерзлые грунты не обнаружены, то глубину закладки репера увеличивают на 50 см, а верхний конец пилона с маркой располагают (за счет этого увеличения) на 50 см ниже поверхности земли.
Закладывать в котлован фундаментальные металлические трубчатые реперы и применять металлические якоря вместо бетонных во всех районах страны не допускается.

Рис. 5. Грунтовой репер.
Тип 160 оп. знак
Размеры даны в мм.

Тип 162 оп. знак
6.8. Грунтовые и стенные реперы.
6.8.1. Грунтовые реперы типов 160 оп. знак и 162 оп. знак (рис. 5, 6) в области сезонного промерзания грунтов, как правило, закладывают в пробуренные скважины диаметром 50 см.
Грунтовый репер состоит из железобетонного пилона в форме параллелепипеда с поперечным сечением 16×16 см и бетонной плиты (якоря) диаметром 48 см, изготовляемых заранее. Разрешается применять плиты квадратного сечения размером 50×50 см. В верхнюю грань пилона должна быть зацементирована марка (рис. 7). В середине бетонной плиты делают выемку размером 20×20×15 см, в которую устанавливают железобетонный пилон. Пилон может быть заменен асбоцементной трубой с внешним диаметром не менее 16 см, заполненной бетоном с арматурой. В верхнюю грань трубы вставляют марку. При использовании асбоцементной трубы для увеличения связи ее основания с якорем на расстоянии 7 - 10 см от основания трубы вставляют два взаимно перпендикулярных стержня толщиной 1,0 - 1,2 см и длиной 25 см. При установке трубы в отверстие якоря концы стержней размещают в углах выемки.
В южной зоне области сезонного промерзания грунта применяют бетонные плиты (якоря) высотой 20 см, в северной - 35 см. Граница между этими зонами проходит по линии Валуйки - Россошь - Камышин - Палласовка
6.8.2. Допускается закладка реперов в скважины диаметром 35 см, но в этом случае высота бетонного якоря в южной зоне должна быть равна 50 см, в северной - 80 см.

Рис. 7. Типы марок для грунтовых реперов:
а - марка, закладываемая в бетон; б - марка, привариваемая к металлической трубе
Размеры даны в мм.

Рис. 8. Грунтовый репер для подвижных песков.
Тип 15
Верхняя грань бетонной плиты (якоря) репера нивелирования I, II, III и IV классов должна быть на 30 см ниже глубины наибольшего промерзания грунта независимо от диаметра скважины. У всех реперов марка должна находиться на 50 см ниже поверхности земли.
Допускается изготовление якоря путем заливки в скважину жидкого бетона. Глубина скважины та же, что и при закладке изготовленных заблаговременно реперов. В скважины диаметром 50 см бетон заливают соответственно на 20 или 30 см, а в скважины диаметром 35 см - 30 или 70 см. В бетонный раствор вставляют пилон или асбоцементную трубу. Длина пилона или трубы должна быть такой, чтобы марка приходилась на расстоянии 50 см от поверхности земли. Засыпать скважины грунтом, не дожидаясь схватывания бетона якоря, можно при условии засыпки на жидкий бетон слоя песка (разрыхленного грунта) толщиной не менее 10 см.
6.8.3. Разрешается заменять железобетонные пилоны металлическими трубами диаметром 6 см с толщиной стенок не менее 0,3 см или отрезком рельса (рис. 6). В этом случае бетонную плиту (якорь) и трубу (рельс) скрепляют между собой на месте изготовления репера. Металлическая труба должна иметь четыре штыря, выступающие из нее на 10 см.
6.8.4. При закладке реперов на дно скважины или котлована под основание плиты наливают слой цементного раствора толщиной не менее 3 см. Запрещается закладывать реперы в котлован (скважину) с разрыхленным или подсыпанным на дно грунтом.
6.8.5. Железобетонные реперы, закладываемые в агрессивных грунтах, изготавливают из плотного бетона.
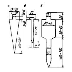
6.8.6. В районах подвижных песков применяют реперы типа 15 (рис. 8), закладываемые завинчиванием в грунт на глубину не менее 400 см. Репер состоит из оцинкованной трубы, верхний конец которой с маркой располагают на 80 см выше поверхности земли. К трубе крепят охранную пластину. Рыть канавы в этом случае запрещается.
6.8.7. На заболоченных территориях линии нивелирования закрепляют грунтовыми трубчатыми реперами, используя трубы диаметром 6 см с толщиной стенок не менее 0,3 см. К нижнему концу трубы приваривают винтовой якорь диаметром не менее 15 см или буровой спиральный наконечник (шнек, змеевик) диаметром не менее 10 см и длиной не менее 50 см. Трубу завинчивают на такую глубину, чтобы винтовой якорь вошел в подстилающую водонасыщенный слой плотную породу не менее чем на 150 см, но во всех случаях глубина закладки репера не должна быть меньше глубины наибольшего промерзания грунта плюс 100 см.
При наличии механизмов ударно-вибрационного действия на заболоченных территориях можно закладывать реперы, состоящие из нескольких свинченных друг с другом буровых штанг или труб диаметром 4-6 см с толщиной стенок не менее 0,3 см. К нижнему концу такого репера приваривают металлический конус. Штанги (трубу) забивают в грунт на такую глубину, чтобы конус вошел в подстилающую водонасыщенный слой породу не менее чем на 300 см.
Верхний конец штанги (трубы), к которому приваривают марку, располагают на 30 см ниже поверхности земли.
Момент вхождения винтового якоря (спирального наконечника или конуса) в плотную подстилающую водонасыщенный слой породу определяют по резкому замедлению скорости погружения репера в грунт.
Вокруг репера сооружают деревянный сруб размером 200×200 см и высотой 50 см, заполняемый торфом или минеральным грунтом. В срубе устанавливают металлический опознавательный столб длиной 100 см с охранной пластиной.
6.8.8. В северной и средней зоне области многолетнемерзлых грунтов закладывают в пробуренные или протаянные скважины трубчатые металлические реперы типа 150 (рис. 9). В качестве репера используют металлические трубы. Диаметр трубы 6 см толщина стенок трубы не менее 0,3 см. К верхнему концу трубы приваривают марку, а к нижнему - многодисковый якорь, состоящий из металлического диска и восьми полу дисков толщиной 0,5-0,6 см и диаметром 15 см.

Размеры даны в мм.
Рис. 9. Грунтовой репер для области многолетней мерзлоты. Тип 150 оп. знак
Для лучшего ввинчивания (вдавливания) трубы в грунт металлический диск имеет лопасти. Трубу бетоном не заполняют. На наружную поверхность трубы наносят антикоррозийное покрытие и антипучинистое, а на внутреннюю только антикоррозийное.
При глубине протаивания грунта до 125 см основание репера располагают на 200 см ниже границы протаивания. Если глубина протаивания 125 см и более, то основание репера должно находиться на 300 см ниже границы протаивания.
При наличии в грунте каменистых включений, затрудняющих бурение и протаивание скважин, трубчатые реперы типа 165 оп. знак (рис. 10) закладывают в котлованы. Вместо многодискового делают бетонный якорь диаметром 48 см и высотой 20 см. Основание бетонного якоря располагают на 100 см ниже границы наибольшего протаивания грунта.
У всех реперов в области многолетнемерзлых грунтов верхний конец трубы с приваренной маркой располагают на уровне поверхности земли.

Размеры даны в мм.
Рис. 10. Грунтовой репер для области многолетней мерзлоты.
Тип 165 оп. знак
В южной зоне области многолетнемерзлых грунтов, граница проходит по линии Воркута - Новый Порт - Хантайка - Сунтар - Олекминск - Алдан - Аян, закладывают только трубчатые реперы бетонными якорями. Если во время работ многолетнемерзлые грунты не обнаружены, то глубину закладки репера увеличивают на 50 см и верхний конец трубы с маркой располагают (за счет этого увеличения) на 50 см ниже поверхности земли.
Применять в южной зоне области многолетнемерзлых грунтов металлические якоря вместо бетонных якорей запрещается.
6.8.9. В скалу, находящуюся на поверхности или залегающую на глубине до 70 см, закладывают грунтовый репер типа 9 оп.знак (рис. 11), который состоит из марки на цементном растворе. В 100 см от репера устанавливают железобетонный или трубчатый опознавательный столб с охранной пластиной. Опознавательный столб укрепляют в скале цементным раствором, наносят антикоррозийное покрытие и окрашивают. Вокруг опознавательного столба и над репером, если он находится на земной поверхности, выкладывают тур из камней высотой 50 см и диаметром до 1 м. Если скала залегает на некоторой глубине, то марку закрывают породой, а затем выкладывают тур.
Если скала залегает на глубине более 70 см, то применяют репер типа 176 оп. знак (рис. 11). На скале устанавливают железобетонный пилон с плитой (якорем). Пилон отливают такой высоты, чтобы его верхняя грань находилась на 50 см ниже поверхности земли.
В области многолетнемерзлых грунтов разрешается вместо железобетонного скального репера закладывать трубчатый репер с бетонным якорем.


Размеры даны в мм.
Рис. 11. Грунтовые репера для скальных грунтов:
а - тип 9 оп. знак; б - тип 176 оп. знак
6.8.10. Если вблизи репера на расстоянии до 50 м имеется отвесная скала, то на ней масляной краской ярких цветов рисуют треугольник со сторонами 100 см, внутри которого указывают номер репера в начальные буквы организации, выполнявшей работы.

Рис. 12. Стенной репер для линий нивелирования I и II классов. Тип 143

Размеры даны в мм.
Рис. 13. Стенной репер для линий нивелирования III и IV классов. Тип 143
6.8.11. В стены искусственных сооружений, зданий и вертикальную поверхность скалы закладывают стенные реперы типа 143 (рис. 12, 13).
6.8.12. При изготовлении стенного репера и марок (рис. 7, 12, 13) на знаках отливают начальные буквы названия организации, выполнявшей нивелирование, и номер репера.
6.8.13. Стенной репер, показанный на рис. 12, закладывают на линиях нивелирования I и II классов, а приведенный на рис. 13-на линиях нивелирования III и IV классов.
6.9. Наружное оформление реперов.
6.9.1. Наружное оформление векового репера состоит из железобетонного колодца с защитной крышкой и запором; кургана, сложенного из камней; указательного монолита и ограждения из четырех отрезков рельс (железобетонных столбов сечением 20×20 см) с якорями, закладываемыми на глубину 140 см и выступающими над поверхностью земли на 110 см (рис. 14). Допускается применять и другое внешнее оформление, обеспечивающее надежную сохранность векового репера.

Рис. 14. Внешнее оформление вековых реперов
6.9.2. Оформление фундаментального репера в области сезонного промерзания грунта состоит из канавы прямоугольной формы (рис. 15) и железобетонного опознавательного столба (рис. 16) с охранной пластиной (рис. 17) толщиной не менее 0,8 мм. Пластина должна быть обращена в сторону репера. Над репером делают курган высотой 30 см диаметром 150 см. Выступающую над землей часть опознавательного столба окрашивают масляной краской ярких цветов. Сечение канавы по нижнему основанию 20 см, по верхнему - 120 см, глубина - 70 см. Черной краской подписывают на опознавательном столбе название организации и номер репера (например, Роскартография, 1274).

Рис. 15. Внешнее оформление фундаментальных реперов в области сезонного промерзания грунтов
Размеры даны в мм.

Рис. 16. Опознавательные столбы для области сезонного промерзания грунтов

Размеры даны в мм.
Над скальным фундаментальным репером выкладывают курган из камней 150×150 см высотой 70 см. Основание опознавательного столба цементируют со скалой или в скальной породе.
В области многолетнемерзлых грунтов наружное оформление фундаментальных реперов такое же, как у грунтовых реперов, но в залесенных районах ставят трубчатый металлический опознавательный столб (рис. 9 и 10), и радиусе 100-150 м от репера на деревьях на высоте 150-250 см делают десять отметок яркой краской, которые должны смотреть в сторону репера.
6.9.3. Наружным оформлением грунтового репера (рис. 18) являются канава и опознавательный столб в виде железобетонного пилона с плитой (якорем), устанавливаемого в 80 см от репера. В залесенных районах разрешается устанавливать деревянные опознавательные столбы. Размер нижнего основания канавы 20см, верхнего-120см, глубина-50см, длина - 1280 см. Над репером насыпают курган высотой 30 см диаметром 100 см. Длина пилона, имеющего в верхней части скосы на две грани, 140см, а поперечное сечение 16×16 см. Диаметр плиты 48 см, толщина 15 см (рис. 16). Соединение пилона с плитой такое же, как у репера. Основание плиты располагают на 80 см ниже поверхности земли. При использовании якоря диаметром 34 см его высоту увеличивают до 25 см, а глубину закладки до 90 см.
К опознавательному столбу надежно прикрепляют (при отливке пилона) охранную пластину (рис. 17). Надпись на пластине отливают, штампуют или наносят методом кернения.
При установке опознавательного столба охранная пластина должна быть обращена в сторону репера.
Выступающую над поверхностью земли часть опознавательного столба окрашивают масляной краской ярких цветов (красной, оранжевой, желтой). Черной краской на столбе указывают номер репера и название организации, заложившей его. Опознавательный столб может быть трубчатым. К верхней части трубы приваривают металлическую пластину, к которой на болтах прикрепляют охранную пластину. Трубу поверх антикоррозийного покрытия красят в пределах выступающей части масляной краской яркого цвета. На обратной стороне пластины надписывают черной краской номер репера и начальные буквы организации, заложившей его. К верхнему концу трубы приваривают заглушку. Нижний конец трубы должен иметь бетонный (металлический) якорь диаметром 48 см и толщиной 15 (0,5) см, заглубляемый в грунт на 100 см. При использовании якоря диаметром 34 см его высоту увеличивают до 25 см, а глубину закладки до 90 см. Верхняя часть трубчатого опознавательного столба должна располагаться на 100 см выше поверхности земли.
6.9.4. В залесенных районах области многолетней мерзлоты, а также на заболоченных территориях области сезонного промерзания грунтов над грунтовым репером сооружают сруб из бревен размерами 200×200 см, высотой 50 см (рис. 19).
Сруб заполняют грунтом и мхом, которые берут не ближе 15 м от репера. В срубе над репером устанавливают деревянный столб длиной 70 см, а рядом металлический опознавательный столб, в радиусе 100-150м от репера на деревьях на высоте 150-250 см делают десять отметок яркой краской.
В тундре над репером сооружают из земли и мха курган размерами 200×200 см, высотой 50 см. Курган покрывают слоем дерна. Над репером устанавливают деревянный столб длиной 70 см, а рядом опознавательный столб. Землю, мох и дерн берут не ближе 15 м от репера.


Размеры даны в мм.
Рис. 19. Внешнее оформление реперов в области многолетней мерзлоты
В области многолетней мерзлоты в зависимости от того, как закладывают репер, бурением (протаиванием) или в котлован, опознавательный металлический столб устанавливают на расстоянии 100 или 70 см от репера (рис. 9 и 10). Нижний конец трубы должен иметь якорь, который заглубляют в многолетнемерзлый грунт не менее чем на 50 см. Верхнюю часть опознавательного знака располагают на 100 см выше поверхности земли и окрашивают масляной краской ярких цветов.
6.10. Для рытья котлованов, бурения скважин, забивания свай и завинчивания труб можно применять различные механизмы (приложение 8).
6.11. Документация, составляемая по окончании работ по закладке реперов:
отчет с пояснительной запиской; журналы закладки реперов;
список заложенных реперов и схему их расположения (на карте наиболее крупного масштаба);
акты сдачи реперов под наблюдение за сохранностью;
фотографии зданий и скал, в которые заложены стенные реперы;
карты масштаба 1:25 000 и крупнее, аэроснимки, на которых показаны местонахождения заложенных и обследованных реперов, абрисы. Масштаб абриса выбирают с таким расчетом, чтобы на нем поместились ближайшие ориентиры, указанные в описании местоположения репера. Абрисы составляют глазомерно, по картам, аэрофотоснимкам в обычных условных топографических знаках, горизонтали на них рисуют условно, лишь для показа характера рельефа.
В отдельном документе приводятся схемы определения и материалы наблюдений по инструментальному определению координат фундаментальных, вековых и рядовых реперов и список координат реперов по линиям нивелирования.
Координаты вековых и фундаментальных реперов, определенные инструментальными методами, приводятся с ошибкой не более 1,0 м, рядовых реперов и марок с ошибкой не более 10 м.
7.1. Нивелирование I класса производят в прямом и обратном направлениях по двум парам костылей (кольев), образующих две отдельные линии: правую, соответствующую ходу по правым костылям, и левую - по левым костылям. Наблюдения на станциях выполняют способом «совмещения».
7.2. Нивелирование I класса выполняют нивелирами с плоскопараллельной пластинкой, контактным уровнем или компенсатором, удовлетворяющими требованиям, указанным в разделе 21.
Изображение концов пузырька контактного уровня должно передаваться в поле зрения трубы.
При нивелировании I класса применяются нивелиры Н-05, Hl, Ni-004, Ni 002 и другие типы нивелиров, прошедшие сертификацию на соответствие требованиям настоящей инструкции.
7.3. Применяются штриховые инварные рейки, на инварной полосе которых должны быть нанесены две шкалы, смещенные одна относительно другой. Расстояние между осями штрихов 5 мм. Ошибки метровых интервалов и всей шкалы не должны превышать 0,10 мм. В горных районах работают инварными рейками с термодатчиками, ошибки метровых интервалов и всей шкалы в этом случае не должны превышать 0,05 мм.
Рейки должны быть снабжены круглыми уровнями с ценой деления 10 - 12'/2 мм, натяжение инварных полос - 20+1 кг. У реек желательно определить термические коэффициенты.
В случае привязки к стенным маркам применяют подвесную рейку с такими же шкалами, как и на основных рейках. Нуль на подвесной рейке должен быть совмещен с центром отверстия для штифта, на который подвешивают рейку к стенной марке.
7.4. При нивелировании в прямом направлении (прямой ход) порядок наблюдений на станции по правой линии следующий.
|
Нечетная станция |
Четная станция |
|
1. Отсчет по основной шкале задней рейки |
1. Отсчет по основной шкале передней рейки |
|
2. Отсчет по основной шкале передней рейки |
2. Отсчет по основной шкале задней рейки |
|
3. Отсчет по дополнительной шкале передней рейки |
3. Отсчет по дополнительной шкале задней рейки |
|
4. Отсчет по дополнительной шкале задней рейки |
4. Отсчет по дополнительной шкале передней рейки |
По левой линии на нечетной и четной станциях отсчеты выполняются в том же порядке, что и по правой.
При нивелировании в обратном направлении (обратный ход) на нечетных станциях наблюдения начинают с передней рейки, а на четных-с задней.
7.5. В прямом и обратном направлениях нивелирование выполняют по одной и той же трассе и по переходным точкам одного типа.
7.6. Число станций в секции при нивелировании в прямом и обратном направлениях делают четным и по возможности одинаковым.
7.7. При перемене направления нивелирования рейки меняют местами.
7.8. По каждой секции нивелирование в прямом и обратном направлениях выполняют, как правило, в разные половины дня. С меньшей строгостью это требование соблюдают осенью, а также в пасмурную погоду.
7.9. Нивелирование выполняют участками в 20-50 км по схеме «восьмерка», т.е. одну половину секций участка сначала проходят в прямом направлении, а другую - в обратном, затем наоборот. Если расхождения измеренных превышений по секциям из нивелирования в прямом и обратном направлениях получаются с преобладанием одного знака, то длину участков можно уменьшить.
7.10. Максимальная длина луча визирования - 50 м.
7.11. Высота луча визирования над подстилающей поверхностью должна быть не менее 0,8 м. Если длина луча визирования до 25 м, то разрешается выполнять наблюдения при высоте луча не менее 0,5 м.
7.12. В средних и южных широтах наблюдения выполняют в утренние и послеполуденные периоды, причем начинают их через полчаса после восхода солнца и заканчивают примерно за 30 мин до его захода.
Не разрешается выполнять нивелирование:
при колебаниях изображений, затрудняющих точное наведение биссектора на штрих рейки, и «плавающих» изображениях;
сильном и порывистом ветре;
сильных и скачкообразных колебаниях температуры воздуха и аномально быстрых односторонних ее изменениях (из производственного опыта установлено, что колебания температуры в течение благоприятного для нивелирования I класса периода времени не превосходят 5° С).
7.13. Нивелир устанавливают в тени на штативе за 45 мин до начала наблюдений, для принятия им температуры окружающей среды.
Во время наблюдений на станции нивелир необходимо тщательно защищать от солнечных лучей зонтом с белой подкладкой, а при переноске с одной станции на другую - просторным чехлом из плотной белой материи.
На каждой нечетной станции термометром-пращом измеряют температуру воздуха на высоте нивелира. При работе инварными рейками с термодатчиками реечники, по команде записывающего, определяют на каждой станции температуру инварной полосы каждой рейки. Измерения выполняют в момент отсчитывания по основной шкале задней и передней реек, установленных на левых костылях.
7.14. Расстояние от места установки нивелира до реек измеряют тонким стальным тросом или стальной лентой (рулеткой). Использовать для этой цели дальномер нивелира запрещается.
Неравенство расстояний от нивелира до реек на станции допускают не более 0,5 м. Накопление этих неравенств по секции должно быть не более 1 м.
7.15. Штатив нивелира устанавливают на станциях без перекосов и напряжений. Запрещается сильно вдавливать ножки штатива в грунт, особенно в плотный. Две ножки штатива располагают вдоль линии нивелирования, а третью - попеременно то справа, то слева от направления хода на переднюю рейку. Ножки штатива устанавливают на станции в одинаковых грунтовых условиях (например, при нивелировании по полотну железной дороги - на бровке полотна или на шпалах.)
7.16. Правый и левый костыли необходимо забивать в достаточно плотный грунт и не ближе 0,5 м друг от друга. При нивелировании по полотну железной дороги не разрешается забивать костыли в балласт. Если грунт на бровке или между путями рыхлый или засыпан щебенкой и шлаком, то целесообразно забивать специальные костыли в шпалы.
Рейку устанавливают на костыле в отвесное положение по уровню и удерживают подпорками.
7.17. Нивелирование рекомендуется выполнять с использованием четырех-пяти пар костылей, которыми заранее закрепляют одну-две последующие станции и оставляют закрепленной предыдущую станцию. Если в обратном ходе применяют костыли (колья), которые были забиты в грунт при проложении прямого хода, то перед наблюдениями обратного хода их забивают глубже. При этом превышения, полученные на станции обратного хода, должны, как правило, отличаться от превышений, полученных в прямом ходе, не менее чем на 20 мм.
7.18. При перерывах в работе наблюдения, как правило, заканчивают на постоянном репере. Разрешается заканчивать наблюдения на трех парах костылей (две станции), забитых в дно ям глубиной 0,3 м. Нивелирование на обеих станциях выполняют по обычной программе, затем костыли покрывают травой и засыпают землей. После перерыва сначала повторяют нивелирование на последней станции, а в случае необходимости - и на предпоследней. Из сравнения результатов нивелирования, выполненного до и после перерыва, устанавливают, какая пара костылей сохранила свое первоначальное положение по высоте, и от нее продолжают нивелирование дальше.
Костыли считают сохранившими свое первоначальное положение, если полученные до и после перерыва значения превышений на станции различаются не более чем на 0,7 мм (14 делений отсчетного барабана), а между передней и задней парами костылей - не более чем на 1,0 мм (20 делений отсчетного барабана). В подсчет превышений по секции включают наблюдения, выполненные в лучших условиях (по усмотрению исполнителя). В случае больших расхождений нивелирование по секции переделывают, начиная с постоянного репера.
7.19. Последовательность наблюдений на станции при работе нивелиром с уровнем следующая.
1. Направляют трубу в сторону той рейки, которая на данной станции наблюдается первой, и тщательно приводят пузырьки установочных уровней (уровня) на середину.
2. Наводят трубу нивелира на основную шкалу рейки, находящейся на правом костыле (которая согласно пункту 7.12 должна наблюдаться первой); ставят барабан на отсчет 50, вращением элевационного винта приближенно совмещают изображения концов пузырька цилиндрического уровня и делают дальномерные отсчеты по трем нитям.
3. Вращением элевационного винта точно совмещают изображения концов пузырька уровня: вращением отсчетного барабана точно наводят биссектор на ближайший штрих основной шкалы рейки и отсчитывают по рейке и отсчетному барабану (до целых делений его шкалы).
4. Наводят трубу на основную шкалу второй рейки, стоящей на правом костыле, и выполняют все действия, указанные в п. 2 и 3.
5. Наводят трубу на дополнительную шкалу второй рейки; смещают уровень вращения элевационного винта на четверть оборота;
снова точно совмещают вращением элевационного винта изображения концов пузырька уровня и выполняют остальные действия, перечисленные в п. 3.
6. Наводят трубу нивелира на дополнительную шкалу первой рейки, стоящей на правом костыле, и далее действуют согласно п. 3.
7. Переставляют рейки на левые костыли и выполняют наблюдения в той же последовательности, как указано в п. 2-6.
Отсчет по рейке начинают не ранее чем через 30 с после окончательной установки рейки на костыле и полного успокоения пузырька цилиндрического уровня нивелира. Если по секциям расхождения значений превышений, полученных из нивелирования по правой и левой линиям, оказываются с одним знаком, то отсчеты по рейке выполняют не ранее чем через 40 с после окончательной установки уровня и рейки, изменяют порядок наблюдений на станции, начиная наблюдения на одной паре станций с правых костылей, а на другой паре - с левых.
Результаты наблюдений на станции записывают в журнал установленной формы (приложение 22) или вводят в запоминающее устройство регистратора. При привязке к реперам в журнале отмечают, в каком состоянии находится внешнее оформление репера, и указывают виды работ, выполненные по его восстановлению. Кроме того, при привязке снимают оттиски с номеров марок.
7.20. При работе нивелиром с компенсатором отсчеты по рейке и отсчетному барабану (микрометру) делают сразу же после наведения трубы на рейку, которая согласно п. 7.4 наблюдается первой, и приведения пузырька круглого уровня на середину. Перед отсчетом необходимо убедиться, что компенсатор находится в рабочем состоянии (если в поле зрения трубы есть риски, показывающие рабочее положение компенсатора, то изображение вертикальной и средней горизонтальных нитей должны находиться между рисками). Последовательность отсчитывания приведена в п. 7.19.
7.21. Контроль наблюдений на станции заключается в следующем.
1. Сравнивают значения превышений из наблюдений по основным и дополнительным шкалам реек; расхождения не должны быть более 0,5 мм (10 делений отсчетного барабана). Если хотя бы одно расхождение получилось больше допустимого, то все наблюдения на станции переделывают, предварительно изменив высоту нивелира не менее чем на 3 см.
2. Сравнивают средние значения превышения заднего правого костыля над задним левым по результатам нивелирования на данной и предыдущей станциях (где эти костыли были передними); расхождения не должны быть более 0,7 мм (14 делений отсчетного барабана). Если расхождение получилось больше допустимого, то сначала повторяют наблюдения на предыдущей станции, а затем на данной; в этом случае первоначальные результаты наблюдений в обработку не принимают.
7.22. Контроль нивелирования по секции между смежными реперами и по участку между фундаментальными реперами состоит в следующем.
1. После выполнения нивелирования по секции в одном
направлении сравнивают между собой два превышения, получившиеся по правой и
левой линиям. Расхождение между ними не должно превышать 2 мм
, когда среднее число станций на 1 км хода меньше 15 (первый
случай), и 3 мм
, если среднее число станций на 1 км хода больше 15, а также
при нивелировании в труднопроходимых районах (второй случай), где L - длина секции, км.
Если расхождение получилось больше допустимого, то нивелирование по секции в этом направлении повторяют.
В обработку принимают все значения превышения тогда,
когда первоначальные не различаются между собой более чем на 5 мм
для первого случая и
6 мм
- для второго случая,
а повторные с первоначальными не различаются соответственно более чем на 3 мм
и 4 мм
. В противном случае в обработку принимают значения
превышения из повторного нивелирования.
После выполнения нивелирования по секции в прямом и
обратном направлениях сравнивают между собой два средних значения превышения.
Расхождение между ними не должно превышать 3 мм
для первого случая и
4
- для второго случая.
Если расхождение получилось больше допустимого, то нивелирование по секции повторяют в одном из направлений. Выбор направления делают с учетом сходимости результатов по правой и левой линиям. Явно неудовлетворительное значение превышения исключают. Оставшиеся два значения принимают в обработку, если они не расходятся между собой больше указанных допусков и получены из нивелирования в противоположных направлениях.
В обработку включают все три значения превышения
тогда, когда первоначальные не расходятся между собой более чем на 5 мм
- для первого случая
и 6 мм
- для второго случая,
а повторное значение не отличается от каждого из первоначальных более чем на 4 мм
.
При обработке сначала осредняют значения превышений из ходов одного направления, а затем - из ходов прямого и обратного направлений.
Если результаты первоначального и повторного нивелирования не удовлетворяют перечисленным требованиям, то первоначальные исключают и выполняют еще одно повторное нивелирование в противоположном направлении.
2. После выполнения нивелирования по участку между фундаментальными реперами сравнивают между собой значения превышений по правой и левой линиям, а также значения превышения из нивелирования в прямом и обратном направлениях. Расхождения между соответствующими значениями превышения по участку не должны быть свыше допусков, указанных в п. 1. В противном случае на последующих участках для ослабления влияния систематических погрешностей выполняют требования, приведенные в п. 7.19.
7.23. По мере завершения нивелирования по секциям и участкам регулярно составляют ведомость превышений установленной формы (приложение 23).
7.24. Поправки в превышения по секциям за среднюю длину метра комплекта реек вводят по результатам эталонирования реек на компараторе МК-1, используя формулу
δh = (Lcp - 1000,0)×h
где Lcp - средняя длина метра комплекта реек в мм;
h - превышение в метрах.
Кроме того, в превышения по секциям вводят поправки за различие температуры реек при эталонировании на компараторе и нивелировании (приложение 22). Поправки в значения превышений, полученных из нивелирования в прямом и обратном направлениях, вычисляют отдельно по формуле:
δh = α(tн - tэ)h,
где α - средний коэффициент линейного расширения реек, принимаемый (если не выполнено специальное определение этого коэффициента) равным 2·10-6;
tэ - температура реек при эталонировании;
tн - среднее значение температуры воздуха при нивелировании; h - превышения по секции, м.
При работе рейками с термодатчиками поправки определяют по формуле
δh = hα(t'н - tэ) - ΣП×αΔt,
где t'н - средняя температура инвар ной полосы задней рейки;
ΣП - сумма отсчетов по основной шкале передней рейки, м;
Δt = t''н - t'н ,
где t''н - среднее значение температуры инварной полосы передней рейки.
8.1. Нивелирование II класса производят в прямом и обратном направлениях по костылям или кольям. Наблюдения на станции выполняют способом «совмещения».
8.2. Нивелирование II класса выполняют нивелирами с плоско- параллельной пластинкой, контактным уровнем или компенсатором, которые удовлетворяют следующим требованиям, изложенным в разделе 21.
Изображение концов пузырька контактного уровня должно быть передано в поле зрения трубы.
При нивелировании II класса применяют нивелиры Н-05, Ni-002, Ni-004, Ni-007 или им равноценным по точности приборам и штриховые инварные рейки.
По указанию Роскартографии могут применяться другие типы нивелиров, прошедшие сертификацию на соответствие требованиям настоящей инструкции.
8.3. Ошибки метровых интервалов шкал и всей шкалы инварной рейки при нивелировании II класса допускают до 0,20 мм, при нивелировании в горных районах - до 0,10 мм.
Для привязки к стенным маркам применяют подвесную рейку с такими же шкалами, как и на основных рейках. Нуль на подвесной рейке должен быть совмещен с центром отверстия для штифта, на который подвешивают рейку к стенной марке.
8.4. При нивелировании в прямом направлении (прямой ход) порядок наблюдений на станции следующий.
|
Нечетная станция |
Четная станция |
|
1. Отсчет по основной шкале задней рейки |
1. Отсчет по основной шкале передней рейки |
|
2. Отсчет по основной шкале передней рейки |
2. Отсчет по основной шкале задней рейки |
|
3. Отсчет по дополнительной шкале передней рейки |
3. Отсчет по дополнительной шкале задней рейки |
|
4. Отсчет по дополнительной шкале задней рейки |
4. Отсчет по дополнительной шкале передней рейки |
При нивелировании в обратном направлении (обратный ход) наблюдения на нечетных станциях начинают с передней рейки, а на четных - с задней.
8.5. В прямом и обратном направлениях нивелирование выполняют, как правило, по одной и той же трассе и по переходным точкам одного и того же типа; число станций в секции делают четным и одинаковым.
На время перехода наблюдателя на следующую станцию переднюю рейку снимают с костыля.
8.6. При перемене направления нивелирования рейки меняют местами.
8.7. По каждой секции нивелирование в прямом и обратном направлениях выполняют, как правило, в разные половины дня. С меньшей строгостью это требование соблюдают осенью, а также в пасмурную длительную погоду.
8.8. Нивелирование выполняют участками в 25-30 км по схеме «восьмерка» (п. 7.9). В отдельных случаях длина участка может быть увеличена или уменьшена.
8.9. Нормальная длина луча визирования - 65 м. Если увеличение зрительной трубы не менее 44х и условия для наблюдений благоприятны, разрешается увеличить длину луча до 75 м.
При работе нивелиром Ni-007 максимальная длина луча визирования - 50 м.
8.10. Высота луча визирования над подстилающей поверхностью должна быть не менее 0,5 м. В отдельных случаях при длине луча визирования до 30 м разрешается выполнять наблюдения при высоте луча визирования более 0,3 м.
8.11. В средних и южных широтах наблюдения выполняют в утренние и послеполуденные периоды, причем начинают их примерно через полчаса после восхода солнца и заканчивают приблизительно за 30 мин до захода.
Не разрешается выполнять наблюдения:
при колебаниях изображений, затрудняющих точное наведение биссектора на штрих рейки, и «плавающих» изображениях;
сильном и порывистом ветре;
сильных и скачкообразных колебаниях температуры воздуха и аномально быстрых односторонних ее изменениях.
8.12. Нивелир устанавливают в тени на штатив за 45 мин до начала наблюдений для принятия им температуры воздуха.
Во время наблюдений на станции нивелир тщательно защищают от солнечных лучей зонтом с белой подкладкой, а при переноске с одной станции на другую - просторным чехлом из плотной белой материи.
Через каждые две станции термометром-пращом измеряют температуру воздуха на высоте нивелира.
8.13. Расстояния от места установки нивелира до реек измеряют тонким стальным тросом или стальной лентой (рулеткой). Использовать для этого дальномер нивелира запрещается.
Неравенство расстояний от нивелира до реек на станции допускают не более 1 м. Накопление этих неравенств по секции разрешается не более 2 м.
8.14. Костыли забивают в плотный грунт. При нивелировании по полотну железной дороги не разрешается забивать костыли в балласт. Если грунт на бровке или между путями рыхлый или засыпан щебнем и шлаком, то допускается забивать специальные костыли в шпалы.
При нивелировании по каменистому или очень плотному, а также мерзлому грунту, целесообразно использовать костыли длиной 15 - 20 см и толщиной до 3 см, по мягкому и влажному грунту - деревянные колья с гвоздями в торцах или костыли длиной 40 - 70 см (рис. 25). При нивелировании в обратном направлении колья подбивают.
Рейки устанавливают на костыле в отвесном положении по уровню и удерживают подпорками.
8.15. При перерывах в работе наблюдения, как правило, заканчивают на постоянном репере. Разрешается также заканчивать наблюдения на трех костылях (две станции), забитых в дно ям глубиной до 0,3 м. Нивелирование на обеих станциях выполняют по обычной программе, а затем костыли покрывают травой и засыпают землей. После перерыва повторяют нивелирование на последней станции, а в случае необходимости - и на предпоследней. Из сравнения результатов нивелирования до и после перерыва устанавливают, какой костыль сохранил свое первоначальное положение, и от него продолжают нивелирование дальше.
Костыли считают сохранившими свое первоначальное положение, если полученные до и после перерыва значения превышения на станции различаются не более чем на 1 мм (20 делений барабана). В подсчет превышений по секции включают наблюдения, выполненные в лучших условиях (по усмотрению исполнителя). При большем различии нивелирование по секции выполняют заново, начиная от постоянного репера.
8.16. Последовательность наблюдений на станции нивелирами с уровнем следующая.
1. Направляют трубу в сторону той рейки, которая на данной станции наблюдается первой, и тщательно приводят пузырьки установочных уровней (уровня) на середину.
2. Наводят трубу на основную шкалу той рейки, которая должна наблюдаться первой. Барабан нивелира ставят на отсчет 50. Вращением элевационного винта приближенно совмещают изображения концов пузырька уровня; делают дальномерные отсчеты по верхней и нижней нитям.
3. Вращением элевационного винта точно совмещают изображения концов пузырька уровня; вращением барабана точно наводят биссектор на ближайший штрих основной шкалы; делают отсчеты по рейке и барабану (до целых делений его шкалы).
4. Наводят трубу на основную шкалу второй рейки; выполняют все действия, указанные в п. 2 и 3.
5. Наводят трубу наводящим винтом на дополнительную шкалу второй рейки; смещают уровень поворотом элевационного винта на четверть оборота; вращением элевационного винта снова точно совмещают концов пузырька уровня и выполняют остальные действия, перечисленные в п. 3.
6. Наводят трубу на дополнительную шкалу первой рейки и действуют согласно п. 3.
Отсчет по рейке начинают после полного успокоения пузырька цилиндрического уровня и не ранее чем через полминуты после установки рейки на костыле.
Результаты наблюдений на станции записывают в журнал установленной формы (приложение 24) или вводят в запоминающее устройство регистратора. При привязке к реперам в журнале отмечают, в каком состоянии находится внешнее оформление репера и указывают виды работ, выполненные по его восстановлению. Кроме того, при привязке снимают оттиски с номеров марок.
8.17. При работе нивелиром с компенсатором отсчеты по рейке и отсчетному барабану (микрометру) делают сразу же после наведения трубы на рейку, которая согласно п. 8.5 должна наблюдаться первой, и приведения пузырька установочного уровня на середину. Перед отсчетом необходимо убедиться, что компенсатор находится в рабочем состоянии. Последовательность отсчитывания указана в п. 8.17.
8.18. На каждой станции подсчитывают значения превышения по наблюдениям основных и дополнительных шкал реек. Расхождения между превышениями и разность высот нулей реек, вычисленная и полученная из исследований, не должна быть более 0,7 мм (14 делений барабана). Если расхождение получилось более допустимого, то все наблюдения на станции переделывают, предварительно изменив положение нивелира по высоте не менее чем на 3 см.
8.19. Контроль нивелирования по секции между смежными реперами и по участку между фундаментальными реперами заключается в следующем.
1. После выполнения нивелирования по секциям в прямом и обратном направлениях сравнивают между собой два значения превышения;
расхождение между этими значениями не должно быть
более 5 мм
, если среднее число станций на 1 км хода меньше 15 (первый
случай) и 6 мм
- когда среднее число
станций на 1 км хода больше 15, а также при нивелировании в труднопроходимом
районе (второй случай).
Если расхождение получилось больше допустимого, то нивелирование по секции повторяют в одном из направлений.
Явно неудовлетворительное значение превышения исключают. Оставшиеся два значения принимают в обработку, если они не расходятся между собой больше указанных допусков и получены из нивелирования в противоположных направлениях.
В обработку включают все три значения превышения
тогда, когда первоначальные не расходятся между собой более чем на 8 мм
для первого случая и
10 мм
- для второго случая,
а повторное значение не отличается от каждого из первоначальных более чем на 6
мм л
.
При окончательной обработке сначала осредняют значения превышения из ходов одного направления, а затем - из ходов прямого и обратного направлений.
Если первоначальные и повторные значения превышения не удовлетворяют перечисленным требованиям, то первоначальные исключают и выполняют еще одно повторное нивелирование в противоположном направлении.
2. После выполнения нивелирования по участку между
фундаментальными реперами сравнивают значения превышения, получившиеся из
нивелирования в прямом и обратном направлениях. Нормальное расхождение между
этими значениями не должно быть больше 5 мм
для первого случая и
6 мм
- для второго.
8.20. По мере завершения нивелирования по секциям и участкам регулярно составляют ведомость превышений установленной формы (приложение 25).
8.21. Поправки в превышения по секциям за среднюю длину метра комплекта реек вводят по результатам эталонирования реек на компараторе МК-1.
Поправки в превышения по секциям за различие температуры реек при эталонировании и нивелировании вводят в соответствии с п. 7.32.
9.1. Связь прокладываемых линий нивелирования I и II классов с существующими линиями выполняют в соответствии со схемой, указанной в проекте и уточненной при рекогносцировке. При этом особое внимание уделяют опознаванию, оценке стабильности реперов на местности и тщательной проверке их номеров.
9.2. При связи линий I и II классов контрольное нивелирование по секции существующей линии выполняют в прямом и обратном направлениях.
9.3. При контрольном нивелировании допустимые расхождения между ранее и вновь определенными значениями превышений подсчитывают по формулам:
6 мм
- для связи линий I
класса;
9 мм
- для связи линий II
класса или I и II классов.
В случае больших расхождений необходимо установить причины этих изменений, используя для анализа данные повторного нивелирования и карты современных вертикальных движений земной поверхности. Если причиной больших расхождений являются сезонные движения реперов, то выполняют контрольное нивелирование по следующей секции.
9.4. Когда в узле связи заложен новый фундаментальный репер, то к нему привязывают ближайшие реперы всех существующих линий.
10.1. Нивелирование через водные препятствия шириной более 150 м намечают в наиболее узких местах с однообразными в топографическом отношении берегами. При возможности используют острова и отмели. Высота луча визирования над водой должна быть не менее 3 м. Для этого используют повышения местности или сооружают деревянные штативы. Луч не должен проходить над зарослями, островами и отмелями.
Метод передачи высот устанавливают по результатам рекогносцировки.
10.2. У нивелира, предназначенного для нивелирования через водные препятствия, до начала полевых работ исследуют ход фокусирующей линзы. Неправильность хода фокусирующей линзы не должна превышать ±0,5 мм (приложение 11).
За один-два дня до передачи высоты через водное препятствие нивелир тщательно выверяют. Угол i сводят к минимуму (2-3") и определяют ежедневно до и после нивелирования через препятствие. Запрещается исправлять угол i в день нивелирования через препятствие.
10.3. Нивелирование через препятствия выполняют в наиболее благоприятное время. Лучшие условия бывают в пасмурные и облачные дни с незначительными колебаниями температуры и с небольшим ветром; в такие дни можно работать в любое время. В солнечные дни нивелирование необходимо начинать через три часа после восхода и прекращать за три часа до захода солнца.
10.4. Нивелирование через препятствия шириной до 150 м выполняют двумя способами.

Рис. 20. Схема нивелирования через препятствие

Рис. 21. Схема нивелирования через препятствие при наличии острова (а) или мели (б)
1. Если есть возможность установить нивелир и рейки таким образом, чтобы оба луча визирования проходили в одинаковых условиях над поверхностью воды (рис. 21), то нивелирование выполняют обычным способом, соблюдая равенство расстояний от нивелира до задней и передней реек.
Нивелирование через препятствие этим способом отличается от обычного нивелирования на станции тем, что вместо одного наведения и отсчета по каждой шкале рейки при помощи барабана делают три, а затем из них вычисляют среднее. Расхождение между отсчетами на один и тот же штрих рейки допускают до 20 делений барабана. Остальные допуски на станции остаются те же, что и при обычном нивелировании соответствующего класса.
В обратном ходе нивелирование через препятствие выполняют в другую половину дня.
Пример записи в журнале показан в приложении 26.
Этот способ применяют и при нивелировании через препятствия шириной до 300 м, если на середине реки имеется остров, позволяющий установить нивелир на середине препятствия так, чтобы расстояния до реек были одинаковые до 150 м (рис. 21).
2. Если нельзя установить прибор и рейки, как указано на рис. 20, то нивелирование через препятствия шириной до 150 м выполняют с обоих берегов (рис. 22) по методике первого способа; при этом один луч будет проходить над водой, а второй - над берегом.
Значения превышения из нивелирования с разных берегов могут различаться до 10 мм.
Пример записи и вычислений в журнале приведен в приложении 26. При нивелировании через препятствия обоими способами рекомендуется применять одно-шкальные рейки со штрихами толщиной 3 мм. При этом порядок работы на станции следующий.
Нивелирование I класса (нечетная станция):
отсчет по правой задней рейке;
отсчет по передней правой рейке;
перестановка реек на левые переходные точки;
отсчет по передней левой рейке:
отсчет по левой задней рейке;
изменение положения нивелира по высоте;
отсчет по левой задней рейке;
отсчет по передней левой рейке;
перестановка реек на правые переходные точки;
отсчет по передней правой рейке;
отсчет по правой задней рейке.
На четных станциях наблюдения начинают с передней рейки.
Нивелирование II класса:
отсчет по задней рейке;
отсчет по передней рейке;
изменение положения нивелира по высоте;
отсчет по передней рейке;
отсчет по задней рейке.
В обратном ходе нивелирование через препятствия выполняют по этой же программе, но в другую половину дня.

Рис. 22. Передача высоты через водное препятствие шириной 150 м вторым способом

1 - постоянный репер; 2 - временный репер; 3 - нивелир
10.5. Нивелирование через препятствия шириной более 150 м производят, как правило, одновременно с двух берегов по двум створам (рис. 23) с использованием двух нивелиров и двух комплектов реек. Превышение между реперами на обоих берегах определяют сразу для прямого хода и обратного. Работу выполняют под руководством начальника партии, главного инженера или начальника экспедиции.
10.6. На обоих берегах препятствия шириной более 150м не менее чем за день до нивелирования на требуемых расстояниях от заложенных реперов забивают деревянные колья для постановки реек и штативов. Колья забивают на 10-20 см ниже поверхности земли. Верхний растительный слой земли перед забивкой кольев снимают. Для постановки реек в торцы кольев забивают гвозди со сферическими шляпками.
10.7. Нивелирование через препятствия шириной 150-400м выполняют способом «совмещения» с применением специальных щитков (приложение 28). Число сдвоенных приемов при нивелировании I класса - не менее двух (второй прием выполняют в другую половину дня), при нивелировании II класса - один.
10.8. Нивелирование через препятствия шириной более 400 м выполняют со щитками способом «подвижной марки» (приложение 29) и способом «наведения» (приложение 30).
При нивелировании I класса через препятствия шириной от 400 до 1000 м проводят четыре сдвоенных приема (два - способом «подвижной марки» и два - способом «наведения»), а при нивелировании II класса - три сдвоенных приема одним из способов. Наблюдения выполняют не менее чем в два дня.
При нивелировании I класса через препятствия шириной более 1000 м проводят шесть сдвоенных приемов (три - способом «подвижной марки» и три - способом «наведения»), а при нивелировании II класса - четыре приема одним из способов. Наблюдения выполняют не менее чем в три дня.
Средняя квадратическая ошибка, вычисленная по
сходимости результатов из сдвоенных приемов, должна быть не более 3 мм
для нивелирования I
класса и 5 мм
- для нивелирования
II класса. При необходимости число приемов увеличивают.
11.1. Рекогносцировку линий нивелирования I и II классов в районах севера и северо-востока Российской Федерации и закладку реперов выполняют раздельно за год до нивелирования.
Места для закладки реперов выбирают с учетом глубины протаивания грунтов. При рекогносцировке определяют наиболее выгодные периоды для выполнения работ на каждом участке линии, способствуя тем самым уменьшению влияния систематических ошибок.
11.2. Для проложения линий нивелирования I и II классов в районах севера и северо-востока России, кроме грунтовых дорог, используют берега рек, тропы и зимники. Если таких трасс на местности нет, то линии нивелирования прокладывают по направлениям с наиболее благоприятными грунтовыми условиями и с наименее пересеченным рельефом. Во всех случаях при проектировании и последующей рекогносцировке изыскивают варианты с наименьшим числом водных препятствий и заболоченных участков.
11.3. Следует избегать участков, которые проходят по заболоченным местам, где под ножки штатива и под рейки требуется забивать колья длиной более 1 м. Сильно заболоченные участки нивелируют ранней весной по мерзлому грунту.
11.4. Линии нивелирования I и II классов закрепляют реперами в соответствии с указаниями п. 1.16 и 1.21. Если вблизи трассы имеются скалы, выходящие на поверхность или залегающие на глубине до 1 м, то скальные реперы закладывают через 2-3 км.
Запрещается выполнять маркировку вырубкой деревьев вокруг репера.
11.5. При нивелировании применяют специальные штативы с длиной ножек 160-180 см, обеспечивающие устойчивое положение нивелира во время наблюдений на станциях. Для нивелирования по мерзлому грунту к ножкам штатива болтами прикрепляют текстолитовые (деревянные) удлинители длиной 25-30 см (рис. 26) или на металлические концы ножек надевают пластмассовые наконечники (рис. 27). Для нивелирования по снегу к ножкам штатива крепят деревянные удлинители длиной 30-40 см, концы которых делают утолщенными и тупыми.
11.6. Для постановки реек при нивелировании рекомендуется применять:
по мерзлому грунту - стальные костыли цилиндрической формы со сферической головкой (длина костыля 10 -15 см, толщина 1 см);
по мягкому и влажному грунту - костыли цилиндрической формы со сферической головкой (длина костыля 50-70 см, толщина 2-3 см) или деревянные колья толщиной 5- 10 см с вбитыми в торцы гвоздями. При нивелировании в обратном направлении сохранившиеся колья забивают глубже;
по глубокому снегу - деревянные башмаки формой равностороннего треугольника с усеченными углами, со стальной полусферической головкой по центру и шипами по углам. Длина усеченной стороны 30-35 см, длина стороны усеченного угла 3-5 см. Толщина башмаков в зависимости от материала (фанера, береза, бук и т.п.) от 20 до 60 мм.
Запрещается устанавливать рейки на местные предметы (выступы камней и т.п.).
11.7. На отдельных станциях при нивелировании II класса разрешается допускать неравенство расстояний от нивелира до реек до 2 м. Однако на двух-трех ближайших станциях это неравенство следует компенсировать. Общее накопление неравенств расстояний по секции не должно быть более 3 м.
11.8. При нивелировании по снегу в местах установки штатива и реек наст разрушают, и снег тщательно трамбуют. Передвигаются около нивелира и реек с большой осторожностью. Запрещается выполнять нивелирование в периоды разрыхления наста и интенсивного таяния снега.
11.9. Во время полярного дня нивелирование выполняют в вечерние и ночные часы, начиная не ранее 16 ч и заканчивая не позднее 8 ч следующего дня.
12.1. Линии нивелирования I и II классов в горных районах прокладывают по трассам с наименьшими перепадами высот. Лучшими трассами являются шоссейные дороги. Допускается проложение в горных районах «висячих» нивелирных линий I и II классов.
12.2. При нивелировании I и II классов в горных районах по возможности должны применяться инварные рейки с известными значениями коэффициента линейного расширения инварной полосы и термодатчиками.
12.3. При нивелировании в горах необходимо применять штативы с длиной ножек 160-180 см, что обеспечивает устойчивость нивелира во время наблюдений на станции и удобство работы наблюдателя.
Костыли при нивелировании по плотному каменистому грунту применяют конической формы со сферической головкой. Длина костыля до 20 см, толщина 2,0-2,5 см.
12.4. В горных долинах шириной более 2 км нивелирование следует начинать только после того, как солнце осветит 40-50% склонов, и прекратятся медленные плавающие колебания изображений рейки; заканчивают наблюдение примерно за 30 мин до захода солнца, прежде чем эти колебания вновь начнутся.
При нивелировании I класса при длине визирного луча до 15 м в горных районах разрешается выполнять наблюдения при высоте луча визирования не менее 0,3 м.
12.5. Нивелирование I и II классов непосредственно через весь перевал, т.е. подъем и спуск до той же высоты, можно выполнять одной нивелирной бригадой, используя в прямом ходе один комплект инварных реек, а в обратном - другой или одновременно двумя бригадами, причем на первом участке линии одна бригада прокладывает прямой ход, а одновременно вторая - обратный. На следующем участке вторая бригада прокладывает прямой ход, а первая - обратный и т.д.
Нивелирование в горах проводят участками по 15-30 км по схеме «восьмерка».
12.6. Для разбивки станции нивелирные бригады следует снабжать простейшими нивелирами или эклиметрами. При помощи такого нивелира, прежде чем забить костыли, проверяют, будет ли проецироваться средняя нить сетки зрительной трубы нивелира на допустимый отсчет по рейке.
13.1. Работы по повторному нивелированию на геодинамических и техногенных полигонах являются частью комплекса исследований, выполняемых с целью изучения современных движений земной коры, поиска предвестников землетрясений, выявления активных глубинных разломов и мелких поверхностных разрывов, наиболее активных участков и тектонического строения земной коры, а также деформаций земной поверхности, вызванных техногенными процессами.
13.2. Высотные построения на геодинамических полигонах делятся:
- на локальные (приуроченные к активным глубинным разломам и разрывам земной коры);
- на площадные (охватывающие районы возможных эпицентров разрушительных землетрясений, крупные населенные пункты и районы эксплуатируемых и строящихся гидростанций);
- на региональные (связывающие крупные геологические структуры).
Эти построения создаются с целью выявления движений геологических структур относительно друг друга.
13.3 На локальных и площадных построениях нивелирные сети создаются в виде отдельных пересекающихся линий или сетей нивелирования 1 и I классов. Периметры нивелирных полигонов 1 класса в этих сетях не превышают 40 км. В высотных сетях, создаваемых при сейсмическом микрорайонировании городов, периметры полигонов не должны превышать 15 км на застроенных и 20 км на незастроенных территориях.
При региональных построениях линии нивелирования 1 класса образуют полигоны с периметром 400-1000 км и II класса - с периметром 300-500 км.
13.4. Пункты высотных сетей на локальных и площадных построениях по возможности совмещают с пунктами плановой сети. Высотные сети на локальных и площадных построениях привязывают к главной высотной основе России только с целью получения высот в единой системе. Высотная сеть в этом случае рассматривается как свободная с опорой на один или два пункта государственной нивелирной сети I и II классов. Исходные пункты должны находиться на расстоянии 500-1000 м друг от друга. Высотные сети при региональных построениях включаются в сеть государственного нивелирования I и II классов.
13.5. Нивелирные линии на геодинамических и техногенных полигонах закрепляют теми же знаками, что и линии государственного нивелирования I и II классов. При закреплении линий на геодинамических полигонах отдают предпочтение скальным и стенным знакам. Скальные и стенные знаки закладывают через 1-2 км, грунтовые - через 3-4 км, фундаментальные - через 30-40 км. Вблизи глубинных разломов и границ блоков земной коры скальные, стенные и грунтовые знаки закладывают чаще - через 0,5-1,5 км. Все старые знаки и неработающие скважины, находящиеся на расстоянии до 0,5 км от линии нивелирования 1 класса и на расстоянии до 3 км от линий нивелирования II класса, обязательно включают в ходовые линии или привязывают. Фундаментальные реперы закладывают в узлах полигонов, а также на концах радиальных линий.
13.6. Плотность нивелирной сети на полигонах при локальных и площадных построениях должна быть такой, чтобы можно было надежно выявить участки земной поверхности, имеющие различные скорости движений.
Для наблюдений за устойчивостью знаков на каждом геодинамическом (техногенном) полигоне вблизи одной из скважин создают специальную площадку. На этой площадке на расстоянии 30-70 м от скважины закладывают все типы реперов и центров, применяемых на данном полигоне. Ежегодно два раза в год (зимой и летом) нивелируют все знаки на площадке и сопоставляют превышения, полученные при первом и последующем нивелированиях. Типы знаков, явно не устойчивые, исключаются из дальнейших нивелирований сети геодинамического полигона.
13.7. За первые 3-5 лет все линии на локальных и площадных по строениях нивелируют три раза. В последующие годы сроки и объемы повторных нивелирований устанавливают, исходя из обнаруженных скоростей вертикальных движений отдельных блоков земной поверхности.
13.8. При выполнении повторного нивелирования необходимо стремиться к тому, чтобы трассы линий, приборы, места постановки нивелира и переходных точек в каждом цикле измерений совпадали или были очень близкими.
13.9. При перерывах в работе нивелирование должно заканчиваться только на постоянных реперах.
13.10. Места закладки реперов, внешнее оформление должны обеспечивать долговременную сохранность и исключать сезонные изменения положения реперов по высоте.
13.11. Технический проект на геодезические работы на геодинамическом полигоне составляют на основе технического задания и разрабатывают с учетом существующих геодезических сетей, геологических особенностей полигона, выявленных на основе геофизических, геологических и геоморфологических исследований. В основу проекта нивелирования I и II классов должны быть положены результаты полевой рекогносцировки, выполняемой с участием геолога, в городах - представителя главного архитектора города, а также представителя научно-исследовательского института или организации, ответственных за работы на этом полигоне.
13.12. Нивелирные линии I и II классов должны пересекать предполагаемые линии разломов, разрывов и блоков. По возможности следует совмещать линии повторного нивелирования на геодинамических полигонах с ранее проложенными линиями, хотя бы даже с линиями низших классов. Отличий в программе наблюдений на станции при нивелировании I и II классов на геодинамических полигонах и при государственном нивелировании нет.
13.13. Нивелирование II класса выполняется с
допустимой невязкой 3 мм
, где L -
периметр полигона или длина секции в км, необходимо соблюдать требования 7.10 - 7.15,
7.20.1 и 7.21.1.
14.1. Перед началом нивелирования I и II классов и III класса в горных районах устанавливают в соответствии с требованиями п. 14.2, достаточна ли точность существующей гравиметрической съемки для вычисления поправок за переход к системе нормальных высот. Если имеющаяся гравиметрическая съемка недостаточна, то выполняют измерения силы тяжести на местности.
14.2. Ускорения силы тяжести измеряют на всех реперах; точках перегиба рельефа, где наклон линии изменяется более чем на 2°;
в точках поворота линии более чем на 30°, а также в дополнительных точках при уклонах линии нивелирования I класса более 0,02 и II класса более 0,04. Частота гравиметрических пунктов зависит от уклона линии и должна отвечать требованиям, приведенным в табл. 3. Средняя квадратическая ошибка измерений силы тяжести на этих пунктах не должна превышать 0,5·10-5 м·с-2 относительно ближайших гравиметрических пунктов 1, 2 и 3 классов.
|
Класс нивелирования |
Расстояния (в км) между гравиметрическими пунктами в зависимости от уклона местности |
||||
|
более 0.2 |
0,2 - 0.1 |
0.1 - 0,08 |
0.08 - 0,06 |
0.06 - 0.04 |
|
|
I |
- |
- |
1 |
2 |
2 |
|
II |
1 |
2-3 |
4 |
4 |
6 |
14.3. Точки местности, на которых следует выполнять гравиметрические измерения, намечают при составлении проекта. Промежуточные гравиметрические пункты закрепляют временными реперами или совмещают с характерными местными предметами (километровые столбы, устои мостов и др.), которые при нивелировании привязывают. Если гравиметрические измерения выполняют по ранее проложенным линиям нивелирования, то высоты гравиметрических пунктов определяют любым способом с ошибкой не более 1 м. Плановые координаты гравиметрических пунктов определяют с ошибкой не более 200 м.
15.1. Способ нивелирования III класса зависит от применяемых нивелиров. Предпочтение отдают нивелирам с самоустанавливающейся линией визирования (с компенсатором). Типы нивелиров указаны в разделе 21.
15.2. Нивелиры и рейки исследуют и поверяют с целью установления их пригодности для нивелирования Ш класса, приведения в рабочее состояние и определения постоянных, по программе, указанной в п. 21.4.1. и п. 21.4.2.
15.3. Нивелирование III класса производят в прямом и обратном направлениях «способом средней нити»* или «способом совмещения».
______________
*Поскольку в современных нивелирах сетка зрительной трубы не содержит нитей, правильнее было бы назвать «способ среднего штриха» или «способ наведения».
15.4. Порядок наблюдений на станции следующий:
- отсчет по черной стороне (основной шкале) задней рейки;
- отсчет по черной стороне (основной шкале) передней рейки;
- отсчет по красной стороне (дополнительной шкале) передней рейки;
- отсчет по красной стороне (дополнительной шкале) задней рейки.
15.5. Нивелирование выполняют участками в 20-30 км. Переход от нивелирования в прямом направлении к нивелированию в обратном направлении делают только на постоянных знаках. При этом рейки меняют местами.
15.6. Нормальная длина луча визирования - 75 м. При отсутствии колебаний изображения реек и увеличения трубы не менее 35х длину луча разрешается увеличивать до 100 м.
15.7. Расстояния от нивелира до реек измеряют тонким тросом, просмоленной бечевой или дальномером; неравенство расстояний на станции допускают не более 2 м, а их накопление по секции - не более 5 м.
15.8. Высота луча визирования над подстилающей поверхностью должна быть не менее 0,3 м.
15.9. Нивелирование выполняют при хорошей видимости, отчетливых и спокойных изображениях реек. В солнечные дни не следует нивелировать в периоды, близкие к восходу и заходу солнца.
15.10. При работе на станции нивелир с уровнем защищают от солнечных лучей зонтом.
15.11. Рейки устанавливают по уровню на костыли или башмаки. В местах установки башмаков предварительно снимают дерн. Для удобства рекомендуется пользоваться не менее чем тремя костылями или башмаками.
На участках с рыхлым или заболоченным грунтом рейки устанавливают на забитые деревянные колья с вбитыми в их торцы гвоздями с полусферическими головками. Длина и диаметр кольев должны быть такими, чтобы обеспечивалась их устойчивость.
15.12. На заболоченных участках рекомендуется применять нивелиры с компенсатором, под ножки штатива необходимо забивать деревянные колья.
15.13. При перерывах нивелирование, как правило, заканчивают на постоянном или временном реперах. Разрешается также заканчивать нивелирование на трех костылях (кольях), забитых в дно ям глубиной 0.3 м, между которыми размещают две нивелирные станции. Нивелирование на обеих станциях выполняют по обычной программе, после чего костыли покрывают травой и засыпают землей.
После перерыва выполняют нивелирование на последней станции, а при необходимости - и на предпоследней. Из сравнения результатов нивелирования до и после перерыва устанавливают, какой костыль сохранил свое первоначальное положение, и от него продолжают нивелирование дальше. Костыли считаются сохранившими свое первоначальное положение, если полученные до и после перерыва значения превышения на станции различаются не более чем на 3 мм. В обработку принимают наблюдения, выполненные как до, так и после перерыва. При больших расхождениях нивелирование по секции выполняют заново от постоянного репера.
15.14. Наблюдения на станции способом «средней нити» выполняют в следующем порядке.
- Приводят нивелир в рабочее положение при помощи установочного уровня.
- Наводят трубу на черную сторону задней рейки, приводят пузырек уровня элевационным или подъемным винтом точно на середину и после полного успокоения пузырька делают отсчеты по среднему и дальномерным штрихам1. При работе нивелиром с компенсатором наблюдения выполняют сразу после наведения на рейку.
____________
1Превышение на станции вычисляют из отсчетов только по средней нити.
- Наводят трубу на черную сторону передней рейки и действуют аналогично тому, как это было при наблюдении задней рейки.
- Наводят трубу на красную сторону передней рейки и выполняют действия, необходимые для взятия отсчета по среднему штриху сетки трубы.
- Наводят трубу на красную сторону задней рейки и выполняют действия для получения отсчета по среднему штриху сетки трубы. При работе нивелиром с компенсатором отсчеты по рейке можно начинать сразу же после приведения прибора в рабочее положение с помощью установочного уровня. Результаты наблюдений на станциях записывают в журнал установленной формы (прил. 31) или вводят в оперативную запоминающего устройства регистратора.
При наличии у нивелира с компенсатором существенной систематической погрешности компенсации рекомендуется следующий порядок измерений:
нечетная станция -
, четная станция -
,
где З и П - отсчеты по среднему штриху задней и передней реек,
- то же после приведения пузырька
установочного уровня на середину.
В случае применения односторонних реек контрольное превышение на станции определяют при втором горизонте нивелира (разность горизонтов должна быть не менее 3 см).
15.15. Если привязку к стенной марке нельзя выполнить при помощи подвесной рейки, то допускается применение других способов. Вместо подвесной рейки можно использовать обыкновенную проверенную металлическую линейку с миллиметровыми делениями или на стене отмечать проекции средней и дальномерных нитей нивелира, а расстояние по вертикали от центра отверстия марки до проекции нитей измерять проверенной стальной рулеткой или линейкой. Прежде чем вычислить превышение на станции, отсчеты в делениях линейки или рулетки переводят в систему делений на рейке. Проверку линейки и рулетки проводят по делениям на рейке. Наблюдения на станции, выполняемые этими способами, осуществляют дважды; перед повторными наблюдениями высоту нивелира изменяют не менее чем на 3 см.
15.16. В журнале нивелирования зарисовывают постановку рейки на каждом репере, записывают тип, номер репера и высоту места постановки относительно поверхности земли, снимают оттиски с номеров марок и реперов, приводят сведения о состоянии внешнего оформления репера и делают отметку о его восстановлении.
15.17. На каждой станции выполняют контроль наблюдений. При наблюдении способом «совмещения» сравнивают значения превышения, полученные по основной и дополнительной шкалам. Расхождения между превышениями и разность высот реек, вычисленная и полученная из исследований, не должны быть более 1,5 мм (30 делений барабана при его цене деления 0.05 мм).
При нивелировании способом «средней нити» необходимо соблюдать следующие допуски.
- Отсчет по средней нити по черной стороне каждой рейки не должен расходиться более чем на 3 мм с соответствующей полусуммой отсчетов по дальномерным нитям.
- Расхождение между значениями превышения, полученными по черным и красным сторонам реек, не должно быть более 3 мм с учетом разности высот пары реек.
При расхождениях, превышающих указанные допуски, наблюдения на станции повторяют, предварительно изменив положение нивелира по высоте не менее чем на 3 см.
15.18. После выполнения нивелирования по секции
сравнивают между собой значения превышения, полученные из прямого и обратного
ходов; расхождение между этими значениями не должно превышать 10 мм
.
Если расхождение получилось больше допустимого, то нивелирование по секции повторяют в одном из направлений.
принимают в обработку, если они не расходятся между
собой больше чем на 10 мм
и получены из
нивелирования в противоположных направлениях.
В обработку включают три значения превышения тогда,
когда первоначальные не расходятся между собой более чем на 15 мм
, а повторное превышение не отличается от каждого из
первоначальных более чем на 10 мм
. При обработке сначала осредняют значения превышений из
ходов одного направления, а затем из ходов прямого и обратного направлений.
Если первоначальные и повторное значения превышений не удовлетворяют перечисленным требованиям, то первоначальные превышение исключают и выполняют еще одно повторное нивелирование в противоположном направлении.
В том случае, когда разности значений превышений из
прямого и обратного ходов по нескольким секциям накапливаются с одним знаком,
то необходимо проанализировать методику нивелирования и качество юстировки
нивелира и реек. Общее накопление разностей превышений на линии не должно
превышать 10 мм
.
Невязки в полигонах и по линиям допускают не более
10 мм
.
15.19. По мере завершения нивелирования по секциям регулярно заполняют ведомость превышений установленной формы (прил. 32).
16.1. Нивелирование IV класса выполняют в одном направлении способом «средней нити».
16.2. Нивелирование IV класса производят нивелирами с уровнем или компенсатором, удовлетворяющими требованиям, указанным в таблице 4.
16.3. При нивелировании IV класса применяют трехметровые рейки (цельные или складные). Для привязки к стенным маркам используют подвесную рейку с такими же делениями, как и на основных рейках. При невозможности применения подвесной рейки следует руководствоваться п. 15.15.
16.4. Перед началом полевых работ нивелиры исследуют и поверяют по программе, указанной в п. 21.4.1.
16.5. В период полевых работ нивелиры поверяют, как и перед началом работ, в сроки, указанные в п. 21.4.2.
16.6. При нивелировании IV класса отсчеты по черным и красным сторонам реек делают по среднему штриху, а для определения расстояний от нивелира до реек используют отсчеты по верхнему дальномерному и среднему штрихам по черным сторонам реек.
16.7. Порядок наблюдений на станции следующий:
- отсчеты по черной стороне задней рейки;
- отсчеты по черной стороне передней рейки;
- отсчет по красной стороне передней рейки;
- отсчет по красной стороне задней рейки.
16.8. Нормальная длина луча визирования-100 м. Если работы выполняют нивелиром, у которого труба имеет увеличение не менее 30х, то при отсутствии колебаний изображений разрешается увеличивать длину луча до 150 м. Расстояние от нивелира до реек можно измерять дальномером. Неравенство расстояний от нивелира до реек на станции допускают до 5 м, а их накопление по секции - до 10 м.
Высота луча визирования над подстилающей поверхностью должна быть не менее 0,2 м.
16.9. Во время наблюдений на станции нивелир с уровнем защищают от солнечных лучей зонтом.
16.10. Рейки устанавливают отвесно по уровню на костыли, башмаки, а на участках с рыхлым и заболоченным грунтом - на колья.
На заболоченных участках рекомендуется применять нивелиры с компенсатором.
16.11. При перерывах в работе наблюдения заканчивают и продолжают согласно п. 15.13, но расхождения между значениями превышений до и после перерыва допускают до 5 мм.
16.12. Наблюдения на станции выполняют в такой последовательности.
- Устанавливают нивелир в рабочее положение с помощью установочного или цилиндрического уровня.
- Наводят трубу на черную сторону задней рейки, приводят пузырек уровня подъемным или элевационным винтом точно на середину и делают отсчеты по дальномерным и среднему штрихам сетки зрительной трубы.
- Наводят трубу на черную сторону передней рейки и выполняют действия, указанные при наблюдении задней рейки.
- Наводят трубу на красную сторону передней рейки и делают отсчет по среднему штриху сетки.
- Наводят трубу на красную сторону задней рейки и делают отсчет по среднему штриху сетки.
При работе нивелиром с компенсатором отсчеты по рейке начинают сразу же после приведения нивелира в рабочее положение и наведения трубы на рейку. Перед отсчетом необходимо убедиться, что компенсатор находится в рабочем состоянии.
Результаты наблюдений на станциях записывают в журнал установленной формы (приложение 33) или вводят в запоминающее устройство регистратора.
16.13. Расхождение, значений превышения на станции, определенных по черным и красным сторонам реек, допускают до 5 мм с учетом разности высот нулей пары реек. При большем расхождении наблюдения на станции повторяют, предварительно изменив положение нивелира по высоте не менее чем на 3 см.
По окончании нивелирования по линии между исходными реперами подсчитывают невязку,
которая не должна превышать 20 мм
. В таких же пределах допускают невязки в замкнутых
полигонах, образованных линиями нивелирования IV класса. По мере завершения
нивелирования заполняют ведомость превышений установленной формы (приложение
34).
Фрагмент записи измерений на станции при нивелировании IV класса приведен в приложении 35.
17.1. Выбор места, времени, приборов и методики для нивелирования III и IV классов через водное препятствие, производят с учетом указаний, приведенных в п.п. 10.1 - 10.3, 10.5 - 10.7.
17.2. Нивелирование через препятствия шириной до 200 м выполняют по обычной методике, двумя приемами, с соблюдением равенства расстояний до передней и задней реек. Между приемами изменяют высоту нивелира на 3 -5 см. Расхождение значений превышения из приемов допускают 4 мм при нивелировании III класса и 7 мм - IV класса.
17.3. Нивелирование через препятствия шириной 200-400 м выполняют нивелирами с плоскопараллельной пластинкой способом «совмещения» с применением щитков (приложение 28), но число наведений на штрихи щитка уменьшают до трех, а число сдвоенных приемов - до одного.
Нивелирование через препятствия приборами без плоскопараллельной пластинки выполняют способом «подвижной марки» с применением щитков с белыми штрихами (приложение 29), одним сдвоенным приемом. При этом на изображение средней нити трубы движением щитка подводят изображения белых штрихов по четыре раза. Ширина (в мм) белых штрихов щитка должна быть 0,06S, где S - ширина препятствия, м.
При любом способе нивелирования через препятствия
превышения между постоянными реперами, полученные наблюдателем в полуприеме по
главному и через контрольный створы, а также средние значения превышения,
полученные каждым наблюдателем в сдвоенном приеме, не должны различаться более
чем на 24 мм
, где S ширина препятствия, км.
17.4. Нивелирование через препятствия шириной более 400 м по линиям III и IV классов выполняют в редких случаях, методами и приборами, предусмотренными для нивелирования II класса.
17.5. В исключительных случаях нивелирование III и IV классов через препятствия производят зимой по льду с соблюдением следующих условий:
нивелирование выполняют по наиболее короткому пути в возможно кратчайший срок;
на обоих берегах водоема заблаговременно закладывают по одному постоянному реперу;
перед началом нивелирования трассу очищают от снега; в местах для постановки реек пробивают во льду отверстия, в которые вмораживают деревянные колья длиной 20-30 см и диаметром 8-10 см с вбитыми в их торцы гвоздями со сферической шляпкой; в местах постановки нивелира для каждой ножки штатива вмораживают колья длиной 10-15 см и диаметром 8-10 см;
порядок наблюдений и допуски на станциях такие же, как и при обычном нивелировании.
17.6. Нивелирование по льду выполняют дважды как в
прямом, так и в обратном направлениях. При наличии двух бригад нивелирование
производят навстречу друг другу. Расхождение между средними значениями из двух
прямых и двух обратных ходов допускают не более 10 мм
при нивелировании III
класса и 20 мм
для IV класса.
17.7. Нивелирование по льду выполняют в периоды наименьших суточных колебаний льда. При выборе времени суток для производства работ руководствуются данными наблюдений за суточными колебаниями воды и льда, полученными на речных водомерных постах.
17.8. При нивелировании через водоемы, где наблюдаются резкие изменения уровня льда, через каждые 10 мин с одного берега нивелиром наблюдают за колебаниями поверхности льда. При наблюдениях используют рейку, прикрепленную к вмороженному в лед столбу, который отстоит от берега на расстоянии 50 м. По полученным данным вводят поправки в измеренное превышение.
17.9. Во время наблюдений не допускают скопления на льду людей и транспорта. Нивелирование в одном направлении обязательно заканчивают в один день без перерывов в работе.
Работы осуществляют под руководством начальника партии.
17.10. Нивелирование IV класса через водные препятствия шириной 200-400 м производят в соответствии с методикой, изложенной в ГКИНП-11-239-92.
Допускается нивелирование выполнять по урезу воды. С этой целью на реке выбирают прямолинейный участок со спокойным течением. Вблизи уреза воды на обоих берегах выкапывают отводные канавы, в которых одновременно забивают по одному колу, так чтобы срезы кольев оказались на уровне воды. Работу выполняют в тихую погоду в периоды наименьших часовых колебаний уровня воды. Колья в канавах тотчас же связывают нивелированием по ходу с реперами на берегах. Превышения между реперами на берегах должны быть равны сумме превышений по ходу.
Нивелирование по урезу воды производят дважды.
Расхождение между двумя значениями превышения допускают до 20 мм
, где L -
расстояние между реперами, км.
18.1. Журналы нивелирования являются документами строгого учета и регистрируются инспектором отдела технического контроля. Страницы в журнале должны быть обязательно пронумерованы, прошнурованы и скреплены штампом ОТК.
18.2. Записи в журналах делают четким почерком чернилами, шариковой ручкой или простым карандашом. Запрещается пользоваться карандашами химическим и цветным.
Неудовлетворительные или неправильно записанные наблюдения на станции аккуратно зачеркивают с указанием причины переделки. Номер станции при повторных наблюдениях сохраняют с припиской слова «повторная».
18.3. Подчистка и исправление записей отсчетов в журнале запрещается. Ошибочные записи в вычислениях аккуратно зачеркивают (не затемняя прежде написанного отсчета) и сверху записывают правильные.
18.4. В журнале нивелирования аккуратно зарисовывают постановку рейки на каждом репере и записывают высоту ее места постановки относительно поверхности земли.
18.5. В журнале обязательно заполняют титульный лист, зарисовывают схему ходов и дают описание местоположения занивелированных реперов. На оборотной стороне титульного листа записывают технические данные нивелира и реек, расположение надписей на рейках, знаки (плюс и минус) к отсчетам по подвесной рейке.
18.6. На начальной странице записи хода указывают название или номер начального и конечного репера. Записывают сведения о состоянии внешнего оформления репера и делают отметку о его восстановлении. На каждой странице журнала указывают начало и конец наблюдений, условия погоды.
Нумерацию станций на каждой секции начинают с первого номера. В конце журнала указывают число заполненных и незаполненных страниц.
18.7. Допускается использование электронных журналов (регистраторов, накопителей информации), программное обеспечение которых позволяет реализовать технологию нивелирования в соответствии с требованиями настоящей инструкции.
19.1. При полевых вычислениях выполняют:
обработку материалов исследований и поверок нивелира и реек;
вычисления в полевых журналах;
составление полевых ведомостей превышений;
вычисления невязок по линиям и полигонам.
19.2. Перед полевыми работами подготавливают и проверяют следующие данные:
уравнение контрольной линейки;
материалы лабораторных исследований нивелира и реек.
Уравнения длин контрольной линейки и материалы исследований выдаются в копии, заверенной ОТК или метрологической службой.
19.3. Порядок и точность вычислений показаны в образцах полевых документов, приведенных в приложениях.
19.4. Полевую ведомость превышений составляют в две руки. На каждой ведомости должны быть подписи составившего работника и считавших работников.
19.5. В средние превышения по секциям вводят поправку за среднюю длину метра комплекта реек, а при нивелировании I и II классов также поправку за различие температур инварных реек при эталонировании на компараторе и во время нивелирования.
20.1. По окончании полевых работ исполнитель предъявляет следующие материалы:
оформленные и проверенные полевые журналы;
пояснительную записку о полевых работах, содержащую все сведения, необходимые для составления технического отчета;
результаты лабораторных (заверенные копии) и полевых исследований нивелира и реек;
выписку с уравнением инварных реек и контрольной линейки, заверенную лабораторией, выполнявшей исследование (поверку) приборов;
полевую ведомость превышений;
схему нивелирования;
откорректированные описания, координаты и абрисы реперов или топографические карты масштаба 1:25000 и крупнее с нанесенными реперами;
копии актов инспектирующих лиц и приемки работ.
Схему нивелирования вычерчивают тушью на картах масштабов 1:100000-1:200000 или на чертежной бумаге.
На схеме показывают исходные реперы, проложенные линии, все заложенные, включенные или привязанные реперы, пункты триангуляции и полигонометрии, уровенные посты.
На схеме показывают связь новых линий с линиями проложенными ранее. Схему составляют по установленным условным знакам. К материалам прикладывают опись всех сдаваемых документов с указанием числа листов.
На всех материалах должны быть даты исполнения и подписи исполнителя и помощника.
21.1 Нивелиры
Для нивелирных работ применяют нивелиры, выпускаемые по ГОСТ 10528, а так же равноценные им по точности отечественные и импортные приборы, типоразмер которых утвержден и внесен в Госреестр средств измерений.
Нивелиры классифицируются по точности на высокоточные, точные и технические, по типу отсчетного приспособления - с оптическим микрометром и без него, по способу приведения визирной линии в горизонтальное положение - на нивелиры с уровнем и с компенсатором; по способу отсчитывания по рейке - визуальные (традиционные) и с цифровым отсчетом; по конструкции зрительной трубы - с прямым изображением (труба земного типа) и с обратным изображением визирных целей (астрономическая труба).
В соответствии с государственным стандартом на нивелиры шифр типа нивелира включает букву «Н», цифровой код, соответствующей средней квадратической погрешности превышения на 1 км двойного хода, например Н-05, Н-3, Н-10; для нивелиров с компенсатором в шифр прибора добавляется буква «К», для нивелиров с лимбом - буква «Л», например, Н-3 КЛ, Н-10 КЛ. Для модификаций нивелиров перед буквой «Н» добавляется цифра, означающая серию или типоразмерный ряд приборов, например, 3Н-2К, 3Н-3КЛ.
Нивелиры с цифровым отсчетом в своей конструкции содержат электронно-цифровой датчик, позволяющий автоматически считывать положение визирной линии по специальной штрих-кодовой рейке, а так же регистрировать, хранить информацию, осуществлять контроль промежуточных операций.
Нивелиры с цифровым отсчетом должны соответствовать требованиям технических условий на изготовление и поставку приборов, утвержденным в установленном порядке. Например, для высокоточных работ могут применяться нивелиры Di Ni 12, для других работ - Di Ni 10, Di Ni 22 (фирмы «Карл Цейс»), SDL (фирмы «Sokkia»).
Общие требования к приборам, предназначенным для нивелирования I, II, III и IV классов должны соответствовать нормам, указанным в табл. 4.
|
Наименование характеристики |
Единицы измерений |
Нормы по классам |
|||
|
I |
II |
III |
IV |
||
|
Увеличение зрительной трубы, не менее |
крат |
40 |
24 |
20-22 |
|
|
Цена деления цилиндрического уровня, не более |
///2 мм |
10 |
12 |
30 |
|
|
Коэффициент нитяного дальномера |
|
100+1 |
|||
|
Диапазон работы компенсатора, не менее |
угл. мин |
±8 |
±15 |
||
|
СКП установки линии визирования, не более |
угл. сек |
0,2 |
0,5 |
||
|
Систематическая погрешность работы компенсатора на 1/ наклона от прибора не более |
угл. сек |
0,05 |
0,10 |
0,3 |
|
|
Изменение угла i при изменении температуры на 1° С, не более |
угл. сек |
0,5 |
0,8 |
||
|
Цена деления шкалы оптического микрометра для реек с ценой деления: |
мм |
|
|
|
|
|
- 5 мм |
0,05 |
||||
|
- 10 мм |
0.1 |
||||
|
Инструментальная СКП измерения превышений на 1 км двойного хода, не более |
мм |
0,5 |
1,5 |
3 |
6 |
21.2 Нивелирные рейки
Для нивелирных работ применяют нивелирные рейки, выпускаемые по ГОСТ 10528, а так же равноценные им по назначению и точности отечественные и импортные рейки, разрешенные к эксплуатации.
Для нивелирования I и II классов предназначаются штриховые инварные рейки длиной 3м и подвесные рейки длиной 1,2 м. Натяжение инварных полос 20 ± 1 кг. Нуль подвесной рейки должен быть совмещен с центром отверстия для штифта, на котором подвешивают рейку. Для нивелирования III и IV классов применяют двухсторонние шашечные рейки с сантиметровыми делениями. На одной стороне (например, черной) начало шкалы должно совпадать с плоскостью пятки рейки, а на другой (например, красной) с плоскостью пятки совмещают отсчет более 4000 (например, 4680). В комплект нивелиров с компенсатором допускается включать односторонние нивелирные рейки, в этом случае при работе на станции при нивелировании III и IV классов измерения проводятся при двух горизонтах нивелира. Возможность использования телескопических реек на дюралюминиевой основе должна оговариваться в техническом проекте на производство работ и обосновываться метрологически.
Обозначение типа нивелирной рейки включает буквы РН, погрешность нивелирования и длину рейки, например, рейка нивелирная для работы с погрешностью 3 мм на 1 км хода, длиной 3000 мм, складная - РН-3-3000 С.
Общие требования к нивелирным рейкам, предназначенным для нивелирования I, II, III и IV классов должны соответствовать нормам, указанным в табл. 5.
|
Наименование характеристик |
Единицы измерений |
Нормы по классам |
|||
|
I |
II |
III |
IV |
||
|
Цена деления шкалы |
мм |
5(10) |
10 |
||
|
Отклонение метровых интервалов от номинального значения, не более |
мм |
0,1 |
0,2 |
0.5 |
1,0 |
|
Случайные погрешности дециметровых интервалов, не более; |
мм |
0,10 |
0,4 |
0,6 |
|
|
то же для работ в горных районах |
|
0.05 |
0,1 |
|
|
|
Цена деления установочного уровня, не более |
угл. мин на 2мм |
10-12 |
20 |
- |
|
|
Стрелка прогиба, не более |
мм |
5 |
6 |
10 |
|
|
Неперпендикулярность плоскости пятки к оси рейки, не более |
мм/ на длину рейки |
0,1 |
0,2 |
- |
- |
|
Натяжение инварной полосы |
кг |
20+1 |
|
|
|
Для цифровых нивелиров поставляются односторонние штрих-кодовые рейки длиной от 1 до 4 м (для некоторых цифровых приборов поставляются рейки, на второй стороне которых наносится шкала с сантиметровыми делениями для визуальных измерений).
21.3 Вспомогательное оборудование для нивелирных работ
При производстве нивелирных работ наряду с нивелирами и рейками используются вспомогательные приборы и оборудование, перечень которых приводится ниже:
- полевой электронный журнал (регистратор информации) для регистрации отсчетов по рейкам и обработки результатов измерений на станции и по нивелирному ходу;
регистратор информации должен обеспечивать возможность применения технологии нивелирования в соответствии с требованиями настоящей инструкции;
- штатив нивелира по ГОСТ 11158 для установки прибора в рабочее положение;
- рейкодержатели (или подпорки) для надежного удержания рейки в вертикальном положении по уровню;
- термометр- пращ для измерения температуры воздуха в процессе измерений (в нивелировании I - II классов - на каждой нечетной станции по ходу, в нивелировании III и IV классов- в начале и конце работы);
- нивелирные костыли со сферической головкой для установки на них рейки (рис. 25);
- нивелирные башмаки, используемые наряду с костылями, в нивелировании III и IV классов;
- стальной трос или рулетка длиной 50 (100) м для измерения расстояний от нивелира до рейки;
- топографический зонт для защиты прибора от солнечной радиации и одностороннего нагрева, а так же от атмосферных осадков.

Рис. 25 Типы костылей, применяемых при работе на разных грунтах

Рис. 26. Текстолитовый (деревянный) удлинитель

Рис. 27. Пластмассовый (роговой) наконечник:
1 - металлическая оправа; 2 - вставка из пластмассы
При нивелировании I -II класса в районах севера (по мерзлому грунту) применяют специальные штативы с длиной ножек 160 - 180 см, обеспечивающие устойчивое положение нивелира во время наблюдений на станциях. Для нивелирования по мерзлому грунту к ножкам штатива болтами прикрепляют текстолитовые (деревянные) удлинители длиной 25-30 (рис. 26) или на металлические концы ножек надевают пластмассовые наконечники (рис. 27). Для нивелирования по снегу к ножкам штатива крепят деревянные удлинители длиной 30-40 см, концы которых делают утолщенными и тупыми.
21.4 Метрологическое обеспечение нивелирных работ
21.4.1 Обеспечение единства измерений при производстве нивелирных работ осуществляется в соответствии с законом РФ от 27.04.93 № 487-1 «Об обеспечении единства измерений» (Ведомость Съезда народных депутатов РФ и Верховного Совета РФ, 1993, № 23, ст. 811).
Локальные поверочные схемы для средств измерений превышений - в соответствии с РД 68-8.17.
К нивелирным работам допускаются приборы, прошедшие испытания для целей утверждения типа и на которые выданы свидетельства о поверке установленной формы. По заявкам потребителей или изготовителей, а также по требованию Заказчика нивелиры могут быть сертифицированы на соответствие требованиям настоящей инструкции в Системе сертификации геодезической, топографической и картографической продукции, положение о которой утверждено приказом Роскартографии 13 августа 2000 г. № 99 пр. и зарегистрировано в Минюсте РФ 14 сентября 2000 г. за номером 2382. В процессе эксплуатации нивелиры подвергаются периодической поверке в соответствии с методикой с МИ 07 через межповерочный интервал, согласованный с Госстандартом России. При производстве нивелирных работ должна проводиться технологическая поверка нивелиров в соответствии с ГКИНП (ГНТА) 17-195-99; периодичность операций технологической поверки - в соответствии с требованиями настоящей инструкции (21.4.2). Первичную и периодическую поверку должен выполнять поверитель, технологическую - исполнитель нивелирных работ. Определения видов поверочных работ приведены в приложении 36.
При получении нивелира с завода и после капитального ремонта рекомендуется проводить полные лабораторные исследования прибора, включающие:
- исследование работы механизма, наклоняющего плоскопараллельную пластину и определение цены деления микрометра (приложение 10);
- определение диапазона и погрешности работы компенсатора (у нивелиров с компенсаторами) (приложение 17);
- проверку правильности хода фокусирующей линзы (приложение 11);
- определение коэффициента дальномера и асимметрии нитей (приложение 12);
- проверку цены оборота элевационного винта (у нивелиров с уровнем) (приложение 16);
- проверку качества тепловой защиты кожуха прибора - у высокоточных нивелиров (приложение 13);
- определение угла i нивелира (приложение 9);
- определение погрешности совмещения концов пузырька контактного уровня (приложение 15);
- поверку неперпендикулярности оси рейки к плоскости пятки к оси рейки (приложение 18);
- проложение контрольного хода общей длиной не менее 3 км (приложение 14).
Методика исследований нивелиров изложена в приложениях к данной инструкции. Эти исследования должен проводить исполнитель нивелирных работ, за которым закреплен прибор.
21.4.2 Для отдельных операций технологической поверки устанавливаются следующие значения периодичности:
- для установочного уровня нивелира - ежедневно перед началом наблюдений;
- для угла i нивелира - в начале работы каждый день в течении недели, в дальнейшем, убедившись в постоянстве юстировки - не реже одного раза в пятнадцать дней;
- для ошибок дециметровых делений поверку выполняют при получении новых реек при нивелировании I, II, III и IV класса (приложение 20);
- для средний длины метровых интервалов деревянных реек - до начала и после окончания полевых работ и раз в два месяца во время работы, если по результатам полевого компарирования средняя длина метрового интервала комплекта реек изменилась более чем на 0,1 мм, то выполняют дополнительное исследование реек на компараторе; при работе в горных районах среднюю длину метра определяют контрольной линейкой через 15 дней;
- длины метровых интервалов инварных реек эталонируют в начале и в конце полевых работ на компараторе МК-1 (приложение 21);
- поверку установки круглых уровней на рейках выполняют ежедневно;
- определение стрелки прогиба рейки - два раза в месяц (приложение 19).
21.5 Правила обращения с нивелиром и вспомогательным оборудованием
При обращении с нивелиром и рейками следует помнить, что это точные и дорогие приборы, требующие к себе бережного отношения. Особое внимание необходимо уделять нивелирам с компенсатором, а так же цифровым нивелирам.
1. Укладывать и вынимать нивелиры из упаковочных ящиков следует без больших усилий и нажимов; нивелир брать только за подставку. Закрывать упаковочный ящик вместе с прибором можно только после того, как убедились в правильности укладки нивелира или реек в ящик.
2. Необходимо оберегать приборы от попаданий на них влаги, пыли и грязи. Систематически следует протирать их чистой сухой ветошью. Пыль и грязь с нивелира удаляют кистью.
3. Трущиеся и ржавеющие части нивелира периодически протирают вначале масляной тряпочкой, а затем сухой. Если на нивелир и рейки попала влага, то вначале их следует вытереть тряпкой, затем высушить, снова протереть и смазать открытые металлические части приборов часовым маслом. Ежедневно чистят пятки реек и смазывают тонким слоем масла. Нельзя допускать ржавения пяток реек.
4. Если нивелирование выполняют при отрицательной температуре воздуха и прибор внесен в теплое помещение, то следует не менее чем через два часа вынуть прибор из упаковочного ящика и протереть. Недопустимо сушить приборы вблизи нагревательных приборов.
5. Оптические наружные части нивелира запрещается протирать тряпочками, смоченными маслом, бензином, - их можно протирать только мягкой белой стираной тканью из льна, тонкого полотна, рисовой бумагой или ватой. Нельзя касаться оптических частей пальцами.
6. При юстировке нивелира следует соблюдать осторожность, поскольку слишком тугой ход исправительных винтов может вызвать срыв их резьбы.
7. При перерывах в работе (днем на обед или на ночь) нивелир и рейки следует укладывать в упаковочные ящики. Упаковочные ящики не должны находиться на солнце. За 45 минут до начала работы нивелир и рейки должны быть вынуты из упаковочных ящиков, для того чтобы они приняли температуру воздуха. Допускается в отдельных случаях хранить рейки в брезентовых чехлах. Укладывать рейки на землю без брезентовых чехлов запрещается, так как это может вызвать коробление реек.
8. Со станции на станцию нивелир переносят закрепленным на штативе в вертикальном положении. Все зажимные винты должны быть закреплены, а подъемные винты не должны качаться в своих гнездах.
9. От воздействия солнечных лучей нивелир при переходах защищают белым чехлом, а во время наблюдений на станции - топографическим зонтом с белой подкладкой.
10. Переносить рейку следует за ручку или укладывать ребром на плечо. Запрещается укладывать рейку плашмя на плечо, так как в этом случае будет стираться ее шкала, что затруднит в дальнейшем производство нивелирования. При работе инварными рейками с термодатчиками РИ-3000Т при переходе со станции на станцию и во время отсчетов по рейкам тумблеры «контроль» и «измерение» должны быть выключены.
11. При переездах по железным дорогам запрещается сдавать нивелир в багаж; на автомобильном и гужевом транспорте нивелир и рейки следует перевозить в упаковочных ящиках, которые обязательно укладывают на какой-либо мягкий (амортизационный) материал и привязывают к кузову.
12. Ножки штативов, башмаки, костыли при перерывах в работе очистить от грязи и протереть насухо.

1 - южная граница зоны прерывистого распространения многолетней мерзлоты; 2 - северная граница зоны прерывистого распространения многолетней мерзлоты и южная граница области применения знаков, закладываемых в узкие скважины простаиванием или бурением; 3 - глубина промерзания грунта, принимаемая при расчете глубины закладки знаков, см; 4 - глубина протаивания грунтов, принимаемая при расчете глубины закладки знаков, см; 5 - высокогорные области с преимущественно каменистыми породами и прерывистым распространением многолетнемерзлых грунтов; 6 - изолинии равных глубин промерзания (протаивания).

Пример: Глубина протаивания грунта 15 августа 1990 года для репера, находящегося в северной зоне области многолетней мерзлоты, была 1.45 м. Полная глубина протаивания грунта будет равна Н = 1.45/0.90 = 1.61м.
________________________________________________________________________________
название района работ с перечислением номенклатур трапеций (масштаба 1:200 000)
Полевые работы выполнены _____________________________________________в 20 ___ .
(наименование организации)
|
Тип репера, номер марки, класс, год закладки. Тр. м-ба 1:100 000 |
Координаты репера, B, L (град., мин., сек.) |
Описание местоположения репера |
Сведения о состоянии репера и работы, выполненные по его восстановлению |
Исправленное описание местоположения репера |
|
Линия II кл. от грунт. Реп. 217 до грунт. Реп. 1121 |
||||
|
Грунт, реп. 217. IIкл., 1948 г, Р-35-31 |
49 24 59 43 24 51 |
с. Щеброво, в 253 м к юго-зап. от него, у пересечения дорог Ильино-Лог и Щеброво-Клин, в 7 м к югу от первой дороги |
Реп. в хорошем состоянии. Пригоден для GPS наблюдений Марка и верх трубы очищены от ржавчины и покрыты битумным лаком. Возобновлена окопка, установлен опознавательный столб |
с. Щеброво, в 117 м к юго-зап. от него, у пересечения дорог Ильино-Лог и Щеброво-Клин, в 7 м к югу от первой дороги |
|
Стен. реп. 34, II кл., 1962 г., Р-35-31 |
49 19 44 43 03 19 |
с. Клин, зд. школы, сев. сторона в 5.3 м вост. пристройки |
Реп. в хорошем состоянии. Очищен от ржавчины и покрыт битумным лаком |
с. Клин, зд. Детского сада, сев. сторона в 8.6 м от сев-зал. угла здания |
|
Стен. реп. 79, II кл., 1962 г., Р-35-31 |
|
с. Озерное, в цоколе зд. магазина, в 3.2 м правее входной двери |
Реп. утрачен, так как снесено здание магазина |
|
|
Примечание. Порядок внесения в список реперов по отдельным линиям нивелирования соответствует их месту в каталоге высот нивелирных реперов. |
||||
Список обследованных и восстановленных реперов по линии нивелирования II класса «Батеево - Бескид»
|
Тип, номер нивелирного репера, год закладки |
Краткое описание местоположения пункта, сохранность репера, тип и сохранность сооружения, в котором он заложен |
Инженерно-геологические и геолого-геоморфологические особенности участка местности, на котором заложен нивелирный репер |
Степень устойчивости репера |
Примечание |
|
Стен. реп. 234, 1930 г. |
Стен. реп. заложен в зд. вокзала станц. Батеево, зд. двухэтажное, фунд. из тесаных блоков, находится на расст. 20 м от ж.-д. Полотна, в зд. вблизи оконных проемов имеются трещины шириной до 1,5 см, реп. повреждений не имеет |
Зд. расположено на выровненной, горизонтальной поверхности водораздела, на расст. 300 м от зд. находится пруд. Грунт до глубины 0,75 м песок, далее тяжелая глина, глубина грунт, вод 2.5 м, за последние 25 лет не отмечено изменений уровня грунтовых вод |
II, а, б |
|
|
Грунт, реп. 2451, Тип 124, 1940 г. |
с. Воловец, в 100 м к юго-вост. от ж.-д. будки 1653 км. Реп. и его внешнее оформление сохранились хорошо |
Реп. находится на верх, части склона высокой террасы р. Вега, грунт суглинок с галькой. Склон покрыт дерном, карста и других явлений вблизи реп. не наблюдается, глубина грунтовых вод 10-15 м, водосборной площадью место установки реп. не является |
I |
Глубина грунт, вод определена промером в колодце на расст. 250 м от реп. |
|
Ск. реп. 764, 1954 г. |
Ст. Бескид, сев. портал тоннеля, в 100 м от полотна ж.-д. выход ск., реп. сохранился хорошо |
Выходы ск. Пород в водоразделной зоне сводно-глыбового поднятия Картат, уклоны до 15°, на расст. 300 м в ущелье р. Бескидка, глубина ущелья 50 м |
I |
|

1 - северная зона области многолетней мерзлоты; 2 - южная зона области многолетней мерзлоты; 3 - северная зона области сезонного промерзания грунта; 4 - южная зона области сезонного промерзания грунта; 5 - граница раздела области сезонного промерзания грунта; 6 - южная граница области применения типов знаков для многолетней мерзлоты; 7 - области возможного применения скальных знаков
Для защиты труб и бетона от коррозии их покрывают битумом, эпоксидной смолой, хлорвиниловой липкой лентой и другими средствами.
Эффективность битумного покрытия возможна лишь при условии тщательного удаления с поверхности трубы ржавчины, жировых пятен, в результате механической или химической очистки. Механическая очистка осуществляется с помощью пескоструйного аппарата, стальных щеток, скребков и т.п. Химическая очистка состоит в погружении труб в раствор серной (15-20%), соляной (10-12%) или фосфорной (10-15%) кислоты с последующей промывкой водой и нейтрализацией 5% раствором кальцинированной воды.
Перед нанесением битума труба грунтуется раствором одной части битума в трех частях бензина. Битум (желательно марки III) растворяют в бензине до текучего состояния и наносят на поверхность трубы. После нанесения первого слоя (толщиной 1- 1,5 мм) и его затвердения наносят второй слой и сразу же трубу обертывают крафт-бумагой. В грунте с повышенной минерализацией грунтовых вод количество слоев доводят до трех.
В качестве дополнительной меры бетонные элементы центра покрывают битумом. В этом случае обязательно нанести на центр два слоя грунтовки, которая сможет обеспечить проникновение битума в поры бетона.
В условиях агрессивных грунтов желательно вместо железобетонных пилонов использовать асбоцементные трубы, заполненные бетоном.
Перед обмоткой (по спирали) металлической трубы снизу вверх (от якоря до марки) липкой хлорвиниловой лентой желательно предварительно нанести на очищенную поверхность трубы один слой грунтовки.
В качестве антикоррозионного и одновременно противопучинистого средства может быть использовано эпоксидное покрытие К-ПП («компаунд против пучения»), состоящий из следующих компонентов:
ЭД-5 (эпоксидная смола) - 100 весовых частей;
ТГМ-3 (полиэфиркриалат) - 25 весовых частей;
ПЭПА (полиэтиленполиамин) - 15 весовых частей.
Для приготовления рабочей смеси в рассчитанное количество эпоксидной смолы прибавляют в указанной выше пропорции пластификатор ТГМ-3. Смесь тщательно перемешивают. Отвердитель ПЭПА добавляют в смесь (также в указанной выше пропорции) лишь непосредственно перед нанесением ее на поверхность стенок трубы (бетона), так как спустя 1-1,5 ч после добавления отвердителя смесь твердеет, поэтому следует составлять ее в небольших количествах.
Перемешанную смесь из трех компонентов наносят кистью на тщательно очищенную поверхность пилона (трубы) и выдерживают на воздухе 2-4 ч при температуре не ниже +15°С. Затем наносят второй слой, который до полного отвердения выдерживают на воздухе около суток.
В результате на стенке пилона (трубы) образуется твердая прочная пленка толщиной до 0,4 мм, стойкая против морозов до - 50°С и слабосмерзающаяся с грунтом.
Расход компаунда К-ПП на 1 м составляет: для бетона - 200 г, для металла - 100 г.
В жидком виде компаунды токсичны, особенно отвердитель ПЭПА, в связи с чем работы с ним следует проводить или на открытом воздухе, или в изолированном помещении с вытяжной вентиляцией. Работающие с компаундами должны быть снабжены резиновыми перчатками.
Применение компаунда может понижать действие выпучивающих усилий в 3-4 раза.
Использовать компаунды необходимо в первую очередь при закладке знаков типа 15 (с многодисковыми якорями).
В северной зоне области сезонного промерзания грунтов компаунды следует применять при закладке центров в пучинистые грунты и особенно в случаях, когда верхние бетонные или металлические части знаков не заглублены в грунт и располагаются на уровне земной поверхности.
Нанесение различных антикоррозионных и противопучинистых средств можно выполнять с помощью механизмов типа УБРХ-1 м (установка безвоздушного распыления), «Факел», СО-5 (окрасочный агрегат), СО-71 (пистолет-краскораспылитель).
УТВЕРЖДЕНО
постановлением Правительства
Российской Федерации
от 7 октября 1996 г. №1170
1. Настоящее Положение определяет порядок обеспечения охраны геодезических пунктов на территории Российской Федерации в соответствии с требованиями Федерального закона "О геодезии и картографии".
2. Геодезический пункт состоит из специального центра, наружного знака и внешнего оформления в виде канавы или вала, которые являются границей геодезического пункта.
В случае отсутствия внешнего оформления геодезического пункта его границей является основание наружного знака.
Для геодезических пунктов, которые не имеют наружных знаков и специальные центры которых заложены в стены зданий и других сооружений. Границы пунктов и охранные зоны не устанавливаются.
3. Охранной зоной геодезического пункта является земельный участок, на котором расположен геодезический пункт, и полоса земли шириной 1 метр, примыкающая с внешней стороны к границе пункта.
4. В пределах охранной зоны геодезического пункта запрещается без разрешения территориальных органов Федеральной службы геодезии и картографии России осуществлять виды деятельности и производить работы, которые могут повлечь повреждение или уничтожение наружного знака, нарушить неизменность местоположения специального центра или создать затруднения для использования геодезического пункта по прямому назначению и свободного доступа к нему.
5. Организации, использующие в своей работе геодезические пункты, представляют информацию о состоянии этих пунктов в территориальные органы Федеральной службы геодезии и картографии России
6. Повреждение или уничтожение геодезических пунктов, а также хищение материалов, из которых они изготовлены, влекут за собой ответственность виновных лиц в соответствии с законодательством Российской Федерации.
7. Систематическое обследование и восстановление геодезических пунктов производятся;
на землях городов - в порядке, устанавливаемом Федеральной службой геодезии и картографии России,
на других землях - Федеральной службой геодезии и картографии России и Министерством обороны Российской Федерации по согласованным планам.
8. Учет геодезических пунктов осуществляется территориальными органами Федеральной службы геодезии и картографии России
Материалами для изготовления бетонных реперов служат цемент, песок, щебень (гравий) и вода.
|
Марка цемента |
Применение и характеристика |
|
пц |
Сборные бетонные и железобетонные конструкции. Наиболее распространенный вид цемента |
|
БТЦ |
Сборные железобетонные конструкции и скоростное строительство. Через сутки затвердевает на 80 - 90% своей 28-дневной прочности, химически стоек |
|
ПЦ сульфатостойкий |
В условиях сульфатной агрессии грунтовых вод при систематическом замерзании или оттаивании, а также увлажнении и высыхании |
|
ПЦ гидрофобный |
Хорошо сохраняется длительное время и при перевозках. Обладает малой гигроскопичностью |
|
ПЦ магнезиальный |
Противопоказано применение при высоких грунтовых водах |
|
ПЦ пуццолановый |
Для сооружений, подвергающихся воздействию пресных вод. Не допускается применение в наземных сооружениях. Твердеет медленно, менее морозостойкий, но более химически стоек, чем ПЦ. |
|
Гипсошлаковый и шлаковый бесклинкерный цемент |
Для наземного, подземного и подводного строительства, стойкий к воздействию сульфатных вод. |
|
Глиноземистый цемент |
Быстросхватывающий, стоек к минерализованным водам. |
|
Ангидритоглиноземистый |
То же |
|
Романцемент |
Медленно твердеющий, малопрочный, не рекомендуется для закладки реперов |
Для изготовления бетонных реперов наилучшим считается портландцемент (ПЦ), обеспечивающий сравнительно быстрое твердение и высокую прочность бетона (табл. 6). Шлакопортландцемент и пуццолановые цементы твердеют медленнее и обладают меньшей морозостойкостью, однако они химически более стойки по сравнению с ПЦ. Не рекомендуется к использованию романцемент, дающий невысокую прочность бетона и медленно твердеющий. К числу быстротвердеющих цементов относится быстротвердеющий портландцемент (БТЦ) и глиноземистый цемент, кроме того, последний химически стоек к агрессивным средам. Химически стойким цементом является сульфостойкий ПЦ, он выдерживает действие морской воды и сульфатных грунтовых вод.
Прочность цементов характеризуется их марками (100, 200, 300, 400 и более), указывающими на предел сопротивления сжатию образцов 28-дневного возраста.
Песок для изготовления бетона рекомендуется крупный или средний с диаметром зерен не менее 1 мм; применение мелкого песка снижает прочность бетона.
Щебень и гравий применяют крупного размера (4-6 см), но не более 1/4 сечения бетонного блока. Щебень обеспечивает большую прочность бетона, чем гравий. Важнейшим условием обеспечения высокого качества бетона является чистота заполнителей. Количество глинистых, илистых и землистых примесей в песке не должно превышать по весу 3-5%, а в щебне и гравии - 1-2%.
|
Показатель |
Тип растворосмесители |
Тип передвижного узла (РВУ) |
||
|
СО-23А |
СО-26 |
СО-46 |
||
|
Производительность, м3/ч |
1,2-1,5 |
2 |
2 |
4,5 |
|
Объем готового замеса, л |
65 |
65 |
65 |
165 |
|
Тип двигателя |
АОЛ2-21-2Ф2 ру21 |
Внутреннего сгорания УД-1 |
АОЛ-22-4ц 2/фЗ |
Автомобильный или тракторный прицеп |
|
Мощность, кВт |
1,5 |
1,6 |
1,5 |
11,45 |
|
Напряжение, В |
220/380 |
- |
220/380 |
220/380 |
|
Габаритные размеры, см |
180×70×100 |
190×73×116 |
168×73×116 |
385×315×425 |
|
Масса, кг |
103,5 |
270 |
210 |
4340 |
Грязный песок, щебень или гравий должны быть промыты, просеяны и просушены.
Для изготовления бетона следует использовать пресную чистую воду. Болотную, сильно минерализованную или загрязненную воду употреблять нельзя. Морская вода применяется лишь в исключительных случаях.
Состав бетонной смеси по объему (цемент, песок, щебень) для изготовления железобетонных и бетонных элементов реперов, подлежащих перевозке с баз изготовления к местам закладки, следует принимать в соотношении 1:2:4. Это соотношение должно быть при изготовлении бетонных и железобетонных пилонов в котлованах. Якори же реперов, изготавливаемые в котлованах, могут иметь соотношение бетонной смеси 1:3:5. В транспортируемых элементах реперов следует применять цементы марки 400-500, но не ниже 300; при изготовлении реперов в котловане - не ниже 200.
Воды в бетонной смеси должно быть столько, чтобы смесь была пластичной и заполняла формы без пустот, так как избыточная вода понижает прочность бетона и повышает его водопроницаемость. Водоцементное отношение (весовое соотношение воды и цемента) не должно быть больше 0,8.
Качество бетона зависит от тщательности перемешивания, как сухой бетонной смеси, так и бетонного раствора. Заполнять формы бетоном следует не позже чем через 30 мин после его изготовления. Для приготовления бетонной смеси на базах (в стационарных условиях) можно применять бетономешалки и растворосмесители (табл. 7).
Для уплотнения бетона при изготовлении элементов реперов в стационарных условиях можно применять вибраторы (табл. 8).
Для повышения прочности пилонов, подлежащих транспортировке, производят их армирование. В качестве арматуры используют горячекатаную сталь («катанку») следующего сечения:
|
Тип вибратора |
Параметры |
||
|
Напряжение, В |
Наружный диаметр корпуса, см |
Масса, кг |
|
|
Электромеханический, глубинный с гибким валом ИВ-75 |
36 |
2,8 |
26 |
|
С встроенным электродвигателем: |
|
|
|
|
ИВ-55 |
36 |
5,1 |
10 |
|
ИВ-78 |
36 |
5,0 |
9 |
|
Общего назначения с круговыми колебаниями ИВ-19 |
220/380 |
- |
12 |
|
То же, с направленными колебаниями, ИВ-35 |
220/380 |
- |
15 |
|
Пневматические глубинные: |
|
|
|
|
ИВ-69 |
- |
2,8 |
3,5 |
|
ИВ-14 |
- |
5,0 |
6,5 |
|
ИВ-13 |
- |
3,4 |
3,5 |
для рядовых грунтовых реперов
продольные стержни (в зависимости от высоты пилона), мм 10-12
поперечные хомутики, мм 5-6
для фундаментальных реперов
продольные стержни, мм 13-15
поперечные хомутики, мм 6-8
Арматурные каркасы сваривают или скрепляют «вязальной проволокой» диаметром 0,1 см. Ширина каркасов должна быть такой, чтобы защитный слой из бетона снаружи каркаса был не менее 2 см.
Железобетонные пилоны для грунтовых реперов изготавливают в многоячейковых (6-8) разборных опалубках, смонтированных в горизонтальном положении на одном щите (рис. 28). Поперечное внутреннее сечение опалубки 16×16 см. Технология изготовления пилонов следующая. На дно опалубки (каждой ячейки) укладывают и утрамбовывают слой бетона толщиной не менее 2 см, на который кладут арматурные каркасы. Затем все пространство опалубки заполняют бетоном, который тщательно уплотняют (вибраторами) или штыкуют, утрамбовывают и выравнивают заподлицо с краями опалубки.

Рис. 28. Многоячейковая опалубка:
1 - клин, 2 - упорный брусок, 3 - отверстие для головки марки, 4 - рама, 5 - ячейка для изготовления пилона
До заполнения опалубки бетоном в торцевой части каждой ячейки пилонов делают отверстие диаметром 6,0 см, в которое вставляют марку.
При изготовлении бетонных якорей с выемкой для нижней части пилона, в бетон, заполняющий опалубку, вставляют на глубину 15 см окантованный на четыре грани отрезок деревянного бруска сечением 20×20×15 см.
В начале затвердевания бетона этот брусок вынимают. Пилоны и якори выдерживают в тени при температуре не ниже +15°С в течение 10 дней; для равномерного набирания прочности бетона, опалубку укрывают мешковиной, которую периодически смачивают водой.
Вынимать бетонные элементы из опалубки (или снимать опалубку при изготовлении пилонов в котлованах) следует не ранее чем через 3-5 дня после их изготовления. Изделия при этом тщательно осматриваются, углубления, раковины на их стенках заделываются и затираются цементным раствором (соотношение цемента и песка 1:3).
При температурах менее 15 °С процесс затвердевания бетона резко сокращается, а при 0°С прекращается.
Для ускорения процесса набирания прочности (затвердевания) бетона в его состав при изготовлении вводят хлористый кальций (3% для неармированного и 2% для армированного бетона) или хлористый натрий (соответственно 2 и 1,5% от веса цемента).
В труднодоступных районах при отсутствии щебня и гравия разрешается для изготовления якорей в грунте естественной плотности использовать вместо бетона цементный раствор в соотношении 1:5.
При закладке марок и оснований реперов в скальную породу или стены зданий используют цементный раствор в соотношении 1:3. Для повышения сопротивляемости фундаментальных реперов действию сил выпучивания их якори закладывают в грунт естественной плотности, что позволяет обходиться без устройства опалубки.
На дне котлована, отрытого на глубину закладки верхней грани якоря репера, выкапывают четырехгранную выемку (с отвесными стенками) по размерам верхней грани и выше якоря. При этом две смежные стенки выемки должны быть продолжением отвесных стенок котлована. Далее все боковые стенки выемки расширяют к низу до необходимых размеров. Выемку заполняют бетоном, после чего монтируют арматуру и устанавливают опалубку для изготовления верхней части репера.
Реперы можно закладывать следующими способами: котлованным, применяемым в местах, недоступных для использования механизмов; в пробуренные скважины; забиванием безанкерных реперов сваезабивными механизмами; завинчиванием металлических труб в песчаных и заболоченных районах.
Для выполнения работ по закладке реперов тем или иным способом применяются различные механизмы (табл. 9, 10 и 11).
ТАБЛИЦА 9
|
Марка механизма |
Вместимость ковша, м3 |
Глубина копания (обратная лопата), м |
Ходовое оборудование |
Масса, кг |
|
УКШЭ |
0,2 |
6,7 |
Шасси трактора ЮМЗ - 6К |
1900 |
|
ЭО-2621А |
0,25 |
3,0; 4,6* |
|
5700 |
|
ЭО-ЗЗПГ |
0,4 |
4,0; 6,2* |
Специальное пневмоколесное |
12400 |
|
Э-304В |
0,4 |
5,0 |
Специальное пневмоколесное |
12400 |
|
Э-5015А |
0,5 |
4,5 |
Специальное гусеничное |
12700 |
* Прямая лопата
ТАБЛИЦА 10
Марка механизма |
Диаметр скважины, м |
Глубина бурения, м |
Категория грунта |
Масса, кг |
|
Бурильная крановая машина: |
|
|
|
|
|
БМ-202А на автомобиле |
0,35; 0,5; |
3,0 |
I-IV |
5850 |
|
ГАЗ-66-02 |
0,8 |
|
|
|
|
БМ-205А на колесном тракторе |
0,35; 0,5; |
2,0 |
I-IV |
5750 |
|
МТЗ-82Л |
0,8 |
|
|
|
|
БМ-302А (302Ю) на автомобиле |
0,35; 0,5; |
3,0 |
I-IV |
5300 |
|
ГАЗ-66-02 |
0,8 |
|
|
|
|
БМ-306А (305Б) на гусеничном |
0,35; 0,5; |
3,0 |
I-IV |
12200 |
|
тракторе ДМ-75 МР-02 |
0,8 |
|
|
|
|
БКМ-1501 (БМ-802С) на автомобиле КрАЗ-257 |
0,3; 0,4; 0,65 |
8,0 |
Мерзлые грунты |
22500 |
|
Гидравлический бурильный ста нок ГБС-64 на тракторе ДТ-75 |
0,4; 0,5; 0,7 |
3,0 |
I-IV |
7500 |
|
Автономная малогабаритная буровая установка (АМБУ) |
0,35 |
4,0 |
I-IV |
400 (без транспорта) |
|
Агрегат вибрационного бурения |
0,4 |
70 |
Мерзлые грунты |
14800 |
|
АВБ-ТМ на гусеничном тракторе Т-100М |
|
|
|
|
|
Установка глубинного бурения (УГБ): |
|
|
|
|
|
УГБ-50М на автомобиле ГАЗ-66-02 |
0,13-0,23 |
50 |
Мерзлые грунты |
8100 |
|
УГБ-1ВС на автомобиле ГАЗ-66-02 |
0,13; 0,65 |
50-25 |
Мерзлые грунты |
6100 |
|
УГБ-1ВС1 на тракторе Т-4А |
0,15; 0,65 |
50-25 |
Мерзлые грунты |
13 500 |
|
Термический бурильный агрегат ТБА-2 |
0,40 |
10,0 |
I-IV |
- |
|
Установка поискового бурения УПБ-15/25 |
0,15-0,28 |
4,0 |
I-IV |
85 (без транспорта) |
|
Бурильная установка СБУДМ-150--ЗИВ на вездеходе ГАЗ-71 |
0,15-0,25 |
10 |
Мерзлые грунты |
|
ТАБЛИЦА 11
|
Марка механизма |
Диаметр бурения, мм |
Глубина бурения, м |
Двигатель |
Мощность, кВт |
Масса, кг |
|
Мотосверло МС-1 |
43; 100 |
4 |
«Дружба» |
2,9 |
14,0 |
|
Мотобур Д-10М |
75 |
10,0 |
«Дружба» |
2,9 |
28,0 |
|
Мотобур М-1 |
43; 65; 92 |
2,0 |
«Дружба» |
2,9 |
16,5 |
|
Перфоратор ручной ПР-18лу |
35-56 |
4,0 |
Компрессорная установка |
1,6-2,1 |
22-29 |
|
ИЗ-4707 |
40 |
2 |
Электричество |
1,7 |
27,0 |
|
Мотоперфоратор «Смена» МП-1 |
28-36 |
4 |
Автономный бен-зоагрегат |
|
30 |
|
Ручной термобур РТБ-В2У |
50-85 |
1 |
- |
- |
- |
Угол i, т.е. проекция на отвесную плоскость угла между осью уровня и визирной осью трубы, должен быть меньше 10".
Поверку можно производить двойным нивелированием вперед с концов линии длиной 50 м (табл. 12).
Для этого на концах линии забивают по одному костылю или деревянному колу с гвоздем. Затем рядом с одним из костылей устанавливают нивелир, а на другом - рейку. Нивелир устанавливают так, чтобы окулярный конец трубы отстоял от рейки на 2-3 см, при этом зрительная труба должна быть направлена на дальнюю рейку. Приводят нивелир и рабочее положение, устанавливают отсчетный барабан микрометра на отсчет 50 (при определений угла i у нивелира типа Н-05), наводят нивелир на дальнюю рейку, элевационным винтом совмещают изображения концов цилиндрического уровня и отсчитывают по основной и дополнительной (черной стороне) шкалам рейки Д1. Отсчеты по дальней рейке делают по средней нити нивелира. Для отсчетов по ближней рейке целесообразно использовать пластинку-движок из тонкого прозрачного целлулоида с горизонтальной чертой. Наблюдатель смотрит через объектив на рейку, а помощник по его команде устанавливает движок так, чтобы горизонтальный штрих был виден точно в середине отверстия. При таком положении движка помощник отсчитывает по основной и дополнительной шкалам ближней рейки А1. Отсчеты А и Д делают в делениях рейки, с ошибкой 0,5 мм.
При исследовании нивелиров Н-3 и Н-10 измеряют высоту прибора при помощи рейки между головкой костыля и центром окуляра с ошибкой 1 мм.
После этого переносят нивелир ко второму костылю и выполняют измерения, аналогичные измерениям на первой точке. Получают отсчеты Д2 и А2. Перечисленные действия составляют один прием. Значение угла i вычисляют по следующим формулам:
X = (А1+А2)/2-(Д1+Д2)/2; i = Xρ"/L,
где Д1; Д2 и A1, A2 - соответственно отсчеты по дальней и ближней рейкам, полученные на первой и второй точках; L - расстояние между костылями (в мм), измеренное дальномером нивелира; ρ" = 206 265.
При исследовании нивелиров делают 2 приема. Не снимая нивелир, выполняют все вычисления и находят среднее значение угла i. Расхождения между значениями угла i, полученные в приемах, не должно превышать 3" у высокоточных и 5" у всех остальных типов нивелиров. Если среднее значение угла i больше 10", то исправляют положение цилиндрического уровня.
Исправление угла i у отдельных типов нивелиров (например, Н-05) можно выполнять вращением защитного стекла, находящегося перед объективом зрительной трубы. Защитное стекло у таких нивелиров выполнено в виде оптического клина с небольшим углом преломления. Для того чтобы уменьшить величину угла i, открепляют стопорный винт и вращают защитное стекло до тех пор, пока отсчет по рейке не станет равным Д'осн, при этом следят, чтобы изображения концов пузырька уровня не расходились.
У нивелиров с компенсатором поверку осуществляют теми же способами, что и у нивелиров с уровнем. При исправлениях перемещают сетку нитей или поворачивают защитное стекло, находящееся перед объективом. В описании нивелира указывают, каким способом следует исправлять угол i. У нивелиров Ni-002 угол i в полевых условиях исправить нельзя, поэтому эти нивелиры юстируют в мастерской. У цифровых нивелиров поверку угла i производят в соответствии с инструкцией по эксплуатации.
Определение угла i у нивелира Н-05 № 14807 t = + 18°С L = 50,0 м
|
Номер полуприема |
Номер костыля |
Высота нивелира А (в делениях рейки) |
Отсчеты по дальней рейке Д (в делениях рейки) |
X (в делениях рейки) |
i |
|
1 |
1 |
2860 |
3487 |
|
|
|
2 |
2978 |
2341 |
|
|
|
|
2919 |
2914 |
+ 5,0 |
+ 10,3" |
||
|
2 |
1 |
8785 |
9411 |
|
|
|
2 |
8901 |
8265 |
|
|
|
|
8843 |
8838 |
+ 5,0 |
+ 10,3 |
||
|
3 |
2 |
2800 |
3429 |
|
|
|
1 |
2933 |
2296 |
|
|
|
|
2866,5 |
2862,5 |
+ 4,0 |
+ 8,6 |
||
|
4 |
2 |
8726 |
9354 |
|
|
|
1 |
8859 |
8220 |
+ 5,5 |
+ 11,3 |
|
|
8792,5 |
8787 |
+ 4,9 |
+ 10,1 |
Цена деления отсчетного барабана не должна отличаться с номинала и на различных частях барабана от средней цены деления более чем на 0,0025 у приборов, предназначенных для работ в равнинных районах, и 0,0015 - в горных.
Однако вследствие некачественного изготовления отдельных частей нивелира цена деления отсчетного барабана может отклоняться от номинала и изменяться в зависимости от расстояния между нивелиром и рейками.
Определение цены деления барабана на различных его частях
Н-05 № 9876 t = +18.6°С
|
Номер приема |
Штрих шкалы |
Отсчеты по барабану |
Разность отсчетов при ввинчивании и вывинчивании барабана |
Интервал |
Цена деления барабана |
|||
|
при ввинчивании |
при вывинчивании |
среднее |
b (в делениях барабана) |
bo, мм |
||||
|
1 |
19.5 |
3.2 |
3.2 |
3.20 |
0.0 |
|
|
|
|
|
19.4 |
17.4 |
17.1 |
17.25 |
+0.3 |
14.05 |
0.730 |
0.0520 |
|
|
19.3 |
32.0 |
31.2 |
31.60 |
+0.8 |
14.35 |
0.729 |
0.0508 |
|
|
19.2 |
46.7 |
46.1 |
46.40 |
+0.6 |
14.80 |
0.736 |
0.0497 |
|
|
19.1 |
61.4 |
61.1 |
61.25 |
+0.3 |
14.85 |
0.731 |
0.0492 |
|
|
19.0 |
76.1 |
75.6 |
75.85 |
+0.5 |
14.60 |
0.720 |
0.0493 |
|
|
18.9 |
90.7 |
90.4 |
90.55 |
+0.3 |
14.70 |
0.751 |
0.0511 |
|
|
18.8 |
104.7 |
104.6 |
104.65 |
+0.1 |
14.10 |
0.723 |
0.0513 |
|
|
|
|
|
|
|
|
Среднее |
0.0505 |
Остальные пять приемов не приводятся.
Определение цены деления шкалы барабана на различных его частях.
Для этого в лабораторных условиях на расстоянии –10 м от нивелира на высоте визирного луча укрепляют шкалу с 15 20 штрихами толщиной ~0,1 мм, расстояние между осями штрихом 0,7-1,0 мм. Шкалу перед началом исследований эталонируют. Интервалы шкалы должны быть известны с ошибкой 0,007 мм. Исследование выполняют шестью приемами, между которыми измеряют; высоту нивелира или положение шкалы на 0,7-1,0 мм. В каждом приеме первый штрих, на который наводят биссектор, должен быть другим. Тщательно совместив изображения концов пузырька цилиндрического уровня нивелира, наводят биссектор последовательно на 5-10 штрихов (в зависимости от расстояний между осями штрихов) и делают отсчеты по барабану микрометра. При этом барабан микрометра должен повернуться от 0 до 100. Во время измерений следят за тем, чтобы при наведении биссек-тора на штрихи шкалы, изображения концов пузырька уровня не расходились. Отсчеты по барабану с точностью 0,1 деления и номера штрихов, на которые наводят биссектор, записывают в табл. 13. Затем вывинчиванием барабана наводят биссектор на те же штрихи, но в обратной последовательности и записывают отсчеты по барабану. Если пропущен нужный штрих шкалы, то барабан вращают в противоположном направлении на 10-20 делений, и вращением в нужном направлении наводят биссектор на штрих. Эти действия составляют один прием.
Цену деления барабана С для каждого интервала находят по формуле:
С = b0/b,
где b0 - интервал между штрихами, мм;
b - число делений барабана.
Вычисляют среднее значение цены деления барабана в приеме и среднее значение цены деления барабана на различных частях из шести приемов.
По разностям отсчетов при ввинчивании и вывинчивании барабана судят о качестве работы механизма, наклоняющего плоскопараллельную пластинку. Если среднее значение разности из шести приемов более одного деления барабана, то наведение биссектора на штрих рейки при нивелировании всегда выполняют вращением барабана одну сторону, например, ввинчиванием.
Значения цены деления барабана на различных частях из 6 приемов оказались следующими:
|
Часть барабана |
0-15 |
15-30 |
30-45 |
45-60 |
60-75 |
75-90 |
90-102 |
Среднее |
|
Цена деления С, мм |
0,0500 |
0,0503 |
0,0488 |
0,0496 |
0,0496 |
0,0508 |
0,0491 |
0,0497 |
Среднее значение цены деления барабана на расстоянии 9,8 м равно 0,0497 мм, максимальное отличие от среднего на отдельных частях +0,0011 мм. Из 48 разностей отсчетов, выполненных на ввинчивание и вывинчивание барабана 26 - положительные, 20 - отрицательные и 2 - равны нулю. Наводить биссектор на штрихи рейки этим нивелиром можно вращением барабана как на ввинчивание так и на вывинчивание.
Определение цены деления отсчетного барабана на различных расстояниях и при различной температуре.
В полевых условиях для этих исследований необходимо иметь шкалу со штрихами толщиной 1 мм и расстоянием между их осями 2 мм (рис. 29). До и после исследований шкалу компарируют при помощи контрольной линейки. Эти исследования выполняют на ровной местности при расстояниях между нивелиром и рейкой 30, 50 и 70 м (табл. 14) и при разной температуре воздуха, например, +5, +15 и +25° С. Исследования желательно проводить в облачную или пасмурную погоду, слабом ветре, спокойных или слегка колеблющихся изображениях.

Рис. 29. Шкала для определения цены деления барабана в полевых условиях
ТАБЛИЦА 14
Дата: 20.10.01 Н-05 № 0003 tнач=+7.8°С, ГК0Н=+8.2°С
|
Номер приема |
Номер штриха |
Отсчеты по барабану |
Интервал между штрихами |
Цена деления барабана, мм |
|||
|
при ввинчивании |
при вывинчивании |
среднее |
в делениях барабана |
в мм |
|||
|
1 |
11(1) |
6,2 (2) |
4,2 (6) |
5,20 |
|
|
|
|
|
12(3) |
84,0 (4) |
85,7 (5) |
84,85 |
79,65 |
4,010 |
0,0503 |
|
2 |
11 |
5,0 |
3,8 |
4,40 |
|
|
|
|
|
12 |
84,1 |
83,8 |
83,95 |
79,55 |
4,010 |
0,0504 |
|
3 |
12 |
12,8 |
11,6 |
12,20 |
|
|
|
|
|
13 |
91,9 |
93,0 |
92,45 |
80,25 |
4,018 |
0,0501 |
|
4 |
12 |
14,3 |
14,2 |
14,25 |
|
|
|
|
|
13 |
94,4 |
95,0 |
94,70 |
80,45 |
4,018 |
0,0499 |
|
5 |
13 |
5Д |
4,4 |
4,75 |
|
|
|
|
|
14 |
85,7 |
84,8 |
85,25 |
80,50 |
3,982 |
0,0495 |
|
6 |
13 |
4,9 |
5,7 |
5,30 |
|
|
|
|
|
14 |
85,8 |
86,2 |
86,00 |
80,70 |
3,982 |
0,0493 |
|
7 |
15 |
9,6 |
8,7 |
9,15 |
|
|
|
|
|
16 |
88,4 |
88,6 |
88,50 |
79,35 |
3,987 |
0,0502 |
|
8 |
15 |
11,5 |
9,8 |
10,65 |
|
|
|
|
|
16 |
89,2 |
89,6 |
89,40 |
78,75 |
3,987 |
0,0506 |
|
|
|
|
|
|
|
Среднее |
0,0500 |
Примечание: Для остальных расстояний результаты не приводятся, цифрами в скобках указана последовательность отсчитывания.
|
Дата |
Температура воздуха, °С |
Цена деления барабана при расстояниях, м |
Среднее |
||
|
30 |
50 |
70 |
|||
|
3.07 |
+ 8 |
0,0500 |
0,0509 |
0,0518 |
0,0509 |
|
25.06 |
+ 15 |
0,0511 |
0,0519 |
0,0541 |
0,0524 |
|
1.08 |
+ 25 |
0,0514 |
0,0518 |
0,0528 |
0,0520 |
|
Среднее |
0,0508 |
0,0515 |
0,0529 |
0,0518 |
|
Примечание: Цена деления барабана зависит от расстояния, нивелир нуждается в заводской юстировке.
Нивелир устанавливают так, чтобы визирная линия приходилась примерно на середину шкалы. Шкалу прикрепляют на стене здания или к рейке. Определяют величину смещения визирного луча в делениях отсчетного барабана, соответствующую четырехмиллиметровому интервалу шкалы. В прямом ходе наводят только ввинчиванием, а в обратном ходе - вывинчиванием. Строго следят во время отсчетов за тем, чтобы изображения концов пузырька уровня были точно совмещены. На каждом расстоянии делают по восемь приемов. Перед началом и концом наблюдений измеряют температуру воздуха. Через каждые два приема смещают шкалу на одно-два деления или измеряют высоту нивелира. По результатам исследований составляют сводную таблицу (табл. 15).
Полные лабораторные и полевые исследования выполняют только при получении новых приборов. Исполнитель же определяет цену целения барабана на расстоянии до рейки, равном 50 м
Эти исследования выполняют только у нивелиров, предназначенных для передачи высот через водные препятствия, когда неравенство расстояний между нивелиром передней и задней рейками может достигать нескольких сотен метров.
Для исследований выбирают ровную открытую площадку 60×60 м с твердым грунтом, на краю которой в точке С забивают кол (рис. 30), а в точке А на расстоянии 50 м от точки С устанавливают нивелир. Из точки С при помощи троса описывают окружность. Одновременно, используя дальномер нивелира и инварную рейку, измеряют расстояния А1, А2, ... А7, соответственно равные 10, 20, ..., 70 м. В точках А, 1 2, ..., 7 забивают костыли или колья с гвоздями. Исследования желательно выполнять в облачную или пасмурную погоду, при слабом ветре и спокойных или слегка колеблющихся изображениях. За два-три часа до начала исследований нивелир должен быть вынесен из помещения, определен и исправлен угол i, который должен быть близким к нулю.

Рис. 30. Схема размещения нивелира и рейки
Нивелир устанавливают в точке С, приводят в рабочее положение последовательно устанавливают рейку в точках А, 7, 2,..., 7 и отсчитывают по основной и дополнительной шкалам (I прием). Затем переходя с рейкой в обратном правлении по точкам 7, 6, ..., А делают отсчеты по основной шкале (II прием). При наблюдениях в точке С фокусировку трубы не меняют.
Устанавливают нивелир в точке А, приводят его в рабочее положение, последовательно устанавливают рейку в точках 1, 2, ..., 7, отсчитывают по основной и дополнительной шкалам. Эти действия составляют один прием. Всего делают три приема, между которыми изменяют высоту нивелира. Во втором приеме наблюдения начинаются с точки 7, в третьем - с точки 1.
Переходят на точку С и повторяют все измерения, причем вначале отсчитывают только по дополнительной шкале (II прием), а затем по основной и дополнительной шкалам (III прием).
Примеры записи наблюдений и вычислений приведены в табл. 16, 17.
|
Номер точки |
I прием |
II прием |
III прием |
Среднее (в делениях рейки) |
и (в делениях рейки) |
и, мм |
|||
|
Шкала |
Шкала |
Шкала |
|||||||
|
основная |
дополнительная |
основная |
дополнительная |
основная |
дополнительная |
||||
|
А |
29,662 |
88,914 |
32,011 |
91,260 |
31,140 |
90,397 |
60,564 |
- |
- |
|
1 |
28,134 |
87,383 |
30,479 |
89,726 |
29,610 |
88,862 |
59,032 |
+1,532 |
+76,60 |
|
2 |
28,294 |
87,545 |
30,650 |
89,893 |
29,770 |
89,023 |
59,196 |
+1,368 |
+68,40 |
|
3 |
28,928 |
88,178 |
31,275 |
90,525 |
30,393 |
89,649 |
59,825 |
+0,739 |
+36,95 |
|
4 |
27,927 |
87,178 |
30,277 |
89,526 |
29,403 |
88,649 |
58,827 |
+1,737 |
+ 86,85 |
|
5 |
26,377 |
85,626 |
28,729 |
87,979 |
27,851 |
87,101 |
57,277 |
+3,287 |
+164,35 |
|
6 |
26,212 |
85,463 |
28,570 |
87,818 |
27,680 |
86,933 |
57,113 |
+3,451 |
+172,55 |
|
7 |
27,066 |
86,316 |
29,426 |
88,676 |
28,544 |
87,795 |
57,970 |
+2,594 |
+129,70 |
Примечание: Нивелир установлен в точке С.
Вычисляют среднее из шести отсчетов по рейке, сделанных при установке нивелира в точках С и А. Находят превышения между точками A1, А2, ..., А7 (в делениях рейки и мм), а также среднее, значение горизонта нивелира hcp (сумма средних отсчетов по рейке, когда прибор стоял в точке А с соответствующими значениями и)
![]()
ТАБЛИЦА 17
|
Номер точки |
I прием |
II прием |
III прием |
Среднее (в делениях рейки) |
Среднее т, мм |
h= и+m1, мм |
Δ= hi-hcp, мм |
|||
|
основная |
дополнительная |
основная |
дополнительная |
основная |
дополнительная |
|||||
|
1 |
27,997 |
87,248 |
29,158 |
88,407 |
28,720 |
87,975 |
58,251 |
2912,55 |
2989,15 |
-1,91 |
|
2 |
28,181 |
87,431 |
29,335 |
88,586 |
28,900 |
88,152 |
58,431 |
2921,55 |
2889,95 |
-1,11 |
|
3 |
28,819 |
88,071 |
29,973 |
89,226 |
29,543 |
88,793 |
59,071 |
2953,55 |
2990,50 |
-0,56 |
|
4 |
27,837 |
87,087 |
28,989 |
88,238 |
28,548 |
87,797 |
58,083 |
2904,15 |
2991,00 |
-0,06 |
|
5 |
26,299 |
85,549 |
27,454 |
86,701 |
27,015 |
86,261 |
56,546 |
2827,30 |
2991,65 |
+ 0,59 |
|
6 |
26,151 |
85,401 |
27,302 |
86,555 |
26,856 |
86,108 |
56,396 |
2819,80 |
2992,35 |
+ 1,29 |
|
7 |
27,022 |
86,271 |
28,171 |
87,418 |
27,719 |
86,969 |
57,262 |
2863,10 |
2992,80 |
+ 1,74 |
|
|
|
|
|
|
|
|
|
|
hcp, = 2991,06 |
|
Примечание: Нивелир установлен в точке А.
Δ1 = m1 + u1 - hcp;
Δ2 = m2 + u2 - hcp;
…………………
Δ7 = m7 + u7 - hcp
По этим данным составляют уравнения ошибок:
-ks1 - q + Δ1 = v1;
-ks2 - q + Δ2 = v2;
…………………
-ks7 - q + Δ7 = v7;
и нормальные уравнения вида
![]()
![]()
из которых находят неизвестные k и q, а затем v.
Коэффициент k показывает влияние угла i и движений фокусирующей линзы на измеряемое превышение. Величина k в уравнениях увеличена в 1000 раз, s1, s2...,s7 - расстояния от точки А до точек 1, 2, ..., 7.
Составляют нормальные уравнения
14000 k + 280 q - 168,65 = 0
280 k + 7 q - 0,02 = 0,
из решения которых находят неизвестные
k = +0,06; q = - 2,41.
Используя полученные данные, определяют величины v:
v1 = -1,91-0,60 + 2,41 = - 0,10;
v2 =-1,11-1,20 + 2,41 = +0,10;
v3 =-0,56-1,80+ 2,41 = +0,05;
v4 = -0,06 - 2,40 + 2,41 = - 0,05;
v5 = +0,59 -3,00 + 2,41 = 0,00;
v6 = +1,29-3,60 + 2,41 = +0,10;
v7 =+ 1,74-4,20 + 2,41 = -0,05.
Величины v характеризуют правильность хода фокусирующей линзы. У нивелиров Н-05, предназначенных для передачи высот через водные препятствия, v не должны превышать 0,5 мм.
Коэффициент дальномера и асимметрию нитей определяют перед выездом в поле (табл. 18). Для определения коэффициента выбирают ровную площадку с уклоном менее 0,5°, удобную для измерения расстояний мерной лентой или металлической рулеткой с относительной погрешностью не более 1:1500. Забивают два костыля или кола на расстоянии 50 м друг от друга.
Над первым костылем с ошибкой 1 см устанавливают нивелир, а на втором - рейку. Делают отсчеты по дальномерным штрихам и средней нити по основной и дополнительной шкалам рейки. Затем наклоняют зрительную трубу в разные стороны так, чтобы изображение пузырька уровня сместилось на 4 - 5 делений и отсчитывают по основной и дополнительной шкалам рейки. Изменяют высоту нивелира и повторяют все измерения.
При исследованиях нивелиров с компенсатором после первых отсчетов по основной и дополнительной шкалам изменяют высоту нивелира (пять раз).
При исследовании нивелиров Н-3 и Н-10 отсчитывают только по черной стороне рейки без изменения высоты нивелира (табл. 19).
Коэффициент дальномера вычисляют по формуле, если зрительная труба нивелира имеет постоянную дальномера С:
K = (Д - С)/(н - в)ср,
где С - постоянная дальномера, взятая из описания нивелира;
Д - длина базиса, мм;
(н - в)ср - среднее из разности отсчетов по нижнему и верхнему дальномерным штрихам, мм.
При С, равном нулю, формула принимает вид
K = Д/(н - в)ср.
Коэффициент К не должен отличаться от 100% более чем на 1%. Одновременно находят асимметрию нитей (в %) по формуле:
![]()
где с, в, н - отсчеты по соответствующим штрихам сетки нитей.
Асимметрия не должна быть более 0,5%.
Н-05 №2463 Дата 02.06.01 г., t =+20.5°С Д = 50.1 м
|
Положение нивелира |
Положение пузырька уровня |
Отсчеты по нитям: в, с, н |
с-в |
а, 1/2 |
l = н-в, 1/2 |
|
н-с |
мм |
мм |
|||
|
|
На середине |
2448 |
|
|
|
|
|
|
2947 |
499 |
|
|
|
|
|
3447 |
500 |
-1 |
999 |
|
|
|
8373 |
|
|
|
|
|
|
8872 |
499 |
|
|
|
|
|
9372 |
500 |
-1 |
999 |
|
I |
Смещен к окуляру |
2442 |
|
|
|
|
|
|
2940 |
498 |
|
|
|
|
|
3439 |
499 |
-1 |
997 |
|
|
|
8367 |
|
|
|
|
|
|
8865 |
498 |
|
|
|
|
|
9365 |
500 |
-2 |
998 |
|
|
Смещен к объективу |
2455 |
|
|
|
|
|
|
2954 |
499 |
|
|
|
|
|
3455 |
501 |
-2 |
1000 |
|
|
|
8381 |
|
|
|
|
|
|
8880 |
499 |
|
|
|
|
|
9380 |
500 |
-1 |
999 |
|
|
На середине |
2012 |
|
|
|
|
|
|
2510 |
498 |
0 |
996 |
|
|
|
3008 |
498 |
|
|
|
|
|
7937 |
|
|
|
|
|
|
8435 |
498 |
0 |
996 |
|
|
|
8933 |
498 |
|
|
|
II |
Смещен к окуляру |
2003 |
|
|
|
|
|
|
2501 |
498 |
|
|
|
|
|
3001 |
500 |
-2 |
998 |
|
|
|
7928 |
|
|
|
|
|
|
8426 |
498 |
|
|
|
|
|
8926 |
500 |
-2 |
998 |
|
|
Смещен к объективу |
2020 |
|
|
|
|
|
|
2519 |
499 |
|
|
|
|
|
3021 |
502 |
-3 |
1001 |
|
|
|
7945 |
|
|
|
|
|
|
8444 |
499 |
|
|
|
|
|
8944 |
500 |
-1 |
999 |
|
|
|
|
|
аср = -1.33 |
lср = 998.3 |
К= (50 100 -
350)/499.15 = 99.7;
![]()
Н-3 37541 Д = 50.4 м
|
Отсчеты по дальномерным нитям |
н-в |
|
|
в |
1001 |
502 |
|
н |
1503 |
|
|
в |
1143 |
504 |
|
н |
1647 |
|
|
в |
0930 |
503 |
|
н |
1433 |
|
|
|
Среднее = 503.0 |
|
К = 50 400/503,0 = 100,2
При вычислении длин секций, измеренных нивелиром, у которого постоянная дальномера C ¹ 0, следует пользоваться формулой:
![]()
где lз и ln - разности отсчетов по дальномерным штрихам при визировании на заднюю и переднюю рейки. Если отсчеты делали по средней нити и одному дальномерному штриху, то Σ(lз + ln) следует увеличить в два раза;
К - коэффициент дальномера;
n - число станций в секции;
С - постоянная, взятая из паспорта нивелира.
Нивелиры, предназначенные для нивелирования I и II класса, исследуют в лабораторных или полевых условиях следующим образом.
На бетонный столб устанавливают нивелир, рядом с которым крепят термометр, предварительно закрыв сосуд с ртутью от попаданий прямых лучей. На расстоянии ~ 1 м от нивелира устанавливают с двух сторон по электронагревательному прибору (рефлектор, электроплитка и т.п.). На расстоянии 6-10 м от нивелира на стене или столбе крепят лист бумаги, на котором тушью проведена черта длиной 1 см и толщиной 0,3 мм. Лист бумаги располагают так, чтобы горизонтальная черта находилась в биссекторе нивелира при отсчете по барабану, равному 50, и при совмещенных концах пузырька цилиндрического уровня.
Четыре раза наводят биссектор на штрих рейки и делают четыре отсчета по барабану. Записывают показания по термометру.
Нагревательными приборами в течение 10-15 мин повышают температуру нивелира на 7-10° С. Наводят биссектор на штрих и отсчитывают по барабану нивелира и термометру. Повышают температуру еще на 7-10° С и повторяют все наблюдения. После того, как температура нивелира повысится до 45-50° С прекращают нагрев, но наблюдения продолжают в течение 1.0-1.5 ч, отсчитывая через каждые 10 мин по штриху и термометру. Измерения угла i находят по формуле:
Δi = Δρ"/Δt
где Δ - изменение отсчета по барабану, мм, при изменении температуры нивелира на Δt, °С;
l - расстояние от нивелира до штриха, мм;
ρ" = 206265.
В полевых условиях качество тепловой защиты определяют в солнечный, ясный день, когда можно ожидать больших изменений температуры воздуха. Нивелир устанавливают на штативе и на расстоянии 50 и 25 м от него, на реперах или костылях, - две инварные рейки. Приводят нивелир в рабочее положение и через каждые 20 мин отсчитывают по обеим рейкам и термометру, находящемуся рядом с прибором. Наблюдения продолжают в течение сего дня.
Изменение угла i находят по формуле:
Δi = Δhρ"/l1Δt,
где Δh - измерение превышения между рейками, мм, при изменении температуры воздуха на Δt, °С;
l1 - расстояние между рейками, мм.
Во время исследований нивелир закрывают от солнечных лучей зонтом. Изменения угла Δi при общем нагреве не должны превышать 0,5" на 1° С
После лабораторного исследования нового прибора, а также перед выездом на работы на геодинамические полигоны выполняют контрольное нивелирование по замкнутому ходу длиной не менее 3 км, закрепленному через 1 км надежными реперами. При работе в горных районах суммарное превышение по ходу должно быть более 100 м.
Нивелирование выполняют в прямом и обратном направлениях по методике нивелирования, соответствующей тому классу, для которого предназначен прибор.
Результаты нивелирования на станциях, по секциям между реперами, замкнутому полигону, а также расхождения превышений, полученные разными исполнителями, должны соответствовать требованиям настоящей Инструкции.
В процессе нивелирования выявляют неисправности прибора и недостатки в работе его отдельных частей. Особое внимание обращают на постоянство угла i, который определяют ежедневно в начале и конце работы.
Перед началом полевых работ замеченные неисправности в работе нивелира и реек должны быть устранены.
При отсутствии контрольного хода допускается провести контрольное исследование по методике ГОСТ 10528-90.
Среднюю квадратическую погрешность совмещения изображения концов цилиндрического контактного уровня определяют на экзаменаторе.
Для этого устанавливают нивелир на площадке экзаменатора и приступают к исследованию. Приводят пузырек цилиндрического уровня примерно на середину и ввинчиванием измерительного винта экзаменатора точно совмещают изображения концов пузырька цилиндрического нивелира. Убедившись, что в течение 5-10 с концы пузырька цилиндрического уровня не разошлись, делают отсчет по измерительному винту экзаменатора с точностью 0,1 деления. Затем вращают измерительный винт экзаменатора в противоположном направлении на 5-10 делений и ввинчиванием совмещают концы пузырька уровня. Всего в одном полуприеме делают 10 точных совмещений концов пузырька цилиндрического уровня и 10 отсчетов по шкале измерительного винта. Во втором полуприеме выполняют на ввинчивание 10 точных совмещений концов пузырька уровня.
Среднюю квадратическую погрешность совмещения концов пузырька уровня находят в каждом полуприеме по формуле:
![]()
где n - число отсчетов в полуприеме.
Пример вычислений mсов и сводка результатов исследований приведены соответственно в табл. 20 и 21.
Определение средней квадратической ошибки совмещения изображений концов пузырька цилиндрического контактного уровня
|
Отсчет по шкале измерительного винта |
V1 |
V1 |
|
|
Ввинчивание |
Вывинчивание |
||
|
41.4 |
41.8 |
+0.26 |
+0.45 |
|
41.3 |
41.2 |
+0.16 |
-0.15 |
|
41.3 |
41.4 |
+0.16 |
+0.05 |
|
40.7 |
41.5 |
-0.44 |
+0.15 |
|
41.3 |
41.2 |
+0.16 |
-0.15 |
|
40.7 |
41.1 |
-0.44 |
-0.25 |
|
40.8 |
41.3 |
-0.34 |
-0.05 |
|
41.0 |
41.3 |
-0.14 |
-0.05 |
|
41.6 |
41.4 |
+0.46 |
+0.05 |
|
41.3 |
41.3 |
+0.16 |
-0.05 |
|
41.14 |
41.35 |
|
|
|
|
|
|
|
т'сов = 0.32", т"сов = 0.20"
|
Обозначения |
Прием |
||||
|
1 |
2 |
3 |
4 |
5 |
|
|
т'сов |
0,32 |
0,24 |
0,26 |
0,22 |
0,23 |
|
|
0,0940 |
0,5210 |
0,6050 |
0,4400 |
0,4640 |
|
т"сов |
0,20 |
0,28 |
0,21 |
0,33 |
0,18 |
|
|
0,3450 |
0,7089 |
0,3890 |
0,9840 |
0,3040 |
![]()
Определение цены деления уровня по рейке.
Цена деления уровня зависит от изменения температуры воздуха. Поэтому перед выездом на полевые работы необходимо убедиться, не изменяется ли цена деления уровня и в каких пределах.
Эти исследования лучше всего выполнять в облачную или пасмурную погоду, при небольшом ветре. Нивелир должен быть хорошо защищен от попаданий на него солнечных лучей.
Выбирают ровную площадку длиной более 50 м, на концах которой забивают костыли или колья с гвоздями. Над одним из костылей за 2-3 ч до начала исследований устанавливают нивелир, вблизи которого подвешивают термометр. Исследования нивелиров типа Н-05 делают четырьмя приемами, два приема - утром и два вечером. Между приемами изменяют высоту нивелира. В начале и конце каждого приема измеряют температуру воздуха. Расстояние между костылями определяют металлической лентой или рулеткой с ошибкой не более 0,2 м. Приводят нивелир в рабочее положение, наводят зрительную трубу на рейку, вращением элевационного винта точно совмещают биссектор сетки нитей с одним из штрихов рейки или наводят среднюю нить на край шашки, при этом изображения концов пузырька уровня должны располагаться так, чтобы один находился вблизи нуля, а по другому отсчет был максимальным. Отсчеты по микрометру во время исследований должны оставаться неизменными. Вращением элевационного винта точно наводят биссектор (или среднюю нить) на следующий смежный штрих рейки и делают все необходимые отсчеты. Наведения продолжают до тех пор пока можно производить отсчеты по концам пузырька уровня. После этого приступают к наблюдениям в обратном ходе. Поворачивают элевационный винт примерно на 1/4 оборота, вращением его в обратном направлении наводят на те же штрихи рейки, что и в прямом ходе, и делают отсчеты по концам пузырька уровня. Эти действия составляют один полуприем. Изменив высоту нивелира подъемными винтами или поворотом отсчетного барабана, приступают ко второму полуприему. Наблюдения и отсчеты выполняют так же как в первом полу приеме.
В прямом ходе биссектор всегда наводят на штрих рейки вращением элевационного винта на ввинчивание, в обратном - на вывинчивание.
ТАБЛИЦА 22
11-05 № 24761 Дата: 11.04.87г., 16 ч 00 мин
|
Номер приема |
t воздуха, °С |
Отсчет по рейке |
Отсчеты по уровню |
П-Л |
Расстояния по рейке, мм |
Число полуделений уровня, r |
|||||
|
Прямой ход |
Обратный ход |
Прямой ход |
Обратный ход |
Среднее |
|||||||
|
Л |
П |
Л |
П |
||||||||
|
|
+2.4 |
36.8 |
3.6 |
16.8 |
3.7 |
16.7 |
+13.2 |
+13.0 |
+13.10 |
5 |
10.45 |
|
36.9 |
8.9 |
11.6 |
8.9 |
11.5 |
+2.7 |
+2.6 |
+2.65 |
5 |
10.60 |
||
|
37.0 |
14.2 |
6.2 |
14.2 |
6.3 |
-8.0 |
-7.9 |
-7.95 |
|
|
||
|
I |
+2.7 |
96.0 |
3.2 |
16.3 |
3.4 |
16.3 |
+13.1 |
+12.9 |
+13.00 |
5 |
10.35 |
|
96.1 |
8.4 |
11.1 |
8.4 |
11.0 |
+2.7 |
+2.6 |
+2.65 |
5 |
10.65 |
||
|
96.2 |
13.8 |
5.8 |
13.8 |
5.8 |
-8.0 |
-8.0 |
-8.00 |
|
|
||
|
|
|
|
|
|
|
|
Σ= |
80 |
167.55 |
||
Последующие три приема не приводятся.
τ/2-16·5·206 265/167.55·50 210 = 1.96"/0.8 мм, τ-9.8"/2 мм, при исследовании на экзаменаторе τ получилось равным 9.6".
Цену деления уровня τ вычисляют по формуле:
![]()
где s - расстояние от нивелира до рейки, мм;
n - число штрихов на рейке, на которые наводили биссектор в полуприеме;
μ - расстояние между смежными штрихами рейки, мм; r - смещение пузырька уровня при наклоне зрительной трубы на μ.
Расхождения между значениями цены деления уровня τ на 2 мм, определенными на экзаменаторе и при помощи рейки, не должны быть более 0,5" у нивелиров Н-05 и 3" - у нивелиров Н-3 и Н-10.
Пример записи отсчетов и вычислений приведен в табл. 22.
Если нет экзаменатора и необходимо более тщательно исследовать цилиндрический уровень, то для определения цены деления уровня используют рейку со штрихами через 1 мм или микрометр нивелира. Рейку предварительно эталонируют, используя для этого контрольную линейку. Нивелир в этом случае устанавливают на расстоянии ~ 20 м от рейки. Для каждого интервала вычисляют τ и на основе сравнения делают вывод о пригодности нивелира.
Определение по рейке ошибки совмещения изображений концов пузырька уровня.
Перед выездом на полевые работы необходимо определить ошибку совмещения изображений концов пузырька уровня для тех температур, при которых планируется выполнять нивелирование, тсов определяют по рейке косвенным путем по формуле:
![]()
Ошибки твзг и тнав находят из девяти приемов, выполненных на расстоянии 50 м от нивелира до рейки в пасмурную или облачную погоду, при слабом ветре, спокойных или слегка колеблющихся изображениях и обязательно при разной температуре воздуха, например, +5, +10, +15° С. При каждой температуре выполняют по три приема. Прием включает десять точных наведений биссектора на штрих рейки и десять отсчетов по барабану оптического микрометра с точностью 01 деления. Затем делают еще десять отсчетов, но перед каждым наведением биссектора на штрих рейки элевационный винт и отсчетный барабан отводят на 1/4 оборота. Первые 10 отсчетов служат для определения тнав, вторые - твзг.
Наведения биссектора нитей на штрих и совмещение концов пузырька уровня можно выполнять как ввинчиванием, так и вывинчиванием барабана и элевационного винта.
Пример определения тсов при помощи рейки и сводка результатом приведены соответственно в табл. 23, 24.
ТАБЛИЦА 23
Нивелир Н-05 № 9876, t = 5.4°С, длина пузырька уровня 71.1 мм, дата 03.05.01
Тнав |
Твзг |
||
|
Отсчет по барабану |
V1 |
Отсчет по барабану |
V2 |
|
35,9 |
-0,47 |
35,0 |
-2,52 |
|
37,1 |
+ 0,73 |
38,3 |
+ 0,78 |
|
37,2 |
+ 0,83 |
36,1 |
-1,42 |
|
36,8 |
+ 0,43 |
38,4 |
+ 0,88 |
|
35,0 |
-1,37 |
38,8 |
+ 1,28 |
|
37,2 |
+ 0,83 |
39,0 |
+ 1,48 |
|
36,4 |
+ 0,03 |
38,2 |
+ 0,68 |
|
37,4 |
+ 1,03 |
37,4 |
-0,12 |
|
35,8 |
-0,57 |
36,0 |
-1,52 |
|
34,9 |
-1,47 |
38,0 |
+ 0,48 |
|
36,37 |
|
37,52 |
|
![]()
![]()
![]()
Сводка результатов определения тсов.ср
Прием |
Температура воздуха, °С |
Длина пузырька уровня, мм |
Тсов |
Прием |
Температура воздуха, °С |
Длина пузырька уровня, мм |
Тсов |
|
1 |
+ 6,2 |
71,1 |
0,99 |
6 |
12,8 |
70,6 |
1,01 |
|
2 |
6,5 |
71,1 |
0,99 |
7 |
18,7 |
70,1 |
1,04 |
|
3 |
6,9 |
71,0 |
1,03 |
8 |
18,9 |
70,0 |
1,06 |
|
4 |
13,7 |
70,6 |
0,95 |
9 |
19,4 |
70,0 |
1,02 |
|
5 |
13,2 |
70,6 |
0,97 |
|
|
|
|
тсов.ср = + 1,01 дел. барабана; тсов.ср = 1,01-0,05-206265/50000 = 0,21".
В отдельных приемах разности т2взг – т2нав могут иметь отрицательные значения. В этом случае вычисляют средние значения ошибок твзг и тнав сразу для трех приемов и по ним находят тсов.ср. У нивелиров Н-05 тсов.ср при длине визирного луча 50 м не должна превышать 0,35".
ТАБЛИЦА 25
|
Температура воздуха, °С |
П+Л |
Δ(П + Л) (в делениях уровня) |
Δ, мм |
Δt, °C |
К, мм/1 °С |
|
+ 5,2 |
32,6 |
|
|
|
|
|
+ 14,9 |
28,2 |
4,4 |
3,52 |
9,7 |
0,36 |
|
+ 20,2 |
26,0 |
2,2 |
1,76 |
5,3 |
0,33 |
|
+ 25,5 |
23,6 |
2,4 |
1,92 |
5,3 |
0,36 |
К = Δ/Δt
Примечание. Ампула цилиндрического уровня нуждается в замене, так как при температуре ниже 10°С и выше +35° С совмещение концов пузырька уровня будет происходить вблизи краев окошечка.
Очень большое значение для приборов, предназначенных для нивелирования I и II классов при отрицательных и высоких положительных температурах, имеет степень компенсированности цилиндрического уровня, т.е. зависимость длины пузырька от изменения температуры воздуха (табл. 25). Длина пузырька уровня должна изменяться менее чем на 0,2 мм при изменении температуры воздуха 1°С. Для определения степени компенсированности цилиндрического уровня выписывают суммы отсчетов П + Л, которые были получены при исследовании уровня в разных условиях: на экзаменаторе, перед выездом в поле и т.д.
Определение цены деления установочного уровня (уровней).
Грубый установочный уровень у нивелира затрудняет работу и снижает производительность труда. При получении нивелира с завода или после ремонта в случае замены ампулы уровня необходимо определить цену деления установочного уровня. Цена деления установочного уровня у нивелиров типа Н-05 на 2 мм должна быть 5±1, у нивелиров типа Н-3 и Н-10-10±2'.
Цену деления определяют на экзаменаторе или с помощью подъемных винтов подставки нивелира. Для исследований круглого установочного уровня могут быть использованы любые экзаменаторы сценой деления до 10". В этом случае τ определяют обычным способом.
Определение τ при помощи подъемных винтов подставки нивелира исполняют в такой последовательности.
Определяют шаг подъемного винта. Если видна нарезка подъемного винта, то к нему прикладывают бумагу, по которой проводят карандашом, вследствие чего на бумаге отпечатается ряд черточек, соответствующих шагу винта (в мм). Определяют расстояние от центра подъемного винта до середины между двумя другими винтами. Крепят на оправе круглого уровня шкалу с делениями через 2 мм. Устанавливают нивелир так, чтобы зрительная труба находилась точно на середине над одним подъемным винтом. Действуя подъемными винтами подставки, приводят пузырек уровня в одно из крайних положений. Отмечают положение подъемного винта, который находится под зрительной трубой, записывают отсчеты по концам пузырька уровня. Поворачивают подъемный винт на 180 или 360° т.е. до тех пор, пока пузырек уровня не переместится в другое крайнее рабочее положение. Делают вторые отсчеты по концам пузырька уровня. Цену деления круглого уровня вычисляют по формуле:
τ = mk3436/ln
где т - число оборотов подъемного винта; k величина шага подъемного винта, мм;
l - расстояние от центра подъемного винта до середины между двумя другими винтами, мм;
n - число делении на которое сместился пузырек уровня.
При исследовании элевационного винта нивелира определяют качество его работы и цену деления. Для этого устанавливают нивелир на экзаменаторе так же, как и при исследовании цены деления уровня. Исследования состоят из двух приемов: в первом приеме к измерительному винту экзаменатора обращен объектив зрительной трубы, во втором - окуляр. Если у элевационного винта нет указателя числа оборотов, то наносят штрихи, по которым считывают число оборотов. Элевационный винт вывинчивают в крайнее положение (нуль оборотов), измерительный винт экзаменатора ставят на отсчет, который позволяет выполнять измерения. Сначала подъемными винтами изображения концов пузырька уровня совмещают примерно, а затем точно - измерительным винтом экзаменатора, после чего отсчитывают по его шкале. Элевационный винт поворачивают ввинчиванием точно на один оборот и, вращая измерительный винт экзаменатора, совмещают концы пузырька уровня. Так поступают до тех пор, пока элевационный винт не окажется ввинченным до конца. В обратном ходе элевационным винт вывинчивают. Все остальные действия в обратном ходе выполняют так же, как и в прямом. Во втором приеме в прямом ходе элевационный винт вывинчивают, а в обратном - ввинчивают. Пример определения цены деления элевационного винта приведен в табл. 26.
Расхождения между τ'пр, из прямого хода, от τ"обр, из обратного хода, не должны превышать 10" на средних оборотах элевационного винта. Если различие более 10", то необходимо совмещать изображение концов пузырьков уровня только ввинчиванием элевационного винта.
Средняя цена деления оборота элевационного винта у нивелиров Н-05 должна быть 60 - 180", при большей или меньшей цене оборота могут возникнуть затруднения при совмещении концов пузырька уровня элевационным винтом в полевых условиях, у нивелиров Н-3 и Н-10 - около 5'.
Экзаменатор ЭГЕМ μ = 1"
|
Число оборотов |
I прием (объектив к винту экзаменатора) |
II прием (окуляр к винту экзаменатора) |
Среднее |
τ'пр - τ"обр |
|||||||
|
Прямо |
Обратно |
Прямо |
Обратно |
Прямо τ'пр |
Обратно τ"обр |
||||||
|
Отсчеты по винту экзаменатора |
τ'1 |
Отсчеты по винту экзаменатора |
τ"1 |
Отсчеты по винту экзаменатора |
τ'2 |
Отсчеты по винту экзаменатора |
τ"2 |
||||
|
|
|
|
|
|
|
|
|
|
|
|
|
|
0 |
11об 99.1 |
|
11об 102.2 |
|
10об 18.8 |
|
10об 7.9 |
|
|
|
|
|
|
|
124.7" |
|
131.0" |
|
124.9" |
|
130.8" |
124.8" |
130.9" |
-6.1" |
|
1 |
12 43.8 |
|
12 53.2 |
|
9 73.9 |
|
9 57.1 |
|
|
|
|
|
|
|
125.0 |
|
130.1 |
|
125.4 |
|
130.1 |
125.2 |
130.1 |
-4.9 |
|
2 |
12 168.8 |
|
13 3.3 |
|
8 128.5 |
|
8 107.7 |
|
|
|
|
|
|
|
124.1 |
|
124.2 |
|
124.4 |
|
125.0 |
124.2 |
124.6 |
-0.4 |
|
3 |
13 112.9 |
|
13 127.5 |
|
8 4.1 |
|
7 162.0 |
|
|
|
|
|
|
|
125.4 |
|
125.3 |
|
125.9 |
|
125.5 |
125.6 |
125.4 |
+0.2 |
|
4 |
14 58.3 |
|
14 72.8 |
|
7 58.2 |
|
7 36.5 |
|
|
|
|
|
|
|
125.7 |
|
125.6 |
|
125.2 |
|
126.6 |
125.4 |
126.1 |
-0.7 |
|
5 |
15 4.0 |
|
15 18.4 |
|
6 13.0 |
|
6 89.9 |
|
|
|
|
|
|
|
126.2 |
|
126.1 |
|
126.4 |
|
126.4 |
126.3 |
126.2 |
+0.1 |
|
6 |
15 130.2 |
|
15 144.5 |
|
5 166.6 |
|
5 143.5 |
|
|
|
|
|
|
|
126.4 |
|
119.0 |
|
127.1 |
|
119.8 |
126.8 |
119.4 |
+7.4 |
|
7 |
16 76.6 |
|
16 83.5 |
|
5 39.5 |
|
5 23.7 |
|
|
|
|
|
|
|
126.0 |
|
118.1 |
|
126.1 |
|
117.6 |
126.0 |
117.8 |
+8.2 |
|
8 |
17 22.6 |
|
17 21.6 |
|
4 93.4 |
|
4 86.1 |
|
|
|
|
|
|
|
|
|
|
|
τср = 125.3" |
Среднее |
125.5 |
125.1 |
|
|
У нивелиров с компенсатором должны быть определены средняя квадратическая ошибка установки вертикальной оси нивелира по установочному уровню в отвесное положение: диапазон и средняя квадратическая ошибка самоустановки визирной линии нивелира; систематическая ошибка компенсации и время затуханий колебаний подвесной системы компенсатора.
Среднюю квадратическую ошибку установки вертикальной оси нивелира по установочному уровню в отвесное положение определяю на экзаменаторе с ценой деления измерительного винта до 5" Перед этими исследованиями следует проверить и хорошо отъюстировать установочный уровень нивелира. При исследовании трубу нивелира располагают вдоль оси экзаменатора. Отсчет по измерительному винту должен быть близок к нулю. Вращением измерительного винта экзаменатора наклоняют нивелир на 3-4', а затем, используя этот же винт, приводят пузырек установочного уровня точно на середину и производят отсчет по его шкале с точностью до 1 дел. Каждая серия состоит из десяти точных установок и десяти отсчетов. В первой и третьей сериях точную установку пузырька круглого уровня на середину осуществляют ввинчиванием измерительного винта экзаменатора, во втором и четвертом - вывинчиванием. Перед началом второй, третьей и четвертой серий зрительную трубу нивелира поворачивают на 90° по ходу часовой стрелки. Пример записи результатов наблюдений приведен в табл. 27.
ТАБЛИЦА 27
Определение средней квадратической ошибки установки вертикальной оси нивелира по установочному уровню в отвесное положение
Ni-005А № 00903 Экзаменатор ЭГЕМ μ = 1" Дата: 23.05.01
|
Номер серии |
|||||||
|
I |
II |
III |
IV |
||||
|
Отсчет по шкале измерительного винта lI |
V1 |
Отсчет по шкале измерительного винта lII |
v2 |
Отсчет по шкале измерительного винта lIII |
v3 |
Отсчет по шкале измерительного винта lIV |
v4 |
|
00об 23 |
-6 |
00об 45 |
+2 |
00об 23 |
+19 |
00об 05 |
-20 |
|
40 |
+11 |
50 |
+7 |
20 |
-21 |
30 |
+5 |
|
35 |
+6 |
30 |
-13 |
25 |
-16 |
45 |
+20 |
|
27 |
-2 |
55 |
+12 |
55 |
+14 |
25 |
00 |
|
42 |
+13 |
65 |
+22 |
48 |
+7 |
10 |
-15 |
|
16 |
-13 |
35 |
-8 |
42 |
+1 |
17 |
-8 |
|
18 |
-11 |
70 |
+27 |
49 |
+8 |
29 |
+4 |
|
19 |
-10 |
30 |
-13 |
29 |
-12 |
40 |
+15 |
|
29 |
00 |
29 |
-14 |
58 |
+7 |
15 |
-10 |
|
45 |
+16 |
25 |
-18 |
23 |
-18 |
35 |
+10 |
|
lIср = 29.4 |
ΣV1 = +4 |
lIIср = 43.4 |
ΣV2 = +4 |
lIIIср = 40.9 |
ΣV3 = -1 |
lIVср = 25.1 |
ΣV4 = +1 |
|
ΣV12 = 1012 |
ΣV22 = 2332 |
ΣV32 = 2125 |
ΣV42 = 1555 |
||||
|
Δlmax = lIiср - lIvср=43.4"-25.1"=18.3" |
|
ΣΣV2=7024 |
|||||
Вычисляют lcp и среднюю квадратическую ошибку установки вертикальной оси нивелира в отвесное положение по формуле:
![]()
где V - уклонение отдельных отсчетов в серии от среднего;
k - число серий;
n - число отсчетов в серии.
Величина mуст и расхождения между lcp полученными в отдельных сериях, не должны превышать 30" у приборов, предназначенных для нивелирования I класса, 1' - II класса и 3' - III и IV классов.
Если расхождения больше, то необходимо вновь отъюстировать, установочный уровень и повторить все измерения. Если расхождения между lcp и mуст подтвердятся, то необходимо заменить круглый установочный уровень.
Определение диапазона работы, средней квадратической ошибки установки визирной линии нивелира и систематической ошибки компенсатора в лаборатории выполняют следующим образом: устанавливают нивелир на экзаменатор с ценой деления измерительного винта не более 5", а рядом с экзаменатором автоколлиматор типа АКТ, АК-0.25, АК-0.5 или теодолит, позволяющий измерять углы с точностью 0,1". Нивелир располагают на столике экзаменатора автоколлиматором фиксируют положение средней нити. Сетку нивелира подсвечивают электролампой. Зрительные трубы нивелира и коллиматора должны быть отфокусированы на бесконечность и наведены друг на друга. Подъемными винтами приводят пузырек установочного уровня на середину.
Измерения состоят в фиксировании коллиматором положения средней нити сетки нитей нивелира после наклона его на 0, 2, 4', … k', т.е. до тех пор, пока еще работает компенсатор, сначала в поперечном, а затем в продольном направлениях. Требуемый наклон задают при помощи экзаменатора. Прежде чем приступить к исследованиям в поперечном направлении, поворачивают зрительную трубу нивелира на 90°, а коллиматор устанавливают так, чтобы была видна сетка нитей.
При каждом положении в биссектор коллиматора вводят среднюю нить сетки нивелира и отсчитывают по микрометру коллиматора. При каждом положении нивелира таких отсчетов делают три. Измерения выполняют при вращении винта экзаменатора на ввинчивание (прямой ход) и вывинчиванием (обратный ход) во всем пределе работы компенсатора. При исследовании нивелиров, предназначенных для нивелирования I и II классов, делают по два приема (при наклонах нивелира в поперечном и продольном направлениях).
Определение диапазона и погрешностей работы компенсатора
|
Нивелир Ni-005A |
№ 000903 |
Коллиматор АК-0,25 |
|
Дата: 23.05.01 |
|
№ 67241 μ = 0,25" |
|
|
|
Экзаменатор № 004 μ =1" |
|
Наклон оси в продольном направлении I прием |
||
|
Наклон α |
Прямой ход |
Обратный ход |
db, с |
b = (bср пр + bср обр)/2, с |
||
|
b, с |
bср пр, c |
b, с |
bср обр, c |
|||
|
+ 12' |
5,6 |
|
5,5 |
|
|
|
|
|
5,8 |
|
5,3 |
|
|
|
|
|
5,7 |
5,70 |
5,4 |
5,40 |
+ 0,30 |
5,55* |
|
10 |
4,0 |
|
4,1 |
|
|
|
|
|
4,2 |
|
4,3 |
|
|
|
|
|
4,1 |
4,10 |
4,2 |
4,20 |
-0,10 |
4,15 |
|
8 |
4,4 |
|
4Д |
|
|
|
|
|
4,2 |
|
4,2 |
|
|
|
|
|
4,3 |
4,30 |
4Д |
4,13 |
+ 0,17 |
4,22 |
|
6 |
4,2 |
|
4,2 |
|
|
|
|
|
4,1 |
|
4,3 |
|
|
|
|
|
4,1 |
4,13 |
4,2 |
4,23 |
-0,10 |
4,18 |
|
4 |
4,0 |
|
4,2 |
|
|
|
|
|
3,9 |
|
4,1 |
|
|
|
|
|
4,2 |
4,03 |
4,1 |
4,13 |
-0,10 |
4,08 |
|
+ 2 |
3,8 |
|
3,9 |
|
|
|
|
|
3,8* |
|
4,0 |
|
|
|
|
|
3,8 |
3,80 |
4,1 |
4,00 |
-0,20 |
3,90 |
|
0 |
3,9 |
|
3,9 |
|
|
|
|
|
3,9 |
|
3,9 |
|
|
|
|
|
3,9 |
3,90 |
3,9 |
3,90 |
00 |
3,90 |
|
-2 |
3,7 |
|
4,0 |
|
|
|
|
|
3,9 |
|
4,0 |
|
|
|
|
|
3,8 |
3,80 |
4,0 |
4,00 |
-0,20 |
3,90 |
|
4 |
3,8 |
|
3,8 |
|
|
|
|
|
3,9 |
|
3,8 |
|
|
|
|
|
4,0 |
3,90 |
3,8 |
3,80 |
+ 0,10 |
3,85 |
|
6 |
3,7 |
|
3,9 |
|
|
|
|
|
4,0 |
|
3,7 |
|
|
|
|
|
3,8 |
3,83 |
3,8 |
3,80 |
+ 0,03 |
3,82 |
|
8 |
3,6 |
|
3,7 |
|
|
|
|
|
3,9 |
|
3,7 |
|
|
|
|
|
3,7 |
3,73 |
3,5 |
3,63 |
+ 0,10 |
3,68 |
|
19 |
3,5 |
|
3,7 |
|
|
|
|
|
3,7 |
|
3,5 |
|
|
|
|
|
3,6 |
3,60 |
3,6 |
3,60 |
00 |
3,60 |
|
-12 |
1,7 |
|
1,4 |
|
|
|
|
|
1,5 |
|
1,2 |
|
|
|
|
|
1,6 |
1,60 |
1,2 |
1,27 |
+ 0,33 |
1,44* |
|
|
Σdb2 =0.1598 |
|
||||
σk = (4.15 - 3.60)/20 = 0.55/20 = +0.03" на 1' наклона
Среднее из двух приемов σk = +0.035"
________________________
* Отсчеты не учитывались, так как в них наблюдается большая ошибка в работе компенсатора. Остальные приемы не приводятся.

Рис. 31 Схема положений пузырька круглого уровня при исследовании компенсатора
Диапазон работы компенсатора определяют по максимальным (наклонам нивелира, при которых работает компенсатор, а в отсчетах отсутствуют грубые ошибки.
Пример определения диапазона и ошибок работы компенсатора приведен в табл. 28.
Среднюю квадратическую ошибку mk самоустановки визирной линии нивелира находят по формуле:
![]()
где db = (bср пр - bср обр) - разность средних отсчетов по микрометру коллиматора, полученных в прямом и обратном ходах, для одной: той же установки винта экзаменатора;
n - число разностей отсчетов.
Систематическую ошибку работы компенсатора вычисляют по формуле:
σk=(b1-bn)/vj
b1, bn - средние отсчеты по коллиматору при максимальных наклонах вертикальной оси нивелира;
vj - суммарный наклон вертикальной оси нивелира, угл. мин.
У нивелиров, предназначенных для нивелирования I и II классов, диапазон работы компенсатора должен быть более ±8', средняя квадратическая ошибка самоустановки визирной линии нивелира менее 0,2", систематическая ошибка работы компенсатора на 1' наклона вертикальной оси нивелира не более 0,05", соответственно у нивелиров Н-3 - 15', 0,5" и 0,3". Если при исследованиях получены большие значения mk и σk, то нивелиры следует юстировать в мастерской.
Определение качества работы компенсатора нивелира в полевых условиях
s = 50,0 м Ясно, спокойно, изображение слабо колеблющееся
|
Номер серии |
Превышение, мм |
||||
|
Пузырек уровня в нуль-пункте |
Продольный наклон, угл. мин. |
Поперечный наклон, угл. мин |
|||
|
+ 10 |
-10 |
+ 10 |
-10 |
||
|
1 |
1575,4 |
1575,4 |
1575,6 |
1575,4 |
1575,7 |
|
|
1575,6 |
1575,5 |
1575,7 |
1575,4 |
1575,9 |
|
2 |
1576,0 |
1575,8 |
1576,0 |
1575,8 |
1576,0 |
|
|
1575,8 |
1575,7 |
1575,6 |
1575,6 |
1575,8 |
|
3 |
1575,5 |
1575,3 |
1575,6 |
1575,4 |
1575,8 |
|
|
1575,8 |
1575,4 |
1575,8 |
1575,6 |
1575,8 |
|
4 |
1575,9 |
1575,0 |
1576,2 |
1575,7 |
1575,9 |
|
|
1575,9 |
1575,4 |
1575,9 |
1575,7 |
1576,1 |
|
5 |
1575,4 |
1575,5 |
1575,6 |
1575,2 |
1575,8 |
|
|
1575,5 |
1575,4 |
1575,8 |
1575,6 |
1575,8 |
|
Среднее |
1575,68 |
1575,44 |
1575,78 |
1575,54 |
1575,86 |
|
|
Δh, мм |
-0.24 |
+0.10 |
-0.14 |
+0.18 |
|
|
Δh/1', мм |
-24 |
+0.010 |
-0.014 |
+0.018 |
В полевых условиях ошибки работы компенсатора определяют так (табл. 29): нивелир устанавливают строго в створе между двумя рейками и измеряют превышения при соответствующих положениях круглого уровня (рис. 31). Наблюдения выполняют сериями, общее число которых равно пяти. Во всех сериях при каждом наклоне нивелира измеряют превышение по основной и дополнительной (мерной и красной) шкалам реек. Перед новой серией изменяют высоту нивелира. При нивелировании I и II классов перед началом полевых работ исследования выполняют при расстояниях между рейками 10, 50 и 100 м, через 2, 4 и 6 мес после выезда в поле на расстоянии 100 м. При нивелировании III класса при расстояниях между рейками 100 и 200 м, IV класса - 200 м. После выезда в поле через три месяца при нивелировании III класса выполняют эту поверку на расстоянии ???.
Если у приборов, предназначенных для нивелирования I и II классов, превышения, полученные при положении круглого уровня II, III, IV и V (см. рис. 33), отличаются от превышения, определенного при положении пузырька уровня на середине, более чем на 0,5 мм (I класс), 1,0 мм (II класс), 3,0 мм (III класс) и 5,0 мм (IV класс), то нивелиры следует юстировать в мастерской, а следовательно, их нельзя использовать при нивелировании соответствующего класса. Время, необходимое для затуханий видимых колебаний изображений предмета после выведения компенсатора из положения равновесия, определяют следующим образом: на расстоянии ~ 25 м от нивелира устанавливают рейку. Слегка постукивая по корпусу нивелира или штативу, следят, когда прекратятся дрожания изображения рейки. Время между окончанием постукивания и прекращением дрожания изображения рейки и есть время затуханий колебаний подвесной системы. Оно не должно превышать 2 с.
Это исследование выполняют раз в год перед выездом в поле. Поверку перпендикулярности плоскости пятки к оси инварной рейки осуществляют следующим образом. На расстоянии ~ 15 м от нивелира забивают три костыля. На головку первого костыля последовательно пятью точками пятки устанавливают рейку (рис. 32), делая при каждой установке рейки по три отсчета по основной шкале с точностью 0,1 деления барабана. При этих исследованиях рейку поддерживают двумя палками и устанавливают строго отвесно. Во время отсчета по рейке изображения концов пузырька уровня нивелира должны быть, точно совмещены. Затем отсчеты делают по дополнительной шкале рейки. Эти действия составляют один прием, всего выполняют три приема, переставляя между ними рейку с костыля на костыль. Пример записи и обработки результатов измерений приведен в табл. 30.

Рис. 32. Схема установки пятки рейки
Вычисляют разности: a1 - а2, a1 - а3, a1-а4 и a1-а5 (табл. 31), где а - среднее из отсчетов по барабану, когда рейка установлена на костыле точками пятки 1, 2, 3, 4 и 5.
ТАБЛИЦА 30
Поверка перпендикулярности плоскости пятки к оси рейки
Рейка № 5615 s=15,0 м 12.05.01 г., 8 ч 15 мин
Облачно, слабый ветер, изображение спокойное.
|
Номер приема |
Номер штриха |
Отсчеты по барабану, когда рейка установлена на костыле |
||||
|
центром пятки |
передним краем |
задним краем |
левым краем |
правым краем |
||
|
a1 |
а2 |
а3 |
а4 |
а5 |
||
|
I |
24,4 |
64,6 |
65,0 |
65,0 |
67,1 |
65,4 |
|
65,4 |
65,2 |
66,0 |
68,6 |
68,6 |
||
|
66,2 |
65,4 |
64,0 |
66,4 |
65,2 |
||
|
Среднее |
65,4 |
65,2 |
65,0 |
67,4 |
66,4 |
|
|
83,7 |
11,8 |
10,6 |
10,5 |
10,9 |
11,6 |
|
|
|
11,2 |
10,2 |
10,6 |
9,6 |
10,0 |
|
|
|
9,6 |
8,8 |
10,8 |
11,4 |
10,2 |
|
|
Среднее |
10,9 |
9,9 |
10,6 |
10,6 |
10,6 |
|
Остальные два приема не приводятся.
|
Номер приема |
Разности (в делениях барабана) |
|||
|
a1 - а2 |
a1 - а3 |
a1-а4 |
a1-а5 |
|
|
1 |
+ 0,2 |
+ 0,4 |
-2,0 |
-1,0 |
|
|
+ 1,0 |
+ 0,3 |
+ 0,3 |
+ 0,3 |
|
2 |
+ 1,0 |
-0,1 |
-0,6 |
+ 1,3 |
|
|
+ 0,6 |
+ 0,8 |
-1,2 |
+ 0,9 |
|
3 |
+ 1,2 |
+ 1,0 |
-0,8 |
+ 1,0 |
|
|
+ 0,6 |
+ 0,3 |
-1,0 |
+ 0,2 |
|
Средняя |
+ 0,8 |
+ 0,4 |
-0,9 |
+ 0,4 |
|
Средняя, мм |
+ 0,04 |
+ 0,02 |
-0,04 |
+ 0,02 |
Если есть средние значения разностей a1 - аi больше 0,1 мм, то при нивелировании I класса такой рейкой необходимо пользоваться подпятником. При нивелировании II класса подпятник применяют, если a1 - аi больше 0,2 мм.
В результате внешних воздействий, а также небрежного обращения с инварными рейками они коробятся. Коробление может быть причиной погрешностей нивелирования. Поэтому два раза в месяц при нивелировании I и II классов следует определять стрелку прогиба рейки.
Для этого рейку горизонтально кладут на боковое ребро, натягивают тонкую металлическую проволоку или нить между ее концами, при помощи линейки или миллиметровой бумаги измеряют расстояние от этой нити до поверхности инварной полосы около 2, 30 и 58 делений рейки.
По полученным соответственно расстояниям a1, а2 и а3 (рис. 32 а, б) вычисляют прогиб по формуле:
f = a2 - (a2 + a2)/2.
При a1 =7 мм, а2 = 15 мм, а3 = 6 мм f1 = +8,5 мм (рис. 31, а),
при a1 = 7 мм, а2 = 1 мм, а3 = 1 мм f2 = -6 мм (рис. 31, б).
Прогиб у инварной рейки должен быть менее 5 мм. Если во время работ в поле прогиб f стал более 5 мм, то при перерывах рейки укладывают на опоры так, как показано на рис. 32, в, г.

Рис. 32. Схемы определения стрелки прогиба рейки
Поверку выполняют при помощи контрольной линейки перед выездом в поле при нивелировании I, II и III классов и при получении новых реек при нивелировании IV класса. У инварных реек определяют ошибки дециметровых интервалов 02 - 10, 10 - 30, 30 - 50, 50 - 58 основной шкалы и 60 - 70, 70 - 90, 90 - 110 и 110 - 118 дополнительной шкалы рейки. У деревянных реек определяют ошибки дециметровых штрихов в интервале 1 - 29 на черной и 47 - 76 на красной сторонах рейки. Рейку укладывают на горизонтальную поверхность.
Отсчеты по инварным рейкам выполняют по двум краям штрихов при помощи контрольной линейки. В прямом ходе делают отсчеты по левым краям штрихов Л, в обратном - по правым П. Отсчеты по левому и правому краям штрихов Л - П не должны различаться между собой на исследуемом интервале более чем на 0,2 мм. В случае больших расхождений все измерения на данном метре повторяют. Из полученных результатов берут среднее, исключая грубые отсчеты и просчеты. Перед началом и в конце измерений каждого метрового интервала отсчитывают температуру контрольной линейки. Ошибки дециметровых интервалов при нивелировании I и II классов не должны превышать 0,1 мм. Пример определения правильности дециметровых делений рейки приведен в табл. 32.
Проверка правильности нанесения дециметровых делений инварной рейки № 843 (основная шкала)
Контрольная линейка № 462 L=1000-0.03+0.018(t-20.7°C), мм Дата: 15.09.01
|
Номер полудециметрового деления |
Измерений, мм |
Л+П, 2 мм |
п-л, мм |
Среднее приведенное к начальному штриху, мм |
Δt*, 0.01 мм |
Исправленная длина, мм |
Ошибка дециметрового деления, мм |
|
|
Л |
П |
|||||||
|
tнач = 25.0°С tкон = +25.2°С |
||||||||
|
2 |
00.00(1) |
1.10(10) |
00.55 |
1.10 |
00.00 |
0 |
00.00 |
0.00 |
|
4 |
100.02(2) |
101.12(9) |
100.57 |
1.10 |
100.02 |
0 |
100.02 |
+0.02 |
|
6 |
199.96(2) |
201.08(8) |
200.52 |
1.12 |
199.97 |
+1 |
199.98 |
-0.02 |
|
8 |
300.64(4) |
301.16(7) |
300.61 |
1.10 |
300.06 |
+2 |
300.08 |
+0.08 |
|
10 |
400.00(5) |
401.12(6) |
400.56 |
1.12 |
400.01 |
+2 |
400.03 |
+0.03 |
|
tнач = 25.2°С tкон = +25.2°С |
||||||||
_______________________
* Поправка Δt за приведенные длины интервала контрольной линейки К к температуре компарирования рейки вычисляется по формуле:
Δt = КΔL[Δкомп + α](t - trjvg)
где Δкомп - отличие длины метрового интервала линейки от 1000 мм при температуре эталонирования trjvg линейки на компараторе МК-1;
α=0.018 мм/1°С;
t - температура контрольной линейки в момент компарирования реек.
|
10 |
00.04 |
01.14 |
00.59 |
1.10 |
00.00 |
0 |
00.00 |
0.00 |
|
12 |
100.08 |
101.14 |
100.61 |
1.06 |
100.02 |
+1 |
100.03 |
+0.03 |
|
14 |
200.06 |
201.12 |
200.59 |
1.06 |
200.00 |
+1 |
200.01 |
+0.01 |
|
16 |
300.00 |
301.10 |
300.55 |
1.10 |
299.96 |
+2 |
299.98 |
-0.02 |
|
18 |
400.00 |
400.14 |
400.57 |
1.14 |
399.98 |
+2 |
400.00 |
0.00 |
|
20 |
500.06 |
500.16 |
500.61 |
1.10 |
500.02 |
+3 |
500.05 |
+0.05 |
|
22 |
599.98 |
601.08 |
600.53 |
1.10 |
599.94 |
+3 |
599.97 |
-0.03 |
|
24 |
700.00 |
701.12 |
700.56 |
1.12 |
699.97 |
+4 |
700.01 |
+0.01 |
|
26 |
800.06 |
801.20 |
800.63 |
1.14 |
800.04 |
+4 |
800.08 |
+0.08 |
|
28 |
900.02 |
901.10 |
900.56 |
1.08 |
899.97 |
+5 |
900.02 |
+0.02 |
|
30 |
1000.06 |
1001.14 |
1000.60 |
1.08 |
1000.01 |
+5 |
1000.06 |
+0.06 |
Остальные интервалы не приводятся.
Ошибки дециметровых делений рейки при нивелировании III класса не должны превышать 0,4 мм, IV класса - 0,6 мм. При определении ошибок дециметровых делений деревянной рейки металлической линейкой и тонко отточенным карандашом отмечают края дециметровых шашек. Затем укладывают рейку горизонтально и проверяют полностью сначала черную, а затем красную стороны рейки. Измерения каждого метрового интервала выполняют дважды. Перед вторым измерением контрольную линейку немного сдвигают. При записях вторых отсчетов указывают только сотые миллиметра. Перед началом и в конце исследований измеряют температуру контрольной линейки. Пример записи измерений и обработки результатов приведен в табл. 33. Разности отсчетов I-II в пределах метрового интервала не должны различаться между собой на 0.1 мм.
Поверка правильности нанесения дециметровых делений деревянной рейки № 2485 (черная сторона)
Контрольная линейка № 0721 tнач = +8,7°С tкон = +9,5°С
|
Номер дециметра |
Отсчеты по контрольной линейке, мм |
Разность II - I, мм |
Среднее из отсчетов, мм |
Ошибка дециметрового деления, мм |
Случайная ошибка дециметрового деления, мм |
|
|
Положения |
||||||
|
I |
II |
|||||
|
1 |
0,00 |
,28 |
0,28 |
0,14 |
|
|
|
2 |
100,12 |
,45 |
33 |
100,28 |
+ 0,14 |
+ 0,12 |
|
3 |
200,03 |
,28 |
25 |
200,16 |
-0,12 |
-0,14 |
|
4 |
300,15 |
,50 |
35 |
300,32 |
+ 0,16 |
+ 0,14 |
|
5 |
400,08 |
,33 |
25 |
400,20 |
-0,12 |
-0,14 |
|
6 |
500,20 |
,50 |
30 |
500,35 |
+ 0,15 |
+ 0,13 |
|
7 |
600,22 |
,50 |
28 |
600.36 |
+ 0,01 |
-0,01 |
|
8 |
700,10 |
,44 |
34 |
700,27 |
-0,09 |
-0,11 |
|
9 |
800,14 |
,46 |
32 |
800,30 |
+ 0,03 |
+ 0,01 |
|
10 |
900,35 |
,65 |
30 |
900,50 |
+ 0,20 |
+ 0,18 |
|
10 |
0,00 |
,40 |
40 |
0,20 |
|
|
|
11 |
100,05 |
,50 |
45 |
100,28 |
+ 0,08 |
+ 0,06 |
|
12 |
200,08 |
,46 |
38 |
200,27 |
-0,01 |
-0,03 |
|
13 |
300,03 |
,38 |
35 |
300,20 |
-0,07 |
-0,09 |
|
14 |
400,12 |
,52 |
40 |
400,32 |
+ 0,12 |
+ 0,10 |
|
15 |
500,14 |
,58 |
44 |
500,36 |
+ 0,04 |
+ 0,02 |
|
16 |
600,20 |
,56 |
36 |
600,38 |
+ 0,02 |
0,00 |
|
17 |
700,15 |
,56 |
41 |
700,36 |
-0,02 |
-0,04 |
|
18 |
800,18 |
,55 |
37 |
800,36 |
0,00 |
-0,02 |
|
19 |
900,17 |
,62 |
45 |
900,40 |
+ 0,04 |
+ 0,02 |
|
20 |
1000,16 |
,55 |
39 |
1000,36 |
-0,04 |
-0,06 |
|
20 |
0,00 |
,16 |
16 |
0,08 |
|
|
|
21 |
100,16 |
,36 |
20 |
100,26 |
+ 0,18 |
+ 0,16 |
|
22 |
200,26 |
,40 |
14 |
200,33 |
+ 0,07 |
+ 0,05 |
|
23 |
300,14 |
,26 |
12 |
300,20 |
-0,13 |
-0,15 |
|
24 |
400,00 |
,20 |
20 |
400,10 |
-0,10 |
-0,12 |
|
25 |
500,04 |
,22 |
18 |
500,13 |
+ 0,03 |
+ 0,01 |
|
26 |
600,06 |
,26 |
20 |
600,16 |
+ 0,03 |
+ 0,01 |
|
27 |
700,10 |
,20 |
10 |
700,15 |
-0,01 |
-0,03 |
|
28 |
800,24 |
,40 |
16 |
800,32 |
+ 0,17 |
+ 0,15 |
|
29 |
900,18 |
,34 |
16 |
900,26 |
-0,06 |
-0,08 |
|
|
Σ = =+0,70 |
Σ = =+0,14 |
||||
Систематическая ошибка дециметрового деления равна -I- 0,70/28 = 0,025 мм. Наибольшие ошибки дециметровых делений - +0,18 и -0,15 мм.
Эти определения выполняют в сроки, приведенные для нивелирования I и II классов в п. 7.10 и 8.4, III класса - п. 15.9, IV класса - п. 16.6, 16.7.
Инварную рейку укладывают на упоры, которые должны находиться под 12 и 48 делениями. Метровые интервалы инварной рейки 10-30, 30-50, 70-90 и 90-110 измеряют сначала в прямом, затем в обратном направлениях. Перед обратным ходом контрольную линейку поворачивают на 180°. Два раза отсчитывают по двум краям штрихов. Перед вторым измерением каждого интервала линейку немного сдвигают. Разности отсчетов по правому и левому П-Л концам на каждом интервале не должны различаться более чем на 0,1 мм, длины метровых интервалов, определенные в прямом и обратном направлениях - 0,05 мм. При получении больших расхождений измерения повторяют, из найденных результатов берут среднее, исключая грубые отсчеты и просчеты. Перед началом измерений каждого интервала определяют температуру контрольной линейки. Пример полевого эталонирования инварной рейки приведен в табл. 24.
ТАБЛИЦА 34
Контрольное определение длин метровых интервалов инварной рейки
Дата: 02.11.01
Контрольная линейка № 462 L=1000-0,03+0,018(t-20.7°С), мм
|
Интервал рейки |
Температура линейки, °С |
Отсчеты по линейке, мм |
П-Л, мм |
Среднее П-Л, мм |
Поправка за длину и температуру линейки, мм |
Длина интервала, мм |
|
|
Л |
П |
||||||
|
10-30 |
+ 23,0 |
0,04 |
1000,10 |
1000,06 |
|
|
|
|
|
|
1,10 |
1001,11 |
1000,01 |
|
|
|
|
|
|
0,44 |
1000,50 |
1000,06 |
|
|
|
|
|
|
1,52 |
1000,57 |
1000,05 |
1000,04 |
+ 0,01 |
1000,05 |
|
30-50 |
+ 23,1 |
0,10 |
1000,09 |
999,99 |
|
|
|
|
|
|
1,08 |
1001,12 |
1000,04 |
|
|
|
|
|
|
0,56 |
1000,54 |
999,98 |
|
|
|
|
|
|
1,53 |
1001,58 |
1000,05 |
1000,02 |
+ 0,01 |
1000,03 |
|
50-30 |
+ 23,1 |
0,16 |
1000,20 |
1000,04 |
|
|
|
|
|
|
1,24 |
1001,20 |
999,96 |
|
|
|
|
|
|
0,60 |
1000,60 |
1000,00 |
|
|
|
|
|
|
1,70 |
1001,68 |
999,98 |
1000,00 |
+ 0,01 |
1000,01 |
|
30-10 |
+ 23,3 |
0,24 |
1000,20 |
999,96 |
|
|
|
|
|
|
1,30 |
1001,30 |
1000,00 |
|
|
|
|
|
|
0,60 |
1000,62 |
1000,02 |
|
|
|
|
|
|
1,64 |
1001,66 |
1000,02 |
1000,00 |
+ 0,02 |
1000,02 |
Длины метровых интервалов у всех реек определяют, как правило, в помещении или палатке. Перед началом исследований остро отточенным карандашом по металлической линейке отмечают тонкими штрихами края шашечных делений, по которым будут отсчитывать. Исследуемую рейку кладут горизонтально. Каждый интервал рейки 1-10, 10-20, 20-29, 48-57, 57-67 и 67-76 измеряют сначала в прямом, а затем в обратном направлениях. При обратных измерениях контрольную линейку поворачивают на 180°. Измерение интервала состоит из двукратного отсчитывания по концам метрового интервала при помощи контрольной линейки. Сначала отсчитывают по левому концу, а затем по правому. Перед вторым измерением интервала контрольную линейку немного сдвигают.
Разности отсчетов по правому и левому концам контрольной линейки на каждом интервале не должны различаться между собой больше чем на 0,1 мм. Если были получены большие расхождения, то контрольную линейку сдвигают еще раз и повторяют измерения. Грубые отсчеты вычеркивают, а из оставшихся берут среднее. Перед началом и в конце измерений каждой стороны рейки определяют и записывают температуру контрольной линейки. Пример компарирования деревянной рейки приведен в табл. 35, в скобках показан порядок отсчетов и вычислений. В измеренные длины вводят Поправку за приведение контрольной линейки к температуре компарирования рейки.
Определение средней длины метрового интервала деревянной рейки
Дата: 05.11.01
Рейка № 2342 (черная сторона) Контрольная линейка № 0721
L=1000+0,01+0,018 (t-6.8 °С), мм
|
Часть рейки |
Отсчет по линейке, мм |
Среднее П - Л, мм |
Поправка за длину контрольной линейки и температуру, мм |
Длина части рейки, мм |
||
|
Л |
П |
П-Л |
||||
|
tнач = +8.6°С (1) |
||||||
|
1-10 |
0,00(2) |
900,14(3) |
900,14(6) |
|
|
|
|
|
0,44(4) |
900,54(7) |
900,10(7) |
900,12(8) |
-0,11(9) |
900,01 (10) |
|
10-20 |
0,10 |
1000,24 |
1000,14 |
|
|
|
|
|
0,36 |
1000,55 |
1000,19 |
1000,16 |
-0,12 |
1000,04 |
|
20-29 |
0,08 |
900,06 |
899,98 |
|
|
|
|
|
0,30 |
900,24 |
899,94 |
899,96 |
-0,11 |
899,85 |
|
t = + 8,7°С |
||||||
|
29-20 |
0,14 |
900,10 |
899,96 |
|
|
|
|
|
0,28 |
900,18 |
899,90 |
999,93 |
-0,11 |
899,82 |
|
20-10 |
0,00 |
1000,10 |
1000,10 |
|
|
|
|
|
0,50 |
1000,64 |
1000,14 |
1000,12 |
-0,12 |
1000,00 |
|
10-1 |
0,12 |
900,22 |
900,10 |
|
|
|
|
|
1,36 |
901,48 |
900,12 |
900,11 |
-0,11 |
900,00 |
|
t кон = +8,6°С |
||||||
Σ |
3,68 |
11204,49 |
11200,81 |
5600,40 |
-0,68 |
5599,72 |
Средняя длина метрового интервала рейки № 3242 по черной стороне равна 5599,72/5,6 = 999,95 мм.
|
Ход от марки 2231 до грунт. реп. 57 |
Условия работы: изображение спокойное, отчетливое, облачно, слабый ветер. |
|
Дата 31.08.2000 г. Начало 16 ч 20 мин; конец 17 ч 45 мин |
|
|
Направление: хода юго-восток |
|
|
Номера штативов и реек |
Зарисовка привязки |
Температура воздуха, °С |
Отсчеты по трем нитям |
Порядок отсчитывания |
Отсчеты по биссектору 1/2 дм |
||||||
|
Правая линия нивелирования |
Левая линия нивелирования |
Правая линия нивелирования |
|||||||||
|
З/и1 |
П/d |
З/и1 |
П/d |
Основная шкала |
Дополнительная шкала |
||||||
|
Р |
Б |
Р |
Б |
||||||||
|
1 |
2 |
3 |
4 |
5 |
6 |
1 |
8 |
9 |
10 |
11 |
12 |
|
1 |
|
+11.6 |
134(1) |
3321(6) |
131(15) |
3341(20) |
З |
3.4(4) |
38(5) |
62.6(130) |
88(14) |
|
Подв.-2 |
|
|
339(2) |
3525(7) |
339(16) |
3543(21) |
П |
35.2(0) |
99(10) |
94.5(11) |
47(12) |
|
|
|
545(3) |
3729(8) |
547(17) |
3747(22) |
з-п |
-31.8(32) |
-61(33) |
-31.9(35) |
+41(36) |
|
|
|
|
411(20) |
408(30) |
416(38) |
406(39) |
и |
-31/861(34) |
-31/859(37) |
|||
|
|
|
-31.86(31) |
+3/+3(47,48) |
-32.04(40) |
+10/+10(49,50) |
|
|
|
|
|
|
|
2 |
|
|
|
|
|
|
|
|
|
|
|
|
2-1 |
|||||||||||
|
|
|
|
2959(6) |
2915(1) |
2978(20) |
2868(15) |
З |
31.5(9) |
29(10) |
90.7(11) |
79(12) |
|
|
|
|
3149(7) |
3102(2) |
3168(21) |
3055(16) |
П |
31.0(4) |
78(5) |
90.3(13) |
27(14) |
|
|
|
|
3339(8) |
3292(3) |
3358(22) |
3242(17) |
з-п |
+0.5(32) |
-49(33) |
+0.4(35) |
+52(36) |
|
|
Марка 2231 |
|
380(29) |
377(30) |
380(38) |
374(39) |
и |
+0.451(34) |
+0.452(37) |
||
|
|
|
|
+0.47(31) |
+3/+6(47,48) |
+1.13(40) |
+6/+16(49,50) |
|
|
|
|
|
|
|
|
|
|
|
|
|
|
|
|
|
|
|
|
|
+ 12.0 |
2621 |
2837 |
2572 |
2830 |
З |
27.5 |
4 |
86.7 |
57 |
|
|
|
|
2746 |
2962 |
2698 |
2955 |
П |
29.6 |
71 |
88.9 |
24 |
|
|
|
|
2870 |
3087 |
2821 |
3080 |
з-п |
-2.1 |
-67 |
-2.2 |
-2.167 |
|
|
|
|
249 |
250 |
249 |
250 |
и |
-2.167 |
-2.167 |
||
|
|
|
|
-2.16 |
-1/+5 |
-2.57 |
-1/+15 |
|
|
|
|
|
|
|
Σ(1-10) |
|
7842(63) |
7840(64) |
117850(65) |
7838(66) |
ΣЗ |
256.1(67) |
347(68) |
848.3(74) |
668(75) |
|
|
|
|
|
+2 |
|
+12 |
ΣП |
298.9(69) |
505(70) |
891.3(76) |
698(77) |
|
|
|
|
|
|
|
|
Σз-п |
-24.6(7) |
-79(72) |
-24.8(78) |
+141(79) |
|
|
Σ по ходу |
|
11443(63) |
11445(64) |
11449(65) |
11441(66) |
Σи |
-24.679(73) |
-24.659(80) |
||
|
|
|
|
|
-2 |
|
+8 |
|
|
|
||
|
|
|
|
|
|
|
|
Подсчет по секции от марки 2231 до грунт. реп. 57 |
||||
|
|
|
|
l=1.1 км (67) |
n=14 штативов |
|
|
ΣЗ |
387.1(68) |
543(68) |
1216.2(74) |
964(75) |
|
|
|
|
|
|
|
|
ΣП |
411.7(69) |
622(70) |
1241.01(76) |
823(77) |
|
|
|
|
|
|
|
|
Σз-п |
-24.6(7) |
-79(72) |
-24.8(78) |
+141(79) |
|
|
|
|
|
|
|
|
Σи |
-24.679(73) |
-24.659(80) |
||
Продолжение приложения 22
|
Номера штативов и реек |
Зарисовка привязки |
Отсчеты по биссектору 1/2 дм |
Контроль |
||||||
|
Контроль |
Левая линия нивелирования |
Контроль |
ЗП - ЗЛ ПП - ПЛ |
|
|||||
|
Основная шкала |
Дополнительная шкала |
||||||||
|
Р |
Б |
Р |
Б |
||||||
|
1 |
2 |
13 |
14 |
15 |
16 |
17 |
18 |
19 |
20 |
|
1 Подв.-2 |
|
-2(35) -2(36) |
3.4(18) |
38(19) |
62.6(27) |
89(28) |
-1(52) -1(54) |
0.000(55) -0.190(57) |
0(59) 0(61) |
|
35.4(23) |
88(24) |
94.7(25) |
38(26) |
||||||
|
|
-32.0(41) |
-50(42) |
-32.1(44) |
+51(45) |
|||||
|
|
|
-32.050(43) |
-32.049(46) |
|
|
|
|||
|
|
-1(35) -3(36) |
31.7(23) |
18(24) |
90.9(25) |
68(26) |
-1(52) -2(54) |
-0.189(58) +0,484(56) |
-1(60) -1(61) |
|
|
|
30.5(18) |
94(19) |
89.8(27) |
43(28) |
|||||
|
|
|
+1.2(42) |
-76(42) |
+1.1(44) |
+25(45) |
|
|
|
|
|
|
|
+1.124(43) |
+1.125(46) |
|
|
|
|||
|
|
0 -3 |
27.0 |
21 |
86.2 |
70 |
+1 -1 |
+0.485 +0.076 |
-1 -2 |
|
|
|
|
|
|
|
|||||
|
|
29.5 |
97 |
88.8 |
47 |
|
|
|
||
|
|
-2.5 |
-76 |
-2.6 |
+23 |
|
|
|
||
|
|
|
|
-2.576 |
|
|
-2.577 |
|
|
|
|
|
Σ(1-10) |
254.6(81) |
375(82) |
864.9(88) |
578(89) |
|
|
|
|
|
|
Σ по ходу |
297.8(83) |
623(82) |
890.5(90) |
433(91) |
+7 |
|
|
|
|
|
|
-43.2(85) |
-248(86) |
-43.6(92) |
+145(93) |
|
|
|
|
|
|
|
-43.448(87) |
-43.455(94) |
|
|
|
|||
|
|
|
Подсчет по секции от марки 2231 до грунт. реп. 57 |
|
|
|
||||
|
|
|
387.1(81) |
605(82) |
1216.5(88) |
709(89) |
|
|
|
|
|
|
|
411.6(83) |
775(84) |
1241.2(90) |
683(91) |
|
|
|
|
|
|
|
-24.5(85) |
-170(86) |
-24.7(92) |
+26(93) |
|
|
|
|
|
|
|
-24.670(87) |
-24.674(94) |
+4 |
|
|
|||
|
|
|
|
|
Ср. -24.672(-1/2дм) |
|
|
|
||
Примечание: В скобках показан порядок отсчитывания и выполнения вычислений.
|
Измеренное превышение: |
h'прав= -1233.4 мм |
h'лев= -1233.6 мм |
|
Поправка за длину среднего метра комплекта реек: |
δh= -0.1 мм |
δh= -0.1 мм |
|
Поправка за различие температур инварных реек при эталонировании на компараторе и нивелировании в поле: |
δht= -0.3 мм |
δht= -0.3 мм |
|
Исправленное превышение: |
hправ= -1233.8 мм |
hлев= -1234.0 мм |
После подсчета превышений между смежными реперами в них вводят поправки.
Первую поправку в полевых условиях вычисляют по результатам эталонирования реек на компараторе МК-1, выполненного до нивелирования секции.
При камеральной обработке результатов нивелирования используют результаты эталонирования инварных реек на компараторе до и после полевого сезона. При работе в горных районах используют те результаты эталонирования, между которыми выполнялось нивелирование. Если изменения средней длины метра комплекта реек за время между смежными исследованиями при нивелировании I класса менее 0,02 мм, а при нивелировании II класса менее 0,03 мм, то вычисляют среднее значение длины метра комплекта реек и средний поправочный коэффициент (отличие средней длины метра комплекта реек от 1000,00 мм). При больших расхождениях поправочный коэффициент определяют по формулам
![]()
где Δ1 и Δ2 - поправочные коэффициенты, полученные при первом и втором исследовании;
t1 и t2 - даты первого и второго эталонирования;
tн - дата нивелирования.
|
Номер рейки |
Дата эталонирования |
Длины интервалов реек, мм |
Температура, реек, °С |
||||
|
10-30 |
30-50 |
70-90 |
90-110 |
среднее |
|||
|
5616 |
10.03.87 |
1000,05 |
1000,04 |
1000,03 |
1000,03 |
|
+ 19,7 |
|
5617 |
11.03.87 |
1000,06 |
1000,06 |
1000,04 |
1000,05 |
|
+ 18,4 |
|
|
|
|
|
|
|
1000,045 |
+ 19,0 |
|
5616 |
10.10.87 |
1000,04 |
1000,03 |
1000,03 |
1000,03 |
|
+ 17,3 |
|
5617 |
10.10.87 |
1000,04 |
1000,04 |
1000,02 |
1000,02 |
|
+ 17,5 |
|
|
|
|
|
|
|
1000,032 |
|
|
|
|
|
|
|
Среднее |
1000,04 |
+ 18,2 |
|
Поправочный коэффициент Δ = +0,04 мм |
|||||||
|
4836 |
10.03.87 |
1000,04 |
1000,03 |
1000,03 |
1000,05 |
|
+ 20,0 |
|
4837 |
10.03.87 |
1000,00 |
1000,01 |
1000,02 |
999,99 |
|
+ 20,2 |
|
|
|
|
|
|
|
1000,021 |
+ 20,1 |
|
Поправочный коэффициент Δ1,= +0,021 |
|||||||
|
4836 |
12.09.87 |
1000,00 |
999,98 |
999,99 |
999,99 |
|
+ 18,5 |
|
4837 |
12.09.87 |
999,95 |
999,97 |
999,95 |
999,98 |
|
+ 18,3 |
|
|
|
|
|
|
|
999,976 |
+ 18,4 |
Поправочный коэффициент Δ2 = -0,024
Пример вычисления поправки в превышение за отличие длины метра комплекта реек от номинала и различие температур реек при эталонировании на компараторе МК-1 и при нивелировании I и II классов приведен в табл. 36.
Поправочный коэффициент у реек № 5616 и 5617 в течение всего полевого сезона принимают равным +0,04 мм.
Поправочный коэффициент у реек № 4836 и 4837 на 5 августа 1987 г. вычисляют по формулам:
![]()
![]()
Округлив результаты до сотых долей, получим Δ = - 0,02 мм. Поправку за различие температуры реек при эталонировании на компараторе и при нивелировании определяют по формуле
![]()
где αср - средний коэффициент линейного расширения реек, принимаемый (если не выполнялось специальное определение) равным 2·10-6;
tэ - температура реек при эталонировании;
tн - среднее значение температуры воздуха при нивелировании;
h - превышение по секции, мм.
Например, 5 августа при средней температуре воздуха + 10,5 °С рейками № 5616 и 5617 было измерено превышение +105,407 м. Температура воздуха при эталонировании реек на компараторе МК-1 была +18,2° С. Следовательно, δh= 0,000002·[(+10,5)-(+18,2)]·105407 = 0,000002 (-7,5) 105 407 = -1,58 мм.
При работе рейками с термодатчиками поправки вычисляют по формуле
![]()
где t1н - средняя температура инварной полосы задней рейки;
ΣП - сумма отсчетов по основной шкале передней рейки, м;
Δt=t"н - t'н;
t"н - среднее значение температуры инварной полосы передней рейки.
Например, средняя температура инварной полосы задней рейки была +28,3° С, передней +35,0° С, сумма отсчетов по передней рейке по основной шкале - 500,043 м, измеренное превышение h = 114,069 м, температура реек при эталонировании +18,2° С. В этом случае
δh=114,069·0,002 (28,3-18,2)-500,043 - 0,002(35,0-28,3) = +2,30-6,70= -4,4 мм.
|
Номер секции |
Вид и номер нивелирного репера, тип центра, год закладки |
Местоположение нивелирного репера |
Расстояние от начального репера, км |
Дата нивелирования |
Число штативов |
Измеренное превышение, мм |
Разности превышений, мм |
Среднее измеренное превышение, м |
||
|
Расстояние между реперами, км |
Прямо обратно |
Прямо обратно |
Прямой ход |
Обратный ход |
d1, d3, d5 |
d3, d4, d6 |
||||
|
правое, левое |
Правое, левое |
|||||||||
|
среднее |
среднее |
|||||||||
|
1 |
2 |
3 |
4 |
5 |
6 |
7 |
8 |
9 |
10 |
11 |
|
1 |
Фунд. реп. 567, тип 140, 1948 г. |
№ 27, раз., в 100 м к зап. от него, в 40 км к вост. от пк. стб. 4/5, 1281 км, в 3 км к зап. от станц. Жарык. Контрольная марка 1007 в фундаменте плиты |
0.0 |
29.08 |
1 |
+1332.6 |
-1333.9 |
-0.5 |
-1.6 |
-1.074* |
|
0.1 |
26.08 |
1 |
+1333.1 |
-1333.8 |
-0.6 |
-0.6 |
+1.3334 |
|||
|
|
|
|
+1332.8 |
-1333.8 |
0.0 |
-1.1 |
|
|||
|
|
|
|
|
-1334.4 |
|
|
|
|||
|
|
|
|
|
-1333.6 |
|
|
|
|||
|
|
|
|
|
-1334.0 |
|
|
|
|||
|
|
|
|
|
-1333.9 |
|
|
|
|||
|
2 |
Грунт. реп. 22101, тип 116, 1963 г. |
№ 27, раз., в 200 м к зап. от него, в 30 м к зап. от пк. столб. 4/5 1281 км, в 70 м к сев. от оси ж.-д. полотна, в 85 м к зап. от фунд. реп. 567 |
|
|
|
|
|
|
|
-5.3586 |
|
0.1 |
24-25.08 |
20 |
-5358.7 |
+5359.3 |
-0.3 |
+0.6 |
|
|||
|
1.9 |
23.08 |
20 |
-5358.4 |
+5357.8 |
+1.5 |
-0.6 |
|
|||
|
|
|
|
-5358.6 |
+5358.6 |
-0.9 |
0.0 |
|
|||
|
|
|
|
+113.0 |
-119.0 |
-1.6 |
-6.0 |
+0.1163 |
|||
|
|
Марка 0042, 1963 г. |
Чилик, станц., зд. вокзала, зап. сторона |
2.0 |
30-31.08 |
67 |
|
|
|
|
|
|
6.7 |
23-25.08 |
67 |
|
|
|
|
|
|||
|
|
|
|
+114.6 |
-118.5 |
-0.5 |
-3.9 |
|
|||
|
|
|
|
+113.8 |
-118.8 |
-0.6 |
-5.0 |
|
|||
|
Итого по звену 1 |
16.1 |
|
175 |
-7830.7 |
+7822.7 |
-0.4 |
-7.8 |
|
||
|
16.1 |
|
175 |
|
|
|
|
|
|||
|
|
|
|
-7830.3 |
+7822.4 |
+0.3 |
-7.9 |
|
|||
|
|
|
|
-7830.5 |
+7822.6 |
-0.5 |
-7.9 |
|
|||
* Высоты реперов, не включенных в ход
|
Ход от грунт. реп. 6187 до грунт реп. 2003 Условия работы: грунт - песчаный, бровка до- |
2.09.89 г.; начало 7 ч 30 мин; конец 10 ч 00 мин Изображение отчетливое, спокойное, облачно |
|
Номера штативов и реек |
Зарисовка привязок |
Отсчеты по дальномесным нитям (1/2 мм) |
Отсчеты по биссекюру нитей (1/2 дм) |
Контроль |
|||||
|
Основная шкала |
Дополнительная шкала |
||||||||
|
З/u |
П/d |
|
Р |
Б |
Р |
Б |
|||
|
1 |
2 |
3 |
4 |
5 |
6 |
7 |
8 |
9 |
10 |
|
1 подв. - 2
|
|
|
|
|
|
|
|
|
|
|
|
1910(1) |
2840(5) |
З |
19,8(3) |
58(4) |
79,0(11) |
102(12) |
59,244(25) |
|
|
|
2050(2) |
2980(6) |
П |
29,1(7) |
58(8) |
88,4(9) - |
8(10) + |
59,250(26) |
|
|
|
140(21) |
140(22) |
З-П |
-9,3(13) |
0(14) |
9,4(16) |
94(17) |
|
|
|
|
Марка 6187 t=+17,3°C |
-9,30(24) |
0/0(23) |
и |
-9,300(15) |
-9,306(18) |
+ 6(19) + 6(20) |
||
|
2 |
|
2435(5) |
2380(1) |
З |
28,5(7) |
40(8) 95(4) |
87,7(9) |
88(10) |
59,248(26) |
|
2-1 |
|
3260(6) |
3215(2) |
П |
28,0(3) |
-55(14) |
87,3(11) |
47(12) |
59,252(25) |
|
|
|
825(21) |
835(22) |
З-П |
+0,5(13) |
|
+0,4(16) |
+41(17) |
|
|
|
|
+ 0,50(24) |
-10/-10(23) |
и |
+0,445(15) |
+0,441(18) |
+4(19) +10(20) |
||
|
3 |
|
2050 |
4880 |
З |
23,6 |
27 |
82,8 |
86 |
59,259 |
|
1-2 |
t = +17,8°C |
2670 |
5500 |
П |
51,9 |
28 |
111,1 |
77 |
59,249 |
|
|
|
620 |
620 |
З-П |
-28,3 |
-1 |
-28,3 |
+ 9 |
-10 |
|
|
|
-28,30 |
0/-10 |
и |
-28,301 |
-28,291 |
0 |
||
|
4 |
|
750 |
4310 |
З |
10,6 |
66 |
69,9 |
16 |
59,250 |
|
2-1 |
|
1370 |
4930 |
П |
46,2 |
8 |
105,4 |
57 |
59,249 |
|
|
|
620 |
620 |
З-П |
-35,6 |
+58 |
-35,5 |
-41 |
-1 |
|
|
|
-35,60 |
0/-10 |
и |
-35,542 |
-35,541 |
-1 |
||
|
5 |
|
2560 |
2505 |
З |
29,7 |
24 |
89,9 |
75 |
59,251 |
|
1-2 |
t = +18,0°C |
3380 |
3330 |
П |
29,2 |
40 |
88,4 |
93 |
59,253 |
|
|
|
820 |
825 |
З-П |
+ 0,5 |
-16 |
+ 0,5 |
-18 |
+ 2 |
|
|
|
+ 0,52 |
-5/-15 |
и |
+ 0,484 |
+0,482 |
+ 1 |
||
|
6 |
|
2602 |
1945 |
З |
30,2 |
20 |
89,4 |
71 |
59,251 |
|
___ |
|
3432 |
2775 |
П |
23,6 |
93 |
82,9 |
42 |
59,249 |
|
2-1 |
|
830 |
830 |
З-П |
+ 6,6 |
-73 |
+ 6,5 |
+ 29 |
-2 |
|
|
|
+ 6,57 |
0/-15 |
и |
+ 6,527 |
+ 6,529 |
-1 |
||
|
7 |
|
4480 |
1830 |
З |
47,7 |
26 |
106,9 |
85 |
59,259 |
|
___ |
t = +18,0°C |
5060 |
2410 |
П |
21,2 |
35 |
80,5 + 26,4 |
0 |
59,265 |
|
1-2 |
|
580 |
580 |
З-П |
+ 26,5 |
-9 |
|
+ 85 |
+ 6 |
|
|
|
+ 26,50 |
0/-15 |
и |
+ 26,491 |
+ 26,48i |
+ 5 |
||
|
8 |
|
2020 |
5686 |
З |
21,4 |
33 |
80,6 117,3 |
83 |
59,250 |
|
___ |
|
2270 |
5934 |
П |
58,1 |
25 |
-36,7 |
78 |
59,253 |
|
2-1 |
|
250 |
248 |
З-П |
-36,7 |
+ 8 |
|
+ 5 |
+ 3 |
|
|
|
-36,65 |
+ 2/-13 |
и |
-36,692 |
-36,695 |
+ 8 |
||
|
9 |
|
2100 |
5410 |
З |
21,8 |
34 |
81,0 114,1 |
80 |
59,246 |
|
___ |
t = +18,5°C |
2260 |
5550 |
П |
54,8 |
60 |
-33,1 |
13 |
59,253 |
|
1-2 |
|
160 |
140 |
З-П |
-33,0 |
-26 |
|
+ 67 |
+ 7 |
|
|
|
-33,00 |
+ 20/ + 7 |
и |
-33,026 |
-13,033 |
+ 15 |
||
Продолжение прил. 24
|
Номера штативов и реек |
Зарисовка привязок |
Отсчеты по дальномесным нитям (1/2 мм) |
Отсчеты по биссектору нитей (1/2 дм) |
Контроль |
|||||
|
З/u |
П/d |
|
Основная шкала |
Дополнительная шкала |
|||||
|
Р |
Б |
Р |
Б |
||||||
|
10 |
Σ(1-10)
|
1580 |
5455 |
З |
16,5 |
57 |
75,8 |
8 |
59,251 |
|
2-1 |
1720 |
5585 |
П |
55,1 |
85 |
114,4 |
39 |
59,254 |
|
|
|
140 |
130 |
З-П |
-38,6 |
-28 |
-38,6 |
-31 |
+ 3 |
|
|
|
-38,70 |
+ 10/+17 |
и |
-38,628 |
-38,631 |
+18 |
|||
|
|
4985(27) |
4968(28) |
|
249,8(29) |
385(31) |
842,0(38) |
694(35) |
|
|
|
|
|
+ 17 |
|
397,2(30) |
527(32) |
989,8(34) |
454(36) |
+ 18(20) |
|
|
|
|
|
|
-147,4(39) |
-142(40) |
-147,8(41) |
+240(42) |
|
|
|
|
|
|
|
-147,542(37) |
-147,560(38) |
|
|||
|
11 |
|
1320 |
5560 |
З |
14,0 |
43 |
73,2 |
91 |
59,248 |
|
1-2 |
Грунт, реп. 2003 |
1480 |
5720 |
П |
56,4 |
13 |
115,6 |
62 |
59,249 |
|
|
t= + 19,5° С |
160 |
160 |
З-П |
-42,4 |
+ 30 |
-42,4 |
+ 29 |
|
|
|
|
-42,40 |
0/+17 |
и |
-42,370 |
-42,371 |
+ 1/+19 |
||
|
|
|
|
|
|
|
|
|
|
|
|
|
|
Подсчет по секции от марки 6187 до грунт. реп. 2003 |
|||||||
|
|
|
5145(27) |
5128(28) |
(Σ28) |
263,8(29) |
428(31) |
915,2(33) |
785(35) |
|
|
|
|
|
+ 17 |
|
453,6(30) |
540(32) |
1105,4(34) |
516(36) |
|
|
|
|
|
|
|
-189,8(39) |
-112(40) |
-190,2(41) |
+269(42) |
+ 19(20) |
|
|
|
|
|
|
-189,912(37) |
-189,931(38) |
|
||
|
|
|
l=0,5 км (38) |
n=11 шт. (39) |
|
|
|
Ср.-189,922 (1/2 дм) |
(36) |
|
|
Измеренное превышение: |
h'= -9496,1 мм |
|
Поправки за среднюю длину метра реек: |
δh= -0,1 мм |
|
Поправка за различие температур инварных реек при эталонировании на компараторе и нивелировании в поле: |
δht= -0,2 мм |
|
Исправленное превышение: |
h= -9496,3 мм |
|
Номер секции |
Вид и номер нивелирного репера, тип центра, год закладки |
Местоположение нивелирного репера |
Расстояние от начального репера, км Расстояние между реперами, км |
Дата нивелирования прямо обратно |
Число штативов прямо обратно |
Измеренное превышение, мм |
Разности превышений, мм |
Среднее измеренное превышение, м |
|
|
Прямой ход |
Обратный ход |
||||||||
|
|
Линия № 1 Степановка - Мощное, от марки 6187 до фунд. реп. 92. |
||||||||
|
|
Исполнитель техник Н.Н. Степанов |
||||||||
|
1 |
Марка 6 187, 1940 |
Степановка, станц., зд. вокзала, южн. сторона |
0,0 |
2.08 |
11 |
-9496,5 |
+ 9489,9 |
-6,6 |
-9,4932 |
|
|
|
|
0,5 |
18.08 |
12 |
|
|
|
|
|
|
|
|
|
|
|
|
|
|
|
|
|
Грунт, реп. 2008, тип 116, 1964 г. |
Степановка, станц. в 0,5 км в вост. от нее, в 0,2 км к сев. от перекрестка дорог с Тесовка - станц. Степановка и с. Ивановка - с. Кодино |
0.5 |
2.08 |
56 |
+ 1922,5 |
-1914,8 |
+ 7,7 |
+ 1,9186 |
|
|
|
|
|
|
|
|
|
||
|
|
6,0 |
18.08 |
56 |
|
|
|
|
||
|
2 |
Грунт, реп. 4258, тип 116, 1964 г. |
Степановка, станц. в 6,5 км к вост. от нее по дороге в с. Тесовка, в 20 м к сев. от дороги |
6,5 |
3.08 |
54 |
-1107,6 |
+ 1107,4 |
-0,2 |
-1,1075 |
|
|
|
|
|
|
|
|
|
||
|
|
5,8 |
16-17.08 |
54 |
|
|
|
|
||
|
3 |
Грунт, реп. 5540, тип 116, 1964 г. |
Глазниха, станц., в 4,9 км к сев. -вост. от нее, по дороге на станц. Мощное, в 30 мк сев. от дороги, в 500 м к востоку от моста через реку Серебрянку |
12,3 |
7.08 |
12 |
-3802,6 |
+ 3806,1 |
+ 3,5 |
-3,8044 |
|
|
|
|
|
|
|
|
|
||
|
|
1,6 |
14.08 |
12 |
|
|
|
|
||
|
4 |
Фунд. реп. 92, тип 140, 1940 г. |
Мощное, станц., в 1,5 км к юго-вост. от нее, в 100 м к сев. от ж.-д. будки Контрольный репер б/№ в фундаменте плиты |
13,9 |
|
|
|
|
|
-1,430* |
|
|
|
|
|
|
|
|
|
||
|
|
|
|
|
|
|
|
|
||
|
|
|
Итого по линии |
13.9 |
|
133 |
-12 484.2 |
+12 488.6 |
+4.4 |
-12,4864 |
|
|
|
|
|
|
134 |
|
|
|
|
Разность высот исходных реперов Нк - Нн = -12.4870 мм
Полученная невязка Vпол= -12.4864 - (-12.4870) = + 0.6 мм
Допустимая невязка Vдоп =
5 мм ![]()
Примечание: Значком * отмечены превышения, измеренные при закладке фунд. реп.
|
Ход от грунт, реп. и до грунт, реп. и Дата 24.10.87 г. Начало 8 ч 10 мин; конец 8 ч 25 мин Направление хода: прямо |
Условия работы: изображение спокойное, облачность, пасмурно, ветер слабый Место установки костылей и штативов: целина, грунт твердый |
|
Номер штатива и и реек |
Зарисовка привязок |
Температура воздуха, °С |
Отсчеты по трем нитям |
Порядок отсчитывания |
Отсчеты по биссектору (в 1/2 дм) |
Контроль |
Контроль |
||||||||||||
|
Правая линия нивелирования |
Левая линия нивелирования |
Правая линия нивелирования |
Контроль |
Левая линия нивелирования |
Зп-Зл Пп-Пл |
Δ ΣΔ |
|||||||||||||
|
З/и' |
h/d |
З/и' |
П/d |
Основная шкала |
Дополнительная шкала |
Основная шкала |
Дополнительная шкала |
||||||||||||
|
Р |
Б |
Р |
Б |
Р |
Б |
Р |
Б |
||||||||||||
|
1 |
2 |
3 |
4 |
5 |
6 |
7 |
8 |
9 |
10 |
11 |
12 |
13 |
14 |
15 |
16 |
17 |
18 |
19 |
20 |
|
16 |
р. Битюг |
+ 16,0 |
1000 |
4060 5087 |
990 |
4155 |
З |
20,2 |
76 |
79,5 |
20 |
|
20,2 |
26 |
79,4 |
81 |
|
|
|
|
1-2 |
|
|
2025 |
- |
2015 |
5185 |
П |
|
80 |
|
25 |
|
|
20 |
|
80 |
|
|
|
|
|
|
|
3050 |
2054 |
3040 |
|
З-П |
|
72 |
|
30 |
|
|
32 |
|
82 |
|
|
|
|
|
|
|
2050 |
-4/-10 |
2050 |
2060 |
и |
20,2 |
76 |
79,5 |
25 |
|
20,2 |
26 |
79,4 |
81 |
|
+47 |
|
|
|
|
|
|
|
|
-10/-23 |
З |
50,9 |
05 |
110,1 |
50 |
|
51,9 |
04 |
111,1 |
56 |
|
|
|
|
|
|
|
|
|
|
|
П |
|
00 |
|
40 |
|
|
03 |
|
50 |
|
|
|
|
|
|
|
|
|
|
|
З-П |
|
10 |
|
60 |
|
|
05 |
|
62 |
|
|
|
|
|
|
|
|
|
|
|
и |
50,9 |
05 |
110,1 |
50 |
|
51,9 |
04 |
111,1 |
56 |
|
- 1002,5 |
|
|
|
|
|
|
|
|
|
З |
|
|
|
-25 |
|
|
|
|
|
|
|
|
|
|
|
|
|
|
|
|
П |
-30,7 |
+ 71 |
-30,6 |
25 |
|
-31,7 |
+22 |
-31,7 |
+25 |
|
|
|
|
|
|
|
|
|
|
|
З-П |
-30,6 |
29 |
-30,6 |
27 |
|
-31,6 |
78 |
-31,6 |
75 |
|
|
|
|
|
|
|
|
|
|
|
и |
|
|
-30,6 |
|
|
|
|
-31,6 |
76 |
|
|
|
специальные одношкальные рейки со штрихами толщиной 3 мм
|
Ход от грунт реп. 14 до грунт реп. 15 Дата 24.10.87 г. Начало 8 ч 10 мин; конец 10 ч 15 мин Направление хода: прямо |
Условия работы: изображение спокойное, облачность, пасмурно, ветер 2,5 м/с Место установки костылей и штативов: целина, грунт твердый |
|
Номера штатива и реек |
Зарисовка привязок |
Температура воздуха. °С |
Отсчеты по трем нитям |
Порядок отсчитывания |
Отсчеты по биссектору (в 1/2 дм) |
Контроль |
|||||||||||||
|
Правая линия нивелирования |
Левая линия нивелирования |
Правая линия нивелирования |
Левая линия нивелирования |
Контроль |
Зп-Зл Пп-Пл |
Δ ΣΔ |
|||||||||||||
|
3/и' |
h/d |
3/и' |
П/d |
Основная шкала |
Дополнительная шкала |
Контроль |
Основная шкала |
Дополнительная шкала |
|||||||||||
|
Р |
Б |
Р |
Б |
Р |
Б |
Р |
Б |
||||||||||||
|
2 |
р. Битюг |
+ 18,5 |
2770 |
1392 |
2800 |
1506 |
З |
36.8 |
02 |
36,1 |
24 |
|
37,0 |
06 |
36,3 |
35 |
|
-202 |
|
|
1-2 |
|
|
3677 |
2300 |
3703 |
2410 |
П |
|
10 |
|
37 |
|
|
12 |
|
30 |
|
|
|
|
|
|
|
4583 |
3208 |
4607 |
3314 |
З-П |
|
15 |
|
32 |
|
|
09 |
|
40 |
|
- 1064,5 |
|
|
|
|
|
1813 |
1816 |
1807 |
1808 |
и |
36.8 |
09 |
36,1 |
31 |
|
37,0 |
09 |
36,3 |
35 |
|
|
|
|
|
Правый берег |
|
|
-3/ |
|
-1/ |
З |
23,0 |
89 |
22,4 |
10 |
|
24,1 |
50 |
23,4 |
80 |
|
|
|
|
|
|
|
|
|
|
|
П |
|
81 |
|
12 |
|
|
55 |
|
82 |
|
|
|
|
|
|
|
|
|
|
|
З-П |
|
97 |
|
14 |
|
|
45 |
|
78 |
|
|
|
|
|
|
|
|
|
|
|
и |
23,0 |
89 |
22,4 |
12 |
|
24,1 |
50 |
23,4 |
80 |
|
|
|
|
|
|
|
|
|
|
|
З |
+ 13.7 |
20 |
+ 13,7 |
19 |
|
+ 12,8 |
59 |
+ 12,8 |
55 |
|
|
|
|
|
|
|
|
|
|
|
П |
|
|
|
|
|
|
|
|
|
|
|
|
|
|
|
|
|
|
|
|
З-П |
|
|
|
|
|
|
|
|
|
|
|
|
|
|
|
|
|
|
|
|
и |
|
|
|
|
|
|
|
|
|
|
|
|
|
|
Левый берег |
|
4430 |
3100 |
4460 |
3180 |
З |
52,8 |
20 |
53,6 |
70 |
|
53,0 |
38 |
53,8 |
84 |
|
-213 |
|
|
|
|
|
5272 |
3937 |
5300 |
4017 |
П |
|
28 |
|
75 |
|
|
42 |
|
83 |
|
|
|
|
|
|
|
- |
4772 |
- |
4852 |
З-П |
|
36 |
|
65 |
|
|
40 |
|
85 |
|
-1070 |
|
|
|
|
|
1684 |
1672 |
1680 |
1672 |
и |
52,8 |
28 |
53,6 |
70 |
|
53,0 |
40 |
53,8 |
84 |
|
|
|
|
|
|
|
|
|
+4/+8 |
+4/-3 |
З |
39,1 |
30 |
39,9 |
89 |
|
40,2 |
16 |
41,0 |
49 |
|
Ср. - 208 |
|
|
|
|
|
|
|
|
|
П |
|
37 |
|
90 |
|
|
13 |
|
50 |
|
-1067 |
|
|
|
|
|
|
|
|
|
З-П |
|
44 |
|
88 |
|
|
10 |
|
60 |
|
|
|
|
|
|
|
|
|
|
|
и |
39,1 |
37 |
39,9 |
89 |
|
40,2 |
13 |
41,0 |
53 |
|
|
|
|
|
|
|
|
|
|
|
З |
+13,6 |
91 |
+13,6 |
81 |
|
+12,8 |
31 |
|
|
|
|
|
|
|
|
|
|
|
|
|
П |
|
|
|
|
|
|
|
|
|
|
|
|
|
|
|
|
|
|
|
Ср. |
З-П |
|
|
|
|
|
|
|
|
|
|
|
|
|
|
|
|
|
|
|
|
и |
+13,7 |
06 |
+13,7 |
00 |
+6/+6 |
+12,8 |
43 |
0/-7 |
|
|
|
|
Нивелирование через препятствие шириной от 150 до 400 м выполняют способом «совмещения» с применением специальных щитков. Этот способ заключается в том, что при совмещенных изображениях концов пузырька цилиндрического уровня наводят биссектор вращением барабана на штрих щитка и отсчитывают по барабану микрометра. Связь между наблюдателем и помощником, находящимися на разных берегах, осуществляется по радио.
Щиток должен иметь приспособление для крепления на рейке, индекс для отсчитывания по рейке, микрометренный винт для перемещения щитка вверх и вниз и два штриха.
Ширину штриха (в м) вычисляют по формуле:
T=0,03×S,
где S - ширина препятствия, м.
Полученную ширину штриха округляют до целых миллиметров. Длина штрихов должна быть в 5-10 раз больше ширины. Расстояние между штрихами делают в два - четыре раза больше ширины штриха. Расположение индекса показывают стрелкой (рис. 36).
До и после работ по передаче высоты через препятствие щитки компарируют при помощи контрольной линейки. При этом определяют ширину штрихов и расстояние между их осями и индексом C1 и С2 с ошибкой 0,1 мм. Пример эталонирования щитка приведен в табл. 37.
Контрольная линейка № 546 L= 1000 + 0,00 + 0,018 (/-16,0° С), мм
Дата 4.07.99 г.
|
Интервал щитка |
Температура, С |
Отсчеты по линейке, мм |
Среднее, мм |
Среднее приведенное к нулю индекса, мм |
Поправка за длину и температуру линейки, 0,01 мм |
Исправленная длина, мм |
|
|
с левой стороны штриха |
с правой стороны штриха |
||||||
|
Прямой ход |
|||||||
|
Индекс |
+ 23,0 |
0,04 |
1,26 |
0,65 |
00 |
0 |
|
|
Первый штрих |
|
40,06 |
55,20 |
47,63 |
46,98 |
+ 1 |
46,99 |
|
Второй штрих |
+ 23,5 |
114,46 |
129,52 |
121,99 |
121,34 |
+ 2 |
121,36 |
|
Обратный ход |
|||||||
|
Второй штрих |
+ 23,5 |
0,08 |
15,32 |
7,70 |
121,37 |
+ 2 |
121,39 |
|
Первый штрих |
|
74,54 |
89,70 |
82,12 |
46,95 |
+ 1 |
46,96 |
|
Индекс |
+ 23,5 |
128,42 |
129,72 |
129,07 |
00 |
0 |
|
Длина частей С1 и С2 в мм и делениях барабана:
С1= 46,98 мм = 940 дел. барабана; С2= 121,38 мм = 2428 дел. барабана;
В= 74,40 мм = 1488 дел. барабана.
Примечание. C1 и С2 - расстояния между индексом и осью штрихов 1 и 2; В - расстояние между осями штрихов.
Передачу высоты через препятствие шириной более 150 м (см. рис. 33) выполняют, как правило, одновременно две бригады с двух берегов по двум створам с использованием двух нивелиров и двух комплектов инварных реек.
Превышение определяют сразу для прямого и обратного ходов.

Рис. 33. Щитки для нивелирования через препятствие способами:
а - «совмещения»; б - «подвижной марки»; в - «наведения»
Передачу высот выполняют в присутствии начальника партии, главного инженера или начальника экспедиции.
Порядок наблюдений при передаче высоты способом «совмещения» следующий.
1. Помощник наблюдателя (или опытный рабочий) по команде наблюдателя устанавливает щиток на дальней рейке так, чтобы изображение первого (верхнего) штриха щитка находилось посередине биссектора сетки нитей, при этом концы пузырька цилиндрического уровня нивелира должны, быть, точно, совмещены, а отсчет по барабану был примерно равен 50 делениям.
2. После этого поочередно наблюдатель визирует на ближние рейки P1 и Р2 и делает отсчеты по основной и дополнительной шкалам Б1осн, Б1доп, Б2осн и Б2доп.
3. Затем наблюдатель наводит зрительную трубу нивелира на рейку Р3. По команде наблюдателя помощник, находящийся у дальней рейки, при помощи индекса щитка производит по. основной шкале рейки Р3 с точностью до 0,1 деления (0,5 мм) отсчет а3осн и передает его по радио наблюдателю.
Наблюдатель выполняет пять точных наведений биссектора на первый штрих щитка при помощи микрометра нивелира, делает отсчеты по барабану и вычисляет b31 осн.
4. Затем такие же наблюдения выполняют на второй штрих щитка и получают соответственно отсчеты а32осн и b32осн - Предварительно устанавливают щиток так, как указано в п. 1.
5. Помощник наблюдателя поворачивает щиток на 180°, а наблюдатель визирует на второй и первый штрихи щитка и получает отсчеты а32доп, b32доп, а31доп и b31доп.
Поворот щитка на 180° позволяет исключить ошибки, вызванные неточным знанием расстояний C1 и С2.
|
Дата 14.08.98 г. Начало 9 ч 15 мин, конец 9 ч 30 мин |
Условия работы: изображение спокойное, облачно, слабый ветер. |
|
tвозд.нач = +17.8°С, tвозд.кон. = +18,0°С |
|
|
Н=05 № 125363 Прием I, полуприем 1 |
Места установки штативов и реек Р2, Р3 - на кольях, реек P1 и Р4 - на головках грунтовых реперов |
|
i = 2,2" S=380м |
|
|
|
|
|
|
На дальних рейках Р3 и Р4 установлены щитки вида
|
|
Расположение реперов и реек, направление прямого хода |
Результаты компарирования щитков: C31 = 47,00 мм = 940 дел. барабана; С32 = 95,5 мм =1910 дел. барабана; С42 = 47,5 мм = 950 дел. барабана; С42 = 95,4 мм = 1 908 дел. барабана. |
|
Отсчеты по ближним рейкам P1 и Р2 |
|
|
Б1осн 37,021 |
Б1доп 96,274 |
|
Б2осн 35,945 |
Б2доп 95,193 |
|
Б1осн - Б2осн = +1,076 |
Б1доп - Б2доп = +1,081 |
|
Во втором полуприеме из отсчетов по ближним рейкам |
|
|
Р3 и Р4 на другом берегу имеем: |
|
|
Б3осн - Б4осн = -11,970; Б3доп - Б4доп = -11,974 |
|
Отсчеты по дальним рейкам |
||||||||
|
Рейка Р3 |
Рейка Р4 |
|||||||
|
Штрихи |
Основная шкала индекс вверху |
Дополнительная шкала индекс внизу |
Основная шкала индекс внизу |
Дополнительная шкала индекс вверху |
||||
|
1 |
2 |
1 |
2 |
1 |
2 |
1 |
2 |
|
|
|
31 |
96 |
90 |
40 |
86 |
31 |
35 |
41 |
|
|
39 |
80 |
68 |
66 |
81 |
50 |
51 |
44 |
|
|
30 |
73 |
70 |
60 |
80 |
42 |
38 |
44 |
|
|
32 |
96 |
67 |
50 |
74 |
51 |
43 |
48 |
|
|
34 |
80 |
60 |
49 |
79 |
46 |
27 |
42 |
|
b |
+ 33 |
+ 85 |
+ 71 |
+ 53 |
+80 |
+ 44 |
+ 39 |
+ 44 |
|
a |
19,07 |
20,00 |
76,40 |
75,46 |
29,10 |
28,20 |
90,30 |
91,26 |
|
c |
-940 |
-1910 |
+ 940 |
+ 1910 |
+950 |
+ 1908 |
-950 |
-1908 |
|
А |
18,163 |
18,175 |
77,411 |
77,423 |
30,130 |
30,152 |
89,389 |
89,396 |
|
А3осн 18.169 |
А3доп 77.417 |
А4осн30.141 |
А4доп 89.392 |
||
|
Б2осн 35.945 |
Б2доп 95.193 |
Б1осн37.021 |
Б1доп96.274 |
||
|
h'осн.гл = +17.776 |
h'доп.гл = +6.882 |
h'гл =+6.881 |
|||
|
Б2осн - А3осн = 17.776 |
Б2доп - А3доп = +17.776 |
||||
|
Б1осн - Б2осн = 1.076 |
Б1доп - Б2доп = +1.081 |
||||
|
Б3осн - Б4осн = -11.970 |
Б3доп - Б4доп = -11.974 |
||||
|
h'осн.кон = +6.882 |
h'доп.кон = +6.883 |
h'кон = +6.882 |
|||
|
Среднее значение превышения через препятствие между постоянными реперами, полученное одним наблюдателем из первого полуприёма |
|||||
|
h'1 = + 6.8822 дел. рейки = + 0.3441 м. |
|||||
6. Наблюдатель наводит зрительную трубу нивелира на дальнюю рейку Р4. Делает отсчеты a41 осн, b41 осн, a42 осн, b42 осн, a41 доп, b41 доп a42 доп, b42 доп.
В такой же последовательности производит отсчеты второй наблюдатель, находящийся на другом берегу.
Эти действия составляют один сдвоенный полуприем, после окончания, которого каждый наблюдатель со своим нивелиром переезжает на другой берег. Во втором сдвоенном полуприеме наблюдения начинают с дальних реек и заканчивают на ближних. Все наблюдения с одного берега должны осуществляться не более чем за 30 мин, затраты времени на переезд с одного берега на другой также должны быть минимальны.
Полный отсчет по шкале рейки равен
Аil = aikl + bikl ± Сk,
где i - номер рейки;
l - шкала рейки;
С - расстояние от середины штриха щитка до индекса (перед С ставят знак плюс, если индекс щитка при отсчете находится внизу, и минус, если - вверху);
k - номер штриха щитка; а - отсчет по рейке, взятый при помощи индекса;
b - среднее из пяти отсчетов по барабану.
Образец записи наблюдений приведен в табл. 35.
Расхождения между Аi1 осн и Аi2 осн, а также Аi1 доп и Аi2 доп не должны превышать 5 мм. В противном случае повторяют весь полуприем. Вычисляют превышения между рейками. Расхождения между значениями превышений, определенными по основной и дополнительной шкале, не должны превышать 5 мм.
Допустимые расхождения между значениями превышений, полученными разными наблюдателями, и расхождения между значениями превышений, определенными в полуприема по разным створам, не должны превышать 5 мм. Расхождения между значениями превышений, полученных из сдвоенных приемов, допускают до 3 мм. Если полученные превышения различаются более допустимого, то необходимо выполнить еще один сдвоенный полуприем или прием и из всех результатов, за исключением грубых, взять среднее.
Нивелирование через препятствие шириной более 400 м выполняют способами «подвижной марки» и «наведения». Способ «подвижной марки» заключается в том, что по команде наблюдателя в биссектор зрительной трубы нивелира вводят изображение штриха щитка, укрепленного на дальней рейке, и при помощи индекса делают отсчет по рейке. В момент введения в биссектор изображения штриха щитка концы пузырька цилиндрического уровня нивелира должны быть точно совмещены, а барабан установлен на отсчет 50.
Наблюдения способом «подвижной марки» выполняют в следующей последовательности.
Отсчеты по основной и дополнительной шкалам ближних реек P1 и Р2 выполняют обычным порядком. При совмещенных концах изображения пузырька цилиндрического уровня нивелира визируют на дальнюю рейку Р3 при помощи щитка со штрихами. Предварительно на рейке устанавливают щиток так, чтобы его верхний штрих находился вблизи биссектора.
ТАБЛИЦА 39
Образец записи наблюдений и вычислений при нивелировании через препятствие шириной более 400 м способом «подвижной марки»
|
Дата 6.07.99 г. Начало 10 ч 10 мин, конец 10 ч 32 мин |
Прием I. Полуприем 2 S=980 м |
|
|
tвозд. нач. = +20.1 °C, tвозд. кон. = +20.5 °C |
|
|
Н-05 № 1111046 |
||
|
i = -3.0" |
На дальних рейках P1 и Р2 |
|
|
|
установлены щитки вида |
|
|
|
||
|
Расположение реперов и реек, направление прямого хода |
Результаты компарирования щитков; С11 = 74.4 мм = 1508 дел. барабана; С12 = 224.9 мм = 4498 дел. барабана; C21 = 75.0 мм = 1500 дел. барабана; С22 = 225.2 мм = 4504 дел. барабана. |
|
|
Отсчеты по ближним рейкам Р3 и Р4 |
||
|
Б3осн 40.246 |
Б3доп 99.495 |
|
|
Б4осн 45.835 |
Б4доп 105.085 |
|
|
Б3осн - Б4осн = -5.589 |
Б3доп - Б4доп = -5.590 |
|
|
Во втором полуприеме из отсчетов по ближним рейкам Р1 и Р2 на другом берегу имеем: |
||
|
Б1осн - Б2осн = +6.355; Б доп - Б1доп - Б2доп = +6.354 |
||
|
Отсчеты по дальним рейкам |
||||||||||
|
Рейка P1 |
Рейка Р2 |
|||||||||
|
Штрихи |
Основная шкала индекс вверху |
Дополнительная шкала индекс внизу |
Основная шкала индекс внизу |
Дополнительная шкала индекс вверху |
||||||
|
1 |
2 |
1 |
2 |
1 |
2 |
1 |
2 |
|||
|
|
30.54 |
33.65 |
86.80 |
83.86 |
24.19 |
27.21 |
80.39 |
77.44 |
||
|
|
30.65 |
33.60 |
86.70 |
83.81 |
24.27 |
27.24 |
80.49 |
77.42 |
||
|
|
30.48 |
33.50 |
86.78 |
83.82 |
24.18 |
27.15 |
80.422 |
77.54 |
||
|
|
30.59 |
33.66 |
86.78 |
83.80 |
24.24 |
27.28 |
80.50 |
77.48 |
||
|
|
30.55 |
33.54 |
96.82 |
83.84 |
24.14 |
27.20 |
80.50 |
77.40 |
||
|
|
30.53 |
33.40 |
86.84 |
83.86 |
24.2222 |
27.23 |
80.46 |
77.48 |
||
|
а |
30.557 |
33.567 |
86.787 |
83.832 |
24.207 |
27.218 |
80.460 |
77.460 |
||
С |
-1.508 |
-4.498 |
+1.508 |
+4.498 |
-1.500 |
-4.504 |
+1.500 |
+4.504 |
||
|
А |
29.049 |
29.069 |
88.295 |
88.330 |
22.707 |
22.714 |
81.960 |
81.964 |
||
|
|
А1осн |
29.059 |
А1доп |
88.312 |
А2осн |
22.710 |
А1доп |
81.962 |
||
|
|
Б4осн |
45.835 |
Б4доп |
105.085 |
Б3осн |
40.246 |
Б3доп |
99.495 |
||
|
|
|
|
|
|
|
|
|
|
||
|
h"осн.гл = -16.776 |
h"доп.гл = =-16.773 |
h"гл = -16.774 |
||||||||
|
|
А2осн - Б3осн= -17.536 |
|
А2доп - Б3доп= -17.533 |
|
|
|
||||
|
|
Б1осн - Б2осн= +6.355 |
|
Б1доп - Б2доп= +6.354 |
|
|
|
||||
|
|
Б3осн - Б4осн= -5.589 |
|
Б3доп - Б4доп= -5.590 |
|
|
|
||||
|
h"осн.кон = -16.770 |
|
h"доп.кон = -16.769 |
|
h"кон = -16.770 |
|
|||||
|
Среднее значение превышения через препятствие между постоянными реперами, полученное вторым наблюдателем из полуприема 2 h"1 = -16.772 дел. рейки = - 0.8386 м. |
||||||||||
По команде наблюдателя по радио, помощник, находящийся у дальней рейки, начинает медленно перемещать микрометренным винтом щиток до тех пор, пока изображение первого штриха не будет находиться точно в середине биссектора, используя индекс щитка, по основной шкале рейки с точностью до 0,1 деления рейки (0,5 мм) делает отсчет а и сообщает его наблюдателю. Такие действия повторяют шесть раз при ширине препятствия 400-1000 м и восемь раз при ширине препятствия более 1000 м. Перед каждым последующим введением изображения штриха в биссектор щиток немного сбивают. В одной половине визирования щиток перемещают вращением микрометренного винта по ходу часовой стрелки, в другой - против хода. Из всех отсчетов берут среднее а31 осн. Аналогично получают средний отсчет а32 осн, при введении в биссектор изображения второго штриха щитка.
Поворачивают щиток на 180° и повторяют все наблюдения на первый и второй штрихи щитка и выполняют отсчеты по дополнительной шкале рейки а31 доп и а32 доп.
Делают все необходимые отсчеты по основной и дополнительной шкалам дальней рейки P4 (а41 осн и а42 осн, а41 доп и а42 доп).
Полный отсчет по основной и дополнительной шкалам дальней рейки вычисляют по формуле:
Ail = aikl ± Сlk,
где i - номер рейки;
l - шкала рейки;
С - расстояние от середины штриха до индекса;
k - номер штриха.
Перед С ставят знак плюс, если индекс щитка при отсчете находился внизу и знак минус - если вверху. Дальнейшую обработку осуществляют, как и при передаче высот способом «совмещения». Образец журнала наблюдений способом «подвижной марки» и обработки результатов наблюдений приведен в табл. 36.
При нивелировании I класса через препятствия шириной от 400 до 1000 м делают четыре сдвоенных приема и при ширине препятствия более 1000 м - шесть сдвоенных приемов. Одну половину приемов выполняют способом «подвижной марки», а вторую - способом «наведения». При нивелировании II класса соответственно делают три или четыре приема любым способом.
Средняя квадратическая ошибка передачи высот, вычисленная по сходимости результатов из сдвоенных приемов, по формуле:
![]()
где Vi = hcp - hi; hcp - превышение, полученное из n приемов;
М
не должно превышать на линиях нивелирования I класса - 3 мм
и 5 мм
на линиях
нивелирования II класса;
S - ширина препятствия, км.
При необходимости число сдвоенных приемов может быть увеличено. Наблюдения должны выполняться в течение не менее чем трех дней.
При способе «наведения» определяют наклон линии визирования относительно горизонтальной визирной линии по величине отклонения пузырька уровня от середины при наведении биссектора сетки нитей нивелира на штрих щитка. Наклон трубы осуществляется при помощи элевационного винта. На щитке, используемом при способе «наведения», должно быть четыре штриха. Ширину штрихов определяют, как и при передаче высот, способом «совмещения», но расстояние между штрихами должно быть только в 2,5 раза больше толщины штриха. Прежде чем приступить к передаче высот способом «наведения», необходимо проверить на расстоянии, равном ширине препятствия, будут ли видны изображения концов пузырька уровня в поле зрения трубы нивелира при визировании на крайние штрихи щитка или проверить удовлетворяет ли расстояние между крайними штрихами условию:
С4 - С1 = S τ (N - 2)/ρ",
где С1 и С4 - расстояния от индекса до штрихов 1 и 4;
τ - цена деления цилиндрического уровня на 0,8 мм;
N - число делений уровня, видимых в поле зрения трубы;
S - ширина препятствия, мм.
В случае необходимости изготавливают новые щитки с меньшими расстояниями между штрихами.
Последовательность отсчетов по дальней рейке при способе «наведения» следующая.
Устанавливают щиток на дальней рейке так, чтобы изображения штрихов располагались симметрично относительно биссектора нивелира, а положение пузырька цилиндрического уровня было на середине и отсчет по барабану - 50. Помощник наблюдателя отсчитывает при помощи индекса щитка а3I осн и а3I доп по основной и дополнительной шкалам рейки Р3 с точностью до 0,1 деления рейки (0,5 мм) и сообщает эти отсчеты по радио наблюдателю.
Затем наблюдатель делает отсчеты по концам пузырька цилиндрического уровня при точном наведении биссектора поочередно на все штрихи щитка. Биссектор на изображения штрихов наводят вращением элевационного винта по ходу часовой стрелки. Отсчеты по концам пузырька уровня начинают примерно через 30 с, после того как убедились, что пузырек уровня неподвижен, в биссекторе находится нужный штрих щитка, а отсчет по барабану равен 50. Таких наведений на каждый штрих щитка делают два при ширине препятствия до 600 м, три - от 600 до 1000 м и четыре - более 1000 м. Последующий ряд наведений на штрихи щитка осуществляют в порядке, обратном предыдущему. Из отсчетов по концам пузырька уровня вычисляют среднее. Поворачивают щиток на 180° и повторяют визирования на все штрихи щитка. Помощник наблюдателя делает отсчеты при помощи индекса щитка по основной и дополнительной шкалам рейки Р3 (а3IIосн и а3IIдоп).
В такой же последовательности выполняют отсчеты по рейке Р4. Нивелирование через препятствие способом «наведения» показано на рис. 34. Введены следующие обозначения: X - расстояние от проекции биссектора на рейке, при положении пузырька цилиндрического уровня на середине, до штриха щитка, на который выполняли наведение. Величину X вычисляют по формулам:
X1 = b1α1/(α 2 - α 4) и Х2 = b2α2/(α 2 - α 3),
где b1 = С4 - С1, b2 = С3 - С2;
α1, α2, α 3 и α 4 - углы наклона визирной линии, измеренные при помощи уровня при наведении соответственно на верхние и нижние штрихи щитка. Углы наклона α определяют в полуделениях шкалы уровня.
В зависимости от расположения нуля шкалы уровня α находят по разным формулам. Поэтому при передаче высот необходимо особенно тщательно следить за правильностью определения наклона визирной линии.

Рис. 34. Принцип передачи высоты через водное препятствие способом «наведения»
Отсчет по дальней рейке равен
Ail = aikl ± (Сlk + X),
где а - отсчет по соответствующей шкале рейки, взятый при помощи индекса щитка;
i - номер рейки;
С - расстояние от середины штриха до индекса (знак минус стоит перед скобками, если индекс щитка внизу, знак плюс - если индекс вверху);
l - положение щитка и название штриха шкалы, k - номер штриха.
Дальнейшую обработку наблюдений выполняют так же, как и при передаче высот, способом «совмещения».
Образец записи в журнале и обработка результатов передачи высот способом «наведения» приведены в табл. 37.
При передаче высот нивелирами с компенсатором могут применяться только способы «совмещения» и «подвижной марки».
После подсчета превышений между соседними реперами при нивелировании III и IV классов за среднюю длину метра комплекта реек вводят поправку, которую вычисляют по формуле
δh = σ h,
где σ - поправочный коэффициент;
h - превышение, м.
Для удобства нахождения σ строят график интерполирования (рис. 35). На миллиметровой бумаге показывают все результаты компарирования реек при помощи контрольных линеек, как до и после полевых работ, так и во время них.

Рис. 35. График интерполирования за среднюю длину метра комплекта реек
ТАБЛИЦА 40
Образец записи наблюдений и вычислений при нивелировании через препятствие шириной 400 м способом «наведения»
Дата 8.08.99 г. Начало 9 ч 15 мин; конец 9 ч 50 мин
tвоэд нач = + 16,8° С, tвоэд кон =+17,4° С
Н-05 № 11036 Прием II. Полуприем 2
i = + 1,6", τ = 10,00"/2 мм, S=700 м
|
|
|
На дальних рейках Р3 и Р4 установлены щитки вида |
||||
|
|
|
|
||||
|
|
||||||
|
Расположение реперов и реек, направление прямого хода |
Результаты компарирования щитков: |
|||||
|
C31 = 50,85 мм =1017 дел. барабана; |
||||||
|
С32 = 121,70 мм = 2434 дел. барабана; С33 = 192,86 мм = 3857 дел. барабана; С34 = 263, 90 мм = 5278 дел. барабана; C41 = 50,46 мм = 1009 дел. барабана; С42 = 120,40 мм = 2408 дел. барабана; С43 = 190,51 мм = 3810 дел. барабана; С44 = 260,95 мм = 5219 дел. барабана. |
||||||
|
Отсчеты по ближним рейкам P1 и Р2 |
||||||
|
Б(1)осн |
24,206 |
|
Б(1)доп |
83,457 |
|
|
|
Б(2)осн |
21,175 |
|
Б(2)доп |
80,423 |
|
|
|
Б(1)осн - Б(2)осн=+3,031 |
Б(1)осн - Б(2)доп = +3,034 |
|
||||
|
В первом полуприеме из отсчетов по ближним рейкам p1 и Р2 на другом берегу получили: |
||||||
|
Б(3)осн - Б(4)осн = -9,862 |
Б(3)доп - Б(4)доп = -9,861 |
|||||
Продолжение табл. 40
Условия работы: изображения слабоколеблющиеся, сплошная облачность, слабый ветер
Места установки штрихов и реек Р2, Р3 - на кольях, реек P1, P4 - на головках грунт, реп.
Нуль делений расположен на середине шкалы уровня
|
Отсчеты по дальней рейке Р3 |
Отсчеты по дальней рейке Р4 |
||||||||||
|
Положение щитка (I, II) отсчеты по рейке |
Номер наведения |
Отсчеты по уровню при наведении на штрихи |
Положение щитка (I, II) отсчеты по рейке |
Номер наведения |
Отсчеты по уровню при наведении на штрихи |
||||||
|
№ 1 |
№ 2 |
№ 3 |
№ 4 |
№ 1 |
№ 2 |
№ 3 |
№ 4 |
||||
|
окуляр-объектив |
окуляр-объектив |
окуляр-объектив |
окуляр-объектив |
окуляр-объектив |
окуляр-объектив |
окуляр-объектив |
окуляр-объектив |
||||
|
индекс вверху |
1 |
5,8-20,9 |
11,0-15,7 |
16,2-10,5 |
21,4-5,3 |
индекс вверху |
1 |
7,1 - 19,6 |
11,5-15,1 |
16,6-10,0 |
21,1-5,6 |
|
2 |
5,7-20,9 |
10,9-15,8 |
16,2-10,4 |
21,3-5,3 |
2 |
7,0-19,6 |
11,4-15,2 |
16,8-9,9 |
21,2-5,5 |
||
|
3 |
5,9-20,7 |
11,1 - 16,0 |
16,1 - 10,5 |
21,2-5,5 |
3 |
7,1 - 19,7 |
11,6-15,1 |
16,6-9,9 |
21,0-5,6 |
||
|
а31 осн = 22,50 |
Ср. |
5,8-20,8 |
11,0-15,8 |
16,2-10,5 |
21,3-5,4 |
а41 осн = 32,18 |
Ср. |
7,1 - 19,6 |
11,5-15,1 |
16,7-9,9 |
21,1-5,6 |
|
а31 доп = 81,75 |
|
α1 = +15,0 |
α 2 = +4,8 |
α 3 = -5,7 |
α 4 = -15,9 |
а41 доп = 91,43 |
|
α1 = +12,5 |
α 2 = +3,6 |
α 3 = -6,8 |
α 4 = -15,5 |
|
(X11+C1)3=2068+1017=3805 а31 осн = 22,50-3,085=19,415 |
(X12+C2)3=650+2434=3084 а31 доп = 81,75-3,084=78,666 |
(X11+C1)4=1879+1009=2888 а41 осн = 32,18-2,888=29,292 |
(X12+C2)4=485+2408=2893 а41 доп = 91,43-2,893=88,537 |
||||||||
|
индекс внизу |
1 |
20,3-6,3 |
15,0-11,4 |
10,0-16,7 |
4,8-21,8 |
индекс внизу |
1 |
21,3-5,4 |
17,0-9,7 |
11,8-14,9 |
7,4-19,2 |
|
2 |
20,2-6,4 |
15,3-11,5 |
10,0-16,8 |
4,6-21,7 |
2 |
21,4-5,1 |
17,0-9,6 |
11,9-14,7 |
7,3-19,2 |
||
|
3 |
20,2-6,4 |
15,0-11,4 |
9,8-17,0 |
4,7-21,9 |
3 |
21,5-5,2 |
17,1-9,6 |
12,0-14,6 |
7,3-19,3 |
||
|
а3IIосн = 16,52 а |
Ср. |
20,2-6,4 |
15,1 - 11,4 |
9,9-16,8 |
4,7-21,8 |
а4IIосн = 21,87 |
Ср. |
21,4-5,2 |
17,0-9,6 |
11,9-14,7 |
7,3-19,2 |
|
а3IIдоп = 75,77 |
|
α1 = -13,8 |
α 2 = -3,7 |
α 3 = +6,9 |
α 4 = +17,1 |
а4IIдоп = 85,12 |
|
α1 = -16,2 |
α 2 = -7,4 |
α 3 = +2,8 |
α 4 = +11,9 |
|
(XII1+C1)3=1903+1017=2920
|
(XII2+C2)3=497+2434=2931
|
(XII1+C1)4=2427+1009=3436
|
(XII2+C2)4=1017+2408=3425
|
||||||||
|
Б2осн |
|
21,175 |
Б2доп |
|
80,423 |
Б1осн |
|
24,206 |
Б1доп |
|
83,457 |
|
Б2осн - А3осн |
|
+1,747 |
Б2доп-А3доп |
D |
+1,739 |
h'осн.гл= |
|
-5,093 |
h'доп.гл= |
|
-5,084 |
|
|
|
|
|
|
|
h'гл= |
|
-5,088 |
|
|
|
|
Б1осн - Б2осн |
|
+3,031 |
Б1доп - Б2доп |
|
+3,034 |
Среднее значение превышения через препятствие между постоянными реперами, полученное первым наблюдателем из полуприема 2: |
|||||
|
Б3осн - Б4осн |
|
-9,862 |
Б3доп - Б4доп |
|
-9,861 |
h'2=-5,087 дел. рейки = -0,2544 м |
|||||
|
h'осн.кон= |
|
-5,084 |
h'доп.кон= |
|
-5,088 |
|
|
|
|
|
|
|
|
|
|
h'кон= |
|
-5,086 |
|
|
|
|
|
|
При вычислении поправки δh с графика интерполирования берут поправочный коэффициент σ на день выполнения нивелирования и умножают его на превышение.
Прямой нивелирный ход III класса прокладывали 10 мая, обратный - 8 июня. Результаты эталонирования реек приведены в таблице и на графике (рис. 35). Превышение, полученное в прямом ходе, оказалось равным +111,733 м и в обратном - 111,709 м. Длина хода 2,0 км.
На графике интерполирования находим поправочные коэффициенты σ1 и σ2 на 10 мая и 8 июня. Они соответственно равны-0,06 мм и +0,14 мм. Поправка в превышение, измеренное 10 мая, равна
![]()
8 июня
![]()
После введения поправок имеем:
hпр = +111,733 - 0,07= +111,726 мм; ho6p = -111,709 - 0,016 = -111,725 мм.
Если
до введения поправок δh за среднюю длину метра комплекта реек
расхождение превышений было hпр - ho6p = +24 мм и не удовлетворяло требованиям III класса +10 мм
= ±14 мм, то после введения поправок
расхождение уменьшилось до +1 мм.
Аналогично вычисляют поправку за среднюю длину метра комплекта реек при нивелировании IV класса.
Ход от грунт. реп. 5540 до стен. марки 1112
Дата: 10.07.99 г. Начало 16 ч 20 мин, конец 17 ч 30 мин
|
Номера штатива и рейки |
Зарисовка привязки |
Наблюдения по дальномерным нитям |
Контрольные превышения |
Наблюдения по средней нити |
Среднее превышение, мм |
|||
|
задняя рейка |
передняя рейка |
задняя рейка |
передняя рейка |
превышение |
||||
|
1 |
|
1572 (2) |
1812 (5) |
-240(11) |
Ч 1739(1) |
1871 (4) |
-232 (14) |
|
|
1-2 |
1904 (3) |
2130 (6) |
-226 (12) |
К 6430(8) |
6761 (7) |
-331(15) |
-231.5(19) |
|
|
|
332 (9) |
318(10) |
+14/+14 (13) |
4691 (16) |
4790 (17) |
+99 (18) |
|
|
|
|
|
|
|
|
|
|
|
|
|
|
|
|
|
|
|
|
|
|
|
|
|
|
|
|
|
|
|
|
|
|
Грунт. реп. 5540 |
|
|
|
|
|
|
|
|
2 |
|
1170 |
631 |
+539 |
Ч 1478 |
0937 |
+541 |
|
|
2-1 |
|
1786 |
1241 |
+545 |
К 6269 |
5627 |
+642 |
+541.5 |
|
|
|
616 |
610 |
+6/20 |
4791 |
4690 |
-101 |
|
|
|
|
|
|
|
|
|
|
|
|
3 |
|
601 |
1710 |
-1109 |
Ч 981 |
2090 |
-1109 |
|
|
1-2 |
|
1360 |
2470 |
-1110 |
К 5670 |
6881 |
-1211 |
-1110.0 |
|
|
|
759 |
760 |
-1/+19 |
4689 |
4791 |
+102 |
|
|
4 |
|
1883 |
800 |
+1083 |
Ч 2217 |
1131 |
+1086 |
|
|
2-1 |
|
2550 |
1465 |
+1085 |
К 7007 |
5821 |
+1186 |
+1086.0 |
|
|
|
667 |
665 |
+2/24 |
4790 |
4690 |
-100 |
|
|
5 |
|
110 |
1327 |
-1217 |
Ч 465 |
1678 |
-1213 |
|
|
1-2 |
|
819 |
2029 |
-1210 |
К 5155 |
6469 |
-1314 |
-1213.5 |
|
|
|
709 |
702 |
+7/+28 |
4691 |
4791 |
+101 |
|
|
6 |
|
1354 |
581 |
+773 |
Ч 1670 |
889 |
+781 |
|
|
2-1 |
|
1985 |
1197 |
+788 |
К 6460 |
5579 |
+881 |
+781,0 |
|
|
|
631 |
616 |
+15/+43 |
4790 |
4690 |
-100 |
|
|
7 |
|
1268 |
1572 |
-304 |
Ч 1561 |
1870 |
-309 |
|
|
1-2 |
|
1859 |
2169 |
-310 |
К 6251 |
6660 |
-409 |
-309.0 |
|
|
|
591 |
597 |
-6/+37 |
4690 |
4790 |
+100 |
|
|
Контрольные постраничные вычисления |
|
4305 (20) |
4268 (21) |
-913 (22) |
_5553 (23) |
54364 (24) |
-1011(25) |
-455.5 (26) |
|
|
|
|
-456.5 (27) |
54364 (24) |
|
+100 |
|
|
|
|
|
|
|
-1011 (28) |
|
-911(29) |
|
|
|
|
|
|
|
|
|
-455.5 |
|
|
|
Ход от грунт. реп. 5540 до стен. марки 1112 10.07.99 г. Начало 17 ч 35 мин, конец 18 ч 00 мин Условия работы: изображение спокойное, ясно, слабый ветер |
||||||||
|
8 |
|
1510 |
211 |
+1299 |
Ч 1877 |
576 |
+1301 |
|
|
2-1 |
|
2242 |
942 |
-1300 |
К 6668 |
5266 |
+1402 |
+1301.5 |
|
|
|
732 |
731 |
+1/+38 |
4791 |
4690 |
-101 |
|
|
9 |
1791 |
1186 |
-605 |
Ч 2132 |
1529 |
+603 |
|
|
|
1-2 |
2475 |
1874 |
+601 |
К 6822 |
6319 |
+503 |
+603.0 |
|
|
|
684 |
688 |
-4/+34 |
4790 |
4790 |
+100 |
|
|
|
10 |
220 |
1044 |
+1264 |
Ч 526 |
-739 |
+1265 |
|
|
|
2 подв. |
|
830 |
434 |
+1264 |
К 5316 |
-5529 |
+10845 |
+1265.0 |
|
рейка |
стен, марка 1112 |
610 |
610 |
0/+34 |
4790 |
4790 |
-9580 |
|
|
|
|
|
|
|
|
|
+1265 |
+3169.5 |
|
|
|
|
|
|
|
|
|
|
|
Контрольные постраничные вычисления |
|
2026 |
2029 |
+6333 |
_2341 |
7422 |
+15919 |
|
|
|
|
|
+3166.5 |
7422 |
|
-9580 |
|
|
|
|
|
|
|
15919 |
|
+6339 |
|
|
|
|
|
|
|
|
|
+3169.5 |
|
|
|
Контрольные постраничные вычисления |
|
6331(20) |
6297 (21) |
+5420 (22) |
_76694 (23) |
61786 (24) |
+14908 (25) |
+2714.0 (26) |
|
|
|
|
+2710 (27) |
61786 (24) |
|
+100 |
|
|
|
|
|
|
|
+14908 (28) |
|
-9580 |
|
|
|
|
|
|
|
|
|
+5428 (29) |
|
|
|
|
|
|
|
|
|
+2714 |
|
|
|
Номер секции |
Вид и номер нивелирного репера, тип центра |
Местоположение нивелирного репера |
Расстояние от начального репера между реперами, км |
Число штативов входе прямо обратно |
Измеренное превышение, м |
Разность превышений, мм |
Среднее превышение, м |
Поправка за уравнивание, мм |
Уравненное превышение, м |
Высота в Балтийской системе высот, м |
Примечание |
|
|
прямой ход |
обратный ход |
|||||||||||
|
Линия № 10 от грунт. реп. 5540 до стан. peп. 513 Исполнитель: ст. техник Петров Н.Н. Дата: 1-3.07.99 |
||||||||||||
|
|
Грунт. реп. 5540 тип 116 |
Глазниха, станц, в 4.9 км к сев.-вост. от нее по дороге на станц. Мощное, в 30 м к сев. от дороги, в 500 м к вост. от моста через р. Серебрянка |
00 0.7 |
|
|
|
|
|
|
|
72.963 |
Высота получена из «Каталога пунктов нивелирования II класса линии Кон-Ивановка», 1989 г. |
|
la |
Вр. реп., пень с гвоздем |
Глазниха, станц., в 4.2 км к сев.-вост. от нее, в 15 м к зап. от переезда через ж.д. |
07 2.0 |
8 8 |
+0.524 |
-0.527 |
-3 |
+0.526 |
- |
+0.526 |
73.489 |
|
|
1б |
Грунт. реп. 10542 тип 121 |
Глазниха, станц., в 2.2 км к сев.-вост. от нее, в 45 м к сев. от дороги на станц. Мощное |
17 1.7 |
19 19 |
+2.210 |
-2.214 |
-4 |
+2.212 |
-1 |
+2.211 |
75.700 |
|
|
2а |
ВР. реп. пикетный столб |
426 км ж.д., 7 пк, в 5 м к сев. от ж.д. полотна |
44 1.8 |
16 17 |
-0.342 |
+0.346 |
+4 |
-0.344 |
-1 |
-0.345 |
75.355 |
|
|
2б |
Стен. реп. 502 |
р. Серебрянка, в сев. устье путепровода на 428 км ж.д |
62 2.8 |
28 29 |
+4.124 |
-4.110 |
+14 |
+4.117 |
-1 |
+4.116 |
79.471 |
|
|
3а |
Вр. реп. межевой столбе гвоздем |
с. Ивановка в 0.5 км от него по дороге в с. Крутое, справа от дороги |
9.0 3.0 |
20 21 |
-1.512 |
+1.514 |
+2 |
-1.513 |
-1 |
-1.514 |
77.957 |
|
|
3б |
Сигн. 2 кл. Ивановка, тип I |
с. Ивановка, в 2.5 км юго-зап. от него у перекрестка дорог с. Глазниха - с. Ивановка, с. Яр - с. Сашино |
12.0 2.6 |
30 31 |
+4.571 |
-4.566 |
+5 |
+4.568 |
-1 |
+4.567 |
82.524 |
|
|
4 |
Стен. реп. 511 |
с. Никольское, зд. школы |
14.6 3.4 |
28 26 |
+3.854 |
-3.866 |
-12 |
+3.860 |
-1 |
+3.859 |
86.383 |
|
|
5 |
Стен. реп. 513 |
р. Серебрянка в южн. устое моста, в 3 км к сев. от с. Никольское |
18.0 |
36 34 |
+2.095 |
-2.081 |
+14 |
+2.088 |
-1 |
+2.087 |
88.470 |
Высота получена из уравнивания сети III кл., 1990 г. |
|
|
|
Итого по линии L= |
18.0 |
184 |
+15.524 |
-15.504 |
+20 |
+15.514 |
-7 |
-15.507 |
|
|
|
Hк-Hн = +15.507 м; |
Vполуч = +7 мм; |
Vдоп = 10 мм |
Поправка на 1 км хода - Vполуч/ L = -0.4 мм |
|||||||||
Дата: 10.07.99
Ход: от грунт. реп. 606 до стен. марки 23
|
Номера штатива и реек |
Дальномерные расстояния до задней и передней реек |
Отсчеты по рейке |
Превышение, мм |
Среднее превышение, мм |
|
|
задняя |
передняя |
||||
|
1 |
375 (7) |
1185(1) |
1058 (3) |
|
|
|
Грунт. реп. |
|
1560 (2) |
1430 (4) |
+130(11) |
+130(13) |
|
606 |
372 (8) |
6247 (6) |
6217 50 |
+30 (12) |
|
|
2-1 |
|
4687 (9) |
4784 (10) |
+100 (14) |
|
|
|
|
|
|
|
|
|
2 |
460 |
805 |
1008 |
|
|
|
1-2 |
|
1265 |
1472 |
-207 |
-207 |
|
|
464 |
6052 |
6159 |
-107 |
|
|
|
|
4787 |
4687 |
-100 |
|
|
|
|
|
|
|
|
|
3 |
324 |
596 |
777 |
|
|
|
2-1 |
|
920 |
1103 |
-183 |
-183 |
|
|
326 |
5607 |
5890 |
-283 |
|
|
|
|
4687 |
4787 |
+100 |
|
|
|
|
|
|
|
|
|
4 |
275 |
719 |
1019 |
|
|
|
1-2 |
|
994 |
1293 |
-299 |
-300 |
|
|
274 |
5781 |
5982 |
-201 |
|
|
|
|
4787 |
4689 |
-98 |
|
|
|
|
|
|
|
|
|
5 |
352 |
910 |
1043 |
|
|
|
2-1 |
|
1262 |
1395 |
-133 |
133 |
|
|
352 |
5949 |
6182 |
-233 |
|
|
|
|
4687 |
4787 |
+100 |
|
|
|
|
|
|
|
|
|
6 |
402 |
860 |
729 |
|
|
|
1-2 |
|
1262 |
1128 |
+134 |
+135 |
|
|
399 |
6049 |
5813 |
+236 |
|
|
|
|
4787 |
4685 |
-102 |
|
|
|
|
|
|
|
|
|
Контрольные вычисления |
4375 (21) |
42948 (15) |
44064 (16) |
-1116(17) |
-558 (18) |
|
|
-44064 (16) |
|
-558 (20) |
|
|
|
|
|
-1116(19) |
|
|
|
|
|
|
|
|
|
|
|
7 |
190 |
657 |
894 |
|
|
|
2-1 |
|
847 |
1085 |
-238 |
-238 |
|
|
191 |
5534 |
5872 |
-338 |
|
|
|
|
4687 |
4787 |
+100 |
|
|
|
|
|
|
|
|
|
8 |
380 |
1544 |
615 |
|
|
|
1-2 |
|
1924 |
995 |
+929 |
+930 |
|
|
380 |
6711 |
5681 |
+1030 |
|
|
|
|
4787 |
4686 |
-101 |
|
|
|
|
|
|
|
|
|
9 |
418 |
524 |
-763 |
|
|
|
2-стен. марка |
|
942 |
-345 |
-1287 |
+1285 |
|
23 |
418 |
1070* |
+213* |
-1283 |
|
|
|
|
128 |
|
|
|
|
|
|
|
|
|
|
|
Контрольные |
1977 |
17028 |
13075 |
+3953 |
|
|
вычисления |
|
13075 |
|
+1976.5 |
+1977 |
|
|
|
+3953 |
|
|
|
|
Подсчет по секции от гр. реп. 606 до стен. марки 23 |
|||||
|
|
6352 (21) |
59976 (15) |
57139(16) |
+2837 (17) |
+1419(18) |
|
|
|
57139(16) |
|
+1418.5 (20) |
|
|
|
|
+2837 (19) |
|
|
|
_____________________
* При привязке к марке при помощи рулетки изменяли высоту горизонта нивелира, отсчет по второй рейке два раза делали по черной стороне.
|
Номер секции |
Вид и номер нивелирного репера, тип центра |
Местоположение нивелирного репера |
Расстояние, от начального репера между реперами |
Число штативов |
Измеренное превышение, м |
Поправка за уравнивание, мм |
Высота в Балтийской системе высот, м |
Примечание |
Линия № 12 от стен. реп. 124 до стан. реп.. 2463 |
||||||||
Исполнитель: ст. техник Коровин М.Н. Дата: 15-16.08.99 |
||||||||
|
|
Стен. реп. 124 |
с. Березовка, зд. школы |
00 2.0 |
|
|
|
251.768 |
Высота получена из уравнивания сети III класса III класса, 1980 г. |
|
1a |
Вр. реп., кованый гвоздь |
р. Северка, мост в 2 км к сев. от с. Березовка, верхний гвоздь в сев. устое моста |
2.0 2.1 |
10 |
+0.623 |
+5 |
252.396 |
|
|
1б |
Грунт. реп. 115, тип. 118 |
с. Ново-Березовка, в 1.5 км к вост. от него, в 22 км от с. Матвеевка, в 25 м к югу от дороги |
4.1 2.0 |
11 |
+2.055 |
+5 |
254.456 |
|
|
2a |
Вр. реп., камень |
с. Ново-березовка, в 0.5 км к югу от него, большой валун по дороге в с. Березовка, в 25 м к сев. от дороги. Место постановки рейки отмечено красной краской |
6.1 1.9 |
10 |
+0.225 |
+5 |
254.686 |
|
|
2б |
Сигн. 2 кл., с. Матвеевка, тип. 2 |
с. Матвеевка, в 4 км к сев.-вост. от него, у полевого стана |
8.0 2.2 |
10 |
+0.926 |
+4 |
255.616 |
|
|
3а |
Вр. реп. |
с. Матвеевка, в 2 км к сев.-вост. от него, межевой столб рядом с перекрестком дорог с. Матвеевка - с. Новое, и с. Рбово - с. Кон |
10.2 2.0 |
11 |
+0.643 |
+5 |
256.264 |
|
|
3б |
Стен. реп. 64 |
с. Матвеевка, зд. школы |
12.2 |
10 |
+1.765 |
+5 |
258.034 |
Высота получена из уравнивания сети IV класса, 1982 г. |
|
|
Итого по линии L = |
12.2 |
62 |
+6.237 |
+29 |
|
|
|
Разность высот исходных реперов Нк - Нн=+6.266 м
Полученная невязка Vполуч = -29 мм
Допустимая невязка Vдоп = 20 мм
= 70 мм
Поправка на 1 км хода - Vполуч/L = +2.4
Вычислял: техник Коровин М.Н.
Считали: читал техник Коровин М.Н.
слушал техник Иванов В.В.
20.10.99
Ход: от грунт. реп. 4256 до грунт. реп. 4817
Дата: 10.09.01
Начало: 7 ч 15 мин, конец 9 ч 00 мин
|
Номера станций и реек |
Расстояние до задней и передней реек |
Отсчеты по рейке |
Превышение, мм |
Среднее, мм |
|
|
задняя |
передняя |
||||
|
6 |
442 (7) |
1040 (1) |
0910 (3) |
|
|
|
1-2 |
440 (8) |
1482 (2) |
1350 (4) |
+132(11) |
+133 (13) |
|
|
|
1519(6) |
1385 (5) |
+134(12) |
|
|
|
|
-37 (9) |
-35 (10) |
-2 |
|
(последующие записи аналогичны, поэтому не приводятся)
1. Испытания нивелира
Совокупность экспериментальных операций, проводимых с целью установления нивелира требованиям технического задания и (или) действующей документации на прибор.
2. Сертификация нивелира
Испытания, проводимые с целью установления соответствия нивелира требованиям, предъявляемым к приборам для нивелирных работ.
3. Поверка нивелира
Совокупность экспериментальных операций, проводимых для оценки соответствия метрологических характеристик нивелира установленным требованиям.
4. Первичная поверка
Поверка, проводимая аттестованным поверителем при выпуске из производства или после ремонта.
5. Периодическая поверка
Поверка, проводимая аттестованным поверителем в процессе эксплуатации через установленный интервал времени, называемый межповерочный.
6. Технологическая поверка
Поверка, проводимая исполнителем на месте работы в соответствии с требованиями технологической инструкции.
7. Поверочная схема
Нормативный документ, устанавливающий порядок, методы и средства передачи размера единицы от эталонов рабочим средствам измерений (в частности, нивелирам и рейкам).
Текст соответствует источнику.
|
|
|
|