//
ТехЛит.ру
- крупнейшая бесплатная электронная интернет библиотека для "технически умных" людей.
WWW.TEHLIT.RU - ТЕХНИЧЕСКАЯ ЛИТЕРАТУРА

:: Алготрейдинг::


АЛГОТРЕЙДИНГ
шаг за шагом
с нуля по урокам!

Торговые роботы на PYTHON, BackTrader,
Pandas, Pine Script для TradingView. Связка с брокерами, телеграм и легкими приложениями.


ФЕДЕРАЛЬНОЕ АГЕНТСТВО ПО ОБРАЗОВАНИЮ МИНИСТЕРСТВА ОБРАЗОВАНИЯ И НАУКИ РОССИЙСКОЙ ФЕДЕРАЦИИ

ГОСУДАРСТВЕННОЕ ОБРАЗОВАТЕЛЬНОЕ УЧРЕЖДЕНИЕ
ДОПОЛНИТЕЛЬНОГО ПРОФЕССИОНАЛЬНОГО ОБРАЗОВАНИЯ
"ГОСУДАРСТВЕННАЯ АКАДЕМИЯ ПРОФЕССИОНАЛЬНОЙ ПЕРЕПОДГОТОВКИ
И ПОВЫШЕНИЯ КВАЛИФИКАЦИИ РУКОВОДЯЩИХ РАБОТНИКОВ
И СПЕЦИАЛИСТОВ ИНВЕСТИЦИОННОЙ СФЕРЫ"
(ГОУ ДПО ГАСИС)

 

Утверждаю:

Начальник Госжилинспекции

по г. Москве

Утверждаю

Ректор ГОУ ДПО ГАСИС

A.M. Стражников

А.С. Щенков

 

Указания
по технической эксплуатации скатных крыш и технологиям антикоррозионной защиты и герметизации сопряжений металлических кровельных покрытий при устройстве и ремонте герметизирующими материалами Марки АБРИС® С и АБРИС® Р

 

Согласовано

Директор ООО

"Завод герметизирующих материалов"

Разработал

Научный руководитель

проблемы "Гидрозащита"

Г.А. Савченкова

О.А. Лукинский

 

Москва, 2005 г.

СОДЕРЖАНИЕ

Предисловие

1. Общие положения

2. Содержание крыши, осмотры

3. Нормализация температурно-влажностного режима чердачных помещений и рекомендации по антиобледенению кровель

4. Технические требования к кровельным материалам из стали и меди

5. Технические требовании к крышным конструкциям

6. Герметизация фальцев и примыканий при устройстве новой кровли

7. Конструктивно-технологические решения по выполнению окрытий выступающих фасадных элементов

8. Сопряжение разнородных материалов на кровельных покрытиях

9. Антикоррозионная защита оцинкованной кровли

10. Технология ремонта металлических кровель

11. Общие конструктивно-технологические рекомендации

12. Контроль качества материалов и покрытий

13. Техника безопасности и производственная санитария

Приложение 1 Дефектная ведомость, составленная по результатам натурного обследования кровли и конструкций чердачного помещения (по состоянию стропильной системы составляется самостоятельная ведомость)

Приложение 2 Перечень строительных работ по текущему ремонту крыш жилых зданий:

Приложение 3 Методические указания по техническому обследованию крыш жилых зданий для определения целесообразности их ремонта или реконструкции

Приложение № 4 Характерные неисправности агрегатов безвоздушного нанесения покрытий и их устранение

Приложение 5 Перечень механизмов и приспособлений для кровельных работ

Приложение 6 Строительные свойства герметиков Абрис ® С и Абрис® Р

 

Предисловие

Большая часть кровельных покрытий скатных крыш выполнена из оцинкованной стали и меди, качество которых является определяющим в обеспечении сохранности здания.

Защищая здание от атмосферных осадков, кровельное покрытие подвергается облучениям, механическим, тепловым и химическим воздействиям, многие из которых многократно повторяются и изменяются даже в течение суток. К тому же, зачастую нарушая правила эксплуатации, обслуживающий персонал и посторонние вызывают повреждения кровли (вмятины, щели, пробоины).

На выбор материала для кровли влияет комплекс факторов, в частности, уклон крыши, который в свою очередь зависит от климатических особенностей конкретной местности (снеговые и ветровые нагрузки), типа здания, архитектурных требований и традиций.

Целесообразно оценить и экономичность первоначальных и эксплуатационных затрат, т.к. чем больше угол наклона крыши, тем она дороже за счет увеличения расхода материалов. Но такая кровля значительно менее затратна в процессе эксплуатации, поскольку на крутых скатах не задерживается снег и вода, а, следовательно, высокая кровля долговечнее при улучшении архитектурного облика здания.

Для скатных крыш характерны наледи на свесах и карнизах, образующиеся при недостаточной теплоизоляции чердачных перекрытий и трубопроводов и других нарушениях температурно-влажностных условий чердачных или мансардных помещений.

Существующие слуховые окна обычно не обеспечивают достаточной вентиляции, а устройство дополнительных продухов и вытяжных шахт сложно или недопустимо по архитектурным требованиям. Поэтому предложено использовать существующие дымовые трубы, не несущие смысловой нагрузки, в качестве вытяжных шахт, учитывая, что сохранение таких труб диктуется необходимостью сохранения подлинного облика здания.

В большинстве городов России, особенно насыщенных зданиями старой застройки, крыши преимущественно скатные с покрытиями из металлов, преимущественно из оцинкованной стали.

Ежегодно ремонтируется более 10% металлических кровельных покрытий скатных крыш и, как правило, до истечения нормативного срока эксплуатации, составляющего 25 лет для покрытий из оцинкованной стали, а иногда и вскоре после устройства при недоброкачественно выполненной герметизации фальцев и примыканий к выступающим над крышей конструкциям.

В преддверии широкого внедрения эффективных мансардных крыш со скатными кровлями разработаны рациональные технологии антикоррозионной защиты, герметизации и теплоизоляции крышных конструкций, дабы не повторять извечные ошибки, вызванные недальновидным проектированием.

Необходимость преждевременного ремонта скатных крыш до истечения нормативного срока зачастую вызвана протечками, возникающими от повреждений при механической счистке льда со свесов кровельного покрытия.

Опыт эксплуатации и анализ жалоб граждан убедительно показывает, что протечки кровель - основная причина нарушения нормальных условий проживания, да и основная статья расходов на ремонтные работы.

Косвенный вред от протечек - гниение древесины стропильной системы, потеря теплоизоляционных свойств утеплителя и разрушение перекрытий, не говоря о необходимости выполнения непредвиденных ремонтов внутренней отделки, вызванных, в частности, биопоражениями, и ограждающих конструкций зданий.

Преимуществом мансардных крыш является не только получение дополнительной полезной площади, но и возможность с меньшими затратами нормализовать температурно-влажностный режим и снизить вероятность обледенения свесов кровли. Остается актуальной проблема надёжной герметизации и антикоррозионной защиты, тем более что осуществлять ремонтную герметизацию мансардной кровли значительно сложнее из-за большой крутизны. Именно поэтому основное внимание настоящих указаний направлено на выбор эффективных антикоррозионных и герметизирующих материалов и рациональных технологий. Для создания надёжных и долговечных кровельных покрытий скатных крыш в настоящих указаниях рекомендуются:

- конструктивные решения для обеспечения нормальных температурно-влажностных условий в чердачных и мансардных помещениях;

- технология антикоррозионной защиты металлических кровель;

- конструктивно-технологические решения герметизации сопряжений кровельных элементов между собой и с выступающими над крышей конструкциями с использованием надёжных герметиков;

- технологии противоаварийной (непредвиденной) герметизации дефектов кровель зданий, ремонт которых предусматривается в более поздние сроки. Настоящие указания составлены профессором кафедры "Строительное производство" ГАСИС, чл.-кор. ЖК Академии О.А. Лукинским с использованием исследований институтов "Союзреставрация", "Росреставрация", ВНИИстройполимер, Мосжилниипроект, ЛНИИ АКХ, АКХ им. Панфилова К.Д., ВНИИЖТ, ВНИИкоррозии и ЦНИИПромзданий.

В основу настоящих указаний положены "Указания по технической эксплуатации скатных крыш и технологиям антикоррозийной защиты и герметизации сопряжений металлических кровельных покрытий", разработанных автором в ГАСИС и утвержденных Госжилинспекцией в 1998 г. Появление новых эффективных герметизирующих материалов, приспособлений и инструментов создали объективные условия для корректировки и дополнения действующих нормативов.

При составлении указаний использованы следующие нормативные материалы:

- Указания по технической эксплуатации крыш жилых зданий с рулонными, мастичными и стальными кровлями. Стройиздат, М., 1987.

- Указания по проектированию, технологии ремонта и содержания металлических кровель с применением полимерных материалов, ВСН 11-83. Главмосжилуправление, М., 1983.

- Методические рекомендации объединения "Росреставрация". "Защита и консервация металлических кровельных покрытий памятников архитектуры". М., 1986.

- ТУ 5772-003-43008408-99 с изменениями 1 -4.

- Руководство по применению герметизирующих материалов Абрис С, Абрис Р в конструкциях зданий и сооружений. Шифр М27.07/05 г. ОАО "ЦНИИПромзданий".

- Технические указания по организации профилактического текущего ремонта жилых крупнопанельных зданий. Стройиздат, М., 1981.

- Положение об организации и проведении реконструкции, ремонта и технического обслуживания зданий, объектов коммунального и социально-культурного назначения. ВСН 58-88 (р) Госкомархитектуры. М., 1990.

- Временная табельная положенность (для РСУ) инструмента и механизмов для ремонта мягких и металлических кровель. Главмосжилуправление. М., 1986.

- Рекомендации по организации ремонтных работ, связанных с подготовкой стальных кровель к эксплуатации в зимних условиях. ВСН-27-90, M1 ПО "Мосжилремэксплуатация".

- Рекомендации по охране труда при производстве кровельных работ. СЭЦ

- "Спецтеплохимзащита". М. 2001.

Материалы и конструктивно-технологические решения, включенные в настоящие указания на стадиях лабораторно-производственных исследований, рассмотрены и одобрены экспертами Ленжилниипроекта, АКХ им. Памфилова К.Д., МНИИТЭП, а также научными советами ВО "Союзреставрация", ГАСИС МОиН РФ. В указаниях не рассматриваются кровли из мелкоштучных материалов, шифера, черепицы и материалов, рекомендуемых зарубежными фирмами.

1. Общие положения

1.1. Настоящие указания предназначены для проектирования, устройства, реконструкции и ремонта (реставрации) и содержания чердачных и мансардных крыш со стальной и медной скатной кровлей.

Указания учитывают специфику ремонтно-строительных работ, выполняемых в соответствии с требованиями СНиП II-26-76 "Нормы проектирования. Кровли", СНиП III-20-74 "Правила производства и приёмки работ. Кровли, гидроизоляция, пароизоляция и теплоизоляция" и СНиП 2.03.11-85 "Защита строительных конструкций от коррозии".

1.2. Основными герметизирующими материалами в сопряжениях элементов металлических кровель являются самоклеящиеся герметики Абрис®С, выпускаемые "Заводом герметизирующих материалов" в г. Дзержинске Нижегородской области (Приложение 6).

1.3. Для обеспечения высокой эксплуатационной надёжности кровли и предупреждения ее преждевременного износа эксплуатирующей организации необходимо выполнять требования норм технической эксплуатации.

1.4. Устройство и капитальный ремонт (реконструкцию, реставрацию) кровли следует выполнять только по рабочим чертежам проектной организации с учетом материалов и технологий, описанных в настоящих указаниях.

1.5. Перед сменой кровли обязательно отремонтировать основание под нее, причем все деревянные элементы обязательно антисептировать и антипирировать (составы рекомендует проектная организация или НИИ, например, ГАСИС рекомендует Лукар-ОП)*.

Стандартная продукция - Лукар-ОП соответствует Техническим Условиям ТУ 5772-002-58275026-02 от 05.02.2002 г., как и все Лукары относятся к малоопасным веществам четвертого класса опасности по ГОСТ 12.1.007-76 (Гигиеническое заключение № 52.НЦ.15.577.П.0О0355.02.03 от 17.02.2003 г.). Свидетельство на товарный знак

1.6. Повреждения в кровельном покрытии (обнаруженные дефекты) целесообразно исправлять незамедлительно.

1.7. Инженерное оборудование, расположенное на кровле, а также стойки антенн необходимо заземлять.

1.8. В чердачном помещении следует обеспечить нормальный температурно-влажностный режим и электроосвещение.

1.9. Входы в чердачное помещение и выходы на крышу должны быть оборудованы запорными устройствами, а ключи храниться в двух местах, установленных руководством эксплуатирующей организации.

2. Содержание крыши, осмотры

2.1. Для обеспечения технически исправного состояния и предупреждения преждевременного износа крышных конструкций необходимо своевременно выполнять технические осмотры, по результатам которых составлять ведомости дефектов с перечнем работ по содержанию и ремонту.

2.2. Содержание крыш заключается в проведении очередных и внеочередных технических обследований, очистке кровель от снега и мусора и оперативном выполнении незапланированного ремонта.

2.3. При техническом обследовании нужно освидетельствовать кровельное покрытие, водоотводящие устройства, крышные конструкции, состояние чердачного помещения и расположенного в нем инженерного оборудования.

2.4. Очередные технические обследования крыши выполняют при общих весенних и осенних осмотрах здания комиссией эксплуатирующей организации.

2.5. Герметичность кровли определяют визуально при выпадении интенсивного дождя или таянии снега (льда).

2.6. В весеннее время года после таяния снега выявляют дефекты и определяют объем ремонтных работ, а поздней осенью (до образования снежного покрова) - проверяют выполнение запланированных к зиме мероприятий.

2.7. Внеочередные обследования крыш полагается выполнять оперативно после ураганного ветра, ливня и обильного снегопада. При этом особое внимание следует уделять осмотру примыканий кровельного покрытия к выступающим над крышей конструкциям. По результатам обследования следует составлять ведомость обнаруженных повреждений с подсчетом объемов ремонтных работ. Обнаруженные повреждения водоотводящих устройств (желобов, водосточных труб, водоприемных воронок, карнизных сливов и окрытий) необходимо устранять незамедлительно.

2.8. Для проведения инструментальных и микологических обследований полезно привлекать специализированные организации.

2.9. При обнаружении значительных дефектов или аварийного состояния конструкций или узлов кровли необходимо провести комиссионное обследование с привлечением представителей проектной организации для составления акта и оперативной разработки рекомендаций по устранению дефектов.

2.10. При выполнении регулярной очистки кровли и водоотводящих устройств от мусора (пыли, листьев, грязи), препятствующего нормальному стоку воды, нужно пользоваться метлами, вениками и круглыми проволочными щетками (ершами), диаметр которых близок диаметру очищаемой трубы.

2.11. При обследовании чердаков необходимо установить наличие жалюзийных решеток в слуховых окнах. Не допускается сплошное остекление слуховых окон, препятствующее эффективной работе вентиляционных устройств.

2.12. Во время интенсивного листопада и выпадения снега необходимо оперативно очищать кровлю. Безопасно для кровельного покрытия сметание листьев и снега. На оцинкованной кровле можно сбрасывать снег деревянными лопатами, оставляя на кровле слой снега толщиной около 5 см. Категорически запрещается пользоваться для очистки кровли металлическими лопатами и аналогичными приспособлениями, которые могут повредить кровельное покрытие.

2.13. Если слой свежевыпавшего снега превышает 5 см, очистку снега на кровле с уклоном ската менее 45° следует выполнять на участке кровли для двухскатной на расстоянии от кромки карниза до 3 м, а для односкатной - 4,5 м. При толщине слоя снежного покрова более 30 см с учетом плотности свежевыпавшего снега 0,25 г/см3 масса снежного покрова на кровле превышает допустимую нормативом, а, следовательно, необходима очистка. Крыши с уклоном ската кровли 45° и более являются самоочищающимися.

2.14. При сбрасывании снега и листьев с кровли нужно принять меры, исключающие повреждения окрытий, выступающих на фасадах конструкций и лепнины, электрических и телефонных проводов и зеленых насаждений.

2.15. Категорически запрещается сбрасывать мусор, снег и листья в воронки водосточных труб.

2.16. Воронки наружных водосточных труб целесообразно закрывать на зиму металлическими крышками-лотками для предотвращения скопления снега в воронках, обеспечения стока талых вод при оттепелях, минуя водосточные трубы, и уменьшения обледенения. С наступлением устойчивой положительной температуры крышки-лотки следует снимать и хранить до следующей зимы.

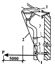
2.17. Для предотвращения закупоривания воронок снегом и образования в них ледяных пробок рекомендуется устанавливать воронки конструкции Мосжилниипроекта, которые позволяют систематически сбрасывать снег с верха воронки, не поднимаясь на крышу (рис. 2.1). Для сбрасывания снега достаточно несколько раз потянуть тросик вниз, открывая крышку 7, а под действием пружины 2, установленной на оси, крышка резко закрывается, стряхивая снег или наледь. Тросик 3 устанавливают с помощью роликов так, чтобы при сбрасывании снега (наледи) рабочий не находился в зоне падающих снега и сосулек (рис. 2.2).

2.18. При осмотре кровли обязательно проверять состояние и плотность фальцевых соединений, состояние настенных желобов, лотков и воронок водосточных труб, наличие свищей и пробоин в кровле, состояние внешней поверхности и наличие на кровле мусора, особенно в настенных желобах и у стоячих фальцев, наличие неплотностей в местах расположения антенн, вытяжных труб и шахт, брандмауэров, стоек и подкосов ограждений.

2.19. При осмотре необходимо удостовериться в наличии и качестве гидроизоляционной прослойки между стеной и мауэрлатом стропильной системы, а также строительных скоб или болтов, скрепляющих стропильные ноги с мауэрлатом.

2.20. При осмотре следует обратить внимание на расположение лежачих фальцев. Лежачий фальц обязательно должен опираться на брусок обрешетки.

2.21. Картины свесов пристенных желобов и покрытий разжелобков должны соединяться между собой двойными лежачими фальцами. При обнаружении в этих местах одинарных фальцев необходимо их герметизировать самоклеящимися лентами Абрис®С или армогерметиками.

2.22. Т-образные костыли должны быть установлены так, чтобы край свеса отступал от края карниза на 120 мм. Особое внимание обратить на правильное выполнение водоотбойников - отворотных лент свеса (рис. 2.3). Отсутствующие костыли следует устанавливать при подготовке кровли к зиме, расстояние между костылями должно быть 700 мм.

2.23. Воронки водосточных труб должны быть закреплены к настилу обрешетки штырями (см. рис. 2.2).

2.24. Результаты визуальных осмотров следует фиксировать в журнале для планирования ремонтных работ.

Рис. 2.1.

Конструктивная схема воронки с крышкой:
1- крышка из кровельной стали, 2- ось крышки с пружиной, 3 - трос для открывания крышки при сбрасывания снега, 4 - штырь для крепления воронки к дощатому настилу свеса

Рис. 2.2.

Конструктивная схема запасовки троса для открывания крышки воронки:
1 - крышка, 2 - трос, 3 - штырь, 4 - ролик, Р - точка и направление приложения усилия при натягивании троса

Рис. 2.3.

Конструкции водоотбойников отворотных лент свесов кровли

3. Нормализация температурно-влажностного режима чердачных помещений и рекомендации по антиобледенению кровель

3.1. При создании в чердачном помещении температурного режима, при котором разница температуры наружного воздуха и воздуха в чердачном помещении составляет 2 - 3°С, подтаивания снежного покрова не происходит, а следовательно, отсутствует обледенение (наледь, сосульки).

3.2. В зданиях, кровли которых подвержены обледенению, обследование начинают с измерения температуры воздуха чердачного помещения. При разнице температуры наружного воздуха и температуры воздуха в чердачном помещении, достигающей или превышающей 4°С, следует незамедлительно установить источники поступления тепла в чердачное помещение. Возможна при этом недостаточная вентиляция чердачного помещения. Избыточное тепло может поступать при недостаточной или слежавшейся теплоизоляции чердачного перекрытия, недоброкачественной теплоизоляции трубопроводов, вентиляционных трубопроводов или системы кондиционирования.

3.3. Для нормализации температурно-влажностного режима чердачных помещений целесообразно привести в технически исправное состояние изоляцию всех трубопроводов и вентиляционных шахт.

3.4. Не допускается наличие оголенных участков трубопроводов и трещин в теплоизоляции, толщину которой следует определять по таблице № 1. Если теплоизоляцию трубопроводов выполняют из сборных элементов-скорлуп, то герметизировать стыки следует самоклеящимися герметиками Абрис С. Для этого применяют ленту Абрис® С-ЛБ липкую с обеих сторон или шнур Абрис® С-Ш. Сначала, сняв антиадгезионное покрытие (бумага или пленка), наклеивают ленту или шнур в раструб или уступ скорлупы, а затем накладывают с прижимом сборный теплоизоляционный элемент-скорлупу. Замерив температуру наружного слоя изоляции (прислонив к поверхности термометр через пластилиновую накладку), следует убедиться, что его температура не более чем на 4°С превышает температуру наружного воздуха.

Вентиляционные каналы и шахты во избежание конденсата целесообразно утеплять, например, пенополиуретановыми плитами с уплотнением швов самоклеящимся герметиком Абрис® С-ЛБ и Абрис® С-Б. Защитой ППУ от влаги служат ленты Абрис® С-ЛТнп, Абрис® С-ЛТм или мастика Абрис® Ру (ТУ 5775-004-52471462-2003).

Таблица № 1

Диаметр трубопровода dH, мм

Толщина утеплителя δ, мм при λ изоляции Вт/м°С

0,061 (стекловолокно)

0,056

(плиты минераловатные с плотностью 100 кг/м3)

0,052

(маты минераловатные с плотностью 75 кг/м3)

0,048

(маты минераловатные с плотностью 50 кг/м3)

0,025 (Пенополистирол, ППУ)

40

85

80

75

70

45-50

50

90

85

80

75

50-55

60

95

90

85

80

60

80

100

95

90

85

70

90

100

95

90

85

80

100

105

100

95

90

85

120

110

100

95

90

90

140

110

105

100

90

90

160

110

105

100

95

90

3.5. Теплоизоляцию чердачного перекрытия измеряют щупом, представляющим собой стальной штырь с градацией по сантиметрам. Замеры следует выполнять не менее чем в пяти точках в различных местах чердачного перекрытия. У наружных стен по ширине около 50 см толщина слоя утеплителя должна быть на 100% больше. Засыпка должна быть в сухом рыхлом состоянии с защитной стяжкой (коркой). Если утепление чердачного перекрытия выполнено плитным утеплителем (минераловатным, цементно-фибролитовым, стекловатным, полистирольным или пенополиуретановым), то нужно исключить зазоры и трещины в защитной стяжке.

Эффективность утеплителя проверяют измерением температуры, погружая ртутный или электротермометр в утеплитель на глубину 2 ±0,5 см. Температура утеплителя должна быть не ниже, например:

- при температуре наружного воздуха минус 30°С - минус 21°С;

- при минус 20°С - минус 12°С;

- при минус 10°С - минус 1°С;

- при 0°С - +2°С.

Если температура наружного воздуха соответствует промежуточным значениям, то температуру внутри утеплителя следует определять интерполяцией. Например, при температуре наружного воздуха минус 15°С внутри утеплителя температура должна быть 7,5°С. Температуру на поверхности изоляции трубопровода измеряют теми же термометрами через каждые 5 м длины и в местах установки запорно-регулировочной арматуры.

При выполнении натурных обследований достаточность теплоизоляции трубопроводов можно вычислить по ВСН-27-90. Повысить качество теплоизоляции чердачного перекрытия можно одним из следующих способов:

- увеличить толщину утеплителя, добавляя легкие теплоизоляционные материалы (керамзит, минеральную вату, минеральный войлок, пенополистирол, Лукар-утеплитель, пенополиуретан);

- разрыхлить слежавшийся утеплитель (рыхление следует выполнять каждые 5 лет).

Толщину слоя насыпного утеплителя следует выполнять от 16 до 22 см, если используется керамзитовый гравий или шлак Y = 500 кг/м3. При смене утеплителя запрещается вместо защитной стяжки ("корки") укладывать рулонные гидроизоляционные материалы. При использовании Лукара-утеплителя не требуется стяжка.

3.6. Двери и люки (створки люков), ведущие в чердачные помещения следует обшивать кровельной сталью по асбестовой прокладке или минеральному войлоку, пропитанному антисептиком и гидрофобным составом. Для обеспечения достаточной плотности притвора следует наклеивать эластичные прокладки из пористой резины, пенополиэтилена или пенополиуретана, на клее типа "УР-МОНО" (ТУ 201-951-1-96).

Запрещается окрашивать уплотняющие прокладки.

3.7. Для нормализации температурно-влажностного режима чердачных помещений, как правило, требуется улучшение вентиляции путем устройства различных продухов. Площадь сечения слуховых окон и продухов должна быть равной или больше 1/300 площади чердачного помещения. Прикарнизные продухи выполняют в виде щели между карнизом и кровлей - щелевые продухи высотой от 5 до 10 см или в виде отдельных отверстий в прикарнизной части стены с обязательной установкой решеток. Приконьковые продухи выполняют в виде сплошной щели высотой 5 см с защитными устройствами против задувания снега, либо отдельными вытяжными шахтами (трубами) с флюгарками (рис. 3.1). Конструктивные решения продухов или приточно-вытяжных шахт определяет ведущий архитектор объекта, обеспечивая сохранение внешнего облика здания. В связи с этим, зачастую, не представляется возможным выполнить ни дополнительные слуховые окна, ни продухи, ни шахты. В этом случае целесообразно использовать старые дымовые трубы, если они не использованы для вентиляции внутренних помещений (рис. 3.2). На каждом объекте конструктивное решение вытяжных шахт с использованием старых дымовых труб по согласованию с ведущим архитектором разрабатывает главный инженер проекта.

Рис. 3.1.

Схемы вентиляции чердачных помещений:

- вентиляция через слуховые окна (схема верхняя слева);
- вентиляция через щелевые продухи и коньковую вытяжную шахту (схема верхняя в центре);
- вентиляция через слуховые окна и прикарнизные приточно-вытяжные продухи (схема верхняя справа);
- конструктивная схема устройства щелевого продуха и защитного лотка над водосточной воронкой (внизу слева);
- конструктивная схема устройства прикарнизного продуха и парапетной решетки-ограждения (внизу справа)

Рис. 3.2. гидроизоляция

Схема вентиляции чердачного помещения щелевыми продухами и вытяжной шахтой, смонтированной в старой трубе (внизу принципиальное конструктивное решение шахты):

1 - кирпичная кладка трубы; 2 - стальной уголок; 3 - полосовая сталь; 4 - стальная сетка с ячейкой 10×10 мм.

3.8. Наряду с устройством специальной системы вентиляции необходимо обеспечить достаточную теплоизоляцию чердачных перекрытий, горячих трубопроводов, герметизировать все неплотности в коробах, шахтах, дверях и люках, а также устранить все неисправности, вызывающие избыточное тепло-, влагопоступление в чердачное или мансардное помещение.

3.9. Эффективность вышеуказанной вентиляции высокая только при низких температурах. В интервале температур от -8°С и выше вентиляция чердачных повышений резко снижается и при температурах близких к 0°С практически отсутствует. Поэтому при повышении температуры наружного воздуха и при недостаточном утеплении чердачного перекрытия и трубопроводов появляется обледенение свесов.

3.10. К дополнительным мерам по устранению обледенения свесов кровельных покрытий относятся специальные покрытия, например, кремнийорганические, защищающие кровлю от воздействия солнечной радиации и снижающие сцепление льда, пыли и маслянистых веществ с материалом кровли. Целесообразно обеспечивать при этом защиту стальной кровли от коррозии. Универсальным антикоррозионными защитными покрытиями кровель из стали являются лаки и эмали на основе полиизоцианатного связующего, например Лукар-5, или хлорсульфированного полиэтилена, высокая адгезия которых к меди и оцинкованной стали сохраняется более 10 лет. Медные кровли не требуется защищать от коррозии, т.к. патина, образующаяся на поверхности меди, служит и ее защитой.

4. Технические требования к кровельным материалам из стали и меди

4.1. Обосновывает выбор кровельного покрытия проектная организация.

4.2. Кровельную сталь (ГОСТ 17715-72) изготавливают толщиной от 0,35 до 0,8 мм, шириной от 510 до 1000 мм и длиной от 710 до 2000 мм. Стандартные размеры листов 710×1420 мм, 750×1500 мм и 1000×2000 мм. На листах кровельной стали обеих групп (СТК-1 и СТК-2) не должно быть пузырей, трещин и закатов с неотделяющимся слоем окалины, а также следов коррозии (ржавчины). Декапированная сталь должна быть покрыта с обеих сторон цинком толщиной слоя не менее 0,02 мм (20 мкм). Расчетная эксплуатационная надежность оцинкованной стали 25 лет*. Кровли из листовой стали применяют, как правило, в жилых зданиях, особенно при сложном профиле крыши. Для рядового покрытия скатов крыши, карнизных свесов и разжелобков используют предварительно заготовленные картины размером 710×1240 мм.

* В условиях больших городов коррозионные поражения в фальцевых соединениях и в местах гвоздевого крепления (при использовании неоцинкованных гвоздей) появляются через 6-8 лет. При нарушении влажностного режима и вентиляции чердачных помещений конденсационная влага вызывает коррозию внутренней поверхности оцинкованной стали. Коррозионный процесс незатухающий, как правило, интенсифицируется во времени. В связи с этим для продления срока службы кровельного покрытия из оцинкованной стали целесообразно окрашивать листы с обеих сторон лаком на основе хлорсульфополиэтилена ХП-734 или Лукар-5 за два раза, обеспечивая толщину слоя не менее 0,25 мм. Допускается использование грунтовки, состоящей из натуральной олифы, наполненной тертым суриком (10% по массе).

4.3. Основанием под кровлю из листовой стали служит обрешетка из брусков сечением 50×50 мм или из досок 50×120 мм, или 50×140 мм. Обрешетку устанавливают в направлении от карниза к коньку. Свес крыши выполняют сплошным дощатым настилом шириной около 700 мм, а затем с шагом не более 200 мм укладывают параллельно свесу бруски обрешетки; через четыре бруса укладывают доску той же толщины, на которой располагают в последствии лежачие фальцы стыкуемых картин. В разжелобках и ендовах обрешетку следует выполнять сплошной из досок на ширину до 800 мм на каждом скате.

4.4. Если кровельное покрытие выполняют из профилированного листа (профнастил), то основанием служат стальные прогоны, расположенные с шагом 1,5 - 3 м, которые крепят к несущим конструкциям в неотапливаемых зданиях, или дистанционным прогонам, закрепленным к основным прогонам - в отапливаемых зданиях.

4.5. В зависимости от формы крыши рядовое покрытие следует располагать вдоль фронтона или противопожарной стены, а при вальмовых, полувальмовых и многощипцовых - от конька.

4.6. Скаты покрывать следует после устройства карнизных свесов и настенных желобов. Фронтальный свес, закрепленный на костылях, должен свисать с обрешетки не менее чем на 50 мм и оканчиваться отворотной лентой (см. рис. 2.3.). Устройство карнизного свеса начинают с установки штырей со скобами и Т-образных костылей. Штыри располагают по осям водоприемных воронок, а костыли с шагом 700 мм. Между штырями и костылями не должно быть более 400 мм. Поперечные планки костылей должны отстоять от свеса дощатого настила на 120 мм.

4.7. Заготовленные картины от первой до пятой соединяют сначала для одной половины свеса между воронками, затем - для другой, закрепляя вдоль верхней кромки оцинкованными гвоздями по три на каждый лист. Картины на костыли следует укладывать, начиная от осей воронок или в обе стороны водораздела. На водоразделе картины следует соединять двойными лежачими фальцами с прокладкой Абрис® С-ЛБ, Абрис® С-ЛБиз, Абрис® С-Ш или Абрис® С-Б. Костыли необходимо заблаговременно покрыть антикоррозионными составами, например Лукаром-5, ХСПЭ (лак ХП-734 по ТУ 6-02-1152-82) или ХП-799 (ТУ 84-618-80).

4.8. Разжелобки покрывают отдельными картинами, которые по коротким сторонам у конька и лотка соединяются с рядовым покрытием и настенными желобами двойными лежачими фальцами, загерметизированными самоклеящимся герметикой Абрис® С-ЛБ, Абрис® С-Б, Абрис® С-Ш или Абрис® С-ЛБиз. К обрешетке разжелобки следует крепить клямерами, устанавливаемыми с шагом 500 мм.

4.9. Настенные и подвесные желоба у воронок и на водоразделе крепят маячными крючьями; шаг остальных маячных крючьев от 600 до 700 мм. Крючья следует покрывать антикоррозионными составами (см.п. 3.10.) заблаговременно.

4.10. Картины обязательно соединять двойными лежачими фальцами с герметизацией лентами Абрис® С на водоразделе и пристыковании у воронки (см. п. 4.7.).

4.11. В местах расположения дымовых труб, слуховых окон и вентиляционных шахт обязательно выполнять "воротники" из материала кровельного покрытия с прокладкой самоклеящихся лент Абрис® С-ЛБ.

4.12. В качестве кровли из металлических профилированных листов применяют профили стальные гнутые с высотой гофры не менее 44 мм с цинковым, алюмоцинговым или алюминиевым покрытием, защищенные лакокрасочными покрытиями.

4.13. В утепленных покрытиях для разрыва "мостиков холода" между верхней полкой дистанционного прогона и профлистом устанавливают прокладки из бакелизированной фанеры или ацеида толщиной 10 мм с двухслойным покрытием ХП-734 или ХП 799, или Лукаром-ОП. Для устройства противоветрового барьера используют перфорированную полиэтиленовую пленку толщиной 300 мкм.

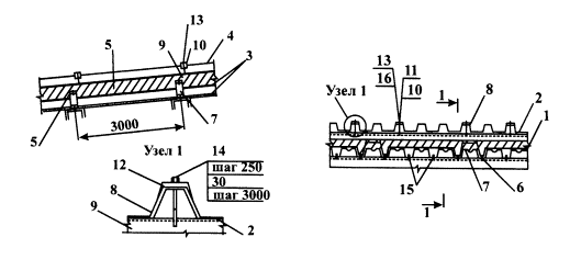
4.14. Крепление профлистов между собой и к прогонам следует выполнять самонарезающими винтами с уплотнительной шайбой из неопрена или Абрис® С-ЛТпвх толщиной 1 - 2 мм (рис. 4.1.).

Рис. 4.1.

Кровля из металлических профилированных листов: 1 - несущий стальной профилированный настил покрытия; 2 - стальной профилированный лист кровли (в перевернутом положении); 3 - пароизоляция из полиэтиленовой пленки толщиной 30 мкм; 4 - ветрозащита из водоизоляционного паронепроницаемого материала; 5 - огнестойкая теплоизоляция; 6 - термовкладыш из бакелизированной фанеры; 7 - опорный элемент из стали толщиной 3 мм; 8 - элемент жесткости из стали толщиной 3 мм; 9 - дистанционный прогон ГН65×45×40×3; 10 - шайба стальная; 11 - герметизирующая лента Абрис® С-ЛТпвх; 12 - герметизирующая прокладка Абрис® С-ЛБ; 13 - винт самонарезающий В6×80; 14 - заклепка комбинированная; 15 - винт самонарезающий В6×25; 16 - шайба неопреновая

4.15. Продольные и поперечные стыки профлистов при уклонах до 20% следует герметизировать лентами Абрис® С-ЛБ, Абрис® С-ЛБиз и Абрис® С-Ш.

4.16. Для сопряжения кровельных профлистов со стенами используют фартуки из оцинкованной стали толщиной 0,8 мм с защитным покрытием (см. п. 4.13.). Крепить фартуки следует заклепками, а между собой одинарными фальцами с прокладкой Абрис® С-ЛБ или Абрис® С-Ш.

4.17. Коньковый и карнизный фасонные элементы, а также фартуки для отделки пропусков через кровлю выполняют в виде "гребёнки" по форме поперечного профлиста*. Запрещается использование для герметизации сопряжений недолговечных мастик типа УМС-50 и меловых замазок на олифе. Пайка допускается только в сложных сопряжениях (ендовы, юбки) мелких элементов покрытий куполов, глав и шпилей. В этих случаях необходимо разрабатывать проект производства работ.

* Конструктивно-технологические решения разработаны ОАО ЦНИИПромзданий. Кровли. Руководство по проектированию, устройству, правилам приемки и методам оценки качества. М., 2002. В порядке экспериментального строительства Стальинвест рекомендует применить фальцевую кровлю "Классика", в которой отдельные диеты защелкиваются между собой фапьцевым стыком.

4.18. Исключительно высокая коррозионная стойкость кровельной листовой меди марок M1 и М2. Целесообразно использовать медь горячего проката, которая в отличие от меди холодного проката не нагартовывается. Толщина медных листов от 0,5 до 1,0 мм. Технология выполнения кровельного покрытия идентична технологии устройства кровли из оцинкованной стали, однако, учитывая низкую сопротивляемость меди механическим нагрузкам, обрешетку следует выполнять сплошной из досок толщиной от 35 до 50 мм. Отдельные листы соединяют в карты фальцами высотой от 13 до 18 мм. На стоячие фальцы отводят от каждого листа с одной стороны 51 мм, а с другой 38 мм; на лежачие - до 38 мм. В качестве герметиков следует применять указанные выше ленты Абрис® С. Клямеры, крепящие картины, обязательно нарезать только из меди шириной 25 - 50 мм и длиной 70 - 90 мм и прибивать только медными гвоздями с широкими "шляпками".

Карнизные свесы, окрытия выступающих фасадных конструкций и лепнины целесообразно огрунтовывать натуральной олифой или покрытиями Лукар-5 и на основе ХСПЭ с внутренней стороны для предотвращения зеленых потеков - продуктов коррозии (патины) меди. В качестве грунтовки можно использовать безолифные эмали в соответствии с "Методическими рекомендациями по применению промышленных безолифных покрытий для защиты металла от коррозии" (Росреставрация, М., 1985.).

Применение масляных красок, ярь-медянки и других систем покрытий допускается выполнять только по согласованию с проектной организацией, используя соответствующие нормативные документы.

4.19. Все виды кровельных материалов допускаются к применению при наличии сертификатов и их соответствия ГОСТам или другим нормативам и требованиям проектных и научно-исследовательских организаций.

5. Технические требования к крышным конструкциям

5.1. Эксплуатационная надежность кровельного покрытия, а, следовательно, всей крыши, определяется качеством каждого конструктивного элемента и, прежде всего, опорных (несущих) конструкций.

5.2. Выполнение несущих конструкций должно соответствовать проектным решениям, а любые замены или изменение узлов и сечений следует согласовывать с проектной организацией.

5.3. Стальные крышные конструкции должны иметь антикоррозионную защиту. Перед устройством кровельного настила следует очистить, обезжирить и заново покрыть запроектированным антикором поврежденные участки в процессе монтажа и реконструкции (см. п.4.7.).

5.4. Все деревянные крышные конструкции подлежат антисептированию и антипирированию в соответствии с рекомендациями проектной организации. Рекомендуется для водо-, биозащиты древесины применять покрытие Лукар-ОП за два раза. При обработке деревянных конструкций антисептиками следует учитывать, что аммонийные антисептики и фтористые соединения вызывают коррозию меди.

5.5; Обрешетку на скатах следует выполнять из деревянных брусков или досок; бруски под оцинкованную сталь следует располагать на расстоянии 200 - 250 мм друг от друга, а доски - на расстоянии 1300 мм.

6. Герметизация фальцев и примыканий при устройстве новой кровли

6.1. Надежность и долговечность фальцевых соединений обеспечивается как за счет качественной укладки, так и использования эффективного герметика.

6.2. Одинарными лежачими фальцами соединяют картины рядового покрытия в поперечном направлении, двойными - картины карнизных свесов, настенных желобов, ендов, сложные кровли уникальных зданий (рис. 6.1.). Все фальцевые соединения следует герметизировать (см.п.п.4.84.11.).

6.3. На кровлях с уклоном менее 16° все фальцевые соединения следует выполнять двойными и герметизировать. Так же соединяются карты карнизов, ендов и разжелобков с использованием самоклеящихся лент Абрис® (см. п. 4.8. и 4.11.).

6.4. Все примыкания кровельного покрытия следует заводить в "выдры" (если они имеются) или оклеивать армогерметиком (слоистым материалом) Абрис® С-ЛТ, ЛТф, ЛТбаз.

6.5. Элементы покрытия глав (лемех, шашка) следует крепить к обрешетке клямерами, а  между собой - соединениями в фальц, в рейку или наклёп. В этом случае фальцы выполняют одинарные, но с обязательной герметизацией. Соединение в рейку повышенной герметичности, но вследствие высокой трудоемкости изготовления и сборки рекомендуется только в особо ответственных случаях. При соединении в наклеп медные листы, накладывая внахлестку, заклепывают по краям.

6.6. Гвозди для крепления элементов кровельного покрытия к обрешетке, в выдрах, к деревянным стенам использовать из того же металла, что и покрытие, в крайнем случае - из металла, близкому по электродному потенциалу.

6.7. Все конструктивно-технологические способы крепления элементов покрытия следует выполнять в соответствии с проектом.

6.8. В качестве оклеечного герметизирующего материала в примыканиях кровли к брандмауэрам следует использовать: Абрис® С-ЛТ, ЛТм., ЛТф.

6.9. Последовательность технологических операций по герметизации фальцевых соединений при устройстве новой кровли из оцинкованной стали (рис. 6.2.):

- листы с очищенными кромками отгибают на специализированном столе и на отогнутые смежные кромки укладывают самоклеящиеся ленты Абрис® (см. п.п. 4.8 и 4.11.);

- вслед за этим выполняют уплотнение фальцевых соединений, используя специальные приспособления.

Рис. 6.1.

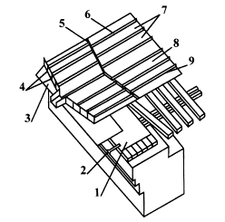
Схема устройства кровельного покрытия из оцинкованной стали:

1 - подкладочный слой рулонного материала; 2 - костыль; 3 - картина карнизного свеса; 4 - крюки крепления настенного желоба; 5 - двойные лежащие фальцы; 6 - одинарные стоячие фальцы; 7 - картины рядового покрытия; 8 - одинарные или двойные лежачие фальцы; 9 - камеры

Рис. 6.2.

Технологическая схема герметизации фальцевых соединений (сверху стоячие, внизу лежачие фальцы):

1 - отогнутые кромки будущего металлического покрытия; 2 - самоклеящаяся лента Абрис® С-ЛБ16

6.10. Технологические операции по герметизации примыканий к выступающим над крышей субстратам (конструкциям из металла, кирпича, камня и оштукатуренным цементно-песчаным раствором элементам) выполняют в следующей последовательности (рис. 6.3.):

- смежные поверхности субстрата и кровельного покрытия очистить и обезжирить, протерев ветошью, смоченной в уайт-спирите;

- сняв антиадгезионную пленку с одной стороны ленты Абрис® С с прижатием уложить ее на ту поверхность, которая не подлежит завальцовке;

- вслед за этим, используя стандартные приспособления, выполнить завальцовку.

Рис. 6.3.

Характерные конструктивные решения оклеечного сопряжения металлической кровли и окрытия с субстратом мастики:

1 - отогнутая кромка кровельного покрытия; 2 - зона очистки; 3 - слой мастики Абрис® Ру или Рс; 4 - армирующая основа Абрис® С-ЛТ, ЛТф, ЛТм; 5 - пробка; 6 - крепление с прослойкой Абрис® С-ЛБ; 7 - покрытие

6.11. В качестве армирующей основы следует использовать стеклоткани на прямых кремнийорганических замасливателях толщиной от 0,1 до 0,25 мм (например, марки Т-12-41, АСТТ (б)-Сг, СЭ-0,2) или лавсано-вискозные нетканые материалы поверхностной плотностью 70 - 90 г/м2 (ТУ 17-14-173-82, ТУ 17-14-154-81, ТУ 17-52-9678-82, ОСТ 17-565-75). Особенностью стеклотканей является повышенная прочность. Нетканые материалы менее прочны, но безвредны и технологичны,

7. Конструктивно-технологические решения по выполнению окрытий выступающих фасадных элементов

7.1. Выступы на фасадах зданий (пояски и сандрики) должны иметь ровные и гладкие наклонные основания для того, чтобы картины окрытий платно прилегали к основанию.

7.2. Окрытие поясков и сандриков на фасадах зданий можно выполнять с лесов, люлек или автомобильных телескопических вышек.

7.3. Выступы с уклонами менее 30% целесообразно покрывать кровельной медью или сталью, более 30% - пазовой ленточкой.

7.4. Соединять картины следует двойными фальцами или внахлестку (ширина нахлеста около 100 мм) на самоклеящихся герметиках.

7.5. Окрытия крепят соответствующими гвоздями, забивая в деревянные пробки в "выдрах". Конструктивно-технологическое решение крепления окрытий разрабатывает проектная организация. Основным недостатком традиционных способов крепления окрытий является негерметичность зоны примыкания.

7.6. Эффективное герметичное крепление окрытий выполняют с использованием в качестве уплотнения самоклеящихся лент Абрис С, выпускаемых "Заводом герметизирующих материалов" в г. Дзержинске Нижегородской области по ГОСТу 30971-2002. Ленты Абрис С поставляются готовыми к употреблению, защищенные антиадгезионной пленкой или бумагой, которые отделяют вручную непосредственно перед наклейкой ленты. Ленты поставляются в рулончиках шириной до 300 мм, упакованные в коробки, сохраняя свои свойства не менее 12 месяцев.

7.7. Последовательность технологических операций по герметичному креплению окрытий (рис. 7.1.) (авт. свид. СССР 1409616):

- заблаговременно, в удобных условиях очистив внутреннюю поверхность окрытия и обезжирив ее по периметру, наклеивают полосу ленты Абрис С-ЛБ (ширину ленты определяет проектная организация) и в таком виде доставляют к месту использования;

- на выровненную окрываемую поверхность по кромкам аналогичным образом наклеивают такую же ленту, но шириной на 20 - 25% большей;

- сняв антиадгезионную пленку (бумагу) с поверхности обеих лент, укладывают окрытие на окрываемую поверхность с легким нажимом.

7.8. Если поверхности покрытия (при использовании старых картин) и окрываемая поверхность имеют шероховатости, то не менее чем за 2 - 3 часа эти поверхности следует окрасить лаком ХП-734 или Лукаром-5.

7.9. Функциональная надежность свеса кровельного покрытия и окрытия обеспечивается правильным выполнением кромок окрытия (см. рис. 7.2. и рис. 7.3.).

7.10. Входное отверстие конуса водоприемной воронки следует располагать на 10 ±1 мм ниже капельника отворотной ленты.

Рис. 7.1.

Конструктивная схема герметичного крепления окрытия выступающих фасадных элементов самоклеящейся лентой Абрис® С:

1 - зона очистки поверхности; 2 - слой Лукара-ОП или ХСПЭ, укрепляющий окрываемую поверхность;

3 - лента Абрис® С-ЛБ; 4 - металлическое окрытие с отворотной лентой и слезником; 5 - антикоррозионное покрытие Лукаром-5 или ХСПЭ лаком; 6 - лента Абрис® С-ЛБ, заблаговременно приклеенная к металлическому окрытию

Рис. 7.2.

Конструктивная схема герметичного окрытия брандмауэра или парапета:

1 - зона очистки поверхности; 2 - пропитка Лукаром - ОП или ХСПЭ лаком; 3 - лента Абрис® С-ЛБ; 4 - металлическое кровельное покрытие с отгибом; 5,6 - прокладка лентой Абрис® С-ЛБ; 7 - грунтовка на отгибе кровли Лукаром-5 или ХСПЭ лаком; 8 - прокладка лентой Абрис® С-ЛБ; 9 - настенное металлическое окрытие; 10 - грунтовка Лукаром-5 или ХСПЭ лаком; 11 - лента Абрис® С-ЛБ; 12 - грунтовка Лукаром-5 или ХСПЭ лаком; 13 - прокладка Абрис® С-ЛБ; 14 - металлическое окрытие с отворотной лентой и капельником; 15 - грунтовка Лукаром-5 или ХСПЭ лаком; 16 - лента Абрис® С-ЛБ; 17 - оцинкованный дюбель

Рис. 7.3.

Конструктивные схемы герметизации металлических окрытий самоклеящейся лентой Абрис® С;

1- зона очистки скрываемой поверхности; 2 - самоклеящаяся лента Абрис® С-ЛТ, ЛБ на покрываемой поверхности; 3- зона очистки металлического окрытия; 4 - самоклеящаяся лента Абрис® С-ЛТ, ЛБ на покрытии

8. Сопряжение разнородных материалов на кровельных покрытиях

8.1. Целесообразно все металлические элементы кровли выполнять из одного или однородных металлов (близких по электродному потенциалу).

При использовании разнородных металлов, когда кровельное покрытие и, например, журавцы, крючья, костыли выполнены из различных металлов с различными электродными потенциалами, в зоне контактов образуются гальванические пары. Следовательно, под воздействием атмосферных условий металл с повышенным положительным потенциалом будет подвержен растворению (коррозии). Поэтому контакты разнородных металлов следует изолировать.

8.2. Для изоляции контактов целесообразно с технологической точки зрения использовать те же материалы, что и для антикоррозионной защиты и герметизации сопряжений элементов кровельного покрытия.

8.3. Эффективными изоляционными материалами являются самоклеящиеся армированные ленты Абрис® С-ЛТнп., ЛТбаз., ЛТм, ЛТф.

8.4. В проекте целесообразно предусматривать не только рациональное использование герметиков, покрытий и армирующих прослоек, но и учитывать следующие особенности (таблица 8.1.):

- полисульфидные герметики (тиоколовые мастики) нельзя наносить на цветные металлы, т.к. содержащаяся в герметике сера вызывает коррозию, например, у меди и цинка;

- кремнийорганические (силиконовые) герметики обеспечивают долговечность (сохраняют адгезионные свойства) к меди и оцинкованной стали только в обжатых сопряжениях, а поверхностная герметизация не рекомендуется из-за быстро снижающейся адгезии;

- универсальными герметиками с антикоррозионными и электроизоляционными свойствами, адгезирующими ко всем строительным материалам, из которых выполняются крыши, являются ленты Абрис® и хлорсульфополиэтилен, эксплуатационная надежность которых превышает 20 лет;

- все герметики и покрытия следует наносить только на очищенную, обезжиренную и сухую поверхность;

- для каждого герметика в паспорте (ТУ, сертификате, этикетке) приведены ограничения использования по температурам, влажностным и другим показателям;

- герметики на основе силиконов не адгезируют к другим герметикам и лакокрасочным покрытиям;

- свинцово-суриковую и другие замазки нельзя наносить на полимерные герметики и наоборот;

- хлоросульфополиэтиленовые составы за счет содержания толуола растворяют старые окрасочные покрытия, поэтому перед их нанесением следует тщательно счищать старые краски;

- нельзя смешивать разнородные герметики;

- нельзя использовать для подготовки поверхности под герметизацию растворители (разжижители, смывки), содержащие масла;

- все полимерные герметики не адгезируют к любым промасленным (жидкие масла, автол, пластилин) поверхностям.


Показатели совместимости материалов металлических, стеклянных и шиферных кровель с покрытиями и герметиками

Наименование материалов

Ц.п.бетон (Раствор)

Кирпич

Дерево

Стекло

Металлы:

Мастики бит. каучуковые типа БСКМ

Эпоксимастики

Тиольные мастики

Силиконовые мастикиi

Уретановые мастики

Самоклеящиеся ленты типа Абрис

1

2

3

4

5

6

7

8

9

10

11

12

Ц.п.бетон (Раствор)

С

С

СП

СП

С

СА

СА

СА

СА

СА

СА

Кирпич

С

СП

СП

СП

СП

СА

СА

СА

СА

СА

СА

Дерево

СП

СП

СП

СП

СП

СА

СА

СА

СА

СА

СА

Стекло

СП

СП

СП

СП

СП

СА

С

СА

СА

СА

СА

Металлы: Сталь

С

СП

СП

СП

СП

СА

СА

СА

СА

СА

СА

Медь

СП

СП

СП

СП

СП

С

С

НС

СА

СА

СА

Оцинковка

С

СП

СП

СП

СП

С

С

СА

СА

СА

СА

Алюминий

СП

СП

СП

СП

СП

С

С

С

СА

СА

СА

Мастики битумно-каучуковые типа БСКМ

СА

СА

СА

СА

СА

СА

НС

НС

НС

С

С

Эпоксимастики

СА

СА

СА

С

СА

НС

СА

НС

НС

НС

С

Тиольные мастики

СА

СА

СА

СА

С

НС

НС

СА

НС

НС

С

Силиконовые мастики

СА

СА

СА

СА

СА

НС

НС

НС

СА

НС

НС

Уретановые мастики

СА

СА

СА

СА

СА

С

НС

НС

НС

СА

С

Самоклеящиеся ленты типа Абрис

СА

СА

СА

СА

СА

С

С

С

НС

С

СА

Примечание:

СП - совместимы с подслоем                              С – совместимы

СА - адгезионно совместимы                НС - несовместимы

 


9. Антикоррозионная защита оцинкованной кровли

9.1. Для повышения эксплуатационной надежности и долговечности стальной, в том числе и оцинкованной кровли можно выполнять антикоррозионное покрытие как с наружной, так и, обязательно, с внутренней поверхности кровельного покрытия до устройства кровли.

9.2. Перед окраской следует снять старое покрытие с использованием специальных смывок (СМ-1, СП-7, АФТ-1) и, при необходимости, механической очисткой (металлическими щетками, наждаками, шкурками), а затем обезжирить уайт-спиритом (рис. 9.1.).

Рис. 9.1.

Электродеталь с набором сменных приспособлений:

1- щетка; 2 - остров щетки; 3 - втулка-крепление; 4 - корпус дрели; 5- корпус дрели; 6 - выключатель; 7 - шарошка; 8 – фреза

9.3. Составы для окраски и технологию нанесения разрабатывает проектная и научно-исследовательская организации.

9.4. Медные кровельные покрытия не нуждаются в антикоррозионной защите, однако, по решению архитектора проекта устройства или ремонта (реставрации) медь можно окрашивать в различные цвета. При этом технологию и окрасочные составы разрабатывают проектная или научно-исследовательская организации. Следует учесть, что полиизоцианатным или хлорсульфо-полиэтиленовым окрасочно-антикоррозионным покрытиям можно придать практически любой цвет.

9.5. Приготовление окрасочного состава требуемого цвета с использованием хлорсульфополиэтилена можно выполнять непосредственно на объекте, перемешав раствор хлорсульфополиэтилена в толуоле или лака ХП-734 с соответствующими пигментами (Рис. 9.2.).

Рис. 9.2.(а)

Простейшие приспособления для приготовления цветного ХСПЭ покрытия

Рис. 9.2. (Б)

Универсальный смеситель ингредиентов мастик повышенной вязкости:

1 - корпус емкости; 2 - ребра жесткости; 3 - верхняя лопасть; 4 - нижняя лопасть; 5 - днище емкости; 6 - спускное отверстие с завинчивающейся крышкой; 7 - труба, вращающая по часовой стрелке; 8 - труба, вращающая против часовой стрелки; 9 - система передачи

9.6. На каждый материал, рекомендуемый для окраски (антикоррозионного покрытия), должна быть технологическая инструкция (ТУ, рекомендации, ВСН).

9.7. Качество очистки поверхностей, подлежащих антикоррозионной защите, следует определять по ГОСТ 025-74 и СНиП III-23-76 весовым методом. По методу ГОСНИТИ можно пользоваться балльной оценкой загрязненности поверхности после очистки.

9.8. При окраске и ремонтной герметизации старых кровель или кровельных покрытий, эксплуатировавшихся без защиты, в труднодоступных местах для механической очистки могут оставаться продукты коррозии - налет ржавчины.

9.9. Толщина прочного сцепления с металлом слоя ржавчины может достигать 100 мкм, поэтому при этой толщине достигается эффект использования преобразователей - модификаторов ржавчины.

9.10. В качестве модификаторов рекомендуются ЭВА-0112 и ЭВА-01- ГИСИ на основе поливинилацетатной дисперсии, представляющие собой двухупаковочные компаунды, состоящие из основы и отвердителя (фосфорной кислоты), добавляемого перед употреблением.

Основа ЭВА-0112 содержит около 20% пигментов и наполнителей (оксиды аммония, железа и хрома). Основа грунтовки ЭВА-01-ГСИС содержит в растворенном виде желтую и красную кровяные соли, этилсиликат и поверхностные добавки. Перспективной является грунтовка МС-0152 на основе стеромаляполимера, отличающегося химической активностью к продуктам коррозии и хорошо впитывающегося за счет содержания карбоксилатных групп.

Использовать модификаторы следует в соответствии с требованиями ГОСТ 9.402-80 с учетом сведений, приведенных в таблице 9.1.*

Физико-технологические показатели преобразователей - модификаторов ржавчины

Таблица 9.1

Обозначение-Наименование

Вязкость по 133-4 при 20 ±2°С

Режим сушки

Грунт - преобразователь ржавчины

Преобразователь ржавчины

Нанесение кистью

Распыление

Температура, °С

Время, час

ЭВА-01 12

-

50 - 60

28-30

18 – 22

70-80

24 - 48

3

ЭВА-01 -ГИСИ

-

90 - 180

28-30

18 - 22

70 - 80

110 - 120

24

0,5 – 1

0,3

МС-0152

П-1Т

ПРЛ-2

90 – 120

20

28 – 30

15 - 20

-20

18 – 22

18 - 22

24

24-48

24

* Можно использовать и другие преобразователи ржавчины - грунты типа ЭП-0199, ЭП-0199у при наличии технологических инструкций применения.

9.11. Общие принципы применения модификаторов ржавчины, характеристика рецептур, технология нанесения и исходные параметры для нанесения различными методами, а также области применения и рекомендуемые системы покрытия приведены в "Рекомендациях по применению преобразователей (модификаторов) ржавчины при защите металлических поверхностей комплексными лакокрасочными покрытиями", НПО " Лакокраспокрытие", НИИТЭХИМ, 1979.

9.12. При выполнении цветной окраски кровли следует руководствоваться ГОСТ 9825-73 и ГОСТ 9.032-74.

9.13. Технология выполнения антикоррозионного или защитно-декоративного покрытия кровли включает подготовку поверхностей, нанесение покрытий, выдерживание (сушка) и контроль качества покрытия*.

* Следует учитывать, что интенсивная коррозия происходит с внутренней поверхности стальной кровли, прежде всего из-за неизбежно образующегося конденсата.

9.14. Для каждого материала регламентируются температурные интервалы нанесения. Как правило, лакокрасочные материалы можно наносить при температуре воздуха выше 10°С и относительной влажности ниже 70%.

9.15. Хлорсульфополиэтиленовые и полиизоцианатные составы Лукары можно наносить на морозе до -10°С при отсутствии гололеда (обледенения кровли) и после освидетельствования и актирования поверхности кровли представителем авторского коллектива и заказчика.

9.16. Консистенции лакокрасочных (антикоррозионных и защитно-декоративных материалов) покрытий должна быть такой, чтобы наносить их можно было как кистью, валиком (вручную), так и с использованием распылителей желательно безвоздушного типа. В таблице 9.2. приведены основные показатели пневматических распылителей, которые могут быть использованы на стройплощадке для грунтовки (окраски) листов кровельного покрытия и непосредственно на кровле. Несмотря на высокую производительность и простоту использования эти механизмы вызывают повышенное загрязнение окружающей среды и повышенный расход окрасочного материала.

Таблица 9.2.

Технические характеристики окрасочных агрегатов и краскопультов

Характеристики

Пневманические агрегаты

Растворо-насосы

Диафрагменные краскопульты

Производительность м2/час

50

200

400

400

500

1000

250

300

260

Расход воздуха, м3/час

3

-

30

20

30

-

-

-

-

Рабочее давление, МПа

0,3

0,6

0,5

0,4

0,6

1,0

0,5

0,5

0,5

Мощность электродвигателя, кВт

0,27

ручной

-

-

4

2,2

0,18

0,27

0,18

Масса, кг

25

4

175

58

400

238

21

25

20;

Индекс изделия (марка)

СО-75

СО-20а

СР-75

СО-5

СО-92

СО-66

СО-22

СО-61

СО-101

9.17. Улучшение качества покрытия достигается за счет использования установок гидродинамического (безвоздушного) распыления. В качестве таких установок можно использовать УБРХ-1М, УБР-3 или Радуга-0,63, Радуга-1,2 и Радуга-2 (таблица 9.3).

9.18. Эффективны компактные агрегаты безвоздушного распыления марок 2600Н и 7000Н (типа Вагнер, Швейцария) (рис. 9.3). Агрегатами наносят антикоррозионные покрытия, не содержащие цемента, каменной муки, песка и мела. Вязкость по вискозиметру ВЗ-4 для агрегата 2600Н при крупности частиц до 0,08 мм не должна превышать 200 сек., а для 7000Н - 300 сек. при допускаемой крупности частиц до 0,14 мм. Агрегаты 2600Н и 7000Н работают по следующему принципу. Вращение вала электродвигателя при помощи эксцентрика (для 2600Н) или диска маховика (для 7000Н) преобразуется в возвратно-поступательное движение поршня, который через гидравлическую жидкость, находящуюся в полостях гидропередачи, передает движение мембране насоса. В процессе возвратно-поступательного движения мембраны происходит всасывание лакокрасочного материала из емкости в насос по всасывающему шлангу и нагнетание этого материала по рукаву высокого давления в пистолет-распылитель. При истечении материала через распылительное сопло происходит его дробление на мельчайшие капли, формирующиеся в плоский факел. Давление распыления изменяют регулятором давления насоса, перепуская часть масла из полости поршня в полость гидропередачи. При закрытом пистолете подача насоса прекращается, движение мембраны приостанавливается, и регулятор давления при работающем электродвигателе перепускает масло внутри гидросистемы. При открытом перепускном клапане окрасочный материал сливается в расходную емкость.

Таблица 9.3

Основные характеристики агрегатов безвоздушного нанесения

Показатели

Ед. изм.

УБРХ-1М

Факел

2600 Н

7000 Н

Производительность

м2/час

400 - 500

150 - 400

126 - 144

196 - 224

Рабочее давление воздуха

МПа

0,4 - 0,5

0,3 - 0,5

-

-

Давление краски на выходе из сопла

МПа

19

20

23,5

24

Расход воздуха

мЗ/час

4

8,1

-

-

Мощность эл.двигателя

КВт

-

-

1

2

Длина рукава высокого давления

м

10

15

10 - 40

10 - 40

Потребляемое напряжение

В

-

-

220

220/380

Габариты: длина, ширина, высота

мм, мм, мм

550 – 460

980

280 - 385

475

845 – 435

705

975 – 500

610

Масса

кг

50

22

50

80

Перед началом работы обязательно проверять надежность крепления рукавов высокого давления к насосу и распылителю, чистоту фильтров, качество смазки и заполнение гидросистемы, отсутствие во всех узлах засохшей краски (антикора). Особое фильтров, качество смазки и заполнение гидросистемы, отсутствие во всех узлах засохшей краски (антикора). Особое значение следует обратить на соответствие напряжения в сети типу агрегата и на соответствие сопла наносимому составу. По сравнению с пневмораспылением метод безвоздушного распыления позволяет:

- снизить удельный расход окрасочного покрытия на 20%;

- улучшить санитарно-гигиенические условия труда, снизив загрязнение окружающего воздуха;

- повысить в 1,5 раза производительность труда.

Рис. 9.3.

Общие вилы агрегатов безвоздушного нанесения:

а) - модель 7000Ы;
б) - модель 2600Н;

1- фильтр высокого давления; 2 - насос; 3 - тележка с рукояткой; 4 - электродвигатель; 5 - выключатель и защитно-отключающее устройство; 6 - электрокабель; 7 - колеса; 8 - пистолет-распылитель; 9 - рукав высокого давления; 10 - всасывающая система

Агрегаты безвоздушного распыления 2600Н и 7000Н следует использовать специально обученному персоналу в строгом соответствии с прилагаемым паспортом ПС "Агрегаты окрасочные высокого давления 2600Н, 7000Н", 1980 г.*

В приложении приведены характерные неисправности, возникающие при нанесении покрытий агрегатами безвоздушного распыления.

* Можно использовать и другие безвоздушные распылители, например, системы "Граю", но только при наличии инструкции по применению.

9.19. При выполнении небольших по объему (в пределах 100 м2) работ допускается нанесение лакокрасочных покрытий вручную с использованием кистей и валиков. Можно использовать только щетинные кисти, отвечающие требованиям ГОСТ 10597-80.

Запрещается использовать кисти с синтетическим ворсом.

9.20. Внутренние поверхности (обращенные к обрешетке) кровельных листов из оцинкованной стали рекомендуется покрывать за два раза раствором хлорсульфополиэтилена в толуоле или лаком ХП-734, обеспечивая толщину покрытия 0,2 ±0,05 мм.

9.21. Антикоррозионное или декоративно-защитное покрытие на кровлю наносят с деревянных настилов, располагая агрегат для нанесения и емкости для материалов в горизонтальном положении.

9.22. Первый - грунтовочный слой целесообразно наносить ненаполненным пигментом хлорсульфополиэтиленовым раствором или лаком ХП. Второй и третий слой наносят пигментированным лаком ХП-734 или эмалью ХП-799, обеспечивая общую толщину слоя покрытия 0,45 ±0,1 мм. Покрытие Лукаром-5 наносят за два раза толщиной слоя 0,3 ±0,1 мм. Выдерживание (сушка) каждого слоя зависят от температуры воздуха и скорости ветра, и колеблется от 30 минут до 2 - 3 часов.

10. Технология ремонта металлических кровель

10.1. Ремонт металлической кровли в зависимости о степени повреждения (износа) может быть текущим (непредвиденным) и капитальным; к последнему относится полная или значительная по объему смена кровельного покрытия, водосточных труб и фасадных окрытий.

10.2. Текущий ремонт состоит из частичной смены кровельных покрытий, как правило, свесов, постановки заплат и герметизации свищей и пробоин, смену частей водосточных труб.

10.3. При капитальном ремонте работы по заготовке и установке кровельных картин следует выполнять теми же способами, как при устройстве новой кровли. Добавляются лишь операции по предварительному снятию (разборке) старого кровельного покрытия и частичной замены элементов стропильной системы. При разборке кровли сначала разгибают или срезают ножницами гребневые фальцы. Для разгибания фальцев используют брус-отворотку или специальные щипцы. Такие же щипцы используют для уплотнения фальцев в стесненных местах.

10.4. Для предупреждения увлажнения осадками чердачного перекрытия при капитальном ремонте кровли следует снимать старое кровельное покрытие участками "захватками" по мере укладки нового покрытия.

10.5. Текущий ремонт, как правило, необходим весной, а также при поступлении жалоб жильцов. После ураганного ветра или случайных повреждений также необходим непредвиденный ремонт участков кровли.

10.6. В период сильных дождей и интенсивного таяния снега целесообразно обследовать кровлю с чердачного помещения, выявляя просветы и повреждения и очерчивая их мелом. По отметкам в мастерской выполняют предварительную заготовку листов (картин). В заготовленных картинах отгибают кромки для гребневых и лежачих фальцев, что упрощает соединение новых картин со старыми.

10.7. Разборку поврежденных участков кровли выполняют на всю ширину листа - между смежными гребневыми фальцами.

10.8. При установке новых листов или картин сначала соединяют их со старым покрытием лежачими фальцами, а затем гребневыми с одновременным укреплением клямерами. При этом линия лежачих фальцев одной полосы не должна совпадать с линией лежачих фальцев соседней полосы, т. е. как при новом покрытии.

10.9. Чаще подвергаются ремонту или замене настенные желоба, карнизы и разжелобки, которые быстрее разрушаются от коррозии и механических воздействий.

10.10. При смене желобов следует убедиться в исправности покрытия карнизных свесов. Ремонт карнизных свесов замена поврежденных участков новыми или выпрямление погнутых частей. При смене поврежденных карнизных свесов сначала следует разобрать желоба и снять крючья, которые установить вновь после ремонта.

10.11. При смене желобов и разжелобков следует делать надставки к рядовому покрытию, т.к. не допускается использование старых лежачих фальцев рядового покрытия при соединении их с картинами желоба или разжелобка.

10.12. Срубать конец картин рядового покрытия для надставок следует по обрешетке, обеспечивая расположение новых стыков на обрешетке.

10.13. Все фальцы в смененных частях желоба или разжелобка, а также соединения их со старым покрытием следует герметизировать самоклеящейся лентой Абрис® С.

10.14. Замену водосточных труб и окрытий сандриков, поясков и оконных отливов (окрытий) следует выполнять одновременно с ремонтом фасада здания либо с установленных для этой цели лесов, либо с подвесных люлек. При этом следует заменить негодные (прокорродировавшие) стремена. Смену водосточных труб и укрепление новых стремян следует выполнять в том же порядке, что и при навеске новых труб.

10.15. Установку стремян, обязательно оцинкованных, следует начинать с укрепления двух маячных стремян (верхнего и нижнего), причем нижнее стремя следует устанавливать по отвесу после установки верхнего стремени. Остальные стремена следует устанавливать между крайними через 1,3 - 1,5 м, забивая их в стену на глубину около 120 мм с использованием пластмассовых или антисептированных деревянных пробок. Охватывать водосточную трубу стременами следует более чем на половину окружности трубы. Загнутые концы - рогачи закрепляют оцинкованной проволокой, а при использовании стремян на болтиках их завертывают гаечным ключом. Трубы-водостоки должны отстоять от стены на 100 - 150 мм.

10.16. Отметы следует навешивать на высоте 350 - 400 мм от отмостки (тротуара),

10.17. Технологические операции при аварийном ремонте (не запланированный ремонт) должны быть предельно простыми, эффективными в течение не менее трех лет и экономически обоснованными. С учетом этих требований для оперативной герметизации дефектов металлических кровель целесообразно использовать самоклеящиеся ленты Абрис ® С (Приложение 6).

10.18. Ремонтной герметизации должно предшествовать квалифицированное обследование для определения нужных материалов, технологических приемов, приспособлений, а также ориентировочного объема предстоящих работ. Результатом обследования является дефектная ведомость (Приложение 1), схематический план крыши с обозначением дефектных участков, подлежащих оперативному ремонту.

10.19. Основным герметизирующим материалом для оперативного ремонта является самоклеящаяся лента Абрис® С, дублированная со стороны, обращенной к солнцу, либо холстиком из нетканого материала, либо полиэтилентерефталатной пленкой или фольгой. Дублированную нетканым полотном ленту Абрис® С-ЛТн.п. целесообразно использовать в тех случаях, когда загерметизированный участок требуется окрасить в тон старого кровельного покрытия. Преимуществом лент Абрис® С-ЛТм и Абрис® С-ЛТф является повышенная отражательная способность ультрафиолетовых и тепловых лучей.

10.20. Герметизация лентами Абрис® С фальцев, пробоин и неплотностей в примыканиях кровельного покрытия к выступающим над крышей конструкциям выполняют только по сухой, очищенной поверхности при отсутствии осадков и температуре воздуха не ниже - 0°С. При температурах ниже +10°С ленту хранят в отапливаемом складе, а при температуре ниже +5°С дополнительно прогревают герметизируемые поверхности воздуходувкой, горелкой или любыми теплоизлучающими приборами.

10.21. Для герметизации неплотностей фальцевых соединений ленту Абрис® С-ЛБ следует нарезать полосками шириной 25 - 40 мм. Для нарезки лент целесообразно пользоваться остро заточенным ножом треугольного сечения и разделочной доской из твердой древесины или древесностружечной плитой.

10.22. Заготовленные полоски ленты после отделения антиадгезионной пленки следует плотно прижать к ремонтируемой поверхности и прикатать резиновым (металлическим обрезиненным) валиком или фальцевым герметизатором (рис. 10.1.).

Рис. 10.1.

Конструктивные схемы цилиндрического, наборного и профильного валиков для прикатывания самоклеящихся лент

10.23. Отверстия диаметром до 10 мм можно герметизировать в виде "заплаты" из отрезка ленты Абрис® С-ЛТф 30×30 мм. Более крупные пробоины следует перекрывать подкладкой из кровельного или идентичного материала с последующей наклейкой поверху ленты Абрис® С-ЛТф с напуском со всех сторон 20 ±5 мм и тщательно прикатать цилиндрическим валиком (рис. 10.2.).

Рис. 10.2.

Конструктивные схемы ремонтной герметизации дефектов на карнизном свесе кровли:

1- стропила; 2 - обрешетка; 3 - кровельное покрытие; 4 - пробоина до 10мм; 5 - пробоина более 10 мм; 6 - зона очистки; 7 - грунтовка; 8 - металлическая "заплата"; 9 - лента Абрис® С-ЛБ; 10 - лента Абрис® С-ЛТф.; 11 - лента Абрис® С-Б

10.24. Герметизации показанных на схеме рис. 10.2. фальцевых неплотностей должно предшествовать уплотнение фальцев и уплотнение (обжимка) гребней деревянной или пластмассовой киянкой. Укладывать полоску ленты Абрис® С-ЛТнп или фольгированной ленты Абрис® С-ЛТф следует без натяжения (рис. 10.3.).

Рис. 10.3.

Конструктивная схема герметизации фальцевых соединений (сверху - лежачих, снизу - стоячих) самоклеящимися лентами Абрис ®С:

1 - лента, уложенная на очищенную и обезжиренную поверхность;

2 - фольга или нетканое полотно

10.25. Узлы примыкания кровельного покрытия к стенам, шахтам и трубам следует герметизировать самоклеящимися лентами Абрис® С (рис. 10.4.).

Рис. 10.4.

Варианты конструктивных решений герметизации примыкания кровли к выступающим над крышей вентшахтам и выходам:

1 - кровельное покрытие; 2 - зона очистки; 3- лента Абрис® С-ЛТнп; 4 - лента Абрис® С-ЛТм; 5 - полимерраствор

10.26. В качестве защитно-декоративной окраски можно использовать эмалевые, масляные и алкидные краски в тон кровельного покрытия.

11. Общие конструктивно-технологические рекомендации

11.1. При выполнении ремонтных работ на крыше, как правило, следует выполнить следующее:

- усиление стропильных ног, мауэрлатов (протезирование) при наличии повреждений, снижающих несущую способность;

- усиление сопряжений стропильных элементов;

- смена деформированной или сгнившей обрешетки;

- замена сгнивших досок в местах разжелобков, карнизных свесов и примыканий к выступающим над крышей конструкциям;

- протезирование и ремонт трещин и других дефектов в стропилах*;

- ремонт или дополнительная теплоизоляция;

- ремонт слуховых окон с установкой жалюзи, ремонт створок;

- антисептирование и антипирирование деревянных элементов;

- изготовление и установка приставных лестниц в чердачном помещении и на кровле в местах перепада уровней кровли более 0,5 м;

- уплотнение фальцев, обжимка гребней и герметизация дефектных участков;

- замена участков кровельного покрытия;

- ремонт или замена настенных желобов, окрытий и креплений;

- крепление водосточных воронок и звеньев водосточных труб;

- установка или ремонт парапетных решеток;

- декоративная окраска кровельного покрытия и других металлических крышных конструкций;

- окраска деревянных элементов (жалюзи, створки слуховых окон, лестницы).

* Рекомендуется простой способ ремонта деревянных конструкций непосредственно на чердаке. Для этого следует расчистить гниль или грязь в зоне дефекта древесины и приготовить полиизоцианатный состав из готового продукта Лукара-ОП, наполненного опилками деревьев хвойных пород. Сначала каверну или трещину обработать (кистью или распылителем) Лукаром-ОП, а затем наполненным опилками Лукаром-ОП заполнить дефекты. При этом гарантируется начальная прочность деревянной конструкции.

11.2. Ремонт кровли, как правило, включает следующие работы:

- замена отдельных листов или участков кровельного покрытия и водоотводящих устройств;

- герметизация пробоин (трещин, отверстий);

- герметизация фальцевых соединений и креплений-клямеров;

- герметизация примыканий к выступающим над крышей конструкциям;

- защитно-декоративное покрытие участков кровли.

11.3. На кровле из оцинкованной стали, как правило, приходится заменять идентичным материалом карнизные свесы, разжелобки, примыкания к водосточным воронкам, воротники и защитные фартуки при общем удовлетворительном состоянии остального кровельного покрытия.

11.4. Для ремонта кровли целесообразно использовать:

- листовые кровельные материалы, идентичные ремонтируемой кровле;

- гвозди кровельные оцинкованные и медные;

- клямеры из обрезков соответствующего кровельного материала;

- накладки (костыли) из оцинкованной или омедненной стали или с антикоррозионным покрытием толщиной 5 - 6 мм, шириной 25 - 35 мм и длиной 450 мм для поддержания карнизных свесов;

- крючья из оцинкованной или омедненной полосовой стали толщиной 5 - 6 мм, шириной 16 - 25 мм и длиной 420 мм для крепления настенных желобов;

- штыри с хомутами оцинкованные или с антикоррозионным покрытием, или омедненные для крепления водосточных труб и воронок;

- проволоку оцинкованную стальную и медную диаметром до 1,6 мм для крепления элементов водоотводящих устройств;

- проволоку оцинкованную или омедненную диаметром 4 - 6 мм для закатки в головки настенных желобов.

11.5. Ширину зоны ремонтной герметизации следует принимать равной:

- при уклонах ската кровли от 5 до 12 градусов - от края карнизного свеса до конька (включительно);

- при уклонах кровли от 12 до 20 градусов - 3,5 м;

- при уклонах более 20 градусов - 3 м.

11.6. Последовательность технологических операций по ремонтной герметизации кровли слоистым материалом:

- на очищенный от старой краски (см. рис. 9.1.), обезжиренный и просушенный металл, щетинной кистью наносят грунтовку тонкий слой лака ХП-734 или Лукар-5 (рис. 11.1.);

Рис. 11.1.

Конструктивные схемы герметизации фальцев• слоистым материалом:

1 - грунтовка; 2 - приклеивающий слой мастики Абрис® Ру; 3 - лента Абрис® С-ЛТ, ЛТн.п.; 4 - окрасочный слой

- через 0,5 - 1,5 часа аналогично наносят приклеивающий слой Абрис® Ру толщиной 0,20 ±0,05 мм;

- на свеженанесенный приклеивающий слой мастики укладывают полосу Абрис® С ЛТ (ЛТбаз.) и при необходимости окрашивают.

11.7. Последовательность технологических операций по ремонтной герметизации оснований стоек (рис. 11.2.):

- при техническом обследовании кровли несмываемой краской отмечают повреждения;

- очищают участки кровли, подлежащие герметизации, с использованием смывки и пневмо- или электрощеток и обезжиривают хлопчатобумажной ветошью, смоченной в уайт-спирите;

- прогрунтовывают подготовленные участки лаком ХП-734 или Лукаром-5;

- через 0,5 - 1,5 часов аналогичным путем наносят Абрис® Ру,

- по свеженанесенному приклеивающему слою мастики, тщательно разровняв, укладывают на свищ Абрис® С-ЛТ (ЛТф., ЛТм., ЛТбаз.);

11.8. При выполнении ремонта кровли обязательно окрашивать металлоконструкции парапетных ограждений лаками типа ХП-734 или Лукаром-5, которые предварительно очистить и обезжирить по аналогии с кровельным покрытием.

Рис. 11.2.

Схема ремонтной герметизации кровельного ограждения

(слева - до, справа - после ремонта):

1 - кровельное покрытие; 2 - винты; 3 - ограждение; 4 - Абрис ®С-ЛТ, ЛТбаз., ЛТф., ЛТм.; 5 - герметик Абрис ®С-Ш, С-Б

12. Контроль качества материалов и покрытий

12.1. Для обеспечения высокой эксплуатационной надежности антикоррозионной защиты кровли следует осуществлять пооперационный контроль и актирование всех этапов работ.

12.2. Контроль качества поверхностей, подготовленных к антикоррозионной защите, осуществляют по ГОСТ 9.025-74 с обязательным актированием качества выполненной работы. Рационально контроль качества очистки кровли осуществлять переносным фотоэлектрическим прибором ФЭПСО массой 2,6 кг путем сравнения степени очистки с образцовым (эталонным) элементом кровельного покрытия.

12.3. При приемке и осмотре герметиков, армирующих материалов и компонентов лакокрасочных покрытий нужно обращать внимание на наличие паспорта лабораторного контроля, а также наличие этикеток на упаковочной таре.

12.4. Используемые средства контроля и измерений должны быть проверены (порядок проведения проверок согласно ГОСТ 8.002-71).

12.5. Толщина теплоизоляции трубопроводов проверяется щупом через каждые 5 м длины, уделяя особое внимание местам, где обледеневает кровля. Толщина теплоизоляции чердачного перекрытия проверяется в прикарнизной зоне через каждые 3 м и в середине чердачного помещения через каждые 5 м.

12.6. Температуру воздуха чердачного помещения и утеплителя проверяют ртутным или электротермометром.

12.7. Все лабораторные и натурные контрольные испытания обязательно актируют с участием представителей проектировщиков и эксплуатационников.

13. Техника безопасности и производственная санитария

13.1. В соответствии с законом Российской Федерации "Об основах охраны труда в Российской Федерации" приняты типовые инструкции:

ТОИ Р-66-26-95 Типовая инструкция по охране труда для жестянщиков;

ТОИ Р-66-27-95. Типовая инструкция по охране труда для изолировщиков на гидроизоляции;

ТОИ Р-66-29-95. Типовая инструкция по охране труда для маляров строительных.

13.2. Крышные работы, в частности кровельные, относятся к категории опасных и к ним допускаются следующие рабочие:

- не моложе 18 лет;

- прошедшие предварительный и периодический медицинский осмотр и получившие допуск на работу на высоте и с полимерными синтетическими материалами;

- сдавшие экзамен комиссии после обучения по специальной программе и получившие соответствующее удостоверение;

- получившие периодический инструктаж по технике безопасности, соблюдению технологических правил и противопожарных требований (раз в квартал) и инструктаж на рабочем месте.

13.3. Технологические операции, рекомендуемые настоящими указаниями, следует выполнять, строго соблюдая:

- СНиП 12-04-2002 "Безопасность труда в строительстве. Часть 2. Строительное производство";

- ГОСТ 12.3.040-86 "Работы кровельные и гидроизоляционные. Требования безопасности";

- ГОСТ 12.3.005-75 "Работы окрасочные, общие требования безопасности";

- "Правила техники безопасности при текущем и капитальном ремонте жилых и общественных зданий". Стройиздат, М., 1972;

- ГОСТ 12.1.004-76 "Пожарная безопасность";

- ГОСТ 12.3.016-79 "Антикоррозионные работы при строительстве";

- ГОСТ 12.1.007-76 "Вредные вещества".

13.4. Допуск рабочих на кровлю разрешается после освидетельствования стропил, обрешетки, парапетов и выявления мест и способов надежного закрепления страховочных канатов кровельщиков-изолировщиков.

13.5. При выполнении работ на крыше рабочих следует обеспечить освидетельствованными предохранительными поясами, спецодеждой и спецобувью согласно ГОСТ 12.4.011-75 ССБТ "Средства защиты работающих. Классификация" (СТ СЭВ 1086-78).

13.6. Работающих на кровле с уклоном более 20° следует снабдить переносными стремянками шириной не менее 30 см с нашитыми планками. Стремянки следует надежно закреплять.

13.7. Запрещается доступ посторонних к зоне приготовления антисептиков, антипиренов, герметиков и защитно-декоративных покрытий (рис. 13.1.).

13.8. Приготавливать антисептики, антипирены, мастики и декоративно-защитные покрытия, а также наносить их следует в длинных резиновых перчатках (рис. 13.2).

Рис. 13.1.

Плакат 30×30 см. с надписью: "Посторонним проход воспрещен" (фигура черного цвета на белом фоне, штриховка красными полосами).

Рис. 13.2.

Плакат 30×30 см. с надписью: "Работай в перчатка" (перчатки зеленого цвета на желтом фоне).

13.9. Все работы с листовым металлом: переноску, укладку, резку на ножницах, гибку на гибочных и вальцовочных станках и др., за исключением работ на сверлильном станке, необходимо выполнять в рукавицах. Работать на сверлильном станке в рукавицах запрещено.

13.10. Работы по заготовке картин, желобов водосточных труб, а так же по окраске листовой стали должны быть выполнены в специальных мастерских.

13.11. Слесарные верстаки должны быть в жесткой и прочной конструкции и достаточно устойчивыми. На верстаках следует устанавливать сплошные или из сетки (ячейкой не более 3 мм) предохранительные щиты высотой не менее 1 м.

13.12. При работе на ручных гибочных станках необходимо:

- убедиться в наличии и исправности ограждения противовеса и в надежности закрепления на нем груза;

- проверить действие ограничителя движения противовеса;

- следить, чтобы в зоне движения противовеса не находились люди.

13.13. Ручные маховые ножницы должны быть оборудованы: прижимами, на верхнем подвижном ноже; амортизатором для смягчения удара ножедержателя; противовесом, удерживающим верхний подвижной нож в безопасном положении. Запрещается работать на ножницах при наличии вмятины, выщерблены, трещины на режущих частях ножа, затупленной режущей кромки, зазоров между кромками ножей более 3 мм.

13.14. При работе на рычажных или других ножницах следует пользоваться предохранительными линейками и противовес прочно прикрепить к рычагу.

13.15. На ручных или рычажных ножницах, применяемых для резания кровельной стали, должны быть упоры или кольца, предохраняющие руки от ранения. Электроножницы необходимо заземлять.

13.16. Все работы по огрунтовке и окраске листовой стали для картин, желобов, труб, воронок, колен и т.п. следует выполнять в специальных заготовительных мастерских. Готовые детали необходимо доставлять на строительную площадку комплектно.

13.17. Помещение, в котором производятся окрасочные работы, должно быть оборудовано вентиляцией.

13.18. Кровельные материалы следует поднимать при помощи крышевых кранов в специальной таре или прочно увязанными пакетами.

13.19. При установке и креплении воронок, водосточных труб, подвесных желобов, поясов и покрытий подоконников работать следует с выпускных лесов или подвесных люлек с обязательным использованием предохранительного пояса.

13.20. Для удобства и безопасности работы при навеске водосточных труб следует пользоваться люлькой на одного кровельщика, которая должна иметь удобное сидение, опору для ног и место для укладки элементов труб, вспомогательных материалов.

Некоторые требования к устройству лебедок и люлек для подъема людей приведены в таблице 13.1.

Таблица 13.1

№ п/п

Нормированная величина

Допустимое значение

Дополнительные указания

1

Скорость подъема люльки с людьми

Не ограничивается

 

2

Скорость опускания люльки с людьми:

а) при ручном приводе

б) при электрическом

Не более 20м/мин.

Не ограничивается

При скорости более 20 м/мин. д.б. обеспечена мягкая остановка люльки

3

Высота ограждения люлек

Не менее 1200 мм

Устройство дверок ограждений не допускается

4

Масса балласта для крепления лебедки

Из расчета обеспечения устойчивости лебедки при двойной рабочей нагрузке

Лебедка м.б. укреплена на фундаменте

5

Коэффициент запаса прочности стального каната

Не менее 9

 

6

Диаметр блока, огибаемого стальным канатом:

а) при ручном приводе

б) при электрическом

12Д

25Д

Д - диаметр каната

7

Коэффициент запаса торможения лебедки с электрическим приводом

2

 

13.21. В тех случаях, когда скорость движения люльки превышает 20 м/мин. или когда возможно задевание люльки за выступающие части здания, сооружения и т. п., должны быть установлены гибкие или жесткие направляющие и приняты меры по защите людей от возможного их задевания за выступающие части здания, сооружения и т.д.

13.22. На работу с люльки кровельщик обязан получить разрешение мастера (прораба), а перед каждой сменой проверить исправность люльки: плотность настила (без щелей); состояние тормозного и подъемного устройства, путем пробного включения, ограждений, тросов. Запрещается:

- перегружать люльку сверх установленной нагрузки;

- соединять смежные секции переходными настилами, стремянками.

13.23. Лебедки с электрическим приводом, предназначенные для подъема людей, должны быть снабжены колодочным тормозом, автоматически действующим при отключении двигателя. Связь вала электродвигателя с валом барабана у этих лебедок должна осуществляться с помощью зубчатой или червячной передачи. Применение ременных и фрикционных передач, кулачковых и фрикционных муфт не допускается,

13.24. В люльках для подъема людей в сидячем положении (не имеющих ограждения) рабочий должен быть пристегнут к ней поясом. Способ подвешивания люльки для подъема людей должен исключить возможность их опрокидывания.

13.25. При подвешивании люльки к крюку последний должен быть снабжен предохранительным замком для предупреждения падения.

13.26. Управление электрической лебедкой должно осуществляться путем непрерывного нажатия на кнопку аппарата управления. При прекращении нажатия на кнопку лебедка должна останавливаться. Эти лебедки должны быть снабжены автоматическим выключателем, отключающим электродвигатель при подходе люльки к верхнему рабочему положению.

13.27. Люльки подъемников должны иметь перила высотой 1000 мм. Верхняя поверхность перил должна быть удобна для обхвата ее рукой и облицована малотеплопроводным материалом. По периметру перил на настиле должна быть устроена сплошная обшивка высотой не менее 100 мм. Между обшивкой и перилами на высоте 500 мм от настила должна быть установлена ограждающая планка по всему периметру ограждения. Проем для входа в люльку следует защищать съемным ограждением или запирающейся дверью. Размер пола люльки должен быть не менее 600×600 мм; диаметр круглой люльки - не менее 700 мм. Площадь пола люльки для двух и более человек должна быть не менее 0,5 м2 на человека; ширина входа в люльку - не менее 500 мм.

13.28. Для безопасного хранения металлических листов на крыше следует устанавливать специальные настилы или пользоваться инвентарными подставками.

13.29. При производстве работ на крыше с уклоном более 33% (~18°), а также в случае работы на свесах крыши при любых уклонах, при отсутствии ограничений рабочие должны работать с предохранительным поясом, застегнутым поверх куртки, а страховочные веревки закреплять за надежные элементы крыши, заранее указанные мастером.

13.30. При работе на крыше с покрытием, не рассчитанным на нагрузку от веса работающих, необходимо пользоваться трапами шириной не менее 0,3 м с поперечными планками для упора ног. Трапы на время работы должны быть закреплены.

13.31. Кровельщик должен знать местонахождение аптечки с перевязочными материалами и другими средствами оказания первой помощи, уметь ими пользоваться, а также знать правила оказания первой медицинской помощи.

13.32. Компоненты мастик и растворители пожароопасны, что определяет исключительную осторожность при их складировании, хранении, транспортировании и использовании. Для тушения загоревшейся краски или мастики следует применять пенные огнетушители типа ОП-3, ОП-5. В зоне приготовления мастик и лакокрасочных покрытий огнетушители устанавливают на расстоянии не более 5 м один от другого, а также вывешивают не менее двух плакатов, указывающих местонахождения огнетушителя (рис. 13.3.). При хранении и использовании мастик, покрытий, растворителей следует неукоснительно соблюдать "Правила по пожарной безопасности при производстве строительно-монтажных работ".

Рис. 13.3.

Плакат 30×30 см. с надписью: "Здесь огнетушитель" (на белом фоне огнетушитель зеленого цвета, стрелка - красного цвета).

13.33. Зоны возможного падения с кровли материалов и инструментов следует оградить.

13.34. При гололеде, тумане и ветре силой более 6 баллов, грозе и обильном снегопаде вести работы на кровле запрещается.

13.35. Изолировщикам следует выдавать спецодежду согласно ГОСТ 12.4.011-75, нескользящую обувь без подков и гвоздей и 12 м капроновой веревки к предохранительным поясам, предварительно испытанным нагрузкой 300 кг в течение 10 мин. Место закрепления веревки на кровле следует указывать ответственному мастеру или производителю работ.

13.36. В зоне приготовления антисептиков, антипиренов, мастик и покрытий запрещается пользоваться открытым огнем (рис. 13.4.).

Рис. 13.4.

Плакат 30×30 см. с надписью: "Курить и пользоваться огнем запрещено" (на белом фоне красное пламя с черной штриховкой).

13.37. Количество мастик, растворителей и покрытий на объекте не должно превышать суточной нормы.

13.38. Рабочим изолировщикам следует помнить, что некоторые краски (например, краска медянка, свинцовые белила, сурик свинцовый) ядовиты и вызывают острые и хронические отравления.

13.39. Очистку кровель следует выполнять в пыленепроницаемой одежде из хлопчатобумажной ткани, используя респиратор (рис. 13.5.). Пользоваться респиратором следует по прилагаемой к нему инструкции с учетом срока службы фильтра 30 рабочих дней, а респиратора - 1 год. После работы респиратор следует протереть сухой чистой фланелью, а полумаску и коробку промыть водой с мылом, предварительно удалив фильтр.

 

Рис. 13.5.

Схема использования пылезащитного респиратора:

1 - резиновая полумаска; 2 - оголовье; 3- клапан выхода; 4 - корпус; 5 - фильтр; 6 - кольцо-экран; 7 - поджимное кольцо

13.40. К работам с полимерными синтетическими материалами, смывками и растворителями запрещается допускать лиц, страдающих хроническими заболеваниями верхних дыхательных путей, глаз и желудка.

13.41. В приказе по ремстройорганизации (РСУ, СУ, ООО и т.п.) следует указать всех рабочих, выполняющих работы на кровле (включая наряд на опасные работы), работающих с антисептиками, антитгаренами, окрасочными материалами и преобразователями ржавчины.

13.42. Изолировщикам следует руководствоваться ниже перечисленным правилами:

- избегать прямого контакта растворителей, красок и мастик с кожей;

- брызги краски, мастики, антисептиков и преобразователей ржавчины смывать теплой водой с мылом, не употребляя растворителей;

- ручную промывку инструментов выполнять окунанием в растворитель;

- спецодежду хранить в индивидуальных шкафах;

- не оставлять на рабочих местах (особенно на чердаке) спецодежду и в карманах -обтирочные концы;

- при нанесении изоляционных и окрасочных покрытий механизированным путем не надевать шерстяную, шелковую и синтетическую одежду и украшения из металлов;

- не принимать пищу и не курить в зоне изоляционных работ.

13.43. Приготавливать и наносить грунтовки, покрытия, антисептики следует в противогазе марки "КД" или универсальном респираторе типа РГТМ-62 или РУ-60М (рис. 13.6.).

13.44. Для защиты рук изолировщикам следует использовать пасты ПМ-1-МИОТ, ИЭР-1, кремы "Пленкообразующий", "Силиконовый" (таблица 13.2.).

Таблица 13.2

Составы профилактических паст и мыла для рабочих

Наименование пасты

Ингредиенты

% по массе

ПМ-1-МИ0Т

Крахмал

14

Глицерин

13

Белая глина

10

Тальк

8

Вазелиновое масло

7

Желатин пищевой

2

Вода

44

Спирт этиловый (ректификат)

Салициловая кислота

0,3

Биологические ("невидимые") перчатки

Казеин

20

Этиловый спирт

58

Глицерин

20

25% раствор аммиака

2

ИЭР-1

Глицерин

10[

Каолин (белая глина)

40

Вода

38

Мыло натриевое нейтральное

12

Паста Селисского

Борная кислота

2

Крахмал картофельный

15

Тальк

21

Желатин пищевой

2

Ланолин

36

Глицерин

14

Вода

10

Мыло МДМ

Глицерин

5

 

Спирт этиловый

5

 

Порошок пемзы

45

 

Салициловая кислота

45

13.45. Запрещается открытое хранение растворителей, антисептиков и изоляционных материалов, а также пустой тары из-под них.

13.46. Запрещается освещать изнутри открытым огнем емкостей из-под растворителей и компонентов покрытий и герметиков во избежание взрыва.

Рис. 13.6.

Схема использования респиратора РМП-62:

1 - дозирующий вентиль; 2 - тройник; 3 - индивидуальный фильтр; 4 - резиновая полумаска типа ПР-7; 5 - поясной ремень с передвижной лямкой; 6 - резиновый вакуумный шланг

13.47. Отходы изоляционных материалов, антисептиков и антипиренов запрещается сбрасывать в канализацию и на свалку; их следует собирать и утилизировать по согласованию с районной санэпидемиологической станцией (СЭС) и органами пожарного надзора.

13.48. По договоренности с районной СЭС следует периодически выполнять контроль состояния воздушной среды в зоне выполнения ремонтно-строительных работ.

Приложение 1
Дефектная ведомость, составленная по результатам натурного обследования кровли и конструкций чердачного помещения (по состоянию стропильной системы составляется самостоятельная ведомость)

№ п/п

Наименование элементов крыши

Ед. изм.

Кол-во

Описание технического состояния

1

Кровельные покрытия:

- замена листов

м2

 

 

- фальцы, подлежащие

м

 

 

обжатию

 

 

 

- герметизация фальцев

м

 

 

- герметизация примыканий (сопряжений)

м2

 

 

2

Окрытия : - замена листов

м2

 

 

- герметизация соединений и примыканий

м

 

 

3

Настенные желоба и трубы: -герметизация пробоин

м2

 

 

- Замена листов

м2

 

 

- замена звеньев водосточных труб

шт.

 

 

- установка защитных лотков над водосточными воронками

шт.

 

 

4

Парапетные ограждения:

 

 

 

- установка парапетных решеток

м

 

 

- ремонт парапетных тумб

м2

 

 

- герметизация сопряжений

м

 

 

парапетных ограждении с кровельным покрытием

м2

 

 

5

Устройство продухов

шт.

 

 

6

Слуховое окно:

- замена или ремонт жалюзи

м2

 

 

- окраска деревянных изделии

м2

 

 

- герметизация примыканий

м

 

 

7

Чердачные двери (люки): -обивка створок

м

 

 

- уплотнение створок

м

 

 

- устройство запоров

шт.

 

 

- сигнализация и освещение

м

 

 

8

Теплоизоляция чердачного перекрытия:

- рыхление старого утеплителя

м2

 

 

- укладка нового утеплителя

м3

 

 

9

Теплоизоляция трубопроводов: - венткороба

м2

 

 

- газоходы

м2

 

 

- устройство съемных колпаков утеплителей

м2

 

 

- теплоизоляция труб отопления

м2

 

 

10

Устройство защитной «корки» над утеплителем

м2

 

 

11

Ходовые мостики и лестницы: -ремонт мостиков

м2

 

 

- устройство новых настилов

м2

 

 

- установка лестниц

шт.

 

 

Приложение 2
Перечень строительных работ по текущему ремонту крыш жилых зданий:

1. Усиление стропильных ног.

2. Постановка дополнительных металлических скоб и болтов в местах ослабевших сопряжений стропильных элементов.

3. Постановка подкосов и подпорок в отдельных местах провисания крыши с передачей нагрузки на капитальные стены.

4. Смена концов стропильных ног в отдельных местах с устройством протезов.

5. Смена отдельных участков подстропильных брусьев (мауэрлатов).

6. Усиление обрешетки крыши в отдельных местах.

7. Смена местами отдельных брусков обрешетки (до 10% плошали крыши).

8. Ремонт и замена отдельных досок опалубки и обрешетки в местах разжелобков и карнизных свесов.

9. Ремонт слуховых окон, установка защитных решеток вентиляционных отверстий в подкарнизной части стены или карниза.

10. Антисептическая и противопожарная зашита конструкций и деталей.

11. Смена или ремонт стальных патрубков с колпаками для вентиляции чердака.

12. Замена или ремонт выходов на крышу с изготовлением приставных лестниц и стремянок.

13. Уплотнение фальцев и обжимка гребней.

14. Ремонт отдельных мест (до 20% площади) со сменой покрытия и окраской.

15. Ремонт настенных желобов и карнизных свесов с частичной и полной заменой и окраской; крепление или восстановление поврежденных или сорванных стальных листов.

16. Ремонт покрытий над торцевыми стенами и парапетом.

17. Ремонт водосточных подвесных желобов.

18. Укрепление парапетов, стальных решеток ограждения, ремонт оголовков вентиляционных шахт, газоходов, канализационных стояков и других выступающих над крышей металлических частей и их покраска. Замена колпаков на дымовых и вентиляционных трубах.

19. Восстановление или устройство стремянок для безопасной работы на крышах.

20. Ремонт и покраска наружных пожарных лестниц.

21. Регулярная очистка кровли от мусора, грязи, листьев и других посторонних предметов, покраска водосточных труб и креплений.

22. Ремонт и замена чердачных дверей и люков, утепление их, установка и ремонт запоров.

23. Замена разбитых стекол световых фонарей и на крышах с промазкой фальцев, мелкий ремонт створок фонарей.

24. Ремонт, изготовление, установка решеток жалюзи и окраска.

25. Ремонт и замена труб, отдельных звеньев водосточных воронок, лотков, колен, окрытий.

Приложение 3
Методические указания по техническому обследованию крыш жилых зданий для определения целесообразности их ремонта или реконструкции

1. Исходные данные

Исходные данные для выполнения работ п техническому обследованию крыш жилых зданий являются:

- заказ-задание от заказчика;

- инвентаризационные поэтажные планы;

- разрешение отдела районного архитектора или ГлавАПУ на изменение фасада здания в связи с реконструкцией крыши (например, в связи со снятием или заменой парапетов, балясин, тумб, лепных деталей и т.п.).

2. Техническое обследование крыш

Характер технического обследования крыши зависит от степени износа и сроков службы конструкций. Для выявления технического состояния, степени износа основных конструктивных элементов и определения вида необходимого ремонта производится общее и детальное обследование крыши. Общее обследование крыши выполняется жилищно-эксплуатационной конторой, отделом изысканий проектной организации или проектно-сметным бюро. При этом обследовании выявляют конструктивную схему крыши, материалы покрытия, дефекты крыши (протечки, промерзания, наледи, нарушенный температурно-влажностный режим чердачного помещения, повреждения конструктивных элементов и т.д.), нарушения условий нормальной эксплуатации крыш и чердачных помещений. На основании общего обследования крыши составляется акт технического обследования крыши по форме № 1, который прилагается к заданию на проектирование.

Детальное обследование крыши производится для разработки технической документации на ее реконструкцию или ремонт. Обследование выполняется с применением соответствующих инструментов и приборов отделом изысканий проектной организации или проектно-сметных бюро. При обследовании выявляют состояние несущих конструкций (прочность и устойчивость), состояние материалов (кровли, утеплителя, закладных металлических деталей и связей). При необходимости производят не менее двух вскрытий на каждые 500 м2 площади крыши с исследованием отобранных из конструкции проб на поражение древесины дереворазрушающими грибами; степени коррозии металлических связей и т.п.; измеряют величину деформации несущих конструкций; выявляют вид и характер повреждений и состояние элементов крыши; составляют схематический план и разрезы крыши (М 1:200) с указанием мест деформаций и повреждений конструктивных элементов; фотографируют крышу и фасад двух верхних этажей.

В чердачных крышах следует установить причины неудовлетворительного температурно-влажностного режима чердачного помещения. Для этого проверяют достаточность и состояние теплоизоляции чердачного перекрытия и трубопроводов центрального отопления, герметичность вентиляционных устройств, размещенных в чердачном помещении. В бесчердачных крышах проверяют состояние теплоизоляции и металлических связей железобетонных элементов (плотность заделки стыков конструктивных, крепление воронки внутреннего водостока), а также степень физического износа крыш по Методике определения физического износа конструктивных элементов жилого дома (М, ОНТИАКХ, 1974). На основании материалов детального обследования составляют техническое заключение о целесообразности ремонта или реконструкции крыши. Выполнение проектных работ по реконструкции крыши без технического заключения не допускается.

3. Разработка проекта реконструкции или ремонта

При подтверждении актом обследования целесообразности реконструкции или ремонта составляется техническое задание на проектирование соответствующего вида работ. Проектное решение по реконструкции крыши должно содержать технико-экономические обоснования выбранного варианта с учетом единовременных строительных и эксплуатационных затрат на содержание крыши.

 

Форма № 1

Акт технического обследования крыши жилого дома

в г.________________________________________________________________________

по ул.___________________________ № _____________строение № ________________

В результате технического обследования крыши и стен жилого здания установлено:

1. Общие сведения о здании:

1.1. Год постройки___________________________________________________________

1.2. Год и вид последнего ремонта крыши_______________________________________

1.3. Количество этажей здания________________________________________________

2. Описание состояния конструкций:

2.1. Стены (материал, толщина стен, перечень дефектов)___________________________

2.2. Чердачное перекрытие (материал, утеплитель, перечень дефектов)

___________________________________________________________________________

2.3. Крыша (материал стропил, состояние стропил, обрешетки, железобетонных конструкций, карниза и прочих конструкций)

___________________________________________________________________________

2.4. Состояние кровельного покрытия (материал кровли, повреждения кровли; № квартир, в которых имеются следы протечек или промерзаний)

___________________________________________________________________________

2.5. Система вентиляции крыши (наличие прикарнизных и коньковых продухов и других вентиляционных отверстий), площадь слуховых окон

___________________________________________________________________________

2.6. Состояние теплоизоляции труб верхнего розлива и чердачного перекрытия (материал, толщина слоя утеплителя, наличие корки)

___________________________________________________________________________

2.7. Температурно-влажностный режим чердачного помещения

___________________________________________________________________________

2.8. Состояние водоотводящих устройств

___________________________________________________________________________

3. Заключение

На основании вышеизложенного комиссия считает необходимым

произвести_______________________________________________

Представитель эксплуатационной

организации (РЖУ, ДЕЗ) (подпись)

(подпись)

Представитель Горжилинспекции

(подпись)

Представитель квартиросъемщиков

(подпись)

 

Приложение № 4
Характерные неисправности агрегатов безвоздушного нанесения покрытий и их устранение

Неисправность

Возможная причина

Способ устранения

Электродвигатель не работает

Отсутствует напряжение в питающей сети

В месте включения агрегата проверить наличие и значение напряжения во всех фазах питающей сети.

Неисправность электрокабеля или несоответствие коммутации штепсельных разъемов

Заменить штепсельные разъемы и исправить соединения в кабеле

Неисправность электродвигателе или выключателе или защитно-отключающем устройстве

Ремонт выполнить в специальной мастерской

При включении двигатель не развивает обороты и гудит

Наличие в насосе давления перекачиваемого гидроизоляционного материала, загустевшие масла (на холоде) в гидравлической передаче

Открыть пропускной клапан. Прогреть корпус гидропередачи без использования открытого пламени.

Пониженное напряжение в сети или кабеле

Вольтметром проверить напряжение до пуска и в момент пуска электродвигателя. Заменить непригодный кабель. Сечения токоведущих жил д.б. 2,5 мм2 при длине до 50 м. и 4 мм2 при большой длине кабеля

Самопроизвольное отключение двигателя

Срабатывание защитно-отключающего устройства из-за перегрева электродвигателя в процессе работы

Повторное отключение через 3 мин. Насосный агрегат поставить в тень или под навес. Снизить вязкость покрытия. Уменьшить длину шланга высокого давления. Очистить агрегат от осевшего материала покрытия.

Насос не засасывает лакокрасочный материал, но двигатель работает

Наличие воздуха во всасывающей или полости гидропередачи

Открыть перепускной клапан. Удалить воздух из полости гидропередачи, включив агрегат на холостом ходу на 15 - 20 мин. или вывернуть регулятор давления из корпуса насоса от 2-х до 4-х оборотов.

Подсосы воздуха во всасывающей системе

Прочистить и плотно затянуть системе соединения штуцера и фильтра. Заменить дефектный шланг.

Засорение всасывающей системы

Очистить и промыть растворителем сетку фильтра и клапан.

Неисправен всасывающий клапан

Заменить уплотнение или весь клапан, насоса

Неисправен нагнетательный клапан

Промыть растворителем или, при необходимости, заменить уплотнение или весь клапан

Грунтовка имеет повышенную вязкость

Разжижить грунтовку. На холоде применять до 40°С подогретый материал.

Недостаток масла в гидропередаче

Залить масло до верхнего уровня.

Электродвигатель работает, но давление недостаточно или отсутствует

Регулятор давления установлен на минимум

Доверять рукоятку регулятора по часовой стрелке.

Разрегулирован регулятор давления

Отрегулировать или заменить регулятор.

Протечка материала через перепускной клапан

Сделать 3-4 поворота рукоятки клапана или заменить клапан.

Повреждена мембрана насоса трещина

Заменить мембрану

Засорился фильтр гидросистемы

Прочистить фильтр и заменить масло

Обратная протечка материала через всасывающий, нагнетательный или перепускной клапан насоса

Заменить неисправный клапан

Протечка масла или лакокрасочного материала через опорную плоскость мембраны

Ослаблено крепление корпуса

Затянуть болты корпуса насоса

Пистолет не включает или не выключает подачу материала

Разрегулирован клапан или изношен передаточный механизм

Ввернуть регулировочный винт пистолете до отказа. Заменить изношенные детали пистолета

Отсутствие или разрыв сетки фильтрующего элемента

Засорение сетки фильтра

Прочистить или промыть растворителем сетку фильтра или заменить фильтр

Протечка материала в тыльной части пистолета и в шарнирном соединении

Износ уплотнения хвостовика клапана или поворотного шарнира

Винт уплотнения ввернуть до отказа. Заменить изношенные пластмассовые детали

Блокировка пусковой скобы

Износ передаточного механизма

Заменить изношенные детали

Приложение 5
Перечень механизмов и приспособлений для кровельных работ

№ п/п

Наименование механизма, инструмента, приспособления

Назначение

Завод-изготовитель ТУ, ГОСТ

1

Молоток кровельный

Для загибания, уплотнения и

ГОСТ 11042-72

2

Передвижная компрессорная установка типа СО-63 или СО-7А

Очистка поверхности от мусора и пыли, для пневмораспылителей

Лебедянский завод  «Строительно-отделочных машин»

3

Машина СО-100 (СО-145)

Подача краски

Чертежи МФ ВНИИСМИ

4

Ножницы ножевые электрические с двойной изоляцией ИЭ-5403

Для разрезки старых окрытий ("фартуков")

Ростовское ПО "Электроинструмент"

5

Лебедка электрическая ТЛ-1 грузоподъемностью 1 т

Транспортирование материалов

Саратовский завод строительных машин

6

Контейнер для армирующих материалов

Хранение стеклянных тканей и нетканых

УНН Севэнергомеханизация

7

Кран переносной для кровельных работ мощностью 1,1 кВт

Подъем кровельных материалов на крышу

-"-

8

Кран "Пионер" мощностью 28 кВт

-"-

-"-

9

Смеситель универсальный

Для приготовления растворов

"Моспромсгроймеханизация" Главмос-

10

Агрегат для отсоса влаги (СО-106, СО-122)

Для сбора дождевой воды

Волковысский з-д кровельных и строительно-отделочных машин

11

Подметально-пылесосная машина "Циклон" (модель KУ-405)

Для очистки основания

-"-

12

Агрегат для сушки основания (СО-107)

Для подсушки под грунтовку

-"-

13

Термос для холодной мастики вместимостью до 1 м3

Для хранения и перевозки мастики

МГПО "Моспромстроймеханизация"

14

Тележка ручная или тележка-рикша

Для перевозки материалов на кровле

Управление механизации отделочных работ ПСО Мосстройкомитета Раб. черт. 625-76 ЦНИИОМТП

15

Нож кровельный

Резка и раскрой армирующих материалов

ТУ 400-28- 187-74

16

Шпатель-скребок

Очистка зон сопряжений и примыканий

ТУ 22-3059-74

17

Клещи кровельные прямые

Для поднятия стоячих гребней

 

18

Ножовка по дереву широкая 450×115×50

Распиловка досок

ТУ 141-302-72

19

Гребок для кровельных

Разравнивание мастики

ТУ 22-2461-72

20

Щетка кровельная

Нанесение грунтовки

Чертежи ЦНИИОМТП

21

Кисть-ручник типа КР-65 (КР-26)

Нанесение мастики в узлах

ГОСТ 10597, ГОСТ 10587-80

22

Ведро, плотно закрывающееся, емкостью 15 л

Переноска краски

ИОМШС

23

Перчатки резиновые

ГОСТ 9502-60

 

24

Щиток защитный

ТУ 64-1916-72

 

25

Противогаз или респиратор

 

Орехово-Зуевский завод "Респиратор"

26

Нарезчик швов Э-347

Резка кровельного ковра на полосы шириной 300 мм. толщиной до 75 мм

Тверской экспериментально-механический завод

27

Бетоносмеситель БСП-150М "Торнадо" емкостью

Приготовление стяжки ("корки")

Фирма "БиК"

28

Универсальная передвижная установка ЕР 3000 с бензодвигателем (производительность 6 л/мин, или 1,5 м2/мин.)

Подача покрытий (красок) по шлангам на расстояние до 150 м насадок и нанесение с помощью сменных насадок

Фирма "Вагнер"

29

Универсальная передвижная установка GP 3000 с бензодвигателем (производительность 7 л/мин, или 2 м2/мин.)

Подача покрытий (красок) по шлангам на расстояние до 150 м насадок и нанесение с помощью сменных насадок

Фирма "Вагнер"

Приложение 6
Строительные свойства герметиков Абрис ® С и Абрис® Р

Выпускаемые ООО "Завод герметизирующих материалов" в г. Дзержинске Нижегородской обл. герметизирующие нетвердеющие самоклеящиеся материалы марок Абрис® С и Абрис® Р характеризуются высокими газо-, паро-, водонепроницаемыми свойствами, стабильной адгезией к стройматериалам, атмосферостойкостью, надежностью в эксплуатации, высокой технологичностью и экологической безопасностью.

Герметики, соответствующие требованиям ТУ 5772-003-43008408-99, Абрис® С - строительный самоклеящийся герметик на основе бутилкаучука высокой клейкости в виде лент (маркировка - ЛТ и ЛБ),шнуров (маркировка - Ш) и мастик в брикетах (маркировка - Б).

Герметики Абрис® С адгезируют к металлам, бетону, стеклу, резине, дереву и кирпичу в зданиях и сооружениях всех типов, морозостойки до -60°С, теплостойки до 140°С и рекомендуются для всех климатических зон РФ (патенты № 2237698, № 2117685). Свойства герметизирующих материалов марки Абрис® С (ТУ 5772-003-43008408) по данным ОАО "ЦНИИПромзданий" приведены в таблице 1.

Таблица 1

№ п/п

Наименование показателей

Абрис® С ЛТ и ЛБ

Абрис® С Ш

Абрис ® Л Б

1

Внешний вид

Пластичная однородная масса без разрывов и сквозных отверстий

2

Цвет

По требованию заказчика  (базовые: белый, серый, черный)

3

Пенетрация, 0,1 мм

30 - 170

4

Прочность связи с бетоном, МПа

> 0,1

5

Прочность связи с металлом при отслаивании, Н/м не менее

100

6

Сопротивление текучести, мм

2

7

Коэффициент паропроницаемости (для пароизоляционных герметиков), мг/(м-ч-Па)

2,2•10-5

8

Водопоглощение после высыхания, %

0 ÷ 0,02

9

Относительное удлинение при максимальной нагрузке, %. не менее

35

10

Предел прочности при растяжении, МПа, не менее

0,008

11

Характер разрушения

когезионный

12

Условный срок годности, лет

!20

13

Ширина, мм

2 ÷ 250

-

Брикеты 1-5

14

Толщина, мм

1 ÷ 5

-

15

Диаметр, мм

-

1,8 ÷ 40

Герметики Абрис® Р, соответствующие ТУ 5775-004-52471462-2003, обладают теплостойкостью до плюс 160°С, могут эксплуатироваться во всех климатических районах России (при температурах до минус 60°С) и в большинстве своем устойчивы к воздействию ультрафиолетовых лучей.

Свойства герметизирующих материалов марки Абрис® Р (ТУ 5775-004-52471462-2003) по данным ОАО "ЦНИИПромзданий" приведены в таблице 2.

Таблица 2

№ п/п

Наименование показателей

Абрис ® Рс

Абрис® Ру

Абрис ® Рп

1

Внешний вид

однородная пастообразная масса

2

Цвет

по требованию потребителя

черный

по требованию потребителя

3

Пенетрация, 0.1 мм

200 - 380

250 - 400

400 - 450

4

Прочность связи с металлом при отслаивании, Н/м, не менее

150

5

Прочность связи с бетоном, МПа

0,1

6

Относительное удлинение при максимальной нагрузке, %, не менее

50

-

7

Массовая доля сухого вещества, %. не более

60

50

 

8

Сопротивление текучести:

-

2

-

 

- при толщине 1 -2 мм, не более, мм

 

- при толщине 5 мм, не более, мм

2

-

-

9

Паропроницаемость, Мг/(м-ч-Па), не более

0,01

10

Водопоглощение после высыхания, %,

0,3

11

Время высыхания при температуре 20оС, час

24

12

12

Удельный вес, r/cм3

1,2 - 1,3

0,9 - 1,1

0,9 - 0,1

13

Расход, кг

1,3

1

0,2 - 0,4

14

Условный срок годности, лет

20

Эксплуатационные характеристики конструкционных швов с использованием герметизирующих лент Абрис®, полученные в ходе испытаний, представлены в табл. 3.

Таблица 3

Наименование характеристики, ед. измерения

Результаты испытаний

1. Сопротивление теплопередаче, (м К)/Вт

2,33

2. Воздухопроницаемость при давлении 100 Па, м /(ч- м)

< 0,1

3. Водонепроницаемость при давлении, Па

1900

4. Деформативная устойчивость (относительное удлинение), %

39,5

5. Звукоизоляция, дБ А

36

Марки герметиков отличаются друг от друга отдельными элементами и поэтому имеют разную область применения, характеристика которой приведена в табл. 4.

Таблица 4

Марка герметика, его характеристика

Вид герметика

Область Применения

1

2

3

1. Абрис® С-ЛТлиф

Диффузионная (паропроницаемая) лента из прочной полипропиленовой ткани с двумя крепежными полосами по краям из бутилкаучука высокой клейкости; коэффициент паропроницания ц = 0,2 мг/(м-ч-Па)

Устанавливают под слив окна и по периметру проема с наружной стороны; Рекомендуется защищать от воздействия ультрафиолетовых лучей.

2. Абрис® С-ЛТф

Самоклеящаяся бутилкаучуковая влаго-, газонепроницаемая уплотнительная лента с одной стороны покрыта антиадгезионной пленкой, с другой алюминиевой фольгой для теплоотражения и защиты от ультрафиолетовых лучей. Разработаны варианты, армированные гофрированной алюминиевой фольгой и фольгой из свинца.

Герметизация стыков и швов в конструкциях фонарей, светопрозрачных ограждений зимних садов; для ремонта и герметизации фальцев металлической кровли, а также примыканий кровли к стенам и трубам.

3. Абрис® С-ЛТфиз

Самоклеящаяся бутилкаучуковая влаго-, газонепроницаемая уплотнительная лента с одной стороны покрыта антиадгезионной пленкой, с другой фольгоизолоном (вспененный полиэтилен покрытый светоотражающей металлизированной пленкой), стойка к УФ, X = 0,032 Вт/(мК), температура эксплуатации от -60°С до 100°С

Уплотнение, утепление стыков и швов; повышает звукоизоляцию конструкций.

4. Абрис® С-ЛТдиз

С отсутствием светоотражающей металлизированной пленкой коэффициент теплопроводности X = 0,032 Вт/(мК), температура эксплуатации от -60°С до 100°С, рекомендуется защищать от воздействия ультрафиолетовых лучей.

5. Абрис® С-ЛТбаз

Самоклеящаяся уплотнительная бутилкаучуковая лента с одной стороны покрыта антиадгезионной пленкой, с другой негорючим базальтовым полотном.

Для уплотнения швов изнутри помещений; при сухой и мокрой отделке откосов, после заполнения швов теплоизоляцией. Повышается теплостойкость и огнестойкость.

6. Абрис® С-ЛТдуб

Самоклеящаяся уплотнительная бутил каучуковая пароизоляционная лента дублирована нетканым полотном, имеет самоклеющуюся дополнительную полосу для крепления ленты в скрытом месте.

Для паронепроницаемого уплотнения мест сопряжения оконных рам, дверных коробок с конструкциями здания при любых (сухих и мокрых) способах отделки откосов до заполнения шва теплоизоляцией.

7. Абрис® С-ЛТмдуб

Самоклеящаяся пароизоляционная бутилкаучуковая уплотнительная лента, дублирована металлизированной пленкой, имеет дополнительную самоклеющуюся крепежную полосу для монтажа ленты в скрытом месте.

Для паронепроницаемого уплотнения мест сопряжения оконных рам и дверных коробок с конструкциями здания при "сухой" отделке откосов до заполнения шва теплоизоляцией.

8. Абрис® С-ЛТнп

Самоклеящаяся пароизоляционная бутилкаучуковая уплотнительная лента, с одной стороны дублирована нетканым полотном.

Для защиты шва от влаги, пара и газа, совместима с красками и штукатуркой.

9. Абрис® С-Б

Пластичная масса на основе бутилкаучука с высокой клейкостью; брикеты герметика завернуты в антиадгезионную (полиэтиленовую) пленку.

Для паро-, влаго-, газонепроницаемого уплотнения зазоров швов в строительных конструкциях. Наносится вручную или электрогерметизатором.

10. Абрис® С-Ш

Самоклеящаяся пластоэластичная масса на основе бутилкаучука в виде шнуров, покрытых антиадгезионной пленкой.

Для паро-, влаго-, газонепроницаемого уплотнения зазоров швов в строительных конструкциях.

П.Абрис®С-ЛБ

Бутилкаучуковая уплотнительная лента с двух сторон покрыта антиадгезионной пленкой.

Для влаго-, газонепроницаемого уплотнения и склеивания сопрягаемых поверхностей.

12. Абрис® С-ЛБиз

Двухсторонняя липкая лента, армирована изолоном.

Для герметизации стыков, нахлестов, волнистых листов и склеивания сопрягаемых поверхностей.

13. Абрис® С-ЛТм

Самоклеящаяся бутилкаучуковая уплотнительная лента покрыта с одной стороны антиадгезионной пленкой, с другой прочной светоотражающей металлизированной пленкой.

Для пароизоляции и герметизации мест сопряжений элементов светопрозрачных конструкций, швов внутри помещений и легких металлоконструкций фасадных систем.

14. Абрис® Рс

Бутилкаучуковая мастика (пастообразная масса) высыхающего типа.

Герметизация межпанельных стыков и склеивание сопрягаемых поверхностей.

15. Абрис® Pу

Бутилкаучуковая мастика (пастообразная масса) высыхающего типа.

Герметизация межпанельных стыков и склеивание сопрягаемых поверхностей гидроизоляции, приклеивание полимерных (эластомерных) пленок и антикоррозионная защита

16. Праймер Абрис® Рп

Для обработки (фунтования) поверхности перед нанесением герметика.

17. Гидропрокладка Абрис® С

Самоклеящийся герметизирующий материал на основе натриевого бентонита.

Для герметизации рабочих конструкционных швов подземных бетонных сооружений, а также мест прохода инженерных коммуникаций. Устанавливается непосредственно перед бетонированием.

Праймер Абрис® Рп.

ООО "Завод герметизирующих материалов" выпускает широкий ассортимент герметизирующих лент, шнуров, мастик и праймеров, которые могут быть эффективно использованы в ремонтно-строительном производстве по соответствующим нормативным документам или проектным решениям. Следует учитывать, что ассортимент герметиков расширяется, и поэтому целесообразно регулярно отслеживать появление новых разработок ООО "Завод герметизирующих материалов" с целью их рационального использования в строительстве.

 

 




Яндекс цитирования



   Copyright © 2007-2026,  www.tehlit.ru.

[ ѓосты, стандарты, нормативы, инструкции, правила, строительные нормы ]