//
ТехЛит.ру
- крупнейшая бесплатная электронная интернет библиотека для "технически умных" людей.
WWW.TEHLIT.RU - ТЕХНИЧЕСКАЯ ЛИТЕРАТУРА

:: Алготрейдинг::


АЛГОТРЕЙДИНГ
шаг за шагом
с нуля по урокам!

Торговые роботы на PYTHON, BackTrader,
Pandas, Pine Script для TradingView. Связка с брокерами, телеграм и легкими приложениями.


Государственный комитет Российской Федерации по строительству и жилищно-коммунальному комплексу (ГОССТРОЙ РОССИИ)

Федеральное Государственное Унитарное Предприятие Производственный и научно-исследовательский институт по инженерным изысканиям в строительстве (ФГУП ПНИИИС)

ИНФОРМАЦИОННЫЙ КАТАЛОГ-СПРАВОЧНИК

по оборудованию, приборам и аппаратуре для инженерно-геологических изысканий в строительстве

Москва 2002

СОДЕРЖАНИЕ

1. ОБОРУДОВАНИЕ ДЛЯ БУРЕНИЯ СКВАЖИН

1.1 Буровые станки и установки

1.2. Буровой инструмент

1.3. Грунтоносы

2. ПРИБОРЫ И ОБОРУДОВАНИЕ ДЛЯ ЛАБОРАТОРНЫХ ИССЛЕДОВАНИЙ ГРУНТОВ

2.1. Компрессионные приборы

2.2. Срезные приборы

2.3. Приборы трехосного сжатия (стабилометры)

2.4. Приборы сжатия-растяжения

2.5. Приборы стандартного уплотнения

2.6. Приборы для определения гранулометрического состава

2.7. Приборы для определения характеристик набухания

2.8. Фильтрационные приборы

2.9. Весоизмерительные приборы

2.10. Нагревательные приборы

2.11. Приборы для измерения температуры

2.12. Посуда для проведения химических анализов

3. ОБОРУДОВАНИЕ ДЛЯ ПОЛЕВЫХ ИССЛЕДОВАНИЙ ГРУНТОВ

3.1. Оборудование для статического зондирования

3.2 Оборудование для испытания грунтов на срез в буровых скважинах

3.3 Комплексные установки

3.4. Портативные приборы

ПРИЛОЖЕНИЕ перечень организаций - разработчиков, изготовителей и поставщиков оборудования, приборов, аппаратуры и др. изделий, используемых при инженерно-геологических изысканиях

Информационный каталог-справочник по оборудованию, приборам и аппаратуре для инженерно-геологических изысканий в строительстве, М., 2002 г., - 45 с.

«Информационный каталог-справочник по оборудованию, приборам и аппаратуре для инженерно-геологических изысканий в строительстве» содержит сведения по техническому оснащению работ при бурении скважин, лабораторных и полевых исследованиях грунтов. Каталог-справочник разработан Производственным и научно-исследовательским институтом по инженерным изысканиям в строительстве (ФГУП ПНИИИС) Госстроя России и Научно-производственным центром «ООО НПЦ Ингеодин».

Каталог-справочник составлен в развитие раздела 6 СНиП 11-02-96 «Инженерные изыскания для строительства. Основные положения» и СП 11-105-97 «Инженерно-геологические изыскания для строительства» (части I-IV) и содержит описание и технические характеристики рекомендуемого оборудования, приборов и аппаратуры, выпускаемых серийно или по отдельным заказам.

В каталоге указаны разработчики и изготовители технического оборудования, приборов и аппаратуры, адреса и контактные телефоны которых приведены в Приложении.

Настоящее издание предназначено для специалистов изыскательских, проектно-изыскательских и др. организаций, занимающихся выполнением буровых, лабораторных и полевых опытных работ при инженерно-геологических изысканиях для строительства.

1. ОБОРУДОВАНИЕ ДЛЯ БУРЕНИЯ СКВАЖИН

1.1 Буровые станки и установки

Переносные буровые станки и установки

В группу переносных входят станки с приводом от бензодвигателя мотопилы «Дружба» или «Урал» мощностью 3 кВт. Глубина бурения этими станками в большинстве случаев ограничена 5-7 м и только отдельные модели позволяют бурить более глубокие скважины (до 10-12 и даже 25 м).

Область применения их ограничена песками и глинистыми грунтами без включения валунно-галечникового материала.

Указанные станки наиболее приспособлены для работы в труднодоступных условиях (подвалы, заболоченные территории, горные склоны и т.д.), при проведении линейных изысканий (линии электропередач, трубопроводы, железнодорожные и автомобильные магистрали) и при проведении маршрутных наблюдений в процессе рекогносцировочного обследования.

Ниже приведено описание конструкций некоторых станков.

1.1.1. Мотобуры КМ-10 и М-10

Предназначены для бурения скважин в грунтах I-IV категории буримости глубиной до 10 м без промывки при инженерно-геологических изысканиях, а также для бурения шпуров витыми штангами в породах до V категории буримости и других работ аналогичного характера.

Технические характеристики

 

КМ-10

М-10

Способ бурения

вращательный

Глубина бурения, м:

 

 

шнеками Ø 62 мм

10

 

твердосплавными коронками Ø 59 мм

10

 

Максимальное усилие вверх и вниз, Н (кгс), не менее

1176(120)

 

Подача

Цепная

Ручная

Вращатель:

 

тип

подвижной

-

частота вращения, (об/мин)

185±18, 625±60

 

Диапазон углов наклона вращателя, градус

45-90

 

Привод

«Дружба-4» или «Электрон»

мощность, кВт

2,94±0,36

Габаритные размеры, мм, не более

1400×820×540

550×700×310

Регулирование частоты вращения бурового снаряда

Дискретное

Длина хода подачи, м

0,8

Длина свечи (шнека, штанги) номинальная, м

0,8±0,05

Масса, кг, не более:

 

 

Мотобур

31

16

Мотобур с запасными частями, монтажным и буровым инструментом, ЗИП и принадлежностями к двигателям

96

80

Мотобур KM-10 (рис. 1) состоит из двигателя, вращателя, стойки с механизмом подачи, рамы подкоса и бензобака.

Мотобур М-10 (рис. 2) в отличие от мотобура КМ-10 не имеет стойки с механизмом подачи, рамы и подкоса, а снабжен ручками для ручного бурения. Ручки имеют амортизаторы и подставку.

Вращатель представляет собой двухскоростной планетарный редуктор, состоящий из корпуса с крышками, в котором монтируются основные детали.

К мотобурам разработан буровой инструмент в комплекте:

Наименование инструмента

Количество, шт.

1. Фиксатор

6

2. Буровая ложка

1

3. Грунтонос

1

4. Выталкиватель

1

5. Шнеколовка

1

6. Долото двухлопастное Ø 70 мм

2

7. Ключ для шнека Ø 62 мм

2

8. Переходник

2

9. Втулка

3

10. Вилка для шнека

2

11. Шнек Ø 62 мм

12

12. Воротник штанговый

1

13. Штанга Ø 25 мм

10

Изготовитель: ЗАО «Машиностроительный завод им. В.В. Воровского».

Рис. 1. Мотобур КМ-10:

1 - двигатель; 2 - вращатель; 3 - стойка с механизмом подачи; 4 - рама; 5 - подкос; 6 - каретка; 7 - регулятор газа; 8 - рукоятка; 9 - бензобак

Рис. 2. Мотобур М-10:

1 - двигатель; 2 - вращатель; 3 - ручка; 4 - бензобак; 5 - регулятор газа

1.1.2. Буровая установка УКБ-12/25

Предназначена для бурения вертикальных и наклонных скважин при работе в труднодоступных условиях.

Она состоит из приводного двигателя, бензобака вращателя, каретки направляющей, лебедки, подкоса, рамы, колес от мотороллера «Тула», подставки и цепей.

Вращатель представляет собой трехскоростную коробку передач. Переключение передач осуществляется одной рукояткой. Вращатель откидной, что позволяет освобождать устье скважины при выполнении спуско-подьемных операций.

Установке придается приспособление для подъема обсадных труб и прихваченного бурового инструмента. Приспособление представляет собой домкрат с проходным отверстием под трубы Ø 57 мм.

Конструктивные особенности установки: возможность изменения угла наклона скважины; наличие откидного вращателя, позволяющего быстро освобождать устье скважины; широкий диапазон скоростей, позволяющий эффективно производить бурение шнековым способом на малых оборотах с повышенным крутящим моментом и колонковым способом на высоких оборотах шпинделя вращателя.

Технические характеристики

Способ бурения

вращательный

Глубина бурения, м:

 

шнеками

до 15

твердосплавными и алмазными коронками

до 25

Диаметр бурения, мм:

 

шнеками

70-140

коронками

46-76

Частота вращения шпинделя, об/мин

100-600

Привод:

 

тип

«Дружба-4» или «Урал»

мощность, кВт

2,94±0,36

Габариты, мм

1320×1050×2020

Масса, кг

137

Масса разборного узла, кг

25

Перевозка установки от скважины к скважине производится на малогабаритных колесах, закрепленных на раме установки. В особо тяжелых условиях установка разбирается на узлы массой не более 25 кг и транспортируется вручную. Изменением длины телескопического подкоса, соединяющего раму и направляющую установки, обеспечивается наклонное бурение до 40° от вертикали.

Изготовитель: ЗАО «Машиностроительный завод им. В.В. Воровского».

1.1.3. Станок УБМ-3

Предназначен для проходки скважин при инженерно-геологических изысканиях в труднодоступных условиях.

Технические характеристики

Способ бурения

вращательный

Глубина бурения, м

15

Диаметр бурения, мм

89-127

Диаметр вдавливаемого грунтоноса, мм

89-127

Частота вращения инструмента, об/мин

152, 170

Максимальные усилия, кН

 

вниз

35

вверх

25

Двигатель:

 

тип

электрический или 4-х тактный

бензиновый СА-24 (Италия) мощность, квт

4

Габариты, мм

600x1000x2000

Масса, кг:

 

станка

140

инструмента

90

Станок выполнен разборным на 5 транспортных узлах. Разработан Геотехнической фирмой «АЛЕНС».

1.1.4. Станок УБМ-ЗУ

Предназначен для проходки инженерно-геологических скважин в труднодоступных и стесненных условиях застроенных территорий.

Технические характеристики

Способ бурения

вращательный и ударно-канатный

Глубина бурения, м

30

Диаметр бурения, мм:

 

вращательным способом

89

ударно-канатным способом

89-127

Диаметр вдавливаемого грунтоноса, мм

89-127

Частота вращения бурового инструмента, об/мин

152, 270

Максимальные усилия, кН:

 

вниз

35

вверх

25

Канатоемкость барабана лебедки, м

30

Двигатель:

 

тип

электрический или 4-х тактный

бензиновый СА-4 (Италия)

 

мощность, квт

4

Габариты, мм

600×100×2000

Высота мачты, мм

1600

Масса, кг:

 

лебедки

18

станка без инструмента

170

инструмента

130

Станок выполнен сборно-разборным из 7 транспортных узлов: опорная рама с колесами (массой 35 кг), реечная стойка (25 кг), мачта (20 кг), электродвигатель (27 кг) или бензодвигатель (15,5 кг), скоростной редуктор (11 кг), силовой редуктор (35 кг) и лебедка (18 кг), что обеспечивает их доставку на объект изысканий легковым автотранспортом и переноску вручную на объекте работ.

Станок разработан Геотехнической фирмой «АЛЕНС».

1.1.5. Бур геолога ГИ-18

Предназначен для ручного ударно-вращательного бурения скважин. Комплект его состоит из бура ложкового типа, бура спирального, долота плоского Ø 35 мм; труб бурильных Ø 20 мм длиной 800 мм (13 шт.); ключа-воротка для труб, лопаты и скребка, упакованных в специальный ящик для переноса. Вес комплекта без ящика 18 кг.

Изготовитель: з-д «Нефтеавтоматика».

Перевозимые буровые станки и установки

В группу перевозимых станков и установок входят в основном станки и установки ударно-канатного бурения, которые делятся на две группы: без ударного механизма и с ударным механизмом.

Станки и установки ударно-канатного бурения без ударного механизма имеют наиболее простую конструкцию. Основным рабочим органом этих установок является планетарная или фрикционная лебедка грузоподъемностью 500-1000 кг, привод которой осуществляется бензодвигателем мощностью 4,5-6 квт через клиноременную или цепную передачу. Установки комплектуются легкой мачтой или треногой высотой 3,5-5,6 м. Установки обычно смонтированы на одноосных прицепах с пневматическими шинами. Бурение осуществляется в основном клюющей разновидностью данного способа с использованием забивных стаканов. Глубина бурения 15-30 м, Ø - 73-168 мм.

Станки и установки ударно-канатного бурения с ударным механизмом позволяют вести бурение скважин глубиной до 200 м и более, Ø 168-377 мм и более. Ударные механизмы подразделяются на два основных типа: кривошипно-шатунные механизмы и механизмы со свободным сбрасыванием снаряда на забой. Последние проще и легче, чем кривошипно-шатунные механизмы, поскольку исключают тяжелые ударные рамы и амортизационные устройства. Кроме того, применение ударных механизмов со свободным сбрасыванием снаряда позволяет применять большее число ударов инструмента по забою при ограниченной мощности привода и достаточно большом весе снаряда, что наиболее эффективно при бурении в мягких породах.

Ниже приводятся описание конструкций некоторых буровых станков.

1.1.6. Ударно-канатный станок УГБ-ЗУК

Предназначен для бурения гидрогеологических, разведочных на воду и осушительных скважин в местах с наличием постоянных источников электрической энергии.

Технические характеристики

Способ бурения

ударно-канатный

Номинальная глубина бурения, м

300

Начальный диаметр бурения, мм

600

Масса ударного снаряда, кг

1300

Высота подъема снаряда, мм

350-1000

Число ударов в мин

40-50

Мачта:

 

высота, мм

12250

грузоподъемность, кН

120

Станок состоит из следующих основных узлов: главного вала, инструментального барабана, ударного механизма, желоночного и талевого барабанов, рамы, мачты, механизма управления станком и электроблока.

Изготовитель: АООТ «Машзавод им. А.А. Никольского».

Этим же заводом выпускается буровой инструмент - долота и запчасти к станку. Самоходные буровые установки

Самоходные буровые установки наиболее широко используются при инженерно-геологических изысканиях.

1.1.7. Самоходная буровая установка УКБ-12/25 С

Является модификацией установки УКБ-12/25 и предназначена для бурения скважин в условиях доступных для автомобиля высокой проходимости. Может быть использована при инженерно-геологических изысканиях.

Установка смонтирована на базе автомобиля УАЗ. В кузове автомобиля установлена платформа, на которой крепится станок и насос установки. По правому борту кузова оборудованы специальные места для укладки инструмента. Автомобиль оснащен двумя винтовыми домкратами для создания жесткой опоры во время бурения. Установка легко и быстро переводится из транспортного положения в рабочее и обратно. С автомобиля демонтирован задний борт, замененный тентом, полностью закрывающим заднюю часть кузова. При работе бригады во время дождя и снега используется специальный тент, который развертывается на шестах - кольях.

В районах со сложными условиями транспортирования буровой станок и насос снимаются с автомобиля и используются автономно.

Технические характеристики

Способ бурения

вращательный

Глубина бурения, м

 

твердосплавными и алмазными коронками

до 25

шнеками

до 15

Диаметр бурения, мм

 

коронками

46-76

шнеками

70-140

Частота вращения инструмента, об/мин

100, 270, 600

В комплект установки входят: насосная установка НБ1-25/Г6, комплект бурового инструмента, комплект приспособлений (для срыва шнеков при ликвидации аварий и для использования вращателя в качестве мотобура), комплект запасных частей и ремонтно-монтажного инструмента.

Изготовитель: ЗАО «Машиностроительный завод им. В.В. Воровского».

1.1.8. Агрегат вибробуровой АВБ-2М

Предназначен для бурения скважин при инженерно-геологических изысканиях.

Агрегат смонтирован на шасси автомобиля ГАЗ-66 и состоит из рамы, коробки отбора мощности, раздаточного редуктора, лебедки, мачты, опоры мачты, винтового подъемника, талевой оснастки, вибронагружателя, системы управления, электрооборудования.

Технические характеристики

Способ бурения

вибрационный и ударно-канатный

Глубина бурения, м:

 

вибрационным способом

20

ударно-канатным способом

40

Начальный диаметр бурения, мм:

 

вибрационным способом

168

ударно-канатным способом

219

Вибропогружатель

двухблочный вибратор ВБ-7 с ударным патроном

Скорость вращения дебалансов, об/мин

1250

Момент эксцентриков, кгс·см

200

Максимальное возмущающее усилие, кгс

3500

Предельная амплитуда колебаний, мм

5

Масса с электродвигателем, кг

340

Привод вибропогружателя

электродвигатель повышенного скольжения АОС2-42-4

Грузоподъемность лебедки, кН

40

диаметр каната, мм

18

Скорость подъема бурового инструмента, м/с: на III передаче автомобиля на одно- и двухструнной оснастке на третьем слое навивки каната

0,8; 0,4

на IV передаче автомобиля при однострунной оснастке

1,1

Грузоподъемность мачты, кН

120

Способ подъема и опускания мачты

механический и ручной с помощью винтового подъемника

Электроснабжение агрегата

от синхронного генератора трехфазного тока ЕСС-81-6М

Мощность генератора, кВт

85

Габаритные размеры, мм:

 

длина

7500

ширина

2350

высота

3400

Общая масса агрегата с буровым инструментом запасными частями, принадлежностями и автоприцепом, кг

6300

Изготовитель: ЗАО «Машиностроительный завод им. В.В. Воровского».

1.1.9. Установка буровая легкая УБЛ-1К

Предназначена для бурения скважин в условиях бездорожья, на заболоченных участках и узких лесных просеках.

Технические характеристики

Способ бурения вращательный (шнеками и полыми шнеками)

Глубина бурения, м:

50

Диаметр шнеков, мм

81-230

Длина бурильной свечи (шнека), мм

1235

Редуктор

подвижной цилиндрический

Механизм подачи каретки

гидравлический

Ход вращателя, мм

1750

Усилие подачи, кН, не менее

 

вниз

20

вверх

50

Частота вращения шпинделя, об/мин

54-450

Привод

дизель Д-144

Мощность, квт

не менее 37

Габариты в транспортном положении, мм:

 

длина с дышлом

4770

ширина

1700

высота

2150

Масса установки без инструмента, кг, не более

2500

Установка может быть смонтирована на санном основании, транспортере МТЛБ, тракторе «Волгарь» или вездеходе ГТТ.

Изготовитель: АО «ГЕОМАШ».

1.1.10. Буровая установка типа ЛБУ-50А

Предназначена (в зависимости от применяемого инструмента) для бурения гидрогеологических скважин, шурфов, сооружения шахтных колодцев.

Технические характеристики

Способ бурения

вращательный, ударно-канатный

Номинальная глубина бурения, м

 

скважин

50

шурфов 1

15-20

Диаметр бурения, мм

 

скважин

до 200

шурфов

до 1000

Ход каретки вращателя, мм

3250

Максимальное усилие подачи, кН

 

вверх

120

вниз

56,5

Лебедка:

 

тип

фрикционная

грузоподъемность, кН

32,5

канатоемкость барабана, м

60

Ударный механизм:

 

тип

кривошипно-шатунный

число ударов снаряда в мин.

48

масса снаряда, кг

400

величина хода снаряда, мм

800

Буровой станок смонтирован на шасси автомобиля ЗИЛ 131. Привод осуществляется от двигателя автомобиля.

Для устройства гидрогеологических скважин используется комплект шнеков, ударно-канатный механизм, соответствующий буровой инструмент (желонка, ударная «баба») и вспомогательный инструмент.

Для проходки шурфов и шахтных колодцев используется шнековый бур (в комплекте) и кран-укосина, а также комплект вспомогательного инструмента. Лебедка, входящая как сборочная единица в конструкцию установки, обеспечивает подъем-спуск бурового инструмента, обсадных труб, деревометаллических колец, а также производство вспомогательных работ по поднятию и подтаскиванию тяжестей.

Изготовитель: АО «ГЕОМАШ».

1.1.11. Передвижная буровая установка ПБУ-2

Предназначена для бурения гидрогеологических, инженерно-геологических, разведочных скважин; шурфов, а также для выполнения статического зондирования грунтов.

Технические характеристики

Способы бурения:

 

скважин

вращательный и ударно-канатный

шурфов

вращательный (шнековыми бурами)

Глубина бурения скважин, м:

 

шнеками

до 50

колонковой трубой «всухую»

до 50

колонковым способом с промывкой

до 100

ударно-канатным способом забивным стаканом

до 50

Глубина бурения шурфов, м

до 20

Диаметр бурения скважин, мм:

 

шнеками

135, 180, 230

колонковым способом

до 127

ударно-канатным способом забивным стаканом

до 135

Диаметр бурения шурфов, мм

650, 850

Мощность привода буровой установки

 

(двигателя Д65), кВт

44

Частота вращения инструмента, об/мин

28-500

Ход подачи вращателя, мм

3250

Максимальное усилие, кН: вверх

80

вниз

30

вниз при анкерировании установки

80

Усилие вдавливания зонда при статическом зондировании,кН

80

Установка имеет: механическую трансмиссию; подвижной вращатель с гидравлической подачей бурового инструмента; лебедку грузоподъемностью 26 кН; специальные площадки для перевозки бурового инструмента. По требованию заказчика установка может комплектоваться буровым насосом, сальником-вертлюгом и специальной штангой, что позволяет осуществлять бурение с промывкой с использованием стандартного инструмента, а также ударно-кривошипным балансиром для работы ударно-канатным способом в полуавтоматическом режиме.

При соответствующей комплектации установка может осуществлять пробные откачки воды.

Установка может быть смонтирована на шасси ЗИЛ-131, Урал 4320, КАМАЗ- 4310, тракторе ТТ-4 или на санном основании.

Изготовитель: АО «ГЕОМАШ».

1.1.12. Установка шнекового бурения УШ-2Т4

Предназначена для бурения скважин шнековым способом в труднодоступных районах Севера.

Технические характеристики

Способ бурения

шнековый

Глубина бурения, м

 

не более 60

шнеком Ø 150 мм

до 20

шнеками Ø 230-600 мм

Вращатель:

 

тип

подвижной, откидывающийся

ход вращателя, мм

3250

Наибольшее усилие подачи, кН не менее

 

вверх

120

вниз

56,5

Частота вращения шпинделя вращателя

 

(правое и левое вращение), об/мин

70-250

Скорость перемещения бурового инструмента, м/с

 

вверх

≤0,15

вниз

≤0,4

Габаритные размеры в транспортном положении, мм

 

длина

6200

ширина

3250

высота

4000

Масса, кг

22500

Установка смонтирована на тракторе Т-170Б. Имеет: раму, совмещенную со стойкой мачты; однотрубчатую мачту; блок привода; вертикальный вал; верхний редуктор; ведущий вал; вращатель; цилиндр подъема и опускания мачты; цилиндры подачи; домкраты; пункт управления и приборы освещения и сигнализации; переднюю стойку мачты.

Конструкция установки позволяет бурить скважины шнеками диаметром 600 мм на всей длине хода вращателя. Установка может быть укомплектована шнеками различного диаметра: 230, 350, 500, 600 мм. По заказу возможна комплектация полыми шнеками.

Изготовитель: АО «ГЕОМАШ».

1.1.13. Установка УРБ-2,5А

Предназначена, главным образом, для бурения геофизических, геологических (структурных) и гидрогеологических скважин вращательным способом. Установка может быть использована при инженерно-геологических изысканиях.

Установка представляет собой буровой агрегат с двухбарабанной лебедкой. Все узлы установки (буровой насос, мачта сварная из труб, перемещающийся трехскоростной вращатель с дифференциальным механизмом, талевая система, гидродомкрат, раздаточная коробка, механизм подъема и опускания мачты) смонтированы на раме, прикрепленной к шасси автомобиля КАМАЗ-4310 и приводятся в действие от его двигателя. Конструкцией предусмотрена возможность бурения скважин с очисткой забоя, промывкой или продувкой, для чего на установке монтируют буровой насос или компрессор.

Технические характеристики

Способ бурения

вращательный

Номинальная глубина бурения, м

300

Начальный диаметр бурения, мм

190

Основной рабочий орган

подвижной ротор

Частота вращения инструмента, об/мин

106, 197, 320

Ход вращателя, мм

7000

Тип подачи

механический дифференцированный

Лебедка:

 

тип

фрикционная

грузоподъемность, кН

25

Привод установки

двигатель автомобиля КАМАЗ 4310

Транспортная база установки

шасси автомобиля КАМАЗ-4310

Габаритные размеры в транспортном положении, мм:

 

длина

11200

ширина

2500

высота

3800

Масса, кг

14730

Изготовитель: Кишлинский машиностроительный завод.

1.1.14. Буровая установка УРБ-2А-2

Предназначена, главным образом, для бурения геологических (структурных) скважин, может быть использована при инженерно-геологических изысканиях.

Все механизмы, входящие в установку УРБ-2А-2, смонтированы на собственной раме, прикрепленной к шасси автомобиля, и приводятся в действие от его двигателя. Мощность и кинематика вращателя обеспечивают свинчивание - развинчивание бурильных труб, благодаря чему отпадает необходимость в специальных механизмах для этой цели. Управление установкой полностью гидрофицировано, в том числе подъем и опускание мачты. Конструкцией установки предусматривается возможность бурения скважин с очисткой забоя промывкой или продувкой (для чего на ней монтируются буровой насос и компрессор), а также бурение шнековым способом.

Технические характеристики

Номинальная глубина бурения, м:

 

шнековым способом

30

вращательным с продувкой

50

вращательным с промывкой

200

Начальный диаметр бурения, мм:

 

шнековым способом

135

вращательным с промывкой или продувкой

190

Основной рабочий орган

подвижной вращатель с гидроприводом

Частота вращения инструмента, об/мин

140; 690; 990

Ход вращателя, мм

5200

Крутящий момент вращателя, Н м

1580;690;980

Механизм для спуска, подъема и подачи инструмента

домкрат гидравлический

Грузоподъемность, кН

39, 25

Усилие подачи инструмента вниз, кН

25

Скорость подачи инструмента, м/с

 

вниз

≤1,1

вверх

≤1,25

Мачта:

 

тип

трубчатая, сварная

грузоподъемность, кН

58,8

высота, м

8,3

Привод установки

двигатель ЗИЛ-131

Изготовитель: ЗАО «Машиностроительный завод им. В.В. Воровского».

Стационарные буровые станки

1.1.15. Буровой станок БСК-2РПА

Предназначен для бурения скважин в подземных горных выработках, не опасных по природному газу и пыли.

Конструкция станка позволяет бурить скважины под углом в диапазоне 0-360°. Механизм подачи инструмента - гидравлический. Применение пневматического экстрактора позволяет уменьшить затраты времени на спуско-подъемные операции.

Технические характеристики

Способ бурения

колонковый

Глубина бурения, м

100

Начальный диаметр бурения, мм

132

Частота вращения инструмента, об/мин

198, 336, 578, 1080

Усилие подачи вниз, кН

15

Ход подачи, мм

450

Габариты, мм

1200×550×2270

Масса, кг

560

Станок используется в комплекте с насосной установкой НБ 80/6,3.

Изготовитель: АОТТ «Машиностроительный завод им.А.А. Никольского».

1.2. Буровой инструмент

Инструмент для ударно-канатного бурения скважин кольцевым забоем

1.2.1. Забивные стаканы конструкции ЗАО «Машиностроительный завод им. В.В. Воровского»

Общий вид забивного стакана и башмака к нему приведен на рис. 3, 4, а основные размеры забивных стаканов и башмаков к ним даны ниже в таблицах.

Основные размеры забивных стаканов

Наименование, номер чертежа

Диаметр стакана, мм

Общая длина, мм

Присоединительная резьба

Материал корпуса

Стакан Ø 73 БИ-01-11Б-00

73

566

3-42 ГОСТ 7918-75

Труба 73×5-20А ГОСТ 8732-78

Стакан ударный с башмаком Ø 73 БИ-101А-00

76

594

-

Труба 73×5-20А ГОСТ 8732-78

Стакан Ø 102 БИ-01-125-00

102

630

-

Труба 102Х6-20А ГОСТ 8732-78

Стакан ударный с башмаком Ø 102 БИ-01-12А-00

105

630

-

-

Стакан Ø 127 БИ-01-13Б-00

127

690

-

Труба 127×5-20А ГОСТ 8732-78

Стакан ударный с башмаком Ø 127 БИ-01-13А-00

130

690

-

-

Стакан Ø168 БИ-01-14Б-00

168

672

-

Труба 168×6-20А ГОСТ 8732-78

Стакан ударный с башмаком Ø БИ-01-14А-00

171

700

-

-

Примечание: Диаметр стакана указан по башмаку.

Рис. 3 Забивные стаканы конструкции ЗАО «Машиностроительный завод им. В.В. Воровского».

1 - вилка; 2 - корпус; 3 - башмак

Основные размеры башмаков к забивным стаканам

Наименование стакана

Диаметр башмака

Резьба

Материал

наружный

внутренний

Стакан ударный с башмаком Ø73

76

58

М 68×1.5 кл.3

Сталь 45 ГОСТ 1050-88

Стакан ударный с башмаком Ø102

105

84

М 95×1.5 кл.3

-

Стакан ударный с башмаком Ø127

130

100

М 120×1.5 кл.3

-

Стакан ударный с башмаком Ø168

171

157

М 160×1.5 кл.3

-

Рис. 4 Конструкция башмака к забивному стакану ЗАО «Машиностроительный завода им. В.В. Воровского»

Безбашмачные стаканы состоят из корпуса с приварной вилкой. Корпуса стаканов имеют по одной продольной прорези для очистки стакана от грунта и три внутренних выступа для удержания грунта в стакане при его извлечении из буровой скважины.

Корпуса башмачных стаканов имеют метрическую резьбу для соединения с башмаком.

Вилки забивных стаканов конструкции ЗАО «Машиностроительный завод им. В.В. Воровского» аналогичны вилкам к стаканам Гидропроекта. Основные отличия заключаются в размере присоединительной резьбы - в первых используется резьба 3-42 ГОСТ 7918-75, во вторых - 3-63,5 ГОСТ 7918-75. Вилки изготовляются из стали 35 л-1 ГОСТ 977-88. Башмаки имеют закаленную рабочую кромку с внутренним скосом.

Изготовитель: «Машиностроительный завод им. В.В. Воровского»

Инструмент для вибрационного бурения

В состав бурового инструмента для вибрационного бурения входят как технологический, так и вспомогательный инструмент.

Буровой технологический инструмент включает рабочие наконечники (виброзонды), бурильные трубы, переходники с бурильных труб на наконечник и на трубы.

1.2.2. Виброзонды

Основным технологическим инструментом при вибробурении являются виброзонды, устройство которых представлено на рис. 5.

Следует различать виброзонды с клапаном и без него, разъемные и неразъемные.

Наиболее употребительными являются виброзонды с наружным диаметром 108, 127 и 168 мм конструкции Гидропроекта и ЗАО «Машиностроительного завода им. В.В. Воровского», которые входят в состав комплекта бурового агрегата АВБ-2М.

Рис. 5 Виброзонд к буровой установке АВБ-2М:

1 - переходник, 2 - корпус, 3 - башмак

Технические характеристики виброзондов и башмаков к ним приведены в таблицах.

Наименование виброзонда

Размеры виброзонда, м

Материал корпуса виброзонда

Диаметр, мм

Длина, мм

Виброзонд Ø 168 мм

168

2060

Труба 168×6-20А ГОСТ 8732-78х

Виброзонд Ø 127 мм

127

2050

Труба 127×20А ГОСТ 8732-78х

Виброзонд Ø 127 мм

127

2050

Труба 127×5-20А ГОСТ 8732-78х

Виброзонд Ø 108 мм

108

2020

Труба 108 ГОСТ 6238-77х

Виброзонд Ø 168 мм

174

115

Сталь 35 ГОСТ 1050-88

То же Ø 127 мм

132

115

То же

То же Ø 108 мм

112

110

То же

Изготовитель: «Машиностроительный завод им. В.В. Воровского»

1.2.3. Бурильные трубы

В качестве бурильных труб при вибробурении используются обычные трубы по ГОСТ 7909-56х с замками по ГОСТ 7918-75х Ø 50 и 63,5 мм, а также специальные трубы, которые изготавливаются из колонковых труб по ГОСТ 6238-77х диаметром 73 и 57 мм.

Бурильные трубы, комплектующие агрегат АВБ-2М, изготавливают из труб 63,5×4,35А по ГОСТ 8732-78х, трубы делают с приварными замками. Технические характеристики бурильных труб приведены в таблице.

Обозначение

Длина, мм

Масса, кг

Бурильные трубы ТБ-63,5

2060+2,75

16,20

Бурильные трубы ТБУ-63,5

1060+2,0

10,20

Трубы изготовляют с приваренными ниппелями и муфтами, последние изготавливаются из стали ГОСТ 1050-88.

Буровой снаряд соединяют с вибратором при помощи резьбы, реже посредством замкового соединения.

Изготовитель: «Машиностроительный завод им. В.В. Воровского»

1.3. Грунтоносы

Для отбора монолитов грунта используются грунтоносы вдавливаемого, забивного, обуривающего и вибрационного типов.

В настоящее время известно более 150 конструкций грунтоносов различного типа.

Ниже предлагается описание некоторых конструкций грунтоносов, выпускаемых небольшими сериями, или по которым может быть получена техническая документация для изготовления их собственными силами.

1.3.1. Грунтонос вдавливаемого типа Г-122 в комплекте с зачистным устройством (буровым стаканом) С-142

Предназначен для отбора образцов пылеватых и глинистых грунтов вдавливающим' "способом с одновременной зачисткой забоя стаканом С-142. Представляет собой удлиненную тонкостенную гильзу с приваренным к ней башмаком, имеющим кроме наружной, внутреннюю конусную расточку, что позволяет устранить деформации грунтов в интервале отбора монолитов и обеспечить высокое качество отбора.

Технические характеристики

 

Грунтонос Г-122

Буровой стакан С-142

Наружный диаметр гильзы, мм

122

142

Диаметр монолита (керна) мм

117

136

Толщина стенки гильзы, мм

2

2,5

Длина гильзы, мм

750

750

Масса, кг

9

10

Изготовитель: трест «АлтайТИСИЗ».

1.3.2. Грунтонос конструкции СоюздорНИИ

Предназначен для отбора монолитов слабых грунтов. Представляет собой разъемный цилиндрический корпус с выдвижными подрезными ножами и днищем в виде обратного клапана. Грунтонос погружается в грунтовый массив вдавливанием.

Изготовитель: СоюздорНИИ.

1.3.3. Вдавливаемые грунтоносы фирмы «АЛЕНС»

Предназначены для отбора монолитов глинистых грунтов от тугопластичной до текучей консистенции (см. рис. 6).

Рис. 6 Грунтоносы:

а) Пластмассовая гильза с резиновыми крышками; б) Тонкостенный вдавливаемый с переносом извлекаемого монолита в гильзу; в) Вдавливаемый с внутренней пластмассовой гильзой г) Вдавливаемый с пластмассовой гильзой и лепестковым захватом

2. ПРИБОРЫ И ОБОРУДОВАНИЕ ДЛЯ ЛАБОРАТОРНЫХ ИССЛЕДОВАНИЙ ГРУНТОВ

2.1. Компрессионные приборы

Предназначены для определения сжимаемости грунта. Прибор включает следующие узлы: одометр, нагружающее устройство, измерительный узел.

2.1.1. Компрессионный прибор «ПИТОН-К»

Предназначен для определения сжимаемости песчаных и глинистых грунтов, а также характеристик просадочности глинистых грунтов.

Прибор выполнен в виде одного блока, размещающегося на лабораторном столе.

В верхнюю часть корпуса прибора встроен алфавитно-цифровой дисплей и кнопки выбора программ испытаний. Испытанием управляет встроенная микро-ЭВМ. Нагрузка на образец грунта создается электронно-механическим/сервоприводом и измеряется тензометрическим датчиком. Осадка образца грунта измеряется цифровой растровой головкой. Процесс испытания образца грунта, включая нагружение и замачивание, полностью автоматизирован.

Технические характеристики

Диаметр образца грунта, мм

87,4

Высота образца грунта, мм

25

Максимальное давление, МПа

1,0

Характер изменения давления

ступенчатый и непрерывный

Количество ступеней давления

6

Габариты прибора, мм

700×500×170

Масса, кг

120

Изготовитель: Красноярский трест инженерно-строительных изысканий.

2.2. Срезные приборы

Предназначены для определения показателей прочности грунта (сцепления и угла внутреннего трения).

Различают одноплоскостные и многоплоскостные срезные приборы. В отечественной практике инженерных изысканий получили наибольшее распространение одноплоскостные приборы.

Нагрузки на образец передаются чаще механическим, реже гидравлическим или пневматическим путем по двум схемам: управляемое усилие и управляемая деформация.

2.2.1. Срезной прибор «ПИТОН-С»

Предназначен для определения сопротивления срезу песчаных и глинистых грунтов.

Тип срезывателя - второй.

Схема нагружения - управляемое усилие.

Прибор выполнен в виде одного блока, устанавливающегося на лабораторном столе. В кожух верхней части прибора встроен алфавитно-цифровой дисплей и кнопки выбора программы испытаний. Испытанием управляет встроенная микро-ЭВМ.

Вертикальная и срезающая нагрузки создаются электромеханическими сервоприводами и измеряются с помощью тензорезисторных датчиков силы.

Технические характеристики

Диаметр образца грунта, мм

71,4

Высота образца грунта, мм

35

Максимальное вертикальное давление, МПа

1,5

Максимальное срезающее давление, МПа

1,5

Максимальное смещение каретки, мм

5

Скорость передачи срезающей нагрузки, мм/мин

0,01-2,0

Габариты прибора, мм

440x320x400

Масса, кг

30

Изготовитель: Красноярский трест инженерно-строительных изысканий.

2.3. Приборы трехосного сжатия (стабилометры)

Предназначены для определения показателей механических свойств грунтов в условиях сложного напряженного состояния.

В приборах трехосного сжатия (в стабилометрах) образец грунта находится под давлением, передаваемым эластичной мембраной и жесткими штампами. В зависимости от формы образца и способа передачи давления стабилометры по современной классификации разделены на четыре типа. Наиболее распространены два типа - «А» и «Б».

Стабилометр типа «А». Цилиндрический образец испытывает вначале всестороннее давление сбоку через мембрану и с торца через штамп. В конце опыта создается дополнительное давление через штамп.

Стабилометр типа «Б». Цилиндрический образец подвергается давлению сбоку через мембрану и с торца через шток-штамп, выполненный с тем же диаметром, что и образец грунта. Это позволяет создавать давление с торца меньше бокового или даже равным нулю.

Давление на штамп передается механическим, гидравлическим или пневматическим путем по двум схемам: управляемое усилие и управляемая деформация. Нагрузки могут быть статическими и динамическими.

2.3.1. Стабилометр «М-2»

Предназначен для определения деформационных, прочностных характеристик, бокового давления песчаных и глинистых грунтов. Тип стабилометра - «Б». Схема нагружения - управляемое усилие.

Прибор смонтирован на металлическом столе. Вертикальное давление может создаваться ступенчато гирями вручную, или плавным перетеканием воды из градуированного бачка в сосуд. Для измерения давления используется стандартный манометр с малым объемом трубки Бур дона. Для заполнения камеры водой имеется специальный насос.

Технические характеристики

Диаметр образца грунта, мм

55,3

Высота образца грунта, мм

110

Максимальное вертикальное давление, МПа

4

Максимальное боковое давление, МПа

2

Максимальная деформация образца, мм

20

Габаритные размеры, мм

600×800×1900

Масса, кг

130

Изготовитель: Московский институт инженеров железнодорожного транспорта.

2.3.2. Стабилометр «Ф-1»

Предназначен для определения деформационных, прочностных характеристик, бокового давления песчаных и глинистых грунтов. Тип стабилометра - «Б». Схема нагружения - управляемое усилие.

Прибор смонтирован на металлическом столе, в центре которого размещена камера. Вертикальное давление создается ступенчато грузами. Камера состоит из основания, съемной части и поршня. В камере имеется три ввода: два для кранов и один для манометров. Давление снижается вручную ступенями выпуском через кран воды в бюретку, укрепленную на штативе. Боковое давление измеряется манометром четвертого класса точности.

Технические характеристики

Диаметр образца грунта, мм

50,5

Высота образца грунта, мм

100

Максимальное вертикальное давление, МПа

3

Максимальное боковое давление, МПа

1

Максимальная деформация образца, мм

29

Габаритные размеры, мм

600×530×1900

Масса, кг

105

Разработан институтом «Фундаментпроект». Изготовитель: Московский институт инженеров железнодорожного транспорта.

2.3.3.Стабилометр СТП-80/38

Предназначен для определения показателей прочности и деформируемости нескальных грунтов в условиях трехосного сжатия.

Прибор состоит из основания с опорной плитой, панели управления с вентелями подачи воздуха и разряжения, рычага, камеры давления и манометра.

Вертикальная нагрузка на образец грунта создается рычагом с передаточным числом 1:10 при помощи мерных грузов, размещаемых на подвески рычага. Боковое давление на образец, создается давлением сжатого воздуха.

Технические характеристики

Площадь поперечного сечения образца, см

11,34

Высота образца, см

7,6-8,0

Боковое давление, МПа

не более 0,6

Вертикальная нагрузка, кгс

не более 200,0

Вертикальное перемещение, мм

не менее 10, 0

Радиальное перемещение, мм

не более 6,0

Масса СТП, кг

не более 45

Изготовитель - ООО «ГЕОТЕК».

2.3.4. Автоматизированная система для испытания песчаных и глинистых грунтов (АСИС)

Предназначена для определения механических свойств грунтов в соответствии с ГОСТ 12248-96.

Представляет собой измерительный комплекс, включающий: компрессионный прибор;

устройство для испытания грунтов в условиях невозможности бокового расширения с измерением боковых напряжений;

прибор для испытания грунтов на срез;

прибор для испытания грунтов методом трехосного сжатия;

устройство для испытания твердых глинистых грунтов в условиях одноосного сжатия (используется так же для вырезания образцов из монолитов); блоки электронной преобразующей аппаратуры;

персональный компьютер (интерфейс и программное обеспечение разработано для DOS);

компрессор.

Базовый комплект системы включает: девять компрессионных приборов, два сдвиговых прибора и один стабилометр.

Технические характеристики

Стабилометр:

 

давление в камере, МПа

0,05-0,6

диаметр образца, мм

38

максимальное вертикальное усилие, кгс

200

Компрессионный прибор:

 

площадь образца см

60

высота образца, мм

25

максимальное давление, МПа

0,6

Сдвиговой прибор:

 

площадь образца см

60

высота образца, мм

25

нормальное давление, МПа

0-0,6

максимальное усилие среза, кгс

300

Устройство для измерения боковых напряжений:

 

площадь образца, см

60

высота образца, мм

50

нормальное давление, МПа

0-0,6

боковое давление, МПа

0-0,6

Устройство для подготовки образцов глинистого грунта:

 

диаметр образца, мм

38, 40, 60

высота образца, мм

25, 50, 80

Изготовитель: ООО «ГЕОТЕК».

2.4. Приборы сжатия-растяжения

2.4.1. Прибор сжатия-растяжения ПСР-2

Предназначен для определения показателей свойств песчаных и глинистых грунтов (талых и мерзлых):

показателей деформационных и прочностных свойств при давлениях до 7 МПа;

показателей реологических свойств пластичномерзлых грунтов (ползучести, релаксации напряжений и длительной прочности);

показателей консолидационных процессов, протекающих в многофазных пластично-мерзлых грунтах.

Прибор состоит из корпуса, на котором крепятся: камера давления с индикатором часового типа для измерения линейных деформаций образца; ртутного измерителя объемных деформаций образца; поршневого насоса; образцовых и технических манометров; вентилей. Внутри корпуса размещен редуктор давления воздуха. Камера давления выполнена в виде полого цилиндра и резиновой мембраны.

Испытания могут проводиться по схеме быстрого, ускоренного и длительного сдвига.

Технические характеристики

Рабочее давление в камере, МПа

≤7

Рабочая жидкость

любая, не вызывающая коррозии прибора

Вязкость рабочей жидкости, сСт

от 7 до 70

Температура рабочей жидкости, °С

от -20 до +35

Объем разделительной емкости, л

1,8

Объем рабочей жидкости в гидросистеме прибора, л

1,5

Давление воздуха, МПа

15

Предел измерения линейных деформаций образца, мм

≤10

Предел измерения объемных деформаций, см3

≤10

Погрешность измерения давления в рабочей камере, кПа (кгс/см)

+50(+0,5)

Погрешность измерения линейных деформаций образца, мм

±0,05

Погрешность измерения объемных деформаций образца, см

±0,02

Габаритные размеры, мм:

 

длина ширина

660 530

высота

460

Масса, кг

не более 40

Изготовитель: Экспериментальный завод НПО «Тюменьгазгеология».

2.5. Приборы стандартного уплотнения

Предназначены для определения оптимальной влажности при создании максимальной плотности грунта нарушенной структуры.

2.5.1. Прибор стандартного уплотнения СоюздорНИИ (ЦКБ-927)

Предназначен для определения максимальной плотности и оптимальной влажности грунтов.

Прибор (рис. 7) смонтирован на металлическом сварном столе. В центре опорной плиты размещен контейнер - металлический разборный цилиндр с дном и насадкой для размещения неуплотненного грунта. Грунт уплотняют стандартным грузом, который сбрасывают на уплотняемый грунт со стандартной высоты. Механизм подъема и сбрасывания размещен внутри колонны, находящейся за контейнером и под опорной плитой.

Технические характеристики

Вместимость контейнера, дм3

1

Количество ударов в цикле

40

Масса груза, кг

2,5

Контролируемая высота сбрасывания груза, мм

300

Частота сбрасывания, число/мин

40

Габаритные размеры, мм

1825×675×589

Масса, кг

81

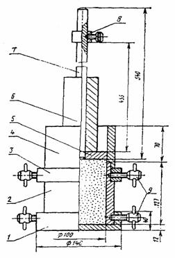
Рис. 7 Схема прибора «СоюздорНИИ» (ЦКБ-97) для стандартного уплотнения грунтов

1 - поддон; 2 - разъемный цилиндр емкостью 1000 см3; 3 - кольцо; 4 - насадка; 5 - наковальня; 6 - груз массой 2,5 кг; 7 - направляющий стержень; 8 - ограничительное кольцо; 9 - зажимные винты.

Изготовитель: Государственный дорожный научно-исследовательский институт «СоюздорНИИ».

2.6. Приборы для определения гранулометрического состава

2.6.1. Ареометр для грунта АГ

Технические характеристики

Пределы измерений, г/ см3

от 0,995 до 1,03

Цена деления шкалы, г/ см3

0,001

Диаметр, мм

32

Длина, мм

405

Изготовитель: Клинское ПО «Химлабораторприбор»

2.6.2. Ареометры общего назначения типа «АОН»

Предназначены для измерения плотности жидкости. Технические характеристики приведены в табл. 19.

Таблица 19

Тип ареометра

Диапазон измерения, кг/м3

Диапазон показаний ареометра, кг/м3

Общая длина, мм

Диаметр корпуса, мм

АОН 1

100-1840

60

170

20

АОН 3

1080-1160

80

305

22

АОН 4

1160-1240

80

305

12

АОН 5

1240-1320

80

305

22

АОН 6

1320-140

80

305

22

По вопросам размещения заказов следует обращаться в ЗАО «Дорстройприбор».

2.7. Приборы для определения характеристик набухания

2.7.1. ПриборПНГ-2

Технические характеристики

Диапазон показаний, мм

0-10

Цена деления шкалы на индикаторе, мм

0,01

Габаритные размеры, мм:

 

диаметр

100

высота

140

Масса, кг

0,6

Общий вид прибора показан на рис. 8.

Рис. 8 Конструкция прибора типа ПНГ-2

1 - ванна; 2 - поршень; 3 - стойка; 4 - винт для крепления индикатора; 5 - индикатор; 6 - насадка; 7 - винт для крепления стойки; 8 - кольца; 9 - основание; 10 - крышка

Изготовитель: Бакинский приборостроительный завод.

2.8. Фильтрационные приборы

Предназначены для определения проницаемости грунтов.

2.8.1. Прибор КФ-00

Предназначен для определения коэффициента фильтрации песчаных грунтов нарушенной и ненарушенной структуры.

Прибор в рабочем состоянии представляет пирамиду из трех цилиндров, стоящих один на другом. Нижний цилиндр - стакан, служащий одновременно подставкой и сосудом для насыщения водой и регулирования напора. В среднем цилиндре помещается металлическое вытянутое заостренное рабочее кольцо - трубка с образцом грунта. Верхний цилиндр - градуированный стеклянный резервуар (сосуд Мариотта) - обеспечивает постоянный напор воды в образце и контроль ее количества, прошедшего через образец. В походном положении сосуд Мариотта прячется в трубку, трубка - в средний и нижний цилиндр.

Технические характеристики

Диаметр рабочего кольца, мм

58,5

Цена деления шкалы сосуда Мариотта, мм

1

Высота рабочего кольца, мм

100

Габариты прибора (в походном положении), мм:

 

- диаметр

86

- высота

149

Масса, кг

1,12

Изготовитель: Бакинский приборостроительный завод.

2.8.2. Трубка универсальная типа КФ-1

Предназначена для определения количества воды, фильтрующейся через образцы песчаных грунтов.

Принцип действия трубки основан на использовании эффекта водяного затвора для поддержания постоянного уровня (высоты фильтрации); в качестве подпитывающего водой устройства (емкости) применен сосуд Мариотта.

Устройство трубки показано на рис. 9.

Рис. 9 Конструкция трубки универсальной типа КФ-1:

1 - фильтрационная трубка; 2 - баллон; 3 - муфта; 4 - цилиндр; 5 - подъемный винт; 6 - крышка; 7 - корпус телескопического приспособления; 8 - дно; 9 - подставка; 10 - телескопическое приспособление; 11 - сетки; 12 - планки

Технические характеристики

Диапазон показаний шкалы баллона, мл

0-1000

Цена деления шкалы баллона, мл

1

Диапазон показаний шкалы напорного градиента (шкалы планки)

0,02

Габаритные размеры, мм:

 

диаметр

120

высота

240

Масса, кг

0,6

Изготовитель: Опытный завод АзНПО «Нефтегазавтомат».

2.8.3. Прибор фильтрационный типа ПФ-1

Предназначен для определения водопроницаемости глинистых грунтов в лабораторных условиях при отсутствии вибрации.

Прибор состоит из следующих основных частей: одометра, пьезометра и плиты.

Технические характеристики

Диапазон показаний шкал пьезотрубки, мм

0-350

Цена деления шкалы пьезотрубок, мм

1

Габаритные размеры, мм

не более 150×350×600

Масса, кг

не более 5

Изготовитель: Бакинский приборостроительный завод.

2.9. Весоизмерительные приборы

В лабораториях применяют, в основном, весы двух типов: электронные с цифровой световой индексацией и механические равноплечные.

2.9.1. Весы

Технические характеристики весов приведены в таблице.

Наименование

Марка

Назначение

Краткая техническая характеристика

Изготовитель

Весы рычажные настольные циферблатные

РН-10Ц13У

Для грубого взвешивания

Наибольший предел взвешивания, кг 10

АОЗТ «Тюменский приборостроительный з-д»

Весы механические настольные

РН-ЗЦ13У

то же

Наибольший предел взвешивания, кг 3

АООТ «ТВЕС» Тулиновского приборостроительного з-да

Весы механические настольные

РН-6Ц13У

 

Наибольший предел взвешивания, кг 6

то же

Весы лабораторные 3-го класса Равноплечие с изолирующим устройством.

ВЛР-10 кг

Для определения массы вещества при выполнении лабораторных анализов.

Наибольший предел взвешивания, кг 10

Цена деления шкалы,мг 50

Доп. погрешность, мг ±100

Габаритные размеры, мм 840×525×845

Масса, кг 45

«Госметрзавод»

Весы лабораторные 3-го класса Равноплечие с изолирующим устройством.

ВЛР-1 кг

то же

Наибольший предел взвешивания, кг 1

Диапазон измерения массы, мг от 10 до 990

Цена деления шкалы, мг 10

то же

 

 

 

Доп. погрешность, мг ±10 Габаритные размеры, мм 500×390×540

Масса, кг. 20

 

Весы лабораторные 2-го класса Равноплечие с изолирующим устройством. Оптические

ВЛР-200

Для точного определения массы вещества при выполнении лабораторных анализов

Наибольший предел взвешивания, г.200

Цена деления шкалы, мг 1

Диапазон измерения массы, мг от 100 до 900

Цена деления шкалы,мг. 10

Доп. погрешность, мг: до 50 г ±0,5;

от 50 до 200 г ±0,75

Напряжение питания, В 220

Габаритные размеры, мм 405×310×445

Масса, кг 12

«Госметрзавод»

Весы лабораторные электронные 4-го класса В весах предусмотрено подключение цифропечатающего устройства и ЭВМ

ВЛЭ-1 кг

то же

Наибольший предел взвешивания, кг 10

Напряжение питания, В 220

Габаритные размеры, мм 320×200×110

Масса, кг. 8

то же

Весы лабораторные квадрантные 4 класса Оборудованы механизмом компенсации массы тары

ВЛКТ-2 кг·м

то же

Наибольший предел взвешивания, г 2000

Цена деления шкалы, г 10

Диапазон измерения массы по шкале, г от 0 до 1000

Доп. погрешность, мг ±100

Погрешность при измерении массы по шкале, мг ±100

Напряжение питания, В. 220

то же

Весы лабораторные квадрантные электронные 4-го класса Оборудованы механизмом компенсации массы тары.

ВЛКЭ-500

Предназначены для измерения массы вещества и ее регистрации

При диапазоне измерения массы, г 0 - 100:

цена деления шкалы, мг 10

доп. погрешность, мг +20

При диапазоне измерения массы, г 0-500:

цена деления шкалы, мг. 100

доп. погрешность, мг ±200

Напряжение питания, В 220

Мощность потребляемая, Вт 30

Габаритные размеры, мм 435×210×360

Масса, кг 18

то же

Весы лабораторные квадрантные 4 класса Оборудованы механизмом компенсации массы тары (до 100 г)

ВЛКТ-500г-М

то же

Наибольший предел взвешивания, г 500

Цена деления шкалы, г 1

Цена деления делительного

устройства, мг 10

Диапазон измерения массы по шкале, г от 10 до 100

Доп. погрешность, мг ±20

Погрешность при измерении массы по шкале, мг ±20

Масса, кг 10

«Госметрзавод»

2.9.2. Гири и разновесы

Характеристики гирь и разновесов даны в таблице.

Наименование

Марка

Назначение

Краткие технические характеристики

Изготовитель

Комплект гирь 4-го класса

Г-41111,10

Предназначен для определения массы при технических анализах

Комплект в пластмассовом футляре. Состоит из наборов Г-4-1110 и МГ-4-1100-10

Масса, кг 1,364

«Госметрзавод»

Набор гирь 4-го класса

МГ-4-1100-10

то же

Гири в картонной коробке. Включает миллиграммовые гири: 500; 200; 200;100; 50; 20; 20; 10. Масса, кг - 2

то же

Набор гирь 3-го класса

Г-3-1110

Предназначен для технических анализов повышенной точности

Гири в футляре. Включает граммовые гири:500;200;200; 100; 50; 20; 20; 10; 5; 2; 2; 1

-

Набор гирь 2-го класса

Г-2-1110

то же

Габариты, мм: 165x95x80 Масса, кг - 2

-

2.10. Нагревательные приборы

Характеристики нагревательных приборов, которые используются в лабораторной практике, даны в таблице.

Название и шифр

Номинальная t° в камере, °С

Размер рабочего пространства, мм (л)

Напряжение питающей сети, В

Потребляемая мощность, Вт

Габариты, мм

Масса, кг

Изготовитель

Шкаф сушильный №3

10-200

360×290×350

127 и 220

500

 

 

3-д «Электродело» С. Петербург

Шкаф электрический сушильный ШЛ-1

220

240×350×350

 

 

 

 

то же

Шкаф сушильный вакуумный-0,035

80-200

0,035 м3

220

 

735×585×700

90

п/я 400/2 г. Тула

Муфельная печь СНОЛ-1,6.2,5.1/9

1100

 

 

 

 

 

Кокчетавский мех. завод

Печь электрическая трубчатая СНОЛ-0,25-1/12-М1

до 1000

 

 

 

 

 

тоже

Печь трубчатая электрическая ТАК -30/200

1250

Ø 30×200

220

1300

 

 

то же

Баня песчаная

400

Ø 200

220

400

212×200×160

 

3-д «Нагрев» С. Петербург

Шкаф сушильный электрический ш-0,05

80-250

 

220

7100

 

 

Кокчетавский мех. з-д

Баня паровая 3-х гнездовая

до 100

 

220

500

325×270×1000

 

3-д «Нагрев» С.-Петербург

Муфельная печь ПМ-8

900

(7)

 

 

 

 

3-д «Электродело», С. Петербург

Термостат №3 (для сушки и нагревания проб при атм. давлении)

 

 

127 или 220

350

 

 

то же

2.11. Приборы для измерения температуры

Характеристики приборов для измерения температуры, которые используются в лабораторной практике, даны в таблице.

Наименование, шифр

Диапазон измерения температуры, °С

Цена деления шкалы, °С

Предел допускаемой погрешности термометра, °С

Габаритные размеры, мм

Изготовитель

диаметр

длина

Термометры ртутные стеклянные лабораторные ТЛ-3

0….450

0….600

2

±2

±4

6±1

6±1

400

520

ПО «Термоприбор» (г. Клин)

 

 

 

 

Габаритные размеры, мм

 

Комплект термометров ртутных стеклянных лабораторных из 4-х штук ТЛ-5

№1 30 – 70

№2 0 - 150

№3 100 – 205

№4 200 - 300

0,5

0,5

0,5

0.5

±0,5

±0,5

±0,5

±1

8,5±0,5

то же

-

-

320

то же

-

-

ПО «Термоприбор» (г. Клин)

Термометр ртутный стеклянный типа СП-80

40-40

0,5

±1

5±1

200

то же

Термометр гидрогеологический типа СП-84

-3 ÷ +65

0,5

±0,5

11±1

210

-

Термометр типа СП-96

35-60

0,1

 

10±1

235

-

2.12. Посуда для проведения химических анализов

Перечень посуды и ее характеристики приведены в таблице.

Наименование и марка (обозначение)

Вместимость, мл

Диаметр, мм

Высоки мм

Масса, кг

Изготовитель

Бутыль с притертой пробкой

2000

5000

10000

132

181

227

245

325

403

29/32

45/40

60/46

3-д «Химлабораторприбор»

Воронка делительная цилиндрическая ВД-1-500 мл

500

-

-

-

Коммерческий центр «Родник» (з-д «Дружная горка»)

Воронка делительная цилиндрическая ВД-1-1000 мл

1000

-

-

-

то же

Воронка для фильтрования ВД-2-75

75

-

-

-

то же

Воронка простая конусообразная В

 

36

56

75

100

150

50

80

110

150

230

 

3-д «Химлабораторприбор»

Ванна для воды (прямоугольная) ВП-10л

10000

-

-

-

Коммерческий центр «Родник» (з-д «Дружная горка»)

Бюретка (прямая с краном)

25

50

-

-

-

то же

Колба коническая

250

500

1000

-

-

-

Коммерческий центр «Родник» (з-д «Дружная горка»)

Колба конич. плоскодонная из термостойкого стекла

100

2500

5000

-

-

-

-"-

Колба мерная

250

500

1000

-

-

-

-"-

Пикнометры для жидкости ПЖ

5

10

25

50

100

-

-

-

-"-

Пипетки

10

15

20

25

-

-

-

 

Пробирки типа

-

-

-

-

Голынковский з-д «Стеклоприбор»

П1-14-120

120

 

 

 

П1-16-150

150

 

 

 

Склянка типа СПТ-250

250

45

150

0,4

то же

Склянка промывная

500

1000

75

100

200

200

-

-"-

Сосуд стеклянный (банка) с крышкой

 

-

-

-

-"-

СЦ - 0,5 л

500

 

 

 

СЦ - 1 л

1000

 

 

 

СЦ - 2 л

2000

 

 

 

СЦ - 3 л

3000

 

 

 

СЦ - 5 л

5000

 

 

 

Стаканчики стеклянные с притертыми крышками для взвешивания типа

 

 

-

-

3-д "Химлабораторприбор"

СНП-1

43

35

 

 

 

СНП-2

60

50

 

 

 

СНП-3

85

65

 

 

 

Стаканы лабораторные высокие В, ВН (ВН с носиком)

100

150

250

400

600

1000

47

53

62

72

82

96

85

95

112

130

148

180

-

Коммерческий центр «Родник» (з-д «Дружная горка»), з-д «Химлабораторприбор»

Стаканы лабораторные низкие Н, НН (НН с носиком)

100

150

250

400

600

1000

50

60

70

80

96

105

70

80

95

110

125

145

 

Коммерческий центр «Родник», (з-д «Дружная горка»), з-д «Химлабораторприбор»

Ступки фарфоровые и пестики

 

 

 

 

«Речижский з-д фарфоровых препаратов». Коммерческий центр «Родник» (з-д «Дружная горка»)

3

-

90

45

 

4

-

110

50

 

5

-

140

70

 

6

-

180

90

 

7

-

240

110

 

-1

-

22

90

 

-2

-

22

90

 

-3

-

34

120

 

-4

-

34

120

 

Тигли низкие

 

 

 

 

3-д «Химлабораторприбор»

1

-

20

15

0,003

2

-

25

19

0,005

3

-

35

26

0,013

4

-

45

35

0,018

5

-

55

42

0,030

6

-

75

57

0,070

Тигли высокие

 

 

 

 

то же

1

-

20

25

0,0048

2

-

25

32

0,009

3

-

35

43

0,0172

4

-

45

55

0,0364

Чашки фарфоровые

 

 

 

 

-"-

1

25

60

25

0,021

2

50

75

30

0,034

3

100

95

35

0,064

4

150

105

40

0,115

Цилиндры измерительные:

 

 

 

 

-"-

с притертой пробкой;

500

-

-

-

 

1000

10

480

0,9

с носиком

500

5

380

0,5

 

1000

10

460

0,9

Эксикаторы без крана типа Э

 

Ø внутр. верхней части корпуса, мм

Ø наруж. крышки, мм

-

-"-

Э-140

 

140

180

Э-190

 

190

230

Э-250

 

250

290

Эксикаторы с краном (вакуумные)

 

 

 

 

-"-

типа ЭВ

 

 

 

 

 

ЭВ-140

-

140

180

175

 

ЭВ-190

-

190

190

230

 

ЭВ-210

-

210

290

270

 

3. ОБОРУДОВАНИЕ ДЛЯ ПОЛЕВЫХ ИССЛЕДОВАНИЙ ГРУНТОВ

Из оборудования для полевых методов исследования грунтов в настоящее время выпускаются (по заявкам заказчиков) лишь установки статического и динамического зондирования и крыльчатки для среза грунтов в скважинах и в массиве. Остальные виды оборудования (штампы, прессиометры) выпускаются изыскательскими организациями для собственных нужд и, как правило, не поступают в продажу.

3.1. Оборудование для статического зондирования

Статическое зондирование (ГОСТ 19912-2001) представляет собой процесс внедрения в грунт конусного наконечника с постоянной скоростью. При этом регистрируется величина общего и лобового сопротивления грунта внедрению наконечника.

Скорость погружения наконечника в зависимости от конструкции используемой установки колеблется от 2 до 200 см/мин и более. Для внедрения наконечника нередко требуются значительные усилия (до 10000 кг и более). Для создания этих условий используются гидравлические и механические системы.

Реактивные усилия, возникающие при статическом зондировании, компенсируются либо за счет использования собственного веса установки, либо, путем завинчивания или забивки анкерных свай. Большинство зондирующих установок смонтированы на базе автомобиля либо на одноосном прицепе. Большое распространение получили приставки к буровым станкам и установкам.

3.1.1. Установка С-832М

Установка смонтирована на базе автомашины повышенной проходимости (ЗИЛ-131, ЗИЛ-157 и т.п.), обеспечивает механическое завинчивание анкерных свай и автоматическую регистрацию результатов зондирования, снабжена салоном-лабораторией, создающим комфортные условия для работы персонала.

Установка состоит из следующих основных узлов: гидравлического оборудования, анкерных свай, стрелы с подъемными механизмами, измерительной аппаратуры и зонда.

Для крепления установки и восприятия реактивной нагрузки вдавливания имеются две анкерные винтовые сваи, которые погружают в грунт гидромеханическим способом и позволяют воспринимать выдергивающие усилия до 10 т. Подъем и опускание стрелы, вдавливание и выдергивание зонда также осуществляется от гидравлического устройства.

Сопротивление грунта погружению конуса и трение по боковой поверхности зонда воспринимается специальными тензометрическими датчиками и автоматически фиксируются в виде графиков двумя самопишущими приборами МС-03 на ленточной диаграмме раздельно.

Технические характеристики

Максимальное усилие вдавливания зонда, кН

120

Максимальная глубина зондирования, м

30

Диапазон измеряемых усилий, кН:

 

общее

до 120

под конусом

0-5

Скорость вдавливания зонда, м/мин

0,065-3

Скорость извлечения зонда, м/мин

3,5

Наконечник зонда:

 

геометрическая форма конус с углом при

 

вершине, градус

60

диаметр основания конуса, мм

35,6

Диаметр штанг зонда, мм:

50

Привод установки

от двигателя автомобиля

Масса, кг

2600 (без автомобиля)

Установка разработана НИИпромстройпроектом и выпускается небольшими партиями Омским опытным заводом треста «Строймеханизация».

3.2 Оборудование для испытания грунтов на срез в буровых скважинах

Для испытания грунтов на срез в скважинах в качестве основного рабочего органа применяются крыльчатки, погружаемые в грунт с забоя буровой скважины. Испытания ведутся без приложения нормального к плоскости среза давления. В результате испытания определяют общее сопротивление сдвигу без разделения на сцепление и угол внутреннего трения.

3.2.1 Сдвигомер-крылъчатка СК-10

Предназначен для измерения в скважине и массиве сопротивления сдвигу грунтов естественного и нарушенного сложения в соответствии с требованиями ГОСТа 20276-99

По результатам испытания грунтов методом вращательного среза определяется также показатель структурной прочности грунтов в массиве, выявляется однородность свойств грунтов по площади и глубине, производится сравнительная оценка состояния и свойств грунтов.

Сдвигомер-крыльчатка (рис. 10) состоит из четырехлопастной крыльчатки 1, механизма отключения крыльчатки 2 от штанг 3, рукоятки 5 с пластинчатым динамометром 8, шарниром 9 и винтом 10, индикатора часового типа 13. Штанги 3 и 4 сочленяются между собой через коническое резьбовое соединение. При работе прибора корпус динамометра 7 крепится неподвижно к штанге 3 через вилку 11.

Каждая штанга длиной 1 м имеет кольцевые риски через каждые 10 см для установления глубины погружения крыльчатки.

Крыльчатка является сварной деталью, состоящей их четырех тонких прямоугольных металлических лопастей толщиной 2-3 мм, крестообразно укрепленных на нижнем конце центрально расположенного конического стержня. Для упрощения процесса задавливания и извлечения крыльчатки из грунта верхние и нижние торцы лопастей остро затачиваются.

Технические характеристики

Диаметр крыльчатки, мм

75

Высота крыльчатки, мм

120

Диаметр штанг, мм

22

Длина штанг, см

100

Максимальный крутящий момент, Н·м

60

Масса прибора с одной штангой, кг

4

Масса одной штанги, кг

1

Рис. 10 Общий вид сдвигомера крыльчатки СК-10

Изготовитель: Тверской политехнический институт.

3.3 Комплексные установки

3.3.1. Базовая малогабаритная зондировочно-буровая установка УЗБ-5М/3

Предназначена для бурения скважин и статического зондирования в сложных природных и транспортных условиях, на залесенных территориях, а также на застроенных территориях, включая подвальные и другие закрытые помещения.

Технические характеристики

Способы бурения

колонковый и шнековый

Глубина бурения, м

15

Диаметр бурения, мм

89

Частота вращения инструмента, об/мин

76, 135, 152, 270

Максимальное усилие вверх, кН

50

вниз, кН

70

Глубина зондирования, м

15

Диаметр штанг при статическом зондировании, мм

36

Тип привода

электро- или бензодвигатель

Мощность двигателя, кВт

4

Количество разборных узлов

5

Размеры опорной рамы в плане, мм

800×1200

Высота установки без мачты, м

2,0

Масса опорной рамы с колесами, кг

55

реечной стойки, кг

35

электродвигателя, кг

27

бензодвигателя, кг

35,5

скоростного редуктора, кг

11

силового редуктора, кг

55

Общая масса установки без инструмента, кг

210

Общая масса с инструментом, кг

260

Установка выполнена сборно-разборной с малым весом каждого узла, что обеспечивает ее доставку на объект изысканий легковым автотранспортом и переноску вручную на объекте.

Установка обеспечивает отбор монолитов вдавливаемым способом грунтоносом диаметром 89 мм.

Силовой привод установки может быть представлен электродвигателем или бензиновым двигателем зарубежного производства.

Изготовитель: геотехническая фирма «АЛЕНС».

3.3.2. Универсальная зондировочно-буровая установка УЗБ-5У-3

Предназначена для бурения скважин, а также статического и динамического зондирования, включая SPT. Установка дополнительно оснащена мачтой, тросовой лебедкой и ударным инструментом.

Технические характеристики

Способ бурения

колонковый, шнековый, ударно-канатный

Глубина бурения:

 

колонковым и шнековым способами

15

ударно-канатным способом

30

Диаметр бурения, мм:

 

колонковым и шнековым способом

89

ударно-канатным способом

127

Частота вращения инструмента, об/мин

76, 135, 152, 270

Механическое усилие, кН:

 

вверх

50

вниз

70

Глубина зондирования, м

30

Диаметр штанг при статическом зондировании, мм

36

Канатоемкость лебедки, м

30

Тип привода

электро- или бензодвигатель

Мощность двигателя, кВт

4

Количество разборных узлов

7

Размеры опорной рамы в плане, мм

80×1200

Высота установки без мачты, м

2,0

Высота дополнительной мачты, м

1,6

Масса опорной рамы с колесами, кг

55

реечной стойки, кг

35

дополнительной мачты, кг

20

электродвигателя, кг

27

бензодвигателя, кг

15,5

скоростного редуктора, кг

11

силового редуктора, кг

55

лебедки, кг

18

установки без инструмента, кг

250

Общая масса с инструментами, кг

300

Установка выполнена сборно-разборной с малым весом каждого узла, что обеспечивает ее доставку на объект изысканий легковым автотранспортом и переноску вручную на объекте.

Наличие ударного механизма почти вдвое увеличивает глубину бурения и диаметр буровых скважин, а также обеспечивает возможность выполнения статического и динамического зондирования.

Силовой привод установки может быть представлен электродвигателем или бензиновым двигателем зарубежного производства.

Изготовитель: геотехническая фирма «АЛЕНС».

3.4. Портативные приборы

3.4.1. Микропенетрометр МВ-2

Предназначен для инженерно-геологического опробования грунта в полевых и лабораторных условиях. В результате опробования устанавливают среднюю глубину погружения в грунт стального конуса, имеющего заданный угол при вершине. При известной величине силового воздействия на конус определяется численная характеристика сопротивления грунта пенетрации (внедрению конуса).

Технические характеристики

Тип

пружинный

Напряжение пружины (нагрузка на конус), Н:

 

начальная

9,1±0,2

максимальная

25±0,2

Угол при вершине конуса, град.

30 или 17

Постоянный параметр пружины, МПа

0,06±0,0015

Высота конуса, мм

25

Габаритные размеры, м:

 

диаметр

50

длина

300

Масса, кг

0,29

Изготовитель: Лениногорский опытный завод «Нефтеавтоматика» (ЛОЗНА)

3.4.2 Полевой портативный пенетрометр П-5

Предназначен для определения удельного сопротивления слабых грунтов под конусом зонда. Пенетрометр (рис. 11) состоит из конусного наконечника 1, штанг 5, рукоятки Я с цилиндрической пружиной 7 и индикатора часового типа 8 для измерения величины деформации пружины, установленной в корпусах 5 и 6. Последний крепится к штанге 3 вилкой 4. Тарировка измерительной части прибора заключается в установлении зависимости деформации пружины, фиксируемой индикатором, от приложенной к рукоятке нагрузки. Для учета трения грунта о штанги 3 в нижней части имеется отключающее устройство 2.

Технические характеристики

Диаметр конуса, мм

35,6; 50,8; 71,4

Угол при вершине конуса, градус

60

Площадь основания конуса, см

10, 20, 40

Максимальное усилие задавливания, кН

1,5

Масса прибора с одной штангой, кг

3,8

Масса одной штанги, кг

1

Число прилагаемых штанг, шт.

10

Длина одной штанги, мм

1000

Диаметр штанги, мм

22

Рис. 11 Общий вид пенетрометра П-5.

Изготовитель: мастерские Тверского политехнического института.

ПРИЛОЖЕНИЕ
перечень организаций - разработчиков, изготовителей и поставщиков оборудования, приборов, аппаратуры и др. изделий, используемых при инженерно-геологических изысканиях

Наименование организации

Адрес, телефон

Продукция

Прочие сведения

АО «ГЕОМАШ»

306410, г. Щигры, Курской обл., ул.Красная, 50 тел/факс: (0712) 56-65-09

Установки буровые:

типа ЛБУ-50

типа ПБУ2

типа УБЛ-К

типа УШ2Т4

Справки в представительстве АО «ГЕОМАШ», 101518, г. Москва, ул. Садовая-Триумфальная, д. 10/13, стр.2. тел.(095) 2999381, 209-49-64; тел./факс (095) 299-84-01; 299-95-74

ЗАО «Машиностроительный з-д им. В. В. Воровского»

620000, г. Екатеринбург ГСП-492, ул. Цвиллинга, 7

Установки буровые:

УРБ-2А-2

УКБ-ЗСТЭ

УРБ-4Т

УКБ-12/25С

УКБ-12/25

Мотобуры:

КМ-10

М-10

 

Кишлинский машиностроительный завод

Азербайджан, г. Баку ул. Везирова, 43 Полинефтемаш тел. 99-412-665341

Установка буровая: УБР-2,5А

 

АООТ «Новочеркасский маш.з-д им. А.А. Никольского

346130, г. Новочеркасск, Ростовская обл., ул. Подтелкова, 69

Буровой станок:

БСК-2РПА

УГБ-ЗУК

 

Кунгурский машиностр. з-д; телетайп 634419 ГРАНИТ

617400, Пермская обл., г. Кунгур, ул. Просвещения, д. 11, тел.(34271) 3-36-45, 3-34-55, 3-30-38; тел/ф (34271)3-37-69

Агрегаты буровые: БА 158

 

Геотехническая фирма «АЛЕНС»

105187, Москва, Окружной пр-д, д. 18, тел. (095)369-75-16 430-74-10, тел/ф. 162-50-02

Малогабаритные буровые и зондировочно-буровые установки; грунтоносы

 

Завод «Нефтеавтоматика»

Башкирия, г. Октябрьский

Бур геолога ГИ-18

 

Голынковский з-д «Стеклоприбор»

216740, п/о Голынки, Смоленской обл., Руднянского р-на, т. 4-78-42, 4-17-26 телетайпе 1733 «Алмаз»

Пробирки

 

АООТ «ТВЕС» Тулиновского приборостроит. з-да

393111, п/о Тулиновка, Тамбовской обл., Тамбовского р-на тел. 66-70-44, 66-30-88, факс 66-30-88

Весы механические

 

Лениногорский опытный з-д «Нефтеавтоматика»(ЛОЗНА)

423270, Татарстан, г. Лениногорск, ул. Чайковского, 6 тел.(8215) 2-44-65, 2-28-64

MB 2

 

Завод «Госметр»

192007, С.-Петербург, Курская ул., 28/32 т. (812) 166-18-00 факс (812) 166-19-83

Весы лабораторные, электронные, механические, торговые гири

 

Коммерческий центр «Родник» (Завод «Дружная горка»)

188350, Ленинградская обл., Гатчинский р-н, «Дружная горка», Ленина 2 т. (81271) 9-95-88 факс (81271)99245

Лабораторная посуда, приспособления и т.д.

 

ПО «Химлабораторприбор»

114160, г. Клин Московской обл., ул. Сестроречная, д. 13 тел. 159-84-76

Ареометры, лабораторная посуда

 

Клинское производственное объединение «Термоприбор»

141600, г. Клин Московской обл., Волоколамское шоссе, д. 44, т.2-60-87, 159-82-90

Термометры

По вопросам поставки изделий обращаться по тел.: (224)-5-14-71

Бакинский приборостроительный завод

370036, Азербайджан, г. Баку, ул. Октябрьская, 106, т.24-12-59

ПНГ-2, КФ-00, ПФ-1, ареометр

 

Экспериментальный з-д НПО «Тюменьгазгеология»

625047, г. Тюмень, пос. Антипино тел. 21-38-11; телетайп 235250 НАУКА

Прибор сжатия - растяжения ПСР-2

 

Омский опытный з-д треста «Строймеханизация»

г. Омск, пос. Каучук

Установка С-832

 

Государственный проектно-изыскательский институт «Фундамент-проект»

125843, ГСП, Москва А-80, Волоколамское шоссе, 1, тел. (095) 158-04-81,(095) 158-08-41

Прессиометр тензометрический

Предлагается рабочая документация

Государственный дорожный научно-исследовательский институт ГП «СоюздорНИИ»

143900, г. Балашиха 6, МО, шоссе Энтузиастов, 79, тел. 524-03-48, 521-01-11

Грунтоносы. Приборы стандартного уплотнения

 

ЗАО «Технотавр»

г. Москва, ул. Азовская, д. 6, корп. 3 офис 6/2 тел.310-72-77; 310-74-00

Георадар «ГРОТ»

 

Куйбышев ТИСИЗ

443110, г. Самара, ПО, ул. Ново-Садовая, д.44 тел.34-68-70, 34-68-62

Грунтоносы

 

УралТИСИЗ

620219, ГСП-808, г. Екатеринбург, ул. Бажова, д.79 тел. (343-2) 55-97-42 55-97-39, 55-97-01, 55-00-87

Грунтоносы

 

АлтайТИСИЗ

656099, г. Барнаул, ул. Деповская, д. 15 тел.(385-22) 2-38-55 2-85-29, 5-65-41

Грунтоносы

 

СевкавТИСИЗ

350720, г. Краснодар ГСП, ул.Котовского, д.42,тел. (861-0) 55-35-94, 55-40-37

Грунтоносы, компрессионные и сдвиговые приборы

 

КрасноярскТИСИЗ

660049, г Красноярск ГСП-49, ул. Маерчика, 38, тел. 21-73-27

Автоматизированные компрессионные и срезные приборы

 

ООО «ГЕОТЕК»

440026, г. Пенза, ул. Красная, 64 а, тел.: (8412) 52-19-95; факс: (8412) 52-43-12

Автоматизированная система испытания песчаных и глинистых грунтов (АСИС). Стабилометр СП-80/38

 

 




Яндекс цитирования



   Copyright © 2007-2026,  www.tehlit.ru.

[ ѓосты, стандарты, нормативы, инструкции, правила, строительные нормы ]