//
ТехЛит.ру
- крупнейшая бесплатная электронная интернет библиотека для "технически умных" людей.
WWW.TEHLIT.RU - ТЕХНИЧЕСКАЯ ЛИТЕРАТУРА

:: Алготрейдинг::


АЛГОТРЕЙДИНГ
шаг за шагом
с нуля по урокам!

Торговые роботы на PYTHON, BackTrader,
Pandas, Pine Script для TradingView. Связка с брокерами, телеграм и легкими приложениями.


ФЕДЕРАЛЬНОЕ АГЕНТСТВО
ПО ТЕХНИЧЕСКОМУ РЕГУЛИРОВАНИЮ И МЕТРОЛОГИИ

НАЦИОНАЛЬНЫЙ
СТАНДАРТ
РОССИЙСКОЙ
ФЕДЕРАЦИИ

ГОСТ Р ИСО
6312-
2007

Транспорт дорожный

НАКЛАДКИ ТОРМОЗНЫЕ

Метод испытания на сдвиг накладки с колодкой в сборе для дисковых и барабанных тормозов

ISO 6312 : 2001
Road vehicles - Brake linings -
Shear test procedure for disc brake pad and drum brake shoe assemblies
(IDT)

Москва

Стандартинформ

2007

Предисловие

Цели и принципы стандартизации в Российской Федерации установлены Федеральным законом от 27 декабря 2002 г. № 184-ФЗ «О техническом регулировании», а правила применения национальных стандартов Российской Федерации - ГОСТ Р 1.0-2004 «Стандартизация в Российской Федерации. Основные положения»

Сведения о стандарте

1 ПОДГОТОВЛЕН Техническим комитетом по стандартизации ТК 73 «Асбестовые и безасбестовые фрикционные уплотнительные теплоизоляционные материалы и изделия», ОАО «Термостойкие изделия и инженерные разработки» (ОАО «ТИИР») на основе собственного аутентичного перевода стандарта, указанного в пункте 4

2 ВНЕСЕН Управлением технического регулирования и стандартизации Федерального агентства по техническому регулированию и метрологии

3 УТВЕРЖДЕН И ВВЕДЕН В ДЕЙСТВИЕ Приказом Федерального агентства по техническому регулированию и метрологии от 14 мая 2007 г. № 89-ст

4 Настоящий стандарт идентичен международному стандарту ИСО 6312:2001 «Транспорт дорожный. Накладки тормозные. Метод испытания на сдвиг накладки с колодкой в сборе для дисковых и барабанных тормозов» (ISO 6312:2001 «Road vehicles - Brake linings - Shear test procedure for disc brake pad and drum brake shoe assemblies»).

При применении настоящего стандарта рекомендуется использовать вместо ссылочных международных стандартов соответствующие им национальные стандарты, сведения о которых приведены в дополнительном приложении С

5 ВЗАМЕН ГОСТ Р ИСО 6312-93

Информация об изменениях к настоящему стандарту публикуется в ежегодно издаваемом информационном указателе «Национальные стандарты», а текст изменений и поправок - в ежемесячно издаваемых информационных указателях «Национальные стандарты». В случае пересмотра (замены) или отмены настоящего стандарта соответствующее уведомление будет опубликовано в ежемесячно издаваемом информационном указателе «Национальные стандарты». Соответствующая информация, уведомление и тексты размещаются также в информационной системе общего пользования - на официальном сайте Федерального агентства по техническому регулированию и метрологии в сети Интернет

Содержание

Предисловие

1 Область применения

2 Нормативные ссылки

3 Термины и определения

4 Обозначения и единицы измерения

5 Отбор и подготовка образцов

6 Испытательное оборудование и приспособления

7 Метод испытания

8 Вычисление сопротивления сдвигу

9 Запись результатов

Приложение А (обязательное)

Схема проведения испытаний

Приложение В (справочное)

Протокол испытания

Приложение С (справочное)

Сведения о соответствии национальных стандартов Российской Федерации ссылочным международным стандартам

ГОСТ Р ИСО 6312-2007

НАЦИОНАЛЬНЫЙ СТАНДАРТ РОССИЙСКОЙ ФЕДЕРАЦИИ

Транспорт дорожный

НАКЛАДКИ ТОРМОЗНЫЕ

Метод испытания на сдвиг накладки с колодкой
в сборе для дисковых и барабанных тормозов

Road vehicles. Brake linings. Shear test procedure for
disc brake pad and drum brake shoe assemblies

Дата введения - 2008-01-01

1 Область применения

Настоящий стандарт устанавливает метод определения сопротивления сдвигу накладки относительно колодки.

Стандарт распространяется на приформованные, приклепанные и приклеенные накладки с колодками в сборе дисковых и барабанных тормозов автотранспортных средств.

2 Нормативные ссылки

В настоящем стандарте использованы нормативные ссылки на следующие международные стандарты:

ИСО 611:2003 Транспорт дорожный. Торможение автомобилей и прицепов. Словарь

ИСО 6314:1988 Транспорт дорожный. Фрикционные тормозные накладки. Водостойкость, стойкость к солевому раствору, маслу и тормозной жидкости. Методика испытания

3 Термины и определения

В настоящем стандарте применены термины по ИСО 611, а также следующие термины с соответствующими определениями:

3.1 накладка (lining): Компонент из фрикционного материала тормозной колодки в сборе.

3.2 колодка (carrier): Компонент тормозной колодки в сборе, к которому крепится фрикционная накладка.

3.3 площадь соединения (bond area): Площадь контакта между накладкой и колодкой.

3.4 сопротивление сдвигу (shear strength): Отношение нагрузки, вызывающей сдвиг, к площади соединения.

4 Обозначения и единицы измерения

В таблице 1 приведены обозначения и соответствующие единицы измерения, используемые в настоящем стандарте.

Таблица 1 - Обозначения и единицы измерения

Наименование показателя

Обозначение

Единица измерения

Сила сдвига

F

Н

Площадь соединения

А

мм2

Сопротивление сдвигу

t

МПа

5 Отбор и подготовка образцов

От каждой партии изделий отбирают не менее пяти накладок с колодками в сборе.

Испытания проводят на образцах при разработке материала, на готовых изделиях или изделиях, прошедших специальные испытания (типа описанных в ИСО 6314), или после использования.

Испытанию подвергают накладку с колодкой в сборе или часть поверхности накладки - образец.

Поверхность образца предварительно обрабатывают для полного контакта с нагружающими и фиксирующими устройствами. Снимают противошумные прокладки.

При испытании накладки с колодкой зона испытаний охватывает все изделие или его часть, ограниченную прорезами до колодки, выполненными с помощью пилы (рисунок 1).

Рисунок 1 - Колодка для испытания части накладки

Примечание - Направление приложения нагрузки при испытании может не соответствовать направлению приложения нагрузки к изделию при эксплуатации. На характер сдвига может повлиять большое соотношение длины и ширины, наличие фасок или пазов на образце.

6 Испытательное оборудование и приспособления

6.1 Испытательное оборудование

В качестве испытательного оборудования применяют машину для испытаний на сжатие или растяжение, оснащенную устройством для проведения испытаний на сдвиг и прибором для измерения нагрузки в момент сдвига.

Интенсивность подачи нагрузки регулируют в пределах (4500 ± 1000) Н/с.

При применении оборудования с постоянными скоростями перемещения ползуна его скорость должна быть (10 ± 1) мм/мин. Это отражают в результатах испытания, которые не должны сравниваться сданными, полученными на оборудовании с постоянной скоростью нагружения. При этом необходимо избегать ударной нагрузки.

6.2 Приспособления

6.2.1 Общие указания

Приспособление для проведения испытания на сдвиг должно удерживать испытуемый образец параллельно нагружающему устройству.

Радиус скругления нагружающей поверхности этого устройства в той части, где она соприкасается с испытуемым образцом, должен составлять 1,5 мм.

6.2.2 Накладка с колодкой в сборе барабанного тормоза

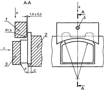
Конструкция крепежного приспособления должна обеспечивать соприкосновение нагружающего устройства при сдвиге с накладкой по всей длине с зазором, равным (1,0 ± 0,2) мм, между его срезающей кромкой и плоскостью соединения накладки с металлической колодкой (рисунок 2).

Направление действия нагрузки нагружающего устройства должно быть параллельно плоскости сдвига накладки.

1 - нагружающее устройство; 2 - профиль нагружающего устройства с зазором, равным (1,0 + 0,2) мм, от колодки; 3 - поддерживающая часть нагружающего устройства; 4 - нижнее крепежное устройство; 5 - опора колодки (опора £ толщине колодки); а - центр осевого давления плунжера; b - направление нагрузки параллельно поверхности колодки; с - сечение испытательного устройства

Рисунок 2 - Схема испытательного устройства для накладки с колодкой в сборе барабанного тормоза

Колодка должна иметь надежную опору для обеспечения равномерной нагрузки по всей длине образца накладки.

Ширина поддерживающей части нагружающего устройства должна быть больше ширины накладки W.

6.2.3 Накладка с колодкой в сборе дискового тормоза

Крепежное приспособление должно быть спроектировано так, чтобы:

- положение плоскости колодки, несущей накладку, было параллельно плоскости нагружающего устройства;

- нагружающее устройство соприкасалось с кромкой накладки на расстоянии (1,0 ± 0,2) мм от колодки и его контур совпадал с контуром накладки, включая углы скоса;

- нагружающее устройство было самоцентрирующимся;

- нагружающее устройство соприкасалось с поверхностью накладки по всей длине и действовало параллельно поверхности колодки, несущей накладку;

- поверхность колодки, воспринимающая нагрузку, располагалась на жесткой опоре толщиной не более толщины части колодки, несущей накладку;

- для предотвращения смещения колодки во время испытания прижимное устройство создавало на площади накладки нагрузку, равную (0,50 ± 0,15) Н/мм2, под прямым углом относительно направления силы сдвига;

- прижимная нагрузка прилагалась так, чтобы сила трения не оказывала влияния на результат измерения силы сдвига (рисунок 3).

1 - нагружающее устройство (параллельно опоре колодки); 2 - опора колодки; 3 - прижимное устройство; расстояние С £ толщине колодки; а - направление силы сдвига; b -точка опоры; с - прижимная нагрузка; d - трение, сведенное к минимуму на границе поверхности

Рисунок 3 - Схема испытательного устройства для накладки с колодкой в сборе дискового тормоза

7 Метод испытания

Испытания проводят в соответствии со схемой проведения испытания (приложение А) при следующих условиях:

a) обычно испытания проводят при температуре (23 ± 5) °С;

b) если измерение сопротивления сдвигу проводят при повышенной температуре, то изделие (образец) нагревают до нужной температуры в течение 30 мин и испытание проводят в течение 30 с после снятия изделия (образца) с нагревательного устройства.

Рекомендуемая температура для накладок барабанного тормоза - (200 ±10) °С; для накладок дискового тормоза - (300 ±10) °С;

c) устанавливают накладку с колодкой в сборе в приспособление для проведения испытания на сдвиг;

d) прикладывают нагрузку в соответствии с 6.1 до полного отрыва накладки;

e) записывают значение нагрузки, при котором наступает отрыв накладки, и модель сдвига, выраженную в процентах, согласно разделу 9.

8 Вычисление сопротивления сдвигу

Сопротивление сдвигу t, МПа, вычисляют по формуле

                                                                                                                        (1)

где F- сила сдвига, Н;

А - площадь образца, мм2.

Площадь образца А вычисляют по контуру фрикционного материала на линии соединения с колодкой, а не на поверхности накладки, т. к. скосы или пазы влияют на площадь накладки.

За результат испытания принимают наименьшее и среднее значения сопротивления сдвигу по результатам испытанных образцов.

9 Запись результатов

Протокол испытания (приложение В) должен содержать:

a) тип фрикционного материала накладок барабанного или дискового тормоза, маркировку партии изделий, наименование изготовителя;

b) количество испытанных образцов (рекомендуется пять образцов);

c) минимальное и среднее значения силы сдвига или минимальное и среднее значения сопротивления сдвигу, или и то и другое;

d) описание модели сдвига с указанием:

- площади сдвига, % (по чистой колодке или по клею, или по материалу накладки),

- места расположения любых чистых зон на колодке;

e) информацию об используемых образцах согласно разделу 5 и условиях испытания.

Приложение А (обязательное)

Схема проведения испытаний

Приложение В
(справочное)

Протокол испытания

Таблица В.1 - Параметры испытаний и отчет

Параметр, характеристика

Значение постоянной скорости приложения нагрузки

Значение нагрузки с постоянной скоростью перемещения ползуна

Скорость приложения нагрузки

(4500 ± 1000) Н/с

(10 ± 1) мм/мин

Расстояние от колодки до режущей плоскости нагружающего устройства

(1,0 ± 0,2) мм

(1,0 ±0,2) мм

Радиус скругления нагружающей поверхности

(1,5 ± 0,5) мм

(1,5 ± 0,5) мм

Прижимная нагрузка

(0,50 ± 0,15) Н/мм2

(0,50 ± 0,15) Н/мм2

Испытания при нагревании:

Длительность нагревания

30 мин

30 мин

Продолжительность испытания после нагревания

30 с

30 с

Температура нагревания для накладок барабанного тормоза

(200±10) °С

(200±10) °С

Температура нагревания для накладок дискового тормоза

 

(300±10) °С

(300 ± 10) °С

Изготовитель накладки

Сведения о накладке

Маркировка партии изделий

Тип образца (отметьте галочкой нужное)

Размер образца

 

Площадь соединения

мм2

Особое покрытие

 

Испытание при температуре (23 ± 5) °С

Испытание при нагревании

Количество испытуемых образцов (рекомендуется пять):

Количество испытуемых образцов (рекомендуется пять):

Минимальное значение сопротивления сдвигу:   МПа

Минимальное значение сопротивления сдвигу:        МПа

Среднее значение сопротивления сдвигу:             МПа

Среднее значение сопротивления сдвигу:                  МПа

Модель сдвига

По чистой колодке:                                                     %

По чистой колодке:                                                          %

По клею:                                                                       %

По клею:                                                                            %

По материалу накладки:                                             %

По материалу накладки:                                                   %

Место расположения чистых участков:

Место расположения чистых участков:

Отклонения от метода испытаний:

Дата проведения испытаний:

Фамилии лиц, проводивших испытания:

Ссылка №

Приложение С
(справочное)

Сведения о соответствии национальных стандартов Российской Федерации ссылочным международным стандартам

Таблица С.1

Обозначение ссылочного международного стандарта

Обозначение и наименование соответствующего национального стандарта

ИСО 611:2003

*

ИСО 6314:1980

ГОСТ Р ИСО 6314-93 Транспорт дорожный. Накладки тормозные. Метод определения водостойкости, стойкости к солевому раствору, маслу и тормозной жидкости

* Соответствующий национальный стандарт отсутствует. До его утверждения рекомендуется использовать перевод на русский язык данного международного стандарта. Перевод данного международного стандарта находится в Федеральном информационном фонде технических регламентов и стандартов.

Ключевые слова: транспорт дорожный, накладки тормозные, сопротивление сдвигу, тормоза барабанные и дисковые, метод испытания




Яндекс цитирования



   Copyright © 2007-2026,  www.tehlit.ru.

[ ѓосты, стандарты, нормативы, инструкции, правила, строительные нормы ]